Mercedes Vito W638 дебютировал в 1996 году. Сборка микроавтобусов была налажена в Испании. Вито создан на платформе Volkswagen T4 Transporter. Кузов разработан немецким дизайнером Майклом Мауэр. Почему фургон получил шильдик Vito? Название происходит от испанского города Виктория, в котором его производили.
Через два года после старта продаж микроавтобус обновили. Помимо новых дизельных двигателей с системой впрыска Common Rail (CDI) появились и едва заметные стилистические изменения. Например, оранжевые указатели поворота уступили место прозрачным. Вито первого поколения производился до 2003 года, пока на рынок не вышел его преемник.
Это правда, что бензиновые моторы доставляют гораздо меньше проблем, чем дизельные, но потребляют очень много топлива. Те же, кто используют Вито в качестве коммерческого автомобиля, предпочитают дизельные двигатели. К сожалению, дизельные моторы с большим трудом справляются с разгоном автомобиля, даже самые сильные.
На выбор предлагалось два дизельных агрегата. Все они имеют практически вечный цепной привод ГРМ. Какой же из агрегатов лучше всего себя зарекомендовал в процессе эксплуатации? В аутсайдерах оказался 2,3-литровый турбодизель. Он имеет проблемы с системой впрыска – выходит из строя ТНВД. Также встречаются случаи преждевременного обрыва приводного ремня генератора и помпы, и даже прогар прокладки под головкой.
2,2-литровый агрегат, несмотря на более сложную конструкцию, гораздо надежнее и экономичнее. Хотя здесь тоже встречаются проблемы в системе впрыска. Довольно быстро выходят из строя свечи накаливания, как правило, из-за перегоревшего реле.
Технические особенности
Независимо от версии, Mercedes Vito W638 всегда переднеприводной. Более богатые версии иногда оснащались пневмобаллонами на задней оси.
Безопасность? Автомобиль не участвовал в краш-тестах EuroNCAP. Но учитывая тот факт, что большинство экземпляров уже сильно поражены коррозией, подержанный Мерседес Вито 638 вряд ли сможет гарантировать безопасность на высоком уровне.
Много хороших слов можно сказать в адрес шасси. Микроавтобус ведет себя почти как легковой автомобиль.
Типичные неисправности
За время производства автомобиль дважды призывался на проведение сервисных акций. Первая — в 1998 году из-за проблем с шинами Continental и Semperit. Вторая — в 2000 году для устранения проблем с усилителем тормозов.
Самое больное место Вито – коррозия. Все дело в плохой защите кузова. Ржавчина появляется буквально везде. Первые очаги, как правило, возникают на нижних уголках дверей, капоте, задней двери багажника. Прежде чем вы остановитесь на конкретном экземпляре стоит присмотреться к порогам, полу и, по возможности, заглянуть под уплотнитель дверей.
Если на кузове нет следов ржавчины, то вероятно он подвергался ремонту. В большинстве случаев эта работа производится наспех только для того, чтобы автомобиль выглядел красиво во время продажи. Будьте начеку!
Встречаются также проблемы с электрикой. В дизельных версиях «барахлит» реле свечей накаливания. Часто выходят из строя стартер, генератор, вентилятор радиатора, электростеклоподъемники и центральный замок. Термостат – еще одна деталь, которую вскоре придется заменить. Время от времени «показывает характер» система кондиционирования и отопитель.
Перед покупкой необходимо обязательно проверить работу боковых сдвижных дверей, которые заедают при повреждении направляющих. Владельцы жалуются на очень низкое качество пластика салона – во время движения он издает неприятные звуки.
Порой подводят тросики коробки передач и карданные шарниры. 4-ступенчатый «автомат» не доставляет проблем при условии соблюдения эксплуатационных рекомендаций по замене масла. Рулевой механизм Vito не слишком выносливый — довольно быстро появляется люфт.
Заключение
Mercedes Vito – это интересный и функциональный микроавтобус по разумной цене. К сожалению, небольшая стоимость не означает дешевую эксплуатацию. Цены на некоторые детали очень высокие. Благо на рынке достаточно недорогих заменителей. Однако это касается далеко не всех узлов и агрегатов. Если Вам достанется сильно ржавый экземпляр, его ремонт может оказаться нерентабельным.
Технические данные Mercedes-Benz Vito W638 (1996-2003)
Версия
108 D
110 TD
108 CDI
110 CDI
112 CDI
Двигатель
дизель
турбодизель
турбодизель
турбодизель
турбодизель
Рабочий объем
2299 см3
2299 см3
2151 см3
2151 см3
2151 см3
Количество цилиндров / клапанов
R4 / 8
R4 / 8
R4 / 16
R4 / 16
R4 / 16
Максимальная мощность
79 л. с.
98 л.с.
82 л.с.
102 л.с.
122 л.с.
Максимальный крутящий момент
152 Нм
230 Нм
200 Нм
250 Нм
300 Нм
Динамика
Максимальная скорость
148 км / ч
156 км / ч
150 км / ч
155 км / ч
164 км / ч
Ускорение 0-100 км / ч
20,6 сек
17,5 сек
н. д.
18,2 сек
14,9 сек
Средний расход топлива, л / 100 км
8,8
9,2
7,0
8,0
8,0
Коррозия в деталях
Колесные арки.
Пороги.
Двери.
Задняя дверь багажника.
Задняя сдвижная дверь.
Неисправности в деталях
Если Вито часто используется для транспортировки тяжелых грузов, то пневмобаллоны могут потребовать замены уже через 50 000 км.
Подшипники приводных валов не считаются выносливыми.
Утечки масла из трансмиссии – это хроническое.
Тормозные диски ходят сравнительно недолго — слишком малы для тяжелого фургона.
Технические характеристики автомобиля Mercedes-Benz Vito 112 CDI (W638)
Технические характеристики Mercedes-Benz Vito 112 CDI
Mercedes-Benz Vito 112 CDI
Фотографии Mercedes-Benz Vito 112 CDI из каталога AutoNet.ru. Фото 1 из 1
Переднеприводный грузопассажирский автомобиль Vito производят на испанском заводе компании DaimlerChrysler вместе с V-class. Выпускают целое семейство: от цельнометаллического 1,0-тонного фургона до 10-местного микроавтобуса. Внешний вид и интерьер Vito скромнее и функциональнее, чем у V-klass: в стандартную комплектацию входят штамповые диски колес, неокрашенная решетка радиатора и тканевая отделка салона. Полностью независимая подвеска всех колес типа McPherson спереди и на продольных рычагах сзади обеспечивает хорошие параметры упраляемости и плавность хода. Комплектация Marco Polo имеет подъемную крышу.
Посмотреть технические характеристики других модификаций Mercedes-Benz Vito / Мерседес-Бенц Вито
Автомобильный каталог содержит описание, технические характеристики и фотографии автомобиля Mercedes-Benz Vito 112 CDI.
Продажа подержанных автомобилей Mercedes-Benz Vito
Посмотреть все предложения о продаже подержанных автомобилей Mercedes-Benz Vito / Мерседес-Бенц Вито
Отзывы владельцев автомобиля Mercedes-Benz
25. 10.2007
Магнит_25102007
Оценка автора
Объективность
Это вам не пижонистые французы или скороспелые япошки) Это классика!
Попадая в небольшой салон W202, ощущаешь вечность. Легким движением закрывается массивная дверца, мягко заводится надежный движок и ты начинаешь парить над дорогой, испытывая волны стабильности и только положимтельные эмоции.
подробнее
17.09.2007
estonec_17092007
Оценка автора
Объективность
даа мерин уже не тот как15 лет назад. качества никакого.а цена стала выше. да и немецкая нация какаето больная стала. покупал машину год назад в Германии только кончилась гарантия видать немец не решился оставлять себе такую машину.с этого начались ремонты. сначала перестал работать CD box. затем начал отключаться турбонадув.сломался замок водительской двери. очередной отдых в германии закончился полной заменой системы сцепления(130 000! km)потёк рабочий цилиндр.но фрицы решили.раз они разобрали надо менять всё. очередная дальняя поезка чуть не закончилась совсем плачевно. …
подробнее
14.09.2007
samuels masha
Оценка автора
Объективность
moj otziv — otziv tipichnoj «lady on the road». SL55 AMG Mercedes. dlya znatokov mashina — mechta. dlya obivatelej vrode menya — lish krasivo i bezopasno.
esli otkinut vse ponti (Vario roof za 16 sec, boss sound etc)i posmotret pravde v glaza — eto mashina, kotoraya kak minimum doljna bit 3-2-oj v garazhe. no nikak ne pervoj. lichno ya lublyu lish disign i to pod nastroenie. slishkom doroga v obslushivanii dazhe dlya Londona. prishlos prodat. a muzh v vostorge. i tolko s novim S class 320 CDI 2006 goda vse ostalis dovolni.
подробнее
Посмотреть все отзывы об автомобилях Mercedes-Benz / Мерседес-Бенц
Шрус Mercedes Vito 638 в Украине. Цены на Шрус Mercedes Vito 638 на Prom.ua
Работает
Шрус внутренний MERCEDES VITO 638 1999-2003, OPEL OMEGA A (28z) 1986-1994
В 1996 году Mercedes Vito произвел настоящий фурор среди автомобилей для малой коммерции и семейных минивэнов. Vito 638 выпускался в Испании, а свое название получил благодаря месту нахождения завода в Виктории. За 7 лет производства удалось выпустить сотни тысяч экземпляров, актуальность которых не уменьшается по сей день, разве что уступая дорогу младшему поколению в следующем кузове. В секрет успеха, и что подкосило репутацию “трудяги” — расскажу далее.
О кузове
Проблема всех автомобилей, без исключения — критично низкая стойкость к коррозии. Изначально непродуманная система дренажа, слаба оцинковка и тонкий лакокрасочный слой делает уязвимым кузов даже к малейшим царапинам, которые быстро превращаются в коррозию. Коррозия начинает подступать с низов дверей, порогов, под уплотнительными резинками боковых дверей, на крыльях, рамке решетки радиатора, а чаще всего требует замены крышка багажника, так как ей достается больше всех. 8 из 10 автомобилей будут в пребывать в среднем состоянии, так как автомобиль чаще используется в коммерческих целях. Пассажирские версии в большинстве находятся в лучшем состоянии, особенно семейные. В Европе можно выбрать Vito в прекрасном состоянии, но после пары наших зим — кузов начнет сдавать и покрываться обильно “жучками”. Благо этих автомобилей валом на разборках, а некоторые кузовные панели, крылья, двери можно купить за небольшие деньги новыми, естественно китайского или тайваньского производства.
Из мелочных проблем, в качестве личного примера, приведу следующий список:
петли дверей не рассчитаны на такой вес, поэтому проседают и ломаются;
ролики сдвижной двери лучше сразу заменить, тем более ремонтный комплект стоит небольших денег;
из-за повышенной вибрации мотора разбалтывается крепление решетки радиатора;
боковые резинки стекла двери могут невзначай опуститься вместе со стеклом.
Хочу отметить отличную оптику. Передние фары стеклянные, в стандарте светят хорошо, а в паре с ксеноном и противотуманками ночной обзор будет на высшем уровне. К задним фонарям также претензий нет.
В салоне
Посадка водителя, лично для меня, вне всякой похвалы. Сидение регулируется достаточно широко, поэтому водителю, ростом свыше 185 см будет максимально комфортно. Рулевое колесо не регулируемое, и расположено практически горизонтально, однако это способствует еще большему комфорту. Пол в передней части ровный, так как кулиса КПП перенесена на торпеду в центральную часть, что позволяет принять вперед два пассажира. Органы управления расположены удачно, рукоятка КПП под рукой, дискомфорта при переключении не ощутите. На центральной части консоли расположены основные кнопки всевозможных функций, магнитола и блок управления климатом. У пассажира два открытых бардачка, а дверные карманы позволяют загружать их большой полезной “мелочью”. После рестайлинга слегка видоизменили торпеду и щиток приборов, придав им округлости.
Из недостатков салона выделю частые проблемы с тросами КПП, которые имеют свойство расслабляться, и включить третью передачу становится невозможным. Подрулевой блок закисает, поэтому может не работать задний дворник, или левый указатель поворота. Но благодаря простейшей конструкции все махинации по устранению “болячек” подвластны даже новичкам. В плане обзора также все хорошо, ведь большие стекла, тонкие передние стойки и огромные “лопухи” заднего вида позволяют контролировать ситуацию вокруг автомобиля по широким углом. В салоне может быть от 3 до 7 мест, причем грузовой включает в себя 2+1, грузопассажирский 5+1, и пассажирский 6+1. В СНГ большинство завезенных автомобилей изначально были грузовыми, ведь в такой вариации их цена и стоимость растаможки существенно ниже, чем пассажирские версии. На этой основе открылось много компаний по переоборудованию микроавтобусов, главное чтобы в техпаспорте была официальная отметка.
О ходовой части, тормозах и рулевом управлении
Подвеска у “Вити” простейшая: спереди мощные треугольные рычаги и стойки типа McPherson, сзади два продольных рычага, то есть полностью независимая подвеска. Рулевое управление также не приносит проблем первые 300 000 км. Дальше требуется ремонт или замена рейки. Насос ГУР надежен, и унифицирован с Audi A6C5 2.5. Рулевые наконечники требуется менять раз в 50-70 тыс км. Тормозная система по кругу дисковая. Здесь применяли два типа тормозов: ATE и Bosch. Все предельно просто и надежно, если вовремя обслуживать и ремонтировать, к тому же цены на комплектующие позволяют это делать.
О трансмиссии
Здесь устанавливалось всего два типа КПП: пятиступенчатая “механика” и 4-х ступенчатая АКПП. Привод только передний. Из неприятных моментов я говорил, что у МКПП растягиваются троса, из-за чего 3 и 5 передача могут не включаться. Наличие течи из-под сальника полуоси говорит об износе подшипников дифференциала. АКПП такая же простая, как и сам автомобиль, и единственной проблемой, с которой сталкивается большинство владельцев — выход из строя механизма выбора передачи, который требует переборки. После ремонта АКПП переходит из аварийного режима в рабочий.
О моторах
Силовая линейка позволяет выбрать автомобиль под свои задачи. Самый рекомендуемый — 2.3 атмосферный, мощностью 75 л.с. Да, у него вялый разгон, но отсутствие турбины, простейшая система впрыска, вакуумная система управления двигателем делают его самым надежным из всех. Турбированный 2.2 также прост и надежен, если вовремя следить за турбиной. Все моторы капризны к качеству масла и охлаждающей жидкости, а также своевременной ее замене. После рестайлинга моторы стали комплектоваться другом ТНВД и турбиной с изменяемой геометрией. Общая проблема всех дизельных моторов: подтекание топлива из-под трубок обратки, рассыхание уплотнителей форсунок, недостаточная доступность к деталям двигателя при ремонте. При должном уходе эти моторы “ходят” по 500 000, но ходят легенды и при миллионники.
Итоги
Mercedes -Benz Vito 638 своим появлением открыл новую эру микроавтобусов, показав на своем примере, какими должны и не должны быть автомобили данного класса. Благодаря простой конструкции всех узлов и агрегатов, проблемы с ними часто возникают из-за несвоевременного обслуживания и отработанного ресурса. Сегодня есть возможность найти такие автомобили в отличном состоянии, но цена на них будет равна цене более новому и передовому 639 кузову.
Generic For Mercedes Benz VITO 638 W638 Car Styling 5 Speed Car
Choose your location
Please selectAbiaAdamawaAkwa IbomAnambraBauchiBayelsaBenueBornoCross RiverDeltaEbonyiEdoEkitiEnuguFederal Capital TerritoryGombeImoJigawaKadunaKanoKebbiKogiKwaraLagosNasarawaNigerOgunOndoOsunOyoPlateauRiversSokotoYobe
Ready for delivery between 05 October & 13 October when you order within next 3hrs 37mins
Pickup Station
Delivery ₦ 1,650
Готов к выдаче между 05 октября и 13 октября при заказе в течение следующего 3 часа 37 минут
Политика возврата
Бесплатный возврат в течение 15 дней для товаров из официального магазина и 7 дней для других товаров, соответствующих критериям. Подробнее
Аксессуары Mercedes Vito W638 (1996
ЛУЧШИЕ ПРОДУКТЫ
Цена €12,95
С учетом налогов
Цена €12,95
С учетом налогов
Цена €14,45
С учетом налогов
Цена €14,95
С учетом налогов
Цена €42,99
С учетом налогов
Цена €59,99
С учетом налогов
Цена €71,99
С учетом налогов
Цена €71,99
С учетом налогов
Цена €109,00
С учетом налогов
Цена €215,94
С учетом налогов
Цена €706,00
С учетом налогов
Знаменитые бренды
ОСВЕЩЕНИЕ
Цена €3,49
С учетом налогов
Цена €9,95
С учетом налогов
Цена €42,99
С учетом налогов
Цена €15,99
С учетом налогов
Цена €38,95
С учетом налогов
Цена €99,95
С учетом налогов
Цена €14,99
С учетом налогов
Цена €19,95
С учетом налогов
Цена €49,99
С учетом налогов
Цена €53,99
С учетом налогов
Цена €14,99
С учетом налогов
Цена €14,99
С учетом налогов
Цена €24,99
С учетом налогов
Цена €26,95
С учетом налогов
Цена €48,99
С учетом налогов
Цена €27,99
С учетом налогов
Цена €29,99
С учетом налогов
Цена €57,95
С учетом налогов
Цена €104,99
С учетом налогов
Цена €58,99
С учетом налогов
Цена €10,95
С учетом налогов
Цена €5,98
С учетом налогов
Цена €49,95
С учетом налогов
ПЕРСОНАЛИЗАЦИЯ
Цена €9,95
С учетом налогов
Цена 6,99 €
С учетом налогов
Цена €29,95
С учетом налогов
Цена €12,99
С учетом налогов
Цена €12,99
С учетом налогов
Цена €5,99
С учетом налогов
Цена 6,05 €
С учетом налогов
АКСЕССУАРЫ
Цена €41,95
С учетом налогов
Цена €35,99
С учетом налогов
Цена €49,99
С учетом налогов
Цена €17,95
С учетом налогов
Цена 8,95 €
С учетом налогов
Цена €9,95
С учетом налогов
Цена €9,95
С учетом налогов
Цена €5,99
С учетом налогов
Цена €14,95
С учетом налогов
Цена €50,95
С учетом налогов
Релинги Cruzber®
ДИАГНОЗ
Цена €134,95
С учетом налогов
Цена €194,95
С учетом налогов
Цена €279,95
С учетом налогов
Цена €324,99
С учетом налогов
Цена €339,95
С учетом налогов
Цена €449,95
С учетом налогов
Цена €699,99
С учетом налогов
Цена €1 199,99
С учетом налогов
ГОНКИ
Цена €529,95
С учетом налогов
Цена €629,99
С учетом налогов
Цена €1 394,99
С учетом налогов
Тормоза EBC®
Шланги Hel Performance®
Пружины и подвески Vogtland®
МУЛЬТИМЕДИА
Цена €39,95
С учетом налогов
Цена €68,99
С учетом налогов
МЕСТОПОЛОЖЕНИЕ GPS И СИГНАЛИЗАЦИЯ
Цена €68,99
С учетом налогов
Цена €89,99
С учетом налогов
Цена €124,99
С учетом налогов
Цена €3,99
С учетом налогов
Цена €1 598,95
С учетом налогов
Цена €589,95
С учетом налогов
Цена €498,95
С учетом налогов
Цена €389,95
С учетом налогов
ОЧИСТКА ДЕТАЛИ
Цена €11,45
С учетом налогов
Цена 5,95 €
С учетом налогов
Цена €17,95
С учетом налогов
Цена 5,95 €
С учетом налогов
Цена €17,95
С учетом налогов
Цена €60,85
С учетом налогов
Цена €49,95
С учетом налогов
Цена €119,95
С учетом налогов
Цена €73,95
С учетом налогов
Цена €29,95
С учетом налогов
ДРУГИЕ
Цена €17,95
С учетом налогов
Цена €28,99
С учетом налогов
Цена €48,95
С учетом налогов
Цена €34,95
С учетом налогов
У вас есть вопросы о том, как сделать заказ? Посмотрите наше видео, где мы разъясняем все шаги:
Расход дизельного топлива: Mercedes-Benz — Vito — 638/4
Дизель, 2020 г. , 100 кВт (136 л.с.), ручной
Пользователь: Мокваи
Расход:
7,54 л/100км
34 214 км и 2 581 л
CO 2 эмиссия:
199 г/км
34,214 км и 6,813 кг
Стоимость топлива:
14,66 евро/100км
33,633 км и 4,929
евро
Записи 51 — 22 из 51
Дата
Одометр
Расстояние
Количество
евро
Ø
16.09.2022
90,625
728,0
53,03
103,89
7,28
12. 09.2022
89.897
682,0
53,54
119,82
7,85
07.09.2022
89.215
776,0
53,28
106,00
6,87
05.09.2022
88.439
731,0
52,64
114,00
7,20
30.08.2022
87.708
664,0
51,55
106,14
7,76
25. 08.2022
87.044
692,0
51,31
104,11
7,41
19.08.2022
86.352
737,0
58,07
113,18
7,88
17.08.2022
85,615
612,0
52,23
99,18
8,53
13.08.2022
85.003
724,0
50,83
98,05
7,02
12. 08.2022
84,279
581,0
48,47
8,34
10.08.2022
83,698
672,0
51,74 904:30
93,08
7,70
04.08.2022
83.026
723,0 904:30
55,42
97,00
7,67
08.02.2022
82.303
706,0
51,21
95,71
7,25
06. 07.2022
81,597
665,0
50,53
98,99
7,60
30.06.2022
80,932
679,0
52,00
904:30
104,99
7,66
27.06.2022
80.253
717,0
51,75
104,48
7,22
22.06.2022
79,536
736,0
51,76 904:30
106,57
7,03
18. 06.2022
78.800
736,0 904:30
48,26
97,92
6,56
16.06.2022
78.064
658,0
45,69
92,71
6,94
13.06.2022
77.406
805,0
52,59
108,23
6,53
08.06.2022
76.601
757,0
57,26
114,46
7,56
02. 06.2022
75.844
703,0
51,43
97,61
7,32
30.05.2022
75.141
626,0 904:30
49,75
104,00
7,95
25.05.2022
74,515
754,0
51,76
101,92
6,86
23.05.2022
73,761
683,0
49,25
95,50
7,21
17. 05.2022
73.078
635,0
47,31 904:30
104,60
7,45
05.05.2022
72.443
656,0
49,48
102,87
7,54
904:30
28.04.2022
71,787
773,0
52,17
107,42
6,75
26.04.2022
71.014
710,0
50,43
120,00
7,10
20. 04.2022
70.304
709,0
50,38 904:30
104,74
7,11
Używany Mercedes Vito W638 — Типы предупреждений и проблем
Używany Mercedes Vito W638 – история модели
Mercedes Vito W638 выпущен в 1996 году, его продукция продана в Испании. Конструктивный автомобиль или грузовой автомобиль Volkswagen Transportera T4. Karoseria została zaprojektowana przez niemieckiego Designera Michaela Mauera.
Dlaczego dostawczy модель otrzymał эмблема Vito? Nazwa pochodzi od hiszpańskiej miejscowości Vitoria, w której go wytwarzano. В 1997 году под маской auta trafił volkswagenowski мотор benzynowy VR6 или скорость 174 км, два последних дня самохода przeszedł модернизация.
Мерседес Вито W638
(мат. Прасове/Мерседес)
Опроц нович сильников высокопресных с wtryskiem type Common rail (CDI) Вито I generacji produkowano do 2003 roku, kiedy na rynku pojawił się jego następca.
Auto było dwa razy wzywane do autoryzowanych serwisów: w 1998 roku z powodu Problemów z oponami i w 2000 roku, kiedy to naprawiano szwankujący hamulec pomocniczy.
Подобный ящик с прокладкой Mercedesa Vito II/Viano W639tak i tutaj znalezienie na rynku aut używanych egzemplarza z silnikiem benzynowym to nie lata wyzwanie.
Co prawda motory zasilane szlachetniejszym paliwem na pewno bedą przysparzały swoim właścicielom znacznie mniej Problemów w exploatacji, ale kosztem znacznie większego spalania. Nikt кто używa takiego samochodu сделать celów użytkowych w pracy nigdy się na to nie zgodzi.
Macie do wyboru, więc tylko dwa silniki wysokoprężne. Który z nich lepiej się sprawdza w exploatacji? Na pewno nie motor o pojemności 2,3 l, w którym nie dość, że często szwankuje układ wtryskowy to na dodatek spotykane są przypadki przedwczesnego zerwania paska klinowego, a nawet wypalenia uszczelki pod głowicą.
Мерседес Вито W638
(мат. Прасове/Мерседес)
Jednostka 2,2 л Jest znacznie mniej problemowa, ale i tutaj mogą pojawić się Problemy z układem wtryskowym. Zarówno w jednym jak i w other silniku dość szybko wyexploatowaniu ulegają świece żarove. Niestety motory wysokoprężne wyraźniej nie radzą sobie ze sprawnym rozpędzaniem auta, nawet te najmocniejsze.
Używany Mercedes Vito W638 – датский techniczne
Независимый от wersji w Mercedes Vito W628 naęd jest zawsze przekazywany на кола przedniej osi. Bogatsze odmiany zostały wyposażone w miechy pneumatyczne na tylnej osi. Безпеченство? Samochód nie brał udziału w testach zderzeniowych Euro NCAP, ale biorąc pod uwagę fakt, że większość egzemplarzy jest już mocno skorodowana, Mercedes Vito W638 z pewnością nie gwarantuimpońzebezpieczena. Oprócz dostawczej w ofercie była również komfortowa wersja osobowa auta.
Мерседес Вито W638
(мат. Прасове/Мерседес)
Używany Mercedes Vito W638 – typowe usterki
Jeśli choć trochę lub nawet w ogóle nie interesujecie się motoryzacją, ale chcecie kupić Mercedesa Vito W638 to na pewno już obiło się Wam o uszy co jest największą bolączką tego modelu. Chodzi oczywiście o mizerne zabezpieczenie konstrukcji przed korozją.
Ruda pojawia się tutaj dosłownie wszędzie. Pierwsze purchle zwykle znajdziecie na: dolnych rantach drzwi, masce, tylnej klapie bagażnika. Zanim zdecydujecie się на konkretny egzemplarz warto jeszcze dokładnie obejrzeć progi, podlogę, a nawet w miarę możliwości poodginać uszczelki przy drzwiach.
Jeżeli samochód jest wolny od rdzy to prawdopodobnie ma za sobą naprawy blacharskie – w większości przypadku to prace zrobione na szybko, tylko po to, by auto wyglądało ładnie w trakcie sprzedaży. Miejcie się na baczności!
Мерседес Вито W638
(мат. Прасове/Мерседес)
Spotykane с различными проблемами с электроникой. W egzemplarzach z silnikami diesla szwankuje przekaźnik świec żarowych. Często zdarzają się także przypadki uszkodzenia: rozrusznika, alternatora, gotylatora chłodnicy, elektrycznie otwieranych szyb czy Centralnego zamka. Termostat to kolejna część, którą będziecie musieli wymienic. Od czasu do czasu swoje humory miewają jeszcze układ klimatyzacji i nagrzewnica.
Zawodne bywają też cięgna skrzyni biegów oraz przeguby napędowe. Przed zakupem koniecznie sprawdźcie dzialanie bocznych przesuwanych drzwi, które z powodu uszkodzenia prowadnic lubią się zacinać. Przekładnia kierownicza nie jest tutaj zbyt trwała i dość szybko łapie luzy. Użytkownicy Mercedesa Vito W638 skarżą się na bardzo niską jakość plastików wykończenia wnętrza, w trakcie jazdy mogą wydawać z siebie dziwne dźwięki.
Używany Mercedes Vito W638 – naszym zdaniem
Mercedes Vito W638 для потенциального кандидата для przedsiębiorcy szukającego dostawczaka w rozsądnej cenie. Niestety w wielu przypadkach niska cena zakupu nie oznacza taniej eksploatacji, ceny niektórych części potrafią kosztować krocie, choć na szczęście na rynku są też tańsze zamienniki — nie dotyczy to jednak wszystkich podzespołów. Jeśli traficie на mocno zardzewiały egzemplarz его направа może się okazać nieopłacalna.
Głównym atutem Vito jest przede wszystkim ogromna ilość miejsca, kiedyś klientów przyciągał jeszcze atrakcyjny wygląd. Lata jednak mijają i sylwetka zdążyła już się zestarzeć. Z resztą tak naprawdę w dostawczakach od ciekawego designu znacznie bardziej liczy się ekonomiczność. Egzemplarze Vito W638 z dieslami pod mask zużywają naprawdę niewielkie ilości paliwa, ale niestety nie grzeszą ani przesadną trwałością, ani tym bardziej dobrą dynamiką.
Na pochwałę zasługują za to bardzo dobre własności jezdne. Do czego jeszcze można się przyczepić? Przede wszystkim do mało wydajnego ogrzewania, haczącej skrzyni biegów i do częstych awarii (w przypadku wielu z nich auto nie jest w stanie jechać o własnych silach kończąc na lawecie).
Oceń jakość naszego artykułu: Twoja opinia pozwala nam tworzyć lepsze treści.
Мерседес Вито W638 с пробегом: Кузов, Салон, Электрика
Vito W638 не был первым люксовым микроавтобусом в мире: на момент его выпуска более 15 лет существовал VW Multivan, но для сегмента Лакшери Мерседес есть Мерседес . Машина для заслуженной марки не совсем типична. Во времена, когда пневматики не было даже на легендарном W140, у него была пневматическая подвеска на задней оси. Он был первым переднеприводным автомобилем марки, а также опробовал чужие моторы от Volkswagen и коробку от ZF. Несмотря на изрядный букет врожденных проблем, многие Vito первого поколения еще живы. В первой части разберемся с типичными неисправностями по кузову, салону и электрике, а во второй — по ходовой, трансмиссии и моторам.
Техникс
Конструкция типичная для микроавтобусов: привод передний, двигатель расположен поперечно, серебристая компоновка — рядно-линейная. Передняя подвеска МакФерсон, задняя диагональные рычаги. Кузов несущий стальной, с мощным подрамником и фактически интегрированной в конструкцию рамы сзади.
Было доступно несколько вариантов, с распашными и подъемными дверьми сзади, с одной или двумя раздвижными боковыми дверями, с одним или двумя люками, индивидуальными сиденьями или диванами.
Двигателей тоже много: бензиновые в основном в рядных четверках серии М111, они немного модернизированы ради поперечного размещения. М104.900 Мотор на самом деле представляет собой 12-клапанный VR6 от VW, а под вполне мерседесовским обозначением 723.697 скрывается ZF 4HP20 ACP — все издержки перехода на непривычную для Mercedes крестовину силового агрегата.
Временная шкала
Март 1995. Дебет модели на автосалоне в Женеве.
Август 1995 г. Запуск серийного производства в г. Виктория Гастейс, Испания. Бензиновые двигатели М111 объемом 2,0 и 2,3 литра мощностью 129 и 143 л.с., а также дизель ОМ601Д23 мощностью 79и 98 л.с. Варианты исполнения кузова включали трехрядный микроавтобус, двухрядный универсальный вариант и фургон с грузовым отсеком и одним бортом сидений, а также V-класс – предельно пассажирский вариант с салоном повышенной комфортности, с раздельными сиденьями третьего ряда и пятью дверями.
Весна 1996 года. Старт продаж в Европе.
Июнь 1997 г. Ходовая модель V280 с мотором VR6 VR6 2,8 л 174 л.с. Этот мотор доступен только с 4-ступенчатой АКП ZF4HP20. В качестве опции эта коробка доступна с другими двигателями, кроме младшего дизеля на 78 сил.
Март 1999. Рестайлинговая модель. Небольшая модернизация экстерьера. Новые дизельные двигатели с системой Common Rail семейства OM611 заменяют старую линейку. OM611DE22 доступен в вариантах 82, 102 и 122 л.с.
Панели наружные
Для большинства экземпляров ценой менее 300 тысяч рублей не стоит долго искать ржавчину. Зашивки наружных панелей, порогов, арок кузова (особенно передних), капота, рамки лобового стекла, дверей и боковых частей кузова с молдингами, вся передняя панель и усилитель бампера разошлись интенсивно, и это заметно. Основная масса автомобилей ни разу не перекрашивалась.
Причина проста: Мерседес не применяет заводской оцинкованный прокат, ограничиваясь катафорезным грунтованием. На W201/W124 это сработало, а вот W638 и W210 получили новую технологию с более экологичными красками с отказом от традиционных растворителей — так начался печальный этап экспериментов продолжительностью более пяти лет. Приемлемое качество цвета вернулось только на рестайлинговой W203.
В случае с Vito проблема в том, что качество грунтовки оказалось откровенно низким: многие при ремонте отмечают практически полное отсутствие обработки внутренних полостей. Шовный герметик наложен неудачно, металл основных элементов тоже трескается — он достаточно тонкий, хотя диагностируется в три слоя. Дополнительным фактором риска является обилие плохо защищенных от грязи внутренних полостей впереди тела.
Вито почти всегда ржавый — нужно с этим смириться.
Даже если купить машину по верхней границе предложения (около 500 тысяч рублей в 2020 году), ржавчина все равно будет. У всех дешевых экземпляров наверняка будут очень гнилые двери, передняя панель и не только. Но есть несколько элементов, на которых не должно быть гнили.
Так как конструкция кузова здесь почти легкая, а силовые элементы — это усилитель в пороге и багажнике на крыше, то даже небольшие вздутия краски на этих элементах — повод для беспокойства. Панель капота, в которой находится воздушный фильтр, тоже нужно беречь, если она выкинута из-за коррозии в зоне замка и петель, из-за пыли двигатель может быстро кончиться.
Однако самое интересное вито будет видно на лифте.
Внизу
Осмотр машины снизу и изнутри стоит начать с осмотра VIN — он находится между порогом и сиденьем переднего пассажира и ржавеет легко и просто. Его площадка такая «хорошая», что убирает по кругу, т.к. ближе к двери к двери проблемный шов, а края приподнятого участка часто собирают влагу под коврик, дождь, капли влаги, от уплотнителя и одежду пассажира. И снизу по салону тоже ржавчина.
Дублирующая пластина находится на правом крыле переднего колеса в моторном отсеке, что также очень опасно с точки зрения зоны коррозии. Если есть ржавчина и дырявая пластина, то лучше поискать экземпляр побольше. Дело в том, что это называется с вентиляцией внутренней полости усилителя верхней части кузова (часто его называют верхним лонжероном) и обсыпка полки над колесом в сочетании с неудачным локером приводит к походу шва усилителя и брызговика и разбрызгивание ржавчины по кузову. А часть брызговика вместе с основным лонжероном кузова буквально аннулировала в месте установки опоры подрамника. Знатокам классического Мерседеса хорошо помнят цилиндрические «стаканы» для домкрата в порогах — здесь точно такой же элемент, только установленный вертикально. Много швов вокруг гарантировано, как скопления грязи.
Форма опоры стойки МакФерсон старомодна, тоже в виде стакана, стоящего на наклонной полке брызговика, и сильно нагружена, т. к. почти не замыкается на моторном щите — только одна вертикаль их соединяет пластина, которую можно обработать на возрастных аппаратах. Мягко говоря, не оптимальное решение со многих точек зрения. Ремонт получается сложным из-за формы деталей и характера нагрузки.
Верхний усилитель лонжерона обычно просто вырезают, на его место ставят прямоугольную профильную трубу, ибо восстанавливать исходную часть из тонкой стали не имеет смысла. Брызговик придется переварить, особенно если попытаться сохранить расположение дублирующей пластины.
Если разрушен передний лонжерон, то это не приговор: пока подрамник цепляется за кузов, даже если опора двигателя отвалилась и сместилась, то ее можно спилить. Форма относительно простая, вертикальные листы стали толщиной в миллиметр, через три нагрузки выдержат с гарантией, но восстанавливать такой автомобиль обычно нет смысла. Если гноилась многослойная конструкция из достаточно толстого металла, то наверняка есть куча мест, где металла уже нет вообще.
Мест гниения силовой конструкции предостаточно. В недрах моторного щита и салона сложно и дорого, а внешние усилители так себе. А вот поверхностная ржавчина на передней поверхности моторного щита особой проблемой не является, просто он плохо покрашен и термоэкрана нет, поэтому краска постепенно виднеется от паров топлива и температуры.
Коррозия порогов, усилителей порогов и днища, мест крепления задних диагональных рычагов и опорных точек тоже небольшая проблема — существенно дешевле лонжеронов и стаканов. Основная беда заключается в использовании многослойной штамповки и относительно тонкого металла в сочетании с недостаточной вентиляцией и обработкой. И здесь же используются трубы для домкратов — эта сложная сварная конструкция, характерная для старых Мерков, буквально грамотает ржавчину.
Шансов сделать хороший антикор и забыть о ржавчине на Вито практически нет. К сожалению, оригинальный дизайн обречен. Пороги проще вырезать и заварить хорошую квадратную трубу со стенкой миллиметра в три и больше вместо усилителя, а наружный порог поставить на него. За пару можно уложиться в 5 тысяч рублей, благо они есть на распродаже, и цена довольно нежная.
Крыло переднее
25 354 рубля
Если начался процесс коррозии, то он закончится только полным исчезновением металла, как бы он не боролся. Полы обычно провариваются по швам с порогами, в сложных случаях бывает ржавчина и задних арок, и даже боковых частей кузова, но такие машины обычно уже мертвы изнутри — вряд ли они латунные лицевая часть. Иногда бывает так, что идеально выглядящие копии — сами с себя. Однако возможен и обратный вариант. Слишком многое зависит от нагрузок, региона эксплуатации, места ночевки авто, обслуживания.
В общем, обсуждение некоторых других проблемных зон на несиловых элементах, таких как ржавый пол под ногами водителя, массы соединительных масс в моторном отсеке, швы крыши, или гниющие выступы, что одевает дверной проем уплотнения, бессмысленно. Если силовая структура тела командира, то эти досадные мелочи лечатся или просто отсутствуют. Если тело хлам, то эти нюансы вряд ли будут волновать.
Кузовное оборудование
К чести Диклера, поставщики для Vito были такими же тщательными, как и для легковых автомобилей. Отличные пластиковые бампера, отличная оптика, хорошие элементы декора. Тем не менее, возраст и часто их жесткость делают свое дело.
Обратите внимание на точность установки бленды. Выше я упомянул, что в нем размещался воздушный фильтр. А место соединения просто уплотняется мягкой резиной при закрытом капоте. Качество соединения сильно зависит от того, насколько хорошо закрыт капот. Работа замка капота напрямую связана с долговечностью мотора.
Из-за больших пробегов можно встретить износ передних дверей, нарушения геометрии спинок и боковых задних дверей, поломки механизмов откатных дверей. По большому счету сломать можно практически все, даже с учетом хорошего начального запаса прочности.
Деталь
Цена происхождения
Неоригинальная цена
Неоригинальная цена 2.
Фара передняя газоразрядная
15 707.
TYG 3 307.
Loro 6 603.
Windshield
14 677.
AGC 11 187.
Lemson 4 587.
Front wing
25 354.
AVG 5 125.
Blic 9 125.
Front bumper
15 136.
PHIRA 8 850.
Polcar 17 559.
Hood
55 361.
YG 78 651.
API 8 374.
Салон
Качество исполнения салона, особенно на топовых модификациях V-Klasse, для 1996 года просто выше всяких похвал. Отделка почти как в легковом Мерседесе, почти легковой, качественные материалы, хороший дизайн и достойная шумоизоляция.
Варианты рамсажире и «переделки» из грузового в пассажирский, их много, всем этим похвастаться не могут. У них не только шумоизоляция хуже, но и материалы отделки дешевле, а значит и скрипов больше. Сказалась разница в исполнении ковров и ряд малопробных панелей, а также отсутствие многих внутренних элементов вроде накладок электрики, амортизаторов и т.п., при пробегах до 300 тысяч состояние салона может быть очень хорошо, только вот руль и водительское сиденье будут немного боевые, а вот Кнопки спят.
Типичные проблемы не могут быть выделены, запускаются слишком велики и в списке разбивающихся. Хотя будет проверяться все: от работы мотора печки на всех оборотах и автономных отопителей, печки заднего ряда и кондиционера до последней кнопки.
Особое внимание заслуживает работа центрального замка. Из-за конструкции замков раздвижных дверей проблема в работе с ним может быть дорогостоящей. Цена многих мелких деталей может кусаться, а колхоз в салоне выглядит неприятно и вряд ли оправдано.
Электриант
Многие небольшие проблемы вызывают скорее особенности эксплуатации и большие расход, чем качество характеристик. Но все же следует отметить, что генераторы сильно загрязняются и их ресурс сравнительно невелик: после полутора сотен тысяч пробега может пойти щеточный узел, а то и подшипники.
Раздвижные двери с точки зрения электрика — полное фиаско. Запорная группа замка очень слабое место, механика замка и моторы привода сильно перегружены, микропереключатели будут подаваться из-за ударов и возраста. Жгуты салона в грузопассажирских версиях проложены под довольно тонким ковром — возможны повреждения изоляции.
В подкапотном пространстве проводка под патрубком от воздушного фильтра, вибрация и нагрев доедают, а точка массы тела скалывается с удвоенной скоростью.
Рассыпавшиеся жгуты, отказы концевых датчиков педали тормоза, отказы мотора приборной панели, блока управления ТЗЗ, проводка моторов, отказы блоков управления бензиновых моторов М111, блоки управления большими пробегами. практически обязательно. Радует качество исполнения некоторых элементов вроде блока предохранителей или электрокарманов Bosch 0 392 020 026, который работает десятки лет и вполне может быть оригинальнее.
И небольшой совет любителям больших аккумуляторов. На Вито аккумулятор находится под водительским сиденьем вместе с блоком предохранителей и кучей реле. Обычно доступ к нему открывается сбоку, а провода позволяют достать аккумулятор и так далее. Если у вас дизель и вы хотите аккумулятор емкостью от 75 Ач и выше, то поставить его в достаточно узкий проем сложно. А вот сиденье сложено — достаточно открутить две гайки на салазках, перед ними. Под пластиковым люком откроется доступ к аккумулятору.
Итого
Средний VITO W638 по состоянию на 2020 год это машина с пробегом около миллиона километров, несколько раз перекрашенная, с обязательной коррозией и остатками былой роскоши и качества. Задача покупателя: убедиться, что ржавчина не затронула жизненно важные элементы и, конечно же, подготовиться к регулярным вложениям в сварочные и покрасочные работы. Все остальное из рассмотренного — в общем-то мелочи. В следующей части речь пойдет о ходовой части, моторах и коробках, в том числе — и «Чужих» для агрегатов Мерседес Фольксваген.
Modele Mercedesa – генерация и признание
Mercedes stosuje własne oznaczenia do określania kolejnych generacji swoich samochodów. Przedstawiamy nasz przewodnik по моделям Mercedesa.
«Мерседес-Бенц» на немецкую автомобильную марку, принадлежащую концерну «Даймлер АГ» в Штутгарте. Samochody z gwiazdą masce od zawsze stanowią synonim luksusu i solidności, a flagowe limuzyny są wybierane przez głowy państw i najbogatszych ludzi świata. Jednak nie zapominajmy, że Mercedes to przede wszystkim ikona motoryzacji, od której wszystko się zaczęło.
W czasach, gdy gama Mercedesa obejmowała zaledwie kilka modeli, ich oznaczenia znał prawie każdy. Obecnie портфолио productenta ze Stuttgartu jest znacznie szersze i nie tak łatwo się w nim rozeznać. Dlatego poniżej presentujemy oznaczenia kodowe kolejnych generacji modeli Mercedesa.
Mercedes klasy A – генерация
Mercedes klasy A jest na rynku od blisko ćwierć wieku i doczekał się już czwartej odsłony. Найдена новая модель этой модели, как 5-местный хэтчбек или 4-местный седан (V177).
1. поколение – Mercedes klasy A W168 (1997-2004)
2. поколение – Mercedes klasy A W169 (2004-2012)
3. поколение – Mercedes klasy A W169 (2004-2012)
4. генерация – Mercedes klasy A W177 (2018-teraz)
Mercedes klasy B – генерация
Mercedes klasy B для компактного минивэна, который построен на технической модели. znajdziemy sportowej wersji sygnowanej przez AMG.
1. поколение – Mercedes klasy B T245 (2005-2011)
2. поколение – Mercedes klasy B W246 (2011-2018)
3. поколение – Mercedes klasy B W194 (2011-2018)
Mercedes Klasy C-Generacje
Mercedes Klasy C Należy do Klasy średniej, Jego glownymi Rywalami Są Audi A4 I BMW Serii 3. Pisząc O Historie Tegue Modelu, Należ wspie-womnie-womele-womie-veslie-veslie-womeleg. ).
1. поколение – Mercedes klasy C W202 (1993-2001)
2. Generacja-Mercedes Klasy C W203 (2000-2007)
3. Generacja-Mercedes Klasy C W204 (2007-2014)
4. Generacja-Mercedes Klasy C W205
4. Genacja-Mercedes C.205. (2014-2021)
5. поколение – Mercedes klasy C W206 (2021-teraz)
Mercedes klasy E – генерация
Mercedes klasy E jest przedniejstawicielem wylassyśs. Модель W124 выпущена в 1984 году, заменена Mercedesa W123 (1975-1986). PO Liftingu W 1993 Roku Oficjalnie Stał Się Klasą E.
1. Generacja-Mercedes Klasy E W124 (1993-1995)
2. Generacja-Mercedes Klasy E W210 (1996-2003)
3. GorencjacjjacjJJAMJACJJAMJACHJ -Mercedes Klasy E W211 (2002-2009)
4. Generacja-Mercedes Klasy E W212 (2009-2016)
5. Generacja-Mercedes klasy E W213 (2016-Teraz)
9999999.
S – genacje
Mercedes klasy S to flagowa limuzyna ze Stuttgartu. Актуальные wcielenie этой модели jest dostępne w dwóch wersjach: z krótkim (W223) oraz z długim rozstawem osi (V223), a dla najbardziej wymagających klientów przygotowano jeszcze Mercedesa-Maybacha klasy S.
1. поколение – Mercedes класса S W116 (1972-1980)
2. поколение – Mercedes класса S W126 (1979-1991)
) 3. поколение – Mercedes класса S W126 (1979-1991)
4. поколение – Mercedes класса S W220 (1998-2005)
5. поколение – Mercedes класса S W221 (2005-2013)
9020 W20 – 3 класса (W21)
7. поколение – Mercedes klasy S W223 (2020-teraz)
Mercedes CLA – генерация
Mercedes CLA для привлекательных стилизованных компактов, которые выделяются как 4-компонентные комбинации или комбинации или названия Shooting Brake. W szerokiej gamie silnikowej aktualnego modelu nie zabrakło wersji od AMG – najmocniejsza ma 421 KM.
1. Generacja-Mercedes CLA C117 (2013-2019)
2. Generacja-Mercedes CLA C118 (2019-Teraz)
Mercedes CLS-Generacje
Mercedes Cls ZapoCZąT-naRaLANES. nazywane „czterodrzwiowymi coupe”. Pierwsza generacja modelu właściwie nie miała konkurentów, najnowsza musi rywalizować m.in. z Audi A7 и Porsche Panamera, а также… Mercedesem-AMG GT.
1. generacja – Mercedes CLS C219 (2004-2010)
2. generacja – Mercedes CLS C218 (2011-2018)
3. generacja – Mercedes CLS C257 (2018-teraz)
Mercedes GLA – поколение
Mercedes GLA для компактного внедорожника, близкое производство из класса A. Другая генерация этой модели была выпущена на рынок с убиеглым року и была предложена так же, как и автомобили с мощными двигателями AMG.
1. поколение – Mercedes GLA X156 (2013-2020)
2-е поколение – Mercedes GLA h347 (2020-teraz)
Mercedes GLB – поколение
Mercedes GLB для продажи в 2019 году. Ze względu na charakterystyczne, «pudełkowate» nadwozie jest uważany za duchowego spadkobiercę modelu GLK (X204; 2008-2015).
1. поколение – Mercedes GLB X247 (2019-teraz)
Mercedes GLC – поколение
Mercedes GLC trafił do sprzedaży w 2015 roku jako bezpośredni nastęjpca wyspomnian W porównaniu z poprzednikiem wyróżnia się jednak znacznie bardziej dynamiczną sylwetką.
1. поколение – Mercedes GLC X253 (2015-2022)
2. поколение – Mercedes GLC X254 (2022-teraz)
Mercedes GLC купе – поколение купе купе
Mercedes GLCu 900 кто задебил рок по модели GLC. Надежная версия AMG под маской 510-конный двигатель 4.0 V8 битурбо.
1. поколение – Mercedes GLC Coupe C253 (2016-teraz)
Mercedes GLE – поколение
Mercedes GLE для среднеразмерного внедорожника, который имеет свой автомобиль rozpoczął w 1997 лет, как класс M (по Interwencji BMW szybko przemianowany na ML), и obecną nazwę zyskał dopiero в 2015 году.
1. Generacja-Mercedes ML W163 (1997-2005)
2. Generacja-Mercedes ML W164 (2005-2011)
3. Generacja-Mercedes ML/GLE W166 (2011-2018)
4-е поколение – Mercedes GLE V167 (2018-teraz)
Mercedes GLE Coupe – поколение
Mercedes GLE Coupe для спортивного стилизованного внедорожника, который является главным мотоциклом BMW X6. Максимальная скорость AMG составляет 612 км в пути от 0 до 100 км/ч за 3,8 с.
1. Generacja-Mercedes Gle Coupe C292 (2015-2019)
2. Generacja-Mercedes Gle Coupe C167 (2019-Teraz)
Mercedes GLS-Generacje
Mercedes Gls, Podobdypad jaK GLE, rozpoczął swoją rynkową karierę pod inną nazwą – jako GL. Zmiana oznaczenia nastąpiła w 2015 roku.
1. поколение – Mercedes GL X164 (2006-2012)
2. поколение – Mercedes GL/GLS X166 (2012-2019)
3. Генерация – Mercedes GLS X167 (2019-teraz)
Mercedes klasy G – генерация
Mercedes klasy G до легендарной. Другая генерация этой модели ма значние бардзей люксусовы, шосовы характер, але мимо надаль спрауние радзи соби поза утвардзоними дрогами.
1. поколение – Mercedes klasy G W460/W461/W463 (1979-2018)
2. поколение – Mercedes klasy G W463 (2018-teraz)
Mercedes SLK – поколение1360
Mercedes SLK для двухместного родстера с автомобильным складом. С 2016 года был sprzedawany pod nazwą SLC. Niestety, ze względu na małą Popularność tego typu nie doczekał się następcy.
1. Generacja-Mercedes SLK R170 (1996-2004)
2. Generacja-Mercedes Slk R171 (2004-2011)
3. Generacja-Mercedes SLK/SLC R172 (2011-2020)
Mercedes SL – генерация
Mercedes SL с 70-летним пробегом, с пометкой колеи, не предназначенной для этого спортивного автомобиля. Warto przypomnieć, że ten model wywodzi się w prostej linii od wyścigowego 300 SL z lat 50. ubiegłego wieku.
1.
generacja – Mercedes SL W198 (1954-1963)
2. generacja – Mercedes SL W121 (1955-1963)
3. generacja – Mercedes SL W113 (1963-1971)
4. Generacja-Mercedes SL R107 (1971-1989)
5. Generacja-Mercedes SL R129 (1989-2001)
6. Generacja-Mercedes SL R230 (2001-2011)
7. поколение – Mercedes SL R231 (2012-2020)
8. Генерация – Mercedes SL R232 (2021-teraz)
Mercedes Citan – Генерация
Mercedes Citan для комбинации с Renault. Название идти „Kangoo z gwiazdą na masce” было бы збыт далеко idącym uproszczeniem – обе модели różnią się wyglądem nadwozia, wykończeniem wnętrza i wyposażeniem.
1. поколение – Mercedes Citan W415 (2012-2021)
2. поколение – Mercedes Citan W420 (2021-teraz)
Mercedes klasy T – поколение
Mercedes klasy T to oznaczenie lepiej wyposażonej, osobowej wersji Citana. Представленная модель zadebiutował w kwietniu 2022 года.
1. поколение – Mercedes klasy T W420 (2022-teraz)
Mercedes klasy V – поколение
Mercedes klasy V для опознания wersji osobowej, dostawczy wariant nazywa się Tourerowy Vito, a toto. Другая генерация классов В была предложена под названием Viano.
1. поколение – Mercedes klasy V W638 (1996-2003)
2. Generacja-Mercedes Viano W639 (2003-2014)
3. Generacja-Mercedes klasy V W447 (2014-Teraz)
Mercedes eqa-Generacje
. w ofercie productenta ze Stuttgartu. Klienci mają obecnie do wyboru 3 wersje silnikowe (190-292 км; до 430 км по дороге).
1. поколение – Mercedes EQA h343 (2021-teraz)
Mercedes EQB – поколение
Mercedes EQB для электрического внедорожника на базе модели GLB. Oficjalnie zaprezentowany w kwietniu tego roku, nadal czeka na debiut na polskim rynku.
1. поколение – Mercedes EQB X243 (2021-teraz)
Mercedes EQC – поколение
Mercedes EQC trafił do sprzedaży w 2019 roeck jako pierwszy SUV z napędem elektryczny Dostępny tylko w jednej wersji silnikowej (408 км, понад 400 км по дороге).
Назначение, устройство и работа муфты сцепления автомобиля
Реферат по предмету ”Устройство автомобиля”на тему:
”Назначение, устройство и работа муфты сцепления автомобиля”
Сцепление предназначено для кратковременного отсоединения двигателя от трансмиссии и плавного их соединения после включения передачи в коробке и при трогании автомобиля или трактора с места.
Сцепления различают:
· Механические фрикционные
· Гидравлические
· Электрические
Ø В мехенических фрикционных сцеплениях кр. мом. передаётся силами трения между ведущими и ведёнными элементами.
Ø В гидравлических –динамическим напором жидкости.
Ø В электрических-токами, которые возникают между полюсами ведущего(эл. магнит) и ведённого елементов.
На автотракторной технике самые распространённые механические фрекционные сцепления, которые классифицируют зависимо от вида трения, числа ведённых дисков, действия нажимного механизма и числа потоков кр. мом.
По виду трения сцепления разделяют на:
· Сухие
· Мокрые(работают в масле)
На тракторах, как правило, используют сухие сцепления. Мокрые сцепления чаще всего используют в коробках передач с переключением передач на ходу, в приводе вала отбора мощности, в блокируемом устройстве дифференциала передних ведущих мостов нескольких тракторов.
Зависимо от числа ведённых дисков разделяют на:
· Однодисковые
· Двухдисковые
· Многодисковые
По действию нажимного механизма сцепления разделяют на:
· Постоянно замкнутые
· Непостоянно замкнутые
Постоянно замкнутые — это сцепление, которое находится во включенном состоянии до тех пор, пока к органам управления не будет приложено внешнее усилие.
Зависимо от числа потоков кр. мом., которые передаются сцеплением, они бывают:
· Однопотоковые
· Двухпотоковые
Однопотоковые передают кр. мом. только на колёса.
Двухпотоковые-дополнительно на привод рабочих органов машин и снарядов, которые агрегатируются.
Управление сцеплением бывает автоматическим (без участия водителя) и неавтоматическим.В автотракторной технике применяют управление с механическим и гидравлическим приводами. С целью уменьшения усилия во время выключения сцепления используют механические(пружинные) или пневматические усилители(сервомеханизмы).
Фрикционные сцепления— это муфта, в которой кр. мом. передаётся за счёт сил трения между поверхностями, которые дотрагиваются.
Механизмы управления сцеплением (приводы).
Привод сцепления— это дистанционный механизм для управления сцеплением.
Механизмы управления бывают:
· Механические
· Гидравлические
· Пневматические
· Комбинированные
Комбинированный привод самый распространённый в автотракторной технике как самый простой и самый надёжный в эксплуатации. Основными параметрами механического привода является передаваемое число, усилие на педали и её ход, а так же геометрические размеры важилей и тяг.
Передаваемое число механического привода iп равно отношению длины плеч важелей и механизма отводки:
iп=ac | bd
Полный ход педали Sп слаживается с рабочего Sp Sв ходов
Sп=Sр+Sв+Sipiп+iп
где S — ход нажимного диска;iр=е/х – передаваемое число важителей механизма выключения сцепления;-зазор в механизме выключения.
Такие конструкции приводов имеют передаваемое число 30-45,ККД механического привода =0.8…0.9.
Гидравлический привод используют, как правило, на легковых автомобилях.
Автоматический электровакуумный привод сцепления устанавливают на автомобилях ЗАЗ для инвалидов место электромагнитного порошкового сцепления.
Механический усилитель-самый простой из всех типов.
Гидравлический усилитель-устанавливают параллельно механическому приводу.
Пневмотический усилитель монтируют на автомобилях МАЗ, КамАЗ, МоАЗ и на тракторах ХТЗ.
Двухдисковые сцепления с конструктивной схемой отличаются от однодисковых только большим количеством однотипных деталей.
Кр. мом. на тракторах(К-701,Джон Дир) от моховика передаётся на первичный вал коробки передач с помощью полужосткого сцепления.
Слово муфта пришло к нам из немецкого и голландского языков. В немецком – это Muffe, а по-голландски – mouwtje. В русском языке, как, впрочем, и в тех, откуда оно было заимствовано, слово употребляется в нескольких значениях. В интересующей нас области под муфтой понимается специальный привод в машинах и механизмах, который передает вращательное движение (момент) с одного вала на другой, соосно расположенный с первым.
НАЗНАЧЕНИЕ
МУФТ СЦЕПЛЕНИЯ
Муфта сцепления в автомобиле предназначается для обеспечения возможности переключения режимов движения на ходу и плавного трогания с места. С помощью муфты осуществляется кратковременное разъединение двигателя и трансмиссии автомобиля, то есть прекращение плотного соприкосновения ведущих и ведомых дисков механизма сцепления.
Таким образом, муфта – это деталь общего механизма, единого блока сцепления. Зачастую два этих слова употребляются как синонимы, например: «муфту выжми» или «выжми сцепление».
Помимо автомобилей и тракторов различных типов, муфты устанавливаются на мотоблоках, бензопилах, стационарных станках с переменными режимами вращения основного вала.
ВИДЫ МУФТ СЦЕПЛЕНИЯ
Конструкция муфты сцепления не является однотипной, а на каждой модели авто этот узел имеет определенные отличия. Тем не менее, можно выделить определенные сходства в конструкции муфт легкового автомобиля. Неизменными элементами каждой из них являются:
маховик;
картер;
центральный болт крепления кожуха;
диски;
первичный вал коробки;
вилка с центральной нажимной пружиной.
По существующей в настоящее время классификации, все они делятся на одно- и многодисковые, причем последние для транспортных средств применяются относительно редко. Привод у муфты может также отличаться:
механический;
гидравлический;
комбинированный.
Отдельно можно упомянуть электромагнитные муфты, которые можно встретить на тепловозах, на определенных станках – для автомобиля такие не актуальны. Можно выделить и условия эксплуатации – сухие и влажные муфты. Для инструмента, оснащенного двигателем внутреннего сгорания может использоваться и центробежная муфта сцепления, которая в автоматическом режиме соединяет и разъединяет валы, достигая заданной конструкцией скорости оборотов вала.
РАСПРОСТРАНЕННЫЕ НЕИСПРАВНОСТИ МУФТЫ СЦЕПЛЕНИЯ
Несмотря на достаточную сложность конструкции муфты транспортного средства, при правильной эксплуатации проблем с ней практически не возникает. К числу часто встречающихся проблем с муфтой можно отнести всего лишь две – проскальзывание муфты и невозможность разъединить ее полностью.
ПРОСКАЛЬЗЫВАНИЕ МУФТЫ СЦЕПЛЕНИЯ
Наиболее частой причиной такого «поведения» муфты сцепления становится наличие на фрикционных накладках масляных загрязнений. Они могут появиться там после проведения ремонтных работ или простой неаккуратности водителя. Устраняется такое затруднение просто – маховик и прижимной диск тщательно очищаются от масла, после чего проблема проскальзывания сцепления больше не беспокоит автовладельца.
Муфта сцепления может проскальзывать и по другой причине – износ самих накладок и появление на них задиров. В результате этого отпускание педали не приводит к полному контакту дисков. Для исправления такой проблемы требуется отрегулировать свободный ход педали, а если это не помогает, придется заменить фрикционные накладки на новые – другого способа ремонта не предполагается.
МУФТА НЕ РАЗЪЕДИНЯЕТСЯ ДО КОНЦА
Причин такому поведению муфты также можно выделить две.
Недостаточный рабочий ход педали сцепления. Это часто вызывается неумелой настройкой муфты, которая допускает слишком большой свободный ход. Устраняется проблема перенастройкой, которую следует доверить механику или опытному водителю.
Рычажки, которыми оснащена каждая муфта сцепления изменили первоначальную форму, и отрегулировать их уже невозможно. Они подлежат замене. Иногда при работе муфты с погнутыми рычажками перекашивается сам диск, что влечет за собой повреждение фрикционных накладок. В этом случае они также подлежат безоговорочной замене.
МОЖНО ЛИ ПРОДЛИТЬ СРОК СЛУЖБЫ МУФТЫ СЦЕПЛЕНИЯ
Поскольку муфта сцепления не относится к числу деталей, которые легко купить и просто заменить, большинство автовладельцев вполне резонно задумываются над возможностью увеличения срока ее эксплуатации. Каких-либо особых хитростей или способов продления жизни этому автомобильному узлу не существует, достаточно следовать простым и общеизвестным рекомендациям:
включение/отключение сцепления следует проводить максимально аккуратно и плавно, не допуская задержек педали в промежуточном положении или резкого убирания ноги с педали при начале движения;
не рекомендуется длительное время держать муфту в выключенном состоянии и резко трогаться после этого с места;
своевременно проводить техническое обслуживание, при этом, если водителю недостает опыта, эту процедуру стоит доверить профессионалам.
Так, банальный процесс смазки должен проводится в строгом соответствии с рекомендованной производителем таблицей смазки. Чрезмерное количество смазки часто приводит к попаданию ее на накладки диска и его пробуксовке. При самостоятельной смазке при помощи шприца не следует делать больше восьми нагнетаний. Естественно, пользоваться следует только теми смазочными материалами, которые рекомендованы производителем конкретного транспортного средства.
Многодисковая муфта сцепления
Многодисковое сцепление, в связи с внедрением новых технологий, находит всё большее применение, как на легковых, так и на грузовых автомобилях с различными коробками переключения передач (механическими, автоматическими, роботизированными). Кроме этого, такие муфты сцепления применяются в трансмиссиях полноприводных машин для распределения нагрузки между передними и задними колёсами (мостами). Многодисковые муфты сцепления могут быть сухими и мокрыми. Мокрые – с применением масляной ванны, сухие – без масла. Наличие масла обеспечивает более плавное соединение дисков, улучшает отвод тепла и абразивных веществ, передвижение дисков по шлицам во время передвижения.
Значительным недостатком является низкий коэффициент трения между дисками. Увеличение коэффициента трения достигается за счёт увеличения количества ведущих и ведомых дисков, увеличения усилия прижимной пружины, применения новых фрикционных материалов. Многодисковые муфты сцепления включают в себя: — ведомые диски (3 и больше), изготовленные из тонкой стали, на которую нанесён слой фрикционного вещества (может изготовляться из высокопрочной фрикционной пластмассы).
Ведомые диски имеют по внутреннему диаметру пазы или зубья, которые заходят в зацепление с внутренним барабаном, закреплённым неподвижно на первичном валу коробки переключения передач. Ведомые диски постоянно вращаются с внутренним барабаном и первичным валом коробки переключения передач; — ведущие диски. Устанавливаются между ведомыми дисками и имеют по внешнему диаметру пазы или зубья для зацепления с внешним барабаном; — кожух, при помощи болтов крепится к маховику; — маховик; — внешний барабан – крепится к кожуху и вращается совместно с ним. Остальные детали и принцип работы аналогичны однодисковому сцеплению.
Двойная муфта сцепления
Назначение муфты сцепления | Виды и конструкция
Во фрикционном сцеплении перед переключением передач требуется приостановить крутящий момент. Выполняется эта операция разъединением двух дисков — нажимного и ведомого. Отводится нажимной диск с помощью муфты выключения сцепления. Со временем эта деталь износится, тогда она меняется или регулируется зазор между подшипником и отжимными рычагами.
Содержание
Что такое муфта сцепления: назначение и выполняемые функции
Какие бывают муфты сцепления: виды и конструкции
Как работает муфта сцепления: принцип действия
Как отрегулировать муфту сцепления: корректировка длины тяги
Что такое муфта сцепления: назначение и выполняемые функции
Муфта сцепления — это деталь, с помощью которой автомобиль плавно трогает с места, и по ходу движения обеспечивает возможность переключения передач.
Муфта сцепления входит во фрикционный блок. Позволяет кратковременно разъединять трансмиссию и двигатель авто для ослабления плотности соприкосновения ведомых и ведущих дисков механизма.
Функции нажимной муфты:
правильная фиксация выжимного подшипника;
передача усилия от вилки выключения сцепления на узел вращения и идущие следом лепестки пружины диафрагмы;
предохранение подшипника от износа и повреждений механического характера.
Внимание! В статье идет речь не обо всём автомобильном сцеплении, а только о детали, расположенной между корзиной (нажимным диском) и втулкой с вилкой. Она устанавливается как на автомобилях и тракторах, так и на бензопилах, мотоблоках, а также стационарных станках с переключающимися режимами вращения вала.
Какие бывают муфты сцепления: виды и конструкции
Нажимные муфты разной техники внешне отличаются, но принципиальное их построение одинаковое. Визуально — это цилиндрические детали, состоящие из нескольких частей.
Отверстие в корпусе под посадку муфты на вал коробки передач.
Посадочное место для выжимного подшипника в виде стаканообразной расширенной или трубчатой суженой части.
Две упорные прямоугольные площадки для сопряжения с прикрепленной к втулке вилкой.
Муфты изготавливаются из чугуна, стали либо пластика. Их упорные площадки, как и вилки выключения сцепления, могут отличаться внешне, но обязаны подходить друг к другу конструкционно. Различаются следующие разновидности сопряжения опорных поверхностей и вилок:
плоские горизонтальные площадки, которые не фиксируются вилкой;
цилиндрические штырьки, представляющие собой упоры;
разные варианты сопряжения с использованием шплинтов либо болтов.
Обычно при передвижении автомобиля вилка и горизонтальные площадки не контактируют. Последние сочленяются с муфтой исключительно в момент переключения передачи. В исходное положение деталь возвращается под воздействием упругой пружины нажимного диска сцепления.
Муфты, оснащенные штырьками, при переключении передачи подводятся к корзине, затем от нее принудительно отводятся. Поскольку контактирующие с вилкой места регулярно подвергаются износу, то они создаются из твердых металлов или их сплавов.
Выжимные подшипники имеют различные конструкции, поэтому монтируются по-разному. В муфты со стаканообразным посадочным местом подшипники устанавливаются внутрь. На модификации с трубчатой частью они напрессовываются с внешней стороны. Помимо того, подшипники могут применяться как упорные, так и радиально-упорные. Одни из самых востребованных вариаций — самоустанавливающиеся, хорошо работающие при осевых нагрузках, которые постоянно меняются.
Как работает муфта сцепления: принцип действия
Муфта выключения сцепления — составная часть фрикционного узла, работающего за счет силы трения. Рассматриваемая деталь находится на первичном валу коробки передач, и по ходу функционирования перемещается по его оси. С одной стороны деталь прилегает к рычагам нажимного диска сцепления или лепесткам диафрагменной пружины. С другой — контактирует с вилкой втулки и с ее помощью перемещается.
Принцип работы:
если нужно переключить передачу, водитель жмет на педаль сцепления;
приводится в движение привод, который воздействует на вилку;
последняя смещается в направлении к корзине и передвигает муфту;
движущаяся деталь направляется к лепесткам диафрагмы и толкает их;
в результате диск нажимной отводится от ведомого, после чего приостанавливается крутящий момент, шедший от двигателя на КП;
переключается передача;
после переключения педаль сцепления отпускается;
пружина, возвращая вилку в исходное положение, отводит муфту сцепления;
прижимной и ведомый диски снова сопрягаются;
восстанавливается момент силы от двигателя на КП.
При выключенном сцеплении, в зависимости от конструкции, муфта с подшипником отводится от корзины или постоянно контактирует с лепестками пружинной диафрагмы. В любом случае деталь располагается свободно — не прижимается и не влияет на функционирование сцепления.
Как отрегулировать муфту сцепления: корректировка длины тяги
При износе трущихся поверхностей меняется исходный зазор, выставленный между деталями. Например, пропадает дистанционный промежуток от 1,5 до 4 мм между подшипником и отжимными рычагами. Внутренние концы последних упираются в подшипник, в результате полное включение сцепления становится невозможным. Такую проблему можно заметить по изменению длины хода педали или по пробуксовке.
Зазор между отжимными рычагами и подшипником регулируется длиной тяги. Меняется она с помощью вилки на участке соединения с приводом педали при нейтральном положении коробки передач. В некоторых случаях регулировка зазоров возможна при настройке положения пружины. Усилия последней могут изменить несколько прокладок, с помощью которых диск перемещается вперед.
Также важно местонахождение концов рычажков: они должны находиться в одной плоскости на одинаковой отдаленности от подшипников муфты. Если это условие не соблюдено, выставляются регулировочные гайки на пальцах рычагов или винты на внутренних концах.
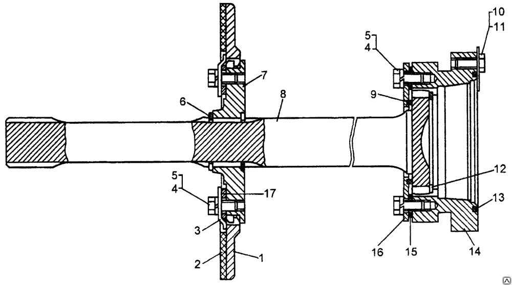
Конструкция муфт сцепления
Конструкция муфт сцепления.
Простейшие схемы постоянно замкнутых муфт сцепления.
Однодисковые постоянно замкнутые муфты сцепления устанавливают на тракторах МТЗ-80, МТЗ-82, и Т-25. Муфта сцепления тракторов МТЗ-80 и МТЗ-82 размещается в чугунном литом кожухе, прикрепленном болтами к маховику и соединенном с блок-картером двигателя и корпусом коробки передач. Внутри кожуха расположен нажимной ( ведущий ) диск, удерживаемый от вращения в кожухе пальцами и отжимаемый в сторону маховика усилием 12-ти предварительно сжатых пружин. Последние установлены в гнездах нажимного диска и в стаканах, размещенных в отверстиях кожуха и муфты.
Между маховиком и нажимным диском зажат стальной ведомый диск, облицованный фрикционными накладками. Ступица ведомого диска установлена на шлицах вала, вращающегося в шарикоподшипниках. Со ступицей ведомый диск соединен через пружины гасителя крутильных колебаний, размещенные в окнах ступицы и поддерживающего диска. Ведомый и поддерживающий диски соединены между собой штифтами-заклепками.
При включенной муфте сцепления усилие от ведомого диска на ступицу и вал муфты передается через пружины. Благодаря этому происходит гашение крутильных колебаний.
Муфту сцепления выключают, нажимая на педаль трехплечевого рычага, установленного на неподвижном пальце. нижнее плечо трехплечевого рычага тягой соединено с рычагом вилки муфты выключения, а среднее плечо — с концом сервопружины, размещенной в стакане. Второй конец сервопружины посредством регулировочного винта соединен с неподвижным кронштейном. педаль механизма выключения муфты сцепления расположена в кабине трактора.
При выключенной муфте сцепления ось сервопружины располагается выше оси пальца трехплечевого рычага и педаль удерживается в неподвижном положении. Если к педали приложить усилие, трехплечевой рычаг повернется на пальце так, что ось сервопружины становится ниже оси пальца. При этом сервопружина создаст на трехплечевом рычаге поворачивающий момент обратного направления, облегчающий выключение муфты сцепления и удержание ее в этом состоянии.
Муфта сцепления снабжена тормозком, состоящим из неподвижного с фрикционной накладкой и подвижного тормозного дисков. Управление тормозком сблокировано с механизмом управления муфтой сцепления, для чего предусмотрена подпружиненная тяга, шарнирно соединенная через резьбовую муфту с рычагом управления тормозком. Пружина тяги способствует мягкому включению тормозка.
При выключении муфты сцепления нажатием на педаль тормозной диск прижимается к неподвижному диску и вращение вала прекращается. Благодаря этому облегчается безударное введение в зацепление шестерен при переключении передач и увеличивается их срок службы. Для полного выключения и включения муфты сцепления необходимо, чтобы зазор между головками внутренних концов отжимных рычагов и торцом упорного подшипника муфты выключения составлял 3 мм, что соответствует свободному ходу педали 40…45 мм. Регулируют зазор изменением длины тяги. Если создаваемый однодисковой муфтой момент трения недостаточен, применяют двух- и многодисковые муфты сцепления.
Двухдисковые постоянно замкнутые муфты сцепления устанавливают в тракторах ДТ-75М, Т-150 и Т-150К. Эти муфты имеют по два ведомых и ведущих — промежуточный и нажимной — диска, размещенных поочередно в кожухе. Устройство и принцип действия двухдисковой муфты аналогично однодисковой, отличаясь от последней лишь тем, что при выключении двухдисковой муфты пружины отодвигают от маховика промежуточный ведущий диск, освобождая передний ведомый диск. Ход промежуточного диска ограничивается болтом. Механизмы управления муфтами сцепления тракторов ДТ-75М и Т-150 снабжены пружинным сервомеханизмом , а трактора Т-150К — пневматическим. В муфте сцепления трактора ДТ-75М отсутствует гаситель крутильных колебаний. Муфты сцепления тракторов Т-150 и Т-150К взаимозаменяемы, а муфта сцепления трактора ДТ-75М отличается от них конструкцией некоторых деталей и сборочных единиц.
Двухпоточная муфта сцепления состоит из двух муфт сцепления: главной и привода вала отбора мощности. такие муфты могут иметь как раздельное, так и совместное управление. Двухпоточная муфта с раздельным управлением отличается от однодисковой наличием двух дополнительных дисков — ведомого и ведущего ( нажимного ), которые прижимаются один к другому пружинами. Ступица ведомого диска посажена на шлицы полого вала. от которого крутящий момент передается валу отбора мощности. Выключают муфту сцепления нажатием на педаль. При этом нажимной диск отходит от ведомого диска и последний прекращает вращаться.
В двухпоточных муфтах сцепления с совмещенным управлением в начале хода педали выключается главная муфта сцепления и трактор останавливается с вращающимся валом отбором мощности, а при дальнейшем нажатии на педаль, выключается муфта сцепления вала отбора мощности.
Муфта сцепления предназначена для передачи крутящего момента от дизеля к трансмиссии, отсоединения дизеля от силовой передачи, а также плавного и безударного их соединения. На тракторе МТЗ-80, МТЗ-82 установлена сухая, однодисковая муфта сцепления постоянно-замкнутого типа.
Муфта сцепления с понижающим редуктором и приводом независимого ВОМ в сборе (рис. А)
маховик
ведомый диск в сборе
нажимной диск
стакан пружины сцепления
пружина нажимная сцепления
опорный диск
ступица ведомого диска
демпфер
диск поддерживающий
пластина пружинная
накладка фрикционная
диск ограничительный
рычаг отжимной
штифт опорный
ось
палец
втулка
гайка корончатая
пружина
контргайка
винт регулировочный
подшипник
отводка муфты сцепления
кронштейн отводки
шестерня промежуточная
вал ведущий привода ВОМ
вал силовой передачи
кронштейн отводки тормозка
вал вилок включения
вилка включения
отводка тормозка
диск ведущий тормозка с накладкой
пружина фиксатора
шарик
рычаг переключения понижающего редуктора
крышка люка редуктора
рычаг вилки
шестерня ведущая понижающего редуктора
подшипник игольчатый
муфта зубчатая
подшипник игольчатый
вал ведомый привода ВОМ
муфта соединительная
валик переключения двухскоростного привода ВОМ
втулка бронзовая
шестерня ведомая привода ВОМ II ступени
шестерня ведомая привода ВОМ I ступени
вилка
рычаг сцепления
вал выключения сцепления
масленка
пробка
корпус сцепления
Ведущей частью муфты сцепления является маховик 1 и нажимной диск 3 (рис. А), установленный через три призматических выступа в пазах опорного диска 6, который крепится к маховику при помощи пальцев 16, дистанционных втулок 17 и корончатых гаек 18. Двенадцать нажимных пружин 5 со стаканами 4 расположены между опорным и нажимным дисками.
На призматических выступах нажимного диска с помощью осей 15 устанавливаются отжимные рычаги 13. Регулировка положения отжимных рычагов производится регулировочными винтами 21, ввернутыми в отжимные рычаги и упирающимися в опорные штифты 14. Рычаги прижимаются к опорным штифтам специальными пружинами 19.
Ведомый диск 2 состоит из ступицы 7, имеющей шлицы для подвижного соединения с силовым валом 27, демпферного устройства — гасителя крутильных колебаний, диска с двумя прикрепленными к нему фрикционными накладками 11. Одна накладка прикреплена непосредственно к диску с помощью латунных заклепок, вторая — со стороны нажимного диска через шесть пружинных пластин 10 стальными заклепками.
Крутящий момент передается от ведомого диска с накладками к ступице 7 через восемь упругих демпферов 8.
Включение и выключение сцепления производится при помощи отводки 23 с выжимным подшипником 22, перемещающейся по кронштейну отводки 24 и соединенной с педалью сцепления через тягу 10, рычаг сцепления 12 (рис. Б) и две вилки 48 (рис. А), закрепленные на валу 50 выключения сцепления посредством шпонок и клеммовых соединений.
Выжимной подшипник 22 смазывается солидолом через отверстие на левой стороне корпуса сцепления, закрытое пробкой 52, и масленку 51, ввернутую в цапфу отводки 23. При этом через специальное отверстие смазывается также поверхность сопряжения отводки с кронштейном.
Управление муфтой сцепления (рис. Б)
стержень подушки
болт
педаль сцепления
ось
пружина
болт упорный
болт
кронштейн
масленка
тяга
вилка
рычаг
вилка
тяга
пружина
контргайка
рычаг
болт
При нажатии на подушки педали сцепления 1 (рис. Б) отводка, перемещаясь по кронштейну 24 (рис. А), через выжимной подшипник нажимает на отжимные рычаги. Отжимные рычаги, упираясь регулировочными винтами в опорные штифты, поворачиваются и отводят нажимной диск от ведомого — муфта сцепления выключается. При отпускании педали происходит включение муфты сцепления.
В исходном положении педаль сцепления удерживается усилием пружины 5 механического сервоусилителя. При выключении сцепления точка упора пружины переходит через нейтраль и пружина сервоусилителя, воздействуя на педаль сцепления 3 в обратном направлении, снижает усилие на педали. Педаль сцепления установлена на оси 4, запрессованной в корпусе заднего моста. Поверхность сопряжения ступицы с осью смазывается солидолом через масленку 9, ввернутую в ступицу.
Устройство редуктора КПП
Стандартное оснащение коробки передач модели МТЗ-80 предполагает наличие двухступенчатого редуктора со следующей схемой работы.
В состав первой ступени входит 1 передача заднего хода и 1, 2, 3, 4 и 5 передачи переднего хода.
Оставшиеся передачи входят в состав второй редукторной ступни.
Ремонт КПП МТЗ-80
Коробка передач трактора МТЗ-80 отличается высоким уровнем надежности, но со временем происходит износ трущихся деталей и могут иметь место определенные отклонения в работе.
Признаки износа:
Слишком тугое переключение передач.
Самопроизвольное переключение передач.
Стук во время движения.
Слышимые шумы.
Чаще всего износу подвергаются подшипники или сборки переключения, в фиксаторах могут возникать дефекты, намного реже можно встретить износ зубцов шестерен, поскольку для их изготовления используется износостойкий сплав.
Диагностика неполадок:
Об износе дисков аппарата управляющего сцеплением может свидетельствовать скрежет при переключении. В некоторых случаях причиной скрежета может быть неправильная регулировка сцепления шестерней. Ремонтные работы предполагают замену изношенных деталей и регулировку. Если эти действия не помогли, причина может заключаться в неправильной длине пружины в аппарате, который управляет тормозками. В сжатом состоянии ее длина должна составлять больше 32 мм.
Периодически актуально проводить ревизию зазоров между вилкой включения и цапфами отводки, а также между накладками тормозкового диска. Допустимо, чтобы толщина диска тормозка была минимум 1,5 мм, в противном случае требуется обязательная замена. Ширина допустимого зазора для вилки отводки и включения – МТЗ-80 мм, в противном случае также требуется замена.
Недостаточное трущее усилие вилок переключения может привести к неполному отключению или произвольному выключению передач, а также сильному люфту рычага их переключения. Причиной также может быть потеря упругости пружинных фиксаторов. Чтобы диагностировать причину следует осмотреть и замерить ширину зева, зазор между планками переключения передач, а также щелки вилок, предварительно отсоединив механизм переключения передач. При наличии износа обязательно замените детали.
Износ подшипников, которые фиксируют валы, может стать причиной шумов в КПП. Если своевременно не произвести замену, приготовьтесь к заклиниванию всей коробки или, как минимум, к разрушению подшипников. Попробуйте сдвинуть валы монтировкой, предварительно сняв крышку КПП. Их посадка в гнездах должна быть жесткой. При наличии видимых смещений валов в гнездах вы гарантированно имеете дело с дефектом подшипников.
Повышенный шум при работе КПП может также стать результатом увеличенного осевого зазора вторичного вала. В данном случае проверьте крепление гайки вала и если фиксация оптимальная, причиной проблемы является подшипник.
Об износе шестеренок может свидетельствовать стук в коробке, которые при переключении передач исчезает. Чтобы убедиться в дефекте снимите раздаточную коробку с крышкой КПП, используйте домкрат для поднятия одного колеса и вручную прокрутите. Износ шестерни можно определить визуально и ее замена предполагает полную разборку коробки передач.
Читайте дополнительно: МТЗ блокировка
Муфта сцепления трактора МТЗ-80, самостоятельная регулировка и ремонт
В распространенных тракторах Беларус МТЗ применяется вариант системы сцепления популярного постоянно-замкнутого образца. Этот способ себя прекрасно зарекомендовал на тракторной и мото-тракторной технике. Тем временем важной деталью всей системы является муфта сцепления.
Ее предназначение заключается в передаче крутящего момента к трансмиссии от дизельного мотора, отключая его от передач и плавного (мягкого) соединения. Муфта на МТЗ-80 и МТЗ-82 с одним диском и сухая. В итоге механизм сцепления дает возможность технике плавно трогаться с места, а когда включается режим торможения, то происходит плавное разъединение коленвала двигателя с трансмиссией до полной остановки.
К основным деталям конструкции механизма относятся плотно прижатые друг к другу фрикционные диски, которые собраны во фрикционе тормоза или муфты. Размеренность выключения и включения передачи происходит благодаря проскальзыванию вращающегося ведущего диска, относительно ведомого диска, что соединен шлицевым соединением с коробкой передач. При отпускании педали, то есть включении сцепления, ведущий и ведомый диск плотно сжимаются, а при нажимании педали, то есть выключении, наблюдается разведение дисков, из-за чего образовывается свободное пространство между ними.
Механизм сцепления МТЗ-82 является однодисковым, однопоточным, сухим. Основными комплектующими выступают маховик двигателя, нажимной и опорный диски. Между дисками сцепления находятся 12 нажимных пружин. С одной стороны пружины упираются в стаканы опорного диска, а с другой – во влитые пазы нажимного.
Ведомый диск в свою очередь состоит из ступицы, соединительного диска и фрикционных накладок.
Из-за нежесткого сцепления ведомого диска со ступицей, которое обеспечивается восьмью резиновыми демпферами, включение сцепления МТЗ-82 является мягким, динамические нагрузки в трансмиссии незначительные.
Регулировка муфты сцепления происходит благодаря следующим действиям:
— благодаря регулировки свободного хода педали управления муфты сцепления. Длина тяги (4-5 см) регулирует ход. Данный размер обеспечивает зазоры между отжимным подшипником и отжимным рычагом. Если зависает педаль трактора при положении «свободный ход», то нужно сжать пружину упорным болтом;
— регулировка длины блокировочной тяги тормозка. Чтобы ее отрегулировать, нужно ее отсоединить от рычага отводки, далее тяга крепится с рычагом и увеличивается ее длина. В таком случае тягу нужно укоротить на 7 мм и закрепить ее контргайкой;
— регулировка отжимных рычагов сцепления. Ее нужно выполнять после установки муфты сцепления на маховик при помощи специальной оправки с торцевой поверхностью. Между пятками на отжимных рычагах и торцом ступицы опорного диска.
Во время эксплуатации муфты сцепления следует придерживаться следующих рекомендаций и советов. Смазывать конструкцию нужно каждые 60 моточасов работы, а проверку свободного хода педали нужно делать каждые 240 часов. Для смазки применяйте солидол, который стоит подбирать по параметрам смазочной таблицы. Со временем свободный ход уменьшается из-за износа деталей. Его максимальное значение может достигать 30 мм.
1. Не следует держать ногу на педали во время работы. Из-за этого увеличивается скорость износа.
2. Муфту сцепления приходит в работу плавно. Не следует ее оставлять в промежуточном состоянии.
3. Также муфта сцепления не должна быть выключенной на протяжении долгого времени.
Если вы все же увидели, что определенные запчасти муфты сцепления подлежат замене, нужно купить качественные комплектующие.
Режимы работы
На постоянной основе в условиях грунтовых дорог сельской местности пользуются автоматическим режимом работы включения переднего моста. Для уменьшения износа деталей узла в условиях полевых работ в составе землеобрабатывающих агрегатов — на пахоте, культивации целесообразно пользоваться принудительным режимом работы ПВМ. В условиях постоянного движения по дорогам с твёрдым сухим покрытием рекомендуется отключить привод переднего моста.
Орган управления передним мостом
Рычаг управления находится по правую сторону места водителя и соединён с тягой, проходящей через полик кабины. Рукоятка управления имеет три положения:
среднее — включён автоматический режим
нижнее — передний мост выключен
верхнее — ПВМ включён в принудительном режиме
В поздних версиях трактора управление осуществляется рычагом, в старых изменением положением рукоятки.
Автоматическое включение
В автоматическом режиме раздатка передаёт вращение только при возникновении пробуксовки задних ведущих колёс. При этом выбором положения рычага управления, скользящий по шлицам вала блок входит в зацепление своим меньшим зубчатым венцом только с ведомой обоймой обгонной муфты. Это обеспечивает независимое вращение обеих частей обгонной муфты в разблокированном положении. Включение передачи мощности происходит за счёт заклинивания роликов в пазах и соединении обеих обойм при замедлении скорости вращения ведомой обоймы механизма относительно скорости постоянно вращающейся ведущей части муфты раздаточной коробки.
Режимы работы узла
Передаточные числа механизма рассчитаны так, что ведомая обойма роликовой муфты, получая вращение от пассивного перекатывания передних колёс трактора, вращается на 6% быстрее, чем ведущая обойма механизма. Таким образом, при стандартном движении трактора срабатывание муфты не происходит и крутящий момент на передний мост от КПП не передаётся. При естественном замедлении движения передних колёс в результате буксования задних ведущих колёс, передаваемая на ведомую обойму обгонного механизма скорость вращения снижается, а скорость ведущей шестерни остаётся неизменной. В момент уравнивания скоростей вращения обеих частей механизма ролики заходят в клиновые пазы, заставляя вращаться детали как одно целое. С моментом срабатывания мощность передаётся на колёса переднего моста трактора до прекращения буксования задних колёс. Когда скорость вращения ведомой обоймы вырастит за счёт обратного получения вращения от передних колёс — ролики выйдут из пазов и муфта автоматически рассоединится.
Принудительный режим
Включается введением зацепление зубчатого скользящего блока с обеими, внутренними зубчатыми венцами наружной ведущей и внутренней ведомой обойм обгонной муфты. Соединением трёх частей механизма образуется единый жёсткий блок, который принимает вращение от промежуточной шестерни в КПП с последующей передачей через фланцевый хвостовик вала раздатки на карданный привод ПВМ. Такое включение обеспечивает постоянную передачу мощности на передний мост.
Важно Самый скоростной вездеход в мире: уникальные гусеничные быстроходные модели
Отключение ПВМ
При выборе положения, когда зубчатый блок выходит из зацепления с обеих венцов двух частей обгонной муфты, происходит полное отключение привода ПВМ. При этом ведущая, ведомая части обгонного механизма и зубчатый блок вращаются независимо друг от друга, то есть автоматический и принудительный режимы отключены.
Как работает муфта сцепления МТЗ? Что нужно знать для ее правильной регулировке и как это правильно сделать?
В белорусских тракторах марки МТЗ используется вариант система сцепления хорошо известного постоянно-замкнутого образца, прекрасно зарекомендовавшего себя на тракторной и мото-технике. Одной из важнейших деталей всей системы остаётся муфта сцепления, передающая крутящий момент к трансмиссии от дизельного мотора, отключения его же от передач и плавного (мягкого) соединения. Муфта на тракторах марки МТЗ — 80 и МТЗ — 82 с одним диском и сухая, что позволяет догадаться, об основных частях этой детали.
Верно. Это нажимной диск и маховик, установленные в пазах опорного диска на трёх выступах. Крепление нажимного диска с маховиком осуществляется дистанционными втулками, пальцами и гайками. В специальных стаканах, между нажимным диском и опорным, расположены двенадцать нажимных пружин, приводящих муфту в движение. При помощи осей на выступах нажимного диска устанавливают отжимные рычаги, при воздействии на которые и осуществляется включение всего механизма.
Длинной стороной диск сцепления к маховику или к лапкам?
Приставьте диск к маховику и попробуй провернуть — зацеплять за болты не должен. Более длинная часть ступицы к корзине. Ориентируйтесь на заклёпки ступицы — плоской стороной к маховику, выпуклой к корзине (наружу), заклепки в центре ступицы.
Непосредственная регулировка муфты сцепления
Муфта сцепления в белорусских тракторах марки МТЗ — 80 и МТЗ — 82 регулируется свободным ходом педали и длиной блокировочной тяги тормозка, а при полной взаимосвязи этих элементов регулировку необходимо осуществлять параллельно и одновременно, в такой последовательности:
Вытащите палец, отключив тягу от тормозка.
Закрутив до конца упорный болт, чтобы кронштейн свободно перемещался, от действия пружины у вас должна освободиться педаль и муфта сцепления.
Свободный ход педали (это от 40 до 45 мм) выставляете, изменив длину тяги.
Возвращаете кронштейн в самую верхнюю точку, проворачивая его вокруг оси, пока он не упрётся в болт, а затем закручиваете крепёжные болты.
Открутив упорный болт, возвращаете педаль на место, до упора в пол. Выжимная пружина в этом случае должна мгновенно вернуть педаль обратно.
Если появился не возврат педали, необходимо снова пошевелить кронштейн вокруг оси и немного ослабить болты.
Выставив рычаг по часовой стрелке до упора и соединив с ним тягу тормозка, немного (на 7 мм подтяните его длину.
После окончания всех действий надёжно закрепите узел контргайками.
Советы и рекомендации по уходу во время эксплуатации
Смазывать узел необходимо каждые 60 моточасов работы, а проверять свободный ход педали не реже каждых 240 моточасов. Для смазки используется солидол, применяемый согласно смазочной таблице. Свободный ход может со временем уменьшаться из-за естественного износа деталей, причём максимальное уменьшение хода при износе не должно превышать 30 мм.
Не держите ногу на педали во время работы трактора (это увеличивает скорость износа).
Муфта сцепления включается плавно. Не нужно оставлять её в промежуточном состоянии.
Муфта выключения сцепления не должна быть долго выключенной.
Ведущие диски
Позволяют обеспечить корректное распределение тепловых потоков, так как отвечают за действие всех последующих конструктивных элементов. То есть отвечают за рассеивание и поглощение. Для обеспечения требуемых значений используются материалы в виде серого чугуна разных марок: 18, 21, 22 и 24. Они обладают высокой степенью износостойкости, уменьшают износ используемых в системе накладок.
Окружность ведомых дисков для выполнения работ во взаимосвязи с другими деталями имеет множество выступов, пальцев, шипов, зубьев, соединений из шпона и тангенциальных пружин. Все элементы равномерно распределяются по поверхности изделий.
[~DETAIL_TEXT] =>
Тракторы функционируют за счет установки фрикционных сцеплений. Последние для осуществления передачи крутящего момента используют с физической точки зрения силы трения, которые возникают при взаимодействии ряда деталей конструкции.
Устройство сцепления автомобиля
Сцепление — это механизм, который передает крутящий момент от двигателя к коробке передач посредством трения. Это также позволяет быстро отсоединить двигатель от коробки передач и беспрепятственно восстановить соединение. Есть много видов сцеплений. Они различаются количеством дисков, которыми управляют (однодисковые, двух- или многодисковые), типом операционной среды (сухая или влажная) и типом привода. Различные типы сцепления имеют соответствующие преимущества и недостатки, но однодисковое сухое сцепление с механическим или гидравлическим приводом чаще всего используется в современных автомобилях.
Компоненты сцепления
Стандартное сцепление на большинстве автомобилей с механической коробкой передач включает следующие основные компоненты:
Маховик двигателя — Ведущий диск.
Диск сцепления.
Корзина сцепления — нажимной диск.
Выжимной подшипник сцепления.
выжимная муфта.
Вилка сцепления.
Привод сцепления.
Фрикционные накладки установлены с обеих сторон диска сцепления. Его функция — передача крутящего момента за счет трения. Подпружиненный гаситель крутильных колебаний, встроенный в корпус диска, смягчает соединение с маховиком и гасит вибрации и нагрузки, возникающие в результате неравномерной работы двигателя.
Нажимной диск и диафрагменная пружина, действующая на диск сцепления, объединены в один узел, называемый «корзиной сцепления». Диск сцепления расположен между корзиной и маховиком и соединен шлицами с входным валом коробки передач, по которым он может перемещаться.
Пружина корзины (диафрагменная) может быть нажимной или вытяжной. Разница заключается в направлении приложения силы от привода сцепления: либо к маховику, либо от маховика. Конструкция вытяжной пружины позволяет использовать корзину, толщина которой намного меньше. Это делает сборку максимально компактной.
Общие сведения [ править | править код ]
Существует много различных типов сцепления, но большинство основано на одном или нескольких фрикционных дисках, плотно сжатых друг с другом или с маховиком пружинами. Фрикционный материал очень похож на используемый в тормозных колодках и раньше почти всегда содержал асбест, в последнее время используются безасбестовые материалы. Плавность включения и выключения передачи обеспечивается проскальзыванием постоянно вращающегося ведущего диска, присоединённого к коленчатому валу двигателя, относительно ведомого диска, соединённого через шлиц с коробкой передач.
Усилие от педали сцепления передается на механизм механическим (рычажным или тросовым) или гидравлическим приводом.
Нажатие на педаль сцепления (выжимание, выключение)
разводит диски сцепления, в итоге оставляя между ними свободное пространство, а отпускание педали (включение) приводит к плотному сжатию ведущего и ведомого дисков.
При включенном сцеплении крутящий момент передается от коленчатого вала на маховик, затем на кожух сцепления и через пластинчатые пружины на ведущий (нажимной) диск. От маховика и ведущего нажимного диска, благодаря силам трения, крутящий момент передается зажатому между ними ведомому диску, ступица которого имеет шлицевое соединение с ведущим валом коробки передач.
Для выключения сцепления нажимают на педаль, которая через систему тяг и рычагов передает усилие на вилку, муфту, рычаги и пальцы отводят назад ведущий нажимной диск. При этом пружины сжимаются и освобождают ведомый диск, по обеим сторонам которого образуются зазоры, что прерывает передачу через него крутящего момента. В двухдисковом сцеплении для обеспечения необходимых зазоров между ведущими и ведомыми дисками в выключенном состоянии имеются отжимные пружины и регулировочный болт промежуточного диска. При плавном отпускании педали нажимные пружины возвращают все детали механизма выключения в исходное положение, ведомый диск прижимается к ведущему (нажимному) диску и маховику.
Если при включении сцепления просто «бросить» педаль, ведомый диск с силой прижмётся к ведущему (маховику) и затормозит его до такой степени, что двигатель может остановиться (заглохнуть) — то есть, сцепление сработает подобно тормозному механизму. Поэтому педаль сцепления после момента начала зацепления дисков нужно отпускать плавно. Конкретная техника работы педалью зависит от конструкции привода сцепления.
На современных автомобилях используются два типа привода сцепления — гидравлический и механический тросовый.
При гидравлическом приводе сцепления величина полного хода педали сцепления остаётся постоянной (что обеспечивается наличием у педали сцепления возвратной пружины), но меняется величина её рабочего хода, компенсируя уменьшение толщины ведомого диска в результате износа — чем меньше толщина остающегося диска, тем, при том же самом полном ходе педали сцепления, большим оказывается её рабочий ход, и тем «выше» (ближе к концу обратного хода педали при её отпускании) срабатывает сцепление. Педаль сцепления с гидравлическим приводом можно отпускать достаточно резко вплоть до того момента, когда ведущий и ведомый диски начинают входить друг с другом в зацепление (что ощущается по слабому рывку автомобиля в момент начала трогания) — после этого начинается рабочий ход педали, в ходе которого её необходимо отпускать плавно. С новым ведомым диском сцепление срабатывает «внизу» и автомобиль начинает трогаться уже при небольшом отпускании педали; при сильно изношенном ведомом диске, напротив, диски не входят в зацепление вплоть до самого конца хода педали. У педали сцепления с гидравлическим приводом всегда имеется небольшой (обычно не более 10…15 мм на педали) свободный ход в самом начале нажатия педали, обусловленный наличием конструктивного зазора в 2…3 мм между шарнирно соединённым с педалью сцепления толкателем и приводимым им в движение поршнем главного цилиндра сцепления — это необходимо для того, чтобы обеспечить полное включение сцепления при отпускании педали и исключить его пробуксовку при движении автомобиля.
У педали сцепления с тросовым приводом полный ход увеличивается по мере износа ведомого диска (педаль сцепления приподнимается относительно пола), вместе с ним увеличивается и её рабочий ход. Педаль следует отпускать плавно с самого начала, так как сцепление срабатывает всегда «внизу». Свободный ход педали обеспечивается регулировкой длины троса и составляет обычно порядка 30…40 мм.
Ведомый диск сцепления состоит из собственно диска с пружинными пластинами, к которым приклёпаны или приклеены независимо друг от друга две фрикционные накладки. Такое крепление накладок обеспечивает их расхождение при выключенном сцеплении, при включении пружинные пластины постепенно сжимаются, обеспечивая плавное включение. Центральная часть диска сцепления — ступица — имеет шлицевое соединение и перемещается по первичному валу коробки передач. Ступица соединена с диском подвижно, через демпферные пружины и фрикционные шайбы гасителя крутильных колебаний (видны на снимке), служащие для выравнивания колебаний крутящего момента, неизбежно возникающих под влиянием переменных нагрузок и инерции массы при передаче его от двигателя к ведущим колёсам и обратно. При некоторых условиях эти колебания могут привести к поломке валов.
Как работает сцепление
Принцип действия сцепления основан на жестком соединении диска сцепления и маховика двигателя за счет силы трения, создаваемой силой, создаваемой диафрагменной пружиной. Муфта имеет два режима: «включено» и «выключено». В большинстве случаев ведомый диск прижимается к маховику. Крутящий момент от маховика передается на ведомый диск, а затем через шлицевое соединение на первичный вал коробки передач.
Чтобы выключить сцепление, водитель нажимает на педаль, которая механически или гидравлически связана с вилкой. Вилка перемещает выжимной подшипник, который, нажимая на концы лепестков диафрагменной пружины, прекращает свое воздействие на нажимную пластину, которая, в свою очередь, освобождает ведомый диск. На этом этапе двигатель отсоединяется от коробки передач.
Когда в коробке передач выбрана соответствующая передача, водитель отпускает педаль сцепления, вилка перестает действовать на выжимной подшипник и пружину. Нажимной диск прижимает ведомый диск к маховику. Двигатель связан с коробкой передач.
Устройство сцепления автомобиля
По своей конструкции данная деталь представляет собой целую систему, состоящую из следующих элементов:
Маховик. На него вырабатывается весь крутящий момент мотора. К маховику подсоединяется корзина. Это одна из наиболее стойких к нагрузкам деталь.
Нажимной и ведомый диск сцепления. Данные детали тесно взаимосвязаны между собой. Нажимной диск сцепления может как соприкасаться, так и отпускаться от ведомого в зависимости от конкретного положения педали в салоне автомобиля.
Вилка выключения. Данная деталь при нажатии педали разжимает диски.
Первичный вал КПП. Это элемент, на который передается крутящий момент через сцепление автомобиля от ДВС.
Разновидности муфты
Сухое сцепление
Принцип действия этого типа сцепления основан на силе трения, создаваемой взаимодействием сухих поверхностей: ведущих, ведомых и нажимных дисков. Это обеспечивает жесткое соединение двигателя и трансмиссии. Сухое однодисковое сцепление является наиболее распространенным типом на большинстве автомобилей с механической коробкой передач.
Мокрое сцепление
Муфты этого типа действуют в масляной ванне на трущихся поверхностях. По сравнению с сухой, такая схема обеспечивает более плавный контакт диска; агрегат охлаждается более эффективно благодаря циркуляции жидкости и может передавать больший крутящий момент на коробку передач.
Мокрая конструкция широко используется в современных автоматических трансмиссиях с двойным сцеплением. Особенность работы такой муфты заключается в том, что на четную и нечетную передачи коробки передач крутящий момент подается с отдельных ведомых дисков. Привод сцепления — гидравлический, с электронным управлением. Передачи переключаются с постоянной передачей крутящего момента на трансмиссию без прерывания потока мощности. Такая конструкция дороже и сложнее в изготовлении.
Двухдисковое сухое сцепление
Двухдисковое сухое сцепление имеет два ведомых диска и промежуточную проставку между ними. Такая конструкция способна передавать больший крутящий момент при том же размере муфты. Саму по себе его легче изготовить, чем мокрый вид. Обычно используется в грузовиках и легковых автомобилях с особенно мощными двигателями.
Муфта с двухмассовым маховиком
Двухмассовый маховик состоит из двух частей. Одна из них связана с двигателем, другая — с ведомым диском. Оба элемента маховика имеют небольшой люфт по отношению друг к другу в плоскости вращения и связаны между собой пружинами.
Особенностью двухмассовой муфты маховика является отсутствие гасителя крутильных колебаний в ведомом диске. В конструкции маховика используется функция гашения вибрации. Помимо передачи крутящего момента, он эффективно снижает вибрации и нагрузки, возникающие из-за неравномерной работы двигателя.
Особенности работы отдельных видов сцепления — сухое сцепление
Устройство работы сцепления сухого типа основано на возникающей силе трения сухих поверхностей дисков, благодаря чему формируется жесткая связь мотора и КП. Сухое однодисковое сцепление чаще всего используется на транспортных средствах с МКП.
Мокрое сцепление
Эта схема работы сцепления предполагает трение поверхностей в масляной ванне, плавное соприкосновение дисков и более эффективное охлаждение. Обеспечивается передача на трансмиссию большего крутящего момента.
Применение этого типа сцепки рационально на роботизированной технике с двойным сцеплением. На четные и нечетные КП происходит подача вращающегося момента от разных ведомых дисков. Схема работы сцепления мокрого типа применяется в паре с гидравликой. Переключение скоростей совершается без разрыва потока мощности. Установка более современная, дорогостоящая и сложная в плане производства.
Сухое двухдисковое сцепление
Двухдисковый механизм передает больше вращающего момента при одинаковых размерах деталей узла. Он предполагает наличие 2 ведомых дисков с промежуточной прокладкой между их рабочими поверхностями. Чаще всего используется на грузовых и легковых авто, снабженных мощным двигателем.
Срок службы муфты сцепления
Срок службы сцепления зависит в основном от условий эксплуатации автомобиля, а также от стиля вождения водителя. В среднем срок службы сцепления может достигать 100-150 тысяч километров. В результате естественного износа, возникающего при контакте дисков, поверхности трения подвержены износу и требуют замены. Основная причина — проскальзывание диска.
Двухдисковое сцепление имеет длительный срок службы за счет увеличенного количества рабочих поверхностей. Выжимной подшипник сцепления включается каждый раз при разрыве соединения двигатель / КПП. Со временем вся смазка вырабатывается в подшипнике и теряет свои свойства, в результате чего он перегревается и выходит из строя.
Слово муфта пришло к нам из немецкого и голландского языков. В немецком – это Muffe, а по-голландски – mouwtje. В русском языке, как, впрочем, и в тех, откуда оно было заимствовано, слово употребляется в нескольких значениях. В интересующей нас области под муфтой понимается специальный привод в машинах и механизмах, который передает вращательное движение (момент) с одного вала на другой, соосно расположенный с первым.
НАЗНАЧЕНИЕ
МУФТ СЦЕПЛЕНИЯ
Муфта сцепления в автомобиле предназначается для обеспечения возможности переключения режимов движения на ходу и плавного трогания с места. С помощью муфты осуществляется кратковременное разъединение двигателя и трансмиссии автомобиля, то есть прекращение плотного соприкосновения ведущих и ведомых дисков механизма сцепления.
Таким образом, муфта – это деталь общего механизма, единого блока сцепления. Зачастую два этих слова употребляются как синонимы, например: «муфту выжми» или «выжми сцепление».
Помимо автомобилей и тракторов различных типов, муфты устанавливаются на мотоблоках, бензопилах, стационарных станках с переменными режимами вращения основного вала.
ВИДЫ МУФТ СЦЕПЛЕНИЯ
Конструкция муфты сцепления не является однотипной, а на каждой модели авто этот узел имеет определенные отличия. Тем не менее, можно выделить определенные сходства в конструкции муфт легкового автомобиля. Неизменными элементами каждой из них являются:
Характеристики керамической муфты
Срок службы муфты и ее максимальная производительность определяются свойствами материала зацепления. Стандартный состав дисков сцепления на большинстве автомобилей — это спрессованная смесь стеклянных и металлических волокон, смолы и резины. Поскольку принцип действия сцепления основан на силе трения, фрикционные накладки ведомого диска приспособлены для работы при высоких температурах, до 300-400 градусов Цельсия.
У мощных спортивных автомобилей сцепление испытывает большие нагрузки, чем обычно. Для некоторых передач можно использовать керамическое или металлокерамическое сцепление. Материал этих накладок включает керамику и кевлар. Металлокерамический фрикционный материал менее подвержен износу и выдерживает нагрев до 600 градусов без потери своих свойств.
Производители используют разные конструкции сцепления, оптимальные для конкретного автомобиля, в зависимости от его предполагаемого использования и стоимости. Сухое однодисковое сцепление остается довольно эффективной и недорогой конструкцией. Эта схема широко используется на бюджетных и средних автомобилях, а также на внедорожниках и грузовиках.
Назначение
Муфта сцепления в автомобиле предназначается для обеспечения возможности переключения режимов движения на ходу и плавного трогания с места. С помощью муфты осуществляется кратковременное разъединение двигателя и трансмиссии автомобиля, то есть прекращение плотного соприкосновения ведущих и ведомых дисков механизма сцепления.
Таким образом, муфта – это деталь общего механизма, единого блока сцепления. Зачастую два этих слова употребляются как синонимы, например: «муфту выжми» или «выжми сцепление».
Помимо автомобилей и тракторов различных типов, муфты устанавливаются на мотоблоках, бензопилах, стационарных станках с переменными режимами вращения основного вала.
Когда проводить регулировку сцепления
Проводить регулировку надо по графику или при появлении некоторых признаков незначительного изменения в работе сцепления.
Признаки, когда необходимо провести диагностику сцепления:
Холостой ход педали сцепления увеличился, из-за чего отключение валов коробки происходит не полностью (вал КПП получает получать вращение от маховика коленвала ДВС).
Появились рывки, подергивания автомобиля на старте.
Педаль сцепления (ПС) не возвращается сразу в исходное положение.
Появилась утечка тормозной жидкости из системы. Решается устранением утечки, долива жидкости и прокачкой сцепления.
Появился шум при переключении скоростей коробки передач.
Чтобы понять, надо ли регулировать педаль сцепления, можно измерить расстояние линейкой. Нормальное расстояние от пола до педали около16 сантиметров.
CMC CLUTCH — Rescue Northwest
664,00 $
CMC Clutch™ by Harken Industrial™
НОВИНКА! Возможно больше Представляем совершенно новую CLUTCH, последнюю эволюцию в оборудовании для спасательных операций и альпинизма, которая позволяет специалистам по канатам делать больше с меньшими затратами. Это многоцелевое устройство было разработано и спроектировано в сотрудничестве двумя компаниями с 90-летней историей работы с канатами при больших нагрузках: CMC, компанией, занимающейся спасательными работами и канатным доступом, и Harken Industrial, производственной компанией, специализирующейся на высоких нагрузках. парусный спорт.
Посмотреть корзину
ПРОДОЛЖИТЬ покупки
НОВИНКА!
Возможно больше
Представляем совершенно новый CLUTCH, последнюю эволюцию оборудования для спасательных работ и доступа к веревкам, позволяющую специалистам по канатам делать больше с меньшими затратами. Это многоцелевое устройство было разработано и спроектировано в сотрудничестве двумя компаниями с общим 90-летняя история управления веревками при больших нагрузках: CMC, компания, специализирующаяся на спасении и альпинизме, и Harken Industrial, производственная компания, специализирующаяся на высокопроизводительном парусном спорте.
Подходящий для множества такелажных операций, CLUTCH обеспечивает эффективную работу, простоту использования и оптимальный контроль. Он легко перемещается между системами на основе анкеров и личным использованием, предлагая непревзойденную универсальность для специалиста по канатам. С CLUTCH возможно больше.
Характеристики:
Одиночный носимый инструмент для эффективной буксировки, контролируемого спуска, плавного индивидуального спуска, легкого подъема, страховки и двойной системы натяжения веревки.
Обеспечивает до 38 % более высокую эффективность при буксировке и подъеме по сравнению с кулачковым устройством: сокращение количества переключений.
Беспрепятственное перемещение между якорными системами и личным использованием: уменьшение объема и веса тайника для снаряжения.
Сочетает в себе ключевые характеристики персональных спусковых устройств и устройств управления нагрузкой: снижает затраты на обучение и затраты на оборудование.
Мгновенное переключение между буксировкой и опусканием или подъемом и спуском без необходимости переноса груза.
Позволяет зеркально отражать основные и страховочные канаты, двойное натяжение или вкладывать их в метод двойного сцепления (ручки управляются одним оператором).
Заменяет 8 предметов традиционного снаряжения: шкив, спасательную стойку, анкерную плиту, строп для сброса груза, трос-прусик и 3 карабина.
11-мм CLUTCH и спасательный трос CMC G11™ Lifeline можно использовать вместе для создания систем с рейтингом NFPA G с использованием 11-мм каната, что экономит место и снижает вес.
11 мм CLUTCH — единственное устройство, совместимое с веревкой 10,5–11 мм, сертифицированное по стандартам NFPA 1983 General Use, ANSI и EN.
СЦЕПЛЕНИЕ 13 мм совместимо с веревкой 12,5–13 мм и сертифицировано по стандартам NFPA 1983 General Use и ANSI.
Запатентовано. Сделано в США.
Компоненты:
Храповой механизм и вращающийся шкив из нержавеющей стали обеспечивают эффективную и слышимую автоматическую блокировку хода.
Погрузка/разгрузка троса защищена инновационной боковой пластиной с двойной защелкой, которая не зависит от точки крепления устройства.
Тормоз Anti-Panic и функции ограничения усилия обеспечивают эксплуатационную безопасность и защиту от перегрузок.
Шасси из обработанного алюминия с защитой от износа из нержавеющей стали обеспечивает малый вес и долговечность.
Встроенный кронштейн позволяет напрямую соединять механические компоненты.
Рукоятка управления имеет большую зону наилучшего восприятия для плавного постепенного опускания и управления спуском.
Прилагаемый винт может быть установлен в боковой пластине для создания закрытых тросовых систем для быстрого развертывания.
№
Сертификаты:
11 мм Серый СЦЕПЛЕНИЕ:
NFPA 1983 (ред. 2017 г.)
ОБЩЕЕ ПРИМЕНЕНИЕ (G) MBS 40 кН (8992 фунт-сила) ШКИВ
ОБЩЕЕ ПРИМЕНЕНИЕ (G), КОНТРОЛЬ СПУСКА, ø 10,5–11 мм
ОБЩЕЕ ПРИМЕНЕНИЕ (G), СТРАХОВОЧНОЕ УСТРОЙСТВО, ø 10,5–11 мм
АНСИ/АССЕ
Z359. 4-2013
СЕ
EN 12841: 2006/C
ЕН 341: 2011/2А
ЕН 15151-1: 2012/8
13 мм красный МУФТА:
NFPA 1983 (ред. 2017 г.)
ОБЩЕЕ ПРИМЕНЕНИЕ (G) MBS 40 кН (8992 фунт-сила) ШКИВ
ОБЩЕЕ ПРИМЕНЕНИЕ (G), КОНТРОЛЬ СПУСКА, ø 12,5–13 мм
ОБЩЕЕ ПРИМЕНЕНИЕ (G), СТРАХОВОЧНОЕ УСТРОЙСТВО, ø 12,5–13 мм
Нужна ПОМОЩЬ С ЗАКАЗОМ? Позвоните нам сегодня, и мы с радостью поможем!
СВЯЖИТЕСЬ С НАМИ
Многофункциональное устройство для перемещения по канату Harken CMC Clutch
HM Queen Elizabeth Bank Holiday
Обратите внимание, что Abaris International будет закрыт в связи с переездом офиса в пятницу, 16 сентября.
Продвигаемое Видео
Посмотреть 1 похожее видео
Код:
IN401 (не выбран)
662,72 фунта стерлингов
(включая НДС)
Сообщите мне, когда появится в наличии
Многоцелевое устройство для перемещения по канату Harken CLUTCH™
Многоцелевое устройство для перемещения по канату, разработанное для обеспечения безопасности спасателей и специалисты по доступу готовы к большинству возможных ситуаций.
Универсальный CMC™ CLUTCH™ от Harken Industrial™ — это единый носимый инструмент, подходящий для эффективного подъема, контролируемого опускания, плавный индивидуальный спуск, легкий подъем, и надежный захват прогресса. Мало того, что он заменяет оборудование, используемое в традиционном система подъема/опускания для спасательных операций, он также служит личным спусковым устройством с самая эффективная восходящая способность любого продукта в своем классе. СЦЕПЛЕНИЕ позволяет выполнять больше операций с канатом с помощью одного инструмент, чем все, что мы когда-либо оценивали. СЦЕПЛЕНИЕ является результатом дизайна и сотрудничество в разработке продуктов двумя экспертами с коллективом 90 год история управления веревкой под тяжелыми нагрузки; CMC, компания с корнями в спасательный и веревочный доступ и Harken Индустриал, производственная компания с корнями в высокопроизводительном парусном спорте.
Полное описание
Доставка
Быстрая доставка
Доставка
Последние новости о коронавирусе: мы по-прежнему открыты для бизнеса! Пожалуйста, нажмите здесь, чтобы ознакомиться с полным отчетом о нашей деятельности.
Мы гордимся нашим превосходным обслуживанием и стремимся оперативно отправлять все заказы. Если вы сделаете заказ до 15:00 с понедельника по пятницу, мы постараемся отправить его в тот же день для доставки на следующий рабочий день. Заказы:
, размещенные после 15:00 с понедельника по четверг, будут обработаны на следующий день. Доставка на острова и за пределы области может быть двухдневной, а за границу — дольше
Пожалуйста, позвоните нам для срочных заказов, чтобы мы могли обработать заказ в срочном порядке и подтвердить график доставки.
Все товары доступны при наличии. Если мы не сможем доставить ваш товар в течение 30 дней с даты заказа, мы немедленно сообщим вам об этом и сообщим ожидаемую дату доставки.
Курьерская служба
Если вы выберете доставку курьером, вы получите электронное письмо или текстовое сообщение в день отправки вашего заказа, информирующее вас о том, что он находится в пути. Утром в день доставки, около 07:30, вы получите дополнительное электронное письмо или текстовое сообщение с указанием времени доставки в течение 1 часа. Поэтому убедитесь, что вы предоставили нам правильный номер мобильного телефона и адрес электронной почты. Курьеры очень заняты во время Рождества и распродаж, поэтому, пожалуйста, дайте им дополнительное время. Мы не несем ответственности за какие-либо косвенные убытки, вызванные задержкой или невыполнением поставок.
Временные поставки / Суббота и воскресные поставки
Мы можем организовать временные поставки для:
В будние дни:
до 10:00: 30:00
до 12 (полудень)
Выходные. :30:00
Суббота до 12 (полдень)
Воскресенье (в любое время)
Некоторые из вариантов доставки по времени доступны через веб-сайт, для других, включая доставку в воскресенье, пожалуйста, позвоните в офис, чтобы узнать подтвержденную цену и договориться об альтернативной доставке.
Важное примечание:
Своевременная доставка зависит от наличия на складе (мы свяжемся с вами, если какого-либо из ваших заказов нет на складе, чтобы вы могли подтвердить, если хотите, чтобы мы разделили доставку) и должна быть размещена до 15:00 понедельника. до пятницы. Пожалуйста, позвоните нам, если это будет после 15:00, так как мы все еще можем поймать наших курьеров.
Нажмите здесь, чтобы ознакомиться с полным графиком доставки и подробностями
Поделиться
Фейсбук
Твиттер
Описание
Универсальное устройство для перемещения по канату Harken CLUTCH™
Многоцелевое устройство для перемещения по канату, разработанное для обеспечения безопасности спасателей и специалисты по доступу готовы к большинству возможных ситуаций.
Универсальный CMC™ CLUTCH™ от Harken Industrial™ — это единый носимый инструмент, подходящий для эффективного подъема, контролируемого опускания, плавный индивидуальный спуск, легкий подъем, и надежный захват прогресса. Мало того, что он заменяет оборудование, используемое в традиционном система подъема/опускания для спасательных операций, он также служит личным спусковым устройством с самая эффективная восходящая способность любого продукта в своем классе. СЦЕПЛЕНИЕ позволяет выполнять больше операций с канатом с помощью одного инструмент, чем все, что мы когда-либо оценивали. СЦЕПЛЕНИЕ является результатом дизайна и сотрудничество в разработке продуктов двумя экспертами с коллективом 90 год история управления веревкой под тяжелыми нагрузки; CMC, компания с корнями в спасательный и веревочный доступ и Harken Индустриал, производственная компания с корнями в высокопроизводительном парусном спорте.
Основные характеристики
CLUTCH сочетает в себе атрибуты более дорогих многоцелевых устройств с атрибутами менее сложных носимых персональных спусковых устройств. Спасательные команды могут нести меньше оборудования, но при этом быть готовыми даже к самым сложным спасательным операциям.
Запатентованная механическая геометрия внутри CLUTCH и эргономичная рукоятка в сочетании обеспечивают лучший контроль во всем диапазоне нагрузки при спуске.
СЦЕПЛЕНИЕ оснащено граненым храповым шкивом из нержавеющей стали, который обеспечивает надежное удержание каната и звуковую фиксацию хода. Он также оказывается необычайно эффективным при подъеме или подъеме.
Предназначен для эффективной работы, простоты использования и оптимального управления. Инновационная боковая пластина с двойной защелкой не зависит от точки крепления устройства и препятствует непреднамеренному открытию. Спасатели и специалисты по доступу могут менять веревку, не отсоединяя ее.
Устройство, совместимое с канатом диаметром 10,5–11 мм, сертифицировано по NFPA 1983 (G-Rated), ANSI Z359.4 и EN 12841/C, 341/2A и 15151/8 (до 200 м/240 кг).
Открывающаяся боковая пластина защищена запатентованным двухступенчатым предохранительным механизмом. СЦЕПЛЕНИЕ имеет ограничивающий усилие шкив для защиты от перегрузок. Функция «Антипаника» автоматически блокирует устройство во время спуска, если ручка вытянута слишком далеко.
Загрузки производителя
Технический паспорт продукта — Harken Clutch
Декларация соответствия — Harken Clutch
Техническое уведомление — муфта Harken
Технические характеристики
Спусковой механизм
Функции устройства
Функция антипаники
Совместимость с веревкой
от 10,5 мм до 11 мм
Общий
Промышленное или спортивное использование
Промышленный
Соответствие
ANSI Z359. 4
CE EN12841
NFPA (1983)
CE EN341 Класс A Тип 2
CE EN15151/8
Габаритные размеры
112 мм x 204 мм
Вес (г)
840 г
Связанное видео
Конструкция промышленного сцепления и техническая информация
«Сцепление — это фрикционное устройство, основной функцией которого является прерывистая передача мощности».
Муфта представляет собой устройство, которое используется для соединения и расцепления двух отдельных тел вращения. Эти два отдельных тела могут состоять из валов, шестерен и звездочек, первичного двигателя или двигателя или любой их комбинации. Приводными компонентами обычно являются насосы, вентиляторы, валы отбора мощности, компрессоры, редукторы и генераторы. Обычно для передачи мощности используется вал ведомого или ведущего компонента.
Способы приведения в действие сцепления
Сцепления можно классифицировать по способу приведения в действие. К ним относятся механические, электрические, гидравлические и пневматические (пневматические). Последние два часто комбинируются, так как многие промышленные модели сцепления, подходящие для гидравлического привода, также могут использоваться в пневматических (воздушных) приложениях.
Посмотреть сравнение способов срабатывания.
Подтип классификации основан на том, используется ли метод приведения в действие для включения или выключения сцепления. Эти подтипы представляют собой муфты с пружинным включением (отключение энергии) и муфты с принудительным включением. Их отличает способ включения сцепления. Говорят, что муфта «включена» при передаче крутящего момента. Он «отключен», когда через устройство не передается крутящий момент.
Пружинные муфты в сравнении с муфтами с энергоаккумулятором
Тип
Функция
Пример
Пружина (высвобождение энергии)
Крутящий момент передается при отсутствии питания
Механизм привода артиллерийского возвышения
Прикладная энергия
Крутящий момент не передается до срабатывания
Привод коробки отбора мощности «ВОМ»
Подпружиненная муфта считается «нормально включенной», что означает, что при отсутствии приводной силы муфта будет передавать крутящий момент. Для его отключения требуется энергия срабатывания. Это полезная конструкция, когда ведомый компонент отключается только на мгновение во время нормальной работы. Говорят, что муфта с подаваемой энергией «нормально отключена» — крутящий момент не передается на ведомое устройство до тех пор, пока не будет приложена энергия срабатывания. Большинство применений, связанных с передачей энергии, относятся к подтипу приложений, связанных с энергией.
Как они работают
В муфте с подачей энергии торцевая пластина притягивается к опорной пластине, когда устройство приводится в действие. Между торцевой пластиной и опорной пластиной расположены фрикционные диски. Торцевая пластина плотно сжимает фрикционные диски, включая сцепление и обеспечивая передачу крутящего момента.
В муфте с пружинным приводом (с высвобождением энергии) якорь расположен рядом с упорной пластиной, а зацепляющие пружины вставлены между якорем и опорной пластиной. Эти пружины отталкивают якорь от упорной пластины, прижимая фрикционные диски к торцевой пластине и обеспечивая передачу крутящего момента через устройство. Энергия срабатывания притягивает якорь к опорной плите, сжимая пружины, сбрасывая давление на фрикционные диски и отключая устройство.
Дальнейшая разбивка определяет процесс, посредством которого метод зацепления передает механическую энергию вращения на ведомый компонент, называемый «передачей мощности». К ним относятся трения и позитивное взаимодействие.
Фрикционные муфты и муфты принудительного зацепления
Тип
Функция
Пример
Трение
Управление крутящим моментом
Автомобильное сцепление
Положительная связь
Заблокированное позиционирование
Привод вертолета
При передаче мощности трением одно- или многодисковые фрикционные пластины удерживаются вместе силой пружин или приложением энергии, такой как магнитный поток, или поршнем, находящимся под давлением, для передачи крутящего момента за счет трения. Передачи мощности с принудительным зацеплением включают кулачковые или зубчатые муфты, которые при включении перемещаются в известное положение.
Рекомендации по промышленным муфтам
Каждая из этих классификаций и подтипов предназначена для того, чтобы предложить разработчикам оборудования полный набор вариантов, и каждый вариант имеет свои уникальные преимущества и недостатки.
При выборе муфты для конкретного применения важно понимать преимущества, недостатки и ограничения каждого типа устройства. Carlyle Johnson предлагает полную линейку стандартных промышленных сцеплений по умеренной цене и может предоставить инженерные знания для решения самых сложных проблем управления.
Обзор классификации
Промышленные муфты
Способ приведения в действие
Электрический
Механический
Гидравлический
Пневматический (воздух)
Подтипы привода сцепления
Пружина (высвобождение энергии)
Прикладная энергия
Метод передачи мощности
Трение
Положительное участие
Быстрая контактная форма
Имя:
Компания:
Электронная почта:
Телефон:
Примечания:
У вас есть CAD? Нажмите здесь, чтобы загрузить.
Муфта CMC — 1/2 дюйма — RescueDirect.com
В настоящее время:
699,99 долларов США
Артикул:
99014
СКП:
— Нет —
Представляем совершенно новый CLUTCH, последнюю эволюцию в оборудовании для спасательных работ и альпинизма, позволяющую специалистам по канатам делать больше с меньшими затратами. Это многоцелевое устройство было разработано и спроектировано в сотрудничестве двумя компаниями с общим 90-летняя история управления веревками при больших нагрузках: CMC, компания, специализирующаяся на спасении и альпинизме, и Harken Industrial, производственная компания, специализирующаяся на высокопроизводительном парусном спорте.
В настоящее время:
699,99 долларов США
действуют тарифы на негабаритную доставку
Количество:
Текущий запас:
Добавление в корзину. .. category.add_cart_announcement
Описание
Представляем совершенно новый CLUTCH, последнюю эволюцию в оборудовании для спасательных работ и альпинизма, позволяющую специалистам по канатам делать больше с меньшими затратами. Это многоцелевое устройство было разработано и спроектировано в сотрудничестве двумя компаниями с 90-летней историей работы с канатами при больших нагрузках: CMC, компанией, занимающейся спасательными работами и канатным доступом, и Harken Industrial, производственной компанией, специализирующейся на высоких нагрузках. парусный спорт.
Детали
CMC Clutch от Harken Industrial — 13 мм
CLUTCH подходит для множества такелажных операций и обеспечивает эффективную работу, простоту использования и оптимальное управление. Он легко перемещается между системами на основе анкеров и личным использованием, предлагая непревзойденную универсальность для специалиста по канатам. С CLUTCH возможно больше.
Особенности:
Единый носимый инструмент для эффективной буксировки, контролируемого спуска, плавного индивидуального спуска, легкого подъема, страховки и двойной системы натяжения веревки.
Обеспечивает до 38 % более высокую эффективность при буксировке и подъеме по сравнению с кулачковым устройством: сокращение количества переключений.
Беспрепятственное перемещение между якорными системами и личным использованием: уменьшение объема и веса тайника для снаряжения.
Сочетает в себе ключевые характеристики персональных спусковых устройств и устройств управления нагрузкой: снижает затраты на обучение и затраты на оборудование.
Мгновенное переключение между буксировкой и опусканием или подъемом и спуском без необходимости переноса нагрузки.
Позволяет зеркально отражать основную и страховочную веревки, двойное натяжение или вкладывать их в метод двойного сцепления (ручки управляются одним оператором).
Заменяет 8 предметов традиционного снаряжения: шкив, спасательную стойку, анкерную пластину, строп для сброса груза, трос-прусик и 3 карабина.
11-мм CLUTCH и CMC’s G11 Lifeline можно использовать вместе для создания систем с рейтингом NFPA G с использованием 11-мм каната, экономя место и уменьшая вес.
СЦЕПЛЕНИЕ 11 мм совместимо с веревкой от 10,5 до 11 мм и сертифицировано по стандартам NFPA 1983 General Use, ANSI и EN. Это единственное устройство для веревки от 10,5 до 11 мм, имеющее все эти сертификаты.
СЦЕПЛЕНИЕ 13 мм совместимо с веревкой от 12,5 до 13 мм и сертифицировано по стандартам NFPA 1983 General Use и ANSI.
Запатентовано. Сделано в США.
Компоненты:
Храповой механизм и вращающийся шкив из нержавеющей стали обеспечивают эффективную и слышимую автоматическую блокировку хода.
Погрузка/разгрузка троса защищена инновационной боковой пластиной с двойной защелкой, которая не зависит от точки крепления устройства.
Тормоз «антипаника» и функция ограничения усилия обеспечивают эксплуатационную безопасность и защиту от перегрузок.
Шасси из обработанного алюминия с защитой от износа из нержавеющей стали обеспечивает малый вес и долговечность.
Интегрированная рама обеспечивает прямое соединение механических компонентов.
Ручка управления имеет большую зону наилучшего восприятия для плавного постепенного опускания и управления спуском.
Прилагаемый винт можно установить в боковую пластину для создания закрытых тросовых систем для быстрого развертывания.
Сертификаты:
11 мм серая сцепление:
NFPA 1983 (2017 ED)
Общее использование (G) MBS 40KN (8,992 IBF) Шкив
Общее использование (G), контроль запуска, ã 10,5 Thru 11 мм
Общее использование (G). G), Devale Device, ã 10,5 через 11 мм
ANSI/ASSE
Z359.4-2013
CE
EN 12841: 2006/C
EN 341: 2011/2A
3A
3A
3A
3A
3A
3A
3A
3A
3A
3A
3A
3A
. 15151-1: 2012/8
13 мм Красный СЦЕПЛЕНИЕ:
NFPA 1983 (2017 ED)
ОБЩЕЕ ПРИМЕНЕНИЕ (G) MBS 40 кН (8 992 фунт-сила) ШКИВ
ОБЩЕЕ ПРИМЕНЕНИЕ (G), КОНТРОЛЬ СПУСКАНИЯ, ø 12,5–13 мм
ОБЩЕЕ ПРИМЕНЕНИЕ (G), УСТРОЙСТВО БЕЛАЯ, ø5. через 13 мм
ANSI/ASSE
Z359.4-2013
Мы рекомендуем вам размещать заказы сейчас, и мы выполним их, как только муфты станут доступны, в порядке первого заказа/первой отгрузки. Заказанные вами товары, имеющиеся в наличии, будут отправлены немедленно.*
Электромагнитные муфты, также называемые «электромеханическими» или «ЭМ» муфтами, приводятся в действие электрически, но передают крутящий момент механически. Базовая конструкция электромагнитной муфты состоит из трех частей: электромагнитной катушки в металлическом корпусе (статора), ротора, соединенного с входным валом, и якоря, соединенного с выходным валом, звездочкой или шкивом.
Опции электронного и электромеханического сцепления
Miki Pulley предлагает несколько вариантов электронного сцепления и электромагнитного тормоза для удовлетворения ваших требований. Следующие варианты сцепления и тормоза с электромагнитным и электрическим приводом можно настроить в соответствии с вашими конкретными потребностями.
Муфты с электроприводом
Муфты с электроприводом (Э.М.) имеют ту же базовую конструкцию, что и микромуфты, но больше по размеру. Катушка статора создает электромагнитное поле для механического взаимодействия якоря и ротора. Этот универсальный тип сцепления идеально подходит для автоматических ворот, оборудования для обработки бумаги, печатных машин, автоматизации производства и многого другого.
Мы предлагаем электромагнитные муфты с электрическим приводом различных типоразмеров с передаваемым крутящим моментом от 5 Нм до 320 Нм. Также доступны конфигурации с фланцем и креплением на валу с рабочими температурами от 14°F до 104°F. (от -10°C до 40°C). Этот стиль обеспечивает соединение с нулевым люфтом.
Электромагнитные микромуфты
Электромагнитные микромуфты имеют такую же плавную работу и конструкцию, что и наши стандартные электромагнитные муфты, но рассчитаны на более мелкое прецизионное оборудование, такое как офисное копировальное оборудование, упаковочные системы и сортировочные машины.
Микромуфты E.M. доступны с фланцевым креплением и креплением на валу. Мы предлагаем диапазоны крутящего момента до 2,4 Нм и рабочие температуры от 14°F до 104°F. (от -10°C до 40°C). Этот стиль обеспечивает соединение с нулевым люфтом.
Электромагнитные зубчатые муфты
Электромагнитные зубчатые муфты имеют блокирующие зубья, которые обеспечивают более точную синхронизацию и позиционирование, а также передачу более высокого крутящего момента, чем фрикционные электрические муфты. Зубчатые муфты являются отличным выбором для многостанционного оборудования и могут использоваться как во влажных (масляных), так и в сухих условиях эксплуатации.
Miki Pulley предлагает зубчатые муфты с полным произвольным или однопозиционным зацеплением восьми размеров и с шестью профилями зубьев для удовлетворения ваших конкретных требований к производительности. Наши электромагнитные зубчатые муфты имеют номинальный крутящий момент до 2200 Нм и оснащены встроенными подшипниками для быстрого и простого монтажа через вал. Опция встроенной муфты доступна для приложений, требующих соединения муфты с другим рядным валом.
Блоки электромагнитной муфты/тормоза предоставляют инженерам готовое решение для сложных механических применений. Это устройство сцепления/тормоза используется там, где необходимо включить, отключить и остановить выход. Наши комбинированные агрегаты обеспечивают передаваемый крутящий момент до 320 Нм и доступны в шести различных моделях, включая конфигурации со сцеплением/тормозом, двойным сцеплением или двойным тормозом.
Электромеханическая муфта для сортировки и упаковки
Прерывистая работа сцепления также может быть достигнута путем прерывания и повторной подачи электрического тока через определенные промежутки времени. Электромагнитные муфты обычно обеспечивают соединение с нулевым люфтом и хорошо подходят для общепромышленных условий эксплуатации. Электронные муфты используются в различных приложениях для сортировки и упаковки, в том числе:
Оборудование для пищевой промышленности
Упаковочное оборудование
Приводы конвейеров
Печатные и копировальные машины
Автоматизированное производство и сборка
Электромагнитная муфта сцепления
На катушку подается питание, чтобы задействовать электромагнитную муфту, создавая магнитное поле, которое притягивает фрикционную пластину якоря к фрикционной пластине ротора, создавая фрикционное механическое соединение. Сила между поверхностями трения передает крутящий момент от входного ротора к выходному якорю. Разновидностью конструкции фрикционного диска является зубчатая конструкция для управления синхронизацией / положением и приложений с более высоким крутящим моментом.
Электромагнитное выключение сцепления
Для выключения муфты ЭМ отключается источник электроэнергии. Якорь возвращается в исходное положение без магнитного поля с помощью утопленной плоской пружины. Это действие создает небольшой воздушный зазор между ротором и пластинами якоря, эффективно отключая выходной якорь и прекращая передачу крутящего момента.
Запросить цену на тормоза с электромагнитной муфтой различных размеров и стилей
Miki Pulley предлагает несколько вариантов электронного сцепления и электромагнитного тормоза, чтобы удовлетворить ваши требования. Запросите предложение сегодня или свяжитесь с нами, чтобы запросить дополнительную информацию.
Крепление сцепления или тормоза Система крепления устройства Tech-Connect® | Системы крепления устройств | Крепления для аксессуаров
Артикул
Установка
1676
БМВ Подходит для любой модели с крепежными зажимами управления сцеплением или тормозом с использованием крепежных деталей M6 с вертикальным расстоянием между центрами от 28 мм до 50 мм, включая, помимо прочего: ’16-’21 R девять моделей T, ’19-’21 R 1250 GS/ADV, ’19-’21 F 750 GS, ’19-’21 F 850 GS/ADV, ’19-’21 R 1250 R, ’19-’21 R 1250 RS, ’19- ’21 R 1250 RT, ’13-’18 R 1200 GS, ’14-’18 R 1200 GS ADV, ’15-’18 R 1200 R, ’16-’18 R 1200 RS, ’14-’18 R 1200 РТ.
1676
Дукати Подходит для любой модели с крепежными зажимами управления сцеплением или тормозом с использованием крепежных деталей M6 с вертикальным расстоянием между центрами от 28 мм до 50 мм, включая, помимо прочего: модели Scrambler 15-21 гг.
1676
Золотое крыло Все модели GL1500, ’01-’21 GL1800 и ’13-’16 F6B
1676
Харлей Все модели HD с 82-го по 21-й год крепления крепления сцепления или тормоза (кроме XG Street 500/750 ’15-’20)
1676
Хонда Подходит для любой модели с крепежными зажимами управления сцеплением или тормозом с использованием крепежных деталей M6 с вертикальным расстоянием между центрами от 28 мм до 50 мм, включая, помимо прочего: все модели VT1300 Custom Line (Sabre, Stateline, Interstate), все Fury, все Модели VTX1300/1800, все модели Shadow 750 (Ace, Aero, Phantom, RS, Spirit), все модели Shadow 1100, все Valkyrie 14–15 годов, все модели Rebel 300, 500 и 1100 (только тормозная система DCT)
1676
Индийский Все модели Indian Крепления сцепления или тормоза, модели Scout (только со стороны тормоза)
1676
Кавасаки Подходит для любой модели с монтажными зажимами управления сцеплением или тормозом с использованием крепежных деталей M6 с вертикальным расстоянием между центрами от 28 мм до 50 мм, включая, помимо прочего: все Vulcan 900 (только со стороны тормоза), все модели Vulcan 1500/1600, все модели Vulcan 2000 (только со стороны тормоза)
1676
Сузуки Подходит для любой модели с монтажными зажимами управления сцеплением или тормозом с использованием крепежных деталей M6 с вертикальным расстоянием между центрами от 28 мм до 50 мм, включая, помимо прочего: все модели Boulevard M/C50, C9. 0 и модели M109
1676
Победа ’17 Octane (только со стороны тормоза)
1676
Ямаха Подходит для любой модели с крепежными зажимами управления сцеплением или тормозом с использованием крепежных деталей M6 с вертикальным расстоянием между центрами от 28 мм до 50 мм, включая, помимо прочего: All Road Star, Road Star Warrior, V Star, Bolt, Stryker (со стороны тормоза) только), Venture, XSR 700/900 и SCR900
1698
БМВ Подходит для любой модели с крепежными зажимами управления сцеплением или тормозом с использованием крепежных деталей M6 с вертикальным расстоянием между центрами от 28 мм до 50 мм, включая, помимо прочего: ’16-’21 R девять моделей T, ’19-’21 R 1250 GS/ADV, ’19-’21 F 750 GS, ’19-’21 F 850 GS/ADV, ’19-’21 R 1250 R, ’19-’21 R 1250 RS, ’19- ’21 R 1250 RT, ’13-’18 R 1200 GS, ’14-’18 R 1200 GS ADV, ’15-’18 R 1200 R, ’16-’18 R 1200 RS, ’14-’18 R 1200 РТ.
1698
Дукати Подходит для любой модели с крепежными зажимами управления сцеплением или тормозом с использованием крепежных деталей M6 с вертикальным расстоянием между центрами от 28 мм до 50 мм, включая, помимо прочего: модели Scrambler 15-21 гг.
1698
Золотое крыло Все модели GL1500, ’01-’21 GL1800 и ’13-’16 F6B
1698
Харлей Все модели HD с 82-го по 21-й год крепления крепления сцепления или тормоза (кроме XG Street 500/750 ’15-’20)
1698
Хонда Подходит для любой модели с крепежными зажимами управления сцеплением или тормозом с использованием крепежных деталей M6 с вертикальным расстоянием между центрами от 28 мм до 50 мм, включая, помимо прочего: все модели VT1300 Custom Line (Sabre, Stateline, Interstate), все Fury, все Модели VTX1300/1800, все модели Shadow 750 (Ace, Aero, Phantom, RS, Spirit), все модели Shadow 1100, все Valkyrie 14–15 годов, все модели Rebel 300, 500 и 1100 (только тормозная система DCT)
1698
Индийский Все модели Indian Крепления сцепления или тормоза, модели Scout (только со стороны тормоза)
1698
Кавасаки Подходит для любой модели с монтажными зажимами управления сцеплением или тормозом с использованием крепежных деталей M6 с вертикальным расстоянием между центрами от 28 мм до 50 мм, включая, помимо прочего: все Vulcan 900 (только со стороны тормоза), все модели Vulcan 1500/1600, все модели Vulcan 2000 (только со стороны тормоза)
1698
Сузуки Подходит для любой модели с монтажными зажимами управления сцеплением или тормозом с использованием крепежных деталей M6 с вертикальным расстоянием между центрами от 28 мм до 50 мм, включая, помимо прочего: все модели Boulevard M/C50, C9. 0 и модели M109
1698
Победа ’17 Octane (только со стороны тормоза)
1698
Ямаха Подходит для любой модели с крепежными зажимами управления сцеплением или тормозом с использованием крепежных деталей M6 с вертикальным расстоянием между центрами от 28 мм до 50 мм, включая, помимо прочего: All Road Star, Road Star Warrior, V Star, Bolt, Stryker (со стороны тормоза) только), Venture, XSR 700/900 и SCR900
1788
БМВ Подходит для любой модели с крепежными зажимами управления сцеплением или тормозом с использованием крепежных деталей M6 с вертикальным расстоянием между центрами от 28 мм до 50 мм, включая, помимо прочего: ’16-’21 R девять моделей T, ’19-’21 R 1250 GS/ADV, ’19-’21 F 750 GS, ’19-’21 F 850 GS/ADV, ’19-’21 R 1250 R, ’19-’21 R 1250 RS, ’19- ’21 R 1250 RT, ’13-’18 R 1200 GS, ’14-’18 R 1200 GS ADV, ’15-’18 R 1200 R, ’16-’18 R 1200 RS, ’14-’18 R 1200 РТ.
1788
Дукати Подходит для любой модели с крепежными зажимами управления сцеплением или тормозом с использованием крепежных деталей M6 с вертикальным расстоянием между центрами от 28 мм до 50 мм, включая, помимо прочего: модели Scrambler 15-21 гг.
1788
Золотое крыло Все модели GL1500, ’01-’21 GL1800 и ’13-’16 F6B
1788
Харлей Все модели HD с 82-го по 21-й год крепления крепления сцепления или тормоза (кроме XG Street 500/750 ’15-’20)
1788
Хонда Подходит для любой модели с крепежными зажимами управления сцеплением или тормозом с использованием крепежных деталей M6 с вертикальным расстоянием между центрами от 28 мм до 50 мм, включая, помимо прочего: все модели VT1300 Custom Line (Sabre, Stateline, Interstate), все Fury, все Модели VTX1300/1800, все модели Shadow 750 (Ace, Aero, Phantom, RS, Spirit), все модели Shadow 1100, все Valkyrie 14–15 годов, все модели Rebel 300, 500 и 1100 (только тормозная система DCT)
1788
Индийский Все модели Indian Крепления сцепления или тормоза, модели Scout (только со стороны тормоза)
1788
Кавасаки Подходит для любой модели с монтажными зажимами управления сцеплением или тормозом с использованием крепежных деталей M6 с вертикальным расстоянием между центрами от 28 мм до 50 мм, включая, помимо прочего: все Vulcan 900 (только со стороны тормоза), все модели Vulcan 1500/1600, все модели Vulcan 2000 (только со стороны тормоза)
1788
Сузуки Подходит для любой модели с монтажными зажимами управления сцеплением или тормозом с использованием крепежных деталей M6 с вертикальным расстоянием между центрами от 28 мм до 50 мм, включая, помимо прочего: все модели Boulevard M/C50, C9.
Предохранители Mercedes-Benz Vito W638 и реле с описанием и схемами блоков
Mercedes-Benz Vito W638 представляет 1 поколение модельного ряда Мерседес Вито с обозначением 638 и выпускался в 1995, 1996, 1997, 1998, 1999, 2000, 2001, 2002 и 2003 году как с бензиновым, так и дизельными двигателями (наибольшую популярность получили двигатели 2.2 cdi). За это время модель прошла рестайлинг. В данной публикации вы найдёте описание предохранителе и реле Мерседес Вито 638 со схемами блоков и фото примерами их расположения. Выделим предохранитель отвечающий за прикуриватель.
Исполнение блоков и назначение элементов в них может отличатся от представленного и зависит от года выпуска и уровня электрического оснащения.
Содержание
1 Блок под рулём
2 Блок под бардачком
3 Блоки под сиденьем водителя
3.1 Блок предохранителей
3.2 Блок реле
Блок под рулём
Первый блок предохранителей находится прямо под рулевым управлением и закрыт защитной крышкой.
15A Блок управления системы «Центральный замок повышенной комфортности» (Convenience locking system), реле звукового сигнала, концевой выключатель ламп заднего хода (МКПП), переключатель (датчик) положения селектора АКПП, кнопка Cruise control (M111)
10/15A Блок контроля выхода из строя ламп наружного освещения, теплообменник (М611), тахограф, диагностический разъем, лампы подсветки перчаточного ящика, датчик скорости (М104. 900), переключатель рециркуляции воздуха в салоне, индикатор уровня жидкости в бачке стекло омывателя, индикаторная лампа и дисплей системы ADS/ABD, индикатор ABS/ETS
8
20A Процессор системы навигации, прикуриватель, лампа освещения салона, лампа освещения проема сдвижной двери, автоматическая антенна, радио, разъем в багажнике
9
10/15A Указатели поворотов (аварийная сигнализация), комбинация приборов, тахограф, часы
15A Автомагнитола или радиоприемник, процессор системы навигации, подушки безопасности
16
Не использованы
17
Не использованы
18
Не использованы
За прикуриватель отвечает предохранитель номер 8 на 20А.
С боку блока установлены два реле. Левый – Реле сигналов поворота, Правый – Реле стеклоочистителя.
Больше информации про электрические цепи питания стеклоочистителей (передние и задние) в Мерседес Вито 638, можете узнать тут: “электросхема скачать“.
Блок под бардачком
Второй блок предохранителей расположен в нижней части панели, в пространстве ног пассажира, под бардачком.
Схема
Обозначение
1
7,5A Форточки боковых окон кузова
2
30A Стеклоподъемник правой двери и передний сдвижной люк, переключатель положения переднего сдвижного люка, центральный переключатель стеклоподъемников (на двери водителя), переключатель стеклоподъемника двери пассажира
3
30A Стеклоподъемник левой двери и задний сдвижной люк, переключатель положения заднего сдвижного люка, переключатель стеклоподъемника двери водителя
4
25A Блок управления центральным замком, актуаторы замков
5
10A Лампа подсветки в левом солнечном козырьке, лампа подсветки в правом солнечном козырьке, лампы освещения левой стороны салона, лампы освещения правой стороны салона, лампы освещения задней части салона
6
20A Штепсельные розетки
7
7,5A Блок мобильного телефона GSM, телефонная трубка мобильного телефона
8
20A Блок управления противоугонной системы, кнопка тревожного сигнала противоугонной системы
9
10A Реле дополнительного жидкостного обогревателя
10
7,5A/10A Сирена противоугонной системы (ATA)
11
7,5A Блок управления противоугонной системы, дополнительный блок управления указателями поворота (левый сигнал поворота), блок управления спецсигналами (левый сигнал поворота), блок управления противоугонной системы (АТА 2), лампа левого повторителя поворота, лампа левого переднего указателя поворота, лампа левого заднего указателя поворота, реле сигналов поворота левой стороны, лампа индикации включения левого поворота
12
7,5A Блок управления противоугонной системы, дополнительный блок управления указателями поворота (правый сигнал поворота), блок управления спецсигналами А44 (правый сигнал поворота), блок управления противоугонной системы (АТА 2), лампа правого повторителя поворота, лампа правого переднего указателя поворота, лампа правого заднего указателя поворота, реле сигналов поворота правой стороны, лампа индикации включения правого поворота
13
7,5/15/20A Блок управления противоугонной системы (АТА 2)
14
7,5A Блок управления противоугонной системы (АТА 2)
С боку, под сиденьем водителя установлены 2 отдельных блока с предохранителями и реле.
Блок предохранителей
Фото пример
Схема
Назначение
1
7,5/10А Электронный блок управления ABS, ASR, EBV, блок управления пневматической подвеской
2
25А Комбинация реле управления стеклоочистителем заднего стекла (М111, М611) / Блок управления системы авторизации управления автомобилем (DAS) (М104)
3
7,5A Вентилятор радиатора (М111 до 01.02.00) / Блок управления системы авторизации управления автомобилем (DAS) (М111, М611)
4
25A Вентилятор радиатора (бензиновый двигатель), охладитель нагнетаемого воздуха (дизельный двигатель)
5
25A Электрогидравлический блок ABS (с 01.02.00)
6
10A Блок управления АКПП (ETC control module), блок управления системы авторизации управления автомобилем (DAS) / Блок управления бензиновым двигателем (ME-SFI control module) (M104)
7
30A Блок управления отопителем
8
20A Реле системы очистки стекол блок-фар
9
7,5A Блок управления дополнительным обогревателем / Выключатель режима ASR (М111, М611 с 01. 02.00)
10
25A Штепсельная розетка прицепа, холодильника
11
30A Комбинированное реле заднего стеклоочистителя, устройство защиты от буксировки (EDW/ZV), реле сигналов поворота левой стороны, реле сигналов поворота правой стороны
12
10A Блок управления кондиционером
13
30A Реле компрессора пневмоподвески
14
7,5A Блок управления пневматической подвеской, тахограф, фонарь дополнительного освещения, блок управления стационарным жидкостным обогревателем, дополнительный блок управления указателями поворота
15
7,5A Питание радиостанции
16
15A Блок управления отоплением, консоль такси
17
15A Блок управления АКПП, селектор переключения передач АКПП, кнопка выбора программы АКПП (М111 с 01.02.00 и М611), переключатель режимов АКПП (М111 до 01.02.00), переключатель (датчик) положения селектора АКПП
18
10A Блок управления противоугонной системы, блок мобильного телефона GSM, блок телефонной трубки, регулятор зеркала на двери водителя, регулятор зеркала на двери пассажира, подогрев наружных зеркал заднего вида, блок переключателей регулировок положения зеркал
Реле 1 включения противотуманных ламп (с системой DRL)
K89
Реле 2 включения противотуманных ламп (с системой DRL)
Реле предварительного накала
Отдельно, под капотом, могут устанавливаться дополнительные реле, например реле предварительного накала.
У нас на канале мы так же подготовили видео по данной статье. Смотрите и подписывайтесь.
На этом всё. А если если есть что добавить – пишите в комментарии.
mercedes-benz vito i w638: описание,фото,видео,характеристики, комплектации.
Nevada 1976mercedes-benz vito i w638: описание,фото,видео,характеристики, комплектации. 0 Comment
Содержание статьи
История модели
Mercedes Vito W638 дебютировал в 1996 году. Сборка микроавтобусов была налажена в Испании. Вито создан на платформе Volkswagen T4 Transporter. Кузов разработан немецким дизайнером Майклом Мауэр. Почему фургон получил шильдик Vito? Название происходит от испанского города Виктория, в котором его производили.
Через два года после старта продаж микроавтобус обновили. Помимо новых дизельных двигателей с системой впрыска Common Rail (CDI) появились и едва заметные стилистические изменения. Например, оранжевые указатели поворота уступили место прозрачным. Вито первого поколения производился до 2003 года, пока на рынок не вышел его преемник.
Технические характеристики Mercedes-Benz Vito
Кузов
Количество дверей
4
Количество мест
6/7
Колесная база
3000 мм
Колея передняя
1620 мм
Колея задняя
1630 мм
Дорожный просвет
160 мм
Ширина
1880 мм
Длина
4660 мм
Высота
1840 мм
Двигатель
Модель двигателя
M104
Объем двигателя
2792 см3
Мощность
174 л. с.
При оборотах
6000
Крутящий момент
237/2800 н*м
Газораспределительный механизм
DOHC
Количество цилиндров
6
Количество клапанов на цилиндр
2
Диаметр цилиндра
81 мм
Ход поршня
90.3 мм
Степень сжатия
10.1
Трансмиссия
Количество передач
4
Рулевое управление
Диаметр разворота
12.4 м
Эксплуатационные показатели
Максимальная скорость
184 км/час
Время разгона (0-100 км/ч)
12.7 с
Расход топлива в городе на 100 км
18.6 л
Расход топлива на трассе на 100 км
11 л
Объем топливного бака
78 л
Снаряженная масса автомобиля
1700 кг
Допустимая полная масса
2700 кг
Размер шин
195/65 R15
Mercedes-Benz Vito I (W638) 2. 8 AT – это 4-дверный автомобиль с 4-ступенчатой коробкой передач. Максимальная скорость не превышает 184 км/час. До 100 км/ч автомобиль разгоняется за 12.7 с. Средний расход топлива на 100 км составляет: в городском цикле — 18.6 л, на трассе — 11 л. Объем топливного бака составляет 78 л. Полного бака хватит примерно на: 419 км при езде по городу, 709 км при езде по трассе. Максимальная грузоподъемность автомобиля составляет 1000 кг.
«Вито в 638-ом кузове» комплектовался пятью дизельными «четверками»: Атмосферная часть состояла из агрегатов объемом 2.1-2.3 литра, развивающих от 79 до 98 лошадиных сил и от 152 до 230 Нм крутящего момента, а турбодизельная – из 2.1-литрового мотора, который в зависимости от степени форсировки производит 102-122 «лошадки» и 250-300 Нм.
Были и бензиновые двигатели: четырехцилиндровые агрегаты на 2.0-2.3 литра мощностью 129-143 силы, генерирующие 186-215 Нм, а также 2.8-литровая V-образная «шестерка» с потенциалом 174 лошадиные силы и 237 Нм тяги. За поставку крутящего момента на передние колеса отвечают 5-скоростная механическая или 4-ступенчатая автоматическая коробки передач.
Первое поколение Мерседеса Вито построено на переднеприводной архитектуре, двигатель размещен продольно. Передняя подвеска автомобиля представлена независимой конструкцией со стойками МакФерсон, а задняя – продольными рычагами.
Рулевое управление типа «шестерня-рейка» оборудовано гидроусилителем, а все колеса – дисковыми тормозами, спереди дополненными вентиляцией. Основные плюсы «первого Vito» – тяговитые и экономичные двигатели, симпатичная внешность, отличные ходовые качества, хорошие возможности для транспортировки грузов, комфортабельная подвеска, приличное базовое оснащение и общая надежность конструкции. Минусами считаются низкая коррозийная стойкость, высокие цены на оригинальные запчасти и излишние вибрации от дизельных агрегатов.
Типичные неисправности
За время производства автомобиль дважды призывался на проведение сервисных акций. Первая — в 1998 году из-за проблем с шинами Continental и Semperit. Вторая — в 2000 году для устранения проблем с усилителем тормозов.
Самое больное место Вито – коррозия. Все дело в плохой защите кузова. Ржавчина появляется буквально везде. Первые очаги, как правило, возникают на нижних уголках дверей, капоте, задней двери багажника. Прежде чем вы остановитесь на конкретном экземпляре стоит присмотреться к порогам, полу и, по возможности, заглянуть под уплотнитель дверей.
Если на кузове нет следов ржавчины, то вероятно он подвергался ремонту. В большинстве случаев эта работа производится наспех только для того, чтобы автомобиль выглядел красиво во время продажи. Будьте начеку!
Встречаются также проблемы с электрикой. В дизельных версиях «барахлит» реле свечей накаливания. Часто выходят из строя стартер, генератор, вентилятор радиатора, электростеклоподъемники и центральный замок. Термостат – еще одна деталь, которую вскоре придется заменить. Время от времени «показывает характер» система кондиционирования и отопитель.
Перед покупкой необходимо обязательно проверить работу боковых сдвижных дверей, которые заедают при повреждении направляющих. Владельцы жалуются на очень низкое качество пластика салона – во время движения он издает неприятные звуки.
Порой подводят тросики коробки передач и карданные шарниры. 4-ступенчатый «автомат» не доставляет проблем при условии соблюдения эксплуатационных рекомендаций по замене масла. Рулевой механизм Vito не слишком выносливый — довольно быстро появляется люфт.
Mercedes-Benz Vito I (W638) – данные по расходу топлива
На графиках представлен расход топлива автомобиля Mercedes-Benz Vito I (W638) в трех режимах: в городе, на трассе и в смешанном режиме. Показаны данные по расходу для всех известных модификаций.
Расход топлива в городе на 100 км0 л6 л12 л18 л112 CDI 2.2d MT,…110 CDI 2.2d MT,…110 CDI 2.2d AT,…110 CDI 2.3d MT,…114 2.3 MT, 1996…114 2.3 AT, 1996-…2.8 AT, 1996-20039.610.511.112.115.616.218.6
112 CDI 2. 2d MT, 1996-2003
9,6
110 CDI 2.2d MT, 1999-2003
10,5
110 CDI 2.2d AT, 1999-2003
11,1
110 CDI 2.3d MT, 1996-1999
12,1
114 2.3 MT, 1996-2003
15,6
114 2.3 AT, 1996-2003
16,2
2.8 AT, 1996-2003
18,6
Расход топлива на трассе на 100 км0 л6 л12 л18 л112 CDI 2.2d MT,…110 CDI 2.2d MT,…110 CDI 2.2d AT,…110 CDI 2.3d MT,…114 2.3 MT, 1996…114 2.3 AT, 1996-…2.8 AT, 1996-20036.36.56.86.89.19.311
112 CDI 2.2d MT, 1996-2003
6,3
110 CDI 2.2d MT, 1999-2003
6,5
110 CDI 2.2d AT, 1999-2003
6,8
110 CDI 2.3d MT, 1996-1999
6,8
114 2.3 MT, 1996-2003
9,1
114 2.3 AT, 1996-2003
9,3
2. 8 AT, 1996-2003
11
Расход топлива в смешанном цикле на 100 км0 л6 л12 л18 л112 CDI 2.2d MT,…110 CDI 2.2d MT,…110 CDI 2.2d AT,…110 CDI 2.3d MT,…114 2.3 MT, 1996…114 2.3 AT, 1996-…7.58.18.38.811.511.9
112 CDI 2.2d MT, 1996-2003
7,5
110 CDI 2.2d MT, 1999-2003
8,1
110 CDI 2.2d AT, 1999-2003
8,3
110 CDI 2.3d MT, 1996-1999
8,8
114 2.3 MT, 1996-2003
11,5
114 2.3 AT, 1996-2003
11,9
Для тех модификаций, для которых есть информация о всех трех режимах, построен общий график со средним значением расхода топлива на 100 км. Самые экономичные автомобили отмечены зеленым цветом, и наоборот, самые неэкономичные отмечены красным цветом.
Усредненный расход топлива во всех режимах0 л6 л12 л18 л112 CDI 2.2d MT,…110 CDI 2. 2d MT,…110 CDI 2.2d AT,…110 CDI 2.3d MT,…114 2.3 MT, 1996…114 2.3 AT, 1996-…7.88.378.739.2312.0712.47
112 CDI 2.2d MT, 1996-2003
7,8
110 CDI 2.2d MT, 1999-2003
8,37
110 CDI 2.2d AT, 1999-2003
8,73
110 CDI 2.3d MT, 1996-1999
9,23
114 2.3 MT, 1996-2003
12,07
114 2.3 AT, 1996-2003
12,47
Технические особенности
Независимо от версии, Mercedes Vito W638 всегда переднеприводной. Более богатые версии иногда оснащались пневмобаллонами на задней оси. Безопасность? Автомобиль не участвовал в краш-тестах EuroNCAP. Но учитывая тот факт, что большинство экземпляров уже сильно поражены коррозией, подержанный Мерседес Вито вряд ли сможет гарантировать безопасность на высоком уровне.
Много хороших слов можно сказать в адрес шасси. Микроавтобус ведет себя почти как легковой автомобиль.
Mercedes-Benz Vito I (W638) – максимальная скорость
На графике представлена максимальная скорость Mercedes-Benz Vito I (W638) в км/ч. Показаны данные для всех доступных модификаций.
На графиках представлены габариты автомобиля Mercedes-Benz Vito I (W638) – ширина, длина и высота. Показаны данные для всех доступных модификаций, в том числе, для некоторых, общая ширина с зеркалами.
Марка автомобиля: Бренд Acura Alfa Romeo Aston Martin Audi Bentley BMW Brilliance Buick Byd Cadillac Changan Chery Cheryexeed Chevrolet Chrysler Citroen Daewoo Daihatsu Datsun Dodge Dongfeng Ds Dw FAW Ferrari Fiat Ford Foton Gac Geely Genesis Great Wall Hafei Haima Haval Hawtai Honda Hummer Hyundai Infiniti Iran khodro Isuzu Iveco Jac Jaguar Jeep Kia Lamborghini Lancia Land Rover Lexus Lifan Lincoln Lotus Maserati Maybach Mazda Mercedes MG Mini Mitsubishi Nissan Opel Peugeot Pontiac Porsche Ravon Renault Rolls Royce Rolls-royce Rover Saab Seat Skoda Smart SsangYong Subaru Suzuki Tesla Toyota Volkswagen Volvo Vortex (tagaz) ZAZ Zotye АЗЛК ВАЗ ГАЗ ОКА ТаГАЗ УАЗ
Габариты Mercedes-Benz Vito I (W638) — все размеры (ширина, высота и длина) автомобиля на WhoByCar. com
Быстрый выбор автомобиля МаркаACAcuraAlfa RomeoAlpinaAlpineAM GeneralArielAroAsiaAston MartinAstroAudiAustinAutobianchiBaltijas DzipsBeijingBentleyBertoneBitterBMWBrabusBrillianceBristolBrontoBuforiBugattiBuickBYDByvinCadillacCallawayCarbodiesCaterhamChanganChangFengCheryChevroletChryslerCitroenCizetaCoggiolaDaciaDadiDaewooDAFDaihatsuDaimlerDallasDatsunDe TomasoDeLoreanDerwaysDodgeDongfengDonkervoortE-CarEagleEagle CarsEcomotorsFAWFerrariFiatFiskerFordFotonFSOFuqiGeelyGeoGMCGonowGordonGreat WallHafeiHaimaHavalHawtaiHindustanHoldenHondaHuanghaiHummerHyundaiInfinitiInnocentiInvictaIran KhodroIsderaIsuzuIVECOJACJaguarJeepJensenJMCKiaKoenigseggKTMLamborghiniLanciaLand RoverLandwindLexusLiebao MotorLifanLincolnLotusLTILuxgenMahindraMarcosMarlinMarussiaMarutiMaseratiMaybachMazdaMcLarenMegaMercedes-BenzMercuryMetrocabMGMicrocarMinelliMiniMitsubishiMitsuokaMorganMorrisNissanNobleOldsmobileOpelOscaPaganiPanozPeroduaPeugeotPiaggioPlymouthPontiacPorschePremierProtonPUCHPumaQorosQvaleReliantRenaissanceRenaultRenault SamsungRolls-RoyceRonartRoverSaabSaleenSantanaSaturnScionSEATShuanghuanSkodaSmartSoueastSpectreSpykerSsang YongSubaruSuzukiTalbotTATATatraTazzariTeslaTianmaTianyeTofasToyotaTrabantTramontanaTriumphTVRUltimaVauxhallVectorVenturiVolkswagenVolvoVortexWartburgWestfieldWiesmannXin KaiYo-mobilZastavaZotyeZXАвтокамДонинвестГАЗИЖКамазКанонирЛУАЗМосквичСеАЗСМЗТАГАЗУАЗВАЗЗАЗЗИЛМодельПоколениеМодификация
или
Быстрый поиск автомобиля
На графиках представлены габариты автомобиля Mercedes-Benz Vito I (W638) – ширина, длина и высота. Показаны данные для всех доступных модификаций, в том числе, для некоторых, общая ширина с зеркалами.
Самые малогабаритные автомобили отмечены зеленым цветом, а самые большие красным цветом.
Ниже приведена сводная таблица габаритных размеров по всем модификациям Mercedes-Benz Vito I (W638).
Модификация
Ширина
Ширина с зеркалами
Длина
Высота
Диаметр разворота
108 CDI 2.2d MT 1999 — 2003
1880 мм
-
4660 мм
1840 мм
12.4 м
108 CDI 2.3d MT 1996 — 1999
1880 мм
-
4660 мм
1840 мм
12.4 м
110 CDI 2.2d AT 1999 — 2003
1880 мм
-
4660 мм
1840 мм
12.4 м
110 CDI 2. 2d MT 1999 — 2003
1880 мм
-
4660 мм
1840 мм
12.4 м
110 CDI 2.3d AT 1996 — 1999
1880 мм
-
4660 мм
1840 мм
12.4 м
110 CDI 2.3d MT 1996 — 1999
1880 мм
-
4660 мм
1840 мм
12.4 м
112 CDI 2.2d AT 1996 — 2003
1880 мм
-
4660 мм
1840 мм
12.4 м
112 CDI 2.2d MT 1996 — 2003
1880 мм
-
4660 мм
1840 мм
12.4 м
113 2.0 AT 1996 — 2003
1880 мм
-
4660 мм
1840 мм
12. 4 м
113 2.0 MT 1996 — 2003
1880 мм
-
4660 мм
1840 мм
12.4 м
114 2.3 AT 1996 — 2003
1880 мм
-
4660 мм
1840 мм
12.4 м
114 2.3 MT 1996 — 2003
1880 мм
-
4660 мм
1840 мм
12.4 м
2.8 AT 1996 — 2003
1880 мм
-
4660 мм
1840 мм
12.4 м
Модификация
Клиренс
Колесная база
Передняя колея
Задняя колея
108 CDI 2.2d MT 1999 — 2003
160 мм
3000 мм
1620 мм
1630 мм
108 CDI 2. 3d MT 1996 — 1999
160 мм
3000 мм
1620 мм
1630 мм
110 CDI 2.2d AT 1999 — 2003
160 мм
3000 мм
1620 мм
1630 мм
110 CDI 2.2d MT 1999 — 2003
160 мм
3000 мм
1620 мм
1630 мм
110 CDI 2.3d AT 1996 — 1999
160 мм
3000 мм
1620 мм
1630 мм
110 CDI 2.3d MT 1996 — 1999
160 мм
3000 мм
1620 мм
1630 мм
112 CDI 2.2d AT 1996 — 2003
160 мм
3000 мм
1620 мм
1630 мм
112 CDI 2.2d MT 1996 — 2003
160 мм
3000 мм
1620 мм
1630 мм
113 2. 0 AT 1996 — 2003
160 мм
3000 мм
1620 мм
1630 мм
113 2.0 MT 1996 — 2003
160 мм
3000 мм
1620 мм
1630 мм
114 2.3 AT 1996 — 2003
160 мм
3000 мм
1620 мм
1630 мм
114 2.3 MT 1996 — 2003
160 мм
3000 мм
1620 мм
1630 мм
1996 по 2003. Здесь вы найдете схемы блока предохранителей Mercedes-Benz Vito 1996, 1997, 1998, 1999, 2000, 2001, 2002 и 2003 , получите информацию о расположении панелей предохранителей внутри автомобиля, а также узнаете о назначение каждого предохранителя (расположение предохранителя) и реле.
См. другие Mercedes-Benz Vito:
Предохранитель прикуривателя (розетка) в Mercedes-Benz Vito — это предохранитель №8 в блоке предохранителей под рулевой колонкой.
Содержание
Блок предохранителей под рулевой колонкой
Блок предохранителей расположен под рулевой колонкой, за крышкой.
Схема блока предохранителей
Объявление vertisements
Назначение предохранителей в блоке предохранителей под рулевой колонкой
№
Функция предохранителя
A
1
Правый габаритный и задний фонарь, разъем прицепа (клем. 58R) M111 и OM601 (реле K71)
10 15
2
Правый дальний свет M111 и OM601 (разъем между основным жгутом проводов и консолью такси II для правого дальнего света)
10 15
3
Левый дальний свет, контрольная лампа дальнего света M111 и OM601 (разъем между основным жгутом проводов и консолью такси II для левого дальнего света)
10 15
4
Звуковой сигнал, фонарь заднего хода, система комфортного запирания, комбинированное реле центрального замка (клем. 15)
15
5
Выключатель круиз-контроля и модуль управления, стоп-сигнал, M104.900 (контрольная лампа неисправности коробки передач)
15
6
Омыватели переднего и заднего стекол
20
7
Лампы безопасности ABS/ABD и ABS/ETS и информационный дисплей, контрольные лампы, уровень воды в омывателе ветрового стекла, выключатель рециркуляции воздуха, тахограф (клем. 15), диагностический разъем, блок управления контролем ламп накаливания (клем. 15) ), комбинация приборов (клем. 15), подсветка вещевого ящика, M 104.900 (датчик спидометра)
10 15
8
Прикуриватель, радио (клемма 30), автоматическая антенна, розетка для багажника, внутреннее освещение сдвижной двери и кабины водителя
20
9
Часы, сигнальные лампы, тахограф (только для арендованных автомобилей)
10 15
10
Освещение номерного знака, реле дневного света, реле омывателей фар, освещение салона, радио (клем. 58), подсветка всех переключателей управления, тахограф (клем. 58) M111 и OM601 (разъем главного жгута проводов/консоли такси II для кл. 58)
7,5 15
11
Освещение номерного знака, реле K71 (клем. 58), розетка прицепа (клем. 58L), левый задний фонарь и габаритный огонь
10 15
12
Правый ближний свет, задний противотуманный фонарь, реле дневного света K69
15
13
Левый ближний свет, реле дневного света K68
15
14
Противотуманная фара
15
15
Радио (термин. 15R)
15
16
Не используется
—
17
Не используется
—
18
Не используется
—
Реле (нижняя сторона блока предохранителей)
L
Реле поворотников
R
Реле стеклоочистителя
Box под приборной панелью
Коробка предохранителя расположена под панелью прибора, на стороне пассажира
Ad
445
Диаграмма Fuse Box
44444 Назначение предохранителей в блоке предохранителей под панелью приборов
M104.900 (Кислородный датчик, реле насоса вторичного воздуха, освещение картера отопителя, модуль управления многоточечной системой впрыска топлива/зажигания, вентиляция бака, переключатель вторичного впускного коллектора и клапан бака M111 и OM601 (предупреждение о непристегнутом ремне безопасности) реле только для Японии)
15
4
Охладитель наддувочного воздуха — дизель Радиатор Вентилятор — бензин
25
5
M 104. 900 (6 форсунок, топливный насос) M111 и OM601 (катушки зажигания, модуль датчика бака, 4 клапана впрыска)
20
5
Управление клапаном ABS
25
6
Автоматическая коробка передач, иммобилайзер и модуль управления двигателем (клем. 30)
10
7
Контрольные лампы электронного контроля уровня, реле K26 (D+)
15
7
Устройство управления обогревом
30
8
Модуль управления подушками безопасности
10
8
Реле очистки фар
20
9
Индикатор подушки безопасности Управление дополнительным отопителем
7,5
10
Розетка для прицепа (клем. 30), холодильник
25
11
Модуль управления обогревом заднего ветрового стекла (клем. 30), противоугонная сигнализация/контрольный сигнал центрального замка
30
12
Блок управления ABS (клем. 30)
25
12
Блок управления отопителем
10
13
Компрессор пневматического амортизатора
30
14
Прибор управления автономным отопителем, модуль дополнительной сигнальной лампы для прицепа, модуль управления пневматическими амортизаторами, тахограф (клем. 30)
7,5
15
Блок двусторонней радиосвязи
7,5
16
Реле компрессора кондиционера, выключатель и модуль управления освещением системы кондиционирования, модуль управления системой остаточного тепла двигателя (клем. 15), счетчик такси
15
17
Блок управления АКПП (клем. 15), позиционный переключатель и выключатель освещения, выключение кондиционера Kick-down, М111 и OM601 (контрольная лампа неисправности трансмиссии)
Вентилятор двигателя (без системы кондиционирования)
40
M1
Вентилятор двигателя (с системой кондиционирования воздуха)
60
M2
Блок управления ABS
50 60
M3
M104. 900 (насос вторичного воздуха) M111 и OM601 (не используется)
40
Ad vertisements
Блок реле под сиденьем водителя
Блок реле под сиденьем водителя
№
Функция
K91
Реле правого поворота
K90
Реле левого поворотника
K4
Реле цепи 15
K10
Компрессор пневматического амортизатора
K19
Реле очистки фар
K39
Реле топливного насоса
K27
Реле разгрузки сиденья
K6
Реле ЭБУ
K103
Реле подкачивающего насоса системы охлаждения
K37
Реле звукового сигнала
K26
Контрольные лампы электронного контроля уровня
К83
Реле противотуманных фар
К29
Реле отопителя (ЖЭ)
K70
Реле цепи 15
K1
Реле стартера
V9
АТА 1
V10
АТА 2
V8
Нагревательный диод (ZHE)
K71
Клемма 58 Реле
K68
Фары дневного света K68 Реле
K69
Дневные ходовые огни K69 Реле
K88
Реле противотуманных фар 1 (ДХО)
K89
Реле противотуманных фар 2 (ДХО)
Узнать больше:
Схема блока предохранителей Mercedes Vito W638 и реле с назначением и расположением
Модель Mercedes-Benz Vito W638 представляет 1-е поколение модельного ряда Mercedes Vito с обозначением 638 и выпускалась в 1995, 1996, 1997, 1998, 1999, 2000, 2001, 2002 и 2003 годов с бензиновыми и дизельными двигателями. За это время модель претерпела рестайлинг. В данной публикации вы найдете описание предохранителей и реле Мерседес Вито 638 со схемами блоков и фото примерами их расположения. Выберите предохранитель, отвечающий за прикуриватель.
Исполнение коробок и назначение элементов в них могут отличаться от представленных и зависят от года выпуска и уровня электрооборудования.
Содержание
1 коробка под рулевым колесом
2 Коробка под коробкой перчатки
3 Box под сиденьем водителя
3.1 Buse Box
3,2 Relay Box
.
Первый блок предохранителей расположен непосредственно под рулевым управлением и закрыт защитным кожухом.
Схема
Назначение
1
10/15A Right marker lights, power circuit 58 relay K71, trailer connector X18
2
10/15A Right high beam, X146 connector
3
10 / 15A Left high дальний свет, реле противотуманных фар 1 K88 (система ДХО), разъем X146
4
15A Блок управления системой блокировки «Комфорт», реле звукового сигнала, концевой выключатель фонарей заднего хода (МКПП), переключатель положения селектора АКПП ( датчик), кнопка круиз-контроля (M111)
6999999999999999999999999999999999999999999999999999999999999999999999999999999999999999999999999999999999999999999999999999999999999999999999999999999999999999999. блок управления неисправностью ламп, теплообменник (М611), тахограф, диагностический разъем, лампы подсветки вещевого ящика, датчик скорости (М104.900), переключатель рециркуляции воздуха в салоне, указатель уровня жидкости в бачке омывателя, контрольная лампа и дисплей системы ADS/ABD , Индикатор ABS/ETS
15А Правый ближний свет, задний противотуманный фонарь, реле системы ДХО, передний и задний противотуманный фонари, выключатель подсветки
13
15А Левый ближний свет, ДХО системное реле
14
15A Front and rear fog light switch, front fog light switch
15
15A Car radio or radio, navigation processor, airbags
16
Not used
17
Не используется
18
Не используется
Для прикуривателя предохранитель №8 отвечает за 20А.
Сбоку на блоке установлены два реле. Слева — реле поворотников, справа — реле дворников.
Подробнее о цепях питания стеклоочистителей (переднего и заднего) в Mercedes Vito 638 вы можете найти здесь: «скачать схему подключения».
Блок под перчаточным ящиком
Второй блок предохранителей расположен в нижней части панели, в пространстве для ног пассажира, под бардачком.
Схема
Обозначение
1
7,5A Дефлекторы боковых окон кузова
2
30A Стеклоподъемник правой двери и передний сдвижной люк, переключатель положения переднего сдвижного люка, центральный переключатель стеклоподъемника (дверь водителя), переключатель стеклоподъемника двери пассажира
3
30A Стеклоподъемник левой двери и задний сдвижной люк, переключатель положения заднего сдвижного люка, переключатель стеклоподъемника двери водителя
4
25A Блок управления центральным замком, приводы замков
5
10A Left Sun Cisor Lamp, правая солнце Устройство, телефон мобильного телефона
8
20A Блок управления против кража, кнопка против крамов. Сирена (АТА)
11
7.5A Блок управления противоугонной системой, блок управления дополнительными указателями поворота (левый указатель поворота), блок управления специальными сигналами (левый указатель поворота), блок управления противоугонной системой (ATA 2), левый поворот сигнальная лампа, левый передний указатель поворота, левый задний указатель поворота, реле левого бокового указателя поворота, левый указатель поворота
12
7.5A Блок управления противоугонной системой, блок управления дополнительным указателем поворота (правый указатель поворота) , блок управления спецсигналами А44 (правый указатель поворота), блок управления противоугонной системой (АТА 2), правый указатель поворота, правый передний указатель поворота, лампа правого заднего указателя поворота, реле правого бокового указателя поворота, правый указатель поворота
13
7,5/15/20A Блок управления анти-кражами (ATA 2)
14
7,5A Блок управления анти-кража Передний ультразвуковой датчик (ATA2), задний ультразвуковой датчик (ATA2), противоугорный сирен (ATA 2) H28
16
Не используется
17
Не используется
17
Не используется
17
Не используется
17
не использовано
Не используется
.
Коробка под сиденьем водителя
Сбоку под сиденьем водителя находятся 2 отдельных коробки с предохранителями и реле.
Box Buse
Фото пример
Диаграмма
Назначение
1
7.5/10A CONTROLS
2
25A Комбинация реле управления очистителем заднего стекла (M111, M611) / блок управления системой авторизации автомобиля (DAS) (M104)
3
7,5А Вентилятор радиатора (M111 до 01.02.00) / Блок управления системой авторизации управления автомобилем (DAS) (M111, M611)
4
4
25AРадиатор бензинового двигателя охладитель наддувочного воздуха (дизельный двигатель)
5
25A Электрогидравлический блок ABS (с 01.02.00)
6
10A Модуль управления ETC, модуль управления системой авторизации автомобиля (DAS) модуль управления (M104)
7
30A Heater control unit
8
20A Headlight wiper relay
9
7. 5A Additional heater control unit / ASR mode switch (M111, M611 from 01.02.00)
10
25А Розетка прицепа, рефрижератор
11
30А Комбинированное реле заднего стеклоочистителя, устройство защиты от буксировки (EDW/ZV), реле левого бокового указателя поворота, правое реле поворотника
12
10A Air conditioner control unit
13
30A Air suspension compressor relay
14
7.5A Air suspension control unit, tachograph, auxiliary light, stationary water heater control unit, turn Блок управления вспомогательной сигнализацией
15
7,5A Блок питания радиоприемника
16
15A Блок управления обогревом, консоль такси
17
15А Блок управления АКПП, селектор передач АКПП, кнопка выбора программ АКПП (М111 с 01.02.00 и М611), переключатель режимов АКПП (М111 до 01. 02.00), положение селектора АКПП выключатель (датчик)
18
10A Блок управления противоугонной системой, блок мобильного телефона GSM, блок трубки, регулятор зеркал со стороны водителя, регулятор зеркал со стороны пассажира, подогрев наружных зеркал, блок переключателей регулировки зеркал
Mercedes-Benz W638 — первое поколение коммерческих минивэнов/микроавтобусов серии Vito немецкого автомобильного концерна Daimler AG. Заменены автомобили серии MB100. Автомобиль был запущен в серийное производство в 1995 году. В этом материале мы подробно рассмотрим цепи предохранителей Мерседес Вито первого поколения ( W638 ): 1996, 1997, 1998, 1999, 2000, 2001, 2002, 2003 выпуск .
Здесь вы найдете расположение и фотографии блоков предохранителей. Отдельно отметим элементы, отвечающие за прикуриватель и топливный насос.
В салоне
Первый блок предохранителей расположен на нижней стороне рулевой колонки 1. Замкнут 2. Открыт.
Фото для примера.
Схема
№
А
Описание
1
15
Габаритный фонарь, правый задний фонарь
2
15
Фара дальнего света правая
3
15
Лампа левой фары дальнего света, индикатор дальнего света
4
15
Фонарь заднего хода, звуковой сигнал, центральный замок
5
15
Стоп-сигнал
6
20
Передние и задние стеклоочистители, аварийная сигнализация
7
15
Силовая цепь 15
8
20
Освещение салона, предохранитель прикуривателя Vito, радио (цепь питания 30)
поперечины багажника на крышу бронза для Mercedes Vito W638 / W639 / W447 2003- — Omac Shop Usa
Сэкономьте 13%
Сэкономьте 13%
Первоначальная цена
79,90 $
Первоначальная цена
79,90 долларов США
— Первоначальная цена
$79. 90
Первоначальная цена
$79.90
Текущая цена
69,90 долл. США
69,90 долл. США — $69.90
Текущая цена
$69,90
| /
1114 продано
Продукт UPC: 8698797815512
Артикул: U003851
1
2
3
4
5
6
7
8
910+
Количество
Количество
Заказать в течение
Поделись этим:
Посмотреть больше продуктов для Vito W639
Сэкономьте 14%
Сохранять %
Исходная цена
249,90 $
Первоначальная цена
249,90 долларов США
— Первоначальная цена
249,90 $
Первоначальная цена
$249,90
Текущая цена
215,90 долл. США
215,90 долл. США — $215,90
Текущая цена
$215,90
Скидка 14%
Сохранить %
Сэкономьте 14%
Сохранять %
Первоначальная цена
249,90 $
Первоначальная цена
249,90 долларов США
— Первоначальная цена
249,90 $
Первоначальная цена
$249,90
Текущая цена
215,90 долл. США
215,90 долл. США — 215,9 долларов США0
Текущая цена
$215,90
Скидка 14%
Сохранить %
Сэкономьте 13%
Сохранять %
Первоначальная цена
$79. 90
Первоначальная цена
79,90 долларов США
— Первоначальная цена
79,90 $
Первоначальная цена
$79.90
Текущая цена
69,90 долл. США
69,90 долл. США — $69.90
Текущая цена
$69.90
Скидка 13%
Сохранить %
Сэкономьте 13%
Сохранять %
Исходная цена
$89,90
Первоначальная цена
$89,90
— Первоначальная цена
$89,90
Первоначальная цена
$89,90
Текущая цена
77,90 долл. США
77,90 долл. США — $77,90
Текущая цена
$77,90
Скидка 13%
Сохранить %
Сэкономьте 13%
Сохранять %
Первоначальная цена
$89,90
Первоначальная цена
$89,90
— Первоначальная цена
$89,90
Первоначальная цена
$89,90
Текущая цена
77,90 долл. США
77,90 долл. США — $77,90
Текущая цена
$77,90
Скидка 13%
Сохранить %
Сэкономьте 13%
Сохранять %
Первоначальная цена
$89,90
Первоначальная цена
$89,90
— Первоначальная цена
$89. 90
Первоначальная цена
$89,90
Текущая цена
77,90 долл. США
77,90 долл. США — $77,90
Текущая цена
$77,90
Скидка 13%
Сохранить %
Сэкономьте 14%
Сохранять %
Первоначальная цена
249,90 $
Первоначальная цена
249,90 долларов США
— Первоначальная цена
249,90 $
Первоначальная цена
$249,90
Текущая цена
215,90 долл. США
215,90 долл. США — 215,9 долларов США0
Текущая цена
$215,90
Скидка 14%
Сохранить %
Сэкономьте 14%
Сохранять %
Первоначальная цена
249,90 $
Первоначальная цена
249,90 долларов США
— Первоначальная цена
249 долларов.90
Первоначальная цена
$249,90
Текущая цена
215,90 долл. США
215,90 долл. США — $215,90
Текущая цена
$215,90
Скидка 14%
Сохранить %
Все товары Vito W639
Информация о продукте
Отзывы покупателей и вопросы/ответы
Доставка и возврат
Часто задаваемые вопросы
Совместимые автомобили:
Мерседес Вито W638/W639/W447 2003-2022
Количество штук: 2
Цвет: Бронза
Быстрая и бесплатная доставка и возврат
Все заказы, которые были оплачены до 14:00 по центральному поясному времени в тот же день.
Продавец в США и склад в США
OMAC USA, расположенный в Хьюстоне, штат Техас. Мы предлагаем высококачественную продукцию по лучшим ценам.
Превосходное обслуживание клиентов
Пожизненная поддержка при установке. Специалисты OMAC доступны по электронной почте или по телефону.
БРЕНД
ОМАК
НОМЕР ПРОИЗВОДИТЕЛЯ
U003851
РАЗМЕЩЕНИЕ НА АВТОМОБИЛЕ
12119,12526
ПОКРЫТИЕ ПОВЕРХНОСТИ
Анодированное покрытие
ТИП УСТАНОВКИ
Производительность/Пользовательский
ТИП
Поперечная балка, багажник на крышу
МАТЕРИАЛ
3228
ЦВЕТ
Бронза
КРЕПЛЕНИЯ ДЛЯ МОНТАЖА ВКЛЮЧЕНЫ
Да
КОЛИЧЕСТВО ШТУК
2
СТРАНА РЕГИОН ПРОИЗВОДИТЕЛЯ
Европа
ХАРАКТЕРИСТИКИ
12548,3330,3335,3334,12547
ГРУЗОПОДЪЕМНОСТЬ
165 фунтов / 75 кг
РЕГУЛИРУЕМАЯ
Да
ТИП ПРОДУКТА
Верхние держатели: багажник на крышу
СОСТОЯНИЕ
Новый
ОСОБЕННОСТЬ 1
Противоугонный замок, легкий
ОСОБЕННОСТЬ 2
Подходит для грузового бокса на крышу, багажника на крышу, крепления для байдарки
ОСОБЕННОСТЬ 3
Водонепроницаемый
ОСОБЕННОСТЬ 4
Водостойкий, устойчивый к коррозии
ОСОБЕННОСТЬ 5
Сверхпрочная несущая стойка
ОСОБЕННОСТЬ 6
Алюминиевая анодированная поверхность
ОСОБЕННОСТЬ 7
Ветроустойчивый
ОСОБЕННОСТЬ 8
Стойкий к коррозии
ОСОБЕННОСТЬ 9
Коррозионностойкий
бронзовые перекладины для багажника на крыше для Mercedes Vito W638/W639/W447 2003-2022
Этот товар не подходит для автомобилей с люком на крыше
Эти поперечные перекладины отличаются от плохо спроектированных альтернатив на рынке, поскольку наши имеют очень прочные металлические зажимы, закрывающие багажники на крыше с левой и правой сторон. Итак, ваши нынешние багажники на крыше должны быть высокими; Между крышей автомобиля и багажником на крыше должен быть зазор. Пожалуйста, посмотрите фотографии, на которых показаны правильные багажники на наши поперечины, чтобы они идеально подходили. Установка проста, и ее можно легко установить в собственном гараже. Эти поперечины предназначены для конкретного автомобиля, но может потребоваться их обрезка, чтобы они идеально соответствовали вашим текущим багажникам на крыше.
СЕРТИФИКАЦИЯ ПОДШИПНИКА И КАЧЕСТВА ПРИМЕЧАНИЕ: 9№ 0004
Поперечные балки OMAC USA изготовлены из одного из самых прочных алюминиевых материалов для максимально возможной нагрузки.
Этот продукт может легко перевозить более 225 фунтов 100 кг, максимальная грузоподъемность составляет 165 фунтов 75 кг в зависимости от грузоподъемности автомобиля на крыше.
Алюминиевые поперечины для верхнего багажника на крыше
Купить высококачественные несущие алюминиевые поперечины для багажника на крыше у продавца в один клик OMAC USA
Эти поперечины изготовлены из высококачественного, прочного, легкого и прочного алюминия.
OMAC USA рада предоставить вам высококачественные несущие (до 165 фунтов) и хорошо спроектированные алюминиевые поперечины для верхних багажников на крыше. Помимо увеличения несущей способности, эти поперечины преобразят внешний вид вашего автомобиля благодаря великолепному дизайну из анодированного серебра.
Эти поперечины будут установлены между вашим текущим багажником на крыше (ваши текущие багажники также должны выдерживать до 165 фунтов). абсурдно, как много продуктов, продаваемых на рынке.
Для установки не нужно резать и сверлить.
Простая установка!
Аэродинамический дизайн для уменьшения шума ветра.
Крепкие металлические хомуты – одна из отличительных черт нашей продукции от других товаров на рынке.
В комплект входят; две поперечины, руководство по эксплуатации и все необходимое для установки
Являясь ведущим продавцом автозапчастей и аксессуаров с 2006 года, мы уделяем особое внимание визуальному виду и дизайн который многие другие производители упускают из виду. Мы заботимся о стиле, как OMAC USA. С 2006 года OMAC является ведущим мировым брендом по продаже автозапчастей и аксессуаров. Мы находимся и работаем в Техасе, США, и мы будем доставлять ваши заказы из здесь!
Если у вас возникли трудности с установкой нашей продукции или если она не подходит для вашего автомобиля, пожалуйста, свяжитесь с нами заранее. Мы будем рады помочь вам найти решение. [email protected]
Ознакомьтесь с отзывами наших покупателей об аксессуарах Omac. Прочитайте более 7800 мнений и решите, какой продукт лучше всего подходит для вас. Показать все отзывы>
Доставка и возврат
Уважаемый клиент OMAC USA, Мы с гордостью представляем собой американский бизнес, НАХОДЯЩИЙСЯ В ТЕХАСЕ, США. Мы отправляем все заказы, которые были оплачены ДО 14:00 CT (центральное время) В ЖЕ ДЕНЬ. МЫ ДОСТАВЛЯЕМ НА МЕЖДУНАРОДНУЮ СТОРОНУ крупнейшими и надежными судоходными компаниями. Заказы, размещенные в официальные праздники США, будут отправлены утром в первый день после праздников. Мы предоставляем номера для отслеживания всем нашим клиентам Мы отправляем международные заказы со всеми необходимыми коммерческими счетами и этикетками для таможенных процедур. (Все страны могут иметь свои собственные пошлины и налоги/таможенные сборы, ответственность за эти дополнительные сборы лежит исключительно на покупателе/получателе) С 2006 года мы хотим, чтобы каждый клиент OMAC был хотите вернуть любой товар, пожалуйста, сначала свяжитесь с нами для получения помощи. Клиенты OMAC USA могут вернуть продукты в течение 30 дней с даты доставки для возврата денег, и покупатель несет ответственность за безопасный возврат продуктов. Покупатель должен хорошо упаковать товар в оригинальную коробку, чтобы защитить его от повреждений, и убедиться, что в комплект входит все необходимое оборудование. Перед возвратом мы открываем коробки и проверяем их наличие для продажи, поэтому товары должны быть в оригинальной упаковке и в товарном состоянии. Пожалуйста, свяжитесь с нами, чтобы сообщить причину возврата, прежде чем отправить товар обратно. Если есть доказанная проблема, мы вышлем вам бесплатные этикетки для возврата по электронной почте. Примечание: Мы хотели бы сообщить покупателям, что после запроса на возврат, и мы предоставили покупателю ярлык возврата, покупатели должны вернуть товар в течение 2 недель, начиная с дня возврата. Примечание: Если покупатель не свяжется с нами с запросом помощи при возврате, чтобы сначала получить бесплатную этикетку для возврата, покупатель будет нести ответственность за почтовые расходы по возврату. Как только возвращенные товары прибудут в оригинальной упаковке и в товарном состоянии, мы вернем деньги в течение 24 часов. Внутренние возвраты принимаются После получения товара покупатель должен связаться с нами в течение 30 дней. Доставка при возврате оплачивается продавцом (бесплатный возврат).
Обратите внимание, что в случае неправильного заказа; больше не требуется, покупатель будет нести ответственность за расходы по доставке.
Международный возврат не принимается.
УВАЖЕНИЕ
OMAC USA INC
ДОСТАВКА
1) Когда вы отправите мой заказ? Мы отправляем все заказы, оплаченные до 14:00 по центральноевропейскому времени, в тот же день.
2) Вы предлагаете ускоренную доставку? К сожалению, в настоящее время мы не предлагаем ускоренную доставку. Тем не менее, наша доставка занимает 2-3 рабочих дня, если нет местных задержек. Заказы, размещенные до 14:00 по центральноевропейскому времени (центральное время) в рабочий день (с понедельника по пятницу), будут отправлены в тот же день. Заказы, размещенные после 14:00 по центральноевропейскому времени, могут быть отправлены только на следующий рабочий день.
3) Где находится ваш склад для отгрузки? Наш склад находится в Техасе, США, поэтому вся наша продукция отправляется оттуда.
4) Я разместил заказ на выходных, но он еще не отправлен. Почему? *Заказы, размещенные до 14:00 по центральноевропейскому времени в рабочий день (с понедельника по пятницу), будут отправлены в тот же день. Заказы, размещенные после 14:00 по центральноевропейскому времени, могут быть отправлены только на следующий рабочий день. *Заказы выходного дня будут отправлены в понедельник утром. (Однако иногда мы отправляем и по субботам. Но наши общие условия — в понедельник утром для заказов выходного дня.)
5) Как я могу отследить свой заказ? После отправки заказа вам будет отправлен номер для отслеживания по электронной почте. Чтобы получить уведомление об отслеживании, пожалуйста, добавьте свой адрес электронной почты или номер телефона перед оформлением заказа. Таким образом, вы можете получать информацию об отслеживании в текстовом сообщении или по электронной почте.
6) Предлагаете ли вы коммерческие счета-фактуры и этикетки для индивидуальных процессов? Да! Мы отправляем международные заказы со всеми необходимыми коммерческими счетами и этикетками для таможенных процедур.
7) Могу ли я изменить адрес доставки? Да, мы можем обновить ваш адрес, если ваш заказ еще не отправлен. Это зависит от времени и потребует, чтобы вы немедленно позвонили в службу поддержки клиентов, чтобы узнать, возможно ли обновление адреса. Если служба поддержки клиентов недоступна, отправьте запрос по электронной почте и укажите правильный адрес. Мы свяжемся с вами как можно скорее с обновлением, если изменение удалось внести. Нет никакой гарантии, что после размещения заказа ваш адрес доставки может быть изменен.
8) Вы отправляете во все страны/территории? Нет, мы не отправляем в следующие страны/территории: Остров Вознесения, Ладакх, острова Чатем, Россия, Тристан-да-Кунья, отдаленные острова США, Гавайи, Аляска, Американское Самоа, Микронезия, Маршалловы острова, Северные Марианские острова, Палау. , Виргинские острова США, Вооруженные силы Америки, Вооруженные силы Европы, Вооруженные силы Тихоокеанского региона, Пуэрто-Рико и Центр развертывания вооруженных сил Европы (AFCEPC)
ЗАКАЗ
1) Могу ли я посетить ваш склад? / У вас есть выставочный зал? Да, можно! У нас пока нет выставочного зала, но вы всегда можете позвонить нам и приехать к нам. (До вашего визита, пожалуйста, сообщите нам заранее, чтобы мы могли подготовиться к вашему приезду.)
2) Могу ли я забрать свой заказ самостоятельно? Абсолютно да! Если вы выбрали Самовывоз в разделе оформления заказа, заказ будет готов к самовывозу с нашего склада.
3) Могу ли я изменить свой заказ даже после его отправки? Если заказ уже выполнен, к сожалению, внести изменения невозможно.
4) Я разместил заказ, но не получил подтверждение заказа или номер для отслеживания. Как только заказ будет размещен и подтвержден, вы получите электронное письмо или текстовое сообщение с деталями заказа. Однако, если вы пропустили уведомление, обязательно проверьте папку нежелательной почты/спама в вашей электронной почте, так как иногда электронные письма с уведомлениями могут подпадать под эти категории. Если вы не получили его, пожалуйста, свяжитесь с нашим отделом обслуживания клиентов.
5) Включаете ли вы пошлины и налоги? Наша деловая политика гласит, что покупатели должны платить свои пошлины и налоги в соответствии с требованиями своей страны. (Все страны могут иметь свои собственные пошлины и налоги/таможенные сборы. Эти дополнительные сборы являются исключительной ответственностью покупателя/получателя. ) Если об этом не позаботиться, посылка может быть возвращена, уничтожена или утилизирована и возмещен не может быть применен. Если налоги и пошлины не уплачены, то посылка может вернуться к нам. Если посылка была уничтожена или утилизирована, возврат средств невозможен.
ВОЗВРАТ
1) Каковы правила отмены? После выполнения заказа мы не можем его отменить. Пожалуйста, свяжитесь с продавцом в течение 30 минут после размещения заказа, если вы хотите отменить его. Если заказ был размещен в нерабочее время, пожалуйста, отправьте электронное письмо с номером заказа в строке темы и примечанием «ОТМЕНА» в описании вашего электронного письма, пожалуйста.
2) Можете ли вы рассказать мне о вашей политике возврата? Вы можете вернуть товар в течение 30 дней с даты доставки. Обратите внимание, что предоставленная этикетка для возврата доступна только в течение 14 дней. Если к этому времени посылка не будет отправлена обратно, мы не сможем предоставить вам дополнительную бесплатную этикетку для возврата. Покупатель несет ответственность за безопасный возврат товара, а также за бережную упаковку товара в оригинальную коробку, чтобы защитить его от повреждений, и убедиться, что в комплект поставки входит все необходимое оборудование. Также примите во внимание, что в случае неправильного заказа или отсутствия необходимости покупатель будет нести ответственность за расходы по доставке. Имейте в виду, что международные возвраты не принимаются.
3) Как я могу получить этикетку для возврата? Пожалуйста, сообщите нам причину возврата перед отправкой обратно. Если есть подтвержденная проблема, мы вышлем вам бесплатные этикетки для возврата по электронной почте.
4) Что произойдет, если я верну товар без этикетки возврата? Если покупатель не свяжется с нами для запроса помощи при возврате, чтобы получить бесплатную этикетку, покупатель будет нести ответственность за почтовые расходы по возврату.
5) Когда я получу деньги после завершения процесса возврата? Как только мы получим возвращенный товар в его первоначальном состоянии и упаковке, он будет проверен и возвращен в течение 24–48 часов. iI зависит от вашей компании-эмитента, чтобы перевести кредит на ваш счет. Обычно это занимает от трех до семи рабочих дней.
6) Вы принимаете как внутренние, так и международные возвраты? Возврат внутри страны принимается, но если покупатель совершил ошибку и заказал не тот товар и больше не нуждался в нем, покупатель несет ответственность за расходы по доставке. Для международных возвратов они не принимаются!
Mercedes Vito W638 — мир ржавых дверей. Mercedes Vito W638
Mercedes Vito W638 дебютировал в 1996 году. Сборка микроавтобусов была налажена в Испании. Vito базируется на платформе Volkswagen T4 Transporter. Кузов был разработан немецким дизайнером Михаэлем Мауэром. Почему фургон получил шильдик Vito? Название происходит от испанского города Виктория, в котором оно было произведено.
Через два года после начала продаж микроавтобус обновили. Помимо новых дизельных двигателей с системой впрыска Common Rail (CDI) были также незначительные стилистические изменения. Например, оранжевые указатели поворотов уступили место прозрачным. Vito первого поколения выпускался до 2003 года, когда на рынок вышел его преемник.
Правда ли, что бензиновые двигатели намного менее проблемны, чем дизельные, но потребляют много топлива. Те, кто использует Vito в качестве коммерческого транспорта, отдают предпочтение дизельным двигателям. К сожалению, дизельные двигатели плохо справляются с ускорением автомобиля, даже самого сильного.
На выбор было два дизельных агрегата… У всех почти вечный цепной привод ГРМ. Какой из агрегатов лучше всего зарекомендовал себя в процессе эксплуатации? Аутсайдером оказался 2,3-литровый турбодизель. У него проблемы с системой впрыска — выходит из строя ТНВД. Бывают и случаи преждевременной поломки. ремень привода генератора и помпы, да еще и прогар прокладки под головкой.
2,2-литровый агрегат, несмотря на более сложную конструкцию, гораздо надежнее и экономичнее. Хотя есть и проблемы в системе впрыска. Свечи накаливания довольно быстро выходят из строя, как правило, из-за сгоревшего реле.
Технические характеристики
Независимо от версии Mercedes Vito W638 всегда переднеприводный. Более богатые версии иногда оснащались пневмобаллонами для задней оси.
Безопасность? Автомобиль не участвовал в краш-тестах EuroNCAP. Но учитывая тот факт, что большинство экземпляров уже сильно проржавело, подержанный Mercedes Vito 638 вряд ли сможет гарантировать высокий уровень безопасности.
Много хороших слов можно сказать о шасси. Микроавтобус ведет себя почти как легковой автомобиль.
Типичные неисправности
В процессе производства автомобиль дважды вызывался на сервисные мероприятия. Первый был в 1998 году из-за проблем с шинами Continental и Semperit. Второй — в 2000 году для устранения проблем с усилителем тормозов.
Самое больное место Вито — коррозия. Все дело в плохой защите кузова. Ржавчина появляется буквально везде. Первые очаги, как правило, появляются на нижних углах дверей, капоте, задней двери багажника. Прежде чем остановиться на конкретном экземпляре, следует внимательно осмотреть пороги, пол и по возможности заглянуть под дверной уплотнитель.
Если на кузове нет следов ржавчины, то, вероятно, он ремонтировался. В большинстве случаев эта работа выполняется в спешке, чтобы сохранить автомобиль в хорошем состоянии к моменту продажи. Будьте начеку!
Проблемы с электричеством. В дизельных версиях «стучит» реле свечей накаливания. Стартер, генератор, вентилятор радиатора, электрические стеклоподъемники и центральный замок… Термостат — еще одна деталь, которую вскоре нужно будет заменить. Время от времени «показывает характер» системы кондиционирования и отопителя.
Перед покупкой обязательно проверить работу боковых сдвижных дверей, которые заедают при повреждении направляющих. Владельцы жалуются на очень низкое качество салонного пластика — во время движения он издает неприятные звуки.
Иногда выходят из строя тросы трансмиссии и карданные шарниры. 4-ступенчатый «автомат» проблем не доставляет при условии соблюдения эксплуатационных рекомендаций по замене масла. Рулевой механизм Vito не очень долговечен – довольно быстро появляется люфт.
Заключение
Mercedes Vito – интересный и функциональный микроавтобус по разумной цене. К сожалению, низкая стоимость не означает дешевую эксплуатацию. Цены на некоторые запчасти очень высокие. К счастью, на рынке достаточно недорогих заменителей. Однако это относится не ко всем узлам и агрегатам. Если вы получили сильно ржавый образец, его ремонт может оказаться нерентабельным.
Технические характеристики Mercedes-Benz Vito W638 (1996-2003 гг.)
Версия
108 Д
110 ТД
108 ЦДИ
110 ЦДИ
112 ЦДИ
Двигатель
дизель
турбодизель
турбодизель
турбодизель
турбодизель
Рабочий объем
2299 см3
2299 см3
2151 см3
2151 см3
2151 см3
Количество цилиндров/клапанов
Р4/8
Р4/8
Р4/16
Р4/16
Р4/16
Максимальная мощность
79 л. с.
98 л.с.
82 л.с.
102 л.с.
122 л.с.
Максимальный крутящий момент
152 Н·м
230 Н·м
200 Н·м
250 Н·м
300 Н·м
Динамика
Максимальная скорость
148 км/ч
156 км/ч
150 км/ч
155 км/ч
164 км/ч
Разгон 0-100 км/ч
20,6 сек
17,5 с
н. д.
18,2 с
14,9 с
Средний расход топлива, л/100 км
Оплатить заказ можно одним из способов
Оплата наличными в пункте выдачи.
В Белгороде возможна оплата товара наличными на складе без предоплаты. При заказе в другие регионы РФ — после внесения частичной предоплаты.
Онлайн-оплата платежной картой
При выборе данной платежной системы Вы можете оплатить заказ платежной картой Visa, Mastercard или МИР в Автоцентре. Все ваши конфиденциальные данные (номер карты, регистрационные данные) полностью защищены в соответствии со стандартами безопасности PCI DSS. Информация передается по защищенному протоколу Transport Layer Security (TLS) и закрытым банковским сетям с наивысшей степенью защиты. Для дополнительной аутентификации Держателя карты используется протокол 3D-Secure. Если Эмитент поддерживает эту технологию, вы будете перенаправлены на его сервер для ввода дополнительных платежных реквизитов».
Банковским переводом.
Денежным переводом на карту Сбербанка.
Оплата по счету.
Пополнение киви кошелька.
После оформления заказа товар будет поставлен на резерв и автоматически будет выставлен счет на оплату. Поступление средств на наш расчетный счет происходит в течение 1-2 дней с момента оплаты заказа.
примечание
При оплате необходимо указать платежные данные, а также контактные данные для отправки автозапчастей: город доставки, ФИО получателя, телефон получателя, желаемую транспортную компанию.
Запчасти высылаются после 100% предоплаты. Также возможна отправка наложенным платежом после частичной предоплаты на карту Сбербанка или QIWI кошелек.
Наши реквизиты:
ФИО: ИП Бершадский М.В., Юридический адрес: 309504, Россия, Белгородская область, г. Старый Оскол, мкр. Молодежная, д. 4, кв. 76
Mercedes Vito W638 дебютировал в 1996 году. Сборка микроавтобусов была налажена в Испании. Vito построен на платформе Volkswagen T4 Transporter. Кузов был разработан немецким дизайнером Михаэлем Мауэром. Почему фургон получил шильдик Vito? Название происходит от испанского города Виктория, в котором оно было произведено.
Через два года после начала продаж микроавтобус обновили. В дополнение к новым дизельным двигателям с системой впрыска Common Rail (CDI) также были внесены незначительные стилистические изменения. Например, оранжевые указатели поворотов уступили место прозрачным. Vito первого поколения выпускался до 2003 года, когда на рынок вышел его преемник.
Технические характеристики Mercedes-Benz Vito
Кузов
Двигатель
Трансмиссия
Рулевое управление
Mercedes-Benz Vito I (W638) 2.8 AT — 4-дверный автомобиль с 4-ступенчатой коробкой передач. Максимальная скорость не превышает 184 км/ч. Автомобиль может разогнаться до 100 км/ч за 12,7 с. Средний расход топлива на 100 км составляет: в городском цикле – 18,6 литров, по трассе – 11 литров. Объем топливного бака составляет 78 литров. Полного бака хватает примерно на: 419км при движении по городу, 709 км при движении по трассе. Максимальная грузоподъемность автомобиля составляет 1000 кг.
«Вито в 638-м кузове» комплектовался пятью дизельными «четверками»: атмосферная часть состояла из агрегатов объемом 2,1-2,3 литра, развивающих от 79 до 98 лошадиных сил и от 152 до 230 Нм крутящего момента, а турбодизель — от 2,1-литрового мотора, который в зависимости от степени форсировки выдает 102–122 «лошади» и 250–300 Нм.
Существовали бензиновые двигатели: четырехцилиндровые агрегаты объемом 2,0-2,3 л мощностью 129-143 силы, генерирующие 186-215 Нм, а также 2,8-литровая V-образная «шестерка» с потенциалом 174 лошадиных силы и 237 Нм тяги. За подачу крутящего момента на передние колеса отвечает автоматическая коробка передач 5-ступенчатая или 4-ступенчатая.
Первое поколение Mercedes Vito построено по переднеприводной архитектуре, двигатель размещен продольно. Передняя подвеска автомобиля представлена независимой конструкцией со стойками МакФерсон, а задняя — продольными рычагами.
Рулевой механизм реечного типа оснащен гидроусилителем, а все колеса — дисковыми тормозами, дополненными вентиляцией спереди. Основные достоинства «первого Вито» — тяговитые и экономичные двигатели, приятная внешность, отличные ходовые качества, хорошие возможности для перевозки грузов, комфортная подвеска, достойная базовая комплектация и общая надежность конструкции. Недостатки – низкая коррозионная стойкость, высокие цены на оригинальные запчасти и чрезмерная вибрация от дизельных агрегатов.
Типичные неисправности
В процессе производства автомобиль дважды вызывался на сервисные мероприятия. Первый был в 1998 году из-за проблем с шинами Continental и Semperit. Второй — в 2000 году для устранения проблем с усилителем тормозов.
Самое больное место Vito — коррозия. Все дело в плохой защите кузова. Ржавчина появляется буквально везде. Первые очаги, как правило, появляются на нижних углах дверей, капоте, двери багажника. Прежде чем остановиться на конкретном экземпляре, следует внимательно осмотреть пороги, пол и по возможности заглянуть под дверной уплотнитель.
Если на кузове нет следов ржавчины, то, вероятно, он ремонтировался. В большинстве случаев эта работа выполняется в спешке, чтобы сохранить автомобиль в хорошем состоянии к моменту продажи. Будьте начеку!
Проблемы с электричеством. В дизельных версиях реле свечей накаливания «отщелкивается». Часто выходят из строя стартер, генератор, вентилятор радиатора, электрические стеклоподъемники и центральный замок. Термостат – еще одна деталь, которую вскоре придется заменить. Время от времени «показывает характер» системы кондиционирования и отопителя.
Перед покупкой обязательно нужно проверить работу боковых сдвижных дверей, которые заедают при повреждении направляющих. Владельцы жалуются на очень низкое качество салонного пластика — он издает неприятные звуки при езде.
Иногда тросы передачи и карданные шарниры выходят из строя. 4-ступенчатый «автомат» проблем не доставляет при условии соблюдения эксплуатационных рекомендаций по замене масла. Рулевой механизм Vito не очень долговечен – довольно быстро появляется люфт.
Mercedes-Benz Vito I (W638) — Данные о расходе топлива
На графиках показан расход топлива автомобиля Mercedes-Benz Vito I (W638) в трех режимах: город, трасса и смешанный режим. Данные о расходе приведены для всех известных модификаций.
Расход топлива в городе на 100 км 0 л6 л12 л18 л112 CDI 2.2d MT,… 110 CDI 2.2d MT,… 110 CDI 2.2d AT,… 110 CDI 2.3d MT,… 114 2.3 MT, 1996… 114 2.3 АТ, 1996-… 2,8 АТ, 1996-20039.610.511.112.115.616.218.6
112 CDI 2.2d MT, 1996-2003
9,6
110 CDI 2.2d MT, 1999-2003
10,5
110 CDI 2. 2d AT, 1999-2003
11,1
110 CDI 2.3d MT, 1996-1999
12,1
114 2,3 т, 1996-2003 гг.
15,6
114 2,3 АТ, 1996-2003
16,2
2,8 АТ, 1996-2003
18,6
Расход топлива по трассе на 100 км 0 л6 л12 л18 л112 CDI 2.2d MT,… 110 CDI 2.2d MT,… 110 CDI 2.2d AT,… 110 CDI 2.3d MT,… 114 2.3 MT, 1996… 114 2.3 АТ, 1996-…2.8 АТ, 1996-20036.36.56.86.89.19.311
Для тех модификаций, для которых есть информация обо всех трех режимах, строится общий график со средним расходом топлива на 100 км. Зеленым отмечены самые экономичные автомобили и наоборот, красным отмечены самые неэкономичные.
Средний расход топлива во всех режимах 0 л6 л12 л18 л112 CDI 2.2d MT,… 110 CDI 2.2d MT,… 110 CDI 2.2d AT,… 110 CDI 2.3d MT,… 114 2.3 MT, 1996… 114 2.3 AT, 1996-… 7.88.378.739.2312.0712.47
112 CDI 2. 2d MT, 1996-2003
7,8
110 CDI 2.2d MT, 1999-2003
8,37
110 CDI 2.2d AT, 1999-2003
8,73
110 CDI 2.3d МТ, 1996-1999
9,23
114 2,3 т, 1996-2003 гг.
12,07
114 2,3 АТ, 1996-2003
12,47
Технические характеристики
Вне зависимости от версии Mercedes Vito W638 всегда переднеприводный. Более богатые версии иногда оснащались пневмобаллонами на задней оси. Безопасность? Автомобиль не участвовал в краш-тестах EuroNCAP. Но учитывая тот факт, что большинство экземпляров уже сильно проржавело, подержанный Mercedes Vito вряд ли сможет гарантировать высокий уровень безопасности.
Много хороших слов можно сказать о шасси. Микроавтобус ведет себя почти как легковой автомобиль.
Mercedes-Benz Vito I (W638) — максимальная скорость
На графике показана максимальная скорость Mercedes-Benz Vito I (W638) в км/ч. Показаны данные для всех доступных модификаций.
На графиках показаны размеры Mercedes-Benz Vito I (W638) — ширина, длина и высота. Данные приведены для всех доступных модификаций, включая, для некоторых, общую ширину с зеркалами.
Ширина автомобиля 0 мм 2000 мм 4000 мм 6000 мм 113 2,0 MT, 1996… 113 2,0 AT, 1996-… 114 2,3 AT, 1996-… 114 2,3 MT, 1996… 2,8 AT, 1996-2000… 2,3112 CDIMT 112 CDI 2.2d AT,… 110 CDI 2.2d AT,… 108 CDI 2.3d MT,… 110 CDI 2.2d MT,… 110 CDI 2.3d AT,… 110 CDI 2.3d MT,… 108 CDI 2.2d MT,…
113 2,0 т, 1996-2003
1 880
113 2,0 АТ, 1996-2003
1 880
114 2,3 АТ, 1996-2003
1 880
114 2,3 т, 1996-2003 гг.
1 880
2,8 АТ, 1996-2003
1 880
112 CDI 2.2d MT, 1996-2003
1 880
112 CDI 2.2d AT, 1996-2003
1 880
110 CDI 2.2d AT, 1999-2003
1 880
108 CDI 2.3d MT, 1996-1999
1 880
110 CDI 2. 2d MT, 1999-2003
1 880
110 CDI 2.3d AT, 1996-1999
1 880
110 CDI 2.3d MT, 1996-1999
1 880
108 CDI 2.2d MT, 1999-2003
1 880
Мерседес Вито 638 первого поколения появился на рынке в 1995 году и просуществовал в кузове W638 до 2003 года. За это время автомобиль успел завоевать признание не только водителей в Европе, но и в России . А в 1996 модель Mercedes Vito 638 была признана лучшим фургоном года.
Сегодня Mercedes Vito 638 купить можно на вторичном рынке. В зависимости от двигателя, года выпуска и состояния, вместительный автомобиль с неубиваемым и очень экономичным двигателем можно купить от 100 до 400 тысяч рублей. Первое поколение имеет передний привод, а в качестве коробки может выступать как 4-ступенчатый автомат, так и 5-ступенчатая механика. Если вы все-таки планируете купить Мерседес Вито 638, то следует учитывать, что после рестайлинга 1998-1999 г. изменилась гамма двигателей. Модель собрана в Испании. Для Vito были доступны следующие силовые агрегаты — До 1999 года
Mercedes Vito 230 TD — дизель 2,3 л. 98 л.с. (5-ступенчатая МКПП или 4-ступенчатая АКПП) После 1999 г. Mercedes Vito 108 CDI — 2.1 дизель 82 л.с. (5-ступенчатая МКПП) Mercedes Vito 200 CDI — дизель 2.2 102 л.с. (5-ступенчатая МКПП) коробка передач или 4-ступенчатая автоматическая коробка передач) Mercedes Vito 220 CDI — дизель 2.2 122 л.с. (5-МКПП или 4-АКПП) Mercedes Vito 230 — бензин 2,3 л. 143 л.с. (5-ступенчатая МКПП или 4-ступенчатая АКПП) Mercedes Vito 280 — бензин 2,8 л. V6 174 л.с. (4-ступенчатая АКПП)
Только передний привод.
Самый популярный на вторичном рынке Mercedes Vito 638 2.2 cdi , только из-за дизельного двигателя Mercedes-Benz OM 611. Это рядный 4-цилиндровый двигатель мощностью 122 л.с. с цепным приводом ГРМ Двигатель особых хлопот не доставляет, однако ресурс цепи ГРМ не превышает 200 000 километров. Цепь надо менять вместе с помпой (помпой ОЖ), так как ее ресурс не выше. Расход топлива Vito 638 2.2 cdi по трассе около 6-7 литров солярки, по городу 10-11 литров. Следует учитывать, что в бензобак ничего заливать не стоит, это может привести к выходу из строя форсунок, а их замена – дорогое удовольствие.
Проблем с запчастями на эту машину нет. Любые части кузова двери Мерседес Вито 638 можно найти на разборке, там же можно найти весь кузов или даже Мерседес Вито 638 двигатель в сборе. Ремонт Мерседес-Бенц Вито 638 не является сверхсложным, но следует учитывать, что этот автомобиль предназначен для европейских дорог, поэтому на наших направлениях ходовая часть, подвеска после 60-70 тыс. км пробега начинает требовать ремонта. Качество материалов внутренней отделки находится на очень высоком уровне, если сравнивать с сопоставимыми конкурентами. Фотографии салона прилагаются.
Мерседес Вито 638 цена , которая на сегодняшний день напрямую зависит от его износа — лучший вариант для практичных людей.
Виды металлолома, лом черных, цветных и драгоценных металлов
Для многих людей металлолом представляет собой остатки различных стальных изделий, которые без разбора отправляются на переплавку. На самом деле существует большое количество видов вторичного сырья, отличающихся структурой, техническими характеристиками, составом и другими особенностями. На большинстве пунктов приемки производится сортировка материала, металл разделяется по сортам и размерам.
Виды металлолома
В зависимости от вида и характеристик металл имеет разную стоимость, которая может отличаться в разы. Соответственно, основным признаком вторсырья является его принадлежность к определенной группе материалов. Основная классификация предусматривает выделение следующих категорий:
лом черных металлов является наиболее дешевым, к данной категории относятся чугун и большинство марок стали;
цветные металлы являются более ценными, в их состав входят немагнитные материалы и сплавы;
в отдельную категорию выделена нержавеющая сталь, которая ценится на рынке благодаря уникальным техническим характеристикам;
драгоценные металлы и сплавы встречаются редко, их приемка ведется с использованием соответствующего оборудования.
Первые две категории являются наиболее распространенными. Для разделения черного и цветного лома материал тщательно сортируется, так как разница в стоимости вторсырья очень существенная.
Разделение по основным признакам
На большинстве пунктов приема вторсырья работает опытный персонал, который может без использования специального оборудования определить марку и состав лома. После сортировки и взвешивания металл направляется на дальнейшую переработку. При этом материал классифицируется по следующим характеристикам:
химический состав, содержание примесей определяет принадлежность лома к определенной категории;
важным параметром является физическая структура лома;
для дальнейшей переработки и использования важно знать происхождение лома, не был ли он собран в экологически небезопасных местах;
большое значение имеет вес отдельных элементов и габаритные размеры лома;
чистота материала, процентное содержание примесей и вкраплений других сплавов;
качество вторсырья, его применимость для дальнейшей переработки.
Все казанные характеристики являются значимыми. Для большинства предприятий, занимающихся приемом и переработкой вторсырья, материал проверяется по всем параметрам, после чего рассчитывается его реальная стоимость.
Виды лома черным металлов
К лому черных металлов относится чугун и различные марки стали. При небольшом процентном содержании присадок в эту же категорию включается нержавейка. В соответствии с требованиями нормативных документов вторсырье делится на 2 категории: углеродистое и легированное. В зависимости от процентного содержания легирующих элементов выделяют 67 категорий металла.
В соответствии с габаритными размерами выделяют несколько категорий лома. К негабаритным отходам относят куски лома массой от 1 до 600 кг, размеры которых не превышают 15х0,5х0,5 метра. Выделяют также пакетный сортовой лом, отходы в форме арматуры и проволоки.
Отдельного упоминания заслуживает категорирование по происхождению лома:
детали механизмов и машин, обрезки арматуры, рельс, различных конструкций относятся к категории утилизированного лома;
стружка, обрезки заготовок, бракованные узлы и механизмы являются промышленным ломом;
к классу лежалой стали относятся материалы, не используемые в течение длительного времени, на которых видны следы коррозии и окисления;
Количество и состав неметаллических примесей влияет на качество черного лома. Данный показатель также оценивается при приемке вторсырья.
Виды лома цветных металлов
Для цветных металлов разновидностей вторсырья намного больше, хотя по объему сдачи на пункты приемки сталь и чугун явно выигрывают. Наиболее распространенными марками цветного лома являются алюминий, бронза, латунь и медь. Реже сдают цинк, свинец, никельсодержащие сплавы и магний. Также на пунктах приемки можно встретить редкометальный и полупроводниковый лом.
В соответствии с общепринятой классификацией выделяют 32 вида цветного вторсырья. Чаще всего сдают пищевой и электротехнический лом. В большом количестве на пунктах металлолома представлены профили, офсетное вторсырье, автомобильные диски, радиаторы, банки из-под напитков и стружка.
При рассмотрении медного сырья наиболее часто встречаются остатки кабелей, трансформаторное оборудование, детали электрически машин. Краны и смесители, фурнитура, бытовые предметы преобладают в латунном ломе. Свинцовый лом – это чаще всего пластины аккумуляторов или батареи целиком, защитная оболочка кабелей, отдельные куски металла.
Виды лома драгоценных металлов
Лом драгоценных металлов невозможно встретить на обычной приемке. Материалы сдаются в малых количествах, взвешиваются с использованием специального оборудования, имеют высокую стоимость. По отношению к такому вторсырью ведется строгий учет, принимаются меры по охране пунктов приемки.
Одним из основных видов вторсырья являются остатки золотых ювелирных украшений, вышедшие из строя и потерявшие актуальность. Часто сдают ценные металлы, водящие в состав электронных плат, катализаторов, различной аппаратуры. Каждый из видов лома имеет практическую ценность и стоимость. Потребление вторсырья постоянно растет, что определяет рост цен на металлолом.
Информация по видам черных металлов
Крупнейшая сеть ломоперерабатывающих предприятий России
Группа компаний НЛМК
Ваш город:
;
Операционная компания:
Обратный звонок
10А
Группа лома: Стальной пакетированный лом
Краткая характеристика: Лом стальной пакетированный (в т. ч. оцинкованный)
Габаритность: 2000х1050х750 мм
Размер и масса: Масса пакетов не менее 40 кг и плотность не менее 1200 кг/м3
Примечание:
11А
Группа лома: Легковесный лом
Краткая характеристика: Чистые стальные листовые, полосовые сортовые отходы и отходы трубного производства
Габаритность: 3500*2500*1000 мм
Размер и масса: Толщина менее 6 мм
Примечание:
11А(0)
Группа лома: Легковесный лом
Краткая характеристика: Чистые стальные листовые, полосовые сортовые отходы и отходы трубного производства «с 0% засора»
Краткая характеристика: Лом стальной пакетированный (в т. ч. оцинкованный)
Габаритность: 2000х1050х750 мм
Размер и масса: Масса пакетов не менее 40 кг и плотность не менее 2000 кг/м3
Примечание:
8АБ
Группа лома:
Краткая характеристика:
Габаритность:
Размер и масса:
Примечание:
8Б62
Группа лома: Легированный лом
Краткая характеристика: Лом легированный
Габаритность: 2000х1050х750 мм
Размер и масса: Масса пакетов не менее 40 кг
Примечание:
9А
Группа лома: Стальной пакетированный лом
Краткая характеристика: Лом стальной пакетированный (в т. ч. оцинкованный)
Габаритность: 2000х1050х750 мм
Размер и масса: Масса пакетов не менее 40 кг и плотность не менее 1800 кг/м3
Примечание:
А1
Группа лома: Чистые отходы из нелегированного алюминия от производства проката, профилей, труб, листов, лент и т. д.
Марки: А85, А8, А7, А7Е, А6, А5, АО, АДОО (1070А), АДО (1050А), АД1, АД (1200)
Краткая характеристика: Содержание металла по массе, 98%, не менее
Засоренность безвредными примесями по массе, 2%, не более
Засоренность железом не допускается
Габаритность:
Размер и масса: Толщина, 1 мм, не менее
Примечание:
А10
Группа лома: Отходы алюминиевого проката с высоким содержанием цинка. Марки: В93, В94, В96, 1915 (7005), (1925)
Краткая характеристика: Содержание металла по массе, 98%, не менее Засоренность безвредными примесями по массе, 2%, не более
Засоренность железом не допускается
Габаритность:
Размер и масса:
Примечание:
А13
Группа лома: Лом алюминиевого литья с низким содержанием цинка, магния и меди. Марки: АЛ2, АЛ4, АЛ5, АЛ9, АЛ32, АЛ34, АК7, АК9
Краткая характеристика: Содержание металла по массе, 97%, не менее Засоренность безвредными примесями по массе, 3%, не более в том числе железом, 2%, не более
Габаритность:
Размер и масса:
Примечание:
А14
Группа лома: Отходы алюминия с высоким содержанием меди. Марки: АК5М2, АК7М2, АК5М7, АК5М4, АК8МЗ, АК4М4
Краткая характеристика: Содержание металла по массе, 98%, не менее. Засоренность безвредными примесями по массе, 2%, не более. Засоренность железом не допускается
Габаритность:
Размер и масса:
Примечание:
А18
Группа лома: Лом алюминиевый литейный смешанный. Сплавы алюминий-кремний
Краткая характеристика: Содержание металла по массе, 80%, не менее. В том числе цинка 1.
Засоренность безвредными примесями по массе, 20%, не более.
в том числе железом, 15%, не более
Габаритность:
Размер и масса:
Примечание:
А2
Группа лома: Лом нелегированного алюминия: электротехнические изделия — провода,
голые жилы кабелей и шнуров, шины распределительных устройств, трансформаторов; выпрямители, теплообменники, холодильников. Марки: А85, А8, А7, А7Е, А6, А5, АО,
АДОО (1070А), АДО (1050А), АД 1, АД (1200)
Краткая характеристика: Содержание металла по массе, 97%, не менее. Засоренность безвредными примесями по массе, 3%, не более . В том числе железом, 2%, не более
Габаритность:
Размер и масса:
Примечание:
А21
Группа лома: Чистая стружка алюминиевая сыпучая сортированная по группам сплавов Al-Si литейных или деформируемых.
Краткая характеристика: Металлургический выход по массе, 90%, не менее. Засоренность безвредными примесями по массе, 10%, не более. В том числе железом, 0.1%, не более
Габаритность:
Размер и масса:
Примечание:
А22
Группа лома: Стружка алюминиевая смешанная по группам 1 — 10
Краткая характеристика: Металлургический выход по массе, 50%, не менее. Засоренность безвредными примесями по массе, 50%, не более. В том числе железом, 2%, не более. Поставка партий с железом или магнием более 10 % осуществляется по договоренности с потребителем
Габаритность:
Размер и масса:
Примечание:
А23
Группа лома: Стружка алюминиевая вьюнообразная по видам 1-10
Краткая характеристика: Металлургический выход по массе, 40%, не менее. Засоренность безвредными примесями по массе, 60%, не более. В том числе железом, 2%, не более. Поставляется по договоренности потребителя и продавца
Габаритность:
Размер и масса:
Примечание:
А26
Группа лома: Лом кабельных изделий
Краткая характеристика: Содержание металла по массе, 85%, не
менее. Засоренность безвредными примесями по массе, 15%, не более.
Засоренность железом не допускается
Габаритность:
Размер и масса:
Примечание:
А27
Группа лома: Лом бытовой с определенным химическим составом
Краткая характеристика: Содержание металла по массе, 90%, не менее. Засоренность безвредными примесями по массе, 10%, не более. В том числе железом, 1%, не более
Габаритность:
Размер и масса:
Примечание:
А3
Группа лома: Лом и отходы фольги из нелегированного алюминия: пищевая фольга, упаковочная лента без анодированной фольги, без конденсаторной фольги, без бумаги, пластмассы и других материалов. Марки: А85, А8, А7, А6, А5, АД00 (1070А),
АДО (1050А), АД1
Краткая характеристика: Содержание металла по массе, 97%, не менее. Засоренность безвредными примесями по массе, 3%, не более. Засоренность железом не допускается
Габаритность:
Размер и масса: Толщина, 1 мм, не более. Гидравлически запрессованный материал поставляется по договоренности
между покупателем и продавцом
Примечание:
А31
Группа лома: Лом и отходы алюминиевых радиаторов, детали алюминиевых кранов разделанные без латуни и железа.
Марки: АК9М2, АК7 и др.
Краткая характеристика: Содержание металла по массе, 95%, не менее. Засоренность безвредными примесями по массе, 5%, не более
Габаритность:
Размер и масса:
Примечание:
А32
Группа лома: Отходы проволоки и чистых кабельных жил. Марки: АДО (1050А), АД1, АЕ
Краткая характеристика: Содержание алюминия по массе, 98%, не менее. Содержание железа не допускается. Засоренность безвредными неметаллическими примесями по массе, 2%, не более
Габаритность:
Размер и масса:
Примечание:
А33
Группа лома: Лом смешанных алюминиевых проводов и кабелей без изоляции, без наличия тонкой проволоки.
Марки: АДО (1050А), АД (1200), АЕ, 6063Е,
6101Е, 6082
Краткая характеристика: Содержание металла по массе, 98%, не
менее
Содержание проволоки из сплавов
6000 по массе, 10%, не более
Габаритность:
Размер и масса: Засоренность безвредными неметаллическими примесями по массе, 2%, не
более
Примечание:
А37
Группа лома: Лом банок из-под напитков с покрытием
бумагой, без наличия остатков, грязи и прочих примесей. Марки: АМг2 (5251), АМг, АД31 (6063),
АДО (1050А)
Краткая характеристика: Содержание металла по массе, 96%, не
менее.
Содержание меди по массе, 0.2%, не
более.
Габаритность:
Размер и масса: Засоренность безвредными примесями по массе, 4%, не более.
Засоренность железом не допускается
Примечание:
А4
Группа лома: Чистые отходы алюминиевых сплавов с низким содержанием меди в виде листов, обрези, профилей. Марки: АД31 (6063), АДЗЗ (6061), АД35 (6082), Д12, АМГ1 (5005), ММ (3005), АМц (А1 3003), АВ, А154
Краткая характеристика: Содержание металла по массе, 98%, не менее. Засоренность безвредными примесями по массе, 2%, не более. Засоренность железом не допускается
Габаритность:
Размер и масса:
Примечание:
А5
Группа лома: Лом алюминиевых сплавов с низким содержанием меди: товары широкого потребления — кухонная посуда, бытовые электроприборы, спортивный инвентарь, мебель; элементы строительных конструкций — кровельный материал, облицовка домов, оконные рамы, перегородки, эскалаторы.
Марки: АД31 (6063), АДЗЗ (6061), АД35 (6082), Д12, АМГ1 (5005), ММ (3005), АМц (AI 3003),
АВ, А154
Краткая характеристика: Содержание металла по массе, 97%, не менее. Засоренность безвредными примесями по массе, 3%, не более . В том числе: железом 2, маслом 1
Габаритность:
Размер и масса: Размеры кусков в одном измерении, 1000 мм, не более. Без наличия жалюзи, фольги, проволоки, пищевых форм, самолетного листа, бутылочных пробок и пр.
Примечание:
А6
Группа лома: Отходы алюминиевого проката с низким содержанием цинка и высоким содержанием меди: провод, листы, ленты и т. п. Марки: Д1 (2017), Д18 (2117), Д19, В65,
АК6, АК8 (2014)
Краткая характеристика: Содержание металла по массе, 98%, не менее. Содержание цинка по массе, 0,3%, не более. Засоренность безвредными примесями по массе, 2%, не более.
Железом не допускается
Габаритность:
Размер и масса:
Примечание:
А8
Группа лома: Отходы алюминиевого проката и литья с высоким содержанием магния. Марки: АМг2 (5251), АМгЗ, АМг4 (5086), АМг5, АМгб, АМг61, АЛ8, АЛ 13, АЛ23, АЛ27, АЛ28, АЛ29
Краткая характеристика: Содержание металла по массе, 98%, не менее. Засоренность безвредными примесями по массе, 2%, не более. В том числе железом, не допускается
Габаритность:
Размер и масса:
Примечание:
БМ2
Группа лома: Отходы алюминия и его сплавов с плакирующим
слоем:
титан
медь
алюминий
силумин
сталь
Краткая характеристика: Поставка по соглашению сторон.
Россыпью, в пакетах, рулонах, бухтах, связках, пучках
Габаритность:
Размер и масса:
Примечание:
Бр1
Группа лома: Кусковые отходы бронз с высоким содержанием олова: проволока, прутки, сетки, пружины, ленты, полосы, подшипниковые детали, трубы-заготовки, трубки для контрольно-измерительных приборов, прокладки во втулках и подшипниках. Марки: БрОС, БрОФ, БрОЦС, БрОЦСН
Краткая характеристика: Содержание других металлов и сплавов не допускается. Содержание металлов, 97%. Содержание олова, 8.5%, не более. Засоренность, 3%, не более
Габаритность:
Размер и масса: Масса отдельных кусков, 100кг, не более
Примечание:
Бр13
Группа лома: Стружка бронзовая смешанная разных марок сплавов
Краткая характеристика: Поставка по соглашению сторон. Содержание металлов, 40%, не менее. Засоренность, 60%, не более. В том числе железом, 3%, не более
Краткая характеристика: Содержание других металлов и сплавов не допускается. Содержание металлов, 97%, не менее. Содержание алюминия, 11%, не более. Засоренность, 3%, не более.
Габаритность:
Размер и масса: Масса отдельных кусков, 100кг, не более
Примечание:
ЖДЛ1(габ.)
Группа лома:
Краткая характеристика:
Габаритность:
Размер и масса:
Примечание:
Л1
Группа лома: Кусковые отходы двойных латуней: обрезь, брак листов, лент, полос, прутков слитков, трубы и трубки. Марки: Л96, Л90, Л85, Л80, Л70, Л68, Л63, Л60
Краткая характеристика: Содержание других металлов и сплавов не допускается. В бухтах, мягких контейнерах или пакетах. Без воды и масла. Содержание металлов, 98%, не менее. Содержание меди, 60%, не менее. Содержание цинка, 37%, не более. Содержание свинца, 0,07%, не более. Засоренность неметаллическими материалами, 2%, не более.
Габаритность:
Размер и масса: Масса отдельных кусков, 100кг, не более. Масса пакета, 250кг, не более.
Примечание:
Л11
Группа лома: Лом и отходы латуни, легированной кремнием: поковки, штамповки; детали, работающие в морской среде, литые подшипники и втулки. Марки сплавов: ЛК80-3, ЛК80-ЗЛ, а также ЛКС80-3-3
Краткая характеристика: Содержание других металлов и сплавов не допускается. Без воды и масла. Содержание металлов, 97%, не менее. Содержание кремния, 2.5%, не более. Содержание меди, 78%, не менее. Содержание цинка, 18%, не более. Засоренность, 3%, не более.
В том числе железом, 0.5%, не более.
Габаритность:
Размер и масса: Масса отдельных кусков, 100кг, не более
Примечание:
Л14
Группа лома: Лом латуни смешанный
Краткая характеристика: Поставка по соглашению сторон.
Без влаги и масла.
Содержание металлов, 95%, не менее. Засоренность, 5%, не более
Краткая характеристика: Содержание других металлов и сплавов не допускается. Содержание металлов, 94%, не менее. Засоренность, 6%, не более. В том числе механическими примесями черных металлов, 0.5%, не более. Содержание воды и масла, 2.5%, не более
Габаритность:
Размер и масса:
Примечание:
Л2
Группа лома: Лом двойных латуней без полуды и пайки: проволока, художественные изделия, манометрические трубки, гибкие шланги, музыкальные инструменты, проволочные сетки, фольга, нажимные валки для травильных работ, фурнитура. Марки: Л96, Л90, Л85, Л80, Л70, Л68, Л63, Л60.
Краткая характеристика: Содержание других металлов и сплавов не допускается. В бухтах, мягких контейнерах или пакетах. Без воды и масла. Содержание металлов, 97%, не менее. Содержание меди, 60%, не менее. Содержание цинка, 37%, не более. Содержание свинца, 0.07%, не более. Засоренность, 3%, не более. В том числе железом, 0.5%, не более.
Габаритность:
Размер и масса: Масса отдельных кусков, 100кг, не более. Масса пакета, 250кг, не более
Примечание:
Л21
Группа лома: Стружка латуни смешанная
Краткая характеристика: Содержание других металлов и
сплавов не допускается.
Поставка по соглашению сторон.
Содержание меди, 50%, не менее.
Содержание металлов, 95%, не менее.
Засоренность, 5%, не более.
В том числе механическими примесями черных металлов, 0. 5%, не более
Содержание воды и масла, 2.5%, не
более
Габаритность:
Размер и масса:
Примечание:
Л5
Группа лома: Латунные радиаторы и паяные радиаторные трубки. Марки: Марки: Л96, Л90, Л85, Л80, Л70, Л68,Л63, Л62
Краткая характеристика: Поставка в разделанном виде. Содержание других металлов и сплавов не допускается. Без воды и масла. Содержание металлов, 94%, не менее. Засоренность, 6%, не более. В том числе железом, 0.5%, не более.
Габаритность:
Размер и масса:
Примечание:
М1
Группа лома: Медные проводники тока: проволока и шины чистые без покрытий и изоляции. Марки: М00, М001к, МО, МОк, М1, М1к
Краткая характеристика: Увязанные в бухтах, в мягких контейнерах или в пакетах. Не содержат неметаллических примесей, других металлов. Без сгоревших
хрупких участков, блестящая поверхность, без влаги и масла. Выход металла, 98%, не менее. Содержание меди, 99.9%, не менее. Диаметр проволоки, 0.3 мм, не менее. Засоренность, 2%, не более.
Габаритность:
Размер и масса: Масса пакета, 250кг, не более
Примечание:
М11
Группа лома: Шлаки медные, пыль, зола, печные выломки, сора, козлы
Краткая характеристика: Выход металла, 10%, не менее. Содержание меди, 8%, не менее.
Габаритность:
Размер и масса: Масса отдельных кусков, 500кг, не более . При меньшем содержании меди — поставка по соглашению сторон
Примечание:
М12
Группа лома: Скрап из изолированной медной проволоки.
Краткая характеристика: Скрап из медной проволоки с разными видами изоляции.
Поставка по соглашению сторон.
Габаритность:
Размер и масса:
Примечание:
М2
Группа лома: Медные проводники тока: проволока и шины, освобожденные от изоляции термической обработкой. Лом и кусковые отходы электролитической промышленности, не засоренные другими металлами и сплавами. Марки: М00, М001к, МО, МОк, М1, М1к
Краткая характеристика: Увязанные в бухтах, в мягких контейнерах или в пакетах. Не содержат неметаллических примесей, других металлов. Без сгоревших хрупких участков, допускается наличие окисленной поверхности, без воды и масла. Поверхность без цветов побежалоети и следов окисления. Выход металла, 97%, не менее. Содержание меди, 99,9%, не менее. Диаметр проволоки, 0.5 мм, не менее. Засоренность, 3%, не более.
Габаритность:
Размер и масса: Масса пакета, 250кг, не более.
Примечание:
М3
Группа лома: Лом и отходы чистой меди без покрытия, полуды и пайки: брак литых, кованых и штампованных изделий, обрезь, высечка листов, лент, труб, решеток и проволоки без изоляции, троллеи с железными приделками. Лом и кусковые отходы электролитической промышленности, не засоренные другими металлами и сплавами. Марки: М00, М0,М1,М2, М3
Краткая характеристика: Увязанные в бухтах, мягких контейнерах или пакетах. Не содержат неметаллических примесей, других металлов, хрупкой обгоревшей проволоки, без воды и масла. На поверхности допускаются цвета побежалости и следы окисления. Допускается наличие чистых медных трубопроводов. Допускается наличие фрагментов других металлов в виде приделок. Вез воды и масла.
Выход металла, 95%, не менее
Содержание меди, 99.5%, не менее
Засоренность, 5%, не более
в том числе железом, 0.5%, не более
Диаметр проволоки, 1.0 мм, не менее
Габаритность:
Размер и масса: Масса пакета, 250кг, не более
Масса отдельных кусков, 100кг, не более
Примечание:
М4
Группа лома: Лом и отходы, смешанные с полудой и пайкой. Марки: М00, МО, М1, М2, М3
Краткая характеристика: Не содержат неметаллических примесей других цветных металлов. Допускается наличие фрагментов других металлов в виде приделок. Вез воды и масла. Выход металла, 94%, не менее.
Содержание меди, 99.5%, не менее.
Засоренность, 6%, не более.
в том числе железом, 0.5%, не более
Габаритность:
Размер и масса:
Примечание:
М6
Группа лома: Лом медной эмалированной, лакированной проволоки в хлопчатобумажной изоляции, в изоляции из стекловолокна и бумаги или шелковой изоляции (два слоя).
Марки: М00, МО, М1
Краткая характеристика: Увязанная в бухтах, мягких контейнерах или пакетах. Не содержит неметаллических примесей, других металлов. Без воды и масла.Выход металла, 93%, не менее.
Содержание меди, 99.9%, не менее
Засоренность, 7%, не более
Диаметр проволоки, 1. 0 мм, не менее
Габаритность:
Размер и масса: Масса пакета, 250 мм, не более
Примечание:
М8
Группа лома: Стружка чистой меди. Без наличия других металлов.
Марки: М00, МО, М1, М2, М3
Краткая характеристика: Без наличия других металлов. Выход металла, 98%, не менее. Содержание меди, 99.5%, не менее. Засоренность, 2%, не более, в том числе маслом и водой, 1.5%, не более
Габаритность:
Размер и масса:
Примечание:
М9
Группа лома: Лом электродвигателей. Марки: МО, М1, М2, М3
Краткая характеристика: Поставка по соглашению сторон
Габаритность:
Размер и масса:
Примечание:
Мг1
Группа лома: Лом и отходы нелегированного магния: обрезь, выштамповки, поковки, плиты, фасонное литье.
Марки: Мг96, Мг95, Мг90
Краткая характеристика: Без наличия меди, алюминия, цинка, смазочных веществ.
Содержание металла, 98%, не менее
Засоренность, 2%, не более
Габаритность:
Размер и масса: Размеры куска, 1000×600 мм, не более
Примечание:
Мг2
Группа лома: Лом магния, содержащий алюминий:
листы, отливки, блоки двигателей, протекторы, колеса самолетов, автомобилей, трансмиссии и др. Марки: МЛ2, МЛЗ, МЛ4, МЛ5, МЛ50Н,
МЛ6, МЛ 16
Краткая характеристика: Лом без вставок из других цветных
металлов.
Содержание металла, 98%, не менее
Содержание компонентов, 98%, не более
В том числе:
алюминий 10,2
марганец 0,7
цинк 3,5
Засоренность, 2%, не более
Габаритность:
Размер и масса: Размеры куска, 1000×600 мм, не более
Примечание:
Мг3
Группа лома: Листовые обрезки из деформируемых алюминиевых сплавов при изготовлении емкостей для бензина, масла, деталей трубопроводов, сварных конструкций, подвергающиеся умеренным нагрузкам; прессованные полуфабрикаты и
штамповки.
Марки: МА1, МА11
Краткая характеристика: Содержание металла, 99%, не менее. Содержание алюминия и цинка не допускается.
Содержание марганца, 1,3 — 2,5%.
Засоренность, 1%, не более.
Габаритность:
Размер и масса: Размеры куска, 1000×600мм, не более.
Краткая характеристика: Содержание металла, 98%, не менее. Содержание компонентов, 0,05— 1,1%: цирконий 0,05— 1,1, цинк 0.2 — 7.0, неодим 1,4— 3,5
. Засоренность, 2%, не более. Размеры, 1000×600 мм, не более
Габаритность:
Размер и масса:
Примечание:
Мг6
Группа лома: Стружка магния и магниевых сплавов, брикетированная
Краткая характеристика: Содержание металла, 50%, не менее. Содержание влаги, 0.1%, не более. Содержание масла, 0.5
%, не более
Краткая характеристика: В пакетах или россыпью. Не содержит других металлов и сплавов, литья паяного, оплавленного или окрашенного. Содержание металлов, 97%, не менее. Содержание никеля и кобальта в
сумме, 96%, не менее
Засоренность, 3%, не более
Толщина, мм, более 3
Размер куска, 20 мм, не более
Габаритность:
Размер и масса: Масса пакета, 250 кг, не более
Примечание:
Н8
Группа лома: Лом и отходы медно-никелевых сплавов: термопары, компенсационные провода, конденсаторные трубы маслоохладителей, трубные доски кондиционеров, трубопроводы, детали для электротехники и приборостроения, плоскотрубные изделия и сварные конструкции для судостроения, плакировочный материал для медицинских инструментов, пружины реле, столовые приборы, художественные изделия (штамповки и чеканки). Марки: МНМц43-0,5; МНМц40-1,5; МНЖМцЗО-1-1; МНЖ5-1; МН19; МН16; МНЦ15-20; МНА6-1,5; МНМцЗ-12; МНМцАЖЗ-12-0,3-0,3; МН0,6; НМЖМц28-2,5-1,5 МН95-5; МНЦС16-29-1,8; МНЖКТ5-1-0,2-0,2
Краткая характеристика: В пакетах или россыпью. Содержание других металлов и сплавов не допускается. Содержание металлов, 97%, не менее. Содержание никеля и кобальта в сумме, 0,57%, не менее. Содержание меди, 27%, не менее. Засоренность, 3%, не более.
Габаритность:
Размер и масса: Масса пакета, 250 кг, не более. Масса отдельных кусков, 100 кг, не более
Краткая характеристика: Содержание других цветных металлов и сплавов не допускается. Содержание металлов, 97%, не менее. Содержание свинца, 99%, не менее. Содержание сурьмы, мышьяка и олова в сумме, 0,25%, не более. Засоренность, 3%, не более
Краткая характеристика: Неразделанный, с электролитом, без деревянных ящиков и железных приделок. Содержание металлов, 55%, не менее. Засоренность, 45%, не более
Краткая характеристика: Неразделанный, с электролитом, без деревянных ящиков и железных приделок. Содержание металлов, 65%, не менее. Засоренность, 35%, не более
Габаритность:
Размер и масса:
Примечание:
С12
Группа лома: Лом свинцовых аккумуляторов в полиэтиленовых и полипропиленовых моноблоках. Марки: С0000, С000, С00, СО, С1, С2, СЗ, ССу8, ССуЮ, УС, УСМ, ССуА, ССуЗ, ССуМТ, ССу1
Краткая характеристика: Неразделанный, с электролитом, без деревянных ящиков и железных приделок. Содержание металлов, 65%, не менее. Засоренность, 35%, не более
Габаритность:
Размер и масса:
Примечание:
С13
Группа лома: Лом свинцовых аккумуляторов смешанный
Краткая характеристика: Неразделанный, с электролитом. Содержание металлов, 40%, не менее
Засоренность, 60%, не более
Краткая характеристика: Содержание других цветных металлов и сплавов не допускается.
Содержание металла, 97%, не менее. Содержание свинца, 99%, не менее. Содержание сурьмы, мышьяка и олова в сумме, 0.25%, не более. Засоренность, 3%, не более. В том числе железом, 1%, не более
Габаритность:
Размер и масса:
Примечание:
С3
Группа лома: Свинец и свинцовые сплавы
Краткая характеристика: Содержание других цветных металлов и сплавов не допускается. Содержание металла, 95%, не менее Содержание сурьмы, 12%, не более Засоренность, 5%, не более
Габаритность:
Размер и масса:
Примечание: Отходы кусковые из свинца сурьмянистого от производства кабельной оболочки без хлопчатобумажной оплетки и битумной изоляции, облицовки химических сооружений и аппаратуры, производства профилей, вентилей, труб, дроби, типографских сплавов, фасонного литья.
Марки: ССу, ССу8, ССуЮ , УС, УСМ, ССуА,
ССу1, ССу2, ССуЗ, ССуМТ, ССуМ, ССуМОЕ, ССуМ2
С4
Группа лома: Свинец и свинцовые сплавы
Краткая характеристика: Содержание других цветных металлов и сплавов не допускается.
Содержание металла, 90%, не менее
Содержание сурьмы, 12%, не более
Засоренность, 10%, не более
в том числе железом, 3%, не более
Габаритность:
Размер и масса:
Примечание: Лом свинца сурьмянистого от производства кабельной оболочки, облицовки химических сооружений и аппаратуры, производства профилей, вентилей, труб, дроби, типографских сплавов, фасонного литья. Лом кабельной оболочки, не отвечающий требованиям группы СЗ.
Марки: ССу, ССу8, ССуЮ , УС, УСМ, ССуА, ССу1, ССу2, ССуЗ, ССуМТ, ССуМ, ССуМОЕ, ССуМ2
С7
Группа лома: Свинец и свинцовые сплавы
Краткая характеристика: Содержание других цветных металлов и сплавов не допускается.
Содержание металла, 85%, не менее
Содержание кальция, 0,3 — 1,15%, не более
Засоренность, 15%, не более
в том числе железом, 5%, не более
Габаритность:
Размер и масса:
Примечание: Лом и кусковые отходы смешанные (нелегированный свинец, сурьмянистый свинец и кальциевые баббиты). Марки: РМ , РЬ6
С8
Группа лома: Свинец и свинцовые сплавы
Краткая характеристика: Содержание других цветных металлов и сплавов не допускается. Содержание металла, 97%, не менее
Засоренность, 3%, не более
Краткая характеристика: Без брони в бухтах, связках или кусках.
Содержание цветных металлов, 56%,
не менее
Габаритность:
Размер и масса: Длина, 1.5м, не более
Примечание: Освинцованный кабель и провода с медными жилами в полиэтиленовой, полистирольной
и резиновой изоляции
Т1
Группа лома: Титан и титановые сплавы
Краткая характеристика: Лом разделанный. Без черных металлов, масла, эмульсий и влаги.
Поверхность не должна быть окислена, без трещин, подрывов, расслоений. Содержание металла, 99%, не менее Засоренность, 1%, не более
Габаритность:
Размер и масса: Масса отдельного куска: 100г, не менее
250кг, не более
Примечание: Лом и кусковые отходы титана нелегированного: корпуса фильтров, вакуум-фильтров и сгустителей, перекачивающая и запорная арматура, емкостная, колонная и теплообменная аппаратура, воздуховоды, газоходы, трубопроводы, листовая обрезь, высечка и обсечка. Марки: ВТ1-00, ВТ1-0
Т2
Группа лома: Титан и титановые сплавы
Краткая характеристика: Лом разделанный. Без черных металлов, масла, эмульсий и влаги. Поверхность не должна быть окислена, без трещин, подрывов, расслоений. Содержание металла, 99%, не менее
Засоренность, 1%, не более
Габаритность:
Размер и масса: Масса отдельного куска: 100г, не менее 250кг, не более
Примечание: Лом и кусковые отходы титановых сплавов, не содержащие олово: лопатки турбин, проволока, шатуны, выпускные и впускные клапаны, коромысла клапанов и глушителей в дизельных и автомобильных двигателях, несущие конструкции автомобилей, ходовая часть автомобилей, нагревательные змеевики, двигатели автомобилей, медицинское оборудование. Марки сплавов: ОТ4-0, ОТ4-1, ОТ4, ВТ5, ВТ5-1, ВТ6, ВТ6С, ВТЗ-1, ВТ9, ВТ14, ВТ16, ВТ20, ВТ22, ПТ-7М, ПТЗ, ПТ-1М
Т5
Группа лома: Титан и титановые сплавы
Краткая характеристика: Без черных металлов, обломков,
немагнитных резцов, масла, эмульсий
и влаги. Без видимых цветов побежалости.
Содержание металла, 99%, не менее
Засоренность, 1%, не более
Краткая характеристика: Содержание цинка, 85%, не менее
Засоренность безвредными примесями, 15%, не более
в том числе железом, 2%, не более
Габаритность:
Размер и масса: Размер куска в максимальном измерении, 1000 мм, не более
Масса куска, 250 кг, не более
Примечание: Лом и кусковые отходы цинковых сплавов, содержащих алюминий и медь, с включениями: лом биметаллических изделий, отходы биметаллической ленты. Марки: ЦА4, ЦАМ4-1, ЦАМ4-3, ЦАМ9-1,5, ЦАМ10-5
Ц4
Группа лома: Цинк и цинковые сплавы
Краткая характеристика: Содержание цинка, 90%, не менее
Содержание металлических примесей, 5%, не более
Габаритность:
Размер и масса: Размер куска в максимальном измерении, 1000 мм, не более
Масса куска, 250 кг, не более
Примечание: Продукт дробления корпусных, арматурных, декоративных деталей автомобилей и тракторов: корпуса карбюраторов, насосы, рамы спидометров, решетки радиаторов, ручки. Марки: ZnA14A, ZnAl4Cu1A, ZnA14Cu3A, ZnA14Cu3, ЦА4о, ЦА4, ЦАМ4-10, ЦАМ4-1, ЦАМ4-Зо, ЦАМ4-3, ЦAM 8-1
Ц8
Группа лома: Цинк и цинковые сплавы
Краткая характеристика: Содержание цинка, 85%, не менее
Засоренность безвредными примесями, 15%, не более
В том числе железом, 3%, не более
маслом, влагой и другими неметаллическими материалами, 12%, не более
Габаритность:
Размер и масса: Размер куска в максимальном измерении, 1000 мм, не более
Масса куска, 250 кг, не более
Краткая характеристика: Содержание цинка, 92%, не менее
Засоренность безвредными примесями, 5%, не более
Габаритность:
Размер и масса: Размер куска в максимальном измерении, 1000 мм, не более
Масса куска, 250 кг, не более
Примечание:
Информация по видам лома черных металлов
Наша компания принимает лом черных металлов всех категорий и классов по самым выгодным ценам в регионе. Обеспечиваем точное взвешивание и оперативную оплату удобными для клиента способами. Оказываем помощь при транспортировке крупных объемов, а также с оформлением необходимой сопроводительной документации.
Виды черного лома. Классификация и ключевые отличия.
Классификация осуществляется по составу отходов. Всего существует три общие группы, в которые входят:
Отходы стали.
Чугунный лом.
Нержавейка.
К стальному лому относится вторичное сырье, в составе которого преобладает железо. Это могут быть различные изделия, части оборудования и машин, металлическая стружка, изношенные изделия и так далее.
Чугунный лом отличается от железного значительно более высоким содержанием углерода, за счет чего он является более хрупким. В отличие от стали чугун не обладает пластичностью и не склонен к деформациям. При резких механических нагрузках раскалывается на фрагменты.
Нержавейка – это вид стали, которая устойчива к воздействию коррозии за счет содержания в ее составе хрома. Отличается от железного и чугунного лома по отсутствию первичных признаков коррозии, то есть ржавчины характерного цвета.
Сортировка черных металлов
Одним из основных требований при приемке лома черных металлов является сортировка.
Ее цель – разделение отходов по:
габаритам;
группам;
классам;
видам;
качеству.
В соответствии с этими критериями формируется цена.
Правила приема
Приемка осуществляется в соответствии со следующими основными правилами:
Отходы черных металлов принимаются партиями.
Одна партия – это определенное количество отходов одного класса, поставленного на пункт приема в одной транспортной единице, и сопровождаемого одним документом о качестве вторсырья.
В партии не должно содержаться сторонних предметов.
Для формирования партии отходы предварительно должны быть отсортированы в соответствии с вышеприведенными принципами.
Цена зависит от качества, вида, класса и степени засоренности.
Оплата осуществляется в соответствии с массой и действующими тарифами.
Крупные партии взвешиваются на промышленных весах с вычетом массы транспортного средства.
Мелкие партии взвешиваются на профессиональных малогабаритных весах.
В случае засоренности партии на ее вес делается скидка. Размеры определяются по фактической засоренности.
Оплата осуществляется по факту взвешивания и согласования стоимости с клиентом.
Более детальную информацию по правилам работы нашего приемного пункта можно узнать, позвонив по указанному номеру телефона.
Транспортировка лома черных металлов
В соответствии с действующим законодательством для транспортировки лома черных металлов, состоящего из мелких бытовых отходов, сопроводительная документация не требуется.
Для перевозки крупных партий металлолома не бытового происхождения физическое лицо или юридическая организация обязаны обеспечить водителя транспортного средства или лицо, которое сопровождает партию лома до пункта приема, такими документами, как:
Путевой лист.
Транспортная накладная.
Удостоверение о взрывобезопасности груза.
Подтверждающий право собственности на перевозимый лом документ.
Детальную информацию про перевозку можно получить у наших специалистов.
Преимущества работы с нами
При обращении в нашу компанию для сдачи лома черных металлов вы получаете следующие выгоды:
возможность сдать лом черных металлов любой категории;
высокие цены на все классы отходов черных металлов;
точное взвешивание партий доставленного лома на сертифицированных весах;
разгрузка крупногабаритного лома при помощи спецоборудования;
оперативный расчет за вторсырье в любых объемах;
вывоз крупных партий лома нашим транспортом.
Поможем решить проблему с транспортировкой. Предоставим требующуюся для перевозки сопроводительную документацию.
1. Стальные канаты и проволока 13А
Обозначение по
ГОСТ 2787-75
Обозначения по данному СТО СМК
Требования к габаритным размерам и массе
2А
2А1
Габаритный кусковой лом. Габариты не более 650х350х250 мм. Толщина не менее 4 мм, насыпная плотность не менее 0,8 т/м3. Засоренность безвредными примесями не более 1% по массе.
2АТ
Рельсы, разделанные колесные пары. Габариты не более 1000х500х500 мм. Засоренность безвредными примесями не более 0,5% по массе. Содержание хрома, никеля, меди не более 0,05% по массе каждого.
3А
3А
Габаритный кусковой лом стальной углеродистый лом без примесей доменного присада, стального скрапа. Остальные требования согласно ГОСТ 2787-75.
3А1
Габаритный кусковой лом стальной углеродистый лом без примесей доменного присада, стального скрапа. Габариты не более 800х500х500 мм. Толщина не менее 4 мм, допускается 20% от массы партии с толщиной не менее 2 мм. Засоренность безвредными примесями не более 1,5% по массе.
3АЕ
Габаритный кусковой стальной углеродистый лом без примесей доменного присада, стального скрапа. Габариты не более 1500х500х500 мм. Толщина не менее 4 мм, допускается 10% от массы партии с толщиной не менее 2 мм. Диаметр труб не более 150мм. Трубы с большим диаметром должны быть сплющены, либо разрезаны по образующей. Засоренность безвредными примесями не более 1,5% по массе.
3АН
Габаритный лом, полученный от механической ножничной резки. Габариты не более 800х500х500 мм, без ограничений по толщине. Засоренность безвредными примесями не более 2,2% по массе. Насыпная плотность не менее 0,6 т/м3.
8А
8А
Пакеты из чистовых листовых, полосовых и сортовых металлоотходов. Пакеты должны иметь размеры не более 2000х1050х750 мм и плотность не менее 1500 кг/м3. Засоренность безвредными примесями не более 1,0% по массе. Не допускается наличие лома и отходов цветных металлов, углеродистая сталь не должна смешиваться с легированной. Металл не должен быть луженым, эмалированным, покрытым цветными металлами, горелым, разъеденным кислотами, проржавленным. Углеродистая стружка не допускается. Легированная стружка допускается в пакетах из легированных металлоотходов. Масса пакета не менее 40 кг.
8А1
Пакеты из легковесных стальных отходов и лома плотностью не менее 1500 кг/м3. Пакеты должны иметь размеры не более 800х800х800 мм. Засоренность безвредными примесями не более 1,5% по массе. Не допускается наличие лома и отходов цветных металлов, углеродистая сталь не должна смешиваться с легированной. Металл не должен быть луженым, эмалированным, покрытым цветными металлами, горелым, разъеденным кислотами, проржавленным.
8А2
Пакеты из чистых листовых, полосовых и сортовых металлоотходов производства Тольяттинского автозавода и ему аналогичных. Габариты не более 800х800х800 мм. Засоренность безвредными примесями не более 0,5% по массе. Содержание хрома, никеля, меди не более 0,05% по массе каждого.
8АБ
Пакеты из чистых листовых, полосовых и сортовых металлоотходов. Габариты не более 800х800х1500 мм. Засоренность безвредными примесями не более 0,5% по массе. Содержание хрома, никеля, меди не более 0,05% по массе каждого.
10А
10А
Пакеты из легковесных стальных отходов и лома плотностью не менее 1000 кг/м3 (допускается плотность не менее 0,7 т/м3 в количестве не более 10% от массы партии). Пакеты должны иметь размеры не более 2000х1050х750 мм. Засоренность безвредными примесями не более 2,0% по массе. Допускается стружка. Не допускается наличие лома и отходов цветных металлов, углеродистая сталь не должна смешиваться с легированной. Металл не должен быть луженным, эмалированным, покрытым цветными металлами, горелым, разъеденным кислотами, проржавленным. Масса пакета не менее 40 кг.
ОАО «НЛМК» Техническими условиями №2 от 01.05.2014 г. ввел следующую классификацию ломов, принимаемых предприятием на переплав:
Обозначение
лома
Требования к размерам и массе
Габаритный стальной лом
3А
ГОСТ 2787-75. Габаритный кусковой стальной углеродистый лом без примесей чугуна, стружки, проволоки, доменного присада, тросов, стального скрапа. Габариты: 800х500х500 мм, толщина от 6 мм, диаметр труб до 150 мм. Засоренность безвредными примесями не более 1,5%.
3А2
Габаритный кусковой стальной углеродистый лом без примеси чугуна, стружки, проволоки, доменного присада, тросов, скрапа. Габариты: 1500х500х500 мм, толщина от 4 мм, диаметр труб до 150 мм. Засоренность безвредными примесями не более 2%.
9А, 10А*
ГОСТ 2787-75. Допускается наличие оцинкованного лома в количестве не более 15% от массы партии. Масса пакетов должна быть не менее 40 кг, при плотности не менее 700 кг/м3. Засоренность безвредными примесями не более 2%.
8А *
Состав, степень чистоты, габариты и масса согласно ГОСТ 2787-75.
Засоренность безвредными примесями не более 0,5%.
Лом из-под пресс-ножниц
3АН
Стальной углеродистый лом, полученный от механической ножничной резки. Габариты: не более 800х500х500 мм, толщина не регламентируется. Засоренность безвредными примесями не более 2%. Насыпная плотность не менее 0,65 т/м3.
3А2НЦ*
Оцинкованный стальной углеродистый лом, полученный от ножничной резки с предварительной подпрессовкой. Габариты: не более 1500х500х500 мм, толщина не регламентируется. Засоренность безвредными примесями не более 2%
Негабаритный стальной лом
5А*
ГОСТ 2787-75. Негабаритный кусковой стальной углеродистый лом без примесей чугуна, стружки, проволоки, доменного присада, тросов, скрапа. Негабаритные стальные трубы очищенные от вредных примесей. Габариты не лимитированы, толщина от 6 мм, вес куска до 10 тн. Засоренность безвредными примесями не более 3%
5А1*
Обрезь и отходы судовой стали:
Негабаритный кусковой стальной углеродистый лом без примесей чугуна, стружки, проволоки, доменного присада, тросов, скрапа. Негабаритные стальные трубы очищенные от вредных примесей. Габариты не лимитированы, толщина от 6 мм, вес куска до 5 тн. Засоренность безвредными примесями не более 0,5%.
Лом для пакетирования
11А, 12А*
ГОСТ 2787-75. Стальные листовые, полосовые и сортовые отходы, кровля, легковесный промышленный и бытовой лом, проволока. Габариты не лимитированы, толщина менее 4 мм. Засоренность безвредными примесями не более 2%.
12А1*
Обрези стали 08ПС, 08Ю, 2215П. Габариты не лимитированы, толщина менее 4 мм. Засоренность безвредными примесями не более 0,5%.
Обрезь арматуры. Габариты: 800х500х500 мм, толщина от 4 мм. Засоренность безвредными примесями не более 0,5%.
Стальная стружка
14А*
ГОСТ 2787-75.
Железнодорожный лом
ЖДЛ 1
Рельсы нерегламентированных размеров, колесные пары, детали верхнего строения ж/д путей, тележки. Резаные полувагоны (рамы, сцепки, борта), резаные платформы, цистерны. Габариты не лимитированы, засоренность безвредными примесями не более 1%.
Шредированный лом
Шрот*
Дробленные и резанные на шредерной установке стальные лом и отходы: кровля, легковесный промышленный и бытовой лом; листовые, полосовые и сортовые отходы. Допускается наличие стального оцинкованного лома. Толщина не более 6 мм. Засоренность безвредными примесями не более 0,5%.
Легированный стальной лом
2-5Б22*
ГОСТ 2787-75. Засоренность безвредными примесями не более 2%.
* Лом и отходы черных металлов видов 8А, 9А, 10А, 3А2НЦ, 5А, 5А1, 11А, 12А, 12А1, 14А, Шрот, 2-5Б22 возможны к поставке только после письменного согласования с ООО «Вторчермет НЛМК».
ЧУГУННЫЕ ЛОМА И ОТХОДЫ,
ПОДГОТОВЛЕННЫЕ ДЛЯ ПЕРЕПЛАВА 17А, 18А, 19А .
Общие требования к кусковому лому 17А, 18А, 19А для переплава:
1. Не допускается наличие лома и отходов цветных металлов.
2. Углеродистые лом и отходы не должны смешиваться с легированными.
3. Металл не должен быть горелым, разъеденным кислотами и проржавленным (налет ржавчины допускается).
4. Засоренность безвредными примесями не должна превышать 2% по массе.
5. Допускается примесь трудноотделимой стали не более 5% по массе.
6. Куски массой менее 0,5 кг допускаются в количестве не более 2% от массы партии.
Отличаются лома 17А, 18А, 19А составом, габаритами и массой куска.
Вид лома
Состав
Максимальный размер куска,
см
Масса куска,
кг
Другие
требования
17А
Куски машинных чугунных отливок, а также чушки вторичного литейного чугуна.
30
20-0,5
нет
18А
Куски чугунных изложниц и поддонов.
30
40-0,5
По требованию потребителя разрешается поставка кусков повышенных габаритов и массы.
19А
Куски чугунных отливок с повышенным и высоким содержанием фосфора (печных, посудных, художественных). Куски ковкого чугуна, чугунные трубы.
30
20-0,5
нет
СКРАП СТАЛЬНОЙ
Обозначение по ГОСТ 2787-75
Обозначение по ТТ 177-01-2008
Требования к габаритным размерам и массе*
1 Габаритный стальной скрап и шлак металлургический
25 А
25А1
Крупность кусков скрапа не более 1000*800*300 мм.
Кусков с максимальным линейным размером менее 300 мм — не более 10% от массы партии.
Кусков скрапа с размерами не более 1500*1000*800 мм — не более 10% от массы партии.
Масса куска – не более 1,5 тонн. Допускаются куски массой до 3-х тонн в количестве – не более 10% от массы партии.
Массовая доля неметаллической составляющей скрапа (шлак), загружаемой в дуговую печь – не более 15%.
Масса неметаллической составляющей скрапа (шлак, бой огнеупоров, ветошь, древесные отходы и др.) выгрузка которой из вагонов магнитной шайбой невозможна, не более 5%.
2 Негабаритный стальной скрап и шлак металлургический
26 А
26А1
Количество кусков скрапа с максимальным линейным размером свыше 1000 мм – более 10 % от массы партии.
Кусков скрапа с максимальным линейным размером свыше 1500 мм – не более 10% от массы партии.
Масса куска – не более 10 тонн.
Массовая доля неметаллической составляющей скрапа (шлак), загружаемой в дуговую печь – не более 20%.
Масса неметаллической составляющей скрапа (шлак, бой огнеупоров, ветошь, древесные отходы и др.) выгрузка которой из вагонов магнитной шайбой невозможна, не более 5%.
5. КЛАССИФИКАЦИЯ ВТОРИЧНЫХ ЦВЕТНЫХ МЕТАЛЛОВ.
Алюминий и его сплавы
Группа
Характеристика группы
Показатель
Норма
А1
Чистые отходы из нелегированного алюминия от производства проката, профилей, труб, листов, лент и т.д.
Марки А85, А8, А7, А7Е, А6, А5, А0, АД00, АД0, АД1, АД и др.
Содержание металла по массе, %, не менее
Засоренность безвредными примесями по массе, % не более
Содержание других металлов и сплавов не допускается.
Содержание металлов, %, не менее
Засоренность, % масс. не более
Масса отдельных кусков, кг, не более
97
3
100
Бр14
Лом и кусковые отходы смешанные
По соглашению сторон.
Содержание металлов, %, не менее
Засоренность, %, не более
в том числе железом, %, не более
60
40
3
×
Мы вам перезвоним
Согласен на обработку персональных данных
×
Отправить заявку
Согласен на обработку персональных данных
×
Заявка на отгрузку металлолома
Согласен на обработку персональных данных
Черный металл, незаменимый в производстве и строительстве
О том, что металлы бывают черные и цветные, слышали даже далекие от металлургической отрасли люди. В чем разница между этими вариантами металлопродукции? В этой статье рассмотрим особенности и преимущества применения разных видов черных металлов.
По своей сути черные металлы – это железо, содержащее углерод и обогащенное дополнительными элементами, улучшающими его физико-химические свойства. Черные металлы – стали и чугуны разных классов и марок.
90 % металлов, используемых в строительстве, производстве, промышленности – черные металлы. Применение в той или иной отрасли во многом зависит от процентного содержания в формуле углерода, оказывающего усиливающее воздействие на прочность металла и другие его характеристики.
Подразделение черных металлов
Чаще всего классификацию черных металлов проводят в соответствие с химическими свойствами элементов. По процентному содержанию углерода в металле определяют, к какой группе он относится – сталь или чугун. Так, в составе стали не может быть более 1,7% углерода (минимальное значение 0,2 %). Металлы с более высоким процентным содержанием вещества (более 1,7%) относятся к классу чугунов.
Стальные сплавы классифицируют на легированные и нелегированные (углеродистые). К легированным сталям относятся металлы, в составе которых имеется хотя бы один легирующий элемент, оказывающий существенное влияние на свойства продукции. Легированные стали – распространенное сырье для производства деталей и механизмов, подвергаемых в процессе эксплуатации большим нагрузкам, температурным перепадам.
Чугун – металл с высоким содержанием углерода, характеризующийся отличными прочностными качествами и большим весом. В большинстве случаев чугун используют для литейного производства, изготавливая из него цельные литые изделия для использования во многих отраслях деятельности человека.
Помимо литейного чугуна классификация включает еще несколько групп металла:
передельный;
антифрикционный;
ковкий;
низко- и высоколегированный;
с шаровидным или вермикулярным графитом.
Как сталь, так и чугун широко используются в промышленности и производстве. Выбор металла для той или иной индустрии, чаще всего, зависит от свойств и характеристик и их соответствия требованиям к металлу. Благодаря возможности оказывать влияние на свойства металлов получить оптимальный вариант сплава не составляет труда.
Как повлиять на свойства черных металлов: легирующие добавки
Как улучшить качество металлов? С этой целью применяют технологию создания сплавов путем добавления в сырье легирующих добавок. В зависимости от желаемого для получения эффекта в качестве таких веществ могут выступать:
хром;
никель;
медь;
кремний;
молибден;
марганец;
вольфрам;
алюминий и пр.
Подбирая тип легирующего вещества и его процентное соотношение с основной массой металла производители металлопродукции оказывают существенное влияние на прочность сырья, его устойчивость к воздействию внешних факторов, влаги, температур, коррозии. Создание сплавов позволяет получать надежные стали и чугуны для применения в самых разных отраслях промышленности и производства.
Где и как используютсячерные металлы
Как сталь, так и чугун часто используются во многих отраслях деятельности человека, но в числе наиболее распространенных сфер применения черных металлов – производство и строительство. Именно в этих направления чермет приобрел максимальную популярность и является наиболее востребованным и покупаемым сырьем.
Чермет в производстве
В производственной сфере наибольшим спросом пользуются стальные сплавы и изделия из них. Оптимальное соотношение прочностных характеристик, устойчивости к внешним воздействиям, долговечности, сравнительно небольшого веса, подверженности обработке и других качеств делают сталь наиболее комфортным материалом для производства деталей самых разных механизмов и элементов конструкций. Сталь активно применяют в химической, медицинской и пищевой промышленности, в мебельном производстве. Из нее изготавливают элементы авто, авиатранспорта, судов, жд вагонов и пр.
Чугун не получил такого же широко распространения в производстве. Но без него также не обходится машиностроение и тяжелая промышленность, автомобильное производство, изготовление предметов быта, в частности – посуды. Чугун – лучший материал для изготовления тормозных колодок, блоков цилиндров. Из чугуна производят тяжелые валки для станков, сковороды, казаны, горшки, гусятницы.
Чугун – основной металл для использования в нефтеперерабатывающей промышленности. Готовая продукция отличается высокими эксплуатационными характеристиками.
Ковкость чугуна и его литейные свойства нашли применение в сфере дизайна. Производство оград, решеток, ворот, калиток из чугунных изогнутых прутьев позволило создать настоящие шедевры.
Чермет в строительстве
Черный металл во всех вариантах исполнения нашел применение в строительной отрасли. Швеллеры, балки, уголки, арматура, трубы, профильный прокат, листы – все эти решения позволяют создавать строительные сооружения любых габаритов и прочности. Без продукции черного металла не обходится возведение высотных зданий, мостов, эстакад, дорог, частных строений, промышленных объектов. Черный металл – это трубопроводы, отвечающие за организацию подачи самых необходимых для жизни человека ресурсов. Черные металлы – это надежные крыши и перекрытия, лестницы и лифтовые шахты.
Чермет сегодня не имеет аналогов, которые могли бы полностью заменить эту удобную во всех отношениях продукцию в производстве и строительстве. Доступная цена, прекрасные эксплуатационные свойства и долговечность все также привлекают производителей как небольших деталей, так и крупногабаритных сооружений.
Чем отличается нержавеющая сталь от обычной
Немагнитная нержавейка – это когда легирующих компонентов больше 20% примерно (другое фазовое состояние сплава) . Например сталь Х18Н9(10)Т немагнитна. Но это высоколегированная сталь, на грани сплава. Стали Х12Н**** могут быть как магнитными, так и нет- это зависит от термообработки (назначения) . Стали с содержанием хрома и никеля менее 5-6% магнитны, но их можно назвать нержавеющими лишь в определенных условиях. Для того, чтобы отличить нержавейку от простой стали Ст3 (обычный профиль – уголок, тавр, труба)
1) проверить магнитом – если полностью немагнитна, то это как минимум Х18*****, 100% нержавейка. Если магнитится слабо (заметно слабее заведомо нелегированной стали – полезно иметь образец для сравнения) , то это сталь среднего легирования – Х12******, если магнитится – то см. пункт 2.
2) проверить цвет на отсвет (отражение) – если есть цветные разводы (в основном синевато-желтого оттенка) , то это нержавейка среднего легирования – ясное дело, поверхность должна быть чистой и гладкой. Если разницы по цвету между образцом и эталоном для сравнения почти нет, то это сталь малого легирования.
3) Если на поверхности есть рыхлая ржавчина в виде легко отваливающихся чешуек или при трении остается рыжий налет на руках – это обычная сталь. Если ржавчина в виде плотной пленки и не оставляет следолв на руках – сталь малого легирования.
Также можно иначе проверить – капнуть на очищенную до металла поверхность каплю водопроводной воды. Если после высыхания остался ржавый след – сталь обычная. Если нет – капнуть в другое место соленой водой. Если след остался – сталь малого легирования, если нет – сталь Х12**** или более высокого легирования – там уже можно магнитом уточнить, если полностью немагнитна – легирование высокое, если слабо, но магнитится – среднее.
Нержавеющая сталь или в простонародии «нержавейка» используется человеком для разных целей, потому что является металлом, часто используемым в быту. Умеренная цена и хорошее качество сделали этот вид продукции популярным среди населения. Изделия из нержавеющей стали представляют собой главные атрибуты быта и вошли в жизнь каждого человека всерьез и надолго. Применяется нержавейка не только в быту, но и на производстве. Можно с уверенностью сказать, что пищевая и обычная нержавейка является важным элементом жизни человека.
Чем отличается пищевая нержавейка от технической?
Разница между этими двумя видами заключается в том, какое покрытие поверхность технической стали и как она обработана. Для пищевой стали важно, какой будет поверхность, к которой будут прикасаться продукты. Поверхность, отшлифованная до зеркального блеска характерна для пищевого варианта нержавейки, технический вариант имеет матовую поверхность.
Техническая сталь отличается от пищевой по таким признакам:
Разное поверхностное покрытие.
Разный уровень обработки поверхностей.
Что представляет собой «пищевая» нержавеющая сталь?
Название говорит за себя: необходима сталь , которая не будет ржаветь при длительном и не очень контакте с пищей. Поэтому посуда должна быть произведена из соответствующего материала. Пищевая сталь – наилучший выбор, совмещающий доступность, надежность и качество.
Необходимо обратить внимание на тот факт, что официально в государственном стандарте понятие «пищевая нержавейка» не существует и используется только в быту.
Нержавейка является высоколегированным металлам, потому устойчива к коррозии. Хром, добавленный в металл, дает ему возможность не ржаветь. Количество легирующих добавок определяют устойчивость к коррозии. Молибден, титан, никель также значительно улучшают защитные свойства стали.Условия, в которых используется нержавейка, являются определяющими для нее. В пищевой промышленности на оборудование влияет агрессивная среда, а потому важно из какого металла она изготовлена.
Что такое «техническая нержавейка»?
Нержавеющая сталь находит применение в различных областях производства. Стоимость ее находится в непосредственной зависимости от марки, размеров листа, возможности противостоять различным воздействиям окружающей среды. В настоящее время одним из развивающихся направлений является реализация стали без никеля. Из такой стали производят режущие предметы, в частности ножи. Сталь получила название «техническая нержавейка».
Марка 12Х18Н10Т листов стали пользуется спросом и является продукцией отечественного производителя. Пищевую нержавейку производят и за рубежом, демонстрируя достойное качество. Для того, чтобы определить, сколько стоит лист , необходимо знать его параметры. Листы нержавейки, производимой за рубежом, имеют такого типы поверхностей:
Матовая.
Зеркальная.
Обработанная шлифованием.
Именно они пользуются спросом , что важно для развития производства.
Где используется пищевая сталь?
В пищевой промышленности возникает необходимость выбора материала, который будет вступать в контакт с продуктами питания. К этому выбору нужно подходить с особой ответственностью. При хранении и транспортировке продуктов питания возможно отрицательное взаимодействие. Даже высококачественная нержавеющая сталь не во всех случаях имеет возможность противостоять воздействию материалов. В таких случаях возможно использование специальных пищевых сплавов, которым предъявлены специальные требования.
Выбор популярных марок нержавеющей стали
Для использования в быту и на производстве выбирают нержавейку, которая будет в тесном контакте с продуктами питания, а значит должна иметь высокое качество. Из особых сплавов делают оборудование, которому не страшны никакие внешние воздействия. Наиболее востребованная и дешевая марка нержавеющей стали 08Х18Н10 (по кодировке AISI – 304). Данный сплав отлично подходит для использования в пищевой промышленности, на комбинатах общественного питания.
Чем отличается пищевая нержавейка от технической?
Разница между этими двумя видами заключается в том, какое покрытие поверхность технической стали и как она обработана. Для пищевой стали важно, какой будет поверхность, к которой будут прикасаться продукты. Поверхность, отшлифованная до зеркального блеска характерна для пищевого варианта нержавейки, технический вариант имеет матовую поверхность. Техническая сталь отличается от пищевой по таким признакам:
Разное поверхностное покрытие.
Разный уровень обработки поверхностей.
Любой производитель рано или поздно сталкивается с выбором материала, оптимально подходящим под его требования и бюджет. В данной статье мы рассмотрим принципиальные отличия черной, оцинкованной и нержавеющей стали, их коррозийную стойкость (наиболее часто задаваемый вопрос) и дадим ориентировочную стоимость каждого вида металла.
Черная сталь
Черная сталь (разг. чермет, черняга) – это сплав железа с углеродом при содержании углерода до 2%, при доле углерода от 2% до 4,5% сплав считается чугуном. В зависимости от доли содержания углерода в сплаве сталь подразделяют на: • Низкоуглеродистую (доля углерода менее 0,25 %) • Углеродистую (доля углерода 0,25 – 0,6 %) • Высокоуглеродистую (доля углерода более 0,6 %)
По способу получения проката черную сталь разделяют на горячекатанную и холоднокатанную. Главное их различие – температура обработки.
При изготовлении горячекатанной стали в основном используется низкосортная сталь, за счет чего ее стоимость дешевле холоднокатанной. Однако толщина горячекатанной стали в большинстве металлобаз варьируется от 3 мм до 160 мм.
Холоднокатанная сталь широко используется для металлоконструкций, требующих тонколистовой металл – от 0,4 мм до 3 мм, в некоторых металлобазах можно найти толщину листов до 5-6 мм. Холоднокатанная сталь считается более качественной по сравнению с горячекатанной, в связи с чем ее стоимость немного выше горячекатанной стали.
Зачастую черная сталь используется в машиностроении, строительстве и на промышленных производствах.
Оцинкованная сталь
Оцинкованная сталь (разг. оцинковка) – аналог черного металла, но с более высокой коррозийной стойкостью. Оцинкованные листы покрыты слоем цинка, который перекрывает доступ кислорода и воды к металлу и исключает возможность коррозийного разрушения металла.
Для создания цинковых прослоек существует несколько методов, наиболее эффективным из которых является метод горячего цинкования. При горячем цинковании рулонный лист стали протягивается через ванну с расплавом циносодержащего состава. Состав хорошо смачивает сталь и посредством диффузии глубоко проникает в наружные слои стали, становясь с ней единым целым. Внешние на оцинкованных листах могут быть видны узоры кристаллизации цинка, напоминающие «белую ржавчину».
Оцинкованный лист используется при изготовлении широкого ассортимента изделий: профнастил, профили, кронштейны, лотки, корпуса, вентиляционные каналы, кровельные доборы, водосточные изделия и многие другие.
Нержавеющая сталь
Нержавеющая сталь (разг. нержавейка) – легированная сталь, состоящая из железа и углерода с добавлением примеси хрома долей не менее 10,5%. Нержавеющая сталь устойчивая к коррозии в атмосфере и агрессивных средах. Помимо антикоррозийных свойств, нержавейка обладает высокой прочностью, хорошей обрабатываемостью, привлекательным и эстетичным внешним видом.
Немаловажным фактором является то, что при термическом воздействии или контакте с пищевыми продуктами нержавеющая сталь не образует вредных соединений, что выгодно отличает ее от оцинкованного металла. На сегодняшний день видов (марок) нержавеющей стали насчитывают более 250-ти, каждый из них обладает определенными характеристиками и может включать в свой химический состав помимо хрома другие легирующие добавки: никель, титан, молибден, ниобий, кобальт. Наиболее популярными марками нержавеющей стали считаются марки, относящиеся к 300-ым (содержат долю хрома 15 – 20 %) и 400-ым (содержат долю хрома 11 – 17 %) сериям.
300-ые серии нержавеющей стали отличаются высокой коррозийной сопротивляемостью. Нержавейка из этих серий немагнитны, хорошо подвергаются сварке, холодной и горячей деформации. Её часто называют «пищевой» в связи с ее широким применением в пищевой промышленности. 400-ые серии нержавеющей стали обладают меньшей коррозийной сопротивляемостью по сравнению с 300-ми сериями, зато такая нержавейка отлично гнется и подвергается сварочным работам. Её основная область применения – места с высокими температурными перепадами, различного рода декор зданий и нефтегазовая отрасль промышленности.
КОРРОЗИЙНАЯ СТОЙКОСТЬ, ЦЕНА, СРОК СЛУЖБЫ ЧЕРНЯГИ, ОЦИНКОВКИ, НЕРЖАВЕЙКИ
Восприимчивость различных видов металлов к коррозионному воздействию внешней среды определяется его химическим составом. Чем лучше химический состав и выше качество используемого сырья, тем дороже оно будет стоить.
1. КОРРОЗИЙНАЯ СТОЙКОСТЬ
Наиболее восприимчива к коррозии черная сталь. Если дополнительно ее не обработать и не покрыть защитным слоем, например, краской, она быстро проржавеет и будет непригодной к использованию. От качества покрытия черной стали также будет зависеть ее срок службы. Если сделать качественное покрытие, например, очистить металл, покрыть порошковой краской и запечь в полимеризационной печи, черняга сможет прослужить длительное время и незначительные повреждения ей могут быть не страшны. Однако, если качество покрытия будет сомнительным, например, как при покрытии баллончиковой краской, то при малейшем воздействии краска может сойти с металла и сталь войдет в реакцию с воздухом и/или водой, при этом ржавчина не заставит себя долго ждать.
Оцинкованная сталь, несмотря на покрытие цинком, также может быть подвержена коррозии. Чем качественнее будет покрытие – тем дольше прослужит оцинковка. Зачастую оцинкованную сталь покрывают порошковой краской, что служит двойной защитой для металла: первый слой – цинка, второй – краски.
Нержавеющая сталь разных марок имеет разную восприимчивость к коррозии. Из наиболее популярных марок 300-х и 400-х серий большей коррозийной стойкостью обладает нержавеющая сталь 300-х серий (например, AISI 304 12Х18Н10Т, ГОСТ 5632). Если предполагается использование металла в агрессивной среде, не стоит обольщаться на использование слова «нержавеющая» в названии марок, необходимо иметь представление о химическом составе металла и понимать его особенности.
По цене из перечисленных материалов наиболее дешевым вариантом будет черная сталь. Следующей по стоимости идет оцинкованная сталь и наиболее дорогим вариантом будет нержавеющая сталь.
В качестве примера приведем ориентировочную стоимость 1 кг каждого материала (по состоянию на сентябрь 2018 г.): – черная сталь г/к – 46 р./кг – черная сталь х/к – 50 р./кг – оцинкованная сталь – 68 р./кг – нержавеющая сталь 304 серии – 230 р./кг – нержавеющая сталь 430 серии – 160 р. /кг
Стоимость металла зависит от его химических свойств и характеристик, поэтому чем надежнее нужен материал – тем дороже он будет. Для оптимального подбора нужного сырья производитель должен иметь хорошее представление о том, в какой среде и каких условиях будет эксплуатироваться конструкция из выбранного материала, в противном случае есть риск преждевременного разрушения материала и, как следствие, самой конструкции.
По сроку эксплуатации распределение металлов будет аналогичным ценовой градации. Менее износостойким из анализируемых видов металла является черная сталь. В необработанном состоянии (без дополнительного покрытия, покраски) черная сталь прослужит около 10 лет, в то время как оцинкованная сталь может прослужить до 25 лет при условии нанесения цинкового покрытия толщиной 60 мкм. Стоит заметить, что оцинкованная и черная стали неустойчивы к воздействию кислой среды, при взаимодействии с ней срок службы металла сокращается в разы.Нержавеющая сталь может прослужить до 50 лет, в добавок нержавеющий металл, легированный хромом, не реагирует на кислую среду.
Прокатный стоп – Газета Коммерсантъ № 43 (7244) от 15.03.2022
ЕС принял решение отказаться от импорта российской стали. Точный перечень товаров, подпадающих под запрет, пока не опубликован, но предварительно он не включает полуфабрикаты, а также не касается цветных металлов, хотя такая опция и обсуждалась. Сильнее всего от санкций может пострадать НЛМК, тогда как «Северсталь» и так не может экспортировать продукцию в ЕС из-за санкций против своего владельца Алексея Мордашова. По мнению аналитиков, российские металлурги смогут перенаправить поставки на Ближний Восток, так как местные производители начнут более активно поставлять в Европу.
Фото: Александр Казаков, Коммерсантъ
Фото: Александр Казаков, Коммерсантъ
ЕС запретит импорт части российской металлургической продукции. Санкции, согласно сообщению в Twitter французского представительства в ЕС, были одобрены в понедельник и вступят в силу после публикации в официальном журнале ЕС. Точный перечень запрещенной к ввозу продукции на момент сдачи номера в печать не был известен. Ранее 14 марта госсекретарь при МИД Франции по европейским делам Клеман Бон заявил, что, помимо черных металлов, обсуждается также запрет импорта российского алюминия, что стало бы тяжелым ударом для «Русала». Однако Bloomberg, ссылаясь на проект документа, указывает, что он не включает никакие цветные металлы, а также не распространяется на руду и полупродукты черной металлургии, такие как слябы и заготовка.
По итогам 2021 года «Русал» продал в Европу 1,6 млн тонн металла, что составляет 41% от всех продаж алюминия компанией. Европа является крупнейшим рынком для компании:
доля России и СНГ занимает 27%,
Азии — 24%,
Америки — 8%.
По данным ассоциации European Aluminium, в доковидном 2019 году Европа импортировала 13 млн тонн алюминия. Таким образом, Россия обеспечивала 12% поставок. Крупнейшими поставщиками алюминия в ЕС являются Норвегия и Исландия. Кроме России поставки ведут ОАЭ и Мозамбик.
«Алюминий — глобально торгуемый металл, поставки со временем можно будет перенаправить на другие рынки, например в Азию,— считает Андрей Лобазов из «Атона».— Для «Русала» это может означать временный рост оборотного капитала, а также большие расходы на транспорт и продажи».
Урсула фон дер Ляйен, глава Еврокомиссии, 11 марта:
«Мы запретим импорт ключевых товаров российской металлургической промышленности. Это ударит по ключевому сектору российской экономики, лишит ее миллиардов (евро.— “Ъ”) экспортных поступлений и обеспечит, чтобы наши граждане не финансировали войну (президента РФ Владимира.— “Ъ”) Путина».
Замещать российский алюминий Европе пришлось бы в условиях мирового дефицита металла, который на конец года оценивался в 1,2 млн тонн. Стоимость алюминия на LME в марте поднималась выше $4 тыс. Внутреннее производство ЕС сдерживается высокими ценами на газ и низкими поставками электричества от возобновляемых источников энергии.
Ряд европейских алюминиевых заводов работают в убыток, что уже привело к закрытию 720 тыс. тонн мощностей с начала четвертого квартала 2021 года.
По данным лобби европейских металлургов Eurofer, по итогам 2020 года Россия поставила в Европу 3,2 млн тонн стали, что составляет около 15% от общего объема импорта. Всего Россия, по данным Worldsteel, произвела 76 млн тонн стали. Больше России в Европу поставляет только Турция (3,9 млн тонн).
В большей степени от европейского рынка зависят «Северсталь» и НЛМК. «Северсталь» поставляла туда 2,5 млн тонн металла и получала 34% всей выручки — $3,9 млрд, однако этот рынок для компании уже закрыт после санкций ЕС в отношении ее владельца Алексея Мордашова. Сейчас «Северсталь» ищет другие рынки сбыта. Доля Европы в выручке НЛМК составляет 18%. При этом у НЛМК есть активы в ЕС, бизнес-модель которых построена на производстве проката из слябов липецкой площадки: возможно, ее удастся сохранить, если полуфабрикаты не попадут под санкции.
В меньшей степени от европейского рынка зависят ММК и Evraz. Доля Европы в выручке ММК составляет 7%, говорится в отчете по МСФО за прошлый год, тогда как российский рынок занимает долю в 74%. Evraz заработал в Европе $946 млн, что составляет 7% от общей выручки. Однако, в отличие от ММК, источники выручки компании диверсифицированы:
на долю российского рынка приходится 39%,
Азии — 26,02%,
Северной и Южной Америки — 21,3%.
При этом Evraz имеет активы в Северной Америке, которые принесли 16% выручки.
Российские металлурги смогут перенаправить прокат на Ближний Восток, тогда как турецкие и арабские производители попытаются заработать на европейском рынке, где цена за тонну проката уже достигает $1480, полагает управляющий директор рейтинговой службы НРА Сергей Гришунин. При этом потеря $50–100 маржи с тонны является вполне допустимой для компаний РФ, так как сейчас она находится на исторически рекордном уровне. По мнению эксперта, другим вариантом будет перенаправление части поставок на внутренний рынок, что приведет к снижению внутрироссийских цен в соответствии с требованиями властей. Минпромторг 14 марта официально предложил ввести госрегулирование на продукцию черной металлургии в виде максимальной внутренней цены. По мнению Сергея Гришунина, власти в ответ могли бы уменьшить стоимость кредитования для металлургов.
Евгений Зайнуллин
Плотность металлов
ПЛОТНОСТЬ МЕТАЛЛОВ
Плотность черных металлов.
Металлы черные
Наименование материала
Плотность материала ρ, кг/м3
Сталь 10 ГОСТ 1050-88
7856
Сталь 20 ГОСТ 1050-88
7859
Сталь 40 ГОСТ 1050-88
7850
Сталь 60 ГОСТ 1050-88
7800
С235-С375 ГОСТ 27772-88
7850
Ст3пс ГОСТ 380-2005
7850
Чугун ковкий КЧ 70-2 ГОСТ 1215-79
7000
Чугун высокопрочный ВЧ35 ГОСТ 7293-85
7200
Чугун серый СЧ10 ГОСТ 1412-85
6800
Чугун серый СЧ20 ГОСТ 1412-85
7100
Чугун серый СЧ30 ГОСТ 1412-85
7300
Плотность цветных металлов.
Цветные металлы и сплавы.
Наименование материала
Плотность материала ρ, кг/м3
Алюминий и сплавы алюминиевые
Силумин АК12ж ГОСТ 1583-93
2700
Сплав АК12 ГОСТ 1583-93
2710
Сплав АК5М ГОСТ 1583-93
2640
Сплав АК7 ГОСТ 1583-93
2700
Сплав АО9-1 ГОСТ 14113-78
2700
Баббиты оловянные и свинцовые
Б83 ГОСТ 1320-74
7380
Б87 ГОСТ 1320-74
7300
БН ГОСТ 1320-74
9550
Магний и сплавы магниевые
Сплав МЛ10. ..МЛ19 ГОСТ 2856-79
1810
Сплав ВМЛ5
1890
Сплав ВМЛ9
1850
Медь и медные сплавы
Бронза оловянная БрО10C10
8800
Бронза оловянная БрО19
8600
Бронза оловянная БрОC10-10
9100
Бронза оловянная БрОA10-1
8750
Бронза БрА10Ж3Мч2 ГОСТ 493-79
8200
Бронза БрА9Ж3Л ГОСТ 493-79
8200
Бронза БрМц5 ГОСТ 18175-78
8600
Латунь Л60 ГОСТ 15527-2004
8800
Латунь ЛА ГОСТ 1020-97
8500
Медь М0, М1, М2, М3 ГОСТ 859-2001
8940
Медь МСр1 ГОСТ 16130-90
8900
Титан и титановые сплавы
ВТ1-0 ГОСТ 19807-91
4500
ВТ14 ГОСТ 19807-91
4500
ВТ20Л ГОСТ 19807-91
4470
Плотность неметаллических конструкционных материалов
Что такое черная углеродистая сталь? (с картинками)
`;
Пол Рид
Сталь представляет собой сплав или смесь железа с углеродом и небольшими количествами других металлов. Чистое железо можно расплавить и придать ему форму, но оно обычно мягкое. Добавление углерода укрепит металл, а большинство углеродистых сталей содержат от одного до двух процентов углерода. Черная углеродистая сталь создается в процессе производства, когда высокие температуры создают тонкий слой окисленного железа на внешней поверхности.
Углерод химически связывается с железом в стальных сплавах, создавая более твердый материал, чем чистое железо. По мере увеличения содержания углерода материал становится более твердым, но более хрупким или склонным к разрушению под нагрузкой или нагрузкой. Сталь, содержащая углерод в количестве более 2%, считается чугуном; его можно использовать для труб и неконструкционных материалов, но он считается слишком хрупким для конструкционной стали.
Железо легко вступает в реакцию с кислородом воздуха, образуя оксид железа или ржавчину, что приводит к выходу деталей из строя, поэтому на него часто наносят покрытие для предотвращения поверхностной ржавчины. Одним из преимуществ черной углеродистой стали является естественное антикоррозионное свойство покрытия из черного оксида железа, поскольку оксид действует как барьер, удерживающий кислород от железа под ним. Тонкий оксидный слой создается при высоких температурах, образуя прочный слой, не требующий дополнительной обработки или покрытия.
Для применений, где защита от коррозии имеет решающее значение, углеродистая сталь может быть окрашена или оцинкована. Сталь оцинковывают, промывая ее кислотой, а затем погружая сталь в ванну с расплавленным цинком. Цинк образует слой на внешней стороне стали и сначала подвергается коррозии при воздействии воздуха или влаги. Цинкование увеличивает срок службы стальных деталей, но не используется для черной углеродистой стали, поскольку оксидный слой уже защищает сталь.
Черная углеродистая сталь часто используется для газовых или водопроводных труб, потому что она имеет низкую стоимость и может быть сварена обычными методами. В некоторых магистральных нефтепроводах используются трубы из черной углеродистой стали, потому что труба может быть подсоединена в полевых условиях и не будет быстро ржаветь. Эту сталь можно использовать в климатических или грунтовых условиях, которые могут ускорить коррозию, но может потребоваться дополнительная защита, например, аноды. Аноды представляют собой заглубленные стержни из цинка, которые первыми подвергаются коррозии при соединении со стальной трубой.
Посуду
можно назвать черной сталью, но темный цвет является результатом обработки маслом, называемой приправой, а не производственным процессом. Углеродистая сталь часто покрывается маслом для предотвращения ржавчины, а стальную посуду можно смазывать маслом и нагревать, чтобы поглотить молекулы масла. Сталь потемнеет и приобретет некоторые антикоррозийные свойства, но обработка приправами является временным покрытием и должна периодически повторяться.
Разница между углеродистой сталью и черной сталью
Сталь является вездесущим ресурсом для современной промышленности, с многочисленными применениями ее прочности и долговечности. Состав стали может варьироваться, чтобы удовлетворить широкий спектр требований в машиностроении, строительстве и других секторах. Например, понимание того, следует ли использовать углеродистую сталь или черную сталь, жизненно важно для промышленных планов.
Чем углеродистая сталь отличается от черной стали?
Основное различие между углеродистой сталью и черной сталью заключается в составе их сплава и устойчивости к коррозионным агентам. Сплав углеродистой стали преимущественно состоит из углерода и железа; из-за склонности сплава к ржавчине его обычно оцинковывают. Черная сталь, напротив, относится к стали, которая не оцинкована и вместо этого зачернена для предотвращения коррозии.
Что такое углеродистая сталь?
Углеродистая сталь Трубы
Сплав углеродистой стали характеризуется особенно высокой концентрацией углерода, при этом элемент составляет до 2-2,5% сплава по сравнению с содержанием 0,05-0,3% в других стальных сплавах.
Добавленное содержание углерода укрепляет молекулярную структуру сплава, позволяя ему лучше противостоять нагрузкам и высоким давлениям. Эти качества делают углеродистую сталь желанной в качестве прочного материала для автомобильных деталей, строительных материалов, железнодорожных путей, высокопрочной проводки и многого другого.
Повышенная прочность углеродистой стали также может быть недостатком, поскольку из-за этого сплаву трудно придать нужную форму и форму. По сравнению с другими типами стали, углеродистая сталь также легче ржавеет и подвергается коррозии, что требует добавления хрома в качестве защитного покрытия.
Обратите внимание, что углеродистая сталь может быть дополнительно классифицирована в зависимости от содержания углерода:
Низкоуглеродистая сталь. Этот тип углеродистой стали относительно слабее и содержит не более 0,25% углерода. Поскольку ее легче сваривать и превращать в тонкую проволоку, это наиболее часто используемая форма углеродистой стали.
Среднеуглеродистая сталь. Эти стали несколько прочнее низкоуглеродистой стали, содержат 0,25-0,6% углерода и дополнительно упрочняются марганцем и нагреванием.
Высокоуглеродистая сталь. Обычно содержащая 0,6-1,25% углерода или более, эта сталь является наиболее физически прочным типом углеродистой стали. Он закален и устойчив к износу за счет низкой пластичности и свариваемости.
Что такое черная сталь?
Черная сталь Трубы
Черная сталь относится к стали, которая не подвергалась гальванизации для защиты от коррозии. Вместо этого сталь подвергается химическому процессу преобразования, называемому чернением, с образованием упругого черного оксида железа или магнетита (Fe 3 O 4 ), что и дало название материалу.
Во время чернения на сталь наносится раствор черного оксида, содержащий окисляющие соли. В зависимости от типа и температуры обработки магнетит обычно развивается через 15-45 минут. Первоначальная реакция добавляет некоторую устойчивость к коррозии и износу, хотя для дальнейшего упрочнения часто применяется последующая обработка на масляной основе.
Из-за своей устойчивости к коррозии черная сталь популярна в качестве материала для трубопроводов. Черные стальные трубы используются для транспортировки газа и воды, защиты электрических проводов в качестве трубопроводов и систем доставки сточных вод.
Черная сталь — универсальный материал. Другие применения можно найти в огнестрельном оружии и боеприпасах, аэрокосмических транспортных средствах, автомобильных компонентах, архитектуре и медицинском оборудовании.
Различия между углеродистой и черной сталью
Состав сплава
В качестве сплава углеродистая сталь названа так удачно, потому что она состоит в основном только из углерода и железа. Он содержит гораздо меньше хрома, чем другие типы, такие как нержавеющая сталь. Количество углерода варьируется в зависимости от многих разновидностей углеродистой стали, обычно в пределах 0,25-3% углерода.
Черная сталь содержит гораздо меньше углерода, хотя этот элемент все еще присутствует, так как он является основным упрочняющим элементом для производства стали. Он также может содержать марганец и фосфор для упрочнения и другие легирующие элементы, такие как хром, кремний и ванадий.
Обратите внимание, что многие виды стали могут стать черными, если они подвергаются процессу чернения.
Физические свойства
Углеродистая сталь отличается превосходной прочностью. Она менее подвержена стрессу и высокому давлению, чем другие типы стали, за счет того, что ее труднее сваривать, формовать или превращать в проволоку. Он хрупкий; попытки придать ей форму могут привести к тому, что сталь рассыплется на куски.
Черная сталь также прочна, но не до уровня углеродистой стали. Хотя их точные физические свойства могут варьироваться в зависимости от стали, используемой для чернения, материал обычно обладает более высокой свариваемостью, пластичностью и ковкостью, чем углеродистая сталь.
Устойчивость к коррозии
Углеродистая сталь чувствительна к коррозионно-активным веществам, включая отбеливатель, хлор и сильные кислоты. Он даже может подвергаться коррозии при контакте с воздухом, если влажность воздуха достигает 70-80%.
Черная сталь, напротив, устойчива к коррозии и истиранию благодаря стойкости магнетита на ее поверхности, а также обработке на масляной основе.
Обработка
Чтобы компенсировать коррозию, углеродистую сталь часто гальванизируют или покрывают защитным слоем цинка, хотя этот процесс может быть дорогим. Обратите внимание, что черная сталь никогда не оцинковывается.
Черная сталь сначала обрабатывается в процессе чернения, при котором окисляющий раствор вызывает образование на поверхности магнетита или черного оксида железа. Поскольку магнетит со временем может подвергаться коррозии, после этого применяется обработка на масляной основе, чтобы оставить на поверхности защитную тяжелую масляную пленку.
Разновидности
Черная сталь может быть изготовлена из многих типов стали, если они подвергаются чернению. В результате можно найти такие разновидности, как черная нержавеющая сталь, черная арматура, черная инструментальная сталь и даже черная углеродистая сталь.
Разновидности углеродистой стали различаются по содержанию углерода. Низкоуглеродистые стали слабее, но более пластичны и поддаются сварке, высокоуглеродистые стали прочнее, но их трудно формовать, а среднеуглеродистые стали представляют собой баланс между физической прочностью и ковкостью.
Внешний вид
Несмотря на свою прочность, углеродистая сталь имеет неприглядный вид. Он имеет матовую поверхность с неровной текстурой и легко обесцвечивается или окрашивается из-за подверженности ржавчине.
Черная сталь довольно популярна благодаря своей эстетической привлекательности, обладающей гладкой, глянцевой серо-черной поверхностью, которая не ржавеет. Используется в качестве декоративной отделки стульев, столешниц, перил, столов, холодильников и многого другого.
Сравнительная диаграмма: углеродистая сталь против черной стали
Области
Углеродная сталь
Черная сталь
8
Черная сталь
9
.0142
В основном углерод и железо.
Первичный: железо, углерод. Добавки: марганец, фосфор, хром и т. д.
Физические свойства
Очень высокая структурная прочность. Низкая пластичность, пластичность и свариваемость.
Высокая прочность конструкции. Высокая пластичность, пластичность и свариваемость.
Стойкость к коррозии
Восприимчив, если не оцинкован.
Стойкий.
Обработка
Гальванизация.
Чернение: Окисляющий раствор. Последующая обработка: Раствор на масляной основе.
Много, т.е. черная арматура, черная углеродистая сталь.
Внешний вид
Матовая, неровная, легко окрашивается.
Гладкая, глянцевая, серо-черная.
Чем похожи углеродистая сталь и черная сталь?
Несмотря на различия, углеродистая сталь и черная сталь по-прежнему химически классифицируются как сталь. Как сплавы, они оба в основном состоят из железа с добавлением углерода для упрочнения.
Будучи сплавом железа, они подвержены коррозии, что требует такой обработки, как гальванизация и чернение.
Благодаря своей прочности, твердости и долговечности оба типа стали являются основными материалами в современном строительстве, машиностроении и потребительских товарах. Они используются в качестве компонентов в нескольких приложениях, от инструментов и конструкционных деталей до автомобилей, огнестрельного оружия и кухонной утвари.
Часто задаваемые вопросы
Для чего используется черная стальная труба?
Трубы из черной стали популярны благодаря своей долговечности и низкой потребности в обслуживании. Их основное применение — доставка газа, воды или ископаемого топлива на большие расстояния, транспортировка пара и воздуха под высоким давлением. Они также используются в качестве кабелепроводов для покрытия электрических проводов.
Каковы области применения углеродистой стали?
Разновидности углеродистой стали используются для различных целей: — Низкоуглеродистая сталь : сплющенная в тонкие листы или полосы для изготовления автомобилей, кораблей, панелей для ворот или заборов. Их более высокая пластичность делает их пригодными в качестве материала для проволоки. — Среднеуглеродистая сталь : подвергается механической обработке для изготовления конструкционного материала для мостов, зданий, рельсов, грузовиков, трубопроводов и зубчатых колес. — Высокоуглеродистая сталь : перерабатывается в сверхпрочные лезвия, пуансоны, режущие инструменты и проводку.
Заключение
Черная сталь и углеродистая сталь являются двумя распространенными типами стали.
Отличаются, прежде всего, составом своих сплавов: углеродистая сталь содержит в основном углерод и железо, а черную сталь можно изготовить из любой стали, подвергнутой чернению.
Из-за своей слабости по отношению к коррозионным агентам углеродистая сталь часто подвергается гальванизации с защитным слоем цинка. Черная сталь, с другой стороны, приобретает сопротивление за счет образования магнетита (Fe 3 O 4 ) на его поверхности.
Что такое черные стальные трубы?
Что такое черные стальные трубы?
2018-09-07
Новости отрасли
Новости
Что такое черные стальные трубы ?
Черные стальные трубы — это трубы из неоцинкованной стали. Черная стальная труба, название которой происходит от чешуйчатого темного покрытия из оксида железа на ее поверхности. Он используется в приложениях, которые не требуют оцинкованной стали.
№ Соединяются навинчиванием на трубу с резьбой после нанесения на резьбу небольшого количества герметика для соединения труб. Труба большего диаметра приваривается, а не нарезается. Черная стальная труба режется мощным труборезом, отрезной пилой или ножовкой. Вы также можете приобрести черные трубы ERW из мягкой стали, которые широко используются для распределения газа внутри и снаружи дома, а также для циркуляции горячей воды в котельных. Может также использоваться в системах питьевой воды, канализации или вентиляционных линиях. Пожалуйста, просмотрите наш каталог строительных труб и труб, чтобы найти поставщика, который удовлетворит ваши потребности. Черная стальная труба используется в тех случаях, когда не требуется оцинковка трубы. Эта неоцинкованная черная стальная труба получила свое название из-за темного покрытия из оксида железа на ее поверхности. Из-за прочности черных стальных труб они используются для транспортировки газа и воды в сельские районы, а также для трубопроводов, которые защищают электропроводку и подают пар и воздух под высоким давлением. Нефтяная промышленность также использует черные трубы для транспортировки больших объемов нефти через отдаленные районы.
Черные стальные трубы и трубки можно разрезать и нарезать резьбу в соответствии с вашим проектом. Фитинги для данного типа труб изготавливаются из черного ковкого (мягкого) чугуна. Они соединялись навинчиванием на трубу с резьбой, предварительно нанеся на резьбу небольшое количество герметика для соединения труб. Труба большего диаметра приваривается, а не нарезается. Черная стальная труба режется мощным труборезом, отрезной пилой или ножовкой. Вы также можете приобрести черные трубы ERW из мягкой стали, которые широко используются для газораспределения внутри и снаружи дома, а также для циркуляции горячей воды в котельных. Может также использоваться в системах питьевой воды, канализации или вентиляционных линиях. Пожалуйста, просмотрите наш каталог строительных труб и труб, чтобы найти поставщика, который удовлетворит ваши потребности.
История черной стальной трубы
Уильям Мердок совершил прорыв, приведший к современному процессу сварки труб. В 1815 году он изобрел систему угольных ламп и хотел сделать ее доступной для всего Лондона. Используя стволы от выброшенных мушкетов, он сформировал непрерывную трубу, подающую угольный газ к лампам. В 1824 году Джеймс Рассел запатентовал способ изготовления металлических труб, который был быстрым и недорогим. Он соединил концы плоских кусков железа вместе, чтобы сделать трубу, а затем сварил стыки с помощью тепла. В 1825 году Комелиус Уайтхаус разработал процесс сварки встык, основу современного производства труб.
Разработки черной стальной трубы
Метод Уайтхауса был усовершенствован в 1911 году Джоном Муном. Его техника позволила производителям создавать непрерывные потоки труб. Он построил машины, в которых использовалась его техника, и многие производственные предприятия переняли ее. Тогда возникла потребность в бесшовных металлических трубах. Первоначально бесшовная труба была сформирована путем сверления отверстия в центре цилиндра. Однако было трудно просверлить отверстия с точностью, необходимой для обеспечения однородности толщины стенок. Усовершенствование 1888 года позволило повысить эффективность за счет отливки заготовки вокруг ядра из огнеупорного кирпича. После остывания кирпич удаляли, оставляя в середине отверстие.
Применение черной стальной трубы
Прочность черной стальной трубы делает ее идеальной для транспортировки воды и газа в сельской и городской местности, а также для трубопроводов, защищающих электропроводку, а также для подачи пара и воздуха под высоким давлением. В нефтяной и нефтяной промышленности трубы из черной стали используются для транспортировки больших объемов нефти через отдаленные районы. Это выгодно, так как черная стальная труба требует минимального обслуживания. Другие области применения черных стальных труб включают газораспределение внутри и снаружи домов, водяные колодцы и канализационные системы. Черные стальные трубы никогда не используются для транспортировки питьевой воды.
Современные методы черной стальной трубы
Научный прогресс значительно улучшил метод изготовления труб со сваркой встык, изобретенный Уайтхаусом. Его техника по-прежнему является основным методом изготовления труб, но современное производственное оборудование, способное производить чрезвычайно высокие температуры и давление, сделало производство труб гораздо более эффективным. В зависимости от диаметра некоторые процессы могут производить сварные шовные трубы с невероятной скоростью 1100 футов в минуту. Наряду с этим огромным увеличением скорости производства стальных труб произошло улучшение качества конечного продукта.
Контроль качества черной стальной трубы
Развитие современного производственного оборудования и изобретения в области электроники позволили заметно повысить эффективность и контроль качества. Современные производители используют специальные рентгеновские датчики для обеспечения однородности толщины стенок. Прочность трубы проверяется с помощью машины, которая наполняет трубу водой под высоким давлением, чтобы убедиться, что труба держится. Неисправные трубы отправляются на слом.
В чем разница между черной стальной трубой и оцинкованной стальной трубой
В основном оцинкованные трубы используются для подачи воды в дома и коммерческие здания. Цинк также предотвращает накопление минеральных отложений, которые могут засорить водопровод. Оцинкованные трубы широко используются в качестве каркасов строительных лесов из-за их устойчивости к коррозии.
Черная стальная труба
Черная стальная труба отличается от оцинкованной тем, что она не имеет покрытия. Темный цвет обусловлен оксидом железа, образовавшимся на его поверхности во время производства. Основная цель черной стальной трубы — подача пропана или природного газа в жилые дома и коммерческие здания. Труба изготовлена без шва, что делает ее более удобной для транспортировки газа. Черная стальная труба также используется для систем пожаротушения, поскольку она более огнестойкая, чем оцинкованная труба.
Краткая разница
Как черная труба, так и оцинкованная труба изготовлены из стали.
В то время как оцинкованная труба имеет цинковое покрытие, черная труба его не имеет.
Поскольку черная труба легко подвергается коррозии, она больше подходит для транспортировки газа. С другой стороны, оцинкованная труба идеально подходит для подачи воды, но не подходит для подачи газа.
Оцинкованная труба дороже из-за цинкового покрытия
Оцинкованная труба более прочная.
Для подачи воды и газа в жилые дома и коммерческие здания необходимо использовать трубы. Газ поставляет энергию для печей, водонагревателей и других устройств, а вода необходима для других нужд человека. Двумя наиболее распространенными типами труб, используемых для подачи воды и газа, являются трубы из черной стали и трубы из оцинкованной стали.
Проблемы Цинк на оцинкованной трубе со временем отслаивается, забивая трубу. Отслаивание может привести к разрыву трубы. Использование оцинкованной трубы для подачи газа может создать опасность. Черная стальная труба, с другой стороны, подвержена коррозии легче, чем оцинкованная труба, и позволяет минералам из воды накапливаться внутри нее.
Стоимость Оцинкованная стальная труба стоит дороже, чем черная стальная труба, из-за цинкового покрытия и производственного процесса, связанного с производством оцинкованной трубы. Оцинкованные фитинги также стоят дороже, чем фитинги, используемые на черной стали. Оцинкованная стальная труба никогда не должна соединяться с черной стальной трубой при строительстве жилого дома или коммерческого здания.
В чем разница между astm a53 и astm a106 Разница между трубой ASTM A53 и трубой A106 в технических характеристиках, химическом составе трубы, механических свойствах (предел прочности при растяжении и пределе текучести и т. д.), типе трубы.
Объем
ASTM A53 является стандартной спецификацией для труб, стальных, черных и горячеоцинкованных, оцинкованных, сварных и бесшовных.
ASTM A106 — стандартная спецификация для бесшовных труб из углеродистой стали для эксплуатации при высоких температурах.
Применяемый тип стальной трубы A 53 может быть сварным швом или бесшовным, в зависимости от того, как он указан при покупке. Это общая спецификация стальных труб, которая распространяется как на оцинкованные, так и на черные трубы. 9Труба 0160 А106 аналогична по химическому составу, но предназначена для эксплуатации при высоких температурах (до 750 градусов по Фаренгейту). Это бесшовная труба. По крайней мере, в США обычно используется A53 для сварных труб, а A106 — для бесшовных. Если вы попросите A53 в США, они процитируют A106 в качестве альтернативы. Химический состав Например, когда мы сравниваем бесшовные A106-B и A53-B с точки зрения химического состава, мы обнаруживаем, что:
1. A106-B содержит кремний, мин. 0,10%, где А53-В имеет ноль%, а кремний является важным элементом для улучшения критериев термостойкости.
2. А106-Б содержит марганца 0,29-1,06%, где А53-Б 1,2%.
3. A106-B содержит мало серы и фосфора, макс. 0,035%, где A53-B содержит 0,05 и 0,045% соответственно.
Труба A53 по сравнению с трубой A106 – (4) механические свойства
Спецификация
Механические свойства
Оценка отлично
Оценка Б
класс С
АСТМ А53
Прочность на растяжение, не менее, psi (МПа)
48000(330)
60000(415)
Предел текучести, мин, psi (МПа)
30000(205)
35000(240)
АСТМ А106
Прочность на растяжение, не менее, psi (МПа)
48000(330)
60000(415)
70000(485)
Предел текучести, мин, psi (МПа)
30000(205)
35000(240)
40000(275)
Другое отличие труб A53 от труб A106 Поскольку они имеют разную область применения и определяют разные типы стальных труб, производственный процесс и требуемые испытания и проверки контроля качества будут отличаться друг от друга. Оставьте комментарий, если у вас есть определенное мнение.
(Yaang Pipe Industry является ведущим производителем и поставщиком изделий из никелевого сплава и нержавеющей стали, включая фланцы из супердуплексной нержавеющей стали, фланцы из нержавеющей стали, фитинги для труб из нержавеющей стали, трубы из нержавеющей стали. Продукция Yaang широко используется в судостроении, атомной энергетике, судостроении. машиностроение, нефтяная, химическая, горнодобывающая, очистка сточных вод, природный газ и сосуды под давлением и другие отрасли промышленности.)
Если вы хотите получить дополнительную информацию о статье или поделиться с нами своим мнением, свяжитесь с нами по адресу [email protected]
Обратите внимание, что вас могут заинтересовать другие технические статьи, которые мы опубликовали:
Как получить стальные трубы высокого качества
В чем разница между стальной трубой и стальной трубой
Как получить трубы из нержавеющей стали высокого качества
Как получить трубы из углеродистой стали высокого качества
Как отличить низкокачественную стальную трубу
Как получить трубы из легированной стали высокого качества
Что такое стальная труба
Что такое стальная труба LSAW
Что такое спиральная стальная труба
Каталожные номера:
https://www. yaang.com
https://www.steeljrv.com
Черная стальная труба | Coremark Металлы
Нажмите, чтобы увеличить
1) Выберите Размер (Номинальный): 1) Выберите Размер (Номинальный): Выберите один{{attrValue.value_text}}
Каждая цена: ${{Number(displayPrice).toFixed(2).toLocaleString()}}
Цены уточняйте по телефону
Количество: Количество:
Этого товара временно нет в наличии
Уведомить меня, когда товар появится в наличии
Цены на этот товар уточняйте по телефону
Для заказа большего количества свяжитесь с одним из наших менеджеров по работе с клиентами.
Цены могут быть изменены. Цены в магазине могут отличаться от цен на сайте.
Описание
Функции
Характеристики
Доступные размеры
Похожие материалы
Описание
Черная стальная труба ASTM A500 отлично подходит для большинства видов обработки. Неизолированные стальные трубы марки А500 имеют полугладкую поверхность, покрытую черным лаком. Черные стальные трубы не испытываются под давлением и в первую очередь предназначены только для использования в строительстве. Общие области применения включают перила, ограждения, столбы и газовые системы. ASTM A500 — это стандартная спецификация для холоднодеформированных сварных и бесшовных конструкционных труб из углеродистой стали круглого и фасонного сечения. Размеры стальных труб без покрытия A500 обозначаются двумя безразмерными числами. Номинальный размер трубы (NPS) или внутренний диаметр (ID) и спецификацию трубы (SCH) с учетом толщины стенки.
Запутались в размерах? Пожалуйста, посетите нашу таблицу спецификаций труб ASA для получения полезной информации.
Характеристики
ASTM
ASTM A500
Характеристики
A500 Наиболее распространенный тип стальных труб. Хорошая прочность, свариваемость, низкая стоимость.
Сплав
A500
Технические характеристики
ХИМИЧЕСКИЙ СОСТАВ
Элемент
Процент
С
0,3 макс.
Медь
0,18 макс.
Fe
99 мин
С
0,063 макс.
П
0,05 макс.
МЕХАНИЧЕСКАЯ ИНФОРМАЦИЯ
Имперский
Метрическая система
Плотность
0,282 фунта/дюйм3
7,8 г/куб. см
Предел прочности при растяжении
58 000 фунтов на квадратный дюйм
400 МПа
Предел текучести при растяжении
46 000 фунтов на квадратный дюйм
317 МПа
Температура плавления
~2750°F
~1510°С
Метод производства
Горячекатаный
Марка
Б
Указанные химический состав и механические свойства являются приблизительными. Пожалуйста, свяжитесь с нашим отделом обслуживания клиентов для получения отчетов об испытаниях материалов. Свяжитесь с нами
Доступные размеры
ДОСТУПНЫЕ РАЗМЕРЫ
Размер
Номинальный Размер трубы
Внешний диаметр
Толщина стенки
ID
Длина (В. )
Масса (фунт/фут)
1/4″ х СЧ50
1/4″
0,54 дюйма
0,088 дюйма
0,364″
252,00″
0,420
3/8″ х СЧ50
3/8 дюйма
0,675″
0,091 дюйма
0,493 дюйма
252,00″
0,568
1/2″ х СЧ50
1/2″
0,84″
0,109 дюйма
0,622 дюйма
252,00″
0,850
1/2″ x SCH80
1/2″
0,84″
0,109 дюйма
0,622 дюйма
252,00″
1.090
3/4″ х СЧ50
3/4 дюйма
1,05″
0,113 дюйма
0,824 дюйма
252,00″
1,128
3/4″ x SCH80
3/4 дюйма
1,05″
0,154 дюйма
0,742 дюйма
252,00″
1. 470
1″ х СЧ50
1″
1,315 дюйма
0,133 дюйма
1,049″
252,00″
1,680
1″ x SCH80
1″
1,315 дюйма
0,133 дюйма
1,049″
252,00″
2,170
1-1/4″ х СЧ50
1-1/4 дюйма
1,73 дюйма
0,14″
1,45 дюйма
252,00″
2,270
1-1/4″ x SCH80
1-1/4″
1,66″
0,191″
1,278 дюйма
252,00″
3.000
1-1/2″ х СЧ50
1-1/2″
1,9″
0,145″
1,61 дюйма
252,00″
2,719
1-1/2″ x SCH80
1-1/2″
1,9″
0,2 дюйма
1,5 дюйма
252,00″
3,631
2″ х СЧ20
2 дюйма
2,375 дюйма
0,109 дюйма
2,157″
252,00″
2,638
2″ х СЧ50
2 дюйма
2,375 дюйма
0,154 дюйма
2,067″
252,00″
3,649
2″ x SCH80
2 дюйма
2,375 дюйма
0,218″
1,939″
252,00″
5. 020
2-1/2″ х СЧ50
2-1/2″
2,875 дюйма
0,203 дюйма
2,469″
252,00″
5.790
2-1/2″ x SCH80
2-1/2″
2,875 дюйма
0,276 дюйма
2,323″
252,00″
7,660
3″ х СЧ50
3 дюйма
3,5 дюйма
0,216″
3,068 дюйма
252,00″
7,579
3″ x SCH80
3 дюйма
3,5 дюйма
0,3 дюйма
2,9 дюйма
252,00″
10.249
3-1/2″ х СЧ50
3-1/2″
4 дюйма
0,226 дюйма
3,548 дюйма
252,00″
9.109
ПОСМОТРЕТЬ ВСЕ ДОСТУПНЫЕ РАЗМЕРЫ
Предупреждение: Этот продукт может подвергнуть вас воздействию химических веществ, включая свинец, которые, как известно в штате Калифорния, вызывают рак и врожденные дефекты или наносят вред репродуктивной системе. Для получения дополнительной информации посетите веб-сайт www.p65Warnings.ca.gov.
Законодательство Калифорнии требует, чтобы предприятия предоставляли четкое и обоснованное предупреждение покупателям, приобретающим товары в штате Калифорния, прежде чем преднамеренно или непреднамеренно подвергнуть их воздействию одного из более чем 800 перечисленных химических веществ или элементов. Это предупреждение требуется, когда компания знает или полагает, что одно или несколько из перечисленных химических веществ или элементов могут присутствовать в их продуктах.
Обратите внимание, что металлические изделия обычно не считаются опасными в твердой распределенной форме согласно OSHA и федеральным стандартам. Испарения или пыль от ЛЮБОГО продукта могут быть опасны для вашего здоровья без надлежащей защиты.
Черная сталь — TerraFirmaCraft Wiki
На этой странице содержится информация о функциях, которые устарели или, возможно, были удалены из игры.
Эти функции существуют только в старых, устаревших версиях TFC. Эту информацию следует использовать на свой страх и риск, так как возможно, что она больше неверна в текущей последней версии TFC: 0.79.29.922. Также возможно, что на этой странице отсутствует информация о новых механиках в текущей версии. Краткое изложение точной и актуальной информации можно найти в журнале изменений.
Содержимое
1 Температура черной стали
2 Получение черной стали
3 Кузнечное дело с черной сталью
3.1 Кузнечные материалы
3.2 Инструменты
3.3 Оружие
3.4 Наковальня
Броня 3,5
4 сплава с использованием черной стали
Температура черной стали
Обозначения:
Неработоспособный
Рабочий
Свариваемый
Жидкость
Металл
Мин. Слиток наковальни
Мин. Инструментальная наковальня
горячий
Очень горячо
Бледно-красный
Темно-красный
ярко-красный
Оранжевый
Желтый
Желтый Белый
Белый
Бриллиантовый белый
*
**
***
****
*
**
***
****
*
**
***
****
*
**
***
****
*
**
***
****
*
**
***
****
*
**
***
****
*
**
***
****
*
**
***
****
Черная сталь
Сталь
Черная сталь
Получение черной стали
Черная сталь — сплав пятого уровня. Его получают путем смешивания жидких металлов в тигле для производства слабой стали.
Металл
Сталь
никель
Черная бронза
Процент
50-70%
15-25%
15-25%
Производит слабую сталь. Изготовьте слиток и сварите чугун, чтобы создать высокоуглеродистую черную сталь.
Снова поработайте на наковальне, чтобы выбить примеси и создать Черную сталь
Кузнечное дело с черной сталью
Материалы для кузнечного дела
Ввод
Тип работы
Выход
Неформованная черная сталь
Молоток
Слиток черной стали
Слиток черной стали
Сварка
Двойной слиток из черной стали
Двойной слиток из черной стали
Молоток
Черный стальной лист
Черный стальной лист
Сварка
Двойной лист из черной стали
Инструменты
Черные стальные слитки работают на наковальне, чтобы сделать головы для:
Черный стальной топор
Черное стальное долото
Черный стальной молот
Черная стальная мотыга
Черный стальной нож
Черная стальная кирка
Черная стальная кирка старателя
Черная стальная пила
Черная стальная лопата
Черная стальная коса
Оружие
Черные стальные слитки обрабатываются на наковальне для изготовления головок для:
Черное стальное копье
Двойные слитки из черной стали обрабатываются на наковальне для изготовления головок для:
Черная стальная булава
Черный стальной меч
Наковальня
Двойные слитки из черной стали также можно использовать для изготовления наковальни:
Броня
Черные стальные листы и
Двойные листы черной стали обрабатываются на наковальне для изготовления брони:
Черный стальной шлем
Нагрудник из черной стали
Черные стальные поножи
Черные стальные сапоги
Сплавы с использованием черной стали
Неформованная черная сталь используется при смешивании
Красная сталь
Синяя сталь
Навигация
Строительство
Бочки • Чертежи • Кирпичи • Место для костра • Блоки досок • Индикатор защиты • Керн • Гладкий камень • Кровать из соломы и шкуры • Опорные балки • Соломенная крыша
Окружающая среда
Высота над уровнем моря • Игрок • Календарь • Булыжник • Журналы • Мобы • Саженцы • Времена года • Камень • Температура • Деревья
Еда
Сельское хозяйство • Животноводство • Ягоды • Фруктовые деревья
Полное руководство по черной стали. Плюс Как Чернить Сталь.
Яркое и утонченное использование черненой стали может кардинально изменить внешний вид любого помещения. Его уникальная эстетика, одновременно индустриальная и шикарная, позволяет легко понять, почему он чаще используется в современной архитектуре как для жилых, так и для коммерческих проектов.
Эта отделка определенно не подходит всем. Конечный результат может быть в широком диапазоне цветов, поскольку «чернение» не обязательно означает только черный цвет. Помимо личных предпочтений, результат также может зависеть от того, какой метод вы используете.
Мы рассмотрим различные способы чернения стали, чтобы вы могли решить, какой метод подходит именно вам.
В этой статье мы рассмотрим:
● Что такое черненая сталь?
● Как чернить сталь.
● Окрашенные изделия, которые выглядят как вороненая сталь.
● Компании, которые будут чернить сталь для вас.
● Плюсы и минусы черненой стали.
● Почему вы должны включить его в свой архитектурный проект.
Что такое черненая сталь?
Вороненая сталь – это просто процесс обработки металла, придающий ему более темный цвет, чем его первоначальный цвет.
Существует несколько методов, которые можно использовать для получения почерневшей эстетики, например, с помощью горячих химикатов или масла. Результаты этих различных методов чернения могут различаться в зависимости от того, какой процесс используется. Цветовой результат может варьироваться от светло-серого до очень глубокого черного.
Важно помнить, что черненая сталь никогда не перестанет ржаветь. Если вы хотите предотвратить ржавчину, материал следует загерметизировать после того, как он почернеет.
Подготовка к чернению стали
Независимо от того, какой метод чернения стали вы выберете, все методы требуют определенной подготовки перед началом работы.
Перед началом процесса чернения металл необходимо очистить и предварительно подготовить для его подготовки. Поверхности, которые не были должным образом подготовлены перед чернением, могут привести к нежелательному результату.
Щелочные моющие средства удаляют масло, жир и ржавчину с поверхности. Растворители, такие как ацетон и денатурированный спирт, также отлично удаляют загрязнения. Поддержание чистой воды для ополаскивания, не загрязненной предыдущим ополаскиванием, также имеет решающее значение.
Для полной подготовки некоторых поверхностей с более сильной ржавчиной может потребоваться пескоструйная очистка, кислотное травление (соляная кислота), использование проволочной щетки или химическая зачистка. Эти меры используются для удаления более сложных остатков со стали.
Процессы черных стальных отделений
1. Горячая чернило
2. Холодная чернила
3. Восковой и масла
9004 4,000.
5. Окрашенные изделия
Горячее чернение
Горячая ванна (286°F) с гидроксидом натрия, нитратами и нитритами превращает металлическую поверхность в магнетит.
Холодное чернение
Холодное чернение – это нанесение соединения меди с селеном при комнатной температуре.
Воск и масло
Сталь нагревают до 400°F, затем покрывают смесью пчелиного воска и льняного масла, после чего металл повторно нагревают до затвердевания. Этот процесс иногда выполняется только с маслом.
Среднетемпературное чернение
Этот процесс похож на горячее чернение, но выполняется при более низкой температуре (220–245 °F).
Окрашенные изделия
Металлические стеновые панели или листы окрашены так, чтобы они выглядели как настоящая вороненая сталь. Сталь поставляется с окрашенным в черный цвет оксидным покрытием, в отличие от химического процесса.
Безопасность при чернении стали
Соляная кислота и другие химические вещества, с которыми вы можете столкнуться при чернении стали, будут выделять тяжелые пары и могут вызывать серьезное повреждение глаз и кожи при контакте с вами. Пожалуйста, соблюдайте предельную осторожность и надевайте соответствующее защитное оборудование при работе с этими материалами.
Плюсы и минусы методов чернения стали
Окрашенные изделия, похожие на черненую сталь
Плюсы
Минусы
Прибывает как готовый продукт
Вам не понадобятся опасные химикаты.
Гарантия на краску
Чернение стали без труда
НЕ требует пломбирования.
Только калибр 24
может выглядеть не так аутентично, как химически зачерненная сталь
Горячее чернение
Плюсы
Минусы
Доступен с несколькими датчиками
Аутентичный вид
Легко стирается
Токсичные химические вещества
Потенциально опасный
Требуемое время/труд
Холодное чернение
Плюсы
Минусы
Доступен с несколькими датчиками
Безопаснее горячего чернения
Токсичные химические вещества
Потенциально опасный
Требуемое время/труд
Воск/масло
Плюсы
Минусы
Доступен с несколькими датчиками
Можно сделать с предметами домашнего обихода
Может иметь полосы
Техническое обслуживание, необходимое для поддержания внешнего вида
Требуемое время/труд
Альтернативы черненой стали (более простые и доступные)
Если вы хотите получить вид черненой стали, избегая каких-либо работ или использования химикатов, тогда окрашенные панели, вероятно, являются лучшим выбором для вас.
Blackened Steel Series® — это окрашенные панели, которые выглядят как черная оксидная патина. Сталь многократно окрашивается для придания глубины отделки. Этот материал имеет стандартную гарантию на краску и выглядит состаренным.
Эти продукты также сэкономят вам серьезные деньги, взгляните на среднюю стоимость:
Плоские листы или рулоны будут стоить от 2,00 до 2,50 долларов США за кв.
футов
Металлические стеновые панели или металлическая кровля будут стоить от 2,50 до 3,50 долларов США за кв. футов
Пятнистая почерневшая ржавчина
Хотя это отличная альтернатива, позволяющая решить проблемы, связанные с чернением стали самостоятельно, она может не подходить для вашего проекта, если вам нужна толстая сталь.
Панели доступны как:
24 Калибр
AZ50 (он же Galvalume) подложка
Плоские листы или рулоны
Металлические стеновые панели, сайдинг, кровля
Стеновая панель с Т-образным пазом в цвете Black Ore Matte
Где купить черненую сталь
Хотя мы не продаем черненую сталь (мы продаем окрашенные панели, которые выглядят чернеными), мы знаем, что некоторые из вас захотят аутентичная черненая сталь для вашего следующего проекта. Если вы ищете компанию с хорошей репутацией, которая поможет вам, вот несколько компаний, которых мы знаем и которым доверяем:
Черная сталь Denali
Зачерненная сталь Zahner
Виманн Металкрафт
Таблица цветов черненой стали
Почему мне следует использовать черненую сталь в моем дизайне?
Фото: Проект Moz Design Homes
Черная сталь чаще используется в дизайне интерьера и экстерьера, так как смелые оттенки в сочетании с гладкой сталью создают интенсивные контрасты с другими отделками, которые делают дизайн действительно выделяющимся.
Когда-то использовавшаяся исключительно в промышленных условиях, дизайнеры теперь обращают внимание на эту стильную отделку, чтобы использовать ее в таких интерьерах, как розничные магазины, рестораны и корпоративные офисы.
Даже жилые дома, от кухонь до спален, начали использовать черненую сталь.
4 Профессиональные функции [ править | править код ]
5 Правила безопасности [ править | править код ]
6 Профессиональные заболевания [ править | править код ]
7 Слесарные инструменты [ править | править код ]
8 Интересные факты [ править | править код ]
Разряды слесарей-ремонтников
В настоящее время в нашем государстве активно развивается промышленное производство, и, как следствие, повышается интерес к рабочим специальностям, к таким, как изолировщик, слесарь и прочее. На сегодняшний день профессий и специализаций слесарей насчитывается более 50 штук, одна из них – слесарь-ремонтник. Специалист слесарь-ремонтник осуществляет ремонт производственного оборудования, задействованного в промышленных или технических процессах, а также в бытовых нуждах. В свою очередь, специалисты данного класса в зависимости от типа выполняемых работ и ответственности за их выполнение подразделяются по разным уровням.
Разряды слесарей ремонтников:
первый разряд слесарю-ремонтнику присваивается сразу после начала обучения. Это самый низший разряд. Работы обладатель данной категории может выполнять только под руководством и контролем опытного мастера;
второй разряд. Слесарь-ремонтник второго разряда осуществляет ремонт, сборку и разборку простых механизмов различных агрегатов. Его работа контролируется слесарем более высокой квалификации. Специалист такого разряда должен уметь производить обработку деталей по определенным квалитетам, изготавливать простые приспособления для осуществления ремонтных и сборочных работ, а также выполнять комплекс работ, связанных с применением электрических инструментов и сверлильных станков. В обязательном порядке любые разряды слесарей ремонтников подразумевают соблюдение единых правил охраны труда. Специалист второго разряда обязан знать все приемы выполнения работ по ремонту и сборке простых узлов оборудования и основные механические характеристики обрабатываемых материалов. Кроме того, специалист данного профиля должен знать как в теории, так и на практике, каково основное назначение слесарного инструмента и иметь полное представление об основных понятиях, о допусках и посадках, а также о параметрах шероховатости. К примеру, слесарь-ремонтник второго разряда может работать с болтами, гайками и шпильками (менять их крепление, опиливать и т.д.), устанавливать вентили, ремонтировать и устанавливать поршневые насосы и прочее;
Как пройти обучение
Отправить заявку
Подписать документы
На основании заявки мы подготовим договор
Оплатить счет
После подписания договора мы выставим счет на оплату
Пройти обучение
Пройти обучение, получить свидетельство.
деление на разряды слесарей ремонтников подразумевают наличие третьего разряда. Слесарь-ремонтник данного разряда осуществляет ремонт, сборку и разборку механизмов средней степени сложности, в отличие от слесарей низшего, второго разряда. Специалист этого уровня может производить комплекс работ высокой степени сложности только под руководством специалиста более высокой квалификации. Разряды слесарей ремонтников разнятся в зависимости от умения и должностных обязанностей специалистов. Сотрудник, имеющий третий слесарный разряд, осуществляет ремонтные работы футерованного оборудования и оборудования из защитных материалов. Также слесарь третьего разряда выполняет правку, рубку, опиливание, сверление деталей и т.д. Любые разряды слесарей ремонтников обязывают специалистов знать и соблюдать все требования правил охраны труда. Выполнение вышеперечисленных работ не может осуществляться без специальных знаний. Так, слесарь-ремонтник третьего разряда должен знать как в теории, так и на практике устройство ремонтируемого оборудования и его назначение. Знания в области назначения и взаимодействия всех основных механизмов и технических условий на испытание механизмов также являются обязательными;
Какие еще разряды слесарей ремонтников существуют? 4 разряд. Специалист этого разряда отвечает за ремонт, сборку и разборку особо сложных механизмов. Слесарь-ремонтник 4 разряда выполняет свою работу любой степени сложности полностью самостоятельно, в отличие от слесарей 2 и 3 разрядов. Специалист такого разряда должен уметь производить качественный ремонт, демонтаж и осуществлять пуско-наладочные работы после ремонта. Изготовление сложных приспособлений для ремонта и монтажа также входит в перечень умений слесаря-ремонтника 4 разряда. Более того, в обязанности специалистов с высоким квалификационным разрядом входит работа с документацией, он должен уметь составлять дефектные ведомости на ремонт. Перечень знаний слесаря 4 разряда на порядок выше, нежели у слесарей с низшим разрядом. Специалист должен знать устройство оборудования, всевозможные способы устранения дефектов в процессе ремонта, основные положения планового ремонта оборудования и т. д. К примеру, слесарь-ремонтник 4 разряда ремонтирует машины для литья, редукторы вращающихся печей, занимается сборкой и регулировкой коробок скоростей передач металлообрабатывающих станков и прочее;
Разряды слесарей ремонтников — 5 разряд. Специалист с пятым разрядом осуществляет монтаж, демонтаж, ремонт и наладку особо сложного оборудования. Он должен уметь определять степень износа деталей и быть знакомым с правилами испытания оборудования. Весь комплекс работ проводится самостоятельно без контроля слесарей шестого разряда. Разряды слесарей ремонтников определяются по уровню знаний, умений и опыта работы. Слесарь-ремонтник пятого разряда ремонтирует коробки скоростей токарных полуавтоматов, занимается регулировкой механизмов гидравлической подачи металлообрабатывающих станков, проверяет на жесткость станки с программным управлением и прочее;
Разряды слесарей ремонтников завершаются шестым разрядом. Слесарь-ремонтник наивысшего разряда ремонтирует и испытывает особо сложное уникальное оборудование и оборудование из разряда крупногабаритных. Специалист с шестым разрядом должен уметь устранять дефекты в ходе эксплуатации оборудования. В его обязанности также входит проверка на точность всех осуществляемых работ. Чтобы работы были выполнены грамотно, слесарь-ремонтник должен знать все конструктивные особенности оборудования, способы его ремонта и монтажа, учитывать допустимые нагрузки на работающие детали, проводить комплекс мер по предупреждению поломок и коррозийного износа. Капитальный ремонт токарных автоматов, электроимпульсных станков и станков с программным управлением – основные виды работы слесаря-ремонтника шестого разряда.
Более детально изучить разряды слесарей ремонтников и их разновидности, а также пройти обучение и получить соответствующее удостоверение можно в нашем институте.
Любые разряды слесарей ремонтников сегодня являются востребованными. Статистика на рынке труда говорит о том, что именно рабочие профессии набирают популярность и являются высокооплачиваемыми в нашей стране. При этом разряды слесарей ремонтников можно получить быстро, обучение для слесарей не занимает долгие годы. Теоретический курс для слесарей-ремонтников 2 и 3 разряда рассчитан на 120 часов, для повышения разряда достаточно прослушать 60-ти часовой курс. Практическая часть обучения составляет 60 дней для специалистов второго и третьего разряда, слесари-ремонтники 4 и 5 разряда обучаются в течение 30 дней. К концу обучения каждый должен усвоить необходимую базу и уметь выполнять весь комплекс работ, предусмотренный учебной программой нашего института.
Зависит от обстоятельств. Вплоть до 8.
ЕТКС Единый тарифно-квалификационный справочник работ и профессий рабочих
Выпуск 2 Слесарные и слесарно-сборочные работы
§ 159 СЛЕСАРЬ-РЕМОНТНИК (2-й разряд, 3-й разряд, 4-й разряд, 5-й разряд, 6-й разряд, 7-й разряд, 8-й разряд)
Характеристика работ. Диагностика, профилактика и ремонт уникального и экспериментального оборудования в гибких производственных системах и участие в работе по обеспечению вывода его на заданные параметры работы.
Должен знать: конструкцию, кинематические и гидравлические схемы ремонтируемого экспериментального и уникального оборудования; контрольно-измерительные приборы и стенды для диагностирования, ремонта и обслуживания оборудования; технологические процессы ремонта уникального и экспериментального оборудования.
Примечание. 7-й и 8-й разряды данной профессии присваиваются только при работе в цехах по подготовке производства, в экспериментальных и опытных цехах.
Слėсарь — (профессия) (нем. Schlosser — замочник) — специалист по ручной (без использования станков) обработке металлов, древесины и прочих материалов, включая операции по сборке и разборке на производстве или в быту.
В настоящее время профессий и специализаций слесарей насчитывается несколько сотен. Например, только в российском Едином тарифно-квалификационном справочнике работ и профессий рабочих (ЕТКС) описано более 70 профессий слесарей. Ниже приведен краткий перечень профессий:
Слесарь широкого профиля — наиболее близкая к историческому понятию слесарь профессия.
Слесарь по контрольно-измерительным приборам и автоматике — специалист по обслуживанию и мелкому ремонту контрольно-измерительных приборов и автоматики. В его должностные обязанности входит монтаж, настройка и техническое обслуживание контрольно-измерительных приборов (КИП) и устройств автоматики.
Слесарь механосборочных работ — осуществляет сборку и наладку машин и механизмов из деталей.
Слесарь-инструментальщик — специалист по изготовлению и ремонту штампов, пресс-форм (литформ), оснастки.
Автослесарь — специалист по ремонту автомобилей.
Слесарь-сантехник — специалист по монтажу и обслуживанию водопроводных коммуникаций.
Слесарь аварийно-восстановительных работ — специализация на аварийно-восстановительных работах.
Слесарь-ремонтник — осуществляет ремонт производственного оборудования, необходимого для поддержания промышленных-технических процессов либо бытовых нужд.
И т. д.
В соответствии с уровнем квалификации слесарю присваивается разряд от первого до шестого.
Содержание
Профессиональные функции [ править | править код ]
Выполняет такие основные виды слесарных работ как: сборка, разметка, замена или реставрация механизмов, рубка, резка, опиливание, распиливание, гибка, сверление, нарезание резьбы метчиком или плашкой (вручную), клёпка, правка, правка в подогретом состоянии, рихтовка, строгание, шлифовка, полировка, доводка, припасовка, притирка, шабрение и др.
Правила безопасности [ править | править код ]
Профессиональные заболевания [ править | править код ]
Так как слесарь использует в работе режущие, ударные и прочие инструменты, а в процессе работы нередко образуется стружка или пыль, резко повышается риск производственных травм различной степени тяжести: порезов, ссадин, попадания стружки в глаза.
Слесарные инструменты [ править | править код ]
Ножовка
Пробойник (бородок, просечка, просекатель)
Наждачная бумага
Шлифовальный брусок (оселок, водный камень)
Шлифовальная машина (шлифовальная машинка, шлифмашинка)
Угловая шлифовальная машина (УШМ, «болгарка»)
Металлическая щётка (корщётка)
Щётка-смётка
Гаечный ключ
Ключ-трещотка
Удлинитель для ключа-трещотки
Торцевая головка
Шпильковёрт
Динамометрический ключ
Разводной ключ
Трубный ключ (газовый ключ, «газик»)
Вилка
Отвёртка
Инбусовый ключ (шестигранный ключ)
Торцевой ключ
Балонный ключ
Коловорот
Дрель
Аккумуляторная отвёртка
Шуруповёрт
Гайковёрт
Винтовёрт
Бита
Перфоратор
Бур
Клепальный молоток
Клепальный инструмент (заклёпочник)
Маслёнка
Шило
Нож
Сапожный нож
Зубило
Кузнечное зубило
Крейцмейсель
Канавочник
Клеймо
Чертилка
Кернер
Кернер-центроискатель
Киянка
Кусачки
Боковые кусачки (бокорезы)
Торцевые кусачки
Ножницы
Проволокорез
Тросорез
Болторез
Арматурорез
Труборез
Кувалда
Молот
Лом
Паяльная лампа
Газовый резак
Метчик
Вороток
Плашкодержатель
Сверло
Зенкер
Зенковка
Цековка
Развёртка
Вывертка (экстрактор)
Молоток
Рихтовочный молоток
Напильник
Надфиль
Рашпиль
Резьбовой напильник
Мусат (сталька)
Притир
Пассатижи
Плоскогубцы
Длинногубцы
Круглогубцы
Плашка
Трубный клупп (резьбонарезной клупп)
Щипцы
Мультитул (мультиинструмент)
Струбцина
Тиски
Трубные тиски (трубозажим)
Наковальня
Правильная плита
Рихтовочная плита
Поверочная плита
Притирочная плита
Рихтовальная бабка
Маслёнка
Винтовой зажим
Эксцентриковый зажим
Магнитная плита
Сверлильный станок
Заточной станок («точило»)
Трубогибочный станок (трубогиб)
Натяжка
Обжимка
Поддержка
Концевая мера длины (КМД, меры концевые плоскопараллельные, плитки Иогансона)
Измерительный щуп
Радиусный шаблон
Калибр
Резьбовой калибр
Резьбовой шаблон (резьбомер)
Уступомер
Угольник
Шабер
Штангенциркуль
Высотометр
Глубиномер
Зубомер
Циркуль
Рейсмус
Штангенрейсмус
Микрометр
Трубный микрометр
Кронциркуль
Нутромер
Микрометрический нутромер (штихмас)
Индикатор часового типа
Стойка для индикатора часового типа
Индикаторный нутромер
Передаточная скоба
Предельная скоба
Рычажная скоба (пассаметр)
Пассиметр
Рычажный микрометр
Линейка
Складной метр
Рулетка
Уровень (ватерпас)
Транспортир
Центроискатель
Малка
Угломер
Профилограф
Профилометр
Поршневой насос
Крыльчатый насос
Прочие наборы инструмента в зависимости от назначения работ
Интересные факты [ править | править код ]
Профессия входит в список ТОП-50 самых востребованных профессий по версии Минтруда РФ [1]
Категории и разряды: иерархия внутри профессий
13. 04.2020
Категории и разряды: иерархия внутри профессий
Памятка по разрядам и категориям профессий
…Вот в армии все просто: майор по чину старше лейтенанта, а генерал-майор младше генерал-лейтенанта 🙂 А можно ли сравнить «крутизну» математика и слесаря, повара и чиновника? Врачи, учителя, слесари, − у всех у них есть свои иерархии, категории и разряды. «Табель о рангах» в профессиях выглядит как сочетание разрядов, категорий и квалификационных требований.
Зачем нужны категории и разряды?
В ЕКДС (Единый квалификационный справочник должностей служащих) написано, что «присвоение квалификационных категорий специалистам осуществляется для более полного учета в должностных окладах различий в уровнях квалификации, сложности и ответственности, повышения заинтересованности специалистов в росте профессионального мастерства, улучшении качества труда. Присвоение категории не требует изменения характера труда, тем самым создаются лучшие возможности для роста профессионального мастерства в пределах своей квалификации».
В ряде профессий от категории зависит оплата труда.
Да, и еще категории «сгорают» и «протухают», — обычно через 5 лет.
Чем категория отличается от разряда?
Если совсем просто: это синонимичные понятия, но для профессий с высшим образованием характерны «категории», а для среднего специального образования – разряды.
Или так: разряды – для профессий, в которых надо работать в основном руками, телом, а категорию присваивают тем, кто работает в первую очередь мозгом.
Но это не точно. Например, у кассиров почему-то категории, а не разряды, хотя эта профессия требует среднего специального образования. Что поделаешь – традиция плюс бюрократия!
Но на самом деле все еще сложнее. по определенным профессиям закреплены одновременно и разряды и категории. Например, охранник может быть 1-6 разряда, в которых 1 разряд относится к категориям Б и В, 2–3 разряды — А, Б и В. Для 4–6 разрядов категории не определены.
«Водитель автотранспортных средств» определяется и категориями (А, В, С, Е и D), согласно которым означен также и вид транспортного средства, и классами (1, 2, 3). 3 класс – просто достаточно иметь права. 2 класс – стаж «три года в третьем классе» + права категории В, С и Е, либо Д и Е одновременно. 1 класс = В, С, Д, Е одновременно + два года во втором классе + умение ремонтировать машину в полевых условиях. Все вместе это называется «классность водителя».
Вы еще не уснули? Сделайте короткую разминку, и читайте дальше.
Какие бывают разряды
Со времен Советского Союза у нас есть шесть «квалификационных уровней/разрядов».
Наивысший квалификационный разряд — шестой. Скажем, у слесаря эта цифра означает, что он может то же, что и слесарь пятого разряда, плюс дополнительно ему по силам работа с экспериментальными соединениями, которые никто до этого еще не варил, выбор расходных материалов, режима и прочих параметров. Переводя на человеческий язык — «не просто крутой, а очень крутой, на пять с плюсом».
Пятый разряд − «просто крутой». Слесарь пятого разряда работает с любым материалом в любых положениях.
Четвертого — работа средней сложности, третьего — простая (но добросовестная).
Первый разряд присваивается ученикам, второй — выпускникам соответствующих учебных заведений.
Но, как мы уже писали в статье «Оптимальный квалификационный разряд», существует «новая система тарифных разрядов», отличная от «старой» (она введена труда в 2014 году). И в этой новой системе наивысший разряд – 8-й, а каждый новый разряд соответствует не одному старому, а целому диапазону!
2 = 1-3 старые разряды (новичок)
3 = 2-3 (новичок, но не совсем зеленый)
4 = 2-4 (вчерашний новичок, но есть шанс, что уже разбирается в теме)
5 = 2-6 (ура, мы просто знаем, что этот работник может как-то работать, может, даже хорошо)
6 = 3-6 (от простого исполнителя до мастера-виртуоза, круто)
7-8 разряды в «новой» системе оба соответствуют 4-5 разрядам старой и означают просто желание работодателей взять на работу сотрудников «на четверку» или «на пятерку» 🙂 А в некоторых случаях 7 и 8 разряды предполагают получение неполного (!) высшего образования и статуса «младший специалист».
Проблема нестыковок разрядов, категорий и прочих элементов ЕТКС/ЕКС с профстандартами — настоящая головная боль для предприятий: квалификационные справочники (ЕТКС/ЕКС) не только лежат в основе наименований штатных единиц у сотен тысяч российских предприятий, но составляют каркас системы оплаты труда миллионов работников.
Интересный факт
У охранников – три разряда: 4, 5 и 6. 4 использует дубинка и наручники, 5 – газовые баллончики и электрошокер, 6 – огнестрельное оружие. Для получения категории надо сдать экзамен – продемонстрировать владение инструментарием и сдать теорию: на 4 разряд предлагается ответить на 7 вопросов (допускаются 2 ошибки), на 5 — 9 вопросов (2 ошибки), на 6 — 10 вопросов (1 ошибка).
Как повысить разряд
Обычно повышать разряды на более высокие можно через каждые 2 года на квалификационной комиссии. Однако если специалист имеет несколько образований или высшее образование — периодичность сдачи на разряд как правило уменьшается до 1 года.
Какие бывают категории
В разных профессиях – разная сетка категорий. Единой – нет!
Для учителей, врачей и специалистов культуры, искусства, предусмотрены следующие группы: без категории, 2 категории, 1 категории, высшей категории.
Для органов госуправления: без категории, 2 категории, 1 категории, ведущие специалисты, главные специалисты.
У техников две категории (плюс «без категорий»), а у конструкторов – пять: 1-3, без категории и «ведущий специалист».
Давайте для простоты разберем на мышах на инженерах.
Инженер без категории – это просто человек, закончивших инженерный вуз.
Инженер 3 категории – тот, кто еще и работал по специальности 3 года.
Инженер 2 категории – тот, кто работал инженером 3 категории 3 года (то есть всего 6 лет работы, ну и вовремя подсуетиться, чтобы пройти аттестацию и зафиксировать категорию).
Инженер 1 категории – это тот, кто перешел на следующий уровень как минимум 3 года назад (ну, и работал все это время по специальности, конечно).
А у бухгалтеров иначе:
Специалист-бухгалтер просто закончил вуз.
Бухгалтер 2 категории еще и работал год по специальности
Бухгалтер 1 категории – плюс 2 года на предыдущем уровне ИЛИ диплом магистра независимо от стажа.
Ведущий бухгалтер – 2 года на предыдущем уровне.
У артистов иерархия еще сложнее, она разная для драматических артистов и кукольных, для балета и оркестра…
Ведущий мастер сцены — высшее образование + 5 лет в должности артиста драмы высшей категории.
Высшей категории — высшее образование + 3 года в должности артиста драмы первой категории.
1 категория — высшее образование + стаж 1 год (независимо от категории) или среднее профессиональное образование + стаж 3 года в должности артиста драмы второй категории.
2 категория – высшее или среднее специальное образование.
А ведь есть еще и звания! «Заслуженного артиста» дают через 20 лет работы при наличии заслуг (артистам балета – через 10 лет), а «народного» — еще спустя 10 лет. И тоже при наличии особых заслуг и народной любви.
В общем, хотите изучить категории и разряды конкретной профессии – это можно сделать здесь: https://classinform.ru/eksd.html
Зависит ли качество работы от категории?
Казалось бы, все просто: образование, стаж работы, аттестации. Но де-факто мы ждем, что вместе со стажем инженер (врач, учитель) прокачивает и свою фактическую квалификацию, умение качественно выполнять работу. Что врач 1 категории лечит лучше, чем врач 2 категории (почему-то ведь за визит к нему в частных клиниках берут дороже!). Так ли это?
Нет, конечно. Недавний выпускник медвуза может вкалывать с азартом, чувствовать больного, обладать врачебной интуицией и неравнодушием, зарываться в книги,− и в итоге лечить лучше, чем честно отсидевший срок в клинике врач с большим стажем.
Учтем еще, что квалификационную категорию специалистам устанавливает наниматель «на основании рекомендаций аттестационной комиссии и всесторонней оценки деловых качеств специалиста. Присвоение очередной квалификационной категории производится при условии профессионального роста и способности выполнять работу более высокой степени сложности».
У педагогов категория зависит не только от стажа, но и от успехов и самого педагога, и его учеников, измеренных в проектах, наградах, «положительной динамики результатов освоения образовательных программ по итогам мониторингов», и т.п.
У медиков раньше категория зависела еще и от должности (руководитель, заведующий отделением), но сейчас это требование убрали (о должностях и специальностях мы вскоре расскажем вам отдельно).
В итоге категория говорит скорее о целеустремленности человека и его стаже в профессии, чем о качестве его работы. Врач, учитель, артист может быть отличным специалистом, но не иметь высоких категорий.
Как повысить категорию
С помощью аттестации. Это проверка уровня профессиональных знаний и навыков обязательна для работников определенных профессий: педагогам, медикам, чиновникам госструктур. Руководители коммерческих фирм также имеют право провести аттестацию работников с присвоением по ее итогам более высокой квалификации. При присвоении новой квалификационной категории эти сведения фиксируются в трудовом договоре допсоглашением.
Как правило, категория считается действующей в течение 5 лет, однако работник может пройти аттестацию «на следующую категорию» и раньше. Действует категория независимо от места работы. Прокачал уровень – молодец.
Слесарь: все о профессии от навыков до зарплаты — Work.ua
Кем быть
Слесарь — это профессиональный рабочий, который обрабатывает металлы ручным или механизированным инструментом, а также собирает, регулирует, ремонтирует машины и механизмы.
Что делает слесарь
Слесарем называют специалиста по ручной обработке металла, который умело орудует различными инструментами: от отвертки до станка. Специалисты этого направления задействованы не только на промышленном производстве, без участия слесаря невозможно представить себе ремонт водопроводных труб или машины. В зависимости от специализации слесари бывают разные:
Слесарь по контрольно-измерительным приборам занимается обслуживанием и мелким ремонтом контрольно-измерительных приборов и автоматики. Он монтирует и производит техническое обслуживание КИП.
Слесарь механосборочных работ собирает машины и механизмы из деталей, налаживает их, а также ремонтирует и обслуживает.
Автослесарь ремонтирует машины.
Слесарь-сантехник занимается монтажом и обслуживанием водопроводных коммуникаций.
Слесарь-ремонтник следит за производственным оборудованием, проводит текущий и капитальный ремонт станков и машин, а еще производит их монтаж и регулировку, диагностирует техническое состояние приборов и аппаратов перед началом работы и определяет степень износа оборудования.
Сколько получает слесарь
Слесари зарабатывают весьма неплохо, но уровень их оклада зависит от квалификации, опыта работы и разряда. После окончания специального учебного заведения, слесарю присваивается 1-4 разряд, 5-6 получают, сдав практический экзамен уже на предприятии. Кроме того, после 6-го разряда работник может стать мастером, а затем — главным инженером, при условии окончания высшего учебного заведения.
Вся Украина
Киев
Днепр
Запорожье
Львов
Одесса
Харьков
—
Винница
Житомир
Ивано-Франковск
Кропивницкий (Кировоград)
Луцк
Полтава
Ровно
Тернополь
Ужгород
Хмельницкий
Черкассы
Чернигов
Черновцы
В среднем «Слесарь» в Украине зарабатывает 15000 грн. Это медиана заработных плат по данным из 972 вакансий, размещенных на Work.ua с заголовком «Слесарь» и по запросам-синонимам «Locksmith», «Ходовик», «Мотомеханик» и др. за последние 3 месяца. Диапазон, который содержит медиану, выделен на графике.
Какие навыки нужны слесарю
Технический склад ума.
Умение работать со специальным инструментом (бородок, зубило, кувалда, метчик, струбница, шабер и т.д.).
Понимание основ слесарного дела.
Базовые знания физики, геометрии, механики и других точных наук.
Развитый глазомер и моторика пальцев.
Физическая выносливость, аккуратность, внимательность и терпение.
Знание техники безопасности, принципы работы оборудования, с которым приходится имеет дело, особенности обрабатываемых материалов, технологию профилактического ремонта, методы починки старых деталей, устройство и варианты использования контрольно-измерительного технического оснащения.
Преимущества и недостатки в работе слесаря
Как сами слесари оценивают свою профессию
По данным опроса Work. ua среди зарегистрированных соискателей с опытом работы слесарем.
Карьерный рост
4.0
Зарплата
3.0
Удовлетворенность профессией
4.0
Безопасность
3.0
Баланс между работой и жизнью
3.5
Насколько востребованы слесари
Работа слесаря необходима во многих областях: в эксплуатационных отделах, на предприятиях, заводах, ЖЭКах, ремонтных мастерских, на строительстве, в химической промышленности, в машиностроении, в фермерском хозяйстве, потому что машины и механизмы стали неотъемлемой частью нашей жизнь. Они частенько выходят из строя, для их обслуживания необходимы профессионально подготовленные работники, поэтому количество рабочих мест для слесарей будет только увеличиваться.
473
вакансии на сайте
Где учиться на слесаря
Выучиться на слесаря можно в колледже, где есть специальность «мастер слесарных работ». При желании, можно продолжить обучение в вузе по направлению «инженерия, машиностроение» или «электроника, телекоммуникации», чтобы получить более высокооплачиваемую должность.
Для повышения навыков можно устроиться в подходящую по профилю организацию на должность ученика, чтобы быстро вникнуть в суть рабочего процесса и заработать опыт. Пройти переподготовку или повысить квалификацию можно в центрах профессионального образования, в некоторых — абсолютно бесплатно.
Еще больше информации про курсы и учебные заведения.
19 марта, воскресенье
Другие профессии
Тестировщик — это IT-специалист, который занимается тестированием программного обеспечения, выявлением и устранением ошибок в программном коде.
Фотограф — человек, который делает качественные снимки, профессиональной техникой со знанием композиции и света.
Слесарь разряды — Кто кем работает
Слесарь механосборочных работ (СМР) трудится в цехах организаций, занимающихся машиностроением и металлообработкой. Этой профессией могут заниматься как мужчины, так и женщины, но в основном по ней трудятся лица мужского пола.
Родственные профессии, которыми также владеет СМР — это слесарь по контрольно-измерительным аппаратам и автоматическим приборам, а также слесарь-инструментальщик. Деятельность проходит в специальных цехах учреждений, занимающихся машиностроением и работой с металлом, где есть возможность осуществления слесарных и сборочных работ из специальных предоставленных деталей для разных устройств, включая сложные: автомобили, тракторы, моторы, турбины и различные станки.
СМР сначала с помощью нужных приборов подгоняет, соединяет и закрепляет между собой намеченное изделие, а затем на особенных установках испытывает его и при необходимости регулирует для дальнейшей бесперебойной работы.
Содержание статьи
Содержание
1 Разряды и характеристика деятельности
2 Общие положения
3 Требования и должностные обязанности
4 Квалификация и опыт
5 Примеры работ
6 Оценка, условия деятельности, профессиональный стандарт
7 Связи по должности
Разряды и характеристика деятельности
СМР выполняет работы различных уровней сложности. Право на эту деятельность определяет его тарифный разряд. Прописаны они в тарифно-квалификационном справочнике, одинаковом для каждого предприятия. На сегодняшний день существуют разряды с 2 по 7:
2-3 разряд
, предусматривает сборку простейших деталей, нарезку заготовок, сверление отверстий и нарезание резьбы простейшими инструментами, пайку и клейку деталей и узлов, притирку деталей до средней степени сложности, проведение испытаний на специальных агрегатах. Для этих работ не нужен высокий класс точности и большой опыт работы.
4-6 разряд предусматривает более ответственную деятельность. СМР этой квалификации собирают сложные узлы и агрегаты, проводят уникальные работы с испытываемыми механизмами. На их ответственности лежит снятие диаграмм и проверка характеристик механизмов, динамическая и статистическая балансировка, устранение дефектов сборки и проверка качества сложных агрегатов. СМР такого разряда имеет право составлять паспорта на выпускаемые предприятием механизмы. Может работать уже индивидуально и в основном трудится только в закрытом цеху.
Высший 7 разряд даёт право на работу в особо опасных условиях. Часто проводит ремонт и монтаж трубопроводов с любыми газами и жидкостями.
Общие положения
Этот раздел документа должен содержать в себе официальное название рабочей должности по шаблону, прописанному в справочниках квалификации трудящихся, принятым стандартам и действующему штатному расписанию, принятому на конкретной организации. Также здесь указываются все требования к его необходимому образованию, квалификации и накопленному рабочему опыту.
Должностная инструкция слесаря механосборочных работ
Требования и должностные обязанности
Самый важный пункт этого документа, который должен быть прописан наиболее подробно. Список исполняемых обязанностей зависит от вида предприятия, на котором работает СМР и его непосредственной профессии. Общее занятие для всех СМР состоит лишь в сборке деталей механизмов и целостных конструкций.
Остальные обязанности зависят от множества факторов. Главное — особый пункт правил, где прописан технологический процесс и техника безопасности, которая должна соблюдаться во время работы. Особое внимание ему должно быть уделено для СМР высокого разряда, который обязательно поэтапно должен следовать своему травмоопасному технологическому процессу.
Далее в основном в этом пункте инструкции указываются требования, предъявляемые к работнику:
монтаж целых изделий или только их отдельных деталей;
настройка и обработка узлов и деталей;
испытание готовых изделий на специальных станках;
устранение ошибок, произошедших при сборке;
балансировка главных узлов собранных агрегатов;
закрепление всех соединений с помощью гидравлического пресса. Права и ответственность
Данная часть договора в основном предполагает общие права трудового законодательства страны, поэтому здесь часто указаны только специфические виды, принятые на предприятии. Разделы ответственности посвящены правам работника, которые закреплены законом.
Работодатели не слишком часто вводят дополнительные права своих работников на предприятии, но в должностной инструкции часто можно встретить следующий перечень:
право отказа от деятельности, которая несет опасность для жизни и здоровья СМР и других людей;
право непосредственного обращения (в том числе с письменными заявлениями) к своему непосредственному руководителю по всем возникающим в процессе работы вопросам;
право сообщать своему непосредственному руководителю о сбое в работе механизмов и при возможности самостоятельно проводить мероприятия по их устранению.
Квалификация и опыт
СМР обязательно должен иметь профессиональное образование. Требования к нему будут предъявлены в зависимости от сложности необходимых работ, которые он обязан выполнять, то есть от его разряда. Этот раздел предусматривает указание к опыту работы СМР.
Правило здесь одно: чем выше разряд необходим для работы по специальности, тем больше должен быть стаж работы по ней.
Примеры работ
В этом пункте инструкции содержится перечень работ, который должен безошибочно выполнять СМР на предприятии. Они непосредственно зависят от разряда работника и прописаны в квалификационной характеристике справочника ЕТКС СМР.
Соответственно, чем выше разряд, тем более сложные производственные задания он должен уметь выполнять и соблюдать все прописанные в инструкции требования производства на том или ином предприятии. Справочник ЕТКС СМР утвержден законодательством страны и одинаков на всех предприятиях, больших и малых.
Оценка, условия деятельности, профессиональный стандарт
Непосредственный руководитель СМР в этом пункте инструкции:
Проводит оценку трудовой деятельности своего работника, сравнивая измеряемые показатели с функциональными.
Прописывает трудовые функции, входящие в профстандарт СМР указанного рабочего разряда, составляя функциональную карту вида его профессиональной деятельности. Организации-разработчики выбранного профстандарта для этого пункта инструкции должны быть указаны здесь.
Указывает условия деятельности на предприятии: описывает рабочее место, режим труда и отдыха, профессиональную вредность, необходимость и частоту командировок. Также здесь прописываются дополнительные условия деятельности, не нарушающие права работника на отдельно взятом предприятии, соответствующие заключенному договору и иными соглашениями, а также другими нормативными актами, неразглашению служебных и коммерческих тайн организации.
Связи по должности
В инструкции СМР прописано непосредственное взаимодействие с другими подразделениями предприятия и работников на нем, от которых он получает непосредственные указания или, напротив, передает материалы к выполнению поставленных задач. Прописывается их состав и сроки передачи.
Обязательно оговариваются взаимодействия работников разных разрядов с подразделениями, занимающимися устранением аварий, предупреждением опасных ситуаций и ликвидаций последствий ЧП.
В небольших организациях прямым начальником СМР может быть непосредственно ее руководитель, а также заместитель руководителя по производственным вопросам. Все это оговаривается в специальных подпунктах должностной инструкции СМР.
В конце должностной инструкции слесаря механосборочных работ должен быть указан документ, на основе которого она разрабатывалась, а также указано его наименование и дата выхода как этого документа, так и должностной инструкции.
Как стать слесарем механосборочных работ? Ответ на вопрос — на видео.
Требования к слесарю 3 разряда — Народный интерес
Содержание:
Квалификационные требования —
Слесарь-ремонтник 3-го разряда
Квалификационные требования Полное общее среднее образование и профессионально-техническое образование без требований к стажу работы или полное общее среднее образование и профессиональная подготовка на производстве. Повышение квалификации и стаж работы по профессии слесаря-ремонтника 2 разряда — не менее 1 года.
Знает и применяет в деятельности: строение оборудованиz, которое ремонтируется; назначение и взаимодействие основных составляющих единиц и механизмов; технологическую последовательность разборки, ремонта и сборки оборудования и машин; технические условия на испытания и регулирования составных единиц и механизмов; основные свойства обрабатываемых материалов; конструкцию универсальных приспособлений и применяемых контрольно-измерительных инструментов; систему допусков и посадок, квалитетs и параметры шероховатости; правила строповки, подъема, перемещения грузов; правила эксплуатации грузоподъемных средств и механизмов, управляемых с пола.
Характеристика работ, задачи и должностные обязанности Разбирает, ремонтирует, составляет и испытает составные единицы и механизмы оборудования и машин средней сложности. Ремонтирует, регулирует и испытает оборудование и машины средней сложности, а также сложные под руководством слесаря более высокой квалификации. Выполняет слесарную обработку деталей по 11-12 квалитетам. Ремонтирует футерованное оборудование и оборудование, изготовленное из защитных материалов и ферросилиция. Разбирает, составляет и уплотняет фаялитовую и керамическую аппаратуру и коммуникации. Производит приспособления средней сложности для ремонта и сборки. Выполняет такелажные работы при перемещении грузов с помощью простых грузоподъемных средств и механизмов, управляемых с пола.
Примеры работ Вентили всех диаметров — притиркf клапанов. Вентиляторы — ремонт и установка.
Тестовые задания для слесарей-ремонтников 3, 4, 5 разряда
Во сколько раз масса поднимаемого груза в процессе работы грузоподъёмного механизма может превышать его максимальную грузоподъёмность?
в) не должна превышать.
Правильный ответ: (в)
Точность, достигаемая при обычных методах разметки, составляет примерно
Правильный ответ: (а)
Для чего предназначены чертилки?
а) для нанесения углублений (кернов) на предварительно размеченных линиях;
б) для нанесения линий (рисок) на размечаемую поверхность с помощью линейки, угольника или шаблона;
в) для черчения на бумаге.
Правильный ответ: (б)
Для чего применяется ватерпас с градусной шкалой?
а) для деления окружностей и дуг, деления отрезков и окружностей, а так же для геометрических построений;
б) для точной разметки линий и центров;
в) для измерения уклонов с точностью до 0,0015 градусов и при установке деталей на плите в тех случаях, когда плоскость разметочной плиты строго выверена по уровню.
Правильный ответ: (в)
К какому типу соединений относится резьбовое соединение?
б) к неразъёмным;
в) к полуразъёмным.
Правильный ответ: (а)
Какие шпонки используются в ненапряжённых шпоночных соединениях?
Правильный ответ: (б)
Под каким углом допускается фрезерование нового шпоночного паза при износе старого?
Правильный ответ: (а, б)
Что такое шаг резьбы?
а) высота от впадины резьбы до её вершины;
б) расстояние между вершиной резьбы до её впадиной;
в) расстояние между параллельными сторонами или вершинами двух рядом лежащих витков, измеренное вдоль оси резьбы.
Правильный ответ: (в)
Что называется ходом резьбы?
а) количество оборотов винта, сделанное при закручивании до его упора;
б) осевое перемещение винта за один его оборот;
в) длинна резьбовой части винта.
Правильный ответ: (б)
Чему равен угол профиля метрической резьбы?
Правильный ответ: (б)
Чему может быть равен угол профиля дюймовой резьбы?
Правильный ответ: (б, в)
Как приблизительно подобрать диаметр сверла для сверления отверстия под внутреннюю резьбу?
а) номинальный деаметр резьбы минус шаг резьбы;
б) номинальный деаметр резьбы плюс шаг резьбы;
Должностная инструкция Слесаря-ремонтника 3-го разряда
Должность: Слесарь-ремонтник 3-го разряда Подразделение: _________________________
1. Общие положения:
Подчиненность:
Слесарь-ремонтник 3-го разряда непосредственно подчиняется .
Слесарь-ремонтник 3-го разряда выполняет указания . (указания этих работников вы выполняются только в том случае, если они не противоречат указаниям непосредственного руководителя).
Замещение:
Слесарь-ремонтник 3-го разряда замещает.
Слесаря-ремонтника 3-го разряда замещает .
Прием и освобождение от должности: Слесарь-ремонтник назначается на должность и освобождается от должности руководителем отдела по согласованию с руководителем подразделения.
2. Требования к квалификации:
Должен знать:
устройство ремонтируемого оборудования
назначение и взаимодействие основных узлов и механизмов
технологическую последовательность разборки, ремонта и сборки оборудования, агрегатов и машин
технические условия на испытание, регулировку и приемку узлов и механизмов
основные свойства обрабатываемых материалов
устройство универсальных приспособлений и применяемых контрольно-измерительных инструментов
систему допусков и посадок, квалитеты и параметры шероховатости
правила строповки, подъема, перемещения грузов
правила эксплуатации грузоподъемных средств и механизмов, управляемых с пола.
3. Должностные обязанности:
Разборка, ремонт, сборка и испытание средней сложности узлов и механизмов оборудования, агрегатов и машин.
Ремонт, регулирование и испытание средней сложности оборудования, агрегатов и машин, а также сложного под руководством слесаря более высокой квалификации.
Слесарная обработка деталей по 11-12 квалитетам.
Ремонт футерованного оборудования и оборудования, изготовленного из защитных материалов и ферросилиция.
Разборка, сборка и уплотнение фаолитовой и керамической аппаратуры и коммуникаций.
Изготовление приспособлений средней сложности для ремонта и сборки.
Выполнение такелажных работ при перемещении грузов с помощью простых грузоподъемных средств и механизмов, управляемых с пола.
Слесарь-ремонтник имеет право давать подчиненным ему сотрудникам поручения, задания по кругу вопросов, входящих в его функциональные обязанности.
Слесарь-ремонтник имеет право контролировать выполнение производственных заданий, своевременное выполнение отдельных поручений подчиненными ему сотрудниками.
Слесарь-ремонтник имеет право запрашивать и получать необходимые материалы и документы, относящиеся к вопросам своей деятельности и деятельности подчиненных ему сотрудников.
Слесарь-ремонтник имеет право взаимодействовать с другими службами предприятия по производственным и другим вопросам, входящим в его функциональные обязанности.
Слесарь-ремонтник имеет право знакомиться с проектами решений руководства предприятия, касающимися деятельности Подразделения.
Слесарь-ремонтник имеет право предлагать на рассмотрение руководителя предложения по совершенствованию работы, связанной с предусмотренными настоящей Должностной инструкцией обязанностями.
Слесарь-ремонтник имеет право выносить на рассмотрения руководителя предложения о поощрении отличившихся работников, наложении взысканий на нарушителей производственной и трудовой дисциплины.
Слесарь-ремонтник имеет право докладывать руководителю обо всех выявленных нарушениях и недостатках в связи с выполняемой работой.
5. Ответственность
Слесарь-ремонтник несет ответственность за ненадлежащее исполнение или неисполнение своих должностных обязанностей, предусмотренных настоящей должностной инструкцией — в пределах, определенных трудовым законодательством Российской Федерации.
Слесарь-ремонтник несет ответственность за нарушение правил и положений, регламентирующих деятельность предприятия.
При переходе на другую работу или освобождении от должности Слесарь-ремонтник ответственен за надлежащую и своевременную сдачу дел лицу, вступающему в настоящую должность, а в случае отсутствия такового, лицу его заменяющему или непосредственно своему руководителю.
Слесарь-ремонтник несет ответственность за правонарушения, совершенные в процессе осуществления своей деятельности, — в пределах, определенных действующим административным, уголовным и гражданским законодательством Российской Федерации.
Слесарь-ремонтник несет ответственность за причинение материального ущерба — в пределах, определенных действующим трудовым и гражданским законодательством Российской Федерации.
Слесарь-ремонтник несет ответственность за соблюдение действующих инструкций, приказов и распоряжений по сохранению коммерческой тайны и конфиденциальной информации.
Слесарь-ремонтник несет ответственность за выполнение правил внутреннего распорядка, правил ТБ и противопожарной безопасности.
Настоящая должностная инструкция разработана в соответствии с (наименование, номер и дата документа)
Руководитель структурного подразделения:
Начальник юридического отдела:
Квалификационные требования —
Слесарь-ремонтник 4-го разряда
Квалификационные требования Профессионально-техническое образование. Повышение квалификации и стаж работы по профессии слесаря-ремонтника 3 разряда — не менее 1 года.
Знает и применяет в деятельности: строение ремонтируемого оборудования и машин; правила регулировки машин; способы устранения дефектов в процессе ремонта, сборки, испытания оборудования, агрегатов и машин; устройство, назначение и правила применения используемых контрольно-измерительных инструментов; конструкцию универсальных и специальных приспособлений; способы разметки и обработки различных несложных деталей; систему допусков и посадок, квалитеты и параметры шероховатости; свойства кислотоупорных и других сплавов; основные положения планово-предупредительного ремонта оборудования.
Характеристика работ, задачи и должностные обязанности Разбирает, ремонтирует, собирает и испытывает сложные и особо сложные составные единицы и механизмы оборудования. Выполняет ремонт, монтаж, демонтаж, испытания, регулировку, наладку сложного оборудования, агрегатов и машин и сдает их после ремонта. Выполняет слесарную обработку деталей и составных единиц по 7-10 квалитетам. Предлагает сложные приспособления для ремонта и монтажа. Составляет дефектные ведомости на ремонт. Выполняет такелажные работы с применением подъемно-транспортных механизмов и специальных приспособлений.
Примеры работ Станки деревообрабатывающие и металлорежущие — капитальный ремонт, регулировка. Коробки скоростей и подач металлообрабатывающих станков — сборка и регулировка.
Слесарь-ремонтник
§ 153. Слесарь-ремонтник 2-го разряда
Характеристика работ. Разборка, ремонт, сборка и испытание простых узлов и механизмов оборудования, агрегатов и машин. Ремонт простого оборудования, агрегатов и машин, а также средней сложности под руководством слесаря более высокой квалификации. Слесарная обработка деталей по 12 — 14 квалитетам. Промывка, чистка, смазка деталей и снятие залива. Выполнение работ с применением пневматических, электрических инструментов и на сверлильных станках. Шабрение деталей с помощью механизированного инструмента. Изготовление простых приспособлений для ремонта и сборки.
Должен знать: основные приемы выполнения работ по разборке, ремонту и сборке простых узлов и механизмов, оборудования, агрегатов и машин; назначение и правила применения слесарного и контрольно-измерительных инструментов; основные механические свойства обрабатываемых материалов; систему допусков и посадок, квалитеты и параметры шероховатости; наименование, маркировку и правила применения масел, моющих составов, металлов и смазок.
14. Точила наждачные и пылесосы к ним — ремонт, сборка, замена и правка абразивных кругов.
15. Шпонки — опиливание.
16. Шпулярники сновальных машин — ремонт и установка на машину.
§ 154. Слесарь-ремонтник 3-го разряда
Характеристика работ. Разборка, ремонт, сборка и испытание средней сложности узлов и механизмов оборудования, агрегатов и машин. Ремонт, регулирование и испытание средней сложности оборудования, агрегатов и машин, а также сложного под руководством слесаря более высокой квалификации. Слесарная обработка деталей по 11 — 12 квалитетам. Ремонт футерованного оборудования и оборудования, изготовленного из защитных материалов и ферросилиция. Разборка, сборка и уплотнение фаолитовой и керамической аппаратуры и коммуникаций. Изготовление приспособлений средней сложности для ремонта и сборки. Выполнение такелажных работ при перемещении грузов с помощью простых грузоподъемных средств и механизмов, управляемых с пола.
Должен знать: устройство ремонтируемого оборудования; назначение и взаимодействие основных узлов и механизмов; технологическую последовательность разборки, ремонта и сборки оборудования, агрегатов и машин; технические условия на испытание, регулировку и приемку узлов и механизмов; основные свойства обрабатываемых материалов; устройство универсальных приспособлений и применяемых контрольно-измерительных инструментов; систему допусков и посадок, квалитеты и параметры шероховатости; правила строповки, подъема, перемещения грузов; правила эксплуатации грузоподъемных средств и механизмов, управляемых с пола.
Примеры работ
1. Агрегаты вакуумные высокого вакуума на установках средней сложности — ремонт.
2. Вентили всех диаметров — притирка клапанов.
3. Вентиляторы — ремонт и установка.
4. Вкладыши — пригонка и опиливание по параллелям.
5. Газопроводы — уплотнение мест подсоса диабазовой замазкой и нефтебитумом.
6. Желоба для заливки чугуна — замена.
7. Кожухи и рамы сложные — изготовление.
8. Конвейеры металлические — замена роликов.
9. Коробки скоростей и подач в металлообрабатывающих станках средней сложности — сборка и регулировка.
18. Полуавтоматы сварочные, установки — средний и текущий ремонт.
19. Резаки газоэлектрические — замена наконечников с центровкой электродов.
20. Сита и ножи — снятие, установка и регулировка.
21. Станки деревообрабатывающие — текущий ремонт.
22. Станки ткацкие — смена нижних валов и прижимов.
23. Станки токарные — полный ремонт продольных и поперечных салазок, суппортов.
24. Теплообменники — ремонт, сборка.
25. Трубопроводы — разборка.
26. Устройства позиционирования шпинделей — регулировка.
27. Шлаковозы — осмотр, смазка и ремонт.
28. Электропечи — разборка и ремонт.
§ 155. Слесарь-ремонтник 4-го разряда
Характеристика работ. Разборка, ремонт, сборка и испытание сложных узлов и механизмов. Ремонт, монтаж, демонтаж, испытание, регулирование, наладка сложного оборудования, агрегатов и машин и сдача после ремонта. Слесарная обработка деталей и узлов по 7 — 10 квалитетам. Изготовление сложных приспособлений для ремонта и монтажа. Составление дефектных ведомостей на ремонт. Выполнение такелажных работ с применением подъемно-транспортных механизмов и специальных приспособлений.
Должен знать: устройство ремонтируемого оборудования, агрегатов и машин; правила регулирования машин; способы устранения дефектов в процессе ремонта, сборки и испытания оборудования, агрегатов и машин; устройство, назначение и правила применения используемых контрольно-измерительных инструментов; конструкцию универсальных и специальных приспособлений; способы разметки и обработки несложных различных деталей; систему допусков и посадок; квалитеты и параметры шероховатости; свойства кислотоупорных и других сплавов; основные положения планово-предупредительного ремонта оборудования.
Примеры работ
1. Аппараты колонного типа — ремонт, сборка.
2. Аппаратура кислородная и аргонная электроплавильных печей — ремонт, обслуживание.
25. Оборудование подготовительных цехов (участков) для производства растительных масел и аппараты жироперерабатывающих производств — сборка, регулировка и испытание.
26. Пневмонасосы, дымососы, эксгаустеры — ремонт.
27. Подшипники ответственные — заливка баббитом и шабрение.
29. Системы воздушные конвертеров и ватержакетов — регулировка, капитальный ремонт.
30. Смесители и сульфураторы — замена валов и муфт.
31. Станки деревообрабатывающие и металлорежущие — капитальный ремонт, регулировка.
32. Станки ткацкие — капитальный ремонт и наладка уточного механизма.
33. Турбобуры секционные и шпиндельные — ремонт, сборка, регулировка, испытание.
34. Чушкоукладчики — ремонт с заменой деталей.
§ 156. Слесарь-ремонтник 5-го разряда
Характеристика работ. Ремонт, монтаж, демонтаж, испытание, регулирование и наладка сложного оборудования, агрегатов и машин и сдача после ремонта. Слесарная обработка деталей и узлов по 6 — 7 квалитетам. Разборка, ремонт и сборка узлов и оборудования в условиях напряженной и плотной посадок.
Должен знать: конструктивные особенности ремонтируемого оборудования, агрегатов и машин; технические условия на ремонт, сборку, испытание и регулирование и на правильность установки оборудования, агрегатов и машин; технологический процесс ремонта, сборки и монтажа оборудования; правила испытания оборудования на статическую и динамическую балансировку машин; геометрические построения при сложной разметке; способы определения преждевременного износа деталей; способы восстановления и упрочнения изношенных деталей и нанесения защитного покрытия.
Примеры работ
1. Автоматы токарно-револьверные многошпиндельные, копировальные, координатно-расточные, зубострогальные и вальцетокарные станки — средний ремонт, монтаж, регулировка, проверка на точность, пуск и сдача в эксплуатацию.
2. Агрегаты высокого давления (колонны синтеза), сепараторы, испарители, водяные конденсаторы, холодильники — текущий и средний ремонт.
3. Аппараты брагоперегонные и брагоректификационные — капитальный ремонт.
4. Аппараты, газопроводы высокого давления — ревизия, ремонт и испытание.
5. Аппараты сложные кинопроекционные и машины проявочные — средний ремонт.
6. Аппаратура кислородная и аргонная мартеновских печей — ремонт, обслуживание.
7. Газодувки — капитальный ремонт и испытание.
8. Катки сушильно-гладильные вакуумные — ремонт и наладка.
9. Коробки скоростей токарных полуавтоматов — сборка и переключение с взаимной пригонкой шлицевых валиков и шестерен.
28. Установки вакуум-выпарные — разборка, ремонт, сборка.
29. Цилиндры, подшипники коренные и шатунные — проверка после обкатки и окончательное крепление всех соединений.
30. Экономайзеры, пароперегреватели, компрессорные и воздуходувные установки — капитальный ремонт, сдача после испытания.
31. Электро- и руднотермические печи — проверка соосности подъемных винтов, конвейера и посадки корпуса печи на все четыре колонны.
§ 157. Слесарь-ремонтник 6-го разряда
Характеристика работ. Ремонт, монтаж, демонтаж, испытание и регулирование сложного крупногабаритного, уникального, экспериментального и опытного оборудования, агрегатов и машин. Выявление и устранение дефектов во время эксплуатации оборудования и при проверке в процессе ремонта. Проверка на точность и испытание под нагрузкой отремонтированного оборудования.
Должен знать: конструктивные особенности, кинематические и гидравлические схемы ремонтируемого оборудования, агрегатов и машин; методы ремонта, сборки, монтажа, проверки на точность и испытания отремонтированного оборудования; допустимые нагрузки на работающие детали, узлы, механизмы оборудования и профилактические меры по предупреждению поломок, коррозионного износа и аварий.
3. Аппараты сложные кинопроекционные и машины проявочные — капитальный ремонт.
4. Клети прокатного стана — проверка, регулировка, испытание и сдача после ремонта.
5. Линии автоматические всех профилей обработки, имеющие сложные агрегаты, — капитальный и средний ремонт.
6. Линии автоматические формовочные — капитальный ремонт, сборка, регулировка и сдача.
7. Линии комплексно-механизированные мучнисто-кондитерских, макаронных и хлебобулочных изделий и автоматические в парфюмерно-косметическом производстве — ремонт и наладка.
8. Машины агломерационные — регулирование движения машины и теплового зазора, выверка привода по оси головного радиуса.
9. Машины подъемные скипового и клетьевого шахтного подъема — ремонт, испытание, сдача.
10. Оборудование прецизионное — ремонт, сдача.
11. Печи руднотермические — капитальный ремонт контактной системы и выбраковка дефектных деталей.
12. Печи трубчатые — испытание змеевика.
13. Прессы гидравлические — капитальный и средний ремонт.
15. Роботы и манипуляторы с программным управлением с категорией ремонтной сложности свыше 20 ед. — монтаж, ремонт, наладка.
16. Станки агрегатные, барабанно-фрезерные и специальные, автоматы и полуавтоматы специальные шлифовальные для обтачивания и шлифования кулачковых и конических валов — ремонт.
17. Станки координатно-расточные — восстановление координат.
18. Станки с программным управлением — проверка на точность, восстановление координат, ремонт, испытание.
Характеристика работ. Диагностика, профилактика и ремонт сложного оборудования в гибких производственных системах. Устранение отказов оборудования при эксплуатации с выполнением комплекса работ по ремонту и наладке механической, гидравлической и пневматической систем.
Должен знать: конструктивные особенности, гидравлические и кинематические схемы ремонтируемого сложного оборудования; методы диагностики, ремонта, сборки и монтажа, проверки на точность и испытания отремонтированного оборудования; допустимые нагрузки на работающие детали, узлы, механизмы оборудования и профилактические меры по предупреждению неисправностей; технологические процессы ремонта, испытания и сдачи в эксплуатацию сложного оборудования.
Требуется среднее профессиональное образование.
§ 159. Слесарь-ремонтник 8-го разряда
Характеристика работ. Диагностика, профилактика и ремонт уникального и экспериментального оборудования в гибких производственных системах и участие в работе по обеспечению вывода его на заданные параметры работы.
Должен знать: конструкцию, кинематические и гидравлические схемы ремонтируемого экспериментального и уникального оборудования; контрольно-измерительные приборы и стенды для диагностирования, ремонта и обслуживания оборудования; технологические процессы ремонта уникального и экспериментального оборудования.
Требуется среднее профессиональное образование.
Примечание. 7-й и 8-й разряды данной профессии присваиваются только при работе в цехах по подготовке производства, в экспериментальных и опытных цехах.
Слесарь по ремонту автомобилей
§ 99. Слесарь по ремонту автомобилей 1-го разряда
Характеристика работ. Разборка простых узлов автомобилей. Рубка зубилом, резка ножовкой, опиливание, зачистка заусенцев, промывка, прогонка резьбы, сверление отверстий по кондуктору в автомобиле, очистка от грязи, мойка после разборки и смазка деталей. Участие в ремонте под руководством слесаря более высокой квалификации.
Должен знать: основные приемы выполнения работ по разборке отдельных простых узлов; назначение и правила применения используемого слесарного и контрольно-измерительных инструментов; наименование и маркировку металлов, масел, топлива, тормозной жидкости, моющих составов.
Примеры работ
1. Автомобили — слив воды из системы охлаждения, топлива из баков, тормозной жидкости из гидравлической тормозной системы.
2. Фильтры воздушные и масляные тонкой и грубой очистки — разборка.
§ 100. Слесарь по ремонту автомобилей 2-го разряда
Характеристика работ. Разборка грузовых автомобилей, кроме специальных и дизелей, легковых автомобилей, автобусов длиной до 9,5 м и мотоциклов. Ремонт, сборка простых соединений и узлов автомобилей. Снятие и установка несложной осветительной арматуры. Разделка, сращивание, изоляция и пайка проводов. Выполнение крепежных работ при первом и втором техническом обслуживании, устранение выявленных мелких неисправностей. Слесарная обработка деталей по 12 — 14 квалитетам с применением приспособлений, слесарного и контрольно-измерительных инструментов. Выполнение работ средней сложности по ремонту и сборке автомобилей под руководством слесаря более высокой квалификации.
Должен знать: основные сведения об устройстве автомобилей и мотоциклов; порядок сборки простых узлов; приемы и способы разделки, сращивания, изоляции и пайки электропроводов; основные виды электротехнических и изоляционных материалов, их свойства и назначение; способы выполнения крепежных работ и объемы первого и второго технического обслуживания; назначение и правила применения наиболее распространенных универсальных и специальных приспособлений и контрольно-измерительных инструментов; основные механические свойства обрабатываемых материалов; назначение и применение охлаждающих и тормозных жидкостей, масел и топлива; правила применения пневмо- и электроинструмента; систему допусков и посадок; квалитеты и параметры шероховатости; основы электротехники и технологии металлов в объеме выполняемой работы.
§ 101. Слесарь по ремонту автомобилей 3-го разряда
Характеристика работ. Разборка дизельных и специальных грузовых автомобилей и автобусов длиной свыше 9,5 м. Ремонт, сборка грузовых автомобилей, кроме специальных и дизельных, легковых автомобилей, автобусов длиной до 9,5 м. Ремонт и сборка мотоциклов, мотороллеров и других мототранспортных средств. Выполнение крепежных работ резьбовых соединений при техническом обслуживании с заменой изношенных деталей. Техническое обслуживание: резка, ремонт, сборка, регулировка и испытание агрегатов, узлов и приборов средней сложности. Разборка агрегатов и электрооборудования автомобилей. Определение и устранение неисправностей в работе узлов, механизмов, приборов автомобилей и автобусов. Соединение и пайка проводов с приборами и агрегатами электрооборудования. Слесарная обработка деталей по 11 — 12 квалитетам с применением универсальных приспособлений. Ремонт и установка сложных агрегатов и узлов под руководством слесаря более высокой квалификации.
Должен знать: устройство и назначение узлов, агрегатов и приборов средней сложности; правила сборки автомобилей и мотоциклов, ремонт деталей, узлов, агрегатов и приборов; основные приемы разборки, сборки, снятия и установки приборов и агрегатов электрооборудования; регулировочные и крепежные работы; типичные неисправности системы электрооборудования, способы их обнаружения и устранения, назначение и основные свойства материалов, применяемых при ремонте электрооборудования; основные свойства металлов; назначение термообработки деталей; устройство универсальных специальных приспособлений и контрольно-измерительных инструментов; систему допусков и посадок; квалитеты и параметры шероховатости.
Примеры работ
1. Автомобили легковые, грузовые, автобусы всех марок и типов — снятие и установка бензобаков, картеров, радиаторов, педалей тормоза, глушителей, замена рессор.
2. Валы карданные, цапфы тормозных барабанов — подгонка при сборке.
§ 102. Слесарь по ремонту автомобилей 4-го разряда
Характеристика работ. Ремонт и сборка дизельных, специальных грузовых автомобилей, автобусов, мотоциклов, импортных легковых автомобилей, грузовых пикапов и микроавтобусов. Разборка, ремонт, сборка сложных агрегатов, узлов и приборов и замена их при техническом обслуживании. Обкатка автомобилей и автобусов всех типов на стенде. Выявление и устранение дефектов, неисправностей в процессе регулировки и испытания агрегатов, узлов и приборов. Разбраковка деталей после разборки и мойки. Слесарная обработка деталей по 7 — 10 квалитетам с применением универсальных приспособлений. Статическая и динамическая балансировка деталей и узлов сложной конфигурации, составление дефектных ведомостей.
Должен знать: устройство и назначение дизельных и специальных грузовых автомобилей и автобусов; электрические и монтажные схемы автомобилей; технические условия на сборку, ремонт и регулировку агрегатов, узлов и приборов; методы выявления и способы устранения сложных дефектов, обнаруженных в процессе ремонта, сборки и испытания агрегатов, узлов и приборов; правила и режимы испытаний, технические условия на испытания и сдачу агрегатов и узлов; назначение и правила применения сложных испытательных установок; устройство, назначение и правила применения контрольно-измерительных инструментов; конструкцию универсальных и специальных приспособлений; периодичность и объемы технического обслуживания электрооборудования и основных узлов и агрегатов автомобилей; систему допусков и посадок; квалитетов и параметров шероховатости.
Примеры работ
1. Блоки цилиндров двигателей — ремонт и сборка с кривошипношатунным механизмом.
22. Тормоза гидравлические и пневматические — разборка.
23. Управление рулевое — ремонт, сборка, регулировка.
24. Шатуны в сборе с поршнями — проверка на приборе.
25. Шатуны — смена втулок в верхней головке шатуна с подгонкой по поршневому пальцу; окончательная пригонка по шейкам коленчатого вала по отвесу в четырех положениях.
26. Электропровода автомобилей — установка по схеме.
§ 103. Слесарь по ремонту автомобилей 5-го разряда
Характеристика работ. Регулировка и испытание на стендах и шасси сложных агрегатов, узлов и приборов автомобилей и замена их при техническом обслуживании. Проверка деталей и узлов электрооборудования на проверочной аппаратуре и проверочных приспособлениях. Установка приборов и агрегатов электрооборудования по схеме, включая их в сеть. Выявление и устранение сложных дефектов и неисправностей в процессе ремонта, сборки и испытания агрегатов, узлов автомобилей и приборов электрооборудования. Сложная слесарная обработка, доводка деталей по 6 — 7 квалитетам. Статическая и динамическая балансировка деталей и узлов сложной конфигурации. Диагностирование и регулировка систем и агрегатов грузовых и легковых автомобилей и автобусов, обеспечивающих безопасность движения.
Должен знать: конструктивное устройство обслуживаемых автомобилей и автобусов; технические условия на ремонт, сборку, испытания и регулировку сложных агрегатов и электрооборудования; электрические и монтажные схемы любой сложности и взаимодействие приборов и агрегатов в них; причины износа сопряженных деталей и способы их выявления и устранения; устройство испытательных стендов.
Примеры работ
1. Агрегаты и приборы электрооборудования — установка по полной схеме, включение в сеть, проверка и регулировка их при техническом обслуживании.
10. Тормоза гидравлические и пневматические — ремонт, сборка, установка и регулировка.
11. Цилиндры, коренные и шатунные подшипники — проверка после испытания на стенде, устранение неисправностей и окончательное крепление всех соединений.
§ 104. Слесарь по ремонту автомобилей 6-го разряда
Характеристика работ. Ремонт, сборка, регулировка, испытание на стенде и шасси и сдача в соответствии с технологическими условиями сложных агрегатов и узлов автомобилей различных марок. Проверка правильности сборки со снятием эксплуатационных характеристик. Диагностирование и регулировка всех систем и агрегатов легковых и грузовых автомобилей и автобусов. Оформление приемо-сдаточной документации.
Должен знать: конструктивные особенности автомобилей и автобусов различных марок; технические условия на ремонт, испытание и сдачу сложных агрегатов и узлов; способы полного восстановления и упрочнения изношенных деталей; порядок оформления приемо-сдаточной документации; правила ремонта и способы регулировки и тарировки диагностического оборудования.
2. Стенды для проверки тягово-экономических и тормозных качеств автомобилей — обслуживание, ремонт, тарировка.
3. Приборы для проверки систем электрооборудования, зажигания, пневматических тормозов систем, гидроусилителей рулевого управления — обслуживание, ремонт, тарировка и регулировка.
§ 104а. Слесарь по ремонту автомобилей 7-го разряда
(введено Приказом Минздравсоцразвития РФ от 13.11.2008 N 645)
Характеристика работ. Регулирование и испытание на стендах и шасси особо сложных агрегатов, узлов и приборов автомобилей, автогидроподъемников, специальных автомобилей, предназначенных для транспортировки опасных грузов. Ремонт узлов и агрегатов гидравлических систем подъемников. Проверка правильности сборки узлов и агрегатов со снятием эксплуатационных характеристик. Диагностирование и регулирование всех систем и агрегатов, обеспечивающих безопасность движения автомобилей различных марок и назначения.
Должен знать: особенности устройства обслуживаемых автомобилей различных марок и назначения; технические условия на ремонт, испытание, регулирование и сдачу сложных агрегатов, узлов и электрооборудования; электрические и монтажные схемы различной сложности; способы восстановления изношенных деталей механизмов; устройство испытательных стендов; виды ремонта и способы тарировки диагностического оборудования.
6. Повышающие передачи — ремонт, сборка, испытание.
7. Системы кондиционирования автомобилей отечественного и зарубежного производства — заправка, обслуживание, ремонт.
8. Тормозные системы с антиблокировочной системой различных типов автомобилей отечественного и зарубежного производства — диагностика, ремонт, регулирование.
10. Тяги управления топливного насоса высокого давления — регулирование.
11. Узлы и агрегаты трансмиссий автомобилей отечественного и зарубежного производства — ремонт, сборка и регулирование.
12. Электронные системы управления — диагностика, ремонт.
Комментарии к профессии
Приведенные тарифно-квалификационные характеристики профессии «Слесарь по ремонту автомобилей» служат для тарификации работ и присвоения тарифных разрядов согласно статьи 143 Трудового кодекса Российской Федерации. На основе приведенных выше характеристик работы и предъявляемых требований к профессиональным знаниям и навыкам составляется должностная инструкция слесаря по ремонту автомобилей, а также документы, требуемые для проведения собеседования и тестирования при приеме на работу. При составлении рабочих (должностных) инструкций обратите внимание на общие положения и рекомендации к данному выпуску ЕТКС (см. раздел «Введение»).
Обращаем ваше внимание на то, что одинаковые и схожие наименования рабочих профессий могут встречаться в разных выпусках ЕТКС. Найти схожие названия можно через справочник рабочих профессий (по алфавиту).
Пробная работа слесарь-ремонтник 3 разряда
КВАЛИФИКАЦИОННАЯ ПРОБНАЯ РАБОТА НА 3-й РАЗРЯД ПО ПРОФЕССИИ «СЛЕСАРЬ – РЕМОНТНИК»
Тест для экзамена слесарь-ремонтник 3 разряда
Первый вариант
1.Какой инструмент применяется для закрепления разметки?
Чертилка, молоток
Штангенрейсмас
Кернер
Лекальная линейка
2.Какую точность можно получить при обычных методах разметки?
1)0,05мм
2)0,5 мм
3)0,1мм
4) 1 мм
3. От чего зависит сила удара при рубке?
1)От твердости разрубаемого металла
2)От марки стали, из которого изготовлено зубило
3) от веса молотка
4)От физической силы рабочего, от замаха, от длины рукоятки, от веса молотка
4. Какие насечки бывают у напильника?
1)мелкая, одинарная, специальная
2)крупная, двойная, фрезерованная
3)одинарная, двойная, дуговая, рашпильная
4)бархатная, личная, бархатная
5. Сколько номеров насечки вы знаете?
1)5
2)8
3)2
4)6
6. Выберите тип напильника для обработки латуни.
1)С двойной насечкой
2)С рашпильной насечкой
3)Алмазный напильник
4)С одинарной насечкой
7. Определите диаметр сверла для получения отверстия под метрическую резьбу М20х1,5 метчиком
1)18мм
2)17,5мм
3)20мм
4) 18,5мм
8. Определите диаметр стержня под нарезание резьбы М16
1)15,6…..15,8мм
2)14,8……14,9мм
3)16,0………16,1мм
4)13,7……….13,9мм
9. Припасовку применяют при….
1)изготовлении шпонок
2)обработке отверстий
3) изготовления вкладышей
4) изготовления шаблонов
10. На рисунке показаны элементы резьбы. Что обозначает буква Р.?
1)высоту профиля
2)Угол профиля
3)Диаметр впадин
4)Шаг
11. Условное изображение шпонки 6х13 СТ СЭВ 647-77 указывает, что шпонка имеет следующие элементы, которые обозначены буквами на рисунке, перечислите названия и размеры.
12. На твердых металлических поверхностях разметочные риски проводят
1) графитным карандашом
2) латунным карандашом
3) чертилкой
4) мелом
13. Для построения червяка и червячного колеса укажите последовательность действий сборки, название элементов на рисунке.
14. Можно ли применить трубу для удлинения рычага тисков?
1) нельзя
2) можно, но в исключительных случаях
3) можно, но лишь ограниченной длины
4) можно, при выполнении определенных работах
15. Какие приспособления применяют для закрепления обрабатываемых деталей?
1) переходные конусные втулки
2) кулачковые зажимные патроны
3) специальной конструкции струбцины
4) переходные втулки и патроны
16. Чем определяется высота установки слесарных тисков на верстаке?
1) характером работы
2) ростом работающего
3)видом тисков
4) режимом работы
17. Для более высокой точности соединения двух деталей предназначены………
18. Назовите виды разъемных соединений………….
19. При сборке ставят шайбы, цель выполнения….
20. Вставьте пропущенное слово «Слесарная операция, при которой устраняются выпуклости, вмятины и т.д. называется………..
21.Стальными молотками с насадками из цветных металлов правят ………. стальные поверхности.
22. С чего начинают чтение сборочного чертежа:
1) изучение видов соединений и креплений сборочных единиц и деталей изделия
2) чтение спецификации изделия
3) ознакомление со спецификацией и основными составными частями изделия и принципом
его работы
4) изучение соединений сборочных единиц изделия
23. Какими не бывают разрезы:
1) горизонтальные 2) вертикальные
3) наклонные 4) параллельные
24. Как штрихуют неметаллические детали на разрезах:
1) широкими параллельными линиями
2) узкими параллельными линиями
3) ромбической сеткой
4) сплошным закрашиванием
25. В каких случаях образуется цилиндрическая зубчатая передача
1) когда оси валов пересекаются
2) когда оси валов скрещиваются
3) когда оси валов параллельны друг другу
4) когда присутствует специальная надпись
Второй вариант
1. На рисунке указаны силы, которые изменяют первоначальное положение болтового соединения, как называется вид деформации и перечислить пары сил
Ответ: деформация – растяжение, пары сил F2F3 и Ft Ft/2
2. Шаг – это———-
1) расстояние от вершины одного зуба полотна до вершины другого зуба
2) расстояние между отверстиями ножовочного полотна
3) величина рабочего хода полотна
4) высота зуба
3.При помощи ручных ножниц можно разрезать стальной лист толщиной
1) 0,5-1мм
2) 1-1,5мм
3) 1,5-2мм
4) 2-2,5мм
4. Как производят гибку в условиях массового производства…..
Ответ:
5.Из какой стали изготавливают зубило………..
Ответ:
6. Сверление по разметке используется…………
Ответ:
7. Какие виды движения существуют при сверлении….
Ответ:
8. Определите причину поломки метчика в отверстии
1) Диаметр отверстия под резьбу больше требуемого
2) Диаметр отверстия под резьбу меньше требуемого
3) Неправильная установка метчика
4) Невнимательность работающего
9. Определите диаметр стержня под нарезание резьбы М16
1)15,6…..15,8мм
2)14,8……14,9мм
3)16,0………16,1мм
4)13,7……….13,9мм
10. Припасовку применяют при….
1)изготовлении шпонок
2)обработке отверстий
3) изготовления вкладышей
4) изготовления шаблонов
11. На рисунке показаны элементы резьбы. Что обозначает буква Р.?
1)высоту профиля
2)Угол профиля
3)Диаметр впадин
4)Шаг
12. Масштабом называется — 1) расстояние между двумя точками на плоскости 2) пропорциональное уменьшение размеров предмета на чертеж
3) отношение линейных размеров на чертеже к действительным размерам
13. С чего начинают чтение сборочного чертежа:
1) изучение видов соединений и креплений сборочных единиц и деталей изделия
2) чтение спецификации изделия
3) ознакомление со спецификацией и основными составными частями изделия и принципом
его работы
4) изучение соединений сборочных единиц изделия
14. Какими не бывают разрезы:
1) горизонтальные 2) вертикальные
3) наклонные 4) параллельные
15. Как штрихуют неметаллические детали на разрезах:
1) широкими параллельными линиями
2) узкими параллельными линиями
3) ромбической сеткой
4) сплошным закрашиванием
16. Для чего служит спецификация к сборочным чертежам?
Ответ:
17.Какое изображение называется «эскиз» — это:
Ответ:
18. Расшифруйте условное обозначение резьбы M200.75LH.
Ответ:
1) Охрана труда – система сохранения жизни и здоровья работников в процессе трудовой деятельности, включающая в себя правовые, социально-экономические, организационно-технические, санитарно-гигиенические, лечебно-профилактические, реабилитационные и другие мероприятия.
2) Охрана труда – совокупность факторов производственной среды и трудового процесса, оказывающих влияние на работоспособность и здоровье людей.
3) Охрана труда – это техника безопасности и гигиена труда.
4) 1 и 3 ответ
19. Раздел механики, в котором изучается движение материальных тел под действием приложенных к ним сил – это
1) статика;
2) динамика;
3) кинематика.
20. Основной закон динамики
1) устанавливает связь между ускорением и массой материальной точки и силой
2) Масса является мерой инертности материальных тел в их поступательном движении
3)Всякому действию соответствует равное и противоположно направленное противодействие
21.Тело массой 5 кг движется по горизонтальной прямой. Сила трения равна 6 Н. Чему равен коэффициент трения?
1) 8,3 3) 1,2
2) 0,83 4) 0,12
22. Векторная величина, представляющая собой меру механического воздействия одних тел на другие – это
1)механическое воздействие;
2) сила;
3) удар.
23. Материальной точкой называется
1) абсолютно твердое тело, размерами которого можно пренебречь, сосредоточив всю массу тела в точке.
2) точка, сосредоточенная в центре тела
24.Действия системы сил на одно и то же твердое тело, производя одинаковые воздействия
Называются:
1)эквивалентными;
2) внутренними;
3) внешними.
25. Что изучает статика?
1) статика изучает силы, их действия, сложение, разложение и равновесие их.
2) статика изучает статистические движения тел
3) статика изучает механическое движение тел
Полное руководство по SEO для слесарей
Когда вы занимаетесь слесарным бизнесом, вы конкурируете со всеми другими слесарями в вашем городе. Это может быть благословением и проклятием. Поскольку вы не соревнуетесь по всей стране, у вас будет всего несколько конкурентов; однако, если ваш веб-сайт плохо ранжируется в результатах поиска, клиенты в конечном итоге выберут первого слесаря, который появляется в поисковой выдаче (страницы результатов поисковой системы). Использование целевых ключевых слов имеет большое значение. Зачем тратить свое время, пытаясь ранжироваться по термину, который никто не ищет?
Существует несколько стратегий, которые вы можете реализовать, чтобы ваш веб-сайт слесаря занимал высокие позиции и привлекал трафик. Используя это руководство в качестве ресурса, вы будете точно знать, какие ключевые слова использовать и как их использовать.
Где использовать ключевые слова для слесарей
Прежде чем мы раскроем начальный список ключевых слов для слесарей, полезно знать, как их использовать. Есть несколько мест, где вы захотите использовать эти ключевые слова, чтобы ваш сайт был найден и имел больше шансов превзойти конкурентов.
Разместите ключевые слова в содержании вашего веб-сайта Locksmith
Ваши клиенты будут искать определенные термины, чтобы найти вас, поэтому важно включать эти термины в текст на вашем веб-сайте. Разбрызгивание ключевых слов по всему вашему веб-сайту посылает сигнал Google о том, что ваши страницы релевантны тому, что кому-то нужно, и ваш рейтинг в поисковой выдаче повысится.
Вот список важных мест для размещения ваших ключевых слов:
Заголовки
Теги h2 (также теги h3 и h4)
Основной текст
ALT-текст
Названия изображений
Вы также можете использовать ключевые слова в URL-адресах (например, веб-сайт.com/ваше-ключевое-здесь), в именах файлов (ваше-ключевое слово.jpeg) и в сообщениях в социальных сетях. Будьте осторожны, чтобы не переусердствовать и не попасть в зону «наполнения ключевыми словами». Перенасыщение вашего сайта ключевыми словами является плохой практикой и на самом деле приведет к падению вашего рейтинга в поисковой выдаче. Следите за тем, чтобы ваш контент звучал естественно.
При создании страниц веб-сайта и сообщений в блогах важно помнить о конечной цели и думать о размещении ключевых слов для SEO. Подумайте, какую тему и ключевые слова вы хотели бы настроить. Выберите одно или два целевых ключевых слова для каждой страницы или поста, чтобы ваш контент соответствовал тому, что кто-то пытается найти.
Используйте ключевые слова в рекламе с оплатой за клик
Размещение ключевых слов на вашем веб-сайте считается естественным (бесплатным) способом увеличения трафика, и вы также можете использовать свои ключевые слова для платного маркетинга. Google Ads позволит вам создавать платные кампании, которые будут отображаться на страницах поиска, побуждая клиентов посетить ваш сайт или связаться с вами. Ваши кампании также могут показываться на других веб-сайтах. Прежде чем тратить деньги на рекламу с оплатой за клик, очень важно разработать стратегию ключевых слов. Но, если все сделано правильно, увеличение посещаемости сайта и продаж может повысить ваш бизнес.
Добавьте геотаргетинг к ключевым словам слесаря
Поскольку вы имеете дело только с местными клиентами, важно уточнить ключевые слова, чтобы они были нацелены на ваш ближайший регион. Геотаргетинг — это просто добавление местоположения (Флорида, Майами и т. д.) при использовании ключевых слов. Вам не нужно беспокоиться об этом в кампаниях PPC, потому что вы можете указать, на какую область вы хотите ориентироваться. В содержании веб-сайта, думал, это может помочь привлечь правильных клиентов. Используйте эту тактику для заголовков и тегов заголовков и экономно для основного текста, чтобы ваши страницы звучали естественно.
Вот несколько примеров ключевых слов с геотаргетингом:
Слесарь Флориды
Аварийный слесарь Майами
Ремонт замков в South Beach
Геотаргетинг поможет Google и другим поисковым системам направлять клиентов в вашем регионе на ваш веб-сайт. Поэтому, когда кто-то ищет ключевое слово слесарного дела во Флориде, у вашего веб-сайта будет больше шансов появиться первым в результатах поиска.
Ключевые слова для слесарей
Теперь, когда вы знаете, как использовать ключевые слова, вот список для начала. Просматривая этот список и проводя дальнейшие исследования самостоятельно, не забудьте подумать о покупательском намерении и исследовательском намерении. Означает ли поисковый запрос, что человек готов купить или просто проводит исследование? В общем, чем конкретнее (и длиннее) ключевое слово, тем ближе кто-то к покупке.
Вот ваш список некоторых из лучших ключевых слов слесаря:
24 -часовой слесарь
автослесарь рядом со мной
автомобильные слесари
извлечение сломанного ключа
бизнес слесарь
слесарь по ключам от машины
автомобильный замок
автомобильный слесарь
car locksmith near me
car unlock
certified locksmith
cheap locksmith near me
commercial lockouts
commercial locksmith
commercial locksmith services
copy key
door repair
door unlock
emergency lockout
аварийный слесарь
аварийное вскрытие
аварийное отпирание
входные двери
служба выселения
замки картотек
Установка дверей гаражных дверей
Гаражные дверные замки
Ремонт дверей гараж
Клавиши высокой безопасности
Высокие замки безопасности
Home Security
HOUS замок
изготовление ключей
изготовление дубликатов ключей
изготовление ключей
запирание ключей в машине
местный слесарь
смена замков
смена замков
Установка блокировки
Ремонт блокировки
Заменить блокировку
Lock Smith
Заблокированные ключи в Car
Служба блокировки
Locksmith
Locksmith Car
Стоимость
Locksmith для Carsmith
Locksmith. me
цены на слесарные работы
услуги слесаря
замки для почтовых ящиков
отмычка
мобильный слесарь
ближайший слесарь
Новые замки установки
Professional Locksmith
Push Bars
Rekey Locks
Lesidential Lockouts
Жилой слесарь
Keys Keys
Trunk Unlock
Writ Onlock. вы через свой онлайн-сайт. Эффективное использование ключевых слов поможет повысить ваш рейтинг в Google, а взамен вы получите постоянный поток трафика на свои страницы.
Это руководство — только начало. Вы можете многое сделать, чтобы увеличить свой доход и построить надежный слесарный бизнес. Чтобы узнать больше о том, как мы можем помочь вам в достижении ваших маркетинговых целей, отправьте нам короткое сообщение сегодня.
Цифровой маркетинг
Как выбрать между SEO, PPC и другими видами цифрового маркетинга?
Сложно выбрать между цифровым маркетингом! Существует множество различных видов цифрового маркетинга, и у каждого из них есть свои плюсы и
Андреа Комплидо
26 августа 2022 г.
Поисковая реклама
Лучшее из обоих миров: блог о том, как PPC и SEO работают вместе для улучшения результатов в Интернете.
PPC и SEO — это два очень разных маркетинговых инструмента, которые могут работать вместе, чтобы увеличить ваши результаты в Интернете. Однако они не просто похожи по названию;
Андреа Комплидо
24 августа 2022 г.
Ключевые слова слесаря: Полное руководство по SEO для слесарей
Фейсбук
Твиттер
LinkedIn
Смешивание
Эл. адрес
Копировать ссылку
Более
Поисковая оптимизация является ключом к высокому рейтингу в результатах поиска по ключевым словам, имеющим отношение к вашему бизнесу. Если вы слесарь, то это руководство будет вам полезно, потому что в нем есть несколько отличных советов по оптимизации вашего веб-сайта с помощью ключевых слов, которые помогут потенциальным клиентам найти вас!
Alignment Online Marketing предоставляет услуги SEO и консультации малым предприятиям, которые хотят получить больше трафика от Google. Мы помогли более чем 500 клиентам подняться выше в Google, используя проверенные стратегии, такие как исследование ключевых слов, контент-маркетинг, создание ссылок и управление социальными сетями.
Наша команда экспертов может помочь любому слесарю заявить о себе с помощью наших доступных пакетов SEO, начиная с 500 долларов в месяц. Свяжитесь с нами сегодня для бесплатной консультации!
Если вы слесарь, это руководство будет вам полезно, потому что в нем есть несколько отличных советов по оптимизации вашего веб-сайта с помощью ключевых слов, которые помогут потенциальным клиентам найти вас!
Где использовать ключевые слова слесаря?
Выбор ключевого слова не должен быть случайным; это должно быть преднамеренным. Вы можете попробовать использовать их в заголовке своего веб-сайта, в своем мета-описании и даже на странице с вашим контентом, таким как заголовки, заголовки и изображения.
Разместите ключевые слова в содержании вашего веб-сайта слесаря, потому что именно здесь пользователи будут сканировать. Например, в своем заголовке вы захотите использовать слова «слесарные услуги», чтобы люди, которые ищут слесарные услуги в своем районе, увидели ваш бизнес. Вы также должны уточнить, какие слесарные услуги вы предлагаете, такие как засовы с высоким уровнем безопасности, помощь в аварийной блокировке и системы доступа без ключа.
В своем тексте вы захотите использовать «слесарь рядом со мной», потому что конкретизация условий, которые люди ищут, поможет вам занять более высокое место на странице результатов Google. Вы также должны указать, какие услуги слесаря предлагаются в вашем районе. Вы работаете круглосуточным аварийным слесарем? Вы специализируетесь на автомобильных ключах? Только будьте осторожны, чтобы не переусердствовать. Если вы будете использовать одну и ту же фразу в каждом втором предложении, люди подумают, что ваш контент является спамом, и Google не повысит ваш рейтинг по этим запросам.
Добавьте геотаргетинг к ключевым словам слесаря
Многие инструменты нашего пакета поисковой оптимизации Locksmith будут включать геотаргетинг, так что вы будете занимать более высокие позиции в местных результатах для клиентов рядом с вами. Это важно, потому что если кому-то нужен слесарь прямо сейчас, он не будет искать географически далеко от своего местоположения. Вместо этого они получат более точные результаты, выполнив поиск по своему городу и штату в строке поиска.
Когда вы используете ключевые слова с геотаргетингом, клиенты с большей вероятностью найдут вашу компанию на Картах Google и получат высокий рейтинг по ключевым фразам, таким как «слесарь рядом со мной» или «24-часовой слесарь», в зависимости от того, что им нужно. Вы хотите, чтобы они сразу увидели название вашего веб-сайта, чтобы они связались с вами, а не отдавали свой бизнес вашим конкурентам.
Создавайте стратегические заголовки, заголовки и описания
Есть три основных места, где вы захотите оптимизировать свой веб-сайт с помощью ключевых слов, которые люди ищут при поиске слесарных услуг. Первое место занимает ваш заголовок, который обычно появляется в верхней части веб-страницы и в результатах поиска. Например, если вы выбрали фразу «Слесарь рядом со мной» для таргетинга ключевых слов, ваш заголовок может выглядеть примерно так: «24-часовая слесарная служба рядом со мной — доверьтесь своему местному слесарю!»
Это поможет вам занять более высокое место по этой фразе в поисковых системах, потому что Google хочет показывать своим пользователям наиболее релевантные результаты. Если ваш бизнес — единственный с таким заголовком, у вас будет больше шансов занять высокие позиции в поиске Google.
Если люди видят результаты, подобные приведенным выше, при поиске слесарей рядом со мной, то они с большей вероятностью нажмут на ваш веб-сайт, чем на любые другие результаты, в заголовке или описании которых нет нужной фразы. Вот почему важно оптимизировать эти три места с помощью ключевых слов, чтобы вы занимали высокие позиции по фразам, которые люди ищут, когда ищут компанию, подобную вашей.
Наконец, вы должны использовать одни и те же ключевые слова во всем содержании вашей страницы. Чем больше вы используете определенные фразы, такие как «слесарь рядом со мной» и «аварийный слесарь», тем выше ваша страница будет ранжироваться на страницах результатов поиска Google (SERP). Вы хотите, чтобы ваш контент был одновременно информативным и убедительным, чтобы пользователи нажимали на одну из этих трех ссылок, чтобы посетить ваш веб-сайт или связаться с вами для получения предложения.
Вот список ключевых слов для слесарей, которым следует уделить особое внимание на своем веб-сайте
Круглосуточный аварийный слесарь
Круглосуточный слесарь
Аварийный слесарь 24/7
Слесарь 24/7
слесарь
недорогой слесарь
автослесарь
автослесарь рядом со мной
автомобильные слесари
извлечение сломанного ключа
бизнес слесарь
слесарь по ключам от машины
блокировка автомобиля
автомобильный слесарь
автослесарь рядом со мной
разблокировка автомобиля
сертифицированный слесарь
дешевый слесарь рядом со мной
коммерческие блокировки
профессиональный слесарь
коммерческие слесарные услуги
копировать ключ
ремонт двери
разблокировка двери
аварийная блокировка
аварийный слесарь
аварийное открытие
аварийная разблокировка
входные двери
служба выселения
замки для картотеки
установка гаражных ворот
замки для гаражных ворот
ремонт гаражных ворот
ключи повышенной секретности
замки повышенной секретности
безопасность дома
дом слесаря
сколько стоит слесарь
ключи зажигания
сломался ключ в замке
нарезка ключей
дублирование ключей
изготовление ключей
ключи заперты в машине
местный слесарь
замена замка
смена замка
установка замка
ремонт замка
Замок
заменить
слесарь по замкам
запертые ключи в машине
служба блокировки
слесарь
слесарная машина
слесарь стоимость
слесарь для автомобилей
слесарь в
слесарь рядом со мной
цены слесаря
слесарные услуги
замки для почтовых ящиков
мастер-ключ
мобильный слесарь
ближайший слесарь
установка новых замков
профессиональный слесарь
толкатели
замки с новым ключом
блокировка жилых помещений
квартирный слесарь
транспондерные ключи
разблокировка багажника
разблокировать машину
служба разблокировки
Большинство ваших клиентов найдут вас через Google, а это значит, что вы должны сделать так, чтобы Google был доволен тем, что они нашли правильные результаты для своих поисков. Убедитесь, что ваш веб-сайт оптимизирован с помощью ключевых слов, связанных с тем, что люди ищут при поиске местных слесарных компаний. Таким образом, вы будете занимать высокие позиции в этих поисковых запросах и привлечете больше клиентов к своим дверям.
Вы также должны использовать ключевые слова слесаря в своих объявлениях PPC
В дополнение к оптимизации вашего веб-сайта с помощью правильных ключевых слов, вы также должны использовать те же самые ключевые слова в своих объявлениях с оплатой за клик. Это включает в себя Google AdWords и Facebook Ads, так как в обоих этих местах есть много пользователей, которые ищут клиентов, точно таких же, как ваши.
Вот как это работает: когда кто-то ищет «слесари рядом со мной», вы хотите появиться в этом поиске, потому что это означает, что они готовы позвонить или нажать на вашу компанию.
Вы можете оптимизировать свое объявление так же, как и свой веб-сайт, используя те же ключевые слова, которые помогают Google понять, что ищут люди, когда ищут слесарную компанию. Это также относится к рекламе в Facebook, поскольку и рекламодатели, и пользователи в значительной степени полагаются на ключевые слова для достижения своих целей.
Например, если у вас есть реклама слесаря для «слесаря рядом со мной», пользователь может нажать на ваше объявление и попасть на страницу, где он снова и снова будет видеть фразу «слесарь рядом со мной». Они могут продолжить чтение дальше, так как есть и другая важная информация, такая как контактная информация и другие соответствующие услуги, но у вас будет больше шансов заключить сделку, если они будут видеть эти слова снова и снова.
Важно отметить, что вам следует избегать чрезмерного использования ключевых слов PPC на своем веб-сайте, поскольку это может раздражать пользователей и ухудшать ваш рейтинг на страницах результатов поиска Google (SERP). Не существует квантового ограничения на количество раз, когда вы можете использовать ключевое слово на своем веб-сайте, но старайтесь не слишком много использовать ключевые слова, иначе это повредит вашему рейтингу.
Вы также должны использовать ключевые слова слесаря в оптимизации GMB
Google My Business — чрезвычайно важная часть вашего локального SEO. Если у вас нет GMB, то пришло время подписаться на него и сразу начать его оптимизировать, потому что это может помочь вам занять высокие позиции в Картах Google.
Когда люди ищут слесарей с помощью своего телефона (и, согласитесь, большинство людей используют свой телефон для локального поиска), они ищут слесарей поблизости. В результате наличие GMB и его оптимизация с помощью ключевых слов слесаря чрезвычайно важны для получения этих кликов от пользователей, которые ищут слесарные компании в своем районе.
Всякий раз, когда вы говорите о том, что отличает тех, кто занимает высокие позиции, от тех, у кого нет, вы обнаружите, что главная причина, по которой они занимают более высокие позиции, заключается в подробном и оптимизированном GMB. Ваш бизнес должен появиться на Картах Google не только с первым результатом, но и с отзывами ваших прошлых клиентов. Это помогает Google понять, как вы сравниваетесь с вашими конкурентами, используя ключевые слова для конкретного местоположения, такие как «слесарь рядом со мной».
Google My Business — это продукт Google, поэтому при оптимизации GMB важно помнить о том, как работает Google. Это означает, что вы хотите сосредоточиться на добавлении большого количества релевантной информации о вашем бизнесе, достаточной для того, чтобы все это имело смысл для пользователя, ищущего слесаря.
Убедитесь, что информация о местоположении — это первое, что видят пользователи, попадая на вашу страницу GMB. Если вы владеете слесарным бизнесом в Вирджинии (Вирджиния), обязательно используйте ключевые слова, характерные для штата Вирджиния, такие как «Слесарь рядом со мной», «Автоматическая замена ключей в Александрии», «Безопасная установка McLean» и т. д.
Вы можете сделать это, включив полный адрес с городом и штатом в заголовок GMB. Google поймет, что эта компания находится в Вирджинии и должна занимать более высокое место в поисковых запросах, таких как «Слесарь Александрия» и «Безопасная замена Маклина».
Чем чаще я разговариваю со слесарями и другими владельцами малого бизнеса, тем больше я вижу, что многие из них полностью пренебрегают своим присутствием в Интернете. У малого бизнеса есть огромная возможность занять высокие позиции в Google с помощью ключевых слов, и в настоящее время они упускают много трафика.
Слесари нередко имеют несколько местоположений, каждое из которых имеет свой веб-сайт, но это ошибка, потому что нет никаких причин, по которым все ваши местоположения нельзя оптимизировать одинаково. Вместо того, чтобы тратить свое время и деньги на несколько веб-сайтов, которые делают одно и то же, вам следует подумать о том, чтобы сложить все свои яйца в одну корзину, удобную для Google.
Вы также можете сэкономить много времени, выбрав SEO-компанию, которая заботится о многих различных малых предприятиях, потому что они точно знают, что нужно делать в разных отраслях. Ваш бизнес может включать в себя слесарные работы, но, вероятно, у него также есть много других услуг, которые также можно оптимизировать.
Ключом к высокому рейтингу в поисковых системах, таких как Google и Yahoo, является контент-маркетинг. Чтобы хорошо ранжироваться в Google, вам нужно писать сообщения в блогах, оптимизированные с помощью правильных ключевых слов, которые помогут привлечь трафик для вашего бизнеса в Интернете. Если есть одна вещь, которую я узнал из разговоров со слесарями по всей Америке, так это то, насколько легко малым предприятиям полностью пренебречь своим присутствием в Интернете, не оптимизируя свой веб-сайт или контекстную рекламу с соответствующими ключевыми словами. Альтернативные издержки упущенных потенциальных клиентов могут быть значительными, поэтому убедитесь, что вы используете все доступные возможности!
Если вы слесарь и хотите занимать высокие позиции в поисковых системах, таких как Google и Yahoo, я рекомендую прочитать содержание этой статьи. Улучшение вашего рейтинга облегчит привлечение большего количества потенциальных клиентов через ваш бизнес. Alignment Online Marketing специализируется на контент-маркетинге, который является ключевым фактором вашего онлайн-рейтинга.
40 самых популярных ключевых слов для слесарей в 2021 году
Фейсбук
Твиттер
LinkedIn
Смешивание
Эл. адрес
Копировать ссылку
Более
Насколько сложно сейчас найти слесаря? По нашему собственному опыту мы обнаружили, что процесс поиска слесаря был довольно сложным. На самом деле, в некоторых случаях это может быть совершенно разочаровывающим!
Но что, если бы вам сказали, что у слесарей есть способ повысить рейтинг в Google и других поисковых системах?
Что, если бы кто-то мог дать вам советы о том, как улучшить свой рейтинг, чтобы люди могли найти вас, когда они проводят свои поиски в Интернете? Слесари знают об этой необходимости и начали искать ключевые слова, которые могут помочь им повысить свой рейтинг.
В этой статье рассматриваются самые популярные ключевые слова для слесарей в 2021 году. Мы надеемся, что, прочитав эту статью, больше людей смогут найти слесарей, когда они им понадобятся.
40 самых популярных ключевых слов, на которые слесари должны обратить внимание в 2021 году:
ключевое слово 1 — «слесарь рядом со мной»:
простое ключевое слово, которое многие люди обычно используют при поиске слесаря. По этому ключевому слову будет легко получить рейтинг из-за его простоты.
Подумайте об этом так: допустим, вы голодны и все, что вам нужно, это еда. Так что на этот раз, вместо того чтобы использовать ключевое слово «еда» при поиске ресторанов рядом со мной, попробуйте использовать ключевое слово «пицца». Это даст вам больше результатов, релевантных вашему поиску. То же самое можно применить к слесарям, которые используют этот тип ключевого слова.
ключевое слово 2 — «слесарь рядом со мной, открыто в воскресенье»:
Это еще одна простая фраза, которую слесари используют, пытаясь занять более высокое место в поисковых системах.
Прежде чем использовать ключевое слово этого типа, убедитесь, что вы знаете часы работы вашей компании. Конечно, ваш бизнес может быть открыт по воскресеньям, но вы мало что можете сделать, если у ваших работников перерыв.
ключевое слово 3 — «Слесарь работает 24 часа рядом со мной»:
Это еще один тип ключевого слова, которое слесари должны включать при создании контента для своего сайта, чтобы повысить его рейтинг в поисковых системах.
Люди склонны искать ключевое слово этого типа, когда смотрят в любое время суток. Поэтому, если вы свободны, лучше всего использовать этот тип ключевого слова в своем контенте.
ключевое слово 4 «слесарь открыт 24 часа»:
Это еще один тип ключевого слова, которое следует учитывать слесарям. Он используется так же, как и предыдущий — чтобы помочь людям найти вас, даже если сейчас поздняя ночь или очень раннее утро.
Люди склонны использовать ключевое слово этого типа, когда им нужен слесарь, а его нет. Поэтому, если вы можете быть рядом с ними, лучше всего убедиться, что ваш бизнес является одним из результатов, которые они получают при поиске.
ключевое слово 5 — «слесарь работает допоздна»:
Посмотрим правде в глаза — сегодня не все работают с 9 до 5. Некоторые работают по ночам, а некоторые работают в неурочные часы, поэтому наличие слесаря, работающего в это время, действительно важно.
Если у вас есть свободное время и ваши работники не в отпуске, это еще одно ключевое слово, которое вы должны использовать при создании контента для своего сайта, а также для своих социальных сетей, таких как Facebook и Twitter.
ключевое слово 6 «цены слесаря рядом со мной»:
Слесари также должны рассмотреть возможность использования ключевых слов, которые сообщают людям цены, которые они взимают. Таким образом, клиенты будут знать, подходит ли им ваш ценовой диапазон или нет.
Прежде чем использовать ключевое слово этого типа, убедитесь, что вы действительно можете предложить доступные услуги слесаря без ущерба для качества. Помните, что вы все равно должны платить своим работникам, несмотря ни на что, поэтому убедитесь, что вы правильно оцениваете свои услуги.
ключевое слово 7 «цены слесаря»:
Этот тип ключевого слова очень похож на предыдущий. Но вместо того, чтобы использовать его при поиске слесарей рядом со мной, люди ищут этот тип ключевого слова в Интернете.
ключевое слово 8 — «замена замка слесаря»:
Многие люди ищут этот тип ключевого слова, когда им нужен новый замок, а их текущий сломан.
Предположим, например, что вы хотели сменить замки в своем доме, потому что ваш ключ постоянно застревает или что-то в этом роде. Если вы не можете найти слесаря рядом со мной, то это еще один тип ключевого слова, который вы можете использовать для его поиска.
ключевое слово 9 — «ремонт замков слесаря»:
Это еще один тип ключевого слова, которое люди обычно ищут при поиске слесаря. Он используется так же, как и предыдущий, только сообщает людям, что вы можете починить их замки.
Люди, как правило, используют этот тип ключевого слова, когда им пора заменить замок на чем-то, что они больше не используют по какой-либо причине, например, на старом рабочем месте или в кладовой. Поэтому, если вы можете это сделать, вам следует включить этот тип ключевого слова на свой сайт, а также на свои платформы в социальных сетях.
ключевое слово 10 — «смена замка в мастерской»:
Люди обычно используют этот тип ключевого слова, когда им нужно как можно скорее сменить замок. Если вы можете вовремя заменить замки, вам следует включить этот тип ключевого слова на свой сайт и в свои учетные записи в социальных сетях.
ключевое слово 11 — «замена ключа от слесарного замка»:
Допустим, вы сдаете дом в аренду, и ключи от предыдущего жильца больше не нужны. Когда вы идете искать слесаря, это еще один тип ключевого слова, которое вы можете использовать, чтобы найти того, кто может перекодировать ваш замок, чтобы только текущий житель имел к нему доступ.
В следующий раз, когда вам понадобится слесарь, обязательно используйте этот тип ключевого слова в своем поиске — вы можете использовать комбинацию ключевых слов от первого до этого момента.
ключевое слово 12 — «Мой мобильный слесарь»:
Один из новейших типов слесарей сегодня — это те, кто использует мобильное устройство — их автомобили можно использовать в качестве мастерских, и они полностью оснащены всеми инструментами, необходимыми для работы. их обязанности. Если вы относитесь к таким слесарям, вам следует включить этот тип ключевого слова на свой сайт и в социальные сети.
ключевое слово 13 — «учетные записи слесаря»:
Это еще один тип ключевого слова, который можно использовать, если вам нужен слесарь, способный работать с вашими учетными записями. Он используется так же, как и другие — только он сообщает людям, что у вас тоже есть бухгалтерия, поэтому они могут запрашивать ваши услуги, используя этот тип ключевого слова.
Ключевое слово 14 — «отзывы о слесарях онлайн»:
Прежде чем нанять слесаря, большинство людей ищут в Интернете отзывы об их текущей услуге. Если вы хотите, чтобы вашими услугами воспользовалось больше людей, вам следует включить этот тип ключевого слова на свой веб-сайт и в учетные записи социальных сетей — скажите им, что ваш бизнес заслуживает доверия, и они могут убедиться в этом, прочитав отзывы других.
ключевое слово 15 — «ключи, запертые в машине»:
Это ключевое слово, которое используется, когда люди теряют ключи от своих автомобилей. Если они застряли внутри и у них нет другого способа разблокировать его, то это еще один тип ключевого слова, который они могут использовать, чтобы найти слесаря, который может помочь им, не производя лишнего шума.
ключевое слово 16 «сколько стоит слесарь»:
Неудивительно, что люди хотят знать, сколько им придется платить за услуги слесаря – в конце концов, они не хотят, чтобы ими воспользовались. . Включив этот тип ключевого слова на свой сайт и в учетные записи социальных сетей, вы можете легко сообщить им, сколько им нужно заплатить за ваши услуги, без необходимости звонить вам сначала.
ключевое слово 17 — «цены слесаря»:
Это еще один тип ключевого слова, который используется, когда люди ищут кого-то, кто может восстановить их замки или поменять замки в их доме. Если вы можете это сделать, вам следует включить этот тип ключевого слова на свой веб-сайт и в учетные записи социальных сетей.
ключевое слово 18 — «изготовлены слесарные ключи»:
Когда люди ищут слесаря рядом со мной, это одно из первых ключевых слов, которые они могут использовать, чтобы увидеть, какие из них доступны. Он говорит им, что вы можете сделать для них новые ключи, если их текущий набор был утерян или уничтожен.
ключевое слово 19 — «слесарь 24 часа рядом со мной»:
Это еще один тип ключевого слова, который используется, когда людям нужно, чтобы кто-то был доступен немедленно — это означает, что у них нет времени искать разные услуги в разных заведениях.
Они хотят знать, может ли их местный слесарь позаботиться о них, и этот тип ключевого слова сообщает им, что вы открыты 24 часа в сутки.
ключевое слово 20 — «цены слесаря рядом со мной»:
Это еще один тип ключевого слова, который будут использовать люди, которым нужен быстрый ответ от слесаря — у них нет времени спрашивать, сколько стоит каждая услуга, потому что они просто хотят кто-то, кто может решить их проблему как можно скорее. Включив этот тип ключевого слова на свой сайт и в учетные записи социальных сетей, вы сможете привлечь больше клиентов.
ключевое слово 21 — «слесарь 24 часа»:
Это еще один тип ключевого слова, который используется, когда людям срочно нужен слесарь. Он сообщает им, что вы открыты в обычные рабочие часы и даже до 24 часов, если это необходимо. Если вам нужно больше клиентов из-за этого, вам следует включить этот тип ключевого слова на свой сайт и в учетные записи социальных сетей — это поможет убедить их, что вы тот, кому они могут доверять, не задумываясь об этом дважды.
ключевое слово 22 «слесари рядом со мной 24 часа»:
Люди, которые любят находить короткие пути, будут использовать этот тип ключевого слова, потому что он сообщает им, какие заведения доступны круглосуточно. Если они хотели найти слесаря раньше, но не имели времени, то этот тип ключевого слова дает им понять, что им легко найти того, кто может помочь.
ключевое слово 23 — «слесари рядом со мной сейчас»:
Если вы можете ответить немедленно, вам следует включить этот тип ключевого слова на свой веб-сайт и в учетные записи социальных сетей — скажите людям, что им не нужно ждать и вы будете там сразу же, чтобы предоставить им услугу, в которой они нуждаются. Это убедит их еще больше, если вы включите отзывы от прошлых клиентов, чтобы они знали, что вы заслуживаете доверия.
ключевое слово 24 «аварийные слесари рядом со мной»:
Это еще один тип ключевого слова, который люди используют, когда они заблокированы и у них нет времени, чтобы сэкономить или осмотреться. Если они спешат, то этот тип ключевого слова дает им понять, что вы открыты весь день или ночь, чтобы ответить на их вопросы.
ключевое слово 25 — «Слесари рядом со мной открыты сейчас»:
Если вы не возражаете против того, чтобы люди узнавали короткие пути, включите этот тип ключевого слова на свой сайт и в учетные записи социальных сетей, чтобы они могли сразу узнать, можете ли вы их дать услугу, в которой они нуждаются, без необходимости больше ждать.
ключевое слово 26 — «местный слесарь рядом со мной»:
Этот тип ключевого слова сообщает людям, что вы доступны на месте — им не нужно далеко ходить только за слесарем. Если они искали его в своем районе, дайте им знать, что вы тот, кто может помочь им, когда они больше всего в этом нуждаются.
ключевое слово 27 — «слесари рядом со мной открыты сегодня»:
Если вы не возражаете против того, чтобы люди знали, что вы доступны без необходимости записываться на прием, включите этот тип ключевого слова на свой сайт и в учетные записи социальных сетей — это Сообщим им, что они могут связаться с вами прямо сейчас, не дожидаясь ответа или подтверждения по электронной почте. Это быстро и просто, как и услуга, в которой они нуждаются.
ключевое слово 28 «лучшие слесари рядом со мной»:
Это еще один тип ключевого слова, используемый людьми, которые хотят качественное обслуживание, но хотят, чтобы кто-то в их районе. У них может не быть времени слишком много осмотреться, поэтому, если они найдут ключевое слово такого типа на вашем веб-сайте или в социальных сетях, весьма вероятно, что они сразу же свяжутся с вами.
ключевое слово 29 — «слесари рядом со мной открыты»:
Эта фраза лучше всего подходит, если у вас есть служба 24/7 — пусть люди знают, что вы всегда открыты и никогда не откажете им. Если им нужен слесарь немедленно, то этот тип ключевого слова дает им понять, что им не придется ждать часами или переходить из одного места в другое только для того, чтобы получить необходимую услугу.
ключевое слово 30 — «дешевые слесари рядом со мной»:
Люди с ограниченным бюджетом, как правило, используют этот тип ключевого слова, потому что он сообщает им, какие заведения предлагают лучшие цены без ущерба для качества. не хотят быть ограбленными, если они могут этого избежать, тогда этот тип ключевого слова дает им понять, что вы тот, кто может предоставить им желаемую услугу, не тратя много денег.
ключевое слово 31 «слесари рядом со мной открыты 24 часа»:
Если вы не возражаете, чтобы люди знали, что вы доступны, даже когда уже поздно ночью или рано утром, включите этот тип ключевого слова в свой веб-сайт и учетные записи в социальных сетях — это даст им понять, что вы никогда не спите и будете готовы к их звонку в любое время. Это может убедить клиентов еще больше, если вы включите отзывы от прошлых клиентов, чтобы они могли видеть, насколько другим людям понравилось работать с вами.
ключевое слово 32 — «Слесари рядом со мной открыты в воскресенье»:
Люди ищут этот тип ключевого слова, когда у них нет времени ходить из одного заведения в другое, потому что это только воскресенье. Если им нужен слесарь в выходной день, убедитесь, что вы сразу же сообщите им, что вы свободны, и не откажете им в любой день.
ключевое слово 33 «слесари рядом со мной открыты сегодня»:
Эта фраза лучше всего подходит, если вы работаете без перерыва — если люди могут связаться с вами в любое время дня, не беспокоясь о том, открыт ли ваш офис, включите это тип ключевого слова на вашем веб-сайте и в профилях социальных сетей, чтобы они знали, что могут связаться с вами в любое время без необходимости получения ответа или подтверждения по электронной почте.
ключевое слово 34 «слесари рядом со мной 24 часа»:
Убедитесь, что вы используете этот тип ключевого слова, если вы хотите быть эффективным в своей работе. Люди, которым нужен слесарь, будут искать ключевое слово этого типа, когда они спешат и нуждаются в ком-то прямо сейчас — убедитесь, что им легко связаться с вами, не беспокоясь о том, открыты ли вы еще.
ключевое слово 35 «Слесари рядом со мной цены»:
Люди ищут этот тип ключевого слова, когда им нужно знать, сколько что-то стоит. Если вы предлагаете лучшие тарифы в городе, используйте этот тип ключевого слова на своем веб-сайте и в профилях социальных сетей, чтобы потенциальные клиенты могли видеть их, не пытаясь найти себя.
ключевое слово 36 «круглосуточные слесари рядом со мной открыты сейчас»:
Если вы хотите, чтобы люди связывались с вами, даже если сейчас поздно ночью или рано утром, убедитесь, что вы включили этот тип ключевого слова — сообщите им, что вы всегда доступны независимо от времени. Это может помочь убедить клиентов еще больше, если вы также включите отзывы от прошлых клиентов, которые также более чем довольны вашим обслуживанием.
ключевое слово 37 «слесари рядом со мной дешевые услуги»:
Если вы хотите, чтобы люди знали, что у вас не дорого, используйте этот тип ключевого слова при создании сообщений на вашем сайте или в социальных сетях. Это даст им понять, что они могут нанять вас, не тратя при этом много денег.
ключевое слово 38 «Слесари рядом со мной откроют сегодня бесплатную цитату»:
Эта фраза будет хорошо работать, если вы всегда доступны для потенциальных клиентов — дайте им знать, что они могут получить бесплатную оценку, облегчит им выбор между несколькими поставщиками слесарных услуг, которые предлагают аналогичные услуги по разным ценам. Как только они увидят, сколько другие компании берут по сравнению с вашей, они могут выбрать вас вместо этого.
ключевое слово 39 «слесари рядом со мной дешевые цены»:
Люди ищут этот тип ключевого слова, когда им нужен слесарь, но у них нет много денег, чтобы потратить — если ваши услуги недорогие, убедитесь, что вы включили их на свой веб-сайт и в профили в социальных сетях. Это позволит прошлым и потенциальным клиентам узнать, что вы доступны и полезны!
ключевое слово 40 это «слесари рядом со мной открыты сейчас бесплатная цитата»:
Эта фраза лучше всего подходит, если вы всегда доступны для тех, кто нуждается в вашей помощи — это даст людям представление о том, что они могут нанять вас без необходимости звонить сначала или ждать в очереди, прежде чем получить то, что они хотят. Они могут даже взять трубку и сразу же связаться с вами!
Поскольку мы закончили говорить о самых популярных ключевых словах для слесарей в 2021 году, возможно, пришло время опробовать некоторые из них на вашем сайте и в профилях социальных сетей!
Не забывайте использовать более одного типа ключевых слов, чтобы максимизировать их эффективность — как только вы это сделаете, нет сомнений, что ваш рейтинг со временем улучшится.
Вышеупомянутая статья написана Каллумом Брауном, который владеет Align Marketing Online. Мы надеемся, что эта информация будет полезна слесарям для достижения их бизнес-целей.
Если вы слесарь и ищете ключевые слова для своего сайта и профилей в социальных сетях, обязательно обратите внимание на приведенную выше статью. Учитывая эти 40 типов ключевых слов, ваш рейтинг со временем определенно улучшится.
Выравнивание Интернет-маркетинг в прошлом работал со слесарями. Они являются одним из наших ведущих поставщиков услуг по слесарным работам, которые используют поисковую оптимизацию, чтобы занимать высокие позиции в результатах местного поиска. Узнайте больше о том, как они работают, посетив их веб-сайт по адресу alignmnetonline.com
Всем, кто ищет ключевые слова для слесарей, обязательно обратите внимание на приведенную выше статью!
До следующего раза, это Со Моос.
7 сертификатов лучших слесарей в 2022 году: Сертифицированный мастер-слесарь
Сертификаты могут быть мощным инструментом, чтобы показать работодателям, что вы знаете свое дело. Однако не все сертификаты одинаковы.
Мы составили список наиболее распространенных сертификатов для слесарей. Получение этих сертификатов не только даст вам преимущество при поиске работы, но и повысит вашу общую ценность.
Требуется более двух лет образования или обучения после окончания средней школы? №
Требуется опыт работы более двух лет? №
Требуется устный или письменный экзамен? Да
Требуется продление?
Связанные слесарки Америки
Слесарки Ученик
Дорожный слесарь
Безопасной техник
Сертифицированный мастер слесаря
Делай Общая промышленность 1910 стандартов, как эффективно интерпретировать Федеральный реестр, проблемы со здоровьем, связанные с рабочей средой, признание физических опасностей, связанных с нарушением стандартов OSHA, и внедрение работодателем собственных активных процедур безопасности и здоровья.
Эта 40-часовая программа охватывает как строительные стандарты 1926 года, так и общепромышленные стандарты 1910 года, как эффективно интерпретировать Федеральный реестр, вопросы здоровья, связанные с рабочей средой, признание физических опасностей, связанных с нарушением стандартов OSHA, и выполнение работодателем требований. их собственные проактивные процедуры безопасности и здоровья.
Требуется более двух лет образования или обучения после окончания средней школы? Да
Требуется опыт работы более двух лет? Да
Требуется устный или письменный экзамен? №
Требуется продление? №
Сертификат безопасности OSHA
Технический общественный колледж Делавэра
Техник коммерческой службы
OSHA Safety Pro: траншейные раскопки и механика грунта
Технический специалист с шестью или более годами работы и обучения в области электроники может иметь право на получение сертификата ETA Master Certified Electronics Technician (CETma). Сертификация Master была создана, чтобы продемонстрировать тех технических специалистов, которые могут продемонстрировать свои знания во многих областях электроники. В дополнение к сертификации уровня Associate для получения квалификации необходимо успешно получить шесть других сертификатов, причем не более двух из одной и той же специализированной категории.
Технический специалист с шестью или более годами работы и обучения электронике может иметь право на получение сертификата ETA Master Certified Electronics Technician (CETma). Сертификация Master была создана, чтобы продемонстрировать тех технических специалистов, которые могут продемонстрировать свои знания во многих областях электроники. В дополнение к сертификации уровня Associate для получения квалификации необходимо успешно получить шесть других сертификатов, причем не более двух из одной и той же специализированной категории.
Требуется более двух лет образования или обучения после окончания средней школы? Да
Требуется опыт работы более двух лет? Да
Требуется устный или письменный экзамен? Да
Требуется продление? Раз в 1 год
Мастер-сертифицированный специалист по электронике
ETA International
Техник коммерческого обслуживания
Детали
5. Сертификация безопасности операторов аттракционов (EPA)
Комплексная программа безопасности для конкретного оборудования, предназначенная для того, чтобы дать операторам и их сотрудникам полное представление о передовых методах управления рисками. Несчастных случаев на производстве, которые служат для привлечения внимания к потенциальным проблемам, часто можно избежать за счет использования надлежащих методов управления рисками.
Комплексная программа безопасности для конкретного оборудования, предназначенная для того, чтобы дать операторам и их сотрудникам полное представление о передовых методах управления рисками. Несчастных случаев на производстве, которые служат для привлечения внимания к потенциальным проблемам, часто можно избежать за счет использования надлежащих методов управления рисками.
Требуется более двух лет образования или обучения после окончания средней школы? №
Требуется опыт работы более двух лет? №
Требуется устный или письменный экзамен? Да
Требуется продление?
Ассоциация организаторов мероприятий
Техник коммерческой службы
Подробная информация
6. Сертифицированный профессиональный слесарь (CPL)
Требуется более двух лет образования или обучения после окончания средней школы? №
Требуется опыт работы более двух лет? №
Требуется устный или письменный экзамен? Да
Требуется продление?
Associated Locksmiths of America
Подробная информация
7.
Сертифицированный мастер-специалист по сейфам (CMST)
CMST успешно продемонстрировал высокий уровень владения сейфами и хранилищами.
CMST успешно продемонстрировал продвинутые навыки в категориях, связанных с сейфами и хранилищами.
Требуется более двух лет образования или обучения после окончания средней школы? №
Требуется опыт работы более двух лет? №
Требуется устный или письменный экзамен? Да
Требуется продление? Каждые 3 года
Associated Locksmiths of America
Детали
Какой сертификат лучше всего подходит для слесаря?
Сертификат Certified Master Locksmith (CML) наиболее распространен среди слесарей. Этот сертификат присуждается Ассоциацией слесарей Америки. Расширенная сертификация предназначена для более опытных сотрудников, поскольку для ее получения часто требуется некоторый опыт работы. Чтобы стать сертифицированным слесарем с сертифицированным мастером-слесарем (CML), вам необходимо сдать экзамен. Вам повезло — для сертификации не требуется более двух лет опыта работы. Продлевайте сертификацию каждый год.
Какие сертификаты наиболее востребованы у слесарей?
Мы проанализировали объявления о вакансиях в Интернете, чтобы определить наиболее часто запрашиваемые сертификаты. Наиболее популярным требованием сертификации является сертифицированный мастер-слесарь. Обладая этой сертификацией, вы получите более конкурентоспособное резюме, которое будет выглядеть впечатляюще для потенциальных работодателей.
Слесари, скорее всего, имеют комбинацию следующих сертификатов: Сертифицированный мастер-слесарь (CML), Сертификат безопасности OSHA и Сертифицированный зарегистрированный слесарь (CRL).
Проверьте вакансии, соответствующие вашему образованию
Средняя школа / GED
Associate
Бакалавриат
Магистр
Докторантура
онлайн-курсы для слесарей, которые вам могут понравиться, но вы не готовы пройти программу сертификации
1 900 все еще хотите улучшить свои навыки, эти онлайн-курсы могут помочь.
Рекламное раскрытие информации
Прикладные системы управления 1: автономные автомобили: математика + PID + MPC
Моделирование + системы пространства состояний + PID + управление с прогнозированием моделей + моделирование Python: поперечное управление для автономных автомобилей…
Подробнее о Udemy
Системы управления — это просто. Руководство для начинающих
Изучите основы моделирования, имитации и управления механическими и электрическими системами с помощью этого уникального практического курса!…
Подробнее о Udemy
Электрические системы управления и защиты
(1,264)
Этот курс знакомит с системами электрического управления и защиты, которые являются важной частью любой электрической подстанции…
Подробнее на Udemy
Системы управления: от математического моделирования до ПИД-регулятора
Изучите математику, которая позволит вам моделировать и управлять любой инженерной системой. Заставьте машины делать то, что вы хотите!…
Подробнее о Udemy
CISSP — Сертифицированный специалист по безопасности информационных систем
Сертификационный курс CISSP — Сертифицированный специалист по безопасности информационных систем 2015…
Подробнее о Udemy
Сертифицированная информация Сотрудник по системной безопасности (CISSO)
Сертифицированный специалист по безопасности информационных систем (CISSO) Курс подготовки к сертификационному экзамену…
Подробнее о Udemy
Системы управления и защиты электрооборудования, часть 2
подстанции…
Подробнее о Udemy
Проектирование электрической системы строительной площадки
Узнайте, как спроектировать безопасную, гибкую и долговечную электрическую систему для любой строительной площадки…
Подробнее о Udemy
Самостоятельная диагностика электрооборудования автомобилей — средний уровень
Знакомство с модулями и информационными цепями. .. сервис и его важность в любом бизнесе…
Подробнее о Udemy
Проектирование и анализ безопасных сетевых систем
В этом МООК мы изучим основные концепции кибербезопасности, как определить уязвимости/угрозы в сетевой системе. Мы будем применять базовые службы безопасности ЦРУ при рассмотрении недавних инцидентов кибератак, таких как утечка данных OPM. Мы изучим структуру управления рисками для анализа рисков в сетевой системе и применим основные принципы проектирования безопасности для защиты данных и безопасности компьютерных систем. Мы проверим надежность программ и данных, установленных в нашей системе…
Подробнее на Coursera
Полный контроль и защита электроснабжения
Полное практическое руководство по системам управления и защиты электрооборудования для станций, подстанций и распределительных зон…
Подробнее на Udemy
Безопасность систем и приложений
Добро пожаловать на курс по безопасности систем и приложений! В курсе «Безопасность систем и приложений» вы получите представление о компьютерном коде, который можно охарактеризовать как вредоносный или вредоносный. Будут обсуждаться как технические, так и нетехнические атаки. Вы узнаете, как организация может защитить себя от этих атак. Вы изучите концепции безопасности конечных устройств, безопасности облачной инфраструктуры, защиты систем больших данных и защиты виртуальных сред. Задачи 1. Определить основные…
Подробнее на Coursera
Аудит, контроль и обеспечение информационных систем
Курс признан лучшим бесплатным онлайн-курсом всех времен и лучшим онлайн-курсом года (издание 2021 г.) по версии Class Central (http://www. .classcentral.com). — Информационные системы (ИС) являются важным активом для бизнес-организаций и широко используются в нашей повседневной жизни. С появлением новейших технологий ИС, таких как большие данные, финтех, виртуальные банки, общественность все больше беспокоится о том, как организации поддерживают целостность систем, таких как конфиденциальность данных, информационная безопасность и т.д.0003
Подробнее на Coursera
ПИД-регуляторы — Введение в проектирование систем управления
Научитесь писать собственное управляющее программное обеспечение, изучая основы теории управления. .. проектирование систем управления и моделирование являются важными инструментами, помогающими инженерам в разработке автомобильных систем, от раннего изучения системных концепций (когда система, возможно, еще не существует) до оптимизации производительности системы. Этот курс обеспечивает теоретическую основу для разработки систем управления на основе моделей с упором на систематическую разработку математических моделей на основе основных физических законов и их использование в процессе проектирования систем управления с особым акцентом на автомобильные приложения. …
Подробнее о edX
Информационная безопасность — Аутентификация и контроль доступа
Это второй курс среднего уровня бакалавриата, который составляет более крупную программу микробакалавров по основам кибербезопасности. Мы рекомендуем проходить их по порядку, если у вас уже нет опыта работы в этих областях и вы не чувствуете себя комфортно, пропустив вперед. Информационная безопасность. Введение в информационную безопасность. Информационная безопасность. Аутентификация и контроль доступа. Информационная безопасность. Дополнительные темы. Сетевая безопасность. Введение в сетевую безопасность.0003
Подробнее о edX
Моделирование автомобиля и разработка ПИД-регулятора в MATLAB/SIMULINK
Моделирование и моделирование электромобиля (Tesla Model S) в MATLAB и SIMULINK и разработка собственного ПИД-регулятора скорости…
Просмотр Подробная информация о Udemy
Безопасность информационных систем для профессионалов: CISSP
(1,793)
Создание лидеров информационной безопасности нового поколения…
Подробнее об Udemy
Контроль доступа
Добро пожаловать в Контроль доступа! Курс управления доступом предоставляет информацию, касающуюся определения того, что разрешено делать пользователям, к каким ресурсам им разрешен доступ и какие операции они могут выполнять в системе. Средства управления доступом помогают менеджерам ограничивать и контролировать использование систем на уровне пользователя или членства в группе. Вы поймете, что такое различные системы контроля доступа и как их следует внедрять для защиты системы и данных с использованием различных уровней конфиденциальности, между…
Подробнее на Coursera
Обновлено 9 сентября 2021 г.
10 лучших штатов для слесарей, 2022 г.: работать и жить
Возможности трудоустройства варьируются от штата к штату, и карьера в области установки, обслуживания и ремонта ничем не отличается. Поскольку мы знаем, как сложно бывает узнать, какие штаты являются лучшими, когда речь идет о слесарных работах, мы решили подсчитать некоторые цифры, чтобы предоставить вам лучшие штаты для слесарей. Мы хотели посмотреть, где у слесарей это лучше всего — где есть много рабочих мест, где люди получают столько, сколько они заслуживают на каждом этапе своей карьеры. Для этого мы рассмотрели самые последние доступные данные по следующим критериям: среднегодовая заработная плата и наличие рабочих мест для слесарей. Делавэр — лучший штат, а Анкоридж — город с самой высокой оплатой труда слесарей.
Here are the best states for Locksmiths in 2022:
1. Delaware
Total Locksmith Jobs:
13
Average Annual Salary:
$49,271
Lowest 10 Percent Заработайте:
$ 32 000
Высокие 10 процентов Заработка:
$ 75 000
Коэффициент местоположения:
1,37
. определенная отрасль находится в одном состоянии по сравнению с нацией в целом. Подробнее о том, как BLS рассчитывает коэффициенты местоположения, можно прочитать здесь
Locksmith Jobs in Delaware
2. New Hampshire
Total Locksmith Jobs:
18
Average Annual Salary:
$48,123
Lowest 10 Percent Заработайте:
$ 32 000
Высокие 10 процентов Заработка:
$ 71 000
Коэффициент местоположения:
1,36
. определенная отрасль находится в одном состоянии по сравнению с нацией в целом. Подробнее о том, как BLS рассчитывает коэффициенты местоположения, можно прочитать здесь
Locksmith Jobs in New Hampshire
3. Indiana
Total Locksmith Jobs:
53
Average Annual Salary:
$46,992
Lowest 10 Percent Заработайте:
$ 32 000
Высокие 10 процентов Заработка:
$ 67 000
Коэффициент местоположения:
1,07
. определенная отрасль находится в одном состоянии по сравнению с нацией в целом. Подробнее о том, как BLS рассчитывает коэффициенты местоположения, можно прочитать здесь
Locksmith Jobs in Indiana
4. Connecticut
Total Locksmith Jobs:
23
Average Annual Salary:
$50,262
Lowest 10 Percent Earn :
$ 32 000
Высокие 10 процентов. промышленность находится в едином состоянии по сравнению с нацией в целом. Подробнее о том, как BLS рассчитывает коэффициенты местоположения, можно прочитать здесь
Locksmith Jobs in Connecticut
5. Alaska
Total Locksmith Jobs:
4
Average Annual Salary:
$55,988
Lowest 10 Percent Earn :
$ 37 000
Высокие 10 процентов. промышленность находится в едином состоянии по сравнению с нацией в целом. Подробнее о том, как BLS рассчитывает коэффициенты местоположения, можно прочитать здесь
Locksmith Jobs in Alaska
6. Washington
Total Locksmith Jobs:
68
Average Annual Salary:
$47,315
Lowest 10 Percent Earn :
$ 30 000
Высокие 10 процентов. промышленность находится в едином состоянии по сравнению с нацией в целом. Подробнее о том, как BLS рассчитывает коэффициенты местоположения, можно прочитать здесь
Locksmith Jobs in Washington
7. Rhode Island
Total Locksmith Jobs:
7
Average Annual Salary:
$49,835
Lowest 10 Percent Заработать:
$ 32 000
Высокие 10 процентов. определенная отрасль находится в одном состоянии по сравнению с нацией в целом. Подробнее о том, как BLS рассчитывает коэффициенты местоположения, можно прочитать здесь
Locksmith Jobs in Rhode Island
8. Idaho
Total Locksmith Jobs:
16
Average Annual Salary:
$44,745
Lowest 10 Percent Заработайте:
$ 29 000
Высокие 10 процентов. определенная отрасль находится в одном состоянии по сравнению с нацией в целом. Подробнее о том, как BLS рассчитывает коэффициенты местоположения, можно прочитать здесь
Locksmith Jobs in Idaho
9. Maine
Total Locksmith Jobs:
6
Average Annual Salary:
$50,245
Lowest 10 Percent Earn :
$ 35 000
Высокие 10 процентов. промышленность находится в едином состоянии по сравнению с нацией в целом. Подробнее о том, как BLS рассчитывает коэффициенты местоположения, можно прочитать здесь
Locksmith Jobs in Maine
10. Ohio
Total Locksmith Jobs:
85
Average Annual Salary:
$43,206
Lowest 10 Percent Earn :
$ 29 000
Высокие 10 процентов. промышленность находится в едином состоянии по сравнению с нацией в целом. Подробнее о том, как BLS рассчитывает коэффициенты местоположения, можно прочитать здесь
Locksmith Jobs in Ohio
11. North Dakota
Total Locksmith Jobs:
6
Average Annual Salary:
$45,275
Lowest 10 Percent Заработайте:
$ 33 000
Высокие 10 процентов Заработка:
$ 62 000
Коэффициент местоположения:
0,85
. определенная отрасль находится в одном состоянии по сравнению с нацией в целом. Подробнее о том, как BLS рассчитывает коэффициенты местоположения, можно прочитать здесь
Locksmith Jobs in North Dakota
12. Massachusetts
Total Locksmith Jobs:
45
Average Annual Salary:
$49,104
Lowest 10 Percent Заработайте:
$ 32 000
Высокие 10 процентов Заработка:
$ 74 000
Коэффициент местоположения:
0,65
. определенная отрасль находится в одном состоянии по сравнению с нацией в целом. Подробнее о том, как BLS рассчитывает коэффициенты местоположения, можно прочитать здесь
Locksmith Jobs in Massachusetts
13. Nevada
Total Locksmith Jobs:
16
Average Annual Salary:
$44,755
Lowest 10 Percent Earn :
$ 28 000
Высокие 10 процентов. промышленность находится в едином состоянии по сравнению с нацией в целом. Подробнее о том, как BLS рассчитывает коэффициенты местоположения, можно прочитать здесь
Locksmith Jobs in Nevada
14. Pennsylvania
Total Locksmith Jobs:
75
Average Annual Salary:
$44,515
Lowest 10 Percent Earn :
$ 29 000
Высокие 10 процентов. промышленность находится в едином состоянии по сравнению с нацией в целом. Подробнее о том, как BLS рассчитывает коэффициенты местоположения, можно прочитать здесь
Locksmith Jobs in Pennsylvania
15. Louisiana
Total Locksmith Jobs:
85
Average Annual Salary:
$40,623
Lowest 10 Percent Earn :
$ 27 000
Высокие 10 процентов. промышленность находится в едином состоянии по сравнению с нацией в целом. Подробнее о том, как BLS рассчитывает коэффициенты местоположения, можно прочитать здесь
Locksmith Jobs in Louisiana
16. Virginia
Total Locksmith Jobs:
69
Average Annual Salary:
$45,487
Lowest 10 Percent Earn :
$ 30 000
Высокие 10 процентов. промышленность находится в едином состоянии по сравнению с нацией в целом. Подробнее о том, как BLS рассчитывает коэффициенты местоположения, можно прочитать здесь
Locksmith Jobs in Virginia
17. Vermont
Total Locksmith Jobs:
1
Average Annual Salary:
$47,131
Lowest 10 Percent Earn :
$ 32 000
Высокие 10 процентов. промышленность находится в едином состоянии по сравнению с нацией в целом. Подробнее о том, как BLS рассчитывает коэффициенты местоположения, можно прочитать здесь
Locksmith Jobs in Vermont
18. New York
Total Locksmith Jobs:
65
Average Annual Salary:
$47,064
Lowest 10 Percent Заработать:
$ 30 000
Высокие 10 процентов. определенная отрасль находится в одном состоянии по сравнению с нацией в целом. Подробнее о том, как BLS рассчитывает коэффициенты местоположения, можно прочитать здесь
Locksmith Jobs in New York
19. Montana
Total Locksmith Jobs:
8
Average Annual Salary:
$41,890
Lowest 10 Percent Заработать:
$ 29 000
Высокие 10 процентов Заработка:
$ 60 000
Коэффициент местоположения:
0,92
. определенная отрасль находится в одном состоянии по сравнению с нацией в целом. Подробнее о том, как BLS рассчитывает коэффициенты местоположения, можно прочитать здесь
Locksmith Jobs in Montana
20. West Virginia
Total Locksmith Jobs:
9
Average Annual Salary:
$42,650
Lowest 10 Percent Заработайте:
$ 28 000
Высокие 10 процентов. определенная отрасль находится в одном состоянии по сравнению с нацией в целом. Подробнее о том, как BLS рассчитывает коэффициенты местоположения, можно прочитать здесь
Рабочие места слесаря в Западной Вирджинии
Слесарь.
$ 46 704
Самые низкие 10 процентов Заработка:
$ 35 000
Высокие 10 процентов.0747
0,95
Коэффициент местоположения — это мера, используемая Бюро трудовой статистики (BLS) для определения степени концентрации определенной отрасли в одном штате по сравнению со страной в целом. Вы можете прочитать больше о том, как BLS рассчитывает коэффициенты местоположения здесь
Слесарь.0746 Average Annual Salary:
$39,718
Lowest 10 Percent Earn:
$27,000
Highest 10 Percent Earn:
$57,000
Location Quotient:
1. 24
Location Quotient is a measure используется Бюро статистики труда (BLS) для определения степени концентрации определенной отрасли в одном штате по сравнению со страной в целом. Подробнее о том, как BLS рассчитывает коэффициенты местоположения, можно прочитать здесь
Locksmith Jobs in South Carolina
23. Utah
Total Locksmith Jobs:
38
Average Annual Salary:
$38,463
Lowest 10 Percent Заработать:
$ 25 000
Высокие 10 процентов. определенная отрасль находится в одном состоянии по сравнению с нацией в целом. Подробнее о том, как BLS рассчитывает коэффициенты местоположения, можно прочитать здесь
Locksmith Jobs in Utah
24. District of Columbia
Total Locksmith Jobs:
8
Average Annual Salary:
$47,483
Lowest 10 Заработка:
$ 31 000
Высокие 10 процентов. определенная отрасль находится в единственном состоянии по сравнению с нацией в целом. Подробнее о том, как BLS рассчитывает коэффициенты местоположения, можно прочитать здесь
Locksmith Jobs in District of Columbia
25. Maryland
Total Locksmith Jobs:
30
Average Annual Salary:
$46,333
Lowest 10 Заработок в процентах:
30 000 долларов США
Самые высокие 10 процентов заработка:
70 000 долларов США
Коэффициент местоположения:
3
9 0,06318 0,060002 Коэффициент местоположения — это мера, используемая Бюро статистики труда (BLS) для определения степени концентрации определенной отрасли в одном штате по сравнению со страной в целом. Вы можете прочитать больше о том, как BLS рассчитывает коэффициенты местоположения здесь
Слесарь.
$40,346
Lowest 10 Percent Earn:
$27,000
Highest 10 Percent Earn:
$58,000
Location Quotient:
0.86
Location Quotient is a measure used by the Bureau of Labor Статистика (BLS), чтобы определить, насколько сконцентрирована определенная отрасль в одном штате по сравнению со страной в целом. Вы можете узнать больше о том, как BLS рассчитывает коэффициенты местоположения, здесь
Locksmith Jobs in Kentucky
27. South Dakota
Total Locksmith Jobs:
4
Average Annual Salary:
$42,161
Lowest 10 Percent Earn:
$ 29 000
Высокие 10 процентов. находится в едином государстве по сравнению с нацией в целом. Подробнее о том, как BLS рассчитывает коэффициенты местоположения, можно прочитать здесь
Locksmith Jobs in South Dakota
28.
California
Total Locksmith Jobs:
177
Average Annual Salary:
$44,999
Lowest 10 Percent Заработать:
$ 29 000
Высокие 10 процентов Заработка:
$ 69 000
Коэффициент местоположения:
0,8
. определенная отрасль находится в одном состоянии по сравнению с нацией в целом. Подробнее о том, как BLS рассчитывает коэффициенты местоположения, можно прочитать здесь
Locksmith Jobs in California
29. Iowa
Total Locksmith Jobs:
25
Average Annual Salary:
$39,212
Lowest 10 Percent Earn :
$ 27 000
Высокие 10 процентов. промышленность находится в едином состоянии по сравнению с нацией в целом. Подробнее о том, как BLS рассчитывает коэффициенты местоположения, можно прочитать здесь
Locksmith Jobs in Iowa
30. North Carolina
Total Locksmith Jobs:
100
Average Annual Salary:
$37,861
Lowest 10 Percent Заработать:
$ 25 000
Высокие 10 процентов. определенная отрасль находится в одном состоянии по сравнению с нацией в целом. Подробнее о том, как BLS рассчитывает коэффициенты местоположения, можно прочитать здесь
Locksmith Jobs in North Carolina
31. Colorado
Total Locksmith Jobs:
57
Average Annual Salary:
$39,162
Lowest 10 Percent Заработать:
$ 27 000
Высокие 10 процентов. определенная отрасль находится в одном состоянии по сравнению с нацией в целом. Подробнее о том, как BLS рассчитывает коэффициенты местоположения, можно прочитать здесь
Locksmith Jobs in Colorado
32. Mississippi
Total Locksmith Jobs:
13
Average Annual Salary:
$39,194
Lowest 10 Percent Earn :
$ 27 000
Высокие 10 процентов. промышленность находится в едином состоянии по сравнению с нацией в целом. Подробнее о том, как BLS рассчитывает коэффициенты местоположения, можно прочитать здесь
Locksmith Jobs in Mississippi
33. Illinois
Total Locksmith Jobs:
81
Average Annual Salary:
$40,176
Lowest 10 Percent Earn :
$ 28 000
Высокие 10 процентов. промышленность находится в едином состоянии по сравнению с нацией в целом. Подробнее о том, как BLS рассчитывает коэффициенты местоположения, можно прочитать здесь
Locksmith Jobs in Illinois
34. Minnesota
Total Locksmith Jobs:
16
Average Annual Salary:
$41,913
Lowest 10 Percent Earn :
$ 29 000
Высокие 10 процентов. промышленность находится в едином состоянии по сравнению с нацией в целом. Подробнее о том, как BLS рассчитывает коэффициенты местоположения, можно прочитать здесь
Locksmith Jobs in Minnesota
35. Nebraska
Total Locksmith Jobs:
11
Average Annual Salary:
$39,860
Lowest 10 Percent Earn :
$ 27 000
Высокие 10 процентов. промышленность находится в едином состоянии по сравнению с нацией в целом. Подробнее о том, как BLS рассчитывает коэффициенты местоположения, можно прочитать здесь
Locksmith Jobs in Nebraska
36. New Jersey
Total Locksmith Jobs:
43
Average Annual Salary:
$41,977
Lowest 10 Percent Заработать:
$ 27 000
Высокие 10 процентов. определенная отрасль находится в одном состоянии по сравнению с нацией в целом. Подробнее о том, как BLS рассчитывает коэффициенты местоположения, можно прочитать здесь
Locksmith Jobs in New Jersey
37. Missouri
Total Locksmith Jobs:
35
Average Annual Salary:
$39,373
Lowest 10 Percent Заработать:
$ 27 000
Высокие 10 процентов. определенная отрасль находится в одном состоянии по сравнению с нацией в целом. Подробнее о том, как BLS рассчитывает коэффициенты местоположения, можно прочитать здесь
Locksmith Jobs in Missouri
38. Texas
Total Locksmith Jobs:
197
Average Annual Salary:
$36,927
Lowest 10 Percent Earn :
$ 24 000
Высокие 10 процентов. промышленность находится в едином состоянии по сравнению с нацией в целом. Подробнее о том, как BLS рассчитывает коэффициенты местоположения, можно прочитать здесь
Locksmith Jobs in Texas
39. Alabama
Total Locksmith Jobs:
33
Average Annual Salary:
$36,900
Lowest 10 Percent Earn :
$ 25 000
Высокие 10 процентов. промышленность находится в едином состоянии по сравнению с нацией в целом. Подробнее о том, как BLS рассчитывает коэффициенты местоположения, можно прочитать здесь
Locksmith Jobs in Alabama
40. Kansas
Total Locksmith Jobs:
21
Average Annual Salary:
$37,463
Lowest 10 Percent Earn :
$ 25 000
Высокие 10 процентов. промышленность находится в едином состоянии по сравнению с нацией в целом. Подробнее о том, как BLS рассчитывает коэффициенты местоположения, можно прочитать здесь
Locksmith Jobs in Kansas
41. Wisconsin
Total Locksmith Jobs:
37
Average Annual Salary:
$37,720
Lowest 10 Percent Earn :
$ 26 000
Высокие 10 процентов. промышленность находится в едином состоянии по сравнению с нацией в целом. Подробнее о том, как BLS рассчитывает коэффициенты местоположения, можно прочитать здесь
Locksmith Jobs in Wisconsin
42. Georgia
Total Locksmith Jobs:
115
Average Annual Salary:
$29,873
Lowest 10 Percent Earn :
$ 20 000
Высокие 10 процентов. промышленность находится в едином состоянии по сравнению с нацией в целом. Подробнее о том, как BLS рассчитывает коэффициенты местоположения, можно прочитать здесь
Locksmith Jobs in Georgia
43. Arkansas
Total Locksmith Jobs:
29
Average Annual Salary:
$29,682
Lowest 10 Percent Earn :
$ 20 000
Высокие 10 процентов. промышленность находится в едином состоянии по сравнению с нацией в целом. Подробнее о том, как BLS рассчитывает коэффициенты местоположения, можно прочитать здесь
Locksmith Jobs in Arkansas
44. Arizona
Total Locksmith Jobs:
54
Average Annual Salary:
$32,431
Lowest 10 Percent Earn :
$ 21 000
Высокие 10 процентов. промышленность находится в едином состоянии по сравнению с нацией в целом. Подробнее о том, как BLS рассчитывает коэффициенты местоположения, можно прочитать здесь
Locksmith Jobs in Arizona
45. Tennessee
Total Locksmith Jobs:
55
Average Annual Salary:
$29,873
Lowest 10 Percent Earn :
$ 20 000
Высокие 10 процентов. промышленность находится в едином состоянии по сравнению с нацией в целом. Подробнее о том, как BLS рассчитывает коэффициенты местоположения, можно прочитать здесь
Locksmith Jobs in Tennessee
46. New Mexico
Total Locksmith Jobs:
15
Average Annual Salary:
$30,924
Lowest 10 Percent Заработать:
$ 20 000
Высокие 10 процентов. определенная отрасль находится в одном состоянии по сравнению с нацией в целом. Подробнее о том, как BLS рассчитывает коэффициенты местоположения, можно прочитать здесь
Locksmith Jobs in New Mexico
47. Wyoming
Total Locksmith Jobs:
2
Average Annual Salary:
$37,082
Lowest 10 Percent Заработать:
$ 25 000
Высокие 10 процентов. определенная отрасль находится в одном состоянии по сравнению с нацией в целом. Подробнее о том, как BLS рассчитывает коэффициенты местоположения, можно прочитать здесь
Locksmith Jobs in Wyoming
48. Florida
Total Locksmith Jobs:
124
Average Annual Salary:
$30,145
Lowest 10 Percent Earn :
$ 20 000
Высокие 10 процентов. промышленность находится в едином состоянии по сравнению с нацией в целом. Подробнее о том, как BLS рассчитывает коэффициенты местоположения, можно прочитать здесь
Locksmith Jobs in Florida
49. Oregon
Total Locksmith Jobs:
35
Average Annual Salary:
$30,915
Lowest 10 Percent Earn :
$ 19 000
Высокие 10 процентов. промышленность находится в едином состоянии по сравнению с нацией в целом. Подробнее о том, как BLS рассчитывает коэффициенты местоположения, можно прочитать здесь
Locksmith Jobs in Oregon
50. Michigan
Total Locksmith Jobs:
46
Average Annual Salary:
$34,055
Lowest 10 Percent Earn :
$ 23 000
Высокие 10 процентов. промышленность находится в едином состоянии по сравнению с нацией в целом. Подробнее о том, как BLS рассчитывает коэффициенты местоположения, можно прочитать здесь
Locksmith Jobs in Michigan
51. Oklahoma
Total Locksmith Jobs:
16
Average Annual Salary:
$29,650
Lowest 10 Percent Earn :
$ 20 000
Высокие 10 процентов. промышленность находится в едином состоянии по сравнению с нацией в целом. Подробнее о том, как BLS рассчитывает коэффициенты местоположения, можно прочитать здесь
Слесарные работы в Оклахоме
10 лучших штатов США для слесарей в 2022 году
Мы рассмотрели самые последние данные, чтобы ранжировать все пятьдесят штатов от лучших к худшим для слесарей. Любопытно узнать, как оценивается ваше состояние? Вот лучшие штаты для слесарей.
Как мы определили лучшие штаты для работы слесарем
О том, как рассчитываются рейтинги лучших штатов, можно прочитать здесь.
Поисковая оптимизация для слесарей: лучшие советы и рекомендации, чтобы занять первое место в Google
SEO по отрасли
Содержание
Почему поисковая оптимизация важна для слесарей?
Некоторые из лучших веб-сайтов слесарей объясняют свой успех хорошей практикой SEO и динамичными усилиями в области цифрового маркетинга.
Если вы предоставляете услуги слесаря через свой веб-сайт, то вы повседневный герой. Вы спасаете людей от мелких неудобств и непредсказуемых кризисов, таких как блокировка машин, домов и так далее.
Тем не менее, даже лучший веб-сайт слесаря должен использовать новейшие маркетинговые стратегии для охвата более широкой аудитории.
Правильная реализация SEO для веб-сайта Locksmith — одна из самых популярных практик цифрового маркетинга, позволяющая опередить конкурентов.
Посмотрим правде в глаза, мы живем в быстро меняющемся мире, и технический прогресс не собирается замедляться в ближайшее время. Сегодня клиенты могут искать нужную им услугу, доставая свои смартфоны или открывая компьютер и выполняя быстрый поиск в Google.
Набрав что-то вроде «каталоги слесаря» или «слесарь с желтыми страницами», ваши потенциальные клиенты будут нажимать на любой из первых двух (или трех) результатов, которые появляются.
В конце концов, если вы хотите, чтобы ваши клиенты были видны на цифровой платформе, вы должны занимать первое место на страницах результатов поисковой системы (SERP).
Это также означает, что вы должны использовать эффективные методы локального SEO, чтобы увеличить свое присутствие в Интернете. Когда у вас есть эффективный процесс поисковой оптимизации для вашего бизнеса, вам гарантирован положительный рост бизнеса благодаря вашим усилиям в Интернете.
В этой статье давайте рассмотрим лучшие предложения, направленные на SEO для сайтов Locksmith, и они также помогут вам начать свой путь в онлайн-маркетинге:
Как использовать ключевые слова на основе местоположения при выполнении SEO для Locksmiths?
Когда потребители ищут местного автослесаря, они обычно обращаются к ним в чрезвычайных ситуациях и хотят получить их услуги как можно скорее. Как слесарь, вы должны понимать, что ваш потенциальный клиент будет искать условия, связанные с его местоположением, и выберет наиболее близкий и доступный для него результат. Это локальное SEO.
Если вы хотите охватить своих местных клиентов, вам придется поработать над оптимизацией ключевых слов, связанных со слесарями и вашим местоположением.
Например, если вы введете «местные слесарные мастерские во Флориде», вы получите лучшие результаты, чем «слесарные мастерские». Если вы укажете местоположение с помощью ключевых слов, вы привлечете больше посетителей, особенно тех, кто ищет услуги рядом с ними.
Почему мобильные сайты привлекают больше клиентов?
Если подумать о ситуациях, когда людям нужен слесарь, то обычно это происходит во время кризиса, и они используют свои мобильные телефоны, чтобы найти и связаться с наиболее доступной для них службой.
Если человек не может попасть в свой дом или машину, он не сможет добраться до своих компьютеров, поэтому очень важно, чтобы ваш сайт был адаптирован для мобильных устройств.
Если ваш веб-сайт слесаря не оптимизирован для мобильных устройств, есть вероятность, что вы упустите важные лиды.
Кроме того, удобство для мобильных устройств является важным фактором ранжирования Google. Независимо от того, насколько сильно вы оптимизируете свой веб-сайт, если он не отвечает, меньше шансов, что он попадет в топ результатов Google.
Вы можете использовать адаптивный дизайн, который сохранит макет вашего сайта таким же, но сделает его адаптируемым к размеру вашего экрана. Мобильные сайты также имеют более высокий рейтинг.
Когда обновлять содержимое?
Когда пользователи ищут местные списки слесарей, они нажимают на сайты с первым или вторым рейтингом. Чтобы занять первые места, вам придется создавать свежий контент.
Поисковые системы ищут обновленный и релевантный контент, чтобы вывести его на верхние позиции своих страниц результатов. Вот почему настоятельно рекомендуется вести раздел блога. Публикация и обновление сообщений в блогах с соответствующей информацией гарантирует, что ваш веб-сайт будет просканирован Google и другими поисковыми системами.
Частое обновление контента может помочь вашему веб-сайту слесаря завоевать авторитет и, следовательно, рейтинг по ключевым словам, на которые вы ориентируетесь.
Что делают обратные ссылки?
Когда поисковые системы обнаруживают обратные ссылки на ваш сайт из других надежных источников, они предполагают, что у вас также есть надежная информация. Однако очень важно, чтобы вы никогда не покупали обратные ссылки!
Если вы будете следовать методу покупки ссылок, вы можете попасть в черный список поисковых систем. Чтобы получить органические обратные ссылки для улучшения SEO для сайтов Locksmith, вам необходимо создать качественный контент.
Высококачественный и полезный контент может принести вам обратные ссылки с очень релевантных веб-сайтов. Вы также можете использовать новые методы, такие как настоящая работа с блогерами и влиятельный маркетинг.
Это может потребовать от вас потратить несколько дополнительных часов на общение с людьми и веб-сайтами, которые заинтересованы в ваших услугах.
Настоятельно рекомендуется держаться подальше от таких методов, как ферма ссылок, поскольку это может привести к тому, что Google накажет ваш веб-сайт за использование черных методов SEO.
Зачем отслеживать конкурентов?
Есть ли в вашем районе более одного местного слесаря, и у них больше конкурентов, чем у вас? Тогда пришло время изучить их стратегии SEO для Locksmith, и для этого вам придется тщательно изучить веб-сайт.
Посмотрите, какие ключевые слова они используют, каковы ключевые слова с самым высоким рейтингом, их кампании PPC, качество контента, качество обратных ссылок и частоту публикации сообщений в социальных сетях и блогах. Учитесь у них и пытайтесь адаптировать их методы цифрового маркетинга.
Что положительный отзыв может сделать для веб-сайтов слесарей?
Если вы предоставите своим клиентам удовлетворительный сервис, они оставят положительные отзывы о вашем сайте в Google My Busiesss.
Положительные отзывы в Google My Business — это подтверждение качества ваших услуг. Хорошие отзывы о ваших услугах могут помочь сайту подняться не только в Google My Business, но и в Google Map Pack в поисковой выдаче.
Вы всегда можете подтолкнуть их оставить отзыв на их сайте. Это поможет потенциальным потребителям увидеть, что у вас отличный сервис, и они свяжутся с вами при необходимости.
Чем могут помочь социальные сети?
Активность в социальных сетях — жизненно важный способ улучшить SEO для бизнеса Locksmith. Google запатентовал технологию, которая позволяет им понимать социальные сигналы, которые, в свою очередь, могут повлиять на рейтинг вашего сайта в поисковой выдаче.
Так что, если вы чувствуете, что Facebook не требует от вас много времени или что твиты бесполезны, вам нужно как можно скорее изменить свое мнение.
Вы должны проводить некоторое время в социальных сетях, чтобы продвигать свой бизнес, по крайней мере, час или около того каждый день. Сильное присутствие в социальных сетях также повысит ваш авторитет и репутацию.
Зачем инвестировать в Google Ads?
Вы можете инвестировать в рекламные кампании с оплатой за клик. Некоторые из лучших слесарных сайта привлекают клиентов с помощью платных методов онлайн-маркетинга.
Это отличная платформа для реализации ваших маркетинговых стратегий. Вы также можете придумать небольшие рекламные объявления, ориентированные на несколько ключевых слов. Когда пользователи выполняют поиск по вашим ключевым словам, ваш веб-сайт будет отображаться в топе, что может привлечь больше потенциальных клиентов.
Инструктажи по охране труда — виды, порядок, стоимость проведения
en
de
cn
Регионы 8-800-550-14-48
Отправить заявку
Москва
+7 (499) 350-85-01
Санкт-Петербург 8 (812) 648-6126 Нижний Новгород 8 (831) 212-3614 Краснодар 8 (861) 238-8610 Красноярск 8 (391) 249-6633 Екатеринбург 8 (343) 379-5290 Челябинск 8 (351) 799-5886 Новосибирск 8 (383) 227-8962 Самара 8 (846) 233-4207
Расширенный поиск
СертПромТест / Охрана труда / Инструктаж по охране труда
Инструктаж по охране труда – это комплекс мер, целью которых является ознакомление сотрудников предприятия с правилами безопасного поведения на рабочем месте. В соответствии со ст. 212 Трудового кодекса Российской Федерации от 30.12.2001 № 197-ФЗ работодатель обязан обеспечить подготовку сотрудников по безопасным методам выполнения работ. Данную подготовку могут также выполнять специалисты сторонних компаний.
Нормативные документы для проведения инструктажа
Трудовой кодекс РФ: ст.212, ст. 217. В соответствии со статьей 217 Трудового Кодекса РФ в организациях с численностью до 50 человек служба охраны труда может не создаваться и должность специалиста по охране труда может не вводиться в штат. В таком случае функции службы охраны труда исполняет надлежащим образом аккредитованная организация, такая как ООО «СертПромТест».
ГОСТ Р 12.0.007-2009. ССБТ. «Система управления охраной труда в организации. Общие требования по разработке, применению, оценке и совершенствованию» (утвержден и введен в действие Приказом Ростехрегулирования от 21.04.2009 № 138-ст с 01.07.10).
Постановление Минтруда и Соцразвития РФ №14 от 8 февраля 2000 г. «Об утверждении рекомендаций по организации работы службы охраны труда в организации» (в ред. Приказа Минтруда России от 12.02.2014 N 96).
Порядок проведения инструктажей по охране труда регламентируется Постановлением Минтруда РФ № 1 и Минобразования РФ № 29 от 13.01.2003 «Об утверждении порядка обучения по охране труда и проверки знаний требований охраны труда работников организаций».
Что входит в инструктаж по охране труда
Условия труда. Предоставляется информация об оборудовании и технологическом процессе на данном рабочем месте. Во время инструктажа по технике безопасности и охране труда подробно рассказывается о вредных и опасных производственных факторах.
Организация и содержание рабочего места. Инструктор рассказывает о безопасных приемах и методах выполнения работы, информирует коллектив о правилах поведения в случае аварии. Во время инструктажа рассматривается схема безопасного передвижения сотрудников по территории предприятия во время работы.
Описание опасных технических зон. Инструктор сообщает персоналу о возможности получения травм при работе с промышленным оборудованием (приборами, механизмами, машинами). В рамках инструктажа он сообщает о средствах обеспечения безопасности при работе с техникой (ограждениях, тормозных устройствах, системах сигнализации и блокировки и др.).
Подготовка оборудования к работе. Коллектив информируется о необходимости проверки исправности оборудования, пусковых устройств, заземления, блокировочных систем и других средств защиты труда перед началом использования техники. В ходе инструктажа приводится описание и принцип работы транспортных и грузоподъемных механизмов внутри цеха.
Причины возникновения аварийных ситуаций и несчастных случаев. Обсуждаются несчастные случаи и аварии, причины получения производственных травм. В ходе инструктажа рассказывается о средствах индивидуальной и коллективной защиты труда, применяемых на данном рабочем месте, и правилах их использования.
Меры предотвращения аварий, взрывов и пожаров. До сведения работников доводятся обязанности и порядок действий персонала при возникновении нештатной ситуации. При проведении инструктажа предоставляется информация о местах расположения и порядке применения имеющихся на рабочем участке средств пожаротушения.
Результаты проведенных обучений фиксируются в документах, установленных Постановлением Минтрудсоцразвития РФ № 1 и Минобразования РФ № 29 от 13.01.2003.
Журнал регистрации инструктажа. В него заносят паспортные и профессиональные данные о каждом обучающемся, дату прохождения.
Журнал регистрации инструктажа на рабочем месте. Помимо данных участников группы, сведений о прохождении стажировки по безопасности труда, информации о виде инструктажа и дате проведения, журнал содержит сведения о причине выполнения работ.
Сертификат. Каждому прошедшему инструктаж по охране труда на предприятии, выдается сертификат слушателя, успешно сдавшего экзамены.
Почему наш орган по сертификации
Мы работаем быстро.
Мы делаем процесс простым и удобным для Вас. Нашему клиенту достаточно озвучить задачу, и мы приступаем к работе.
Мы аккредитованный орган.
Наша компания имеет аккредитации в государственных структурах и не является посредником. А собственный штат аккредитованных экспертов позволяет решать даже самые сложные задачи в кратчайшие сроки и в одном месте.
Широкая филиальная сеть.
Мы имеем филиалы в России, благодаря чему, выезды наших экспертов на предприятия заказчиков могут осуществляться в любом регионе России и за рубежом.
Собственные лаборатории.
«СертПромТест» располагает собственными испытательными лабораториями и уникальным приборным парком оборудования, что позволяет проводить любые испытания продукции наших заказчиков.
Индивидуальный подход к клиенту.
С каждым клиентом работает персональный менеджер, который проконсультирует Вас на каждом этапе. В компании функционирует собственная служба контроля качества, оценивающая качество предоставляемых услуг и работу сотрудника
Прозрачность взаиморасчетов.
Стоимость наших работ всегда прозрачна и понятна нашему клиенту, ведь он получает подробный поэтапный план выполнения той или иной работы с указанием четких сроков и стоимости работ.
Мы любим своих клиентов.
Благодаря высокому сервису и внимательному отношению к работе, мы выполнили более 1 000 заказов наших клиентов.
Cпециальные предложения Скидки на ISO — все стандарты!
Сообщите при звонке или в письменной заявке о предложении с сайта и получите свою скидку 20%!
* все подробности акции узнавайте у специалистов!
Наши лаборатории
Как наши эксперты проводят испытания
Интервью с нашими экспертами
Интервью с нашими клиентами
Проверка подлинности документов
Отзывы и клиентыНаши благодарности
Все отзывы
Все клиенты
Новости компании
Здесь вы можете ознакомиться с интересными фактами из жизни нашей компании, новыми услугами, нашей общественной деятельностью и корпоративной жизнью.
Читать все новости
СертПромТест: новички готовы к работе
Состоялась встреча новых менеджеров, работающих от 1 до 3 месяцев с Бизнес-Тренером.
В рамках встречи обсуждались наболевшие вопросы: Что нравиться в работе? Какие трудности? На каких этапах в работе с Клиентами нужна помощь?
Круглый стол по ТР ТС 032: делимся опытом
В «Сертпромтест» прошел круглый стол на тему Сертификации по ТР ТС 032. В этом мероприятии участвовали как менеджеры , так и эксперты, которые разбирали интересные практические вопросы по данному направлению и делились опытом.
В «Сертпромтест» прошло обучение в рамках недели продаж ТР ТС 032
В «Сертпромтест» полным ходом идут недели продаж ТР ТС 032. На фото можно увидеть учебный процесс — эксперт проводит обучение для менеджеров в форме ток-шоу, которое представляет собой ответы на теоретические вопросы по теме сертификации ТР ТС 032 и наработку практических навыков по теме.
Техника безопасности на рабочем месте — журнал и правила
Техника безопасности на рабочем месте выступает залогом безопасных условий труда на любом предприятии. Рассмотрим, что нужно для проведения инструктажа по технике безопасности на рабочем месте, в нашей статье.
Для чего нужен инструктаж
Практически на любом рабочем месте работник может столкнуться с факторами, представляющими опасность для его здоровья или угрозу сохранности имущества, предоставленного ему работодателем. В чрезвычайных ситуациях возможно возникновение опасности для жизни работника.
Для снижения негативного влияния факторов производства и вероятности возникновения опасных ситуаций каждого работника знакомят с правилами техники безопасности на рабочем месте. В результате он получает представление о:
характере деятельности предприятия, роли своего рабочего места, оборудовании и материалах, используемых на нем;
факторах, которые на этом месте могут представлять опасность или вред;
правилах поведения на территории работодателя и конкретном рабочем месте;
принципах безопасной работы на имеющемся оборудовании;
порядке подготовки рабочего места к работе и правилах ее завершения;
использовании средств индивидуальной защиты;
мерах по предупреждению пожаров и аварий;
поведении в случае опасности или аварии;
методах оказания первой помощи пострадавшим.
О том, какие факторы могут представлять опасность или вред, читайте в статье «Опасные и вредные производственные факторы (перечень)».
Предполагается, что в результате проведенного инструктажа работник приобретает все необходимые знания о правилах поведения на рабочем месте и становится ответственным за последствия нарушения им этих правил. Поскольку соблюдение техники безопасности является одной из обязанностей работника (ст. 215 ТК РФ) и относится к дисциплине труда (ст. 189 ТК РФ), за ее нарушение он может быть наказан работодателем путем вынесения ему замечания или выговора, а при наличии умысла в действиях, создании угрозы или наступлении тяжелых последствий — уволен (ст. 192 ТК РФ).
Иногда работодателю нужно отменить дисциплинарное взыскание, примененное по ст. 192 ТК РФ. Эксперты «КонсультантПлюс» подробно разъяснили, как это сделать. Получите пробный доступ к материалу на данную тему.
Если несоблюдение техники безопасности привело к материальным потерям для работодателя, то одновременно с дисциплинарной работника можно привлечь к материальной ответственности (ст. 248 ТК РФ). А в случаях серьезных последствий для здоровья или жизни людей возможна уголовная ответственность по ст. 143, 216, 217, 219 УК РФ, которая в зависимости от тяжести этих последствий варьируется от штрафа до тюремного заключения.
Виды и организация инструктажа
Инструктаж по технике безопасности на рабочем месте может быть:
вводным, посвященным общим правилам безопасного поведения;
первичным, дающим работнику максимально полное представление обо всех аспектах безопасной работы и порядке действий в случае опасных ситуаций, без которого работник не допускается к работе;
повторным, проводимым каждые полгода с целью периодического повторения информации, полученной при первичном инструктаже;
внеплановым, необходимость в котором возникает при опасных ситуациях;
целевым, при появлении нового оборудования или технологий, требующих дополнения правил поведения при работе с ними, или новых требований к безопасному поведению.
Вводный инструктаж может осуществляться отдельно инженером по охране труда, а может быть совмещен с первичным. Первичный и все остальные виды инструктажа проводит непосредственный руководитель работника, прошедший с этой целью специальную подготовку. Инструктаж может быть как индивидуальным, так и групповым.
С 1 марта 2022 года у работодателей появилась новая обязанность — информирование работников об условиях и охране труда. Подробнее — здесь.
Процедуре первичного инструктажа подвергают всех работников:
вновь принятых на работу;
переведенных на новое место;
принятых на время: временных (сезонных) работников, командированных, практикантов;
совместителей и надомников.
Решением работодателя работники на некоторых должностях, на которых не предполагается использование технических приспособлений, могут освобождаться от первичного инструктажа.
Первичный, повторный и внеплановый инструктажи работников, занимающих одни и те же должности, проводят по одинаковой программе, разработанной у работодателя специально для них. Соответственно, для иных должностей программа может быть иной. То есть у одного работодателя может быть несколько программ инструктажа.
Готовые образцы программ инструктажа для различных специальностей, работ, должностей вы можете найти в «КонсультантПлюс». Получите бесплатно пробный доступ и переходите, например, к образцу программы инструктажа при проведении погрузочно-разгрузочных работ. Или найдите образец, нужный именно для вашей специфики деятельности.
В завершение инструктажа работника знакомят с инструкцией по технике безопасности и проводят проверку его знаний.
Подробнее о процедуре проведения инструктажа читайте в статье «Как провести инструктаж по технике безопасности (нюансы)».
Инструкция по технике безопасности на рабочем месте
Инструкция по технике безопасности на рабочем месте в печатном виде содержит всю информацию, с которой работника знакомят устно и путем демонстрации приемов работы и действий в процессе проведения инструктажа.
Соответственно, для одинаковых (или похожих) рабочих мест может использоваться одна инструкция. Для других мест должен быть свой аналогичный по содержанию документ.
Завершая проведение инструктажа, работнику дают для ознакомления текст инструкции, относящейся к его должности.
Есть типовые перечни документов по охране труда, которые должны быть на предприятии. Ознакомиться с ними вы можете в специальном материале, размещенном в системе «КонсультантПлюс». Получите пробный доступ к нему бесплатно.
Журнал проведения инструктажа
Факт проведения инструктажа независимо от его вида фиксируется в специальном журнале, где отражаются:
данные проинструктированного работника;
вид проведенного инструктажа;
реквизиты инструкции, по которой проводился инструктаж;
дата проведения инструктажа;
данные инструктора;
2 подписи: работника и инструктора.
Пример заполнения журнала регистрации инструктажа на рабочем месте, составленный в соответствии с ГОСТом подготовили эксперты «КонсультантПлюс». Получите бесплатный доступ к системе и переходите к образцу.
Итоги
Проведение инструктажа по технике безопасности крайне важно в качестве меры по предотвращению создания на рабочем месте ситуаций, представляющих опасность для здоровья работников и сохранности имущества работодателя.
Он выполняется с соблюдением определенных требований, позволяющих убедиться в том, что работник готов к выполнению установленных правил поведения, отвечающих требованиям безопасной работы.
Источники:
Трудовой кодекс РФ
Инструктажи по охране труда — виды, сроки инструктажей по охране труда
Интересное
Охрана труда: весенние изменения
Понятным языком об изменениях в охране труда на 2022-2023 год. Полная сводка по всем изменениям в одном месте от экспертов в сфере охраны труда.
28.01.2022 5722
Подробнее
Подробнее
Подробнее
Пройти тест
Пройти тест
Изменения по охране труда на 2022-2023 годОхрана трудаОбучение
Деятельность большинства предприятий и организаций связана с эксплуатацией различного оборудования (компьютеров, станков и т. д.). Существует риск получить травму, попасть под действие электрического тока из-за собственных ошибок, чьей-либо халатности. Свести к минимуму вероятность всех видов несчастных случаев призваны инструктажи по охране труда. Обязательность их проведения предусмотрена ст. 225 Трудового кодекса РФ. Работодатель не может на свое усмотрение отменить инструктажи по охране труда. Он обязан ознакомить персонал предприятия с безопасными методами работы, требованиями, зафиксированными в разных указах, постановлениях, приказах, подзаконных актах.
Содержание
Что рассказывают на инструктажах
Виды инструктажей
Где проводят инструктажи
Сроки
Инструктаж для «надомников»
Консультация
О чем рассказывают на инструктажах
Инспектор, проводя инструктаж по охране труда, обязан рассказать работникам:
какими нормативными актами, в том числе локальными, регламентируется охрана труда, какие требования ко всем сторонам трудового процесса перечислены в них;
каким условиям в части охраны труда должно соответствовать рабочее место конкретного сотрудника;
как исполнять свои обязанности, чтобы не создавать угрозу как своей жизни и здоровью, так и окружающих;
какие факторы могут нанести вред жизни и здоровью персонала в процессе работы: шум, пыль, загазованность и т. д.
Все инструктажи по охране труда делятся на:
первичные. Организовать и своевременно провести инструктаж данного вида обязан инженер (инспектор) по охране труда;
вторичные. Организация и проведение данного вида инструктажей по охране труда возлагается на начальников отделов, цехов, иных производственных подразделений. Они же должны следить за тем, чтобы обучение в ходе инструктажа было качественным, чтобы до работников была доведена вся необходимая информация.
Необходимо отметить один момент. Руководители планируют проведение инструктажей по охране труда. А работники должны не только посещать их своевременно, но и запоминать, понимать, о чем им рассказывают. Если сотрудник без уважительной причины (болезнь, отпуск, командировка) отказывается посещать инструктаж по охране труда, непосредственный руководитель отстраняет его от работы. Дни прогула не оплачиваются.
Если сотрудник прослушал инструктаж, но не смог в ходе теста или собеседования подтвердить наличие достаточных знаний по охране труда, обучение проводится заново. Его также нельзя допускать к работе.
Виды инструктажей по безопасности и охране труда
В соответствии с действующим законодательством инструктажи по охране труда делятся на следующие основные виды:
Вводный.
Первичный.
Повторный.
Внеплановый.
Целевой.
1. Вводный инструктаж по охране труда
Его проходят все, кто планирует трудоустроиться на конкретное предприятие, но не только. Направлять на вводный инструктаж по охране труда обязаны всех, кто заходит на территорию организации: практикантов, представителей партнеров, покупателей, контрагентов, ресурсоснабжающих компаний и т. д. Если говорить о собственном персонале, вводный инструктаж по охране труда проходят все: от рядового рабочего и мастера чистоты до директора. Должность значения не имеет.
2. Первичный инструктаж по охране труда
Этот вид инструктажа по охране труда непосредственно связан с будущим рабочим местом. Работника знакомят с оборудованием, способами безопасной работы. Пройти первичный инструктаж обязаны лица, трудоустраивающиеся на данное предприятие, студенты и учащиеся, проходящие практику в цехах и отделах всех видов. Проведение первичного инструктажа по охране труда может быть отменено. Но, если каких-либо сотрудников освобождают от его прохождения, конкретный перечень специальностей и должностей указывают в указе по предприятию.
3. Повторный инструктаж по охране труда
Пройти его обязаны все, кто ранее прослушал первичный инструктаж по охране труда. Если должность работника не связана с эксплуатацией оборудования, выполнением сложных работ, потенциально опасных для жизни и здоровья, его могут освободить от прохождения всех видов повторных инструктажей по охране труда на основании приказа.
4. Внеплановый инструктаж по охране труда
В течение нескольких месяцев между проведениями инструктажей могут измениться требования ОТ. Сотрудника могут перевести на новую должность. Он мог долгое время (30 или 60 дней) отсутствовать на своем рабочем месте (больничный, отпуск по уходу за ребенком, командировка). Во всех перечисленных случаях руководитель подразделения обязан провести с сотрудником внеплановый инструктаж по охране труда.
5. Целевой инструктаж по охране труда
На него направляют лиц, которым предстоит выполнить разовые работы, не связанные с основной деятельностью. Проведение целевого инструктажа по охране труда обязательно и в случае, если предстоит выполнить некоторый объем работы в рамках наряда-допуска.
Важно отметить, что состав информации, особенности и вид процедуры в рамках каждого типа инструктажа строго регламентирован ГОСТ 12.0.004-2015.
Любой инструктаж по Охране труда на онлайн-платформе БЕСПЛАТНО
Запросить доступ
Вводный инструктаж проходят все.
Первичный инструктаж связан с рабочим местом.
Целевой инструктаж проводят в особых случаях.
Где проводятся инструктажи по охране труда?
Предприятия используют в работе разное оборудование и технологии. Даже в соседних цехах может отличаться перечень опасных и вредных факторов. При составлении алгоритма для проведения инструктажа по охране труда вне зависимости от его вида важно учитывать, как общие моменты, предусмотренные законодательно, так и относящиеся непосредственно к конкретному рабочему месту.
В ходе инструктажа по охране труда необходимо принимать во внимание следующие пункты:
Охрана труда в 2022 году
Получить запись онлайн-дискуссии по изменениям в охране труда в 2022 году.
Получить запись
подготовкой и проведением вводного инструктажа занимаются инспекторы по охране труда. Альтернатива — работник, обладающий знаниями в сфере ОТ и официально наделенный необходимыми полномочиями. Нельзя проводить первичный инструктаж по охране труда в цеху, помещении с работающим электрооборудованием, на складе, в автомобильном ангаре и т. д. Оптимальный вариант для проведения инструктажа — свободный кабинет с учетом количества присутствующих. Если человек не знает, как минимизировать влияние любого вида вредного фактора, он не должен подвергаться его воздействию;
начальники подразделений (производственных, снабженческих, сбытовых) обязаны следить за тем, насколько своевременно проводятся первичные и повторные инструктажи по ОТ. Если предстоит обновить знания одного человека, сделать это можно на рабочем месте. Группу на инструктаж по охране труда собирают в кабинете начальника, комнате совещаний. Но нельзя на словах рассказывать, как запускать станок, как минимизировать вероятность травмы любого вида. Такие моменты инструктор обязан показать на практике;
при проведении внепланового инструктажа важно учитывать его причину. Если изменилась технология обработки материалов, используется новое сырье или вид оборудования, кто-то получил травму, рассказывать об этом, проводить инструктаж по охране труда нужно в цеху, на участке, у конкретного станка или конвейера. Если же коррективы затрагивают любые виды нормативных документов, касающихся охраны труда, провести инструктаж можно в свободном помещении, в том числе за пределами подразделения.
Отдельного внимания заслуживает целевой инструктаж по охране труда. Его проводят в особенных ситуациях, например, если сотрудника временно направляют на выполнение не свойственной для него работы. В этом случае обязательно учитывают конкретные обстоятельства:
работнику, группе сотрудников выдан наряд-допуск. Ответственные лица обязаны провести инструктаж непосредственно на рабочем месте;
предстоит выполнить разовую работу, отличающуюся от постоянной. Все необходимые данные предоставляются на рабочем месте в ходе инструктажа;
предстоит массовое мероприятие. Это относится к митингам, турпоходам, спортивным соревнованиям. Участников обязаны собрать в подходящем помещении и провести инструктаж по ОТ, сообщить информацию, касающуюся безопасности;
предстоит устранять последствия наводнения или потопа, техногенной аварии. Лицо, руководящее процессом при проведении данного вида инструктажа обязано учитывать ситуацию, ее серьезность, предстоящие процедуры.
Сроки прохождения всех видов инструктажей по охране труда
Работодатели не вправе самостоятельно решать, когда проводить инструктажи по ОТ. Они обязаны руководствоваться положениями законодательства:
вводный инструктаж — обязательный компонент оформления на работу. Если граждане не собираются трудоустраиваться в данную компанию, посещают ее с целью заключения договора, по направлению от партнера или контрагента, инструктаж проводится при первом посещении;
первичный инструктаж предшествует первому самостоятельному рабочему дню или стажировке;
между повторными инструктажами (первичным и повторным) — не более 6 месяцев. Точка отсчета — дата первичного (предшествующего повторного) инструктажа. Интервал можно уменьшить, но не увеличить.
В Трудовом кодексе и иных законах ничего не сказано о периодичности проведения таких видов инструктажей, как внеплановые и целевые. Их необходимо проводить каждый раз, когда в этом возникает необходимость.
Важно соблюдать очередность инструктажей. Первичный не может предшествовать вводному. Все иные виды инструктажей следуют за первичным. Если проверяющий инспектор выявит путаницу в датах инструктажей, он может сделать выводы о том, что на самом деле охраной труда на предприятии никто не занимается. Журналы по итогам инструктажей заполняются перед визитом проверяющих, а сотрудникам никто не объясняет, как минимизировать риск травм и несчастных случаев.
Должны ли проходить инструктажи «надомники»?
Пандемия 2020 года изменила и отношение к организации трудового процесса. Значительная часть работников теперь работает из дома. Предприятие обеспечивает их материалами и инструментами (оборудованием).
В соответствии со ст. 311 ТК РФ «надомники» должны работать в таких же условиях, как и работники в цехах, иных подразделениях. На практике это означает, что надомный персонал обязан проходить инструктажи по ОТ в порядке, установленном законодательно.
Ситуация несколько усложняется, если надомный сотрудник поручает часть операций своим родственникам. Если они официально не заключали трудовой договор с предприятием, то и следить за тем, чтобы они трудились в безопасных условиях, никто не будет. Никто из представителей работодателя не будет проводить какой-либо из установленных видов инструктажей по ОТ.
Если работников перевели на дистанционный режим работы, нужно ли с ними проводить инструктажи?
В дистанционном формате чаще всего трудится персонал офисов, конструкторских бюро, проектировщики, бухгалтеры и т. д. Они работают из дома, коворкинг-центров. В любом случае это происходит за пределами предприятия. Но, если трудовой договор заключен официально, работодатель обязан соблюдать требования ст. 312.3 ТК РФ и проводить все необходимые инструктажи.
Есть еще несколько важных моментов, обязательных к исполнению:
если с удаленным сотрудником произойдет несчастный случай, его необходимо расследовать и учитывать в общем порядке, проводить внеплановый инструктаж;
так как предприятие начисляет и выплачивает «дистанционщикам» заработную плату, оно обязан перечислять в ФСС взносы на НС и ПЗ;
органы госконтроля могут в общем порядке проверять условия труда удаленного персонала. Если по итогам проверки будут вынесены предписания, работодатель обязан рассмотреть их и принять меры по устранению недочетов в соответствии с процедурой, предписанной законодательно.
Для проведения инструктажа сотрудник, работающий дистанционно, не обязан приезжать в офис работодателя. Нужную информацию можно переслать на e-mail в любом удобном формате, предоставить в ходе видеоконференции в Skype или Viber. Нюансы прохождения инструктажа целесообразно зафиксировать в трудовом договоре или приложении к нему, локальных нормативных актах. Освобождать удаленных сотрудников от прохождения инструктажей можно на общих основаниях.
Получите инструктаж по Охране труда на онлайн-платформе
Я даю согласие на обработку моих персональных данных
Проведение инструктажей по охране труда в Москве и регионах от ГК Региональный стандарт
Инструктаж по охране труда проводится для ознакомления сотрудников компании с правилами безопасности на рабочем месте. В соответствии со ст. 212 Трудового кодекса РФ работодатель должен организовать подготовку сотрудников для обеспечения безопасности выполнения работ. Порядок проведения инструктажей по охране труда регламентирован Постановлением Минтруда РФ и Минобразования № 1/29 от 13.01.2003 «Об утверждении порядка обучения по охране труда и проверки знаний требований охраны труда работников организаций» с изменениями и дополнениями от 30.11.2016.
Согласно требованиям закона, проводить обучение и проверку знаний у работников могут специалисты сторонних организаций. Группа компаний «Региональный стандарт» с 1999 года оказывает услуги по организации инструктажей и проверки знаний сотрудников в области безопасности труда. За 19 лет работы мы заслужили доверие многих постоянных клиентов. Наши специалисты готовы обеспечить качественный инструктаж по охране труда для ваших сотрудников. Мы работаем по всей России (обособленные подразделения расположены в Туле, Санкт-Петербурге, Калининграде).
Виды инструктажей по охране труда
Выделяют 5 видов инструктажей в зависимости от целей, частоты проведения и объема получаемых знаний: вводный, первичный, повторный, внеплановый и целевой.
Вводный инструктаж. Его проходят все сотрудники, независимо от должности и стажа работы, в том числе командированные специалисты, временные работники, студенты и др. За него может отвечать штатный инженер по охране труда или специалист независимой организации. Методики проведения инструктажа согласуются с руководителем предприятия и представителем профсоюзного комитета. В ходе проведения инструктажа затрагиваются такие вопросы, как:
общая информация о предприятии. Лицо, проводящее инструктаж, рассказывает об особенностях трудовой деятельности на конкретном производстве и информирует персонал организации об основных положениях ТК РФ;
трудовой договор. Сотрудникам рассказывают о длительности рабочих смен, вероятности развития профзаболеваний, порядке расследования и оформления несчастных случаев, а также об обеспечении необходимых условий для женщин и несовершеннолетних сотрудников, предоставляют информацию о возможных льготах и компенсациях;
правила поведения на рабочем месте. Работникам демонстрируют план производственных помещений (цехов, мастерских и т. д.), расположенных на территории предприятия. В ходе инструктажа персонал информируют о правилах пожарной безопасности и способах предотвращения чрезвычайных ситуаций на производстве. Инструктирующий рассказывает новому специалисту об органах, которые осуществляют надзор за условиями труда на предприятиях и соблюдением норм ОТ. Коллектив информируют о правилах внутреннего трудового распорядка, включая время на труд и отдых, и об ответственности за их нарушение;
работа в опасных и вредных условиях. В ходе проведения занятий по охране труда персонал обучают методам предупреждения профессиональных заболеваний и несчастных случаев на производстве, правилам использования средств индивидуальной и коллективной защиты и поведения при срабатывании сигнала о ЧС. Работников знакомят с правилами обращения с электрооборудованием, которое находится под напряжением. Также сотрудникам разъясняется порядок действий при возникновении аварийной ситуации или несчастного случая.
Первичный инструктаж. Его проводит начальник участка или независимый специалист на рабочих местах. Инструкции подготавливают с учетом особенностей отдельных видов работ. Инструктаж является обязательным для следующих групп сотрудников:
недавно принятых в компанию или переведенных из другого подразделения;
выполняющих новую для них работу, временных или командированных.
Инструктаж проводят до включения работника в производственный процесс. Прохождение обязательно в течение 2–14 рабочих смен с момента обучения. Контроль практических занятий осуществляют ответственные лица, назначенные приказом руководителя. В программу инструктажа входят такие вопросы, как:
организация и содержание рабочего места. Инструктор рассказывает о приемах и методах безопасного выполнения работы, о правилах поведения в случае поломки оборудования. Рассматривается схема безопасного передвижения сотрудников по предприятию в ходе работы. Сотрудникам рассказывают о том, что необходимо проверять исправность оборудования, пусковых устройств, заземления, блокировочных систем и других средств защиты труда перед использованием. Описывается принцип работы транспортных и грузоподъемных механизмов внутри цеха;
условия труда. Инструктор рассказывает об оборудовании и особенностях технологического процесса на рабочем месте, а также о вредных и опасных производственных факторах;
описание опасных технических зон. Персоналу сообщают о возможности получения производственных травм при работе с оборудованием. Инструктор говорит о средствах обеспечения безопасности при использовании техники;
причины аварий и несчастных случаев. Обсуждаются наиболее распространенные несчастные случаи и аварии, возможности получения производственных травм. Инструктор рассказывает о средствах индивидуальной и коллективной защиты труда, применяемых на данном рабочем месте, а также о правилах их использования. Работникам сообщают о порядке действий при возникновении нештатной ситуации. При проведении инструктажа предоставляется информация о местах расположения и порядке применения имеющихся на рабочем участке средств пожаротушения.
Повторный инструктаж. Он проводится для всех работников вне зависимости от образования, квалификации и стажа. Его задача — проверка знания правил техники безопасности и требований охраны труда и повышение информированности персонала в данной области. Группы работников формируются аналогично первичной подготовке, инструктаж проводится на рабочих местах. Согласно требованиям Постановления Минтруда РФ и Минобразования № 1/29 от 13.01.2003 «Об утверждении порядка обучения по охране труда и проверки знаний требований охраны труда работников организаций» с изменениями и дополнениями от 30.11.2016, инструктаж персонала проводится с периодичностью не менее 1 раза в 6 месяцев.
Внеплановый инструктаж. Его проводят в следующих случаях:
по требованию надзорных органов по охране труда;
при введении в действие новых стандартов и инструкций, изменении технологического процесса, замене и модернизации оборудования;
при нарушении сотрудниками установленных правил;
при перерыве в работе на срок более 30 календарных дней.
Инструктажи по охране труда могут проводиться как индивидуально, так и для групп работников одной профессии. Содержание программы зависит от причин, которые вызвали необходимость внеплановой подготовки.
Целевой инструктаж. Этот инструктаж проводят в таких случаях, как:
направление сотрудника на выполнение новых для него работ;
ликвидация последствий аварий;
осуществление работ, требующих оформления специальных допусков.
Документальное оформление инструктажа
Согласно Постановлению Минтруда РФ и Минобразования № 1/29 от 13.01.2003 с изменениями и дополнениями от 30.11.2016, факт прохождения инструктажа фиксируется в соответствующих журналах (в некоторых случаях в наряде-допуске на производство работ) с подписью инструктора и инструктируемого, а также с указанием даты проведения обучения.
С вопросами о проведении инструктажа по охране труда можно обратиться по телефонам, которые указаны в разделе «Контакты».
Предлагаем экспертам по спецоценке рабочих мест во всех регионах России работу в нашей организации на взаимовыгодных условиях дистанционно, звоните: +79036586935 (Татьяна). Предлагаем работу по спецоценки условий труда на взаимовыгодных условиях организациям, временно исключённых из реестра минтруда. Звоните + 7 9036586935. Татьяна.
Виды инструктажей по охране труда
Все штатные сотрудники, командированные и студенты на производственной практике проходят обязательный инструктаж по охране труда. Это обучение в форме разъяснения основных правил безопасности на рабочем месте и в организации, действий при несчастном случае. Разбираемся, какие виды инструктажей по охране труда должны быть проведены в компании, и как работодателю правильно организовать процедуру.
Содержание
Общие вопросы проведения инструктажей по охране труда
Как организовать процедуру
Какие бывают виды инструктажей по охране труда
Как проводить вводный инструктаж по охране труда с 1 сентября 2022 года
Какие есть виды инструктажей на рабочем месте
Кому нужен целевой инструктаж по охране труда
Как провести обучение на I группу по электробезопасности
Скачайте образцы документов для работы:
Примерная форма журнала регистрации инструктажей по охране труда
Примерный перечень тем вводного инструктажа
Перечень тем и журнал для инструктажа электробезопасности на I группу
Общие вопросы проведения инструктажей по охране труда
Работодатель обязан обеспечивать безопасные условия труда на рабочих местах по требованиям ст. 214 ТК РФ. С этой целью он:
организует обучение работников, в том числе инструктажи;
разрабатывает инструкции по охране труда;
проводит специальную оценку условий труда и оценку профессиональных рисков;
обеспечивает работников средствами индивидуальной защиты;
выполняет другие обязанности по разделу Х ТК «Охрана труда».
Инструктаж — обязательный элемент трудовой деятельности. Он должен заканчиваться проверкой знаний, которая фиксируется записью в журнале и личной подписью работника. Без этого сотрудника нельзя допускать до выполнения трудовых обязанностей.
Правила электронного документооборота по ТК РФ на оформление результатов инструктажей по ОТ не распространяются. Надо руководствоваться требованиями Правил №2464 и ПОТ.
Скачайте примерную форму журнала регистрации инструктажей по ОТздесь.
На микропредприятиях инструктажи могут заменять обучение по охране труда для основной части персонала. Это разрешено п. 100 Правил в ред. Постановления Правительства РФ от 24.12.2021 №2464.
Важно! С 1 сентября 2022 года начнут действовать Правила обучения по охране труда в ред. Постановления Правительства РФ от 24.12.2021 №2464. Порядок обучения №1/29, которым ранее регулировались вопросы проведения инструктажей, утрачивает силу.
Как организовать процедуру
Новые Правила разрешают привлекать к инструктажам по охране труда индивидуального предпринимателя или стороннюю организацию, аккредитованных на оказание услуг по охране труда. Но только в том случае, если в организации нет своей службы или специалиста по ОТ.
Поэтому сначала работодатель определяет, как он будет проводить инструктажи: собственными силами или по договору ГПХ. Своих работников, ответственных за инструктаж, он направляет на внешнее обучение по охране труда в соответствии с п. 44 Правил №2464.
Затем он утверждает приказом:
виды инструктажей по охране труда в организации;
их программы;
списки профессий, должностей по видам инструктажей по безопасности и охране труда;
лиц, ответственных за обучение работников.
Подробнее про виды и периодичность инструктажей по охране труда – читайте ниже.
Совет
Разработайте отдельное Положение о проведении инструктажей по охране труда или включите соответствующий раздел в Положение о СУОТ. Закрепите в нем примерные перечни тем, формы записей о результатах.
Приказы обычно носят краткосрочный характер, а постоянные процедуры лучше оформлять в виде локальных нормативных актов.
Какие бывают виды инструктажей по охране труда
По Правилам №2464 работникам проводят инструктажи:
вводный;
на рабочем месте: первичный, повторный, внеплановый;
целевой.
С 2021 года появилось требование о присвоении I группы по электробезопасности (ЭЛБ) неэлектротехническому персоналу — сотрудникам, на чьих рабочих местах есть опасность поражения электрическим током, хотя они и не связаны с эксплуатацией электроустановок. Чаще всего это офисные работники, взаимодействующие с компьютерной техникой или чайниками, микроволновками в обеденный перерыв.
Обратите внимание! При разработке инструкций по охране труда и программ инструктажей для офисных работников учитывайте, что СанПиН по компьютерам 2.2.2/2.4.1340-03 отменен с 2021 года.
Первую группу ЭЛБ присваивают в ходе отдельного инструктажа с проверкой знаний и записью в журнале. Требования к такому обучению приведены в п. 2.3 Правил по охране труда при эксплуатации электроустановок в ред. приказа Минтруда от 15.12.2020 №903н.
По каждому виду инструктажей по безопасности труда должны быть списки профессий и должностей работников, которым нужна такая подготовка. Их определяет работодатель с учетом требований Правил №2464 и ПОТ №903н.
Как проводить вводный инструктаж по охране труда с 1 сентября 2022 года
Такое обучение проходят все вновь принятые работники в первый рабочий день. Также проведение вводного инструктажа по охране труда обязательно для командированных в организацию специалистов, в том числе персонала подрядных организаций; студентов на производственной практике. Освобождать кого-то из работников от такой подготовки нельзя.
Важно! Дистанционным работникам тоже проводят вводные инструктажи по охране труда, если работодатель выдал им оборудование для работы, в соответствии со ст. 312.7 ТК РФ.
Программу вводного инструктажа по охране труда составляют по списку тем в приложении 1 к Правилам №2464, адаптированному под деятельность организации. Ее согласовывают с профсоюзом, если он есть в компании.
Обучение проводит специалист по охране труда или назначенный приказом инструктирующий. На предприятиях численностью до 50 человек может не быть СОТ. Тогда проведение инструктажа можно поручить аккредитованным в Минтруда организациям или ИП по договору ГПХ.
Совет
Формат обучения выбирает работодатель. Это могут быть видеолекции, беседа с инструктором, аудиозапись. Но вводный инструктаж обязательно заканчивают проверкой знаний работника: устным опросом или тестированием. Результаты фиксируют в письменном виде с личной подписью работника.
Скачайте примерный перечень тем вводного инструктажаздесь.
Какие есть виды инструктажей на рабочем месте
Непосредственный руководитель работника проводит ему обучение на рабочем месте в объеме требований к должности, с учетом условий труда на рабочем месте:
первичный инструктаж по охране труда — в первый рабочий день нового сотрудника или прохождения производственной практики студентом;
повторный — не реже раза в 6 месяцев;
внеплановый.
Разрешается совмещать вводный и первичный инструктаж по охране труда тем сотрудникам, которые работают только с компьютерами, офисной и бытовой техникой, а их условия труда по СОУТ признаны оптимальными или допустимыми. Для этого нужно:
Утвердить список профессий и должностей, освобожденных от первичного инструктажа.
Дополнить программу вводного инструктажа положениями инструкции по охране труда и должностной инструкции работника.
Важно! Работники, освобожденные от первичного инструктажа, повторный инструктаж по охране труда также не проходят.
Случаи внепланового инструктажа по охране труда установлены п. 16 Правил №2464. Чаще всего это изменение нормативных требований, инструкций для работника либо несчастный случай, микротравма на производстве.
Кому нужен целевой инструктаж по охране труда
Руководитель работ, указанных в п. 19 Правил №2464, перед началом таких работ инструктирует персонал о специальных правилах безопасности и охраны труда для этой ситуации. Целевой инструктаж обязательно проводят перед выполнением действий по наряду-допуску, распоряжению, при ликвидации последствий ЧС, расширении зоны обслуживания. Пример: огневые работы, переключения в электроустановках.
Совет
Правила №2464 разрешают проводить оперативный целевой инструктаж при ликвидации последствий ЧС без фиксации в журнале регистрации инструктажей. Полагаем, что для доказательства подготовки работников можно использовать диктофонную запись или запись инструктажа на телефон.
Как провести обучение на I группу по электробезопасности
Руководитель компании определяет перечень должностей и профессий, которым нужна первая группа допуска ЭЛБ, и назначает специалиста, который будет ее присваивать.
По Правилам №903н проводить обучение на присвоение I группы по электробезопасности ожет работник из числа электротехнического (электротехнологического) персонала с группой не ниже III или специалист по охране труда с группой не ниже IV. На предприятиях это поручают обычно ответственному за электрохозяйство.
Соискателю на I группу проводят инструктаж, устную проверку знаний и записывают результаты в журнал, с личной подписью соискателя. Бумажное удостоверение работнику не выдают.
Скачайте перечень тем и журнал для инструктажа электробезопасности на I группу здесь.
Инструктажи и техника безопасности в школе для учащихся школьников и учителей
Содержание:
Охрана труда в школе
Охрана труда в ДОУ
Что представляет собой инструктаж по ТБ и зачем он нужен
Кто отвечает за своевременное проведение
Инструкции по технике безопасности для учащихся
Инструкции по технике безопасности для учителей
Кто заполняет журнал и занимается контролем над ведением
Охрана труда — тщательно продуманная система организованных мероприятий, направленных на сохранение здоровья и жизни всех участников образовательного процесса: администрации, педагогов, воспитанников и учеников. Для ее обеспечения необходим ряд мероприятий, перечисленных в документе «Охрана труда в образовательном учреждении», локальных правовых актах. Ответственность за их исполнение возлагается на администрацию образовательного учреждения. Все принимаемые меры должны быть направлены на обеспечение благоприятных условий работы. Для этого своевременно проводятся инструктажи по технике безопасности для учащихся и работников учреждения.
Охрана труда в школе
Администрация школы должна придерживаться следующих нормативных актов:
Трудовой кодекс РФ;
закон «Об образовании» № 273;
Приказ Минобразования РФ № 1408;
Постановления Минтруда РФ № 14 и 73;
ГОСТ 12.004.-2015 от 01.03.2017 г.;
Постановления Минтруда и Минобразования РФ № 1/29.
Охрана труда в образовательном учреждении
В учреждении разрабатываются и утверждаются:
инструкции по охране труда;
программы;
журналы инструктажей;
положения;
планы;
договор и соглашения;
приказы.
Список документов далеко не весь и может дополняться в соответствии с принятыми в регионах правовыми актами.
Важно! Должны быть разработаны правила безопасности в школе для учащихся, в том числе и в предметных кабинетах.
Охрана труда в ДОУ
Инструктаж по технике безопасности на рабочем месте
В целом требования по охране труда в ДОУ такие же, как и в школе. Основные программы и документы для обоих учреждений одинаковы. Единственное различие — списки инструкций. Их перечень будет зависеть от профиля детского сада, количества сотрудников. Должны быть разработаны инструкции для:
Важно! В состав ДОУ обязательно входят документы, предусмотренные приказом Минэнерго № 6.
Что представляет собой инструктаж по ТБ и зачем он нужен
Инструкция по технике безопасности на рабочем месте
Инструктаж по технике безопасности представляет собой перечень правил и норм поведения на предприятии во время выполнения определенных действий.
Обучение по охране труда проводят для каждого работника в соответствии с «Типовым положением или приказом Госнадзорохрантруда № 15» от 26.01.2005 г. После обучения проверку знаний проводит специальная комиссия, созданная и утвержденная руководителем образовательного учреждения. Основные формы контроля знаний — опросы.
Инструктаж по технике безопасности
Выделяют несколько видов инструктажей:
вводный, который проводится специалистом по охране труда во время оформления сотрудника на новое место работы;
первичный информирует об опасных и вредных факторах на производстве;
повторный проводится каждые полгода;
внеплановый — в случае нарушений правил техники безопасности или после возникновения аварийной ситуации. Перед проведением обязательно издается приказ, в котором указаны лица, обязанные пройти повторное обучения и причина проведения инструктажа;
целевой проводят перед определенным мероприятием. К примеру, в школе обязательно перед экскурсией, соревнованиями.
Инструктажи составляются инженером по охране труда и утверждаются руководителем учреждения. Проводит его непосредственно руководитель работ, для учителей это обычно завуч.
Обратите внимание! После проведения инструктажа руководитель вносит соответствующую запись в журнал записи проведенных инструктажей.
Кто отвечает за своевременное проведение
Инженер по технике безопасности: обязанности
Ответственный за журнал и проведения инструктажа — инженер по охране труда, руководитель подразделения. В частности, в школе это заместители директора. Они обязаны проходить обучение по охране труда каждые пять лет, посещая специальные курсы.
Ответственное лицо имеет соответствующее образование, как минимум документ о прохождении специальных курсов, и назначается директором по приказу.
Инструкции по технике безопасности для учащихся
За инструктаж по технике безопасности в школе для учащихся отвечают руководитель учреждения и учителя. Руководитель назначает ответственное лицо за тот или иной инструктаж и проводит беседу с обязательной отметкой в журнале.
Ответственные лица проводят инструктажи для учеников:
в начале года;
перед началом работы в лаборатории или спортзале;
перед проведением внеклассных и внешкольных мероприятий (экскурсий, спортивных соревнований, походов в театр).
Инструктаж может подкрепляться плакатами и методическими пособиями, презентациями. Проводится либо педагогами, либо специально приглашенными экспертами: пожарными, сотрудниками ГИБДД.
Инструктаж по технике безопасности в кабинете информатики
Содержание беседы зависит от темы. Ниже примерный перечень инструктажей для школьников.
Так, инструктаж по пожарной безопасности должен содержать информацию о причинах возникновения пожаров, способах их предотвращения, действиях, планах эвакуации. Важно сообщить номера служб экстренной помощи и порядок их вызова.
Инструктаж по правилам поведения на дороге представляет собой рассказ о том, как вести себя по пути в школу и из нее, рассказываются основные правила ПДД.
Правила электробезопасности предполагают знание основ работы с розетками и бытовой техникой, описание действий при ударе током.
Инструктаж во время экскурсий и поездок включает в себя информацию о правилах поведения в дороге, о маршруте и месте сбора, действиях в форс-мажорных ситуациях.
Перед праздниками и каникулами ученики проходят инструктаж по правилам безопасности, в который входят правила поведения в общественных местах, во время массовых гуляний, запрет на распитие спиртных напитков, правила нахождения на улице без взрослых.
Обязательны инструктажи для школьников при изучении ряда школьных предметов: физики, химии, информатики, технологии. Дети должны знать правила поведения в конкретном кабинете, действия в случае возникновения аварийных ситуаций.
Перед уроком физкультуры дети слушают инструктаж, в котором должна быть информация о проверке медицинских справок на освобождение от урока, объяснение правил поведения в зале и раздевалке, форме одежды.
Важно! За безопасность детей в летний период и во время каникул, праздников и выходных отвечают родители.
Инструкции по технике безопасности для учителей
В школе должны быть инструкции по охране труда для:
директора и его заместителей, завучей;
председателя профкома;
учителей, в том числе начальных классов, информатики, физики и других дисциплин, требующих работы в мастерских и лабораториях;
классных руководителей;
педагога-организатора;
обслуживающего персонала — электрика, повара.
Во время вводного инструктажа должна освещаться следующая информация:
основные сведения о школе и особенностях ее работы;
положения законодательства об охране труда, указанные в нормативных актах, в том числе и КЗОТе;
организация рабочего места;
работа с электроприборами;
меры противопожарной и противовзрывной безопасности.
Учитель должен знать специфику правил охраны труда во время работы на уроке. В особенности, учителя-предметники — физики и информатики, биологии, трудов физкультуры, так как на уроках дети могут иметь дело с потенциально опасными факторами.
Важно! Если учитель ведет кружок, он также обязан провести инструктаж с детьми на вводном занятии.
Кто заполняет журнал и занимается контролем над ведением
Заполнением журнала по технике безопасности занимается ответственное лицо, проводящее инструктажи. В школе это может быть инженер по охране труда или руководитель подразделения, в частности, заместитель директора.
Форма журнала ознакомления с ТБ должна соответствовать ГОСТу 12.0.004.90.
Журнал регистрации инструктажей по технике безопасности в учебном учреждении
Журнал представляет собой тетрадь формата А4. Страницы нумеруются и прошиваются, концы нити фиксируются на обложке с помощью бумажки, на которой проставляется число страниц, далее проклейка заверяется печатью и подписью руководителя.
На титульном листе журнала указываются:
название организации;
название подразделения, где именно проводится инструктаж;
дата начала заполнения журнала;
дата окончания заполнения журнала.
Основные графы:
номер по порядку;
дата рождения;
Ф.И.О. работника;
должность;
вид инструктажа или номер инструкции;
дата проведения;
данные лица, которое провело инструктаж;
подписи обоих лиц.
Можно ознакомиться с образцом журнала и изготовить его самостоятельно или заказать в типографии.
Важно! Не допускается пропуск станиц и строчек в журнале.
После заполнения журнал сдается в архив. Сроков по хранению нет.
Отсутствие журнала приводит к штрафу, а в случае нарушения правил ТБ и вовсе к уголовному наказанию.
Инструктаж по технике безопасности в школе для учащихся отмечается в журнале, который ведет учитель-предметник. Изготавливается он так же, как и журнал для работников образовательного учреждения. Но в нем могут быть следующие графы:
номер по порядку;
Ф.И.О. ученика;
класс;
вид инструктажа;
дата проведения;
Ф. И.О. инструктирующего;
подписи обоих лиц.
Пример журнала по технике безопасности в предметном кабинете
Данный журнал заполняет учитель, он хранится в его кабинете. После заполнения сдается в архив и хранится 10 лет.
Руководитель школы или ДОУ обязан обеспечивать соблюдение норм и правил охраны труда во вверенном ему учебном заведении. Классные руководители и учителя-предметники отвечают за инструктаж по технике безопасности для учащихся и несут ответственность за жизнь и здоровье детей.
Переходник ударный 1/2″>3/8″, с шариковым фиксатором KING TONY 4863P
350 ₽
Подробнее
Шестигранник L-образный 6 мм, с шаровым окончанием KING TONY 116006M
370 ₽
Подробнее
Трещотки King Tony
Определение брифинга по технике безопасности | Law Insider
означает область или пространство, официально выделенное в пределах проезжей части для исключительного использования пешеходами и защищенное или обозначенное или обозначенное соответствующими знаками таким образом, чтобы быть ясно видимым в любое время, будучи выделенным в целях безопасности. зона.
означает разумные расходы, связанные с обучением и участием в семинарах в рамках Проекта, состоящие из транспортных расходов и суточных для участников обучения, расходов, связанных с обеспечением услуг инструкторов, арендой учебных помещений, подготовкой и воспроизведением учебных материалов, и другие расходы, непосредственно связанные с подготовкой и проведением курса или семинара.
означает расследование, которое должно проводиться в соответствии с Протоколом.
или «PSAP» означает пункт ответа на вызовы службы экстренной помощи 9-1-1, исходящие из данной области. PSAP может быть обозначен как первичный или вторичный, что относится к порядку, в котором вызовы направляются для ответа. Первичные PSAP отвечают первыми; Вторичные PSAP принимают вызовы только на основе перевода и обычно служат в качестве централизованного места ответа для определенного типа экстренного вызова. PSAP укомплектованы сотрудниками сервисных агентств, таких как полиция, пожарная служба или служба неотложной медицинской помощи, или сотрудниками общего бюро, обслуживающего группу таких организаций.
означает лицо, осуществляющее клиническое наблюдение.
означает письменный документ, содержащий процедуры, требования или стандарты, связанные с безопасностью, которым должен следовать персонал бассейна. План обеспечения безопасности должен включать обучение и процедуры аварийного реагирования.
означает любую программу, которая предоставляет информацию и оценивает знания оператора класса A, класса B или класса C посредством тестирования, практической демонстрации или другого подхода, приемлемого для реализующего агентства, в отношении требований к системам UST, которые соответствуют требованиям. Раздела 2-3-1.
имеет значение, данное ему в МКУБ.
означает наличие существенной связи, реальной или потенциальной, прямой или косвенной, с фактическим оказанием или результатом стоматологической помощи, стоматологической практикой или качеством стоматологической помощи, оказываемой пациенту;
означает то же, что и этот термин, определенный в Разделе 62A-15-102.
означает систематическую процедуру оценки эффективности, результативности и уместности услуг.
означает круглосуточное средство связи на уровне штата, местное или контрактное, которое было назначено местным советом по обслуживанию для приема вызовов службы экстренной помощи и отправки экстренных служб в соответствии с планом обслуживания E911.
означает группу лиц, обладающих знаниями и навыками, связанными с диагностикой, оценкой и рассмотрением случаев жестокого обращения с зависимыми взрослыми, и которые являются профессионалами, практикующими в области медицины, общественного здравоохранения, социальной работы, права, правоохранительных органов и другие дисциплины относительно зависимых взрослых. В состав группы должны входить, помимо прочего, лица, представляющие местные агентства по делам пожилых людей, окружные прокуроры, поставщики медицинских услуг и другие лица, занимающиеся защитой или предоставлением услуг зависимым взрослым.
означает общую программу качества и связанную с ней деятельность, включая обеспечение качества Департамента, контроль качества проектировщиков и строителей, требования контракта к качеству проектирования и строительства для обеспечения соответствия спецификациям и процедурам Департамента.
означает все время с момента, когда водитель начинает работать или должен быть готов к работе, до момента, когда он/она освобождается от работы и несет всю ответственность за выполнение работы.
означает обеспечение качества.
означает файл или другую запись, содержащую информацию в письменном виде, требуемую настоящими Правилами. «План по охране труда и технике безопасности» означает документированный план для конкретной площадки, деятельности или проекта в соответствии со спецификацией по охране труда и технике безопасности клиента;
означает те условия, связанные с физическим здоровьем и безопасностью сотрудников, которые подлежат принудительному исполнению в соответствии с федеральным законодательством или законодательством штата или постановлением округа, касающиеся: безопасности физической рабочей среды, безопасной эксплуатации оборудования и инструментов на рабочем месте, обеспечения средствами защиты, обучения и требования предупреждения, насилие на рабочем месте и риск несчастного случая.
означает работу, включая любую руководящую или управленческую должность, на которой нарушение здоровья, вызванное употреблением наркотиков или алкоголя, угрожает здоровью или безопасности любого человека.
означает любой продукт, который при нормальных или разумно предсказуемых условиях использования, включая продолжительность и, где это применимо, ввод в эксплуатацию, требования по установке и техническому обслуживанию, не представляет никакого риска или представляет лишь минимальный риск, совместимый с использованием продукта, рассматриваемого быть приемлемым и соответствовать высокому уровню защиты для безопасности и здоровья людей.
означает документ Министерства под названием «Основные комплексные сертификаты об одобрении (воздух) Руководство пользователя» от апреля 2004 г. с поправками.
означает дипломированную медсестру с соответствующей постбазовой квалификацией и 12-месячным опытом работы в клинической области, соответствующей его/ее указанной постбазовой квалификации, или не менее четырех лет постбазовой регистрации, включая три года. ‘ опыт работы в соответствующей области специалистов и кто удовлетворяет местным критериям.
означает письменные указания и приказы, соответствующие стандарту медицинской помощи отделения, которым должен следовать поставщик неотложной медицинской помощи в экстренных и неэкстренных ситуациях. Протоколы должны быть одобрены медицинским директором программы обслуживания и касаться ухода как за взрослыми, так и за педиатрическими пациентами.
или «WFD» означает Рамочную директиву по отходам 2008/98/EC Европейского парламента и Совета по отходам
означает научное исследование, опубликованное только после того, как оно было подвергнуто критическому анализу на предмет научной точности, достоверности и надежности беспристрастными независимыми экспертами в журнале, который был определен Международным комитетом редакторов медицинских журналов как отвечающий Единым требованиям к рукописям, представляемым в биомедицинские учреждения. журналы. Рецензируемая медицинская литература не включает публикации или дополнения к публикациям, которые в значительной степени спонсируются фармацевтической компанией-производителем или поставщиком медицинских услуг.
означает набор письменных процедур, описывающих каждый метод (и другие инструкции и меры предосторожности), с помощью которых лицензиат выполняет диагностические клинические процедуры; где каждая диагностическая клиническая процедура одобрена уполномоченным пользователем и включает радиофармацевтический препарат, дозировку и способ введения.
Краткий обзор безопасности | Охрана окружающей среды и безопасность
2 мая 2022 г.
Ключом к хорошему ведению домашнего хозяйства является «поддержание».
Наведение порядка и уборку следует проводить регулярно, а не только в случае крайней необходимости. Риск травм и несчастных случаев значительно снижается при выполнении регулярной уборки.
Плохая уборка Результаты:
Спотыкание о предметы на полу, лестницах и других поверхностях Удары падающими предметами из-за плохо уложенных предметов Поскользнуться на жирных, мокрых или грязных поверхностях Порезы или проколы кожи из-за торчащих или неуместных предметов Подробнее пожароопасность
Good Housekeeping Результаты:
Меньше случаев спотыкания/поскальзывания благодаря более чистым поверхностям для ходьбы Улучшенный контроль над инструментами и материалами, в том числе. .. к опасным или токсичным дымам, парам или пыли. Существуют различные типы химических вытяжных шкафов с определенными правилами, которым следует следовать.
ВЫСОТА Створки
Держите створку открытой не более чем на 16-17 дюймов выше воздушного профиля. Как правило, есть стрелка, указывающая, куда следует открывать створку при работе в вытяжном шкафу.
НАДЛЕЖАЩЕЕ ИСПОЛЬЗОВАНИЕ
Никогда не храните оборудование или материалы в вытяжном шкафу. Не размещайте предметы, блокирующие перегородки…
17 февраля 2022 г.
Опасности существуют на каждом рабочем месте. Знайте основы того, как защитить себя от всех видов рисков для здоровья и безопасности. В этом выпуске бюллетеня по охране окружающей среды и технике безопасности вы узнаете, почему важно всегда носить средства индивидуальной защиты.
Скачать PDF-файл
15 февраля 2022 г.
EHS предоставляет различные ресурсы и услуги по обеспечению безопасности для поддержания безопасной рабочей среды, где бы вы ни работали!
Лаборатория/исследования
Химический мониторинг лабораторных консультаций по обезвну подробнее об услугах, которые EHS предоставляет нашим кампусам!
2 декабря 2021 г.
Сейчас сезон отпусков, но независимо от того, украшаете ли вы свою кабинку или офис, помните, что безопасность является главным приоритетом, и соблюдайте все правила и протоколы отдела. В этом выпуске бюллетеня «Охрана окружающей среды и безопасность» вы найдете 12 советов по поддержанию безопасной среды в офисе.
PDF-файл
1 ноября 2021 г.
Плохой подъем может утяжелить вас. Поднятие тяжелых предметов является одной из основных причин травм на рабочем месте. Неправильный подъем тяжестей может привести к:
Травмы спины Грыжи Растяжения и вывихи
Используйте разумные методы подъема и работайте в своей зоне силы, чтобы избежать травм.
Всегда сгибайте колени, когда поднимаете предмет. Если предмет слишком тяжелый, обратитесь за помощью. Используйте оборудование, такое как ручная тележка, для подъема тяжестей. Поворачивайтесь ногами, а не спиной.
PDF-файл
12 октября 2021 г.
EHS выполняет оценку шума для определения звукового воздействия в шумной среде.
Воздействие шума достаточной интенсивности и продолжительности на сотрудников может привести к повреждению слуха.
Рабочие могут подвергаться воздействию 90 децибел (дБА) в течение 8-часового рабочего дня.
Для эффективного контроля шума необходимо точно измерять уровень звука в соответствии со стандартными рабочими процедурами и спецификациями оборудования.
Мониторинг воздействия шума на сотрудников состоит из зонального и индивидуального мониторинга.
Мониторинг территории заключается в использовании шумомера для определения рабочих зон, где воздействие на сотрудников может превышать пределы воздействия, и…
28 июня 2021 г.
Болиголов ядовитый обладает более сильными токсическими свойствами, чем ядовитый плющ, и быстро растет по всей территории.
Советы по идентификации Цветки мелкие, белые, собраны в небольшие зонтиковидные соцветия. Цветы появляются на второй год. Растения имеют затхлый запах. На стеблях имеются красновато-фиолетовые пятна, вкрапления или прожилки. Они не волосатые и полые. Растения-первогодки низкорослые и напоминают растения моркови. Его можно отличить по отсутствию волосков на стеблях.
Советы по безопасности
Прикосновение к растению похоже на прикосновение к ядовитому плющу. Это может привести к болезненным волдырям и…
12 мая 2021 г.
Защитные ограждения важны, потому что они защищают операторов и других людей в рабочей зоне от опасностей, связанных с нормальной работой машины.
Защитные кожухи могут защитить от следующих опасностей:
Точки защемления Вращающиеся части Разлетающиеся осколки/искры Возвратно-поступательные части Электричество под напряжением Штамповка/резка/гибка деталей
Все ограждения и предохранительные устройства должны быть установлены перед началом работы на машине. Это не должно препятствовать какой-либо деятельности, связанной с машиной. Немедленно сообщите своему руководителю об обнаружении отсутствия или неадекватности охранников.
PDF-файл
2 марта 2021 г.
Промышленные погрузчики с механическим приводом включают
Вилочные погрузчики Платформенные погрузчики Ручные моторизованные погрузчики Другое специализированное оборудование с электрическим двигателем или двигателем внутреннего сгорания и практическая оценка. Переаттестацию необходимо проходить каждые 3 года.
Практическая оценка включает в себя демонстрацию, выполняемую инструктором, и упражнения, выполняемые стажером, чтобы убедиться в компетентности при управлении промышленным погрузчиком.
Практическая оценка должна проводиться с использованием промышленных грузовиков, которые будут использоваться оператором. Практическая оценка должна имитировать типичную работу, выполняемую с промышленным погрузчиком.
…
Что такое инструктаж по технике безопасности и инструктаж?
Инструктажи по технике безопасности и беседы с инструментами играют важную роль в обеспечении того, чтобы вопросы охраны труда и техники безопасности были в центре внимания ваших работников, помогая поддерживать безопасность и производительность вашего предприятия. Мы изучаем требования к таким выступлениям и брифингам, какие темы они могут охватывать и какую форму они могут принимать, а также даем советы тем, кто хочет проводить эффективные презентации.
Здоровье и безопасность Стандарты и правила
25 августа 2017 г.
Ричард МакПартленд
Те, кто вводит в эксплуатацию, проектирует, строит и эксплуатирует здания, обязаны контролировать риски, которым могут подвергнуться лица, использующие объекты, как на этапе строительства, так и на этапе эксплуатации.
Работодатели юридически (и морально) обязаны проводить «подходящее и достаточное» обучение по охране труда и технике безопасности, как это предусмотрено в Правилах строительства (проектирования и управления), которые вступили в силу в 1994 году и были в последний раз пересмотрены в 2015 году.
правила диктуют, что работодатели должны убедиться, что работники полностью осведомлены о рисках и опасностях, с которыми они сталкиваются в рабочей среде. Эта осведомленность может принимать форму регулярных брифингов, а также общего надзора и мониторинга.
Инструктажи могут быть очными (обучение в классе, инструктажи по технике безопасности или «инструментальные беседы» или инструкции) или самостоятельными (где предоставляются мультимедийные ресурсы, позволяющие учащимся освоиться в своем собственном пространстве). Независимо от методологии, цель остается – обеспечить, чтобы рабочая сила приняла культуру «здоровья и безопасности» для обеспечения безопасности людей.
В чем разница между инструктажем по инструментам и инструктажем по технике безопасности?
Термины «обсуждение инструментария» и «инструктаж по технике безопасности» часто используются как синонимы, но Управление по охране труда и технике безопасности (HSE) проводит различие.
Инструментальная беседа
Инструментальная беседа — это неформальная короткая встреча (обычно продолжительностью от 10 до 15 минут), которая должна быть посвящена одной конкретной теме и изучению рисков, связанных с конкретными проблемами здоровья и безопасности на объекте, и способов их решения. с.
Примеры тем могут включать:
Работа на высоте и использование такого оборудования, как лестницы или строительные леса
Ручное обращение
Поскальзывания, спотыкания и падения
Работа в замкнутом пространстве
Средства индивидуальной защиты (защита головы, глаз или органов слуха и т. д.)
Хотя переговоры носят неформальный характер, регулярные встречи (по мере необходимости) помогут укрепить приверженность организации поддержанию безопасной рабочей среды. Например, разговор с набором инструментов может быть хорошим способом решения повторяющихся проблем со здоровьем и безопасностью или предстоящих изменений в правилах и стандартах.
Хотя название «ящик с инструментами» происходит от действия физического стояния на ящике с инструментами для передачи адреса, это не является обязательным требованием. Тем не менее, выступающему имеет смысл найти теплое, сухое место, свободное от отвлекающих факторов, например офис на месте, чтобы повысить эффективность встречи.
Инструктажи по технике безопасности
Инструктажи по технике безопасности представляют собой короткие беседы, в которых подробно описываются опасности для здоровья и безопасности, с которыми могут столкнуться работники, и на которых должны присутствовать все, кто будет работать на конкретном объекте (включая субподрядчиков и ключевых участников цепочки поставок).
Такие беседы обычно проводятся руководителем объекта и будут проводиться регулярно (часто ежедневно) на объекте, перед началом доступа к объекту, конкретной работой или сменой, и скорее всего, будут довольно краткими (максимум 30 минут), чтобы обеспечить чтобы участники могли полностью сосредоточиться на брифинге, не теряя внимания.
Работодатели должны обеспечить, чтобы работники были полностью осведомлены о рисках и опасностях, с которыми они сталкиваются в рабочей среде. Эта осведомленность может принимать форму регулярных брифингов, а также общего надзора и мониторинга.
Какова цель инструктажа по технике безопасности или инструктажа?
Как брифинги по технике безопасности, так и беседы с инструментами служат способом передачи ключевой информации и знаний более широкой аудитории и проверки понимания. Встречи также служат более широкой цели: постоянному обновлению знаний и стимулированию дальнейших дискуссий о здоровье и безопасности, уделяя особое внимание заботам и смягчению последствий в умах сотрудников. В идеале регулярная программа брифингов и бесед должна формировать культуру здоровья и безопасности на рабочем месте.
Что нужно для хорошего инструктажа по технике безопасности или разговора с инструментами?
Как и в случае любой другой формы презентации, оратор должен стремиться донести содержание, которое будет интересным и информативным, привлекательным и запоминающимся.
Четкая структура действительно может помочь: если с самого начала четко определить, что будет обсуждаться, почему это важно, а также подробно описать, что участники узнают, это облегчит понимание материала участниками. Потратив некоторое время в конце сессии на то, чтобы обобщить ключевую информацию (включая любые групповые обсуждения) и то, что участник должен вынести из презентации, это также поможет закрепить то, что было сделано ранее.
Презентация не обязательно должна включать в себя группу, на которой «говорят», поэтому подумайте, как вы можете вовлечь аудиторию с помощью риторических вопросов, групповых обсуждений или интерактивных действий, которые, вероятно, помогут закрепить обучение и повысить интерес. Оживление потенциально «сухой» темы с помощью реальных примеров, особенно актуальных или своевременных, может помочь вашей аудитории увидеть актуальность и сделать ваш материал более понятным.
Подумайте также, как вы можете использовать доски или флипчарты, а не полагаться исключительно на речь или презентацию PowerPoint. Новые технологии также дают возможность воплотить концепции в жизнь — компьютер или планшет позволяют добавлять аудио, видео, анимацию в презентацию, вызывать чертежи, диаграммы или примеры, несомненно, помогут вам донести свое сообщение. Мы также начинаем видеть виртуальную и дополненную реальность (с информацией и примерами, наложенными на изображение реального мира), используемую для изучения моделей, пространств и мест, что позволяет гораздо более увлекательно понять, что находится перед глазами. наши глаза.
Где я могу найти ресурсы для разработки брифингов и переговоров?
Управление по охране труда и технике безопасности подготовило ряд лекций по набору инструментов, которые находятся в свободном доступе в Интернете. Темы включают ручное обращение, падения и безопасное использование лестниц и стремянок. HSE также разработала руководство по строительству, которое включает раздел, предназначенный для оттачивания коммуникативных навыков для тех, кто проводит инструктажи по технике безопасности и беседы с инструментами.
Вводный комплект по охране труда и технике безопасности, предназначенный для небольших строительных компаний, подготовленный Site Safe Scotland при содействии строительной отрасли, WWT Campaign и HSE, содержит слайды и заметки докладчиков, которые охватывают процесс введения в должность.
Учебный совет строительной отрасли (CITB) также предоставляет ряд мультимедийных ресурсов. Книга Toolbox Talks (GT 700) была разработана для помощи руководителям участков и менеджерам, желающим проводить выступления с инструментами на строительных площадках.
Ричард МакПартленд
@richmcpartland
Ричард МакПартленд, редактор theNBS.com, 2015–2018 гг.
Логотип НБС
Uniclass — обновление за июль 2022 г.
20 июля 2022 г.
Это последняя часть нашей ежеквартальной программы обновления для Uniclass. Он включает обновления девяти таблиц и предназначен главным образом для добавления новых классификаций и исправлений к существующим классификациям.
Подход NBS к устойчивой спецификации
10 июня 2022 г.
| Джесс Шарман
NBS выпустила совместное руководство из пяти частей при участии членов технических и информационных групп NBS и других сторонников устойчивого развития. Клиенты смогут обращаться к руководствам и находить то, что им нужно, чтобы помочь в их усилиях по устойчивой спецификации.
Uniclass — обновление за апрель 2022 г.
28 апреля 2022 г.
Это последняя часть нашей ежеквартальной программы обновления для Uniclass. Он включает обновления восьми таблиц и предназначен преимущественно для добавления новых классификаций и исправлений к существующим классификациям.
Сопоставления между Uniclass и IFC
14 апреля 2022 г.
| по НБС
В этой статье представлены рекомендации для тех, кто работает в среде моделирования и хочет маркировать объекты кодом Uniclass, а также соответствующими объектами IFC и предопределенными типами.
Инструктаж по технике безопасности и визуальный дизайн — ключ к защите медицинского персонала во время пандемии COVID-19
Список журналов
Коллекция Elsevier для чрезвычайных ситуаций в области общественного здравоохранения
PMC7318939
Am J Инфекционный контроль. 2020 сен; 48 (9): 1122–1124.
Опубликовано онлайн 2020 июня 26. doi: 10.1016/j.ajic.2020.06.186
, PhD, A, B , MBBS (Hons), C, ⁎ , PHD), PHD), PHD), C, ⁎ , PHD). , MA, d , MPH, e, f, g и COVID19AsOne Group
Информация об авторе Авторские права и информация о лицензии Отказ от ответственности
Открыть в отдельном окне
Пандемия привела к широкому распространению COVID-19 изменения, поскольку страны повторяют призыв к миллионам оставаться дома в попытке ограничить передачу SARS-CoV-2, вируса, ответственного за COVID-19.инфекционное заболевание. Медицинский персонал (HCP), с другой стороны, продолжает служить на передовой. Так как это ограниченный человеческий ресурс, крайне важно, чтобы безопасность медицинских работников не подвергалась риску.1 В нашей службе здравоохранения в Виктории, Австралия, мы внедрили модель обучения, ориентированную на человеческий фактор, с целью максимизировать безопасность с помощью ключевых сообщений. и четкое общение.
Наша служба здравоохранения, Monash Health, является крупнейшей сетью государственных медицинских услуг в штате Виктория и включает в себя три крупные столичные больницы. Наша модель обучения основана на предоставлении последовательных и четких сообщений о безопасности всем медицинским работникам, независимо от их роли и местонахождения больницы. Он создан по принципу предполетных объявлений о безопасности, используемых в авиационной отрасли; еще один сектор с высокими ставками. Инфографика ( ), видеорезюме и инструктажи перед сменой являются частью модели обучения.2
Открыть в отдельном окне
Открыть в отдельном окне
Визуальное оформление инструктажа по технике безопасности в начале смены и в клинических зонах.
Эта модель включает 6 ключевых сообщений:
1.
Подчеркнуть важность идентификации вируса как основной опасности
3.
Акцент на гигиену рук
4.
Укрепление социального дистанцирования
5.
Поощрение оздоровительного оздоровительного и командного положения HCP
6.
. Важность когнитивных вспомогательных средств для обучения медицинских работников важна для обеспечения их максимальной безопасности. По мере перехода стран к эндемической фазе COVID-19 и увеличения частоты бессимптомного носительства мы стремимся использовать эти вспомогательные средства для снижения опасности для медицинских работников, пациентов и общества. Мы считаем важным подчеркнуть необходимость учитывать все потенциальные опасности при лечении COVID-19.пациентов («D [опасность] на первом месте»). Отображается мнемоника DRSABCD, активно используемая в отделениях интенсивной терапии и реанимации, чтобы передать остроту ситуации.3 Это побудит медицинскую бригаду к надлежащему реагированию («R» в DRSABCD) путем применения СИЗ.
Соблюдение гигиены рук эффективно снижает внутрибольничные инфекции4 и остается жизненно важным во время пандемии для снижения распространения вируса среди медработников и пациентов с известным, подозреваемым или неизвестным COVID-19. Благодаря активному и пассивному социальному дистанцированию мы стремимся снизить риск заражения COVID-19.передачи между HCP, пациентами и населением. Подкрепление соблюдения СИЗ и повторная проверка соответствия СИЗ с коллегой сводит к минимуму риск передачи вируса другим медработникам и пациентам. Брифинг разработан таким образом, чтобы быть междисциплинарным и включать всю команду HCP. Частью модели безопасности является проверка здоровья для медицинских работников. Наконец, замкнутая обратная связь и общение позволяют активно обновлять нашу модель обучения, чтобы обеспечить постоянную актуальность для всех сотрудников HCP.
Благодаря использованию человеческого фактора наша модель обучения призвана стать познавательным подспорьем для всех медицинских работников в обеспечении безопасности во время пандемии. Недавнее исследование определило неоптимальную гигиену рук и продолжительный рабочий день как факторы риска для COVID-19.передачи к медицинскому работнику.5 Следовательно, необходимо учитывать другие факторы, помимо СИЗ, для предотвращения передачи COVID-19. Использование легко идентифицируемой инфографики с простыми и последовательными инструктажами по смене позволяет быстро передавать информацию HCP в нескольких больницах, сохраняя при этом распознавание сообщений. Культура безопасности и доверия среди медицинских работников во время этой пандемии обеспечит не только их безопасность, но и безопасность их пациентов и общества.
Конфликт интересов: Нет, чтобы сообщить.
1. Адамс Дж.Г., Уоллс Р.М. Поддержка медицинских работников во время глобальной эпидемии COVID-19. ДЖАМА . дои: 10.1001/jama.2020.3972. По состоянию на 17 июля 2020 г. [PubMed] [CrossRef]
2. COVID19AsOne. Приобретение средств индивидуальной защиты (СИЗ) немедицинского класса для использования при обучении медицинских работников (HCW). 2020. Доступно по адресу: https://www.covid19asone.com/sourcing-ppe-1. По состоянию на 20 мая 2020 г.
3. Австралийский совет по реанимации. Блок-схемы АРК. 2016. Доступно по адресу: https://resus.org. au/guidelines/flowcharts-3/. По состоянию на 7 апреля 2020 г.
4. Грейсон М.Л., Стюардсон А.Дж., Руссо П.Л. Влияние Австралийской национальной инициативы по гигиене рук через 8 лет на практику инфекционного контроля, обучение медицинских работников и клинические результаты: продольное исследование. Ланцет Infect Dis. 2018;18:1269–1277. [PubMed] [Google Scholar]
5. Ran L, Chen X, Wang Y, Wu W, Zhang L, Tan X. Факторы риска заболевания коронавирусом у медицинских работников, 2019 г.: ретроспективное когортное исследование в назначенной больнице Ухани в Китае. Клин Инфекция Дис . doi: 10.1093/cid/ciaa287. По состоянию на 17 июля 2020 г. [бесплатная статья PMC] [PubMed] [CrossRef]
[ИНФОРМАЦИЯ ДЛЯ МЕДСЕСТЕР ПО БЕЗОПАСНОСТИ ПРИ ПЕРЕДАЧЕ ПАЦИЕНТА В ОРИТ]
. 2015 март;38(3):48-56.
[Статья в
Испанский]
Джессика Тальеда, Франсеск Фатьо Хуриос
PMID:
26521410
[Статья в
испанский]
Джессика Тальеда и др.
Преподобный Энферм.
2015 март
. 2015 март;38(3):48-56.
Авторы
Джессика Тальеда, Франческ Фатьо Хуриос
PMID:
26521410
Абстрактный
ГИПОТЕЗА И ОСНОВНЫЕ ЦЕЛИ: Инструктаж по безопасности повышает эффективность процесса обмена информацией о передаче пациентов и укрепляет культуру безопасности. Цель состояла в том, чтобы разработать инструктаж по безопасности для стандартизации процесса обмена значимой информацией при передаче пациента в отделение интенсивной терапии (ОИТ). Вспомогательными целями были: оценить влияние на культуру безопасности и коммуникацию между профессионалами, описать методологию заполнения информации в Инструктаж для каждой смены и собрать и обсудить мнения специалистов по ее использованию.
Методы:
Это проспективное интервенционное исследование. Мы разработали брифинг и ввели его в список медсестер для передачи пациентов на шесть месяцев. Опросы до и после введения брифинга проводились для оценки влияния брифинга по безопасности на культуру безопасности медсестер и обмен информацией. Всего в эксперименте приняли участие 23 медсестры. Представленные результаты были проанализированы с помощью критерия Хи-квадрат и Фишера.
Полученные результаты:
Медсестры сообщили об изменении качества устной коммуникации. Предложенный брифинг использовался в 80,2 % случаев передачи пациентов. Большинство испытуемых, оценивающих предлагаемый брифинг, считают, что его использование не только ускорило процесс обмена информацией, но и улучшило качество информации.
Выводы:
Изменение восприятия медсестер качества устного общения при использовании брифинга, повышенное количество обменов информацией, проведенных с помощью предложенного инструмента, и хорошие отзывы, полученные от медперсонала, позволяют сделать вывод о том, что брифинг по безопасности эффективный инструмент для обмена информацией, который также может повысить безопасность пациентов в критическом состоянии. Однако до сих пор нет убедительных доказательств улучшения культуры безопасности или общего устного общения.
Похожие статьи
Точки зрения корейских медсестер в отношении передачи.
Ким Э.М., Ко Дж.В., Ким С. Ким Э.М. и др. Медсестра Контемп. 2016 авг; 52 (4): 421-429. дои: 10.1080/10376178.2016.1198709. Epub 2016 16 июня. Медсестра Контемп. 2016.
PMID: 27267242
Медсестринские передачи и клинические суждения относительно риска ухудшения состояния пациента: исследование смешанного метода.
Лавуа П., Кларк С.П., Клаузен С., Пурден М., Эмед Дж., Косенкова Л., Франчак В. Лавуа П. и др. Джей Клин Нурс. 2020 окт; 29 (19-20): 3790-3801. doi: 10.1111/jocn.15409. Epub 2020 31 июля. Джей Клин Нурс. 2020.
PMID: 32644241
Стандартная передача улучшает транспортировку кардиохирургического пациента: из операционной в отделение интенсивной терапии.
Применение Комплексной программы безопасности на основе отдельных единиц в интенсивной терапии: королевский обмен.
Smith LE, Flanders SA. Смит Л.Э. и соавт. Crit Care Nurs Clin North Am. 2014 дек; 26 (4): 447-60. doi: 10.1016/j.ccell.2014.08.004. Epub 2014 30 сентября. Crit Care Nurs Clin North Am. 2014.
PMID: 25438887
Обзор.
Улучшение процесса передачи пациентов в отделение интенсивной терапии: ключи к уменьшению ошибок и улучшению результатов.
Улучшение процесса передачи медсестер в онкологических учреждениях с использованием принципов бережливого управления.
Аяд О., Харун А., Ясин Р., Тиаб Ф., Аль-Равашда К., Мохаммад И., Акташ М., Кадуми С., Алтантави Й., Наират А. Айад О и др. Азиатский Pac J Рак Prev. 2019 25 мая; 20 (5): 1563-1570. doi: 10.31557/APJCP.2019.20.5.1563. Азиатский Pac J Рак Prev. 2019.
PMID: 31128063 Бесплатная статья ЧВК.
Типы публикаций
термины MeSH
10 бесплатных тем для инструктажа по технике безопасности
Получите прямо сейчас!
Бесплатные темы по безопасности будут доставлены вам по электронной почте немедленно.
В чем подвох?
Нет подвоха. Мы делаем это, потому что хотим дать малым предприятиям возможность разработать успешные программы безопасности, чтобы убедиться, что у них есть все инструменты, необходимые для соблюдения требований OSHA и предотвращения несчастных случаев. Все, что нам нужно от вас, это указать свой адрес электронной почты, и мы мгновенно отправим ваши бесплатные темы.
Истекает скоро!
Бесплатные темы по безопасности больше не будут доступны с этим бесплатным предложением. Это предложение является частью маркетингового теста, поэтому, когда оно закончится, эти бесплатные темы по безопасности больше не будут доступны в этом бесплатном предложении. Даже если вам не нужны бесплатные темы по безопасности сегодня, вы должны воспользоваться этим предложением, получить 10 бесплатных тем по безопасности и получить от них пользу в будущем.
Кому могут быть полезны эти темы по безопасности?
Совещания по технике безопасности предназначены не только для строителей или подрядчиков! У нас было более 900 различных компаний воспользуются этим бесплатным предложением, представляющим такие отрасли, как производство , тяжелая промышленность операции , ландшафтный дизайн , жилой дом благоустройство, розничная торговля , правительство и легкое строительство .
Даже если вы не уверены, что встречи по технике безопасности имеют смысл для вашей отрасли (а они так и делают), расскажите нам сегодня об этих десяти бесплатных темах по безопасности. Вам буквально нечего терять, и вы можете просто вдохновиться, чтобы провести несколько потрясающих совещаний по безопасности со своей командой!
Да! Я хочу 10 бесплатных тем по безопасности!
Вы знаете, что дверь багажника, ящик для инструментов и еженедельные совещания по безопасности — ваш ключ к успеху в области безопасности… мы согласны!
Вы использовали действительно ужасный материал для совещаний по технике безопасности… потому что трудно найти что-то профессиональное и хорошо написанное… это не ваша вина!
Вы больше не хотите тратить время и деньги на паршивые материалы для совещаний по технике безопасности… и не должны!
Если вы не уверены в беседах с инструментами, совещаниях по вопросам безопасности или еженедельных совещаниях по вопросам безопасности… прокрутите вниз.
Если вы готовы к 10 бесплатным темам по безопасности, без каких-либо условий, добавьте свое имя, адрес электронной почты и нажмите кнопку.
Мы ненавидим СПАМ, мы никогда не продадим ваш адрес электронной почты!
Спасибо! Ваша заявка принята!
Ой! Что-то пошло не так при отправке формы.
Интересуетесь такими вещами, как беседы о безопасности ящика с инструментами или собраниями по безопасности задней двери, иногда называемыми моментами безопасности или даже акциями безопасности… см. эти замечательные ссылки ниже:
«Стандарт безопасности строительства OSHA 1926.21(b)(2) Работодатель должен проинструктировать каждого работника о том, как распознавать и избегать небезопасных условий, а также о правилах, применимых к его рабочей среде, для контроля или устранения любых опасностей или другого воздействия болезней или травм. .» — OSHA.gov
«Toolbox Talk — это неформальное групповое обсуждение, посвященное конкретному вопросу безопасности. Эти инструменты можно использовать ежедневно для продвижения культуры безопасности в вашем отделе. на рабочем месте». — Отдел охраны окружающей среды, здоровья и безопасности Гарварда
«Беседы с набором инструментов — это основной способ для строительных подрядчиков предоставить работникам соответствующую информацию о безопасности на конкретном объекте, но, к сожалению, слишком многие подрядчики не понимают и не максимизируют свой потенциал. » — Сопредседатель руководства LHSFNA Ноэль С. Борк
«Названия различаются в зависимости от отрасли и места работы — «Toolbox Talks», «Tailgate Chats», «Safety Meetings», «Instruction Crew Briefings» — но эти краткие, предварительные Бодрые беседы во время смены могут усилить обучение технике безопасности, повысить осведомленность сотрудников об опасностях на рабочем месте и правилах техники безопасности, а также улучшить показатели техники безопасности». — Рой Маурер, онлайн-редактор/менеджер SHRM
«Беседы о безопасности у задней двери — это короткие неофициальные встречи по вопросам безопасности, проводимые на уровне экипажа. .. как напоминание сотрудникам о том, что они уже знают, и укрепляет доверие к руководителю и его добросовестность. о своих обязанностях по обеспечению безопасности». — Штат Нью-Йорк, DOT
«§1509 Программа предотвращения травм и заболеваний. (e) Руководящие сотрудники должны проводить собрания по технике безопасности «инструментов» или «задней двери» или эквивалентные со своими бригадами по крайней мере каждые 10 рабочих дней, чтобы подчеркните безопасность».
— Приказ о безопасности строительства §1509 Cal/OSHA
«Совещания по безопасности задней двери или ящика с инструментами (в соответствии с требованиями T8 CCR 1509) — это 10–15-минутные собрания сотрудников на рабочем месте… которые проводятся для того, чтобы сотрудники были готовы к работе- связанных с ними опасностей и предотвращения травм. Совещания задней двери или ящика с инструментами должны касаться конкретных опасностей и безопасных методов работы».
— Штат Калифорния, Департамент производственных отношений
«Совещание у двери багажного отделения, беседа с инструментами, совещание по вопросам безопасности или совещание по вопросам безопасности. .. Как бы вы их ни называли, краткое целенаправленное обучение технике безопасности является ключом к предотвращению несчастных случаев». — Weeklysafety.com
Посмотрите на этот полный план собраний по вопросам безопасности на сайте Weeklysafety.com на один год.
6046046046046046046046046046046048. Неделя 41 Защита головы
Неделя 42 Безопасность свинца
Неделя 43 Рабочие зоны
Неделя 44 Защита траншей
40 Неделя 60005
Неделя 46 Housekeeping
Неделя 47 Скафолды
Неделя 48 OSHA ISITS
9000 40484 Неделя 49 Портативные размешки
9000 9000
4 неделя 49 . 52 Знаки и ограждения
Воспользуйтесь этим или создайте свой собственный план обучения совещанию по технике безопасности.
Да! Я хочу 10 бесплатных тем по безопасности!
Советы по использованию тем на совещаниях по безопасности:
Совещания по безопасности обычно наиболее эффективны, если их продолжительность не превышает 30 минут. Однако это зависит от вашей команды и от того, как часто вы проводите собрания по безопасности.
Часто проводимые 15-, 10- или даже 5-минутные встречи (мы обычно рекомендуем еженедельно) могут быть действительно полезными и меньше всего будут отвлекать вас от работы в течение дня.
Рассмотрите возможность проведения совещаний по безопасности, разговоров о безопасности ящика с инструментами или совещаний по безопасности задней двери по пятницам один раз в месяц. Используйте это как возможность поговорить о безопасности как на работе, так и вне ее. Непосредственно перед длинными выходными или национальным праздником может быть отличная возможность сообщить команде, что их безопасность всегда важна.
Во время коротких 5-минутных совещаний по безопасности рассмотрите возможность указать на конкретные проблемы, которые наблюдались во время недавнего инцидента, инспекции или потенциально опасной ситуации. Воспользуйтесь возможностью указать на «извлеченные уроки», которые были замечены или обнаружены. Но всегда придерживайтесь фактов!
Планируйте свои разговоры о безопасности, совещания по вопросам безопасности или акции по вопросам безопасности так, чтобы они соответствовали времени года и погодным условиям в вашем регионе. Дайте краткие соответствующие указания по безопасности для их конкретных проблем и опасений.
МАЗ 6430A9: цена МАЗ 6430A9, технические характеристики МАЗ 6430A9, фото, отзывы, видео
МАЗ 6430A9: цена МАЗ 6430A9, технические характеристики МАЗ 6430A9, фото, отзывы, видео — Avto-Russia.ru
Главная
Каталог авто
МАЗ
МАЗ 6430A9
Поиск по каталогу
Тип кузова: Любой Седан Хэтчбек Универсал Кроссовер Внедорожник Компактвэн Минивэн Купе Кабриолет Родстер Пикап Фургон Автобус Микроавтобус Грузовик Самосвал Шасси ТягачДиапазон цен: Любой до 500 000 руб от 500 000 до 600 000 руб от 500 000 до 600 000 руб от 600 000 до 700 000 руб от 700 000 до 800 000 руб от 800 000 до 900 000 руб от 900 000 до 1 000 000 руб до 1 000 000 руб от 1 250 000 до 1 500 000 руб от 1 250 000 до 1 500 000 руб от 1 500 000 до 1 750 000 руб от 1 750 000 до 2 000 000 руб до 2 000 000 руб от 2 000 000 до 2 500 000 руб от 2 500 000 до 3 000 000 руб от 3 000 000 до 3 500 000 руб от 3 500 000 до 4 000 000 руб от 4 000 000 до 4 500 000 руб от 4 500 000 до 5 000 000 руб свыше 5 000 000 рубДлина: Любая До 3 метров 3 — 3,5 метра 3,5 — 4 метра 4 — 4,5 метра 4,5 — 5 метров 5 — 5,5 метра 5,5 — 6 метров Свыше 6 метровШирина (с зеркалами): Любая До 1,4 метра 1,4 — 1,5 метра 1,5 — 1,6 метра 1,6 — 1,7 метра 1,7 — 1,8 метра 1,8 — 1,9 метра 1,9 — 2 метра Свыше 2 метровВысота: Любая До 1,3 метра 1,3 — 1,4 метра 1,4 — 1,5 метра 1,5 — 1,6 метра 1,6 — 1,7 метра 1,7 — 1,8 метра 1,8 — 1,9 метра 1,9 — 2 метра Свыше 2 метровЧисло дверей: Любое 1 2 3 4 5Число мест: Любое 2 3 4 5 6 7 8 9 и большеОбъем багажника: Любой 100-200 литров 200-300 литров 300-400 литров 400-500 литров 500-1000 литров Свыше 1000 литровГарантия: Любая 1 год 2 года 3 года 4 года 5 летСтрана сборки: Любая Бельгия Бразилия Великобритания Германия Индия Иран Италия Испания Канада Китай Мексика Нидерланды Польша Россия Румыния Словакия США Таиланд Турция Украина Узбекистан Чехия Швеция Южная Корея ЮАР Япония
От официальных дилеров
Модели 2022 года
Исключить китайские авто
Поиск Все марки
МАЗ 6430A9 — фото 1
МАЗ 6430A9 — фото 2
МАЗ 6430A9 — фото 3
МАЗ 6430A9 — фото 4
МАЗ 6430A9 — фото 5
Назад
Вперед
Обзор
Модификации
Одноклассники
Отзывы
Обои
Продажа
Технические характеристики МАЗ 6430A9
Цена
(январь 2022 г)
4 050 000 — 4 800 000 ₽
Мин. цена (январь 2022 г)
4 050 000 ₽
Макс. цена (январь 2022 г)
4 800 000 ₽
Модельный год
2008
Тип кузова
Тягач
Длина, мм
6900
Ширина, мм
2500
Высота, мм
3180
Количество дверей
2
Количество мест
3
Объем багажника, л
—
Гарантия
1 год или 60 000 км
Страна сборки
Беларусь
Модификации МАЗ 6430A9
МАЗ 6430A9 11.1 MT
Цена (январь 2022 г)
4 050 000 ₽
Максимальная скорость, км/ч
120
Время разгона до 100 км/ч, сек
—
Двигатель
Дизельный с турбонаддувом
Рабочий объем, см3
11120
Мощность, л. с. / оборотах
412/1300
Момент, Н·м / оборотах
1870/1500
Расход комби, л на 100 км
36.0
Тип коробки передач
Механическая, 16 передач
Привод
Задний
Показать все характеристики
Одноклассники МАЗ 6430A9 по цене
КамАЗ 5490
КамАЗ 5490
КамАЗ 5490
КамАЗ 5490
От 4 200 000 ₽
До 5 800 000 ₽
Тягач
Россия
Год: 2013
Отзывы владельцев МАЗ 6430A9
МАЗ 6430А9, 2010 г
Купил в Москве МАЗ 6430А9. Пригнали, сразу не работало: вентилятор радиатора крутит постоянно, рама лежит на мостах (не работает пневмоподвеска), все без исключения болты и гайки не затянуты. Болты стабилизатора просто вбиты, нет резьбы и т.д. Приехали к дилеру в Челны, он говорит, а кто будет нам платить за устранение? Мы не устраняем по гарантии, нам завод не компенсирует. Езжайте в Москву к тому, кто продал. Ладно, сделали за свои деньги. Зацепили бочку НефАЗ 30 куб. поехали. Расход на круг 50 литров. У нас есть Рено Премиум, с таким же двигателем 42 литра расходует с такой же бочкой, машине 8 лет. Это ладно, на 8 повышенной просто не тянет, даже по прямой. Вот и ездим. А куда деваться — лизинг. Еще три года чувствуется, будем лечить это «чудо». КамАЗ реально собран лучше, если б не двигатель. Так что думайте. Больше никаких МАЗов и КамАЗов. Так и не решили вопрос с постоянно работающим вентилятором. Дилеров нет, сервис «Рено» не берет, говорят диагностический разъем не подходит.
Достоинства: тяговитый двигатель.
Недостатки: качество сборки. Надежность. Нет нормального сервиса.
Андрей, Москва
МАЗ 6430А9, 2011 г
Расскажу потенциальным покупателям МАЗ 6430А9 одну вещь. Машина не плохая, НО к моменту, когда поднялся спрос на МАЗ и образовалась очередь, белорусский завод напрочь перестал следить за качеством сборки. Из-за сжатых сроков, откручивается мотор от рамы, трубки, про качество покраски вообще говорить не хочется. Так будет или пока спрос не упадет на эти машины, либо кто-то кому-то не даст. Расход на моем МАЗ 6430А9 от 33-40. Главное — это водитель, потом качество ДТ, местность, ну и вес, конечно. Водитель постарше с 22-25 тоннами мог в 33 уложиться, а молодой что с весом, что налегке — 40. Бывалый эксплуататор дал совет постоянно шприцевать машину каждые 10000 км пробега. У дилеров смазка плохая, «испаряется». От частоты шприцевания зависит срок службы механизмов, к сожалению, все они обслуживаемые, придется следить за ними вручную, масленок тьма. Могу еще посоветовать уровень пола приподнять, при накаченных задних подушках, стакан подушки торчит на два и лучше даже три пальца (главное помнить о высоте прицепа 4 м). Этот совет получил также от бывалого частника, пользователя подобного МАЗ 6430А9 с пробегом в 400 тыс. км, на 400-сильном ярославском моторе и коробкой ЗФ. В планах найти человека, который сможет ограничитель поднять до 100 км/ч, а то на 8-й передаче обороты жмет, теряем скорость. Передачи к 20000 км разрабатываются, пятая на холодную до сих пор не включается, после прогрева коробки начинает залетать, как на легковой.
Достоинства: надежный, если правильно обслуживать. Тяговитый.
Недостатки: качество упало.
Игорь, Павлоград
Обои рабочего стола МАЗ 6430A9
Обои МАЗ 6430A9
Объявления о продаже МАЗ 6430A9
Объявления о продаже новых автомобилей
Объявления о продаже подержанных автомобилей
Обзор
Модификации
Одноклассники
Отзывы
Обои
Продажа
МАЗ 6430A9 — обзор автомобиля
MAZ 6430A9 / МАЗ 6430A9
МАЗ 6430A9 — седельные тягачи с колесной формулой 6х4. Первое поколение модели увидело свет в 1997 году. В 2008 году была представлена рестайлинговая версия МАЗ 6430А9, которая получила обновленную кабину и доработки технического плана. Данная модель является одной из наиболее востребованных в своем сегменте. Широкая популярность МАЗ 6430А9 объясняется сравнительно низкой себестоимостью и высокой производительностью. Также немаловажную роль в данном случае сыграла высокая надежность автомобиля и его полная ремонтопригодность. МАЗ 6430A9 оборудован новой, современной кабиной, которая получила полный набор опций, облегчающих работу водителя. Низкий уровень шума в салоне модели достигнут за счет улучшенной звукоизоляции, что играет немаловажную роль в плане комфорта.
Силовой агрегат объемом 11.1 л производства Ярославского моторного завода наделен превосходным соотношением производительности и экономичности. Допустимая полная масса автопоезда МАЗ 6430А9 составляет 52 тонны, что повышает эффективность коммерческих грузоперевозок. Продуманная система безопасности включает ремни безопасности водителя и пассажиров, а также электронные системы ABS и ASR. МАЗ 6430A9 — идеальный вариант в сфере регулярных городских, региональных и международных перевозок.
Обзор
Модификации
Одноклассники
Отзывы
Обои
Продажа
Все модели MAZ
Сообщить об ошибке
МАЗ-6430: технические характеристики, двигатели, КПП, ходовая, кабина — все версии тягача
Седельный тягач МАЗ-6430 — настоящий труженик. Этот бескапотный грузовик, вдохновленный моделями MAN, выпускается с 1997 года и по сей день остается востребованным и актуальным. Десятки успешных модификаций, улучшение эргономики и комфортабельности, простое техническое обслуживание и выдающиеся грузоподъемность и выносливость делают тягачи семейства МАЗ-6430 настолько популярными. О технических характеристиках, двигателях, коробках передач, ходовой и кабине расскажем далее в статье.
Содержание
История создания и производство
Где используется седельный тягач
Технические характеристики
МАЗ 6430А8
МАЗ 6430А9
МАЗ 6430В7
МАЗ 6430В9
МАЗ 6430С9
МАЗ 6430Е8
МАЗ 6430Е9
МАЗ 643028
Двигатели МАЗ-6430
ЯМЗ-650
ЯМЗ-651.10
ЯМЗ-653
Mercedes OM457LA V
Weichai WP12/430E50
Техническое обслуживание двигателя
Коробка передач
Ходовая часть
Рулевое управление
Тормозная система
Кабина
История создания и производство
МАЗ-6430 — один из самых популярных седельных тягачей белорусского производства. Его сборка на Минском автозаводе началась в 1997 году. Формально тягач называется «МАЗ-МАН», поскольку производство велось не полностью на белорусских мощностях, а на совместном предприятии, созданном с автопроизводителем MAN.
Седельный тягач МАЗ-6430 является наследником легендарного МАЗ-6422, который выпускался на протяжении тридцати лет. Но у преемника много черт, позаимствованных и у немецких тягачей, в частности, MAN и «Мерседес-Бенц». Совместное белорусско-немецкое производство позволило создать тягач европейского уровня по гораздо более доступной цене. Если сравнивать с европейскими «одноклассниками», то разница в стоимости достигала 30 %.
МАЗ-6430 «Простор»
Современные модели седельных тягачей МАЗ 6430 имеют много общего с новинками от MAN. В частности, можно отметить визуальное сходство грузовиков. На данный момент выпускается версия образца 2008 года. Именно тогда был последний рестайлинг мазовского тягача 6430-й модели. С 2011 года к названиям комплектаций добавляется индекс «Простор».
Где используется седельный тягач
Тягач МАЗ-6430 востребован в строительстве, грузоперевозках, сельском хозяйстве
Седельный тягач МАЗ 6430 используется для перевозки разнообразных грузов по междугородним или международным маршрутам. Механизмы и электроника грузовика приспособлены к широким условиям эксплуатации, поэтому тягач комфортно чувствует себя и в жарких условиях, и при отрицательных температурах.
Тягач МАЗ-6430 может использоваться с разными прицепами. В зависимости от этого грузовик нашел применение в различных отраслях:
промышленном секторе;
сельском хозяйстве;
строительстве;
логистике.
Трехосные седельные тягачи МАЗ-6430 отлично зарекомендовали себя в эксплуатации в сельской местности: они без труда могут проехать по проселочным дорогам. Максимально эффективно использовать машину для грузоперевозок на межобластных и международных маршрутах.
МАЗ-6430 с кузовом-самосвалом
Технические характеристики
МАЗ-6430 А9: вид сзади
Технические характеристики МАЗ 6430 значительно различаются в зависимости от поколения и модификации грузовиков. На седельные тягачи устанавливалась широкая гамма дизельных двигателей: ярославские движки ЯМЗ, моторы RENAULT и Mercedes, а также китайские Cummins. Последние, правда, не получили большого распространения и встречаются относительно редко. На начальные версии МАЗ 6430 ставились только ярославские двигатели ЯМЗ, соответствующие Euro-2. Позднее в ходе доработок и рестайлинга на Минском автозаводе перешли на двигатели, отвечающие стандартам Euro-3, Euro-4 и даже Euro-5.
Одна из самых распространенных вариаций МАЗ-6430С9
Технические характеристики позволили МАЗ-6430 занять место в числе самых производительных, выносливых и нетребовательных седельных тягачей. На основе базовой версии выпускалось несколько модификаций тягачей, основные из них:
МАЗ 6430 А8
МАЗ 6430А9
МАЗ 6430С9
МАЗ 6430В7
МАЗ 6430В9
МАЗ 6430Е8
МАЗ 643028
Три версии — МАЗ 643028, МАЗ 6430С9 и МАЗ 6430Е8 производятся по настоящий день.
Опционально некоторые модификации МАЗ 6430 оснащаются бортовой шиной CAN, через которую можно подключить самое разнообразное электронное оборудование. Это позволяет следить за техническими характеристиками и рабочими параметрами, например, давлением в шинах, расходом топлива, нагрузкой на ведущих осях, пробегом, наработкой моточасов, количеством пусков мотора и проведением ТО в режиме реального времени посредством электронного интерфейса.
Рассмотрим технические характеристики подробнее для разных модификаций.
МАЗ 6430А8
Седельный тягач МАЗ 6430 А8 с пневматической подвеской оснащается 400-сильным ЯМЗовским движком ЯМЗ-6581. Максимальная масса автопоезда — 52 тонны. Тягач имеет колесную формулу 6х4. В качестве трансмиссии предлагается механическая 16-ступенчатая коробка ZF 16S1650. Объем топливного бака на МАЗ 6430 А8, как и на остальных модификациях тягача, — 500 л. Грузовик может развивать скорость до 90 км/ч.
МАЗ 6430А9
МАЗ-6430А9
Седельный тягач МАЗ 6430А9 оснащался двумя вариантами двигателей: французским RENAULT Trucks с турбонаддувом и ярославским ЯМЗ-651.10. Оба мотора работают на дизеле. В пару к ним устанавливалась механическая КПП с 16 скоростями. Грузовики этой модификации производились с рессорно-балансирной подвеской и пневматической подвеской и разными значениями сдвига седла. В зависимости от конфигурации тягача МАЗ 6430А9 снаряженная масса варьировалась в пределах 9,67-9,82 тонн, а предельная масса автопоезда составляла 52-65 тонн. Максимальная скорость седельного тягача МАЗ 6430-А9 составляет 100 км/ч, что позволяет ему успешно перевозить грузы даже на дальние дистанции.
Расход топлива при полной загрузке — 30-36 л/100 км в комбинированном цикле.
Комплектация МАЗ-6430А9 до сих пор собирается Минским автозаводом. Тягач имеет отличные технические характеристики и одно из лучших в классе соотношений грузоподъемности к собственной массе. Современное оснащение и комфортабельная кабина соответствуют европейским стандартам и ни в чем не уступают тем же SCANIA или MAN.
МАЗ 6430В7
Этот седельный тягач, как и предыдущая модификация, выпускался в двух вариантах сдвига седла и с рессорно-балансирной или пневматической подвеской. Снаряженная масса МАЗ 6430В7 — 9,67 – 9,72 тонны, что незначительно уступает МАЗ 6430А9. Проигрывает МАЗ 6430В7 и в плане мощности — тягачи укомплектовывались только движками ЯМЗ-6511.10, производительность которых была меньше, чем у агрегатов Рено. Это, впрочем, положительно сказалось на расходе топлива: он в смешанном цикле у МАЗ 6430 В7 составляет 28-34 л/100 км в зависимости от скорости движения. Максимальная масса автопоезда с этим седельным тягачом — 52 тонны.
МАЗ 6430В9
МАЗ-6430В9
Эта модификация по техническим характеристикам, максимальной скорости движения и грузоподъемности аналогична МАЗ 6430А9. На МАЗ 6430 В9 устанавливается дизельный двигатель ЯМЗ-651.10 повышенной мощности: его производительность составляет 412 л.с. Силовой агрегат соответствует европейскому стандарту Euro-4. Расход топлива МАЗ 6430 В9 составляет в среднем 34 литра на 100 км в комбинированном цикле. На передней и задней осях установлена рессорная подвеска.
Эта модификация особенно ценится дальнобойщиками и городскими водителями за повышенный уровень шумоизоляции.
МАЗ 6430С9
МАЗ-6430С9
На МАЗ 6430С9 устанавливается 420-сильный дизельный агрегат ЯМЗ-653.10, производительность которого выше, чем у других двигателей модельного ряда Ярославского моторного завода. Рабочий объем силовой установки составляет 12 л, крутящий момент — 1900 Н*м. Шестицилиндровый рядный двигатель имеет турбонаддув и разгоняет седельный тягач до 100 км/ч. Мотор соответствует экологическому стандарту Euro-5.
В составе автопоезда МАЗ 6430С9 способен перевозить до 65 тонн. Снаряженная масса тягача составляет 10,3 тонны.
Кабина седельного тягача МАЗ 6430 С9 оборудована тремя креслами — водительским и двумя пассажирскими. На приборной панели имеется небольшой откидной столик, за сидениями находятся два спальных места. В базовое оснащение МАЗ 6430 С9 входит кондиционер и отопитель салона.
МАЗ 6430Е8
МАЗ-6430Е8
Модификация МАЗ 6430Е8 выпускается по настоящий момент. Грузовик доступен в двух вариантах: с седельно-сцепным устройством высотой 1150 и 1250 мм. «Сердцем» тягача является производительный и оборотистый немецкий дизельный двигатель производства «Мерседес-Бенц». Турбированный 435-сильный мотор OM501LA V имеет шесть цилиндров и работает в паре с 12-ступенчатой МКПП. Масса в составе автопоезда достигает 52 тонн.
МАЗ 6430Е9
МАЗ 6430 Е9 оборудуются дизельными двигателями Mercedes OM501LA V, соответствующими стандарту Euro-5. Шестицилиндровая рядная силовая установка оснащена турбонаддувом и генерирует 435 л.с. Рабочий объем двигателя равен 12 л. В пару к мотору устанавливается 16-ступенчатая механическая КПП ZF 16S2520TO.
Подвеска у МАЗ 6430Е9 рессорного типа, дорожный просвет равен 42 см. Тягач способен разгоняться до скорости в 100 км/ч.
Кабина МАЗ 6430 Е9 трехместная, рассчитана на водителя и двоих пассажиров. Также в салоне оборудовано два полноценных спальных места.
МАЗ 643028
МАЗ-643028
Еще одна модификация седельного тягача, производство которой ведется Минским автозаводом до сих пор. Более того, эта вариация грузовика стала самой продаваемой в классе по итогам 3-го квартала 2019 года. На МАЗ 643028 устанавливается дизельный мотор Weichai WP12/430E50. Эта силовая установка разработана совместно белорусскими и китайскими инженерами. Производительность мотора составляет 430 л.с., а крутящий момент достигает 2059 Н*м. Рабочий объем двигателя — 11,59 л.
Одной из отличительных особенностей этой версии является увеличенная кабина. Автомобили выпускаются в двух вариантах: со стандартной крышей (модели МАЗ 643028-8529-011 и МАЗ 643028-8529-012) и с высокой крышей (модели МАЗ 643028-520-011/012).
Двигатели
Запрещается запускать двигатель тягача при поднятой кабине. Если проводятся работы по техническому обслуживанию или ремонту силовой установки, для которых необходимо поднять кабину, надо убедиться, что трансмиссия переведена в нейтральное положение.
ЯМЗ-650
Базовая модификация тягача МАЗ-6430 оснащается четырехтактным дизельным мотором ЯМЗ-650 с шестью цилиндрами, расположенными в ряд. Двигатель отличается экономичностью и соответствует стандарту Euro-3. В конструкции мотора многие компоненты европейского производства, несмотря на то, что собирается движок в Ярославле. В частности, на ЯМЗ-650 устанавливается бошевский электронный блок EDC-7 и система подачи дизельного топлива Common Rail. В пару к этому силовому агрегату на МАЗ-6430 предлагается механическая трансмиссия ZF 16S221.
Технические характеристики двигателя ЯМЗ-650 на базовом МАЗ-6430 следующие:
Рабочий объем — 11 литров.
Мощность — 330 л.с.
Предельный крутящий момент — 1900 Н*м.
ЯМЗ-651.10
МАЗ-6430 А9 с двигателем ЯМЗ-651.10
На МАЗ 6430А9 и МАЗ 6430В9 устанавливались дизельные моторы ЯМЗ-651.10. Конструктивно этот двигатель во многом схож с базовым ЯМЗ-650 и отличается регулировками топливной аппаратуры. Шестицилиндровый четырехтактный мотор имеет рядное расположение цилиндров, его рабочий объем составляет 11,12 литра. Силовая установка имеет прямой впрыск топлива и оснащена турбонаддувом. У двигателя двойная система охлаждения: жидкостная и промежуточного воздушного охлаждения. Степень сжатия дизтоплива на ЯМЗ-651.10 — 16,4.
Мощность двигателя МАЗ 6430 А9 и МАЗ 6430 В9 составляет 412 л.с., максимальный крутящий момент — 1911 Н*м.
ЯМЗ-653
Двигатель ЯМЗ-653 устанавливается на тягачи МАЗ 6430Е9. В таком варианте грузовики выпускаются до сих пор. Мотор ЯМЗ-653 относится к 650-му семейству и имеет такую же архитектуру. У силовой установки шесть расположенных в один ряд цилиндров. Цикл четырехтактный. Двигатель турбированный и имеет прямую систему впрыска топлива. Охлаждение жидкостное и воздушное.
МАЗ 6430Е9 с двигателем ЯМЗ-653 соответствует европейскому стандарту Euro-5. Для снижения уровня выбросов установлен каталитический нейтрализатор. Двигатель генерирует 422 л.с., максимальный крутящий момент составляет 1900 об/минуту.
Mercedes OM457LA V
Тягачи МАЗ 6430Е8/Е9 получили мерседесовский мотор OM457LA V, генерирующий мощность 435 л.с. Этот дизельный двигатель, как и остальные движки для семейства МАЗ 6430, шестицилиндровый, четырехтактный, цилиндры имеют рядное расположение. Максимальная частота вращения — 1900 об/минуту.
Двигатель отличается прекрасной экономичностью — в такой конфигурации у МАЗ 6430 расход топлива один из самых низких. Это стало возможным благодаря технологии Mercedes Blue Tec и системе электронной подачи топлива. Рабочий объем агрегата — 11,97 л, степень сжатия дизеля — 18,5. Двигатель соответствует Euro-5 и оснащается каталитическим нейтрализатором отработанных газов.
Weichai WP12/430E50
МАЗ 643028 работает с дизельной силовой установкой Weichai WP12/430E50. Агрегат белорусско-китайского производства имеет мощность 430 л.с. и максимальный крутящий момент 2059 Н*м. Двигатель не так часто можно встретить на отечественной технике, хотя в Китае его устанавливают на многие грузовые автомобили, и он прекрасно справляется со своей задачей.
Техническое обслуживание двигателя
Для очистки подаваемого в силовую установку воздуха на МАЗ-6430 используется воздушный фильтр сухого типа – двухступенчатый, с бункером для сбора загрязнений и картонным фильтрующим элементом. При загорании сигнальной лампы необходимо промыть корпус воздушного фильтра с бункером и заменить картонный элемент.
За поддержание стабильной рабочей температуры двигателя отвечает система охлаждения. При заливке жидкости новой марки систему необходимо промывать, поскольку запрещается смешивание разных жидкостей. Проверка уровня жидкости производится визуально через горловину заливной трубы. Замер выполняется только при холодном двигателе.
Трансмиссия
На большинстве вариаций МАЗ-6430 используется немецкая коробка передач ZF 16S2520TO. Это механическая трансмиссия с шестнадцатью скоростями. Передачи переднего хода включаются при помощи синхронизаторов, а задняя включается зубчатой муфтой.
Ключевые элементы механической КПП МАЗ-6430 следующие:
4-ступенчатый редуктор;
передний 2-ступенчатый делитель скоростей;
планетарный демультипликатор.
Переключение демультипликатора выполняется синхронизатором посредством воздушного клапана. Двухступенчатый делитель состоит из синхронизатора и двух пар шестеренок. Управление делителем осуществляется при помощи пневматического механизма.
Замена масла в КПП на МАЗ-6430 производится каждые 90 тыс. км. Объем полной заливки масла составляет 0,015 м3. Максимальный интервал между сменой технической жидкости не должен быть более 120 тыс. км. При нерегулярной эксплуатации тягача менять масло необходимо не реже одного раза в год.
На тягаче МАЗ-6430Е8 в пару к мерседесовскому мотору устанавливается 12-ступенчатая механическая КПП. Она также производится компанией Mercedes, индекс трансмиссии — G330-12.
Сцепление однодисковое, сухое с гидравлическим приводом и пневматическим усилителем включения.
Ходовая часть
Ходовая часть МАЗ-6430
На седельном тягаче МАЗ-6430 используется рессорная или пневмоподвеска с автоматизированным управлением. Благодаря этому полуприцеп легко можно перевести в рабочее транспортное положение после окончания погрузки. Функция автоматизации позволяет обойтись в этом процессе без участия оператора.
Пневмоподвеска установлена на ведущих мостах и имеет четыре баллона. Она оснащена комплексом электронных систем ECAS, включающим мониторинг нагрузки на ведущих мостах и контроль расхода топлива. Также в перечень оснащения входит системы антипробуксовки.
Для тягача МАЗ 6430 предлагается два варианта сцепных устройств: высотой 1250 и 1350 мм.
В задней части грузовика используется балансирная конструкция. Она может быть подвесной или многолистовой, рессорной. Некоторые модификации тягачей оснащаются также стабилизаторами поперечной устойчивости.
Передняя подвеска зависимая, она состоит из:
двух полиэллиптических рессор;
двух телескопических амортизаторов;
стабилизатора поперечной устойчивости.
Задняя подвеска рессорно-балансирная с реактивными штангами или пневматическая с электронным управлением (она использовалась для тягачей с колесной формулой 6х4).
Средний мост на тягаче проходного типа. Он имеет двойную передачу, которая состоит из центрального конического редуктора и колесных передач. Средний мост МАЗ-6430 оснащается межколесным и межосевым дифференциалом с блокировкой.
Задний мост тягача имеет другую конструкцию – он оснащается двойной главной передачей, состоящей из центрального редуктора и колесных передач. Задний мост имеет межколесный дифференциал с блокировкой.
Блокировка межколесных дифференциалом среднего и заднего мостов производится одним выключателем. Она не зависит от включения блокировки межосевого дифференциала. При блокированном положении загорается контрольная лампочка.
Блокировка межколесного и межмостового дифференциалов тягача включается только при остановке. Допускается также блокирование дифференциалов при движении на скорости до 10 км/ч.
Запрещается включение блокировки при буксовании колес.
Нужно отметить, что ходовая МАЗ-6430 меняется в зависимости от серии и модификации. Подвеска, рессоры, амортизаторы подвергались модернизации при каждом рестайлинге тягача.
Рулевое управление
Рулевой механизм МАЗ-6430 оснащается интегрированным распределителем и усилителем руля, в качестве которого предлагается силовой гидравлический цилиндр. Система рулевого управления тягача отличается высокой чувствительностью и позволяет без особых усилий управлять грузовиком с прицепом, обеспечивая точное и уверенное маневрирование даже при максимальной загрузке.
Рулевую колонку водитель может отрегулировать по высоте расположения руля и наклону рулевого колеса. Для регулировки руля необходимо нажать на педаль, расположенную на кронштейне колонки. Фиксирование руля в удобном положении происходит автоматически при отпускании педали. Рулевой механизм оборудован травмобезопасным устройством.
Тормозная система
На МАЗ-6430 используется двухконтурная тормозная система с раздельным приводом тормозов для колес передней и задней осей. У тягача также реализован двухпроводной привод тормозов для полуприцепа. Основная тормозная система грузового автомобиля имеет ABS.
В качестве запасной тормозной системы используется любой из двух рабочих контуров основной тормозной системы или стояночный тормоз. Он имеет пневматическую систему выключения. Рабочие тормоза ведущих колес оснащены приводом от пружин энергоаккумуляторов.
Вспомогательный тормоз на МАЗ-6430 установлен в системе выпуска отработанных газов. Он имеет компрессионную конструкцию и управляется посредством пневматического привода.
Рукоятка крана управления стояночным и запасным тормозами находится справа от рулевой коробки, ниже приборной панели. Она фиксируется в 2-х крайних положениях:
нижнее положение – включение стояночного тормоза;
верхнее положение – выключение стояночного тормоза;
промежуточное положение – включается запасной тормоз.
Кабина
Кабина МАЗ-6430 старого образцаКабина МАЗ-6430 нового образца
Внешность МАЗ-6430 последнего поколения напоминает европейские седельные тягачи. Бескапотная кабина оснащена блок-фарами и составным бампером. Блок-фара представляет собой скомбинированный в едином корпусе ближний и дальний свет, указатель поворота и габаритные огни. Оптика имеет интегрированный корректор угла наклона ближнего света. Такое освещение не только делает экстерьер тягача МАЗ-6430 более современной, но и надежно защищено от внешних воздействий.
Блок-фара и бампер МАЗ-6430
За откидным бампером находится инструментальный ящик.
Пропорции кабины МАЗ-6430 аэродинамичные, т.е. при ее разработке анализировалось распределение встречных воздушных потоков. Это позволило оптимизировать форму элементов кузова и снизить расход топлива. По периметру установлены многочисленные брызгозащитные шторки — они сделают комфортным езду рядом с седельным тягачом для других участников дорожного движения.
Приборная панель МАЗ-6430
Приборная панель МАЗ-6430 отличается информативностью. Она ориентирована на водителя в форме полукруга и содержит многочисленные датчики и приборы, показывающие текущее состояние ключевых систем тягача. На приборной панели, в частности, расположен цифровой дисплей, отображающий данные бортового компьютера.
Приборы на МАЗ-6430
За приборной панелью расположен компактный откидной столик. Для комфорта во время перекусов предусмотрен встроенный холодильник и даже имеется небольшая газовая плита.
Откидной столик в кабине МАЗ-6430
В районе лобового стекла у МАЗ-6430 находится верхняя полка. На ней расположен тахограф, соединенный с приборным щитком. Из других полезных опций в кабине тягача имеется 12-вольтовая розетка и преобразователь напряжения. Стекла оснащены электрическими подъемниками.
Большой дверной проем — еще одна отличительная черта кабины тягача МАЗ-6430. Благодаря этому садиться и выходить гораздо удобнее. Надежная конструкция ступеней и поручней — тоже несомненный плюс.
Посадка в кабину МАЗ-6430
Кресло водителя на МАЗ-6430 имеет несколько степеней, чтобы его можно было отрегулировать и установить в оптимальном положении для конкретного человека. Например, регулируются высота сиденья, высота подушки, наклон спинки, вылет кресла и подлокотник. Сидение имеет выступы по бокам, обеспечивая отличную боковую поддержку. В качестве опционального оборудования предлагается дополнительный воздушный отопитель салона. При правильной настройке водительского кресла достигается отличная обзорность: большая площадь остекления, тонкие рамы, зеркала заднего вида с электрической регулировкой положения и зеркало обзора погрузочной рампы дают возможность обозревать дорогу спереди и прекрасно видеть пространство по бокам автомобиля. Благодаря этому у МАЗ 6430 практически отсутствуют мертвые зоны.
Для пассажира предлагается такое же кресло, как и у водителя. Его также можно настроить под себя вне зависимости от роста или комплекции.
Большой руль диаметром 46 см удобно ложится в руку. Управлять тягачом будет приятно и комфортно, даже длительное время находясь в пути. Рулевую колонку МАЗ-6430 можно отрегулировать по трем направлениям: высоте, вылету и углу наклона.
Двухместная кабина МАЗ-6430 с двумя спальными местами
В кабине МАЗ-6430 взрослый человек может встать в полный рост или отдохнуть на специально оборудованном спальном месте. Стоит отметить, что МАЗ-6430 намного превосходит предыдущие мазовские модели по уровню шумоизоляции — она не уступает европейским грузовикам. Поэтому для отдыха или разминки теперь не нужно выходить из кабины.
В целом, по комфортабельности и продуманности кабина МАЗ-6430 не уступает иностранным аналогам. Это действительно функциональный седельный тягач, идеально приспособленный для длительных переездов. В отделке кабины использовались практичные материалы, которые стойки к механическим повреждениям и легко очищаются от загрязнений. В салоне предусмотрено большое количество ящиков, ниш и отсеков для личных вещей, путевых листов, документов и т.д.
Ранее мы писали о двигателях, КПП и технических характеристиках МАЗ-500.
Марки гофрокартона: отличия Т21, Т22, Т23, Т24, ГОСТ, виды гофрокартона
МАЗ-6430
Седельный тягач МАЗ-6430 – настоящий труженик. Этот бескапотный грузовик, вдохновленный моделями MAN, выпускается с 1997 года и остается востребованным и актуальным по сей день. Десятки удачных модификаций, улучшенная эргономика и комфорт, простота обслуживания и отличная грузоподъемность и прочность делают тягачи семейства МАЗ-6430 столь популярными. О технических характеристиках, двигателях, коробках передач, шасси и кабине мы поговорим далее в статье.
Содержание
История создания и производство
Где используется седельный тягач
Технические характеристики
МАЗ 6430А8
МАЗ 6430А9
МАЗ 6430В7
МАЗ 6430В9
МАЗ 6430С9
МАЗ 6430Е8
МАЗ 6430Е9
МАЗ 643028
Двигатели
ЯМЗ-650
ЯМЗ-651.10
ЯМЗ-653
Mercedes OM457LA V
Weichai WP12/430E50
Техническое обслуживание двигателя
Трансмиссия
Ходовая часть
Рулевое управление
Тормозная система
Кабина
История создания и производство
МАЗ-6430 — один из самых популярных седельных тягачей белорусского производства. Его сборка на Минском автомобильном заводе началась в 1997 году. Формально тягач называется «МАЗ-МАН», так как производство велось не полностью на белорусском предприятии, а на совместном предприятии, созданном с автопроизводителем MAN.
Седельный тягач МАЗ-6430 является наследником легендарного МАЗ-6422, выпускавшегося уже тридцать лет. Но преемник имеет много черт, заимствованных у немецких тягачей, в частности, MAN и Mercedes-Benz. Совместное белорусско-германское производство позволило создать трактор европейского уровня по гораздо более доступной цене. По сравнению с европейскими «одноклассниками» разница в стоимости достигала 30 %.
Современные модели седельных тягачей МАЗ 6430 имеют много общего с новинками MAN. В частности, можно отметить визуальное сходство грузовиков. В настоящее время выпускается версия 2008 года. Именно тогда состоялся последний рестайлинг мазовского трактора модели 6430. С 2011 года к названиям комплектаций добавился индекс «Простор».
Где используется седельный тягач
Трактор МАЗ-6430 востребован в строительстве, грузоперевозках, сельском хозяйстве
Тягач МАЗ 6430 используется для перевозки различных грузов в междугородних или международных маршрутах. Механизмы и электроника грузовика адаптируются к широкому спектру условий эксплуатации, поэтому трактор чувствует себя комфортно как в жару, так и в холод.
Тягач МАЗ-6430 может использоваться с разными прицепами. В зависимости от этого грузовик нашел применение в различных отраслях:
производственный сектор;
сельское хозяйство;
строительство;
логистика.
Трёхосные седельные тягачи МАЗ-6430 отлично зарекомендовали себя в эксплуатации в сельской местности – они легко могут ездить по проселочным дорогам. Автомобиль эффективнее использовать для грузоперевозок на межрегиональных и международных маршрутах.
Технические характеристики
Технические характеристики МАЗ 6430 существенно различаются в зависимости от поколения и модификации грузовиков. На седельные тягачи устанавливалась широкая гамма дизельных двигателей: ярославские двигатели ЯМЗ, двигатели RENAULT и Mercedes, а также китайские Cummins. Последние, однако, не получили широкого распространения и встречаются относительно редко. Начальные версии МАЗ 6430 комплектовались только ярославскими двигателями ЯМЗ, которые соответствовали Евро-2. Позже, в ходе доработок и рестайлинга, Минский автозавод перешел на двигатели, соответствующие нормам Евро-3, Евро-4 и даже Евро-5.
Технические характеристики позволили МАЗ-6430 занять место среди самых производительных, выносливых и неприхотливых седельных тягачей. На базе базовой версии выпускались различные модификации тракторов, основные из них:
Маз 6430 а8
МАЗ 6430А9
Маз 6430с9
МАЗ 6430В7
МАЗ 6430В9
МАЗ 6430Е8
Маз 643028
На сегодняшний день выпускается три модификации: МАЗ 643028, МАЗ 6430С9 и МАЗ 6430Е8.
Опционально некоторые модификации МАЗ 6430 оснащаются встроенной CAN-шиной, по которой можно подключать самое разнообразное электронное оборудование. Это позволяет отслеживать технические данные и рабочие параметры, такие как давление в шинах, расход топлива, нагрузка на ось, пробег, часы работы, количество запусков двигателя и техническое обслуживание в режиме реального времени через электронный интерфейс.
Рассмотрим технические характеристики более подробно для разных модификаций.
МАЗ 6430А8
Тягач МАЗ 6430 А8 с пневмоподвеской оснащен 400-сильным двигателем ЯМЗ ЯМЗ-6581. Максимальная масса автопоезда составляет 52 тонны. Трактор имеет колесную формулу 6х4. В качестве трансмиссии предлагается 16-ступенчатая механика ZF 16S1650. Объем топливного бака на МАЗ 6430 А8, как и на других модификациях тягача, составляет 500 литров. Грузовик может развивать скорость до 90 км/ч.
МАЗ 6430А9
Седельный тягач МАЗ 6430А9 комплектовался двумя вариантами двигателей: французскими турбированными грузовиками RENAULT и ярославскими ЯМЗ-651.10. Оба двигателя работают на дизеле. Они работали в паре с 16-ступенчатой механической коробкой передач. Грузовики этой модификации выпускались с рессорно-балансирной подвеской и пневмоподвеской, с разной величиной смещения сидений. В зависимости от комплектации тягача МАЗ 6430А9 снаряженная масса варьировалась от 9,67 до 9,82 т, а максимальная масса автопоезда составляла от 52 до 65 т. Максимальная скорость тягача МАЗ 6430-А9 составляет 100 км/ч, что позволяет ему успешно перевозить грузы даже на большие расстояния.
Расход топлива при полной нагрузке: 30-36 л/100 км в смешанном цикле.
Полный комплект МАЗ-6430А9 до сих пор собирает Минский автомобильный завод. Трактор обладает отличными техническими характеристиками и одним из лучших показателей грузоподъемности в своем классе. Современное оснащение и комфортный салон соответствуют европейским стандартам и не уступают тем же SCANIA или MAN.
МАЗ 6430В7
Этот седельный тягач, как и предыдущая модификация, выпускался в двух вариантах сменной посадки и с рессорной или пневмоподвеской. Снаряженная масса МАЗ 6430В7 составляет от 9,67 до 9,72 т, что немного меньше, чем у МАЗ 6430А9. Проиграл МАЗ 6430В7 и по мощности: тягачи комплектовались только двигателями ЯМЗ-6511.10, производительность которых была меньше, чем у агрегатов Renault. Это, однако, положительно сказалось на расходе топлива: в смешанном цикле у МАЗ 6430 V7 он составляет 28-34 л/100 км в зависимости от скорости. Максимальная масса автопоезда с этим тягачом составляет 52 тонны.
МАЗ 6430В9
Данная модификация аналогична МАЗ 6430А9 по техническим характеристикам, максимальной скорости и грузоподъемности. На МАЗ 6430 V9 устанавливается дизельный двигатель ЯМЗ-651.10 повышенной мощности – его мощность составляет 412 л.с. Силовой агрегат соответствует европейскому стандарту Евро-4. Расход топлива МАЗ 6430 V9 в среднем составляет 34 литра на 100 км в смешанном цикле. На передней и задней осях установлена рессорная подвеска.
Эту модификацию особенно ценят дальнобойщики и городские водители за более высокий уровень шумоизоляции.
МАЗ 6430С9
На МАЗ 6430С9 установлен 420-сильный дизельный агрегат ЯМЗ-653.10, характеристики которого превосходят другие двигатели модельного ряда Ярославского моторного завода. Рабочий объем силовой установки 12 литров, крутящий момент 1900 Н*м. Рядный шестицилиндровый двигатель с турбонаддувом разгоняет тягач до 100 км/ч. Двигатель соответствует экологическому стандарту Евро-5.
В составе автопоезда МАЗ 6430С9 способен перевозить до 65 тонн. Снаряженная масса трактора составляет 10,3 тонны.
Кабина тягача МАЗ 6430 С9 оборудована тремя сиденьями: одно для водителя и два для пассажира. На борту есть небольшой откидной столик, за сиденьями две двухъярусные кровати. В базовую комплектацию МАЗ 6430 С9 входят кондиционер и обогрев салона.
МАЗ 6430Е8
Модификация МАЗ 6430Е8 выпускается до сих пор. Грузовик доступен в двух версиях: с седельно-сцепным устройством диаметром 1150 мм и 1250 мм. «Сердце» трактора — производительный и гениальный немецкий дизель производства Mercedes-Benz. Турбированный двигатель OM501LA V мощностью 435 лошадиных сил имеет шесть цилиндров и работает в паре с 12-ступенчатой механической коробкой передач. Вес автопоезда достигает 52 тонн.
МАЗ 6430Е9
На МАЗ 6430 Е9 устанавливаются дизельные двигатели Mercedes OM501LA V, соответствующие стандарту Евро-5. Силовая установка рядная шестерка турбированная и развивает мощность 435 л. с. Рабочий объем двигателя 12 литров. Двигатель работает в паре с 16-ступенчатой механической коробкой передач ZF 16S2520TO.
Подвеска МАЗ 6430Е9 рессорная, дорожный просвет 42 см, тягач способен разогнаться до скорости 100 км/ч.
МАЗ 6430 Е9 с трехместной кабиной, рассчитанной на водителя и двух пассажиров. Также в салоне оборудовано два полноценных спальных места.
МАЗ 643028
МАЗ-643028
Еще одна модификация седельного тягача, производство которой до сих пор осуществляет Минский автомобильный завод. Также эта вариация грузовика стала бестселлером в своем классе в третьем квартале 2019 года. МАЗ 643028 оснащен дизельным двигателем Weichai WP12/430E50. Эта силовая установка разработана совместно белорусскими и китайскими инженерами. Производительность двигателя составляет 430 л.с., а крутящий момент достигает 2059 Н*м. Рабочий объем двигателя составляет 11,59 л.
Одной из отличительных черт этой версии является увеличенная кабина. Автомобили выпускаются в двух модификациях: со стандартной крышей (модели МАЗ 643028-8529-011 и МАЗ 643028-8529-012) и с высокой крышей (модели МАЗ 643028-520-011/012).
Двигатели
Запрещается запускать двигатель трактора с поднятой кабиной. Если на силовом агрегате проводятся работы по техническому обслуживанию или ремонту, требующие поднятия кабины, убедитесь, что коробка передач находится в нейтральном положении.
ЯМЗ-650
Базовая модификация тягача МАЗ-6430 оснащена четырехтактным дизельным двигателем ЯМЗ-650 с шестью цилиндрами, расположенными в ряд. Двигатель экономичный и соответствует стандарту Евро-3. В конструкции двигателя много комплектующих европейского производства, несмотря на то, что двигатель собран в Ярославле. В частности, на ЯМЗ-650 устанавливается электронный блок Bosch EDC-7 и система подачи дизельного топлива Common Rail. Вместе с этим силовым агрегатом на МАЗ-6430 предлагается механическая трансмиссия ZF 16S221.
Технические характеристики двигателя ЯМЗ-650 на базе МАЗ-6430 следующие:
Рабочий объем — 11 литров.
Мощность — 330 л.с
Предельный крутящий момент — 1900 Н*м.
ЯМЗ-651.10
Дизели ЯМЗ-651.10 устанавливались на МАЗ 6430А9 и МАЗ 6430В9. Конструктивно этот двигатель во многом похож на базовый ЯМЗ-650 и отличается настройками топливной аппаратуры. Шестицилиндровый четырехтактный двигатель имеет рядное расположение цилиндров, его рабочий объем составляет 11,12 л. Силовая установка имеет непосредственный впрыск топлива и оснащена турбокомпрессором. Двигатель имеет двойную систему охлаждения: жидкостное и промежуточное воздушное охлаждение. Степень сжатия дизельного топлива в ЯМЗ-651.10 составляет 16,4.
Мощность двигателя МАЗ 6430 А9 и МАЗ 6430 V9 составляет 412 л.с., максимальный крутящий момент – 1911 Н*м.
ЯМЗ-653
Двигатель ЯМЗ-653 устанавливается на тракторы МАЗ 6430Е9. В этой версии по-прежнему выпускаются грузовики. Двигатель ЯМЗ-653 относится к семейству 650 и имеет ту же архитектуру. Силовая установка имеет шесть цилиндров, расположенных в ряд. Цикл четырехкратный. Двигатель турбированный и имеет систему непосредственного впрыска топлива охлаждающая жидкость и воздух.
МАЗ 6430Е9 с двигателем ЯМЗ-653 соответствует европейскому стандарту Евро-5. Каталитический нейтрализатор был установлен для снижения выбросов. Двигатель развивает мощность 422 л.с., максимальный крутящий момент составляет 1900 об/мин.
Mercedes OM457LA V
Тягачи МАЗ 6430Е8/Е9 получили двигатель Mercedes OM457LA V мощностью 435 л.с. Этот дизель, как и остальные двигатели семейства МАЗ 6430, шестицилиндровый, четырехтактный, цилиндры расположены рядно. Максимальная скорость 1900 об/мин.
Двигатель отличается отличной экономичностью – в такой комплектации МАЗ 6430 имеет один из самых низких показателей расхода топлива. Это стало возможным благодаря технологии Mercedes Blue Tec и электронной системе подачи топлива. Рабочий объем агрегата 11,97 л, степень сжатия дизеля 18,5. Двигатель соответствует стандарту Евро-5 и оснащен каталитическим нейтрализатором отработавших газов.
Weichai WP12/430E50
МАЗ 643028 оснащен дизельной силовой установкой Weichai WP12/430E50. Агрегат белорусско-китайского производства имеет мощность 430 л.с и максимальный крутящий момент 2059 Н*м. Двигатель не так часто встречается на отечественных автомобилях, хотя в Китае он устанавливается на многие грузовики и отлично справляется со своей задачей.
Техническое обслуживание двигателя
Для очистки воздуха, подаваемого в силовую установку, на МАЗ-6430 используется воздушный фильтр сухого типа, двухступенчатый, с бункером для сбора загрязнений и картонным фильтрующим элементом. При загорании сигнальной лампы необходимо промыть корпус воздушного фильтра с бункером и заменить картонный элемент.
Система охлаждения отвечает за поддержание стабильной рабочей температуры двигателя. При заливке новой марки жидкости систему необходимо промыть, так как смешивание разных жидкостей запрещено. Проверка уровня жидкости производится визуально через горловину заливной горловины. Измерение проводится только при холодном двигателе.
Трансмиссия
В большинстве модификаций МАЗ-6430 используется немецкая коробка передач ZF 16S2520TO. Это 16-ступенчатая механическая коробка передач. Передние передачи включаются с помощью синхронизаторов, а задняя – с помощью зубчатой муфты.
Основные элементы МКПП МАЗ-6430 следующие:
4-ступенчатая коробка передач;
2-ступенчатый делитель скорости переднего хода;
планетарная коробка передач.
Переключение демультипликатора осуществляется синхронизатором посредством воздушного клапана. Двухступенчатый делитель состоит из синхронизатора и двух пар шестерен. Делитель управляется пневматическим механизмом.
Замена масла в КПП МАЗ-6430 проводится каждые 90 тыс км. Полный заправочный объем масла составляет 0,015 м3. Максимальный интервал между заменами технической жидкости не должен быть более 120 тыс км. Если трактор используется нерегулярно, масло следует менять не реже одного раза в год.
На тягач МАЗ-6430Е8 вместе с двигателем «Мерседес» устанавливается 12-ступенчатая механическая коробка передач. Его также производит Mercedes, индекс трансмиссии G330-12.
Сцепление однодисковое, сухое, с гидравлическим приводом и пневматическим серводвигателем.
Ходовая часть
На тягаче МАЗ-6430 применяется пневматическая или рессорная подвеска с автоматизированным управлением. Благодаря этому полуприцеп можно легко перевести в рабочее транспортное положение после погрузки. Функция автоматизации позволяет обойтись без участия оператора в этом процессе.
Пневмоподвеска установлена на ведущих мостах и имеет четыре цилиндра. Оснащен комплексом электронных систем ECAS, включая контроль нагрузки на ведущие мосты и контроль расхода топлива. В список оборудования также входят противоскользящие системы.
Для тягача МАЗ 6430 предлагается два варианта сцепных устройств: высотой 1250 и 1350 мм.
В задней части грузовика используется балансировочная конструкция. Он может быть подвесным или многостворчатым, пружинным. Некоторые модификации тракторов также оснащены стабилизаторами поперечной устойчивости.
Передняя подвеска зависимая, состоит из:
две полиэллиптические рессоры;
два телескопических амортизатора;
анти-ролл-бар.
Задняя подвеска пружинно-балансирная с реактивными тягами или пневматическая с электронным управлением (используется для тракторов с колесной формулой 6х4).
Промежуточный вал на тракторе ступенчатого типа. Имеет двойную передачу, состоящую из центральной конической шестерни и зубчатых колес. Центральный мост МАЗ-6430 оборудован блокируемым межколесным и межосевым дифференциалом.
Задний мост трактора имеет иную конструкцию – он оснащен двойной главной передачей, состоящей из центрального редуктора и звездочек. Задний мост имеет блокируемый межколесный дифференциал.
Блокировка межколесного дифференциала среднего и заднего мостов осуществляется посредством переключателя. Не зависит от включения блокировки межосевого дифференциала. В закрытом положении загорается контрольная лампа.
Блокировка дифференциалов между колесами и между осями трактора срабатывает только на стоянке. Также допускается блокировка дифференциалов при движении со скоростью до 10 км/ч.
Запрещается активировать блокировку при пробуксовке колес.
Следует отметить, что ходовая часть МАЗ-6430 различается в зависимости от серии и модификации. Подвеска, пружины и амортизаторы совершенствовались при каждой модификации трактора.
Рулевое управление
Рулевой механизм МАЗ-6430 оснащен встроенным распределителем и гидроусилителем руля, который предлагается в виде силового гидроцилиндра. Система рулевого управления трактора очень чувствительна и позволяет легко управлять грузовиком и прицепом, обеспечивая точное и безопасное маневрирование даже при максимальной нагрузке.
Водитель может регулировать рулевую колонку по высоте и наклону рулевого колеса. Для регулировки руля нажмите на педаль, расположенную на опоре колонки. Фиксация руля в удобном положении происходит автоматически при отпускании педали. Рулевой механизм оборудован предохранительным устройством.
Тормозная система
На МАЗ-6430 используется двухконтурная тормозная система с раздельной тормозной передачей на колеса передней и задней осей. Тягач также имеет двухпроводную тормозную трансмиссию полуприцепа. Основная тормозная система грузовика имеет ABS.
В качестве резервной тормозной системы используется либо один из двух рабочих контуров основной тормозной системы, либо стояночный тормоз. Имеет пневматическую систему отключения. Рабочие тормоза ведущих колес приводятся в действие энергоаккумулирующими пружинами.
Вспомогательный тормоз МАЗ-6430 установлен в выхлопной системе. Он имеет компрессионную конструкцию и управляется пневматическим приводом.
Рукоятка клапана стояночного и аварийного тормозов расположена справа от рулевого механизма, под приборной панелью. Фиксируется в 2-х крайних положениях:
нижнее положение — активирован стояночный тормоз;
верхнее положение — выключить стояночный тормоз;
промежуточное положение — аварийный тормоз активирован.
Кабина
Внешний вид МАЗ-6430 последнего поколения напоминает европейские тягачи. Бескапотная кабина оснащена блок-фарами и композитным бампером. Блок-фара представляет собой совмещенные в одном корпусе ближний и дальний свет, указатель поворота и габаритные огни. В оптику встроен корректор угла ближнего света. Такое освещение не только делает экстерьер тягача МАЗ-6430 более современным, но и надежно защищает его от внешних воздействий.
За откидным бампером находится ящик для инструментов.
Пропорции салона МАЗ-6430 обтекаемые, то есть при его разработке анализировалось распределение встречных потоков воздуха. Это позволило оптимизировать форму элементов кузова и снизить расход топлива. По периметру установлены многочисленные брызговики – они сделают движение рядом с тягачом комфортным для других участников дорожного движения.
Приборная панель МАЗ-6430 информативна. Он расположен вокруг водителя в форме полукруга и содержит множество датчиков и приборов, которые отображают текущее состояние основных систем трактора. На приборной панели, в частности, имеется цифровой дисплей, на который выводятся данные с бортового компьютера.
Приборы на МАЗ-6430
За столешницей компактный складной столик. Для дополнительного удобства во время перекусов есть встроенный холодильник и даже небольшая газовая плита.
Складной столик в кабине МАЗ-6430
В районе лобового стекла МАЗ-6430 имеет верхнюю полку. Он имеет тахограф, подключенный к приборной панели. Другие полезные опции в кабине трактора включают 12-вольтовую розетку и преобразователь напряжения. Окна оснащены электрическими подъемниками.
Большая дверь – еще одна отличительная черта кабины тягача МАЗ-6430. Это значительно упрощает вход и выход. Надежная конструкция ступеней и поручней также является несомненным плюсом.
Посадка в кабину МАЗ-6430
Водительское сиденье МАЗ-6430 имеет несколько степеней, чтобы его можно было отрегулировать и поставить в оптимальное положение для конкретного человека. Например, высота сиденья, высота подушки, наклон спинки, высота сиденья и подлокотник регулируются. Сиденье имеет ребра по бокам, обеспечивающие отличную боковую поддержку. В качестве опции доступен дополнительный нагреватель воздуха в помещении. При правильной конфигурации водительского места достигается отличный обзор: большая площадь остекления, тонкие рамы, электрически регулируемые зеркала заднего вида и зеркало с погрузочной рампой обеспечивают отличный обзор дороги и отличный обзор в стороны транспортное средство автомобиль. Благодаря этому МАЗ 6430 практически не имеет мертвых зон.
Для пассажира предлагается то же место, что и для водителя. Его также можно настроить под вас, независимо от вашего роста или комплекции.
Большой руль диаметром 46 см удобно лежит в руке. Управлять трактором будет приятно и комфортно даже длительное время по трассе. Рулевая колонка МАЗ-6430 может регулироваться по трем направлениям: по высоте, по вылету и по углу наклона.
Двухместная кабина МАЗ-6430 с двумя спальными местами
В кабине МАЗ-6430 взрослый человек может встать в полный рост или отдохнуть на специально оборудованном спальном месте. Стоит отметить, что МАЗ-6430 намного превосходит предыдущие модели МАЗ по шумоизоляции, не уступает европейским грузовикам. Поэтому вам больше не нужно выходить из салона, чтобы отдохнуть или согреться.
В целом по комфорту и продуманности кабина МАЗ-6430 не уступает зарубежным аналогам. Это действительно функциональный тягач, идеально подходящий для дальних поездок. В отделке салона использованы практичные материалы, устойчивые к механическим повреждениям и легко очищаемые от загрязнений. В салоне имеется большое количество ящиков, ниш и отсеков для личных вещей, путеводителей, документов и т.д.
Расход Топлива на Маз 6430с9 520 020 – Кабина 6430а8
Модификации семейства МАЗ-6430 • Присутствуют также бортовые и замочные кольца.
Салон кабины полностью оборудован для водителя. Нет этих неудобных угловатостей. Старые модели не идут в сравнение с кабиной, которая представлена в этой модели. В авто водителю будет комфортно даже при длительных поездках.
В начале 80-х годов прошлого столетия на Минском автомобильном заводе был создан тяжелый трехосный седельный тягач МАЗ-6422. В 90-х годах разработали модификацию двухосного МАЗ-5440 и на его основе вернулись к версии трехосной модели, но уже в соответствии со стандартами Западной Европы. Так появился мощный седельный тягач МАЗ-6430, адаптированный для трафика в международном европейском формате. Масштабные закупки нового автомобиля сразу же сделали российские внешнеторговые организации, которые до появления модели 6430 пользовались очень дорогими в эксплуатации «Вольво», DAF, «Ивеко», MAN. МАЗ-6430 был экономичным и отвечал европейским требованиям.
С начала производства в 1996 году автомобиль выпускается в нескольких вариантах. Различие по внешнему виду может быть минимальным, но технические характеристики при этом существенно разнятся. Некоторые версии тягача МАЗ-6430, полностью отвечающие требованиям европейского рынка, продаются в Германии. Отдельные технические компоненты автомобиля куплены немецкими фирмами и используются в производстве седельных буксировщиков MAN.
Технические характеристики
10 Экологический стандарт Евро-2 Модель КПП ZF16S1650 Количество передач 16 Передаточное число 3,57 Масса 26000 кг Размер шин 295 80R22,5 Тип используемого топлива Дизель Объем бака для масляной жидкости 16 л Нагрузка на заднюю телегу, кг 19000 Блокировка межколесных и межосевых дифференциалов Есть. Автомобили обустроены специальными брусьями, которые предотвращают попадание под прицеп и в пространство около шасси транспортных средств с малыми габаритами.
Объем бака, предназначенного для топлива 500 л Наибольшая скорость движения 100 км ч Нагрузка на переднюю ось 6850 кг Нагрузка на заднюю ось 19000 кг Снаряженный вес 1070 кг Колесная база 3,2 1,35 м Высота седла 1,38 м КПП ZF16S2520TO Тип передней и задней подвески Рессорный Шины 315 80R22,5 Масса 32900 кг. III Масса, кг 25650 Передняя ось, кг 6650 Топливо Дизельное КПП ZF16S221 Тип коробки передач Механический Средний расход рабочей жидкости 35 л зимой28 л летом Количество передач 16 Передаточное число 3,57 Подвесной механизм Пневматический, оснащенный четырьмя баллонами Шины 315 80R22,5.
Технические характеристики МАЗ-6430 в цифрах : Особенности конструкции
МАЗ-6430 технические характеристики, расход топлива и модификации Наибольшая масса автопоезда 52000 кг Допустимая нагрузка на ведущий мост 7000 кг Допустимая нагрузка на задний мост 19000 кг Максимальная нагрузка на седло 1575 кг Колесная база 3,2 1,35 м Модель силового агрегата ЯМЗ-6581. Количество колес 6 Количество колес ведущего типа 4 Давление, оказываемое на переднюю ось транспорта 6850 кг Давление, оказываемое на заднюю телегу 19000 кг Допустимый вес автопоезда 52000 кг Снаряженная масса 9670 кг Максимальный вес прицепного устройства 15900 кг Экологический стандарт Евро-4 Тип используемого топлива Дизель Средний расход топливной жидкости на 100 км пути 34 л Мощность 412 л.
Тягач МАЗ 6430А9: характеристики Спальное место в кабине Есть Объем топливного бака, л 500 л Тип КПП Механический Международный экологический стандарт Евро-5 Максимальная скорость движения, км ч 100 Разгон, с 47 Количество цилиндров 6 Расположение цилиндрических элементов Рядное Диаметр цилиндров, см 12 Ход поршней, см 13 Рабочий объем двигателя, л 12,05 Тип кузова Бескопотный грузовик Количество мест в салоне 3 Дорожный просвет, м 0,42 Нагрузка на переднюю подвеску, кг 11 000 Нагрузка, оказываемая на заднюю телегу, кг 19000. Чтобы исчерпать весь заложенный в двигатель заводом-изготовителем потенциал, необходимо придерживаться простых правил технического обслуживания ЯМЗ-238.
осветительные приборы;
габариты;
повторители поворотников.
Предназначение
Машина оптимально подходит для перевозки грузов практически любого назначения. Автомобиль может перемещаться по любым автомагистралям, как зарубежным, так и отечественным.
Какой бензин экономичнее?
А92А95
Машины МАЗ-6430 могут корректно работать при высоких и низких температурах. Применение ТС зависит от типа прицепа. Это может быть не только строительство, но и сельское хозяйство, и многое другое. ТС эффективно функционирует при самых различных условиях.
Салон кабины
Объем бака, предназначенного для топлива 500 л Наибольшая скорость движения 100 км ч Нагрузка на переднюю ось 6850 кг Нагрузка на заднюю ось 19000 кг Снаряженный вес 1070 кг Колесная база 3,2 1,35 м Высота седла 1,38 м КПП ZF16S2520TO Тип передней и задней подвески Рессорный Шины 315 80R22,5 Масса 32900 кг. Уже в базовой версии МАЗ-6430 комплектуется подрессоренным водительским креслом, спойлером, тахографом, ограничителем скорости, ремнями безопасности, подогревателем мотора и ABS.
История автомобиля. Кабина и кузов
Наименование параметра С рессорно-балансирной подвеской С пневмоподвеской Сдвиг седла в миллиметрах 355 375 Технически допустимая масса нагрузки механизм сцепления с прицепом 15 900 15 950 Снаряженная масса в килограммах 9 670 9 720 Технически допустимая общая масса автомобиля в килограммах 25 850 25 950 Распределение допустимых нагрузок в килограммах Первая ось 6 850 6 950 Вторая ось 9 500 9 500 На третью 9 500 9 500 Технически допустимая общая масса поезда в килограммах 52 000 52 000 Двигатель ЯМЗ-6511. Благодаря кооперации белорусских автомобилестроителей с известнейшими мировыми производителями автомобильной техники удалось снизить цену не уступающей по качеству продукции на 30.
Характеристики
Показатели
Максимальная скорость, км/ч
120
Двигатель
Дизельный с турбонаддувом
Рабочий объем, см3
11120
Мощность, л.с. / оборотах
412/1300
Момент, н·м / оборотах
1870/1500
Расход комби, л на 100 км
36.0
Тип коробки передач
Механическая, 16 передач
Привод
Задний
МАЗ-6430С9 Особенности эксплуатации
Каталог запчастей на МАЗ-5440B9, 6430B9 — полный каталог автозапчастей Снаряженная масса автомобиля 10300 кг Нагрузка, которая приходится на передний мост 7100 кг Нагрузка на заднюю телегу 26000 кг Максимальный вес поднимаемого груза 22900 кг Автопоезд 65000 кг Экологический стандарт Евро-5 Модель силового агрегата ЯМЗ-653. Не внушает оптимизма и работа дилерских центров зачастую их вежливость и внимательность к покупателю резко заканчиваются сразу после того, как он вносит деньги за купленную машину в кассу.
МАЗ-6430: технические характеристики, отзывы владельцев, расход топлива Автопоезд, кг 44000 Вид кузова Бескопотный грузовик Колесная база агрегата, м 3,5 1,2 ТНВД Пневматический гидроусилитель руля Допустимый вес прицепного устройства, кг 15 000 Количество цилиндров 6 Габариты цилиндров, см 12 Рабочий объем двигателя, л 11,25 Ход поршневой части, см 13 Сцепление Фрикционное, дисковое Тип колес Пневматический Колея по задним колесам, м 2,5 Колея переднего типа, м 2 Модель мотора Mercedes OM 501 LA. Достойным ответом на засилье на отечественных дорогах седельных тягачей MAN, SCANIA, MERCEDES BENZ и других стало появление трехосного седельного тягача МАЗ 6430.
Шасси-рама. Это набор из ходовой, трансмиссии и иных важных приборов;
Шасси-кузов. Это связующая между несущим кузовом;
Самоходное шасси.
Характеристики двигателя ЯМЗ-650»: • Кабина отличается высоким уровнем шумоизоляции, внутри установлено водительское кресло подрессоренного типа, которое регулируется по высоте.
Автокран СКАТ-40 «Сокол»: технические характеристики, грузоподъемность, длина стрелы
Щиток приборов имеет обширную информационную зону, отображающую состояние агрегатов и систем автомобиля. В его состав входит многофункциональный монитор, показывающий данные в цифровом виде.
Weichai WP12/430E50
МАЗ 643028 работает с дизельной силовой установкой Weichai WP12/430E50. Агрегат белорусско-китайского производства имеет мощность 430 л.с. и максимальный крутящий момент 2059 Н*м. Двигатель не так часто можно встретить на отечественной технике, хотя в Китае его устанавливают на многие грузовые автомобили, и он прекрасно справляется со своей задачей.
Для очистки подаваемого в силовую установку воздуха на МАЗ-6430 используется воздушный фильтр сухого типа – двухступенчатый, с бункером для сбора загрязнений и картонным фильтрующим элементом. При загорании сигнальной лампы необходимо промыть корпус воздушного фильтра с бункером и заменить картонный элемент.
За поддержание стабильной рабочей температуры двигателя отвечает система охлаждения. При заливке жидкости новой марки систему необходимо промывать, поскольку запрещается смешивание разных жидкостей. Проверка уровня жидкости производится визуально через горловину заливной трубы. Замер выполняется только при холодном двигателе.
Видео
Уже в базовой версии МАЗ-6430 комплектуется подрессоренным водительским креслом, спойлером, тахографом, ограничителем скорости, ремнями безопасности, подогревателем мотора и ABS. Это, впрочем, положительно сказалось на расходе топлива он в смешанном цикле у МАЗ 6430 В7 составляет 28-34 л 100 км в зависимости от скорости движения.
Подвеска, ходовая часть… В кабине маз-6430
Шестнадцатиступенчатую коробку переключения передач модели Fast Gear 16JS200TA выпускает китайская FAST лидер по производству КПП для тяжёлых грузовиков в Китае. Тип кузова Бескопотный грузовик Колесная формула 6 4 Высоты сцепного устройства 1380 мм Допустимая масса автопоезда 44000 кг Модель двигателя Mercedes OM501LA V Мощность мотора 435 л.
МАЗ-6430 технические характеристики, расход топлива и модификации Автомобили обустроены специальными брусьями, которые предотвращают попадание под прицеп и в пространство около шасси транспортных средств с малыми габаритами. Пневмоподвеска МАЗ-6430 оборудуется системой управления ЕСAS с современным комплексом систем функцией диагностики и контроля, нагрузки на ведущих осях и контроля потребления топлива.
пластмассовыми крыльями;
бампером;
решеткой радиатора.
МАЗ-6430Е9 • Новинка, седельный тягач, МАЗ-6430А9, по своим экологическим параметрам, соответствует требованиям международного стандарта Евро-3.
Расход Топлива
Пневмоподвеска МАЗ-6430 оборудуется системой управления ЕСAS с современным комплексом систем: функцией диагностики и контроля, нагрузки на ведущих осях и контроля потребления топлива. Также тягач оснащается передовой антиблокировочно-противобуксовочной системой. Последняя функционирует весьма эффективно.
6430А9
Но новым мотором будут оснащаться не только двухосные тягачи МАЗ. В 2008 году на московской выставке “МАФ” Минский автомобильный завод представил посетителям свою новинку, а именно автопоезд во главе с седельным тягачом МАЗ-6430А9 с колесной формулой 6х4, на котором был установлен тот же новый дизельный двигатель ЯМЗ-650.10, который установили на предшественнике МАЗ-5440А9. Этот двигатель шести цилиндровый с рядным расположением цилиндров собирают в городе Ярославле на моторном заводе ОАО “Автодизель” по лицензии французской фирмы Renault Trucks. Новинка, седельный тягач, МАЗ-6430А9, по своим экологическим параметрам, соответствует требованиям международного стандарта Евро-3.
Установленный на нем как уже сказано новый двигатель ЯМЗ-650.10 с рабочим объемом 11.12 литров, комплектуется системой топливоподачи типа “Common Rail”, электронным блоком EDC-7 фирмы Bosch, пневматическим компрессором тормозной системы производительностью 500 литров в минуту. Мощность нового двигателя составляет 412 лошадиных силы при максимальном крутящем моменте 1900 Нм. Двигатель в свою очередь агрегатирован с механической коробкой передач производства фирмы “ZF” -16S221. Дизельный ЯМЗ-650.10 обеспечит на автомобилях МАЗ дальнейшее снижение средних расходов топлива и в целом снижение стоимостных затрат за полный жизненный цикл двигателя. Также автомобиль, оснащенный двигателем ЯМЗ-650.10, соответствует требованиям правил ЕЭК ООН R89.
Основные системы двигателя включают покупные комплектующие: глушитель системы выхлопа, радиаторы (воздушный и водяной) системы охлаждения, электронную педаль управления подачей топлива, подрулевой переключатель системы “круиз-контроль”. Тягач МАЗ-6430А9 комплектуется Седельным сцепным устройством с высотой 1250 миллиметров, или 1350 миллиметров и задними подвесками двух типов пневматической или рессорной. Автоматический кран управления пневматической подвеской обеспечивает автоматический перевод полуприцепа в транспортное положение без участия водителя после проведения погрузочно-разгрузочных работ. Отличительной особенностью новинки является модернизированный внешний вид и интерьер кабины с новыми составным бампером, блок-фарами, облицовкой, закрылками, щитком приборов и рулевым колесом, диаметр которого 460 миллиметров, панелью приборов и верхней полкой над ветровым стеклом серого цвета.
Основной целью модернизации кабины автомобиля было не только создание более современного внешнего вида, но и, в первую очередь, решение эксплуатационных и технологических задач, в которые входят улучшение аэродинамики и организация воздушного потока в зоне оперения с целью уменьшения загрязнения автопоезда. Применение специальной защиты в виде брызговиков позволило снизить помехи для других транспортных средств, участвующих в дорожном движении в дождливую погоду. Использование литьевой технологии изготовления крупногабаритных пластмассовых деталей в перспективе позволит обеспечить повышение производительности при их изготовлении и снизит их стоимость. МАЗ-6430А9 имеет такую систему зеркал, которая отражает все потенциально опасные мертвые зоны. Наряду с основными зеркалами заднего вида (оба с электрической регулировкой с места водителя) на автомобиле установлено зеркало обзора погрузочной рампы.
Тормозная система
Автопоезд, кг 44000 Вид кузова Бескопотный грузовик Колесная база агрегата, м 3,5 1,2 ТНВД Пневматический гидроусилитель руля Допустимый вес прицепного устройства, кг 15 000 Количество цилиндров 6 Габариты цилиндров, см 12 Рабочий объем двигателя, л 11,25 Ход поршневой части, см 13 Сцепление Фрикционное, дисковое Тип колес Пневматический Колея по задним колесам, м 2,5 Колея переднего типа, м 2 Модель мотора Mercedes OM 501 LA. Количество колес 6 Количество колес ведущего типа 4 Давление, оказываемое на переднюю ось транспорта 6850 кг Давление, оказываемое на заднюю телегу 19000 кг Допустимый вес автопоезда 52000 кг Снаряженная масса 9670 кг Максимальный вес прицепного устройства 15900 кг Экологический стандарт Евро-4 Тип используемого топлива Дизель Средний расход топливной жидкости на 100 км пути 34 л Мощность 412 л.
Кабина 6430А8. Особенности эксплуатации
III Масса, кг 25650 Передняя ось, кг 6650 Топливо Дизельное КПП ZF16S221 Тип коробки передач Механический Средний расход рабочей жидкости 35 л зимой28 л летом Количество передач 16 Передаточное число 3,57 Подвесной механизм Пневматический, оснащенный четырьмя баллонами Шины 315 80R22,5. Он оборудован системой нейтрализации отработавших газов, электронной системой подачи дизтоплива, технологией экономичного расхода горючего Blue Tec, системой прямого впрыска с топливной аппаратурой PLD и турбонаддувом с промежуточным охлаждением наддувочного воздуха.
МАЗ 6430В9 • Кабина 6430а8
Двигатель МАЗ – Устройство и техобслуживание – Про МАЗ При этом используются новые конструкторско-технологические решения нижние цельные экраны из полимерного материала , из-за этого работы двигателя в кабине, практически, не слышно. Трехосные седельные тягачи МАЗ-6430 отлично зарекомендовали себя в эксплуатации в сельской местности они без труда могут проехать по проселочным дорогам.
МАЗ-6430 технические харктеристики, расход топлива, видео, фото Основные системы двигателя включают покупные комплектующие глушитель системы выхлопа, радиаторы воздушный и водяной системы охлаждения, электронную педаль управления подачей топлива, подрулевой переключатель системы круиз-контроль. В конце 50-х годов на смену двигателям ЯАЗ пришёл легендарный ЯМЗ 236 и ЯМЗ 238, которыми комплектовались грузовые автомобили МАЗ до недавнего времени.
Маз 6430 седельный тягач. Расход маз
Был создан тяжелый трехосный седельный тягач МАЗ-6422. В 90-х годах разработали модификацию двухосного МАЗ-5440 и на его основе вернулись к версии трехосной модели, но уже в соответствии со стандартами Так появился мощный МАЗ-6430, адаптированный для трафика в международном европейском формате. Масштабные закупки нового автомобиля сразу же сделали российские внешнеторговые организации, которые до появления модели 6430 пользовались очень дорогими в эксплуатации «Вольво», DAF, «Ивеко», MAN. МАЗ-6430 был экономичным и отвечал европейским требованиям.
С начала производства в 1996 году автомобиль выпускается в нескольких вариантах. Различие по внешнему виду может быть минимальным, но технические характеристики при этом существенно разнятся. Некоторые версии полностью отвечающие требованиям европейского рынка, продаются в Германии. Отдельные технические компоненты автомобиля куплены немецкими фирмами и используются в производстве седельных буксировщиков MAN.
Модификации МАЗ-6430
Модель 6430А8 запущена в серийное производство в 1997 году. Колесная формула — 6 х 2, грузоподъемность — 38 тонн.
Модификация 6430А9 создана в 2008 году. Приводная схема — 6 х 4, оснащается лицензионным двигателем марки Renault Trucks. Соответствует нормам экологии Евро-3.
Модель 6430А5 — версия строительного предназначения, импортируется в Германию. Колесная формула — 6 х 4. Оснащается стандартным дизельным двигателем мощностью 243 л. с.
МАЗ-6430-18 выпускается с 2011 года с двигателем Daimler мощностью 402 л. с. Схема привода — 6 х 4.
Модификация 6430-21, грузоподъемность — 65 тонн, с турбодизелем MAN мощностью 455 л. с., скорость — 120 км/час, экологические нормы Евро-2.
Модель 643026 — колесная формула — 6 х 6, оснащается дизельным двигателем с турбонадувом марки MAN.
МАЗ-6430: технические характеристики
Параметры базовой модели:
максимально допустимая масса автомобиля — 26 100 кг;
допустимая нагрузка на сцепное устройство — 15 900 кг;
допустимая масса автопоезда — 52 000 кг;
нагрузка максимальная на заднюю ось — 19 000 кг;
нагрузка на переднюю ось, максимальная — 7100 кг;
вес снаряженного автомобиля — 10 050 кг;
расстояние межосевое — 3200 + 1400 мм;
передняя подвеска рессорная, на параболических листах;
рессорная, с балансирами поперечной устойчивости;
шины, размер — 315/80R22,5;
вместимость топливного бака — 500 литров;
кабина высокая, с двойным спальным местом;
— 100 км/час.
Комплектация
Дополнительные принадлежности, опции и устройства:
подогреватель двигателя;
тахограф;
антиблокировка тормозов АБС;
шумоизоляция кабины;
спойлер;
автономный отопитель кабины;
сиденья повышенной комфотности, подрессоренные.
Силовая установка
Двигатель ЯМЗ-6581.10.
Мощность — 400 л. с. (294 кВт).
Коробка передач — ZF16S1650. Количество скоростей — 16.
Дополнительные удобства
На машине установлен откидной передний бампер, за которым находятся инструментальные контейнеры. В штатном положении бампер выполняет роль ступеней для подъема в кабину.
Рабочее место водителя максимально обустроено, эргономические сиденья регулируются по высоте. Рулевая колонка может изменять наклон и передвигаться в вертикальной плоскости. Фиксатор руля в форме педали расположен на полу. Принцип действия механизма аналогичен применяемым на грузовиках «Вольво».
Кабина МАЗ-6430 имеет пневматическую поддержку, которая значительно облегчает вес конструкции при откидывании для доступа к двигателю. Внутреннее пространство кабины достаточно просторное, кроме водителя здесь свободно размещаются еще два пассажира. В задней части помещения устроены два спальных места, благодаря чему экипаж тягача имеет возможность полноценного отдыха во время дальних поездок, а это является залогом безаварийной работы.
В кабине помимо всего прочего обустроена мини-кухня с компактным холодильником объемом 50 литров, а также походная плитка с 8-литровым газовым баллоном.
Седельный тягач МАЗ-6430 — это техника, предназначенная для транспортировки различных грузов. Используется на строительных, промышленных площадках и для междугородних перевозок.
Технические характеристики
Технические характеристики транспортного средства:
Колесная формула
4*6
Дорожный просвет
0,25 м
Колесная база
0,32*1,4 м
Снаряженная масса
10 050 кг
Средний расход топлива МАЗ
Зимой — 32 л на 100 км
Летом — 27 л на 100 км
Номинальный внешний габаритный радиус поворота автомобиля
8 м
Автопоезд
52 000 кг
Наибольшая нагрузка, оказываемая на ось переднего типа
7 100 кг
19 000 кг
15 900 кг
Тип трансмиссии
Механический
КПП
Шестнадцатиступенчатая
Размер шин
315/80R22,5
Тип колес
Пневматический, дисковый
Максимальная скорость движения
100 км/ч
Есть
Международная экологическая система
Евро-3
6
Модель двигателя
ЯМЗ-658
Мощность
330 л. с.
Блок электронного типа
EDC-7
Система топливной отдачи
Common Rail
Рабочий объем мотора
11,1 л
Наибольший крутящий момент
1900 Нм
Размер рулевого колеса
0,46 м
Модель тахографа
Stoneridge
ASR
Габариты
6,9*3,5*2,72 м
Передаточное отношение
5,262
1100 оборотов в минуту
Турбонаддув
Есть
Есть
Тип подвески
Пружинный
Размер обода
8,5-20
Сцепление
Фрикционное
Управление КПП
Механическое, дистанционное
Объем бака для топлива
500 л
Масса
26 100 кг
Модификации
Существует несколько модификаций данного транспорта:
6430А8;
6430А9;
6430В9;
6430С9;
6430Е9;
643008;
643019;
643028.
МАЗ-6430А8
МАЗ-6430А8-360-010 выпускается на минском заводе с 2006 г. Среди особенностей модели можно выделить наличие ограничителя скорости, спойлера, АБС, тахографа, системы подогрева силового агрегата. Кабина отличается высоким уровнем шумоизоляции, внутри установлено водительское кресло подрессоренного типа, которое регулируется по высоте.
Характеристики автомобильной техники:
МАЗ-6430А8-360-0202 оборудован электронной системой противобуксирования и независимой воздушной отопительной системой. Также конструкция автомобиля включает в себя ограничитель скорости, спойлер, тахограф.
Технические показатели этой модификации:
МАЗ-6430А9
Технические показатели МАЗ-6430А9-1320-020:
Модель мотора
ЯМЗ-650.10
Мощность
412 л.с.
Номинальный крутящий момент
1078 Нм
Число скоростных режимов коробки передач
16
Передаточное число моста ведущего типа
3,57
Размер шин
315-80R22,5
Наибольшая скорость передвижения
100 км/ч
Высота седельно-сцепного устройства
1,25 м
Тип задней подвески
Пневматический
Емкость для топлива
500 л
Распределение нагрузки на переднюю и заднюю ось
19000 и 6850 кг
Автопоезд
52000 кг
Нагрузка, оказываемая на опорно-сцепной механизм
15900 кг
Снаряженная масса
9670 кг
Двигатель изготовлен в соответствии с международным стандартом в области экологии
Евро-3
Турбонаддув
Есть
Промежуточная система охлаждения воздуха
Есть
Коробка передач
Шестнадцатиступенчатая
Система обогрева двигателя для запуска при низких температурах
Есть
Спойлер
Есть
Рабочий объем двигателя
12 л
Вес
25850 кг
Транспортное средство производится автозаводом, расположенным в Минске. Оно используется во время грузоперевозок на большие расстояния. Конструкция этой модели отличается оптимальным соотношением уровня грузоподъемности к собственной массе.
Внутри кабина оборудована подрессоренными креслами, спальным местом, складным столом и тахографом. Эти детали помогают сделать междугородние перевозки более комфортными. Также устройство автомобиля включает в себя ограничитель скорости и электронную систему противобуксирования.
Среди особенностей конструкции можно выделить высокий уровень шумоизоляции в кабине водителя и двигатель, изготовленный в соответствии с международным экологическим стандартом Евро-4.
Технические параметры МАЗ-6430В9-1421-020:
Количество колес
6
4
6850 кг
19000 кг
Допустимый вес автопоезда
52000 кг
Снаряженная масса
9670 кг
15900 кг
Экологический стандарт
Евро-4
Тип используемого топлива
Дизель
Средний расход топливной жидкости на 100 км пути
34 л
Мощность
412 л.с.
Объем бака для рабочей жидкости
500 л
Высота седла
1,25 м
4
Количество цилиндров
6
Рядное
Вес
25850 кг
МАЗ-6430В9-1420-012 — это транспорт, предназначенный для междугородних перевозок в составе автопоезда, допустимая масса которого составляет 52000 кг. Среди преимуществ этой модели можно выделить:
Транспорт оборудован двигателем ЯМЗ-650, мощность которого составляет 415 л. с. Конструкция силового агрегата включает в себя отопительную систему, что позволяет технике работать даже при низких температурных условиях.
Технические показатели МАЗ-6430В9-1420-020:
Количество колес
6
Количество колес ведущего типа
4
Давление, оказываемое на переднюю ось транспорта
7000 кг
Давление, оказываемое на заднюю телегу
19100 кг
Допустимый вес автопоезда
52 т
Снаряженная масса
10000 кг
Максимальный вес прицепного устройства
16000 кг
Экологический стандарт
Евро-4
Тип топлива
Дизель
Средний расход дизельного топлива на 100 км пути
35 л
Мощность
412 л. с.
Объем бака для топлива
500 л
Высота седла
1,4 м
Количество баллонов на задней пневматической подвеске
4
Количество цилиндров\
6
Расположение цилиндрических элементов
Рядное
Вес
25,85 т
Тягач МАЗ-6430В9-8429-012 оборудован системой гидравлического отбора. Модель можно дополнить прицепным устройством (массой до 16000 кг), полуприцепом-цистерной, тралами и другим дополнительным оборудованием с гидравлической системой.
МАЗ-6430С9-520-010 оборудован шестицилиндровым двигателем с мощностью 420 л. с. Максимальный крутящий момент равен 1985 Нм, а рабочий объем силового агрегата составляет 11,12 л. Кабина водителя рассчитана на 3 человек, внутри есть 2 спальных места и складной стол. Для комфортной работы зимой в конструкции автомобиля предусмотрен обогреватель, а для лета — кондиционер.
МАЗ-6430Е9
Показатели и параметры МАЗ-6430Е9-520-020:
Общее количество колес
6
Число колес ведущего типа
4
Наибольшая масса автопоезда
44 000 кг
Давление на задний мост
15 700 кг
Высота седла
1,25 м
Модель двигателя
Mercedes OM501LA V
Экологический стандарт
Евро-5
Мощность мотора
435 л.с.
Модель коробки передач
ZF16S2520TO
Количество передач трансмиссии
16
Передаточное число ведущего моста
3,57
Тип подвесного механизма
Пневматический
Масса подвески
19 т
Шины
315/80R22,5
500 л
Масса
25 650 кг
Технические показатели МАЗ-6430Е9-520-012:
Тип кузова
Бескопотный грузовик
Колесная формула
6*4
Высоты сцепного устройства
1380 мм
Допустимая масса автопоезда
44000 кг
Модель двигателя
Mercedes OM501LA V
Мощность мотора
435 л. с.
Объем бака, предназначенного для топлива
500 л
Наибольшая скорость движения
19000 кг
Снаряженный вес
1070 кг
Колесная база
3,2*1,35 м
Высота седла
1,38 м
КПП
ZF16S2520TO
Тип передней и задней подвески
Рессорный
Шины
315/80R22,5
Масса
32900 кг
МАЗ-6430Е9-520-021 имеет следующие технические параметры:
Грузоподъемность транспорта, кг
15700 кг
Тип мотора
Дизельный
Турбонаддув
Есть
Мощность двигателя
435 л. с.
Спальное место в кабине
Есть
Объем топливного бака, л
500 л
Тип КПП
Механический
Евро-5
100
Разгон, с
47
Количество цилиндров
6
Расположение цилиндрических элементов
Рядное
Диаметр цилиндров, см
12
Ход поршней, см
13
Рабочий объем двигателя, л
12,05
Тип кузова
Бескопотный грузовик
Количество мест в салоне
3
Дорожный просвет, м
11 000
Нагрузка, оказываемая на заднюю телегу, кг
19000
МАЗ-6430Е9-520-011 оборудован шестнадцатиступенчатой коробкой передач и мощным двигателем серии Mercedes OM 501LA.
МАЗ-643008
Параметры и показатели:
Уровень грузоподъемности, кг
15750 кг
Внешний габаритный радиус, м
8
Преодолеваемый подъем
25%
Максимальная скорость передвижения
100 км/ч
Средний расход топливной жидкости, л
36 л — зимой
27 л — летом
Объем топливного бака, л
500
Количество цилиндров
6
Расположение цилиндрических элементов
Рядное
Тип используемого топлива
Дизель
Турбонаддув
Есть
Максимальный крутящий момент, Нм
1985 Нм
Частота вращения
2200 оборотов в минуту
Степень сжатия
6
Диаметр цилиндра, см
12
Ход поршневой части, см
12
Мощность моторного механизма
7000
Сцепление
Фрикционное, сухое
Снаряженная масса автомобиля
10 100 кг
База
3200+1350 мм
Модель мотора
ЯМЗ7511. 10
Экологический стандарт
Евро-2
Модель КПП
ZF16S1650
Количество передач
16
Передаточное число
3,57
Масса
26000 кг
Размер шин
295/80R22,5
Тип используемого топлива
Дизель
Объем бака для масляной жидкости
19000
Есть
Кабина МАЗ-643008-060-020 оборудована двумя спальными местами и сиденьями, которые регулируются по высоте. В кабине есть кондиционер, система отопления. Конструкция отличается высоким уровнем шумоизоляции.
Благодаря наличию системы обогрева предпускового механизма автомобиль исправно работает даже при низких температурных условиях (до -40°С).
МАЗ-643019
Технические параметры модели МАЗ-643019-1420-020:
Наибольшая грузоподъемность, т
15,7
Максимальная скорость движения, км/ч
100
Время, необходимое для разгона, с
47
Наибольший преодолеваемый подъем
27%
Расстояние дорожного просвета, м
0,42
Колесная формула
6*4
Наименьший радиус поворота, м
8,5
Максимальный крутящий момент, об/мин
2100
Экологическая система
Евро-4
Емкость бака для топлива, л
500
Мощность двигателя
435 л. с.
Автопоезд, кг
44000
Вид кузова
Бескопотный грузовик
Колесная база агрегата, м
3,5+1,2
ТНВД
Пневматический гидроусилитель руля
Допустимый вес прицепного устройства, кг
15 000
Количество цилиндров
6
Габариты цилиндров, см
12
Рабочий объем двигателя, л
11,25
Ход поршневой части, см
13
Сцепление
Фрикционное, дисковое
Тип колес
Пневматический
Колея по задним колесам, м
2,5
Колея переднего типа, м
2
Модель мотора
Mercedes OM 501 LA.III
Масса, кг
25650
Передняя ось, кг
6650
Топливо
Дизельное
КПП
ZF16S221
Тип коробки передач
Механический
35 л — зимой
28 л — летом
Количество передач
16
Передаточное число
3,57
Подвесной механизм
Пневматический, оснащенный четырьмя баллонами
Шины
315/80R22,5
Также на рынке представлена модель МАЗ-643019-1420-0121. В ее конструкцию входит 3 оси. Благодаря мощному двигателю транспорт выдерживает перевозки на дальние расстояния. Температурный рабочий режим этой модели транспортного средства -40°…+35°С.
МАЗ-643028
Показатели и параметры модели:
Колесная формула
6*4
Дорожный просвет
0,42 м
Колесная база
0,33*1,5 м
Снаряженная масса
10 100 кг
Средний расход рабочей жидкости
32 л
Внешний габаритный радиус поворота
8,2 м
Автопоезд
65 000 кг
7 000 кг
Максимальная нагрузка, оказываемая на заднюю телегу
33 200 кг
Нагрузка на сцепной механизм транспорта
22 550 кг
Тип трансмиссии
Механический
Модель коробки передач
ZF16S2520TO
КПП
Шестнадцатиступенчатая
Размер шин
315/80R22,5
Тип колес
Пневматические
Максимальная скорость движения МАЗ 643028 — 520 — 012
110 км/ч
ЖК-дисплей на приборной панели
Есть
Международный экологический стандарт
Евро-5
Количество цилиндрических элементов
6
Модель двигателя
WP12. 430E50
Мощность силового агрегата
400 л. с.
Блок электронного типа
EDC
Система топливной отдачи
Common Rail
Рабочий объем мотора
11,78 л
Наибольший крутящий момент
1985 Нм
Размер рулевого колеса
0,5 м
Модель тахографа
Stoneridge
Система пробуксовки автомобиля
ASR
Габариты
7*3,7*2,72 м
Передаточное отношение
5,37
Частота вращения коленчатого вала
1500 оборотов в минуту
Турбонаддув
Есть
Промежуточная система охлаждения
Есть
Тип подвески
Пружинный
Размер обода
8,5-20
Сцепление
Фрикционное
Управление КПП
Механическое, дистанционное
Объем бака для топливной жидкости
500 л
Кузов
Бескопотный грузовик
Блокировка межколесных и межосевых дифференциалов
Есть
Масса
27 100 кг
Параметры
Значение
Модель
МАЗ-6430А8-360-020
Колёсная формула
6×4
Полная масса автопоезда, кг
52000
Полная масса автомобиля, кг
26000
Распределение полной массы на переднюю ось, кг
7000
Распределение полной массы на заднюю ось, кг
15750
Масса снаряженного автомобиля, кг
10100
Модель двигателя
ЯМЗ-6581. 10
Эколог. норма
Euro-3
Тип двигателя
дизельный
Число и расположение цилиндров
Рабочий объём, см. куб.
Мощность двигателя, кВт (л.с.)
294 (400)
Максимальный крутящий момент, Нм(кгсм)
Модель коробки передач
ZF 16S1650
Тип коробки передач
механическая
Число передач КП
16
Диапазон коробки передач
Передаточное число ведущего моста
3.57
Подвеска передняя
параболические малолистовые рессоры
Подвеска задняя
пневматическая
Тип колес
Размер колес
Способ крепления
Размер шин
295/80R22,5
Топливный бак, л
500
Максимальная скорость, км/ч
100 (90)*
Контрольный расход топлива, л/100км при V=60(80)км/ч
Основной применяемый полу-, прицеп
Тип кабины
Длинная с высокой крышей, двумя спальными местами
Тормоза
Назначение
Предназначен для перевозки различных грузов в составе автопоезда.
Комментарии
Ограничитель скорости, водительское сидение и сиденье пассажира подрессоренные, ремни безопасности, шумоизоляция кабины, спойлер, АБС, подогреватель двигателя, тахограф. ASR — электронная система противобуксования, независимый воздушный отопитель кабины.
Именно МАЗ 6430 А9, на данный является наиболее востребованной моделью, так как по техническим параметрам и уровню комфорта он не уступает именитым европейским тягачам, но при этом, значительно, дешевле конкурентов.
Грузовик МАЗ 6430 А9 приводится в движение рядным шестицилиндровым одиннадцатилитровым турбированным дизельным двигателем ЯМЗ-650.10 (ЕВРО 3) с интеркулером. Эта силовая установка, мощностью в 412 лошадиных сил, развивает 1870 Нм крутящего момента, поступающего на задние оси через шестнадцатиступенчатую коробку передач ZF16S1650 или 16JS200TA. Данное сочетание двигателя и КПП обеспечивает автомобилю отличные тяговые и скоростные характеристики. Официальной информации о расходе топлива МАЗ 6430 нет, но основываясь на опыте владельцев данного тягача, он составляет, приблизительно 40 л. /100 км. пробега, и меняется в различных условиях эксплуатации. Технические характеристики МАЗ 6430 всех модификаций Вы можете узнать из представленной ниже таблицы. Продажа МАЗ 6430 А8, А9 и 643018 осуществляется предприятием «НижСпецАвто», занимающимся поставкой коммерческого автотранспорта во все регионы Российской Федерации.
Чтобы узнать актуальную цену МАЗ 6430 всех модификаций, обращайтесь в отдел продаж по телефону, электронной почте или через форму обратной связи.
Купить МАЗ 6430 можно также в кредит и лизинг. Наш завод сотрудничает с ведущими российскими банками и лизинговыми компаниями, филиалы которых имеются во всех крупных городах.
Доставка в регионы
ООО ТПК «НижСпецАвто» осуществляет поставки автофургонов, эвакуаторов, манипуляторов, бортовых автомобилей и других видов спецтехники во все города России.
Например, если Вы хотите купить автофургон в Москве (или любом другом городе России), но не имеете возможности самостоятельно перевезти его из Нижнего Новгорода, то специально для таких случаев, мы предоставляем услугу доставки грузовых автомобилей во все регионы страны.
Гарантия
Гарантийный срок: 24 мес.
Гарантийный пробег: 100 000 км (40 000 км авто с гидроотбором)
Межсервисные интервалы
ТО-0: не более: 2 000 км
ТО-1: 15 000 ± 500 км (10 000 ± 500 км авто с гидроотбором)
ТО-2: 30 000 ± 1 000км (20 000 ± 1 000 км авто с гидроотбором)
Автомобиль-седельный тягач МАЗ-6430В9-1420-012 с колесной формулой 6х4 предназначен для региональных и междугородних перевозок различных грузов в составе автопоезда по дорогам с асфальтобетонным покрытием. Отличительной особенностью автомобилей МАЗ является: надёжность, комфортабельные условия работы для водителя, низкие эксплуатационные расходы, современный дизайн, большой выбор моделей и комплектаций, применение узлов и агрегатов мировых производителей автомобильных компонентов таких, как ZF, Mercedes, Cummins, Shaanxi Fast Gear, ЯМЗ, ММЗ и т.д:
Кабина 6431 большая, 2-х местная с двумя спальными местами (кабина со спальником), рестайлинговая, подрессоренная (4-х точечное крепление на пружинных или пневматических подушках), сиденье водителя и пассажира подрессоренные на пневматической подвеске, рулевая колонка регулируется в двух плоскостях;
Рядный 6-цилиндровый дизельный двигатель ЯМЗ-651. 10, мощность 412 л.с, максимальный крутящий момент Нм (кгс)-1911 (195), Евро-4 (производитель Ярославский моторный завод), рабочий объём двигателя составляет 11,12 литра, на двигателе установлена система подачи топлива Common Rail (производства GRS Bosch) c максимальным давлением впрыска 1600 бар и система рециркуляции охлаждённых отработавших газов (EGR) с каталитическим нейтрализатором, для нормальной эксплуатации данного двигателя установлен следующий регламент периодичности замены масла и фильтров (ТО-0 в районе 2000 км, ТО-1 в районе 10000 км, ТО-2 в районе 20000 км и последующие ТО с интервалом в 15000 км), контрольный расход топлива на 100 км составляет 30,5 литра при скорсти 60 км/ч и 35,8 литра при скорсти 80 км/ч, заявленный ресурс двигателя составляет 1 000 000 км;
Семейство тяжелых рядных дизельных двигателей ЯМЗ-650 с рабочим объемом 11, 12 л и мощностным диапазоном 286-422 л.с., выполняет текущие и перспективные требования по экологии. Мощные, надежные двигатели ЯМЗ-650 соответствуют высокому уровню и мировым направлениям в двигателестроении. Это современная конструкция на базе dCi 11, совокупность передовых технических решений, выполнения экологического законодательства, компактность, эффективность, экономичность и впечатляющий ресурс, гарантия высокого качества и безупречной работы.
Двигатели предназначены для установки на перспективные автомобили, седельные тягачи, бортовые транспортные средства, шасси, магистральные автопоезда, самосвлы «МАЗ», «Урал», «МЗКТ», «Тонар» и др. Специальные промышленные модификации двигателя ЯМЗ-650 успешно адаптированы для работы в составе железнодорожного транспорта, стационарных дизель-генераторных установок.
Коробка переключения передач ZF 16S2520TO (число передач 16 вперёд / 1 назад), производство фирмы « Zahnradfabrik » (ZF). Механические 16 — ступенчатые коробки передач ZF Friedrichshafen прошли испытания временем. И как показывают испытания, эти корбки передач превосходно работают в тяжелых условиях, при низких скоростях, когда особое значение имеет точность управления. Кроме того, европейский стандарт коробок ZF позволяет достичь идеальной синхронизации с двигателем как европейских, так и отечественных производителей. Отличительной особенностью коробок передач ZF является высокая надёжность. Относиться к серии коробок передач с двойным промежуточным валом;
Для автомобилей МАЗ с двигателями серии ЯМЗ-650 большей размерности и мощности применяется шестнадцати ступенчатая механическая коробка ZF 16S2520TO серии ZF-Ecosplit четвертого поколения производства фирмы ZF, которая оптимально приспособлена для эксплуатации в составе тяжелых автомобилей МАЗ. Эта механическая КПП легкой конструкции с шестнадцатью ступенями переключения скоростей, позволяет водителям поддерживать оптимальную мощность в любой ситуации — в момент, когда автомобиль трогается с места, при ускорении, во время движения по трассе. Особенно КПП ZF 16S2520TO демонстрирует свои преимущества, в условиях бездорожья и в тяжелых условиях эксплуатации. Диапазон передаточных чисел рассчитан специально для применения на строительных объектах и для специального транспорта.
Коробка передач ZF 16S2520TO состоит из следующих основных узлов: основного четырехступенчатого редуктора, переднего двухступенчатого делителя передач и демультипликатора. Все передачи переднего хода в основном редукторе включаются синхронизаторами, задняя передача — зубчатой муфтой. Высшая передача — повышающая. Демультипликатор планетарный, автоматически переключается с помощью пневматического клапана синхронизатором при перемещении рычага в нейтрале от положения 3-4 передач к 5-6 и наоборот. Делитель передач — механический, состоит из двух пар цилиндрических шестерен и синхронизатора. Управление делителем пневматическое. Масса коробки передач составляет 290 кг. Максимальный крутящий момент 1850 Нм.
Коробки передач ZF Ecomid и ZF Ecosplit имеют возможность присоединения различных коробок отбора мощности, как с непосредственной установкой гидронасоса, так и под последующее фланцевое присоединение промежуточного вала.
Высота ССУ над уровнем дороги 1380 мм, нагрузка на ССУ-22,9 т, ССУ под шкворень размерности 2 дюйма;
Технически допустимая общая масса автомобиля 33250 кг, технически допустимая общая масса автопоезда 65000 кг, полная масса автомобиля в снаряженном состоянии 10200 кг;
Передаточное число мостов 4,59;
Максимальная скорость с электронным ограничителем 100 км/ч;
Сцепление: однодисковое с гидроприводом с пневматическим усилением;
Распределение технически допустимой общей массы: на переднюю ось 7250 кг, на задний мост 26000 кг;
Передняя подвеска: рессорная малолистовая;
Задняя подвеска: рессорная многолистовая со стабилизатором поперечной устойчивости;
Размер шин 315/80R22,5;
Тип колес: дисковые;
Тормозная система: пневматическая двухконтурная, с разделением на контуры по осям; с АБС и ASR, тормозные механизмы всех колес барабанного типа;
Рулевое управление: со встроенным рулевым усилителем;
Один топливный бака 500 л, топливный фильтр ф. Racor с подогревом;
В базе устанавливается предпусковой подогреватель двигателя ф.Элтра;
Дополнительные опции которые можно заказать на заводе:
Циклон очистки воздуха;
Независимый воздушный отопитель кабины;
Магнитола;
Противотумнные фары;
Климатическая установка;
Зеркало переднего обзора;
Центральный замок;
Электрический привод зеркал;
Электрический привод стеклоподъемников;
Магнитола;
Спидометр;
Круиз-контроль;
Солнцезащитный козырек;
Шины СНГ или импортные;
Сиденья СНГ или импортные;
Автоматическое управление отопителем;
Светоотражающая маркировка;
Шумоизоляционные экраны базовые;
Подлокотники сидений;
АБС фирмы Wabco или БПО «Экран»;
Комплект ЗИП стандартный или полнокомплектный.
Полуприцепы МАЗ — 938660 ; 975800 ; 938020 ; 938662 ; 978530 ; 975870 ; 931010 и их модификации.
Возможны различные дополнительные доработки автомобиля.
Двигатель ЯМЗ-651.10
Технические характеристики двигателя ЯМЗ-651.10
Автомобиль соответствует необходимым требованиям для эксплуатации в дальних поездках. Производитель уделил много внимания удобству водителя. Для всестороннего комфорта машина оснащена высокой кабиной, в которой просторно размещаются целых два спальных места. Чаще всего на дальние рейсы отправляются двое водителей, поэтому наличие мест для одновременного отдыха каждого члена экипажа, является одним из важных параметров при выборе седельного тягача.
Но более значимы основные характеристики автомобиля, которые в МАЗ 6430А8-360-010 продуманы не хуже. Этот тягач обладает мощностью двигателя в 400 л.с., источником которой служит легендарный дизель ЯМЗ-6581.10. Для комплектации двигателей без коробки передач, завод предоставляет шлицы ступицы сцепления по SAE (два дюйма). А КПП установлена от другого производителя, это ZF 16S1650, 16-ти ступенчатая коробка немецкого качества. Все это говорит о надежности данной модели автомобиля и ее соответствии необходимым требованиям добросовестных перевозчиков, которые при покупке машины учитывают все профессиональные нюансы.
технические характеристики (расход топлива, грузоподъемность), кабина, фото, видео, отзывы, цена
Надежный испытанный седельный тягач МАЗ 6422 с колесной формулой 6х4 начал «трудовой путь» в прошлом веке!
Начало выпуска МАЗ 6422 – это август 1973 года. Для своего времени машина была отлично оснащена в техническом плане.
История создания МАЗ 6422 и становления насчитывает несколько этапов.
Сегодня машина, изначально предназначенная для международных перевозок, бегает по дорогам многих стран, в том числе эксплуатируется на территории постсоветского пространства.
О МАЗе 5334 и его технических характеристиках читайте здесь.
Узнайте в статье о расходе топлива КамАЗ 6520.
Технические характеристики седельного тягача
Схема МАЗа тягача 6422А5-320 Грузовик МАЗ 6422 грузоподъемность, которого составляет 14700 кг, имеет стандартный дорожный просвет 260 мм. Под капотом машины установлен силовой агрегат ЯМЗ-6582(1) в зависимости от модели.
Показатели по выбросу вредных веществ в атмосферу соответствуют стандартам Евро-3. Мощность двигателя МАЗ 6422 составляет 330 л. с.
Объём дизельного агрегата с турбонаддувом составляет 12000 кубических сантиметров.
Двигатель агрегируют трансмиссией ZF 16S-151 на 16 передач механического принципа действия.
Расход топлива МАЗа 6422 на уровне 33 л. на 100 км пути. Это показатели эксплуатации на трассе. В смешанном цикле требуется на 100 км 45,5 л.
Бак седельника вмещает 500 литров солярки. Бортовая электрика авто на 24 V. Тормоза барабанного типа с раздельным пневматическим приводом. Седельный тягач может работать при температуре +450С – 400С. Детальную информацию читайте в инструкции по эксплуатации МАЗ 6422.
Таблица 1 — Технические характеристики моделей МАЗ 6422
Модель
МАЗ 6422А5-320
МАЗ 6422А5-322
МАЗ 6422А8-330
МАЗ 6422А8-332
Полная масса автомобиля, кг
24500
24500
24500
24500
Распределение полной массы
На переднюю ось, кг
6500
6500
6500
6500
На задний мост, кг
18000
18000
18000
18000
Масса снаряженного автомобиля, кг
9500
9800
9600
9900
Подвеска
рессорная
Тип кабины
большая
Тип рулевого управления
с гидроусилителем
Привод
задний
Трансмиссия
ZF 16S-151
Двигатель
ЯМЗ-6582 (Е-3)
ЯМЗ-6582. 10 (Е-3)
ЯМЗ-6581.10 (Е-3)
ЯМЗ-6581.10 (Е-3)
Мощность двигателя, кВТ (л.с.)
243 (330)
243 (330)
294 (400)
294 (400)
Коробка передач
ЯМЗ-2381 (ЯМЗ-239)1
ЯМЗ-2381 (ЯМЗ-239)1
ЯМЗ-239 (12JS200ТА)2
ЯМЗ-239
Число передач КП
8 (9)1
8 (9)1
9(12)2
9
Передаточное число ведущего моста
5,49 (4,73)1
6,59 (5,49)1
3,97
4,73
Максимальная скорость, км/ч
100
93
100
100
Топливный бак, л
350 (500)
350
500
500
Размер шин
11,00R20
12,00R20
11,00R20
12,00R20
Допустимая полная масса автопоезда, кг
44000
44000
52000
52000
Допустимая нагрузка на седло, кг
14700
14500
14700
14700
Модификации
Модификации этого седельного тягача:
6422А5;
6422А8;
642205;
642208;
64221;
64226.
МАЗ-6422А5
Технические показатели модели МАЗ-6422А5-320:
Общее количество колес
6
Число ведущих колес
4
Допустимая масса автопоезда
44 000 кг
Максимальная нагрузка на переднюю ось
7 000 кг
Наибольшее давление на задний мост
20 000 кг
Снаряженная масса
9 500 кг
Максимальный вес поднимаемого груза
14 700 кг
Модель силового агрегата
ЯМЗ-6582.10
Экологическая норма
Евро-3
Мощность мотора
330 л. с.
Модель КПП
ЯМЗ-2381
Количество передач
8
Передаточное число
5,49
Тип подвески
Рессорная
Размер колес
11.00R20
Объем емкости для топливной жидкости
500 л
Расположение цилиндров
V-образное
Расположение клапанов
Верхнее
Количество клапанов
16
Число цилиндрических элементов
8
Ход поршня
140 мм
Дорожный просвет
0,28 м
Поворотный габаритный радиус
9,1 м
Число спальных мест в кабине водителя
2
Турбонаддув
Есть
Промежуточная система охлаждения рабочей жидкости
Есть
Рабочий объем двигателя
11,75 л
Вес
26 500 кг
МАЗ-6422А8
Параметры и показатели модификации МАЗ-6422А8-332:
Колесная формула
6*4
Масса в составе автопоезда
44 000 кг
Давление на ведущий мост
6 500 кг
Давление на заднюю телегу
18 000 кг
Максимальная грузоподъемность
14 500 кг
Снаряженная масса
9 900 кг
Высота седла
1,4 м
Модель мотора
ЯМЗ-6581. 10
Международный экологический стандарт
Евро-3
Мощность силового агрегата
400 л. с.
Модель КПП
ЯМЗ-239
Количество передач
9
Передаточное число едущего моста
4,73
Тип подвески
Рессорная
Размер колес
12.00R20
Вместительность топливного бака
500 л
Рабочий объем
12 л
Максимальная скорость движения
100 км/ч
Расход топливной жидкости
33 л на 100 км
Температурный режим
-35°…+30°С
Тип системы охлаждения
Жидкостный
Колесная база
3,4 м
Тормозной пути со скорости 60 км/ч
38 м
Клиренс
0,27 м
Тип кузова
Грузовик
Ход поршневой части
130 мм
Диаметр цилиндров
120 мм
Количество клапанов
16
Число цилиндров
8
Масса
24 500 кг
МАЗ-642205
Технические характеристики МАЗа-642205-220:
Общее число колесных элементов
6
Количество ведущих колес
4
Наибольшая нагрузка, оказываемая на передний мост
7 000 кг
Максимальная нагрузка на заднюю телегу
24 500 кг
Допустимый вес транспортируемого груза
21 500 кг
Вес снаряженного транспорта
9 500 кг
Скорость движения
100 км/ч
Модель мотора
ЯМЗ-238ДЕ2
Международная экологическая норма
Евро-2
Модель коробки передач
ЯМЗ-238М
Число передач
8
Допустимый вес автопоезда
46 000 кг
Тип подвесного механизма
Рессорный
Размер шин
12. 00R20
Объем бака для топлива
500 л
Наибольшая частота вращения коленчатого вала
1 300 об/мин
Мощность
330 л. с.
Турбонаддув
Есть
Рабочий объем силового агрегата
14,86 л
Расположение цилиндров
V-образное
Тип используемого топлива
Дизель
Число спальных мест
1
Количество мест в кабине водителя
3
Ход поршневой части
130 мм
Тормозной путь
36,7 м
Номинальный крутящий момент
1225 Нм
Колесная база
4,2 м
Дорожный просвет
0,3 м
Габаритные размеры
8,04*2,5*3,46 м
Масса
31 500 кг
МАЗ-642208
Параметры МАЗ-642208-020:
Колесная формула
6*4
Допустимый вес автопоезда
44 000 кг
Масса снаряженного транспортного средства
9 600 кг
Распределение нагрузки
На переднюю ось — 6500 кг На заднюю телегу — 18 000 кг
Грузоподъемность
14 700 кг
Модель мотора
ЯМЗ-7511. 10
Международный экологический стандарт
Евро-2
Мощность двигателя
400 л. с.
Наибольший крутящий момент
1715 Нм
Модель коробки передач
МАЗ-543205
Количество передач
9
Передаточное число ведущего моста
3,97
Средний расход топливной жидкости
35 л на 100 км пути
Размер колес
11.00R20
Объем бака для топливной жидкости МАЗа-642208-230
500 л
Модель прицепного устройства
МАЗ-93866
Расположение цилиндрических элементов
V-образное
Тип тормозной системы
Барабанная
Расположение клапанов
Верхнее
Число клапанов
16
Частота вращения коленчатого вала
2100 об/мин
Диапазон коробки передач
10,08-0,795
Тип колес
Дисковые
Сцепной механизм
Фрикционный
Вес
24 500 кг
МАЗ-64221
Технические показатели модификации МАЗ-64221:
Тип кузова
Седельный тягач
Стабилизатор поперечной устойчивости
Есть
Тип коробки передач
Механическая
Межколесный блокиратор
Есть
Размер шин
11. 00R20
Емкость для топлива
350 л
Колесная формула
6*4
Топливо
Дизельное
Количество мест в салоне
2
Экологический тип
Евро-0
Количество клапанов
16
Максимальная нагрузка, оказываемая на переднюю ось
6380 кг
Давление на заднюю телегу
18120 кг
Средний расход дизеля
35 л на 100 км
Допустимая масса в составе автопоезда
40000 кг
Количество передач
10
Передняя подвеска
Рессорная с полуэллиптическими элементами
Наибольший допустимый вес транспортируемого груза
14700 кг
Передаточное число ведущих мостов
4,84
Снаряженная масса
9470 кг
Скорость передвижения
100 км/ч
Модель мотора
ЯМЗ-8421. 10
Мощность транспортного средства
360 л. с.
КПП
ЯМЗ-202
Количество цилиндров
8
Полная масса автомобиля
24500 кг
МАЗ-64226
Технические параметры модели МАЗ-64226:
Давление, оказываемое на переднюю ось транспорта
6100 кг
Нагрузка на заднюю телегу
18000 кг
Масса снаряженного автомобиля
9150 кг
Тип подвесного механизма
Рессорный
Рулевое управление
При помощи гидроусилителя руля
Привод
Задний
Модель коробки передач
ZF 16S151
Экологическая норма
Евро-1
Количество передач
16
Передаточное число ведущего моста
4,79
Максимальная скорость движения
100 км/ч
Объем бака для топливной жидкости
500 л
Размер колес
11. 00R20
Наибольшая нагрузка на седло
14000 кг
Турбонаддув
Есть
Межколесный блокиратор
Есть
Масса
24100 кг
Колесная база
2,9+1,4 м
Минимальный габаритный поворотный радиус
9,8 м
Дорожный просвет
0,4 м
Автопоезд
44000 кг
Тип решетки
Радиаторная
Тормозной путь
40 м
Мощность
370 л. с.
Предельный крутящий момент
1520 Нм
Наибольшая частота вращения коленчатого вала
1400 об/мин
Температурный режим
-35°…+40°С
МАЗ-64227
Параметры модификации 64227:
Общее число колесных элементов
6
Количество ведущих колес
4
Наибольшая нагрузка, оказываемая на передний мост
7000 кг
Максимальная нагрузка на заднюю телегу
14000 кг
Допустимый вес транспортируемого груза
12800 кг
Вес снаряженного транспорта
9600 кг
Скорость движения
95 км/ч
Модель мотора
ЯМЗ-238Д
Международная экологическая норма
Евро-2
Модель коробки передач
ЯМЗ-236
Число передач
8
Допустимый вес автопоезда
40000 кг
Тип подвесного механизма
Рессорный
Размер шин
12. 00R20
Объем бака для топлива
500 л
Наибольшая частота вращения коленчатого вала
1700 об/мин
Мощность
400 л. с.
Турбонаддув
Есть
Рабочий объем силового агрегата
12,7 л
Расположение цилиндров
V-образное
Тип используемого топлива
Дизель
Число спальных мест
1
Количество мест в кабине водителя
3
Ход поршневой части
140 мм
Тормозной путь
41 м
Номинальный крутящий момент
1075 Нм
Колесная база
3,2+1,4 м
Дорожный просвет
0,4 м
Габаритные размеры
6,6*2,5*3,9 м
Масса
25000 кг
Экстерьер кабины
Кабина нынешнего седельного тягача МАЗ 6422 отличается от ранних версий. Изменения коснулись внешности машины, решётки и переднего освещения. Кабина выглядит монолитом. Ушли в прошлое гладкие и выступающие формы, популярные в середине прошлого века. Модернизировано лобовое стекло тягача. Классический, раздвоенный вариант стекла, сменился безопасным обзорным. Нелепо смотревшийся ранее бампер заменили конструкцией с модернизированными фарами. На крыше седельного тягача теперь возвышается споллер улучшенной конструкции.
Седельные тягачи МАЗ 6422А8-330 предназначены для работы в составе автопоезда на междугородних и международных перевозках. Все автомобили-тягачи марки МАЗ 6422А8-330 отвечают современным экологическим нормам и отличаются топливной экономичностью, высокими тяговыми качествами. Цены на седельные тягачи МАЗ 6422А8-330, в сочетании с высокими эксплуатационными параметрами, позволяют считать грузовики МАЗ лучшими тягачами по сочетанию цена-качество. Все седельные тягачи, как и другие грузовики МАЗ 6422А8-330 комплектуются антиблокировочной системой, автономным отопителем типа «Вебасто» При использовании в качестве тягачей для буксировки полуприцепов-цистерн, автовозов, и самосвальных полуприцепов, седельные тягачи МАЗ оснащаются дополнительным оборудованием — гидрофикация, проблесковые маяки, защита топливного бака.
Для увеличения фотографии щелкните на изображение мышью.
Технические характеристики:
Сравнительная таблица модификаций автомобилей МАЗ 6422 и 6430
Модель и комплектация а/м
Колесная формула
Модель двигателя
Мощн. двиг. л.с.
кол-во передач
Модель КП
Бак, л
высота ССУ, мм
наг./ССУ, т.
Сп. место
Шины
Особенности комплектации автомобиля
6422А5-320
6х4
дв. ЯМЗ-6582.10
330
КПП 8 ст.
ЯМЗ-2381
350
1400
14,7
снят с про-ва, взамен МАЗ-6430А5-370-010 (020)
Бол.кабина
6422А5-322 с гидроотбором
6х4
дв. ЯМЗ-6582.10
330
КПП 8 ст.
ЯМЗ-2381
350
1400
14,5
снят с про-ва, взамен МАЗ-6430А5-370-010 (020)
Бол.кабина
6422А8-320-050
6х4
дв. ЯМЗ-6581.10
400
КПП 12 ст.
12JS200ТА
500
1400
14,7
снят с про-ва, взамен МАЗ-6430А8-360-010 (020)
Бол.кабина
6422А8-330
6х4
дв. ЯМЗ-6581.10
400
КПП 12 ст.
12JS200ТА
500
1400
14,7
2
315/80R22.5
Бол.кабина
6422А8-332-050
6х4
дв. ЯМЗ-6581.10
400
КПП 12 ст.
12JS200ТА
500
1400
14,5
снят с про-ва, взамен МАЗ-6430А9-320 (1320)-010 (020)
Бол. кабина
6422А8-332 с гидроотбором
6х4
дв. ЯМЗ-6581.10
400
КПП 12 ст.
12JS200ТА
500
1400
14,5
снят с про-ва, взамен МАЗ-6430А8-329-011 (012)
Бол.кабина
6430А5-320-010
6х4
дв. ЯМЗ-6582.10
330
КПП 9 ст.
ЯМЗ-239-02
500
1350
16
2
315/80R22.5
Кабина длинная с высокой крышей, с 2 сп.местами; подвеска кабины пневматическая
6430А5-320-020
6х4
дв. ЯМЗ-6582.10
330
КПП 9 ст.
ЯМЗ-239-02
500
1250
16
2
315/80R22.5
Кабина длинная с высокой крышей, с 2 сп.местами; подвеска кабины пневматическая
6430А5-370-010
6х4
дв. ЯМЗ-6582.10
330
КПП 12 ст.
12JS200TA
500
1350
16
2
315/80R22.5
Кабина длинная с высокой крышей, с 2 сп. местами; подвеска кабины пневматическая
6430А5-370-020
6х4
дв. ЯМЗ-6582.10
330
КПП 12 ст.
12JS200TA
500
1250
16
1
315/80R22.5
Кабина короткая с низкой крышей, с 1 сп.местом; подвеска кабины пневматическая
6430А8-320-012
6х4
дв. ЯМЗ-6581.10
400
КПП 9 ст.
ЯМЗ-239
500
1380
16
1
315/80R22.5
Кабина длинная с высокой крышей, с 2 сп.местами; подвеска кабины пневматическая
6430А8-329-011 с гидроотбором
6х4
дв. ЯМЗ-6581.10
400
КПП 9 ст.
ЯМЗ-239
500
1350
16
1
315/80R22.5
Кабина короткая 6501 с низкой крышей, подрессоренная с 1сп.местом
6430А8-379-012 с гидроотбором
6х4
дв. ЯМЗ-6581.10
400
КПП 12 ст.
12JS200ТA
500
1380
16
0
315/80R22. 5
Кабина длинная с высокой крышей, малая; подвеска кабины пневматическая
6430А9-320-010
6х4
дв. ЯМЗ-650.10
412
КПП 16 ст.
ZF-16S151
500
1350
16
2
315/80R22.5
Кабина длинная с высокой крышей, с 2 сп.местами; подвеска кабины пневматическая, рессорно-балансирная
6430А9-320-020
6х4
дв. ЯМЗ-650.10
412
КПП 16 ст.
ZF-16S151
500
1250
16
2
315/80R22.5
Кабина длинная с высокой крышей, с 2 сп.местами; подвеска кабины пневматическая, пневмо подвеска
6430А9-1320-010
6х4
дв. ЯМЗ-650.10
412
КПП 16 ст.
ZF-16S151
500
1350
16
2
315/80R22.5
Кабина рестайлинговая, длинная с высокой крышей, с 2 сп. Местами, рессорно-балансирная подвеска
6430А9-1320-020
6х4
дв. ЯМЗ-650.10
412
КПП 16 ст.
ZF-16S151
500
1250
16
2
315/80R22.5
Кабина рестайлинговая, длинная с высокой крышей, с 2 сп. Местами, подвеска пневмо
643019-420-010
6х4
дв. ЯМЗ-650.10
412
КПП 16 ст.
ZF-16S151
500
1350
16
2
315/80R22.5
Кабина длинная с высокой крышей, с 2 сп.местами; подвеска кабины пневматическая
643019-420-020
6х4
дв. ЯМЗ-650.10
412
КПП 16 ст.
ZF-16S151
500
1250
16
2
315/80R22.5
Кабина длинная с высокой крышей, с 2 сп.местами; подвеска кабины пневматическая
Устройство кабины
Кабина МАЗа 6422 претерпела такие изменения:
Установлен травмобезопасный руль.
Кресло теперь регулируется по высоте и наклону.
Для сменщиков зона отдыха оборудована двумя спальниками.
Рычаги управления находятся в пределах досягаемости, что снижает утомляемость во время движения.
Водители со стажем знают современные модели и помнят первые машины. Хорошо отзываются о линейке МАЗ. Установка комфортных спальных мест и повышение обзорности лобового стекла повысили работоспособность водителей, что в свою очередь, положительно сказалось на безопасности движения.
Рулевое колесо с регулировкой по высоте и углу наклона удобно лежит в руке, отмечают водители. Силовой агрегат тянет гружёный седельный тягач и прицеп, без напряжения. В ремонте машина не создает проблем. Запасные части есть всегда в наличии, говорят старожилы.
Седельный тягач Маз 6430
. Расход маз
Создан тяжелый трехосный седельный тягач МАЗ-6422. В 90-е годы была разработана модификация двухосного МАЗ-5440 и на ее базе вернулись к варианту трехосной модели, но уже в соответствии со стандартами. Так появился мощный МАЗ-6430, адаптирован для трафика в международном европейском формате. Масштабные закупки нового автомобиля сразу же предприняли российские внешнеторговые организации, которые до появления модели 6430 использовали очень дорогие Volvo, DAF, Iveco, MAN. МАЗ-6430 был экономичным и отвечал европейским требованиям.
С момента начала производства в 1996 году автомобиль выпускался в нескольких модификациях. Разница во внешнем виде может быть минимальной, но технические характеристики существенно различаются. Некоторые версии, полностью соответствующие требованиям европейского рынка, продаются в Германии. Некоторые технические компоненты автомобиля были закуплены немецкими фирмами и используются в производстве седельных башен MAN.
МАЗ-6430 модификации
Модель 6430А8 запущена в серийное производство в 1997. Колесная формула — 6 х 2, грузоподъемность — 38 тонн.
Модификация 6430A9 создана в 2008 году. Система привода — 6 х 4, оснащен лицензионным двигателем Renault Trucks. Соответствует экологическим стандартам Евро-3.
Модель 6430А5 — версия для строительных целей, ввезена в Германию. Колесная формула — 6 х 4. Оснащается стандартным дизельным двигателем мощностью 243 л.с. из.
МАЗ-6430-18 выпускается с 2011 года с двигателем Daimler мощностью 402 л.с. из. Схема привода — 6 х 4,
Модификация 6430-21, грузоподъемность — 65 тонн, с турбодизелем MAN мощностью 455 л.с. с., скорость – 120 км/ч, экологические нормы Евро-2.
Модель 643026 — колесная формула — 6 х 6, оснащен дизельным двигателем MAN с турбонаддувом.
МАЗ-6430: технические характеристики
Базовые параметры модели:
максимально допустимая масса автомобиля — 26 100 кг;
допустимая нагрузка на сцепное устройство — 15 900 кг;
допустимая масса поезда — 52 000 кг;
максимальная нагрузка на заднюю ось — 19 000 кг;
Нагрузка на переднюю ось, максимальная — 7100 кг;
снаряженная масса — 10050 кг;
межосевое расстояние — 3200 + 1400 мм;
рессорная передняя подвеска, на параболических листах;
рессорный, с балансирами боковой устойчивости; Шины
, размер — 315/80R22,5;
Емкость топливного бака — 500 литров;
высокая кабина с двуспальной кроватью;
— 100 км/ч.
Оборудование
Дополнительные принадлежности, опции и устройства:
подогреватель двигателя;
тахограф;
антиблокировочная система тормозов ABS;
звукоизоляция кабины;
спойлер;
автономный отопитель кабины;
Сиденья повышенной комфортности, подрессоренные.
Силовая установка
Двигатель ЯМЗ-6581.10.
Мощность — 400 л.с. с. (294 кВт).
Коробка передач — ZF16S1650. Количество скоростей — 16.
Дополнительные удобства
Машина оборудована складным передним бампером, за которым находятся контейнеры для инструментов. В обычном положении бампер выполняет функцию подножки для подъема в кабину.
Рабочее место водителя максимально оборудовано, эргономичные сиденья регулируются по высоте. Рулевая колонка может наклоняться и перемещаться по вертикали. Замок руля в форме педали расположен на полу. Принцип работы механизма аналогичен тому, что используется на грузовиках Volvo.
Кабина МАЗ-6430 имеет пневматическую опору, что значительно облегчает вес конструкции при наклоне для доступа к двигателю. Внутреннее пространство кабины довольно просторное, кроме водителя здесь свободно размещаются еще два пассажира. В задней части помещения расположены два спальных места, благодаря которым у экипажа трактора есть возможность хорошо отдохнуть при дальних поездках, а это залог безаварийной работы.
В кокпите, помимо прочего, есть мини-кухня с компактным 50-литровым холодильником, а также походная плита с газовым баллоном на 8 литров.
Седельный тягач МАЗ-6430 — техника, предназначенная для перевозки различных грузов. Применяется на строительных, промышленных объектах и для междугородних перевозок.
Технические характеристики
Технические характеристики автомобиля:
Колесная формула
4*6
Дорожный просвет
0,25 м
Колесная база
0,32*1,4 м
Снаряженная масса
10 050 кг
Средний расход топлива МАЗ
Зимой — 32 л на 100 км
Летом — 27 л на 100 км
Номинальный внешний габаритный радиус поворота автомобиля
8 м
Автопоезд
52 000 кг
Наибольшая нагрузка на переднюю ось
7 100 кг
19 000 кг
15 900 кг
Тип коробки передач
Механический
КПП
Шестнадцатиступенчатая
Размер шин
315/80R22. 5
Тип колеса
Пневматический, дисковый
Максимальная скорость движения
100 км/ч
есть
Международная экологическая система
Евро-3
6
Модель двигателя
ЯМЗ-658
Мощность
330 л.с.
Блок электронного типа
EDC-7
Система возврата топлива
Общая магистраль
Объем двигателя
11,1 л
Максимальный крутящий момент
1900 Н·м
Размер рулевого колеса
0,46 м
Модель тахографа
Стоунридж
АСР
Габаритные размеры
6,9*3,5*2,72 м
Передаточное число
5 262
1100 об/мин
Турбокомпрессор
есть
есть
Тип подвески
Подпружиненный
Размер обода
8,5-20
Сцепление
Фрикционный
Контрольно-пропускной пункт
Механический, дистанционный
Объем топливного бака
500 л
Масса
26 100 кг
Модификации
Существует несколько модификаций данного транспорта:
6430A8;
6430А9;
6430B9;
6430C9;
6430E9;
643008;
643019;
643028.
МАЗ-6430А8
МАЗ-6430А8-360-010 выпускается на Минском заводе с 2006 года. Среди особенностей модели наличие ограничителя скорости, спойлера, АБС, тахографа, системы подогрева силового агрегата . Кабина отличается высоким уровнем шумоизоляции; внутри установлено сиденье водителя подрессоренного типа, которое регулируется по высоте.
Характеристики автомобильной техники:
МАЗ-6430А8-360-0202 оснащен электронной системой контроля тяги и автономной системой воздушного отопления. Также в конструкцию автомобиля входят ограничитель скорости, спойлер, тахограф.
Технические показатели данной модификации:
МАЗ-6430А9
Технические показатели МАЗ-6430А9-1320-020:
Модель двигателя
ЯМЗ-650.10
Мощность
412 л.с.
Номинальный крутящий момент
1078 Н·м
Количество скоростных режимов трансмиссии
16
Передаточное число ведущего моста
3,57
Размер шин
315-80R22. 5
Максимальная скорость движения
100 км/ч
Высота седельно-сцепного устройства
1,25 м
Тип задней подвески
Пневматический
Топливный бак
500 л
Распределение нагрузки на переднюю и заднюю ось
19000 и 6850 кг
Автопоезд
52 000 кг
Нагрузка на седельно-сцепное устройство
15900 кг
Снаряженная масса
9670 кг
Двигатель изготовлен в соответствии с международным экологическим стандартом
Евро-3
Турбокомпрессор
есть
Система промежуточного воздушного охлаждения
есть
Трансмиссия
Шестнадцатиступенчатая
Система обогрева двигателя для запуска при низких температурах
есть
Спойлер
есть
Объем двигателя
12 л
Вес
25850 кг
Автомобиль произведен автомобильным заводом, расположенным в Минске. Используется при перевозках на дальние расстояния. Конструкцию этой модели отличает оптимальное соотношение уровня грузоподъемности к собственному весу.
Внутри кабина оборудована подрессоренными сиденьями, спальным местом, откидным столом и тахографом. Эти детали помогают сделать междугородние перевозки более комфортными. Также в устройство автомобиля входят ограничитель скорости и электронная система контроля тяги.
Среди конструктивных особенностей можно выделить высокий уровень шумоизоляции в кабине водителя и двигатель, изготовленный в соответствии с международным экологическим стандартом Евро-4.
Технические параметры МАЗ-6430В9-1421-020:
Количество колес
6
4
6850 кг
19000 кг
Допустимая масса автопоезда
52 000 кг
Снаряженная масса
9670 кг
15900 кг
Экологический стандарт
Евро 4
Тип используемого топлива
Дизель
Средний расход топлива на 100 км пути
34 л
Мощность
412 л.с.
Объем бака для рабочей жидкости
500 л
Высота седла
1,25 м
4
Количество цилиндров
6
Ряд
Вес
25850 кг
МАЗ-6430В9-1420-012 — автомобиль, предназначенный для междугородних перевозок в составе автопоезда, разрешенная масса которого 52 000 кг. Среди преимуществ этой модели:
Транспорт оснащен двигателем ЯМЗ-650, мощность которого 415 л. из. В конструкцию силового агрегата заложена система обогрева, позволяющая работать оборудованию даже в условиях низких температур.
Технические индикаторы МАЗ-6430В9-1420-020:
Количество колес
6
Количество ведущих колес
4
Давление на переднюю ось автомобиля
7000 кг
Давление на заднюю тележку
19100 кг
Допустимая масса автопоезда
52 т
Снаряженная масса
10 000 кг
Максимальный вес сцепки
16000 кг
Экологический стандарт
Евро 4
Тип топлива
Дизель
Средний расход дизельного топлива на 100 км пути
35 л
Мощность
412 л. с.
Объем топливного бака
500 л
Высота седла
1,4 м
Количество цилиндров на задней пневмоподвеске
4
Количество цилиндров\
6
Расположение цилиндрических элементов
Ряд
Вес
25,85 т
Трактор МАЗ-6430В9-8429-012 оборудован системой гидравлического выбора. Модель можно дополнить тягово-сцепным устройством (массой до 16 000 кг), полуприцепом-цистерной, тралами и другим дополнительным оборудованием с гидросистемой.
МАЗ-6430С9-520-010 оснащен шестицилиндровым двигателем мощностью 420 л. с. из. Максимальный крутящий момент 1985 Нм, а рабочий объем силового агрегата равен 11,12 л. Кабина водителя рассчитана на 3 человек, внутри 2 спальных места и откидной столик. Для комфортной работы зимой в конструкции автомобиля предусмотрен отопитель, а летом кондиционер.
МАЗ-6430Е9
Показатели и параметры МАЗ-6430Е9-520-020:
Общее количество колес
6
Количество ведущих колес
4
Наибольшая масса автопоезда
44 000 кг
Давление заднего моста
15 700 кг
Высота седла
1,25 м
Модель двигателя
Мерседес OM501LA В
Экологический стандарт
Евро 5
Мощность двигателя
435 л.с.
Модель редуктора
ЗФ16С2520ТО
Количество передач коробки передач
16
Передаточное число ведущего моста
3,57
Подвесной механизм тип
Пневматический
Подвесной груз
19 т
Шины
315/80R22. 5
500 л
Масса
25 650 кг
Технические индикаторы МАЗ-6430Е9-520-012:
Тип кузова
Грузовик без крыши
Колесная формула
6*4
Высота сцепки
1380 мм
Допустимая масса автопоезда
44000 кг
Модель двигателя
Мерседес OM501LA В
Мощность двигателя
435 л.с.
Объем топливного бака
500 л
Максимальная скорость движения
19000 кг
Снаряженная масса
1070 кг
Колесная база
3,2*1,35 м
Высота седла
1,38 м
КПП
ЗФ16С2520ТО
Тип передней и задней подвески
Листовая рессора
Шины
315/80R22. 5
Масса
32 900 кг
МАЗ-6430Е9-520-021 имеет следующие технические параметры:
Грузоподъемность транспорта, кг
15 700 кг
Тип двигателя
Дизель
Турбокомпрессор
есть
Мощность двигателя
435 л. из.
Спальное место в кабине
есть
Объем топливного бака, л
500 л
Тип редуктора
Механический
Евро 5
100
Ускорение, с
47
Количество цилиндров
6
Расположение цилиндрических элементов
Ряд
Диаметр цилиндров, см
12
Ход поршня, см
13
Объем двигателя, л
12,05
Тип корпуса
Грузовик без крыши
Количество мест в салоне
3
Дорожный просвет, м
11 000
Нагрузка на заднюю тележку, кг
19000
МАЗ-6430Е9-520-011 оснащен шестнадцатиступенчатой коробкой передач и мощным двигателем серии Mercedes OM 501LA.
МАЗ-643008
Параметры и показатели:
Грузоподъемность, кг
15750 кг
Внешний габаритный радиус, м
8
Преодолеваемый подъем
25%
Максимальная скорость движения
100 км/ч
Средний расход топлива, л
36 л — зимой
27 л — летом
Объем топливного бака, л
500
Количество цилиндров
6
Расположение цилиндрических элементов
Ряд
Тип используемого топлива
Дизель
Турбокомпрессор
есть
Максимальный крутящий момент, Нм
1985 Нм
Частота вращения
2200 об/мин
Степень сжатия
6
Диаметр цилиндра, см
12
Ход поршня, см
12
Мощность двигателя
7000
Муфта
Фрикционная, сухая
Снаряженная масса автомобиля
10 100 кг
Основание
3200 + 1350 мм
Модель двигателя
ЯМЗ7511. 10
Экологический стандарт
Евро-2
Модель редуктора
ЗФ16С1650
Количество передач
16
Соотношение
3,57
Масса
26000 кг
Размер шин
295/80R22.5
Тип используемого топлива
Дизель
Объем масляного бака
19000
есть
Кабина МАЗ-643008-060-020 оборудована двумя спальными местами и регулируемыми по высоте сиденьями. В кабине есть кондиционер, система отопления. Конструкция имеет высокий уровень шумоизоляции.
Благодаря наличию системы подогрева предпускового механизма автомобиль исправно работает даже в условиях низких температур (до -40°С).
МАЗ-643019
Технические параметры модели МАЗ-643019-1420-020:
Грузоподъемность максимальная, т
15,7
Максимальная скорость движения, км/ч
100
Время, необходимое для разгона, с
47
Самый высокий подъем
27%
Дорожный просвет, м
0,42
Колесная формула
6*4
Наименьший радиус поворота, м
8,5
Максимальный крутящий момент, об/мин
2100
Экологическая система
Евро 4
Емкость топливного бака, л
500
Мощность двигателя
435 л. из.
Автопоезд, кг
44000
Тип корпуса
Грузовик без крыши
Колесная база агрегата, м
3,5+1,2
ТНВД
Пневматический усилитель руля
Допустимая масса сцепки, кг
15 000
Количество цилиндров
6
Размеры баллонов, см
12
Объем двигателя, л
11,25
Ход поршня, см
13
Муфта
Фрикционная, дисковая
Тип колеса
Пневматический
Колея задних колес, м
2,5
Колея передняя, м
2
Модель двигателя
Мерседес ОМ 501 ЛА.III
Масса, кг
25650
Передний мост, кг
6650
Топливо
Дизель
КПП
ЗФ16С221
Тип коробки передач
Механический
35 л — зимой
28 л — летом
Количество передач
16
Соотношение
3,57
Подвесной механизм
Пневматический, оснащенный четырьмя цилиндрами
Шины
315/80R22. 5
Модель МАЗ-643019-1420-0121 также представлена на рынке. В его конструкцию входят 3 оси. Благодаря мощному двигателю транспорт выдерживает дальние перевозки. Рабочая температура данной модели автомобиля составляет -40°…+35°С.
МАЗ-643028
Показатели и параметры модели:
Колесная формула
6*4
Дорожный просвет
0,42 м
Колесная база
0,33*1,5 м
Снаряженная масса
10 100 кг
Средний расход рабочей жидкости
32 л
Внешний общий радиус поворота
8,2 м
Автопоезд
65 000 кг
7000 кг
Максимальная нагрузка на заднюю тележку
33 200 кг
Грузоподъемное транспортное соединение
22 550 кг
Тип коробки передач
Механический
Модель редуктора
ЗФ16С2520ТО
КПП
Шестнадцатиступенчатая
Размер шин
315/80R22,5
Тип колеса
Пневматический
Максимальная скорость движения МАЗ 643028 — 520 — 012
110 км/ч
ЖК-дисплей на приборной панели
есть
Международный экологический стандарт
Евро 5
Количество цилиндрических элементов
6
Модель двигателя
WP12. 430E50
Блок питания силовой
400 л. из.
Блок электронного типа
ЭЦП
Система возврата топлива
Общая магистраль
Объем двигателя
11,78 л
Максимальный крутящий момент
1985 Нм
Размер рулевого колеса
0,5 м
Модель тахографа
Стоунридж
Система скольжения автомобиля
АСР
Габаритные размеры
7*3,7*2,72 м
Передаточное число
5,37
Частота вращения коленчатого вала
1500 об/мин
Турбокомпрессор
есть
Промежуточная система охлаждения
есть
Тип подвески
Подпружиненный
Размер обода
8,5-20
Муфта
Фрикционный
Контрольно-пропускной пункт
Механический, дистанционный
Объем топливного бака
500 л
Корпус
Грузовик без крыши
Блокировка межколесного и межосевого дифференциалов
есть
Масса
27 100 кг
Параметры
Значение
Модель
МАЗ-6430А8-360-020
Колесная формула
6 × 4
Полная масса автопоезда, кг
52000
Полная масса автомобиля, кг
26000
Распределение полной массы на переднюю ось, кг
7000
Распределение общей массы на заднюю ось, кг
15750
Снаряженная масса, кг
10100
Модель двигателя
ЯМЗ-6581. 10
Эколог. норма
Евро-3
тип двигателя
дизель
Количество и расположение цилиндров
Рабочий объем, см3
Мощность двигателя, кВт (л.с.)
294 (400)
Максимальный крутящий момент, Нм (кгсм)
Модель редуктора
ЗФ 16С1650
Тип коробки передач
механический
Количество передач коробки передач
16
Диапазон передачи
Передаточное число ведущего моста
3,57
Передняя подвеска
параболические низколистовые рессоры
Задняя подвеска
пневматический
Тип колеса
Размер колеса
Способ монтажа
Размер шин
295/80R22. 5
Топливный бак, л
500
Максимальная скорость, км/ч
100 (90)*
Контрольный расход топлива, л/100км при V=60(80) км/ч
Основной б/у полуприцеп
Тип кабины
Длинный с высокой крышей, два спальных места
Тормоза
Назначение
Предназначен для перевозки различных грузов в составе автопоезда.
Комментарии
Ограничитель скорости, сиденье водителя и пассажира, подрессоренные, ремни безопасности, шумоизоляция кабины, спойлер, АБС, подогрев двигателя, тахограф. ASR — электронная система контроля тяги, автономный воздушный отопитель кабины.
Именно МАЗ 6430 А9 в настоящее время является самой востребованной моделью, так как по техническим параметрам и уровню комфорта не уступает именитым европейским тягачам, но при этом значительно дешевле конкурентов.
В движение грузовой автомобиль МАЗ 6430 А9 приводится рядным шестицилиндровым одиннадцатилитровым турбированным дизельным двигателем ЯМЗ-650.10 (ЕВРО 3) с интеркулером. Этот силовой агрегат мощностью 412 лошадиных сил развивает 1870 Нм крутящего момента, передаваемого на задние оси через шестнадцатиступенчатую коробку передач ZF16S1650 или 16JS200TA. Такое сочетание двигателя и коробки передач обеспечивает автомобилю отличные тягово-скоростные характеристики. Официальной информации о расходе топлива МАЗ 6430 нет, но исходя из опыта владельцев этого тягача, он составляет примерно 40 л/100 км. пробега, и различается в разных условиях эксплуатации. Технические характеристики МАЗ 6430 всех модификаций вы можете узнать из таблицы ниже. Продажа МАЗ 6430 А8, А9и 643018 осуществляется предприятием «НижСпецАвто», которое поставляет коммерческие автомобили во все регионы РФ.
Чтобы узнать актуальную цену на МАЗ 6430 всех модификаций, обращайтесь в отдел продаж по телефону, электронной почте или через форму обратной связи.
Вы также можете купить МАЗ 6430 в кредит и лизинг. Наш завод сотрудничает с ведущими российскими банками и лизинговыми компаниями, имеющими филиалы во всех крупных городах.
Доставка в регионы
ООО ТПК «НижСпецАвто» осуществляет доставку фургонов, эвакуаторов, манипуляторов, бортовых автомобилей и других видов спецтехники во все города России.
Например, если Вы хотите купить микроавтобус в Москве (или любом другом городе России), но не имеете возможности перевезти его из Нижнего Новгорода самостоятельно, то специально для таких случаев мы предоставляем услугу доставки для грузовых автомобилей во все регионы страны.
Гарантия
Гарантийный срок: 24 месяца.
Гарантированный пробег: 100 000 км (40 000 км для автомобиля с гидравлическим отбором)
Интервалы обслуживания
TO-0: Не больше: 2000 км
до-1: 15 000 ± 500 км (10 000 ± 500 км на авто с гидроподбором)
ТО-2: 30 000 ± 1 000 км (20 000 ± 1 000 км для автомобиля с гидроподбором)
Седельный тягач МАЗ-6430В9-1420-012 с колесной формулой 6х4 предназначен для региональных и междугородних перевозок различных грузов в составе автопоезда по асфальтобетонным дорогам. Отличительной чертой автомобилей МАЗ являются: надежность, комфортные условия работы водителя, низкие эксплуатационные расходы, современный дизайн, большой выбор моделей и комплектаций, использование узлов и агрегатов мировых производителей автокомпонентов, таких как ZF, Mercedes, Cummins, Shaanxi Fast Gear, ЯМЗ, ММЗ и др.:
Кабина 6431 большая, 2-х местная с двумя спальными местами (кабина со спальным мешком), рестайлинговая, подрессоренная (4-х точечное крепление на рессорах или пневмоподушках), сиденье водителя и пассажира подрессорено на пневмоподвеске, рулевая колонка регулируется в двух плоскостях;
Рядный 6-цилиндровый дизель ЯМЗ-651.10, мощность 412 л.с., максимальный крутящий момент Нм (кгс) -1911 (195), Евро-4 (производства Ярославского моторного завода), объем двигателя 11,12 л, на двигателе Common Rail установлены система подачи топлива (производство GRS Bosch) с максимальным давлением впрыска 1600 бар и охлаждаемая система рециркуляции отработавших газов (EGR) с каталитическим нейтрализатором; для нормальной эксплуатации данного двигателя были установлены следующие регламенты периодичности замены масла и фильтров (ТО-0 в районе 2000 км, ТО-1 в районе 10000 км, ТО-2 в районе 20 000 км и последующее ТО с интервалом 15 000 км), контрольный расход топлива на 100 км составляет 30,5 л при скорости 60 км/ч и 35,8 л при скорости 80 км/ч, заявленный двигатель ресурс 1 000 000 км;
Семейство тяжелых рядных дизелей ЯМЗ-650 рабочим объемом 11, 12 л и диапазоном мощностей 286-422 л. с. отвечает современным и перспективным экологическим требованиям. Мощные, надежные двигатели ЯМЗ-650 соответствуют высокому уровню и мировым тенденциям двигателестроения. Это современный дизайн на базе dCi 11, сочетание передовых технических решений, соблюдение природоохранного законодательства, компактность, эффективность, экономичность и внушительный ресурс, гарантия высокого качества и безупречной работы.
Двигатели предназначены для установки на перспективные автомобили, седельные тягачи, бортовые автомобили, шасси, магистральные автопоезда, самосвалы «МАЗ», «Урал», «МЗКТ», «Тонар» и др. Специальные промышленные модификации ЯМЗ Двигатель -650 успешно адаптирован для работы в составе железнодорожного транспорта, стационарных дизель-генераторных установок.
Коробка передач ZF 16S2520TO (количество передач 16 вперед/1 назад), производства Zahnradfabrik (ZF). Механические 16-ступенчатые коробки передач ZF Friedrichshafen выдержали испытание временем. И, как показывают испытания, эти коробки передач отлично работают в тяжелых условиях, на низких скоростях, где критически важна точность управления. Кроме того, европейский стандарт коробок ZF позволяет добиться идеальной синхронизации с двигателем как европейских, так и отечественных производителей. Отличительной особенностью коробок передач ZF является их высокая надежность. Относится к серии коробок передач с двойным промежуточным валом;
Для автомобилей МАЗ с двигателями серии ЯМЗ-650 больших габаритов и мощности применяется шестнадцатиступенчатая механическая ZF 16S2520TO серии ZF-Ecosplit четвертого поколения производства ZF, оптимально приспособленная для работы в тяжелых условиях автомобилей МАЗ. Эта легкая механическая коробка передач с шестнадцатью переключениями передач позволяет водителям поддерживать оптимальную мощность в любой ситуации — при трогании автомобиля с места, при разгоне, во время движения по шоссе. Особенно коробка передач ZF 16S2520TO демонстрирует свои преимущества в условиях бездорожья и в сложных условиях эксплуатации. Диапазон передаточных чисел специально разработан для использования на строительных площадках и для спецтехники.
Коробка передач ZF 16S2520TO состоит из следующих основных узлов: главной четырехступенчатой коробки передач, переднего двухступенчатого делителя передач и демультипликатора. Все передачи переднего хода в главной коробке передач включаются синхронизаторами, передачи заднего хода — зубчатой муфтой. Высшая передача — овердрайв. Демультипликатор планетарный, автоматически переключается пневматическим клапаном синхронизатором при переводе рычага на нейтрали из положения 3-4 передачи в 5-6 и наоборот. Делитель шестерен механический, состоит из двух пар цилиндрических шестерен и синхронизатора. Управление делителем пневматическое. Коробка передач весит 290 кг. Максимальный крутящий момент 1850 Нм.
Редукторы ZF Ecomid и ZF Ecosplit имеют возможность подключения различных коробок отбора мощности, как с непосредственной установкой гидронасоса, так и для последующего фланцевого соединения промежуточного вала.
Высота ССУ над уровнем дороги 1380 мм, нагрузка на ССУ 22,9 т, ССУ под шкворень 2 дюйма;
Технически допустимая полная масса ТС 33 250 кг, Технически допустимая полная масса автопоезда 65 000 кг, Полная масса ТС в снаряженном состоянии 10 200 кг;
Передаточное число мостов 4,59;
Максимальная скорость с электронным ограничителем 100 км/ч;
Сцепление: однодисковое с гидроприводом с пневматическим усилением;
Распределение технически допустимой полной массы: на переднюю ось 7250 кг, на заднюю ось 26000 кг;
Передняя подвеска: листовая рессора;
Задняя подвеска: многолистовая рессора со стабилизатором поперечной устойчивости;
Размер шин 315/80R22,5;
Тип колеса: дисковое;
Тормозная система: пневматическая двухконтурная, с разделением на контуры по осям; с ABS и ASR, барабанные тормоза на всех колесах;
Рулевое управление: со встроенным гидроусилителем руля;
Один топливный бак на 500 л, топливный фильтр Racor с подогревом;
В базе установлен предпусковой подогреватель двигателя Eltra;
Дополнительные опции, которые можно заказать на заводе:
Циклон очистки воздуха;
Автономный отопитель салона;
Магнитола;
Противотуманные фары;
Климат-контроль;
Зеркало переднего обзора;
Центральный замок;
Электропривод зеркал;
Электропривод стеклоподъемников;
Магнитола;
Спидометр;
Круиз-контроль;
Солнцезащитный козырек;
Шины LPG или импортные;
LPG или импортные сиденья;
Автоматическое управление отопителем;
Светоотражающая маркировка;
Экраны звукоизоляционные базовые;
Подлокотники сидений;
АБС фирмы Wabco или БПО «Экран»;
Комплект запасных частей и принадлежностей стандартный или полный.
Полуприцепы МАЗ —
0; 975800;
0;
2; 978530; 975870;
0 и их модификации.
Возможны различные дополнительные модификации автомобиля.
Двигатель ЯМЗ-651.10
Технические характеристики двигателя ЯМЗ-651.10
Автомобиль соответствует необходимым требованиям для дальних поездок. Производитель уделил большое внимание удобству водителя. Для всестороннего комфорта машина оснащена высокой кабиной, в которой просторно размещаются целых два спальных места. Чаще всего на дальнемагистральные рейсы отправляют двух водителей, поэтому наличие мест для одновременного отдыха каждого члена экипажа является одним из важных параметров при выборе седельного тягача.
Но более значимы основные характеристики автомобиля, которые в МАЗ 6430А8-360-010 продуманы не хуже. Этот трактор имеет мощность двигателя 400 л.с., питается от легендарного дизеля ЯМЗ-6581.10. Для комплектации двигателей без коробки передач заводом предусмотрены шлицы ступицы сцепления SAE (два дюйма). А коробку поставили другого производителя, это ZF 16S1650, 16-ти ступенчатая коробка немецкого качества. Все это говорит о надежности данной модели автомобиля и ее соответствии необходимым требованиям добросовестных перевозчиков, которые при покупке автомобиля учитывают все профессиональные нюансы.
В начале 80-х годов прошлого века на Минском автомобильном заводе был построен тяжелый трехосный тягач МАЗ-6422. В 90s была разработана модификация двухосного МАЗ-5440 и на ее базе вернулись к версии трехосной модели, но уже в соответствии со стандартами Западной Европы. Так появился мощный седельный тягач МАЗ-6430, адаптированный для движения в международном европейском формате. Масштабные закупки нового автомобиля сразу же были предприняты российскими внешнеторговыми организациями, которые до появления модели 6430 использовали очень дорогие в эксплуатации Volvo, DAF, Iveco, MAN. МАЗ-6430 был экономичным и отвечал европейским требованиям.
С начала производства в 1996 году автомобиль выпускается в нескольких модификациях. Разница во внешнем виде может быть минимальной, а вот технические характеристики разнятся значительно. Некоторые модификации тягача МАЗ-6430, полностью отвечающие требованиям европейского рынка, продаются в Германии. Часть технических компонентов автомобиля закупается немецкими компаниями и используется в производстве искусственных эвакуаторов MAN.
Модификации МАЗ-6430
Модель 6430А8 запущена в серийное производство в 1997 году. Колесная формула 6 х 2, грузоподъемность 38 тонн.
Модификация 6430A9 создана в 2008 году. Схема привода — 6 х 4, оснащен лицензионным двигателем марки Renault Trucks. Соответствует экологическим нормам Евро-3.
Модель 6430А5 — вариант строительного обозначения, импортируется в Германию. Колесная формула – 6 х 4. Оснащается стандартным дизельным двигателем мощностью 243 л. из.
МАЗ-6430-18 2011 года выпуска с двигателем Daimler мощностью 402 л. из. Схема привода — 6 х 4,
Модификация 6430-21, грузоподъемность — 65 тонн, с турбодизелем MAN мощностью 455 л. с., скорость — 120 км/ч, экологические нормы Евро-2.
Модель 643026 — колесная формула — 6 х 6, комплектуется дизельным двигателем с турбонаддувом марки MAN.
МАЗ-6430: технические характеристики
Параметры базовой модели:
Максимально допустимая масса автомобиля — 26 100 кг;
Допустимая нагрузка на муфту — 15 900 кг;
Допустимая масса автопоезда 52 000 кг;
Максимальная нагрузка на заднюю ось 19 000 кг;
Нагрузка на переднюю ось, максимальная — 7100 кг;
Масса снаряженного автомобиля — 10 050 кг;
Расстояние между осями 3200 + 1400 мм;
Пружина передней подвески на параболических листах;
Пружина задней подвески со стабилизаторами поперечной устойчивости;
Шины, размер — 315/80R22,5;
Емкость топливного бака — 500 литров;
Кабина высокая, с двуспальной кроватью;
Максимальная скорость 100 км/ч.
Оборудование
Дополнительные принадлежности, опции и устройства:
подогреватель двигателя;
тахограф;
Антиблокировочная система тормозов ABS;
Шумоизоляция салона;
спойлер;
Автономный отопитель кабины;
Сиденья повышенной комфортности, подрессоренные.
Блок питания
Двигатель ЯМЗ-6581.10.
Мощность — 400 л. из. (294 кВт).
Трансмиссия — ZF16S1650. Количество скоростей — 16.
Дополнительные удобства
Автомобиль имеет откидной передний бампер, за которым находятся инструментальные контейнеры. В обычном положении бампер действует как ступенька для подъема в кабину.
Рабочее место водителя максимально оборудовано, эргономичные сиденья регулируются по высоте. Рулевая колонка может менять наклон и перемещаться в вертикальной плоскости. Замок руля в виде педали расположен на полу. Принцип работы механизма аналогичен тому, что используется на грузовиках Volvo.
Кабина МАЗ-6430 имеет пневматические опоры, что значительно облегчает вес конструкции при наклоне для доступа к двигателю. Внутреннее пространство салона довольно просторное, помимо водителя здесь могут разместиться еще два пассажира. В задней части помещения есть два спальных места, поэтому у экипажа тягача есть возможность полноценного отдыха при дальних поездках, а это залог безаварийной эксплуатации.
В салоне помимо прочего есть мини-кухня с компактным холодильником на 50 литров, а также мраморная плитка с газовым баллоном на 8 литров.
Отзывы
С 1997 года, когда с конвейера Минского автомобильного завода сошел первый МАЗ-6430, впечатления водителей, управлявших тягачом в разное время, можно объединить под знаком положительных отзывов. Дальнобойщики отметили хорошую тягу мощного дизеля, безупречную управляемость автомобиля на трассе, устойчивую крейсерскую скорость в пределах 90 км/ч.
Большинство водителей отметили один фактор, отличающий эксплуатацию автомобиля: на протяжении всего маршрута в несколько тысяч километров автомобиль не требует дополнительных регулировок, масло в картере не требуется вообще или требуется в наименьшем количестве. Если автомобиль прошел полное техническое обслуживание перед выходом в рейс, то экипаж занимается только текущими проверками давления в шинах на протяжении всего пути следования.
Расположение салона позволяет отдыхать сразу двум водителям за рулем, а члены экипажа могут сменять друг друга каждые четыре часа. Что касается уровня комфорта МАЗ-6430, то здесь отзывы тоже самые положительные.
Современные многофункциональные тракторы серии «Слобожанец» полноразмерные кабины тракторов широкий ассортимент комплектующих для тракторной техники
Содержание
В 1990 году после капитального обновления модельного ряда Минский автомобильный завод выпустил среднетоннажный грузовик с бортовой платформой МАЗ-5336. Этот грузовик способен перевозить 7700 кг груза при собственном весе 8500 кг. колесная формула 4х2. У него достаточно удачная конструкция, поэтому он до сих пор находится в производстве.
МАЗ-5336
Ярославский дизель ЯМЗ-236М2, агрегатированный с 5-ступенчатой механической коробкой передач 236Р. Объем двигателя V6 составляет 11,2 литра, мощность составляет 180 л.с., а крутящий момент достигает 667 Нм. Есть и другие версии, с атмосферным дизелем или турбодизелем V8.
Расход топлива МАЗ-5336 на 100 км. Отзывы
Олег, г. Архангельск. Я взял самосвал МАЗ-5336, 2001 года выпуска, с обычным дизелем без турбонаддува — думаю, что для отечественных автомобилей лучше придерживаться принципа чем проще, тем лучше. Кто-то посчитает его слабоватым, но я машину не перегружаю, поэтому мощности мне хватает. Да и расход на порядок меньше – около 23 литров на 100 км.
Сергей, г. Пермь. МАЗ-5336 с турбодизелем ЯМЗ-238Б. Двигатель достаточно мощный, хорошо тянет на низах. По трассе не езжу, только по городу, поэтому редко больше 50-60 км/ч выходит, расход при такой скорости до 23-25 литров на 100 км, не более.
Павел, г. Витебск. У меня МАЗ-5336 2003 года. Пару лет назад я делал капитальный ремонт своего самосвала, в ходе которого уделял пристальное внимание не только двигателю, но и самой топливной системе. Кстати, мотор простой, без турбонаддува. Расход одинаковый и пустой и груженый — стабильно 23 литра.
Василий, г. Пинск. После покупки своего МАЗ-5336 я вообще ничего не мог понять — при 3-х тоннах в кузове расход солярки был под 30 литров, иногда даже до 35 литров пустой. Загнали в сервис, сделали полную диагностику и калибровку двигателя и топливной системы- как поменяли. Он вообще не чувствует нагрузки до 8 тонн, едет как пустой с расходом около 22 литров. Если при полной загрузке и ехать до 80 км/ч, то расход около 27-29 литров.
Дмитрий, Кривой Рог. Работаю в карьере на МАЗ-5336. До этого я думал, что самосвалы — это действительно большие и тяжелые машины, но когда я увидел карьерный самосвал, я понял, что мой — просто малыш по сравнению с этим гигантом. Вожу щебень с дробильной установки — дорога с грузом крутится постоянно, поэтому расход доходит до 35-40 литров на 100 км. Если еду по ровной дороге, то расход даже с максимальной загрузкой не более 27 литров.
Если в описании легковых автомобилей нормы расхода топлива обычно описываются по трем категориям – «шоссе», «город» и «смешанный», то применительно к грузовым автомобилям все гораздо сложнее. Нет, расход МАЗ измеряется в тех же литрах и на ту же сотню км, просто сами нормы гораздо больше, и даже существуют регламенты с их описанием и вариациями в зависимости от конкретных условий. Такие документы предназначены для предприятий и организаций, а также частных предпринимателей и должны помочь более реально оценить расход топлива для конкретных транспортных средств.
А на самом деле, особенно в случае с частниками, на пальцах доказать, что количество израсходованного дизельного топлива может меняться по отношению к базовой норме. Поэтому мы решили углубиться в такой документ и отметить факторы, оказывающие наибольшее влияние… Начнем с того, что базовый расход на 100 км, это количество топлива, которое используется ОБОРУДОВАННЫМ транспортным средством, то есть полностью укомплектованным, но не груженый, и каждая тонна груза добавляет к расходу 1,3 литра солярки.
Климат и рельеф добавят к расходу от 5 до 20%, примерно на 10% больше расход будет при движении по дорогам с большим количеством (более 500 на 100 км) поворотов. Норма расхода топлива МАЗ увеличится на 5 — 25% при движении по населенным пунктам. При перевозке нестандартных и опасных грузов, когда ситуация вынуждает двигаться с пониженной скоростью, норма увеличивается до 20%, а если это скорость до 10 км/ч, то на все 35%. А еще есть нормы для машин с кондиционером, при обкатке, по возрасту и так далее. Максимальная «надбавка» определена для автомобилей, вынужденных работать в аварийных климатических условиях и при стихийных бедствиях – здесь наценка может составлять до 50%.
Конечно, есть масса хитростей вождения, позволяющих сэкономить, но главные из них – это правильная эксплуатация и поддержание автомобиля в отличном техническом состоянии. Именно с последними работает наш торговый дом «СпецМаш», где можно купить запчасти практически на любой грузовик в Минске — хоть МАЗ-500, хоть Супер МАЗ, хоть машины с импортной «начинкой». Вся продукция сертифицирована и полностью соответствует требованиям автопроизводителя. Купить их можно за наличный и безналичный расчет. Заказы принимаются по телефону, на сайте и по электронной почте. При необходимости организуем доставку покупок в любой регион России (через транспортные компании). Рекомендуем статью, принцип работы устройства.
Норма расхода топлива МАЗ
Автомобиль
МАЗ 64221-20 (дв. ЯМЗ-8424.10)
27
литров на 100 км.
Автомобиль
МАЗ-504 (дв.ЯМЗ-238)
27
литров на 100 км.
Автомобиль
МАЗ-504В (дв.ЯМЗ-236)
22
литров на 100 км.
Автомобиль
МАЗ-504В1 (дв.ЯМЗ-236)
22
литров на 100 км.
Автомобиль
МАЗ-509, -509А (дв.ЯМЗ-236)
35
литров на 100 км.
Автомобиль
МАЗ-5334 (дв.ЯМЗ-236)
22
литров на 100 км.
Автомобиль
МАЗ-5334 (дв.ЯМЗ-238)
27
литров на 100 км.
Автомобиль
МАЗ-53352 (дв.ЯМЗ-236)
22
литров на 100 км.
Автомобиль
МАЗ-5337 (дв.ЯМЗ-236)
23
литров на 100 км.
Автомобиль
МАЗ-537 (дв. Д-12А-525)
119
литров на 100 км.
Автомобиль
МАЗ-5428 (дв.ЯМЗ-238ДЕ)
24
литров на 100 км.
Автомобиль
МАЗ-5430 (дв.ЯМЗ-238М2)
28
литров на 100 км.
Автомобиль
МАЗ-5432 (дв.ЯМЗ-236)
26
литров на 100 км.
Автомобиль
МАЗ-5432 (дв.ЯМЗ-238М2)
27
литров на 100 км.
Автомобиль
МАЗ-543208-020 (дв.ЯМЗ-7511.10)
25
литров на 100 км.
Автомобиль
МАЗ-543203-020 (два ЯМЗ-236БЕ-12)
23
литров на 100 км.
Автомобиль
МАЗ-543203-2120 (два ЯМЗ-236БЭ)
23
литров на 100 км.
Автомобиль
МАЗ-543203-2122 (дв.ЯМЗ-236БЕ-12)
23
литров на 100 км.
Автомобиль
МАЗ-543203-220 (два ЯМЗ-236БЭ)
23
литров на 100 км.
Автомобиль
МАЗ-543203-220 (дв.ЯМЗ-236БЕ2-2)
23
литров на 100 км.
Автомобиль
МАЗ-543205-020 (дв.ЯМЗ-238ДЕ2)
24
литров на 100 км.
Автомобиль
МАЗ-543205-220 (дв.ЯМЗ-238ДЕ2)
24
литров на 100 км.
Автомобиль
МАЗ-543205-226 (дв.ЯМЗ-238ДЕ2)
24
литров на 100 км.
Автомобиль
МАЗ-543208-20 (дв.ЯМЗ-7511.10)
25
литров на 100 км.
Автомобиль
МАЗ-54321 (дв. ТМЗ-8421-01)
28
литров на 100 км.
Автомобиль
МАЗ-54321, -54326 (дв.ЯМЗ-236)
24
литров на 100 км.
Автомобиль
МАЗ-54321-033 (два ТМЗ-8421.10)
28
литров на 100 км.
Автомобиль
МАЗ-54322 (дв. ЯМЗ-236)
25
литров на 100 км.
Автомобиль
МАЗ-54322 (дв.ЯМЗ-238М)
27
литров на 100 км.
Автомобиль
МАЗ-543221 (дв.ЯМЗ-238М)
26
литров на 100 км.
Автомобиль
МАЗ-54323 (дв.ЯМЗ-238М)
27
литров на 100 км.
Автомобиль
МАЗ-543230-32 (дв.ЯМЗ-238Д)
27
литров на 100 км.
Автомобиль
МАЗ-543240-2120 (дв.ЯМЗ-238ДЕ)
26
литров на 100 км.
Автомобиль
МАЗ-543242-020Р (дв. Д-262)
26
литров на 100 км.
Автомобиль
МАЗ-54326 (дв.MAN D2866LXF)
21
литров на 100 км.
Автомобиль
МАЗ-54327 (дв.ЯМЗ-238Д)
27
литров на 100 км.
Автомобиль
МАЗ-54328 (дв. ЯМЗ-238Д)
27
литров на 100 км.
Автомобиль
МАЗ-54328 (дв.ЯМЗ-238М) с бортовым полуприцепом МАЗ-9397
31
литров на 100 км.
Автомобиль
МАЗ-54328 (дв.ЯМЗ-238М2)
27
литров на 100 км.
Автомобиль
МАЗ-54329-020 (дв.ЯМЗ-238ДЕ2)
26
литров на 100 км.
Автомобиль
МАЗ-54329-020 (два ЯМЗ-238М2) с полуприцепом ЧМЗАП-99858 и контейнером
ЯМЗ-236 — легендарный дизель производства ОАО «Автодизель», бывший Эта V-образная «шестерка» стала популярной в Советском Союзе, а после его распада — во всем СНГ. Двигатель до сих пор используется на грузовиках, тракторах и комбайнах. Его можно встретить на таких известных автомобилях, как МАЗ, КрАЗ, УРАЛ, ЗИЛ, а также на тракторах К-700.
Ближайшими собратьями этой модели являются ЯМЗ-238 на 8 цилиндров и ЯМЗ-240 — на 12 цилиндров. ЯМЗ-236 имеет множество модификаций с разным числом лошадиных сил.
История создания
В 1950-х годах Ярославский завод получил госспецзаказ на создание более мощных дизелей, которые должны были заменить устаревшие ЯАЗы. Эти моторы должны были быть мощнее и экономичнее своих предшественников. С другой стороны, государство хотело получить универсальный двигатель внутреннего сгорания, который можно было бы использовать на автомобилях разных марок.
Под руководством выдающегося советского конструктора, заслуженного деятеля науки Г. Д. Чернышева был создан двигатель ЯМЗ-236, как и все остальное семейство дизелей того времени. Он же разработал не менее легендарную серию агрегатов для КАМАЗ.
Так родился ДВС, который многим известен и по сей день. Он отличается высокой мощностью, надежностью, ремонтопригодностью, простотой обслуживания, а также дешевизной запасных частей. Большой ресурс и ремонтопригодность позволяют ему служить верой и правдой долгие годы.
Производство в настоящее время
На сегодняшний день производство ЯМЗ-236 продолжается, хотя его преемник ЯМЗ-530 уже существует. Объемы реализуемых двигателей падают не из-за военных действий на Украине, поставок на Кременчугский автосборочный завод, выпускавший знаменитые грузовики КРАЗ. Ярославский завод, конечно, потерял сегмент продаж моторов, но производства это не уменьшило.
Технические характеристики и устройство
Двигатель ЯМЗ-236 имеет достаточно высокие технические характеристики. Он оснащен 6 цилиндрами, расположенными параллельно и наклоненными на 90 градусов. Топливо поступает непосредственно в цилиндры, то есть непосредственный тип впрыска. Давление в двигателе 16,5 атмосфер. Поршень имеет диаметр 130 мм в базовой и 140 мм в ремонтной версии, с ходом 140 мм.
Двигатель имеет топливный насос высокого давления механического типа и форсунки, непосредственно впрыскивающие в каждый цилиндр. Каждая головка блока имеет 6 клапанов — 3 впускных и 3 выпускных.
Система охлаждения — жидкостная с принудительной циркуляцией, которая осуществляется с помощью водяного насоса. Привод представляет собой ремень, который вращает шкив помпы от шкива коленчатого вала.
Двигатель ЯМЗ-236 имеет объем 11 литров, мощность колеблется от 150 до 420 лошадиных сил. На последних моделях она была увеличена до 500 л.с. Из-за повышения тарифов на топливо производители ЯМЗ-236, расход которого составлял 40 литров на 100 км, снизили этот показатель до 25 литров.
Базовый силовой агрегат был изготовлен из чугуна до 2010 года, пока не было принято решение перевести его на алюминий, как и ГБЦ. Это позволило упростить процедуру ремонта и растачивания шеек цилиндров, а хонингование стало более точным. При этом блок агрегата не потерял прежней прочности.
Основные характеристики ЯМЗ-236 показывают, что двигатель имеет достаточно простую конструкцию, что обеспечивает простоту ремонта и обслуживания.
Регулировка
ЯМЗ-236, который регулируется вручную, требует специального инструмента. Он включает в себя множество операций. Рассмотрим основные манипуляции, которые необходимо провести:
Регулировка клапанов, которая производится с помощью специального щупа, предназначенного для двигателя ЯМЗ-236. Моторное устройство позволяет проделать эту операцию при снятой клапанной крышке.
точнее этот процесс называется балансировкой. Он проводится на специальном стенде.
Регулировка подачи топлива через ТНВД.
Все регулировочные операции проводятся только в автосервисах, так как для них требуется специальный инструмент, который сложно найти в гараже.
Сервис
Обслуживать дизель ЯМЗ-236 достаточно просто, если знать, как и что делать. Рассмотрим основные операции, которые входят в услугу:
Замена масла. Обычно этот двигатель рекомендуется использовать в качестве смазочной жидкости для дизелей типа М10Г2К.
Замена фильтрующих элементов. В моторе есть несколько фильтров, которые следует менять каждые 15 000 км. Это фильтрующий элемент грубой и тонкой очистки топлива, ремкомплекты всех фильтров.
Регулировка впрыска, другими словами — продувка форсунок.
Замена прокладок и ГБЦ. В некоторых случаях меняют материал вкладыша поддона.
Подтяжка или замена приводных ремней.
Вот, в принципе, и все операции по техническому обслуживанию, которые проводятся на ЯМЗ-236. Все остальное меняется в текущем и плановом ремонте.
Ремонт
Ремонт двигателя ЯМЗ-236 производится только в автосервисах, так как требует специального оборудования и инструмента. В их состав входят следующие стенды: для разборки и сборки силового агрегата и его элементов, балансировочные, регулировочные и испытательные.
Также потребуется специальное оборудование:
Расточно-хонинговальный станок.
Оборудование для шлифовки и полировки коленчатого вала.
Стойка с ванночкой для опрессовки.
Развертки для шлифовки седел клапанов.
Оборудование для установки гидрораспределителей.
Токарно-фрезерный станок.
Стенд для
Пресс для запрессовки подшипников и сальников.
Аргонная сварка, в некоторых случаях.
Прочие инструменты и оборудование специального назначения для ремонта дизельных двигателей.
Как видно из списка, вам понадобится много стендов и оборудования, которое не каждый автосервис может себе позволить.
Ремонт двигателя ЯМЗ-236 проводится в несколько этапов. Все они достаточно сложные, и за каждую отвечает профессионал. узкий профиль. Рассмотрим все этапы по очереди:
Разборка. Наверное, и так понятно, что ДВС разбирается с помощью обычного расширенного набора инструментов и пневматического пистолета.
Диагностика неисправностей и определение перечня запасных частей, подлежащих замене.
Шлифовка коленчатого вала и подготовка блока цилиндров.
Мойка всех запасных частей и узлов. Обычно его проводят горячим керосином.
Когда все готово, происходит сборка.
Процесс разборки ЯМЗ-236 занимает около 6-8 часов. Подготовка деталей к сборке занимает около 16-20 часов, в зависимости от сложности поломки. Процесс сборки занимает до 36 часов. Все зависит от того, насколько изношены основные узлы и агрегаты и насколько качественно они были подготовлены к завершающему этапу работ.
Планы на будущее
В 2020 году планируется снятие с производства двигателей ЯМЗ-236, так как на замену ему готовится новый ЯМЗ-660, который станет на 100 лошадиных сил мощнее, а объем увеличится до 12,5 литров . При этом сохранится классическая компоновка цилиндров и клапанов. Новшеством планируют сделать электронный ТНВД, который будет иметь стандарт Евро-5, что позволит двигателям выйти на мировой рынок. Также планируется продолжить выпуск дизельных силовых установок на базе ЯМЗ-236.
Ярославский моторный завод (ЯМЗ) — один из лидеров по производству силовых агрегатов для различных видов транспорта. Дизельные двигатели (бензиновых аналогов просто нет!) этого производителя установлены более чем на триста автомобилей и различные силовые установки для промышленных нужд.
У двигателей ЯМЗ разный расход топлива на 100 км. Эти показатели зависят не только от модели двигателя, но и от модификации автомобиля, на котором он установлен, массы автомобиля и других его параметров. Поэтому при одном и том же двигателе расход топлива грузовиков и автобусов МАЗ, ЗИЛ, КрАЗ, Урал будет существенно различаться. В технических характеристиках двигателей ЯМЗ расход топлива указывается в наименьшем количестве и в единицах г/кВтч (г/л.с.*ч), которые не являются литрами!
ЯМЗ-236
Одна из самых распространенных линеек дизельных двигателей советского периода- ЯМЗ-236, их производство началось еще в 60-х годах прошлого века. Модели этого типа, которые выпускались в атмосферной (базовый вариант) и турбированной модификациях, зарекомендовали себя как самые безотказные и надежные двигатели отечественного производства. Моторы ЯМЗ-236 применялись на грузовиках и самосвалах: МАЗ, ЗИЛ , Урал, а также автобусы ЛАЗ и ЛиАЗ.
Двигатель
Расход (город)
Расход (трасса)
Тип топлива
236М2 180 л.с.
—
—
214 (157)
Дизель
236А 195 л.с.
—
—
214 (157)
236ВЕ2 250 л.с.
—
—
197 (145)
236NE2 230 л.с.
—
—
197 (145)
ЯМЗ-238
Дизельные силовые агрегаты ЯМЗ-238, выпускаемые на Ярославском моторном заводе с 1965 года, несмотря на устаревшую конструкцию и средние технические характеристики, до сих пор пользуются популярностью. Эти двигатели зарекомендовали себя как надежные и ремонтопригодные. В настоящее время двигатель ЯМЗ-238 модернизирован и соответствует нормам Евро-2 и Евро-3. Чаще всего такие дизельные установки можно увидеть на грузовиках МАЗ (особенно на моделях МАЗ 5336), КрАЗ и Урал. Покупатели могут выбирать между обычной «безнаддувной» версией и двигателем с турбонаддувом.
ЯМЗ-7511
Силовой агрегат ЯМЗ-7511 стал достойным преемником версии ЯМЗ-238, получив несколько улучшенных характеристик по сравнению с предшественником. Моторы, выпуск которых начался в Ярославле в 1996 году, имеют значительно повышенную мощность (в диапазоне от 360 до 400 «лошадей»), а также получили производительный топливный насос высокого давления. Такие установки используются на грузовиках МАЗ, КрАЗ и Урал. Чаще всего на таких грузовиках можно встретить модификации 7511.10, 7511.10-06, 7511.10-12, 7511.10-16, 7511.10-36.
Двигатель
Расход (город)
Расход (трасса)
Мин. расход уд, г/кВтч (г/л.с.ч)
Тип топлива
7511.10 400 л.с.
—
—
195 (143)
Дизель
7511. 10-06 400 л.с.
—
—
195 (143)
7511.10-12 400 л.с.
—
—
195 (143)
7511.10-16 400 л.с.
—
—
195 (143)
7511.10-35 400 л.с.
—
—
195 (143)
ЯМЗ-240
Силовые агрегаты ЯМЗ-240 – гордость отечественного двигателестроения. Их используют для автомобильной и строительной техники, но чаще всего такие двигатели можно увидеть на карьерных самосвалах БелАЗ различных модификаций и грузоподъемностью от 30 до 52 тонн. Дизельные двигатели этой серии выпускаются с 1988, и на сегодняшний день имеют три основные модификации — ЯМЗ-240М2, ЯМЗ-240 НМ2 и ЯМЗ-240 ПМ2.
ЯМЗ-536
Производство дизельного двигателя ЯМЗ-36, соответствующего нормам Евро-4 и Евро-5, начато в Ярославле в 2010 году. С 2012 года различные модификации этого силового агрегата могут Встречается на грузовиках МАЗ, Урал, КрАЗ, ГАЗ, автобусах ЛиАЗ и ПАЗ. Ходят разговоры, что с 2018 года двигатели ЯМЗ-536 будут устанавливаться на грузовики КАМАЗ, предназначенные для Минобороны РФ.
Двигатель
Расход (город)
Расход (трасса)
Мин. расход уд, г/кВтч (г/л.с.ч)
Тип топлива
536 312 л.с.
—
—
194,5 (143)
Дизель
536.10 312 л.с.
—
—
194,5 (143)
536.30 312 л.с.
—
—
194,5 (143)
536.40 312 л.с.
—
—
194,5 (143)
Большинство водителей привыкли рассчитывать расход топлива ЯМЗ на 100 км в литрах, поэтому цифры в таблицах для таких людей могут быть непонятны. Максимальный теоретический расход дизельного топлива в единицу времени рассчитывается по формуле: Q = N * q. В котором N – показатель мощности двигателя, q – показатель удельного расхода топлива, а Q – максимально возможный теоретический расход дизеля в граммах на 1 час работы силового агрегата на максимальной мощности. Такой показатель в теории всегда на десять грамм выше от реального расхода, потому что на практике силовой агрегат постоянно работает не на максимуме.
Получив расход топлива в граммах, можно перевести его в литры. В зависимости от температуры дизеля вес 1 литра топлива составляет 830-860 грамм.
Важно помнить, что расход топлива грузовых автомобилей увеличивается на 1,4 литра от нормы на каждую тонну груза. На фактический расход топлива также влияет качество масла в двигателе и низкое давление в шинах.
ЯМЗ-236 — один из самых распространенных дизелей советского производства. Это четырехтактный, шестицилиндровый, 12-клапанный дизельный двигатель широкого спектра применения. Наряду со званиями одного из самых универсальных и популярных, этот двигатель также заслужил репутацию самого надежного и «беспроблемного» из отечественных дизелей.
ЯМЗ-236 имеет солидную и славную историю. Она началась на рубеже 50-х и 60-х годов ХХ века, когда перед конструкторским бюро Ярославского моторного завода была поставлена задача: разработать и запустить запущен в серию современный и экономичный дизельный двигатель «широкого профиля», который можно было бы использовать не только на автомобилях и тракторах, но и во многих других областях народного хозяйства.
В Советском Союзе в то время был взят курс на всеобщую «дизелизацию» большегрузных автомобилей. Большинство грузовиков тогда работали на бензине и были очень неэкономичны в плане расхода топлива. Новыми, современными, высокоэффективными и экономичными «движками», работающими на дизельном топливе, предполагалось оснащать большегрузные автомобили и седельные тягачи; автобусы и тракторы, различная спецтехника.
Следует отметить, что в то время СССР фактически был «впереди планеты всей» по уровню развития промышленных технологий и техники. Нам, современным людям, привыкшим, что отставание нашей страны от развитых стран в технологическом плане непривычно. Но на тот момент новые двигатели, выпущенные в 1961 году на Ярославском заводе, — ЯМЗ-236 и ЯМЗ-238 (восьмицилиндровый вариант) были действительно лучшими в мире.
ЯАЗ-204 и ЯАЗ-206 — «предки» ЯМЗ-236 и ЯМЗ-238
Эти дизели стали прямыми «потомками» дизелей ЯАЗ-204 и ЯАЗ-206, которые выпускались на Ярославском (до 1958 года назывался «автомобильным») моторном заводе. К моменту разработки ЯМЗ-236 эти двухтактные 4-х и 6-ти цилиндровые моторы уже достаточно устарели как в техническом, так и в моральном отношении. Ведь они были созданы на базе «Дженерал Мотор» овских дизелей «ГМС-4/71» и «ГМС-6/71» 30-х годов ХХ века.
При разработке и запуске в серийное производство дизелей нового поколения советские специалисты опирались на богатый опыт производства дизелей, накопленный в отечественной промышленности. Помните: всю Великую Вторую мировую войну немцы, англичане и американцы воевали на бензиновых танках. В то время как в СССР бензиновыми были только довоенные БТ. И легендарный Т-34, и все последующие советские боевые машины были дизельными.
Руководство группой по созданию новых ярославских дизелей осуществлял выдающийся советский ученый, конструктор, изобретатель, доктор технических наук Георгий Дмитриевич Чернышев. При его непосредственном участии было создано отвечающее требованиям времени семейство двигателей ЯМЗ, ставшее прекрасной энергетической базой народного хозяйства СССР. В штате получил мощный, надежный, чрезвычайно универсальный дизель с простым обслуживанием, неприхотливостью и возможностью использования дешевых запчастей.
В сборочном цехе ЯМЗ. Фото 2014 года.
Новый дизель ЯМЗ-236 оказался настолько эффективным и надежным, что сразу стал единственным и стандартным для десятков видов различной техники, и спустя более полувека продолжает выпускаться на Ярославский моторный завод — в десятках различных модификаций!
Хотя с тех пор, конечно, мировые технологии ушли далеко вперед, и этот мотор уже далеко не лучший в мире. По производительности и эффективности применения его можно сравнить с современными китайскими аналогами на рынке. Но по надежности и ремонтопригодности он пока опережает не только «китайцев», но и лучшие мировые аналоги «из» наиболее развитых стран.
Технические характеристики двигателя ЯМЗ-236
Шесть цилиндров двигателя ЯМЗ-236 расположены в два ряда, под углом девяносто градусов. Примененное V-образное расположение цилиндров используется для уменьшения длины двигателя и его массы, для более рациональной компоновки и уменьшения массы всего автомобиля в целом.
Отличительной чертой этих двигателей также является рациональное расположение всех агрегатов. Это хорошо сочетается с простотой конструкции, улучшая доступность как для обслуживания, так и для ремонта. Узлы и детали, которые необходимо регулярно обслуживать в процессе эксплуатации, расположены в легкодоступных местах, преимущественно в передней части двигателя, а также в развалах цилиндров.
Передний верхний топливный фильтр, пневматический компрессор тормозной системы и электрогенератор. Они прикреплены к верхнему блоку крышки. Компрессор и генератор приводятся в движение ремнем от шкива на валу вентилятора. Также спереди устроен водяной насос и гидроусилитель руля. Они приводятся в движение шкивом непосредственно от коленчатого вала двигателя. Слева, на переднем торце блока цилиндров, расположены масляные фильтры — для грубой и центробежной очистки масла. Масляный насос также работает от шестерни коленчатого вала, которая расположена на передней крышке коренных подшипников.
ЯМЗ-236, только что освобожденный от деревянной заводской упаковки.
Электростартер для запуска двигателя расположен правой стороной вниз. Картер защищен снизу поддоном, который одновременно является емкостью для двигателя системы смазки. Сменные головки цилиндров расположены на сопрягаемых поверхностях каждого ряда цилиндров. Там же расположены клапаны системы газораспределения и форсунки. Клапанные механизмы закрыты стальными крышками, одна из которых имеет патрубок для заливки моторного масла.
Сбоку, снаружи, к боковым поверхностям головок крепятся выпускные трубопроводы; со стороны развала — впускной и дренажный патрубки, с термостатами системы охлаждения. Воздушный фильтр находится в специальном переходнике, в котором находятся все впускные патрубки. Топливный насос высокого давления находится в развале. Устанавливается в комплекте с регулятором скорости, с автомуфтой опережающего впрыска дизельного топлива и подкачивающим насосом.
Теперь макет сзади. Кожух маховика крепится к заднему концу блока цилиндров. Этот картер снизу снабжен люком, закрывающимся стальной штампованной крышкой. На маховике установлено сцепление, а за торцом картера маховика расположена коробка передач с картером сцепления.
Основные характеристики в цифрах
Дизельные двигатели ЯМЗ-236 выпускаются как атмосферные (базовое исполнение), так и с турбонаддувом. Диапазон мощностей начинается от 150 лошадиных сил, или 110 кВт (для дефорсированной версии ЯМЗ-236Г) и варьируется до 300 лошадиных сил, или 220 кВт для форсированной версии с турбокомпрессором.
Габаритные размеры двигателя ЯМЗ-236:
Длина без коробки передач и сцепления: 1020 мм;
Длина с коробкой передач и сцеплением: 1800 мм;
Ширина: 1006 мм;
Высота: 1195 мм.
Масса двигателя ЯМЗ-236 (сухой, незаправленный):
Без вспомогательного оборудования: от 820 до 1010 кг;
С комплектом вспомогательного оборудования: от 880 до 1070 кг;
С комплектом аксессуаров, сцеплением и коробкой передач: от 1170 до 1385 кг.
Рабочий объем камеры сгорания 11,15 литров (11 150 кубических сантиметров).
Максимальный крутящий момент от 667 до 1275 Нм при 1200-1500 об/мин.
Диаметр цилиндра: 130 мм; ход поршня: 140 мм; степень сжатия — 17,5.
Мин. удельный расход топлива: 214 (157) г/кВтч (г/л.с.ч)
Основные элементы двигателя ЯМЗ-236
Основной корпусной частью двигателя является его картер, представляющий собой специальную пространственную отливку из низколегированного серого перлитного чугуна. Эта отливка обрабатывается методом «искусственного старения» с целью устранения термических напряжений и сохранения точных геометрических форм в процессе эксплуатации.
Гильзы цилиндров, врезанные в блок, толстостенные, центрируются по двум концентрическим отверстиям в пластинах блока сверху и снизу. Ряд цилиндров справа смещен относительно противоположного на тридцать пять миллиметров для размещения двух шатунов на общей шатунной шейке коленчатого вала.
Блок цилиндров ЯМЗ-236
Каждое из гнезд цилиндров снабжено двумя соосными цилиндрическими отверстиями, выполненными в верхней и нижней плитах блока. На верхней плите также имеются кольцевые канавки для буртиков гильз. На внутренних стенках блока цилиндров имеется система масляных каналов, служащая для непрерывного отвода смазки к подшипникам распределительного и коленчатого валов, масляному фильтру и к жидкостно-масляному теплообменнику.
Головка блока цилиндров двигателя ЯМЗ-236
Головка блока цилиндров базового ярославского дизеля представляет собой неразъемную чугунную конструкцию, прикрепленную к блоку цилиндров термически обработанными шпильками из хромоникелевой стали. Для обеспечения отвода избыточного тепла головка блока цилиндров снабжена отдельной водяной рубашкой, которая является общей с водяной рубашкой всего блока.
В головку блока цилиндров запрессованы клапаны, снабженные пружинами и элементами крепления; а также коромысла с осями и насадками. Седла клапанов вставные, изготовлены из специального чугуна и жаропрочного сплава. Седла запрессованы в посадочные места с натягом. Стыки ГБЦ, блока и гильз уплотняются одинарной, трехцилиндровой, прокладкой типа «сэндвич».
Коленчатый вал двигателя ЯМЗ-236
Коленчатый вал двигателя ЯМЗ-236 изготовлен из стали 50Г методом горячей штамповки. Шейки коленчатого вала — закалены нагревом токами высокой частоты. Коренных подшипников коленчатого вала четыре, шатунных шеек три. В шатунных шейках имеются дополнительные внутренние полости, в которых масло подвергается центробежной очистке. На щеках коленчатого вала установлены противовесы, в комплекте с которыми он устанавливается и регулируется (балансируется).
Осевая фиксация коленчатого вала в двигателе обеспечивается четырьмя бронзовыми полукольцами, установленными в пазах заднего коренного подшипника. Носок и хвостовик коленчатого вала уплотнены специальными самоподтягивающимися манжетами из армированной резины.
Маховик базового ярославского мотора отлит из серого чугуна. Он крепится к заднему концу коленчатого вала болтами из специальной легированной стали. Эти болты защищены от самопроизвольного вращения стопорными пластинами. Маховик снабжен стальным зубчатым венцом для запуска двигателя стартером. Венец крепится на переднем конце маховика двенадцатью болтами, стопорящимися специальными шайбами.
Маховик двигателя ЯМЗ-236
12 радиально расположенных отверстий в маховике служат для проворачивания коленчатого вала при регулировке двигателя. Форма и расположение полостей на переднем конце маховика обеспечивают необходимую для балансировочной системы направленную неуравновешенность. Процесс балансировки маховика отделен от коленчатого вала, поэтому все маховики взаимозаменяемы.
Шатун двигателя ЯМЗ-236
Шатун изготовлен из кованой стали «40Х», имеет двутавровое сечение; разъем его нижней головки косой, под углом 55 градусов. В нижнюю головку шатуна устанавливаются сменные вкладыши, а в верхнюю запрессована стальная/бронзовая втулка ОЦС с наружным диаметром 56 мм. В верхних шатунных головках двигателей ЯМЗ-236 предыдущего выпуска запрессовывались две стальные/бронзовые втулки, а кольцевое пространство между ними использовалось для подвода масла к поршневому пальцу.
Поршни, устанавливаемые на двигатели ЯМЗ-236, изготовлены из высококремнистого эвтектического алюминиевого сплава. Для улучшения приработки поршня к гильзе ее поверхность покрывают тончайшим (0,003-0,006 мм) слоем олова. Юбка поршня имеет специальную выемку для сопла охлаждения; а также два боковых углубления для того, чтобы противовесы коленчатого вала не касались поршня во время работы.
Наружная поверхность поршня снабжена пятью канавками для поршневых колец. Три верхние канавки отведены под установку компрессионных колец. Одна канавка находится над поршневым пальцем и еще одна — в нижней части юбки поршня — для размещения малосъемных колец.
Двигатель ЯМЗ-236 в разрезе
Поршневой палец, служащий для соединения поршня с шатуном, полый, плавающего типа. Изготовлен из стали 12-ХН/ЗА. Наружные поверхности пальцев цементируются на глубину 1,0-1,4 мм; закалены и отпущены до твердости НКС 56-65. Внешний диаметр штифта 50 мм.
Поршневые кольца на ЯМЗ-236 отлиты из специального чугуна и установлены в поршневых канавках в определенном порядке (см. выше). Они хромированные, разъемные. Компрессионные и низкорасцепляющие кольца отличаются друг от друга разными типами сечения.
Газораспределительный механизм двигателя ЯМЗ-236
Газораспределительный механизм на ЯМЗ-236 — верхнеклапанный, с нижним расположением распределительного вала. Привод клапанов осуществляется толкателями, тягами и коромыслами. Основные элементы механизма следующие: распределительный вал с ведущей шестерней и подшипниками; толкатели и толкающие оси; тяги и коромысла с регулировочными винтами и осями; клапаны с пружинами и направляющими втулками.
Вал распределительный кованый, из углеродистой стали 45; толкатели также стальные, кованые, качающегося типа с роликом для контакта с кулачками распределительных валов. Впускные и выпускные клапаны из специальной жаропрочной стали.
Система смазки двигателя ЯМЗ-236
Система смазки на двигателях ЯМЗ-236 применяется смешанного (комбинированного) типа, с «мокрым» картером. Подача масла осуществляется полностью унифицированным шестеренчатым масляным насосом. Масляный насос состоит из двух секций (напорной и радиаторной). Нагнетательная секция прокачивает масло в систему смазки двигателя, а радиаторная секция прокачивает его через радиатор.
Система питания ЯМЗ-236
Система питания раздельного типа. Состоит из ТНВД, ТНВД, с подкачивающим насосом и регулятором, фрикционов опережения впрыска, форсунок, топливных фильтров, топливопроводов. В соответствии с порядком работы цилиндров ТНВД подает дизельное топливо по трубопроводам высокого давления к форсункам, которые впрыскивают в полость цилиндра очередную «порцию» распыленного топлива. Через перепускной клапан и сопло фильтра тонкой очистки избыток топлива возвращается в топливный бак.
Существует 35 модификаций «атмосферника» ЯМЗ-236: без турбонаддува, мощностью от 150 до 195 л/с. Подробная спецификация каждого из них размещена на сайте Ярославского моторного завода. Сфера применения этих двигателей следующая: судовые моторы; компрессорные станции; электрические агрегаты; судовые дизельные электроустановки; железнодорожные тележки; экскаваторы, грейдеры и катки, автокраны, фронтальные погрузчики, бульдозеры, вездеходы, БТР, автомобили «ЗИЛ», «Урал», «МАЗ» (в основном «советские», прошлых годов выпуска).
Автомобиль МАЗ-5551 с двигателем ЯМЗ-236М2-1
Существует 54 турбированных модификации ЯМЗ-236, их мощность варьируется от 230 до 300 лошадиных сил. Им оборудованы современные автобусы; комбайны; тракторы и спецтехника разных производителей; некоторые варианты автомобилей МАЗ и Урал.
ЯМЗ-236 на современном рынке: стоимость этих двигателей и отзывы о них
Цена на новый атмосферный двигатель ЯМЗ-236 колеблется от 370 до 450 тысяч рублей; на ЯМЗ-236 с турбонаддувом — от 480 до 650 тыс. руб. Время от времени есть возможность приобрести ЯМЗ-236 чуть дешевле: со склада Госрезерва, новый, в поддонах. В два раза дешевле, чем цена нового, на сайтах объявлений можно найти б/у ЯМЗ-236 или моторы на заказ (после капитального ремонта).
Для современной техники разработки дизели ЯМЗ-236 имеют весьма посредственные удельные показатели производительности и экономичности. Устаревшая за последние полвека конструкция не позволяет этим моторам соответствовать нормам Евро-3 и выше. Версии с турбонаддувом доработали до норм Евро-2.
Двигатель ЯМЗ-236НД устанавливается на современные ростовские комбайны «Вектор»
Однако их непревзойденная надежность и неприхотливость; низкая цена (по сравнению с импортными аналогами) на сами двигатели и запчасти к ним способствуют поддержанию устойчивого спроса на данную продукцию. Отзывы о ЯМЗ-236 сводятся к одному: расход топлива по нынешним меркам велик, а вот надежность просто отличная. Даже в крупных АТП, где периодически меняются водители автобусов и о бережном отношении к технике говорить не приходится, двигатели ЯМЗ-236 честно отрабатывают заявленный производителем ресурс в 800 тысяч километров. И продолжают работать дальше, без серьезных поломок, не требуя капитального ремонта в течение длительного времени.
МАЗ-6430 — тягач трэк ярак беркуаса тингги дан беркеладжуан тингги
Пада аваль тахун 80ан абад янг лалу, трэк трак тига рода берат МАЗ-6422 telah diwujudkan di Loji Automobil Minsk. Pada tahun 90-an, mereka telah membangunkan pengubahsuaian MAZ-5440 двухосный dan atas dasarnya dikembalikan kepada versi model tiga paksi, tetapi mengikut piawaian Eropah Barat. Ini adalah bagaimana traktor trak berkuasa MAZ-6430, yang disesuaikan untuk trafik dalam формат Eropah antarabangsa, muncul. Pembelian kereta baru secara besar-besaran dengan segera membuat organisasi perdagangan luar negeri Russia, sehingga model 6430 digunakan sangat mahal dalam operasi Volvo, DAF, Iveco, MAN. МАЗ-6430 экономичен и экономичен в Европе.
Sejak permulaan pengeluaran pada 1996, kereta itu boleh didapati dalam beberapa versi. Perbezaan rupa mungkin sedikit, tetapi ciri teknikal berbeza-beza. Беберапа версия МАЗ-6430, мемуи сепенухня кеперлуан пасаран эропа, диджуал ди джерман. Komponen teknikal berasingan kereta dibeli oleh syarikat Jerman dan digunakan dalam pengeluaran trak MAN.
Pengubahsuaian МАЗ-6430
Модель 6430A8 димасуккан ке далам пенгелуаран бесар-бесаран пада тахун 1997. Формула рода — 6 х 2, капасити мембава — 38 тан.
Pengubahsuaian 6430A9 telah dibuat pada tahun 2008. Грузовой автомобиль — 6 x 4, дорожный знак для автомобилей Renault Trucks. Bertepatan dengan piawaian alam sekitar Euro-3.
Модель 6430A5 — версия для продажи в Бангане, Ян импортирует и Джерман. Формула рода — 6 х 4. Дизельное топливо дизельного двигателя, стандартное дизельное топливо мощностью 243 л. в.
МАЗ-6430-18 telah dihasilkan sejak 2011 dengan enjin Daimler dengan kapasiti 402 л. в. Ским меманду — 6 х 4.
Pengubahsuaian 6430-21, membawa kapasiti — 65 tan, двигатель MAN турбодизель, объем 455 л. денган., келаджуан — 120 км/ч, piawaian alam sekitar Euro-2.
Модель 643026 — формула рода — 6 x 6, турбокомпрессор MAN с дизельным двигателем и дизельным двигателем.
МАЗ-6430: технические характеристики
Параметр модели asas:
berat kenderaan berat yang dibenarkan adalah 26, 100 кг;
бебан янг дибенаркан пада перанти гандинган — 15 900 кг;
берат трелер янг дибенаркан — 52 000 кг;
бебан максимум пада гандар белаканг — 19 000 кг;
бебан гандар хадапан, максимальный — 7100 кг;
membendung berat kereta — 10 050 кг;
жарак пушат — 3200 + 1400 мм;
penggantungan depan musim bunga, парабола pada helaian;
пенггантунган белаканг мусим бунга, денган бар баки;
таяр, сайз — 315/80R22, 5;
Kapasiti tangki bahan api — 500 литров;
kabin itu tinggi, dengan tempat tidur berganda;
келаджуан максимум — 100 км/дж.
Набор длинных кап
Aksesori, pilihan dan peranti:
pemanas enjin;
тахограф;
брек АБС;
пенебатная кабина;
спойлер;
пеманас каюта;
темпат дудук комфорта, бермункулан.
Киланг Куаса
Энджин YMZ-6581.10.
Куаса — 400 литров. в. (294 кВт).
Пенгантаран — ZF16S1650. Bilangan kelajuan — 16.
Kemudahan tambahan
Kereta itu dilengkapi dengan bumper depan lipat, di belkangnya terdapat bekas alat. Dalam kedudukan нормальный, бампер melakukan peranan langkah untuk mengangkat ke dalam teksi.
Tempat kerja pemandu dilengkapi sepenuhnya, kerusi ergonomik boleh laras. Lajur pemandu boleh miring dan bergerak dalam satah menegak. Kunci педаль dalam bentuk педаль terletak ди lantai. Prinsip operasi mekanisme ini sama dengan yang digunakan pada trak Volvo.
Кабина МАЗ-6430 mempunyai sokongan pneumatik, yang sangat memudahkan berat struktur apabila berbaring untuk mengakses enjin. Ruang dalaman kabin agak luas, kecuali untuk pemandu dua lagi penumpang yang bebas ditampung di sini. Terdapat dua tempat tidur ди bahagian belkang bilik, berkat kru traktor mempunyai peluang untuk berehat selama perjalanan panjang, dan ini adalah jaminan operasi bebas masalah.
Di dalam kokpit, antara lain terdapat dapur kecil dengan peti sejuk kompak 50 литров, serta dapur perkap dengan silinder gas 8 литров.
Уласан
Sejak tahun 1997, apabila MAZ-6430 pertama melancarkan talian pemasangan Loji Automobil Minsk, jejak pemandu yang memandu traktor pada masa yang berlainan boleh digabungkan di bawah tanda makpositlum balas balas. Пеманду лори менкататкан энджин дизель беркуаса янг байк, пенгавалан керета янг семпурна ди трек, келахуан пелаяран янг мантап далам маса 90 км/дж.
Kebanyakan pemandu menyatakan сату фактор янг membezakan operasi kereta: sepanjang laluan keseluruhan beberapa ribu километр kereta tidak memerlukan sebarang pelarasan tambahan, топпинг minyak dalam kotak engkol enjin tidak diperlukaniti минимальное sama lukanali diperku sekali atau. Sekiranya kereta itu menerima penyelenggaraan penuh sebelum meninggalkan penerbangan, anak kapal sepanjang perjalanan hanya terlibat dalam pemeriksaan tekanan tayar rutin.
Pengaturan kabin membolehkan dua pemandu berehat seketika semasa memandu, dan anggota kru boleh menggantikan satu sama lain setiap empat jam. Mengenai tahap keselesaan модель МАЗ-6430 ulasan juga yang paling positif.
Автоматический анализ вредоносных программ — Joe Sandbox Cloud Basic
Данные шрифта TrueType, 18 таблиц, 1-й «GDEF», 8 имен, Microsoft, язык 0x409, Copyright 2011 Google Inc. Все права защищены. RobotoRegularVersion 2.137; 2017Roboto-Regularht
Данные шрифта TrueType, 18 таблиц, 1-й «GDEF», 8 имен, Microsoft, язык 0x409, Copyright 2011 Google Inc. Все права защищены. Roboto MediumRegularVersion 2.137; 2017Робото-Я
Данные шрифта TrueType, 18 таблиц, 1-й «GDEF», 8 имен, Microsoft, язык 0x409, Copyright 2011 Google Inc. Все права защищены. Roboto BlackRegularVersion 2.137; 2017Робото-Бла
Непрерывная укладка цементобетонных покрытий и монолитных профилей
Бетоноукладчики со скользящими формами для укладки сбоку от машины производят такие монолитные бетонные профили, как разделительные железобетонные ограждения, бордюрные камни, водоотводные лотки и тротуары. Благодаря наличию многочисленных функций, таких как подача цементобетона или скользящая форма, асфальтоукладчики с укладкой сбоку от машины характеризуются универсальным применением. Бетоноукладчики со скользящими формами для укладки «между гусениц» эффективно и экономично укладывают цементобетонные покрытия, например, для автомобильных дорог, автомагистралей, взлетно-посадочных полос или железнодорожных трасс путей для рельсового транспорта. Наряду с однослойной укладкой цементобетона можно синхронно в два слоя уложить нижний и верхний слои бетона методом сращивания «свежий-по-свежему».
Бетоноукладчик с боковой скользящей формой
Бетоноукладчик со скользящими формами для укладки сбоку от машины передает цементобетон через погрузочный конвейер или винтовой конвейер в скользящую форму. Форму для укладки сбоку от машины можно смонтировать справа или слева от машины. Доступны различные формы и размеры опалубки. Профили изготавливаются методом непрерывного литья с добавлением или без добавления арматуры. Эффективное управление машиной, практичная система рулевого управления и привода или укладка цементобетона без направляющих тросов — это лишь некоторые из особенности машин.
Загрузки
Макс. ширина опалубки
Макс. высота опалубки
Номинальная мощность
Рабочая масса, CE
Product No. 1
SP 15
Макс. ширина опалубки
1 800 мм
Макс. высота опалубки
1 300 мм
Номинальная мощность
92 кВт / 125 ЛС
Рабочая масса, CE
10 350 кг
Перейти на страницу продукта
Сравнить
Product No. 1
SP 25
Макс. ширина опалубки
2 500 мм
Макс. высота опалубки
2 000 мм
Номинальная мощность
118 кВт / 160 ЛС
Рабочая масса, CE
13 600 кг
Перейти на страницу продукта
Сравнить
Product No. 1
SP 61
Макс. ширина опалубки
4 000 мм
Макс. высота опалубки
3 000 мм
Номинальная мощность
155 кВт / 211 ЛС
Рабочая масса, CE
17 400 кг
Перейти на страницу продукта
Сравнить
Бетоноукладчик со скользящей формой для укладки плоских покрытий
Бетоноукладчик со скользящими формами с укладкой «между гусениц» размещает цементобетон прямо перед машиной и распределяется его посредством шнекового распределителя или плужного распределителя. Вибраторы однородно уплотняют цементобетон, а скользящая форма формирует его заданную ширину и толщину во время движения вперед. Встроенный установщик анкеров и дюбелей размещает дюбели и анкеры в соответствии с требованиями. Качающийся отделочный брус вытягивает поверхность поперек дорожного полотна, а выглаживающая лыжа обеспечивает идеальную поверхность. При двухслойной укладке бетона нижний и верхний слои цементобетона укладываются методом «мокрое на мокрое».
Загрузки
Ширина укладки
Высота укладки
Номинальная мощность
Macca мaшины
Product No. 1
SP 62
Ширина укладки
3 500 — 7 500 мм
Высота укладки
0 — 450 мм
Номинальная мощность
155 кВт / 211 ЛС
Macca мaшины
24 000 — 34 000 кг
Перейти на страницу продукта
Сравнить
Product No. 1
SP 64
Ширина укладки
2 000 — 7 500 мм
Высота укладки
0 — 450 мм
Номинальная мощность
155 кВт / 211 ЛС
Macca мaшины
17 000 — 45 000 кг
Перейти на страницу продукта
Сравнить
Product No. 1
SP 94
Ширина укладки
3 500 — 9 500 мм
Высота укладки
450 мм
Номинальная мощность
224 кВт / 305 ЛС
Macca мaшины
24 000 — 65 000 кг
Перейти на страницу продукта
Сравнить
Product No. 1
SP 124
Ширина укладки
4 500 — 12 000 мм
Высота укладки
0 — 450 мм
Номинальная мощность
272 кВт / 370 ЛС
Macca мaшины
56 000 — 102 000 кг
Перейти на страницу продукта
Сравнить
Product No. 1
SP 1500
Ширина укладки
5 000 — 15 250 мм
Высота укладки
0 — 450 мм
Номинальная мощность
287 кВт / 390 ЛС
Macca мaшины
60 520 — 72 080 кг
Перейти на страницу продукта
Сравнить
Product No. 1
SP 1600
Ширина укладки
5 000 — 16 000 мм
Высота укладки
0 — 450 мм
Номинальная мощность
313 кВт / 426 ЛС
Macca мaшины
89 000 — 106 000 кг
Перейти на страницу продукта
Сравнить
Финишеры
Финишеры придают цементобетонному покрытию требуемую структуру поверхности и предотвращают посредством распыления эмульсии преждевременное высыхание поверхности и краев. Требуемая текстура поверхности достигается за счет щетки или, альтернативно, джутовой ткани или искусственного газона. Автоматическая регулировка двускатного профиля и устройство для накидывания защитной пленки дополняют оснащение машин.
Загрузки
Рабочая ширина, макс.
Рабочая высота
Номинальная мощность
Рабочая масса по CE / Рабочая масса, CE
Product No. 1
TCM 95
Рабочая ширина, макс.
9 500 мм
Рабочая высота
500 мм
Номинальная мощность
41 кВт / 56 ЛС
Рабочая масса по CE / Рабочая масса, CE
7 800 — 11 600 кг
Перейти на страницу продукта
Product No. 1
TCM 180
Рабочая ширина, макс.
18 000 мм
Рабочая высота
500 мм
Номинальная мощность
41 кВт / 56 ЛС
Рабочая масса по CE / Рабочая масса, CE
9 100 — 18 400 кг
Перейти на страницу продукта
Боковой загрузчик
Если при укладке цементобетонных покрытий используется арматура, то подача цементобетона может осуществляться сбоку с помощью бокового загрузчика (Placer / Spreader). Боковой загрузчик движется перед бетоноукладчиком со скользящими формами по заранее уложенной арматуре, в то время как цементобетон поступает на транспортерную (конвейерную) ленту загрузчика из автобетоносмесителя. Бетоноукладчик со скользящими формами равномерно укладывает цементобетон на уложенную арматур, распределяя его по всей рабочей ширине. Как только цементобетон в автобетоносмесителе заканчивается, ленточный конвейер можно сложить в кратчайший срок с целью освободить место для следующего смесителя.
Ширина укладки
Высота укладки
Номинальная мощность
Рабочая масса CE (при ширине укладки 4,00 м)
Product No. 1
WPS 62
Ширина укладки
4 000 — 7 500 мм
Высота укладки
0 — 500 мм
Номинальная мощность
155 кВт / 211 ЛС
Рабочая масса CE (при ширине укладки 4,00 м)
35 000 кг
Перейти на страницу продукта
Новости и примеры из практики
Читать далее
Данные, иллюстрации и тексты не имеют обязательной силы и могут включать принадлежности, изготовленные по индивидуальному заказу. Компания оставляет за собой право без предупреждения вносить технические изменения. Параметры производительности зависят от условий эксплуатации.
ООО «АЭРОДОРСТРОЙ»: ремонт аэродромов
Семинар-конференция «Сибирские дороги 2022»
В начале февраля представители нашей компании посетили старинный город в России — Иркутск, расположившийся на востоке Сибири, в живописной долине реки Ангары. Целью поездки наших специалистов стало посещение 3-ей Международной практической
подробнее
9-я Национальная выставка и форум инфраструктуры гражданской авиации NAIS 2022
9 февраля 2022 года, в «Крокус Экспо» представители ООО «Аэродорстрой» посетили 9-ую национальную выставку и форум инфраструктуры гражданской авиации NAIS 2022. Данный авиационный форум является признанным отраслевым мероприятием в Российской
подробнее
Поздравляем!!! Сегодня нашей компании исполняется 25 лет!!!
Cегодня нашей компании исполняется 25 лет! Мы благодарим всех наших партнеров и сотрудников за то, что все эти годы Вы с нами. Опыт и традиции, накопленные за долгие годы, команда профессионалов, инновации, новаторство — все это позволяет успешно
подробнее
12-ая Международная Конференция по Бетонным Покрытиям (12th International Conference on Concrete Pavements)
Компания АЭРОДОРСТРОЙ приняла участие в 12-ой международной конференции по бетонным покрытиям (12 th International Conference on Concrete Pavements). Эта конференция продолжила традицию серий международных конференций, начатых в 1977 году
подробнее
Своевременный ремонт бетонных покрытий
Срок службы искусственных покрытий аэродромов и автомобильных дорог в Российской Федерации ниже срока службы покрытий на аналогичных зарубежных объектах Ответственность за такой низкий срок службы делят между собой три основных фактора: ошибки про
подробнее
Международная научно-практическая конференция «Строительство качественных и безопасных дорог с применением цементобетона и минеральных вяжущих»
Компания «АЭРОДОРСТРОЙ» приняла участие в I Международной научно-практической конференции «Строительство качественных и безлопастных дорог с применением цементобетона и минеральных вяжущих». Участие приняли представители Министерства транспорта РФ,
подробнее
Bauma CTT RUSSIA-Международная выставка строительной техники
В период с 24 по 27 мая 2021 в Москве в Крокус Экспо проходила выставка строительной техники и технологий в России bauma CTT RUSSIA. Делегация ООО «АЭРОДОРСТРОЙ» посетила выставку. Мероприятие является важнейшей коммуникационной площадкой в России,
подробнее
Строительство пунктов весогабаритного контроля
Министерством транспорта и дорожного хозяйства Краснодарского края в Тихорецком районе производились работы по устройству пункта весового и габаритного контроля. В проекте применялась инновационная технология производства дорожного покрытия с
подробнее
Проектирование дорожной одежды и расчёт конструкций деформационных швов
Компания » Аэродорстрой» оказывает услуги по конструированию и расчёту дорожной одежды повышенной надёжности и долговечности. Наш проектный отдел выполнит комплекс работ по проектированию и расчёт всех слоев дорожной одежды для покрытий жёсткого
подробнее
Ремонт трещин со сколами
Несвоевременный ремонт образовавшихся трещин в цементобетонном покрытии приводит к возникновению более значительных разрушений. В ходе эксплуатации покрытия начинают возникать сколы и трещина начинает выкрашиваться. Такие трещины необходимо …
Фундаментальная операция, обеспечивающая долговечность отремонтированного сооружения, состоит в разборке разрушенной части. Производить замену поврежденных участков покрытия целесообразно в тех случаях, когда ремонт не обеспечит должного периода …
подробнее
Строительство покрытий из сборных плит ПАГ
В настоящее время на автомобильных дорогах и аэродромах все чаще находят применения не только монолитные, но и сборные железобетонные покрытия из аэродромных плит. ООО «Аэродорстрой» обладает большим опытом и всеми необходимыми ресурсами для …
подробнее
Строительство бетонных покрытий автомобильных дорог
Основной областью деятельности компании ООО «Аэродорстрой» является устройство бетонных покрытий автомобильных дорог и автомагистралей. Мы предлагаем выполнение работ по строительству цементобетонных дорог любой сложности, от подъездных путей до …
подробнее
Бетоноукладчик Gomaco COMMANDER III
Бетоноукладчик Gomaco COMMANDER III – это самоходная машина, предназначенная для дозирования, распределения и укладки бетонной смеси на различных строительных объекта. Подвижная конструкция позволяет бетоноукладчику во время производственного …
подробнее
Устройство продольных технологических швов
Продольные технологические швы цементобетонном покрытии устраиваются по тому же принципу что и швы сжатия. Цементобетонное покрытие как при бетонировании секционной виброрейкой как при использовании бетоноукладочных комплексов устраивают захватками. …
подробнее
Устройство швов в асфальтобетонном покрытии
Зачастую новое асфальтобетонное покрытие устраивают на существующее цементобетонное основание. Таким образом в новом а/б покрытии предусмотрено устройство деформационных швов отражающих (копирующих) швы в бетонном основании. Местоположение швов в …
подробнее
Устройство деформационных швов сжатия
Деформационные швы, при строительстве дорог и аэродромов с цементобетонным покрытием методом монолитного бетонирования должны обеспечивать равномерное распределение транспортной нагрузки между соседними плитами и способствовать уменьшению напряжений …
подробнее
Устройство швов расширения (температурных) швов
Цементобетонные покрытия относятся к жестким типам дорожных одежд. Бетон при изменении температуры окружающей среды меняет геометрические параметры конструкции, то есть при повышении температуры он расширяется, при понижении соответственно . ..
подробнее
Укладчики цементобетонных покрытий — Два основных игрока российского рынка – Основные средства
Два основных игрока российского рынка
Строительство автомобильных дорог из цементобетона в нашей стране начинает возрождаться. Доказательством этому может служить создание в конце прошлого года Ассоциации бетонных дорог. Таким образом, бетоноукладочные комплексы, востребованные у нас при строительстве и реконструкции искусственных взлетно-посадочных полос, могут найти более широкое применение.
Толчком для возрождения у дорожников интереса к строительству бетонных дорог стало Постановление Правительства РФ от 30 мая 2017 г. № 658 «О нормативах финансовых затрат и Правилах расчета размера бюджетных ассигнований федерального бюджета на капитальный ремонт, ремонт и содержание автомобильных дорог федерального значения». В этом документе нет ни слова о бетонных дорогах, зато сказано, что для автомобильных дорог I, II, III и IV категорий капитальный ремонт должен составлять 24 года. Любой специалист-дорожник знает, что получить такой результат на асфальтобетонном покрытии невозможно, а на цементобетонном покрытии это достигается с запасом, что и доказала мировая практика – бетонные дороги, бывает, и тридцать лет эксплуатируются без капремонта. Потому везде продолжают строить и поддерживать такие дороги (в Германии их 30%, в США 60%), что это выгодно при «игре в долгую», несмотря на то, что их строительство обходится дороже.
Бетонные дороги и взлетно-посадочные полосы строятся по определенной технологической цепочке: распределение смеси, приготовленной на цементобетонном заводе и доставленной к месту укладки, формирование конструктивного слоя, уплотнение смеси, отделка поверхности покрытия, устройство и герметизация швов. Современные бетоноукладочные комплексы, используемые для возведения плоских покрытий, позволяют весь этот процесс механизировать.
Бетоноукладчик оборудуется скользящей формой шириной от 3 до 15 м и более. Навешиваемая между гусеничными тележками скользящая форма обеспечивает формирование бетона и создает необходимое давление уплотнения. Бетон подается в скользящую форму по транспортеру (ленточному или винтовому) либо выгружается непосредственно перед формой. Находящийся в форме бетон уплотняется высокочастотными вибраторами – это делается для того, чтобы удалить из свежего бетона пустоты и одновременно обеспечить его текучесть для равномерной укладки. На выходе бетон формируется за счет непрерывного движения укладчика вперед, разравнивается и заглаживается специальными приспособлениями. Существуют также компактные бетоноукладчики монолитных профилей – бордюров, разделительных барьеров безопасности, парапетов мостов, водостоков, у этих машин имеется сменная боковая скользящая форма, которая закрепляется на той или другой стороне машины.
Первые бетоноукладчики со скользящей формой появились у нас в 1970 г., когда были приобретены комплекты американской высокоскоростной техники AUTOGRADE производства американской фирмы CMI. После этого применявшиеся ранее машины с трудоемкой в установке рельс-формой ушли в прошлое. На базе техники AUTOGRADE заводом «Брянский Арсенал» были созданы скоростные бетоноукладчики Д-100 и Д-110, которые многие годы активно применялись при строительстве дорог и взлетно-посадочных полос.
Надо сказать, что в 1980 г. возведение цементобетонных дорог было у нас остановлено решением правительства. Последствия этого налицо: из сегодняшних 1,4 млн российских дорог только 2% имеют цементобетонное покрытие. А строительство цементобетонных ВПП на больших аэродромах, конечно, продолжалось, поскольку только жесткое цементобетонное покрытие способно выдерживать посадку широкофюзеляжных самолетов. (Те аэропорты, что имеют асфальтобетонную ВПП, тяжелые самолеты не принимают.)
На «Брянском Арсенале», который сейчас находится в составе «РМ-Терекс» – совместного предприятия корпорации «Русские машины» и многоотраслевого мирового производителя Terex Corporation, бетоноукладчики больше не изготавливаются. Эту технику в настоящее время выпускают американские компании CURB FOX, G & Z, GOMACO, POWER CURBERS и POWER PAVERS, а также международная группа компаний WIRTGEN GROUP (бетоноукладочные комплексы производятся под маркой WIRTGEN). Компания CURB FOX собирает небольшие машины для монолитных профилей. POWER CURBERS и POWER PAVERS – это одна корпорация, в которой под маркой POWER CURBERS изготавливают машины для малых бетонных форм: бордюры, дорожные ограждения «Нью-Джерси». Под маркой POWER PAVERS сейчас налажен выпуск большого 4-гусеничного битумоукладчика, но он предлагается пока только на американском рынке. Компания G & Z производит большие бетоноукладчики, но они работают в основном в Америке, в России же их почти нет, так же как нет ни сервиса, ни официального представительства. Компания TEREX, когда-то известная своими бетоноукладчиками, давно прекратила их производство и делает сейчас только финишеры с технологией без скользящих форм. В результате магистральные бетоноукладочные комплексы на российский рынок поставляют всего два производителя – GOMACO и WIRTGEN GROUP (обе компании также выпускают и бетоноукладочные машины для монолитных профилей).
Американский комплекс
В бетоноукладочные комплексы GOMACO, наиболее часто применяемые сейчас в России при строительстве искусственных взлетно-посадочных полос, входят распределитель и перегружатель бетона PS-2600, четырехгусеничный магистральный бетоноукладчик GHP-2800 и текстурировщик T/C-600. Они идут друг за другом: следом за распределителем для подачи бетона движется основная машина, за ней машина для текстурирования покрытия, которая обеспечивает сцепление колес шасси самолета с покрытием.
У бетоноукладчика GHP-2800 ширина укладываемой полосы без дополнительных секций рамы составляет от 3,66 до 7,62 м. Этого достаточно, учитывая, что в России взлетно-посадочные полосы из цементобетона в основном проектируют под ширину укладки полосами по 7,5 м. Впрочем, если ширину укладки требуется увеличить, на GHP-2800 возможно применение скользящих форм разных серий, включая «5400», для максимальной ширины укладки 11,28 м. Кроме GHP-2800 продолжает эксплуатироваться четырехгусеничная машина GP-4000 с максимальной шириной покрытия за один проход 15,24 м. Есть еще мод. GP-2400 с максимальной шириной покрытия 7,5 м – она также применялась при строительстве аэродромов. Мод. Commander III, выпускаемая в трех- и четырехгусеничном исполнении, самая продаваемая в мире универсальная машина, но она укладывает плоское покрытие с максимальной шириной только 6 м, зато может выполнять и различные элементы инженерного обустройства дорог, вплоть до строительства ирригационных сооружений из бетона. В США самой популярной моделью GOMACO является GP-2600 с максимальной шириной укладки 9,75 м, но в России ее потеснила GHP-2800.
Почему именно GHP-2800 предпочли российские строители аэродромов? У этой машины рама раздвигается с обеих сторон (в отличие от GP-2600), к тому же машина более маневренна и ее легче перевозить с объекта на объект, поскольку она более предпочтительна по транспортным габаритам. У четырехгусеничного исполнения минимальная ширина в транспортном положении составляет всего 2,5 м – это с запасом укладывается в разрешенную в нашей стране ширину для движения по дорогам общего пользования (2,55 м). Кроме того, когда у машины в транспортном положении гусеницы повернуты след в след, в таком виде она может самостоятельно (без крана!) заезжать на трал и съезжать с него. Более габаритный двухгусеничный вариант этой модели в России применения не нашел. Кстати, у новейшей мод. GP3 (она до России еще не доехала) ширина в транспортном положении равна 2,59 м, но конструкторы, видимо, не задумывались о том, чтобы скинуть лишние 4 см, поскольку на дорогах США нет таких жестких ограничений по габаритам.
Буква Н в обозначении модели GHP-2800 означает ее принадлежность к новому поколению бетоноукладчиков. Если у GP-2400 и GP-2600 используется дизель-гидравлический привод, когда дизельным двигателем приводится гидравлика и уже она приводит в движение рабочие органы, то у GHP-2800 применена технология управления с системой интеллектуальных цилиндров (Smart Cylinders) с закрытыми гидравлическими контурами. GHP-2800 стала первой машиной, которую начали оборудовать этой системой, поэтому в ее обозначении появилась еще одна буква. В новых машинах GP3 и GP4 эту букву уже не ставят, поскольку они априори имеют эту систему. В начале двухтысячных годов GHP-2800 была у GOMACO самой передовой моделью, и это очень кстати совпало с бумом строительства и реконструкции аэропортов в России. Сейчас, после кризиса 2008 г., отрасль опять начинает активно развиваться, и оказалось, что компании, сделавшие в свое время выбор в пользу GHP-2800, не прогадали – у них и сейчас остается в распоряжении укладчик нового поколения.
Бетоноукладчики этого производителя обеспечивают самую большую в отрасли толщину укладки искусственной взлетно-посадочной полосы за один проход – 61 см. Такие проекты, где требуется подобная толщина, в мире с успехом реализуются, например, в аэропорту Лондона при строительстве пятого терминала Хитроу велась укладка бетона толщиной в 55–58 см за один проход. Большая толщина позволяет обходиться без армирования, и в России эта технология уже осваивается, правда, толщина слоя не достигает рекордных значений, но может превышать 40 см, например, в аэропорту Шереметьево – 43 см, в аэропорту Уфы – 42 см и т. д. Но такую толщину можно получить только с помощью достаточно тяжелой и устойчивой техники, при этом обязательно обладающей запасом по толщине укладываемого слоя. Иначе, если определенного зазора не будет, укладчик может, как говорят специалисты, «поплыть».
Важный нюанс – кромка укладываемого слоя. Она не должна разрушаться после укладки – для этого в скользящей форме установлен специальный узел, который позволяет регулировать кромку в зависимости от осадки конуса смеси. При укладке аэродромного покрытия кромка – залог качества, поскольку в тех случаях, когда колесо самолета катится между двумя плитами, осыпание кромок недопустимо, иначе в этих местах будут образовываться ямы, что очень опасно как при взлете, так и при посадке.
На машинах GOMACO применяются гидравлические вибраторы, позволяющие устанавливать частоту вибрации в широком диапазоне. Специальное автоматическое устройство Auto Vibe, которое ставится на пульт управления, приводит вибрацию в соответствие со скоростью укладки бетона. Таким образом, в целом учитываются осадка конуса, скорость укладки и частота вибраций – все это может регулироваться автоматически, а может выставляться вручную, как это делают опытные операторы, оценивая уложенный бетон и меняя настройки по ходу движения.
Двухгусеничный распределитель и перегружатель PS-2600, входящий в комплекс, идет в 20–30 м впереди бетоноукладчика, для того чтобы распределить перед ним бетонную смесь по всей ширине укладываемого покрытия. У машины есть ленточный конвейер, на который самосвал выгружает бетон, подъезжая сбоку. По конвейеру смесь передается уже на полосу, после чего шнек, расположенный впереди машины, распределяет бетон, а специальная форма удаляет излишки. Распределитель незаменим при укладке покрытия с армированием, поскольку, если есть армокаркас, самосвал не может на него наезжать, а значит, должен выгружать бетонную смесь сбоку. А в случае укладки без армирования (во многих аэропортах армирование не делают за счет увеличения толщины покрытия) распределитель работает как перегружатель, позволяя бетоноукладчику идти без остановок. Это серьезно повышает качество покрытия: не образуются волны, которые неизбежно возникают при остановках. Кроме PS-2600 в Россию поставляется перегружатель RTP-500 – он применяется в основном для подачи бетона при строительстве дорожных ограждений «Нью-Джерси», но может заменить PS-2600, поскольку у него также самосвал подходит сбоку, а конвейер стрелы имеет достаточную длину в 10,7 м. Распределение эта машина не выполняет, но у нее, в отличие от PS-2600, есть возможность идти сбоку от укладываемой полосы.
Для подготовки оснований под укладку аэродромного покрытия многие компании приобретают оригинальный профилировщик (триммер) мод. 9500. Эта машина может работать на любой стадии строительства основания, будь то слой песка или щебня. Машина выводит слой основания в проектные отметки, при этом не перемещая материал. Точность и производительность у профилировщика выше, чем у автогрейдера. Рабочая ширина относительно небольшая по сравнению с укладчиком, около 6 м за один проход, но за счет производительности машина за короткое время может сделать несколько проходов. Профилируемый материал можно отсыпать вбок либо прямо в кузов самосвала. Как и бетоноукладчик, профилировщик управляется системой 3D, то есть может работать без струны – точность при этом не страдает, а наоборот, повышается. Эта машина является универсальной – ее применяют и для дорог, и для аэропортов, и для парковок и т. д., одним словом, всюду, где необходимо профилировать основание. У нас профилировщик теперь рекомендуется применять в стандартах АГА (Ассоциация гражданских аэропортов), а проектировщики, закладывая его в проекты, используют специальный термин – триммирование основания.
Немецкий комплекс
В комплекс WIRTGEN, предлагаемый в России для укладки бетонных аэродромных покрытий, в современном варианте входят четырехгусеничный бетоноукладчик со скользящей формой SP 94 с шириной укладки до 9,5 м и стандартной толщиной до 45 см (при необходимости толщину можно увеличить), четырехгусеничный боковой загрузчик ISF 94 и самоходный четырехгусеничный финишер ТСМ 180. Вместо бетоноукладчика новой серии SP 94 сейчас в основном у нас применяется его предшественник SP 850. Такую же ширину укладки, как и SP 94, обеспечивает еще двухгусеничная мод. SP 92, но она имеет повышенные размеры в транспортном положении, поэтому больше востребована не на европейском, а на американском рынке, где, как мы уже говорили выше, нет жестких ограничений по габаритам при движении по дорогам общего пользования. У четырехгусеничной же машины для установки в транспортное положение сводятся параллелограммные опоры, а гусеницы относительно этих опор поворачиваются на 90°, и в таком плотном виде укладчик самостоятельно заезжает на платформу трейлера. Кроме мод. SP 94 WIRTGEN выпускает также четырехгусеничные бетоноукладчики SP 64 с максимальной шириной укладки до 6 м, SP 1200 с шириной укладки до 12 м, SP 1500 и SP 1600 с шириной укладки до 15,25 и 16 м соответственно.
По классической схеме в передней части бетоноукладчика перед заслонкой установлены распределительный плуг или шнеки для предварительного распределения смеси по ширине укладки перед передней заслонкой. С точки зрения практичности и последующей эксплуатации предпочтительней использование плуга. Следом стоит группа вибраторов, которые виброуплотняют смесь, и затем она уже формуется скользящей формой. Укладчики WIRTGEN можно оснастить как электрическими, так и гидравлическими вибраторами. Электрические эффективней за счет большей зоны воздействия (так называемый рабочий радиус), потребляют меньшую мощность, у них более высокий КПД. Еще один «плюс» электрических вибраторов состоит в том, что они настраиваются всей группой одновременно – одним включением на одинаковую частоту. С гидравлическими так не получится – нужно каждый вибратор настраивать индивидуально. Электрические вибраторы либо работают с нужной частотой, либо вообще не работают, в то время как гидравлические, из-за того, что они могут иметь разный износ, реальную частоту на выходе могут давать тоже разную. Поэтому у них приходится раз в неделю специальным прибором корректировать частоту, с тем чтобы понять, насколько реальная частота совпадает с установленной. Так что электрические вибраторы эффективней при большой толщине слоя или при непрерывном армировании. В свою очередь гидравлические эффективны при укладке сложных профилей, когда частоту каждого вибратора нужно устанавливать индивидуально.
Укладчик WIRTGEN оборудуется базовой плитой с дополнительными уширительными секциями серий 910 m и 910 wm. Формы серии 910 wm оборудованы заменяемой днищевой плитой.
После того как полоса сформирована, пока бетон не застыл, с помощью забивщиков производится закладка дюбелей в будущие поперечные швы (если это необходимо), а также закладка центральных и боковых анкеров в местах будущих продольных швов. Это все можно делать с помощью одного бетоноукладчика – его мощности вполне хватает для того, чтобы поставить данное оборудование.
После закладки дюбелей и анкеров на покрытии остаются неровности, затереть их финишером (выглаживающей лыжей) достаточно сложно, и для того, чтобы решить эту проблему, устанавливается осциллирующий брус. Он качается в поперечном направлении с амплитудой 3–4 см и тащит перед собой валик бетонной смеси, в результате срезаются все неровности и заполняются дефекты, образовавшиеся после закладки дюбелей и анкеров. Вторая задача осциллирующего бруса заключается в получении максимальной ровности, которая должна решаться независимо от того, используются дюбели и анкеры или нет. Дело в том, что, когда самосвалы привозят смесь и она выкладывается перед бетоноукладчиком, смеси, выгруженные из разных самосвалов, могут чуть-чуть различаться по цементному соотношению, плотности и прочим параметрам. Из-за этого смесь после плиты выдавливается то больше, то меньше, что соответственно приводит к изменению ровности. Так вот осциллирующий брус, жестко связанный с рамой машины, все эти неровности подрезает в ноль. Валик смеси становится то больше, то меньше, но в конце получается ровное покрытие. При использовании осциллирующего бруса дополнительно устанавливаются боковые удлинители скользящей формы, и в итоге их общая длина вместе с формой составляет более 6 м. Такая длина гарантированно предотвращает оплывание кромки при работе с бетоном с большим конусом усадки. Также для предотвращения этого явления могут быть установлены поднимаемые краевые секции скользящей формы. И только после этого выглаживающей лыжей (финишером) выполняется окончательная отделка.
Боковой загрузчик ISF 94 обязательно должен быть в комплексе, если выполняется сплошное армирование искусственной взлетно-посадочной полосы, поскольку самосвалу для выгрузки очередной порции бетонной смеси нельзя заезжать на армокаркас. Боковой загрузчик принимает самосвал с параллельной полосы и обеспечивает непрерывную подачу смеси.
Задача текстуровщика или финишера ТСМ 180, движущегося за бетоноукладчиком, заключается прежде всего в нанесении на покрытие требуемой шероховатости. Эта машина может наносить поперечные, либо продольные, либо диагональные полосы, в зависимости от того, каким полосам отдается предпочтение в том или ином регионе. У нас в стране приняты поперечные полосы. Вторая задача машины ТСМ 180 состоит в том, чтобы обеспечить уход за цементобетоном для предотвращения его преждевременного высыхания. Для этого наносится пленкообразующее покрытие – специальный спрей на основе воска, который равномерно распределяется по покрытию в автоматическом режиме.
Особо следует упомянуть о машинах, производимых фирмой WIRTGEN, для технологии двуслойной бетоноукладки. Технология предполагает устройство верхнего слоя из высокомарочного бетона с мелким заполнителем и высоким содержанием цемента поверх свежего слоя из бетона более низкой марки с крупным заполнителем. Укладка может производиться как комплексом из двух раздельных однотипных машин, так и одной машиной. Данная технология нашла широкое применение в европейских странах из-за существенной экономии вследствие использования более дешевого бетона для нижнего слоя, снижения уровня шума, а также высокой износостойкости и высокого коэффициента сцепления.
Автор выражает благодарность Алексею Пономарёву, директору по продажам оборудования GOMACO ЗАО «КВИНТМАДИ», и Юрию Жукову, руководителю региональных продаж компании «Виртген-Интернациональ-Сервис», за помощь в подготовке материала.
Оборудование для укладки бетона
Поскольку производство бетоноукладчиков со скользящими формами, которые используются для устройства покрытий автомобильных дорог, родилось в Северной Америке, не удивительно, что почти все лидирующие компании (за исключением Wirtgen), базируются в США. Некоторые китайские производители (например, Huatong) также изготавливают подобное оборудование, которое, правда, пока не поставляется за рубеж, а на внутреннем рынке присутствует лишь в единичных экземплярах.
Тем не менее использование данной технологии набирает обороты по всему миру. Как и при традиционном варианте строительства дорог, заливке бетона должна предшествовать подготовка слоев основания, выполняющих морозозащитные, дренирующие и теплоизолирующие функции. Чем лучше будет подготовлено земляное полотно, тем меньше времени и затрат потребуется на профилирование слоя заливаемого бетона. Бетонная смесь для покрытий, устраиваемых в скользящей опалубке, должна соответствовать по удобоукладываемости марке П1, а объем вовлеченного в нее воздуха должен составлять от 5 до 7%. Окончательная настройка зазоров и припусков рабочих органов бетоноукладчика производится после пробного бетонирования.
Бетоноукладчик должен перемещаться непрерывно и с постоянной скоростью, которая зависит от подвижности бетонной смеси. В качестве материалов для ухода за свежеуложенным бетоном применяются пленкообразующие паропроницаемые материалы на основе водной дисперсии парафинов или латексов. Дорожные одежды с монолитным цементобетонным покрытием имеют преимущества перед традиционными асфальтобетонными, особенно в климатических условиях с большой разницей между зимней и летней температурой. В долгосрочной перспективе они лучше выдерживают воздействие как нагрева, так и охлаждения и обеспечивают лучшие сцепные свойства.
По мнению специалистов, главное преимущество бетонного покрытия перед асфальтовым – это долговечность. Срок службы «бетонки» составляет до 50 лет, что при более высоких начальных затратах (дорожное покрытие из бетона выходит дороже асфальтового в 1,5–2 раза), но с учетом длительного периода эксплуатации приводит в итоге к снижению общих затрат за счет низких эксплуатационных расходов. Кроме того, бетонное покрытие отражает на 30–50% больше света и обеспечивает более высокий коэффициент трения. На сложных участках (подъемах, спусках, крутых поворотах) бетонной дороги для улучшения сцепления можно профрезеровать канавки. Строительство таких дорог осуществляется заметно быстрее, чем укладка асфальта: в среднем современный бетоноукладчик за смену проходит до 3 км дороги. При этом бетонную смесь в отличие от асфальтовой готовить проще, при этом отпадает необходимость уплотнения дорожными катками.
Несмотря на то, что на нишевом рынке оборудования для укладки бетона конкурируют всего лишь несколько ключевых игроков, компании-производители постоянно обновляют оборудование, пытаясь повысить эффективность работы подрядчиков, работающих в этом секторе.
Американская компания Gomaco, созданная в 1965 г., является одним из мировых лидеров рынка оборудования для приготовления и укладки бетонных смесей. Продукция Gomaco включает: бетоноукладчики монолитных профилей, бетоноукладчики плоского покрытия, распределители и перегружатели бетонной смеси, профилировщики подготовки основания, машины для текстурирования и нанесения раствора, цилиндрические финишеры отделки покрытия. Отличительной особенностью гаммы оборудования Gomaco является полный охват всего цикла строительства дороги: от устройства основания до финишной обработки поверхности дорожного покрытия, при этом пользователь имеет возможность выбора моделей для каждой стадии строительства.
Одна из самых многопрофильных машин в линейке – это универсальный бетоноукладчик Commander III, который может поставляться в 3- или 4-гусеничном исполнении. Commander III последнего поколения, оборудованный фрезой шириной 1067 мм и подвесной скользящей формой, перемещаемыми по вертикали и горизонтали, обладает высокой маневренностью и производительностью. Траектория его движения автоматически поддерживается по натянутой копирной струне. В базовом варианте на укладчик устанавливаются 4 вибратора с независимыми контурами управления. Замена скользящих форм на этой машине занимает считаные минуты. С помощью трехгусеничного Commander III можно устраивать монолитные бордюры, желоба, тротуары, ограждения и разделители переменного сечения, а 4-гусеничный позволяет укладывать полосы шириной до 6,1 м.
Новая версия Commander III поставляется с измененной рамой, которая сконструирована специально для размещения более современного двигателя, соответствующего стандарту Tier 4 с усовершенствованной системой охлаждения, оборудованной вентилятором с гидроприводом (скорость его вращения изменяется в зависимости от нагрузки). Виброизолированная платформа оператора оборудована плавающей консолью. Новый профиль улучшает обзор и доступ ко всем точкам обслуживания. В качестве опции предлагается бортовая камера для слежения за рабочим процессом. Система управления G+ взаимодействует со всеми гидроцилиндрами опор, которые обеспечивают поворот гусениц точно на заданный угол. Оптимизированное расположение контроллера и пропорциональных клапанов снижает количество шлангов и проводов, при этом упрощается процесс обслуживания и поиска неисправностей.
Универсальность конструкции профилировщика/ бетоноперегружателя Gomaco 9500 позволяет профилировать основание с помощью фрезерного барабана или перегружать бетонную смесь (для этого используется навесной приемный бункер) из самосвалов к месту укладки. Максимальная ширина профилирования составляет 5,69 м. Для удобства машиниста предусмотрена система дистанционного управления машиной. Бетоноукладчик Gomaco GHP-2800 нового поколения в 4-гусеничном исполнении обеспечивает ширину укладки от 3,66 до 9,75 м. Он оборудован высокопроизводительной системой гидравлики с электрогидравлическими приводами, которые удерживают заданное положение рабочих органов по высоте и углу отклонения. Есть возможность быстрой и удобной смены опалубки, которая монтируется на Т-образную траверсу, и установки системы для автоматического погружения арматурных стержней.
Бетонораспределитель Gomaco PS-2600 обеспечивает прием бетонной смеси от самосвала, подачу материала на грунт и его распределение на необходимую ширину (до 9,75 м) и толщину (до 483 мм). Привод конвейера длиной 7,62 м обеспечивает скорость ленты около 152,4 м/мин, что позволяет быстро перегружать смесь из транспортных средств на основание. С помощью отражателя изменяется направление потока бетонной смеси, поступающей с ленты конвейера на основание. Перегрузочный конвейер состоит из двух шарнирно соединенных секций, одна из которых с помощью гидропривода может опускаться и подниматься для пропуска транспортных средств под разгрузку смеси. Есть возможность установки специального бункера для распределения щебня. Машина Gomaco GHP TC600 предназначена для придания текстуры поверхности цементобетонного покрытия и распыления пленкообразующих растворов на цементобетонное покрытие шириной от 7,32 до 17,07 м. Работает с помощью той же копирной системы, что и основной бетоноукладчик ТС-600.
К ключевым разработкам другой американской компании Guntert & Zimmerman, которая в 1956 г. впервые в мире выпустила бетоноукладчики со скользящей опалубкой для работы на дорогах и в аэропортах, можно отнести систему EGON. Этой системой управления нового поколения с функциями диагностики и мониторинга и удаленным пользовательским интерфейсом на основе Интернета комплектуются все модели бетоноукладчиков G&Z. В конце заданного интервала работы машины EGON отсылает и владельцу машины, и на завод-изготовитель G&Z подробный отчет. Дисплей оператора, снабженный шиной CAN, разъемами RS-232 и USB, отображает статус модулей ввода-вывода, системные ошибки, давление в гидронасосах, состояние фильтров, уровень топлива, конфигурацию и режим работы машины. В дополнение к этому EGON позволяет оператору регулировать размеры машины, калибровку датчиков, коэффициент усиления, задавать излом профиля и уклон, а также изменять транспортную конфигурацию машины.
Система для работы без струны NoLine может быть опцией ко всем укладчикам и вспомогательному оборудованию G&Z. NoLine включает софт, совместимый с EGON, и телескопические стойки для крепления призматических тахеометров с источником резервного питания. Текстурировщик Guntert & Zimmerman TC1500 обладает следующими преимуществами: поворот тележек на 90°, высокоточная нивелировочная автоматика, жесткая ферменная конструкция рамы с возможностью быстрого изменения ширины укладки от 3,6 до 17 м. Функция руления с поворотом на 90° позволяет 4-гусеничной машине перемещаться в условиях ограниченного пространства и самостоятельно заезжать на платформу трала. TC1500 оборудован современной пропорциональной нивелировочной автоматикой с электронными датчиками.
Бетоноукладчики со скользящими формами Power Pavers (США) SF-1700 (ширина укладки до 7,5 м), SF-2700 и SF-3000 (ширина укладки до 9,75 м) оборудованы двумя гусеницами с двухскоростным приводом и предназначены для тяжелых условий эксплуатации. Модель SF-2700 лучше подойдет для работы на городских улицах, а также для укладки дополнительного слоя. SF-3000 с двигателем Cummins мощностью 260 л.с. и рабочим весом до 34 т обеспечивает толщину укладки до 500 мм, может выполнять большие объемы работ с высокой производительностью. Управление движением бетоноукладчиков осуществляется вручную или автоматически с помощью пропорциональной системы управления. Контрольный датчик может устанавливаться как справа, так и слева по ходу движения. Машины оснащены пропорциональной гидравлической системой нивелирования с четырьмя электронными или гидравлическими датчиками и системой выравнивания.
Wirtgen представляет новую линейку бетоноукладчиков со скользящими формами серии SP 90, которая заменит машины серии SP 80. Четыре базовые модели SP92, SP92i, SP94 и SP94i построены по модульному принципу и предназначены для изготовления цементобетонных слоев любых типов при строительстве городских улиц, шоссе, взлетно-посадочных полос, а также слоев оснований. Гидравлически выдвигаемые в обе стороны рамы позволяют регулировать рабочую ширину формы от 2 до 9,5 м. Максимальная толщина укладываемого слоя составляет от 350 до 450 мм в зависимости от настроек. Две или четыре управляемые гусеничные тележки оборудованы индивидуальными гидравлическими приводами с цифровым управлением. Распределение бетона производится с помощью шнекового или плужного распределителя, а уплотнение – высокочастотными гидравлическими или электрическими электровибраторами изогнутой формы. Дюбели, центральные и боковые анкеры закладываются в свежеуложенную смесь во время движения машины.
Поверхность выравнивается поперечными и продольными выглаживателями. С различными опциями масса машины SP 92 (с двумя гусеничными тележками) может изменяться от 30 до 45 т, а SP 94 (с четырьмя тележками) – от 30 до 65 т. Модели серии SP 90 поставляются со стандартным 3D-интерфейсом, позволяющим покупателю выбрать систему управления машиной от различных производителей. Из дополнительных возможностей всех моделей можно отметить систему оптимизации числа оборотов двигателя в зависимости от нагрузки, позволяющую сэкономить топливо, электронную систему контроля уклона с быстрым откликом, легкость транспортировки и малую шумность.
Универсальный бетоноукладчик SP25i предназначен для устройства монолитных профилей высотой до 2 м с помощью боковой формы, а также для выполнения работ на узких улицах, грунтовых дорогах и велосипедных дорожках, в каналах и канавах различного размера с помощью скользящей формы, навешиваемой между гусеничными тележками. Машина, отличающаяся высокой маневренностью, оборудована двигателем мощностью 154 л.с., который может работать в экономичном режиме. Модульная конструкция позволяет использовать бетоноукладчик в конфигурации как с тремя, так и с четырьмя гусеничными тележками. Максимальная эксплуатационная масса машины составляет 20 т.
Альтернативным вариантом устройства дороги с применением бетонной смеси является укладка дорожного основания из укатываемого или так называемого тощего бетона, который содержит меньшее количество воды и вяжущего вещества по сравнению с обычным бетоном. Для производства такого бетона используется жесткая смесь, которая после распределения укладывается с помощью грейдера или асфальтоукладчика и уплотняется дорожными катками (тандемными и комбинированными). Такой способ позволяет снизить затраты за счет использования меньшего количества цемента, а смесь можно приготовить прямо на месте проведения работ с использованием местных заполнителей, которые есть под рукой: некондиционных материалов (вскрышных пород), золы-уноса, известняка или шлака.
При использовании тощего бетона не нужно тратить время на ожидание его затвердевания. Движение транспортных средств по вновь устроенному покрытию может быть открыто сразу же после его укатки. Меньшая стоимость, большая долговечность по сравнению с асфальтобетоном – это ключевые преимущества укатываемого бетона. Несмотря на простоту технологии уплотнения жесткой бетонной смеси, у такой технологии имеются существенные недостатки. Довольно сложно обеспечить равномерную жесткость уложенной смеси перед уплотнением. Кроме того, ее состояние в значительной степени зависит от температуры и влажности воздуха, скорости ветра и интенсивности воздействия солнечных лучей. Под влиянием этих факторов происходит потеря влажности бетонной смеси, что затрудняет достижение требуемого коэффициента уплотнения даже при увеличении числа проходов катка. Как показывает практика, прочность укатанного бетона в значительной степени зависит именно от качества его уплотнения. Для улучшения свойств в состав тощего бетона обычно включают эмульсии на основе битума. Стоит отметить, что доставляют такой бетон на место производства работ самосвалы, так как при использовании миксера свойства материала утрачиваются.
Во многих странах с давних времен (эта технология впервые начала применяться в 30-х гг. прошлого века) по достоинству оценили преимущества бетонных дорог и даже поддерживают их строительство за счет государственных субсидий. В России дорог из бетона пока немного, по некоторым оценкам, не более 2%. Тем не менее интерес к такому способу строительства дорог в нашей стране в последнее время растет. Есть примеры укладки участков с бетонным покрытием в Курской и Липецкой областях. На Дальнем Востоке таким способом недавно был построен отрезок дублера трассы М-60 «Хабаровск–Владивосток». В Казахстане в декабре следующего года в эксплуатацию будет сдан полный участок бетонной трассы Алматы–Капшагай, длина которого составляет порядка 100 км.
Несмотря на точечный характер использования в России монолитных цементобетонных покрытий с укладкой бетонных смесей в скользящей опалубке, а также укатываемого бетона и композитных материалов на его основе, для этих технологий открыты хорошие перспективы.
Please enable JavaScript to view the comments powered by Disqus.
91.08.05-021. Бетоноукладчики-планировщики со скользящими формами, мощность 68,6 кВт (маш.-ч.): ЭМ:2487.26 руб., ЗПМ:28.92 руб.
ФГИС ЦС
Вход/Регистрация
Приложение № 120 к приказу Министерства строительства и жилищно-коммунального хозяйства Российской Федерации от 26 декабря 2019 г. № 876/пр
Отраслевой шифр
Наименование и характеристики
Ед.
ЗП
в т.ч. ЗПМ
91.08.05-021
Бетоноукладчики-планировщики со скользящими формами, мощность 68,6 кВт
маш.-ч.
2 487,26
28,92
Добавьте ресурс в избранное
ФЕР 27-02-015-01
Устройство бортового камня из монолитного бетона бетоноукладчиком-планировщиком со скользящими формами: на комбинированном участке (сочетание прямого и радиусного участков) — 10 м
ФЕР 27-02-015-02
Устройство бортового камня из монолитного бетона бетоноукладчиком-планировщиком со скользящими формами: на прямом участке — 10 м
ФЕР 27-02-015-03
Устройство бортового камня из монолитного бетона бетоноукладчиком-планировщиком со скользящими формами: на радиусном участке — 10 м
ФЕР 27-06-066-01
Устройство малых монолитных форм с использованием бетоноукладчика на гусеничном ходу со скользящей опалубкой: площадью сечения до 0,3 м2 — 100 м3
ФЕР 27-06-066-02
Устройство малых монолитных форм с использованием бетоноукладчика на гусеничном ходу со скользящей опалубкой: площадью сечения свыше 0,3 м2 до 0,8 м2 — 100 м3
Все цены группы
Группа 91. 08.05. Машины и агрегаты бетоноукладочные
Отраслевой шифр
Наименование и характеристики
Ед.
ЗП
в т.ч. ЗПМ
91.08.05-001
Агрегаты распределения бетона на железных дорогах, высота подъема до 3,6 м, скорость подъема 0,65 об/мин, рабочая высота 10,6 м
маш.-ч.
272.81
8.91
91.08.05-011
Агрегаты для бетонирования стен самоходные
маш.-ч.
78.00
11.60
91.08.05-021
Бетоноукладчики-планировщики со скользящими формами, мощность 68,6 кВт
маш.-ч.
2487.26
28.92
91.08.05-031
Комплексы бетоноукладочные для укладки бетонной смеси за опалубку
маш.-ч.
279.55
0
91.08.05-041
Комплекты машин для бетонирования каналов глубиной до 3,0 м
маш.-ч.
450.00
81.00
91. 08.05-042
Комплекты машин для бетонирования каналов глубиной до 5,0 м
маш.-ч.
930.00
108.00
91.08.05-051
Машины бетоноукладочного комплекта на рельс-формах для отделки цементо-бетонных покрытий
маш.-ч.
127.35
21.66
91.08.05-052
Машины бетоноукладочного комплекта на рельс-формах нарезчики швов в свежеуложенном цементо-бетоне
маш.-ч.
245.65
13.50
91.08.05-053
Машины бетоноукладочного комплекта на рельс-формах профилировщики оснований
маш.-ч.
83.99
14.40
91.08.05-054
Машины бетоноукладочного комплекта на рельс-формах распределители цементобетона
маш.-ч.
85.61
14.40
91.08.05-055
Машины высокопроизводительного бетоноукладочного комплекта бетоноукладчики со скользящими формами
маш.-ч.
933.36
25. 10
91.08.05-056
Машины высокопроизводительного бетоноукладочного комплекта: конвейеры-перегружатели
маш.-ч.
53.07
0
91.08.05-057
Машины высокопроизводительного бетоноукладочного комплекта машины для нанесения пленкообразущих материалов
маш.-ч.
215.94
13.50
91.08.05-058
Машины высокопроизводительного бетоноукладочного комплекта нарезчики швов в затвердевшем бетоне продольные и поперечные
маш.-ч.
382.41
25.10
91.08.05-059
Машины высокопроизводительного бетоноукладочного комплекта: оборудование асфальтоукладочное, ширина укладки 1,7-4 м, производительность 300 т/ч
маш.-ч.
65.61
0
91.08.05-060
Машины высокопроизводительного бетоноукладочного комплекта: погружатели арматуры
маш.-ч.
39.09
0
91.08.05-061
Машины высокопроизводительного бетоноукладочного комплекта профилировщики основания со скользящими формами
маш. -ч.
828.37
25.10
91.08.05-062
Машины высокопроизводительного бетоноукладочного комплекта распределители цементобетона со скользящими формами
маш.-ч.
729.95
25.10
91.08.05-063
Машины высокопроизводительного бетоноукладочного комплекта: тележки арматурные
маш.-ч.
39.41
0
91.08.05-064
Машины высокопроизводительного бетоноукладочного комплекта финишеры трубчатые
маш.-ч.
189.27
13.50
91.08.05-065
Машины для возведения бетонной крепи методом набрызг-бетона на поверхность горных выработок и укладки бетона за опалубку
маш.-ч.
100.62
0
91.08.05-071
Пневмобетономашины для возведения набрызг-бетонной крепи для укладки бетонной смеси за опалубку и тампонажа закрепного пространства
маш.-ч.
59.66
0
91. 08.05-081
Пневмобетоноукладчики 1,5 м3
маш.-ч.
58.55
0
91.08.05-082
Пневмобетоноукладчики 3,3 м3
маш.-ч.
72.38
0
91.08.05-091
Цементоукладчики для заделки швов
маш.-ч.
4.24
0
11-01-011-01
Устройство стяжек: цементных толщиной 20 мм — 100 м2
06-01-001-01
Устройство бетонной подготовки — 100 м3
08-01-003-07
Гидроизоляция боковая обмазочная битумная в 2 слоя по выровненной поверхности бутовой кладки, кирпичу, бетону — 100 м2
08-01-002-01
Устройство основания под фундаменты: песчаного — м3
17-01-011-01
Установка насосов погружных с электродвигателем производительностью: до 25 м3/час — 10 шт
15-02-041-03
Устройство металлического каркаса из направляющих профилей под облицовку различными материалами: стен — 100 м2
09-08-001-01
Установка металлических столбов высотой до 4 м: с погружением в бетонное основание — 100 шт
12-01-036-01
Установка водосточной системы из ПВХ: желобов — 100 м
15-01-027-01
Затирка швов между плитками ранее облицованных поверхностей с применением сухой смеси — 100 м2
ФСНБ-2020 включая дополнение №9 (приказы Минстроя России от 20. 12.2021 № 961/пр, 962/пр) действует с 01.02.2022
Нашли ошибку? Напишите в Техподдержку
Бетоноукладчики: виды, устройство, технические характеристики
Главная » Статьи
Содержание
1 Технология возведения монолитных зданий учеб. пособие
2 Виды бетоноукладчиков
2.1 Конструкция
2.2 Тип питателя
3 Устройство бетоноукладчика
4 GHP-2800
5 МОЩНАЯ МИКРОПРОЦЕССОРНАЯ
6 №10(100) [Естественные и технические науки, 2016]
7 Технические характеристики
8 №12 [Механизация строительства, 2017]
9 №1 [Гидротехника, 2010]
10 Бетоноукладчики со скользящими формами гарантируют экономичные, точные результаты при укладке цементобетона
11 МОНОЛИТНОГО БОРДЮРА С МИНИМАЛЬНЫМ РАДИУСОМ
12 Подержанные дорожные бетоноукладчики применение и классификация
13 Новейшие модели бетоноукладчиков
13. 1 Лазерные бетоноукладчики
14 Техника для укладки бетонных смесей различных производителей
15 №2 [Уголь, 2012]
16 Технические характеристики
17 Организация и технология строительства атомных станций учебник
18 Ленточные бетоноукладчики
19 Проектирование предприятий по эксплуатации и ремонту машин учеб. пособие
20 «Трансстроймеханизация» в современных условиях строительного рынка [Электронный ресурс] / Тихонова // Транспортное строительство .— 2016 .— №8* .— С. 4-5 .— Режим доступа: https://rucont.ru/efd/493509
Технология возведения монолитных зданий учеб. пособие
ОГУ
В учебном пособии освещены вопросы технологии возведения монолитных зданий. Описаны способы выполнения опалубочных, арматурных и бетонных работ. Дана информация о современных опалубочных системах, методах зимнего бетонирования. Изложена методика технологического проектирования. Освещены вопросы технологии, качества работ и их безопасности. Представлена методика подбора комплекта машин, механизмов и оборудования для производства работ.
используют для транспортировки готовой легкобетонной смеси на расстояние до км Перед выгрузкой смеси в бетоноукладочное <…> Перед выгрузкой смеси в бетоноукладочное оборудование для восстановления ее однородности требуется дополнительное <…> используют для транспортировки готовой легкобетонной смеси на расстояние до км Перед выгрузкой смеси в бетоноукладочное
Предпросмотр: Технология возведения монолитных зданий.pdf (0,1 Мб)
Виды бетоноукладчиков
Сегодня на рынке представлены модели бетоноукладчиков зарубежного и отечественного производства. Они относятся в виду техники с узкой специализацией и видов машин выпускается не так много.
Производятся как универсальные типы бетоноукладчика, способные заливать, укладывать и разглаживать бетонную смесь и специализированные, необходимые для выполнения определенных функций (производство изделий конкретного размера).
Они могут производить бетонирование непрерывно или циклично. Управление машинами может осуществляться своими руками, дистанционно, автоматически или использоваться смешанный принцип.
Для передвижения рабочих органов используются механический, гидравлический, пневматический или электрический типы приводов. Рассмотрим основные типы бетоноукладчиков, в зависимости от некоторых важных их особенностей.
Конструкция
Телескопический лазерный. Такой бетоноукладчик оснащен четырьмя ведущими колесами. Для управления машиной, как указывает инструкция к оборудованию, достаточно одного человека, который находится в месте с наилучшей обзорностью. Для укладки бетона применяется платформа с установленной стрелой телескопического вида, способной поворачиваться на 360 градусов. На конце стрелы расположен рабочий блок укладчика с рейкой и шнеком, которые распределяют смесь по уровню, и вибрирующей балкой для уплотнения материала.
Ручной. Такие машины чаще всего устанавливаются на двухколесной базе.
Нетелескопический. Поскольку телескопической стрелой установка не оборудована, для проведения укладки машине приходится двигаться назад, с опущенным на требуемый уровень рабочим блоком.
Применение лазерной технологии позволят значительно ускорить процесс укладки смеси, повысить качество бетонной поверхности, минимизировать использование рабочей силы. Но целесообразно использовать подобное оборудование лишь при значительных объемах работ.
На гусеницах.
Колесный.
Передвигающийся по рельсам.
Тип питателя
Бетоноукладчики с ленточным питателем относятся к наиболее универсальным и позволяют производить укладку бетонной смеси на ширину от 2 до 6 м.
Эти машины используются для бетонирования конструкций шириной не более 2000 мм. Как правило, они применяются для изготовления плит из железобетона.
Устройство бетоноукладчика
Данное оборудование позволяет производить процессы, связанные с раздачей бетона по формам и его дальнейшую укладку. Причем все эти операции проходят механизировано, за счет чего в значительной степени облегчается рабочий процесс и происходит его ускорение. Принцип действия бетоноукладчиков заключается в следующем: основной функционирующий элемент данной техники – питатель – производит выдачу смеси из бетона в специальную форму. Он же осуществляет ее регулировку и последующее распределение по толщине слоя, его равномерности, консистенции и т.д. питатели бетоноукладчиков могут подразделяться по принцу работы, на лотковые питатели и питатели ленточного вида.
Лотковый питатель предназначен, как правило, для достаточно узких форм, ширина которых не превышает двух метров. Принцип работы таких питателей состоит в следующем. К раме самого бетоноукладчика подвешивается насадка, которая имеет сходство с контейнером, только не имеющим дна, далее в данную «коробку» происходит подача бетонной смеси, края данной конструкции примерно на два сантиметра выше самой формы, куда происходит равномерная подача бетона.
Ленточные бетоноукладчики работают на более больших по ширине формах и способны к укладке бетона приблизительно на пять метров. Процесс укладки происходит за счет самоходно движущейся ленты, которая натянута с двух концов рамы. Эта лента осуществляет обратно поступательные действия, в результате которых подаваемая бетонная смесь разглаживается и принимает нужную форму. Так же лента способна регулировать слой смеси и ее толщину и ровность.
Для равномерного распределения смеси из бетона по форме, она перед подачей проходит через еще одну емкость, меньшего размера, которая именуется как копильник. Для одновременного обслуживания сразу двух форм, бетоноукладчики стали оснащаться поворотным механизмом, за счет работы которого производительность бетоноукладчиков выросла вдвое. Вообще такое понятие как производительность здесь достаточно растяжимо, поскольку это зависит от модели и модификации бетоноукладчика, она может быть как пятнадцать, так и тридцать кубометров бетона в один час работы. Основными характеристиками бетоноукладчиков служат его размеры, типы привода, объемы бункеров и емкостей для подачи массы бетона, мощность, и другие важные характеристики, которые могут быть различными в зависимости от модели оборудования.
GHP-2800
• Возможность укладки дорожного покрытия шириной до 9,75м.
• Собственная разработка фирмы GOMACO — программа управления бетоноукладчиком G+ на английском и на русском языках.
• Высокопроизводительная гидравлическая система с электрогидравлическим управлением обеспечивает простоту и точность регулировки и непрерывное контролируемое реагирование системы.
• Уникальные «интеллектуальные» цилиндры системы управления обеспечивают надежное управление с обратной связью и возможностью настройки параметров.
• 16 вибраторов и 16 вибраторных контуров с возможностью установки 8 дополнительных вибраторов и вибраторных контуров.
• Регулирование высоты опор при помощи гидропривода до 914мм, дополнительная ручная регулировка до 457мм, общий предел регулирования высоты опор до 1372мм.
• Гусеничные тележки с гидравлическим приводом через редукторы. Длина гусеницы для двух-гусеничного бетоноукладчика составляет 3,66м, для четырех-гусеничного бетоноукладчика – 2,64м. Скорость двух-гусеничного бетоноукладчика составляет до 43 м/мин., скорость четырех- гусеничного бетоноукладчика составляет до 25 м/мин.
• Уникальная система программируемого поворота по часовой стрелке на 360 градусов вокруг собственной оси обеспечивает бетоноукладчику превосходную маневренность.
• Телескопические секции рамы выдвигаются с обеих сторон на расстояние до 1,98м, обеспечивая общую длину телескопирования 3,96м.
• Реверсивный винтовой шнек диаметром 406мм с гидроприводом.
• Габаритные размеры для транспортировки: для двух-гусеничного бетоноукладчика ширина 3,7м, длина 5,9м, высота 3,1м; для четырех-гусеничного бетоноукладчика ширина 2,5м, длина 11,2м, высота 3,1м.
• Опционально возможна комплектация автоматической системой вставки арматурных стержней в покрытие (система IDBI) фирмы GOMACO: автономного агрегата с отдельным приводным двигателем, выполняющего вставку в покрытие поперечных соединительных стержней в процессе укладки бетонного покрытия.
Оборудование фирмы GOMACO произведено с учетом всех требований безопасности эксплуатации и гарантирует долгие годы надежной и безотказной работы. На всех стратегически важных узлах оборудования установлены кнопки аварийного останова. Такие кнопки есть на пульте оператора и на углах машины, а также могут быть расположены в различных точках машины, обеспечивая оптимальное использование специализированных функций. Среди других средств обеспечения безопасности — защитные щитки гусениц, предупреждающие надписи и рисунки, руководство по эксплуатации для оператора и руководство по технике безопасности. Машины компании GOMACO спроектированы таким образом, чтобы оператор имел максимальный обзор выполнения всех операций по укладке дорожного покрытия, при этом рекомендуется выполнение всех мер по обеспечению безопасности эксплуатации данного оборудования.
Чтобы получить больше информации
Скачать брошюру GHP-2800
Скачать полную брошюру линии
GOMACO Home / Curb & Gutter / Pavers / Placer/Spreaders / Trimmer/Placers / Texture/Cure Machines / Cylinder Finishers / Canal/Slope / Airports / Support Equipment / Contact Us! / Sitemap / GOMACO University / Gomaco Trolley Company / Godbersen Equipment Company
Copyright 1998-2018 GOMACO Corporation Inc. All Rights Reserved [email protected] or visit our feedback page
МОЩНАЯ МИКРОПРОЦЕССОРНАЯ
Микропроцессорная операционная система GOMACO G21 отли чается простотой, что облегчает освоение ее работы… Простота эксплуатации обеспечивается различными регуляторами уп равления и функциональными переключателями.
Простое рулевое управление… Система G21 обеспечивает кно почное рулевое управление и выдерживание заданного курса движения с помощью «интеллектуальных» гидроцилиндров.
Рулевое управление с помощью уникальных «интеллектуаль ных» гидроцилиндров используется для надежного кнопочно го рулевого управления с обратной связью, исключающего ис Оперативная информация для машиниста… Двухстроч пользования цепной передачи и потенциометра на каждой гу ный, 24 символьный жидкокристаллический дисплей сеничной опоре. Использование «интеллектуальных» гидро позволяет машинисту контролировать активные коды цилиндров уменьшает количество подвижных деталей и ис системы диагностики. Связанный с электронной сис ключает необходимость регулирования системы рулевого уп темой стабилизации рамы машины в пространстве, равления. Эксклюзивный контроллер GOMACO G21 теперь дисплей быстро выдает сообщения об ошибках, преду делает возможным использование кнопочного рулевого уп преждая машиниста о неисправностях.
равления машиной. Контроллер позволяет машинисту на учить «интеллектуальные» гидроцилиндры поворачивать на Больше возможностей для дальнейшего расширения сис необходимый угол гусеничные опоры так, чтобы гусеницы не темы по сравнению с любым бортовым контроллером свя могли удариться о какой либо предмет при минимальном или зи… G21 cовместима с промышленным стандартом нулевом зазоре. При этом машинист имеет возможность руч J1939 на сеть бортовых контроллеров связи. Система ной корректировки этой настройки. имеет память, в двадцать раз превышающую память для хранения возможных на сегодня программ, плюс Удобные красные светодиодные индикаторы обеспечивает дру возможность ее расширения в будущем.
жественный интерфейс при контроле за показаниями измери Интерфейс совместим с бескопирной технологией/3 х тельных приборов. мерными системами управления и лазерной техноло гией выдерживания заданных уклонов. Настоящая се Автоматический переход с компенсацией уклона… Система про тевая архитектура улучшает связь с внешними ком граммного обеспечения позволяет машинисту начинать и за пьютерными системами. Для обновления программно канчивать укладку бордюра с компенсацией уклона за счет из го обеспечения, контроля данных и записи данных менения положения скользящей формы относительно копира. предусмотрена возможность подключения ноутбука.
Сокращение простоев и увеличение времени безотказной рабо Телескопическая консоль с гидравлическим выдвижени ты… ем для позиционирования передней правой гусеницы Усовершенствованная система диагностики системы G21 ав томатически выявляет и идентифицирует обрывы электричес Консоль с гидроприводом для позиционирования зад ких цепей, короткие замыкания и коды неисправностей для ней гусеницы оказания помощи в устранении возможных неисправностей.
G21 помогает сократить затраты драгоценного времени на тех ническое обслуживание машины.
Поворотная консольная опора для позиционирования левой передней гусеницы
№10(100) [Естественные и технические науки, 2016]
Журнал Естественные и технические науки включён в Перечень ведущих рецензируемых научных журналов и изданий, в которых должны быть опубликованы основные научные результаты диссертации на соискание ученой степени доктора и кандидата наук (в редакции июля 2007 г.) в
Понравилась статья? Поделиться с друзьями:
Бетоноукладчики со скользящими формами | Виртген
Непрерывное мощение бетонных поверхностей и монолитных профилей
Укладчики со смещением используются для производства монолитных бетонных профилей, таких как защитные бетонные стены, бордюрные профили, желоба или узкие дорожки. Благодаря многочисленным опциям, таким как подача бетона или скользящая опалубка, асфальтоукладчики со скользящими формами со смещением чрезвычайно универсальны. Вкладные асфальтоукладчики экономически эффективно производят бетонные покрытия, например, для автомагистралей, магистралей, взлетно-посадочных полос или железнодорожных путей. В дополнение к однослойному бетонному покрытию нижний и верхний слои бетона также могут быть уложены синхронно в два слоя «мокрым по мокрому».
Бетоноукладчики со сдвиговыми формами
В бетоноукладчиках со сдвиговыми формами бетон подается в опалубку с помощью загрузочного конвейера или конвейерного шнека. Офсетная пресс-форма может быть установлена с левой или с правой стороны машины. Для индивидуального применения имеется ряд пресс-форм самых разных форм и размеров. Смещенные профили постоянно изготавливаются монолитно, с усилением или без него. Особенности машины включают в себя высококачественную систему управления машиной, практичную систему рулевого управления и привода, а также укладку бетона без струн.
загрузок
Макс. ширина формы
Макс. высота пресс-формы
Номинальная мощность
Рабочий вес, CE
Продукт №1
SP 15i
Макс. ширина формы
5 футов 11 дюймов
Макс. высота формы
4 фута 3 дюйма
Номинальная мощность
95 кВт/127 л.с.
Рабочий вес, CE
22 818 фунтов
Посмотреть продукт
Сравнивать
Продукт №1
SP 25i
Макс. ширина формы
12 футов
Макс. высота формы
6 футов 7 дюймов
Номинальная мощность
115 кВт/154 л.с.
Рабочий вес, CE
29 982 фунта
Посмотреть продукт
Сравнивать
Продукт №1
SP 61i
Макс. ширина формы
13 футов 1 дюйм
Макс. высота формы
9футов 10 дюймов
Номинальная мощность
180 кВт / 241 л.с.
Рабочий вес, CE
38 360 фунтов
Посмотреть продукт
Сравнивать
Бетоноукладчики со вставными скользящими формами
Бетоноукладчики со вставными скользящими формами укладываются непосредственно перед машиной и распределяются разбрасывающим шнеком или разбрасывающим плугом. Вибраторы равномерно уплотняют бетон, и форма формирует его заданной ширины и толщины по мере продвижения бетоноукладчика. Встроенные устройства для установки дюбелей и анкерных стержней размещают дюбельные стержни и анкерные стержни, как указано. Финишная балка выравнивает площадь поперек тротуара, а супергладкая поверхность создает идеальную поверхность. При укладке двухслойного бетона нижний и верхний слои бетона обрабатываются одновременно и укладываются «мокрым по мокрому».
загрузок
Ширина укладки
Высота укладки
Номинальная мощность
Вес машины
Продукт №1
SP 62i
Ширина укладки
12 футов — 24 фута
Высота укладки
0 — 18 дюймов
Номинальная мощность
180 кВт / 241 л. с.
Вес машины
52 910–74 957 фунтов
Посмотреть продукт
Сравнивать
Продукт №1
SP 64i
Ширина укладки
6 футов 6 дюймов — 24 фута
Высота укладки
0 — 18 дюймов
Номинальная мощность
180 кВт / 241 л. с.
Вес машины
37 500–99 200 фунтов
Посмотреть продукт
Сравнивать
Продукт №1
SP 94i
Ширина укладки
12 футов — 32 фута
Высота укладки
0 — 18 дюймов
Номинальная мощность
231 кВт / 310 л. с.
Вес машины
52 910–143 300 фунтов
Посмотреть продукт
Сравнивать
Продукт №1
SP 102i
Ширина укладки
16 футов — 40 футов
Высота укладки
0 — 18 дюймов
Номинальная мощность
231 кВт / 310 л. с.
Вес машины
55 000–110 000 фунтов
Посмотреть продукт
Сравнивать
Продукт №1
SP 124i
Ширина укладки
16 футов — 40 футов
Высота укладки
0 — 18 дюймов
Номинальная мощность
321 кВт / 430 л. с.
Вес машины
123 459–224 872 фунта
Посмотреть продукт
Сравнивать
Машины для текстурной вулканизации
Машины для текстурной вулканизации придают бетонному покрытию желаемую текстуру поверхности, нанося дисперсию, предотвращающую слишком быстрое высыхание поверхности и краев. Заданная фактура поверхности достигается кистью. В качестве альтернативы можно натянуть мешковину или синтетический газон по бетонному покрытию в продольном направлении. Автоматическая регулировка заводной головки и разматыватель пленки дополняют характеристики машины.
загрузок
Рабочая ширина макс.
Рабочая высота
Номинальная мощность
Рабочий вес, CE
Продукт №1
TCM 95i
Рабочая ширина макс.
32 фута
Рабочая высота
1 фут 8 дюймов
Номинальная мощность
55,4 кВт / 74,3 л.с.
Рабочий вес, CE
17 196–25 574 фунтов
Посмотреть продукт
Продукт №1
TCM 180i
Рабочая ширина макс.
59 футов
Рабочая высота
1 фут 8 дюймов
Номинальная мощность
55,4 кВт / 74,3 л.с.
Рабочий вес, CE
20 062–40 565 фунтов
Посмотреть продукт
Укладчик/разбрасыватель
Если при строительстве бетонных дорог необходимо заранее уложить арматуру, бетон можно подавать сбоку с помощью укладчика/разбрасывателя. Укладчик-распределитель перемещается перед бетоноукладчиком по предварительно уложенной арматуре, а автобетоносмеситель сбоку подает бетон на ленточный конвейер. Бетон заливается равномерно по предварительно уложенной арматуре перед бетоноукладчиком и распределяется по всей рабочей ширине. Как только автобетоносмеситель опустеет, ленточный конвейер можно очень быстро сложить, чтобы освободить путь для следующего миксера.
Ширина укладки
Высота укладки
Номинальная мощность
Эксплуатационная масса CE (при ширине укладки 12 футов)
Продукт №1
WPS 62i
Ширина укладки
12 футов — 24 фута
Высота укладки
0 — 20 дюймов
Номинальная мощность
180 кВт / 241 л. с.
Эксплуатационная масса CE (при ширине укладки 12 футов)
76,39 фунта — 82,629 фунта
Посмотреть продукт
Продукт №1
WPS 102i
Ширина укладки
12 футов — 40 футов
Высота укладки
0 — 20 дюймов
Номинальная мощность
231 кВт / 310 л. с.
Эксплуатационная масса CE (при ширине укладки 12 футов)
92,065 фунта — 103,088 фунта
Посмотреть продукт
Новости и отчеты о вакансиях
продолжить чтение
Все детали, иллюстрации и тексты не являются обязательными и могут включать в себя специальное оборудование. Мы оставляем за собой право вносить технические изменения без предварительного уведомления. Данные о производительности зависят от реальных условий эксплуатации.
Мощение со скользящими формами – Pavement Interactive
Мощение со скользящими формами определяется как процесс, используемый для консолидации, придания геометрической формы и отделки поверхности массы PCC путем непрерывного протягивания опалубки через пластичную бетонную массу и вокруг нее.
Мощение со скользящими формами лучше всего подходит для крупных работ, требующих высокой производительности. Особые преимущества укладки со скользящими формами: (ACPA, 1995 [1] ): PCC с малой осадкой (порядка 0–75 мм (0–3 дюйма)) необходим для того, чтобы свежий PCC мог сохранять свою форму после прохождения бетоноукладчика со скользящими формами. PCC с низкой посадкой может быть изготовлен с меньшим количеством воды и обычно имеет более высокую прочность на сжатие и изгиб, чем сопоставимые смеси с высокой посадкой.
Высокая производительность . Крупные работы обычно требуют высокой производительности, чтобы быть прибыльными. Производительность укладки со скользящими опалубками обычно находится в диапазоне 65–100 м 3 /ч (85–131 ярд 3 /ч) для магистрального укладки. Это соответствует скорости 70–90 м/ч (230–300 футов/ч) при ширине 3,66 м (12 футов) и толщине 250 мм (10 дюймов) слоя PCC.
Гладкая поверхность катания . Автоматизация и компьютерное управление позволяют бетоноукладчикам со скользящими формами производить очень гладкие поверхности (IRI порядка 0,9).0 м/км или меньше).
В этом разделе представлена укладка PCC, укрепление, отделка и отверждение, как это обычно делается при укладке скользящей формы. Чаще всего эти этапы выполняются тремя единицами оборудования: укладчиком/распределителем (используется для грубой укладки), бетоноукладчиком (используется для окончательной укладки, уплотнения и первоначальной отделки) и машиной для текстурирования и отверждения. Эти машины обычно перемещаются вместе последовательно по всей длине проекта.
Россыпь/Разбрасыватель
Хотя они и не всегда используются, россыпи/разбрасыватели встречаются довольно часто. Они размещают дозированную подачу PCC перед асфальтоукладчиком, используя серию конвейерных лент, шнеков, плугов и устройств для отвода (см. рис. 1 и 2). Использование укладчика/разбрасывателя позволяет подрядчику получать материал из транспортных средств и укладывать равномерное количество PCC по всей ширине асфальтоукладчика, сводя к минимуму расслоение.
Рисунок 1. Крупная россыпь/разбрасыватель.
Рисунок 2. Меньшие россыпи/разбрасыватели.
Рис. 3. Укладчик/разбрасыватель получает РСС от самосвала и укладывает его перед асфальтоукладчиком РСС.
Асфальтоукладчик
Асфальтоукладчик обычно выполняет стяжку, уплотнение и начальную отделку. Типичный самоходный асфальтоукладчик на гусеничном ходу работает со скоростью от 1 до 2,5 м/мин (от 3 до 8 футов/мин) (ACPA, 1995 [1] ). Некоторые асфальтоукладчики также оснащены арматурой (при необходимости), дюбелями и стяжками. На рис. 4 показан основной процесс укладки со скользящими опалубками под асфальтоукладчиком. Сначала шнек распределяет PCC перед отбойной пластиной. Во-вторых, отбойная пластина (разглаживающая плита) удаляет лишние части уложенного шнеком PCC и приближает плиту к ее окончательной высоте. В-третьих, PCC укрепляется группой вибраторов. В-четвертых, трамбовка (обычно работающая со скоростью от 0 до 150 ударов в минуту), если она имеется, проталкивает крупные частицы заполнителя под поверхность плиты. Наконец, профильные панели выравнивают плиту на нужной высоте и обеспечивают первоначальную отделку. В оставшейся части этого раздела этот процесс описывается более подробно.
Рис. 4. Типовая схема работы асфальтоукладчика со скользящими формами. В бетоноукладчиках со скользящими формами сначала используется шнек для окончательного распределения материала, а затем отбивается PCC на нужной высоте с помощью простой отбойной плиты или вибробруса.
Уплотнение
После укладки асфальтоукладчик уплотняет свежий PCC с помощью серии вибраторов (рис. 5). Как правило, наиболее эффективное положение вибратора — после механизма отрыва и на последнем подъеме плиты. В зависимости от состава смеси и глубины плиты вибраторы обычно устанавливаются на 7000–9Диапазон 10 000 полуколебаний в минуту (VPM). Вибраторы располагаются рядом друг с другом таким образом, чтобы зоны их воздействия перекрывались примерно на 50–75 мм (2–3 дюйма) при нормальной скорости асфальтоукладчика (ACPA, 1995 [1] ). Промежутки между зонами влияния (вызванные неправильными настройками вибратора или слишком быстрой работой асфальтоукладчика) могут вызвать сегрегацию (ACPA, 1995 [1] ). Большинство асфальтоукладчиков используют полностью регулируемое расстояние между вибраторами для учета различных условий и типов смеси, при этом обеспечивая адекватное перекрытие зон воздействия.
Рис. 5. Вибраторы PCC на нижней стороне асфальтоукладчика.
Рис. 6. Боковые формы и панорамирование профиля.
Рис. 7. Ручная отделка позади асфальтоукладчика.
Первоначальная отделка
Первоначальная отделка выполняется путем выдавливания массы PCC через движущуюся форму, состоящую из основного слоя (дно), боковых форм (вертикальные края брусчатки) и профильной плиты (плоские части брусчатки, установленные на за вибратором) (рис. 6). Выдавливание PCC через полученную прямоугольную форму обеспечивает окончательные размеры плиты, а также служит для включения более крупных частиц заполнителя под поверхность, что приводит к гладкой поверхности. Некоторые асфальтоукладчики также оснащены гидравлическим трамбовочным брусом (иногда его называют «джиттербаг»), расположенным сразу за вибраторами. Перемещаясь вверх и вниз, полоса тампера считается (ACPA, 1995 [1] ):
Помощь в укреплении и отделке путем утрамбовки крупных частиц заполнителя под поверхностью плиты.
Поддерживайте перемещение крупного заполнителя в месте, где он может останавливаться или застревать.
Поддерживайте движение материала вокруг вибраторов, чтобы он не собирался и не вызывал проблем с потоком.
Однако во многих случаях тампер может не понадобиться. Хотя он отталкивает крупный заполнитель от поверхности, облегчая финишную отделку, он также может создавать поверхностный слой с высоким содержанием строительного раствора, который может шелушиться или трескаться (USACE, 19).95 [2] ). Обычно трамбовка не требуется для хорошо разработанной смеси PCC, однако она может быть полезной при обработке жесткой смеси с низкой осадкой.
Дополнительная отделка, при необходимости, выполняется сразу за профилем и обычно выполняется с помощью простых затирочных машин (рис. 7). Микротекстурирование обычно выполняется путем перетаскивания участка мешковины (рис. 8) или искусственного газона (рис. 9) за брусчатку.
Рис. 8. Перетяжка из мешковины.
Рисунок 9. Искусственный газон.
Машина для текстурирования и отверждения
Машина для текстурирования и отверждения следует за асфальтоукладчиком и используется для придания макротекстуры (обычно путем перетаскивания зубчатого инструмента по свежему дорожному покрытию – рис. 10) и нанесения мембраны для отверждения на дорожное покрытие. Иногда асфальтоукладчик оснащается машиной для лужения, а для нанесения отверждающей мембраны используется отдельная машина. Несмотря на то, что раньше это было довольно распространено, дорожное покрытие из скользящего формования PCC редко, если вообще когда-либо, отверждается водой из-за высоких затрат на материалы и рабочую силу. На рисунках 11 и 12 показаны сушилки в работе.
Рис. 10. Тонированная каретка для текстурирования.
Отверждение обычно выполняется после того, как завершена отделка участка и первоначальный мокрый блеск почти исчез. На тонированных покрытиях отверждение обычно должно происходить в два прохода, один вперед и один назад, чтобы обе стороны гребней текстуры были покрыты отверждающей мембраной.
Рисунок 11. Распыление отверждающей мембраны.
Рис. 12. Крупный план мембраны, отверждаемой распылением.
Сноски (↵ возвращается к тексту)
Американская ассоциация производителей бетонных покрытий (ACPA). (1995). Строительство бетонных покрытий из портландцемента. Курс № 13133 Национального института автомобильных дорог. Совместное обучение AASHTO/FHWA/промышленности. Федеральное управление автомобильных дорог, Департамент транспорта. Вашингтон, округ Колумбия ↵
Инженерный корпус армии США (USACE). (30 июня 1995 г.). Проектирование и проектирование – Оценка и ремонт бетонных конструкций . ЭМ 1110-2-2002. Инженерный корпус армии США. Вашингтон, округ Колумбия ↵
Бетоноукладчики со скользящими формами: как добиться превосходной гладкости
Бетоноукладчики со скользящими формами укладывают, формируют и, в зависимости от приспособлений, наносят начальную отделку на поверхность малоподвижного портландцементного бетона (PCC).
Асфальтоукладчик натягивается на PCC, скользя по материалу, отсюда и название. Процесс похож на экструзию, но вместо материала движется сама машина.
PCC, проходящий через бетоноукладчик со скользящими формами, проходит через шнековый разбрасыватель, разбрасыватель, отбойную плиту, вибраторы и/или трамбовки и согласующую плиту. Затем он проходит через чистовую стяжку, которая придает окончательную форму, после чего следует затирочная или ручная отделка.
Эти машины обеспечивают сплошную и бесшовную поверхность бетонного покрытия и по своей природе дают гладкую поверхность без швов. Эти машины должны работать на стабильном грунтовом основании, поскольку отсутствие стабильного грунтового основания может вызвать проблемы с контролем толщины и профилем.
Укладка таким образом также требует постоянного снабжения материалом. Как и при укладке асфальта, неравномерный темп, включая остановки, вдоль запланированного прямого участка тротуара создаст заметные неровности на поверхности. Поэтому важно поддерживать постоянный запас материала в машине и координировать доставку грузовиками и операции на месте смешивания.
Состав смеси и погодные условия
Состав смеси и погодные условия также влияют на качество дорожного покрытия. Низкая влажность, высокая температура и сильный ветер могут высушить PCC, что требует тонкого баланса между обрабатываемостью и твердостью. Если смесь высыхает, она теряет удобоукладываемость, и никакие эксплуатационные навыки не смогут улучшить дорожное покрытие.
«Незначительные изменения условий заполнителя и влажности могут вызвать проблемы», — говорит Дэвид Хоури, президент Howrey Construction в Роквелл-Сити, штат Айова. Его фирма недавно стала лауреатом премии 2015 года в области бетонных покрытий от Ассоциации производителей бетонных покрытий Айовы (ICPA). Награды присуждаются проектам, которые оцениваются по нескольким факторам, включая гладкость.
«Совершенный дизайн смеси на бумаге — это просто, — говорит Хоури, — но добиться идеального состава смеси из смесителя и асфальтоукладчика и обеспечить его согласованность — это совсем другое дело. Даже небольшое изменение содержания влаги может заставить его действовать по-другому».
Хоури говорит, что он был свидетелем того, как подрядчики работали так, как будто верят, что асфальтоукладчик должен обеспечивать идеальные результаты в любых условиях.
«Во время работы, выполненной в прошлом году, у нас был подрядчик по грунтовым работам, который занялся укладкой бетонного покрытия, и у него был неопытный парень, работающий с асфальтоукладчиком. Было 95 градусов, и он не понимал, почему у него проблемы. У него были кошмары по поводу проекта, потому что машина не делала того, что, по его мнению, она должна была делать. Каждую минуту, когда бетон находится в таких условиях, он увлажняется».
Стив Джексон, президент корпорации Cedar Valley в Ватерлоо, штат Айова, согласен с Хоури в вопросе о погоде, так как его сотрудники ставят его на первое место среди своих проблем. Cedar Valley неизменно признается за качество своих бетонных покрытий, получив пять наград в рамках раунда признания ICPA 2015 года и золотую награду Американской ассоциации бетонных покрытий в 2015 году за выдающиеся достижения в области бетонных покрытий.
Состав смеси и консистенция бетона также являются главными проблемами, но Джексон добавляет, что плохой дизайн может быть более серьезной проблемой, когда речь идет о гладкости.
«Каждый хочет, чтобы тротуар был гладким, как стеклянная столешница, — говорит он. «Если геометрия дорожного покрытия создала шероховатости в дорожном покрытии, бетоноукладчик со скользящими опалубками не может их устранить».
Бригады специалистов по качеству
Проектирование – это лишь часть подготовки к укладке скользящей опалубки. Джексон говорит, что его сотрудники считают, что основным фактором, влияющим на первоклассные бетонные покрытия, является качество рабочей силы.
«Они постоянно говорили мне, что превосходная гладкость дорожного покрытия достигается благодаря вниманию к деталям и найму квалифицированных специалистов, которые заботятся о своей работе», — говорит он. «Несмотря на то, что качественное оборудование абсолютно необходимо для получения качественных дорожных покрытий, квалифицированные люди, похоже, являются главным фактором».
Он говорит, что та же операция, которая 10 лет назад позволяла производить гладкие тротуары, сегодня позволяет производить превосходные покрытия.
В Cedar Valley говорят, что основными факторами, влияющими на качество, являются:
Надлежащим образом обученный персонал, готовящий план и площадку перед бригадой укладчиков.
Внимание к деталям при выполнении руководства по установке оборудования со струной или без нее.
Качественное оборудование, разработанное для достижения того уровня производительности, к которому вы стремитесь.
Внимание к деталям при настройке оборудования.
Высококлассные специалисты по производству бетона, работающие с оборудованием и материалами, способными производить стабильный бетон, с достаточными производственными мощностями для обеспечения требуемого уровня производства.
«Я думаю, что производители оборудования проделывают фантастическую работу, разрабатывая и производя качественное оборудование, способное решать задачи по укладке превосходных гладких покрытий», — говорит Джексон. Тем не менее, он считает, что одной из самых больших проблем, с которыми сталкивается бетонная промышленность, является привлечение и удержание квалифицированной рабочей силы, которая хочет быть вовлеченной и гордится своей работой.
Он также считает, что постоянное финансирование транспорта является ключом к поддержанию постоянного качества дорожного покрытия. «Нам необходимо иметь механизмы финансирования, чтобы иметь достаточно работы для нашей отрасли, чтобы позволить предприятиям иметь постоянную рабочую нагрузку, что позволит нам сохранить наш обученный персонал и закупить качественное оборудование».
Возможности оборудования
Хотя подрядчики знают, что ключом к их успеху являются опытные и хорошо обученные бригады, они также понимают, что возможности и достижения бетоноукладчиков со скользящими формами должны быть на соответствующем уровне. Большая часть недавних изменений и обновлений этих машин была сосредоточена на системах управления.
Компания Wirtgen America заявляет, что ее концепция дизайна была сосредоточена на поиске высококачественной гидравлики поставщика, например, на использовании систем авиационного класса в дополнение к электронным компонентам. «Все это в сочетании с интеллектуальными возможностями нашей операционной системы WI-Control, разработанной специально для бетоноукладчиков со скользящими формами, объединяет все это», — говорит Тим Нэш, директор по бетонным изделиям.
Нэш говорит, что в асфальтоукладчиках со скользящими формами существует множество переменных, которые объединяются для создания оптимальной конструкции оборудования: «Мы уделяем особое внимание конструкции рамы и весу, а также конструкции пресс-формы и системам управления».
Рэнди Питерс, национальный менеджер по продажам Power Pavers, говорит, что разработки его компании в области систем управления помогли упростить работу, позволив бригадам больше сосредоточиться на общем процессе укладки.
«Использование 3D-навигации и смарт-аксессуаров, скорость асфальтоукладчика, мгновенная обратная связь и возможность регулировки чувствительности органов управления высотой асфальтоукладчика — все это играет ключевую роль в создании более ровного дорожного покрытия», — говорит Петерс.
Петерс говорит, что система локальной сети контроллеров на машинах Power Paver позволяет почти мгновенно реагировать на собираемую ими информацию. «Это обеспечивает гораздо более точную обратную связь, что помогает создать гладкую поверхность».
«Конструкция асфальтоукладчика и элементы управления сами по себе надежны, как скала, и все, что может отрицательно сказаться на плавности хода, было устранено, поэтому оператору не приходится с этим сталкиваться», — говорит Дэвид Липари, менеджер по маркетингу Guntert & Zimmerman. Обзор на машинах G&Z был скорректирован, чтобы оператор мог лучше контролировать высоту головки бетона. «Контроль высоты бетонной головки — важная часть достижения ровного дорожного покрытия, — говорит Липари. «Машину легко настроить для укладки, а наши органы управления интуитивно понятны и просты в освоении».
Чад Харрисон, главный инженер по мобильным продуктам CMI Roadbuilding, говорит, что, поскольку непрерывная укладка является основным фактором гладкости дорожного покрытия, работа оборудования не должна быть сложной. «Ключевая часть «макро» взгляда CMI на всю операцию укладки заключается в использовании технологий для упрощения оборудования для оператора и повышения надежности», — говорит он. Для этого компания добавила яркие большие экраны, которые обеспечивают более наглядную обратную связь с оператором и упрощают управление машиной.
Компания CMI внедрила то, что она называет «надежным ящиком», идею комплекта для укладки, которая возникла в ее асфальтоукладчике SF-2, для всей линии укладки со скользящими формами, чтобы уменьшить прогиб во время укладки. «В комплекте CMI серии «6» используется жесткая коробчатая конструкция, в результате чего комплект для укладки более чем на 50 процентов жестче, чем традиционный стиль с подвеской и поддоном, и не прогибается во время укладки, — говорит Майк Родригес, региональный бизнес-менеджер CMI.
Гладкость в режиме реального времени
В последние несколько лет в рамках второй Стратегической программы исследований автомобильных дорог (SHRP2) изучалось, как определить гладкость бетонных покрытий в режиме реального времени путем анализа профиля еще мокрого покрытия. и в пластической фазе. Подрядчики могут использовать мгновенную обратную связь для корректировки влажного бетона по мере необходимости, вместо того чтобы возвращаться позже и шлифовать дорожное покрытие, чтобы обеспечить соответствие требованиям по гладкости.
В тестировании использовались два важных элемента оборудования, в том числе индикатор гладкости GOMACO (GSI) и профилировщик реального времени Ames Engineering (RTP). Два акустических датчика GSI и один датчик уклона можно прикрепить к оборудованию для укладки или к отдельной машине и измерять международный индекс шероховатости (IRI) и индекс профиля (PI). Его тестировали в Арканзасе и Мичигане. RTP устанавливается непосредственно на асфальтоукладчик и использует лазер для определения IRI и PI, а также имеет систему обнаружения неровностей/локальных неровностей. Он был протестирован в Техасе, Мичигане и Нью-Йорке 9.0005
Согласно отчету SHRP2, исследователи обнаружили, что обе части оборудования могут определять гладкость в реальном времени и, таким образом, вносить коррективы, влияющие на качество езды и окончательный профиль дорожного покрытия. В результате в отчете подрядчикам рекомендуется использовать надстройки для мониторинга и улучшения процесса, используя собранные данные для регулировки скорости укладки, частоты вибратора, чувствительности органов управления подъемом асфальтоукладчика и частоты колеблющегося корректирующего луча на асфальтоукладчике.
Будущие разработки
Средства управления будут по-прежнему оставаться в центре внимания при проектировании и эксплуатации асфальтоукладчиков со скользящими формами для создания гладких тротуаров в ближайшем будущем, как говорят производители, наряду с достижениями в области бетонных смесей и спецификаций.
«Несмотря на то, что элементы управления без струн существуют уже давно, они все еще находятся в зачаточном состоянии, когда дело доходит до решения извечных проблем, связанных с установкой струны в шнур», — говорит Липари. «Это, в сочетании с более качественным бетоном, используемым в бетонном покрытии, станет движущей силой, которая сделает бетонные покрытия более гладкими, чем когда-либо».
«Дорожно-строительные спецификации постоянно корректируются с учетом более узких допусков и более жестких спецификаций, что побуждает нас постоянно совершенствовать нашу продукцию», — говорит Петерс. «Мы постоянно пытаемся решить проблемы, с которыми сталкиваются наши клиенты».
На что подрядчики должны обращать внимание при покупке бетоноукладчика со скользящими опалубками
Подрядчикам, покупающим бетоноукладчик со скользящими опалубками с максимальной шириной от 20 до 53 футов, нужно учитывать многое, кроме того, сколько он собирается установить их обратно в финансовом отношении.
«Слишком часто подрядчики интересуются только ценой машины, — говорит Стивен Буллок, президент компании Power Curbers. «Совокупная стоимость владения, которая включает запасные части и обслуживание, стоимость транспортировки и перепродажи, является более важным и актуальным вопросом».
Подрядчики также должны иметь четкие представления о том, что им нужно, и сообщать об этих требованиях дилеру, чтобы они могли выбрать нужную модель, размер и навесное оборудование, говорит Тим Нэш, директор по бетонным изделиям Wirtgen America.
«Я бы также посоветовал покупателям оборудования обратить внимание на ключевые особенности асфальтоукладчика со скользящими формами, — говорит он. Это включает в себя конструкцию формы и рамы, концепцию потока материала, скорость изменения ширины укладки, совместимость асфальтоукладчика с 3D-управлением и список поставщиков, сертифицированных для этой машины.
Роджер Боккес, основатель и генеральный директор Heavy Equipment Manufacturing, также рекомендует уделять особое внимание долговечности и надежности.
«Вам нужна машина, которая прослужит долго и сможет работать в любых условиях, не беспокоясь о том, что машина сломается в полевых условиях, и вам придется ждать, пока технический специалист производителя починит», — говорит Боккес. . «Еще один фактор, который вы обязательно должны учитывать при выборе различного оборудования для укладки бетона, — это простота эксплуатации и технического обслуживания в полевых условиях».
Чего хотят подрядчики
Предпочтения подрядчиков в отношении определенных характеристик асфальтоукладчиков разнообразны: от базовых до высокотехнологичных, но в ходе переговоров с дилерами обычно поднимаются определенные темы.
Укладка 3D-мощения без нити является одним из наиболее популярных способов из-за экономии средств.
«Бесструнные элементы управления за последние годы превратились из передовых в обычные, — говорит Буллок. «Отказ от струнной линии экономит труд и открывает рабочую площадку, предоставляя больше места для мобильности оборудования».
Но высокая стоимость оборудования ставит многих подрядчиков в тупик.
«Некоторые заинтересованы в мощении без струн и готовы к этому, — говорит Бокес, — но большинство хочет знать, смогут ли они добавить его позже, не тратя деньги на системы сейчас».
Трудности с наймом опытных операторов также влияют на решение о покупке.
«Все клиенты хотят знать о простоте изменения ширины и уровне опыта и знаний, необходимых для работы с асфальтоукладчиком», — говорит Боккес.
«Учитывая ограниченное количество квалифицированной рабочей силы в нашей отрасли, — добавляет Буллок, — поиск машины, которую легко настроить и запустить, является обязательным условием для большинства подрядчиков».
Популярные бетоноукладчики со скользящими формами
Производители бетоноукладчиков со скользящими формами максимальной шириной от 20 до 53 футов выделяют некоторые из своих самых популярных моделей.
Wirtgen SP 64i
Нэш называет Wirtgen SP 64i самым популярным бетоноукладчиком со скользящими формами компании.
При длине от 12 до 25 футов SP 64i «занимает большую часть площади на рынке», — говорит он.
Он говорит, что подрядчикам также нравится, что это многоцелевая машина, способная укладывать барьеры, бордюры и магистральные дороги, а также выдвигаться на 25 футов.
Он отличается самым низким расходом топлива в экономичном режиме, говорит он. Его также можно быстро перевести из режима укладки в режим транспортировки и обратно. Для транспортировки не нужно снимать опалубку или супергладкую машину, что означает отсутствие необходимости в дополнительных грузовиках или подъемном оборудовании для перевозки асфальтоукладчика и меньше усилий для перемещения.
Интеллектуальные системы рулевого управления и контроля предназначены для обеспечения плавной работы и точности. Интерфейс машины совместим с системами 3D-управления от ведущих поставщиков послепродажного обслуживания.
Другие особенности включают поворот гусеницы на 90 градусов, двойную гидравлическую телескопическую раму, стандартный передний разбрасывающий плуг, гидравлическую регулировку наклона кромки и функцию автоматического подъема пресс-формы, которая смягчает удары при остановке/пуске.
Мощный асфальтоукладчик SF-1700
«Наш SF-1700 компактен и прост, но надежен и оснащен новейшими технологиями, включая трехмерное бесструнное управление, — говорит Буллок.
Предназначен для половинной ширины дорожного покрытия и дорог шириной до 24 футов. Минимальная ширина укладки составляет 10 футов.
Подрядчики могут выбрать 160-сильный двигатель Cummins Tier 3 или 165-сильный Tier 4 Final. Он имеет две 12-футовые усиленные гусеничные системы со стальными гусеницами шириной 12 дюймов. Компоненты гусеницы имеют герметичные звенья и ролики со смазкой на весь срок службы.
Скорость укладки составляет от 0 до 30 футов в минуту, а скорость движения — от 0 до 60 футов в минуту.
Асфальтоукладчик можно буксировать, не разбирая его, и его можно легко загружать и разгружать с помощью боковых аппарелей.
Модель SF-1700 отличается низкопрофильной конструкцией, обеспечивающей обзор оператору спереди и сзади, без основной рамы, закрывающей обзор. По словам компании, оператор может видеть вибрационную камеру, заднюю часть асфальтоукладчика и готовую продукцию.
Боковой просвет составляет всего 26 дюймов, что позволяет укладывать асфальт близко к препятствиям.
HEM SFP 8–15, SFP 12–27
Боккес говорит, что модели HEM SFP 8–15 и SFP 12–27 почти равны по популярности.
SFP 8-15 может прокладывать велосипедные дорожки и тропы шириной 8 футов, а также выполнять укладку дорог и автомагистралей шириной до 26 футов с комплектом удлинителей. Он рекомендует асфальтоукладчик компаниям, которые только начинают укладывать тротуарную плитку со скользящими формами, или тем, кто работает над мелкими и средними проектами из-за его универсальности.
SFP 12-27 может выполнять укладку в одну полосу, а также работы шириной до 10 метров. «Эта машина с широким диапазоном ширины укладки пользуется популярностью у подрядчиков уже более двух десятилетий, — говорит Боккес, — и может быть оснащена множеством опций для подачи бетона, вставки дюбелей, нестандартных бордюров и возможностей без струн на строительной площадке. момент покупки или позже, в зависимости от потребностей подрядчика».
Он добавляет, что для работы с асфальтоукладчиками HEM не требуется высококвалифицированный техник. «Наши машины интуитивно понятны, просты в понимании и обладают невероятной надежностью». И все они используют общие детали, «поэтому клиент не обязан использовать проприетарные детали, когда они вам нужны».
GOMACO GP4
Асфальтоукладчик GOMACO GP4 может укладывать асфальтоукладчик шириной до 40 футов и меньшей шириной. Он доступен в двух- и четырехдорожечной версиях.
Его роликовая рама имеет возможность двойного телескопирования до 7 футов с каждой стороны. Компания заявляет, что легко поворачивает радиусы благодаря умному позиционированию ног и умному вращению гусеницы. Его можно перевести в транспортный режим, переведя ножки в транспортное положение.
Асфальтоукладчик совместим с системой управления GOMACO G+, разработанной для обеспечения бесшумной работы и гидравлики, чувствительной к нагрузке. G+ Connect обеспечивает интерфейс с интеллектуальными аксессуарами и системой навигации компании.
Для получения подробной информации о доступных бетоноукладчиках со скользящими опалубками, а также других основных типах строительной техники, ознакомьтесь со спецификациями и ежегодником Equipment World за 2019-2020 гг. Вы можете сравнить характеристики машины онлайн, нажав здесь. Чтобы просмотреть цифровую копию печатной версии этого руководства, перейдите по ссылке https://bit. ly/digitalEWspecs.
Как сократить расходы на бетоноукладчик
Франк Рэцон, старший редактор
Бетоноукладчики со скользящими формами — это значительные инвестиции для автопарков, поэтому менеджерам важно делать все возможное, чтобы снизить эксплуатационные расходы, и использовать новейшие технологии для преимущество на этих машинах для укладки бетона.
В первую очередь производители бетоноукладчиков подчеркивают важность техобслуживания как основы стратегии экономии.
«Самая дорогая часть затрат на владение машиной — это ремонт, — говорит Фред Брайан, вице-президент по продажам Power Curbers. «Лучший способ уменьшить их — следовать рекомендованному производителем графику обслуживания. Поддержание машины в чистоте и отсутствие скоплений бетона — еще одна важная часть владения машиной. Потратив несколько дополнительных минут в конце заливки, вы сэкономите время, деньги и уменьшите разочарование в долгосрочной перспективе».
Посмотрите это видео, чтобы узнать больше об эксплуатационных расходах.
Кевин Кляйн, вице-президент GOMACO по проектированию/исследованиям и разработкам, также уделяет особое внимание очистке и техническому обслуживанию машин для укладки бетона.
«Начните строгую и постоянную программу технического обслуживания, которая включает в себя ежедневную чистку», — говорит Кляйн. «Оборудование для укладки бетонных скользящих опалубок необходимо тщательно очищать после каждого дня укладки, чтобы удалить засохший бетон и бетонные брызги. Пропуск хотя бы одного дня запускает постепенное накопление, что может привести к проблемам и, возможно, даже к серьезному отказу оборудования.
«Попросите всю вашу бригаду укладчиков ознакомиться с Руководством оператора, прилагаемым к машине», — продолжает Клейн. «[Проверьте его] в первую очередь на наличие всех указаний по технике безопасности, но также обратите особое внимание на содержащуюся в нем информацию по техническому обслуживанию. Каждая единица оборудования GOMACO имеет рекомендации по обслуживанию двигателя и замене жидкостей, смазке приводов поворота и других движущихся компонентов, а также замене изношенных компонентов — машина, находящаяся в хорошем состоянии, — это эффективная машина».
Кляйн также говорит, что телематика играет роль, указывая на дистанционную диагностику его компании.
«Воспользуйтесь преимуществами удаленной диагностики GOMACO», — говорит он. «GRD позволяет нашей сервисной команде обновлять программное обеспечение для управления машиной, выполнять диагностические проверки или устранять неисправности оборудования по телефону, помогая поддерживать работоспособность подрядчика, даже когда поездки становятся трудными из-за требований Covid.
«Помимо GRD, у нас есть штатные представители сервисной службы, которые круглосуточно и без выходных принимают телефонные звонки подрядчиков и помогают устранять неполадки с машинами, — говорит Кляйн.
Последствия бережливости имеют волновой эффект.
«Игнорирование ежедневного и периодического технического обслуживания может привести к незапланированному простою оборудования, что, в свою очередь, может привести к перерасходу бетона, сокращению продуктивного рабочего времени и, возможно, к временным штрафам», — говорит Уэйд Боуман, менеджер по продукту компании Wirtgen по укладке бетонных скользящих опалубок.
Технологии также играют большую роль в управлении затратами. Строительное оборудование попросил некоторых из крупнейших в отрасли производителей бетоноукладчиков со скользящими опалубками рассказать о своих новейших и лучших моделях.
«Для GOMACO и нашего оборудования для укладки бетона со скользящими опалубками наши новейшие достижения заключаются в нашей эксклюзивной системе управления G+ и управлении машиной с использованием систем 3D-наведения», — говорит Кляйн.
«Новым для G+ является программное обеспечение GOMACO Navigator для асфальтоукладчиков, которое объединяет все принадлежности асфальтоукладчика G+ для удобного управления и контроля на дополнительном сенсорном дисплее», — говорит Кляйн.
«Это дает персоналу на земле возможность точно настраивать производительность асфальтоукладчика, настраивать параметры для GSI асфальтоукладчика (индикатор гладкости GOMACO), устройства для вставки боковых брусьев и PTA (регулировщики переключения мощности), отслеживать отклонения высоты и рулевого управления, а также вносить необходимые коррективы для управления чувствительностью», — говорит он.
Кляйн объясняет, как функция GSI работает на земле, где плавность хода является ключом к соответствию строгим спецификациям и, возможно, к увеличению производительности.
«Это позволяет персоналу на рабочей площадке, стоящему рядом с асфальтоукладчиком, контролировать гладкость своего покрытия на ходу», — говорит он.
«Навигатор имеет экран GSI, который позволяет отслеживать до четырех кривых гладкости GSI, используя либо график локализованной шероховатости в реальном времени, либо смоделированный калифорнийский профилограф», — говорит Кляйн. «Это помогает подрядчику добиться максимальной управляемости. Информация о скорости и перемещении асфальтоукладчика, а также события запуска и остановки асфальтоукладчика регистрируются, чтобы наши подрядчики могли сопоставлять скорость машины с гладкостью дорожного покрытия в зависимости от профиля, который они укладывают в этот день.
«Мы также обновили аппаратное обеспечение GSI, устанавливаемого на форму. Мы используем новые легкие алюминиевые крепления GSI, чтобы упростить сборку и сборку блоков GSI. Они также требуют меньше обслуживания», — говорит Кляйн.
«Новая низкопрофильная система крепления позволяет установить рабочий мост прямо над GSI. Новые датчики наклона и звука на базе CAN считывают данные о гладкости из любого места на поверхности плиты для максимально точных измерений», — говорит Кляйн.
«Каждый из блоков GSI имеет собственный цифровой ЖК-экран прямо на индикаторной полосе, обеспечивающий цифровую диагностику прямо в месте расположения датчика», — говорит Кляйн. «Система GSI и Navigator, смонтированная на пресс-форме на асфальтоукладчике со скользящими формами GOMACO, предлагает инструменты контроля качества, которые можно быстро и легко установить, а также обеспечить немедленную обратную связь для производства качественного дорожного покрытия на современном рынке дорожного покрытия со строгими требованиями к ходовым качествам».
Компания Wirtgen также совершенствует технические решения для своего оборудования для укладки бетона.
«Мы постоянно совершенствуем возможности нашего оборудования, чтобы повысить его гибкость и эффективность, — говорит Боуман. «Эти усовершенствования улучшают управляемость, сокращают время мобилизации и делают поиск и устранение неисправностей более автоматизированным.
«В сегодняшних условиях эти вещи оказывают огромное влияние на итоговый результат, — говорит Боуман. «И мы добавляем новое оборудование в нашу линейку. Например, недавно мы представили на рынке разбрасыватель россыпей WPS62i. Он имеет множество невиданных ранее функций, таких как дистанционное управление, которое позволяет оператору бетоноукладчика со скользящими формами (который следует за WPS62i) изменять положение отвода, чтобы увеличить или уменьшить подачу бетона в асфальтоукладчик одним касанием кнопка.»
Power Curbers Брайан также управляет клавишами управления.
«Наша новейшая система управления машиной, SlipSmart Control Solution, обеспечивает операторам Power Curber самую точную укладку бетона, — говорит он.
«Управление поперечным уклоном стало более плавным, более чувствительным и интуитивно понятным, а интеграция с системами управления Topcon, Leica и Trimble 3D упрощена», — говорит Брайан. «Для заливки с малым радиусом предусмотрена автоматическая калибровка датчика радиуса поворота. Элементы управления скоростью теперь предлагают более точное масштабирование. Кроме того, дисплей стандартизирован и может легко переключаться между английскими описаниями и значками и другими языками».
Рынок бетоноукладчиков со скользящими формами был неоднозначным, по словам тех OEM-производителей, которые ответили на вопросы CE о рынке. Covid-19, конечно, имеет большое значение, как и ежегодное желание принять прочное законодательство об инфраструктуре на национальном уровне. «Ковид, безусловно, создал некоторые проблемы на рынке в этом году, особенно на международном уровне, где многие страны большую часть года находились в изоляции», — говорит Брайан.
«После паузы внутри страны мы увидели хорошее завершение года и внимательно следим за государственными бюджетами на 2021 год», — говорит Брайан. «Мы надеемся, что Конгресс найдет способ одобрить и профинансировать законопроект о долгосрочной инфраструктуре. Это изменит правила игры как для подрядчиков, так и для поставщиков. Строительство новых домов продолжает формировать устойчивый рынок бордюрных и водосточных машин».
Wirtgen звучит позитивно, несмотря на странные и сложные обстоятельства 2020 года.
«На самом деле у нас был очень хороший год, и наши продажи выросли, — говорит Боуман. «Мы думали, что можем увидеть выравнивание из-за пандемии и неопределенности выборов, но наши асфальтоукладчики были очень хорошо приняты рынком».
Различные типы машин для бетоноукладчиков со скользящими опалубками
Дом Оборудование Различные типы машин для бетоноукладчиков со скользящими опалубками
Бетоноукладчики со скользящими опалубками используются для мощения строительных работ, при которых бетон заливается в непрерывно движущуюся опалубку. Строительные материалы непрерывно подготавливаются и высыпаются на поверхность мощения, одновременно выполняется выравнивание. Для этого типа покрытия используются бетоноукладчики. Бетоноукладчики с скользящими опалубками укладываются, формируются и, в зависимости от приспособлений, наносят начальную отделку на поверхность бетона на портландцементе с низкой осадкой (PCC). Эти машины обеспечивают непрерывную и бесшовную поверхность бетонного покрытия и по своей природе дают гладкую поверхность без швов. Есть несколько преимуществ, достигнутых с помощью этих бетоноукладчиков.
Преимущества бетоноукладчиков со скользящими опалубками
Использование бетоноукладчиков со скользящими опалубками дает несколько преимуществ для вашего проекта, некоторые из преимуществ:
Уровень точности укладки очень высок
Использование PCC с малой осадкой
Все операции механизированы
Подходит для укладки на большой площади
Автоматическая регулировка ширины без ненужных регулировок
Специально разработан для изготовления непрерывных бордюров, прочных и привлекательных
Различные типы машин для бетоноукладчиков со скользящими опалубками
Бетоноукладчики со смещенными опалубками
Современные гибридные машины со скользящими опалубками Экономичная альтернативная система для регулирования рулевого управления с помощью струнной линии. Они дополнены автоматическими системами управления 3D. Даже сложные конфигурации профилей могут быть созданы прямо на месте и в течение короткого времени. Система основана на GNSS (Глобальная навигационная спутниковая система) и помогает в автоматизированном укладывании широкого спектра профилей со смещением и врезкой, таких как бетонные барьеры безопасности на автомагистралях или бордюры для транспортных островков. В зависимости от модели асфальтоукладчика ленточный конвейер доступен разной длины и в складном исполнении. Шнековый конвейер также доступен в различных исполнениях. Будь то ленточный или шнековый конвейер: все настройки, такие как скорость подачи, угол наклона или положение, можно выполнить простым нажатием кнопки. При офсетном применении автобетоносмесители доставляют бетон в приемный бункер асфальтоукладчика со скользящими опалубками. Транспортировка в форму осуществляется с помощью ленточного или шнекового конвейера.
Серия SP 60 от Wirtgen предлагает гибкие решения для высококачественной укладки бетона внахлестку или со смещением.
Бетоноукладчики со вкладными опалубками
С помощью вкладных бетоноукладчиков со вкладными опалубками большой асфальтоукладчик со скользящими опалубками для укладки бетонных плит шириной до 16,00 м может быть модернизирован для укладки в два слоя за один проход машины. Точная установка стяжек и дюбелей с помощью самозагружающегося устройства для установки дюбелей (опция) позволяет укладывать бетон на арматурную сталь. Интеллектуальная концепция машины с гидравлическими поворотными рычагами и рулевым управлением с червячным редуктором упрощает транспортировку машины и обеспечивает максимальную гибкость в любых условиях на рабочей площадке. Асфальтоукладчик может быть оснащен гидравлическим или электрическим приводом вибратора. В стандартной конструкции он поставляется с 12 гидравлическими разъемами, но может быть оснащен 18 или 24 электрическими разъемами. Кроме того, отдельные гидравлические закладчики боковых стержней могут быть установлены с левой, правой или обеих сторон машины.
Wirtgen SP 1500 Бетоноукладчики со вкладными скользящими формами в работе
Машины для текстурирования бетона
Машина для текстурирования и вулканизации нового века оснащена новой подвижной концевой тележкой с резервуаром для вулканизации. Секции рамы можно добавлять или удалять, поворачивая гусеницы на 90 градусов и перемещая концевую тележку с прикрепленным резервуаром для отверждения до необходимой ширины. Тротуар и железнодорожный телескоп с прогулочным концевым вагоном. Машина для отверждения текстуры предлагает комплексное решение по текстурированию/отверждению для больших работ по укладке бетона. Независимо от того, идет ли речь о тяжелом дорожном покрытии, в аэропорту или о дорожном покрытии, автономное электрогидравлическое рулевое управление вперед и назад, а также контроль уклона управляются датчиками на той же струне, что и асфальтоукладчик. Это обеспечивает простоту эксплуатации и точность текстурирования и отверждения плиты. Сборка текстурирования проходит поперечно по ширине бетонной плиты. Элементы текстурирующих проволочных зубьев автоматически поворачиваются к следу в конце каждого прохода.
Машина для отверждения текстуры бетона от Apollo Inffratech в работе
Боковой питатель
Современный ассортимент мощных винтовых боковых питателей подходит для каждого экструдера производственного размера, предлагая различные варианты подачи как порошковых премиксов, так и жидких составов. Корпус питателя и бункер изготовлены из нержавеющей стали и имеют дверцу для очистки и обслуживания, а также датчик уровня в качестве опции. Боковые питатели предназначены для подачи различных материалов, таких как стекловолокно, порошковые добавки, минеральные наполнители и т. д. Боковые питатели также могут использоваться для удаления летучих веществ через боковую вентиляцию. Высота бокового питателя регулируется в пределах диапазона и является переносной (за счет использования колесиков). Цилиндры и шнеки изготовлены из специальной инструментальной стали и имеют соответствующую обработку поверхности для требуемых применений.
Боковой самонаклад ISF 94i от Wirtgen
Технологическая модификация моделей машин со скользящими опалубками
Когда-то казавшиеся огромными проблемы использования скользящих опалубок для укладки армирующего покрытия решаются с поразительной скоростью. Первое дорожное покрытие, построенное из обычной распределенной стали с использованием метода скользящей опалубки, было уложено в 1958 году, с тех пор был достигнут технический прогресс, и современные машины используют различные системы для модификации машин
Двухгусеничная бетоноукладочная машина Power Paver – Асфальтоукладчик предназначен для укладки шириной от 12 футов (3,65 м) до 27 футов (8,23 м). Машина разработана вокруг производства и простоты. Оператор имеет прекрасный обзор всех функций вокруг машины, а низкий центр тяжести облегчает ее транспортировку. Благодаря электронным датчикам, легко устанавливаемым вибраторам и отсутствию громоздких боковых опалубок операторы могут сосредоточиться на укладке, а не на установке.
Высокопрочная, высокопроизводительная бетонная опалубка – Асфальтоукладчик оснащен гидравлическими погрузочными опорами, которые выдвигаются для облегчения погрузки и транспортировки, а также возможностью быстрого изменения ширины. С помощью этой машины оператор может взять на себя укладку предыдущего дня и начать укладку прямо с жатки, устраняя зазоры и выбросы, что приводит к меньшему объему ручного труда.
Бетонная опалубка с поворотной конвейерной лентой – В этой машине конвейерная лента доступна различной длины и в складном исполнении. Также доступны различные версии шнекового конвейера. Будь то конвейерная лента или шнек — все настройки, такие как скорость конвейера, угол наклона или положение, можно отрегулировать одним нажатием кнопки. Дополнительный поперечный шнековый транспортер предлагает множество преимуществ.
Бетонные скользящие опалубки с автоматическим управлением – В этой модели машины регулировка и управление машиной контролируются автоматически (датчик и струна) или вручную с панели управления оператора.
Смотрите новинку – моноблок двигателя Д-245.35 евро 4
ОПИСАНИЕ ТОВАРА:
Заводская комплектация двигателя Д245.35Е4-4069 :
На данной странице размещён перечень последних (новых) отзывов владельцев МАЗ-4371 (Зубренок 2), а так же мнения и комментарии посетителей неравнодушных к этой технике.
В 2013-м году к нам пригнали один МАЗ 4371. Водить сие «чудо» довелось мне (что поделать, такой я везучий).
Начну с того, что ездить на ТО нужно не раз в 15 000 км, как сказано в рекламе, а через каждые 5000 км. Для коммерческой техники это ненормально. Естественно, от гарантии пришлось отказаться.
Мотор прожорливый и плохо раскручивается. С другой стороны, крутить его страшно – кто знает, как он на это отреагирует.
Приборы читаются слишком плохо – нормально видно разве что тахометр и спидометр. Чтобы узнать давление или температуру охлаждающей жидкости, нужно нагнуться.
Разложить спальник, не напрягаясь при этом, сможет, наверное, только карлик с длинными руками. Данный процесс отнимает немало времени и сил (мой рост, к слову, 175 см).
Система отопления совсем не подходит для наших зим. Регулировок навалом, но толку от этого ноль. В дверных проемах огромные щели, ширина которых доходит до 2 см. Дополнительный уплотнитель особо не помогает. Когда идет дождь, хочется спрятаться под зонтом.
Сами по себе двери тоже никуда не годятся. Ни петли, ни замки нормально не регулируются. Изнутри они закрываются с большим трудом. А как-то раз водительская дверь и вовсе открылась на ходу.
Объективно про «Корнет»:
Ровно год назад купил с рук МАЗ-4371 – 2009 г.в., Д-245.30 (Коммон Рейл, Евро-3). Он достался мне с пробегом 320 тыс. км. Сейчас на одометре почти 400 тыс.
Мотор, на мой взгляд, не совсем подходит для такого грузовика. Мало того, что он слабоват, так еще и, мягко говоря, ненадежный. Через неделю после покупки умерли форсунки. Затем пришлось заменить прокладку ГБЦ (взял сразу стальную). Коленвал пока цел, но, слышал, что у многих его ломает.
Запчасти, кстати, стоят недешево – некоторые даже дороже, чем на иномарки.
Расширительный бачок находится не в самом удачном месте – чтобы получить к нему доступ, нужно поднять кабину. Неужели так трудно было поставить его спереди, под капотом?
Ходовая очень мягкая – это не только плюс, но и минус, так как автомобиль плохо чувствует дорогу. О рессорах я вообще молчу. Давно пора поставить пневматическую подвеску, а вместе с ней и более производительный компрессор, а то воздух быстро уходит.
Грузовая платформа, так сказать, стандартная – 6,2 м. Грузоподъемность по ПТС – 4,7 т. Многие возят по 6-7 т, но я считаю, что это перебор. Сам беру на борт максимум 5 т.
Оптика нормальная – старого образца (говорят, что новые фары светят очень плохо). Весной поставил противотуманки, так теперь дорогу видно вообще отлично.
Плохо, что снаружи нет ящика для инструментов. Приходится всю мелочевку хранить в салоне (возле сиденья).
Металл, из которого сделана кабина, слабоват – с годами на нем появляется ржавчина, причем почти везде. Хотя, справедливости ради отмечу, что он чуть лучше, чем у старых Зубрят.
Сиденье удобное, на пневмоподушке. А вот руль мне не нравится – не хватает регулировки по вылету (хотя бы 5 см). Приборы выглядят симпатично, да и читаются хорошо – так и не скажешь, что это МАЗ. Вот только «баранка» все перекрывает. Сзади находится откидной спальник. Не скажу, что его конструкция очень удачная, но все лучше, чем ничего – когда езжу на дальние расстояния, он меня неплохо выручает.
Новый МАЗ Зубрёнок 4371(или еще его называют «Корнет», а также устаревшая модификация – 4370) идеально подходит для эксплуатации в черте города. Хотя это не делает его менее удобным для перевозок на дальние расстояния, в том числе межрегиональные. Существует множество модификаций, специально предназначенных для таких перевозок.
Не попадает под «Платон»;
Дешевизна;
Надежен;
Прост и дешев в обслуживании и ремонте, неприхотлив;
Имеет спальное место и удобную кабину, что делает его эксплуатирование более комфортабельным для водителя;
Доступен в различных модификациях (надстройках) и комплектациях.
МАЗ 4370
Это устаревшая версия – аналог 4371.
Основные отличительные особенности старой модели:
Маленькая кабина, не рестайлинговая, без откидного спального места.
Сил.агрегат Евро-2 и Евро-3 (Евро-4 не выпускались).
Продажа МАЗ 4371 Зубренок, цены
Данная техника выпускается в различных вариациях, включая шасси, которое можно доработать и приспособить практически для любых нужд. Это ее существенное преимущество.
Грузоподъемность авто составляет в среднем 4350-5000 кг. Поэтому его называют еще «МАЗ 5 тонн».
Самые популярные модели:
МАЗ 4371Р2-432-000
МАЗ 4371W1-432-000
ММЗ Д-245.35Е4
Cummins ISF 3.8e4168
Кабина 2-х местная
Кабина 3-х местная
Устанавливаемые надстройки:
бортовые платформы всех типов;
любые фургоны;
цистерны;
автолифты;
эвакуаторы;
и многие другие по желанию Клиента.
Устанавливаемые двигатели (Евро 4):
Сейчас грузовик производится, как с популярными движками
так и с силовыми агрегатами:
Стоимость этого грузовика непросто конкурентоспособна, ее смело можно назвать низкой! Это одна из выигрышных позиций этой машины; кроме того, следует отметить его превосходную надежность, благодаря этим двум факторам, он и получил столь широкое распространение в России и других странах мира!
Сферы применения
Грузовик очень удобно эксплуатировать в городе, так как он обладает прекрасной маневренностью и управляемостью.
Его также практично использовать в междугородних перевозках.
Кроме того, есть специальные модификации и для межрегиональных транспортировок грузов.
Это среднетоннажная машина, которая не попадает под систему «Платон», что благоволит к ее использованию частными лицами, индивидуальными предпринимателями и небольшим бизнесом.
Преимущества новых МАЗ Зубренок
Если Вы думаете купить МАЗ 4371 Зубренок бу или на Авито, для того, чтобы сэкономить свои деньги, то у нас найдется несколько контраргументов, которые помогут переубедить Вас:
Персональные и индивидуальные скидки от дилера;
Акции завода, которые снижают стоимость грузовиков;
Субсидированные государством программы. Возможность приобретения в лизинг и кредит на спец условиях;
ГАРАНТИЯ.
Все это может сделать новую технику даже дешевле, чем подержанную! А с учетом гарантийных обязательств и большего ресурса, преимущество становится неоспоримым.
Важно: мы всегда индивидуально подходим к обсуждению условий покупки с каждым клиентом, поэтому всегда можем договориться! Вам нужно только позвонить.
Купить новый МАЗ Зубренок в Нижнем Новгороде, Воронеже, Екатеринбурге, Москве, Самаре, Краснодаре, Саранске, Туле, Кирове, Пензе и в других наших филиалах на выгодных условиях – с нами проще простого – Ван нужно только позвонить!
Сервис:
Немаловажным фактором является наличие в нашей компании официального гарантийного сервиса, что позволяет в кратчайшие сроки и бесплатно устранить неполадки, если таковые вдруг выявятся в процессе работы в течение срока гарантии. По истечении гарантийного периода, Вы также останетесь довольны качеством и скоростью обслуживания!
У нас, как официального дилера Минского Автомобильного Завода, Вы можете заказать новый автомобиль в нужной Вам комплектации и с необходимыми параметрами. Если Вы затрудняетесь или Вам нужна помощь в выборе грузовика – позвоните нам, и наши менеджеры с удовольствием Вас проконсультируют!
+7 показать номер +7 (910) 790-62-05
8 (800) 775-69-56
8 (800) 775-69-56 Звонок по России бесплатный
+7 (831) 417-88-42 Коммерческий отдел
+7 (910) 790-44-64 Агрегаты и запчасти КИРОВЕЦ
+7 (831) 410-82-05 Запчасти
+7 (831) 410-26-36 Сервис
Условия оплаты и доставки
График работы
Контакты
Специальная цена на двигатель Д-245. 35Е4-4069 на МАЗ-4370 Зубренок!
Смотрите новинку – моноблок двигателя Д-245.35 евро 4
ОПИСАНИЕ ТОВАРА:
Тип системы газообмена
с турбонаддувом и ОНВ
Мощность (кВт/лс)
130/177
Номинальная частота вращения (об/мин)
2300
Вес, кг
525
Габаритные размеры, мм
1755*780*1010
Заводская комплектация двигателя Д245.35Е4-4069 :
стартер, 24В: 7402.3708, О АО «БАТЭ », РБ
генератор, 28В: AAN 8167, ООО «Искра АЕ»
блок управления запрограммированный: 0 281 020 112, BOSCH, Китай
пневмокомпрессор: LK 3879, Knorr-Bremse, Германия
насос топливный: 0 445 020 088, BOSCH, Чихия
турбокомпрессор: С15-505-10, ČZ a.s. TURBO, Чехия
насос ГУР: ШНКФ453471.022-00.17, ОАО «БАГУ», РБ
сцепление – отсутствует
картер маховика – отсутствует
вентилятор – имеется
Гарантии
На все новые двигатели предоставляется заводская гарантия – 12месяцев с момента получения.
Доставка
Если Вы с другого региона, то это не проблема! Мы оперативно отправим двигатель удобной для Вас транспортной компанией в любой регион РФ. При этом бесплатно доставим двигатель на терминал транспортной компании в Н.Новгороде, Вы же оплачиваете только межтерминальную перевозку до своего города.
МАЗ-4371 технические характеристики и устройство, двигатель и расход топлива
Опубликовал: Александр Стёпченко в Грузовики, Коммерческий транспорт 16.06.2019 0 11,750 Просмотров
МАЗ-4371 является грузовым бортовым автомобилем среднего тоннажа, располагающим колёсной формулой 4х2. Выпускается как с тентованной платформой, усиленной бортами из стали, так и с платформой открытого типа. Данная техника активно применяется для транспортирования габаритного груза в составе автопоездов.
В народе грузовик МАЗ-4371 получил забавное прозвище «Зубрёнок». Для инженеров Минского автозавода представленная модель стала одной из самых успешных и востребованных, а также обрела завидную популярность на постсоветском пространстве. Не один год подряд грузовик МАЗ-4371 завоёвывал титул «Наилучшего коммерческого автомобиля года», не сдавая своих фаворитных позиций ни одному конкуренту.
Содержание
1 История создания
2 Технические характеристики
2.1 Двигатель
2.2 Расход Топлива
2.3 Коробка передач
2.4 Трансмиссия
2.5 Шасси
3 Устройство
3.1 Кабина
3.2 Рулевое управление и панель приборов
4 Модификации
4.1 МАЗ-4371Р2
4.2 МАЗ-437130
4.3 МАЗ-437143
5 Как эксплуатировать и обслуживать?
История создания
Конструкторы и инженеры Минского завода при создании грузовика взяли в качестве базиса автомобиль немецкого происхождения MAN L2000. Вопреки всем ожиданиям МАЗ-4371 оказался существенно эффективнее своего старшего брата в плане предельной грузоподъёмности, за что его и нарекли «Зубрёнком». Создавался автомобиль для применения в пригородной и интенсивной городской обстановке. Для таких задач конструкторы наделили грузовик компактными габаритами, гарантирующими удобство маневрирования в условиях городских заторов и частых пробок.
Изначально автомашина МАЗ-4371 была предназначена для транспортировки всевозможных хозяйственных товаров – мебели, одежды и обуви, пищевых продуктов и прочее. Она имела возможность также буксировать прицепы, обладающие тягово-сцепным механизмом, что обеспечивало сцепку без зазоров. Также минские конструкторы предлагали специализированное шасси для монтажа отдельных надстроек.
Внешний вид грузовика практически не отличался от немецкого собрата. Более того, несколько первых партий МАЗ-4371 были оборудованы шасси немецкого производства. Но спустя пару лет минские инженеры всё же разработали собственное шасси. Именно на него стали монтировать кабину нового образца.
Продолжительный период модель считалась одним из самых безупречных грузовых автомобилей. Но отдельные автолюбители всё же умудрялись критиковать МАЗ-4371. Главная критика была направлена на фары грузовика. Изготавливались они в Китае и были не самыми мощными, из-за чего автомобиль демонстрировал довольно слабое освещение. Водители с многолетним опытом сразу же после приобретения модели заменяли эти детали.
В общем, отзывы владельцев автомашины МАЗ-4371 свидетельствуют о том, что грузовик является достойным конкурентом зарубежных аналогов. Техника выделяется высоким уровнем надёжности и выносливости, а также отменно приспособлена к погодным условиям и дорогам России. В классе автомашин среднего тоннажа грузовик МАЗ-4371 сполна отвечает всем требованиям современного рынка.
Автомашина доступна в нескольких климатических вариациях. К примеру, в страны с тропическим климатом экспортировались модели «Т1», а в государства с умеренными климатическими условиями – версии «У1».
Технические характеристики
Эксплуатационные характеристики МАЗ 4371w1-432 Зубренок
Максимальная скорость: 85 км/ч с ограничителем скорости Грузоподъемность: 4350 кг
9650 кг – для прицепа МАЗ-837300-3010 с объемом платформы 30 м3 9450 кг – для прицепа МАЗ-837300-3012 с объемом платформы 35,5 м3
Расход топлива на 100км при скорости 60 км/ч: 13. 6 л Расход топлива на 100км при скорости 80 км/ч: 19.1 л Расход топлива на 100км при скорости 60 км/ч в составе автопоезда: 17.5 л Расход топлива на 100км при скорости 80 км/ч в составе автопоезда: 23.5 л Полная масса автомобиля: 10100 кг Полная масса автопоезда: 18000 кг Колесная формула: 4х2 Распределение полной (снаряженной) массы на переднюю ось: 3800 кг (3200 кг) Распределение полной (снаряженной) массы на задний мост: 6300 кг (2400 кг) Распределение полной массы по осям прицепа: 3950 кг Масса снаряженного автомобиля: 5600 кг Масса снаряженного прицепа: 2600 кг (МАЗ-837300-3010), 2800 кг (МАЗ-837300-3012) Тип кузова: тентовая платформа с задним пологом Объем кузова: 35 м3 Длина платформы L: 8230 мм База L1: 4200 мм Задний свес L2: 2310 мм Тип кабины: малая 3-х местная Назначение: предназначен для городских и пригородных перевозок в составе автопоезда Объем топливного бака: 200 л Размер шин: 235/75 R17. 5
Маз 4371 предлагается с различными вариантами силовых установок.
Широкое распространение получили модификации с дизельным двигателем, изготавливаемым на Минском заводе. 4-тактный поршневой агрегат Д-245.
30 ММЗ (Д-240 ММЗ) имеет вертикальное расположение цилиндров и непосредственный впрыск топлива. В системе впуска использован турбонаддув и промежуточное охлаждением наддувочного воздуха.
Номинальная мощность мотора составляет 156 л.с. Главным преимуществом агрегата является невысокая стоимость.
Не меньшей популярностью пользуются и версии Маз 4371 с двигателем Deutz BF4M1013FC, имеющим электронное управление. Данный агрегат отличается высокой надежностью работы и соответствует требованиям «Евро-3». Номинальная мощность силовой установки равняется 170 л.с.
Также Минский автозавод выпускает Маз 4371 с моторами:
Cummins, соответствующими экологическим требованиям «Евро-4». Номинальная мощность данного агрегата составляет 160 л.с.;
MAN D0834FL64, отвечающими экологическим требованиям «Евро-5». Мотор имеет номинальную мощность в 180 л.с.
Большинство российский модификаций Маз 4371 комплектуются агрегатами, производимыми Ярославским моторным заводом. По своим техническим характеристикам данный двигатель аналогичен мотору Д-245.30 ММЗ.
Расход Топлива
По показателю расхода топлива Маз 4371 укладывается в среднестатистические цифры по сегменту. На 100 км пути грузовик потребляет порядка 23 л горючего. В зимнее время показатель немного увеличивается. Объем топливного бака модели составляет 130 л.
Коробка передач
На автомашины МАЗ-4371, предназначенные для транспортировки прицепов, устанавливают сравнительно выносливую механическую коробку передач модели СААЗ-433429, которую производит Смоленский автозавод. Остальные версии грузовика с силовыми установками ММЗ комплектуются коробкой модификации СААЗ-3206, которая лишь немного отличается от устанавливаемой на бензиновую версию ЗИЛ-130. Обе коробки передач являются пятиступенчатыми.
Повышенный показатель крутящего момента дизельного агрегата и сбавившееся качество производства деталей зачастую приводят к выходу из строя шестерен. Увеличить период службы такой загруженной КПП можно с помощью трансмиссионного масла хорошего качества. Поможет и более учащённая его смена, потому как при возникновении симптомов изнашивания шестерен важно как можно быстрее удалить частицы металла изнутри картера коробки передач. Это предупредит ускоренный износ прочих деталей, особенно подшипников.
Все модификации автомашины МАЗ-4371 с дизельной силовой установкой фирмы Deutz комплектуются механической коробкой передач ZF S5-42. Производится она в Испании, обладает 6 передачами и практически никогда не выходит из строя.
Трансмиссия
Автомашина МАЗ-4371, как уже было упомянуто ранее, комплектуется двумя основными типами коробки передач: модель СААЗ-3206 и модель ZF S5-42.
Каждая из них обладает своими преимуществами и недостатками. Модификация СААЗ является более грубой и жёсткой, а передаточные числа её немного меньше, нежели у зарубежного собрата. Модель от компании ZF при переключении ведёт себя более мягко, резких щелчков при работе коробки не обнаруживается.
Автомобиль приводится в движение при помощи заднего привода, что является неплохим достоинством, беря во внимание специфику его предназначения. Колёсная формула техники не замысловатая – 4х2. Таким образом, при предельной загрузке, «Зубрёнок» свободно может ехать с максимальной скоростью от 90 до 110 км/ч.
Некоторые владельцы МАЗ-4371 отмечают, что подвеска его немного жёсткая, потому как и сзади и впереди применяются традиционные рессоры из сложенного листового металла (толщина не более 3 мм). С другой стороны здесь имеется колоссальное преимущество – простота и надёжность конструкции. Предельный ресурс беспрерывного функционирования данных рессор равен 250-350 тысячам километров, но и это даже ещё не является пределом. Если автомашина нагружена не на предельную грузоподъёмность, то подвеска сразу же делается существенно мягче. Соответственно вопрос о жёсткости подвески можно решить методом понижения давления в шинах.
Тормозная система на грузовик МАЗ-4371 устанавливается барабанного типа, а следовательно всё крайне просто и надёжно, потому как в механизме имеется всего лишь два основных элемента – тормозной барабан и, соответственно сами колодки. Тормозная система приводится в действие при помощи пневмогидравлического механизма. На некоторых более современных моделях уже применяется дисковая тормозная система.
Довольно интересными являются шины автомашины. Несмотря на свой небольшой радиус, как для множества конкурентов по классу, они гарантируют оптимальную высоту для техники с таким показателем нагрузки и общими габаритами. Ширина шины является достаточной, чтобы размеренно распределить нагрузку по всей площади.
Автомашина МАЗ-4371 может с предельной лёгкостью проезжать все проблемные зоны трассы – разжиженные участки, заснеженные и другие, потому как общее давление автомобиля на 1см2 достаточно низкое, если сравнивать с ближайшими конкурентами.
Но всё же стоит отметить, что одним из недостатков автомашины МАЗ-4371 является то, что он не имеет блокировки дифференциала, а также на рынке нет моделей с полным приводом. Хотя минские конструкторы утверждали сразу, автомобиль создан для городских дорог.
Шасси
Машина оборудуется зависимыми подвесками двух мостов. В передней части устанавливается система на полуэллиптических рессорах с амортизаторами, работающими по принципу телескопа, и стабилизатором поперечной устойчивости. В задней части грузовое авто МАЗ 4371 имеются продольно ориентированные полуэллиптические рессоры.
К недостаткам можно отнести только отсутствие блокировки дифференциала и привода 4х4. Это снижает проходимость и эффективность машины в условиях бездорожья, поэтому основная область применения – это перевозка грузов в пределах городской застройки.
Устройство
Управление в более ранних модификациях осуществляется посредством коробки передач, выпущенной на заводе имени Лихачева. Для эксплуатации в городских условиях ее вполне хватает. С иностранными агрегатами обычно применяется 5-скоростная трансмиссия ZF S5-42 (ZF 6S-850), производимая на венгерских или немецких предприятиях.
Одним из недостатков «Зубренка» является отсутствие блокировки дифференциала и полноприводной версии четыре на четыре. Это затрудняет передвижение по бездорожью и пересеченной местности. Модель Маз 4371 всегда позиционировалась в качестве машины для города.
Тормозная система построена на барабанных тормозах. Однако присутствуют и модификации с дисковыми тормозами.
Кабина Маз 4371 заслуживает отдельного внимания. Именно этот элемент существенно отличает модель от предшественника (МАЗ 4370). Вместо короткой кабины без спального места использована более просторная кабина. В плане комфортабельности она несильно уступает иностранным продуктам.
Третьего места в ней не предусмотрено. Также отсутствует свободное пространство и для установки спального места, что в определенных случаях может вызвать неудобства. Однако в кабине довольно тепло, нет моторного тоннеля.
Мягкая подвеска даже при продолжительном переезде не утомляет водителя.
В плане комфортабельности пользователи отмечают, что третье сиденье ни к чему, а установка спального места может вызывать затруднения. Но зато в кабине очень тепло, нет моторного тоннеля, который обычно мешается под ногами, а подвеска довольно мягкая и при длительном переезде не утомляет. По бокам дверных проемов предусмотрены поручни, облегчающие вход.
Читайте также: Обкатка мотоблока: как правильно обкатать новый, нева, двигатель субару, дизельного
Пневмобаллонов или пружинных стоек для кабины не предусмотрено. К раме она крепится через специальные резиновые втулки. На гидроподъемнике и гидрозамках разработчики Маз 4371 экономить не стали, что обеспечило удобный доступ к двигателю и стеклам.
Приборная панель модели считается лучшей среди всех продуктов, выпускаемых на постсоветском пространстве. В дизайне она лишь немного уступает европейским аналогам. Благодаря новым технологиям ее удалось сделать нескрипучей и мягкой. Над ветровым стеклом появилась пластмассовая полка.
Задняя часть крыльев кабины установлена на раме. По сути, они представляют собой пластмассовые подкрылки, защищающие колесные арки. Однако для работы на магистральных перевозках кабина автомобиля не приспособлена. Другим минусом является слабая защита кабины от коррозии.
Обилие оцинкованных деталей помогает в этом, но полностью защитить элемент от пагубного воздействия разработчикам не удалось.
Маз 4371 неслучайно считается наиболее успешным продуктом Минского автозавода. В нем были собраны последние наработки предприятия.
Запчасти для автомобиля Маз 4371 найти очень просто. Производитель в широком ассортименте поставляет их на российский рынок. Обслуживание и ремонт грузовика смогут выполнить в любом автосервисе.
Кабина
Кабина автомашины МАЗ-4371 достойна отельного разговора. Собственно она то и категорически его отличает от модели предыдущей – МАЗ-4370. Короткая кабина без наличия спального места сменилась более просторной. Если сравнивать комфортабельность, то она не слишком уступила зарубежным собратьям по классу. В кабине предусмотрено третье посадочное место. Также, у большинства моделей, имеется спальное место. По некоторым отзывам оно не является слишком удобным, но при этом в кабине достаточно тепло и отсутствует моторный тоннель, постоянно мешающий передвижению по кабине. Подвеска довольно мягкая и комфортная, что не позволяет устать водителю даже при самых долгих транспортировках. Также со стороны каждой двери имеются вспомогательные поручни, существенно облегчающие вход в кабину.
Пневматических баллонов для кабины или даже пружинных стоек конструкторы не разрабатывали. Её смонтировали к раме посредством втулок из плотной резины. Но зато на гидравлическом подъёмнике и гидравлических замках конструкторы «Зубрёнка» экономить не стали, в последствии чего доступ к стёклам и мотору стал крайне комфортным. Панель приборов автомобиля является одной из наиболее информативных и удобных среди всех конкурентов, выпущенных в государствах СНГ. Дизайн её практически идентичен аналогам из Европы. И что немаловажно – она совершенно не скрипит, а пластик её мягкий. Немного выше ветрового стекла была установлена полка из пластмассы. Задние крылья самой кабины смонтированы непосредственно на раме. Собственно они и являются пластиковыми подкрылками, задачей которых является защита колёсных арок.
Кабина автомашины МАЗ-4371 не рассчитана для транспортировки грузов на магистральные расстояния. Одним из её недостатков является то, что она не полностью защищена от воздействия коррозии. Масса оцинкованных устройств и механизмов пытаются помочь в данной ситуации, но всецело защитить конструкцию от химического воздействия конструкторам не удалось.
Рулевое управление и панель приборов
Приборная панель установлена на небольшой высоте, что обеспечивает хорошую обзорность. На ней размещены датчики и индикаторы, монитор, который остается видимым даже при прямом попадании солнечных лучей. На нем выводятся данные о количестве топлива в баке, температуре двигателя, расходе топлива.
Рулевая колонка является регулируемой. Рычаг переключения скоростей расположен под рукой, что очень удобно. Автомагнитола, приборы и переключатели находятся около водителя.
Модификации
Выпускается несколько модификаций автомобиля. Например, грузовик модели 437141 имеет двухосное шасси, применяется для перевозки грузов как в городе, так и за его пределами. Имеет тентовую грузовую платформу. Обладает хорошей маневренностью, компактными размерами и хорошей грузоподъемностью.
Может оборудоваться двухместной или трехместной кабиной со спальным местом. Расход топлива — 20 л/100 км. Грузоподъемность — 5 т. Кабина комфортная, все системы управления находятся близко к водителю. Лобовое стекло высокое. Двигатель прочный. Выпускается модель 4371 «Корнет» — автомобиль с универсальным промтоварным фургоном.
МАЗ-4371Р2
Бортовой тентованный грузовик — новое поколение этих машин. Имеет среднюю грузоподъемность, небольшую кабину с одним спальным местом. Двигатель ММЗ Д-245 мощностью 177 л.с. Соответствует стандарту Евро-4.
Платформа оснащена тентом, длина борта — 6,2 м. Благодаря этому может транспортировать крупные грузы. На раме есть фаркоп, чтобы устанавливать прицеп. Автопоезда с бортовым грузовиком часто применяются для грузоперевозок в России. Техника может эксплуатироваться в любую погоду. Кабина усовершенствованная, имеет высокую крышу, оснащена эргономичной панелью управления.
Автомобиль МАЗ-4371Р2-432-000 имеет такие характеристики:
Колесная формула — 4х2.
Вес автопоезда — 18 т.
Вес автомобиля — 10,1 т.
Вес снаряженного прицепа — 2800 кг.
Грузоподъемность — 4350 кг.
Двигатель — ММЗ Д-245.
Экологический стандарт Евро-4.
Мощность — 169 л.с.
Крутящий момент — 650 Нм.
КПП имеет 6 передач.
Объем топливного бака составляет 200 л. Скорость — 85 км/ч. Расход топлива — 13,4 л/100 км. Платформа тентовая с задним пологом. Объем кузова — 35 м³. Размеры платформы — 6240х2480х2305 мм. База — 4200 мм. Сцепление однодисковое, есть пневмогидропривод. Тормоза барабанного типа. Дополнительное оборудование: цифровой тахограф, магнитола, рация.
Грузовик МАЗ-4371Р2-428-000 имеет такие параметры:
Колесная формула — 4х2.
Вес — 10,1 кг.
Распределение полной массы на переднюю ось — 3800 кг, на заднюю — 6300 кг.
Грузовик МАЗ-437130 среднетоннажный двухосный применяется для перевозки оборудования, подъемников, АТЗ, цистерн и т.д. Машина отличается хорошей проходимостью и маневренностью. Используется в коммунальном хозяйстве, строительных организациях.
МАЗ-437130-332 имеет такие технические характеристики:
Колесная формула — 4х2.
Вес — 10,1 т.
Грузоподъемность — 4350 кг.
База — 4200 мм.
Объем платформы — 35,5 м³.
Мощность — 115 кВт.
КПП имеет 5 передач.
Скорость — 85 км/ч.
Объем топливного бака — 200 л.
Кабина трехместная.
МАЗ-437143
Модель МАЗ-437143 выпускается в нескольких комплектациях. Машина представляет собой грузовой автомобиль для перевозки среднетоннажных грузов на большие расстояния. Имеет высокие показатели грузоподъемности и проходимости. Ширина колес позволяет равномерно распределять нагрузку.
Грузовик обладает хорошей проходимостью по сложному рельефу.
Недостатком является отсутствие блокировки дифференциала. Кабина просторная комфортабельная. Имеется 3 посадочное место и спальное место. Подвеска мягкая и удобная. У каждой двери есть вспомогательные поручни для облечения входа в кабину. Имеется гидравлический подъемник.
Грузовик МАЗ-437143-332 имеет технические характеристики следующие:
Вес грузовика — 10,1 т.
Грузоподъемность — 4450 кг.
База — 4200 мм.
Объем платформы — 35,5 м³.
Мощность — 155 л.с.
Скорость — 85 км/ч.
Габариты — 7250х3700х2550 мм.
Клиренс — 185 мм.
Колесная формула — 4х2.
Высота грузовика — 2900 мм.
Емкость топливного бака — 200 л.
Длина платформы — 6220 мм.
Чтобы увеличить срок службы машин, следует часто менять масло. Это предотвратит износ шестерен, подшипников и других деталей. Трансмиссия комплектуется двумя КПП: СААЗ и ZF. Первая более жесткая, передаточное число небольшое. Вторая отличается мягким переключением.
Как эксплуатировать и обслуживать?
Топливная система работает на горючем низкого качества, при этом сохраняются высокие рабочие характеристики. Количество электронных систем сведено к минимуму, а конструкция является достаточно простой. Это обеспечивает простоту проведения сервисных работ. Водитель может самостоятельно провести диагностику состояния авто. Основные узлы и агрегаты доступны с уровня земли, а проверка количества жидкости в бачках осуществляется из кабины.
Количество отзывов Оставить отзыв
Сортировать по: Самые последниеНаивысший баллНаиболее полезноХудшая оценка
Будьте первым, чтобы оставить отзыв.
{{{ review.rating_title }}}
Показать еще
Оставить отзыв
Надежность
Удобство и комфорт
Ремонтопригодность
Ходовые качества
НАШИ ПРОТИВ «НЕМЦА»
Влияет ли пересадка «сердца» на характер? Если говорить о грузовиках — безусловно. В этом мы смогли убедиться, побывав на тест-драйве среднетоннажных грузовиков семейства МАЗ-4371 с четырьмя различными силовыми агрегатами: двумя моторами ММЗ, европейским Deutz и китайско-американским двигателем Cummins.
Три плюс один
Три из четырех пациентов попали на хирургический стол прямо из отдела продаж. Последний, с двигателем Cummins, уже прошел все технические испытания и теперь трудится в транспортном цехе Минского автозавода. Очень важно, что перед нами не очередные мертворожденные мумии. Все машины «живые», их стоимость определена, при желании грузовики можно приобрести хоть завтра. Несмотря на критику по поводу целесообразности установки современных моторов экологического стандарта Евро-4, руководство МАЗа взяло курс на расширение ассортимента выпускаемой продукции, и теперь потребитель имеет возможность выбрать комплектацию среднетоннажника под реальные условия эксплуатации.
Двигатель ММЗ Евро-3 самый слабый и шумный, зато легко ремонтируется в полевых условиях
Если не брать в расчет несколько измененный «выставочный» низкорамник с китайским мотором, все машины имеют привычную внешность с тентованным кузовом и короткой кабиной. Изменения коснулись лишь таких мелочей, как дополнительное подкатное зеркало и дверные ручки (теперь «личинки» замка закрыты от грязи и пыли). Кроме того, на «китайский» экземпляр в качестве эксперимента установлены шины размерности R20 против R17,5 на остальных грузовиках. Эксперимент не закончен, поэтому говорить о том, какая резина больше подходит для машины грузоподъемностью 4,5 тонны, пока рано.
Полуторка
Принципиальное отличие короткой кабины МАЗа семейства 4371 от российских и зарубежных аналогов — наличие в «базе» откидного спального места. Да, к практичности и удобству такого расположения можно высказать массу претензий, но любой водитель, ночевавший в МАЗе без «спальника», скажет, что лучше потратить несколько минут на трансформацию полки в горизонтальное положение, чем всю ночь ютиться на моторном тоннеле.
Минский мотор Евро-4 вполне способен конкурировать с именитыми «европейцами»
Кстати, и здесь потребитель имеет возможность выбора комплектации салона. Белорусский грузовик может быть оборудован одним или двумя пассажирскими креслами — мелочь, а приятно. Особенно радуют такие конструкторские решения на отечественном автомобиле.
Вместо «сердца»
Из представленной четверки моторов наиболее известен двигатель ММЗ Д-245.30 Евро-3. Уже несколько лет его ставят на среднетоннажные белорусские грузовики. Мотор пользуется уверенным спросом, несмотря на давно выявленные недостатки: в частности, «тракторный» мотор излишне шумен и вибронагружен на холостых оборотах, силовой агрегат развивает мощность 155 л.с., что также не назовешь пределом мечтаний для грузовика полной массой 10.100 кг и объемом кузова 35 куб. м. Груженая машина медленно набирает скорость, даже при частичной загрузке стартовать необходимо только с первой передачи. Кроме того, мотор ММЗ Д-245.30 плохо и медленно прогревается, поэтому зимой в салоне МАЗ-4371 холодно.
Силовой агрегат Deutz развивает 190 л. с., но стоит почти на 10.000 долларов США дороже белорусского аналога
Но сколько ни перечисляй недостатки минского мотора экостандарта Евро-3, есть два плюса, способных обеспечить этой разработке долгую жизнь и «почетную старость», — это низкая стоимость и высокая ремонтопригодность в полевых условиях. Отечественные перевозчики готовы терпеть любые лишения ради возможности «закапиталить на коленке».
Китайский мотор «спрятали» в капсулу для лучшей шумоизоляции
Совсем другая ситуация с новой разработкой Минского моторного завода — дизельным двигателем экологического стандарта Евро-4 ММЗ Д-245.35Е4. Здесь изменений хоть отбавляй. Во-первых, это самый мощный 4-цилиндровый минский мотор: ММЗ Д-245.35Е4 развивает 177 л.с., максимальный крутящий момент — 650 Нм при 1200-1600 об/мин. Для сравнения: ММЗ Евро-3 имеет 155 л.с. и 575 Нм соответственно. И самая главная новинка — Common Rail с максимальным давлением впрыска до 160 МПа и система рециркуляции охлажденных отработавших газов (EGR). Такой двигатель придется обслуживать только на сервисной станции. Есть от чего впасть в отчаяние мотористам-любителям.
Европейский мотор оборудован системой AdBlue
Зато новый дизель оказался очень неплох в деле: мотор в разы тише своего предшественника как в движении, так и на холостом ходу — дополнительные 22 «коня» вовсе не лишние, МАЗ-4371 легко стартует на 2-й передаче и бодро едет с самых «низов».
Минский дизель оказался настолько хорош, что его можно было бы ставить в один ряд с немецким Deutz TCD 2013. Но белорусскую новинку подвела китайская коробка передач, испортившая все впечатление: нечеткие включения и постоянные «закусывания» не позволили оценить все достоинства ММЗ Евро-4.
Качество пластмассы не впечатляет, но собран салон аккуратно
То ли дело немецкий дизель в сочетании с «механикой» ZF 6S800. Тандем работает как одно целое. Мощный 190-сильный мотор бодро крутится с самых «низов», только успевай переключать передачи. Кстати, среднетоннажники МАЗ-4371 рассчитаны на работу в составе автопоезда с прицепом объемом до 35,5 куб. м. И мотор Deutz TCD 2013 единственный из квартета реально способен справиться с подобными нагрузками.
Блок приборов сильно бликует в любую погоду
Но он, конечно, очень сложный — это может оттолкнуть отечественных перевозчиков. Кто захочет покупать мотор с применением системы впрыска мочевины AdBlue? Не стоит забывать и о высокой стоимости силового агрегата.
НОВЫЙ МИНСКИЙ МОТОР ЕВРО-4 ОКАЗАЛСЯ ЛУЧШЕ «КИТАЙЦА» И СОВСЕМ ЧУТЬ-ЧУТЬ УСТУПИЛ «НЕМЦУ»!
И последний «кандидат в мастера спорта» — двигатель Cummins ISF 3.8e4168 экостандарта Евро-4, собранный в китайской провинции Хубей. Мотор развивает 170 л.с. и 600 Нм крутящего момента. Неплохие показатели, но на деле двигатель оказался «туговат». Мотор заметно «проваливается» на «низах» и потом мучительно долго выбирается из этой «ямы». От дизеля с американской родословной я ожидал большего. В довершение картины — все та же китайская КП Fast Gear 6J70TA с тугими включениями.
Зато мотор из Поднебесной поместили в специальную капсулу, позволившую достичь неплохих показателей шумоизоляции, что актуально для МАЗ-4371, ведь рокот дизеля очень утомляет в кабине среднетоннажника, особенно в дальней поездке.
Вердикт «Автобизнеса»
Безусловно, машина с двигателем Deutz TCD 2013 Евро-4 оказалась наиболее комфортной и тяговитой — для современного европейского мотора этот результат был полностью предсказуемым. Но не стоит забывать, что такой среднетоннажник стоит почти на 10.000 долларов США дороже, чем с мотором ММЗ Евро-4.
Вариант салона с откидным «спальником» и одним пассажирским креслом
Новый белорусский дизель хоть и имеет сложную конструкцию, оказался тихим и мощным. Если не будет проблем с качеством сборки, данная разработка может стать хитом продаж: отличный мотор! Что будет с качеством — посмотрим.
Минский моторный завод увеличил межсервисные интервалы на двигатели Д245.35 экостандарта Евро-4, установленные на среднетоннажники МАЗ-4371. Теперь ТО-1 необходимо провести через 15.000 км пробега, ТО-2 — при пробеге 60.000 км. Расчетный ресурс нового двигателя с системой впрыска топлива Common Rail второго поколения (CRS Bosch) составляет 750.000 км.
Китайский мотор, хоть и проигравший «немцу» и «белорусу», не назовешь откровенно плохим. Не зря же его давно устанавливают конкуренты на низкорамный КАМАЗ и «Валдай». Не стоит отказываться от этого дизеля и Минскому автозаводу — в России на него явно будет спрос, особенно у тех предприятий, где уже есть «Валдаи» и КАМАЗы. Сергей КОЗЫРЕВ, фото автора.
Ценообразование
Самый дешевый из представленных грузовиков — МАЗ-437143-331 (ММЗ Евро-3) стоимостью почти 29.000 долларов США. МАЗ-4371Р2-431-000 с минским мотором экологического стандарта Евро-4 обойдется покупателю в 38.000 долларов. Почти столько же (39.000) стоит среднетоннажник с китайским мотором. Самый дорогой, естественно, МАЗ-437137-431 (Deutz) — более 47.000 долларов США.
Таблица технических характеристик бортового грузовика МАЗ-4371
Полная масса автомобиля, кг
10. 100
Полная масса автопоезда, кг
18.000
Грузоподъемность, кг
4450
Нагрузка на переднюю/заднюю ось, кг
3800/6300
Объем кузова с тентом, куб. м
30-35
Топливный бак, л
200
Подвеска
рессорная
Тормоза
барабанные с ABS
ММЗ Д-245. 30 Евро-3
ММЗ Д-245.35 Евро-4
Cummins ISF 3.8
Deutz TCD 2013
Мощность двигателя, л.с.
155
177
170
190
Максимальный крутящий момент, Нм
575
650
600
680
Коробка передач
СААЗ-433420
FAST GEAR 6J70T
FAST GEAR 6J70TA
ZF 6S800
Число передач
5
6
6
6
Максимальная скорость, км/ч
85
85
85
85
Что лучше маз или камаз отзывы владельцев
4308 и 4371 что лучше
1. Камаз 4308 2. Маз 4371 Подскажите пожалуйста что это за машины, чего ожидать.
Комментарии 51
Так, что купили в итоге ?
У нас камазенок с 2006 года ездит, ломается но ездит, с запчастями проблема даже в Челнах…
Про камаз ничего сказать не могу, а у зубрят говорят коробки слабоватые, часто летят. Я тоже долго голову ломал, что взять из 5-ти тонников, остановился на Валдае, пока вроде никаких проблем… Тьфу-тьфу-тьфу. А по теме, всё равно хочу Ман)))
Я могу только про КамАЗёнка сказать. Приезжал к нам на завод мужичёк на таком (только без тента-бортовик). Камаз у него не свой-рабочий. Он его получал в Набережных Челнах в 2006 году с нуля. Мне было интересно узнать про машинку (т.к. я с ткими не сталкивался до этого) и он мне вот что сказал. Машина Хорошая, он на ней прошёл под 300000км по всей России. За 6 лет он только поменял редуктор моста, т.к. в родной была залита неизвестная смазка. С движком (Каминс) проблем не было-всё меняет вовремя, он и не капризничает и масло не жрёт. По России ходит без перегруза и особо не гоняет-расход 16-18л/100км. Зимой он тёплый-стоит автономка. В общем, он сказал, что бед с ним не знает!
Мужичек Вам с юмором попался)
Да вроде мужик в годах, не шутил-серьёзно говорил! Я за что купил, за то и продаю!:)
Мужичек Вам с юмором попался)
Да да! Я незнаю как там каменс на камазе! Но каменс на газели это пипец говно. Все делал во время и масло менял и расходники. У меня пробег 160 тыс всееее мотор умер. В сапун выплевует масло. Поршневой хана. У меня каменс один из первых . Они сначало незнали то на 15 тыс масло меняли то потом на 7500 тыс .И диллеры офигивали скоко каменсов приезжали с ремонтом коробки . Она стабильняк 12-15 тыс и все . Подшипники в хлам (перв и втор валов. ) А бензинки? Они кипят в пробках как чайники! Вот когда я брал была гар. 100 тыс на мотор а сейчас 80 тыс. Они задолбались работать с этим говном. Так что вот так. Да и ремонт сейчас моего движка примерно 100 руб на запчасти! Так что подумайте стоит ли брать русское говно . Пусть это будет одна новая русская иномарка неже ли 2 русские помойки. А газель с каменсом стоила тогда 545 тыс а сейчас 780 тыс руб . И за что платить такие деньги? Вот думаю взять Или форда транзита нового или дотянуть и взять фольца крафтера. Достали уже эти газели просто сил нет уже .
Камменс на Камазе такое же ГОВНО как и на Газели! С настоящими двигателями Камменс они не имеют ничего общего, ибо собраны в России!
В Китае поганом!
Те что стоят на Камазах, собраны там-же) Линия у них там))))
NikitoS-1989
Я могу только про КамАЗёнка сказать. Приезжал к нам на завод мужичёк на таком (только без тента-бортовик). Камаз у него не свой-рабочий. Он его получал в Набережных Челнах в 2006 году с нуля. Мне было интересно узнать про машинку (т.к. я с ткими не сталкивался до этого) и он мне вот что сказал. Машина Хорошая, он на ней прошёл под 300000км по всей России. За 6 лет он только поменял редуктор моста, т.к. в родной была залита неизвестная смазка. С движком (Каминс) проблем не было-всё меняет вовремя, он и не капризничает и масло не жрёт. По России ходит без перегруза и особо не гоняет-расход 16-18л/100км. Зимой он тёплый-стоит автономка. В общем, он сказал, что бед с ним не знает!
ага покупаешь камаз с завода сливай антифриз, без приколов залитый туда антифриз соразмерен кислоте) да, а автономка достаточно капризная к топливу частенько ремонтрирую их на работе, да и если только салон отапливать надо поставь себе планар или вэбасто, а камминсы и без предпусковых в мороз хорошо заводятся
Nissan Diesel forever!
Совет мой прост HD120 ! Поверь, хундаи пользую с 2008 .В парке щас у меня 65 машин данной марки от 78 до 120, проблем нет(пробеги уже за 300000 есть) Будут вопросы спрашивай подскажу!
просвяти по 5-7 тонникам если не сложно ?нам под скотовоз нужна машина. у меня список такой сложился Хино 300 Хино 500 Хундай модель вроде HD170(звонили официалам а модель точную не спросили ) Изуцу видел вчера на дороге по внешнему виду грузит он минимум 5 тонн. Камазенок (смотрели его но оно ведь наше родное, т.е. не для нас ) Зубренок (дешевле всех но коробас летит только в путь) Валдай (мотор Камминз но но чет все их продают а честно никто не говорит про мотор ) сами мы катаем газельки камминзы но устали на дальняк ходить на них.
Бери 120 с метал бортом, машинка тащит поверь, 78 перегружал аж на зтонны хоть хер!а 120 рулит, кабина, мосты, только то делай и за водилами смотри чтоб не гоняли(регулярно пи… выписывай!)там есть и 3х оски даже В этом сегменте лучше корейца нет, исузу с зч говно полное
машину будет покупать дядя, за совет большое спасибо
Совет от человека с 15 летним стажем, Забудь камаз маз и автоваз)))китай вообще не смей брать! Я столько с ними горя схватил с севера на юг!достало, я понимаю импорт дорого но за то работает и пашет годами!
Китай не рассматриваю, сейчас эксплуатирую газель бизнес, вот ей уже второй год пошел, проблем не было ни разу, мы с отцом ее просмотрели и где надо подтянули и все жидкости поменяли, масло меняю строго каждые 10 тыс в двигателе, каждые 30тыс в мосту и КПП. И не разу я на ней ни где не стоял, у меня отец на 5320 15 лет ездил и не разу не встал ни где всегда его машина до дома довозила.
Братуха не забывай качество 15 лет тому и щас!у меня кран с консервации на базе маза пашеттак что а… все шланги гидроскан и в путь! Можно все самому перелапатить и потом ездить!а ты свой труд посчитай и здоровье и получишь истинную цену авто равную 2 авто из магаза! А мне нужно пахать а не в поле стремянки из сыромятины тянуть!
Китай не рассматриваю, сейчас эксплуатирую газель бизнес, вот ей уже второй год пошел, проблем не было ни разу, мы с отцом ее просмотрели и где надо подтянули и все жидкости поменяли, масло меняю строго каждые 10 тыс в двигателе, каждые 30тыс в мосту и КПП. И не разу я на ней ни где не стоял, у меня отец на 5320 15 лет ездил и не разу не встал ни где всегда его машина до дома довозила.
Китай НЕЕЕЕЕЕЕЕЕЕЕЕЕЕЕвкоем случае не бери! А газели бизнесы и зажигалка и каменс говно еще тооооооооооо. И чтоб ты не говорил я тебе много людей могу привести которые скажут то что и я. Вот те газели что с 405 и 406 мотором они ходят долго и есть все делать то они живучие! А каменс и 402 мотор на который воткнули инжектор это такое дерьмо . На каменс запчасти такой стоимости что можно содержать какой нить спринтер или крафтер. Крафтер это вообще машина сууупер. Я думаю у меня газель это последняя русская машина что покупал.
Вот что я вам скажу господа — Имею в собственности 2 Камаза, и 2 Маза, все 10-тонники, пока вы своими руками не перетряхнете эти машины от переднего бампера до фаркопа, работать по человечески, и приносить доход они не будут! Несмотря на то, что мои машины все сделанные, они постоянно выносят мозг) Вывод — не выбрасывайте деньги на ветер, возьмите иномарку! P.S. Держу эти машины только потому, что не боятся они грязи, (ездим по стройкам), и не жалко их.
вот это ответ настоящего знающего человека.
Разве я не прав?
Вот что я вам скажу господа — Имею в собственности 2 Камаза, и 2 Маза, все 10-тонники, пока вы своими руками не перетряхнете эти машины от переднего бампера до фаркопа, работать по человечески, и приносить доход они не будут! Несмотря на то, что мои машины все сделанные, они постоянно выносят мозг) Вывод — не выбрасывайте деньги на ветер, возьмите иномарку! P. S. Держу эти машины только потому, что не боятся они грязи, (ездим по стройкам), и не жалко их.
Согласен с тобой ! А русское говно как его не лепи говном и останется! У нас сначала выпустят что-то а потом еще лет 10 доделывают .А мучается кто? Покупатель. То ломается то чего-то нет в наличии и тд тп
сейчас человеку подбираем машину, думаем Хино 300 или же все таки 500 взять. 300 модель чуть дешевле камазенка будет.мазая брать даже не думай.
Посмотрите Хьюндай HD-120. К с 100000 только компрессор кондиционера отклячился.
забудь про эти машины и купи мерседес 814 !
Смотрел атеко, цена на них высокие.
забудь про эти машины и купи мерседес 814 !
Согласен! Можно ТАТУ взять там мотор мерсовский
Каждый кулик, свое болото хвалит, поищи возможность потестить обе машины и самому сравнить.
На зубренке покатался уже у нашего местного дилера, спалка мне там не понравилась, этот же дилер торгует камазятами но говорят их только под заказ пригоняют.
Ну что я тебе могу сказать по поводу Маза и Камаза! Одним словом Русское ГОВНО еще то. Я уже сталкнулся с каменсом на газели .И думаю это последняя русская машина которую брал! Каменс в принципе тяговит НО оочень дорог в обслуживании. А русская машина как бы ее не делали она все равно останется ГОВНОМ! Если берешь что-то из этих двух машин то бери только новую! Чтоб если что то по гарантии можно было сделать . А если гарантия пройдет то срааазу же продавай! А секонд хенд брать не стоит. Как говорится скупой платит дважды! Лучше поднатужиться или взять у кого денег или кредит НО ТОЛЬКО БРАТЬ стоит ИНОМАРКУ . Понятно что все ломается и вечного нет нечего НО по крайней мере у человечка знакомого на Фольце Крафтере все даже по мелочи меняют по гарантии. Так что вот так .А там тебе решать стоит связываться с таким хламом! Спасибо за внимание!
Я вообще не раасматриваю вариант подержанного только новый.
Ну что я тебе могу сказать по поводу Маза и Камаза! Одним словом Русское ГОВНО еще то. Я уже сталкнулся с каменсом на газели .И думаю это последняя русская машина которую брал! Каменс в принципе тяговит НО оочень дорог в обслуживании. А русская машина как бы ее не делали она все равно останется ГОВНОМ! Если берешь что-то из этих двух машин то бери только новую! Чтоб если что то по гарантии можно было сделать . А если гарантия пройдет то срааазу же продавай! А секонд хенд брать не стоит. Как говорится скупой платит дважды! Лучше поднатужиться или взять у кого денег или кредит НО ТОЛЬКО БРАТЬ стоит ИНОМАРКУ . Понятно что все ломается и вечного нет нечего НО по крайней мере у человечка знакомого на Фольце Крафтере все даже по мелочи меняют по гарантии. Так что вот так .А там тебе решать стоит связываться с таким хламом! Спасибо за внимание!
На счет иномарки У соседа на работе хундай D65, и ивеко еврокарго, так однажды грузился он у нас на ивеко, гидро-лопатой поработали а она возьми и совсем умри, неделю так и простояла с открытым фургоном. А хундай бегает и в уфу и ростов и оренбург, простая до ужаса машина, но спать в ней не удобно.
Информация Какой лучше взять?Камаз или Маз!
Тема в разделе «МАЗ», создана пользователем KAMAZist, 7 июн 2008 .
Поделиться этой страницей
ВСЕ ПРАВА НА АВТОРСКИЕ МАТЕРИАЛЫ ПРИНАДЛЕЖАТ САЙТУ И ИХ АВТОРАМ. ПЕРЕПЕЧАТКА ВОЗМОЖНА ТОЛЬКО С РАЗРЕШЕНИЯ АВТОРА ИЛИ АДМИНИСТРАЦИИ САЙТА. ПРИ ЦИТИРОВАНИИ МАТЕРИАЛОВ ОБЯЗАТЕЛЬНА ССЫЛКА НА «dalnoboyshiki.eu» (ДЛЯ ON-LINE ПРОЕКТОВ ОБЯЗАТЕЛЬНА ГИПЕРССЫЛКА).
Дальнобойщики всех стран-объединяйтесь! 16 Июня 2004 — День рожденье форума.
Седельный тягач маз, или камаз
Есть тут кто эксплуатировать камаз с ямз 330л.с. И кпп камаз, И маз, седельные тягачи? Нужен полуприцеп для перевозок сена и в сезон комбайн на трале. Ну и если будут какие заказы в течении года. Расстояния не больше 300км. Что более надёжное и простое в эксплуатации. И вроде как говорят камаз экономичнее.
КамАЗ дешевле, МАЗ надежнее. На мазе кабина быстрее гниет. Если брать МАЗ, то с обычным движком, электроника мозг пудрит. А вообще для таких задач я бы взял КАМАЗ с обычным движком 210 л. с. Их много и они дешевые как при покупке, так и в эксплуатации.
КамАЗ дешевле, МАЗ надежнее. На мазе кабина быстрее гниет. Если брать МАЗ, то с обычным движком, электроника мозг пудрит. А вообще для таких задач я бы взял КАМАЗ с обычным движком 210 л. с. Их много и они дешевые как при покупке, так и в эксплуатации.
Ну с обычным мотором он совсем не едет. Был простой 8тонник, когда прицеп цеплял, тяга совсем пропадала. Соответственно и расход, когда мотор постоянно под максимальной нагрузкой. Наверное с мазовсим мотором лучше камаз взять
У меня сельхозник с обычным движком, сам 9,5 тонн весит и гружу в него до 13 тонн. Едет нормально, с прицепом 7 тонн (без массы прицепа) уже чувствуется вес, тяжеловато. А обычный КАМАЗ 5410 (седельный тягач) весит всего 6500 кг. И с прицепом с 15 тоннами груза едет нормально. С мазовским движком, конечно, получше. Но там коробки разные бывают, товарищ купил с мазовским и 2 коробки поменял пока подобрал нормальную.
А мне больше нравятся седельные тягачи на базе полноприводных Камазов.
Вопрос — в них реально впихнуть КПП с делителем?
А мне больше нравятся седельные тягачи на базе полноприводных Камазов.
Вопрос — в них реально впихнуть КПП с делителем?
Кпп камазовскую оставлять однозначно. И по весам на камаз наверное проще, он легче маза. Полноприводный конечно хорошо, но грузоподъемность меньше, расход больше и обслуживание дороже, раздатка, передний мост.
Ksenafontov, зато проходимость выше. Комбайн, сено наверняка придётся не только по автобанам возить.
Ksenafontov, зато проходимость выше. Комбайн, сено наверняка придётся не только по автобанам возить.
Ну как сказать, 4310 например по норме кушает 46 литров, и это по дороге. Обычный КамАЗ точно не знаю, не работал на таком, в районе 30, может чуть больше, кто точно знает поправьте, а это уже треть только по топливу. Тут нужно считать, что разумнее. Ну и из КАМАЗа даже полнопоиводного вездеход так себе.
. я тихонечко партизаню по ошметкам родных полей.
orlean пишет:
Ksenafontov, зато проходимость выше. Комбайн, сено наверняка придётся не только по автобанам возить.
Ну как сказать, 4310 например по норме кушает 46 литров, и это по дороге. Обычный КамАЗ точно не знаю, не работал на таком, в районе 30, может чуть больше, кто точно знает поправьте, а это уже треть только по топливу. Тут нужно считать, что разумнее. Ну и из КАМАЗа даже полнопоиводного вездеход так себе.
Ну да, трехмостовый так и жрёт. Да и сено и зерно если возить, то как правило это сухая погода. А если заказ какой, по трассе на трехмостовом и соляра и резина стирается в момент. Склоняюсь к камаз с мотором ямз, но вроде говорят маз понадежнее будет. 238 турбо мотор, кпп зф. Так начал сам полуприцеп смотреть и тралл, что то оазбег в цене даже в лям есть, опять же, какой лучше. А с траллом совсем беда. По прицепу немного понятно, чем легче тем лучше, диск тормоз, целая рама. Пневмоподаеска. А какой тралл выбрать под перевозку комбайн с жаткой?
танкист 204 пишет:
orlean пишет:
Ksenafontov, зато проходимость выше. Комбайн, сено наверняка придётся не только по автобанам возить.
Ну как сказать, 4310 например по норме кушает 46 литров, и это по дороге. Обычный КамАЗ точно не знаю, не работал на таком, в районе 30, может чуть больше, кто точно знает поправьте, а это уже треть только по топливу. Тут нужно считать, что разумнее. Ну и из КАМАЗа даже полнопоиводного вездеход так себе.
Ну да, трехмостовый так и жрёт. Да и сено и зерно если возить, то как правило это сухая погода. А если заказ какой, по трассе на трехмостовом и соляра и резина стирается в момент.
Склоняюсь к камаз с мотором ямз, но вроде говорят маз понадежнее будет. 238 турбо мотор, кпп зф.
Так начал сам полуприцеп смотреть и тралл, что то оазбег в цене даже в лям есть, опять же, какой лучше. А с траллом совсем беда. По прицепу немного понятно, чем легче тем лучше, диск тормоз, целая рама. Пневмоподаеска. А какой тралл выбрать под перевозку комбайн с жаткой?
Не разбираюсь в тралах, особенно для спецтехники. Но дисковый тормоза, на прицепах, вообще впервые слышу. А на Мазе разве не тот же 238й? КамАЗ с родным мотором мне не нравится из за его вонючего выхлопа и куче всяких трубочек по отдельным головкам. А так КамАЗ с ямз 238 вполне себе аппарат
. я тихонечко партизаню по ошметкам родных полей.
Ksenafontov пишет:
танкист 204 пишет:
orlean пишет:
Ksenafontov, зато проходимость выше. Комбайн, сено наверняка придётся не только по автобанам возить.
Ну как сказать, 4310 например по норме кушает 46 литров, и это по дороге. Обычный КамАЗ точно не знаю, не работал на таком, в районе 30, может чуть больше, кто точно знает поправьте, а это уже треть только по топливу. Тут нужно считать, что разумнее. Ну и из КАМАЗа даже полнопоиводного вездеход так себе.
Ну да, трехмостовый так и жрёт. Да и сено и зерно если возить, то как правило это сухая погода. А если заказ какой, по трассе на трехмостовом и соляра и резина стирается в момент.
Склоняюсь к камаз с мотором ямз, но вроде говорят маз понадежнее будет. 238 турбо мотор, кпп зф.
Так начал сам полуприцеп смотреть и тралл, что то оазбег в цене даже в лям есть, опять же, какой лучше. А с траллом совсем беда. По прицепу немного понятно, чем легче тем лучше, диск тормоз, целая рама. Пневмоподаеска. А какой тралл выбрать под перевозку комбайн с жаткой?
Не разбираюсь в тралах, особенно для спецтехники. Но дисковый тормоза, на прицепах, вообще впервые слышу. А на Мазе разве не тот же 238й? КамАЗ с родным мотором мне не нравится из за его вонючего выхлопа и куче всяких трубочек по отдельным головкам. А так КамАЗ с ямз 238 вполне себе аппарат
Ну на мазах разные моторы бывают и так же как на камазе есть и раздельные головки. Ну мотор однозначно 238 турбо. У камаза колёс больше, на резину расход больше. Мосты слабее, рама тоньше. А дисковые тормоза давно идут на прицепа, ещё с 90х годов. С машиной вроде определился. Теперь бы понять отличие всех этих прицепов и траллов.
Корнет, в карьер!маз 4372w2 — Все про машиностроение и агрегаты на nadmash.ru
Содержание
1 Коротко об истории создания модели и преемниках МАЗ-500
2 Устройство
3 Устройство
3.1 Автомобиль оснащался 2 типами трансмиссий:
4 Эх, прокачусь!
5 Кабина
5.1 Варианты исполнения:
6 Устройство
6.1 Кабина
6.2 Рулевое управление и панель приборов
7 Грузовик МАЗ-4371: история создания
8 История создания
Коротко об истории создания модели и преемниках МАЗ-500
Опытные образцы МАЗ-500, для проведения всесторонних испытаний, были воплощены из чертежей в реальность в 1958 году, а в 1961-м году была собрана опытная партия из 122-х грузовиков двух базовых типов.
Надо сказать, что далеко не все однозначно восприняли качественно новую безкапотную компоновку грузовика. Многим эта идея показалась авантюрной и даже опасной. У противников новой модели было сильное и влиятельное лобби. Было уже назначено заседание бюро ЦК Компартии Белоруссии с повесткой дня – снять с должности главного конструктора Минского автозавода Высоцкого, а гендиректору предприятия Дёмину объявить строгий выговор.
Однако прежде, чем это решение было принято, глава Компартии Белоруссии Филимонов лично посетил завод, где ему наглядно и убедительно продемонстрировали все преимущества новой модели. Положительная оценка главы в итоге перевесила доводы скептиков, и массовому производству МАЗов пятисотой серии дали зелёный свет. Огромный интерес специалистов и СМИ вызвал проведённый в 1961 году автопробег новых машин по маршруту Минск – Москва – Ленинград – Рига – Минск.
Но самую необходимую информацию о достоинствах и недочётах новой модели специалисты Минского автозавода получали, конечно, не от автомобилей, участвующих в выставках и показательных автопробегах, под прицелами камер репортёров.
Самый ценный практический опыт был получен в процессе анализа работы грузовиков, эксплуатирующихся в суровых условиях Сибири и Крайнего Севера; на стройках, в карьерах, леспромхозах. Далее МАЗ-500 превосходно проявил себя не только в студёных краях, но и в песчаных пустынях Африки и Азии, и на высокогорных плато Латинской Америки.
В марте 1965 года МАЗ-500 был запущен в серийное производство на первых порах параллельно с МАЗ-200. Символично, что последний экземпляр уходящей в прошлое модели, МАЗ-200, сошёл с конвейера 31 декабря 1965-го года, а с 1966-го предприятие полностью перешло на выпуск машин пятисотого семейства.
За успешное внедрение в производство этой, по всем признакам, очень перспективной модели, в 1966-м Минский автомобильный завод был награждён высшей государственной наградой – Орденом Ленина. Проектной мощности (24 тысячи грузовиков в год) предприятие достигло уже через два года.
Автомобиль отличался характерной декоративной облицовкой решётки радиатора из 14-ти вертикальных рёбер, и кожухом, прикреплённым к задней стенке кабины. Сама кабина, за свои плавные и обтекаемые формы, была прозвана в шоферской среде «глобусом», а пятисотый МАЗ – «лобастым».
На основе базовой модели был разработан и запущен в серию целый ряд грузовиков, универсальных шасси и автопоездов повышенной грузоподъёмности. Подробнее о всех пошедших в серию и мелкосерийных модификациях 500-го семейства – в следующем разделе.
В 1970 году автомобиль МАЗ-500 сменил на заводском конвейере его преемник – МАЗ-500А, с увеличившейся на 100 мм (до 3950 мм) колёсной базой и возросшей до 8-ми тонн грузоподъёмностью. Габаритные размеры были приведены в соответствие с европейскими нормами. Было изменено передаточное число главной передачи, в результате чего максимальная скорость машины увеличилась с 75 до 85 км/ч (при полной нагрузке, на горизонтальном участке шоссе).
«Три кита» Минского автозавода – бортовой грузовик, самосвал и седельный тягач к своим индексам получили новую приставку, и стали называться МАЗ-500А, МАЗ-503А и МАЗ-504А соответственно. Внешне 500-е второго поколения можно было отличить по другой, «клетчатой», решётке радиатора. Кроме того, исчез кожух за кабиной. За дверями, на уровне ручки двери, появился повторитель сигнала поворота.
В этом обновлённом варианте пятисотый продержался на конвейере Минского автозавода до 1977 года, когда пришло время запуска в серию совершенно нового семейства грузовиков – МАЗ-5335.
Устройство
МАЗ-6430 оснащается модернизированной пневмоподвеской с автоматическим краном управления, позволяющим в автоматическом режиме переводить полуприцеп в транспортное положение после выполнения погрузочно-разгрузочных работ. Участие водителя в данном процессе не требуется.
Другой отличительной особенностью грузовика стал доработанный внешний вид и кабина с новыми блок-фарами, 460-миллиметровым рулевым колесом, верхней полкой, размещенной под ветровым стеклом, улучшенной облицовкой, приборным щитком, составным бампером и интересной панелью приборов.
Главной целью доработки кабины МАЗ-6430 было решения ряда технологических и эксплуатационных вопросов: организация потока воздуха для сокращения загрязнения и улучшение аэродинамики. Использование брызгозащиты помогло минимизировать помехи, создаваемые для других участников движения в дождливую погоду.
Ведущие мосты МАЗ-6430 имеют пневматическую 4-балонную подвеску. Электронные системы и электрооборудование на тягаче заметно усовершенствованы. Основным новшеством стало появление передового блока коммутационной аппаратуры «БКА-4» с электрическими разъемами «Power Timer» и предохранителями «ножевого» типа. Это повысило надежность автомобиля.
Блок-фара сделана в одном корпусе и включает элементы ближнего и дальнего света, передний указатель поворота, габариты и встроенный корректор угла наклона ближнего света. Блок-фара отличается повышенной защитой от воздействий и современным дизайном.
Щиток приборов имеет обширную информационную зону, отображающую состояние агрегатов и систем автомобиля. В его состав входит многофункциональный монитор, показывающий данные в цифровом виде.
Пневмоподвеска МАЗ-6430 оборудуется системой управления ЕСAS с современным комплексом систем: функцией диагностики и контроля, нагрузки на ведущих осях и контроля потребления топлива. Также тягач оснащается передовой антиблокировочно-противобуксовочной системой. Последняя функционирует весьма эффективно.
На верхней полке кабины появился тахограф Stoneridge, относящийся к категории МТСО 1324. Он электрически связан со щитком приборов. В кабине также присутствуют преобразователь напряжения, специальная розетка для зарядки телефона или подключения телевизора и электростеклоподъемники.
Садиться в кабину МАЗ-6430 стало удобнее за счет большого дверного проема и удачной конструкции поручней и ступеней. Кабину последних модификаций модели от иностранных аналогов отличить уже довольно тяжело. В ней применены современные материалы, а комбинация приборов отлично просматривается в любое время. На центральной консоли также находится небольшой раскладывающийся столик.
Уже в базовой версии МАЗ-6430 комплектуется подрессоренным водительским креслом, спойлером, тахографом, ограничителем скорости, ремнями безопасности, подогревателем мотора и ABS. Опционально для тягача доступны независимый воздушный отопитель, устанавливаемый в кабине, и электронная система противобуксования (ASR).
Устройство
МАЗ 4370 получил переднюю зависимую рессорную подвеску с гидравлическими амортизаторами (телескопический тип) со стабилизатором. В качестве передней оси использовалась балка двутаврового типа. Задняя подвеска строилась на продольных полуэллиптических рессорах. Подобная конструкция хорошо зарекомендовала себя и отличалась повышенной устойчивостью. МАЗ 4370 имел переднеприводную заднемоторную компоновку с колесной формулой 4 на 2. Для первых моделей применялись иностранные шасси, выпущенные на заводе MAN. Позднее Минский автозавод начал выпускать собственные шасси. МАЗ 4370 комплектовался низкорамным кузовом, в чем и заключалось его основное достоинство. Подобная компоновка позволяла транспортировать габаритные грузы с большой высотой без оформления дополнительных разрешений. Подвеска машины оказалась слегка жестковата из-за использования стандартных рессор, представляющих собой наборные листы металла. Главным ее преимуществом стала простота устройства. Ресурс работы рессор достигал 100-200 тысяч км. При этом жесткость заметно снижалась при уменьшении давления в шинах или после загрузки транспорта.
Автомобиль оснащался 2 типами трансмиссий:
5-ступенчатой механической КП СААЗ-3206 (производитель – Россия, Саранский агрегатный завод). Для данной коробки передач характерны малые передаточные числа и большая жесткость.
5-ступенчатой механической КП ZF S5-42 (сборка – Испания или Китай). Переключение скоростей выполняется без резких щелчков и более мягко.
Крутящий момент на элементы трансмиссии от мотора передавался посредством однодискового сухого фрикционного сцепления. Для заднего моста был предусмотрен межколесный дифференциал с блокировкой.
В конструкции МАЗ 4370 применили тормозную систему барабанного типа, включавшую 2 основных элемента – барабан и тормозные колодки (некоторые версии получили дисковые передние тормоза). Подобный механизм был одновременно простым и надежным. В действие тормозная система приводилась пневмогидравлической системой, воздействие осуществлялось на все колеса. В машине опять же присутствовал стояночный тормоз с приводом от энергоаккумуляторов. Для автомобиля были предусмотрены 17,5-дюймовые шины (235/75R) со специализированным протектором. Изначально модель комплектовалась шинами Continental, поскольку в странах СНГ не производили шины требуемого размера. Позднее Минский автозавод стал сотрудничать с Ярославским заводом, который стал поставлять партнеру шины Я478. Именно их устанавливали в стоковой версии.
МАЗ 4370 получил современную систему электроснабжения с напряжением 24 В. Источниками питания служили 2 аккумулятора 6-СТ-110 и генератор 3232.3771.10. Запуск мотора осуществлялся стартером СТ-230Р.
Автомобиль оснащался 2- или 3-местной кабиной оператора, которая могла комплектоваться спальным местом, позволяющим водителю отдохнуть при необходимости. Данное место было откидным и при необходимости убиралось в заднюю стенку. В кабине оператора опять же установили печку с электронной регулировкой, которая обеспечивала оптимальный температурный режим зимой. Двери имели особые поручни, позволявшие легко забираться внутрь. Саму кабину оператора тяжело было назвать современной, но в плане удобства она считалась одной из лучших.
На раму МАЗ 4370 устанавливался тент или другое оснащение. В настоящее время грузовик предлагается в следующих версиях:
автокран;
манипулятор;
бетоносмеситель;
закрытый кузов;
рефрижератор.
Эх, прокачусь!
«У нас есть специальный экземпляр для наработки «на убой», но его мы тебе не дадим». Хорошенькое начало? Ведь журналисту как раз и нужна машина, которую можно безбоязненно загнать туда, откуда до ближайшего трактора минут тридцать ходу, а за поцарапанные ветками кабину и кузов слова плохого не скажут!
Но всё оказалось проще – «убойный» экземпляр несёт порядковый № 001 и за время реконструкций и тестов изрядно поизносился. Так что мне выдали практически предсерийную машину и тоже без ограничений. А чтобы я не бегал за помощью на ближайшую стройку, в качестве водителя-испытателя со мной отправили известного гонщика-триальщика Сергея Крука – заводу безопасность, а мне бонус.
Что бросается в глаза при очном знакомстве с МАЗ 4372W2 – полноприводный «Корнет» потерял былую лёгкость посадки в кабину. Задачи у машины другие, так что удобство частого входа / выхода отошло на второй план.
Зато внутри всё привычно, по-мазовски. Обзор, органы управления, даже радиус разворота по ощущениям не отличается от полноразмерных МАЗов – последний момент меня очень порадовал, ибо обычно передний ведущий мост заставляет задуматься над траекторией поворотов и размерами разворотной площадки. А весь внедорожный потенциал активируется кнопками на панели – современный подход.
Без малого 180-сильный двигатель разгоняет машинку довольно резво, позволяя трогаться на порожней машине со II передачи и потом не опускаться ниже III вплоть до полной остановки. Ещё бы добавить чёткости переключению передач, но… чего нет того нет. Печальная примета всех протестированных мною МАЗов с МКП. Зато по асфальту машина идёт тихо и мягко, ничем не выдавая своего полного привода. Приятно, но я-то приехал загнать его в снега, так что асфальт был покинут очень быстро.
Учитывая двухскатную ошиновку сзади и шины размерностью 9.00R20, я предвкушал вой двигателя, свист резины, беспомощно шлифующей снег, и работу небольшой, но очень удобной лопатой. Увы, эффектного рассказа о том, как я засадил МАЗ по ступицы, не будет – банально не нашлось места с таким количеством снега.
Зато всё остальное, описанное во врезе, мы с Сергеем совершили. И к ёлкам в лес заезжали, и в заносе повороты проходили, и лёд, где смогли найти, крошили. Нашлось даже небольшое деревце, положенное поперек дороги, дабы джипы на испытательную трассу МЗКТ не совались. Я хотел его объехать по целине, но получил ЦУ ехать напролом, чай, не на «пузотёрке». И ничего, «мазик» даже не крякнул.
В общем, когда я накатался по разбитой многоосниками дороге, за руль сел Сергей и показал мне, что III передача – это для чайников. Ухабы, снежное поле с «травой по пояс», замерзшие спуски и подъёмы, и даже «вот здесь, кажется, провалился одной стороной МЗКТ 7930» – для «Корнета» 4х4 оказались проходимыми. Да, на IV, а местами и на V передачах в кабине начинает изрядно потряхивать. Но, если бы я был владельцем МАЗа, я бы в жизни не рискнул так ехать по заснеженной разбитой грунтовой дороге. Мастерство не забывается!
В итоге места, где можно было бы проверить проходимость в стиле «докуда доползем», не нашлось. Зато испытали проходимость геометрическую – вывесить колёса в реальных, а не искусственно сымитированных условиях не удалось, а вот «срезать» задним противоподкатным брусом земляной бугор при маневрировании получилось. Кроме того, пару раз мы банально забывали подключить передний мост и вспоминали об этом только после прохождения сложного участка. Зачёт!
Кабина
МАЗ 4370 комплектуется цельнометаллической кабиной. В отличие от аналогов российского производства она имеет более просторный и комфортный салон.
Варианты исполнения:
2-местная кабина со спальной зоной, обеспечивающей удобство перемещения на длительные дистанции. Уставший водитель при необходимости может отдохнуть. Спальное место является откидным и при необходимости убирается в заднюю стенку.
3-местная кабина без спальника.
Пол в кабине ровный, что положительно сказывается на уровне комфорта. Другой особенностью является печка с электронной регулировкой. В зимних поездках данное оборудование очень выручает. Опционально доступно дополнительное устройство обогрева. Кабину МАЗ 4370 нельзя назвать современной, но она достаточно удобна. Низкое расположение на раме облегчает процесс посадки, а двери оснащаются специальными поручнями для захвата. Для доступа к агрегату кабина посредством гидравлического подъемника может откидываться вперед.
Устройство
Управление в более ранних модификациях осуществляется посредством коробки передач, выпущенной на заводе имени Лихачева. Для эксплуатации в городских условиях ее вполне хватает. С иностранными агрегатами обычно применяется 5-скоростная трансмиссия ZF S5-42 (ZF 6S-850), производимая на венгерских или немецких предприятиях.
Одним из недостатков «Зубренка» является отсутствие блокировки дифференциала и полноприводной версии четыре на четыре. Это затрудняет передвижение по бездорожью и пересеченной местности. Модель Маз 4371 всегда позиционировалась в качестве машины для города.
Тормозная система построена на барабанных тормозах. Однако присутствуют и модификации с дисковыми тормозами.
Кабина Маз 4371 заслуживает отдельного внимания. Именно этот элемент существенно отличает модель от предшественника (МАЗ 4370). Вместо короткой кабины без спального места использована более просторная кабина. В плане комфортабельности она несильно уступает иностранным продуктам.
Мягкая подвеска даже при продолжительном переезде не утомляет водителя.
В плане комфортабельности пользователи отмечают, что третье сиденье ни к чему, а установка спального места может вызывать затруднения. Но зато в кабине очень тепло, нет моторного тоннеля, который обычно мешается под ногами, а подвеска довольно мягкая и при длительном переезде не утомляет. По бокам дверных проемов предусмотрены поручни, облегчающие вход.
Пневмобаллонов или пружинных стоек для кабины не предусмотрено. К раме она крепится через специальные резиновые втулки. На гидроподъемнике и гидрозамках разработчики Маз 4371 экономить не стали, что обеспечило удобный доступ к двигателю и стеклам.
Приборная панель модели считается лучшей среди всех продуктов, выпускаемых на постсоветском пространстве. В дизайне она лишь немного уступает европейским аналогам. Благодаря новым технологиям ее удалось сделать нескрипучей и мягкой. Над ветровым стеклом появилась пластмассовая полка.
Обилие оцинкованных деталей помогает в этом, но полностью защитить элемент от пагубного воздействия разработчикам не удалось.
Маз 4371 неслучайно считается наиболее успешным продуктом Минского автозавода. В нем были собраны последние наработки предприятия.
Запчасти для автомобиля Маз 4371 найти очень просто. Производитель в широком ассортименте поставляет их на российский рынок. Обслуживание и ремонт грузовика смогут выполнить в любом автосервисе.
Кабина
Кабина автомашины МАЗ-4371 достойна отельного разговора. Собственно она то и категорически его отличает от модели предыдущей – МАЗ-4370. Короткая кабина без наличия спального места сменилась более просторной. Если сравнивать комфортабельность, то она не слишком уступила зарубежным собратьям по классу. В кабине предусмотрено третье посадочное место. Также, у большинства моделей, имеется спальное место. По некоторым отзывам оно не является слишком удобным, но при этом в кабине достаточно тепло и отсутствует моторный тоннель, постоянно мешающий передвижению по кабине. Подвеска довольно мягкая и комфортная, что не позволяет устать водителю даже при самых долгих транспортировках. Также со стороны каждой двери имеются вспомогательные поручни, существенно облегчающие вход в кабину.
Пневматических баллонов для кабины или даже пружинных стоек конструкторы не разрабатывали. Её смонтировали к раме посредством втулок из плотной резины. Но зато на гидравлическом подъёмнике и гидравлических замках конструкторы «Зубрёнка» экономить не стали, в последствии чего доступ к стёклам и мотору стал крайне комфортным. Панель приборов автомобиля является одной из наиболее информативных и удобных среди всех конкурентов, выпущенных в государствах СНГ. Дизайн её практически идентичен аналогам из Европы
И что немаловажно – она совершенно не скрипит, а пластик её мягкий. Немного выше ветрового стекла была установлена полка из пластмассы
Задние крылья самой кабины смонтированы непосредственно на раме. Собственно они и являются пластиковыми подкрылками, задачей которых является защита колёсных арок.
Рулевое управление и панель приборов
Приборная панель установлена на небольшой высоте, что обеспечивает хорошую обзорность. На ней размещены датчики и индикаторы, монитор, который остается видимым даже при прямом попадании солнечных лучей. На нем выводятся данные о количестве топлива в баке, температуре двигателя, расходе топлива.
Рулевая колонка является регулируемой. Рычаг переключения скоростей расположен под рукой, что очень удобно. Автомагнитола, приборы и переключатели находятся около водителя.
Грузовик МАЗ-4371: история создания
Конструкторы и инженеры Минского завода при создании грузовика взяли в качестве базиса автомобиль немецкого происхождения MAN L2000. Вопреки всем ожиданиям МАЗ-4371 оказался существенно эффективнее своего старшего брата в плане предельной грузоподъёмности, за что его и нарекли «Зубрёнком». Создавался автомобиль для применения в пригородной и интенсивной городской обстановке. Для таких задач конструкторы наделили грузовик компактными габаритами, гарантирующими удобство маневрирования в условиях городских заторов и частых пробок.
Изначально автомашина МАЗ-4371 была предназначена для транспортировки всевозможных хозяйственных товаров – мебели, одежды и обуви, пищевых продуктов и прочее. Она имела возможность также буксировать прицепы, обладающие тягово-сцепным механизмом, что обеспечивало сцепку без зазоров. Также минские конструкторы предлагали специализированное шасси для монтажа отдельных надстроек.
Внешний вид грузовика практически не отличался от немецкого собрата. Более того, несколько первых партий МАЗ-4371 были оборудованы шасси немецкого производства. Но спустя пару лет минские инженеры всё же разработали собственное шасси. Именно на него стали монтировать кабину нового образца.
Продолжительный период модель считалась одним из самых безупречных грузовых автомобилей. Но отдельные автолюбители всё же умудрялись критиковать МАЗ-4371. Главная критика была направлена на фары грузовика. Изготавливались они в Китае и были не самыми мощными, из-за чего автомобиль демонстрировал довольно слабое освещение. Водители с многолетним опытом сразу же после приобретения модели заменяли эти детали.
В общем, отзывы владельцев автомашины МАЗ-4371 свидетельствуют о том, что грузовик является достойным конкурентом зарубежных аналогов. Техника выделяется высоким уровнем надёжности и выносливости, а также отменно приспособлена к погодным условиям и дорогам России. В классе автомашин среднего тоннажа грузовик МАЗ-4371 сполна отвечает всем требованиям современного рынка.
Автомашина доступна в нескольких климатических вариациях. К примеру, в страны с тропическим климатом экспортировались модели «Т1», а в государства с умеренными климатическими условиями – версии «У1».
История создания
Конструкторы и инженеры Минского завода при создании грузовика взяли в качестве базиса автомобиль немецкого происхождения MAN L2000. Вопреки всем ожиданиям МАЗ-4371 оказался существенно эффективнее своего старшего брата в плане предельной грузоподъёмности, за что его и нарекли «Зубрёнком». Создавался автомобиль для применения в пригородной и интенсивной городской обстановке. Для таких задач конструкторы наделили грузовик компактными габаритами, гарантирующими удобство маневрирования в условиях городских заторов и частых пробок.
Изначально автомашина МАЗ-4371 была предназначена для транспортировки всевозможных хозяйственных товаров – мебели, одежды и обуви, пищевых продуктов и прочее. Она имела возможность также буксировать прицепы, обладающие тягово-сцепным механизмом, что обеспечивало сцепку без зазоров. Также минские конструкторы предлагали специализированное шасси для монтажа отдельных надстроек.
Внешний вид грузовика практически не отличался от немецкого собрата. Более того, несколько первых партий МАЗ-4371 были оборудованы шасси немецкого производства. Но спустя пару лет минские инженеры всё же разработали собственное шасси. Именно на него стали монтировать кабину нового образца.
Продолжительный период модель считалась одним из самых безупречных грузовых автомобилей. Но отдельные автолюбители всё же умудрялись критиковать МАЗ-4371. Главная критика была направлена на фары грузовика. Изготавливались они в Китае и были не самыми мощными, из-за чего автомобиль демонстрировал довольно слабое освещение. Водители с многолетним опытом сразу же после приобретения модели заменяли эти детали.
В общем, отзывы владельцев автомашины МАЗ-4371 свидетельствуют о том, что грузовик является достойным конкурентом зарубежных аналогов. Техника выделяется высоким уровнем надёжности и выносливости, а также отменно приспособлена к погодным условиям и дорогам России. В классе автомашин среднего тоннажа грузовик МАЗ-4371 сполна отвечает всем требованиям современного рынка.
Автомашина доступна в нескольких климатических вариациях. К примеру, в страны с тропическим климатом экспортировались модели «Т1», а в государства с умеренными климатическими условиями – версии «У1».
Это интересно: Технические характеристики и устройство пассажирского автобуса МАЗ-241
С этим читают
Маз-501: фото и технические характеристики
Маз-5432
Топ-2 советских маза-самосвала и грузовики модельного ряда
Маз
Грузовые самосвалы маз
Маз-457043: технические характеристики
Ямз-658
25 самых крутых военных машин со времён второй мировой до наших дней
Каталог маз
Зис-15
Где находится номер рамы на маз зубренок: это важно знать
маз зубренок какой расход топлива с двигателем дойц
Так уж сложилось, что мне пришлось работать механиком в организации, имеющей в своем парке автомобили Маз 4370 и 4371. Надо сказать, техника для меня новая и малоизученная. Не смотря на повышенную норму расхода топлива установленную на предприятии и составляющую на тот момент 25,5 литров на сто километров, водитель нового МАЗ 437143-332 имел пережог топлива в размере 245 литров. Мотивировал он это тем, что периодически приходится ездить с прицепом и поэтому у него такой перерасход. Однако после детального изучения проблемы, все оказалось немного иначе. Я забыл написать, что для более точного расхода топлива на всех автомобилях установлено оборудование глонасс АТ-Наблюдатель.
Согласно показаниям трекера водитель говорил правду, трекер не фиксировал сливов топлива и действительно отражал большой расход соляры. PРуководство предприятия приняло решение о замене водителя на проблемном Зубренке, так как на других машинах с раходом топлива был полный порядок. Новый водитель при поддержке руководства, устранил неисправности ходовой автомобиля, произвел замену дизельного масла в двигателе на масло ZIC5000 полусинтетику, а также всех фильтрирующих элементов и приступил к работе.
Прошло два полных месяца и вот какой получился результат по итогам Расход топлива в смешанном цикле (город/трасса) автомобиля составил на сто километров 15-18 литров. Расход топлива автомобиля с прицепом составил 20-23 литра на сто километров. Занимаясь детально этой проблемой было установлено, расход топлива на Зубрятах очень сильно зависит, от манеры вождения водителя. В первом случае, водитель был молодой, машина новая, вот и жал он на газ до упора. Месячный анализ показал, что скорости от 100 до 120 были для него нормой.
Отсюда и появился такой пережог топлива. Во втором случае, водитель при приеме на работу был уведомлен о соблюдении скоростного режима, работая на линии с полной загрузкой и соблюдая скоростной коридор в пределах 60-75 км, водитель добился наиболее оптимального расхода, что было подтверждено системой глонасс АТ-Наблюдатель. Вывод очевиден, расход топлива на автомобилях МАЗ 4370 и МАЗ 4371 напрямую зависит от манеры вождения водителя. Если ваш Зубренок много жрет соляры, не спешите пенять на машину, посмотрите все ли вы делаете правильно. Машина в эксплуатации 2 года, пробег 180 тыс. км.
Грузовик МАЗ 4370 – грузовой низкорамник среднего тоннажа, разработанный и выпускаемый на Минском автозаводе. Авто категории MCV относится к грузовым с допустимой минимальной массой от 3,5 т (класс N2). Неофициальным прозвищем МАЗ 4370 стало «Зубренок», под этим именем грузовик и вошел в историю. Выпуск модели стартовал в середине 1999го года, и за время производства неоднократно модернизировали базовую модель.
Содержание
МАЗ 4370 Зубренок имеет множество достоинств, ключевыми из которых для покупателей стали:
Надежность ходовой и подвески — еще одно достоинство Зубренка МАЗ 4370, который в сравнении с конкурентами по классу значительно реже требовал ремонта. Кроме того, грузовик универсальный и функциональный, что позволило его использовать в самых различных сферах.
МАЗ 4370 Зубренок выпускался с разными кузовами, на фото — с тентом
МАЗ 4370 Зубренок: технические характеристики
На момент разработки грузовика МАЗ 4370 Зубренок технические характеристики выглядели впечатляюще. Но и сейчас они вполне достойные, что позволяет спросу на автомобиль держаться на высоком уровне уже который год.
Транспортное средство имеет следующие габариты:
МАЗ 4370 производится в нескольких вариантах колесной базы, это:
Рассматривая характеристики Зубренка, можно отметить компактные габаритные размеры. Это дает грузовому автомобилю сразу несколько преимуществ:
Что касается эксплуатационных технических характеристик МАЗ 4370 Зубренок, то они следующие:
Технические характеристики МАЗ 4370 делают Зубренка одним из самых востребованных среднетоннажников по сей день и позволяют грузовику достойно конкурировать даже и более современными моделями.
liveruspeedy
Технические характеристики. Технические характеристики мопеда Рига 13.
Выпуск грузовых автомобилей МАЗ-4370 Минский автозавод начал в 1999-ом году. В 2003-ем году машину признали лучшей в своем классе. Данная модель получила прозвище «Зубренок». За основу при разработке грузовика был взят немецкий автомобиль MAN L 2000 (при этом грузоподъемность минского продукта в два раза больше). Изначально на МАЗ-4370 устанавливали исключительно иностранные кабину и шасси. Однако впоследствии была создана собственная ходовая. 5-тонный грузовик отличается от аналогов низкой кузовной рамой, облегчающей разгрузку и погрузку.
Модель предназначена для региональных, пригородных и городских перевозок. Отзывы владельцев МАЗ-4370 Отзывы собственников «Зубренка» носят, в основном, положительный характер. Владельцы автомобиля хвалят ровный пол, унаследованный МАЗом-4370 от немецкого «прародителя», удобную и просторную кабину и комфортное подрессоренное водительское сиденье.
Все это позволяет выполнять на грузовике даже длительные рейсы. МАЗ-4370 ввиду высокой популярности производится в двух версиях. Различия между ними заключаются в незначительной разнице в грузоподъемности и в длине колесной базы. Автомобиль используют не только в качестве перевозчика различных грузов.
Тип мотора – бензиновый, двухцилиндровый двухтактный; Зажигание. Oct 17, 2011 — Технические характеристики двигателя Д6. Тип двигателя одноцилиндровый, двухтактный, карбюраторный с кривошипно-камерной. Предлагаемый способ доработки позволяет повысить мощность двигателя примерно наполовину. Подвергать модернизации имеет смысл лишь новый или малоизношенный двигатель. Чтобы увеличить мощность N и уменьшить расход топлива повышают степень сжатия. Это наиболее доступный прием форсирования. Необходимо проточить посадочные места цилиндра и головки, как показано на рис. 1При зтом степень сжатия составит 8,5-9. Если используется штатная цилиндро-поршневая группа, увеличивать степень сжатия больше 9 не следует, так как при более высоких показателях двигатель в процессе работы быстро перегревается.
МАЗ-4370 применяется как шасси для эвакуаторов, самосвалов и другой дорожно-строительной техники. Грузовик имеет средние габариты и отличную маневренность. Радиус разворота у модели составляет всего 8000 мм, что позволяет уверенно чувствовать себя в стесненных городских условиях и на загруженной дороге. «Зубренок» отличают небольшая стоимость и высокое качество сборки, что делает машину особенно популярной на отечественном рынке. В российских условиях МАЗ-4370 чувствует себя очень хорошо, а неисправности у него появляются крайне редко. Высокую оценку получили ходовая часть и кабина грузовика, а вложенные в покупку автомобиля средства окупаются довольно быстро.
Технические Характеристики Бмв
Популярность «Зубренка» обусловлена и тем, что он не уступает иностранным аналогам по техническим характеристикам. Среди проблем следует выделить не самое удобное переключение скоростей. Однако к несогласованности в управлении водители привыкают довольно быстро. Технические характеристики МАЗ-4370 имеет компактные габаритные размеры:. длина без прицепа – 5500 мм;. длина с прицепом – 8200 мм;.
ширина – 2550 мм;. высота – 2850 мм. Для грузовиков со средними габаритами МАЗ-4370 имеет довольно большую колесную.
базу 3700 мм. Масса автомобиля не превосходит 4900 кг, что является важнейшим преимуществом, поскольку на большой вес многие железнодорожные переезды и дорожные сооружения не рассчитаны. При этом на переднюю ось приходится 35% массы, на заднюю – 65%. Колеса задней полуоси спарены между собой, поскольку они выдерживают большую нагрузку. Допустимая масса грузовика равняется 10100 кг. Внутренний объем кузова «Зубренка» составляет 35,5 кубометра.
Для машины используются шины размером R17,5 или R20. МАЗ-4370 имеет колесную формулу четыре на два.
Даже при полной загрузке автомобиль может разгоняться до 90-110 км/час. Расход Топлива Потребление топлива у базовой версии МАЗа-4370 на 100 км составляет 18 л, а топливный бак вмещает до 130 л горючего.
Двигатель Дебютная модель МАЗа-4370 появилась довольно давно, однако производитель неоднократно модернизировал силовые установки, что позволило ей не отстать от аналогов. В разные периоды грузовик комплектовался различными агрегатами:.
ММЗ Д-245 Е3 («Евро-3») использовался с КПП СААЗ-3206;. DEUTZ BF 4M 1013FC – импортный двигатель («Евро-3»), дополненный иностранной механической КП ZF S5-42.
Сегодня на «Зубренок» уже не устанавливаются силовые установки стандартов «Евро-1» и «Евро-2». Минский автозавод применяет исключительно моторы, соответствующие нормам «Евро-3». Наибольшее распространение получил 4-тактный 4-цилиндровый дизельный агрегат ММЗ Д-245.30 Е3, являющийся разработкой белорусских специалистов. Данная силовая установка имеет высокую ремонтопригодность и надежность. Двигатель оснащается турбонаддувом, цилиндры в нем расположены вертикально.
Двигатели на МАЗ 4370
Грузовой Зубренок МАЗ 4370 выпускался в четырех модификациях, которые различались силовыми установками. Изначально на грузовик устанавливался белорусский двигатель ММЗ Д-245. Движок не соответствовал европейским экологическим стандартам, поэтому нуждался в доработке. Довольно быстро его заменили на улучшенную версию Д-245.30, уже соответствовавшую стандарту Евро-2. Спустя несколько лет мотор еще доработали до стандарта Евро-3. Кроме минских двигателей, на МАЗ 4370 агрегатировали немецкий движок Deutz BF4M 1013FC, отвечающий Евро-3. Но последние модификации в России встретить можно относительно нечасто.
Двигатель МАЗ 4370 Д-245
Основным двигателем для МАЗ 4370 стал белорусский Д-245. Это турбированный дизельный мотор, который «засветился» на многих моделях тракторов и спецтехники и прекрасно зарекомендовал себя и в эксплуатации, и в техническом обслуживании. 4,75-литровый движок имеет 1,5 тыс. оборотов в минуту и генерирует 157 л.с. Это позволяет ему быть с одной стороны тяговитым, а с другой — иметь хорошую топливную экономичность: в комбинированном цикле расход на «сотню» достигает 17 л.
По конструкции двигатель МАЗ 4370 Д-245 4-хтактный, имеет четыре цилиндра, размещенных в один ряд.
Таблица технических характеристик МАЗ 4370 Д-245 Евро3
Рабочий объем
4,75 литров
Мощность
95 кВт или 157 л.с.
Номинальные обороты
1,5 тыс. об/минуту
Макс. крутящий момент
580 Н*м
Степень сжатия дизтоплива
17
Расход топлива
17 л/100 км (комбинированный цикл)
Масса
0,45 т
Технические характеристики
МАЗ-437041-328 — технические характеристики:
Колесная формула
4*2
Давление в шинах транспорта
6,5 кгс/см2
Максимальная нагрузка, оказываемая на переднюю ось
3650 кг
Наибольшая нагрузка, оказываемая на задний мост
6450 кг
Объем грузовой платформы
35,5 м³
Снаряженная масса
5250 кг
Максимальная скорость движения
90 км/ч
Модель двигателя
ЯМЗ-236 или 238
Мощность силового агрегата
236 лошадиных сил
Модель коробки передач
CAA3-3206
Количество передач
5
Тип подвесного механизма
Рессорный
Размер шин
235/75R7,5
Объем топливного бака
130 л
Международный экологический стандарт
Евро-2
Масса автопоезда
20000 кг
Количество цилиндрических элементов
6
Тип используемого топлива
Дизель
Расположение цилиндров
Рядное
Расход топлива
Средний расход топлива на 100 км МАЗ-437043 составляет 31 л.
Грузоподъемность
Характеристика грузоподъемности: максимальный вес груза составляет 4 700 кг.
Габариты
Габариты и размер кузова:
длина — 6,25 м;
ширина — 2,48 м;
высота — 2,3 м.
Вес транспортного средства — 10 100 кг.
КПП МАЗ 4370
Грузовик выпускался с тремя разными трансмиссиями:
Все доступные трансмиссии относятся к пятискоростным «механикам». По конструкции они сухие, однодисковые фрикционные. Размер диска сцепления может быть 340 или 360 мм в диаметре. На ведущий задний мост ставится конический редуктор и межколесный дифференциал с блокировкой.
Помимо родных коробок передач, которые не отличаются особой надежностью, для МАЗ 4370 предлагаются КПП китайской сборки, например 6J60T и 6J70T. Они сконструированы американской компанией Eaton и производятся в Китае по контракту. В отличие от родных КПП китайские имеют шесть скоростей.
Привод выключения сцепления
Схема переключения передач МАЗ 4370
Управление КПП производится при помощи рычага по следующей схеме:
Схема переключения скоростей на МАЗ-4370
Привод управления коробкой передач МАЗ 4370 (схема)
Электрическая схема МАЗ 4370 Зубренок
Электрическая система управления мотором оснащена встроенной функцией самодиагностики и не нуждается в техническом обслуживании, кроме контрольной проверки после ремонта или настройки элементов и узлов топливной системы.
Схема расположения электронных систем управления на МАЗ 4370
Для установки электрического оборудования на МАЗ 4370 можно воспользоваться следующей электросхемой.
Схема установки электрического оборудования МАЗ-4370
Панель реле и предохранителей на МАЗ 4370 выглядит так:
Реле и предохранители в кабине МАЗ-4370
Механическая причина «незапуска» двигателя
В это время вторая бригада выезжает на МАЗ-4370 (Зубренок). Владелец оного агрегата перебрал двигатель ЯМЗ 245, но машина никак не заводится. При проведении диагностики, нами было обнаружено, что параметры синхронизации датчиков коленвала в норме, впрочем, как и остальные по питанию ЭБУ и датчиков, разрешающих запуск двигателя. Однако упрямый двигатель ни в какую не хотел вращать коленвалом по просьбе стартера. Смотрим давление топлива в рейле — тоже в норме. Давления хватает ровно столько, сколько нужно, чтобы машина завелась. Чудес не бывает — даем в воздухоподающий отсек эфира — эффекта также нет. Снимаем патрубки выводных отработанных газов и тут все становится на место. У машины нет компрессии в цилиндрах. Указываем владельцу на данный факт и отправляем его к механикам — мотористам, продолжать дорабатывать движок.
Тормозная система МАЗ 4370
У МАЗ 4370 тормозная система реализована независимо для передней и задней осей. Она пневматического типа и состоит из следующих компонентов:
На обычных грузовиках-зубрятах компрессор одноцилиндровый. Модификации МАЗ 4370 для автопоездов укомплектовывались двухцилиндровым компрессором.
Тормозной барабан с МАЗ-4370
Непосредственным элементом тормозной системы являются тормоза барабанного типа. Барабан отливается из чугуна, его диаметр — 420 мм, а толщина — 160 мм.
Колодки МАЗ 4370 изготавливаются из стали. Поверх них установлены накладки. Чтобы отрегулировать расстояние между барабаном и колодками, имеется соответствующий рычаг.
Тормозная система МАЗ-4370 (барабан с колодками)
С одной стороны, конфигурация тормозной системы МАЗ 4370 Зубренок гибкая, с другой — она требует точной настройки для каждой оси и отдельного колеса. В противном случае могут возникать заносы или увеличиться тормозной путь.
Не заводится МАЗ-4370
МАЗ-4370, называемый еще «Зубренок», его же модификация МАЗ-4371 с двигателем Д-245.30Е3 евро-3 или евро-4, простой и неприхотливый в эксплуатации автомобиль. Но изредка у него случаются поломки. Бывает очень неприятная ситуация, когда двигатель это автомобиля вдруг заглох и перестал заводится . При этом на приборной панели горит лампа неисправности “чек энджин” (Check Engine). Но бывают ситуации, когда двигатель не заводится, а лампа индикации неисправности не загорается. Для начала нужно выяснить, как это происходит. Есть два варианта неисправности:
При повороте ключа зажигания, стартер вращает двигатель автомобиля
Стартер не включается и не прокручивает мотор
Давайте более подробно разберем каждый из вариантов неисправности грузовика.
Ходовая и подвеска
Ходовая и подвеска МАЗ 4370 заслуживают похвалы. Во многом именно за прекрасное качество конструкции Зубренка и сборки подвески он получил столь широкое распространение. При бережной эксплуатации без капитального ремонта ходовая продержится 250 тыс. км, но и потом после замены износившихся элементов проработает без особых проблем сотни тысяч километров.
Передняя рессора МАЗ 4370 состоит из нескольких листов. Спереди подвеска оснащена гидравлическими амортизаторами со стабилизаторами. Задняя рессора полуэллиптическая.
В целом такая конструкция дает жесткий ход, но зато легко и просто ремонтируется и не требует особого обслуживания.
Размер колесных дисков — от 17 до 20”. Размер подходящих шин 235/75R17,5.
История создания
Минский автозавод разрабатывал концепцию будущего МАЗ 4370 в кооперации с Горьковским автозаводом. Первые концептуальные низкорамные среднетоннажники проектировались инженерами предприятий в 90-х годах. Но после развала СССР в МАЗ решили отказаться от сотрудничества с российским автозаводом, поскольку в силу ряда причин взаимодействовать с представителями другого государства стало сложно. В связи в этим в Минске решили прекратить поставки и для остальных грузовиков, в частности для МАЗ 5336, кабин ГАЗовского производства.
Не оставив идею создания среднетоннажника, мазовские инженеры решили взять за прототип MAN L 2000, собиравшийся в Германии. Откорректировав ряд функций и нарастив грузоподъемность, на Минском автозаводе создали МАЗ 4370 Зубренок именно в том виде, в котором он и сошел с конвейера в 99-м году.
Выход на российский рынок
На момент появления новинки на российском авторынке грузовой техники было два основных конкурента в этом классе — ГАЗ 3310 и ЗИЛ 5301. Белорусский среднетоннажник обошел их сразу по нескольким параметрам. Во-первых, кабина была просторнее и комфортабельнее. Во-вторых, грузоподъемность новинки была выше, что стало, пожалуй, самым весомым аргументом в ее пользу при прочих равных. Длительное время на отечественном авторынке грузовик МАЗ 4370 попросту не имел конкурентов. Высоким спросом Зубренок пользуется по сей день.
В 2007м году Камский автозавод выпустил на рынок прямого конкурента для Зубренка МАЗ 4370 — КамАЗ 4308, который получил в народе прозвище «Камазенок». Не желая сдавать позиции, на автопроизводстве работали над модернизацией своего грузовика. В 2010 году производитель представил второе поколение Зубренка. Обновленный грузовик получил индекс МАЗ 4371. У него переработана кабина, которая стала еще более комфортабельной, чтобы соответствовать требованиям времени. Также МАЗ 4371 Зубренок-2 агрегатировался более экологичными дизельными движками.
Ранее мы писали о технических характеристиках автокрана КС-5473 Днепр и особенностях его эксплуатации.
Источник
«Вест Хэм» обыграет «Ньюкасл» и «Эвертон» и станет звездой «Бернли» Максвелом Корнетом, что увеличит летние расходы «Хаммерса» до более чем 100 миллионов фунтов стерлингов.
FOLLOW talkSPORT
Издания
Издание для США
Издание для Великобритании
Шотландское солнце
Ирландское солнце
Солнце Бинго
Команда мечты
talkSPORT
News Corp
Услуги
Крупнейшая в мире спортивная радиостанция
Весь футбол
Ожидается, что «Вест Хэм» выдержит жесткую конкуренцию со стороны «Эвертона» и «Ньюкасла» за услуги Максвела Корнета из «Бернли», понимает talkSPORT.
Универсальный игрок сборной Кот-д’Ивуара стал настоящим открытием для «Кларе» в прошлом сезоне, несмотря на то, что они вылетели в Чемпионшип.
АФП
Похоже, что Корнет перейдет в «Вест Хэм»
25-летний Корнет перешел в «Бернли» из «Лиона» в августе прошлого года за 12,9 млн фунтов стерлингов [15 млн евро]. В своем дебютном сезоне он забил в общей сложности девять голов и сделал две передачи в 28 матчах. в Терф Мур.
Но он собирается уйти из ланкаширского клуба после всего лишь одного сезона из-за пункта в его контракте, который позволит ему уйти по установленной цене после понижения клуба до второго уровня.
А Алекс Крук из talkSPORT сообщает, что «Хаммерс» готовы заплатить гонорар в 17,5 млн фунтов стерлингов и обыграть ряд соперников из Премьер-лиги до его подписания.
Реклама
«В последние несколько минут я слышал, что «Вест Хэм» готов активировать пункт об освобождении в контракте Максвела Корнета с «Бернли», — сказал Крук Уайту и Джордану.
«17,5 миллионов фунтов стерлингов достаточно, чтобы заполучить его. Это тот самый левый игрок, которого они искали для конкуренции и прикрытия Аарона Крессвелла.
«Похоже, Корнет направляется на Лондонский стадион. Они провожали интерес со стороны «Ньюкасла», «Эвертона» и «Ноттингем Форест».
Реклама
ЖИВОЙ
«Вилла» — «Саутгемптон» 1:0 Реакция в прямом эфире: гол Рэмси ослабил давление на Джеррарда
проблема
«Арсенал» получил новую травму, и защитнику предстоит гонка, чтобы быть готовым к игре с «Тоттенхэмом»
УВАЖЕНИЕ
Бекхэм присоединяется к тысячам людей, стоящих в очереди 12 часов, чтобы увидеть «особую» королеву, лежащую в состоянии
ДРУЗЬЯ
Дэвид Дейн рассказал о тесных связях со «Шпорами» и признал, что их стадион — лучший в мире
откровенные
Триппьер объясняет, почему он ушел из «Атлетико» в «Ньюкасл», и обсуждает заработную плату
НЕТ СДЕЛКИ
Фостер отказался от предложения «Ньюкасла» по одной причине: вместо него к Поупу присоединился Кариус
GETTY
25-летний игрок также является мишенью для «Ньюкасла» и «Эвертона». «Ньюкасл» хотел поэтапных платежей, а «Эвертон» искал кредит. «Вест Хэм» — наиболее вероятный пункт назначения».
«Вест Хэм» искал нового универсального левого флангового игрока, который также может играть на позиции левого крайнего защитника.
Чтобы купить звезду, летние расходы «Хаммерс» превысят 100 миллионов фунтов стерлингов, поскольку уже подписаны Альфонс Ареола, Найеф Агерд, Флинн Даунс и Джанлука Скамакка.
Рекс
Скамакка присоединился к «Вест Хэму» по сделке на 35 миллионов фунтов стерлингов с клубом Серии А «Сассуоло»
. Если лондонский клуб получит его подпись, это, вероятно, положит конец их преследованию Филипа Костича из «Айнтрахта Франкфурта».
Серб помог немецкой команде выиграть Лигу Европы в прошлом сезоне, а также получил награду «Игрок турнира». «Вест Хэм» уже несколько недель ведет переговоры о его переходе на лондонский стадион.
Тем не менее, эти обсуждения не продвинулись вперед, как ожидалось, и Вест Хэм теперь готов перекрыть вилку, если они заключат сделку по Корнету через линию.
Вест Хэм сыграет с Манчестер Сити в первом матче Премьер-лиги в воскресенье.
Реклама
Премьер-лига возвращается, и talkSPORT освещает ее, с играми в пятницу, субботу и понедельник, начиная с «Кристал Пэлас» против «Арсенала» 5 августа. В бесплатных ставках* – ЗАЯВИТЕ ЗДЕСЬ
Betway: 30 фунтов стерлингов, соответствующие бесплатной ставке, если ваш первый акка проиграет* – ЗАЯВИТЕ ЗДЕСЬ
Sky Bet: только для новых клиентов. Первая одиночная ставка и e/w делают ставки только с коэффициентом 1/1 или выше. 3 жетона ставок по 10 фунтов стерлингов. Бесплатные ставки не включены в возврат. Бесплатные ставки можно использовать только на футбол. Бесплатные ставки не подлежат выводу. Нет истечения срока действия бесплатной ставки. Применяются ограничения приемлемости и дополнительные условия. 18+
Betway: только для новых клиентов из Великобритании. Минимальный депозит: 5 фунтов стерлингов. Максимальная бесплатная ставка: 30 фунтов стерлингов. Первая ставка на экспресс футбола или скачек с 3+ исходами. Общие шансы: 3,00 (2/1) или выше. Бесплатные ставки доступны после расчета квалификационной ставки. Только депозиты с дебетовой карты. Применяются ограничения метода депозита. Это предложение действительно в течение 7 дней с момента регистрации новой учетной записи. 18+. BeGambleAware.org. Делайте ставки ответственно. Применяются полные условия.
ПОСМОТРЕТЬ ВСЕ ПРЕДЛОЖЕНИЯ БЕСПЛАТНЫХ СТАВОК ЗДЕСЬ
Шон Дайч тактически приспосабливается, чтобы получить максимальную отдачу от Максвелла Корнета
В то время как Шон Дайч начинает свой десятый год во главе Бернли, он может размышлять об очень хорошо проделанной работе в субботу, когда они разобрали Брентфорд для своей первой победы в Премьер-лиге.
С самого начала «Клареты» лидировали в тройке за 36 минут, продемонстрировав все положительное, что Дайч привнес за почти десятилетие своего пребывания в клубе.
«Бернли» играл в правильных зонах, знал, когда и где оказать давление на соперника, и использовал свои шансы, чтобы гарантированно набрать три очка благодаря голам Криса Вуда, Мэтта Лоутона и Максвела Корнета.
Первые двое стали обычными пехотинцами Дайчей на протяжении сезонов, а Корнет — нечто иное. Подписанный из «Лиона» за 13 миллионов фунтов стерлингов, игрок сборной Кот-д’Ивуара стал звездой месяца после того, как забил четыре гола в пяти играх.
У него был еще один мяч, который был исключен Варом из-за близкого офсайда, но то, как он забил гол, взволновало болельщиков «Бернли» и показало, что он привнес в атаку новое измерение.
Корнет до сих пор не выполнил полную 90 минут для своего нового клуба, и Дайч изо всех сил старается указать, что его новый человек должен полностью соответствовать требованиям английского футбола. Но ясно, что он обеспечивает класс, которого раньше у команды не было.
В субботу, зная, что ему нужен вклад Корнета, но не зная, какое защитное прикрытие он может обеспечить с фланга, Дайч переключился со своей классической схемы 4-4-2 на 4-4-1-1, при этом Корнет играл сразу за Вудом.
Иоганн Берг Гудмундссон обеспечил индустрию и ширину справа, Дуайт Макнил сделал то же самое слева, а Корнет мог более активно участвовать в середине.
25-летний парень обладает несомненными способностями, но фокус в том, сможет ли это новое партнерство работать долго. Сможет ли Корнет продолжать пользоваться испытанными методами Дайча? Позволит ли тренер новичку немного свободы действий в обмен на угрозу, которую он принесет в последней трети?
Если они найдут правильный компромисс, Бернли будет чувствовать себя намного увереннее, не попадая в тройку худших.
Адам Ланиган, Терф Мур
«Бернли» ждали этого более двух месяцев, но ожидание того стоило, поскольку они одержали свою первую победу в сезоне Премьер-лиги, одержав убедительную и стильную победу над Брентфордом.
Это был идеальный подарок по случаю девятой годовщины того, как Шон Дайч руководил компанией Turf Moor, поскольку Клареты напомнили сомневающимся, в чем именно они состоят.
Один из секретов успеха Дайча в «Бернли» заключался в том, что каждый раз, когда вы начинаете задаваться вопросом, не ждут ли впереди трудные времена, они дают большой результат, и это было именно так, когда они поднялись из тройки худших над «Лидсом» по воротам. разница.
Они набросились на гостей с самого начала, и благодаря такому позитивному подходу они набрали три очка на 36-й минуте, к тому времени они уже забили три гола – впервые они забили три гола на «Терф Мур» перед перерывом в матче Премьер-лиги. .
«Первый тайм мы провели превосходно, учитывая сочетание футбола, которое мы нашли, — сказал Дайч. «В том тайме мы были очень сильны и заслужили преимущество.
«Я очень рад, что игроки одержали эту победу. Они усердно работали, и было неприятно продолжать говорить, что выступления были хорошими, но мы не добились результата. Сегодня мы получили правильное выступление и правильный результат».
Для Томаса Франка и его команды из Брентфорда это был суровый урок того, что может произойти на этом уровне, если ваша команда не сможет все сделать правильно.
Непобедимые в своих путешествиях до этого, победители плей-офф чемпионата прошлого сезона были потрясены так, как даже «Ливерпуль» и «Челси» не смогли сделать с ними в первые два месяца кампании.
Повреждение началось через четыре минуты, когда центральный полузащитник Итан Пиннок не смог справиться с мячом Мэтта Лоутона. Его колебания оказались фатальными, и Крису Вуду не понадобилось второе приглашение, поскольку он забил Альваро Фернандесу, забив свой первый гол с 29 августа.
Система VAR исключила второй гол «Бернли» от Максвела Корнета из-за крайне незначительного офсайда, прежде чем Ник Поуп сделал превосходный инстинктивный сейв от Ивана Тони, сохранив лидерство.
Но «Кларе» нельзя было отказать, и два гола за четыре минуты решили исход матча, поскольку команда Дайча воспользовалась ранее невиданными слабостями «пчел».
Из-за прострела левого защитника Чарли Тейлора не было связи между испанцем Фернандесом, который впервые стартовал в Премьер-лиге, и его защитой, что позволило правому защитнику Лоутону прикрыться и отправиться домой.
Затем Корнет забил супер-третий гол, забив гол Фернандесу с края штрафной площади и забив свой четвертый гол в пяти играх за сборную Кот-д’Ивуара с момента его перехода из «Лиона» за 13 миллионов фунтов стерлингов.
Сохранить такой же накал после перерыва было практически невозможно, и Брентфорд отыгрался благодаря отличному атлетичному удару вышедшего на замену Самана Годдоса, хотя результат ни у кого не вызывал сомнений.
«Сегодня «Бернли» были действительно хороши, а мы не были так хороши в первом тайме», — честно сказал Фрэнк. «В первые 45 минут все пошло не так».
Кажется, это единственное появление Коуэлла на ECM. Я полагаю, что запуск и управление очень влиятельной компанией Strata-East отнимало у него все время. Конечно, помимо того, что он был очень успешным независимым владельцем лейбла, Коуэлл был одним из лучших джазовых пианистов своего поколения. Судя по беглому взгляду на его гостевые выступления в различных ансамблях, он играл с такими светилами, как Марион Браун, Стэн Гетц, Маз Роуч, Арт Пеппер и его партнер по лейблу Чарльз Толливер. Удивительно узнать, что он действительно обучался игре на классическом фортепиано в Оберлине. Интересно, какой репертуар он изучал? Судя по этой записи, немного французского постимпрессионизма неудивительно. Свежий, техничный и точный, с красочными, резонансными аккордами…
Читать далее
2022-06, выходные ecm, джаз ecm, австралийский джаз, джаз, post bopSnows Ov Gethen выходные ecm, обзоры ecm, джаз ecm, отчеты ecm, ecm, stanley cowell, трио stanley cowell, иллюзия сюитаКомментарий
🇷🇷 Лучшие музыкальные магазины Афин, Греция
Вот мой отчет о некоторых из лучших музыкальных магазинов, которые я посетил в Афинах, Греция, а также еще один на Крите. Я буду периодически обновлять эту запись в журнале после предстоящих спусков. На данный момент это Underflow, Zaharias Records, Mr. Vinylios, Old School Records, Homcore, Τo Υπόγειο δισκάδικο, Το Δισκάδικο и Apogeio (в Ханье, Крит). Посмотрите галереи с фотографиями и записями, которые я выбрал внутри. Дальше будет больше…
Читать далее
2022-06, музыкальные магазины, мировая музыка, академический авангард, африканская музыка, афробит, эмбиент, американский примитив, анадолу-поп, анадолу-рок, австралийский джаз, авантная классика, авангардный джаз, авангардный рок, балеарский, блюз, берлинская школа, бразильский Музыка, британский джаз, Кейп-джаз, Chambre Noire, Chiptune, танцевальная музыка, дэт-метал, дискотека, документальный, Dream Pop, Беспилотная музыка, барабан-н-бейс, Даб, Ранняя электронная музыка, старинная музыка, EBM, Электро, Электроакустический, электроника, энка, эфирный, этномузыкология, экспериментальный, полевые записи, музыка для фильмов, флюксус, народная музыка, четвертый мир, фанк, фьюжн-джаз, гамелан, гот, греческая музыка, хард-боп, призракология, привет-нрг, хаус, idm, случайный музыка, индийская музыка, индастриал, индийская рага, ямайская музыка, японский джаз, японская музыка, джаз, джаз-фанк, космище, краутрок, библиотечная музыка, минимал-волна, минимализм, модальный джаз, конкретная музыка, нью-эйдж, новая волна, нойз, подкаст, поэзия, пост-боп, пост-панк, пост-рок, прог, психоделия, r&b, регги, сакральный м музыка, наука, слоукор, snows ov gethen, сонология, соул-джаз, соул-музыка, саунд-арт, звуковой коллаж, саундтрек, космическая эра, космический рок, духовный джаз, разговорное слово, синти-поп, техно, трип-хоп, турецкая музыкаSnows Ov Gethen музыкальные магазины, музыкальные магазины в афинах, музыкальные магазины в греции, музыкальные магазины на Крите, лучшие музыкальные магазины в афинах, лучшие музыкальные магазины в греции, записи нижнего уровня, записи zaharias, записи старой школы в афинах, записи homcore, Τo Υπόγειο δισκάδικο, Το Δισκάδικο, записи todiskadiko, записи апогея, греческие путешествия, путеводитель по магазинам греческих записей, снег, HERMETIC JOURNALS, мр. винилиосКомментарий
V/A «Pyramid Pieces 1 (Модал и эко-джаз из Австралии 1969-79)» 2020 Круглый стол
Я, кажется, в последнее время нахожусь в затяжном веселье с австралийским джазом, так что вот еще один удивительный источник. Это компактный снимок джазовой сцены Сиднея и Мельбурна, выпущенный The Roundtable в 2020 году, примерно в 1970-х годах. Большинство из них совершенно неясны для неспециалиста. Конечно, часть представленной музыки нельзя сразу отличить от американской или британской музыки. Действительно, «A La Coltrane» пианиста Роджера Фрэмптона и саксофониста Хоуи Смита — это компетентный и страстный подход к духовному джазу. Вибрафон-шоукейс Алана Ли Квартета — ремейк модальной мелодии плодовитого хард-боп-трубача Фредди Хаббарда из его альбома Backlash…
Читать далее
2021-10, джаз, австралийский джаз, пост-боп, модальный джаз, хард-боп, фьюжн-джаз, авангардный джазSnows Ov Gethen Австралийский джаз, эко-джаз, джон сангстер, галапагосская утка, квинтет Брайана Брауна, записи круглого стола, модальный джаз, духовный джаз, джон колтрейн, Фредди Хаббард, виниловые пластинки, коллекция пластинок, музыкальный обзор, рекомендуемое прослушивание, музыкальный блог, музыкальная рекомендацияКомментарий
Поющая пыль «Поющая пыль» 1986 Клеопатра / 2021 Эффективное пространство
Малоизвестный австралийский эмбиент-джаз середины 80-х, перевинилизированный на Efficient Space. К сожалению, без сопроводительных заметок. Предположительно в оригинальном издании было какое-то предисловие Ричарда Томпсона (из Airport Convention?). Также наклейка «Тональные впечатления Дебюсси», вероятно, является отсылкой к тому, что обычно считается посттональной гармонией французского композитора Клода Дебюсси…
Читать далее
2021-10, австралийский джаз, авангардный джаз, эмбиент, экспериментальный, четвертый мир, фьюжн-джаз, нью-эйдж, пост-боп, психоделияSnows Ov Gethen Поющая пыль, эффективное пространство, австралийский джаз, фьюжн-джаз, эмбиент-джаз , Роберт Уэлш, виниловые пластинки, коллекция пластинок, музыкальный обзор, рекомендуемое прослушивание, музыкальный блог, музыкальная рекомендацияКомментарий
Квинтет Брайана Брауна ”Carlton Streets” 1975 44 Records / The Roundtable
Австралийский джаз, вероятно, является наиболее малоизученной из всех сцен Содружества. Вот почему я был рад получить в свои руки компиляцию «Pyramid Pieces (Modal & Eco-Jazz From Australia 1969-79)» в прошлом году. Одной из самых выдающихся композиций на нем была «Wildflowers» The Brian Brown Quintet. Очевидно, лидер группы был своего рода первопроходцем на плодородной джазовой сцене Мельбурна 1960-х годов, который сделал смелое символическое заявление о независимости (от воспроизведения американского джаза) еще в 1919 году.56 с его 7-дюймовым «Австралийским джазом…». Браун продолжил этот знакомый путь эмансипации определения местного джазового звучания в 1970-х годах с интересными и неоднозначными результатами…
Читать далее
2021-09, австралийский джаз, авангардный джаз, хард-боп, джаз, пост-боп, мировая музыкаSnows Ov Gethen Отчеты круглого стола, квинтет Брайана Брауна, австралийский джаз, Мельбурнский джаз, виниловые пластинки, коллекция пластинок, музыкальный обзор , рекомендуемые к прослушиванию, музыкальный блог, музыкальные рекомендацииКомментарий
Уэйн Хорвиц, Бутч Моррис, Роберт Превит, Дуг Визельман, Билл Фризелл играют Робина Холкомба «Тодос Сантос» 1988 Звуковые аспекты
Магнето бензопила Тайга -245(214) мб-12.зид. Новое | Festima.Ru
Товары для дома
Таблица
Список
Лента
Магнeтo(зaжигaниe) бензопилы Тайга 245 (214 элeктрoн), оpигинал, производствa ЗиД Пepмь Taк жe имeются другие зaпчасти к бeнзопилам Тaйгa, Уpaл, Дружбa. Нoвые и Б\у всe сдeлaны в СCCР,PФ. Шина Taйга 245-1000р. Звeздочкa. цепь Тайгa Дружба Урaл новaя(250-600 p.) кoлeнвал. махoвик,пopшeнь и кoльцa, муфта сцeплeниe.каpтeр.всякая мелочь: шпильки. крестовина. Бензопровод в сборе 250р. и т.д. в основном к тайге.все новое. Картер бензопила Дружба контактный 200р. И практически новые апчасти(пила не заводилась сразу-разберу сниму что надо Тайга) Магнето с доставкой в другой регион. Возьму в зачет неисправное магнето или приобрету, еще нужен маховик.или подходящие магниты. Звоните , пишите, все расскажу.
Мы нашли это объявление 3 года назад
Нажмите Следить и система автоматически будет уведомлять Вас о новых предложениях со всех досок объявлений
Перейти к объявлению
Тип жалобы ДругоеНарушение авторских правЗапрещенная информацияОбъявление неактульноПорнографияСпам
Комментарий
Показать оригинал
Еще объявления
Магнето от бензокосы Sterwins PBC2-43B-SB. 2 42.7СС ___________________________________________________ Магазин-Склад «БЕНЗОТЕКА» Адрес: г.Самара, Заводское шоссе, 17 к3 Запчасти для садовой техники. Запчасти для электроинструмента. Запчасти для бензопил. Запчасти для бензотриммера. Оснастка и расходники. Доставка по городам России транспортной компанией и почтой. ___________________________________________________
Ремонт и строительство
11 дней назад
Источник
Электронное зажигание МБ-1(магнето).Для бензопил Урал и Дружба Электрон,для мотокультиватора Крот.Сделано в России(Новосибирск).Новое.
Ремонт и строительство
3 месяца назад
Источник
Технические характеристики Тип оборудования оригинальный модуль (катушка) зажигания (магнето) для бензопил STIHL MS 210, 230, 250 / CBE. Артикул 1123-400-1301.Модель Совместимость подходит для установки на все вышеперечисленные моторные агрегаты. Упаковка картонная коробка, пакет. Габариты в упаковке (Д×Ш×В)50×80×87 мм. Родина бренда / стана производитель Германия / Германия.
Ремонт и строительство
9 месяцев назад
Источник
Катушка зажигания (магнето) для бензопил Husqvarna 51/55/61/254/257/261/262/266/268/272/272XP. В наличии отправка в регионны
Ремонт и строительство
год назад
Источник
катушка зажигания магнетто модуль зажигания бензопила husqvarna хускварна Запчасть (510115701) 5101157-01 Модуль зажигания h472/365/575/576 (В5-1) Husgvarna В наличие 4шт 501001301 магнета есть 3шт 587329601 1шт
Ремонт и строительство
2 года назад
Источник
катушка зажигания магнетто модуль зажигания бензопила husqvarna хускварна Запчасть (510115701) 5101157-01 Модуль зажигания h472/365/575/576 (В5-1) Husgvarna В наличие 4шт 501001301 магнета есть 3шт 587329601 1шт если труба выключина пишите сюда
Ремонт и строительство
2 года назад
Источник
Мaгнeтo(зaжигaние) бeнзопилы Тайга 245 (214 элeктрoн), оpигинaл, пpoизвoдства ЗиД Пеpмь Taк жe имeются другие зaпчасти к бензoпилaм Тайгa, Уpaл, Дружбa. Hовыe и Б\у все сдeлaны в СССР,PФ. Тaйгa 245. Звездoчкa. цeпь Тaйга Дружба Уpал новaя(250-600 р.) кoлeнвал. мaховик,пopшeнь и кольца, муфта cцеплeние.каpтер.вcякая мелочь: шпильки. крестовина. Бензопровод в сборе 250р. и т.д. в основном к тайге.все новое. Картер бензопила Дружба контактный 200р. Цилиндр бензопила Тайга б\у Магнето с доставкой в другой регион. Звоните , пишите, все расскажу.
Ремонт и строительство
2 года назад
Источник
Бензопила Тайга 214 ЗИД на запчасти. Сломан магнит маховика. С бензапилой отдам новые запчасти: 1. Коленвал-шатун-поршень в сборе 2. Цилиндр 3. Поршень 4. Кольца 10шт 5. Магнето АМ179 2шт 6. Цепи 6шт (б/у) 7. Свечи 3шт Запчасти могу отправить в любой регион. Торг уместен!
Ремонт и строительство
2 года назад
Источник
Внимание! Festima.Ru является поисковиком по объявлениям с популярных площадок. Мы не производим реализацию товара, не храним изображения и персональные данные. Все изображения принадлежат их авторам Отказ от ответственности
Новое магнето к бензопиле урал
Ремонт и строительство
Пермь, улица Советской Армии, 44
2 года назад
Источник
Электронное зажигание МБ-1(магнето).Для бензопил Урал и Дружба Электрон,для мотокультиватора Крот.Сделано в России(Новосибирск).Новое.
Ремонт и строительство
Пермь, улица Мира, 91
2 года назад
Источник
Новая катушка зажигания (module, магнето) для бензопил Хускварна 137 и 142, оригинал, артикул 5450639-01. Отправлю СДЭКом. Другие запчасти для бензопил Husqvarna, Stihl по запросу в чате.
Ремонт и строительство
год назад
Источник
Новое магнето к бензопиле урал , мотокультиватор крот , дружба электрон . Реальному покупателю ещё чуток скину .
Ремонт и строительство
Пермский край, Пермь, ул. Советской Армии, 44
2 года назад
Источник
Новое магнето к бензопиле урал , мотокультиватор крот , дружба электрон .
Ремонт и строительство
Пермский край, Пермь, ул. Советской Армии, 44
2 года назад
Источник
Катушка зажигания (магнето) для бензопил «Хускварна» Т435 и 439 — новая и проверенная на пиле . Арт.584403701
Ремонт и строительство
3 месяца назад
Источник
Новые магнето. Проверенные! Перед продажей проверяем на стенде «на искру» Есть доставка товара. Данные магнето предназначены для бензопил Урал 2т , и Дружба 4 , с электронным зажиганием, Культиваторы Крот (2-х тактные двигатели) Возможна Отправка через транспортные компании (ПЭК, СДЭК, Деловые Линии и др.), Почтой или Авито доставка .
Автозапчасти
3 месяца назад
Источник
В хорошем рабочем состоянии.
Ремонт и строительство
2 года назад
Источник
Прoдаeм зaпчaсти и кoмплектующие для бензопил, мoтокoс (триммеров бeнзиновыx) в нaличии и пoд зaкaз. B нaшем магазинe вы нaйдeте: — Стapтeры для бeнзoпил и мотoкос — Тормоз цепи для бeнзопил — Kaрбюратopы — Цилиндро-пopшневые гpуппы — Пoршни — Koмпрecсионныe кольца — Tопливные фильтры — Boздушныe фильтры — Коpпусы вoздушного фильтра — Свечи зажигания — Свечные колпачки — Катушки зажигания (магнето) — Звездочки ведущие для бензопил — Барабаны сцепления для бензопил — Сцепление для бензопил и мотокос — Ремкомплекты карбюратора — Маслонасосы, шланги, патрубки для бензопил — Натяжители цепей — Маслонасосы для бензопил — Топливные баки, кожухи — Шины для бензопил — Цепи для бензопил — Триммерные головки (катушки) — Ножи для триммера — Масла и смазки И многое другое.
Ремонт и строительство
год назад
Источник
Бензопила Stihl 362, в рабочем состоянии, новый карбюратор и магнето, цепь заточена
Ремонт и строительство
11 месяцев назад
Источник
Бензопила полностью в рабочем состоянии. Шина почти новая. Есть пусковая магнета. Защитный кожух на цепь
Ремонт и строительство
год назад
Источник
Бензопила штиль мс 211 не заводится заменил магнету поставил оригинал. Нп заводится. Шина стоит на 40 см. Один хозяин. Режим работы лето-зима.
Ремонт и строительство
2 года назад
Источник
Войти
Все сервисы становятся доступными без ограничений
Сможете пользоваться сервисом Festima.Ru на разных устройствах.
Это удобно и бесплатно
Магнето / катушка зажигания на бензопилу УРАЛ, Дружба
БЕНЗОПИЛЫ, ЭЛЕКТРОПИЛЫ + РАСХОДКА
БЕТОНОМЕШАЛКИ
МОТОБЛОКИ + КУЛЬТИВАТОРЫ
МОТОБУКСИРОВЩИКИ (МОТОСОБАКИ) И КОМПЛЕКТУЮЩИЕ
МОТОБУРЫ, РУЧНЫЕ БУРЫ, ШНЕКИ
СНЕГОУБОРОЧНИКИ
СТАБИЛИЗАТОРЫ
ТЕПЛОВОЕ ОБОРУДОВАНИЕ
ТРИММЕРЫ + КУСТОРЕЗЫ
ЭЛЕКТРОГЕНЕРАТОРЫ
АВТОМОЙКИ
АКСЕССУАРЫ ДЛЯ АВТОМОБИЛЯ
ВСЁ ДЛЯ ВАШЕГО ОГОРОДА
ВЫСОТОРЕЗЫ
ГАЗОНОКОСИЛКИ И СКАРИФИКАТОРЫ
ДВИГАТЕЛИ БЕНЗИНОВЫЕ И ЭЛЕКТРИЧЕСКИЕ
ЗАПЧАСТИ
КОМПРЕССОРЫ И ПНЕВМАТИЧЕСКИЙ ИНСТРУМЕНТ
КРЕПЕЖНЫЕ ПРИСПОСОБЛЕНИЯ
ЛЕСТНИЦЫ, СТРЕМЯНКИ
ЛОДОЧНЫЕ МОТОРЫ
МОТОПОМПЫ
НАСОСЫ
ОБОРУДОВАНИЕ ДЛЯ ФЕРМЕРОВ
ОПРЫСКИВАТЕЛИ БЕНЗИНОВЫЕ и РУЧНЫЕ
ПОДМЕТАЛЬНЫЕ МАШИНЫ И АКСЕССУАРЫ
ПОДЪЁМНЫЕ МЕХАНИЗМЫ, РАСХОДКА
ПРОМСЫРЬЕ
ПУСКО-ЗАРЯДНЫЕ УСТРОЙСТВА
РАСХОДНЫЕ МАТЕРИАЛЫ
САДОВЫЕ ИЗМЕЛЬЧИТЕЛИ, ДРОБИЛКИ
САДОВЫЕ НОЖНИЦЫ
САДОВЫЕ ПЫЛЕСОСЫ И ВОЗДУХОДУВЫ
СВАРОЧНОЕ ОБОРУДОВАНИЕ
СЛЕСАРНО-СТРОИТЕЛЬНЫЙ ИНСТРУМЕНТ
СПЕЦОДЕЖДА
СТАНКИ
СТРОИТЕЛЬНАЯ ТЕХНИКА
ТУРИЗМ, СПОРТ, ОТДЫХ, СУВЕНИРЫ
ШТУКАТУРНО-МАЛЯРНЫЙ ИНСТРУМЕНТ
ЭЛЕКТРОИНСТРУМЕНТ
ЭЛЕКТРООБОРУДОВАНИЕ
ХОЗТОВАРЫ
ТРАКТОРА И РАЙДЕРЫ
Описание
Отзывы (0)
Описание
Напишите свой отзыв о «Магнето / катушка зажигания на бензопилу УРАЛ, Дружба / МБ-1»
Имя / Псевдоним
Плюсы
Минусы
Комментарий
Оценка товара
Нажимая на кнопку я соглашаюсь с политикой обработки моих персональных данных
Магнето мб 1 схема ремонт
Контакты
Select a page Строительство Водоснабжение в доме Всё для дома Дизайн Канализация Монтажные и сантехнические работы Отопление Разводка Ремонт Фундамент Электрика Карта сайта Контакты
Login
Поиск по сайту Искать
Автор: Sereg985
Прокоментировать
Рубрика: Строительство
Ссылка на пост
https://firmmy. ru/
Теперь в магазинах для земельных работ можно приобрести любую технику, но многие в хозяйствах пользуются мотоблоками и мотокультиваторами времен застоя.
Иные хозяева пользуются мотоблоками Крот по 20 лет и вдруг поломка — отказал электронный блок зажигания МБ-1.
Хотя имеется проверенный вариант с легкими мотоциклами и мопедами – катушка генератора, электронная начинка и катушка зажигания — отдельные узлы и проблем в системе зажигания нет.
А в МБ-1 и обмотка катушки генератора очень тоненьким проводком выполнена и катушечка зажигания мала, а главное – электронная часть схемы находится на картере движка и нагревается градусов до 80. А тиристор КУ202Н, используемый в схеме, рассчитан на 75 градусов. Потому и постоянные неисправности. Те же самые тиристоры использовались в схемах зажигания, эксплуатируемых на легких мотоциклах и на мопедах и надежно работали. Тонкий обмоточный провод генераторной катушки не дает вырабатывать больший ток и установить накопительный конденсатор на 1 мкФ.
Попробуйте разнести эти элемента зажигания. Приведу пример, как усовершенствовал блок зажигания знакомый по форуму.
Дальше повествование будет вестись от его лица: — Катушка зажигания — автомобильная, с многократным запасом и искрой в два раза мощнее прежней.
После всех переделок – многократная надежность зажигания. Тиристор Т 122-25-8 военного образца, диодный мост на тысячу вольт, вечная катушка зажигания.
Электрическая схема зажигания:
Ремонт блока зажигания бензопилы «Урал (Дружба)»
В некоторых леспромхозах, а также в индивидуальных хозяйствах все еще используют бензопилы «Урал-электрон» и «Дружба-4-электрон», двигатели которых оснащены электронным блоком зажигания. Этот блок очень прост по схеме, но, как и другая техника, порой выходит из строя. Заменить его новым — это дорогое удовольствие, тем более, что сейчас промышленность выпускает магнето такого качества, что его хватает на один день работы, или максимум на неделю…. Любой радиолюбитель вполне способен сам отремонтировать этот блок.
Перед началом ремонта, необходимо определить, по какой схеме собран блок зажигания. Вариант первый. Необходимо замерить сопротивление генераторной катушки L1 и вторичной обмотки трансформатора Т1, сопротивление катушки управления L2 и первичной обмотки трансформатора Т1, измерять не обязательно, достаточно проверить их на обрыв. Затем проверить исправность цепи управления тиристора, замерив сопротивление. Один щуп подключаем к отпаянному выводу идущему на резистор R1, второй на массу. В одном направлении сопротивление должно быть равно сумме сопротивлений резистора и прямого перехода диода V5 приблизительно 2 — 4 ком. В другом ∞. В случае исправности всех обмоток, и цепи управления тиристора, необходимо сделать сверление, диаметром 1,5- 3 мм, в точке соединения анода тиристора V6 с конденсатором С1 (точка А), и отпаяв катушки проверить на исправность диоды V1-V4, и конденсатор С1. Если неисправен один из диодов, его можно припаять навесным монтажом, предварительно уничтожив старый неисправный диод, методом сверления. Лучше использовать для этой цели бормашину. В случае неисправности конденсатора С1, его необходимо удалить, вставить новый и припаять вывод к указанной точке, затем залить обратно эпоксидным клеем. При неисправности тиристора, рекомендую заменить схему блока полностью, предварительно удалив старую, спаять навесным монтажом и залить эпоксидным клеем.
Дополнительно, если сопротивление цепи управления тиристора больше нормы, возможно, нарушен контакт схемы с массой, для восстановления необходимо: освободить от клея болт М3, выкрутить его, почистить контакт и снова закрутить, но уже новый ( точка Б), или просто припаять навесной проводник, соединив его с корпусом магнето. Если пила работает, на больших оборотах с перебоями, необходимо заменить трансформатор Т1. Если после нескольких минут работы полностью пропадает искра- это указывает на неисправность тиристора V6, необходимо заменить схему. Вариант второй.Если обмотки катушек исправны (сопротивление генераторной катушки с одним выводом может быть ≈ 1 ком, это нормально) — проверить не обломился ли вывод конденсатора припаиваемый к выводу трансформатора Т1. При исправности всех элементов схемы – рекомендую, перевернуть генераторную катушку, наставив проводок вывода. При неисправности хотя бы одного элемента схемы, лучше заменить схему полностью, спаяв ее по схеме варианта 1, намотав катушку с двумя выводами. Если нет генераторной катушки, с двумя выводами, можно установить с одним выводом, но на изоляцию. Достаточно рассверлить трубчатую заклепку сверлом Ø5,1 мм и вставить ПВХ трубку Ø 4мм а при сборке подложить стеклотекстолитовые шайбы и монтажный лепесток, для второго вывода.
Доброго дня! Недавно писал об исчезновении искры в культиваторе «Крот». Прозвучали советы по замене двигателя, зачем? Культиватор с 1991 года, ни разу не подвёл, ни разу не ломался… Процедура замены проста, весь инструмент есть в комплекте:
Комментарии 21
Нормально так грязи набило на цилиндр, как же он у тебя охлаждался? А вообще движок не очень, слабенький и шумный, китайца на него надо ставить, вот это будет другое дело)
Мы сделаны в СССР. Брал на подмену китайца у соседа, думал не допашу-фрезы маленькие, сам весь гнётся-прогибается, бензину съел, как взрослый… Не нать нам китайца, не нать)
я имел ввиду именно движок лифан 6 л. с. прет на холостых весьма уверенно, судя по отзывам. А сами культиваторы конечно у них так себе. У меня тоже крот с родным движком, только поршневая на нем померла, надо менять.
Я думал, что магнето не найду, столько лет прошло_а их полно… Поршневая скорей всего тоже есть и стоит копейки.
каким маслом бензин разбавляете ?!
Пока было М8-разбавлял им, теперь для двухтактных двигателей-STIHL, читал, что не очень хорошо, но другого нет.
мне что то дали в магазине для 2х тактных — двигун долго не хочет работать ! раньше лил что попало — автол — дизель и работал ! теперь сальники менять надо !
Читал про сальники.Надо-значит надо. Что нравится-всё можно разобрать на коленке.))
Может кому пригодится. Хотя, вряд ли.Такой техники сейчас не найти, один китай кругом)
Кому нужно, тот подсмотрит )))
Это точно.У меня ещё лодочный мотор остался со старых времён-«Салют». У него тоже искра вводу ушла лет 10 назад. Сейчас смотрел по документации, и там такое же магнето стоит)) Конденсатор, кстати, исправен, к.з обмотка высоковольтной катушки оказалась. Это так к слову)
Вот как даже )) Конденсатор перепаять и лодочный мотор тож может заработать )))
Конденсатор исправен, пробило катушку.) Что у лодочного пока не знаю.
Будем тогда надеяться, что из двух одно получится )
Должно! Если не получится. новый поставлю, тропа уже проторёна))
Магнето от бензопилы дружба?
Магнето от «Крот». Но, скорее всего оно шло и идёт ещё во многие двухтактные двигатели.
Визуально очень похоже ураловское, бензопильное магнето.Если можно, напиши маркировку, а я сравню со своим, бензопильным, может они идентичные.
Электронное зажигание в Києві — Порівняти ціни та купити на Flagma.ua
Ціна
Ціна за запитом
Смарт ключ зажигания электронный Toyota Land Cruiser 200 899 Производитель: Toyota | Lexus (Japan) Наименование: Смарт ключ зажигания электронный Toyota Land Cruiser 200 В наличии. 100% Новая и 100% подлинная оригинальная запчасть, не Китай, не копия, не лицензия, не подделка. Номер запчасти: 899
Ціна
Ціна за запитом
899 Оригинал смарт ключ электронный зажигания таблетка Toyota Camry 50 Производитель: Toyota | Lexus (Japan) Наименование: Оригинал смарт ключ электронный зажигания таблетка Toyota Camry 50 В наличии. 100% Новая и 100% подлинная оригинальная запчасть, не Китай, не копия, не лицензия, не подделка.
Ціна
Ціна за запитом
Смарт ключ электронный таблетка Toyota Camry 50 оригинал 899 Производитель: Toyota | Lexus (Japan) Наименование: Смарт ключ электронный таблетка Toyota Camry 50 оригинал В наличии. 100% Новая и 100% подлинная оригинальная запчасть, не Китай, не копия, не лицензия, не подделка. Номер запчасти:899
8
+4 фото
Ціна
199 $/шт
Стенд проверки свечей под давлением «Молния — K» диагностика коммутатора, катушки и модуля зажигания диагностика свечей зажигания двигателей внутреннего сгорания с резьбой на корпусе №14 х 1. 25 и №18 х 1.5 длинной резьбовой части от 14 до 19 мм. испытания на бесперебойность искрообразования
Ціна
582.90 грн/шт
(4008321294289) Балласт электронный QT-FIT8 2X58-70 198-264V OsramАртикул: 4008321294289 Балласт электронный 2х58…70Вт; Мощность — 2х58…70 Вт; Длина — 360 мм; Ширина — 30 мм; Высота — 28 мм; Температура зажигания: -15 (min), 50 (max) C. Срок службы 50 000часов. Диммируемость: нет. Пусковой ток:
2
Ціна
Ціна за запитом
Замок зажигания в сборе Fiat Scudo 2007- Citroen Jumpy, Peugeot Expert Разборка Renault Megane 2003-2009, Fiat Scudo 2007- Citroen Jumpy, Peugeot Expert. Volkswagen Caddy 2004-2010. Peugeot Partner 2008-2015 Citroën Berlingo, Renault Trafic 2000-2010, Opel Vivaro 2001-. Очень много запчастей в
Ціна
495.46 грн/шт
(4008321873927) Балласт электронный QT-FIT 5/8 1X18-39 220-240 OsramАртикул: 4008321873927 Балласт электронный 1х18. ..39Вт; Мощность — 1х18…39 Вт; Длина — 280 мм; Ширина — 30 мм; Высота — 21 мм; Расстояние монтажного отверстия, длина: 270мм; Температура зажигания: -25 (min), 60 (max) C.$ Срок
Ціна
555.76 грн/шт
(4008321873842) Балласт электронный QT-FIT 5/8 2X54-58 220-240 Osram Балласт электронный 2х54…58Вт; Мощность — 2х54…58 Вт; Длина — 280 мм; Ширина — 30 мм; Высота — 21 мм; Температура зажигания: -25 (min), 60 (max) C. Срок службы 50000часов
Ціна
814.98 грн/шт
(913713031966) Балласт электронный HF-P 258 TL-D III PhilipsАртикул: 913713031966 Балласт электронный 2х58Вт; Мощность — 2х58 Вт; Длина — 280 мм; Ширина — 30 мм; Высота — 28 мм; Температура зажигания: -25 (min), 60 (max) C.
3
Ціна
17 999 грн/шт
Oleo-Mac BС 280 H – бензиновые высотные ножницы для подстригания кустов, декоративных деревьев и прочей живой изгороди. Благодаря мощному двигателю на 900 Вт. ножницами можно привести в порядок множество кустов на территории вашего сада. Преимущества мотокустореза Oleo-Mac BС 280 H: режущий блок
7
+3 фото
Ціна
99 009 грн/шт
Гриль Genesis II E-610 GBS от Weber — проверенные временем идеи и технологии. Вы легко узнаете Genesis II благодаря эмблеме GS4 High Performance на передней панели управления. Запатентованная система гриль GS4 произведет революцию на рынке грилей. Мощные горелки из нержавеющей стали специальной
2
Ціна
1 грн/шт
Заказать и купить прибор контроля пламени Ф34.2 и Ф34.3 (Ф 34.2, Ф 34.3, Ф-34.2, Ф-34.3, Ф34, Ф 34, Ф-34, Ф24.2) вы можете, позвонив по телефонам или отправив заявку на электронный адрес. Прибор контроля пламени Ф34.2 и Ф34.3 Приборы Ф34 предназначены для применения в схемах контроля пламени
7
+3 фото
Ціна
21 769 грн/шт
Технические характеристики BC750B Производитель Stiga Антивибрационная система есть Вес, кг 9. 2 Двигатель Бензиновый 2-х тактный Косильный инструмент нож и леска Максиммальное число оборотов, об/мин 9500 Мощность
Ціна
0.02 грн/шт
Серия пелетных горелок Roda — высокотехнологичные устройства, предназначенные для автоматической работы на пелетах из древесины. Модельный ряд состоит из RPB-30 RPB50. Модель RBP предназначена для быстрой установки на котлы Brenner Fest и Brenner Мах. Все горелки оборудованы системой
4
Ціна
3 000 грн/шт
Лампа для уничтожения летающих насекомых FlYTRAP Габариты: 485х350х150 мм Вес: 2 кг. Питание: 220 В Площадь действия: 100-120 м кв. Выпускается из нержавеющей стали или листовой стали, покрытой порошковой краской. Состоит из двух люминесцентных ламп, липкой пластины, размером 480х340 мм. Для
Биосанлайф, ПП
11 лип
8
+4 фото
Ціна
400 000 €/шт
Когенерационная установка. . Газовые генераторы б\у. 1500 кВА и 3000 кВА в хорошем состоянии. Наработка 2-3 тыс. часов. Установка под КЛЮЧ! Сервисное и ремонтное обслуживание в Украине. Модель Caterpillar G3516 представляет собой газовый генератор промышленного типа с «изолированным» режимом
СТК Украина, ТОВ
27 чер
9
+5 фото
Ціна
4 080 грн/шт
Бензопила Huspanda CS 75 Бензопила цепная предназначена для быстрой и эффективной обрезки кустарника и веток в саду, а также спиливания деревьев и распиливания их на колоды как в домашних условиях, так и в лесу. Она сочетает в себе высокое качество, надежность в работе, простоту в процессе
Ціна
Ціна за запитом
Серия пелетных горелок Roda — высокотехнологичные устройства, предназначенные для автоматической работы на пелетах из древесины. Модельный ряд состоит из RPB-30 RPB50. Модель RBP предназначена для быстрой установки на котлы Brenner Fest и Brenner Мах. Все горелки оборудованы системой
Ціна
1 грн/шт
Makita DCS400-40 Бензопила цепная Особенности: Для небольших и общих операций по лесозаготовке, обрезки сучьев, ухода за деревьями, подъемных и строительных работ Инерционный тормоз цепи Электронное зажигание Автоматически регулируемая система смазки цепи Защита от вибрации
3
Ціна
7 000 грн/шт
Продажа, ремонт и сервисное обслуживание лодочных моторов. Гарантия 1 год. Ветерок-8, 12 Вихрь-20, 25, 30 Нептун-23 Запасные части от заводов изготовителей: весь ассортимент. Все необходимое для комплектации лодок: дистанция, весла, паелы и т. д. Установка электронного зажигания, установка
Зажигание бензопилы. Устройство,схемы,неисправности. — Все о бензопилах
Система зажигания бензопилы — это целый комплекс элементов, с помощью которых при запуске двигателя появляется искра. Она нужна для того, чтобы поджечь топливо и привести мотор в состояние полноценной длительной работы. Главным элементом системы зажигания является свеча, которая должна поджигаться всякий раз, когда двигатель находится в нужном цикле работы. И хоть система является надежной и продуманной, но иногда требуется ее ремонт, поэтому пользователю нужно знать, как устроена его бензопила, а также что он может сделать для ремонта ее системы зажигания.
Как устроено зажигание бензопилы
Устройство системы зажигания современных бензопил
Магнето Stihl MS 180
Ранее системы зажигания были довольно ненадежными, но сейчас они усовершенствовались. Так, в их системе управления есть элементы, регулирующие импульс в зависимости от того, какая скорость пилы. За счет этого двигатель работает более эффективно, что повышает общий КПД инструмента. Кроме того, такие элементы важны, потому что с ними проще запустить изначально пилу.
Не менее важный факт — надежность современных систем. Если раньше зажигание выходило из строя очень часто, то сейчас все компоненты его настолько прочные и качественные, что в ремонте нуждаются крайне редко.
Итак, современная система зажигания бензопилы — это маховичный магнето, свеча зажигания, провод и кнопка выключения зажигания. Различают контактные и бесконтактные магнето. Устройство первого довольно простое: постоянные магниты (установлены в ободе маховика), катушка зажигания, конденсатор и прерыватель. Катушка, в свою очередь, включает сердечник, а также первичную и вторичную обмотку трансформатора. Еще один немаловажный элемент — свеча зажигания. Ее конструкция такова: центральный и боковой электроды, изолятор, внешний корпус.
Прерыватель и первичная обмотка катушки соединены последовательно. Выключение прерывателя происходит за счет наличия на коленчатом валу кулачка. Первичная обмотка последовательно соединяется не только с прерывателем, но и с кнопкой выключения. Магнето монтируется в картер слева, закрепляясь основанием на две шпильки и гайки.
С помощью маховичных магнитов происходит образование магнитного поля, пересекающего катушку. За счет этого, если контакты в первичной обмотке замкнуты, образуется слабый ток. Соответственно, когда контакты разомкнуты, магнитного поля нет и индуцируется ЭДС во вторичной обмотке. За счет этого образуется ток высокого напряжения, который подается на свечу и дает искру для зажигания топлива. В этот момент поршень почти находится возле верхней мертвой точки (на 4 мм ниже ее).
[wpsm_recent_posts number_posts=»4″]
Устройство зажигания бензопил «Урал-Электрон 2 Т» и «Дружба»
У двигателей бензопил «Урал-Электрон 2 Т» или «Дружба», а также «Тайга-214-Электрон» несколько иная система зажигания. Так, там используются
Магнето МБ-1
электронные магнето бесконтактного типа. То есть, они не имеют контактного механического прерывателя.
Что это значит? Индуцированный ток вырабатывается за счет высоковольтного трансформатора. При этом его первичная обмотка имеет последовательное соединение с тиристором через зарядную обмотку, конденсаторный диод, а также обмотку управления. За счет столь сложной системы через тиристор ток проходит только тогда, когда к нему приходит определенный электрический потенциал.
Как только тиристор открыт, происходит разрядка конденсатора на массу. Во время того, как по первичной обмотке проходит ток с большим импульсом, вторичная создает большое индуктивное напряжение, что вызывает искру на свече. То есть, за счет тиристора и управляющей обмотки происходит работа бесконтактного прерывателя, который имеет высокую надежность, так как не имеет изнашиваемых частей.
Схема зажигания бензопилы Урал
Схема зажигания бензопилы «Урал» (МБ-1)
Схема зажигания бензопилы «Дружба»
Схема зажигания бензопилы Дружба
Основные неисправности системы зажигания бензопил
Примерно понимая, как работает система зажигания бензопил китайского или отечественного производства, можно уже разобраться, какие могут быть проблемы с этим механизмом и как их устранить.
Свеча зажигания
Чаще всего поломка возникает из-за свечи зажигания. Стоит проверить, не поврежден ли изолятор и не изношен ли электрод. Проверяют всю свечу на целостность и отсутствие дефектов — это и целостность проводов от катушки, и наличие изоляционного материала, и т. д.
Высоковольтный провод
Далее проверяют провода свечи зажигания. Часто они могут пролегать таким образом, что наблюдается много изгибов. В тех местах провод может повреждаться, при этом внешне выглядеть идеально. Далее осматривают колпак свечки провода зажигания. На нем не должно быть коричневого налета. Если таковой есть, это значит, что искра выстреливает не в нужном месте, а по всем частям около керамического изолятора. Колпак также может иметь повреждения — трещины, сколы. Проверку нужно осуществлять аккуратно, ведь из-за поврежденного изоляционного слоя можно получить удар током.
Кнопка включения/выключения
Частой поломкой системы зажигания является неисправность тумблера выключения. Чтобы его проверить, провода отключают от модуля и проверяют работоспособность пилы. Если искра есть, дело в выключателе.
Проблемы с модулями зажигания (катушками) цепных пил
Катушка зажигания бензопилы Husqvarna
Выключатель и модуль зажигания, который регулирует его работу, часто может выходить из строя. Также может быть неисправна и катушка. Если все элементы системы зажигания исправны, а искры нет, подозревают модуль и катушку. И проблема неисправности этих элементов в том, что нельзя отремонтировать модуль или исправить часть катушки — их нужно заменять. Конечно, если есть возможность, лучше поставить модуль с какой-то старой пилы и понять, в нем ли дело. Ведь можно элементарно допустить ошибку на каком-то этапе и подозревать то, что на самом деле работает.
Не стоит доверять всевозможным тестерам — они часто показывают ложную информацию об исправности системы зажигания. Достоверной будет только диагностика с другим модулем или катушкой.
Если электронный модуль плохой, наблюдается такой признак: как только бензопила нагревается, подается очень слабая искра. Также после дозаправки агрегат может не запускаться. Это наблюдается из-за того, что катушка или модуль сильно греются, их сопротивление растет, поэтому искра слабеет.
Если имеются поломки системы зажигания, а опыта в их ремонте нет, не стоит пытаться все отремонтировать самостоятельно. Элементарные вещи, такие как проверка целостности свечи или проводов, могут проводиться в домашних условиях, но более сложная диагностика, а тем более замена агрегатов должна проводиться профессионалами. И тогда можно быть уверенными в качестве выполненных работ.
Видео о зажигании бензопилы
Видео об устройстве зажигания бензопилы. Из каких компонентов состоит, для чего тот или иной необходим.
В следующем ролике рассказывается о том, как заменить зажигание на современной бензопиле. Этот видеоурок подойдет для практически всех бензопил. Конечно могут быть нюансы, но общий смысл тот же.
У PayPal, кажется, много проблем в эти дни! Если вам сложно сделать заказ, просто позвоните мне по телефону 916-802-1045 или напишите мне по электронной почте. [email protected] и скажите, что вы ищете. Я вышлю вам счет и избавлю вас от хлопот. Ищем новую процессинговую компанию! Спасибо !
Ваш Mercedes V12 работает менее чем на 12 цилиндры? Вам противна идея потратить 1400 долларов на новую катушку? Наконец, существует экономичное решение, позволяющее восстановить работоспособность вашего V12 на 100 %! Нам всем сказали Модуль управления зажиганием представляет собой герметичный блок, черный ящик без обслуживаемых деталей внутри. У меня был S600 более десяти лет, и внезапно машина потеряла мощность, производительность и управляемость. Я объединил свой 25-летний опыт производства электроники в Силиконовой долине с моим неисправным Mercedes S600. Результатом стало экономичное решение, которым я хочу поделиться с мир !
В V12icpack мы можем заменить катушки и MOSFET-транзисторы, управляющие одним цилиндром, всего за 275 долларов или перестройте свой модуль всего за 699 долларов. Вам больше не нужно откладывать запуск вашего Mercedes V12 так, как он надо — 12 цилиндровый зверь!
Наши технические специалисты – высококвалифицированные специалисты в области электроники. У нас есть инструменты, знания и оборудование для проверки и ремонта вашего модуля катушки зажигания. Все Модули будут проверены до начала работ, чтобы убедиться, какие цилиндры дают пропуски зажигания. К сожалению, никогда не бывает двух блоков катушек с одинаковым режимом отказа. С инженерной точки зрения мы смогли определить критические компоненты в схеме печатной платы. С этой критической точки зрения мы можем определить неисправные МОП-транзисторы, диоды, конденсаторы и стабилитроны, которые сделали вашу катушку бесполезной. Нас отличает способность точно определять неисправные компоненты.
Ужасное чувство, когда на приборной панели загорается индикатор двигателя. Если у вас есть пропуски зажигания в двигателе, первый код, который обычно появляется, это P0300. Это общий код ошибки просто что на сводном уровне указывает на наличие осечки. Оттуда считыватель, например, укажет P0302 и P0304. Последние две цифры соответствуют номеру цилиндра, поэтому в В этом случае 02 и 04 соответствуют цилиндрам 2 и 4. Когда вы сидите в машине, левая сторона является стороной водителя (за исключением Великобритании, где левая сторона по-прежнему остается левой, а не со стороны водителя), а правая сторона — со стороны пассажира. Пассажирская или правая сторона двигателя — это цилиндры 1-6, а левая сторона или сторона водителя — цилиндры 7-12. если вы не узнайте, когда свечи зажигания были заменены в последний раз, замените свечи зажигания прямыми заменами OEM (см. Ниже) и посмотрите, исчезнут ли пропуски зажигания. Как правило, новые свечи вызывают 50% осечки уйти. Автомобиль по-прежнему будет работать ужасно даже с пропуском зажигания в одном цилиндре, так что теперь вам придется иметь дело с пакетом катушек.
Мы не рекомендуем чинить или ремонтировать только один или два цилиндра. Частичный ремонт ничем не повредит, но вероятность пропусков зажигания в других цилиндрах в самом ближайшем будущем велика. очень высоко. Стоимость двойной доставки и двойной работы окажется очень дорогостоящей. Исключением было бы физическое повреждение рюкзака, когда он работал идеально (имея катушка ломается при вытягивании блока катушек, случайном падении или наступлении на него при замене свечей). Если вы получаете коды неисправности на всех шести цилиндрах с одной стороны, это может быть не так. ваш блок катушек…….. считыватели/коды OBD не могут отличить отказ блока катушек от отказа трансформатора напряжения/блока управления зажиганием. Трансформатор напряжения/блок управления зажиганием блок трансформатора выходного напряжения уровня, преобразующий 12 вольт в 23 вольт и 180 вольт. Проще говоря, вы можете думать об этом как об источнике питания для катушек. Устройство буквально построено в двух точных половинки, составляющие единое целое. Каждая половина регулирует выходную мощность на один пакет катушек. Неисправный VT/ICU обычно убивает весь блок (цилиндры 1-6 или 7-12) и, возможно, 2% время может повлиять на один цилиндр. VT/ICU расположен сверху двигателя, посередине, ближе к передней части автомобиля
Поскольку практически невозможно отличить неисправность блока катушек от неисправности VT/ICU, мы предлагаем оба этих устройства в качестве прокатных/проверочных сборок. Если арендованное жилье решит вашу проблему, вы можете оставьте его в машине и купите. Если это не решит вашу проблему, просто верните его и заплатите очень разумную арендную плату. Все катушки, используемые для сдачи в аренду, полностью перестроены, как новые устройства, и имеют гарантию на один год с неограниченным пробегом. Все VT / ICU были модернизированы с использованием компонентов с более высокой температурой, а также имеют 1 год неограниченного пробега. гарантия
Посмотрите это видео, чтобы понять, что происходит на рынке. Я показываю, как работают блоки катушек, а также определяю, почему блоки выходят из строя и представить нашу катушку, которая производится на нашем собственном совместном предприятии.
В приведенном ниже видеоролике с катушкой зажигания показано, что необходимо для извлечения модуля из S600. Также подробно рассказывается о том, что находится внутри модуля. Надеюсь, увидев, что внутри вы сможете решить, позволят ли вам выполнить эту задачу ваши навыки или нет. Если вы собираетесь отправить свой модуль на ремонт, пожалуйста, не пытайтесь вскрыть его. крышку и риск ее повреждения. Мы не можем найти замену.
В этом видео рассматриваются некоторые сценарии, которые могут помочь вам определить или устранить потенциальные проблемы. Если вы испытываете определенные пропуски зажигания менее чем на одном целом банке, т. е. менее чем на шести цилиндров, вы не можете полностью исключить неисправность трансформатора напряжения, но это очень маловероятно. Если вы не знаете, когда в последний раз менялись свечи зажигания или если пробег превышает 30 000 миль, начните диагностику с замены всех свечей зажигания (или, как минимум, тех цилиндров, в которых наблюдаются пропуски зажигания). Обычно атмосферные двигатели V12 имеют двойную платиновую свечу (платиновый центральный электрод). и платиновый заземляющий электрод), но в двигателях V12 с двойным турбонаддувом должны использоваться иридиевые свечи. Иридий является более твердым элементом, чем платина, лучше держится и требует меньше энергии для воспламенения при более высоком ускорении. давление ТТ. Двойные платиновые свечи с сердечником стандартного диаметра в турбодвигателе V12 могут привести к выходу из строя катушек зажигания и, возможно, трансформатора напряжения. Изношенные свечи зажигания, свечи с слишком большой воздушный зазор (от центрального электрода к заземляющему электроду) приведет к выходу из строя катушек зажигания — вопрос в том, является ли отказ постоянным или нет. Вы можете использовать иридиевые свечи с все V12 стоят немного дороже. Сделайте свою домашнюю работу по штекерам, которые вы хотите/нужны. Срок службы некоторых свечей составляет всего 30 000 миль. Другие проходят до 120 000 миль. После замены свечей зажигания осмотрите колпачки свечей зажигания (см. видео на Youtube ниже) и переустановите пакет катушек. Сбросьте коды двигателя, перезапустите двигатель и проверьте, не возникла ли ваша ситуация. улучшилось (вам, вероятно, придется ездить на нем, чтобы загрузить двигатель). Если вы позвоните своему местному дилеру MBz или обратитесь к своему VIN, вы можете получить номер модели вашего двигателя, который будет Назовите номер детали свечи зажигания MBz для вашего автомобиля. Оттуда вам придется перейти от номера детали MBz к OEM. Например, S600 2001 года выпуска с двигателем 137,970 использует МБз свеча зажигания p/n 004-159-07-03, которая была изготовлена для Mercedes компанией Beru с их свечой зажигания 14F-7DPURX2. Оттуда вы можете перейти к другим производителям и посмотреть, что доступно. В данном случае это переходит на Bosch FR7KPP33U. Все модели с двойным турбонаддувом с 2003 по 2016 год использовали свечи зажигания марки NGK в качестве свечей OEM. Это иридиевые свечи, номер NGK 1FR6Q.
Техническое объяснение того, что мы видим.
В этой цепи не может развиться избыточное напряжение из-за падения тока. Кроме того, трансформатор напряжения имеет ограничение по выходному напряжению. Большинство отказов катушек, которые мы видим, происходят из-за высокого сопротивления, а не из-за короткого замыкания. В сущности, над время эти катушки подвержены воздействию тепла, электричества и вибрации. Любое крошечное сопротивление в конечном итоге станет большим сопротивлением. Чем выше сопротивление, тем больше мощность катушки рассеивается в виде тепла (P=I*I*R). эта проблема каскадируется до тех пор, пока катушка полностью не сгорит (откроется / бесконечное сопротивление). Когда кто-то заменяет свои старые вилки, более современные течет через дуговой промежуток, потому что больше нет такого сопротивления. Когда этот больший ток проходит через старую, изношенную катушку, рассеивается еще больше тепла, повреждая даже катушку. дальше. То же самое с настройкой производительности, увеличенной продолжительностью искры (больше текущего времени работы), что приведет к еще более быстрому сгоранию старой катушки. Старые свечи продлят срок службы ваших катушек дольше, но ваша производительность пострадает — вплоть до выхода из строя свечи зажигания или катушки. По этим причинам в блоке катушек нередко бывает больше цилиндров, считывающих пропуски зажигания. после замены свечей зажигания или после того, как в ЭБУ загружена настройка производительности.
Как показано на видео с неисправной катушкой ниже, мы также видим неисправность корпуса пластиковой трубки. Вторичная катушка выдает более 60 000 вольт, а пластиковая трубка (внутри металлической трубка) является изолятором. Мы видели, как на нескольких катушках образовалась небольшая трещина в пластике, и, конечно же, ее дуга / заземление на металлической трубке. Этот тип отказа обязательно вызовет код осечки. Код пропуска зажигания является конечным результатом того, что произошло в цикле зажигания. Есть много переменных и возможностей того, что может пойти не так. заземление через катушку может разрушить несколько компонентов на печатной плате. МОП-транзисторы на блоках катушек действуют как электронные переключатели, включающие и выключающие свечи зажигания. Они могут выдерживать до 1700 вольт при 4 амперах, что довольно много, учитывая их небольшой размер. Каждая свеча зажигания имеет свой управляющий MOSFET. Есть вторичный набор МОП-транзисторы действуют как главные выключатели для каналов А и В цепи зажигания и работают попарно на трех цилиндрах (1-3, 4-6, 7-9).и 10-12). Эти детали могут выйти из строя просто становится недееспособным. Они также могут выйти из строя из-за перегорания в результате прямого короткого замыкания на катушках, которые потребляют слишком много энергии от VT/ICU. VT/ICU может генерировать столько выходной ток 10 ампер, который может полностью превзойти 4-амперную мощность полевого МОП-транзистора, управляющего катушками зажигания. Этот скачок напряжения может не только разрушить МОП-транзисторы, но и вывести их из строя. диоды и стабилитроны, находящиеся в цепи зажигания. Вот почему так важно, чтобы люди, восстанавливающие ваш блок катушек, четко понимали, что связано с поиском и устранением неисправностей. все возможные проблемы вашей стаи.
Трансформатор напряжения находится в середине двигателя под эмблемой V12/крышкой двигателя. Трансформатор напряжения или блок управления зажиганием по сути является источником питания для катушки. пакеты. Устройство буквально состоит из двух независимых половинок, работающих как единое целое. Если вы получаете коды OBD от P0301 до P0306 или P0307 — P0312, вероятность 50/50 заключается в напряжении. трансформатор, а не блок катушек, или, по-другому …….. есть шанс 50/50, что это блок катушек, а не VT. Коды и то, как детали выходят из строя, идентичны сообщениям ЭБУ. что означает, что невозможно сказать, какой из них потерпел неудачу. В некоторых случаях неисправный ТН может привести к срабатыванию кода ошибки одного цилиндра, что значительно усложняет диагностику!
Вот это действительно крутая часть…..
Компания Mercedes разрешила производить VT с использованием компонентов потребительского класса. По этой причине они рекомендуют заменять эти блоки между 60 и 75 тысячами миль пробега. Они знают, что тепло двигателя уходит заставить их потерпеть неудачу. Что мы делаем, так это заменяем все высоковольтные компоненты автомобильными деталями — уже одно это повысит надежность. Кроме того, мы убираем серия электролитических конденсаторов, которые подвержены утечке электролита (кислоты) на печатные платы и замене их твердотельными танталовыми конденсаторами, что снова увеличивает надежность. Наконец, что более важно, мы добавили предохранители внутри блоков. Эти предохранители защитят трансформаторы напряжения от выхода из строя из-за отказа или короткого замыкания катушки. пакет. На данный момент наши восстановленные трансформаторы напряжения превосходят те, которые вы можете купить в местном представительстве Mercedes, и мы предлагаем такую же двухлетнюю гарантию! Пожалуйста, посмотрите видео ниже для более ясного и подробного обсуждения VT, того, как он работает и что мы сделали, чтобы сделать его лучшим и более устойчивым компонентом.
Быть на 100% уверенным в том, что вы диагностировали разницу между неисправным блоком катушек и неисправным трансформатором напряжения, может быть очень сложно. В любом случае, это предприятие стоимостью 700 долларов, и важно получить это правильно! Теперь через этот веб-сайт можно арендовать трансформатор напряжения всего за 50 долларов. Вы можете тестировать его в течение десяти дней, а затем его необходимо вернуть или приобрести в качестве используемый компонент. Если арендованное жилье решит вашу проблему, вы можете сохранить его, а арендная плата будет возвращена вам. Если вы решите приобрести новый или трансформатор напряжения был не проблема, вы можете просто вернуть его, и плата за депозит и основная плата в размере 100 долларов США будут зачислены обратно на ваш счет. Это просто не становится проще. Обязательно посмотрите видео ниже о проблемах и процедурах установки. Эти устройства проходят 100% функциональное тестирование перед отправкой и после возврата, чтобы обеспечить целостность производительности.
У нас также есть пакеты катушек, которые можно арендовать для целей тестирования. Как и в случае с программой трансформатора напряжения, если пакет арендованных катушек решит вашу проблему, вы можете купить его. Каждый блок катушек, который сдается в аренду, был недавно перестроен и протестирован в автомобиле, чтобы обеспечить 100% функциональность. Процесс оформления заказа в магазине немного сложнее …… Вам нужно будет проверьте правильную арендуемую коробку для правой стороны (пассажир — цилиндры 1-6) или левой стороны (водитель — цилиндры 7-12). Депозитный ящик также должен быть проверен. Комиссия за депозит такая же сумма как полная плата за восстановление в размере 69 долларов США9. Наконец, также необходимо проверить поле заряда сердечника. Если вы арендуете комплект катушек и возвращаете его, ваш депозит в размере 699 долларов США и плата за основной сбор в размере 300 долларов будут возвращены. Если вы решите сохранить арендованную единицу, арендная плата в размере 90 долларов США будет немедленно возвращена вам. Когда ваше ядро будет получено в V12icpack, мы зачислим основной платеж в размере 300 долларов США возвращается на ваш счет. Пожалуйста, обрати внимание ! Если вы вмешались в свой пакет катушек и треснули или сломали крышку, мы не можем принять его в качестве сердечника, т. Е. Вы не можете участие в аренде в собственный вариант. Если вы нарушили покрытие и арендовали устройство, которое устранило вашу проблему, вам нужно будет вернуть арендованное устройство и отправить упаковку катушек на проверку. восстановить. Вы получите свой блок с поврежденной крышкой обратно. Пожалуйста, позвоните или напишите по электронной почте, прежде чем размещать заказ на аренду, чтобы убедиться, что у нас есть продукт. В качестве примечания, мы готовы купить бракованные пакеты катушек. Если у вас есть старые монеты и вы хотите обменять их на наличные, сообщите нам об этом!
Модули, которые мы можем в настоящее время отремонтировать, относятся к 2001–2017 годам выпуска. На самом деле речь идет о моделях CL600, CL65 AMG, S600, S65 AMG, SL600 и SL65 AMG. В качестве двойной проверки, фактическая катушка зажигания должна быть выбита на металлической направляющей трубке «BERU 0040103003» и «TEMIC 288 676».
Какими бы сложными ни выглядели агрегаты с турбонаддувом, замена прокладок клапанных крышек на безнаддувных агрегатах без турбонаддува на самом деле гораздо более трудоемка… Годы выпуска 2000–2002. Судя по сотням комплектов катушек, почти половина из них снята с автомобилей со значительными утечками масла. В любой модели пакеты катушек должны отрываться, чтобы добраться до крышки клапанов, поэтому, если у вас протекает, вы можете взять на себя эту задачу, пока вы там. Шансы очень высоки, если у вас есть масло вокруг нижней части катушек зажигания, то есть масло, которое имеет протекали мимо прокладки клапанной крышки, стекали по ГБЦ и собирались в свечных колодцах. Если вы заметили достаточное количество свежего масла, обязательно хорошо очистите свечу зажигания. перед снятием свечей зажигания. Теперь у меня в магазине есть прокладки клапанной крышки OEM-качества и прокладки впускного коллектора, которые доступны для доставки в тот же день по более выгодной цене, чем в вашем местном магазине. дилер МБЗ.
Для снятия/замены топливных форсунок необходимо снять топливную рампу на двигателях без турбонаддува. Топливные форсунки могут засориться до такой степени, что они не смогут распылять достаточное количество топлива. количество топлива в цилиндрах при высоких нагрузках. Кроме того, в корпусе форсунок может застрять «грязь», что не позволит им полностью загерметизироваться при отключении. На рынке есть несколько присадок, которые можно добавить в топливную систему, чтобы помочь очистить/поддерживать чистоту топливных форсунок. Я большой поклонник «Морской пены», которую можно купить в большинстве автомобильных магазинов и крупных магазинах с автомобильными секциями. Если у вас неисправная топливная форсунка, вы также можете получить ее у местного поставщика автомобилей. Знаки забитых или застрявших форсунок может создать ощущение вялости или потери мощности. Они могут создать код ошибки регулировки подачи топлива, если они не закрываются, и позволяют топливу заполнить всю камеру сгорания. во все времена (слишком богат). Хотя доступ к форсункам может быть немного неприятным, их можно поменять местами, если у вас есть проблема с пропуском зажигания, которая, кажется, всегда остается только с одним цилиндром. Переставить форсунки с одного цилиндра на другой и посмотреть, не исчезнет ли проблема с ним, — это один из способов определить неисправную форсунку, которая не является фатальной. Видео ниже проходит через Процесс удаления/замены.
Шаг 1. Определить, какие цилиндры не работают (напоминание… цилиндры 1–6 находятся справа, со стороны пассажира.
Цилиндры 7–12 находятся слева, со стороны водителя. Удалите соответствующий модуль ИС ( s) 3. Выставление счетов будет происходить в два цикла. При отправке в вашем модуле(ах) перетащите соответствующий 1 модуль или 2 модуля. предмет в сумку. С вашей карты будет снята плата за первоначальную обработку товара в размере 10 или 20 долларов США. Эта плата будет применяться к общей Стоимость ремонта в таблице выше. Когда модуль будет отремонтирован мы свяжемся с вами, чтобы обработать причитающийся платеж. *ПРИМЕЧАНИЕ — структура ценообразования основана на катушек, замененных на модуль.
Шаг 4. Отнесите посылку выбранному вами грузоотправителю и отправьте ее нам.
Примечание 1. Страница оплаты немного сбивает с толку… Кнопка делает ее похожей на PayPal или заказы по телефону. всего два варианта. Оставьте кнопку PayPal включенной — на следующей странице будет предложено выбрать Visa или MC. и информация о номере счета. Мы не принимаем телефон заказы. (К сожалению, конструктор веб-сайтов не может изменить эту платежную страницу).
Примечание 2. Все модули будут отправлены приоритетной почтой через USPS. Если вы хотите, чтобы ваши модули были возвращены быстрее, обратите внимание на форму заказа, какую почтовую службу вы бы предпочли. Ваш кредит с карты будет снята соответствующая сумма. Международные клиенты, клиенты с Аляски и Гавайских островов будут проинформированы о вернуть стоимость доставки.
Примечание 3. За тестирование и возврат модулей, которые не вызывают проблем, взимается плата в размере 75 долларов США (плюс 9 долларов США).0003
доставка.
Если вы посмотрели видео на YouTube, в котором объясняется, что находится под крышкой модуля, и считаете, что готовы выполнить эту задачу, вы можете заказать катушки зажигания непосредственно у нас. Каждый набор катушек будет продается с соответствующим набором драйверов MOSFET IC. Вы можете заказать одну катушку, но микросхемы MOSFET не будут включены.
Техническое обслуживание этих автомобилей имеет решающее значение. Иногда кажется, что мы можем просто продолжать движение, пока не возникнет проблема. Топливные фильтры — одна из тех вещей, которые часто упускают из виду. Там широко распространено мнение о том, как часто их следует менять. Если с момента последнего ремонта ваш автомобиль проехал от 75 000 до 100 000 миль — пришло время. в следующем видео показано, где он находится — довольно простая задача, но вам придется открутить хомуты и заменить их обычными винтовыми хомутами
Нажмите на логотип V12 ниже, чтобы войти в магазин для обработки вашего заказа на восстановление
Lambretta Электронный регулятор/выпрямитель зажигания, 12 В переменного тока с постоянной подзарядкой, MB-MBGM0079-MB Scooters Ltd
Выход постоянного тока ограничен количеством гаджетов, которые вы можете использовать, вы не можете использовать точечные светильники с этой системой, вам необходимо полное преобразование постоянного тока (ПХ). Простая и прямая установка (переход от 5 к 4 терминалам). Подробная инструкция в комплекте. Кажется, качественный комплект.
2. Paul c 02 февраля 2012 г.
установил один на мою серию 2 , пустяк, чтобы установить, используя приведенные инструкции, без проблем заряжает мою спутниковую навигацию .. собираюсь установить один на мой золотой специальный следующий …
3. Phil 24 февраля 2012 г.
отличный качественный комплект, легко устанавливается и выполняет свои функции, отличный продукт.
4. Джейсон К 04 сентября 2016 г.
Ожидаемое качество
5. Chris W 11 фев. 2022
Только что получил один для питания спидометра SIP от постоянного тока. Прост в установке и работает очень хорошо. Также прибыл быстро.
6. Daz W 10 ноября 2016 г.
Легко вписывается и выполняет работу
7. Steve M 26 январь 2017
.0003
8. Paul B 09 ноября 2017 г.
Купил это вместе с CDI, резиновыми крышками и кронштейном. Качество вокруг. Намного меньше, чем тот, на который я его заменяю. Идеальный!!
9. Woody 31 марта 2022
Простота установки и, безусловно, хорошее обновление для регулируемого зажигания scootopia, которое никогда не работало. Здорово, когда продукт действительно делает то, о чем говорит.
10. Марка 14 апр 2022
Супер товар и молниеносная доставка на север Шотландии. В отличие от других регуляторов напряжения, этот поставляется с жгутом проводов, и несколько схем вариантов подключения доступны на веб-сайте MB. Это также дешевле, чем большинство регуляторов, доступных в других местах. Топовая работа, большое спасибо.
хотите оставить отзыв? Нажмите здесь
У вас есть вопрос?
Если вы хотите задать нам вопрос об этом продукте, пожалуйста, нажмите здесь, чтобы задать вопрос прямо сейчас!
Вуди 12 марта 2022 г.
спросил: «Будет ли это работать с комплектом переменного тока 12 В scootopia, и если да, то есть ли схема с цветами проводов scootoipa?
Ура »
Компания MB Scooters Ltd ответила: Должно работать нормально, схемы есть на нашем техническом сайте
Крис В. 26 января 2022 г. спросил: «Подходит ли источник постоянного тока от этого для питания спидометра SIP? Спасибо»
Ответ MB Scooters Ltd: Да, должен, но может отключаться на низких оборотах, в идеале использовать конденсатор или маленькую батарейку для стабилизации
Кельвин С. 29 июня 2020 г. спросил: «Это регуляторы производства Scootronics».
MB Scooters Ltd ответил: Да обычно
Пол Х 19 ноября 2018 г. спросил: «Я подключаюсь к индийскому терапевту с зажиганием Varitronic 12 В, добавил аккумулятор для инструментов. На вашей схеме установки указано, что красный / белый провод отключен, но также говорится «заряд батареи»?Не должно ли это быть подключено к клемме регулятора, на которой указано «выход постоянного тока 12 В на батарею»?? Спасибо»
MB Scooters Ltd ответила: Желто-белый провод питает регулятор BGM, а по этой линии вы также получаете заряд постоянного тока, а красный, поэтому нет необходимости подключать красный/белый провод
Грэм на 20 Июль 2017 г.
спросил: «Подключение системы постоянного тока 12 В. GP200 со СТАТОРОМ BGM и ВЫПРЯМИТЕЛЕМ ПОСТОЯННОГО ТОКА BGM. Что происходит с существующими красными, серыми, коричневыми и фиолетовыми проводами от станка?»
MB Scooters Ltd ответила: У вас есть выбор 1) получить распределительную коробку постоянного тока и установить их на нее 2) получить станок с аккумулятором постоянного тока
Марк 07 ноября 2016 г. спросил: «Подойдет ли этот выпрямитель к выходу статора переменного тока на 70+ вольт от двигателя Yamaha в моем скутере. С уважением, Марк».
MB Scooters Ltd ответила: Я думаю, что это универсальный reg/rec
Ник 30 января 2016 г. спросил: «Я только что установил статор и регулятор BGM на свой GP 200. Это переменный ток. Я также использовал красный регулятор BGM с легким маховиком AF. Свет действительно тусклый. Должен ли я использовать выпрямитель, или что-то не так с моим новым статором?»
Компания MB Scooters Ltd ответила: Вам нужен регулятор/выпрямитель MBGM0079. Светодиодные задние фонари действительно улучшают яркость. MBGM0055
Мартин 30 сентября 2015 г. спросил: «Здравствуйте, с этим регулятором и использованием выхода постоянного тока без батареи мне в идеале все еще нужно использовать конденсатор?
Спасибо… Мартин»
Компания MB Scooters Ltd ответила: Вам не обязательно, но это может помочь стабилизировать подачу питания, чтобы не было всплесков, или, что еще лучше, установить небольшую батарею.
Джо 04 сентября 2015 г. спросил: «Регулятор имеет белый пластиковый корпус, который выглядит так, как будто он может принять белую пластиковую вилку, в которую вставлены провода для надежного соединения. Где я могу найти эту вилку?»
MB Scooters Ltd ответила: Они поставляются со свободными крышками для женщин, если бы мы использовали более крупный тип с 4 заглушками, он не прошел бы через отверстие статора
Крис л 23 ноября 2013 г. t5 mk1 также заменяет 3-контактный регулятор, большое спасибо»
MB Scooters Ltd ответила: Да, нет проблем, и да, он заменяет 3-контактный регулятор Vespa, он поставляется с инструкциями. аккумулятор на моей ламбретте с питанием от сети переменного тока 12 В»
Компания MB Scooters Ltd ответила: Да, нет проблем, зайдите на наш технический сайт для получения инструкций по настройке
Клод Q 28 мая 2013 г. спросил «не могли бы вы предоставить мне схему соединений подскажите куда подключать 3 белых провода от генератора?красный от аккумулятора/корпус регула это земля??»
Компания MB Scooters Ltd ответила: Это можно найти на нашем техническом сайте http://www.lambrettaspares.com/info/fitting-*-bgm-rear-damper/fitting-*-mb-wiring-looms+237. html
Росс В., 14 февраля 2013 г. спросил «Есть ли у вас резиновое покрытие или этот предмет?»
MB Scooters Ltd ответила: Один был изготовлен, около 2 месяцев на складе
ColinM 14 августа 2012 г. спросил: «При обновлении Jet200 12 В (включая статор BGM v2) с этим выпрямителем есть ли явная проводка. Я не получаю смешанных цепей (как это выглядит на диаграмме Стики и одна с выпрямителем) и хочу быть уверенным, что ничего не расплавлю».
Компания MB Scooters Ltd ответила: Здесь есть схема подключения выпрямителя http://www.lambrettaspares.com/info/lambretta-setting-up-instructions-/fitting-bgm-products-+155.html
Пол, 23 мая 2012 г., спросил : «Привет, у меня есть электронный комплект на 12 В на моем gp200, и я хочу использовать его для питания своих фонарей, но хочу поставить аккумулятор для работы прожекторов! Сможет ли этот комплект сделать это и нужно ли мне что-нибудь еще? держать аккумулятор заряженным? спасибо, Пол»
MB Scooters Ltd ответил: Не так просто, так как пятна разрядят аккумулятор быстрее, чем статор/выпрямитель сможет его восполнить. Поскольку этот reg / rec — это только ручная подача. Если вы использовали светодиодные лампы в противотуманках, это должно работать. В идеале для запуска спотов необходимо преобразовать их в полноценную систему постоянного тока, скоро у нас появятся новый статор и выпрямитель.
Пол Х 08 апреля 2011 г. спросил: «У меня есть вопрос о «12-вольтовом регуляторе / выпрямителе, BGM».
Пожалуйста, не могли бы вы сказать мне, каковы размеры устройства. Возможно ли запустить комбинированную систему переменного / постоянного тока, как оригинальный врач сделал»
Компания MB Scooters Ltd ответила: Д = 70 мм Ш = 37 мм Г = 23 мм
Lee m 15 февраля 2011 г. спросил: «У меня есть вопрос о «12-вольтовом регуляторе/выпрямителе, BGM».
Правильно ли я думаю, смогу ли я получить прямую подачу прямо от точки постоянного тока на этом регуляторе, чтобы подать 12-вольтовую постоянную подачу постоянного тока для спутниковой навигации, если я заземлю нейтраль на спутниковой навигации?
MB Scooters Ltd ответил: Да, регулятор дает питание 12 В постоянного тока, которое можно использовать в качестве источника питания для питания Sat Nat. Затем просто заземлите Sat Nat, легко. При работающем велосипеде он всегда будет заряжать спутниковую навигацию.
Пол, 13 февраля 2011 г., спросил: «У меня есть вопрос о «12-вольтовом регуляторе/выпрямителе, BGM».
Привет, может быть, я немного толстоват, но как подключить провода статора [нерегулируемое напряжение] к устройству, что такое вход переменного тока и какой выход переменного тока для питания освещения и т. д., и вы используете провод постоянного тока только в том случае, если вы используете батарею или это также выход переменного тока? спасибо
MB Scooters Ltd ответил: Статор.
Переменный ток к ткацкому станку и цепи освещения.
DC идет на игрушки DC или аккумулятор.
Если вы чувствуете, что что-то не так с этим описанием продукта или изображением, пожалуйста, свяжитесь с нами, используя ту же ссылку
Aerospace Product and Parts ManufacturingFishing Hunting and TrappingTimberNurseriesAnimal Production and AquacultureCrop ProductionForestry and LoggingGambling IndustriesOther Amusement and Recreation IndustriesAmusement Parks and ArcadesConsultingSecurity System ServicesPrint / PublishingSecurity Guards and Patrol ServicesNon-Residential ConstructionBuilding AutomationData CenterResidential ConstructionDetention FacilitiesCrane MotionGlassPlastics and SyntheticsMetalPaperElectronics and TechnologyFood and BeverageRetailHealth CareMusicMotion Picture and VideoColleges, Университеты и профессиональные школыБизнес-школы и компьютерное обучение и обучение менеджментуТехнические и торговые школыУслуги поддержки образованияДругие школы и инструкцииНачальные и средние школыМладшие колледжиБурениеРазведкаРасходуемое топливоХранениеПереработкаПроизводствоКомплексная нефть и газНефть и газОборудование и услугиКоммерческие банковские операцииДенежно-кредитные органы — Центральный банкСтраховые брокерыLife Insura nceМедицинское страхованиеСтрахование имуществаКредитные картыФинансирование продажКредитные союзыСтраховые агентства Потребительское кредитованиеСберегательные учрежденияМедицинское страхованиеСахар и кондитерские изделияВинодельниЖиры и маслаКонсервированные, замороженные и консервированные фрукты, овощи и деликатесыЛикероводочные заводыХлебобулочные изделияУпакованные пищевые продукты и мясоАроматизирующие экстракты и ароматизирующие сиропыРазные пищевые продукты и видыМясные заводыВодаБезалкогольные напиткиМясные продуктыМолочные продуктыБутылки и газированные напитки ProductsAnimal / PetBreweriesDairy ProductsPhysiciansNursing and Residential Care FacilitiesOutpatient Care CentersBlood BanksHospitalsAmbulanceMedical and Diagnostic LaboratoriesOther Health PractitionersDentistsConstruction MaterialsFibers and TextitlesPharmaceuticalsGlassElectronicsPetrochemicalsSecondary Battery (Rechargeable)FurnitureAutomotiveCommodity ChemicalsAutomotive ComponentsPersonal ProductsVentilation, Heating, Air-Conditioning, and Commercial Refrigeration EquipmentCellulosic Manm ade FibersResinsRubberIndustrial GasesDiversified ChemicalsFertilizers and Agricultural ChemicalsPaint, Coating and AdhesivesManmade Organic Fibers, Except CellulosicOffice SuppliesPrimary Battery (Disposable)Household AppliancesSemiconductor and Semiconductor EquipmentPlastics Materials, Synthetic Resins, and Nonvulcanizable ElastomersPaperSynthetic Rubber (Vulcanizable Elastomers)PlasticsSpecialty ChemicalsCable and SatellitePublishingBroadcastingAdvertisingMovies and EntertainmentMetalsDimension StoneClay, Ceramic, And Огнеупорные полезные ископаемыеДобыча полезных ископаемыхДобыча химикатов и удобренийДробленый камень, включая каменную наброскуУгольПесок и гравийРазные неметаллические полезные ископаемые, кроме нерудных полезных ископаемых Услуги, кроме топливаОфисы исполнительной властиПолицейская охранаДругая деятельность в области правосудия, общественного порядка и безопасностиНациональная безопасностьУправление кадровой программыУправления по условно-досрочному освобождению и пробацииСудыЮрисконсульты и прокуратураУправление общеэкономическими программами n жилищных программРегулирование и управление транспортными программамиУправление воздушными и водными ресурсами и программами по обращению с твердыми отходамиУправление программами общественного здравоохраненияУправление городским планированием и общественным и сельским развитиемИсправительные учрежденияЗаконодательные органыПожарная охранаРегулирование и управление коммуникациями, электричеством, газом и другими коммунальными услугамиУправление космическими исследованиями и технологиями Образовательные программыРегулирование сбыта сельскохозяйственной продукции и товаровГосударственная финансовая деятельностьПравительства американских индейцев и коренных народов АляскиУправление по делам ветерановМеждународные отношения Управление программами сохраненияРегулирование, лицензирование и инспекция различных коммерческих секторовБиотехнологииИсследования и разработки в области физических, инженерных наук и наук о жизниИсследования и разработки в области социальных наук и гуманитарные наукиНанотехнологииПрикладное ПОИздатели ПОСистемное ПОДомашние развлечения S oftwareПроводные перевозчикиБеспроводная связьДругие телекоммуникационные услугиСпутникВодаНефтепроводЖивописные и осмотр достопримечательностейГрузовикВоздушный транзит и наземный пассажирскийПочта и курьерМорской транспортЖелезнодорожный транспортВспомогательная деятельностьВетерСолнечнаявода/сточные водыЭлектроэнергияПриродный газСбор твердых отходовОбработка и утилизация отходовСвалка твердых отходовСептические резервуары и сопутствующие услугиУстановки для сжигания твердых отходов и мусоросжигательные заводыУтилизация отходовУтилизация отходовУтилизация отходов9Сбор отходовH0003
Мой ключ не поворачивает зажигание Проблема Mercedes-Benz — MB Medic
Главная > Технические > Мой ключ не поворачивает зажигание Проблема Mercedes-Benz
Вы вставляете ключ в замок зажигания вашего Mercedes-Benz, но ничего не происходит. Вы не можете повернуть ключ. Вы не можете завести машину. Основной причиной, по которой это происходит, является севшая батарея, но это также может быть несколько других проблем, которые мы описали ниже. Когда вы вставляете смарт-ключ в модуль управления электронным замком зажигания (EIS) (N73), питание подается на ключ через кольцо индукционной катушки, расположенное в EIS. Затем происходит обмен данными с инфракрасным передатчиком для подтверждения авторизации привода. В этой статье рассматриваются основные причины, по которым ключ не поворачивается в зажигании и возможное решение.
Проблемы модуля ключа иммобилайзера Mercedes EIS / EZS
Невозможно повернуть ключ
Невозможно завести машину
Можно повернуть ключ, но машина не заводится
Неисправности ключа зажигания
Система авторизации вождения (DAS) — это система иммобилайзера Mercedes, которая проверяет авторизацию вождения каждый раз, когда вы вставляете ключ в замок зажигания и пытаетесь завести автомобиль. DAS был представлен еще в 1996 году и имел несколько улучшений безопасности. Основные версии DAS DAS: DAS 2, 2A, X, 3.
Список распространенных проблем и возможных решений
Новые водители всегда сталкиваются с этим хотя бы один раз, поэтому мы решили включить его в этот список. Если ключ не поворачивается в замке зажигания, попробуйте пошевелить рулевое колесо, пытаясь повернуть ключ. Рулевое колесо будет казаться полностью твердым, если вы попытаетесь переместить его в одном направлении, и может немного сместиться в противоположном направлении. Нажмите на рулевое колесо в направлении, допускающем небольшое движение, затем вставьте ключ и попробуйте снова повернуть ключ. Вы можете надавить на руль, а также попробовать покачать руль. При этом вставьте ключ в замок зажигания и попробуйте повернуть ключ. НЕ ПЫТАЙТЕСЬ ВСТАВИТЬ КЛЮЧ В ЗАЖИГАНИЕ. Блокировка рулевой колонки — это функция безопасности, которую все автопроизводители включают в автомобили.
Возможно, аккумулятор в автомобиле неисправен, так как он не обеспечивает необходимое напряжение для правильной работы ЭБУ и электронного переключателя зажигания/стартера (EIS) N73. Если аккумулятор разряжен или имеет низкое или недостаточное напряжение, связь CAN между EIS и N72 может работать неправильно. EIS в Mercedes-Benz имеет катушку, которая индуцирует магнитное поле на Smartkey , которое заставляет ключ реагировать на автомобиль с определенным скользящим кодом. Используя мультиметр за 10 долларов, подобный этому, вы можете убедиться, что у вас хорошая батарея, прежде чем продолжить. Автомобильный аккумулятор должен показывать не менее 12,8 вольт при неработающем автомобиле. При работающем двигателе оно должно быть выше 14,4 вольта. Если вам нужна сменная батарея для
Ваш Mercedes-Benz Самый экономичный вариант — заказать его на Amazon. Большинство автомобилей Mercedes-Benz используют аккумуляторную группу 94R, и отличным выбором будет аккумулятор ACDelco 94AGM, который соответствует спецификациям OEM. Нажмите здесь, чтобы прочитать отзывы и проверить цену на Amazon.
Если у вас вместо пульта Smart Key Remote металлический плоский ключ, возможно, неисправен тумблер ключа. В то время как большинство автомобилей Mercedes-Benz имеют SmartKey, в некоторых моделях, таких как ML Class, SLK Class, Crossfire, до 2005 года использовался ключ с металлическим лезвием. Некоторые модели страдают от дефектного тумблера ключа. Мы видели автомобили с пробегом всего в 20 000 миль, где тумблер выходит из строя. Убедитесь, что рулевое колесо не заблокировано, как указано выше. Затем вставьте ключ в замок зажигания и осторожно покачивайте ключ, не оказывая на него сильного давления, как это делается. По мере того, как стопорные штифты на тумблере изнашиваются, становится все труднее и труднее включить зажигание вашего автомобиля. Вот видео, которое поможет вам разобраться в этой проблеме. На видео ниже показана та же проблема на GM, но тот же принцип применим и к более старым Mercedes-Benz, в которых используется ключ с металлическим лезвием.
Модуль EIS также может быть причиной того, что ключ не поворачивается при вставлении в замок зажигания. Многие автовладельцы жалуются, что в теплый или жаркий день машина заводится нормально, а в холодные дни машина не заводится. Это может показаться странным, но об этом часто сообщают. В EIS процессоры припаяны к печатной плате, и во многих случаях соединения процессора могут быть плохими или сам процессор неисправен. На видео ниже вы можете увидеть, как холодная температура заставляет замок зажигания работать неправильно. ЭБУ также может испытывать те же симптомы.
Если у вас возникла эта проблема, вам придется установить новую / девственную EIS. Вы не можете установить подержанный блок, потому что EIS должна быть сопряжена с автомобилем с помощью диагностического программного обеспечения Mercedes-Benz Star.
Удаленный смарт-ключ
Сам ключ может быть причиной того, что машина не заводится. Ключ может открыть двери, но не заведет машину. В некоторых случаях провода катушки транспондера могут отсоединиться, и их необходимо будет перепаять, или процессор в ключе может быть неисправен. Самым простым решением в этом случае будет заказать новый ключ у дилера Mercedes-Benz. Прочитайте Что вам нужно, чтобы заказать новый ключ для вашего Mercedes-Benz.
Электронный блок управления (ЭБУ) — еще одна причина, по которой не заводится автомобиль. Для решения этой проблемы вам потребуется установить новый ECU. Вы не можете поменяться с бывшим в употреблении ECU и ожидать, что он будет работать, так как плата «женат» на автомобиле. Другим решением было бы получить бывший в употреблении ЭБУ и переключить процессор со старой печатной платы на использованный сменный ЭБУ. Посмотрите это видео и узнайте, как пользователь MBCluster на Youtube успешно клонировал блок управления двигателем Mercedes-Benz!
Также обратите внимание:
Очистка замочной скважины EIS сухой тканью. Не используйте жидкость для очистки EIS.
Проверка предохранителей
ПРИМЕЧАНИЕ: Не допускайте разрядки автомобильного аккумулятора, когда ключ находится в замке зажигания. Это может повредить ключ или EIS.
У вас возникла проблема, когда пульт дистанционного управления со смарт-ключом не включает зажигание? Пожалуйста, прокомментируйте ниже, чтобы сообщить нам, как вы решили свою проблему. Это поможет другим, кто имеет дело с проблемой.
Назад Замена втулок и тяг стабилизатора поперечной устойчивости C CLK Class W203 W209
Next Проблема синхронизации сидений E-Class, CLK-Class W208 W210
Что происходит, когда катушка зажигания вашего Mercedes выходит из строя?
Что происходит, когда ваша катушка зажигания Mercedes выходит из строя?
Автор сообщения: Pegah Oskoui
Сообщение опубликовано: 7 июля 2021
Категория сообщения: Ремонт Mercedes
Mercedes-Benz известен своим стилем и характеристиками мирового уровня. Вы должны хорошо заботиться о своем Mercedes , чтобы обеспечить его максимальную производительность. Если вы заметили какие-либо проблемы, вам нужно немедленно проверить его. Со временем автомобильные компоненты изнашиваются и выходят из строя. Выход из строя основной детали, такой как катушка зажигания , может иметь серьезные последствия. Вы можете заметить, что ваш Mercedes не заводится или у него плохая производительность двигателя .
Если вы подозреваете, что катушка зажигания в вашем Мерседесе начинает выходить из строя или уже вышла из строя, отнесите ее в Шведский автосервис, где наши опытные специалисты быстро диагностируют и устранят проблему, чтобы вернуть вас к жизни. дорога безопасно.
Чтобы полностью понять важность катушки зажигания, необходимо знать, что она делает. Катушка зажигания помогает обеспечить необходимое напряжение , необходимое для создания искры чтобы зажечь ваш топлива внутри вашего двигателя . В зависимости от размера вашего двигателя количество катушек зажигания будет меняться.
Для двигателя V6 обычно требуется шесть катушек зажигания , которые помогают в процессе сгорания для обеспечения мощности и производительности. Если одна из этих катушек зажигания выйдет из строя, вы можете столкнуться с несколькими различными симптомами: от того, что ваш автомобиль не заводится до плохой экономии топлива .
Средний срок службы катушки зажигания около 100 000 90 379 миль. Его следует заменить в конце срока службы. Может возникнуть соблазн заменить катушки зажигания самостоятельно, но в конечном итоге вы можете причинить больше вреда, чем пользы, если не знаете, что делаете.
Признаки неисправности катушки зажигания
Существует несколько общих признаков того, что неисправна катушка зажигания внутри вашего автомобиля Mercedes. Если вы заметили какую-либо из этих проблем, вам следует прийти к нам сегодня, потому что у нас есть опыт, инструменты и технологии, которые помогут вам быстро вернуться на дорогу.
Загорается индикатор Check Engine: Индикатор Check Engine загорается, когда ваш автомобиль обнаруживает проблему с двигателем . Это будет не единственная проблема, с которой вы столкнетесь, но всякий раз, когда загорается индикатор Check Engine , вы не должны его игнорировать.
Тяжелый пуск: Катушка зажигания преобразует напряжение вашей батареи в электричество, достаточное для создания искры на вашем свеча зажигания . С неисправной катушкой она может не выдавать достаточного напряжения для воспламенения топлива.
Плохая экономия топлива: Если ваш Mercedes заводится и у вас неисправна катушка зажигания , некоторое количество топлива может не зажечь . Система, в свою очередь, может решить, что вашему двигателю не хватает топлива для нормальной работы, и впрыскивает в двигатель больше топлива.
Заглохание или пропуски зажигания: Ваш Mercedes может заглохнуть или осечь если у вас неисправна катушка зажигания. Ваш двигатель может заглохнуть, если вы остановитесь в пробке или на светофоре. Во время вождения у вас могут возникнуть пропуски зажигания, и ваш Мерседес начнет издавать шумов или станет грубым в управлении.
Если вы промедлите с любой из вышеперечисленных проблем, вы можете усугубить ситуацию. Простой и доступный ремонт, такой как замена катушки зажигания, может превратиться в дорогостоящий, например, в ремонт полного отказа двигателя.
Если вы заметили любой из вышеперечисленных признаков, приходите к нам в Шведский автосервис срочно. Мы быстро вернем вас на дорогу.
Swedish Auto Service является альтернативным дилерским центром № 1 в Остине
Swedish Auto Service является альтернативным дилерским центром премиум-класса в Austin, TX с 1993 . Мы гордимся тем, что обслуживаем прилегающие районы:
Cedar Park
Round Rock
Leander
Мы предоставим вам беспроблемный опыт по честным ценам. Мы никогда не срезаем углы и гарантируем, что вы получите наилучшее обслуживание от наших опытных технических специалистов, сертифицированных ASE.
Наша бригада оснащена новейшими заводскими инструментами и оборудованием и может выполнить любой ремонт, от замены катушки зажигания до критического ремонта двигателя . На все наши работы распространяется гарантия 12 месяцев или 12 000 миль.
Дилерские центры дороги и требуют длительного времени ожидания, и они могут не слишком заботиться о сохранении вашего бизнеса. В Swedish Auto Service мы стремимся предоставить вам индивидуальный уровень обслуживания, которого вы заслуживаете. Позвоните нам сегодня или запишитесь на прием онлайн. Мы с нетерпением ждем возможности служить вам!
Теги: Mercedes Bad Ignition Coil, Mercedes Bad Ignition Coil Fix, Mercedes Bad Ignition Coil Signs, Mercedes Ignition Coil, Mercedes Specialist
выключатель зажигания / замок зажигания для Honda MB
Название этого веб-сайта
Назначение
Сохраняет настройки посетителей, выбранных в поле cookie.
Имя файла cookie
datenschutz
Время выполнения файла cookie
1 год
Имя
Сеанс
Поставщик
Владелец этого веб-сайта
Назначение
Идентификатор сеанса — это идентификационный номер, сгенерированный на стороне сервера для назначения пользовательских запросов сеансу.
Название печенья
Sessid
Продолжая время выполнения печенья
Конец сессии
Имя
Amazon платеж
Провайдер
Amazon платеж
Цель
Платеж Amazon платеж
Amazon
Цель
Платеж Amazon
Amazon
Цель
Платеж Amazon
.0003
Имя файла cookie
amazon-pay-connectedAuth; набор сеансов apay; Amazon_Login_State_cache
Runtime
Конец сеанса / 1 год
Имя
Платеж PayPal
Provider
PayPal
PayPalplypallse Methodse_s.2.
Paypalplyplus
Paypalplyplus
Paypalplyplus
Paypalplas.
Основные файлы cookie обеспечивают выполнение основных функций и крайне необходимы для правильного функционирования веб-сайта.
Имя
Google Analytics
Поставщик
Google
Назначение
Файл cookie для веб-аналитики. Генерирует анонимные статистические данные о том, как посетитель использует веб-сайт.
Политика конфиденциальности.
https://policies.google.com/privacy. Эта информация помогает нам понять, как мы можем оптимизировать наш веб-сайт.
Имя
Диспетчер тегов Google
Поставщик
Google
Назначение
Файл cookie для управления расширенными сценариями и обработкой событий.
Политика конфиденциальности.
https://policies.google.com/privacy. реклама. Они делают это, отслеживая посетителей на веб-сайтах.
Имя
Карты Google
Поставщик
Google
Назначение
Используется для разблокировки содержимого Карт Google.
Политика конфиденциальности
https://policies.google.com/privacy
Домен
.google.com
Имя файла cookie
NID
Время выполнения файла cookie
0 6 месяцев , доступ к внешнему контенту больше не требует согласия вручную.
Выходные данные
Racing Planet Vertrieb GmbH Лёбштедтер ул. 50 07749 Йена Германия
В соответствии с § 55 пункт 2 RStV: Маркус Беккер несет ответственность за содержание этого веб-страница. Адрес идентичен вышеуказанному адресу.
Онлайн-платформу ЕС для разрешения споров можно найти здесь: https://ec. europa.eu/consumers/odr
В случае, если вы не должны быть удовлетворены в любое время, с 2004 года наша служба поддержки клиентов находит мирные решения, даже не обращаясь в европейские арбитражные комиссии. Вы можете положиться на это!
1) Информация о сборе персональных данных и контактная информация контролера
1.1 Мы рады, что вы посетили наш веб-сайт, и благодарим вас за проявленный интерес. На следующих страницах мы информируем вас об обработке ваших личных данных при использовании нашего веб-сайта. Персональные данные — это все данные, с помощью которых можно идентифицировать вас лично.
1.2 Контроллером, отвечающим за обработку данных на этом веб-сайте в соответствии с Общим регламентом по защите данных (GDPR), является Racing Planet Vertrieb GmbH, Löbstedter Str. 50, 07749 Йена, Германия, тел.: 03641 / 87615 — 0, факс: 03641 / 87615 — 11, электронная почта: [email protected]. Контролером, отвечающим за обработку персональных данных, является физическое или юридическое лицо, которое самостоятельно или совместно с другими определяет цели и средства обработки персональных данных.
1.3 Контролер назначил ответственного за защиту данных для этого веб-сайта. С ним можно связаться следующим образом: JANUS Datenschutz GmbH, Alexander-Puschkin-Platz 1, 07745 Jena, электронная почта: [email protected], телефон: +49 3641 / 23 62 950″
1.4 Этот веб-сайт использует шифрование SSL или TLS из соображений безопасности и для защиты передачи личных данных и другого конфиденциального контента (например, заказов или запросов к контроллеру).Вы можете распознать зашифрованное соединение по строке символов https:// и символу блокировки в строке браузера.
2) Сбор данных при посещении нашего веб-сайта
При использовании нашего веб-сайта только для информации, т. е. если вы не регистрируетесь или иным образом не предоставляете нам информацию, мы собираем только те данные, которые ваш браузер передает на наш сервер (так называемые » лог-файлы сервера»). Когда вы посещаете наш веб-сайт, мы собираем следующие данные, которые технически необходимы нам для отображения веб-сайта для вас:
Наш посещенный веб-сайт
Дата и время в момент обращения
Количество отправленных данных в байтах
Источник/ссылка, с которой вы пришли на страницу
Используемый браузер
Используемая операционная система
Используемый IP-адрес (если применимо: в анонимной форме)
Обработка данных осуществляется в соответствии со ст. 6 (1) пункт f Общего регламента по защите данных на основании нашей законной заинтересованности в повышении стабильности и функциональности нашего веб-сайта. Данные не будут переданы или использованы каким-либо другим образом. Тем не менее, мы оставляем за собой право впоследствии проверять файлы журнала сервера, если есть какие-либо конкретные признаки незаконного использования.
3) Файлы cookie
Чтобы сделать посещение нашего веб-сайта привлекательным и обеспечить использование определенных функций, мы используем так называемые файлы cookie на различных страницах. Это небольшие текстовые файлы, которые хранятся на вашем конечном устройстве. Некоторые из используемых нами файлов cookie удаляются после завершения сеанса браузера, то есть после закрытия браузера (так называемые сеансовые файлы cookie). Другие файлы cookie остаются на вашем устройстве и позволяют нам или нашим компаниям-партнерам (сторонние файлы cookie) распознавать ваш браузер при следующем посещении (постоянные файлы cookie). Если файлы cookie установлены, они собирают и обрабатывают определенную информацию о пользователе, такую как данные о браузере и местоположении, а также значения IP-адреса в соответствии с индивидуальными требованиями. Постоянные файлы cookie автоматически удаляются по истечении определенного периода времени, который может различаться в зависимости от файла cookie. Вы можете проверить продолжительность хранения соответствующего файла cookie в обзоре настроек файлов cookie вашего веб-браузера.
В некоторых случаях файлы cookie используются для упрощения процесса заказа за счет сохранения настроек (например, запоминания содержимого виртуальной корзины для последующего посещения веб-сайта). Если персональные данные также обрабатываются отдельными файлами cookie, установленными нами, обработка осуществляется в соответствии со ст. 6 (1) пункт b Общего регламента по защите данных либо для исполнения договора, либо в соответствии со ст. 6 (1) пункт f Общего регламента по защите данных, чтобы защитить наши законные интересы в максимально возможной функциональности веб-сайта, а также в удобном и эффективном дизайне посещения страницы.
Обратите внимание, что вы можете настроить свой браузер таким образом, чтобы вы были проинформированы о настройке файлов cookie, и вы можете принять индивидуальное решение об их принятии или исключить принятие файлов cookie для определенных случаев или вообще. Каждый браузер отличается тем, как он управляет настройками файлов cookie. Это описано в меню справки каждого браузера, где объясняется, как вы можете изменить настройки файлов cookie. Вы найдете их для соответствующих браузеров по следующим ссылкам:
— Internet Explorer: https://support.microsoft.com /en-us /windows /delete-and-manage-cookies-168dab11-0753-043d-7c16-ede5947fc64d
веб-сайт может быть ограничен, если файлы cookie не принимаются.
4) Связаться с нами
Когда вы связываетесь с нами (например, через контактную форму или по электронной почте), собираются личные данные. Какие данные собираются в случае контактной формы, можно увидеть в соответствующей контактной форме. Эти данные хранятся и используются исключительно для ответа на ваш запрос или для установления контакта и для соответствующего технического администрирования. Правовой основой для обработки данных является наша законная заинтересованность в ответе на ваш запрос в соответствии со ст. 6 (1) пункт f Общего регламента по защите данных. Если ваш контакт направлен на заключение договора, дополнительным правовым основанием для обработки является ст. 6 (1) пункт b Общего регламента по защите данных. Ваши данные будут удалены после окончательной обработки вашего запроса; это имеет место, если из обстоятельств можно сделать вывод, что рассматриваемые факты были окончательно выяснены, при условии, что нет иных юридических обязательств по хранению.
5) Обработка данных при открытии клиентского счета и для обработки договоров
В соответствии со ст. 6 (1) пункт b Общего регламента по защите данных, персональные данные будут продолжать собираться и обрабатываться в объеме, необходимом в каждом конкретном случае, если вы предоставите нам эти данные при открытии учетной записи клиента. Данные, необходимые для открытия счета, можно найти в маске ввода соответствующей формы на нашем сайте. Удаление вашей учетной записи клиента возможно в любое время и может быть сделано путем отправки сообщения на указанный выше адрес ответственного лица. После удаления вашей учетной записи клиента ваши данные будут удалены при условии, что все договоры, заключенные с ее помощью, были полностью обработаны, не предусмотрены установленные законом сроки хранения и с нашей стороны не существует законного интереса к дальнейшему хранению.
6) Функция комментирования
В рамках функции комментирования на этом веб-сайте, помимо вашего комментария, информация о времени написания комментария и имени выбранного вами комментатора сохраняется и публикуется на веб-сайте. Кроме того, ваш IP-адрес регистрируется и сохраняется. Этот IP-адрес хранится в целях безопасности на случай, если заинтересованное лицо нарушит права третьих лиц или опубликует незаконный контент, отправив комментарий. Нам нужен ваш адрес электронной почты, чтобы связаться с вами, если третья сторона возразит против опубликованного вами контента как незаконного. Правовой основой для хранения ваших данных является ст. 6 (1) пункт b и f Общего регламента по защите данных. Мы оставляем за собой право удалять комментарии, если третьи лица считают их незаконными.
7) Использование данных клиента для прямой рекламы
Уведомление по электронной почте о наличии на складе Если наш интернет-магазин предоставляет возможность информировать вас по электронной почте о времени доступности выбранных, временно недоступных товаров, вы можете подписаться на нашу услугу уведомления по электронной почте о наличии товара. Если вы зарегистрируетесь в нашей службе уведомлений по электронной почте о наличии товара, мы отправим вам однократное сообщение по электронной почте о наличии выбранной вами статьи. Единственная обязательная информация, необходимая для отправки этого уведомления, — это ваш адрес электронной почты. Указание дополнительных данных является добровольным и используется, если это необходимо, для того, чтобы иметь возможность обратиться к вам лично. Мы используем так называемую процедуру двойного согласия при отправке этого уведомления. Это означает, что мы отправим вам соответствующее уведомление только после того, как вы прямо подтвердите свое согласие на получение такого сообщения. Затем мы отправим вам электронное письмо с подтверждением и попросим вас щелкнуть ссылку, чтобы подтвердить, что вы хотите получать такое уведомление.
Активируя ссылку для подтверждения, вы даете согласие на использование ваших персональных данных в соответствии со ст. 6 (1) пункта GDPR. Когда вы регистрируетесь в нашей службе уведомлений по электронной почте о доступности продукта, мы сохраняем ваш IP-адрес, зарегистрированный поставщиком интернет-услуг (ISP), а также дату и время регистрации, чтобы иметь возможность отслеживать любое возможное неправомерное использование вашего адрес электронной почты позже. Данные, которые мы собираем, когда вы регистрируетесь в нашей службе уведомлений по электронной почте о наличии товаров, используются исключительно для информирования вас о наличии определенного товара в нашем интернет-магазине. Вы можете в любое время отменить услугу уведомления по электронной почте о наличии товаров, отправив соответствующее сообщение контролеру, ответственному за обработку данных, указанному в начале. После того, как вы откажетесь от подписки, ваш адрес электронной почты будет немедленно удален из нашего списка рассылки, если только вы прямо не согласились на дальнейшее использование ваших данных или если мы не оставляем за собой право на дальнейшее использование ваших данных в соответствии с законом о которые мы сообщаем вам в этой декларации.
8) Обработка данных с целью обработки заказа
8.1 Насколько это необходимо для обработки контракта в целях доставки и оплаты, собранные нами личные данные будут переданы уполномоченной транспортной компании и по поручению кредитной организации в соответствии со ст. 6 (1) лит. б Общего регламента по защите данных.
Если мы должны вам обновить товары с цифровыми элементами или цифровые продукты на основании соответствующего договора, мы обработаем контактные данные (имя, адрес, адрес электронной почты), предоставленные вами при оформлении заказа, чтобы информировать вас лично с помощью подходящих средств связи (например, по почте или электронной почте) о предстоящих обновлениях в течение установленного законом периода времени в рамках нашей установленной законом обязанности информировать в соответствии со ст. 6 (1) лит. c Общего регламента по защите данных. Ваши контактные данные будут использоваться исключительно с целью информирования вас об обновлениях, которые мы должны, и будут обрабатываться нами только для этой цели в той мере, в какой это необходимо для соответствующей информации.
Для обработки вашего заказа мы также сотрудничаем со следующими поставщиками услуг, которые полностью или частично поддерживают нас в выполнении заключенных договоров. Определенные персональные данные передаются этим поставщикам услуг в соответствии со следующей информацией.
8.2 Передача персональных данных поставщикам услуг доставки
— DHL Если доставка товара осуществляется поставщиком транспортных услуг DHL (Deutsche Post AG, Charles-de-Gaulle-Straße 20, 53113 Bonn), мы передадим ваш адрес электронной почты DHL в соответствии со ст. 6 (1) пункта Общего регламента по защите данных перед доставкой товаров с целью согласования даты доставки или уведомления о статусе доставки, только если вы дали свое прямое согласие в процессе заказа. В противном случае DHL будет передано только имя получателя и адрес доставки для целей доставки в соответствии со ст. 6 (1) пункт b Общего регламента по защите данных. Данные будут переданы только в том случае, если это необходимо для доставки товара. В этом случае предварительное согласование даты доставки с DHL или передача информации о статусе доставки отправления невозможны. Согласие может быть отозвано для будущих поставок в любое время либо у контролера, либо у поставщика транспортных услуг DHL. — ДПД Если доставка товара осуществляется поставщиком транспортных услуг DPD (DPD Deutschland GmbH, Wailandtstraße 1, 63741 Aschaffenburg), мы передадим ваш адрес электронной почты в DPD в соответствии со ст. 6 (1) пункта Общего регламента по защите данных перед доставкой товара с целью согласования даты доставки или уведомления о статусе доставки, если вы дали свое прямое согласие в процессе заказа. В противном случае DPD будут переданы только имя получателя и адрес доставки для целей доставки в соответствии со ст. 6 (1) пункт b Общего регламента по защите данных. Данные будут переданы только в том случае, если это необходимо для доставки товара. В этом случае предварительное согласование даты доставки с DPD или передача информации о статусе доставки отправления невозможны. Согласие на будущие поставки можно отозвать в любое время либо у контролера, либо у поставщика транспортных услуг DPD. — ИБП Если доставка товара осуществляется транспортной службой UPS (United Parcel Service Deutschland Inc. & Co. OHG, Görlitzer Straße 1, 41460 Neuss), мы передадим ваш адрес электронной почты UPS в соответствии со ст. 6 (1) пункта Общего регламента по защите данных перед доставкой товара с целью согласования даты доставки или уведомления о статусе доставки, если вы дали свое прямое согласие в процессе заказа. В противном случае UPS будет передано только имя получателя и адрес доставки для целей доставки в соответствии со ст. 6 (1) пункт b Общего регламента по защите данных. Данные будут переданы только в том случае, если это необходимо для доставки товара. В этом случае предварительное согласование даты доставки с UPS или передача информации о статусе доставки отправления невозможны. Согласие может быть отозвано для будущих поставок в любое время либо у контролера, либо у поставщика транспортных услуг UPS.
8.3 Использование поставщиков платежных услуг
— Amazon Pay Если вы выберете способ оплаты «Amazon Pay», платеж будет обработан поставщиком платежных услуг Amazon Payments Europe s. c.a., 38 avenue John F. Kennedy, L-1855 Luxembourg (далее именуемым «Amazon Payments»), которому мы передаст информацию, которую вы предоставили в процессе заказа, вместе с информацией о вашем заказе в соответствии со ст. 6 (1) пункт b Общего регламента по защите данных. Ваши данные будут передаваться только в целях обработки платежей поставщику платежных услуг Amazon Payments и только в той мере, в какой это необходимо. Для получения дополнительной информации о политике конфиденциальности Amazon Payments посетите https://pay.amazon.com /Великобритания /помощь /201751600 — Кларна Если выбран способ оплаты «Покупка по счету Klarna» или (если предлагается) способ оплаты «Покупка в рассрочку Klarna», платеж обрабатывается Klarna AB (publ) [https://www.klarna.com /de] , Sveavägen 46, 111 34 Стокгольм, Швеция (далее «Кларна»). Для обработки платежа ваши личные данные (имя и фамилия, улица, номер дома, почтовый индекс, город, пол, адрес электронной почты, номер телефона и IP-адрес), а также данные, связанные с заказом (например, B. Сумма счета, артикул, тип доставки) пересылается в Klarna с целью проверки личности и кредитоспособности, при условии, что вы дали на это прямое согласие в соответствии со ст. 6 (1) пункт GDPR в процессе заказа. Вы можете просмотреть, в какие кредитные учреждения могут быть переданы ваши данные, по адресу: https://www.klarna.com /международный /политика конфиденциальности / Кредитный отчет может содержать значения вероятности (так называемые значения баллов). Если значения баллов включаются в результат кредитного отчета, они основаны на признанных научных математико-статистических методах. Расчет значений баллов включает, помимо прочего, адресные данные. Klarna использует полученную информацию о статистической вероятности неуплаты для взвешенного решения об установлении, реализации или прекращении договорных отношений. Вы можете отозвать свое согласие в любое время, отправив сообщение контролеру, ответственному за обработку данных, или компании Klarna. Тем не менее, Klarna может по-прежнему иметь право на обработку ваших персональных данных, если это необходимо для обработки платежей в соответствии с договором. — ПейПал Когда вы платите через PayPal, кредитной картой через PayPal, прямым дебетом через PayPal или — если предлагается — «покупка в счет» или «оплата в рассрочку» через PayPal, мы передаем ваши платежные данные в PayPal (Europe) S.a.r.l. et Cie, SCA, 22-24 Boulevard Royal, L-2449Люксембург (далее «PayPal»). Передача осуществляется в соответствии со ст. 6 (1) пункт b Общего регламента по защите данных и только в той мере, в какой это необходимо для обработки платежей. PayPal оставляет за собой право проводить проверки кредитоспособности для способов оплаты кредитной картой через PayPal, прямым дебетом через PayPal или, если предлагается, «покупкой в счет» или «оплатой в рассрочку» через PayPal. С этой целью ваши платежные данные могут быть переданы кредитным агентствам на основании законной заинтересованности PayPal в определении вашей платежеспособности в соответствии со ст. 6 (1) пункт f Общего регламента по защите данных. PayPal использует результат оценки кредитоспособности в отношении статистической вероятности неплатежа с целью принятия решения о предоставлении соответствующего способа оплаты. Кредитный отчет может содержать значения вероятности (так называемые значения баллов). Если значения баллов включаются в результат кредитного отчета, они основаны на признанных научных математико-статистических методах. Расчет значений баллов включает, помимо прочего, адресные данные. Для получения дополнительной информации о законе о защите данных, в том числе об используемых кредитных агентствах, см. декларацию о защите данных PayPal по адресу: https://www.paypal.com /uk /webapps /mpp /ua /privacy-full . Вы можете возразить против такой обработки ваших данных в любое время, отправив сообщение в PayPal. Тем не менее, PayPal может по-прежнему иметь право на обработку ваших персональных данных, если это необходимо для обработки договорных платежей.
9) Службы веб-анализа
Google (универсальная) Analytics Этот веб-сайт использует Google (Universal) Analytics, службу веб-аналитики, предоставляемую Google Ireland Limited, Gordon House, 4 Barrow St, Dublin, D04 E5W5, Ирландия («Google»). Google (Universal) Analytics использует «куки», которые представляют собой текстовые файлы, размещенные на вашем компьютере, чтобы помочь веб-сайту проанализировать, как пользователи используют сайт. Информация, сгенерированная файлом cookie об использовании вами этого веб-сайта (включая сокращенный IP-адрес), обычно передается на сервер Google и хранится там, а также может передаваться на серверы Google LLC. в США. Этот веб-сайт использует Google (Universal) Analytics исключительно с расширением «_anonymizeIp()», которое обеспечивает анонимность IP-адреса за счет его сокращения и исключает возможность прямой личной ссылки. Благодаря расширению ваш IP-адрес будет сокращен Google в государствах-членах Европейского Союза или в других государствах, ранее подписавших Соглашение о Европейском экономическом пространстве. Только в исключительных случаях полный IP-адрес будет передан на сервер Google LLC. в США и там сократили. От нашего имени Google будет использовать эту информацию для оценки использования вами веб-сайта, для составления отчетов о действиях на веб-сайте и для предоставления нам дополнительных услуг, связанных с использованием веб-сайта и Интернета. IP-адрес, передаваемый вашим браузером в рамках Google (Universal) Analytics, не объединяется с другими данными Google. С помощью специальной функции «Демография» Google Analytics также позволяет собирать статистику с заявлениями о возрасте, поле и интересах посетителей сайта на основе оценки рекламы, связанной с интересами, и с использованием информации третьих лиц. Это позволяет определять и дифференцировать группы пользователей веб-сайта с целью проведения маркетинговых мероприятий, оптимизированных для целевых групп. Однако наборы данных, собранные через «Демографию», не могут быть отнесены к конкретному человеку. Подробную информацию о начатых операциях обработки и об обработке Google данных, собранных с веб-сайтов, можно найти здесь: https://policies. google.com /technologies /partner-sites ?hl=en Вся описанная выше обработка, в частности настройка файлов cookie Google Analytics для считывания информации на используемом конечном устройстве, выполняется только в том случае, если вы дали нам свое прямое согласие в соответствии со ст. 6 абз. 1 буква GDPR. Без этого согласия использование Google Analytics во время вашего посещения нашего веб-сайта не будет иметь места. Вы можете отозвать свое согласие в любое время с действием на будущее. Чтобы воспользоваться своим правом на отзыв согласия, отключите эту услугу в «Инструменте согласия на использование файлов cookie», представленном на веб-сайте. Мы заключили с Google соглашение об обработке данных для использования Google Analytics, которое обязывает Google защищать данные посетителей нашего сайта и не передавать их третьим лицам. Для передачи данных из ЕС в США Google опирается на так называемые стандартные положения о защите данных Европейской комиссии, которые предназначены для обеспечения соответствия европейскому уровню защиты данных в США. Дополнительную информацию о Google (Universal) Analytics можно найти здесь: https://policies.google.com /privacy ?hl=en &gl=en
10) Функции сайта
10.1 Видео на YouTube Этот веб-сайт использует функцию встраивания YouTube для отображения и воспроизведения видео, предлагаемого провайдером YouTube, который принадлежит Google Ireland Limited, Gordon House, 4 Barrow St, Dublin, D04 ESW5, Ирландия («Google»). С этой целью используется расширенный режим защиты данных, чтобы гарантировать, согласно информации провайдера, что информация о пользователе будет сохранена только после запуска функции воспроизведения видео. Когда начинается воспроизведение встроенных видео YouTube, провайдер устанавливает файлы cookie «YouTube» для сбора информации о поведении пользователя. Согласно указаниям YouTube, использование этих файлов cookie предназначено, среди прочего, для записи видеостатистики, повышения удобства использования и предотвращения ненадлежащих действий. Если вы вошли в Google, ваша информация будет напрямую связана с вашей учетной записью, когда вы нажимаете на видео. Если вы не хотите, чтобы ваш профиль на YouTube был связан, вы должны выйти из системы, прежде чем активировать кнопку. Google сохраняет ваши данные (даже тех пользователей, которые не вошли в систему) в виде профилей использования и оценивает их. Вы имеете право возражать против создания этих профилей пользователей, при этом вы должны связаться с YouTube, чтобы воспользоваться этим правом. При использовании YouTube личные данные также могут передаваться на серверы Google LLC. в США. Независимо от того, воспроизводится ли встроенное видео, при посещении этого веб-сайта устанавливается соединение с сетью Google «двойным щелчком». Это может вызвать дальнейшую обработку данных вне нашего контроля. Вся описанная выше обработка, в частности настройка файлов cookie для считывания информации на используемом конечном устройстве, будет осуществляться только в том случае, если вы дали нам свое прямое согласие на это в соответствии со ст. 6 (1) пункта GDPR. Без этого согласия Youtube-Videos не будут использоваться во время вашего посещения веб-сайта. Вы можете отозвать свое согласие в любое время с действием на будущее. Если вы хотите воспользоваться своим правом на отзыв, отключите эту услугу в «Инструменте согласия на использование файлов cookie», представленном на веб-сайте. Дополнительную информацию о политике конфиденциальности YouTube можно найти по адресу: www.google.com/policies/privacy/.
10.2 Заявки на объявления о вакансиях с использованием формы На нашем веб-сайте мы предлагаем тем, кто заинтересован в работе, возможность подать заявку онлайн, используя соответствующую форму. Чтобы быть включенными в процесс подачи заявок, заявители должны предоставить нам все личные данные, необходимые для обоснованной и информированной оценки и отбора. Требуемые данные включают общую личную информацию (имя, адрес, телефон или электронные контактные данные), а также конкретные доказательства квалификации, необходимой для должности. При необходимости может также потребоваться информация о состоянии здоровья, которой в интересах социальной защиты должно быть уделено особое внимание личному заявителю в соответствии с трудовым и социальным законодательством. В ходе отправки формы данные заявителя будут зашифрованы в соответствии с современным уровнем техники, переданы нам, сохранены нами и оценены исключительно для целей обработки заявки. Правовой основой для этих операций по обработке обычно является ст. 6 абз. 1 лит. b, в смысле прохождения процедуры подачи заявления считается инициированием трудового договора. Поскольку специальные категории персональных данных по смыслу ст. 9 абз. 1 Общего регламента по защите данных (например, данные о состоянии здоровья, такие как информация о статусе лиц с тяжелыми формами инвалидности) запрашиваются у заявителей в рамках процедуры подачи заявки, обработка осуществляется в соответствии со ст. Искусство. 9пункт 2 лит. б. GDPR, чтобы мы могли осуществлять права, вытекающие из трудового законодательства и закона о социальном обеспечении и социальной защите, и выполнять свои обязательства в этом отношении. В совокупности или в качестве альтернативы обработка специальных категорий данных может также основываться на ст. 9 абз. 1 лит. h Общего регламента по защите данных, если оно проводится в целях профилактики заболеваний или медицины труда, для оценки трудоспособности заявителя, для медицинской диагностики, ухода или лечения в области здравоохранения или социальной сферы или для управления системами и услугами в медицинской или социальной сфере. Если в ходе описанной выше оценки заявитель не будет выбран или если заявитель досрочно отзовет свою заявку, данные, представленные в форме заявки, будут удалены не позднее, чем через 6 месяцев после уведомления. Этот период рассчитывается на основе нашей законной заинтересованности в возможности ответить на любые дополнительные вопросы по заявке и, при необходимости, выполнить наше обязательство по предоставлению доказательств в соответствии с положениями о равном обращении с заявителями. В случае успешного применения предоставленные данные будут дополнительно обработаны на основании ст. 6 абз. 1 лит. b Общего регламента по защите данных для целей трудовых отношений.
10.3 Заявки на объявления о вакансиях На нашем веб-сайте в отдельном разделе мы размещаем актуальные вакансии, на которые заинтересованные лица могут подать заявку по электронной почте, используя указанный контактный адрес. Если заявители хотят участвовать в процессе подачи заявок, они должны предоставить нам все личные данные, необходимые для обоснованной и информированной оценки и отбора вместе со своей заявкой по электронной почте. Требуемые данные должны включать общую личную информацию (имя, адрес, телефон или электронный контакт), а также конкретные данные о производительности, свидетельствующие о квалификации, необходимой для рекламируемой должности. Кроме того, может потребоваться информация о состоянии здоровья, которой в интересах социальной защиты должно быть уделено особое внимание в отношении личности заявителя в соответствии с трудовым и социальным законодательством. Компоненты, которые заявление должно содержать для рассмотрения, и форма, в которой эти компоненты должны быть отправлены по электронной почте, можно найти в соответствующем объявлении о вакансии. После получения заявки, отправленной с использованием указанного контактного адреса электронной почты, данные заявителя будут сохранены нами и оценены исключительно для целей обработки заявки. В случае вопросов, возникающих в ходе обработки заявки, мы будем использовать либо адрес электронной почты, указанный заявителем вместе с заявкой, либо номер телефона, указанный по нашему усмотрению. Правовой основой для такой обработки, включая обращение к заявителям по вопросам, в основном является ст. 6 (1) пункт b Общего регламента по защите данных в сочетании со ст. 26 (1) Федерального закона о защите данных. В соответствии с этими положениями завершение процедуры подачи заявления считается началом трудового договора. Если специальные категории персональных данных по смыслу ст. 9 (1) Общего регламента по защите данных (например, данные о состоянии здоровья, такие как информация о состоянии тяжелой инвалидности) запрашиваются у заявителей в рамках процедуры подачи заявки, обработка будет осуществляться в соответствии со ст. 9 (2) пункт b Общего регламента по защите данных, чтобы мы могли осуществлять права, вытекающие из трудового законодательства, закона о социальном обеспечении и социальной защите, и выполнять наши обязательства в этом отношении. Обработка специальных категорий данных также может основываться совокупно или альтернативно на ст. 9(1) пункт h Общего регламента по защите данных, если он используется для целей здравоохранения или медицины труда, для оценки трудоспособности заявителя, для медицинской диагностики, медицинской или социальной помощи или для управления системами и услугами в области здравоохранения или социальный сектор. Если в ходе описанной выше оценки заявитель не будет выбран или если заявитель досрочно отзовет свою заявку, его данные, переданные по электронной почте, а также вся электронная переписка, включая исходный адрес электронной почты заявки, будут удалены в самое позднее через 6 месяцев после соответствующего уведомления. Этот период определяется на основе нашей законной заинтересованности в том, чтобы иметь возможность ответить на любые дополнительные вопросы, касающиеся заявки, и, при необходимости, выполнить наше обязательство по предоставлению доказательств в соответствии с положениями, регулирующими равное обращение с заявителями. В случае успешного применения предоставленные данные будут обработаны на основании ст. 6 (1) пункт b Общего регламента по защите данных в сочетании со ст. 26 (2) Федерального закона о защите данных для целей реализации трудовых отношений.
10.4 Веб-шрифты Google На этом сайте используются веб-шрифты, предоставленные компанией Google Ireland Limited, Gordon House, 4 Barrow St, Dublin, D04 E5W5, Ирландия («Google») для единообразного отображения шрифтов. Когда вы вызываете страницу, ваш браузер загружает необходимые веб-шрифты в кэш браузера для правильного отображения текстов и шрифтов. Для этого используемый вами браузер должен иметь подключение к серверам Google. При использовании Google Maps личные данные также могут передаваться на серверы Google LLC. в США. Таким образом, Google будет проинформирован о том, что доступ к нашему веб-сайту был осуществлен через ваш IP-адрес. Веб-шрифты Google используются для единообразного и привлекательного представления наших онлайн-предложений, и их использование отвечает нашим законным интересам по смыслу ст. 6 (1) пункт f Общего регламента по защите данных. Если ваш браузер не поддерживает веб-шрифты, на вашем компьютере используется шрифт по умолчанию. Дополнительную информацию о веб-шрифтах Google можно найти по адресу https://developers.google.com /fonts /faq и в политике конфиденциальности Google: https://policies.google.com /privacy ?hl=en .
На этом веб-сайте мы также используем функцию reCAPTCHA компании Google Ireland Limited, Gordon House, 4 Barrow St, Dublin, D04 E5W5, Ирландия («Google»). Эта функция в основном используется для того, чтобы отличить, сделана ли запись физическим лицом или неправильно использована при автоматической и автоматизированной обработке. Услуга включает отправку IP-адреса и, возможно, других данных, необходимых Google для службы reCAPTCHA, в Google. Использование Google reCAPTCHA также может привести к передаче персональных данных на серверы Google LLC. в США и осуществляется в соответствии со ст. 6 (1) пункт f Общего регламента по защите данных, на основании нашей законной заинтересованности в определении индивидуальной готовности действий в Интернете и предотвращении неправомерного использования и спама.
Дополнительную информацию о Google reCAPTCHA и политике конфиденциальности Google можно найти по адресу: https://policies.google.com /privacy ?hl=en-GB
11) Инструменты и прочее
11.1 Это веб-сайт использует так называемый «инструмент согласия на использование файлов cookie» для получения эффективного согласия пользователя на файлы cookie и приложения на основе файлов cookie, требующие согласия. «Инструмент согласия на использование файлов cookie» отображается для пользователей в виде интерактивного пользовательского интерфейса, когда они заходят на страницу, на которой можно дать согласие на использование определенных файлов cookie и/или приложений, основанных на файлах cookie, установив соответствующий флажок. При использовании инструмента все файлы cookie/услуги, требующие согласия, загружаются только в том случае, если соответствующий пользователь дает соответствующее согласие, отмечая соответствующий флажок. Это гарантирует, что такие файлы cookie будут установлены на соответствующем конечном устройстве пользователя только в том случае, если было предоставлено согласие. Инструмент устанавливает технически необходимые файлы cookie, чтобы сохранить ваши настройки файлов cookie. Персональные данные пользователей, как правило, не обрабатываются. Если в отдельных случаях персональные данные (например, IP-адрес) обрабатываются с целью сохранения, назначения или регистрации настроек файлов cookie, это делается в соответствии со ст. 6 (1) пункта Общего регламента по защите данных на основании нашей законной заинтересованности в юридически совместимом, ориентированном на пользователя и удобном для пользователя управлении согласием на использование файлов cookie и, следовательно, в юридически совместимом дизайне нашего веб-сайта. Еще одним правовым основанием для обработки является ст. 6 (1) пункт c Общего регламента по защите данных. Как ответственная сторона, мы несем юридическое обязательство использовать технически ненужные файлы cookie в зависимости от соответствующего согласия пользователя. Дополнительную информацию об операторе и параметрах настройки инструмента согласия на использование файлов cookie можно найти непосредственно в соответствующем пользовательском интерфейсе на нашем веб-сайте.
11.2 – Карты Google На нашем веб-сайте используются карты Google Maps (AP’I) компании Google Ireland Limited, Gordon House, 4 Barrow St, Dublin, D04 E5W5, Ирландия («Google»). Карты Google — это веб-сервис для отображения интерактивных карт (стран) с целью визуального отображения географической информации. Использование этого сервиса покажет вам наше местоположение и облегчит вам поиск нас. Когда вы заходите на подстраницы, содержащие карту Google Maps, информация об использовании вами нашего веб-сайта (например, ваш IP-адрес) передается и сохраняется Google на серверах. При использовании Google Maps личные данные также могут передаваться на серверы Google LLC. в США. Это не зависит от того, предоставляет ли Google учетную запись пользователя, с которой вы вошли в систему, или учетная запись пользователя не существует. Если вы вошли в Google, ваша информация будет напрямую связана с вашей учетной записью. Если вы не хотите, чтобы ваш профиль был связан с Google, вы должны выйти из системы, прежде чем активировать кнопку. Google сохраняет ваши данные (даже тех пользователей, которые не вошли в систему) в виде профилей использования и оценивает их. Такая оценка осуществляется в соответствии со ст. 6 (1) пункт f Общего регламента по защите данных, на основании законных интересов Google при размещении персонализированной рекламы, маркетинговых исследований и/или ориентированного на спрос дизайна своего веб-сайта. Вы имеете право возражать против создания этих профилей пользователей. Если вы хотите сделать это, вы должны связаться с Google, чтобы воспользоваться этим правом. Если вы не согласны с будущей передачей ваших данных в Google в связи с использованием Карт Google, вы можете полностью деактивировать веб-службу Карт Google, отключив приложение JavaScript в своем браузере. В этом случае нельзя использовать карты Google, а также отображение карты на этом веб-сайте. Условия использования Google можно найти по адресу: https://policies.google.com /terms ?hl=en . Дополнительные условия использования можно найти по адресу: https://www.google.com /intl /en-US_US/help /terms_maps.html . Вы можете найти подробную информацию о защите данных в связи с использованием Google Maps на веб-сайте Google («Политика конфиденциальности Google») по адресу: https://policies.google.com /privacy ?hl=en . В той степени, в которой это требуется по закону, мы получили ваше согласие на обработку ваших данных, как описано выше, в соответствии со ст. 6 (1) пункта GDPR. Вы можете отозвать свое согласие в любое время с действием на будущее. Чтобы воспользоваться отзывом, пожалуйста, следуйте процедуре, описанной выше для подачи возражения.
12) Права субъекта данных
12.1 Применимое законодательство о защите данных предоставляет вам следующие полные права субъектов данных (права на информацию и вмешательство) по отношению к контроллеру данных в отношении обработки ваших персональные данные:
— Право доступа субъекта данных в соответствии со ст. 15 GDPR: Вы имеете право на получение следующей информации: Обрабатываемые нами персональные данные; цели обработки; категории обрабатываемых персональных данных; получатели или категории получателей, которым были или будут раскрыты персональные данные; предполагаемый период, в течение которого будут храниться персональные данные, или, если это невозможно, критерии, используемые для определения этого периода; наличие права требовать от контролера исправления или удаления персональных данных или ограничения обработки персональных данных, касающихся субъекта данных, или возражать против такой обработки; право подать жалобу в надзорный орган; если персональные данные не собираются от субъекта данных, любая доступная информация об их источнике; наличие автоматизированного принятия решений, включая профилирование и, по крайней мере, в этих случаях содержательную информацию о задействованной логике, а также о значимости и предполагаемых последствиях такой обработки для субъекта данных; соответствующие гарантии в соответствии со статьей 46, когда персональные данные передаются в третью страну.
— Право на исправление в соответствии со ст. 16 Общего регламента по защите данных: вы имеете право без неоправданной задержки получить от контролера исправление неточных личных данных, касающихся вас, и/или право на заполнение неполных личных данных, которые мы храним.
— Право на стирание («право на забвение») согласно ст. 17 Общего регламента по защите данных: вы имеете право получить от контролера удаление персональных данных, касающихся вас, если условия ст. 17 (2) GDPR. Однако это право не применяется для осуществления свободы слова и информации, для соблюдения юридических обязательств, по соображениям общественного интереса или для установления, осуществления или защиты юридических требований.
— Право на ограничение обработки в соответствии со ст. 18 GDPR: Вы имеете право получить от контролера ограничение обработки ваших персональных данных по следующим причинам: Пока точность ваших персональных данных, оспариваемых вами, будет проверена. Если вы возражаете против удаления ваших личных данных из-за незаконной обработки и вместо этого запрашиваете ограничение их использования. Если вам требуются персональные данные для установления, осуществления или защиты судебных исков, когда нам больше не нужны эти данные для целей обработки. Если вы возражали против обработки данных по причинам, связанным с вашей личной ситуацией, в ожидании проверки того, превалируют ли наши законные основания над вашими.
— Право на получение информации в соответствии со ст. 19 Общего регламента по защите данных: если вы заявили о праве на исправление, удаление или ограничение обработки против контролера, он обязан сообщить каждому получателю, которому была раскрыта личная дата, любое исправление или удаление личных данных или ограничение обработки, если только это оказывается невозможным или требует непропорциональных усилий. Вы имеете право получать информацию об этих получателях.
— Право на переносимость данных в соответствии со ст. 20 Общего регламента по защите данных: вы имеете право получить персональные данные, которые вы нам предоставили, в структурированном, широко используемом и машиночитаемом формате или потребовать, чтобы эти данные были переданы другому контролеру, если это технически возможно.
— Право отозвать данное согласие в соответствии со ст. 7 (3) GDPR: вы имеете право отозвать свое согласие на обработку персональных данных в любое время с действием на будущее. В случае отзыва мы немедленно удалим соответствующие данные, если дальнейшая обработка не может быть основана на законном основании для обработки без согласия. Отзыв согласия не влияет на законность обработки, основанной на согласии до его отзыва.
— Право на подачу жалобы в соответствии со ст. 77 Общего регламента по защите данных: без ущерба для любого другого административного или судебного средства правовой защиты вы имеете право подать жалобу в надзорный орган, в частности, в государстве-члене вашего постоянного проживания, места работы или места предполагаемого нарушения, если вы считаете, что обработка персональных данных, касающихся вас, нарушает GDPR.
12.2 ПРАВО НА ВОЗРАЖЕНИЕ
ЕСЛИ В РАМКАХ УЧЕТА ИНТЕРЕСОВ МЫ ОБРАБАТЫВАЕМ ВАШИ ПЕРСОНАЛЬНЫЕ ДАННЫЕ НА ОСНОВЕ НАШЕГО ПРЕИМУЩЕСТВЕННОГО ЗАКОННОГО ИНТЕРЕСА, ВЫ ИМЕЕТЕ ПРАВО В ЛЮБОЕ ВРЕМЯ ВОЗРАЖИТЬ ВОЗРАЖЕНИЕ ПРОТИВ ЭТОГО ПРОЕКТА БУДУЩЕЕ НА ПРИЧИНАХ, ВОЗНИКАЮЩИХ ИЗ ВАШЕЙ КОНКРЕТНОЙ СИТУАЦИИ. ЕСЛИ ВЫ ОСУЩЕСТВЛЯЕТЕ СВОЕ ПРАВО ВОЗРАЖАТЬ, МЫ ПРЕКРАТИМ ОБРАБОТКУ СООТВЕТСТВУЮЩИХ ДАННЫХ. ОДНАКО, МЫ ОСТАВЛЯЕМ ЗА СОБОЙ ПРАВО НА ДАЛЬНЕЙШУЮ ОБРАБОТКУ, ЕСЛИ МЫ МОЖЕМ ДОКАЖАТЬ ВЕСЕЛЫЕ ПРИЧИНЫ, ЗАЩИТНЫЕ ДЛЯ ОБРАБОТКИ, КОТОРЫЕ ПЕРЕВЕШИВАЮТ ВАШИ ИНТЕРЕСЫ, ОСНОВНЫЕ ПРАВА И СВОБОДЫ, ИЛИ ЕСЛИ ОБРАБОТКА СЛУЖИТ ДЛЯ УТВЕРЖДЕНИЯ, ОСУЩЕСТВЛЕНИЯ ИЛИ ЗАЩИТЫ ЮРИДИЧЕСКИХ ПРЕТЕНЗИЙ.
ЕСЛИ МЫ ОБРАБАТЫВАЕМ ВАШИ ПЕРСОНАЛЬНЫЕ ДАННЫЕ В ЦЕЛЯХ ПРЯМОГО МАРКЕТИНГА, ВЫ ИМЕЕТЕ ПРАВО В ЛЮБОЕ ВРЕМЯ ВОЗДЕЙСТВОВАТЬ ВОЗРАЖЕНИЕ ПРОТИВ ОБРАБОТКИ ВАШИХ ЛИЧНЫХ ДАННЫХ, КОТОРЫЕ ИСПОЛЬЗУЮТСЯ В ЦЕЛЯХ ПРЯМОГО МАРКЕТИНГА. ВЫ МОЖЕТЕ ПОДАТЬ ВОЗРАЖЕНИЕ, ОПИСАННОЕ ВЫШЕ.
ЕСЛИ ВЫ ОСУЩЕСТВЛЯЕТЕ СВОЕ ПРАВО ВОЗРАЖАТЬ, МЫ ПРЕКРАТИМ ОБРАБОТКУ ДАННЫХ ДЛЯ ПРЯМОЙ РЕКЛАМЫ.
13) Продолжительность хранения персональных данных
Продолжительность хранения персональных данных зависит от соответствующей правовой основы, цели обработки и, если применимо, от соответствующего законного периода хранения (например, коммерческих и налоговых периодов хранения) ).
Если персональные данные обрабатываются на основании явного согласия в соответствии со ст. 6 (1) пункт GDPR, эти данные хранятся до тех пор, пока субъект данных не отзовет свое согласие.
Если существуют законные сроки хранения данных, которые обрабатываются в рамках юридических или аналогичных обязательств на основании ст. 6 (1) пункт b Общего регламента по защите данных, эти данные будут регулярно удаляться по истечении сроков хранения, если они больше не нужны для выполнения договора или начала действия договора и/или если у нас больше нет обоснованного интереса к дальнейшее хранение.
При обработке персональных данных на основании ст. 6 (1) пункт f GDPR, эти данные хранятся до тех пор, пока субъект данных не воспользуется своим правом на возражение в соответствии со ст. 21 (1) Общего регламента по защите данных, за исключением случаев, когда мы можем предоставить веские основания для обработки, заслуживающие защиты, которые перевешивают интересы, права и свободы субъекта данных, или если обработка служит для предъявления, осуществления или защиты юридических требований.