Главный тормозной цилиндр: схема и принцип работы
Авто схемы
admin
Send an email
19.03.2013
0 630 3 минут
Тормозная система автомобиля, состоит из множества элементов и узлов, самый важный из которых – главный тормозной цилиндр. Он является конструктивным центральным элементом в рабочей тормозной системе. Его схема и принцип работы описаны тут.Тормозная система автомобиля, состоит из множества элементов и узлов, самый важный из которых – главный тормозной цилиндр. Он является конструктивным центральным элементом в рабочей тормозной системе. Его схема и принцип работы описаны тут.
Содержание статьи:
- Схема тормозного цилиндра
- Устройство и принцип работы
- Видео
Тормозная система автомобиля, состоит из множества элементов и узлов, самый важный из которых – главный тормозной цилиндр. Он является конструктивным центральным элементом в рабочей тормозной системе.
Нужен для того, чтобы преобразовывать в гидравлическое давление, усилия, которые прикладываются в тормозной системе, к педали тормоза.
Главный двухсекционный тормозной цилиндр, обычно устанавливают на современные автомобили. Тормозные механизмы левого заднего колеса и правого переднего, в переднеприводных автомобилях, объединяет один из контуров, а правое заднее колесо и левое переднее – второй. Тормозная рабочая система в автомобилях, которые имеют задний привод, построена по другому принципу. Второй контур обслуживает задние колеса, а первый – передние.
Закрепление главного тормозного цилиндра, происходит на вакуумном усилителе тормозов, а именно на его крышке. Бачок с двумя секциями, в которых находится определённый запас тормозной жидкости, соединяет с перепускными и компенсационными отверстиями, секциями главного цилиндра, и имеет место расположения, над самим цилиндром. Он нужен для того, чтобы в случае испарения или утечки тормозной жидкости, пополнять её запас. Для удобства измерения уровня такой жидкости, на стенки бачка, которые являются прозрачными, нанесены отметки для контроля (обычно это «MIN» и «MAX»), а также в бачке есть в наличии датчик, который показывает уровень тормозной жидкости.
Если уровень опускается, ниже того, который установлен на приборной панели, тогда о себе даёт знать сигнальная лампа на панели приборов.
Схема главного тормозного цилиндра автомобиля
- шток вакуумного усилителя тормозов;
- стопорное кольцо;
- перепускное отверстие первого контура;
- компенсационное отверстие первого контура;
- первая секция бачка;
- вторая секция бачка;
- перепускное отверстие второго контура;
- компенсационное отверстие второго контура;
- возвратная пружина второго поршня;
- корпус главного цилиндра;
- манжета;
- второй поршень;
- манжета;
- возвратная пружина первого поршня;
- манжета;
- наружная манжета;
- пыльник;
- первый поршень.
В корпус такого цилиндра, помещены два поршня (12 и 18), которые располагаются один за другим. Второй поршень, является свободно установленным, в то время когда первый поршень, взаимодействует со штоком усилителя тормозов, который в него упирается.
Резиновые манжеты, выполняют функции уплотнителей поршней, которые, как уже известно, находятся в корпусе цилиндра. Возвратные пружины (2 штуки «9, 14»), выполняют удержание и возвращение поршней.
Как устроен и принцип работы главного тормозного цилиндра
Вовремя того, когда происходит торможение, происходит толчок первого поршня, штоком вакуумного усилителя тормозной системы. Когда поршень совершает движения по цилиндру, он перекрывает отверстие, которое является компенсационным, из-за этого, соответственно растёт и давление в первом контуре, вследствие чего, происходит перемещение второго контура, что также приводит к росту в нём давления. Тормозная жидкость, через перепускное отверстие заполняет пустоты, которые возникают во время того, когда поршни приходят в движении. Возвратная пружина, контролирует перемещение обоих поршней, срабатывание тормозных механизмов, происходит за счёт максимального давления, которое создаётся в контурах.
Поршни принимают исходное положение, тогда, когда происходит окончание торможения.
С атмосферным давлением выравнивается и давление в контуре, это происходит во время прохода поршня, через компенсационное отверстие. Тормозная жидкость, которая заполняет полости, препятствует разряжению, что могло возникать в рабочих контурах, когда происходит резкое отпускание тормозной педали. Когда поршень двигается, жидкость через перепускное отверстие возвращается назад в бачок.
Невзирая на возможную утечку тормозной жидкости в одном контуре, второй контур не будет прекращать работать. Если, такая утечка, произошла в первом контуре, тогда он делает перемещение, которое происходит в цилиндре, и соприкасается со вторым поршнем, а он в свою очередь обеспечивает срабатывание, во втором контуре тормозных механизмов, путём своего перемещения.
Когда утечка происходит во втором контуре, тормозной цилиндр работает по-другому, а именно, второй «толкатель» начинает двигаться с помощью первого, его движения беспрепятственны, и только ограничиваются путём упора в торец корпуса цилиндра.
За счёт возрастания давления в первом контуре, происходит торможение автомобиля. Торможение является достаточно эффективным, невзирая на увеличенный ход педали тормоза, что происходит при утечке жидкости. Если с тормозной системой замечены явные неполадки, тогда нужно приступить к осмотру тормозной системы и при необходимости сделать замену этого цилиндра. Более подробно читайте статью: «Как поменять главный тормозной цилиндр».
Видео о главном тормозном цилиндре:
Похожие
Замена и ремонт главного тормозного цилиндра
Конструкция и принцип работы главного тормозного цилиндра (ГТЦ) на любом автомобиле с вакуумным усилителем тормозов (ВУТ) одинаковы. Именно ГТЦ обеспечивает необходимое давление тормозной жидкости, поэтому эффективность тормозов напрямую связана с его состоянием.
Устройство главного тормозного цилиндра
Основа ГТЦ – чугунная литая труба с полированной внутренней поверхностью, в которой перемещаются поршни. Когда водитель нажимает на тормоз, прикрепленный к педали шток приводит в действие ВУТ. Шток ВУТ нажимает на задний поршень ГТЦ, который перекрывает компенсационное отверстие и создает давление в тормозных трубках.
По мере продвижения вперед, задний поршень поднимает давление в передней камере как через переходные отверстия, так и с помощью пружины, которой он соединен с поршнем переднего цилиндра. Поршень переднего цилиндра начинает двигаться, перекрывает компенсационное отверстие и поднимает давление в передней камере и тормозных трубках.
Неисправности ГТЦ
Основные неисправности главного тормозного цилиндра:
- износ резиновых уплотнительных элементов;
- образование царапин и ржавчины на внутренней поверхности ГТЦ;
- попадание воздуха внутрь ГТЦ.

Во время торможения сильно возрастает температура в рабочих цилиндрах, что ведет к сильному нагреву тормозной жидкости. Через 1 – 2 года свойства жидкости начинают меняться, это приводит к повышенному износу резиновых уплотнений. Ведь в жидкость попадают частицы металлических окислов и гидроксидов, а также микроскопические фрагменты резиновых уплотнений. В результате уплотнители, а нередко и внутренняя поверхность ГТЦ изнашиваются, это приводит к появлению утечек тормозной жидкости.
Если где-то в тормозной системе присутствует даже небольшая утечка, уровень жидкости в бачке будет постоянно понижаться. При достижении критического значения внутрь ГТЦ может попасть воздух, это сильно снизит эффективность торможения. Чем больше воздуха, тем хуже работает система. В некоторых случаях тормоза срабатывают только с 4 – 5 нажатия на педаль.
Как снять главный тормозной цилиндр
Технология демонтажа ГТЦ на любом автомобиле одинакова. Сначала шприцем откачивают тормозную жидкость из бачка (бачок можно снимать как на машине, так и после демонтажа ГТЦ).
Затем с помощью специального ключа откручивают наконечники тормозных трубок (желательно сразу же надеть на них резиновые колпачки). После этого откручивают гайки крепления ГТЦ к ВУТ и снимают цилиндр.
Разборка и ремонт ГТЦ
После демонтажа ГТЦ необходимо внимательно осмотреть его на предмет утечки жидкости. Если задний сальник влажный или мокрый, скорее всего, часть тормозной жидкости попала в ВУТ и разъедает его мембраны. Необходимо шприцем и тонкой трубочкой откачать жидкость из ВУТ.
Для разборки ГТЦ слейте с него жидкость, затем аккуратно зажмите в тисках таким образом, чтобы отверстия для установки бачка оказались внизу. Открутите стопорные винты, которые не позволяют поршням возвращаться излишне далеко. Извлеките ГТЦ из тисков и с помощью съемника снимите стопорное кольцо со стороны ВУТ. Вытащите первый поршень и пружину. Нередко второй поршень выходит с трудом, поэтому приходится или стучать ГТЦ по деревянному бруску, или глушить одно из отверстий дальнего цилиндра с помощью подходящего болта и подключать ко второму отверстию компрессор с давлением не меньше 6 атмосфер.
Вытаскивая поршни, обязательно запоминайте, как установлены резиновые уплотнители и как расположены поршни, это очень поможет при сборке.
Внимательно осмотрите внутреннюю поверхность ГТЦ. Любые царапины ведут к снижению эффективности торможения, поэтому недопустимы. Если на внутренней поверхности обнаружены царапины, корпус или ГТЦ целиком необходимо заменить. Убедившись, что внутренняя поверхность ГТЦ не имеет повреждений, покупайте соответствующий ремкомплект. При выборе ремкомплекта отдавайте предпочтение изделиям, которые изготовлены предприятиями-партнерами крупных автопроизводителей. Нередко оригинальные ремкомплекты от одной марки или модели подходят к другой.
Снимите все старые резиновые уплотнители с поршней. Промойте поршни водой и просушите сжатым воздухом. Установите новые уплотнители из ремкомплекта. Перед установкой обязательно смажьте их тормозной жидкостью, это облегчит их посадку на место и предотвратит повреждение.
Не перепутайте направление установки манжет. Перед сборкой ГТЦ промойте его корпус водой с моющими средствами, просушите сжатым воздухом и обильно смажьте тормозной жидкостью. Не используйте для промывки бензин или другие нефтепродукты, если вы некачественно смоете их, то они разъедят резиновые уплотнители. Установите на место поршни, закрутите стопорные болты, вставьте задний сальник и стопорное кольцо.
Установка и прокачка ГТЦ
Установку выполняйте также, как демонтаж, только в обратной последовательности. После того как затянули наконечники трубок, заливайте тормозную жидкость. Теперь необходимо прокачать главный тормозной цилиндр. Попросите помощника 4 раза плавно и до упора нажать на педаль тормоза, затем нажать еще раз и не отпускать. Ослабьте задний правый наконечник тормозной трубки, чтобы из-под него потекла тормозная жидкость. После того, как жидкость и воздух перестанут выходить, затяните наконечник и разрешите помощнику отпустить педаль тормоза. Повторите эту процедуру 3 – 4 раза для каждой трубки.
В половине случаев такой подход позволяет избежать полной прокачки тормозов. После прокачки педаль тормоза должна быть очень тугой. Заведите двигатель, и несколько раз нажмите педаль тормоза. Если она легко продавливается больше, чем на 1/6 часть хода, необходима полная прокачка тормозов. Выезжайте на любой прямой участок, где можно без помех разгоняться и тормозить. Разгонитесь до 5 – 10 километров в час и нажмите на тормоз, чтобы убедиться, что тормоза работают. Если все нормально, разгонитесь до 30 километров в час, затем резко и сильно нажмите на педаль тормоза. Если машина будет тормозить быстро и без увода в стороны, вы все сделали правильно. Если автомобиль повело в сторону, необходима полная прокачка тормозов.
Геологическая шкала времени (GTS) Эоны, эры, периоды, эпохи
Геологическая шкала времени (GTS) , используется геологами, палеонтологами и учеными Земли. Они описывают время и взаимосвязь событий, произошедших в истории Земли.
система хронологического датирования, относящаяся к геологическому пласту.
Геологи разделили историю Земли на ряд временных интервалов. Эти временные интервалы не равны продолжительности часа в сутках. Вместо этого длина временных интервалов является переменной. Причина этого в том, что геологическое время разделено важными событиями мировой истории.
Например, граница между пермским и триасовым периодами отмечена глобальным вымиранием, когда исчезает большой процент видов растений и животных в мире.
Эон
Эон — это самый большой геологический временной отрезок и сотни миллионов лет. В приведенном выше периоде вы можете видеть, что фанерозойский эон является новейшим эоном и начался более 500 миллионов лет назад. Ионы делятся на более мелкие периоды времени, известные как возраст. В приведенном выше периоде видно, что фанерозой делится на три периода: кайнозойский, мезозойский и палеозойский. Очень важные события в мировой истории используются для определения границ эпохи.
Подробная шкала геологического времени: Геологическая служба США опубликовала «Подразделения геологического времени: основные хроностратиграфические и геохронологические подразделения». Это гораздо более подробная шкала времени, чем показанная выше упрощенная шкала.
Эры
Эоны делятся на меньшие временные интервалы, известные как Эры . На временной шкале выше видно, что фанерозой делится на три эры: кайнозойскую, мезозойскую и палеозойскую. Для определения границ эпох используются очень значимые события в истории Земли.
Периоды
Эры подразделяются на периодов . События, связывающие периоды, широко распространены по своему масштабу, но не так значительны, как события, связывающие эпохи. На приведенной выше временной шкале видно, что палеозой подразделяется на пермский, пенсильванский, миссисипский, девонский, силурийский, ордовикский и кембрийский периоды.
Эпохи
Возможны более тонкие подразделения времени, и периоды кайнозоя часто подразделяются на эпохи .
Подразделение периодов на эпохи может быть сделано только для самой последней части геологической шкалы времени. Это связано с тем, что более старые породы были глубоко погребены, сильно деформированы и сильно модифицированы длительными земными процессами. В результате история, содержащаяся в этих породах, не может быть так ясно интерпретирована.
Геологическая шкала времени GSA с https://www.geosociety.org/GSA/Education_Careers/Geologic_Time_Scale/GSA/timescale/home.aspx
Этот подход к развертке геологического времени следует тому, что в «Большом Каньоне», C.Hill и др., ред. систематизировать разные периоды жизни с начала кембрийского периода. Данные о времени радиометрического датирования берутся из этого источника. Времена исчисляются миллионами лет.
Для примеров, которые охватывают большую часть этих периодов времени, см. план Большого каньона и Большой лестницы.
Геологическое время и геологическая колонна из http://hyperphysics.phy-astr.gsu.edu/hbase/Geophys/geotime.
html
Ниже приводится некоторая описательная информация о различных подразделениях геологического времени. Лютгенс и Тарбак взялись за исследование истории Земли в одной главе, главе 19 книги «Основы геологии». Приведенный ниже краткий план основан на этом и других материалах, чтобы дать краткий очерк истории Земли.
Обратите внимание, что даты в миллионах лет являются репрезентативными значениями. В научных публикациях будут указаны планки погрешностей для таких дат деления — здесь не подразумевается, что эти границы известны с точностью до 3 или 4 значащих цифр. Разделение геологической колонны на разные периоды в значительной степени основано на разнообразии найденных окаменелостей, взятых в качестве индикаторов периода времени в истории Земли.
Четвертичный период [1,8 млн лет – 0 ]
Во временной шкале Lutgens & Tarbuck четвертичный период далее делится на плейстоценовую эпоху от 1,8 до 0,01 млн лет и самую позднюю голоценовую эпоху от 0,01 млн лет до настоящего времени.
К началу четвертичного периода произошло большинство основных тектонических движений плит, сформировавших Североамериканский континент, и основные изменения, произошедшие в прошлом, были вызваны ледниковым действием и процессами эрозии. Люди появились в этот период.
Неогеновый период [23 млн лет – 1,8 млн лет]
Во временной шкале Lutgens & Tarbuck неогеновый период и палеогеновый период ниже объединены и называются третичным периодом. В геологической литературе довольно часто называют этот промежуток от примерно 66 млн лет до 1,8 млн лет третичным периодом. Его иногда называют «эпохой млекопитающих». Лютгенс и Тарбак далее подразделяют этот неогеновый период на миоценовую эпоху с 23,8 до 5,3 млн лет и плиоценовую эпоху с 5,3 до 1,8 млн лет.
Палеогеновый период [66 млн. лет – 23 млн. лет ]
Палеогеновый период (или начальная часть третичного периода) представляет собой период времени после крупного вымирания, которое уничтожило динозавров и около половины известных видов во всем мире.
Лютгенс и Тарбак далее подразделяют этот временной период на эпоху палеоцена (65–54,8 млн лет), эпоху эоцена (54,8–33,7 млн лет) и эпоху олигоцена (33,7–23,8 млн лет).
Меловой период [145 млн. лет – 66 млн. лет ]
Меловой период, пожалуй, наиболее известен из-за крупного вымирания, которое отмечает границу мелового и третичного периодов. Его обычно называют вымиранием K-T, используя первую букву немецкого написания мелового периода, и оно ознаменовало конец динозавров. Существует множество свидетельств, связывающих это вымирание с большим ударным кратером в Чиксулубе, полуостров Юкатан, Мексика.
Меловой, Юрский и Триасовый периоды вместе называются «эпохой рептилий».
Первые цветковые растения появились ближе к началу мелового периода.
Имеющиеся данные свидетельствуют о том, что обширное мелководье вторглось в большую часть западной части Северной Америки, а также в прибрежные районы Атлантического океана и Персидского залива в меловой период.
Это создало большие болота и привело к меловым месторождениям угля на западе Соединенных Штатов и Канады.
Юрский период [201 млн лет – 145 млн лет]
Отличительная ископаемая прогрессия, характерная для этого периода, была впервые обнаружена в Юрских горах в России.
Динозавры и другие рептилии были преобладающими видами. В юрский период впервые появились птицы.
Похоже, что в начале юрского периода в Северную Америку снова вторглось мелкое море. Но рядом с этим морем на плато Колорадо отлагались обширные континентальные отложения. Это включает в себя песчаник навахо, белый кварцевый песчаник, который, кажется, развевается ветром и достигает толщины около 300 метров.
Ранний юрский период, около 200 млн лет назад, ознаменовался началом распада Пангеи и образовался разрыв между нынешними Соединенными Штатами и Западной Африкой, породивший Атлантический океан. Движущаяся на запад Атлантическая плита начала подавлять Тихоокеанскую плиту. Продолжающаяся субдукция Тихоокеанской плиты способствовала образованию западных гор и магматической активности, которая привела к образованию Скалистых гор.
Триасовый период [252 млн лет – 201 млн лет ]
Динозавры стали доминирующим видом в триасовый период.
В Северной Америке немного морских осадочных пород этого периода. Обнаженные триасовые пласты состоят в основном из красного песчаника и аргиллитов, в которых отсутствуют окаменелости, что предполагает наземную среду.
Пермский период [299 млн. лет – 252 млн. лет ]
Пермский период назван в честь Пермского края России, где типы окаменелостей, характерные для этого периода, были впервые обнаружены геологом Родериком Мерчисоном в 1841 году. Пермский, пенсильванский и миссисипский периоды Периоды в совокупности называются «эпохой амфибий». К концу пермского периода некогда доминирующие трилобиты вымерли вместе со многими другими морскими животными. Лютгенс и Тарбак называют это вымирание «великим палеозойским вымиранием» и отмечают, что оно было величайшим из по крайней мере пяти крупных вымираний за последние 600 миллионов лет.
Моделирование тектоники плит предполагает, что в конце пермского периода все континенты были вместе в форме, называемой пангеей, и что все разделения, создавшие сегодняшнее выравнивание континентов, произошли с того времени.
Существует много дискуссий о причинах резкого биологического упадка того времени. Одно из предположений состоит в том, что наличие всего одного обширного континента могло сделать времена года намного более суровыми, чем сегодня.
Пенсильванский период [323 млн лет – 299 млн лет ]
В Пенсильванский период появились первые рептилии. В этот период в Северной Америке, Европе и Сибири образовались большие тропические болота, которые являются источником крупных месторождений угля. Назван в честь района залежей мелкого угля в Пенсильвании.
Миссисипский период [359 млн лет – 323 млн лет ]
Земноводные в этот период стали многочисленными, а ближе к его концу появились свидетельства существования больших угольных болот.
Девонский период [419Myr – 359 Myr ]
Девонский и силурийский периоды называют «эпохой рыб». В давонский период преобладали рыбы. Развились примитивные акулы. К концу давонского периода есть свидетельства существования насекомых с первыми окаменелостями насекомых.
Из более ранних прибрежных растений размером с палец развились и отошли от берегов наземные растения. К концу давона ископаемые свидетельства предполагают наличие лесов с деревьями высотой в десятки метров. Девонский период назван в честь Девона на западе Англии.
К позднему девону две группы костистых рыб, двоякодышащие и кистеперые, адаптировались к наземным условиям, и появились настоящие амфибии, дышащие воздухом. Земноводные продолжали диверсифицироваться за счет обильной пищи и минимальной конкуренции и стали больше походить на современных рептилий.
Силурийский период [444 млн лет – 419 млн лет ]
Силурийский период отмечен появлением первых наземных растений.
Ордовикский период [485 млн. лет – 444 млн. лет ]
Ордовикский и кембрийский периоды называют «эпохой беспозвоночных» с обилием трилобитов. В этот период брахиоподы стали более многочисленными, чем трилобиты, но все их виды, кроме одного, сегодня вымерли. В ордовике крупные головоногие развились как хищники размером до 10 метров.
Они считаются первыми крупными организмами. В более поздней части ордовика появились первые рыбы.
Данные свидетельствуют о том, что в ордовикский период большая часть Северной Америки находилась под мелководьем. Имеются большие массы эвапоритовой каменной соли и гипса, свидетельствующие о мелководье морей.
Кембрийский период [541 млн лет – 485 млн лет ]
Начало кембрия – время появления первых организмов с раковинами. К концу кембрийского периода доминировали трилобиты, насчитывалось более 600 родов этих роющих ил падальщиков.
Кембрийский период знаменует собой время появления огромного количества окаменелостей многоклеточных животных, и это распространение свидетельств сложной жизни часто называют «кембрийским взрывом».
Модели тектонического движения плит предполагают совершенно иной мир в начале кембрия, когда плита, ставшая Северной Америкой, была в значительной степени лишена жизни в виде бесплодной низменности. Мелкие моря вторглись, а затем отступили.
Протерозойский эон [2500 млн лет – 541 млн лет ]
Ближе к концу докембрия имеются ископаемые свидетельства существования разнообразных и сложных многоклеточных организмов. Большинство свидетельств представлено в виде следов окаменелостей, таких как следы и червоточины. Считается, что у большинства докембрийских форм жизни не было раковин, что затрудняло обнаружение окаменелостей. Окаменелости растений были обнаружены несколько раньше, чем окаменелости животных.
В докембрийских породах нет ни угля, ни нефти, ни природного газа.
Породы среднего докембрия, возраст 1200–2500 млн лет, содержат большую часть железной руды Земли, в основном в виде гематита (Fe 2 O 3 ). Это можно рассматривать как свидетельство того, что содержание кислорода в атмосфере в этот период увеличивалось и что его было достаточно, чтобы реагировать с железом, растворенным в мелководных озерах и морях. Процесс окисления всего этого железа мог задержать накопление атмосферного кислорода в результате фотосинтетической жизни.
Наблюдается конец этого образования железной руды, поэтому можно было ожидать, что увеличение содержания атмосферного кислорода в это время ускорится.
Окаменелые свидетельства существования жизни гораздо менее драматичны в докембрийском периоде, их количество составляет около 88% истории Земли. Наиболее распространенными докембрийскими окаменелостями являются строматолиты, которые стали обычным явлением около 2000 млн лет назад. Строматолиты представляют собой насыпи материала, отложенного водорослями. Окаменелости бактерий и сине-зеленых водорослей были обнаружены в скалах Gunflint Chert на озере Верхнем, датируемых 1700 млн лет назад. Это прокариотическая жизнь. Эукариотическая жизнь была обнаружена возрастом около 1000 млн лет в Биттер-Спрингс, Австралия, в виде зеленых водорослей.
Архейский эон [4000 млн лет – 2500 млн лет]
Доказательства прокариотической жизни, такой как бактерии и сине-зеленые водоросли, были обнаружены на юге Африки и датированы 3100 млн лет назад.
Образования полосчатого железа датируются 3700 млн лет назад, и если предположить, что для этого требуется кислород и что единственным источником молекулярного кислорода в эту эпоху был фотосинтез, это свидетельствует о существовании жизни в этот период времени. Встречаются также строматолиты возрастом 3500 млн лет.
Хадейский Эон [4500 млн лет – 4000 млн лет]
По прогнозам возраст земли около 4 500 млн лет, исходя из радиометрического датирования старейших горных пород и метеоритов. Имеются данные о времени интенсивной бомбардировки Земли в период времени примерно с 4100 до 3800 млн лет в так называемой «поздней тяжелой бомбардировке». Продолжается дискуссия о том, что могло вызвать на этот раз сильные удары (см. Вики). Нет никаких доказательств существования жизни в этом Эоне, название которого переводится как «адский».
Каталожные номера
- Андерсон, Бьорн, Борнс, Гарольд, Мир ледникового периода, Scandinavian Univ Press, 1994.
- Бьорнеруд, Марсия, Reading the Rocks, Westview Press, 2005.
- Lanphere Brent Dalrymple, G. , Марвин А., Калий-аргоновое датирование, W.H. Freeman, 1969.
- Франкель, Чарльз, «Конец динозавров, кратер Чиксулуб и массовые вымирания», Cambridge University Press, 1999. ”, Springer Verlag, 19 лет90.
- Хилл, К., Дэвидсон, Г., Хелбл, Т. и Рэнни, В., ред., «Большой каньон, памятник древней Земле», Kregel Publications, 2016.
- Келли, Саймон П., K-Ar и Ar-Ar Dating , Открытый университет, Милтон-Кейнс, Великобритания.
- Лутгенс, Фредерик К. и Тарбак, Эдвард Дж., Основы геологии, 7-е изд., Прентис Холл, 2000. 1944.
- Маршак, Стивен, Основы геологии, 2-е изд., W.W. Norton, 2007. Oxford, 1999.
- Мурк, Б., Скиннер, Б., Портер, С., Геология окружающей среды, Wiley & Sons, 1994.
- Шипман, Дж. Наука, 10-е изд.
, Houghton-Mifflin, 2003. - Смит, А.Г., «Континентальный дрейф» в книге «Понимание Земли», И.Г. Гасс, Эд., Artemis Press
- Уорд, Р. Д. и Браунли, Д., Редкая земля, Copernicus Books, 2000.
О геологической шкале времени
О геологической шкале времени
Происхождение геологической шкалы времени
Первыми людьми, которым нужно было понять геологические взаимосвязи различных горных пород, были шахтеры. Добыча полезных ископаемых представляла коммерческий интерес, по крайней мере, со времен римлян, но только в 1500-х и 1600-х годах эти усилия вызвали интерес к местным горным отношениям.
Отметив взаимосвязь различных горных пород, Николаус Стено в 1669 г. описал два основных геологических принципа. В первом утверждалось, что осадочные породы залегают горизонтально, а во втором утверждалось, что более молодые породы отлагались поверх более старых. Чтобы представить себе этот последний принцип, подумайте о слоях краски на стене.
Самый старый слой был наложен первым и находится внизу, а самый новый слой — вверху. Дополнительное понятие было введено Джеймсом Хаттоном в 179 г.5, и позже подчеркнутый Чарльзом Лайелем в начале 1800-х годов. Это была идея о том, что естественные геологические процессы были одинаковыми по частоте и величине во времени, идея, известная как «принцип униформизма».
| Горизонтальные слои горных пород прекрасно представлены в парке Painted Hills Национального памятника John Day Fossil Beds в Орегоне и в национальном парке Cedar Breaks в штате Юта. | ||
Принципы Стено позволили рабочим в 1600-х и начале 1700-х годов начать распознавать последовательности горных пород. Однако, поскольку породы локально описывались по цвету, текстуре или даже запаху, сравнение между последовательностями пород из разных областей часто было невозможно.
Окаменелости предоставили рабочим возможность установить связь между географически разными областями. Этот вклад был возможен, потому что окаменелости были обнаружены на обширных участках земной коры.
За следующим крупным вкладом в геологическую шкалу времени мы обратимся к Уильяму Смиту, геодезисту, строителю каналов и геологу-любителю из Англии. В 1815 г. Смит составил геологическую карту Англии, на которой успешно продемонстрировал справедливость принципа последовательности фауны. Этот принцип просто утверждал, что окаменелости находятся в горных породах в строго определенном порядке. Этот принцип побудил других последователей использовать окаменелости для определения приращений в относительной шкале времени.
О делениях геологической шкалы времени
Геологическая история Земли разбита на иерархические отрезки времени. Эта иерархия включает в себя эоны, эры, периоды, эпохи и века, от самого большого к самому маленькому. Все они отображаются в части геологической шкалы времени, показанной ниже.
| Эон | Эра | Период | Эпоха | Возраст |
| Фанерозой | Кайнозой | Палеоген | Олигоцен | Хаттиан |
| Рупелиан |
Фанерозойский эон представляет собой время, в течение которого жило большинство макроскопических организмов водоросли, грибы, растения и животные . Когда впервые было предложено в качестве подразделения геологического времени, начало фанерозоя (542,0 миллиона лет назад)* считалось совпадающим с началом жизни. В действительности этот эон совпадает с появлением животных, у которых развились внешние скелеты, подобные панцирям, и несколько более поздних животных, у которых сформировались внутренние скелеты, такие как костные элементы позвоночных.
Время до фанерозоя обычно называют докембрием и обычно делят на показанные три эона.
Фанерозой подразделяется на три основных отдела: кайнозойскую, мезозойскую и палеозойскую эры. Суффикс «-zoic» происходит от корня «zoo», что означает «животное». Это тот же корень, что и в словах зоология и зоологический парк (или зоопарк). «Цен-» означает недавний, «Мезо-» означает средний, а «Палео-» означает древний. Эти подразделения отражают крупные изменения в составе древних фаун, причем каждая эпоха признается в ней господством той или иной группы животных. Кайнозой иногда называют «эпохой млекопитающих», мезозой — «эпохой динозавров», а палеозой — «эпохой рыб». Но это слишком упрощенное представление, которое имеет некоторую ценность для новичка, но может ввести в заблуждение. Например, в мезозое жили другие группы животных. Помимо динозавров, на суше также жили такие животные, как млекопитающие, черепахи, крокодилы, лягушки и бесчисленное множество разновидностей насекомых. Кроме того, было много видов растений, живших в прошлом, которые больше не живут сегодня.
Древние флоры тоже претерпели большие изменения, и не всегда в то же время, что и группы животных.
Ссылки и ресурсы
- Берри, В.Б.Н. 1987. Рост доисторической шкалы времени: на основе органической эволюции. Исправленное издание. Научные публикации Блэквелла, Пало-Альто. 202 стр. 90 155
- См. образовательный модуль UCMP «Понимание геологического времени».
- Посетите превосходный набор конспектов онлайн-курсов для Памелы Дж.В. Курс исторической геологии Гора.
Энтони Р. Фиорилло опубликовал исходные страницы геологического времени, 13 декабря 2019 г.93; П. Дэвид Полли добавил график геологической временной диаграммы, 06.12.1993; Аллен Дж. Коллинз добавил страницу машины времени (геологическая временная диаграмма), 26.11.1994; Брайан Р. Спир переписал текст и добавил новую схему геологических эпох, 08.03.1997; Коллин Уитни создала новую вводную страницу, 5/2000; Дэйв Смит внес изменения на вводную страницу и добавил новый графический баннер, 07.




Для дорог, рассчитанных на прохождение тяжелых фур, существуют одни требования, для легковых автомобильных дорог – другие и т. п.
0067 шоссе , поэтому я выбрал боковые дороги.
Coast Highway, район в центре города на восточной стороне 9-й0067 шоссе , к северу от пересечения улицы E и в том же квартале, что и Death by Tequila, The Roxy и Encinitas Cafe.
Мнения, выраженные в примерах, не отражают точку зрения Merriam-Webster или ее редакторов. Отправьте нам отзыв.
com , Merriam-Webster, https://www.merriam-webster.com/dictionary/highway. По состоянию на 7 марта 2023 года.
com

|Washington Post



Они представляют собой один или несколько слоев ЛКМ, которые нанесены на поверхность, и при высыхании образующие пленку, которая выполняет не только эстетическую, но и защитную функцию.
Их преимущество в том, что за ними легко ухаживать и грязь не впитывается в материал. Идеальный выбор – эмаль полуматовая, которая сочетает в себе все достоинства. Они подойдут для тех поверхностей, который часто подвергаются влажной уборке.
рвать.
Вот почему эпоксидные смолы чаще всего используются для погружных или внутренних работ.
Завод промышленных покрытий площадью 14 000 квадратных футов оснащен передовыми технологиями и высококвалифицированной рабочей силой. Наши возможности включают в себя автоматизированную пескоструйную обработку, ручную пескоструйную обработку, возможность перемещения деталей весом более 100 000 фунтов, а также специализированное покрасочное оборудование и сушильные камеры, которые помогают нам быстро наносить покрытие на большие детали.

Полиуретаны обычно делятся на две категории: алифатические и ароматические. Алифатические полиуретаны обеспечивают превосходное сохранение цвета и хорошо работают на солнечном свете, что делает их подходящими для внешней среды. Ароматические полиуретаны, с другой стороны, лучше подходят для подводных сред — они будут мелеть и выветриваться под воздействием солнечного света.
Полисилоксаны обеспечивают превосходную устойчивость к истиранию и атмосферным воздействиям, а также сохраняют внешний вид, но не обеспечивают гибкости и коррозионной стойкости, требуемых в промышленных условиях.
Цинк обеспечивает гальваническую защиту стальной поверхности, а это означает, что она будет подвергаться коррозии, а не сталь под ней. По мере того, как богатое цинком покрытие подвергается коррозии, оно образует барьер между сталью и окружающей средой


К ним возможно причислить подобные, как понижение плотности электролита, замыкание им выводных штырей, когда через разнообразные неплотности он поступает на плоскость батареи, распад сепараторов, проникновение вовнутрь корпуса засоряющих элементов.
к. обычное использование подобного аккумулятора почти неосуществимо. Появляется она при весьма продолжительном сохранении, когда батарея оказывается отчасти разряженной либо при нередких полных разрядках батареи. В отдельности имеет смысл отметить данную поломку, вызванную недостатком электролита и непрерывным соприкосновением пластинок с воздухом. В значительной степени содействуют сульфатизации большая уплотненность электролита, его значительная температура и саморазряжение.
Для этого сначала весь электролит из повреждённого аккумулятора следует вылить. При этом придерживаться мер индивидуальной предосторожности. После этого туда заливается очищенная вода, и батарейка устанавливается на зарядку умеренным напряжением (0,05 С10), где «заряжается» не меньше часа. После этого остается наполнить батарею чистым, высококачественным электролитом и дозарядить его.
После контроля отсутствия напряжения на клеммах, батарейка разбирается, и выявляется первоисточник, который следует ликвидировать. Мероприятия могут быть таковые – смена сепараторов, очистка пластинок от существующих на них наростах, очистка пластинок и полное устранение шлама. Впоследствии установки и заливания электролита батарейка заряжается.
В данном случае в одном корпусе будут находиться заряженные и полностью «пустые» компоненты. Выходит ситуация «противоположного заряда» – от заряженных компонентов к несерьезным, в результате чего изнутри АКБ полярность изменится. Притом станет образовываться смесь, включающая губчатый свинец, двуокись цинка. Это вызывает весьма существенное саморазряжение и, как результат – сульфатацию.
Далее будут представлены пять основных признаков, по которым можно понять, что наступило время замены аккумулятора, чтобы предотвратить возникновение вышеописанной ситуации в будущем.
Одной достаточно распространенной ситуацией, особенно в наиболее старых моделях транспортных средств, является недостаточное электропитание. Когда низкое энергопитание ставит под угрозу дальнейшую работу двигателя, загорится сигнальная лампочка о необходимости проверки двигателя. Следует еще раз отметить, что подобная ситуация требует обращения в сервисный центр для проверки работы двигателя квалифицированным специалистом во избежание поломки и получения гарантии исправности работы двигателя.
Другими словами, данная ситуация станет причиной того, что однажды транспортное средство не заведется. Если жидкость затечет в аккумулятор и повредит свинцовые пластины, отвечающие за проведение электрического сигнала, аккумулятор также не будет работать. В том случае, если обнаружено резкое падение уровня топлива в баке, следует всегда проверять вероятность утечки.
И, как было сказано выше, действие экстремально высоких и низких температур также приводит к скорой замене аккумулятора. Водителям следует всегда проверять, выключены ли фары и радио при завершении поездки. В ином случае постоянная перезарядка может отрицательно сказаться на долговечности аккумулятора.
Разряженная батарея с видимой коррозией на клеммах, вероятно, повреждена.
Он подает питание для электроники вашего автомобиля, когда вы едете, и гарантирует, что нужное количество заряда возвращается к аккумулятору.
)

Если это так, давайте проверим это, чтобы мы могли решить проблему и снова начать работу.
Лучше всего описать его как начальный шумовой звук «рур-рур-рур».


При этом в третьей обмотке ЭДС не будет наводиться.


д. до 8-ой величины. Для нас важно, чтобы номинальный ток пускателя был не меньше, чем номинальный ток электродвигателя.
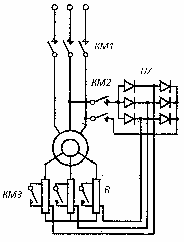
Его условно можно разделить на два этапа. Первый это подключение силовой части, и второй — подключение вторичных цепей. Силовые цепи – это цепи, которые обеспечивают связь двигателя с источником электрической энергии. Вторичные цепи необходимы для удобства управления двигателем.
Она может быть на напряжение 220В или 380В.
Кнопка «Стоп» имеет нормально закрытый контакт, а кнопка «Пуск» нормально открытый. Сначала подключаем кнопку «Стоп».

А уже от этого блок-контакта он подключается к катушке пускателя номер 1. Второй конец катушки подключается к фазному или нулевому проводу в зависимости от класса напряжения.
В коробке выводов двигателя обычно шесть концов от трех фаз, что позволяет включать двигатель на два разных напряжения. Выбор схемы соединения — звездой или треугольником фаз двигателя зависит от номинального напряжения сети и номинального напряжения двигателя.
В результате получается три точки (вершины): С1 — С6; С2 — C4 и С3 — С5 к которым подвести напряжение сети.
Затем по одному выводу из каждого отверстия, принадлежащего трем разным фазам, надо соединить в одну точку.
д. с. и ток ротора уменьшаются Это вызывает уменьшение момента двигателя. Чтобы не затягивать пуск, нужно выводить сопротивление пускового реостата отдельными ступенями (или плавно), чтобы ток ротора при пуске был бы примерно постоянным, а момент двигателя — близким к максимальному. После полного выведения пускового реостата контактные кольца коротко замыкаются и на этом пуск двигателя закапчивается. В двигателях средней и большой мощности есть щеткоподъемный механизм, с помощью которого поворотом рукоятки кольца замыкают накоротко и поднимают щетки.


Перед пуском двигателя переключатель П ставят в положение звезды, обмотка статора оказывается соединена звездой. Затем включают рубильник Р и двигатель «раскручивается». После того как ротор двигателя развернется до скорости, близкой к номинальной, переключатель быстро переводят в положение треугольник.
Двигатели с двойной клеткой имеют кратность пускового тока Кi =3—5,5 и кратность пускового момента Кп = 1—3.
В рабочем режиме, когда частота в роторе равна нескольким герцам, вытеснение тока практически отсутствует и двигатель работает как обычный короткозамкнутый.
д.)
Этот индуцированный ток в роторе также будет создавать переменный поток. Даже после установки обоих переменных потоков двигатель не запускается (причина объяснена ниже). Однако, если ротору придается первоначальный пуск от внешней силы в любом направлении, то двигатель разгоняется до конечной скорости и продолжает работать с номинальной скоростью. Такое поведение однофазного двигателя можно объяснить с помощью теории вращения двойного поля.
Когда на статор подается однофазное питание, он создает переменный поток (который меняется только вдоль одной пространственной оси). Переменный поток, действующий на ротор с короткозамкнутым ротором, не может вызывать вращение, только вращающийся поток может. Вот почему однофазный асинхронный двигатель не запускается самостоятельно.
Разность фаз в 90 градусов можно получить, подключив конденсатор последовательно с пусковой обмоткой.
Несмотря на то, что все они разные, некоторые из них имеют одни и те же элементы: конденсатор и центробежный переключатель.
Конденсатор используется для сдвига фазы, поэтому мы можем получить два вращающихся магнитных поля с разными фазами.
Емкость конденсатора и реактивное сопротивление обмотки в некоторой степени сдвигают фазу.


Активные элементы СВЧ чаще всего совмещены с пассивными цепями и представляют собой, как правило, электровакуумные (СВЧ-триод, магнетрон, клистрон, лампа обратной волны и др.) или твердотельные (СВЧ-транзистор, диод Ганна, лавинно-пролётный диод, туннельный диод) приборы. В оптич. квантовых генераторах (лазерах) применяют разл. виды открытых резонаторов и активную среду, преобразующую энергию источника питания (энергию «накачки») в энергию электромагнитных колебаний.
е. происходит самовозбуждение генератора, если мощность, передаваемая колебаниям активным элементом от источника питания, больше мощности потерь во всех элементах Г. э. к. (включая мощность, отдаваемую в нагрузку). Если потери энергии превышают поступление, колебания затухают. Энергетич. равновесие, соответствующее стационарному режиму Г. э. к., осуществимо лишь при наличии у элементов системы нелинейных свойств. В противном случае в Г. э. к. могут возбуждаться либо нарастающие, либо затухающие колебания, и генерирование стационарных электрич. колебаний невозможно.
, колебат. контур, объёмный резонатор), то частота и форма генерируемых колебаний в осн. определяются частотой и формой собств. колебаний цепи. При малых потерях (высокой добротности колебат. системы) форма колебаний близка к синусоидальной, соответствующие Г. э. к. называются генераторами гармонич. колебаний. Если пассивные цепи и активный элемент Г. э. к. не обладают резонансными свойствами, то возможно возбуждение колебаний сложной формы как периодических, так и непериодических (шумоподобных) колебаний.
Принципы построения и конструкция Г. э. к. зависят от диапазона генерируемых частот (длин волн).
LC-генераторы позволяют получать колебания мощностью от долей милливатт до сотен киловатт в диапазоне частот от нескольких килогерц до единиц гигагерц.
Вместе с тем предельная мощность твердотельных генераторов ограничена величиной рассеиваемой в полупроводнике тепловой энергии и не превышает (для одного прибора) 100 Вт на частотах до 10 ГГц.
полем. Наиболее распространены клистронные генераторы, работающие в диапазоне частот от единиц до десятков гигагерц. Мощность таких генераторов зависит от типа клистрона и составляет: у отражат. клистронов – от нескольких милливатт до нескольких ватт, у пролётных клистронов – от сотен киловатт до десятков мегаватт соответственно в непрерывном и импульсном режимах генерирования.
магнитном поле, взаимодействующие с поперечным по отношению к оси пучка переменным электрич. полем резонатора или волновода. Возбуждение колебаний в таком Г. э. к. происходит на циклотронной частоте вращения электронов в магнитном поле или на одной из её гармоник. Особое место среди мощных СВЧ-генераторов занимают приборы с релятивистскими электронными пучками, имеющие большой ток (порядка 103 кА и более) и соответственно большую мощность в течение импульсов ограниченной длительности (см. также Релятивистская высокочастотная электроника).
В лазерах и мазерах частота излучения накачки превышает частоту генерируемых колебаний. Так, в парамагнитном мазере при накачке на частоте 10 ГГц возбуждаются колебания с частотой до 5 ГГц со стабильностью частоты, определяемой лишь стабильностью темп-ры и магнитного поля.

Ганна эффект). С помощью таких генераторов можно получать электрич. колебания частотой от 100 МГц до 50 ГГц и мощностью до 100 мВт (при непрерывном генерировании) и сотен ватт (в импульсном режиме).
, газоразрядные и сцинтилляционные счётчики продуктов радиоактивного распада. Производя усиление и преобразование шумов, создаваемых источником, с помощью разл. линейных и нелинейных устройств (усилителей, ограничителей, ждущих мультивибраторов, блокинг-генераторов, триггеров, работающих в режиме счёта выбросов шума, и др.) можно получать непрерывные шумовые колебания или случайные последовательности импульсов с определёнными законами распределения параметров в разл. диапазонах радиочастот. Генераторы случайных сигналов применяют для определения коэф. шума и предельной чувствительности радиоприёмных устройств, помехоустойчивости систем автоматич. регулирования и телеуправления, предельной дальности радиолокац. и радионавигац. систем, в качестве калиброванных источников мощности при измерении параметров случайных процессов (напр.
, атмосферных помех, шумов внеземного происхождения) и др.
Некоторые модели перечислены ниже. Инструкции по подбору размеров см. В листе технических данных ASX-300.
Подходит для местного диапазона температур окружающей среды от -30 ° C до + 55 ° C. . Доступен выходной сигнал скорости. Выходная мощность, подходящая для замены стартовой аккумуляторной батареи дизельного двигателя среднего размера, со следующими ограничениями:
В случае применения с регулируемой частотой вращения передаточное число шкива должно быть выбрано таким образом, чтобы частота вращения генератора составляла от 2000 до 2500 об / мин при низких оборотах холостого хода двигателя. Обычно это соответствует нормальному рабочему диапазону частоты вращения генератора примерно от 3500 до 8000 об / мин.
Генераторная установка (часто и в дальнейшем называемая просто генератором) обеспечивает электроэнергию независимо от сети. В результате они играют решающую роль в сегодняшней структуре власти.
Такие проблемы выявляют основное функциональное преимущество генератора, заключающееся в обеспечении основного или резервного питания.
Хотя генераторы не требуют особого обслуживания, важно понимать основные компоненты на случай, если потребуются определенные запасные части или потребуется общее техническое обслуживание.
Все, что движется, светится или гудит, будь то органическое или искусственное, делает это путем преобразования одного типа энергии в другой. Организм человека преобразует пищу и питательные вещества в физическую энергию. Радио преобразует электрические токи в звуковую энергию. Даже огромное количество электроэнергии, доступной населению, вырабатывается из других источников; например, плотина Гувера преобразует гравитационное притяжение воды (гидроэнергия) в электроэнергию для всего Лас-Вегаса и его окрестностей. Бензиновые и дизельные генераторы работают по одному и тому же простому принципу. Они превращают механическую энергию в электрическую.
Многие генераторы даже работают на том же топливе, что и автомобили, хотя есть и другие варианты. Меньшие бытовые генераторы часто работают на бензине, но более крупные промышленные генераторы обычно имеют дизельные двигатели или двигатели, работающие на природном газе. Независимо от типа топлива двигатель работает совместно с генератором. Этот генератор содержит электрические проводники, которые реагируют на механическую энергию двигателя и преобразуют ее в полезную электрическую энергию.
Джоуль — это количество работы, которое требуется для прохождения заряда через определенный уровень сопротивления. Чтобы осмыслить это измерение энергии, может быть полезно представить крошечные болты, пытающиеся протолкнуться через магнитное поле. В генераторе механическая энергия, поступающая в генератор переменного тока, вызывает электромагнитную реакцию, в результате которой возникает переменный ток (AC), который высвобождается в виде электричества. Вот почему вилки бытовой электроники называются адаптерами переменного тока.

Мы рекомендуем владельцам генераторов внедрить план профилактического обслуживания и проводить проверки и ремонт по мере необходимости.
Хорошей новостью является то, что все компоненты генератора можно либо отремонтировать, либо заменить, чтобы можно было восстановить надежное дополнительное или резервное питание.
К ним относятся статор и ротор, которые отвечают за создание вращающегося магнитного поля и выработку переменного тока (AC).
Эти генераторы подключаются к электрической системе здания и автоматически запускаются при отключении электроэнергии. После установки они становятся постоянными приспособлениями, а их топливные баки обычно достаточно велики, чтобы обеспечивать питание в течение нескольких дней, прежде чем потребуется заправка.
Меньшие по размеру и более эффективные батареи и двигатели позволяют портативным генераторам работать дольше и обеспечивать более высокую выходную мощность. Даже некоторые промышленные генераторы можно буксировать и перевозить с одного места на другое.

Может быть также установлена электронная микропроцессорная система зажигания.
скорость
Маслосливная трубка 6 и кожухи 5 штанг также запрессованы в головку.
При этом, независимо от режима работы двигателя автомобиля ЗАЗ-968М, к впускному трубопроводу подводится приблизительно постоянное количество тепла. Объем же проходящей через трубопровод горючей смеси полностью зависит от режима, в котором работает двигатель. Оно при снижении нагрузки уменьшается, а приток к впускному трубопроводу тепла остается прежним. Из чего следует, что смесь в этом случае сильнее подогревается, и наоборот, чем больше нагрузка, тем больший объем смеси проходит через трубопровод при постоянном потоке тепла. Смесь, следовательно, подогревается меньше. Степень подогрева горючей смеси, таким образом, меняется автоматически, в зависимости от режима, в котором работает двигатель ЗАЗ-968М, именно так, как это нужно для оптимальных условий его работы.
ru/vremennoe-khranenie-veshchey/
с. Модернизированный 3,6-литровый двигатель V6 даст вам гораздо больше 283 лошадиных сил, но уменьшит расход топлива.
Я выразил свою заинтересованность, но прежде чем я сделаю это, я хотел бы знать, как это на газу. Знаете ли вы, насколько хороша топливная экономичность Volvo S60?
Итак, представьте мое смятение, когда я вижу, что она присматривается к Volkswagen Beetle 2019 года. Я люблю жука-слизняка не меньше, чем любой другой парень, но как я могу участвовать в гонках на нем? Сколько цилиндров в комплекте?
Нам не платят за обзоры или другой контент.
Похоже придется покупать ей новый. Сколько стоят оригинальные аккумуляторы Honda Civic?
Такие модели находят применение в центрифугах, мешалках пищевой и химической промышленности.
В различных отраслях промышленности, упорные подшипники устанавливаются в промышленном оборудовании с гидравлическими, гидродинамическими, электромагнитными системами вращения.
В свою очередь, подшипники качения подразделяются на радиальные и упорные. Не менее распространены конические подшипники, встречающиеся в нескольких вариантах. Реже используются игольчатые или радиальные роликовые подшипники. Применяемые в двигателе подшипники рассчитаны на весь срок службы автомобиля. Как правило, независимо от типа подшипников, признаки их неисправности проявляются уже на раннем этапе. Именно поэтому очень важно научиться ее быстро идентифицировать.
Эти подшипники не подлежат замене в качестве отдельных запчастей (ситуация аналогична ступичному узлу). Подшипники также устанавливаются в шатунах. Их тип зависит от типа двигателя: в традиционных четырехтактных двигателях обычно устанавливаются подшипники скольжения.
Признаком его неисправности будет шумная работа, а в некоторых случаях — трудности с переключением передач. Неправильная диагностика усугубит эту проблему и может привести к преждевременному износу других компонентов», — объясняет Томаш Охман из компании SKF.
Гораздо больше проблем с подшипниками внутри двигателя или агрегатов трансмиссии. Стиль вождения и техническое состояние автомобиля в широком понимании служат решающими факторами, которые могут вызвать преждевременный износ подшипников независимо от их типа. Если подшипник подлежит замене по причине естественного износа или повреждения, дают о себе знать два основных признака — его люфт или шумная работа. Правильная диагностика крайне важна прежде всего для того, чтобы исключить выход из строя других, сопряженных узлов, что естественным образом отображается на затратах времени и труда», — резюмирует Томаш Охман.
Наиболее широко используемые типы шарикоподшипников используются подавляющим большинством населения в обычных устройствах, на которые в значительной степени полагаются в повседневной жизни.
Если вы используете какое-либо электрическое устройство, есть большая вероятность, что в нем используется шарикоподшипник. Даже в более элементарных предметах, таких как барный стул или йо-йо, шарикоподшипники используются для облегчения вращательного движения.
Сам шарик несет вес груза — сила веса груза — это то, что приводит в движение подшипник. Однако не все нагрузки воздействуют на подшипник одинаково. Различают два вида нагрузки: радиальную и осевую.
Однако это также может быть помехой, если подшипник не используется должным образом. Из-за небольшой площади контакта, удерживающей определенную нагрузку, шарики могут деформироваться и разрушить подшипник, если он будет перегружен.
Брал Peugeot Boxer Chassis 3-х годовалого, после покупки сделал основательное ТО, хватило на 40 тысяч. Подвеска не для наших дорог, жесткая, клиренс маленький по грунтовке не поездить, в зиму в колее ехать вообще жесть. Стойки менял 2 раза за 100 тысяч пробега. Топливная у Peugeot Boxer Chassis слабовата, форсунки в лучшем случае ходят 80 тысяч, при этом разок-другой надо будет еще и почистить. Лобовик дважды менял, трескаются, даже не знаю от чего. За 2 года вложил около 100 тысяч, не считая ТО. Французы как делали дрянные машины, так и делают.
Купил Peugeot Boxer Chassis три года назад. Пробег сейчас 132 тысячи км. В динамике ему не откажешь, кузов вместительный, и хоть низкий клиренс, зато с виду красивый. Расход топлива 12 литров по городу, 14 – с грузом. В салоне зимой холодно — печка слабая, плохая шумоизоляция, сиденья неудобные. Подвеска не для наших дорог – жесткая слишком. Через год после покупки появился хруст в КПП. Перебрали коробку. После меняли топливные фильтры и форсунки, турбину, лампочки фар, тормозные колодки и диски, ещё сцепление ремонтировали в сервисе. В обслуживании автомобиль довольно дорогой. Кузов ржавеет. Недавно датчик выдал какую-то ошибку. Нужно теперь в сервис ехать, и опять затраты. Красивый Боксер, но в обслуживании очень дорогой.
Прочная рамная конструкция этой модели позволит установить различное оборудование. Так, например, Peugeot Boxer Chassis можно легко переоборудовать в промтоварный или изотермический фургон, рефрижератор или установить бортовую платформу с подъемным мехaнизмом для легкости разгрузки сыпучих предметов. Великолепная гибкость и универсальность, а также современный дизайн делают новый Boxer Chassis безошибочным выбором автомобиля для любых коммерческих целей. В процессе разработки модели были проведены капитальные меры по улучшению надежности и качества. В частности, усилена конструкция многих элементов кузова, усовершенствована антикоррозионная и антигравийная защита, улучшены тормоза и амортизаторы подвески.
Под капотом Peugeot Boxer Chassis располагается 4-цилиндровый 130-сильный дизельный двигатель с крутящим моментом 320 Н·м, что позволяет уверенно и динамично передвигаться, независимо от нагрузки.
2 л, 130 л.с.
в • II Рестайлинг
в • II Рестайлинг
в., II Рестайлинг: технические характеристики, отзывы и фотографии авто. 5 и более обзоров на автомобиль Пежо Пежо Боксер в кузове шасси. Смотрите видео и фото, а также читайте отзывы о машине. Купить авто с пробегом в Москве на Autospot.ru!
длина преобразования
Кормильцы — журнал За рулем
долларов найдете вполне достойного «гастарбайтера». Немало заманчивых предложений и в интервале 4–6 тысяч, но тут без значительных вложений не обойтись. Сэкономить можно на экстерьере «лошадки», но никак не на ее здоровье.
Это — худший вариант: съемная броня, как правило, не разгружает, а, наоборот, нагружает лонжероны и петли, поэтому кузов здесь сильно расшатан. Не в лучшем состоянии и двигатель, вынужденный все время ходить под броней. Выдают такие машины «лишние» отверстия в панелях кузова, просевшие двери, остатки креплений под радиостанцию. Неплохой вариант — бывшая «скорая помощь» на базе «Мерседеса-Т1» (такие появились в середине 90-х). Но кто знает, как эти автомобили обслуживали? Трансмиссия, подвеска и даже кузов — не самая затратная часть грузовичков. Основное внимание — двигателю.
До «капиталки» они служат минимум 300- 400 тыс. км. Дизели «Спринтера» и «Вито» при прочих равных заметно дороже в обслуживании и ремонте, да и места под капотом там маловато. Тесно и двигателю «Тойоты-Хай Эйс», а нормочас — дорогой. А вот «Форд-Транзит» или «Фольксваген-Т4» легко обслужить самому — все точки легко доступны. Новые дизели с системой «коммон рейл» (CDi у «Мерседеса», HDi у «Пежо») примерно на 20% экономичнее ветеранов, зато неразборные форсунки с электронным управлением намного дороже обычных. А надежность всей системы, как и прежде, определяется качеством топлива.
Тут «Вито» и «Транспортер» дадут фору «Спринтеру» и заднеприводному «Транзиту». Впрочем, у многих фургонов есть полноприводные версии. Вопреки распространенному мнению, нагрузки на детали трансмиссии там даже меньше, ведь крутящий момент распределяется по двум осям. Основную часть проблем вызывают неодинаковые по размеру или износу шины или «неродное» масло. Но помните, что в любом случае обслуживание полноприводников дороже за счет худшего доступа к агрегатам, да и многие запчасти — свои.
ru
S.YemenZambiaZimbabwe
см)
Если вас поймают за управлением транспортным средством с избыточным весом, вам грозит крупный штраф или даже баллы в правах.

