Назначение и классификация электроподстанций
Назначение и классификация электроподстанций
Прайс-лист услуг электролаборатории Тест-лайн на 2020 год
Выделяют следующие виды электрических подстанций:
ТП — трансформаторная подстанция. Используется для преобразования электричества одного напряжения в электричество другого напряжения. Главное оборудование такой подстанции – это 2- и 3-обмоточные трансформаторы.
ПП – преобразовательная подстанция. Используется для преобразования электричества переменного тока в электричество постоянного тока. Для этого применяются специальные агрегаты – преобразователи, к примеру, выпрямительные установки.
ГПП — главная понизительная подстанция. Это основная подстанция предприятия, которая получает от районной энергетической системы электроэнергию с напряжением от 35 до 220 кВ и осуществляет ее распределение по подстанциям-потребителям или мощным электрическим приемникам с напряжением от 6 до 35 кВ.
ПГВ — подстанция глубокого ввода. Это подстанция, которая получает от районной энергетической системы электроэнергию с напряжением от 35 до 220 кВ. Ее отличительной особенностью является приближенность к мощным энергопотребителям предприятия.
ПП — потребительская подстанция. Это трансформаторная подстанция, которая получает электричество с напряжением от 6 до 20 кВ и распределяет его по потребителям с напряжением от 0,4 до 1 кВ. Если говорить о промышленных предприятиях, то к такому типу относятся цеховые подстанции.
РУ — распределительное устройство. Это открытая или закрытая электрическая установка, которая принимает и распределяет электроэнергию.
РП — распределительный пункт. Это распределительное устройство, которое принимает электричество от главной понизительной подстанции или районной подстанции с напряжением от 6 до 20 кВ и распределяет ее по мощным приемникам и потребительским подстанциям.
ЦРП — центральный распределительный пункт. Это распределительный пункт, который получает электричество от районной подстанции и распределяет ее по цеховым подстанциям.
Вышеперечисленные электроподстанции выполняют роль источников питания в энергетической системе предприятия.
Чтобы обеспечить их бесперебойную работу, а значит не допустить аварий и остановок производственного процесса, нужно регулярно проводить испытания трансформаторов и прочего силового оборудования.
Читать далее
Профилактические электроизмерения — периодичность и виды
Регулярное проведение профилактических электроизмерений необходимо для выявления не соответствующего нормативным показателям (ПТЭЭП и ПУЭ) или неисправного оборудования.
Согласовываем подключение дополнительной мощности
Подключение дополнительной электрической мощности – процесс многоэтапный.
Рассмотрим последовательность шагов.
Энергосберегающая лампа
Экономия электроэнергии на освещении.
Свойства изоляции
Полезная информация о свойствах изоляции.
Наш инстаграм
Классификация и типы счетчиков электроэнергии
Счетчики электрической энергии можно классифицировать по следующим принципам:
1. По принципу действия:
- индукционные
- электронные (статические)
2. По классу точности счетчики:
- рабочие
- образцовые
Класс точности счетчика – это его наибольшая допустимая относительная погрешность, выраженная в процентах.
В соответствии с ГОСТ Р 52320-2005, ГОСТ Р 52321-2005, ГОСТ Р 52322-2005, ГОСТ Р 52323-2005, счетчики активной энергии должны изготавливаются классов точности 0,2S; 0,2; 0,5S; 0,5; 1,0; 2,0 счетчики реактивной энергии — классов точности 0,5; 1,0; 2,0 (ГОСТ Р 5242520-05).
3. По подключению в электрические сети:
- однофазные (1ф 2Пр однофазный двухпроводный)
- трехфазные – трехпроводные (3ф 3Пр трехфазный трехпроводной)
- трехфазные – четырехпроводные (3ф 4Пр трехфазный четырехпроводной)
4. По количеству измерительных элементов:
- одноэлементные (для однофазных сетей (1ф 2Пр))
- двухэлементные (для 3-х фазных сетей с равномерной нагр (3ф 3Пр))
- трехэлементные (для трехфазных сетей (3ф 4Пр))
5. По принципу включения в электрические цепи:
- прямого включения счетчика
- трансформаторного включения счетчика:
- подключения счетчика к трехфазной 4-проводной сети с помощью трех трансформаторов напряжения и трех трансформаторов тока
- подключения счетчика к трехфазной 3-проводной сети с помощью трех трансформаторов напряжения и двух трансформаторов тока
- подключения счетчика к трехфазной 3-проводной сети с помощью двух трансформаторов напряжения и двух трансформаторов тока
Энергетическое обследование • Программа энергосбережения • Консультация
Узнать подробно
6.
По конструкции:
- простые
- многофункциональные
7. По количеству тарифов:
- однотарифные
- многотарифные
8. По видам измеряемой энергии и мощности:
- активной электроэнергии (мощности)
- реактивной электроэнергии (мощности)
- активно-реактивной электроэнергии (мощности)
Активная мощность для 1-фазного счетчика, Вт: PА1ф2 = UфICosφ
Активная мощность для 3-фазного двухэлементного счетчика, включенного в 3-х проводную сеть, Вт: PА3ф3Пр = UАВIАCosφ1(UАВIА )+ UСВIСCosφ2(UСВIС)
Активная мощность для 3-фазного трехэлементного счетчика, включенного в 4-х проводную сеть, Вт: P3ф4Пр = UАIАCosφ1(UАIА) + UвIвCosφ2(UвIв) + UсIсCosφ3(UсIс)
Типы счетчиков:
Электромеханический счетчик – счетчик, в котором токи, протекающие в неподвижных катушках, взаимодействуют с токами, индуцируемыми в подвижном элементе, что приводит его в движение, при котором число оборотов пропорционально измеряемой энергии.
Например:
Однофазный электросчетчик СО-505, класс точности 2,0. Однофазный электросчетчик СО-1, класс точности 2,5.
Трехфазный электросчетчик СА3У-И670, класс точности 2,0. Электросчетчик СР4У-И673, класс точности 2,0.
Статический счетчик– счетчик, в котором ток и напряжение воздействуют на твердотельные (электронные) элементы для создания на выходе импульсов, число которых пропорционально измеряемой энергии.
На пример, однофазный электросчетчик Меркурий 201 или Меркурий 200.02, класс точности – 2,0. Или терхфазный электросчетчик Меркурий 230А, класс точности 1,0. Трехфазный электросчетчик АЛЬФА А1R, класс точности 0,5S.
Многотарифный счетчик – счетчик электрической энергии, снабженный набором счетных механизмов, каждый из которых работает в установленные интервалы времени, соответствующие различным тарифам.
Эталонный счетчик – счетчик, предназначенный для передачи размера единицы электрической энергии, специально спроектированный и используемый для получения наивысшей точности и стабильности в контролируемых условиях.
Основные понятия, термины и определения
Счетный механизм (отсчетное устройство): Часть счетчика, которая позволяет определить измеренное значение величины.
Отсчетное устройство может быть механическим, электромеханическим или электронным устройством, содержащим как запоминающее устройство, так и дисплей, которые хранят или отображают информацию.
Измерительный элемент – часть счетчика, создающая выходные сигналы, пропорциональные измеряемой энергии.
Цепь тока: Внутренние соединения счетчика и часть измерительного элемента, по которым протекает ток цепи, к которой подключен счетчик.
Энергоаудит • Энергетический паспорт • Программа энергосбережения
Узнать подробно
Цепь напряжения: Внутренние соединения счетчика, часть измерительного элемента и, в случае статических счетчиков, часть источника питания, питаемые напряжением цепи, к которой подключен счетчик.
Электросчетчик непосредственного включения (или прямого включения): Как правило 3-х фазный электросчетчик, включаемый в 4-х проводную сеть, напряжением 380/220В, без использования измерительных трансформаторов тока и напряжения.
Трансформаторный счетчик – счетчик, предназначенный для включения через измерительные трансформаторы напряжения (ТН) и тока (ТТ) с заранее заданными коэффициентами трансформации.
Показания счетчика должны соответствовать значению энергии, прошедшей через первичную цепь измерительных трансформаторов.
Основные понятия учета электроэнергии
Коммерческий учет электроэнергии – учет электроэнергии для денежного расчета за нее
Технический учет электроэнергии – учет для контроля расхода электроэнергии внутри электростанций, подстанций, предприятий, для расчета и анализа потерь электроэнергии в электрических сетях, а также для учета расхода электроэнергии на производственные нужды.
Счетчики, устанавливаемые для расчетного учета, называются расчетными счетчиками.
Счетчики, устанавливаемые для технического учета, называются счетчиками технического учета.
Счетчики, учитывающие активную электроэнергию, называются счетчиками активной энергии.
Счетчики, учитывающие реактивную электроэнергию за учетный период, называются счетчиками реактивной энергии.
Средство измерений – техническое устройство, предназначенное для измерений.
Измерительный комплекс средств учета электроэнергии – совокупность устройств одного присоединения, предназначенных для измерения и учета электроэнергии: трансформаторы тока, трансформаторы напряжения, счетчики электрической энергии, линии связи.
Стартовый ток (чувствительность) – наименьшее значение тока, при котором начинается непрерывная регистрация показаний
Базовый ток – значение тока, являющееся исходным для установления требований к счетчику с непосредственным включением
Номинальный ток – значение тока, являющееся исходным для установления требований к счетчику, работающему от трансформатора
Максимальный ток – наибольшее значение тока, при котором счетчик удовлетворяет требованиям точности, установленным в стандарте ГОСТ Р 52320-2005.
Номинальное напряжение – значение напряжения, являющееся исходным при установлении требований к счетчику.
Технические требования к электросчетчикам
Общие требования:
- Класс точности не хуже 0,5S
- Соответствие требованиям ГОСТ Р (52320-2005, 52323-2005, 52425-2005)
- Наличие сертификата об утверждении типа
Функциональные требования:
- Измерение и учет активной и реактивной электроэнергии (непрерывный нарастающий итог), мощности в одном или двух направлениях (интервальные 30-и минутные приращения электроэнергии)
- Хранение результатов измерений (профили нагрузки – не менее 35 суток) и информации о состоянии средств измерений
- Наличие энергонезависимых часов, обеспечивающих ведение даты и времени (точность хода не хуже ±5,0 секунды в сутки с внешней синхронизацией, работающей в составе СОЕВ)
- Ведение автоматической коррекции времени
- Ведение автоматической самодиагностики с формированием обобщенного сигнала в «Журнале событий»
- Защиту от несанкционированного доступа к информации и программному обеспечению
- Предоставление доступа к измеренным значениям параметров и «Журналам событий» со стороны УСПД или ИВК ЦСОД
В «Журнале событий» должны фиксироваться время и дата наступления следующих событий:
- попытки несанкционированного доступа
- факты связи со счетчиком, приведших к каким-либо изменениям данных
- изменение текущих значений времени и даты при синхронизации времени
- отклонение тока и напряжения в измерительных цепях от заданных пределов
- отсутствие напряжения при наличии тока в измерительных цепях
- перерывы питания
– Счетчик должен обеспечивать работоспособность в диапазоне температур, определенными условиями эксплуатации.
(-40.. +550С)
– Средняя наработка на отказ не менее 35000 часов
– Межповерочный интервал – не менее 8 лет
Вас может заинтересовать:
- Система освещения
- Какие поставщики работают на рынке электроэнергии
- Как разобраться с тарифами для юридических лиц
Электрическое обучение | BrightRidge
Что такое электричество?
Электричество — это форма энергии, производящая тепло и свет. Электричество может также упоминаться как «электрическая энергия».
Где начинается электричество?
Электричество начинается с атома. Атомы состоят из протонов, нейтронов и электронов. Электричество создается, когда внешняя сила заставляет электроны двигаться от атома к атому. Поток электронов называется «электрическим током».
Что заставляет электроны двигаться?
Напряжение — это «внешняя сила», которая заставляет электроны двигаться. Напряжение – это потенциальная энергия.
Потенциальная энергия обладает способностью совершать работу. Примером потенциальной энергии является топор, который держат над куском дерева. Если топор упадет на кусок дерева, то дерево расколется. Обратите внимание на слово «если». Потенциальная энергия работает, ТОЛЬКО если ей это разрешено.
Что такое напряжение?
Напряжение — это «внешняя сила», которая заставляет электроны двигаться. Напряжение – это потенциальная энергия. Некоторые характеристики напряжения:
- Напряжение не видно и не слышно.
- Напряжение — это толчок или сила.
- Напряжение само по себе ничего не делает.
- Напряжение может выполнять работу.
- Между двумя точками появляется напряжение.
- Напряжение есть всегда.
Какие два вида электричества существуют?
Статическое электричество возникает при дисбалансе положительно и отрицательно заряженных атомов. Затем электроны перескакивают с атома на атом, высвобождая энергию.
Два примера статического электричества — молния и трение ног о ковер, а затем прикосновение к дверной ручке.
Текущее электричество представляет собой постоянный поток электронов. Существует два вида электрического тока: постоянный ток (DC) и переменный ток (AC). При постоянном токе электроны движутся в одном направлении. Батареи производят постоянный ток. В переменном токе электроны движутся в обоих направлениях. Электростанции производят переменный электрический ток. Переменный ток (AC) — это тип электроэнергии, которую BrightRidge распределяет между вами для использования.
Что такое проводники и изоляторы?
Проводники — это все, через что легко проходит электричество. Примерами электрических проводников являются медь, алюминий и вода.
Изоляторы — это материалы, которые не пропускают электричество. Некоторыми примерами изоляторов являются резина, стекло и пластик.
От завода к розетке
Электричество, которое мы используем дома и на работе, производится или генерируется на электростанциях.
BrightRidge покупает электроэнергию, которую мы продаем, у Управления долины Теннесси (TVA). Независимо от того, на каком типе электростанции производится электричество, оно все равно идет по одному и тому же пути к вашему дому. Узнайте, как электричество проходит от растения к розетке!
Узнать больше
Основные термины, касающиеся электричества
Первая электростанция, принадлежащая Томасу Эдисону, была открыта в Нью-Йорке в 1882 году. выключатели, предохранители, розетки и счетчики. Изучение электричества может быть увлекательным и увлекательным. Узнайте о терминах, характерных для электротехнической промышленности!
Узнать больше
Экзаменационная комиссия штата Северная Каролина по электротехническим подрядчикам
Продлить/обновить лицензию
(ПРИМЕЧАНИЕ. Для входа в учетную запись лицензии вам потребуются ваш идентификатор пользователя и пароль. Если вы не знаете регистрационную информацию, свяжитесь с нашим офисным персоналом по адресу ( 919) 733-9042 или по электронной почте office@ncbeec.
org)
Существует 10 различных классификаций лицензий на выполнение электрических контрактов. Каждая лицензия будет иметь определенный объем и/или разрешенное ограничение работы.
Ограниченная ( L ) лицензия позволяет лицензиату участвовать в одном проекте по заключению контракта на электроснабжение стоимостью не более шестидесяти тысяч долларов (60 000 долларов США) и на котором оборудование или установка в контракте оценивается не более чем 600 вольт.
Промежуточная ( I ) лицензия позволяет лицензиату участвовать в одном проекте подряда на электроснабжение на сумму, не превышающую сто пятьдесят тысяч долларов (150 000 долларов США).
Неограниченная ( U ) лицензия позволяет лицензиату участвовать в любом проекте по заключению контрактов на электроснабжение независимо от его стоимости.
Существует семь (7) классификаций Special Restricted, которые разрешают только ограниченный этап электромонтажных работ.
Щелкните синюю аббревиатуру под каждым типом лицензии, чтобы просмотреть дополнительную информацию о области классификации. Полная область действия для каждой из специальных ограниченных классификаций указана в разделе .0800 правил и положений.
( SP-SFD )
( SP-FA/LV )
( SP-PH )
W
9
( SP-PH )
W
9
( SP-PH )
W
9
( SP-PH )
W
9 ( SP-PH ) )
( SP-WP )
( SP-ES )
G
( SP-EL )
Все лицензии выпускаются. один (1) год после даты выдачи.
Уведомления о продлении автоматически рассылаются примерно за 30 дней до истечения срока действия лицензии. Если вы указали адрес электронной почты, через 30 дней вам будет отправлено уведомление по электронной почте. Если вы не указали адрес электронной почты, бумажная форма продления будет отправлена по адресу, указанному в файле.
Если вы не получили уведомление о продлении, вы можете связаться с нашим офисом по телефону (919) 733-9042.
Административный сбор в размере 25 долларов США взимается со всех продлений, полученных после истечения срока действия лицензии. Отправленные по почте продления считаются поданными в день, когда такое письмо проштамповано почтовым штемпелем.
После успешной сдачи квалификационного экзамена соискатели лицензии на заключение контрактов на электромонтажные работы в любой из лицензий ДОЛЖНЫ:
1. Подать заявку и сдать требуемый экзамен по заключению контрактов на электроснабжение.
2. Отправьте заполненное Заявление на новую лицензию для желаемой классификации лицензии.
3. Внесите соответствующий ежегодный лицензионный сбор за классификацию лицензии.
4. Укажите имя, подпись и номер социального страхования по крайней мере одного человека, который будет выступать в качестве квалифицированного лица, указанного в списке для получения лицензии заявителя.
Проверьте желаемое имя с помощью базы данных активных лицензиатов. Свяжитесь с персоналом Правления, если вы хотите подтвердить какие-либо имена.
В соответствии с .0402 (a) имя, на которое выдается лицензия, должно отличаться от имени, на которое лицензия уже была выдана. Если запрошенное имя, после удаления всех пробелов, знаков препинания, артиклей, предлогов, союзов и, сокращенных или нет, «корпорация», «инкорпорейтед», «компания» или «с ограниченной ответственностью», не идентично имени, в котором лицензия уже выдана, она должна быть различима. Замена числительного словом, представляющим то же числительное, не делает имя различимым.
Если вы хотите изменить имя в своей лицензии, вы должны подать заявление о переоформлении лицензии/изменении имени. Изменение названия компании в лицензии требует переоформления лицензии; это означает, что дата истечения срока действия и дата продления изменятся. Если вы регистрируете свой бизнес, вы должны предоставить копию своего устава, устава организации (LLC) или свидетельство о полномочиях (корпорации за пределами штата), подтверждающие, что вы зарегистрированы в Департаменте государственного секретаря Северной Каролины.
. Будет выдан новый сертификат, отражающий запрошенные изменения.
Правление должно быть проинформировано о ЛЮБЫХ изменениях адреса и/или обновлении контактной информации. Уведомление о любых изменениях должно быть направлено в Совет в течение 30 дней. Вы можете обновить любую адресную/контактную информацию в режиме онлайн, зайдя в свой профиль лицензии на странице регистрации продления/обновления лицензии. Изменения также можно внести, заполнив контактную форму обновления, которую можно отправить по почте, факсу или электронной почте Правлению.
Ваш действующий лицензионный сертификат должен отображаться на вашем рабочем месте. Если вы потеряли или потеряли свой лицензионный сертификат или хотите получить дубликат лицензионного сертификата, заполните и отправьте Форму запроса дубликата лицензии. Дубликаты лицензионного сертификата стоят 15 долларов США каждый.
Можно заказать постоянные сертификаты декоративной лицензии. Эти сертификаты имеют размер 8,5″ x 11″ и напечатаны на декоративной бумаге для сертификатов.
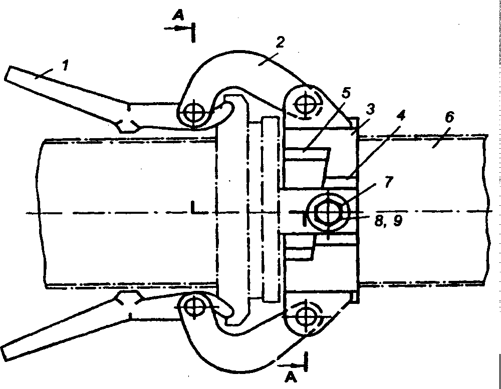
Под действием возвратной пружины она перемещается вперед и своим толкателем нажимает на шарик запорного топливного клапана. Шарик отпирает отверстие и топливо через запорный клапан поступает сначала в топливную камеру экономайзера, а оттуда через калиброванный жиклер в топливный канал, ведущий в эмульсионный колодец первой камеры ГДС карбюратора. Уровень топлива в нем повышается, вызывая обогащение топливной смеси, поступающей через распылитель ГДС в цилиндры двигателя. Двигатель, получив порцию богатой смеси, увеличивает свои мощность и приемистость.
).
Экономайзер может подавать топливо в смесительную камеру карбюратора непосредственно или через главную дозирующую систему.
Дополнительная порция топлива начинает подаваться в смесительную камеру через жиклер полной мощности, помимо главного жиклера, обогащая горючую смесь.
(Он называется экономайзером , так как в цилиндры поступает меньше топлива для охлаждения двигателя в условиях малой мощности, когда в этом нет необходимости.)
Излишне богатая смесь препятствует разумной выработке мощности и снижает летно-технические характеристики самолета. Главное наклониться перед взлетом.
Тем не менее, во многих двигателях смесь необходимо дополнительно обеднять при частичном открытии дроссельной заслонки для достижения максимальной экономии. Чтобы обеспечить эту более бедную смесь, тракторы Marvel-Schebler и промышленные карбюраторы используют «систему экономайзера с обратным всасыванием». При таком способе дозирования топлива давление воздуха в камере топливного бака регулируется и контролируется в зависимости от условий нагрузки за счет комбинации каналов вентиляции камеры и экономайзера, сообщающихся с дроссельным отверстием карбюратора. Регулируя давление воздуха в камере топливного бака, можно контролировать поток топлива через карбюратор, чтобы обеспечить надлежащие пропорции смеси для двигателя.
Количество воздуха, выводимого из камеры топливного бака (9), регулируется размером жиклера экономайзера (23), отверстием экономайзера (24) и положением дроссельной заслонки (6), поскольку ее положение определяет вакуум коллектора или всасывание на отверстии экономайзера (24). Когда дроссельная заслонка (6) открывается из положения быстрого холостого хода, отверстие экономайзера (24) постепенно подвергается всасыванию коллектора, и воздух поступает из камеры топливного бака (9).), через жиклер экономайзера (23) и через отверстие экономайзера (24). Этот воздух должен быть заменен воздухом, поступающим через вентиляционное отверстие камеры (22), но поскольку размер вентиляционного отверстия камеры
При открытии дроссельной заслонки (6) все отверстие экономайзера (24) подвергается всасыванию коллектора, что приводит к дополнительному удалению воздуха из камеры топливного бака (9).), снова обедняя соотношение смеси до правильных пропорций для этого нового положения дроссельной заслонки. После того, как отверстие экономайзера (24) полностью подвергается всасыванию коллектора, количество воздуха, вытягиваемого из камеры топливного бака (9), регулируется разрежением коллектора или всасыванием при любом заданном положении дроссельной заслонки (6) и по мере того, как это всасывание уменьшается, когда дроссельная заслонка приближается к полностью открытому положению, из камеры топливного бака вытягивается меньше воздуха, и в двигатель поступает дополнительное топливо, чтобы обеспечить дополнительное обогащение, необходимое для работы при больших нагрузках, когда необходима максимальная мощность.

Этиленгликоль смещает точку замерзания раствора в сторону отрицательных температур, что позволяет эксплуатировать автомобиль в холодное время года.
Возрастает его химическая активность в отношении металлов, начинаются процессы коррозии, появляется ржавчина.
, что соответствует 7% от числа всех легковых машин. Сколько всего легковых машин в городе N?
..)
Выпишите слово, в котором на месте пропуска пишется буква Е. Русский язык ЕГЭ-2017 Цыбулько И. П. ГДЗ. Вариант 12.
Вода с высоким содержанием минералов вызывает отложение быстрее, что со временем снижает производительность системы охлаждения.
Накипь представляет собой особый тип отложений, вызванный ростом кристаллов на поверхностях, контактирующих с водой. Обычными соединениями отложений являются карбонат кальция, сульфат кальция, железо, медь, кремнезем и свинец.
Даже относительно тонкий слой накипи может снизить теплопередачу на целых 40%!
К ним относятся: кавитационно-эрозийные, коррозионные, накипь и зеленая жижа или выпадение.
К ним относятся:




«С учетом всех доступных цветов и химикатов как никогда важно обеспечить надлежащую программу обслуживания системы охлаждения.
, поставщик автомобильного оборудования для замены жидкости.
Среди них: более быстрое обслуживание с сокращением времени простоя автомобиля по сравнению с традиционными методами; более эффективный слив, удаление загрязнений и пополнение охлаждающей жидкости; и предотвращение разливов охлаждающей жидкости.

Причина может заключаться в т. н. дребезге (вибрации) контактов. В статье рассматривается схема, позволяющая решить эту распространенную проблему.
В тот момент, когда эти небольшие компоненты приводятся в движение, они с ускорением перемещаются в требуемое положение. После срабатывания некоторое время происходят многократные неконтролируемые замыкания и размыкания контактов за счет упругости пружины и деталей контактной системы; при этом электрическая цепь размыкается и замыкается, пока движение полностью не прекратится.
Силовые цепи от него не страдают, чего нельзя сказать о цифровом входе. при изменении состояния электронный сигнал имеет нестабильный или, точнее, неопределенный статус, тогда как логической иС требуется четкий сигнал определенного уровня. микроконтроллер может пропустить изменившееся состояние порта, если считает данные в неподходящий момент. таким образом, требуется обеспечить генерацию четкого выходного сигнала переключателя. мы рассмотрим схему, позволяющую устранить его дребезг, чтобы решить эту проблему.
7. Переключатель с базовой схемой защиты от дребезга
В нашем примере величина UOUT = 63% (3,15 В) от своего конечного значения (5,0 В) через 10 мс.
Время отклика схемы, возможно, придется согласовать с временем выборки микроконтроллера.
Предложенный RC-фильтр позволяет уменьшить это явление. Фильтр можно усовершенствовать, установив дополнительные компоненты для более точного формирования сигнала и защиты от перенапряжения.
Когда данные передаются по линиям AD, вместо AD используется символ D, например, D0-D7, D8-D15 или D0-D15.
Сигнал, выдаваемый устройствами, синхронизируется тактовым генератором 8284A, чтобы предоставить микропроцессору готовый ввод. Сигнал активный высокий(1).
Этот вход был внутренне синхронизирован.
Вход внутренне синхронизируется в течение каждого тактового цикла по переднему фронту тактового сигнала.
Этот контакт требуется в минимальных системах, которые хотят использовать приемопередатчик шины данных 8286 или 8287. Направление потока данных контролируется через трансивер.
Для работы катушки требуется относительно небольшое количество энергии, но ее можно использовать для управления двигателями, нагревателями, лампами или цепями переменного тока, которые сами по себе могут потреблять гораздо больше электроэнергии.





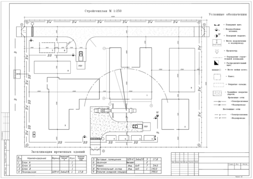
В первом случае объектный стройгенплан разрабатывается проектной организацией в составе ПОС, а во втором – генподрядным строительным предприятием или специализированной проектно-технологической компанией по его заказу на основании рабочих чертежей и детализировать решения, принятые в общеплощадочном СГП.


В первом случае разработка СГП для ПОС – функция проектной организации, а во втором – составление СГП для ППР – забота генерального подрядчика. Чаще всего ППР разрабатывается сторонними организациями по заданию и под руководством генподрядчика.
101-2020, к разработке стройгенпланов техническими регламентами предъявляются требования:
ч. в темное время суток и на высоте, соблюдения санитарных, экологических, противопожарных требований.


д. «Технологические» временные сооружения по выбранному варианту наносят на стройгенплан;
Существующая инфраструктура, природный ландшафт, городской управляющий и даже местные соседи могут что-то сказать о предлагаемом вами развитии. И эти движущиеся части могут быстро стать трудными для отслеживания и включения в ваш проект.
Эскиз участка или предварительный план участка — это недорогой способ начать закреплять некоторые неизвестные элементы проекта. Это критически важный первый шаг для обеспечения максимально гладкого процесса получения прав на землю.
Например, вы не можете строить на определенном расстоянии от водно-болотных угодий или ручьев.
Должен включать количество парковочных мест и предполагаемый поток движения.
Строитель или подрядчик создаст схему, на которой будет показан земельный участок и его границы, а также особенности ландшафта, структурные элементы, отступы, подъездные пути, опоры и линии электропередач, ограждение и постройки на участке.
Они также представляют собой историческую запись структуры и любых изменений, внесенных владельцем собственности с течением времени.
Планы этажей обычно не включаются в план участка, если только имущество не изменяется таким образом, что это влияет на площадь дома.
Они также покажут, нужно ли вызывать инспекторов в процессе строительства.

Рационально использовать такой агрегат в условиях ограниченного места на стройплощадке. Помимо этого, оборудование такого типа используют при:
Подача строительной смеси из приемного бункера в бетоновод происходит малыми дозами. Чтобы движение было более плавным и однородным во многих моделях используют гидравлический привод. Следует отметить, что оснащенная гидравлическим приводом поршневая техника обладает большей мощностью, что позволяет поднимать строительные смеси на большую высоту. К недостаткам таких установок можно отнести быстрый износ поршневой части из-за того, что вовнутрь попадают частицы наполнителя и постепенно нарушают работу техники. Здесь помогут регулярная промывка и смазка деталей, которые позволят вашей стaнции пo пepeкaчкe pacтвopa работать как можно дольше.
Во-первых, однородность смеси. Максимально однородный со взаимно связующими элементами, без высокой пустотности раствор кроме легкого прохождения также позволяет технике работать без сбоев и засоров.Во-вторых, крайне важно, чтобы приготовленный раствор цемента как можно меньше смывал смазочный слой со стенок бетоновода, для этого рабочими должно быть организовано необходимое давление при перемещении смеси.Следует отметить, что в некоторых случаях, для более продуктивной перекачки в раствор могут быть добавлены специальные пластифицирующие добавки, для уменьшения расслоения, улучшения качеств смеси и проходимости ее по бетоноводу.
Так как керамзит сам по себе очень легкий, но при этом объемный, с увеличением давления внутри бетоновода велика вероятность забивания последнего. Поэтому, перед началом работ необходимо вымочить керамзит в воде и подготовить бетоновод — сделать его максимально прямым без лишних изгибов, нанести смазочный слой на стенки. Также хотелось бы отметить, что для подачи керамзитобетона лучше использовать бетоноводы большого диаметра и тщательно следить за процессом подачи смеси, чтобы в случае необходимости осуществить корректировку в при помощи специальных связующих смесь добавок. 



Для того чтобы снизить пульсации смеси в бетонопроводе вместо одного цилиндра устанавливают два и очень редко больше.

Поршень, двигаясь назад, всасывает определенное количество раствора из бетоноприемника, затем выталкивает его в бетонопровод — рукав, по которому смесь поступает к месту строительства. Одним из главных элементов системы является шиберный затвор. При всасывании раствора он открывает бетоноприемник, а при выталкивании его закрывает, обеспечивая поступление смеси в бетонопровод.



По данным Всемирного экономического форума, население городских районов мира увеличивается на 200 000 человек в день, и всем этим новым жителям нужны жилье, медицинские услуги, школы, транспортная инфраструктура и многое другое. Строительство городской инфраструктуры для удовлетворения потребностей растущего населения почти наверняка будет поддерживать высокий спрос на строительных подрядчиков и рабочих в ближайшие годы.

Он состоит из насоса, установленного на небольшом прицепе. Для буксировки стационарного насоса на рабочие площадки требуется отдельный грузовик. У стационарного насоса также нет стрелы, поэтому необходимы отдельные трубопроводы или укладочные шланги, чтобы доставить бетон от насоса туда, куда ему нужно. Для точной укладки бетона также необходима отдельная укладочная стрела.
Каждый из наших грузовиков имеет шасси с тремя, четырьмя или пятью осями, в зависимости от размера и веса штангового насоса.
Его шарнирная рука с дистанционным управлением позволяет легко перемещаться по ветвям деревьев и линиям электропередач или под ними.
Бетононасосы имеют решающее значение, поэтому работа идет быстро и гладко, а бетон оказывается там, где он должен быть. Таким образом, в фундаменте не может быть дефектов.
Проезжие тоннели также должны быть достаточно прочными, чтобы не разрушиться под тяжестью земли над ними. Использование бетононасоса гарантирует эффективное и результативное выполнение работы. Эстакады и туннели также часто требуют работы с некоторой высотой, а использование бетононасоса, особенно стрелового насоса для дополнительной подъемной силы, делает работу быстрее и проще.
Стреловые насосы могут добраться до заднего двора с улицы и залить бетонные плиты для этих функций в кратчайшие сроки.
Поскольку они работают непрерывно, они могут перекачивать значительные объемы бетона за один раз. Поскольку бетон всегда течет, сотрудники постоянно заняты, они никогда не стоят и не ждут доставки бетона другими способами. Бетононасос можно настроить очень быстро, и для его эксплуатации требуется лишь небольшое количество сотрудников. Все эти функции делают бетононасосы важными функциями, удобными в использовании, эффективными и экономящими время функциями на любой строительной площадке сегодня.
Наши бетононасосы исключительно удобны в использовании, имеют простую, интуитивно понятную конструкцию и легко очищаемые бункеры, поэтому вашей команде не придется тратить часы на техническое обслуживание, очистку или выяснение того, как работает ваша машина.


Поскольку приводные цилиндры и бетонные поршни внутри бетонных цилиндров связаны друг с другом, поршни движутся синхронно.
Все функции по работе бетононасоса можно выполнять с помощью органов местного управления, установленных на боковой части тележки с насосом. Дополнительный ручной кабель или дистанционное радиоуправление позволяют управлять процессом перекачки на удаленном расстоянии. Бетононасос предназначен для безопасной перекачки влажного бетона через систему подачи труб и шлангов в соответствии с опубликованными параметрами и техническими характеристиками.


Колесная база в 3000мм полностью сопоставима с колесной базой короткобазого
Задняя дверца багажника может быть либо распашной, либо подымающейся вверх.
Термостат – еще одна деталь, которую вскоре придется заменить. Время от времени «показывает характер» система кондиционирования и отопитель.
Также можно подкинуть б/у стартер или генератор с разборки.
с.
Передние крылья пластиковые, по ним проблем не возникает.
ч. Плюс шикарная работа ASR что даёт нехилую проходимость зимой. Ты боишься ехать — а он едет))) Владею авто пока один год, минусов пока нет. Надеюсь и дальше так будет!
000223 A 6.000223 A 7.000223 B 1.000224DT226S1226S1 / M54B2225 6S 325 6S 425 6T 1256D1 / M57D25256D2 / M57D25256S4256S5256S5 / M54B25256T256T125K4F263 A 2.000263 A2.000276.823276DT276DT 7B/7G278.928286S1/22ADFHV2AD-FHV2ADFTV2AD-FTV2ARFE2ARFXE2AZFE2AZ-FE2AZFXE2GRFE2GRFSE2GRFXS2KDFTV2NZFE2SZFE2TR 7072TZFZE2UZFE2WZ-TV2ZR-FAE2ZRFE2ZR-FE2ZRFXE2ZR-FXE30 6D 130 6D 230 6D 330 6S 3306D1306D2306D3 / M57D30306D5306DT306S330E346KB350 A 1.000358S2 / M62B35368DT36D, 94D, 56D3A913CTE3FY3FZ3GRFSE3MZFE3SFE3SZVE3URFE3UZFE3ZZFE406PN428PS42D448PN448S1/2448S2 / M62B44491QE4A904A924AFE4B104B114B124B404CC4D564EA4EB4EE24EFE4G134G13 Kat.4G154G184G634G63 Kat.4G644G694G924G92 Kat.4G934G93-34G93-G4G944GA4GRFSE4HB4Hh5HN4HP, 4HR, 4HS, 4HT4HP, 4HR, 4HT4HP, 4HT4HP,4HR,4HS,4HT4HU (P22DTE)4HV4HV (P22DTE)4HW4HX4HY4J114J124JA1T4JX14M404M414N134N144ZZ-FE508PN54 12 1/2 / M73B54552738355FR5FS5FV5FW5FX5FY5VZFE60D, 46D661665.926.006B316FY6FY (EW7A)6FZ6G726G746G74-B6G757AFE7A-FE8040.45.5…8060.25R.4200, 8060.25R.4210, 8060.25R.
4220, 8060.25R.4225, 8060.25R.4230, 8060.25R.42408140.27S8140.43C8140.43S8144.91.2200838.000838A2.000838B.000839A4.000841 C.000843 A 1.0008ARFTS8FN, 8FP, 8FR8FP, 8FR8FR8FS8HP, 8HR8HR, 8HZ8HS8HX8HX, 8HZ8HY8HZ8NRFTS937 A 3.000937 A 5.000937 A1.000937 A5.000937A2.000939 A 1.000939 A 2.000939 A 3.000939 A.000939 A2.000939 A3.000939 A4.000939 A5.000939 A6.000939 B3.000940A2.000940A4.000955 A1.000955 A3.00099M9HD9HF9HL9HL, 9HR9HN9HP9HR9HT9HU9HV, 9HX9HW9HX9HY, 9HZ9HY,9HZ9HZ9HZ,9HZP9JPGRBA10XEPA12XERA13DTCA13DTEA13DTE, A13DTRA14NELA14NETA14XERA16DMSA16XERA17DTEA17DTIA17DTJA17DTRA17DTSA18XERA20DT A20DTJA20DTEA20DTHA20DTH, A20DTJ, A20DTA22DMA25AFKSA25AFXSA3EA9AA9BA9J…AACAAFAAMAAUABCABDABFAABKABLABSACACKACVADPADRADXADZAEAAEBAEEAEHAEKAERAEVAEXAEYAFBAFNAFTAGAAGBAGLAGNAGRAGUAGZAHFAHHAHLAHUAHWAJAJ 4.4AJ16AJ6AJAAJDAJMAJV6DAJ-V8AKCAKEAKKAKLAKNAKQAKUAKVALDAALEALFALGALHALLALMALTALZAMBAMFAMLAMXAMYANAANBANUANYAOBA, AOBCAODA, AODBAODA, AODB, AODE, SYDAAODA, AODEAPEAPFAPGAPKAPPAPRAPSAPTAPUAPXAQEAQMAQNAQWAQYAR 32104AR 32301AR 32310AR 32401AR 33501AR 36301AR 67204ARGARJARLARMARYASBASDA, ASDBASEASGASNASVASYASZATDATJATLATMATNAUAAUBAUCAUDAUKAUMAUQAUXAUYAVBAVFAVGAVJAVQAVRAVUAVVAWAAWCAWFAWTAWUAWXAWYAXCAXPAXQAXRAXWAXXAXZAYDAYHAYLAYMAYQAYTAYYAYZAZBAAZDAZJAZMAZQAZVAZWAAZZB 204 EB 204 IB 205 EB 207 EB 207 LB10D1B10S1B12D1B12S1B14NETB14NET, D14NETB16DTHB16DTH, D16DTHB200EB202 RB202LB205EB207EB20A4B20Z1B230FB230FKB235EB235RB3B3(16V)B3154T2B36 A15AB4164SB4164S2B4164S3B4184SB4184S11B4184S2B4184SJB4184SMB4204S2B4204T27B4204T3B4204T5B47C20AB47C20BB47D20AB48A20AB5202SB5204T4B5204T5B5244SB5244S2B5244S4B5244S5B5244TB5244T3B5244T7B5252FSB5252SB5254FSB5254SB5254T2B5254T5B5DB6B6294TB6304S2B6304T2B6304T4B6324SB69B8444SBAABACBADBAGBAJABAMBARBAUBAYBBEBBFBBKBBMBBYBBZBCABCBBDGBDHBDKBDNBDVBDWBDXBDYBE 110 CBE 123 CBELBEXBFBBFCBFHBFLBFMBFQBFSBGBBGHBGUBHKBHPABHWBJBBJXBKCBKDBKD, BWCBKEBKHBKNBKPBKRBKSBKYBLBBLFBLGBLNBLPBLRBLSBLTBLVBLXBMDBMEBMKBMMBMNBMPBMRBMSBMXBMYBNMBNVBNZBOBBPBPDBPEBPGBPJBPPBPYBPZBRBBRDBREBRTBRUBSBBSEBSMBSSBSTBSVBSWBSYBSY, BWCBTBBTSBUDBUGBULBVJBVKBVRBVXBVYBWABWSBWTBXEBXFBXVBXWBYTBZBBZGC14NZC18NZC20NEC27A1 V6C35A5C9D…CACAABCAEBCAGACAGBCAHACALACALBCARACASACAVBCAVCCAVDCAVECAWBCAXACAXCCAYACAYBCAYCCAYDCBABCBBBCBDBCBDCCBFACBFA, CCTACBPACBTACBUACBZBCCAACCTACCWACCZACCZBCCZCCDAACDABCDC, CDBCDHACDHBCDNCCDRACDTACDVCCDZCE 136 CCE 162CE 162 CCE,CC,NB,NCCEGACEUACEXBCFACFBACFFBCFGBCFHCCFWACG10DECG12DECGA3DECGBA, CGBBCGGBCGKACGLCCGPACGPBCGRACGWBCGXBCHBA, CHBBCHFBCHGACHHACHYACHYBCHZCCJBA, CJBBCJBB Duratec-HECJWCCJZDCKFCCLHACNHACologneCPMACPMBCPRACR10DECR12DECR14DECRLBCS 133 MCSDACT 97CTHDCTHECUNACUUACVNACVVACXBACXBBCXMACXXBCYF5CYMCCYNBCYR5CYVBCZCACZCBCZDACZEACZTAD0834 LFL04D0834 LFL61D0834 LFL63D0836 LFL53D11C370D12D420D12D460D13AD13C420D13АD14A2D14A3, D14Z1D14A8D14Z2D14Z6D16AAD16B2/D16Y3D16V1D16W1D17A2D17A9D19AAD2066 LF01D2066 LF04D2066 LF12D20DTD223LD2676 LF05D2676 LF07D2676 LF22D2676 LF45D2676 LF46D27DTD2FAD2FA, D2FB, D2FED308LD3FAD4162TD4164TD4192T3/DID4204TD4204T23D4BHD4CBD4EAD4EA-VD4EBD4F 712D4F 722D4F 740D4F 784, D4F 786D4F 786D4F702D4F708D4F732D4F770, D4F772D4FAD4FBD4FB-LD4FCD4FDD4HAD4HBD5204T2D5204T3D5244TD5244T10D5244T13D5244T18D5244T4D5244T5D5244T8D5BAD6B220D6BAD7E240D7F 720D7F 726D7F 730D7F702D9AD9BDC 12 01DC 12 13DC 12 14DC 13 07DC9 37DCI 11 CDCI 4CDCI 6WDCXADDSADDXCDEUADFGADFMADGUADGXADH…DHXDHYDJXADKRFDLDNKADOFADPCADRF4, DRFF, DRFGDT 12.
17DTI 11DuratecDXi 11 380DXI 11 410DXI 11 450DXI 12 440DXI 12 480DXI 13 460DXi 13 480DXi 13 500DXi 5 190DXi5 180E1E6J 734,712E7F 700E7F 708E7J 634E7J 700EBAEBTECBECB, ECOECCECDECD, ECEECEECNEcoboost 1.5 DragonED3ED3, EDGED3, EDG, ERZED6EDD…EDJEDZEE20ZEEREGAEGGEGHEGLEGNEGQEGXEHBEJ16EJ18EJ20 (SOHC)EJ201EJ202EJ204EJ205EJ20EEJ20JEJ22EJ25EJ251EJ253EJ25DEJDEJDEEJH (55263842)EKGEL15ELFEM57EM61ENCENC, ENO, M51, M52ENEENFENJENJ, ENOENRENSERBERCERHESSEXEVAEVA, EVD, EVE, EVOEXLEY7EYD..EZ30DEZ36DEZAEZBEZB, EZD, EZHEZB, EZD, EZH, EZOEZHF10DNF14D3F16D3F16D4F18 A3F18A3F18D3F18D4F1AE0481B..F1AE0481CF1AE0481DF1AE0481G..F1AE0481V..F1AGL411S, F1AGL411LF1CE0481A…F20B6F3AE0681D*..F3AE3681A*M, F3AE3681A*R, F3AE3681A*P, F3AE3681A*U, F3AE3681A*SF3AE3681Y*…F3BE3681B*…F3FAF3GFE611B*F3N 718F3N 740F3P 670F3R 728F3R 768F4AE0481A*C..F4AE0681B*C..F4AE3481D*…F4AE3481D*M, F4AE3481D*S, F4AE3481D*U, F4AE3481D*R, F4AE3481D*PF4AE3681D*…F4FAF4P 760F4P 775F4P720F4R 700F4R 701F4R 714F4R 732F4R 738F4R 740F4R 747F4R 770F4R 771F4R 776F4R 780F5R 700F5R 740F6J.
.F6JA, F6JBF6JBF6JB, F6JDF8CVF9D…F9QF9Q 670F9Q 740F9Q 748F9Q 760F9Q 762F9Q 780F9Q 782F9Q 790F9Q 800F9Q 803F9Q 804F9Q 812F9Q 816F9Q 818F9Q 820F9Q 870F9Q 872F9Q1, F9Q-200FB16FB20FB25FCFBFEFFBAFFDAFHZFiFAFMBAFMBA/B6BFPFR 103FR 118FSFUJ…FUJAFXD…FXFAFXJ…FXJAFXJA, FXJB, FXJCFYD..FYJ…FYJA, FYJB, FYJCG10AG13BAG13BBG16AG16BG3LAG4EAG4ED, G4ED-GG4ED-GG4EEG4EE-GG4FAG4FCG4FDG4GCG4GRG4HCG4HDG4HEG4HGG4JPG4JS-GG4KAG4KCG4KDG4KEG4KFG4KHG4KJG4KKG4LAG4LA (Kappa)G4NAG4NBBG4NHG54BG6AG6BAG6CUG6DAG6DA, G6DB, G6DDG6DA, G6DB, G6DD, G6DE, G6DFG6DA,G6DB, G6DD, G6DGG6DBG6DCG6DDG6DGG6DG; UKDAG6DPG6EAG8BAG8DA, G8DBG8DA, G8DB, G8DC, G8DD, G8DE, G8DFG8DA, G8DB, G8DDG8DBG9T 600G9T 642, G9T 710G9T 720G9T 722, G9T 750G9T 742G9U 650G9U 730G9U 754GA14DEGPDA, GPDCGR 165GR 165 / ISBe4 225GU…GW4C20GW4D20GYGZh37Ah5B 400h5B 408H5F 400H5F403H9FAH9FB, H9FC, H9FDHCPAHCPA, HCPB, HCPCHDEHDZ, HDYHFXHFX, HFZHHDA, HHDBHHJA, HHJBHHJB, HHJAHHJC, HHJD, HHJEHJBBHJBEHNYHR12DEHR16DEHRA2DDTHUBA, HUWAHWDA, HWDBHXDAHXDA, HXDBHYDAHYDB, HYDCISBE 275J20AJ24BJ3J35A.
.J35A4J35A5J35A8J35A9J35S1J35Z2J35Z4J35Z5J37A1J4…J4JJ4PJ4SJ4TJBJJ…JJA, JJC, JJE, JJJ, JJK, JJMJQMA, JQMBJXFA, JXFCK 1,8/18K4FK10BK12K12BK20A1K20A3K20A4K20A6K20A9K20C2K20C4K20Z2K23A1K24A3K24A4K24A8K24Z1, K24Z4K24Z3K3VEK4J 710K4J 711K4J 730K4J 740K4J 750K4J 770K4J 780K4M 700K4M 701K4M 708K4M 720K4M 753K4M 760K4M 761K4M 766K4M 782K4M 790K4M 794K4M 800K4M 801K4M 812K4M 813K4M 848K4M 858K4M690, K4M696, K4M697K5K7M 702K7M 703K7M 720K7M 744K9KK9K 612K9K 626K9K 636K9K 639K9K 702K9K 704K9K 714K9K 722K9K 724K9K 728K9K 732K9K 752K9K 764K9K 766K9K 768K9K 772K9K 780K9K 796K9K 800K9K 802K9K 830K9K 832K9K 834K9K 836, K9K 837K9K 836, K9K 846K9K 856, K9K 858K9K636K9K710, K9K714KappaKDXKDX, KDZKFTKFUKFVKFWKFXKHBA, QYBAKKDAKKDA, KKDBKLKLBA, LPBA, TYBAKVJAL12A1L12A4L12B1, L12B2L13A1L13A7L13Z1L13Z1, L13Z2L15BL15BAL15BEL1F, L1JL1HL1L, L1N, L1QL1WL3L37L3TL3-VDTL5L59L5-VEL61L7X 727L8L92LAFLB6LCBDLD23LDA1LDA2LDA3LE2LE5LE5, LE9LEALEA2LFLF1LFVLF-VDLFWLFXLFYLFZLGXLh3LIHLL8LLTLM7LMGLNJLP1LQ9LR4LTGLUHLUULUVLY7LYXM 264.
915M 264.920M 274.930M 47 RM02.2YM102.910M102.962M102.963M102.982M103.940M103.942M103.980, M103.983M104.942M104.995M111.920M111.921M111.940M111.941M111.945M111.951M111.955M111.956M111.957M111.958M111.970M111.973M111.975M111.982M111.983M112.911M112.912M112.913M112.914M112.921M112.940M112.942M112.944M112.949M112.954M112.970M112.972M113.960M113.964M113.981M117.968M119.970,980M119.971,981M13AM15AM166.940M166.960M166.990M166.991M166.995M16AM1DAM266.920M266.940M266.960M270.910M271.940M271.941M271.944M271.946M271.950M271.952M272.920M272.921M272.942M272.961M272.964M272.967M272.971M272.972M272.977M272.985M273.923M273.963M273.968M276.952M276.955M276.957M278.932M2DAM48.00M48.01M4R 700M4R 701M4R 704M4R 711M4R 713M4R 751M55.01M55.02M57D30M62B44 V8M7JM7J…M9DA, M9DB, M9DG, M9DHM9RM9R 615M9R 740M9R 742M9R 744M9R 760M9R 780M9R 780, M9R 782, M9R 784, M9R 786, M9R 788M9R 782M9R 786M9R 804, M9R 817M9R 832M9R 839, M9R 844M9R 864, M9R 865M9R630, M9R692, M9R780, M9R782, M9R786M9T 870, M9T 876M9T870MGDAMHMR16DDTMR18DEMR20DDMR20DEMRA8DEMX300MX340MX375N12B14AN12B16AN12B16BA, N12B16AN13B16AN14B16A, N14B16ABN16B16AN20 B20AN20 B20BN20B20AN22A1N22A2N22B3N22B4N26B20AN36AN42 B18AN42 B20AN43B16AN43B20AN45B16AN46 B18AN46 B20A.
., N46 B20C..N46B20BN47 D20../A/CN47D16AN47D20AN47D20CN52 B25../A/BN52 B30../A/BN52B25AN52B30AN52B30A, N52B30BN55 B30AN55B30AN57D30AN62 B36AN62 B44AN62 B48AN62 B48BN63 B44AN7BA, N7BBN7Q 704N7Q711NENFSNFTNFUNFVNFZNGNGANGB, NGC, NGDOM 356.944 (366) AOM 470.906OM 541.944OM 601.942OM 604.912OM 611.960OM 611.961OM 611.962OM 611.980OM 611.981OM 611.987OM 612.961OM 612.962OM 612.962, OM 612.967OM 612.963OM 613.960OM 613.961OM 629.912OM 639.939OM 640.940OM 640.941OM 640.942OM 642.920OM 642.930OM 642.940OM 642.950OM 646.811OM 646.821OM 646.961OM 646.962OM 646.963OM 646.966OM 646.980OM 646.982OM 646.983OM 646.985 DE 22 LAOM 646.986 DE 22 LAOM 647.961OM 648.960OM 648.961OM 651.901OM 651.911OM 651.913OM 651.921OM 651.924OM 651.940OM 651.955OM 651.955 DE 22 LAOM 651.957 DE 22 LAOM 668.940OM 668.941OM 668.942OM 902.913 / OM 906 LAOM 904.916 LAOM 904.917 LAOM 906.910LAOM607.951OM640.940OM668.940OM668.942P8FA, P8FBP9X 701PEPHFA, PHFB, PHFCPMPT204PYQ4BAQ4BA, Q4WAQ4WAQG15DEQG18DEQJBA BGQJBA, QJBB, QJBC, QJBDQQDA, QQDBQQDA, QQDB, QQDCQQDBQR20DEQR25QR25DEQVFAQXBA, QXBBQXWA, QXWB, QXWCQYWAR18A1R18A2R18Z4R18ZFR2R20A2R20A3R20A5R2A, R2CR2PAR3PAR9CB, R9CF, R9CHR9MR9M 408RD28TIRFRF5CRFDRFJRFM, RFNRFNRFRRFURFVRGYRHBARHCRHERHFRHF, RHR, RHLRHG, RHKRHG,RHKRHHRHJRHM,RHTRHRRHSRHVRHWRHXRHYRHZRKARKBRKFRKHRKJRPRTFS4PHS8U 772S9US9W 702SEASEA, SEB, SECSEBASFSHSHDASHDA, SHDB, SHDCSHDA, SHDCSNJ…SP…SQRE4G16SR20DESRFA, SRFB, SRFC, SRFD, SRFEST…T1BA, T1BB, T1BCT1DAT1DBT20SEDT2NT3DA, T3DBT3JA, T3JBT7MA, T7MB, T7MDT8AT8CTBTD25TITD27ETD27TiTD4 204D3THXTNBA, TNBBTXBATXDATXMATXWATYWATZJA,TZJBUFBA, UFBBUFDAUFDBUFMAUFWAUGCBUGJC, UGJFUHZV4Y701V9XVG33EVK45DEVK56DEVK56VDVM39CVQ25DEVQ25HRVQ35DEVQ35HRVQ37VHRVQ40DEW10B16A, W10B16ABW11B16AW20K06AWEAT, WE-CWJXWJYWJZWL-3, WL-C, WL-TWLTWL-TX10XEX12SZX12XEX14NZX14SZX14XEX16SZX16SZRX16XELX17DX18XEX18XE1X20SEX20SEDX20XEVX22DTHX22XEX25D1X25XEX30XEXBXE355XFXXQDAXWDBY13DTY16XEY17DTY17DTLY20DTHY20DTLY22DTHY22DTRY22XEY25DTY26SEY30DTY5BY6Y601YBYD22DDTYD22DDTIYD22ETIYD25DDTIYLCCYMR6Z10XEZ10XEPZ12XEZ12XEPZ13DTZ13DTEZ13DTHZ13DTJZ14XEZ14XEPZ16SEZ16XEZ16XE1Z16XEPZ16XERZ17DTHZ17DTLZ17DTRZ18XEZ18XELZ18XERZ19DTZ19DTHZ19DTRZ20D1Z20DMHZ20NETZ20SZ20S1Z22D1Z22SEZ22XEZ22YHZ24SEDZ28NETZ30DTZ32SEZ6VZD30ZD30DDTiZD3604ZJZJ-VEZLZMZMZZYБ/НБ/Н 1,5Б/Н 1,6б/н 2,0iБ/Н 2,0ТiБ/Н 2,3Б/Н 2,3 HibridБ/Н 2,5iБ/Н 2.
3Б/Н 3,7iБ/Н 3.0iБ/Н 3.5iБ/Н 4,0iБ/Н 4,6iБ/Н 5,4iб\н 1.0М 160.920ОМ 457.937 LAОМ 471.900ОМ 471.926
Т. Кубое)Лекки 1 (Оморинре Джонсон)Лекки Фаза 1 (Адмиралтейская дорога)Лекки Фаза 1 (Адмиралтейская дорога)Лекки Фаза 1 (Фола Осибо)Лекки-АГУНГИЛЕККИ-АДЖА (АБИДЖО)ЛЕККИ-АДЖА (АДДО РОАД) )LEKKI-AJAH (BADORE)LEKKI-AJAH (ILAJE)LEKKI-AJAH (ILASAN)LEKKI-AJAH (JAKANDE)LEKKI-AJAH (SANGOTEDO)Lekki-AwoyayaLekki-ChiscoLEKKI-ELFLEKKI-IGBOEFONLEKKI-IKATE ELEGUSHILEKKI-JAKANDE (KAZEEM ELETU)LEKKI -MARUWALEKKI-ONIRU ESTATELEKKI-OSAPA LONDONMagboroMAGODOMARYLAND (MENDE)MARYLAND (ONIGBONGBO)MEBANMUMILE 12Mile 12 -AjelogoMile 12-Agboyi KetuMile 12-Doyin OmololuMile 12-OrishigunMILE 2Mushin -Palm AvenueMushin-Agege Motor RoadMushin-Daleko MarketMushin-Fatai AtereMushin-Idi OroMushin-Idi -АрабаМушин-Иласамая-роудМушин-Исоло-роудМушин-Ладипо-роудРынок Мушин-МушинМушин-ОлатеджуМушин-Папа АджаоОдонгунянОгба-Акило-роудОгба-Колледж-роудОгба-Латиф Джаканде-роудОгба-Акме-роудОгба-АгудаОгба-КаунтиОгба-Ифако-ИдиагбонОгба-Ифако-Огба-Оримоладе OjoduOgba-Oke IraOgba-Oke Ira 2nd JuctionOGBA-Surulere Ind RdOgba-Wemco RoadOGUDUOjo ShibiriOjo-Abule OshunOjo-AdalokoOjo-AgricOjo-AjangbadiOjo-Alaba InternationalOjo-Alaba RagoOjo-Alaba SuruOjo-AlakijaOjo-CassidyOjo-OjoldBarkoracOjo-OjoldBarkoracOjo-Ojo-IlogboksOjo-Ilogboks Ojo roadOjo-OnirekeOjo-PPLOjo-ShibiriOjo-Tedi TownOjo-Trade FairOjo-VolksOJODUOJOKOROOJOTAOKOKOMAIKOOKOTAOmole Phase 1Omole Phase 2OREGUNOreyo- IgbeORILEOSAPA (LEKKI)OSHODI-BOLADEOSHODI-ISOLOOSHODI-MAFOLUKUOSHODI-ORILEOSHODI-SHOGUNLEPalmgrove-OnipanuSari-IganmuSatelite-TownSOMOLUSurulere (Adeniran Ogunsanya)Surulere (Aguda) Сурулере (Боде Томас)Сурулере (Фатья Шитта)Сурулере (Иди Араба)Сурулере (Иджеша)Сурулере (Ипонри)Сурулере (Итире)Сурулере (Лавансон)Сурулере (Маша)Сурулере (Драйв Огунлана)Сурулере (Охуэлегба)VI (Адетокунбо Адемола)VI (Путь Ахмеда Белло) VI (Епископ Абояде Коул) VI (Аджосе Адеогун) VI (Акин Адешола) VI (Епископ Олувале) VI (Юсуф Абиодун) Остров Виктория (Адеола Одеку) Остров Виктория (Кофо Абайоми) Яба- Абуле ИджешаЯба- ФадейиЯба- (Sabo)Yaba-(Unilag)Yaba-Abule OjaYaba-AdekunleYaba-AkokaYaba-AlagomejuYaba-College EducationYaba-Commercial AvenueYaba-FolagoroYaba-Herbert Macaulay WayYaba-JibowuYaba-MakokoYaba-Murtala Muhammed WayYaba-Onike IwayaYaba-OyingboYaba-TejuoshoYaba-University Road Ябатеч





06.2019
Di vê mijarê де ди дема ку êdî çêkirin.
Ev yekîneya hêza rewşeke-V teşe yên silindir, dixebite û ji diqeliband.
Ev nûtiyên bûn:
Haec unitas potestatis est, V informibus cylindrici, работающий на месте и турбонагнетатель.

.
.
поддержка
12В3П.10 ⓶_блок 2 кнопки 357.3769 ⓷_кнопка 921.3709 12В (*опция: замена цвета подсветки)
ru) новой профессиональной серии «Гранат Авто» соответствуют самым высоким стандартам качества автопроизводителей (OE), произведены по современным технологиям, из профессиональных, созданных специально для применения в автомобильной промышленности комплектующих и материалов. Стеклоподъемники серии «Гранат Авто» будут надёжно служить Вам 10 лет и более.
Элементы крепления к стеклу устанавливаются в штатные места
12В2П.20 Электромонтажный комплект для подключения всех типов задних стеклоподъемников; установка 2 [1+1] кнопок; 12 Вольт; предохранитель 20А
Таким образом, Вы рискуете, что реальный гарантийный срок подобного комплекта может составлять всего несколько месяцев.

Также, полное отсутствие тросовых и пластмассовых элементов, которые чувствительны к агрессивным нагрузкам окружающей среды, исключает некачественную работу наших стеклоподъёмников при различных погодных условиях и температурах. Кроме того, естественное старение тросовых (износ, вытягивание) и пластмассовых (становится более хрупким, менее прочным) элементов не даёт возможности обеспечить предлагаемый нашими механизмами срок службы в 10 лет.
ГА.Т3.10
Почти 750 000 довольных пользователей стеклоподъемниками Гранат и Урал.
T3 Syncro отличается невероятной мощностью и крутящим моментом, а также утонченностью в стиле Rolls-Royce. раза надежнее Toyota Land Cruiser. Так хорошо, что трудно поверить. Как беспристрастный голос об этом автомобиле (посмотрите мой собственный 1986 и мою статью о Syncro 1989 года от Guanabana Overland), я полагал, что был человеком, который представил один из самых впечатляющих существующих Syncros, готовых к эксплуатации на суше.
д.), позволяя фургону сливаться с местным движением и, таким образом, избегать нежелательного внимания. Однако в этом Syncro есть гораздо больше, чем кажется на первый взгляд.
Алика всегда хотел Syncro, поэтому, когда экземпляр 1986 года появился на Craigslist за 2500 долларов, он ухватился за этот шанс. «Он был в плохом состоянии, действительно ржавый, и требовалось много работы. Затем я нашел почти новый, оригинальный 2WD Westfalia 1985 года с пробегом 16 000 миль, в цвете, который я хотел, поэтому я решил взять кредит, купить его, а затем перенести на него детали от Syncro».
Имея это в виду, Алика решила создать «одну из самых надежных трансмиссий Syncro на планете».
Кроме того, он обновился до Porsche 9.30 осей, а также специально облегченные, подготовленные и отполированные CV для снижения нагрузки на подшипники дифференциала.
Владельцы нередко переделывают или улучшают свой 14-дюймовый Syncro, используя часто более качественные детали, которые можно найти в 16-дюймовом. Syncro CV, особенно 14-дюймовые, склонны к поломкам под нагрузкой, поэтому Алика обратилась к 16-дюймовой модели, чтобы устранить это слабое место. Сначала он установил ШРУСы Porsche 930 (облегченные, подготовленные и отполированные с помощью хромомолибденовых сепараторов), затем заменил оригинальные передние внешние ШРУСы на шрусы от 16-дюймового Syncro. Но «поскольку у 16-дюймовых были только более мощные передние внешние CV, я подошёл к Porsche 9.30 фланцев и 108-миллиметровые передние внутренние CV Audi, того же размера, что и задние 16-дюймовые Syncros». Наконец, он заменил стандартные сапоги Volkswagen CV своей собственной силиконовой альтернативой, которая оказалась гораздо более прочной во время его недавнего приключения в Центральной Америке.
Он также добавил, что «зло кроется в деталях», и единственный способ понять недостатки транспортного средства — это выйти и использовать его в реальных сценариях приземления, «где нагрузка на компоненты намного выше». В результате подвеска развивалась постепенно, первоначально она состояла из полиуретановых сайлентблоков, амортизаторов Viarouge (компания разрабатывает амортизаторы для ралли Дакар и создала специальный перестраиваемый комплект для Syncro) и пружин Smallcar. Однако со временем пружины стали проседать, и их заменили на пружины Schwenk.
Он сохранил задние барабанные тормоза, поскольку их «легко обслуживать», но интегрировал задние колесные цилиндры VW LT. Алика говорит, что его следующая задача — найти лучший материал для тормозных колодок, чтобы повысить эффективность торможения.
«Я чувствую себя уверенно, ремонтируя большинство проблем на обочине дороги; У меня есть полный набор инструментов и много запасных частей». Он объясняет, что в большинстве случаев этого достаточно, чтобы избавить его от неприятностей. Единственным дополнением, которое он сделал, была запасная батарея. «Самой большой проблемой, с которой я столкнулся во время моего недавнего сухопутного путешествия, была разряженная батарея на удаленном пляже. Аккумулятор довольно тяжелый, и мне пришлось нести его за две мили до ближайшей деревни для зарядки, но я не вспомнил свой тестер. Я вернулся к фургону и обнаружил, что он недостаточно заряжен, а это означало, что нужно снова и снова ходить туда-сюда восемь миль. Теперь я всегда ношу с собой запасную».

Его установка состоит из батареи LiFePO4 емкостью 80 ампер-часов, специальной тонкой солнечной панели мощностью 150 Вт (созданной путем слияния трех панелей EFTE мощностью 50 Вт), зарядного устройства Renogy DC-DC 20A, генератора переменного тока мощностью 140 ампер и изготовленного на заказ солнечного контроллера Electrodacus. , контроллер заряда и система управления батареями, полностью настраиваемая и очень компактная.
Алика обнаружил, что в районах, считавшихся «беспорядочными», он часто получал доброту от незнакомцев и что в целом он чувствовал себя там в большей безопасности, чем когда рос в некоторых частях Франции.

