Мельница стержневая принцип работы: Мельницы стержневые купить по выгодным ценам от производителя

Стержневая мельница серии MB

Стержневая мельница серии MB


  • Главная
  • Каталог товаров
  • Дробильное оборудование
  • Стержневая мельница серии MB

Стержневые мельницы очень похожи на шаровые, за исключением того, что в них используются длинные стержни для измельчения материала. Стержни измельчают руду, переворачиваясь внутри мельницы, подобно измельчающим шарикам в шаровой мельнице. В настоящее время стержневая мельница является наиболее эффективной дробильной машиной для многих типов материалов. Широко применяется в гравийной промышленности. Используется для обработки или дробления полевого шпата, кварца, минералов и других сырьевых материалов, а также подходит для тонкого или вторичного дробления различных жестких или хрупких материалов, таких как шлифовальный материал, огнеупорный материал, цемента, стальной дроби, пылевидный шлак, медная руда, железная руда, золотая руда, бетонный заполнитель, битумный заполнитель.  

Принципы работы стержневой мельницы: вращение двигателя приводит в движение вращающийся цилиндр, а внутри цилиндра имеется соответствующие шлифовальные стержни из стали. Стальные стержни упадут после достижения определенной высоты благодаря трению и центробежной силе. И материал будет размолот до необходимой фракции.

Мощность обработки (т/ч): 1.6-75

Вес (т): 23-4.7

Видео:

Поделиться:

Избранное
Сравнить

«> Официальный дилер завода

Гарантия от 12 месяцев

Доступно в лизинг и факторинг

  • Описание
  • Доп. информация
  • Отзывы (0)

Технические характеристики:

МодельСпецификация Скорость ВесРазмер Размер Мощность Мощность  РазмерыВес
цилиндра  (мм)вращения   (т)частиц частиц обработки         (квт)  (мм) (кг)
  (об / мин) подачивыдачи (т/ч)  (ДxШxВ)   
диаметрдлина   (мм) (мм)    
MB0918900180029.0-31.32.3<250.16-51.6-6225900*2365*20156200
MB0924900340029. 0-35.43.1<250.16-52.9-10305250*2480*21276600
MB12241200240027.0-34.06.5<250.16-55.0-13555829*2867*254013500
MB15301500300026.5-29.511.5<250.16-56.0-25957635*3329*274918170
MB18301800300021.6-22.817.5<250.16-54.8-281558007*3873*302335000
MB21302100300019.0-21.023.5<250.16-512.6-301559000*2800*380043000
MB21362100360019.0-21.023.2<250.16-515.1-452109600*2800*380058000
MB27362700360017. 2-18.547<250.16-525.0-7540010870*6100*495071500

Стержневая мельница, мельница

Гарантия: Гарантия от 12 месяцев (но не больше срока полезной службы).

Регион: Москве/Санкт-Петербурге/Екатеринбурге/Новосибирске/Челябинске/Омске/Казани/Сочи/Благовещенске/Владивостоке/Хабаровске и другие. Доставка в любой регион РФ.



TOP

Узнать цену

Контактное лицо:* 

Телефон: 

Электронная почта:* 

Файл 

Расскажите подробней о Вашей заявке: 

Согласен с политикой обработки персональных данных.* 

Быстрая заявка

Контактное лицо:* 

Телефон: 

Электронная почта:* 

Расскажите подробней о Вашей заявке: 

Согласен с политикой обработки персональных данных. * 

Онлайн-заявка на лизинг оборудования

ПОДРОБНЕЕ О ЛИЗИНГЕ

Имя* 

Номер телефона* 

E-mail* 

Город* 

Сообщение 







Высокоэффективная стержневая мельница | Fote Machinery


Стержневые мельницы очень похожи на шаровые мельницы, за исключением использования стальных стержней в качестве мелющих тел. В стержневой мельнице стальные стержни измельчают руду прокаткой и вращением. Подача стержневой мельницы составляет 50 мм, а размер частиц на выходе от -4 до 35 меш.


Стержневая мельница производства Fote


Области применения стержневой мельницы


Применение стержневой мельницы


Стержневые мельницы широко используются для руды, цемента, силикатных изделий, стального шлака, строительных материалов, огнеупорных материалов, удобрений, стекла, керамики и других материалов.


1. Используется для измельчения руды редких металлов.


В установках гравитационной или магнитной сепарации вольфрамовой оловянной руды и руд других редких металлов часто используются стержневые мельницы, чтобы предотвратить чрезмерное дробление.


2. На первом этапе измельчения


Если стержневая мельница используется в качестве оборудования для измельчения первой ступени для измельчения материалов от 20 ~ 6 мм до 3 ~ 1 мм в двухступенчатом процессе измельчения, производственная мощность будет больше, а эффективность будет выше.


3. Он может заменить конусную дробилку для мелкого дробления.


В некоторых случаях он может заменить конусную дробилку с короткой головкой для мелкого дробления. При переработке мягких руд (особенно вязких) от 19-25 мм (или даже 32 мм) до 6-10 меш использование стержневых мельниц проще и дешевле, чем замкнутая цепь, образованная конусной дробилкой с короткой головкой и ситом.


Для твердых руд может быть более экономичным использовать конусную дробилку с короткой головкой и сито для образования замкнутого контура. Выбор шаровой мельницы или стержневой мельницы должен определяться в зависимости от конкретных условий.


Преимущества стержневой мельницы


Экономия энергии


Стержни оказывают экранирующее действие на материалы во время движения, что может заставить материал с крупными частицами подниматься в верхнее положение каждого слоя и концентрироваться в месте с высокой способностью к раздавливанию. Таким образом, производительность стержневой мельницы высока, а энергопотребление низкое.


Немного чрезмерного дробления


Когда руда измельчается стальным стержнем, она сначала измельчается на крупные частицы, а затем измельчается на более мелкие, что снижает риск чрезмерного измельчения.


Преимущества стержневой мельницы Fote


Более равномерный размер разряда


Стержневая мельница меняет контакт поверхности традиционной шаровой мельницы на контактную поверхность.


Когда стержень вращается и поднимается вместе с вкладышем, крупные частицы зажаты между ними, позволяя мелким частицам проходить через зазор стержней, что способствует измельчению крупных частиц, поэтому крупные частицы концентрируются в том месте, где находится попадания мелющих тел.


Следовательно, продукт стержневой мельницы более однороден, а чрезмерное дробление легче. Подходит для руд с разной твердостью (твердость по шкале Мооса 5.5 ~ 12).


Регулируемая тонкость разряда


Размер частиц материала, производимого стержневой мельницей, можно регулировать в соответствии с потребностями пользователей, поскольку внутри стержневой мельницы имеется устройство контроля тонкости и просеивающее устройство. Эти два устройства работают одновременно.


Более мелкие минеральные частицы можно получить, регулируя их размер, поэтому можно эффективно гарантировать размер измельченных частиц.


Структура стержневой мельницы


Штанговая мельница имеет редукторный привод и центральную выгрузку. В основном он состоит из следующих частей:


Устройство для кормления


Подающее устройство представляет собой бункер в форме башмака, а верхний фланец соединен с загрузочным оборудованием для приема подаваемого материала. На задней стенке бункера имеется смотровая дверца, образующая круглую трубу и переходящая в спиральный цилиндр, установленный на полом валу, через который материал поступает в мельницу.


Структура стержневой мельницы


Поворотная часть


Вращающаяся часть представляет собой цилиндр, прокатанный и сваренный из стальных пластин. Внутри цилиндра расположена гильза, которая не только защищает цилиндр, но и поднимает стальной стержень на подходящую высоту для повышения эффективности производства песка. Между стальным вкладышем и упрощенной торцевой крышкой имеется устойчивая к кислотам и щелочам резиновая прокладка для снижения шума и вибрации.


Большие и маленькие шестерни


Большая и малая шестерни приводятся в движение косозубыми шестернями с сбалансированной работой, малым ударом и длительным сроком службы. Он использует смазку распылением и регулярный впрыск масла, что снижает трудоемкость рабочих, имеет хороший смазывающий эффект и снижает расход смазочного масла.


Основной подшипник


Главный подшипник выдерживает весь вес вращающейся части, стальных стержней, материалов и т. Д. Втулка подшипника опирается на сферическое гнездо, которое может выполнять функцию самозащиты и адаптироваться к ошибкам при изготовлении и установке.


После длительной работы коренного подшипника втулка подшипника изнашивается, в результате чего полый вал проседает. Уплотнительный кронштейн можно отрегулировать вниз, чтобы обеспечить хороший контакт уплотнений и полого вала.


Особенности стержневой мельницы


Штанговая мельница на рабочем месте


  1. 1 В стержневой мельнице в качестве мелющей среды обычно используется стальной стержень диаметром 50–100 мм. Длина стального стержня на 25-50 мм короче, чем у цилиндра, и он обычно изготавливается из высокоуглеродистой стали, содержащей 0. 8% -1% углерода.

  2. 2 Объем загрузки стержня составляет примерно 35% -45% от эффективного объема стержневой мельницы. При наблюдении горизонтальная плоскость стержня находится примерно на 100-200 мм ниже средней линии цилиндра.

  3. 3 Отношение длины стержневой мельницы к диаметру обычно составляет 1.5–2.0, а внутренняя поверхность футеровки на торцевой крышке должна быть в вертикальной плоскости. Цель состоит в том, чтобы предотвратить и уменьшить хаотическое движение, изгиб и поломку стального стержня в цилиндре, чтобы гарантировать регулярное движение стального стержня.

  4. 4 В стержневой мельнице для шахтной выгрузки не используется решетчатая плита, а используется переливной и открытый выгрузка; диаметр полой шейки разгрузочного конца обычно больше, чем у шаровой мельницы того же размера.

  5. 5 Скорость вращения стержневой мельницы должна быть ниже, чем рабочая скорость шаровой мельницы той же спецификации, чтобы среда внутри находилась в наклонном состоянии.


Принцип работы стержневой мельницы


Принцип работы стержневой мельницы


Штанговая мельница приводит в движение трубу с помощью редукторов, приводимых в движение динамо-машиной или тихоходной синхронизирующей электрической машиной. В трубе находятся стальные стержни, которые под действием центробежной силы и силы трения бросаются с определенной высокой скоростью и затем падают.


Измельченный материал непрерывно поступает в трубу и дробится движущимися стальными шариками. После этого они естественным образом выгружаются из машины и затем приступают к следующему рабочему процессу.


Как выбрать стальную арматуру для разных отраслей?


Диаметр стального стержня следует выбирать таким образом, чтобы имелся достаточный вес, чтобы раздавить сыпучий материал, и достаточный точечный контакт и линейный контакт для измельчения мелкого материала.


Стальной стержень меньшего диаметра имеет меньшую площадь поверхности и меньший износ гильзы.


Однако стальной стержень небольшого диаметра имеет короткий срок службы и скоро будет изношен до заброшенного размера 25-40 мм, который легко согнуть и сломать.


В разных отраслях промышленности используются разные стальные стержни разного диаметра. Вот, например, некоторые классические отрасли:






Отрасли промышленности

Диаметры первоначальной установки

Сталелитейная промышленность

80 мм, 100 мм и 120 мм

Угольная химическая промышленность

50 мм, 65 мм и 75 мм

Производство кварцевого песка

60 мм, 80 мм и 100 мм


Заказчик производственная линия по переработке шлака из корпусной стали в ЮАР


Штанговая мельница, производимая Fote Machinery, объединяет исследования и разработки, производство, обработку и согласование. У нас богатый опыт, и наша продукция экспортируется в США, Индию, Россию, Индонезию, Южную Африку и другие страны и регионы с хорошей рыночной репутацией.


Поэтому клиенты заявили, что вместе с нами они могут работать на долгосрочную взаимную выгоду и беспроигрышное будущее. Например, в октябре 2018 года крупная новая компания по производству строительных материалов в Южной Африке напрямую нашла Fote Heavy Machinery по рекомендации и надеялась, что мы сможем оборудовать для них производственную линию по переработке стального шлака.


Подробнее см. в следующих случаях клиентов.


Отзывы клиентов из Южной Африки


В октябре 2018 года была официально запущена производственная линия по переработке стального шлака, развернутая Fote для новой крупной компании по производству строительных материалов в Южной Африке.


В процессе изготовления новых стальных материалов степень обработки стального шлака достигла 99%, а качество новых строительных материалов было превосходным. Общее потребление энергии значительно снижается.


Из-за высокой степени автоматизации завода по производству стального шлака первоначальная производственная линия рассчитана на 40 человек, а количество рабочих сокращено до 15, что значительно упростило режим работы сборочной линии.


Более чем через год, благодаря высокому уровню производительности завода по производству стального шлака MBS, выручка производственной линии компании неуклонно росла, при одновременном снижении вторичного загрязнения отходящим шлаковым газом экономический доход, полученный в то же время, решал экологические проблемы. проблема загрязнения производственной линии.


Примечание. Стальной шлак в настоящее время является наиболее распространенным применением в строительных материалах. Он отличается высокой твердостью, высокой прочностью и определенными свойствами гелеобразования, а стальной шлак перерабатывается и используется в качестве заполнителя.


Переработка стального шлака может разрешить противоречие между совокупным спросом и предложением, и в то же время улучшить технические характеристики бетонных материалов и снизить стоимость.

Parameter














Model

Shell Specifications (mm)

Shell rotation speed

(r/min)
Feeding size

(mm)
Discharging size

(mm)
Processing capacity

(t/h)
Power

(kw)
Total weight

(t)
DiameterLength
MBS0918900180036-38≤250. 833-0.1470.62-3.218.5

5.9

MBS0924900240036≤250.833-0.1470.81-4.3226.7
MBS12241200240036≤250.833-0.1471.1-4.93013. 9
MBS15301500300029.7≤250.833-0.1472.4-7.57519.8
MBS18301830300025.4≤250.833-0.1474.8-11.613034.9
MBS21302100300023. 7≤250.833-0.14714-3515546.5
MBS21362100360023.7≤250.833-0.14719-4318048.7
MBS24302400300021≤500.833-0.14725-6524559. 7
MBS27362700360020.7≤500.833-0.14732-8638092.5
MBS27402700400020.7≤500.833-0.14732-9240095
MBS32453200450018≤500. 833-0.14764-180630149














Model

Shell Specifications (mm)

Feeding size

(mm)
Processing capacity

(t/h)
DiameterLength
MBS09189001800≤250.62-3.2
MBS09249002400≤250. 81-4.3
MBS122412002400≤251.1-4.9
MBS153015003000≤252.4-7.5
MBS183018303000≤254.8-11.6
MBS213021003000≤2514-35
MBS213621003600≤2519-43
MBS243024003000≤5025-65
MBS273627003600≤5032-86
MBS274027004000≤5032-92
MBS324532004500≤5064-180

Стержневые мельницы

Стальная головка Стержневая мельница  (иногда называемая стержневой мельницей) дает инженеру по обогащению руд очень широкий выбор конструкции измельчения. Он может легко подобрать стандартную стержневую мельницу со стальной головкой, подходящую для его конкретной задачи. Успешная работа любого измельчительного агрегата во многом зависит от способа удаления измельченной пульпы. Стальная головная стержневая мельница доступна с пятью типами разгрузочных цапф, и каждый тип цапфы доступен с малым, средним или большим диаметром. Типы разгрузочных цапф стержневой мельницы:

  1. переполнение,
  2. перфорированный перелив,
  3. возвратная спираль,
  4. решетка и
  5. периферийное устройство.

Таким образом, инженер может приспособить любой из пятнадцати вариантов размеров и типов разгрузки стержневой мельницы к задаче, над которой он работает.

Превосходство стальной головки стержневой мельницы обусловлено цельнометаллической конструкцией. Цапфы являются составной частью литых стальных днищ и обрабатываются вместе с осью мельницы. Головки мельницы застрахованы от поломки благодаря высокой прочности литой стали на растяжение по сравнению с чугунной головкой обычной стержневой мельницы. Подшипники цапф изготовлены из высококачественного никелевого баббита, вставленного в отливку «ласточкин хвост». При желании можно поставить шариковые подшипники.

Купить стержневую мельницу

Футеровки днища и обечайки для стержневых мельниц со стальной головкой доступны из деколлоя (хромоникелевого сплава), твердого чугуна, электротехнической стали, молихромовой стали и марганцовистой стали. Головки имеют конструкцию вкладыша конической формы как на загрузочном, так и на разгрузочном концах, так что имеется достаточно места для подачи корма из разгрузочного спирального конвейера с цапфой для входа в мельницу между стержнями и вкладышами на входном конце мельницы. . Ведущие шестерни поставляются либо с литыми цилиндрическими зубчатыми колесами и шестернями, либо с цилиндрическими зубчатыми колесами и шестернями с нарезанными зубьями. Шестерни стандартно поставляются на разгрузочном конце мельницы, в стороне от обратного потока классификатора, но могут быть установлены на входном конце мельницы по запросу. Приводы могут быть получены по спецификации заказчика.

В следующей таблице ясно показано, почему стержневые мельницы со стальной головкой имеют большую производительность, чем другие мельницы. Это связано с тем, что диаметры измеряются внутри вкладышей, тогда как другие станы измеряют их диаметр внутри обечайки.

Таблица производительности и размеров стержневой мельницы

Стержневые мельницы могут рассматриваться как дробилки тонкого или грубого помола. Они способны принимать корм размером до 2 дюймов и производить продукт размером до 35-48 меш. Особым преимуществом является их приспособляемость к работе с влажной липкой рудой, которая обычно вызывает трудности при дроблении. Конечно, при мокром шлифовании проблема пыли устраняется.

Процесс измельчения стержневой мельницы представляет собой линейный контакт. Когда материал движется от загрузочного конца к разгрузочному концу, он подвергается дробящим усилиям, создаваемым размалывающими стержнями. Стержни кувыркаются, по существу, параллельно друг другу, а также вращаются, таким образом имитируя действие дробления и измельчения, получаемое от серии валковых дробилок. Большая подача имеет тенденцию раздвигать стержни на конце подачи, что создает еще дополнительное действие, которое можно назвать ножницами. В результате такого распределения стержни работают с более крупными частицами и, таким образом, производят минимальное количество очень тонкого материала.

На стержневой мельнице рекомендуется использовать толстую целлюлозу, покрывающую как футеровку, так и стержни, что позволяет минимизировать расход стали. Непрерывное движение пульпы через стержневую массу исключает возможность короткого замыкания какого-либо материала. Разгрузочный конец стержневой мельницы практически открыт и имеет больший диаметр, чем загрузочный конец, что обеспечивает крутой градиент потока материала через мельницу. Более подробно это описано на страницах 20 и 21.

Стержневые мельницы с периферийной и центральной разгрузкой подробно описаны на страницах 28 и 29..

Подающая и разгрузочная головки стержневых мельниц имеют коническую форму, что дает важные преимущества по сравнению с мельницами с прямыми головками.

  1. 1. Они обеспечивают необходимый карман для корма, а также пространство для выдавливания мякоти из стержневой массы. Этот внутренний загрузочный карман позволяет более грубым кускам материала скатываться к носку стержня и поглощаться им, сводя к минимуму разброс стержня.
  2. Стержни не запутываются и не заедают.
  3. Износ обшивки потолка сведен к минимуму.
  4. Наклонные головки стремятся выровнять стержни внутри мельницы.
  5. Предусмотрено достаточно места для осмотра и сортировки стержней при необходимости.

ХАРАКТЕРИСТИКИ СТЕРЖНЕВОЙ МЕЛЬНИЦЫ

При оценке измельчения на стержневой мельнице следует учитывать следующие преимущества по стоимости:

  1. В стержневых мельницах используются недорогие мелющие тела.
  2. Требуется меньшая мощность, так как шлифовальные стержни не расположены каскадом и работают на более низких окружных скоростях.
  3. Достигается более высокая эффективность измельчения, так как в стержневой загрузке меньше свободного пространства по сравнению с любыми другими мелющими телами. Это также приводит к снижению расхода стали.
  4. Наша тяжелая жесткая конструкция в сочетании с функцией открытого конца обеспечивает максимальное время работы.
  5. Шлифовальные стержни можно поддерживать в максимально рабочем состоянии, поскольку изношенные стержни можно легко извлечь.

Стержневая мельница, вероятно, является наиболее универсальным типом измельчающего устройства. Тонкость помола и объем можно легко изменить, изменяя скорость мельницы, загрузку стержня или разбавление.

В условиях сухого измельчения продукт стержневой мельницы может быть изменен путем изменения тоннажа, размера загрузки, размера и количества мелющих тел и использования периферийных выпускных отверстий.

Обычно стержневые мельницы имеют конструкцию с двумя цапфами. Для специальных применений они могут быть оснащены цапфой или двухскатной конструкцией. Эти мельницы могут быть оснащены любым типом питателя и типом привода, которые обсуждаются отдельно в данном каталоге.

ПРОИЗВОДИТЕЛЬНОСТЬ СТАНКА

В приведенных выше таблицах перечислены некоторые из наиболее распространенных размеров стержневых мельниц с открытым концом. Производительность указана для руды средней твердости с мельницей, работающей в замкнутом цикле в условиях мокрого измельчения на указанных скоростях. При сухом измельчении скорость и мощность снижаются, а производительность снижается на 30–50 %.

СТЕРЖНЕВАЯ МЕЛЬНИЦА Общий вид-Размеры

Приведенные выше размеры являются приблизительными и предназначены только для предварительного использования. Показаны правосторонние мельницы. Для левосторонних фрез поставьте привод на противоположную сторону. Привод также может быть расположен на нагнетательном конце.

Приведенные выше размеры являются приблизительными и предназначены только для предварительного использования. Показаны правосторонние фрезы. Для левосторонних фрез поставьте привод на противоположную сторону. Привод также может быть расположен на нагнетательном конце.

СТЕРЖНЕВЫЕ МЕЛЬНИЦЫ С ПЕРИФЕРИЧЕСКОЙ РАЗГРУЗКОЙ

КОНЦЕВАЯ ПЕРИФЕРИЧЕСКАЯ РАЗГРУЗКА

Стержневая мельница с периферийной разгрузкой предназначена для получения минимального количества мелочи при мокром или сухом измельчении. Измельчаемый материал поступает через стандартную цапфу и выгружается через портовые отверстия, равномерно расположенные по периметру мельницы. Эти порты находятся в отдельном кольце, расположенном между корпусом и нагнетательной головкой.

Влажное измельчение СТЕРЖЕНЬ ФРЕЗЕРОВАНИЯ

В конструкции мельницы с периферийной разгрузкой особое внимание уделяется принципу измельчения. Из-за крутого уклона между точкой входа и точкой выхода пульпа быстро проходит через мельницу, обеспечивая быстрое изменение состава мельницы при относительно небольшом количестве пульпы в камере измельчения.

Наклонная или коническая загрузочная головка обеспечивает достаточно места для загрузочного кармана, вмещающего большое количество материала и обеспечивающего его поступление в измельчающие стержни. Для этих мельниц могут быть установлены питатели любого типа, перечисленные на стр. 22 и 23; однако, поскольку мельницы обычно не работают в режиме измельчения в замкнутом цикле, обычно предпочтение отдается барабанному или желобному питателю.

Пульпа, выгружаемая из мельницы, собирается кожухом вокруг разгрузочного кольца и может быть направлена ​​в любую сторону мельницы или непосредственно под осевой линией мельницы.

Мельница для сухого помола

Никакой другой тип мельницы не приспособлен так хорошо для сухого помола материалов до -4 или -8 меш за один проход с образованием минимального количества мелочи. Основным фактором при сухом шлифовании является быстрое удаление готового материала для предотвращения амортизации стержней. Это достигается в концевой периферийной стержневой мельнице.

Функция свободной разгрузки позволяет измельчать материал с более высоким содержанием влаги, чем в других типах стержневых или шаровых мельниц. Наши мельницы с периферийной разгрузкой нашли широкое применение при измельчении кокса и сыпучих нерудных материалов, материала для стекла, пироборатов, а также гравия для получения песка. Другое применение — измельчение и смешивание материалов из силикатного кирпича. Стержневое действие обеспечивает тщательное перемешивание при измельчении гашеной извести и песка.

Пыленепроницаемый кожух предназначен для подачи готового продукта под мельницу. Может быть предусмотрен любой тип питателя, но опять же предпочтительнее барабанный или носовой питатель.

Для получения технических характеристик стержневых мельниц с периферийной разгрузкой используйте таблицу стандартных стержневых мельниц с открытым концом, приведенную на стр. 24 и 25. Производительность стержневой мельницы с периферийной разгрузкой немного выше, чем для мельниц с открытым концом.

СТЕРЖНЕВАЯ МЕЛЬНИЦА С ЦЕНТРАЛЬНОЙ ПЕРИФЕРИЧЕСКОЙ ВЫГРУЗКОЙ

Стержневая мельница CPD (центральная периферийная выгрузка) была разработана для производства песка в соответствии со спецификациями правительства или штата США. Он также нашел применение при измельчении сыпучих неметаллических материалов, а также промышленных материалов и руд, склонных к чрезмерному образованию шлама. Другое применение связано с «абразивным измельчением» руды, например, найденной на железном хребте Месаби. В этом последнем применении настоящее измельчение нежелательно, а скорее требуется очистка поверхности отдельных частиц.

Опять же, с этой конструкцией шлифование может производиться как влажным, так и сухим способом. Однако в этой конструкции сырье поступает с обоих концов с помощью питателей и выгружается в центре через прямоугольные разгрузочные отверстия, равномерно расположенные по периферии мельницы. Центральные выпускные отверстия обычно находятся в отдельном кольце, расположенном между половинками кожуха. Измельченный материал выгружается и направляется в любую сторону или прямо под мельницу с помощью кожуха разгрузочного кольца.

При стандартном фрезеровании стержней обнаружится, что стержни расходятся в стороны на загрузочном конце в количестве максимального размера корма, поступающего в мельницу. В мельнице с центральной периферийной разгрузкой стержни разбросаны по обоим концам параллельно по всей длине мельницы. Эта особенность приводит к большему пространству между стержнями и, таким образом, уменьшает количество производимой мелочи. Кроме того, количество мелких фракций также уменьшается, поскольку материал быстро проходит через мельницу из-за крутого уклона движения, а расстояние перемещения сокращается наполовину. Аналогичным образом время контакта с мелющими телами сокращается вдвое.

Еще одним преимуществом центрального периферийного разряда является то, что образуются частицы кубической формы. Техническое обслуживание незначительно, а мелющие тела относительно недороги. Другие типы оборудования для производства песка теряют эффективность с износом и требуют чрезмерного обслуживания. Эта потеря эффективности быстро увеличивается по мере увеличения жесткости корма. Стержневую мельницу с центральной периферийной разгрузкой можно легко поддерживать с максимальной эффективностью путем периодического добавления стержней. Стержневые мельницы CPD обеспечивают широкий диапазон гибкости при эксплуатации пескоструйной установки. Изменяя скорость подачи, разбавление пульпы (мокрый помол) и площадь разгрузочного отверстия, можно производить и смешивать песок практически любого модуля крупности и поддерживать его в соответствии с государственными спецификациями.

В отличие от многих дробилок или мельниц CPD Mill может легко работать с влажным или липким материалом. При мокром шлифовании полностью устраняется пыль. Для сухого помола мельница снабжена пыленепроницаемым разгрузочным кожухом.

При расчете стоимости производства промышленного песка необходимо учитывать различные факторы. К ним относятся износ составных частей, потребляемая мощность, смазка, трудозатраты и общее техническое обслуживание. Техническое обслуживание мельницы с центральной периферийной разгрузкой определенно намного ниже, чем у любой другой машины для производства песка. Большая часть износа приходится на недорогие стержни из высокоуглеродистой стали. Полевые установки показывают в среднем менее 1 # на тонну песчаного грунта в виде расхода стержня и от 0,08 # до 0,10 # на тонну песчаного грунта в виде износа стальной футеровки. Общая стоимость эксплуатации мельницы, за исключением амортизации, обычно составляет менее 30 центов за тонну (год 19).58).

В конструкцию мельницы с центральной периферийной разгрузкой включены все возможные удобства эксплуатации. В большинстве типоразмеров цапфы установлены в больших подшипниках с втулками из свинцовистой бронзы. Внутреннее пространство мельницы легко доступно через эти большие отверстия в цапфах. Кожух периферийного кольца снабжен дверцей для осмотра и еще одной нижней дверцей для облегчения отбора проб из мельницы. Крышки для разгрузочных портов поставляются с возможностью любого изменения площади разгрузки по желанию.

Ниже приведены приблизительные значения производительности для нескольких размеров мельниц с центральной периферийной разгрузкой. Производительность выражается в сухих тоннах в час, исходя из 3/4” x 4 меш просеянного гравия средней твердости. Выход мельницы, как правило, составляет менее 5% + 4 меш в мокрых операциях с открытым циклом, для сухого помола уменьшите указанную производительность примерно на 30% до 50%.

Стержневая мельница в качестве Принципа работы имеет внутри заполненные мелющие тела, в данном случае СТАЛЬНЫЕ ПРУТКИ. Эти стержни проходят по всей длине машины, которая обычно составляет от восьми до шестнадцати футов в длину. Диаметр этих стержней, когда они новые, будет варьироваться от двух до четырех дюймов. Стержни свободны внутри мельницы. Когда мельница вращается, стержни бьются друг о друга, перемалывая всю руду, которая находится между ними, чтобы облегчить измельчение, к руде добавляется вода, когда она поступает в мельницу. Таким образом, вы можете понять, почему мельница называется мокрой галтовочной мельницей. Руда измельчается во влажном состоянии, и мельница вращается. Это приводит к тому, что мелющие тела внутри него перемалывают руду.

Исторически существовало три основных способа измельчения руды: молотковые мельницы, валки или мельницы мокрого помола. Молотковые мельницы и валки используются не так часто и обычно только для специальных применений, таких как лабораторные работы или химическая подготовка.

Тип мельницы, которая используется для измельчения руды на современной обогатительной фабрике, представляет собой мельницу мокрого помола. Эти мельницы можно разделить на три типа: СТЕРЖНЕВЫЕ МЕЛЬНИЦЫ, ШАРОВЫЕ МЕЛЬНИЦЫ и МЕЛЬНИЦЫ САМООБРАБОТКИ. В первом типе, ПРУТКОВОЙ МЕЛЬНИЦЕ, руда подается в мельницу.

Прежде чем мы перейдем к навыкам эксплуатации и теории, необходимым для управления этой машиной, давайте рассмотрим ее конструкцию.

Если мы разрежем мельницу пополам и рассмотрим конструкцию стержневой мельницы и ее компоненты вот что мы увидим.

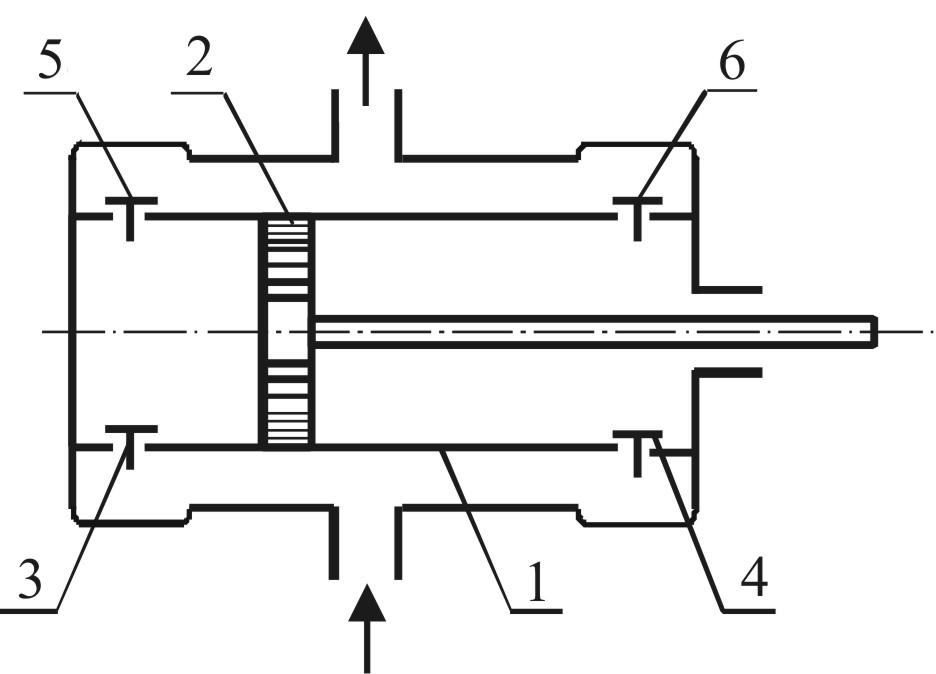
От обоймы цапфы наружу сначала подойдем к ЛИЦЕВОЙ ПЛИНЕ. Он слегка вогнут, чтобы создать ОБЛАСТЬ ОБЪЕМА, в которой будет собираться камень перед входом в НАГРУЗКУ СТЕРЖНЯ. Снаружи к лицевой панели прикреплена МЕХАНИЗМ БЫКА. Эта шестерня полностью окружает мельницу и обеспечивает взаимодействие между двигателем и мельницей. Вместо этого ведущая шестерня и трансмиссия могут находиться на другом конце мельницы. У обоих вариантов есть свои преимущества и недостатки, это будет объяснено позже, когда мы будем обсуждать двигатель и трансмиссию. Но пока вернемся к лицевой панели, прикрепленной к другой стороне лицевой панели, это ОБОЛОЧКА. Оболочка – это тело мельницы. На внутренней стороне мельницы два слоя материала, первый слой является ПОДКЛАДКОЙ для вкладышей. Обычно его изготавливают из резины, но можно использовать и дерево. У этой подкладки двоякое назначение: во-первых, поглощать удары, которые передаются через вкладыши при нормальном движении. И снабдить оболочку защитным покрытием, чтобы исключить истирание, вызванное мелкоизмельченным камнем и водой. Без этой резиновой или деревянной подложки срок службы мельницы резко сокращается из-за усталости металла и просто изнашивания. Для тех из вас, кто не знаком с УСТАЛОСТЬЮ МЕТАЛЛА, я объясню. Когда металл постоянно растирается или вибрирует, молекулярная структура металла начинает изменяться, говорят, что он КРИСТАЛЛИЗИРУЕТСЯ, и металл становится твердым и, наконец, теряет всякую способность поддаваться вибрации. Начнут появляться тысячи микроскопических трещин, поскольку усталость металла будет продолжаться, эти трещины будут расти, превращаясь в серьезные проблемы.

Поверх этой подложки находятся сами ВКЛАДЫШИ. Существует множество различных моделей и типов футеровок в зависимости от выполняемой ими работы и конструкции мельницы.

Позже ради интереса мы объясним разницу в некоторых из них, а пока остановимся на идентификации частей мельницы. Мы уже упоминали о вкладыше цапфы, так что давайте начнем с него.

Вкладыш цапфы также может называться ВКЛАДКОЙ ГОЛОВКИ. Вы обнаружите, что многие из этих частей будут называться двумя, а иногда даже тремя именами. Все, что я могу сказать, это постараться не сбивать вас с толку. Имя не так важно, как работа, которую оно выполняет. Пока все, с кем вы работаете, согласны с тем, какое имя использовать, это не имеет большого значения.

Рядом с этим вкладышем находятся КОНЦЕВЫЕ ПОДКЛАДКИ, а для некоторых — ПОДКЛАДКИ PACE PLATE LINERS. НАПОЛНИТЕЛЬНОЕ КОЛЬЦО, которое находится рядом, не входит в стандартную комплектацию всех мельниц, на некоторых мельницах оно есть, а на некоторых нет. Их работа состоит в том, чтобы заполнить угол мельницы, чтобы оболочка не изнашивалась в этой точке. Они не обеспечивают подъема средств массовой информации, на самом деле довольно часто средства массовой информации вообще не вступают с ними в контакт, но они значительно облегчают смену вкладышей. При различных конструкциях футеровки замена одной футеровки может оказаться довольно сложной задачей, а замена одной может стать длительным проектом.

Вкладыш, который втыкается в наполнительный вкладыш, известен как ПРОКЛАДКА БЕЛОЛИ или ПОДКЛАДКА ОБОЛОЧКИ, а в некоторых конструкциях – ПОДЪЕМНЫЕ РУКИ. Эти вкладыши и/или подъемники придают материалу КАСКАДНОЕ действие, а также подвергаются наибольшему износу. Они покрывают весь корпус мельницы и имеют самый большой выбор типов на выбор.

Поскольку два конца фрезы одинаковые, нет никаких причин перебирать другую планшайбу. Узел выпускной цапфы очень похож на подающую цапфу, за исключением того, что он не будет иметь червяк как часть вкладыша. Вместо прикрученного к нему уплотнителя подачи он может иметь экран.

Это называется ГРУЗОВОЙ ГРЯДОК, и его цель состоит в том, чтобы отфильтровать любую породу, которая не была измельчена, а также любой БРОСАЮЩИЙ МЕТАЛЛ или ОТХОДНУЮ СТАЛЬ, которые могут выходить из мельницы. Отходная сталь — это старые мелющие тела, которые изношены настолько, что выходят из мельницы. Если позволить этому металлу и стали попасть в насосы и классификаторы, это может привести к повреждению и закупорке.

Что касается стержневых мельниц, давайте начнем с определения различных частей нагрузки на стержень, когда он совершает один оборот, как вы увидите, каждая из этих областей представляет интерес для оператора помола.

 

При вращении стержневой мельницы стержни удерживаются подъемной частью вкладышей. Высота, на которую они поднимаются, называется «подъемом» вкладышей. По мере скатывания с вкладышей стержни попадают в «зону каскада». Стержни катятся через каскадную зону, пока не доходят до «носка» груза. В этот момент стержни останавливаются относительно кожуха мельницы. Вкладыши поднимают стержни назад, чтобы снова начать каскад. Вы заметите, что по мере того, как вы углубляетесь в нагрузку удилища, движение удилища становится все меньше и меньше, пока движение в самой глубокой части не станет очень слабым. Эта область называется «ядром» нагрузки. В качестве описания нормального измельчения стержни и руда взаимодействуют следующим образом. Руда поступает в мельницу и откладывается в зоне объединения непосредственно под питающей цапфой.

Эта область объединения образована ВОГНУТОЙ ЧАСТЬЮ лицевой панели мельницы и стержнями.

Эта область объединения позволяет большому камню падать в сторону внешней части груза, области TOE. Это зона с наибольшим движением в ней, а значит область, которая окажет наибольшее влияние на руду.

Камень будет подниматься стержнями по мере их прохождения через ЗОНУ КАСКАДА, уменьшая размер камня. По мере того, как каждая частица руды становится меньше, она будет двигаться в направлении ОСНОВНОЙ ЗОНЫ, перемещаясь по всей длине мельницы. Это создает довольно аккуратную аранжировку, не так ли? Более крупная порода откладывается в области, где происходит максимальное воздействие нагрузки от стержня, а затем, когда каждая частица становится меньше, она медленно перемещается внутрь к центру нагрузки.

Здесь достигается максимальный контакт с поверхностью, обеспечивающий более тонкий помол. Когда руда пройдет от одного конца мельницы к другому, она завершит свой цикл измельчения в этой мельнице. Когда он выходит из загрузки стержня, он будет помещен в другую ЗОНУ ЗАЛИВА перед тем, как покинуть мельницу через РАЗГРУЗОЧНУЮ ЦАПФУ.
Пром, чтобы можно было увидеть, как мельница станет перегруженной. Если по какой-то причине камень начнет разделять стержни по всей их длине, более крупный камень будет препятствовать измельчению промежуточного камня. Который, в свою очередь, начнет вторгаться в область, в которой измельчается мелкий материал. По мере того, как стержни разделяются по всей загрузке, измельчение будет постепенно ухудшаться, пока неизмельченная порода не окажется в зоне скопления разгрузки. В этот момент оператор заметит, что крупный камень выгружается из разгрузочной цапфы.

Во время обычных операций обычно остается определенное количество этого более крупного камня, который не измельчается. Они известны как «ОТКАЗЫ», и они служат одной из сплетен о том, как мельница перемалывает. Если количество этих браков увеличивается, значит, мельница плохо перемалывает, и оператору придется что-то с этим делать. Если он этого не сделает, нагрузка мельницы будет продолжать подниматься до тех пор, пока стержни в зоне подъема не будут полностью разделены. Когда это произойдет, эти стержни перестанут шлифоваться.

Имеется визуальное предупреждение об этом, которым может воспользоваться оператор. Подъемная сила на стержнях будет становиться все выше и выше, пока они не будут перенесены на самую вершину мельницы перед каскадом. Я думаю, что падение было бы лучшим словом для этого.
При этом ядро ​​загрузки будет медленно перемещаться от корпуса к центру мельницы. Это связано с тем, что объем мельницы заполняется неизмельченной породой. Это будет продолжаться до тех пор, пока нагрузка не достигнет критического объема и критической плотности. Камню, все еще поступающему в мельницу, нужно куда-то идти, поэтому он пытается вытолкнуть стержни из мельницы. К сожалению, они этого не сделают, первый пучок стержней, который достаточно далеко войдет в разгрузочную цапфу, будет сбит остальным грузом, изгибающим и скручивающим их, пока они не станут похожи на СПАГЕТТИ. Обычно это останавливает мельницу на пару дней, пока слесари вырезают из мельницы погнутые стержни.

На другом конце шкалы, если плотность слишком мала, нагрузка на стержень станет слишком активной, поскольку в мельнице не будет твердых частиц, чтобы смягчить удары стержня по стержню и стержня по футеровке. По мере входа стержней в зону каскада картина движения стержней будет иной. Вместо того, чтобы иметь плотно кувыркающуюся массу стержней, стержни будут разделены. Подъем будет выше, а каскад будет больше похож на дугу. Воздействие стержней на породу будет меньше, потому что нагрузка на стержни будет больше, а большое количество стали на стали вызывает отскок стержней.

Измельчение стержневой мельницы

Давайте посмотрим, как работают эти стержневые мельницы, как я упоминал ранее, внутри мельницы находятся стальные стержни, и их работа заключается в фактическом измельчении. Если посмотреть на мельницу в поперечном сечении, вид с торца. Вы получите очень хорошую иллюстрацию действия мельницы.

ЛАЙНЕРЫ обеспечивают акробатическое действие удилищ. Когда мельница вращается, стержни поднимаются до тех пор, пока они не скатываются с вкладышей, это известно как КАСКАДИРОВАНИЕ. Руда поступает в мельницу на загрузочном конце, когда стержни каскадом и кувыркаются, порода захватывается между стержнями и измельчается. Размер, до которого будет измельчаться камень, зависит от количества времени, в течение которого руда находится в мельнице, количества стержней в мельнице V и размера поступающей руды.

http://www.metso.com

Принцип работы и конструкция стержневой мельницы

Перейти к основному содержанию

Синьхай Минерал Обработка EPC

Синьхай Минерал Обработка EPC

Yantai Xinhai Mining Machinery Co.

, Ltd. — Оператор английского веб-сайта

Опубликовано 6 ноября 2019 г.

+ Подписаться

Стержневая мельница — это обычное оборудование для измельчения на обогатительных фабриках, которое в основном подходит для грубого измельчения. Через редуктор асинхронного двигателя с малой зубчатой ​​муфтой, окружающий большой зубчатый редуктор под действием его импульса, привод вращательного вращения, корпус цилиндра оснащен мелющей средой — стальными стержнями, мелющей средой в центробежной силе и силе трения, под соединением действие было взято на определенную высоту, а затем было брошено вниз, материал непрерывно подается в корпус цилиндра, за счет дробления движущейся среды, перелива и непрерывной силы подачи под действием продукта снаружи, в следующий процесс.

Этот тип основной конструкции в основном состоит из 15 частей: 1. 2. Главный подшипник. 3. Гидравлическое домкратное устройство. 4. Насосная станция высокого и низкого давления. 5. Вращающаяся часть. 6. Медленное устройство. 7. Трансмиссионное отделение. 8. Устройство струйной смазки. 9. Промежуточный вал. 10. Разгрузочный экран. 11. Муфта. 12. Пневматическая муфта. 13. Синхронный двигатель. 14. Электронная система управления. 15. Система воздушного тракта.

Основная несущая конструкция стержневой мельницы, например, полностью закрытого типа «джойстик», поскольку самоустанавливающийся подшипник, втулка подшипника проходит вокруг масляной полости высокого давления, центральная ось из слоя баббитового сплава со «змейкой» в Трубопровод охлаждающей воды, масло, используемое с комбинированной насосной станцией высокого и низкого давления типа ЗДГ-63, маслопроводом, соединенным с масляным насосом низкого давления, подшипником в верхней части нижней части возвратного трубопровода и трубопроводом высокого давления, статическое давление подъем, динамическое давление является одной из характеристик работы подшипника.

Части вращающейся части включают торцевую крышку входного и выходного материалов, цилиндр, спиральный цилиндр входного и выходного материалов, резиновую облицовочную пластину, ламинат и т. д., а также спиральное направление входного и выходного отверстий. материалы конец противоположный. Облицовка цилиндра изготовлена ​​из износостойкой резины и слоев, которые обладают такими преимуществами, как износостойкость, коррозионная стойкость, амортизирующие свойства и шумозащита.

Детали трансмиссии имеют большую шестерню, подшипник вала-шестерни, ремень безопасности и малое масло для смазки шестерни, большая шестерня собрана вместе и становится, с помощью двух с половиной шестерен, установленных на фланце нагнетательного конца цилиндра, RPC — 4 пневматическое устройство смазки распылением для контроля размера шестеренчатого смазывания, этот зубошлифовальный станок размером с устройство, использующий непрерывную рабочую характеристику низкой скорости и большой нагрузки, а также открытый привод и работу, состоит из насоса, сопла, фильтрующего бака, клапана, инструмента и т. д., может синхронизировать количественное направление автоматически к соответствующему распылению трансмиссионной смазки к рабочей поверхности, условия смазки редуктора улучшились, а срок службы увеличился.

Кроме того, в нижней части крышки редуктора установлена ​​шестерня с маслом для улучшения условий смазки между шестернями. При отладке, техническом обслуживании и капитальном ремонте медленное устройство для управления медленным вращением и приводом диска, простое в эксплуатации и блокировка пневматической муфты. Когда бар добавляется, бар дополняется устройством подачи бара.

  • Семь советов по повышению эффективности измельчения шаровой мельницы

    3 ноября 2020 г.

  • Четыре общие проблемы круглого вибрационного грохота и их решения

    20 октября 2020 г.

  • Пять процессов извлечения хрома, которые научат вас переработке хромитовой руды

    19 окт.

    2020 г.

  • Внедрение процесса выщелачивания цианидом

    27 сент. 2020 г.

  • Типы бака мешалки

    23 сент. 2020 г.

  • Пять типов дробилок в горнодобывающей промышленности

    16 сент. 2020 г.

  • Инвентаризация процессов разделения магнетита

    9 сент.

    2020 г.

  • Технология процесса выщелачивания полезных ископаемых

    8 сент. 2020 г.

  • Руководство по процессу добычи россыпного золота и оборудованию для россыпного золота, используемому на заводе по промывке россыпного золота

    4 августа 2020 г.

  • Восемь методов извлечения золота из руды

    4 августа 2020 г.

Трактора колеса: Ведущие и ведомые колеса трактора

Системы узких сдвоенных колес на трактор для работы по междурядьям

Главная

Статьи



Узкие колеса оставляют глубокие следы и уплотняют почву в процессе культивации и обработки. Это ведет к уменьшению урожайности. Системы сдвоенных узких колес для работы помеждурядьям позволяют распределить вес трактора и минимизировать давление на почву. Таким образом, вы не теряете урожай, экономите топливо и время.


Как это работает:

Стандартный вариант


Сдвоенные колеса для тракторов распределяют вес и тяговое усилие на четыре колеса на ведущей оси между двумя рядами. Почва осталась неповрежденной, урожай сохранен!







Вес и тяговое усилие трактора передается на одно узкое тракторное колесо, не оставляя почве никакой надежды. Губится урожай, расходуется топливо и время.

Сдвоенные колеса для тракторов защищают почву. Вложенные в оборудование деньги быстро окупаются и начинают приносить прибыли за счет экономии топлива и времени.

Стандартные сдвоенные колеса для тракторов. Обеспечивают постоянное расстояние между рядами. Дистанционная проставка в виде кольца аккуратно устанавливается посередине. Вершки ваших посевов остаются неповрежденными.


Справка:

Междурядные пропашные культуры (ширина междурядья, см)







Кукуруза

45/60/70/75

Картофель

70/75/90

Сахарная свекла

45/50/56

Подсолнечник

70/75

Комбинированный вариант для работы с различной шириной междурядья


Благодаря комбинированной системе вы можете переходить от уборки сахарной свеклы (где ширина междурядья может составлять 45, 50, или 56 см) к уборке кукурузы и картофеля (межрядье составляет 70 и 75 см).

В зависимости от мощности трактора сдвоенные колеса стандартного или комбинированного типа могут быть оснащены сборками MD-Plus для тракторов (до 180 л.с.), или HD-Plus для тракторов с мощностью более 180 л.с.






Регулируемое узкое:

Комплект колес Комби для междурядья 50 см. При использовании дистанционных блоков получается расстояние 45 см.


Регулируемое широкое:

Конвертацией сдвоенных колес можно для междурядья 70 и 75 см шириной. В системе колес Комби в середине также устанавливаются дистанционные кольца. 

Система AW для тракторов до 160 л.с.


Специально сконструированные дистанционные кольца, уменьшенные в средней части, обеспечивают свободный проход колеса без повреждения растений. При наличии сборки AW, вы устанавливаете сдвоенные колеса с помощью только одного зажима.


Узкие cдвоенные колеса для тракторов сохраняют рыхлость корневой зоны растения. Посадки развиваются без препятствия, радуя хорошими урожаями.

Колеса для пропашных культур КОМБИ с шинами ВКТ

Возврат к списку

Как выбрать шины на трактор

Посадочный диаметр456891012131414.51515.315.51616.116.51717.5181919.5202222.524252626.528293030.5323334353638394042444546484915,519,55015,326,522,517,514,516,551525457

Типоразмер2. 50-153.00-43.50-54.00-44.00-64.00-84.0-104.00-124.00-164.00-154.00-194.50-124.50-164.80-85.00-85.00R85.00-125.00-155.00-165.0-105.50-155.50-165.70-126.00-96.00-166.00-126.00-146.00R96.00-156.5/75-146.5/80-126.5/80-156.5/90-126.5/90-156.50-106.50R106.50-166.50-206.70-156.90-97.00-127.00-147.00-167.00R127.00-157.00R157.50-107.50-157.50R157.50-167.50R167.50-187.50R187.50-207.50R207.5L-157.60-158.00-16.58.00-168.00-188.00-208.15-158.15R158.25-128.25-158.25R158.25-208.3-208.3-228.3-248.3R248.3-368.50/90-158.75-16.59.00-169.00-209.00R209.50/65-159.5R209.5-189.5-169.50-16.59.5-209.5-229.5-249.5R249.5R289.5-329.5R329.5-369.5R369.5R409.5-429.5R429.5R449.5R489.5L-149.5L-1510-16.510.0/75-15.310.0/75R15.310.0/80-1210.00-1510.00-1610.00-2010.00R1510.00R2010.5/65-1610.5/80-1610.5/80-1810.5-1810.5-2010.5R1810.5R2011x4.00-511.00-1611.00-2011.00R2011.2R2011.2-2011.2-2411.2-2611.2R2411.2-2811.2R2811.2R3211.2R3611.2R3811.2R4211.2R4411.2R4611.2R4811.2R5411.0/65-1211.5/80-15.311L-1411L-1511L-1611LR1612-16.512. 0/75-1812.0-1812.00-2012.00R2012.00-2412.00R2422.5×8.0-12200×50425/70-1816×6.00-8315/45-12250/60-1232×12.50-15350-15385/95-2427×8.5-15400/50-1527×10-15.3320/65R18620/40R22.5850/40R26.520×8.00-1023×8.50-1238×14.00-20150/75R89.5/65-15400/45R17.5360/80R24540/80R3812.4-168.3-3218.5X8.50-816×9.50-83.50-6100/90-413×6.50-69×3.50-414×5.50-616×7.50-8190-8200/55-818×8.50-88×3.00-418×6.50-818×7.50-818×8.50-1020×10.00-820×8.00-822×10.00-1024×12.00-1224×9.50-1226×12.00-12215/60-14215/70-12295/60-1522×9.50-1024×12.00-1024×13.00-1220.5×8.00-104.80/4.00-85.00-1012.4R2012.4-2012.4-2412.4R2412.4-2812.4R2812.4-3212.4R3212.4-3612.4R3612.4-3812.4R3812.4R4612.4R5012.4R5212.4R5412.5/80-15.312.5/80-1812.5/70-1612.5-1812.5R1812.5-2012.5R2012.5L-1512.5L-1613×5.00-613.0/55-1613.0/65-1813.0/75-1613.00-2413.6-1613.6R2413.6-2413.6-2613.6-2813.6R2813.6-3613.6R3613.6-3813.6R3813.6R4613.6R4813/80R2014.0/65-1614.00-2014.00R2014.00-2414.00R2414.00-2514.00R2514.5/75-16.114.5/80-1814L-16.114.5-2014.5R2014.9/80-2414.9LR2014. 9-2414.9R2414.9-2614.9-2814.9R2814.9-3014.9R3014.9R3414.9R5014-17.514.0/70-2015×6.00-615.0/55-1715.0/70-1815.00R2415.5/60-1815.5/70-1815.5/65-1815.5/80-2415.5/80R2415.5-2515.5-3815.5R2515-19.515×4.5-816.0/70-2016.0/70-2416.0/70R2416.0/70R2016.00R2016.00-2416.00-2516.00R2416.00R2516.5/85-2416.5L-16.116.5R2016.9-2416.9R2416.9-2616.9-2816.9R2816.9-3016.9R3016.9-3416.9R3416.9-3816.9R3816x6-816×6.50-817.5/65-2017.5L-2417.5LR2417.5-2517.5R2518.00-2518.00-3318.00R2518.00R3318.4-2418.4-2618.4R2618.4-2818.4-3018.4R3018.4-3418.4R3418.4-3818.4R3818.4R4218.4R4618.4R5018-19.518-22.518R22.518×7-818×8.5-818×9.50-819.0/45-1719.5L-2419.5LR2419.5LR2819.5LR3019.5LR3419.5LR3820x10.00-1020×10-820-2420×12.00-1020.5-2520.5R2520.5/70-1620.8-3820.8R3820.8R4220.8R4621.00-2521.00R2521.00R3321.00-3521.00R3521.3-2421.5L-16.121L-2421L-2821×8-922/70-2423.1-2623.5-2523.5R2523x523x8.5-1223×10-1223×10.50-1223×12-1223×9-1024.00-3524.00R3524x8.00-14.524.5-3224.5R3224.5R3824.5R4225x8.5-1426.5-2526.5R2526x12-1226×12-16.526. 5×14.00-1227.00-4927.00R4927x10.5-1527×10-1227×8.50-1528L-2628LR2628x12.5-1528×9-1528x9R1529.5-2529.5R2529.5-2929.5R2929x12.5-1530.5L-3230.5LR3230/65R2531x10-2031×13.50-1531×15.50-1531.5×13-16.532×12.1-1533.00-5133.00R5133.25-2933×12-2033×12.50-1533×15.5-1533×15.5-16.535.5L-3235.5R3235/65R2935/65-3335/65R3336.00-5136×14-2040.00-5740/65-3944×18.00-245/65-4545/65R3945/65R4566x43.00-25125/75-8140/55-9150/100-13150/75-8160/90-13180/60-10180/70-8180/70R8185/65-15200/60-14.5200/75-9200/50-10205/50-10205/60-15210/70R15210/95R16210/95R32210/95R44215/75-17.5220/70R16225/75-10225/75-15225/75-17.5225/75R10225/75R15230/95-24230/95-32230/95R32230/95R36230/95R40230/95R42230/95R44230/95R48240/70R16250-15250/65-14.5250/70-15250/70R15250/75-12250/75R12250/80-18250/85R24250/85R28255/75-15.3260/75-15.3260/70R15.3260/70R16260/70R16.5270/65-16.5265/70-16.5270/65R16270/65R18270/80R32270/85-28270/95-20270/95R32270/95R36270/95R38270/95R42270/95R44270/95R46270/95R48270/95R54275/80-20275/90R22.5280/60-15.5280/70R15280/70R16280/70R18280/70R20280/75R22. 5280/80-18280/80R18280/80-20280/80R20280/85R20280/85R24280/85R28290/95-20290/95R20300-15300/40-16.5300/65-12300/70R16.5300/70R20300/80-15.3300/85R42300/95-20300/95R20300/95R46300/95R52305/60-12305/70-16.5305/70R16.5310-15310/80R22.5315/50-15315/70-15315/70R15315/70-22.5315/85-15320/65R16320/70-16.5320/70R20320/70R24320/80-15.3320/80-18320/85-24320/85-28320/85-36320/85R20320/85R24320/85R28320/85R32320/85R34320/85R36320/85R38320/90R42320/90R46320/95R46320/90R50320/90R54330/95-20330/95R20335/80-20335/80R18335/80R20340/55-16340/60R16.5340/65R18340/65R20340/75R20340/80-18340/80-20340/80R18340/80R20340/80R24340/85-28340/85-36340/85-38340/85R24340/85R28340/85R36340/85R38340/85R46340/85R48340/90R48355/45-15355/50-15355/50-20355/65-15355/80-18355/85-24360/70R17.5360/70R18360/70R20360/70R24360/70R28360/80-20360/85-20365/70R18365/80-20365/80R20375/75R20380/55-17380/55R16.5380/70R20380/70R24380/70R28380/75-20380/75R20380/80R38380/85-24380/85-26380/85-28380/85-30380/85R24380/85R28380/85R30380/85R34380/85R38380/90R46380/90R50380/90R54380/95R38380/105R50385/65-22. 5385/65R22.5385/95R24385/95R25395/85R20400/55-22.5400/60-15.5400/60-22.5400/70-20400/75-20400/70-24405/75-20400/70-18400/70R18400/70R20400/70R24400/75-38400/80-24400/80R24400/80R28405/70-20400/45L17.5405/70-24405/70R18405/70R20405/70R24420/55-17420/65R20420/65R24420/70R24420/70R28420/70R30420/75R20420/80-30420/80R46420/85-24420/85-26420/85-28420/85-30420/85-34420/85-38420/85R24420/85R26420/85R28420/85R30420/85R34420/85R38420/90R30420/95R50425/55R17425/75R20440/50R17440/55R18440/65R24440/65R28440/70R28440/80-24440/80R24440/80-28440/80R28440/80-30440/80R30750/70R44440/80R34445/65-22.5445/65R22.5445/70-24445/70-19.5445/70R19.5445/70R22.5445/70R24445/95R25450/95R25460/65R22.5460/70-24460/70R24460/85-26460/85-30460/85-34460/85-38460/85R26460/85R30460/85R34460/85R38480/45-17480/60R28480/65R24480/65R28480/70R24480/70R28480/70R30480/70R34480/70R38480/80-26480/80R26480/80R38480/80R42480/80R46480/80R50480/65-22.5480/95R25480/95R50495/70R24500/45-20500/45-22.5500/45R22.5500/50-17500/50-22.5500/50R17500/55-20500/60-15. 5500/60-22.5500/60R22.5500/65-17500/70-24500/70R24500/85R24500/85R25500/85R30520/50-17520/50R17520/60R28520/70R34520/70R38520/80R26520/85R38520/85R42520/85R46525/80R25540/65R24505/95R25540/65R28540/65R30540/65R34540/65R38540/70-24540/70R24550/45-22.5550/60-22.5560/45R22.5560/55R22.5550/65R25560/60R22.5580/65R22.5580/70R26580/70R38580/85R42600/40-22.5600/50-22.5600/50R22.5600/55-22.5600/55-26.5600/55R26.5600/60R28600/60R30600/60R30.5600/60R34600/60R38600/65-34600/65R25600/65R28600/65R30600/65R34600/65R38600/70R28600/70R30620/70R26620/70R30600/70R34620/70R38620/70R42620/70R46620/75R26620/75R30620/75R34650/45-22.5650/50R22.5650/55R22.5650/55R26.5650/60R34650/60R38650/65-30.5650/65R25650/65R26.5650/65R30.5650/65R34650/65R38650/65R42650/75R30650/75R32650/75R38650/75R42650/85R38650/85R42680/75R32680/85R32690X180-15700/40-22.5700/50-22.5700/55-34700/50-26.5710/40-22.5710/40R22.5710/35R22.5710/45-26.5710/45R22.5710/50R26.5710/50R30.5710/55R30710/60R30710/60R34710/60R38710/60R42710/70R38710/70R42710/75R34710/75R42710/85R38750/45R22. 5750/45R26.5750/50R26750/55-26.5750/60-30.5750/60R30.5750/65R25750/65R26775/65R29750/75R46800/45-26.5800/45R26.5800/45R30.5800/65R29800/65R32800/70R32800/70R38850/50R30.5875/65R29875/65R33900/50R42900/60R32900/60R38900/60R421000/50R251050/50R32DW500/95D32

ИсполнениеПневматическаяЦельнолитая

Слойность2PR4PR6PR8PR10PR12PR14PR16PR18PR20PR22PR24PR26PR28PR30PR32PR34PR36PR40PR42PR46PR48PR50PR56PR58PR68PR76PR****/*************Radial**/*

ПроизводительAllianceARMOURBKTBobcatContinentalCultorDeestoneEKKAFORERUNNERGALAXYGTKGRIKENDAKleberMarcherMichelinMITASOZKAPETLASRODACOSamsonSehaSOLIDEAL (CAMSO)StarmaxxSUPERGUIDERTechkingTrelleborgYokohamaSTARCOCEATDeli

Подобрать
Обычный поиск

Как снять и установить передние колеса трактора? | Team Tractor & Equipment

Мы хотим помочь вам снять и установить передние колеса вашего трактора.

Если вы чувствуете, что не понимаете эти шаги или не можете выполнять их безопасно, обратитесь к дилеру трактора или к местному механику. Также всегда обращайтесь к руководству по эксплуатации вашего трактора для получения информации о конкретной модели.

Время начинать.

Причина :

  • Для снятия и установки передних колес трактора.

1. Безопасно и надежно припаркуйте трактор.

2. Заглушите двигатель.

Установите клинья (A, рис. 1) в каждом направлении движения передних и задних колес.

Противооткатный упор (8 шт.)

ПРИМЕЧАНИЕ :

  • Убедитесь, что стояночный тормоз надежно затянут.
  • Убедитесь, что все навесное оборудование опущено на землю.

3. Ослабьте болты переднего колеса.

  • Наполовину поверните колесные болты (A, рис. 2) от переднего колеса (B, рис. 2).
  • Проделайте описанную выше процедуру со всеми болтами передних колес.
  • Выполните описанную выше процедуру для другого переднего колеса.

A — Колесный болт (4 шт.)

B — Переднее колесо

   

Примечание

  • Не снимайте два передних колеса одновременно, если в этом нет необходимости.

4. Снимите передние колеса.

  • Поднимите передние колеса (A, рис. 3).

—  Поместите подходящее подъемное оборудование (B, рис. 3) под передний мост (C, рис. 3).

— Поднимите подъемное оборудование, пока оба передних колеса не окажутся над землей.

—  Поместите подходящие домкратные стойки (D, рис. 3) под левую и правую части передней оси.

—  Медленно опустите подъемное оборудование, чтобы установить передний мост на домкраты.

  • Снимите передние колеса.

— Снимите колесные болты (E, рис. 4).

— Поместите колесные болты в безопасное место.

—  Снять переднее колесо.

—  Откатите переднее колесо в безопасное место.

  • Выполните описанную выше процедуру для другого переднего колеса.

A — Переднее колесо (2 шт.)

B — Подъемное оборудование

C — Передняя ось

D — Подставка (2 шт.)

E — Колесный болт (4 шт.)

Предупреждение :

9 900

  • Попросите кого-нибудь помочь вам при снятии переднего колеса.
  • Примечание :  

    • Поднимите грузоподъемное оборудование ровно настолько, чтобы домкратные стойки задвинулись под переднюю ось.
    • Убедитесь, что левое и правое передние колеса находятся немного над землей при опускании на домкраты.
    • Не используйте подъемное оборудование для поддержки трактора.

    5. Установите передние колеса

       

    ВАЖНО!

     

    • Перед сборкой убедитесь, что все компоненты чистые и находятся в хорошем состоянии.
    • Установите передние колеса.

    —  Установка передних колес на трактор производится в порядке, обратном снятию.

    ПРИМЕЧАНИЕ :  

    • Затяните колесные болты крест-накрест.
    • Затяните колесные болты для R3 и R4 (E, рис. 4) с усилием от 126,9 до 140,1 фунт-силы. (от 172 до 190 Н•м).

    Если вам нужна дополнительная помощь или у вас есть вопросы о колесах, тракторах, навесном оборудовании или чем-то еще, обратитесь к своему дилеру, местному механику или позвоните нам по телефону 602-734-9.944.  Пожалуйста, спросите о наших текущих поставках новых и подержанных тракторов.

    Team Tractor Ranch  — продавец тракторов №1 в Аризоне. Мы продаем и обслуживаем тракторы большинства основных марок, включая Yanmar, Kubota, John Deere, TYM, Mahindra, Kioti, Case, New Holland, Massey Ferguson, Ford, Deutz, Case IH, Farmall, International Harvester, Branson Tractors, LS, Shibura, Claas Tractor, McCormick Tractors, Valtra, Solis, YTO, Montana и Nortrac.

    Масса колес трактора

    Большинство современных тракторов сделаны из более легких материалов и оснащены более эффективными двигателями, которые выдают больше лошадиных сил, чем когда-то считалось возможным. Со всеми легкими материалами и высокой мощностью иногда вам нужен небольшой дополнительный вес, чтобы ваш трактор копал и работал так усердно, как только может. Утяжелители для колес трактора — один из самых простых способов добавить этот столь необходимый вес на колеса там, где он нужен больше всего. Утяжелители колес трактора бывают разных форм и размеров и могут добавлять к колесам вашего трактора сотни или тысячи фунтов в зависимости от вашего трактора и потребностей.

    Вес колеса трактора #1050 Вес: 113 фунтов.
    Расположение болтов: 3 @ 18 7/8
    Вес колеса трактора #1051 Вес: 165 фунтов.
    Расположение болтов: 4 @ 14 1/4
    Вес колеса трактора #2050 Вес: 500 фунтов.
    Расположение болтов: 4 @ 9 1/2–11 1/2
    Колесный груз трактора #3050 ​​ Вес: 65 фунтов.
    Расположение болтов: 4 при 7 7/8 или 3 при 12 3/16
    Вес колеса трактора #3052 Вес: 83 фунта.
    Расположение болтов: 3 @ 15 1/2
    Вес колеса трактора #3054 Вес: 100 фунтов.
    Расположение болтов: 3 @ 10 3/4
    Вес колеса трактора #3055 Вес: 115 фунтов.
    Расположение болтов: 3 при 12 3/4 или 3 при 18 7/8
    Вес колеса трактора #3065 Вес: 108 фунтов.
    Расположение болтов: 3 @ 14
    Вес колеса трактора #3066 Вес: 432 фунта.
    Расположение болтов: 3 @ 15 1/2
    Вес колеса трактора #3151 Вес: 75 фунтов.
    Расположение болтов: 3 @ 97/8–12 1/2 или 4 при 9 1/4–10 1/4
    Вес колеса трактора #3154-1 Вес: 61 фунт.
    Расположение болтов: 3 при 8 1/8 или 4 при 7 1/4 -8 1/2
    Вес колеса трактора #3156 Вес: 95 фунтов.
    Расположение болтов: 3 при 8 1/8 или 4 при 7 1/4 -8 1/2
    Вес колеса трактора #3157-1 Вес: 105 фунтов.
    Расположение болтов: 4 @ 8 1/2 -9от 1/2 до 11 и 11 1/2
    Вес колеса трактора #3158 Вес: 115 фунтов.
    Расположение болтов: 3 @ 16 1/2
    Вес колеса трактора #3159 Вес: 150 фунтов.
    Расположение болтов: 3 при 12 3/4 или 4 при 8 1/2 или 4 при 13 3/8
    Вес колеса трактора #3161 Вес: 300 фунтов.
    Расположение болтов: 3 при 10 1/2 или 3 при 12 3/4
    Вес колеса трактора #3162 Вес: 150 фунтов.
    Расположение болтов: 3 при 12 3/4 или 4 при 12 1/4 -14 3/4
    Вес колеса трактора #3167 Вес: 80 фунтов.
    Расположение болтов: 3 при 9 1/4–12 1/2 или 4 при 9 1/4–10 1/4
    Вес колеса трактора #4052 Вес: 142 фунта.
    Расположение болтов: 3 @ 22 1/4 -22 1/2
    Вес колеса трактора #4054-2 Вес: 500 фунтов.
    Расположение болтов: 3 @ 22 1/4 -22 1/2
    Вес колеса трактора #4055 Вес: 573 фунта.
    Расположение болтов: 3 @ 16 1/2
    Вес колеса трактора #4056-2 Вес: 650 фунтов.
    Расположение болтов: 3 @ 22 1/4 -22 1/2
    Колесный груз трактора #4150 Вес: 70 фунтов.
    Расположение болтов: 4 @ 5 1/4 — 6 1/8
    Вес колеса трактора #4153 Вес: 163 фунта.
    Расположение болтов: 3 @ 14 5/8
    Вес колеса трактора #5050 Вес: 59 фунтов.

    Цепной привод служит для передачи: Цепная передача в автомобилестроении | Автомобильный справочник

    Цепная передача в автомобилестроении | Автомобильный справочник

     

    Цепная передача – это передача механической энергии между параллельными валами, осуществляемая с помощью двух колес — звездочек и охватывающей их цепи. Цепная передача, как и ременная передача, принадлежит к числу передач с гибкой связью. Здесь гибким звеном является цепь, входящая в зацепление с зубьями звездочек. Вот о том, какой бывает цепная передача, мы и поговорим в этой статье.

     

    Содержание

    1. Конструкции цепей
      • Роликовая цепь
      • Втулочная цепь
      • Зубчатая цепь
      • Выбор типа цепи
      • Требования, предъявляемые к цепям
    2. Звездочки
    3. Натяжители и успокоители цепей
      • Натяжитель цепи
      • Успокоители цепи

     

     

    Для управления клапанами механизма газора­спределения служат распределительные валы. Они открывают и закрывают клапаны через тол­катели или коромысла. На современных двига­телях с верхним расположением клапанов и рас­положением распределительных валов в головке цилиндров привод распределительных валов осу­ществляется при помощи ременной или цепной передачи, в то время как распределительные валы нижнего расположения (в блоке цилиндров) соединяются с ведущей шестерней коленчатого вала посредством зубчатой передачи.

    Наиболее важными критериями выбора типа привода являются стоимость, занимаемое пространство, легкость технического обслужи­вания, срок службы и уровень шума. Цепная передача имеет большое преимущество по сравнению с ременными передачами. Оно заключается в том, что цепная передача не требуют технического обслуживания на протяжении всего срока службы двигателя. Зубчатые ремни требуют перио­дической регулировки натяжения или замены.

    На современных двигателях привод распредели­тельного вала часто служит также для привода других устройств. Такими устройствами являются масляный насос и топливный насос (см. рис. «Цепной привод механизма газораспределения» ). Поскольку как коленчатый, так и распределительный валы вращаются неравномерно и подвержены кру­тильным колебаниям, привод испытывает крайне сложные динамические напряжения. Кроме того, момент сопротивления топливного насоса высокого давления испытывает очень большие периодические колебания. Это создает дополнительные возмущения, воздействующие на цепную передачу привода механизма газора­спределения.

     

    Конструкции цепей

     

    В качестве стандартных цепей, цепная передача использует роликовые и вту­лочные цепи. Также существуют однорядные и двухрядные цепи. Специальным типом цепи является цепь зубчатого типа.

     

    Роликовая цепь

     

    Вращающиеся ролики роликовой цепи (рис. а, «Конструкции цепей» ), надетые на втулки, прокатываются с низким трением по боковым поверхностям зубьев звездочки таким образом, что контакт всегда имеет место в различных точках окруж­ности. Смазка между роликами и втулками помогает снизить уровень шума и демпфи­ровать удары.

     

    Втулочная цепь

     

    В случае втулочной цепи (рис. «Конструкции цепей», b) боковые поверхности зубьев звездочки постоянно кон­тактируют с зафиксированными втулками в одной и той же точке, в связи с чем втулки подвергаются дополнительной нагрузке. Поэтому для таких цепей особенно важна хорошая смазка.

    При одинаковом шаге и разрывном усилии втулочные цепи имеют большую поверхность соприкосновения, чем соответствующие ро­ликовые цепи, поскольку отсутствие роликов означает, что диаметр пальца может быть уве­личен. Большая поверхность соприкосновения дает снижение поверхностного давления и, соответственно, снижение износа в соединениях.

    Втулочные цепи продемонстрировали высокие рабочие характеристики в приво­дах распределительных валов на дизельных двигателях, где вследствие повышенного про­никновения сажи в моторное масло требуется высокая износостойкость.

     

    Зубчатая цепь

    Пример HTML-страницы

     

    На зубчатой цепи (рис. «Конструкции цепей», с) соединительные звенья расположены таким образом, что они могут передавать усилия между цепью и звез­дочкой, в то время как в случае роликовой или втулочной цепи соединение со звездочкой осуществляется при помощи роликов или втулок.

    Зубчатые цепи могут быть изготовлены буквально любой желаемой ширины без не­обходимости в серьезных конструктивных изменениях. Направляющие звенья, рас­положенные либо посередине, либо сбоку (на обеих сторонах), служат для предотвра­щения спадания цепи со звездочки. Еще од­ним вариантом зубчатой цепи является цепь с зубьями на обеих сторонах, позволяющая также реализовать отрицательный обхват (как на роликовых и втулочных цепях).

     

    Выбор типа цепи

     

    При выборе типа цепи (конструкции и шага) важно, придерживаясь максимального диаме­тра звездочки, стремиться к тому, чтобы число зубьев было более 18, с тем чтобы уменьшить динамические воздействия, вызываемые эф­фектом излома. Если это не может быть реали­зовано конструктивно, рекомендуется перейти на двухрядную цепь с меньшим шагом.

    Многолетний опыт продемонстрировал, что некоторые размеры роликовых, втулочных и зубчатых цепей особенно хорошо подходят для приводов механизмов газораспределения.

     

    Требования, предъявляемые к цепям

     

    Имеются четыре важных фактора, опреде­ляющих рабочие характеристики цепей для приводов механизмов газораспределения:

    • Предел прочности при растяжении;
    • Предел усталости;
    • Износостойкость;
    • Акустические свойства.

     

    Превышение допустимой статической или динамической разрывной нагрузки может вызвать разрыв цепи. В случае приводов меха­низмов газораспределения нагрузка является неравномерной, поэтому характеристикой, ограничивающей прочность, является предел усталости. Цепь испытывает динамические нагрузки вследствие пульсаций крутящего момента распределительного вала (валов), топливного насоса и неравномерности вра­щения коленчатого вала и пульсаций осевого Усилия, воздействующего на цепь, вызванных эффектом излома. При этом не должен быть превышен предел усталости цепи, поскольку количество таких изменений нагрузки на про­тяжении всего срока службы двигателя пре­вышает 108 (см. рис. «Предел усталости втулочных и роликовых цепей» ).

    На современных двигателях с точной синхронизацией и минимальными зазорами между поршнями и клапанами можно достиг­нуть минимального удлинения цепи вслед­ствие износа. Оптимизация трибо-соединения пальцев и втулок цепи позволяет уменьшить удлинение цепи до всего лишь 0,2-0,5 % ее длины после пробега до 350 000 км.

    Надлежащая работа цепного привода ме­ханизма газораспределения определяется массой и жесткостью цепи, а также демпфиро­ванием колебательной системы с несколькими степенями свободы. Под действием возму­щений со стороны распределительного вала, коленчатого вала, топливного насоса и т.д., в результате различных сложных взаимодей­ствий в системе могут возникнуть резонанс­ные эффекты, вызывающие очень высокие нагрузки на компоненты привода.

    За счет различных мер оптимизации (напри­мер, увеличения жесткости цепи при сохране­нии удельной массы, применения звездочек специальной геометрии, оптимизации ги­дравлического натяжителя цепи в отношении демпфирования и жесткости) можно сдвинуть точки резонанса в область более высоких обо­ротов двигателя (или даже за пределы реаль­ного диапазона оборотов (см. рис. «Характеристические значения цепей: жесткость и масса» ).

     

    Звездочки

     

    Для роликовых, втулочных и зубчатых цепей форма зубьев звездочек стандартизована:

    • DIN 8187-1 для роликовых цепей европей­ского типа;
    • DIN 8188-1 для роликовых цепей амери­канского типа;
    • DIN 8154 для втулочных цепей со сплош­ными пальцами;
    • DIN 8190 для зубчатых цепей. Оптимизированная конфигурация формы зу­бьев столь же важна для безопасной работы привода механизма газораспределения, как, например, износостойкость или усталостная прочность самой цепи.

     

    Стандарт DIN допускает значительную свободу в отношении прецизионной кон­фигурации зубьев звездочки. Как правило, применяются звездочки с максимальным пространством между зубьями. Благодаря низкой высоте головки зуба и большому про­странству между зубьями эта конструкция позволяет цепи без возмущений находить на звездочку и сходить с нее даже при высоких скоростях движения цепи.

    В зависимости от доступного свободного пространства применяются дисковые колеса или звездочки с односторонними или двусто­ронними ступицами, а также звездочки пла­стинчатого типа. Выбор материала зависит от доступного пространства, условий работы и величины мощности, которую передает цепная передача (см. рис. «Звездочки» ).

    Применяются звездочки, изготовленные из углеродистой и легированной, стали и колеса, изготовленные из керамических материалов. Также применяются колеса, изготавливае­мые посредством прецизионной штамповки или механической обработки с последующей термообработкой, зависящей от используе­мого материала. Решающую роль в выборе материала играют доступное пространство и последовательность сборки.

     

    Натяжители и успокоители цепей

     

    Применение постоянно действующих натяжи­телей и успокоителей (см. рис. «Цепной привод механизма газораспределения» ), точно со­гласованных с конкретным двигателем, позволяет оптимизировать цепную передачу таким обра­зом, что срок ее службы будет соответствовать сроку службы двигателя.

     

    Натяжитель цепи

     

    Натяжитель цепи (гидравлический) выполняет в приводе механизма газораспределения ряд задач. С одной стороны, цепь при любых условиях работы должна иметь надлежащее натяжение ведомой ветви при определенной нагрузке, даже в случае удлинения вследствие износа, возникающего в процессе эксплуа­тации. Снижение вибрации до приемлемого уровня осуществляется фрикционным или вязкостным демпфирующим элементом.

    В приводах масляных насосов, работающих в условиях низких нагрузок, как правило, при­меняются механические натяжители цепи без дополнительного гидравлического демпфи­рования. В особых случаях эти механические натяжители цепи могут отсутствовать.

     

    Успокоитель цепи

     

    Иногда в качестве натяжных и направля­ющих элементов используются простые успо­коители. Они изготавливаются из пластмассы или металла (алюминия или листовой стали). По форме успокоители цепи бывают плоскими или изогнутыми, в зависимости от трассы цепи. В последнее время применяются недо­рогие, литые под давлением, пластмассовые успокоители двухкомпонентной конструкции (основа и фрикционная накладка).

    В случае натяжных успо­коителей фрикционный слой не содержащего стекловолокна полиамида напыляется или на­клепывается на основу из термостойкого по­лиамида с содержанием стекловолокна от 30 до 50%. Для направления цепи используются однокомпонентные пластмассовые направ­ляющие скольжения.

    Пример HTML-страницы

     

    РЕКОМЕНДУЮ ЕЩЁ ПОЧИТАТЬ:

    Пример HTML-страницы

    Цепной электро-механический привод

    — конструкционный алюминиевый профиль

    Санкт-Петербург   +7 (812) 702-12-64

    Москва   +7 (495) 308-22-67

    Бесплатный звонок по всей России     8 (800) 300-81-10

    Новости
    О компании
    Продукция
    Крепления
    Применение
    Видеоролики
    Контакты
    Партнеры
    On-line каталог

    Скачать на русском языке каталог Item MB8

    На международной выставке, прошедшей в г. Синшейм, Компания item представила новую концепцию приводных технологий, в основе которой лежит создание конвейерных линий различных конфигураций на базе электро-механического цепного привода. Преимущество цепного привода заключается в чрезвычайной простоте его конструкции, большой мощности и высокой надежности. Цепной привод может быть интегрирован непосредственно в каркас технологической линии, при условии, что каркас выполнен из конструкционной алюминиевой системы Item Building Kit. Телом цепного привода служит алюминиевый профиль 8 серии 40*80 , в пазы которого через направляющую из высокопрочного пластика встроена стальная цепь. Вращательное движение двигателя через шестерни стандартных реверсивных узлов, которые легко монтируются на алюминиевом профиле, преобразуются в поступательное движение цепи. Благодаря тому, что цепь утапливается в глубину паза профиля, конструктивное пространство используется еще более эффективно. Компоненты двигателя защищены от несанкционированного и неумышленного доступа, пыли и грязи, уменьшаются эффекты вибрации.

    Существует несколько вариантов использования цепной передачи в комплексе с алюминиевым профилем Item MB Building Kit.


    — в качестве линейного э/механического привода с цепной передачей кареточного типа


    — в качестве активного рольганга с электро-механическим цепным приводом


    — в конвейере цепного типа при непосредственном контакте цепи привода и несущей площадки конвейера.

    Роликовый конвейер состоит из системы роликов (алюминиевых или пластиковых), на осях которых имеются шестеренчатые колеса. Шестерни входят в зацепление с цепью привода через неподвижно закрепленные на приводе опорные блоки. Такая конструкция облегчает доступ к внутренним механизмам рольганга и позволяет заменить отдельные блоки при поломке без снятия всей цепи. Защиту рольганга от внешних воздействий обеспечивает съемный алюминиевый кожух.

    Альтернативный способ транспортировки, который может быть легко и эффективно реализован, используя систему цепной передачи item,- это прямая передача от цепи к несущей площадке. Цепь в этом случае укладывается на специальную направляющую.


    Новости | О компании | Продукция | Крепления | Применение | Видеоролики | Партнеры | Контакты Политика конфиденциальности

    © item Industrietechnik und Maschinenbau GmbH, Solingen/Germany, 2005-2023

    Что такое цепной привод? | Цепные передачи для трансмиссии | Типы цепных приводов

    Важный момент

    1

    Что такое цепной привод?

    Цепной привод — это способ передачи механической энергии из одного места в другое. Цепные приводы широко используются в транспортных средствах, таких как велосипеды и мотоциклы, для передачи мощности на колеса. Он также используется в различных типах машин. Чаще всего мощность передается роликовой цепью, известной как приводная цепь или передаточная цепь, которая проходит через звездочку, при этом зубья шестерни пересекают отверстия в звеньях цепи.

    Шестерня вращается, и это натягивает цепь, создавая механическую силу в механизме. Цепь состоит из нескольких жестких звеньев, скрепленных шарнирными соединениями, чтобы обеспечить необходимую гибкость для обхвата ведущих и ведомых колес. Цепи в основном используются для передачи скорости и мощности от одного вала к другому, когда межосевое расстояние между их валами небольшое, например, в велосипедах, мотоциклах, сельскохозяйственной технике, конвейерах, прокатных станах, дорожных катках и т. д.

    Цепь также может использоваться для больших межцентровых расстояний до 8 метров. Цепи применяются для скоростей до 25 м/с и мощности до 110 кВт. В некоторых случаях также возможна передача более высокой мощности. Эти колеса имеют зубья специального профиля и подходят к соответствующему углублению в звене цепи. Зубчатые колеса известны как звездочки или просто звездочки.

    Таким образом, звездочка и цепь вынуждены двигаться вместе без проскальзывания и обеспечения правильного соотношения скоростей. Цепи подходят для приводов с относительно длинным или коротким межосевым расстоянием и обеспечивают более компактный привод, чем ремни.

    Некоторые характеристики цепного привода:-  Выравнивание вала должно быть более точным, чем выравнивание ремня. Межосевое расстояние не так важно, как зубчатые передачи. Для удовлетворительного срока службы необходимо обеспечить надлежащую смазку. Их эффективность сравнивают с любым другим видом положительной мотивации.

    Цепные приводы отличаются большей универсальностью, адаптивностью и надежностью. Они являются важным компонентом подъемно-транспортного оборудования. Их стоимость конкурентоспособна благодаря автоматизированному производству и чрезвычайно высоким показателям спроса. Цепи имеют низкую стоимость, просты в установке и обслуживании.

    Основные характеристики цепных приводов включают в себя стабильное передаточное отношение, отсутствие проскальзывания или проскальзывания, длительный срок службы и способность приводить в движение несколько валов от одного источника энергии.

    Читайте также: Что такое сварка? | Как работает сварка? | Виды сварки | Различные типы сварных соединений | Типы сварных соединений

    Цепные передачи для передачи:

    Цепные передачи являются наиболее важными приводами для передачи электроэнергии. Это система позитивного драйва, в отличие от самостоятельного драйва. Передаточное отношение цепной передачи, т. е. отношение угловой скорости ведущей звездочки, остается постоянным без проскальзывания и без проскальзывания. В этом случае отношение скоростей достигает восьми, что довольно много.

    Завершает сборку системы цепного привода. Он состоит из двух зубчатых звездочек и цепи. Цепные приводы очень подходят для передачи мощности на короткие межцентровые расстояния и могут использоваться на расстоянии до 2,5 метров, но, тем не менее; Расстояние может быть увеличено в большинстве специальных приложений. Одноцепную цепь можно использовать для привода нескольких валов для передачи мощности.

    Эти цепи имеют более длительный срок службы по сравнению с ременными приводами, но работают не так гладко. Цепной привод производит шум при работе из-за удара, когда цепной ролик касается зуба звездочки. Существует изменение скорости цепи от одного зуба к другому.

    Это может вызвать вибрацию. Смазка цепи в основном предназначена для обеспечения плавной работы, бесшумной работы и обеспечения долгой и бесперебойной работы цепи. В связи с этим компоновка системы цепного привода трансмиссии по существу будет состоять из бесконечной цепи и двух колес, называемых звездочками. Звездочки представляют собой зубчатые колеса, как показано, прикрепленные к бесконечной цепи.

    Бесконечные цепочки разных размеров образуются в зависимости от расстояния от центра до центра круга. Наиболее важными областями применения систем цепного привода в передаче мощности являются велосипеды, мотоциклы, мотороллеры, станки, конвейеры и т. д.

    Также прочтите: что такое садовые вилы? | 10 лучших садовых вил

    Типы цепных приводов:

    #1.

    Роликовые цепи

    Эти типы цепей чаще всего используются для передачи механической энергии на многих типах бытовых, промышленных и сельскохозяйственных машин, включая конвейеры, машины для волочения проволоки и труб, печатные станки, автомобили, мотоциклы и велосипеды. . Роликовая цепь состоит из ряда небольших цилиндрических роликов, скрепленных боковыми звеньями. Он приводится в движение зубчатыми колесами, называемыми звездочками. Он прост, надежен и эффективен для передачи энергии.

    Эти цепи обычно меньше в диаметре, чем высота пластин звеньев цепи. Соединительная пластина служит направляющей, когда цепь входит в зацепление со звездочкой, цепными гусеницами, а также служит направляющей для поддержки материала на пути, что характерно для конвейеров и некоторых ковшовых элеваторов. Роликовые цепи используются как для приводов, так и для конвейеров.

    Цепь, наиболее часто используемая для приводов, представляет собой однорядную стандартную цепную роликовую цепь. Возможности номинальной мощности этих серий охватывают широкий диапазон требований к нагрузке привода. Многорядные роликовые цепи используются для обеспечения повышенной мощности без необходимости увеличения шага цепи или ее линейной скорости.

    #2. Бесшумная цепь

    Бесшумные цепи, также называемые цепями с перевернутыми зубьями, состоят из ряда пластин зубчатых звеньев, установленных на компонентах соединения таким образом, чтобы обеспечить свободное изгибание между каждым шагом. Бесшумные цепи состоят из вертикальных рядов плоских звеньев, которые имеют зубчатую форму, предназначенную для зацепления зубьев звездочки так же, как рейка входит в зацепление с шестерней на рисунке. Он отображается.

    Звенья удерживаются вместе одним или несколькими штифтами в каждом звене цепи, что также позволяет цепи изгибаться. Бесшумную цепь от разных производителей, как правило, нельзя соединить между собой. Стандартная бесшумная цепь используется в самых разных промышленных приводах, где требуется компактный, высокоскоростной, плавный привод с низким уровнем шума.

    Высокопроизводительные бесшумные цепи доступны в широком диапазоне размеров с шагом и шириной и используются на очень высокоскоростных приводах, где требуется исключительная плавность и бесшумность. Эти серии обычно используются в промышленном оборудовании, где требуется максимальная гладкость.

    №3. Плоскостная цепь

    Плоскостные цепи предназначены для подъема грузов, а не для передачи усилия. Напряжение высокое, но темп медленный. Обычно цепи работают с перебоями. Основными факторами при проектировании пластинчатых цепей являются растягивающая нагрузка, износ соединений, а также износ звеньев и шкивов.

    Плоские цепи не выкованы со звездочками, так как они предназначены для движения по зеркалам, поэтому для них не предусмотрена звездочка.

    Цепи Leaf часто должны поднимать очень большие грузы, и поэтому требуют высокого предела текучести и не растягиваются постоянно, когда они поднимают большие грузы. Возможно, наиболее распространенное использование пластинчатой ​​цепи — на погрузчиках.

    №4. Цепь с плоской вершиной

    Цепи с плоской вершиной широко используются на конвейерах, которые в основном используются на специальных типах сланцевых конвейеров. Включает серию стальных верхних пластин с плоским верхом и шарнирно-подобными цилиндрами, установленными с каждой стороны. Штифты вставляются через ствол, образуя соединение. Они действуют как балки и подшипник.

    Штифты удерживаются прессовой посадкой или направляются в цилиндр одной верхней пластины и могут свободно входить в цилиндр следующего звена. Соединительный штифт обычно либо монтируется, либо увеличивается на одном конце, чтобы удерживать штифт в цилиндре верхней пластины. Таким образом, образуется непрерывная длина цепей с плоской вершиной. Цепь с плоской вершиной предназначена только для транспортировки.

    №5. Цепь из инженерной стали

    Цепи из инженерной стали были впервые разработаны в 1880-х годах для тяжелых условий транспортировки. Большинство цепей из инженерных сталей используются в конвейерах, ковшовых элеваторах и натяжных звеньях. Лишь немногие используются в приводе. Основными конструктивными соображениями для этих серий являются растягивающая нагрузка, различные типы износа, смазка и окружающая среда.

    Износ является наиболее важным параметром при проектировании цепей из конструкционной стали. Износ шарниров, роликов и втулок, а также боковых стержней и гусениц — все это основные проблемы конвейерных цепей.

    Также прочтите: что такое гаечный ключ? | Типы гаечного ключа | Типы гаечных ключей

    Цепные приводы в автомобилях:

    Система цепного привода передает мощность от дифференциала на заднюю ось автомобиля. Очень популярными в те дни, когда автомобильные цепные приводы были системами передачи энергии. Он получил известность как альтернатива Système Panhard с его жестким креплением Hotchkiss, карданным валом и универсальными шарнирами.

    Цепные передачи более просты в конструкции, чем карданные валы и карданные шарниры. За счет меньшей неподрессоренной массы на задних колесах это позволяет подвеске более эффективно реагировать на неровности. Это облегчит управление автомобилем.

    Цепь, используемая в велосипеде:

    Большинство велосипедных цепей изготовлены из простой углеродистой или легированной стали, но некоторые из них никелированы для предотвращения коррозии или просто для придания изящества. Цепной привод был главной особенностью, которая модифицировала безопасный велосипед, представленный в 1885 году, из велосипеда типа «высококолесный» с двумя колесами одинакового размера.

    Популярность безопасности с цепным приводом до сих пор остается основной характеристикой конструкции велосипеда. Велосипедная цепь обладает высокой эффективностью, потому что она перемещает точку давления от оси, создавая меньшую нагрузку на подшипники, тем самым уменьшая трение во внутреннем колесе. Было обнаружено, что более высокое натяжение цепи более эффективно.

    Также прочтите: Что такое заклепка? | Как выполняется клепка? | Определение клепки | Типы заклепок

    Преимущества цепных приводов:

    Цепные приводы обладают многими преимуществами. Вот некоторые из написанных ниже:

    • В цепных передачах допуск между межосевыми расстояниями ограничен точным.
    • Размеры данных групп шестерен. Эти точные характеристики делают его тихим. Эффективен для различных целей.
    • Установка цепного привода

    • довольно проста. Это лучший выбор для тех, кто не хочет сложных методов установки.
    • Гораздо проще, чем возможность перепроектировать и настроить цепные приводы для других.
    • Производительность цепного привода эффективнее и лучше, чем у других приводов Условия ударной нагрузки.
    • Цепные приводы эффективны для плавных скоростей, так как рабочая нагрузка распределена Многочисленные зубья. Это довольно выгодно по сравнению с другими типами дисков.
    • Нагрузка на подшипник значительно снижается, так как эти цепные приводы не требуются. Натяжение на стороне провисания, которая находится в ременном приводе.
    • Стоимость изготовления и обслуживания цепных приводов намного ниже, чем у других приводных систем.
    • С цепными приводами мы можем получить максимальную эффективность передачи, которая может достигать 98%.
    • Из этого мы можем получить оптимальное соотношение скоростей, так как ничто не может заменить скользкое покрытие.

    Также прочтите: Что такое размеры шин? | 13 различных типов шин | Классификация шин

    Недостатки цепных передач:

    • При использовании цепной передачи возможны колебания скорости, а в тяжелых условиях цепи растягиваются.
    • Основной причиной чрезмерной вибрации этих цепей является хордовый эффект.
    • Стоимость изготовления цепного привода сравнительно высока по сравнению с другими вариантами привода.
    • При установке цепного привода очень важно точно и аккуратно установить его.
    • Требуемое техническое обслуживание цепных приводов также требует постоянной смазки и регулировки провисания.
    • Без надлежащей смазки эти цепи более подвержены износу.

    Также прочтите: Что такое зажим? | Как работает зажим? | 38 Различные типы зажимов

    Применение цепных приводов:

    Цепные приводы используются в различных промышленных приложениях, таких как:

    • Цепной привод — это устройство, широко используемое для передачи электроэнергии, где валы разделены на расстояние большее, чем то, для которого целесообразно использовать шестерни.
    • Такелаж и перемещение тяжелых материалов
    • Управление вилами гидравлического погрузчика
    • Подъемный подъемник
    • Рабочий ленточный конвейер
    • Цепные приводы

    • используются во многих отраслях промышленности для многих целей, таких как транспортная отрасль, сельскохозяйственная техника, погрузочно-разгрузочное оборудование и строительство зданий.
    • Увеличьте или уменьшите выходную скорость ведущей шестерни, изменив передаточное число между ведущей и ведущей звездочкой.

    Также прочтите: Что такое автомобильный водяной насос? | Как работает водяной насос? | Каково назначение водяного насоса? | Что такое слезные отверстия водяного насоса?


    Часто задаваемые вопросы (FAQ)

    Цепная передача

    Цепной привод — это тип механической системы передачи мощности, в которой используются цепи для передачи мощности из одного места в другое. Обычная цепная передача состоит из двух или более звездочек и самой цепи. Отверстия в звеньях цепи подходят к зубьям звездочки.

    Цепной привод

    Цепной привод — это способ передачи механической энергии из одного места в другое. Он часто используется для передачи мощности на колеса транспортных средств, особенно велосипедов и мотоциклов.

    Шестерни с цепным приводом

    Чаще всего мощность передается роликовой цепью, известной как приводная цепь или передаточная цепь, проходящей через звездочку, при этом зубья шестерни входят в зацепление с отверстиями в звеньях цепи. .

    Звездочка и цепной привод

    Звездочки — это прочные колеса с зубьями, которые фиксируются на цепи. Когда звездочка вращается, зубья захватывают цепь и перемещают другие части, которые сцепляются с цепью. Этот последовательный ряд операций обеспечивает простое и контролируемое вращательное движение более крупного оборудования и механизмов.

    Цепь передачи энергии

    Цепь передачи энергии может быть идентифицирована как серия из двух или более соединенных механических компонентов, используемых для передачи энергии или материалов из одного места в другое. Существует широкий спектр цепей, которые используются в зависимости от применения, рабочей среды и физических нагрузок, сил и требований.

    Роликовая цепная передача

    Состоит из ряда коротких цилиндрических роликов, скрепленных боковыми звеньями. Он приводится в движение зубчатым колесом, называемым звездочкой. Это простое, надежное и эффективное средство передачи энергии.

    Конвейер с цепным приводом

    Мы предлагаем пять готовых роликовых конвейеров с приводом от привода. Эти цепные конвейеры лучше всего подходят для тяжелых продуктов с гладким дном, таких как листы и поддоны. Найдите здесь роликовые конвейеры с цепным приводом, производителей, поставщиков и экспортеров конвейеров с цепным приводом в Индии.


    Цепной привод | компонент машины

    • Развлечения и поп-культура
    • География и путешествия
    • Здоровье и медицина
    • Образ жизни и социальные вопросы
    • Литература
    • Философия и религия
    • Политика, право и правительство
    • Наука
    • Спорт и отдых
    • Технология
    • Изобразительное искусство
    • Всемирная история
    • В этот день в истории
    • Викторины
    • Подкасты
    • Словарь
    • Биографии
    • Резюме
    • Популярные вопросы
    • Инфографика
    • Демистификация
    • Списки
    • #WTFact
    • Товарищи
    • Галереи изображений
    • Прожектор
    • Форум
    • Один хороший факт
    • Развлечения и поп-культура
    • География и путешествия
    • Здоровье и медицина
    • Образ жизни и социальные вопросы
    • Литература
    • Философия и религия
    • Политика, право и правительство
    • Наука
    • Спорт и отдых
    • Технология
    • Изобразительное искусство
    • Всемирная история
    • Britannica объясняет
      В этих видеороликах Britannica объясняет различные темы и отвечает на часто задаваемые вопросы.
    • Britannica Classics
      Посмотрите эти ретро-видео из архивов Encyclopedia Britannica.
    • Demystified Videos
      В Demystified у Britannica есть все ответы на ваши животрепещущие вопросы.
    • #WTFact Видео
      В #WTFact Britannica делится некоторыми из самых странных фактов, которые мы можем найти.
    • На этот раз в истории
      В этих видеороликах узнайте, что произошло в этом месяце (или любом другом месяце!) в истории.
    • Студенческий портал
      Britannica — это главный ресурс для учащихся по ключевым школьным предметам, таким как история, государственное управление, литература и т. д.
    • Портал COVID-19
      Хотя этот глобальный кризис в области здравоохранения продолжает развиваться, может быть полезно обратиться к прошлым пандемиям, чтобы лучше понять, как реагировать сегодня.
    • 100 Women
      Britannica празднует столетие Девятнадцатой поправки, выделяя суфражисток и политиков, творящих историю.

    Из чего состоит конвейер: Ленточный конвейер конструкция состав особенности

    Из чего состоит ленточный конвейер от производителя

    05.02.2017

    Приспособление, при помощи которого можно перемещать разные грузы на различные расстояния под самым разным углом, называют ленточными транспортёрами или конвейерами. Ленточный конвейер уже довольно давно стал незаменимым транспортирующим устройством во многих производственных, промышленных, строительных и сельскохозяйственных сферах, такое устройство непрерывным потоком может доставлять насыпные и штучные грузы в самые труднодоступные места, помогать осуществлять процесс загрузки и выгрузки, сборки и фасовки, компоновки и сортировки.

    Из чего состоит ленточный конвейер для транспортировки угля? Основным элементом конвейера такого типа является «бесконечная», а точнее закольцованная транспортерная лента, на поверхности которой и перемещаемые передвигаемые грузы. Удивительно, но при всей своей многовековой истории конструкция ленточного конвейера, по сути, осталась прежней, разумеется, на неё повлияли достижения современной техники, однако, она всё ещё остаётся сравнительно проста, благодаря чему такое оборудование остаётся весьма и весьма привлекательным у потенциальных покупателей.

    • Кроме основного компонента ленточного конвейера, а именно самой транспортёрной ленты, в конструкции оборудования присутствует:
    • Электрический привод или мотор, работающий на бензиновом или дизельном топливе;
    • Рама и роликоопоры;
    • «Люк» для загрузки и разгрузки;
    • Устройства очистки;
    • Натяжной и приводной барабаны.

    В качестве дополнительного оборудования ленточные конвейеры могут оснащаться оборудованием меры веса, контроллером ленты, фиксатором груза на не ней и так далее. Одним из обязательных устройств, которое должно быть установлено даже на новом ленточном транспортёре, это устройство натяжение конвейерной ленты, позволяющее регулировать силу её натяжения, ослаблять и натягивать при необходимости.

    Электропривод состоит двигателя, работающего от электричества, редуктора и тормозного механизма, а также из специальной муфты, при помощи которой обеспечивается надёжное соединение с приводным барабаном. Само собой разумеется, мощность двигателя может быть различной, так что у будущего пользователя ленточного конвейера есть возможность выбора подходящего оборудования и по такому критерию.

    Кроме того, можно выбирать конвейер в зависимости от необходимого угла наклона, производительности, скорости движения и тенты и так далее.

    Роликоопоры крепятся к металлической раме конвейера и служит, как понятно из их названия, опорой для транспортёрной ленты. Роликоопоры могут быть неподвижными, а могут быть шарнирно-подвесными, их стоит использовать для перемещения крупногабаритных грузов и кусков. Это приблизительно всё, из чего состоит ленточный конвейер шахтный для добычи руды и угля.

    Загрузочно-разгрузочный лоток имеется не у всех моделей ленточных конвейеров, но по желанию покупателя производитель может установить такое устройство на любой вариант транспортёрной техники. «Люк», как правило, требуется для загрузки на транспортёрную ленту и для выгрузки с неё сыпучих и мелкоштучных товаров, материалов и грузов, благодаря такому устройству, конвейер можно использовать при фасовке.

    Очистные приспособления в принципе не помещают, поскольку даже на идеально чистом производстве пыль присутствует, такое же оборудование будет в автоматическом режиме удалять любые загрязнения к поверхности транспортёрной ленты.

    Конструкция ленточного конвейера



    Ленточный конвейер состоит из привода (электродвигателя с редуктором), приводного («головного») и холостого, отклоняющего барабанов, става с рабочими и нерабочими роликовыми опорами, загрузочного и разгрузочного устройств, очистных устройств, натяжной станции.


    Натяжное устройство предназначено для компенсации удлинения («вытяжки») транспортерной ленты в процессе эксплуатации. Наиболее простая конструкция – винтовая пара, расположенная с обеих сторон хвостового (холостого) барабана. Натяжение ленты требует равномерного «подкручивания» винтов во избежание перекоса барабана. На длинных конвейерах возможна установка «весовых» (через барабаны) устройств. Для нормальной работы конвейера требуется правильная стыковка конвейерных лент. Выполнение работ по стыковке должно проводиться специалистами.


    Мощность электродвигателя приводного устройства выбирают исходя из производительности, длины и угла наклона конвейера. Обычно расчетную мощность двигателя увеличивают на 25-50 % на случай увеличения производительности, непредвиденного пуска под нагрузкой, пуска после длительной остановки.


     


    Диаметры барабанов должны быть максимально большими (в пределах разумного). Обычно у приводного барабана диаметр больше, чем у холостого на 20% и на 40% отклоняющего. При больших запасах прочности лент минимальные диаметры могут снижаться примерно на 40%. Существуют нормы по минимально допустимым диаметрам в зависимости от ткани каркаса и количества прокладок. Длина барабанов обычно на 100-150 мм больше ширины ленты. Следует помнить, что чем больше угол обхвата лентой приводного барабана, тем меньше нагрузка на ленту.


    Особое значение имеет футеровка хотя бы приводного барабана (а лучше всех). Футеровка способствует лучшей центровке лент, исключению их «перетяжки». Начальная «перетяжка» — увеличение натяжения ненагруженной ленты для исключения проскальзывания на барабане, приводит к дополнительному удлинению, что может потребовать проведение новой стыковки конвейерной ленты.


    Став конвейера обеспечивает устойчивое, в основном прямолинейное движение ленты с грузом. При резком отклонении от трассы, перекосах стоек, перекосах барабанов груз «сваливается» с ленты, центровка ее невозможна.


    Роликоопоры (обычно трехроликовые, реже 5-ти или 7-ми роликовые) обеспечивают движение ленты с пониженным сопротивлением, а также увеличивают производительность за счет «желобчатости» по сравнению с конвейером с плоскими роликоопорами (примерно в 2 раза). Желобчатость способствует также гораздо более лучшей центровке лент и транспортировке груза на большие расстояния.


    Загрузочное (приемное) устройство чаще представляет собой лоток, по которому груз поступает на конвейер с предыдущего конвейера или агрегата. Лоток формирует поток поступающего груза по ширине конвейерной ленты. Загрузочный лоток – основной источник износа ленты, так как ударные нагрузки и скольжение поступающего на ленту груза несравненно выше его воздействия на ленту при огибании роликоопор.


    Очистные усройства предназначены для очистки рабочей стороны ленты от постоянно налипающих частиц груза. Главным условием использования устройств является максимально возможное удаление частиц по всей ширине транспортерной ленты. Имеется множество устройств по очистке лент. Имеется множество устройств по очистке лент. Очень эффективен способ очистки переворачиванием ленты петлей Мебиуса, но он требует точного исполнения, высокой надежности ленты, особенно стыка.


    В реальных условиях конструкция конвейеров «усложняется» установкой электромагнитов для извлечения металлических посторонних предметов, центрирующих роликоопор, ловителями лент при поперечных порывах.


    Что такое конвейерная система | Что такое конвейер

    В этом посте мы рассмотрим основы того, что такое конвейер и его основные компоненты. Мы также обсудим, что такое конвейерная система, различные типы конвейеров и какие универсальные преимущества они предлагают. Наконец, мы подробно рассмотрим, как выбрать лучшее конвейерное решение. Это более полный и подробный обзор, чем предыдущий пост от 2017 года.

    Что такое конвейер?

    Конвейер — это механическая часть погрузочно-разгрузочного оборудования, используемая для транспортировки материалов между различными точками. Американское общество инженеров-механиков определяет конвейер как «горизонтальное, наклонное или вертикальное устройство для перемещения или транспортировки сыпучих материалов, упаковок, предметов или пассажиров по пути, заданному конструкцией устройства». Что является ключевым в этом определении? , а что отличает конвейеры от других типов погрузочно-разгрузочного оборудования, так это то, что они перемещают продукт по пути» предопределено конструкцией устройства. ” Это также единственная особенность, которой обладают все типы конвейеров; независимо от области применения, отрасли или сектора. Хотя многие типы конвейеров, особенно в сортировочных системах, могут направлять продукт в нескольких направлениях, все эти направления являются заранее определенными путями.

    Конвейеры используются в промышленности, торговле, розничной торговле, сельском хозяйстве и горнодобывающей промышленности. Кроме того, конвейеры проникают в гостиничный и строительный секторы.

    Основные компоненты конвейеров

    Подавляющее большинство конвейеров состоит из трех основных элементов – рамы или опоры ремня, привода и натяжного ролика(ов).

    Наиболее распространенным типом конвейера в его самой простой форме является ленточный конвейер с концевым приводом; такой, какой можно увидеть на кассе продуктового магазина. Он состоит из рамы с ведомым шкивом или барабаном на одном конце и промежуточным шкивом или барабаном на другом конце; с бесконечным ремнем, обернутым вокруг шкивов и рамы. В большинстве приложений ведомый шкив вращается за счет энергии, поступающей от внешнего двигателя с электрическим приводом.

    Конечно, есть исключения из этого упрощенного определения конструкции конвейера.

    Конвейеры могут перемещать продукт по прямой линии, горизонтально или вертикально, или они могут быть оснащены угловыми или радиусными элементами для перемещения продукта в двух или трех измерениях.

    Криволинейный ленточный конвейер. Наклон к горизонтальному конвейеру. Альпийский конвейер.

     

    Что такое конвейерная система?

    Конвейерная система — это группа конвейеров, которые работают вместе для выполнения общей задачи. Это могут быть конвейеры, работающие параллельно (выполняющие одну и ту же задачу — не обязательно расположенные рядом) или последовательно (либо подающие один к другому, либо работающие в гармонии с другими частями оборудования).


    Пример конвейерной системы, включающей блок захвата и размещения.

    Конвейерные системы могут быть как простыми, так и сложными, в зависимости от требований процесса. Они могут передвигаться по земле, перемещая сыпучие материалы, такие как камень или гравий, на большие расстояния. Или они могут находиться в самых современных заводских условиях, взаимодействуя с роботами, компонентами линейного движения, системами обзора и камеры, коботами и людьми.

    Средства автоматизации, или промышленная автоматизация, отвечают за то, чтобы все различные части оборудования, включая конвейеры, «разговаривали» и «слушали» друг друга. Средства автоматизации — это «мозги», благодаря которым конвейерная система и все остальные элементы оборудования на линии работают вместе. Они также могут предусматривать дополнительные меры безопасности оператора.

    Типы конвейеров и конвейерных систем

    Конвейеры можно разделить на две основные категории – самотечные или механизированные конвейеры.

    Гравитационные конвейеры полагаются на силу тяжести, обычно возникающую при изменении высоты, для перемещения продукта по длине конвейера. Гравитационный ролик, колесо и желоб — три основных типа этих конвейеров. Эти конвейеры не содержат приводного элемента, как обсуждалось выше.

    Конвейеры с механическим приводом бывают почти бесконечными и обычно называются в честь наиболее заметной или отличительной особенности конвейера. Существует много типов конвейеров, включая, но не ограничиваясь:

    • Конвейеры накопительные
    • Конвейеры Alpine
    • Навесные цепные конвейеры
    • Конвейеры задней подсветки
    • Ленточные конвейеры
    • Цепные конвейеры
    • Конвейеры с пластинами
    • Кривые конвейеры
    • Цепные конвейеры с плоским верхом
    • Наклонные конвейеры
    • Магнитные конвейеры
    • Подвесные конвейеры
    • Конвейеры для поддонов
    • Пластиковые модульные ленточные конвейеры
    • Пневматические конвейеры
    • Приводные роликовые конвейеры
    • Винтовой конвейер
    • Конвейеры с зубчатой ​​лентой
    • Лотковые конвейеры
    • Вакуумные конвейеры
    • Вибрационные конвейеры
    • Конвейеры с Z-образной рамой
    • Зональные конвейеры

    Когда речь идет о конвейерных системах , можно использовать несколько типов конвейеров для создания единой системы, что позволяет использовать наиболее подходящий конвейер в каждом случае. Адаптация конвейера к выполняемой задаче обеспечивает наиболее надежную работу с продуктом, создавая при этом более безопасную и экономичную конвейерную линию. Кроме того, поиск областей, в которых можно использовать тот же тип конвейера, может помочь сократить количество запасных частей и упростить техническое обслуживание. Работа с интегратором или производителем конвейера; такие как мк Северная Америка; которая предлагает широкий спектр решений для конвейерных систем, поможет обеспечить наилучший результат для вашего следующего проекта по обработке материалов.

    В то время как каждый конвейер имеет такие же уникальные преимущества, как и его конструкция, все конвейеры и конвейерные системы обладают универсальными преимуществами.

    Каковы преимущества конвейеров и конвейерных систем?

    Учитывая, что основной функцией конвейера является перемещение объектов из одной точки в другую, преимущества конвейеров сосредоточены на этом факте. Конвейеры могут перемещать продукты, которые в противном случае могут быть слишком тяжелыми или громоздкими, чтобы их можно было безопасно перемещать. И наоборот, они также могут быть предназначены для работы с небольшими, легкими и хрупкими деталями. Детали, которые настолько хрупкие, что обращение с ними другими способами может привести к их повреждению.

    Конвейеры также перемещают продукт быстрее, чем другие доступные средства. Все мы знакомы со складскими конвейерами, показанными в новостях или на YouTube; так как они быстро выполняют заказы. Однако учтите, что конвейеры также можно использовать для замедления процессов — они являются отличным средством обеспечения движущейся платформы для отверждения, сушки или охлаждения продуктов.

    Помимо способности быстро перемещать продукт с высокой скоростью, конвейеры также могут экономить время, транспортируя продукт между различными высотами; например между разными этажами. Если бы человек должен был перемещать продукт между этажами, это не только обеспечило бы безопасность, но и потребовало бы больше времени для подъема по ступенькам, чем использование конвейера для перемещения продукта.

    При использовании конвейерных систем преимущества одного конвейера умножаются на весь процесс. Это в дополнение к преимуществам, достигнутым от использования других.

    Итак, теперь, когда вы знаете типы конвейеров и их преимущества, как выбрать правильную конвейерную систему? Читайте дальше, чтобы узнать.

    Как правильно выбрать конвейерную систему?

    Производитель конвейеров или интегратор, с которым вы работаете, помогут вам выбрать правильные конвейеры для вашей следующей конвейерной системы. Для этого они соберут информацию о вашем продукте, процессе и объекте.

    Продукт
    Общая форма и размер продукта
    Температура продукта
    Характер продукта: гладкий, острый, деликатный, расходуемый, твердый, жидкий
    Количество продукта: обработка навалом или поштучно
    Готовый или незавершенный продукт
    Вес за штуку
    Общий вес на конвейере
    Продукт влажный или сухой?
    Есть ли какие-либо края продукта, с которыми нельзя работать?

    Процесс
    Критичен ли передний край?
    Важна ли ориентация детали?
    Части накапливаются?
    Можно ли соприкасаться деталями?
    Какое расстояние должен пройти продукт? (Длина конвейера)
    Имеются ли перепады высот?
    Каково время цикла?
    Желаемая скорость конвейера
    С каким оборудованием взаимодействует конвейер и продукт?
    Используется ли конвейер для охлаждения, отверждения, печати или других производственных операций?
    Как продукты загружаются и выгружаются с конвейера?
    Операторы работают рядом с конвейером?

    Объект
    Объект какого типа будет установлен конвейерной системой?
    Что такое температура окружающей среды?
    Бывают ли экстремальные температуры?
    Влажно или есть процессы влажной уборки?
    Имеются ли особые условия, такие как взрывоопасная среда или чистая комната?
    Запылено или есть твердые частицы в воздухе?

    Нажмите на изображение, чтобы увидеть полную инфографику.

    Хотя все эти вопросы могут показаться сложными, работа с опытным торговым представителем и конвейерной компанией снимет напряжение. Они проведут вас через весь процесс и помогут убедиться, что спроектированный конвейер или конвейерная система лучше всего подходит для вашего конкретного применения.

    мк Северная Америка также предлагает инфографику по выбору конвейера, в которой вопросы и решения, которые необходимо принять, представлены в удобном для чтения и визуально привлекательном формате.

    Если все вопросы или информация, необходимые для проектирования конвейерной системы, кажутся слишком сложными; не беспокойтесь. Когда вы работаете с экспертом, они упростят процесс; Разрушение сложных ситуаций проектирования и обработки материалов. Они зададут все соответствующие вопросы и укажут вам наилучшее конвейерное решение или решения для вашего уникального применения.

     

    Готовы приступить к работе с конвейерной системой?

    Вы готовы приступить к работе над своим следующим проектом конвейерной системы? Затем заполните форму ниже, и один из наших инженеров по применению свяжется с вами. С нетерпением ждем сотрудничества с вами.


    Конвейер | механическое устройство | Британика

    ленточный конвейер

    См. все материалы

    Связанные темы:
    роликовый конвейер
    массовый конвейер
    винтовой конвейер
    пневматический конвейер
    ленточный конвейер

    Просмотреть весь связанный контент →

    Резюме

    Прочтите краткий обзор этой темы

    конвейер , любое из различных устройств, обеспечивающих механизированное перемещение материала, как на заводе; они используются в основном в промышленности, но также и на крупных фермах, при складировании и погрузочно-разгрузочных работах, а также при перемещении сырья. Конвейеры могут иметь длину всего несколько дюймов или представлять собой интегрированные системы длиной в несколько миль.

    Гравитационные роликовые конвейеры состоят из ряда параллельных роликов, прикрепленных к металлической раме, поддерживаемой через определенные промежутки времени. Рама может быть слегка наклонена для гравитационного потока, но предметы и упаковки также можно катить вручную. Конвейеры с гравитационными колесами аналогичны, но состоят из коньковых колес вместо роликов и обычно используются для более легких грузов. Конвейеры с приводными роликами представляют собой конвейеры с гравитационными роликами, которые приводятся в действие с помощью ремня, прижатого к нижней части роликов, или с помощью цепи, приводящей в движение звездочки, прикрепленные к роликам.

    Еще из Britannica

    добыча угля: конвейеры

    Ленточные конвейеры из ткани, резины, пластика, кожи или металла приводятся в действие роликом с механическим приводом, установленным под или на одном конце конвейера. Лента образует непрерывную петлю и поддерживается либо на роликах, если нагрузка большая, либо на металлическом ползунке, когда нагрузка достаточно мала, чтобы предотвратить сопротивление трению на ленте. Электродвигатели, работающие через редукторы с постоянной или переменной скоростью, обычно обеспечивают мощность.

    В напольных конвейерах используются цепи, тросы или другие рычажные соединения, установленные в полу или рядом с ним на бесконечной дорожке. Обычно они предназначены для буксировки поезда четырехколесных тележек по петле для перевозки крупных продуктов или материалов для сборки на конвейерной системе. Мощность передается на цепь направляющими роликами.

    Пластинчатые конвейеры состоят из бесконечных цепей, приводимых в действие электродвигателями, работающими через редукторы и звездочки, с прикрепленными на расстоянии планками для перевозки предметов, которые могут повредить ленту из-за острых краев или тяжелых грузов.

    Скребковые конвейеры имеют скребки или скребки, установленные с интервалами, перпендикулярными направлению движения, на бесконечных цепях с механическим приводом, работающих внутри желоба. Сыпучие материалы, такие как опилки, песок, гравий, уголь и химикаты, могут перемещаться по желобу.

    Оформите подписку Britannica Premium и получите доступ к эксклюзивному контенту.
    Подпишитесь сейчас

    Пластинчатые конвейеры состоят из бесконечных цепей с прикрепленными перекрывающимися и блокирующими пластинами, чтобы обеспечить непрерывную несущую поверхность, которая образует герметичный слой, подходящий для сыпучих материалов без контейнеров.

    Вибрационные конвейеры состоят из желобов или труб, гибко поддерживаемых и приводимых в вибрацию механическими или электрическими средствами для транспортировки предметов или сыпучих материалов; вибрация происходит по наклонной эллиптической схеме, вызывая как направленное, так и восходящее движение материала.

    В троллейных конвейерах подвесной рельс несет ряд несущих контейнеров (тележек), которые соединены друг с другом на бесконечном движущем средстве, таком как трос, цепь или другое рычажное соединение. Тележки могут быть крюками, магнитами или различными держателями, предназначенными для перевозки конкретного груза. Рельсы обычно опираются на каркас здания завода.

    В массовых конвейерах используются скелетные или сплошные скребки, установленные через определенные промежутки времени на тросе или цепи, приводимой в движение внутри плотно прилегающего кожуха. Конвейеры, предназначенные для сыпучих материалов, которые должны быть закрыты для предотвращения утечки или взрыва, могут работать в горизонтальном, вертикальном или наклонном положениях.

    Ковшовые конвейеры состоят из бесконечных цепей или ремней, к которым прикреплены ковши для транспортировки сыпучих материалов по горизонтали, наклону и вертикали. Ковши остаются в транспортном положении до тех пор, пока они не будут наклонены для выгрузки материала. Доступны различные механизмы разгрузки.

    Винтовые конвейеры состоят из вращающихся валов с непрерывным или прерывистым спиральным витком, которые работают внутри кожуха. Приводимый в действие электродвигателем и соответствующей передачей, винтовой конвейер обычно работает только в одном направлении для перемещения мелкого сыпучего материала, такого как мука, семена и уголь.

    Пневматические конвейеры используют давление воздуха или вакуум для перемещения сыпучего материала в трубах или воздуховодах.

    Буксирные конвейеры могут быть подвесными тележками или напольными конвейерами, приспособленными для перемещения тележек, грузовиков и автомобилей, которые заблокированы в буксирной цепи для перемещения из любой точки системы в любую другую точку.

    Отзывы владельцев hino 500: купить, продать и обменять машину

    Грузовики hino 300: технические характеристики, фото

    HINO 300: цена, технические характеристики, фото, отзывы, дилеры Хино 300

    Одноклассники HINO 300 по цене

    К сожалению, эта модель уникальна в своем ценовом диапазоне или больше не выпускается.

    Отзывы владельцев HINO 300

    HINO 300, 2012 г

    Работаю на HINO 300, бортовая платформа, машине всего 1.5 года, проехал на ней более 80 тыс. км. Никаких проблем с HINO 300 не было, до вчерашнего дня. Ехал по трассе на скорости где то 100 в час, на трассе было минус 43, машина заглохла резко на скорости, загорелся «чек» и не заводится. Вызвал эвакуатор, увезли к представителю HINO. Итог поломки автомобиля — забился сепаратор топливный (фильтра топливные менял 9000 км назад), сгорел предохранитель на 30 ампер. Машина завелась, но горит «чек», как оказалось, у представителей компании нет диагностики. Нашёл диагностика, вылезла ошибка «fuel control abnormal» (high rail presselve). Стерли ошибку, «чек» погас, сегодня поехал — машина не едет, заглушил, завел, загорелся «чек». Позвонил в диагностику, они говорят, что ничем помочь не могут, возможно, сгорел или сломался регулятор давления топлива. Что делать с автомобилем не знаю. А вообще машина очень хорошая. Двигатель приемистый и экономичный, кабина теплая.

    Достоинства: приемистый двигатель. Расход топлива. Комфортная кабина.

    Недостатки: проблемы с топливным сепаратором.

    Алексей, Красноярск

    HINO 300, 2011 г

    Купил себе HINO 300. Первый раз увидел машину живьем, только когда получал авто в салоне. Если бы раньше посидел — может и подумал бы, брать или не брать. Ноги под себя не подогнешь, грязные перчатки некуда положить. Едет медленно — максимум 110 км/ч. Будка Миасской сборки – не очень, пришлось снизу герметиком промазывать, а запоры регулировать надоело. Хотя с другой стороны посмотреть — закрываются, только туго. Есть лесенка, но чтобы её вытащить — испачкаешься, приварил к ней ручку. Изнутри начал обшивать фанерой. Теперь о самой машине — внутри всё культурно, даже слишком — много полочек для бумаг, но, как я говорил, нет места для рукавичек. Всё светлое — и панель и сиденья очень маркие. Комплектация люкс, т.е. есть кондиционер, подогрев зеркал, полки под потолком, ЭСП, ЦЗ, лоток для бумаг в спинке среднего сиденья. Для того чтобы было понятнее — скажу, что на дизелях почти не ездил. Есть Форд Транзит, так он по сравнения с HINO 300 — как легковой автомобиль. Расход около 20-ти литров, но наверно можно меньше сделать, если ездить медленно. Вначале так и ездил — в эконом зоне по тахометру, т.е. 85-90 км/ч. Но потом надоело тащиться и после обкатки стал ездить быстрее. Средний пробег такой — километров 400 по трассе, 50-100 по городу. В книжке написано, что при скорости 120 будет пищать зуммер, пробовал разогнать, но даже под горку больше 110 не едет. Иногда двигатель начинает выть. Звук, как будто ГАЗель груженная в гору едет на больших оборотах. Звук появляется, когда пустишь машину накатом, а потом включаешь передачу, а она начинает выть. Через минутку примерно звук исчезает с плавным затуханием (т.е. не резко). Даже иногда появляется звук, когда просто переключаешься на низшую передачу. Что за звук — турбина, гидромуфта вентилятора радиатора, или ещё чего. И вообще это нормально?

    Достоинства: неплохой грузовик.

    Недостатки: едет медленно. Тесно. Некуда положить грязные перчатки.

    Владимир, Красноярск

    HINO 300, 2012 г

    Покупал HINO 300 в лизинг, за два года отбил и заработал (правда, изотерма фургон с рефрижератором) заказывал базу «максималку» для категории «В» 650-я (общая длина вместе с кабиной 6.5 м), фургон 4.6х2х2. Машина при езде 80-90 км/час потребляет 13-15.5 литров ДТ. Зависит от высоты и парусности. Если 100-110 км/час ехать, то все 20-25 литров расходует по стилю вождения. Проехал 160 тыс. км. Обслуживал до 100 тыс. км у дилеров. Нареканий нет, все делали на 5 баллов, рядом стоял над душой и запоминал, что и как делали, даже объясняли, где спрашивал, а после обслуживал сам или у знакомых в автосервисе. Менял масло каждые 15000 км, иногда и 20000 проезжал, но масло всегда заливаю проверенное. Также вместе меняю топливные фильтра грубой и мягкой очистки, а их три, и шприцую каждые 15-20 тыс. км лишний раз смазать только увереннее станешь. Вожу грузы до 3.5 — 3.8 т., грузил до 5 т. пару раз, но после перестал, так как тормоза вакуумные (опасно очень), была бы «пневмо», то можно. Да, тормоза на всех четырех колесах дисковые с АБС. В кабине HINO 300 зимой как летом — жара, я сам в дальние расстояния кручу баранку, спать в кабине, если рост 170 — не комфортно, ширина не позволяет на полный рост лечь. Даже в морозы -35 заводится с пол пенка. Только не экономь на топливе, категорически нельзя заливать ниже 51 цетанового числа ДТ. Проверял на своем, пришлось слить и топливные фильтра поменял, машина сразу тягу теряет. Заливаю в основном Лукойл ДТ экто, бывает иногда ТатНефть ДТ Танэко. Поставил дополнительный бак Камский на 210 л. с кранами для переключения между баками от УАЗа, сейчас выезжаю в рейс с 310 л. за бортом и хватает его почти на три дня с учетом беспрерывной работы движка и расстоянием в 1500 км при темпе 80-110 км/ч. Расходники недорогие (аналоги) смысла нет оригинал ставить, обслуживание у дилера в копеечку влетает, зато с гарантии не слетаешь (гарантия до 100 тыс. км.), но если машину купил за нал или нет обязательств перед банком, то обслуживание у хороших спецов намного дешевле. Правда, практически ни у кого нет программы для диагностики всяких ошибок. Работу на такую машину найти можно, если не лентяй.

    Достоинства: надежность. Грузоподъемность. Заводится в любые морозы.

    Недостатки: требовательность к качеству ДТ. Оригинальные запчасти дорогие.

    Ильнур, Казань

    avto-russia.ru

    Каталог запчастей Хино-300

    Hino 300 выпускается не первый год. Он хорошо известен как продавцам и сервисменам, так и владельцам, которых немало. Запчасти (включая масляный фильтр), как правило, есть в наличии, а если конкретной позиции всё же не оказалось, её привезут быстро.

    Руководство по ремонту, каталог запчастей, схема предохранителей и электрическая схема доступны для скачивания на профильных ресурсах (главным образом – на форумах хозяев). Там же есть возможность почитать и отзывы владельцев. Они в основном положительные. В том числе похвал заслуживает стандартная «печка» — в кабине жарко даже в лютые морозы. Правда, многие говорят, что конвейерные шины подходят только для очень мягких зим. Там, где зимы суровые, нужно самостоятельно переобувать грузовик во что-то более «цепкое».

    Hino 300 – цена, описание модели, технические характеристики Toyota Хино

    Основное
    Коммерческое наименование3815
    МодификацияXZU710L−HKFRPW3XZU720L−HKFRPW3XZU720L−QKFRPW3XZU730L−HKFRPW3
    Колесная формула4×2
    Тип кабиныШирокая
    Кол-во рядов121
    Кол-во мест для сидений373
    Массы, (кг)
    Полная масса транспортного средства7500
    Снаряженная масса шасси2550256527352600
    Грузоподъемность шасси4950493547654900
    Технически допустимая нагрузка на переднюю ось2492256626002034
    Технически допустимая нагрузка на заднюю ось5008493449005466
    Габаритные размеры, (мм)
    Длина612067357285
    Ширина1995
    Высота221522402215
    Колесная база343038704200
    Задний свес158017601940
    Высота шасси спереди705700705
    Высота шасси сзади795
    Дорожный просвет по заднему мосту190
    Колея передних колес1655
    Колея задних колес1520
    Радиус разворота по колесам580064006900
    Радиус разворота от стенки до стенки650071007600
    Двигатель
    МодельN04C−UV
    Экологический классЕвро-4
    ТипДизельный, рядный, 4−х цилиндровый, объем 4009 см3, турбонаддув, интеркулер, система рециркуляции отработавших газов, common-rail
    Максимальная мощность, (кВт (л. с.) / об/мин)110 (150) / 2500
    Максимальный крутящий момент, (Н•м / об/мин)420 / 1400
    Трансмиссия
    МодельМYY6S
    ТипМеханическая, 6−ступенчатая, полностью синхронизированная
    Передаточные числа коробки передач1−я передача — 5,9792−я передача — 3,4343−я передача — 1,8624−я передача — 1,2975−я передача — 1,0006−я передача — 0,759Задняя передача — 5,701
    Передаточное число главной передачи4,625
    Сцепление
    ТипСухое, однодисковое, диафрагменного типа, гидропривод, вакуумный усилитель
    Тормозная система
    ТипГидравлическая, двухконтурная, вакуумный усилитель, ABS, EBD
    Передние тормозаДисковые, вентилируемые
    Задние тормозаДисковые, вентилируемые
    Стояночный тормозБарабанного типа, механический привод
    ВспомогательнаяГорный тормоз
    Топливный бак
    Ёмкость, (л)100
    Тип подвески
    ПередняяЗависимая, на полуэллиптических листовых рессорах, с гидравлическими амортизаторами и стабилизатором поперечной устойчивости
    ЗадняяЗависимая, на полуэллиптических листовых рессорах, с гидравлическими амортизаторами
    Шины
    Производитель, модель, размер, индексы нагрузкиYOKOHAMA RY023 215/75R17,5 126/124
    Другие характеристики
    Максимальная скорость, (км/ч)124
    Максимальный преодолеваемый подъём, (%)41,6

    hino. keyauto.ru

    Хино 300 расход топлива на 100 км.

    Содержание страницы

    Малотоннажные грузовики Hino 300 являются одними из популярных в своем классе не только на внутреннем японском, но также и на мировом рынке. Последнее обновление серии прошло в 2011 году – грузовики получили обновленный дизайн кабины, современные моторы, отвечающие нормам Евро-4 с системой рециркуляции EGR и более производительной турбиной, а также ряд нововведений в конструкции подвески, рамы и других узлах.

    Hino 300

    На все грузовики Hino 300, вне зависимости от грузоподъемности, устанавливается турбодизельный мотор NO4C объемом 4.0 л. Этот мотор способен развивать мощность в 150 л.с., а его крутящий момент составляет 420 Нм. В зависимости от грузоподъемности, двигатель агрегатируется либо с 5-ступенчатой механической трансмиссией Aisin, либо с 6-ступенчатой Isuzu.

    Норма расхода топлива Хино 300 на 100 км
    • Алексей, Москва. Работаю в компании по перевозке грузов. Работаем по Москве и Подмосковью, грузы самые разные, поэтому в парке есть и малотоннажники, и крупнотоннажники. Если крупные машины все европейцы, то малотоннажники – 12 японцев, среди которых 5 Хино 300. Хорошая и надежная машинка, для города очень удачный вариант. Мотор 4 литра тяговитый, нормально идет и летом и зимой. Расход у него с полной загрузкой составляет от 17.4 до 18.6 л, на трассе выходит порядка 15 л.
    • Иван, Петропавловск-Камчатский. Пару лет назад купил себе Хино 300. Машинка неплохая – грузоподъемность маловата, но побольше, чем у Газели, для городских перевозок в самый раз. Расход по паспорту 16.8 л, но в зимних условиях на порядок больше – выходит от 18 до 20 л, иногда даже 22 л было.
    • Юрий, Санкт-Петербург. Если заниматься перевозками в условиях крупного города, то нужно брать только дизель. У нас в компании есть несколько бензиновых Газелей и импортные грузовики Хино 300 с дизелем. Для сравнения – Хино свободно берет до 3500 кг и расходует максимум 18-20 л по городу, у Газели 1500 кг и до 25 бензина. За следующий год планируем полностью отказаться от них и перейти исключительно на Хино.
    • Шираз, Махачкала. Работаю в компании по перевозке продуктов. Раньше ездили на Газельках и ЗИЛах, после того, как в компании сменилось руководство, пересели на японские грузовики Hino 300 и 500. Я вожу Hino 300 – хорошая и удобная машина по сравнению со всеми, на которых я ездил раньше. В городе расходует до 19 литров, на трассе 16.5 л.
    • Чингиз, Улан-Удэ. Hino 300, 4.0 турбодизель, 6МКПП, 2012 г. Версия с удлиненной базой и мотором Евро-4. Очень простой в обслуживании и надежный – никаких серьезных поломок за 4 года не было вообще, обслуживаю регулярно. Пару раз сталкивался с проблемой по запчастям, но по совету знающих людей заказывал аналоги ТАТА – подходят без проблем. Расход солярки приемлемый – трасса 16.5 л, город 18 л.

    avtozhor.com

    HINO 300: технические характеристики и цена

    Шасси полной массой 7,5 тонн

    Основное
    Коммерческое наименование3815
    МодификацияXZU710L−HKFRPW3XZU720L−HKFRPW3XZU720L−QKFRPW3XZU730L−HKFRPW3
    Колесная формула4×2
    Тип кабиныШирокая
    Кол-во рядов121
    Кол-во мест для сидений373
    Массы, (кг)
    Полная масса транспортного средства7500
    Снаряженная масса шасси2550256527352600
    Грузоподъемность шасси4950493547654900
    Технически допустимая нагрузка на переднюю ось2492256626002034
    Технически допустимая нагрузка на заднюю ось5008493449005466
    Габаритные размеры, (мм)
    Длина612067357285
    Ширина1995
    Высота221522402215
    Колесная база343038704200
    Задний свес158017601940
    Высота шасси спереди705700705
    Высота шасси сзади795
    Дорожный просвет по заднему мосту190
    Колея передних колес1655
    Колея задних колес1520
    Радиус разворота по колесам580064006900
    Радиус разворота от стенки до стенки650071007600
    Двигатель
    МодельN04C−UV
    Экологический классЕвро-4
    ТипДизельный, рядный, 4−х цилиндровый, объем 4009 см3, турбонаддув, интеркулер, система рециркуляции отработавших газов, common-rail
    Максимальная мощность, (кВт (л. с.) / об/мин)110 (150) / 2500
    Максимальный крутящий момент, (Н•м / об/мин)420 / 1400
    Трансмиссия
    МодельМYY6S
    ТипМеханическая, 6−ступенчатая,полностью синхронизированная
    Передаточные числа коробки передач1−я передача — 5,9792−я передача — 3,4343−я передача — 1,8624−я передача — 1,2975−я передача — 1,0006−я передача — 0,759Задняя передача — 5,701
    Передаточное число главной передачи4,625
    Сцепление
    ТипСухое, однодисковое,диафрагменного типа, гидропривод, вакуумный усилитель
    Тормозная система
    ТипГидравлическая, двухконтурная,вакуумный усилитель, ABS, EBD
    Передние тормозаДисковые, вентилируемые
    Задние тормозаДисковые, вентилируемые
    Стояночный тормозБарабанного типа, механический привод
    ВспомогательнаяГорный тормоз
    Топливный бак
    Ёмкость, (л)100
    Тип подвески
    ПередняяЗависимая, на полуэллиптических листовых рессорах, с гидравлическими амортизаторами и стабилизатором поперечной устойчивости
    ЗадняяЗависимая, на полуэллиптических листовых рессорах, с гидравлическими амортизаторами
    Шины
    Производитель, модель, размер, индексы нагрузкиYOKOHAMA RY023 215/75R17,5 126/124
    Другие характеристики
    Штатная коробка отбора мощности на КПП
    Максимальная скорость1, (км/ч)124
    Максимальный преодолеваемый подъём, (%)41,6
    ЧертежиОткрыть в формате *. PDFОткрыть в формате *.PDFОткрыть в формате *.PDFОткрыть в формате *.PDF

    hinoural.ru

    Основное
    Коммерческое наименование3815
    МодификацияXZU710L−HKFRPW3XZU720L−HKFRPW3XZU720L−QKFRPW3XZU730L−HKFRPW3
    Колесная формула4×2
    Тип кабиныШирокая
    Кол-во рядов121
    Кол-во мест для сидений373
    Массы, (кг)
    Полная масса транспортного средства7500
    Снаряженная масса шасси2550256527352600
    Грузоподъемность шасси4950493547654900
    Технически допустимая нагрузка на переднюю ось2492256626002034
    Технически допустимая нагрузка на заднюю ось5008493449005466
    Габаритные размеры, (мм)
    Длина612067357285
    Ширина1995
    Высота221522402215
    Колесная база343038704200
    Задний свес158017601940
    Высота шасси спереди705700705
    Высота шасси сзади795
    Дорожный просвет по заднему мосту190
    Колея передних колес1655
    Колея задних колес1520
    Радиус разворота по колесам580064006900
    Радиус разворота от стенки до стенки650071007600
    Двигатель
    МодельN04C−UV
    Экологический классЕвро-4
    ТипДизельный, рядный, 4−х цилиндровый, объем 4009 см3, турбонаддув, интеркулер, система рециркуляции отработавших газов, common-rail
    Максимальная мощность, (кВт (л. с.) / об/мин)110 (150) / 2500
    Максимальный крутящий момент, (Н•м / об/мин)420 / 1400
    Трансмиссия
    МодельМYY6S
    ТипМеханическая, 6−ступенчатая, полностью синхронизированная
    Передаточные числа коробки передач1−я передача — 5,9792−я передача — 3,4343−я передача — 1,8624−я передача — 1,2975−я передача — 1,0006−я передача — 0,759Задняя передача — 5,701
    Передаточное число главной передачи4,625
    Сцепление
    ТипСухое, однодисковое, диафрагменного типа, гидропривод, вакуумный усилитель
    Тормозная система
    ТипГидравлическая, двухконтурная, вакуумный усилитель, ABS, EBD
    Передние тормозаДисковые, вентилируемые
    Задние тормозаДисковые, вентилируемые
    Стояночный тормозБарабанного типа, механический привод
    ВспомогательнаяГорный тормоз
    Топливный бак
    Ёмкость, (л)100
    Тип подвески
    ПередняяЗависимая, на полуэллиптических листовых рессорах, с гидравлическими амортизаторами и стабилизатором поперечной устойчивости
    ЗадняяЗависимая, на полуэллиптических листовых рессорах, с гидравлическими амортизаторами
    Шины
    Производитель, модель, размер, индексы нагрузкиYOKOHAMA RY023 215/75R17,5 126/124
    Другие характеристики
    Максимальная скорость, (км/ч)124
    Максимальный преодолеваемый подъём, (%)41,6
    ЧертежиОткрыть в формате *. PDFОткрыть в формате *.PDFОткрыть в формате *.PDFОткрыть в формате *.PDF

    hino-petersburg.ru

    Производство и продажа фургонов-рефрижераторов Хино-300

    Фургоны HINO производятся в Японии, которая славится комфортными и безопасными автомобилями.

    Стоимость автофургонов Хино-300 конечно выше российских аналогов, но цена полностью оправдана – японская спецтехника отличается высоким качеством и надежностью.

    По индивидуальному заказу модели HINO могут быть изготовлены

    • с боковой дверью и перегородкой внутри фургона (стационарной или сдвижной)
    • с холодильным оборудованием в оба отсека
    • с такелажной рейкой и напольными кольцами для крепления груза

    Выбирая ХОУ, мы обязательно учитываем Ваши требования по температуре и площади кузова.

    Мы предлагаем следующие холодильные системы:

    • Автономные холодильно-отопительные установки с независимым дизельным двигателем
    • Холодильное оборудование с различным температурным режимом, работающее от двигателя автомобиля (возможна установка стояночной системы с подключением к внешнему источнику 220 — 380 V)
    • Сплит системы для перевозки мороженого

    Если Вы планируете купить рефрижератор HINO-300, то, скорее всего, уже определились с параметрами кузова и холодильного оборудования.

    Но бывает такое, что для принятия решения требуется совет грамотного специалиста.

    Свяжитесь с нашими специалистами по телефону или оставьте сообщение через форму обратной связи. Мы поможем определиться с вариантом фургона и ХОУ для Ващего Хино-300.

    Сделав выбор в пользу HINO 300, Вы получите:

    • Шасси полностью производятся в Японии на заводе в г. Хино, префектура Токио
    • Рама бутылочного типа — более широкая спереди и узкая сзади. Подобная форма придает жесткость всей конструкции и устойчивость при движении с грузом
    • Лонжероны рамы переменного сечения – высота в середине 180 (190 у шасси с массой 7,5 т) мм, полка 60 мм, толщина стали 6 мм. Все это помогает равномерно распределить нагрузку на раму
    • 3 варианта длины рамы шасси
    • Спереди пакет из 6 рессор шириной 700 мм и толщиной 10 мм, сзади – 6 рессор чуть толще при той же ширине + «толстый» подрессорник (5 рессор)
    • Стабилизатор поперечной устойчивости на передней оси
    • Маленький радиус разворота благодаря специфичной конструкции балки и цапфе переднего моста, которые позволяют поворачивать колеса почти перпендикулярно раме
    • Дисковые тормоза на обеих осях, диски одного диаметра (287 мм)
    • Наличие ABS (антиблокировочная тормозная система) и EBD (электронная система распределения тормозных усилий)
    • Объем возможных надстроек от 13,4 до 21 м3 (для шасси 3,5 т) и от 24 до 30 м3 (для шасси 7,5 т)
    • Мощный 4−х цилиндровый дизельный двигатель объемом 4,0 л и мощностью 150 л. с. Классическая проверенная временем схема «литр на цилиндр»
    • Турбина именитого производителя GARRET
    • Подушка безопасности для водителя
    • На юбку поршня нанесен слой полиамида. Это делает мотор менее шумным, уменьшает трение о гильзу и предотвращает вероятность «прихватывания» поршня при перегреве двигателя
    • Экономичный двигатель. Средний расход топлива 16 – 19 л/100 км.

    Официальная cервисная станция Hino

    Официальные дилерские станции по ремонту и обслуживанию грузовиков Хино — это ваша гарантия отличного технического состояния автомобиля Hino. Широкая география дилерских центров позволяет проводить необходимые работы без лишних пробегов техники. Каждый специалист, работающий у официального дилера Hino, проходит обучение в специализированных учебных центрах Hino Motors и отвечает самым высоким требованиям дистрибьютора. Перечень предоставляемых услуг сформирован исходя из требований клиентов, предъявляющих всё боле и более высокие требования к официальным сервисным центрам.

    Лозунг компании HINO — всеобъемлющая поддержка, что означает поддержка владельцев Хино в любых обстоятельствах и в кратчайшие сроки.

    Сервисный центр Трак Партс Хино — новейший комплекс по ремонту и обслуживанию Hino в Москве и области. При этом коллектив центра имеет многолетний опыт работы с автомобилями Хино за счёт работы на предыдущей территории в г.Московский. В настоящий момент мы можем удовлетворить самые высокие требования клиентов и осуществить самые сложные ремонты, как слесарные, так и кузовные.




    • Техобслуживание и ремонт

      Сервисная станция Трак Партс Хино находится вблизи р.п.Селятино (33км от МКАД по Киевскому шоссе, съезд на А107) и способна обеспечить любой автопарк автомобилей Хино профессиональной технической помощью. Полный спектр от работ от планового ТО до мобильной группы техпомощи и эвакуации всегда к услугам наших клиентов!

      Подробнее. ..


    • Сервисные контракты

      Сервисный контракт HINO — гарантия качественного и выгодного сервисного обслуживания автомобиля. Используйте гибкие условия сервисного контракта и выберите наиболее подходящий для вас вариант сервисного обслуживания.

      Подробнее…


    • Гарантийный ремонт

      Автомобили Hino славятся своим качеством по всему миру, но даже самый надежный автомобиль должен быть защищен он непредвиденных поломок. Hino Motors предоставляет гарантию на все автомобили от 2 до 5 лет. В случае поломки в гарантийный период наш техцентр готов произвести любой требуемый ремонт за счет производителя.

      Подробнее…


    • Кузовной ремонт

      Кузовной цех Трак Партс Хино предлагает вам весь спектр услуг по приведению вашего автомобиля в порядок после аварии, эксплуатационных повреждений, а также квалифицированную и своевременную консультационную помощь. Мы сотрудничаем с большинством страховых компаний и готовы произвести ремонт по направлению.

      Подробнее…


    • Эвакуация 24 часа

      В случае возникновения непредвиденной ситуации не стоит отчаиваться, круглосуточная служба эвакуации Трак Партс и служба мобильной техпомощи готова помочь 24 часа в сутки. Для вызова эвакуатора стоит лишь позвонить по многоканальному телефону и сообщить о местонахождении автомобиля. Дальше мы все сделаем сами.

      Подробнее…

    Обзор Hino 500 Series — Drive

    Компания Hino модернизировала свой популярный среднетоннажный грузовик с автоматической коробкой передач.

    Устроиться поудобнее в Hino серии 500 с длинной колесной базой очень просто.

    Это может показаться простым наблюдением, но по сравнению со многими другими легкими и средними грузовиками эргономика хорошо отсортирована: кресло водителя ISRI с пневмоподвеской скульптурно и поддерживает, рулевое колесо имеет регулировку по вылету и наклону, а акустика кабины подавляется до отличного уровня на скорости.

    Но, возможно, ключом к тому, чтобы чувствовать себя в новой модели как дома, является то, что находится под просторным салоном.

    Hino впервые предлагает автоматический вариант своей популярной модели FE 1426. Пятиступенчатая коробка передач с гидротрансформатором Allison работает в паре с проверенным 6,4-литровым пятицилиндровым дизельным двигателем Hino в пакете, который, по мнению японского производителя грузовиков, удовлетворяет спрос рынка на дополнительные «двухпедальные» варианты.

    Учетные данные автомата, безусловно, складываются на бумаге со здоровым 19Предлагается мощность 1 кВт и крутящий момент 794 Нм. Он доступен в конфигурации с одной кабиной с короткой, средней, длинной и сверхдлинной колесной базой от 3,75 до 5,5 метров.

    Недавно представленная система совместной работы практически без проблем зарекомендовала себя во время 500-километровой поездки по городу, загородной местности и шоссе. С пиковым крутящим моментом при низких 1500 об / мин большой дизель является отличным компаньоном во всех трех сценариях. Он чувствует себя изысканным и плавным, толкая вес FE500, рассчитанный на максимальную 14-тонную GVM, с минимальной суетой.

    Автоматическая установка только усиливает удобство использования Hino. Его переключения резкие, своевременные и интуитивно понятные, помогая 500 набирать обороты без суеты.

    Коробка передач также быстро переключается на пониженную передачу под тормозами, гармонично работая с выхлопными тормозами и гидравлическими тормозами, которые постепенно модулируются с помощью педали.

    Хино говорит, что автоматическая коробка передач будет обеспечивать такую ​​же экономию топлива, как и стандартная механическая коробка передач, при этом уменьшая количество превышений оборотов из-за небрежных водителей. Кнопка экономии также доступна, чтобы дать команду трансмиссии переключаться на более низких оборотах двигателя.

    Во время наших испытаний автомат показал показатель экономии топлива около 20,0 л/100 км как в пустом, так и в загруженном состоянии.

    На последнем фронте FE 500 противоречит своему статусу средней жесткости по общей грузоподъемности и грузоподъемности.

    Тестируемый здесь вариант с удлиненной колесной базой имеет общую длину 9,45 метра и может вместить 12 стандартных поддонов. Как механическая, так и автоматическая версии серии 500 могут быть уменьшены с 14 до 12 тонн, чтобы уменьшить потребность в бортовом журнале водителя.

    Версии с автоматической коробкой передач имеют полную массу автопоезда (грузовик и прицеп) 15 тонн, что значительно меньше 22-тонной номинальной массы для эквивалентной ручной.

    Загрузка Hino примерно до 50-процентной GVM лишь незначительно влияет на производительность, автоматическое вмешательство на уклонах гарантирует, что двигатель остается в оптимальной точке. В более экстремальных случаях можно использовать ручное управление автоматической коробкой передач, чтобы предотвратить переключение на более низкую передачу и обеспечить сохранение скорости.

    Независимо от загрузки, 500-я серия занимает лидирующие позиции как по манере вождения, так и по общему комфорту. Рулевое управление легкое и точное, что увеличивает его узкий 15-метровый радиус поворота во время маневров в черте города. Рулевое управление адекватно взвешивается на скорости и невосприимчиво к отдаче в середине поворота и обратной связи от неровностей дороги.

    Стандартный сажевый фильтр автомобиля менее суетлив, чем конкурирующие продукты; сгорает по мере необходимости (примерно каждые 200 км) и отображает свой прогресс на простом, но эффективном цифровом монопиксельном дисплее.

    Пневматическая подвеска сглаживает быстрые удлиненные неровности и быстро выравнивает упругость, которая может повредить конкурирующим грузовикам. Тем не менее, пневматическая подвеска не так хорошо справляется с более острыми неровностями, которые имеют тенденцию стучать и даже в крайних случаях пробивать салон.

    Единственная другая жалоба со стороны водителя – это отсутствие стандартного круиз-контроля или камеры заднего вида (опционально). В остальном салон выглядит хорошо оборудованным благодаря стандартным функциям, таким как Bluetooth, зеркала с подогревом, большая люминесцентная лампа и кондиционер. Есть множество ящиков и отсеков для хранения, хотя для хранения мелких предметов не хватает таких вещей, как ваш телефон и бумажник.

    Такое оснащение салона сопровождается прекрасным внешним и боковым обзором благодаря двойным зеркалам (стандартное и выпуклое стекло) по бокам, а также беспрепятственному обзору вперед с места водителя. Приборная панель четкая и легко читаемая, а небольшая спальная кабина подходит для нерегулярных ночных поездок.

    Что касается безопасности, то серия 500 оснащена тормозами с АБС, подушкой безопасности водителя, но без системы контроля устойчивости – продукты, которые быстро находят применение в новейших европейских автомобилях.

    Отсутствие подобных приспособлений является чем-то вроде странности, потому что почти во всех других смыслах этот японский грузовик не уступает своим европейским собратьям.

    по продаже: Сейчас

    Цена: $ 109,317 (плюс затраты на дорогу, за исключением шрифтов)

    Power: 191 кВт при 2400RPM

    Torript: 794NM M400.

    : 794NM. Пятиступенчатая автоматическая

    Расход топлива: 20,0 л/100 км (проверено)

    2 Изображения

    1/2 Обзор серии Hino 5002/2 Простор для движения: Грузовики Hino серии 500, несмотря на свои размеры, хорошо подходят для вождения по городу.

    HINO 500 Series 1528 4X4 Crew Cab Обзор —

    В мире средних грузовиков HINO 500 GT 4X4 Crew Cab занимает прочные позиции благодаря универсальности, практичности и надежности. Это 4X4 на стероидах.

    Недавно у меня была возможность протестировать один из них, и мне удалось покататься по бездорожью на любимой трассе, где мы часто ездим на 4X4 Utes.

    Результаты оказались весьма неожиданными.

    Но сначала давайте подробнее рассмотрим 500 GT 4X4.

    HINO 500 1528 4X4 GT Crew Cab Внешний вид

    Первое, что я заметил, это его высота. Это был настоящий подъем на водительское сиденье. Тем не менее, несмотря на свой размер, он выглядит большим только тогда, когда вы находитесь рядом с ним, в противном случае пропорции, кажется, уменьшают его площадь во внешнем виде, и это хорошо.

    У меня была версия Crew Cab с откидным боковым лотком сзади и удобным набором ступенек для доступа к лотку. Грузовик был пуст, и у меня не было возможности загрузить его для теста, надеюсь, в другой раз.

    Я думаю, трудно сделать так, чтобы что-то большое, вроде грузовика, хорошо выглядело. Scania справляется с этим хорошо. HINO 500 GT привлекателен. Это не красиво, но более стильно, чем некоторые. Мне это действительно понравилось.

    Он устанавливается на одинарные передние и сдвоенные задние шины. Колесо представляет собой диск с 10 шипами (тип ISO), размер PCD 335 мм, размер обода 7,50 x 22,5 дюйма, вылет 162 мм, шины 11R22,5–144/142.

    HINO 500 1528 Полноприводная кабина 4X4 GT Внутренняя

    В кабину 500-й серии трудно залезть. После того, как вы поместились в сиденье водителя с регулируемой подвеской, все стало довольно удобно. Я немного выше и крупнее среднего медведя, поэтому мне было трудно найти место для коленей, а соотношение между сиденьем и акселератором означало, что моя нога стояла под немного неудобным углом. Проблема, не затрагивающая 95% населения.

    Перед водителем хорошо продуманный приборный нактоуз с двумя большими внешними циферблатами, четырьмя меньшими циферблатами и полезным МФД над ними. Ниже находятся переключатели блокировки заднего дифференциала, противотуманных фар и электрических стеклоподъемников.

    На большом рулевом колесе находятся круиз-контроль, фары, указатели поворота, рычаг омывателя стеклоочистителей и выхлопные тормоза. Центральный стек содержит элементы управления кондиционером и 6,5-дюймовым сенсорным ЖК-дисплеем высокой четкости с DAB+AM/FM-радио, входом AUX, Bluetooth 5.1, Android 6.0 с подключением по CANBUS и поддержкой Wi-Fi

    Разрешение экрана в порядке, связь могла бы быть лучше, как и пользовательский интерфейс. Имейте в виду, что я исхожу из перспективы обычных транспортных средств. Технологии есть, просто покупатели еще не востребовали расширенный функционал.

    В салоне много мест для хранения, большие карманы в дверях и бардачке, а также верхние полки.

    Места для троих или семи человек. В случае, когда автомобиль переоборудуется в дом на колесах 4X4, сиденья почти всегда заменяются, и, если нет особой причины для задних сидений, обычно используются только передние.

    Однако задние сиденья, как и следовало ожидать, утилитарны и просты.

    Я подозреваю, что любой производитель автобусов проделал бы немало работы внутри, чтобы сделать его более роскошным.

    HINO 500 1528 GT 4X4 Кабина для экипажа Особенности

    Что касается грузовиков этого класса, модель 500 оснащена такими функциями, как:

    • Многослойное теплопоглощающее стекло
    • Центральный замок,
    • Электростеклоподъемники,
    • Круиз-контроль, подстаканники,

    HINO 500 1528 GT 4X4 Crew Cab Safety

    Если говорить о безопасности, функции грузовика резко отстают от легковых автомобилей и Utes. Однако по сравнению с другими грузовиками серия HINO 500 хорошо оснащена.

    Элементы безопасности включают:

    • Тормоза с АБС,
    • Камера заднего вида и зуммер
    • Подушка безопасности водителя SRS
    • Противотуманные фары (со светодиодными фарами дальнего света в качестве опции)

    Двигатель HINO 500 1528 GT 4X4 Crew Cab и трансмиссия

    Оснащен 6-цилиндровым дизельным двигателем Euro5 с турбонаддувом и промежуточным охлаждением, мощностью 206 кВт при 2400 об/мин и крутящим моментом 8120 Нм при 8124 Нм. Максимальные обороты двигателя составляют 2500 об/мин, а скорость ограничена 100 км/ч.

    Имеется плавная 5-ступенчатая автоматическая коробка передач Allison с одинарной повышающей передачей и электронным выбором двух диапазонов полного привода.

    Полная масса автомобиля 14 500 кг (дополнительно 12 000 кг) и общая масса в 15 000 кг

    Передние и задние барабанные тормоза, моторный тормоз и

    HINO 500 1528 GT 4X4 Crew Cab 4WD.

    Быстрая оценка будет – «чёртовски хорошо».

  • Электронный перевод
  • отличная резина с глубокими грунтозацепами,
  • выбираемый 4X4 с передаточным отношением нижнего диапазона 2:1,
  • угол въезда 39градусов,
  • рампа 156 – 159 градусов (в зависимости от колесной базы) и
  • угол съезда 26 градусов
  • клиренс 255мм
  • Вождение по любимой трассе, которую мы часто используем, смехотворная легкость, с которой он возился, еще раз подтверждает, насколько он способен. Электронный перевод прост в использовании, как только вы освоите его.

    Большие шины с глубокими грунтозацепами и внушительным углом въезда означают, что взбираться по каменным выступам было проще простого. Так же езда по воде. Огромный крутящий момент в 800 с лишним Нм при 1500 об/мин также означает, что водитель может двигаться плавно.

    Одна из проблем заключается в том, что подвеска, предназначенная для перевозки груза, может быть немного упругой, но она обеспечивает разумную артикуляцию.

    Огромный размер 500 означает, что вам нужно знать, куда вы идете и насколько узки гусеницы. Кроме того, радиус поворота на высоте более 18 м довольно велик, как и следовало ожидать, поэтому узкие тропы, обсаженные деревьями, с крутыми поворотами являются естественным врагом.

    Путешествие по необжитой местности, удаленный доступ и пожарные тропы — это счастливые охотничьи угодья.

    HINO 500 1528 GT 4X4 Crew Cab соответствует назначению.

    Возможности 500-й серии GT 4X4 в качестве рабочего грузовика не вызывают сомнений. Он использовался в течение многих лет в сельских пожарных службах, на шахтах и ​​в удаленных строительных компаниях, а также в качестве перевозчика в отдаленные районы Австралии и т. д. на. Настоящие автодома 4X4 становятся все более популярными, и в связи с недавними глобальными событиями резко возрос спрос на более крупный, полностью автономный экспедиционный автомобиль.

    В Австралии есть ряд выдающихся производителей кузовов для такого автомобиля, и HINO прекрасно вписывается в их число в качестве базового автомобиля.

    Есть несколько особенностей, которые делают его подходящим:

    • Простота использования 5-ступенчатой ​​автоматической коробки передач Allison с повышающей передачей,
    • Стандартная камера заднего вида,
    • Отличный круговой обзор и наружные зеркала с подогревом и электроникой
    • Одинарная кабина или двойная кабина, короткая или длинная колесная база на выбор
    • Разумные внутренние функции комфорта (но далеко не даже Utes с большим запасом хода)
    • Нактоуз для информационных приборов
    • Круиз-контроль

    Грузоподъемность 9T достаточна для того, чтобы построить автодом для экспедиций, который хотелось бы большинству владельцев.

    В качестве базы я бы выбрал укороченную колесную базу с одинарной кабиной. За передними сиденьями достаточно места, и такое сочетание, как мне кажется, обеспечивает наилучший баланс между потенциальным пространством и маневренностью.

    HINO 500 1528 GT 4X4 Crew Cab последние мысли

    Последняя версия представляет собой значительно улучшенный автомобиль, продолжающий традиции рабочих лошадок серии 500.

    Кулак тормозной: 53203501111 Кулак разжимной КАМАЗ колодок тормозных передних левый KNORR-BREMSE (ОАО КАМАЗ) — 5320-3501111

    53203501111 Кулак разжимной КАМАЗ колодок тормозных передних левый KNORR-BREMSE (ОАО КАМАЗ) — 5320-3501111

    Распечатать

    Главная   Запчасти для наших машин и тракторов

    8

    1

    Применяется: КАМСКИЙ АВТОЗАВОД

    Код для заказа: 019564


    Добавить фото

    2 750 ₽

    Дадим оптовые цены предпринимателям и автопаркам ?

    Наличные при получении
    VISA, MasterCard, МИР
    Долями
    Оплата через банк

    Производитель: KAMAZ

    Получить информацию о товаре или оформить заказ вы можете по телефону
    8 800 6006 966.

    Есть в наличии

    Самовывоз

    Уточняем

    Доставка

    Уточняем

    Доступно для заказа — 8 шт.

    Данные обновлены: 09.04.2023 в 05:30

    • Все характеристики
    • Отзывы о товаре

    • Вопрос-ответ

    • Где применяется

    Характеристики

    Сообщить о неточности
    в описании товара

    Код для заказа

    019564

    Артикулы

    5320-3501111

    Производитель

    KAMAZ

    Каталожная группа:


    . .Тормоза
    Механизмы управления

    Ширина, м:


    0.105

    Высота, м:


    0.07

    Длина, м:


    0.284

    Вес, кг:


    2.93


    Отзывы о товаре


    Вопрос-ответ

    Задавайте вопросы и эксперты
    помогут вам найти ответ

    Чтобы задать вопрос, необоходимо
    авторизоваться/зарегистрироваться
    на сайте

    Чтобы добавить отзыв, необходимо
    авторизоваться/зарегистрироваться
    на сайте

    Чтобы подписаться на товар, необходимо
    авторизоваться/зарегистрироваться
    на сайте

    Где применяется

    • Легковые автомобили / Камский автозавод / 54112
      1 чертеж

      • Кулак разжимной левый Тормоза / Механизм тормозной переднего колеса правый и левый
    • Легковые автомобили / Камский автозавод / 43253 (Часть-2)
      1 чертеж

      • Кулак разжимной левый Тормоза / 43253-3502011-32 Тормоз задний левый
    • Легковые автомобили / Камский автозавод / 5320
      1 чертеж

      • Кулак разжимной левый Тормоза / Механизм тормозной переднего колеса правый и левый
    • Легковые автомобили / Камский автозавод / 5511
      1 чертеж

      • Кулак разжимной левый Тормоза / Механизм тормозной переднего колеса правый и левый
    • Легковые автомобили / Камский автозавод / 43253, 43255 (Евро-4)
      1 чертеж

      • Кулак разжимной левый Тормоза / 43253-3502011-32 Тормоз задний левый
    • Легковые автомобили / Камский автозавод / 53212
      1 чертеж

      • Кулак разжимной левый Тормоза / Механизм тормозной переднего колеса правый и левый
    • Легковые автомобили / Камский автозавод / 55102
      1 чертеж

      • Кулак разжимной левый Тормоза / Механизм тормозной переднего колеса правый и левый
    • Легковые автомобили / Камский автозавод / 5410
      1 чертеж

      • Кулак разжимной левый Тормоза / Механизм тормозной переднего колеса правый и левый
    • Легковые автомобили / Камский автозавод / Общий (5320, 53212, 5410, 54112, 5511, 55102)
      1 чертеж

      • Кулак разжимной левый Тормоза / Механизм тормозной переднего колеса правый и левый

    Сертификаты

    Обзоры

    Все обзоры участвуют в конкурсе — правила конкурса.

      Для этого товара еще нет обзоров.

      Написать обзор


    Наличие товара на складах и в магазинах, а также цена товара указана на 09.04.2023 05:30.


    Цены и наличие товара во всех магазинах и складах обновляются 1 раз в час.
    При достаточном количестве товара в нужном вам магазине вы можете купить его без предзаказа.


    Интернет-цена — действительна при заказе на сайте или через оператора call-центра по телефону
    8 800 6006 966. При условии достаточного количества товара в момент заказа.


    Цена в магазинах — розничная цена товара в торговых залах магазинов без предварительного заказа.

    Представленные данные о запчастях на этой странице несут исключительно информационный характер.

    5320350211010 Кулак разжимной КАМАЗ-ЕВРО колодок тормозных задних правый KNORR-BREMSE (ОАО КАМАЗ) — 5320-3502110-10

    Распечатать

    Главная   Запчасти для наших машин и тракторов

    205

    1

    Применяется: КАМСКИЙ АВТОЗАВОД

    Код для заказа: 128640


    Добавить фото

    3 110 ₽

    Дадим оптовые цены предпринимателям и автопаркам ?

    Наличные при получении
    VISA, MasterCard, МИР
    Долями
    Оплата через банк

    Производитель: KAMAZ

    Получить информацию о товаре или оформить заказ вы можете по телефону
    8 800 6006 966.

    Есть в наличии

    Самовывоз

    Уточняем

    Доставка

    Уточняем

    Доступно для заказа — больше 10 шт.

    Данные обновлены: 09.04.2023 в 05:30

    • Все характеристики
    • Отзывы о товаре

    • Вопрос-ответ

    • Аналоги
    • Где применяется

    Характеристики

    Сообщить о неточности
    в описании товара

    Код для заказа

    128640

    Артикулы

    5320-3502110-10

    Производитель

    KAMAZ

    Каталожная группа:


    . .Тормоза
    Механизмы управления

    Ширина, м:


    0.105

    Высота, м:


    0.065

    Длина, м:


    0.221

    Вес, кг:


    2.47


    Отзывы о товаре


    Вопрос-ответ

    Задавайте вопросы и эксперты
    помогут вам найти ответ

    Чтобы задать вопрос, необоходимо
    авторизоваться/зарегистрироваться
    на сайте

    Чтобы добавить отзыв, необходимо
    авторизоваться/зарегистрироваться
    на сайте

    Чтобы подписаться на товар, необходимо
    авторизоваться/зарегистрироваться
    на сайте

    Iron Fist Iron Remover Детализация автомобиля

    $18,99 USD

    от Ceramic Garage

    Тип:
    Очистка автомобиля

    Название по умолчанию

    Количество

    Количество

    Iron Fist Iron Remover Детализация автомобиля | Удаляет тормозную пыль, железо, металлический мусор и отложения с краски, хрома, стекла, пластика, колес и т. д. (16 унций)

    находится в резерве и будет отправлен, как только он снова появится на складе.

    • Амазонка
    • Американ Экспресс
    • Apple Pay
    • Клуб закусочных
    • Откройте для себя
    • МетаПлата
    • Google Pay
    • Мастеркард
    • PayPal
    • Магазин Оплата
    • Венмо
    • Виза
    • Описание

    Iron Fist работает безопасно, но быстро, освобождая и удаляя тяжелую тормозную пыль, железо, металлический мусор и отложения с краски, хрома, стекла, пластика и колес.

    Iron Fist — универсальное средство для удаления железных осадков, которое обеззараживает колеса и наружную краску, не повреждая поверхность.

    Удаляет загрязнения с шин, дисков, краски, выхлопных газов и других внешних поверхностей.

    Использовать в качестве средства для подготовки к автомойке с помощью пульверизатора, колесной щетки и ополаскивателя.

    После нанесения продукт работает и обеззараживает грязные участки железом, накапливается окисление и наблюдает, как грязь тает.

    Перед мойкой автомобиля нанесите на него Iron Fist, чтобы удалить все глубокие отложения железа, ржавчины и окисления, накопившиеся в результате ежедневного вождения автомобиля.

    Попробуйте средство для удаления железа, проверенное, надежное и произведенное в Америке.

    Pro Tip — Распылите на прохладные поверхности вдали от солнца.

    • ОЧИСТКА И ДЕЗАКТИВАЦИЯ КОЛЕСА И КРАСКИ — Iron Fist — универсальное средство для удаления железных осадков, которое быстро и безопасно удаляет тяжелую тормозную пыль, железо, металлические частицы и отложения с краски, хрома, стекла, пластика и колес. Он идеально подходит для детейлинга автомобилей!
    • ЧИСТКА ЖЕЛЕЗНЫМ КУЛАКОМ — Не позволяйте тормозной пыли, железу и металлическому мусору завладеть автомобилем! Это мощное средство для удаления железа быстро и безопасно удаляет отложения на краске, хроме, стекле, пластике и колесах.
    • ДИСКИ И КРАСКА БЕЗ ЗАГРЯЗНЕНИЙ — Iron Fist — универсальный продукт «все в одном», который удаляет загрязнения с шин, дисков, краски, выхлопных газов и других внешних поверхностей. Безопасно использовать на любой поверхности, не повреждая ее.
    • ПРОСТОЕ ИСПОЛЬЗОВАНИЕ В КАЧЕСТВЕ ПОДГОТОВИТЕЛЬНОГО ПРОДУКТА — Нанесите Iron Fist с помощью пульверизатора, колесной щетки и ополаскивателя перед мытьем автомобиля. Продукт будет работать для удаления грязи и отложений во время стирки.
    • ИЗБАВЬТЕСЬ ОТ ЖЕЛЕЗА И ПОПРОБУЙТЕ ОЧИСТКУ ПОВЕРХНОСТЕЙ — Удалите глубокое железо, ржавчину и окисление с помощью этого проверенного средства для удаления железа. Безопасный для использования на любой поверхности, Iron Fist сделает ваш автомобиль чистым и сияющим!
    • СДЕЛАНО В АМЕРИКЕ

    Указания:

    Перед нанесением промойте поверхность.

    Распылять только на прохладную поверхность. Позвольте решению сидеть на колесе. Пожалуйста, не позволяйте ему высохнуть.

    • Потрите круговой щеткой и смойте.

    Сначала сцепление или тормоз при замедлении или остановке автомобиля с механической коробкой передач?

    • Дом
    • Уроки вождения
      • Информация об уроках вождения
      • Интенсивные занятия
      • Уроки повышения квалификации
      • Области покрытия
      • Специальные предложения
      • Услуги
      • Отзывы
      • Пасс Плюс
      • Подарочные сертификаты
    • Теоретический тест
      • Информация о теоретическом тесте
      • Информация о тесте на восприятие опасности
      • Теоретические пробы
        • Пробный теоретический тест 1
          • Теоретический тест из 20 вопросов 1
          • Полный теоретический тест 1
        • Пробный теоретический тест 2
        • Пробный теоретический тест 3
        • Имитационный теоретический тест 4
        • Пробный теоретический тест 5
        • Испытания дорожных знаков
          • Пробный тест дорожных знаков
          • Полный тест дорожных знаков
        • Теоретический экзамен по автомагистралям
        • Тест скорости и остановки
        • Самый сложный теоретический тест
    • Экзамен по вождению
      • Экзамен по вождению
        • Информация об экзамене по вождению
        • Секрет прохождения экзамена по вождению?
        • 3 главных совета экзаменатора по вождению
        • Как произвести впечатление на экзаменатора
      • Покажи мне, скажи мне вопросы
        • Покажи мне, расскажи мне вопросы
        • Тест «Покажи мне, расскажи мне»
      • Маневры
      • Бланк результатов экзамена по вождению
      • 10 наиболее частых ошибок вождения
      • Видео пробных экзаменов по вождению
      • Маршрут экзаменов по вождению
      • Самостоятельное вождение
      • Мифы об экзамене по вождению
    • Советы по вождению
      • Домашние модули обучения
      • Трогание и остановка

        • Как водить машину с механической коробкой передач
        • Как трогаться и останавливаться
        • Обзор управления сцеплением
        • Как никогда больше не глохнуть
        • Как выйти из зависания
        • Сначала сцепление или тормоз?
        • Как плавно управлять автомобилем с механической коробкой передач
        • Парковка на возвышенности
      • Переключение передач
        • Метод пальминга
        • Когда переключать передачу
        • Плавное переключение понижающей передачи
        • Когда переключать передачу на подъеме
        • Когда менять передачу на кольцевой развязке
      • Рулевое управление
      • Появление и поворот
        • Выход и поворот налево
        • Въезд и поворот направо
      • Реверс
      • Начало холма
        • Начало в гору
        • Спуск в горку на светофоре
      • Встреча трафика
        • Жилые дороги
        • Проселочные дороги
      • Круговые перекрестки
        • Какую полосу выбрать
        • Когда безопасно идти?
        • Когда менять передачу на кольцевой развязке
      • Автобусные полосы
      • Пешеходные переходы
        • Информация о пешеходных переходах
        • Викторина «Пешеходные переходы»
      • Дороги с двусторонним движением
      • Автомагистрали
        • Вход и выход
        • Обгон
    • Дополнительно
      • Временная лицензия
      • Заправка автомобиля топливом
      • Регулировка ремня безопасности
      • Основной и дополнительный светофоры
      • Подсветка приборной панели
      • Остановить запотевание стекол
      • Мелкий шрифт
    • Контакты
      Нажмите здесь, чтобы отправить нам электронное письмо


    Если вы водитель-новичок, вам может быть интересно, какую педаль нажимать первой при остановке или замедлении — сцепление или тормоз. Совершенно естественно чувствовать себя немного смущенным или неуверенным по этому поводу, но не волнуйтесь, мы здесь, чтобы помочь!

    Чтобы облегчить вам задачу, у нас есть полезное видео, в котором наглядно демонстрируется правильная техника остановки вашего автомобиля. Он покажет вам, какую именно педаль нажать первой, чтобы вы могли уверенно ориентироваться на дорогах.

    Помните, что начинающему водителю важно не торопиться и практиковать свои навыки вождения, пока вы не почувствуете себя комфортно и уверенно за рулем. С небольшой практикой и руководством вы скоро будете путешествовать как профессионал.

    Итак, откиньтесь на спинку кресла, расслабьтесь и посмотрите видео ниже. Мы уверены, что он предоставит вам всю информацию, необходимую для того, чтобы с легкостью овладеть этим важным навыком вождения.

     

    Вам также могут понравиться эти:      
    Как переключать передачи Управление сцеплением 90-градусная парковка Когда переключать передачу на подъеме


    Подпишитесь, чтобы получать больше советов на нашем канале YouTube

     

    Какая педаль первая при остановке или замедлении?

    Все зависит от скорости, с которой вы едете, и от того, едете ли вы в гору.

    Во-первых, важно знать, почему нужно выжимать сцепление перед остановкой. Не вдаваясь в технические подробности, так как в Интернете уже есть много других видео и информации об этом, вам просто нужно выжать сцепление перед остановкой, иначе машина заглохнет.

    Обычно вы чувствуете, как машину начинает трясти, прежде чем она заглохнет. Если вы чувствуете, что он трясется, быстро нажмите на сцепление, и вы должны спасти его от остановки.

    Но, прежде всего, чтобы предотвратить его остановку, вы обычно полностью выжимаете сцепление примерно на две длины автомобиля, прежде чем полностью остановитесь.

     

     

     

    Быстрое вождение.

    Например, если вы едете со скоростью выше 25 миль в час на 3-й передаче и хотите остановиться, то основной приоритет из-за скорости — снизить скорость. Отпустить педаль газа и нажать на тормоз . Второй приоритет – не останавливаться. Выжмите сцепление примерно на 2 длины автомобиля перед полной остановкой.

    Медленная езда.

    Если вы едете медленно со скоростью менее 10 миль в час и хотите остановиться, нажмите сцепление перед тормозом , чтобы машина не заглохла.

    Вероятность того, что вы заглохнете или остановитесь неуверенно, увеличится, если вы едете медленно со скоростью менее 10 миль в час и сначала нажимаете на тормоз, а затем на сцепление.

    Вы также можете выжать одновременно сцепление и тормоз при медленном вождении, если это необходимо.

    В гору.

    Если вы едете в гору и хотите остановиться, сбросьте газ и позвольте гравитации замедлить вас, подъем действует почти как тормоз. Перед остановкой выжмите сцепление примерно на 2 длины автомобиля, а затем затормозите.

    Нельзя каждый раз нажимать сцепление перед тормозом?

    Что ж, тогда вы можете двигаться накатом, из-за чего машина движется свободно, и это может увеличить скорость, что означает, что вам придется больше тормозить. Вы теряете торможение двигателем.

    Не забудьте…

    Медленная езда, сцепление, а затем торможение при остановке.

    Ехать быстрее, затормозить, а затем выжать сцепление.

    Замедляется, но не останавливается?

    Если вы просто хотите снизить скорость и не останавливаться, отпустите педаль газа и тормоза, если это необходимо, но вам не нужно будет нажимать сцепление, если вам не нужно переключать передачу.

    Сначала сцепление или тормоз при остановке на спуске?


    Подпишитесь, чтобы получать больше советов на нашем канале YouTube

    Вам также могут понравиться эти:      
    Управление сцеплением при движении в гору БЕСПЛАТНЫЙ базовый курс вождения Как выйти из зависания 2023 маневры
     

     

    Найти хорошую автошколу сложно, узнайте здесь, почему вы только что нашли одну из лучших.

    Мойка деталей автоматическая: Автоматическая мойка деталей АМ700 ЕКО

    Автоматическая мойка деталей АМ700 ЕКО

    лучшая цена

    Уточните цену по телефону:

    +7 (495) 266-60-94

    Купить

    • Комплект моющего средства в подарок

    • Бесплатная доставка до ТК

    • Гарантия до 24 месяцев

    Сертификаты

    • ЕАЭС Декларация о соответствии

    • Сертификат ISO 9001:2015

    • Европейский сертификат качества (СЕ)

    • Описание
    • Технические характеристики
    • Логистика
    • Отзывы

    Представляет собой моечную камеру с замкнутым контуром. Мойка деталей предназначена для очистки от СОЖ, нефтемасляных и механических загрязнений компонентов машин, двигателей, промышленных станков и прочего оборудования.

    Температура и продолжительность цикла обработки задается на панели управления. Вращение корзины обеспечивает необходимое позиционирование деталей перед коллекторами. П-образная форма рамп позволяет промывать изделия сверху, снизу и сбоку в течение заданного времени. Автоматические промывочные установки серии АМ предназначены для использования со слабощелочными растворами. Для наполнения бака используется обычная водопроводная вода.

    Линейка комплектуется двумя видами привода движения корзины – струйным и электромеханическим. При использовании электромеханического привода, корзина с деталями вращается равномерно с частотой 5-10 об/мин. Это обеспечивает высокое качество очистки, за счет равномерной подачи моющего раствора по всей поверхности деталей. Электромеханический привод является наиболее эффективным решением. Струйный привод накладывает ряд ограничений на эксплуатацию машины, такие как равномерное распределение изделий по весу в корзине, достаточную площадь поверхности деталей, соблюдение угла наклона.

    Рекомендуется для: 

    • СТО и мастерских по ремонту автомобилей типа ГАЗель
    • Участков токарно-фрезерного производства
    • Специализированных предприятий по покраске
    Диаметр корзины, мм700
    Высота рабочего пространства, мм410
    Грузоподъемность корзины, кг120
    Тип привода корзиныструйный
    Длина, мм1110
    Ширина, мм980
    Высота, мм1210
    Объем бака моющего раствора, л80
    Максимальная температура раствора, С90
    Мощность насоса, кВт0,55
    Производительность насоса, л/мин60
    Давление насоса, бар2,5-3
    Мощность нагревательных элементов, кВт3,15
    Суммарная мощность, кВт4
    Параметры сети, В/Гц230/50
    Вес, кг130

    Завод «Моторные технологии» поставляет оборудование транспортной компанией на выбор клиента.
    Доставка до терминала осуществляется бесплатно. 

    Все установки поставляются
    упакованными
    в стрейч пленку. Жесткая упаковка является обязательным атрибутом доставки и оплачивается за
    счет заказчика. 

    Для формирования уведомления на отгрузку необходимо заполнить отгрузочный
    лист. Если работа с ТК по каким-то причинам невозможна, оборудование можно забрать
    своим
    транспортом с нашего склада. В настоящее время в г. Пенза присутствуют следующие ТК:
    Деловые линии, ПЭК, Энергия, КИТ, Байкал-сервис, ЖелДорЭкспедиция, Возовоз.

    Вы
    можете рассчитать стоимость доставки или проверить статус груза прямо на нашем сайте!

    Отзывов на данный товар еще не было. Станьте первым!

    Оставить отзыв

    Имя Фамилия*

    Название компании

    Ваш отзыв*

    Вам также может быть интересно:

    Этот сайт использует cookie для хранения данных. Продолжая использовать сайт, вы даёте согласие на работу с этими файлами.
    Согласен

    X

    Rapid Group GmbH — Россия | Официальный партнер — Rapid Group GmbH

    /
    Устройства для очистки деталей Rapid

    /

    Автоматическая мойка деталей Rapid

    Страна производитель

    Артикул / Модель

    Исполнение

    Нагрузка

    Питание

    Размеры

    Рабочая высота

    Модель

    Размеры корзины

    Подогрев

    Размер корзины

    Артикул:
    70154Автоматическая мойка деталей Rapid TWA 40, для небольших деталей 40 л 70154

    561 600

    Артикул:
    70153Автоматическая мойка деталей Rapid TWA 70, для небольших деталей 70 л 70153

    786 240

    Артикул:
    70150Автоматическая мойка деталей Rapid TWA 90, для небольших деталей 90 л 70150

    1 080 000

    Артикул:
    70151Автоматическая мойка деталей Rapid TWA 170, для средних деталей 170 л 70151

    1 304 640

    Артикул:
    70152Автоматическая мойка деталей Rapid TWA 280, для больших деталей 280 л 70152

    2 237 760

    Артикул:
    70168Автоматическая мойка деталей Rapid TWA 550 O маслянный подогрев, 550 л, 70168

    Информация по запросу на e-mail

    Артикул:
    70165Автоматическая мойка деталей Rapid TWA 550 G газовый подогрев, 550 л, 70165

    Информация по запросу на e-mail

    Артикул:
    70162Автоматическая мойка деталей Rapid TWA 550 E электрический подогрев, 550 л, 70162

    Информация по запросу на e-mail

    Артикул:
    70167Автоматическая мойка деталей Rapid TWA 450 О маслянный подогрев, 450 л, 70167

    Информация по запросу на e-mail

    Любому мастеру, обслуживающему станки, машины и другие механизмы известно, сколько рабочего времени отнимает очистка деталей от остатков смазки и загрязнений. На больших предприятиях, где требуется ежедневное обслуживание большого количества агрегатов, на очистку вручную затрачивается не один час, при этом специалист, который занимается этим процессом, не может выполнять другие задачи.

    Но на сегодняшний день развитие автоматизации коснулось и данной сферы.


    Использование автоматических процессов высвобождает все больше человеко-часов, позволяя распределять рабочее время специалистов и оптимизировать производство. Для этого инженеры компании RAPID разработали автоматические аппараты для мойки деталей, которые и представлены в этом разделе.

    Автоматические мойки деталей созданы по принципу посудомоечных машин — конструктивно они представляют собой герметично закрывающиеся емкости, внутри которых расположены неподвижные или вращающиеся корзины для размещения деталей. При запуске процесса очистки, внутрь резервуаров под давлением подается очищающая жидкость, которая удаляет с деталей загрязнения. Кроме того, оператор может изменять рабочую температуру жидкости, что добавляет эффективности процессу очистки.

    Все представленные модели снабжены таймером на 60 минут. Задача оператора сводится к тому, чтобы разместить загрязненные детали в корзине, убедиться в том, что очищающая жидкость подается в бак, запустить таймер и по истечении времени работы извлечь из мойки готовые к дальнейшей работе очищенные детали.Для слива отработанной жидкости предусмотрены сливные отверстия с кранами. Некоторые модели оборудованы интегрированными нефтесборниками, позволяющими собрать остатки нефтепродуктов с поверхности жидкости для последующей утилизации.

    Технологически модели моек различаются следующим образом:

    • Модели объемом от 40 до 280л: Из-за небольшой емкости бак из нержавеющей стали размещен на четырех ножках, Крышка в таких моделях откидная, снабженная газовой пружиной. Такое решение снижает риск травматизма и повышает износостойкость оборудования. Питание таких моек осуществляется как от 230 В так и от 400 В электросетей, в зависимости от объема. Модели от 90 до 170 л  имеют возможность работы с обоими вариантами напряжения.

    • Модели объемом от 350 до 550 л. Такие мойки размещаются на станине, которая снижает уровень вибрации и нагрузку на пол рабочего помещения. Крышка в таких моделях гильотинного типа, поднимается вертикально. Газовые пружины обеспечивают плавный подъем и опускание заслонки, Кроме того, такие модели доступны в трех вариантах по типу нагревательного элемента — это может быть электронагреватель, масляный нагревательный элемент или газовая горелка.

    Промывочные машины для деталей Renegade

    Промывочные машины для деталей Renegade Автоматические и ручные мойки для тяжелых условий эксплуатации на водной основе. Выбирайте из стандартных моделей для ОБЩЕЙ РЕМОНТНОЙ УБОРКИ или индивидуальных конфигураций для ПРОМЫШЛЕННОЙ ОЧИСТКИ. Renegade Parts Washers предлагает системы мойки деталей с верхней и фронтальной загрузкой, проходные и нестандартные системы мойки деталей для вашего промышленного применения. Моющие средства Renegade Parts Washer не содержат растворителей и обеспечивают максимальную очистку без образования остатков.

    См. нашу майскую акцию — комплект принадлежностей для ручной мойки за 70 долларов США (стоимостью 125,52 долларов США)

    RENEGADE I-SERIES ДЕТАЛИ ШАЙБЫ

    Моечные машины промышленных деталей Renegade серии I для промышленной очистки имеют больше стандартных опций, дополнительные индивидуальные конфигурации и расширенные возможности для удовлетворения ваших уникальных промышленных задач. Идеально подходит для очистки деталей, преимущества производительности включают в себя большую емкость, круглосуточную надежность и интеграцию HMI/PLC. Автоматические системы очистки деталей Renegade I-Series с фронтальной загрузкой, верхней загрузкой и сквозной загрузкой соответствуют требованиям к чистоте.

    RENEGADE PARTS ШАЙБЫ

    Стандартная линейка моек Renegade Parts Washers состоит из моделей с автоматической верхней или фронтальной загрузкой и моделей с ручной загрузкой, с базовыми опциями для обычного ремонта в условиях обезжиривания. Моющие средства Renegade на водной основе позволяют погружать детали в воду в сочетании с распылением под высоким давлением. Экономичные водные моечные машины серии TMB с верхней загрузкой или серии FL с фронтальной загрузкой исключают ручную стирку и обычно предназначены для небольших деталей с большим количеством партий или меньшей емкости с прерывистым графиком.

    RENEGADE МОЮЩИЕ СРЕДСТВА И ПРИНАДЛЕЖНОСТИ

    Максимизируйте эффективность вашей системы мойки деталей с помощью мыла и моющих средств Renegade, не содержащих растворителей. Моющие средства Renegade, разработанные с учетом требований экологической безопасности и безопасности для здоровья, удаляют жир, грязь, краску, коррозию, масло и другие загрязнения с поверхностей различных типов деталей. От обезжиривающих средств до присадок, расходных материалов и аксессуаров — все, что нужно для мойки деталей, вы найдете в одном месте.

    ПРЕИМУЩЕСТВО РЕНЕГАТА

    Надежная история производства оборудования для мойки деталей

    Чистящие растворы, не содержащие растворителей

    Произведено в США

    Качественная поддержка и обслуживание

    Технология программируемого ПЛК

    Широкий выбор моделей для вашего бюджета 90 003

    Качественные чистящие средства для мойки деталей С 1996 года

    Экономичный моющий раствор для общего ремонта и многих промышленных применений.

    Модели: TMB 5500; ТМБ 6100; ТМБ 8100; ТМБ 8100 стрейч; TMB 8150 Stretch

    • Электронная почта

    Renegade Автоматическая мойка деталей шкафа с фронтальной загрузкой использует распыление под высоким давлением в условиях высокой температуры для удаления въевшейся грязи и жира. Большой выбор типоразмеров и грузоподъемности.

    Выберите из 12 различных моделей

    • Контакт по электронной почте
    • ВИДЕО ДЕМО

    Линия ручных моек Renegade

    — это недорогое и экономичное решение, не содержащее растворителей, для замены ручной мойки.

    TMB Manual Модели: TMB 4100 и TMB 5000

    • Электронная почта

    Renegade I-Series Конвейерная проходная промывка, сухая система мойки деталей с промывкой обеспечивает 3-ступенчатую непрерывную очистку для очистки и сушки сложных многопортовых деталей, транспортируемых с помощью встроенного конвейера.

    Renegade предлагает консультационные услуги по чистым спецификациям, чтобы повысить эффективность мойки промышленных деталей.

    • Электронная почта

    Моечные машины для промышленных деталей

    Renegade серии I отличаются расширенными возможностями и настраиваемыми конфигурациями, разработанными для ваших уникальных требований к очистке промышленного производства.

    Renegade предлагает консультационные услуги по чистым спецификациям, чтобы повысить эффективность мойки промышленных деталей.

    • Адрес электронной почты

    Промышленная линия Renegade серии I отвечает растущим потребностям различных отраслей промышленности. Дополнительные функции производительности включают большую емкость, круглосуточную надежность и интеграцию с ПЛК.

    Renegade предлагает консультационные услуги по чистым спецификациям, чтобы повысить эффективность мойки промышленных деталей. Возврат оператору Шайбы деталей с фронтальной загрузкой, предназначенные для роботизированного интерфейса

    • Адрес электронной почты

    ПРОМЫШЛЕННЫЕ ПРИМЕНЕНИЯ

    АВТОМОБИЛЬНЫЕ РЕМОНТНЫЕ ПРЕДПРИЯТИЯ

    ТЯЖЕЛЫЙ РЕМОНТ

    МАШИННЫЕ МАСТЕРСКИЕ

    АВИАЦИОННЫЕ И АВИАЦИОННЫЕ ЗАПЧАСТИ

    КРУПНОЛИТЕЙНЫЕ ОБОРУДОВАНИЯ С ЧПУ

    ПРОИЗВОДИТЕЛИ И ПЕРЕСТРОЙЩИКИ КОРОБОК ПЕРЕДАЧ

    ЧИСТКА ПРОИЗВОДСТВЕННЫХ ЧАСТЕЙ

    РЕМОНТ ВЕЛОСИПЕДОВ И POWERSPORTS

    РЕМОНТ МАЛЫХ ДВИГАТЕЛЕЙ

    CONTACT RENEGADE PARTS МОЮЩИЕ И МОЮЩИЕ СРЕДСТВА

    Бесплатный номер: 800-774-7900
    Электронная почта: [email protected]

    Моющие средства и моющие средства для деталей Renegade с 1996 года.

    Моечные машины для автоматических деталей | Системы мойки деталей

    Автоматизированные системы мойки деталей RAMCO автоматически подают корзины в и через погружную систему RAMCO. Автоматика предназначена для обработки нескольких корзин при синхронной передаче. Передаточный механизм состоит из запатентованного шарнирно-сочлененного узла балансира с пневматическим приводом и пневматическим управлением. Рычаги перемещаются влево и вправо на линейных подшипниках Thomson по валам из закаленной стали и поворачиваются на девяносто градусов в начале и в конце каждого цикла. Шарнирная балансирная балка в сборе имеет несколько рычагов переключения, соответствующих количеству рабочих станций. Передача точная и плавная.

    Автоматизация управляется ПЛК и расположена на пульте оператора, установленном на постаменте, удобно расположенном для простоты эксплуатации. Элементы управления включают секции запуска и отладки, выбор ручного и автоматического режима, режим прерывания и аварийный останов.

    Нажмите здесь, чтобы посмотреть фильм об автоматизации

    RamTough Automation

    RamTough Automation — первая система для модернизации погружных моечных машин. Эта запатентованная система позволяет впоследствии модернизировать ручную линию до полной автоматизации без какой-либо модификации базовой линии резервуара. 9Кабельные розетки 0151 Automation Ready установлены на панелях управления. Внутри все функции передачи подключены к разъемам для кабеля. Если вы хотите автоматизировать узел шарнирного шагающего рычага, он крепится болтами и подключаются ответные кабельные разъемы. Все передаточные функции теперь контролируются ПЛК автоматизации. Это так просто! Automation Ready — это самый безопасный и экономичный способ инвестировать в систему. Это дает вам гибкость в настройке и настройке вашей работы, прежде чем привязываться к автоматизации.

    На приведенных ниже фотографиях показана система погружной мойки RAMCO с тремя баками емкостью 1000 фунтов, состоящая из станций мойки, ополаскивания и защиты от ржавчины. Резервуары смонтированы на сборном двутавровом основании. Для облегчения перемещения между станциями добавлены роликовые конвейерные платформы и погрузочно-разгрузочные конвейеры. На следующем фото показан базовый узел шагающей балки, установленный на баках. На последнем фото показана завершенная система с установленными защитными и передающими рычагами, корзиной и постаментом дистанционного управления операторами (сзади в дальнем конце).

    RamNet Automation

    RamNet — это обновление RamTough, использующее сеть микропроцессоров Ethernet. На каждом этапе установлен собственный микропроцессор, который подключен ко всем локальным устройствам для включения питания и запуска этого этапа. Микропроцессор управляет синхронизацией, последовательностью и всеми соленоидами, относящимися к крышкам, подъемникам, насосам, ультразвуковым генераторам и включению/выключению нагрева (температуру можно контролировать локально с помощью цифровых терморегуляторов или через ПЛК). Каждый микропроцессор подключен к соседней электрической коробке на соседней ступени. Таким образом, вся система, все этапы последовательно соединены друг с другом. Главный ЦП расположен на станции управления оператора. Все микропроцессоры связаны с ЦП для координации, очень похожей на то, как работает человеческое тело (то есть центральная нервная система, контролируемая мозгом). Сенсорный экран, главный выключатель и ЦП с обновляемым чипом находятся на пульте оператора.

    Преимущества RamNet быстро реализуются:

    • Благодаря использованию компьютерных технологий возможности программирования и общая гибкость системы практически безграничны.
    • Работа, последовательность и интеграция каждой ступени управляются независимо от центрального процессора. Последовательно активируются только те этапы, которые обрабатываются.
    • Стандартный тип
    • : несколько корзин можно поставить рядом друг с другом.

    • Отсутствие множества таймеров, счетчиков, реле, кабелей, разъемов, переключателей, сигнальных ламп, разъединителей и связанной с ними внутренней проводки делает систему более компактной и чистой.

    Максимальное содержание углерода в аустените составляет: АУСТЕНИТ | Энциклопедия Кругосвет

    АУСТЕНИТ | Энциклопедия Кругосвет

    АУСТЕНИТ – структурная составляющая углеродистых и легированных сталей и чугунов, возникающая при термической обработке сплавов в соответствии с диаграммой состояния железо-углерод, в углеродистых сталях в равновесном состоянии аустенит существует только при высоких температурах, начиная с 723° С. Область существования аустенита на диаграмме состояния железо – углерод имеет сложную форму. Для чистого железа область существования аустенита соответствует интервалу температур от 910° С (температура аллотропического превращения a-железа в g-железо) до 1400° С (температура аллотропического превращения g-железа в d-железо). По мере увеличения содержания углерода температура превращения (начала образования аустенита) снижается и достигает минимума (723° С) при концентрации углерода 0,8%. Максимальное содержание углерода в аустените составляет 1,7% и соответствует температуре 1130° С. Металлографическое исследование при высоких температурах показывает, что аустенит имеет форму полиэдрических зерен, размеры которых увеличиваются в процессе выдержки при высоких температурах.

    При понижении температуры аустенит распадается на феррит и цементит (Fe3C) и возникает пластинчатая структура перлита, которая на металлографическом шлифе (сечении) имеет вид полосчатой структуры из полосок феррита и цементита.

    Легирование стали различными элементами влияет на область существования аустенита на диаграмме состояния. Эта область может почти полностью исчезать (ферритные стали), но аустенит может и не распадаться при охлаждении и сохраняться при комнатной или более низких температурах (аустенитные стали). При быстром охлаждении (закалке) в углеродистых сталях, содержащих более 0,3% углерода, аустенит переходит в мартенсит с повышенными механическими характеристиками. Однако при дальнейшем увеличении содержания углерода это превращение происходит не во всем объеме и, например, закаленная сталь, содержащая 0,9–1% углерода, наряду с мартенситом, содержит остаточный аустенит.

    Рентгеноструктурным методом установлено, что аустенит является твердым раствором. В углеродистых сталях это твердый раствор внедрения, в котором атомы углерода входят внутрь элементарной ячейки g-железа. В сталях, содержащих другие металлы (кроме железа, легированные стали), атомы металлов замещают атомы железа в кристаллической решетке и возникает твердый раствор замещения.

    Аустенит имеет гранецентрированную кубическую структуру, т.е. в элементарной кубической ячейке атомы железа расположены в вершинах и центрах граней. Легированные аустенитные стали имеют повышенную прочность и химическую стойкость при высоких температурах по сравнению с обычными углеродистыми сталями. Эти стали не удается упрочнить термической обработкой, т.к. у них при охлаждении нет фазовых превращений.

    В последние годы показано, что можно упрочить эти стали путем обработки ударными волнами (взрывом). Так, например, износостойкость аустенитной стали, используемой для изготовления стрелочных переводов на железнодорожных рельсах, после обработки взрывом существенно возрастает.

    Лев Миркин

    Проверь себя!
    Ответь на вопросы викторины «Неизвестные подробности»

    Какой музыкальный инструмент не может звучать в закрытом помещении?

    Пройти тест

    Диаграмма состояния железоуглеродистых сплавов — Студопедия

    Поделись с друзьями: 

    СПЛАВЫ ЖЕЛЕЗА С УГЛЕРОДОМ

    Диаграмма состояния железоуглеродистых сплавов дает представ­ление о строении основных конструкционных сплавов — сталей и чугунов.

    Компоненты, фазы и структурные составляющие сплавов же­леза с углеродом. Железо — пластичный металл серебристо-белого цвета с невысокой твердостью (НВ 80). Температура плавления — 1539 °С, плотность 7,83 г/см3. Имеет полиморфные модификации (см. раздел 2.1.). С углеродом железо образует химическое соединение и твердые растворы.

    Цементит — это химическое соединение железа с углеродом (карбид железа) Fe 3С. В нем содержится 6,67 % углерода (по массе). Имеет сложную ромбическую кристаллическую решетку. Характе­ризуется очень высокой твердостью (НВ 800), крайне низкой плас­тичностью и хрупкостью.

    Ферритом называется твердый раствор углерода к α- железе. Со­держание углерода в феррите очень невелико — максимальное 0,02% при температуре 727 °С. Благодаря столь малому содержанию угле­рода свойства феррита совпадают со свойствами железа (низкая твер­дость и высокая пластичность). Твердый раствор углерода в высоко­температурной модификации Fe α (т. е. в Fe δ) часто называют δ- ферритом или высокотемпературным ферритом.

    Аустенит — это твердый раствор углерода в γ- железе. Макси­мальное содержание углерода в аустените составляет 2,14 % (при температуре 1147 °С). Имеет твердость НВ 220.

    Перлит — это механическая смесь феррита с цементитом. Со­держит 0,8% углерода, образуется из аустенита при температуре 727°С. Имеет пластинчатое строение, т.е. его зерна состоят из чередующих­ся пластинок феррита и цементита. Перлит является эвтектоидом. Эвтектоид— это механическая смесь двух фаз, образующаяся из твердого раствора (а не из жидкого сплава, как эвтектика).

    Ледебурит представляет собой эвтектическую смесь аустенита с цементитом. Содержит 4,3 % углерода, образуется из жидкого сплава при температуре 1147 °С. При температуре 727 °С аустенит, входя­щий в состав ледебурита превращается в перлит и ниже этой темпе­ратуры ледебурит представляет собой механическую смесь перлита с цементитом.

    Фаза цементита имеет пять структурных форм: цементит пер­вичный, образующийся из жидкого сплава; цементит вторичный, образующийся из аустенита; цементит третичный, образующийся из феррита; цементит ледебурита; цементит перлита.

    Диаграмма Fе-Fе3С. На рис. 13 приведена диаграмма состояния сплавов железа с цементитом. На горизонтальной оси концентраций отложено содержание углерода от 0 до 6,67 %. Левая вертикальная ось соответствует 100 % содержанию железа. На ней отложены темпера­тура плавления железа и температуры его полиморфных превраще­ний. Правая вертикальная ось (6,67 % углерода) соответствует 100 % содержанию цементита. Буквенное обозначение точек диаграммы при­нято согласно международному стандарту и изменению не подлежит.

    Линия АВСД диаграммы является линией ликвидус. На ней на­чинается кристаллизация: на участке АВ — феррита, ВС — аустенита и СД — первичного цементита. Линия AHJECF является лини­ей солидус диаграммы.

    Железоуглеродистые сплавы в зависимости от содержания угле­рода делятся на техническое железо (до 0,02 % С), сталь (от 0,02 до 2,14 % С) и чугун (от 2,14 до 6,67 % С). Сталь, содержащая до 0,8 % С называется доэвтектоидной, 0,8 % С — эвтектоидной и свыше 0,8 % С — заэвтектоидной. Чугун, содержащий от 2,14 до 4,3 % С называется доэвтектическнм, ровно 4,3% — эвтектическим и от 4,3 до 6,67 % С — заэвтектическим.

    Структура технического железа представляет собой зерна фер­рита или феррит с небольшим количеством третичного цементита. Обязательной структурной составляющей стали является перлит. Структура доэвтектоидной стали, состоит из равномерно распреде­ленных зерен феррита и перлита. Эвтектоидная сталь состоит толь­ко из перлита. Структура заэвтектоидной стали представляет собой зерна перлита, окруженные сплошной или прерывистой сеткой вто­ричного цементита. Дня чугуна характерно наличие ледебурита в структуре. Структура доэвтектического чугуна состоит из перлита, вторичного цементита и ледебурита, эвтектического — из ледебури­та и заэвтектического — из ледебурита и первичного цементита.

    Значение диаграммы железо — цементит состоит в том, что она позволяет объяснить зависимость структуры и, соответственно, свойств сталей и чугунов от содержания углерода и определить ре­жимы термической обработки для изменения свойств сталей.


    Понравилась статья? Добавь ее в закладку (CTRL+D) и не забудь поделиться с друзьями:  


    

    Углерод

    , LIBS и разница между сталями L+H

    В этой статье мы обсудим анализ углерода в трех из четырех основных типов стальных сплавов; углеродистая сталь, низколегированная сталь, нержавеющая сталь – , но не инструментальная сталь в настоящее время.

    Углеродистая сталь представляет собой сплав железа и углерода. Низколегированная сталь включает углерод и небольшие добавки других легирующих элементов, таких как хром, марганец, молибден и т. д., до максимального общего содержания легирующих добавок 5%. Нержавеющая сталь включает углерод и более высокие количества ключевых элементов, таких как хром, никель и молибден, с широким диапазоном концентраций.

    Всемирная ассоциация производителей стали утверждает, что существует более 3500 различных марок стали. На рынке представлены сотни различных марок нержавеющей стали. Каждый из этих уникальных составов нержавеющей стали обеспечивает некоторую степень коррозионной стойкости выше и выше, чем у простой углеродистой стали и низколегированной стали.

    Углерод является ключевым элементом во всех этих трех типах стали. Он добавляется на различных уровнях от 0,005% до 1,2% в зависимости от качества, необходимого для конкретных целей и приложений. В углеродистых сталях углерод обычно является единственной добавкой, в то время как в низколегированные и нержавеющие стали добавляются другие элементы в различных концентрациях для придания различных свойств, необходимых для предполагаемого использования.

    Некоторые из качеств, которые придает углерод, в зависимости от добавленного количества: степень свариваемости, твердость, коррозионная стойкость, прочность на разрыв, пластичность и многие другие физические свойства в зависимости от комбинации других элементов. Отсутствие правильного уровня углерода может привести к ползучести сплава и разрушению под напряжением, разрушению сварного шва, межкристаллитной коррозии и водородному растрескиванию под напряжением. Углерод действует как упрочняющий агент, препятствуя скольжению дислокаций в кристаллической решетке атома железа относительно друг друга. Хотя увеличение содержания углерода улучшает твердость, оно также увеличивает хрупкость и снижает свариваемость (выше 0,25% C). Когда содержание углерода увеличивается, предел текучести и предел прочности при растяжении увеличиваются, но пластичность/пластичность снижается. Высокое содержание углерода также снижает стойкость стали к воздушной коррозии; в полевых условиях может возникнуть ржавчина.

    При сварке расчеты углеродного эквивалента (CE) используются для прогнозирования зоны термического влияния (HAZ). Понимая любые различия в химии с помощью расчета углеродного эквивалента, можно определить, совместимы ли свойства двух материалов, соединяемых вместе с помощью компонента металлического наполнителя, для процесса. Если компоненты слишком разнородны или если углеродный эквивалент (CE) приближается к более высокому нежелательному значению, то могут потребоваться специальные меры предосторожности до и во время сварки, такие как предписанная термообработка, использование электродов с низким содержанием водорода, контроль подводимого тепла. Многие из этих руководств опубликованы в стандартах NACE (ранее Национальной ассоциации инженеров-коррозионистов) NACE MR0175/ISO 15156 и NACE MR0103/ISO 179.45 предназначен для морских, нефтехимических и газовых применений, где углеродистые стали в присутствии сероводорода (h3S, сероводород) подвержены сульфидному растрескиванию под напряжением (SSC) или водородному растрескиванию под напряжением (HSC).

    Разница между нержавеющими сталями L+H

    На рынке представлены сотни различных марок нержавеющей стали. Каждый из этих уникальных составов нержавеющей стали обеспечивает некоторую степень коррозионной стойкости выше и выше, чем у обычной стали.

    Серия 300 аустенитных нержавеющих сталей наиболее подходит для критически важных промышленных применений, требующих высокой коррозионной стойкости этой категории нержавеющих сталей. Эта серия представляет собой сплав на основе железа с низким содержанием углерода, который обязан своей высокой коррозионной стойкостью хрому. Базовая структура аустенитной нержавеющей стали серии 300 состоит из 18% хрома, 8% никелевого сплава и 0,10% углерода; она широко известна как сталь 18/8.

    Обозначение серии 300 включает множество различных составов легированной стали (303, 304, 305, 316, 321, 347 и т. д.), но общим для них является то, что содержание углерода обычно не превышает 0,08%. Наиболее распространенными сериями 300, используемыми сегодня, являются марки 304 и 316, характеризующиеся базовым химическим составом 18-8 Cr-Ni, марка 304, но с добавлением немного большего количества Ni и Mo для повышения до марки 316.

    Коррозионная стойкость аустенитной нержавеющей стали обеспечивается защитным слоем оксида хрома, образующимся на поверхности металла. Если материал нагревают до температуры от 450°С до 900°С, структура материала изменяется и по краям кристалла образуется карбид хрома. Таким образом, на краю кристалла не может образоваться защитный слой оксида хрома, что приводит к снижению коррозионной стойкости. Этот тип коррозии называется «межкристаллитной коррозией».

    Низкоуглеродистая нержавеющая сталь серии 300 или «класс L », например, 304 L , 316 L , были разработаны для борьбы с этой коррозией. Поскольку содержание углерода уменьшается, карбид хрома не образуется и не возникает межкристаллитная коррозия. Таким образом, низкоуглеродистая нержавеющая сталь обладает доказанной устойчивостью к большинству агрессивных химических соединений и используется, когда применение требует максимального уровня устойчивости к коррозии и загрязнению.

    В нержавеющей стали марки 304 максимальное содержание углерода установлено на уровне 0,08%, тогда как в нержавеющей стали марки 304L максимальное содержание углерода составляет 0,03%. Марки «L» используются для обеспечения дополнительной коррозионной стойкости после сварки. Сорта с высоким содержанием углерода или «H» используются для более высокой прочности. Нержавеющие стали класса L обычно используются для деталей, которые нельзя отжигать после изготовления с помощью сварки. Низкое содержание углерода сводит к минимуму сенсибилизацию или истощение хрома на границах зерен материала, что в противном случае снизило бы его коррозионную стойкость.

    Марка 304L имеет небольшое, но заметное снижение основных механических характеристик по сравнению с нержавеющей сталью марки 304. Это означает, что если у вас есть две детали из нержавеющей стали, и обе детали имеют одинаковый дизайн, толщину и конструкцию, деталь изготовленный из 304L будет конструктивно слабее, чем стандартная деталь 304.

    Итак, если 304L слабее стандартной нержавеющей стали 304, зачем кому-то ее использовать? Ответ заключается в том, что более низкое содержание углерода в сплаве 304L помогает свести к минимуму/устранить выделение карбида в процессе сварки. Это позволяет использовать нержавеющую сталь 304L в состоянии «после сварки» даже в агрессивных средах. Если бы стандартная нержавеющая сталь 304 использовалась таким же образом, она разлагалась бы намного быстрее в сварных швах, чем 304L. Использование 304L устраняет необходимость отжига сварных швов перед использованием готовой металлической формы, что экономит время, усилия и деньги. Когда требуется более высокая коррозионная стойкость, в качестве альтернативы обычно рассматриваются другие сплавы, такие как нержавеющая сталь марки 316.

    Как проводить полевые проверки

    Как можно понять из вышеизложенного, углерод является важным элементом для проверки. Таким образом, определение содержания углерода необходимо для всестороннего анализа содержания и для обеспечения безопасной эксплуатации в течение длительного времени. Таким образом, потребность в методах и стратегиях контроля и проверки содержания углерода, наряду с другими характерными легирующими элементами, становится первостепенной задачей во всех случаях, когда используется сталь или нержавеющая сталь.

    Последствия использования неподходящей марки стали для предполагаемого применения могут быть любыми: от первоначального отказа покупателя до полной непригодности для применения и в худшем случае: преждевременного выхода из строя критически важного для жизни или смерти компонента. Многие примеры таких несчастных случаев со смертельным исходом были задокументированы и получили широкую огласку в химической и нефтехимической промышленности. Еще одна серьезная проблема для инженера, выбравшего марку L, заключается в том, что большая часть металлических или сборных деталей серии 300, закупаемых в наши дни, имеет двойную сертификацию, например, 316/316L или 304/304L. Таким образом, между утерянными или неправильными MTR (отчетами об испытаниях материалов) и двойными сертификатами тем более важно иметь быстрый и удобный способ определить фактическое содержание углерода, прежде чем принимать или устанавливать неправильный сорт, который не выдержит предполагаемого применения!

    Многие подходы к этой потребности в тестировании углерода и других ключевых элементов использовались на протяжении многих лет, включая лабораторные химические и аналитические методы, мобильную OES (оптическую эмиссионную спектроскопию) в сильном поле, переносные «портативные» OES, вездесущий портативный XRF. (Рентгеновская флуоресцентная) спектроскопия и совсем недавно портативная LIBS (спектроскопия лазерного пробоя). Многие компании делают очень хороший бизнес, предоставляя услуги аналитического тестирования в полевых условиях, используя три основные технологии аналитического тестирования: OES, XRF и LIBS. Хотя XRF в форме ручного пистолета является самой быстрой и удобной из трех технологий, у него есть недостаток, заключающийся в том, что он не может измерять углерод. Пока недавно не появился новый портативный LIBS, для тестирования углерода в полевых условиях требовались анализаторы OES, которые удваивали или более инвестиции в приборы, добавляя громоздкие размеры, большой вес и строгие аналитические навыки для работы. Все изменилось с появлением портативных анализаторов LIBS, которые измеряют как углерод, так и другие ключевые легирующие элементы в сталях.

    Ручной LIBS: решение в любое время и в любом месте

    Благодаря недавнему внедрению миниатюрных мощных лазеров у нас появилась возможность перевести LIBS из «только лабораторного» метода в полевой. Это открыло двери для быстрого и удобного аналитического определения углерода в сталях в полевых условиях. Теперь, когда часто используется только один анализатор вместо двух, большинство испытаний и проверок стали можно проводить на месте быстро и эффективно. Портативный анализатор LIBS является новейшим и наиболее передовым примером этого новаторского, революционного метода испытаний сплавов на месте и на месте. По мере того, как эти портативные анализаторы LIBS станут более широко использоваться, они изменят то, как люди работают, и способ проведения анализа сплавов на промышленных предприятиях.

    • Узнайте больше о технологии LIBS; загрузите электронную книгу:  Технология LIBS для неспециалистов

    Дополнительные ресурсы:

    • Загрузите нашу бесплатную электронную книгу: Практическое руководство по улучшению процессов и методов производства стали
    • Посетите наш центр совершенствования процессов и производства стали

     

    Влияние углерода на развитие микроструктуры и твердость Fe–13Cr–xC (x = 0–0,7 мас.

    %) Нержавеющая сталь

    1. Дюран-Шарр М. Микроструктура сталей и чугунов. Спрингер; Берлин, Германия: 2004. [Google Scholar]

    2. Дэвис Дж. Р. Нержавеющая сталь. 2-е изд. АСМ Интернэшнл; Materials Park, OH, USA: 1996. [Google Scholar]

    3. Ahmad Z. Principles of Corrosion Engineering and Corrosion Control. 1-е изд. Баттерворт-Хайнеманн; Oxford, UK: 2006. [Google Scholar]

    4. Hougardy H.P., Yamazaki K. Усовершенствованный расчет превращения сталей. Сталь Рез. 1986;57:466–471. doi: 10.1002/srin.198600805. [CrossRef] [Google Scholar]

    5. Цучияма Т., Тобата Дж., Тао Т., Накада Н., Такаки С. Закалка и разделение низкоуглеродистой мартенситной нержавеющей стали. Матер. науч. англ. А. 2012; 532: 585–592. doi: 10.1016/j.msea.2011.10.125. [CrossRef] [Google Scholar]

    6. Харварт М., Чен Г., Рахими Р., Бирманн Х., Заргаран А., Даффи М., Зупан М., Мола Дж. Легкие нержавеющие стали, легированные алюминием, упрочненные B2-(Ni,Fe)Al выпадает в осадок. Матер. Дес. 2021;206:109813. doi: 10.1016/j.matdes.2021.109813. [CrossRef] [Google Scholar]

    7. Akhiate A., Braud E., Thibault D., Brochu M. Влияние содержания углерода и термической обработки на микроструктуру и механические свойства мартенситной нержавеющей стали 13%Cr-4%Ni. В: Дэвис Б., редактор. Материалы COM 2014, 53-я ежегодная конференция металлургов; Ванкувер, Британская Колумбия, Канада. 28 сентября – 1 октября 2014 г.; Вестмаунт, Квебек, Канада: Канадский институт горной металлургии и нефти; 2014. [Google Академия]

    8. Shen Y.F., Dong X.X., Song X.T., Jia N. Мартенситное превращение в зависимости от содержания углерода в низколегированных TRIP-сталях. науч. Отчет 2019; 9:7559. doi: 10.1038/s41598-019-44105-6. [PMC free article] [PubMed] [CrossRef] [Google Scholar]

    9. Суутала Н. Влияние условий затвердевания на режим затвердевания аустенитных нержавеющих сталей. Металл. Транс. А. 1983; 14: 191–197. doi: 10.1007/BF02651615. [CrossRef] [Google Scholar]

    10. Ахаван Табатабае Б., Ашрафизаде Ф., Хасанлы А.М. Влияние остаточного аустенита на механические свойства отливок из низкоуглеродистой мартенситной нержавеющей стали. ISIJ Междунар. 2011;51:471–475. doi: 10.2355/isijinternational.51.471. [Перекрестная ссылка] [Академия Google]

    11. Амуда М., Акинлаби Э.Т., Мридха С. Справочный модуль по материаловедению и материаловедению. Эльзевир; Амстердам, Нидерланды: 2016. Ферритные нержавеющие стали: металлургия, применение и свариваемость. [Google Scholar]

    12. Liu J.H., Binot N., Delagnes D., Jahazi M. Влияние скорости охлаждения ниже Ms на мартенситное превращение в низколегированной среднеуглеродистой стали. Дж. Матер. Рез. Технол. 2021; 12: 234–242. doi: 10.1016/j.jmrt.2021.02.075. [Перекрестная ссылка] [Академия Google]

    13. Сео Э.Дж., Чо Л., Эстрин Ю., Де Куман Б.К. Взаимосвязь между микроструктурой и механическими свойствами для закалки и разделения (Q&P) обработанной стали. Acta Mater. 2016; 113:124–139. doi: 10.1016/j. actamat.2016.04.048. [CrossRef] [Google Scholar]

    14. Пардал Дж. М., Таварес С. С. М., Таварес М. Т., Гарсия П. С. П., Веласко Дж. А. К., Абреу Х. Ф. Г., Пардал Дж. П. Влияние содержания углерода на мартенситное превращение аустенитных нержавеющих сталей, стабилизированных титаном. Междунар. Дж. Адв. Произв. Технол. 2020; 108: 345–356. doi: 10.1007/s00170-020-05138-8. [Перекрестная ссылка] [Академия Google]

    15. Вендлер М., Вайс А., Крюгер Л., Мола Дж., Франке А., Ковалев А., Вольф С. Влияние марганца на микроструктуру и механические свойства литых высоколегированных CrMnNi-N сталей. Доп. англ. Матер. 2013; 15: 558–565. doi: 10.1002/адем.201200318. [CrossRef] [Google Scholar]

    16. Бернс Х., Гаврилюк В., Шанина Б. Интенсивное междоузельное упрочнение нержавеющих сталей. Доп. англ. Матер. 2008;10:1083–1093. doi: 10.1002/адем.200800214. [CrossRef] [Google Scholar]

    17. Бернс Х., Набиран Н., Мухика Л. Отливки из аустенитной нержавеющей стали с высоким содержанием пор. Сталь Рез. Междунар. 2013;84:119–128. doi: 10.1002/srin.201100332. [CrossRef] [Google Scholar]

    18. Lee T.-H., Ha H.-Y., Hwang B., Kim S.-J., Shin E. Влияние доли углерода на энергию дефекта упаковки аустенитной нержавеющей стали. Стали. Металл. Матер. Транс. А. 2012;43:4455–4459. doi: 10.1007/s11661-012-1423-y. [CrossRef] [Google Scholar]

    19. Брофман П.Дж., Анселл Г.С. О влиянии углерода на энергию дефекта упаковки аустенитных нержавеющих сталей. Металл. Транс. А. 1978; 9: 879–880. дои: 10.1007/BF02649799. [CrossRef] [Google Scholar]

    20. Мола Дж., Луан Г., Хуанг К., Ульрих К., Волкова О., Эстрин Ю. Механизмы динамического деформационного старения в метастабильной аустенитной нержавеющей стали. Acta Mater. 2021;212:116888. doi: 10.1016/j.actamat.2021.116888. [CrossRef] [Google Scholar]

    21. Chen G., Rahimi R., Xu G., Biermann H., Mola J. Влияние добавки Al на деформационное поведение аустенитной нержавеющей стали Fe–Cr–Ni–Mn–C. . Матер. науч. англ. А. 2020; 797:140084. doi: 10.1016/j.msea.2020.140084. [Перекрестная ссылка] [Академия Google]

    22. Огава Т., Кояма М., Тасан С.С., Цузаки К., Ногучи Х. Влияние мартенситной трансформируемости и упрочняемости при динамическом старении на пластичность метастабильных аустенитных сталей, содержащих углерод. Дж. Матер. науч. 2017; 52:7868–7882. doi: 10.1007/s10853-017-1052-3. [CrossRef] [Google Scholar]

    23. Talonen J., Nenonen P., Hänninen H. Статическое деформационное старение холоднодеформированной аустенитной нержавеющей стали. В: Акдут Н., Куман Б.С., де Фок Дж., редакторы. Материалы 7-й Международной конференции по высокоазотистым сталям 2004 г., HNS 2004; Остенде, Бельгия. 19–22 сентября 2004 г.; Бад-Гарцбург, Германия: GRIPS Media; 2004. [Google Scholar]

    24. Хван А.В., Халльштедт Б., Брокманн К. Термодинамическая оценка системы Fe–Cr–C. Кальфад. 2014;46:24–33. doi: 10.1016/j.calphad.2014.01.002. [CrossRef] [Google Scholar]

    25. Kong L., Liu Y., Liu J., Song Y., Li S., Zhang R. , Li T., Liang Y. Влияние хрома на перлит- кинетика превращения аустенита в тройных сталях Fe–Cr–C. Дж. Эллой. комп. 2015; 648: 494–499. doi: 10.1016/j.jallcom.2015.06.259. [CrossRef] [Google Scholar]

    26. Wieczerzak K., Bala P., Dziurka R., Tokarski T., Cios G., Koziel T., Gondek L. Влияние температуры на эволюцию эвтектических карбидов и M Реакция карбидов 7 C 3 → M 23 C 6 в быстрозатвердевшем сплаве Fe-Cr-C. Дж. Эллой. комп. 2017; 698: 673–684. doi: 10.1016/j.jallcom.2016.12.252. [CrossRef] [Google Scholar]

    27. Liu W., Chen C., Tang Y., Long Q., Wei S., Zhang G., Mao F., Jiang Q., Zhang T., Liu M. Термодинамическая оценка и исследование микроструктуры затвердевания в системе Fe–Cr–Ni–C. Кальфад. 2020;69:101763. doi: 10.1016/j.calphad.2020.101763. [CrossRef] [Google Scholar]

    28. Zhao Y., Liu W., Fan Y., Zhang T., Dong B., Chen L., Wang Y. Влияние микроструктуры на коррозионное поведение мартенситной нержавеющей стали супер 13Cr. сталь под термической обработкой. Матер. Характер. 2021;175:111066. doi: 10.1016/j.matchar.2021.111066. [CrossRef] [Google Scholar]

    29. Шахриари А., Гаффари М., Хаксар Л., Насири А., Хададзаде А., Амирхиз Б.С., Мохаммади М. Коррозионная стойкость мартенситных нержавеющих сталей с содержанием 13% хрома: аддитивное производство CX по сравнению с кованым Ni-содержащим AISI 420. Коррозия. науч. 2021;184:109362. doi: 10.1016/j.corsci.2021.109362. [CrossRef] [Google Scholar]

    30. Schneider R., Perko J., Reithofer G. Термическая обработка коррозионностойких инструментальных сталей для литья пластмасс. Матер. Произв. Процесс. 2009; 24: 903–908. doi: 10.1080/10426910902941553. [CrossRef] [Google Scholar]

    31. Терри Дж. К. Материалы и дизайн бритв Gillette. Матер. Дес. 1991; 12: 277–281. doi: 10.1016/0261-3069(91)

    -R. [CrossRef] [Google Scholar]

    32. Li J., He T., Zhang P., Cheng L., Wang L. Влияние крупных карбидов на анизотропию механических свойств в мартенситной плавке 11Cr-3Co-3W -стойкая сталь для высокотемпературных лопаток турбин ультрасверхкритических электростанций. Матер. Характер. 2020;159:110025. doi: 10.1016/j.matchar.2019.110025. [CrossRef] [Google Scholar]

    33. Sá de Sousa J.M., Lobato M.Q., Garcia D.N., Machado P.C. Износостойкость покрытия Fe–Cr–C, нанесенного методом сварки FCAW. Носить. 2021;476:203688. doi: 10.1016/j.wear.2021.203688. [CrossRef] [Google Scholar]

    34. Барлоу Л.Д., Дю Туа М. Влияние аустенитизирующей термообработки на микроструктуру и твердость мартенситной нержавеющей стали AISI 420. J. Mater. англ. Выполнять. 2012;21:1327–1336. doi: 10.1007/s11665-011-0043-9. [CrossRef] [Google Scholar]

    35. Lei X., Feng Y., Zhang J., Fu A., Yin C., Macdonald D.D. Влияние обращенного аустенита на характеристики точечной коррозии мартенситной нержавеющей стали Super 13Cr. Электрохим. Акта. 2016;191:640–650. doi: 10.1016/j.electacta.2016.01.094. [CrossRef] [Google Scholar]

    36. Вендлер М., Хаузер М., Фабричная О., Крюгер Л., Вайс А., Мола Дж. Термическое и деформационное фазовое превращение Fe–15Cr–3Mn–3Ni –0,1N–(0,05–0,25)C аустенитные и аустенитно-мартенситные литые нержавеющие стали. Матер. науч. англ. А. 2015; 645: 28–39.. doi: 10.1016/j.msea.2015.07.084. [CrossRef] [Google Scholar]

    37. Ян Х.-С., Бхадешия Х.К.Д.Х. Неопределенности в дилатометрическом определении температуры начала мартенсита. Матер. науч. Технол. 2007; 23: 556–560. doi: 10.1179/174328407X176857. [CrossRef] [Google Scholar]

    38. García de Andrés C. Применение дилатометрического анализа к изучению фазовых превращений твердое тело-твердое в сталях. Матер. Характер. 2002;48:101–111. doi: 10.1016/S1044-5803(02)00259-0. [Перекрестная ссылка] [Академия Google]

    39. Bonyár A., ​​Renkó J., Kovács D., Szabó P.J. Понимание механизма цветного травления типа Beraha-I: определение зависящей от ориентации скорости травления, показателя преломления слоя и метод количественного определения угла между нормалью к поверхности направления 〈100〉, 〈111〉 для отдельных зерен. Матер. Характер. 2019;156:109844. doi: 10.1016/j.matchar.2019.109844. [CrossRef] [Google Scholar]

    40. Metallische Werkstoffe—Härteprüfung nach Vickers—Teil 1: Prüfverfahren. Бойт Ферлаг ГмбХ; Берлин, Германия: 2018 г. DIN EN ISO 6507-1:2018-07; Немецкий стандарт EN ISO 6507-1:2018. [Академия Google]

    41. Хуан К., Яо М., Тимохина И., Шимпф С., Бирманн Х., Волкова О., де Куман Б.С., Мола Дж. Реакции отпуска и перераспределение элементов при отпуске мартенситных нержавеющих сталей. Металл. Матер. Транс. А. 2019;50:3663–3673. doi: 10.1007/s11661-019-05272-3. [CrossRef] [Google Scholar]

    42. Хуанг К., Волкова О., Бирманн Х., Мола Дж. Дилатометрический анализ растворения карбидов с высоким содержанием хрома в мартенситных нержавеющих сталях. Металл. Матер. Транс. А. 2017; 48:5771–5777. doi: 10.1007/s11661-017-4377-2. [Перекрестная ссылка] [Академия Google]

    43. Суутала Н., Такало Т., Моисио Т. Однофазный ферритный режим затвердевания в сварных швах аустенитно-ферритной нержавеющей стали. Металл. Транс. А. 1979; 10: 1183–1190. doi: 10.1007/BF02811664. [CrossRef] [Google Scholar]

    44. Суутала Н., Такало Т., Моисио Т. Ферритно-аустенитный режим затвердевания в сварных швах аустенитной нержавеющей стали. Металл. Транс. А. 1980; 11: 717–725. doi: 10.1007/BF02661201. [CrossRef] [Google Scholar]

    45. Бхадешиа Х., Хаником Р. Стали: микроструктура и свойства. Баттерворт-Хайнеманн; Берлингтон, Массачусетс, США: 2017. [Google Scholar]

    46. Presoly P., Pierer R., Bernhard C. Объединение измерений HT-LSCM и DSC для характеристики фазовых диаграмм сталей. ИОП конф. сер. Матер. науч. англ. 2012;33:12064. doi: 10.1088/1757-899X/33/1/012064. [CrossRef] [Google Scholar]

    47. Chapman L., Day A., Quested P.N. Эталонные материалы для калибровки температур в приборах ДТА/ДСК. Национальная физическая лаборатория; Лондон, Великобритания: 1999. Отчет о NPL CMMT(A)157. [Google Scholar]

    48. Гулливер Г. Количественное влияние быстрого охлаждения на состав бинарного сплава. Дж. Инст. Встретил. 1913;9:120–157. [Google Scholar]

    49. Scheil E. Bemerkungen zur Schichtkristallbildung. З. Металлкд. 1942; 34: 70–72. [Google Scholar]

    50. Кожешник Е. Модель Шейла-Гулливера с обратной диффузией применительно к микросегрегации хрома в сплавах Fe-Cr-C. Металл. Матер. Транс. А. 2000; 31:1682–1684. doi: 10.1007/s11661-000-0179-y. [CrossRef] [Google Scholar]

    51. Като Т., Джонс Х., Кирквуд Д.Х. Сегрегация и образование эвтектики при затвердевании стали Fe-1C-1 5-Cr. Матер. науч. Технол. 2003;19: 1070–1076. doi: 10.1179/026708303225004639. [CrossRef] [Google Scholar]

    52. Масуми Ф., Джахази М., Шахриари Д., Кормье Дж. Огрубление и растворение γ’-преципитатов во время обработки раствором суперсплава на основе никеля AD730™: механизмы и кинетические модели. Дж. Эллой. комп. 2016; 658: 981–995. doi: 10.1016/j.jallcom.2015.11.002. [CrossRef] [Google Scholar]

    53. Масуми Ф., Джахази М., Кормье Дж., Шахриари Д. Кинетика растворения и морфологические изменения γ’ в суперсплаве AD730 TM. Веб-конференция MATEC. 2014;14:13005. doi: 10.1051/matecconf/20141413005. [Перекрестная ссылка] [Академия Google]

    54. Масуми Ф., Шахриари Д., Джахази М., Кормье Дж., Дево А. Кинетика и механизмы повторного осаждения γ’ в суперсплаве на основе никеля. науч. Отчет 2016; 6: 28650. doi: 10.1038/srep28650. [Бесплатная статья PMC] [PubMed] [CrossRef] [Google Scholar]

    55. Юань Л., Понге Д., Виттиг Дж., Чой П., Хименес Дж.А., Раабе Д. Реверсия аустенита в наномасштабе посредством разделения, сегрегации и кинетики замораживание: Пример пластичной стали Fe–Cr–C 2 ГПа. Acta Mater. 2012;60:2790–2804. doi: 10.1016/j.actamat.2012.01.045. [Перекрестная ссылка] [Академия Google]

    56. Рахими Р., Волкова О., Бирманн Х., Мола Дж. Термический анализ образования и растворения карбидов с высоким содержанием хрома в нержавеющих сталях, легированных алюминием. Доп. англ. Матер. 2019;21:1800658. doi: 10.1002/адем.201800658. [CrossRef] [Google Scholar]

    57. Мола Дж., Луан Г., Хуанг К., Шимпф К., Рафаджа Д. Эволюция цементита в сталях со средним содержанием марганца, вызванная двойникованием, пластичность. Материалия. 2018;2:138–147. doi: 10.1016/j.mtla.2018.07.013. [CrossRef] [Google Scholar]

    58. Гарсия де Андрес С., Каруана Г. , Альварес Л. Контроль карбидов M23C6 в мартенситной нержавеющей стали 0,45C–13Cr с помощью трех репрезентативных параметров термообработки. Матер. науч. англ. А. 1998;241:211–215. doi: 10.1016/S0921-5093(97)00491-7. [CrossRef] [Google Scholar]

    59. Garcia C., Alvarez L.F., Carsi M. Влияние параметров термообработки на неравновесные превращения и свойства мартенситных нержавеющих сталей X45Cr13 и X60Cr14MoV. Сварка. Междунар. 1992; 6: 612–621. doi: 10.1080/09507119209548251. [CrossRef] [Google Scholar]

    60. Alvarez L.F., Garcia C. Etude des transforms au chauffage continu des aciers inoxidables martensitiques типов Cr13 и CrMoV14. Преподобный Мет. Париж. 1993;90:245–254. doi: 10.1051/металл/1993

    245. [CrossRef] [Google Scholar]

    61. Mola J., Ullrich C., Kuang B., Rahimi R., Huang Q., Rafaja D., Ritzenhoff R. Аустенитный Fe-15Cr-1Mo, не содержащий никеля и марганца. -0.4N-0.3C Сталь: Поведение при растяжении и деформационные процессы между 298 K и 503 K (25 °C и 230 °C) Metall. Матер. Транс. А. 2017;48:1033–1052. doi: 10.1007/s11661-017-3960-x. [CrossRef] [Google Scholar]

    62. Huang Q., Schröder C., Biermann H., Volkova O., Mola J. Влияние мартенситной фракции на свойства при растяжении закаленных и разделенных (Q&P) мартенситных нержавеющих сталей. Сталь Рез. Междунар. 2016; 87: 1082–1094. doi: 10.1002/srin.201500472. [CrossRef] [Google Scholar]

    63. Sourmail T., Garcia-Mateo C. Критическая оценка моделей для прогнозирования температуры Ms сталей. вычисл. Матер. науч. 2005; 34: 323–334. doi: 10.1016/j.commatsci.2005.01.002. [CrossRef] [Google Scholar]

    64. Эндрюс К.В. Эмпирические формулы для расчета некоторых температур превращения. J. Iron Steel Inst. 1965; 60: 721–727. [Google Scholar]

    65. Han Y., Li C., Ren J., Qiu C., Zhang Y., Wang J. Изменения сегрегации дендритов в процессе высокотемпературной гомогенизации литой стали h23. ISIJ Междунар. 2019;59:1893–1900. doi: 10.2355/isijinternational.ISIJINT-2019-148. [CrossRef] [Google Scholar]

    66. Суутала Н. Влияние марганца и азота на режим затвердевания сварных швов аустенитной нержавеющей стали. МЕТАЛЛ. ПЕР. А. 1982; 13:2121–2130. doi: 10.1007/BF02648382. [CrossRef] [Google Scholar]

    67. Хаузер М., Вендлер М., Гош Чоудхури С., Вайсс А., Мола Дж. Количественная оценка α’-мартенсита, вызванного деформацией, в Fe–19Cr–3Mn–4Ni–0,15C –0,15N аустенитной стали по магнитным измерениям на месте. Матер. науч. Технол. 2015; 31:1473–1478. дои: 10.1179/1743284714Y.0000000731. [CrossRef] [Google Scholar]

    68. Каллити Б.Д. Элементы рентгеновской дифракции. 2-е изд. Аддисон-Уэсли; Рединг, Массачусетс, США: 1978. [Google Scholar]

    69. Диксон М. Дж. Значение параметров текстуры в фазовом анализе с помощью рентгеновской дифракции. Дж. Заявл. Кристаллогр. 1969; 2: 176–180. doi: 10.1107/S00218898681. [CrossRef] [Google Scholar]

    70. Вилла М., Хансен М.Ф., Сомерс М. Образование мартенсита в сплавах Fe-C при криогенных температурах. Скр. Матер. 2017;141:129–132. doi: 10. 1016/j.scriptamat.2017.08.005. [CrossRef] [Google Scholar]

    71. Эузер В.К., Уильямсон Д.Л., Кларк А.Дж., Спир Дж.Г. Ограничение разложения остаточного аустенита в закаленных и отпущенных сталях: влияние быстрого отпуска и кремния. ISIJ Междунар. 2020;60:2990–3000. doi: 10.2355/isijinternational.ISIJINT-2020-263. [CrossRef] [Google Scholar]

    72. Хаузер М., Вендлер М., Фабричная О., Волкова О., Мола Дж. Аномальная стабилизация аустенитных нержавеющих сталей при криогенных температурах. Матер. науч. англ. А. 2016; 675: 415–420. doi: 10.1016/j.msea.2016.08.080. [Перекрестная ссылка] [Академия Google]

    73. Хаузер М., Вендлер М., Вайс А., Волкова О., Мола Дж. О критической движущей силе деформационного образования α’-мартенсита в аустенитных Cr–Mn–Ni сталях. Доп. англ. Матер. 2019;21:1800676. doi: 10.1002/адем.201800676. [CrossRef] [Google Scholar]

    74. Койстинен Д.П., Марбургер Р.Э. Общее уравнение, описывающее степень аустенитно-мартенситного превращения в чистых железоуглеродистых сплавах и простых углеродистых сталях. Акта Металл. 1959; 7: 59–60. дои: 10.1016/0001-6160(59)

    -1. [CrossRef] [Google Scholar]

    75. Huang Q., de Cooman B.C., Biermann H., Mola J. Влияние мартенситной фракции на стабилизацию аустенита в аустенитно-мартенситных нержавеющих сталях. Металл. Матер. Транс. А. 2016; 47:1947–1959. doi: 10.1007/s11661-016-3382-1. [CrossRef] [Google Scholar]

    76. Балби М., Альварес-Армас И., Армас А. Влияние времени выдержки при межкритической температуре на микроструктуру и свойства при растяжении двухфазной ферритно-мартенситной стали. Матер. науч. англ. А. 2018; 733:1–8. doi: 10.1016/j.msea.2018.07.029. [CrossRef] [Google Scholar]

    77. Speich G.R., Leslie W.C. Закалка стали. Металл. Транс. А. 1972; 3: 1043–1054. doi: 10.1007/BF02642436. [CrossRef] [Google Scholar]

    78. Chen P.C., Winchell P.G. Мартенситная решетка изменяется при отпуске. Металл. Транс. А. 1980; 11:1333–1339. doi: 10.1007/BF02653487. [CrossRef] [Google Scholar]

    79. Тейлор К.А., Коэн М. Старение железосодержащих мартенситов. прог. Матер. науч. 1992; 36: 151–272. doi: 10.1016/0079-6425(92)

    -5. [Перекрестная ссылка] [Академия Google]

    80. Робертс К.С. Влияние углерода на объемные доли и параметры решетки остаточного аустенита и мартенсита. Дж. Мет. 1953; 5: 203–204. doi: 10.1007/BF03397477. [CrossRef] [Google Scholar]

    81. Lu Y., Yu H., Sisson R.D. Влияние содержания углерода на отношение c/a мартенсита после закалки в сплавах Fe-C. Матер. науч. англ. А. 2017; 700: 592–597. doi: 10.1016/j.msea.2017.05.094. [CrossRef] [Google Scholar]

    82. Патерсон М.С. Рентгеновская дифракция на гранецентрированных кубических кристаллах с дефектами деформации. Дж. Заявл. физ. 1952;23:805–811. дои: 10.1063/1.1702312. [CrossRef] [Google Scholar]

    83. Лободюк В.А., Мешков Ю.Ю., Перелома Е.В. О тетрагональности мартенситной кристаллической решетки в сталях. Металл. Матер. Транс. А. 2019; 50:97–103. doi: 10.1007/s11661-018-4999-z. [CrossRef] [Google Scholar]

    84. Краусс Г. Мартенсит в стали: Прочность и структура. Матер. науч. англ. А. 1999; 273–275:40–57. doi: 10.1016/S0921-5093(99)00288-9. [CrossRef] [Google Scholar]

    85. Мола Дж., де Куман Б.К. Закалка и разделение (Q&P) Обработка мартенситных нержавеющих сталей. Металл. Матер. Транс. А. 2013;44:946–967. doi: 10.1007/s11661-012-1420-1. [CrossRef] [Google Scholar]

    86. Саид-Акбари А., Мозекер Л., Шведт А., Блек В. Характеристика и прогнозирование поведения потока в высокомарганцевых сталях, индуцированных двойникованием пластичности: Часть I. Карты механизмов и работа — Закаливающее поведение. Металл. Матер. Транс. А. 2012; 43:1688–1704. doi: 10.1007/s11661-011-0993-4. [CrossRef] [Google Scholar]

    87. Жак П.Дж., Деланне Ф., Ладриер Ж. О влиянии межфазных взаимодействий на механическую стабильность остаточного аустенита в многофазных сталях с пластичностью, вызванной превращением. Металл. Матер. Транс. А. 2001; 32:2759–2768. doi: 10.1007/s11661-001-1027-4. [CrossRef] [Google Scholar]

    88. Mola J. Соображения по проектированию формуемых аустенитных нержавеющих сталей на основе процессов, вызванных деформацией: 2.

    Габаритные размеры мерседес вито: высота, ширина и длина Mерседес-Бенц Vito Tourer, габаритные размеры и описание на сайте Autospot.ru

    Габаритные размеры автомобилей Mercedes-Benz Vito

    08.02.2018

    Автомобили Vito разных лет выпуска и модификаций имеют разную длину, ширину и высоту. Клиренс (дорожный просвет) автомобилей также отличается.

    Чтобы уточнить цены на Mercedes-Benz Вито разных модификаций у официального дилера «АвтоМАШ-МБ», звоните по телефону в Москве: +7 (495) 641-33-11.
















































































    Модификация автомобиляДлинаШиринаВысотаДорожный просвет

    Mercedes-Benz Vito I (W638) / 108 CDI 2.2d MT (82 л.с.) (1999)

    4660 мм

    1880 мм

    1840 мм

    160 мм

    Mercedes-Benz Vito I (W638) / 108 CDI 2.3d MT (79 л.с.) (1996)

    4660 мм

    1880 мм

    1840 мм

    160 мм

    Mercedes-Benz Vito I (W638) / 110 CDI 2. 2d AT (102 л.с.) (1999)

    4660 мм

    1880 мм

    1840 мм

    160 мм

    Mercedes-Benz Vito I (W638) / 110 CDI 2.2d MT (102 л.с.) (1999)

    4660 мм

    1880 мм

    1840 мм

    160 мм

    Mercedes-Benz Vito I (W638) / 110 CDI 2.3d AT (98 л.с.) (1996)

    4660 мм

    1880 мм

    1840 мм

    160 мм

    Mercedes-Benz Vito I (W638) / 110 CDI 2.3d MT (98 л.с.) (1996)

    4660 мм

    1880 мм

    1840 мм

    160 мм

    Mercedes-Benz Vito I (W638) / 112 CDI 2. 2d AT (122 л.с.) (1996)

    4660 мм

    1880 мм

    1840 мм

    160 мм

    Mercedes-Benz Vito I (W638) / 112 CDI 2.2d MT (122 л.с.) (1996)

    4660 мм

    1880 мм

    1840 мм

    160 мм

    Mercedes-Benz Vito I (W638) / 113 2.0 AT (129 л.с.) (1996)

    4660 мм

    1880 мм

    1840 мм

    160 мм

    Mercedes-Benz Vito I (W638) / 113 2.0 MT (129 л.с.) (1996)

    4660 мм

    1880 мм

    1840 мм

    160 мм

    Mercedes-Benz Vito I (W638) / 114 2. 3 AT (143 л.с.) (1996)

    4660 мм

    1880 мм

    1840 мм

    160 мм

    Mercedes-Benz Vito I (W638) / 114 2.3 MT (143 л.с.) (1996)

    4660 мм

    1880 мм

    1840 мм

    160 мм

    Mercedes-Benz Vito II (W639) / 109 CDI 2.2d MT (88 л.с.) L1 (2003)

    4750 мм

    1901 мм

    1875 мм

    195 мм

    Mercedes-Benz Vito II (W639) / 109 CDI 2.2d MT (88 л.с.) L2 (2003)

    4993 мм

    1901 мм

    1875 мм

    195 мм

    Mercedes-Benz Vito II (W639) / 109 CDI 2. 2d MT (88 л.с.) L3 (2003)

    5223 мм

    1901 мм

    1875 мм

    195 мм

    Mercedes-Benz Vito II (W639) / 109 CDI 2.2d MT (95 л.с.) L1 (2006)

    4750 мм

    1901 мм

    1875 мм

    195 мм

    Mercedes-Benz Vito II (W639) / 109 CDI 2.2d MT (95 л.с.) L2 (2006)

    4993 мм

    1901 мм

    1875 мм

    195 мм

    Mercedes-Benz Vito II (W639) / 109 CDI 2.2d MT (95 л.с.) L3 (2006)

    5223 мм

    1901 мм

    1875 мм

    195 мм

    Mercedes-Benz Vito II (W639) / 111 CDI 2. 2d AT (109 л.с.) L1 (2003)

    4750 мм

    1901 мм

    1875 мм

    195 мм

    Mercedes-Benz Vito II (W639) / 111 CDI 2.2d AT (109 л.с.) L2 (2003)

    4993 мм

    1901 мм

    1875 мм

    195 мм

    Mercedes-Benz Vito II (W639) / 111 CDI 2.2d AT (109 л.с.) L3 (2003)

    5223 мм

    1901 мм

    1875 мм

    195 мм

    Mercedes-Benz Vito II (W639) / 111 CDI 2.2d AT (115 л.с.) 4WD L1 (2006)

    4750 мм

    1901 мм

    1875 мм

    195 мм

    Mercedes-Benz Vito II (W639) / 111 CDI 2. 2d AT (115 л.с.) 4WD L2 (2006)

    4993 мм

    1901 мм

    1875 мм

    195 мм

    Mercedes-Benz Vito II (W639) / 111 CDI 2.2d AT (115 л.с.) 4WD L3 (2006)

    5223 мм

    1901 мм

    1875 мм

    195 мм

    Mercedes-Benz Vito II (W639) / 111 CDI 2.2d MT (109 л.с.) L1 (2003)

    4750 мм

    1901 мм

    1875 мм

    195 мм

    Mercedes-Benz Vito II (W639) / 111 CDI 2.2d MT (109 л. с.) L2 (2003)

    4993 мм

    1901 мм

    1875 мм

    195 мм

    Mercedes-Benz Vito II (W639) / 111 CDI 2.2d MT (109 л.с.) L3 (2003)

    5223 мм

    1901 мм

    1875 мм

    195 мм

    Mercedes-Benz Vito II (W639) / 115 CDI 2.2d AT (150 л.с.) 4WD L1 (2006)

    4750 мм

    1901 мм

    1875 мм

    195 мм

    Mercedes-Benz Vito II (W639) / 115 CDI 2.2d AT (150 л.с.) 4WD L2 (2006)

    4993 мм

    1901 мм

    1875 мм

    195 мм

    Mercedes-Benz Vito II (W639) / 115 CDI 2. 2d AT (150 л.с.) 4WD L3 (2006)

    5223 мм

    1901 мм

    1875 мм

    195 мм

    Mercedes-Benz Vito II (W639) / 115 CDI 2.2d AT (150 л.с.) L1 (2003)

    4750 мм

    1901 мм

    1875 мм

    195 мм

    Mercedes-Benz Vito II (W639) / 115 CDI 2.2d AT (150 л.с.) L2 (2003)

    4993 мм

    1901 мм

    1875 мм

    195 мм

    Mercedes-Benz Vito II (W639) / 115 CDI 2.2d AT (150 л.с.) L3 (2003)

    5223 мм

    1901 мм

    1875 мм

    195 мм

    Mercedes-Benz Vito II (W639) / 115 CDI 2. 2d MT (150 л.с.) L1 (2003)

    4750 мм

    1901 мм

    1875 мм

    195 мм

    Mercedes-Benz Vito II (W639) / 115 CDI 2.2d MT (150 л.с.) L2 (2003)

    4993 мм

    1901 мм

    1875 мм

    195 мм

    Mercedes-Benz Vito II (W639) / 115 CDI 2.2d MT (150 л.с.) L3 (2003)

    5223 мм

    1901 мм

    1875 мм

    195 мм

    Mercedes-Benz Vito II (W639) / 119 3.2 AT (190 л.с.) L1 (2003)

    4750 мм

    1901 мм

    1875 мм

    195 мм

    Mercedes-Benz Vito II (W639) / 119 3. 2 AT (190 л.с.) L2 (2003)

    4993 мм

    1901 мм

    1875 мм

    195 мм

    Mercedes-Benz Vito II (W639) / 119 3.2 AT (190 л.с.) L3 (2003)

    5223 мм

    1901 мм

    1875 мм

    195 мм

    Mercedes-Benz Vito II (W639) / 120 CDI 3.0d AT (204 л.с.) L1 (2006)

    4750 мм

    1901 мм

    1875 мм

    195 мм

    Mercedes-Benz Vito II (W639) / 120 CDI 3.0d AT (204 л.с.) L2 (2006)

    4993 мм

    1901 мм

    1875 мм

    195 мм

    Mercedes-Benz Vito II (W639) / 120 CDI 3. 0d AT (204 л.с.) L3 (2006)

    5223 мм

    1901 мм

    1875 мм

    195 мм

    Mercedes-Benz Vito II (W639) / 122 3.2 AT (218 л.с.) L1 (2003)

    4750 мм

    1901 мм

    1875 мм

    195 мм

    Mercedes-Benz Vito II (W639) / 122 3.2 AT (218 л.с.) L2 (2003)

    4993 мм

    1901 мм

    1875 мм

    195 мм

    Mercedes-Benz Vito II (W639) / 122 3.2 AT (218 л.с.) L3 (2003)

    5223 мм

    1901 мм

    1875 мм

    195 мм

    Mercedes-Benz Vito II (W639) / 123 3. 7 AT (231 л.с.) L1 (2004)

    4750 мм

    1901 мм

    1875 мм

    195 мм

    Mercedes-Benz Vito II (W639) / 123 3.7 AT (231 л.с.) L2 (2004)

    4993 мм

    1901 мм

    1875 мм

    195 мм

    Mercedes-Benz Vito II (W639) / 123 3.7 AT (231 л.с.) L3 (2004)

    5223 мм

    1901 мм

    1875 мм

    195 мм

    Mercedes-Benz Vito II (W639) / 126 3.5 AT (258 л.с.) L1 (2007)

    4750 мм

    1901 мм

    1875 мм

    195 мм

    Mercedes-Benz Vito II (W639) / 126 3. 5 AT (258 л.с.) L2 (2007)

    4993 мм

    1901 мм

    1875 мм

    195 мм

    Mercedes-Benz Vito II (W639) / 126 3.5 AT (258 л.с.) L3 (2007)

    5223 мм

    1901 мм

    1875 мм

    195 мм

    Mercedes-Benz Vito II (W639) Рестайлинг / 110 CDI 2.1d MT (95 л.с.) L1 (2010)

    4763 мм

    1901 мм

    1872 мм

    195 мм

    Mercedes-Benz Vito II (W639) Рестайлинг / 110 CDI 2.1d MT (95 л. с.) L2 (2010)

    5008 мм

    1901 мм

    1872 мм

    195 мм

    Mercedes-Benz Vito II (W639) Рестайлинг / 110 CDI 2.1d MT (95 л.с.) L3 (2010)

    5238 мм

    1901 мм

    1872 мм

    195 мм

    Mercedes-Benz Vito II (W639) Рестайлинг / 113 CDI 2.1d AT (136 л.с.) 4WD L1 (2010)

    4763 мм

    1901 мм

    1872 мм

    195 мм

    Mercedes-Benz Vito II (W639) Рестайлинг / 113 CDI 2. 1d AT (136 л.с.) 4WD L2 (2010)

    5008 мм

    1901 мм

    1939 мм

    195 мм

    Mercedes-Benz Vito II (W639) Рестайлинг / 113 CDI 2.1d AT (136 л.с.) 4WD L3 (2010)

    5238 мм

    1901 мм

    1939 мм

    195 мм

    Mercedes-Benz Vito II (W639) Рестайлинг / 113 CDI 2.1d AT (136 л.с.) L1 (2010)

    4763 мм

    1901 мм

    1872 мм

    195 мм

    Mercedes-Benz Vito II (W639) Рестайлинг / 113 CDI 2. 1d AT (136 л.с.) L2 (2010)

    5008 мм

    1901 мм

    1872 мм

    195 мм

    Mercedes-Benz Vito II (W639) Рестайлинг / 113 CDI 2.1d AT (136 л.с.) L3 (2010)

    5238 мм

    1901 мм

    1872 мм

    195 мм

    Mercedes-Benz Vito II (W639) Рестайлинг / 113 CDI 2.1d MT (136 л.с.) L1 (2010)

    4763 мм

    1901 мм

    1872 мм

    195 мм

    Mercedes-Benz Vito II (W639) Рестайлинг / 113 CDI 2. 1d MT (136 л.с.) L2 (2010)

    5008 мм

    1901 мм

    1872 мм

    195 мм

    Mercedes-Benz Vito II (W639) Рестайлинг / 113 CDI 2.1d MT (136 л.с.) L3 (2010)

    5238 мм

    1901 мм

    1872 мм

    195 мм

    Mercedes-Benz Vito II (W639) Рестайлинг / 116 CDI 2.1d AT (163 л.с.) 4WD L1 (2010)

    4763 мм

    1901 мм

    1872 мм

    195 мм

    Mercedes-Benz Vito II (W639) Рестайлинг / 116 CDI 2. 1d AT (163 л.с.) 4WD L2 (2010)

    5008 мм

    1901 мм

    1939 мм

    195 мм

    Mercedes-Benz Vito II (W639) Рестайлинг / 116 CDI 2.1d AT (163 л.с.) 4WD L3 (2010)

    5238 мм

    1901 мм

    1939 мм

    195 мм

    Mercedes-Benz Vito II (W639) Рестайлинг / 116 CDI 2.1d AT (163 л.с.) L1 (2010)

    4763 мм

    1901 мм

    1872 мм

    195 мм

    Mercedes-Benz Vito II (W639) Рестайлинг / 116 CDI 2. 1d AT (163 л.с.) L2 (2010)

    5008 мм

    1901 мм

    1872 мм

    195 мм

    Mercedes-Benz Vito II (W639) Рестайлинг / 116 CDI 2.1d AT (163 л.с.) L3 (2010)

    5238 мм

    1901 мм

    1872 мм

    195 мм

    Mercedes-Benz Vito II (W639) Рестайлинг / 116 CDI 2.1d MT (163 л.с.) L1 (2010)

    4763 мм

    1901 мм

    1872 мм

    195 мм

    Mercedes-Benz Vito II (W639) Рестайлинг / 116 CDI 2. 1d MT (163 л.с.) L2 (2010)

    5008 мм

    1901 мм

    1872 мм

    195 мм

    Mercedes-Benz Vito II (W639) Рестайлинг / 116 CDI 2.1d MT (163 л.с.) L3 (2010)

    5238 мм

    1901 мм

    1872 мм

    195 мм

    Mercedes-Benz Vito II (W639) Рестайлинг / 122 CDI 3.0d AT (224 л.с.) L1 (2010)

    4763 мм

    1901 мм

    1872 мм

    195 мм

    Mercedes-Benz Vito II (W639) Рестайлинг / 122 CDI 3. 0d AT (224 л.с.) L2 (2010)

    5008 мм

    1901 мм

    1872 мм

    195 мм

    Mercedes-Benz Vito II (W639) Рестайлинг / 122 CDI 3.0d AT (224 л.с.) L3 (2010)

    5238 мм

    1901 мм

    1872 мм

    195 мм

    Mercedes-Benz Vito II (W639) Рестайлинг / 126 3.5 AT (258 л.с.) L1 (2010)

    4763 мм

    1901 мм

    1872 мм

    195 мм

    Mercedes-Benz Vito II (W639) Рестайлинг / 126 3. 5 AT (258 л.с.) L2 (2010)

    5008 мм

    1901 мм

    1872 мм

    195 мм

    Mercedes-Benz Vito II (W639) Рестайлинг / 126 3.5 AT (258 л.с.) L3 (2010)

    5238 мм

    1901 мм

    1872 мм

    195 мм

    Vito Фургон

    Длина автомобиля — компактный
     












    Длина автомобиля (мм)

    4895

    Собственная масса (кг) при полной массе с прицепом

    1756

    Полезная нагрузка (кг) при полной массе с прицепом

    1044

    Полная масса с прицепом (кг)

    4000 / 4800

    Максимальная нагрузка на крышу (кг)

    150

    Масса буксируемого груза в прицепе с тормозом3,4/ без тормоза (кг)

    1200, 2000 / 750

    Макс. площадь грузового пространства (м)

    3,97

    Макс. объем грузового пространства (м)

    5,5

    Макс. длина грузового пространства (мм)

    2586

    Диаметр разворота Ø [м] | Диаметр поворота по оси следа переднего наружного колеса Ø [м]

    12,9 / 12,2  


     
    Длина автомобиля — удлиненный












    Длина автомобиля (мм)

    5140

    Собственная масса (кг) при полной массе с прицепом

    1781

    Полезная нагрузка (кг) при полной массе с прицепом

    1019

    Полная масса с прицепом (кг)

    4000 / 4800

    Максимальная нагрузка на крышу

    150

    Масса буксируемого груза в прицепе с тормозом

    1200, 2000 / 750

    Макс. площадь грузового пространства (м)

    4,38

    Макс. объем грузового пространства (м)

    6

    Макс. длина грузового пространства (мм)

    2831

    Диаметр разворота Ø [м] | Диаметр поворота по оси следа переднего наружного колеса Ø [м]

    12,9 / 12,2  

    Длина автомобиля — сверхдлинный












    Длина автомобиля (мм)

    5370

    Собственная масса (кг) при полной массе с прицепом

    1806

    Полезная нагрузка (кг) при полной массе с прицепом

    994

    Полная масса с прицепом (кг)

    4000 / 4800

    Максимальная нагрузка на крышу (кг)

    150

    Масса буксируемого груза в прицепе с тормозом / без тормоза (кг)

    1200, 2000 / 750

    Макс. площадь грузового пространства (м)

    4,76

    Макс. объем грузового пространства (м)

    6,6

    Макс. длина грузового пространства (мм)

    3061

    Диаметр разворота Ø [м] | Диаметр поворота по оси следа переднего наружного колеса Ø [м]

    13,7 / 13,0

    Mercedes Mercedes-Benz Vito 3 W447 (2014-н.в.)

    Перейти к размеру:
    снаружи
    внутри
    поверхность
    крыша
    колесная база
    двери
    высота груза

    САНТИМЕРОВ
    • Внутренние размеры (длина) автомобиля Мерседес Мерседес-Бенц Вито 3 W447 грузового пространства составляет
      2677 мм (L1).
    • Внутренняя ширина есть
      и внешняя ширина есть
      1928мм.
    • Внутренняя высота автомобиля Mercedes-Benz Vito 3 W447 составляет
      1397мм (х2).
    • Длина колесной базы
      3200 мм (SWB) и 3430 мм (LWB).
    • Ширина между колесными арками на этой модели 1270мм.
    ДЮЙМЫ
    • Внутренние размеры (длина) грузового пространства Мерседес Мерседес-Бенц Вито 3 W447 составляет
      105,4 дюйма (L1).
    • Внутренняя ширина есть
      а внешняя ширина равна
      75,9 дюйма
    • Внутренняя высота автомобиля Mercedes-Benz Vito 3 W447 составляет
      55 дюймов (ч2).
    • Длина колесной базы являются
      126 дюймов (SWB) и 135 дюймов (LWB).
    • Ширина между колесными арками на этой модели 50″.

    Эти размеры вам подходят?

    Годы производства:

    2014 —
    подарок

    Поколение:

    3

    Тип фургона:

    груз

    Тип кузова:

    Панель

    Также известен как:

    Мерседес-Бенц V-Класс

    Mercedes-Benz Marco Polo (модели кемперов)

    Mercedes-Benz Metris (модели для Северной Америки)

    Mercedes-Benz EQV (электрические модели)

    Мерседес-Бенц Валенте


    Перейти к размеру:
    снаружи
    внутри
    поверхность
    крыша
    колесная база
    двери
    высота груза

    Габаритные размеры Mercedes-Benz Vito 3 W447:

    Внешний вид Л1 Л3
    Наружная длина (мм) 4895 5140 5370 1928
    Внешняя длина (дюйм) 192,7 202,4 211,4 75,9

    Все модели Mercedes-Benz Vito 3 W447 имеют одинаковую внутреннюю и внешнюю ширину:
    75,9 дюйма или
    1928 мм (внешний вид).

    Внутренние размеры Mercedes-Benz Vito 3 W447:

    Внутренние размеры Л1 Л3
    Внутренняя длина (мм) 2677 2908
    Внутренняя длина (дюймы) 105,4 114,5

    Максимальная площадь пола:

    Макс. площадь Л1 Л3
    Квадратные метры (м2)
    Квадратные футы (фут2)

    Обратите внимание, что это указание не учитывает колесные арки.
    Ширина между колесными арками на этой модели 1270мм или 50″ .

    Mercedes Mercedes-Benz Vito 3 W447 высота крыши:

    Крыша в миллиметрах ч2 ч4
    Внутренняя высота (мм) 1397
    Внешняя высота (мм) 1880 1958
    Крыша в дюймах ч2 ч4
    Внутренняя высота (дюйм) 55
    Внешняя высота (дюйм) 74 77,1

    Расстояние между колесной базой:

    Колесная база короткий (SWB) длинный (длинный)
    Длина колесной базы (мм) 3200 3430
    Длина колесной базы (дюймы) 126 135

    Размеры дверей:

    Доступные варианты дверей:

    Боковые двери Задние двери
    Слайд Шарнирный Сарай Задняя дверь
    х х Икс

    Размеры боковых дверей:

    Размеры раздвижных дверей

    Раздвижная дверь Обычный
    Ширина двери (мм) 960
    Высота двери (мм) 1252
    Ширина двери (дюйм) 37,8
    Высота двери (дюйм) 49,3

    Задние двери:

    Размеры двери амбара

    Задняя дверь сарая
    Ширина двери (мм)
    Высота двери (мм)
    Ширина двери (дюйм)
    Высота двери (дюйм)
    Размеры задней двери багажника

    Дверь багажника Обычный
    Ширина двери (мм) 1392
    Высота двери (мм) 1260
    Ширина двери (дюйм) 54,8
    Высота двери (дюйм) 49,6

    Поворотный круг:

    Поворотный круг Расстояние от бордюра до бордюра (м) Расстояние от бордюра до бордюра (футы)
    Короткая колесная база 11,8 38,7

    Другие размеры:

    Размер мм дюймов
    Передний свес 895 35,2
    Задний свес 1044 41,1
    Передняя направляющая 1666 65,6
    Задняя направляющая 1646 64,8


    Вы нашли ответ на свой конкретный вопрос?
    👍 0
    👎 0

    Mercedes-Benz Vito 114CDI LWB 2020 года Технические характеристики

    6,8 л/100 км

    Не тестировался

    О Mercedes-Benz Vito 114CDI LWB 2020 года

    Модель 9044 6 2020 Мерседес-Бенц Вито 114CDI LWB — заднеприводный фургон, выпущенный на австралийский рынок 07. 01.2019 под индексом 447 MY20. Vito считается фургоном, произведенным в Германии, по цене от дилера, как подержанный автомобиль, начиная с 39 600 долларов .

    Vito — это заднеприводный 2-дверный автомобиль с 2 сиденьями, оснащенный 2,1-литровым дизельным двигателем TURBO 4 мощностью 100 кВт (при 3800 об/мин) и крутящим моментом 330 Нм (при 1200 об/мин) через семиступенчатую коробку передач. Автомат G-Tronic. Mercedes-Benz утверждает, что Vito 114CDI LWB расходует 6,8 л дизельного топлива на 100 км в смешанном цикле движения по городу и шоссе, выделяя при этом 178 г CO 9 .0452 2 . Он имеет топливный бак на 70 литров, что означает, что он должен проехать 1029 км на одном полном баке.

    Vito имеет высоту 1910 мм (75,2 дюйма), длину 5370 мм (211,4 дюйма), ширину 1928 мм (75,9 дюйма) с колесной базой 3430 мм (135,0 дюйма), что обеспечивает общую массу без нагрузки 1920 кг (4232,9 фунта). . Vito 114CDI LWB стандартно поставляется с шинами 205/65 R16 спереди и 205/65 R16 сзади. Требуется обслуживание каждые 12 месяцев или 25 000 км, в зависимости от того, что наступит раньше. Гарантия 60 месяцев, пробег 250км.

    Mercedes-Benz Vito 114CDI LWB 2020 года выпуска имеет дорожный просвет 110 мм и тяговое усилие 2500 кг с тормозами и 750 кг без тормозов.

    Номер VIN можно найти на правой опоре передней подвески, а табличка соответствия требованиям расположена на нижней центральной стойке со стороны прохода. Пример номера VIN будет похож на W#@44760523000001.



    Отзывы

    Нет текущих отзывов об этом варианте. Нажмите здесь, чтобы просмотреть обзоры других вариантов Mercedes-Benz Vito 9.0003

    904 74 Страна происхождения

    9006 6

    90 474 ДВОЙНОЙ ВЕРХНИЙ КУЛАЧОК

    9 0474 52,1 кВт/т

    9 0073

    900 73

    9047 4 Тяговое усилие без тормозов
    Mercedes-Benz Vito 114CDI LWB Детали
    Цена
    Цена б/у от Дилер 39 600 долл. США
    Стоимость при обмене 33 300 долл. США
    Серия 447 MY20
    Тип кузова фургон
    Выпуск дата 07.01.2019
    Дата производства 31.10.2020
    Тип привода RWD 9044 7
    Расположение таблички VIN Правая сторона — стойка передней подвески
    Расположение таблички соответствия Нижняя стойка B со стороны прохода
    Пример VIN W#@44760523000001
    Германия
    Сегмент Фургон
    Рейтинг безопасности ANCAP — 90 447
    Количество дверей 2
    Количество мест 2
    Mercedes-Benz Vito 114CDI LWB Характеристики двигателя
    Тип TURBO CDI
    Размер 2143 см3, 2,1 л
    Мощность при об/мин 100 кВт при 3800 об/мин (134,1 л. с.)
    Крутящий момент при об/мин 330 Нм при 1200 об/мин (243,4 фунт-фут)
    Цилиндры четырехцилиндровый с турбонаддувом
    Количество клапанов 16
    Клапанов
    Еврорейтинг EURO 6c
    Степень сжатия 16,20
    Мощность/масса
    Диаметр цилиндра/ход 83 мм × 99 мм (3,3 дюйма × 3,9 дюйма)
    Mercedes-Benz Vito 114CDI LWB Трансмиссия и колеса
    Трансмиссия Семиступенчатая автоматическая коробка передач G-Tronic
    Тип привода задний привод
    Тип рулевого управления РЕЙКА И ШЕСТЕРНЯ — С УСИЛИТЕЛЕМ
    Круг поворота 12,5 м (41,0 фут)
    Тормоз (передний), тип ДИСК — ВЕНТИЛИРУЕМЫЙ
    Тормоз (задний) Тип ДИСК
    Передняя шина и размер колеса 9 0446 205/65 R16 — 6,5×16
    Размер задней шины и колеса 205/65 R16 — 6,5×16
    Тип передней подвески Стойка Macpherson, Независимая
    Тип задней подвески Пружина, независимая, Амортизатор
    Mercedes-Benz Vito 114CDI LWB Характеристики топлива
    Тип топлива ДИЗЕЛЬ
    Емкость топливного бака 70 л
    Расход топлива (средний) 6,8 л/100 км
    Расход топлива город ( средний) 8. 3л/100км
    Расход топлива шоссе (средний ) 5,9 л / 100 км
    Запас хода автомобиля 1029,4 км (639,6 миль)
    Стандарт выбросов ЕВРО 6c
    Совместимость с E10
    CO 2 Выбросы (комбинированные) 178 г / 100 км
    CO 2 Выбросы (город) 218 г/100 км
    CO 2 выбросы (шоссе) 156 г/100 км
    Mercedes-Benz Vito 114CDI LWB Размеры
    Длина 5370 мм (211,4 дюйма)
    Ширина 1928 мм (75,9 дюйма)
    Высота 1910 мм (75,9 дюйма) 2 дюйма)
    Колесная база 3430 мм (135,0 дюймов)
    Передняя гусеница 1666 мм (65,6 дюйма)
    Задняя гусеница 1646 мм (64,8 дюйма)
    Дорожный просвет 9 0079

    110 мм (4,3 дюйма)
    Масса без груза 1920 кг (4232,9 фунта)
    Полная масса автомобиля 3050 кг (6724,1 фунта)
    Полная масса автопоезда 5550 кг (12235,6 фунта)
    Mercedes-Benz Vito 114CDI LWB Тяговое усилие
    Тяговое усилие с тормозами 2500 кг (5511,5 фунтов)
    750 кг (1653,5 фунта)
    Mercedes-Benz Vito 114CDI LWB Гарантия
    Срок гарантии 9 0446 60 месяцев
    Гарантийный пробег 250 000 км
    Mercedes- Benz Vito 114CDI LWB Обслуживание
    Межсервисный интервал (км) 25 000 км
    Межсервисный интервал (мес) 90 446 12 месяцев
    Mercedes-Benz Vito 114CDI LWB Опции
    Стандартные функции
    • Иммобилайзер двигателя
    • Усилитель руля
    • 90 007 Ремни безопасности — поясные/поясные для всех сидений

    • Электронное распределение тормозного усилия
    • Пакет сдвоенных передних подушек безопасности
    • Связь Bluetooth
    • Антиблокировочная система торможения
    • Система экстренного торможения
    • Дневные ходовые огни
    • Цифровые часы
    • Розетка 12 В
    • Пульт дистанционного управления центральным замком
    • Рулевое колесо с регулировкой наклона и выдвижением
    • Запираемый отсек для перчаток
    • Интеллектуальный/активный круиз-контроль
    • Система предотвращения опрокидывания
    • Передние фонари для ног
    • Точки крепления детского сиденья
    • Ящик центральной консоли — Универсальные
    • Ремни безопасности — преднатяжители для передних сидений
    • Регулируемый ограничитель скорости
    • Ремни безопасности — напоминание для передних сидений
    • Радио AM/FM
    • Наружные зеркала с электроприводом — с подогревом
    • Автоматическая система «стоп/старт»
    • Электронная система курсовой устойчивости
    • Запасное колесо — полноразмерное стальное колесо
    • Сигнал аварийной остановки
    • Противобуксовочная система
    • Пассажирское сиденье с ручной регулировкой 4 Way
    • Передние стеклоподъемники с электроприводом
    • Ремни безопасности — регулируемые по высоте передние сиденья
    • Подстаканники — передние сиденья
    • Система экстренного торможения
    • Адаптивная система управления нагрузкой
    • Хромированная подсветка салона
    • Дополнительные приборы
    • Солнцезащитные козырьки с косметическими зеркалами и подсветкой
    • Многофункциональное рулевое колесо
    • Автоматический кондиционер/климат-контроль
    • Адаптивные стоп-сигналы
    • 9 0007 Держатель солнцезащитных очков

    • Камера заднего вида
    • Галогенные фары
    • Система помощи при трогании на подъеме
    • Ручная регулировка сиденья водителя, 4 направления
    • Выбор режима водителя
    • Многофункциональный дисплей
    • Шторки безопасности
    • Аудиосистема с 2 динамиками
    • Подголовники
    • Разъем USB
    • Система помощи при боковом ветре
    • Функция просушки тормозов
    • Система контроля внимания
    • 9000 7 Двойные раздвижные двери

    • Дополнительная входная розетка
    • Дверное освещение входа/выхода
    • Вещевое отделение на центральной консоли
    • Ручной ассистент ограничения скорости
    • Система стабилизации крена
    • Комфортный режим
    • Система управления дальним светом
    • Прогулка по салону
    • TFT-дисплей
    • Потолочная панель управления
    • Усовершенствованная система контроля недостаточной поворачиваемости
    • Селектор прямого переключения передач
    • Задняя дверь
    • Предварительное заполнение тормозной системы с электронным управлением
    • Вмешательство при движении по крену
    Дополнительные функции
    • Активная система помощи при парковке — 1 230 долл. США
    • Пакет защиты от кражи — 590 долл. США
    • 16-дюймовые легкосплавные диски — 1 250 долл. США
    • 17-дюймовые легкосплавные диски — 1 990 долл. США
    • Амбарные двери — открытие боковой стены — 715 долл. США
    • Перегородка — с окнами — 590 долларов США
    • Хромированная передняя решетка — 200 долларов США
    • Пакет комфортных сидений — 690 долларов США
    • Цветовая маркировка — 990 долларов США
    • Комфортное сиденье второго водителя — 395 долларов США
    • Комфортное сиденье — для водителя — $395
    • Пакет помощи водителю — 1600 долл. США
    • Противотуманные фары — передние — 340 долл. США
    • Модернизация GVM — 800 долл. США
    • Интеллектуальная система освещения — 2800 долл. США
    • Пакет отслеживания полосы движения — 1300 долл. США
    • Краска металлик — 1490 долл. США 9 0010
    • Пилотная карта — 9 долларов00
    • Настраиваемый специальный модуль — 550 долл. США
    • Датчик дождя — 200 долл.

      Типы поршневых компрессоров: Поршневые компрессоры. Работа и принцип действия. Технические характеристики и применение

      Классификация компрессоров: типы, виды, описание

      Компрессорные установки представляют собой специальное оборудование, широко используемое в различных технологических процессах в химической, металлургической, газовой, строительной и других отраслях промышленности.

      Сегодня практически ни одна сфера производства не обходится без использования подобного оборудования, которое может быть классифицировано по области применения:

      • общего назначения;
      • энергетические;
      • нефтехимические и другие.

      Сегодня данное оборудование представлено в широком спектре моделей, вариантов исполнения и назначения. Каждый тип компрессора имеет свои конструктивные особенности, индивидуальные технические и рабочие характеристики, исходя из которых необходимо выбирать тот или иной тип компрессора. Для этого необходимо знать, какие бывают компрессоры и их основные характеристики.

      Современные компрессоры имеют несколько различных классификаций, среди которых наиболее значимым является подразделение оборудования на типы в зависимости от конструктивных особенностей и принципа действия компрессоров. В первую очередь необходимо отметить два основных типа компрессоров:

      • объемные;
      • лопастные установки.

      Лопастной компрессор — это оборудование, работа которого основана на динамическом принципе действия. В данном типе установок увеличение давления осуществляется благодаря взаимодействию потока воздуха с решетками лопастей, одна из которых вращающаяся, а другая неподвижная. Оборудование лопастного типа в свою очередь подразделяются на следующие виды компрессоров:

      • центробежные;
      • радиально-осевые;
      • осевые.

      Однако наибольшей популярностью пользуются компрессоры объемного типа. Сжатие воздуха в устройствах данного типа происходит в специальных рабочих камерах. Попеременное сообщение камер с входом и выходом компрессора, а также периодическое изменение их объема приводит к изменению давления воздуха. Классификация установок объемного вида разделяется по форме и типу рабочих деталей компрессорных установок и принципу их действия. Так, объемные компрессоры могут быть следующих типов:

      • роторные;
      • поршневые.

      Установки поршневого типа стали особенно популярны благодаря сочетанию таких преимуществ, как удобство эксплуатации, высокие рабочие характеристики, длительный срок службы, небольшие габариты и многое другое. При этом данный вид компрессоров отлично подходит для любых видов работ с широким диапазоном значения необходимого давления.

      Основными рабочими элементами поршневых компрессоров являются электропривод, крышка цилиндра, регулятор давления и ресивер. Создание необходимого давления воздуха в оборудовании данного типа происходит благодаря поступательным движениям поршня. Поршневые компрессоры имеют свою классификацию и подразделяются на:

      • двойного или одинарного действия;
      • масляные и безмасляные;
      • угловые, горизонтальные, вертикальные;
      • с различным количеством цилиндров.

      Другой вид объемных компрессоров – роторные установки, главной особенностью которых является наличие вращающихся сжимающих элементов. Данные виды компрессоров могут быть как промышленными, так полупромышленными или же бытовыми. Их рабочие параметры, условия и особенности эксплуатации подходят для проведения технологических процессов на любых предприятиях и в различных сферах деятельности.

      К категории роторных установок относятся следующие виды компрессоров:

      • Винтовое оборудование – такие установки оснащены ведущим и ведомым роторами, вращающимися по направлению друг к другу. Данный принцип вращения приводит к уменьшению пространства между корпусом и роторами, что и обеспечивает увеличение давления. Главным преимуществом данного типа компрессоров является возможность их использования в условиях интенсивной эксплуатации.
      • Спиральные компрессоры – обладают смещенной неподвижной и подвижной спиралями. Установлены они специальным образом, создавая полости с постоянно изменяющимся в них объемом.
      • Роторно-пластинчатые установки – главным элементом таких установок является установленный в корпусе со смещением с центра ротор с пластинами. Перемещение пластин может происходить в радиальном направлении.
      • Жидкостно-кольцевые – в корпусе, который частично заполнен жидкостью, находится ротор с фиксированными лопатками.

      Классификация компрессоров исходя из особенностей их конструкции и принципа действия — не единственная. Так, по способу охлаждения компрессоры бывают с воздушным или же жидкостным охлаждением. Существует классификация и по приводному двигателю – от газовой турбины, двигателя внутреннего сгорания и электродвигателя.

      Кроме того, классификация компрессоров также может быть различной в зависимости от уровня конечного давления:

      • установки с низким уровнем давления;
      • давление среднего уровня;
      • оборудование со сверхвысоким давлением.

      Выбор необходимого компрессорного оборудования зависит от требований, предъявляемых к установкам, условий и особенностей эксплуатации, типа проводимых работ и других характеристик.

      Виды поршневых компрессоров

         Поршневой компрессор – самый экономичный и универсальный тип оборудования для сжатия воздуха (газа), который справится с рабочими задачами в промышленности и в быту. Устойчивый к переходным процессам включения и выключения, такой агрегат незаменим в условиях частых запусков и частых остановок, а также при работе в запыленной среде.

      Принцип действия

        Поршневые компрессоры относятся к популярному объемному типу устройств, сжимающих воздух (газ) в рабочих камерах. Камеры попеременно сообщаются с входом и выходом компрессора, в результате чего периодически изменяется их объем, а вместе с ним – и давление внутри. Повышая давление от 0,015 МПа до многократных величин, агрегат подает его на другие приборы для получения от сжатия воздуха (газа) требуемой энергии.Этот принцип работы востребован во многих технологических процессах и отраслях промышленности, где давно и успешно используется данное оборудование.

         Давление воздуха тем больше, чем меньше объем камеры. Когда при опускании поршня в полости цилиндра образуется свободное пространство, перепадом давления открывается впускной клапан, воздух заходит в камеру и сжимается до максимального объема. После достижения заданных параметров нагнетательный клапан открывается, и сжатый воздух выходит из полости камеры.

        Такой вид нагнетателя можно применять для работ с разными величинами требуемого давления. Необходимая степень сжатия воздуха в устройстве достигается поступательным движением поршня, а функциональными элементами являются электропривод, крышка цилиндра, регулятор давления и ресивер.

      Для обеспечения постоянного уровня давления в трубопроводе обычно в оборудовании поршневого типа предусматривается автоматическое регулирование производительности. Регулировка заключается в изменении частоты вращения компрессорного вала.Один оборот вала – это два хода поршня. За один оборот в каждом цилиндре компрессора совершается полный рабочий цикл. 

      Достоинства и недостатки

        Для предотвращения износа стенок цилиндра и поршня в механизм подается масло, но это ухудшает качество воздуха. Если технология требует использование чистого воздуха, для масла на линии подачи нужно предусмотреть сепаратор.

        В промышленном использовании поршневые компрессоры работают в паре – один агрегат на всякий случай нужно держать в резерве. Недостатками такого оборудования можно считать шумность и необходимость регулярной профилактики из-за высокой вероятности поломок. Правда, их частота компенсируется доступными запчастями и недорогим ремонтом.

        Поршневые насосы – лучший выбор при потребности в малой производительности или сжатии агрессивных газов. Это находка в грязных условиях работы – на складах угля, мельницах или погрузке цемента. Оптимальным решением такие устройства станут при повышенной влажности, перепадах температуры и изменении объемов сжатого воздуха. При нагнетании давления высокого уровня (до 40 атмосфер) поршневые компрессоры одинаково хорошо себя проявляют как с несколькими поршнями, так и с одним. Их преимущества – выдерживание высокого давления, простое техобслуживание и относительно невысокая цена. 

      С маслом или без?

        Одни модели поршневых компрессоров нуждаются в смазке минеральными маслами, другие – нет. Безмасляные компрессоры приемлемы для систем с условием подачи чистого воздуха, без примесей эмульсии. Их достоинства – компактность, редкость обслуживания и простота транспортировки (можно перемещать в любом положении). Примеры таких устройств – автомобильный компрессор для подкачки шин или бытовой компрессор для краскопульта.

        Масляные и безмасляные модификации (сухого трения и сухого сжатия) различаются также по типу сжатия – одноступенчатому или многоступенчатому: в современных моделях может быть до семи ступеней. В компрессорах многоступенчатого сжатия есть опасность возгорания и взрыва при несоблюдении правил эксплуатации – нельзя допускать перегрева сжимаемого газа сверх допустимой температуры 180°С.

      Поршневые агрегаты бывают сальниковые и бессальниковые, одинарного или двойного всасывания (во втором случае поршень работает на обе стороны). Компрессоры одинарного действия называются бескрейцкопфными, двойного – крейцкопфными. «Плюсы» бескрейцкопфных компрессоров – единая система смазки, простой механизм, небольшой объем и вес. «Минус» — утечка газа через поршень в картер. Кроме того, такие компрессоры – исключительно одинарного действия, что не позволяет задействовать цилиндр максимально эффективно. Именно поэтому горизонтальные компрессоры, агрегаты высокого давления и большой мощности изготавливаются только крейцкопфными.

      Разнообразие модификаций

       

        Поршневые компрессоры производятся с разным количеством цилиндров, которые размещаются вертикально, горизонтально либо под углом – V- или W-образно. Многоступенчатые компрессоры комплектуются дифференциальными цилиндрами. По количеству рядов цилиндров поршневые компрессоры делятся на многорядные, двухрядные и однорядные. Они могут быть одно -, двух- и трехпоршневыми. 

              

                        V — образный компрессор                                                     W — образный компрессор

        Горизонтальные компрессоры с движущимися навстречу друг другу поршнями называются оппозитными.

      Есть поршневые компрессоры с воздушными водяным охлаждением. Последнее предусматривается для агрегатов большой производительности. Выпускаются устройства большой, средней и малой производительности, а отдельно выделяются еще и мини-компрессоры.

        По типу привода различаются установкис ременными прямым приводом. Из-за проскальзывания ременной передачи при запуске компрессоры с ременным приводом характеризуются меньшими динамическими нагрузками. Агрегаты с прямым приводом отличаются более низким уровнем шума и более высоким КПД при существенной экономии электроэнергии.

        Все модели поршневых компрессоров можно классифицировать по уровню конечного давления. В зависимости от показателей на выходе бывают агрегаты высокого давления (до 1000 бар), среднего (до 100 бар) или низкого (до 12 бар).

        А по исполнению компрессоры поршневого типа могут быть как стационарными (устанавливаются на неподвижной платформе), так и передвижными (самоходными, прицепными, переносными и транспортными). В ряде случаев им нет альтернативы.

      5 Типы поршневых компрессоров

      Поршневой компрессор представляет собой тип компрессора, в котором сжатие газа достигается за счет хода поршня. Наиболее распространенной формой поршневого компрессора является поршневой компрессор, который имеет скользящий поршень, расположенный внутри цилиндра, содержащего сжимаемый газ.

      Шток поршня прикреплен к поршню и сам поворачивается вокруг горизонтальной оси.

      Поршневой компрессор может быть одностороннего, двустороннего действия или диафрагменного типа; поршневой компрессор также может быть одноступенчатым (одно- или многоцилиндровым) компрессором или многоступенчатым (многоцилиндровым) компрессором. Ниже подробно описаны различные типы поршневых компрессоров.

      Содержание

      • 1 Одноактивный репраксающий компрессор
      • 2 Породовой компрессор с двойным действием
      • 3 Диафрагм-тип. -Ступенчатые компрессоры
        • 5.1 Одноступенчатые и двухступенчатые
      • 6 Многоступенчатые компрессоры
        • 6.1 Ресивер

      Поршневой компрессор одностороннего действия

      Поршневой компрессор одностороннего действия имеет набор клапанов в верхней части и обеспечивает один цикл сжатия на каждый оборот коленчатого вала .
      Здесь поршень начинает движение от ВМТ (верхней мертвой точки), которая является самым верхним положением, которое может достичь поршень, до НМТ (нижней мертвой точки) и обратно за один оборот коленчатого вала.

      При движении поршня от ВМТ (вверху) к НМТ (внизу) давление в цилиндре падает ниже атмосферного, и за счет перепада давления на всасывающем клапане всасывающий клапан преодолевает усилие пружины и открывается чтобы воздух попал в цилиндр.

      Когда поршень перемещается от НМТ к ВМТ, воздух медленно сжимается, и подпружиненный всасывающий клапан закрывается. При приближении поршня к ВМТ давление воздуха оказывается достаточным для преодоления усилия пружины выпускного клапана (выпускного), и, следовательно, выпускной клапан открывается, пропуская воздух из цилиндра под повышенным давлением. Цилиндр становится пустым, выпускной клапан закрывается, и поршень готов двигаться к НМТ.

      Поршневой компрессор двойного действия

      Поршневой компрессор двойного действия имеет два набора клапанов, по одному в верхней и нижней частях цилиндра, и обеспечивает два цикла сжатия на каждый оборот коленчатого вала . Когда поршень сжимает газ с одной стороны, газ всасывается в цилиндр с другой стороны поршня.

      При движении поршня от ВМТ к НМТ давление в цилиндре на верхней стороне падает ниже атмосферного, и за счет перепада давления на верхнем всасывающем клапане всасывающий клапан преодолевает усилие пружины и открывается, позволяя воздух в цилиндр.

      В то время как всасывание происходит на верхней стороне поршня, воздух сжимается на нижней стороне. Когда поршень приближается к НМТ, давление воздуха на нижнюю сторону поршня достаточно, чтобы преодолеть усилие пружины нижнего выпускного клапана, чтобы открыть его и выпустить воздух высокого давления.

      Теперь поршень движется от НМТ к ВМТ, и нижний нагнетательный клапан закрывается.

      Воздух на верхней стороне поршня медленно сжимается, верхний всасывающий клапан закрывается, и когда поршень приближается к ВМТ, давление воздуха на верхнюю сторону поршня достаточно для преодоления усилия пружины верхний выпускной клапан и, следовательно, выпускной клапан открывается, чтобы выпустить воздух из цилиндра под повышенным давлением. Цилиндр становится пустым, выпускной клапан закрывается, и поршень движется к НМТ.

      Тем временем нижний всасывающий клапан открыт, и свежий газ поступает в нижнюю часть компрессора. Он готов к сжатию, когда поршень движется от ВМТ к НМТ.

      Поршневые компрессоры двойного действия более эффективны, чем поршневые компрессоры одинарного действия, однако уровень вибрации выше и требует хорошего фундамента и виброизоляции.

      Поршневые компрессоры двойного действия должны иметь прочную конструкцию, малую скорость и надлежащее охлаждение для непрерывной работы. Они обычно используются в многоступенчатом стиле для приложений высокого давления.

      Поршневой компрессор диафрагменного типа

      Компрессор диафрагменного типа (также называемый мембранным компрессором) представляет собой вариант поршневого компрессора, в котором сжатие газа происходит за счет движения вверх и вниз гибкой диафрагмы или мембраны.

      Движение диафрагмы вверх и вниз достигается за счет ее соединения с поршнем, приводимым в движение шатуном и коленчатым валом.

      Поршень вашего диафрагменного компрессора вместо того, чтобы двигаться в цилиндре, тянет диафрагму вниз (сжатие диафрагмы) для создания всасывания и толкает диафрагму вверх (расширение диафрагмы) для создания нагнетания.

      Мембранные компрессоры используются в тех случаях, когда требуется отсутствие загрязнений и отсутствие утечек. Мембранные компрессоры популярны не только для воздуха.

      Объем сжимаемого газа и срок службы диафрагмы зависят от материала диафрагмы.

      Поршневой компрессор мембранного типа используется во многих областях, включая сжатие водорода и природного газа.

      Поршневые компрессоры мембранного типа могут быть одноступенчатыми или многоступенчатыми.

      Одноступенчатый поршневой компрессор

      Одноступенчатый поршневой компрессор имеет один или несколько параллельно соединенных цилиндров. Здесь воздух сжимается только один раз, прежде чем он будет перемещен в резервуар для хранения.

      Давление нагнетания, достигаемое одноступенчатым поршневым компрессором, ограничено его конструкцией, и максимальное давление может составлять 125 фунтов на квадратный дюйм (увеличение давления сверх этого значения может привести к повышению температуры цилиндра).

      Преимущества

      Они просты по конструкции и дешевле по сравнению с многоступенчатыми альтернативами.

      Недостатки

      Одноступенчатые компрессоры имеют более низкую степень повышения давления и низкий объемный КПД. Отсутствие промежуточного охлаждения приведет к более высоким температурам, что может сократить срок службы оборудования.

      Двухступенчатые компрессоры

      В случае двухступенчатого или двухступенчатого поршневого компрессора в двух последовательно соединенных цилиндрах будет происходить два цикла сжатия. Газ сжимается в одном цилиндре (первая ступень), а выбрасываемый газ дополнительно сжимается во втором цилиндре (вторая ступень) до более высокого давления.

      Диаметр цилиндра второй ступени меньше диаметра цилиндра первой ступени. Между ступенями будет установлен интеркулер для охлаждения газа.

      Сравнение одноступенчатых и двухступенчатых компрессоров

      Как одноступенчатые, так и двухступенчатые компрессоры могут иметь несколько цилиндров. Основное различие между одноступенчатым компрессором и двухступенчатым или многоступенчатым компрессором заключается в том, сколько раз сжимается воздух. Это означает, что в многоступенчатом устройстве воздух, сжатый с первой ступени, направляется в следующий цилиндр для дальнейшего сжатия.

      Другим отличием является наличие промежуточного охлаждения между двумя ступенями сжатия. Многоступенчатый поршневой компрессор с хорошей системой смазки может достигать 250 фунтов на квадратный дюйм и более.

      В компрессоре может быть более двух ступеней.

      Многоступенчатые компрессоры

      Многоступенчатые (более двухступенчатые) поршневые компрессоры имеют более одного цилиндра и сжимают газ в несколько ступеней.

      Однако все многоцилиндровые поршневые компрессоры не могут быть многоступенчатыми компрессорами, поскольку существуют одноступенчатые поршневые компрессоры с более чем одним цилиндром.

      Вы можете отличить многоступенчатый компрессор от многоцилиндрового одноступенчатого компрессора по размеру цилиндра. В многоцилиндровом одноступенчатом поршневом компрессоре все цилиндры имеют одинаковый размер. Однако в многоступенчатом поршневом компрессоре цилиндр второй ступени будет меньшего диаметра.

      Ресивер

      Не путайте количество цилиндров с количеством накопительных баков. Цилиндр с движущимся поршнем внутри — это то место, где происходит сжатие, и он относительно меньше по размеру. В ресивере хранится сжатый воздух, который готов к подаче на ваши пневматические инструменты.

      Заводы и крупные коммерческие предприятия часто имеют более одного резервуара для хранения, поскольку таким образом легко сбалансировать сжатый воздух. Это не имеет ничего общего с количеством ступеней сжатия.

      Различные типы поршневых компрессоров

      Энергетическое оборудование, ООО |

      Поршневые компрессоры представляют собой объемные машины, которые сжимают и подают газы под высоким давлением с помощью поршня или плунжера. Нефтеперерабатывающие заводы, газопроводы и многие другие предприятия используют поршневые компрессоры для перекачки водорода, кислорода и других газов. Этот тип компрессора часто используется, когда технологическая среда относительно сухая и когда требуется высокая степень сжатия на ступень без высоких скоростей потока.

      В этом посте мы рассмотрим различные типы поршневых компрессоров и некоторые из надежных вариантов, доступных от Energy Machinery, Inc.

      Сравнение безмасляных поршневых компрессоров со смазкой

      Нажмите, чтобы развернуть

      Приложения могут использовать как смазываемые, так и безмасляные поршневые компрессоры в зависимости от их уникальных требований.

      Поршневые компрессоры со смазкой
      Поршневые компрессоры со смазкой используют смазочное масло для обеспечения плавного хода поршня без повреждения механизма. Смазка также служит для поддержания эффективности сжатия воздуха и рассеивания тепла. Этот тип поршневого компрессора требует более частых проверок обслуживания, а также периодической замены масла. Кроме того, они требуют дополнительной фильтрации воздуха, включая коалесцирующие фильтры и сепараторы, которые предотвращают загрязнение маслом технологических процессов и воздействие на оборудование, расположенное ниже по потоку.

      Безмасляные поршневые компрессоры
      В безмасляных поршневых компрессорах элемент сжатия покрыт материалом для предварительной смазки, что устраняет необходимость в масляной или синтетической смазке. Этот тип компрессора требует меньшего объема текущего обслуживания, но требует более капитального ремонта. У них также гораздо более короткий срок службы, и они значительно громче во время работы.

      Из-за этих различий поршневые компрессоры со смазкой часто лучше подходят для применений, где компрессоры будут подвергаться интенсивному использованию. Тем не менее, предприятия пищевой, фармацевтической и других отраслей промышленности могут захотеть использовать безмасляный компрессор, если им требуется воздух высокой чистоты.

      Типы поршневых компрессоров

      Независимо от того, требуются ли вам безмасляные или смазываемые поршневые компрессоры для вашего применения, компания Energy Machinery, Inc. предлагает множество моделей для удовлетворения ваших потребностей. Наша линейка компрессоров включает:

      • Безмасляный компрессор PureAir. Компрессоры серии Gardner Denver PureAir приводятся в действие электродвигателем и разработаны в соответствии со строгими требованиями к чистоте воздуха как для институциональных, так и для промышленных применений.
      • Безмасляный компрессор PureAir II. Этот компрессор Gardner Denver способен работать 24 часа в сутки, что устраняет необходимость в резервных блоках и увеличенных размерах для оптимальной экономической эффективности.
      • Reward Series™ — поршневые воздушные компрессоры. Компрессоры Gardner Denver серии Reward отличаются долговечной конструкцией, которая делает их идеальными для любого применения. Каждый компрессор также включает до шести стандартных предустановленных аксессуаров.
      • Компрессор серии R со смазкой разбрызгиванием. 9Компрессоры серии 0043 R имеют ряд уникальных особенностей, таких как куполообразные поршни автомобильного типа, которые позволяют использовать клапаны большого диаметра с малым подъемом и обеспечивают максимальную подачу воздуха.
      • Компрессор со смазкой под давлением серии PL. Компрессоры серии PL , как и серия R, оснащены куполообразными поршнями автомобильного типа и другими характеристиками, обеспечивающими максимальную производительность. Эта модель специально разработана для использования в экстремальных условиях и служит альтернативой моделям серии R.
      • Paradigm – Поршневые воздушные компрессоры с низким уровнем шума. Эти компрессоры идеально подходят для приложений, требующих бесшумной работы.
      • Поршневые компрессоры, вакуумные насосы и бустеры серии A для воздуха и природного газа. Компрессоры серии A обеспечивают непревзойденную доступность, надежность и качество каждого компонента.
      • Поршневые компрессоры с воздушным охлаждением для климат-контроля. Компрессоры Gardner Denver для климат-контроля могут удовлетворить потребности практически любого применения со сложными системами климат-контроля.
      • Смазанные воздушные компрессоры и насосы серии R и PL. Компрессоры и насосы Gardner Denver серий R и PL отличаются превосходным качеством, долговечностью и эффективностью.

      Поршневые компрессоры, обслуживающие Новую Англию

      Безмасляные и смазываемые поршневые компрессоры могут удовлетворить потребности многих приложений в самых разных отраслях промышленности. Чтобы убедиться, что вы нашли именно то оборудование, которое вам подходит, обратитесь к экспертам Energy Machinery, Inc. Мы поможем вам найти идеальное решение в нашей обширной линейке высококачественной продукции. Чтобы получить дополнительную информацию о наших поршневых компрессорах или начать процесс выбора, свяжитесь с нами сегодня.