Разборка автомобиля и мойка агрегатов и деталей
Разборка автомобиля и мойка агрегатов и деталей
Капитальный ремонт автомобилей на специализированных ремонт-ix предприятиях осуществляют промышленным (индустриальным) а ‘ОДом- Этот метод заключается в том, что подлежащие восстановлению Регаты и автомобили полностью разбирают и раскомплектованные
детали (без учета их принадлежности к автомобилям или агрегатам с которых они были сняты) после тщательного контроля и восстановлен ния направляют на сборку. Вместо выбракованных деталей используют новые (запасные части).
Таким образом, при промышленном методе, как на заводах-изготовителях, автомобили и агрегаты собирают по принципу взаимозаменяемости деталей. Это позволяет повысить производительность труда и снизить стоимость капитального ремонта.
Рекламные предложения на основе ваших интересов:
Дополнительные материалы по теме:
Автомобиль, поступивший в ремонт, моют горячей водой под давлением 15—20 кГ/см2 в моечной камере или используя моечные установки.
Затем снимают приборы электрооборудования, кабину, оперение и кузов, сливают воду, топливо и масла из картеров двигателя и других агрегатов.
При разборке необходимо соблюдать последовательность операций, предусмотренную технологическими’ картами, и применять специализированные приспособления и инструменты.
Мелкие детали рекомендуется укладывать в отдельную тару, а при отсоединении проводов от приборов электрооборудования и тяг и тросов от приборов питания — винты и гайки ввертывать от руки на их места.
Последовательность операций при снятии двигателя с автомобиля:
— снять шланги радиатора системы охлаждения и масляного радиатора, трубопровод со шлангами отопителя; отъединить трос привода жалюзи и снять его вместе с оболочкой, снять облицовку радиатора и радиатор, снять тягу ножного привода дроссельных заслонок карбюратора, тросы ручного привода дроссельных и воздушной заслонок;
— отсоединить и снять трубопроводы компрессора и регулятора давления, трубку, подводящую бензин к топливному насосу;
— отъединить шланги гидроусилителя рулевого управления, отъединить привод рулевого механизма и снять карданный вал;
— отъединить приемные трубы глушителя, привод спидометра, привод ножного и стояночного тормозов;
— снять с коробки передач рычаг стояночного тормоза, отъединить карданный вал и привод выключения сцепления;
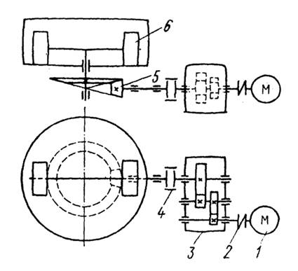
— отвернуть болты крепления передних и задних опор двигателя; зацепить крюки приспособления для снятия двигателя за скобы (рис.
173, б) и, поднимая и выводя двигатель вперед, снять его с автомобиля.
Снятый с автомобиля агрегат устанавливают на тележку и транспортируют к месту мойки или разборки.
На современных заводах по ремонту агрегатов автомобилей предусматривают разборочные цехи с тремя участками:
— участок предварительной очистки агрегатов, где выполняется наружная мойка и очистка (выпаривание) внутренних поверхностей картеров;
— участок подразборки и разборки агрегатов, оснащенный моечно-сушильными установками;
— участок мойки и очистки деталей.
Рис. 1. Схема технологического процесса капитального ремонта грузового автомобиля
Для мойки деталей из чугуна и стали обычно используют растворы каустической соды, подогретые до 80—90 °С. Например, раствор содержащий 2% каустической соды, 5% тринатрийфосфата и 3% жидкого стекла. Для мойки деталей из сплавов алюминия берут 0,1___ 0,2% каустической соды и 0,15—0,25% нитрата натрия. После мойки детали промывают в ванне с горячей водой.
Получают распространение моющие средства «Лабомид-101» (дЛя мойки деталей в струйных моечных машинах) и «Лабомид-203» (для выпаривания и мойки деталей в ваннах). Содержание в растворе «Лабомида-101» 15—20 г/л, температура 70—85 °С; «Лабомида-203» 25—30 г/л, температура 80—100 °С. Ополаскивания деталей после мойки не требуется.
Рис. 2. Приспособление для снятия радиатора (а) и двигателя (б) с автомобиля
Для очистки от нагара химическим способом детали погружают на 40—60 мин в щелочной раствор, подогретый до 80—90 °С, а затем промывают в растворе, содержащем кальцинированную соду (0,2%)» а жидкое стекло (0,2%) и хромпик (0,1%). Более совершенным является механический способ, когда деталь обрабатывают мелкой косточковой крошкой (скорлупа фруктовых косточек) под давлением струи воздуха 4—5 кГ/см2.
Для удаления накипи на внутренних стенках рубашек охлаждения , Рков и головок цилиндров применяют 50%-ный раствор керосинового оптанта, подогретый до 40—50 °С, или фосфато-щелочный раствор, одержащий 3—5 г тринатрийфосфата на 1 л воды.
Для деталей из алюминиевых сплавов используется 6%-ный раствор молочной кислоты, подогретый до 30—40 °С.
На авторемонтных заводах применяют также мойку погружением в ванну с синтетическими поверхностно-активными веществами (суль-фонол, тракторин, деталин, триалон и др.).
После снятия приборов электрооборудования, колес, рулевого колеса, подушек и спинок сидений перевертывают топливный бак горловиной вниз, выпаривают масло из картеров всех агрегатов и при помощи кран-балки опускают автомобиль в ванну на качающуюся раму. Первая ванна служит для очистки, вторая — для ополаскивания в горячей воде. Ванны располагают в грунте, устраивают теплоизолирующую шлаковую подушку. Закрывают и открывают крышки ванн при помощи гидравлических цилиндров.
Разборочно-сборочные работы выполняют тупиковым и поточным способами. При тупиковом способе разборка выполняется на одном рабочем месте, а при поточном операции расчленяются и выполняются на нескольких рабочих постах поточной линии.
Поточный способ позволяет в большей степени специализировать оборудование, приспособления и инструменты на каждом рабочем месте, повысить производительность труда и качество разборочно-сборочных работ.
Значительная часть рабочего времени при разборке автомобиля затрачивается на отвертывание гаек и болтов. Поэтому рекомендуется использовать электрические и пневматические гайковерты.
Для удаления болтов, шпилек и пальцев применяют специальные выколотки из красной меди, а для снятия шестерен, шкивов, подшипников и удаления втулок — прессы и соответствующие съемники. На сопряженные детали (крышки подшипников, парные шестерни) ставят метки, чтобы не раскомплектовывать при сборке.
На небольших авторемонтных предприятиях разборку выполняют на тупиковых постах, оборудованных специальными стендами.
На рис. 3 показан стенд для разборки-сборки V-образных двигателей. Раму 2 стенда можно поворачивать вокруг горизонтальной оси, расположенной перпендикулярно оси коленчатого вала.
Предусмотрено стопорное устройство для фиксации рамы в требуемом положении.
Повертывают двигатель на стенде на 90° (картером сцепления вниз) и снимают поддон картера, крышку картера сцепления, масло-уловитель и маслоприемник. Расшплинтовав гайки шатунных болтов, отвертывают гайки, проверяют клеймение крышек и шатунов, вынимают шатунные болты и снимают крышки с шатунов. Повернув двигатель на стенде на 90°, вынимают поршни с шатунами из цилиндров, устанавливают крышки шатунов и шатунные болты, завертывая их гайки от руки.
Рис. 3. Стенд для разборки-сборки V-образных двигателей:
1 — ось, 2 — рама
Поршни с шатунами в сборе снимают попарно (1—5, 2—6, 3—7 и 4—8 цилиндров), повора чивая коленчатый вал. Далее снимают шкив коленчатого вала и крышку распределительных шестерен, отвертывают болты крышек коренных подшипников, проверяют их клеймение, снимают крышки и маслоотража тель, снимают коленчатый вал с маховиком и сцеплением при помощи тали. Отвернув два болта, крепящих фланец к блоку цилиндров, осторожно вынимают распределительный вал, чтобы вершинами кучков не повредить втулки вала.
Рис. 4. Стенд для разборки-сборки передних и задних мостов:
1 — кронштейн, 2 — лоток, 3 — захваты
Изогнутый кронштейн на концах имеет чугунные захваты 3 тисочного типа для крепления ремонтируемых мостов. Лоток предназначен для инструментов и деталей, необходимых для разборки-сборки.
Разборку передней оси выполняют в такой последовательности: снимают ступицы колес в сборе с тормозными барабанами и подшипниками, поперечную и продольную рулевые тяги, тормозные камеры (ЗИЛ), тормозные колодки и разжимные кулаки, выпрессовывают рычаги из отверстий поворотных цапф, после выбивания клиньев выпрессовывают шкворни. Затем разбирают узлы: диски крепления тормозных колодок, ступицы, рулевые тяги.
Мойки для агрегатов
Очистка узлов и запчастей автомобиля – один из важных моментов ремонта. За время нормальной эксплуатации транспортного средства все его внутренние детали, так или иначе, загрязняются. В результате показатели работы авто снижаются, а если не принять меры к устранению такой проблемы, то любой из агрегатов в самый неподходящий момент может прийти в негодность.
Поэтому ремонтные работы практически на любом СТО начинаются с мойки узлов транспортного средства.
До недавних пор чтобы помыть внутренние детали и узлы автомобиля, мастер брал кисточку, которой обычно красят какие-нибудь поверхности, обмакивал ее в бензол и как можно тщательнее пытался обработать все поверхности. Какой-то результат эта операция давала, но об эффективности речи не было. Сегодня в распоряжении автомастерских нет такого огромного количества времени, которое затрачивалось на мойку агрегатов «дедовским» способом. Кроме этого, промывка деталей автомобиля при помощи бензола достаточно опасная операция как для мастера, так и для окружающей среды. Вредные летучие вещества, которые имеются в составе любого растворителя, раздражают слизистые оболочки и могут привести к различного рода заболеваниям дыхательных путей. И пожароопасность возрастала в разы.
Сегодня существует огромное количество специализированного оборудования, призванного помочь мастерам на станциях техобслуживания решить проблему очистки внутренних агрегатов транспортного средства.
Наша компания предлагает вам широкий выбор моек для агрегатов автомобилей.
Во всех предлагаемых моделях данного оборудования в процессе мойки узлов применяются специальные составы для мытья. Моющие средства подаются во внутренний бак моечной установки под высоким давлением. Для мойки агрегатов может быть использована либо холодная вода, либо горячая.
Мойки для агрегатов, представленные в нашем магазине, делятся на несколько типов:
- Установки моечные для транспортных средств разных габаритных размеров.
- Ванны для мойки деталей.
- Мойки деталей с подогревом.
- Пневматические мойки.
- Автоматические мойки.
- Мойки с электрическими насосами.
Ванна для мойки деталей – оборудование, которое состоит из емкости для мытья, устройства для подачи моющего состава, электронасоса или пневматического привода. Различаются такие установки объемом емкости для мытья. В нашем магазине представлены ванны на 75 л и 150 л.
Мойка для деталей с подогревом в процессе работы использует горячую воду. Температура воды может достигать 750С. Эти установки имеют достаточно габаритные размеры. Такое оборудование комплектуется внешней изоляцией, дренажным насосом, вытяжкой пара. Установка автоматически контролирует уровень воды. Такие агрегаты хорошо очищают внутренние узлы транспортных средств от нагара, жира, различных смазок и прочих загрязнений.
Установка моечная станет вашим надежным партнером в ремонте автомобиля. Такие мойки оснащаются электронасосом, пневматическим приводом. Те установки, которые используются для мытья малогабаритных деталей, обычно имеют электромеханическое управление. Размеры установок моечных зависят от того, для мытья каких деталей они будут использованы.
Все оборудование зарекомендовало себя, как экономически эффективное, а также имеет высокие эксплуатационные, качественные характеристики. Менеджеры нашей компании окажут квалифицированную помощь в выборе оптимальной и надежной мойки для агрегатов.
Очистка деталей двигателя
Современные процессы очистки деталей позволяют справиться даже с самыми сильными отложениями смазки, масла и грязи, обычно наблюдаемыми при ремонте двигателя. Фото предоставлено ARMEX.
Очистка — трудоемкий и дорогостоящий процесс для большинства ремонтников. Согласно последнему профилю рынка механических мастерских производителя двигателей , ремонтники говорят, что они тратят более 15 процентов своего общего производственного времени на очистку.
Из-за государственного регулирования или признания того, что некоторые виды «традиционной» очистки вредны для окружающей среды и здоровья сотрудников, особое внимание уделяется процессам очистки, используемым на предприятиях по ремонту двигателей. Более безопасные и менее токсичные методы продолжают укрепляться в современных профессиональных магазинах.
Ежедневная очистка деталей двигателя — будь то мелкие детали, такие как фитинги и крепежные детали, более крупные детали, такие как шатуны и поршни, или даже головки цилиндров и блоки цилиндров — требует все большего и большего внимания к трем аспектам: экономичность, эффективность и экологичность.
осведомленность. Но хотя у магазинов может быть одна и та же конечная цель — чистые детали, — методы, из которых они могут выбирать, могут быть самыми разными.
То, что кажется достаточно хорошим, уже не так, и хотя не существует ни одной системы, которая удовлетворит все ваши потребности в уборке, хорошая новость заключается в том, что системы, доступные сегодня, могут оказать положительное влияние на эффективность магазина, экономику бизнеса и воздействие на окружающую среду.
Стоимость оборудования, химикатов, рабочей силы, техническое обслуживание и утилизация могут быть значительными, но расходы на очистку являются важными затратами при ведении бизнеса. Неправильное выполнение может потребовать еще больших затрат на работу или замену деталей.
Варианты очистки: Содовая струйная обработка
Многие современные мелкие детали могут быть легко повреждены агрессивными методами очистки, такими как дробеструйная очистка. Однако очистка деталей путем пескоструйной обработки поверхности бикарбонатом натрия (пищевой содой) стала популярной альтернативой другим традиционным пескоструйным средам.
Будучи растворимой в воде и относительно мягкой средой (показатель твердости всего 2,5 по шкале Мооса), пищевая сода не травит и не упрочняет поверхность очищаемых деталей. Он очень эффективен для алюминия и может удалить грязь, жир, масло и даже краску. Это также идеальный чистящий материал для удаления нагара с поршней.
Сода может использоваться как в камере сухой струйной очистки, так и в виде суспензии в камере пароструйной очистки. Вам также не нужно предварительно промывать детали перед струйной очисткой содой, как если бы вы чистили стеклянными шариками или подобным средством. Сода также является экологически чистой. Не оставляет следов на деталях, нетоксичен, негорюч и сразу же смывается водой.
Пищевая сода обычно доступна в трех размерах (маленький, большой и очень большой) и может содержать другие добавки для предотвращения комкования при использовании во влажной среде. Его также можно смешивать с оксидом алюминия, если требуется более агрессивная очистка.
Некоторые магазины также смешивают дробь из нержавеющей стали небольшого размера с содой, если они хотят получить эффект дробеструйной обработки во время очистки.
Так как сода такая мягкая, она рассыпается при попадании на поверхность металла. Это создает много пыли и означает, что его можно использовать только один раз (в отличие от стеклянных шариков и стальной дроби, которые можно использовать повторно много раз). Для улучшения видимости оператора в некоторых камерах для сухой струйной очистки предусмотрена регулируемая схема воздушного потока, которая помогает предотвратить попадание пыли в окно.
При использовании в пароструйной системе сода смешивается с водой и другими ингредиентами для образования суспензии. Суспензия прокачивается через распылительное сопло для очистки детали, а затем рециркулируется, что позволяет повторно использовать материал три или четыре раза в процессе очистки. Шламовый раствор можно использовать либо в ручном дробеструйном шкафу, либо в автоматизированной системе с несколькими соплами.
За циклом очистки следует цикл ополаскивания для удаления всех следов шлама.
Шлам стирается по мере очистки, обеспечивая более быструю и эффективную очистку. Кроме того, в отличие от дробеструйной или дробеструйной обработки, при этом не образуются мелкие трещины, которые впоследствии могут помешать обнаружению трещин.
Варианты очистки: Водные растворы
Часто перед механическими мастерскими и производителями двигателей стоит задача найти решения для очистки, которые были бы экономически эффективными и экологически безопасными. Опасений по поводу растворителей много: летучие органические соединения (ЛОС), которые способствуют образованию смога, могут быть токсичными при вдыхании; растворители быстро испаряются, что затрудняет контроль и мониторинг воздействия на рабочих; и юридические ограничения диктуют, как и где вы можете утилизировать отходы.
По этим причинам водная очистка прочно закрепилась на современных предприятиях по ремонту двигателей.
Существует множество различных водных растворов для эффективной очистки чугунных и алюминиевых деталей, и, по словам производителей оборудования для очистки на водной основе, моющие средства и моющие средства на водной основе очищают так же эффективно, как и растворители, при условии, что оборудование и чистящие растворы обслуживаются. правильно.
Водная очистка также выполняется быстро. Типичный цикл стирки и полоскания может занять от 10 до 15 минут по сравнению с часами замачивания в емкости с щелочью или растворителем. Автоматические распылительные мойки и проточные системы означают, что вы можете загрузить детали, нажать кнопку и уйти, что устраняет необходимость в ручной очистке и чистке щеткой. Это высвобождает время для других задач, таких как оплачиваемый труд на станках или сборочных работах, и помогает повысить общую производительность и прибыльность цеха.
Чистая вода, зеленая вода?
В процессах очистки на водной основе очень важно выбрать «правильное» моющее средство и/или химикат для применения.
Одно и то же оборудование может очищаться по-разному при использовании разных моющих средств. Некоторые чистящие средства предназначены для определенных типов применения, таких как алюминий или чугун, в то время как другие являются чистящими средствами «общего назначения». Лучший совет здесь — следовать рекомендациям поставщиков вашего оборудования по использованию химикатов.
Некоторые производители рекомендуют использовать более мягкое или менее агрессивное чистящее средство для алюминия, поскольку некоторые продукты, предназначенные для очистки черных металлов, могут травить или обесцвечивать алюминий, что затрудняет получение яркой поверхности, как у нового. Да, это может означать, что вам придется инвестировать в отдельные процессы для очистки чугуна и алюминия, потому что, опять же, производители говорят, что универсального решения для всех областей применения не существует.
Использование разных чистящих растворов для алюминия и чугуна может усложнить процесс очистки, поэтому некоторые ремонтники устанавливают отдельные линии очистки для каждого типа металла.
Многие восстановители также используют разные методы очистки для разных металлов, используя распылительную мойку для алюминия и печь для очистки чугунных блоков и головок. Другие могут использовать духовку для выпекания жира и масла и распылительную мойку, а не дробеметную очистку, чтобы счистить накипь и пепел, оставшиеся в духовке. Распылительные мойки также являются популярным выбором для окончательной очистки от масел и остатков после механической обработки деталей.
Некоторые производители оборудования для очистки воды продают свои собственные марки моющих средств и/или химикатов, в то время как другие этого не делают. Большинство поставщиков оборудования предоставляют список рекомендуемых продуктов для своих стиральных машин. Распылительные мойки, которые работают при более низком давлении и в большей степени полагаются на поверхностно-активное действие моющего средства при очистке деталей, будут более чувствительны к типу используемого очистителя и концентрации очистителя в растворе, чем оборудование, которое работает при более высоком давлении и в большей степени зависит от Сила воды разрыхляет и удаляет грязь.
Чтобы вода очищала эффективно, чем горячее, тем лучше — до определенного предела. Рекомендуемый диапазон температур будет варьироваться в зависимости от типа оборудования и используемых химикатов и может составлять от 105° до 190° F. Многие распылительные мойки лучше всего работают в диапазоне от 140° до 180° F. Однако, если температура воды слишком высокая, потеря воды из-за испарения может стать проблемой, требующей большего количества подпиточной воды для поддержания моющего раствора. Некоторые поставщики оборудования рекомендуют при очистке алюминия несколько более низкую температуру воды, а другие — нет.
Техническое обслуживание включает добавление подпиточной воды по мере необходимости для компенсации потери воды во время операций очистки и испарения, добавление моющих средств и других химических веществ, таких как ингибиторы ржавчины, для поддержания надлежащего баланса в растворе, замену или очистку фильтров и маслоотделителей. по мере необходимости для замедления накопления загрязняющих веществ и периодического удаления шлама и других твердых частиц, скапливающихся на дне оборудования для очистки.
Ключом к успешной очистке деталей с помощью большинства процессов на водной основе является поддержание чистоты воды. Чистая вода особенно важна для распылительных моек, потому что грязная вода может забивать распылительные сопла, снижая общую эффективность процесса очистки. Распылительные и механические мойки в основном зависят от силы удара воды о поверхность, чтобы разрыхлить и смыть грязь и жир, но многие также полагаются на моющие средства или другие химические вещества для завершения работы.
Фильтры и скиммеры могут продлить срок службы раствора, но не могут делать это бесконечно, если не используются другие средства для обработки и восстановления раствора. Утилизация любого типа жидкого процесса очистки может быть проблемой.
Грязная вода представляет меньшую опасность для окружающей среды, чем растворители, но это зависит от загрязнителей, содержащихся в воде. Тяжелые металлы, такие как свинец, кадмий и хром, являются основными проблемами, и их можно минимизировать, удаляя подшипники и детали с гальваническим покрытием перед промывкой.
Но если вода содержит значительное количество этих загрязняющих веществ, ее, возможно, придется утилизировать как опасные отходы. По этой причине сточные воды всегда следует проверять, чтобы определить, что в них содержится и требуется ли особое обращение.
Разработаны новые методы обработки сточных вод, которые буквально удаляют отходы из раствора. После этого вода обычно становится достаточно чистой, чтобы ее можно было вернуть в очистное оборудование, переработать или слить в канализацию. Удаленные отходы часто можно просто захоронить на свалке, хотя в зависимости от оставшихся химических веществ могут быть более подходящими другие методы удаления.
Системы водной очистки
• Ручная система. По сути, это раковина на барабане, которая рециркулирует нагретый раствор на водной основе. Отфильтрованный поток водного чистящего раствора с температурой от 100° до 115° F смывает грязь и масло, когда детали очищаются с помощью знакомой щетки на конце шланга.
Эксперты говорят, что многие из этих барабанов и раковин также переоборудуются в системы биоремедиации.
Система биоремедиации представляет собой раствор на водной основе, содержащий микробы, живые организмы, питающиеся нефтью. Микробы, питающиеся нефтью, превращают жир и другую грязь в воду и углекислый газ.
Этот процесс относительно медленный и требует поддержания температуры воды в определенном диапазоне, обычно не выше 110–120 °F, и регулярного пополнения запасов микробов.
• Система погружения. Это менее трудоемкий метод, при котором детали достаточно просто погружаются в очищающий раствор. В баке погружного очистителя подъемная платформа перемещается вверх и вниз во время процесса очистки. Этот тип системы также можно использовать в качестве резервуара для замачивания.
В дополнение к подъемной платформе можно добавить циркуляционный насос для обеспечения большей турбулентности в резервуаре. Это перемещает чистящий раствор по кругу внутри резервуара, создавая дополнительное очищающее действие.
Погружные шайбы очень эффективны для сложных деталей — с глухими отверстиями, каналами и т.
д. В процессе перемешивания чистящий раствор проникает во все узкие места детали двигателя.
• Моечная машина или моечная машина. По сути, это промышленная посудомоечная машина. В струйных моющих машинах используется схема распылительных форсунок, которые распыляют чистящий раствор с моющими средствами под некоторым давлением (обычно 40–60 фунтов на квадратный дюйм) на детали. Сочетание давления воды, воздействующего на поверхность, и вторичного действия воды и моющего средства. диспергирование и ополаскивание удаляет загрязняющие вещества, эффективно очищает большинство автомобильных деталей.
Недостаток струйной мойки шкафов на самом деле является преимуществом погружной мойки, объясняют эксперты. Форма распыления струйной мойки очень хорошо очищает то, на что она попадает. Но он не может проникнуть в труднодоступные места — например, в глухие отверстия, — а если он не сможет туда попасть, он не сможет очиститься.
Существует несколько различных типов распылительных шкафов.
Моечные шкафы с фронтальной загрузкой обычно имеют разбрызгиватели под корзиной, сверху корзины и по бокам, чтобы обеспечить полное покрытие брызг. Еще один тип стиральных машин — с вертикальной загрузкой. Преимущество этой конструкции в том, что для погрузки можно использовать мостовой кран.
Распылительные или струйные мойки обычно используют V-образные форсунки и некоторый тип стационарной системы коллектора для направления воды на детали, расположенные на поворотном столе внутри шкафа. На некоторых стиральных машинах детали неподвижны, а форсунки вращаются для изменения формы струи.
Распылительные шкафы высокого давления расширяют возможности очистки. Они требуют ручного управления и создают давление около 400-600 фунтов на квадратный дюйм. Это дает высокую степень воздействия водного чистящего раствора для очистки даже деталей с глухими, труднодоступными участками.
Распылители и мойки высокого давления бывают различных размеров и конфигураций по цене от 6000 до 50 000 долларов и более.
• Ультразвуковые мойки очень эффективны и используются в основном для удаления нагара и пригара на маслах. Процесс особенно эффективен при очистке глухих отверстий и геометрически сложных деталей.
Ультразвук — это наука о звуковых волнах выше частоты, обычно слышимой для человека (выше 18 килогерц). Когда вибрации на этих высоких частотах вводятся в жидкости, области чрезвычайно высокого вакуума и чрезвычайно высокого давления генерируются попеременно в любой заданной точке жидкости по мере прохождения звуковых волн. Под действием вакуума жидкость буквально разрывается, создавая так называемый кавитационный пузырь. Поскольку положительное давление заменяет вакуум, который образовал кавитационный пузырь, он схлопывается при взрыве, что приводит к ударным волнам высокого давления, которые выполняют работу, которую мы приписываем ультразвуку.
Результат: Энергетические возмущения, вызванные схлопыванием бесчисленных кавитационных пузырьков. Они выполняют задачу очистки, обеспечивая микроперемешивание по всему объему жидкости.
Когда дело доходит до очистки деталей, факт остается фактом: у вас есть варианты. Это будет зависеть от того, что работает лучше всего и какой метод вы предпочитаете.
Руководство по очистке деталей двигателя для восстановления автомобилей
Восстановление автомобилей становится все более популярным, поскольку все больше людей во всем мире держат автомобили в течение длительного периода времени. Личные транспортные средства и полуприцепы устаревают, и для продолжения эксплуатации им требуются высококачественные запасные части. Восстановители удовлетворяют эту потребность, используя детали для бензиновых и дизельных двигателей, которые соответствуют или превосходят стандарты производителя оригинального оборудования.
Все авторемонтные мастерские и сервисные центры нуждаются в эффективной очистке деталей двигателя. Перед восстановлением двигателей компаниям необходимо обезжирить бывшие в употреблении детали двигателя и удалить остатки или пыль от механической обработки.
Моющие средства для очистки деталей на водной основе очищают компоненты двигателя для повышения производительности и соответствия строгим стандартам. Как выбрать мойку деталей двигателя? Какие у вас есть варианты очистки? Узнайте больше об очистке деталей для восстановления и восстановления двигателя.
В этой статье мы рассмотрим следующие темы:
- Рынок восстановления
- Очистка деталей двигателя для восстановления
- Очистка деталей двигателя для восстановления
- Варианты очистки деталей двигателя
- Лучшие мойки автомобильных деталей
9000Спрос на восстановленные автомобильные детали растет. По мере того, как все больше людей во всем мире приобретают автомобили, увеличивается количество автомобилей старше 10 лет. Американцы держатся за личные автомобили дольше, чем когда-либо. В 2020 году средний возраст автомобиля на американских дорогах составлял 12 лет.
Потребность в восстановленных автозапчастях
Старые автомобили нуждаются в замене, так как компоненты изнашиваются и ломаются.
Когда на дорогах преобладают старые автомобили, у производителей, производящих ремонт, появляется возможность продавать больше деталей клиентам, которые ищут доступные замены. Восстановленные автомобильные детали стоят всего на 50–70 % меньше, чем оригинальные запчасти, что является большим преимуществом для клиентов, нуждающихся в ремонте.
Рынок компонентов двигателей
Бензиновые и дизельные двигатели пользуются большим спросом. Детали двигателя составляют 30% доли стоимости в отрасли восстановления автомобилей.
Этими компонентами могут быть небольшие крепежные детали или более крупные детали, такие как головки цилиндров и блоки цилиндров. Независимо от типа или размера детали, все детали двигателя должны быть очищены до того, как они попадут к покупателю.
Специалисты по восстановлению автомобилей восстанавливают бывшие в употреблении компоненты бензиновых и дизельных двигателей, используя основные детали для производства деталей, которые соответствуют или превосходят стандарты OEM.
Восстановленные детали двигателя отличаются последними обновлениями и конструктивными изменениями.
Электроника играет более важную роль в восстановлении двигателей, чем когда-либо прежде. Двигатели с электронным управлением обычно имеют простые настройки форсунок, и проблемы легко диагностировать, если у компаний есть подходящее оборудование.
Специалисты по восстановлению двигателей должны соблюдать строгие допуски и отделку. В новых двигателях указаны более жесткие допуски и более высокие стандарты очистки. Известно, что частицы размером до 20 микрон вызывают проблемы в новых топливных системах.
Эффективная очистка деталей удаляет загрязнения, оставшиеся после механической обработки. Моечные машины для автозапчастей могут соответствовать требованиям к очистке, которые нужны ремонтникам.
Обезжиривание деталей двигателя при ремонте требует много времени. Автосервисы тратят более 15% рабочего времени на очистку деталей.
Некоторые мастерские могут тратить от 20% до 30% общих накладных расходов только на очистку деталей, особенно если очистка выполняется вручную.
Уборка может стать дорогостоящим мероприятием, если вы добавите затраты времени, труда, материалов и оборудования.
Механики и другие обслуживающие работники имеют тесный контакт с деталями двигателя. Многие сервисные центры ищут более безопасные и менее токсичные процессы очистки, чтобы защитить сотрудников и снизить затраты на утилизацию отходов. Моющие средства на водной основе легко автоматизируют процесс очистки и помогают вашей команде обезжиривать компоненты двигателя.
Как очистить детали двигателя перед механической обработкой
Будь то восстановление или восстановление двигателей, очистка часто является первым шагом в этом процессе. Загрязняющие вещества могут повредить ваше обрабатывающее оборудование и затруднить работу с деталью.
Первоначальная промывка удаляет накопившуюся грязь, жир и нагар перед обработкой. После того, как компоненты двигателя будут чистыми, вы сможете обнаружить волосяные трещины или дефекты на поверхности детали, чтобы их можно было устранить.
Как очистить детали двигателя перед сборкой
Очистка деталей является важным первым и последним этапом. Детали загрязняются во время резки, механической обработки и шлифовки. С деталей необходимо удалить режущие смазки, металлическую стружку и другие виды мусора.
Все, что осталось на деталях, впоследствии может повредить двигатель. Остатки хонингования могут повредить кольца. Металлическая стружка может попасть в каналы блоков цилиндров. Если вы знаете, как очистить детали двигателя перед сборкой, вы предотвратите попадание потенциально вредных загрязняющих веществ внутрь двигателя.
Существует множество способов очистки и обезжиривания деталей двигателя. Поиск лучшего оборудования для очистки автомобильных деталей для вашего применения может быть сложной задачей. Некоторые методы и чистящие средства более безопасны или эффективны, чем другие.
Не следует: Использовать уайт-спирит для очистки деталей двигателя
Уайт-спирит в качестве очистителя деталей двигателя? Нет, спасибо.
Уайт-спириты — это 100% нефтяные дистилляты. Недорогой и эффективный уайт-спирит подвергает сотрудников воздействию токсичных паров. Эти пары могут вызвать рвоту, головные боли и потерю координации.
Уайт-спириты считаются летучими органическими соединениями (ЛОС), представляющими собой углеродсодержащие химические вещества, которые немедленно испаряются. Поскольку эти растворители на нефтяной основе быстро испаряются, их воздействие трудно контролировать. Уайт-спириты также легко воспламеняются, что увеличивает риск возгорания и взрыва.
Не следует: Попробуйте керосин для очистки деталей двигателя
Керосин может быть обычным очистителем деталей двигателя, но он не очень эффективен для удаления тяжелой смазки. Как и уайт-спирит, использование керосина для очистки деталей двигателя опасно. Керосин легко воспламеняется и токсичен при вдыхании. Соединения, входящие в состав керосина, такие как нафталин и бензол, могут представлять опасность для здоровья после длительного или многократного воздействия.![]()
Не следует: Очистка деталей с помощью пескоструйной обработки
Бикарбонат натрия или пищевая сода может использоваться для пескоструйной обработки поверхностей деталей и удаления грязи. Пищевая сода — более мягкий материал, поэтому обработка содой не царапает поверхности деталей и не оставляет следов. Он также негорючий и нетоксичный. Обратная сторона? Сода не может быть переработана или использована повторно.
Сделать: Перейти на очистку деталей на водной основе
Лучший способ очистки деталей двигателя — с помощью промывочной жидкости для деталей на водной основе. Водная очистка позволяет отказаться от токсичных растворителей.
Моющие средства для очистки деталей на водной основе очищают раствором на водной основе и распылением под высоким давлением, погружением или перемешиванием. Не выделяя токсичных паров, водные моющие средства очищают компоненты двигателя так же эффективно, если не лучше, чем моющие средства на основе растворителей.
Производители автомобилей могут повторно использовать водный раствор для очистки, чтобы снизить затраты на утилизацию, материальные затраты и использование пресной воды. Фильтры и системы коалесцирования масла продлевают срок службы раствора, удаляя масло.
Эти водные моющие средства отлично подходят для очистки восстановленных автомобильных деталей. Jenfab разрабатывает устройства для мойки деталей двигателя в точном соответствии с вашими спецификациями. Мы можем изготовить на заказ машину для промывки определенного компонента двигателя или спроектировать систему для очистки нескольких разных деталей.
Моечные машины для деталей конвейерных лент
Моечные машины для ленточных конвейеров легко интегрируются в ваш рабочий процесс для очистки больших объемов только что обработанных деталей. Компоненты двигателя могут перемещаться непосредственно с обрабатывающих станций с ЧПУ на мойку ремня с помощью роботов захвата и размещения. Настройте необходимое количество баков для промывки, ополаскивания и сушки, чтобы получить наилучшую возможную чистоту.
Машины для мойки деталей LeanClean 360
LeanClean 360 — это машина для мойки деталей с вращающейся корзиной, которая поставляется в нескольких настраиваемых категориях размеров. Поместите детали в корзины и позвольте LeanClean 360 сделать всю работу за счет сочетания распыления, погружения и ультразвуковой очистки. Если у вас есть критические или точные требования к очистке, компактный LeanClean 360 может достичь ваших целей.
Машины для мойки деталей с вертикальным перемешиванием и вращением
Независимо от того, хотите ли вы автономную систему или встроенную подачу, мойка с вертикальным перемешиванием может решить ваши задачи по очистке деталей. Эта система погружает детали двигателя в чистящий раствор, позволяя ему течь в проходы, глухие отверстия и углубления. Восстановители выигрывают от дополнительного вращения корзины, которое перемешивает чистящий раствор и детали.
Моющие средства для ремонта двигателей
Не следует мыть детали вручную и с использованием моющих ванн.
Небольшие мастерские по техническому обслуживанию также выигрывают от водяных моек деталей. С установкой для мойки деталей на полу ваши механики и технические специалисты больше не несут ответственности за ручную очистку мелких деталей. Вы сократите время и трудозатраты, поскольку сотрудники будут выполнять другие задачи, пока машина убирает.
- TL с верхней загрузкой . Наша стиральная машина TL с вертикальной загрузкой оснащена поворотным столом с зубчатым приводом, диаметр которого может быть изменен до 120 дюймов. В зависимости от размера, который вы запрашиваете, TL с вертикальной загрузкой идеально подходит для очистки мелких компонентов или работы с крупными деталями.
- Косатка . Orca — это моечная машина с фронтальной загрузкой для рулонных дверей. Он очищает более эффективно, чем мойки высокого давления и скрубберы, оставаясь при этом компактным. Тяжелая уборка? Легкая уборка? Orca может выполнить и то, и другое!
- ШТ.


Объёмы работ при ТО, их периодичность и среднесетевые нормы простоя подвижного состава при выполнении работ устанавливаются действующими нормативно-технического документами.
Окончание опробования тормозов фиксируется письменно справкой, которая выдаётся машинисту локомотива а свидетельствует об обеспеченности поезда тормозным нажатием. ТО тормозного оборудования производят в соответствии с типовым технол. процессом работы ПТО и действующей Инструкцией по эксплуатации тормозов подвижного состава.
При проведении осмотров производится несложный ремонт или замена отд. устройств. В случае необходимости проведения работ большего объёма состав подаётся в электродепо и неисправный вагон поступает в ремонт и заменяется резервным.
Технические обслуживания ТО-1, ТО-2 и ТО-3 служат для
Пункты технического обслуживания дизель- и электропоездов должны




После этого мы подтвердим вашу встречу. После этого все, что вам нужно сделать, это появиться. Мы также можем сохранить вашу информацию, чтобы упростить планирование обслуживания в будущем.
Если у вас есть какие-либо вопросы, позвоните нам по телефону (888) 305-0463, чтобы поговорить с консультантом по обслуживанию.
Подробную информацию о производителе продукта или регистрационной информации EPA можно получить у представителя службы поддержки AutoNation. © 2020 Компания Клорокс Профессиональные Продукты. Логотипы Clorox и Clorox Total 360 являются зарегистрированными товарными знаками компании Clorox.
Планируя регулярную замену масла, вы помогаете своему автомобилю работать в лучшем виде долгие годы.
Независимо от ситуации, мы всегда предлагаем зайти в наш сервисный центр, чтобы один из наших технических специалистов мог правильно диагностировать индикатор проверки двигателя и выполнить необходимый ремонт.

Мы обеспечим изготовление самосвальной техники с необходимыми габаритами и…
Стало известно…
Даже с такой хорошей вместительностью ГАЗ 330811 может функционировать в очень жестких условиях, а именно в диапазоне температур на 50 градусов Цельсия выше и ниже нуля, без проблем сохранять свое предназначение в условиях высокогорий (до 4.5 км над уровнем неба) и преодолевать перевалы до 4,65 км. Без дополнительной подготовки машина Вепрь может проходить брод до 1 м в глубину.


Это – зверь, а не машина! Как он движется! А мотор… такое ощущение, что под капотом сидит настоящий тигр, а не кусок железа. Я влюбился в Вепря с первой минуты, думаю такого же мнения о нем будете и вы.
Лично я отношу себя к таковым.
Салон обладает продуманной эргономикой. Интерьер «гражданского Вепря» продуман и выполнен в едином ключе с другими грузовиками семейства «Next».
Машина должна была легко двигаться по снегу, гололеду и пустыне.




с.





Новосибирск
Москва, Волокамское шоссе, 69, стадион «Открытие Арена»,домашний стадион футбольного клуба «Спартак» (Москва)
Новокузнецк (один из действующих цехов завода крупного металлургического производства)
Быстрозажимные механизмы для крепления мотора и смены сверла. Бурение под углом и в углах, близко к стенам.
0011 MNN из лагеря в Вину на прошлой неделе.
0003

0003

Благодаря истории сильных ураганов в Майами, этот дом спроектирован как убежище во время шторма.
Предыдущее здание сгорело в результате пожара, из-за которого для внешней отделки требовалось использовать огнестойкие материалы.
Архитектурной фирме Walker and Moody было поручено создать действительно индивидуальный дом для ограниченного участка.
насыщенный весенний строительный сезон 2011 года!
Среда обитания для человечества построена таким образом, чтобы противостоять ветру со скоростью 145 миль в час, с использованием стальной фундаментной системы OTI, рассчитанной на ураганы HUD. Этот полностью стальной дом площадью 900 кв. футов, 2BR/1BA, был подарен району Аркадия-ДеСото из-за сильных разрушений, вызванных ураганом Чарли.
Пострадавшие от стихийных бедствий и бедные районы во всем мире продолжают бороться за замену жилья, утраченного в результате стихийных бедствий, поскольку некоммерческие и государственные организации не смогли распределить большие суммы средств, связанных с жильем, собранных до сих пор. Организации, кажется, сбиты с толку и зашли в тупик из-за огромного количества вариантов дешевого сборного жилья, которые постоянно выводятся на рынок компаниями, которые летают по ночам, надеясь извлечь выгоду из разрушений, связанных со стихийными бедствиями. Многие жертвы землетрясений в Чили, Гаити, Китае и Мексике остаются без крова даже спустя месяцы после первоначального события из-за нерешительности со стороны финансирования транспортных средств.
Правительственным организациям, таким как FEMA, еще предстоит полностью реализовать долгосрочные жилищные решения.

Всему виной химические реакции, протекающие внутри АКБ. Из-за них любая батарейка незначительно набухает и сжимается, что создает небольшие трещины внутри. Как итог — аккумулятор способен принять меньше энергии, чем раньше.
В ее определении тоже помогают специальные приложения наподобие AccuBattery, однако узнать фактическую емкость удастся не сразу. Для этого придется выполнить некоторые действия:
Именно такой батарейкой оснащается большинство устройств, представленных на рынке. При этом смартфон с АКБ на 5 000 мАч может работать меньше, чем модель с аккумулятором на 4 500 мАч, так как на скорость разряда влияет не только емкость, но и вспомогательные факторы.
Ведь даже владельцам iPhone порой не хватает автономности, хотя Apple ее ежегодно увеличивает, в основном, конечно, программными методами. Давайте разберемся, какие батареи будут в новых Айфонах, сравним их с предыдущими моделями и попробуем понять, как изменится время автономной работы.
Apple не стала заново придумывать велосипед и создавать батарею для новой модели, поэтому нет сомнений, что iPhone 14 Plus на том же чипе A15 Bionic проработает около 10 часов. Впрочем, iPhone 14 Plus — новичок в линейке, поэтому он будет явно выносливее своего предшественника — iPhone 13 mini с батареей 2427 мА*ч.
Вот, что мы увидим в этом году.
Это число представлено ватт-часами или Wh. Не ампер-час или даже миллиампер-час, которые большинство маркетологов любят писать в рекламе и на продуктах, это только часть ответа. (Также помните, что старые типы батарей, такие как свинцовые батареи, не прослужат долго, если вы используете более половины того, что в них содержится.)
В большинстве случаев ампер и час уже умножены, поэтому уравнение просто вольт, умноженное на ампер-час, равно ватт-часу. Это часто то, что вы найдете напечатанным на батарее.


Мы обычно измеряем эту энергию в ватт-часов , что соответствует одному ватту мощности, поддерживаемой в течение одного часа.
Отсюда окончательный вариант формулы емкости аккумулятора выглядит так:


Таким образом, с пакетом «Стеллажный кран-штабелер» вы достигнете необходимой надежности своих систем.
. и DR..


Ульяновск Заготовительно-штамповочное производство
Краны-штабелёры работают в автоматическом режиме.
В качестве приводов применены мотор-редукторы SEW Eurodrieve, частотные преобразователи – Movitrac.
В качестве приводов применены мотор-редукторы SEW Eurodrieve, частотные преобразователи – Movitrac. Краны-штабелёры работают в автоматическом режиме.
В качестве приводов применены мотор-редукторы SEW Eurodrieve, частотные преобразователи – Movitrac. Краны-штабелёры работают в автоматическом режиме.
М. В. Хруничева»,

В качестве приводов применены мотор-редукторы SEW Eurodrieve, частотные преобразователи – Movitrac.
В качестве приводов применены частотно-управляемые мотор-редукторы.
В качестве приводов применены частотно-управляемые мотор-редукторы.
В качестве приводов применены частотно-управляемые мотор-редукторы.


Используя краны-штабелеры, мини-грузовая система имеет стандартную горизонтальную скорость 590 футов в минуту и стандартная скорость вертикального подъема 328 футов в минуту, что сокращает время комплектования и эффективность работы оператора.
Благодаря трем режимам работы: полностью автоматическому, полуавтоматическому или ручному, а также удобному для пользователя программному обеспечению для управления складом обучение работе с системой упрощается. Хотя чаще всего используются пластиковые ящики (сумки), система совместима с металлическими контейнерами, пластиковыми лотками, складными сумками или картонными ящиками/коробками.
В зависимости от габаритов груза или желаемой рабочей скорости кран-штабелер может быть одномачтовым (одномачтовый) или двухмачтовым (двухмачтовый).
высота – двойная глубина
ускорение подъема
высота
Эти типы кранов-штабелеров более устойчивы и надежны, чем двухмачтовая разновидность , что делает их идеальными для работы с тяжелыми грузами. Они также обеспечивают высокую пропускную способность благодаря своей маневренности.
высота – двойная глубина
габариты груза
допустимая нагрузка
Шаттл может заходить в каналы глубиной до 40 м.
в любое время.
При работе со стеллажами одинарной глубины устанавливается один двигатель, а со стеллажами двойной глубины используется два двигателя.
На два двухмачтовых крана-штабелера возлагается задача обработки до четырех паллет весом не более 600 кг.
д.), тип необходимых материальных потоков, макет склада и ваш бюджет.




extech.ru, формирование и отправление уведомления в Министерство образования и науки РФ.
extech.ru (в случае необходимости).
11.2010 № 310-ФЗ «О внесении изменения в статью 346.12 части второй Налогового кодекса Российской Федерации»;
Маршрут охватит более 50 крупных и малых городов России. Проект призван привлечь внимание людей к проблеме загрязнения окружающей среды автомобилями и развивающейся отрасли экотранспорта.
Cityscoot — под таким названием в Париже теперь можно найти электроскутеры, доступные для краткосрочной аренды. Система напоминает уже успешно действующие cервисы проката электромобилей Autolib’ и аренды велосипедов Velib’. Основным отличием является отсутствие у Cityscoot специальных стоянок — мотороллеры припаркованы в любом разрешенном для этого месте, а найти их можно при помощи специального приложения для смартфонов.
таких транспортных средств. В трех крупнейших мегаполисах страны — Пекине, Шанхае и Шэньчжэне — была создана крупномасштабная сеть для подзарядки электромобилей. Страна второй год подряд продолжает удерживать лидерство в этом сегменте автотранспорта. К настоящему моменту в мире продано более 1 млн «зеленых» китайских автомобилей.
единиц).
Второй по популярности является модель Mitsubishi i-MiEV (20 автомобилей), продажи которой в России уже прекращены, отмечают в «Автостате». Третью позицию занимает Nissan Leaf (18 автомобилей).
По прогнозам главы Минэнерго Александра Новака, к 2020 году количество электромобилей в России может достигнуть 200 тыс.
«Россети» предлагают властям столицы разрешить электромобилям ездить по выделенным полосам. Это будет способствовать популяризации электромобилей и создаст предпосылки для их развития, считает Бердников.
Главное преимущество — возможность автономной зарядки по ходу движения.
У нас есть простых машин, которые проектируют идей для учащихся детского сада, первого класса, 2-го класса, 3-го класса, 4-го класса, 5-го класса и 6-го класса.


Это веселое занятие для детей в социальной изоляции, так как вы можете сделать простые машины в доме .Сложнее всего выбрать, какой из этих научных проектов попробовать первым!
0050
Кроме того, ознакомьтесь с нашими уроками истории для детей, практическими занятиями по странам для детей, математическими играми для печати, рабочими листами по словесности, рабочими листами со словами, бесплатными печатными буквами и заданиями на cvc-слова для детей всех возрастов!
kindergartenworksheetsandgames.com и www.preschoolplayandlearn.com
Попросите ребенка оживить коробку на столе. Как только они преодолеют часть «Я не могу этого сделать», попросите их решить проблему, как они могут выполнить свою работу. Они могут вынуть книги/передвинуть коробку/положить книги обратно или попросить друга помочь им. Независимо от того, как они это делают, сколько времени это занимает или кто помогает, объем работы остается прежним.
К счастью, у нас есть машина, называемая эвакуатором, которая упрощает эту задачу.
Я объяснил, как сила будет варьироваться в зависимости от наклона вашей рампы, точно так же, как менее крутая рампа для яйца помогла яйцу использовать наименьшее количество силы и меньше трескаться. Итак, у нас было 3 пандуса повышенной крутизны. Затем мы бросились на них, чтобы увидеть, какой из них рухнет с наибольшей силой; самый быстрый.



00х10 (со стойкой большого диаметра 58мм) ПМК Тип:
Камера колеса 6,
МК 02.00.010
00х10 (со стойкой) сальск
















с. дренажные сточные воды погружной электрический водяной насос
Внешняя ширина: 7’6”
Ford Transit
0018
Система отопления
футов Микроволновая печь с выдвижным ящиком
114М2 предназначен для приготовления песчано-глинистых единых, наполнительных, облицовочных и стержневых смесей в смесеприготовительных отделениях литейных цехов.
15107М с комплектом загрузочных устройств, системой САРФ, аэратором готовой смеси и дозатором жидких добавок предназначенный для приготовления единых, наполнительных, облицовочных и стержневых смесей на песчаных основах с пылевидными и жидкими добавками в смесеприготовительных отделениях литейных цехов.
Для дозировки применяют весовые и объемные дозаторы. Последние используют для взвешивания жидких составляющих—связующих и воды.
Смесь направляется под катки плужками 2 и 7. Готовая смесь выбрасывается через разгрузочное окно в дне чаши, которое открывается и закрывается с помощью пневмоцилиндров и тяги. Такие бегуны являются смесителями периодического действия. Песок, вода и глина загружаются в бегуны дозаторами. Продолжительность перемешивания порции смеси зависит от ее назначения и состава и составляет для единой формовочной 2—4 мин, облицовочной — 2— 9 и стержневой — 2—10 мин. Смешивающие бегуны обеспечивают высокое качество перемешивания формовочных и стержневых смесей вследствие активного перетирающего действия катков. Недостатком их является невысокая производительность, ввиду чего они используются только в цехах с небольшим объемом производства.
К смесителям непрерывного действия, используемым для приготовления больших объемов единых и наполнительных смесей, относятся высокопроизводительные центробежные (или маятниковые) смешивающие литейные бегуны с катками, вращающимися в горизонтальной плоскости (рис. 3.2,6). Ободы катков и чаша в них облицованы резиной, что позволяет повысить скорость качения катков и увеличить производительность их в 3—5 раз по сравнению со смешивающими бегунами с вертикально-вращающимися катками. Наличие вентилятора позволяет дополнительно охлаждать смесь и обеспыливать ее. В центробежном смесителе плужки 7 со значительной скоростью отбрасывают смесь на борт чаши, к которому она прижимается и движется под действием центробежных сил. Во время этого движения происходит перемешивание, перетирание отдельных слоев смеси катками. Продолжительность перемешивания единой смеси составляет 2—4 мин, облицовочной и стержневой — до 3 мин.
3.3). Загрузка исходных составляющих смеси производится непрерывно в чашу 1, а выдача готовой смеси происходит также непрерывно из чаши 2 через окно в ее борту.


Интервальная тренировка — это тип тренировки, который включает в себя серию высокоинтенсивных тренировок, чередующихся с периодами отдыха.
Конечно, здорово бегать на длинные дистанции или бегать по беговым дорожкам, но также важно включать некоторое разнообразие, чтобы укрепить мышцы.



. .

Выполнение некоторых силовых тренировок для всего тела также поможет вам поддерживать хорошую беговую форму в более длительных соревнованиях, таких как марафоны и ультрамарафоны.


Как бегуны, мы тратим большую часть времени на то, чтобы стать лучше в беге. Было бы глупо навредить себе, делая что-то для развлечения, а потом не в состоянии бежать», — говорит он.
Чтобы усложнить задачу, поднимите руки над головой. 






Это может подвергнуть вас риску эмоционального выгорания.
Все, что имеет низкую интенсивность и двигает тело, может быть активным восстановительным упражнением.
