Цикловая подача топлива — объем или масса топлива, поданный за один ход плунжера.
У двигателей с аккумуляторной топливной системой (Common Rail ) за счет возможности управлять открытием форсунки независимо от работы ТНВД появляется возможность оптимизировать процесс впрыска и сгорания топлива за счет многоимпульсной подачи:
Предвпрыск
Подача первой части основной порции топлива
Подача топлива на некоторое время прекращается
Подача второй части основной порции топлива
Поствпрыск
Номинальная цикловая подача топлива
Цикловая подача топлива на холостом ходу
КОЛИЧЕСТВО ВПРЫСКИВАЕМОГО ТОПЛИВА
Запрашиваемый момент, который рассчитывается системой крутящих моментов, затем преобразуется в количеств впрыскиваемого топлива, а затем в длительность импульсов. Количество впрыскиваемого топлива распределяется по нескольким впрыскам. Основной расход представляет собой количество топлива, поступающего в цилиндр во время основного впрыска. Общее количество впрыскиваемого топлива за один цикл является суммой основного впрыска и других впрысков (предварительных, поствпрысков). Данные значения количество впрыскиваемого топлива рассчитываются в зависимости от оборотов двигателя и запрашиваемого крутящего момента. Корректировке подвергаются как основной впрыск так и дополнительные. Что касается корректировки расхода при предварительном впрыске:
• Первая корректировка осуществляется в зависимости от температур воздуха и охлаждающей жидкости. Данная корректировка позволяет адаптировать количество топлива при предварительном впрыске к рабочей температуре двигателя. Когда двигатель разогрет, задержка воспламенения уменьшается, так как температура конца такта сжатия увеличивается. При этом расход при предварительном впрыске может быть сокращен, так как, естественно, уровень шума при горении ниже при разогретом двигателе.
• Вторая корректировка определяется в зависимости от атмосферного давления. Данная корректировка используется для адаптации расхода при предварительном впрыске в зависимости от атмосферного давления.
Приемистость автомобиля с дизельным двигателем можно назвать удовлетворительной, когда двигатель постоянно реагирует на команды водителя через педаль акселератора. Кроме этого, при движении двигатель не должен стремиться к остановке, а при изменении положения педали акселератора — плавно разгоняться или замедляться без перебоев. На ровной дороге и удерживании педали акселератора в заданном положении скорость автомобиля должна оставаться постоянной, а когда педаль отпускают, мотор должен тормозить автомобиль. Для выполнения всех этих требований применяют регуляторы числа оборотов.
Регулирование пусковой подачи топлива — для обеспечения надежной работы двигателя на время пуска и прогрева дизеля обеспечивается увеличенная подача топлива путем повышения цикловой подачи. При этом отмечается рост в топливном факеле количества мелких капель, которые быстрее прогреваются и испаряются, способствуя образованию топливовоздушной смеси.
Регулирование низких оборотов холостого хода — осуществляется регулятором ТНВД или ЭБУ в зависимости от нагрузки на двигатель и производительности топливной аппаратуры. Чтоб определить какая идёт подача, необходимо подключится к ЭБУ диагностическим сканером, вывести параметр » Фактическая цикловая подача топлива» и «Номинальная подача топлива», Не все сканеры и системы управления могут отображать эти параметры прогреть двигатель и наблюдать за показаниями.
Регулирование минимальных оборотов — когда педаль акселератора нажимается полностью, максимальные обороты при полной нагрузке не должны возрастать более чем до повышенных оборотов холостого хода (максимальных оборотов), когда нагрузка убирается. При этом регулятор реагирует путем перемещения втулки управления обратно в направлении положения остановки двигателя, а подача топлива к двигателю уменьшается.
Регулирование промежуточных оборотов — регуляторы изменяемых оборотов включают регулирование промежуточных оборотов. В определенных пределах эти регуляторы могут также поддерживать обороты двигателя между холостыми и максимальными на постоянном уровень. Это означает, что в зависимости от нагрузки, обороты двигателя изменяются в рабочем диапазоне только между nв (заданные обороты на кривой полной нагрузки и nт (без нагрузки на двигателе).
Другие функции управления выполняются регулятором в дополнение к его регулирующим возможностям:
сброс или блокировка дополнительного топлива, требуемого для запуска двигателя.
изменение подачи при полной нагрузке в зависимости от оборотов двигателя (управление крутящим моментом).
В некоторых случаях для реализации этих дополнительных возможностей необходима установка дополнительных модулей.
Цикловая подача топлива зависит от:
эффективного давления в отверстиях распылителя;
продолжительности впрыскивания;
разницы давления впрыскивания и давления в камере сгорания двигателя;
плотности топлива.
Характеристика цикловой подачи двигатель 4JB1-TC ТНВД 104746-6601Р
Внешняя скоростная характеристика регулятора ТНВД
Характеристика цикловой подачи
Цикловая подача — топливо — Большая Энциклопедия Нефти и Газа, статья, страница 4
Cтраница 4
Износ и приработка деталей двигателя происходят особенно интенсивно в первые часы работы нового дизельного двигателя, при этом: уменьшается давление начала впрыска топлива форсункой в пределах 0 2 — 0 4 кгс / см2 на каждый час работы двигателя; изменяется в сторону запаздывания угол опережения впрыска топлива; снижается давление конца сжатия и уменьшается коэффициент избытка воздуха по мере износа цилиндро-поршневой группы; изменяется величина цикловой подачи топлива.
[46]
Износ и приработка деталей двигателя происходят особенно интенсивно в первые часы работы нового дизельного двигателя, при этом: уменьшается давление начала впрыска топлива фор -, сункой в пределах 0 02 — 0 04 МПа на каждый час работы двигателя; изменяется з сторону запаздывания угол опережения впрыска топлива; снижается давление конца сжатия и уменьшается коэффициент избытка воздуха по мере износа цилннд-ропоршневой группы; изменяется величина цикловой подачи топлива. [47]
В начале пуска ( 180 — 250 об / мин) грузики регулятора расходятся, преодолевая усилие пружины 8, смещают скользящую муфту 18, промежуточный рычаг 11 и вместе с ним рейку топливного насоса. Цикловая подача топлива уменьшается.
[48]
Продолжительность впрыска топлива оказывает большое влияние на процесс сгорания и показатели цикла. При постоянной цикловой подаче топлива и равных углах поворота коленчатого вала короткий впрыск обеспечивает выделение большего количества теплоты при сгорании и более высокую степень нарастания давления, чем длительный впрыск.
[49]
Зависимость т. п ц — а от а.
[50]
С увеличением т) у при п const в цилиндр поступает большая масса воздуха. Если увеличить цикловую подачу топлива так, чтобы сохранилось заданное значение а, то Pi и Л возрастают. Мероприятия, обеспечивающие повышение T V, описаны в гл. [51]
Для этого ослабляют стяжной винт 16 и, придерживая венец, поворачивают в нем втулку 13 вместе с хвостовиком плунжера 26 в ту или иную сторону, тем самым уменьшая или увеличивая подачу топлива. Если нужно изменить цикловую подачу топлива насоса в целом, то поступают подобным образом со всеми плунжерными парами.
[52]
В дизелях осуществляется качественное регулирование мощности двигателя. Нагрузка двигателя пропорциональна цикловой подаче топлива, степень наполнения цилиндров воздухом у безнаддувных дизелей на всех режимах практически одинакова. Концентрации СО и С Нт определяются не составом смеси, а локальными явлениями, происходящими во фронте пламени и пристеночной зоне камеры сгорания.
[53]
Коленчатый вал дизеля 6Д49.
[54]
На дизелях последних выпусков предусмотрено автоматическое отключение 1л, 2л, 1п и 2п цилиндров при работе на нулевом и первом положениях рукоятки контроллера. Это примерно вдвое увеличивает цикловую подачу топлива насосами остальных четырех цилиндров, уменьшая, таким образом, расход топлива при холостом ходе дизеля.
[55]
Однако зазор в плунжерной паре имеет особое значение на пусковых режимах двигателя при условии малого и замедленного хода плунжера. Исходя из этого, снижение цикловой подачи топлива не должно превышать 20 % и предельный зазор в плунжерной паре не может превышать его первоначального значения более чем в 3 раза. Показатели двигателя заметно ухудшаются при суммарном износе плунжерной пары до зазора, в 2 раза большего первоначального в насосе распределительного типа и в 2 3 раза — рядного насоса.
[56]
Схема изменения цикловой подачи топлива дросселированием топлива.
[57]
При дальнейшем ходе плунжера вверх происходит конденсация паров топлива и только после того, когда плунжер займет объем, который был заполнен парами топлива, начинается нагнетание его. Таким образом, с уменьшением цикловой подачи топлива процесс подачи его начинается позднее, что может неблагоприятно сказываться на протекании рабочего цикла дизеля.
[58]
В случае применения наддува для обеспечения необходимого в условиях эксплуатации характера протекания кривой Ме / ( га) требуется наряду с соответствующим подбором параметров тошшво-подающей аппаратуры и характеристики впрыска выбрать параметры турбокомпрессора так, чтобы расчетные характеристики компрессора и турбины обеспечивали достижение наибольшей подачи воздуха на скоростных режимах, при которых крутящий момент должен быть максимальным. Одновременно в связи с увеличением цикловой подачи топлива на этих режимах коэффициент избытка воздуха снижают до величины, при которой еще не наблюдается дым в отработавших газах.
[59]
К топливному насосу предъявляется ряд жестких требований. Он должен надежно обеспечивать дозировку и цикловую подачу топлива в камеру сгорания в соответствии с нагрузкой двигателя; равномерную подачу топлива во все цилиндры в установленной последовательности; высокое давление, необходимое для качественного распыла и дальнобойности топлива в камере сгорания; своевременную подачу заряда топлива в цилиндр по углу поворота коленчатого вала двигателя и по углу поворота кулачкового вала насоса; оптимальную жесткость работы двигателя; сбор и отвод излишнего топлива. Кроме того, насос должен удовлетворять эксплуатационным требованиям.
[60]
Страницы:
1
2
3
4
5
Глава 3d — Первый закон — Закрытые системы
Глава 3d — Первый закон — Закрытые системы — Двигатели цикла Отто (обновлено 22.04.12)
Глава 3: Первый закон термодинамики для Закрытые системы
d) Стандартный воздушный цикл Отто (искровое зажигание) Двигатель
Воздух Стандартный цикл Отто — идеальный цикл для искрового зажигания (SI) двигатели внутреннего сгорания, впервые предложенные Николауса Отто более 130 лет назад и который в настоящее время используется наиболее автомобили. Следующая ссылка от Крузе Технологическое партнерство представляет описание четырехтактного двигателя Цикл Отто операция включая короткий История Николауса Отто. И снова у нас отличные анимации производства Мэтт Keveney представляет как четырехтактный , так и . и двухтактный двигатель внутреннего сгорания с искровым зажиганием операция
Анализ цикла Отто очень похож на цикл Дизеля, который мы проанализировали в предыдущих раздел . Мы будем использовать идеал «стандартное» предположение в нашем анализе. Таким образом, рабочая жидкость – это фиксированная масса воздуха, совершающая полный цикл, т. везде рассматривается как идеальный газ. Все процессы идеальны, горение заменяется подводом тепла к воздуху, а выхлоп заменен процессом отвода тепла, который восстанавливает воздух в начальное состояние.
Самая существенная разница между идеальным Цикл Отто и идеальный цикл Дизеля — это метод зажигания топливно-воздушная смесь. Напомним, что в идеальном дизельном цикле чрезвычайно высокая степень сжатия (около 18:1) позволяет воздуху достигать температура воспламенения топлива. Затем топливо впрыскивается таким образом, что процесс воспламенения происходит при постоянном давлении. В идеальном Отто цикл топливно-воздушная смесь вводится во время такта впуска и сжаты до гораздо более низкой степени сжатия (около 8:1) и затем воспламеняется от искры. Горение приводит к резкому скачку давление, в то время как объем остается практически постоянным. продолжение цикла, включая расширение и выхлоп процессы практически идентичны процессам идеального дизельного топлива. цикл. Мы считаем удобным развивать подход к анализу идеальный цикл Отто через следующую решенную задачу:
Решенная проблема 3.7 — Ан идеальный воздушный стандартный двигатель цикла Отто имеет степень сжатия 8. При начало процесса сжатия, рабочее тело при 100 кПа, 27°С (300 К) и 800 кДж/кг тепла подводится во время процесс подвода тепла с постоянным объемом. Аккуратно нарисуйте давление-объем [ P-v ] диаграмму для этого цикла и используя значения удельной теплоемкости воздуха при типичная средняя температура цикла 900K определить:
а) температура и давление воздуха в конце каждого процесса
б) сеть выход/цикл [кДж/кг] и
c) тепловой КПД [η th ] этого цикла двигателя.
Подход к решению:
Первый шаг — начертить P-v диаграмму полный цикл, включая всю необходимую информацию. Мы замечаем что ни объем, ни масса не были предоставлены, поэтому диаграмма и решение будет в терминах конкретных величин.
Будем считать, что топливно-воздушная смесь представлена чистый воздух. Соответствующие уравнения состояния, внутренней энергии и адиабатический процесс для воздуха:
Напомним из предыдущего раздела, что номинал Значения удельной теплоемкости, использованные для воздуха при 300 К, равны С v = 0,717 кДж/кг·К, а k = 1,4. Однако все они функции температуры, а при чрезвычайно высокой температуре диапазон, испытанный в двигателях внутреннего сгорания, можно получить существенные ошибки. В этой задаче мы используем типичный средний цикл температура 900К взято из таблицы Конкретный Теплоемкость воздуха .
Теперь мы проходим все четыре процесса, чтобы определить температуру и давление в конце каждого процесса, т.к. а также работу, выполненную и переданную теплоту в каждом процессе.
Обратите внимание, что давление P 4 (а также P 2 выше) также можно оценить из уравнения адиабатического процесса. Мы делаем это ниже для проверки достоверности, однако мы находим это более удобно использовать уравнение состояния идеального газа везде, где это возможно. Любой метод является удовлетворительным.
Мы продолжаем последний процесс определения тепло отклонено:
Обратите внимание, что мы применили уравнение энергии к все четыре процесса, позволяющие нам использовать два альтернативных способа оценки «чистая производительность за цикл» и тепловой КПД, следующим образом:
Обратите внимание, что при использовании постоянных значений удельной теплоемкости свыше цикла мы можем определить тепловой КПД непосредственно из отношение удельных теплоемкостей k по следующей формуле:
где r — степень сжатия
Быстрый тест: Использование тепла и уравнения работы энергии, полученные выше, выведите это соотношение
Проблема 3. 8 — Это является расширением решаемой задачи 3.7, в котором мы хотим использовать во всех четырех процессах номинальная стандартная удельная теплоемкость значения емкости для воздуха при 300К. Используя значения C v = 0,717 кДж/кг·К и k = 1,4, определить:
а) температура и давление воздуха в конце каждого процесса [P 2 = 1838 кПа, Т 2 = 689К, Т 3 = 1805К, Р 3 = 4815 кПа, P 4 = 262 кПа, Тл 4 = 786К]
б) сеть выход/цикл [451,5 кДж/кг] и
c) тепловой КПД этого цикла двигателя. [η -й -й = 56%]
Инженерная термодинамика Израиля Уриэли находится под лицензией Creative Commons Attribution-Noncommercial-Share Alike 3.0 США Лицензия
Глава 3с — Первый закон — Замкнутые системы
Глава 3с — Первый закон — Замкнутые системы — Двигатели дизельного цикла (обновлено 19. 03.2013)
Глава 3: Первый закон термодинамики для Закрытые системы
c) Дизельный цикл воздушного стандарта (с воспламенением от сжатия) Двигатель
Воздух Стандартный дизельный цикл является идеальным цикл для Воспламенение от сжатия (CI) поршневые двигатели, впервые предложенные Рудольфом Дизель более 100 лет назад. Следующая ссылка от Крузе Технологическое партнерство описывает четырехтактный дизельный цикл операция включая короткую История Рудольфа Дизеля. Четырехтактный дизельный двигатель обычно используются в автомобильных системах, тогда как более крупные морские системы обычно используйте двухтактный дизельный цикл . Еще раз у нас есть отличная анимация производства Matt Keveney представляет работу четырехтактный дизельный цикл .
Фактический цикл КИ чрезвычайно сложен, поэтому в в начальном анализе мы используем идеальное допущение о «воздушном стандарте», в котором рабочим телом является неподвижная масса воздуха, подвергающаяся полный цикл, который рассматривается как идеальный газ. Все процессы идеальны, горение заменяется подводом тепла к воздуха, а выхлоп заменяется процессом отвода тепла, который восстанавливает воздух в исходное состояние.
Идеальный дизельный двигатель воздушного стандарта подвергается 4 отдельные процессы, каждый из которых может быть проанализирован отдельно, т. показано на P-V схемы ниже. Два из четырех процессов цикла являются адиабатическими процессы (адиабатические = отсутствие передачи тепла), таким образом, до мы можем продолжить нам нужно разработать уравнения для идеального газа адиабатический процесс следующим образом:
Адиабатический процесс идеального газа (Q = 0)
Анализ приводит к следующим трем общим формы, представляющие адиабатический процесс:
где k представляет собой отношение теплоемкостей и имеет номинальное значение 1,4 при 300к за воздух.
Процесс 1-2 представляет собой процесс адиабатического сжатия. Таким образом, температура воздуха увеличивается при сжатии. процесса, а при большой степени сжатия (обычно > 16:1) достигнет температуры воспламенения впрыскиваемого топлива. Таким образом дано условия в состоянии 1 и степень сжатия двигателя, в для определения давления и температуры в состоянии 2 (на конец процесса адиабатического сжатия) имеем:
Work W 1-2 требуется для сжатия газа. показана как площадь под кривой P-V и оценивается как следует.
Альтернативный подход с использованием уравнения энергии использует преимущество адиабатического процесса (Q 1-2 = 0) приводит к гораздо более простому процессу:
(спасибо студентке Николь Блэкмор за то, что она сообщила мне об этой альтернативе подход)
Во время процесса 2-3 топливо впрыскивается и сгорает и это представлено процессом расширения постоянного давления. В состояние 3 («отсечка топлива») процесс расширения продолжается адиабатически с понижением температуры до тех пор, пока расширение полный.
Процесс 3-4, таким образом, представляет собой процесс адиабатического расширения. Общая работа по расширению составляет W exp = (W 2-3 + W 3-4 ) и показана как площадь под P-V диаграмме и анализируется следующим образом:
Наконец, процесс 4-1 представляет постоянный объем процесс отвода тепла. В реальном дизельном двигателе газ просто выпускают из цилиндра и вводят свежий заряд воздуха.
Сеть W Сеть сделано за цикл определяется как: W net = (W exp + W 1-2 ), где по-прежнему работа сжатия W 1-2 отрицательна (работа выполнена на системе).
В двигателе с циклом Air-Standard Diesel тепло ввод Q в происходит путем сжигания топлива, которое впрыскивается контролируемым образом, идеально приводит к процессу расширения с постоянным давлением 2-3 как показано ниже. При максимальном объеме (нижняя мертвая точка) сгоревшие газы просто истощаются и заменяются свежим зарядом воздуха. Это представлен эквивалентным процессом отвода тепла постоянного объема Вопрос из = -Q 4-1 . Оба процесса анализируются следующим образом:
На этом этапе мы можем удобно определить КПД двигателя по тепловому потоку составляет:
Проблема 3.4 — А устройство поршень-цилиндр без трения содержит 0,2 кг воздуха при 100 кПа и 27°С. Теперь воздух медленно сжимается по соотношению P V k = константа, где k = 1,4, пока не достигнет конечного значения температура 77°С.
а) Эскиз P-V диаграмма процесса относительно соответствующей константы температурные линии, и укажите на этой диаграмме совершенную работу.
б) Использование основного определение границы выполненной работы определить границу работы сделано во время процесса [-7. 18 кДж].
c) Используя уравнение энергии, определите тепло передано в процессе [0 кДж] и убедитесь, что процесс находится в факт адиабатический.
Производное все используемые уравнения начинаются с основным уравнением энергии для непоточной системы уравнение для изменения внутренней энергии идеального газа (Δu) основное уравнение для граничной работы и уравнения состояния идеального газа [ P.V. = mRT ]. Использовать значения удельной теплоемкости, определенные при 300К для всего процесс.
Проблема 3.5 — Учитывать ход расширения только типичный дизельный двигатель Air Standard с компрессией коэффициент 20 и коэффициент отсечки 2. В начале процесса (впрыск топлива) начальная температура 627°С, а воздух расширяется при постоянном давлении 6,2 МПа до отсечки (объемное отношение 2:1). Затем воздух адиабатически расширяется (отсутствует теплопередача). пока не достигнет максимальной громкости.
а) Нарисуйте это процесс на П-в диаграмма, четко показывающая все три состояния. Укажите на схеме полная работа, совершенная в течение всего процесса расширения.
б) Определить температурах, достигаемых в конце постоянного давления (топливо впрыск) процесс [1800K], а также в конце процесса расширения [830K], и нарисуйте три соответствующие линии постоянной температуры на P-v диаграмма.
c) Определить полная работа, выполненная во время такта расширения [1087 кДж/кг].
г) Определить общее количество тепла, подведенного к воздуху во время такта расширения [1028 кДж/кг].
Вывести все используемые уравнения исходя из уравнения состояния идеального газа и адиабатического процесса соотношения, основное уравнение энергии для замкнутой системы, соотношения изменения внутренней энергии и энтальпии для идеального газа, и базовое определение граничной работы, выполняемой системой (если требуется). Используйте значения удельной теплоемкости, определенные для 1000K для всего процесс расширения, полученный из таблицы Конкретный Теплоемкость воздуха .
Решенная проблема 3.6 — Идеальный дизельный двигатель с воздушным стандартом имеет степень сжатия 18 и коэффициент отсечки 2. В начале процесса сжатия, рабочая жидкость при 100 кПа, 27°С (300 К). Определить температуру и давление воздуха в конце каждого процесса, чистый выход работы за цикл [кДж/кг] и тепловая эффективность.
Обратите внимание, что номинальные значения удельной теплоемкости для воздуха при 300K используются C P = 1,00 кДж/кг.K, C v = 0,717 кДж/кг·К, а к = 1,4. Однако все они являются функциями температуры, а также с чрезвычайно высоким температурным диапазоном при опыте работы с дизельными двигателями можно получить существенные ошибки. Один подход (который мы примем в этом примере) заключается в использовании типичного средняя температура за цикл.
Подход к решению:
Первый шаг — нарисовать диаграмму, представляющую проблемы, включая всю необходимую информацию. Мы замечаем, что ни объем, ни масса не даны, поэтому диаграмма и решение будут выражаться в конкретных количествах. Самая полезная схема для тепловая машина P-v схема полного цикла:
Следующим шагом является определение рабочей жидкости и решить, какие основные уравнения или таблицы использовать. В этом случае рабочей жидкостью является воздух, и мы решили использовать среднее температура 900К на протяжении всего цикла для определения удельной теплоемкости значения емкости, представленные в таблице Удельная теплоемкость воздуха .
Теперь мы проходим все четыре процесса, чтобы определяют температуру и давление в конце каждого процесса.
Обратите внимание, что альтернативный метод оценки давление P 2 просто использовать уравнение состояния идеального газа следующим образом:
Удовлетворителен любой подход — выберите любой вам удобнее.
Покупатели, купившие этот товар, также купили следующие рисунки:
Все чертежи автомобилей выполнены в масштабе 1:25; большинство чертежей самолетов выполнены в масштабе 1:72, 1:100, 1:250 и 1:500; остальные чертежи в различных масштабах: это всегда указано на чертеже в левом нижнем углу.
Файлы Illustrator создаются с помощью Adobe Illustrator CS3, CS4, CS5, CS6 и CC; если вы работаете в более ранней версии Illustrator, я могу экспортировать файл в устаревшем формате для вас.
Размеры на векторных чертежах автомобилей указаны в единицах СИ и, следовательно, в миллиметрах.
Модельный ряд коммерческих автомобилей Ford у Официального дилера ТЕХНО ТЕМП Краснодар
FORD TRANSIT ФУРГОН
FORD TRANSIT АВТОБУС
FORD TRANSIT ШАССИ С НАДСТРОЙКАМИ
FORD TRANSIT СПЕЦВЕРСИИ
Автомобили Ford: модельный ряд
Автосалон «Техно Темп» — официальный представитель Форд в Краснодаре. На сайте представлен полный модельный ряд автомобилей Ford с различными вариантами модификаций, оснащенными современными системами контроля движения и безопасности.
Ford Transit Фургон в модификации L2h3, L3h3, L3h4 и L4h4 с передним и полным приводом.
Форд Transit Автобус на 8-9 мест, с передним и задним приводом. Модельный ряд включает в себя несколько видов автобусов — Комби М1, Автобус класса «Комфорт», Маршрутный автобус и Туристический.
Ford Transit Шасси с надстройками представлен в нескольких модификациях: в качестве грузового и пассажирского транспорта.
Промтоварный фургон — для перевозки грузов, без температурного режима.
Изотермический фургон — для перевозок продуктов питания и медикаментов. Автомобиль можно оснастить рефрижераторным оборудованием.
Тентованный фургон.
Автомобиль для пассажирских перевозок с двумя кабинами.
Специальные версии Форд TRANSIT, предназначенные для скорой помощи и для проведения медицинских процедур. Грузопассажирские фургоны на 6-8 посадочных мест и школьные автобусы на 15-22 места. Модельный ряд представлен транспортом для социального такси, рассчитанного на 10-14 пассажиров. Также имеются новые модели специального транспорта представлены в виде транспортабельной автолавки для реализации продуктов питания и промышленных товаров. Изотермические фургоны Форд позволяют устанавливать внутри фургона рефрижераторы различной мощности и размера.
Форд Transit Custom с цельнометаллическим кузовом.
Ford Tourneo Custom с дизельным двигателем.
Купить любую представленную модель можно у официального дилера «Техно Темп» в Краснодаре. Мы предлагаем сниженную цену на весь модельный ряд и постоянные бонусы, для выгодного приобретения автомобилей Форд.
Главная страница
Модельный ряд
Свяжитесь с нами
Запись на сервис
Производители автомобилей Ford постоянно совершенствуют свою продукцию и оставляют за собой право на внесение изменений в технические характеристики, спецификации, цвета, цены моделей, комплектации, опции и т. п., представленные на данном сайте без предварительного уведомления. Обращаем Ваше внимание на то, что все представленные на сайте изображения и информация, касающаяся комплектаций, технических характеристик, цветовых сочетаний, опций или аксессуаров, а также стоимости автомобилей и сервисного обслуживания носит информационный характер, может не соответствовать последним российским спецификациям, и ни при каких условиях не является публичной офертой, определяемой положениями Статьи 437 (2) Гражданского кодекса Российской Федерации. Для получения подробной информации об автомобилях, пожалуйста, обращайтесь к ближайшему официальному дилеру Ford.
Купить новые фургоны Ford Transit в Портленде, штат Орегон | Рабочие и коммерческие фургоны
Перейти к основному содержанию
Скрыть Показать
Индивидуальный заказ вашего нового автомобиля Ford сегодня!
Нажмите здесь что бы начать!
Ваш фургон, ваш путь — Ford Transit с широкими возможностями настройки уже доступен в Портленде Если вам нужно место для большого количества пассажиров, Ford Transit можно настроить в соответствии с вашими потребностями.
Он доступен в нескольких конфигурациях, с чем-то, что подходит для вашей бизнес-модели, и, самое главное, он уже доступен в Northside Ford Truck Sales, Inc.
Что нового в Ford Transit 2021 года?
Продолжение первого поколения Transit, которое впервые было представлено здесь, в Орегоне, и по всей стране еще в 2015 году, модель 2021 года не содержит каких-либо серьезных обновлений или изменений, но дает водителям пару приятных изменений. с нетерпением ждать. 2020 год был важным годом для этой модели, когда она получила новые варианты двигателя и доступный полный привод, и модель этого года основана на этих изменениях с доступными пакетами, которые помогут вам еще больше персонализировать вашу поездку, включая пакеты RV Prep и Adventure Prep, оба доступны в стиле Transit Cargo Van.
Разница между грузовыми фургонами, пассажирскими фургонами и Transit Connect
Грузовые фургоны Ford Transit могут быть предназначены для перевозки всех типов грузов, но вы также можете настроить их для перевозки до 15 пассажиров. Это отличный вариант для больших семей, которым приходится перевозить больше среднего количества семей с большим количеством багажа, громоздким спортивным снаряжением и множеством продуктов. Transit Connect лучше подходит для пассажиров с максимальной вместимостью до семи пассажиров.
Для получения более подробной информации о различных сериях моделей Ford Transit посетите сайт Northside Ford Truck Sales Inc. рядом с Грешамом или начните работу из дома, просмотрев наш доступный ассортимент в Интернете.
Пассажирский фургон Ford Transit
Если вам важнее размещение большого количества людей, вам подойдет фургон Transit с пассажирской конфигурацией. Пассажирский фургон Ford Transit может помочь в качестве специальной службы вождения для вечеринок в Бивертоне или перевозки пассажиров в аэропорт и из аэропорта, независимо от того, для чего вы хотите его использовать. Он вмещает до 15 человек с комфортом, до 39 человек..1 кубический фут грузового пространства, оставшегося в задней части для чемоданов, сумок и многого другого.
Помимо различий в конфигурации пассажирских и грузовых сидений между двумя фургонами Ford Transit, единственное существенное различие здесь заключается в том, что стиль пассажирского фургона имеет два разных варианта отделки, тогда как грузовой фургон имеет единую отделку.
Грузовой фургон Ford Transit
Если вы ищете вместительный и вместительный фургон, который можно превратить в новый кемпер для ваших приключений или сконфигурировать для перевозки большого количества груза для вашего бизнеса, это Ford. Транзитный вариант для вас. Это модель с одной отделкой, доступная с несколькими вариантами двигателей. Имея доступное грузовое пространство для снаряжения объемом до 315,2 кубических футов, это отличный вариант, когда пространство является вашей главной задачей.
Хотя у этой версии Ford Transit нет комплектаций, у нее есть варианты вместимости и полезной нагрузки. В зависимости от веса, который вам нужно буксировать или перевозить, грузовой фургон Transit выпускается в вариантах Transit 150, Transit 250 и Transit 350, с увеличением общего рейтинга транспортных средств по мере роста.
Ford Transit Connect
Хотя этот автомобиль и не самый сложный, он по-прежнему универсален и функционален, особенно если вы деловой человек. Он поставляется со сдержанной управляемостью и двумя вариантами трансмиссии. Он удобно вмещает до семи человек, когда все сиденья стоят вертикально, и вам не нужно использовать заднюю часть для коммерческого использования. Информационно-развлекательная система хорошо оснащена различными техническими функциями, которые делают каждую поездку более привлекательной. Некоторые функции технологий комфорта и развлечений включают автоматический климат-контроль, беспроводную зарядку устройств, интеграцию с Apple CarPlay и Android Auto.
Transit Connect имеет два варианта трансмиссии: базовый двигатель — 2,0-литровый четырехцилиндровый в паре с шестиступенчатой автоматической коробкой передач. Дополнительный силовой агрегат — 2,5-литровый четырехцилиндровый двигатель с восьмиступенчатой автоматической коробкой передач. С обновлением пакета Trailer Tow вы получите максимальную буксировочную способность 2000 фунтов и полезную нагрузку до 1570 фунтов.
Ford Transit F-150
Это еще одна модель Ford Transit, которая чем-то похожа на транзитный коннект. Фургон Transit — это отличный грузовой или пассажирский фургон, но большинство людей предпочитают, чтобы он был грузовым фургоном. Он поставляется в одном уровне отделки салона, базовом. Интерьер фургона включает в себя ЖК-монитор, ручной кондиционер, сиденья с виниловой отделкой и стереосистему.
Его производительность вас не разочарует благодаря таким характеристикам, как 16-дюймовые колеса из серебристой стали и противобуксовочная система, которые помогают автомобилю сцепляться с дорогой в любых погодных условиях и на любой местности в районе Бивертона. Под капотом Ford Transit F-150 находится двигатель V6 и 10-ступенчатая автоматическая коробка передач.
Ford Transit F-250
Transit F-250, как и другие модели фургонов Ford Transit, предлагается в качестве пассажирского или грузового фургона, поскольку передние сиденья водителя и пассажира являются стандартными, что позволяет покупателям полностью настроить заднюю часть с пассажирскими сиденьями. или грузовой отсек. Transit F-250 оснащен многочисленными компонентами безопасности, такими как система фронтальных подушек безопасности, система предупреждения о столкновении, система родительского контроля и система контроля устойчивости, которая обнаруживает любую потерю сцепления с дорогой.
В зависимости от установленного двигателя Transit F-250 может легко маневрировать в любом сценарии вождения. Он оснащен двигателем V6 мощностью 275 лошадиных сил в паре с 10-ступенчатой автоматической коробкой передач. Переднеприводная трансмиссия входит в стандартную комплектацию модельного ряда и помогает экономить топливо.
Ford Transit F-350
В отличие от других моделей Ford Transit, у F-350 высокая крыша, что означает, что в салоне больше места над головой и места для ног впереди. Между тем экстерьер отличается уверенной высотой и шириной кузова, что позволяет вместить даже больше багажа, чем другие модели Transit.
Варианты отделки салона
Первым вариантом отделки пассажирского фургона Transit является Ford Transit XL. Выберите свою любимую трансмиссию и конфигурацию, а также получите длинный список стандартных функций этого фургона, в том числе:
Окна и замки с электроприводом
Аудиосистема с восемью динамиками
Камера заднего вида
USB-разъем
Dual -зонный кондиционер
Подойдя ко второму варианту комплектации, Ford Transit XLT добавляет в список ряд популярных функций, в том числе:
Автоматические стеклоочистители
Наклон задних сидений
Система контроля слепых зон
Круиз-контроль
Полноразмерное ковровое покрытие
Power and Performance
Новый Transit — это легендарное качество и производительность,
Ford. Независимо от того, какой стиль или вариант отделки салона вы выберете, каждая модель Transit оснащена тремя впечатляющими двигателями, из которых могут выбирать водители Milwaukee и Gresham, в том числе:
Базовый 3,5-литровый двигатель V6 мощностью 275 л. с 210 лошадиными силами и 369 фунт-фут крутящего момента
Безопасность
Независимо от того, перевозите ли вы людей или груз, безопасность всегда является приоритетом для Ford, а опции Transit поставляются со многими из новейших, усовершенствованных стандартных систем помощи водителю. Вы можете рассчитывать на стандартное оборудование безопасности для обеих версий, которое включает в себя:
Помощь в поддержании полосы движения
Автоматическое управление дальним светом
Автоматическое экстренное торможение
Технологии, комфорт и конфигурации
Будучи моделью Ford мирового класса, Ford Transit оснащен длинный список удобств, которые ищут водители. В дополнение к стандартному списку, оба стиля фургона имеют множество доступных автономных опций, а также пакеты с большим количеством функций. Основные моменты включают:
Новейшая информационно-развлекательная технология Ford с интерфейсом с сенсорным экраном
Система дистанционного запуска двигателя
Датчики парковки
Навигация
Сиденья с подогревом
Адаптивный круиз-контроль
Оба варианта также доступны для прицепа и буксировки для ваших тяжелых грузов и оба имеют варианты с низкой, средней и высокой крышей, чтобы максимально увеличить внутреннее пространство в соответствии с вашими конкретными потребностями.
Узнайте больше и настройте свой Ford Transit в Портленде
Позвольте команде экспертов по коммерческим автомобилям Northside Ford Truck Sales, Inc. в Портленде помочь вам начать путь к идеальному фургону Transit для ваших нужд. Наша команда хорошо разбирается во всех тонкостях всего меню опций модели Transit, и мы можем помочь вам персонализировать эту универсальную модель в соответствии с вашими потребностями. Мы с нетерпением ждем возможности рассказать вам о нем больше, в том числе о различных вариантах высоты крыши и внутренней конфигурации, а также предоставить вам идеальную персонализированную модель с учетом ваших особенностей.
Свяжитесь с нами через Интернет, по телефону или лично, чтобы в ближайшее время начать свое новое приключение на фургоне Ford в Портленде, штат Орегон.
Свяжитесь с нами!
Имя *
Фамилия *
Электронная почта *
Телефон *
Почтовый индекс *
Фейсбук Твиттер YouTube Инстаграм
; ;
коммерческих грузовиков, грузовых и транзитных фургонов Ford в Фолл-Ривер, Массачусетс
▷ Чем отличаются АБЗ с башенной и партерной компоновкой агрегатов
19.03.20212771 просмотров
Для эффективной работы асфальтобетонного завода и рационального использования площадки под оборудование важно заранее определиться с тем, какая компоновка агрегатов АБЗ лучше подходит для поставленных задач.
Асфальтобетонные заводы (АБЗ) с башенной компоновкой агрегатов и их характеристики
Впервые асфальтосмесительные установки с таким типом компоновки были выпущены в 2009 г. Как правило, это стационарные АСУ периодического действия.
За эти годы они доказали свою эффективность и сейчас являются наиболее востребованными среди дорожников. Это объясняется их простым устройством и более низким, чем у партерного типа, расходом энергии на транспортировку смеси.
Особенности асфальтобетонных заводов с башенной компоновкой агрегатов:
Основные узлы располагаются по вертикали;
Выше всех будет находиться тот агрегат, который раньше всех приступает к обработке сырья;
В таких асфальтосмесительных установках горячие материалы единожды поднимают наверх;
Затем сырье под воздействием собственной силы тяжести проходит через сортировку, бункеры, дозаторы, мешалку и накопительный бункер.
Преимущества АБЗ с башенной компоновкой агрегатов:
Благодаря тому, что компоненты поступают самотеком, дорожники экономят энергию, расходуемую на подачу этих материалов.
Такие АСУ более производительны, чем партерные;
Для размещения требуется относительно небольшая площадка (приблизительно на четверть меньше, чем для АСУ наземного типа).
Недостатки оборудования:
вертикальная компоновка снижает мобильность такого смесителя асфальтобетона;
это достаточно высокие установки, что вызывает некоторые трудности при их монтаже, обслуживании и ремонте.
Асфальтобетонные заводы (АБЗ) с партерной компоновкой агрегатов и их характеристики
АСУ с наземным расположением компонентов были одними из первых разработок Кременчугского завода дорожных машин.
Особенности АБЗ с партерной компоновкой агрегатов:
Конструкция агрегатов развивается в горизонтальном направлении;
Материалы проходят те же стадии обработки, поднимаясь несколько раз, причем в сумме горизонтальное перемещение компонентов превышают общую высоту подъема;
Компоненты поднимают к необходимому агрегату столько раз, сколько это требуется согласно рецепту приготовления смеси.
Преимущества асфальтобетонного завода с партерной компоновкой агрегатов:
Более простой монтаж и демонтаж, так как для установки не нужно использовать мощную грузоподъемную технику;
Такое оборудование проще в эксплуатации, а его ремонт доступнее, чем у установок другого типа;
Меньше влияние вибрации на приборы и узлы конструкции;
Возможность оснастить выбранную модель АСУ ходовой техникой, а также механизмами для самомонтажа, что будет полезным при частом перебазировании с места на место.
Недостатки техники:
Увеличение затрат на перемещение компонентов, так как в ходе технологического цикла все материалы поднимаются по нескольку раз;
Как следствие предыдущего пункта: увеличение количества используемых транспортных средств и подъемных механизмов;
В ходе перемещения, которое занимает больше времени, чем в установке башенного типа, сырье быстро остывает. Это может негативно сказаться на качестве смеси;
Для размещения необходима большая площадь.
Чтобы заказать интересующий вас тип установки, свяжитесь со специалистами ЧАО Кредмаш: они помогут подобрать тот АБЗ, который будет максимально эффективен на вашем производстве.
опубликовать в соц сетях
Блог
смотреть все
Как открыть свой асфальтный завод
01.10.20228561 просмотров
подробнее
Асфальтные заводы в Украине по цене от производителя
01.10.20224584 просмотров
подробнее
Газоочистное и пылеулавливающее оборудование для асфальтосмесительных установок
Стационарные, перемещаемые (на подрамных конструкциях) и мобильные (на шасси) асфальтобетонные заводы NFLG производятся по самым высоким стандартам качествам и сочетают в себе последние инновации в дорожной сфере.
Оборудование АБЗ NFLG – это совокупность всех узлов, агрегатов, механизмов и устройств, необходимых для обеспечения стабильного и эффективного выпуска гомогенных асфальтобетонных смесей всех типов.
Проектирование, составление и согласование необходимой площади, комплектации и схемы расположения являются неотъемлемой частью в процессе производства и реализации асфальтобетонных заводов. В основе асфальтосмесительного оборудования NFLG лежит модульный принцип агрегатирования, основанный на взаимозаменяемости и дополняемости узлов и агрегатов. Комплектация установок подбирается с учетом технического задания заказчика и может включать абсолютно любой вариант исполнения узлов и агрегатов.
Все узлы и агрегаты установок, такие как бункеры инертных материалов, конвейеры, грохот негабарита, сушильный барабан, горелка сушильного барабана, элеваторы, виброгрохот, смесительная башня, агрегат готовой смеси, битумное хозяйство, силосы поставляются с фабрики NFLG в Китае.
В основе нашего оборудования используется более 730 запатентованных решений и механизмов. Ежегодно, благодаря деятельности собственного научно-исследовательского центра «NFLG Mixing Institute», мы создаем уникальные проекты, способные удовлетворить требования по эффективности, функциональности и надежности работы смесительного оборудования.
Агрегат питания
Агрегат питания NFLG состоит из бункеров инертных материалов, питателя, горизонтального и наклонного конвейеров и грохота негабарита. Бункеры инертных материалов поставляются объемом от 12 до 21 м³. На каждом бункере установлены решетки негабарита с ячейками размером 100×150 мм (по желанию заказчика может быть изготовлен необходимый размер ячеек).
Бункеры оборудованы площадочными вибраторами фирмы OLI (Италия). Для улучшения эффекта вибрации и защиты бункера от возможных повреждений вибратор крепится на подвижную пластину. Бункеры песка и отсева оснащены двумя вибраторами и системой аэрации по принципу пневмоудара. Система производит взрыхление уплотненного материала и восстанавливает его стабильную подачу в сушильный барабан.
Для отслеживания недостачи материала каждый бункер оснащен датчиками уровня фирмы OMRON (Япония) и сигнальными устройствами.
Комплектация агрегата подбирается с учетом всех требований клиента. Технические характеристики могут включать абсолютно любой вариант исполнения: количество (5/6/7/8 и более) и расположение бункеров инертных материалов (в линию относительно конвейера, Г-образно, L-образно или Т-образно).
Питатель состоит из ленты питателя, оснащенной ограничительными бортами, мотор-редукторов фирмы SEW-Eurodrive (Германия) и частотных преобразователей компании ABB (Швейцария).
Оператор АБЗ контролирует дозацию с помощью частотных преобразователей из кабины оператора и шибером в ручном режиме. По желанию заказчика на агрегате питания может быть установлен реверс, с помощью которого происходит очистка любого бункера от ненужного материала и переход на другой рецепт без остановки производства.
Горизонтальный и наклонный конвейеры предназначены для перемещения инертных материалов от бункеров к приемному устройству сушильного барабана. Запатентованная технология приводного барабана с протекторными вставками улучшает работу конвейерной ленты и повышает ее производительность. Специальный рисунок протектора обеспечивает необходимый захват транспортерной ленты. Протекторные вставки легко меняются при сервисном обслуживании, что позволяет сократить расходы на обслуживание агрегата.
Лента питателя, ленты горизонтального и наклонного конвейеров, а также протекторные вставки приводного барабана NFLG изготовлены из материала повышенной износостойкости Nepal Cashmere.
Nepal Cashmere – одна их последних запатентованных разработок компании NFLG. Материал рассчитан на работу в суровых условиях эксплуатации: при экстремальных температурах и больших нагрузках.
На наклонном конвейере установлен полноценный грохот, предназначенный для отсева негабаритного щебня. Грохот оборудован двумя вибраторами OLI (Италия). Площадь просеивающей поверхности составляет 1 м².
Сушильный агрегат
Сушка инертных материалов является одним из самых важных этапов в процессе приготовления асфальтобетонных смесей. Сушильный агрегат на асфальтобетонных заводах NFLG состоит из установки сушильного барабана, горелки и двухступенчатой системы пылеочистки.
Сушильный барабан предназначен для просушивания и нагрева до рабочей температуры холодных инертных материалов. На АБЗ NFLG устанавливаются наклонные сушильные барабаны непрерывного действия с противоточной схемой движения материалов и горячих газов. Для загрузки каменных материалов в сушильный барабан применяются ленточные транспортеры, подающие материал непосредственно в барабан.
Кованные ведущие ролики фрикционного типа приводятся в действие четырьмя синхронно работающими мотор-редукторами фирмы SEW Eurodrive (Германия). Преимуществами такой конструкции являются плавное вращение, улучшение силы воздействия на сушильный барабан и понижение уровня шума, типичного для цепного привода и зубчатого бандажа.
Покрытие барабана NFLG из нержавеющей стали обеспечивает отражающий эффект, улучшающий внешний вид завода. Теплоизоляция из минерального волокна, покрывающего корпус барабана, сохраняет тепло, снижает потребление топлива и увеличивает его производительность. Агрегат оснащен датчиком вибрации, что позволяет оперативно устранять неисправности.
Внутри барабан делится на функциональные зоны: зону нагрева влажного материала, зону интенсивной сушки и зону нагрева высушенного материала. В каждой зоне к внутренней стенке барабана прикреплены лопасти из износостойкого материала специальной формы, за счет чего происходит качественная и равномерная просушка инертных. Запатентованная конструкция лопастей внутренней части сушильного барабана повышает эффективность теплообмена между материалом и пламенем.
Выход материала из барабана оборудован двухступенчатым контролем температуры, инфракрасным датчиком и термопарой для обеспечения точного контроля.
Отметим, что при составлении технической комплектации асфальтосмесительной установки заказчик может выбрать направление вращения барабана, а также точку выгрузки горячих инертных.
Горелка сушильного барабана
Запатентованная горелка NFLG является экономичным и практичным видом оборудования, применяемого для нагрева и высокопроизводительной сушки инертных материалов в сушильном барабане асфальтобетонного завода. Горелка NFLG имеет компактную модульную конструкцию и работает в ручном и/или автоматическом режиме.
Под задачи клиента на АБЗ может быть установлена газовая, жидкотопливная или комбинированная (дизельное топливо/газ) промышленная горелка NFLG. АБЗ компании NFLG оснащены горелками мощностью от 10,5 до 35 мВт в зависимости от производительности завода. Благодаря соответствию мощности узла нагрева и увеличенной производительности сушильных барабанов и блока рукавных фильтров, АБЗ отлично справляются с работой в тяжелых климатических условиях при резких перепадах и низких температурных показателях, а также с высокой влажностью инертных материалов, характерной для большинства регионов России.
Система управления горелкой интегрирована в общую систему управления асфальтным заводом. Отдельная панель управления, оборудованная сенсорным экраном, делает настройку и контроль работы горелки максимально удобными. Система включает в себя функцию автоматического включения, а также поддержания заданной оператором АБЗ температуры.
Удобная настройка и контроль работы
Горелки оснащены импортными комплектующими немецкого концерна Siemens и немецкой фирмы DUNGS. Минимальный выброс вредных веществ обеспечивается благодаря современным технологиям контроля. Удобное техническое обслуживание горелки выполняется благодаря ревизионным крышкам с обеих сторон. Оборудование легко отодвигается от сушильного барабана, обеспечивая быстрый доступ для сервисных работ.
Все горелки NFLG проходят контрольную сборку и полную проверку на тестовой площадке перед отправкой клиентам. Оборудование проходит ряд тестов, включающих контроль следующих параметров: розжиг, форма и размер пламени, содержание углекислого газа и кислорода после сжигания топлива. Это обеспечивает гарантированную надежную работу оборудования.
Качество и безопасность эксплуатации горелок подтверждены сертификатом ТР ТС. Оборудование имеет все разрешительные документы для работы на территории России. Универсальные горелки NFLG идеально подходят для модернизации acфaльтocмecитeльных установок различных производителей.
Блок рукавных фильтров
Успешная и высокопроизводительная работа асфальтобетонных заводов NFLG неизбежно связана с выбросами вредных веществ в атмосферу. Для защиты окружающей среды от загрязнений на АБЗ NFLG установлена высокоэффективная комплексная двухступенчатая система пылеочистки.
Блок рукавных фильтров служит для отделения пыли из рабочих газов при помощи рукавных фильтров, расположенных в корпусе фильтра. Система фильтрации задействует 100% площади рукавных фильтров. Их очистка происходит за счет разрежения воздуха.
Благодаря двухступенчатой системе пылеулавливания пыль разделяется на крупную и мелкую фракции. Крупная фракция подается на элеватор горячих материалов и сразу идет в производство. Отфильтрованные частицы мелкой фракции выводятся шнеком, расположенном в нижней части блока рукавного фильтра.
Собранная пыль перегружается элеватором пыли в бункер пыли и может быть добавлена в процесс приготовления асфальта. Высокопроизводительный рукавный фильтр работает абсолютно бездымно и улавливает даже легочную пыль. Фильтрующие элементы изготовлены из термо- жаростойкого материала Nomex компании DuPоnt (США) и выдерживают температуру до 240˚С.
Направление Eco Friendly — Эффективность системы 99,98%
Все фильтры закрепляются эластичными зажимами, и оборудованы специальными каркасами рукавов, обеспечивая легкую и быструю смену. Замена осуществляется через удобные люки обслуживания, установленные на крыше блока. Очищенный газ выводиться дымососом фирмы ACOVENT (Италия) в дымовую трубу и выбрасывается в атмосферу.
Эффективность системы пылеулавливания на заводах NFLG составляет 99,98%, при номинальной концентрации пыли на входе 250 г/м³ — выход не более 20 мг/м³. Для обеспечения безопасности и надежной работы на газоходе блока рукавного фильтра установлен датчик температуры и аварийный клапан подачи холодного воздуха, благодаря которым рукавные фильтры полностью защищены от сгорания.
Агрегат оснащен удобными люками для инспектирования и технического обслуживания. Замена фильтрующих рукавов не требует использования специальных инструментов.
По желанию клиента агрегат может быть расположен рядом или над сушильным барабаном.
Элеватор горячих инертных
Элеватор предназначен для транспортировки горячих каменных материалов из сушильного барабана на виброгрохот. Горячий элеватор, установленный на АБЗ NFLG, имеет две параллельные ветви цепей якорного или пластинчатого типа. Цепи изготавливаются из уникальной по составу стали с высокими показателями по износоустойчивости, антикоррозийности и разрывных усилий.
Ковши элеватора сделаны из высокопрочного материала Hardox (Швеция). Hardox является мировым лидером среди износостйких сталей и обладает равномерной твердостью, высокой прочностью и лучшей в своем классе ударной вязкостью. Элеватор оснащен мотор-редуктором фирмы SEW Eurodrive (Германия).
На элеваторе установлена система автоматического торможения, которая активируется без участия оператора АБЗ. Система обеспечивает высокую надежность работы агрегата. По желанию заказчика элеваторы могут быть исполнены в теплоизолированном исполнении.
Виброгрохот с оптимальным уголом наклона люльки грохота
Вибрационный грохот – это основной элемент системы разделения на фракции инертных материалов. Предназначен для разделения прогретых и просушенных материалов, которые затем направляются в отсеки бункера горячих материалов на кратковременное хранение. Виброгрохот NFLG разработан по европейскому стандарту и состоит из люльки грохота, нескольких ярусов просеивающих сит (количество ярусов зависит от количества фракций), опорных пружинных подвесок, электродвигателя, вибраторов и рамы.
Виброгрохот оснащен двумя большими вибромоторами фирмы OLI (Италия) мощностью от 3,6 до 16 кВт, а также футеровочной пластиной приема материала. Люлька грохота представляет собой сборную конструкцию. На люльке, вдоль ее рамы, устанавливаются просеивающие сита арфаобразной и плетеной конструкций. Плетеные сита изготовлены из сплава, разработанного специально для работы в условиях высоких температур. Грохот обеспечивает стабильно высокую производительность с учетом качества поставляемых материалов.
Агрегат оборудован системой натяжения сит, что исключает их провисание. Опорами люльки служат четыре подвески, воспринимающие массу агрегата и динамические нагрузки, возникающие в процессе работы грохота. Оптимальный угол наклона люльки грохота и большая площадь, увеличивает эффективность просеивания инертных материалов.
В стандартной комплектации вибогрохот оснащен тепло- и шумоизоляцией. Теплоизолированный грохот способствует поддержанию температуры горячего материала на все время процесса просеивания, создавая «термос» внутри виброгрохота, а благодаря шумоизоляционному слою минимизируется шум АБЗ. Агрегат оборудован системой байпас, что позволяет работать на крупном материале минуя сита, а также специальной заслонкой перекрытия выхода из грохота негабаритного материала.
На виброгрохоте установлены поручни по всему периметру и двери, позволяющие проводить комфортное сервисное обслуживание с двух торцевых сторон. Для удобства обслуживания и замены запасных частей АБЗ установлена лебедка.
Все виброгрохоты проходят полную проверку и контрольную настройку на тестовой площадке перед отправкой клиентам. Это обеспечивает качественный рассев материала.
Бункер горячих материалов
Все асфальтобетонные заводы компании NFLG оборудованы теплоизолированными бункерами, которые служат для хранения отсортированных по отсекам горячих инертных материалов.
Специальная запатентованная конструкция стенок бункера защищена по принципу «камень об камень», что позволяет избежать износа стенок бункера. Вместимость бункеров АБЗ NFLG в стандартной комплектации от 45 до 115 тонн. По запросу клиента объем бункеров может быть увеличен.
Запатентованная система выгрузки на дозатор
Запатентованная система выгрузки на дозатор инертного материала осуществляется двумя затворами для грубой и точной дозировки или тандемным цилиндром с двухступенчатым открыванием затвора (20% и 80%).
Каждый отсек бункера горячих материалов оснащен датчиками температуры и последовательными датчиками уровня, что позволяет оператору отслеживать наличие материала в реальном времени. Теплоизоляция бункеров (до 100 мм) позволяет хранить материал в течение 8 часов.
Для оперативного и качественного обслуживания в каждом отсеке установлен специальный люк и система сквозного прохождения внутри всех бункеров.
Блок дозаторов
Важнейшим процессом, определяющим технологическую эффективность производства асфальтобетонной смеси, является дозировка, поскольку без точного ввода компонентов невозможно получить асфальтобетонную смесь высокого качества.
Блок дозатора включает в себя:дозатор инертных материалов, дозатор битума, дозатор порошков. Объем дозаторов зависит от производительности АБЗ.
До сих пор многие АБЗ работают на устаревших дозаторах рычажного типа, которые не в состоянии обеспечить требуемую точность дозирования компонентов. Для точной дозировки в конструкции АБЗ NFLG применяются весовые дозаторы каменных материалов, порошка и битума на тензодатчиках фирмы Mettler Toledo (США).
Для надежной работы установки блок дозаторов оснащен пневмооборудованием фирмы Festo (Германия) или IMI Norgren (США). Автоматизированная система управления осуществляет постоянный контроль дозирования материала согласно заданного рецепта асфальтобетонной смеси. Особенность площадки для распределения калибровочных гирь позволяет расположить их равномерно.
Весовой дозатор каменных материалов имеет минимальную погрешность взвешивания равную ±0,2%. Для точного дозирования битума устанавливается битумный дозатор модульного типа с погрешностью дозирования равной ±0,1%. Погрешность взвешивания порошка равна ±0,01%. В случае превышения погрешности происходит автоматическая корректировка дозации всех материалов, что приводит к 100% выполнению рецепта, заданного оператором.
Комфортный забор материала обеспечивает наличие специальных люков, позволяющих сотрудникам лаборатории брать пробы в любое время без остановки АБЗ.
Смеситель
Смеситель – это сердце асфальтобетонного завода, без которого невозможно представить технологический процесс приготовления асфальтобетонных смесей. В зарубежной и отечественной практике приготовления асфальтобетонных смесей в настоящее время применяют двухвальные смесители принудительного смешивания и непрерывного действия свободного смешивания. На АБЗ компании NFLG устанавливаются двухвальные смесители принудительного действия, разработанные и изготовленные в соответствии с международными стандартами. Смесители имеют большой срок службы и способны работать длительное время при максимальной нагрузке.
Высокопроизводительный двухвальный смеситель нового поколения
Смеситель NFLG с синхронным приводом оснащен двигателями Siemens (Германия) и редукторами фирмы Bonfiglioli (Италия) или двумя мотор-редукторами международного немецкого концерна SEW Eurodrive. Смеситель имеет высокую производительность и скорость перемешивания. Время замеса на АБЗ NFLG длится 19 с. Броня, стойки и ячеистые лопатки изготовлены из высокопрочного сплава шведской фирмы АВ Bruzaholms Bruk и выдерживают более 200 000 замесов. На лопатках имеются переходные звенья, которые регулируют зазор между лопаткой и броней.
Запатентованная форма смесителя, разработанного в институте перемешивания NFLG, а также уникальное расположение угла наклона стоек и лопастей дает гарантию равномерного замеса и бесперебойного технологического процесса. Для удобного обслуживания смесители оснащены люками обслуживания и трехступенчатой системой безопасности, что позволяет легко и безопасно производить сервисные работы.
Агрегат готовой смеси
После смешивания асфальтобетонная смесь из смесителя поступает непосредственно в грузовые автомобили-самосвалы для транспортировки к месту работ или отправляется в агрегат готовой смеси для временного хранения и последующей выдачи в автотранспорт.
Наличие агрегата готовой смеси в составе асфальтобетонного завода позволяет исключить простой транспорта на производственной площадке и обеспечить бесперебойную работу АБЗ. В зависимости от комплектации АБЗ NFLG агрегат готовой смеси может быть расположен как под смесительной башней, так и стоять рядом с заводом.
Вместимость бункера-накопителя под смесительной башней в стандартной комплектации варьируется от 60 до 120 тонн. Вместимость отдельно стоящего бункера-накопителя от 90 до 2000 тонн. Объем и количество бункеров может быть увеличено по желанию заказчика.
Рядом стоящий АГС оборудован скиповой подачей с интегрированной преобразовательной лебедкой. В конструкцию агрегата внедрены плавный пуск и торможение скипового подъемника. Фотоэлектрический импульсный шифратор записывает местоположение тележки и управляет ее скоростью. Скип выполнен из высокопрочной и износостойкий стали, что позволяет в несколько раз увеличить его срок службы. Все бункеры готовой смеси могут быть разделены на две или несколько секций, что позволяет работать одновременно на нескольких рецептах.
Усиленная теплоизоляция позволяет хранить материал в течение 24 часов. Все бункеры оснащены датчиками уровня и контроля температуры. Стенки бункеров и затворы обогреваются с помощью электронагревателей.
Запатентованные технологии NFLG
Запатентованная конструкция бункера-накопителя предотвращает сегрегацию готовой смеси. Агрегат имеет увеличенный угол стенки скипа, что сводит на нет образование процессов расслоения. При выгрузке происходит расклиновка потока. Бункеры готовой смеси оснащены антисегрегационными пластинами, расположенными внутри агрегата на расстоянии не более 2 м. За счет пластин единый поток выгрузки рассекается, образуя три коротких. На каждом прерывании потока происходит дополнительное смешивание, что приводит к уменьшению сегрегационного эффекта.
Если рассматривать комплектацию АБЗ с отдельно вынесенным АГС, то помимо увеличенного угла стенки и антисегрегационных пластин нужно отметить влияние строения скипа. Уменьшенная высота выгрузки из смесителя в скип значительно сокращает время свободного полета готовой смеси и снижает ее охлаждение. За счет продуманной конструкции снижается эффект фракционной и температурной сегрегации. В момент выгрузки скипа откатное дно скипа открывается целиком. Это решение привело к увеличению потока выгрузки и уменьшению количества переваливания материала, снижая его валкость.
Выгрузка в самосвал реализована тремя точками выгрузки, смещенными к центру, за счет чего самосвал имеет возможность легко зацентроваться и скорректировать поток АБС. Увеличенный шибер позволяет производить сброс смеси в самосвал большим потоком, без долгого «стекания», что приводит к уменьшению времени выгрузки и снижению сегрегации.
Агрегат минерального порошка и пыли
Агрегат минерального порошка предназначен для приема, временного хранения и выдачи минерального порошка на дозатор и далее в смеситель. Агрегат пыли предназначен для хранения улавливаемой пыли и подачи ее через элеватор на дозирование в смесительный агрегат.
Силос минерального порошка и пыли на АБЗ NFLG спроектирован в едином модуле: в верхней части силос минерального порошка, а в нижней части силос пыли. Модульная конструкция позволяет произвести удобное соединение с основной башней, а также значительно сократить пространство рабочей площадки для монтажа.
Минимальный объем верхней части силоса (минеральный порошок) от 32 м³. Минимальный объем нижней части силоса (пыль) от 16 до 73 м³. Заказчик может выбрать необходимый объем и количество емкостей. По желанию клиента на АБЗ могут быть установлены отдельно стоящие силосы под минеральный порошок и пыль объемом до 200 м³. По индивидуальному запросу возможно производство указанных емкостей большего объема.
Агрегат оснащен шнековыми транспортерами торговой марки WAM (Италия). Силосы оборудованы постоянными индикаторами уровня. Для предотвращения слеживания и увеличения подвижности минерального порошка и пыли внутри силосов установлена система аэрации WAM (Италия).
Силос минерального порошка оснащен фильтром и аварийным клапаном для сброса избыточного давления. Для удобного сервисного обслуживания агрегат снабжен широкими лестницами и просторными площадками обслуживания по периметру, а также техническим люком и лестницей для доступа во внутрь емкостей.
Кабина оператора
Если сердце асфальтобетонного завода – это смеситель, то кабина оператора – это мозг асфальтобетонного завода. На АБЗ NFLG блок управления разделен на две зоны: кабина оператора и электроаппаратная.
Кабина оператора является рабочим местом специалиста, осуществляющего управление всем заводом. На АБЗ NFLG установлены кабины закрытого контейнерного типа с тепло- и звукоизоляцией. Мы предлагаем клиентам два варианта исполнения кабины оператора: площадью 16 м² (конструкция в едином модуле) и площадью 20 м² (сборная конструкция).
Окна, расположенные в операторской, позволяют контролировать весь процесс работы завода, не выходя из кабины. Для управления АБЗ в кабине оператора установлены два параллельно работающих промышленных компьютера (SIEMENS SIMATIC), каждый из которых укомплектован жестким диском с системой управления заводом, что позволяет обеспечить бесперебойную работу АБЗ при возникновении внештатных ситуаций.
Благодаря применению электрооборудования ведущих мировых производителей: SIEMENS (Германия), SCHNEIDER (Франция), OMRON (Япония), заводы NFLG выгодно отличаются высокой степенью надежной и стабильной работы.
Для создания комфортных климатических условий (охлаждения, нагрева и вентиляции воздуха) кабина оборудована сплит-системой.
передовых бизнес-решений | ИТ-услуги в Луисвилле | Управляемые услуги
Разблокировка ваших данных для более быстрого и эффективного принятия бизнес-решений.
УСЛУГИ ДАННЫХ
Разблокировка ваших данных для более быстрого и эффективного принятия бизнес-решений
ИТ-поддержка • Расширение возможностей бизнеса
ABS является крупнейшим поставщиком управляемых ИТ-услуг (MSP) в регионе, и мы создали команду квалифицированных, профессиональных и представительных инженеров-технологов.
У нас нет годовых или многолетних контрактов в наших соглашениях об управляемых услугах. Мы ищем соответствие ДНК и хотим приносить пользу, поэтому мы никогда не будем держать вас в заложниках долгосрочного контракта.
Мы работаем по «Пути ABS» — принципам, которые позволяют нашей команде обеспечивать высочайшее качество обслуживания клиентов.
Как одна атака программы-вымогателя уничтожила две компании и что мы сделали для восстановления
ПРОЧИТАТЬ
ПОДПИСАТЬСЯ НА РАССЫЛКУ ABS
Будьте в курсе всех последних новостей, обновлений и событий в Advanced Business Solutions. Отправьте свой адрес электронной почты и следите за входящей почтой для нашего следующего выпуска!
Электронная почта *
125+ Специалисты по информационным технологиям
25 лет. Из всех вопросов справочной службы, решенных удаленно
НАШИ СОТРУДНИКИ
Наша команда состоит из более чем 100 сотрудников с разным опытом, техническими специальностями и навыками решения проблем. У нас также очень низкая текучесть кадров, а это означает, что у большинства членов нашей команды есть способности, которые переплетаются между собой в каждом отделе. Мы гордимся нашими сотрудниками и делаем упор на построение прочных отношений в обществе. Эти партнерские отношения взаимовыгодны, и мы гордимся тем, что обслуживаем клиентов как из государственного, так и из частного секторов, от местных предприятий до некоторых из крупнейших и наиболее узнаваемых имен в регионе.
Некоторые из наших клиентов …
и что они говорят …
Без ABS и вашей готовности задействовать нашего интернет-провайдера, мы все еще были бы мертвы в воде в отношении нашей системы IP-телефонии после обновления нашей схемы. Спасибо просто не кажется достаточно хорошим словом. Вы определенно наш «идите к ребятам».
Безопасность сети Донан
В эти выходные мы переместили наши серверы, что заставило нас протестировать настройку аварийного восстановления виртуальной среды в реальных условиях. Он работал безупречно, и мы простояли минимальное количество времени.
Lexon Surety Group
Спасибо за все обновления и за то, что держите нас в курсе того, что происходит, что делать и где можно получить помощь. Вы, ребята, лучшие!
Театр актеров
ABS является профессиональным, своевременным и проделал хорошую работу по управлению нашей учетной записью. Очень помогло наличие лида для нашей учетной записи, который может отслеживать тенденции и действительно знакомится с ИТ-ландшафтом.
Виноградник Хубера
ПОДРОБНЕЕ ОТ НАШИХ КЛИЕНТОВ
Хотите устранить барьеры технологий в своем бизнесе?
передовых бизнес-решений | ИТ-услуги в Луисвилле | Управляемые услуги
2;scaleyin:.2;offsetxout:right;fadeout:false;rotateout:45;scalexout:.2;scaleyout:.2;parallaxlevel:0;»> Разблокировка ваших данных для более быстрого и эффективного принятия бизнес-решений.
УСЛУГИ ДАННЫХ
Разблокировка ваших данных для более быстрого и эффективного принятия бизнес-решений
ИТ-поддержка • Расширение возможностей бизнеса
ABS является крупнейшим поставщиком управляемых ИТ-услуг (MSP) в регионе, и мы создали команду квалифицированных, профессиональных и представительных инженеров-технологов.
У нас нет годовых или многолетних контрактов в наших соглашениях об управляемых услугах. Мы ищем соответствие ДНК и хотим приносить пользу, поэтому мы никогда не будем держать вас в заложниках долгосрочного контракта.
Мы работаем по «Пути ABS» — принципам, которые позволяют нашей команде обеспечивать высочайшее качество обслуживания клиентов.
Как одна атака программы-вымогателя уничтожила две компании и что мы предприняли для восстановления
Будьте в курсе всех последних новостей, обновлений и событий в Advanced Business Solutions. Отправьте свой адрес электронной почты и следите за входящей почтой для нашего следующего выпуска!
Электронная почта *
125+ Специалисты по информационным технологиям
25 Годы работы в бизнесе для создания базы знаний
99,1% Уровень удовлетворенности клиентов за текущий месяц
94% Все вопросы службы поддержки решаются дистанционно
специальностей и навыков решения проблем. У нас также очень низкая текучесть кадров, а это означает, что у большинства членов нашей команды есть способности, которые переплетаются между собой в каждом отделе. Мы гордимся нашими сотрудниками и делаем упор на построение прочных отношений в обществе. Эти партнерские отношения взаимовыгодны, и мы гордимся тем, что обслуживаем клиентов как из государственного, так и из частного секторов, от местных предприятий до некоторых из крупнейших и наиболее узнаваемых имен в регионе.
Некоторые из наших клиентов …
и что они говорят …
Без ABS и вашей готовности задействовать нашего интернет-провайдера, мы все еще были бы мертвы в воде в отношении нашей системы IP-телефонии после обновления нашей схемы. Спасибо просто не кажется достаточно хорошим словом. Вы определенно наш «идите к ребятам».
Безопасность сети Донан
В эти выходные мы переместили наши серверы, что заставило нас протестировать настройку аварийного восстановления виртуальной среды в реальных условиях. Он работал безупречно, и мы простояли минимальное количество времени.
Lexon Surety Group
Спасибо за все обновления и за то, что держите нас в курсе того, что происходит, что делать и где можно получить помощь.
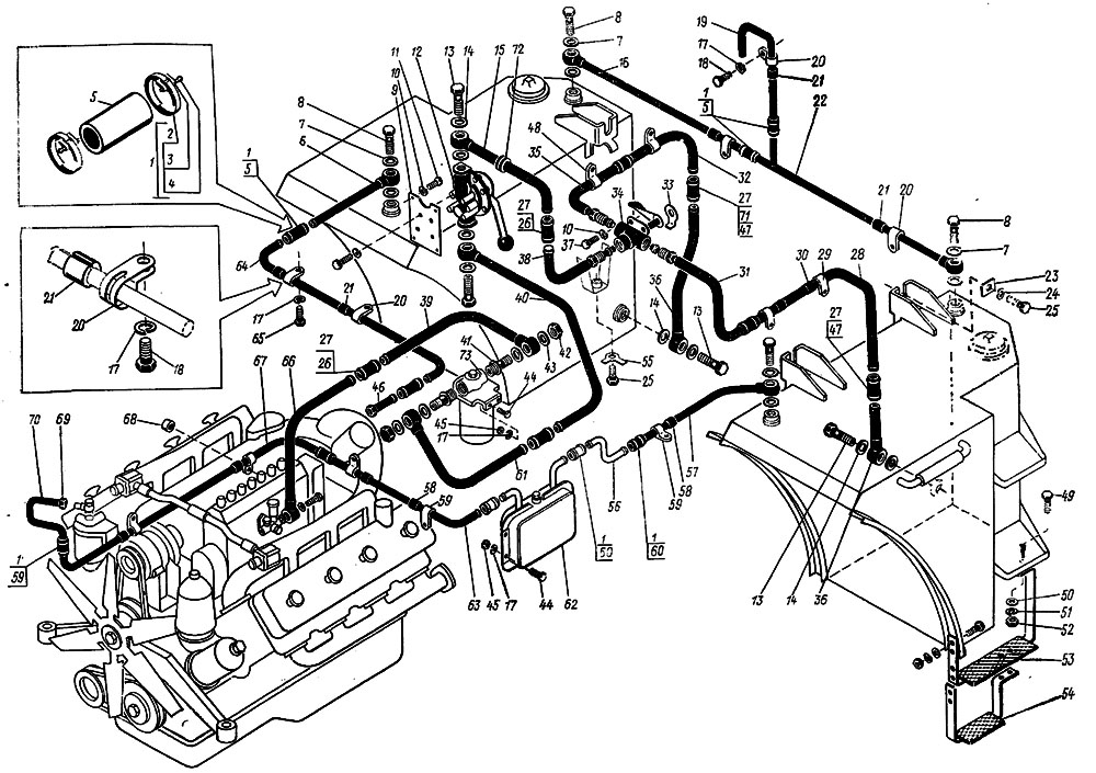
Характеристика генератора. Напряжение выпрямленное — 12 в. Мощность выпрямленная — 1000 вт. Ток выпрямленный — 80 а. Начальные обороты полной отдачи генератора в горячем состоянии — не более 3500 об!мин.
Селеновый выпрямитель служит для выпрямления переменного тока, вырабатываемого генератором, и состоит из селенового столба и двух кронштейнов с клеммами 5 постоянного тока и клеммами 6 переменного тока.
Столб собран из селеновых шайб по схеме трехфазного моста. Число элементов г— 18. Размер элементов — 100 х 200 мм. Число элементов, параллельно включенных в плечо схемы — 3.
Реле-регулятор КТР-1 служит для поддержания постоянного напряжения при изменениях нагрузки и оборотов генератора, а также для ограничения максимального тока нагрузки и содержит следующие основные элементы. 1. Вибрационное реле-регулятор напряжения, имеющее основную обмотку РН0, корректирующую — РНК и нормально открытые контакты РН. 2. Вибрационное реле-ограничитель тока, имеющее основную (серйесную) обмотку ОТ0, вспомогательную удерживающую (шун-товую) О Ту и нормально открытые контакты ОТ. 3. Триод Т. 4. Диоды Д1 и Лг гасящего контура. 5. Сопротивления.
Для пояснения принципа действия КТР-1 удобно разбить его схему на три основные узла. 1. Задающий (измерительный) орган — блок вибрационных реле — ограничитель тока и регулятор напряжения. 2. Исполнительный орган — триод Т. 3. Вспомогательные цепи.
Рис. 3. Схема подключения реле-регулятора и реле защиты и их вид справа.
Для вибрационного регулятора напряжения входным сигналом является значение регулируемого напряжения; для вибрационного ограничителя тока — значение тока нагрузки.
Исполнительный орган содержит триод Т, сопротивление обратной связи Roc и добавочные сопротивления R 1д и Ryo. В цепь базы триода включены нормально открытые контакты реле РН и ОТ.
Вспомогательная цепь — гасящие диоды Д1 и Д2, выравнивающие два сопротивления Rt и R2. Эта цепь включена параллельно обмотке возбуждения генератора.
С ростом оборотов двигателя растет напряжение на зажимах генератора. Триод открыт, и весь ток возбуждения генератора идет через него. Когда напряжение достигает величины срабатывания вибрационного реле РН0, оно замыкает свои нормально открытые контакты РН и в цепи базы триода Т, триод запирается и в цепь обмотки возбуждения включаются добавочные сопротивления.
Ток возбуждения падает, падает напряжение генератора, регулятор напряжения размыкает свои контакты РН в цепи базы триода, триод открывается и выключает сопротивление R1Д nRy в цепи обмотки возбуждения генератора. Таким образом осуществляется регулирование напряжения в пределах 13,4— 14,5 в.
Вибрационное реле ограничителя тока рассчитано так, что ампер-витков обмотки 0ТУ недостаточно для срабатывания реле. По мере роста нагрузки генератора растет ток в обмотке 07V- При достижении максимально допустимой нагрузки суммарных ампер-витков обмоток ОТ0 и 0ТУ достаточно для срабатывания ограничителя тока. Оно замыкает свои нормально открытые контакты ОТ в цепи базы триода Т, то есть имеет место точно такой же процесс, как и при работе регулятора напряжения.
Так осуществляется ограничение тока в пределах 80±5 а.
Реле защиты является дополнением к реле-регулятору КТР-1 и служит для защиты триода от токов короткого замыкания в обмотке возбуждения генератора. Реле защиты содержит обмотку токовую основную О Г0, обмотку удерживающую 0ТУ, нормально открытые контакты Ош и диод Д.
При возникновении в обмотке возбуждения величины тока выше 4,5 а реле защиты замыкает контакты Ош, триод запирается, и ток обмотки возбуждения будет поступать через сопротивления Ry и R1; минуя триод.
Аккумуляторные батареи. На тракторе имеются четыре аккумуляторные батареи 6СТМ-128, установленные в утепленные с внутренней стороны теплоизоляционным материалом контейнеры с правой и левой сторон трактора. Соединены батареи параллельно.
Ёмкость при 20-часовом режиме разряда и средней температуре электролита 30°-— 128 ач.
Разрядный ток при 10-часовом режиме разряда— 11,2 а. В батареи залит раствор серной кислоты (электролит) плотностью, зависящей от климатических условий.
Стартер СТ-103 предназначен для пуска двигателя и представляет собой четырехполюсный электродвигатель постоянного тока с последовательно включенной (сериесной) обмоткой возбуждения.
Шестерня стартера вводится в зацепление с венцом маховика двигателя при помощи реле привода, смонтированным на корпусе стартера. Выход шестерни из зацепления происходит после пуска двигателя автоматически.
Техническая характеристика стартера. Номинальное напряжение — 24 в.
Номинальная мощность при оборотах 1200 об!мин — 7± 0,5 л. с. Ток холостого хода при напряжении 24 в — не более 110 а. Потребляемый ток в режиме полного торможения при моменте 6 кгм — не более 800 а.
Направление вращения (со стороны привода) — правое.
Включение стартера происходит следующим образом: при нажатии на кнопку стартера, находящуюся на щитке приборов, срабатывает переключатель ВКЗО-Б, который переключает аккумуляторные батареи на параллельно-последовательное соединение и включает питание обмотки реле привода стартера напряжением 24 в. Реле привода замыкает сильноточные контакты цепи питания обмотки стартера от аккумуляторных батарей напряжением 24 в и вводит в зацепление шестерню стартера с маховиком двигателя. Якорь стартера начинает вращаться и проворачивает коленчатый вал двигателя.
Переключатель ВКЗО-Б (рис. 5) предназначен для переключения аккумуляторных батарей с параллельного соединения (12 в) на параллельно-последовательное (24 в) с одновременным включением стартера.
Переключатель состоит из коробки контактного устройства с выводными клеммами для присоединения проводов, электромагнита и якоря, который соединен с механизмом контактной системы.
Рис. 5. Переключатель ВКЗО-Б в сборе: 1 — клеммы выводные; 2 — коробка контактная; 3 — главные контакты; 4 — контактный диск; 5 — диск главных контактов; 6 — электромагнит; 7 — якорь.
На торце переключателя имеются клеммы, к которым подключаются провода: клемма — Б2 — провод от минусовых клемм левых аккумуляторных батарей; » + Б2 — провод от плюсовой клеммы левых аккумуляторных батарей; » + — провод от плюсовых клемм правых аккумуляторных батарей, от розетки штепсельной, минус амперметра; » PC — провод от реле привода стартера через предохранитель; » М — провод от клемм выключателя «массы» и от розетки штепсельной.
Две клеммы обмотки реле, находящиеся сбоку,— от кнопки стартера и заземления.
Звуковой сигнал С56-Г. Безрупорный вибрационного, типа. Включается сигнал нажатием кнопки, расположенной на щитке приборов, или при срабатывании любого из трех реле РС504, находящихся на щитке комбайна и включающих сигнал при неисправностях комбайна.
Освещение и световая сигнализация. К приборам освещения и световой сигнализации трактора относятся четыре фары, два фонаря типа ПФ201, плафон кабины типа ПК201-В, лампы освещения щитков приборов, фонарь ПД1-Ж освещения подкапотного пространства, фонари ‘контрольных ламп.
Фары. На тракторе установлены две передние фары ФГ-301 с лампами 50 + 21 св, 12 в (дальний и ближний свет) и две задние поворотные фары ФГ16-Е с лампой 50J-+- 21 св, 12 в. Регулировать направление света можно разворотом их в гнезде крепления.
Фонари ПФ201. На правом и левом кронштейнах задних фар установлены фонари ПФ201, имеющие двухнитевые лампы. Одна нить 32 св включена в схему сигналов) поворота и сигнала торможения, другая нить 4 св — в схему сигнала «габаритный огонь».
При торможении трактора замыкаются контакты «стоп-сигнала», находящиеся в тормозном кране пневмосистемы, и загораются 32-свечовые нити ламп.
Параллельно лампам фонарей сигналов поворота и торможения подключены клеммы розетки прицепов, поэтому при загорании ламп сигналов поворота или торможения на тракторе загораются аналогичные лампы на прицепе.
Розетка прицепов и прицепных орудий типа ПС300-Р находится на панели, установленной на корзинке топливного бака, и служит для подачи электропитания’ и сигнализации на прицепы, комбайны и прицепные орудия.
На панели также установлена штепсельная розетка типа 47 К для включения переносной лампы.
Включатель «массы». На тракторе минусовые клеммы аккумуляторных батарей подключены к выключателю «массы». Для включения батарей необходимо нажать на кнопку, расположенную на торце, для отключения — боковую кнопку.
Включатель представляет собой рубильник, контакты которого размыкаются под действием мощной пружины.
Катушка зажигания. Для питания свечей системы предпускового обогрева током высокого напряжения на тракторе установлены две пусковые катушки зажигания Б17. Катушки включаются включателем, установленным на щитке зимнего запуска.
В момент включения катушки зажигания (рис. 6) ток, проходящий по первичной обмотке, создает магнитный поток, усиливающийся стальным сердечником, и магнитодвижущую силу, которая размыкает цепь тока напряжения контактами.
Прерывание тока сопровождается возвращением контактов в исходное положение и уменьшением магнитного потока, который, пересекая витки вторичной обмотки, наводит в ней электродвижущую силу порядка 18 000 в.
Электродвижущая сила, индуктируемая во вторичной обмотке, создает искровой разряд между электродами свечи зажигания. С целью уменьшения искрения между контактами вибратора параллельно им включают конденсатор.
Электропроводка. На тракторе применены провода марки ПГВА для соединения всех узлов электрооборудования, кроме подключения к свечам котла предпускового обогрева, где применяются высоковольтные провода марки ПВЛ-3.
На концы каждого провода надеты полихлорвиниловые трубки, на которые нанесен номер, соответствующий номеру данного провода по схеме.
Для удобства монтажа и эксплуатации на тракторе провода, выходящие из кабины, соединены соответствующими проводами на раме через соединительные панели.
Контрольно-измерительные приборы и щитки. На тракторе имеются четыре щитка, из которых щиток приборов, щиток комбайна и дополнительный щиток установлены в кабине, а щиток, зимнего запуска — на облицовке радиатора.
Щиток приборов установлен перед трактористом. Расположение и назначение приборов, находящихся на щитке, показано на рисунке 7.
Шкала тахоспидометра включает диапазона, расположенных концентрично:
Прибор имеет одну стрелку, указывающую верхним концом фактическую скорость трактора в км/час нижним — число оборотов коленчатого вала двигателя.
Блоки предохранителей (с плавкими вставками), находящиеся внутри щитка, защищают потребителя от перегрузок и коротких замыканий. Величины плавких вставок для всей цепи подробно указаны в таблице, закрепленной на внутренней стороне крышки.
Щиток комбайна служит для контроля и сигнализации при работе с комбайном. На щитке имеются: три сигнальных лампы, три реле сигналов и четыре включателя.
При неисправностях комбайна от соответствующих датчиков загораются сигнальные лампы и одновременно реле сигналов подают питание на звуковой сигнал.
Ввиду того, что сигнал на продолжительную работу не рассчитан, на время устранения неисправностей его необходимо выключать. Для этого на щитке установлены три включателя.
Левый (четвертый) включатель служит для подачи питания на комбайн. Перед работой включатели должны быть включены.
Щиток зимнего запуска предназначен для управления системой предпускового обогрева. На щитке установлены: включатель обогрева форсунки, включатель пусковых катушек зажигания, переключатель электродвигателя—нагнетателя, пусковое сопротивление, блок предохранителей и штепсельная розетка (для переносной лампы.
Дополнительный щиток предназначен для установки следующих дублирующих приборов: манометра «Гидросистема КПП», манометра «Масло двигателя» и контрольной лампы «Вода двигателя + 100°». Указанные приборы необходимы при работе трактора в реверсируемом варианте.
Запчасти для К-700, запчасти на трактор Кировец, запчасти на К-701, К-702, К-744, ремонт КПП К-700.
Наша компания осуществляет оптовую торговлю запчастями на трактора и спецтехнику марки «Кировец». Это отличное предложение для сервисных центров по обслуживанию спецтехники, оптовых компаний, реализующих детали, а также сельхоз предприятий, владельцев тракторов, которые знают, как сложно найти оригинальные, заводские запчасти на Кировец.
Выгодно купить запчасти на К-700!
Из-за курсовой неустойчивости национальной валюты, закупка и ремонт импортной техники становятся непомерно дорогими и отрицательно влияют на конечную прибыль предприятий. Купить запчасти на К-700, запчасти К-700А, К-701, К-701М, К-702, УДМ, ПК-6, Л-703, БКУ, К-703МБА, К-704, К-708, К-744 (Р1-2-3) и другие трактора «Кировец» гораздо дешевле и быстрее, чем ждать поставок от дилера импортной техники. Приобретая запчасти на Кировец у нас Вы получаете гарантированно качественный товар в максимально сжатые сроки! Сельхоз трактора и спецтехника марки Кировец по праву считаются маркой №1 в России!
Ждём Ваших заявок на запчастиК-700!
Оказываем услуги по ремонту и восстановлению крупных узлов и агрегатов, валов ведущих для трактора К-700А, на трактор Кировец К-702, К-744, гидротрансформатора 2765020-16. 03.000-03. Осуществляем ремонт коробок КПП и мостов К-700.
Продаём запчасти К-700. Весь ассортимент запчастей на Кировец!
Практика показывает, что лучше купить оригинальные запчасти, от которых не будет неприятных «сюрпризов» в самый неподходящий момент. У нас в большом ассортименте и по доступной цене вы найдете запчасти К-700 от завода-изготовителя АО “Петербургский Тракторный Завод”, а также множество деталей для других тракторов Кировец. Качество поставляемых нами деталей проверено временем и большим количеством постоянных клиентов в Ставрополье, Краснодаре, Москве, Челябинске, Тюмени, Томске, Оренбурге, Сургуте, Красноярске, Хабаровске, Самаре, Архангельске, Ростове-на-Дону, Саратове, Нижнем Новгороде, Новосибирске, Воронеже, Твери, Екатеринбурге, Кемеровской, Свердловской области, Барнауле и других городах и селах России и СНГ. Покупайте запчасти для К-700 в нашем интернет-магазине!
С ценами на наиболее популярные запчасти для К-700, трактора K-700A, K-701, K-702, К-703, K-744, УДМ, БКУ, ПК6 можно ознакомиться в прайс-листе. Наши специалисты всегда помогут с поиском и выбором нужных деталей, оперативно расценят Вашу заявку и отправят заказ. Мы доставим запчасти для К-700 и других тракторов «Кировец» из СПб в любой регион России и ближнего зарубежья — Украина, Казахстан, Республика Беларусь.
Грузовик HINO серии 700 Руководство по электрической схеме
ПРЕДИСЛОВИЕ Настоящее руководство по ремонту подготовлено для предоставления информации об электрических схемах следующих автомобилей Hino. Применяется для серий FR1E, FS1E, FY1E, Sh2E, SR1E и SS1E, оснащенных двигателем E13C. Что касается элементов технического обслуживания, см. руководство пользователя. Вся информация и технические характеристики в этом руководстве основаны на самой последней информации о продукте, доступной на момент печати. инж. Hino Motors оставляет за собой право вносить изменения в любое время без предварительного уведомления. Обратите внимание, что приведенные ниже публикации также были подготовлены в качестве соответствующих руководств по обслуживанию компонентов и систем. Темы в этом транспортном средстве. Название руководства Pub. Нет. Руководство по ремонту шасси S1-YFSE17C 1/2 S1-YFSE17C 2/2 Руководство по ремонту двигателя E13C S5-YE13E02C
МАСТЕРСКАЯ РУКОВОДСТВО ЭЛЕКТРОПРОВОД УКАЗАТЕЛЬ: ГРУППА ШАССИ Все права защищены. Это руководство может быть не воспроизведены или скопированы целиком и частично, с с письменного согласия Hino Motors, Ltd.
ЭЛЕКТРИЧЕСКИЙ ПРОВОД EL02–1 EL02ЭЛЕКТРИЧЕСКИЙ ПРОВОД ЭЛ02-001 ДИАГРАММА ………………………………………………………. EL02-2 КАК ПОЛЬЗОВАТЬСЯ ЭТОЙ ГЛАВОЙ…………………… EL02-2 СОДЕРЖАНИЕ ДИАГРАММ ………………………….. EL02-7 ЭЛЕКТРИЧЕСКАЯ СХЕМА ………………………………………… EL02-11 ДИАГРАММА . ……………………………………………………… …… ЭЛ02-12 СОЕДИНИТЕЛЬ ПРОВОД-ПРОВОД ………………………….. EL02-142 СОЕДИНИТЕЛЬНЫЙ СОЕДИНИТЕЛЬ………………………. EL02-161 РАСПОЛОЖЕНИЕ РАЗЪЕМА ………………………….. EL02-167 РАСПОЛОЖЕНИЕ РЕЛЕ ……………………………….. EL02-240 БЛОК ПРЕДОХРАНИТЕЛЕЙ И РЕЛЕ …………………. EL02-242 СОЕДИНИТЕЛЬНЫЙ БЛОК ……………………………….. EL02-254 ПРОВОД К ПРОВОДНОЙ КОРОБКЕ ……………………………….. EL02-258 ЯЩИК ЭЛЕКТРООБОРУДОВАНИЯ ………………… EL02-260 ИНДЕКС РАЗЪЕМА ………………………….. EL02-261
ЭЛЕКТРИЧЕСКИЙ ПРОВОД EL02–2 ДИАГРАММА КАК ПОЛЬЗОВАТЬСЯ ЭТОЙ ГЛАВОЙ ЭН12З1602ДЖ100001 1. ЭЛЕКТРИЧЕСКАЯ СХЕМА (%ОБЪЯВЛЕНИЕ) 13 (%AE)14 (%AF) 15 (%AJ) 20 (#В) 27 (#БИ 2) 8 (#AU) 22 (# В3) 11 0,50 Вт-Д 5 0,50 лет-р 0,50 лет 0,50 Вт-Б 0,50 Б 0,50 Ж-З 8 (SLX) (+) 3 0,50 В-Б (В+2) (LDS+) 3 (М) 1 (-) 2 2 0,50 Ж-Г (ДУТЬСЯ) 1 (Е-) 7 (LDS-) 4 (В+) 1 2 е-а 4 е-а 4 е-а 4 14 13 15 0,50 Y-B 0,50 года 0,50 года 0. 50 руб. 0,50 О 0,50 Вт %28 (АБС) %2А (АБС) %27 (АБС) %29 (АБС) 0,01 Ш-ЛД 0,01 Ш-ЛД 0,50 года 0,50 О 0,50 Вт 0.50 руб. 1 (СРЛ+) 2 (СРЛ) 1 (СРР+) 2 (СРРЭ) 15 16 с-а 3 с-а 3 д-ц 1 д-ц 1 д-ц 1 д-ц 1 с-а 3 с-а 3 (22 доллара) (21 доллар США) (23 доллара) 2 3 4 5 6 1 g7 СА-2 82560-3300 1 а75 ИП-7 82580-6870 2 3 2 1 8 5 4 7 6 Код разъема с мужской стороны Номер терминала Код разъема Номер части Номер терминала Код клеммы Код клеммы Код разъема провод-провод «a» со стороны жгута проводов «f» со стороны жгута проводов Номер терминала Серийный номер на принципиальной схеме Серийный номер на принципиальной схеме Код области, определяющей этот соединитель в разделе «РАСПОЛОЖЕНИЕ РАЗЪЕМА» Витая пара Экранированный кабель 3.00 Р-Я Вторая буква: Цвет полосы Первая буква: цвет заземляющего провода Арабские цифры: Площадь поперечного сечения провода. Б: черный БР: коричневый Г: зеленый Л: Синий LG: светло-зеленый Р: Красный В: белый Y: желтый В: Фиолетовый О: оранжевый ГР: Серый П: Розовый Пример: 3,00 означает 3 мм {0,0047 дюйма}. 2 2 Цветовой код проводки Вторая буква: Цвет полосы Код терминала (ПРИМЕР) ШЦ12З160200001
ЭЛЕКТРИЧЕСКИЙ ПРОВОД EL02–3 2. СОЕДИНИТЕЛЬ ПРОВОДА 24 17 25 18 19 9 10 7 8 20 11 3 26 27 28 29 30 31 32 22 14 6 2 13 5 1 21 12 4 15 16 23 6 18 30 2 3 4 5 9 8 10 11 12 13 14 23 24 25 26 15 16 17 21 20 22 27 28 29 32 31 1 7 19 ГЭ, ОН, ЛА ИП-1, ЭГ-5, ЭГ-10 a-b 3 / b-a 3 Главный жгут проводов кабины к переднему жгуту проводов 3 82560-2170, серый, мужской 82560-2180, серый, женский Номер терминала Цвет разъема Код электрической схемы, определяющей этот разъем в разделе «СХЕМА ЭЛЕКТРИЧЕСКИХ СОЕДИНЕНИЙ» Код области, определяющей этот соединитель в разделе «РАСПОЛОЖЕНИЕ РАЗЪЕМА» Левая сторона: штекерный разъем или жгут проводов «a» (основной жгут проводов кабины) Правая сторона: гнездовой разъем или жгут проводов «b» (передний жгут проводов) Код разъема [Этот случай указывает на то, что жгут проводов «a» (основной жгут проводов кабины) и Жгут проводов «b» (передний жгут проводов) должен быть подключен, что является проводом № 3 к разъему провода. ] Номер части Классификация по мужскому/женскому полу Наименование жгута проводов, который необходимо подключить. ШЦ12З160200002
ЭЛЕКТРИЧЕСКИЙ ПРОВОД EL02–4 3. СОЕДИНИТЕЛЬНЫЙ СОЕДИНИТЕЛЬ (ПРИМЕР) ЭЛЕКТРИЧЕСКИЙ ПРОВОД EL02–205 EG-26 [ДВИГАТЕЛЬ (3 из 3)] (Модель: FM8J для Чили) РАЗЪЕМ ЭЛЕКТРООБОРУДОВАНИЯ И СОЕДИНИТЕЛЬНЫЙ РАЗЪЕМ СОЕДИНИТЕЛЬ ПРОВОДА № Название цепи № Название цепи b10 Реле низкого давления 1 BB ba1 Клемма (+) аккумулятора (Аккумулятор 2) AA b11 Реле низкого давления 2 BB bb1 Клемма (+) аккумулятора (Батарея 1) AA b12 Реле низкого давления 3 BB bb2 Клемма (-) аккумулятора (Аккумулятор 2) AA b13 Датчик манометра (передний) BB bc1 Клемма (-) аккумулятора (Аккумулятор 1) AA b14 Датчик уровня воздуха (задний) BB bc2 Масса аккумулятора АА, БА, Массачусетс b24 Магнитный клапан выпускного тормоза GE sk2 P.T.O. магнитный клапан КБ b45 Переключатель сброса KB sl1 P.T.O. датчик акселератора ГК b46 Служебная мощность (Хвост) AB № Имя № Имя б-в 2 Передний жгут проводов к Промежуточный жгут проводов 2 ba-bc 1 Кабель аккумулятора-1 к Кабель аккумулятора-3_1 б-ба 1 Передний жгут проводов к Кабель аккумулятора-1_1 ba1 б11 б13 б14 б10 б12 б24 бб2 бб1 bc2 sl1 b45 b46 ск2 б-в 2 б-ба 1 bc1 ba-bc 1 ШЦ12З160200166 Код разъема Код разъема провод-провод Код области ШЦ12З160200003
ЭЛЕКТРИЧЕСКИЙ ПРОВОД EL02–5 4. СОЕДИНИТЕЛЬНЫЙ СОЕДИНИТЕЛЬ 5. БЛОК ПРЕДОХРАНИТЕЛЕЙ И РЕЛЕ 82580-8740, Синий 82550-1040, Синий 1 2 3 4 5 6 7 8 9 10 11 12 Ja13 АС, БА, КБ, СЕ, ДА, ЭА, ЭБ, ЭД, ЭГ, ЭО, ГА, ИА, КА, КБ, КС, ЛА, МА ИП-3, ИП-7 J/C Земля G3 Номер части Номер терминала Цвет разъема Код электрической схемы, определяющей этот разъем в разделе «СХЕМА ЭЛЕКТРИЧЕСКИХ СОЕДИНЕНИЙ» Код области, определяющей этот соединитель в разделе «РАСПОЛОЖЕНИЕ РАЗЪЕМА» Название разъема Код разъема Внутреннее проводное соединение ШЦ12З160200004 МЗ12 Смена власти реле 85920-2770 2 1 3 4 5 МЗ12 превышение реле 85920-2680 1 2 3 4 5 БЛОК ПРЕДОХРАНИТЕЛЕЙ И РЕЛЕ ВЫРАВНИВАНИЕ ТЕРМИНАЛА НАСТРОЙКА РЕЛЕ Номер части Номер терминала Имя реле ШЦ12З160200005
ЭЛЕКТРОПРОВОД ЭЛ02–6 6. УКАЗАТЕЛЬ РАЗЪЕМА (ПРИМЕР) ЭЛЕКТРИЧЕСКИЙ ПРОВОД EL02–192 ИНДЕКС РАЗЪЕМА РАЗЪЕМ ЭЛЕКТРООБОРУДОВАНИЯ СОЕДИНИТЕЛЬ ПРОВОДА СОЕДИНИТЕЛЬНЫЙ СОЕДИНИТЕЛЬ ИМЯ СОЕДИНИТЕЛЬ Нет. ЧАСТЬ № ЦЕПЬ ИЛИ ОБЛАСТЬ Переключатель диагностики АБС a100 82560-4100 НВ ИП-4, 8 СОЕДИНИТЕЛЬ Нет. ИМЯ ЧАСТЬ № ЦЕПЬ ИЛИ ОБЛАСТЬ МУЖСКОЙ ЖЕНСКИЙ а-б 1 Главный жгут проводов кабины к Передний жгут проводов 1 82560- 2110 82560- 2120 AA, AB, AD, AG, BA, BG, BH, CA, CB, CE, CH, CI, GA, ГБ, GC, GE, HA, HB, HC, HE, IA, LA, LE, MA ИП-1, 5, ЭГ-1, 2, 3, 5, 6, 10, 11, 16, 17 СОЕДИНИТЕЛЬ Нет. НАЗВАНИЕ № ДЕТАЛИ ЦЕПЬ ИЛИ ОБЛАСТЬ а606 ФА, ИЭ ИП-2 СОЕДИНЕНИЕ И Т.Д. 14P 82560-3790 25880-1170 Код электрической схемы, определяющей этот разъем в разделе «СХЕМА ЭЛЕКТРИЧЕСКИХ СОЕДИНЕНИЙ» Код области, определяющей этот соединитель в разделе «РАСПОЛОЖЕНИЕ РАЗЪЕМА» ШЦ12З160200006
ММ 700 Схема подключения довольно пожалуйста
стекёден
Новый член
#1
Здравствуйте, я купил Mountain Max 700 в прошлом году, и он находится в грубой электронной форме — ничего не работает, кроме выключателя. Ручные функции, такие как тормоза и дроссельная заслонка. Спидометр, одо мертвы. Кнопочный переключатель сильно разобран. Он работает, и кажется, что у двигателя тонны компрессии, а у саней огромная мощность. Я хотел начать с переделки ключевого выключателя, чтобы я мог управлять подогревом и режимом запуска.
Хочу начать ремонт, но не могу найти схему подключения. Мне сказали, что это 2000, но я не уверен. Я новичок в Ямахах. Я видел частичную схему подключения здесь, но я надеюсь на полную или хотя бы руководство по цветам проводов. Фото:
Я не могу помочь с диаграммой. Судя по невнимательности, которая не была сделана, вероятно, есть еще много ломких проводов, которые не появились ….. ЕЩЕ . Полная переделка из салазок, если будет в вашем будущем.
стекёден
Новый член
#3
Да, прямо сейчас моим приоритетом является определение цепей нагревателя и запуска, чтобы я мог его запустить. У меня есть только время, чтобы постепенно исправить это прямо сейчас. У меня уже работает намного мягче на механической стороне.
стекёден
Новый член
#4
НАШЕЛ это — раздел руководств на веб-сайте yamaha — размещен здесь для всех, кто ищет схему подключения. https://www.yamahamotorsports.com/motorsports/owners-manuals
Знаменитые модели Калининского экскаваторного завода: ЭО 3322, 3323 и 3323А — технические характеристики, описание, схемы | Экскаваторы | Hard-Machines.ru
Среди предприятий, которые отыграли важную роль в развитии машиностроительной отрасли послевоенного Советского союза, можно смело отметить Калининский экскаваторный завод. Несмотря на тяжелую ситуацию на фронте, власти Союза решились на строительство нескольких крупных предприятий, в том числе и упомянутого Калининского завода, который был основан в 1943 году.
Первые модели экскаваторов этого предприятия небыли очень удачными, но тем не менее, они внесли свою весомую лепту в отстройку многих крупных городов. Пик же развития завода пришелся на конец 60-х – начало 90-х годов, когда были спроектированы и выпущены знаменитые на весь мир модели экскаваторов ЭО 3322, ЭО 3323 и модернизированный 3323А. Хотя ради справедливости нужно отметить, что Калининский экскаваторный завод (сейчас это предприятие уже называется «Тверской экскаватор»), и в наши дни выпускает качественную спецтехнику, которая отвечает всем мировым стандартам качества.
Эволюция самых удачных моделей
Экскаватор ЭО 3322 впервые сошел с конвейера в 1969 году. На эту спецтехнику возлагали большие надежды, которые в будущем были полностью оправданы. Этот гидравлический экскаватор довольно быстро вытеснил морально и технически устаревший ЭО 302А и с 1972 года начал выпускаться серийно. К главным плюсам ЭО 3322 можно смело отнести большую функциональность. Прежде всего, это пневмоколесный экскаватор, который благодаря своей базе (колесная формула 4×4) обладал прекрасной устойчивостью и отличными характеристиками мобильности. При наибольшей скорости передвижения в 19,68 км/ч, ЭО 3322 мог перемещаться к месту работы намного быстрее по сравнению со многими своими конкурентами из подобного класса.
На протяжении первых 10 лет с момента выпуска первого экскаватора, проектировщики постоянно вносили изменения в конструкцию ЭО 3322 технические характеристики которого также постепенно совершенствовались. Прежде всего, модернизировалась система управления. Вместо набора рычагов для управления рабочими элементами, было внедрено сервоуправление, которое сделало машину более производительной, а также повлияло на улучшение характеристик надежности.
Но инженеры завода не остановились на одном лишь совершенствовании ЭО 3322 и к началу 80-х был разработан новый гидравлический экскаватор второго поколения ЭО 3323, который превосходил модель 3322 по многим характеристикам, начиная от технических возможностей и заканчивая улучшенными рабочими элементами. В процентном соотношении его производительность возросла на 20-30%. Большое внимание было уделено конструкции, которая стала упрочненной за счет увеличения отдельных элементов рамы. Экскаватор ЭО 3323 также был оснащен планетарным механизмом поворота. Среди других важных новшеств можно отметить обновленные мосты с планетарными редукторами, которые также производились на заводе.
Экскаватор ЭО 3323 технические характеристики
Марка двигателя
Д-240 или Д-240Л
Мощность двигателя, кВт
55,2
Подача насоса 234. 20 (333.20), л/мин
2 х 116 + 60
Наибольшее усилие резания, к/Н
100
Продолжительность цикла при работе обратной / прямой лопатой емкостью 0,63 м3, с
16,5 / 15,9
Масса эксплуатационная с оборудованием обратной лопаты и ковшом емкостью 0,63 м3, т
14
Размер шин
12,0 — 20
Габаритные размеры, мм:
длина
7550
ширина
2500
высота
3700
Обратная лопата
Емкость ковша, м3
0,5; 0,63; 0,8
Наибольшая глубина копания, м
5,4; 4,5; 4,5
Наибольший радиус копания на уровне стоянки, м
8,5; 7,75; 7,75
Наибольшая высота выгрузки, м
4,9; 4,7; 4,7
Этот экскаватор стал настоящей гордостью не только предприятия, но и всей страны. Его с завидной регулярностью представляли на самых разных международных выставках, а в самом Союзе ему просто не было равных, поэтому в 1986 году было принято решение о присвоении ему Государственного Знака качества.
Модернизированый экскаватор ЭО 3323А
С годами появилось несколько модификаций модели 3323, особого внимания среди которых заслуживает ЭО 3323А. Этот экскаватор еще более превзошел своего предшественника, благодаря нескольким серьёзным доработкам. Во-первых, была увеличена мощность силового агрегата, что также положительно сказалось на гидравлической системе, давление в которой серьёзно возросло (до 28 МПа). Следовательно, возросла «сила» рабочих агрегатов. Во-вторых, была изменена конструкция ряда механизмов, что позволило уменьшить массу экскаватора на 0,5 тонны.
ЭО 3323А технические характеристики которого позволяют использовать его в самых разных условиях, считается очень универсальной машиной, которая может агрегатироваться со многими видами рабочего оборудования, как статического, так и ударного действия. Сегодня этот экскаватор можно увидеть достаточно редко, но даже по прошествии нескольких десятков лет, его эксплуатация все еще остается актуальной для дорожного строительства, коммунального хозяйства и ряда других сфер.
гидравлическая схема, двигатель, устройство, рабочее оборудование
Экскаватор ЭО-3322 является полноповоротной землеройной спецмашиной (одноковшовой) на пневмоколёсном ходу с гидравлическим управлением. Его сразу можно узнать по заднему от кабины расположению двигателя, одинаковым по величине колёсам и передней стреле с различного вида оборудованием. Разработки карьеров, траншей и котлованов – это основное предназначение экскаватора, хотя техническая надежность и удобство управления позволяют использовать его для множества других работ.
Общие данные экскаватора ЭО-3322
ЭО-3322 выпускался на двух заводах – Калининском и Ленинградском экскаваторном. Сейчас выпуск таких машин прекращен, но они до сих пор надежно служат как строителям, так и коммунальникам.
Экскаватор может сохранять работоспособность при температурах от -40 до +40 0C. С ним становятся возможны погрузочные либо разгрузочные работы на сыпучих материалах и мерзлой земле, на предварительно разрыхленных скальных породах и расползающемся влажном грунте (категория грунтов I-IV).
Машина применима:
В дорожно-строительных работах;
Рытье колодцев и бурении скважин;
Мелиоративном строительстве;
Сельском хозяйстве;
Промышленных проблемах;
Земляных разработках в пределах города.
Фото экскаватора на пневмоколесном ходу ЭО-3322:
Техника ценится рачительными хозяйственниками, так как при регулярном техобслуживании может исправно служить долгие годы.
Особенности конструкции
Главная особенность ЭО-3322 – это крутящийся механизм для изменения положения кабины одновременно с рабочим оборудованием относительно оси, расположенной на платформе. Эта возможность дает оператору наилучший обзор выполняемых операций, увеличивает охват работ и повышает производительность экскаватора.
Недемонтируемые гидроцилиндры подъёма и нижняя часть стрелы;
Возможность преодоления уклонов крутизной до 200.
ВНИМАНИЕ! ЭО-3322 еще называют «гидравлическим экскаватором», так как не только весь комплекс рабочих операций, но и само передвижение спецмашины обеспечивается системой гидроприводов.
Модификации экскаватора – (ЭО-3322А, ЭО-3322Б, ЭО-3322В и другие) могут иметь сервопривод и полуавтоматическую систему управления для механизированной зачистки дна котлованов.
Технические характеристики
ЭО-3322 может оборудоваться двигателями с разными параметрами и различным навесным рабочим оборудованием, в зависимости от чего его характеристики изменяются в указанных в таблице диапазонах:
Параметры
Ед. измерения
Величина
ширина (общая/по колее)
мм
2700/2040
ширина по вращению
мм
2660
высота
мм
3140
вес (общий)
кг
14000
мощность двигателя
л.с.
75-100
максимально возможная скорость
км/час
20
расход горючего
л/час
12,5
глубина копания
м
2-6
ковш
м3
0,2-0,8
Двигатель
Двигатель на экскаваторы ЭО-3322 устанавливается дизельный четырехцилиндровый СМД-14 мощностью 75 л.с. либо СМД-17Н мощностью 100 л.с. Они имеют своей основой двигатели Белорусских тракторов МТЗ и являются их улучшенными удачными модификациями. И тот, и другой работают от непосредственного впрыска топлива с усилением турбонаддувом и охлаждением жидкостным методом. Объём используемых двигателей составляет 6,3 л при диаметре цилиндров 120-130 мм и ходом поршня 140 мм.
Гидравлическая система
Гидравлика ЭО-3322 является ведущей системой управления экскаватором. В ней применяются аксиально-поршневые регулируемые насосы сдвоенного типа, создающие давление в системе до 250 кгс/см2.
Система гидравлики работает с производительностью 18 л/мин. Ее обслуживание производится достаточно просто, нужен лишь регулярный контроль уровня рабочих жидкостей по минимальной отметке.
Гидравлическая схема экскаватора ЭО-3322
Кабина
Кабина экскаватора имеет максимальную площадь застекления, опускающуюся даже ниже уровня сидения оператора. Это дает отличный обзор для точности выполняемых действий.
В кабине расположены все рычаги управления и контрольные приборы для быстрого реагирования на любые изменения в работе систем. Улучшенная шумоизоляция увеличивает комфорт деятельности водителя, а система обогрева салона в виде автономного отопителя позволяет нормально работать даже в морозную погоду.
Рабочее оборудование
Стандартная комплектация экскаваторов ЭО-3322 включает стрелу и ковш, закрепленный на обратной лопате, объёмом 0,5 м3.
Для ковша возможны сменные группы в следующих вариантах:
Ковши другого объёма – 0,2 м3 для рытья ям небольшой площади (колодцев), 0,63 м3, 0,8 м3 для траншей под фундамент и котлованов;
Двухчелюстной для повышения качества захвата сыпучих продуктов и жидких грунтов;
Пятичелюстной объемом 0,35 и 0,5 м3 для удобства погрузочных работ на крупногабаритных грузах;
Грейферные модели объемом 0,32 м3.
Сменное рабочее оборудование экскаватора ЭО-3322
Также на машине могут использоваться разрыхлители разных видов и размеров статического типа, применяемые для предварительной разработки особо твердых грунтов (каменистых, мёрзлых, скальных), и гидромолот типа СП-71.
Имеющиеся на данный момент на рынке спецтехники экскаваторы ЭО-3322 могут быть оснащены «неродными» элементами и узлами новейших выпусков – более мощное гидравлическое оборудование и т.
Техническое освидетельствование грузоподъемных транспортных средств, машин, оборудования и механизмов
Испытательный центр «Юнитал-М» предлагает своим клиентам услугу технического освидетельствования грузоподъемной техники и оборудования. Это обязательная процедура для всех, кто производит погрузочные работы с использованием специализированной техники.
Когда и где можно получить услугу:
Эксперты готовы выехать на испытания в течение 2 дней.
Услуга предоставляется в Москве, МО и других регионах России.
Расчет стоимости услуг и подробную консультацию вы можете получить по телефону: +7 (495) 780-14-12
Виды оборудования:
Наши специалисты проводят освидетельствование таких видов оборудования, как:
Автопогрузчики, электропогрузчики, электротележки, штабелеры, гидравлические тележки, тельферы, кран балки, манипуляторы, автомобильные подъемники, рохли, ричтраки, блоки, домкраты, лебедки, тали, полиспасты и другие грузоподъемные машины и механизмы.
Если необходимого вам оборудования нет в списке, уточните, пожалуйста, по телефону, проводится ли для него ТО в нашем центре.
Как часто необходимо проводить освидетельствование:
Полное — не реже одного раза в 3 года. Если другие сроки не указаны в паспорте или руководстве по эксплутатации.
Внеочередное полное. Должно проводиться после: монтажа машины на новом месте, ее реконструкции, капитального ремонта или замены расчетных элементов или узлов, металлоконструкций.
Частичное — не реже одного раза в 12 месяцев. Если другие сроки не указаны в паспорте или руководстве по эксплутатации. При частичном освидетельствовании статические и динамические испытания не проводятся.
Что влияет на стоимость услуги:
Количество единиц техники.
Тип техники.
Грузоподъемность техники.
Территориальное расположение места эксплуатации.
Полное техническое освидетельствование грузоподъемных машин и механизмов включает в себя:
Внешний осмотр, осмотр металлоконструкций, деталей и механизмов техники, указателей, знаков и маркировки.
Осмотр и испытания оборудования подъема/опускания груза, оборудования и механизмов грузозахватного устройства, оборудования ходовой части, системы и устройств управления движением, оборудования и устройств кабины оператора, электрооборудования, звуковых сигналов, световых приборов, лебедок, тросов, приборов безопасности, концевых выключателей, устройств синхронизации подъема.
Оценку соответствия видов выполняемых работ паспортным данным и фактическим условиям эксплуатации.
Статические испытания нагрузкой на 25% превышающей грузоподъемность, с целью проверки прочности.
Динамические испытания грузом на 10% превышающим грузоподъемность, с целью проверки действия механизмов и тормозов.
Технический регламент Таможенного союза от 18.10.2011 N 010/2011
Получаемые документы:
Отчет о техническом освидетельствовании грузоподъемных машин и механизмом на соответствие правилам и нормам безопасной эксплуатации, включающий в себя ведомость дефектов.
Акты проверки грузоподъемной техники и механизмов на соответствие правилам безопасной эксплуатации грузоподъемных транспортных средств, включающие в себя: 1. Заключение по визуально-измерительному контролю карты осмотра металлоконструкций. 2. Карты осмотра деталей и механизмов грузоподъемной техники и механизмов. 3. Рекомендаций по изменению или уточнению условий эксплуатации грузоподъемной техники и механизмов. 4. Изменения, дополнения и другие сведенья для внесения в паспорта по результатам проведенной проверки на каждую единицу грузоподъемной техники и оборудования;. 5. Сведенья по количеству отработанных моточасов (при наличии счетчика моточасов) для оценки остаточного ресурса работы каждой единицы грузоподъемной техники и механизмов. 6. Оценка общего состояния грузоподъемной техники и оформленное заключение комиссией по результатам испытания грузоподъемной техники и оборудования. 7. Рекомендации по грузоподъемной техники и оборудования.
Самоклеящиеся бирки с указанием регистрационного номера, грузоподъемности и даты следующего испытания.
Техническое освидетельствование грузоподъемных транспортных средств, машин, оборудования и механизмов
от 1 100 р
Связаться с менеджером
Лицензии
Аттестат аккредитации испытательного центра
Аттестат аккредитации испытательной лаборатории
Лицензия Департамента образования г. Москвы
Свидетельство об аттестации лаборатории неразрушающего контроля
Уведомление Минздравсоцразвития России
Уведомление Минтруда России
Рекомендуем также
Техническое освидетельствование сборно-разборных стеллажей по ГОСТ Р 55525-2017
от 1 100 р
Техническое освидетельствование полочных стеллажей по ГОСТ Р 57381-2017
от 1 100 р
Техническое освидетельствование грузоподъемных машин, захватных устройств и техника безопасности при их эксплуатации
Категория:
Монтаж строительных конструкций
Публикация:
Техническое освидетельствование грузоподъемных машин, захватных устройств и техника безопасности при их эксплуатации
Читать далее:
Понятие технологичности
Техническое освидетельствование грузоподъемных машин, захватных устройств и техника безопасности при их эксплуатации
Вновь установленные грузоподъемные машины, а также съемные грузозахватные приспособления подвергают до пуска в работу полному техническому освидетельствованию согласно «Правилам устройства и безопасной эксплуатации грузоподъемных кранов», утвержденных Госгортехнадзором.
В процессе работы грузоподъемные машины должны подвергаться периодическому техническому освидетельствованию: частичному — не реже одного раза в год; полному — не реже одного раза в три года. Необходимо также производить внеочередное полное техническое освидетельствование после монтажа, вызванного установкой машины на новое место, реконструкции и ремонта металлических конструкций машины, установки вновь полученного сменного оборудования, капитального ремонта или смены механизма подъема, смены крюка и др. Полное техническое освидетельствование грузоподъемных машин и захватных устройств включает: осмотр, статическое и динамическое испытания. При частичном техническом освидетельствовании статическое и динамическое испытание не требуются.
При осмотре и испытании грузоподъемных машин и устройств производятся: наружное освидетельствование всех ответственных узлов и деталей в нерабочем состоянии; испытание механизмов на холостом ходу; испытание их под статической и динамической нагрузками. При’испытании проверяют прочность механизмов и приспособлений, правильность их сборки и действия, а также надежность в работе. Статическое испытание грузоподъемных машин заключается в том, что грузовым крюком или заменяющим его устройством захватывают предельный рабочий груз, который после подъема на высоту 10~~2 см выдерживают на весу не менее 10 мин. Затем поднимают груз, превышающий предельный рабочий на 25%, и тоже выдерживают в течение 10 мин. Во время испытаний следят за состоянием и поведением подъемного механизма, его отдельных элементов, несущих нагрузку.
Рекламные предложения на основе ваших интересов:
Дополнительные материалы по теме:
Динамическое испытание грузоподъемных машин производят в том случае, если результаты статических испытаний были признаны удовлетворительными. Динамическое испытание заключается в повторных подъемах и опусканиях груза, масса которого превышает предельный рабочий на 10%.
О результатах осмотра и испытания грузоподъемных кранов составляют акт, который хранится в крановой книге; копия его передается в инспекцию Госгортехнадзора. В крановую книгу заносят основные технические данные о кране и его эксплуатационных параметрах. Кроме крановой .книги, к крану должны быть приложены: паспорт, инструкция по монтажу и демонтажу крана, его эксплуатации и технике безопасности, акты испытания и другие документы.
Испытание винтовых и реечных домкратов под нагрузкой необязательно. Их освидетельствуют путем тщательного осмотра и промера ответственных частей. Работа с домкратом, у которого износ резьбы винта или гайки составляет более 20%, запрещается. У реечных домкратов нужно проверить правильность работы шестерен и храповика, отсутствие трещин на зубцах. Гидравлические домкраты испытывают в верхнем положении в течение 10 мин под нагрузкой, превышающей их предельную грузоподъемность на 25%.
Съемные грузозахватные приспособления (стропы, цепи, траверсы, клещи и др. ) после изготовления подлежат техническому освидетельствованию на заводе-изготовителе, а после ремонта — на заводе, на котором они ремонтировались. При освидетельствовании их осматривают и испытывают нагрузкой, на 25% превышающей их номинальную грузоподъемность. Они должны выдержать пробную нагрузку в течение 10 мин без остаточной деформации и заметных удлинений. Поэтому захватные приспособления, еще не бывшие в употреблении и имеющие заводской паспорт, разрешается не испытывать; их, однако, следует тщательно осмотреть и в сомнительных случаях испытать под нагрузкой.
Кроме освидетельствований, грузоподъемные машины и приспособления к ним подвергают систематическим осмотрам во время эксплуатации.
Периодический осмотр грузоподъемных машин и механизмов производят ежемесячно или в сроки, установленные системой планово-предупредительного ремонта. При этом проверяют правильность действия механизмов перемещения и подъема, регуляторов скорости, тормозов и конечных выключателей груза и стрелы. Результаты осмотра заносят в журнал. Грузозахватные приспособления необходимо осматривать не реже, чем: через каждые 6 месяцев— траверсы, через 1 месяц — крещи и другие захваты, через каждые 10 дней — стропы.
Ежедневно необходимо производить наружный осмотр канатов и всего такелажа с целью проверки: нет ли в стальных канатах вытянувшихся прядей, лопнувших, перегнутых или перекрученных проволок.
При осмотре лебедок проверяют наличие паспорта и таблички, на которой должны быть четко обозначены номер и предельная грузоподъемность лебедки; проверяют правильность навивания канатов на барабаны, действие передач и тормозных устройств, состояние механизмов, электроаппаратуры, коммуникаций и наличие ограждений.
Масса поднимаемых грузов не должна превышать подъемной силы кранов или других подъемных механизмов и вспомогательных приспособлений. При подъеме груза по имеющимся на кранах указателям необходимо следить, чтобы грузоподъемность крана не превышала допускаемой при данном вылете стрелы. Во избежание опрокидывания из-за неправильной нагрузки на кранах устанавливают автоматические ограничители высоты подъема груза, высоты подъема стрелы, грузоподъемности крана, движения грузовой тележки. Движение кранов и подъемных механизмов, а также их торможение во время работы осуществляют плавно, без рывков. При перемещении по горизонтали груз необходимо поднять краном под встречающимися на пути предметами на высоту не менее 0,5 м. Подтаскивать грузы крюком механизма подъема при косом натяжении каната или путем поворота крана, а также отрывать примерзшие или углубленные в землю грузы воспрещается.
Запрещается поднимать и перемещать грузы вместе с людьми, находиться или проходить под поднятым грузом. По окончании работы или во время перерывов груз нельзя оставлять в подвешенном состоянии. При работе и остановке на путях с уклоном кран должен быть заторможен.
Ванты мачтово-стреловых кранов в натянутом состоянии надежно закрепляют за якоря; в случае ослабления необходимо подтянуть ванты при помощи винтовых стяжек или лебедок. Вращающиеся части механизмов крана в местах возможного доступа людей следует надежно ограждать или заключать в неподвижно закрепленные кожухи, конструкции которых должны обеспечивать удобное наблюдение и смазку механизмов.
Установку кранов для производства монтажных работ следует осуществлять в соответствии с проектом производства работ.
В этом проекте необходимо предусматривать: — соответствие кранов условиям монтажных работ по грузоподъемности, высоте подъема крюка и вылету; — обеспечение безопасных расстояний от электрических сетей и воздушных линий электропередачи, мест движения городского транспорта и пешеходов, безопасных расстояний приближения кранов к зданиям, сооружениям и — складам строительных конструкций и материалов; — условия установки и работы кранов вблизи откосов котлованов; — условия безопасной работы нескольких кранов на одном пути и на параллельных путях; применяемые грузозахватные приспособления и графическое изображение схем строповки грузов; — места и габариты складирования грузов, подъездные пути и др. ; — решения по безопасному производству работ на участке, где установлен кран (ограждения строительной площадки, монтажной зоны, подкрановых путей и др.).
Расстояние по горизонтали между выступающими частями крана, передвигающегося по наземным рельсовым путям, зданиями, штабелями конструкций и другими предметами, расположенными на высоте до 2 м от уровня земли или рабочих площадок, должно быть не менее 70 см, а на высоте более 2 м — не менее 40 см. Расстояние по вертикали от консоли противовеса или от противовеса, расположенного под консолью башенного крана, до площадок, на которых могут находиться люди, должно быть не менее 2 м. Расстояние между поворотной частью стрелового крана при любом его положении и зданиями, штабелями конструкций и другими предметами не должно быть меньше 1 м.
Стреловой кран может быть установлен и работать на расстоянии меньше, чем 30 м от крайнего провода линии электропередачи или воздушной электрической сети напряжением более 36 в, только по наряду-допуску, определяющему безопасные условия работы. Стреловые краны могут работать под неотключенными контактными проводами городского транспорта при соблюдении расстояния между стрелой крана и контактными проводами не менее 1 м при условии установки ограничителя (упора), не позволяющего уменьшить указанное расстояние при подъеме стрелы. Безопасное расстояние С от основания откоса котлована до ближайших опор крана (в том числе до конца шпалы подкранового пути) может быть определено в зависимости от величины призмы обрушения грунта по формуле
К управлению кранами и подъемными механизмами с моторным приводом, а также к работам по строповке грузов к грузовому крюку могут быть допущены только лица, прошедшие специальное обучение и выдержавшие испытание перед квалификационной комиссией. Лица, обслуживающие кран, должны знать: правила по технике безопасности при работе на кранах; устройство и назначение всех механизмов крана; инструкцию по эксплуатации, смазке и сигнализации. Такелажник должен владеть приемами строповки и крепления груза, а также системой сигнализации.
Тщательные осмотры и осмотры грузоподъемного оборудования
Великобритания вышла из ЕС, а с 1 января 2021 года изменились некоторые правила и процедуры.
Подробнее
Безопасные и успешные подъемные операции в значительной степени зависят от постоянной безопасности используемого подъемного оборудования и принадлежностей. Неисправности такого рода оборудования могут привести к тяжелым или даже смертельным травмам. Таким образом, закон об охране здоровья и безопасности налагает ряд конкретных обязательств на тех, кто предоставляет, контролирует и использует подъемное оборудование для надлежащего управления этими рисками.
В дополнение к требованиям по безопасному проектированию и конструкции, все подъемное оборудование также должно проверяться и обслуживаться по мере необходимости, чтобы обеспечить его безопасность при использовании, поэтому:
пользователям может потребоваться проведение простых проверок перед использованием (например, при подъеме цепи и стропы) или проводить ежедневные проверки (например, для погрузчиков)
в некоторых случаях осмотры и проверки должны проводиться на регулярной основе, часто еженедельно, но это может быть ежемесячно или ежеквартально (например, проверки, проводимые оператором своего крана)
работодатели должны обеспечить тщательную проверку подъемного оборудования (обычно один или два раза в год, но в некоторых случаях это может быть чаще или реже)
Эти проверки необходимы для подтверждения того, что подъемное оборудование можно продолжать безопасно использовать. На этой странице основное внимание уделяется тщательному изучению и проверке, а также обязательствам LOLER по отчетности и ведению учета (правила 9, 10 и 11).
Что такое «тщательное обследование» в LOLER?
Это систематическая и подробная проверка оборудования и деталей, важных для безопасности, проводимая через определенные промежутки времени компетентным лицом, которое затем должно составить письменный отчет. Этот отчет должен содержать информацию, требуемую Приложением 1 LOLER, в том числе:
дата осмотра
дата следующего тщательного осмотра
любые обнаруженные дефекты, которые представляют (или потенциально могут стать) опасность для людей
При обнаружении серьезных дефектов компетентное лицо, проводящее проверку, должно немедленно устно сообщить об этом ответственному лицу. За этим должен последовать письменный отчет, копия которого также должна быть отправлена в соответствующий правоохранительный орган.
Что такое «компетентное лицо»?
Термин «компетентное лицо» не определен в законе, но в утвержденном LOLER своде правил и руководстве (параграф 296 о компетентных лицах) говорится, что:
«Вы должны убедиться, что лицо, проводящее тщательный осмотр, обладает такими соответствующими практическими и теоретическими знаниями и опытом работы с грузоподъемным оборудованием, подлежащим тщательному осмотру, которые позволят ему обнаружить дефекты или слабые места и оценить их важность в отношении безопасности и дальнейшее использование подъемного оборудования».
Хотя компетентное лицо часто может быть нанято другой организацией, в этом нет необходимости, при условии, что оно достаточно независимо и беспристрастно, чтобы гарантировать, что внутренние проверки проводятся без страха или предпочтения. Однако это не должен быть тот же человек, который занимается текущим обслуживанием оборудования, поскольку в этом случае он будет нести ответственность за оценку своих собственных работ по техническому обслуживанию.
Когда следует проводить тщательное обследование?
Чтобы убедиться, что грузоподъемное оборудование и аксессуары остаются безопасными для использования, а также для своевременного обнаружения и устранения любого износа, требуются тщательные проверки в течение всего срока службы оборудования, включая проверки:
перед первым использованием — если оборудование не имеет Декларации о соответствии менее одного года и оборудование не собиралось на месте. Если он был собран на месте, он должен быть осмотрен компетентным лицом, чтобы убедиться, что сборка (например, платформенный подъемник, установленный в здании) была выполнена правильно и безопасно
после сборки и перед использованием в каждом месте — для оборудования, которое требует сборки или установки перед использованием, например башенных кранов
регулярно во время эксплуатации — если оборудование подвергается воздействию условий, вызывающих износ, который может привести к опасным ситуациям. Большая часть грузоподъемного оборудования подвержена износу и требует регулярного осмотра в процессе эксплуатации. Некоторые из них могут подвергаться воздействию значительных условий окружающей среды, что может привести к дальнейшему ухудшению состояния. У вас есть выбор:
организация тщательного осмотра с периодичностью, установленной LOLER (каждые 6 или 12 месяцев, в зависимости от оборудования — см. ниже), или
проводить экзамены в соответствии со схемой экзаменов, составленной компетентным лицом
при исключительных обстоятельствах — способных поставить под угрозу безопасность грузоподъемного оборудования, к которым могут относиться:
повреждение или отказ
длительное время не используется
серьезные изменения, которые могут повлиять на целостность оборудования (например, модификации или замена/ремонт критических частей)
Каковы установленные интервалы для регулярных тщательных осмотров?
Если не существует «схемы обследования», определяющей другие интервалы, тщательное обследование следует проводить каждые:
6 месяцев, для подъемного оборудования и любых сопутствующих принадлежностей, используемых для подъема людей
6 месяцев, для всех подъемных приспособлений
12 месяцев, для всего другого подъемного оборудования
Что подлежит тщательному осмотру?
Это зависит от профессионального суждения компетентного лица, проводящего осмотр, но должно включать все вопросы, влияющие на безопасность подъемного оборудования, включая возможный износ со временем.
Для наиболее распространенного грузоподъемного оборудования и принадлежностей существуют стандартные отраслевые процедуры и критерии, которым должен следовать компетентный человек при проведении тщательных проверок и вынесении суждений относительно постоянной безопасности оборудования. Используемые методы включают:
визуальный осмотр и функциональные проверки
измерения износа
(в некоторых случаях) традиционный неразрушающий контроль (неразрушающий контроль) и нагрузочные испытания
Также может потребоваться разборка или внутренний осмотр деталей.
Если схема обследования была составлена, в ней должны быть указаны и указаны:
детали, подлежащие тщательному осмотру
методы исследования и испытаний
интервалы осмотров (и испытаний различных частей, если необходимо)
Схема должна также включать сведения о любых других режимах проверки оборудования. Схемы экзаменов могут быть составлены любым лицом, обладающим необходимой компетенцией. Это не обязательно должен быть тот самый компетентный человек, который проводит тщательную экспертизу в соответствии со схемой.
Хотя схемы экспертизы не обязательно сохранять в виде документа, должна быть предусмотрена возможность изготовления письменной копии при необходимости (например, по запросу соответствующего правоприменительного органа). Они должны быть защищены от потери или несанкционированной модификации.
Испытания грузоподъемного оборудования
Большая часть грузоподъемного оборудования не нуждается в рутинных испытаниях в рамках тщательного осмотра — на самом деле некоторые испытания на перегрузку могут привести к повреждению подъемного оборудования. Если тестирование считается необходимым, оно может не проводиться при каждом тщательном осмотре. Необходимость и характер испытаний должны основываться на оценке риска с учетом информации от производителя и другой соответствующей информации, определяемой компетентным лицом.
Техническое обслуживание и осмотр подъемного оборудования.
Техническое обслуживание подъемного оборудования для обеспечения его безопасности при использовании является требованием PUWER. В некоторых случаях — чтобы помочь в этом и обнаружить любые повреждения, чтобы их можно было своевременно устранить — может потребоваться проверка подъемного оборудования между тщательными осмотрами. Такие проверки должны проводиться соответствующим образом обученными и компетентными людьми, которыми часто могут быть операторы подъемного оборудования или обслуживающий персонал.
Характер, необходимость и частота таких проверок должны определяться путем оценки риска с полным учетом всех рекомендаций производителя. Дополнительные рекомендации по осмотру кранов приведены в Британском стандартном своде правил по безопасному использованию кранов BS 7121. Различные части этого стандарта можно получить в BSI.
Подъемные приспособления обычно не требуют формальной проверки при условии, что они проходят надлежащие проверки перед использованием и проходят стандартную тщательную проверку.
Отчеты и дефекты
Должны вестись записи обо всех тщательных проверках и проверках, а также о Декларациях о соответствии для всего подъемного оборудования и подъемных приспособлений. Записи об осмотрах и инспекциях не обязательно хранить в печатном виде, но вы должны быть в состоянии предоставить письменную копию, когда это необходимо (например, по запросу соответствующего правоохранительного органа или когда грузоподъемное оборудование покидает ваше предприятие — в аренде, для использования в другом месте или продажа б/у). Записи также должны быть защищены от несанкционированного изменения. Сроки, в течение которых они должны храниться, указаны в таблице 3 публикации «Тщательный осмотр грузоподъемного оборудования».
Содержание отчета о тщательном обследовании указано в Приложении 1 к LOLER. Для такого отчета больше не существует определенного формата или формы при условии, что включены все 11 пунктов, перечисленных в Приложении.
Если после тщательного осмотра или осмотра грузоподъемного оборудования выявляется дефект, который, по мнению лица, проводящего осмотр или осмотр, представляет (или может стать) опасностью для людей, вы как пользователь (работодатель или самозанятый человек) должны быть немедленно уведомлены. Затем вы должны принять эффективные меры для управления рисками, обеспечив, чтобы подъемное оборудование не использовалось до тех пор, пока неисправность не будет устранена. Такие дефекты должны быть письменно подтверждены в отчете, даже если они устраняются немедленно (например, путем разрушения стропа). Лицо, составившее отчет, также должно уведомить соответствующий правоохранительный орган с копией отчета. Правоприменительные органы могут расследовать такие сообщения, чтобы убедиться, что риски адекватно управляются.
В отдельных случаях может быть выявлен дефект, не требующий немедленного прекращения эксплуатации грузоподъемного оборудования. В этих случаях вы должны устранить проблему или не использовать оборудование в дальнейшем в течение периода времени, указанного в отчете.
Отчеты о тщательных проверках иногда содержат дополнительные не предусмотренные законом замечания компетентного лица о состоянии подъемного оборудования. Анализ этого может предоставить полезную информацию для управления подъемным оборудованием.
Дальнейшее чтение
Ресурсы
Дополнительные ресурсы
Связанный контент
Каковы стандарты проверки ASME для вакуумных подъемных устройств?
«За безопасность отвечают все».
Независимо от того, чем вы занимаетесь на рабочем месте, ваша безопасность и безопасность ваших коллег могут быть поставлены под угрозу при выполнении небезопасных подъемных приспособлений. Осмотр ваших подъемных устройств под крюком является ключевой частью поддержания вашего оборудования в соответствии с отраслевыми стандартами, а также безопасностью во главе каждого подъема.
Существует шесть типов подъемных устройств под крюком:
Конструкционные и механические подъемные устройства
Вакуумные подъемные устройства
Подъемные магниты с дистанционным управлением
Дистанционно управляемые подъемные магниты
2
2 900
Зажимы
Каждое устройство используется для разных целей, поэтому к нему предъявляются собственные требования по осмотру, тестированию и техническому обслуживанию. В этой части мы рассмотрим вакуумные подъемные устройства и предоставим следующую информацию, как указано в разделе 9.0177 ASME B30.20 Подъемные устройства под крюком стандарт:
Не все подъемные устройства под крюком сделаны одинаково, поскольку они предназначены для очень специфических задач. Таким образом, каждый из них имеет свои собственные требования к проверке и тестированию. Кроме того, будут случаи, когда необходимо будет выполнить ремонт, и этот процесс описан в разделе 9.0177 АСМЭ Б30.20.
в главе 2 стандарта ASME B30.20 поднятого подъема. осуществляется назначенным лицом. Любые выявленные недостатки должны быть изучены, и квалифицированное лицо должно определить, представляют ли они опасность, и если да, то какие дополнительные шаги необходимо предпринять для устранения опасности.
Осмотр строп ( ASME B30.9 ), крюков ( ASME B30.10 ), такелажа ( ASME B30.26 ) или других специальных устройств должен соответствовать требованиям осмотра в применимом объеме.
Первоначальный осмотр
Новые и повторно установленные вакуумные подъемники должны быть проверены перед первоначальным использованием для подтверждения соответствия применимым положениям настоящего тома. Измененные или отремонтированные вакуумные подъемники подлежат осмотру. Осмотр может быть ограничен компонентами, затронутыми модификацией или ремонтом, как определено квалифицированным лицом.
Интервалы проверки. Процедура проверки вакуумных подъемных устройств при регулярной эксплуатации делится на три общие классификации в зависимости от интервалов, через которые следует проводить проверку. Интервалы, в свою очередь, зависят от характера критических компонентов вакуумного подъемного устройства и степени их подверженности износу, ухудшению состояния или неисправности.
Три общие классификации обозначены как каждый подъем, частый, и периодически, с соответствующими интервалами между проверками, как указано ниже.
Проверка каждого лифта. Визуальный осмотр оператором до и во время каждого подъема с помощью вакуумного подъемного устройства.
Частый осмотр. Визуальные осмотры оператором или другими назначенными лицами с записью не требуются.
Нормальная работа — ежемесячно
Тяжелая работа — от еженедельной до ежемесячной
Тяжелая работа — от ежедневной до еженедельной
Специальное или нечастое обслуживание — по рекомендации квалифицированного специалиста
Периодический осмотр. Документально подтвержденный визуальный осмотр видимых внешних условий для обеспечения основы для постоянной оценки.
Обычное обслуживание оборудования на месте — ежегодно
Тяжелое обслуживание — раз в полгода
Тяжелое обслуживание — ежеквартально
Специальное или нечастое обслуживание — по рекомендации квалифицированного специалиста перед первым подъемом и по указанию квалифицированного специалиста для любого последующего лифты
Что инспекторы ищут в вакуумных подъемниках?
Наряду с первоначальной проверкой в стандарте ASME B30.20 перечислены несколько других видов проверок вакуумных подъемных устройств, чтобы убедиться, что они находятся в рабочем состоянии и безопасны для использования сотрудниками.
Осмотр каждого подъемника
Вакуумные подъемники должны быть проверены оператором до и/или во время каждого подъема на наличие каких-либо конкретно указанных недостатков, включая:
Поверхность загрузки для мусора
Уплотнение вакуумной подушки для мусора
Состояние и работа органов управления
Состояние и работа индикаторов, счетчиков и насосов при их установке
Частый осмотр
Вакуумные подъемники должны проверяться через промежутки времени, указанные в п. 20-2.3.1(б)(2). Условия, подобные перечисленным в п. 20-2.3.7 или любое другое условие, которое может представлять опасность, должно привести к выводу вакуумного подъемника из эксплуатации. Квалифицированный специалист должен определить, представляет ли какой-либо дефект опасность, требует ремонта, требует разборки для дальнейшего осмотра или требует более частого осмотра. Подъемник не может быть возвращен в эксплуатацию до утверждения квалифицированным лицом.
Периодический осмотр
Полные осмотры вакуумного подъемного устройства должны проводиться через промежутки времени, указанные в п. 20-2.3.1(б)(3). Условия, подобные перечисленным в п. 20-2.3.7 или любое другое условие, которое может представлять опасность, должно привести к выводу вакуумного подъемника из эксплуатации. Квалифицированный специалист должен определить, представляет ли какой-либо дефект опасность, требует ремонта, требует разборки для дальнейшего осмотра или требует более частого осмотра. Вакуумный подъемник нельзя возвращать в эксплуатацию до тех пор, пока он не будет одобрен квалифицированным специалистом. Проверка должна основываться на инструкциях изготовителя, п. 20-2.3.7 или по рекомендации квалифицированного специалиста.
***Ссылки на п.п. 20-2.3.7 описываются критерии исключения из эксплуатации, обсуждаемые ниже.
Ссылки на п.п. В 20-2.3.1(b)(2) и 20-2.3.1(b)(3) указана частота проведения проверок. Об этом говорилось в предыдущем разделе.
Вакуумные подъемники, не используемые регулярно
Что делать, если ваши вакуумные подъемники не используются постоянно? Как часто их нужно проверять?
Согласно ASME B30.20 , «вакуумный подъемник, который простаивал в течение периода от одного месяца до одного года, должен быть проверен в соответствии с пунктом 20-2.3.3 до ввода в эксплуатацию. Вакуумный подъемник, находившийся в простое один год и более, должен быть осмотрен в соответствии с п. 20-2.3.4 до возвращения в строй».
***Пункты. 20-2.3.3 и 20-2.3.4 указано, что каждая проверка должна проводиться квалифицированным лицом.
Какие протоколы проверок необходимо хранить?
После завершения проверки, как долго записи должны храниться в файле конечным пользователем?
В соответствии со стандартом датированные отчеты об инспекции должны быть составлены для критических элементов, таких как перечисленные в параграфе. 20-2.3.4. Записи должны быть доступны для каждого периодического осмотра, а также при изменении или ремонте вакуумного подъемника.
***Пункты. 20-2.3.3 и 20-2.3.4 указано, что каждая проверка должна проводиться квалифицированным лицом.
Каковы критерии удаления вакуумных подъемников?
Вакуумный подъемник должен быть выведен из эксплуатации при наличии условий (если применимо), таких как следующие (пределы, установленные производителем или квалифицированным лицом), и должен быть возвращен в эксплуатацию только после утверждения квалифицированным лицом:
Деформация, трещины или износ
Ослабленные или отсутствующие ограждения, крепежные детали, крышки, упоры или заводские таблички
Чрезмерная точечная коррозия или коррозия
Чрезмерные зазубрины или выбоины
Признаки теплового повреждения
Несанкционированные сварные швы или модификации
Несанкционированная замена компонентов
Неправильная сборка или функционирование 20-2. 3.9.1(c)]
Вакуумные прокладки
Загрязнение
Чрезмерный поверхностный износ
Отсутствие целостности уплотнительного материала
Reduced coefficient of friction
Damaged or distorted pins
Vacuum hoses and fittings
Loose or disconnected hoses
Kinked, collapsed, or damaged hoses
Dirty or missing filters
Деформированные, сломанные или отсутствующие компоненты
Отсутствующие или неразборчивые маркировки контроля эксплуатации или этикетки с информацией о безопасности продукта
Другие состояния, включая видимые повреждения, вызывающие сомнения в отношении дальнейшего безопасного использования
Невозможность достижения заданного минимального уровня вакуума
Неправильная работа или функционирование каких-либо органов управления, индикаторов или предупреждающих устройств
Каковы требования к ремонту вакуумных подъемников?
Недостатки, выявленные в соответствии с требованиями проверки Раздела 20-2. 3, должны быть исправлены в соответствии с процедурами, изложенными в п. 20-2.3.10 до возобновления работы вакуумного подъемника, если только квалифицированный специалист не установит, что неисправность не представляет опасности.
Ремонт строп ( ASME B30.9 ), крюков ( ASME B30.10 ), такелажа ( ASME B30.26 ) или других специальных устройств должен соответствовать требованиям к ремонту в применимых томах или стандартах .
***Пар. 20-2.3.10 описывает программу технического обслуживания и процедуры, которые необходимо выполнить, прежде чем вакуумный подъемник будет возвращен в эксплуатацию.
Какие испытания необходимо пройти вакуумным подъемникам перед использованием в подъемнике?
Независимо от того, является ли ваш вакуумный подъемник новым или отремонтированным, необходимо выполнить несколько тестов устройства, чтобы убедиться, что оно соответствует стандарту и готово к эксплуатации.
Вакуумные подъемники должны пройти следующие виды испытаний:
Эксплуатационные испытания
Испытания под нагрузкой
Эксплуатационные испытания
Новые и повторно установленные подъемные устройства должны быть испытаны изготовителем или квалифицированным лицом или под его руководством для первоначального использования для проверки соответствия применимым положениям настоящего Тома, включая, помимо прочего, следующее:
Перемещающихся деталей
защелки
Стоп
Ограниченные переключатели
Управляющие устройства
Вакуумные подушки
вакуумные линии
Измененные или ремонтные сжисские. указание производителя или квалифицированного лица. Это испытание может быть ограничено компонентами, затронутыми модификацией или ремонтом, как определено квалифицированным лицом под руководством производителя.
Уплотнения и соединения должны быть проверены на герметичность путем прикрепления гладкого, непористого, чистого материала к вакуумной прокладке или прокладкам, а затем остановке источника вакуума. Уровень вакуума в системе не должен снижаться более чем на величину, указанную изготовителем.
Все световые индикаторы, датчики, сирены, звонки, указатели и другие сигнальные устройства, а также индикаторы уровня вакуума должны быть испытаны тем же методом, что и в п. 20-2.3.9.2, в котором описаны процедуры нагрузочного тестирования.
Должны быть подшиты датированные отчеты обо всех эксплуатационных испытаниях.
Испытания под нагрузкой
Перед первым использованием все новые, модифицированные или отремонтированные вакуумные подъемные устройства должны быть испытаны под нагрузкой и проверены квалифицированным лицом или назначенным лицом под руководством производителя или квалифицированного лица. Письменный отчет должен быть подготовлен квалифицированным лицом и помещен в файл, подтверждающий грузоподъемность вакуумного подъемного устройства. Испытательные нагрузки не должны превышать 125% +5%/-0% номинальной нагрузки системы, если иное не рекомендовано изготовителем или квалифицированным лицом.
Измененные или отремонтированные вакуумные подъемные устройства должны быть испытаны квалифицированным лицом или под его руководством. Это испытание может быть ограничено компонентами, затронутыми модификацией или ремонтом, как определено квалифицированным лицом под руководством производителя.
Испытание под нагрузкой должно состоять из одной из следующих процедур:
Испытание под фактической нагрузкой
Прикрепите подкладки к назначенной испытательной нагрузке вакуумный подъемник
Удерживайте нагрузку в течение 2 минут
Опустите нагрузку для освобождения сборок, эквивалентной силе, с которой сталкиваются компоненты, если бы они выдерживали нагрузку, составляющую 125 % номинальной нагрузки.
После испытания необходимо провести визуальный осмотр вакуумного подъемника. Любое состояние, представляющее опасность, должно быть устранено до того, как подъемное устройство будет введено в эксплуатацию. Если исправление влияет на конструкцию, то подъемник должен пройти повторное испытание.
Какие программы технического обслуживания необходимы для вакуумных подъемников?
Как бы бережно вы ни относились к своему оборудованию, рано или поздно детали изнашиваются и их необходимо заменять. Чтобы избежать износа вакуумных подъемников и их компонентов, необходимо проводить регулярное техническое обслуживание, которое продлит срок службы.
Программа технического обслуживания
Программа технического обслуживания должна быть установлена и основываться на рекомендациях производителя вакуумного подъемника. Если квалифицированный специалист сочтет это целесообразным, программа должна также включать дополнительные рекомендации этого лица, основанные на анализе применения и эксплуатации вакуумного подъемника.
Процедура технического обслуживания
Прежде чем приступать к регулировке и ремонту вакуумного подъемника, необходимо принять следующие меры предосторожности:
Располагайте вакуумный подъемник так, чтобы он меньше всего мешал другим операциям в данной зоне.
Все источники питания должны быть отключены, заблокированы и отмечены ярлыком «Не работает».
Сбросьте давление жидкости во всех контурах перед тем, как ослабить или снять компоненты гидравлического привода.
Только назначенный персонал должен выполнять регулировки, ремонт и испытания, когда это необходимо.
Должны быть предусмотрены специальные лица для работы с оборудованием под напряжением, когда требуются регулировки и испытания.
Все движущиеся части вакуумного подъемника, для которых предусмотрена смазка, должны регулярно смазываться. Следует использовать рекомендации производителя в отношении точек и частоты смазки, поддержания уровня смазки и типов смазки.
Регулировки должны поддерживаться для обеспечения правильного функционирования компонентов.
Ремонт или замена должны производиться по мере необходимости.
Запасные части должны соответствовать спецификациям оригинального производителя.
После регулировки и ремонта вакуумный подъемный механизм не может быть возвращен в эксплуатацию до тех пор, пока он не будет проверен в соответствии с п. 20-2.3.4.
Должны быть сделаны датированные записи о ремонте и замене.
Как Mazzella может помочь вам с вакуумными подъемниками?
Мы предлагаем вакуумные подъемники, вакуумные подъемные системы и индивидуальное вакуумное подъемное оборудование всех типов!
Эти вакуумные трубчатые подъемные системы представляют собой эргономичные устройства помощи при подъеме, которые могут помочь повысить вашу производительность, предлагая экономичное решение для ваших потребностей в погрузочно-разгрузочных работах.
Эти вакуумные трубчатые подъемные системы захватывают груз (с помощью вакуумного всасывания), поддерживают, поднимают и опускают груз без использования лебедки, и все это с помощью одного оператора.
Использование вакуумных присосок для крепления позволяет поднимать предметы, не опасаясь повреждения поверхности или краев изделия, часто вызванного ручным подъемом или захватом.
При переключении режимов раздатки постоянно моргает лампочка, что может говорить о неисправности
Mitsubishi Pajero 4. Неисправность SuperSelect
Проблема такая: клиент собрался машину Mitsubishi Pajero 4 продавать. Подшаманил. Навёл красоту. Стал продавать, но покупатели шарахаются, что на панели какая-то ошибка горит
Перед нами автомобиль Mitsubishi Pajero Sport, претензии клиента: «У меня не работает полный привод». Первым делом открываю капот автомобиля.
Mitsubishi Pajero Pinin. Нетипичная неисправность в системе управления полным приводом
У клиента с автомобилем Mitsubishi Pajero Pinin внезапно вдруг перестал работать полный привод и он еще ездил и надеялся что всё образуется, но так как неисправность оставалась он набрался мужества, денег и приехал в автосервис
Межосевой дифференциал с изменяемой степенью блокировки DCCD
Механическая коробка переключения передач с несимметричным межосевым дифференциалом с изменяемой степенью блокировки DCCD — одна из самых интересных особенностей Subaru Impreza WRX STi
Платформы GMT800 и GMT900 автомобилей Cadillac Escalade и Chevrolet Tahoe
Различия и сходство некоторых элементов платформ двух поколений GMT800 и GMT900 Tahoe, Escalade, Yukon, Avalanche, Silverado, Sierra, h3
Полный привод Toyota с 1980 до середины 2000
Варианты реализации 4WD на автомобилях Toyota с 1980-х до середины 2000-х
Полный привод Subaru
Варианты реализации 4WD на автомобилях Subaru
Полный привод Nissan
Варианты реализации 4WD на автомобилях Nissan
Полный привод Mitsubishi v.
1.0
Варианты реализации 4WD на автомобилях Mitsubishi
Полный привод Isuzu (TOD) v.1.0
Несколько слов о принципах работы и использовании полного привода Isuzu Bighorn UBS73/UBS26 выпуска 1998-2002 годов
Система 4WD TOYOTA — диагностика и самодиагностика
Считывание и расшифровка flash-кодов самодиагностики системы полного привода Toyota (на примере A540H)
Honda. Система подключения полного привода VTM-4
Система подключения полного привода (VTM-4) фирмы Honda,- Система полного привода, пришедшая на смену системе DPS (Dual Pump System), называется VTM-4 (Variable Torque Management 4WD). Блок управления в зависимости условий движения и состояния может автоматически подключать полный привод.
Toyota MultiMode. Система управления 4WD
Неисправность подключения полного привода (Multi-Mode). Материал сахалинского Диагноста Суслина Олега.
Система Honda DPS (система подключения полного привода)
Система полного привода DPS (Dual Pump System) на примере Honda Element
Hyundai Terracan — система EST
Система полного привода EST (Electronic Shift Transfer) на Hyundai
Hyundai Terracan — система TOD (ATT)
Система полного привода «АТТ» (Active Torque Transfer) или «TOD» (Torque-on-Demand) на Hyundai
Ssangyong Rexton TOD.
Типовая неисправность
Неисправность Ssangyong Rexton с полным приводом TOD
Mitsubishi Pajero Sport 4WD
Не подключается передний привод на MMC Pajero Sport
Наконечники рулевые Hyundai Starex полный привод в Пскове: 501-товар: бесплатная доставка [перейти]
Партнерская программаПомощь
Псков
Каталог
Каталог Товаров
Одежда и обувь
Одежда и обувь
Стройматериалы
Стройматериалы
Текстиль и кожа
Текстиль и кожа
Здоровье и красота
Здоровье и красота
Детские товары
Детские товары
Продукты и напитки
Продукты и напитки
Электротехника
Электротехника
Мебель и интерьер
Мебель и интерьер
Дом и сад
Дом и сад
Сельское хозяйство
Сельское хозяйство
Промышленность
Промышленность
Все категории
ВходИзбранное
Наконечники рулевые Hyundai Starex полный привод
НаконечникРулевойHyundaiStarex/H-1 07- Rh NEROLI арт. N1A24655 Модель автомобиля: Hyundai h2,
ПОДРОБНЕЕЕще цены и похожие товары
Наконечникрулевой тяги HYUNDAIStarex H-1 (07-) левый MANDO Тип: наконечникрулевой тяги,
ПОДРОБНЕЕЕще цены и похожие товары
Наконечникрулевой тяги HYUNDAIStarex H-1 (07-) правый GMB Тип: наконечникрулевой тяги,
Минивэн / MPV Hyundai h2 2018 2.5 4×4 выпускается с января 2018 года. Имеет дизельный двигатель объемом 2,5 литра , который выдает мощность 175 лошадиных сил при 3600 об/мин. — это самый мощный Hyundai h2 2018 версии и крутящим моментом 451 Нм (Нм) на 2250 оборотах в минуту.
Hyundai h2 2018 2.5 4×4 имеет полный привод (AWD, 4×4) и коробку автомат с 5 передачами.
С таким же двигателем также доступна версия Hyundai h2 с задним приводом и автоматической коробкой передач (Hyundai h2 2018 2. 5 AT), которая .
Hyundai h2 2018 2.5 4×4 технические характеристики
Все минивэн Hyundai h2 [2018 модификации
Модификация
Двигатель
Сила
Расход
Коробка передач — все — только ручная, только автоматическая
Тип привода — все — только передний привод (FWD) только задний привод (RWD) только полный привод (AWD, 4×4)
Хендай h2 2018 2.5 Январь 2018 г. —
2,5 Дизель
136 л.с.
7,6 л/100 км
Ручная (6 передач)
Задний привод (RWD)
Хендай h2 2018 2.5 Январь 2018 г. —
2,5 Дизель
145 л.с.
—
Механическая (6 передач)
Задний привод (RWD)
Хендай h2 2018 2. 5 Январь 2018 г. —
2,5 Дизель
145 л.с.
—
Автомат (5 передач)
Задний привод (RWD)
Hyundai h2 2018 2.5 4×4 Январь 2018 г. —
2,5 Дизель
145 л.с.
—
Механическая (6 передач)
Полный привод (полный привод, 4×4)
Hyundai h2 2018 2.5 4×4 Январь 2018 г. —
2,5 Дизель
145 л.с.
—
Автоматическая (5 передач)
Полный привод (полный привод, 4×4)
Хендай h2 2018 2.5 Январь 2018 г. —
2,5 Дизель
170 л.с.
8,8 л/100 км
Автомат (5 передач)
Задний привод (RWD)
Хендай h2 2018 2. 5 Январь 2018 г. —
2,5 Дизель
175 л.с.
—
Автоматическая (5 передач)
Задний привод (RWD)
Hyundai h2 2018 2.5 4×4 Январь 2018 г. —
2,5 Дизель
175 л.с.
—
Автоматическая (5 передач)
Полный привод (полный привод, 4×4)
фото
Поделиться в социальных сетях или по электронной почте
Добавить отзыв о Hyundai h2 2018 2.5 4×4
Car reviews and technical specs
— choose car manufacturer -Alfa RomeoAudiBMWChevroletChryslerCitroenDaciaDodgeFiatFordHondaHyundaiInfinitiIsuzuJaguarJeepKiaLada (VAZ)Land RoverLexusMazdaMercedesMiniMitsubishiMoskvichNissanOpelPeugeotPorscheRenaultRoverSAABSeatSkodaSmartSubaruSuzukiToyotaVolkswagen (VW)Volvo
2019HYUNDAI h2 2.
5 — Продажа чистых подержанных автомобилей
Конфиденциальность и политика
Моя служба серьезно относится к вашей конфиденциальности и стремится защищать вашу конфиденциальность в Интернете. Поскольку мы собираем определенные типы информации от посетителей наших сайтов, мы разработали заявление о конфиденциальности, чтобы помочь вам понять условия сбора и использования этой информации. В этом заявлении раскрываются типы информации, которую мы собираем, как она используется и как вы можете получить доступ к любым данным, которые мы собрали о вас, и изменить их в любое время.
Руководящие принципы:
Моя служба уважает конфиденциальность лиц, которые посещают наши веб-сайты, отправляют нам электронные письма или участвуют в функциях/услугах, которые мы предлагаем онлайн. Соответственно, наша политика в отношении конфиденциальности в Интернете была разработана с использованием следующих руководящих принципов:
Моя служба продаж поддерживает строгую политику запрета спама. Подписчики на наши службы электронной почты (или любые другие функции/услуги, имеющиеся на нашем веб-сайте) не будут получать от нас нежелательные сообщения электронной почты. Моя служба продаж собирает информацию в Интернете в первую очередь для того, чтобы предоставить нашим посетителям более релевантный опыт на наших сайтах. При этом мы приложим все разумные усилия, чтобы избежать чрезмерного или неуместного сбора данных. Моя служба продаж примет разумные физические, электронные и управленческие меры для защиты и защиты любой информации, которую вы нам предоставляете (например, данные будут храниться в защищенных базах данных на защищенных серверах с ограниченным доступом). Моя служба продаж не будет передавать информацию, которую вы нам предоставили, кому-либо без вашего согласия, кроме как для предоставления запрошенной вами услуги. Во время регистрации для получения любой такой услуги вас уведомят и попросят дать согласие на передачу вашей информации какой-либо конкретной третьей стороне, необходимой для предоставления запрошенной услуги.
Данные, не идентифицирующие личность:
Каждый раз, когда вы посещаете наш веб-сайт, мы можем собирать определенную не идентифицирующую личность информацию о средствах, которые вы используете для доступа к нашему сайту. Эта информация может включать тип и версию вашего браузера, вашего поставщика услуг, ваш IP-адрес и любую поисковую систему, которую вы могли использовать для поиска сайта. Мы используем эту информацию для диагностики проблем с нашим сервером, администрирования веб-сайта и сбора обширных статистических данных. Кроме того, мы собираем определенную навигационную информацию о том, где вы находитесь на наших веб-сайтах. Эта информация позволяет нам определить, какие разделы веб-сайтов посещаются чаще всего, и помогает нам адаптировать сайты к потребностям и интересам наших онлайн-посетителей. Такая информация собирается нами в совокупности и не будет связана с конкретным лицом без его согласия.
Информация, предоставленная добровольно:
Любая информация, которую вы предоставляете нам (например, имя, адрес электронной почты и т. д.), когда вы регистрируетесь в одной из наших служб напоминаний по электронной почте, запрашиваете информацию или используете любую другую интерактивные части наших веб-сайтов надежно хранятся на нашем веб-сервере и во внутренних системах. Эта информация может быть использована для предоставления вам запрошенной вами информации о нашей компании, наших продуктах и наших услугах или для предоставления вам специальных уведомлений. Вы можете отказаться от получения будущих сообщений в любое время (см. Процедуры отказа ниже). Эти данные также могут использоваться для адаптации вашего опыта на наших сайтах путем предоставления контента, соответствующего вашим интересам и географическому региону.
Информация, полученная из других источников:
Чтобы помочь нам лучше понять ваши потребности и интересы и реагировать на них, мы можем в будущем получать информацию о вас из других источников. Мы попросим любого поставщика такой информации заверить и гарантировать, что информация была собрана и сохранена в соответствии со всеми законами штата и федеральными законами. Любая такая информация будет храниться нами в соответствии со стандартами, изложенными в настоящей политике конфиденциальности, наряду с другой личной информацией, которую вы предоставили.
Раскрытие личной информации:
Моя служба продаж понимает важность вашей конфиденциальности. Мы собираем и храним личную информацию наших потребителей для нашего использования и наших дочерних компаний. Мы не продаем, не сдаем в аренду и не обмениваем информацию о потребителях с третьими лицами, за исключением случаев, описанных ниже, и никогда без вашего согласия.
Деловые партнеры:
Моя служба продаж может сотрудничать с некоторыми розничными торговцами и другими компаниями в разное время, чтобы предоставлять расширенные услуги посетителям нашего сайта. В рамках таких отношений мы можем поделиться с этими компаниями использованием определенных интерактивных функций веб-сайта (например, службы напоминаний по электронной почте). Информация, предоставленная посетителями сайта посредством использования таких интерактивных функций, может быть доступна как нашему дилерскому центру, так и нашим партнерам.
Агенты:
Моя служба продаж может использовать другие компании и частных лиц для выполнения определенных функций от нашего имени. Примеры включают администрирование служб электронной почты и проведение специальных акций. Такие стороны имеют доступ только к личной информации, необходимой для выполнения этих функций, и не могут использовать или хранить информацию для каких-либо других целей. Подписчики или посетители сайта никогда не будут получать нежелательные сообщения электронной почты от агентов, работающих от нашего имени.
Бизнес-переводы:
В случае, если моя служба продажи или передача определенной части своих бизнес-активов, информация о потребителе может быть одним из бизнес-активов, передаваемых в рамках сделки. Если будут приобретены практически все активы сервиса «Моя продажа», информация о потребителе может быть передана как часть приобретения.
Соблюдение законодательства/безопасности:
Моя служба продаж может раскрыть конкретную личную информацию на основании добросовестного убеждения, что такое раскрытие необходимо для соблюдения или соответствия закону или что такое раскрытие необходимо для защиты пользователей наши веб-сайты, сами сайты или общественность.
С согласия:
Кроме случаев, указанных в настоящей Политике конфиденциальности, вы будете уведомлены, когда какая-либо личная информация о вас может быть передана третьим лицам, и вам будет предоставлена возможность отказаться от передачи этой информации. информация.
Использование файлов cookie:
Моя служба продаж может использовать функцию браузера, известную как «файлы cookie». Файлы cookie — это небольшие файлы, размещенные на вашем жестком диске, которые помогают нам предоставить вам индивидуальный подход к просмотру. Наш дилерский центр использует файлы cookie, чтобы предоставить вам возможность не вводить информацию, такую как идентификаторы пользователей и пароли, несколько раз во время посещения наших веб-сайтов. Файлы cookie также могут использоваться, чтобы помочь нам предоставить вам информацию, соответствующую вашим интересам, на основе вашего предыдущего просмотра наших веб-сайтов. Раздел «Помощь» на панели инструментов в большинстве браузеров информирует вас о том, как запретить браузеру принимать новые файлы cookie, как заставить браузер уведомлять вас о получении нового файла cookie или как полностью отключить использование файлов cookie, поскольку наши веб-сайты были разработаны с учетом преимуществ использования файлов cookie. Если вы настроите свой браузер на отказ от их использования, некоторые функции наших веб-сайтов могут работать неправильно, и вам может потребоваться чаще арендовать идентификаторы пользователей и пароли.0003
Внешние ссылки:
Наши веб-сайты содержат ссылки на другие сайты. Моя служба продаж не несет ответственности за политику конфиденциальности или содержание таких веб-сайтов. Чтобы обеспечить защиту вашей конфиденциальности, мы рекомендуем вам ознакомиться с политикой конфиденциальности любого сайта, который вы посещаете по ссылке с одного из наших веб-сайтов.
Пароли:
Доступ к записи личных данных, созданной в результате вашей регистрации на нашем веб-сайте, возможен только с помощью уникального пароля, связанного с этой записью. Чтобы защитить целостность информации, содержащейся в этой записи, вы не должны разглашать или иным образом раскрывать свой пароль третьим лицам.
Общедоступные форумы:
Наши веб-сайты могут предоставлять пользователям чаты, форумы, доски объявлений и/или группы новостей в разное время. Пожалуйста, помните, что, если не указано иное, любая информация, раскрываемая в этих областях, становится общедоступной, и вам следует проявлять осторожность при принятии решения о раскрытии вашей личной информации в этих областях.
Процедуры отказа:
Вы всегда можете отказаться от получения будущих сообщений от моей службы продаж. Наши сайты позволяют пользователям отказаться от получения таких сообщений в момент, когда запрашивается личная информация, или с помощью других указанных средств.
Тракторы (всех производителей) характеристики и цены, отзывы, обзоры с фото
Все модели тракторов (новинки 2022-2023 года) технические характеристики и цены на новые, обзоры с фотографиями.
Под «трактором» следует понимать самодвижущуюся машину на колесном или гусеничном ходу, которая, в первую очередь, характеризуется: большой силой тяги и низкой скоростью передвижения. Такой вид техники обычно применяется вскладчину с прицепным и/или навесным оборудованием в дорожно-строительных, сельскохозяйственных, землеройных и других видах работы.
Популярные
Новинки
«Сельскохозяйственник» JCB 3230 XTRA
Это – тяжелый сельскохозяйственный трактор с колесной формулой «4×4», подготовленный для выполнения различного рода работ и операций. Он имеет в своем арсенале надежную конструкцию, комфортабельную кабину, мощный мотор и отличные «рабочие» характеристики.
«Десятитонные» погрузчики БелАЗ-7822
Это карьерные фронтальные погрузчики с грузоподъемностью до десяти тонн и полной адаптацией к суровым дорожно-климатическим условиям. Серия включает две модели, различающиеся маркой установленного силового агрегата.
Экскаватор-погрузчик JCB 4CX
Это – полноприводный экскаватор-погрузчик, который способен выполнять большое количество различных работ. Среди его особенностей имеются: надежная и выносливая техника, высокий уровень производительности и комфортабельное рабочее место оператора.
Бульдозеры БелАЗ-7823
Это полноприводные карьерные бульдозеры на колесном шасси, разработанные для проведения работ по подготовке территорий к добыче полезных ископаемых открытым способом. Линейка включает две модификации с дизельными моторами и гидромеханической трансмиссией.
Фронтальный погрузчик JCB 426 ZX
Этот полноприводный погрузчик создан для выполнения погрузочно-разгрузочных, землеройно-транспортировочных и иных видов работ. Он обладает надежной конструкцией, мощным мотором и высокой рабочей производительностью.
Фронтальный погрузчик Hyundai HL780-9S
Старшая модель в «9-м семействе» южнокорейских погрузчиков, отличается почти 30 тонной массой и высокопроизводительным мотором «Cummins». Машина оснащена комфортабельной кабиной и предназначена для работы под постоянными нагрузками.
Универсальные ХТЗ-17221
История этого трактора началась в 2007 году, тогда же он был запущен в производство на «Харьковском тракторном заводе». Машина обладает комфортабельной каркасной кабиной, 180-сильным дизельным мотором, полным приводом и шарнирносочлененной рамой.
«22-тонный» погрузчик БелАЗ-78250
Это фронтальный погрузчик тяжелого класса, предназначенный для работы на карьерах и крупных промышленных объектах. Он оснащен электромеханической трансмиссией, полным приводом и достаточно комфортабельной кабиной.
Каталог тракторов (модельный ряд всех марок, включая новые модели 2022-2023 года) – обзоры с фотографиями и отзывами их владельцев. Указан список технических параметров и характеристик каждой рассматриваемой машины (мощность двигателя и тип трансмиссии, гидросистема и ходовая часть, размеры и пр). А так же цены на новые тракторы (для техники представленной на российском рынке).
10 основных производителей тракторов из России
Думаете производство тракторов в России не существует, а на наших полях можно встретить лишь легендарные «Беларус» из братского…
Думаете производство тракторов в России не существует, а на наших полях можно встретить лишь легендарные «Беларус» из братского государства и американские John Deere? Как бы не так! Вот 10 российских производителей тракторов.
«Ростсельмаш» (Ростов-на-Дону)
Ростовская компания считается лидером в России по производству самой разной сельскохозяйственной техники — от комбайнов до тракторов. Интересно, что первые плуги и сеялки были выпущены в далеком 1929 году, т.е. у «Ростсельмаша» серьезная история. На фотографии — Rostselmash Versatile 2375 с двигателем Cummins. Один их самых популярных тракторов компании.
«Агромаш» (Чебоксары)
Этот тракторный бренд является частью объединения «Тракторные заводы», который производит полный спектр сельскохозяйственной техники. Производство объединено с другим тракторым брендом, «Промтрактором», история которого началась в 1972 году. На фотографии — универсальный трактор «Агромаш-180ТК».
Terrion (Санкт-Петербург — Тамбов)
Terrion — это бренд компании «Агротехмаш», которая занимается производством комбайнов, тракторов и спецтехники. Компания была основана в 1997 году и занималась продажей иностранной спецтехники. Первый трактор был выпущен в 2002 году, который они разрабатывали совместно с немцами. На фотографии — основная модель предприятия — Terrion ATM 7360.
«Кировец» (Санкт-Петербург)
Трактора легендарного бренда «Кировец» производит АО «Петербургский тракторный завод». История начинается еще в 1801 году, когда был основан Кронштадтский чугунолитейный завод, начавший выпуск тракторов в 1924 году. На фотографии — трактор пятого поколения с сочлененной рамой К-744Р.
«Балтиец» (Санкт-Петербург)
Трактор, очень похожий по компоновке на «Кировец». Их выпуск начался лишь в 2006 году, хотя компания и бренд существуют с 2000 года. «Балтиец» кроме тракторов выпускает лесозаготовительную, аэродромную, коммунальную и прочую спецтехнику. На фотографии — трактор общего назначения «Балтиец» К-707Т с двигателем ЯМЗ.
КАМТЗ (Набережные Челны)
Камский Тракторный завод выпускает трактора под брендом ТТХ — «Тракторы Твоего Хозяйства». Компания использует мощности КамАЗа для выпуска тракторов. Первая неудачная попытка организовать подобное производство была сделана в 1985 году, но удалось это сделать лишь в 2012 г. На фотографии — универсальный трактор КАМТЗ ТТХ-215.
ВТЗ (Волгоград)
Волгоградский Тракторный Завод был основан в 1930 году. Сейчас он производит тракторы «Агромаш» и входит в концерн «Тракторные заводы». У ВТЗ есть один трактор, который продолжает выпускаться под собственным брендом — это неоднократно модернизированный старичок ДТ-75. На фотографии — ВТЗ ДТ-75 с новой кабиной.
ЧТЗ (Челябинск)
Челябинский Тракторный Завод был основан в 1933 году. Сейчас он производит, в основном, строительную спецтехнику: бульдозеры, трубоукладчики и т.д., но линейка включает также трактор Т-10. На фотографии — ЧТЗ Т10МБ (болотоходная конфигурация).
«Алттрак» (Рубцовск)
Завод «Алтайский трактор» является специалистом по производству лесозаготовительной техники, но в их производственной линейке есть также сельскохозяйственные трактора. Завод был основан в 1941 году и сохраняет свою независимость. На фотографии — гусеничный трактор «Алттрак Т-501».
«Петра-ЗСТ» (Санкт-Петербург)
Еще один производитель из Северной столицы, который производит тяжелые трактора с сочлененной рамой. Компания была основана в 2003 году и кроме тракторов также выпускает различную спецтехнику. На фотографии — универсальный трактор «Петра-ЗСТ 390» — один из наследников «Кировца».
Подпишись на наш Telegram-канал
Вчерашние тракторы — Произошла ошибка
Ой!
Произошла какая-то ошибка!
Пожалуйста, сообщите нам об этом, когда у вас будет время — мы постараемся решить проблему!
Попробуйте использовать одну из ссылок слева, чтобы найти страницу, на которой вы были находясь в поиске.
Если ошибка произошла во время покупки, нажмите здесь, чтобы вернуться в магазин.
Продаем запчасти для тракторов! У нас есть детали, необходимые для ремонта вашего трактора — нужные детали . Наши низкие цены и годы исследований делают нас вашим лучшим выбором, когда вам нужны запчасти. Интернет-магазин сегодня . [ О нас ]
Главная | Форумы
Сегодняшняя избранная статья — Жизнь сельскохозяйственной техники – Джо Майклза . По профессии я инженер-механик, специализируюсь на силовых установках. Работал слесарем и моторостроителем, время от времени проводил за границей. Я всегда любил технику и высоко ценил сельское хозяйство и сельскохозяйственную технику. Я родился и вырос в Бруклине, Нью-Йорк. Не то место, которое можно было бы ассоциировать с фермами или сельскохозяйственной техникой. Я благодарен своим родителям за то, что они привили мне много хороших ценностей, уважение к учебе, знание различных навыков и немного знаний о сельском хозяйстве во мне, amo … [Читать статью]
Последнее объявление: IH Гидравлический шланг с наружной резьбой 1/2 NPTF 5070-4, он снят с плуга International 720 10, и покупатель оплачивает стоимость доставки. [Дополнительные объявления]
Все права защищены. Воспроизведение любой части этого веб-сайта, включая дизайн и содержание, без письменного разрешения строго запрещено. Товарные знаки и торговые наименования, содержащиеся и используемые на этом веб-сайте, принадлежат другим лицам и используются на этом веб-сайте в описательном смысле для обозначения продуктов других лиц. Использование этого веб-сайта означает принятие нашего Пользовательского соглашения и Политики конфиденциальности
ОТКАЗ ОТ ОТВЕТСТВЕННОСТИ ОТ ТОРГОВЫХ ЗНАКОВ: Товарные знаки и товарные знаки, упоминаемые в продуктах Yesterday’s Tractor Co. и на веб-сайтах Yesterday’s Tractor Co., являются собственностью соответствующих владельцев товарных знаков. Ни один из владельцев этих товарных знаков не связан с Yesterday’s Tractor Co., нашей продукцией или нашим веб-сайтом и не спонсируется ими. John Deere и его логотипы являются зарегистрированными товарными знаками корпорации John Deere. Agco, Agco Allis, White, Massey Ferguson и их логотипы являются зарегистрированными товарными знаками корпорации AGCO. Case, Case-IH, Farmall, International Harvester, New Holland и их логотипы являются зарегистрированными товарными знаками CNH Global N.V.
Пожалуйста, сообщите нам об этом, когда у вас будет время — мы постараемся решить проблему!
Попробуйте использовать одну из ссылок слева, чтобы найти страницу, на которой вы были находясь в поиске.
Если ошибка произошла во время покупки, нажмите здесь, чтобы вернуться в магазин.
Продаем запчасти для тракторов! У нас есть детали, необходимые для ремонта вашего трактора — нужные детали . Наши низкие цены и годы исследований делают нас вашим лучшим выбором, когда вам нужны запчасти. Интернет-магазин сегодня . [ О нас ]
Главная | Форумы
Сегодняшняя избранная статья — Жизнь сельскохозяйственной техники — Джо Майклс . По профессии я инженер-механик, специализируюсь на силовых установках. Работал слесарем и моторостроителем, время от времени проводил за границей. Я всегда любил технику и высоко ценил сельское хозяйство и сельскохозяйственную технику. Я родился и вырос в Бруклине, Нью-Йорк. Не то место, которое можно было бы ассоциировать с фермами или сельскохозяйственной техникой. Я благодарен своим родителям за то, что они привили мне много хороших ценностей, уважение к учебе, знание различных навыков и немного знаний о сельском хозяйстве во мне, amo . .. [Читать статью]
Последнее объявление: IH Гидравлический шланг с наружной резьбой 1/2 NPTF 5070-4, он снят с плуга International 720 10, и покупатель оплачивает стоимость доставки. [Дополнительные объявления]
Все права защищены. Воспроизведение любой части этого веб-сайта, включая дизайн и содержание, без письменного разрешения строго запрещено. Товарные знаки и торговые наименования, содержащиеся и используемые на этом веб-сайте, принадлежат другим лицам и используются на этом веб-сайте в описательном смысле для обозначения продуктов других лиц. Использование этого веб-сайта означает принятие нашего Пользовательского соглашения и Политики конфиденциальности
ОТКАЗ ОТ ОТВЕТСТВЕННОСТИ ОТ ТОРГОВЫХ ЗНАКОВ: Товарные знаки и товарные знаки, упоминаемые в продуктах Yesterday’s Tractor Co. и на веб-сайтах Yesterday’s Tractor Co., являются собственностью соответствующих владельцев товарных знаков.
DELL POWEREDGE R730 ТЕХНИЧЕСКОЕ РУКОВОДСТВО Скачать Pdf
Содержание
3
страница
из 64
Содержание
Оглавление
Закладки
Реклама
СОДЕРЖАНИЕ
СОДЕРЖАНИЕ
1 Обзор системы
ВВЕДЕНИЯ
Новые технологии 9003
11111111111111111111111111111111111111111111111111111111111111ЕС Характеристики
Сравнение систем Poweredge
Таблица 2. Сравнение Poweredge R720/R720Xd и R730/R730Xd
Технические характеристики
Таблица 3. Технические характеристики
3 Просмотр шасси и характеристики
вид шасси
Рисунок.
Рис. 2. R730, вид спереди (шасси 2,5 дюйма без лицевой панели)
Рис. 3. R730Xd, вид спереди (8 x 3,5 дюйма плюс 18 x 1,8 дюйма с лицевой панелью)
Рис. 4. R780Xd, вид спереди (R780Xd, вид спереди X 3,5 дюйма плюс 18 X 1,8 дюйма без лицевой панели)
Рисунок 5. R730 View
Рисунок 6. R730XD View
Рис. Рис. 8. Вид внутреннего шасси R730Xd
Рис. 9. ЖК-панель управления R730
Рис. 10. Светодиодная панель R730Xd
Рис. 11. QRL на шасси
Рис.
Таблица 6. Поддерживаемые процессоры
Поддержка GPU
Чипсет
Таблица 7. Поддерживаемые GPU
5 Memory
Supported Memory
Table 8. Memory Technologies Supported
DIMM Speed
Memory Configurations
Memory Population Guidelines
Table 9. Dimms Поддерживается
Таблица 10. Конфигурация и производительность памяти
Функции памяти RAS
Таблица 11. Заполнение памяти и рабочие частоты
Таблица 12. Особенности памяти RAS
6 Хранение
.
Внешнее хранилище
RAID-контроллеры Poweredge
Табл.0003
Table 16. Supported RAID Controllers
Table 17. IDSDM New Features
Optical Drives
Tape Drives
7 Networking and Pcie
Select Network Adapters
Рис. 14. Дочерняя сетевая плата стойки (NDC)
Таблица 18. Поддерживаемые параметры и функции сетевого адаптера Select
Интеграция управления системой
Pcie Expansion
Table 19. Pcie Expansion Slots
Table 20. Optional Add-In Pcie Expansion Cards
8 Power, Thermal and Acoustics
Power Consumption and Energy КПД
Таблица 21. Электроинструменты и технологии
Блоки питания
Таблица 22. Блоки питания и КПД
Термическая и акустика
Таблица 23. Акустические контрольные точки и сравнения выходных сигналов
9 Райные рельсы
SLIDING и STATIC RAIL System
Рис. 16. Статические направляющие
Кронштейн для укладки кабелей
Таблица 24. Поддерживаемая система направляющих стойки
10 Operating Systems and Virtualization
Supported Operating Systems
Supported Virtualization
Table 25. Operating System Support
Table 26. Virtualization Support
11 Dell Openmanage Systems Управление
Портфель управления системами Openmanage
0003
Table 27. Idrac8 with Lifecycle Controller Functions and Benefits
Table 28. Feature Comparison for Idrac8 Express and Enterprise
Dell Consoles
Dell Server Management Operations
Table 29. One Операции «один ко многим» и «один ко многим»
Рис. 18. Жизненный цикл сервера Systems Management Server
0029
Chassis Dimensions
Chassis Weight
Table 30. Chassis Weight
Figure 19. Chassis Dimensions
Power Supply Specifications
Environmental Specifications
Video Specifications
Таблица 31. Технические характеристики блока питания
Таблица 32. Поддерживаемые видеорежимы
Технические характеристики RACK RAIL
Периферий USB
Таблица 33. Древные диапазоны рельса
Appendix B. Соответствие стандартам
Таблица 34. Стандарты. Дополнительные ресурсы
Таблица 35. Дополнительные ресурсы
Приложение D. Услуги по поддержке и развертыванию
Службы развертывания сервера
Рисунок 20. Возможности развертывания сервера
Prosupport Enterprise Suite
Дополнительные профессиональные услуги
Рисунок 21.
PowerEdge R730
и R730xd
Техническое руководство
Исключительно гибкий и
масштабируемые двухпроцессорные стойки высотой 2U
серверы с высокой производительностью
обработка
и широкий спектр
локальные, оптимизированные для рабочей нагрузки
варианты хранения
Содержание
Предыдущая страница
Следующая страница
Содержание
Краткое содержание для Dell PowerEdge R730
Это руководство также подходит для:
Poweredge r730xd
Как сканировать документы с помощью Samsung R730 Transfix
В устройствах с операционной системой Android, таких как Samsung R730 Transfix, в самой операционной системе по-прежнему нет встроенных функций для сканирования документов , но, к счастью, у Google есть решение этой проблемы.
Ваш R730 Transfix поставляется с завода с набором приложений Google, включая Google Диск, если он у вас не установлен, вы должны загрузить его из магазина Google Play, и вы сможете сканировать документы, как если бы это был обычный копир или настольный сканер только с камерой вашего смартфона.
Приблизительное время: 2 минуты.
1- Первый шаг:
Для начала мы собираемся найти приложение Google Диска на вашем Samsung R730 Transfix, если вы никогда не использовали его, оно должно появиться на главном экране или в меню приложений. На главном экране он может появиться в папке под названием «Google», если вы не можете найти его, вы можете найти его и загрузить из Play Store.
2- Второй шаг:
После открытия Google Диска, если это происходит впервые, вам будет предложено войти в свою учетную запись Google. Вы можете использовать учетную запись Google, которую используете на Samsung R730 Transfix. Нажмите кнопку «+», которую вы увидите в правом нижнем углу экрана.
3- Третий шаг:
В нижней части экрана появится меню, среди доступных опций вы увидите «Сканировать». Нажмите, чтобы начать сканирование документов с R730 Transfix.
4- Четвертый шаг:
Используя камеру Samsung R730 Transfix, сфокусируйтесь и постарайтесь, чтобы документ поместился в центральной части экрана и был виден корректно. Когда будете готовы, нажмите кнопку захвата на камере.
5- Пятый шаг:
Проверьте захваченное изображение, убедитесь, что изображение определено и текст можно прочитать, если он правильный, нажмите «Принять», в противном случае вы можете повторить попытку, нажав «Повторить попытку».
6- Шестой шаг:
Вы сможете вращать или переворачивать, обрезать, ретушировать цвета или добавлять дополнительные изображения в документ, чтобы иметь возможность включить их в тот же PDF-файл с помощью значков, которые появляются в нижней части экрана. Если все верно, нажмите «Сохранить», чтобы продолжить.
7- Седьмой шаг:
На следующем шаге вы можете выбрать имя, под которым вы хотите сохранить PDF-документ, а также в какой учетной записи Google и в какой папке вы хотите его сохранить. После того, как вы выполнили все эти настройки, нажмите «Сохранить» в правом нижнем углу экрана вашего Samsung R730 Transfix.
8- Восьмой шаг:
Ваш документ уже отсканирован и сохранен в формате PDF в вашей учетной записи Google Диска и во внутренней памяти Samsung R730 Transfix. Вы можете найти его с помощью поисковой системы, которая появляется вверху, или просматривая папки. Если вам нужно отправить его через приложение для обмена сообщениями или по электронной почте, как только файл будет найден, нажмите на три вертикальные точки, которые появляются с правой стороны.
9- Девятый шаг:
Будет отображено меню параметров для этого документа, вы можете поделиться им напрямую с другими пользователями Google Диска или отправить копию, чтобы отправить его в сообщении или по электронной почте, используйте опцию «Отправить копию».