Какие АКБ лучше поставить на трактор мтз 82.1, какой мощности ? — ЗАВОД РУ
- Автор: Роджер Двенашка
- 25 июля 2020
- Добавить в закладки
Доброго всем дня ! Посоветуйте пожалуйста какие АКБ лучше поставить на трактор мтз82.1 какой мощности ! Админу спасибо отдельно за группу и публикацию!
АКБ Аккумулятор Какой лучше? Поставить МТЗ 82.1 Мощность
Поделиться
Какой аккумулятор лучше поставить на мтз 82 , 2 шт по 60 Ач или 1шт -190 ач?
- Автор: Альфир Камалетдинов
- 18 ноября 2022
- 51 комментарий
Здравствуйте, посоветуйте пж, какой аккумулятор лучше поставить на мтз 82 , 2 шт по 60 Ач или 1шт -190 ач? ,спасибо
Какой лучше? Аккумулятор аккумулятор 190 Поставить МТЗ 82 2 шт 1 шт аккумулятор 60
Какой термостат лучше поставить на мтз82.1?
- Автор: Олег Винокуров(админ)
- 06 февраля 2021
- 9 комментариев
Ребята. подскажите какой термостат лучше поставить на мтз82.
1?
Какой лучше? Какой Поставить Термостат МТЗ МТЗ 82.1
Какой поставить АКБ на мтз 80?
- Автор: Олег Винокуров(админ)
- 30 июля 2020
- 19 комментариев
Привет всем.Подскажите какой поставить АКБ на мтз 80? Спасибо
Какой Какой лучше? АКБ МТЗ 80 МТЗ Поставить
Где с завода ставится акб на мтз 50?
- Автор: Сергей Лиханов
- 15 апреля 20:43
- 14 комментариев
Доброго дня друзья. Знает кто, где с завода ставится акб на мтз 50?
Поставить Завод АКБ МТЗ 50 Где ставить
Какой АКБ лучше поставить на Т 40 АМ?
- Автор: Василий Воскресенский
- 06 декабря 2022
- 15 комментариев
Здравствуйте. Какой АКБ лучше поставить на Т 40 АМ?
Какой АКБ Лучше Поставить Т-40 АМ
Если на трактор т25 поставить безредукторный стартер ,какой аккумулятор лучше выбрать?
- Автор: Антон Ахматов
- 04 апреля 2022
- 8 комментариев
Всем привет! Вопрос такой ,если на трактор т25 поставить безредукторный стартер ,какой акум-р лучше выбрать, если к примеру мне надо будет завести его в -20?
Т-25 Аккумулятор выбрать безредукторный стартер Поставить
Мтз 82.
1 Перебираем коробку. Включается только 2 и задняя. Можно ли поставить коробку от Т-70?
- Автор: Михаил Кочуков
- 23 ноября 2021
- 15 комментариев
Добрый вечер. Собираемся на днях перебирать коробку передач (включаются только 2 и задняя II) и промежутку(вылетает повышенная) на МТЗ-82.1 2012 года выпуска. Есть у одного из моих коллег мысль поставить коробку от Т-70, полагая что у них одинаковая коробка, только 9 заблокирована. Я глянул схему переключения — она перевернутая. У меня возникли сомнения по поводу взаимозаменяемости этих коробок(я знаю, что Т-70 делался на базе МТЗ-80). Кто с этим сталкивался, подскажите, стоит ли идти на подобный риск и что ещё необходимо сделать в случае установки данной коробки на МТЗ-82.1.
МТЗ 82.1 перебираем Коробка включается вторая скорость Вторая Задняя Т-70 Можно ли Поставить
Какой подогрев двигателя лучше поставить на мтз 82?
- Автор: Михаил Лопарёв
- 18 ноября 2021
- 13 комментариев
Мужики , какой подогрев двигателя поставить на мтз 82?
Какой лучше? Какой подогрев Подогреватель двигателя Поставить МТЗ 82
Какой аккумулятор лучше покупать 90 амперный или 100 ампер на мтз 82?
- Автор: Рамиль Юсупов
- 11 августа 2021
- 31 комментарий
Всем доброго дня.
Кто нибудь покупал такой акб? Цена 5 тысяч 90 ампер Нужен совет покупать 90 амперный или 100 на мтз 82?
Аккумулятор аккумулятор 100 аккумулятор 90 Ампер МТЗ 82 Купить Какой Какой лучше?
Какой дозатор ставить на мтз 82?
- Автор: Айнур Мубараков
- 01 июня 2021
- 5 комментариев
Всем доброго вечера. Подскажите, пожалуйста, какой дозатор ставить на мтз 82?
Какой Какой лучше? Поставить Дозатор МТЗ 82
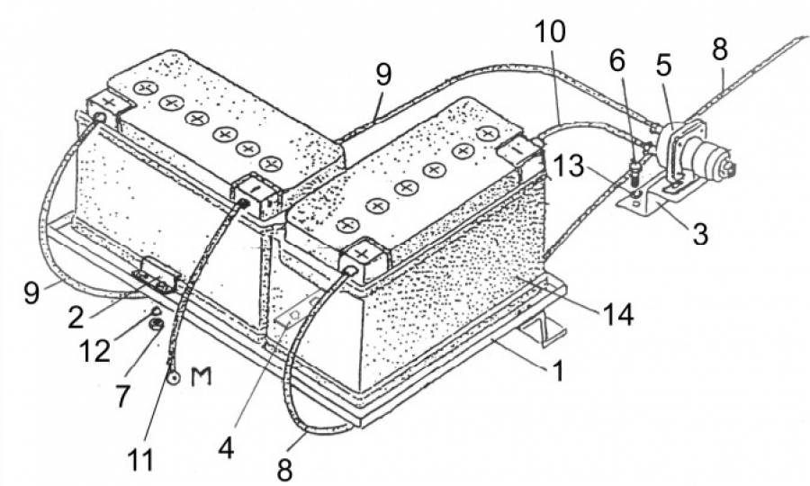
На МТЗ- 82.1 стоят 2 аккумулятора по 6 вольт и 215 ампер, на холодную еле- еле заводится, и на горячую тяжело крутит. — ЗАВОД РУ
- Автор: Данил Парамонов
- 18 января 2020
- Добавить в закладки
Здравствуйте, такой вопрос на мтз 82.1 стоят 2 аккумулятора по 6 вольт и 215 ампер, на холодную ели ели заводится, и на горячую тяжело крутит, стартер редукторный, может другие поставить?? Как быть вот?)
МТЗ МТЗ 82 МТЗ 80.1 МТЗ 82.1 Стартер Стартер редукторный
Поделиться
Одновременный отказ гидравлики и вала отбора мощности ( ВОМ) на МТЗ- 82.

- Автор: Рафис Татарин
- 23 февраля 2020
- 44 комментария
Всем привет. Из-за чего может одновременно отказать гидравлика и ВОМ на МТЗ 82?
МТЗ МТЗ 82 МТЗ 80.1 МТЗ 82.1 Гидравлика ВОМ
Почему на мтз 82 стартер не крутит, а втягивающая щелкает? Поменял реле стартера, замок зажигания и в завершении стартер. Проблема осталась.
- Автор: Дмитрий Резенчук
- 14 июня 2021
- 31 комментарий
Коллеги, подскажите, пожалуйста, такая проблема: на мтз 82 стартер не крутит, втягивающая щелкае,т а стартер не работает. Поменял реле стартера, замок зажигания и в завершении и сам стартер все равно не крутит. Может у кого то была такая проблема и как её решить? Заранее спасибо.
Почему МТЗ МТЗ 82 Щелкает Стартер Не крутит Втягивающий поменяли Реле замок зажигания Проблема осталась
Почему после замены на новый стартер на мтз 82, ключ поворачиваешь, он только щёлкает и не заводится?
- Автор: Иван Пушкаренко
- 03 марта 2021
- 17 комментариев
Добрый день Вопрос такой, поменял новый стартер на мтз 82.
и теперь ключ поворачиваешь, ну он только щёлкает и не заводится, как будто не входит в зацепление.
Почему После Замена Стартер Новый МТЗ МТЗ 82 Щелкает Не заводится Ключ поворачивать
Почему, когда воздух закрываю, стартер крутит, только начинаю воздух отрывать и стартер тухнет? Стартер новый, акум 190 тоже новый, трактор мтз 82.1, капиталку делал в том году, давление на горячую 3.
- Автор: Вадим Кутлубаев
- 25 февраля 2021
- 22 комментария
Мужики, такая проблема воздух закрываю, стартер крутит. Только начинаю воздух отрывать и стартер тухнет. В чем проблема не могу понять? Стартер новый, акум 190 тоже новый, трактор мтз 82.1, капиталку делал в том году, давление на горячую 3.
Почему Воздух Закрываешь Стартер Крутит Открываешь тухнут Новый аккум аккумулятор 190 МТЗ МТЗ 82.1 Капитальный ремонт Делал Давление На горячую 3
Почему мтз82.1 на теплый двигатель плохо заводится, а на холодный хорошо крутит и запускает? В чём может быть причина?
- Автор: Ильгар Тузмухаметов
- 05 февраля 2021
- 30 комментариев
Привет, ребята, подскажите пожалуйста, мтз82.
1 на теплый двигатель плохо заводится, а на холодный хорошо крутит и запускается В чём может быть причина?
Почему МТЗ МТЗ 82 МТЗ 82.1 На горячую Плохо Заводится Холодный Крутит Хорошо запускается В чем причина? теплый Двигатель
Не смог завести МТЗ 82.1, на стартер не даёт, так не крутит. В чем причина?
- Автор: Григорий Гурьянов
- 18 ноября 2020
- 10 комментариев
Здравствуйте, ребята. Сегодня в пять утра не смог завести МТЗ 82.1 на стартер не даёт так не крутит в чем причина может быть?
завести не смог Не заводится МТЗ 82.1 МТЗ Стартер Не крутит Двигатель В чем причина?
Почему на тракторе мтз 82 на холодную все хорошо, нагревается пропадает тяга , вплоть до того что сам глохнет и не проворачивается стартером?
- Автор: Игорь Давыдовский
- 13 сентября 2020
- 11 комментариев
Здравствуйте, такая проблема может кто подскажет, трактор мтз 82 на холодную все хорошо, нагревается пропадает тяга , вплоть до того что сам глохнет и не проворачивается мотор стартером , но температура в норме, ож циркулирует , радиатор не забит , постоит пол часа опять работает , температура головки как заглох 70 градусов по лазерному термометру , плохо заводится как на горячую так и на холодную , примерно с 10 оборота коленвала, трактор работает в лесу на Трелевке , трактор старый 86 года выпуска, спасибо
МТЗ МТЗ 82 Тяга Падает тяга пропадает На холодную На горячую Глохнет Не проворачивается Стартер
Как накрутить мтз 82.
1 примерно на километра 2-3? На данный момент полный газ 1700 оборотов в минуту.
- Автор: Колян Матвеев
- 25 июня 2020
- 16 комментариев
Ребята привет. Как накрутить мтз 82.1 примерно на километра 2-3? На данный момент полный газ 1700 оборотов в минуту.Спасибо за ответы.
МТЗ МТЗ 82 МТЗ 82.1 Накрутка Накрутить Газ Обороты
Почему на МТЗ беларус 82.1не работает тахометр и спидометр?, Завожу перимыканием стартера, предохранители все в порядке.
- Автор: Валера Волков
- 08 мая 2020
- 9 комментариев
Привет. Ребята подскажите пожалуйста почему на МТЗ беларус 82.1не работает тахометр и спидометр, и я его завожу перимыканием стартера придохранители все в порядке. Что такое может быть?
Почему Не работает Спидометр Тахометр МТЗ МТЗ 82 Беларус Беларус 82 Перемыкание Стартер Предохранитель Норма
Какую лучше выбрать универсальную навеcку на мтз 82.1 ?
- Автор: Олег Винокуров(админ)
- 16 апреля 2020
- 5 комментариев
Здравствуйте, подскажите, пожалуйста, в выборе универсальной навеcки на мтз 82.
1 Спасибо.
Навеска МТЗ 82 МТЗ 82.1 МТЗ Выбор
Аккумуляторное сырье — откуда и куда?
Электрические автомобили составляют растущую долю рынка, а это означает, что необходимо будет производить большее количество аккумуляторов, а это, в свою очередь, приведет к увеличению спроса на сырье. В частности, на этапе наращивания электромобильности время от времени могут возникать узкие места в подаче электроэнергии. На более позднем этапе концепции переработки использованных аккумуляторных элементов могут снизить нагрузку на цепочки поставок.
Мировой парк электромобилей вырос до 10,9млн автомобилей в 2020 году [1], что на три миллиона больше, чем годом ранее. С более чем пятью миллионами электромобилей на дорогах Китай по-прежнему является бесспорным лидером, за ним следуют США. с 1,77 млн. Германия вышла на третье место с почти 570 000 электромобилей [1]. В 2020 году количество вновь зарегистрированных электромобилей достигло рекордной отметки в 3,18 млн единиц. Начиная с 2030 г.
они могут составлять от 25 до 75 % новых регистраций. Это приведет к потребности в мощности батарей от 1 до 6 ТВтч в год, в зависимости от того, какое исследование читается [2].
По мере распространения электромобилей спрос на специальное сырье для автомобилей и, в частности, на аккумуляторы будет продолжать расти. Все прогнозы показывают, что литий-ионные батареи станут стандартным решением для электромобилей в течение следующих десяти лет, поэтому основными необходимыми веществами будут графит, кобальт, литий, марганец и никель. Согласно оценкам Фраунгоферовского института системных и инновационных исследований (ISI), несмотря на развитие клеточной химии, весовая доля лития в каждой клетке, составляющая около 72 г/кг, вряд ли заметно сократится в течение этого периода. Однако доля кобальта может значительно снизиться с 200 г/кг массы клетки до примерно 60 г/кг. Таким образом, потребность в первичном сырье для производства автомобильных аккумуляторов к 2030 г. должна составить от 250 до 450 тыс.
т лития, от 250 до 420 тыс. т кобальта и от 1,3 до 2,4 млн т никеля [2].
Оценка запасов сырья
При оценке запасов сырья необходимо принимать во внимание две разные цифры: с одной стороны, общедоступные ресурсы на планете, а с другой стороны, запасы, которые могут быть добывается рентабельно с использованием современных технологий по текущим рыночным ценам. На этом этапе можно дать полную ясность для литий-ионных автомобильных аккумуляторов. Ученые подтвердили наличие достаточного количества сырья. В большинстве случаев общие запасы значительно превысят прогнозируемый спрос, даже если количество необходимого сырья будет увеличиваться параллельно в результате увеличения спроса в других областях.
Тем не менее, несколько исследований показывают, что временная нехватка или повышение цен на отдельные виды сырья, безусловно, возможны, например, если необходимо открыть новые производственные площадки, если спрос слишком велик или если есть проблемы с экспортом из стран-производителей [2 ].
Ситуация значительно варьируется в зависимости от различных металлов, как показывает углубленный анализ и оценка Немецкого агентства по минеральным ресурсам (Dera) [3], которые более подробно описаны ниже для пяти химических элементов.
Графит
Графит используется в качестве анодного материала в литий-ионных батареях. Он имеет самую высокую объемную долю всего сырья для аккумуляторов, а также представляет собой значительный процент затрат на производство элементов. Китай уже несколько лет играет доминирующую роль почти во всей цепочке поставок и производит почти 50 % мирового синтетического графита и 70 % чешуйчатого графита, который требует предварительной обработки перед использованием в батареях. За последние несколько лет наблюдается увеличение разведочных работ, особенно в Африке. Новые участки добычи в Мозамбике, Танзании и Мадагаскаре могут снизить давление на высококонцентрированный мировой рынок. Однако риски, связанные с переработкой чешуйчатого графита, также создают проблему для безопасности поставок, поскольку она почти полностью осуществляется в Китае вместе с производством анодов.
В настоящее время ведутся исследования новых анодных материалов [4], которые, если бы они использовались в батареях массового производства, могли бы повлиять на будущий спрос на графит.
© [M] Dera
Требования к литию для производства аккумуляторов для электромобилей в Европе в 2030 году в зависимости от производственных мощностей (NMC 811: 80 % никеля, 10 % марганца, 10 % кобальта; NMC 622: 60 % никеля, 20 % марганца, 20 % кобальта)
Кобальт
Подобно никелю и марганцу, кобальт требуется для катодов батарей. В настоящее время он представляет наибольшие риски при закупке всего сырья для аккумуляторов. Это связано, в частности, с ожидаемым динамичным ростом спроса и вытекающими из этого потенциальными узкими местами в поставках. «Исходя из текущих сценариев, спрос на кобальт для электромобилей может возрасти к 2030 году до 315 000 тонн, что в 20 раз превышает нынешний объем», — говорит Сийаменд Аль Барази из Дера. Продолжающаяся разработка катодов с низким содержанием кобальта или даже без кобальта может привести к значительному снижению общего спроса.
Роль Демократической Республики Конго, которая на сегодняшний день является крупнейшим производителем, представляет серьезные риски для стратегического планирования. «Добыча кобальта доминирует на мировом рынке уже более десяти лет, с текущей долей рынка 69%, и страна могла бы значительно увеличить производство, если спрос продолжит расти», — объясняет Аль Барази. данные в странах представляют собой годовое производство)
Литий
Поскольку рынок лития относительно невелик, ожидаемое увеличение спроса особенно велико по сравнению с текущими уровнями производства. «Наши расчеты показывают, что предложение должно утроиться к 2026 году. просто для покрытия будущего спроса», — говорит Майкл Шмидт из Dera. Добыча лития в настоящее время ограничена Австралией, Чили и Аргентиной и несколькими компаниями, при этом всего четыре предприятия контролируют почти 60 % мирового производства. Однако бум лития Последние годы показали, что на рынке лития происходят серьезные изменения: наряду с расширением существующих мощностей планируются и реализуются масштабные проекты в других странах, таких как Канада, Мексика и Боливия.
Европа также имеет значительный потенциал. Узкие места в поставках лития в настоящее время маловероятны, но эксперты указали, что концентрация всего на нескольких странах-производителях останется неизменной. «Кроме того, азиатские производители батарей, в частности, получили большие квоты, заключив долгосрочные контракты на поставку и приобретя доли в компаниях. Это значительно сократило количество свободного лития на мировом рынке», — говорит Шмидт.
Марганец
Применение аккумуляторов составляет лишь небольшую часть рынка марганца. Основным потребителем марганца является сталелитейная промышленность, которая потребляет около 90 % мировых поставок. В настоящее время только около 0,2 % добываемого в мире марганца используется в литий-ионных батареях. В будущем эта цифра увеличится примерно до 1%.
© [M] Agora Verkehrswende
Производство лития в мире в 2015 г., плюс запасы (цвет стран указывает на запасы; данные по странам представляют собой годовое производство)
Никель
Мировой спрос на никель для производства литий-ионных аккумуляторов в 2019 г.
составил более 150 тыс. т [3]. Это составляет менее 5 % объема мирового рынка первичного никеля. К 2025 году спрос со стороны сектора электромобилей может увеличиться примерно до 500 000 т в год, что будет эквивалентно 15 % всего мирового рынка. Для повышения плотности энергии литий-ионных аккумуляторов в элементах используется гораздо большая доля никеля. Это означает, что спрос будет расти непропорционально увеличению производства аккумуляторов. Сульфат никеля необходим для литий-ионных аккумуляторов, которые являются нишевым продуктом, производимым из никеля класса I (более 9чистота 9 %). Чтобы удовлетворить растущий спрос в будущем, необходимо разработать новые методы производства сульфата никеля. Рынок сильно зависит от поставок первичного никеля из Юго-Восточной Азии и, в частности, из Индонезии, которая на сегодняшний день является крупнейшей страной по добыче никеля. В 2020 году Индонезия ввела запрет на экспорт никелевой руды, чтобы гарантировать, что значительная часть производственно-сбытовой цепочки останется в стране.
В настоящее время он является вторым по величине производителем никеля в мире после Китая, но только никеля класса II (менее 9чистота 9 %). В Индонезии реализуется множество проектов, направленных на производство более качественной никелевой продукции для производства аккумуляторов.
Переработка литий-ионных аккумуляторов
Для снижения мировой зависимости от стран-производителей сырья, упомянутых выше, в будущем все более важным будет создание комплексной структуры переработки. Процессы извлечения сырья из небольших литий-ионных аккумуляторов, таких как те, что используются в сотовых телефонах, частично уже внедряются. Однако автомобильные аккумуляторы намного больше, тяжелее и мощнее, что усложняет индустриализацию процесса переработки. Федеральное министерство экономики и энергетики Германии (BMWi) вместе с Vinnova, шведским агентством по инновациям, финансирует исследовательский проект Libero в RWTH Aachen University в рамках Центральной инновационной программы для МСП (ZIM).
Немецко-шведский консорциум, состоящий из двух партнеров из промышленности и двух из исследовательского мира в каждой стране, работает над разработкой надежного, гибкого и практически безотходного процесса переработки аккумуляторов. Цель проекта, который начался в 2019 году, заключается в планировании завода мощностью переработки 25 000 т аккумуляторной массы в год [5]. Финская компания Fortum, наполовину принадлежащая государству, уже разработала процесс утилизации литий-ионных аккумуляторов от электромобилей [6].
Компания Umicore является одним из пионеров в области коммерческой переработки батарей. Процесс, разработанный компанией, состоит из пирометаллургической и гидрометаллургической фаз. На начальной стадии термической обработки получается сплав, содержащий кобальт, никель и медь, а также фракцию шлака. Металлы извлекаются на последующей гидрометаллургической стадии процесса. Первый завод по переработке Umicore имеет мощность 7000 т аккумуляторной массы в год, что соответствует примерно 35 000 аккумуляторов для электромобилей.
В начале 2021 года Volkswagen запустил пилотный завод по переработке высоковольтных автомобильных аккумуляторов на своей площадке в немецком городе Зальцгиттер. Завод будет извлекать 100 % лития, никеля, марганца и кобальта, а также 90 % алюминия, меди и пластика [7]. В настоящее время завод рассчитан на переработку до 3600 аккумуляторных систем в год, что эквивалентно примерно 1500 т массы аккумуляторов. Тем не менее, система может быть расширена для обработки больших объемов, когда станет доступно больше использованных батарей. По словам Volkswagen, процесс переработки не включает плавку в доменной печи, которая требует большого количества энергии. Отработавшие аккумуляторные системы, доставленные на завод, подвергаются глубокой разрядке и разбираются. Отдельные части измельчаются с образованием гранулята, который затем высушивается. В ходе этого процесса производятся алюминий, медь и пластмассы, а также, самое главное, черная порошкообразная смесь, содержащая основные сырьевые материалы для аккумуляторов: литий, никель, марганец, кобальт и графит.
Впоследствии партнеры-специалисты Volkswagen несут ответственность за разделение и обработку отдельных элементов с помощью гидрометаллургических процессов, в которых используются вода и химикаты.
Таблица 1 Массовая доля перерабатываемого материала в литий-ионном аккумуляторе (источник: Volkswagen)
Полноразмерная таблица
«Это позволяет использовать ключевые компоненты старых аккумуляторных элементов для производства новых катодов», — объясняет Марк. Мёллер, руководитель отдела технических разработок и электромобильности Volkswagen Group Components. «Поскольку спрос на батареи и, следовательно, на сырье значительно возрастет, мы сможем эффективно использовать каждый грамм материала, который мы восстанавливаем». Другие производители автомобилей, такие как Mercedes-Benz, думают так же. Как пояснила компания по запросу, она планирует построить завод по переработке высоковольтных аккумуляторов на своем заводе в Гаггенау в Германии.
Подход «Вторая жизнь»
Повторное использование старых автомобильных аккумуляторов в стационарных условиях может продлить срок их службы до того, как возникнет необходимость в их переработке.
В настоящее время нет практического опыта в отношении того, сколько батарей будет соответствовать требованиям для повторного использования с точки зрения их остаточной емкости и срока службы. В общем, концепция второй жизни подходит только для приложений, в которых можно использовать старые батареи с низкой плотностью энергии. Кроме того, необходимо решить такие вопросы, как стандартизация и гарантии [8].
Согласно Fraunhofer ISI, можно ожидать более высоких показателей отказов и замены, чем в случае с новыми батареями, что означает, что высокий уровень надежности, требуемый, например, от децентрализованных систем хранения батарей для жилых зданий, не может быть гарантирован. Из-за необходимых уровней резервирования количество необходимых элементов и, следовательно, стоимость батарей будут выше. Предположение Фраунгоферовского ISI состоит в том, что лишь часть старых тяговых батарей может получить вторую жизнь [2].
Ссылки
- [1]
Elektroautos: Bestand steigt weltweit auf 10,9 Millionen.
Онлайн: https://www.zsw-bw.de/presse/aktuelles/detailansicht/news/detail/News/elektroautos-bestand-steigt-weltweit-auf-109-millionen.html, доступ: 27 апреля 2021 г. - [2]
Thielmann, A. et al.: Batterien für Elektroautos: Faktencheck und Handlungsbedarf. Онлайн: https://www.isi.fraunhofer.de/content/dam/isi/dokumente/cct/2020/Faktencheck-Batterien-fuer-E-Autos.pdf, доступ: 27 апреля 2021 г.
- [3]
Al Barazi, S. et al.: Batterierohstoffe für die Elektromobilität. Онлайн: https://www.deutsche-rohstoffagentur.de/DERA/DE/Downloads/DERA%20 Themenheft-01-21.pdf;jsessionid=396E609556CA74734128C336131440D7.1_cid331?__blob=publicationFile&v=2, доступ: 27 апреля 2021 г. 90 003
- [4]
Schäfer, P.
: Neues Anodenmaterial für leistungsfähigere Li-Ion-Batterien. Онлайн: https://www.springerprofessional.de/batterie/werkstoffe/neues-anodenmaterial-fuer-leistungsfaehigere-li-ion-batterien/18497460, доступ: 18 мая 2021 г. - [5]
RWTH Aachen: Завод RWTH Pilotanlage für das Recycling von 25.000 Tonnen Batterien. Онлайн: https://www.rwth-aachen.de/go/id/dzeoz?#aaaaaaaaaadzewc, доступ: 27 апреля 2021 г.
- [6]
Reichenbach, M.: Finnland startet mit nationaler Batteriestrategie durch. Онлайн https://www.springerprofessional.de/link/19155626, доступ: 18 мая 2021 г.
- [7]
Volkswagen: Aus alt mach neu: Volkswagen Group Components startet Batterie-Recycling.
Онлайн: https://www.volkswagen-newsroom.com/de/pressemitteilungen/aus-alt-mach-neu-volkswagen-group-components-startet-batterie-recycling-6789, доступ: 27 апреля 2021 г. - [8]
Köllner, C.: Faktencheck Elektroauto-Batterien. Онлайн: https://www.springerprofessional.de/batterie/elektrofahrzeuge/faktencheck-elektroauto-batterien/ 17624376, доступ: 18 мая 2021 г.
2 вопроса к …
Каковы особенности вашей концепции утилизации литий-ионных аккумуляторов от электромобилей?
Holländer _ Традиционным способом переработки литий-ионных аккумуляторов является термический метод. Fortum использует сочетание механической и гидрометаллургической переработки, что значительно снижает выбросы CO 2 . С помощью этой технологии способность разделять различные металлы также намного лучше, и извлекается гораздо большая часть активных материалов батареи; Другими словами, мы можем восстановить до 95 % дефицитных и ценных металлов в черной массе батареи.
В начале этого года мы запатентовали собственный метод выделения лития.
© Fortum
Теро Холландер Руководитель направления Аккумуляторы в Fortum
Когда, по вашему мнению, процесс будет индустриализирован, когда будет достаточно батарей для экономичной эксплуатации завода?
Holländer _ Мы уже работаем в промышленных масштабах, и наша текущая мощность переработки составляет около 3000 т в год, что эквивалентно примерно 10 000 аккумуляторов для электромобилей. Наш завод по механической переработке в Икаалинене в настоящее время находится на стадии ввода в эксплуатацию, и у нас есть опытный промышленный завод по гидрометаллургической переработке в Харьявалте. Нашей целью является строительство крупного гидрометаллургического завода в Харьявалте, который позволит нам в будущем перерабатывать большее количество материалов.
Мнение
«Как всегда, вся цепочка поставок сырья для литий-ионных аккумуляторов настолько прочна, насколько прочно ее самое слабое звено.
Онлайн: https://www.zsw-bw.de/presse/aktuelles/detailansicht/news/detail/News/elektroautos-bestand-steigt-weltweit-auf-109-millionen.html, доступ: 27 апреля 2021 г.
Онлайн: https://www.volkswagen-newsroom.com/de/pressemitteilungen/aus-alt-mach-neu-volkswagen-group-components-startet-batterie-recycling-6789, доступ: 27 апреля 2021 г.
Этот период именуется железным веком, сменившим бронзовый век.

Вот некоторые примеры:
Гетерогенная нуклеация — это название, данное этому явлению. Когда весь металл сформируется, кристаллы (также известные как зерна) перестанут расти. Они начнут сталкиваться по мере расширения, тем самым создавая границы между кристаллами, где атомы расположены хаотично. Эта граница, известная как граница зерен, в основном является дефектом кристаллической структуры металла.
Количество атомов в элементарной ячейке включает только процент атомов, содержащихся в ячейке. Атомы в углах элементарной ячейки считаются за 18 атомов, атомы на грани считаются за 12, а атом в центре считается за полный атом. Давайте воспользуемся этим, чтобы выяснить, сколько атомов находится в простой кубической элементарной ячейке, гранецентрированной кубической (ГЦК) элементарной ячейке и объемно-центрированной кубической (ОЦК) элементарной ячейке.
Остальная площадь пуста. Только один элемент кристаллизуется в простой кубической форме, полоний, из-за неэффективности этой структуры.
Ряд ранних переходных металлов, включая Ti, V, Cr, Mo, W и Fe, упаковываются в объемно-центрированную кубическую форму, как и все металлы группы IA (Li, Na, K и т. д.). ), более тяжелые металлы группы IIA (Ca, Sr и Ba) и металлы группы IIA.
Когда эти газы охлаждаются до температуры, достаточной для затвердевания, все они затвердевают, за исключением гелия.
В гексагональной плотнейшей упаковке занято 74% доступного пространства, поэтому координационное число равно 12. Гексагональная плотнейшая упаковка имеет решающее значение для низкотемпературных материалов, таких как Be, Co, Mg и Zn, а также для редкий газ He, потому что не известно более эффективного способа упаковки сфер. Следовательно, плотность упаковки ГПУ составляет 74%, как и в ГЦК-структуре.
Кроме того, будущие внешние раздражители влияют на структурные свойства. Эти факторы включают:
Другое название координационного числа атома — «лигантность».
.
Расположение и расположение атомов настолько малы, что их невозможно увидеть даже в самые мощные в мире микроскопы, однако именно это расположение отвечает за большинство свойств его материала. Прочность является основным свойством материала, на которое влияет теплота сварки, но есть и другие свойства, о которых говорилось в предыдущих статьях.
Атомы находятся в постоянной вибрации из-за ряда факторов, одним из которых является количество доступного тепла, а другими факторами, такими как механические силы. Электроны, вращающиеся вокруг центра атомов, никогда не останавливаются.
В зависимости от того, как атомы решили переместиться, большое влияние оказывает изменение механических свойств, которое мы наблюдаем после охлаждения сварного шва. Именно эта повторная сборка атомов в их упорядоченную кристаллическую структуру также приводит к деформации и старению.
Ведущая часть сцепления состоит из сердечника, электромагнита с обмоткой возбуждения 3, расположенной на маховике двигателя; ведомой частью сцепления является якорь, установленный на шлицах первичного вала 6 коробки передач. Между ведущей и ведомой частями сцепления существует радиальный зазор (А — = 0,6-0,8 мм). Пространство зазора заполнено ферронаполнителем. Ток к обмотке возбуждения подводится с помощью щеток и колец.
При выключении тока порошок возвращается в первоначальное положение, и сцепление отключается. Жидкостные порошковые сцепления заполнены жидкой ферромагнитной смесью, состоящей из масла и мелкого железного порошка с размером частиц 5—10 мкм. Ведущий или ведомый элементы имеют обмотки возбуждения, питаемые от аккумуляторной батареи. При подаче тока в обмотку возбуждения под воздействием образовавшегося магнитного поля увеличивается вязкость ферромагнитной смеси, за счет чего передается крутящий момент от ведущего элемента к ведомому.
Он обеспечивает более плавное включение сцепления из-за перетекания жидкости в приводе, а подбором диаметра поршня главного и рабочего цилиндров добиваются минимальных усилий, прикладываемых водителем к педали для выключения сцепления, что облегчает его труд.
Пружина 2 оттягивает педаль 1, а с ней и толкатель в исходное положение, при котором поршень 4 не воздействует на жидкость, а между ним и толкателем имеется зазор 0,8-0,9 мм, обеспечивающий свободный ход педали в пределах 12-28 мм. Полный ход педали составляет 145-160 мм. Цилиндр 7 с резервуаром 9 сообщается двумя отверстиями: меньшим – компенсационным 10 и большим – перепускным 8.
Поршень, передвигаясь, перекрывает компенсационное отверстие, давит на жидкость, вытесняя ее по трубопроводу в рабочий цилиндр, где она воздействует на его поршень, передвигая по цилиндру, а он передает давление на толкатель и вилку выключения, которая, поворачиваясь на шаровой опоре, вторым своим концом перемешает муфту выключения с упорным шарикоподшипником в сторону рычажков и воздействует на них. Рычажки 18 (рис.125), поворачиваясь относительно своих вилок, отводят нажимной диск 22 от ведомого 23, трение между ними прекращается и ведомый диск вместе с валом коробки передач останавливается. Сцепление выключено.
Такое сцепление простое в устройстве, однако усилия, создаваемого диафрагменной пружиной, недостаточно, чтобы без проскальзывания (пробуксовывания) передавать большой крутящий момент в грузовых и некоторых легковых автомобилях.
На передний ведомый диск воздействует нажимной диск 4, на тыльной стороне которого через термоизоляционные шайбы установлено 12 нажимных рабочих пружин 11. Пружины своими вторыми концами упираются в кожух 12, который болтами жестко крепится к маховику, создавая предварительное сжатие, рабочих пружин. Кроме того, на проушинах приливов нажимного диска монтируется четыре рычажка 5 выключения сцепления, вторые концы которых находятся строго в одной плоскости.

Контроллер и коллектор были разработаны с учетом самых тесных моторных отсеков.






Для того, чтобы смазка не вытекала и подшипники не засорялись, применяется уплотнительный элемент, а на торце оси предусмотрен защитный козырек.
В этой связи единственно верным решением является приобретение родной запчасти взамен старой или изношенной.
Но всё же это было придумано явно не просто так, верно?
Аналогично работает и увеличение внешнего диаметра шины. Этого можно достичь либо увеличением диаметра колеса, либо увеличением высоты покрышки. Это еще одно объяснение, почему колеса на многих тракторах такие большие.


Садовые тракторы.





Тракторы Kubota BX и многое другое. Нажмите кнопку «Подробнее». 13 Внешний диаметр: 11 ½» 













ТЮФЯКОВУ.




Важнейший параметр золотника — высота среза его .передней части, определяющая характер зависимости разрежения у распылителя от подъема дросселя. Как правило, оптимальная высота среза для разных карбюраторов составляет около 1/3 диаметра отверстия главного воздушного тракта.

По причине незначительного количества воздуха, проходящего через карбюратор, практически у распылителя нет разрежения и топливо из него не истекает. В то же время выходное отверстие 4 системы холостого хода за задней кромкой дроссельного золотника находится в зоне высокого разрежения, вызывающего подсасывание топлива через систему холостого хода.
Однако состав смеси не обедняется, так как подача необходимого количества топлива обеспечивается через увеличенное сечение распылителя, образуемое вокруг тонкой части поднятой вместе с дросселем дозирующей иглы. При полностью поднятом дросселе дозирующая игла уже не закрывает отверстие в распылителе, и смесь обогащается, обеспечивая достижение двигателем максимальной мощности.
е. распыление, смешивание и испарение 
д.
Кроме того, карбюратор также используется для регулирования оборотов двигателя и создания вакуума во впускном коллекторе.
По этому каналу бензин из бака попадает в зону карбюратора.
Поплавковая камера 
Эти сферические клапаны обычно закрывают воздуховоды внутри воздухозаборника. При нажатии на педаль газа положение клапана будет более наклонным, чтобы воздух мог проходить более плавно. Отсюда можно сделать вывод, что функция дроссельной заслонки заключается в регулировании скорости поступающего в двигатель воздуха.
Обеспечивает подвод масла к
ОСОБЕННОСТИ КОНСТРУКЦИИ
Системы охлаждения
При увеличении
Для повышения
С начала этого десятилетия мир оказался на пороге новой эры частного транспорта с появлением электромобилей нового поколения. Хотя первым дорожным транспортным средством, разогнавшимся до 100 км/ч в 189 г.9 был электромобиль под названием «la jamais contente», тепловые автомобили преобладали в следующем столетии. Несколько лет назад электрические технологии все еще были ограничены прототипами концепт-каров, общественным транспортом и несколькими транспортными средствами с ограниченным радиусом действия. Действительно, это предыдущее поколение электромобилей страдало от относительно низкого диапазона автономности по сравнению с обычными тепловыми транспортными средствами. Тем не менее, недавние усовершенствования литиевых батарей изменили правила игры и продвигают электромобили как альтернативу тепловым транспортным средствам для повседневного использования.
Действительно, электродвигатели должны быть не только мощными, эффективными, легкими, бесшумными, надежными и доступными по цене, но и обеспечивать высокий крутящий момент в широком диапазоне скоростей для обеспечения комфортного вождения. Любой, кто считает, что электродвигатель так же прост, как вал ротора, окруженный медными проводами, намотанными на сердечники статора, недооценивает степень физических явлений, происходящих в такой системе. Его конструкция требует большой панели из численных инструментов, способных охватывать механический, электромагнитный, акустический, тепловой и внутренний аэродинамический анализ. В такой системе сильны физические взаимосвязи, такие как связь между механическим резонансом, электромагнитными волнами и распространением воздушной акустики, а также связь между рассеиванием тепла, эффектом Джоуля и аэродинамическим потоком, индуцированным ротором. Эти мультифизические взаимосвязи усложняют изучение электронных двигателей.
Подход с прямым воздушным охлаждением недостаточно компактен для современных требований к электромобилям, и необходима технология на основе жидкости. Ротор, разогреваемый индуцированным током Фуко, недостаточно эффективно охлаждается устаревшими системами жидкостного охлаждения и его так называемой «водяной рубашкой» вокруг корпуса двигателя. Пересечь воздушный зазор, теплоизолирующий ротор от статора, куда проще, чем напрямую снабжать ротор охлаждающей жидкостью! Конечно, воду нельзя использовать в качестве теплоносителя, так как она проводит электричество. Тем не менее, масло было бы идеальным кандидатом, поскольку оно является непроводящим материалом, а также удовлетворяет потребности как в охлаждении, так и в смазке.
В то время как первая технология впрыска использует центробежный эффект для широкого распыления внутренних частей двигателя при любой скорости вращения, вторая позволяет более точно сфокусироваться на самых горячих частях. В настоящей статье основное внимание уделяется последней технологии: форсункам, прикрепленным к боковым крышкам электродвигателя.
Такое хаотичное поведение не позволяет инженерам по моделированию использовать геометрические симметрии для уменьшения проблем.
Обратите внимание, что величина скорости капель может достигать 150 м/с после удара ротора!

Топливо сгорает внутри камеры сгорания , и, следовательно, двигатель получил свое другое известное название «внутреннее сгорание» или «двигатель внутреннего сгорания» из этого процесса.
Типичное распределение энергии показано на диаграмме ниже.
. Если это тепло не рассеивается, разрушение материала неизбежно.
Чтобы эффективно отводить это тепло, на внешней стороне цилиндра и головке цилиндра отлиты ребра. Добавление этих ребер значительно увеличивает доступную площадь, открытую для воздуха, тем самым улучшая передачу тепла в окружающую атмосферу. Скорость теплопередачи еще больше увеличивается при движении на скорости из-за скорости окружающего воздуха, движущегося вокруг ребер или между ними. Это крайне необходимо, так как двигатель вырабатывает очень мало мощности на холостом ходу, потому что в это время он потребляет очень мало топлива. Это резко возрастает на гоночных скоростях и при широком открытии дроссельной заслонки, когда двигатель потребляет большое количество топлива и в результате сильно нагревается, и, следовательно, когда это происходит, требуется высокая скорость теплопередачи.
Кроме того, он требует намного меньше ухода и внимания, и он не подвергается риску повреждения от мороза (растрескивание водяных рубашек или радиатора), утечек воды из шлангов и т. д. При правильной конструкции двигатель с воздушным охлаждением также может выдерживать очень высокие нагрузки. температуры окружающей среды, такие как в пустыне, — не то чтобы это нас сильно беспокоило. Этот тип системы охлаждения используется на двигателях Comer C50, Kid-Rok и Mini-Rok.
Система принудительной циркуляции работает примерно по тому же принципу, но к ней добавляется центробежный насос. Насос приводится в действие через механическую связь с двигателем (Rotax) или задней осью (Rok OKJ и DVS) и, следовательно, значительно ускоряет поток жидкости в системе — например, водяной насос на двигателе Rotax 125 куб. обеспечивает скорость потока около 22 литров в минуту при работе двигателя на 11 000 об/мин.
Из-за большой площади поверхности, создаваемой ребрами, теплообмен с атмосферой значительно увеличивается, и это еще больше усиливается за счет движения карта вперед на скорости. Этот тип системы охлаждения используется во всех классах Rotax, а также в двигателях OKJ и DVS, используемых в серии Rok. Перед радиатором также установлена регулируемая заслонка (Rotax) или шторка (Rok), положение которой можно изменить, чтобы позволить большему или меньшему количеству воздуха проходить через радиатор, и это полезно для быстрого доведения двигателя до рабочей температуры.
Это увеличение нелинейно, а пропорционально квадрату частоты вращения двигателя.
Пограничный слой, как следует из названия, представляет собой тонкий слой масла между двумя поверхностями, но время от времени они все же соприкасаются. В полнопоточном режиме поверхности полностью разделены слоем масла – это может быть результатом достаточного давления масла, создаваемого насосом, или результатом образования «клина» масла из-за вращения. между двумя частями. Кроме того, вы, возможно, слышали или читали о воздушных подшипниках — это пример полнопоточной «смазки», когда воздух под высоким давлением используется для разделения плотно прилегающих деталей и часто используется в приложениях с чрезвычайно высокими скоростями, например. бормашина дантиста.
Смазочные материалы на минеральной основе получают из сырой нефти, встречающейся в природе и встречающейся в таких местах, как Северное море, США, ОАЭ и т. д.

В конце 1963 г. конструкторская документация была передана в завод «Уралсельмаш» в городе Кургане (переименован в Курганский завод колесных тягачей (КЗКТ) приказом Министра автомобильной и тракторной промышленности от 11.06.19 г.66), где производилось семейство МАЗ-535. В то время суммарный выпуск тракторов семейства МАЗ-537 в Минске и МАЗ-535 в Кургане достигал 350-400 штук в год.
По сравнению с предшественником привод компрессора, установленный на повышающей передаче, был изменен — на двухременный, что сделало его более простым и технологичным. Новый тягач не имел лебедки и коробки отбора мощности, что впоследствии устанавливалось на его модификации.
ЧМЗАП-5247Г представляет собой более совершенную форму более раннего прицепа ЧМЗАП-5247Б с углубленным проезжей частью и наклоном за грузовой площадкой и гуськом перед ней. Он чуть более чем на полметра длиннее своего предшественника и почти на три четверти метра шире. Он может нести больший вес и имеет складывающиеся погрузочные аппарели с электроприводом в задней части (у ЧМЗАП-5247Б были только съемные погрузочные аппарели).
Это не файтинг, а командообразующая ролевая игра в духе AFK Arena. Есть много Hadoukens и Sonic Booms, но на этом сходство с его легендарными братьями и сестрами заканчивается.
Кажется, что это должно быть важно, но на самом деле не так уж важно . Это больше о том, за кем вы будете следовать в сюжетных битах.


Все персонажи в Прорыве Предела были повышены до 76-го уровня , того же уровня, что и Боевая Хитрость.
Есть пять всего : три базовых Фракции Огонь , Ветер и Гром , затем Мастер и Адский .
0070, с боевым стилем «Военный бой» . Это означает, что она хороша против громовых команд, часто атакует первой и получает +25 к атаке.
Экран гильдии ранжирует группы по активности , при этом более высокий балл является более желательным в этом отношении.
Когда вы используете их из своей Сумки, вы получите многочасовое накопление бездействия.
..
..
Происходит это на основании другого физического закона, названного по имени ученого, сформулировавшего его – закона Паскаля. Закон Паскаля заключается в следующем: давление в жидкости или газе распространяется во все точки одинаково.
Причем, если в большом сосуде поршень сдвинулся на одно расстояние, то в малом сосуде это расстояние будет в несколько раз больше.
Позднее это устройство стали называть гидравлическим прессом. Схема действия прибора, теоретически изложенная Паскалем и воплощенная в прессе Брамы, нисколько не изменилась за прошедшие столетья.
8$ньютонов.



При помощи гидравлического пресса с отношением площадей нужно поднять груз массой 100 тонн. Определить число ходов малого поршня за время мин, если за 1 ход он опускается на расстояние 20 см. Мощность двигателя пресса кВт, КПД пресса %.
Лучше, если характеристики агрегата будут немного лучше, чем требуется. Плюс, необходимо обратить внимание на допустимый срок эксплуатации.

На малый поршень площадью $S_{мал}$ воздействует сила $F_{мал}$. Она создает некоторое давление $p_{мал}$.
Хранение энергии за счет сжатия азота в аккумуляторах гораздо более рентабельно, чем за счет массы/гравитации. Лично я бы просто использовал что-то с полки. Вот несколько популярных брендов:
Любое движение поршня внутри цилиндра будет передано на ползунок снаружи за счет магнитного притяжения, и ползунок можно легко соединить с элементом машины по вашему выбору.

Строение твердых растворов на основе одного из компонентов сплава таково, что в решетку основного металла — растворителя входят атомы растворенного вещества.
Некоторые смеси так тесно связаны, что некоторые их свойства сходны со свойствами химических соединений, и их легко спутать. Наиболее частым примером таких смесей являются сплавы.



В основном это тоже связано с разной микроструктурой. Железные материалы с содержанием углерода менее 2,06 % состоят из микроструктуры на основе эвтектоидов (перлит ) и выше 2,06 % из микроструктуры на основе эвтектики (ледебурит).
Таким образом, микроструктура метастабильной системы может состоять максимум из 100 % цементита. Поскольку содержание углерода в цементите (\(Fe_3C\)) равно 6,67 %, то на этой концентрации заканчивается диаграмма состояния метастабильного железо-углерод.
Обратите внимание, что переходы механических свойств на пределе 2,06 % всегда плавные!
Вместо осаждения цементита чугун подвергается осаждению графита во время затвердевания или охлаждения.
Поскольку растворимость постоянно уменьшается в соответствии с пределом растворимости (линия сольвуса) при дальнейшем охлаждении, кристаллы аустенита постоянно осаждают цементит.
Сразу после затвердевания микроструктура состоит из эвтектики и предварительно выделившихся первично кристаллов аустенита.
В качестве примера на рисунке показан дендрит, прорезанный микрофотографией в плоскости. Как обычно, эта перлитная микроструктура состоит из феррита и пластинчатого цементита. Между ветвями перлитных дендритов находится эвтектика, которая также подверглась \(\гамма\)-\(\альфа\)-превращению и поэтому окончательно присутствует в микроструктуре в виде лидебурита-II (темные крапчатые участки).
За счет попутного выпадения углерода из остаточного расплава содержание углерода в нем снижается. Как только в остаточном расплаве наконец достигается эвтектический состав 4,3% углерода при 1147 ° C, он затвердевает до эвтектического ледебурита-I.
Вот почему литье из пластинчатого графита используется, среди прочего, в качестве материала для компонентов, подвергающихся высоким вибрационным нагрузкам, таких как станины машин или судовые дизельные двигатели.
Осадок графита в сферической форме тогда называется чугуном с шаровидным графитом или чугуном с шаровидным графитом .
Графит осаждается в виде червя, при этом сферический графит также может образовываться в микроструктуре в определенной степени.


Метасалив..∴ Диаграмма Fe-C не является фазовой диаграммой, поскольку цементит не находится в равновесии. Разлагается на железо и графит
В этом случае электрическая линия с непрерывной медной полосой устанавливается в значительно более короткие сроки. Эта конструкция также гарантирует гораздо меньшие потери напряжения при эксплуатации, равно как и заметно меньший износ контактных башмаков. Внутри короба предусматривается использование направляющей во избежание неправильной вставки токосъемной каретки.
04024.90
04244.90
Закрепляется на опорном кронштейне для обеспечения ровного подсоединения наращиваемых секций.
Он вставляется в медную полосу, предварительно подготовленную к сборке.
14.00.0037

Система запатентована, соответствует стандартам CE, имеет сертификат LOVAG, ГОСТ Р – сертификат соответствия Российской Федерации. Контактная линия ATOLLO® отличается от прочих систем электропитания рядом своих преимуществ: • Высокий уровень безопасности: линия отвечает большинству самых строгих международных стандартов по безопасности, применимых к новейшим системам электропитания: гарантирована защита от удара током при случайном контакте. Более того, заземляющий провод маркирован соответствующим символом, напечатанным на корпусе короба; • Высокий уровень прочности: изоляционный короб и все компоненты компактны, прочны, жестки и устойчивы против коррозии; • Гибкость в применении: подходит как для прямых рельсов, так и для линий с изгибом. Идеальна для использования как внутри помещений, так и на открытом воздухе; • Быстрая и легкая установка: благодаря дизайну и разработке всех компонентов (соединительной муфты, изолирующей секции и секции контроля, поддерживающих кронштейнов и др.) обеспечивается быстрая и легкая установка, даже в сложных условиях; • Не требует обслуживания: благодаря тщательному анализу при разработке всех компонентов, необходимость обслуживания линии практически отсутствует; • Отсутствие проблем в размещении: для установки требуется минимальная площадь; • Предусмотренное число проводников: до 5.
ATOLLO 70÷200A 2 м макс. 3 Амперная нагрузка Непрерывная медная полоса (линия типа С) Предварительно вставленная медная полоса (линия типа Р) ATOLLO® 70-100-140 ампер см. стр. 5 см. стр. 5 ATOLLO® 200 ампер – – – см. стр. 5 MINI ATOLLO® 40-60 ампер см. стр. 19 см. стр. 19 НЕПРЕРЫВНАЯ МЕДНАЯ ПОЛОСА: короб и соответствующая медная полоса поставляются отдельно ПРЕДВАРИТЕЛЬНО ВСТАВЛЕННАЯ МЕДНАЯ ПОЛОСА: медная полоса предварительно вставлена в короб до отгрузки ТЕХНИЧЕСКИЕ ХАРАКТЕРИСТИКИ Расчет падения напряжения: При установке особо протяженных линий необходимо контролировать падение напряжения. Если этот параметр очень велик, требуется предусматривать большее число точек питания или, как альтернатива, лучше использовать линию с более высоким напряжением, чем предусматривалось изначально. Для расчета необходимо наличие некоторых данных, таких как мощность мотора / тип мотора, коэффициент загрузки и ток (инверторный, короткозамкнутый, асинхронный электродвигатель с контактными кольцами и т.
д.). При наличии таких данных приводимая ниже формула поможет определить падение напряжения в линии: Где: I: рабочий ток в начальной стадии l: длина линии (в случае запитки линии с ее конца она равна общей длине линии; с другой стороны, в случае промежуточной запитки этот показатель равен половине общей длины линии) R: сопротивление линии X: реактивное сопротивление линии Cos : предполагаемое значение коэффициента мощности (в среднем0.7-0.8) V: напряжение
ЛИНИЯ ТИПА С: ИЗОЛИРОВАННЫЙ КОРОБ С НЕПРЕРЫВНОЙ МЕДНОЙ ПОЛОСОЙ Длина (м) Количество медных полос Код 70 A 100 A 140 A 4 4 03.03244.91 03.03244.92 03.03244.93 5 03.03245.91 03.03245.92 03.03245.93 2 4 03.03224.91 03.03224.92 03.03224.93 5 03.03225.91 03.03225.92 03.03225.93 Линия типа C: непрерывная медная полоса – Линия типа P: предустановленная медная полоса ХАРАКТЕРИСТИКИ: 5 ЛИНИЯ ТИПА Р: ИЗОЛИРОВАННЫЙ КОРОБ С ПРЕДВАРИТЕЛЬНО УСТАНОВЛЕННОЙ МЕДНОЙ ПОЛОСОЙ Длина (м) Количество медных полос Код 70 A 100 A 140 A 200 A 4 4 03.03004.91 03.03004.92 03.03004.93 03.03004.94 5 03.03005.91 03.03005.92 03.03005.93 03.03005.94 2 4 03.03044.91 03.03044.92 03.03044.93 03.03044.94 5 03.03045.91 03.03045.92 03.03045.93 03.03045.94 80 60 ЛИНИЯ ТИПА Р: ПРЕДВАРИТЕЛЬНО УСТАНОВЛЕННАЯ МЕДНАЯ ПОЛОСА В данном типе линии медная полоса предварительно вставлена в короб на соответствующие места. С тем, чтобы обеспечить соединение между коробами, оконечные части медной полосы загнуты и готовы к скреплению с помощью соответствующих зажимов.
Внутри короба предусматривается использование направляющей во избежание неправильной вставки токосъемной каретки. ХАРАКТЕРИСТИКИ: 80 60
Не покрываются краской поверхности, которые контактируют с токосъемником.

Когда вам нужны специальные подъемники на короткое время во время напряженных рабочих периодов, это оборудование всегда готово. Благодаря специально защищенным поверхностям и отсутствию необходимости в электричестве или кабелях ручной подъем снижает риск возникновения искр при нормальных условиях эксплуатации. Это безопасное и надежное решение для опасных сред.
Наше качество конструкции, технический опыт и послепродажное обслуживание гарантируют, что ваше оборудование останется безопасным и полностью работоспособным в течение длительного и продуктивного жизненного цикла. Чтобы узнать больше, прочтите нашу брошюру, чтобы узнать о полном ассортименте, и свяжитесь с нами сегодня.
Воспользуйтесь нашим техническим опытом и услугами по техническому обслуживанию, чтобы свести к минимуму риск на рабочем месте, где бы вы ни находились. Мы глобальны, но локальны, обслуживая более 600 сервисных центров почти в 50 странах.
