Агп вышка: Чем автовышка отличается от автогидроподъемника, АГП ?

Чем автовышка отличается от автогидроподъемника (АГП)? 🚚 инструкция по эксплуатации автовышки


Один из самых популярных вопросов который встает при выборе специальной техники подъемного назначения — это разница между автовышкой и автогидроподъемником. Давайте разберемся, что к чему.


  


Автовышка — автомобильная вышка — специальный автомобиль, оборудованный устройством для подъема на высоту и перемещения грузов и людей в пространстве. Может использоваться для проведения всех видов высотных работ, при монтаже конструкций, линий передачи связи/электроэнергии, уходе за деревьями и зелеными насаждениями, а также для целей освещения, фото- и видеосъемки. Рабочий орган — платформа или люлька, расположенная на окончании стрелы, осуществляющей подъем/выдвижение коленчатым, телескопическим, либо гибридным (колено-телескопическим) способом. Высота подъёма стрелы варьируется от 6 до 100 метров, грузоподъемность от 80 до 600 кг.


Автогидроподъёмник — автомобильный гидравлический подъёмник — оборудование, предназначенное для установки на шасси автомобиля. Устройство состоит из множества деталей и элементов, куда также входит насос, нагнетающий масло, гидроцилиндр — рабочее пространство — куда в конечном итоге жидкость попадает и других частей. Располагается вся конструкция на платформе, устанавливаемой на базовый автомобиль любой марки от УАЗ до Mercedes-Benz. Существительное «автогидроподъемник» или «АГП» часто используют в нормативно-правовой документации и различных инструкциях, чтобы сократить количество знаков и сделать руководство более емким.




Автовышка


АГП


Если снять с шасси подъёмное оборудование, машина перестанет быть автовышкой.


АГП останется АГП, даже отдельно от автомобиля, но не следует путать АГП с автоподъемником, который используется в автосервисе или на СТО. Гидравлический автоподъемник предназначен только для подъема автомобилей в целях проведения ремонтных работ и сервисного обслуживания. Он не перемещается в пространстве и размещён стационарно.


Почти всегда слова «АГП» и «автовышка» считают синонимами, потому что увидеть подъёмник отдельно от шасси — большая редкость. Для шасси и АГП есть свои регламенты техосмотра:


●       ТО АГП проводит спецпредприятие с лицензией на обслуживание подъёмных механизмов


●       ТО шасси проводит СТО с лицензией на обслуживание автомобилей


ТО шасси и подъёмника часто происходит в один период времени, но в разных местах.


Синонимы слова «автовышка» на русском — это автогидроподъёмник, АГП, вышка, подъемник монтажный стреловой. На английском — это cherry picker (дословно «сборщик вишни»), aerial platform или просто lift.

Происхождение слова «автовышка»


Слово «автовышка» это результат эволюции подъёмных устройств.


Сначала была просто вышка — сборная башня или тура для подъёма при высотных работах. Её переносили вручную или разбирали, а потом строили на новом месте. Потом к башне приделали колёса и она стала мобильной. Но смысл остался прежним: необходимость переместиться вертикально вверх.


 


Затем конструкцию установили на шасси автомобиля. Получилась автомобильная вышка: устройство для вертикального перемещения на базе транспортного средства.



По результату своей работы устройство осталось вышкой, но стало более быстрым и мобильным. Затем саму башню сделали подвижной. Она состояла из труб, вложенных друг в друга и приводилась в действие лебёдкой и тросами на блоках.



Такая принципиальная конструкция была единственной с момента изобретения в 1910-х годах и до начала широкого производства гидравлических устройств в 1950-х.


 






Гидравлические подъёмники применяют на всех производствах — от пищевого до космического. Они бывают стационарные, частично подвижные и в виде части комплексного оборудования. Например, многофункциональных станков, производственных линий. Гидравлический усилитель руля есть почти в каждом современном автомобиле, включая спецтехнику.


Появление коленчатых, стреловых, ножничных АГП на базе автомобиля было делом времени. А автовышки к тому моменту существовали уже примерно 40 лет. Новые подъёмные машины — гидравлические подъёмники на базе автомобильного шасси — быстро пришли на смену вертикальным автовышкам.



АГП сразу умели перемещать люльку в пространстве. Они обслуживали в разы большую площадь с одной стоянки, чем автовышки старой конструкции. Парки техники стали обновлять и первое время на АГП работали те же люди, что и на автовышках старой конструкции.



Разумеется, сотрудники называли новый подъёмник по старинке: «автовышка». Ведь он выполняет ту же функцию — доставить человека в люльке на заданную высоту.


Если вы решили, что вам нужна автовышка, но не понимаете какая именно – заполните форму ниже и мы подберём требуемый автогидроподъемник под ваш бюджет и задачи с поставкой точно в срок

Устройство автовышки (АГП) 🚚 виды и типы автогидроподъемников

В этом разделе собрана полная информация по устройству автомобильных и прицепных подъёмников. Если вы не нашли ответа на ваш вопрос — напишите его в комментариях.

Содержание:


Основные параметры
Устройство и общая классификация
Классификация
Основные элементы
Типы и виды подъемников


Основные параметры подъёмников и вышек


Параметры — это технические данные, которые характеризуют машины, механизмы. Из них можно сделать выводы о применимости в конкретных условиях. Для первичного анализа выделяют 9 основных параметров.


Таблица 1. Основные параметры автомобильных подъёмников и вышек












Параметр

Толкование

Едниница


Грузоподъемность, Q


Максимально допустимая масса груза, которую можно безопасно поднять в люльке


кг


Рабочая высота, Н


Максимальное расстояние, на которое может быть поднята люлька по вертикали от основания, дороги, до пола рабочей площадки плюс 1,5 м


м


Вылет, L

(для подъёмников)


Расстояние от вертикальной оси поворота до середины рабочей площадки


м


Время подъёма люльки на максимальную высоту


Время, за которое подъёмник доставляет люльку на максимальную высоту


сек


Скорость передвижения транспортная


Допустимая скорость шасси при доставке к месту работы


км/ч


Скорость передвижения рабочая


Скорость перемещения в пространстве или в плоскости отдельных частей машины (люлька, секции стрелы, поворот турели и т. д)


м/с


Мощность силовой установки


Мощность привода: ДВС, электромотора, аккумуляторов


Вт


Транспортные и рабочие габариты


Размеры машины в транспортном и рабочем положении


м


Масса машины


Масса снаряжённого и готового к работе подъёмника, вышки.


кг


Рис.1. Схема для определения основных параметров подъемника (Н — рабочая высота, L — вылет)


Устройство и общая классификация подъёмников и вышек


Грузовые подъемники — это машины для вертикального или наклонного перемещения грузов и людей в люльках, установленных на стреле.


По конструкции шасси они бывают:


●       на базе автомобиля

●       прицепные

●       самоходные


Большинство подъемников установлены на шасси автомобиля. Прицепные подъемники не имеют своего механизма передвижения. Самоходные могут иметь колёсное или гусеничное шасси, их перевозят на площадках.


Классификация подъёмников


По конструкции стрелы: одно-, двух-, трёхколенные*


По углу поворота:


●       полноповоротные — 360° и более

●       неполноповоротные — менее 360°


По типу привода подъёмного механизма:


●       гидравлические

●       электрогидравлические

●       электромеханические


*-бывают специальные модели с большим количеством колен

Что такое подъемник?


Автомобильный гидравлический подъёмник — АГП


Под АГП можно приспособить любой автомобиль. Чаще всего встречаются отечественные модели на базе ГАЗ, КамАЗ,  Урал, ЗиЛ, или МАЗ. Для грузоподъёмности и стрелы имеет значение не производитель шасси, а его класс и характеристики. Чем больше нагрузка и длиннее стрела, тем мощнее и устойчивее должно быть шасси. 


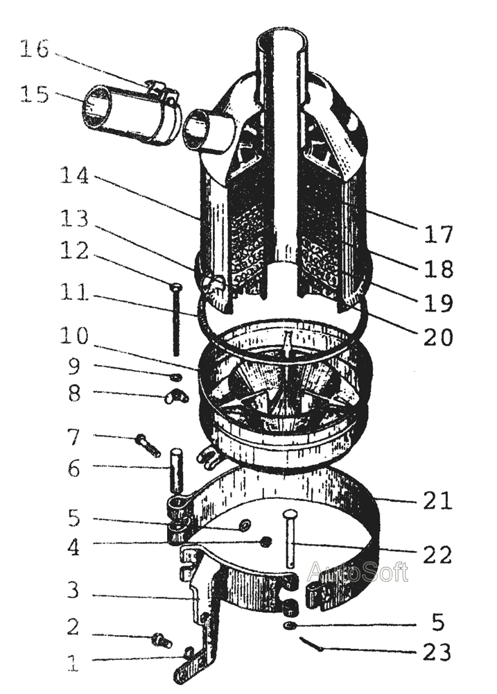
Основные элементы подъёмника на шасси


Шасси — ходовая база подъёмника или вышки. Обычно — грузовой автомобиль.
Платформа — металлический настил на раме автомобиля, на котором находятся другие части подъёмника и оператор
Гидробак — герметичная ёмкость с маслом для гидравлической системы
Гидроцилиндры — гидравлические цилиндры, которые приводят в движение колена стрелы
Поворотный механизм — механизм, который осуществляет поворот стрелы
Стрела — несколько балок, сочленённых коленчатым или телескопическим способом
Электроизоляция — токоизолирующие прокладки между люлькой и стрелой
Рабочая площадка — место на конце стрелы для работы электриков, строителей
Пульт управления — контрольная панель с рычагами и кнопками для управления стрелой
Стойка — вертикальная опорная балка для поддержки стрелы в транспортном положении
Опоры — выдвижные стойки или «лапы» для создания опорного контура подъёмника
Защитная рамка — ограждение платформы подъёмника


Для подъёмников общего назначения в России разница будет в шасси и конструкции стрелы. Место оператора и пульт управления также могут различаться: от компактного мобильного беспроводного пульта до отдельной отапливаемой кабины. Остальные функциональные элементы будут расположены так, как показано на схеме.


Типы и виды подъёмников

  1. Подъёмник коленчатый
  2. Подъёмник лестничного типа
  3. Подъёмник с телескопической стрелой
  4. Подъёмник коленчато-телескопический
  5. Подъёмник рычажно-телескопический
  6. Подъёмник телескопический с гуськом
  7. Подъёмник грузовой
  8. Подъёмник для обслуживания мостов
  9. Ножничный подъёмник


По конструкции стрелы различают четыре типа АГП

1. Подъёмник коленчатый


Стрела состоит из 2-4 секций, сочленённых шарнирами, приводится в движение гидроцилиндрами.


ТОП 3 самых популярных коленчатых автовышек:

  1. АГП ПМС 212-02 на базе ГАЗ 33023
  2. ВС-22. 06 22 метра на базе КАМАЗ-43502
  3. ПМС-328-05 28 метров на базе КАМАЗ
2. Подъёмник лестничного типа


Стрела выполнена в виде объёмных стальных рам, последовательно вложенных друг в друга. Количество секций — от двух до шести. Такая конструкция чаще всего встречается в машинах МЧС в качестве пожарной лестницы. Угол наклона меняется гидравликой, а секции приводятся в движение тягой троса (электромеханический способ).


ТОП решётчатых автовышек:

  1. ВИПО-18-01 18 метров на базе ГАЗ-33086 ДК
  2. АП-18 на базе ГАЗ NEXT ДК решетка 18 метров
  3. ПСС-131.18Э КАМАЗ-4326
3. Подъёмник с телескопической стрелой


Секции стрелы — полые стальные балки прямоугольного сечения — последовательно вложены друг в друга и управляются гидроцилиндрами. Наиболее популярная современная конструкция.


ТОП 3 автогидроподъёмников с телескопической стрелой:

  1. ВИПО-18-01 ГАЗон NEXT ДК 18 метров
  2. ВИПО-24-01 на базе ГАЗ 33086 ДК
  3. ВИПО-28-01 на базе КАМАЗ-43253
4. Подъёмник коленчато-телескопический


Комбинация двух типов стрелы, где основная стреле в виде колена, а последняя секция стрелы — телескопическая.


ТОП 3 самых надёжных коленчато-телескопических автовышки:

  1. ВС-22Т-01 22 метра на базе ГАЗон NEXT
  2. ВС-22Т-01 ГАЗ-3309
  3. ВС-22Т 22 метра на базе ГАЗ-3309 ДК
5. Подъёмник рычажно-телескопический



Подобная указанной выше комбинация двух типов стрелы, только основная стрела имеет конструкцию рычага, а последняя секция стрелы выдвигается (телескопическая).


ТОП 3 рычажно-телескопических автовышек:

  1. ВИПО-17 17 метров на базе ГАЗель
  2. Palfinger P240A 23,2 метра на базе ГАЗон NEXT
  3. Manotti GDX 28 28 метров на базе КАМАЗ-43502
6.

 Подъёмник телескопический с гуськом

Конструкция, при которой основная стрела телескопическая, а последняя секция — это дополнительная подвижная балка стрелы, установленная на конце телескопической балки или гусёк . Цель введения гуська в конструкцию — увеличить рабочую длину последней секции подъёмника без увеличения транспортных габаритов и дать больше степеней свободы для стрелы.


ТОП 3 АГП телескопических с гуськом:

  1. Klubb K21B Peugeot Expert
  2. ВИПО-36-01 36 метров на базе КАМАЗ-43118
  3. АГП-45-5К на шасси КАМАЗ-43118
7. Подъёмник грузовой

Телескопическая стрела с увеличенной платформой и направленным уровнем подъема на высоту не столько людей, сколько грузов. Конструкция позволяет перемещать больший тоннаж, поступаясь при этом маневренностью.


ТОП 3 самых надёжных грузовых автовышек

  1. Woosung WS-L25 25 метров на базе Kia Bongo
  2. Woosung WS-L38 38 метров на базе Hyundai Mighty
  3. Woosung WS-L45 45 метров на базе Hyundai HD35
8.

 Подъёмник для обслуживания мостов

Специфическая конструкция совмещенных колен и телескопической стрелы, при которой важность отдается вылету и возможности вышки совершать движение и манёвры в глубину, нежели в высоту.


ТОП АГП для обслуживания мостов:

  1. Barin AB 9/S на шасси Mercedes-Benz Axor
  2. Barin AP 73/35 J2 DAF SF
9. Ножничный подъёмник


Самоходные вышки могут иметь большую рабочую площадку и применяются для работ на высоте в объёмных помещениях: ангарах, складах или для обслуживания мостов. Современные вышки имеют ножничную конструкцию подъёмного механизма.

Иногда подъёмный механизм скомбинирован с кунгом для экономии места.


Теперь, когда мы разобрали основные типы автовышек по принципу их конструкции, вам будет легче определиться с тем, какая вышка нужна именно вам, с учетом региона использования, характера выполняемых работ и необходимого функционала.


Если вы решили, что вам нужна автовышка, но не понимаете какая именно – заполните форму ниже и мы подберём требуемый автогидроподъемник под ваш бюджет и задачи с поставкой точно в срок

AGP/TIP — Башня Business Bay AG — ОАЭ

  • Обзор отчета
  • Ключевые игроки
  • Оглавление
  • Столы
  • Цифры

Arabian Gulf Properties (AGP) и Time Properties (TIP) приступили к строительству жилой башни в Дубае, ОАЭ. Проект включает строительство 23-этажной жилой башни, состоящей из 437 квартир. Он включает в себя строительство фитнес-центра, бассейна, торговых помещений, коммерческих помещений, парковки, установку лифтов, систем безопасности и сопутствующих объектов. ООО «Fortune 5 Real Estate Brokers» было назначено агентом по недвижимости для проекта. В июле 2015 года начались и продолжаются строительные работы, завершение которых запланировано на сентябрь 2019 года..

Объем

Проект AG Tower включает строительство 23-этажной жилой башни, состоящей из 437 квартир, в Дубае, ОАЭ. Проект стоимостью 122 миллиона долларов США включает следующее:1. Строительство фитнес-центра2. Строительство бассейна3. Строительство торговых объектов4. Строительство коммерческих объектов5. Строительство парковок6. Монтаж лифтов7. Установка систем охраны и безопасности

Основные моменты

Компания Arabian Gulf Properties (AGP) и Time Properties (TIP) приступили к строительству жилой башни в Дубае, ОАЭ. Проект предусматривает строительство 23-этажной жилой башни состоящий из 437 квартир. Он включает в себя строительство фитнес-центра, бассейна, торговых помещений, коммерческих помещений, парковки, установку лифтов, систем безопасности и сопутствующих объектов. ООО «Fortune 5 Real Estate Brokers» было назначено агентом по недвижимости для проекта. В июле 2015 года начались и продолжаются строительные работы, завершение которых запланировано на сентябрь 2019 года..

Причины для покупки

Arabian Gulf Properties (AGP) и Time Properties (TIP) приступили к строительству жилой башни в Дубае, ОАЭ. Проект включает строительство 23-этажной жилой башни, состоящей из 437 квартир. Он включает в себя строительство фитнес-центра, бассейна, торговых помещений, коммерческих помещений, парковки, установку лифтов, систем безопасности и сопутствующих объектов. ООО «Fortune 5 Real Estate Brokers» было назначено агентом по недвижимости для проекта. В июле 2015 года начались и продолжаются строительные работы, завершение которых запланировано на сентябрь 2019 года..

Ключевые игроки

Свойства Персидского залива; Муниципалитет Дубая; ООО «Брокеры по недвижимости FORTUNE 5»; Временные свойства

СОДЕРЖАНИЕ

1. СТАТИСТИЧЕСКИЙ КЛАЙС

2. КОНЕЦ даты

3.Sector

4. Операция метрик. .Последнее обновление

8.Фон

9.Ключевые контакты

10.Общие новости, новости проекта

11.Приложение

Список таблиц

Список рисунков

Купить сейчас

Добавить в корзину

    Валюта

    долларов США

Один пользователь

75 долларов

Может использоваться только индивидуальным покупателем

Самый популярный

Многопользовательские

150 долларов

Может совместно использоваться неограниченным количеством пользователей в пределах одного корпоративного местоположения, например. региональный офис

Предприятие

225 долларов

Может совместно использоваться по всему миру неограниченным количеством пользователей внутри закупочной корпорации, например. все сотрудники одной компании

[email protected]
Тел.: +44 (0) 20 7947 2960

Каждое требование клиента уникально. Мы понимаем это и можем настроить отчет на основе ваших конкретных требований к исследованиям, касающимся понимания рынка, инноваций, стратегии и планирования, а также информации о конкурентах. Вы также можете приобрести отдельные разделы отчета или запросить отчет по конкретной стране.

«Платформа GlobalData — наш основной инструмент для разведывательных служб. GlobalData предоставляет простой способ доступа к комплексным аналитическим данным по нескольким секторам, что, по сути, делает его универсальной аналитической платформой для проведения тендеров и обращения к клиентам.

GlobalData очень ориентирован на клиента, с высоким уровнем персонализированных услуг, которые приносят пользу повседневному использованию. Высокодетализированные аналитические и прогнозные отчеты по проектам можно использовать в различных отделах и рабочих процессах, от оперативного до стратегического уровня, и часто они помогают принимать стратегические решения. Решения GlobalData Analytics и визуализации внесли положительный вклад в подготовку управленческих презентаций и стратегических документов».

Менеджер по бизнес-аналитике и маркетингу, SAL Heavy Lift

«COVID-19 оказал значительное влияние на наш бизнес, а информация о COVID-19 от GlobalData помогла нам принять более взвешенные стратегические решения. Эти два основных момента очень помогли понять прогнозы на будущее в отношении наших бизнес-подразделений. Мы также используем базу данных проектов для поиска новых проектов для Liebherr-Werk, чтобы использовать их в качестве дополнительного источника для продвижения нового бизнеса».

Аналитик рынка и менеджмент, Liebherr-Werk

Ваши ежедневные новости сэкономили мне много времени и держат меня в курсе того, что происходит на рынке, мне нравится, что у вас почти всегда есть ссылка на первоисточник. Мы также используем ваши рыночные данные в нашем стратегическом бизнес-процессе для поддержки наших бизнес-решений. Имея все в одном месте в Аналитическом центре, я сэкономил много времени по сравнению с поиском в разных источниках, функция оповещения также помогает в этом.

Руководитель отдела по работе с ключевыми клиентами, Saab AB

Воспользовавшись услугами нескольких других компаний, занимающихся исследованиями рынка, я обнаружил, что GlobalData удается предоставлять «труднодоступные» рыночные данные, которые другие не могут получить, а также очень разнообразные и полные опросы потребителей.

Менеджер по маркетинговой разведке, Portugal Foods

Верх страницы

© GlobalData Plc 2023 | Юридический адрес: Дом Джона Карпентера, улица Джона Карпентера, Лондон, EC4Y 0AN, Великобритания | Зарегистрировано в Англии № 03925319

Dell OptiPlex GX270 Tower Socket 478 AGP Motherboard DG284 0DG284

Dell OptiPlex GX270 Tower Socket 478 AGP Motherboard

P/N: DG284, 0DG284

  • Motherboard Specifications:
  • Processor
  • Microprocessor type
  • Intel® Pentium® 4 и Celeron®; дизайн предусматривает будущие обновления, поддерживаемые корпорацией Dell. Более низкую скорость совместимости можно установить в настройках системы.
  • Socket 478
  • Memory
  • Type 333- and 400-MHz DDR SDRAM
  • Memory connectors: 4
  • Chipset
  • Intel 865G
  • Package Includes
  • Motherboard
More Information
Посмотреть цену Диапазон цен
Производитель Dell
Количество слотов памяти 4
173

Особенности Встроенное аудио, встроенное видеочипсет
Состояние Сертифицировано Восстановленное
Состояние Комментарий Полное рабочее состояние.
Гарантия 30-дневная гарантия RTB (возврат на базу)
Важно Перед покупкой вы как покупатель несете ответственность за обеспечение совместимости с вашим оборудованием или операционной системой.

Предположим, что любая фотография является фотографией из библиотеки, а не фактическим предметом, который вы получите, если иное прямо не указано выше. Предмет был извлечен из машины для утилизации, поэтому ожидайте, что предмет будет в использованном состоянии с небольшими потертостями и т. д.

Если в описании явно не указано иное, в комплект поставки не входят никакие другие детали. Сюда входят такие элементы, как драйверы, кабели, руководства, гарантийные талоны и т. д. Жесткие диски, ленточные накопители, кассеты и т. д. не включают винты, фиксирующие направляющие, если не указано иное.

Мы стремимся доставить заказанные товары как можно скорее. Ориентировочно, по нашим оценкам, большинство товаров будет доставлено в следующие сроки. Чтобы помочь вам спланировать доставку, мы отправим вам электронное письмо с информацией об отслеживании, как только ваш заказ будет отправлен.

Доставка по Великобритании

  • Бесплатная доставка: с понедельника по пятницу (2–5 рабочих дней)
  • Быстрая доставка: с понедельника по пятницу (1–2 рабочих дня)
  • Доставка на следующий рабочий день: при заказе до 13:00 на следующий день (кроме субботы/воскресенья), если вы разместите заказ в субботу/воскресенье, мы отправим ваш заказ в понедельник для доставки во вторник.

    Обратите внимание, что субботы, воскресенья и праздничные дни не считаются рабочими днями.

    Доставка может занять больше времени, если вы живете в отдаленных районах, таких как Шотландское нагорье и Северная Ирландия. В результате обслуживание на следующий день может не гарантироваться.

Международная доставка (не включая таможенную обработку)

  • Вы можете выбрать UPS Courier при оформлении заказа. Пожалуйста, сначала введите свой адрес, чтобы получить расчет стоимости доставки. Международные заказы обычно доставляются в течение нескольких дней, скорость зависит от выбранных служб.
  • Товары отправляются только с понедельника по пятницу.

  • Отправка товаров за пределы Соединенного Королевства может привести к дополнительным сборам и налогам на местную таможенную очистку. Неуплата этих сборов и налогов по прибытии приведет к тому, что товары будут возвращены нам. В таких случаях мы можем возместить стоимость вашего заказа и доставки, но удержать плату за повторную обработку для покрытия расходов на возврат и сборов за таможенную обработку.

    Изменения с 1 st Январь 2021 – Brexit

    1 st января 2021 Великобритания вышла из ЕС. Следствием этого является то, что товары, приобретенные в Великобритании для доставки в ЕС, теперь облагаются дополнительными пошлинами и налогами, а также увеличением стоимости доставки. Нашим европейским клиентам мы предлагаем следующий вариант доставки:

    Услуга «Только доставка» — мы доставим ваш заказ без учета таможенных сборов, импортных сборов и налогов. Когда товар прибудет в вашу страну, компания доставки свяжется с вами, чтобы оплатить эти дополнительные расходы непосредственно им перед окончательной доставкой в ​​​​качестве зарегистрированного импортера.

    Доставка осуществляется в соответствии с Инкотермс «Доставка на место» (DAP).

    Мы советуем вам проверить стоимость доставки до совершения покупки, так как сборы за таможенное оформление, импортные сборы и налоги могут составить довольно значительные расходы.

Мы настолько уверены в качестве нашей работы, что обеспечиваем каждый сертифицированный восстановленный продукт MicroDream стандартной 12-месячной гарантией , и мы можем предложить нашу 30-дневную гарантию возврата денег с полной уверенностью.

Мы гарантируем этот продукт от всех аппаратных неисправностей в течение 12 месяцев с момента получения продукта.

Если в течение первых 30 дней с момента получения возникнет аппаратная неисправность, мы бесплатно организуем сбор и замену или ремонт изделия.

Если в течение первых 30 дней возникнет аппаратная неисправность, вы несете ответственность за безопасный возврат продукта нам. Мы можем организовать сбор за 19 фунтов стерлингов, включая НДС. Мы оплатим доставку замененного или отремонтированного изделия обратно к вам.

КТО ЗАЩИЩЕН? Эта гарантия не подлежит передаче и распространяется только на первоначального конечного покупателя. Для гарантийного обслуживания требуется оригинал или копия счета-фактуры.

ЧТО ПОКРЫВАЕТСЯ? В случае неисправности аппаратного обеспечения вашего ПК вы можете вернуть его для ремонта или замены (или эквивалентного).

ЧТО НЕ ПОКРЫВАЕТСЯ?

  • Нормальный износ при использовании Продукта
  • Неправильное использование, отсутствие ухода, неправильное обращение, несчастный случай, злоупотребление или другое неправильное использование
  • Использование Продукта не по назначению
  • Повреждения, вызванные неправильным или несанкционированным ремонтом или обслуживанием
  • Гарантия аннулируется, если ремонт без нашего согласия или нарушение гарантийной пломбы
  • Продукт, который был модифицирован или изменен
  • Программное обеспечение проблемы (любые проблемы, связанные с программным обеспечением, будь то пакетное или установленное пользователем, повреждение файлов, настройка Интернета и т.

Способы крепления троса: ᐉ Основные способы крепления и соединения стальных тросов • Конструкционные особенности и маркировка тросов из стали

Затискачі для тросів, види, конструкція, особливості застосування. Частина 1.. Статті компанії «»СИСТЕМИ КРІПЛЕННЯ»: кріплення, такелаж»

При використанні сталевих тросів, як правило, не обійтися без спеціальних тросових затискачів, за допомогою яких здійснюється кріплення тросів між собою (нарощування тросів), або формування тросових петель.

В даний час на ринку представлено кілька різних конструкцій затискачів для металевих тросів. Про те, які види затискачів існують, їх особливості та застосування ми розглянемо в цій статті.

Найбільше застосування на ринку України отримали наступні типи тросових затискачів:

  • Затискач для тросу DIN 741
  • Затискач для тросу одинарний Simplex
  • Затискач для тросу подвійний Duplex
  • Затискач для тросу овальний бочкоподібний (бочонок)
  • Затискач для тросу алюмінієвий
  • Зажим для тросу хрестовий
  • Зажим для тросу-стопер

Затискач для тросу DIN 741

Що таке затискач тросовий DIN 741
Канатний (тросовий) затискач DIN 741 – вірогідно, найбільш поширена конструкція затискачу, конструкція якого, у свій час була стандартизована Німецьким інститутом стандартизації (DIN).

Конструкція тросового затискачу DIN 741

Затискач являє собою конструкцію, що складається з 3 складових:

  1. Корпусу (колодка)
  2. U-подібна скоба (дужка) з нарізаною різьбою на її кінцях
  3. Двох шестигранних гайок

Для кріплення тросу за допомогою затискачів DIN 741 необхідно вкласти трос в U-скобу, і потім встановити скобу в корпус затискача, затягнувши обидві шестигранні гайки. Фіксація тросу відбувається за рахунок сили тертя, що виникає при здавленні тросу затискачем.

Матеріал тросового затискачу

Значна частина затискачів для тросу DIN 741 виробляється з вуглецевої сталі з цинковим покриттям. Такі затискачі можна застосовувати, як всередині, так і зовні приміщень. Однак, в разі застосування затискачу при постійному контакті з водою, слід використовувати нержавіючі затискачі зі сталі А4. Зрозуміло, що в цьому випадку рекомендується використовувати і нержавіючі троси, але, при цьому, можна використовувати нержавіючі затискачі для кріплення і сталевих оцинкованих тросів і тросів з ПВХ-покриттям.

Застосування тросових затискачів

Незважаючи на простоту використання тросового затискачу DIN741 – його застосування вимагає дотримання кількох важливих умов, ігнорування яких істотно знизить надійність кріплення.

Необхідна кількість тросових затискачів

У загальному випадку, необхідна кількість тросових затискачів визначається спеціальним розрахунком. Для побутового застосування можна керуватися таким правилом — використовувати не менше 3 тросових затискачів для троса діаметром до 8 мм, і не менше 5 штук для тросів більшого діаметра. При цьому відстань між зажимами повинна дорівнювати 6-8 діаметрам троса (наприклад: для троса діаметром 3 мм, відстань між затискачами має становити 18-24 мм).

Застосування тросових затискачів для тросів з ПВХ-покриттям.

В останні роки, велике поширення набули сталеві троси з ПВХ-покриттям, в тому числі шпалерні садові троси. Слід зазначити, що пластикове покриття значно зменшує силу з’єднання з затискачем, тому для забезпечення необхідної міцності кріплення в цьому випадку рекомендуємо використовувати не менше 5 затискачів.

Правильна орієнтація затискачів для тросу

Велике значення при використанні тросових затискачів є їх правильна установка щодо робочої (довшої) гілки троса. Гайки затискачу завжди повинні бути з боку робочої гілки! Порушення цього правила може призвести до того, що міцність з’єднання троса затискачами буде істотно нижче розрахункової.

Повторне використання тросових затискачів

Однією з переваг тросового затискачу DIN 741 є можливість його повторного використання. Однак, тут теж потрібно враховувати кілька моментів, з тим, щоб забезпечити надійне кріплення троса.

Перш за все, потрібно перевірити про те, що скоба вільно, без зусилля, входить в отвори корпусу. Якщо ці 2 деталі не поєднуються без зусилля, це означає, що U-подібна скоба або корпус були погнуті в процесі експлуатації і їх не можна використовувати повторно.

Далі, необхідно перевірити різьблення на кінцях скоби, щоб переконатися в тому, що вона не пошкоджена і гайки зможуть без зусиль закрутитися.  Також необхідно перевірити поверхню корпусу затиску на предмет тріщин.

Незважаючи, на те, що затискач для тросів ДІН 741 є універсальним затискачем, що дозволяє кріпити трос в переважній більшості випадків, на вибір майстра пропонуються і інші види затискачів, які ми розглянемо в наступній статті.

Відеоінструкція застосування тросового затиску DIN 741

 

Способы крепления буксирного троса — Сайт для моряков МОРЯКАМ.РФ

Mitsui O.S.K. Lines (MOL)

Морские узлы


Апр
06


  • Maxim в Судовые устройства

Вынужденные буксировочные операции по спасению аварийных судов выполняются транспортными судами или буксирами-спасателями. На транспортных судах буксирное устройство устанавливается на случай аварийных буксировок и поэтому запрещается использовать буксирный трос для иных целей.

Для морской буксировки применяется стальной гибкий буксирный трос. Недостаток стального троса — его малая эластичность. Поэтому морские буксировки производят при большой длине буксира (400 — 500 м) или в трос включают две — три смычки якорной цепи. Благодаря большой длине и значительной массе трос провисает и смягчает рывки. Большой эластичностью также отличаются тросы из синтетического волокна, поэтому их целесообразно использовать при морских буксировках.

На транспортных судах выбор способа крепления буксирных тросов определяется в зависимости от размеров и особенностей устройства судов, наличия средств для крепления буксирных тросов, а при вынужденных буксировках — еще и от погодных условий. Во всех случаях должно быть обеспечено надежное крепление тросов и предусмотрена возможность изменения длины буксирного троса и его немедленной отдачи.

Крепление буксирного троса на буксируемом судне. Самым простым способом является крепление буксирного троса непосредственно на кнехтах. Такой способ можно использовать при буксировке небольших судов на короткое расстояние в стесненных условиях плавания, где требуется часто выбирать и потравливать буксир. Но в этом случае необходимо тщательно осмотреть кнехты, и если они не особенно надежны, то их нужно подкрепить.

При морской буксировке на дальние расстояния используется способ крепления буксирного троса к двум или одной якорным цепям. Иногда целесообразно буксирный трос закрепить прямо за якорь. Наличие тяжелого якоря значительно улучшает работу буксирной линии в целом.

Но в этом случае необходимо продумать способ соединения с якорем, так как простое набрасывание огона троса на лапы якоря не обеспечивает надежности соединения из-за возможности перетирания троса об острые края головной части якоря.

Если нельзя использовать якорные цепи, то приходится заводить брагy. Брага — стальной трос, который заводят за жесткие корпусные конструкции (рубки, комингсы грузовых люков) с распределением нагрузки на возможно большее число точек, причем без резких перегибов троса. На углах под брагy крепят деревянные брусья. Для экстренной отдачи браги используется глаголь-гак.

Крепление буксирного каната на буксирующем судне. На корме должна быть предусмотрена возможность легкой и надежной отдачи буксирного каната в случае вынужденной остановки в море и опасного сближения с буксируемым судном, а также внезапной угрозы столкновения.

Данным способом удобнее крепить буксирный трос на равно палубных судах, проводя брагy вокруг комингса кормового трюма. На кнехт следует накладывать такое число шлагов браги, которое допускается eгo нагрузкой. Оставшаяся часть тягового усилия должна быть передана на комингс грузового люка или на другие прочные конструкции, расположенные на палубе судна. Трос браги следует брать такой прочности, как и буксирный, или делать его из нескольких шлагов.

По достижении судами полной скорости буксировки необходимо осмотреть буксирное устройство. На корме буксирующего и на носу буксируемого судов должна быть установлена вахта для наблюдения за работой буксирного устройства. У места, где возможна отдача буксирного троса, должен быть инструмент, позволяющий или перерубить буксирный трос, или привести в действие отдающее устройство.

Все суда, когда они идут на буксире, рыскливы. Предотвратить рыскание при помощи руля возможно лишь в том случае, если скорость рыскания позволяет рулевому удерживать судно на курсе.

Какое навесное оборудование использовать для кабельных рядов? (5 вариантов)

Канатные тренажеры можно найти практически в каждом сетевом тренажерном зале. Хотя их можно использовать для множества упражнений, тяги являются одними из наиболее распространенных движений, выполняемых на них.

Но попытка выяснить, какое приспособление использовать для тяги на тросе, может оказаться непростой задачей, особенно если вы новичок в тренировках или используете тренажер впервые после тренировки только со штангой и гантелями.

Итак, какое приспособление следует использовать для тросовых рядов? В зависимости от тренировочного стимула, которого вы надеетесь достичь, вы можете использовать приспособление с V-образной рукояткой, прямую перекладину, перекладину для тяги широчайших мышц, рукоятку стремени или приспособление для веревки. Каждое приспособление лучше всего подходит для разных хватов, что влияет на целевые мышцы и вес, который вы можете поднять.

В этой статье я расскажу вам о важности правильного выбора навесного оборудования для кабельных рядов и расскажу об основных различиях между каждым навесным оборудованием. Я также опишу каждое приспособление более подробно, чтобы вы могли определить, какое из них лучше всего подходит для различных упражнений, которые могут появиться в вашей тренировочной программе.

Важность выбора правильной насадки для вантовых тяг

Наиболее важными причинами использования правильного навесного оборудования для вантовых тяг являются:

  • Работа с различными мышцами
  • Подъем легких и тяжелых весов

    17025

Работа с разными мышцами

Ваш хват зависит от того, какое приспособление вы используете. Таким образом, разные насадки будут работать с разными мышцами спины или будут нацелены на одни мышцы больше, чем на другие.

Три основные мышцы спины, на которые воздействуют гребные упражнения: трапециевидные, ромбовидные и широчайшие мышцы спины.

Ромбовидные мышцы — это пара мышц в верхней части спины возле лопаток, а трапециевидные мышцы (или трапециевидные мышцы) проходят вдоль плеч и основания шеи.

Широчайшие мышцы спины (или широчайшие) — это мышцы, идущие вдоль средней и нижней части спины. Когда у кого-то широкая спина, это обычно потому, что у него хорошо развиты широчайшие.

Некоторые приспособления для троса работают на широчайшие больше, чем ромбы и трапеции, и наоборот, потому что они влияют на положение рук и ширину хвата. Тем не менее, также важно отметить, что бицепсы также играют роль во многих упражнениях на тягу, и каждое крепление троса задействует их в разной степени.

Хотите знать, достаточно ли одних тяг для тренировки спины и бицепсов? Узнайте наше экспертное мнение в статье «Достаточно ли тяги и подтягиваний для спины и бицепсов?»

2. Подъем легких и тяжелых весов

Хотя все люди разные, большинство людей могут использовать больший вес при выполнении упражнений по гребле узким хватом. Многие люди также могут использовать больший вес при хвате снизу, чем при хвате сверху, потому что бицепсы оказывают большую помощь.

Таким образом, выбор крепления троса будет влиять на то, какой вес вы сможете поднять в данном упражнении на тягу. Это, в свою очередь, может повлиять на то, какие упражнения вы будете выполнять в определенные тренировочные дни.

Например, если вы можете использовать больший вес для тяги узким хватом, вы можете выполнять этот вариант с соответствующим приспособлением в тяжелый день для спины или тяги и выполнять тягу широким хватом с другим приспособлением на легкой тренировке. день.

Эти же принципы применимы и к вытягиванию широты. Если вы не уверены, какой хват вы можете использовать для тяги широчайших, ознакомьтесь со статьей Тяга широчайших узким или широким хватом: что лучше?

4 Различия между насадками кабельных строк

Основные различия между различными вложениями кабельной строки составляют до четырех точек:

  • Длина
  • Grip
  • Форма
  • ORE-OR-OR-OR- вручил

1. Длина

Одним из наиболее очевидных различий между креплениями тросового ряда является их длина. Прямые насадки для грифа, как правило, имеют длину около 20 дюймов, а изогнутые на концах поперечные тяги имеют длину около 48 дюймов. Насадки с V-образной рукояткой и стремени обычно имеют длину 7–8 дюймов.

Различная длина влияет на положение рук, что, в свою очередь, влияет на то, какие мышцы вы нацеливаете. Например, более длинная штанга для вытягивания широчайших мышц позволяет вам использовать более широкий хват, чтобы больше прорабатывать широчайшие. Но более короткое прямое приспособление или приспособление с V-образным хватом будет больше работать на среднюю часть спины (трапеции и ромбовидные мышцы), потому что вы используете более узкий хват.

2. Захват

Различные приспособления для тросового ряда позволяют использовать разные захваты. Вы можете использовать пронированный хват (также называемый хватом сверху), хват лежа на спине (или хват снизу) или нейтральный хват (ладонями друг к другу).

С некоторыми насадками можно использовать как пронированный, так и супинированный хват. А вот с другими насадками можно использовать только нейтральный хват.

Некоторые приспособления для троса, такие как крепление для веревки или крепление для прямого грифа, также можно использовать с толстыми захватами для улучшения хвата и силы предплечья. Узнайте больше о преимуществах тренировки хвата в моей статье «Тренировка жирным хватом: как и когда использовать и работает ли это?»

3. Форма

Еще одним очевидным отличием является форма различных кабельных креплений. Прямая штанга крепления троса, очевидно, прямая. Но некоторые перекладины, такие как перекладина для вытягивания широчайших, изгибаются на концах, чтобы вы могли оценить, насколько широко можно поставить руки.

Вы, вероятно, также встретите приспособления для веревки, которые обычно используются для таких упражнений, как отжимания на трицепс и тяга лица. Но вы также можете использовать их для тяги кабеля, чтобы добиться большего диапазона движения, поскольку они позволяют вам сильнее отводить локти назад. Обычно это цельный кусок веревки с металлической застежкой, образующей V- или U-образную форму.

Ищете дополнительные упражнения для спины? Узнайте, безопасно ли тренировать спину и грудь в один и тот же день в разделе «Тренировка спины и груди в один и тот же день»?

4. Работа одной или двумя руками

Большинство кабельных насадок можно держать двумя руками. Есть только одна насадка-стремя, которая идеально подходит для использования одной рукой.

Ряды одной рукой имеют много преимуществ, например, помогают устранить слабые места между двумя сторонами. Если вы хотите выполнять тягу одной рукой, вам понадобится стремя.

5 вложений, которые вы можете использовать для кабельных строк

Пять вложений, которые вы можете использовать для кабельных строк:

  • Ручка V-grip
  • Веревка веревки
  • Прямой столб
  • Хомут

1. Рукоятка с V-образной рукояткой

Крепление с V-образной рукояткой чаще всего используется для сидячих тросов. Иногда его также называют двойным D-образным креплением. Он состоит из двух хромированных или стальных компонентов квадратной формы, которые сплавлены вместе, образуя букву V.

Это одно из самых универсальных приспособлений, потому что его можно использовать для тяги сидя, тяги верхнего блока узким хватом нейтральным хватом или тяги Т-образного грифа. Однако форма рукоятки означает, что с ней можно использовать только один хват — нейтральный хват.

При использовании для тяги в тросе рукоятка с V-образной рукояткой в ​​основном задействует широчайшие, ромбовидные и трапециевидные мышцы с некоторой помощью бицепсов.

Если вы ищете насадку с V-образной рукояткой, чтобы добавить ее в свою коллекцию тренажерного зала, я рекомендую насадку Yes4All с двойной D. Он хорошо работает как с тросовыми тренажерами, так и со штангой, прикрепленной к мине, для тяги Т-образного грифа. Это также доступно по цене, а резиновые ручки позволят вам надежно удерживать его.

Как выполнять тягу с помощью приспособления V-Grip

  • Отрегулируйте шкив канатного тренажера так, чтобы он находился в самом нижнем положении, и прикрепите к нему рукоятку ноги на подставках
  • Наклонитесь вперед, чтобы взяться за рукоятку обеими руками, затем сядьте, выпрямив туловище и вытянув руки
  • Согните руки в локтях и потяните рукоятку на себя, остановившись, как только она окажется близко к животу
  • Держите руки опущенными, чтобы больше задействовать широчайшие
  • Выпрямите руки и немного наклонитесь вперед, чтобы вернуться в исходное положение, все время сохраняя контроль над весом

Если у вас нет доступа к канатной тяге или просто хотите внести разнообразие в свои тренировки, ознакомьтесь с этими 15 альтернативами канатной тяги сидя.

2. Веревочное крепление

Веревочное крепление представляет собой толстую плетеную веревку, продетую через металлический крюк, который можно прикрепить к канатной машине. На концах обычно есть резиновые заглушки, чтобы руки не соскальзывали.

Как я упоминал ранее, он в основном используется для отжиманий трицепса или тяги лица. Вы даже можете использовать его для скручиваний кабеля с отягощением или разгибания трицепса над головой. Но вы можете использовать его для тяги кабеля для большего диапазона движения, чтобы сильнее сокращать широчайшие мышцы. Выполнение тяги кабеля с прикреплением веревки также задействует ромбовидные мышцы и трапеции, а бицепсы оказывают некоторую помощь.

Веревка для трицепса Harbinger — хороший вариант, если вы ищете собственное крепление для веревки. Он поставляется в двух размерах: 26 дюймов и 36 дюймов. Если вы используете его только для строк, подойдет любой размер. Но если вы хотите использовать его для скручивания кабеля или наращивания над головой, я рекомендую более длинный размер. Независимо от того, какой размер вы приобретете, это крепление для веревки прочное и прослужит долгое время.

Как выполнять тягу с веревочным приспособлением

  • Отрегулируйте систему шкивов на канатной машине до минимального положения и закрепите на нем веревочное крепление
  • Сядьте перед штабелем ноги на платформах
  • Наклонитесь вперед, чтобы ухватиться за веревку обеими руками, затем откиньтесь назад, выпрямив туловище и вытянув руки прямо перед собой
  • Начните сгибать руки в локтях, когда вы тянете веревку на себя , следя за тем, чтобы ваши руки двигались по прямой линии, а не вверх или вниз
  • Тяните как можно дальше. Вы обнаружите, что ваши локти могут проходить на несколько дюймов дальше туловища, чем при использовании V-образной рукоятки
  • Вернитесь в исходное положение, выпрямив руки. Вы можете позволить весу немного подтолкнуть вас вперед, чтобы вы почувствовали растяжение в спине, но старайтесь не использовать слишком большой импульс и не позволять весам падать вниз.

3. Прямой гриф

Насадка для прямого грифа представляет собой короткий прямой гриф, который лучше всего подходит для выполнения тяги более узким хватом. Это еще один универсальный инструмент, потому что вы можете использовать его для вертикальных тяг, отжиманий на трицепс, тяг на прямых руках и многого другого.

Использование прямой перекладины для тяги хватом сверху будет похоже на греблю на гребном эргометре. Вы сможете проработать широчайшие и трапеции, а также задние дельтовидные мышцы (мышцы задней части плеч).

Если вы используете гриф обратным хватом, вы почувствуете гораздо большую нагрузку на бицепсы. Это может быть полезной вариацией, если у вас мало времени и вы не можете выполнять много изолирующей работы на бицепс.

Крепление троса Synergee для прямого грифа — отличный выбор, если вам нужно такое приспособление для собственного тренажерного зала. Он поставляется в четырех вариантах длины от 12 до 20 дюймов, имеет ручки с накаткой и резиновые наконечники, чтобы ваши руки не выпадали.

Он также поворачивается при каждом повторении, что помогает расположить запястья, предплечья и локти в более удобном положении.

Как выполнять тягу с прямым грифом

  • Установите систему шкивов на канатном тренажере в самое нижнее положение и прикрепите к нему прямой гриф
  • Сядьте перед тренажером и поставьте ноги на платформах
  • Согнитесь в талии, чтобы взяться за перекладину обеими руками, используя хват сверху или снизу, в зависимости от того, какие мышцы вы хотите больше проработать
  • Снова откиньтесь назад так, чтобы туловище было в вертикальном положении, а руки выпрямлены перед собой. грудина и пупок
  • Выпрямите руки, чтобы вернуться в исходное положение. Слегка наклонитесь вперед, чтобы почувствовать растяжение в спине, но не используйте слишком большой импульс, чтобы начать следующее повторение.

Знаете ли вы, что сильная спина может помочь улучшить ваш жим лежа? Мы рассмотрим это более подробно в статье Помогает ли сильная спина жиму лежа? (Да, вот как).

4. Штанга для тяги широчайших

Штанга для тяги широчайших — это длинная штанга с прямым центром и длинными концами, загнутыми вниз. Преимущество использования перекладины для тяги в тягах заключается в том, что легче изменить ширину хвата. Более широкий хват больше задействует широчайшие, а более узкий хват задействует больше трапеций и ромбовидных мышц.

Как и с насадкой для прямого грифа, вы также можете взяться за нижний хват широчайших мышц, если хотите больше проработать бицепсы.

Превосходный гриф для вытягивания широчайших мышц, который вы можете рассмотреть для своего тренажерного зала, — это гриф FITNESS MANIAC для вытягивания широчайших. Этот гриф уникален тем, что на конце у него есть D-образные ручки, что дает больше возможностей для использования разных хватов при выполнении тяг. Прямая часть также имеет резиновые ручки, чтобы руки не соскальзывали.

Как выполнять тягу с тягой для широчайших мышц

  • Установите систему шкивов на канатной машине в самое нижнее положение и закрепите на ней тягу для широчайших мышц
  • Сядьте перед тренажером и поставьте ноги на подножки
  • Возьмитесь за перекладину обеими руками широким или узким хватом и положите руки сверху или снизу
  • Перед началом вашего повторения, убедитесь, что вы сидите с прямым туловищем, а руки вытянуты перед собой параллельно полу
  • Двигая руками по прямой линии, тяните штангу к себе, пока она не коснется середины вашей желудок
  • Вернитесь в исходное положение, выпрямив руки и немного наклонившись вперед, чтобы почувствовать растяжение в спине

Ищете другие способы тренировки широчайших? Посмотрите некоторые из моих любимых упражнений с гантелями, нацеленных на широчайшие.

5. Стремя

Стремя лучше всего подходят для гребли одной рукой. Это металлическая насадка квадратной или прямоугольной формы с одной ручкой. Вы можете использовать его практически для любого упражнения, которое вы можете делать на тросовом тренажере, но вы можете держать его только в одной руке.

Выполнение тяг только одной рукой за раз позволяет вам работать с обеими сторонами тела равномерно, так как ваша сильная сторона не может компенсировать вашу слабую сторону. Тяга троса одной рукой задействует широчайшие, а также меньшие мышцы-стабилизаторы, окружающие вращающую манжету плеча и лопатки.

Тросовое приспособление Rogue с одной рукояткой — отличное приспособление для тяги одной рукой. У него длинные нейлоновые ремни и стальная ручка с накаткой, такой же, как у штанги Bella. Нейлоновые ремни снабжены прокладками, позволяющими ручке свободно двигаться, что делает гребные движения более комфортными для ваших суставов.

Как выполнять тягу со стременем

  • Установите систему шкивов на канатном тренажере в максимальное положение и прикрепите к нему ручку стремени
  • Встаньте перед тренажером, поставив ноги на плечо -ширина друг от друга. Встаньте достаточно далеко от него, чтобы ваша рука могла быть полностью выпрямлена в начале гребного движения.
  • Дотянитесь до рукоятки, убедившись, что запястье, предплечье и плечо составляют прямую линию
  • Потяните рукоятку вниз и назад, чтобы она достигла верхней части подмышки
  • Выпрямите руки, чтобы вернуться в исходное положение со штангой, гантелями или другими тренажерами, ознакомьтесь с моими 10 лучшими вариантами силовой тяги с молотком.

    Заключительные мысли

    Несмотря на то, что большинство вариаций тросовой тяги ориентированы на широчайшие, трапециевидные и ромбовидные мышцы, каждое приспособление требует своего типа хвата. Это влияет на то, насколько эффективно работает каждая мышца спины, а также насколько активно задействованы бицепсы.

    Таким образом, выбор крепления троса будет зависеть от целей вашей тренировки. Приспособления, требующие узкого хвата, лучше всего подходят для тяжелой тренировки спины и больше нацелены на ромбовидные мышцы и трапеции. Приспособления, требующие широкого хвата, лучше всего подходят для тренировок с легкими весами и большей нагрузкой на широчайшие.

    Кроме того, любая насадка, с которой вы можете использовать нижний хват, также позволит вам больше работать над бицепсами. Это может пригодиться, когда у вас не так много времени на тренировки и вы хотите задействовать как можно больше групп мышц.

    Другое кабельное крепление Артикул

    • Лучшие кабельные крепления (10 вариантов для домашних тренажерных залов)

    Об авторе

    Аманда Дворак

    Аманда — писатель и редактор в сфере фитнеса и питания. Выросшая в семье, которая любила спорт, она с юных лет поняла, как важно оставаться активной. Она начала заниматься кроссфитом в 2015 году, что привело к ее интересу к пауэрлифтингу и тяжелой атлетике. Она увлечена тем, что помогает женщинам преодолеть страх перед поднятием тяжестей и учит их, как правильно питать свое тело. Когда она не тренируется в своем гараже или не работает, вы можете найти ее пьющей кофе, выгуливающей собаку или съедающей слишком много кусочков шоколада.

    Как использовать различные приспособления для канатной техники — продукты Hulkfit

    Теперь читаю:
    Как использовать различные насадки для канатной машины

    PrevNext

    Канатная машина.

    Men’s Health однажды назвал его «единственным тренажером, который вам нужен». Мы склонны согласиться.

    Хотя мы считаем, что свободные веса являются лучшим общим методом для наращивания силы и мышц, тросы являются прекрасным дополнением. Думайте о них как о Скотти Пиппене и Майкле Джордане со свободными весами.

    Канатная машина невероятно универсальна. Его множество различных регулируемых положений и насадок позволяют эффективно выполнять почти бесконечный набор упражнений.

    Тем не менее, эта же универсальность может также сделать кривую обучения кабельной машины немного более крутой, чем у других машин. Один компонент, который может сбивать с толку? Вложения.

    Возможно, вы обнаружили, что перебираете коробку с различными насадками для канатных машин, не зная, когда и как их использовать. Считайте эту статью своей Полное руководство по приспособлениям для канатных машин .

    Веревка для трицепса

    Веревка для трицепса (также называемая просто «веревка») тесно связана с отжиманием на трицепс.

    Отжимание на трицепс — это классическое упражнение, эффективно воздействующее на трицепс (трехглавую мышцу, которая проходит вдоль тыльной стороны плеча).

    Скакалка для трицепса состоит из толстого плетеного каната и двух наконечников из резины или твердого пластика. Для крепления к кабельной машине используется скользящее зажимное отверстие. Сама веревка может скручиваться и вращаться, что позволяет атлетам использовать разные хваты и стили выполнения.

    Скакалка для трицепса – отличный выбор для таких упражнений, как:

    • Отжимания на трицепс
    • Разгибания над головой на трицепс (также известные как Cable Skullcrushers)
    • Трицепсовые откаты
    • Подтяжки лица
    • Вытягивания
    • Кабельные отбивные
    • Канатные подъемники

    Вытягивание лица — фантастическое упражнение. Они могут улучшить вашу осанку, нарастить мышечную массу и уменьшить общие боли в плече и верхней части спины. Лучше всего их выполнять с канатным креплением на трицепс.

    Как объясняет Джефф Кавальере из Athlean-X на своем канале в YouTube, «вы не хотели бы прикреплять планку к (Face Pull), потому что вы собираетесь ограничить количество вращений, которые вы можете получить, а это все -важный компонент этого упражнения».

    Cavaliere действительно рекомендует использовать два крепления для трехглавой веревки для Face Pulls, если это возможно:

    Если нет, одиночная веревка для трицепса обычно является лучшей альтернативой.

    Это приспособление также отлично подходит для подтягиваний, тяги сидя, отбивных, подъемов, скручиваний с сопротивлением, мертвых жуков с сопротивлением и сгибаний на бицепс. Гибкость крепления веревки позволяет вносить небольшие изменения, которые могут существенно повлиять на тренировочный эффект. Например, в сгибании рук на бицепс вы можете вращать мизинцы вверх в верхней части движения, что вызывает небольшую дополнительную активацию.

    Хотя канат для трицепса не всегда является лучшим приспособлением, существует очень мало упражнений на тросовом тренажере, где он не может выполнять свою работу.

    Насадка для прямого руля

    Насадка для прямого стержня именно так, как кажется.

    Представьте, что кто-то взял штангу, отрезал часть средней части, а затем накинул на нее насадку с отверстием для зажима. Это основная идея.

    Прямая перекладина может быть отличным выбором для упражнений, в которых вы хотите сохранять положение пронации (ладони вниз) или супинации (ладони вверх) на протяжении всего движения. Это может сделать его подходящим для: 

    • Сгибание рук на бицепс
    • Обратные сгибания
    • Подтягивания прямыми руками
    • Передние подъемы

    Хотя с его помощью можно выполнять множество других действий — от тяги до отжиманий на трицепс и отжиманий на широчайших обратным хватом — другие рукоятки, как правило, немного лучше подходят для таких движений. Однако это верно не для всех, поэтому не стесняйтесь пробовать прямую перекладину для различных упражнений и смотреть, что лучше всего подходит для вас.

    V-образная насадка для трицепса

    V-образный гриф для трицепса (или просто V-образный гриф) — проверенное временем приспособление для канатной тяги.

    Представьте, что кто-то взял прямое приспособление для руля, согнул его в форме буквы V и добавил несколько прочных торцевых заглушек, чтобы потные ладони не соскальзывали с руля. Это V-образный трицепс.

    Когда-то это приспособление было предпочтительным для упражнений на трицепс, таких как отжимания на трицепс . Однако в настоящее время многие атлеты предпочитают трицепсовую скакалку.

    В ветке Reddit, посвященной лучшему приспособлению для трицепсовых отжиманий, комментатор, набравший наибольшее количество голосов, пишет: «Я предпочитаю веревку просто потому, что это единственное приспособление, которое позволяет моим запястьям свободно вращаться и не дает локтям болеть».

    Другие участники той же темы говорят, что V-образный гриф для трицепса помогает им поднимать больший вес и испытывать меньше боли и дискомфорта по сравнению с другими приспособлениями.

    Все зависит от личных предпочтений. Дополнительная стабильность V-образного грифа для трицепса может помочь вам выжимать больший вес, а большая гибкость и длина каната для трицепса могут увеличить диапазон движений и задействовать большее разнообразие мускулатуры. Поэкспериментируйте с обоими.

    Насадка для рукоятки D-ряда

    Насадка-рукоятка D-ряда состоит из двух прямоугольников, соединенных вместе в двойную рукоятку. Каждый прямоугольник напоминает букву «D», поэтому крепление ручки D-ряда иногда называют креплением Double D.

    Ручка D-ряда чаще всего используется для: 

    • Сидячие кабельные ряды
    • Широчайшие тяги
    • Перевернутые ряды и ряды наземных мин/T-образных стержней (они выполняются без канатной машины)

    Прелесть рукоятки D-ряда в том, что она обеспечивает нейтральный хват на протяжении всего упражнения. Многие лифтеры считают, что использование нейтрального хвата (т. е. ладони обращены друг к другу) легче нагружает их плечи и локти и помогает достичь лучшего тренировочного эффекта.

    Рукоятка D-ряда также предлагает немало полезного за пределами канатной машины, поскольку она обычно используется для перевернутых рядов и рядов наземных мин (или Т-образных стержней).

    В крайнем случае, двойную D-образную рукоятку можно также использовать в качестве замены для следующего элемента в нашем списке.

    Простая насадка с ручкой

    Простая насадка с ручкой является наиболее универсальной насадкой для канатной машины.

    Обычная ручка — ни больше, ни меньше. В сочетании с вращающейся конструкцией карабина (устройство, используемое для крепления приспособлений к канатной машине) простое крепление ручки позволяет использовать любой удобный для вас захват. Это также позволяет вам вращать руки в середине движения. Это делает его удобным способом выполнения множества различных упражнений.

    Обычные упражнения на канатной тяге, которые отлично работают с простой ручкой, включают: 

    • Паллоф Пресс
    • Тяга одной рукой
    • Жим от груди одной рукой
    • Становая тяга на одной ноге
    • Кроссовер для кабеля (требуются две ручки и кабельный стек)
    • Жимы от груди с тросами (требуются две рукоятки и тросы)
    • Высокие изолирующие завитки кабеля (требуются две ручки и кабельные блоки)

    Возможности увеличиваются только тогда, когда у вас есть два кабельных стека в непосредственной близости друг от друга. Это позволяет прикрепить простую рукоятку к обоим тренажерам для выполнения двусторонних (т. е. двухконечных) вариаций, включая уникальные движения, такие как толкание троса и тяга троса X. Вы также можете прикрепить две простые ручки к одному карабину, чтобы приблизиться к креплению веревки для трицепса.

    Приспособление для тяги к широчайшим

    Приспособление для тяги к широчайшим мышцам предназначено для одного конкретного движения — Широчайшие тяги.  

    На самом деле, вам будет трудно найти для него логическое применение, ведь не является широчайшим. Однако это не обязательно является недостатком, поскольку широчайшие тяги вниз — невероятно упражнение. Они эффективно воздействуют на широчайшие мышцы спины, или «широчайшие мышцы спины», которые являются самыми широкими мышцами спины. Хорошо развитые широчайшие являются ключевым компонентом впечатляющего телосложения.

    Насадка для вытягивания широчайшей части — одна из самых широких насадок, которые вы найдете, и имеет небольшой изгиб вниз ближе к ручкам. Это позволяет вам использовать различные хваты в тягах широчайших.

    Широкий хват заставит ваши широчайшие работать немного усерднее. Обратный хват, как вариант, выполняется сближением рук и ладонями к себе. Этот хват снимает некоторую активацию с ваших широчайших мышц и перенаправляет ее на бицепсы. В то же время при среднем хвате ваши руки смотрят в сторону от вас на ширине, которая находится где-то между широким и обратным хватом.

    Еще один профессиональный совет: закрепите большие пальцы над перекладиной любого хвата, где ваши ладони обращены от вас, и закрепите их 0396 под гриф любым хватом, когда ваши ладони обращены к вам.

    Другие приспособления для канатных тренажёров

    Это не единственные приспособления, с которыми вы можете столкнуться во время занятий фитнесом.

    Другие распространенные приспособления включают перекладину для скручивания троса, W-образную перекладину и прямое двойное шкивное приспособление. Их лучше всего использовать для вариаций сгибания рук, вариаций тяги и билатеральных упражнений с двумя блоками (например, жим лежа с прямой штангой на тросе) соответственно.

    К дополнительным приспособлениям относятся манжеты на лодыжки (лучше всего использовать для упражнений на ягодичные мышцы), ремни (лучше всего использовать для приседаний и выпадов) и крепления для головы (лучше всего использовать для тренировки шеи).

    Эти приспособления не являются обязательными, но они добавляют дополнительные возможности и потенциальные дополнения к вашим тренировкам на тросовом тренажере.

    Лучшее дополнительное оборудование для тренажерного зала

    Вы тренируетесь на канатном тренажере?

    Если нет, хотите?

    Тогда вам следует подумать о том, какие насадки лучше иметь под рукой. Наличие большого разнообразия доступных насадок поможет каждому тренирующемуся насладиться безопасной и эффективной тренировкой, соответствующей его тренировочным целям.

Погрузчик с захватом: Погрузчики с боковым захватом, купить погрузчики для длинномеров по ценам производителя в Москве

Рулонный захват для вилочного погрузчика

Каталог товаров

Вернуться в раздел

Обзор товара

Набор

Комплект

Описание

Характеристики

Аксессуары

Отзывы

Похожие товары

Наличие

Файлы

Видео

Вернуться в раздел

Обзор товара

Набор

Комплект

Описание

Характеристики

Аксессуары

Отзывы

Похожие товары

Наличие

Файлы

Видео

Ожидает поступления

Отзывов: 0

Описание товара:

Рулонный захват оснащен большими прижимными пластинами и специально предназначен для транспортировки рулонов бумаги. Тонкий профиль больших лап предотвращает повреждение рулонов в процессе тесного штабелирования или извлечения. Захват сконструирован на базе хорошо зарекомендовавшего себя ротатора Майер, с гидромеханическим тормозом и прямой червячной передачей. Механизм вращения 360° позволяет предотвратить повреждение рулона при укладке на неровную поверхность.

Характеристики:

Все характеристики

Дополнительные опции

Для перевозки рулонов

Количество гидравлических функций

4

Страна производства

Великобритания

Наши предложения

Ожидает поступления


Цена по запросу

Запросить цену

Купить в 1 клик

Нашли дешевле

Рассчитать доставку

Под заказ

Поделиться

Описание товара

Характеристики

Похожие товары (6)

В наличии

Быстрый просмотр

Ротатор Meyer 5-1502N

Цена по запросу

Запросить цену

Подробнее

Купить в 1 кликСравнение

В избранноеВ наличии

Быстрый просмотр

Кабина для вилочного погрузчика Hyster

Цена по запросу

Запросить цену

Подробнее

Купить в 1 кликСравнение

В избранноеПод заказ

Серия погрузчика

  • 0UT-h3.5UT»>

    h3.0UT-h3.5UT

  • h2.25XТ

  • A1.3XNT

  • J5.0XN

  • h2.6FT

  • h2.8XT-h3.0XT

  • 5XТ»>

    h2.5XТ

  • h4.0UT-h4.5UT

  • H5.0FT

  • h4.5XT

  • J2.5XN

  • J3.0XN

  • 5XNT-J2.0XN»>

    J1.5XNT-J2.0XN

  • h3.5XT

  • h4.0XT

Ожидает поступления

Быстрый просмотр

Вила для вилочного погрузчика, 800 мм, 2А, до 1.8 тонн

Цена по запросу

Запросить цену

Подробнее

Купить в 1 кликСравнение

В избранноеПод заказ

В наличии

Быстрый просмотр

Вила для вилочного погрузчика, 1200 мм, 2А, до 1. 8 тонн

Цена по запросу

Запросить цену

Подробнее

Купить в 1 кликСравнение

В избранноеВ наличии

Быстрый просмотр

Каретка бокового смещения 2500 кг (сайд-шифт)

Цена по запросу

Запросить цену

Подробнее

Купить в 1 кликСравнение

В избранноеПод заказ

Ширина каретки, мм

  • 800

  • 900

  • 920

  • 940

  • 980

  • 1000

  • 1020

  • 1040

  • 1070

  • 1100

  • 1150

  • 1250

  • 1400

В наличии

Быстрый просмотр

Вила для вилочного погрузчика, 1000 мм, 2А, до 1. 8 тонн

Цена по запросу

Запросить цену

Подробнее

Купить в 1 кликСравнение

В избранноеВ наличии


Цена по запросу

Запросить цену

Купить в 1 клик

Нашли дешевле

Рассчитать доставку

Под заказ

Поделиться

Ошибка

Закрыть окно

Рулонный захват для вилочного погрузчика

Нашли дешевле

Сообщение отправлено

Ваше сообщение успешно отправлено. В ближайшее время с Вами свяжется наш специалист

Закрыть окно

Быстрый запрос КП

Закрыть окно

Запросить стоимость товара

Загрузка товара

Заполните данные для запроса цены

Я согласен на обработку персональных данных. *

Закрыть окно

Захват для рулонов поворотный на вилочный погрузчик

Официальный дистрибьютор спецтехники LiuGong

Обратный звонок

8 (800) 775-51-33

  • Каталог спецтехники

    Фронтальные погрузчики

    Мини-погрузчики

    Автогрейдеры

    Вилочные погрузчики

    Экскаваторы

    Катки дорожные

    Экскаваторы-погрузчики

    Бульдозеры

    Б/у техника

  • Навесное оборудование

  • Запчасти

  • Сервис и ремонт

Фронтальные погрузчики

  • Грузоподъемность 1–3 т
  • Грузоподъемность 4–5 т
  • Грузоподъемность 6–12 т

Мини-погрузчики

  • С бортовым поворотом
  • С сочлененной рамой
  • С телескопической стрелой

Автогрейдеры

  • Легкого класса
  • Среднего класса
  • Тяжелого класса

Вилочные погрузчики

  • Дизельные погрузчики
  • Электрические погрузчики

Экскаваторы

  • Легкого класса
  • Среднего класса
  • Тяжелого класса

Катки дорожные

  • Грунтовые катки
  • Асфальтовые катки

Экскаваторы-погрузчики

  • С равновеликими колесами
  • С разновеликими колесами

Бульдозеры

  • Легкого класса
  • Среднего класса
  • Тяжелого класса

Б/у техника


  • О компании

  • Спецпредложения

  • Оплата

  • Лизинг

  • Трейд-ин

  • Контакты

8 (800) 775-51-33

Обратный звоно

8 (800) 775-51-33

Обратный звонок

г. Ярославль, ул. П. Морозова, 14а
Пн-Пт: 08:15 – 17:15
[email protected]

Назначение

Используется для перемещения и позиционирования груза в виде рулонов.

Отправить заявку

  • Описание


Широко применяется на целлюлозно-бумажных предприятиях. Как правило, имеет вращение на 360 градусов, изготавливается с различной высотой лап, с одной или двумя подвижными лапами, c раскрытием от 250 мм до 2 500 мм.


Превосходная видимость через рукоять и раму обеспечивают максимальную производительность и уменьшает повреждения рулонов.

Адаптация техники

под ваши задачи

Производим переоборудование спецтехники в любую необходимую модификацию, подберем все необходимое для решения ваших задач. Наши специалисты выполнят широкий перечень работ по дооборудование автотехники.

Получить консультацию

Цена на грейферный погрузчик. Купить дешевый грейферный погрузчик по низкой цене на сайте Made-in-China.com. Сравнивая цены на грейферный погрузчик

, вы можете купить качественный грейферный погрузчик по заводской цене / низкой цене в Китае.

Послепродажное обслуживание:
2 года

Гарантия:
2 года

Тип:
Гусеничный экскаватор

Использование:
Экскаватор GM

Ведро:
Грейферный ковш

Трансмиссия:
Гидравлическая трансмиссия

Jiangsu Gather Power Industry Co., Ltd.

Послепродажное обслуживание:
2 года

Гарантия:
2 года

Тип:
Гусеничный экскаватор

Использование:
Экскаватор GM

Ковш:
Грейферный ковш

Трансмиссия:
Гидравлическая трансмиссия

Jiangsu Gather Power Industry Co. , Ltd.

Послепродажное обслуживание:
2 года

Гарантия:
2 года

Тип:
Гусеничный экскаватор

Использование:
Экскаватор GM

Ковш:
Грейферный ковш

Трансмиссия:
Гидравлическая трансмиссия

Jiangsu Gather Power Industry Co., Ltd.

Послепродажное обслуживание:
Идеальное послепродажное обслуживание

Гарантия:
1 год

Тип:
Экскаватор-погрузчик

Использование:
Специальный экскаватор, карьерный экскаватор, экскаватор GM, погрузчик

Ковш:
Грейферный ковш

Трансмиссия:
Гидравлическая трансмиссия

Юйчэн Шаньчжун Машинери Ко. , Лтд.

Тип:
Ручной комбайн

Применение:
Сахарный тростник

Источник питания:
Дизель

Способ добычи:
Резка

Тип привода:
Шестерня привода

Трансмиссия:
Жесткий вал

Weihai Titan Heavy Machinery Co., Ltd.

Послепродажное обслуживание:
Круглосуточная онлайн-служба

Тип:
Ручной комбайн

Применение:
Сахарный тростник

Источник питания:
Дизель

Способ добычи:
Резка

Тип привода:
Шестеренчатый привод

Weihai Titan Heavy Machinery Co. , Ltd.

Сертификация:
TUV, ISO, RoHS, CE

Состояние:
Новый

Номинальная нагрузка:
1-3 т

Трансмиссия:
Гидравлический — механический

Режим загрузки и разгрузки:
Передний выброс

Режим ходьбы:
Колесный

Weihai Titan Heavy Machinery Co., Ltd.

Тип:
Ручной комбайн

Применение:
Сахарный тростник

Источник питания:
Дизель

Способ добычи:
Резка

Тип привода:
Шестерня привода

Трансмиссия:
Жесткий вал

Weihai Titan Heavy Machinery Co. , Ltd.

Состояние:
Новый

Номинальная нагрузка:
1-3 т

Трансмиссия:
Гидравлический — механический

Режим загрузки и разгрузки:
Передний выброс

Режим ходьбы:
Колесный

Тип:
Загрузчик бревен

Sinoway Industrial (Шанхай) Co., Ltd.

Послепродажное обслуживание:
Запасные части

Гарантия:
12 месяцев

Сертификация:
ТУВ, ИСО, РоХС, КЭ

Состояние:
Новый

Номинальная нагрузка:
1-3 т

Трансмиссия:
Гидравлический

WEIFANG FORLOAD MACHINERY CO. , LTD.

Послепродажное обслуживание:
Онлайн-поддержка

Гарантия:
1 год

Сертификация:
ТУВ, ИСО, РоХС, КЭ

Состояние:
Новый

Номинальная нагрузка:
1-3 т

Трансмиссия:
Гидравлический

Международная торговая компания Шаньдун Лугонг, ООО

Сертификация:
ISO, CE

Состояние:
Новый

Номинальная нагрузка:
15 тонн

Трансмиссия:
Гидравлический

Режим загрузки и разгрузки:
Передний выброс

Режим ходьбы:
Колесный

Сямынь LTMG Machinery Co. , Ltd.

Тип:
Колесный экскаватор

Применение:
Солома, сахарный тростник, бревно, бамбук, дерево, древесина

Источник питания:
Дизель

Способ добычи:
Захват

Тип привода:
Привод внутреннего сгорания

Трансмиссия:
Гидравлическая трансмиссия

Цюаньчжоу Jingli Engineering & Machinery Co., Ltd.

Послепродажное обслуживание:
Доступно послепродажное обслуживание

Гарантия:
1 год

Сертификация:
ИСО

Состояние:
Новый

Номинальная нагрузка:
1-3 т

Трансмиссия:
Гидравлический — механический

Сюйчжоу Silkway Machinery & Equipment Co. , Ltd.

Послепродажное обслуживание:
Круглосуточная онлайн-служба

Гарантия:
Один год

Сертификация:
TUV, ISO, RoHS, CE

Состояние:
Новый

Номинальная нагрузка:
<1t

Трансмиссия:
Гидравлический — механический

Weihai Titan Heavy Machinery Co., Ltd.

Послепродажное обслуживание:
Бесплатные детали

Гарантия:
Один год

Сертификация:
ИСО

Состояние:
Новый

Номинальная нагрузка:
<1t

Трансмиссия:
Гидравлический — механический

Цинчжоу Hongyuan Vehicles Co. , Ltd.

Послепродажное обслуживание:
Обеспечить пожизненное решение онлайн-проблем

Гарантия:
1 год

Сертификация:
ISO, CE, Euro 5 Утверждено

Состояние:
Новый

Номинальная нагрузка:
1-3 т

Трансмиссия:
Гидравлический

Шаньдун TOROS Machinery Co., Ltd.

Тип:
Ручной комбайн

Применение:
Сахарный тростник

Источник питания:
Дизель

Способ добычи:
Резка

Тип привода:
Шестерня привода

Трансмиссия:
жесткий вал

Weihai Titan Heavy Machinery Co. , Ltd.

Тип:
Ручной комбайн

Применение:
Сахарный тростник

Источник питания:
Дизель

Способ добычи:
Резка

Тип привода:
Зубчатая передача

Передача:
Жесткий вал

Weihai Titan Heavy Machinery Co., Ltd.

Тип:
Ручной комбайн

Применение:
Сахарный тростник

Источник питания:
Дизель

Способ добычи:
Резка

Тип привода:
Шестеренчатый привод

Трансмиссия:
Жесткий вал

Weihai Titan Heavy Machinery Co. , Ltd.

Послепродажное обслуживание:
Круглосуточная онлайн-служба

Тип:
Ручной комбайн

Применение:
Сахарный тростник

Источник питания:
Дизель

Способ добычи:
Резка

Тип привода:
Зубчатая передача

Weihai Titan Heavy Machinery Co., Ltd.

Тип:
Ручной комбайн

Применение:
Сахарный тростник

Источник питания:
Дизель

Метод сбора урожая:
Резка

Тип привода:
Шестерня привода

Трансмиссия:
Жесткий вал

Weihai Titan Heavy Machinery Co. , Ltd.

Послепродажное обслуживание:
Круглосуточная онлайн-служба

Тип:
Ручной комбайн

Применение:
Сахарный тростник

Источник питания:
Дизель

Способ добычи:
Резка

Тип привода:
Зубчатая передача

Weihai Titan Heavy Machinery Co., Ltd.

Тип:
Ручной комбайн

Применение:
Сахарный тростник

Источник питания:
Дизель

Способ добычи:
Резка

Тип привода:
Шестерня привода

Трансмиссия:
Жесткий вал

Weihai Titan Heavy Machinery Co. , Ltd.

Тип:
Ручной комбайн

Применение:
Сахарный тростник

Источник питания:
Дизель

Способ добычи:
Резка

Тип привода:
Шестерня привода

Трансмиссия:
Жесткий вал

Weihai Titan Heavy Machinery Co., Ltd.

Послепродажное обслуживание:
Круглосуточная онлайн-служба

Тип:
Ручной комбайн

Применение:
Сахарный тростник

Источник питания:
Дизель

Способ добычи:
Резка

Тип привода:
Зубчатая передача

Weihai Titan Heavy Machinery Co. , Ltd.

Тип:
Ручной комбайн

Применение:
Сахарный тростник

Источник питания:
Дизель

Способ добычи:
Резка

Тип привода:
Шестерня привода

Трансмиссия:
Жесткий вал

Weihai Titan Heavy Machinery Co., Ltd.

Послепродажное обслуживание:
Круглосуточная онлайн-служба

Тип:
Ручной комбайн

Применение:
Сахарный тростник

Источник питания:
Дизель

Способ добычи:
Резка

Тип привода:
Шестеренчатый привод

Weihai Titan Heavy Machinery Co. , Ltd.

Тип:
Ручной комбайн

Применение:
Сахарный тростник

Источник питания:
Дизель

Способ добычи:
Резка

Тип привода:
Зубчатая передача

Передача:
Жесткий вал

Weihai Titan Heavy Machinery Co., Ltd.

Тип:
Гусеничный экскаватор

Использование:
Специальный экскаватор, морской экскаватор, горный экскаватор, экскаватор GM

Ковш:
Грейферный ковш

Трансмиссия:
Гидравлическая трансмиссия

Тип привода:
Привод внутреннего сгорания

Емкость ковша:
0,1~0,5 м³

Weihai Titan Heavy Machinery Co. , Ltd.

Грейферный погрузчик для сахарного тростника

КОЛЕСНЫЙ ПОГРУЗЧИК САХАРНОГО ТРОСТА
Функции :
1. Полный привод имеет хорошую проходимость и устойчивость;
2. У водителя более удобное рабочее пространство
и зрение;
3. Система передачи использует традиционную коробку передач и
Трансмиссия с гидротрансформатором с хорошей стабильностью;
4. С глобальной гарантией дизельный двигатель Cummins, который
мощный и надежный;
5. Способность к лазанию хорошая и подходит для разных
работа сайта;
6. Надежная рабочая система и низкие эксплуатационные расходы.

ВВЕДЕНИЕ

Погрузчики сахарного тростника серии YN разработаны нашей технической командой с использованием передового программного обеспечения, такого как трехмерное Pro/E, виртуальное моделирование Mastercam и т. д. Погрузчики сахарного тростника серии YN производятся в основном для тяги, транспортировки, погрузки и разгрузки в поле посадки сахарного тростника. Мы провели тысячу раз профессиональные высококлассные испытания нашей продукции, чтобы убедиться, что она обладает более высокой прочностью, эффективностью, надежностью при минимальных затратах. Мы также разработали грейферный ковш для наших погрузчиков сахарного тростника, чтобы расширить его практичность.

ОСНОВНЫЕ ЧАСТИ ХАРАКТЕРИСТИКИ

Мы используем мощный и надежный двигатель Cummins и обещаем вам глобальную гарантию.

Передняя и задняя оси имеют грузоподъемность 20 тонн.

Дополнительный грейферный ковш для увеличения его практичности.0474

Система передачи отличается очень высокой эффективностью и стабильностью, основанной на проверенных международных технологиях.

Усиленные стальные рамы делают любой захват легким, но мощным.

ТЕХНИЧЕСКИЕ ПАРАМЕТРЫ

9 0475 МАКС. ВЫСОТА РЫВКА
ОБЩИЙ ВЕС 8000 кг
ГРУЗОВОЙ ГРУЗ 1200 кг
МАРКА ДВИГАТЕЛЯ Cummins
МОДЕЛЬ ДВИГАТЕЛЯ 4BTA3. 9-C110
НОМИНАЛЬНАЯ МОЩНОСТЬ 110 л.с. / 83 кВт 9 0477
РАБОЧАЯ СКОРОСТЬ 30 км/ч
УГОЛ ПОВОРОТА СТРЕЛЫ 100°
ДАВЛЕНИЕ В ГИДРАВЛИЧЕСКОЙ СИСТЕМЕ 16 МПа
ПОТОК В ГИДРАВЛИЧЕСКОЙ СИСТЕМЕ 40/40CC
5600 ММ

97 5 2600 мм

90 482

MAX.Grabbing RADIUS 4250 мм
Общая длина 6700MM
Высота кабины до заземления 3200 мм
Колеса базы 2670MM
ОСНОВА ГУСЕНИЦ 2200MM
ДОРОЖНЫЙ ПРОСТРАНСТВО  530MM
ШИРИНА ЗАХВАТА В ОТКРЫТОМ ПОЛОЖЕНИИ 1850 ММ
ВЫСОТА ОТ ОТ ШТАБЛЕРА ДО ЗЕМЛИ 420 ММ
9047 5 ТИП ШИН
23.

Мтз 80 зазор клапанов: 80, 82, Д-240, 1221, 245, 1523, 892, порядок регулировки, зазоры на холодном двигателе, замедлительный клапан, турбо, видео, схема

1

Они перемещаются в направляющих втулках, запрессованных в головку цилиндров. Затягивают болт 5.

См. также: МТЗ электрика

Покупка автомобилей

Рекомендуем: тракторы МТЗ модельный ряд цены

Зил самосвал

Эти деяния позволяют сделать лучше работу мотора, уменьшить расход горючего, повысить мощность и КПД.

При замене масла одновременно нужно промывать заливной фильтр. Не допускайте работу дизеля с уровнем масла ниже нижней и выше верхней метки;.

Неправильно отрегулированные клапана могут стать причиной характерного звука и нарушения теплового режима работы двигателя. Щуп должен ходить с закусыванием плотно, между клапаном и коромыслом. Впускные и выпускные клапаны Д изготовлены из жаропрочной стали.

Как отрегулировать клапана трактора МТЗ, перед регулировкой клапанов на прогретом. Если зазор не соответствует допустимым пределам, отрегулировать по показаниям индикатора приспособления клапанный механизм, ввинчивая или вывинчивая регулировочный винт, предварительно отвинтив его контргайку. При переходе к регулировке клапанов следующего цилиндра необходимо проворачивать коленчатый вал двигателя на градусов, то есть на пол оборота, по часовой стрелке. Подрегулировку давления масла в системе смазки производите затяжкой пружины сливного клапана центробежного масляного фильтра рис.

Монтируется на ЗИЛ Допускается разность ширины пояска не более 0,5 мм. Как отрегулировать карбюратор своими Как выставить обороты холостого хода на ВАЗ Далее, путем проворачивания винта, устанавливается требуемая величина измеряют при помощи идущего щупа между бойком стержня.

Штанги толкателей изготовлены из стального прутка. Любой двигатель внутреннего сгорания требует точной регулировки впускных и выпускных клапанов. По мере регулировки клапанов не забудьте прокручивать коленный вал двигателя на градусов вправо, находясь лицом к двигателю. Операции технического обслуживания системы охлаждения Д При ТО системы охлаждения двигателя МТЗ придерживайтесь следующих рекомендаций: — поддерживайте уровень охлаждающей жидкости в верхнем бачке на мм ниже верхнего торца заливной горловины радиатора уровень должен быть не ниже мм от верхнего торца заливной горловины ; — следите за температурой охлаждающей жидкости. В закрытом положении клапаны должны плотно прилегать к гнездам в головке цилиндров.

Устанавливают на место колпак головки цилиндров. Контактная информация. Ввинтите фиксатор в отверстие корпуса маховика. Эту операцию следует производить в соответствии со схемой затяжки шпилек и в несколько приемов, чтобы избежать деформации и нарушения целостности шпильки и резьбы.

Читайте дополнительно: ремонт двигателя МТЗ-80

Самое интересное

Главная Грузоперевозки.

Эти деяния позволяют сделать лучше работу мотора, уменьшить расход горючего, повысить мощность и КПД.

По окончании регулировки зазора в клапанах поставьте на место колпак крышки головки цилиндров.

При отсутствии устройства КИ зазоры между клапанами и коромыслами проверяют щупами. Перемещение коромысел вдоль оси ограничивается распорными пружинами.

Рекомендуем: Трактор МТЗ-892

Для регулировки зазора клапанов отпустите контргайку винта на коромысле регулируемого клапана и, поворачивая винт, установите необходимый зазор по щупу между бойком коромысла и торцом стержня клапана. Приливы вместе с крышками образуют постели для коренных подшипников.

Зазор между бойком коромысла и торцом стержня клапана на прогретом двигателе регулируйте на величину 0,25 мм. Понравилась статья? После притирки клапаны и головку блока двигателя рекомендуется промыть. Согласованная работа топливного насоса высокого давления и механизма газораспределения двигателя Д обеспечивается установкой шестерен распределения по меткам в соответствии с рисунком 1. При работе в условиях засоренности воздуха крупными частицами установите на сетку фильтра грубой очистки воздуха защиту из марли.

Покупка автомобилей

Усилие на рулевом колесе не должно превышать Н. Отпустить контргайку регулировочного винта на коромысле клапана и, ввертывая винт, установить при помощи щупа требуемый зазор между бойком коромысла и торцом клапана. Вам понадобится помощник, так как будет необходимо нажимать педаль сцепления и проворачивать маховик, сверяя положение меток, сделанных специально для этой цели.

Проверка и регулировка деталей механизма газораспределения

Рубрика — Дизель

Обслуживание механизма газораспределения заключается в обеспечении надлежащих зазоров между бойками коромысел и торцами стержней клапанов, подтяжке гаек крепления головки цилиндров.

Зазоры между клапанами и коромыслами проверяйте и регулируйте после обкатки нового трактора и через каждые 480 часов (через одно ТО №2), а также после снятия головки цилиндров, подтяжки гаек крепления головки цилиндров и при появлении стука клапанов.

Зазор между бойком коромысла и торцом стержня клапана на непрогретом дизеле регулируйте на величину 0,25-0,30 мм. для впускных и выпускных клапанов.

Регулировку проводите в следующем порядке:

  • а) снимите колпак крышки головки цилиндров.
  • б) проверьте затяжку крепления стоек валика коромысел.
  • в) установите поршень первого цилиндра в ВМТ (оба клапана должны быть закрыты).
  • г) отпустите контргайку винта на коромысле регулируемого клапана и, вворачивая или выворачивая винт, установите между бойком коромысла и торцом стержня необходимый зазор по щупу. После установки зазора затяните контргайку и снова проверьте зазор щупом, проворачивая штангу. Клапана регулируйте в последовательности, соответствующей порядку работы цилиндров дизеля (1-3-4-2), проворачивая коленчатый вал на пол-оборота по ходу часовой стрелки.

Допускается регулировка клапанов другим способом:

  • а) снимите колпак крышки головки цилиндров.
  • б) проверьте затяжку крепления стоек валика коромысел.
  • в) проверните коленчатый вал до момента перекрытия клапанов в первом цилиндре (всасывающий клапан первого цилиндра открывается, выхлопной закрывается) и отрегулируйте зазор в 4-, 6-, 7- и 8-м клапанах (отсчет клапанов от вентилятора).
  • г) проверните коленчатый вал на один оборот, установив перекрытие в четвертом цилиндре, и отрегулируйте зазор в 1-, 2-, 3- и 5-м клапанах.

После регулировки зазоров поставьте на место колпак крышки.

При перепроверке на холодном дизеле допускаются зазоры 0,25+-(0,05-0,10) для впускных и выпускных клапанов.

Проверку затяжки гаек крепления головки цилиндров проводите после обкатки нового трактора и через 960 часов (при ТО №3) на прогретом дизеле в следующем порядке:

  • а) снимите колпак и крышку головки цилиндров.
  • б) снимите валик коромысел с коромыслами и стойками.
  • в) динамометрическим ключом проверьте затяжку всех гаек крепления головки цилиндров в последовательности, указанной на рисунке ниже. Момент затяжки должен быть 16-18 кгс*м (160-180 Н*м).
  • г) после проверки затяжки гаек крепления головки цилиндров установите на место валик коромысел и отрегулируйте зазор между коромыслами и клапанами. Установите на место крышку головки и колпак крышки.

Последовательность затяжки гаек головки блока

Установку шестерен распределения производите по имеющимся на них меткам (см. рис. ниже). Метки на промежуточной шестерне 4 должны совмещаться с соответствующими метками шестерен коленчатого 1 и распределительного 3 валов и шестерни привода топливного насоса 5.

Шестерни механизма газораспределения

  1. распределительная шестерня коленчатого вала
  2. шестерня привода шестеренчатого насоса гидроусилителя рулевого управления
  3. шестерня распределительного вала
  4. промежуточная шестерня
  5. шестерня привода топливного насоса
  6. шестерня привода масляного насоса

Двигатель — Регулировка клапана 20R/22R/RE/RET

Почему это так важно?

ЗАЗОР клапанов ИЗМЕНИТСЯ через некоторое время, когда распредвалы, седла клапанов и клапаны изнашиваются. Пикапы и 4Runner.

Регулировку клапанов никто не хочет делать, но Toyota рекомендует проверять их каждые 60 000 миль. Важность проверки и регулировки ваших клапанов заключается в том, что если у вас слишком большой зазор, это может быстро привести к разрушению или серьезному повреждению вашего двигателя. Кроме того, если клапан сгорел и не герметичен должным образом, вы не получите полностью герметичную камеру сгорания. Иногда регулировка клапанов настолько не соответствует техническим характеристикам, что это снижает производительность автомобиля или очень шумно. Некоторые симптомы неправильно отрегулированных клапанов: расход бензина, недостаток мощности или чрезмерные выбросы, среди прочего.

Как отрегулировать клапаны?

Зазоры клапанов: Впуск = 0,008 дюйма (0,2 мм)
Выпуск = 0,012 дюйма (0,3 мм)

  1. Запустите двигатель и дайте ему нагреться до нормальной рабочей температуры (обязательно), затем выключите его.
  2. Будьте очень осторожны, потому что все будет очень горячим.
  3. Удалите все, что связано или находится на пути к крышке клапана.
  4. Снимите клапанную крышку и крышку распределителя.
  5. Установите поршень № 1 в ВМТ (ВМТ) такта сжатия. Это означает, что метка балансира на шкиве коленчатого вала совпадает с меткой 0 на метке ГРМ, в то же время ротор на распределителе должен указывать на 1.
  6. Убедитесь, что коромысла клапанов цилиндра № 1 не затянуты, а коромысла № 4 затянуты. Если это не так, поршень № 1 не находится в ВМТ такта сжатия.
  7. Проверка/регулировка только тех клапанов, которые указаны стрелками на (рисунке)
    9. Зазор измеряется путем вставки щупа указанного размера между концом штока клапана и регулировочным винтом. Вы должны чувствовать небольшое сопротивление, когда щуп перемещается вперед и назад.

    10. После установки зазора удерживайте винт на месте с помощью отвертки и снова затяните контргайку. Еще раз проверьте зазор клапана и убедитесь, что он не изменился при затягивании контргайки. Если это так, отрегулируйте его, пока он не станет правильным.

    11. Повторите процедуру для остальных клапанов (рис. 1), затем проверните коленчатый вал на один полный оборот (360º) и совместите метку на шкиве с нулем на двигателе.

    12. Отрегулируйте клапаны, указанные стрелками на втором рисунке.

    13. Повторно проверьте зазоры клапанов и при необходимости отрегулируйте их.

    14. Установите на место крышку клапана, крышку распределителя и подсоедините все шланги и проводку.

Наконечники для регулировки клапана:

  • Клапанный зазор для кулачков вторичного рынка может различаться. Следуйте спецификациям клапанных зазоров производителя кулачков.
  • Осмотрите кулачки кулачка на предмет ненормального износа и регулировочные винты клапана на наличие плоских участков и точечной коррозии. Если винты изношены, это сделает регулировку клапана неточной.

 107 149 всего просмотров

yanmar 3tn82 specs — Googlesuche0005

Дизельный двигатель Yanmar 3TN82 — Компактные тракторы — keletagro. com

www.keletagro.com › компактные тракторы › дизельные…

Главная; -; Компактные тракторы; -; Японские двигатели для компактных тракторов; — Дизельный двигатель Yanmar 3TN82 · Звоните! Напишите нам сообщение! KELETAGRO Минден бег трусцой феннтартва. Двигатель Yanmar 3TN82: Технические данные и характеристики обслуживания

3TNV82A(-B)|Вертикальные дизельные двигатели с водяным охлаждением — YANMAR

www.yanmar.com ›двигатель ›продукция ›v_waterco…

Мощность, кВт[л.с.], 21,9 [29,4]. Сухая масса (Задняя пластина/Корпус раструба), кг, 111 / 128. Размеры, длина x ширина x высота, мм, 528,5 x 498,5 x 561 … › …

3TNV82A-GGE ДИЗЕЛЬНЫЙ ДВИГАТЕЛЬ ; ЦИЛИНДРЫ, 3 ; ОТВЕРСТИЕ x ХОД (мм), 82 x 84 ; РАБОЧИЙ ОБЪЕМ, дюйм3 (куб. см), 81,2 (1330); НОМИНАЛЬНАЯ МОЩНОСТЬ, л.с., 17,7 ; НОМИНАЛЬНАЯ СКОРОСТЬ, об/мин, 1800.

3TN82 Детали двигателя

www.hoyeindustrial.com › … › Двигатели с водяным охлаждением

3TN82 Детали двигателя . .. ОБЪЕМ: 1,362. КОЭФФИЦИЕНТ СЖАТИЯ: 18,06:1. МОЩНОСТЬ: 18 — 24,6. ПОРЯДОК СТРЕЛЬБЫ: 1-3-2. СГОРАНИЕ: ПРЯМОЙ ВЕС (СУХОЙ): 190 фунтов …

Двигатель YANMAR 3TN82 (бывший в употреблении) | Engineswarehouse.com

Engineswarehouse.com › Сельскохозяйственная техника › Двигатели

Заказ запчастей. ТРАКТОРНЫЕ, ЭКСКАВАТОРНЫЕ УСЛУГИ. Услуги по ремонту тяжелой техники, сельскохозяйственной техники, дорожно-строительной техники, различной промышленной …

Yanmar — A.S.L. ДВИГАТЕЛЬ

www.aslmotor.com › yanmar

3TNE82 Рабочий объем 1,425 л Мощность: 30 л.с. 3TNE82 Янмар 3TNE82. 3TNE82A Рабочий объем 1.330 л Мощность: 29 л.с., 2800-3025 об/мин. 3TNE82A yanmar …

Yanmar 3TN-4TN Руководство по двигателю в формате PDF, технические характеристики, моменты затяжки болтов фут. 4TN100 93 Нм, 69 фунто-футов. Момент затяжки болтов головки блока цилиндров Yanmar 3TN. 3-цилиндровые двигатели 3TN66 34 Нм, 25 фунто-футов

[PDF] 3tnv82a.

Case 788: Характеристики Case 788 P Plus. Обзор колесного экскаватора 788 P Plus

Запчасти для Экскаваторы CASE 788P

292031A1 Крестовина карданного вала

Каталожный номер:

292031A1

Аналоги

Срок доставки 24 часа

3283333 Прокладка головки блока

Каталожный номер:

3283333

Аналоги

Срок доставки 24 часа

3283336 прокладка головки блока 0.25

Каталожный номер:

3283336

Аналоги

Аналоги:

J283336 3904335 3907055 3915720 3917355 3921395 3283001 3915720

Срок доставки 24 часа

3283336 прокладка головки блока 0.5

Каталожный номер:

3283336

Аналоги

Аналоги:

J283336 3904336 3907056 3915721

Срок доставки 24 часа

3283569 Прокладка головки блока

Каталожный номер:

3283569

Аналоги

Аналоги:

3904334 3907054 3915726 3917354 3921393 3282999 3283569

Срок доставки 24 часа

851-01-4678 фильтр масляный

Каталожный номер:

851-01-4678

Аналоги

Аналоги:

P558616 LF3345 LF3805 W940 30 J908616 BT427

Срок доставки 24 часа

87308050 Прокладка поддона

Каталожный номер:

87308050

Аналоги

Срок доставки 24 часа

A77405 вкладыш коренной NOM

Каталожный номер:

A77405

Аналоги

Аналоги:

84282771

Срок доставки 24 часа

A77465 вкладыш шатунный NOM

Каталожный номер:

A77465

Аналоги

Аналоги:

A77894

Срок доставки 24 часа

A77466 Вкладыш шатунный 0,25 (на одну шейку)

Каталожный номер:

A77466

Аналоги

Срок доставки 24 часа

Экскаваторы CASE 788P широко эксплуатируются во всех сферах промышленности, дорожном и коммунальном хозяйстве, на карьерных разработках, на складах и заводских территориях.

Важная и главная особенность конструкции экскаваторов CASE 788P является их тщательно подогнанная и аналитически просчитанная совместимость конструкции с надежностью и выносливостью внутреннего наполнения и за счет самовыравнивающихся параметров.

Использование экскаваторов на болотистых и сложных рельефных поверхностях возможно за счет особенностей конструкции стрелы, которая не только создает большой запас прочности и мощности технике в целом, но и позволяет без проблем поднимать грузы большого тоннажа.

Профессиональный ремонт, технический уход экскаваторов CASE 788P в Киеве

Профессиональный ремонт, технический уход экскаваторов CASE788P в Киеве предлагает клиентам компания TDC Укрспецтехника.

В мастерской на Броварах штатные мастера обладают опытом и профессиональными навыками, чтобы найти и устранить неисправности экскаваторов CASE788P в любом узле. Во время ремонта используются только оригинальные заводские запчасти от производителя техники CASE: крестовина карданного вала, прокладка головки блока цилиндров, вкладыш коренной, вкладыш шатунный, комплект прокладок, сальник коленвала и пр.

Разборка, сборка всех конструктивных узлов, агрегатов производится по специализированным каталогам завода-производителя экскаваторов CASE788P. На все работы, выполненные в стенах мастерской, выдается гарантия на 12 месяцев. А на объектах, которые были в ремонте, проставляется гарантийная пломба и выдается гарантийный сертификат.

Обслуживание новой и эксплуатируемой техники часто заставляет клиента прибегать к услугам непрофессионалов-частников. Наша компания гарантирует качество обслуживания в современной мастерской. У нас есть на складе необходимый для ремонта ассортимент запчастей для всех марок мировой техники, включая для экскаваторов CASE788P.

Стоимость новых оригинальных запчастей для экскаваторов CASE 788P невысокая в силу особенностей работы нашей компании. Все поставки осуществляются напрямую, без посредников. Возможна доставка запчастей для экскаваторов CASE 788P по регионам Украины. Контакты региональных менеджеров вы найдете на соответствующей странице «Контакты». Свяжитесь с представителем и закажите нужную запчасть. Наши логисты в минимальные сроки доставят вам по адресу необходимую деталь или узел.

Наверх↑

Аренда колесного экскаватора Case 788 в СПб

Автокран Zoomlion ZTC800V

В наличии

Подробнее

Заказать

Автокран Liebherr LTM 1080

В наличии

Подробнее

Заказать

Автокран Grove GMK 4080

В наличии

Подробнее

Заказать

Автокран Галичанин КС-65721-2

В наличии

Подробнее

Заказать

Автокран Liebherr LTM 1060

В наличии

Подробнее

Заказать

Автокран Grove GMK 3060

В наличии

Подробнее

Заказать

Автокран Zoomlion ZTF 600

В наличии

Подробнее

Заказать

Автокран Zoomlion ZAT3000V

В наличии

Подробнее

Заказать

Автокран GMK 6300L-1

В наличии

Подробнее

Заказать

Автокран Liebherr LTM 1300

В наличии

Подробнее

Заказать

Автокран Demag AC 350-6

В наличии

Подробнее

Заказать

Автокран Grove GMK 6350

В наличии

Подробнее

Заказать

Автокран Liebherr LTM 1350

В наличии

Подробнее

Заказать

Автокран Grove GMK5250L

В наличии

Подробнее

Заказать

Автокран Liebherr LTM 1250

В наличии

Подробнее

Заказать

Автокран Demag AC 250

В наличии

Подробнее

Заказать

Автокран Grove GMK5200

В наличии

Подробнее

Заказать

Автокран Terex-Demag AC 200

В наличии

Подробнее

Заказать

Автокран LIEBHERR LTM 1200-5. 1

В наличии

Подробнее

Заказать

Автокран LIEBHERR LTM 1500-8.1

В наличии

Подробнее

Заказать

Автокран Terex-Demag AC 500-2

В наличии

Подробнее

Заказать

Автокран ZOOMLION QAY500V733

В наличии

Подробнее

Заказать

Автокран LIEBHERR LTM 1100-5.2

В наличии

Подробнее

Заказать

Автокран ZOOMLION ZTC1000V

В наличии

Подробнее

Заказать

Автокран Grove GMK 4100L

В наличии

Подробнее

Заказать

Автовышка DAEWOO NOVUS 60 м

В наличии

Подробнее

Заказать

Автовышка Horyong E-SKY 600

В наличии

Подробнее

Заказать

Автовышка Ruthmann TTS-590

В наличии

Подробнее

Заказать

Автовышка Jinwoo 750N

В наличии

Подробнее

Заказать

Автовышка Palfinger P750 на базе Scania

В наличии

Подробнее

Заказать

Автовышка Horyong Sky 750

В наличии

Подробнее

Заказать

Автовышка АГП-75Т Mercedes Actros

В наличии

Подробнее

Заказать

Автовышка Daewoo Ultra Novus 50

В наличии

Подробнее

Заказать

Автовышка Koho KH 520

В наличии

Подробнее

Заказать

Автовышка АПТ-50

В наличии

Подробнее

Заказать

Автовышка MITSUBISHI FUSO 25

В наличии

Подробнее

Заказать

Автовышка Huyndai Novas 250

В наличии

Подробнее

Заказать

Автовышка Palfinger P260B

В наличии

Подробнее

Заказать

Автовышка ЗИЛ ВС-25

В наличии

Подробнее

Заказать

Автовышка АГП-30 КАМАЗ-43118

В наличии

Подробнее

Заказать

Технические характеристики экскаватора

Case Poclain 788 P (1996 — 1999) | Копатели | ЛЕКТУРА технические характеристики

section","position":"model.content.specs"}»>
Примечание. Все перечисленные данные проверяются экспертами команды LECTURA Specs. Однако могут возникнуть неполные данные и ошибки. Свяжитесь с нашей командой с любым предложением об изменении.

  • Масса
    14 т
  • Стандартные шины
    10.00-20
  • Емкость ковша
    0,6 м³
  • Транспортная длина
    7,55 м
  • Транспортная ширина
    2,49 м
  • Транспортная высота
    3,23 м
  • Производитель двигателя.
    Случай
  • Тип двигателя
    4Т 390
  • Мощность двигателя
    65 кВт

Дополнительные технические данные , например: вместимость ковша мин. , вместимость ковша макс., стрела, стабилизаторы выносных опор, макс. вылет по горизонтали, глубина выемки грунта, усилие отрыва, ширина ковша, длина рукояти, внутренний радиус поворота, внешний радиус поворота, скорость движения …

Показать еще

Экскаватор Case Poclain 788 CK (1996 — 1999) | Копатели | ЛЕКТУРА технические характеристики

Примечание. Все перечисленные данные проверяются экспертами команды LECTURA Specs. Однако могут возникнуть неполные данные и ошибки. Свяжитесь с нашей командой с любым предложением об изменении.

  • Масса
    14,3 т
  • Транспортная длина
    7,55 м
  • Транспортная ширина
    2,57 м
  • Транспортная высота
    2,95 м
  • Емкость ковша
    0,6 м³
  • Ширина дорожки
    700 мм
  • Производитель двигателя.

Д 240 воздушный фильтр: Фильтр воздушный МТЗ-80 -82 леска 240-1109165 240-1109166 240-1109167

Воздушный фильтр д-240 в категории «Грузовики, автобусы, спецтехника»

Фильтр воздушный МТЗ 80 Д 240, Д 243 в сборе АТП 240-1109015 Предоплата

Доставка по Украине

по 1 987 грн

от 4 продавцов

1 987 грн

Купить

Фильтр мочалка Д-240 воздушный (3 шт в комплекте) 240-1109165/66/67 КВ-1

Доставка по Украине

450 грн

Купить

Элемент фильтра воздушного (фильтр) МТЗ Д245 240 Валдай ГАЗ 3309 (EFV497) (пр-во Цитрон)

Доставка по Украине

1 271 грн

Купить

Кронштейн фильтра воздушного Д-240 ( в сборе) 240-1109280

Доставка по Украине

650 грн

Купить

240-1109280 Кронштейн фильтра воздушного Д-240 ( в сборе)

Доставка по Украине

550 грн

Купить

Фильтр воздушный ITAL для STIHL MS 240, MS 260

На складе

Доставка по Украине

171 грн

190 грн

Купить

Воздушный фильтр компрессора MHA240-199 Mikropor (SA6673, Fh465, C23185)

На складе

Доставка по Украине

760 грн

Купить

Фильтр воздушный «ЗИЛ-Бычок» Д245 В-028

Доставка по Украине

от 860 грн

Купить

Фильтр воздушный Putzmeister 2230/2240 Mixokret M240 двухцилиндровая (вставка)

На складе

Доставка по Украине

1 637 грн

Купить

Воздушный фильтр ОРИГИНАЛ для Stihl MS 240, MS 260/Штиль МС 240, МС 260

На складе

Доставка по Украине

297. 50 грн

350 грн

Купить

Воздушный фильтр RAPID для 235,235e,236,236e,240,240e.

На складе

Доставка по Украине

54 грн

63 грн

Купить

Воздушный фильтр ОРИГИНАЛ для 235,235e,236,236e,240,240e.

На складе

Доставка по Украине

97 грн

114 грн

Купить

Воздушный фильтр RAPID для Stihl MS 240, MS 260/Штиль МС 240, МС 260

На складе

Доставка по Украине

180 грн

211 грн

Купить

Фильтр воздушный Evobus (Mercedes Bus/Setra) O 309; Mercedes 2T, 3T, 4T, 200, 220, 240 Wix Filters (WA6386)

На складе в г. Борисполь

Доставка по Украине

303 грн

Купить

Борисполь

Фильтр воздушный для мототехники Д=15 см. Ш=9 см. В=2.5 см.

На складе

Доставка по Украине

93.50 грн

110 грн

Купить

Смотрите также

Воздушный фильтр Комбо Д Опель AP098/3 E885L LX1846 C21106 WA9560

На складе в г. Ивано-Франковск

Доставка по Украине

199 грн

Купить

Ивано-Франковск

Фильтр воздушный в сб. ХТЗ-150К-09, -17221-09 (пр-во ЛААЗ) 442Д-12С2

На складе

Доставка по Украине

5 215.68 грн

5 433 грн

Купить

Фильтр воздушный MANN C 22 117 — Volvo 240; LADA 110, 111, 112, Kalina, Kalina 2, Niva, Priora, Samara

На складе в г. Киев

Доставка по Украине

318.16 грн

328 грн

Купить

Фильтр воздушный АФВ Д-260 МТЗ 1221

Доставка из г. Белая Церковь

1 800 грн

Купить

Белая Церковь

Фильтр воздушный DongFeng 244/240

Доставка по Украине

846 — 1 442 грн

от 6 продавцов

861.31 грн

Купить

Фильтр воздушный в сборе Shifeng 240

Доставка по Украине

833 — 842 грн

от 2 продавцов

842. 11 грн

Купить

Фильтр воздушный для бензопил ST 240,260

На складе

Доставка по Украине

160.20 грн

178 грн

Купить

Воздушный фильтр компрессора MHA240-127 Mikropor (SA6672, Fh463, C23115)

Под заказ

Доставка по Украине

710 грн

Купить

Фильтр воздушный для бензопил Husqvarna 230, 235, 236, 240

Доставка из г. Житомир

44 грн

Купить

Житомир

Hepa выходной фильтр для пылесоса Bosch Cleann`n BGC05AAA1, BGS05A220, BGS05A225, BGS05X240, 17001740 Оригинал

На складе в г. Каменское

Доставка по Украине

299 грн

Купить

Каменское

Поролоновый фильтр для пылесоса Bosch Serie 2, Cleann`n BGC05AAA1, BGS05A220, BGS05X240, 12025213 аналог

На складе в г. Каменское

Доставка по Украине

350 грн

Купить

Каменское

Фильтр воздушный 0834285 WA6220 25062055 WIX FILTERS 2,4-3,0 2,3д Om A

Доставка по Украине

169 грн

Купить

Фильтр воздушный 0849253 WA6178 90027967. C39108/ LX35/ A503/ PA4248/ AP015 WIX FILTERS 1,6д Kad E

Доставка по Украине

153 грн

Купить

Фильтр воздушный 0834617 A140322 5834252, 0834316, 612 083 4009, 93179527, A140154 DENCKERMANN 2,0д-2,2д Ve B

Доставка по Украине

197 грн

Купить

Фильтры воздушные МТЗ

Купить

Параметры


Группы запчастей двигателей Д-240, Д-242, Д-243, Д-245, Д-260 тракторов МТЗ:


Группы запчастей двигателей Д-240, Д-242, Д-243, Д-245, Д-260 тракторов МТЗ









Блоки цилиндров двигателей




Болт ГБЦ / шпильки ГБЦ




Болты крепления маховика




Болты шатуна




Венцы маховика




Вкладыши коленвала




Втулки направляющие клапана




Втулки распредвала




Головки блока цилиндров




Двигатели




Заглушки блока




Запчасти сапуна




Картеры масляные (поддоны)




Клапаны




Коленвалы Д-240 Д-243




Кольца гильзы




Кольца поршневые




Комплекты прокладок двигателя




Крышки распределительных шестерен




Листы задние




Лонжероны




Лонжероны левые




Лонжероны правые




Масло моторное для тракторов




Маслоотражатели коленвала




Маслопровода компрессора




Маховики Д-240




Механизм коромысел




Моноциклоны




Насосы водяные




Насосы масляные




Пальцы поршневые компрессора




Патрубки головки блока отопителя




Подогреватели двигателя




Подушки двигателя




Подшипник 205 (6205)




Подшипник маховика




Поршневая группа




Поршни




Приводы тахоспидометра (тахометра)




Прокладки ГБЦ




Прокладки ГБЦ Д-240




Прокладки ГБЦ Д-245




Прокладки ГБЦ Д-260




Прокладки клапанной крышки




Прокладки поддона




Пружины клапана




Ремкомплекты компрессора




Ремкомплекты пускового двигателя ПД-10




Ремкомплекты сальников клапанов




Сальники коленвала




Сальники коленвала Д-240, Д-245




Сальники коленвала Д-260




Сетки центрифуги




Стартер на ПД




Стойки оси коромысел




Тросики остановки двигателя




Трубки манометра




Турбокомпрессоры




Фильтры воздушные




Фильтры масляные




Фильтры масляные вместо центрифуги




Фильтры сапуна




Шестерни двигателя Д-245




Шестерни коленвала




Шестерни привода компрессора




Шестерни привода НШ-10




Шкивы коленвала




Щуп масла




ЭФП (запчасти для электрофакельного подогревателя)



Группы запчастей к двигателям ЮМЗ









Фильтры воздушные


  • Запчасти к тракторам
  • Запчасти к тракторам МТЗ 80, 82
  • Запчасти к двигателям МТЗ (Д-240, Д-242, Д-243, Д-245, Д-260)
  • Фильтры воздушные МТЗ

Фильтр воздушный МТЗ 80, 82 сохраняет систему воздухоочистки в надлежащем состоянии и позволяет избежать проблем с двигателем трактора. Он обеспечивает правильную циркуляцию воздуха, фильтруют пылинки и другие загрязнения, которые выбрасываются из устройства очистки. Если воздушный фильтр МТЗ не работает должным образом, это может привести к снижению производительности трактора и даже к поломке.

Фильтр воздушный в сборе МТЗ, ЗиЛ

..

Каталожный номер: 5301-1109010

2 250 грн

Нет в наличии!

  0 отзывов

Flanders HR24240 Воздушный фильтр, 240 дюймов в длину, 24 дюйма в ширину, от 3 до 4 MERV, бескаркасная рама

Элемент #:
HR24240 от Фландрии

УПК №:
031949150518

Смотреть отзывы

В наличии
32,74 доллара США
/шт.

СОХРАНИТЕ ДО 3,27

Покупайте оптом

Наведите курсор на изображение, чтобы увеличить его

Элемент #:
HR24240 от Фландрии

УПК №:
031949150518

Посмотреть отзывы Посмотреть
отзывы

В наличии
32,74 $ /шт.

СОХРАНИТЕ ДО 3,27

Покупка оптом

БЫСТРАЯ ДОСТАВКА*Обычно доставка в течение 1 рабочего дня

Смотреть сейчас

Цитата большого заказа

Покупайте с уверенностью

Простой возврат в течение 30 дней. Мы являемся крупнейшим поставщиком самых адаптируемых,
персонализированное оборудование в отрасли. Мы прилагаем все усилия, чтобы вы остались довольны нашей продукцией.

Высокоэффективный

Да

Возвратный

Да

Высота

1.00

Код дефекта

A 000009 00MER

От 3 до 4

Гофрированный

Ширина

24

Количество в упаковке

1 упаковка

Trimmable

ДА

Фильтры против вирусов

Нет

Суббренд

Рулон гамака

Фильтры от спор плесени

Да

Электростатический

НЕТ

Глубина

1″

Фильтры для пыльцы

Да

Металлическая сетка

Фильтры B B

Нет ia

Да

Тип продукта

Воздушный фильтр

Класс фильтра

Класс II

Фильтры Пыль/Ворс

Да

Размер воздушного фильтра

24x240x1

Вес каждого

2,100 фунта Velocity

900

3

B

Дымовые фильтры

Да

Опасный материал

Нет

Альтернатива UPC

037947508504

AAF

Бренд

0003

Уловленные загрязняющие вещества

Пыль, пух, пыльца

Рейтинг MERV (отчет о минимальной эффективности Значение)

MERV 4

Высота изделия (дюймы)

1

Длина изделия (дюймы)

24

Ширина изделия (дюймы)

240

Длина

240

Вес продукта (фунты)

2,7

Тип воздушного фильтра

Материал

Фильтры печи Тип продукта

Длинный рулон3

0003

1

Номинальный размер фильтра ( ВхШхГ)

24 x 240 x 1

Код страны происхождения

США

Толщина

1 дюйм

Фильтрующий материал

Полиэстер 9003

№ 900 2 HR24240 ГАМАК В РУЛОНАХ 24X240X1

ROLL HAMMOCK FIBER 24X240X1IN

Воздушный фильтр Flanders, рейтинг MERV от 3 до 4, фильтрующий материал из полиэстера/волокнистого стекла, бескаркасная рама, длина 240 дюймов, ширина 24 дюйма, толщина 1 дюйм

Corsair Carbide Air 240 Side Filter Magnetic Computer Dust Фильтр |

  • org/ListItem»> Фильтры для вашего компьютера0231
  • Магнитный пылевой фильтр для бокового фильтра Corsair Carbide Air 240

    Артикул: 0886

    Производитель: DEMCifilter SA низкийФиолетовыйХромМатовый алюминийСереброСеребристый металликНеоново-розовыйНеоново-желтыйНеоново-оранжевый

    Цвет сетки *
    Черный Белый

    12,68 $

    Этот фильтр предназначен для бокового вентиляционного отверстия корпуса компьютера Corsair Carbide Air 240. Он заменит фильтр, который идет в комплекте.

    Его можно заказать в любой из доступных комбинаций цветов

    Этот фильтр предназначен для бокового вентиляционного отверстия на корпусе компьютера Corsair Carbide Air 240. Он заменит фильтр, который идет в комплекте.

    Его можно заказать в любой из доступных цветовых комбинаций

    Покупатели, купившие этот товар, также купили

    Магнитный пылевой фильтр для компьютера Quad 80 мм I/D Компьютерный пылевой фильтр переднего отсека

    Магнитный пылевой фильтр для Silverstone Fortress FT02 Нижний пылеулавливающий фильтр

    Магнитный пылеулавливающий фильтр для двойного оптического привода Thermaltake Core X71 Фильтр

    Категории

    • Продукты
      • Стандартные фильтры для вентиляторов 90s 92 2190
      • 0 90 19 круглых фильтров для вентиляторов
      • Прямоугольные фильтры для вентиляторов
      • Фильтры для вашего компьютера
        • SLIGER
        • LOUQE
        • CRYORIG
        • LC Power
        • ANTEC
        • COOLER MASTER
        • CORSAIR
          • CORSAIR GRAPHITE 780T
          • CORSAIR CARBIDE 270R
          • Corsair Carbide Air 290 22 Alpha Corsair 90
          • 0 90 219 CORSAIR Spec Omega
          • CORSAIR 400C
          • CORSAIR CARBIDE SPEC-04
          • CORSAIR КАРБИД 88R
          • КАРБИД 300R
          • КАРБИД 400R
          • КАРБИД 500R
          • ГРАФИТ 600T
          • VENGEANCE C70

    Грузоподъемность портер 2: Hyundai Porter 2: технические характеристики

    Технические характеристики автомобиля Hyundai Porter II 2.5 CRDi (Kr(2004))

    Технические характеристики Hyundai Porter II 2.5 CRDi


    Hyundai Porter II 2.5 CRDi


    1. Фотографии Hyundai Porter II 2.5 CRDi из каталога AutoNet.ru. Фото 1 из 1




    Малый грузовик с большими возможностями так называют производители Hyundai Porter II. Улучшенные динамические показатели, обтекаемая трех или пятиместная кабина, эргономичная панель приборов, прочная рамная конструкция делают не только удобным, надежным, но и стильным, современным.


    Посмотреть технические характеристики других модификаций Hyundai Porter / Хундай Портер

    Автомобильный каталог содержит описание, технические характеристики и фотографии автомобиля Hyundai Porter II 2.5 CRDi.

    Продажа подержанных автомобилей Hyundai Porter









    Посмотреть все предложения о продаже подержанных автомобилей Hyundai Porter / Хундай Портер


    Отзывы владельцев автомобиля Hyundai

    • 29.08.2007

      Helga_29082007


      Оценка автора


      Объективность


      Автомобиль действительно хорош. Это мой первый )))!!! У отца и мужа «тачки типа круче», но периодически просятся «порулить» (приятная машинка в обращении). Очень эластичный двигатель и в целом — ЗАМЕЧАТЕЛЬНЫЙ покладистый автомобиль. Единственный недостаток — низковат. Зимой парковаться не удобно — ерзаешь брюхом, (надо бы индивидуальное навесное снегоуборочное оборудование, а то наших коммунальщиков не дождешься…) Говорят сыплется через 3 года — у нас 3-х еще нет , защита картера гремит,но на ТО думаю поправят. Все остальное пока — ттт. Пробовали авто в дальней поездке (…


      подробнее

    • 06.09.2007

      Трубникова Юлия Анатольевна


      Оценка автора


      Объективность


      Приобрела я свое Солышко в марте 2007 г. , хотя сам автомобиль 2006 года выпуска. Уже накатала 13000 км., скоро предстоит первое ТО. До Матрикса ездила на ВАЗ 2106, потом ВАЗ 2114. При выборе автомашины учитывала стоимость и технические характеристики. Только Матрикс полностью соответствует «Цена-качество». Это компактный, но высокий и вместительный автомобиль. Так же учитывала то, что приходится ездить каждый день , + наличие дачи, + наличие собаки. Мое Солнышко меня не разочаровало. Очень удобный салон, сидишь высоко, обзор хороший. Правда боковой обзор при поворотах перво…


      подробнее

    • 07.09.2007

      Лисёна_Лисячьих_07092007


      Оценка автора


      Объективность


      Машинка хорошая. Купили ее в январе 2006года.
      Дизайн мне очень понравился. Салон — кожа. АКПП. Очень удобно водить автомобиль и в туфлях «на шпильке», и в кроссовках, и в сабо.
      Двигатель мощный. Машина с места прямо таки «рвется». В повороты и разворты вписывается на «ура», правда, пассажиры жалуются.. Но.. такая уж у меня манера вождения.
      За те полтора года, что она у меня, только положенный один ТО, ну и «стандартный» набор.. масло, свечи, лампочки, и все! ах да!! После ДТП (боковое и в зад), малипусенькие вмятины и немного краска поцарапалась и номер слетел, согн…


      подробнее


    Посмотреть все отзывы об автомобилях Hyundai / Хундай

    Отправка и получение посылок на велосипеде в Калькутте по лучшей цене

    Калькутта

    Калькутта

    Получить оценку

    Место получения

    Место доставки

    Номер телефона

    9 0006 2 Wheeler

    Стоимость проезда от ₹52,5

    Базовый тариф включает расстояние 1,0 км и 25 минут времени.
    Цена может варьироваться в зависимости от вашего населенного пункта.
    Дорожный налог, парковка и т. д., если применимо, сверх стоимости поездки.

    Узнать больше

    2 Wheeler

    Стоимость от ₹52,5

    Узнать больше

    Узнать больше

    Доставка курьером по запросу

    Курьерская доставка по стране и доставка посылок от двери до двери и развитие вашего бизнеса 9 0003

    Экспресс-доставка по городу

    Получите ваши документы, ноутбуки, ланч-боксы, забытые ключи, зарядное устройство из дома, офиса или любого другого места и мгновенно доставьте их в любую точку города

    Доставка образцов, продуктов и личных посылок по городу

    Доставьте покупателям продукты питания, модные аксессуары или образцы тканей из вашего магазина!

    Мгновенная доставка без проблем

    Закажите двухколесную доставку онлайн и получите доставку в тот же день ати

    Раджархат

    Тикиапара

    Читпур

    Белгачия

    Озерный город

    Новый город

    Сантрагачи

    Мачуа

    Соленое озеро

    Пхулбаган

    Матиабрузр

    Брейс Бридж

    Киддерпор

    Майдан

    Топсия 9 0003

    Парк Цирк

    Сантошпур

    Таратала

    Моминпур

    Четла

    Баллигандж

    Чоубага

    Махештала

    Бехала

    Рынок Чару

    Джадавпур

    Каликапур

    Джеймс Лонг

    Тхакурпукур

    Гитанджали

    Sonarp

    Загрузите мобильное приложение Porter, чтобы делать заказы!

    Отсканируйте, чтобы загрузить наше приложение!

    Грузовые автомобили

    Упаковщики и грузчики

    Курьерская служба

    Аренда двухколесных транспортных средств в Калькутте для службы доставки местных товаров

    Хотите как можно скорее отправить посылки своим близким в город? Заказать Портер 2 Уилер. С помощью службы доставки посылок Porter вы можете мгновенно отправлять образцы/продукты/документы своим клиентам. Благодаря проверенным водителям и отслеживанию местоположения в режиме реального времени эта служба мгновенной доставки поможет многим перевезти посылки в городе. Не позволяйте своим товарам застревать в пробках города. Выбирайте двухколесный транспорт Porter и получайте доставку мгновенно. Услуги подходят как для частных лиц, так и для бизнеса. Это действительно так просто. Доставка от двери до двери по лучшим прозрачным тарифам. Закажите доставку велосипедов Porter прямо сейчас!

    Доставка посылок с велосипедами и оплата местной курьерской службы в Калькутте. Как для коммерческих, так и для личных целей, эта услуга поможет клиентам мгновенно отправлять небольшие посылки в пределах города. Базовая ставка начинается от 35 фунтов стерлингов, включая расстояние 2,0 км и время ожидания 25. Цена может варьироваться в зависимости от вашего населенного пункта. Сборы GST, дорожный налог, парковка и т.

    д. применяются сверх стоимости поездки. Загрузите приложение и закажите велосипед Porter для вашего бизнеса или личных нужд. Портер — хорошо для товаров.

    Курьерская служба в Калькуттеот 40 рупий/-

    Служба доставки в Калькуттеот 40 рупий. 44/-

    Курьер в тот же день в Калькуттеот рупий. 44/-

    Служба доставки посылок в Калькуттеот 44 рупий/-

    Курьерская доставка в Калькуттеот 44 рупий/-

    Ахмедабад

    Бангалор

    Чандигарх

    9015 0 Ченнаи

    Коимбатур

    Хайдарабад

    Индор

    Джайпур

    Лакхнау

    Мумбаи

    Нагпур

    Вадодара

    Вот некоторые из часто задаваемых вопросов, которые помогут вам. Пожалуйста, не стесняйтесь обращаться к нам по любым вопросам, которые у вас могли возникнуть, но на которые вы не ответили ниже.

    Получите надежные и доступные логистические услуги в приложении Porter, выполнив следующие действия:

    • Войдите в приложение Porter
    • Выберите услугу, которую вы хотите — грузовые, двухколесные или междугородние курьерские услуги
    • Укажите место посадки и высадки
    • Просмотрите список доступных транспортных средств (Tata Ace, Pickup 8ft, 2wheeler и т. д.) и выберите тот, который соответствует вашим потребностям в движении
    • Введите несколько дополнительных данных, примените купоны, чтобы получить отличные скидки, и подтвердите бронирование.
    • Устройтесь поудобнее и расслабьтесь — все остальное сделают наши проверенные водители-партнеры.

    Получить оценку

    Отправка и получение посылок на велосипеде в Коимбаторе по лучшей цене

    Коимбатор

    Коимбатор

    Получить оценку

    Место получения

    Место выдачи

    Номер телефона

    2 Wheeler

    Тарифы от ₹30

    Базовый тариф включает 1,0 км расстояния и 25 минут времени.
    Цена может варьироваться в зависимости от вашего населенного пункта.
    Дорожный налог, парковка и т. д., если применимо, сверх стоимости поездки.

    Узнать больше

    2 Wheeler

    Стоимость от ₹30

    Узнать больше

    Узнать больше

    Доставка курьером по требованию

    Доставка от двери до двери курьером и служба доставки посылок для развития вашего бизнеса или куда угодно и получите его мгновенно в любую точку города

    Доставка образцов, продуктов и личных посылок по городу

    Доставьте покупателям продукты питания, модные аксессуары или образцы тканей из вашего магазина!

    Мгновенная доставка без проблем

    Закажите двухколесную доставку онлайн и получите доставку в тот же день

    Периянаикенпалаям

    Вальямпалаям

    Ковипалаям

    Ганапати Нагар

    Киранатхам

    Курумапалаям

    Каллипалаям

    Чиннатадагам

    Тудиялур

    Наллампалаям

    Чиннаведампатти

    Калапатти

    Сомаямпалаям

    Ганапати

    Кулатур

    Чинмая Нагар

    Эдаярпалаям

    Колония Сайбаба

    Ратинапури

    Пиламеду

    Пучиюр

    9000 2 Veerakeralam

    Lawley Road

    Vadakovai

    New Siddhapudur

    Udaya Palam

    Singanallur

    Ondi Pudur

    Gandhi Парк

    Килакараи

    Куричи

    Веллалор

    Паттанам

    Куниямутур

    Подханур

    Сад Коваи

    Каллапалаям

    Мадуккараи

    Малумичампатти

    Четтипалаям

    Загрузите мобильное приложение Porter, чтобы делать заказы!

    Отсканируйте, чтобы загрузить наше приложение!

    Грузовые автомобили

    Упаковщики и грузчики

    Курьерская служба

    Аренда двухколесного транспорта в Коимбаторе для службы доставки товаров

    Забыли дома ключи, ноутбук или зарядное устройство? Вам нужно быстро забрать и доставить, наймите двухколесный грузовой автомобиль Porter, чтобы немедленно перевезти и доставить ваши мелкие товары и посылки. Закажите услугу двухколесного грузового автомобиля Porter, чтобы отправлять и получать посылки в любом месте города, будь то из офиса в дом или из супермаркета в дом. Получите мгновенную доставку на велосипеде за 15 минут с Porter. Забронируйте сейчас!

    Доставка посылок с велосипедами и оплата местной курьерской службы в Коимбаторе

    Аренда двухколесного транспорта в Коимбатуре для ваших нужд в области логистики. Получите внутреннюю курьерскую службу, доставку посылок и посылок до 20 кг с нашей службой 2 Wheeler. Стоимость проезда от 30р. Базовый тариф включает в себя 1,0 км и 25 часов ожидания. Цена может варьироваться в зависимости от вашего населенного пункта. Плата GST, дорожный налог, плата за парковку и т. д. применяются сверх стоимости поездки.

    Курьерская служба в Коимбаторе, начиная с 40/- 9 рупий0003

    Служба доставки в Коимбаторе, начиная с 44 рупий/-

    Курьер в тот же день в Коимбаторе, начиная с 44 рупий/-

    Служба доставки посылок в Коимбаторе, начиная с 44 рупий/-

    Курьерская доставка в Коимбаторе, начиная с 44 рупий/-

    Ахмадабад

    Бангалор

    Чандигарх

    Ченнаи

    Хайдарабад

    Индор

    Джайпур

    Калькутта 9000 3 Лакхнау

    Мумбаи

    Нагпур

    Vadodara

    Вот некоторые из часто задаваемых вопросов, которые помогут вам.

    Теплопередача без переноса вещества происходит путем: какие виды теплопередачи не сопровождаются переносом вещества

    Теплопередача и кулинария. Излучение.: mariareznor — LiveJournal

    Category:

    • Еда
    • Cancel

    Увы, 38.5 повалили меня напрочь, так что после перерыва, но закончим таки сегодня разбираться в способах передачи тепла.

    Я благодарю за консультацию моего друга Илью Котофеева.

    Бтв, моя книга о модернисткой кулинарии вышла в официальную продажу, заказать можно здесь:
    [email protected]
    +7 (916) 116-98-05

    Предыдущие части:
    Конвекция;
    Теплопроводность.

    Последняя часть из цикла о теплопередаче в кулинарии. Чуть менее понятная интуитивно, но очень важная с практической точки зрения, так что я постараюсь объяснить.

    Излучение — явление испускания и распространения энергии в виде электромагнитных волн. Напомню, что при теплопроводности энергия передается контактным способом от частицы к частице без переноса вещества, а при конвекции — струями газа и жидкости путем переноса вещества. Излучение примечательно тем, что возможно в вакууме. В реальной жизни мы часто сталкиваемся с ним: это Солнце, люди, животные, костер и т. д. Все окружающие нас предметы в определенной мере излучают тепло (и поглощают его). В кулинарии мы сталкиваемся с излучением, когда используем микроволновые печи, бройлеры и угольные грили. Типы излучения, с которыми сталкиваются повара в своей деятельности, обычно невидимы для человеческого глаза, чаще всего это микроволновое и инфракрасное излучения.

    Важно (и не только для кулинарии) помнить, что излучение, достигая других тел, частично отражается, частично поглощается. Та часть, что была поглощена, влияет на изменение температуры (нагрев). При повышении температуры излучение увеличивается.

    Темные тела лучше поглощают излучение, чем светлые/зеркальные (и лучше излучают). Это особенно хорошо понимают те, кто работают с грилем. Если боковые стенки гриля черные (обычно это так и есть), его эффективность значительно снижается. Поэтому многие повара идут на различные ухищрения, например, застилают стенки гриля фольгой. В принципе, можно и купить гриль со светлыми стенками, но содержать его в идеальной чистоте довольно сложно, а без этого весь смысл такого гриля пропадает. Также и хорошие теппаны имеют блестящее покрытие, которое излучает меньше тепла, соответственно, эффективность готовки повышается.

    Самое главное, что нужно запомнить про излучение — оно невероятно эффективно переносит тепло при высоких температурах.

    Абсолютно черное тело — физическое тело, которое при любой температуре полностью поглощает всё падающее на него электромагнитное излучение независимо от длины волны .

    Суммарная мощность излучения определяется законом Стефана-Больцмана:

    где u — плотность излучения,

    T — температура абсолютно черного тела,

    σ — постоянная Стефана-Больцмана.

    Из этой формулы становится понятно, что суммарная мощность излучения пропорциональна четвертой степени температуры. А если сказать проще, то когда температура увеличивается в два раза, мощность излучения поднимается в 16 раз, когда утраивается — в 81 раз!

    Если вы готовите в духовке при температуре 200°C (473К) или ниже, большая часть тепла передается путем конвекции. Однако при температуре 400°C (673К) тепло передается, в значительной степени, благодаря излучению. При 800°C (1073К) — почти полностью излучением. Как вы понимаете, в бытовых духовках таких температур в принципе не бывает.

    Вот почему вы не можете приготовить дома такую же пиццу, как в дровяной печи. Это удивительное знание помогает понять непреодолимую и принципиальную разницу между бытовой духовкой и дровяной печью, между плитой и угольным грилем и т. д.

    Интенсивность излучения подчиняется закону обратных квадратов. Иными словами, Интенсивность электромагнитной волны обратно пропорциональна квадрату расстояния до источника. Многие, кто работает с грилем, интуитивно понимают это. В практическом смысле все немного сложней, чем в теории, поскольку грили и бройлеры не являются точками, а обычно представляют из себя стержни, линии, плоскости. Но это обсудим как-нибудь в другой раз, когда будем говорить о грилях.

    #еда#кулинария#наукаеда и наука

    что такое теплопередача — Спрашивалка

    что такое теплопередача — Спрашивалка

    AK

    Alex Kvak

    Арам Манукян

    Теплопередача — физический процесс передачи тепловой энергии от более горячего тела к более холодному либо непосредственно (при контакте) , либо через разделяющую (тела или среды) перегородку из какого-либо материала. Когда физические тела одной системы находятся при разной температуре, то происходит передача тепловой энергии, или теплопередача от одного тела к другому до наступления термодинамического равновесия. Самопроизвольная передача тепла всегда происходит от более горячего тела к более холодному, что является следствием второго закона термодинамики (однако возможно передать тепло от холодного тела с помощью вспомогательных устройств, таких как холодильник) . Теплопередачу невозможно остановить, возможно только замедлить её.

    Всего существует три простых (элементарных) вида передачи тепла:

    * Теплопроводность
    * Конвекция
    * Тепловое излучение

    Существуют также различные виды сложного переноса тепла, которые являются сочетанием элементарных видов. Основные из них:

    * теплоотдача (конвективный теплообмен между потоками жидкости или газа и поверхностью твёрдого тела) ;
    * теплопередача (теплообмен от горячей жидкости к холодной через разделяющую их стенку) ;
    * конвективно-лучистый перенос тепла (совместный перенос тепла излучением и конвекцией).

    Ва

    Васёк

    Теплопередача — физический процесс передачи тепловой энергии от более горячего тела к более холодному либо непосредственно (при контакте) , либо через разделяющую (тела или среды) перегородку из какого-либо материала. Когда физические тела одной системы находятся при разной температуре, то происходит передача тепловой энергии, или теплопередача от одного тела к другому до наступления термодинамического равновесия.

    Александр Грачёв

    совокупность явлений, при к-рых имеет место перенос тепла из одной части пространства в другую. Перенос может происходить различными способами: теплопроводностью, конвекцией и лучеиспусканием. Теплопроводность — явление непосредственной передачи тепла от одной частицы тела к соседней, менее нагретой. В простейшем случае (плоская стенка) количество тепла, передаваемого в 1 час, прямо пропорционально площади сечения и разности темп-р по обе стороны стенки и обратно пропорционально толщине стенки. Коэффициент пропорциональности, указывающий, сколько калорий тепла проходит в течение 1 часа через стенку площадью в 1 м2 и толщиной в 1 м при разности темп-р в 1°, наз. коэффициентом теплопроводности. Конвекция — явление переноса тепла движущейся средой (газами, жидкостью) путем соприкосновения с менее нагретым телом. Количество тепла, передаваемого в 1 час, пропорционально поверхности, воспринимающей тепло, и разности темп-р движущейся среды и стенки. Коэффициент пропорциональности наз. коэффициентом теплоперехода. Лучеиспускание — явление теплообмена на расстоянии между двумя телами различной темп-ры посредством лучистой энергии при условии, что пространство между ними наполнено средой, пропускающей такую энергию. В этом случае тепло одного тела переходит в лучистую энергию, проходит в этом состоянии пространство, разделяющее тела, и превращается опять в тепло на поверхности второго тела. Последнее, хотя и более холодное, в свою очередь отдает лучи первому телу, и, следовательно, лучистая теплота, передаваемая в конечном счете от горячего тела более холодному, получается как разность двух количеств теплоты. При тепловом лучеиспускании, имеющем место в котловой практике, можно считать, что количество тепла, излучаемого в 1 час, пропорционально поверхности тела и разности абсолютных темп-р в четвертой степени. Коэффициент пропорциональности наз. коэффициентом лучеиспускания. В паровозном котле имеют место все указанные способы передачи тепла. В дымогарных и жаровых трубах тепло передается преимущественно конвекцией за счет соприкосновения горячих продуктов сгорания со стенками труб; далее тепло, пройдя сквозь стенки труб, передается окружающей их воде в топке гл. обр. лучеиспусканием от раскаленного слоя топлива на стенки огневой коробки; в силу теплопроводности тепло затем проходит сквозь толщу стенок и, наконец, передается воде, омывающей огневую коробку.

    МН

    Мария Николаева

    Теплопередача — физический процесс передачи тепловой энергии от более горячего тела к более холодному либо непосредственно (при контакте) , либо через разделяющую (тела или среды) перегородку из какого-либо материала. Когда физические тела одной системы находятся при разной температуре, то происходит передача тепловой энергии, или теплопередача от одного тела к другому до наступления термодинамического равновесия. Самопроизвольная передача тепла всегда происходит от более горячего тела к более холодному, что является следствием второго закона термодинамики (однако возможно передать тепло от холодного тела с помощью вспомогательных устройств, таких как холодильник) . Теплопередачу невозможно остановить, возможно только замедлить её.

    Всего существует три простых (элементарных) вида передачи тепла:

    * Теплопроводность
    * Конвекция
    * Тепловое излучение

    Существуют также различные виды сложного переноса тепла, которые являются сочетанием элементарных видов. Основные из них:

    * теплоотдача (конвективный теплообмен между потоками жидкости или газа и поверхностью твёрдого тела) ;
    * теплопередача (теплообмен от горячей жидкости к холодной через разделяющую их стенку) ;
    * конвективно-лучистый перенос тепла (совместный перенос тепла излучением и конвекцией).

    Юл

    Юлия

    Передача тепла. Чё тут не ясного???

    Похожие вопросы

    отличается ли теплообмен от теплопередачи?

    Вопрос про теплопередачу (физика, школьный курс)

    Путем конвекции теплопередача осуществляется?

    Какое явление называется теплопередачей?

    может ли коэффициент теплопередачи быть больше чем коэффициент теплоотдачи?

    какой вид теплопередачи называют конвекцией?

    Может увеличиться температура тела без теплопередачи? Если да, то каким образом?

    в чем сравнение видов теплопередачи. помогите пожалуйста, срочно надо для экзамена

    что такое теплопередача (3 вида, и какие могут быть примеры

    какой вид теплопередачи сопровождается переносом вещества?

    Physics4Kids.com: термодинамика и тепло: перенос энергии

    Если в системе есть разница температур, тепло естественным образом будет перемещаться от высоких к низким температурам. Место, где вы обнаружите более высокую температуру, — это источник тепла . Область, где температура ниже, — это радиатор . При исследовании систем ученые измеряют число, называемое температурным градиентом . Градиент – это изменение температуры, деленное на расстояние. Единицы — градусы на сантиметр. Если температура падает на определенном расстоянии, градиент имеет отрицательное значение. Если температура повышается, градиент имеет положительное значение. Чем больше градиент, тем больше энергии будет обменено.

    Конвекция — это способ передачи тепла из одной области в другую при «объемном движении материи». Это перемещение огромного количества материала, отбирающего тепло из одной области и помещающего его в другую. Теплый воздух поднимается вверх, а на смену ему приходит холодный. Тепло сдвинулось. Это передача тепла движением тел. Конвекция возникает, когда область горячей воды поднимается до верха кастрюли и выделяет энергию. Другой пример — теплый воздух в атмосфере, поднимающийся вверх и выделяющий энергию. Все они являются примерами конвекции. Следует помнить, что объекты меняют положение.

    Когда передача энергии происходит излучением , проводящей среды (например, в космосе) нет. Это отсутствие среды означает, что там нет материи для прохождения тепла. Излучение – это энергия, переносимая электромагнитными волнами (светом). Эти волны могут быть радиоволнами, инфракрасными лучами, видимым светом, УФ или гамма-лучами. Тепловое излучение обычно находится в инфракрасной части спектра ЭМ. Если температура объекта удваивается (в Кельвинах), тепловое излучение увеличивается в 16 раз. Следовательно, если он увеличится в четыре раза, он увеличится в 32 раза по сравнению с первоначальным уровнем.

    Ученые также обнаружили, что объекты, хорошо испускающие тепловое излучение, также хорошо поглощают ту же энергию. Обычно количество излучения, испускаемого объектом, зависит от температуры. Скорость, с которой вы поглощаете энергию, зависит от энергии окружающих вас объектов и молекул.

    Проводимость — это ситуация, когда источник тепла и радиатор связаны материей. Как мы обсуждали ранее, тепло течет от источника по градиенту температуры к стоку. Она отличается от конвекции тем, что в ней нет движения больших количеств материи, а переносы происходят посредством столкновений. Источник и сток соединены.

    Если вы прикоснетесь к рожку мороженого, мороженое нагреется, потому что ваше тело более теплое. Если вы лежите на горячем тротуаре, энергия поступает прямо в ваше тело посредством проводимости. Когда ученые изучали хорошие тепловые излучатели, они обнаружили, что хорошие теплопроводники также хорошо проводят электричество. Поэтому, когда вы думаете о хорошем теплопроводнике, подумайте о меди, серебре, золоте и платине.






    Или поищите на сайтах по конкретной теме.


    • Обзор
    • Передача энергии
    • Расширение
    • Тепло
    • Температура
    • Термо. Законы
    • Первый Закон
    • Второй закон
    • Энтальпия
    • Энтропия
    • Дополнительные темы


    Городские острова тепла (видео НАСА)

    Encyclopedia. com (теплопередача):
    http://www.encyclopedia.com/topic/Heat_transfer.aspx
    Википедия (теплообмен):
    http://en.wikipedia.org/wiki/Heat_transfer
    Энциклопедия Британика (Жара Передача):
    http://www.britannica.com/EBchecked/topic/258745/heat-transfer

    Теплопередача посредством теплопроводности

    Силы теплопроводности и их применение

    Теплопередача является одной из основных физических сил, управляющих всеми реакциями на этой планете. Теплопередача, управляемая законами термодинамики, позволяет использовать энергию и применять ее для питания бесчисленных повседневных систем. Механизм теплообмена объясняется первым законом термодинамики. Этот закон гласит, что энергия не может быть ни создана, ни уничтожена, а только передана между системами. Неизбежно, когда энергия передается между двумя системами, часть энергии теряется в окружающей среде. Эта потеря энергии происходит в виде тепла и может также упоминаться как тепловая энергия. Тепловая энергия, содержащаяся в системе, отвечает за температуру окружающей среды.

    Методы теплопередачи

    Существует три метода, облегчающих теплопередачу. Эти методы известны как проводимость, конвекция и излучение.

    Излучение переносит тепло с помощью электромагнитных волн и не связано с каким-либо взаимодействием между веществами. Тепло, которое исходит от солнца, является примером излучения.

    Конвекция происходит в жидкостях и газах и описывает перемещение тепла из одного места в другое, чему способствует движение жидкостей. При нагревании жидкости расширяются и становятся менее плотными. Горячая жидкость поднимается и вытесняет находящуюся над ней холодную жидкость, толкая ее вниз к источнику тепла. Эта холодная жидкость будет нагреваться и подниматься вверх, создавая постоянный поток жидкости из области с высокой температурой в область с низкой температурой. Конвекция объясняет, как плинтусные радиаторы могут обогреть всю комнату. Горячий воздух, вырабатываемый радиаторами, быстро поднимается вверх, толкая холодный воздух вниз к нагревателю на полу, создавая постоянный поток воздуха.

    Теплопередача посредством теплопроводности включает передачу тепла между двумя материалами в результате поверхностного контакта. Между материалами не происходит обмена веществом, только энергией. Этот тип теплопередачи происходит в твердых материалах и вызывается колебаниями частиц. Под воздействием потока энергии частицы в твердом теле начинают покачиваться, вращаться и вибрировать, создавая кинетическую энергию. Типичным примером проводимости является процесс нагревания сковороды на плите. Тепло от горелки передается непосредственно на поверхность сковороды. Температура является мерой количества кинетической энергии, перерабатываемой частицами в образце вещества. Чем больше кинетическая энергия материала, тем выше будет его внутренняя температура.

    Рисунок 1: Схема механизмов теплопередачи

    Теплообмен в металлах

    Вещество с высокой кинетической энергией также будет иметь высокую теплопроводность. Теплопроводность описывает, насколько эффективно материал может пропускать через себя тепло. Он определяется скоростью потока энергии на единицу площади по сравнению с градиентом температуры. Большинство значений электропроводности выражаются в ваттах на метр на градус Кельвина Вт/м•К.

    Теплопроводность объясняет, почему ходьба босиком по холодному плиточному полу кажется намного прохладнее, чем ходьба по ковру, хотя оба они имеют комнатную температуру. Плитка и камни имеют более высокую теплопроводность, чем ковер и ткани, поэтому они могут отводить тепло от ног с гораздо большей скоростью, благодаря чему плитка кажется прохладной на ощупь.

    Металлы являются примером материала с высокой теплопроводностью, который может быстро передавать тепло. Внутренняя структура молекулы металла содержит свободные электроны, которые могут свободно перемещаться в объеме материала. Эти свободные электроны быстро сталкиваются с другими частицами, заставляя внутреннюю структуру металла вибрировать быстрее и быстрее нагреваться. Эти быстрые вибрации способствуют потоку энергии и тепла по всему металлу.

    Такие металлы, как медь, алюминий и серебро, часто используются для изготовления тепловых приборов и инструментов. Медные трубы — это провода, которые чрезвычайно популярны для использования в доме для быстрой передачи энергии и тепла из одной области в другую. Алюминий имеет чрезвычайно схожие тепловые свойства с медью и часто используется в качестве экономичной замены для выполнения тех же функций. Серебро является одним из наиболее широко используемых металлов для тепловых применений. Более 35% всего серебра, производимого в США, используется в электронике или электротехнике. Спрос на серебро продолжает расти, поскольку оно становится важнейшим компонентом в производстве солнечных батарей. Другие материалы с высокой теплопроводностью, такие как алмазы, также имеют множество практических применений. Алмазный порошок часто используется в электронике для отвода тепла от чувствительных участков и защиты их от перегрева.

    Рис. 2. Стандартные солнечные панели, которые часто изготавливаются из серебра

     

    Теплопередача в неметаллах

    Неметаллические материалы используют фононы для переноса тепла по градиенту от холодной области к теплой. Пластмассы, пенопласт и дерево — все это примеры материалов с низкими значениями теплопроводности. Эти материалы известны как изоляторы и могут ограничивать поток тепла. Изоляторы имеют множество чрезвычайно полезных применений, которые могут защитить энергию от потери в окружающую среду. Пена является чрезвычайно полезным изоляционным материалом для дома и строительства. Более 50% всей бытовой энергии используется для обогрева или охлаждения дома. Использование материала с высокой теплопроводностью для изоляции дома может существенно снизить количество энергии, необходимой для обогрева или охлаждения здания. Цены на энергоносители во всем мире постоянно растут, что делает идеальным сохранение как можно большего количества электроэнергии и тепла для снижения счетов за электроэнергию.

    Заключение

    Теплопроводность является чрезвычайно важным свойством материала, которое позволяет тысячам производственных систем функционировать должным образом и эффективно. В каждой экосистеме постоянно происходит обмен теплом в виде потерянной энергии. Использование тепловой энергии для промышленных и практических процессов привело к созданию превосходных энергосберегающих технологий, которые используются ежедневно. Теплопроводность, излучение и конвекция — это разные способы прохождения тепла через систему. Структура, плотность и состав материала являются факторами, которые могут влиять на теплопроводность образца. Материалы с высокими или низкими значениями теплопроводности используются для различных повседневных применений. Хотя это сильно недооценено, жизнь не была бы такой же без теплопередачи и теплообмена.

    Ссылки
    Шинде С. и Гоэла Дж. (2006). Материалы с высокой теплопроводностью. Нью-Йорк: Спрингер. doi:10.1007/b106785]
    Учебное пособие по физике.

    Рубка металлов слесарное дело: Слесарная рубка металла: инструменты, приемы, правила

    Какие инструменты применяют для рубки металла? — Технологии и материалы

    Услуги

    О компании

    Оборудование

    Сертификаты

    Контакты

    Цены

    Прайс-лист по токарным работам
    Прайс-лист по фрезерным работам
    Прайс-лист по сварке металлоконструкций

    Новости
    Статьи
    Вопрос-ответ

    Поставка оборудования
    Токарные работы
    Плазменная резка металла
    Слесарные работы
    Гибка металла
    Фрезерная обработка
    Сварка металлоконструкций
    Рубка металла
    Еще

    Металлообработка
    и изготовление металлоконструкций

    8 (812) 339-96-85

    Бесплатно по РФ

    Обратный звонок

    Россия, г. Санкт-Петербург, Колпино, Финляндская 23 (территория арматурного цеха 7-Н, помещение №3)

    ПН—ПТ: 9:00–18:00 Суббота и воскресенье: Выходной

    Мы уже затронули тему технологий, которые используются при рубке металла. В нашей прошлой статье мы отметили, что данная операция часто выполняется вручную мастерами-слесарями. Для того чтобы обеспечить необходимый результат, важны не только навыки специалиста, но и инструмент. О нем мы сегодня и поговорим. Мы расскажем о том, какие инструменты для рубки металла применяют для решения этой задачи и расскажем об особенностях работы с ними.

    Содержание

    1. Классификация
    2. Режущие инструменты для рубки металла
    3. Слесарный молоток
    4. Резюме

    Классификация

    Все слесарные инструменты для рубки металла можно разделить на несколько групп:

    1. Молотки.
    2. Режущие инструменты.
    3. Тиски и металлические подложки.
    4. Инструменты для разметки.

    Две последние группы являются скорее вспомогательными, а основная работа выполняется с помощью первых двух групп. О них мы сегодня и поговорим.

    Режущие инструменты для рубки металла

    Их достаточно много, но чаще всего применяются три основных вида:

    • зубила;
    • крейцмейсели;
    • канавочники.

    На них мы остановимся подробнее.
    Слесарные зубила — это ударно-режущий инструмент, который применяют для рубки металла и снятия верхнего слоя с поверхности. Они условно делятся на две группы: первые предназначаются для обработки заготовок в ручном режиме, вторые устанавливаются в перфораторы.
    Типовое слесарное зубило представляет собой металлический стержень, одна из сторон которого заточена с двух сторон. Другая сторона, напротив, имеет плоскую поверхность, по которой наносятся удары.
    Для изготовления зубил обычно применяются различные марки стали. Выбор конкретного сплава зависит от того, какие металлы необходимо будет обрабатывать. Как и резцы для токарных станков, зубила могут быть литыми или же иметь направленную пластину из другого металла. В первом случае обычно обеспечивается наибольшая степень качества, а во втором — более доступная стоимость. Литые зубила обычно изготавливают из углеродистых сталей. Такие инструменты наиболее широко распространены и отличаются универсальностью: с их помощью можно обрабатывать практически все виды заготовок. Зубила с пластиной изготавливаются из конструкционных сталей, что позволяет уменьшить их стоимость. Рабочая пластина производится из другого материала. Инструменты из конструкционной стали используются, например, для работы с камнем, так как более устойчивы к ударам.
    Чтобы улучшить характеристики зубила, перед выпуском его дополнительно обрабатывают методом закалки.

    Важно!
    Долгое время для изготовления инструментов использовался алюминий. Сегодня от его применения практически полностью отказались, так стоимость материала достаточно велика. Кроме того, алюминий является достаточно мягким, поэтому кромки инструментов для него быстро теряют остроту и требуют частой заточки.

    Крейцмейсель. Как и зубило, он относится к категории ударно-режущих инструментов. Соответственно, не предполагает примерно тот же принцип работы. При этом область использования у крейцмейселя существенно отличается, а в его конструкции имеется ряд важных особенностей.
    Инструмент имеет те же элементы, что и зубило: заточенный рабочий участок и плоскую поверхность для нанесения ударов молотком или кувалдой. При этом различия между этими инструментами заметны при первом же взгляде и касаются рабочей части. У крейцмейселя она сплюснута, а рубящая грань располагается на кончике.
    Основное назначение этого инструмента — вырезание канавок, пазов и так далее. В зависимости от формы рабочей части крейцмейсели могут быть прямоугольными, круглыми или специальными. Для изготовления этих инструментов обычно применяется инструментальная сталь. Согласно требованиям ГОСТа, углы их наклона должны находиться в диапазоне от 45 до 70 градусов. Кроме того, каждый крейцмейсель должен иметь защитное покрытие.
    Канавочники. Как и следует из названия, этот узкоспециализированный инструмент для вырубания в металле пазов, заклепок и канавок. Конструкция зубила и канавочника примерно одинакова. Основным отличием является ширина рабочей части. У канавочника она существенно меньше.

    Слесарный молоток

    Он относится к другой категории инструментов для рубки металла, которые называются ударными. При этом слесарные молотки существенно отличаются от тех, которые есть в большинстве квартир для забивания гвоздей. На самом деле в этой категории инструментов можно выделить целых 10 подвидов! Такое многообразие связано с тем, что каждый вид слесарных молотков имеет достаточно узкую специализацию и применяется для решения определенного набора задач.
    Конструкция данного вида инструментов известна, пожалуй, даже ребенку. Любой молоток состоит из рукояти, которая позволяет правильно прикладывать силу для удара, и головки, которая обеспечивает доставку энергии в нужную точку. При этом далеко не всем известно, что каждый элемент инструмента создается в соответствии с действующими стандартами и имеет строго заданные параметры.
    Теперь поговорим об упомянутых нами видах слесарных молотков. Отметим, что речь пойдет, в первую очередь, о специализированных инструментах. Классифицируются они, главным образом, по весу. Для использования в бытовых целях и в условиях мастерской подойдут инструменты весом 300—500 гр., так как они подходят для большинства видов работ. Профессионалы, однако, не ограничиваются одним молотком и предпочитают иметь в запасе варианты меньшей (50—300 гр) и большей (400—600 гр) массы. Первая разновидность применяется для инструментальных работ, вторая — для столярных.
    Чтобы подобрать оптимальный молоток, важно определиться с несколькими факторам:

    1. Вид работ. Слесарные молотки являются универсальными, но если планируется работать, например, с кафелем, лучше приобрести специализированный инструмент.
    2. Вес. От него напрямую зависит сила удара, что важно при работе с крупными деталями. В этом случае лучше выбрать молоток с бОльшим весом и более длинной рукояткой. Такой инструмент позволить существенно сэкономить силы при работе.
    3. Дополнительные элементы. К ним относятся, например, прорезиненные рукоятки, которые не дают инструменту выскользнуть из рук во время работы.

    Резюме

    От того, какие инструменты для рубки металла использует мастер, зависит качество итоговых изделий. Большинство из них появились и используются достаточно давно. К основным рабочим категориям относят ударно-режущие и ударные инструменты. Каждый из них имеет собственное назначение и производится в строгом соответствии с ГОСТом.

    § 3. Инструмент и приспособления для рубки металла / Глава II. Рубка металла / Слесарно-заготовительные операции / Санитарно-технические работы

    Рубкой называется слесарная
    операция, при которой с помощью режущего инструмента с заготовки или детали
    удаляют лишние слои металла   или   заготовку разрубают на части. При
    современных способах обработки    материала   или заготовок    рубка    металла
    — подсобная операция.

    Рубку металла производят в
    тисках, на плите и на наковальне с помощью слесарного молотка, слесарного
    зубила, крейцмейселя, кузнечного зубила и кувалды.

    Рубка металла бывает
    горизонтальная и вертикальная в зависимости от расположения зубила во время
    операции. При горизонтальной рубке, производимой в тисках, заднюю грань зубила
    устанавливают к плоскости губок тисков почти горизонтально, под углом не более
    5°С. Вертикальную рубку выполняют на плите или наковальне. Зубило устанавливают
    вертикально, а перерубаемый материал укладывают на плите горизонтально.

    Рис. 3. Тиски параллельные:

    1 — червячный   винт,   2,  
    3 — подвижная   и неподвижная  губки,  4 — поворотный  круг,

    5 — винт   поворотного  
    круга,   6 — нижняя плита

    Тиски бывают параллельные
    (рис. 3)—чугунные со стальными закаленными накладными губками 2, 3 и стуловые
    (рис. 4)—стальные. Материал перерубают преимущественно в стуловых тисках, так
    как они прочнее параллельных. На параллельных тисках разрешается перерубать
    только тонкую сталь.

    Рубку тонкого металла,
    обрубку плоскостей, приливов, заусенцев, вырубку канавок производят в тисках,
    а   перерубку   толстого металла или   длинных        2 полос  и   прутков — на
    плите или наковальне.

    Слесарные молотки,
    используемые при рубке, бывают с круглыми или квадратными бойками (рис. 5, а,
    б).

    Рис. 4. Тиски стуловые:

    1 — рычаг,  2,3— подвижная 
    и  неподвижная  губки,  4 — втулка,   5—пружина,   6— лапа,   7 — распорная  
    втулка

    Молотки с круглыми бойками
    применяют, когда требуется большая сила и меткость удара, а с квадратными— для
    более легких работ. Молотки изготовляют из инструментальной   стали У7. Рабочие
    части молотка закаливают и отпускают. Молоток должен быть в  исправном 
    состоянии,  без трещин,  плен,  раковин  и других дефектов.

    Для слесарной рубки применяют
    молотки массой 400, 500, 600 и 800 г. Молотки насаживают на ручки из древесины
    твердых и вязких пород (береза, клен, дуб, рябина). Ручки должны быть овальной
    формы, с гладкой и чистой поверхностью, без сучков и трещин. Длина ручки
    молотка массой 400—600 г равна 350 мм, массой 800 г —380—450 мм.

    Рабочую часть зубила и
    крейцмейселя (рис. 5, е, г) закаливают на длину не менее 30 мм, а головку —
    слабее лезвия (на длину около 15—25 мм), чтобы при ударе молотком она не
    крошилась и не трескалась. Вся остальная часть зубила и крейцмейселя должна
    оставаться мягкой. Зубила и крейцмейсели не должны иметь трещин, плен и других
    пороков.

    Рис. 5. Инструмент для рубки:
    а — Слесарный молоток с круглым бойком, б — слесарный молоток с квадратным  
    бойком,  в — слесарное зубило,   г — крейцмейсель

    Рис. 6. Заточка зубила на
    заточном станке: а — Приемы  держания   зубила   при   заточке,   б — шаблон  
    для   проверки   правильности угла заточки


    Наиболее часто используют
    зубила длиной 175 и 200 мм с лезвиями шириной 20 и 25 мм. Для прорубания
    канавок в стали и чугуне применяют креицмеисели длиной 150—175 мм с лезвием
    шириной 5—10 мм. Головки зубила и креицмеиселя отковывают на конус, что
    обеспечивает правильное направление удара молотком и уменьшает возможность   
    образования    грибовидной шляпки   на   головке.

    Угол заточки зубил и
    крейцмейселей зависит от твердости обрабатываемого металла. Для рубки чугуна,
    твердой стали и твердой бронзы угол заточки инструмента равен 70°, для рубки
    средней и мягкой стали —60°, для рубки латуни, меди и цинка —45°, для рубки
    очень мягких металлов (алюминия, свинца) — 35—45°.

    Слесарный инструмент
    затачивают на заточных станках с абразивными кругами. Во время заточки рабочая
    часть инструмента (лезвие) сильно нагревается и может произойти ее отпуск. При
    отпуске твердость закалки теряется и инструмент становится негодным для
    дальнейшей работы. Во избежание этого рабочую часть инструмента во время
    заточки охлаждают водой. На рис. 6 показано, как надо держать зубило при
    заточке и как проверять правильность заточки угла,

    Научитесь резать стальные трубы и купите резак для стальных труб

    Рисунок 1: Труборез из нержавеющей стали.

    Ручной труборез — удобное решение для резки стальных труб на любом рабочем месте, поскольку он легко работает без электричества. Обычный труборез показан на рис. 1. Хотя электроинструменты, такие как циркулярная пила, режут намного быстрее, потребность в электричестве усложняет задачу, что делает ручной труборез пригодным для применения вдали от мастерской или электричества.

    Содержание

    • Стальные трубы
    • Что такое труборез?
    • Как резать стальные трубы
    • Совет по резке стальных труб
    • Часто задаваемые вопросы
    • Трубогиб

    • Устройство для снятия заусенцев

    • Устройство для обжима труб

    • Труборез

    • Трубный пресс

    Стальные трубы

    Производство и строительство используют стальные трубы для многих целей. Например, стальные трубы, обеспечивающие охлаждение в холодильнике, или строительные леса для проекта реконструкции старого здания. При монтаже водопроводной системы стальные трубы разрезаются для установки фитингов, например, отводов.

    Сталь представляет собой твердый сплав, поэтому ее трудно резать. Быстрые решения для резки стали, такие как циркулярные пилы, стоят дорого. Кроме того, для электроинструментов требуется источник электроэнергии, что усложняет процесс резки. Труборез — более медленная альтернатива электропилам, но он легко доступен на любом рабочем месте.

    Что такое труборез?

    Труборез представляет собой С-образный ручной инструмент, в котором используется режущее лезвие из закаленной стали для резки металлической трубы. Труба помещается между отрезным кругом (рис. 2, помечен A) и роликами (рис. 2, помечен B). Ролики позволяют труборезу вращаться вокруг трубы, не поворачивая трубу. Некоторые конструкции труборезов позволяют использовать режущие лезвия вместо роликов, чтобы создать режущий инструмент с 3 точками. Пользователь вращает ручку затяжки (рисунок 2, обозначен C) или рукоятку, чтобы закрепить устройство на трубе. Затем пользователь вращает инструмент вокруг трубы до тех пор, пока не будет завершена резка. Чтобы узнать больше о труборезах, ознакомьтесь с нашей статьей о труборезах.

    Рисунок 2: Труборез с компонентами: отрезным колесом (A), роликами (B) и зажимной ручкой (C).

    Как резать стальные трубы труборезом

    Существует несколько инструментов для резки стальных труб. Независимо от того, какой инструмент, СИЗ (средства индивидуальной защиты) важны. При работе с ручным инструментом надевайте перчатки и защитные очки. При использовании электроинструментов, вызывающих искрение, также надевайте маску. Наконец, независимо от того, какой инструмент, снимите заусенцы с края стальной трубы после ее резки.

    В этом разделе рассматривается, как использовать резак для стальных труб, а затем сравнивается его эффективность с другими инструментами, такими как:

    • Ножовка
    • Торцовочная пила
    • Сабельная пила
    • Циркулярная пила

    Нож для стальных труб

    Более толстое и твердое режущее лезвие ножниц для стальных труб отличает их от других труборезов для металлических труб (например, труборезов для медных труб). Большинство труборезов для стальных труб подходят для труб диаметром до 50 мм (2 дюйма). Некоторые конструкции достаточно велики для труб диаметром 76 мм (3 дюйма).

    Труборезы для стальных труб — лучший инструмент для резки стальных труб. Они делают разрез под прямым углом (90°) и оставляют гладкую поверхность, требующую минимального удаления заусенцев. Однако труборезы режут гораздо медленнее, чем электропилы. Итак, если работа требует большого количества резки, рассмотрите возможность использования одного из электроинструментов, обсуждаемых далее в этом разделе.

    Следующие шаги описывают, как резать стальную трубу с помощью трубореза:

    1. Поместите головку трубореза вокруг трубы и затяните ее, пока режущее лезвие не коснется поверхности трубы.
    2. Вращайте труборез вокруг трубы, чтобы начать резать канавку.
    3. После одного или двух оборотов вокруг трубы вставьте режущее лезвие в канавку с помощью зажимной ручки или рукоятки.
    4. Повторяйте вращение и затягивание, пока рез не будет завершен.
    5. Используйте инструмент для удаления заусенцев или приспособление для удаления заусенцев, прикрепленное к труборезу для стальных труб, чтобы удалить заусенцы с конца отрезанной трубы.

    Труборез для стальных труб и труборез для стальных труб

    Когда дело доходит до резки стальных труб и труб, труборез для стальных труб является таким же инструментом, как и труборез для стальных труб. Разница между трубой и трубой заключается в том, как измеряется диаметр. Диаметр трубы — это ее внутренний диаметр, часто называемый номинальным диаметром. Диаметр трубы — это ее наружный диаметр. Кроме того, трубы бывают разной формы (например, круглые, квадратные или овальные), тогда как трубы всегда круглые. Если инструмент называется просто труборез, то, скорее всего, это инструмент для резки пластиковых труб.

    Прочие инструменты для резки стальных труб

    Ножовка по металлу

    Ножовка — это особый тип пилы для резки металла. Использование ножовки для резки стальной трубы может быть точным при дополнительном использовании направляющей. Полотно пилы входит в направляющую, которая удерживает полотно в одном и том же положении на трубе и предотвращает его скачкообразное движение. Убедитесь, что лезвие ножовки может прорезать сталь. Прочтите нашу статью о выборе полотна для ножовки, чтобы узнать больше о выборе правильного полотна.

    Для резки стали ножовкой:

    1. Короткими движениями средней части лезвия сделайте канавку на поверхности трубы.
    2. Как только появится канавка, используйте лезвие на всю длину, чтобы распилить стальную трубу.
      1. Нажимайте на ходы вперед. Большинство ножовочных полотен не режут на спине.
    3. Завершите рез и зачистите конец трубы.

    Для получения дополнительной информации о том, как пользоваться ножовкой, прочитайте нашу обзорную статью о ножовке.

    Сабельная пила

    Сабельная пила, обычно называемая Sawzall, является эффективным инструментом для резки стальных труб. Убедитесь, что лезвие пилы является режущим лезвием из твердого металла. Однако сабельные пилы не режут точно. Так что для резки стальных труб эти пилы лучше всего подходят для работ по сносу.

    Циркулярная пила

    Циркулярные пилы могут быстро разрезать стальные трубы. Убедитесь, что полотно пилы предназначено для резки твердого металла. Перед резкой убедитесь, что стальная труба зажата. Также будьте особенно осторожны с циркулярной пилой. Поскольку он может быстро разрезать стальные трубы, пользователи иногда делают слишком быстрые и дорогостоящие ошибки при резке.

    Преимущества трубореза для стальных труб

    Несмотря на то, что он не режет стальные трубы так же быстро, как электропилы, он все же имеет явные преимущества:

    • Стоимость: Труборезы для стальных труб стоят намного меньше, чем электропилы.
    • Отделка: Труборезы для стальных труб оставляют самую гладкую поверхность, требующую минимального удаления заусенцев после резки.
    • Точность: Труборезы для стальных труб делают самые точные и квадратные разрезы.
    • Готовность: Резак для стальных труб всегда готов к использованию, так как не требует источника питания.

    Ножницы для стальных труб Недостатки

    Ножи для резки стальных труб имеют следующие недостатки:

    • Скорость: Из всех труборезов стальные труборезы самые медленные.
    • Наличие: Большинство пользователей, вероятно, уже имеют в наличии ножовку, тогда как труборезы менее распространены из-за их специфического применения.

    Рекомендации по резке стальных труб

    Следующие советы будут полезны тем, кто покупает или использует труборез для стальных труб:

    • Как правило, чем больше рама инструмента, тем больше и толще режущее лезвие. Таким образом, более крупные труборезы лучше подходят для стальных труб, но не для более мягких труб, таких как медные.
    • Небольшой спрей смазки (например, WD-40) снижает трение и нагревание в процессе резки.
    • Немедленно замените изношенные или поврежденные режущие лезвия.

    Часто задаваемые вопросы

    Может ли труборез резать стальную трубу?

    Большие труборезы с режущими лезвиями из закаленной стали подходят для резки стальных труб.

    Может ли резак для медных труб разрезать стальную трубу?

    Прежде чем пытаться разрезать стальную трубу, обратитесь к производителю резака для медных труб. Режущее лезвие резака для медных труб может быть слишком маленьким для эффективной резки стальной трубы. Кроме того, резка стальной трубы может привести к чрезмерному износу режущего лезвия резака для медных труб.

    • Трубогиб

    • Устройство для снятия заусенцев

    • Устройство для обжима труб

    • Труборез

    • Трубный пресс

    Как правильно выбрать труборезы

    Сантехнические проекты своими руками можно сделать намного проще, если использовать правильный труборез. Так же, как существует множество различных типов труб, существует также несколько типов специализированных труборезов, а также режущие инструменты общего назначения, которые можно использовать для резки водопроводных труб вместе с другими типами материалов.

    Знание некоторых типов резаков, представленных на рынке, может помочь вам выбрать правильный для вашего проекта. У вас будет несколько специальных резаков на выбор, предназначенных для резки конкретных материалов, а также несколько универсальных режущих инструментов, которые можно приспособить для резки водопроводных труб.

    • 01
      07

      Резаки для медных труб

      Ель / Кевин Норрис

      Резаки для медных труб представляют собой специализированные инструменты для резки труб, которые бывают разных форм и размеров, от маленьких кусачек до довольно больших инструментов, предназначенных для больших труб. Все типы работают по существу одинаково: инструмент захватывает трубу между роликами и острым отрезным кругом, и по мере вращения инструмента вокруг трубы он делает постепенно углубляющийся надрез в стенках трубы.

      Хотя эти инструменты известны как резаки для медных труб, они могут работать с различными материалами труб:

      • Жесткая медная водопроводная труба
      • Гибкая медная трубка
      • ПВХ-пластик
      • АБС-пластик
      • ХПВХ-пластик
      • Электрометаллическая трубка

      Использование резака для медных труб на материалах, отличных от меди, приводит к затуплению режущего лезвия, поэтому, если вы делаете это регулярно, ожидайте периодической замены режущего диска.

      Большинство людей, выполняющих рутинные сантехнические работы, считают полезным иметь под рукой как минимум два резака для медных труб:

      • Небольшой резак типа «большой палец», который идеально подходит для работы в труднодоступных местах. Этот тип обычно может резать трубы диаметром до одного дюйма, но требует немного больше усилий.
      • Стандартные резаки для медных труб

      • имеют увеличенный корпус и рукоятку, что облегчает вращение инструмента вокруг трубы. Многие стандартные резаки имеют встроенные инструменты для развертывания, предназначенные для сглаживания краев трубы перед пайкой или подгонкой.
      • Также доступны автоматические резаки

      • . Они также хорошо работают в тесных помещениях. Они затягиваются автоматически при каждом обороте резака вокруг трубы — ручная затяжка не требуется.

      Обязательно купите резак для медных труб, соответствующий размеру трубы, с которой вы обычно работаете.

    • 02
      из 07

      Резак для труб из ПВХ

      Ель / Кевин Норрис

      Резаки с храповым механизмом для ПВХ – это замечательные инструменты для работы с трубами из ПВХ. Работая чем-то вроде секаторов для кустарников с храповым механизмом, каждый раз, когда вы сжимаете руку, резак закрывается с храповым механизмом, отрезая небольшое количество материала трубы, пока вы не прорежете трубу.

      Резаки для ПВХ предназначены для резки труб различного размера до двух дюймов в диаметре. Наиболее распространенные размеры подходят для труб диаметром до 1 1/4 дюйма и стоят от 10 долларов, поэтому они очень доступны по цене. Если у вас есть приличная сила рук, вы можете легко крутить резак, пока он не прорежет трубу из ПВХ. Эти резаки также отлично подходят для резки CPVC и PEX.

      Труборезы из ПВХ не рекомендуются для труб из АБС-пластика, которые слишком хрупкие, чтобы их можно было эффективно разрезать труборезом из ПВХ. ABS обычно режется ножовкой или другими универсальными пилами, такими как торцовочная пила.

    • 03
      из 07

      Пила для АБС

      Ель / Кевин Норрис

      Большинство людей режут трубы из АБС-пластика грубой пилой. Существуют специальные пилы для резки ABS, но вы можете использовать любую пилу, даже ножовку. Грубая пила также хороша для резки ПВХ. Как на трубах из АБС-пластика, так и на трубах из ПВХ вам нужно будет очистить внутреннюю и внешнюю часть трубы после резки, потому что использование пилы оставляет большие заусенцы на пластиковом материале трубы, которые могут помешать склеиванию растворителем.

    • 04
      из 07

      Резаки для стальных труб

      Ель / Кевин Норрис

      Существуют специальные труборезы для резки железных или стальных труб, которые очень трудно разрезать любым другим способом. Железные труборезы каждый раз делают хороший прямой разрез. Они работают точно так же, как более крупные медные резаки , но имеют более толстый и прочный отрезной круг для работы с более толстыми и твердыми стенками стальной или железной трубы. Поворачивайте рукоятку, чтобы зажимать туже каждый оборот или два, пока труборез не перережет трубу. Этот тип резака требует много места для поворота, поэтому в ограниченном пространстве вам, возможно, придется использовать сабельную пилу, оснащенную лезвием для резки металла.

    • 05
      из 07

      Чугунные кусачки

      Ель / Кевин Норрис

      Эти большие цепные резаки режут чугунные, глиняные и бетонные трубы. Существуют как храповые, так и ножничные версии этого инструмента. Кусачки с защелкой работают с цепью, оснащенной рядом острых режущих дисков. После того, как цепь инструмента намотана на трубу и затянута, она в конечном итоге разрезает трубу так чисто, как если бы она была разрезана пилой.

      Резак с защелкой требует некоторой практики, чтобы научиться устанавливать цепь, и им очень тяжело маневрировать. Это также очень дорогой инструмент, которым хотят владеть немногие домовладельцы. При необходимости лучше всего арендовать этот инструмент в домашнем центре или центре проката инструментов. Чтобы быть в безопасности, полезно несколько раз потренироваться на запасной трубе, прежде чем резать трубу в ограниченном пространстве.

    • 06
      из 07

      Фрезы для ХПВХ и PEX

      Ель / Кевин Норрис

      Резак для мягких трубок представляет собой инструмент, похожий на ножницы, который работает почти так же, как и резак для труб из ПВХ, но вместо храпового действия инструмент просто разрезает мягкую трубку одним нажатием на ручку. Просто покачивайте лезвием вперед и назад, чтобы оно начало двигаться в трубе, а затем сожмите ручку, чтобы прорезать ее до конца.

      Этот тип резака отлично работает, но длительное использование может утомить ваши руки. Резаки с трещоткой из ПВХ также отлично подходят для резки этого типа труб, как и большинство пил, поэтому не стесняйтесь использовать все, что есть в вашем наборе инструментов для сантехники.

    • 07
      07

      Универсальные пилы

      Ель / Кевин Норрис

      Если вы нечасто занимаетесь ремонтом сантехники или если у вас есть уникальная ситуация, когда имеющиеся у вас специальные резаки не совсем соответствуют требованиям, для резки сантехнических труб может подойти любое количество пил общего назначения.

      • Ножовка по металлу : Используется практически для любого типа сантехнических труб.
      • Лобзик : Электролобзик, оснащенный правильным лезвием, может разрезать практически любую водопроводную трубу диаметром до 1 1/2 дюйма. Диск по дереву легко режет пластиковую трубу; используйте лезвия для резки металла (и низкую скорость вращения пилы) при резке меди или других металлов.

    Схема передачи: Схема передачи информации — задание. Информатика, 10 класс.

    Кодирование информации (двоичные коды)

    Кодирование информации (двоичные коды)








      

    Кодирование информации (двоичные коды). Березюк Н. Т., Андрущенко А. Г., Мощицкий С. С. и др. -Харьков, издательское объединение «Вища школа», 1978, — 252 с.

    В справочнике рассматриваются вопросы кодирование двоичной информации. Приводятся основные понятия из теории информации и вычислительной техники. Подробно описываются различные двоичные коды, применяемые в дискретных устройствах переработки информации, принципы их построения, даны их классификация и сравнительные характеристики. Содержатся практические рекомендации по выбору соответствующих кодов.

    Справочник представляет интерес для инженерно-технических работников, занимающихся разработкой и созданием устройств передачи информации, вопросами применения вычислительной и информационной техники в АСУ.

    Оглавление


    ПРЕДИСЛОВИЕ
    Глава 1. ОБЩИЕ СВЕДЕНИЯ
    1.1. Двоичная система счисления
    1.2. Сведения из теории матриц
    1.3. Некоторые сведения из теории вероятности
    1.4. Элементы теории информации
    1.5. Структурная схема передачи информации
    1.6. Помехи и ошибки в каналах связи
    1.7. Передача информации по каналу без помех
    1.8. Передача информации по каналу с помехами
    Глава 2. НЕИЗБЫТОЧНЫЕ КОДЫ
    2.1. Кодирование информации. Основные понятия
    2.2. Классификация двоичных кодов
    2.3. Основные характеристики кодов
    2.4. Основы построения неизбыточных кодов
    2.5. Простые равномерные коды
    2.6. Двоично-десятичные коды
    2.7. Самодополняющиеся двоично-десятичные коды
    2.8. Отраженные коды
    2.9. Неравномерные коды Шеннона — Фано и Хаффмена
    Глава 3. ИЗБЫТОЧНЫЕ КОДЫ И ПРИНЦИПЫ ИСПОЛЬЗОВАНИЯ ИЗБЫТОЧНОСТИ
    3.2. Связь корректирующей способности кода с кодовым расстоянием
    3. 3. Основы матричного построения систематических кодов
    3.4. Методы исправления ошибок
    3.5. Понятие об оптимальных кодах
    3.6. Код с одной проверной на четность
    3.7. Код с простым повторением
    3.8. Корреляционный код
    3.9. Инверсный код
    3.10. Код Хэмминга
    3.11. Код Голея
    3.12. Код Рида — Маллера
    3.13. Код Макдональда
    3.14. Код Варшамова
    3.15. Коды с малой плотностью проверок на четность
    3.16. Итеративный код
    3.17. Коды с постоянным весом
    3.18. Коды Плоткина
    3.19. Код Бергера
    3.20. Непрерывные коды
    Глава 4. ЦИКЛИЧЕСКИЕ КОДЫ
    4.2. Принцип построения циклических кодов
    4.3. Матричное представление циклических кодов
    4.4. Выбор образующего полинома
    4.5. Способ коррекции ошибок циклическими кодами
    4.6. Способы определения количества вариантов не обнаруживаемых циклическими кодами ошибок
    4.7. Циклические коды с минимальным кодовым расстоянием
    4.8. Циклические коды Хэмминга
    4.9. Коды Боуза — Чоудхури — Хоквингема (БЧХ)
    4. 10. Код Файра
    4.11. Коды Абрамсона
    4.12. Коды Рида — Соломона
    4.13. Компаундные коды
    4.14. Мажоритарные циклические коды
    Глава 5. ОЦЕНКА И ВЫБОР КОДОВ
    5.1. Вероятность ошибки при передаче информации
    5.2. Вероятность ошибки при передаче информации по каналам связи с пакетным распределением ошибок
    5.3. Основные методы повышения достоверности передачи информации избыточными кодами
    5.4. Условия целесообразности применения избыточных кодов
    5.5. Рекомендации по выбору кодов
    ПРИЛОЖЕНИЯ
    Список литературы






    1.1.5 Обобщенная схема системы передачи информации

    Каналом передачи информации является совокупность
    средств, используемых для этой цели.

    Радиотехническим каналом связи называется
    канал передачи информации с помощью электромагнитных колебаний.

    Устройство, преобразующее информацию в электромагнитное
    высокочастотное колебание (радиосигнал), называется радиопередатчиком,
    а устройство, преобразующее принятый радиосигнал в информацию – радиоприемником.
    При прохождении радиосигнала от передатчика к приемнику по среде распространения
    (провод, волновод, свободное пространство) его параметры могут изменяться,
    в том числе и под влиянием различного рода помех. На рис.1 показана обобщенная
    блок-схема система передачи информации, из которой видно, что помехи могут
    оказывать влияние не только на сигнал, сформированный передатчиком, но
    и на сигнал, обрабатываемый приемником.

    Рис. 1

    В радиотехнической системе сигналы подвергаются
    различным преобразованиям. Некоторые из них являются обязательными для
    всех систем, независимо от назначения и характера передаваемой информации.

    Передаваемый по каналу связи сигнал подвергается
    воздействию помех. Источниками внешних помех являются атмосферные явления,
    шумы космического пространства, индустриальные помехи, помехи других каналов
    связи и пр.

    Внутренние помехи возникают вследствие дискретной
    природы заряженных частиц, а также из-за несовершенства аппаратуры.

    Под действием помех сигнал, проходя через
    канал связи, искажается. Поэтому одной из задач при организации канала
    связи является повышение помехоустойчивости канала.

    Для увеличения потока информации, передаваемого
    одним каналом связи, применяют частотное или временнОе разделение каналов
    в одной линии связи. При частотном разделении каналов одно несущее колебание
    используется для передачи нескольких заранее промодулированных разными
    частотами сообщений. Эти частоты называются поднесущими. В приемнике радиосигнал
    детектируется, разделяется фильтрами, и каждый канал затем еще раз детектируется,
    выделяя свое низкочастотное сообщение.

    При временном разделении каналов сообщения
    поочередно модулируют несущее колебание независимо от назначения и характера
    передаваемой информации.

    Струтурная схема передающей части канала
    связи представлена на рис. 2

    Рис.2

    Датчик преобразовывает передаваемую информацию
    в электрический сигнал-сообщение. Кодирующее устройство выполняет функцию
    преобразования сообщения в сигнал другой формы, более пригодной для передачи.
    Этот сигнал часто называют управляющим. В цифровых системах это устройство
    преобразует непрерывный сигнал в цифровой код. Запоминающее устройство
    хранит сигнал до момента его передачи. Модулятор осуществляет изменение
    (модуляцию) одного или нескольких параметров высокочастотного несущего
    колебания по закону управляющего сигнала.

    Радиприемное устройство (рис.3) состоит из
    избирательного усилителя, детектора, декодирующего устройства и устройства
    обработки принятого сигнала (оконечное устройство).

    Рис.3

    Избирательный усилитель выделяет и усиливает
    из множества сигналов, принимаемых антенной, требуемое высокочастотное
    модулированное колебание. Детектор выделяет сигнал, пропорциональный закону
    модуляции. Оконечное усройство преобразует полученный электрический сигнал
    в информацию той или иной формы.

    Кроме указанных выше преобразований сигналов,
    в радиотехнических устройствах используют различного рода усилительные
    устройства (усилители низкой частоты на входе передатчика и выходе приемника,
    усилители коротких импульсов в импульсных и цифровых системах, высокочастотные
    усилители малой и большой мощности), умножение и деление частоты и др.

    Штат Орегон: Объекты — Каскадная возобновляемая система передачи

    Департамент энергетики штата Орегон / Энергетические объекты и безопасность / Сооружения / Каскадная возобновляемая система передачи

    ​​​​​

    microsoft.com/WebParts/v2/DataView/designer» xmlns:sharepoint=»Microsoft.SharePoint.WebControls» xmlns:pcm=»urn:PageContentManager» xmlns:ddwrt2=»urn:frontpage:internal» cellspacing=»0″ cellpadding=»0″ border=»0″>

    Заявитель/владелец сертификата:
    Cascade Renewable Transmission, LLC (CRT). CRT является совместным предприятием PB CRTS, LLC, дочерней компании PowerBridge, LLC и Sun2o Partners, LLC.
    Контактное лицо ODOE:
    Christopher Clark
    Контактное лицо заявителя/владельца сертификата:
    Кристофер Хокер, вице-президент Cascade Renewable Transmission, LLC.

    Хронология проекта

    Уведомление о намерениях

    07.03.2023

    Публичное уведомление о намерениях

    04. 04.2023

      

    О процессе сертификата сайта

      

    Блок-схема процесса сертификата сайта

      

    Процесс ускоренной проверки Блок-схема

    Справочник по файлам приложений

    • Приложение A: Информация о заявителе
    • Приложение B: Описание проекта
    • Доказательство C: Местоположение объекта и карты
    • Приложение D: Организационная информация
    • Приложение E​: Требуются разрешения
    • Доказательство F: Право собственности 
    • Приложение G: Анализ материалов
    • Приложение H: Геология и устойчивость грунта
    • Экспонат I: Почвы
    • Экспонат J: Водно-болотные угодья
    • Приложение K: Землепользование
    • Приложение L: Охраняемые территории
    • Приложение M: Финансовый анализ
    • Приложение N​: Информация о негенерирующих объектах
    • Экспонат O: Требования к воде
    • Экспонат P: Среда обитания рыб в дикой природе 
    • Экспонат Q: Находящиеся под угрозой исчезновения растения и животные
    • Экспонат R: Эстетические ценности сцен 
    • Экспонат S: Культурные ресурсы
    • Экспонат T: Рекреационные объекты 
    • Экспонат U: Общественные услуги
    • Приложение V​: Минимизация отходов
    • Экспонат W: Восстановление Зоны
    • Экспонат X: Шум
    • Приложение Y: Выбросы углекислого газа
    • Экспонат Z: Градирни  
    • Экспонат AA: ЭМП – электрические и магнитные поля
    • Приложение BB: Прочая информация
    • Приложение CC: Дополнительный Устав Правила Постановления
    • Приложение DD​: Другие специальные стандарты
    • Наверх

    Основы системы передачи электроэнергии

    Электроэнергия после выработки на генерирующих станциях (ТЭЦ, ТЭЦ, АЭС и др. ) передается потребителям для использования. Это связано с тем, что генерирующие станции обычно располагаются вдали от центров нагрузки. Сеть, которая передает и доставляет энергию от производителей к потребителям, называется 9.0195 система передачи . Эта энергия может передаваться в форме переменного или постоянного тока. Традиционно переменный ток используется уже много лет, но быстро набирает популярность HVDC (высоковольтный постоянный ток).

    Типичная однолинейная диаграмма, представляющая поток энергии в данной энергосистеме, показана ниже:

    Электроэнергия обычно (или обычно) вырабатывается напряжением 11 кВ на электростанциях в Индии и Европе. Хотя в некоторых случаях напряжение генерации может быть выше или ниже. Генераторные машины, которые будут использоваться на электростанциях, доступны от 6 кВ до 25 кВ от некоторых крупных производителей. Это генерирующее напряжение затем повышается до 132 кВ, 220 кВ, 400 кВ или 765 кВ и т. д. Повышение уровня напряжения зависит от расстояния, на которое должна передаваться мощность. Чем больше расстояние, тем выше будет уровень напряжения. Повышение напряжения заключается в уменьшении I 2 R потери в при передаче мощности (при повышении напряжения ток уменьшается на относительную величину, так что мощность остается постоянной, и, следовательно, потери I 2 R также уменьшаются). Эта ступень называется первичной передачей .

    Напряжение понижено на приемной станции до 33 кВ или 66 кВ. Вторичные линии передачи выходят из этой приемной станции для подключения подстанций, расположенных вблизи центров нагрузки (городов и т. д.).

    Напряжение на подстанции снова снижено до 11 кВ. Крупные промышленные потребители могут питаться напряжением 11 кВ напрямую от этих подстанций. Также от этих подстанций выходят фидеры. Этот этап называется первичным распространением .

    Фидеры представляют собой воздушные линии или подземные кабели, которые передают энергию близко к точкам нагрузки (конечным потребителям) на расстояние до нескольких километров. Наконец, напряжение снижается до 415 вольт с помощью установленного на столбе распределительного трансформатора и подается к распределителям. Питание конечных потребителей осуществляется по сервисной магистрали от дистрибьюторов. вторичная распределительная система состоит из фидеров, распределителей и обслуживающей магистрали.

    Различные типы систем передачи

    1. Однофазная система переменного тока
      • Однофазная, двухпроводная
      • однофазный, два провода с заземлением средней точки
      • одна фаза, три провода
    2. Двухфазная система переменного тока
      • Двухфазная, трехпроводная
      • двухфазный, четырехжильный
    3. Трехфазная система переменного тока
      • трехфазный, три провода
      • трехфазный, четырехпроводный
    4. Система постоянного тока
      • Двухпроводная система постоянного тока
      • Два провода постоянного тока с заземленной средней точкой
      • Три провода постоянного тока

    Передача электроэнергии также может осуществляться по подземным кабелям. Но строительство подземной линии электропередачи обычно обходится в 4-10 раз дороже, чем строительство воздушной линии эквивалентного расстояния. Однако следует отметить, что стоимость строительства подземных линий электропередачи сильно зависит от местных условий. Кроме того, стоимость требуемого материала проводника является одной из самых значительных затрат в системе передачи. Поскольку стоимость проводника является основной частью общей стоимости, ее необходимо учитывать при проектировании. Выбор системы передачи осуществляется с учетом различных факторов, таких как надежность, эффективность и экономичность. Обычно используется система воздушной передачи.

    Основные элементы линии электропередачи

    В силу экономических соображений для передачи электроэнергии широко применяется трехфазная трехпроводная контактная сеть. Ниже приведены основные элементы типичной энергосистемы.

    • Проводники: три для одноцепной линии и шесть для двухцепной линии.