Подборка по базе: Экз билеты ЭМонит ПЕРЕЧЕНЬ .doc, Организм человека — как общее целое.pdf, Экзаменационный билет № 8 Рихтер Илана Сергеевна.docx, Экзаменационный билет № 10 Рыхта Елена Анатольевна.docx, экзаменационные билеты.docx, терапия билет-1.docx, Экзаменационные билеты 8 кл..docx, Предмет и методы психологии. Общее понятие о психике.docx, Физика. Основное общее образование_7-9.docx, Тарих билет жауаптары.pdf 1 2 3 4 5 6 7 Билет №1.
Неповоротная часть является опорой крановой установки. Она служит для восприятия нагрузок, возникающих при работе крана и монтажа на ней кранового оборудования. При работе крановой установки возникают большие и динамические нагрузки. Неповоротная рама крана представляет собой сварную металлоконструкцию.
Для увеличения устойчивости крана в рабочем состоянии к неповоротной раме шарнирно закреплены четыре дополнительные опоры, а для уравнения деформации упругих подвесок оси ходовой части крана установлены стабилизаторы. Неповоротная рама крепится к раме автомобиля стремянками и болтами.
На механизме поворота установлен постоянно замкнутый колодочный тормоз. Он установлен в верхней части редуктора под гидродвигателем. Он состоит из колодок, рычагов, тяг, пружины и гидроразмыкателя. Порядок регулировки тормоза: 1. Установить длину рабочей пружины. Её размер взять в паспорте или руководстве по эксплуатации крана. 2. Тягами отрегулировать равномерный отход колодок от шкива. 3. Установить ход гидроразмыкателя 8-15 мм. на его штоке. Предельный износ колодок составляет 50% их первоначальной толщины.
— установить стрелу и крюк в положение указанное или предусмотренное инструкцией по эксплуатации; — осмотреть кран, очистить все его оборудование; — обо всех неполадках в работе крана крановщик должен сделать запись в журнале приема и сдачи смены и при окончании работы сообщить о них своему сменщику или лицу ответственному за технически исправное состояние грузоподъемных механизмов; — закрыть окна в кабине и запереть дверь.
Канат отбраковывается. Билет №2.
Выносные опоры предназначены для увеличения опорного контура крана в рабочем положении. Каждая опора имеет два фиксированных положения: транспортное и рабочее. В каждом положении она фиксируется штырем, который поджимается пружиной к упору, обеспечивая надежность фиксации. Смазка опоры производится периодически через пресс-масленки консистентной смазкой. Опора состоит из балки-ригеля и гидроцилиндра. Балка-ригель представляет собой стальную сварную конструкцию коробчатого сечения из высокопрочного проката. Гидроцилиндр обеспечивает горизонтирование крана. Ход штока опоры составляет 500 мм. Шток гидроцилиндра имеет шаровую головку с кольцевой канавкой для соединения с подпятником при помощи чеки. В верхней части гидроцилиндра установлен гидрозамок для предотвращения втягивания штока при аварийном падении давления в магистрали во время работы крана.
Механизм подъема груза имеет ленточный нормально-замкнутый тормоз. Для его регулировки необходимо поднять груз на высоту 200 мм и выдержать его на весу в течении 10 мин., при этом он не должен опуститься на площадку. Тормоз состоит из тормозной ленты с фрикционными накладками, огибающей тормозной шкив и закрепленной одним концом на кронштейне, а другим — на рычаге. Натяжение ленты производиться пружиной.
Износ ленты не менее 3 мм. (или 50%)
— стремительно опускать груз на площадку; — отвлекаться; — передавать управление краном лицам, не имеющим отношения к работе крана.; — допускать к самостоятельной работе учеников или стажеров без наблюдения за ними; — отлучаться с крана на короткое время; — производить чистку и смазку механизмов крана; — пользоваться концевыми выключателями для остановки крана; — выводить из действия приборы безопасности и тормоза, а также работать при неисправных тормозах и приборах безопасности; — опускать стрелу до вылета, при котором грузоподъемность крана меньше веса понимаемого груза; — укладывать груз на электрокабели или трубопроводы, а также на краю откоса или канавы, если груз может сползти или опрокинуться; — поднимать людей в таре или на грузе; — поднимать груз неправильно обвязанный, а также в таре заполненной выше бортов: — освобождать краном защемленные грузом стропы, канаты или цепи; — отрывать и поднимать мертвый груз; — производить резкое торможение при развороте стрелы с грузом; — подтаскивать груз волоком по земле; — устанавливать кран под ЛЭП; — поднимать груз превышающий грузоподъемность крана; — допускать к зацепке или строповке необученных и неаттестованных стропальщиков;
Билет №3.
Выключатели упругих подвесок предназначены для исключения действия упругих элементов подвески путем жесткого соединения задних мостов базового шасси с неповоротной рамой крана. При установке крана на выносные опоры задний мост, жестко соединенный выключателями подвесок с ходовой рамой, отрывается от грунта и его вес увеличивает удерживающий от опрокидывания момент. Выключатели представляют собой два одинаковых механизма, устанавливаемых на неповоротной раме крана с правой и левой стороны над рессорами шасси. При включении механизма специальные хваты входят в зацепление с ответными деталями мостов автомобиля и поднимают их вместе с опорами. На кране установлен стабилизатор, который состоит из двух выключателей подвесок, соединенных между собой торсионным валом. Он позволяет равномерно распределить нагрузки на рессоры задней тележки шасси при передвижении крана в транспортном положении.
Тормоз механизма подъёма стрелы устанавливается на краны с гибкой подвеской стрелы и лебедкой в качестве механизма её подёма. Тормоз ленточный нормально-замкнутый предназначен для удержания стрелы с грузом и без него. Стрела поднимается в верхнее положение и удерживается в поднятом состоянии, если стрела не опускается под собственным весом, тормоз стреловой лебедки отрегулирован. — Осмотр тормоза. — Регулировка гайкой длины рабочей пружины. — Проверка провисания фрикционной ленты, огибающей тормозной шкив. — Регулировка рабочего хода штока гидроцилиндра.
Билет №4.
Поворотная платформа служит основанием вращающейся части автомобильного крана. На ней размещены стреловое оборудование, противовес, кабина машиниста, грузовая лебедка, механизм поворота и различное гидрооборудование. Поворотная платформа представляет собой жесткую сварную конструкцию из низколегированной стали. Рама поворотной части сварена из двух продольных листов, поперечной балки и двух балок-связей для размещения механизма поворота. К основанию рамы приварено кольцо для установки и крепления её к ОПУ. В средней части установлены стойки стрелы, а в передней – кронштейн для гидроцилиндра её подъёма. В хвостовой части рамы между балками вварена плита для установки грузовой лебедки. К фланцам задних балок четырьмя болтами крепится противовес, предназначенный для обеспечения устойчивости крана во время работы с грузами. Основными неисправностями поворотной части крана являются трещины металлоконструкций, деформации разного рода, а также ослабление крепления элементов и навесного оборудования. Двуногая стойка служит опорой для стрелы, находящейся в транспортном положении. Состоит: из двух стоек, изготовленных из труб и соединенных для прочности между собой косынкой. В верхней части стоек установлена площадка для основной секции стрелы.
В грузовой редуктор заливается от 8 до14 литров (в зависимости от модификации) трансмиссионного масла типа МТ-16П или ТАП-15В. Контроль уровня производится по щупом по рискам или через специальное отверстие в картере. Помимо этого в картере имеются отверстия: заливное и сливное.
Билет №5.
ОПУ передает нагрузки от поворотной на неповоротную часть крана и обеспечивает вращение поворотной платформы с рабочим (стреловым) оборудованием. На автомобильных кранах применяют два типа ОПУ: 1) Шариковое двухрядное ОПУ с внутренним зацеплением выполнено в виде радиально-упорного двухрядного подшипника и состоит из внутренней и наружной обоймы и двух рядов шариков, установленных между ними. Шарики разделены между собой пластмассовыми сухарями, играющие роль сепаратора. Наружная обойма болтами прикрепляется к поворотной раме, а внутренняя – к ходовой раме крана. На ней же находится зубчатый венец, который обегает выходная шестерня механизма поворота. Такое ОПУ устанавливается на КС-3577 2) Роликовое ОПУ имеет большую грузоподъёмность, обеспечивает лучшую равномерность распределения нагрузки при меньшей массе и габаритах. Оно состоит из 3-х колец, образуемых двумя полуобоймами и зубчатым венцом, и заключенных внутри них роликов, расположенных крестообразно. Современные ОПУ характеризуются эксплуатационной надежностью и долговечностью, большой грузоподъёмностью, равномерным распределением нагрузки, не требуют больших объёмов работ связанных с регулировками и смазыванием. Смазывают ОПУ шприцеванием через пресс-масленки консистентной смазкой Литол-24
Смазка подшипников производится консистентной смазкой Литол 24 шприцем через пресс-масленки до появления в зазорах свежей смазки.
Билет №6.
При выполнении погрузочно-разгрузочных работ краны испытывают большие динамические нагрузки. Поэтому в неповоротной раме, балках выносных опор и опоре стрелы, стабилизаторах могут возникнуть вмятины, трещины в металле и сварных швах конструкций, а также дефекты в соединительных болтах и шпильках. При ТО-1 необходимо выполнить все работы необходимые при ЕТО:
Ограничитель подъема стрелы предназначен для отключения механизма подъема стрелы при достижении стрелой верхнего положения. На большинстве современных кранов ограничитель представляет собой обычный конечный выключатель. На кране КС-3577 его регулировка осуществляется следующим образом: Поднимаем стрелу в верхнее крайнее положение до срабатывания конечного выключателя, после чего замеряем расстояние от центра поворотной платформы до центра крюка по горизонтали. Которое должно быть не более 3,6м. регулировка осуществляется перемещением ограничителя вперед, назад или эксцентриком.
Назначается приказом руководителя предприятия или командира части, после обучения и получения соответствующего удостоверения. Из числа ИТР назначаются: лицо по надзору за безопасную эксплуатацию г/п.
Билет №7.
Основные неисправности поворотной части:
При ЕТО: очистить и вымыть поворотную часть от грязи, осмотреть и устранить неисправность. При ТО-1: проверить поворотную раму, стрелу, крюковую обойму и портал. Устранить обнаруженные при проверке неисправности, подтянуть болтовые соединения. Произвести смазку осей основания стрелы, осей роликов стрелы, подшипников блоков обоймы полиспаста, подшипников блоков крюковой обоймы, поверхность зубьев опорно-поворотного устройства и внутренней поверхности беговых дорожек, смазать грузовой и стреловой канат смазкой 39-У.
|
Кран автомобильный: технические характеристики, грузоподъемность
Какая передвижная строительная техника стала самой узнаваемой? Конечно, автомобильные краны, ведь они используются как в строительных работах, так и для погрузки/выгрузки.
Их популярность обусловлена мобильностью и возможностью работы в труднодоступных местах. Автокраны – это маневренная техника, способная работать в городских условиях без какой-либо нагрузки на транспортные пути. Автомобильная спецтехника может использоваться не только на стройке, а еще в промышленной сфере и в сельском хозяйстве.
Особенности автомобильных кранов
Внешне этот железный механизм выглядит, как самоходная машина со стреловым оборудованием для поднятия различных грузов.
В качестве базы используется шасси грузового автомобиля, реже специальные автоплатформы. Даже при таком большом количестве экземпляров устройство автокранов преимущественно схожее.
Вот их главные плюсы:
- высокая маневренность и автономность;
- быстрая разборка и сборка автокрана;
- возможность замены стрелы в зависимости от типа выполняемых работ;
- небольшие размеры;
- высокая скорость движения;
- водитель одновременно может выполнять функции крановщика.
Стреловые самоходные краны на специальном шасси: назначение, устройство, принцип работы.
Рис. 2.14. Схемы сменного рабочего оборудования кранов на специальных шасси:а — удлинитель; б— неуправляемый гусек; в — неуправляемый гусек с удлинителем; г — управляемый гусек (башенно-стреловое оборудование)
Гидравлические стреловые краны на специальных шасси оснащены те-лескопическими, жестко подвешенными стрелами, имеют индивидуальный гидравлический привод каждого механизма и смонтированы на специальных шасси автомобильного типа и короткобазовых шасси, приспособленных для специфических крановых режимов работы.
Выдвижение и втягивание телескопической стрелы могут выполняться с грузом на крюке. Сменное рабочее оборудование кранов – удлинители, неуправляемые гуськи, неуправляемые гуськи с удлинителями, управляемые гуськи (башенно-стреловое оборудование). Шасси автомобильного типа изготовляют многоосными (от 3 до 8 осей в зависимости от грузоподъемности) с использованием сборочных единиц серийных грузовых автомобилей. Краны на таких шасси обладают высокими мобильностью и скоростями передвижения (до 50…70 км/ч) и благодаря относительно не-большим нагрузкам на оси и колеса имеют высокую проходимость. Обычно они обслуживают удаленные друг от друга рассредоточенные строительные объекты с небольшими объемами крановых работ.
Краны на шасси автомобильного типа выпускают 5…10-й размерных групп, и они представляют собой однотипные по конструкции, максимально унифицированные машины. Краны могут работать на выносных опорах и без них и передвигаться по площадке с твердым покрытием с грузом на крюке при стреле, направленной вдоль оси крана назад.
Рис. 2.17. Кран на шасси автомобильного типа повышенной проходимости КС-7976: 1 — базовое шасси; 2 — телескопическая стрела; 3 — гидроцилиндр подъема стрелы; 4— кабина оператора; 5— главная грузовая лебедка; 6 — вспомогательная лебедка; 7—выносная опора
Специальное шасси автомобильного типа включает
ходовую раму, двигатель, трансмиссию, ведущие управляемые и неуправляемые мосты и неведущие управляемые оси, кабину водителя, рулевое управление и тормозную систему. Составными частями трансмиссии являются: муфта сцепления, коробка передач, раздаточная коробка и карданные валы. На ходовой раме крепятся выносные гидроуправляемые опоры, зубчатый венец роликового опорно-поворотного устройства. На кранах грузоподъемностью 25 и 40 т двигатель шасси служит также для привода крановых механизмов.
Краны на специальном короткобазовом шасси выпускают 4…6-й раз-мерных групп грузоподъемностью 16 т, 25 т и 40 т. Краны имеют аналогичную конструкцию и оборудованы телескопическими стрелами, выдвижение и втяги-вание которых можно осуществлять под нагрузкой.
Крановое оборудование кранов на специальных автомобильных шасси и на короткобазовых шасси максимально унифицировано.
У короткобазовых шасси кранов отношение колеи К к базе машины Б составляет примерно 0,8…0,9. Краны имеют два ведущих, независимо работающих и управляемых моста, что обеспечивает кранам высокую мобильность и маневренность, повышенную проходимость и возможность работы в стесненных условиях. Оба моста всех шасси кранов взаимно унифицированы. Краны на короткобазовом шасси используют на строительных объектах со средними объемами работ. Сменное рабочее оборудование кранов – удлинители стрел и неуправляемые гуськи.
35. Гусеничные стреловые самоходные краны: назначение, устройство, принцип работы.
Рис. 2. Схемы стреловых самоходных кранов: а – гусеничного с гибкой подвеской стрелового оборудования; б – пневмоколесного с жесткой подвеской стрелового оборудования
Гусеничные стреловые самоходные краны монтируют на базе специальных двухгусеничных шасси, обеспечивающих за счет большой опорной поверхности гусениц высокие проходимость и устойчивость машин.
Такие краны имеют дизель-электрический привод и отличаются от пневмоколесных кранов конструкцией ходового устройства, способны работать без выносных опор, передвигаться с грузом и применяются на объектах с большими объемами строительно-монтажных и погрузочно-разгрузочных работ. С их помощью ведут монтаж зданий и сооружений из крупноразмерных бетонных и железобетонных элементов, сборку строительных ме.конструкций, монтаж технологического оборудования и т.п.
Гусеничные краны имеют небольшие транспортные скорости (до 1,0 км/ч), поэтому их перевозят с объекта на объект обычно на тяжеловозных прицепах – трейлерах. Гусеничные краны своим ходом перемещаются только в пределах строительной площадки. Они характеризуются удельным давлением на грунт не более 0,2 МПа.
Промышленность серийно выпускает гусеничные краны грузоподъемностью 16; 25: 40; 63; 100 и 160 т, которые оснащаются стреловым и башенно-стреловым оборудованием и могут работать как от собственного дизель-электрического агрегата, так и от внешней сети напряжением 380 В, частотой 50 Гц.
Ходовое устройство кранов состоит из двух гусеничных многоопорных тележек балансирного типа, соединенных между собой поперечными балками, несущими жесткую ходовую раму. На ходовой раме смонтированы узлы привода ходового оборудования и унифицированное роликовое или шариковое опорно-поворотное устройство. Каждая гусеница ходового устройства имеет независимый электрический привод. Вращение ведущим звездочкам гусеничных тележек сообщается от индивидуальных электродвигателей через бортовые цилиндрические редукторы. Механизмы передвижения кранов имеют управляемые тормоза. Поворот всего крана производится за счет торможения одной из гусениц. К раме ходового оборудования крепится с помощью опорно-поворотного устройства рама поворотной части, на которой расположены дизель-электрический агрегат, портал, грузовые лебедки главного и вспомогательного подъемов, стреловая лебедка, механизм поворота, кабина машиниста с постом управления, электрооборудование и противовес. Ток к электродвигателям ходового устройства на неповоротной части крана подается через кольцевой токосъемник.
Классификация
Сегодня в продаже можно найти большое количество различных автокранов отечественного или зарубежного производства. Российская техника выпускается на грузовой базе от МАЗ, КамАЗ, Урал. Ранее это были КрАЗ и ЗИЛ.
Из-за повышенной проходимости эту технику стали называть самоходной. У наших соотечественников советская и российская спецтехника ассоциируется с узнаваемыми названиями: Ивановец, Галичанин, Клинцы и другие. У иностранных производителей тоже немало экземпляров, самыми популярными стали:
- Libherr и Terex-Demag (Германия).
- Zoomilon и XCMG (Китай).
- КАТО (Япония).
Естественно, любое шасси требует доработки для установки автокрана. Дополнительно устанавливается основание с выносными гидравлическими опорами. Они обеспечивают устойчивость модели во время работы.
Из основных рабочих положений можно выделить подъем и опускание, а также вращение платформы. Для оборудования может использоваться гибкая или жесткая подвеска.
Для автокранов предусматривается три критерия отличий:
- грузоподъемность;
- привод;
- сменное оборудование.
Существует также три основных класса:
- Малый (от 4 до 8 т.).
- Средний (грузоподъемность от 30 до 60 тонн).
- Повышенная г/п (до 250 т.).
Наибольшую популярность получил кран автомобильный с г/п от 20 до 25 тонн, это оптимальный показатель для большинства строительных работ. К тому же расход топлива намного меньше, чем у моделей с повышенной грузоподъемностью, да и для города это наиболее подходящая техника.
В качестве привода может использоваться один общий двигатель или один для передвижения, второй для работы крана. Для первого варианта характерен ДВС с механической трансмиссией, например, КС 22561 К-1, который выпускался вплоть до 90-х годов на платформе ЗИЛ.
Если машина имеет два двигателя, то мотор автомобильного крана дополнительно оснащается насосной станцией и гидравлическим приводом (есть еще электрический, но он слабее и не так эффективен).
Классификация автомобильных кранов
Конструкция активно используется для строительства сравнительно разной подготовки. Башенные краны имеют телескопические стрелы, подвески с высокой жесткостью. Устойчивость оборудования возможна за счет выносных опор и стабилизаторов, которые способны выключить рессоры заднего моста.
Автокраны различают по грузоподъемности и виду используемого привода механизмов, применяемых на сменном оборудовании. Предлагаемая характеристика соответствует ГОСТу. Краны подразделяют на легкие, средние и тяжелые. По использовании привода оборудование классифицируют на механический, электрический, гидравлический виды. Если необходимо задействовать определенное сменное оборудование, то краны делят на транспортные средства общего назначения или полууниверсальные.
Технические характеристики
Главный параметр любого автомобильного крана – это грузоподъемность. Этот критерий определяется максимально допустимой массой, с которой может работать кран.
На всех моделях устанавливается ограничитель, не допускающий работу с повышенной нагрузкой с поправками на реальные условия эксплуатации. К другим параметрам относятся:
- Грузовой момент. Возможности работы техники, рассчитывается путем умножения вылета стрелы на грузоподъемность.
- Высота подъема. Может отличаться от вида стрелового оборудования.
- Посадка крана. Минимальная скорость, которая обеспечивает плавное опускание груза.
- Скорость транспорта. Определение оптимальной эксплуатации автокрана не разных участках.
- Охват. Тех. возможности оборудования.
- Габариты. От этого параметра зависит маневренность машины и работа в условиях ограниченного пространства.
- Температура. Возможность эксплуатации автомобильного крана в зависимости от климатических условий.
Свойства автокрана на примере отечественной модели
Чтобы рассмотреть возможности и характеристики спецтехники более детально и на примере, можно изучить свойства самоходной машины КС-55722, созданной на базе КамАЗ на машиностроительном заводе в Юрге.
Это одна из самых популярных в России и странах СНГ техника, где грузоподъемность автокрана не больше 25 тонн. Крановое оборудование оснащается дизельной силовой установкой от КамАЗ с мощностью 260 лошадиных сил. Кроме этого, установлено полноприводное шасси с формулой колес 6х6.
Максимальная г/п 25 тонн включает вес крюка и съемных элементов. Конструкция может похвастаться компактными размерами и отличными показателями маневренности.
Также следует отметить, что грузовой момент Юргинца — 80 т/м. Встроенная телескопическая стрела обладает вылетом до 20,5 метра (транспортное положение 8,4 метра). Если техника дополнительно оснащается удлинителем, так называемым гуськом, длина стрелы увеличивается до 27,4 метра.
Ниже для сравнения приведены параметры Ивановец.
Скорость посадки 20 см в минуту, максимальная скорость подъема 18 метров в минуту. Транспортная скорость составляет 60 км/с, что повышает производительность техники. Зона охвата 290 градусов.
Габариты и дополнительные технические характеристики Юргинца:
- длина 10 м 15 см;
- ширина 2,5 м;
- высота 3 м 85 см;
- общая снаряженная масса 20,7 тонн;
- максимальная нагрузка на переднюю и заднюю ось 5,53 т/с и 15,22 т/с соответственно;
- угол съезда 18 градусов позволяет эксплуатировать кран в условиях бездорожья;
- диапазон температур работы машины составляет -40/+45 градусов.

Область применения не ограничивается строительством, Юргинец используется для прокладки трубопроводов, в аварийно-спасательных работах, в труднодоступных местах, в дорожных работах и т. д.
Популярные марки
На рынке спецтехники сегодня существует огромная конкуренция, но российская техника не сдает своих позиций. Благодаря неприхотливости, ремонтопригодности и привлекательным ценам, спрос на российские машины не падает. Из самых популярных следует отдельно выделить:
- Галичанин. Производится на грузовом шасси КамАЗ и ЗИЛ, оснащается гидроприводом и способен поднимать до 30 тонн.
- Юргинец. Кроме базы от КамАЗ применяется УРАЛ. Это полноприводные автокраны.
- Ивановец. Грузоподъемность варьируется от 16 до 100 тонн, используется шасси от УРАЛ, КамАЗ и БАЗ.
- Клинцы. Средняя грузоподъемность до 15 тонн, выпускается на базе ЗИЛ и МАЗ.
Что касается зарубежной техники, то ее преимущество в высоком качестве, производительности и использовании высокотехнологичных инноваций.
Лидерами на рынке стали:
- Немецкие автокраны Liebherr, могут работать в разных условиях, грузоподъемность варьируется от 25 000 до 500 000 килограммов.
- Китайские производители XCMG и Terex-Demag выпускаются по немецким технологиям с разной г/п. Есть стандартные варианты, поднимающие до 200 тонн, а есть гиганты с грузоподъемностью до 1 килотонны.
- Механизмы от Groove с г/п до 500 тонн выпускаются совместно с компаниями из США и Германии.
Самые большие представители
Чтобы построить крупный промышленный объект и когда планируется масштабное строительство огромных сооружений, необходимо привлекать специализированную технику.
Как правило, автокраны большой грузоподъемности имеют внушительные размеры и могут поднимать сверхтяжелые грузы. Нередко такие машины привлекают для строительства объектов атомной и нефтеперерабатывающей промышленности.
Terex-Demag AC 1000
Создан в 2012 году, способен поднимать до 1100 тонн. Оснащается телескопической стрелой из 9 частей, весит около 22 000 килограмм и имеет внушительные размеры.
Его стрела доставляется до нужного места в разобранном виде. Несмотря на впечатляющий вес автокран не наносит ущерба дорожному покрытию благодаря шасси на 9 осей. Максимальная скорость превышает 80 км/с.
Liebherr LTM 11200-9.1
Долгое время это был самый мощный автокран в мире, созданный в 2007 году. Его грузоподъемность 1200 тонн, высота подъема 109 метров. Стреловое оборудование оснащается дизельным двигателем, мощностью 367 л. с.
QAY
Совместное детище немецких и китайских машиностроителей. Модификация QAY 1200 может поднимать до 1200 тонн на высоту 106 метров. Снаряженная масса превышает 96 т.
Zoomlion ZACCB01
Разработка от китайских разработчиков с уникальными техническими характеристиками, его грузоподъемность составляет немыслимые 2000 тонн. На сегодня это абсолютный лидер по этому параметру.
Машина имеет 12-тиосное шасси с полным приводом, максимальная скорость около 75 км/ч. Для работы используется 4 дизельные силовые установки, общий вес 96 тонн.
Управлять такой махиной несложно благодаря интеллектуальной системе контроля уровня.
Статья про краны на специальных шасси автомобильного типа
Наша компания предоставляет услуги кранов в Москве. Также мы предлагаем и услуги другой строительной техники. Для того чтобы наши клиенты лучше ориентировались в мире строительной техники, мы публикуем статьи. Поговорим о кранах на специальных автомобильных шасси.
Краны на специальных шасси имеют характерные конструктивные особенности и созданы для выполнения определенного рода задач. Для начала разберемся, какие машины относятся к группе кранов на колесных шасси.
- Краны на пневмоколесных шасси – это поворотные стреловые самоходные краны на специальной сварной раме, к раме жестко прикреплена колесная подвеска, двигатель и кабина размещены на поворотной платформе.
- Короткобазные краны.
В отличие от короткобазного крана двигатель этого крана расположен на шасси, кран имеет колеса большого размера с односкатной ошиновкой.
- Автокраны.
Поворотная платформа и кабина данного крана смонтированы на автомобильном шасси.
- Краны на специальных шасси автомобильного типа.
О последних и пойдет речь в этой статье.
Создание кранов на специальных шасси автомобильного типа продиктовано необходимостью преодолеть физические ограничения обычного автокрана такие, как:
- ограниченная грузоподъемность,
- наличие обвязочной платформы с выдвижными опорами, значительно утяжеляющей конструкцию.
Характеристики автомобильного крана в значительной мере зависят от констукции шасси.
Краны на спецшасси сохраняют мобильность автокрана и обладают великолепными грузовысотными характеристиками.
Особенности конструкции кранов на специальном шасси таковы, что шасси и крановая установка проектируются совместно, с учетом всех особенностей работы крана. Рама шасси изготавливается вместе с поворотной платформой и имеет низкий центр тяжести и выносное опоры, имеющие общий двигатель с шасси.
При разработке крана на специальном шасси проектировщики имеют возможность подбора оптимального размещения всех элементов машины (двигателя, кабины, шин, рулевого управления и т.п.), что позволяет снизить нагрузку на ось, повысить устойчивость и увеличить грузоподъемность, обеспечить необходимую проходимость и скорость выполнения операций.
Краны на специальных шасси могут иметь от 2-х до 9-ти осей (несколько ведущих) с гидропневматической подвеской, при помощи которой можно регулировать дорожный просвет. Все оси (кроме средних) многоосного спецшасси могут быть управляемыми.
Краны на специальных шасси автомобильного типа обладают грузоподъемностью от 25 до 1200 тонн и могут развивать скорость до 80 км/ч.
Применяются краны на специальных шасси для работ, связанных с высотным строительством, для погрузки-разгрузки и монтажа тяжелых крупногабаритных конструкций.
Среди отечественных производителей, выпускающих краны на спецшасси – , «Газпром-кран» и «Ивановец». Зарубежные компании, изготавливающие краны на специальных шасси – это Liebherr, Terex-Demag, Tadano, Grove.
3.15.1. Трудовая функция \ КонсультантПлюс
3.15.1. Трудовая функция
Наименование | Подготовка автомобильных кранов грузоподъемностью свыше 25 до 60 т к работе | Код | O/01.4 | Уровень (подуровень) квалификации | 4 |
Происхождение трудовой функции | Оригинал | X | Заимствовано из оригинала | ||
Код оригинала | Регистрационный номер профессионального стандарта |
Трудовые действия | Проведение осмотра и проверка состояния площадки для установки автомобильных кранов грузоподъемностью свыше 25 до 60 т |
Ознакомление с проектом производства работ, технологическими картами на погрузочно-разгрузочные работы и технологическими картами складирования грузов | |
Получение наряд-допуска на работу автомобильного крана грузоподъемностью свыше 25 до 60 т крана вблизи линии электропередачи (при необходимости) | |
Проведение внешнего осмотра металлоконструкций, устройств, механизмов и приборов автомобильных кранов грузоподъемностью свыше 25 до 60 т | |
Установка крана на выносные опоры на краю откоса, котлована (канавы), ближе 30 м от линии электропередачи при выполнении строительных, монтажных и погрузочно-разгрузочных работ | |
Осуществление контроля наличия ограждения и обозначения опасной зоны работы автомобильного крана грузоподъемностью свыше 25 до 60 т | |
Управление механизмами автомобильных кранов грузоподъемностью свыше 25 до 60 т при выполнении работ по погрузке, разгрузке, перемещению грузов | |
Осуществление контроля отсутствия в зоне действия автомобильного крана грузоподъемностью свыше 25 до 60 т людей | |
Осуществление контроля правильности строповки грузов | |
Проверка на холостом ходу механизмов, устройств и приборов автомобильных кранов грузоподъемностью свыше 25 до 60 т | |
Документальное оформление результатов осмотра | |
Необходимые умения | Определять неисправности в работе автомобильных кранов грузоподъемностью свыше 25 до 60 т |
Определять пригодность к работе стальных канатов, грузозахватных органов, съемных грузозахватных приспособлений и тары | |
Определять по габаритным размерам и характеру материала приблизительную массу подлежащего подъему и перемещению груза | |
Читать рабочие чертежи деталей и сборочных единиц, гидравлические, кинематические и электрические схемы автомобильных кранов грузоподъемностью свыше 25 до 60 т | |
Применять средства индивидуальной защиты | |
Оказывать первую помощь пострадавшим на месте производства работ | |
Вести учет работы в установленной форме | |
Применять передовые методы производства работ, организации труда и рабочего места | |
Необходимые знания | Назначение, устройство, принципы действия, грузовые характеристики, конструктивные особенности, правила эксплуатации обслуживаемых автомобильных кранов грузоподъемностью свыше 25 до 60 т |
Критерии работоспособности обслуживаемых автомобильных кранов грузоподъемностью свыше 25 до 60 т в соответствии с требованиями руководства (инструкции) по эксплуатации | |
Порядок передвижения автомобильных кранов грузоподъемностью свыше 25 до 60 т к месту и на месте производства работ | |
Границы опасной зоны при работе автомобильных кранов грузоподъемностью свыше 25 до 60 т | |
Техническая и эксплуатационная документация на обслуживаемые автомобильные краны грузоподъемностью свыше 25 до 60 т | |
Порядок действий в случаях возникновения аварий и инцидентов при обслуживании автомобильных кранов грузоподъемностью свыше 25 до 60 т | |
Назначение и устройство грузозахватных органов, стальных канатов, съемных грузозахватных приспособлений и тары, нормы их браковки | |
Виды грузов и способы их строповки | |
Система знаковой и звуковой сигнализации, установленная в организации | |
Признаки неисправностей механизмов и приборов автомобильных кранов грузоподъемностью свыше 25 до 60 т, возникающих в процессе работы | |
Основные сведения по организации труда | |
Требования охраны труда, производственной санитарии, пожарной безопасности | |
Другие характеристики | — |
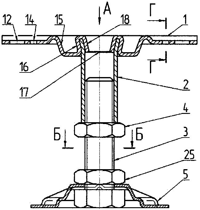
Конструкция оборудования и механизмов автокрана КС-3574
_____________________________________________________________________________________________
Конструкция оборудования и механизмов автокрана КС-3574
Неповоротная часть
Неповоротная часть автокрана КС-3574 является несущим основанием для
поворотной части.
В неповоротную часть входят: автомобильное шасси,
опорная рама с выносными опорами, механизм блокировки рессор задней
подвески шасси, привод насоса и поворотная опора.
Шасси
Для автокрана КС-3574 используется шасси Урал-5557 повышенной
проходимости. Некоторые элементы шасси перед монтажам крановой установки
подвергаются незначительным переделкам.
Рама опорная
Опорная рама автокрана КС-3574 представляет собой жесткую сварную
конструкцию, состоящую из средней части, выполненной в виде двух
продольных
балок, поперечных балок и опорного кольца для крепления поворотной
опоры.
Рис.1. Рама опорная автокрана КС-3574
1 — средняя часть; 2 — лонжерон шасси; 3 — опорное кольцо; 4 — фиксаторы
выносных опор в транспортном положении; 5, 8, 12 — болты; 6, 7, 10 —
гайки; 9 —
набор прокладок; 11 — пружина; 13 — поперечная балка; 14 — основание
гидробака
Выносные опоры автомобильного крана КС-3574
Выносные опоры автокрана КС-3574 выдвижные и представляют собой сварные
балки коробчатого сечения, на концах которых закреплены
гидроцилиндры 1 вывешивания крана.
Конструкция гидроцилиндров 1 такая же, как и на кране КС-3577-4.
Выдвижные выносные опоры 4 вмонтированы в поперечные балки опорной рамы.
Выдвижение и втягивание выносной опоры автомобильного крана КС-3574
осуществляется гидроцилиндром 5, шток которого закреплен на выносной
опоре, а корпус — на поперечной балке рамы.
В транспортном положении выносные опоры, с целью исключения
самопроизвольного выдвижения, стопорятся фиксаторами 3, для чего
рукоятку 15
фиксатора необходимо установить вверх.
Перед выдвижением выносных опор фиксаторы необходимо выключить путем
установки всех четырех рукояток фиксаторов на упоры 14.
Рис. 2. Опора выносная автокрана КС-3574
1, 5 — гидроцилиндры; 2 — обойма; 3 — фиксатор выносной опоры в
транспортном положении; 4 — опора выносная; 6 — поперечная балка опорной
рамы; 7 —
кольцо; 8, 16 — оси; 9 — прокладка; 10 — шайба; 11 — болт; 12 — ригель;
13 — скоба; 14 — упор; 15 — рукоятка фиксатора; 17 — шайба; 18 — шплинт
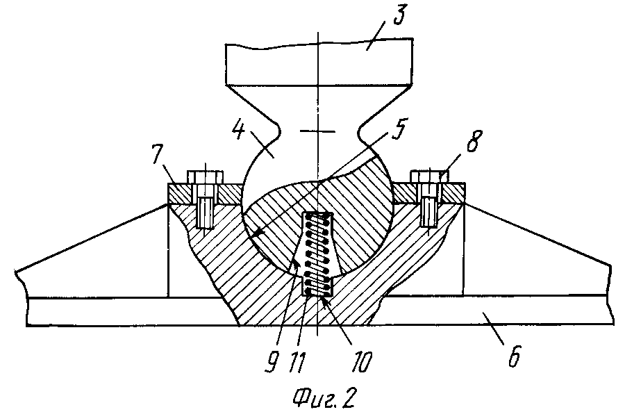
Механизм блокировки задней подвески автокрана КС-3574
Механизм блокировки задней подвески автокрана КС-3574 служит для
жесткого соединения с опорной рамой среднего и заднего мостов шасси
Урал-5557.
Механизм блокировки подвески состоит из шарнирно закрепленных на осях 14
рычагов 6 и 7, которые соединены тягами 5 с рессорными кронштейнами,
установленными на кожухах полуосей среднего и заднего мостов шасси
Урал-5557. На рычаге 7 закреплен гидроцилиндр 11с запорным клином 15 на
штоке.
При передвижении автокрана КС-3574 в транспортном положении запорный
клин 15 втянут штоком 1 цилиндра внутрь втулки 12 рычага 7. В этом
случае
рычаги 6 и 7 свободно проворачиваются относительно друг друга и не
препятствуют перемещению среднего и заднего мостов шасси.
При работе в крановом режиме запорный клин должен быть выдвинут штоком
гидроцилиндра, как показано на сечении А — А. В этом случае обеспечивается жесткое соединение рычагов 6 и 7 и надежная блокировка обоих
мостов.
При этом флажки указателей 8 и 10 срабатывания механизма блокировки
подвески автокрана КС-3574 должны быть в вертикальном положении. Во
избежание проворачивания кронштейнов на кожухах полуосей мостов,
кронштейны имеют приварные упоры 2 и винтовые 1.
Рис.3. Механизм блокировки задней подвески автомобильного крана КС-3574
1 — упор винтовой; 2 — упор; 3 — кронштейн; 4 — гайка; 5 — тяга; 6, 7 —
рычаги; 8,10 J указатели; 9, 13 — масленки; 11 — гидроцилиндр; 12 —
втулка; 14, 16 — оси; 15 —
запорный клин; 17 — уплотнение; 18, 21 — винты стопорные; 19 — гайка;
20, 22 — сухари; 23 — упор
Двухсекционная телескопическая стрела автокрана КС-3574
Стрела автокрана КС-3574 состоит из основания 3, выдвижной секции 2,
переходящей в оголовок с блоками 1, и гидроцилиндра 4 выдвижения секции.
Основание и выдвижная секция стрелы представляют собой сварные
коробчатые конструкции.
Секция стрелы перемещается гидроцилиндром 4, который закреплен штоком на
основании стрелы осью 13, а корпусом — на выдвижной секции с помощью
специального шарнирного соединения, состоящего из шарнира 7, осей б и
втулок 8, позволяющего компенсировать все возникающие в процессе работы
и
монтажа перекосы.
При перемещении секция стрелы автокрана КС-3574 опирается впереди на
каретки 28 с катками 29, установленные на основании стрелы с помощью оси
26, а сзади на катки 18, установленные на осях 20 в щеках 21, шарнирно
закрепленных с помощью оси 19 в секции стрелы.
Во втянутом положении секция стрелы опирается на башмак 5. Катки 18 и
каретки 28 регулируются по ширине проставными шайбами 24 и 27.
Для поддержания каната стрела оборудована роликами 31.
Рис.4. Стрела автокрана КС-3574 двухсекционная телескопическая
1 — блок; 2 — секция стрелы; 3 — основание стрелы; 4 — гидроцилиндр; 5 —
башмак; 6, 9, 13, 19, 20, 22, 26, 30 — оси; 7- шарнир; 8, 12 — втулки;
10, 14 —
подшипники; 11 — ролик; 15 — шайба; 16 — шайба упорная; 17 — гайка; 18,
29 — катки; 21 — щека; 24, 27 — шайбы проставные; 23, 25 — масленки; 28
— каретка; 31 —
ролик
Автоматические системы управления ограничителя грузоподъемности
автокрана КС-3574
На автомобильном кране КС-3574 КС-3574 установлена автоматическая
система ограничителя грузоподъемности (далее ограничитель
грузоподъемности)
исполнения АСУ ОГП-2А (или 2В, 2Г), обеспечивающая отключение механизмов
крана при работе с недопустимыми грузами.
Ограничитель грузоподъемности АСУ ОГП состоит из устройства решающего
индикаторного 8 (рис. 5), установленного на щитке приборов в кабине
крановщика; блока питания 20, установленного на задней стенке кабины
крановщика; двух датчиков давления 7; датчика длины стрелы 4; датчика 6
угла
наклона стрелы;
Устройство решающее индикаторное представляет собой микропроцессорное
устройство, обеспечивающее обработку сигналов датчиков, формирование
команд на отключение механизмов автокрана КС-3574 при достижении
предельно допустимого опрокидывающего момента или выхода стрелы из
рабочей
зоны и выдачу информации на четырехразрядные цифровые и световые
индикаторы:
— фактической загрузки автокрана в процентах от допустимой загрузки;
— длины стрелы в метрах;
— максимально допустимой массы груза в тоннах на установленных длине
стрелы и вылете;
— вылета крюка в метрах;
— световой индикатор работы ограничителя;
— световой индикатор неисправности ограничителя;
— световой индикатор перегрузки автомобильного крана.
На передней панели устройства решающего индикаторного также имеются
переключатель режимов работы 25 и крышка 26, закрывающая подстроечные
потенциометры.
Блок питания 20 (рис. 5) предназначен для обеспечения питания
ограничителя грузоподъемности автокрана КС-3574. На блоке установлены
тумблер 18
включения ограничителя и предохранитель 19.
Питание блока осуществляется от электрической сети крана напряжением 24
В через штепсельный разъем, а все выходные стабилизированные
напряжения: 3 В, 5 В, 15 В, минус 5 В и минус 15 В выведены на
штепсельный разъем Х2.
Блок имеет устройство контроля и защиты от перенапряжения на выходе
каждого источника питания.
Датчики ограничителя грузоподъемности автокрана КС-3574 предназначены
для преобразования соответствующих параметров в электрические сигналы,
направляемые в решающее индикаторное устройство ограничителя.
Датчик угла наклона стрелы 6 (рис. 5) состоит из корпуса, в котором
установлен безупорный потенциометр.
Корпус датчика закреплен на
кронштейне 22
поворотной рамы, а ось потенциометра через поводок 23 и палец,
закрепленный на основании стрелы 5, получает угловое перемещение при
изменении
угла наклона стрелы.
Датчик длины стрелы 4 установлен на основании стрелы 5. Он состоит из
десятиоборотного потенциометра 11 (рис. 7), который закреплен в
основании 2.
Ось потенциометра через поводок 8 связана с барабаном 1. На барабане с
помощью муфты 11 (рис. 5) закреплены концы двух канатов 2 и 3.
Второй конец каната 3 через обводной ролик 10 закреплен на задней части
секции стрелы автокрана КС-3574 в точке Е, а второй конец каната 2 через
пружину 16 закреплен на передней части секции.
При перемещении секции стрелы один из канатов сматывается с барабана, а
второй наматывается на него, обеспечивая вращение барабана и связанной
с ним оси потенциометра 11 (рис. 7).
Пружина 16 (рис. 5) обеспечивает необходимое натяжение канатов 2 и 3 и
укладку канатов в ручьи барабана.
Контакты потенциометра 11 (рис. 7)
соединены проводами со штепсельной вставкой 15.
Прибор автокрана КС-3574 может работать в следующих режимах:
— режим «контроль» — для самоконтроля прибора. При исправном приборе в
этом режиме на цифровых индикаторах последовательно индицируются
цифры от 0 до 9, а после этого происходит кратковременная индикация
служебной информации — тип крана, дата изготовления программы прибора и
контрольная сумма постоянного запоминающего устройства;
— режимы ЮСТ-1, ЮСТ-2 используются для настройки и проверки датчиков;
— режим I — работа автокрана с основной стрелой;
— режим II — работа автокрана с основной стрелой и гуськом.
Режимы переключают с помощью переключателя «контроль-режим».
Датчики давления 7, установленные на поворотной раме, предназначены для
измерения давления рабочей жидкости в поршневой и штоковой полостях
гидроцилиндра 9 (рис. 5) подъема стрелы.
Рис. 5. Установка ограничителя грузоподъемности АСУ ОГП на автокране
КС-3574
1 — секция стрелы; 2, 3 — канаты; 4 — датчик длины стрелы; 5 — основание
стрелы; 6 — датчик угла наклона стрелы; 7 — датчики давления; 8 —
устройство
решающее индикаторное; 9 — гидроцилиндр подъема стрелы; 10 — обводной
ролик; 11 — муфта; 12 — болт; 13, 17 — гайки; 14 — ось; 15 — тяга; 16 —
пружина; 18 —
тумблер включения ограничителя грузоподъемности; 19 — предохранитель; 20
— блок питания; 21 — барабан датчика длины стрелы; 22 — кронштейн; 23 —
поводок.
Рис. 7. Датчик длины стрелы автомобильного крана КС-3574
1 — барабан; 2 — основание; 3 — кольцо проставное, 4, 6, 12 — кольца
стопорные; 5 — подшипник; 7 — винт; 8 — поводок; 9 — крышка; 10 — гайка;
11 — потенциометр
СП5-44-01-1 кОм; 13 — заглушка; 14 — жгут; 15 — вставка штепсельная.
_____________________________________________________________________________________________
_____________________________________________________________________________________________
- Основное оборудование и параметры КМУ Unic
- Эксплуатация крановой установки Unic
- Конструкция КМУ Палфингер
- Система защиты от перегрузки манипулятора Palfinger
- КМУ Hiab 190
- Кран-манипулятор Hiab XS 320
- Гидроманипулятор Hiab 100/120
- КМУ Tadano
- КМУ Amco Veba
- КМУ Fassi
- КМУ Dongyang SS1506
_____________________________________________________________________________________________
- Оборудование КС-35714
- Гидросистема КС-35714, КС-35715
- Оборудование и механизмы КС-3577-4
- Рекомендации по ремонту КС-3574
- Гидрооборудование КС-55713
- Ремонт телескопической стрелы КС-55713-1К-3
- Детали и механизмы поворотной части КС-45717-1
- Устройство и органы управления КС-4572, КС-45719
- Работа гидрооборудования КС-45721, КС-45715
- Устройство КС-55727
- Обзор конструкции КС-6476
- Техобслуживание КС-3579
- Регулировки КС-35719
- Автокран КС-3575
- Кран КС-5576 Ивановец
- Автокран КС-5473 Днепр
- Автокран XCMG QY25K5S
- Гусеничный кран МКГ-25 БР
- Ремонт ходовой ДЭК-251
- Кран РДК-250
Назначение и классификация кранов.
Общее устройство кранов. Устройство гидравлического крана КС-3571
Другие предметы \
Ремонт машин
Страницы работы
10
страниц
(Word-файл)
Посмотреть все страницы
Скачать файл
Фрагмент текста работы
Содержание
1.Общие сведения
4
2.Назаначение и классификация кранов
5
3.Общее устройство
кранов
6
4.Устройство гидравлического крана КС-3571
8
5.
Конструкция и работа механизмов крана 10
Список литературы
12
1.Общие сведения
Среди различных
подъемно-транспортных машин автомобильные краны находят широкое применение. В
отличие от кранов на гусеничном ходу автомобильные краны имеют меньшую
стоимость при изготовлении и эксплуатации, более подвижны, маневренны и не
разрушают дорожное покрытие при перемещении.
Подъемные краны
могут быть стационарными или передвижными. Стационарные краны, как правило,
выполняют большие по объему работы на местах их установки. Краны стреловые
самоходные общего назначения относятся к передвижным кранам. Стреловые
самоходные краны в зависимости от конструкции ходового устройства изготовляются
следующих типов: автомобильные, пневмоколесные, гусеничные, на специальном
шасси автомобильного типа, на короткобазовом шасси.
Особенно велика
роль стреловых автомобильных кранов при выполнении работ в полевых условиях, а
также работ, связанных с постоянным перемещением кранов по местности. Среди
всего парка стреловых самоходных кранов около 4/5 составляют автомобильные
стреловые краны. В качестве базы наиболее распространенных автомобильных кранов
используются шасси автомобилей ЗИЛ-130, МАЗ-500А, «Урал-375Д», и т.д.
Первые образцы
автомобильных кранов были созданы в 30-х годах, после освоения серийного
выпуска отечественных автомобилей. Эти краны создавались на базе автомобилей
ЗИС и имели грузоподъемность до 3-х тон. В последующие годы краностроение
развивалось быстрыми темпами.
Рост выпуска
кранов сопровождается совершенствованием их конструкции. Если на первых этапах
создавались преимущественно более простые по устройству краны с механическим
приводом, то за последние годы в эксплуатации все в большем количестве начали
поступать краны с гидравлическим приводом, обладающие более высокой
производительностью.
С помощью
автомобильных кранов выполняются различные работы: монтаж объектов из сборных
элементов, сборка оборудования, монтаж и демонтаж башенных кранов и других
сооружений, погрузка и разгрузка изделий на складах и заводах, укладка
магистральных трубопроводов и установка опор линий электропередач и т.п.
Основными достоинствами
автомобильных кранов является их большая подвижность и маневренность. Вследствие
высоких скоростей передвижения и маневренности автомобильные краны быстро
перемещаются на значительные расстояния, что позволяет эффективно выполнять
рассредоточенные работы.
2.Назаначение
и классификация кранов
Автомобильные
краны подразделяются в основном по грузоподъемности, способу подвески стрелового
оборудования, по виду и типу привода рабочих механизмов.
По
грузоподъемности в нашей стране выпускаются автомобильные краны 4-ех размерных
групп табл.1.
Таблица 1 –
Размерные группы автомобильных кранов
|
№ размерной группы
|
1
|
2
|
3
|
4
|
|
Грузоподъемность, т
|
4
|
6,3
|
10
|
16
|
По способу
подвески стрелового оборудования различают краны с гибкой и жесткой подвесками.
У кранов с гибкой подвеской удержание стрелового оборудования и изменение угла
наклона стрелы осуществляется с помощью стальных канатов, а у кранов с жесткой
подвеской – преимущественно гидравлическими цилиндрами.
По типу привода
основных механизмов различают с одном- и многомоторным индивидуальным приводом.
У крана с одномоторным приводом все рабочие механизмы приводятся в движение
одним двигателем внутреннего сгорания – двигателем автомобиля, а передача
движения исполнительным механизмам осуществляется через механическую
трансмиссию. У крана с многомоторным индивидуальным приводом каждый механизм
приводится в движение от отдельного двигателя.
Работа крана
состоит из ряда операций: захват отдельного штучного груза (или пакета), его
подъем и перемещение к месту назначения, опускание и отцепка груза, подъем и
перемещение грузозахватного устройства или приспособления в исходное положение
для захвата, подъема и перемещения следующего груза.
Эти операции чередуются в
определенной последовательности, повторяясь через определенные промежутки
времени (циклы).
3.Общее
устройство кранов
Автомобильный
кран состоит из поворотной и не поворотной частей, связанных между собой
опорно-поворотным устройством, которое передает нагрузки (грузовой момент,
вертикальные и горизонтальные силы) от поворотной части крана на не поворотную,
а также обеспечивает возможность вращения поворотной части относительно
неповоротной.
Неповоротная
часть крана – это ходовое устройство, и ходовая рама со смонтированными на ней
высотными опорами. Ходовое устройство – шасси грузового автомобиля.
Ходовая рама –
пространственная сварная конструкция, которую крепят на шасси автомобиля и на
которой устанавливают опорно-поворотное устройство. Она передает нагрузки от
поворотной части на основание через шасси автомобиля или выносные опоры.
Выносные опоры использую для увеличения опорного контура крана
Похожие материалы
Информация о работе
Скачать файл
Устройство крана манипулятора
Согласно Правил безопасности ПБ 10-257-98, операторы (машинисты) кранов-манипуляторов должны быть ознакомлены с особенностями устройства и обслуживания крана-манипулятора.
Наименование основных узлов крана манипулятора:
1. Стрела крана манипулятора.
Обеспечивает работу грузозахватного крюка в рабочей зоне. Секции стрелы выдвигаются и складываются посредством работы гидроцилиндров выдвижения стрелы (задвижения).
2. Колонна (башня) крана манипулятора.
Предназначена для установки и поворота стрелового оборудования. Это вертикальная часть краноманипуляторной установки, на которой установлена стрела, лебедка, и гидроцилиндр. Колонна поворачивается поворотным механизмом.
3. Станина (основание) КМУ.
Устанавливается на лонжероны автомобиля сзади кабины водителя. Служит для обеспечения более равномерной нагрузки на лонжероны.
4. Редуктор лебедки крановой установки.
Подъемная лебедка вращает барабан с тросом посредством гидромотора, поднимает и опускает груз с помощью троса.
5. Редуктор поворота гидроманипулятора.
Поворотный механизм поворачивает колонну манипулятора посредством гидромотора.
6. Гидроцилиндр подъема стрелы КМУ.
Поднимает и опускает стрелу крана манипулятора.
7. Гидроцилиндр телескопирования стрелы манипулятора.
Выдвигает и втягивает секции стрелы манипулятора.
8. Аутригеры (выносные опоры) КМУ.
Аутригеры поддерживают кран-манипулятор в устойчивом положении во время работы КМУ.
9. 10. 11. 12. 13. 14. 16. Рычаги управления краном манипулятором.
Рычаг управления наклоном стрелы. Управление гидроцилиндром изменения угла наклона стрелы.
Рычаг управления лебедкой. Рычаг управляет гидромотором, вращающим барабан лебедки с тросом, позволяя поднимать и опускать крюк.
Рычаг телескопирования стрелы.
Рычаг управляет гидроцилиндром выдвижения стрелы, выдвигая или складывая стрелу крановой установки.
Рычаг поворота. Рычаг управляет механизмом поворота колонны, позволяя установке поворачиваться по часовой или против часовой стрелки на 360 градусов.
Рычаги управления аутригерами. Рычаги управляют вертикальным выдвижением и втягиванием аутригеров (опор) с каждой стороны крана манипулятора.
Рычаг ускорения (акселератор). Рычаг регулирует частоту вращения двигателя по необходимости.
15. Крюк (гак) крановой установки.
16. Трос крана манипулятора.
17. Сигнализация перегрузки КМУ.
Сигнализация оборудована по стандартному типу. Когда крюк приближается к вершине стрелы, включается сигнальный гудок, который предупреждает о перегрузке троса.
18. Индикатор грузоподъемности (манометр) КМУ.
Прибор показывает вес поднимаемого груза.
19. Сигнал опасности (звуковой) КМУ.
При нажатии кнопки предупредительного сигнала, включается сигнал автомобиля. Это предупреждает рабочих и других людей, находящихся в зоне работы гидроманипулятора.
20. Коробка отбора мощности манипулятора.
21. Карданный вал гидронасоса крана манипулятора.
22. Гидравлический насос КМУ.
23. Рукава высокого и низкого давления КМУ.
24. Шкала грузоподъемности (развесовка) КМУ.
Индикатор показывает номинальное значение нагрузки, соответствующее длине выдвинутой стрелы и ее углу наклона.
25. Гидроколлектор КМУ.
Выполняет передачу масла в колонну (башню) крана манипулятора.
26. Опорно-поворотное устройство (ОПУ) КМУ.
ОПУ предназначено для крепления колонны КМУ./73.2.gif)
Конструктивно, кран манипулятор представляет собой гидравлический кран, оснащенный полноповоротной телескопической стрелой с тросовой подвеской устройства крепления. Подобные устройства представляют особую ценность для различных строительных площадок, за счет ряда преимуществ и особенных свойств устройства, которые продиктованы уникальностью его конструкции. Возможность аккуратной и четко спроектированной разгрузки, без толчков и ударов при спуске, на заранее подготовленную площадку играет важную роль. Мало какой погрузчик сможет осуществить подъем или спуск груза на площадку за некими препятствиями в виде заборов, стен или любых других конструкций или габаритных предметов. Также легко и непринужденно, манипулятор справится с грузами, которые расположены на уровне ниже самого устройства, например в колодце или какой-либо траншее. Существующая система контроля поднимаемого веса груза, за счет различных датчиков длины стрелы, угла ее наклона, и ряда других указателей, проинформирует о превышении максимально допустимой массы груза.
Гидроманипуляторы могут быть нескольких модификаций, что связано с конструктивными особенностями различных моделей. Стрела крана манипулятора может иметь разные показатели грузоподъемности, количества ступеней и радиус действия крана. С ростом длины стрелы, разумеется, будет сокращаться и ее грузоподъемность. Трос, используемый в крановых установках, является своеобразным расходным материалом, который с течением времени и при частом его использовании, требует замены. Как и любой другой автомобильный кран, манипулятор может быть оснащен дополнительными задними опорами, которые помогают разгрузить раму автомобиля. На качество фиксации крана влияет состояние грунта, а также уровень наклона , что достигает неравномерным выдвижением различных опор. В процессе разгрузки, в зависимости от условий ведения работ, ближние к стреле опоры, могут либо повышать уровень транспортного средства, либо понижать. Так, например, повышение уровня требуется для работы с тяжелыми грузами, во избежания опрокидывании манипулятора.
В случае работы с грузами, расположенными ниже уровня крана, опоры прячутся, и кран наклоняется, переводя стрелу в наклонное положение.
С информацией по ремонту кранов манипуляторов можно узнать в разделе:
Получить консультацию можно по телефону:
Конструкционная система выносных опор для высотных зданий: все, что вам нужно знать: объяснение с видео
🕑 Время прочтения: 1 минута
Выносные опоры — это внутренние боковые структурные системы, предназначенные для улучшения опрокидывающей жесткости и прочности высотных зданий. Это система сопротивления боковой нагрузке, расположенная внутри здания. Вся система состоит из основной конструкции, соединенной с колоннами по периметру здания с помощью конструктивных элементов, называемых аутригерами. Аутригеры могут быть в виде горизонтальных балок, ферм или стен.
Посмотреть видео о конструктивной системе аутригеров здесь >>
структурные системы, которые могут эффективно работать до 150 этажей. Это одна из удачных и устойчивых конфигураций, используемых в высотном строительстве. Структурная система Outrigger популярна в строительстве с 19 века.80-х годов благодаря уникальному сочетанию архитектурной гибкости и структурной эффективности.
Рис. 2: Ферма выносных опор, соединенная с колоннами по периметру
В этой статье исследуется принцип работы и важные особенности конструкционных систем с выносными опорами.
Состав:
- Конструктивные системы с выносными опорами
- Принцип работы систем с выносными опорами
- Типы систем с выносными опорами
- 1. Обычная система с выносными опорами
- 2. Система со смещенными выносными опорами 9 Конструкционная система с выносными опорами0018
- 3. Виртуальная система аутригеров
- Особенности структурной системы аутригеров
- Преимущества структурной системы аутригеров
- Часто задаваемые вопросы см.
рис. 2), а именно:- Центральная система
- Периметральная система
Как показано на рис. 1, основная конструкция является наиболее важным элементом высотного здания. Это комбинация таких единиц, как лифты, лестницы, воздуховоды и т. Д. В то время как система периметра представляет собой комбинацию мегаколонн. Основная система и мегаколонны, расположенные по периметру, соединяются с помощью аутригеров. На рис. 2 показан аутригер ферменного типа, соединенный с колонной по периметру. Помимо аутригеров, конструкция дополнена ременными фермами по периметру для обеспечения дополнительного бокового сопротивления.
Как ядро, так и системы периметра вместе с выносной опорой контролируют поведение всего здания. Это осуществляется за счет положительного взаимодействия между ядром и системой периметра через аутригеры.
Принцип аутригерных конструктивных систем
Высотные здания подвергаются большим боковым деформациям из-за ветровых или сейсмических нагрузок.
Несущая конструкция высотного здания подвергается консольной деформации, как показано на рис. 3, а каркасные конструкции, окружающие ядро, подвергаются деформации портального типа. Это вызывает сильный дрейф и опрокидывание конструкции.Включение аутригеров позволяет эффективно контролировать чрезмерный снос из-за боковых нагрузок. Это, следовательно, позволяет предотвратить структурные и неструктурные повреждения в конструкции. Как показано ниже, аутригеры уменьшают основной момент сверху вниз под действием боковой нагрузки.
Рис. 3: Поведение конструкции здания с выносными опорами под действием ветровой нагрузки
Конструктивное действие систем выносных опор в высотных зданиях основано на паре растяжения-сжатия, возникающей во внешних колоннах, как показано на Рис. 5. Под действием боковых нагрузок конструкция без системы боковой поддержки подвергается опрокидыванию.
Рисунок-5: Пара растяжения и сжатия в колоннахРисунок-6: Конструктивное действие выносных опор
На рисунках-5 и 6 показана высотная конструкция с конструкционной системой выносных опор.
Здесь аутригеры действуют как жесткая рука, которая соединяется с колонной по периметру. Он взаимодействует с внешними колоннами и центральным сердечником для безопасного переноса нагрузки. Когда конструкция с системой аутригеров подвергается поперечной нагрузке, боковая сила основной конструкции передается на колонны по периметру через аутригеры, а затем на землю. Таким образом, общий опрокидывающий момент уменьшается.Производительность системы аутригеров зависит от:
- Высота здания
- Глубина элементов аутригеров
- Основной конструкционный материал конструкции
- Количество уровней предусмотренных аутригеров
Типы систем аутригеров
В зависимости от расположения и расположения аутригеров в высотных зданиях системы аутригеров можно разделить на следующие типы:
1. Обычная система аутригеров
В традиционной конструктивной системе с выносными опорами выносные опоры непосредственно связаны с основной конструкцией, а колонны расположены на периферии конструкции.

Рис. 7: Шанхайский всемирный финансовый центр, Китай — вид сверху, показывающий ядро и систему периметра, соединенные с помощью выносных опор знаменитые конструкции, которые включают в себя обычную систему аутригеров на восьми различных уровнях здания.
Рисунок-8: Фермы аутригеров в Шанхайской башне
2. Структурная система аутригеров со смещением
В этой системе аутригеры расположены в местах, отличных от плоскостей основных стен. Такая компоновка сохраняет все преимущества аутригеров и снижает боковое отклонение высотных зданий по сравнению с обычной системой аутригеров.
Рис. 9: Сравнение традиционной и смещенной системы выносных опор
Для эффективной системы смещенных выносных опор рычаг выносной опоры и плита перекрытия должны быть достаточно жесткими, чтобы передавать сдвиг в горизонтальной плоскости в плитах между выносной опорой и сердечником. Когда здание со смещенной системой аутригеров подвергается боковым нагрузкам, силы перекрытия вызывают пару в аутригере.
Чтобы противодействовать этому, колоннами по периметру создается сдерживающая пара. Эта сдерживающая пара от колонн по периметру возвращается через плиты к основной конструкции.Система смещенных аутригеров использовалась при строительстве Дубайской башни в Дохе высотой 438 м и 90 этажами. Это комбинация обычной и смещенной конструктивной системы аутригеров.
3. Виртуальная система аутригеров
В виртуальной системе аутригеров опрокидывающий момент передается от несущей конструкции к колоннам без прямой связи между сердцевиной и периферийными колоннами. Это достигается использованием диафрагм пола, которые передают опрокидывающий момент от сердечника к подвесному с помощью горизонтальной пары.
Другой тип виртуальной системы аутригеров — ленточные фермы. Ленточные фермы строятся путем связывания периферийных колонн, как показано на Рисунке-1 и Рисунке-10.
Рисунок-10: Виртуальная система аутригеров в виде ленточных ферм
Особенности конструктивной системы аутригеров
Аутригеры связывают воедино ядро и конструктивную систему по периметру, создавая уникальную конструкцию, позволяющую решить проблемы высотного строительства.
Некоторые из особенностей конструкционных систем аутригеров:- Система аутригеров применяется для зданий, которые подвергаются большим опрокидывающим моментам по сравнению с сдвигом и боковыми отклонениями.
- Аутригеры в конструкциях уменьшают общий снос и основные ветровые моменты.
- Система аутригеров снижает общее ускорение здания из-за сильного ветра и повышает комфорт пассажиров.
Преимущества конструктивной системы с выносными опорами
Некоторые преимущества структурных систем с выносными опорами:
- Высокое здание, в котором используется конструкционная система с выносными опорами, может уменьшить опрокидывающий момент на 40%.
- Уменьшает общий снос здания при боковом воздействии нагрузки. Снижение зависит от относительной жесткости сердечника и аутригера.
- Система аутригеров зацепляет колонны по периметру конструкции для эффективного снижения опрокидывающего момента.
- Структурная система Outrigger помогает эффективно распределять опрокидывающие нагрузки на фундамент.
Это, следовательно, уменьшает силу на основной фундамент.
Часто задаваемые вопросы
Что такое структурная система с выносными опорами?
Конструкционная система Outrigger представляет собой внутреннюю систему сопротивления боковой нагрузке, расположенную внутри здания. Он состоит из основной конструкции, соединенной с колоннами по периметру здания с помощью конструктивных элементов, называемых выносными опорами. Аутригеры могут быть в виде горизонтальных балок, стен или ферм.
Что такое аутригер и поясная ферма?
Аутригеры и ленточная ферма представляют собой две системы сопротивления боковой нагрузке, используемые в высотных зданиях. Оба служат цели улучшения поворотной жесткости и прочности здания. Аутригеры соединяют основную конструкцию здания с колоннами по периметру, а ленточная ферма связывает колонны по периметру вокруг основной конструкции.

Какие существуют типы структурных систем с выносными опорами?
Основными типами конструктивных систем с выносными опорами являются:
1. Обычная система с выносными опорами
2. Система аутригеров со смещением
3. Система виртуальных аутригеровКаковы преимущества использования аутригеров при строительстве высотных зданий?
Структурная система Outrigger обеспечивает следующие преимущества конструкции здания:
1. Уменьшение опрокидывающего момента
2. Уменьшение поперечного сноса
3. Безопасное уменьшение и передача сил основной конструкции на фундаментПодробнее
Всемирный торговый центр: причины провала строительства после 9/11 Атака
Венеция: детали основания самого большого плавучего города в мире
Гора Рашмор: воплощение духа Америки
Для чего используются аутригеры и как их использовать!
Если вы не привыкли к большим рыбацким лодкам.
Или даже оффшорные рыбацкие лодки, тогда вам, вероятно, интересно, что такое шесты на верхней части лодки. Зачем они там и для чего используются?Для чего используются выносные опоры для лодок и как их использовать? Лодочные аутригеры представляют собой стержни, изготовленные из алюминия, стекловолокна или кевлара. Они используются в морской рыбалке, называемой троллингом. Они позволяют пользователю иметь больше лески с наживкой, которую можно тащить за лодкой. Аутригеры помогают отделить стропы друг от друга, чтобы они не запутались.
Эта статья научит вас всему, что вам нужно знать о выносных опорах вашей лодки, и о том, как наиболее эффективно их использовать!
Из чего сделаны аутригеры?
Аутригеры должны быть крепкими и прочными, чтобы надежно удерживать леску при ловле рыбы блесной.
В то же время они должны быть легкими. Чтобы они не провисали под собственным весом или натяжением строп.
Кроме того, вы используете аутригеры на лодке в открытом море, поэтому само собой разумеется, что их конструкционный материал должен быть устойчив к коррозии из-за соленой воды.

Вот почему производители часто используют прочные, прочные и легкие материалы для изготовления выносных опор. Алюминий, стекловолокно, углеродное волокно и кевлар являются одними из наиболее популярных материалов, которые выбирают производители рыболовных аутригеров для лодок. 9№ 0003
Алюминий является основным выбором рыболовов, поскольку он предлагает очень экономичное решение для троллинга. Однако, когда длина удилища превышает примерно 18 футов, нагрузка на удилище увеличивается экспоненциально во время троллинга.
Алюминий слишком хрупок и не подходит на данный момент. Вот почему вы часто найдете аутригеры длиной более 18 футов, изготовленные из сверхпрочных материалов, таких как углеродное волокно или кевлар.
Выносные опоры различных типов
Существует много разных стилей аутригеров, и каждый из них имеет свое назначение.
Телескопическое Против. Аутригеры фиксированной длины
В простейшем типе аутригеров используется стиль фиксированной длины, состоящий из одной цельной стойки.
При использовании этих аутригеров вы должны быть осторожны с мостами и зазорами для скольжения лодки.В противном случае вы можете сломать аутригеры и повредить лодку, проходя под мостом с низким клиренсом. В Интернете можно найти множество видеороликов о неудачных попытках катания на лодке, демонстрирующих именно эту ошибку, когда не учитывается длина аутригеров, что приводит к катастрофическим результатам.
Некоторые выносные опоры фиксированной длины позволяют класть их почти горизонтально на хардтопы, когда они не используются, что сводит к минимуму эту проблему. Но они все равно будут торчать за кормой лодки, когда вы припаркованы на стапеле или в причале.
В других, более сложных выносных опорах используются телескопические или складные опоры. Они позволяют выдвигать или втягивать шест, чтобы настроить его длину, что-то вроде телескопа (отсюда они и получили свое название).
Когда вы не занимаетесь троллингом или не используете аутригеры иным образом, вы можете сложить их до минимальной длины и легко разместить лодку в местах с малым просветом.
А также в тесные промахи между другими лодками в доке.Хотя телескопические выносные опоры более сложны, чем выносные опоры фиксированной длины, они часто стоят дороже и требуют более регулярного обслуживания для правильной работы.
На планшире VS. Выносные опоры с жесткой крышей
Традиционные выносные опоры устанавливаются на планшире (также известном как боковые выносные опоры). Эти аутригеры крепятся к планширам по обеим сторонам лодки, чтобы обеспечить возможность троллинга.
Аутригеры, установленные на планшире, часто дешевле, чем аутригеры, установленные на жесткой крыше, но они, как правило, мешают, когда вы хотите передвигаться на лодке. Они также обычно доступны только до определенной длины. Около 18 футов или около того.
С другой стороны, аутригеры с жесткой крышей крепятся на большей высоте над лодкой. Это позволяет им не мешать движению внутри лодки. Тем не менее, это дорого обходится.
Аутригеры на жесткой крыше, как правило, намного дороже, чем крепления на планшире.
Кроме того, если у вас есть основание с выносными опорами, которое не позволяет вам легко изменить угол наклона стоек изнутри лодки, вам, возможно, придется забраться на верхнюю часть хардтопа, чтобы сделать это.Это может быть опасно, не говоря уже о боли, когда вы ловите рыбу в открытом море в бурном море.
С расширителями или без них
Некоторые выносные опоры поставляются с распорками. Эти перпендикулярные стержни в форме буквы X лежат по всей длине стержня.
Каждая растяжка поддерживает несколько различных натянутых тросов, которые придают стойке жесткость и жесткость, предотвращая ее коробление под нагрузкой. Если у вас длинная удочка с выносными опорами или вы любите ловить крупную рыбу на более высоких скоростях, рекомендуется приобрести выносную штангу с распорками.
Разбрасыватели также позволяют увеличить пространство между сложенными лесками и предотвратить их спутывание. (Процесс укладки относится к добавлению более одной линии к опорной опоре).

Сколько стоят выносные опоры?
Очевидный вопрос, который у вас может возникнуть, если вы хотите приобрести выносные опоры, — сколько они стоят. Короткий ответ: это зависит.
Фиксированной цены на аутригеры нет, и их стоимость зависит от множества факторов. Включая марку производителя, конструкционный материал, длину опор и дополнительные функции.
Такие же, как распорки и возможность втягивать шесты, как набор телескопических выносных опор. Вы можете купить пару простых аутригеров примерно за 100 долларов на Amazon, что сомнительно! Или вы можете купить чрезвычайно высококачественные аутригеры, которые стоят более 10 000 долларов!
Однако, если вы ищете лучшее соотношение цены и качества, вы можете приобрести пару качественных стоек для выносных опор в диапазоне от 500 до 1000 долларов. В качестве альтернативы вы можете купить полный комплект аутригеров с держателями удилищ, шестами и комплектами такелажа за 2000–3000 долларов.
Обычно такие компании, как Taco Marine, выбирают качественные и недорогие выносные опоры.

Как установить набор аутригеров
Установка набора аутригеров может показаться очень сложной и утомительной, если вы не знаете правильную процедуру. К счастью для вас, мы здесь, чтобы показать вам путь.
Первым шагом к установке аутригеров является установка крепления или основания аутригеров на судно. Этот шаг включает в себя приваривание экструзионной пластины к T-Top вашей лодки. Что может потребовать найма профессионала.
А также снятие полотна T-top для проведения сварочных работ. Вот видео, которое мы сняли, чтобы перетянуть брезент Т-образной крыши, а также установить осветительные приборы и прочее:
Убедитесь, что у вас есть пластина подходящего размера для Т-образной крыши вашей лодки, чтобы сварщик мог правильно ее установить.
Если вы мастер на все руки и предпочитаете делать подобные вещи самостоятельно, не волнуйтесь.
Остальная часть процесса относительно проста и понятна. Для этого не нужны никакие специальные инструменты, а все остальное вы можете легко сделать самостоятельно.
Все, что вам нужно, это шестигранный ключ, нож, отвертка и паяльная лампа или другой источник тепла.Возьмите нож и нагрейте его на плите или горелке. Как только он раскалится докрасна, выньте его из пламени и используйте его, чтобы разрезать холст над экструзионной пластиной.
Тепло позволит ножу пройти сквозь холст, как по маслу. И вы можете легко вырезать отверстие для основания выносной опоры.
Затем вам нужно покрыть верхнюю часть футболки, где будет крепиться крепление. Лучше всего использовать какой-нибудь эластомер или герметик для лодок! Это обеспечивает надежную и водонепроницаемую посадку, предотвращающую протекание крыши вашего T-Top.
Поместите крепление вверху и привинтите его к месту внутри экструзионной пластины с помощью отвертки.
Следующим шагом является установка ручки на основание крепления. Просто вставьте ручку на место, вставьте прилагаемые винты и затяните их шестигранным ключом.
Престо! Вы закончили установку аутригера.
Это действительно так просто! Осталось установить аутригеры, и вы будете готовы к троллингу в открытом море.Одна вещь, которую вы должны иметь в виду, это то, что хотя все аутригеры следуют примерно одному и тому же процессу, все аутригеры немного отличаются друг от друга.
Для правильной установки вашей конкретной выносной опоры могут потребоваться небольшие корректировки или дополнения к этому процессу. Мы рекомендуем вам всегда читать руководство пользователя вашей выносной опоры, прежде чем брать в руки какие-либо инструменты.
Установка аутригеров
Теперь, когда вы установили крепление для аутригеров, следующим шагом будет установка аутригеров, прежде чем вы сможете их использовать. Типичный аутригер может поддерживать две разные линии.
Для установки каждой лески вам понадобится длинный шнур, стопор, вертлюг, три зажима и ручные зажимы. (опционально – можно завязать узлы, если не хотите использовать обжим, но обжим обычно сильнее)
Зажим для снятия натяжения, демпфер и способ крепления демпфера к леске.
Может быть довольно сложно найти все эти разные предметы по отдельности. Поэтому производители аутригеров часто поставляют все это в комплекте такелажа.Вам следует всегда покупать такой комплект вместе с выносными опорами, а не рыскать по местному рынку в поисках разных деталей. Если вам просто нужен такелаж и уже есть аутригеры.
Мы рекомендуем комплект для крепления аутригеров Taco Marine, в нем есть все, что вам нужно!
Чтобы установить выносную опору, первое, что вы должны сделать, это взять шнур и протянуть его через различные петли внутри стойки.
Если к каждой петле вашей палки прикреплены ролики. Обязательно проденьте леску через один и тот же ролик на каждой петле, чтобы предотвратить спутывание лески.
После того, как вы пропустите леску через верхний ролик.
Сверните его петлей и проденьте через стопор, обжим и вертлюг. Убедитесь, что вы пропустили его через элементы в этом конкретном порядке. В противном случае вы получите неправильно настроенный аутригер.

После того, как вы проденете шнур через вертлюг, возьмите конец шнура и снова проденьте его через зажим. Создание петли вокруг вертлюга. Затем возьмите ручную обжимку и обжмите леску, чтобы надежно прикрепить различные аксессуары к леске.
Для правильного определения размера лески и обеспечения правильного натяжения. Сначала вам нужно будет установить демпфер на лодке. Для этого выберите на лодке прочное место, достаточно высокое, чтобы не мешать движению.
Это позволит держать всю вашу оснастку для выносных опор над головой и не даст вам удариться головой о трос. Идеальным местом были бы верхние поперечные трубы вашего T-Top. Сделайте небольшую петлю с помощью такелажа вокруг поперечной трубы и обожмите ее.
В качестве альтернативы вы можете привинтить скобу Camelback к борту лодки. (Тем не менее, это требует вкручивания в лодку, а также требует использования дрели.)
Прикрепите другой конец демпфера к проволочной петле (или кронштейну), затем вернитесь и прикрепите шест к креплению выносной опоры.
Возьмите трос аутригера и проденьте его через последний подшипник амортизатора.Отрегулируйте натяжение лески, чтобы она не провисала, а затем проденьте ее через другой зажим. Возьмите другой конец троса выносной опоры и также проденьте его через обжим. Сделайте большую петлю по всей длине опорной стойки.
Отрежьте лишнюю леску, а затем используйте обжимной инструмент, чтобы обжать леску, сохраняя натяжение.
Теперь, когда вы закончили с первой линией аутригеров, пришло время сделать вторую. Снимите аутригер и выполните те же действия для второй линии.
Просто используйте разные ролики на шесте для этой лески и пропустите ее только через две из четырех петель по длине шеста. Когда вы дойдете до этапа прикрепления вашей лески к демпферу.
Обязательно проденьте его через другой свободный подшипник вместо того, который вы использовали ранее. Подберите натяжение двух строп так, чтобы ни одна из них не провисала.
Затем обожмите его, и все готово.
Теперь у вас есть полностью оборудованный столб. Выполните те же шаги для другого удилища, и у вас будет полностью функциональная установка аутригеров, позволяющая вам троллить четыре лески одновременно.Различные способы использования аутригеров
Основная функция аутригеров — удерживать несколько лесок, пока вы блуждаете в открытом море, чтобы увеличить ваши шансы на поимку рыбы.
Нормально работает либо ромбовидным узором с вашей приманкой. Или до восьми строп разной длины от задней части лодки.
Однако, с прочно установленной опорой, вы можете очень творчески подойти к ее применению. Посмотрите это видео ниже, чтобы увидеть, как лодка тянет двух воднолыжников с помощью установленных наверху аутригеров.
Теперь, когда вы знаете все об аутригерах, вот несколько других статей, которые мы написали, и мы знаем, что вы найдете их еще более полезными!
Есть ли у ВАШЕЙ лодки правильный гребной винт? и как проверить!
Плиты подвесного домкрата, все, что вам нужно знать!
Если у вас есть какие-либо вопросы или комментарии, дайте нам знать, подписавшись на наш канал YouTube!
И если вы хотите поддержать нас, чтобы мы продолжали предоставлять вам отличный контент, пожалуйста, нажмите на ссылку ниже на Amazon, где мы получаем комиссию от всего, что вы уже собираетесь купить!
И вы также можете сделать пожертвование, нажав кнопку пожертвования здесь или в правой части экрана!
Это действительно помогает нам, и мы благодарим вас за вашу поддержку!
Спасибо за чтение, и мы с нетерпением ждем ваших ответов и комментариев.

Мы также хотели бы пригласить вас посетить наш канал на YouTube, где мы создаем всевозможные обучающие видеоролики и видеоролики о лодках, сделанных своими руками. Чтобы помочь вам узнать все больше и больше о вашей лодке и о том, как она работает!
Что такое аутригеры для рыбацких лодок?
Вы рассматриваете рыбалку как хобби?
Установка аутригеров на лодке — один из лучших способов повысить функциональность и полезность вашей лодки.
Независимо от того, являетесь ли вы новичком в рыбалке или ищете способы улучшить свои впечатления от рыбалки, выносные опоры являются важным аксессуаром, с которым следует ознакомиться.
Если вам интересно, что такое аутригеры для рыбацких лодок, вы попали по адресу. В этой статье я объясню все, что вам нужно знать об аутригерах для рыбацких лодок. Вы узнаете, как работают эти аксессуары, на что обратить внимание при покупке аутригеров, а также советы по самостоятельной установке аутригеров.
Итак, приступим!
Содержание
- Что такое аутригеры для рыбацких лодок?
- Как работают выносные опоры?
- Преимущества использования аутригеров для рыбацких лодок
- Советы по выбору аутригеров
- Как установить аутригеры для рыбацких лодок?
- Резюме: Что такое аутригеры для рыбацких лодок
Что такое аутригеры для рыбацких лодок?
Аутригеры представляют собой тонкие, длинные, телескопические или жесткие шесты, устанавливаемые по бокам лодки и поддерживающие леску в задней части лодки.
Эти удочки используются для рыболовной техники, известной как глубоководный троллинг.Аутригеры бывают разных размеров: от 12 футов до 35 футов. Размер, который вы устанавливаете, будет зависеть от размера вашей рыбацкой лодки и того, что вам удобно. Палки обычно изготавливаются из алюминия или углеродного волокна.
Как работают выносные опоры?
Аутригеры устанавливаются с обеих сторон лодки. Они наклонены под углом от 70 до 80 градусов, как можно ближе к поверхности воды.
Каждая выносная опора снабжена шкивом и шнуром. К системе шкивов прикреплен зажим для снятия натяжения, поддерживающий леску. Зажим освобождает леску при поклевке рыбы, позволяя ловить рыбу с помощью обычной рыболовной катушки и удочки.

Аутригеры позволяют повесить на каждое удилище как можно больше лесок, повышая шансы поймать рыбу и улучшая общее впечатление от рыбалки.
Рыболовы устанавливают на свои рыбацкие лодки выносные опоры, чтобы сделать троллинг более эффективным. Троллинг — это техника ловли рыбы, при которой за лодкой тянутся несколько лесок, когда судно движется по воде. Использование техники троллинга без аутригеров возможно, но многие современные рыболовы выбирают эти удилища из-за их многочисленных преимуществ.
Преимущества использования аутригеров для рыбацких лодок
Когда ваша лодка движется по воде, она издает шум, пузыри, брызги и белый водяной след. Все это привлекает косяк наживки, ожидающей нападения и поимки. Но без эффективной выносной опоры ваша рыбалка может быть не такой успешной.
Преимущества использования аутригеров для рыболовных лодок:
1. Избегайте завязывания лески
Одной из самых больших проблем глубоководного троллинга является запутывание лески.
Когда леска запутывается, распутывать ее может быть неудобно, и это может снизить ваши впечатления от рыбалки и снизить ее эффективность. Такая ситуация часто возникает при глубоководном троллинге без аутригеров.С другой стороны, когда вы используете аутригеры, вы можете удобно и безопасно использовать несколько лесок, расположенных на широком участке воды. Поскольку лески не установлены близко друг к другу, вероятность образования узлов и запутывания мала, что снижает эффективность рыбалки.
2. Повышение эффективности рыбной ловли
Выносные опоры гарантируют, что вы сможете максимально эффективно использовать время на большой глубине. Это означает больше времени на рыбалку и меньше времени на распутывание узлов.
Кроме того, эти удочки увеличивают ваши шансы поймать больше рыбы. Поскольку удочки установлены по обеим сторонам лодки и разбросаны по большому водному пространству, вы повышаете свои шансы привлечь больше рыбы своими наживками.
3.
Расположите наживку подальше от бурной водыБурная вода, также известная как след, представляет собой турбулентность, возникающую в воде, когда ваша лодка движется в океане. Рыбы не любят находиться слишком близко к лодкам, так как избегают вибраций воды. Поймать их может быть сложно, если рыба уплывает дальше от лодки.
Аутригеры решают эту проблему, удлиняя леску и размещая приманку дальше от судов с меньшей турбулентностью. Таким образом, вместо того, чтобы отпугивать рыбу, вы сможете легко привлечь ее, увеличив свой улов.
4. Улучшите видимость рыбы
Бурная вода, оставленная движущейся лодкой, может затруднить обнаружение рыбы в воде. Без надлежащей видимости вы буквально отправляетесь на рыбалку вслепую и просто испытываете свою удачу.
Пытаться ловить рыбу, когда вы ее не видите, — не лучший вариант использования вашего времени и усилий. Установка аутригеров может улучшить видимость, что впоследствии может повысить ваш улов. Располагая леску вдали от лодки и потока бурной воды, выносные опоры помогают удерживать рыбу в поле зрения.

Советы по выбору аутригеров
Когда вы будете готовы отправиться в магазин за аутригерами, убедитесь, что вы покупаете доступные удилища, которые действительно улучшат ваш опыт рыбалки.
Есть несколько важных факторов, которые следует учитывать при покупке или выборе аутригеров. Рассмотрим их ниже:
Материал
Аутригеры для рыбацких лодок изготавливаются из различных материалов, включая кевлар, углеродное волокно, стекловолокно и алюминий.
Эти удилища несут тяжелую рыбу и леску, поэтому они должны быть достаточно прочными, чтобы выдержать такой вес во время глубоководной троллинговой ловли. Но хороший аутригер также должен быть достаточно легким, чтобы не провисать и не ломаться под собственным весом.
Кроме того, следует выбирать опоры, устойчивые к ржавчине и коррозии в результате воздействия соленой океанской воды. Без сомнения, ржавчина быстро сократит срок службы ваших опор.
Многие рыбаки выбирают алюминиевые опоры для рыбацких лодок.
Эти типы сравнительно удобны в кармане и сослужат вам хорошую службу, если вы будете заниматься троллингом только в редких случаях.Алюминиевые выносные опоры ограничены по высоте; они обычно не превышают 18 футов. Это ограничение может увеличить натяжение штекера, особенно при троллинге на высокой скорости.
Лодочные аутригеры из кевлара или углеродного волокна становятся все более популярными. Эти материалы легкие и чрезвычайно прочные, а выносные опоры имеют длину более 18 футов.
Дизайн
Выносные опоры бывают двух типов: фиксированной длины и телескопические.
Выносные опоры фиксированной длины представляют собой сплошные нерегулируемые стойки. Как правило, они дешевле, но служат цели эффективного глубоководного троллинга.
Недостатком фиксированных аутригеров является то, что их нельзя отрегулировать; они могут быть проблематичными при проходе через слипы для лодок или под мостами.
Они не только затрудняют проход под низкими мостами, например, они также могут развалиться, нанеся значительный ущерб вашей лодке.
Когда выносная опора застревает в пролете лодки или мосту, это также может привести к тому, что ваша лодка опрокинется или наклонится на одну сторону, что может быть опасно.Более популярным вариантом является телескопическая опора. Этот тип регулируется и может быть свернут при необходимости. В отличие от фиксированной длины, телескопические выносные опоры можно удлинять или укорачивать до нужной длины.
Когда вы не используете выносную опору, вы можете укоротить ее и безопасно припарковать свою рыбацкую лодку в причале или на стапеле. Возможность втягивания длины позволяет вам безопасно получать доступ к мостам и стапелям с низким клиренсом, не беспокоясь о том, что аутригеры сломаются и повредят вашу лодку.
Несмотря на то, что выносные опоры фиксированной длины можно расположить горизонтально, шесты все равно будут выступать за корму лодки. С телескопическими выносными опорами вы можете полностью втянуть мачту так, чтобы ни одна ее часть не торчала, что дает вам достаточный зазор для беспрепятственного маневрирования лодкой.

Телескопические выносные опоры универсальны, безопасны и просты в использовании. Но они, как правило, дороже и требуют большего обслуживания, чтобы поддерживать их в отличном состоянии.
Способ крепления
При выборе аутригеров для рыбацких лодок следует учитывать и способ крепления. Обычно существует два способа установки аутригеров: на планшире и с жесткой крышей.
Рассмотрим каждый тип:
- Вариант крепления планшира
Крепление планшира, также известное как боковое крепление, включает установку аутригеров на планшире с обеих сторон лодки. Это традиционный способ установки аутригеров на рыбацкие лодки.
Монтаж на планшире обычно дешевле. Но аутригеры, установленные таким образом, обычно ограничены по длине и доступны в размерах до 18 футов. Аутригеры, установленные на планшире, также могут быть негибкими и мешать при повороте или маневрировании лодки.
- Монтаж на жесткую крышу
Аутригеры рыболовной лодки с жесткой крышей устанавливаются на каюту лодки.
Этот метод установки удобен, так как он убирает аутригеры и обеспечивает достаточно места внутри лодки.Но установка на жесткую крышу обычно дороже, чем установка на планшире. Кроме того, некоторые основания аутригеров негибкие и не позволяют легко регулировать угол аутригера изнутри биты. Для этого вам придется подняться к радару лодки, что может быть довольно опасно и неудобно, когда вы хотите наилучшим образом использовать свое время в море.
Распорки
Покупая опоры для рыболовных лодок, вы также должны решить, нужны ли они вам в комплекте с распорками. Распорки представляют собой Х-образные вертикальные стержни, расположенные по длине аутригера.
Разбрасыватели помогают укрепить опоры выносных опор и сделать их жесткими, чтобы они не сломались под весом крупной рыбы.
Некоторые аутригеры оснащены распорками. Это лучший вариант, если удилища длинные или если вы предпочитаете ловить крупную рыбу на высокой скорости. Распорки будут поддерживать выносные опоры и улучшат ваш опыт рыбалки.

Еще одним преимуществом спредеров является то, что они помогают разделять леску, предотвращая завязывание и спутывание лески при троллинге.
Теперь, когда вы знаете, на что обращать внимание при выборе аутригеров, вам может быть интересно, как установить эти опоры на рыбацкую лодку.
В следующем разделе объясняются основы установки аутригеров для рыбацких лодок. Для более подробного объяснения рекомендую посмотреть это полезное видео.
Как установить выносные опоры для рыбацких лодок?
Хотя вы можете нанять кого-нибудь, чтобы установить для вас выносные опоры, вы можете починить эти аксессуары самостоятельно, приложив немного усилий и используя соответствующие инструменты.
Ниже приведены основные этапы установки аутригеров на рыбацкую лодку:
Шаг 1.
Установка основания аутригераПеред установкой основания аутригера вам необходимо приварить экструзионную пластину нужного размера к Т-образному верху лодки. Штампованная пластина будет служить основой для монтажа основания выносной опоры. Этот процесс сварки может потребовать найма опытного профессионала.
Вам нужно будет снять или зафиксировать полотно T-top, чтобы было достаточно места для сварки основания выносной опоры.
Шаг 2. Вырежьте прорезь в полотне Т-образного верха
Нагрейте нож и, как только он нагреется, прорежьте им прорезь в полотне — аутригеры проходят через эти прорези.
Шаг 3. Закрепите верхнюю часть полотна T-Top
Используйте герметик, например, герметик для лодок, чтобы зафиксировать крепление на месте. Герметик также предотвращает утечку из T-Top, обеспечивая водонепроницаемое соединение между креплением и холстом.
Шаг 4. Установите крепление и ручку
Затем установите крепление вверху и привинтите его к приваренной ранее пластине профиля.

Затем вам нужно будет установить ручку выносной опоры на основание крепления. Поместите ручку в крепление и затяните винты с помощью отвертки.
Шаг 5. Установите опоры
После установки опоры основная часть работы выполнена. Следующим шагом будет установка опорных стоек.
Для начала вставьте стопорный зажим в нижнюю часть каждой стойки, которую вы хотите установить. Зажимы секций должны совпадать с нижней частью стойки.
Затем вставьте нижнюю часть стойки так, чтобы зажим секции совпал с отверстием в основании. Вот и все, вы успешно установили аутригеры на рыбацкую лодку.
Шаг 6. Установка аутригеров
Последний шаг – установка лески. Комплекты аутригеров обычно включают в себя все элементы, которые вам понадобятся для установки строп.
В вашем комплекте вы найдете шнур для крепления, зажимы для шнура, карабины, хрустальный круг и карабин, а также другие приспособления для такелажа.
Вам нужно будет припарковать свою лодку на открытой площадке, где аутригеры могут свободно выдвигаться для крепления строп.
Следуйте инструкциям вашего комплекта, чтобы установить оснастку.Поздравляем с установкой аутригеров на рыбацкую лодку! Помните, что каждая марка выносных опор отличается, и процесс установки может немного отличаться.
Краткое описание: Что такое аутригеры для рыбацких лодок
Аутригеры для рыбацких лодок делают троллинг в открытом море и на берегу более удобным. Покрытие большего участка воды увеличивает ваши шансы поймать больше рыбы. Регулируемые телескопические штанги немного дороже, но они менее громоздки, поскольку при необходимости их можно убирать или удлинять. Углеродное волокно является лучшим вариантом из-за его долговечности, коррозионной стойкости и легкости при рассмотрении материала выносных опор.
Spread ‘Em Out: руководство по установке аутригеров на лодку
Фото Джоуи Манансала
Добавление набора аутригеров к любой лодке увеличит количество поклевок за счет выполнения двух основных задач: увеличение ширины троллингового разброса и предоставление капитану возможности ловить больше наживок.
Опытные экипажи обычно проводят семь или более линий при ловле желтоперого или альбакорового тунца на северо-востоке. Без этих аутригеров такой подвиг был бы невозможен.
Аутригеры входят в стандартную комплектацию больших рыболовных судов, но они все чаще используются на центральных консолях, предназначенных для работы в открытом море. Возможно, самым большим преимуществом их использования является дополнительная ширина, которую они обеспечивают для троллингового разброса. Большинство 26-футовых лодок имеют ширину менее 10 футов. Попробуйте запустить шесть лесок из держателей удилищ, и вы быстро соорудите птичье гнездо. Если вы поместите набор 18-футовых аутригеров на ту же лодку, у вас теперь будет ширина почти 40 футов для работы. Вы можете провести две лески в каждом такелажнике, две плоские лески и одну дробовик прямо по середине расстановки.Выбор аутригеров
Чтобы выбрать правильный набор аутригеров, учитывайте тип рыбалки, на которой вы чаще всего работаете, и то, что лучше всего подходит для вашей лодки.
Доступен набор аутригеров, подходящих для любой лодки, способной совершать путешествие в каньоны, даже для небольших лодок и центральных консолей. Некоторое время назад производители аутригеров поняли, что для небольших лодок нужны специально разработанные комплекты аутригеров, и большинство из них предлагают различные настройки, подходящие для любой лодки или приложения.В выносных опорах Deluxe из углеродного волокна от Gemlux (слева) используются ролики, которые вращаются вокруг вала для более плавного хода фалов. Большинство алюминиевых аутригеров (справа) опираются на простые проушины.
Посмотрите на конструкцию вашей лодки, чтобы выбрать наилучшую настройку. Выносные опоры можно установить на Т-образную верхнюю часть центральной консоли с соответствующими ручками внизу. Когда они не используются, эти такелажники фиксируются на месте, указывая прямо на корму. Чтобы установить их, оператор просто разблокирует аутригеры и повернет рукоятки так, чтобы они были направлены перпендикулярно лодке.
В зависимости от материалов, используемых для постройки лодки, и толщины поверхности, на которой вы планируете установить выносные опоры, может потребоваться усиливающая пластина.При оснащении лодки лучше проконсультироваться с производителем аутригеров или с опытной верфью, прежде чем что-либо устанавливать. Профессиональное руководство процессом поможет вам сэкономить время и деньги в долгосрочной перспективе.
Длина используемой удочки во многом зависит от размера лодки и количества фалов, которые вы планируете ловить. Как правило, лодки от 26 до 30 футов используют такелажники длиной от 18 до 30 футов.
Зажимы для выносных опор бывают двух основных типов: роликовые (слева) и проволочные (справа). Обратите внимание на отметку, просверленную в колесе регулировки натяжения роликового зажима. Эта индексная метка позволяет быстро сбросить пользовательские настройки натяжения.
Большинство центральных консолей оснащены телескопическими выносными опорами, что позволяет втягивать стойки примерно на треть их длины для хранения, буксировки, прохода моста или швартовки.

Большинство аутригеров изготовлены из алюминия, но некоторые компании теперь предлагают стойки из углеродного волокна, которое легче и жестче, чем алюминий. Жесткость сводит к минимуму хлесткое действие в бурном море, которое может дергать приманки и наживки, портя их работу во время троллинга.
Палки из углеродного волокна стоят намного дороже, чем аналогичные модели из алюминия, а композитный материал чувствителен к ультрафиолетовому излучению, поэтому важно защищать аутригеры из углеродного волокна от солнца и потенциальных воров, снимая их с лодки между рейсами. (Почти все выносные опоры оснащены быстросъемными механизмами, позволяющими легко снимать стойки.)
Такелаж для ваших монтажников
После того, как вы определитесь с типом аутригеров, вам нужно установить их с помощью фалов, шкивов и фиксаторов. Фал, также известный как линия аутригера, проходит по петле через проушины на аутригере и через шкив или стеклянное кольцо, удерживаемое рядом с планширом.
Большинство такелажников держат два фала, один для длинной наживки, а другой для короткой наживки.Один из способов добавить ролики к вашим аутригерам — прикрепить блоки к проушинам такелажника с помощью 1/32-дюймовой несущей линии, связанной несколькими полусцепками с помощью цианоакрилатного клея.
Для более плавного движения лески вверх и вниз некоторые рыболовы предпочитают ролики, а не проушины по всей длине аутригеров. Это особенно полезно при ловле на ловлю с высоким сопротивлением, например, на распорки или крупные приманки. Gemlux предлагает аутригеры из углеродного волокна со встроенными роликами, или вы можете заменить простые проушины роликовыми блоками, используя комплект от производителя аутригеров. Поворотные блоки можно добавлять без сверления трубы выносной опоры — виниловая термоусадочная трубка с эпоксидным покрытием защищает анодирование, а страховочная проволока из нержавеющей стали фиксирует блоки на месте. Помните, что если вы перейдете на систему фала с низким коэффициентом трения, вам придется инвестировать в замки фала, чтобы стропы не выползали из положения, поскольку трение традиционного стеклянного кольца просто не будет эффективным.

Еще один способ добавить поворотные блоки без сверления трубы выносной опоры — закрепить их проволокой из нержавеющей стали поверх виниловой термоусадочной трубки с эпоксидным покрытием.
При снаряжении фалов аутригеров делайте стропы очень длинными, так как их всегда можно укоротить, но нельзя удлинить. Есть много способов присоединить фалы к зажимам выносных опор, один из наиболее распространенных — это вертлюги с защелкой, которые позволяют легко заменить поврежденный зажим. Я предпочитаю использовать разрезные кольца из нержавеющей стали, как у меня на пилькерах для ловли тунца. Они прочнее и короче, чем защелкивающиеся вертлюги, и позволяют зажиму приближаться примерно на дюйм с четвертью к точке упора внутри всех тех дюймов трубы выносных опор, в которые я вложился. С плоскогубцами для разрезных колец на борту замена поврежденного зажима не проблема.
Зажимы для расцепления выносных опор
доступны в широком диапазоне стилей. В них используется регулируемое натяжение, позволяющее бегущей леске отрываться от фала, когда промысловая рыба цепляется за приманку или наживку.
Мне повезло много лет назад с деревянными прищепками, дополненными резинками №10, но для хороших результатов нет необходимости приобретать этот примитив.Основное решение заключается в том, хотите ли вы, чтобы ваша троллинговая леска проходила по проволочной скобе, как у обычной направляющей для удилища, или по настоящему ролику, как на морской троллинговой удочке с роликовой направляющей. Оба типа фиксаторов эффективны. Что важно, так это то, что они регулируются — иногда вам нужно, чтобы зажимы открывались при малейшем ударе, но когда вы троллите в сильном море или волочите крупную приманку, вам нужно будет уменьшить натяжение.
Этот черный стопорный шар просверлен, чтобы скрыть обжимной фитинг. Пластиковые коуши защищают моноволокно фала от разрезного кольца, а открытый изгиб затянут термоусадочной трубкой. Обратите внимание, как использование вертлюга с защелкой уменьшит ход фала вверх более чем на дюйм.
Стопорный шар над клипсой предотвращает ее втягивание в направляющую на аутригере, что действительно произойдет, когда вы смотрите на приманку в раскладке, когда натягиваете фал.

Уход и кормление ваших такелажников
Аутригеры вашей лодки тренируются в каждой поездке, независимо от того, подключены ли вы к ней. Есть несколько простых шагов, которые вы можете предпринять, чтобы оптимизировать настройки, сделать их более удобными в использовании и продлить срок их службы.
Со временем нагрузка от подвесок и тряски лодки увеличивается, и выносные опоры становятся все более гибкими и шаткими, пока что-нибудь не сломается.
Перехлесты труб в трубу, встречающиеся в телескопических или складывающихся выносных опорах, являются естественными ловушками для соленой воды, когда брызги стекают вниз по склону. Когда вода высыхает, соль остается, чтобы ускорить износ в точках давления, возникающих в местах перекрытия трубок. Да, вокруг перехлестов труб есть износ, но он концентрируется в двух местах, когда трубы изгибаются под троллинговыми нагрузками и когда они трясутся во время движения вашей лодки.

Повреждения начинаются по мере стирания тонкого поверхностного слоя анодирования и постепенно продвигаются все глубже и глубже в толщину трубы. На внутренней поверхности трубы большего диаметра также имеется соответствующий износ. В конце концов, обычно расщепляется трубка большего диаметра. Это порочный круг: чем больше изнашиваются трубки, тем быстрее они изнашиваются.
Алюминиевые фитинги, которые соединяют трубы вместе и несут проушины для фала на некоторых выносных опорах, также изнашиваются, когда трубы, через которые они проходят, раскачиваются вперед и назад при изгибе выносных опор.
Ключи к минимизации этого ущерба, который в некоторой степени неизбежен, просты. Нанесите слой высококачественной смазки в области перекрытия трубы, чтобы минимизировать трение и в то же время предотвратить попадание внутрь соленой воды.
У меня отличные результаты при использовании TefGel от Ultra Safety Systems.
Он остается на месте и содержит тефлон. После нанесения шариков TefGel я скручиваю трубки вперед и назад и вдвигаю их внутрь и наружу, пока перекрывающиеся поверхности не будут полностью покрыты.Продлите срок службы ваших аутригеров с помощью смазки. Положите шарики TefGel на перекрывающиеся трубки и поворачивайте их вперед и назад, пока поверхности не будут полностью покрыты.
TefGel — очень липкий материал, и к тому времени, когда вы закончите очистку, смазку и последующую сборку одной опоры, он уже будет у вас на руках, если только вы не наденете нитриловые или латексные перчатки. Я также предлагаю тщательно вытереть лишнюю смазку, которая может появиться в местах перекрытия больших и меньших трубок. Однажды я перенес свои аутригеры на лодку с небольшим количеством TefGel на кончиках пальцев. У меня были отпечатки пальцев TefGel в грязи и соли в течение нескольких недель, пока протирание WD40 не заставило их исчезнуть. Я был впечатлен тем, как он сохранялся при воздействии погодных условий.

Если смазка между тюбиками меняет цвет в течение сезона, в отличие от полностью белого цвета свежего TefGel, пришло время нанести его повторно. WD-40, ацетон, спирт и другие растворители эффективно удаляют TefGel. Обязательно очищайте внутреннюю часть трубок в местах их перекрытия, а не только внешнюю поверхность.
Уловка для продления срока службы ваших аутригеров состоит в том, чтобы повернуть каждую вторую трубу на пол-оборота относительно следующей трубы, а затем собрать их снова. Точки нагрузки на внутреннем и внешнем концах областей перекрытия повернутой трубы поменяются местами, и изгибающие силы начнут действовать на ранее неизношенные участки трубы, что сделает собранную выносную опору менее гибкой еще на несколько сезонов.
Повреждение соленой водой также происходит снаружи труб выносных опор, а не только там, где они перекрываются. Это повреждение с меньшей вероятностью приведет к отказу, но пятна от соленой воды и минералов от дождя, а также потеря блеска, которую они производят, определенно не выглядят профессионально.
Как и все остальное на вашей лодке, сделанное из анодированного алюминия, тщательная промывка после каждой поездки (и, возможно, использование Salt Away или аналогичного продукта, если вы этого хотите) уменьшит износ поверхности. Обращайтесь со своими выносными опорами так же, как с катушками, поскольку большинство выносных опор изготовлены из анодированного алюминия, как и большинство катушек.Когда вы отказываетесь от такелажников в конце сезона, у вас есть возможность провести дополнительное техническое обслуживание. Начните со свежей мыльной воды, а затем посмотрите, как выглядят поверхности пробирок. Пятна остались? Мне повезло, я использовал мягкую ткань, смоченную WD-40. Если это не помогло, можно использовать Mister Clean Magic Eraser, смоченный WD-40, но будьте осторожны. Чрезмерная чистка может стереть защитное анодирование алюминия.
После того, как вы сделали все возможное для очистки трубок, вы не сможете наносить на них воск, пока не удалите все продукты, которые использовались для растворения пятен; в противном случае воск не прилипнет к алюминию.
Безвредный растворитель, такой как спирт, сделает свою работу, а простой воск с последующей тщательной полировкой мягкой тканью защитит трубы в следующем сезоне. Есть много восков для лодок, которые содержат мягкие абразивы для восстановления блеска потускневшего гелькоута, и они также могут полировать мелкие минеральные и солевые пятна, но опять же, есть риск полировки части анодирования. Сначала попробуйте небольшое пятно.Ничто так не символизирует оффшорную рыбалку, как вид длинных мерцающих стреловидных опор, когда лодка для спортивной рыбалки рыскает по каньонам.
Обслуживание зажимов выносных опор
Отпускаете ли вы тормоза на всех своих барабанах, когда рыболовный сезон заканчивается? Вы должны, чтобы сохранить пружины и сжимаемые шайбы в тормозном стеке. Если ваши фиксаторы снабжены пружинами, снижение давления до минимума предотвратит постоянное сжатие пружины и уменьшит диапазон сопротивления. Если клипса другого типа, в которой сжимающий винт сжимает вместе два пластиковых рычага, нулевое сжатие в месяцы без рыбалки предотвратит постоянное изгибание рычагов.

Пока вы этим занимаетесь, проверьте замки фала на стропах аутригеров. Их тоже должны отпустить. Зачем делать многомесячную вмятину на мягком покрытии шкива? Обязательно проверьте все покрытия шкивов. Если только один сломан, закажите комплекты для восстановления всех из них в замках фала. Потратьте безрыбную зимнюю ночь на проект по восстановлению замка фала вместо ночи перед оффшорной поездкой в следующем сезоне.
Сохранение настроек натяжения
Каждая секунда морской рыбалки драгоценна и дорога. Сколько времени вы тратите впустую на регулировку фиксаторов выносных опор, когда меняете троллинговые приманки или сталкиваетесь с меняющимися морскими условиями? На больших лодках с аутригерами с тремя распорками можно использовать намного больше фалов с нерегулируемыми зажимами, настроенными только для шумихи или брызговиков, но на маленьких лодках, вероятно, придется изменить настройки расцепляющих зажимов, когда сопротивление того, что тянется за лодка меняется.

Действительно жаль раскручивать все эффективные регулировки клипсы, которые были придуманы во время троллингового сезона, навсегда потеряв настройки натяжения. Эта идеальная настройка для ненастного дня для троллинга 36-дюймового брызговика, оснащенного 12-дюймовыми кальмарами с высоким сопротивлением? Как только вы отпустите клипы, эта настройка исчезнет. А как насчет настройки светового высвобождения для голой шумихи, бегущей далеко назад, или настройки для взвешенной и одетой в юбку лошади? Они тоже ушли. Представьте, сколько непреднамеренных открытий клипов может произойти в следующем сезоне, пока вы снова не наберете настройки выпуска.
Просверленные и нарисованные метки на регуляторах зажимов, несколько временных маркерных точек и простой подсчет оборотов, пока вы раскручиваете настройки выпуска прошлого сезона, помогут вам быстро сбросить зажимы. Не сверлите просто индексное отверстие в любом месте на регулировочном колесе. Проверьте положения полного натяжения и полного ослабления, выберите одно из них в качестве отправной точки, а затем просверлите указательное отверстие там, где вы его видите.

ПРАКТИЧЕСКАЯ ЛОДКА: Использование аутригеров — Fishing World
Являясь страстным оффшорным рыболовом, я трачу довольно много времени на троллинговые приманки для ловли марлина и желтоперого тунца. Попытка сделать это без набора аутригеров довольно бесполезна. Если вы не готовы провести по удочке из каждого угла и, возможно, по одной посередине, вам действительно нужны выносные опоры, чтобы отделить и поднять внешние стропы. С установленными выносными опорами две внешние приманки могут быть проведены без воды и достаточно широко, чтобы поворот лодки не запутывал партию и не вызывал большого разочарования.
Выбор, установка и установка комплекта аутригеров на лодку-прицеп — это что-то вроде «черной магии»; многие рыболовы понятия не имеют, с чего начать, чего они пытаются достичь или даже как использовать выносные опоры, чтобы получить наилучшие результаты. За последние несколько лет десятки рыболовов просили меня написать статью о том, как установить выносные опоры на лодку с прицепом, и объяснить, как работают стропы и как их настраивать.
На самом деле это не так сложно, если вы понимаете основные принципы использования аутригеров. Я видел несколько отличных установок на лодках на протяжении многих лет, и большинство из них включало в себя качественные основания и стойки, которые были правильно установлены с очевидным вниманием к установке. Я также видел некоторые ужасные установки, сделанные по дешевке рыболовами, пытающимися сэкономить несколько долларов, или парнями, которые просто понятия не имели, как работают аутригеры.В настоящее время на рынке имеется несколько специализированных оснований для аутригеров, предназначенных для прицепных лодок. Некоторые из них очень хорошо сделаны, но некоторые выглядят и работают так, как будто их спроектировал кто-то, кто не ловил рыбу и не использовал аутригеры. Другие выглядят как товар, но через некоторое время разваливаются или покрываются коррозией. На моей последней лодке с каждой стороны ракетной установки был установлен набор оснований Killwell из нержавеющей стали.
Они давали хороший угол в вертикальном положении и хорошо работали вне. К ним были прикреплены 11-футовые цельные палки Pacific, которые были немного коротковаты, но выполняли разумную работу. Основания можно было отвинтить, а шесты снять при буксировке лодки. Я эксплуатировал их в течение трех лет, и хотя они были немного неудобны на воде — большая барашковая гайка, которую нужно было затягивать каждый раз, когда вам нужно было их отрегулировать — они работали довольно хорошо. Voodoo будет использоваться для большей рыбалки, чем моя предыдущая лодка, поэтому я огляделся и провел небольшое исследование, прежде чем совершить набор.Outrigger Theory
Обычно аутригеры представляют собой длинные стержни из стекловолокна или алюминия, прикрепленные к каждой стороне лодки. Они несут две лески шире и немного выше, так что за лодкой можно разместить несколько приманок. Их также нужно поворачивать, поворачивать или складывать, чтобы вы могли путешествовать с ними в вертикальном положении, а затем откладывать их в сторону для троллинга.
Делать это на больших пришвартованных лодках не так уж и сложно, но достижение практического результата на лодке с прицепом означает, что шесты должны складываться в горизонтальное положение, складываться или сниматься для буксировки. Я чаще всего вижу съемные стержни, которые отсоединяются от основания с помощью штифта или болта. В других установках используются складные двух- или трехкомпонентные стержни, которые можно укоротить для движения по дороге. Я не поклонник складных удилищ, так как я видел, как слишком много алюминиевых удилищ заедает из-за коррозии, и слишком много удочек из стекловолокна ломаются во время рыбалки в суровых условиях.Выносные опоры также необходимо установить так, чтобы концы, к которым прикрепляются стропы, находились на нужной высоте. Я вижу, что многие аутригеры установлены слишком низко, а многие слишком высоко. Концы удилищ должны находиться примерно в четырех-пяти метрах над уровнем воды, чтобы приманка работала лучше всего. Это соответствует углу около 30-40 градусов от горизонтали.
Когда вы запускаете приманку дальше за лодкой, угол буксировки уменьшается по сравнению с тем, когда вы запускаете приманку непосредственно с кончика удилища. Этот меньший угол буксировки не помогает работе приманки, и его обычно улучшают, поднимая точку буксировки, спуская ее с выносной опоры на несколько метров над уровнем воды. Вы услышите, как опытные рыболовы-сарганы говорят о том, что какую-то конкретную приманку лучше всего использовать с «длинной» или «короткой» оснасткой. Другие приманки лучше всего работают на более коротких «плоских» лесках от углов транца либо прямо от кончика удилища, либо даже с леской, обвязанной резинкой вокруг рукоятки катушки, чтобы еще больше уменьшить угол буксировки. Приманки, предназначенные для спуска с аутригеров, рассчитаны на немного более высокую точку буксировки, чтобы они работали лучше и проводили больше времени наверху, создавая брызги, и чтобы все важные пузырьки или дым оставались позади, когда они ныряют под воду на короткие периоды времени.
Чтобы правильно понимать аутригеры, вам нужно иметь базовые знания тригонометрии, но вам не нужно быть физиком-ядерщиком. Настройте свои аутригеры так, чтобы кончики находились на расстоянии от четырех до пяти метров над водой, и вы получите максимальную отдачу от своих приманок, имея правильный угол буксировки по меткам.Метки
Метка проходит позади кончика удилища, примерно по длине удилища, чтобы уменьшить угол и минимизировать длину лески от кончика удилища до приманки. Основная леска от кончика удилища прикрепляется к концу поводка с помощью резинки, и лента рвется, когда рыба хватает приманку. Это довольно просто и очень эффективно. Проблема с прокладкой троса от каждой выносной опоры заключается в том, что до них трудно добраться. Здесь в игру вступают веса линий или слайды тегов. Затвор представляет собой металлический бочонок с отверстием в центре. Они изготавливаются из хромированной латуни или нержавеющей стали и имеют длину около 50-60 мм и диаметр около 25 мм.
Они проходят по линии выносных опор, которая проходит от лодки к наконечнику шеста и бирочной линии. Когда приманка заканчивается, натяжение ведущей лески вытягивает слайд к концу удилища, поэтому леска остается там, где она должна быть. Когда рыба хватает приманку и рвет резинку, соединяющую метку с основной леской, вес слайда опускает метку обратно в пределах досягаемости.Аутригеры для лодок Project
В настоящее время на рынке представлено несколько хороших комплектов аутригеров и баз. Компания Reelax Enterprises из Квинсленда производит два комплекта опор для лодок с прицепами, а также широкий ассортимент шестов, копий, комплектов для аутригеров, горок и тросов. Не дешево, но качество и функциональность первоклассные. Основания крепления планшира Reelax отлиты из нержавеющей стали и имеют шлицевое соединение с 20 позициями. Их можно запускать только с 4,5-метровыми шестами. Я выбрал базы Reef 450, которые представляют собой складные блоки, которые крепятся к боковой части кабины.
Они представляют собой уменьшенную версию баз, которые вы видите на больших игровых лодках. Штифт из нержавеющей стали удерживает аутригеры в вертикальном положении и просто снимается, позволяя основаниям раскладываться и опускаться для троллинга.Эти основания не предназначены специально для снятия стержней, но, удалив штифт и один болт, которые удерживают на месте верхний механизм складывания, вы можете легко снять стержни для движения по дороге. Основания Reef 450 можно использовать с двухсекционными опорами длиной 4,5 и 5,5 метра, которые доступны в черном или белом цвете. Основания Reef 450 в сложенном состоянии сильно нагружают борта кабины, поэтому мы установили внутри кабины большие шайбы из нержавеющей стали и нейлоковые гайки, чтобы удерживать их на месте. Вы также можете пойти лучше и использовать пластину из нержавеющей или алюминиевой пластины внутри. Мы с моим молодым парнем установили эти базы и 4,5 простых стойки за час или два, и это было довольно легко. Я взял черные шесты с серебряными копьями и использовал болты с проушинами из нержавеющей стали, чтобы удерживать стропы на месте.
Столбы, состоящие из двух частей, были склеены с помощью 24-часового аралдита, при этом центральный болт с проушиной проходил прямо через соединение, чтобы удерживать их на месте. Я сделал свои собственные шоковые шнуры из черного эластичного шнура. Я установил клипсу из нержавеющей стали на один конец и небольшой нейлоновый шкив на другой. Я удвоил банджи-шнур и связал его плотными слоями 80-фунтовой оплетки, прежде чем покрыть его термоусадкой.Вы можете купить полные комплекты и аксессуары для меток у Reelax или других компаний, таких как Wellsy’s Tackle или Black Pete’s. Мы использовали 400-фунтовый моно для строк и тегов. Вы можете купить пробковые шарики, чтобы поместить их сверху и под соединениями, а также на концах меток, чтобы они не превратились в оружие, когда резинка лопнет; мы использовали ярко-оранжевые пенопластовые пробки, которые работают так же хорошо. Слайды Tag Line стоят около 40 или 50 долларов за набор из двух штук, но парень, с которым я работаю, сделал мне набор из нержавеющей стали.
Я использовал небольшой шкив в верхней части шестов, но обнаружил, что стропы слишком легко сматываются, поэтому точка соединения метки медленно возвращается вниз к лодке и от кончика шеста. Мы исправили это, привязав резинку № 32 к нижнему шкиву, чтобы стропа оставалась на месте.Наконец, мы не включили центральный риггер «дробовик» на Voodoo; этот более короткий аутригер проходит посередине и поднимается высоко, поэтому вы можете загнать приманку прямо сзади. Они хорошо работают, но когда вы садитесь на маленькую лодку с ограниченным экипажем, это просто еще одно удилище, на которое нужно намотать, прежде чем вы сможете начать борьбу с рыбой!
Безопасность выносных опор 101. Что должен знать каждый оператор грузовика
Опубликовано в 13:35
в Объявления, Новости
от tempadminКаждый день системы гидравлических опор Power-Packer помогают сотрудникам работать умнее, безопаснее и эффективнее. Наши настраиваемые системы опор, специально разработанные для рабочих грузовиков, надежно стабилизируют грузовики и обеспечивают более безопасные условия труда для операторов, защищая при этом ценные активы работодателя или клиента.

Автокраны обеспечивают необходимые услуги многим предприятиям в различных отраслях промышленности. При неправильном использовании они также открывают двери для серьезных проблем с безопасностью. Фактически, OSHA сообщает, что 80 процентов опрокидываний крана или опрокидывания могут быть связаны с человеческим фактором, когда оператор превышает грузоподъемность крана. И более 50 процентов этих сбоев происходит из-за неправильного использования аутригеров.
Крайне важно, чтобы операторы кранов-манипуляторов постоянно ставили безопасность на первое место и были полностью обучены тому, как использовать выносные опоры для безопасного управления краном. Хотя многое еще предстоит узнать, ниже приведены некоторые основные рекомендации.
Что нужно знать
Когда вы управляете автокраном, вы также используете гидравлические или ручные выносные опоры. Аутригеры обеспечивают устойчивость вашего грузовика во время подъема любого типа, выдвигаясь наружу и соприкасаясь с землей на расстоянии нескольких футов от грузовика.
Это обеспечивает прочное и стабильное основание за счет распределения нагрузки крана по большей площади.Типы аутригеров
Существует два основных типа гидравлических аутригеров. Типичная система «H-style» содержит следующие стандартные компоненты:
- Две стабилизирующие ножки
- Центральная трубка
- Насос и коллектор в сборе
- Панель управления
- Жгуты проводов, шланги и разъемы
Ноги имеют пропорциональные размеры, чтобы обеспечить необходимую опору для каждого конкретного грузовика с его конструкцией и грузоподъемностью. Ноги могут быть квадратными или круглыми, и оба варианта работают одинаково хорошо.
Гидравлические выносные опоры также могут иметь форму «А-образной рамы», в которой они не выступают наружу и вниз, как Н-образные, а выступают вниз под углом. Выносные опоры А-образной рамы могут быть установлены за кабиной грузовика, а выносные опоры Н-образного типа часто устанавливаются в задней части грузовика.
Оба стиля приемлемы для стабилизации автокранов.Обучение и понимание оператора
При работе с автокраном выносные опоры являются ключом к устойчивости и должны использоваться всегда. Все операторы должны прочитать и полностью понять инструкции производителя и точно знать, как удлинить выносные опоры на своем конкретном грузовике. Крайне важно, чтобы никто никогда не пытался поднять, пока выносные опоры не будут выдвинуты и не находятся в правильном положении. Операторы всегда должны практиковаться в безопасных условиях и быть уверенными в своих знаниях и способностях, прежде чем поднимать груз в рабочей ситуации, когда люди могут получить травмы или может быть повреждено оборудование.
Обеспечение соблюдения оператором требований
Даже самые подготовленные операторы могут ошибиться или в спешке закончить работу и забыть выдвинуть или убрать выносные опоры. Чтобы этого не произошло, всегда должны действовать протоколы безопасности, и организация должна стремиться к созданию культуры, требующей полного соблюдения требований безопасности.
Гидравлические выносные опоры могут помочь оператору лучше выполнять свои обязанности, поскольку они значительно упрощают выдвижение и втягивание выносных опор по сравнению с ручной системой.Дополнительные функции безопасности
Определение положения и блокировки помогают предотвратить несчастные случаи и травмы. Некоторые выносные опоры имеют встроенную в грузовик систему датчиков этого типа с сигнальной лампой в кабине, чтобы предотвратить работу крана, если выносные опоры не полностью выдвинуты, или предотвратить движение грузовика, если выносные опоры не уложены должным образом.
Использование по назначению
Ноги выносных опор должны полностью соприкасаться с устойчивой плоской поверхностью для безопасного подъема. Подкладки для выносных опор следует использовать под ногами, чтобы обеспечить устойчивую поверхность для установки выносных опор. Подушки для выносных опор доступны от различных поставщиков в различных материалах и размерах.
Если опора выносной опоры расположена на мягком или неустойчивом грунте, опора может погрузиться в землю, что приведет к потере устойчивости самосвала.Частичное и полное развертывание
Обратите внимание, что некоторые производители предоставляют таблицы устойчивости для частично развернутых опор. В этих случаях допустимо следовать этим инструкциям и частично развернуть выносные опоры. Однако, если таких инструкций нет, аутригеры должны быть полностью развернуты для всех подъемников.
Выберите Power-Packer для ваших потребностей в выносных опорах
Power-Packer предлагает ряд специальных опций, изготовленных по стандарту ISO9001, чтобы точно соответствовать вашим требованиям к выносным опорам и обеспечить безопасность ваших операторов. Опции включают в себя электрический/гидравлический насос на 12 В (или 24 В) и сенсорную панель управления, гидравлические стабилизирующие опоры с двойными обратными клапанами с пилотным управлением и длинный цилиндр отключения питания для последовательного и быстрого выдвижения и втягивания выносных опор.


Они могут быть откидными, поворотными, выдвижными. На кране КС-3577 по углам неповоротной рамы шарнирно установлены 4 поворотные гидроопоры.
Одновременно происходит выравнивание деформации подвесок.

В зависимости от модификаций крана стойка устанавливается либо на переднем бампере, либо за кабиной базового шасси.



Устранение этих неисправностей осуществляется путем ремонта или замены изношенных деталей. Причём, сварочные работы на расчетных металлоконструкциях крана должны производиться аттестованным сварщиком, имеющим разрешение от Ростехнадзора на производство данного вида работ. О всех подобных работах делается запись в паспорте крана.
машин и лицо, ответственное за исправное состояние крана, а из числа прорабов и бригадиров назначается ответственный за безопасное производство работ. Переаттестацию проходят один раз в три года.
