Содержание
33. Способы включения синхронных генераторов на параллельную работу.
Включение
генераторов
переменного
тока
на
параллельную
работу
можно
производить
тремя
способами:
1.
точной
синхронизацией,
2.грубой
синхронизацией
3.
самосинхронизацией
Точная
синхронизация
преследует
цель
получения
идеального
случая
включения
генераторов
на
параллельную
работу.
Этот
метод
считается
основным,
так
как
он
предусматривает
плавный
ввод
генераторов
в
работу.
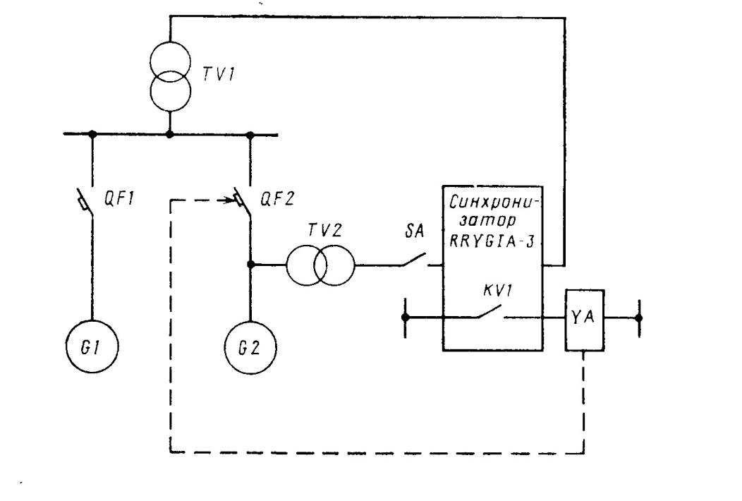
На
рис
102
представлена
принципиальная
однолинейная
схема
точной
синхронизации
генераторов
трехфазного
тока.
Включение
генераторов
производится
в
следующей
последовательности
(предположим,
что
генератор
Г/
работает,
Г2—подключается)
1.
С
помощью
регулятора
возбуждения
РВ
регулируют
величину
постоянного
тока
возбуждения
(пунктирной
линией
условно
обозначена
обмотка
возбуждения)
и
по
вольтметрам
V
уравнивают
напряжения
генераторов
С
помощью
переключателя
ПСД
воздействуют
на
элекгро-серводвигатель
СД,
который
механически
связан
с
регулятором
топливоподачи
и
изменяет
подачу
топлива
(или
пара)
первичного
двигателя
ПД.
Тем
самым
изменяют
частоту
вращения
генератора,
а
значит,
и
ею
электрическую
частоту.
Регулирование
производят
до
тех
пор,
пока
показания
обоих
частотомеров
Иг
не
станут
равными.
3.Выключателем
В
включают
одну
обмотку
синхроноскопа
на
шины
электростанции
(на
генератор
ГУ),
а
другую
переключателем
П
—
на
напряжение
генератора
Г2.
Угол сдвига фаз.
1.разность
напряжений
генераторов
—
не
более
10%
; 2.несовпадение по
фазе
—
не
более
8—12
эл.
град.,
3.
расхождение
частот
—
не
более
1%.
Процесс
включения
генераторов
способом
точной
синхронизации
в
большинстве
случаев
автоматизирован,
и
тогда
ошибки
исключаются
Схема
грубой
синхронизации
генераторов
представлена
на
рис.
104.
Само
название
говорит
о
том,
что
данный
способ
не
преследует
обеспечения
идеальных
условий
включения
генераторов
на
параллельную
работу.
Наоборот,
в
целях
упрощения
процесса
включения
генераторов
преднамеренно
идут
на
определенный
бросок
тока,
величина
которого
ограничивается
индуктивным
со-
противлением.
Следовательно,
при
грубой
синхронизации,
в
отличие
от
точной,
включение
генераторов
на
параллельную
работу
обычно
производится
при
наличии
угла
сдвига
фаз
между
напряжениями
генераторов.
Способ
включения
генераторов
па
параллельную
работу
грубой
синхронизацией
более
прост,
так
как
исключается
процесс
точной
подгонки
частоты
вращения
и
выбора
момента
совпадения
фаз
напряжений
генераторов
На
современных
судах
применяют
оба
способа.
В
спокойной
обстановке
пользуются
точной
синхронизацией,
так
как
она
не
вызывает
бросков
тока
и
механических
деформации
Автоматизируется
обычно
точная
синхронизация,
грубая—
автоматизируется
реже
Схема
самосинхронизации
генераторов
.
При
этом
провал
напряжения
практически
достигает
30~-40%
номинального,
полное
время
восстановления
напряжения
равно
нескольким
секундам
По
этой
причине
способ
самосинхронизации
можно
применять
только
на
тех
судах,
где
подобные
колебания
напряжения
в
течение
нескольких
секунд
не
оказывают
вредного
воздействия
на
работу
потребителей
электроэнергии,
установленных
на
судне.
Весьма
заманчиво
то,
что
способ
включения
генераторов
на
параллельную
работу
самосинхронизацией
очень
легко
автоматизируется,
но
из-за
возникновения
больших
уравнительных
токов
и
колебаний
напряжения
его
применяют
редко.
После
включения
генераторов
на
параллельную
работу
одним
из
трех
рассмотренных
способов
возникает
необходимость
равномерного
распределения
нагрузки
между
генераторами.
На
ГРЩ,
судовой
электростанции
среди
прочих
электроизмерительных
приборов
установлены
амперметры
и
киловаттметры,
по
показаниям
которых
можно
судить
о
величине
нагрузки
на
данный
генератор
Однако
качественно
нагрузка
генераторов
переменного
тока
разделяется
на
активную
и
реактивную.
Активная
нагрузка
потребителями
электроэнергии
преобразуется
в
механическую,
тепловую,
световую.
,
при
перераспределении
активной
нагрузки
генераторов
объектом
регулирования
является
не
сам
генератор,
а
его
приводной
двигатель.
Амперметры
генераторов
показывают
величину
полного
тока
и
дают
представление
об
активной
и
реактивной
нагрузках.
Если
показания
ваттметров
свидетельствуют
о
равномерном
распределении
активной
нагрузки,
а
показания
амперметров
не
одинаковы,
значит,
не
одинаково
распределена
реактивная
нагрузка.
В
этом
случае
достаточно
соответствующим
образом
изменить
э.
д
с
генераторов.
Регулятором
возбуждения
можно,
например,
уменьшить
ток
возбуждения,
а
следовательно,
и
э.
д.
с
генератора,
что
приведет
к
сбросу
части
реактивной
нагрузки
с
него.
Равномерное
распределение
реактивной
нагрузки
между
параллельно
работающими
генераторами
обычно
осуществляется
автоматически,
без
участия
обслуживающего
персонала.
При
распределении
реактивной
нагрузки
между
генераторами
объектом
регулирования
является
сам
генератор,
регулируемой
величиной
его
э.
д.
с
Включение генераторов на параллельную работу
Генератор постоянного тока включается на параллельную работу с другим уже работающим генератором в следующем порядке:
1) подключаемый генератор пускают в ход в соответствии с предписаниями;
2) напряжение подключаемого генератора доводят до величины на 2—3 в большей, чем напряжение на шинах распределительного щита;
3) включают автомат подключаемого генератора;
4) одновременным вращением маховиков регуляторов возбуждения обоих генераторов добиваются равномерного распределения нагрузок между двумя генераторами, при этом необходимо следить по вольтметру, чтобы напряжение на шинах главного распределительного щита оставалось без изменения.
В дальнейшем во время работы генераторов необходимо следить за постоянством напряжения на шинах и за равномерным распределением нагрузки между генераторами.
При включении синхронного генератора на параллельную работу с другим уже работающим генератором способом ручной точной синхронизации необходимо:
1) подключаемый генератор пустить в ход в соответствии с предписаниями;
2) рукоятки переключателей измерительных приборов и приборов синхронизации установить в нужное положение;
3) довести частоту включаемого генератора путем повышения скорости вращения его первичного двигателя до частоты работающего генератора;
4) довести напряжение включаемого генератора до напряжения работающего;
5) при совпадении фаз обоих генераторов включить автомат подключаемого генератора;
6) перевести часть нагрузки работающего генератора на подключаемый воздействием на регуляторы оборотов первичных двигателей;
7) убедиться в отсутствии искрения под щетками у возбудителя и в исправной работе подшипников.
Совпадение фаз генераторов проверяется с помощью синхроноскопа или по лампам синхронизации.
Если пользуются синхроноскопом, то следует добиться медленного вращения стрелки, в момент нахождения стрелки в положении, соответствующем синхронизации включается автомат генератора, после чего синхроноскоп отключают.
При использовании ламп синхронизации (по схеме на «темное» включение) надо достигнуть того, чтобы свечение ламп было кратко-временным и следовало через наиболее длительные промежутки времени, при потухании ламп автомат генератора включают и затем отключают лампы синхронизации.
При включении на параллельную работу методом самосинхронизации все необходимые операции производятся следующим образом:
1) подключаемый генератор пускается в ход в соответствии с предписаниями;
2) рукоятки переключателей измерительных приборов устанавливаются в нужное положение;
3) у подключаемого генератора на холостом ходу скорость вращения поднимается до величины, близкой к номинальной;
4) регулятор возбуждения возбудителя устанавливается в положение, обеспечивающее самовозбуждение возбудителя, и поднятие напряжения генератора на холостом ходу до величины, равной рабочему напряжению на шинах щита;
5) установить переключатель регулятора напряжения генератора в положение «Автоматическое регулирование»;
6) добиться разности частот сети и подключаемого генератора не более 1—2 гц (для быстрого перевода оборотов в частоту пользоваться таблицей).
Увеличение скорости вращения подключаемого генератора при подходе к синхронной скорости вращения производить плавно и медленно;
7) при достижении указанной разницы частот включить автомат генератора и вслед за этим рубильник гашения поля, т. е. включить возбуждение. Категорически запрещается включать возбуждение раньше подключения генератора к шинам.
Как правило, синхронизация генераторов (независимо от метода) должна производиться при включенных автоматических регуляторах напряжения, однако при необходимости синхронизация может производиться и при отключенных автоматических регуляторах.
После включения генератора переменного тока на параллельную работу установочные реостаты регуляторов напряжения всех генераторов должны находиться в одинаковом положении.
Если возникает необходимость изменить напряжение на шинах, желательно передвинуть на одинаковое число делений установочные реостаты всех генераторов.
Такая регулировка может быть произведена сначала на одном генераторе, а затем последовательно на всех остальных параллельно работающих.
Системы параллельного генератора | Consulting
Лесли Фернандес, PE, LEED AP, JBA Consulting Engineers, Лас-Вегас
9 декабря 2016 г.
Цели обучения
- Изучить лучшие методы параллельного подключения генераторов, касающиеся надежности, экономии средств, эффективности, синхронизации и других аспектов.
- Знать требования к аварийным, резервным и резервным силовым нагрузкам.
- Объясните преимущества параллельных систем выработки электроэнергии.
Примечание редактора: Из-за масштаба этой темы эта статья разделена на три части:
- Часть 1 посвящена необходимости в резервном питании, требованиям кодов, преимуществам дизельного топлива, характеристикам генераторов и преимуществам системы параллельного генератора.
- описывает распределительные устройства с параллельным подключением, их компоненты и общие режимы параллельного подключения.
- посвящена вопросам установки, взаимосвязи с коммунальным предприятием и размерам генератора.
Кроме того, будут представлены две существующие системы параллельных генераторов и выделены их параллельные элементы.
Часть 2 стандарта
Часть 3 стандарта
Опыт проектирования генераторов для аварийных, требуемых законом резервных и критически важных для бизнеса нагрузок является важным навыком, которым должен овладеть инженер-электрик. При проектировании систем генераторов инженеры-электрики должны убедиться, что генераторы и электрические системы здания могут надежно и эффективно поддерживать критические нагрузки. Строительные нормы и правила определяют обязательные требования к этим системам (см. Таблицу). Для критически важных для бизнеса нагрузок необходимо проконсультироваться с владельцем или клиентом, чтобы определить неаварийные нагрузки, требующие резервного питания. Когда бизнес-потребности, указанные клиентом, требуют повышенной надежности, обычно используются параллельная дизель-генераторная система и электрическое параллельное распределительное устройство (PSG) (см. рис. 1).
В этой статье рассматриваются резервные системы, в которых генераторы служат в качестве резерва основного источника коммунальных услуг, такие как те, которые обычно устанавливаются в аэропортах, центрах обработки данных, гостиничных комплексах, водоочистных сооружениях и в большинстве учреждений, обеспечивающих безопасность жизнедеятельности.
Необходимость в резервном питании
Перебои в подаче электроэнергии, даже на короткое время, могут привести к ситуациям, которые могут поставить под угрозу здоровье и безопасность населения. Связанные с экстремальными погодными явлениями стихийные бедствия часто прерывают подачу электроэнергии сотням или тысячам людей и предприятий, возможно, на несколько дней. Когда возникают такие ситуации, они обращают внимание на уязвимость национальной электросети и важность альтернатив. Больницам, аэропортам, центрам обработки данных, водопроводным и канализационным сооружениям, заправочным станциям, системам связи и транспорта требуются альтернативные источники энергии, чтобы ограничить воздействие и, в конечном итоге, спасти жизни во время кризиса. Потеря электроэнергии из-за ураганов, стихийных бедствий или проблем с высоким спросом на электроэнергию становится все более распространенным явлением. Потери бизнеса и связанные с этим экономические последствия от перебоев в подаче электроэнергии значительны.
Аварийные генераторы необходимы для обеспечения надежного энергоснабжения, необходимого для поддержания работы во время отказов основной системы электроснабжения.
Почему используются дизельные генераторы
Дизельные генераторы считаются одним из самых надежных способов обеспечения резервного питания. По сравнению с альтернативными видами топлива и технологиями дизельные генераторы обеспечивают стабильную подачу высококачественной электроэнергии и превосходную производительность при переходных или меняющихся потребностях в мощности благодаря характеристикам высокого крутящего момента дизельных двигателей (см. Рисунок 2). Многие международные строительные нормы и стандарты фактически требуют дизельных генераторов для соответствия нормам из-за потребности в быстром времени отклика, грузоподъемности, подаче и доступности топлива, а также надежности. Одной из наиболее важных и уникальных особенностей дизельных генераторов по сравнению с другими технологиями является быстрое время отклика и возможность загрузки блока в течение нескольких секунд после нормального отказа источника питания.
NFPA 70: Национальный электротехнический кодекс (NEC), статья 517.30, а также Калифорнийский электротехнический кодекс требуют, чтобы в больницах и учреждениях интенсивной терапии были резервные системы питания, которые запускаются автоматически и работают на полную мощность в течение 10 секунд после сбоя питания. Генераторы, работающие на природном газе, как правило, неприемлемы в качестве источника энергии для генераторов из-за надежности источника топлива. Во время стихийных бедствий, таких как землетрясение, газопроводы немедленно отключаются, чтобы избежать риска возгорания и взрыва в случае разрыва. Наконец, дизельные генераторы доступны в различных размерах для удовлетворения потребностей предприятия в электроэнергии.
Номинальные характеристики генератора
При оценке генераторных установок для параллельной работы номинальные характеристики важны, поскольку они напрямую влияют на эффективность и эффективность выбранной генераторной установки в зависимости от области применения (см.
рис. 3). Особенно важно понимать конкретное приложение, так как это поможет выбрать правильный рейтинг. В частности, следует учитывать следующие факторы:
- Средний коэффициент загрузки
- Максимальная требуемая нагрузка
- Типовое изменение нагрузки
- Годовое время работы на генераторную установку.
ISO 8528-5-2013: Генераторные установки переменного тока с приводом от поршневого двигателя внутреннего сгорания. Часть 5: Генераторные установки определяет номинальные характеристики генератора. Эти рейтинговые определения были созданы для газовых и дизельных генераторных установок и были разработаны для обеспечения согласованности между производителями. ISO 8528 следует считать минимальным стандартом для всех номиналов генераторных установок. Если производитель определяет, что продукт обладает более высокими характеристиками, чем указано в определении ISO, следует использовать рейтинг производителя. Определения, относящиеся к этому обсуждению, включают коэффициент мощности, номинальную мощность в режиме ожидания, номинальную мощность в основном режиме и номинальную мощность в непрерывном режиме.
- Коэффициент мощности: Стандартный коэффициент мощности для трехфазного генератора обычно составляет 0,8.
- Номинальная мощность в режиме ожидания: Генераторная установка способна обеспечивать аварийное питание в периоды, когда нет другого источника. ISO-8528-1 ограничивает 24-часовой средний коэффициент нагрузки до 70% аварийного номинального значения, указанного на паспортной табличке. Перегрузочная способность для резервных или генераторов постоянной мощности отсутствует. Стандарт ISO не ограничивает время работы в случае отключения электроэнергии; однако у производителей есть ограничения на время работы генератора, обычно в диапазоне от 200 до 500 часов в течение всего года. Резервные генераторы обычно работают около 50 часов в год с максимальным ожидаемым использованием 200 часов в год.
- Номинальная основная мощность: Генераторные установки, рассчитанные на основную мощность, предназначены для подачи электроэнергии вместо электроэнергии, приобретаемой у коммунальных предприятий.
К ним относятся такие приложения, как арендованные генераторные установки, обеспечивающие электроэнергией временное использование, а также приложения, которые обычно удалены от коммунальной сети, такие как аванпосты в дикой природе, удаленная добыча полезных ископаемых и операции по разведке нефти. ISO ограничивает средний коэффициент нагрузки за 24 часа до 70% от паспортной таблички с основными характеристиками. Основная номинальная мощность способна обеспечить мощность в течение неограниченного периода времени для переменной нагрузки. Также допускается перегрузка, но только в размере 10% от номинального значения, что допускается только один раз в 12 часов. - Номинальная непрерывная мощность: При постоянной номинальной мощности генератор снова может обеспечивать электропитание в течение неограниченного периода времени, но только при неизменной нагрузке. Но средняя выходная мощность составляет от 70% до 100% от номинальной выходной мощности. Нагрузка должна быть «относительно стабильной», то есть в ней не должно быть существенных колебаний; в противном случае лучшим вариантом для рассмотрения может быть основная номинальная мощность.
Генератор с постоянным номиналом обычно не имеет перегрузочной способности.
Использование генераторов низкого напряжения в системах среднего напряжения
Для генераторов мощностью 2000 кВт или менее обычно устанавливают трехфазные генераторы на 480 В и повышающие трансформаторы напряжения. Стоимость генераторов среднего напряжения значительно выше — порядка дополнительных 80 000–150 000 долларов за единицу. Кроме того, генераторы среднего напряжения обычно не имеют списка UL, необходимого для поддержки аварийных нагрузок.
Для резервных генерирующих систем среднего напряжения, которые выполняют операции переключения с замкнутым переходом, сторона среднего напряжения повышающих трансформаторов должна соответствовать напряжению распределительной системы коммунального предприятия.
Что такое параллельное подключение
Параллельное подключение — это операция, при которой несколько источников питания, обычно два или более генератора, синхронизируются, а затем подключаются к общей шине.
Кроме того, при закрытом переходе обратно к сети, PSG будет запараллеливать генераторы и синхронизировать выход генератора с источником сети в течение короткого времени, прежде чем переключиться обратно на питание от сети. При параллельном подключении генераторов или синхронизации с сетью необходимо соблюдать следующие критерии:
- Согласованная/правильная частота
- Согласованное/правильное чередование фаз
- Фазные напряжения совпадают по фазе и находятся в пределах указанного диапазона напряжений.
Типичные параметры, определяющие синхронизацию, включают разность напряжений менее 5%, разность частот менее 0,2 Гц и максимальный фазовый угол 5 электрических градусов между источниками.
Закрытый переход используется, когда желательно переключать нагрузки без прерывания питания, когда позволяют условия. Он используется, когда система генератора возвращается обратно к коммунальному предприятию, а также при нагрузочных испытаниях генераторов с нагрузками здания.
Замкнутый переход может быть либо плавным переключением нагрузки, либо переходом с замыканием до разрыва. Мягкая передача нагрузки PSG синхронизирует генераторы и управляет ими параллельно с сетью, а также распределяет нагрузку между двумя источниками постепенно, тем самым сводя к минимуму переходные процессы напряжения или частоты в генераторной установке и системе распределения электроэнергии.
Типичное время перекрытия при передаче плавной нагрузки составляет около 2 секунд. Переключение с включением до отключения запараллелит генераторы и выполнит передачу нагрузки от генератора к коммунальной сети. Это может быть передача одной большой блочной загрузки или передача нескольких блочных загрузок с временными задержками между блочными загрузками. Переключение с задержкой по времени может быть запрограммировано либо с помощью PSG, либо с помощью нижестоящих автоматических переключателей резерва (ATS). Типичное время перекрытия перехода «включение-размыкание» ATS обычно составляет менее 100 миллисекунд.
Преимущества параллельных систем выработки электроэнергии
Параллельное подключение нескольких источников обеспечивает повышенную надежность, гибкость в управлении нагрузкой и возможности обслуживания практически без перерывов. Несколько генераторов, подключенных параллельно к общей шине, могут лучше обслуживать аварийные и критически важные для бизнеса нагрузки, особенно в отношении времени отклика системы и динамического отклика нагрузки после запуска. Однако более сложные резервные системы с параллельными генераторами имеют значительные преимущества в отношении надежности и резервирования. Эти преимущества включают избыточность, эффективность, расширяемость, простоту обслуживания и обслуживания.
Резервирование: Резервирование, присущее параллельной работе нескольких генераторов, обеспечивает большую надежность, чем один генератор для критических нагрузок. При отказе одного блока резервные нагрузки перераспределяются между другими генераторами в системе в приоритетном порядке.
Во многих средах аварийные нагрузки, которым требуется наивысшая степень надежного резервного питания, обычно составляют лишь часть общей мощности, генерируемой системой. В параллельной системе это означает, что большинство аварийных элементов будут иметь резерв, необходимый для поддержания питания, даже если один из блоков выйдет из строя. Если принята конфигурация N+1, один генератор может быть отключен для обслуживания при обслуживании требуемых нагрузок. Кроме того, предоставляя запасную часть, конфигурация генератора N+1 повысит надежность генераторной системы с 9Надежность от 8% до 99,96%.
Одной из основных целей резервирования является устранение единых точек отказа. Цель состоит в том, чтобы удалить единые точки отказа, и необходимо проявлять осторожность, чтобы гарантировать, что они не будут просто перемещены в другую часть системы. Элементы управления, обеспечивающие резервирование, также должны быть проанализированы, чтобы избежать режимов отказа, которые ставят под угрозу надежность.
Например, параллельные генераторные установки, которые полагаются на один главный элемент управления для сигналов запуска и закрытия параллельной шины, фактически заменяют одну точку отказа двумя, поскольку главный элемент управления и канал связи между ведущим устройством и генераторными установками представляют собой отдельные точки. неудачи. Хорошо спроектированная параллельная система будет иметь двойные системы управления с горячим резервированием, резервные каналы связи, резервные источники питания постоянного тока с выбором оптимальной батареи, несколько автоматических выключателей, несколько каналов питания и хорошо документированную процедуру восстановления системы при отказе компонента (см. 4).
Эффективность: Более эффективная система обеспечивает большую стабильность и снижает затраты и потери. В большинстве установок нагрузки не остаются на постоянном уровне. Изменения в потреблении электроэнергии могут привести к тому, что один более крупный генератор будет работать с нагрузкой менее 30% от мощности, что может привести к мокрому штабелированию.
Оптимальная рабочая точка для первичных двигателей составляет от 75% до 80% от его номинального значения. В этот момент генератор будет работать с максимальной эффективностью. Расходы на топливо и техническое обслуживание также будут снижены. Система параллельного управления может быть оснащена устройством управления нагрузкой генератора, которое может добавлять и удалять генераторы в зависимости от фактической нагрузки/потребности системы. Эта функция активируется задержкой времени отключения генератора, которая может инициировать отключение генераторов от шины в зависимости от допустимой процентной нагрузки генератора, выбранной оператором. Если нагрузка изменяется и потребление достигает 90% рабочей мощности, например, дополнительный генератор может быть запущен, синхронизирован и подключен параллельно к шине без временной задержки.
Расширяемость: При расчете генераторов в соответствии с требованиями нагрузки системы часто бывает трудно точно спрогнозировать увеличение нагрузки и адекватно спланировать непредвиденные дополнительные требования.
Если прогнозы нагрузки агрессивны, первоначальные инвестиции в генератор могут быть выше, чем необходимо. С другой стороны, если прогнозы нагрузки неадекватны, может быть поставлена под угрозу надежность резервного питания или может потребоваться дорогостоящая модернизация системы после установки. Параллельные системы предлагают уровень масштабируемости и модульности, что позволяет изменять нагрузку во времени и оптимизировать работу установленных устройств. Если планирование физического пространства выполнено надлежащим образом, при необходимости можно добавить генераторы для дополнительного электропитания (см. рис. 5).
Простота обслуживания и обслуживания: В системе с параллельным генератором N+1, если генератор в системе выходит из строя или требует обслуживания, отдельные блоки можно демонтировать и обслуживать, не нарушая работу остальных блоков. Кроме того, резервирование, присущее параллельной системе, обеспечивает многоуровневую защиту и обеспечивает бесперебойную подачу питания для критически важных цепей.
Важно, чтобы все новые генераторы параллельной системы были одного производителя, с одинаковыми характеристиками и типом. При модификации существующей системы крайне желательно, чтобы она соответствовала существующему производителю генератора, типу, шагу и номинальным характеристикам. Такое согласование позволит избежать проблем с распределением нагрузки между генераторами. Кроме того, стандартизация одного типа модели также улучшит техническое обслуживание и упростит работу генераторной системы.
– Лесли Фернандес — старший инженер-электрик компании JBA Consulting Engineers. Он имеет более чем 30-летний опыт проектирования, проектирования и практического опыта, включая распределительные системы среднего напряжения для военных, горнодобывающих, туннельных, пищевых производств, энергетических объектов, высотных сооружений и казино-курортных комплексов.
Есть ли у вас опыт и знания по темам, упомянутым в этом содержании? Вам следует подумать о том, чтобы внести свой вклад в нашу редакционную команду CFE Media и получить признание, которого вы и ваша компания заслуживаете.
Нажмите здесь, чтобы начать этот процесс.
Принцип распределения нагрузки генератора | Woodstock Power
Простое объяснение принципа распределения нагрузки генератора
Принцип разделения нагрузки генераторов имеет решающее значение для понимания при попытке параллельного подключения генераторов на любом объекте, включая центры обработки данных и электростанции. Это связано с тем, что элементы управления распределением нагрузки разных производителей могут быть несовместимы, и необходимо избегать перегрузки или недогрузки каждого блока для успешного и эффективного параллельного подключения генераторов. Существует несколько различных способов эффективного распределения нагрузки генератора, таких как компенсация реактивного спада, компенсация перекрестного тока и использование различных режимов работы.
Просмотреть бывшие в употреблении генераторы
Что такое распределение нагрузки?
Проще говоря, распределение нагрузки — это процесс, при котором на объекте одновременно работают несколько генераторов.
С технической точки зрения, распределение нагрузки — это пропорциональное распределение активной и реактивной мощности между генераторными установками. Параллельная работа и распределение нагрузки тесно связаны между собой. Система генераторных установок не может обеспечить параллельную работу без разделения нагрузки генераторов переменного тока.
Параллельная работа — это способ увеличить выработку электроэнергии за счет выравнивания электрических характеристик нескольких генераторных установок. Многие операции полагаются на параллельные генераторные установки для повышения их мощности и удовлетворения высоких требований к выходной мощности.
Когда нагрузка не распределяется между вашей сетью генераторных установок, вы рискуете перегрузить генератор или создать нестабильный поток энергии. Эта нестабильность может повредить ваши генераторные установки или электросеть.
ПРИНЦИП РАСПРЕДЕЛЕНИЯ НАГРУЗКИ ГЕНЕРАТОРА ПРИМЕРЫ
Хотя принцип распределения нагрузки генератора может показаться сложным, более подробное рассмотрение различных методов распределения нагрузки генератора может помочь прояснить ситуацию.
Например, типы распределения нагрузки включают:
- Распределение спада нагрузки: Компенсация реактивного спада «позволяет снизить частоту вращения двигателя или напряжение генератора на заданный процент выходного диапазона по мере увеличения нагрузки» (Cummins Power Generation).
- Изохронное распределение нагрузки в кВт и кВАр: В изохронных системах используются элементы управления для расчета информации о нагрузке и определения соотношения нагрузки генераторов в процентах к нагрузке системы. кВт относится к разделению реальной мощности, тогда как кВАР относится к реактивной мощности; Нагрузки как в киловаттах, так и в кварах рассчитываются системами управления, чтобы в достаточной степени распределять нагрузки между генераторами.
- Компенсация перекрестных токов: Когда параллельно включенные генераторы работают без преднамеренного падения напряжения, происходит компенсация перекрестных токов. Регуляторы напряжения на каждом генераторном блоке должны быть одинаковыми для успешного распределения нагрузки.

- Использование различных режимов работы: Благодаря использованию одноплатных параллельных контроллеров становится намного проще успешно добавлять генераторы в существующие системы, а также выполнять обновления систем. Одноплатные параллельные контроллеры также позволяют эксплуатировать параллельно работающие генераторы в различных режимах уровня нагрузки (некоторые генераторы могут быть настроены на базовый, постоянный режим, в то время как другие назначенные устройства будут плавать и распределять нагрузку по мере необходимости).
Надлежащее распределение нагрузки генератора необходимо для успеха системы параллельного генератора и, в свою очередь, для резервного питания. В случае аварийных ситуаций, когда происходит сбой питания, резервирование жизненно важно для бесперебойной работы критически важных функций. Обязательно ознакомьтесь с различными методами и основами принципа распределения нагрузки генератора, чтобы найти наилучшее решение для ваших конкретных потребностей в генераторе электроэнергии.
Также может быть полезно просмотреть перед покупкой генераторы, чтобы понять, какие блоки будут легко совместимы для параллельного набора.
Преимущества разделения нагрузки
Параллельная работа и распределение нагрузки предлагают ряд преимуществ всем, кто их использует. Некоторые преимущества включают в себя:
- Надежность: При наличии нескольких генераторов в сети всегда будет как минимум одна генераторная установка, поддерживающая нагрузку. Если генератор выйдет из строя в какой-либо момент, нагрузка переключится на другие генераторы в системе. Распределение нагрузки также упрощает обслуживание генератора без остановки всей операции.
- Стоимость: Стоимость выработки электроэнергии увеличивается для генераторов большей мощности. Использование сети небольших генераторов означает меньшие первоначальные затраты и меньшие платежи за выработку электроэнергии с течением времени. С несколькими генераторами переменного тока операторы могут определить наилучший баланс нагрузки при наименьшем количестве топлива.
Эта возможность недоступна для одного генератора большой мощности. - Гибкость: Требования к нагрузке со временем меняются в зависимости от ваших процессов. Вы можете в конечном итоге заплатить за большой генератор и никогда не достичь его полной мощности или довериться маленькому генератору и обнаружить, что он не соответствует вашим требованиям к нагрузке. Имея несколько генераторов, вы можете регулировать нагрузку в течение дня в зависимости от количества используемых вами генераторов.
- Эффективность: Генератор работает наиболее эффективно, когда нагрузка составляет от 75% до 100%. Если вы рассчитываете на один генератор, вы, вероятно, пожертвуете эффективностью в периоды низкой нагрузки. Балансируйте нагрузку между предпочтительным количеством генераторов в заданное время и поддерживайте эффективность круглосуточно.
Приложения для распределения нагрузки
Благодаря многочисленным преимуществам распределения нагрузки некоторые операции полагаются на него, чтобы поддерживать работоспособность оборудования.
Распределение нагрузки выгодно, когда потребности в нагрузке часто меняются, а постоянная мощность имеет решающее значение. Приложения включают в себя:
- Центры обработки данных: Эти операции обрабатывают большие объемы данных. Если они потеряют власть, они рискуют потерять ценную информацию для клиентов и других крупномасштабных операций. Распределение нагрузки распознает высокие требования к нагрузке и обеспечивает уровень безопасности в случае отказа генератора.
- Электростанции: На этих объектах потребности в электроэнергии меняются в течение дня, и целые сообщества могут полагаться на них в качестве источника энергии. Распределение нагрузки отвечает этим требованиям.
- Строительные площадки: В строительстве рабочие используют широкий спектр оборудования для выполнения работы. Оборудование может состоять из фонарей, дрелей, воздушных компрессоров и многого другого. Требования к нагрузке меняются в течение дня в зависимости от выполняемой работы, а в условиях плотного графика очень важно сохранять эффективность.

- Операции по выращиванию: Растущая индустрия каннабиса требует обширных установок освещения по сменяющемуся графику. Распределение нагрузки может распознавать меняющиеся потребности в энергии, чтобы поддерживать урожай каннабиса живым и здоровым.
- Медицинские учреждения: Хотя больницы и другие медицинские учреждения могут иметь высокие требования к нагрузке, их приоритетом является резервное питание. Если эти операции отключат электричество в любое время, особенно во время стихийных бедствий, они не смогут обеспечить качественную помощь своим пациентам.
- Телекоммуникации: Как и медицинские учреждения, телекоммуникационные операции должны оставаться в рабочем состоянии, чтобы люди могли оставаться на связи во время чрезвычайных ситуаций. Благодаря распределению нагрузки телекоммуникационные здания могут быть готовы к неожиданным отключениям электроэнергии.
Резервирование генератора и параллельная работа
Как только вы добьетесь распределения нагрузки между вашими генераторами, вы сможете запускать их параллельно.
Хотя параллельная работа выгодна, вы также должны ввести резервирование генератора. В технике резервирование означает резервирование процесса с помощью дополнительного оборудования. В случае параллельных генераторов любой агрегат в системе распределения нагрузки может выступать в качестве резерва для других.
Если в операции есть один генератор мощностью 300 кВт, и он выключается без предупреждения, этот объект не работает до тех пор, пока работает генератор. Хотя параллельные генераторы адаптируются к требованиям нагрузки, они также обеспечивают резервирование. Если в операции используются три из их генераторов мощностью 50 кВт и один из них выходит из строя, всегда есть два других блока, которые нужно взять на себя.
Очень важно разработать систему распределения нагрузки с большей мощностью, чем вам нужно, чтобы обеспечить резервирование при пиковых нагрузках. Если ваши требования к пиковой нагрузке достигают только 300 кВт, вам следует включить несколько дополнительных блоков, которые будут действовать в качестве резервных.
Основным преимуществом параллельной работы резервных генераторов является чувствительность переключателя управления. Если у вас есть резервный генератор за пределами вашей параллельной системы, вы должны запустить его вручную, чтобы снова включить питание. В отраслях с высоким уровнем риска, таких как здравоохранение, это невозможно. Когда ваши резервные копии работают параллельно, переключатель управления автоматически перенаправит источник питания в случае отказа основного генератора.
Независимо от того, лечите ли вы пациентов или управляете большими объемами данных, резервирование генератора может спасти вашу работу во время сбоев питания.
Что такое генераторная?
Помимо понимания принципа распределения нагрузки генератора, очень важно знать, как спроектировать помещение для поддержки распределения нагрузки генератора. Генераторная – это пространство, в котором безопасно хранятся генераторные установки. Есть несколько требований, которым предприятия должны следовать, чтобы убедиться, что их генераторная комната достаточна для оборудования внутри, в том числе:
- Соответствующий размер: Стандартный размер машинного зала должен обеспечивать достаточно места для входа человека при открытых дверях кожуха.
Кроме того, два человека должны иметь возможность проходить друг мимо друга в комнате. Однако это требование может варьироваться в зависимости от напряжения используемых генераторов. В служебных помещениях должно быть от 3 до 4 футов между генераторами на 600 вольт или менее, от 3 до 12 футов для более 600 вольт и два отдельных выхода для 1200 или более ампер мощности. Размеры машинного зала важны с точки зрения безопасности и технического обслуживания. - Подходящий дизайн: Помимо обеспечения достаточного размера помещения, важно учитывать оборудование, необходимое для генераторной, и его местонахождение. Рядом должно быть помещение с кондиционером для управления генераторами. В идеале в этой комнате также должно быть окно, чтобы оператор мог видеть оборудование. Кроме того, батареи, необходимые для запуска генераторов, должны находиться рядом, над генераторами должно быть пространство для удаления сервисного оборудования, и все оборудование должно быть доступно.
- Размещение: Многие проектировщики, работающие сегодня, хотят максимально использовать пространство в здании, поэтому они предпочитают оставлять генераторные комнаты снаружи.
Это приемлемый выбор, но компаниям следует помнить, что наружные установки для генераторных установок по-прежнему должны соответствовать необходимым требованиям безопасности. Кроме того, эти сооружения должны будут соответствовать местным строительным нормам — на территории не разрешается устанавливать генераторы внутри зданий, если они не соответствуют требованиям по звуку, виду и качеству воздуха.
Имейте в виду, что параллельные генераторы производят большую мощность. Чтобы предотвратить искрение или другие проблемы с генератором, необходимо разработать эффективную планировку помещения генераторной.
Обратитесь в компанию Woodstock Power за генератором, который вам нужен
Компания Woodstock Power Company может помочь вам добиться распределения нагрузки в вашей параллельной системе. Вы также можете рассчитывать на нас в отношении новых и бывших в употреблении генераторов, если вы хотите расширить свою сеть генераторов.
Наши профессиональные сотрудники по обслуживанию клиентов готовы ответить на любые ваши вопросы по этим темам.
