Содержание
Двухдисковое сцепление ямз 236
Передаваемый крутящий момент
- Описание
- Применение
Сцепление . двухдисковое, фрикционное, сухое, с периферийными пружинами.
Диски . ведомые диаметром 400 мм, с гасителем крутильных колебаний пружинно-фрикционного типа, с накладками фрикционными на асбестовой основе. Муфта включения со специальным радиально-упорным подшипником, при выключении перемещается к двигателю
СЦЕПЛЕНИЕ И КОРОБКА ПЕРЕДАЧ
СЦЕПЛЕНИЕ ЯМЗ-236К, ЯМЗ-238
Сцепление – двухдисковое, сухое, фрикционного типа, с периферийным расположением цилиндрических пружин. Сцепления ЯМЗ-236К, ЯМЗ-238 одинаковы по конструкции и отличаются лишь количеством нажимных пружин. Сцепление ЯМЗ-238 может выполняться в герметизированном варианте.
Кожух 16 (рис. 26) сцепления, штампованный из листовой стали, с нажимным диском 19 в сборе устанавливается на маховике 20 двигателя, а ведомые диски 21 – на шлицевой части первичного вала коробки передач.
Передний и задний ведомые диски не взаимозаменяемы и устанавливаются в определенном положении, как показано на рисунке. Ведомые диски сцепления зажимаются постоянным усилием цилиндрических нажимных пружин 17 между маховиком двигателя, средним и нажимным дисками. Сцепление ЯМЗ-236К имеет восемнадцать нажимных пружин, сцепление ЯМЗ-238 – двадцать пружин. Под пружины со стороны нажимного диска подложены термоизолирующие прокладки 18. Нажимной и средний ведущий диски связаны с маховиком четырьмя шипами, находящимися на наружной поверхности дисков. В зажатом состоянии ведомые диски передают крутящий момент двигателя на первичный вал коробки передач.
Выключение сцепления производится муфтой 11. Муфта с подшипником, перемещаясь в сторону двигателя, отводит нажимной диск от ведомого диска, передавая усилие через четыре жестких оттяжных рычага 5. Рабочий ход муфты выключения сцепления, с учетом свободного хода, должен быть не менее 18,2 мм (размер «D»). Величина свободного хода регулируется механизмом выключения сцепления.
Упорное кольцо оттяжных рычагов перемещается в сторону коробки передач на 27 мм за счет допустимого износа фрикционных накладок.
Рис. 26. Сцепление ЯМЗ – 238:
1 – шток; 2 – кольцо; 3 – тарельчатая пружина; 4 – планка; 5 – оттяжной рычаг; 6 – вилка оттяжного рычага; 7 – регулировочная гайка; 8 -распорная пластина: 9 – стопорная пластина; 10 – петля пружины оттяжного рычага; 11 – муфта выключения сцепления с подшипником; 12 – шланг подачи смазки к муфте выключения сцепления; 13 – вилка выключения сцепления; 14 – упорное кольцо оттяжных рычагов; 15 – вал вилки выключения сцепления; 16 – кожух сцепления; 17 – нажимная пружина; 18 – термоизолируюшая прокладка; 19 – нажимной диск; 20 -маховик; 21 – ведомые диски; 22 – средний ведущий диск; 23 -отжимная пружина; D – минимальный ход выжимной муфты
Гарантированные зазоры между ведомыми дисками и поверхностями трения маховика, среднего ведущего и нажимного дисков при выключении сцепления по мере износа накладок обеспечиваются механизмом автоматической регулировки отхода среднего диска, который состоит из штоков 1, закрепленных в каждом из четырех шипов среднего ведущего диска, разрезных колец 2, для перемещения по штоку которых необходимо определенное усилие, упорных планок 4, которые крепятся с кожухом сцепления болтами к маховику, и тарельчатых пружин
3, установленных на штоке между кольцом 2 и планкой 4.
При выключении сцепления нажимной диск 19 отходит назад не менее чем на 2 мм, и освобождает задний ведомый диск
21. Средний ведущий диск 22 под действием пружины 23 так же отходит назад, до упора кольца 2 в планку 4 через тарельчатую пружину, на величину 1,2±0,1 мм, освобождая передний ведомый диск.
По мере износа фрикционных накладок сцепления средний ведущий диск под действием нажимных пружин нажимного диска перемещается к маховику, кольца 2 при этом упираются в кожух сцепления, перемещаясь по штокам 1 и сохраняя размер между кольцами и тарельчатыми пружинами.
При установке сцепления с механизмом автоматической регулировки отхода среднего диска на маховик соблюдать следующий порядок:
1. Установить передний ведомый диск.
2. Установить средний ведущий диск со штоками.
3. Установить задний ведомый диск.
4. Установить нажимной диск с кожухом в сборе, закрепив его на маховике при помощи восьми коротких болтов.
5. Надеть разрезные кольца 2 на штоки 1 до упора в кожух сцепления.
6. Надеть четыре тарельчатые пружины выпуклой стороной к разрезным кольцам.
7. Установить четыре упорных планки и закрепить их с кожухом к маховику при помощи восьми длинных болтов. После установки сцепления на маховик убедиться в том,
что кольца на штоках стоят с упором в кожух, обеспечивая зазор 1,2±0,1 мм между кольцами и тарельчатыми пружинами при включенном сцеплении.
При износе накладок ведомых дисков торец муфты выключения сцепления упрется в торец крышки подшипника первичного вала коробки передач; в этом случае изношенные накладки ведомых дисков заменить новыми.
Отсутствие свободного хода муфты выключения сцепления приведет к выходу из строя нажимного подшипника и усиленной пробуксовке ведомых дисков. Свободный ход муфты выключения сцепления (размер «А») регулировать изменением длины тяги механизма выключения или длины штока цилиндра усилителя в зависимости от конструкции механизма выключения сцепления в соответствии с указанием инструкции по эксплуатации транспортных средств.
ВНИМАНИЕ! РЕГУЛИРОВКА СВОБОДНОГО ХОДА МУФТЫ ВЫКЛЮЧЕНИЯ СЦЕПЛЕНИЯ РЕГУЛИРОВОЧНЫМИ ГАЙКАМИ ОТТЯЖНЫХ РЫЧАГОВ КАТЕГОРИЧЕСКИ ЗАПРЕЩАЕТСЯ
После регулировок проверить сцепление на отсутствие «ведения»; эту проверку проводить на работающем двигателе при включенной первой передаче и выключенном сцеплении.
Автомобили ГАЗ
Автомобили ЗИЛ
Автомобили КАМАЗ
Автомобили МАЗ
Автомобили КРАЗ
Автомобили УРАЛ
- УРАЛ-4320, 5557
- Двигатель ЯМЗ-236
- __________________
- КАРТА САЙТА
Обслуживание и регулировки сцепления ЯМЗ-236
Двухдисковое сцепление ЯМЗ-236 автомобилей МАЗ-5551, МАЗ-5335, 5336, 5337 и Урал-4320, 43206, Урал-5557 – Фрикционное, сухое, диафрагменное вытягиваемого типа.
Диски сцепления ЯМЗ-236 ведомые диаметром 400 мм, с гасителем крутильных колебаний пружинно-фрикционного типа, с накладками фрикционными на асбестовой основе.
Муфта выключения сцепления ЯМЗ-236 со специальным радиально-упорным подшипником, при выключении перемещается к двигателю.
Технические характеристики и параметры сцепления ЯМЗ-236
Максимальный крутящий момент двигателя, Нм. – 700
Масса вращающихся частей, кг – 70
Момент инерции диска ведомого, кг.м2 – 0,09 х 2
Размеры шлиц ведомого диска, мм – 42х34х6
По мере износа фрикционных накладок сцепления ЯМЗ-236 автомобилей МАЗ-5551, МАЗ-5335, 5336, 5337 и Урал-4320, 43206, Урал-5557 средний ведущий диск под действием нажимных пружин нажимного диска перемещается к маховику, кольца 2 при этом упираются в кожух сцепления, перемещаясь по штокам 1 и сохраняя размер между кольцами и тарельчатыми пружинами.
При установке сцепления ЯМЗ-236 с механизмом автоматической регулировки отхода среднего диска на маховик соблюдать следующий порядок:
– Установить передний ведомый диск.
– Установить средний ведущий диск со штоками.
– Установить задний ведомый диск.
– Установить нажимной диск с кожухом в сборе, закрепив его на маховике при помощи восьми коротких болтов.
– Надеть четыре тарельчатые пружины выпуклой стороной к разрезным кольцам.
– Установить четыре упорных планки и закрепить их с кожухом к маховику при помощи восьми длинных болтов.
После установки сцепления ЯМЗ-236 автомобилей МАЗ-5551, МАЗ-5335, 5336, 5337 и Урал-4320, 43206, Урал-5557 на маховик убедиться в том, что кольца на штоках стоят с упором в кожух, обеспечивая зазор 1,2±0,1 мм между кольцами и тарельчатыми пружинами при включенном сцеплении.
При износе накладок ведомых дисков торец муфты выключения сцепления ЯМЗ-236 упрется в торец крышки подшипника первичного вала коробки передач; в этом случае изношенные накладки ведомых дисков заменить новыми.
Отсутствие свободного хода муфты выключения сцепления ЯМЗ-236 приведет к выходу из строя нажимного подшипника и усиленной пробуксовке ведомых дисков.
Свободный ход муфты выключения сцепления (размер «А») регулировать изменением длины тяги механизма выключения или длины штока цилиндра усилителя в зависимости от конструкции механизма выключения в соответствии с указанием инструкции по эксплуатации транспортных средств.
Регулировка положения упорного кольца оттяжных рычагов корзины сцепления ЯМЗ-236
При сборке нажимного диска (корзины) сцепления ЯМЗ-236 автомобилей МАЗ-5551, МАЗ-5335, 5336, 5337 и Урал-4320, 43206, Урал-5557 с кожухом в сборе отрегулировать положение упорного кольца.
Эту регулировку производить в приспособлении, имеющем установочный размер 27±0,1 мм (рис. 51) регулировочными гайками 6 отжимных рычагов при фиксированном положении кожуха и нажимного диска.
Регулировкой обеспечить размер «В», равный 64±0,1 при этом упорные поверхности все четырех оттяжных рычагов 5 должны одновременно касаться упорного кольца 4.
Перекос упорного кольца приведет к неравномерному отходу нажимного диска сцепления (корзины) ЯМЗ-236 при выключении сцепления или ненормальной его работе.
После регулировки положения упорного кольца регулировочными гайками 6 установить стопорные 7 и опорные 8 пластины регулировочных гаек. Завернуть все восемь болтов крепления стопорных и опорных пластин, установив пружинные шайбы под головки болтов.
В случае использования нажимного диска (корзины) сцепления ЯМЗ-236 с кожухом в комплекте с ведомыми дисками после ремонта, на которых установлены фрикционные накладки толщиной 4,15 мм, при регулировке положения упорного кольца размер «В» установить равным 67±0,1 мм.
Рис.51. Приспособление для сборки нажимного диска сцепления ЯМЗ-236 с кожухом в сборе
1 – подставка; 2 – направляющий штифт; 3 – болт крепления кожуха; 4 – упорное кольцо оттяжных рычагов; 5 – оттяжной рычаг; 6 – регулировочная гайка; 7 – стопорная пластина; 8 – опорная пластина; 9 – нажимной диск
Регулировка сцепления ЯМЗ-236
В эксплуатации сцепления ЯМЗ-236 автомобилей МАЗ-5551, МАЗ-5335, 5336, 5337 и Урал-4320, 43206, Урал-5557 периодически проводить регулировку свободного хода муфты выключения сцепления.
Свободный ход муфты выключения сцепления ЯМЗ-236 регулировать изменением длины тяги механизма выключения или длины штока цилиндра усилителя в зависимости от конструкции механизма выключения сцепления.
Свободный ход муфты выключения сцепления ЯМЗ-236, определяемый зазором между упорным кольцом и подшипником муфты (3,2-4,0 мм) регулировать в соответствии с указаниями по эксплуатации автомобиля Урал.
Снятие сцепления ЯМЗ-236
Снятие сцепления ЯМЗ-236 с двигателя, укомплектованного коробкой передач, производиться с предварительным снятием коробки передач.
Снятие коробки передач и сцепления с двигателя, установленного на транспортное средство, производится в следующем порядке:
Провести работы по подготовке коробки передач для снятия:
– отсоединить поддерживающую опору силового агрегата, установленную на коробке передач;
– отсоединить карданный вал от фланца вторичного вала;
– отсоединить привода сцепления и коробки передач и другое, препятствующее перемещению коробки передач от двигателя на ≈ 300 мм и опусканию или подъему коробки передач.
Установить на верхнюю крышку коробки передач специальный рым (см. рисунок 11) вместо опоры рычага переключения или механизма дистанционного управления коробки передач.
Отвернуть гайку крепления шланга смазки к стенке картера сцепления ЯМЗ-236 и протолкнуть шланг вместе с масленкой в полость картера сцепления, при этом оттяжная пружина и скоба пружины также будут отсоединены от стенки картера и могут упасть в полость картера, на что необходимо обратить внимание.
Отвернуть болты крепления картера сцепления к картеру маховика, оставив 2 – 3 болта не отвернутыми.
После зачаливания коробки передач автомобилей МАЗ-5551, МАЗ-5335, 5336, 5337 и Урал-4320, 43206, Урал-5557 грузоподъемным устройством (кран, лебедка и т.п.) или подвода передвижного подъемника под коробку передач, отворачивают оставшиеся 2-3 болта крепления картера сцепления ЯМЗ-236 и перемещают коробку передач от двигателя до выхода первичного вала из ведомого диска, при этом вилка выключения сцепления, перемещаясь вместе с коробкой передач разворачивается вместе с валом в сторону двигателя и выходит из зацепления с муфтой.
После снятия коробки передач с картером сцепления муфта выключения остается на упорном кольце.
Снять оттяжную пружину и ее скобу (если они не разъединились сами).
Снять муфту выключения сцепления ЯМЗ-236 с упорного кольца в следующей последовательности:
– используя полукруглый паз на краю корпуса муфты выключения, обращенном к диафрагменной пружине, нащупать пальцем ус предохранительного кольца и, утопив его (шпилькой, болтом и т.п.), через центральное отверстие муфты, отверткой деформируя кольцо вывести ус из отверстия втулки, что обеспечит возможность разворота замкового кольца на втулке;
– снова используя полукруглый паз муфты повернуть замковое кольцо относительно втулки таким образом, чтобы выступы кольца совпали с лысками на втулке;
– протолкнуть муфту в сторону маховика до упора, обеспечивая минимальные перекосы относительно оси коленчатого вала, при этом пружинное кольцо выйдет из фасонной канавки упорного кольца и войдет в прямоугольную;
– снять муфту, для чего переместить ее в обратном направлении (от маховика), при этом пружинное кольцо останется в прямоугольной канавке упорного кольца, извлечь кольцо из прямоугольной канавки с помощью отвертки и установить его на втулку муфты.
Снять с маховика корзину сцепления ЯМЗ-236 и диск ведомый в следующем порядке:
– для обеспечения безопасности вставить шлицевую или гладкую оправку в шлицевое отверстие ведомого диска и внутреннее кольцо подшипника в коленчатом вале. Необходимый тип оправки используется в зависимости от модели сцепления.
– вывернуть два диаметрально расположенных болта крепления кожуха и завернуть монтажные шпильки;
– постепенно в несколько приемов отвернуть оставшиеся 10-ть болтов крепления кожуха, не допуская значительных перекосов диафрагменной пружины (для предотвращения перекосов пружины и предупреждения срыва начальных витков резьбы в маховике рекомендуется перед отворачиванием болтов крепления кожуха под головки 4-х болтов крепления нажимного диска сцепления ЯМЗ-236 к кожуху установить монтажные шайбы;
– снять корзину сцепления ЯМЗ-236 и диск ведомый с оправкой.
Сцепление ЯМЗ-236, на ГС-14.02 • в наличии на складе
Все товары
Categories
All
товаров
Автогудронаторы
Автокраны XCMG
Шоссейные автокраны XCMG
Битумозаливщики
Вакуумные подметально-уборочные машины
Грейдеры XCMG
Катки XCMG
Двухвальцовые гидравлические катки XCMG
Миникатки XCMG
Одновальцовые грунтовые катки XCMG с гидравлическим приводом
Одновальцовые грунтовые катки XCMG с механическим приводом
Одновальцовые грунтовые катки с гидравлическим полноприводом XCMG
Пневмоколёсные катки XCMG
Трёхвальцовые статические катки XCMG
Колесные бульдозеры XCMG
Мини погрузчики сочленённые
Мини-погрузчики BAWOO
Минипогрузчики XCMG
Мульчеры
Навесное оборудование MULTIONE
Ножи Sharq
Роторные буровые установки XCMG
Сезонные товары ЗИМА
Фронтальные погрузчики XCMG
Экскаваторы-погрузчики XCMG
Товары
Щёточные диски Дорволокно
Весь каталог оборудования
Оборудование для КДМ
Навесное оборудование ДМК-КОРМЗ
Оборудование для тракторов
Для МТЗ 82.
1-23/12-23/32Для трактора МТЗ 1221.2
Для трактора МТЗ 82.1
Сменные органы для погрузчиков
Для ремонта дорог
Косилки
Измельчители веток
Оборудование для грейдеров
Компрессорные станции
Техника
Тракторы
Грейдеры
Катки
Коммунально-дорожные машины (КДМ)
Мусоровозы
Погрузчики
Экскаваторы
Экскаваторы погрузчики
Вилочные погрузчики
Вилочные автопогрузчики
Вилочные электропогрузчики
Мини погрузчики
Снегопогрузчики
Краны манипуляторы
Телескопические погрузчики
Техника ЛПК
Тягачи трелевочные
Форвардеры
Харвестеры
Средства механизации
Виброплиты
Отбойные молотки
Фрезы и резчики швов
01 ЗАПАСНЫЕ ЧАСТИ склад
Запчасти на Бецему склад
КДМ (комплексные дорожные машины)
1 Запчасти для КДМ-130, ЭД-403, ЭД-405 (ДМ Смоленск)
БРС
2 Запчасти для КО-713 (Мценский завод «КОММАШ»)
3 Запчасти для КО-829 (Комммаш, Арзамас)
4 Запчасти для МДК (СААЗ, Смоленск)
5 Запчасти для МД-433, МД-532, МД-651(Кургандормаш)
8 Расходники Диски/Проставки/Тупсы/Лента
ЦЕПИ, ЗВЕНЬЯ
Склад звенья для цепей
Склад цепи
КОМ (Коробка отбора мощности)
Скребки
ТЕХПЛАСТИНА
Склад
6 Насос НЦ и запчасти
АВТОГРЕЙДЕРЫ
АВТОГРЕЙДЕР ГС-14.
02Установка насоса НШ-1-250.02.09.00.000
Фильтры на ГС-14.02
Ремни на ГС-14.02 , двиг ЯМЗ-236
Сцепление ЯМЗ-236, на ГС-14.02
Система охлаждения
АВТОГРЕЙДЕР ДЗ-122
АВТОГРЕЙДЕР ДЗ-143, ДЗ-180, ГС-1402 (Брянский арсенал)
КПП Псков ДЗ-122 , ДЗ-143, ДЗ-180, ГС14.02
Автогрейдера Китай
Запчасти Китай Автогрейдер GR-215
АВТОГРЕЙДЕР ДЗ-98, ГС-2501
ГИДРАВЛИКА
Г/моторы , г/насосы
Склад
Г/РАСПРЕДЕЛИТЕЛИ
Г/распределители RH
Насосы НШ
Заказ
Склад
НДМ , МГП , НДП , НДО , гидрорули
Склад
Заказ
КДМ – ДМК (КОРМЗ)
Гидравлика для техники КОРМЗ
з/ч на битумозаливщик БЗ
На отвалы
на ОТ-5
На пескоразбрасыватель
на ЩЕТКИ
НОЖИ
ПУМ
РВД , ремкомплекты КОРМЗ , подшипники
Рукава для битумозаливщиков
Цепи ,транспортеры,скребки КОРМЗ
фильтра ДМК (КОРМЗ)
НОЖИ все
НОЖИ на ДЗ-122,143,180 , ГС-14.
02Склад
Заказ
Ножи МТЗ , Т-130 , Т-170 , Б-10
Ножи на авторгейдер ДМ-14
Ножи на бульдозеры ЧТЗ
НОЖИ на ДЗ-98
Склад (нового образца)
Склад (старого образца)
НОЖИ на китайский грейдер GR-180, GR-215
НОЖИ на снегоочистители (СУ-2.1 , СУ-2.5 , ДЭМ-124)
НОЖИ СЕТЧАТЫЕ
расходники НОЖИ КДМ
НОЖИ на ТО-18
Ножи Олофсфорс Швеция
ДОРВОЛОКНО наши диски
КАД/Наши НОЖИ
ПОДШИПНИКИ
РВД (РУКАВА ВЫСОКОГО ДАВЛЕНИЯ)
КАТКИ ДОРОЖНЫЕ ДУ-47, 48, 84, 85, 99, 98
2 на планетарный редуктор
1на РЕВЕРС
МТЗ-80,82 , 320 трактор
Гидросистема
Задний мост
Колеса и ступица
Коробка передач
Коробка раздаточная
Кузов и его элементы
Механизм блокировки дифференциала
Мост передний ведущий
Основные элементы двигателя
Подвеска (передняя ось тяги)
Привод мостов (карданный вал с опорой)
Привод оборудования (вал отбора мощности)
Рабочее оборудование (навеска)
Рама
Рулевое управление
Система выпуска/впуска газов
Система охлаждения
Система питания
Система смазки
Сцепление
Тормозная система
Электрооборудование
я прочее / МАЯЧКИ, КОНУСА, СПЕЦОДЕЖДА, ЗНАКИ
ЗНАКИ ДОРОЖНЫЕ
СПЕКТРЫ (маячки) для автогрейдеров и КДМ
ФИЛЬТРЫ для спецтехники
Фильтры Отечественные
Фильтра на погрузчики ТО-18 , ТО-28 .
АмкодорФильтры на МТЗ
Фильтра на двигатель ЯМЗ-236 , 238 , 240
Фильтра на ПАУС / на складе КАД
Фильтры воздушные
Фильтры гидравлические
Фильтры масляные
Фильтры топливные
МАЛАЯ МЕХАНИЗАЦИЯ
ВИБРОПЛИТЫ, РЕЗЧИКИ, РАЗДЕЛЬЩИКИ
1 Алмазные Диски
5 Расходники на СММ
2 Фильтра
4 З/части для ремонта
1 Ремни
2 Виброплиты
3 Резчики
3 Двигателя
Гидравлическое оборудование HYCON
Навесное оборудование МТЗ / ЗАПЧАСТИ
4 На косилку КРН-2,1 Бежецк
6 На Косилку КРД 1,5
2 На Фрезу
склад
1 На щетки МТЗ , на отвалы
щетка УМДУ
Отвал
5 На Косилку К-78
3 На Косилку КРН-2,1 ЛЮБЕРЦЫ
зч на снегоочистители
на ДЭМ-124
на СУ
ПОГРУЗЧИКИ
ЗЧ СЕРВИСА АМКОДОР на СКЛАДЕ КАД
Запчасти Амкодор
зч на ГМП Амкодор
Погрузчик Loсust, New Holland
я прочее /МЕТИЗЫ
К-700
я прочее / ЭКСКАВАТОРЫ
ЭО – 33211
Экскаваторы, трактора прочее
ЭО – 5126
ЭО-3322/23, ЕК-8/12/14/18, ЕТ-18/25
Гидравлика/Bosch-Rexroth
Моторы
Гидравлика/Parker
Моторы
Насосы
Запчасти ФРС
БУЛЬДОЗЕР Т-130,170,Б-10
Навеска на МТЗ / ОБОРУДОВАНИЕ
1 Щетки
я прочее / запчасти на ДВИГАТЕЛЬ А-01, Д-260, Д-245, ЯМЗ, Д-144
ДВИГАТЕЛЬ ЯМЗ
ДВИГАТЕЛЬ А-О1 (ДЗ-122,143,180; ТО-18,28; Т-4)
СНЕГОПОГРУЗЧИКИ (КО-206, СНП-17) зч и др
КО-206 Снегопогрузчик лаповый
Ремкомплекты
МАНЖЕТЫ и Сальники
04 СЕРВИС
МАТЕРИАЛЫ И ЗАПЧАСТИ сервис
ГСМ
Двигатель Д-144
Китайские запчасти
Погрузчик Локуст
ПРОЧЕЕ
З/ч МТЗ-80
Запчасти на New Holland
Запчасти ГМП на Китайский погрузчик
Запчасти на бульдозер
Запчасти на краны КС
Запчасти ПОГРУЗЧИКА
РВД
Запчасти JOHN DEERE
Запчасти ГМПК Китай
Запчасти к автоцистернам / ГРАЗ
Подшипники
Двигатель ЯМЗ-236, 240
Расходники для сварки и расточки
Запчасти Т-150
Двигатель А-01
ХОЗ.
НУЖДЫОБОРУДОВАНИЕ И ИНСТРУМЕНТ сервис
02 ТЕХНИКА и ОБОРУДОВАНИЕ
Амкодор
Дорожные машины
Завод Дорожных Машин
Традиция К
Прочее оборудование
Асфальтоукладчики
Запчасти Caterpiller
Запчасти Komatsu
Запчасти Hitachi
Запчасти ЕК-12
Запчасти ЗСК
Запчасти на снегопогрузчик СНП-17
Запчасти ЧЕТРА
Запчасти ЭО-4225
Погрузчик В-140,В-160
Запчасти Doosan
Запчасти китайский погрузчик SDLG
Запчасти МАЗ
Запчасти ПЗУ
Запчасти ЮМЗ
Запчасти ЭКГ
Снегоочистители , Ямокопатели
Запчасти ДТ-75
Запчасти Б-12
запчасти Yanmar
Клапана
Запчасти ГАЗ
1 Автогрейдер TG-200, TG-250
03 ЗАКАЗНЫЕ товары
1 Автогрейдер ГС-10.
011 Автогрейдер ГС-14.02
1 Автогрейдер ГС-14.03
1 Автогрейдер ГС-25.09
1 Автогрейдер ДЗ-122
1 Автогрейдер ДЗ-143,ДЗ-180
1 Автогрейдер ГС-18.07 , 18.05
1 Автогрейдер ДЗ-201
1 Автогрейдер ДМ-14
1 Автогрейдер КИТАЙ
1 Запчасти КПП Польша
1 Запчасти КПП Псков
1 НОЖИ на грейдера Прочие
на ДЗ-98
Ножи JOHN DEERE
МЕТИЗЫ
на Liebherr
на А98
на ГС-10.01
на ДЗ-122/ 143/ 180
на KOMATSU
на XCMG (GR-135/ 165/ 180/ 215 и др.)
на ГС-14.03/ 18.05
на ГС-25.09
на SHEHWA
на ПТЗ (К-702МБА, К-702МВ, К-702МВА, К-703МА-12 / К-703М-12, К-702МВА-УДМ2)
на SHANTUI
на АМКОДОР
на ДМ-15
на Caterpillar
на КДМ
на ЧЕТРУ
на BobCat
2 Гидромоторы, Гидронасосы, Гидроцилиндры, Гидрорули, Гидрораспределители
Гидроцилиндры
Г/моторы, г/насосы 210-310-416
3 КДМ з/ч КОРМЗ
3 КДМ з/ч КОРМЗ ПУМ
Гидроцилиндры мусоровозной установки ЭКО-МБ
Запчасти Мусоровоз ЭКО-MБ
3 КДМ Запчасти КДМ
3 КДМ Запчасти КО-326
3 КДМ Запчасти КО-326 (Мценск)
3 КДМ Запчасти КО-427,440,449
3 КДМ Запчасти КО-499-17, 449-41
3 КДМ Запчасти КО-503,КО-503В
3 КДМ Запчасти КО-505
3 КДМ Запчасти КО-507
3 КДМ Запчасти КО-510
3 КДМ Запчасти КО-806
3 КДМ Запчасти КО-823
3 КДМ Запчасти КО-829 , КО-713, КО – 815
3 КДМ Запчасти на КО-313
3 КДМ КОМ
3 КДМ Расходные материалы КДМ
3 КДМ Техпластина
склад
3 КДМ Расходники Диски/Проставки/Тупсы/Лента
3 КДМ Цепи
Запчасти на МД-532 (Кургандормаш)
3 КДМ Запчасти КДМ-313
3 КДМ запчасти 7881 (Смоленск)
Навесное оборудование на КДМ
3 КДМ Гидровращатели
3 КДМ ЭД-405
4 Катки Запчасти ДУ 54
4 Катки Запчасти КАТКИ
4 Катки Запчасти на каток HAMM
4 Катки Каток HAMM
6 Фреза Запчасти ФРЕЗы
6 Фреза ФРЕЗА дорожная А-8047, ДЭМ-121 , ЕМ-600/ РАСХОДНИКИ
6 Фреза ФРЕЗА ДЭМ (запчасти)
7 Щетка запчасти УМДУ-80/82.
01 и др1 Автогрейдер ДЗ-98
Подшипники заказное
Расходники
КОЛЕЧКИ
Прочие расходники
Расходники для гидроцилиндров
Расходные материалы и оборуд для дорог
РВД
Запчасти на РВД
Резинотехника , ремни , манжеты
Ремкомплекты
Фильтры
Фильтра GR-180
Фильтры на каток
Грейдера
Старые фильтры
Маячки, счетчики
Запчасти на XCMG
Компрессоры
Метизы
Прочее
Автошины
Аккумуляторы
ПРОЧЕЕ
Горелки, подогреватели
Запчасти Hyundai
Запчасти ЕК-14
Двигатель ZETOR
Запчасти ДЭМ-114
Запчасти ЕК-18
Запчасти К-700
Запчасти Краны
Запчасти МТЗ
Запчасти на МТЗ-320
Запчасти на автобетоновозы (Завод ТЗА)
Запчасти на бульдозер Т-170
Запчасти на МКСМ (минипогрузчик)
Запчасти Погрузчики
Запчасти ТАРСУС
Запчасти ЭО-2621
Запчасти ЭО-2626 (завод LEX)
Запчасти ЭО-3322/23
Навесное оборудование
Запчасти на погрузчик В-138
Двигателя Subaru Robin , и друг.

Запчасти ПФ-1А
Запчасти ЭБП 11
Запчасти ЭО-33211
Запчасти ЭО-5126
Запчасти ЭПБ-5
Урал Тройка-2000
Асфальтоукладчик АСФ-К 4-03
ГСМ
Двигатель Д-144
Запчасти на погрузчик В-160
Запчасти Погрузчик ПК-6
Запчасти китайский погрузчик Longgong/Lonking
Запчасти на Terex-820
Запчасти УАЗ
Запчасти на китайские бульдозера
Ирмаш
5 Запчасти на Бецему заказное
2 Грейдер прицепной СД-105А
запчасти на Амкодор
З/ч на двигатель Cummins
Электрика
8 СММ Малая механизация
СММ Вибраторы
СММ Виброплиты,вибротрамбовки
СММ запчасти и расходники
СММ Двигатели
СММ Фильтры
СММ Разное
СММ Ремни
СММ Алмазные диски
СММ Резчики
5 КОСИЛКИ
5 Косилки Запчасти косилка КРЛ-2,0
5 Косилки Запчасти к косилке Аграмак
5 Косилки Запчасти к косилке МК-454 (Сальсксельмаш)
5 Косилки Запчасти КОСИЛКИ К-78М
5 Косилки Запчасти КОСИЛКИ КР-2,1
5 Косилки Запчасти КОСИЛКИ КРД-1,3 1,5
5 Косилки Запчасти КОСИЛКИ КРН-2,1
КРН 2.
1 БежецкКРН 2.1 Прочие
КРН 2.1 Люберцы
5 Косилки Запчасти КОСИЛКИ КРР-1,9 и КРР-2,4
5 Косилки Запчасти КОСИЛКИ КРН-2.2
5 Косилки ЗАПЧАСТИ на косилку Bomford
5 Косилки Запчасти на Косилку Ferri
5 Косилки Запчасти КОСИЛКИ КДК – 184 Clever
Запчасти мульчера
Манжета
Ножи и режущие кромки
1 Автогрейдер А-120
Запчасти КАМАЗ,МАЗ
Радиатор КАМАЗ
Реле КАМАЗ
Колодки КАМАЗ
Вал (карданный, коленчатый, первичный, привода, распределительный) КАМАЗ
Подшипник КАМАЗ
Запчасти Краз 6510
Запчасти УРАЛ
Запчасти на погрузчик В-140
Двигатель ЯМЗ
Запчасти ЯМЗ-238В
Запчасти на компрессор К-24М
УДАЛЕННЫЕ
Фильтры
Фильтра на Каматцу
Фильтра на Локуст
Фильтра на ТАРСУС
ТАРСУС 888
Задвоена номенклатура / не использовать
ГСМ
БУХГАЛТЕРИЯ
05 Техника для контрагентов (бух)
ДМК Кормз
З/части бецемы
З/части на КДМ
Сервисные работы
ПОГРУЗЧИК
З/части на фрезу
Автогрейдер (запчасти, детали)
Автогрейдер ДЗ-98, ГС-2501
Запчасти МК ДУ
Двигатель А-01
06 Техника для базы контрагентов
Варианты отображения
12
24
36
Исходная сортировкаПо популярностиПо новизнеЦены: по возрастаниюЦены: по убыванию
Закрыть
Закрыть
Закрыть
Закрыть
Закрыть
Закрыть
Закрыть
Закрыть
Закрыть
Закрыть
Закрыть
[contact-form-7 404 «Не найдено»]
×
ДЛЯ ПОЛУЧЕНИЯ ЦЕНЫ И СРОКА ПОСТАВКИ
ЗАПОЛНИТЕ ФОРМУ НИЖЕ
Контактное лицо*
Телефон для связи*
Email*
Наименование организации/ИНН*
Дополнительные пожелания
Даю согласие на обработку персональных данных
×
[contact-form-7 404 «Не найдено»]
×
Устройство сцепления ЯМЗ | регулировка | замена
Сцепление транспортного средства передает крутящий момент от маховика коленчатого вала к первичному валу КПП.
Для реализации цели применяется сила трения. Механизм кратковременно разделяет двигатель с КПП, а затем вновь соединяет.
В случае с продукцией Ярославского Моторного Завода сцепление двухдисковое, сухое, а цилиндрические пружины расположены периферийным образом. Предприятие выпускает несколько типов продукции:
-
Двигатель ЯМЗ 236 М работает с системой ЯМЗ-236К.
-
Двигатель 238 серии работает с системой ЯМЗ-238.
Полезная информация:конструкция обоих механизмов одинакова. Вся разница заключается в количестве нажимных пружин.
Кожух агрегата монтируется непосредственно на маховике двигателя. В качества материала для кожуха используется листовая сталь. Дополнительно на маховик крепится нажимной диск. Ведомые при этом устанавливаются на шлицевой части первичного вала.
Полезная информация: не допускается менять местами передний и задний нажимной диск. Они отличаются друг от друга и при неправильном монтаже устройство не будет работать так, как требуется водителю.
Поэтому не рекомендуется делать сложные манипуляции водителям без соответствующей квалификации. В противном случае могут возникнуть слишком серьезные проблемы с работой устройства и придется вести машину на станцию технического обслуживания.
Ведомые диски крепятся зажимом в виде цилиндрических пружин. Закрепить следует между маховиком и нажимным устройством.
Дополнительно применяются термоизолирующие прокладки. Меры предосторожности необходимы для увеличения эксплуатационного срока аппарата.
При необходимости выключить устройство используется муфта с подшипником. Она двигается по направлению к двигателю, в результате нажимной и ведомый диск отводятся друг от друга. Усилие направляется через четыре рычага с высоким показателем жесткости. Необходимо обеспечить минимум 15 миллиметров рабочего хода муфты для реализации нормальной работы оборудования. В это пространство не входит свободный ход.
Конкретный показатель настраивается самим механизмом выключения.
Основные части описываемой продукции Ярославского Моторного Завода 238 серии:
-
Отжимная пружина. Часть оборудования, непосредственно связанная с обеспечением нормального хода и работы автомобиля.
-
Шток. Крайне не рекомендована самостоятельная замена. Можно сломать все устройство в целом и заплатить значительно больше денег за ремонт чем можно было бы в иных условиях.
-
Кольцо. Простая, но необходимая часть работы системы.
-
Планка. Производится из прочного материала для увеличения производительности.
-
Оттяжной рычаг. Один из главных компонентов сцепления как такового. Применяется прочный материал, самостоятельная замена не рекомендована.
-
Вилка рычага. Отдельный компонент аппарата.
-
Регулировочная гайка. Допускается возможность самостоятельной калибровки, но только в том случае, если водитель имеет соответствующую квалификацию.

-
Опорная пластинка. Необходимый компонент работы системы.
-
Стопорная планка. Хотя планка может ломаться, крайне не рекомендован самостоятельный ремонт.
-
Стопорная пластина. Компонент, напрямую связанный с предыдущим элементом конструкции.
-
Муфта выключения. Один из важнейших компонентов, который обязательно должен быть в полном порядке. Рекомендуется регулярно проверять состояние муфты на станции технического обслуживания автомобилей.
-
Шланг. Устройство предназначено для поставки смазки к муфте. Может засоряться и нуждается в периодической прочистке.
-
Вилка выключения. Представляет собой устройство, с помощью которого подается сигнал аппарату.
-
Упорное кольцо. Компонент, который непосредственно связан с оттяжными рычагами.
-
Вал для отключения системы.
Соединяется непосредственно с вилкой. -
Рычаг, который также крепится к валу вилки.
-
Палец.
-
Крышка люка. В зависимости от своего состояния, может быть закрыта плотно или неплотно. Рекомендуется проверять крышку у профессиональных механиков.
-
Кожух. Выполняется из прочного металла.
-
Нажимная пружина. В зависимости от состояния сцепления может либо закреплять компонент устройства, либо давать относительную свободу действий. Также количество пружин — единственное, чем отличается сцепление 236 серии от 238. В первом случае их 24, во втором — 28.
-
Термоизолирующая прокладка. Поскольку работа сцепления сопряжена с использованием силы трения, что приводит к появлению паразитарной теплоты инженеры добавили специальные прокладки для борьбы с этим нежелательным явлением.
-
Нажимной диск.
Необходимый компонент устройства сцепления. -
Крышка люка, которая применяется в маховике.
-
Маховик. Также очень важный компонент сцепления и одна из первых вещей, которая проверяется профессиональными механиками на станциях технического обслуживания.
-
Ведомые диски. Ни в коем случае нельзя их путать!
-
Средний ведущий диск.
-
Петля пружины.
Полезная информация: для полного представления о принципах работы сцепления достаточно знаний о перечисленных выше 27 компонентах. Хотя многие автолюбители знают для чего нужен каждый элемент, теоретической информации не всегда хватает для практического применения.
Невозможно говорить о системе сцепления без коробки передач. Здесь она механическая и трехходовая с пятью скоростями для движения вперед и одной — назад. Синхронизаторы работают на 2 и 3 передачах, а также на 4 и 5.
Предприятие выпускает на рынок модификации. Но большинство отличий не несут ничего принципиально нового и концентрируются исключительно на присоединительных элементах и системе управления.
Одна из приятных особенностей — смешанная система смазки. Подшипники скольжения смазываются под давлением, в то время как устройства качения, а также зубчатые зацепления и сам механизм переключения — разбрызгиванием.
Получается выгодный способ соединить преимущества обеих систем в одну.
Если водитель имеет соответствующую квалификацию, им может быть произведена установка сцепления. Для этого следует соблюдать определенный порядок:
-
Монтаж первого ведомого диска. Обязательно убедитесь в том, что он подходит под оборудование и не был перепутан.
-
Монтаж среднего ведущего диска. У него должны быть штоки.
-
Монтаж второго ведомого диска. На этом этапе мастер должен заметить разницу между первым и вторым диском даже внутри самого устройства.
Хотя опытный сотрудник не перепутает диски, новичок часто совершает такую ошибку. -
>Монтаж нажимного диска. Деталь должна быть уже вместе с металлическим кожухом. Крепится на маховике, а в качестве средства фиксации используется 8 коротких болтов.
-
Монтаж разрезных колец на штоки. Обязательно надо сделать это до упора. Если мастер выполнит работу неправильно, система может отказаться в самое неподходящее время непосредственно на дороге.
-
Монтаж тарельчатых пружин к кольцам. Всего используется 4 штуки.
-
Монтаж упорных планок. Фиксируются детали также с помощью 8 коротких болтов.
Полезная информация: обязательно проследите в наличии зазора после установленных колец. Размер зазора должен быть равен 1.2 миллиметра, при этом допустимая погрешность составляет 0.1 миллиметра.
Чтобы устройство сцепления нормально работало необходимо гарантировать хороший свободный ход муфты.
Если этого не сделать, система придет в разнос и может даже потребоваться замена.
Поэтому состояние муфты рекомендуется регулярно проверять на станции технического обслуживания автомобилей. Делать это следует раз в год при проведении планового осмотра. Пренебрежение этими простыми правилами может привести к тому, что устройство откажет на дороге, что приведет к серьезному дорожно-транспортному происшествию.
В ходе пересборки нажимного диска может потребоваться дополнительная регулировка оттяжных рычагов. Регулировать следует в приспособлении с установочным размером 27 миллиметров. Допустимый уровень погрешности составляет 0.1 миллиметр.
В исправном состоянии каждый рычаг одновременно касается упорных сухарей, которые находятся в состоянии заподлицо к верхней поверхности оправки.
Полезная информация: в ходе регулировки устанавливается контрольный размер на уровне 64 миллиметра с допустимым диапазоном погрешности в 0.5 миллиметра между нажимным диском и упорным кольцом.
Важно чтобы биение торца также находилось в допустимых пределах. Его биение относительно нажимного диска в исправном состоянии находится на уровне 0.4 миллиметра при радиусе в 45 миллиметров.
Превышение указанных пределов способствует потере характеристик фрикционных накладок, а следовательно — выходу из строя сцепления как такового.
Поэтому работу проводить рекомендуется только при наличии у водителя необходимой квалификации.
Связанные материалы: ЯМЗ 236 ЯМЗ 236 ЯМЗ 238 сцепление
Дата публикации: 06 февраля 2020
Регулировка сцепления ЯЗМ 238
Сцепление
На чтение 4 мин. Просмотров 21.8k.
Регулировка сцепления ямз 238. Возможные неисправности и пути рушения проблемы. Подробное руководство к действию.
Сцепление, механизм, который постоянно испытывает нагрузку. Максимальных значений она достигает в моменты начала движения или переключения передач. Именно очень важно, чтобы сцепление было правильно отрегулировано – это гарантия длительно работоспособности, как самого механизма, так и сохранности других деталей трансмиссии.
Особенно это правило касается сцепления ЯМЗ 238, давайте разберемся почему.
Сцепление ЯМЗ 238
Содержание
- Конструктивные особенности
- Необходимое техобслуживание сцепления
- Регулировка сцепления
- Замена сцепления
- Уход за сцеплением
Конструктивные особенности
Сцепление этой модели обычно устанавливается на тяжелую мощную технику.
ЯМЗ 238 – это сухое двухдисковое сцепление фрикционного типа цилиндрические пружины у механизма имеют периферическое расположение.
Мощность двигателя и собственно конструктивные особенности механизма очень часто приводят к тому, что неправильно настроенное сцепление запросто может выйти из строя. Дабы избежать поломки, необходимо с периодичностью как минимум раз в полгода проводить диагностику и регулировку сцепления ЯМЗ 238.
Необходимое техобслуживание сцепления
Каждый раз, приступая к ТО сцепления необходимо придерживаться строгой последовательности, дабы не упустить ничего важного и вовремя заметить неполадку:
- Первым делом следует проверить и в случае необходимости отрегулировать свободный ход муфты, отвечающей за включение сцепления (зазор должен составлять 3,2–4 мм).

- Далее, необходимо проверить механизм на отсутствие ведения. (проверка производится при заведенном двигателе на первой передаче и с выключенным сцеплением).
В случае если выяснить, что значение далеки от предельной нормы – выход один, регулировка трансмиссии ЯМЗ 238.
Регулировка сцепления
- Начинать регулировку следует с измерения свободного хода педали сцепления. Для ЯМЗ 238 он должен составлять от 34 до 43 мм. Проверять значение следует с помощью линейки, спустив загодя воздух из пневмосистемы. Итак, если, что-то не в порядке приступаем к регулировке. Однако прежде все-таки убедитесь, зазор между торцом задней крышки корпуса клапана и стопорным кольцом в пределах нормы — 3,5+0,2 мм. При необходимости отрегулируйте и его.
- Далее, необходимо обязательно отрегулировать зазор от второго ведомого диска до упорного кольца оттяжных рычагов. (он должен быть в пределах 64 мм).
- Далее, регулируем и зазор упорным кольцом и подшипником муфты включение механизма ЯМЗ 238.
Здесь значения колеблются в рамках 3,6 мм. Обратите внимание, что полное отсутствие этого зазора может привести к поломке нажимного подшипника и неисправности в работе ведомого диска.
Если принятые меры не помогают, а неисправность в работе сцепления сохраняется, скорее всего, регулировка не панацея и потребуется замена механизма.
Схема сцепления ЯМЗ 238
Замена сцепления
В первую очередь для того чтобы самостоятельно заменить сцепление ЯМЗ 238 на новое, необходимы специфические навыки и как минимум один помощник. Если все это имеется, то серьезных проблем, скорее всего, не возникнет. Приступаем к работе:
- Сначала придется снять коробку передач, это необходимо, чтобы подобраться к маховику и кожуху сцепления.
- Далее, отворачиваем крепления кожуха к маховику и снимаем выжимной диск.
- Отворачиваем планки автоматической регулировки хода среднего диска и снимаем разрезные кольца со штока.
- Снимаем ведомый, средний, первый ведомый и ведущий диски сцепления.

Готово, теперь можно приступать к установке нового сцепления:
- Начинаем с установки первого ведомого диска. Он ставится удлиненным концом ступицы в сторону маховика.
- Далее, очередь 1 и 2 дисков.
- После ставим средний ведущий диск со штоками.
- Устанавливаем нажимной диск и при помощи 8 болтов центрируем ведомые диски по отношению к оси коленвала. Найдя нужное положение, окончательно затягиваем боты.
- После следует надеть разрезные кольца и установить на место упорные планки автоматической регулировки отхода для среднего нажимного диска.
- Еще раз убедитесь, что все собранно правильно и все – можно ставить на место коробку передач.
В целом процесс получается весьма длительным и трудоемким. Проведение работ может занять в зависимости от ситуации до нескольких дней. И, главное, следует понимать, что ошибки в сборе недопустимы. Неправильно установленные детали могут привести к разрушению механизма ЯМЗ 238 и повреждению коробки передач.
Поэтому в случае если вы неуверены в себе лучше обратиться к специалистам. Квалифицированные работники выполнят замену с необходимыми гарантиями.
Уход за сцеплением
Чтобы сцепление проработало как можно дольше и не вышло неожиданно из строя необходимо соблюдать несколько простых правил:
- Периодически проверяйте свободный ход педали, а также смазывайте привод и подшипник муфты включения.
- Дабы уменьшить износ элементов сцепления не следует долго держать ногу на педали и использовать пробуксовку сцепления, для того, чтобы снизить скорость движения.
Сцепление ЯМЗ-236
______________________________________________________________________________________________
Двухдисковое сцепление ЯМЗ-236
— фрикционное, сухое, диафрагменное вытягиваемого типа.
Диски сцепления ведомые диаметром 400 мм, с гасителем
крутильных колебаний пружинно-фрикционного типа, с накладками
фрикционными на асбестовой основе.
Муфта выключения сцепления со специальным радиально-упорным
подшипником, при выключении перемещается к двигателю.
Технические характеристики и параметры сцепления ЯМЗ-236
Максимальный крутящий момент двигателя, Нм. — 700
Масса вращающихся частей, кг — 70
Момент инерции диска ведомого, кг.м2 — 0,09 х 2
Размеры шлиц ведомого диска, мм — 42х34х6
По мере износа фрикционных накладок сцепления средний
ведущий диск под действием нажимных пружин нажимного диска
перемещается к маховику, кольца 2 при этом упираются в кожух
сцепления, перемещаясь по штокам 1 и сохраняя размер между кольцами
и тарельчатыми пружинами.
При установке сцепления ЯМЗ-236 с
механизмом автоматической регулировки отхода среднего диска на
маховик соблюдать следующий порядок:
— Установить передний ведомый диск.
— Установить средний ведущий диск со штоками.
— Установить задний ведомый диск.
— Установить нажимной диск с кожухом в сборе, закрепив его на
маховике при помощи восьми коротких болтов.
— Надеть четыре тарельчатые пружины выпуклой стороной к разрезным
кольцам.
— Установить четыре упорных планки и закрепить их с кожухом к
маховику при помощи восьми длинных болтов.
После установки сцепления ЯМЗ-236 на маховик убедиться в том,
что кольца на штоках стоят с упором в кожух, обеспечивая зазор
1,2±0,1 мм между кольцами и тарельчатыми пружинами при включенном
сцеплении.
При износе накладок ведомых дисков торец муфты выключения сцепления
упрется в торец крышки подшипника первичного вала коробки
передач; в этом случае изношенные накладки ведомых дисков заменить
новыми.
Отсутствие свободного хода муфты выключения сцепления приведет к выходу из строя нажимного подшипника и усиленной
пробуксовке ведомых дисков.
Свободный ход муфты выключения сцепления (размер «А») регулировать
изменением длины тяги механизма выключения или длины штока цилиндра
усилителя в зависимости от конструкции механизма выключения в
соответствии с указанием инструкции по эксплуатации транспортных
средств.
Регулировка положения упорного
кольца оттяжных рычагов корзины сцепления ЯМЗ-236
При сборке нажимного диска (корзины) сцепления ЯМЗ-236 с
кожухом в сборе отрегулировать положение упорного кольца.
Эту регулировку производить в приспособлении, имеющем установочный
размер 27±0,1 мм (рис. 51) регулировочными гайками 6 отжимных
рычагов при фиксированном положении кожуха и нажимного диска.
Регулировкой обеспечить размер «В», равный 64±0,1 при этом упорные
поверхности все четырех оттяжных рычагов 5 должны одновременно
касаться упорного кольца 4.
Перекос упорного
кольца приведет к неравномерному отходу нажимного диска сцепления
(корзины) ЯМЗ-236 при выключении сцепления или ненормальной его
работе.
После регулировки положения упорного кольца регулировочными гайками
6 установить стопорные 7 и опорные 8 пластины регулировочных гаек.
Завернуть все восемь болтов крепления стопорных и опорных пластин,
установив пружинные шайбы под головки болтов.
В случае использования нажимного диска (корзины) с
кожухом в комплекте с ведомыми дисками после ремонта, на которых
установлены фрикционные накладки толщиной 4,15 мм, при регулировке
положения упорного кольца размер «В» установить равным 67±0,1 мм.
Рис.51. Приспособление для сборки нажимного диска сцепления
ЯМЗ-236 с кожухом в сборе
1 – подставка; 2 – направляющий штифт; 3 – болт крепления кожуха; 4
– упорное кольцо оттяжных рычагов; 5 – оттяжной рычаг; 6 –
регулировочная гайка; 7 – стопорная пластина; 8 – опорная пластина;
9 – нажимной диск
Регулировка сцепления ЯМЗ-236
В эксплуатации сцепления периодически проводить
регулировку свободного хода муфты выключения сцепления.
Свободный ход муфты выключения сцепления регулировать
изменением длины тяги механизма выключения или длины штока цилиндра
усилителя в зависимости от конструкции механизма выключения
сцепления.
Свободный ход муфты выключения сцепления, определяемый
зазором между упорным кольцом и подшипником муфты (3,2-4,0 мм)
регулировать в соответствии с указаниями по эксплуатации автомобиля.
Снятие сцепления ЯМЗ-236
Снятие сцепления ЯМЗ-236 с двигателя, укомплектованного коробкой
передач, производиться с предварительным снятием коробки передач.
Снятие коробки передач и сцепления с двигателя, установленного на
транспортное средство, производится в следующем порядке:
Провести работы по подготовке коробки
передач для снятия:
– отсоединить поддерживающую опору силового агрегата, установленную
на коробке передач;
– отсоединить карданный вал от фланца вторичного вала;
– отсоединить привода сцепления и коробки передач и другое,
препятствующее перемещению коробки передач от двигателя на ≈ 300 мм
и опусканию или подъему коробки передач.
Установить на верхнюю крышку коробки передач специальный рым (см.
рисунок 11) вместо опоры рычага переключения или механизма
дистанционного управления коробки передач.
Отвернуть гайку крепления шланга смазки к стенке картера и протолкнуть шланг вместе с масленкой в полость картера
сцепления, при этом оттяжная пружина и скоба пружины также будут
отсоединены от стенки картера и могут упасть в полость картера, на
что необходимо обратить внимание.
Отвернуть болты крепления картера сцепления к картеру маховика,
оставив 2 — 3 болта не отвернутыми.
После зачаливания коробки передач грузоподъемным устройством
(кран, лебедка и т.п.) или подвода передвижного подъемника под
коробку передач, отворачивают оставшиеся 2-3 болта крепления картера
и перемещают коробку передач от двигателя до
выхода первичного вала из ведомого диска, при этом вилка выключения
сцепления, перемещаясь вместе с коробкой передач разворачивается
вместе с валом в сторону двигателя и выходит из зацепления с муфтой.
После снятия коробки передач с картером сцепления муфта выключения
остается на упорном кольце.
Снять оттяжную пружину и ее скобу (если они не разъединились сами).
Снять муфту выключения сцепления ЯМЗ-236 с
упорного кольца в следующей последовательности:
– используя полукруглый паз на краю корпуса муфты выключения,
обращенном к диафрагменной пружине, нащупать пальцем ус
предохранительного кольца и, утопив его (шпилькой, болтом и т.
п.),
через центральное отверстие муфты, отверткой деформируя кольцо
вывести ус из отверстия втулки, что обеспечит возможность разворота
замкового кольца на втулке;
– снова используя полукруглый паз муфты повернуть замковое кольцо
относительно втулки таким образом, чтобы выступы кольца совпали с
лысками на втулке;
– протолкнуть муфту в сторону маховика до упора, обеспечивая
минимальные перекосы относительно оси коленчатого вала, при этом
пружинное кольцо выйдет из фасонной канавки упорного кольца и войдет
в прямоугольную;
– снять муфту, для чего переместить ее в обратном направлении (от
маховика), при этом пружинное кольцо останется в прямоугольной
канавке упорного кольца, извлечь кольцо из прямоугольной канавки с
помощью отвертки и установить его на втулку муфты.
Снять с маховика корзину сцепления ЯМЗ-236
и диск ведомый в следующем порядке:
– для обеспечения безопасности вставить шлицевую или гладкую оправку
в шлицевое отверстие ведомого диска и внутреннее кольцо подшипника в
коленчатом вале.
Необходимый тип оправки используется в зависимости
от модели сцепления.
– вывернуть два диаметрально расположенных болта крепления кожуха и
завернуть монтажные шпильки;
– постепенно в несколько приемов отвернуть оставшиеся 10-ть болтов
крепления кожуха, не допуская значительных перекосов диафрагменной
пружины (для предотвращения перекосов пружины и предупреждения срыва
начальных витков резьбы в маховике рекомендуется перед
отворачиванием болтов крепления кожуха под головки 4-х болтов
крепления нажимного диска к кожуху установить
монтажные шайбы;
– снять корзину и диск ведомый с оправкой.
______________________________________________________________________________________
___________________________________________________________________________________________
Другая спецтехника
МТЗ-80
- Ходоуменьшитель МТЗ-80, 82
- Конструкция ходовой части трактора МТЗ-80
- Коробка переключения передач МТЗ-80
- Сцепление МТЗ-80, 82
- Техобслуживание и регулировки КПП МТЗ-80,82
- Пусковой двигатель ПД-10
- Раздаточная коробка МТЗ-80
- Регулировки ведущих мостов МТЗ-80, 82
- Рулевой механизм и ГУР МТЗ-80, 82
- Устройство тормозной системы МТЗ-80, 82
- ВОМ МТЗ-80, 82
______________________________________________________________________________________
ЯМЗ-236
- Компоненты блока цилиндров ЯМЗ-236 НЕ2, БЕ2
- Сцепление ЯМЗ-181,182,183
- Диски сцепления ЯМЗ-236, 238
- Коленвал и поршневая группа ЯМЗ-236
- Коробка передач ЯМЗ-236
- Диагностика и регулировка двигателя ЯМЗ-236
- Питание топливом и смазка дизеля ЯМЗ-236
- Сцепление ЯМЗ-236
- ТНВД и форсунки ЯМЗ-236
ЯМЗ-238
- Блок цилиндров и поршневая группа ЯМЗ-238
- Коленчатый вал и ГРМ дизеля ЯМЗ-238
- КПП ЯМЗ-238
- Охлаждение и смазка дизеля ЯМЗ-238
- Сцепление ЯМЗ-238
- ТНВД ЯМЗ-238
Т-130
- Бортовые фрикционы Т-130
- Бортовой редуктор Т-130
- Дизель Д-160 трактора Т-130
- Ходовая тележка Т-130
- Механизм поворота трактора Т-130
- Сборка и монтаж тележек Т-130
- Сервомеханизм бортовых фрикционов Т-130
- Сцепление трактора Т-130
- Механизм управления муфты сцепления и горным тормозом Т-130
Т-170
- Двигатель Д-180 бульдозера Т-170
- Гидросистема бульдозера Т-170
- Гидроцилиндр бульдозера Т-170, 130
- Ремонт главной передачи бульдозера Т-170, 130
- Гусеницы и катки Т-170, 130
- Несущая и ходовая система Т-170
- Сборка узлов КПП Т-170, 130
- Механизм натяжения и опорный каток Т-170, 130
- Бульдозерное оборудование Т-170 с поворотным отвалом
- Регулировка муфты сцепления Т-170
- Детали трансмиссии бульдозера Т-170
КРАЗ
- Коробка передач КРАЗ-255, 260
- Рулевое управление Краз-250, 255
- Ведущий мост и карданные валы Краз-255, 260
- Сцепление Краз-250, 260
- ГУР автомобиля Краз
- Подвески автомобиля Краз
- Раздаточная коробка Краз
- Коробка отбора мощности Краз
- Система тормозов автомобилей Краз-6510, 65055
- Карданная передача и ведущие мосты Краз-6510, 65055
- Передняя подвеска автомобилей Краз-6510, 65055
- Рулевое управление КРАЗ-6510, 65055
- Сцепление Краз-6510, 65055
Как правильно поставить диски сцепления ямз 236 двухдисковое
Как правильно поставить диски сцепления ямз 236 двухдисковое
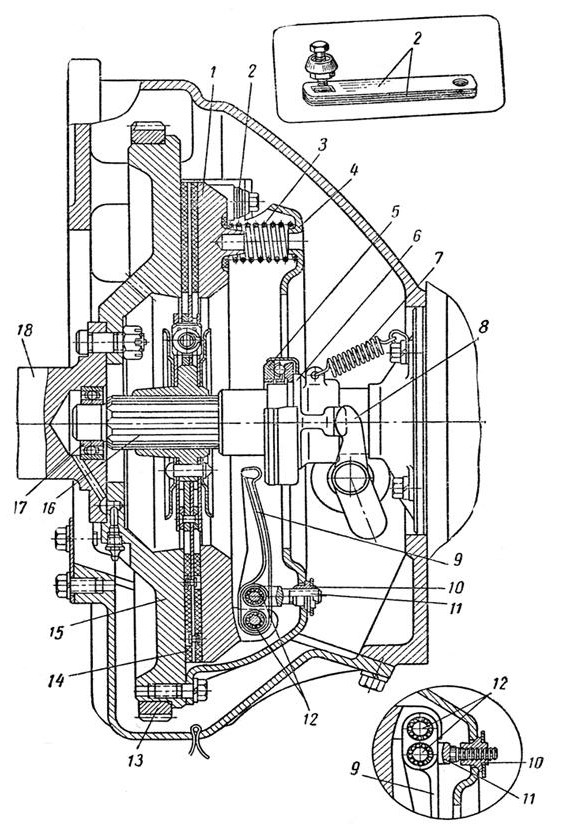
СЦЕПЛЕНИЕ И КОРОБКА ПЕРЕДАЧ
Сцепление — двухдисковое, сухое, фрикционного типа, с периферийным расположением цилиндрических пружин.
Сцепления ЯМЗ-236К, ЯМЗ-238 одинаковы по конструкции и отличаются лишь количеством нажимных пружин. Сцепление ЯМЗ-238 может выполняться в герметизированном варианте.
Кожух 16 (рис. 26) сцепления, штампованный из листовой стали, с нажимным диском 19 в сборе устанавливается на маховике 20 двигателя, а ведомые диски 21 — на шлицевой части первичного вала коробки передач. Передний и задний ведомые диски не взаимозаменяемы и устанавливаются в определенном положении, как показано на рисунке. Ведомые диски сцепления зажимаются постоянным усилием цилиндрических нажимных пружин 17 между маховиком двигателя, средним и нажимным дисками. Сцепление ЯМЗ-236К имеет восемнадцать нажимных пружин, сцепление ЯМЗ-238 — двадцать пружин. Под пружины со стороны нажимного диска подложены термоизолирующие прокладки 18. Нажимной и средний ведущий диски связаны с маховиком четырьмя шипами, находящимися на наружной поверхности дисков. В зажатом состоянии ведомые диски передают крутящий момент двигателя на первичный вал коробки передач.
Выключение сцепления производится муфтой 11. Муфта с подшипником, перемещаясь в сторону двигателя, отводит нажимной диск от ведомого диска, передавая усилие через четыре жестких оттяжных рычага 5. Рабочий ход муфты выключения сцепления, с учетом свободного хода, должен быть не менее 18,2 мм (размер «D»). Величина свободного хода регулируется механизмом выключения сцепления. Упорное кольцо оттяжных рычагов перемещается в сторону коробки передач на 27 мм за счет допустимого износа фрикционных накладок.
Рис. 26. Сцепление ЯМЗ — 238: 1 — шток; 2 — кольцо; 3 — тарельчатая пружина; 4 — планка; 5 — оттяжной рычаг; 6 — вилка оттяжного рычага; 7 — регулировочная гайка; 8 -распорная пластина: 9 — стопорная пластина; 10 — петля пружины оттяжного рычага; 11 — муфта выключения сцепления с подшипником; 12 — шланг подачи смазки к муфте выключения сцепления; 13 — вилка выключения сцепления; 14 — упорное кольцо оттяжных рычагов; 15 — вал вилки выключения сцепления; 16 — кожух сцепления; 17 — нажимная пружина; 18 — термоизолируюшая прокладка; 19 — нажимной диск; 20 -маховик; 21 — ведомые диски; 22 — средний ведущий диск; 23 -отжимная пружина; D — минимальный ход выжимной муфты
Гарантированные зазоры между ведомыми дисками и поверхностями трения маховика, среднего ведущего и нажимного дисков при выключении сцепления по мере износа накладок обеспечиваются механизмом автоматической регулировки отхода среднего диска, который состоит из штоков 1, закрепленных в каждом из четырех шипов среднего ведущего диска, разрезных колец 2, для перемещения по штоку которых необходимо определенное усилие, упорных планок 4, которые крепятся с кожухом сцепления болтами к маховику, и тарельчатых пружин
3, установленных на штоке между кольцом 2 и планкой 4.
При выключении сцепления нажимной диск 19 отходит назад не менее чем на 2 мм, и освобождает задний ведомый диск
21. Средний ведущий диск 22 под действием пружины 23 так же отходит назад, до упора кольца 2 в планку 4 через тарельчатую пружину, на величину 1,2±0,1 мм, освобождая передний ведомый диск.
По мере износа фрикционных накладок сцепления средний ведущий диск под действием нажимных пружин нажимного диска перемещается к маховику, кольца 2 при этом упираются в кожух сцепления, перемещаясь по штокам 1 и сохраняя размер между кольцами и тарельчатыми пружинами.
При установке сцепления с механизмом автоматической регулировки отхода среднего диска на маховик соблюдать следующий порядок:
1. Установить передний ведомый диск.
2. Установить средний ведущий диск со штоками.
3. Установить задний ведомый диск.
4. Установить нажимной диск с кожухом в сборе, закрепив его на маховике при помощи восьми коротких болтов.
5. Надеть разрезные кольца 2 на штоки 1 до упора в кожух сцепления.
6. Надеть четыре тарельчатые пружины выпуклой стороной к разрезным кольцам.
7. Установить четыре упорных планки и закрепить их с кожухом к маховику при помощи восьми длинных болтов. После установки сцепления на маховик убедиться в том,
что кольца на штоках стоят с упором в кожух, обеспечивая зазор 1,2±0,1 мм между кольцами и тарельчатыми пружинами при включенном сцеплении.
При износе накладок ведомых дисков торец муфты выключения сцепления упрется в торец крышки подшипника первичного вала коробки передач; в этом случае изношенные накладки ведомых дисков заменить новыми.
Отсутствие свободного хода муфты выключения сцепления приведет к выходу из строя нажимного подшипника и усиленной пробуксовке ведомых дисков. Свободный ход муфты выключения сцепления (размер «А») регулировать изменением длины тяги механизма выключения или длины штока цилиндра усилителя в зависимости от конструкции механизма выключения сцепления в соответствии с указанием инструкции по эксплуатации транспортных средств.
Конструктивные особенности
Сцепление этой модели обычно устанавливается на тяжелую мощную технику.
ЯМЗ 238 – это сухое двухдисковое сцепление фрикционного типа цилиндрические пружины у механизма имеют периферическое расположение.
Мощность двигателя и собственно конструктивные особенности механизма очень часто приводят к тому, что неправильно настроенное сцепление запросто может выйти из строя. Дабы избежать поломки, необходимо с периодичностью как минимум раз в полгода проводить диагностику и регулировку сцепления ЯМЗ 238.
Необходимое техобслуживание сцепления
Каждый раз, приступая к ТО сцепления необходимо придерживаться строгой последовательности, дабы не упустить ничего важного и вовремя заметить неполадку:
- Первым делом следует проверить и в случае необходимости отрегулировать свободный ход муфты, отвечающей за включение сцепления (зазор должен составлять 3,2–4 мм).
- Далее, необходимо проверить механизм на отсутствие ведения.
(проверка производится при заведенном двигателе на первой передаче и с выключенным сцеплением).
В случае если выяснить, что значение далеки от предельной нормы – выход один, регулировка трансмиссии ЯМЗ 238.
Корзина сцепления ЯМЗ-236/238 (МАЗ) 238-1601090
Корзина сцепления для двигателя ЯМЗ-236, ЯМЗ-238 (МАЗ, К-700). Муфта сцепления ЯМЗ каталожный номер: 236-1601090, 238-1601090. Диск нажимной в сборе ЯМЗ-238 (ЯМЗ-236)
Корзина сцепления ЯМЗ-238/236 применяется на К-700А; КамАЗ-5410, Супер-МАЗ, КрАЗ-260, КрАЗ-6443, КрАЗ-643701, тягачи КрАЗ; БелАЗ-75485, БелАЗ-75486, БелАЗ-7540, БелАЗ-75401, БелАЗ-75400
Вес корзины муфты сцепления ЯМЗ — 35 кг.
Купить корзину сцепления ЯМЗ 236 ЯМЗ 238 по телефонам 066-409-76-30, 067-611-18-32. Ремонт корзины сцепления ЯМЗ.
Актуальную цену на корзину сцепления ЯМЗ уточняйте у менеджеров!
Интернет магазин «Ремгидромастер» предлагает корзины муфты сцепления для сельскохозяйственной техники.
Устройство и принцип работы муфты сцепления ЯМЗ 238/236
Сцепление ЯМЗ-238К— двухдисковое, сухое, фрикционного типа, с периферийными цилиндрическими пружинами. Ведомые диски без демпферного устройства.
Сцепление ЯМЗ-238 (ЯМЗ-238С) —двухдисковое, сухое, фрикционного типа, с периферийным расположением цилиндрических пружин, с демпферным устройством в ведомых дисках.
Сцепление ЯМЗ-236К — двухдисковое, отличается от сцепления ЯМЗ-238 уменьшенным количеством нажимных пружин — 24 вместо 28.
1— отжимная пружина; 2 — контргайка; 3 — регулировочный винт; 4 — оттяжной рычаг; 5 — вилка оттяжного рычага; 6 — регулировочная гайка; 7 — стопорная шайба; 8 — опорная пластина; 9 — болт; 10 — петля пружины оттяжного рычага; 11— муфта выключения сцепления с подшипником; 12 — шланг; 13 — вилка; 14 — упорное кольцо; 15 — вал вилки; 16 — рычаг; 17 — палец; 18 — крышка люка картера сцепления; 19 — кожух сцепления; 20 — пружина; 21 — термоизолирующая прокладка; 22—«нажимный диск; 23 —крышка люка картера маховика; 24 — маховик; 25 — ведомые диски; 26 — средний ведущий диск; L — минимальный ход муфты выключения сцепления с учетом свободного хода; М — место маркировки сцепления.
Каждая модификация сцепления устанавливается на двигателе только с определенными маховиками, отличающимися между собой в основном только размером А (рис. 40) от привалочной плоскости Т3 до рабочей поверхности Т,При сборке двигателя необходимо проверить маркировку маховика, выполненную в литье на поверхности Т2. На двигателе ЯМЗ-236 под двухдисковое сцепление ЯМЗ-236К маховик имеет маркировку ЯМЗ-236-1005115-Е, под однодисковое сцепление ЯМЗ-236 — ЯМЗ-236-1005115-Д.
На двигателе ЯМЗ-238 под сцепление ЯМЗ-238К устанавливался маховик ЯМЗ-238-1005115Д, под сцепление ЯМЗ-238 (ЯМЗ-238С) устанавливается маховик с маркировкой ЯM3-238-1005115-Г.Если в сцеплении ЯМЗ-238К устанавливались два одинаковых ведомых диска, то в сцеплении ЯМЗ-238 ведомые диски не взаимозаменяемы между собой.
В связи с введением демпферного устройства в сцеплении ЯМЗ- 238 увеличена толщина среднего ведущего диска с 25 до 31 мм и в нажимном комплекте увеличен контрольный размер Б (см. рис.
120) между рабочими поверхностями нажимного диска и упорного кольца до 64±Д5 мм при установке последнего на оттяжные рычаги.
Для возможности использования ведомых дисков до полного износа фрикционных накладок укорочена на 10 мм муфта выключения сцепления. Кроме того, на нажимном диске сцепления ЯМЗ-238 введены специальные упоры под оттяжные рычаги.
При введении демпферного устройства в ведомые диски сцепления ЯМЗ-238 с целью унификации изменена конструкция и однодискового сцепления ЯМЗ-236. Ранее устанавливаемый ведомый диск заменен передним ведомым диском двухдискового сцепления ЯМЭ-238, маркируемым на фрикционной накладке номером 238- 1601130-Б. Изменен контрольный размер Б нажимного комплекта и также укорочена на 10 мм муфта выключения сцепления.
Все детали сцепления старой конструкции, потерявшие взаимозаменяемость, поставляются в запасные части наряду с деталями новой конструкции. Ниже рассмотрена возможность взаимного использования деталей в сцеплениях старого и нового выпусков.
Нажимные диски в сборе с кожухом сцепления ЯМЗ-236 старой конструкции и сцепления ЯМЗ-238К с контрольным размером 56± ±0,5 мм можно в специальном приспособлении (рис.
121) перерегулировать на контрольный размер 65±0,5 мм для установки на двигатели, снабженные маховиками для сцеплений ЯМЭ-236 новой конструкции и ЯМЗ-238. Нажимный комплект сцеплений ЯМЭ-236 нового выпуска и сцеплений ЯМЭ-238 и ЯМЭ-236К с контрольным размером 64±0,5 мм перерегулировать на контрольный размер 56±0,5 мм нельзя из-за наличия упоров оттяжных рычагов на нажимном диске.
Нажимной комплект новой конструкции с контрольным размером 64±0,5 мм может устанавливаться без каких-либо изменений в сцепление ЯМЗ-236 старой конструкции и в сцепление ЯМЭ-238К, но только с муфтой выключения сцепления длиной 50 мм (укороченной на 10 мм). Укороченная муфта может устанавливаться на сцеплениях как старой, так и новой конструкции. Таким образом, нажимный диск (отдельная деталь) старой конструкции может устанавливаться в сцеплениях как старой, так и новой конструкции, а нажимный диск новой конструкции с упорами под оттяжные рычаги может быть установлен только в нажимный комплект с контрольным размером 64 ±0,5 мм.
Принципы работы
Пружины нажимного типа отталкиваются одной стороной в кожух узла сцепления, а другой частью в диск нажимного характера, при посредстве теплоизоляционных шайб. Нажимной диск направляет действие на ведомые и ведущие диски, перемещая их непосредственно к маховику. В ситуации если сцепление находится в выключенном состоянии, происходит следующее: пружины отжимного цилиндрического типа заполняют соответствующие зазоры, которые образуются между всеми элементами узла. В течение некоторого времени фрикционные накладки дисков сцепления изнашиваются и теряют свой первоначальный вид, а соответственно и характеристики.
Двухдисковое сцепление МАЗ
Регулировка сцепления МАЗ
В прошлых статьях мы рассматривали вопрос ремонта сцепления МАЗ и его устройства.
Сегодня мы предлагаем несколько полезных советов, которые помогут вам сделать регулировку сцепления МАЗ.
Также мы расскажем, как прокачать сцепление на МАЗ.
Инструкция по регулировке сцепления МАЗ
Сцепление грузового автомобиля представляет собой двухдисковое устройство фрикционного типа, которое устанавливается в картере грузовика.
функция – разъединение коленвала мотора грузовика от коробки передач. Также сцепление при переключении передач плавно соединяет элементы (КПП и коленвал двигателя). Однако со временем механизмы изнашиваются. Поэтому делается регулировка сцепления МАЗ. Для этого советуем купить:
- Накидные и рожковые ключи;
- Штангенциркуль и линейку.
Итак, регулировка сцепления МАЗ делается следующим образом. Сначала необходимо обеспечить максимально правильный зазор между поверхностями механизма. Для этого отрегулируем величину отхода такого элемента как ведущий диск. Обратите внимание зазор между регулировочной гайкой и торцом крышки корпуса клапана. Советуем также их отрегулировать.
Регулировка двухдискового сцепления МАЗ требует терпения. Поэтому продолжаем дальше. Приступаем к демонтажу картера маховика и крышки его люка. Все это необходимо для варьирования величины отхода среднего диска (ведущего). Регулировка сцепления МАЗ на данном этапе делается так:
- Включаем сцепление;
- Устанавливаем рычаг КПП на нейтралку;
- Поворачиваем маховик двигателя;
- Отворачиваем контргайки винтов;
- Вворачиваем до упора 4 винта в средний ведущий диск.

Регулировка двухдискового сцепления МАЗ все еще не закончена.
Далее продолжаем вращать маховик, предварительно отвернув винты на 1 оборот. После зафиксируем данные элементы контргайками. Есть один момент — регулировка двухдискового сцепления МАЗ требует постоянного удержания инструментом винта. Таким образом отрегулированный зазор не сможет сбиться. Продолжаем регулировку. Линейкой измеряем зазор между гайкой и торцом задней крышки клапана. Помните, что он не должен превышать 3,3 мм.
Регулировка двухдискового сцепления МАЗ включает работу именно с этим нюансом. Для регулировки зазора ослабляем контргайку регулировочной гайки. После фиксации необходимого зазора (3,3-3,7 мм), затягиваем крепеж. Все, регулировка двухдискового сцепления МАЗ сделана.
Как прокачать сцепление на МАЗ?
Регулировка двухдискового сцепления МАЗ не занимает особо много времени. Однако с прокачкой сцепления иногда возникают проблемы.
Прежде чем думать о том, как прокачать сцепление на МАЗ, советуем убедиться в необходимости данной процедуры.
Одна из главных причин того, что нужно прокачивать ПГУ – плохое включение передач. То есть в этом случае, сцепление включается не совсем полностью, так как в гидролинию автомобиля попал воздух. Поэтому знать, как прокачать сцепление на МАЗ, необходимо всем автовладельцам.
В помощь вам – небольшая инструкция.
Перед прокачкой сцепления МАЗ постепенно заполняем бачок гидропривода жидкостью до уровня одного, полтора сантиметра (1-1,5 см).
Важно очистить от загрязнений клапан выпуска цилиндра. Снимаем защитный колпачок с его головки. Надеваем на элемент резиновый шланг. Обычно он есть в принадлежностях МАЗ.
Наиболее распространенные причины выхода из строя систем сцепления
Человеческий фактор может привести к преждевременному выходу из строя данного узла. Вот несколько факторов влияющих на сокращение жизни сцепления:
- Агрессивная манеры езды. Не стоит постоянно резко нажимать и бросать педаль муфты – так фрикционные накладки быстро выходят из строя.

- Езда при повышенных нагрузках.
- Неправильная буксировка. Неопытные автовладельцы часто при буксировке удерживают педаль наполовину выжатой. Также не рекомендуется брать на буксир транспорт гораздо тяжелее Вашего автомобиля.
- Езда с полу выжатой педалью сцепления.
- Резкие старты и слишком плавные на высоких оборотах.
- Многие новички часто, во время коротких остановок (например, на светофоре), удерживают муфту выжатой. Делать так не стоит, так как в таком положении выжимной подшипник находится под постоянной нагрузкой, а это приводит к его преждевременному выходу из строя.
Рабочий ресурс муфты довольно большой и находится в переделах 100 – 150 тыс. км. При правильной эксплуатации механизм довольно надежный и достижение верхней планки вполне реально.
Сцепление двигателей ЯМЗ-236, ЯМЗ-238, ЯМЗ-7511
Сцепление двухдисковое, фрикционное, сухое, с периферийными пружинами. Диски ведомые диаметром 400 мм, с гасителем крутильных колебаний пружинно-фрикционного типа, с накладками фрикционными на асбестовой основе.
Муфта включения со специальным радиально-упорным подшипником, при включении перемещается к двигателю.
Технические характеристики
частей, кгМомент инерции ведомого диска, кг·м·с2Размеры шлиц ведомого диска, мм
| ЯМЗ-236К | 700 | 70 | 0,09 × 2 | 42 × 34 × 6 |
| ЯМЗ-238 | 920 | 70 | 0,09 × 2 | 42 × 34 × 6 |
| ЯМЗ-238Н | 1275 | 70 | 0,09 × 2 | 42 × 34 × 6 |
| ЯМЗ-236КМ | 700 | 71,4 | 0,1 × 2 | 42 × 34 × 6 |
| ЯМЗ-238М | 920 | 71,4 | 0,1 × 2 | 42 × 34 × 6 |
| ЯМЗ-238НМ | 1275 | 71,4 | 0,1 × 2 | 42 × 34 × 6 |
Механизм гашения крутильных колебаний и отбора мощности
Силовые агрегаты могут комплектоваться механизмом гашения крутильных колебаний и отбора мощности (рис. 3), предназначенным для гашения резонансных крутильных колебаний и предохранения систем трансмиссии от разрушения.
Механизм установлен на маховике двигателя и состоит из прижимного фланца 1, ведомого диска 2 с фрикционными накладками и механизмом гашения крутильных колебаний, пакетов тарельчатых пружин 5 и ступенчатых болтов 6.
Ведомый диск 2 постоянно поджат к маховику 3 через фланец 1 пакетами тарельчатых пружин 5, собранных на ступенчатых болтах 6.
Ступенчатые болты ввернуты в маховик до упора. При установке ступенчатых болтов на их резьбовую часть наносится герметик УГ-6 ТУ 6-01-1285-84, затяжка производится с усилием 49-59 Нм (5-6 кгсм).
Количество пакетов тарельчатых пружин и болтов подобрано так, что созданный ими момент трения позволяет передавать крутящий момент с маховика на вал отбора мощности до 1700 Нм (170 кгсм).
При нагрузке ведомого диска крутящим моментом более 1700 Нм (170 кгсм) усилия пружин недостаточно для удержания ведомого диска и он проворачивается относительно маховика и тем самым предохраняет дальнейшую кинематическую связь от разрушения.
В процессе эксплуатации механизм технического обслуживания не требует.
Возможные в процессе эксплуатации неисправности ведомого диска аналогичны неисправностям ведомого диска сцепления.
Преждевременная пробуксовка ведомого диска устраняется установкой дополнительных пакетов тарельчатых пружин совместно с болтом и дальнейшей проверкой момента трения в следующем порядке:
1. Застопорить маховик двигателя.
2. Нагрузить ведомый диск механизма моментом менее
1700 Нм (170 кгсм). диск не должен проворачиваться относительно маховика.
3. Нагрузить ведомый диск механизма моментом 1700… 1900 Нм (170… 190 кгсм). Диск должен проворачиваться относительно маховика.
Состав узла
Двухдисковое сцепление на автомобиле маз представляет собой сложный механизм, который состоит из следующих компонентов:
Оно прикрепляется к втулке посредством фланца, монтированного к картеру КПП;Из последнего пункта этого перечисления становится понятно название этого типа сцепления для маз.
Нет в наличии:
| № | Код детали | Наименование | Количество на модель, шт. | |
| 1 | 8-9672 | Диск ведомый | 1 | Нет в наличии |
| 2 | 236-1601132-В | Диск ведомый с накладками | 2 | Нет в наличии |
| 3 | 313015-П | Заклепка | 80 | Нет в наличии |
| 4 | 238-1601142-В | Ступица | 2 | Нет в наличии |
| 5 | 236-1601138-А3 | Накладка фрикционная | 4 | Нет в наличии |
| 8 | 8-9672 | Диск ведомый | 1 | Нет в наличии |
| 9 | 236-1601282 | Штифт со стопорным кольцом | 2 | Нет в наличии |
| 10 | 4694164617 | Ролик игольчатый | 160 | Нет в наличии |
| 11 | 236-1601095-Б2 | Рычаг оттяжной | 4 | Нет в наличии |
| 21 | 201474-П29 | Болт | 8 | Нет в наличии |
| 22 | 4591675005 | Пресс-масленка | 3 | Нет в наличии |
| 23 | 2506364129 | Гайка | 1 | Нет в наличии |
| 24 | 312399412 | Шайба | 9 | Нет в наличии |
| 28 | 4615936371 | Подшипник 986714КС17 | 1 | Нет в наличии |
| 29 | 236-1601185-В | Муфта | 1 | Нет в наличии |
| 30 | 200-1601187 | Сухарь муфты | 2 | Нет в наличии |
| 32 | 236-1601030-А2 | Крышка люка картера верхняя | 2 | Нет в наличии |
| 34 | 310214-П29 | Болт | 12 | Нет в наличии |
| 35 | 314004-П2 | Шпонка | 1 | Нет в наличии |
| 37 | 260316-П2 | Заглушка | 1 | Нет в наличии |
| 38 | 238Н-1601042 | Кольцо уплотнительное внутреннее | 1 | Нет в наличии |
| 39 | 238Н-1601044 | Кольцо уплотнительное наружное | 1 | Нет в наличии |
| 40 | 238Н-1601040 | Корпус уплотнителя вала | 1 | Нет в наличии |
| 41 | 238-1601010 | Картер сцепления | 1 | Нет в наличии |
| 42 | 310012-П2 | Болт | 8 | Нет в наличии |
| 45 | 310213-П29 | Болт | 1 | Нет в наличии |
| 49 | 238-1601308 | Планка | 4 | Нет в наличии |
| 52 | 238-1601125-Б | Кожух | 1 | Нет в наличии |
| 53 | 238-1601093 | Диск нажимной | 1 | Нет в наличии |
| 55 | 236-1601118-Б2 | Прокладка | 20 | Нет в наличии |
| 56 | 236-1601117 | Шайба | 20 | Нет в наличии |
| 57 | 250615-П29 | Гайка | 4 | Нет в наличии |
| 58 | 238-1601302 | Шток | 4 | Нет в наличии |
Не можете найти необходимую деталь из группы Сцепление ЯМЗ-238 на ЯМЗ-238М2? Проконсультируйтесь у наших специалистов по телефону 8-800-700-19-88 или по эл.
почте Мы обязательно вам поможем!
Обслуживание
Техническое обслуживание данного механизма выполняется следующим образом:
- Проводят внешний осмотр педали, при необходимости регулируют ее свободный ход.
- Прокачивают гидравлический привод.
- Проводят диагностику крепежных элементов картера, при необходимости затягивают гайки.
- Проводят внешний осмотр оттяжного пружинного устройства, смазывают подшипники и гидравлическую муфту.
- Проверяют работоспособность выключателя сцепления и втулки валика.
- Осматривают на износ и наличие повреждений вилки и педали сцепного механизма.
- Проверяют работу механизма путем переключения передач транспортного средства на месте и во время разгона.
- Устраняют неправильно выставленные промежутки между опорными кольцами и шайбами.
- Устраняют негерметичность системы и смазывают все цилиндрические элементы специальной жидкостью.
- Проверяют зазор между штоками и поршневой частью главного цилиндрического устройства.

Как провести регулировку
Действия при регулировке сцепления МАЗ:
- Отрегулировать свободный ход педали. Для этого нужно поставить ногу на педаль и выжать газ до упора. Если требуется, то уменьшить или увеличить ход данного устройства.
- Отпустить педаль и измерить расстояние до нижней отметки сцепного механизма.
- Наибольшая амплитуда хода не должна превышать 16 см.
- Затянуть все крепежные элементы.
- Измерить свободный ход педали.
После того как водитель отрегулировал сцепной механизм, необходимо выполнить регулировку корзины сцепления МАЗ:
- Установите транспорт на специальную платформу.
- Открутите крепежные болты, которые соединяют коробку передач и кузов автомобиля.
- Демонтируйте коробку передач.
- Открутите винты диска нажимного типа и демонтируйте его.
- Проведите осмотр корзины и замените поврежденные и износившиеся детали.
- Отрегулируйте расположение лапок.
- При помощи регулировочной рукоятки установите лапки в положения, которые показаны в руководстве пользователя по ремонту МАЗа.

- Затяните все крепежные винты до упора.
- Соберите механизм, повторив все действия в обратном порядке.
| ||||||||||||||||||||||||||||||||||||||||||||||||||||||||||||||||||||||||||||||||||||||||||||||||||||||||||||||||||
Новые заметки | OMFB Hydraulic Components
Последнее обновление: 10.03.2022
Логин
МЕТАЛЛИЧЕСКИЕ СТЯЖКИ ИЗ НЕРЖАВЕЮЩЕЙ СТАЛИ ДЛЯ РЕЗЕРВУАРОВ
07/07/2022
Attachment
Mercedes Powershift-3 G291-12 / G340-12
12/05/2022
Attachment
N-FORCE / MINI-FORCE BRACKETS
12/05/2022
Attachment
Incorporation of Company DAL BARCO SRL
04/02/2022
Attachment
NEW TANKS REFERENCES
25/01/2022
Attachment
PM20-PM50 HAND PUMPS
07/01/2022
Attachment
MOUNTING KIT FOR OIL TANKS 480×650
15/06/2021
Прикрепление
Клапан управления модуль-заглушками с гидравлическим блоком
12/05/2021
Прикрепление
.
0809
12/05/2021
Attachment
GEAR PUMPS LTH UNI D.22
05/01/2021
Attachment
PTO FOR EATON/FULLER GEARBOX
04 /01/2021
Attachment
PTO FOR EATON ESO 4106/4206 GEARBOX
10/12/2020
Attachment
PTO FOR ISUZU MVC 6W GEARBOX
10/12/2020
Attachment
COMPANY SHUTDOWN — 14/04/2020
10/04/2020
Attachment
PTO for HINO 300 vehicle
03/03/2020
Attachment
PTO для Hino MX06S/07S коробок передач
18/12/2019
Прикрепление
Радиоте REMOTE CONTROL -CONTROL — 2 Функции 908
REMOTE REMOTE CONTROL -CONTROL — 2 функции 908
.
Attachment
BENT AXIS PISTON PUMPS SERIES HDS
03/05/2019
Attachment
NEW ADAPTORS FOR SCANIA GR-GRS-GRSO TRANSMISSIONS
27/02/2019
Attachment
Поршневые насосы «Twin -Flow» серия
20/12/2018
Привязанность
ПРИМЕННЫЙ ДЕЙСТВИТЕЛЬНЫЙ ПИСТОН СЕРИЯ 18 ПРИЛОЖЕНИЕ ДЛЯ ДЕЛЕЗНОГО ДЛЯ ПИСТОНСКОЙ СЕРИЯ
18 .0813
Attachment
FIXING KIT FOR OIL TANKS
11/04/2018
Attachment
PTO for ISUZU MVC 6W gearboxes
21/09/2017
Attachment
SUCTION FITTINGS FOR PPV PUMPS
11/05/2017
Attachment
ADAPTOR SAE-A PUMPS / UNI PTO’s
11/05/2017
Attachment
NEW BALL VALVE AND FITTINGS
11/05/2017
Attachment
NEW QUILL SHAFT FOR GEARBOXES ZF ECOSPLIT 4 WITHOUT INTARDER
11/05/2017
Attachment
PTO for ISUZU gear boxes
20/12/2016
Attachment
NEW 4L OIL TANK FOR HAND PUMPS
07/12/2016
Attachment
Air/Oil SDC HEAT EXCHANGERS
12/10/2015
Attachment
ELECTRIC LOOM KIT FOR BYPASS VALVE
15/12/2014
Attachment
PTO for KAMAZ gear boxes
21/11/2013
Attachment
NEW PNEUMATIC CONTROL — N-FORCE EVO
07/10/2013
Attachment
NEW PTO FOR EATON GEARBOX WITH OUTPUT SAE Б
18/09/2013
Attachment
ADAPTOR FOR IVECO CURSOR 8-10-13 engine PTO to ISO PUMP
18/06/2013
Attachment
NEW PTO’S WITH SAEB Выходная версия
18/06/2013
Приложение
Новые стальные резервуары для рук
21/02/2013 9089
21/02/2013 908
21/02/2013 9089
21/02/2013 908
21/02.
22/10/2012
Attachment
PTO for IVECO 2835.6 gearboxes
28/08/2012
Attachment
SIDE MOUNTING TANKS 250 lt
31/07/ 2012
Приложение
PTO для IVECO 2850,6 GEARBORES
14/06/2012
Привязанность
13
.0813
Attachment
PTO for ZF, MERCEDES and VOLVO gearboxes
11/05/2012
Attachment
GEAR PUMPS NPLA-NPLU-NPLH
12/03/2012
Приложение
Пневматический переключатель управления Новая версия
16/02/2012
Приложение
PTO для Scania Gear Boxes
PTO для Scania Gear Boxes
PTO для Scania Gear Boxes.
0318 Attachment
PTO WITH HIGH ENGAGEMENT FOR NISSAN M5-35 GEARBOX
12/01/2012
Attachment
PTO’s for IVECO 2840.6 MY2011 gearboxes
24/11/2011
Attachment
ОТВОДНОЙ КЛАПАН ПОТОКА НА 3 ПУТИ, 2 ПОЗИЦИИ
17/11/2011
Приспособление
МНОГОФУНКЦИОНАЛЬНЫЙ ДВИГАТЕ0809
28/09/2011
Attachment
PTO for MITSUBISHI M038S5-M038S6 gearbox
16/09/2011
Attachment
QUICK RELEASE COUPLINGS WITH LUGS
12/ 09/2011
Прикрепление
Поршневые насосы «Серия
13/07119
ATCTION
ATTRAM
»
.
13/07/2011
Attachment
MULTIFUNCTIONAL HYDRALIC VALVE «MODUL-GATE»
09/05/2011
Attachment
VALVE FOR TAR VEHICLES
07/03/ 2011
Приложение
Сборка с рельефным клапаном для поршневых насосов оси сог.
11/10/2010
Attachment
PILOTED BY-PASS VALVES
16/09/2010
Attachment
POWER-PACK “CABLED“
08/04/2010
Прикрепление
Аварийные ручные насосы для мини -питания
15/02/2010
Приложение
0139
8 PTO FOR SCANIIA
08SABERES
08.S. ATS SCANIIA
.S. ATS SCANIIA
.0139
Приложение
Power -Pro WL — Новый пакет с дистанционным управлением для Tip Trucks
09/10/2009
Прикрепление
ISO.
Приложение
ISO/A-SAE Support
21/01/2009
ATACTAMMANT
PTO FORBERES для GEARBEDES
PTO FORBEARES для GEARBEDES
.
Приложение
Gear Pump Nplh SAE-A
17/11/2008
Привязанность
3-way Pneumatic Mock-Off Switch-Off-Off-Off-Off-Off-выключатель для фигурных переключателей
.
Attachment
HAND PUMPS WITHOUT TANK — PMSE 16
29/07/2008
Attachment
HIGH PRESSURE 3-WAY MANUAL VALVE
22/05/2008
Attachment
PTO for ZF AS-TRONIC gearbox
14/05/2008
Attachment
PTO ISO/PUMP SAE C Application
13/05/2008
Attachment
NEW POWER PACK — POWER-PRO
30/04/2008
Attachment
PTO DAILY and NISSAN with built-in gear pump
23/04/2008
Attachment
NEW PNEUMATIC CONTROL N-FORCE
18/04/2008
Attachment
SAFETY SEALING OF PRESSURE RELIEF VALVES
10/01/2008
Attachment
PTO FOR NISSAN APR-90A GEARBOX
29/11/2007
Attachment
NEW PNEUMATIC SWITCH «N-GAGE»
28/11/2007
Attachment
PTO FOR ZF AS-TRONIC GEARBOX
11/10/2007
Attachment
ADAPTORS FOR GENUINE SCANIA PTO’S
26/07/2007
Attachment
PTO FOR ZIL 130 — ZIL 5301 GEARBOX
11/05/2007
Attachment
PTO FOR NISSAN M5-40 GEARBOX WITH BUILT-IN GEAR PUMP
11/05/2007
Attachment
PTO FOR YAMZ 236 GEARBOX
11/05/2007
Attachment
PTO FOR MITSUBISHI M036-S6 GEARBOX
29/03/2007
Attachment
PTO FOR HINO LX06S GEARBOX
01/03/2007
Attachment
PTO FOR NISSAN M5-40 GEARBOX
01/03/2007
Attachment
NEW ELECTROMAGNETIC DEVICE “MAG-TRONIC“
29/11/2006
Attachment
SANDWICH PNEUMATIC CONTROL
25/05/2006
Attachment
SWIVEL ARM FOR PIPES CONNECTION ON SEMITRAILERS
27/04/ 2006
Приложение
Насосы и адаптеры ASAE 1-3/8 «
24/03/2006
ATCTIONM
ATCTIOD
.
0809
01/02/2006
Приложение
New PTO Series 10,5 и 10,7 для задней скорости. AIR
02/12/2005
Attachment
NEW BRACKET KIT FOR ELECTRO-MAGNETIC CLUTCH
24/11/2005
Attachment
INTERRUTTORI DI SEGNALAZIONE INNESTO PTO
21/07/2005
Attachment
QUASAR UN NUOVO RADIOCOMANDO FIRMATO OMFB
30/05/2005
Attachment
NUOVI RACCORDI IN ASPIRAZIONE
22/03/ 2005
Attachment
KIT LUBRIFICAZIONE FORZATA PER PTO SU CAMBI ZF ECOSPLIT E MERCEDES
10/03/2005
Attachment
NUOVO INTERRUTTORE PNEUMATICO DI SEGNALAZIONE PTO INSERITA
10/03/2005
Attachment
NUOVE VALVOLE PER RIBALTABILI LEGGERI
21/12/2004
Attachment
COMANDO PNEUMATICO DI GESTIONE DEI CASSONI RIBALTABILI
22/ 11/2004
Прикрепление
PTO Doppia USCITA на Scania GRS 900
22/11/2004
ACTED
.
0809
08/10/2004
Attachment
POMPE A PISTONI ASSIALE A PORTATA VARIABILE
25/05/2004
Attachment
PTO SERIE “DUAL POWER“ DOPPIA USCITA UNI
13/05/2004
Attachment
NUOVA PTO PER CAMBI NISSAN M5-35
31/03/2004
Attachment
POMPE REVERSIBILI NPLH
24/03/2004
Attachment
DEVIATORE DI FINECORSA “RUNSTOP 200“
24/03/2004
Attachment
AIR-PACK SISTEMA ELETTROPNEUMATICO PER COMANDO PRESE DI FORZA E Valvole
25/02/2004
.0808 NUOVO CILINDRO PER SCARRABILE
25.02.2004
Приложение
O.M.F.B. S.p.A. Hydraulic Components
Via Cave, 7/9 — 25050 Provaglio d’Iseo (BS) Италия —
Тел.
(+39) 030.98.30.611
P.IVA: IT06226
3 —
Cap. Sociale € 20.000.000 i.v.
К.Ф. 06226
3 —
N.Isc.Reg.Imp. Продажа автогрейдера di Brescia 06226
3 —
REA 529468
DZ-98. Доставка по всему миру из России.
Свяжитесь с нами, чтобы заказать B10M
Челябинский завод дорожно-строительных машин выпускает автогрейдер ДЗ-98 — вездеход с большой мощностью и работоспособностью в самых неблагоприятных климатических условиях и труднопроходимой местности. Низкие температуры никак не могут повлиять на возможность выполнения поставленных задач, благодаря рукавам высокого давления из морозостойкого материала, выдерживающего температуру до -50°С.
Спецтехника этого производителя имеет большой вес, благодаря чему оказывает большое давление на грунт. ДЗ-98 грейдер весит около 20 000 кг, что характерно для всей продукции российских компаний. Несмотря на огромный вес, который специалисты считают единственным недостатком, машина получилась чрезвычайно маневренной и универсальной в широком спектре задач , что делает ее уникальной, несмотря на сложность конструкции.
Особенности конструкции
Среди ряда его характеристик можно отметить следующие:
- Автогрейдер ДЗ-98 имеет 3 рабочих места, посередине, спереди и сзади.
- Имеет широкую и узкую колею передних и задних колес.
- Длина продольной базы 6 м.
- Оснащен дизельным двигателем мощностью до 240 л.с. Имеет электростартер или предпусковой подогреватель.
- Имеет высокий дорожный просвет, от 350 до 615 мм (от просвета под отвалом до просвета под передней осью).
- 6 передач переднего хода (скорость от 3,5 до 41 км/ч), 6 передач заднего хода (от 4,22 до 47 км/ч).
- Характеризуется коротким тормозным путем на сухом асфальте — менее 14 м при скорости 30 км/ч, а также — 41 метр при торможении аварийной системой на аналогичном скоростном режиме, при выходе из строя одной из цепей ( предусмотрено конструкцией).
- Радиус поворота 18 м, если поверхность сухая и ровная, и это хороший результат для такой базы.
- Может работать с отвалом, подборщиком и другими насадками.

- Оснащен гидромеханической трансмиссией, а также большим количеством комплектующих импортного производства, к которым относятся турбокомпрессор и фильтры Deutz (Германия), тормозная система (Италия) и др.
Оборудование общего назначения и навесное оборудование
Автогрейдер ДЗ-98 разработан на заводе Колющенко в Челябинске и запущен в серийное производство в 1972. С тех пор он получил широкое распространение, как в пределах Российской Федерации, так и на всей территории СНГ.
Имеет шесть колес и используется для планирования и выравнивания неровной поверхности. Машина широко используется в дорожном строительстве, уборке снега, перемещении сыпучих материалов, строительстве насыпей. За годы эксплуатации автогрейдер зарекомендовал себя как надежный. Он неприхотлив, функционален, обладает высокой устойчивостью к негативным факторам (экстремальным температурам, пыли, влажности, атмосферному давлению).
Оборудование, которым оснащена машина, имеет гидравлическое управление, имеет функции поворота в плоскостях и подъема/опускания.
Доступные насадки:
- Поворотный нож.
- Устройство захвата или отрывания.
- Гусеничный механизм.
- Инструмент для уборки снега.
Гидравлическое, механическое, пневматическое оборудование ДЗ-98
В состав конструкции входят элементы, относящиеся к управлению гидрооборудованием (шестеренные насосы и гидроцилиндры, являющиеся исполнительными механизмами), механическая часть, проверенная годами службы, т.к. а также пневматические элементы тормозной системы.
Дизельный двигатель мощностью от 173 до 202 кВт. Ходовая часть снабжена тремя осями: передней сразу за отвалом, задней и еще одной, расположенной посередине между ними. Использование гидромеханической трансмиссии позволяет отключить кардан переднего моста, работа которого автономна и не зависит от двух других. В коробке передач используется механизм мультипликатора, благодаря чему можно получить 6 значений крутящего момента при движении в любом направлении.
Редуктор, механизм сцепления и редукторы приводов гидронасосов выполнены в едином блоке с общей системой смазки. Гидравлика предназначена для управления исполнительными органами, сцеплением, движением грейдера, в том числе и колесами передней оси.
Запчасти
За долгий срок службы автогрейдер ДЗ-98 показал, что это добротная, надежная техника, на которую можно положиться вне зависимости от погодных условий. Однако, каким бы идеальным ни было воплощение инженерной мысли, любая машина со временем выходит из строя. Это связано с износом деталей, что требует скорейшей замены новыми узлами и элементами.
Мы можем предложить Вам запасные части для следующих узлов и систем ДЗ-98:
- Трансмиссия.
- Шасси.
- Дизельный двигатель
- Кузов.
- Механизмы управления.
- Рабочее оборудование.
- Электрооборудование.
Особенно большим спросом на запчасти славятся регионы с суровыми климатическими условиями, так как именно в этих местах грейдеры активно эксплуатируются уже более четырех десятков лет.
Проводятся оптовые закупочные торги, в которых участвуют несколько поставщиков. Наша компания может обеспечить любые объемы поставок самых разнообразных узлов и механизмов ДЗ-9.8. Мы находимся в тесном контакте с производителем.
Сотрудничая с нами, Вы можете рассчитывать на:
- Актуальность предлагаемого нами товара. Мы регулярно отслеживаем все изменения, вносимые производителем в конструкцию грейдера.
- Консультация по запчастям, а так же отличительным особенностям в различных модификациях модели.
- Достоверность информации, так как мы имеем прямые отношения с производителем.
- Компетенция. Мы в деталях знаем отличие ДЗ-98 от аналогичных машин других производителей
Наибольшим спросом пользуются карданные и приводные валы, тормозная система, а также рукава высокого давления. Заказчики часто заказывают гидравлические элементы для привода рабочих органов, например, гидрораспределители, гидромоторы, редукторы вращения отвала.
Одинаково востребовано сцепление, валы, элементы коробки передач, турбокомпрессор двигателя. Также неплохо покупаются различные расходные материалы, в частности различные фильтры. Очень часто у заказчика возникает потребность в средних ножах, а также в тех, которые устанавливаются слева и справа. Иногда с перфорацией, с износостойкими накладками из высокопрочных стальных сплавов.
| Размер | Длина — 10690 мм Ширина — 3250 мм Высота — 4000 мм |
| Рабочий вес | 20700/21100 кг |
| Двигатель | ЯМЗ-238НДЗ/ЯМЗ 236НЕ2-40 |
| Мощность двигателя | 173/169 л.с. |
| Трансмиссия | Механический/гидромеханический |
| Количество передач (вперед/назад) | 6/6; 6/3 |
| Скорость | 39/46,5; 35,4/24,5 км/ч |
| Колесная формула | 1х3х3 |
Характеристики Xta 200.
Конструктивные особенности и характеристики трактора Слобожанец. Основные преимущества трактора Слобожанец
Трактор ХТА-200-10 с защитной рамой. Внедорожный лесохозяйственный трактор, оснащенный каркасом безопасности, защитными сетками для стекол кабины и радиатора, защитой пневматических камер тормозной системы. Является базовым тягачом для трелевочного трактора LT-157. Кабина оборудована системой кондиционирования воздуха и аудиосистемой.
Производители тракторов всегда делают ставку не только на продажу тракторов с базовыми характеристиками, но и на их многочисленные модификации. Так, например, «Слобожанец», собрав в свое время ХТА-200, завоевавшую большой успех на рынке, выпустил множество его модификаций, и ХТА-200-07 как раз является одной из таких модификаций. Он предназначен для преодоления условий, при которых проходимость рабочей машины находится на очень низком уровне.
Благодаря тому, что трактор выполнен на базе ХТА-200, это значительно снижает его первоначальную стоимость и цену ремонта.
Допустим, если одна из них сломалась, важная деталь, отвечающая за функционирование всей машины, ее можно заменить на какую-то деталь из старых комплектующих, а это сильная экономия средств. Возможно, поэтому производители не собираются выпускать новые модели, а дорабатывают унифицированные сборки.
Однако есть и некоторые характеристики, на которые стоит обратить внимание:
- 4 колеса одинакового размера, обеспечивающие высокое сцепление с дорогой;
- кабина оборудована специальным каркасом, обеспечивающим безопасность как самой машины, так и водителя при работе;
- при желании шины можно поменять, но с теми, что есть в наличии, можно добиться тягового усилия в 6000 кгс;
- трактор развивает скорость до 35 км/ч вперед и до 10 км/ч назад;
- В комплекте используется однодисковое сцепление немецкого производства, которое также является базовым для всех моделей этой серии.
Основной целью производства этого трактора по-прежнему остается работа в тяжелых условиях.
Так что, если есть необходимость, обязательно обратите внимание на эту модель!
Простота использования
Помимо технических характеристик, обеспечивающих работу трактора, есть еще несколько характерных особенностей, благодаря которым трактор в целом позволяет работать с ним. Ведь согласитесь, если трактористу очень тяжело находиться в кабине, то о высокой производительности и речи быть не может.
Но ХТА-200-07, как и другие модели этой линейки, не относятся к тем тракторам, на которых невозможно работать. Как раз наоборот: в кабине установлена современная система кондиционирования воздуха, которая регулирует внутреннюю температуру вне зависимости от климатических условий в воздухе. Если холодно, будет тепло. Если будет жарко, то, наоборот, будет довольно холодно.
Кроме того, имеется аудиосистема, распознающая диски MP3, а в некоторых случаях даже можно подключить радио. Оба предусмотрены в базовом комплекте, то есть отдельно приобретать эти устройства не нужно.
При необходимости их можно заменить, но не более того.
Как мы уже говорили, за счет базовой комплектации трактор стоит не так дорого. Доставка осуществляется с официального сайта компании Слобожанец практически в каждый регион Украины и некоторые страны ближнего зарубежья.
Трактор Слобожанец относится к семейству сельскохозяйственных машин. Первая модель была собрана в 2004 году на заводе компании «Слобожанская». Самые известные модели: XTA-200, XTA-220 и XTA-250. Они оснащены дизельными двигателями. Мощность, которая колеблется от 180 до 250 лошадиных сил.
Конструкция и характеристики Слобожанец ХТА-200
На некоторых моделях тракторов этой серии двигатели расположены в передней части рамы. Кабина находится прямо над коробкой передач. Коробка передач работает в нескольких режимах: тяговом, рабочем, транспортном и заднем. Для каждого из режимов предусмотрено несколько передач с возможностью переключения их гидромуфтами. Это позволяет поддерживать заданную мощность на протяжении всей операции.
В главных передачах используются планетарные редукторы.
Современный трактор Слобожанец ХТА 200 и его технические характеристики:
- Длина — 638 см.
- Ширина — 246 см.
- Рост — 310 см.
- Дорожный просвет — 435 мм.
- Мощность двигателя — 210 лошадиных сил.
- Скорость вращения коленчатого вала 2100 об/мин.
- Максимальная скорость 31 км/ч.
- Трансмиссия механическая. 16 передач вперед и 4 назад.
- Грузоподъемность навесного механизма 5 тонн.
- Привод на все колеса.
- Вес — 8525 кг.
Трактор универсальный Слобожанец ХТА 250
Универсальный трактор Слобожанец ХТ 250 немного отличается от своего предшественника.
Технические характеристики спецтехники и ее особенности:
- Длина — 862 см.
- Ширина — 246 см.
- Рост — 308 см.
- Дорожный просвет — 495 мм.

- Мощность шестирядного двигателя 250 лошадиных сил. Рабочий объем составляет 7,98 литра.
- Частота вращения коленчатого вала 2100 об/мин.
- Колесная схема — полноприводная.
- Трансмиссия механическая.
- Максимальная скорость движения вперед 34 км/ч.
- Вес — 8620 кг.
Трактор предназначен для сельскохозяйственных нужд. Спереди и сзади расположены крюки для навесного и прицепного оборудования. Рама усилена мощным шарниром.
Интерьер Комфорт в салоне дополняется кондиционером, качественной системой отопления и надежной шумоизоляцией. Благодаря гидравлическим муфтам передачи переключаются во время работы, причем без потери потока мощности. Гидравлическая система механизма навесного оборудования оснащена распределителем на четыре секции. Адаптирована к некоторым зарубежным пневматическим посевным комплексам. Благодаря своим эксплуатационным и техническим характеристикам трактор Слобожанец пользуется повышенным спросом.
Мульчер — необходимый инструмент для различных видов строительных работ. Он пригодится в хозяйстве и строителям, и коммунальщикам, и даже энергетикам. С его помощью можно рубить дрова, очищать лес от хвороста, утилизировать ненужную древесину, расчищать огород, приводить в порядок участок, предназначенный для посева (поле), расчищать обочины. В целом возможностей у этого оборудования очень много, затраты относительно невелики, а производительность достаточно высока. Например, мульчер на ХТА 200 делает этот мощный трактор еще более производительным и расширяет его возможности, поскольку именно этот трактор лучше всего подходит для работы в дорожных и коммунальных службах, а также лесохозяйственных организациях. Его основное предназначение – рубка и рубка деревьев вдоль дороги, по обочинам и вдоль проходящих линий электропередач. Также трактор можно использовать для работы в лесопосадках. Для полноценной работы машины необходим мульчер. Несомненно полезным качеством является полный привод.
Универсальность XTA-200 — основа современных машин
Помимо этих функций, к данному агрегату можно присоединить дополнительное оборудование – например, косилку, снегоуборщик, отвал или оборудование для удаления пней. И, конечно же, XTA 200 можно использовать как обычное транспортное средство. Кроме того, его можно оснастить специальным тягово-сцепным устройством.
Купить мульчер на ХТА-200 в России вы можете обратившись в нашу компанию. Мы предлагаем Вам спецтехнику и оборудование от производителя, по доступным ценам. Доставка возможна в любой регион РФ. Цена на мульчер XTA 200 невысокая и доступная, а качество, долговечность и мощность вас порадуют.
Основные технические характеристики трактора ХТА-200-02М Слобожанец с мульчером:
Колесная схема | |||
Эксплуатационная масса, кг | |||
Двигатель | Д-260. | ||
Номинальная мощность, кВт (л.с.) | |||
Удельный расход топлива при рабочей мощности, г/кВтч (г/л.с.ч) | |||
Частота вращения, об/мин | |||
Муфта | Диск сухой одинарный «luk» (Германия) | ||
Трансмиссия | Механическая с гидрофикацией переключения передач на ходу без разрыва потока мощности | ||
Количество передач вперед/назад | |||
Скорость движения вперед, км/ч | |||
Скорость движения, задний ход, км/ч | |||
Карданный вал и частота вращения, об/мин | Независимая, двухскоростная, 540 или 1000 | ||
Тяговое усилие, максимальное, кгс | |||
Насадка задняя | |||
Крепление, переднее | Двухцилиндровый, грузоподъемность до 6000 кг | ||
23. | |||
кондиционер, аудиосистема, электростеклоподъемники, защитные сетки на окна кабины | |||
с защитной сеткой | |||
Мульчерная установка (мульчер) | |||
Лесной измельчитель | ЕСФ / | ЭФС / | |
двусторонний, поворотный на 360 градусов | фиксированный, фиксированный | ||
Количество молотков | |||
Мощность трактора | |||
Диаметр измельчения | |||
Ширина мульчирования | |||
Приложение | для измельчения растительности на необрабатываемых полях, кустарников, кустарников, зеленой растительности, веток и стволов | ||
Дополнительно | На карданный вал устанавливается обгонная муфта при работе устройства на передний ВОМ трактора | ||
Базовое оборудование | Фиксированная трехточечная сцепка, кат. | ||
Защитная дуга с механическими регулировками | |||
Направляющие регулируемые по высоте. | |||
Первичный вал редуктора с обгонной муфтой 1″ ¾ Z=6. | |||
Скорость редуктора ВОМ трактора 1000 об/мин | |||
Гидравлическая регулировка задней крышки. | |||
Двусторонний привод. | |||
Ротор Ø 520. | |||
Скорость вращения ротора 2000 об/мин. | |||
ТБ по стандартам ЕС | |||
Дополнительное оборудование | Грабли «рыхлитель» на задней крышке | ||
Счетчик времени (электронный) | Счетчик времени (электронный) | ||
Центробежная муфта | Центробежная муфта | ||
Набор односторонних молотков | |||
Набор односторонних молотков с наплавкой | |||
Обгонная муфта (реверсивная) на приводном валу (опция), при работе устройства на передний ВОМ трактора | |||
По желанию заказчика возможна установка другого мульчера!
Основные преимущества трактора Слобожанец:
- Создан на базе трактора ХТА-200 и на 98% унифицирован с ним.
Является перспективной базовой машиной для различной спецтехники с передним расположением рабочего органа. - Грузоподъемность навесного устройства на оси подвески 6 тс.
- Для удобства и безопасности оператора двигатель трактора ХТА-200-02М расположен за кабиной, которая дополнительно оборудована защитными устройствами (каркасом безопасности, защитными решетками и сетками и др.)
- По желанию Заказчика возможна установка дополнительной защиты дизеля, гидроцилиндров рулевого управления
- Для надежной работы навесного энергоемкого оборудования редуктор ВОМ оснащен системой масляного охлаждения, а также фрикционными дисками гидромуфты австрийского производства.
- На трактор устанавливается специальная коробка передач, с высокоскоростным реверсом и ходоуменьшителем, позволяющая выполнять технологические операции на скоростях от 0,11 км/ч.
- Тракторы, работающие в опасных лесных районах, могут комплектоваться специальными шинами, защищенными от проколов и механических повреждений.

Предназначен для выполнения различных сельскохозяйственных работ.
Трактор ХТА-220 оснащен турбированным двигателем ЯМЗ-236НЕ (230 л.с.) производства ОАО «Автодизель». Возможна установка двигателя ЯМЗ-236М2 мощностью 180 л.с. или ЯМЗ-238М2 мощностью 240 л.с.
Трактор ХТА-200 оснащен двигателем Д-260.4 мощностью 210 л.с. производства ПРУП «Минский моторный завод».
Кабина Рама трактора, отвечающая требованиям безопасности. Оснащен кондиционером, рулевой колонкой, регулируемой по наклону и высоте; автомобильное радио; более эргономичная приборная панель. На пассажирском сиденье установлен раскладной диван. Сиденье водителя регулируется по весу и росту водителя и вместе с диваном закрепляется на балке, соединяющей стойки каркаса кабины. В крыше кабины установлены четыре поворотных галогенных фонаря, защищенных от повреждений и обеспечивающих 360-градусное освещение пространства вокруг трактора. В крыше есть вентиляционный люк, который можно использовать как аварийный.
Кабина трактора ХТА-200 имеет повышенную шумо- и теплоизоляцию, оборудована отопителем ВАЗ, сиденьями водителя и пассажира повышенной комфортности, автомагнитолой, зеркалами, электростеклоподъемниками, электростеклоподъемниками, освещением входа в кабину, электронными приборами и болельщик. По желанию заказчика возможна установка кондиционера. Трактор ХТА-200 оснащен регулируемой рулевой колонкой оригинальной конструкции. Диапазон регулировки по высоте — 120 мм, угол наклона — 15 градусов.
несущая система. Рама трактора ХТА-220 — швеллерная рама состоит из передней и задней полурам. Угол взаимного поворота по вертикальному шарниру влево и вправо на 30° и по горизонтали — вверх и вниз по 15°.
Трансмиссия. Сцепление сухое, двухдисковое с использованием нажимного диска с картером ЯМЗ. Коробка передач механическая с гидрофикацией переключения передач на ходу без разрыва потока мощности в каждом диапазоне. Трактор ХТА-220 оснащен мостами с гипоидной главной передачей с самоблокирующимся дифференциалом и планетарными колесными редукторами.
Прогулочная система. Колесный двигатель по схеме 4х4, с четырьмя ведущими колесами одинакового диаметра, с шинами 23.1R26 мод. F-37, передние колеса на листовых рессорах и амортизаторах. Возможна установка широкопрофильных шин низкого давления 66×43.00R25.
Скоростные режимы
| Скорость движения на I диапазоне переднего хода, км/ч | 3,86-6,03 |
| Скорость движения на II диапазоне переднего хода, км/ч | 7,08-12,67 |
| Скорость движения на III диапазоне переднего хода, км/ч | 16,27-32 |
| Скорость заднего хода, км/ч | 5,83-10,5 |
Рулевое управление.
Рулевое управление гидрообъемное с насосом-дозатором (HKUQ — пр-во Болгария) и двумя исполнительными цилиндрами, установленными на кронштейнах передней и задней шарнирных полурам.
Система очистки воздуха. Система очистки воздуха двигателя двухступенчатая. Состоит из мультициклона предварительной очистки воздуха и бумажных фильтрующих картриджей.
Система выпуска. Выхлопная система трактора ХТА-220 состоит из газопроводов, глушителя и выхлопной трубы. Глушитель — реактивно-активный, расположен горизонтально с левой стороны под кабиной трактора. Выхлопная труба расположена за кабиной с левой стороны и отводит выхлопные газы вверх.
Электрооборудование. Трактор ХТА-220 оснащен электрооборудованием, которое помимо выполнения общепринятых функций обеспечивает и дополнительные. Трактор оснащен микропроцессорным прибором (индикатором режимов ИРТ-2), позволяющим выполнять функции тахометра и счетчика моточасов, а также дополнительные функции: сигнализация критических оборотов двигателя, аварийное давление масла в двигателе, аварийная температура охлаждающей жидкости, аварийное масло в коробке передач. давление, аварийное давление в пневмосистеме со звуковым сигналом подачи, информационные сообщения о очередном техобслуживании, засорении воздушного фильтра, засорении масляного и топливного фильтров, состоянии аккумуляторов, работе генератора.
Трактор ХТА-220 оборудован: электростеклоподъемниками, электростеклоподъемниками, подсветкой подножки кабины при открытии двери.
Аккумуляторные батареи две устанавливаются рядом в нише правого топливного бака между колесами в зоне наименьшей вибрации. На тракторе ХТА-200 ящик для хранения инструментов установлен на задней полураме между крыльями поперек трактора.
Имеется модификация трактора ХТА-200 — ХТА-200-02 с передней навеской грузоподъемностью 5 тонн на оси подвески и редуктором ВОМ. Предназначен для работы с фронтальным навесным оборудованием (роторные снегоочистители, кусторезы, косилки, жатки, почвообрабатывающие орудия и др.).
Все
| гидростатический, 1000 | |
| Трансмиссия | |
| Марка | НТА-200-07 |
| Масса, кг | 8525 |
| 154,4 (210) | |
| Специальная втулка | |
| Задняя сцепка | |
| Передняя насадка | |
| Производитель | |
| Скорость заднего хода, км/ч | 2,38. ..9,8 |
| 1,57…34,76 | |
| Страна производитель | Украина |
| тип двигателя | Д-260.4 |
| 6000 | |
| Частота вращения, об/мин | 2100 |
| Шины | |
| 227 (167) |
Характеристики
| гидростатический, 1000 | |
| Трансмиссия | |
| Марка | НТА-200-07 |
| Масса, кг | 8525 |
| 154,4 (210) | |
| Специальная втулка | |
| Задняя сцепка | |
| Передняя насадка | |
| Производитель | |
| Скорость заднего хода, км/ч | 2,38…9,8 |
| Скорость движения вперед, км/ч | 1,57. ..34,76 |
| Страна производитель | Украина |
| тип двигателя | Д-260.4 |
| 6000 | |
| Частота вращения, об/мин | 2100 |
| Шины | |
| 227 (167) |
Фото
Видеообзор
Справочник инженера
Технические характеристики
Задний вал отбора мощности и частота вращения, об/мин
Передний отбор мощности (опция) и частота вращения, об/мин
Трансмиссия
Масса, кг
Мощность двигателя, кВт (л.с.)
Специальная втулка
Задняя сцепка
Насадка передняя
Производитель
Скорость заднего хода, км/ч
Скорость движения вперед, км/ч
Страна производитель
тип двигателя
Тяговое усилие, максимальное, кгс
Частота вращения, об/мин
Удельный расход топлива при рабочей мощности, г/кВтч (г/л.
с.ч)
независимая, двухскоростная, 540 или 1000
гидростатический, 1000
механическая с гидроприводом переключения передач на ходу без разрыва потока мощности
диск сухой одинарный «LuK» (Германия)
двухцилиндровый, грузоподъемность до 6000 кг
двухцилиндровый, грузоподъемность до 3000 кг (опция)
Слобожанская промышленная компания
23,1R26 или 66×43,00R25 — широкий профиль
Описание
Трактор ХТА-200-10 — одна из самых распространенных моделей семейства тракторов «Слобожанец». Производится на базе ООО «Слобожанская промышленная компания». Всю продукцию харьковской компании отличает серьезный подход к функциональности и прочности конструкции. Компания специализируется на производстве сельскохозяйственной техники. Его продукция широко известна как в Украине, так и в странах ближнего зарубежья. Модели, объединенные общим названием «Слобожанец», отличаются своей многофункциональностью, универсальностью применения.
ХТА-200-10 — универсальный трактор четвертого класса
Трактор ХТА-200 предназначен для выполнения широкого спектра видов работ. Трактор широко используется в сельском хозяйстве и дорожном строительстве. Тягач может использоваться как транспортное средство с применением прицепов и полуприцепов. Незаменим на трассах и в условиях бездорожья. Оснащенный специальными приспособлениями, он может быть использован в качестве основы для дорожно-строительных машин.
Трактор ХТА-200 оснащен мощным дизельным двигателем. Мощность двигателя — 210 л.с. Двигатель Д-260.4 расположен спереди. Коробка передач может работать в разных режимах. Каждый из режимов работы имеет 3-4 передачи. Переключение между передачами происходит без потери мощности, во время движения, под нагрузкой. Режимы работы трансмиссии — транспортный режим, рабочий режим, тяговый режим, реверс.
Трактор ХТА-200 — современная техника для сельскохозяйственных и других целей. Кабина трактора оборудована кондиционером и аудиосистемой.
Высокий уровень звукоизоляции. современные, удобные сиденья. Современное управление трактором. Все это не только создает высокий уровень комфорта при эксплуатации. Все это характеризует данную модель трактора как современное техническое средство.
ХТА-200-10. Область применения
По своим функциональным характеристикам трактор ХТА-200-10 имеет самую широкую область применения. Может использоваться в сельском хозяйстве для полевых работ. Вспашка, культивация, предпосевная обработка полей, посев, уборка урожая. Вот далеко не полный перечень работ, для которых используется ХТА-200. Может использоваться в дорожном строительстве. Земляные работы. Дорожно-строительные работы. Перевозка грузов по дороге. Выполнение всех этих, а также многих других видов работ. Все это функционально заложено в конструкции трактора ХТА-200-10. Хорошо просчитано и хорошо воплощено в материале.
Трактор HTA-200-10 — разумный выбор. Приобретение трактора в ООО «Техника и технологии»
Учитывая технические и функциональные характеристики, покупка трактора ХТА-200-10 является разумным решением.
Цена от украинского производителя только подчеркивает разумность этого решения. А еще нужно учитывать приемлемую цену комплектующих. Которые тоже украинского производства.
При покупке трактора ХТА-200-10 обращайтесь в ООО «Инжиниринг и технологии». Наша фирма предложит Вам лучшие цены, лучший сервис и лучшее качество. Обращаясь к нам, вы не просто экономите деньги и время. Консультанты компании окажут квалифицированную помощь. Они ответят на вопросы. Рекомендовать лучший ассортимент товаров. ООО «Техника и Технологии» ценит своих клиентов.
Задний вал отбора мощности и частота вращения, об/мин
Передний отбор мощности (опция) и частота вращения, об/мин
Трансмиссия
Масса, кг
Мощность двигателя, кВт (л.с.)
Специальная втулка
Задняя сцепка
Насадка передняя
Производитель
Скорость заднего хода, км/ч
Скорость движения вперед, км/ч
Страна производитель
тип двигателя
Тяговое усилие, максимальное, кгс
Частота вращения, об/мин
Удельный расход топлива при рабочей мощности, г/кВтч (г/л.
с.ч)
независимая, двухскоростная, 540 или 1000
гидростатический, 1000
механическая с гидроприводом переключения передач на ходу без разрыва потока мощности
диск сухой одинарный «LuK» (Германия)
двухцилиндровый, грузоподъемность до 6000 кг
двухцилиндровый, грузоподъемность до 3000 кг (опция)
Слобожанская Промышленная Компания
23,1R26 или 66×43,00R25 — широкий профиль
Армейский справочник
В конце 1950-х годов российская армия потребовала новый колесный БТР для замены неамфибийного БТР-152 (6 × 6). Разработка БТР с колесной формулой 8×8 началась в двух конкурирующих КБ в 1957-58 годах, этот конкурс назывался «Проект 49». Победил коллектив ОКБ Дедкова со своей машиной «Тип 62Б». Он был принят на вооружение Российской Армии в 1960 под обозначением БТР-60П.
Впервые машина была замечена на публике во время ноябрьского парада 1961 года в Москве.
БТР-60П (8 × 8) и его варианты обычно использовались мотострелковыми дивизиями, тогда как танковые дивизии имеют гусеничные БМП-1 / БМП-2 ICV. Первоначальные БТР-60П и БТР-60ПА были переведены в резерв, вторую линию или для обучения.
Производство серии БТР-60 было завершено в 1976 году, и считается, что общий объем производства составил около 25 000 машин, включая множество модификаций.
Производство БТР-60 серии 8×8 было налажено на Горьковском автомобильном заводе, известном сегодня как Арзамасский машиностроительный завод, где налажено производство новейших БТР-80 и БТР-80А (8×8). осуществляется для экспортного рынка по мере необходимости.
Дальнейшее развитие БТР-60ПБ было произведено в Румынии под обозначением TAB-71. Совсем недавно Румыния выпустила еще одну версию под названием TAB-77, которая, как теперь известно, основана на новейшем БТР серии БТР-80. Полная информация об этом приведена в отдельной записи.
Корпус БТР-60П выполнен из цельносварной стальной брони с местами механика-водителя и командира в передней части корпуса, за ними открытое служебное отделение и моторно-трансмиссионное отделение в самой задней части корпуса.
Салон БТР-60П открыт от места водителя и командира до моторного отсека в задней части.
Водитель сидит слева, командир машины справа. Оба имеют перед собой ветровое стекло, которое во время движения прикрывается откидной створкой вверху. Он имеет встроенный прибор дневного видения, который можно заменить инфракрасным перископом для ночного использования. Слева от механика-водителя и справа от командира находится блок обзора. Над закрылком перед командиром установлен инфракрасный прожектор, которым можно управлять изнутри машины.
Пехотинцы сидят на скамьях, которые проходят по всей ширине корпуса. В каждом борту корпуса по две полустворки и по три амбразуры. При необходимости поверх десантного отделения могут быть установлены носовые части и брезентовый чехол.
Основное вооружение состоит из 7,62-мм пулемета СГМБ или ПКБ, установленного на цапфе в носовой части корпуса. На этой позиции были замечены машины с более тяжелым 12,7-мм пулеметом ДШКМ. Также предусмотрены крепления для 7,62-мм пулеметов по обеим сторонам корпуса.
Два 8-цилиндровых бензиновых двигателя с водяным охлаждением установлены в задней части корпуса; первая и третья оси приводятся в действие через трансмиссию правого двигателя, а вторая и четвертая оси — через трансмиссию левого двигателя. Крутящий момент от каждого двигателя передается на колеса через однодисковое сцепление с гидравлическим управлением, четырехступенчатую коробку передач с синхронизаторами на третьей и четвертой передачах, двухступенчатую раздаточную коробку, бортовые передачи двух ведущих мостов с безредукторными дифференциалами. и четырехколесные редукторы. Крутящий момент от бортовых передач к колесным редукторам передается через полуоси и карданные приводы.
Все восемь колес с приводом, а первые четыре, которые используются для рулевого управления, с усилителем. Транспортное средство может двигаться с отсутствующим одним колесом на второй оси. Подвеска торсионная, с первым и вторым опорными катками с каждого борта, снабженными двумя гидравлическими амортизаторами, а третьим и четвертым опорными катками с одним гидравлическим амортизатором.
Центральная система регулирования давления в шинах, входящая в стандартную комплектацию всех БТР-60, позволяет водителю регулировать давление в шинах в соответствии с местностью, по которой он движется.
БТР-60П является полностью амфибийным и приводится в движение по воде одним водометом, установленным в задней части корпуса. Когда он не используется, выход в задней части корпуса закрыт круглой пластиной, состоящей из двух частей. Перед входом в воду в передней части корпуса устанавливается дифферентный флюгер и включается трюмная помпа. Когда триммер не используется, он убирается под нос автомобиля. Мощность передается на водомет через коробку отбора мощности (ВОМ) и редуктор водомета. Изменение направления на плаву осуществляется с помощью гидродинамического руля в водометном движителе и поворотом передних четырех опорных катков. Для реверса заслонки водометов закрываются и вода выбрасывается через боковые каналы в задней части автомобиля, обращенные вперед.
Базовый БТР-60П не имеет системы РХБ, так как имеет открытый верх.
Все машины оснащены инфракрасными приборами ночного видения и передней лебедкой с максимальной грузоподъемностью 4500 кг.
Варианты
БТР-60ПА
Эта модель, известная также как БТР-60ПК, поступила на вооружение в 1963 году. Она имеет полную броневую защиту десантного отделения и оснащена системой РХБ. Положения командира и водителя идентичны таковым на оригинальном БТР-60П, за исключением того, что водитель имеет установленный на крыше дневной перископ и оба имеют цельную крышку люка, которая открывается назад.
За люками командира и механика-водителя расположен одиночный прямоугольный люк, открывающийся назад, перед которым установлен одиночный 7,62-мм пулемет СГМБ или ПКБ на цапфе. Многие машины также имеют 7,62-мм пулеметы, установленные по обе стороны крышки люка. В крыше боевого отделения ближе к задней части с правой стороны имеется еще одна крышка люка, которая открывается вправо.
По три огневых порта на каждой стороне корпуса, но без входных дверей.
Пехотинцы сидят на многоместных сиденьях вдоль борта и кормы десантного отделения.
БТР-60ПБ
БТР-60ПБ по сути является БТР-60ПА с пулеметной башней и другими модификациями. Вместо смотровых блоков в люках непосредственно перед командиром и механиком-водителем имеется ряд установленных на крыше дневных перископов для наблюдения спереди и по бокам машины.
Башня, идентичная той, что установлена на российской машине-амфибии БРДМ-2 (4×4) и чешском БТР ОТ-64 (8×8), вооружена нестабилизированным 14,5-мм пулеметом КПВ и 7,62-мм пулемет ПКТ установлен соосно справа, с оптическим дневным прицелом соосно слева. Орудие имеет угол возвышения +30, угол наклона -5, а башню можно поворачивать на полные 360 градусов. Высота и наклон орудия, а также поворот башни выполняются вручную.
В задней части башни с правой стороны находится цельная крышка люка, открывающаяся влево, а в левой задней части — цельная крышка люка, открывающаяся вправо.
Имеются одинарные двери, которые открываются вперед по обеим сторонам корпуса, два или три порта для стрельбы и смотровые блоки.
БТР-60ПБ предшествовал БТР-60ПАИ, который также имел башню. БТР-60ПБ позднего выпуска имеют то же улучшение прицела, что и БТР-70: небольшой дополнительный перископический прицел на крыше башни.
БТР-60ПБК
Командирская модель БТР-60ПБ с двумя радиостанциями Р-123 и одной Р-148. Эту версию можно узнать по дополнительной мачте антенны на левой стороне корпуса. Некоторые автомобили дополнительно оснащены выдвижной антенной PIN STICK.
БТР-60 1В18
Это артиллерийский наблюдательный пункт, колесный аналог гусеничного 1В14М с такой же системой связи и компьютерно-коммуникационным комплексом АПК.
1В18 Клен-1 имеет обозначение ACRV M1979/2a в армии США, при этом 1В18-1 является улучшенной версией.
БТР-60 1В19
Это машина центра управления огнем и колесный аналог 1В15М с такой же системой связи и вычислительной системой АПК. Колесные варианты остальных машин — 1В110 на шасси ГАЗ-66 (1В13М) и 1В111 на шасси ЗИЛ-131 (6×6) (1В16М).
1В19 Клен-2 также известен как ACRV M1979/2б и оснащен телескопической антенной для Р-130 на левом борту корпуса. IV19-1 — улучшенная модель. Известными пользователями являются Болгария, Финляндия, Румыния, Россия, Сербия и Черногория.
БТР-60 Р-145БМ
Оснащен двумя радиостанциями Р-111/171, одной Р-123/173, одной Р-130М и одной радиостанцией Р-8хх класса «земля-воздух».
БТР-60 Р-975
Это передовая машина управления воздушным движением с неизвестной установкой радиосистем R-8xx. Эта модель имеет стандартную башню. БТР-60 Р-975MI очень похож, но без башни.
БТР-60-З-351БР
Оснащен системой бронированного генератора для требований высокой мощности (например, 15 кВт и выше).
БТР-60-П-238БТ
Щит бронированный полевой с одной радиостанцией Р-123М. БТР-60-П-239БТ очень похож.
БТР-60-П-240БТ
Интегрированный радио/проводной коммутатор с одним R-405, одним R-123M и коммутационным оборудованием.
БТР-60-П-241БТ
БТР-60 с полевой телефонной системой П-241. Оснащен безопасным телефонным терминалом.
БТР-60-Р-137Б
БТР-60 с бронированной системой связи с одним комплектом УКВ Р-137, одним радиоприемником Р-405 и одним радиоприемником Р-123М. Он оснащен башней, но не имеет 14,5-мм пулемета серии КПВ.
БТР-60-Р-140БМ
БТР-60 с бронированной системой управления и связи с одной КВ радиостанцией Р-140, одной радиостанцией Р-405 и одной радиостанцией Р-123М. Он оснащен башней, но не имеет 14,5-мм пулемета.
БТР-60-Р-156БТР
Бронированная машина системы управления и связи с одной КВ радиостанцией Р-156, одной радиостанцией Р-405 и одной радиостанцией Р-123М. Это не оснащено башней.
БТР-60-Р-409БМ
БТР-60 использовался как бронированная радиорелейная станция с одной радиостанцией Р-409 и одной радиостанцией Р-123М. Это не оснащено башней.
БТР-60ПАу
Болгарский БТР-60 с неопознанным оборудованием связи для использования артиллерийскими подразделениями.
Командирская машина БТР-60Пу
По сути, это БТР-60П, оснащенный носовой частью и брезентом, а также внутренними сиденьями для командного состава, картографическими досками и дополнительным оборудованием связи. Командирский вариант БТР-60ПА также находится на вооружении с установленным на крыше генератором, радиоантенной высотой 10 м, которая используется в статической роли, и рельсовой антенной, идущей вдоль передней, левой и задней частей корпуса. Варианты БТР-60Пу включают БТР-60ПуМ и БТР-60ПуМ1.
Командирская машина БТР-60ПуМ
Это финский вариант Пу (Р-145БМ) без антенны Hawk Eye или Вешалки, оснащенный 12,7-мм пулеметом НСВТ и современным оборудованием связи. Он поступил на вооружение Финляндии в 1996 году.
БТР-60ПБ-МД Болгария
Это модернизированный болгарский БТР-60ПБ с 81-мм дымовыми гранатометами, дизельным двигателем VAMO DT 3900 или Rover TD-200, приборами ночного видения Melopa, новой системой NBC и современными радиостанциями.
БТР-60МБП
БТР-60МБП (Машина Боевого Пошта) используется в качестве машины охраны и сопровождения ракетных частей стратегического назначения.
Командирская машина БТР-60Пу-12
Командно-штабная машина БТР-60Пу-12 находится на вооружении бывшей советской, а теперь российской армии с конца 1970-х годов, а также идентифицирована на вооружении Болгарии, бывшей Чехословакии, Венгрии, Сербии и Черногории.
По сути, машина представляет собой БТР-60ПА с большим вещевым ящиком с правой стороны корпуса, в задней части которого находится канистра с водой или топливом. На крыше находится бокс, в котором может размещаться генератор для питания установленного дополнительного оборудования связи. Непосредственно за люком командира в крыше находится телескопическая мачта, которая поднимается в рабочее положение поворотом рукоятки, расположенной с правой стороны мачты.
БТР-60Пу-12 используется в составе подразделений ПВО, оснащенных такими системами, как самоходная зенитная установка ЗСУ-23-4, а также 9К33 «Оса» (СА-8 «Геккон») и 9К35 «Стрела 10» (СА-8).
13 самоходных зенитно-ракетных комплексов «Суслик».
БТР-60Пу-12 также известен как 9С482, а БТР-60Пу-12М — как 9С482М.
Основное усовершенствование -12М — установка новой ЭВМ АСПД-У взамен старой АСПД-12. В результате командный пункт теперь может обрабатывать 99 целей одновременно вместо 20.
Командно-штабные машины Пу-12 и Пу-12М созданы на базе шасси БТР-60ПБ, а не БТР-60ПА. Фактически практически все варианты БТР-60 созданы на базе БТР-60ПБ, за исключением МТР-2 и болгарского БТР-60ПАУ.
Помощь в обслуживании БТР-60П
Ряд старых БТР-60П (8 × 8) были переоборудованы для использования в качестве помощника по техническому обслуживанию и имеют приподнятый брезентовый чехол над десантным отделением, который проходит почти сзади. Это может иметь российское обозначение МТП-2 (Машина Технической Помощи). Он основан на БТР-60П с более высокой линией крыши или БТР-60ПА и имеет небольшой кран, который устанавливается спереди при использовании.
Кроме того, существует и версия на базе БТР-60ПБ.
Радиомашина БТР-60МС
Это серия БТР-60П, используемая в качестве радиостанции и оснащенная телескопической антенной High Ball (обозначение НАТО).
БТР-60 спаренная 30 мм ЗСУ
Кубинская армия использовала модифицированный БТР-60П с бывшей чешской спаренной 30-мм буксируемой зенитной установкой, установленной в открытой установке на крыше машины.
БТР-60 ВВС
По сути, это БТР-60ПБ со снятым с башни вооружением и получившимся люком, закрытым смотровым окном из плексигласа. Для обеспечения питания дополнительного оборудования связи снаружи на верхней части корпуса в задней части установлен генератор.
Другие командные версии БТР-60
К ним относятся П-219, П-238БТ, П-239БТ и П-241БТ, П-240, П-240БР, П-240БТ и П-240ТБР, П241ТБР, П251, П-286, П-537, Р118АМ3 , Р-137, Р-137Б, Р-137БР, Р-140, Р-145БМ, Р-145К и МБ Р-145, Р-156, Р-156Б, Р-156БТР, Р-396, Р-409, Р-409БМ и Р-409БР, Р-419Б, Р-419БР, Р-419БТР, Р-440Б, Р-975, Р975М и Р-975М1, З-351БР, БМУ, ЭПС, КОАМ, БТР-60КШМ, БТР- 60МС и БТР-60 Салон.
БТР-60 Джибути
Джибути оснастила как минимум один из своих российских БТР-60 (8 × 8) полной башней французского бронеавтомобиля Panhard General Defense AML-90 (4 × 4). Он вооружен 90-мм нарезной пушкой с дульным тормозом и 7,62-мм спаренным пулеметом.
Машина называется БТР-60 Н 90 и также была оснащена гидравлической системой наведения легкого танка АМХ-13.
Джибути также оснастила поставленный из США HMMWV (4 × 4) полной башней российского бронеавтомобиля БРДМ-2 (4 × 4), вооруженного 14,5-мм и 7,62-мм пулеметами.
Гражданские версии БТР-60
В связи с сокращением численности российской армии многие БТР-60 в настоящее время не соответствуют требованиям, а некоторые из них переоборудуются в гражданские автомобили. В их числе машина технической помощи МТР-2Б и транспортер помощи при бедствиях АТМ-2, которые разработаны Каунасским авторемонтным заводом.
Модернизация российского БТР-60
Арзамасский машиностроительный завод разработал и завершил испытания пакета модернизации для широко развернутой серии БТР-60/БТР-70 с колесной формулой 8×8.
Существующая силовая установка БТР-60 была заменена полной силовой установкой более поздней серии БТР-80 с колесной формулой 8×8, а также соответствующей раздаточной коробкой и приводными валами.
В состав силовой установки входит один дизельный двигатель КамАЗ-7403 V-8 с турбонаддувом мощностью 260 л.с., обеспечивающий автомобилю максимальную скорость по шоссе до 100 км/ч и запас хода 600 км/ч.
Установка нового дизельного силового агрегата не только увеличивает скорость и дальность полета БТР-60, но также снижает риск возгорания и способствует общей топливной политике, поскольку сегодня все новые боевые бронированные машины в стандартной комплектации имеют дизельный двигатель. .
Существующая башня заменена на более новую башню БПУ-1, которая устанавливается на серийный БТР-80 с аналогичным вооружением, но угол возвышения увеличен до +60. Это позволяет оружию поражать медленные и низколетящие воздушные цели, а также цели в более высоких зданиях при ведении боевых действий в городских условиях.
Броневая защита также была улучшена, а стандартное оборудование включает в себя оборудование для обнаружения и тушения пожара, систему NBC и систему жизнеобеспечения.
Существующее оборудование связи заменено на новейшую систему Р-168-25У или Р-173 и установлена наземная навигационная система «Гамма-2».
Утверждается, что боевая живучесть повышена за счет установки дополнительной пассивной бронезащиты. Другие улучшения включают новые приборы обзора командира и водителя, новые пуленепробиваемые шины, новый водомет и улучшенное расположение сидений.
Модернизированный БТР-60 также может быть оснащен новейшей одноместной башней БППУ, вооруженной внешней 30-мм пушкой 2А72 и 7,62-мм спаренным пулеметом ПКТМ.
В базовой модели 30-мм пушка 2А72 не стабилизирована, но опционально может быть установлен стабилизатор, что увеличивает вероятность поражения движущихся целей.
Башня БППУ уже произведена в серийных количествах для стоящей на вооружении России машины БТР-80А и уже поставлена на экспорт в ряд стран.
Муромтепловоз БТР-60 модернизация
Компания «Муромтепловоз» довела до стадии прототипа обширную модернизацию БТР-60ПБ, включающую огневую мощь и мобильность.
Серийный БТР-60ПБ оснащен башней, аналогичной той, что установлена на бронеавтомобиле БРДМ-2, вооруженном 14,5-мм и 7,62-мм пулеметами.
Для этой модернизации эта башня была удалена и заменена новой башней МБ2 (или боевым отделением, как ее называют русские), которая вооружена 30-мм пушкой 2А42 и 7,62-мм пулеметом ПКТМ с 30-мм пулеметом АГ-17. Гранатомет крепился крайне с левой стороны башни.
Это оружие можно поднимать до +60 градусов, что позволяет использовать оружие в городских условиях, а также против медленно летящих самолетов и вертолетов.
Башня MB2 также устанавливалась на другие гусеничные и колесные шасси и доступна с системой стабилизации и различными дневными/ночными прицельными системами.
Продаются и другие системы вооружения, в том числе новейшая 30-мм пушка 2А72, а также 23-мм пушка ГШ-23 и 30-мм пушка ГШ-30.
Также могут быть добавлены средства противовоздушной обороны и противотанковые управляемые средства, в том числе «Корнет» с лазерным наведением. Последний имеет максимальную дальность 5000 м и может быть оснащен различными типами боеголовок.
Серийный БТР-60ПБ оснащался двумя 6-цилиндровыми рядными бензиновыми двигателями ГАЗ-49Б мощностью 90 л.с. каждый, что позволяло машине развивать максимальную скорость 80 км/ч и запас хода 500 км.
В модернизированном БТР-60ПБ изменена задняя часть корпуса и установлен новый четырехтактный дизель ЯМЗ-236А мощностью 195 л.с. Это дает автомобилю максимальный запас хода 800 км и максимальную скорость 80 км/ч. Также была модернизирована трансмиссия и улучшена тормозная система.
Масса модернизированного БТР-60ПБ увеличилась до 13 тонн, а удельная мощность снизилась до 15 л.с./т. Максимальный крутящий момент был увеличен на 62 процента, и в то время как исходный БТР-60ПБ мог разгоняться от 0 до 60 км/ч за 83 секунды, модернизированная версия может сделать это всего за 63 секунды.
Муромтепловоз Модернизация ЗРК БТР-60
В середине 2007 года компания «Муромтепловоз» показала сильно модифицированное шасси БТР-60П (8х8), оснащенное 9К35М3-К «Стрела-10М3-К» (СА-13 «Суслик»), которая обычно устанавливается на полногусеничное шасси МТ-ЛБ.
Имеет турель с механическим приводом и четырьмя зенитными ракетами в положении готовности к пуску, установленную на сильно модифицированном шасси БТР-60П.
Для размещения ракетной установки борта корпуса были выдвинуты наружу над второй и третьей опорными катками для увеличения внутреннего объема.
Первоначальные два бензиновых двигателя заменены на более экономичный дизель ЯМЗ-236А, развивающий 195 л.с., что дает максимальную скорость по шоссе 80 км/ч и заявленный запас хода 800 км. Также была модернизирована трансмиссия и улучшена тормозная система.
Этот дизельный силовой агрегат также устанавливается на ранее упомянутый Муромтепловоз БТР-60.
Для противовоздушной обороны задняя часть моторного отсека кажется более высокой, что может свидетельствовать о дальнейших улучшениях, включая, возможно, вспомогательную силовую установку.
Модернизация иранского БТР-60ПБ
В конце 2001 года Иран объявил, что он модернизировал и отремонтировал 30 БТР-60ПБ (8 × 8) российского производства, которые были повреждены в ходе конфликтов 1980-88 и 1990-91 годов в Персидском заливе с Ираком.
Согласно иранским источникам, модернизация позволила машине улучшить проходимость по пересеченной местности, а также увеличить максимальную скорость по шоссе до 80 км/ч и скорость по воде до 10 км/ч.
Считается вероятным, что модернизация включала замену двух оригинальных бензиновых двигателей на один или два более экономичных дизельных двигателя.
Модернизация БТР-60 NIMDA
В ответ на неназванный зарубежный заказчик израильская NIMDA разработала пакет модернизации для БТР-60 БТР.
Старый силовой агрегат был заменен новым дизельным силовым агрегатом, разработанным NIMDA, в сочетании с новой полностью автоматической коробкой передач с электронным управлением.
Полный силовой агрегат состоит из двух дизельных двигателей Rover 300 TDI, двух автоматических трансмиссий Allison серии 1000 и двух отдельных систем охлаждения, включая гидравлические вентиляторы.
Предусмотрен комплект модификации для систем управления водителя и рычага управления коробкой передач или кнопочной коробки.
Новые двигатели и трансмиссии поддерживаются недавно разработанной системой охлаждения, состоящей из радиаторов и вентиляторов с гидравлическим приводом. Это позволяет машине работать в экстремальных условиях окружающей среды от -40 до +45С.
Этот модернизированный автомобиль имеет максимальную скорость (четвертая передача) 90 км/ч и 120 км/ч (пятая передача) с запасом хода от 650 до 750 км.
ПЕРВЫЙ «БЕСКАПОТНИКИ» (Автомобиль МАЗ-500) МОДЕЛИСТ-КОНСТРУКТОР
оснащен двухтактным 4-цилиндровым 120-сильным дизелем модели ЯАЗ-204, позволяющим развивать скорость до 65 км/ч, потребляя при этом 30 — 35 литров дизельного топлива на 100 км.
Первыми самодельными грузовиками Минского автозавода стали полноприводный 7-тонный вездеход МАЗ-501 с двухскатной задними колесами и выпущенные на его базе армейские грузовики МАЗ-502 и МАЗ-501.
502А с односкатными задними колесами / рядный 6-рядный ландровер с дизельным двигателем ЯМЗ-236 мощностью 180 л.с. и лебедкой самовытаскивания на переднем бампере.
На базе 7-тонного дизельного грузовика конструкторами Минского автомобильного завода была разработана модель МАЗ-200Г с решетчатыми бортами и откидными скамьями в кузове, которые работали в паре со сборными КМ-24, УПП и УПП 9М-12 и для перевозки стеновых панелей и бетонных блоков для строительства домов.
В середине 1950-х годов на Минский автомобильный завод обратились к руководству Куйбышевской ГЭС с просьбой создать самосвал с боковой разгрузкой кузова. Прототип такого грузовика с индексом МАЗ-506 появился в 1954. Он имел стальной самосвальный кузов с гидравлическим механизмом его наклона в правую или левую сторону, закрепленный спереди и сзади. Опытные образцы новой машины прошли серьезные испытания и были рекомендованы в производство. А в 1956 году МАЗ освоил его ограниченный выпуск.
На автомобиль МАЗ-200 были смонтированы краны, мощные пожарные автоцистерны, использовавшиеся для тушения пожаров на нефтехранилищах, а пожарные лестницы АЦЛ-45 – самые длинные в Советском Союзе.
С 1962 года часть автомобилей МАЗ-200 стали оснащать более совершенным дизелем – V-образным 6-цилиндровым ЯМЗ-236 мощностью 165 л.с.; топливная экономичность этого мотора была на 10 процентов выше, чем у рядного 4-цилиндрового ЯАЗ-204.
В начале 1960-х годов конструкторы Минского автозавода приступили к проектированию совершенно нового бескапотного автомобиля МАЗ-500 с кабиной, расположенной над двигателем.
Следует отметить, что европейские автомобильные компании выпускали грузовики данного типа в довоенные годы, а к началу 1960-х годов эти машины составляли значительную часть парка грузовых автомобилей.
Однако у «бескапотников» был один недостаток, который не устраивал военных – проходимость была ниже, чем у машин с капотом.
Дело в том, что распределение нагрузки на капот грузовика разгружало передние ведущие колеса, не позволяя им зарываться в почву. Однако вес таких машин при прочих равных условиях был меньше, чем у обычных грузовиков, что позволило сэкономить металл и снизить расход топлива, увеличить грузоподъемность грузовика и улучшить его маневренность.
В середине 1950-х годов на нескольких отечественных заводах началось проектирование «бескапотников», но наибольших успехов добились конструкторы МАЗ-Н. Кузьмин, Л. Гилельс, А. Вагон, И. Демидович, Н. Янков, Л. Лаврентьева и Ф. Ревзина, работавшие под руководством талантливого конструктора и организатора М. С. Высоцкого. За создание большегрузных автомобилей и автопоездов МАЗ-500 группе специалистов Минского автомобильного завода присвоено звание лауреатов Государственной премии СССР.
Схема шасси автомобиля МАЗ-500:
1 – бампер передний; 2 – передняя рессора; 3 – двигатель; 4 – муфта; 5 – коробка передач; 6 – рама; 7 – карданный вал; 8 – задняя рессора; 9 – задний мост; 10 – центральный трансмиссионный тормоз; 11 – охладитель; 12 – рулевое управление
Бортовая тележка МАЗ-500
Переход на производство нового грузовика, не унифицированного с автомобилем-предшественником, позволил его создателям внедрить в конструкцию многие передовые технические решения .
На МАЗ-500 появились телескопические амортизаторы двойного действия, гидроусилитель руля, планетарные редукторы в ступицах задних колес. И, что самое необычное, кабина сдвинута вперед, что значительно упростило обслуживание и ремонт машины. Но более рациональное распределение нагрузки по осям позволило увеличить грузоподъемность автомобиля, а также уменьшить базу и габаритную длину автомобиля.
Первые прототипы «бескапотников» выкатились из ворот МАЗа в ноябре 1958 года – это бортовой МАЗ-500 и самосвал МАЗ-503. МАЗ-500 был на 300 мм короче «капотного» бортового МАЗ-200, но платформа у него была на 300 мм длиннее, и это позволяло МАЗ-500 брать на борт груза на 0,5 т больше, чем его предшественник. При этом новый автомобиль МАЗ-500 имел просторную кабину с удобным спальным отсеком. Соответственно, бескапотный самосвал МАЗ-503 имел грузоподъемность на 0,4 тонны больше, чем обычный предшественник.
В процессе проектирования «бескапотников» конструкторы Maza уделили значительное внимание внешнему виду этих грузовиков, и в первую очередь – дизайну кабины с округлыми формами, подходящему больше для автобусов, чем для советских грузовиков того времени.
В частности, не сразу отдали художникам-конструкторам кожух радиатора – им пришлось нарисовать и облететь не менее шести вариантов, прежде чем сделать выбор в пользу самой технологичной решетки с тринадцатью вертикальными прорезями.
Так и стал первый серийный бескапотный МАЗ, сошедший с заводского конвейера 16 марта 1965 года.
Помимо компоновки и конструкции, новый грузовик отличался от предшественника принципиально другим двигателем. Напомню, что МАЗ-200 оснащался рядным 4-цилиндровым двухтактным дизелем мощностью 120 л.с., а МАЗ-500 – четырехтактным 6-цилиндровым V-образным 180-сильным дизелем ЯМЗ-236.
Восьмилетний разрыв между готовностью опытных образцов МАЗ-500 и началом их серийного производства был обусловлен тем, что Ярославский моторный завод смог начать устойчивое производство нового V-образного 6-цилиндрового дизеля двигатели ЯМЗ-236 только в 1962.
В конце 1970 года в результате дальнейшего совершенствования автомобилей МАЗ-500 МАЗ приступил к выпуску модернизированных автомобилей МАЗ-500А, обладающих высокими технико-экономическими показателями и отвечающих требованиям, предъявляемым к современным грузовым автомобилям.
Кабина новых автомобилей, как и кабина предшественников, автомобилей МАЗ-500, располагалась над двигателем и могла опрокидываться вперед.
Кабина грузовика цельнометаллическая, просторная, в ней кроме водителя легко могли разместиться два пассажира. За спинками сидений – место отдыха с плюшевым матрасом для водителей-дальнобойщиков.
Грамотно выполненный интерьер кабины с радио и регулируемым мягким мягким сиденьем, хорошая тепло- и шумоизоляция двигателя снизили утомляемость водителя и создали ему комфортную работу.
Высокое совершенство конструкции машины и ее надежность подтверждены присвоением Знака качества бортовому автомобилю МАЗ-500А и тягачу МАЗ-504-А.
Автомобиль-самосвал МАЗ-504
Four-stroke 6-cylinder diesel engine YAMZ-236 of the car MAZ-500
Front axle and suspension of the car MAZ-500
Rear ось автомобиля МАЗ-500
Как уже говорилось ранее, автомобили МАЗ-500 оснащались V-образным четырехтактным 6-цилиндровым дизелем ЯМЗ-236, обладавшим хорошими пусковыми качествами и высоким КПД.
Электрическая система обеспечивает надежный запуск двигателя без использования предпускового подогрева при температуре воздуха минус пять градусов.
На МАЗ-500 устанавливалось однодисковое сухое сцепление с пневмоусилителем, а на МАЗ-500А уже устанавливались повышенное сухое двухдисковое сцепление и трансмиссия с оптимально подобранными передаточными числами трансмиссии, обеспечивающими более высокую среднюю рабочую скорость и , следовательно, увеличилась производительность грузовика. Для облегчения расцепления в конструкции его привода также используется пневмоусилитель. Переключение «со второй на третью» и «с четвертой на пятую» осуществлялось с помощью двух синхронизаторов.
Главная передача МАЗ-500 – конкретная, состоящая из центральной конической зубчатой передачи и планетарной передачи.
Особенностью конструкции заднего моста было наличие колесных редукторов в ступицах задних колес и центральной шестерни. Такая конструкция заднего моста обеспечивает увеличенный дорожный просвет, возможность выбора наиболее эффективных передаточных чисел моста.
121) перерегулировать на контрольный размер 65±0,5 мм для установки на двигатели, снабженные маховиками для сцеплений ЯМЭ-236 новой конструкции и ЯМЗ-238. Нажимный комплект сцеплений ЯМЭ-236 нового выпуска и сцеплений ЯМЭ-238 и ЯМЭ-236К с контрольным размером 64±0,5 мм перерегулировать на контрольный размер 56±0,5 мм нельзя из-за наличия упоров оттяжных рычагов на нажимном диске.
Т-150Д-05
с.)
08 
ru» 