Содержание
Принцип работы ручного насоса
Самым простым в устройстве и эксплуатации является ручной гидравлический насос. В его основе лежит принцип вытеснения жидкостей. В промышленности такие агрегаты довольно востребованы, основной их функцией является перекачка горюче-смазочных материалов.
- Устройство и схема гидравлического насоса с ручным приводом
- Как правильно выбрать ручной гидравлический насос?
- Ручные гидравлические насосы НРГ
- Плюсы и минусы ручных гидравлических насосов
- Виды ручного оборудования для перекачки воды
- Почему ручной насос необходим на даче
- О подаче воды и ее напоре
- Источники:
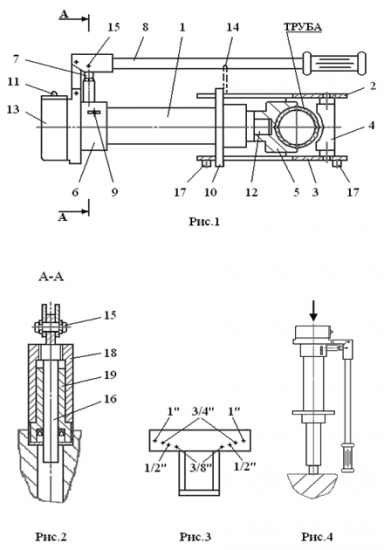
Устройство и схема гидравлического насоса с ручным приводом
Схема гидравлического насоса ручного
Ручной гидронасос состоит из двух главных частей, качающий узел (1) и гидравлический бак (2). Они соединены между собой шпилькой (3).
Залив жидкости через отверстие, предварительно открутив закрывающую его пробку (4).
Ручка (6) с рычагом (7) приводит в движение плунжер (8) первой и второй ступеней, сделанных как одна деталь.
Качающий узел имеет двухступенчатую структуру.
Защиту от перегрузки осуществляет предохранительный клапан (9).
Скидывание давления и извлечение гидравлической жидкости из полости цилиндра в бак происходит с помощью винта (10).
Как правильно выбрать ручной гидравлический насос?
Три основные фактора выбора:
1. Бак гидронасоса должен быть больше емкости гидроцилиндра.
2. Ручные гидронасосы бывают двух видов одностороннего и двустороннего действия.
3. Уровень давления должен соответствовать нужному вам для работы. Выбирайте гидронасос с равным или большим давлением, чем максимальное давление гидроцилиндра.
Ручные гидравлические насосы НРГ
Линейка НРГ насосов содержит устройства с распределителями. В конце обозначения таких инструментов обычно ставится буква «Р». Эта буква означает что инструмент может работать с гидроустройствами двустороннего действия.
- Модель НРГ-7020Р. Создает максимальное давление в 700 бар, имеет номинальный объем бака 2 литра. В комплекте идет гидрораспределитель, который позволяет работать с устройствами как одностороннего, так и двустороннего действия.
- Модель НРГ-7007. Также создает давление в 700 бар. Номинальный объем бака 0,7 литра. Достоинствами этой модели является присутствие предохранительного клапана, усилие на рукоятке минимально, и две ступени подачи масла. Данный инструмент предназначен для гидроинструмента одностороннего действия, с пружинным возвратом штока.
- Модель НРГ-67016Р. Номинальный объем бака равен 14 литрам. Усилие на рукоять 55 кг. Давление максимум 4Мпа. Производительность 115 куб см. Весит такое устройство целых 30 кг и весьма габаритно. Подойдет для небольшого автосервиса.
Плюсы и минусы ручных гидравлических насосов
Плюсы:
- Просты в эксплуатации;
- Не требуют никакого дополнительного источника энергии;
- Высокая ремонтопригодность;
- Обладают высокой мобильностью;
Минусы:
- Низкая производительность;
- Нужна мускульная сила оператора, следовательно, дополнительная нагрузка на оператора;
Итог, ручной гидравлический насос резонно использовать не больших мастерских и мобильных сервисах, где не нужно вкачивать большие объемы масла и нагнетать значительное давление.
В целом ручные насосы очень удобны, а главное мобильны так как не зависят ни от каких источников энергии.
Виды ручного оборудования для перекачки воды
- Поршневые.
- Штоковые.
- Крыльчатые.
- Мембранные.
Поршневые
В основе конструкции — цилиндр с поршнем, внутри поршня – поршневой клапан. Второй клапан, дисковый, располагается на дне цилиндра.
Принцип функционирования
Поршень поднимается вверх, рычаг двигается в обратном направлении, и в трубе пространство безвоздушного типа, которое идеально для подъема жидкости. Создается вакуум, поднимающий воду наверх в цилиндр. Активизируется дисковый клапан, и жидкости предоставляется открытый доступ в цилиндр. Когда рычаг поднимается, поршень начинает двигаться вниз. В этом случае закрывается донный клапан, и жидкость получает доступ выше цилиндра. Когда рычаг опускается повторно, вода сливается в патрубок, который располагается в верней части цилиндра.
Поршневые ручные насосы могут поднять воду на 4-4,5 метра. Возможно достижение большего показателя, если соединения фланцев характеризуются повышенной герметичностью и имеется клапан обратного действия.
Сфера применения: откачка воды из скважины или колодца, глубина которых не превышает 7 метров.
Штанговые
Цилиндр имеет большую длину, что дает возможность поднять жидкость из глубоких пластов.
В качестве штанги выступают два штока, соединенные между собой при помощи шарнира.
Сфера применения: для перекачки воды из скважин и колодцев глубиной больше 7 метров.
Крыльчатые
Оборудование самовсасывающего типа. На выходе создают давление 2 атмосферы.
Конструкция состоит из корпуса, специального крыла с четырьмя клапанами, рычага, вала с уплотнителем, всасывающей части, крышки.
Принцип функционирования
Крылья осуществляют вращательные движения под воздействием рычага, что и обеспечивает всасывание и отдачу водного потока.
При этом ток воды характеризуется непрерывностью.
Сфера применения: откачка воды из скважин и колодцев, глубина которых не превышает 9 метров. Кроме того, можно использовать эти ручные насосы для перекачки жидкостей соленых, поскольку корпусные элементы изготовлены из бронзы.
Почему ручной насос необходим на даче
Установка ручного гидротехнического оборудования нужна в следующих случаях:
- Как резервный (аварийный) агрегат наряду с электронасосом, в случаях непредвиденного отключения электроэнергии.
- При полном отсутствии энергоснабжения дачи.
- При ежедневном подъеме и потреблении небольшого объема воды.
- При наличии на участке неглубокой скважины или колодца (см. Колодцы для воды: виды конструкций).
- При совместном с соседями использовании колодца или скважины.
- При нерегулярных потребностях в водоснабжении.
Преимущества над электрическими:
- Отсутствие вращающихся деталей, которым противопоказаны твердые частицы.

- Простота конструкции позволяет использовать насос в любых условиях.
- Универсальность узлов и деталей – при выходе из строя какой-либо части агрегата есть возможность подбора аналогичной замены.
- Легкость монтажа и демонтажа оборудования не требует наличия специальных дорогостоящих инструментов и присутствия квалифицированных специалистов.
- Применение определенных видов насосов для источников любой глубины.
- Отсутствие финансовых затрат при работе агрегата, то есть нет потребления электроэнергии.
- Надежность и долговечность прибора.
- Доступная цена, которая в несколько раз ниже, чем у других приборов.
Ручной насос в разрезе. Устройство прибора
О подаче воды и ее напоре
Одна из ключевых характеристик насоса — скорость подачи воды. Надо подсчитать, сколько кубометров воды владелец дома тратит в час, чтобы узнать, какой вариант подойдет.
Ещё одна важная характеристика — напор. Он указывает на то, с какой силой агрегат будет подавать воду. Этот параметр подсчитывают в соответствии с тем, насколько далеко расположен источник воды от дома. Напор теряется под влиянием высоты и развилок в трубопроводе, поэтому лучше при подсчетах предусмотреть небольшой запас.
Источники:
- gidropnevm.ru
- calc.ru
- Канализация Дома
- SYL.ru
- REMOSKOP.RU
- byreniepro.ru
- vodatyt.ru
- VodaKanazer.ru
- Nashgazon.com
- Студопедия
- wodakachka.com
- moikolodets.ru
- ПРОАГРЕГАТ.com
Понравилась статья? Расскажите друзьям:
Оцените статью, для нас это очень важно:
Проголосовавших: 3 чел.
Средний рейтинг: 3 из 5.
устройство и принцип работы, типы и виды
Инструменты и технические аппараты, работа которых связана с использованием энергии жидкостей, называют гидравлическими механизмами.
В машиностроении их популярность основана на возможности передавать с потоком, через гибкие шланги и тонкие трубопроводы, огромные объемы энергии.
Содержание
- Что это, назначение и принцип работы устройства
- Технические характеристики и параметры выбора
- Виды
- Ручные
- Радиально-поршневые
- Аксиально-поршневые
- Шестеренные
- Пластинчатые
- Полезно видео
Что это, назначение и принцип работы устройства
Один из классов машин – гидравлический насос – является оборудованием по преобразованию механической энергии (вращения и крутящего момента приводного электрического двигателя; перемещения поршня при нажиме и поднятия рычага в ручной конструкции) в гидравлическую энергию жидкости (образование давления; подача или ход рабочего органа, например, штока гидроцилиндра).
Классификация и деление насосов на виды не влияет на общий принцип действия механизмов – вытеснение рабочей среды.
Работающий аппарат перемещает жидкость из полости всасывания (входной) в полость нагнетания (выходную) через изолированные камеры.
Выходящая из корпуса механизма жидкость имеет повышенное давление, обусловливающее ее перемещение по трубопроводу. Так как полости не соединены напрямую, устройства имеют идеальную адаптацию для работы в системах гидравлики с высоким давлением. Жидкость на выходе передает энергию поршню, перемещая его, или циркулирует в замкнутом контуре.
Гидравлические насосы высокого давления – обязательные элементы гидравлического привода, поэтому востребованы повсеместно. Основные области применения:
- Машиностроение, нефтепереработка, транспорт, сельское хозяйство, другие производственные и перерабатывающие отрасли.
- Оснащение мобильных моек, мастерских, предприятий коммунального хозяйства, строительных площадок.
- Системы чистки автомобилей, пожаротушения, подавления пыли, очистки труб, мытья улиц.
- Помпа – инженерная, погружная.
Технические характеристики и параметры выбора
Основными техническими характеристиками гидронасоса являются:
- Частота вращения, об/мин.

- Рабочий объем, вытесняемый за оборот вала, см3/об.
- Рабочее давление.
Запомните! Основные единицы для измерения давления имеют следующее соотношение: 1 атм=1,013 бар=0,101 МПа=1,03 кгс/см2.
Выбор насоса для конкретной гидросистемы производится с учетом следующих критериев:
- Вид элемента, вытесняющего жидкость – поршень, шестерня, пластина.
- Требуется ручной или гидронасос с электроприводом.
- Пределы рабочего давления.
- Со средой какой вязкости сможет работать механизм.
- Рабочий объем.
- Частотный интервал работы.
- Легкость обслуживания.
- Габариты.
- Цена.
Виды
Ручные
Конструкция ручных стандартных помп представляет цилиндрическую полость с поршнем, который жестко соединен со штоком. Шток, в свою очередь, через шарнир соединяется с приводным рычагом. В поршне находится промежуточный клапан, он связывает полости – поршневую и штоковую.
Поршневую полость от резервуара с маслом отделяет впускной клапан, перед которым стоит фильтр. Штоковая полость отделена от выходного порта изделия выпускным клапаном.
Рычаг ручного (мускульного) аппарата высокого давления легко перемещается рукой или ногой (через педаль с возвращающей пружиной). При подъеме рычага поршень штоком поднимается, открывается впускной клапан и поршневая полость заполняется жидкостью. В это время закрытый промежуточный затвор не допускает ее переток из штоковой полости в поршневую. Во время движения рычага вниз давление жидкости закрывает впускной и поднимает промежуточный клапан. Жидкость попадает в штоковую полость, открывает выпускной затвор и вливается в гидросистему. С каждым циклом подъема-опускания рычага насос вытесняет в систему порцию воды или масла. Таков принцип работы механизма одностороннего действия.
В ручных механизмах двустороннего действия к верху и низу цилиндрической полости подведены параллельные линии всасывания жидкости из бака и ее нагнетания в трубопровод.
При любом ходе поршня – вверх или вниз – один из пары впускных и выпускных клапанов открывается. В результате обеспечивается более производительная работа насоса с непрерывной и равномерной подачей рабочей жидкости.
Простое устройство гидроаппарата, требующего приложения мускульной силы, объясняет его широкое применение в производстве, индивидуальном хозяйстве, автосервисе, строительстве. Модели данного типа становятся составной частью различных механизмов:
- испытательных стендов;
- лабораторного оборудования;
- грузоподъемных кранов и платформ;
- статических гидроинструментов;
- водяных бытовых опрыскивателей;
- домкратов;
- прессового оборудования.
Главный минус – низкая производительность. К достоинствам можно отнести: надежность; простоту конструкции; низкую стоимость; работу без электропривода, следовательно, независимость от наличия источников электропитания; автономность; малый размер и вес; возможность быстро выполнить необходимый ремонт своими руками.
Изделия под отечественным брендом НРГ особенно популярны в частных гаражах, сфере автосервиса, ремонтных и индивидуальных мастерских.
Радиально-поршневые
Основное применение устройств данного типа – подъемное и прессовое оборудование, протяжные станки.
Типы поршневых гидравлических насосов с радиальным расположением цилиндров:
- Конструкции с ротором, смещенным относительно оси статора. Радиальные цилиндрические расточки ротора являются цилиндрами. В них располагаются поршни, при вращении ротора прижимаемые к стенкам обоймы неподвижного корпуса. Поршни вращающегося ротора приходят в возвратно-поступательное движение с ходом, равным удвоенному смещению (эксцентриситету). Внутри расположена неподвижная распределительная ось, выполняющая роль золотника. Проточки оси соединены с входной и напорной линией привода.
Поворот ротора на 180° приводит поршень в поступательное движение к максимально выдвинутому положению. В это время камера цилиндра увеличивает объем и всасывает масло через проточку распределительной оси. Совершая следующие пол-оборота, поршень возвращается в тело ротора и вытесняет масло уже в напорную полость распределителя. Изменяя величину эксцентриситета, регулируют производительность механизма. Меняя эксцентриситет по знаку, то есть, перемещая ротор к противоположной стенке корпуса, добиваются изменения потока жидкости – реверса.
- С соосным расположением статора и ротора. Но группа поршней уже имеет радиальное расположение в статоре, а на роторе присутствует эксцентричный кулачок. В каждом поршне конструктивно заложены два клапана – всасывания и нагнетания. Вращение эксцентричного кулачка приводит к последовательной работе клапанов, обеспечивая переток рабочей жидкости. Конструкции этого типа чаще применяются в гидромоторах.
Преимущества конструкции:
- Надежность.

- В регулируемых вариантах конструкции легко настроить нужную производительность.
- Показаны к применению в реверсивных системах с изменяемым направлением потока жидкости.
- Пониженная шумность работы.
- Небольшой осевой габарит.
- Простота механизма.
Недостатки:
- Низкочастотность (до 2000 об/мин.) вращения ротора.
- Инерционность вращающегося ротора.
- Присутствие пульсации. Эффект значительно сглаживается при нечетном количестве поршней.
- Большой вес.
В производственной сфере распространены нерегулируемые эксцентриковые агрегаты общемашиностроительного применения – Н400-Н403.
Аксиально-поршневые
Самые распространенные механизмы гидроприводов. Вытеснителем жидкости из цилиндра выступает плунжер или поршень. Все цилиндры находятся в едином блоке и они параллельны с осями блока.
Возвратно-поступательный ход поршней обеспечивается наклоном блока цилиндров к диску ведущего вала или конструктивным наклонным исполнением самого диска. Работа группы цилиндров сходна с радиально-поршневым устройством.
Запомните! Утечки цилиндров отводятся по дренажному сливу. Если его заглушить, можно спровоцировать повышение внутреннего давления с последующим повреждением корпуса и разгерметизацией гидронасоса.
Достоинства:
• Большая мощность и скорость вращения при компактности и небольшом весе агрегатов.
• Вариативность конструктивных исполнений.
• Небольшие рабочие органы имеют малый инерционный момент.
Недостатки:
• Цена механизмов высокая.
• Подача и расход жидкости сопровождаются существенной пульсацией.
• Конструктивная сложность. Следовательно, чувствительность к неправильной эксплуатации, продолжительный ремонт.
Отечественная модель НП-90 дешевле зарубежных насосов, востребована благодаря богатой комплектации и качеству сборки.
Шестеренные
Роторные гидромашины этого вида нашли применение в системах смазки, дорожной и сельскохозяйственной спецтехнике, мобильных гидравлических конструкциях. К их плюсам относят:
- простоту конструктивного исполнения;
- работу на частотах до 5000 об/мин.;
- небольшой вес;
- компактность.
Заметные минусы:
- рабочее давление до 20 МПа;
- низкий КПД;
- небольшой ресурс;
- проблемы пульсации.
Рабочими вытесняющими элементами конструкции являются две шестерни. Они различаются по виду зацепления:
- Внешнее. Со стороны входа шестерни вращаются в разные стороны, захватывают жидкость впадинами зубьев и перемещают ее вдоль стенок корпуса к выходу из насоса. Когда зубья входят в зацепление, рабочая жидкость выталкивается из впадин к выходу из корпуса.
- Внутреннее. Принцип работы не меняется. Жидкость переносится в область нагнетания во впадинах между зубьями шестерни вдоль поверхности вспомогательного серпообразного разделителя.
Пульсация давления и уровень шума в таких агрегатах снижаются.
Разновидностью рассматриваемой системы зацепления являются героторные (без разделителя, шестерни постоянно контактируют благодаря особому профилю зубьев) и винтовые конструкции.
НШ-10 – известная и надежная модель шестеренного насоса с высококачественной сборкой.
Пластинчатые
В этих гидромашинах пластины, размещенные на роторе, выполняют основную работу. Специальные пружины усиливают их прижим к неподвижному корпусу. Соседние элементы становятся ограничителями объемной камеры, в ней рабочая среда при вращении ротора попадает из полости подачи к полости нагнетания. Присутствие двух и более областей всасывания и стольких же зон входа в систему свойственно конструкциям двукратного или многократного действия.
Нужно знать: регулируемыми могут быть только механизмы однократного действия.
Достоинства пластинчатых насосов:
- Пониженная пульсация.
- Снижение рабочего шума.
- Пониженные требования к засоренности перемещаемой среды.
- Регулируемый рабочий объем.
Минусы:
- Подшипники ротора сильно нагружены.
- Низкое давление.
- Сложность при уплотнении пластин на торцах.
- Низкая ремонтопригодность.
Г12 – популярная марка одно- и двухпоточных пластинчатых конструкций.
Полезно видео
Подробно об НШ-10:
Принцип действия разных вариантов:
Hydraulic Hand Pumps — Hydraulic Pumps
GREENLEE Pump, Hand-Hyd 767
Mfr # 767
Key Features:
Item: Pump,Hand-Hyd 767
$421.
11
ENERPAC P392, двухскоростной, легкий гидравлический ручной насос, рабочее масло 55 дюймов3
№ производителя P392
Основные характеристики:
Ограничение на продвижение: 0004 Гидравлический ручной насос
Количество этапов: 2
$ 744,00
Главный Ручный насос с ручкой 1,3 галлона резервуара, 3625 фунтов на квадратный дюйм, 18 фунтов, 3/8 «NPT
MFR # 220996
. :
Ограничение по продвижению: Не имея права на продвижение по службе
Вместимость пласта: 1,3 GAL
Вес: 18 фунтов
$ 212,51
Enerpac P141, Single Speed, Lightwaue Hydra Hydra Hydra Hydra Hydra.
Годное масло
MFR # P141
Ключевые функции:
Ограничение по продвижению: Не имея права на продвижение
Пункт: Hydraulic Hand Pump
. , односкоростной ручной гидравлический насос низкого давления, рабочее масло 18 дюймов3
№ производителя P18
Основные характеристики:
Ограничение по продвижению: Не подходит для продвижения
Item: Hydraulic Hand Pump
Number of Stages: 1
$817.35
ENERPAC P142, Two Speed, Lightweight Hydraulic Hand Pump, 20 in3 Usable Oil
Mfr # P142
Key Features :
Ограничение на рекламу: Не подходит для акции
Артикул: Ручной гидравлический насос
Количество ступеней: 2
2 $
5
50003 ENERPAC P391, Одно скорость, легкий гидравлический ручной насос, 55 IN3 использование масла
MFR # P391
Ключевые функции:
РЕЗИЦИЯ ПРЕДУПРЕЖДЕНИЯ: НЕТ ПРЕДОСТАВЛЯ ДЛЯ ПРЕДЕЛЕНИЯ
Элемент: HYDRAILIC.
Количество ступеней: 1
646,97 $
ENERPAC P39, односкоростной, стальной гидравлический ручной насос ULTIMA, рабочее масло 41 дюйм3
Характеристики № P39
80004
Ограничение продвижения: Не имеет права на продвижение
Пункт: Гидравлический насос ручного насоса
Количество стадий: 1
$ 599,00
Enerpac P80, два Speed Hyd Hid Hyd Hyd Pumpal St. in3 Используемое масло
№ производителя P80
Основные характеристики:
Ограничение по акции: Не подходит для акции
Артикул: Ручной гидравлический насос
Количество стадий: 2
$ 1,039,00
ENERPAC P50, Одно скорость, гидравлический насос с низким давлением, 200 дюймов.
Не подходит для акции
Артикул: Гидравлический ручной насос
Количество ступеней: 1
1 248,00 $
BAILEY Гидравлический ручной насос
№ производителя 220993
Основные характеристики:
Емкость резервуара: 2,75 куб. дюйма
Размер порта: 3/8 NPT Макс. Давление: 3625 PSI
$ 336,35
Westward воздух/ручное насос Hyd Hyd, 10 000 фунтов на квадратный шт. Моторный привод: толчка, лагеря и разворота Ремонт приводов
Pump PSI: 10,000
$403.20
ENERPAC P2282, Two Speed, Ultra-High Pressure Hydraulic Hand Pump, 60 in3 Usable Oil, 40,000 psi
Mfr # P2282
Key Features:
Ограничение по акции: Не подходит для акции
Артикул: Гидравлический ручной насос
Количество ступеней: 2
3505,18 $
60 90 603
5 3%
5 9,000050002
ENERPAC P462, две скорости, Ultima Steel Hydraulic Dism Pump, 453 IN3 использование масла
MFR # P462
Ключевые функции:
Ограничение по продвижению: Не имея на участие в продвижении
.
Насос
Количество ступеней: 2
3 155,60 $
ENERPAC P77, двухскоростной стальной гидравлический ручной насос ULTIMA, рабочий объем масла 41 дюйм30003 Ключевые особенности:
РЕЗИЦИЯ ПРОДОВЛЕНИЯ: Не имеет права на продвижение
Предмет: Гидравлический ручной насос
Количество стадий: 2
$ 762,75
BVA HYDRAULIC HANDRICS SPIPED SPIPED SPIPED SPIPED SPIPED SPIPED SPIPED . 122 куб. Ручной насос, полезное масло 155 дюймов3, для цилиндров двустороннего действия
MFR # P842
Ключевые функции:
Ограничение по продвижению: Не имея права на продвижение
Пункт: Hydraulic Hand Pump
.
, двухскоростной, легкий гидравлический ручной насос, рабочее масло 55 дюймов3
№ производителя P202
Основные характеристики:
Ограничение по продвижению: Не подходит для продвижения
Item: Hydraulic Hand Pump
Number of Stages: 2
$629.00
BVA HYDRAULICS Treadle Air Pump, 122 Cu In Usable Oil, 10
Mfr # PA2000
Key Features:
Артикул: Педальный воздушный насос, 122 Cu в рабочем масле, 10
742,50 $
ENERPAC P802, двухскоростной, легкий гидравлический ручной насос, 155 дюймов3 полезного масла
M0008 Ключевые функции:
Ограничение продвижения: Не имея права на продвижение
.
Гидравлический ручной насос, полезное масло 50 дюймов3
Производитель # P51
Основные характеристики:
Ограничение по акции: Не подходит для акции
Артикул: Гидравлический ручной насос
Количество стадий: 1
$ 945,00
ENERPAC P392ALSS, две скорости, экстремальная среда Гидравлическое ручное насос, 55 дюйма. Ограничение на рекламу: Не подходит для рекламной акции
Артикул: Ручной гидравлический насос
Количество ступеней: 2
1037,86 $
ENERPAC P25, односкоростной гидравлический ручной насос низкого давления, рабочее масло 200 дюймов3
Производитель # P25
Основные характеристики:
Ограничение на продвижение: Количество ступеней: 1
1 288,00 $
ENERPAC P84, двухскоростной стальной гидравлический ручной насос ULTIMA, рабочий объем масла 134 дюйма3, для цилиндров двустороннего действия
№ P84
0008
Ключевые функции:
Ограничение продвижения: Не имеет права на продвижение
.
P801, двухскоростной стальной гидравлический ручной насос ULTIMA, рабочее масло 250 дюймов3
№ производителя P801
Основные характеристики:
Ограничение по продвижению: Не подходит для продвижения
Item: Hydraulic Hand Pump
Number of Stages: 2
$1,399.00
WESTWARD Hydraulic Hand Pump, 10,000 PSI
Mfr # 13X040
Key Features:
Item: Гидравлический ручной насос
Количество ступеней: 2
Макс. Давление 1-й ступени: 200 фунтов/кв.0002 Mfr # W1635
Key Features:
$11.
27
BVA HYDRAULICS Hand Pump 2 Speed S/A 61 Cu In Aluminum
Mfr # P1000
Key Features:
Item: Hand Насос 2 скорости S/A 61 Cu в алюминии
$ 506,00
ENERPAC MP1000, две скорости, мультифлюидные гидравлические ручные насосы, 14 500 фунтов на квадратный дюйм
MFR # MP10009
Ключевые функции:
ПРЕМИТИРИЧЕСКИ0004 Не имеет права на продвижение
Пункт: Гидравлический ручной насос
Количество стадий: 2
$ 3,795.44
BVA Hydraulics Ручный насос 2 Скорость S/250 CU в стали 10
MFR.
Основные характеристики:
Артикул: Ручной насос, 2 скорости, S/A 250 Cu, сталь 10
975,18 $
0005
MFR # P392FP
Ключевые функции:
Ограничение продвижения по службе: Не имея права на повышение по службе
Пункт: Гидравлический насос
.
Ручной насос односкоростной S/A 67 Cu In Stee
Производитель # P1201S
Основные характеристики:
Артикул: Ручной насос односкоростной S/A 67 Cu In Stee
$521,04
BVA Гидравлика Печальный воздушный насос, 91,5 куб.
4% скид. Р1000
$ 1 159,54
Simplex GA90, воздух над гидравлическим компактным насосом для ног, 11 дюймов/мин. Поток масла при 10 000 фунтов на квадратный дюйм, 90 дюймов нефтяной емко Гидравлический насос с электроприводом, 90 куб. дюймов.
687,77 $
BAILEY Ручной гидравлический насос двойного действия
№ производителя 220992
Основные характеристики:0005
Размер порта: 3/8 NPT
Макс.
Давление: 3625 PSI
274,23 $
О гидравлических ручных насосах
Ручной гидравлический насос, также известный как ручной гидравлический насос, подает гидравлическую жидкость под давлением, приводимую в действие ручным усилием человека. Преимущество этих насосов по сравнению с электрическими гидравлическими насосами заключается в том, что им не требуется электричество, сжатый воздух или гидростатический поток для обеспечения их мощности. Их можно использовать практически где угодно, лишь бы кто-то смог прокачать ручку. Кроме того, ручное управление дает пользователям этого типа насоса практические и точные ощущения при загрузке и испытании компонентов машин или при подъеме тяжелой техники.
Часто задаваемые вопросы
Гидравлические ручные насосы каких марок продает Zoro?
У нас представлено оборудование многих ведущих брендов и производителей, включая ENERPAC, BVA HYDRAULICS, BAILEY и многих других.
Какое количество ступеней ручных гидравлических насосов доступно?
В Zoro мы предлагаем широкий ассортимент, в том числе некоторые из наиболее распространенных вариантов количества ступеней, таких как 2 и 1.
Какие популярные варианты доступны для гидравлических ручных насосов?
В нашей коллекции гидравлических ручных насосов, гидравлический ручной насос, 2-скоростной насос H& и 2-скоростной насос H& для тяжелых условий эксплуатации 140 Cu являются одними из самых популярных товаров, которые мы продаем.
Какие характеристики наиболее характерны для гидравлических ручных насосов?
Некоторыми общими характеристиками гидравлических ручных насосов являются количество ступеней, емкость резервуара и размер порта.
Гидравлические ручные насосы | Simplex
Гидравлические ручные насосы
Simplex предлагает самый широкий выбор моделей ручных насосов, размеров резервуаров и скоростей потока для удовлетворения ваших повседневных потребностей.
Каждый насос имеет определенные особенности, которые делают определенные модели более подходящими для определенных работ. Выберите ручной насос с характеристиками, которые лучше всего подходят для вашей области применения.
Верфи, сталелитейные заводы, строительные площадки и сварочные цеха могут быть неблагоприятными условиями для ручных насосов. Полностью металлические и алюминиевые конструкции Simplex выдерживают реальные условия и приложения.
Выпускные клапаны Simplex имеют винт с мелким шагом и большую рукоятку клапана для максимального контроля. Конструкция обратного шарового клапана более надежна, чем игольчатые клапаны, и менее затратна в ремонте.
Ручные насосы Simplex имеют низкое усилие на рукоятке, щадящее спину, что снижает утомляемость оператора и травмы спины.
Больше масла на ход означает меньше ходов рукоятки за работу. Насосы Simplex имеют самый высокий доступный объем масла за ход, во многих случаях сокращая количество ходов рукоятки до 50%.
Шарнирное соединение обеспечивает равномерное усилие на рукоятке во всех точках по дуге хода рукоятки насоса.
Шарнир снижает нагрузку на поршень со стороны поршня, что продлевает срок службы насоса. Некоторые модели насосов имеют четырехходовые клапаны для использования с цилиндрами двустороннего действия.
/ru-ru/hydraulic-pumps/sx-pumps-hand/
Все продукты
Просмотр 1-12 из 24 , 0,17 дюйма3 (2,8 см3) Расход масла на ход при 2850 фунт/кв. Ручной насос, 0,06 дюйма3 (1,0 см3) Расход масла на ход при 10 000 фунтов на кв. дюйм (700 бар), 17 дюймов3 (280 см3) Используемое масло
Ручной насос — компактный стальной
546,00 $
P41
P41, односкоростной, компактный стальной гидравлический ручной насос, расход масла 0,20 дюйма3 (3,2 см3) на ход при 10 000 фунтов на кв. дюйм (700 бар), 40 дюймов3 (650 см3) Используемое масло
Ручной насос из компактной стали
445,00 $
P42
P42, двухскоростной гидравлический ручной насос из компактной стали, расход масла 0,17 дюйма3 (2,8 см3) на ход при 10 000 фунтов на кв. дюйм (700 бар), 39 дюймов3 (640 см3) Используемое масло
Ручной насос — компактная сталь
600,00 $
P82
P82, двухскоростной компактный стальной гидравлический ручной насос, расход масла 0,17 дюйма3 (2,8 см3) на ход при 10 000 фунтов на кв.
дюйм (700 бар), 110 дюймов3 (1800 см3) используемого масла
Ручной насос — компактная сталь
846,00 $
P30
P30, двухскоростной, легкий алюминиевый гидравлический ручной насос, расход масла 0,19 дюйма3 (3,1 см3) на ход при 3000 фунтов на кв. дюйм, 30 дюймов3 (491,6 см3) используемого масла
635,00 $
P32
P32, двухскоростной, легкий алюминиевый гидравлический ручной насос, расход масла 0,06 дюйма3 (1,0 см3) на ход при 10 000 фунтов на кв. дюйм (700 бар), 30 дюймов3 (491,6 см3) Используемое масло
Ручной насос — легкий алюминий
509,00 $
P71
P71, односкоростной, легкий алюминиевый гидравлический ручной насос, расход масла 0,14 дюйма3 (2,3 см3) на ход при 10 000 фунтов на кв. дюйм (700 бар) , 70 дюймов3 (1147,1 см3) Используемое масло
Ручной насос — легкий алюминий
$555,00
P71V
P71V, односкоростной, легкий алюминиевый гидравлический ручной насос, 0,14 дюйма3 (2,3 см3) расход масла на ход при 10 000 фунтов на кв.


Поворот ротора на 180° приводит поршень в поступательное движение к максимально выдвинутому положению. В это время камера цилиндра увеличивает объем и всасывает масло через проточку распределительной оси. Совершая следующие пол-оборота, поршень возвращается в тело ротора и вытесняет масло уже в напорную полость распределителя. Изменяя величину эксцентриситета, регулируют производительность механизма. Меняя эксцентриситет по знаку, то есть, перемещая ротор к противоположной стенке корпуса, добиваются изменения потока жидкости – реверса.
Пульсация давления и уровень шума в таких агрегатах снижаются.
