Содержание
Карбюратор solex в Шахтах: 48-товаров: бесплатная доставка, скидка-14% [перейти]
Партнерская программаПомощь
Шахты
Каталог
Каталог Товаров
Одежда и обувь
Одежда и обувь
Стройматериалы
Стройматериалы
Текстиль и кожа
Текстиль и кожа
Здоровье и красота
Здоровье и красота
Детские товары
Детские товары
Продукты и напитки
Продукты и напитки
Электротехника
Электротехника
Вода, газ и тепло
Вода, газ и тепло
Дом и сад
Дом и сад
Промышленность
Промышленность
Мебель и интерьер
Мебель и интерьер
Все категории
ВходИзбранное
Ремкомплект карбюратора К-151 К151-1107980 Тип: ремкомплект карбюратора, Тип автотехники: легковые
ПОДРОБНЕЕ
Заглушка гнезда эл./магн. клапана для карбюраторов Solex 2108-12,213 2108-1107423 Тип: клапан,
ПОДРОБНЕЕ
Карбюратор спортивный Solex 2106, 24/26
ПОДРОБНЕЕ
-29%
4 317
6044
SherryBerg fajs solex EMPI для VW Beetle Single Weber 40/44/48 IDF Карбюратор Ка MY548 — арт.
MY-HYQ0548
ПОДРОБНЕЕ
16 409
Карбюратор 1111 ОКА Solex LADA Image LADA IMAGE Тип: карбюратор, Производитель: LADA
ПОДРОБНЕЕ
Ремкомплект карбюратора Нива 21213 «Тайга» типа SOLEX. Дисс Тип: ремкомплект карбюратора, Модель
ПОДРОБНЕЕ
-13%
11 320
13018
Карбюратор Волга Solex аналог К151 с установочным крепежом LADA Image — LADA арт. 41780-1107005-40
ПОДРОБНЕЕ
18 350
Карбюратор 1111 ОКА Solex LADA Image LADA IMAGE Тип: карбюратор, Производитель: LADA
ПОДРОБНЕЕ
All Bals Racing Carburetor Rebuild Kit (Ремкомплект карбюратора для Квадроцикла Arctic Cat) Тип
ПОДРОБНЕЕ
10 832
Карбюратор 1111 ОКА Solex LADA Image LADA IMAGE Тип: карбюратор, Производитель: LADA
ПОДРОБНЕЕ
Solex
-30%
10 879
15542
Классический двухцилиндровый карбюратор solex, карбюратор 2 cv, подходит для Citroen mehari dyane лактиane
ПОДРОБНЕЕ
Тройник обратки карбюратора Solex Тип: карбюратор, Производитель: Noname
ПОДРОБНЕЕ
Проставка карбюратора теплоизолирующая 21213 01-07 карб.
Solex 2101-1107014 Модель автомобиля: LADA
ПОДРОБНЕЕ
17 393
Карбюратор 1111 ОКА Solex LADA Image LADA IMAGE Тип: карбюратор, Производитель: LADA, Модель
ПОДРОБНЕЕ
Карбюратор Solex спорт 21083, 24/26 Тип: карбюратор, Длина: 26 мм, Высота: 24 мм
ПОДРОБНЕЕ
Тяги акселератора в сборе с кронштейном для карбюраторов типа Solex 2101-1107630/24/1 Модель
ПОДРОБНЕЕ
All Bals Racing Carburetor Rebuild Kit (Ремкомплект карбюратора для Мотоцикла Honda CR125R) Марка
ПОДРОБНЕЕ
All Bals Racing Carburetor Rebuild Kit (Ремкомплект карбюратора для Мотоцикла Honda CR80R) Марка
ПОДРОБНЕЕ
Диафрагма пускового устройства карбюраторов типа Solex 2108-12,21213 21080-1107047-00
ПОДРОБНЕЕ
-15%
296
350
Топливный клапан (игла) для карбюраторов типа «Solex» ВАЗ 2108-99, ЗАЗ 1102 — Уникар арт. 2108-1107730
ПОДРОБНЕЕ
Шпилька М8х40 карбюратора нижняя SOLEX Производитель: NO NAME
ПОДРОБНЕЕ
All Bals Racing Carburetor Rebuild Kit (Ремкомплект карбюратора для Квадроцикла Yamaha YFM) Марка
ПОДРОБНЕЕ
10 800
Карбюратор Solex спорт 21083, 26/26 — арт.
ФР-00000557 Тип: карбюратор
ПОДРОБНЕЕ
11 800
Карбюратор Нива 21213 (1,7 л.) SOLEX Тип: карбюратор, Производитель: LADA, Тип автотехники:
ПОДРОБНЕЕ
Карбюратор спортивный Solex 2106, 28/28
ПОДРОБНЕЕ
15 846
Карбюратор 1111 ОКА Solex LADA Image LADA IMAGE Тип: карбюратор, Производитель: LADA
ПОДРОБНЕЕ
Карбюратор спортивный Solex 21083, 28/28
ПОДРОБНЕЕ
18 350
Карбюратор 1111 ОКА Solex LADA Image LADA IMAGE Тип: карбюратор, Производитель: LADA
ПОДРОБНЕЕ
2 страница из 8
Карбюратор solex
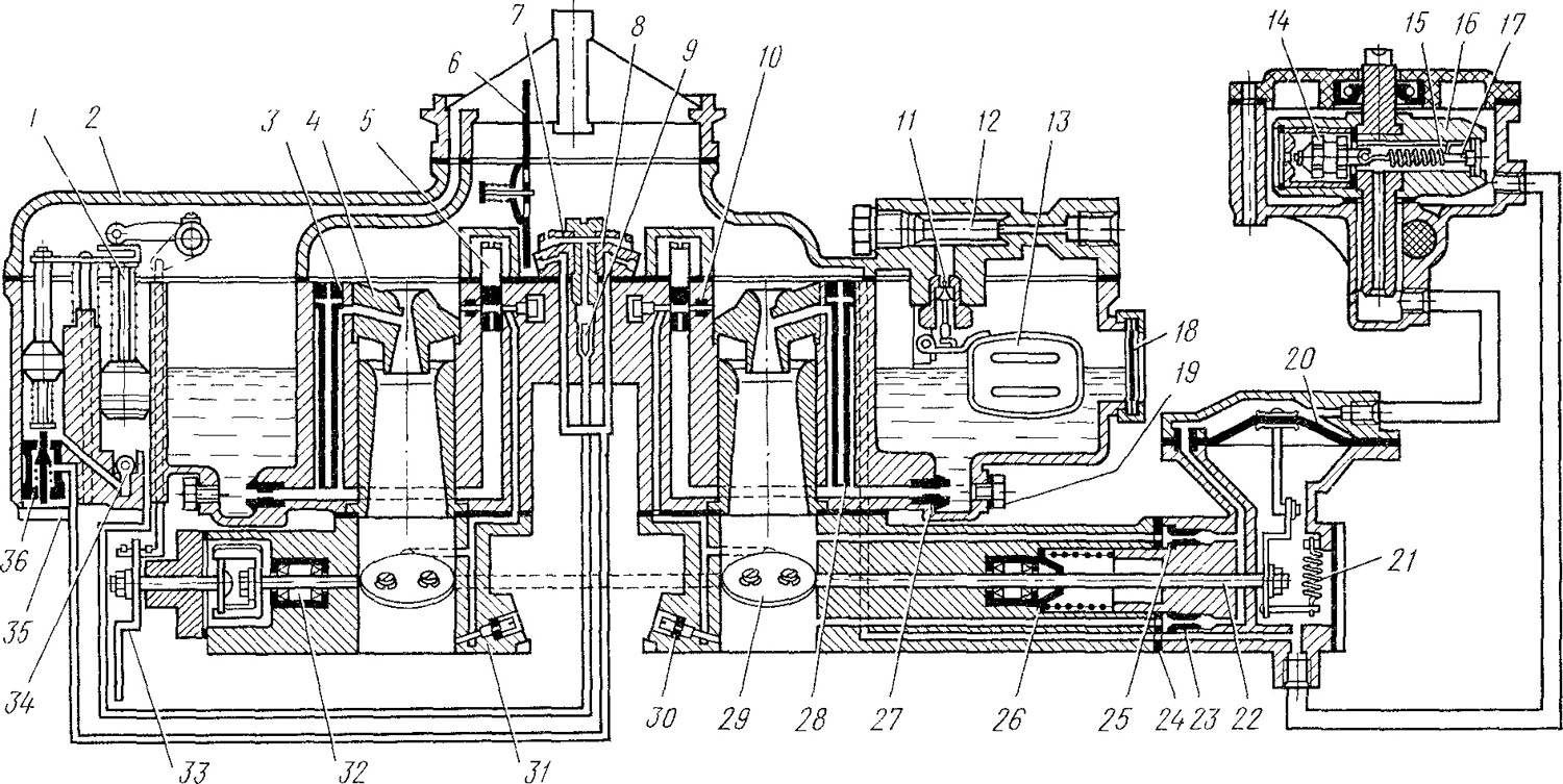
Карбюратор Пекар К135 ГАЗ-53, 135 1107010 (id 101462785)
Характеристики и описание
Карбюратор К135 МУ
Карбюратор вертикальный, двухкамерный, с параллельным механическим открытием дроссельных заслонок, с падающим потоком горючей смеси, с двойным распыливанием топлива в каждой камере и co сбалансированной поплавковой камерой.
Основные системы и устройства:
- две главные дозирующие системы — первичной и вторичной камер;
- системы холостого хода обеих камер;
- ускорительный насос поршневого типа с резиновой манжетой;
- полуавтоматическая пусковое устройство для пуска и прогрева двигателя;
- экономайзер;
- исполнительный диафрагменный механизм ограничения максимальной частоты вращения коленчатого вала двигателя.
Дополнительные системы и устройства:
Карбюраторы типа К135 дополнительно имеют: штуцер системы рециркуляции отработавших газов двигателя;
Применяемость и технические характеристики:
- Автомобиль — ГАЗ-53, ГАЗ-66, ГАЗ-71, ПАЗ,
- Двигатель — ЗМЗ-53-11, ЗМЗ-66-71, ЗМЗ-73, ЗМЗ-4905.
- Диаметр смесительной камеры (мм) — две, по 32.
- Диаметр диффузоров (мм):
- большого – два, по 27
- малого — два, по 11.
- Габариты (мм) — 234х134х164.


