Содержание
Устройство и виды гидрораспределителей
Гидрораспределители — востребованные устройства в самых разных сферах деятельности, связанной с водной средой, от систем очистки до отопительных систем. Рассмотрим разновидности устройств, принцип работы и на чем основан выбор той или иной модели гидрораспределителя.
Устройства изготавливаются из высококачественных стальных сплавов, чугунных заготовок, а также есть варианты из бронзовых слитков. Для дополнительной закалки сырья его подвергают воздействию азота, цементируют. Их вес и размеры зависят от масштабов пропускаемой жидкости. Чем крупнее габариты распределителя, тем выше пропускная способность.
Принцип работы
Устройство гидрораспределителя выглядит следующим образом (см. схему):
В начале рабочего цикла жидкая масса сразу не поступает внутрь гидравлического цилиндра из заборного насоса. Для этого оператором смещается запорная арматура в нужное положение – и вода проходит в цилиндрическую полость.
Поршни приходят в движение, вытесняют жидкость – она спускается в специальный бак. Затем цикл завершается возвращением механизма к исходной позиции.
Гидрораспределители работают на двух принципах: направляющем и дросселирующем. Направляющий принцип действует в отношении закрывания и открывания прохода для жидкой массы. Дросселирующие варианты механизмов могут регулировать мощность потока, сокращать или увеличивать его объем. Здесь можно открывать канал частично или полностью на усмотрение оператора.
Преимущество гидроусилителя на дросселирующей основе – нет резкой тряски в момент запуска механизмов или при отключении, малая вероятность поломки.
Классификация гидротехники
Разделяют эти устройства, основываясь на типологии запорных конструкций. Гидрораспределители, типы устройств которых отличаются между собой по функционалу, делятся на следующие разновидности:
- золотники;
- крановые распределители;
- с клапаном;
- струйные;
- с регулирующим элементом типа «сопло-заслонка».

Очень распространенными являются золотниковые разновидности распределителей. Они просто изготавливаются, компактны и надежны в эксплуатации. Выдерживают повышенное давление до 32 Мпа и активный расход, в отличие от кранового типа.
Крановый распределитель также достаточно широко распространен. Его конструкция запорной арматуры основана на цилиндрической форме пробки поворотного крана. Но кран также может иметь и шарообразную, коническую форму, а также бывает плоским. Разнообразие типов запорных элементов делает этот тип устройств очень удобным и востребованным.
Устройства на основе клапанов дают возможность избежать утечки рабочей среды, что часто встречается в случае золотниковых гидрораспределителей. При превышении давления более 32 Мпа сложно удержать в неподвижном положении сам гидродвигатель, здесь требуется позиционное переключение. В данном случае актуален клапанный распределитель, который отличается увеличенной массой и размерами, полностью герметизирует всю гидролинию.
Такой тип распределителей актуален там, где нужна высокая герметичность. Запорная конструкция, как правило, изготавливается в виде клапана-конуса или шара.
Тип устройства «сопло-заслонка» работает на принципах гидравлического делителя давления и качественно распределяет нагрузку в ходе поступления рабочей среды.
Струйные варианты отличаются пониженной чувствительностью к загрязнениям, это обеспечивается полным отсутствием подвижных элементов в устройстве.
Применение
Гидрораспределители используют на гидростанциях, в тепловых сетях, на водоканалах, заводских линиях, где используется водная среда в качестве очистного ресурса, в канализационных системах.
Наиболее популярны на рынке устройства золотникового типа. Они просты в применении и часто востребованы в системах, где давление не превышает критических значений. Золотники помогают управлять валами и штоками на сельхозтехнике для сбора урожая, в конструкции экскаваторов или бульдозеров, грейдеров.
Распределители встречаются также в конструкции грузовых машин, встраиваются в станки и подъемники разных типов, манипуляторы кранового типа.
Основной критерий выбора механизма – это его способность справиться с давлением, которое должно соответствовать возможностям распределителя. При нагрузке выше 32 МПа сразу необходимо сделать выбор в пользу клапанного варианта, так как эти распределители спокойно работают при уровне давления до 80 МПа с соблюдением герметичности системы.
Низкая пропускная способность крановых типов распределителей не является их преимуществом, но они востребованы в системах, где требуется стабильная и качественная очистка до 10 литров в минуту. Они служат в качестве вспомогательных устройств, поддерживающих работу золотника или клапанного гидрораспределителя. В данном случае крановый прибор подает сигнал, управляющий рабочими процедурами.
Тип устройства «сопло-заслонка» встречается гораздо реже, он работает на принципах гидравлического делителя давления и качественно распределяет нагрузку в ходе поступления рабочей среды, но применение их слишком специфично.
Струйные варианты отличаются пониженной чувствительностью к загрязнениям, это обеспечивается полным отсутствием подвижных элементов в устройстве, они необходимы для очистных станций.
Обслуживание гидрораспределителей
Наша компания предоставляет такие услуги, как ремонт гидрораспределителей и любых гидравлических устройств в Новочеркасске, Ростове-на-Дону, Батайске, Азове, Аксае и иных городах Ростовской области. Вы можете отправить заявку на ремонт и обслуживание вашей спецтехники прямой насайте или позвонить по указанному номеру телефона. Дежурный специалист ответит на все вопросы и рассчитает стоимость услуг. Мы обеспечиваем бесперебойную работу гидравлической спецтехники всех наших нынешних клиентов и всегда рады новым.
Гидравлический распределитель: устройство, принцип работы, типы
Гидравлический распределитель – специальное устройство, применяемое в производственных механизмах, которое позволяет менять направление движения жидкости. Он необходим для контроля точности смены потоков, которые должны сменяться в определенной последовательности для включения механизмов.
Распределитель может монтироваться к основному механизму с помощью различных креплений. Чаще всего применяется резьбовое, фланцевое и стыковое крепление. Для высокой точности работы обычно применяются электрогидравлические распределители, которые управляются электромагнитами.
Содержание
Устройство и принцип работы
Гидрораспределители могут применяться при работе с различными типами жидкостей. Но чаще всего такой механизм можно встретить в гидравлических системах, для регулировки потока, уровня и давления масла.
Схема гидрораспределителя зависит от типа механизма и целей его использования. Чаще всего он состоит из корпуса, распределительных каналов, клапанов различных видов, регулировочных механизмов, фиксаторов, в некоторых случаях электромагнитов и других деталей.
Принцип работы электрораспределителя такой:
- На корпусе установлен электромагнит постоянного тока, который при включении воздействует на палец и толкатель, к которому крепится с помощью рычага.

- Толкатель воздействует на шариковый клапан, прижимая его к седлу;
- Такое положение позволяет гидродвигателю включиться в работу, вытесняя жидкость из рабочей емкости в сливную магистраль.
- Когда на электромагнит не поступает электричество, шариковый клапан прижимается к седлу.
- Из-за этого с рабочей емкостью соединяется с нагнетательной полостью, что приводит к обратному движению жидкости, которая возвращается в полость двигателя.
- Рабочая емкость закрывается обратным клапаном, который не позволяет жидкости двигаться в системе.
- Для работы распределителя не требуется большой мощности, так как вся система уравновешена. Усилие пружины, которая воздействует на шариковый клапан, примерно равняется давлению со стороны толкателя, в полость которого нагнетается рабочая жидкость. Из-за этого даже малейшего усилия электромагнита достаточно для изменения направления и распределения потоков жидкости.
Практически все модели распределителей работают по одному принципу.
Отличия могут быть незначительные и зависят от конструкционных особенностей.
Ремонт гидрораспределитей осуществляют специализированные мастерские. Прежде чем обратиться в компанию, обратите внимание есть ли у нее собственное производство и предоставляет ли она гарантии на выполненные работы.
Типы гидрораспределителей
На сегодняшний день существует несколько классификаций гидрораспределителей. Наиболее распространенная выделяет три типа – золотниковые, крановые и клапанные, отличие которых заключается в разной схеме запорно-регулирующего элемента.
Но также стоит выделить несколько других принципов классификации:
- В зависимости от числа внешних гидролиний:
- двухлинейные;
- трехлинейные.
- Зависимо от числа позиций запорного механизма – двух- и трехпозиционные;
- Исходя из вида управления бывают:
- с ручным управлением;
- с электрическим;
- с механическим;
- с гидравлическим.

- Зависимо от количества запорных элементов бывают одно- и двухступенчатые.
Золотниковые
Один из наиболее популярных типов. Устройство золотникового распределителя простое, его отличие от остальных заключается в особом строении распределителя. В его качестве выступает цилиндрический золотник. Его движение провоцирует изменение направления жидкости. В спокойном положении он перекрывает каналы, но при смещении влево или вправо, происходит движение жидкости из рабочей полости, под давлением от насоса, или обратно в полость.
Такой тип распределителя обычно применяется для поршневых систем. Движение золотника провоцирует выдвижение поршня и его обратное втягивание. Среди золотниковых распределителей можно выделить двухходовые, трехходовые и многоходовые.
Управляться такой распределитель может вручную, гидравликой, электромагнитом или смешанной системой управления (электрогидравлической). Ручное управление применяется в простых механизмах и может выполняться с помощью рычага, педали, кнопки, рукоятки или другого простого привода. Механическое управление более сложное, в нем участвует пружина, толкатель или ролик.
В зависимости от сложности конструкции и целей использования, механизм может иметь несколько золотников. Исходя из этого распределители делят на секционные и моноблочные. Секционные обычно соединяются между собой с помощью болтов. Для моделей такого типа разработано несколько запорно-регулирующего механизма:
- С положительным осевым перекрытием – позволяет фиксировать поршень в нужном положении, но точность фиксации небольшая из-за наличия области нечувствительности.
- С нулевым перекрытием – более совершенный тип, которой не имеет подобной области, но отличается довольно высокой стоимостью, связанной со сложным процессом производства.

- С минимальным – имеет небольшую зону нечувствительности, приемлемую стоимость, но надежность конструкции ниже из-за меньшей жесткости.
Крановые
В основу этой модели заложена крановая пробка. С ее помощью происходит распределение потоков, путем поворота пробки. Чаще всего такие изделия имеют коническую форму, или форму цилиндра, но также можно встретить плоские и сферические модели. Чтобы подобный механизм работал эффективно, должна соблюдаться герметичность. За этим обязательно нужно следить, так как во время эксплуатации вследствие износа между пробкой и корпусом может увеличиться зазор. Из-за этого герметичность теряется и происходит утечка жидкости.
Чаще всего проблемы с герметичностью возникают в моделях с цилиндрической пробкой. Чтобы механизм работал исправно, зазор не должен превышать 0,02 мм. Со временем зазор увеличиваются и происходит утечка жидкости. При этом в некоторых случаях, несмотря на потери, можно продолжать эксплуатацию распределителя.
К сожалению, избавиться от утечки можно только с помощью покупки нового устройства. Поэтому все более популярными становятся модели гидравлических распределителей с конической пробкой, в которых проблема с герметичностью отсутствует.
Клапанные
В основе конструкции таких распределителей лежит клапан, который более надежен, чем золотник, и позволяет работать при высоком давлении жидкости. Обычно клапанные распределители способны работать при давлении в три раза превышающим возможности золотниковых. Надежность работы достигается путем использования нескольких проходных клапанов, которые поочередно открываются и закрываются.
Закрытия и открытия клапанов происходит за счет движения стержня, на котором установлены выступы. В зависимости от направления стержня, открывается нужная пара клапанов и жидкость сливается в рабочую емкость или гидродвигатель.
При производстве распределителей могут использоваться клапаны различной формы. Чаще всего применяются конусы и шарики.
Управление подобными распределителями может выполняться вручную, механическим или электрическим способом.
К недостаткам таких моделей можно отнести большие габариты. Это связанно с необходимостью обеспечения высокой надежности. При этом пропускная возможность клапанных распределителей может равняться показателям золотниковых, размером практически в два раза меньше. На срок эксплуатации такого распределителя может негативно повлиять гидравлический удар, возникающий во время посадки клапана на седло.
Область применения
Область применения гидрораспределителей не ограничивается отдельными сферами деятельности. Практически в каждой гидравлической системе используется такой механизм. Наиболее распространенными являются золотниковые модели. Это связано с тем, что они простые в использовании, относительно дешевые и имеют небольшие размеры. С помощью таких распределителей обычно происходит управление движением компонентов двигателей.
Обычно встретить такие гидравлические распределители можно на:
- станках:
- крановых установках, подъемниках и манипуляторах;
- грузовых автомобилях;
- сельскохозяйственной технике;
- специальной технике, применяемой в строительстве и горнодобывающей промышленности.

Сфера применения таких моделей ограничивается лишь уровнем давления рабочей жидкости. При превышении дозволенных показателей система может не выдержать и выйти из строя из-за потери жидкости. При больших нагрузках стоит отдавать предпочтение клапанным устройствам.
Крановые модели редко применяются из-за небольшой пропускной способности. Они часто встречаются в комплексе с золотниковыми и клапанными устройствами в качестве дополнительного механизма.
При покупке распределителя следует изучить технические характеристики каждой модели. Иногда лучше всего посоветоваться со специалистом. От распределителя напрямую зависит надежность работы гидросистемы. Стоит отметить, что даже если правильно подобрать устройство, могут возникнуть проблемы, если неправильно его установить.
Поэтому к такому важному этапу также стоит отнестись с особым вниманием.
схема, устройство, чертежи, типы, виды, принцип работы, распределитель гидравлический
Гидрораспределитель — это гидроаппарат, обеспечивающий изменение направления потока рабочей жидкости в двух или более гидролиниях при наличии внешнего управляющего воздействия.
Гидрораспределители бывают направляющими и дросселирующими.Направляющим называется гидрораспределитель, обеспечивающий перекрытие или изменение направления потока жидкости за счет полного открытия или полного перекрытия соответствующих проходных сечений.
Гидрораспределители подразделяются:
по конструкции запорно-регулирующего элемента — на золотниковые, крановые и клапанные;
числу внешних гидролиний — на двухлинейные, трехлинейные и т.д.;
числу характерных позиций запорно-регулирующего элемента — на двухпозиционные, трехпозиционные и т.
д.;
виду управления — на распределители с ручным, механическим, электрическим и гидравлическим управлением;
числу запорно-регулирующих элементов — на одноступенчатые, двухступенчатые и т.д.
В условном обозначении гидрораспределителя (рис. 1) указывают число его позиций (I, II), внешние гидролинии (А, Д Р, Т7), подводимые к распределителю, их соединение, а также способ управления (ГОСТ 2.871-68*).
Число позиций изображают соответствующим числом квадратов (прямоугольников). Проходы изображают прямыми линиями со стрелками, показывающими направление потоков рабочей жидкости в каждой позиции, а места соединений проходов выделяют точками; закрытый проход изображают тупиковой линией с поперечной черточкой. Внешние гйдролинии подводят только к исходной позиции. Способ управления распределителем указывают знаками, примыкающими к торцам обозначения распределителя.
Чтобы представить работу гидрораспределителя в некоторой рабочей позиции, необходимо мысленно передвинуть соответствующий этой позиции квадрат обозначения на место квадрата исходной позиции, оставляя линии связи в прежнем положении.
Тогда истинные направления потока рабочей жидкости укажут стрелки, имеющиеся в этом квадрате.
Условные обозначения едины для золотниковых, крановых и клапанных гидрораспределителей, т.е. условное обозначение не отражает конструкцию их запорно-регулирующих элементов.
Кроме графических обозначений гидрораспределителей, приводят также их цифровые обозначения в виде дроби: в числителе указывают число подведенных к гидрораспределителю внешних гидролиний, в знаменателе — число его рабочих (характерных) позиций. Например, четырехлинейный трехпозиционный гидрораспределитель обозначают дробью 4/3 (см. рис. 1, г).
Запорно-регулирующие элементы (золотник, кран, клапан) в направляющих гидрораспределителях всегда занимают фиксированные позиции по принципу «полностью открыто» или «полностью закрыто». Поэтому направляющий гидрораспределитель практически не влияет на давление и расход потока рабочей жидкости, проходящей через него.
Виды распределителей
На рис.
2, а показана конструктивная схема золотникового гидрораспределителя 4/3 типа ПГ74-24М с ручным управлением. Распределитель состоит из корпуса 7, цилиндрического золотника 8, рукоятки 4 с осью 3 и пальцем 2, крышек 1 и 9 и уплотнений. В центральном отверстии корпуса 8 выполнены пять кольцевых расточек, образующих полости Т1 А, Р, В и Т2 которые сообщаются каналами с входными отверстиями. Полости Т1 и Т2 (сливные) соединены каналом Д. Золотник 8, располагающийся в центральном отверстии корпуса 7, имеет три цилиндрических пояска, которые перекрывают соответствующие цилиндрические расточки корпуса. Каналами, выполненными в корпусе 7 и крышках 1 и 9, торцовые полости распределителя соединены с дренажной гидролинией. Шарик 5 пружиной б прижимается к втулке 10, обеспечивая фиксацию золотника в рабочих позициях.
Принцип работы распределителя следующий. В исходной позиции (ей соответствует средний квадрат условного обозначения, показанного на рис. 2, в) все проходные сечения в гидрораспределителе перекрыты.
При смещении золотника, например вправо (рис. 2, б) в позицию I (при этом левый квадрат на рис. 2, в как бы передвигается на место среднего), напорная полость Р распределителя соединяется с полостью А и поток жидкости под давлением поступает на выход распределителя и далее, например, в левую полость гидроцилиндра Ц (см. рис. 2, в). При этом полость В распределителя, а значит, и правая полость гидроцилиндра Ц, через золотник соединяется с полостью Т2, т.е. со сливом. При смещении золотника из нейтральной позиции влево, т.е. при переключении гидрораспределителя в позицию II (см. рис. 2, в), направление потока жидкости изменяется: полость Р (см. рис. 2, а) соединяется с полостью В, а полость А — с полостью Т1.
Основным недостатком гидрораспределителя цилиндрическим золотником является наличие утечек жидкости через диаметральный зазор между корпусом (гильзой) и золотником.
Дросселирующим называется гидрораспределитель, обеспечивающий изменение как направления движения жидкости в нескольких гидролиниях одновременно, так и расхода в них в соответствии с внешним управляющим воздействием.
В отличие от направляющего гидрораспределителя запорно-регулирующий элемент дросселирующего гидрораспределителя может занимать бесконечное множество промежуточных «рабочих положений». При этом он одновременно работает и как запорно-регулирующий элемент регулируемого гидродросселя, создавая сопротивление прохождению потока рабочей жидкости. Обычно площадь проходного сечения в дросселирующем гидрораспределителе зависит от величины управляющего сигнала.
Таким образом, дросселирующий гидрораспределитель является комбинацией направляющего гидрораспределителя и регулируемых гидродросселей с совмещенным управлением.
На рис. 3, а показана конструктивная схема дросселирующего золотникового гидрораспределителя 4/3 с цилиндрическим золотником 2, положение которого относительно корпуса 1 может
изменяться в зависимости от мощности электрического сигнала управления, поступающего на два электромагнита ЭМ1 и ЭМ2. В корпусе 1 распределителя имеются пять цилиндрических расточек с острыми кромками.
Эти расточки внутренними каналами соединены по схеме: центральная — с напорной гидролинией Р, две крайние — со сливом Т. Две рабочие расточки А и В предназначены для подключения к распределителю потребителя жидкости, например гидроцилиндра. Золотник 2 имеет три цилиндрических пояска и расположен внутри корпуса 1 с радиальным зазором 4..10 мкм, Рабочие проходные сечения (дросселирующие щели) в распределителе возникают (при осевом перемещении золотника) между кромками цилиндрических расточек корпуса 1 и кромками цилиндрических поясков золотника 2.
При отсутствии сигнала на электромагнитах золотник 2 распределителя находится в исходной (нейтральной) позиции. При этом все проходные сечения в распределителе перекрыты.
При подаче управляющего сигнала на один из электромагнитов, например ЭМ1, золотник перемещается вправо в позицию I (рис. 3, б, в) и рабочая жидкость поступает из гидролинии Р в гидролинию А через дросселирующую щель 3, расход рабочей жидкости через которую зависит от мощности поданного управляющего сигнала.
От гидрораспределителя жидкость направляется в левую полость гидроцилиндра Ц, а жидкость, вытесняемая из правой полости гидроцилиндра Ц, поступает по гидролинии В в гидрораспределитель. Здесь она проходит через вторую дросселирующую щель 4 и поступает через гидролинию на слив Т.
Аналогично работает гидрораспределитель и при условии подачи управляющего сигнала на электромагнит ЭМ2. Отличие заключается только в том, что золотник при этом смещается влево.
Обычно в системах управления один из управляющих сигналов, поступающих на электромагнит ЭМ1 или ЭМ2, принимается положительным, а другой — отрицательным. Таким образом, гидрораспределитель в зависимости от знака управляющего сигнала обеспечивает необходимое направление движения поршня гидроцилиндра, а в зависимости от мощности управляющего сигнала — требуемую скорость его перемещения.
Основные правила построения условных обозначений направляющих гидрораспределителей, распространяются и на дросселирующие гидрораспределители.
Признаком дросселирующего гидрораспределителя в его условном обозначении является наличие двух дополнительных параллельных линий (над обозначением и под ним) (см. рис. 3, в). При этом квадраты в обозначении соответствуют характерным позициям гидрораспределителя.
Основными преимуществами золотниковых гидрораспределителей являются их компактность и разгруженность от осевых сил, что значительно уменьшает усилие, необходимое для управления золотником.
Существенным недостатком дросселирующих гидрораспределителей является возможность загрязнения зазоров между золотником и корпусом. Поэтому в системах автоматического управления для устранения отмеченного явления золотникам сообщают поворотные или возвратно-поступательные колебания высокой частоты (более 50 Гц) и небольшой амплитуды (10… 100 мкм). Обеспечивается это с помощью механических вибраторов или электромеханических средств.
Кроме золотниковых, к дросселирующим гидрораспределителям относятся струйные гидрораспределители.
Такие гидрораспределители часто используются как предварительная ступень гидравлического управления в гидрораспределителях с многоступенчатым управлением.
Гидрораспределители с электрическим управлением. Электрическое управление в гидрораспределителях применяется при условных проходах Dy < 10 мм, так как у управляющих электромагнитов обычно ограничены тяговое усилие и ход. Для больших условных проходов такие гидрораспределители делают двухступенчатыми, причем первая из ступеней является гидравлическим устройством предварительного усиления мощности входного управляющего сигнала. Эти гидрораспределители называются еще гидрораспределителями с электрогидравлическим управлением, а если гидрораспределитель дросселирующий — электрогидравлическими усилителями (ЭГУ). Для такого устройства входным является электрический сигнал, а выходным — некоторый поток рабочей жидкости с параметром (расходом или давлением), пропорциональным мощности входного сигнала. Направление потока
и знак перепада давления при этом соответствуют знаку входного электрического сигнала.
ЭГУ состоит из электромеханического преобразователя, в котором электрический сигнал преобразуется в некоторое механическое перемещение (поворот вала или перемещение толкателя электромагнита), и гидравлического усилителя мощности.
На рис. 4, а в качестве примера изображен двухступенчатый гидрораспределитель, в состав которого входят два золотниковых гидрораспределителя: распределитель первой ступени, состоящий из корпуса 2, золотника 1 и двух центрирующих пружин 3, с управлением от двух электромагнитов ЭМ1 и ЭМ2; гидрораспределитель второй ступени, состоящий из корпуса 4, золотника 5 и двух центрирующих пружин 6, с гидравлическим управлением. Гидрораспределитель имеет присоединительные отверстия Р, Т, А, В. Торцевые полости распределителя второй ступени соединены с выходными отверстиями распределителя первой ступени каналами Х и Y.
При отсутствии электрического управляющего сигнала золотники обоих распределителей под действием пружин находятся в средних (нейтральных) позициях.
При этом золотник 1 соединяет торцевые полости распределителя второй ступени со сливом, а золотник 5 перекрывает все проходные сечения (см. рис. 4, а, б).
При поступлении сигнала, например на электромагнит ЭМ1, золотник 1 смещается до упора вправо, т. е. распределитель первой ступени переключается в позицию I (см. рис. 4, б). При этом по каналу X поток жидкости под давлением поступает в левую торцевую полость гидрораспределителя второй ступени, а его правая торцевая полость через канал Y соединяется со сливом. На торцах золотника 5 возникает перепад давлений, под действием которого он смещается вправо, т.е. основной гидрораспределитель переключается в позицию I. При этом соединяются гидролинии Р с А и В с Т.
При поступлении управляющего сигнала на вход электромагнита ЭМ2 золотники 7 и 5 перемещаются влево, т. е. гидрораспределитель переключается в позицию II. При этом соединяются гидролинии Р с В и А с Т.
На практике наиболее широкое распространение получили двух-дроссельные (по числу регулируемых гидродросселей) гидроусилители типе «сопло — заслонка» (рис.
5, а). Этот гидроусилитель состоит из двух регулируемых гидродросселей типа «сопло — заслонка» и двух постоянных (балансных) гидродросселей 1 и 6. Важный элемент этого устройства — подпружиненный центрирующими пружинами 8 золотник 7 дросселирующего гидрораспределителя, который является гидроусилителем второго каскада усиления ЭГУ.
Рассматриваемый электрогидравлический усилитель можно представить в виде блок-схемы (рис. 5, б). В соответствии с ней электрический сигнал управления i поступает на электромеханический преобразователь 3, который поворачивает заслонку 4 на некоторый угол ?, пропорциональный сигналу (силе электрического тока) i. При этом гидравлическое сопротивление одного из регулируемых дросселей типа «сопло—заслонка» (с соплом 2 или 5) возрастает, а другого — уменьшается. В результате образуется перепад давления ?р = р1 — р2, пропорциональный углу ?. Таким образом, для гидроусилителя типа «сопло —заслонка» входным сигналом служит угол поворота а заслонки, а выходным — перепад давления ?р.
Гидроусилитель типа «сопло—заслонка» является гидроусилителем первого каскада.
Так как давления р1 и р2 подводятся к торцевым полостям дросселирующего гидрораспределителя, то образовавшийся перепад давления ?р создает соответствующее усилие, действующее на золотник 7. Это приводит к тому, что золотник 7 смещается из нейтрального положения на некоторое расстояние х. Это смещение определяется жесткостью центрирующих пружин 8 золотника 7, а значит, пропорционально перепаду давления ?р на его торцах, т.е. центрирующие пружины 8 и торцевые поверхности золотника 7 выполняют роль гидромеханического преобразователя, который преобразует возникший перепад давления ?р на торцах золотника 7 в его смещение х.
Смещение золотника 7 из нейтрального положения на расстояние х приводит к тому, что открываются соответствующие проходные сечения дросселирующего гидрораспределителя. Например, если золотник 7 сместится вправо, то гидролиния А соединится с напорным трубопроводом, а гидролиния В — со сливным.
Через открывшиеся дросселирующие окна гидрораспределителя начнется движение рабочей жидкости с расходом Q, пропорциональным смещению золотника х. Таким образом, для дросселирующего гидрораспределителя, являющегося гидроусилителем второго каскада, входным сигналом управления служит смещение золотника х а выходным — расход рабочей жидкости Q, поступающей к потребителю.
Принцип работы гидрораспределителя
Гидравлический распределитель – специальное устройство, применяемое в производственных механизмах, которое позволяет менять направление движения жидкости. Он необходим для контроля точности смены потоков, которые должны сменяться в определенной последовательности для включения механизмов.
Распределитель может монтироваться к основному механизму с помощью различных креплений. Чаще всего применяется резьбовое, фланцевое и стыковое крепление. Для высокой точности работы обычно применяются электрогидравлические распределители, которые управляются электромагнитами.
Устройство и принцип работы
Гидрораспределители могут применяться при работе с различными типами жидкостей.
Но чаще всего такой механизм можно встретить в гидравлических системах, для регулировки потока, уровня и давления масла.
Схема гидрораспределителя зависит от типа механизма и целей его использования. Чаще всего он состоит из корпуса, распределительных каналов, клапанов различных видов, регулировочных механизмов, фиксаторов, в некоторых случаях электромагнитов и других деталей.
Принцип работы электрораспределителя такой:
- На корпусе установлен электромагнит постоянного тока, который при включении воздействует на палец и толкатель, к которому крепится с помощью рычага.
- Толкатель воздействует на шариковый клапан, прижимая его к седлу;
- Такое положение позволяет гидродвигателю включиться в работу, вытесняя жидкость из рабочей емкости в сливную магистраль.
- Когда на электромагнит не поступает электричество, шариковый клапан прижимается к седлу.
- Из-за этого с рабочей емкостью соединяется с нагнетательной полостью, что приводит к обратному движению жидкости, которая возвращается в полость двигателя.

- Рабочая емкость закрывается обратным клапаном, который не позволяет жидкости двигаться в системе.
- Для работы распределителя не требуется большой мощности, так как вся система уравновешена. Усилие пружины, которая воздействует на шариковый клапан, примерно равняется давлению со стороны толкателя, в полость которого нагнетается рабочая жидкость. Из-за этого даже малейшего усилия электромагнита достаточно для изменения направления и распределения потоков жидкости.
Практически все модели распределителей работают по одному принципу. Отличия могут быть незначительные и зависят от конструкционных особенностей.
Типы гидрораспределителей
На сегодняшний день существует несколько классификаций гидрораспределителей. Наиболее распространенная выделяет три типа – золотниковые, крановые и клапанные, отличие которых заключается в разной схеме запорно-регулирующего элемента.
Но также стоит выделить несколько других принципов классификации:
- В зависимости от числа внешних гидролиний:
- двухлинейные;
- трехлинейные.

- Зависимо от числа позиций запорного механизма – двух- и трехпозиционные;
- Исходя из вида управления бывают:
- с ручным управлением;
- с электрическим;
- с механическим;
- с гидравлическим.
- Зависимо от количества запорных элементов бывают одно- и двухступенчатые.
Золотниковые
Один из наиболее популярных типов. Устройство золотникового распределителя простое, его отличие от остальных заключается в особом строении распределителя. В его качестве выступает цилиндрический золотник. Его движение провоцирует изменение направления жидкости. В спокойном положении он перекрывает каналы, но при смещении влево или вправо, происходит движение жидкости из рабочей полости, под давлением от насоса, или обратно в полость.
Такой тип распределителя обычно применяется для поршневых систем. Движение золотника провоцирует выдвижение поршня и его обратное втягивание.
Среди золотниковых распределителей можно выделить двухходовые, трехходовые и многоходовые.
Управляться такой распределитель может вручную, гидравликой, электромагнитом или смешанной системой управления (электрогидравлической). Ручное управление применяется в простых механизмах и может выполняться с помощью рычага, педали, кнопки, рукоятки или другого простого привода. Механическое управление более сложное, в нем участвует пружина, толкатель или ролик.
В зависимости от сложности конструкции и целей использования, механизм может иметь несколько золотников. Исходя из этого распределители делят на секционные и моноблочные. Секционные обычно соединяются между собой с помощью болтов. Для моделей такого типа разработано несколько запорно-регулирующего механизма:
- С положительным осевым перекрытием – позволяет фиксировать поршень в нужном положении, но точность фиксации небольшая из-за наличия области нечувствительности.
- С нулевым перекрытием – более совершенный тип, которой не имеет подобной области, но отличается довольно высокой стоимостью, связанной со сложным процессом производства.

- С минимальным – имеет небольшую зону нечувствительности, приемлемую стоимость, но надежность конструкции ниже из-за меньшей жесткости.
Крановые
В основу этой модели заложена крановая пробка. С ее помощью происходит распределение потоков, путем поворота пробки. Чаще всего такие изделия имеют коническую форму, или форму цилиндра, но также можно встретить плоские и сферические модели. Чтобы подобный механизм работал эффективно, должна соблюдаться герметичность. За этим обязательно нужно следить, так как во время эксплуатации вследствие износа между пробкой и корпусом может увеличиться зазор. Из-за этого герметичность теряется и происходит утечка жидкости.
Чаще всего проблемы с герметичностью возникают в моделях с цилиндрической пробкой. Чтобы механизм работал исправно, зазор не должен превышать 0,02 мм. Со временем зазор увеличиваются и происходит утечка жидкости. При этом в некоторых случаях, несмотря на потери, можно продолжать эксплуатацию распределителя.
К сожалению, избавиться от утечки можно только с помощью покупки нового устройства. Поэтому все более популярными становятся модели гидравлических распределителей с конической пробкой, в которых проблема с герметичностью отсутствует.
Клапанные
В основе конструкции таких распределителей лежит клапан, который более надежен, чем золотник, и позволяет работать при высоком давлении жидкости. Обычно клапанные распределители способны работать при давлении в три раза превышающим возможности золотниковых. Надежность работы достигается путем использования нескольких проходных клапанов, которые поочередно открываются и закрываются.
Закрытия и открытия клапанов происходит за счет движения стержня, на котором установлены выступы. В зависимости от направления стержня, открывается нужная пара клапанов и жидкость сливается в рабочую емкость или гидродвигатель.
При производстве распределителей могут использоваться клапаны различной формы. Чаще всего применяются конусы и шарики.
Управление подобными распределителями может выполняться вручную, механическим или электрическим способом.
К недостаткам таких моделей можно отнести большие габариты. Это связанно с необходимостью обеспечения высокой надежности. При этом пропускная возможность клапанных распределителей может равняться показателям золотниковых, размером практически в два раза меньше. На срок эксплуатации такого распределителя может негативно повлиять гидравлический удар, возникающий во время посадки клапана на седло.
Область применения
Область применения гидрораспределителей не ограничивается отдельными сферами деятельности. Практически в каждой гидравлической системе используется такой механизм. Наиболее распространенными являются золотниковые модели. Это связано с тем, что они простые в использовании, относительно дешевые и имеют небольшие размеры. С помощью таких распределителей обычно происходит управление движением компонентов двигателей.
Обычно встретить такие гидравлические распределители можно на:
- станках:
- крановых установках, подъемниках и манипуляторах;
- грузовых автомобилях;
- сельскохозяйственной технике;
- специальной технике, применяемой в строительстве и горнодобывающей промышленности.

Сфера применения таких моделей ограничивается лишь уровнем давления рабочей жидкости. При превышении дозволенных показателей система может не выдержать и выйти из строя из-за потери жидкости. При больших нагрузках стоит отдавать предпочтение клапанным устройствам.
Крановые модели редко применяются из-за небольшой пропускной способности. Они часто встречаются в комплексе с золотниковыми и клапанными устройствами в качестве дополнительного механизма.
При покупке распределителя следует изучить технические характеристики каждой модели. Иногда лучше всего посоветоваться со специалистом. От распределителя напрямую зависит надежность работы гидросистемы. Стоит отметить, что даже если правильно подобрать устройство, могут возникнуть проблемы, если неправильно его установить. Поэтому к такому важному этапу также стоит отнестись с особым вниманием.
Устройство и принцип работы гидрораспределителя
Рассмотрим устройство четырехлинейного трехпозиционного распределителя, запертого в нейтральном положении.
В корпусе распределителя выполнены каналы для подвода жидкости. Золотник устанавливается в отверстие, расточенное в корпусе.
Золотник распределителя — деталь, как правило цилиндрическая, на которой выполнены пояски, канавки, проточки, необходимые для разделения или соединения различных каналов, выполненных в корпусе распределителя.
В нейтральном положении золотник удерживается с помощью пружин, в этот момент он запирает линию Р. При наличии управляющего сигнала, электромагнит 1 переместит золотник вправо. В этом положении золотник соединит каналы p и a, t и b. При отсутствии управляющего сигнала, пружины вернут золотник в нейтральное положение. При наличии электрического сигнала на электромагните 2 золотник переместится влево, соединяя каналы p и b, t и a.
| Переместить золотник влево | Переместить золотник в нейтральное положение | Переместить золотник вправо |
Способы управления гидравлическими распределителями
По способу управления различают гидравлические распределители с механическим, ручным, электромагнитным, гидравлическим пневматическим управлением.
В ГОСТе 24679-81 указаны диаметры условных проходов гидравлических распределителей — 6, 10, 16, 20, 32 мм. Сочетания условных проходов и способов управления отмечены в следующей таблице.
Обозначения гидравлических распределителей
В обозначении распределителя через дробь указывается количество основных линий, подводимых к распределителю, и позиции. Например четырехлинейный трехпозиционный распределитель будет обозначаться 4/3. Также в обозначении распределителя указывается номер схемы.
Гидравлическая схема распределителя
На гидравлической схеме гидравлический распределитель обозначается рядом прямоугольников, каждый из которых обозначает отдельную позицию распределителя.
В каждом прямоугольнике линиями показано, какие каналы соединит распределитель в данном положении.
Понравилась статья? Расскажите друзьям:
Оцените статью, для нас это очень важно:
Проголосовавших: 4 чел.
Средний рейтинг: 5 из 5.
Устройство гидравлического распределителя и его принцип работы
Гидравлический распределитель – один из конструктивных элементов гидросистемы, предназначенный для распределения потока рабочей жидкости. Некоторые модели, представленные в данной категории, еще выполняют и дросселирование, то есть способны менять не только направление, но и расход масла, его давление.
Содержание
Принцип действия
Гидрораспределители делают из высококачественной стали, модифицированного чугуна или бронзы. Некоторые элементы обрабатывают для дополнительной защиты: их азотируют, цементируют и т. п. Размер и вес зависят от объемов рабочей жидкости. Чем ее больше проходит через систему, тем обычно внушительнее габариты и масса.
Рассмотрим элементарную схему работы гидравлического распределителя. В исходном состоянии жидкость из насоса не поступает в гидроцилиндр. Как только оператор смещает запорно-регулирующий механизм в какую-то сторону, она начинает поступать в соответствующую полость цилиндра, заставляя поршень начать движение.
Жидкость, которую поршень начал вытеснять, спускается в бак. После выполнения задачи оператор возвращает механизм в начальное положение.
Устройства могут быть направляющими или дросселирующими. В первом случае распределитель только открывает или закрывает проходы для жидкости. В дросселирующих моделях предусмотрена возможность регулировать величину потока. Это происходит благодаря способности запорно-регулирующего механизма открывать канал не только целиком, но и частично. Плюсом подобных конструкций является отсутствие резких ударов при включении/отключении механизма.
Помощь в подборе оборудования: +7 (495) 211 03 84
ОСТАВИТЬ ЗАЯВКУ
Получить консультацию:
Ваше сообщение было успешно отправлено!
Наши специалисты скоро свяжутся с Вами!
Устройство и принцип работы
Гидрораспределители могут применяться при работе с различными типами жидкостей. Но чаще всего такой механизм можно встретить в гидравлических системах, для регулировки потока, уровня и давления масла.
Схема гидрораспределителя зависит от типа механизма и целей его использования. Чаще всего он состоит из корпуса, распределительных каналов, клапанов различных видов, регулировочных механизмов, фиксаторов, в некоторых случаях электромагнитов и других деталей.
Принцип работы электрораспределителя такой:
- На корпусе установлен электромагнит постоянного тока, который при включении воздействует на палец и толкатель, к которому крепится с помощью рычага.
- Толкатель воздействует на шариковый клапан, прижимая его к седлу;
- Такое положение позволяет гидродвигателю включиться в работу, вытесняя жидкость из рабочей емкости в сливную магистраль.
- Когда на электромагнит не поступает электричество, шариковый клапан прижимается к седлу.
- Из-за этого с рабочей емкостью соединяется с нагнетательной полостью, что приводит к обратному движению жидкости, которая возвращается в полость двигателя.
- Рабочая емкость закрывается обратным клапаном, который не позволяет жидкости двигаться в системе.

- Для работы распределителя не требуется большой мощности, так как вся система уравновешена. Усилие пружины, которая воздействует на шариковый клапан, примерно равняется давлению со стороны толкателя, в полость которого нагнетается рабочая жидкость. Из-за этого даже малейшего усилия электромагнита достаточно для изменения направления и распределения потоков жидкости.
Практически все модели распределителей работают по одному принципу. Отличия могут быть незначительные и зависят от конструкционных особенностей.
Типы гидрораспределителей
В зависимости от типа запорно-регулирующего элемента различают клапанные и золотниковые распределители.
- Золотниковые
- Прямого действия
- Ручное управление
- Механическое управление
- Электрическое управление
- Гидравлическое управление
- Пневматическое управление
- Непрямого действия
- Электрогидравлическое управление
- Прямого действия
- Клапанные
- Прямого действия
- Ручное управление
- Механическое управление
- Электрическое управление
- Гидравлическое управление
- Пневматическое управление
- Непрямого действия
- Электрогидравлическое управление
- Прямого действия
Золотниковые распределители
Клапанные распределители обеспечивают лучшую герметичность, они способны работать при большем давлении чем золотниковые.
Распределители с золотником более компактны, они позволяют обеспечить плавное перекрытие рабочих окон, что важно при наличии больших инерционных масс.
Рассмотрим подробнее устройство, характеристики и принцип работы золотниковых распределителей, получивших широкое распространение.
Число положений гидравлического распределителя
Количество вариантов вариантов соединения гидролиний распределителем называют числом положении. Наибольшее распространение получили двух- и трехпозиционые распределители.
Нейтральным называют положение, при котором золотник устанавливается в неактивном состоянии под воздействие посоятнно действующих сил (например усилия пружины).
Количество подводимых линий
Распределители могут различаться по количеству подводимых линий, наиболее часто применяются четырех линейные гидрораспределители, к ним подводится 4 линии:
- p – давление
- t – слив
- a – выход а (например, подвод жидкости в поршневую полость гидроцилиндра)
- b – выход b (например, подвод рабочей жидкости в штоковую полость гидравлического цилиндра)
Разновидности
В зависимости от разновидности основного элемента, можно купить следующие гидрораспределители:
- золотникового типа;
- клапанного типа;
- кранового типа.

Золотниковые
В качестве главного элемента подобных распределителей используется золотник цилиндрической или плоской формы. В простейшей схеме все происходит так, как мы описали выше. В «спокойном» положении золотник перекрывает каналы. При его смещении влево жидкость поднимается в левую полость цилиндра, вследствие чего поршень движется вправо. Если же механизм сдвинуть вправо, жидкость станет заполнять уже эту сторону гидроцилиндра, заставляя шток втягиваться обратно. Процесс возвращения поршня в исходное положение обычно происходит быстрее, так как площадь заполнения меньше.
По количеству линий движения жидкости различают двух-, трех- и многоходовые гидрораспределители. Управление системой может быть ручным или гидравлическим, электромагнитным или электрогидравлическим. При использовании только мускульной силы задействуется кнопка, рычаг, поворотная рукоятка или ножная педаль. В случае механического устройства процесс запускается толкателем, роликом или пружиной.
Давление бывает прямым гидравлическим и пневматическим.
Часто в системе используется сразу несколько золотников. Такие конструкции делятся на моноблочные и секционные. Если отделений несколько, они соединяются болтами. Запорно-регулирующий механизм для этого типа распределителей выпускается в трех исполнениях: с положительным, нулевым и отрицательным осевым перекрытием. У каждого из них есть свои достоинства и недостатки.
Преимуществом первого варианта является возможность фиксировать положение поршня. Минус: есть зона нечувствительности, в рамках которой исполнительный механизм не движется даже при наличии сигнала. У золотников с нулевым осевым покрытием такая область отсутствует. Их недостатком является достаточно высокая стоимость, связанная со сложностями при изготовлении. У моделей с отрицательным перекрытием зона нечувствительности минимальна. Негативный фактор здесь заключается в меньшей жесткости конструкции.
Крановые
Эти гидрораспределители регулируют потоки за счет поворота крановой пробки.
Наибольшей популярностью пользуются изделия цилиндрической и конической формы. Также выпускаются плоские и сферические модели. Одной из важнейших характеристик подобных устройств является герметичность. Со временем зазор между пробкой и корпусом крана может увеличиваться, вследствие чего происходит утечка рабочей жидкости.
С такой неприятностью чаще всего сталкиваются пользователи гидрораспределителей с цилиндрической пробкой. Изначально зазор между поверхностями составляет 0,01…0,02 мм. По мере изнашивания конструкции, пробка и корпус начинают прилегать друг к другу не так плотно. Приходится либо смириться с постоянными потерями жидкости (все-таки они не слишком велики), либо покупать новое устройство. У моделей с конической пробкой эта проблема отсутствует, что делает их приобретение более выгодным.
Клапанные
Гидрораспределители, которые используют в качестве запорно-регулирующего элемента клапан, способны работать при высоком давлении. Если золотниковые конструкции ограничены номиналом 32 МПа, то клапанные могут выдерживать нагрузки в два-три раза больше.
Вектор потока рабочей жидкости регулируется путем последовательного открытия/закрытия проходных каналов.
Когда требуется активировать двигатель, оператор перемещает стержень, на котором расположены выступы. В результате этого движения одна из пар клапанов открывается, и жидкость начинает движение по соответствующему каналу. Она либо поступает в гидродвигатель, либо сливается в бак. По окончании процесса стержень возвращается в исходное положение.
Клапаны для распределителей могут иметь самую разную форму, начиная от шариков и заканчивая конусами. Управляются они ручным, механическим или электротехническим способом. Из устройств, приводящихся в действие мускульными усилиями, наибольшее распространение получили элементы с качающимся рычагом. Во многих конструкциях открытие/закрытие клапанов осуществляется с помощью кулачкового привода.
Способность этих гидрораспределителей выдерживать серьезное давление влияет на габариты и вес изделий. Они значительно тяжелее и больше по сравнению с золотниковыми моделями, пропускающими столько же рабочей жидкости.
Также следует учитывать резкую посадку клапанов на седло. Периодически могут возникать серьезные гидравлические удары, которые негативно сказываются на работе всей системы и сроке ее эксплуатации. Ввиду этого, подобные устройства не рекомендуется применять в конструкциях, где допускается большая инерция движущихся масс.
На какие моменты обратить внимание при выборе гидрораспределителя
При выборе гидрораспределителя рекомендуется обратить внимание не только на конструктивное решение узла, но и на его технические характеристики, ведь они должны соответствовать условиям эксплуатации. Речь идет о:
- расходе гидравлического масла, проходящего через каналы;
- длине, ширине, высоте и весе узла: простая взаимосвязь – чем больше пропускная способность, тем габаритнее будет оборудование;
- способ, которым оборудование будет монтироваться на технику: встык, через фланец, резьбу;
- требования к гидравлическому маслу: вязкость, уровень чистоты, температура.

Также стоит обратить внимание на то, с какой техникой будет работать данный узел, как он будет управляться. Только при таком комплексном подходе можно будет купить гидрораспределитель, который подойдет под эксплуатационные условия и будет работать долго, стабильно.
Принцип работы гидравлического распределителя
Различают два принципа работы гидрораспределителей: направляющий и дросселирующий.
Направляющим называется распределитель, обеспечивающий перекрытие или изменение направления потока жидкости за счет полного открытия или полного перекрытия соответствующих проходных сечений.
Дросселирующий гидравлический распределитель предназначен для изменения величины расхода и направления движения потока рабочей жидкости в нескольких гидролиниях одновременно в соответствии с изменением величины внешнего управляющего воздействия. Чаще всего в качестве дросселирующих используются золотниковые гидрораспределители. Так же могут использоваться распределители типа «сопло-заслонка».
Такие гидрораспределители часто используются как предварительная ступень гидравлического управления в гидрораспределителях с многоступенчатым управлением.
Силовые гидравлические цилиндры
Используются для управления подъемом, опусканием и удержанием навесных и прицепных сельхозмашин. В тракторах МТЗ нашли применение два вида силовых цилиндров. Основной цилиндр – диаметр внутренней полости 100 мм (Ц100) используется для управления задней навеской. В качестве дополнительного оборудования применяют два выносных цилиндра внутренним диаметром 75 мм (Ц75) с замедлительными клапанами. Их ставят на прицепное или навесное оборудование и соединяют с гидросистемой шлангами и трубопроводами.
Способы управления гидравлическими распределителями
По способу управления различают гидравлические распределители с механическим, ручным, электромагнитным, гидравлическим пневматическим управлением. В ГОСТе 24679-81 указаны диаметры условных проходов гидравлических распределителей – 6, 10, 16, 20, 32 мм.
Сочетания условных проходов и способов управления отмечены в следующей таблице.
Обозначения гидравлических распределителей
В обозначении распределителя через дробь указывается количество основных линий, подводимых к распределителю, и позиции. Например четырехлинейный трехпозиционный распределитель будет обозначаться 4/3. Также в обозначении распределителя указывается номер схемы.
Гидравлическая схема распределителя
На гидравлической схеме гидравлический распределитель обозначается рядом прямоугольников, каждый из которых обозначает отдельную позицию распределителя.
В каждом прямоугольнике линиями показано, какие каналы соединит распределитель в данном положении.
Понравилась статья? Расскажите друзьям: Оцените статью, для нас это очень важно:
Проголосовавших: 3 чел.
Средний рейтинг: 5 из 5.
Замена масла
Масло в гидросистеме обычно меняют ежесезонно при ТО либо каждые 2000 моточасов.
Однако, при использовании некачественных масел, либо при загрязнении может понадобиться внеплановая замена.
Эта процедура состоит из нескольких важных этапов:
- Включают шестеренчатый насос.
- Запускают двигатель.
- Прогревают масло, находящееся в гидросистеме до 20-30 градусов.
- Глушат двигатель.
- Масло сливается через сливное отверстие гидробака после откручивания заливной горловины.
- Снимают фильтр с корпусом и промывают его в солярке.
- Устанавливают обратно фильтр.
- Закрывают сливную пробку.
- Через заливную горловину заливают масло до уровня «П» в контрольном окошке.
- Запускают двигатель и прокачивают гидросистему путем поднимания и опускания навески.
- При необходимости доливают масло в бак.
Схема подключения гидрораспределителя P40
В схеме подключения гидрораспределителя для МТЗ эта модель может иметь от 2 до 7 золотников. В большинстве случаев аппараты имеют 5 плунжеров с последовательным или параллельным действием, которых достаточно для нормального перенаправления потоков рабочих жидкостей.
Они могут обладать индивидуальной или общей клапанной системой. Некоторые модели поставляются с предохранительными клапанами.
Стандартная модель гидравлического усилителя имеет 5 золотников опускания и подъема. Помимо этого, она оснащена каналом нагнетания рабочих жидкостей. Отличительной чертой в схеме подключения гидрораспределителя P40 является наличие продолжения канала давления. Его можно применять для последовательного соединения со следующим потребителем или дополнительной секцией, а также для слива масла в гидробак.
Гидравлический распределитель: устройство, принцип работы, типы
Функции и назначение ГУР
Рулевая рейка с гидроусилителем
Гидравлический усилитель руля (ГУР) представляет собой элемент рулевого управления, в котором дополнительное усилие при повороте рулевого колеса образуется за счет гидравлического давления.
Для легковых автомобилей главное назначение ГУР – обеспечение комфорта. Управлять транспортным средством, оснащенным гидравлическим усилителем руля, легко и удобно.
К тому же водителю не нужно для совершения маневра делать рулем полных пять-шесть оборотов в сторону поворота. Такое положение вещей особенно актуально при парковке и маневрировании на узких участках.
Сохранение управляемости автомобилем и смягчение ударов, передающихся на руль в результате наезда управляемых колес на неровности дороги, – еще она важная функция гидроусилителя.
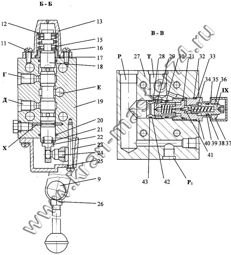
Конструкция распределителя
Гидрораспределительный узел МТЗ 82 (80) — Р75-33Р (ГОСТ 8754-71)
- Р – распределитель
- 75 – пропускная способность узла литров в минуту
- 3-тип золотника конструкция которого не дает фиксации в положении «опускание»
- 3 –количество золотников в конструкции узла
- Р— узел предназначен для работы с силовым, позиционным регулятором
Конструкция выполнена в отдельном чугунном корпусе с тремя вертикальными, сквозными посадочными каналами золотников и одним каналом для перепускного клапана. Сверху и снизу корпус закрывается алюминиевыми, цельнолитыми крышками.
Соединительные плоскости крышек и корпуса уплотнены прокладками и стянуты винтами.
Гидрораспределитель МТЗ 80(82) Р75-33Р
Распределитель имеет три рабочие магистрали потока рабочей жидкости, размещенные перпендикулярно ходу переключения положения золотников; нагнетательная магистраль «Б» — связывает полости перепускного клапана и золотников, сливная магистраль «В» — соединяет отверстия золотников, магистраль управления перепускным клапаном «Г» проходит через корпус распределителя и отверстия в золотниках, перепускной клапан 14 соединен с трубопроводом. Поршень перепускного клапана оборудован дроссельным жиклером 13 для создания перепада давления в нагнетательном канале и подпоршневой полостях, что обеспечивает его открытие в нейтральном положении.
Золотники перекрывают и открывают рабочие магистрали дросселирующими выточками. Управление осуществляется рычагами, которые размещены в нижней крышке распределителя. Рычаги соединены с золотниками через сферическое сочленение 9 с пластиковыми вкладышами 10 и уплотнительным кольцом 8.
Снаружи сочленение закрыто резиновым пыльником 6. Три золотника позволяют управлять одновременно тремя рабочими гидроприводными установками.
Принцип работы
Каждый золотник в зависимости от заданного положения работает в четырёх режимах:
- «Нейтральное» – среднее между крайним верхним «подъёма» и нижним положением «опускания». Перепускной клапан открыт и сбрасывает рабочую жидкость в слив. Золотники перекрывают все каналы, тем самым фиксируют ранее заданное положение гидроприводных органов.
- «Подъём» — первое верхнее положение после «нейтрального». Перепускной клапан закрывает сливную полость. Золотник пропускает масло из нагнетательного канала в магистраль подъёма цилиндра.
- «Принудительное опускание» — нижнее положение перед крайним «плавающим».
Перепускной клапан закрывает сливную полость. Золотник пропускает масло из нагнетательного канала в магистраль обратной полости гидроцилиндра. - «Плавающее» — крайнее нижнее положение рычага. Перепускной клапан открыт и сбрасывает поступающую от насоса рабочую жидкость в слив.В таком положении рабочая жидкость свободно перетекает в обе стороны из обеих полостей гидроцилиндра. Гидроцилиндр находится в свободном положении и реагирует на действие внешних условий и собственной тяжести машины. Таким образом, это позволяет рабочим органам агригатируемой машины копировать рельеф при обработке почвы и держать стабильность глубины обработки.
Работа фиксатора золотника.
Золотники оснащены пружинно-клапанным механизмом автоматического возврата в нейтральное положение 3 и шариковыми фиксаторами, которые удерживают его в выбранном положении. Шариковый клапан автоматического возврата срабатывает при превышении в системе давления 12,5-13,5 мПа. Превышение давления возникает при выходе гидроцилиндра в крайнее положение в соответствующем положении подъёма и принудительного опускания, а так же при возникновении перегрузки системы.
Гидрораспредельный узел оснащен устройством аварийного сброса давления 20. Предохранительный клапан отрегулирован на сброс давления превышающее значение от 14,5 до16 мПа. Регулировка производится винтом 18, изменяющим степень сжатия пружины шарикового клапана 17. Срабатывание устройства происходит при несрабатывании механизма — автомата золотника и перепускного устройства.
Золотники
Золотники представляют собой валики в виде цилиндров, подвергаемые тщательной обработке. В конкретно определенных местах имеются предусмотренные проточенные гнезда. Они помещаются в подходящие и подготовленные места корпуса. При монтаже золотники проходят через специальные каналы и полости по направлению к осям. В результате золотниковые элементы приоткрывают одни каналы, закрывая другие рабочие отверстия. Такая конструкция способствует изменению направления перетекания жидкости. В движение золотники приводит рычаг, функционирующий в четырех положениях:
- Нейтральная позиция.
- Работа на подъем.

- Свободное плавание.
- Принудительное опускание.
Указанные позиции гидрораспределителя Р-80 обладают определенной фиксацией. Удерживание рычага рукой предусмотрено только при положении «вынужденное опускание». Золотниковые приспособления оснащены системой автоматического возврата в нейтральное положение из фиксированных режимов.
Схемы самостоятельного изготовления гидрострелки
При сборке гидрострелки своими руками, главное – верно произвести расчеты и обладать навыками работы со сварным аппаратом.
Прежде всего, необходимо найти оптимальные размеры гидроразделителя:
- внутренний диаметр: разделить сумму всех мощностей нагревательных котлов в кВт на температурную разницу подачи и обратки, извлечь из полученного параметра квадратный корень, а затем умножить последнее значение на 49;
- высота: умножить внутренний диаметр на шесть.
- промежутки между патрубками: умножить внутренний диаметр на два.
Основываясь на полученных параметрах нужно составить чертеж или использовать одну из представленных ресурсом «Сантехник Портал» схем будущего гидрораспределителя.
После этого нужно подготовить стальную трубку круглого или квадратного сечения, которая соответствует вычисленным показателям, и вварить в нее требуемое число патрубков с резьбовыми соединениями.
Вопреки простоте прибора, характеристики гидрострелки все равно должны соответствовать конкретным условиям. Также при самостоятельной сборке нужно понимать, от чего отталкиваться.
Классическая сборка типичной гидравлической стрелки основывается на «правиле трех диаметров». То есть диаметр патрубков — втрое меньше диаметра главного цилиндра разделителя. Патрубки находятся диаметрально противоположно, а их расположение по высоте тоже привязано к основному диаметру.
Классическая схема гидравлического разделителя:
Применяется также некоторое изменение положения патрубков – своеобразной «лесенкой». Данная модификация ориентирована главным образом на более результативное выведение газа и нерастворимых взвесей. При циркуляции по трубе подачи незначительное изменение направленности потока жидкости зигзагообразно вниз содействует наиболее лучшему устранению пузырьков газа.
На обратном потоке, наоборот, ступенька вверх, и это упрощает выведение твердого осадка. Кроме этого, данное размещение содействует оптимальному смешению потоков. Соотношения пропорций выбраны таким образом, чтобы создать условия скорости вертикального потока в диапазоне от 0,1 до 0,2 метров в секунду.
Превышать данный предел – запрещено. Чем меньше быстрота вертикального потока, тем эффективнее будет отделение воздуха и шлама. Чем медленнее движение, тем качественнее совершается смешение потоков с разной температурой. В результате по высоте устройства формируется температурный градиент.
Схема гидрострелки со ступенчатым расположением патрубков:
Если система обогрева содержит контуры с различными температурными режимами, то стоит использовать гидрораспределитель, выполняющий функции коллектора, причем на разных парах патрубков будет свое температурное давление. Это существенно сократит нагрузку на термостатические приспособления, сделает более управляемой всю систему, эффективной и экономной.
Чем ближе пара патрубков к середине, тем меньше напор температуры в трубке подачи, и тем меньше разница температур в подаче и обратке. К примеру, для батарей наилучший режим — 75 градусов в подаче с разницей Δt = 20 ºС, а для системы теплого пола хватает 40÷45 с Δt = 5 ºС.
Схема гидравлического разделителя с тремя выходами на контуры отопления:
Горизонтальное размещение. В подобных вариациях, разумеется, уже не идет речи об удалении осадка и воздуха. Размещение штуцеров значительно различается — для эффективного перемещения жидкости нередко используются схемы даже во встречным направлением потоков «малого» и отопительного контура.
Такую гидравлическую стрелку делают для того, чтобы, к примеру, более компактно разместить оборудование в котельном помещении, поскольку встречное направление потоков позволяет немного сократить диаметр трубок. Однако при этом конструкция должна соответствовать некоторым требованиям:
- между патрубками одного контура должно сохраняться промежуток не менее 4d;
- если входные патрубки обладают диаметром меньше 50 мм, то дистанция между ними не должна быть менее 200 мм.

Варианты схем гидравлического разделителя горизонтального расположения:
Встречаются также совершенно «диковинные» конструкции. К примеру, один умелец смог соорудить гидрострелку из двух секций обычного чугунного радиатора. С гидравлическим разделением данное приспособление справляется без проблем. Однако такой способ требует очень надежной термоизоляции прибора, иначе благодаря ему, возникнут абсолютно непроизводительные потери тепла.
Преимущества гидрораспределителей с электромагнитным управлением
Электромагнитный гидрораспределитель— это блок управления, который, будучи под напряжением пропускает поток жидкости. Привод имеет форму электромагнита. Электрическое управление гидрораспределителем, при подаче питания создает магнитное поле, которое натягивает поршень или поворотную арматуру против действия пружины. При обесточенном состоянии плунжер или поворотная арматура возвращаются в исходное положение действием пружины.
Электрическое управление гидрораспределителем используется, где поток жидкости должен контролироваться автоматически.
Они все чаще используются на самых разных типах установок и оборудованиях.
В компании Гидролидер доступны различные варианты исполнения гидрораспределителей, позволяющие выбрать их в соответствии с конкретным применением.
Принцип работы гидрораспределителя с электромагнитным управлением
Прежде всего, необходимо учитывать 4 основных параметра, по которым, можно выделить гидрораспределители с электромагнитным управлением:
- Совместимость;
- Давление;
- Температура;
- Процесс настройки.
Режим приведения в действие электрического гидрораспределителя проводится прямыми клапанами, клапанами с внутренним управлением и клапанами с внешним управлением. Еще одной отличительной особенностью является количество подключений к порту или количество путей прохождения потока.
Электромагнитный клапан прямого действия
Угидрораспределителя с электроуправлением электромагнитный клапан прямого действия и уплотнение седла прикреплены к сердечнику соленоида.
В обесточенном состоянии отверстие седла закрыто и открывается оно, когда клапан находится под напряжением.
2-ходовой электромагнитный клапан прямого действия
В обесточенном состоянии пружина сердечника с помощью давления жидкости удерживает уплотнение клапана на седле клапана, чтобы перекрыть поток. При подаче питания для электрического гидрораспределителя, сердечник и уплотнение втягиваются в соленоидную катушку, и клапан открывается. Электромагнитная сила больше, чем объединенная сила пружины и силы статического и динамического давления среды.
3-ходовой электромагнитный клапан прямого действия
Трехходовые электромагнитные клапаны от компании Гидролидер имеют три отверстия для подключения и два седла клапана. Одно уплотнение клапана всегда остается открытым, а другое — в обесточенном режиме. Когда на катушку подается питание, режим меняется на противоположный. Трехходовой электромагнитный клапан имеет сердечник плунжерного типа.
Различные операции с клапанами при электрическом управлении гидрораспределителем могут быть получены в зависимости от того, как текучая среда соединена с рабочими отверстиями.
Давление жидкости растет под седлом клапана. Когда обмотка соленоида обесточена, коническая пружина плотно прижимает нижнее уплотнение сердечника к седлу клапана и перекрывает поток жидкости. Изолирующая диафрагма гарантирует, что текучая среда не вступит в контакт с камерой катушки соленоида.
Клапаны с поворотной арматурой могут использоваться для обеспечения работы любого трехходового клапана. Также, у компании Гидролидер, клапаны с поворотной арматурой в стандартной комплектации снабжены ручным управлением.
Золотниковые распределители
Клапанные распределители обеспечивают лучшую герметичность, они способны работать при большем давлении чем золотниковые.
Распределители с золотником более компактны, они позволяют обеспечить плавное перекрытие рабочих окон, что важно при наличии больших инерционных масс. Рассмотрим подробнее устройство, характеристики и принцип работы золотниковых распределителей, получивших широкое распространение
Рассмотрим подробнее устройство, характеристики и принцип работы золотниковых распределителей, получивших широкое распространение.
Число положений гидравлического распределителя
Количество вариантов вариантов соединения гидролиний распределителем называют числом положении. Наибольшее распространение получили двух- и трехпозиционые распределители.
Нейтральным называют положение, при котором золотник устанавливается в неактивном состоянии под воздействие посоятнно действующих сил (например усилия пружины).
Количество подводимых линий
Распределители могут различаться по количеству подводимых линий, наиболее часто применяются четырех линейные гидрораспределители, к ним подводится 4 линии:
- p — давление
- t — слив
- a — выход а (например, подвод жидкости в поршневую полость гидроцилиндра)
- b — выход b (например, подвод рабочей жидкости в штоковую полость гидравлического цилиндра)
Устройство и принцип действия гидрораспределителя Р-80-3/1-22
Гидрораспределитель Р-80-3/1-22 является механизмом, который управляет силовыми цилиндрами гидравлической системы агрегата. Золотники (на рисунке поз. 2) гидрораспределителя могут находиться в четырех положениях: 1-“Нейтральное”; 2-“Подъем”; 3-“Принудительное опускание”; 4-“Плавающее”. При последнем положении обеспечивается свободное перемещение поршня гидроцилиндра. В первых трех положениях золотники фиксируются при помощи шариковых устройств фиксации.
Все золотники оснащены автоматическим устройством, которое возвращает их в положение “Нейтральное” из положения “Подъем” или “Принудительное опускание” после того, как закончится рабочий ход поршня гидроцилиндра.
Считается нормальным давление гидросистемы, не превышающее 70 кгс/см2. Когда все золотники находятся в нейтральном положении, масло через перепускной клапан (поз. 9) гидрораспределителя от насоса поступает на слив.
Золотники (поз. 2), клапан (поз. 25) предохранительный и клапан (поз. 9) перепускной установлены в одном корпусе. В крышке (поз. 19) смонтированы рычаги (поз. 15) управления золотниками, уплотненные резиновыми кольцами (поз. 17). Для того, чтобы сохранялась чистота контактных поверхностей уплотнений, их снаружи защищают колпаками-пыльниками (поз. 14). Автоматические устройства золотников, а также шариковые устройства фиксации находятся в нижней крышке (поз. 12) распределителей Р-80-3/1-22. От насоса рабочая жидкость подводится к корпусу (поз. 1) распределителя с присоединенными к нему подводящими маслопроводами гидроцилиндров. К нижней крышке подведена сливная магистраль.
Для обеспечения нормальной работы гидрораспределителя, а также и других узлов и механизмов гидросистемы агрегата, масло должно подвергаться тщательной фильтрации.
Загрязнение масла может привести к засорению автоматических устройств золотников, предохранительного и перепускного клапана, что приведет к нарушению нормальной и стабильной работы гидрораспределителя и всей гидросистемы в целом.
Как подобрать параметры
Подбирается гидравлический разделитель с учетом максимально возможной скорости потока теплоносителя. Дело в том, что при высокой скорости движения жидкости по трубам она начинает шуметь. Чтобы не было этого эффекта, максимальная скорость принимается равной 0,2 м/с.
Параметры, нужные для гидроразделителя
По максимальному потоку теплоносителя
Чтобы рассчитать диаметр гидрострелки по этому методу, единственное, что нужно знать — это максимальный поток теплоносителя, который возможен в системе и диаметр патрубков. С патрубками все просто — вы же знаете, какой трубой будете делать разводку. Максимальный поток, который может обеспечить котел, мы знаем (есть в технических характеристиках), а расход по контурам зависит от их размера/объема и определяется при подборе контурных насосов.
Расход на все контуры складывается, сравнивается с мощностью котлового насоса. Большая величина подставляется в формулу для расчета объема гидрострелки.
Формула расчета диаметра гидравлического разделителя для системы отопления в зависимости от максимального потока теплоносителя
Приведем пример. Пусть максимальный расход в системе 7,6 куб/час. Допустимая максимальная скорость берется стандартная — 0,2 м/с, диаметр патрубков 6,3 см (трубы на 2,5 дюйма). В этом случае получаем: 18,9 * √ 7,6/0,2 = 18,9 * √38 = 18,9 * 6,16 = 116,424 мм. Если округлить, получаем, что диаметр гидрострелки должен быть 116 мм.
По максимальной мощности котла
Второй способ — подбор гидравлической стрелки по мощности котла. Оценка будет приблизительной, но ей можно доверять. Нужна будет мощность котла и разница температур теплоносителя в подающем и обратном трубопроводе.
Расчет гидрострелки по мощности котла
Расчет также несложный. Пусть максимальная мощность котла — 50 кВт, дельта температур — 10°C, диаметры патрубков такие же — 6,3 см.
Подставив цифры, получаем — 18,9 * √ 50 / 0,2 * 10 = 18,9 * √ 25 = 18,9* 5 = 94,5 мм. Округлив, получаем диаметр гидрострелки 95 мм.
Как найти длину гидрострелки
С диаметром гидроразделителя для отопления определились, но надо знать еще и длину. Ее подбирают в зависимости от диаметра подключаемых патрубков. Есть два вида гидрострелок для отопления — с отводами, расположенными один напротив другого и с чередующимися патрубками (располагаются со сдвигом один относительно другого).
Определяем длину гидрострелки из круглой трубы
Рассчитать длину в этом случае легко — в первом случае это 12d, во втором — 13d. Для средних систем можно и диаметр подобрать в зависимости от патрубков — 3*d. Как видите, ничего сложного. Рассчитать можно самостоятельно.
Основные неисправности и их устранение
Неполадки в гидрораспределителях могут вызвать снижение эффективности их работы или же полный выход из строя.
Ниже перечислены основные неисправности и способы их устранения.
1. Сброс настроек предохранительного клапана.
Из-за такого сбоя преждевременно срабатывает система защиты. Во избежание такой ситуации следует производить установку давления, согласно инструкции, то есть в следующей последовательности:
- Подключение манометра к напорной полости распределителя;
- Повышение нагрузки;
- Поворот регулировочного винта до тех пор, пока давление не установится на необходимом уровне — при этом следует учитывать, что для повышения давления, винт нужно поворачивать по часовой стрелке, а для понижения – против.
Регулировку гидрораспределителя следует выполнять при максимальных оборотах мотора.
2. Зависание перепускного канала.
В этом случае распределитель подлежит разборке и промывке всех компонентов и узлов. Давление клапана следует установить на уровень 13-16 Мпа, в зависимости от модели и производителя устройства.
3. Рукоятка может не возвращается в нейтральное положение.

Это происходит в следствии остывания масла, из-за засорённости сетчатого фильтра золотника или по причине неправильной регулировки давления в предохранительном клапане. Устраняться данная неисправность может двумя способами:
- Прогревом рабочей жидкости при температуре 300-320 К;
- Разборкой золотника, его чисткой, а при необходимости, устранением повреждений, после чего он промывается керосином и монтируется обратно.
В случае, если нет возможности устранить вышеперечисленные поломки, можете обратиться к специалистам ООО «Велес-Гидравлика». У нас можно заказать ремонт любых отечественных и импортных гидрораспределителей. В наличии мастерские, склады запчастей и иная необходимая техническая база, позволяющая осуществлять техобслуживание компонентов гидравлической системы в минимальные сроки.
Зачем нужна гидрострелка в системе отопления?
Объяснить, для чего нужна гидрострелка для отопления, очень просто. Процессы разбалансировки теплоснабжения знакомы владельцам частных домов.
Современный котел имеет меньший по объему контур, чем циркуляционный расход потребителя. Работа гидрострелки отопления позволяет отделить гидравлический контур теплогенератора от вторичной цепи, повысить надежность и качество системы.
Ответом на вопрос: «Для чего нужна гидрострелка в системе отопления?», служит список достоинств отопления с гидравлическим терморазделителем:
- разделитель — обязательное условие производителя оборудования для гарантии технического обслуживания на котел мощностью 50 кВт и более, или теплогенератора с чугунным теплообменником;
- узел обеспечивает максимальный проток с ламинарным течением теплоносителя, поддерживает гидравлический и температурный баланс системы отопления;
- параллельное подключение гидрострелки отопления и контура потребителей создает минимальные потери давления, производительности и тепловой энергии;
- коленное расположение патрубков подачи-обратки обеспечивает температурный градиент вторичных контуров;
Схема движения теплоносителя в коллекторе с гидрострелкой.
- оптимальный подбор и расчет гидрострелки для отопления защищает котел от разницы температур подачи-обратки, предохраняет оборудование от теплового удара, выравнивает циркуляционный объем водяных потоков в первичном и второстепенном контуре;
- узел повышает КПД котла, позволяет вторичную циркуляцию части теплоносителя в котловом контуре, экономит электроэнергию и топливо;
- подмес сохраняет постоянный объем котловой воды;
- при экстренной необходимости разделитель компенсирует дефицит расхода во второстепенном контуре;
- полый разделитель снижает влияние насосов, обладающих различной мощностью квт, на вторичные контуры и котел;
- дополнительные функции гидроразделителя — уменьшает гидравлическое сопротивление, формирует условия для сепарации растворенных газов и шлама.
В многоконтурных системах отопления использование гидрострелки обязательно для сбалансированной работы.
Принцип работы гидрострелки отопления позволяет стабилизировать гидродинамические процессы в системе.
Своевременное удаление механических примесей из теплоносителя продлит срок службы насосов, вентилей, счетчиков, датчиков, отопительных приборов. Разделяя потоки (контур теплогенератора и независимый контур потребителя), гидрострелка обеспечивает максимальное использование теплоты сгорания топлива.
На что обратить внимание при выборе гидрораспределителя
Критериев выбора гидравлического распределителя очень много, вот только основные из них:
- Необходимое рабочее давление
- Тип управления
- Способ присоединения к системе
- Тип гидрораспределителя
- Конструктивное решение
Рабочее давление
Гидрораспределитель должен выдерживать рабочее давление системы. Это обязательное условие и один из наиболее важных критериев выбора. Наибольшее распространение в гидравлических узлах получили распределители золотникового типа. Они стабильно работают при давлении рабочей среды до 32 МПа, компактны, высокоэффективны. Золотниковые гидрораспределители способны выравнивать давление как в радиальном, так и в осевом направлении.
Если речь идет о высоконагруженных узлах, работающих под давлением свыше 32 МПа, стоит отдать предпочтение оборудованию клапанного типа. Они стабильно будут работать даже при 80 МПа, сохраняя абсолютную герметичность системы.
Существуют еще и крановые распределители. Но такой тип устройства отличается низкой пропускной способностью, поэтому чаще всего они используются в качестве вспомогательных и устанавливаются одновременно с золотниковыми или клапанными.
Тип управления
Управление гидрораспределителем может быть:
- Механическим. Выполняется вручную посредством рычагов, тяг, кулис. Устанавливаются преимущественно на мобильных машинах. Работают в широком диапазоне пропускной способности.
- Электромагнитным. Установлена специальная электрокатушка. Основное преимущество – возможность дистанционного управления. Пропускная способность невысокая.
- Гидравлическим. Обеспечивается давлением рабочей жидкой среды. Работает в широком диапазоне расходов.

- Электрогидравлическим. Задействована и рабочая жидкость, и электрическая система. Управляются удаленно, могут работать с большими расходами. Снижают нагрузку на оператора, сводя управление к нажатию кнопки.
Тип управления определяется исходя из расхода рабочей среды и удобства работы.
Способ присоединения к системе
К гидравлической системе распределители монтируются через:
- резьбовую фиксацию;
- фланцевое соединение;
- стыковое присоединение.
Оптимальных вариант определяется исходя из прямого предназначения устройства и максимального расхода рабочей среды.
Тип гидрораспределителя
Могут быть направляющими и дросселирующими. Направляющие гидрораспределители обеспечивают работу узла посредством полного открытия или закрытия соответствующего проходного сечения. Дросселирующие устройства могут перекрывать канал частично, благодаря чему обеспечивается возможность регулирования расхода.
В учет в обязательном порядке принимается параметры рабочей и окружающей среды: допустимый диапазон температур окружающей среды, тип жидкости, ее вязкость, температура, загрязненность, расход.
Конструктивное решение
Гидрораспределители могут быть моноблочными и секционными. Моноблочные узлы выполнены в одном корпусе, что является залогом оптимизированной работы оборудования, снижает габариты и массу узла. Секционные разделены отделы, что позволяет управлять одновременно несколькими отдельными органами. При необходимости можно будет заменить изношенный блок или выполнить его ремонт.
DSE3-C*, DSE3-A* гидрораспределители с электронным пропорциональным управлением
Гидравлическое оборудование / Гидрораспределители //
| Распределитель DSE3-C26/10N-D24K1 |
|
| Монтажная поверхность DSE3-C*, DSE3-A* |
Идентификационный код гидрораспределителей DSE3-C*, DSE3-A*
|
Используйте гидравлические жидкости на основе минеральных масел типа HL или HМ в соответствии со стандартом ISO 6743/4. | |||||||||||||||||||||||||||||||||||||||||||||
| ПРИМЕЧАНИЕ: Гайки фиксации катушек и уплотнительные кольца (OR) поставляются вместе с клапанами. |
Электронные блоки управления для распределителей DSE3-C*, DSE3-A*
| Электронный блок управления EDC-112 для DSE3-*SA(SB) | (для катушек 24 В пост. тока) штепсельный вариант |
| Электронный блок управления EDC-142 для DSE3-*SA(SB) | (для катушек 12 В пост. тока) штепсельный вариант |
| Электронный блок управления EDM-M112 для DSE3-*SA(SB) | (для катушек 24 В пост. тока) установка на рейку DIN EN 50022 |
| Электронный блок управления EDM-M142 для DSE3-*SA(SB) | (для катушек 12 В пост. тока) установка на рейку DIN EN 50022 |
| Электронный блок управления UEIK-11 для DSE3-*SA(SB) | (для катушек 24 В пост. тока) тип Eurocard |
| Электронный блок управления EDM-M212 для DSE3-A(C)* | (для катушек 24 В пост. тока) установка на рейку DIN EN 50022 |
| Электронный блок управления EDM-M242 для DSE3-A(C)* | (для катушек 12 В пост. тока) установка на рейку DIN EN 50022 |
| Электронный блок управления UEIK-21 для DSE3-A(C)* | (для катушек 24 В пост. тока) тип Eurocard |
Пример заказа гидрораспределителя с пропорциональным электронным управлением:DSE3-C26/10N-D24K1 — Пропорциональный распределитель, 26 л/минDSE3-C04/11N-D24K1 — Пропорциональный распределитель, 4 л/минDSE3-C01R/11N-D24K1 — Пропорциональный распределитель, 1,3 л/минDSE3-A26/11N-D24K1 — Пропорциональный распределитель, 26 л/минDSE3-C26SA/10N-D24K1 — Пропорциональный распределитель, 26 л/мин
Промышленный гидравлический распределитель — Гидравлические компоненты и системы
Запросить предложение
Просмотреть все
- Гидравлические компоненты
- Пневматические компоненты
- Электрические компоненты
- Индивидуальная мощность жидкости
- Специальные компоненты
- Производители
- Обслуживаемые отрасли
- О
- Ресурсный центр
- Галерея
- Контакт
- Последние новости
- Часто задаваемые вопросы
Подробнее
Гидравлические насосы
Наш обширный ассортимент продукции подходит для широкого спектра применений, включая промышленные, мобильные и морские.
Мы специализируемся на насосах высокого давления до 6000 фунтов на квадратный дюйм.
Гидравлические насосы
Norman Equipment является ведущим поставщиком гидравлического оборудования, включая лопастные гидравлические насосы, поршневые насосы и шестеренчатые насосы. Мы являемся авторизованным дистрибьютором качественных гидравлических компонентов и систем от ведущих производителей, известных своей производительностью и надежностью.
Производители гидравлических насосов, которые мы предлагаем
- Enerpac
- Паркер Денисон
- Дельта Сила
- Динамические жидкостные компоненты
- Начи Америка
- Нортман
- Парагон Системы
- Симплекс
Запросить цену
Подробнее
Гидравлические двигатели
Мы предлагаем полную линейку высокоскоростных и низкоскоростных гидравлических двигателей, а также полный диапазон типоразмеров, предлагаемых в рабочих конфигурациях с шестернями, лопастями и поршнями.
Гидравлические двигатели
Мы предлагаем полную линейку высокоскоростных и низкоскоростных двигателей, а также полный диапазон типоразмеров в шестеренчатых, лопастных и поршневых рабочих конфигурациях для широкого спектра применений, включая промышленные, морские и мобильные.
Квалификация гидравлического двигателя
- Давление до 5000 фунтов на кв. дюйм — мощность от 5 до более 600 л.с.
- Низкоскоростные радиально-поршневые двигатели с высоким крутящим моментом
- Высокоскоростные лопастные двигатели
- Высокоскоростные мотор-редукторы
- Полная линейка гидромоторов с длительным сроком службы обеспечивает решения практически для любой вращательной техники
Запросить цену
Подробнее
Гидравлические клапаны
У нас имеется большой выбор гидравлических клапанов, включая направляющие клапаны, клапаны контроля давления, пропорциональные клапаны и принадлежности для клапанов.
Гидравлические клапаны
Norman Equipment уже более 70 лет является ведущим поставщиком гидравлических клапанов. Мы предлагаем большой выбор ходовых регулирующих клапанов, клапанов регулирования расхода и давления, пропорциональных клапанов и многого другого.
Направленные регулирующие клапаны
- Прямого действия
- Воздушный пилот, управляемый
- Пилотный, масляный пилотный, воздушный пилотный
- Рычажный привод
- Гидравлические электромагнитные клапаны
Norman Equipment является авторизованным представителем по продажам и обслуживанию:
- Parker
- Дельта Сила
- Жидкие продукты Deltrol
- Денисон
- Dynaquip
- Динамический ФК
- Начи
- Лексэйр
- Роторк
- Нортман
- Хуаде
Запросить цену
Подробнее
Гидравлические цилиндры
Мы работаем с гидравлическими цилиндрами, аксессуарами, ремонтными комплектами и деталями, включая стандартные и специальные рулевые тяги, цилиндры круглого и фрезерного типа, подходящие для всех типов промышленного применения.
Гидравлические цилиндры
Мы являемся полным поставщиком гидравлических цилиндров для удовлетворения потребностей различных гидравлических систем. Мы представляем только качественные гидроцилиндры от ведущих производителей. Мы также можем заменить вас другими ведущими брендами, чтобы сэкономить ваши деньги, предоставляя при этом превосходный сервис, которого ожидают наши клиенты.
Производители гидравлических цилиндров
- Lynair
- Милуоки Цилиндры
- Паркер Атлас
- Индивидуальные актуаторы
- Оборудование линии управления
- Энерпак
- Нопак
- Симплекс
Запросить цену
Подробнее
Гидравлические муфты
Мы предлагаем большой выбор быстроразъемных соединений, в том числе: двойные запорные и проходные, вертлюги и клапаны для различных специальных применений.
Гидравлические муфты
Norman Equipment уже более 70 лет является ведущим поставщиком гидравлических муфт и фитингов. Мы предлагаем большой выбор быстроразъемных соединений, включая, помимо прочего:
- Одинарные и двойные запорные муфты
- Вертлюги
- Клапаны
- Диагностическое оборудование
Эти гидравлические муфты используются для различных применений, в том числе общего назначения, высокого давления, тяжелого режима работы, природного газа и других специальных применений. Наши муфты рассчитаны на давление от 30 до 15 000 фунтов на квадратный дюйм и совместимы с большинством жидкостей.
- Сельскохозяйственное оборудование
- Промышленные гидравлические линии
- Изделия медицинские
- Пищевая и химическая промышленность
Производители включают
- Parker Snap-Tite
- Энерпак
Запросить цену
Подробнее
Ремонт гидравлики
Наш отдел по ремонту гидравлики имеет 70-летний опыт, необходимый для профессионального ремонта гидравлических насосов, двигателей и клапанов.
Все ремонтные работы соответствуют требованиям заводского каталога.
Ремонт гидравлики
Ремонт всех наших гидравлических насосов, двигателей, цилиндров и клапанов соответствует спецификациям заводского каталога и включает гарантию, как на новую. Наш опыт и быстрота выполнения работ позволяют нам быть конкурентоспособными с запчастями и работой. Мы также можем откалибровать гидравлические манометры до 10 000 фунтов на квадратный дюйм, сертифицированные по ISO 9001, на нашем предприятии в Нью-Берлине, штат Висконсин.
Ремонтируем гидроагрегаты всех ведущих производителей, в том числе:
- Atlas Cylinder
- Бош Рексрот
- Чарлинн
- Данфосс
- Дельта Сила
- Энерпак
- Денисон
- Паркер Денисон
- Цилиндр Parker Atlas
- Цилиндр Паркер
- Насос, двигатель и клапаны Parker
- Аккумулятор Паркер
- Грир
- Хагглундс
- Расин
- Рексрот
- Симплекс
- SPX Силовая команда
- Виккерс
- TRW Росс
- Белый двигатель
- Многие другие.
..
Запросить цену
Подробнее
Гидравлическое управление потоком
Наш обширный ассортимент гидравлических расходомеров подходит для широкого спектра применений в водораспределении, химической, нефтяной и газовой промышленности.
Гидравлический регулятор расхода
Norman Equipment уже более семи десятилетий является ведущим поставщиком оборудования для гидравлических расходомеров. Мы являемся авторизованным дистрибьютором качественных гидравлических расходомеров и систем от ведущих производителей, известных своей производительностью и надежностью. Наш опытный персонал, собственный технический опыт, исключительное обслуживание клиентов и проверенные продукты обеспечивают вам единый источник для всех ваших потребностей в управлении гидравлическим потоком. Наши продукты для управления потоком включают:
- Расходомеры и турбинные расходомеры
- Гидравлические тестеры
- Мониторы потока
- Гидравлические регистры
Запросить предложение
Обзор
Norman Equipment является авторизованным дистрибьютором полного ассортимента качественных гидравлических компонентов и систем от ведущих производителей, известных своей производительностью и надежностью.
Мы предоставляем гидравлические технические ноу-хау и ответы уже более 70 лет. Мы гордимся тем, что являемся семейным предприятием и предлагаем вам персонализированное обслуживание приложений, в том числе:
- Гидравлические насосы
- Гидравлические двигатели
- Гидравлические клапаны
- Гидравлические цилиндры
- Гидравлические муфты
- Ремонт гидравлики
- Гидравлические органы управления
- Аксессуары
Партнеры и продукция производителей гидравлических систем
Наш опытный персонал, собственная техническая экспертиза, исключительное обслуживание клиентов и проверенная продукция ведущих производителей обеспечивают единый источник для удовлетворения всех ваших потребностей в гидравлике.
- Паркер Денисон
- Цилиндры Parker Atlas
- Продукция Даман
- Дельта Сила
- Жидкие продукты Deltrol
- Инструменты и приспособления Enerpac
- Грир
- Гидравлика Интернэшнл
- Фитинги Lenz
- ЛДИ Индастриз
- Линэйр
- Начи Америка
- Нопак
- Блоки питания и испытательные стенды Norman
- Узлы масляного радиатора Norman
- Нортман
- Панагон Системс
- Parker, включая Snap-Tite, быстроразъемные соединения и диагностические устройства
- Роторк
- Жидкостные аккумуляторы Servi
- Термоперенос
- Аккумуляторы Тобул
- Юный пробный камень
- И более
Ведущие производители и поставщики гидравлического оборудования в США
Изображение предоставлено: https://www.
istockphoto.com/photos/hydraulic-hose/
Что такое гидравлическое оборудование?
Силу гидравлики нельзя недооценивать, так как она может буквально свернуть горы.
Гидравлическое оборудование — это класс инженерных устройств, которые используют гидравлическую энергию (давление жидкости) для выполнения определенных задач, как правило, в строительстве, военной, землеройной, транспортной, аэрокосмической и других областях, требующих высокой выходной мощности. Гидравлическое оборудование — это разнообразная, широкая категория промышленного оборудования, от простых гидравлических шлангов, клапанов, насосов до гидравлических цилиндров и даже крупногабаритных гидравлических прессов и многого другого. Это оборудование часто является частью более крупной системы управления, которая, как и электронные схемы, имеет встроенную логику для создания очень сложных механизмов. Несмотря на это, гидравлическое оборудование незаменимо почти в каждом промышленном секторе и может использоваться в различных областях.
Чтобы получить более полное представление о гидравлическом оборудовании и его использовании, ознакомьтесь с нашими статьями «О гидравлическом оборудовании», «Подробнее о гидравлическом оборудовании», «Подробнее о гидравлических фильтрах» и «Пневматические и гидравлические подъемники».
Что такое производители и поставщики гидравлического оборудования?
Поскольку гидравлическое оборудование является широкой категорией, то есть и различные производители и поставщики гидравлического оборудования. Поставщики гидравлического оборудования предоставляют гидравлическое оборудование, такое как шланги, насосы, цилиндры, аккумуляторы и другое гидравлическое оборудование, парным клиентам. Производители гидравлики изготавливают эти продукты с использованием различных методов, обеспечивающих хорошие рабочие качества с помощью испытаний, проверок и других дополнительных процедур. Таким образом, в этой статье любая компания, производящая товары, компоненты и/или полные системы гидравлического оборудования, будет определена как поставщики гидравлического оборудования.
С учетом сказанного давайте рассмотрим ведущих производителей гидравлического оборудования в США и во всем мире.
Ведущие проверенные Томасом поставщики гидравлического оборудования в США
В приведенной ниже Таблице 1 содержится актуальная информация о ведущих проверенных Томасом поставщиках гидравлического оборудования в США на сайте Thomasnet.com, ранжированных по объему годовых продаж в долларах США. Компании со статусом «Проверено Томасом» проверяются Thomasnet.com на достоверность и предоставляют запросы предложений непосредственно через платформу Томаса для простоты ценообразования и выбора. Расположение штаб-квартиры, количество сотрудников, тип компании, годовой объем продаж и краткие сведения о компании приведены ниже.
Таблица 1 – Лучшие проверенные Томасом поставщики гидравлического оборудования в США
Компания | Головной офис | Количество сотрудников | Тип Компания | Годовой объем продаж |
Хаскель Интернэшнл | Бербанк, Калифорния | 200-499 | Производитель | 50-99 миллионов долларов |
Масляно-воздушные продукты | Плимут, Миннесота | 10-49 | Дистрибьютор | $25-49,9 млн |
Робек Флюид Пауэр Ко. | Аврора, Огайо | 50-99 | Дистрибьютор | $10-24,9 млн |
Guenther Supply, Inc. | Фонд-дю-Лак, Висконсин | 10-49 | Дистрибьютор | $10-24,9 млн |
McGill Hose & Coupling, Inc. | Ист Лонгмидоу, Массачусетс | 50-99 | Производитель | $10-24,9 млн |
Fluid Energy Controls, Inc. | Промышленный город, Калифорния | 10-49 | Изготовление на заказ | $10-24,9 млн |
Компания Precision Automation, Inc. | Черри Хилл. Нью-Джерси | 50-99 | Изготовление на заказ | $10-24,9 млн |
American Design & Mfg. | Южный Виндзор, Коннектикут | 10-49 | Изготовление на заказ | $10-24,9 млн |
Скотт Эквипмент Ко., Инк. | Шарлотта, Северная Каролина | 10-49 | Дистрибьютор | $10-24,9 млн |
ХАЙСЕКО, Инк. | Хьюстон, Техас | 10-49 | Изготовление на заказ | 5-9,9 млн долларов |
Резюме компании
Haskel International является производителем стандартных и нестандартных насосов с пневматическим и гидравлическим приводом, газовых бустеров, усилителей давления воздуха и других компонентов гидравлических систем. Наряду со своими автономными компонентами и запасными частями Haskel также продает комплексные системы для систем перекачки и повышения давления газа, жидкости и сжиженного газа.
Их штаб-квартира находится в Бербанке, Калифорния.
Oil-Air Products является дистрибьютором гидравлических технологий, таких как картриджные клапаны, гидравлические цилиндры, шланги, нестандартные коллекторы, пневматика, силовые агрегаты, насосы и многое другое, базирующийся в Плимуте, штат Миннесота. Oil-Air может собирать и устранять неполадки систем, а также изготавливать нестандартные компоненты и обеспечивать постоянную техническую поддержку в течение всего срока службы оборудования. Они обслуживают многочисленные промышленные рынки и сотрудничают с более чем 30 ведущими производителями гидравлического оборудования.
Robeck Fluid Power Co. является дистрибьютором оборудования для транспортировки жидкостей, гидравлического, пневматического, электронного и смазочного оборудования, а также предоставляет инженерные услуги по гидравлическому и пневматическому оборудованию. Их возможности включают проектирование в САПР, сборку, проектирование автоматизации, ремонт компонентов на месте, обслуживание на месте и сопутствующие услуги с добавленной стоимостью.
Их штаб-квартира площадью 35 000 кв. Футов расположена в Авроре, штат Огайо.
Guenther Supply, Inc. из Фон-Дю-Лак, Висконсин, является дистрибьютором промышленных труб, трубопроводов, клапанов и фитингов для гидравлических, водопроводных, отопительных, холодильных и других применений. Имеющиеся на складе запасы сочетаются с индивидуальными услугами, такими как нестандартная сборка клапанов и шлангов и аренда пресс-инструментов, что позволяет клиентам приобретать и устанавливать оборудование напрямую из одного источника. Они обеспечивают круглосуточное обслуживание и парк грузовиков для обеспечения своевременной доставки.
Компания McGill Hose & Coupling, Inc. является производителем и дистрибьютором гибких гидравлических/пневматических шлангов, фитингов и компонентов для работы с жидкостями для пищевой, фармацевтической, топливной, государственной, муниципальной, аэрокосмической и OEM-промышленности. Их собственный производственный отдел может выполнить все необходимые задачи, чтобы гарантировать, что шланги спроектированы и проверены на качество и будут работать в любой гидравлической/пневматической системе, частью которой они будут.
Они базируются в Ист-Лонгмидоу, Массачусетс.
Fluid Energy Controls, Inc. является производителем и дистрибьютором гидроаккумуляторов, демпферов, гидравлических принадлежностей и других гидроприводных изделий. Они поставляют как стандартные, так и нестандартные аккумуляторы, а также соответствующее гидравлическое и пневматическое оборудование для химической, нефтяной, полупроводниковой, металлообрабатывающей, лакокрасочной, пищевой и других отраслей промышленности. Они базируются в Промышленном городе, Калифорния.
Компания Precision Automation Company, Inc. из Черри-Хилл, штат Нью-Джерси, является производителем систем автоматизации, контрактных станков, машин, роботизированных систем, конвейеров и многого другого для фармацевтики, конвейеров, продуктов питания и напитков, а также других товаров народного потребления. Precision Automation будет использовать гидравлические, электронные системы, системы управления и другие механические методы для предоставления услуг по интеграции линий и конвейерных решений, а также для контрактного производства на заказ.
American Design & Mfg., Inc. является производителем гидравлических, пневматических, механических и электрических инженерных систем, расположенным в Южном Виндзоре, штат Коннектикут. Их линейка продуктов включает в себя системы гидравлического оборудования, системы теплопередачи, компрессоры, турбины, редукторы, оборудование для очистки, системы смазки, стенды и специальные изделия, все они производятся на производственных площадях площадью 44 000 кв. Футов.
Scott Equipment Co., Inc. является дистрибьютором решений для робототехники, пневматики, электрики, гидравлики, датчиков, фитингов, алюминиевых профилей, сервоприводов и двигателей, клапанов, шлангов, муфт, манометров и многого другого. Их инвентарь содержит оборудование многих производителей известных брендов, и они будут работать напрямую с клиентами, чтобы предоставить лучший компонент, сборку или индивидуальное решение. Они проживают в Шарлотте, Северная Каролина.
HYSECO, Inc.
— производитель гидравлических приводов с полным спектром услуг, таких как изготовленные на заказ цилиндры, металлические конструкции, детали, обработанные на станках с ЧПУ, и многое другое со штаб-квартирой в Хьюстоне, штат Техас. HYSECO снабжен шлангами, фитингами, манометрами, теплообменниками, резервуарами, клапанами, фильтрами и другим гидравлическим оборудованием, необходимым для сборки или ремонта любой гидравлической системы. Они также обеспечивают ремонт на месте для своих клиентов и помогают ремонтировать системы в нефтяной, муниципальной, строительной, грузовой, горнодобывающей, морской и других отраслях.
Ведущие мировые поставщики гидравлического оборудования
В приведенной ниже Таблице 2 представлены ведущие мировые поставщики гидравлического оборудования, согласно отчету MarketWatch.com о тенденциях мирового рынка металлического гидравлического оборудования за 2020 год. Международные доходы были скорректированы в долларах США по обменному курсу на 29.
06.2020. Включены дополнительные сведения, такие как штаб-квартира компании, год основания, годовой доход, а также краткие сведения о компании в следующем разделе.
Таблица 2 – Ведущие мировые поставщики гидравлического оборудования
Компания | Головной офис | Год основания | Годовой доход |
Сименс АГ | Мюнхен, Германия | 1847 | 96 миллиардов долларов [A] |
Роберт Бош | Герлинген, Германия | 1886 | 87,3 миллиарда долларов [B] |
Комацу | Токио, Япония | 1921 | 22,5 миллиарда долларов [C] |
Корпорация Итон | Бичвуд, Огайо | 1911 | 21,4 миллиарда долларов [D] |
Эмерсон Электрик Ко | Фергюсон, Миссури | 1890 | 18,3 млрд долларов [E] |
Кавасаки Хэви Индастриз | Токио, Япония | 1896 | 15 миллиардов долларов [F] |
Паркер Ханнифин | Мэйфилд-Хайтс, Огайо, | 1917 | 14,3 миллиарда долларов [Г] |
Предприятия Wipro | Бангалор, Индия | 2013 | 8,36 миллиарда долларов [H] |
Дайкин Индастриз | Осака, Япония | 1924 | 6,2 миллиарда долларов [I] |
Вебер-Гидравлик | Гюглинген, Германия | 1939 | $336,5 млн [Дж] |
Резюме компании
Siemens AG — многонациональная корпорация, специализирующаяся на автоматизации, производстве и передаче электроэнергии, инфраструктуре, приводных технологиях, здравоохранении и многом другом.
Siemens является всемирной опорой почти во всех отраслях промышленности, включая гидравлику, и они продают различные клапаны, приводы, гидравлические прессы и сопутствующие услуги, такие как оптимизация гидравлического зазора и повышение эффективности. Их глобальная штаб-квартира находится в Мюнхене, Германия.
Robert Bosch — многонациональная инженерно-технологическая компания из Герлингена, Германия, специализирующаяся на оборудовании, потребительских товарах, промышленных технологиях, энергетике, строительных технологиях и многом другом. Их подразделение Bosch Rexroth занимается в основном промышленной гидравликой, линейными приводами, технологиями сборки и другими инструментами автоматизации, и у них есть обширный каталог аккумуляторов, цилиндров, клапанов, приводов и многого другого.
Komatsu — мировой производитель горнодобывающей, коммунальной, лесохозяйственной и промышленной техники для военных, строительных и многих других отраслей промышленности.
Komatsu является разработчиком эффективных гидравлических систем и компонентов, необходимых для экскаваторов, отбойных молотков и другой тяжелой промышленной техники, и поставляет необходимые цилиндры, фильтры, насосы и сопутствующее оборудование, необходимое для создания продукции для тяжелых условий эксплуатации. Их штаб-квартира находится в Токио, Япония.
Корпорация Eaton — мировой производитель решений для управления питанием, электромеханического оборудования и сопутствующих решений. Они владеют самым большим выбором стандартных гидравлических цилиндров и предоставляют гидравлические конструкции по индивидуальному заказу на основе спецификаций заказчика. Они поставляют гидравлическое оборудование для жилых домов, коммунальных служб, здравоохранения, горнодобывающей промышленности, строительства, аэрокосмической промышленности и многих других областей применения. Штаб-квартира компании находится в Бичвуде, штат Огайо,
.
Emerson Electric Co.
— глобальный поставщик инженерных услуг и производитель промышленных, коммерческих и потребительских товаров для различных системных приложений. Они производят широкий спектр гидравлических приводов с зубчатой рейкой, кулисой, винтовой канавкой и линейными конфигурациями, которые могут работать в тяжелых условиях. Они также продают цилиндры, захваты, домкраты и другое промышленное оборудование для создания мощных гидравлических систем, подходящих для приложений, основанных на управлении. Штаб-квартира находится в Фергюсоне, штат Миссури.
Kawasaki Heavy Industries — мировой производитель мотоциклов, промышленных роботов, турбин, тяжелого оборудования, аэрокосмического оборудования и сопутствующих товаров, базирующийся в Токио. У них есть широкий выбор гидравлического оборудования для стандартных и нестандартных применений, а также насосы, двигатели, клапаны и другие важные компоненты для машин на жидкостной основе.
Parker Hannifin — мировой производитель и дистрибьютор технологий управления и компонентов движения для различных промышленных рынков.
Parker производит самое большое количество промышленных гидравлических цилиндров в мире и продает их более чем в 13 000 филиалов по всему миру. Наряду с цилиндрами их гидравлическая линейка продуктов включает приводы, аккумуляторы, захваты, насосы, ступени и практически любой компонент, необходимый для завершения гидравлической системы. Штаб-квартира находится в Мэйфилд-Хайтс, штат Огайо.
Wipro Enterprises из Бангалора, Индия, является компанией, разделенной на Wipro Infrastructure Engineering и Wipro Consumer Care and Lighting, первая из которых занимается гидравликой, очисткой воды, аэрокосмической промышленностью, аддитивным производством и компонентами автоматизации. Гидравлические продукты Wipro продаются крупным OEM-производителям по всему миру, при этом ежегодно поставляется более 1 миллиона цилиндров. Они удовлетворяют глобальные потребности в гидравлическом оборудовании для грузовых автомобилей, сельского хозяйства, строительства, коммунального хозяйства, лесного хозяйства, горнодобывающей промышленности и других отраслей промышленности, работающих в тяжелых условиях.
Daikin Industries — многонациональная компания, базирующаяся в Осаке, Япония, которая производит кондиционеры, химикаты, системы фильтрации воздуха, масляную гидравлику, защитные системы, медицинское оборудование, электронику и многое другое. Они ориентируют свои гидравлические блоки на энергоэффективность и имеют различные типы насосов, регулирующие клапаны, клапаны дымовых труб, масляные радиаторы, двигатели позиционирования и сопутствующие аксессуары, готовые к отправке по всему миру.
Weber-Hydraulik — мировой производитель гидравлического оборудования и систем, включая цилиндры, приводы, системы управления, клапаны и индивидуальные решения. Они являются частью различных важных отраслей промышленности, таких как погрузочно-разгрузочные работы, строительство, спасательное оборудование, сельское хозяйство, коммунальное хозяйство и другие рынки, а их каталог гидравлики адаптируется к стандартным, индивидуальным, малым и крупным приложениям.
Они проживают в Гюглингене, Германия.
Резюме
В этой статье описаны ведущие производители и поставщики гидравлического оборудования на сайте Thomasnet.com. Мы надеемся, что эта информация была вам полезна при поиске поставщика. Чтобы узнать больше об этих компаниях или составить собственный список поставщиков, не стесняйтесь посетить сайт Thomas Supplier Discovery, где у нас есть более 1900 поставщиков гидравлического оборудования.
Источники:
- https://www.marketwatch.com/press-release/hydraulic-equipment-market-2020-size-growth-rate-analysis-forecast-by-global-technology-latest-development-2020-to-2024- COVID-19-воздействие-на-долю-отрасли-и-темпы-роста-2020-05-28
- https://www.convergencetraining.com/blog/what-is-a-hydraulic-system-definition-design-and-components
- https://www.tractorsupply.com/tsc/cms/life-out-here/tool-shop/the-garage/hydraulics-101-for-beginners
Другие изделия для гидравлики
- Гидравлические реле давления
- Применение гидравлических шлангов
- Распространенные причины выхода из строя гидравлического уплотнения
- Что такое гидравлические силовые установки и как они работают?
- Типы гидравлических фитингов
- Общие сведения о пневматических и гидравлических подъемниках
- Как работают гидравлические домкраты
- В чем разница между гидравликой и пневматикой?
- Ведущие производители и поставщики гидравлических цилиндров в США
Другие товары ведущих поставщиков
- Ведущие экспедиторские компании США
- Ведущие дистрибьюторы и поставщики продуктов питания в США
- Ведущие поставщики оборудования для бассейнов и компании
- Ведущие производители и поставщики велосипедов в США
- Ведущие производители и поставщики крепежа в США
- Лучшие производители, поставщики и компании свечей под собственной торговой маркой
- Лучшие производители и поставщики пуленепробиваемого стекла
- Лучшие производители и поставщики колес
- Ведущие производители дексаметазона в США
- Ведущие производители и поставщики беговых дорожек в США
- Ведущие компании по термической обработке в США
- Ведущие производители и поставщики картонных коробок в США
- Ведущие производители и поставщики конвейеров в США
- Ведущие производители и компании гаражных ворот в США
Ведущие производители и поставщики оборудования для фитнеса и тренажерных заловСледующая история »
Производители, поставщики и дистрибьюторы гидравлических насосов
Используйте наш подробный список производителей и поставщиков гидравлических насосов, чтобы изучить и отсортировать ведущих производителей гидравлических насосов с предварительным просмотром объявлений и подробными описаниями каждого продукта.
Любой производитель гидравлических насосов может предоставить продукты и услуги для гидравлических насосов, отвечающие требованиям вашей компании. Также предоставляется простая связь с производителями гидравлических насосов с помощью нашей формы быстрого запроса предложения. Этот источник подходит для вас, будь то гидравлический насос, насос 12 В, продукты для управления потоком или любые другие потребности в гидравлическом насосе.
D & D Machine & Hydraulics, Inc. (FL)
Dynamic Fluid Components, Inc. (SC)
Florida Hydraulic Industrial (FL)
Fluid Power International, Inc. (GA)
Geartek® (MS) )
Hydraulic Supply Company (FL)
Hydraulic.Net (FL)
Hydreco, Inc. (SC)
White Drive Products (KY)
SRS Crisafulli, Inc. (MT)
A & A Fluid Пауэр, ООО. (Калифорния)
Advanced Hydraulics, Inc. (Калифорния)
American Lab & Systems (CA)
AquFlow (CA)
AZ Hydraulic Engineering, Inc.
(AZ)
Barbee Engineered Testing Systems (CA)
Crimar Industrial (AZ)
Crissair, Inc. (CA) )
DLH Fluid Power Inc. (CA)
Fluid Tech Hydraulics, Inc. (CA)
High Pressure Technologies, LLC (CA)
Hydraulics International, Inc. (CA)
HYTORC California (CA)
Продажа технологических насосов, Inc. (Калифорния)
SC Hydraulic Engineering Corporation (CA)
TR Engineering Incorporated (CA)
ZEMARC Corporation (CA)
Гидравлический домкрат Zinko (CA)
BakerCorp (TX)
Berendsen CROS Fluid Power (OK)
00 , Inc. (KS)
Engineered Sales, Inc. (MO)
Flowserve® Corporation (TX)
Gator Pump, Inc. (TX)
Geartek® (MS)
Hydradyne Hydraulics LLC (TX)
Гидравлические специалисты, Inc. (ОК)
Hydraulics Technology, Inc. (TX)
Hydro Leduc N.A., Inc. (TX)
Hyseco, Inc. (TX)
Jones Hydraulic Service (TX)
Pierce Sales (TX)
Precision Fluid Power , Inc.
(OK)
Southwest Seal and Supply (NM)
TK Trailer Parts (TX)
Wilson Company (TX)
A & A Fluid Power, LLC. (Калифорния)
Advanced Hydraulics, Inc. (Калифорния)
American Lab & Systems (Калифорния)
AquFlow (CA)
AZ Hydraulic Engineering, Inc. (AZ)
Barbee Engineered Testing Systems (CA)
Crimar Industrial (AZ)
Crissair, Inc. (CA)
DLH Fluid Power Inc. (CA) )
Fluid Tech Hydraulics, Inc. (CA)
High Pressure Technologies, LLC (CA)
Hydraulics International, Inc. (CA)
HYTORC California (CA)
Motion & Flow Control Products (OR)
Продажа технологических насосов, Inc. (Калифорния)
SC Hydraulic Engineering Corporation (CA)
TR Engineering Incorporated (CA)
ZEMARC Corporation (CA)
Zinko Hydraulic Jack (CA)
AZ Hydraulic Engineering, Inc. (AZ)
BakerCorp (TX)
Berendsen Fluid Power (OK)
Brand Hydraulics (NE)
Crimar Industrial (AZ)
CROSS Manufacturing, Inc.
(KS)
Flowserve® Corporation (TX)
Gator Pump, Inc. (TX)
Hydradyne Hydraulics LLC (TX)
Hydraulic Specialists, Inc. (OK)
Hydraulics Technology, Inc. (TX)
Hydro Leduc N.A., Inc. (TX)
Hyseco, Inc. (TX)
Jones Hydraulic Service (TX)
Pierce Sales (TX)
Precision Fluid Power, Inc. (OK)
Prince Manufacturing Corporation (SD)
Southwest Seal and Supply (NM)
TK Trailer Parts (TX)
Компания Уилсон (Техас)
BJM Pumps, LLC (CT)
C&C Hydraulics, Inc. (CT)
Cascon, Inc. (ME)
Interface Devices, Inc. (CT)
Sunfab North America (NJ)
AeroControlex / TransDigm, Inc. (OH)
BJM Pumps, LLC (CT)
C&C Hydraulics, Inc. (CT)
Flint Hydraulics, Inc. (TN)
IMO™ Pump (NC)
Интерфейсные устройства , Inc. (CT)
Linde Hydraulics Corporation (OH)
Ohio Power Tool (OH)
Parker Hannifin — Hydraulic Pump and Power Systems (OH)
Parker Hannifin — Pump & Motor Division (NC)
PROHOLD® Workholding, Inc.
(OH)
Robeck Fluid Power Co. (OH)
Robert J
Sprague Products (OH)
Sunfab North America (NJ)
D & D Machine & Hydraulics, Inc.
Флорида Гидравлик Индастриал (Флорида)
Fluid Power International, Inc. (GA)
Geartek® (MS)
Hydraulic Supply Company (FL)
Hydraulic.Net (FL)
Hydreco, Inc. (SC)
D & D Machine & Hydraulics, Inc. (FL)
Dynamic Fluid Components, Inc. (SC)
Flint Hydraulics, Inc. (TN)
Florida Hydraulics Industrial (FL)
Fluid Power International, Inc. (GA)
Geartek ® (MS)
Гидравлическая компания (FL)
Hydraulic.Net (FL)
Hydreco, Inc. (Южная Каролина)
Насос IMO™ (NC)
Indesco Inc. (NC)
Parker Hannifin — подразделение насосов и двигателей (NC)
Motion & Flow Control Products (OR)
SRS Crisafulli, Inc. (MT)
AeroControlex/ TransDigm, Inc.
(OH)
All World Machinery Supply Inc. (IL)
American Eagle Accessories Group (IA)
Attica Hydraulic Exchange Корпорация (МИ)
Bosch Rexroth Corporation (IL)
Bucher Hydraulics, Inc. (IL)
CAT PUMPS (MN)
CLYDEUNION Pumps (MI)
Commercial Group Lifting Products (MI)
Complete Hydraulic Service & Sales, Inc. (IN)
Continental Hydraulics® (MN)
CRS Service, Inc. (MI)
Danfoss Power Solutions (IA)
DC Hydraulics, Inc. (MI)
Dynex/Rivett, Inc. (WI)
Eaton Hydraulics (Миннесота)
Enerpac® (WI)
Engineered Sales, Inc. (MO)
Federal Fluid Power Inc. (MI)
Flodraulic Group Inc. (IN)
Fluid Process Equipment, Inc. (MI)
FluiDyne Fluid Power (MI)
FORCE America, Inc. (MN)
Hader Industries, Inc. (WI)
Hiawatha Rubber Co. (MN)
HYDAC Technology Corp., Hydraulic Div.
(Иллинойс)
Kawasaki Precision Machinery (США), Inc. (Мичиган)
Linde Hydraulics Corporation (OH)
Liquid Waste Technology LLC (WI)
Muncie Power Products, Inc. (IN)
Nachi America Inc. (IN)
Northman Fluid Power (IL)
Ohio Power Tool (OH)
Oilgear (WI) )
Panagon Systems (MI)
Parker Hannifin — Hydraulic Pump and Power Systems (OH)
Perfection Hydraulics, Inc. (IN)
Progressive Power and Control (IN)
PROHOLD® Workholding, Inc. (OH) )
Ram-Pac International Inc. (Висконсин)
Robeck Fluid Power Co. (OH)
Robert J. Fitzmyer Company, Inc. (PA)
SIMPLEX (WI)
Sprague Products (OH)
SPX Power Team (IL)
SPX Stone®/ SPX Fluid Power (IL)
Star Hydraulics, LLC (IL)
SunSource (IL)
Viking Pump, Inc./IDEX Corporation (IA)
White Drive Products (KY)
Willman Industries, Inc.
( Висконсин)
AeroControlex/ TransDigm, Inc (Огайо)
All World Machinery Supply Inc. (IL)
Attica Hydraulic Exchange Corporation (MI)
Bosch Rexroth Corporation (IL)
Bucher Hydraulics, Inc. (IL)
CLYDEUNION Pumps (MI)
Commercial Group Lifting Products (MI)
Complete Hydraulic Service & Sales, Inc. (IN)
CRS Service, Inc. (MI)
DC Hydraulics, Inc. (MI)
Dynex/Rivett, Inc. (WI)
Enerpac ® (Висконсин)
Engineered Sales, Inc. (Миссури)
Federal Fluid Power Inc. (MI)
Flodraulic Group Inc. (IN)
Fluid Process Equipment, Inc. (MI)
FluiDyne Fluid Power (MI)
Hader Industries, Inc. (WI)
HYDAC Technology Corp., Гидравлический отдел. (IL)
Kawasaki Precision Machinery (U.S.A.), Inc. (MI)
Linde Hydraulics Corporation (OH)
Liquid Waste Technology LLC (WI)
Muncie Power Products, Inc.
(IN)
Nachi America Inc. (В)
Northman Fluid Power (IL)
Ohio Power Tool (OH)
Oilgear (WI)
Panagon Systems (MI)
Parker Hannifin — Hydraulic Pump and Power Systems (OH)
Perfection Hydraulics, Inc. ( IN)
Progressive Power and Control (IN)
PROHOLD® Workholding, Inc. (OH)
Ram-Pac International Inc. (WI)
Robeck Fluid Power Co. (OH)
Robert J. Fitzmyer Company , Inc. (Пенсильвания)
SIMPLEX (WI)
Sprague Products (OH)
SPX Power Team (IL)
SPX Stone®/ SPX Fluid Power (IL)
Star Hydraulics, LLC (IL)
SunSource (IL)
White Drive Products (KY)
Willman Industries, Inc. (WI)
All World Machinery Supply Inc. (IL)
American Eagle Accessories Group (IA)
Bosch Rexroth Corporation (IL)
Brand Hydraulics (NE)
Bucher Hydraulics, Inc. (Иллинойс)
НАСОСЫ CAT (MN)
Continental Hydraulics® (MN)
CROSS Manufacturing, Inc.
(KS)
Danfoss Power Solutions (IA)
Dynex/Rivett, Inc. (WI)
EaNton Hydraulics (Manton Hydraulics)
Enerpac® (Висконсин)
Engineered Sales, Inc. (Миссури)
FORCE America, Inc. (Миннесота)
Hader Industries, Inc. (Висконсин)
Hiawatha Rubber Co. (Миннесота)
HYDAC Technology Corp., Гидравлический Div. (Иллинойс)
ООО «Технология жидких отходов» (Висконсин)
Northman Fluid Power (IL)
Oilgear (WI)
Prince Manufacturing Corporation (SD)
Ram-Pac International Inc. (WI)
SIMPLEX (WI)
SPX Power Team (IL)
SPX
Stone®/ SPX Fluid Power (IL)
Star Hydraulics, LLC (IL)
SunSource (IL)
Viking Pump, Inc./IDEX Corporation (IA)
Willman Industries, Inc. (WI)
Американский Группа аксессуаров Eagle (IA)
BakerCorp (TX)
Berendsen Fluid Power (OK)
Brand Hydraulics (NE)
CROSS Manufacturing, Inc.
(KS)
Danfoss Power Solutions (IA)
Engineered Sales, Inc. (MO)
Flow serve ® Corporation (TX)
Gator Pump, Inc. (TX)
Hydradyne Hydraulics LLC (TX)
Hydraulic Specialists, Inc. (OK)
Hydraulics Technology, Inc. (TX)
Hydro Leduc N.A., Inc. (Техас)
Hyseco, Inc. (Техас)
Jones Hydraulic Service (TX)
Pierce Sales (TX)
Precision Fluid Power, Inc. (OK)
Southwest Seal and Supply (NM)
TK Trailer Parts (TX)
Viking Pump, Inc. /IDEX Corporation (IA)
Wilson Company (TX)
AeroControlex/ TransDigm, Inc. (OH)
All World Machinery Supply Inc. (IL)
Bosch Rexroth Corporation (IL)
Bucher Hydraulics, Inc. ( IL)
Complete Hydraulic Service & Sales, Inc. (IN)
Dynamic Fluid Components, Inc. (SC)
Engineered Sales, Inc. (MO)
Flint Hydraulics, Inc. (TN)
Flodraulic Group Inc.
(IN)
HYDAC Technology Corp., Hydraulic Div. (IL)
Hydreco, Inc. (SC)
IMO™ Pump (NC)
Indesco Inc. (NC)
Linde Hydraulics Corporation (OH)
Muncie Power Products, Inc. (IN)
Nachi America Inc. (IN)
Northman Fluid Power (IL)
Ohio Power Tool (OH)
Parker Hannifin — Hydraulic Pump and Power Systems (OH)
Parker Hannifin — Pump & Motor Division (NC)
Perfection Hydraulics, Inc. (IN)
Progressive Power and Control (IN) )
PROHOLD® Workholding, Inc. (OH)
Robeck Fluid Power Co. (OH)
Robert J. Fitzmyer Company, Inc. (PA)
SIMPLEX (WI)
Sprague Products (OH)
SPX Power Team (Иллинойс)
SPX Stone®/ SPX Fluid Power (IL)
Star Hydraulics, LLC (IL)
SunSource (IL)
White Drive Products (KY)
BakerCorp (TX)
Berendsen Fluid Power (OK)
9 Flowserve® Corporation (TX)
Gator Pump, Inc.
(TX)
Geartek® (MS)
Hydradyne Hydraulics LLC (TX)
Hydraulic Specialists, Inc. (OK)
Hydraulics Technology, Inc. (TX) )
Hydro Leduc N.A., Inc. (Техас)
Hyseco, Inc. (TX)
Jones Hydraulic Service (TX)
Pierce Sales (TX)
Precision Fluid Power, Inc. (OK)
TK Trailer Parts (TX)
Wilson Company (TX)
BJM Pumps, LLC (CT)
C&C Hydraulics, Inc. (CT)
Cascon, Inc. (ME)
Interface Devices, Inc. (CT)
Sunfab North America (NJ)
НАСОСЫ CAT (MN)
Continental Hydraulics® (MN)
Eaton Hydraulics (MN)
FORCE America, Inc. (MN)
Hiawatha Rubber Co. (MN)
Prince Manufacturing Corporation (SD)
SRS Crisafulli, Inc. (MT)
AeroControlex/ TransDigm, Inc ( OH)
BJM Pumps, LLC (CT)
C&C Hydraulics, Inc. (CT)
Flint Hydraulics, Inc. (TN)
IMO™ Pump (NC)
Interface Devices, Inc.
(CT) )
Linde Hydraulics Corporation (OH)
Ohio Power Tool (OH)
Parker Hannifin — Hydraulic Pump and Power Systems (OH)
Parker Hannifin — Pump & Motor Division (NC)
PROHOLD® Workholding, Inc. (OH)
Robeck Fluid Power Co. (OH)
Robert J
Sprague Products (OH)
Sunfab North America (NJ)
Advanced Pump Company, Inc. , Inc. (Коннектикут)
Cascon, Inc. (ME)
Integrated Control Solutions (MA)
Interface Devices, Inc. (CT)
Sunfab North America (NJ)
AeroControlex/ TransDigm, Inc (OH)
Albany Pump Company Ltd. (ON)
Весь мир Machinery Supply Inc. (IL)
Attica Hydraulic Exchange Corporation (MI)
Bosch Rexroth Corporation (IL)
Bucher Hydraulics, Inc. (IL)
CLYDEUNION Pumps (MI)
Commercial Group Lifting Products (MI)
Complete Hydraulic Service & Sales, Inc. (Индия)
CRS Service, Inc.
(Мичиган)
DC Hydraulics, Inc. (Мичиган)
Dynex/Rivett, Inc. (Висконсин)
Enerpac® (Висконсин)
Federal Fluid Power Inc. (MI)
Flodraulic Group Inc. (IN)
Fluid Process Equipment, Inc. (MI)
FluiDyne Fluid Power (MI)
Hader Industries, Inc. (WI)
HPI (ON)
HYDAC Technology Corp., Hydraulic Div. (ИЛ)
Kawasaki Precision Machinery (США), Inc. (MI)
Linde Hydraulics Corporation (OH)
Liquid Waste Technology LLC (WI)
Muncie Power Products, Inc. (IN)
Nachi America Inc. (IN) )
Northman Fluid Power (IL)
Ohio Power Tool (OH)
Oilgear (WI)
Panagon Systems (MI)
Parker Hannifin — Hydraulic Pump and Power Systems (OH)
Perfection Hydraulics, Inc. (ИН)
Progressive Power and Control (IN)
PROHOLD® Workholding, Inc. (OH)
Ram-Pac International Inc. (WI)
Robeck Fluid Power Co.
(OH)
Robert J. Fitzmyer Company, Inc. (PA)
SIMPLEX (WI)
Sprague Products (OH)
SPX Power Team (IL)
SPX Stone®/ SPX Fluid Power (IL)
Star Hydraulics, LLC (IL)
SunSource (IL) )
Willman Industries, Inc. (Висконсин)
Albany Pump Company Ltd. (ON)
American Eagle Accessories Group (IA)
Brand Hydraulics (NE)
CAT PUMPS (MN)
Continental Hydraulics® (MN)
Danfoss Power Solutions (IA)
Dynex/Rivett, Inc. (WI)
Eaton Hydraulics (Миннесота)
Enerpac® (Висконсин)
FORCE America, Inc. (Миннесота)
Hader Industries, Inc. (Висконсин)
Hiawatha Rubber Co. (Миннесота)
HPI 30 (ON)
Hiawatha Rubber Co.
ООО «Технология жидких отходов» (Висконсин)
Oilgear (WI)
Prince Manufacturing Corporation (SD)
Ram-Pac International Inc. (WI)
Viking Pump, Inc.
/IDEX Corporation (IA)
Willman Industries, Inc. (WI)
BakerCorp (TX)
Berendsen Fluid Power (OK)
D & D Machine & Hydraulics, Inc. (FL)
Florida Hydraulic Industrial (FL)
Flowserve® Corporation (TX)
Fluid Power International, Inc. ( Джорджия)
Gator Pump, Inc. (Техас)
Geartek® (MS)
Hydradyne Hydraulics LLC (TX)
Hydraulic Specialists, Inc. (OK)
Hydraulic Supply Company (FL)
Hydraulic.Net (FL)
Hydraulics Technology, Inc. (TX)
Hydro Leduc N.A., Inc. (TX)
Hyseco, Inc. (TX)
Jones Hydraulic Service (TX)
Pierce Sales (TX)
Precision Fluid Power, Inc. (OK)
TK Запчасти для прицепов (Техас)
Компания Wilson (Техас)
All World Machinery Supply Inc. (IL)
Berendsen Fluid Power (OK)
Bosch Rexroth Corporation (IL)
Brand Hydraulics (NE)
Bucher Hydraulics, Inc.
(IL)
CROSS Manufacturing, Inc (KS)
Dynex/Rivett, Inc. (WI)
Enerpac® (WI)
Engineered Sales, Inc. (MO)
Hader Industries, Inc. (WI)
HYDAC Technology Corp., Hydraulic Отд. (IL)
Hydraulic Specialists, Inc. (OK)
Liquid Waste Technology LLC (Висконсин)
Northman Fluid Power (Иллинойс)
Oilgear (Висконсин)
Precision Fluid Power, Inc. (ОК)
Ram-Pac International Inc. (Висконсин)
SIMPLEX (Висконсин) )
SPX Power Team (IL)
SPX Stone®/ SPX Fluid Power (IL)
Star Hydraulics, LLC (IL)
SunSource (IL)
White Drive Products (KY)
Willman Industries, Inc. (Висконсин)
Продукты управления движением и потоком (ИЛИ)
Prince Manufacturing Corporation (SD)
SRS Crisafulli, Inc. (MT)
American Eagle Accessories Group (IA)
Brand Hydraulics (NE)
CAT PUMPS (MN)
Continental Hydraulics® (MN) 90
CROSS Manufacturing, Inc.
(Канада)
Danfoss Power Solutions (IA)
Eaton Hydraulics (MN)
Engineered Sales, Inc. (MO)
FORCE America, Inc. (MN)
Hiawatha Rubber Co. (Миннесота)
Prince Manufacturing Corporation (SD)
Viking Pump, Inc./IDEX Corporation (IA)
A & A Fluid Power, LLC. (CA)
Advanced Hydraulics, Inc. (CA)
American Lab & Systems (CA)
AquFlow (CA)
AZ Hydraulic Engineering, Inc. (AZ)
Barbee Engineered Testing Systems (CA)
Crimar Industrial (AZ)
Crissair, Inc. (CA)
DLH Fluid Power Inc. (CA)
Fluid Tech Hydraulics, Inc. (CA)
High Pressure Technologies, LLC (CA)
Hydraulics International, Inc. (CA)
HYTORC California (CA)
Motion & Flow Control Products (OR)
Process Pump Sales, Inc. (CA)
SC Hydraulic Engineering Corporation (CA)
TR Engineering Incorporated (CA)
ZEMARC Corporation (CA)
Zinko Hydraulic Jack (CA)
Advanced Fluid Systems, Inc.
(PA)
Advanced Pump Company, Inc. ( Массачусетс)
Atlantic Industrial Technologies (NY)
BJM Pumps, LLC (CT)
Buffalo Hydraulic (NY)
C&C Hydraulics, Inc. (CT)
Cascon, Inc. (ME)
Оборудование высокого давления Company (PA)
HL Hydraulics (PA)
Hydra-Tech Pumps, Inc. (PA)
Integrated Control Solutions (MA)
Interface Devices, Inc. (CT)
Lifco Hydraulics (NY)
MAXPRO Technologies, Inc. (Пенсильвания)
Metro Hydraulic Jack Co. (Нью-Джерси)
Salem Hydraulics Company (VA)
Sunfab North America (NJ)
BJM Pumps, LLC (CT)
C&C Hydraulics, Inc. (CT)
Cascon, Inc. (ME)
Interface Devices, Inc. (CT)
Sunfab North America (NJ)
BJM Pumps, LLC (CT)
C&C Hydraulics, Inc. (CT)
Interface Devices, Inc. (Коннектикут)
Metro Hydraulic Jack Co. (Нью-Джерси)
Sunfab North America (Нью-Джерси)
AZ Hydraulic Engineering, Inc.
(AZ)
BakerCorp (TX)
Berendsen Fluid Power (OK)
Crimar Industrial (AZ)
CROSS Manufacturing, Inc. (KS)
Flowserve® Corporation (TX)
Gator Pump, Inc. (Техас)
Hydradyne Hydraulics LLC (Техас)
Hydraulic Specialists, Inc. (ОК)
Hydraulics Technology, Inc. (Техас)
Hydro Leduc N.A., Inc. (Техас)
Hyseco, Inc. (Техас)
Jones Hydraulic Service (TX)
Pierce Sales (TX)
Precision Fluid Power, Inc. (OK)
Southwest Seal and Supply (NM)
TK Trailer Parts (TX)
Wilson Company (TX)
Atlantic Industrial Technologies (NY)
BJM Pumps, LLC (CT)
Buffalo Hydraulics (NY)
C&C Hydraulics, Inc. (CT)
Cascon, Inc. (ME)
Interface Devices, Inc. (Коннектикут)
Лифко Гидравликс (Нью-Йорк)
Salem Hydraulics Company (VA)
Sunfab North America (NJ)
Dynamic Fluid Components, Inc.
(SC)
Flint Hydraulics, Inc. (TN)
Fluid Power International, Inc. (GA)
HYDROCO HYDRECO, Inc. (Миннесота)
Eaton Hydraulics (Миннесота)
FORCE America, Inc. (MN)
Hiawatha Rubber Co. (MN)
Prince Manufacturing Corporation (SD)
SRS Crisafulli, Inc. (MT)
Advanced Fluid Systems, Inc. (PA)
Advanced Pump Company, Inc. (Массачусетс)
Atlantic Industrial Technologies (NY)
BJM Pumps, LLC (CT)
Buffalo Hydraulics (NY)
C&C Hydraulics, Inc. (CT)
Cascon, Inc. (ME)
Компания по оборудованию высокого давления (PA)
HL Hydraulic (PA)
Hydra-Tech Pumps, Inc. (PA)
Integrated Control Solutions (MA)
Interface Devices, Inc. (CT)
Lifco Hydraulics (NY)
MAXPRO Technologies, Inc. (Пенсильвания)
Metro Hydraulic Jack Co. (Нью-Джерси)
Salem Hydraulics Company (Вирджиния)
Sunfab North America (Нью-Джерси)
Advanced Fluid Systems, Inc.
)
Albany Pump Company Ltd. (ON)
Atlantic Industrial Technologies (NY)
Attica Hydraulic Exchange Corporation (MI)
Buffalo Hydraulic (NY)
CLYDEUNION Pumps (MI)
Commercial Group Lifting Products (MI)
Complete Hydraulic Service & Sales, Inc. (IN)
CRS Service, Inc. (MI)
DC Hydraulics, Inc. (MI)
Federal Fluid Power Inc. (MI)
Flodraulic Group Inc. (IN)
Fluid Process Equipment, Inc. (МИ)
FluiDyne Fluid Power (MI)
High Pressure Equipment Company (PA)
HL Hydraulic (PA)
HPI (ON)
Hydra-Tech Pumps, Inc. (PA)
Kawasaki Precision Machinery. (США) , Inc. (MI)
Lifco Hydraulics (NY)
Linde Hydraulics Corporation (OH)
MAXPRO Technologies, Inc. (PA)
Muncie Power Products, Inc. (IN)
Nachi America Inc. (IN) )
Электроинструмент Огайо (OH)
Panagon Systems (MI)
Parker Hannifin — Hydraulic Pump and Power Systems (OH)
Perfection Hydraulics, Inc.
(IN)
Progressive Power and Control (IN)
PROHOLD® Workholding, Inc. (OH)
Robeck Fluid Power Co. (OH)
Robert J. Fitzmyer Company, Inc. (PA)
Salem Hydraulics Company (VA)
Sprague Products (OH)
White Drive Products (KY)
BakerCorp (TX) )
Berendsen Fluid Power (ОК)
CROSS Manufacturing, Inc. (Канада)
Engineered Sales, Inc. (Миссури)
Flowserve® Corporation (TX)
Gator Pump, Inc. (TX)
Hydradyne Hydraulics LLC (TX)
Специалисты по гидравлике , Inc. (OK)
Hydraulics Technology, Inc. (TX)
Hydro Leduc N.A., Inc. (TX)
Hyseco, Inc. (TX)
Jones Hydraulic Service (TX)
Pierce Sales (TX) )
Precision Fluid Power, Inc. (ОК)
Southwest Seal and Supply (NM)
TK Trailer Parts (TX)
Wilson Company (TX)
AeroControlex/ TransDigm, Inc (OH)
Albany Pump Company Ltd.
(ON)
Attica Hydraulic Exchange Corporation ( MI)
CAT PUMPS (MN)
CLYDEUNION Pumps (MI)
Commercial Group Lifting Products (MI)
Continental Hydraulics® (MN)
CRS Service, Inc. (MI)
DC Hydraulics, Inc. (Мичи)
Dynex/Rivett, Inc. (Висконсин)
Eaton Hydraulics (MN)
Enerpac® (WI)
Federal Fluid Power Inc. (MI)
Fluid Process Equipment, Inc. (MI)
FluiDyne Fluid Power (MI)
FORCE America, Inc. (MN)
Hader Industries, Inc. (WI)
Hiawatha Rubber Co. (MN)
HPI (ON)
Kawasaki Precision Machinery (U.S.A.), Inc. ( MI)
Linde Hydraulics Corporation (OH)
Liquid Waste Technology LLC (WI)
Электроинструмент Ohio (OH)
Oilgear (WI)
Panagon Systems (MI)
Parker Hannifin — Hydraulic Pump and Power Systems (OH)
PROHOLD® Workholding, Inc. (OH)
Ram-Pac International Inc.
(Висконсин)
Robeck Fluid Power Co. (Огайо)
Robert J. Fitzmyer Company, Inc. (Пенсильвания)
Sprague Products (OH)
Willman Industries, Inc. (Висконсин)
A & Флюид Пауэр, ООО. (Калифорния)
Advanced Hydraulics, Inc. (Калифорния)
American Lab & Systems (CA)
AquFlow (CA)
Barbee Engineered Testing Systems (CA)
Crissair, Inc. (CA)
DLH Fluid Power Inc. (CA)
Fluid Tech Hydraulics, Inc. (CA)
High Pressure Technologies, LLC (CA)
Hydraulics International, Inc. (CA)
HYTORC California (CA)
Motion & Flow Control Products (OR)
Process Pump Sales, Inc. Калифорния)
SC Гидравлическая инженерная корпорация (Калифорния)
SRS Crisafulli, Inc. (MT)
TR Engineering Incorporated (CA)
ZEMARC Corporation (CA)
Гидравлический домкрат Zinko (CA)
Advanced Fluid Systems, Inc.
(PA)
AeroControlex/ TransDigm, Inc (OH)
BJM Pumps, LLC (CT)
C&C Hydraulics, Inc. (CT)
High Pressure Equipment Company (PA)
HL Hydraulic (PA)
Hydra-Tech Pumps, Inc. (PA)
Interface Devices, Inc. (CT)
Linde Hydraulics Corporation (OH)
MAXPRO Technologies, Inc. (PA)
Ohio Power Tool (OH)
Parker Hannifin — Hydraulic Pump and Power Systems (OH)
PROHOLD® Workholding, Inc. (OH)
Robeck Fluid Power Co. (OH)
Robert J. Fitzmyer Company, Inc. (PA)
Sprague Products (OH)
Sunfab North America (NJ)
Advanced Fluid Systems, Inc. (PA)
Advanced Pump Company, Inc. (Массачусетс)
Albany Pump Company Ltd. (ON)
Atlantic Industrial Technologies (NY)
BJM Pumps, LLC (CT)
Buffalo Hydraulics (NY)
C&C Hydraulics, Inc. (CT)
Cascon, Inc. (ME)
High Pressure Equipment Company (PA)
HL Hydraulic (PA)
HPI (ON)
Hydra-Tech Pumps, Inc.
(PA)
Integrated Control Solutions (MA)
Интерфейс Devices, Inc. (Коннектикут)
Lifco Hydraulics (NY)
MAXPRO Technologies, Inc. (Пенсильвания)
Metro Hydraulic Jack Co. (Нью-Джерси)
Salem Hydraulics Company (Вирджиния)
Sunfab North America (Нью-Джерси)
BJM Pumps, LLC (CT)
C & C Hydraulics, Inc. (CT)
Cascon, Inc. (ME)
Interface Devices, Inc. (CT)
Sunfab North America (NJ)
CAT PUMPS (MN)
Continental Hydraulics® (MN)
Eaton Hydraulics (MN)
FORCE America, Inc. (MN)
Hiawatha Rubber Co. (MN)
Prince Manufacturing Corporation (SD)
SRS Crisafulli, Inc. (MT)
D & D Machine & Hydraulics, Inc. (FL)
Dynamic Fluid Components, Inc. ( SC)
Flint Hydraulics, Inc. (TN)
Florida Hydraulic Industrial (FL)
Fluid Power International, Inc. (GA)
Hydraulic Supply Company (FL)
Hydraulic.
Net (FL)
Hydreco , Inc. (Южная Каролина)
Насос IMO™ (NC)
Indesco Inc. (NC)
Parker Hannifin — подразделение насосов и двигателей (NC)
American Eagle Accessories Group (IA)
Brand Hydraulics (NE)
НАСОСЫ CAT (MN)
Continental Hydraulics® (MN)
Danfoss Power Solutions (IA)
Eaton Hydraulics (MN)
FORCE America, Inc. (MN)
Hiawatha Rubber Co. (MN)
Prince Manufacturing Corporation3 (SD) 90
SRS Crisafulli, Inc. (MT)
Viking Pump, Inc./IDEX Corporation (IA)
Dynamic Fluid Components, Inc. (SC)
Engineered Sales, Inc. (MO)
Flint Hydraulics, Inc. (TN)
Fluid Power International, Inc. (GA)
Geartek® (MS)
Hydraulic.Net (FL)
Hydreco, Inc. (SC)
IMO™ Pump (NC)
Indesco Inc. (NC)
Parker Hannifin — Подразделение насосов и двигателей (NC)
White Drive Products (KY)
9
Gator Pump, Inc.
Hydradyne Hydraulics LLC (TX)
Hydraulic Specialists, Inc. (OK)
Hydraulics Technology, Inc. (TX)
Hydro Leduc N.A., Inc. (TX)
Hyseco, Inc. (TX)
Jones Hydraulic Служба поддержки (Техас)
Отдел продаж Пирс (Техас)
Precision Fluid Power, Inc. (OK)
Southwest Seal and Supply (NM)
TK Trailer Parts (TX)
Wilson Company (TX)
A & A Fluid Power, LLC. (CA)
Advanced Hydraulics, Inc. (CA)
American Lab & Systems (CA)
AquFlow (CA)
AZ Hydraulic Engineering, Inc. (AZ)
Barbee Engineered Testing Systems (CA)
Crimar Industrial (AZ)
Crissair, Inc. (CA)
DLH Fluid Power Inc. (CA)
Fluid Tech Hydraulics, Inc. (CA)
High Pressure Technologies, LLC (CA)
Hydraulics International, Inc. (CA)
HYTORC California (CA)
Process Pump Sales, Inc. (CA)
SC Hydraulic Engineering Corporation (CA)
Southwest Seal and Supply (NM)
TR Engineering Incorporated (CA)
ZEMARC Corporation (CA)
Гидравлический домкрат Zinko (CA)
БДЖМ Пампс, ООО (Коннектикут)
C&C Hydraulics, Inc.
(Коннектикут)
Cascon, Inc. (Мэн)
Interface Devices, Inc. (Коннектикут)
Sunfab North America (Нью-Джерси)
Advanced Fluid Systems, Inc. (Пенсильвания)
AeroControlex/ TransDigm, Inc. (OH)
Atlantic Industrial Technologies (NY)
Buffalo Hydraulic (NY)
Dynamic Fluid Components, Inc. (SC)
Flint Hydraulics, Inc. (TN)
High Pressure Компания по оборудованию (PA)
HL Hydraulic (PA)
Hydra-Tech Pumps, Inc. (PA)
Hydreco, Inc. (SC)
IMO™ Pump (NC)
Indesco Inc. (NC)
Lifco Hydraulics (NY)
Linde Hydraulics Corporation (OH)
MAXPRO Technologies, Inc. (PA)
Metro Hydraulic Jack Co. (NJ)
Ohio Power Tool (OH)
Parker Hannifin — Hydraulic Pump and Power Systems (OH)
Parker Hannifin — Подразделение насосов и двигателей (Северная Каролина)
PROHOLD® Workholding, Inc. (OH)
Robeck Fluid Power Co.
(OH)
Robert J. Fitzmyer Company, Inc. (PA)
Salem Hydraulics Company (VA)
Sprague Products (OH)
White Drive Products (KY)
A & A Fluid Power, LLC. (CA)
Advanced Hydraulics, Inc. (CA)
American Lab & Systems (CA)
AquFlow (CA)
Barbee Engineered Testing Systems (CA)
Crissair, Inc. (CA)
DLH Fluid Power Inc. (CA)
Fluid Tech Hydraulics, Inc. (CA)
High Pressure Technologies, LLC (CA)
Hydraulics International, Inc. (CA)
HYTORC California (CA)
Motion & Flow Control Products (OR)
Process Pump Sales, Inc. (CA)
SC Hydraulic Engineering Corporation (CA)
SRS Crisafulli, Inc. (MT)
TR Engineering Incorporated (CA)
ZEMARC Corporation (Калифорния)
Гидравлический домкрат Zinko (CA)
Advanced Fluid Systems, Inc. (PA)
AeroControlex/ TransDigm, Inc. (OH)
Atlantic Industrial Technologies (NY)
Buffalo Hydraulic (NY)
Dynamic Fluid Components, Inc.
(SC)
Flint Hydraulics, Inc. (TN)
High Pressure Equipment Company (PA)
HL Hydraulic (PA)
Hydra-Tech Pumps, Inc. (PA)
Hydreco, Inc. ( SC)
Насос IMO™ (NC)
Indesco Inc. (Северная Каролина)
Lifco Hydraulics (NY)
Linde Hydraulics Corporation (OH)
MAXPRO Technologies, Inc. (PA)
Metro Hydraulic Jack Co. (NJ)
Ohio Power Tool (OH) )
Parker Hannifin — Hydraulic Pump and Power Systems (OH)
Parker Hannifin — Pump & Motor Division (NC)
PROHOLD® Workholding, Inc. (OH)
Robeck Fluid Power Co. (OH)
Robert J. Fitzmyer Company, Inc. (Пенсильвания)
Salem Hydraulics Company (VA)
Sprague Products (OH)
White Drive Products (KY)
Albany Pump Company Ltd. (ON)
All World Machinery Supply Inc. (IL)
American Eagle Accessories Group (IA)
Attica Hydraulic Exchange Corporation (MI)
Bosch Rexroth Corporation (IL)
Bucher Hydraulics, Inc.
(IL)
CAT PUMPS (MN)
CLYDEUNION Pumps (MI)
Commercial Group Lifting Products (МИ)
Continental Hydraulics® (MN)
CRS Service, Inc. (MI)
Danfoss Power Solutions (IA)
DC Hydraulics, Inc. (MI)
Dynex/Rivett, Inc. (WI)
Eaton Hydraulics (MN)
Enerpac® (WI)
Federal Fluid Power Inc. (MI)
Fluid Process Equipment, Inc. (MI)
FluiDyne Fluid Power (MI)
FORCE America, Inc. (MN)
Hader Industries, Inc. (Висконсин)
Hiawatha Rubber Co. (Миннесота)
HPI (ON)
HYDAC Technology Corp., Hydraulic Div. (IL)
Kawasaki Precision Machinery (США), Inc. (MI)
Liquid Waste Technology LLC (WI)
Northman Fluid Power (IL)
Oilgear (WI)
Panagon Systems (MI)
Ram -Pac International Inc. (Висконсин)
SIMPLEX (Висконсин)
SPX Power Team (Иллинойс)
SPX Stone®/ SPX Fluid Power (Иллинойс)
Star Hydraulics, LLC (Иллинойс)
SunSource (Иллинойс)
Viking Pump, Inc.
/IDEX Corporation (IA)
Willman Industries, Inc. (WI)
Brand Hydraulics (NE)
Prince Manufacturing Corporation (SD)
SRS Crisafulli, Inc. (MT)
Производители, поставщики и дистрибьюторы гидравлических прессов
Используйте наш подробный список производителей и поставщиков гидравлических прессов, чтобы изучить и отсортировать ведущих производителей гидравлических прессов с предварительным просмотром объявлений и подробным описанием каждого продукта. Любой производитель гидравлических прессов может предоставить продукты для гидравлических прессов, отвечающие требованиям вашей компании. Также предоставляется простая связь с производителями гидравлических прессов с помощью нашей формы быстрого запроса предложения. Этот источник подходит именно вам, будь то ковочные прессы, штамповочные прессы или любые другие гидравлические прессы.
Conway Press (Южная Каролина)
Liddy’s Machine Shop, Inc. (FL)
Magnum Press, Inc.
(TN)
Ocean Machinery Inc. (FL)
Production Resources, Inc. (TN)
Southern Инструмент (FL)
Stamtec, Inc. (TN)
Standard Industrial Corp. (MS)
Timco Inc. (TN)
Thermex-Thermatron (KY)
Гидравлические прессы Wickert (KY)
Accudyne Engineering & Equipment Company (Калифорния)
Advanced Hydraulics, Inc. (CA)
American Machine & Hydraulics, Inc. (CA)
Laguna Tools (CA)
Nugier Hydraulic Precision (CA)
OEM Press Systems (CA)
PHI (CA)
Revolution Machine Tools (UT)
Ron Mills & Company (CA)
Royal Hydraulics Inc. (CA)
SEYI-AMERICA, INC. (CA)
Sterling Machinery Exchange (CA)
Sutherland Presses (CA) )
Tetrahedron Associates, Inc. (Калифорния)
Beckwood Press Company (MO)
Fabricating Equipment Company, Inc. (TX)
Hydraulic Specialists, Inc. (OK)
Icon Machine Tool, Inc (MO)
Magnum Press, Inc.
(TN)
Neff Press, Inc. (MO)
Production Resources, Inc. (TN)
Stamtec, Inc. (TN)
Standard Industrial Corp. (MS)
Timco Inc. (TN)
Accudyne Engineering & Equipment Company (CA)
Advanced Hydraulics, Inc. (CA)
American Machine & Hydraulics, Inc. (CA)
Laguna Tools (CA)
Nugier Hydraulic Precision (CA)
OEM Press Systems (CA)
PHI (CA)
Revolution Machine Tools (UT)
Ron Mills & Company (Калифорния)
Royal Hydraulics Inc. (Калифорния)
SEYI-AMERICA, INC. (Калифорния)
Sterling Machinery Exchange (Калифорния)
Sutherland Presses (Калифорния)
Tetrahedron Associates, Inc. (Калифорния)
Fabricating Equipment Company, Inc. (TX)
Hydraulic Specialists, Inc. (OK)
Revolution Machine Tools (UT)
Addition Manufacturing Technologies (OH)
AIDA-America Corp. (OH)
Ajax/ CECO/Erie Press (PA)
AP&T North America, Inc.
(NC)
Butech Bliss (OH)
EMEC (OH)
Enprotech Corporation (OH)
French Oil Mill Machinery Company (OH)
Multipress®, Inc. (Огайо)
Nidec Minster (OH)
Phoenix Hydraulic Presses, Inc. (OH)
Savage Engineering & Sales, Inc. (OH)
TMP, A Division of French (OH)
Conway Press (SC)
Liddy’s Machine Shop, Inc. (FL)
Ocean Machinery Inc. (FL)
Southern Tool (FL)
Standard Industrial Corp. (MS)
AP&T North America, Inc. (NC)
Conway Press ( Южная Каролина)
Liddy’s Machine Shop, Inc. (Флорида)
Magnum Press, Inc. (TN)
Ocean Machinery Inc. (FL)
Production Resources, Inc. (TN)
Southern Tool (FL)
Stamtec, Inc. (TN)
Standard Industrial Corp. (MS)
Timco Inc. (TN)
A.W.T. World Trade, Inc. (IL)
Aadvanced Machinery, Inc. (MI)
Accurpress America Inc.
(SD)
Addition Manufacturing Technologies (OH)
AIDA-America Corp. (OH)
Air-Hydraulics, Inc. (MI)
Ajax/CECO/Erie Press (PA)
Alma Machinery Co., Inc. (MI)
APTEK Inc. (MI)
Auto-Sert (WI)
Beckwood Press Company (Миссури)
Betenbender Manufacturing, Inc. (IA)
Butech Bliss (OH)
Campbell Press Repair, Inc. (MI)
COE Press Equipment (MI)
Dake Corp. (MI)
Doerfer Companies (IA)
EMEC (OH)
Enerpac® (WI)
Enprotech Corporation (OH)
Fagor Arrasate USA, Inc. (IL)
Fontijne Grotnes (IL)
French Oil Mill Machinery Company (OH)
Hill Engineering (IL)
Hydramet American Inc. (MI)
Icon Industries, Inc. (Мичиган)
Icon Machine Tool, Inc (Миссури)
Interlaken Technology Company, LLC (Миннесота)
Janesville Tool & Manufacturing, Inc. (Висконсин)
Kempler Industries Hydraulic Press & Подержанное оборудование (IL)
Komatsu America Industries, LLC (IL)
LASCO Engineering Services LLC (MI)
Lauffer Pressen (WI)
Magnum Press, Inc.
(TN)
Milwaukee Slide and Spindle (WI)
Multipress®, Inc. (OH)
Neff Press, Inc. (MO)
Nidec Minster (OH)
Oak Press Solutions Inc. (MI)
Pacific Press Holdings, LLC (IL)
Paramount Industries (MI)
Perfection Machinery Sales, Inc. (Иллинойс)
Phoenix Hydraulic Presses, Inc. (OH)
Plant Engineering Services, Inc. (IN)
Production Resources, Inc. (TN)
Ram-Pac International Inc. (WI)
Salvagnini America Inc. ( OH)
Savage Engineering & Sales, Inc. (OH)
Schuler Incorporated (MI)
Stamtec, Inc. (TN)
TCR, Inc. (WI)
Thermex-Thermatron (KY)
Timco Inc. (TN)
TMP, A Division of French (OH)
TOX® Pressotechnik LLC (Иллинойс)
Trinks Inc. (Висконсин)
UniPunch Products, Inc. (Висконсин)
Wabash MPI (IN)
West Salem Tool & Die, Inc. (Висконсин)
Wickert Гидравлические прессы (KY)
Williams, White & Company (IL)
A.
W.T. World Trade, Inc. (IL)
Aadvanced Machinery, Inc. (MI)
Addition Manufacturing Technologies (OH)
AIDA-America Corp. (OH)
Air-Hydraulics, Inc. (MI)
Ajax/CECO/Erie Press (PA)
Alma Machinery Co., Inc. (MI)
APTEK Inc. (MI)
Auto-Sert (WI)
Beckwood Press Company (MO)
Butech Bliss (OH)
Campbell Press Repair, Inc. (MI)
COE Press Equipment (MI)
Dake Corp. (MI)
EMEC (OH)
Enerpac® (WI)
Enprotech Corporation (OH) )
Fagor Arrasate USA, Inc. (Иллинойс)
Фонтейн Гротнес (Иллинойс)
French Oil Mill Machinery Company (OH)
Hill Engineering (IL)
Hydramet American Inc. (MI)
Icon Industries, Inc. (MI)
Icon Machine Tool, Inc (MO)
Janesville Tool & Manufacturing, Inc. (Висконсин)
Гидравлический пресс Kempler Industries и подержанное оборудование (Иллинойс)
Komatsu America Industries, LLC (Иллинойс)
LASCO Engineering Services LLC (MI)
Lauffer Pressen (Висконсин)
Magnum Press , Inc.
(Теннесси)
Milwaukee Slide and Spindle (WI)
Multipress®, Inc. (OH)
Neff Press, Inc. (MO)
Nidec Minster (OH)
Oak Press Solutions Inc. (MI)
Pacific Press Holdings, LLC (IL)
Paramount Industries (MI)
Perfection Machinery Sales, Inc. (IL)
Phoenix Hydraulic Presses, Inc. (OH)
Plant Engineering Services, Inc. (IN)
Production Resources , Inc. (TN)
Ram-Pac International Inc. (WI)
Salvagnini America Inc. (OH)
Savage Engineering & Sales, Inc. (OH)
Schuler Incorporated (MI)
Stamtec, Inc. (TN)
TCR, Inc. (WI)
Thermex- Thermatron (KY)
Timco Inc. (TN)
TMP, A Division of French (OH)
TOX® Pressotechnik LLC (IL)
Trinks Inc. (WI)
UniPunch Products, Inc. (WI)
Wabash MPI (IN)
West Salem Tool & Die, Inc. (WI)
Гидравлические прессы Wickert (KY)
Williams, White & Company (IL)
A.
W.T. World Trade, Inc. (IL)
Accurpress America Inc. (SD)
Auto-Sert (WI)
Beckwood Press Company (MO)
Betenbender Manufacturing, Inc. (IA)
Doerfer Companies (IA)
Enerpac® (Висконсин)
Fagor Arrasate USA, Inc. (Иллинойс)
Fontijne Grotnes (Иллинойс)
Hill Engineering (Иллинойс)
Icon Machine Tool, Inc (Миссури)
Interlaken Technology Company, LLC (MN)
Janesville Tool & Manufacturing, Inc. (WI)
Kempler Industries Hydraulic Press & Used Machinery (IL)
Komatsu America Industries, LLC (IL)
Lauffer Pressen (WI) )
Milwaukee Slide and Spindle (WI)
Neff Press, Inc. (MO)
Oak Press Solutions Inc. (MI)
Pacific Press Holdings, LLC (IL)
Perfection Machinery Sales, Inc. (IL) )
Ram-Pac International Inc. (Висконсин)
TCR, Inc. (Висконсин)
TOX® Pressotechnik LLC (Иллинойс)
Trinks Inc.
(Висконсин)
UniPunch Products, Inc. (Висконсин)
Запад Salem Tool & Die, Inc. (Висконсин)
Williams, White & Company (Иллинойс)
Accurpress America Inc. (SD)
Beckwood Press Company (MO)
Betenbender Manufacturing, Inc. (IA)
Doerfer Компании (IA)
Fabricating Equipment Company, Inc. (TX)
Hydraulic Specialists, Inc. (ОК)
Icon Machine Tool, Inc. (Миссури)
Neff Press, Inc. (Миссури)
A.W.T. World Trade, Inc. (Иллинойс)
Addition Manufacturing Technologies (OH)
AIDA-America Corp. (OH)
Ajax/CECO/Erie Press (PA)
AP&T North America, Inc. (NC)
Beckwood Press Company (MO)
Butech Bliss (OH)
Conway Press (SC)
EMEC (OH)
Enprotech Corporation (OH)
Fagor Arrasate USA, Inc. (Иллинойс)
Fontijne Grotnes (Иллинойс)
French Oil Mill Machinery Company (OH)
Hill Engineering (Иллинойс)
Icon Machine Tool, Inc (MO)
Kempler Industries Hydraulic Press & Used Machinery (IL)
Komatsu America Industries, LLC (IL)
Magnum Press, Inc.
(TN)
Multipress®, Inc. (OH)
Neff Press, Inc. (MO)
Nidec Минстер (Огайо)
Oak Press Solutions Inc. (Мичиган)
Pacific Press Holdings, LLC (Иллинойс)
Perfection Machinery Sales, Inc. (Иллинойс)
Phoenix Hydraulic Presses, Inc. (OH)
Plant Engineering Services, Inc. (IN)
Production Resources, Inc. (TN)
Savage Engineering & Sales, Inc. (OH)
Stamtec, Inc. (TN)
TCR, Inc. (WI)
Thermex-Thermatron (KY)
Timco Inc. (TN)
TMP, A Division of French (OH)
TOX® Pressotechnik LLC (IL)
Wabash MPI (IN)
Wickert Hydraulic Presses (KY)
Williams, White & Company (IL)
Fabricating Equipment Company, Inc. (TX)
Hydraulic Specialists, Inc. (OK)
Standard Industrial Corp. (MS)
Interlaken Technology Company, LLC (MN)
MetalPress Machinery (ON)
Addition Manufacturing Technologies (OH)
AIDA-America Corp.
(OH)
Ajax/CECO/Erie Press (PA) )
AP&T North America, Inc. (Северная Каролина)
Butech Bliss (OH)
COMEQ, Inc. (MD)
EMEC (OH)
Enprotech Corporation (OH)
French Oil Mill Machinery Company (OH)
Multipress®, Inc. (OH)
Nidec Minster (OH)
Phoenix Hydraulic Presses, Inc. (OH)
Savage Engineering & Sales, Inc. (OH)
TMP, A Division of French (OH)
JM Engineering (Массачусетс)
Toomey Associates, Inc. (Массачусетс)
Greenerd Press & Machine Company, Inc. (NH)
Macrodyne Hydraulic Presses & Automation (ON)
Pacific Press Holdings, LLC (IL)
Savage Engineering & Sales, Inc. (OH)
A.W.T. World Trade, Inc. (IL)
Aadvanced Machinery, Inc. (MI)
Addition Manufacturing Technologies (OH)
AIDA-America Corp. (OH)
Air-Hydraulics, Inc. (MI)
Ajax /CECO/Эри Пресс (Пенсильвания)
Alma Machinery Co.
, Inc. (MI)
APTEK Inc. (MI)
Auto-Sert (WI)
Brown Boggs Foundry and Machine Company Limited (ON)
Butech Bliss (OH)
Campbell Press Repair , Inc. (MI)
CenterLine (Windsor), Ltd. (ON)
COE Press Equipment (MI)
Corsteel Hydraulics (ON)
Dake Corp. (MI)
Dieffenbacher North America, Inc. ( ON)
Eagle Press & Equipment Co., Ltd. (ON)
Eastern Fluid Power Inc. (ON)
EMEC (OH)
Enerpac® (WI)
Enprotech Corporation (OH)
Fagor Arrasate USA, Inc. (IL)
Fontijne Grotnes (IL)
Hill Engineering (IL)
Hydramet American Inc. (MI)
Icon Industries, Inc. (MI)
Janesville Tool & Manufacturing, Inc. (WI)
Kempler Industries Гидравлический пресс и подержанное оборудование (IL)
Komatsu America Industries, LLC (IL)
LASCO Engineering Services LLC (MI)
Lauffer Pressen (WI)
Macrodyne Hydraulic Presses & Automation (ON)
MetalPress Machinery (ON)
Milwaukee Slide and Spindle WI)
Multipress®, Inc.
(OH)
Nidec Minster (OH)
Oak Press Solutions Inc. (MI)
Pacific Press Holdings, LLC (IL)
Paramount Industries (MI)
Perfection Machinery Продажи, Инк. (Иллинойс)
Phoenix Hydraulic Presses, Inc. (OH)
Plant Engineering Services, Inc. (IN)
Ram-Pac International Inc. (WI)
Ro-Matt International, Inc. (ON)
Salvagnini America Inc. (OH)
Savage Engineering & Sales, Inc. (OH)
Schuler Incorporated (MI)
TCR, Inc. (WI)
TMP, A Division of French (OH)
Иллинойс)
Trinks Inc. (Висконсин)
UniPunch Products, Inc. (Висконсин)
Wabash MPI (IN)
West Salem Tool & Die, Inc. (WI)
Williams, White & Company (IL)
Accurpress America Inc. (SD)
Auto-Sert (WI)
Betenbender Manufacturing, Inc. (IA)
Brown Boggs Foundry and Machine Company Limited (ON)
CenterLine (Windsor), Ltd.
(ON)
Corsteel Hydraulics (ON)
Dieffenbacher North America, Inc. (ON)
Doerfer Company (IA)
Eagle Press & Equipment Co., Ltd. (ON)
Eastern Fluid Power Inc. (ON)
Enerpac® (WI)
Interlaken Technology Company, LLC (MN)
Janesville Tool & Manufacturing, Inc. ( WI)
Lauffer Pressen (WI)
Macrodyne Hydraulic Presse & Automation (ON)
MetalPress Machinery (ON)
Milwaukee Slide and Spindle (WI)
Ram-Pac International Inc. (WI)
Ro- Мэтт Интернэшнл, Инк. (ОН)
Trinks Inc. (Висконсин)
UniPunch Products, Inc. (Висконсин)
West Salem Tool & Die, Inc. (Висконсин)
Fabricating Equipment Company, Inc. (TX)
Hydraulic Specialists, Inc. ( OK)
Liddy’s Machine Shop, Inc. (FL)
Magnum Press, Inc. (TN)
Ocean Machinery Inc. (FL)
Production Resources, Inc. (TN)
Southern Tool (FL)
Stamtec, Inc.
(TN)
Standard Industrial Corp. (MS)
Timco Inc. (TN)
A.W.T. World Trade, Inc. (Иллинойс)
Auto-Sert (Висконсин)
Beckwood Press Company (Миссури)
Enerpac® (Висконсин)
Fagor Arrasate USA, Inc. (Иллинойс)
Fontijne Grotnes (Иллинойс)
Hill Engineering (Иллинойс)
Hydraulic Specialists, Inc. (ОК)
Icon Machine Tool, Inc (Миссури)
Janesville Tool & Manufacturing, Inc. (Висконсин)
Kempler Industries Hydraulic Press & Used Machinery (IL)
Komatsu America Industries, LLC (IL)
Lauffer Pressen (WI)
Magnum Press, Inc. (TN)
Milwaukee Slide and Spindle (WI)
Neff Press, Inc. (MO)
Oak Press Solutions Inc. (MI)
Pacific Press Holdings, LLC (IL)
Perfection Machinery Sales, Inc. (IL)
Production Resources, Inc. (TN)
Ram-Pac International Inc. (WI)
Stamtec, Inc.
(TN)
TCR, Inc. (WI)
Thermex-Thermatron (KY)
Timco Inc. (TN)
TOX® Pressotechnik LLC (IL)
Trinks Inc. (WI)
UniPunch Products, Inc. (WI)
West Salem Tool & Die , Inc. (Висконсин)
Wickert Hydraulic Presses (KY)
Williams, White & Company (IL)
Accurpress America Inc. (SD)
Beckwood Press Company (MO)
Betenbender Manufacturing, Inc. (IA) )
Doerfer Company (IA)
Icon Machine Tool, Inc. (MO)
Interlaken Technology Company, LLC (MN)
Neff Press, Inc. (MO)
Accudyne Engineering & Equipment Company (CA)
Advanced Hydraulics, Inc. (CA)
American Machine & Hydraulics, Inc. (CA)
Laguna Tools (CA)
Nugier Hydraulic Precision (CA)
OEM Press Systems (CA)
PHI (CA)
Revolution Machine Tools (UT)
Рон Миллс и компания (Калифорния)
Royal Hydraulics Inc.
(CA)
SEYI-AMERICA, INC. (CA)
Sterling Machinery Exchange (CA)
Sutherland Presses (CA)
Tetrahedron Design Associates, Inc. (CA)
Advanced Machine Company (NY)
AIM Joraco (RI)
Alternative Parts & Service (NY)
Buffalo Hydraulic (NY)
COMEQ, Inc. (MD)
Custom Engineering Company (PA)
Erie Press Systems ( Пенсильвания)
Greenerd Press & Machine Company, Inc. (NH)
Grimco Presses Inc. (NJ)
H.O. Penn Machinery Company, Inc. (NY)
Hydraulico Inc., USA (PA)
JM Engineering (MA)
MAE-Eitel Inc. (PA)
Marando Industries, Inc. (PA)
Reliable Rubber & Plastic Machinery Co. (Нью-Джерси)
SCHMIDT Technology (PA)
SMS Group, Inc (PA)
Specac (PA)
Toomey Associates, Inc. (MA)
В.Б. Equipment Service Company, Inc. (Нью-Йорк)
Greenerd Press & Machine Company, Inc.
(NH)
Grimco Presses Inc. (Нью-Джерси)
Reliable Rubber & Plastic Machinery Co. (Нью-Джерси)
Fabricating Equipment Company, Inc. (TX)
Hydraulic Specialists, Inc. (OK)
Revolution Machine Tools (UT)
Advanced Machine Design Company (NY)
Alternative Parts & Service (NY)
Buffalo Hydraulic (NY)
Х.О. Penn Machinery Company, Inc. (Нью-Йорк)
MetalPress Machinery (ON)
W.B. Equipment Service Company, Inc. (Нью-Йорк)
AP&T North America, Inc. (Северная Каролина)
COMEQ, Inc. (MD)
Conway Press (SC)
Magnum Press, Inc. (TN)
Производственные ресурсы , Inc. (TN)
Stamtec, Inc. (TN)
Timco Inc. (TN)
Interlaken Technology Company, LLC (MN)
Advanced Machine Design Company (NY)
AIM Joraco (Род-Айленд)
Альтернативные запчасти и обслуживание (Нью-Йорк)
Buffalo Hydraulic (Нью-Йорк)
COMEQ, Inc.
(MD)
Custom Engineering Company (PA)
Erie Press Systems (PA)
00 Greenerd Press & Machine Company, Inc. (NH)
Grimco Presses Inc. (NJ)
H.O. Penn Machinery Company, Inc. (NY)
Hydraulico Inc., USA (PA)
JM Engineering (MA)
MAE-Eitel Inc. (PA)
Marando Industries, Inc (Пенсильвания)
Reliable Rubber & Plastic Machinery Co. (Нью-Джерси)
SCHMIDT Technology (Пенсильвания)
SMS Group, Inc (Пенсильвания)
Specac (Пенсильвания)
Toomey Associates, Inc. ( Массачусетс)
В.Б. Equipment Service Company, Inc. (NY)
Aadvanced Machinery, Inc. (MI)
Addition Manufacturing Technologies (OH)
Advanced Machine Design Company (NY)
AIDA-America Corp. (OH)
Air- Гидравлика, Инк. (Мичиган)
Ajax/CECO/Erie Press (PA)
Alma Machinery Co., Inc. (MI)
Alternative Parts & Service (NY)
APTEK Inc.
(MI)
Brown Boggs Foundry and Machine Company Limited ( ON)
Buffalo Hydraulic (NY)
Butech Bliss (OH)
Campbell Press Repair, Inc. (MI)
CenterLine (Windsor), Ltd. (ON)
COE Press Equipment (MI)
COMEQ , Inc. (MD)
Corsteel Hydraulics (ON)
Custom Engineering Company (PA)
Dake Corp. (MI)
Dieffenbacher North America, Inc. (ON)
Eagle Press & Equipment Co., Ltd. (ON)
Eastern Fluid Power Inc. (ON) )
EMEC (OH)
Enprotech Corporation (OH)
Erie Press Systems (PA)
French Oil Mill Machinery Company (OH)
H.O. Penn Machinery Company, Inc. (Нью-Йорк)
Hydramet American Inc. (Мичиган)
Hydraulico Inc., США (Пенсильвания)
Icon Industries, Inc. (MI)
LASCO Engineering Services LLC (MI)
Macrodyne Hydraulic Presses & Automation (ON)
MAE-Eitel Inc. (PA)
Marando Industries, Inc.
(PA)
MetalPress Machinery (ON)
Multipress®, Inc. (OH)
Nidec Minster (OH)
Paramount Industries (MI)
Phoenix Hydraulic Presses, Inc. (OH)
Plant Engineering Services, Inc. (IN) )
Ro-Matt International, Inc. (ON)
Salvagnini America Inc. (Огайо)
Savage Engineering & Sales, Inc. (Огайо)
SCHMIDT Technology (PA)
Schuler Incorporated (MI)
SMS Group, Inc (PA)
Specac (PA)
Thermex-Thermatron (KY)
TMP, A Division of French (OH)
W.B. Equipment Service Company, Inc. (NY)
Wabash MPI (IN)
Wickert Hydraulic Presses (KY)
Beckwood Press Company (MO)
Fabricating Equipment Company, Inc. (Техас)
Hydraulic Specialists, Inc. (ОК)
Icon Machine Tool, Inc. (Миссури)
Neff Press, Inc. (Миссури)
Aadvanced Machinery, Inc. (Мичиган)
Addition Manufacturing Technologies (OH)
AIDA-America Corp.
(OH)
Air-Hydraulics, Inc. (MI)
Ajax/CECO/Erie Press (PA)
Alma Machinery Co., Inc. ( MI)
APTEK Inc. (MI)
Auto-Sert (WI)
Brown Boggs Foundry and Machine Company Limited (ON)
Butech Bliss (OH)
Campbell Press Repair, Inc. (MI)
CenterLine (Windsor), Ltd. (ON)
COE Press Equipment (MI)
Corsteel Hydraulics (ON)
Dake Corp. (MI)
Dieffenbacher North America, Inc. (ON)
Eagle Press & Equipment Co., Ltd. (ON)
Eastern Fluid Power Inc. (ON)
EMEC (Огайо)
Enerpac® (Висконсин)
Enprotech Corporation (OH)
French Oil Mill Machinery Company (OH)
Hydramet American Inc. (MI)
Icon Industries, Inc. (MI)
Interlaken Technology Company, LLC (MN)
Janesville Tool & Manufacturing, Inc. (Висконсин)
LASCO Engineering Services LLC (Мичиган)
Lauffer Pressen (Висконсин)
Macrodyne Hydraulic Presse & Automation (ON)
MetalPress Machinery (ON)
Milwaukee Slide and Spindle (WI)
Multipress®, Inc.
(OH)
Nidec Minster (OH)
Paramount Industries (MI)
Phoenix Hydraulic Presses, Inc. (OH)
Ram-Pac International Inc. (WI)
Ro- Matt International, Inc. (ON)
Salvagnini America Inc. (OH)
Savage Engineering & Sales, Inc. (OH)
Schuler Incorporated (MI)
TMP, A Division of French (OH)
Trinks Inc. (Висконсин)
UniPunch Products, Inc. (Висконсин)
West Salem Tool & Die, Inc. (Висконсин)
Accudyne Engineering & Equipment Company (CA)
Advanced Hydraulics, Inc. (CA)
American Machine & Hydraulics, Inc. (CA)
Laguna Tools ( CA)
Nugier Hydraulic Precision (CA)
OEM Press Systems (CA)
PHI (CA)
Revolution Machine Tools (UT)
Ron Mills & Company (CA)
Royal Hydraulics Inc. (CA)
SEYI-AMERICA, INC. (Калифорния)
Sterling Machinery Exchange (CA)
Sutherland Presses (CA)
Tetrahedron Associates, Inc.
(CA)
Addition Manufacturing Technologies (OH)
AIDA-America Corp. (OH)
Ajax/CECO/Eriex Press (PA)
Butech Bliss (OH)
Custom Engineering Company (PA)
EMEC (OH)
Enprotech Corporation (OH)
Erie Press Systems (PA)
French Oil Mill Machinery Company (OH)
Hydraulico Inc., США (Пенсильвания)
MAE-Eitel Inc. (Пенсильвания)
Marando Industries, Inc. (Пенсильвания)
Multipress®, Inc. (Огайо)
Nidec Minster (Огайо)
Гидравлические прессы Phoenix , Inc. (OH)
Savage Engineering & Sales, Inc. (OH)
SCHMIDT Technology (PA)
SMS Group, Inc. (PA)
Specac (PA)
TMP, A Division of French (OH) )
Advanced Machine Design Company (Нью-Йорк)
AIM Joraco (Род-Айленд)
Альтернативные запчасти и обслуживание (Нью-Йорк)
Brown Boggs Foundry and Machine Company Limited (ON)
Buffalo Hydraulic (NY)
CenterLine (Windsor), Ltd.
(ON)
COMEQ, Inc. (MD)
Corsteel Hydraulics (ON)
Custom Engineering Company (PA)
Dieffenbacher North America, Inc. (ON)
Eagle Press & Equipment Co., Ltd. (ON)
Eastern Fluid Power Inc. (ON)
Эри Пресс Системы (Пенсильвания)
Greenerd Press & Machine Company, Inc. (NH)
Grimco Presses Inc. (NJ)
H.O. Penn Machinery Company, Inc. (NY)
Hydraulico Inc., USA (PA)
JM Engineering (MA)
Macrodyne Hydraulic Presses & Automation (ON)
MAE-Eitel Inc. (PA)
Marando Industries , Inc (Пенсильвания)
MetalPress Machinery (ON)
Reliable Rubber & Plastic Machinery Co. (NJ)
Ro-Matt International, Inc. (ON)
SCHMIDT Technology (PA)
SMS Group, Inc (PA)
Specac (PA)
Toomey Associates, Inc. (MA)
W.B. Equipment Service Company, Inc. (NY)
AIM Joraco (RI)
Interlaken Technology Company, LLC (MN)
AP&T North America, Inc.
(NC)
Conway Press (SC)
Liddy’s Machine Shop, Inc. (Флорида)
Magnum Press, Inc. (TN)
Ocean Machinery Inc. (FL)
Production Resources, Inc. (TN)
Southern Tool (FL)
Stamtec, Inc. (TN)
Timco Inc. (TN)
Accurpress America Inc. (SD)
Betenbender Manufacturing, Inc. (IA)
Doerfer Companies (IA)
Interlaken Technology Company, LLC (MN)
AP&T North America, Inc. (NC)
Beckwood Press Company (MO)
Conway Press (SC)
Icon Machine Tool, Inc (MO)
Magnum Press , Inc. (Теннесси)
Neff Press, Inc. (Миссури)
Production Resources, Inc. (TN)
Stamtec, Inc. (TN)
Standard Industrial Corp. (MS)
Thermex-Thermatron (KY)
Timco Inc. (TN)
Гидравлические прессы Wickert ( KY)
Fabricating Equipment Company, Inc. (TX)
Hydraulic Specialists, Inc. (OK)
Standard Industrial Corp.
(MS)
Accudyne Engineering & Equipment Company (CA)
Advanced Hydraulics, Inc. ( Калифорния)
American Machine & Hydraulics, Inc. (CA)
Laguna Tools (CA)
Nugier Hydraulic Precision (CA)
OEM Press Systems (CA)
PHI (CA)
Revolution Machine Tools (UT)
Ron Mills & Company (Калифорния)
Royal Hydraulics Inc. (Калифорния)
SEYI-AMERICA, INC. (Калифорния)
Sterling Machinery Exchange (Калифорния)
Sutherland Presses (Калифорния)
Tetrahedron Associates, Inc. ( CA)
Дополнительные производственные технологии (OH)
Advanced Machine Design Company (NY)
AIDA-America Corp. (OH)
Ajax/CECO/Erie Press (PA)
Alternative Parts & Service (NY)
AP&T North America, Inc. (NC)
Buffalo Hydraulic (NY)
Butech Bliss (OH)
COMEQ, Inc. (MD)
Conway Press (SC)
Custom Engineering Company (PA)
EMEC (OH)
Enprotech Corporation (OH) )
Эри Пресс Системс (Пенсильвания)
French Oil Mill Machinery Company (OH)
Grimco Presses Inc.
(NJ)
H.O. Penn Machinery Company, Inc. (NY)
Hydraulico Inc., USA (PA)
MAE-Eitel Inc. (PA)
Magnum Press, Inc. (TN)
Marando Industries, Inc. (PA)
Multipress®, Inc. (OH)
Nidec Minster (OH)
Phoenix Hydraulic Presses, Inc. (OH)
Production Resources, Inc. (TN)
Reliable Rubber & Plastic Machinery Co. (NJ)
Savage Engineering & Sales, Inc. (OH)
SCHMIDT Technology (PA)
SMS Group, Inc (PA)
Specac (PA)
Stamtec, Inc. (TN)
Thermex-Thermatron (KY) )
Timco Inc. (TN)
TMP, A Division of French (OH)
W.B. Equipment Service Company, Inc. (Нью-Йорк)
Wickert Hydraulic Presses (KY)
Accudyne Engineering & Equipment Company (CA)
Advanced Hydraulics, Inc. (CA)
American Machine & Hydraulics, Inc. (CA)
Laguna Tools (CA)
Nugier Hydraulic Precision (CA)
OEM Press Systems (CA)
PHI (CA)
Revolution Machine Tools (UT)
Ron Mills & Company (Калифорния)
Royal Hydraulics Inc.
(Калифорния)
SEYI-AMERICA, INC. (Калифорния)
Sterling Machinery Exchange (Калифорния)
Sutherland Presses (Калифорния)
Tetrahedron Associates, Inc. (Калифорния)
Addition Manufacturing Technologies (OH)
Advanced Machine Design Company (NY)
AIDA-America Corp. (OH)
Ajax/CECO/Erie Press (PA)
Alternative Parts & Service (NY)
AP&T North America, Inc. (Северная Каролина)
Buffalo Hydraulic (NY)
Butech Bliss (OH)
COMEQ, Inc. (MD)
Conway Press (SC)
Custom Engineering Company (PA)
EMEC (OH) )
Enprotech Corporation (OH)
Erie Press Systems (PA)
French Oil Mill Machinery Company (OH)
Grimco Presses Inc. (NJ)
H.O. Penn Machinery Company, Inc. (NY)
Hydraulico Inc., USA (PA)
MAE-Eitel Inc. (PA)
Magnum Press, Inc. (TN)
Marando Industries, Inc.
(PA)
Multipress®, Inc. (OH)
Nidec Minster (OH)
Phoenix Hydraulic Presses, Inc. (OH)
Production Resources, Inc. (TN)
Reliable Rubber & Plastic Machinery Co. (Нью-Джерси)
Savage Engineering & Sales, Inc. (Огайо)
SCHMIDT Technology (PA)
SMS Group, Inc (PA)
Specac (PA)
Stamtec, Inc. (TN)
Thermex-Thermatron (KY)
Timco Inc. (TN)
TMP, A Division of French (OH)
W.B. Equipment Service Company, Inc. (NY)
Wickert Hydraulic Presses (KY)
A.W.T. Уорлд Трейд, Инк. (Иллинойс)
Aadvanced Machinery, Inc. (MI)
Accurpress America Inc. (SD)
Air-Hydraulics, Inc. (MI)
Alma Machinery Co., Inc. (MI)
APTEK Inc. (MI)
Auto-Sert (WI)
Betenbender Manufacturing, Inc. (IA)
Brown Boggs Foundry and Machine Company Limited (ON)
Campbell Press Repair, Inc.
(MI)
CenterLine (Windsor), Ltd. (ON)
Прессовое оборудование COE (MI)
Corsteel Hydraulics (ON)
Dake Corp. (MI)
Dieffenbacher North America, Inc. (ON)
Doerfer Companies (IA)
Eagle Press & Equipment Co., Ltd. (ON)
Eastern Fluid Power Inc. (ON)
Enerpac® (Висконсин)
Fagor Arrasate USA, Inc. (Иллинойс)
Fontijne Grotnes (Иллинойс)
Hill Engineering (Иллинойс)
Hydramet American Inc. (Иллинойс)
Icon Industries, Inc. (Иллинойс) )
Interlaken Technology Company, LLC (MN)
Janesville Tool & Manufacturing, Inc. (Висконсин)
Kempler Industries Hydraulic Press & Used Machinery (IL)
Komatsu America Industries, LLC (IL)
LASCO Engineering Services LLC (MI)
Lauffer Pressen (WI)
Macrodyne Hydraulic Presses & Automation (ON)
MetalPress Machinery (ON)
Milwaukee Slide and Spindle (WI)
Oak Press Solutions Inc.
(MI)
Pacific Press Holdings, LLC (IL)
Paramount Industries (MI)
Perfection Machinery Sales, Inc. (IL)
Ram-Pac International Inc. (WI)
Ro-Matt International, Inc. (ON)
Salvagnini America Inc. (OH)
Schuler Incorporated (MI)
TCR, Inc. (WI)
TOX® Pressotechnik LLC (IL)
Trinks Inc. (WI)
UniPunch Products, Inc. (WI)
West Salem Tool & Die , Inc. (Висконсин)
Williams, White & Company (Иллинойс)
Производители, поставщики и дистрибьюторы гидравлических цилиндров
Используйте наш подробный список производителей и поставщиков гидравлических цилиндров, чтобы изучить и отсортировать ведущих производителей гидравлических цилиндров с предварительным просмотром объявлений и подробным описанием каждого продукта. Любой производитель гидравлических цилиндров может предоставить продукты и услуги для гидравлических цилиндров, отвечающие требованиям вашей компании.
Также предоставляется простая связь с производителями гидравлических цилиндров с помощью нашей формы быстрого запроса предложения. Этот источник подходит именно вам, будь то гидравлические приводы, небольшой гидравлический цилиндр, гидравлический поршень или любой другой гидравлический цилиндр.
Bailey International LLC (TN)
Compact® Automation Products (SC)
CRC Distribution, Inc. (AL)
Dalton Hydraulic Cylinders (TN)
Defco, Inc. (AL)
Greenco Mfg. Corporation (FL)
HSI Corporation (MS)
Hydreco, Inc. (SC)
JIT Industries (AL)
Ligon Industries, LLC (AL)
Southern Hydraulic Cylinder, Inc. (TN)
ИНСТРУМЕНТЫ И HYDRAULICS INC. (TN)
AVENTICS (MO)
Carlson Hydraulics (KS)
Emerson (MO)
Great Bend Industries (KS)
Hanner Machine Co. (KY)
Hypac Hydraulic Systems (KY)
Lebco Inc. )
Vektek Inc.
(KS)
Montana Hydraulics LLC (MT)
Service Hydraulics, Inc. (WA)
Spencer Fluid Power (WA)
A & A Fluid Power, LLC. (Калифорния)
Advanced Hydraulics, Inc. (Калифорния)
Bay Hydraulics, Inc. (Калифорния)
Brenner-Fiedler & Associates, Inc. (CA)
CAL-WEST Machining Inc. (CA)
DLH Fluid Power Inc. (CA)
Garrison Manufacturing (CA)
Hydratech (CA)
Sierra Hydraulics & Machine Co. (CA)
Sully & Son Hydraulics Inc. (CA)
Ventura Hydraulics & Machine Works (CA)
Zinko Hydraulic Jack (CA)
Bailey International LLC (TN)
Berendsen Fluid Power (ОК)
CROSS Manufacturing, Inc. (KS)
Dalton Hydraulic Cylinders (TN)
Emerson (MO)
Engineered Sales, Inc. (MO)
Hannon Hydraulics (TX)
HSI Corporation (MS)
Hyseco , Inc. (TX)
Phelps Industries, Inc. (AR)
Precision Fluid Power, Inc.
(OK)
Southern Hydraulic Cylinder, Inc. (TN)
Texas Hydraulics, Inc. (TX)
TK Trailer Parts (TX)
TOOLS & HYDRAULICS INC. (TN)
West Craft Manufacturing, Inc. (Техас)
Wilson Company (Техас)
Service Hydraulics, Inc. (Вашингтон)
Spencer Fluid Power (Вашингтон)
A & A Fluid Power, LLC. (CA)
Advanced Hydraulics, Inc. (CA)
Bay Hydraulics, Inc. (CA)
Brenner-Fiedler & Associates, Inc. (CA)
CAL-WEST Machining Inc. (CA)
DLH Fluid Power Inc. (CA)
Garrison Manufacturing (CA)
Hydratech (CA)
Service Hydraulics, Inc. (Вашингтон)
Sierra Hydraulics & Machine Co. (Калифорния)
Spencer Fluid Power (Вашингтон)
Sully & Son Hydraulics Inc. (Калифорния)
Ventura Hydraulics & Machine Works (Калифорния) (2KS)
Hannon Hydraulics (TX)
Hyseco, Inc. (TX)
Precision Fluid Power, Inc.
(OK)
Surplus Center (NE)
Texas Hydraulics, Inc. (TX)
TK Trailer Parts (TX)
Vektek Inc. (Канада)
West Craft Manufacturing, Inc. (Техас)
Wilson Company (Техас)
C&C Hydraulics, Inc. (Коннектикут)
Pearse-Bertram, LLC (Коннектикут)
B&H Machine, Inc. (Огайо)
C&C Hydraulics, Inc. (Коннектикут)
Carlisle Brake & Friction (OH)
Custom Hoists, Inc. (OH)
Cylinders & Valves, Inc. (OH)
Dometrics, Inc. (NC)
Farnsworth Engineering Company (OH)
General Engineering Company (VA)
Hydrotech, Inc. (OH)
Industrial Products Conveyors & Drives (NC)
Kiefer Tool & Mold, Inc. (OH)
MRF Machine & Hydraulics, Inc. (OH)
Электроинструмент Огайо (Огайо)
Parker Hannifin Corporation — Cylinder Division (IL)
Pearse-Bertram, LLC (CT)
R & J Cylinder & Machine, Inc. (OH)
Salem Hydraulics Company (VA)
Worldwide Chuck Services, Inc.
(OH)
Compact® Automation Products (SC)
CRC Distribution, Inc. (AL)
Defco, Inc. (AL)
Greenco Mfg. Corporation (FL)
HSI Corporation (MS)
Гидреко, Инк. (Южная Каролина)
JIT Industries (AL)
Ligon Industries, LLC (AL)
Bailey International LLC (TN)
Compact® Automation Products (SC)
CRC Distribution, Inc. (AL)
Dalton Hydraulic Cylinders (TN)
Defco, Inc. (AL)
Dometrics, Inc. (NC)
General Engineering Company (VA)
Greenco Mfg. Corporation (FL)
HSI Corporation (MS)
Hydreco, Inc. (SC)
Промышленные товары Конвейеры и приводы (NC)
JIT Industries (AL)
Kiefer Tool & Mold, Inc. (OH)
Ligon Industries, LLC (AL)
Salem Hydraulics Company (VA)
Southern Hydraulic Cylinder, Inc. (TN)
TOOLS & HYDRAULICS INC. (TN)
Montana Hydraulics LLC (MT)
Service Hydraulics, Inc.
(WA)
Spencer Fluid Power (WA)
Aggressive Hydraulics, Inc. (MN)
Air Automation Engineering (MN) )
Ариес Инжиниринг Ко (Мичиган)
Atlas Cylinders (IL)
Aurora Air Products (IL)
AVENTICS (MO)
B&H Machine, Inc. (OH)
Bailey International LLC (TN)
Best Metal Products Co. (MI)
Bimba Manufacturing Company (IL)
Carlisle Brake & Friction (OH)
Central Hydraulics, Inc. (WI)
Crankshaft Machine Group (MI)
Custom Cylinders, Inc. (IL)
Custom Hoists, Inc. .(ОН)
Cylinders & Valves, Inc. (OH)
Dalton Hydraulic Cylinders (TN)
Douce Hydro Inc. (MI)
Dymatic, Inc. (IL)
Eaton Hydraulics (MN)
Emerson (MO)
Energy® Manufacturing Company, Inc. (IA)
Enerpac® (WI)
Engineered Sales, Inc. (MO)
Ensign Equipment Inc. (MI)
Farnsworth Engineering Company (OH)
Federal Fluid Power Inc.
(Мичиган)
Flodraulic Group Inc. (Индиана)
Galland Henning Nopak, Inc. (Висконсин)
Hader Industries, Inc. (Висконсин)
Hader-Seitz Inc. (Висконсин)
Hanna Cylinders Co. (Иллинойс)
Hanner Machine Co. (Кентукки)
HYDAC (IL)
Hydraulic Specialty Inc. (MN)
Hydrotech, Inc. (OH)
Hypac Hydraulic Systems (KY)
Industrial Servo Hydraulics, Inc. (MI)
J.D. Machine Co. (IN )
JARP Industries, Inc. (Висконсин)
K/M Specialty Pumps & Systems, Inc. (Индия)
Kitagawa-NorthTech Inc. (IL)
Lebco Inc. (KY)
Lift Systems, Inc. (IL)
Lynair, Inc. (MI)
M & M Rogness Equipment Company (MN)
Milwaukee Cylinder (WI)
Motion Controls, LLC (WI)
Mountain Power Hydraulics (MN)
MRF Machine & Hydraulics, Inc. (OH)
Muncie Power Products, Inc. (IN)
Ohio Power Tool (OH)
Ortman Fluid Power (IL)
Parker Hannifin Corporation — Cylinder Division (IL)
Peninsular Cylinder Co.
(MI)
Perfection Hydraulics, Inc. (IN)
PHD, Inc (IN)
Progressive Power and Control (IN)
R & J Cylinder & Machine, Inc. (OH)
RAM Industries Inc. (SK)
Seabee Cylinders & Chrome (IA)
Southern Hydraulic Cylinder, Inc. (TN)
SPX Hytec® (IL)
Star ООО «Гидравликс» (Иллинойс)
TOOLS & HYDRAULICS INC. (TN)
TOX® Pressotechnik LLC (IL)
TRD Manufacturing Inc. (IL)
True-Tech Industries Co. (MI)
Walach Manufacturing Co., Inc. (IL)
Worldwide Chuck Services, Inc. (OH)
Yates Industries, Inc. (MI)
Aggressive Hydraulics, Inc. (MN)
Aries Engineering Co. (MI)
Atlas Cylinders (IL)
Aurora Air Products (IL)
AVENTICS (MO)
B&H Machine, Inc. (OH)
Bailey International LLC (TN)
Best Metal Products Co. (MI)
Bimba Manufacturing Company (IL)
Carlisle Brake & Friction (OH)
Central Hydraulics, Inc.
(WI)
Crankshaft Machine Group (MI)
Custom Cylinders, Inc. (IL)
Custom Hoists, Inc. (OH)
Cylinders & Valves, Inc. (OH)
Dalton Hydraulic Cylinders (TN) )
Douce Hydro Inc. (Мичиган)
Dymatic, Inc. (Иллинойс)
Emerson (Миссури)
Enerpac® (Висконсин)
Engineered Sales, Inc. (Миссури)
Ensign Equipment Inc. (Мичиган)
Farnsworth Engineering Company (OH)
Federal Fluid Power Inc. (MI)
Flodraulic Group Inc. (IN)
Galland Henning Nopak, Inc. (WI)
Hader Industries, Inc. (WI)
Hader-Seitz Inc. (WI)
Hanna Cylinders Co. (Иллинойс)
Hanner Machine Co. (Кентукки)
HYDAC (IL)
Hydrotech, Inc. (OH)
Hypac Hydraulic Systems (KY)
Industrial Servo Hydraulics, Inc. (MI)
J.D. Machine Co. (IN)
JARP Industries, Inc. (Висконсин)
K/M Specialty Pumps & Systems, Inc.
(Индия)
Kitagawa-NorthTech Inc. (Иллинойс)
Lebco Inc. (Кентукки)
Lift Systems, Inc. (Иллинойс)
Lynair, Inc. (Мичиган)
Milwaukee Cylinder (Висконсин)
Motion Controls, LLC (Висконсин)
MRF Machine & Hydraulics, Inc. (OH)
Muncie Power Products, Inc. (IN)
Ohio Power Tool (OH)
Ortman Fluid Power (IL)
Parker Hannifin Corporation — Cylinder Division (IL)
Peninsular Cylinder Co. (MI)
Perfection Hydraulics, Inc. (IN)
PHD, Inc (IN)
Progressive Power and Control (IN)
R & J Cylinder & Machine, Inc. (OH)
Южный гидравлический цилиндр, инк. (Теннесси)
SPX Hytec® (IL)
Star Hydraulics, LLC (IL)
TOOLS & HYDRAULICS INC. (TN)
TOX® Pressotechnik LLC (IL)
TRD Manufacturing Inc. (IL)
True-Tech Industries Co. (MI)
Walach Manufacturing Co., Inc. (IL)
Worldwide Chuck Services, Inc.
(OH)
Yates Industries, Inc. (MI)
Aggressive Hydraulics, Inc. (MN)
Air Automation Engineering (MN)
Atlas Cylinders (IL)
Aurora Air Products (IL)
Bimba Manufacturing Company (IL)
Carlson Hydraulics (KS)
Central Hydraulics, Inc. (WI)
Columbus Hydraulic Cylinders (NE)
CROSS Manufacturing, Inc. (KS) )
Custom Cylinders, Inc. (IL)
Dymatic, Inc. (IL)
Eaton Hydraulics (MN)
Emerson (MO)
Energy® Manufacturing Company, Inc. (IA)
Enerpac® ( Висконсин)
Engineered Sales, Inc. (Миссури)
Galland Henning Nopak, Inc. (Висконсин)
Great Bend Industries (KS)
Hader Industries, Inc. (Висконсин)
Hader-Seitz Inc. (Висконсин)
Hanna Cylinders Co. (Иллинойс)
HYDAC (IL)
Hydraulic Specialty Inc. (MN)
JARP Industries, Inc. (WI)
Kitagawa-NorthTech Inc.
(IL)
Lift Systems, Inc. (IL)
M & M Rogness Equipment Компания (Миннесота)
Milwaukee Cylinder (Висконсин)
Motion Controls, LLC (Висконсин)
Mountain Power Hydraulics (MN)
Ortman Fluid Power (IL)
RAM Industries Inc. (SK)
Seabee Cylinders & Chrome (IA)
SPX Hytec® (IL)
Star Hydraulics, LLC (IL)
Surplus Center (NE)
TOX® Pressotechnik LLC (IL)
TRD Manufacturing Inc. (IL)
Vektek Inc. (KS)
Walach Manufacturing Co., Inc. (IL)
Berendsen Fluid Power (OK)
Carlson Hydraulics (KS)
Columbus Hydraulic Cylinders (NE)
CROSS Manufacturing, Inc. (KS)
Emerson (MO)
Energy® Manufacturing Company, Inc. (IA)
Engineered Sales, Inc. (MO)
Great Bend Industries (KS)
Hannon Hydraulics (TX)
Hyseco, Inc. (TX)
Precision Fluid Power, Inc. (OK)
Seabee Cylinders & Chrome (IA)
Излишки Центр (СВ)
Texas Hydraulics, Inc.
(TX)
TK Trailer Parts (TX)
Vektek Inc. (KS)
West Craft Manufacturing, Inc. (TX)
Wilson Company (TX)
Atlas Cylinders (IL)
Aurora Air Products (IL)
AVENTICS (MO)
B&H Machine, Inc. (OH)
Bailey International LLC (TN)
Bimba Manufacturing Company (IL)
Carlisle Brake & Friction (OH) 903
Продукты автоматизации Compact® (SC)
Custom Cylinders, Inc. (IL)
Custom Hoists, Inc. (OH)
Cylinders & Valves, Inc. (OH)
Dalton Hydraulic Cylinders (TN)
Dometrics, Inc. (NC)
Dymatic, Inc. (Иллинойс)
Emerson (Миссури)
Engineered Sales, Inc. (Миссури)
Farnsworth Engineering Company (OH)
Flodraulic Group Inc. (IN)
General Engineering Company (VA)
Hanna Cylinders Co. (Иллинойс)
Hanner Machine Co. (KY)
HYDAC (IL)
Hydreco, Inc. (SC)
Hydrotech, Inc.
(OH)
Hypac Hydraulic Systems (KY)
Промышленные продукты Конвейеры и приводы (NC)
J.D. Machine Co. (Индия)
K/M Specialty Pumps & Systems, Inc. (Индия)
Kiefer Tool & Mold, Inc. (OH)
Kitagawa-NorthTech Inc. (IL)
Lebco Inc. (KY)
Lift Systems, Inc. (IL)
MRF Machine & Hydraulics, Inc. (OH)
Muncie Power Products, Inc. (IN)
Ohio Power Tool (OH)
Ortman Fluid Power (IL)
Parker Hannifin Corporation — Cylinder Division (IL)
Perfection Hydraulics, Inc. (IN)
PHD, Inc (IN)
Progressive Power and Control (IN)
R&J Cylinder & Machine, Inc. (OH)
Salem Hydraulics Company (VA)
Southern Hydraulic Cylinder, Inc. (TN)
SPX Hytec® (Иллинойс)
Star Hydraulics, LLC (Иллинойс)
TOOLS & HYDRAULICS INC. (TN)
TOX® Pressotechnik LLC (Иллинойс)
TRD Manufacturing Inc.
(Иллинойс)
Walach Manufacturing Co., Inc. (Иллинойс)
Worldwide Chuck Services, Inc. (OH)
Berendsen Fluid Power (OK)
Hannon Hydraulics (TX)
HSI Corporation (MS)
Hyseco, Inc. (TX)
Phelps Industries, Inc. (AR)
Precision Fluid Power, Inc. (ОК)
Texas Hydraulics, Inc. (TX)
TK Trailer Parts (TX)
West Craft Manufacturing, Inc. (TX)
Wilson Company (TX)
C&C Hydraulics, Inc. (CT)
Pearse -Bertram, LLC (CT)
Air Automation Engineering (MN)
Canadian Tool & Die (MB)
Eaton Hydraulics (MN)
Hydraulic Specialty Inc. (MN)
M & M Rogness Equipment Company (MN) )
ООО «Монтана гидравликс» (МТ)
Mountain Power Hydraulics (MN)
RAM Industries Inc. (SK)
B&H Machine, Inc. (OH)
C&C Hydraulics, Inc. (CT)
Carlisle Brake & Friction (OH)
Custom Hoists, Inc.
(OH)
Cylinders & Valves, Inc. (OH)
Dometrics, Inc. (NC)
Farnsworth Engineering Company (OH)
General Engineering Company (VA)
Hydrotech, Inc. (OH)
Промышленные товары Конвейеры и приводы (NC)
Kiefer Tool & Mold, Inc. (OH)
MRF Machine & Hydraulics, Inc. (OH)
Ohio Power Tool (OH)
Parker Hannifin Corporation — Cylinder Division (IL)
Pearse-Bertram, LLC (Коннектикут)
R&J Cylinder & Machine, Inc. (Огайо)
Salem Hydraulics Company (Вирджиния)
Worldwide Chuck Services, Inc. (Огайо)
C&C Hydraulics, Inc. (Коннектикут)
Pearse-Bertram, LLC (CT)
The Hope Group (MA)
Aggressive Hydraulics, Inc. (MN)
Anker-Holth™ (ON)
Aries Engineering Co. (MI)
Atlas Cylinders (IL)
Aurora Air Products (IL)
B&H Machine, Inc. (OH)
Best Metal Products Co. (MI)
Bimba Manufacturing Company (IL)
Carlisle Brake & Friction (OH)
Central Hydraulics, Inc.
(WI)
Crankshaft Machine Group (MI)
Custom Cylinders, Inc. (Иллинойс)
Custom Hoists, Inc. (OH)
Cylinders & Valves, Inc. (OH)
Douce Hydro Inc. (MI)
Dymatic, Inc. (IL)
Enerpac® (WI)
Ensign Equipment Inc. (MI)
Farnsworth Engineering Company (OH)
Federal Fluid Power Inc. (MI)
Flodraulic Group Inc. (IN)
Galland Henning Nopak, Inc. (WI)
Gas Cylinder Technologies Inc. (ON)
Hader Industries, Inc. (WI)
Hader-Seitz Inc. (Висконсин)
Hanna Cylinders Co. (Иллинойс)
HYDAC (Иллинойс)
Hydrotech, Inc. (OH)
Industrial Servo Hydraulics, Inc. (MI)
J.D. Machine Co. (IN)
JARP Industries, Inc. (WI)
K/M Specialty Pumps & Systems, Inc. (IN)
Kitagawa-NorthTech Inc. (IL)
Lift Systems, Inc. (IL)
Lynair, Inc. (Мичиган)
Milwaukee Cylinder (Висконсин)
Motion Controls, LLC (Висконсин)
MRF Machine & Hydraulics, Inc.
(OH)
Muncie Power Products, Inc. (IN)
Ohio Power Tool (OH)
Ortman Fluid Power (IL)
Parker Hannifin Corporation — Cylinder Division (IL)
Peninsular Cylinder Co. (MI)
Perfection Hydraulics, Inc. (IN)
PHD, Inc (IN)
PNEU-Hyd Industries (ON)
Progressive Power and Control (IN)
R & J Cylinder & Machine, Inc. (Огайо) 9
Titan Worldwide Inc. (Иллинойс)
True-Tech Industries Co. (Иллинойс)
Walach Manufacturing Co., Inc. (Иллинойс)
Worldwide Chuck Services, Inc. Aggressive Hydraulics, Inc. (MN)
Air Automation Engineering (MN)
Anker-Holth™ (ON)
Canadian Tool & Die (MB)
Central Hydraulics, Inc. (WI)
Columbus Hydraulic Cylinders (NE)
Eaton Hydraulics (MN)
Energy® Manufacturing Company, Inc. (IA)
Enerpac® (WI)
Galland Henning Nopak, Inc. (WI)
Gas Cylinder Technologies Inc.
(ON)
Hader Industries, Inc. (WI)
Hader-Seitz Inc. (Висконсин)
Hydraulic Specialty Inc. (Миннесота)
JARP Industries, Inc. (Висконсин)
M & M Rogness Equipment Company (Миннесота)
Milwaukee Cylinder (Висконсин)
Motion Controls, LLC (Висконсин)
Mountain Power Hydraulics (Миннесота)
PNEU-Hd Industries (ON)
RAM Industries Inc. (SK)
Seabee Cylinders & Chrome (IA)
Surplus Center (NE)
Thunder Bay Hydraulics Ltd. (ON)
Titan Worldwide Inc. (ON)
ООО «Бейли Интернэшнл» (Теннесси)
Berendsen Fluid Power (OK)
CRC Distribution, Inc. (AL)
Dalton Hydraulic Cylinders (TN)
Defco, Inc. (AL)
Greenco Mfg. Corporation (FL)
Hannon Hydraulics (TX)
HSI Corporation (MS)
Hyseco, Inc. (TX)
JIT Industries (AL)
Ligon Industries, LLC (AL)
Phelps Industries, Inc.
(AR)
Precision Fluid Power, Inc. (ОК)
Southern Hydraulic Cylinder, Inc. (TN)
Texas Hydraulics, Inc. (TX)
TK Trailer Parts (TX)
TOOLS & HYDRAULICS INC. (TN)
West Craft Manufacturing, Inc. (TX)
Wilson Company (TX)
Aggressive Hydraulics , Inc. (MN)
Atlas Cylinders (IL)
Aurora Air Products (IL)
AVENTICS (MO)
Bailey International LLC (TN)
Berendsen Fluid Power (OK)
Bimba Manufacturing Company (IL) )
Carlson Hydraulics (KS)
Central Hydraulics, Inc. (WI)
Columbus Hydraulics Cylinders (NE)
CROSS Manufacturing, Inc. (KS)
Custom Cylinders, Inc. (IL)
Dalton Hydraulic Cylinders (TN)
Dymatic, Inc. (Иллинойс)
Emerson (Миссури)
Enerpac® (Висконсин)
Engineered Sales, Inc. (Миссури)
Galland Henning Nopak, Inc. (Висконсин)
Great Bend Industries ( Канзас)
Hader Industries, Inc.
(Висконсин)
Hader-Seitz Inc. (Висконсин)
Hanna Cylinders Co. (Иллинойс)
Hanner Machine Co. (Кентукки)
HYDAC (Иллинойс)
Hypac Hydraulic Systems (KY)
JARP Industries, Inc. ( WI)
Kitagawa-NorthTech Inc. (IL)
Lebco Inc. (KY)
Lift Systems, Inc. (IL)
Milwaukee Cylinder (WI)
Motion Controls, LLC (WI)
Ortman Fluid Power (IL)
Phelps Industries, Inc. (AR)
Precision Fluid Power, Inc. (OK)
Southern Hydraulic Cylinder, Inc. (TN)
SPX Hytec® (IL)
Star Hydraulics, LLC (IL)
Surplus Center (NE)
ИНСТРУМЕНТЫ И ГИДРАВЛИКА INC. (TN)
TOX® Pressotechnik LLC (IL)
TRD Manufacturing Inc. (IL)
Vektek Inc. (KS)
Walach Manufacturing Co., Inc. (IL)
Canadian Tool & Die ( МБ)
ООО «Монтана гидравликс» (МТ)
Service Hydraulics, Inc. (WA)
Spencer Fluid Power (WA)
Air Automation Engineering (MN)
Carlson Hydraulics (KS)
Columbus Hydraulic Cylinders (NE)
CROSS Manufacturing, Inc.
(KS)
Eaton Hydraulics (MN)
Emerson (MO)
Energy® Manufacturing Company, Inc. (IA)
Engineered Sales, Inc. (MO)
Great Bend Industries (KS)
Hydraulic Specialty Inc. ( МН)
M&M Rogness Equipment Company (MN)
Mountain Power Hydraulics (MN)
RAM Industries Inc. (SK)
Seabee Cylinders & Chrome (IA)
Surplus Center (NE)
Vektek Inc. (KS) )
A&A Fluid Power, LLC. (CA)
Advanced Hydraulics, Inc. (CA)
Bay Hydraulics, Inc. (CA)
Brenner-Fiedler & Associates, Inc. (CA)
CAL-WEST Machining Inc. (CA)
DLH Fluid Power Inc. (Калифорния)
Garrison Manufacturing (CA)
Hydratech (CA)
Service Hydraulics, Inc. (WA)
Sierra Hydraulics & Machine Co. (CA)
Spencer Fluid Power (WA)
Sully & Son Hydraulics Inc. (CA)
Ventura Hydraulic & Machine Works (CA)
Zinko Hydraulic Jack (CA)
ALE Hydraulic Machinery Company (PA)
Advanced Fluid Systems, Inc.
(PA)
AirROYAL Mfg. Co. (NJ )
Al Xander Company, Inc. (Пенсильвания)
Alkon Corporation (OH)
Beswick Engineering Co., Inc. (NH)
Buffalo Hydraulics (NY)
C&C Hydraulics, Inc. (CT)
D.L. Martin Co. (PA)
Festo USA (NY)
Huston Industrial Sales Co., Inc. (PA)
HYDAC Technology Corporation (PA)
Hydra Technology Corporation (NY)
Lehigh Fluid Power, Inc. (Нью-Джерси)
Metro Hydraulic Jack Co. (Нью-Джерси)
Pearse-Bertram, LLC (CT)
Starcyl USA Corporation (NY)
State Metals, Inc (NY)
Sterner’s Hydraulics (PA)
The Hope Group (MA)
Beswick Engineering Co., Inc (NH)
C&C Hydraulics, Inc. (CT)
Pearse-Bertram, LLC (CT)
AirROYAL Mfg.Co.(NJ)
C&C Hydraulics, Inc.(CT)
General Engineering Company (VA)
Kiefer Tool & Mold, Inc. (OH)
Lehigh Fluid Power, Inc.
(Нью-Джерси)
Metro Hydraulic Jack Co. (Нью-Джерси)
Pearse-Bertram, LLC (CT)
Salem Hydraulics Company (VA)
Berendsen Fluid Power (OK)
Carlson Hydraulics (KS)
CROSS Manufacturing, Inc. (KS)
Great Bend Industries (KS)
Hannon Hydraulics (TX)
Hyseco, Inc. (TX)
Precision Fluid Power, Inc. (OK)
Texas Hydraulics, Inc. (Техас)
TK Trailer Parts (TX)
Vektek Inc. (KS)
West Craft Manufacturing, Inc. (TX)
Wilson Company (TX)
Alkon Corporation (OH)
Buffalo Hydraulic (NY)
C & C Hydraulics, Inc. (CT)
Festo USA (NY)
General Engineering Company (VA)
Hydra Technology Corporation (NY)
Kiefer Tool & Mold, Inc. (OH)
Pearse-Bertram, LLC (CT)
Salem Hydraulics Company (VA)
Starcyl USA Corporation (NY)
State Metals, Inc (NY)
Bailey International LLC (TN)
Compact® Automation Products (SC)
Dalton Hydraulic Cylinders (TN)
Dometrics, Inc.
(NC)
General Engineering Company (VA)
Hydreco, Inc. (SC)
Industrial Products Conveyors & Drives (NC)
Kiefer Tool & Mold, Inc. (OH)
Salem Hydraulics Company (VA)
Южный гидравлический цилиндр, Inc. (TN)
TOOLS & HYDRAULICS INC. (TN)
Air Automation Engineering (MN)
Canadian Tool & Die (MB)
Columbus Hydraulic Cylinders (NE)
Eaton Hydraulics (MN)
Hydraulic Specialty Inc.
M&M Rogness Equipment Company (MN)
Montana Hydraulics LLC (MT)
Mountain Power Hydraulics (MN)
RAM Industries Inc. (SK)
Surplus Center (NE)
ALE Hydraulic Machinery Company (ПА)
Advanced Fluid Systems, Inc. (Пенсильвания)
AirROYAL Mfg. Co. (Нью-Джерси)
Al Xander Company, Inc. (Пенсильвания)
Alkon Corporation (Огайо)
Beswick Engineering Co., Inc. (Нью-Джерси) )
Buffalo Hydraulics (NY)
C&C Hydraulics, Inc.
(CT)
D.L. Martin Co. (PA)
Festo USA (NY)
Huston Industrial Sales Co., Inc. (PA)
HYDAC Technology Corporation (PA)
Hydra Technology Corporation (NY)
Lehigh Fluid Power, Inc. (Нью-Джерси)
Metro Hydraulic Jack Co. (Нью-Джерси)
Pearse-Bertram, LLC (CT)
Starcyl USA Corporation (NY)
State Metals, Inc (NY)
Sterner’s Hydraulics (PA)
The Hope Group (MA)
ALE Hydraulic Machinery Company (PA)
Advanced Fluid Systems, Inc. (PA)
Al Xander Company, Inc. (PA)
Alkon Corporation (OH) )
Anker-Holth™ (ON)
Aries Engineering Co. (MI)
AVENTICS (MO)
B&H Machine, Inc. (OH)
Best Metal Products Co. (MI)
Buffalo Hydraulic (NY)
Carlisle Brake & Friction (OH)
Crankshaft Machine Group (MI)
Custom Hoists, Inc. (OH)
Cylinders & Valves, Inc.
(OH)
D.L. Martin Co. (Пенсильвания)
Douce Hydro Inc. (Мичиган)
Emerson (Миссури)
Ensign Equipment Inc. (Мичиган)
Farnsworth Engineering Company (OH)
Federal Fluid Power Inc. (MI)
Festo USA (NY)
Flodraulic Group Inc. (IN)
Gas Cylinder Technologies Inc. (ON)
General Engineering Company (VA) )
Hanner Machine Co. (KY)
Huston Industrial Sales Co., Inc. (PA)
HYDAC Technology Corporation (PA)
Hydra Technology Corporation (NY)
Hydrotech, Inc. (OH)
Гидравлические системы Hypac (KY)
Industrial Servo Hydraulics, Inc. (MI)
J.D. Machine Co. (IN)
K/M Specialty Pumps & Systems, Inc. (IN)
Kiefer Tool & Mold, Inc. (OH)
Lebco Inc. (KY)
Lynair, Inc. (MI)
MRF Machine & Hydraulics, Inc. (OH)
Muncie Power Products, Inc. (IN)
Ohio Power Tool (OH)
Parker Hannifin Corporation — Cylinder Division (IL)
Peninsular Cylinder Co.
(MI)
Perfection Hydraulics, Inc. (IN)
PHD, Inc (IN)
PNEU-Hyd Industries (ON)
Progressive Power and Control (IN)
R & J Cylinder & Machine, Inc. (OH)
Salem Hydraulics Company (VA)
Starcyl USA Corporation (NY)
State Metals, Inc (NY)
Sterner’s Hydraulics (PA)
Thunder Bay Hydraulics Ltd. (ON)
Titan Worldwide Inc. (ON) )
True-Tech Industries Co. (Мичиган)
Worldwide Chuck Services, Inc. (OH)
Yates Industries, Inc. (MI)
Berendsen Fluid Power (OK)
Carlson Hydraulics (KS)
CROSS Manufacturing, Inc. (KS)
Emerson ( MO)
Engineered Sales, Inc. (MO)
Great Bend Industries (KS)
Hannon Hydraulics (TX)
Hyseco, Inc. (TX)
Phelps Industries, Inc. (AR)
Precision Fluid Power, Inc. (OK)
Texas Hydraulics, Inc. (TX)
TK Trailer Parts (TX)
Vektek Inc.
(KS)
West Craft Manufacturing, Inc. (TX)
Wilson Company (TX)
Aggressive Hydraulics, Inc. (MN)
Air Automation Engineering ( MN)
Anker-Holth™ (ON)
Aries Engineering Co. (MI)
B&H Machine, Inc. (OH)
Best Metal Products Co. (MI)
Canadian Tool & Die (MB)
Carlisle Brake & Friction (OH)
Central Hydraulics, Inc. (Висконсин)
Crankshaft Machine Group (MI)
Custom Hoists, Inc. (OH)
Cylinders & Valves, Inc. (OH)
Douce Hydro Inc. (MI)
Eaton Hydraulics (MN)
Enerpac® (WI)
Ensign Equipment Inc. (MI)
Farnsworth Engineering Company (OH)
Federal Fluid Power Inc. (MI)
Galland Henning Nopak, Inc. (WI)
Gas Cylinder Technologies Inc. (ON)
Hader Industries, Inc. (Висконсин)
Hader-Seitz Inc. (Висконсин)
Hydraulic Specialty Inc. (MN)
Hydrotech, Inc.
(OH)
Industrial Servo Hydraulics, Inc. (MI)
JARP Industries, Inc. (WI)
Lynair, Inc. (MI)
M & M Rogness Equipment Company (MN)
Milwaukee Cylinder (WI)
Motion Controls, LLC (WI)
Mountain Power Hydraulics ( Миннесота)
MRF Machine & Hydraulics, Inc. (OH)
Ohio Power Tool (OH)
Parker Hannifin Corporation — Cylinder Division (IL)
Peninsular Cylinder Co. (MI)
PNEU-Hyd Industries (ON)
R & J Cylinder & Machine, Inc. (OH) )
RAM Industries Inc. (SK)
Thunder Bay Hydraulics Ltd. (ON)
Titan Worldwide Inc. (ON)
True-Tech Industries Co. (MI)
Worldwide Chuck Services, Inc. (OH) )
Yates Industries, Inc. (Мичиган)
ООО «А энд А Флюид Пауэр». (CA)
Advanced Hydraulics, Inc. (CA)
Bay Hydraulics, Inc. (CA)
Brenner-Fiedler & Associates, Inc. (CA)
CAL-WEST Machining Inc.
(CA)
DLH Fluid Power Inc. (CA)
Garrison Manufacturing (CA)
Hydratech (CA)
Montana Hydraulics LLC (MT)
Service Hydraulics, Inc. (WA)
Sierra Hydraulics & Machine Co. (CA)
Spencer Fluid Power (WA)
Sully & Son Hydraulics Inc. (CA)
Ventura Hydraulic & Machine Works (CA)
Zinko Hydraulic Jack (CA)
ALE Hydraulic Machinery Company (PA)
Advanced Fluid Systems, Inc. (PA)
Al Xander Company, Inc. (Пенсильвания)
B&H Machine, Inc. (Огайо)
C&C Hydraulics, Inc. (Коннектикут)
Carlisle Brake & Friction (Огайо)
Custom Hoists, Inc. (Огайо) )
Cylinders & Valves, Inc. (OH)
Д.Л. Martin Co. (PA)
Farnsworth Engineering Company (OH)
General Engineering Company (VA)
Huston Industrial Sales Co., Inc. (PA)
HYDAC Technology Corporation (PA)
Hydrotech, Inc. ( OH)
Kiefer Tool & Mold, Inc.
(OH)
MRF Machine & Hydraulics, Inc. (OH)
Ohio Power Tool (OH)
Parker Hannifin Corporation — Cylinder Division (IL)
Pearse-Bertram , ООО (КТ)
R & J Cylinder & Machine, Inc. (OH)
Salem Hydraulics Company (VA)
Sterner’s Hydraulics (PA)
Worldwide Chuck Services, Inc. (OH)
ALE Hydraulic Machinery Company (PA)
Advanced Fluid Systems, Inc. (Пенсильвания)
AirROYAL Mfg. Co. (Нью-Джерси)
Al Xander Company, Inc. (Пенсильвания)
Alkon Corporation (OH)
Anker-Holth™ (ON)
Beswick Engineering Co., Inc. (NH)
Buffalo Hydraulic (NY)
C&C Hydraulics, Inc. (CT)
D.L. Martin Co. (PA)
Festo USA (NY)
Gas Cylinder Technologies Inc. (ON)
Huston Industrial Sales Co., Inc. (PA)
HYDAC Technology Corporation (PA)
Hydra Technology Corporation ( Нью-Йорк)
Lehigh Fluid Power, Inc.
(Нью-Джерси)
Metro Hydraulic Jack Co. (Нью-Джерси)
Pearse-Bertram, LLC (CT)
PNEU-Hyd Industries (ON)
Starcyl USA Corporation (NY)
State Metals, Inc. (NY)
Sterner’s Hydraulics (PA)
The Hope Group (MA)
Thunder Bay Hydraulics Ltd. (ON)
Titan Worldwide Inc. (ON)
C & C Hydraulics, Inc. (CT)
Pearse-Bertram, LLC (CT)
Air Automation Engineering (MN)
Canadian Tool & Die (MB)
Eaton Hydraulics (MN)
Hydraulic Specialty Inc. (MN)
M&M Rogness Equipment Company (Миннесота)
Montana Hydraulics LLC (MT)
Mountain Power Hydraulics (MN)
RAM Industries Inc. (SK)
Bailey International LLC (TN)
Compact® Automation Products (SC)
Dalton Hydraulic Cylinders (TN)
Dometrics, Inc. (Северная Каролина)
General Engineering Company (VA)
Greenco Mfg. Corporation (FL)
Hydreco, Inc.
(SC)
Industrial Products Conveyers & Drives (NC)
Kiefer Tool & Молд, Инк. (Огайо)
Salem Hydraulics Company (VA)
Southern Hydraulic Cylinder, Inc. (TN)
TOOLS & HYDRAULICS INC. (TN)
Air Automation Engineering (MN)
Canadian Tool & Die (MB)
Columbus Hydraulic Цилиндры (NE)
Eaton Hydraulics (MN)
Energy® Manufacturing Company, Inc. (IA)
Hydraulic Specialty Inc. (MN)
M & M Rogness Equipment Company (MN)
Montana Hydraulics LLC (MT) )
Mountain Power Hydraulics (MN)
RAM Industries Inc. (SK)
Seabee Cylinders & Chrome (IA)
Surplus Center (NE)
AVENTICS (MO)
Bailey International LLC (TN)
CRC Distribution, Inc. (AL)
Dalton Hydraulic Cylinders (TN)
Defco, Inc. (AL)
Dometrics, Inc. (NC)
Emerson (MO)
Engineered Sales, Inc.
(Миссури)
General Engineering Company (VA)
Hanner Machine Co. (KY)
HSI Corporation (MS)
Hydreco, Inc. (SC)
Hypac Hydraulic Systems (KY)
Industrial Products Conveyers & Drives (NC) )
JIT Industries (AL)
Kiefer Tool & Mold, Inc. (OH)
Lebco Inc. (KY)
Ligon Industries, LLC (AL)
Phelps Industries, Inc. (AR)
Salem Гидравлическая компания (Вирджиния)
Southern Hydraulic Cylinder, Inc. (TN)
TOOLS & HYDRAULICS INC. (TN)
Berendsen Fluid Power (OK)
Carlson Hydraulics (KS)
CROSS Manufacturing, Inc. (KS)
Great Bend Industries (KS)
Hannon Hydraulics (TX)
HSI Corporation (MS)
Hyseco, Inc. (TX)
Phelps Industries, Inc. (AR)
Precision Fluid Power, Inc. (OK)
Texas Гидравлика, Инк. (Техас)
TK Trailer Parts (TX)
Vektek Inc. (KS)
West Craft Manufacturing, Inc.
(TX)
Wilson Company (TX)
A & A Fluid Power, LLC. (CA)
Advanced Hydraulics, Inc. (CA)
Bay Hydraulics, Inc. (CA)
Brenner-Fiedler & Associates, Inc. (CA)
CAL-WEST Machining Inc. (CA)
DLH Fluid Power Inc. (CA)
Garrison Manufacturing (CA)
Hydratech (CA)
Sierra Hydraulics & Machine Co. (CA)
Sully & Son Hydraulics Inc. (Калифорния)
Ventura Hydraulic & Machine Works (Калифорния)
Гидравлический домкрат Zinko (Калифорния)
C&C Hydraulics, Inc. (Калифорния)
Pearse-Bertram, LLC (Калифорния) )
ALE Hydraulic Machinery Company (PA)
Advanced Fluid Systems, Inc. (PA)
AirOYAL Mfg. Co. (NJ)
Al Xander Company, Inc. (PA)
Alkon Corporation (OH)
AVENTICS (Миссури)
B&H Machine, Inc. (Огайо)
Bailey International LLC (TN)
Buffalo Hydraulic (NY)
Carlisle Brake & Friction (OH)
Compact® Automation Products (SC)
Custom Hoists, Inc.
(OH)
Cylinders & Valves, Inc. (ОН)
Д.Л. Martin Co. (PA)
Dalton Hydraulic Cylinders (TN)
Dometrics, Inc. (NC)
Emerson (MO)
Farnsworth Engineering Company (OH)
Festo USA (NY)
General Engineering Company ( ВА)
Hanner Machine Co. (KY)
Huston Industrial Sales Co., Inc. (PA)
HYDAC Technology Corporation (PA)
Hydra Technology Corporation (NY)
Hydreco, Inc. (SC)
Hydrotech , Inc. (OH)
Hypac Hydraulic Systems (KY)
Industrial Products Conveyors & Drives (NC)
Kiefer Tool & Mold, Inc. (OH)
Lebco Inc. (KY)
Lehigh Fluid Power, Inc. (Нью-Джерси)
Metro Hydraulic Jack Co. (Нью-Джерси)
MRF Machine & Hydraulics, Inc. (OH)
Ohio Power Tool (OH)
Parker Hannifin Corporation — Cylinder Division (IL)
R & J Cylinder & Machine, Inc. (OH)
Salem Hydraulics Company (VA)
Southern Hydraulic Cylinder, Inc.
(TN)
Starcyl USA Corporation (NY)
State Metals, Inc (NY)
Sterner’s Hydraulics (PA)
TOOLS & HYDRAULICS INC. (TN)
00
00
00 Worldwide Chuck Services, Inc. (Огайо)
ООО «А энд А Флюид Пауэр». (CA)
Advanced Hydraulics, Inc. (CA)
Bay Hydraulics, Inc. (CA)
Brenner-Fiedler & Associates, Inc. (CA)
CAL-WEST Machining Inc. (CA)
DLH Fluid Power Inc. (CA)
Garrison Manufacturing (CA)
Hydratech (CA)
Montana Hydraulics LLC (MT)
Service Hydraulics, Inc. (WA)
Sierra Hydraulics & Machine Co. (CA)
Spencer Fluid Power (WA)
Sully & Son Hydraulics Inc. (CA)
Ventura Hydraulic & Machine Works (CA)
Zinko Hydraulic Jack (CA)
ALE Hydraulic Machinery Company (PA)
Advanced Fluid Systems, Inc. (PA)
AirROYAL Mfg. Co. (Нью-Джерси)
Al Xander Company, Inc.
0
00 Worldwide Chuck Services, Inc. (Огайо)
ООО «А энд А Флюид Пауэр». (CA)
Advanced Hydraulics, Inc. (CA)
Bay Hydraulics, Inc. (CA)
Brenner-Fiedler & Associates, Inc. (CA)
CAL-WEST Machining Inc. (CA)
DLH Fluid Power Inc. (CA)
Garrison Manufacturing (CA)
Hydratech (CA)
Montana Hydraulics LLC (MT)
Service Hydraulics, Inc. (WA)
Sierra Hydraulics & Machine Co. (CA)
Spencer Fluid Power (WA)
Sully & Son Hydraulics Inc. (CA)
Ventura Hydraulic & Machine Works (CA)
Zinko Hydraulic Jack (CA)
ALE Hydraulic Machinery Company (PA)
Advanced Fluid Systems, Inc. (PA)
AirROYAL Mfg. Co. (Нью-Джерси)
Al Xander Company, Inc.
(Пенсильвания)
Alkon Corporation (OH)
AVENTICS (MO)
B&H Machine, Inc. (OH)
Bailey International LLC (TN) )
Баффало Гидравлик (Нью-Йорк)
Carlisle Brake & Friction (OH)
Compact® Automation Products (SC)
Custom Hoists, Inc. (OH)
Cylinders & Valves, Inc. (OH)
D.L. Martin Co. (PA)
Dalton Hydraulic Cylinders (TN)
Dometrics, Inc. (NC)
Emerson (MO)
Farnsworth Engineering Company (OH)
Festo USA (NY)
General Engineering Company ( Вирджиния)
Hanner Machine Co. (Кентукки)
Huston Industrial Sales Co., Inc. (Пенсильвания)
HYDAC Technology Corporation (Пенсильвания)
Hydra Technology Corporation (NY)
Hydreco, Inc. (Южная Каролина)
Hydrotech, Inc. (OH)
Гидравлические системы Hypac (KY)
Industrial Products Conveyors & Drives (NC)
Kiefer Tool & Mold, Inc.
(OH)
Lebco Inc. (KY)
Lehigh Fluid Power, Inc. (NJ)
Metro Hydraulic Jack Co. (Нью-Джерси)
MRF Machine & Hydraulics, Inc. (Огайо)
Ohio Power Tool (OH)
Parker Hannifin Corporation — Cylinder Division (IL)
R&J Cylinder & Machine, Inc. (OH)
Salem Hydraulics Company (VA)
Southern Hydraulic Cylinder, Inc. ( TN)
Starcyl USA Corporation (NY)
State Metals, Inc (NY)
Sterner’s Hydraulics (PA)
TOOLS & HYDRAULICS INC. (TN)
Worldwide Chuck Services, Inc. (OH)
Aggressive Гидравлика, Инк. (Миннесота)
Air Automation Engineering (MN)
Anker-Holth™ (ON)
Aries Engineering Co. (MI)
Atlas Cylinders (IL)
Aurora Air Products (IL)
Best Metal Products Co. (MI)
Bimba Manufacturing Company (IL)
Central Hydraulics, Inc. (WI)
Crankshaft Machine Group (MI)
Custom Cylinders, Inc.
(IL)
Douce Hydro Inc. (MI)
Dymatic, Inc. (Иллинойс)
Eaton Hydraulics (MN)
Energy® Manufacturing Company, Inc. (IA)
Enerpac® (WI)
Ensign Equipment Inc. (MI)
Federal Fluid Power Inc. (MI)
Galland Henning Nopak, Inc. (WI)
Gas Cylinder Technologies Inc. (ON)
Hader Industries, Inc. (WI)
Hader-Seitz Inc. (WI)
Hanna Cylinders Co. (IL)
HYDAC (IL)
Hydraulic Specialty Inc. (MN)
Industrial Servo Hydraulics, Inc. (MI)
JARP Industries, Inc. (Висконсин)
Kitagawa-NorthTech Inc. (Иллинойс)
Lift Systems, Inc. (Иллинойс)
Lynair, Inc. (Мичиган)
M & M Rogness Equipment Company (Миннесота)
Milwaukee Cylinder (WI)
Motion Controls, LLC (WI)
Mountain Power Hydraulics (MN)
Ortman Fluid Power (IL)
Peninsular Cylinder Co. (MI)
PNEU-Hyd Industries (ON)Hyd Industries
RAM Industries Inc.
(SK)
Seabee Cylinders & Chrome (IA)
SPX Hytec® (IL)
Star Hydraulics, LLC (IL)
Thunder Bay Hydraulics Ltd. (ON)
Titan Worldwide Inc. (ON)
TOX® Pressotechnik LLC ( IL)
TRD Manufacturing Inc. (IL)
True-Tech Industries Co. (MI)
Walach Manufacturing Co., Inc. (IL)
Yates Industries, Inc. (MI)
Columbus Hydraulic Cylinders ( NE)
Montana Hydraulics LLC (MT)
Избыточный центр (NE)
Чикагский гидравлический дистрибьютор | Flow Products
Гидравлический дистрибьютор в Чикаго | Поточные продукты
- Дом
- Товары
Мы стали ключевым компонентом успеха наших клиентов. Эта ценная позиция усиливается крупными производителями отрасли, с которыми мы сотрудничаем.
Фитинги
Правильный выбор фитингов необходим для безопасной и эффективной работы любой гидравлической или пневматической системы.
Полная линейка фитингов, доступных в различных размерах и материалах, таких как: латунь, сталь, нержавеющая сталь, сталь высокого давления и в качестве быстроразъемных соединений (QD), охватывает широкий спектр применений и условий.
ПРОДУКТЫ ВКЛЮЧАЮТ >
• Латунь
• Сталь
• Нержавеющая сталь
• Быстроразъемное соединение (QD)
• Адаптер
• Вращающиеся коллекторы
• Высокое давление
Чтобы задать вопрос или сделать заказ, нажмите здесь!
Шланги и трубки
Изделия для транспортировки жидкостей предлагаются в широком диапазоне размеров, материалов, конфигураций и функций, предназначенных для конкретных применений. Они варьируются от пищевых, тефлоновых, промышленных до высокого давления, и все они доступны со специальными функциями, такими как проволочная оплетка, защитные рукава, специальные фитинги или барабаны.
Продукты включают в себя>
• Пневматический шланг
• Гидравлический шланг
• Шланг пищевого качества
• Тефлоновый шланг
• Проволочное крепеж
• Protective Sleeve
• BULK HOSE
.
• CLATED
.
. • Cl Для вопросов или для заказа нажмите здесь!
Гидравлика
Для применений, требующих более высоких приложенных усилий, гидравлические продукты отвечают требованиям. Полный пакет с ручными клапанами, электромагнитными клапанами, цилиндрами и фильтрами доступен для любого применения.
ПРОДУКТЫ ВКЛЮЧАЮТ >
• Клапаны: Направленные, Проточные, Регулирующие Давление
• Цилиндры: Бесштоковые, Передвижные, Промышленные, ISO, NFPA
• Сервосистемы
• Электромагнитные Клапаны: Ручные, Управляемые
Приводы
• Аккумуляторы
• Масляные фильтры
• Гидравлическое масло
По вопросам или для заказа нажмите здесь!
Пневматика
Пневматические баллоны и изделия для подготовки воздуха могут стать экономичным средством приложения силы во множестве промышленных применений. Имея цилиндры из алюминия, стали и нержавеющей стали, эти продукты можно использовать практически для любого применения.
ПРОДУКТЫ ВКЛЮЧАЮТ >
• Комбинированный фильтр, регулятор, лубрикатор
• Цилиндры: алюминий, сталь, нержавеющая сталь
• Электромагнитные клапаны: ручные, управляемые
Нажмите здесь, чтобы задать вопрос!
Контрольно-измерительные приборы
В сегодняшних сложных производственных условиях полная линейка высококачественных приборов, от манометров, датчиков уровня, расходомеров до датчиков и преобразователей давления и температуры, обеспечивает ключевую системную обратную связь для безопасного и эффективного управления оборудование.
Продукты включают в себя>
• Рассказы для потока
• Датчики, зрение
• Датчики, уровень
• Грубы давления
• Температурные преобразователи/передатчики
• Термометры
• Трансдукторы давления/трансмиттеры
• Термометры
• Трансдаторы давления/трансмиттеры
• Термометры
• Датчики/трансмиттеры
.
• Датчики давления
• Реле вакуума
• Реле уровня
• Датчики уровня
• Дифференциальное реле
• Реле давления
• Температурный переключатель
• Thermocouples/RTD
• Thermowells
• Оптические датчики
• Индуктивные датчики
• Ультразвуковые датчики
• Оптиковые датчики
• 3D Sensors
• Оптиковые датчики. разместить заказ нажмите здесь!
Электрооборудование
От контрольных ламп, таймеров, реле, источников питания до электродвигателей, электроприводов и панелей управления — обширный ассортимент продукции позволяет правильно подобрать электрические компоненты для любого проекта.
ПРОДУКТЫ ВКЛЮЧАЮТ >
• Двигатели: переменного тока, постоянного тока, сервоприводы, шаговые двигатели
• Частотно-регулируемые приводы (VFD)
• Блоки питания
• Электромеханические приводы
• Автоматические выключатели 30 30 90
3 90 90 Панели управления
3 9 • Контакторы
• Тепловые реле перегрузки
• Клеммные колодки
• Реле
• Приводы
• Пускатели двигателей
• Таймеры
• Контрольные лампы, светодиоды
• Кнопочные выключатели
• Корпуса
• Трансформаторы
Чтобы задать вопрос или сделать заказ, нажмите здесь!
Силовые трансмиссии
Полный спектр механических приводов, тормозов, сцеплений, мотор-редукторов, редукторов, редукторов, гидромоторов и насосов.
Выбран для обеспечения эффективной передачи и управления питанием промышленных систем.
ПРОДУКТЫ ВКЛЮЧАЮТ >
• Тормоза, сцепления
• Правоугловые шестерни и двигатели
• Gear Motors
• Руководители
• Параллельные шестерни
• Планетарные коробки передач
• Покачанные приводы
• Swew Squarings
• Приводные привод
• Swew Squarings
• Wheel Privives
:
:
: 70039. • Натрубки 9003
. Шестеренчатый, лопастной, поршневой, гидростатический
• Двигатели: гидравлические, пневматические
Для вопросов или для размещения заказа нажмите здесь!
Пользовательские системы
Полное проектирование, сборка и ввод в эксплуатацию гидравлической, пневматической и электромеханической системы с полным набором контрольно-измерительных приборов и средств управления. Системы включают «под ключ», монтируемые на салазках, модульные или настольные.
ПРОДУКТЫ ВКЛЮЧАЮТ >
• Блоки питания: мобильные, промышленные
• Коллекторы интегральных схем
• Коллекторы пневматических клапанов
• Узлы шлангов
• 9 Изготовление металлических труб (сталь, медь) 30 90 Изготовление металлических труб (сталь, медь) 30 90• Электрические панели управления
• Пневматические панели управления
• Гидравлические тележки для фильтрации
Для вопросов или для размещения заказа нажмите здесь!
Изделия для обеспечения безопасности
Наша линейка датчиков и систем безопасности является неотъемлемой частью комплексной программы обеспечения безопасности. Они предназначены для обеспечения безопасных условий труда на большинстве производственных и сборочных операций.
ПРОДУКТЫ ВКЛЮЧАЮТ >
• Световые барьеры по безопасности
• Световые занавески
• Сканерные сканеры Laser
• Переключатели безопасности
• Датчики близости
• СИСТЕМЫ БЕЗОПАСНОСТИ
• Безопасные реликвии
• СИСТЕМА
• Безопасность
.














Такие гидрораспределители часто используются как предварительная ступень гидравлического управления в гидрораспределителях с многоступенчатым управлением.
Перепускной клапан закрывает сливную полость. Золотник пропускает масло из нагнетательного канала в магистраль обратной полости гидроцилиндра.



Для этих жидкостей используйте уплотнения NBR (код N). Для жидкостей типа HFD-R (фосфатных эфиров) используйте уплотнения FPМ (код V). По поводу использования других типов жидкостей, таких, как HFA, H, HFC, проконсультируйтесь в нашем отделе технической поддержки.
тока) тип Eurocard
..
, Inc. 