Π‘ΠΎΠ΄Π΅ΡΠΆΠ°Π½ΠΈΠ΅
ΠΠΎΠ½ΡΠ°ΠΆ ΠΏΠΎΠ΄ΡΠΈΠΏΠ½ΠΈΠΊΠΎΠ²
ΠΠ»Ρ ΠΏΠΎΠ΄Π³ΠΎΡΠΎΠ²ΠΊΠΈ ΠΏΠΎΠ΄ΡΠΈΠΏΠ½ΠΈΠΊΠΎΠ² ΠΊ ΠΌΠΎΠ½ΡΠ°ΠΆΡ ΠΏΡΠ΅Π΄Π²Π°ΡΠΈΡΠ΅Π»ΡΠ½ΠΎ ΠΏΡΠΎΠ²Π΅ΡΡΡΡ Π½Π°Π΄ΠΏΠΈΡΠΈ Π½Π° ΡΠΏΠ°ΠΊΠΎΠ²ΠΊΠ΅ ΠΈ ΡΠ°ΠΌΠΈΡ
ΠΏΠΎΠ΄ΡΠΈΠΏΠ½ΠΈΠΊΠ°Ρ
.
Π Π°ΡΠΏΠ°ΠΊΠΎΠ²ΡΠ²Π°ΡΡ ΠΏΠΎΠ΄ΡΠΈΠΏΠ½ΠΈΠΊΠΈ Π½Π΅ΠΏΠΎΡΡΠ΅Π΄ΡΡΠ²Π΅Π½Π½ΠΎ ΠΏΠ΅ΡΠ΅Π΄ Π½Π°ΡΠ°Π»ΠΎΠΌ ΡΠ°Π±ΠΎΡ Ρ Π½ΠΈΠΌΠΈ.
Π Π°ΡΠΊΠΎΠ½ΡΠ΅ΡΠ²Π°ΡΠΈΡ ΠΏΠΎΠ΄ΡΠΈΠΏΠ½ΠΈΠΊΠΎΠ² ΠΏΡΠΎΠΈΠ·Π²ΠΎΠ΄ΡΡ ΡΠΎΠ³Π»Π°ΡΠ½ΠΎ Π΄Π΅ΠΉΡΡΠ²ΡΡΡΠ΅ΠΉ ΠΈΠ½ΡΡΡΡΠΊΡΠΈΠΈ ΠΏΠΎ Ρ
ΡΠ°Π½Π΅Π½ΠΈΡ, ΡΠ°ΡΠΊΠΎΠ½ΡΠ΅ΡΠ²Π°ΡΠΈΠΈ ΠΏΠΎΠ΄ΡΠΈΠΏΠ½ΠΈΠΊΠΎΠ² ΠΈ ΠΈΡ
Π΄Π΅ΡΠ°Π»Π΅ΠΉ ΠΈ ΠΎΠ±ΡΠ°ΡΠ΅Π½ΠΈΡ Ρ Π½ΠΈΠΌΠΈ. ΠΠ°ΠΊ ΠΏΡΠ°Π²ΠΈΠ»ΠΎ, ΠΏΠΎΠ΄ΡΠΈΠΏΠ½ΠΈΠΊΠΈ ΡΠ°ΡΠΊΠΎΠ½ΡΠ΅ΡΠ²ΠΈΡΡΡΡ Π² Π³ΠΎΡΡΡΠ΅ΠΌ (80-90 Β°Π‘) ΠΌΠΈΠ½Π΅ΡΠ°Π»ΡΠ½ΠΎΠΌ ΠΌΠ°ΡΠ»Π΅, ΡΡΠ°ΡΠ΅Π»ΡΠ½ΠΎ ΠΏΡΠΎΠΌΡΠ²Π°ΡΡ Π² 6-8%-Π½ΠΎΠΌ ΡΠ°ΡΡΠ²ΠΎΡΠ΅ ΠΌΠ°ΡΠ»Π°, Π² Π±Π΅Π½Π·ΠΈΠ½Π΅ ΠΈΠ»ΠΈ Π² Π³ΠΎΡΡΡΠΈΡ
(75-85Β°Π‘) Π°Π½ΡΠΈΠΊΠΎΡΡΠΎΠ·ΠΈΠΎΠ½Π½ΡΡ
Π²ΠΎΠ΄Π½ΡΡ
ΡΠ°ΡΡΠ²ΠΎΡΠ°Ρ
, Π½Π°ΠΏΡΠΈΠΌΠ΅Ρ, ΡΠ»Π΅Π΄ΡΡΡΠΈΡ
ΡΠΎΡΡΠ°Π²ΠΎΠ² (Π² %-ΡΠ°Ρ
):
|
Β |
Π Π°ΡΡΠ²ΠΎΡ N1 |
Π Π°ΡΡΠ²ΠΎΡ N2 |
|---|---|---|
|
Π’ΡΠΈΡΡΠ°Π½ΠΎΠ»ΠΎΠΌΠΈΠ½ |
0,5-1,0 |
0,5-1,0 |
|
ΠΠΈΡΡΠΈΡ Π½Π°ΡΡΠΈΡ |
0,15-0,2 |
0,15-0,2 |
|
Π‘ΠΌΠ°ΡΠΈΠ²Π°ΡΠ΅Π»Ρ ΠΠ |
0,02-0,1 |
0,08-0,2 |
|
ΠΠΎΠ΄Π° |
ΠΡΡΠ°Π»ΡΠ½ΠΎΠ΅ |
ΠΡΡΠ°Π»ΡΠ½ΠΎΠ΅ |
Π₯ΡΠ°Π½ΠΈΡΡ ΡΠ°ΡΠΊΠΎΠ½ΡΠ΅ΡΠ²ΠΈΡΠΎΠ²Π°Π½Π½ΡΠ΅ ΠΏΠΎΠ΄ΡΠΈΠΏΠ½ΠΈΠΊΠΈ Π±ΠΎΠ»Π΅Π΅ Π΄Π²ΡΡ
ΡΠ°ΡΠΎΠ² Π±Π΅Π· Π·Π°ΡΠΈΡΡ ΠΎΡ ΠΊΠΎΡΡΠΎΠ·ΠΈΠΈ Π½Π΅ ΡΠ΅ΠΊΠΎΠΌΠ΅Π½Π΄ΡΠ΅ΡΡΡ.
ΠΠΎΡΠ»Π΅ ΡΠ°ΡΠΊΠΎΠ½ΡΠ΅ΡΠ²Π°ΡΠΈΠΈ ΠΏΠΎΡΡΠ΅Π±ΠΈΡΠ΅Π»Ρ ΠΏΠΎΠ΄ΡΠΈΠΏΠ½ΠΈΠΊΠΎΠ² Π΄ΠΎΠ»ΠΆΠ΅Π½ ΠΎΠ±Π΅ΡΠΏΠ΅ΡΠΈΡΡ ΠΈΡ
Π·Π°ΡΠΈΡΡ ΠΎΡ ΠΊΠΎΡΡΠΎΠ·ΠΈΠΈ ΠΏΡΠΈ ΠΊΠΎΠ½ΡΡΠΎΠ»Π΅, ΠΌΠΎΠ½ΡΠ°ΠΆΠ΅, ΡΠ±ΠΎΡΠΊΠ΅ ΠΈ Ρ
ΡΠ°Π½Π΅Π½ΠΈΠΈ ΠΈΠ·Π΄Π΅Π»ΠΈΠΉ ΠΏΠΎ ΡΠΎΠΎΡΠ²Π΅ΡΡΡΠ²ΡΡΡΠ΅ΠΉ Π²Π½ΡΡΡΠΈΠ·Π°Π²ΠΎΠ΄ΡΠΊΠΎΠΉ ΠΈΠ½ΡΡΡΡΠΊΡΠΈΠΈ.
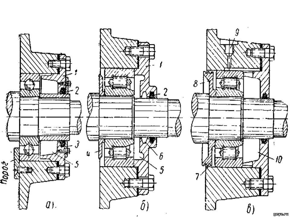
ΠΠ΅ΡΠ΅Π΄ ΠΌΠΎΠ½ΡΠ°ΠΆΠΎΠΌ ΠΏΠΎΠ΄ΡΠΈΠΏΠ½ΠΈΠΊ ΡΠ»Π΅Π΄ΡΠ΅Ρ ΠΏΡΠΎΠ²Π΅ΡΠΈΡΡ Π½Π° ΡΠΎΠΎΡΠ²Π΅ΡΡΡΠ²ΠΈΠ΅ Π²Π½Π΅ΡΠ½Π΅Π³ΠΎ Π²ΠΈΠ΄Π°, Π»Π΅Π³ΠΊΠΎΡΡΠΈ Π²ΡΠ°ΡΠ΅Π½ΠΈΡ, Π·Π°Π·ΠΎΡΠΎΠ² ΡΡΠ΅Π±ΠΎΠ²Π°Π½ΠΈΡΠΌ Π½ΠΎΡΠΌΠ°ΡΠΈΠ²Π½ΠΎ-ΡΠ΅Ρ
Π½ΠΈΡΠ΅ΡΠΊΠΎΠΉ Π΄ΠΎΠΊΡΠΌΠ΅Π½ΡΠ°ΡΠΈΠΈ.
ΠΠΈΠ·ΡΠ°Π»ΡΠ½ΠΎ Ρ ΠΏΠΎΠ΄ΡΠΈΠΏΠ½ΠΈΠΊΠΎΠ² ΠΎΡΠΊΡΡΡΠΎΠ³ΠΎ ΡΠΈΠΏΠ° Π΄ΠΎΠ»ΠΆΠ½Ρ Π±ΡΡΡ ΠΏΡΠΎΠ²Π΅ΡΠ΅Π½Ρ Π½Π°Π»ΠΈΡΠΈΠ΅ Π·Π°Π±ΠΎΠΈΠ½, ΡΠ»Π΅Π΄ΠΎΠ² Π·Π°Π³ΡΡΠ·Π½Π΅Π½ΠΈΠΉ, ΠΊΠΎΡΡΠΎΠ·ΠΈΠΈ, ΠΏΠΎΠ»Π½ΠΎΠ³ΠΎ ΠΊΠΎΠΌΠΏΠ»Π΅ΠΊΡΠ° Π·Π°ΠΊΠ»Π΅ΠΏΠΎΠΊ, ΠΏΠ»ΠΎΡΠ½ΠΎΡΡΠΈ ΠΈΡ
ΡΡΡΠ°Π½ΠΎΠ²ΠΊΠΈ ΠΈΠ»ΠΈ Π΄ΡΡΠ³ΠΈΡ
ΡΠΎΠ΅Π΄ΠΈΠ½ΠΈΡΠ΅Π»ΡΠ½ΡΡ
ΡΠ»Π΅ΠΌΠ΅Π½ΡΠΎΠ², ΠΏΠΎΠ»Π½ΠΎΠ³ΠΎ ΠΊΠΎΠΌΠΏΠ»Π΅ΠΊΡΠ° ΡΠ΅Π» ΠΊΠ°ΡΠ΅Π½ΠΈΡ, Π½Π°Π»ΠΈΡΠΈΠ΅ ΠΏΠΎΠ²ΡΠ΅ΠΆΠ΄Π΅Π½ΠΈΠΉ ΡΠ΅ΠΏΠ°ΡΠ°ΡΠΎΡΠ°.
Π£ ΠΏΠΎΠ΄ΡΠΈΠΏΠ½ΠΈΠΊΠΎΠ² Π·Π°ΠΊΡΡΡΠΎΠ³ΠΎ ΡΠΈΠΏΠ° ΡΠ»Π΅Π΄ΡΠ΅Ρ ΠΏΡΠΎΠ²Π΅ΡΠΈΡΡ Π½Π΅ ΠΏΠΎΠ²ΡΠ΅ΠΆΠ΄Π΅Π½Ρ Π»ΠΈ ΡΠΏΠ»ΠΎΡΠ½Π΅Π½ΠΈΡ ΠΈΠ»ΠΈ Π·Π°ΡΠΈΡΠ½ΡΠ΅ ΡΠ°ΠΉΠ±Ρ.
ΠΠ»Ρ ΠΏΡΠΎΠ²Π΅ΡΠΊΠΈ ΡΠ°Π΄ΠΈΠ°Π»ΡΠ½ΠΎΠ³ΠΎ Π·Π°Π·ΠΎΡΠ° ΠΎΠ΄Π½ΠΎ ΠΈΠ· ΠΊΠΎΠ»Π΅Ρ ΠΏΠΎΠ΄ΡΠΈΠΏΠ½ΠΈΠΊΠ° Π·Π°ΠΊΡΠ΅ΠΏΠ»ΡΡΡ ΠΏΡΠΈ Π³ΠΎΡΠΈΠ·ΠΎΠ½ΡΠ°Π»ΡΠ½ΠΎΠΌ ΠΏΠΎΠ»ΠΎΠΆΠ΅Π½ΠΈΠΈ ΠΎΡΠΈ ΠΈ ΠΎΠΏΡΠ΅Π΄Π΅Π»ΡΡΡ Π·Π°Π·ΠΎΡ Ρ ΠΏΠΎΠΌΠΎΡΡΡ ΠΈΠ½Π΄ΠΈΠΊΠ°ΡΠΎΡΠ°, ΡΠΌΠ΅ΡΠ°Ρ ΡΠ²ΠΎΠ±ΠΎΠ΄Π½ΠΎΠ΅ ΠΊΠΎΠ»ΡΡΠΎ ΠΏΠΎΠ΄ Π΄Π΅ΠΉΡΡΠ²ΠΈΠ΅ΠΌ ΠΈΠ·ΠΌΠ΅ΡΠΈΡΠ΅Π»ΡΠ½ΠΎΠ³ΠΎ ΡΡΠΈΠ»ΠΈΡ Π² ΡΠ°Π΄ΠΈΠ°Π»ΡΠ½ΠΎΠΌ Π½Π°ΠΏΡΠ°Π²Π»Π΅Π½ΠΈΠΈ Π² Π΄Π²Π° Π΄ΠΈΠ°ΠΌΠ΅ΡΡΠ°Π»ΡΠ½ΠΎ ΠΏΡΠΎΡΠΈΠ²ΠΎΠΏΠΎΠ»ΠΎΠΆΠ½ΡΠ΅ ΠΏΠΎΠ»ΠΎΠΆΠ΅Π½ΠΈΡ.
Π Π°Π·Π½ΠΈΡΠ° ΠΏΠΎΠΊΠ°Π·Π°Π½ΠΈΠΉ ΠΏΡΠΈΠ±ΠΎΡΠ° ΡΠΎΠΎΡΠ²Π΅ΡΡΡΠ²ΡΠ΅Ρ Π·Π½Π°ΡΠ΅Π½ΠΈΡ ΡΠ°Π΄ΠΈΠ°Π»ΡΠ½ΠΎΠ³ΠΎ Π·Π°Π·ΠΎΡΠ°. ΠΡΠΎΠ²ΠΎΠ΄ΡΡ ΡΡΠΈ ΠΈΠ·ΠΌΠ΅ΡΠ΅Π½ΠΈΡ, ΠΏΠΎΠ²ΠΎΡΠ°ΡΠΈΠ²Π°Ρ ΡΠ²ΠΎΠ±ΠΎΠ΄Π½ΠΎΠ΅ ΠΊΠΎΠ»ΡΡΠΎ ΠΎΡΠ½ΠΎΡΠΈΡΠ΅Π»ΡΠ½ΠΎ Π½Π°ΡΠ°Π»ΡΠ½ΠΎΠ³ΠΎ ΠΏΠΎΠ»ΠΎΠΆΠ΅Π½ΠΈΡ ΠΎΡΠΈ ΠΏΠΎΠ΄ΡΠΈΠΏΠ½ΠΈΠΊΠ°. ΠΠ½Π°Π»ΠΎΠ³ΠΈΡΠ½ΠΎ ΠΏΡΠΎΠ²ΠΎΠ΄ΡΡ ΠΈΠ·ΠΌΠ΅ΡΠ΅Π½ΠΈΠ΅ ΠΎΡΠ΅Π²ΠΎΠ³ΠΎ Π·Π°Π·ΠΎΡΠ°, Π½ΠΎ ΠΏΡΠΈ Π²Π΅ΡΡΠΈΠΊΠ°Π»ΡΠ½ΠΎΠΌ ΠΏΠΎΠ»ΠΎΠΆΠ΅Π½ΠΈΠΈ ΠΎΡΠΈ ΠΏΠΎΠ΄ΡΠΈΠΏΠ½ΠΈΠΊΠ°. ΠΠ°ΠΊΡΠ΅ΠΏΠ»ΡΡ ΠΎΠ΄Π½ΠΎ ΠΈΠ· ΠΊΠΎΠ»Π΅Ρ, Π΄ΡΡΠ³ΠΎΠ΅ ΡΠΌΠ΅ΡΠ°ΡΡ Π² ΠΎΡΠ΅Π²ΠΎΠΌ Π½Π°ΠΏΡΠ°Π²Π»Π΅Π½ΠΈΠΈ Π² Π΄Π²Π° ΠΊΡΠ°ΠΉΠ½ΠΈΡ
ΠΏΠΎΠ»ΠΎΠΆΠ΅Π½ΠΈΡ ΠΏΠΎΠ΄ Π΄Π΅ΠΉΡΡΠ²ΠΈΠ΅ΠΌ ΠΈΠ·ΠΌΠ΅ΡΠΈΡΠ΅Π»ΡΠ½ΠΎΠ³ΠΎ ΡΡΠΈΠ»ΠΈΡ ΠΈ ΡΠΈΠΊΡΠΈΡΡΡΡ ΡΠ°Π·Π½ΠΎΡΡΡ ΠΏΠΎΠΊΠ°Π·Π°Π½ΠΈΠΉ ΠΈΠ½Π΄ΠΈΠΊΠ°ΡΠΎΡΠ°. Π Π°Π΄ΠΈΠ°Π»ΡΠ½ΡΠ΅ Π·Π°Π·ΠΎΡΡ Π² ΡΠ°Π΄ΠΈΠ°Π»ΡΠ½ΡΡ
Π΄Π²ΡΡ
ΡΡΠ΄Π½ΡΡ
ΡΡΠ΅ΡΠΈΡΠ΅ΡΠΊΠΈΡ
ΡΠΎΠ»ΠΈΠΊΠΎΠ²ΡΡ
ΠΏΠΎΠ΄ΡΠΈΠΏΠ½ΠΈΠΊΠ°Ρ
ΠΈ ΠΏΠΎΠ΄ΡΠΈΠΏΠ½ΠΈΠΊΠ°Ρ
Ρ ΡΠΈΠ»ΠΈΠ½Π΄ΡΠΈΡΠ΅ΡΠΊΠΈΠΌΠΈ ΡΠΎΠ»ΠΈΠΊΠ°ΠΌΠΈ Π±Π΅Π· Π±ΠΎΡΡΠΎΠ² Π½Π° Π½Π°ΡΡΠΆΠ½ΡΡ
ΠΊΠΎΠ»ΡΡΠ°Ρ
Ρ Π΄ΠΈΠ°ΠΌΠ΅ΡΡΠΎΠΌ ΠΏΠΎΡΠ°Π΄ΠΎΡΠ½ΠΎΠ³ΠΎ ΠΎΡΠ²Π΅ΡΡΡΠΈΡ ΡΠ²ΡΡΠ΅ 60 ΠΌΠΌ ΠΌΠΎΠ³ΡΡ Π±ΡΡΡ ΠΈΠ·ΠΌΠ΅ΡΠ΅Π½Ρ Ρ ΠΏΠΎΠΌΠΎΡΡΡ ΡΡΠΏΠ°.
ΠΠ΅ΠΏΠΎΡΡΠ΅Π΄ΡΡΠ²Π΅Π½Π½ΠΎ ΠΏΠ΅ΡΠ΅Π΄ ΠΌΠΎΠ½ΡΠ°ΠΆΠΎΠΌ Π½Π΅ΠΎΠ±Ρ
ΠΎΠ΄ΠΈΠΌΠΎ ΠΏΡΠΎΠ²Π΅ΡΠΈΡΡ ΠΌΠΎΠ½ΡΠ°ΠΆΠ½ΡΠ΅ ΠΏΠΎΠ²Π΅ΡΡ
Π½ΠΎΡΡΠΈ ΠΊΠΎΡΠΏΡΡΠΎΠ² (ΠΎΡΠ²Π΅ΡΡΡΠΈΡ ΠΈ ΡΠΎΡΡΡ) ΠΈ Π²Π°Π»ΠΎΠ² (ΠΏΠΎΡΠ°Π΄ΠΎΡΠ½ΡΠ΅ ΠΏΠΎΠ²Π΅ΡΡ
Π½ΠΎΡΡΠΈ ΠΈ ΡΠΎΡΡΡ) Π½Π° ΠΎΡΡΡΡΡΡΠ²ΠΈΠ΅ Π·Π°Π±ΠΎΠΈΠ½, ΡΠ°ΡΠ°ΠΏΠΈΠ½, Π³Π»ΡΠ±ΠΎΠΊΠΈΡ
ΡΠΈΡΠΎΠΊ ΠΎΡ ΠΎΠ±ΡΠ°Π±ΠΎΡΠΊΠΈ, ΠΊΠΎΡΡΠΎΠ·ΠΈΠΈ, Π·Π°ΡΡΠ΅Π½ΡΠ΅Π² ΠΈ Π·Π°Π³ΡΡΠ·Π½Π΅Π½ΠΈΠΉ.
ΠΠ°Π»Ρ, ΠΎΡΠΎΠ±Π΅Π½Π½ΠΎ ΠΏΡΠΈ ΡΠΎΠΎΡΠ½ΠΎΡΠ΅Π½ΠΈΡΡ
Π΄Π»ΠΈΠ½Ρ ΠΈ Π½Π°ΠΈΠ±ΠΎΠ»ΡΡΠ΅Π³ΠΎ Π΄ΠΈΠ°ΠΌΠ΅ΡΡΠ° Π±ΠΎΠ»Π΅Π΅ 8, ΡΠ»Π΅Π΄ΡΠ΅Ρ ΠΏΡΠΎΠ²Π΅ΡΡΡΡ Π½Π° ΠΏΡΡΠΌΠΎΠ»ΠΈΠ½Π΅ΠΉΠ½ΠΎΡΡΡ ΠΎΡΠΈ (ΠΎΡΡΡΡΡΡΠ²ΠΈΠ΅ ΠΈΠ·Π³ΠΈΠ±Π°).
ΠΡΠΎΠ²Π΅ΡΠΊΡ ΡΠ΅Π»Π΅ΡΠΎΠΎΠ±ΡΠ°Π·Π½ΠΎ ΠΏΡΠΎΠ²ΠΎΠ΄ΠΈΡΡ ΠΏΡΠΈ Π²ΡΠ°ΡΠ΅Π½ΠΈΠΈ Π²Π°Π»Π° Π² ΡΠ΅Π½ΡΡΠ°Ρ
Ρ ΠΏΠΎΠΌΠΎΡΡΡ ΠΈΠ½Π΄ΠΈΠΊΠ°ΡΠΎΡΠΎΠ² ΡΠ°ΡΠΎΠ²ΠΎΠ³ΠΎ ΡΠΈΠΏΠ°.Β Π£Π²Π΅Π»ΠΈΡΠ΅Π½ΠΈΠ΅ ΡΠΊΡΡΠ΅Π½ΡΡΠΈΡΠΈΡΠ΅ΡΠ° Π² Π½Π°ΠΏΡΠ°Π²Π»Π΅Π½ΠΈΠΈ ΠΎΡ ΠΊΡΠ°Ρ ΠΊ ΡΠ΅ΡΠ΅Π΄ΠΈΠ½Π΅ ΡΠΊΠ°Π·ΡΠ²Π°Π΅Ρ Π½Π° ΠΈΡΠΊΡΠΈΠ²Π»Π΅Π½ΠΈΠ΅ Π²Π°Π»Π°.
ΠΠ΅ΠΎΠ±Ρ
ΠΎΠ΄ΠΈΠΌΠΎ ΠΏΡΠΎΠ²Π΅ΡΠΈΡΡ ΠΎΡΠΊΠ»ΠΎΠ½Π΅Π½ΠΈΠ΅ ΠΎΡ ΡΠΎΠΎΡΠ½ΠΎΡΡΠΈ Π²ΡΠ΅Ρ
ΠΏΠΎΡΠ°Π΄ΠΎΡΠ½ΡΡ
ΠΏΠΎΠ²Π΅ΡΡ
Π½ΠΎΡΡΠ΅ΠΉ, ΡΠ°ΡΠΏΠΎΠ»ΠΎΠΆΠ΅Π½Π½ΡΡ
Π½Π° ΠΎΠ΄Π½ΠΎΠΉ ΠΎΡΠΈ, Π½Π° ΡΠΎΠΎΡΠ²Π΅ΡΡΡΠ²ΠΈΠ΅ Π½ΠΎΡΠΌΠ°ΠΌ, ΡΠΊΠ°Π·Π°Π½Π½ΡΠΌ Π² ΡΠ΅Ρ
Π½ΠΈΡΠ΅ΡΠΊΠΎΠΉ Π΄ΠΎΠΊΡΠΌΠ΅Π½ΡΠ°ΡΠΈΠΈ.
ΠΡΠ»ΠΈ ΠΏΠΎΠ΄ΡΠΈΠΏΠ½ΠΈΠΊΠΈ, ΡΠ»ΡΠΆΠ°ΡΠΈΠ΅ ΠΎΠΏΠΎΡΠΎΠΉ ΠΎΠ΄Π½ΠΎΠ³ΠΎ Π²Π°Π»Π°, ΡΡΡΠ°Π½Π°Π²Π»ΠΈΠ²Π°ΡΡ Π² ΡΠ°Π·Π»ΠΈΡΠ½ΡΠ΅ (ΡΠ°Π·Π΄Π΅Π»ΡΠ½ΡΠ΅) ΠΊΠΎΡΠΏΡΡΠ°, ΡΠΎΠΎΡΠ½ΠΎΡΡΡ ΠΊΠΎΡΠΏΡΡΠΎΠ², Π² ΡΠΎΠΎΡΠ²Π΅ΡΡΡΠ²ΠΈΠΈ Ρ ΡΡΠ΅Π±ΠΎΠ²Π°Π½ΠΈΡΠΌΠΈ ΡΠ΅Ρ
Π½ΠΈΡΠ΅ΡΠΊΠΎΠΉ Π΄ΠΎΠΊΡΠΌΠ΅Π½ΡΠ°ΡΠΈΠΈ, Π΄ΠΎΠ»ΠΆΠ½Π° Π±ΡΡΡ ΠΎΠ±Π΅ΡΠΏΠ΅ΡΠ΅Π½Π° Ρ ΠΏΠΎΠΌΠΎΡΡΡ ΠΏΡΠΎΠΊΠ»Π°Π΄ΠΎΠΊ ΠΈΠ»ΠΈ Π΄ΡΡΠ³ΠΈΡ
ΡΡΠ΅Π΄ΡΡΠ².
ΠΡΠΈ ΡΡΡΠ°Π½ΠΎΠ²ΠΊΠ΅ Π½Π° ΠΎΠ΄Π½Ρ ΠΏΠΎΡΠ°Π΄ΠΎΡΠ½ΡΡ ΡΠ΅ΠΉΠΊΡ Π΄Π²ΡΡ
ΠΏΠΎΠ΄ΡΠΈΠΏΠ½ΠΈΠΊΠΎΠ² (ΡΠ°Π΄ΠΈΠ°Π»ΡΠ½ΡΡ
: ΡΠ°ΡΠΈΠΊΠΎΠ²ΡΡ
, ΡΠΎΠ»ΠΈΠΊΠΎΠ²ΡΡ
ΡΡΠ΅ΡΠΈΡΠ΅ΡΠΊΠΈΡ
ΠΈ ΡΠΈΠ»ΠΈΠ½Π΄ΡΠΈΡΠ΅ΡΠΊΠΈΡ
) ΡΠ°Π·Π½ΠΈΡΠ° Π² ΡΠ°Π΄ΠΈΠ°Π»ΡΠ½ΡΡ
Π·Π°Π·ΠΎΡΠ°Ρ
Π½Π΅ Π΄ΠΎΠ»ΠΆΠ½Π° ΠΏΡΠ΅Π²ΡΡΠ°ΡΡ 0,03 ΠΌΠΌ, Π° ΠΏΠΎ Π²Π½ΡΡΡΠ΅Π½Π½Π΅ΠΌΡ ΠΈ Π½Π°ΡΡΠΆΠ½ΠΎΠΌΡ Π΄ΠΈΠ°ΠΌΠ΅ΡΡΠ°ΠΌ ΠΊΠΎΠ»Π΅Ρ — Π½Π΅ Π±ΠΎΠ»Π΅Π΅ ΠΏΠΎΠ»ΠΎΠ²ΠΈΠ½Ρ ΠΏΠΎΠ»Ρ Π΄ΠΎΠΏΡΡΠΊΠ°.
Π‘ΠΎΠΏΡΡΠ³Π°Π΅ΠΌΡΠ΅ Ρ ΠΏΠΎΠ΄ΡΠΈΠΏΠ½ΠΈΠΊΠ°ΠΌΠΈ ΠΏΠΎΠ²Π΅ΡΡ
Π½ΠΎΡΡΠΈ Π²Π°Π»ΠΎΠ² ΠΈ ΠΊΠΎΡΠΏΡΡΠΎΠ² Π΄ΠΎΠ»ΠΆΠ½Ρ Π±ΡΡΡ ΡΡΠ°ΡΠ΅Π»ΡΠ½ΠΎ ΠΏΡΠΎΠΌΡΡΡ, ΠΏΡΠΎΡΠ΅ΡΡΡ, ΠΏΡΠΎΡΡΡΠ΅Π½Ρ ΠΈ ΡΠΌΠ°Π·Π°Π½Ρ ΡΠΎΠ½ΠΊΠΈΠΌ ΡΠ»ΠΎΠ΅ΠΌ ΡΠΌΠ°Π·ΠΎΡΠ½ΠΎΠ³ΠΎ ΠΌΠ°ΡΠ΅ΡΠΈΠ°Π»Π° ΠΈΠ»ΠΈ Π°Π½ΡΠΈΡΡΠ΅ΡΡΠΈΠ½Π³Π²ΠΎΠΉ ΠΏΠ°ΡΡΠΎΠΉ.
ΠΠ°Π½Π°Π»Ρ Π΄Π»Ρ ΠΏΠΎΠ΄Π²ΠΎΠ΄Π° ΡΠΌΠ°Π·ΠΊΠΈ Π΄ΠΎΠ»ΠΆΠ½Ρ Π±ΡΡΡ ΠΎΡΠΈΡΠ΅Π½Ρ ΠΎΡ ΡΡΡΡΠΆΠΊΠΈ ΠΈ Π΄ΡΡΠ³ΠΈΡ
Π·Π°Π³ΡΡΠ·Π½ΡΡΡΠΈΡ
ΡΠ°ΡΡΠΈΡ ΠΈ ΠΏΡΠΎΠ΄ΡΡΡ ΡΠΆΠ°ΡΡΠΌ Π²ΠΎΠ·Π΄ΡΡ
ΠΎΠΌ.
ΠΡΠΈ ΠΌΠΎΠ½ΡΠ°ΠΆΠ΅ ΠΏΠΎΠ΄ΡΠΈΠΏΠ½ΠΈΠΊΠ° ΡΡΠΈΠ»ΠΈΠ΅ Π½Π°ΠΏΡΠ΅ΡΡΠΎΠ²ΠΊΠΈ Π΄ΠΎΠ»ΠΆΠ½ΠΎ ΠΏΠ΅ΡΠ΅Π΄Π°Π²Π°ΡΡΡΡ ΡΠΎΠ»ΡΠΊΠΎ ΡΠ΅ΡΠ΅Π· Π½Π°ΠΏΡΠ΅ΡΡΠΎΠ²ΡΠ²Π°Π΅ΠΌΠΎΠ΅ ΠΊΠΎΠ»ΡΡΠΎ — ΡΠ΅ΡΠ΅Π· Π²Π½ΡΡΡΠ΅Π½Π½Π΅Π΅ ΠΏΡΠΈ ΠΌΠΎΠ½ΡΠ°ΠΆΠ΅ Π½Π° Π²Π°Π» ΠΈ ΡΠ΅ΡΠ΅Π· Π½Π°ΡΡΠΆΠ½ΠΎΠ΅ — Π² ΠΊΠΎΡΠΏΡΡ. ΠΠ°ΠΏΡΠ΅ΡΠ°Π΅ΡΡΡ ΠΏΡΠΎΠ²ΠΎΠ΄ΠΈΡΡ ΠΌΠΎΠ½ΡΠ°ΠΆ ΡΠ°ΠΊΠΈΠΌ ΠΎΠ±ΡΠ°Π·ΠΎΠΌ, ΡΡΠΎΠ±Ρ ΡΡΠΈΠ»ΠΈΠ΅ ΠΏΠ΅ΡΠ΅Π΄Π°Π²Π°Π»ΠΎΡΡ Ρ ΠΎΠ΄Π½ΠΎΠ³ΠΎ ΠΊΠΎΠ»ΡΡΠ° Π½Π° Π΄ΡΡΠ³ΠΎΠ΅ ΡΠ΅ΡΠ΅Π· ΡΠ΅Π»Π° ΠΊΠ°ΡΠ΅Π½ΠΈΡ. ΠΡΠ»ΠΈ ΠΏΠΎΠ΄ΡΠΈΠΏΠ½ΠΈΠΊ ΠΎΠ΄Π½ΠΎΠ²ΡΠ΅ΠΌΠ΅Π½Π½ΠΎ ΠΌΠΎΠ½ΡΠΈΡΡΠ΅ΡΡΡ Π½Π° Π²Π°Π» ΠΈ Π² ΠΊΠΎΡΠΏΡΡ, ΡΠΎ ΡΡΠΈΠ»ΠΈΡ ΠΏΠ΅ΡΠ΅Π΄Π°ΡΡΡΡ Π½Π° ΡΠΎΡΡΡ ΠΎΠ±ΠΎΠΈΡ
ΠΊΠΎΠ»Π΅Ρ.
ΠΠ΅ Π΄ΠΎΠΏΡΡΠΊΠ°Π΅ΡΡΡ ΠΏΡΠΈΠ»ΠΎΠΆΠ΅Π½ΠΈΠ΅ ΠΌΠΎΠ½ΡΠ°ΠΆΠ½ΡΡ
ΡΡΠΈΠ»ΠΈΠΉ ΠΊ ΡΠ΅ΠΏΠ°ΡΠ°ΡΠΎΡΡ. ΠΠ΅Π»ΡΠ·Ρ Π½Π°Π½ΠΎΡΠΈΡΡ ΡΠ΄Π°ΡΡ Π½Π΅ΠΏΠΎΡΡΠ΅Π΄ΡΡΠ²Π΅Π½Π½ΠΎ ΠΏΠΎ ΠΊΠΎΠ»ΡΡΡ. ΠΠΎΠΏΡΡΠΊΠ°Π΅ΡΡΡ Π½Π°Π½Π΅ΡΠ΅Π½ΠΈΠ΅ Π»Π΅Π³ΠΊΠΈΡ
ΡΠ΄Π°ΡΠΎΠ² ΠΏΠΎ ΠΊΠΎΠ»ΡΡΡ ΡΠΎΠ»ΡΠΊΠΎ ΡΠ΅ΡΠ΅Π· Π²ΡΡΠ»ΠΊΡ ΠΈΠ· Π½Π΅Π·Π°ΠΊΠ°Π»Π΅Π½Π½ΠΎΠΉ ΠΊΠΎΠ½ΡΡΡΡΠΊΡΠΈΠΎΠ½Π½ΠΎΠΉ ΡΡΠ°Π»ΠΈ.
ΠΡΠΈ ΠΌΠΎΠ½ΡΠ°ΠΆΠ΅ ΠΏΠΎΠ΄ΡΠΈΠΏΠ½ΠΈΠΊΠΎΠ² Ρ ΡΠΈΠ»ΠΈΠ½Π΄ΡΠΈΡΠ΅ΡΠΊΠΈΠΌ ΠΎΡΠ²Π΅ΡΡΡΠΈΠ΅ΠΌ Π½Π° Π²Π°Π» Ρ Π½Π°ΡΡΠ³ΠΎΠΌ ΠΏΠΎΠ΄ΡΠΈΠΏΠ½ΠΈΠΊ ΡΠ΅Π»Π΅ΡΠΎΠΎΠ±ΡΠ°Π·Π½ΠΎ ΠΏΡΠ΅Π΄Π²Π°ΡΠΈΡΠ΅Π»ΡΠ½ΠΎ Π½Π°Π³ΡΠ΅ΡΡ Π½Π° ΠΈΠ½Π΄ΡΠΊΡΠΈΠΎΠ½Π½ΠΎΠΌ Π½Π°Π³ΡΠ΅Π²Π°ΡΠ΅Π»Π΅.
ΠΠ°Π³ΡΠ΅ΡΡΠΉ ΠΏΠΎΠ΄ΡΠΈΠΏΠ½ΠΈΠΊ ΡΡΡΠ°Π½Π°Π²Π»ΠΈΠ²Π°ΡΡ Π½Π° Π²Π°Π» ΠΈ Π΄ΠΎΠ²ΠΎΠ΄ΡΡ Π΄ΠΎ ΠΌΠ΅ΡΡΠ° Π½Π΅Π±ΠΎΠ»ΡΡΠΈΠΌ ΡΡΠΈΠ»ΠΈΠ΅ΠΌ.
ΠΡΠΈ ΡΡΠΎΠΌ ΡΡΠΎΡΠΎΠ½Π° ΠΏΠΎΠ΄ΡΠΈΠΏΠ½ΠΈΠΊΠ°, Π½Π° ΠΊΠΎΡΠΎΡΠΎΠΉ Π½Π°Π½Π΅ΡΠ΅Π½ΠΎ Π·Π°Π²ΠΎΠ΄ΡΠΊΠΎΠ΅ ΠΊΠ»Π΅ΠΉΠΌΠΎ, Π΄ΠΎΠ»ΠΆΠ½Π° Π±ΡΡΡ ΡΠ½Π°ΡΡΠΆΠΈ.
ΠΠ»Ρ ΠΌΠΎΠ½ΡΠ°ΠΆΠ° ΠΊΡΡΠΏΠ½ΠΎΠ³Π°Π±Π°ΡΠΈΡΠ½ΡΡ
ΠΏΠΎΠ΄ΡΠΈΠΏΠ½ΠΈΠΊΠΎΠ² Π½Π°ΠΈΠ±ΠΎΠ»Π΅Π΅ ΡΠ΅Π»Π΅ΡΠΎΠΎΠ±ΡΠ°Π·Π½ΡΠΌ ΡΠ²Π»ΡΠ΅ΡΡΡ ΠΏΡΠΈΠΌΠ΅Π½Π΅Π½ΠΈΠ΅ Π³ΠΈΠ΄ΡΠ°Π²Π»ΠΈΡΠ΅ΡΠΊΠΎΠ³ΠΎ ΡΠ°ΡΠΏΠΎΡΠ°, ΠΎΠ±Π΅ΡΠΏΠ΅ΡΠΈΠ²Π°ΡΡΠ΅Π³ΠΎ Π½Π°ΠΈΠ±ΠΎΠ»Π΅Π΅ ΠΊΠ°ΡΠ΅ΡΡΠ²Π΅Π½Π½ΡΡ ΡΡΡΠ°Π½ΠΎΠ²ΠΊΡ ΠΏΠΎΠ΄ΡΠΈΠΏΠ½ΠΈΠΊΠ°, ΠΎΡΡΡΡΡΡΠ²ΠΈΠ΅ ΠΊΠ°ΠΊΠΈΡ
-Π»ΠΈΠ±ΠΎ ΠΏΠΎΠ²ΡΠ΅ΠΆΠ΄Π΅Π½ΠΈΠΉ ΠΌΠΎΠ½ΡΠ°ΠΆΠ½ΡΡ
ΠΏΠΎΠ²Π΅ΡΡ
Π½ΠΎΡΡΠ΅ΠΉ ΠΈ Π²ΡΡΠΎΠΊΡΡ ΠΏΡΠΎΠΈΠ·Π²ΠΎΠ΄ΠΈΡΠ΅Π»ΡΠ½ΠΎΡΡΡ. ΠΡΠΎΠ±Π΅Π½Π½ΠΎ ΡΠ΅Π»Π΅ΡΠΎΠΎΠ±ΡΠ°Π·Π΅Π½ ΡΡΠΎΡ ΡΠΏΠΎΡΠΎΠ± Π΄Π»Ρ ΠΌΠΎΠ½ΡΠ°ΠΆΠ° ΠΏΠΎΠ΄ΡΠΈΠΏΠ½ΠΈΠΊΠΎΠ² Ρ Π²Π½ΡΡΡΠ΅Π½Π½ΠΈΠΌ ΠΊΠΎΠ½ΠΈΡΠ΅ΡΠΊΠΈΠΌ ΠΎΡΠ²Π΅ΡΡΡΠΈΠ΅ΠΌ Π΄ΠΈΠ°ΠΌΠ΅ΡΡΠΎΠΌ Π±ΠΎΠ»Π΅Π΅ 120-150 ΠΌΠΌ.
ΠΡΠΈ ΠΏΠΎΡΠ°Π΄ΠΊΠ΅ ΠΏΠΎΠ΄ΡΠΈΠΏΠ½ΠΈΠΊΠ° Π² ΠΊΠΎΡΠΏΡΡ Ρ Π½Π°ΡΡΠ³ΠΎΠΌ ΡΠ΅ΠΊΠΎΠΌΠ΅Π½Π΄ΡΠ΅ΡΡΡ ΠΏΠ΅ΡΠ΅Π΄ ΠΌΠΎΠ½ΡΠ°ΠΆΠΎΠΌ ΠΏΡΠ΅Π΄Π²Π°ΡΠΈΡΠ΅Π»ΡΠ½ΠΎ ΠΎΡ
Π»Π°Π΄ΠΈΡΡ ΠΏΠΎΠ΄ΡΠΈΠΏΠ½ΠΈΠΊ ΠΆΠΈΠ΄ΠΊΠΈΠΌ Π°Π·ΠΎΡΠΎΠΌ (-160 Β°Π‘) ΠΈΠ»ΠΈ ΡΡΡ
ΠΈΠΌ Π»ΡΠ΄ΠΎΠΌ, Π»ΠΈΠ±ΠΎ Π½Π°Π³ΡΠ΅ΡΡ ΠΊΠΎΡΠΏΡΡ.
ΠΠ°ΠΈΠ±ΠΎΠ»Π΅Π΅ ΡΠ΅Π»Π΅ΡΠΎΠΎΠ±ΡΠ°Π·Π½ΡΠΌΠΈ ΡΠ²Π»ΡΡΡΡΡ ΡΠΏΠΎΡΠΎΠ±Ρ ΠΌΠΎΠ½ΡΠ°ΠΆΠ°, ΠΏΡΠΈ ΠΊΠΎΡΠΎΡΡΡ
ΠΎΡΡΡΠ΅ΡΡΠ²Π»ΡΠ΅ΡΡΡ ΠΎΠ΄Π½ΠΎΠ²ΡΠ΅ΠΌΠ΅Π½Π½ΠΎΠ΅ ΠΈ ΡΠ°Π²Π½ΠΎΠΌΠ΅ΡΠ½ΠΎΠ΅ Π΄Π°Π²Π»Π΅Π½ΠΈΠ΅ ΠΏΠΎ Π²ΡΠ΅ΠΉ ΠΎΠΊΡΡΠΆΠ½ΠΎΡΡΠΈ ΠΌΠΎΠ½ΡΠΈΡΡΠ΅ΠΌΠΎΠ³ΠΎ ΠΊΠΎΠ»ΡΡΠ°. ΠΡΠΈ ΡΠ°ΠΊΠΈΡ
ΡΠΏΠΎΡΠΎΠ±Π°Ρ
Π½Π΅ Π²ΠΎΠ·Π½ΠΈΠΊΠ°Π΅Ρ ΠΏΠ΅ΡΠ΅ΠΊΠΎΡ ΠΌΠΎΠ½ΡΠΈΡΡΠ΅ΠΌΠΎΠ³ΠΎ ΠΊΠΎΠ»ΡΡΠ°. ΠΠ»Ρ ΠΎΡΡΡΠ΅ΡΡΠ²Π»Π΅Π½ΠΈΡ ΠΏΠΎΠ΄ΠΎΠ±Π½ΡΡ
ΡΠΏΠΎΡΠΎΠ±ΠΎΠ² ΠΏΡΠΈΠΌΠ΅Π½ΡΡΡ ΡΡΡΠ±Ρ ΠΈΠ· Π½Π΅Π·Π°ΠΊΠ°Π»Π΅Π½Π½ΠΎΠΉ ΠΊΠΎΠ½ΡΡΡΡΠΊΡΠΈΠΎΠ½Π½ΠΎΠΉ ΡΡΠ°Π»ΠΈ, Π²Π½ΡΡΡΠ΅Π½Π½ΠΈΠΉ Π΄ΠΈΠ°ΠΌΠ΅ΡΡ ΠΊΠΎΡΠΎΡΡΡ
Π½Π΅ΡΠΊΠΎΠ»ΡΠΊΠΎ Π±ΠΎΠ»ΡΡΠ΅ Π΄ΠΈΠ°ΠΌΠ΅ΡΡΠ° ΠΎΡΠ²Π΅ΡΡΡΠΈΡ ΠΊΠΎΠ»ΡΡΠ°, Π° Π½Π°ΡΡΠΆΠ½ΡΠΉ Π½Π΅ΠΌΠ½ΠΎΠ³ΠΎ ΠΌΠ΅Π½ΡΡΠ΅ Π½Π°ΡΡΠΆΠ½ΠΎΠ³ΠΎ Π΄ΠΈΠ°ΠΌΠ΅ΡΡΠ° ΠΊΠΎΠ»ΡΡΠ°.
ΠΠ° ΡΠ²ΠΎΠ±ΠΎΠ΄Π½ΠΎΠΌ ΠΊΠΎΠ½ΡΠ΅ ΡΡΡΠ±Ρ ΡΠ»Π΅Π΄ΡΠ΅Ρ ΡΡΡΠ°Π½ΠΎΠ²ΠΈΡΡ Π·Π°Π³Π»ΡΡΠΊΡ ΡΠΎ ΡΡΠ΅ΡΠΈΡΠ΅ΡΠΊΠΎΠΉ Π½Π°ΡΡΠΆΠ½ΠΎΠΉ ΠΏΠΎΠ²Π΅ΡΡ
Π½ΠΎΡΡΡΡ, ΠΊ ΠΊΠΎΡΠΎΡΠΎΠΉ ΠΈ ΠΏΡΠΈΠ»Π°Π³Π°ΡΡ ΡΡΠΈΠ»ΠΈΠ΅ ΠΏΡΠΈ ΠΌΠΎΠ½ΡΠ°ΠΆΠ΅.
Π£ΡΠΈΠ»ΠΈΠ΅ ΠΏΡΠΈ ΠΌΠΎΠ½ΡΠ°ΠΆΠ΅ ΡΠ»Π΅Π΄ΡΠ΅Ρ ΡΠΎΠ·Π΄Π°Π²Π°ΡΡ Ρ ΠΏΠΎΠΌΠΎΡΡΡ ΠΌΠ΅Ρ
Π°Π½ΠΈΡΠ΅ΡΠΊΠΈΡ
Π»ΠΈΠ±ΠΎ Π³ΠΈΠ΄ΡΠ°Π²Π»ΠΈΡΠ΅ΡΠΊΠΈΡ
ΠΏΡΠ΅ΡΡΠΎΠ² ΠΈ ΠΏΡΠΈΡΠΏΠΎΡΠΎΠ±Π»Π΅Π½ΠΈΠΉ.
ΠΡΠΈ ΠΎΡΡΡΡΡΡΠ²ΠΈΠΈ ΠΌΠ΅Ρ
Π°Π½ΠΈΡΠ΅ΡΠΊΠΈΡ
ΠΈ Π³ΠΈΠ΄ΡΠ°Π²Π»ΠΈΡΠ΅ΡΠΊΠΈΡ
ΠΏΡΠΈΡΠΏΠΎΡΠΎΠ±Π»Π΅Π½ΠΈΠΉ ΠΈ ΠΌΠΎΠ½ΡΠ°ΠΆΠ΅ Ρ Π½Π΅Π±ΠΎΠ»ΡΡΠΈΠΌΠΈ Π½Π°ΡΡΠ³Π°ΠΌΠΈ ΠΏΠΎΠ΄ΡΠΈΠΏΠ½ΠΈΠΊΠΎΠ² ΠΌΠ°Π»ΡΡ
ΡΠ°Π·ΠΌΠ΅ΡΠΎΠ² Π΄ΠΎΠΏΡΡΡΠΈΠΌΠΎ Π½Π°Π½Π΅ΡΠ΅Π½ΠΈΠ΅ Π½Π΅ΡΠΈΠ»ΡΠ½ΡΡ
ΡΠ΄Π°ΡΠΎΠ² ΠΌΠΎΠ»ΠΎΡΠΊΠΎΠΌ ΡΠ΅ΡΠ΅Π· ΠΌΠΎΠ½ΡΠ°ΠΆΠ½ΡΡ ΡΡΡΠ±Ρ Ρ Π·Π°Π³Π»ΡΡΠΊΠΎΠΉ.
ΠΡΠΈ Π»ΡΠ±ΡΡ
ΡΠΏΠΎΡΠΎΠ±Π°Ρ
ΠΌΠΎΠ½ΡΠ°ΠΆΠ°, ΠΎΡΠΎΠ±Π΅Π½Π½ΠΎ ΠΏΡΠΈ ΠΌΠΎΠ½ΡΠ°ΠΆΠ΅ Ρ ΠΏΠΎΠΌΠΎΡΡΡ ΠΌΠΎΠ»ΠΎΡΠΊΠ°, Π½Π΅ΠΎΠ±Ρ
ΠΎΠ΄ΠΈΠΌΠΎ ΡΡΠ°ΡΠ΅Π»ΡΠ½ΠΎ ΡΠ»Π΅Π΄ΠΈΡΡ Π·Π° ΠΎΠ±Π΅ΡΠΏΠ΅ΡΠ΅Π½ΠΈΠ΅ΠΌ ΡΠ°Π²Π½ΠΎΠΌΠ΅ΡΠ½ΠΎΠ³ΠΎ, Π±Π΅Π· ΠΏΠ΅ΡΠ΅ΠΊΠΎΡΠ°, ΠΎΡΠ΅Π²ΠΎΠ³ΠΎ ΠΏΠ΅ΡΠ΅ΠΌΠ΅ΡΠ΅Π½ΠΈΡ ΠΊΠΎΠ»ΡΡΠ°. ΠΠ°Π»ΠΈΡΠΈΠ΅ ΠΏΠ΅ΡΠ΅ΠΊΠΎΡΠ° ΠΏΡΠΈ ΠΌΠΎΠ½ΡΠ°ΠΆΠ΅ ΠΏΡΠΈΠ²ΠΎΠ΄ΠΈΡ ΠΊ ΠΎΠ±ΡΠ°Π·ΠΎΠ²Π°Π½ΠΈΡ Π·Π°Π΄ΠΈΡΠΎΠ² Π½Π° ΠΏΠΎΡΠ°Π΄ΠΎΡΠ½ΠΎΠΉ ΠΏΠΎΠ²Π΅ΡΡ
Π½ΠΎΡΡΠΈ, Π½Π΅ΠΏΡΠ°Π²ΠΈΠ»ΡΠ½ΠΎΠΉ ΡΡΡΠ°Π½ΠΎΠ²ΠΊΠ΅ ΠΏΠΎΠ΄ΡΠΈΠΏΠ½ΠΈΠΊΠ°, ΠΏΡΠΈΠ²ΠΎΠ΄ΡΡΠ΅ΠΉ ΠΊ ΡΠΎΠΊΡΠ°ΡΠ΅Π½ΠΈΡ ΡΡΠΎΠΊΠ° Π΅Π³ΠΎ ΡΠ»ΡΠΆΠ±Ρ, Π° Π² ΠΎΡΠ΄Π΅Π»ΡΠ½ΡΡ
ΡΠ»ΡΡΠ°ΡΡ
— ΠΊ ΡΠ°Π·ΡΡΠ²Ρ ΠΌΠΎΠ½ΡΠΈΡΡΠ΅ΠΌΠΎΠ³ΠΎ ΠΊΠΎΠ»ΡΡΠ°.
ΠΠ²ΡΡ
ΡΡΠ΄Π½ΡΠ΅ ΡΡΠ΅ΡΠΈΡΠ΅ΡΠΊΠΈΠ΅ ΡΠ°ΡΠΈΠΊΠΎΠ²ΡΠ΅ ΠΈ ΡΠΎΠ»ΠΈΠΊΠΎΠ²ΡΠ΅ ΠΏΠΎΠ΄ΡΠΈΠΏΠ½ΠΈΠΊΠΈ Ρ ΠΊΠΎΠ½ΠΈΡΠ΅ΡΠΊΠΈΠΌ ΠΎΡΠ²Π΅ΡΡΡΠΈΠ΅ΠΌ ΡΡΡΠ°Π½Π°Π²Π»ΠΈΠ²Π°ΡΡ Π½Π° ΡΠΈΠ»ΠΈΠ½Π΄ΡΠΈΡΠ΅ΡΠΊΠΎΠΌ Π²Π°Π»Ρ Ρ ΠΏΠΎΠΌΠΎΡΡΡ Π·Π°ΠΊΡΠ΅ΠΏΠΈΡΠ΅Π»ΡΠ½ΡΡ
ΠΈ ΡΡΡΠΆΠ½ΡΡ
Π²ΡΡΠ»ΠΎΠΊ, Π° Π½Π° Π²Π°Π»Π°Ρ
Ρ ΠΊΠΎΠ½ΠΈΡΠ΅ΡΠΊΠΎΠΉ ΡΠ΅ΠΉΠΊΠΎΠΉ — Π½Π΅ΠΏΠΎΡΡΠ΅Π΄ΡΡΠ²Π΅Π½Π½ΠΎ Π½Π° ΡΠ΅ΠΉΠΊΡ Π²Π°Π»Π°.
ΠΠΎΠ½ΡΠ°ΠΆ ΠΏΠΎΠ΄ΡΠΈΠΏΠ½ΠΈΠΊΠΎΠ² Ρ Π΄ΠΈΠ°ΠΌΠ΅ΡΡΠΎΠΌ ΠΎΡΠ²Π΅ΡΡΡΠΈΡ Π΄ΠΎ 70 ΠΌΠΌ ΠΈ Π½ΠΎΡΠΌΠ°Π»ΡΠ½ΡΠΌΠΈ Π½Π°ΡΡΠ³Π°ΠΌΠΈ ΡΠ΅Π»Π΅ΡΠΎΠΎΠ±ΡΠ°Π·Π½ΠΎ ΠΎΡΡΡΠ΅ΡΡΠ²Π»ΡΡΡ Ρ ΠΏΠΎΠΌΠΎΡΡΡ ΠΌΠΎΠ½ΡΠ°ΠΆΠ½ΠΎΠΉ Π²ΡΡΠ»ΠΊΠΈ, Π½Π°Π²Π΅ΡΡΡΠ²Π°Π΅ΠΌΠΎΠΉ Π½Π° ΡΠ΅Π·ΡΠ±ΠΎΠ²ΠΎΠΉ ΠΊΠΎΠ½Π΅Ρ Π²Π°Π»Π°. ΠΠ°ΠΆΠΈΠΌΠ½Π°Ρ ΡΠ°ΡΡΡ Π²ΠΎΠ·Π΄Π΅ΠΉΡΡΠ²ΡΠ΅Ρ Π½Π° ΡΠΎΡΠ΅Ρ Π·Π°ΠΊΡΠ΅ΠΏΠΈΡΠ΅Π»ΡΠ½ΠΎΠΉ Π²ΡΡΠ»ΠΊΠΈ ΠΈΠ»ΠΈ Π½Π΅ΠΏΠΎΡΡΠ΅Π΄ΡΡΠ²Π΅Π½Π½ΠΎ Π½Π° ΡΠΎΡΠ΅Ρ Π²Π½ΡΡΡΠ΅Π½Π½Π΅Π³ΠΎ ΠΊΠΎΠ»ΡΡΠ° (ΠΏΡΠΈ ΠΌΠΎΠ½ΡΠ°ΠΆΠ΅ Π±Π΅Π· Π·Π°ΠΊΡΠ΅ΠΏΠΈΡΠ΅Π»ΡΠ½ΡΡ
ΠΈ ΡΡΡΠΆΠ½ΡΡ
Π²ΡΡΠ»ΠΎΠΊ). ΠΠΎΠ΄ΡΠΈΠΏΠ½ΠΈΠΊΠΈ Ρ Π΄ΠΈΠ°ΠΌΠ΅ΡΡΠΎΠΌ ΠΎΡΠ²Π΅ΡΡΡΠΈΡ ΡΠ²ΡΡΠ΅ 70-100 ΠΌΠΌ ΡΠ»Π΅Π΄ΡΠ΅Ρ ΠΌΠΎΠ½ΡΠΈΡΠΎΠ²Π°ΡΡ Π³ΠΈΠ΄ΡΠ°Π²Π»ΠΈΡΠ΅ΡΠΊΠΈΠΌΠΈ ΠΌΠ΅ΡΠΎΠ΄Π°ΠΌΠΈ. Π’Π°ΠΊ ΠΊΠ°ΠΊ ΠΏΠΎ ΠΌΠ΅ΡΠ΅ ΠΎΡΠ΅Π²ΠΎΠ³ΠΎ ΠΏΡΠΎΠ΄Π²ΠΈΠΆΠ΅Π½ΠΈΡ Π·Π°ΠΊΡΠ΅ΠΏΠΈΡΠ΅Π»ΡΠ½ΠΎΠΉ Π²ΡΡΠ»ΠΊΠΈ Π²Π½ΡΡΡΠ΅Π½Π½Π΅Π΅ ΠΊΠΎΠ»ΡΡΠΎ ΠΏΠΎΠ΄ΡΠΈΠΏΠ½ΠΈΠΊΠ° Π΄Π΅ΡΠΎΡΠΌΠΈΡΡΠ΅ΡΡΡ (ΡΠ°ΡΡΠΈΡΡΠ΅ΡΡΡ), ΡΠ°Π΄ΠΈΠ°Π»ΡΠ½ΡΠΉ Π·Π°Π·ΠΎΡ ΡΠΌΠ΅Π½ΡΡΠ°Π΅ΡΡΡ. Π Π°Π΄ΠΈΠ°Π»ΡΠ½ΡΠΉ Π·Π°Π·ΠΎΡ Π½Π΅ΠΎΠ±Ρ
ΠΎΠ΄ΠΈΠΌΠΎ ΠΊΠΎΠ½ΡΡΠΎΠ»ΠΈΡΠΎΠ²Π°ΡΡ Ρ ΠΏΠΎΠΌΠΎΡΡΡ ΡΡΠΏΠ°. ΠΠΎΠΏΡΡΡΠΈΠΌΠΎΠ΅ ΠΌΠΈΠ½ΠΈΠΌΠ°Π»ΡΠ½ΠΎΠ΅ Π·Π½Π°ΡΠ΅Π½ΠΈΠ΅ ΡΠ°Π΄ΠΈΠ°Π»ΡΠ½ΠΎΠ³ΠΎ Π·Π°Π·ΠΎΡΠ° Π² ΠΌΠΈΠ»Π»ΠΈΠΌΠ΅ΡΡΠ°Ρ
ΠΏΠΎΡΠ»Π΅ ΡΠ±ΠΎΡΠΊΠΈ ΡΠ·Π»Π° Π΄Π»Ρ ΠΏΠΎΠ΄ΡΠΈΠΏΠ½ΠΈΠΊΠΎΠ², ΠΈΠ·Π³ΠΎΡΠΎΠ²Π»Π΅Π½Π½ΡΡ
Ρ Π·Π°Π·ΠΎΡΠ°ΠΌΠΈ Π½ΠΎΡΠΌΠ°Π»ΡΠ½ΠΎΠΉ Π³ΡΡΠΏΠΏΡ ΠΏΠΎ ΠΠΠ‘Π’ 24810, ΠΎΡΠΈΠ΅Π½ΡΠΈΡΠΎΠ²ΠΎΡΠ½ΠΎ ΠΌΠΎΠΆΠ΅Ρ Π±ΡΡΡ ΠΎΠΏΡΠ΅Π΄Π΅Π»Π΅Π½ΠΎ ΠΏΠΎ ΡΠΎΡΠΌΡΠ»Π΅
Smin = d/3000,
Π³Π΄Π΅ d — Π½ΠΎΠΌΠΈΠ½Π°Π»ΡΠ½ΡΠΉ Π΄ΠΈΠ°ΠΌΠ΅ΡΡ ΠΎΡΠ²Π΅ΡΡΡΠΈΡ ΠΏΠΎΠ΄ΡΠΈΠΏΠ½ΠΈΠΊΠ°, ΠΌΠΌ.
ΠΡΡΠΏΠ½ΠΎΠ³Π°Π±Π°ΡΠΈΡΠ½ΡΠ΅ (Ρ Π΄ΠΈΠ°ΠΌΠ΅ΡΡΠΎΠΌ ΠΎΡΠ²Π΅ΡΡΡΠΈΡ Π±ΠΎΠ»Π΅Π΅ 300 ΠΌΠΌ) ΡΡΠ΅ΡΠΈΡΠ΅ΡΠΊΠΈΠ΅ ΡΠΎΠ»ΠΈΠΊΠΎΠ²ΡΠ΅ ΠΏΠΎΠ΄ΡΠΈΠΏΠ½ΠΈΠΊΠΈ ΡΠ΅Π»Π΅ΡΠΎΠΎΠ±ΡΠ°Π·Π½ΠΎ ΠΏΠ΅ΡΠ΅Π΄ ΠΌΠΎΠ½ΡΠ°ΠΆΠΎΠΌ ΡΠ°Π·ΠΎΠ³ΡΠ΅ΡΡ Π΄ΠΎ 60-70Β°Π‘,
ΠΡΠΈ ΠΌΠΎΠ½ΡΠ°ΠΆΠ΅ ΠΈΠ³ΠΎΠ»ΡΡΠ°ΡΠΎΠ³ΠΎ ΠΏΠΎΠ΄ΡΠΈΠΏΠ½ΠΈΠΊΠ° Π±Π΅Π· ΡΠ΅ΠΏΠ°ΡΠ°ΡΠΎΡΠ° ΠΏΠΎΡΠ»Π΅Π΄Π½ΡΡ ΠΈΠ³Π»Π° Π΄ΠΎΠ»ΠΆΠ½Π° Π²Ρ
ΠΎΠ΄ΠΈΡΡ Ρ Π·Π°Π·ΠΎΡΠΎΠΌ, ΡΠ°Π²Π½ΡΠΌ ΠΎΡ 0,5 Π΄ΠΎ 1 Π΄ΠΈΠ°ΠΌΠ΅ΡΡΠ° ΠΈΠ³Π»Ρ.
ΠΠ½ΠΎΠ³Π΄Π° Π΄Π»Ρ Π²ΡΠΏΠΎΠ»Π½Π΅Π½ΠΈΡ ΡΡΠΎΠ³ΠΎ ΡΡΠ»ΠΎΠ²ΠΈΡ ΡΡΡΠ°Π½Π°Π²Π»ΠΈΠ²Π°ΡΡ ΠΏΠΎΡΠ»Π΅Π΄Π½ΡΡ ΠΈΠ³Π»Ρ Ρ ΠΌΠ΅Π½ΡΡΠΈΠΌ Π΄ΠΈΠ°ΠΌΠ΅ΡΡΠΎΠΌ.
Π ΠΏΡΠΎΡΠ΅ΡΡΠ΅ ΡΡΡΠ°Π½ΠΎΠ²ΠΊΠΈ ΠΏΠΎΠ΄ΡΠΈΠΏΠ½ΠΈΠΊΠΎΠ² (ΠΎΡΠΎΠ±Π΅Π½Π½ΠΎ Π²ΠΎΡΠΏΡΠΈΠ½ΠΈΠΌΠ°ΡΡΠΈΡ
ΠΎΡΠ΅Π²ΡΠ΅ ΡΡΠΈΠ»ΠΈΡ) ΡΠ°ΠΌ, Π³Π΄Π΅ ΡΡΠΎ Π²ΠΎΠ·ΠΌΠΎΠΆΠ½ΠΎ, Ρ ΠΏΠΎΠΌΠΎΡΡΡ ΡΡΠΏΠ° ΡΠΎΠ»ΡΠΈΠ½ΠΎΠΉ ΠΎΡ 0,03 ΠΌΠΌ ΠΈΠ»ΠΈ ΠΏΠΎ ΡΠ²Π΅ΡΠΎΠ²ΠΎΠΉ ΡΠ΅Π»ΠΈ ΡΠ»Π΅Π΄ΡΠ΅Ρ ΡΠ±Π΅Π΄ΠΈΡΡΡΡ Π² ΠΏΠ»ΠΎΡΠ½ΠΎΠΌ ΠΈ ΠΏΡΠ°Π²ΠΈΠ»ΡΠ½ΠΎΠΌ ΠΏΡΠΈΠ»Π΅Π³Π°Π½ΠΈΠΈ ΡΠΎΡΡΠΎΠ² ΠΊΠΎΠ»Π΅Ρ ΠΏΠΎΠ΄ΡΠΈΠΏΠ½ΠΈΠΊΠ° ΠΊ ΡΠΎΡΡΠ°ΠΌ Π·Π°ΠΏΠ»Π΅ΡΠΈΠΊΠΎΠ². ΠΠ½Π°Π»ΠΎΠ³ΠΈΡΠ½ΠΎΠΉ ΠΏΡΠΎΠ²Π΅ΡΠΊΠ΅ Π΄ΠΎΠ»ΠΆΠ½Ρ Π±ΡΡΡ ΠΏΠΎΠ΄Π²Π΅ΡΠ³Π½ΡΡΡ ΠΏΡΠΎΡΠΈΠ²ΠΎΠΏΠΎΠ»ΠΎΠΆΠ½ΡΠ΅ ΡΠΎΡΡΡ ΠΏΠΎΠ΄ΡΠΈΠΏΠ½ΠΈΠΊΠΎΠ² ΠΈ ΡΠΎΡΡΡ ΠΏΡΠΈΠΆΠΈΠΌΠ°ΡΡΠΈΡ
ΠΈΡ
Π² ΠΎΡΠ΅Π²ΠΎΠΌ Π½Π°ΠΏΡΠ°Π²Π»Π΅Π½ΠΈΠΈ Π΄Π΅ΡΠ°Π»Π΅ΠΉ.
ΠΠ΅ΠΎΠ±Ρ
ΠΎΠ΄ΠΈΠΌΠΎ ΠΏΡΠΎΠ²Π΅ΡΠΈΡΡ ΠΏΡΠ°Π²ΠΈΠ»ΡΠ½ΠΎΡΡΡ Π²Π·Π°ΠΈΠΌΠ½ΠΎΠ³ΠΎ ΡΠ°ΡΠΏΠΎΠ»ΠΎΠΆΠ΅Π½ΠΈΡ ΠΏΠΎΠ΄ΡΠΈΠΏΠ½ΠΈΠΊΠΎΠ² Π² ΠΎΠΏΠΎΡΠ°Ρ
ΠΎΠ΄Π½ΠΎΠ³ΠΎ Π²Π°Π»Π°. ΠΠ°Π» ΠΏΠΎΡΠ»Π΅ ΠΌΠΎΠ½ΡΠ°ΠΆΠ° Π΄ΠΎΠ»ΠΆΠ΅Π½ Π²ΡΠ°ΡΠ°ΡΡΡΡ ΠΎΡ ΡΡΠΊΠΈ Π»Π΅Π³ΠΊΠΎ, ΡΠ²ΠΎΠ±ΠΎΠ΄Π½ΠΎ ΠΈ ΡΠ°Π²Π½ΠΎΠΌΠ΅ΡΠ½ΠΎ.
ΠΡΠ΅Π²ΠΎΠΉ Π·Π°Π·ΠΎΡ ΡΠ°Π΄ΠΈΠ°Π»ΡΠ½ΠΎ-ΡΠΏΠΎΡΠ½ΡΡ
ΠΈ ΡΠΏΠΎΡΠ½ΡΡ
ΠΏΠΎΠ΄ΡΠΈΠΏΠ½ΠΈΠΊΠΎΠ² ΡΡΡΠ°Π½Π°Π²Π»ΠΈΠ²Π°ΡΡ ΠΎΡΠ΅Π²ΡΠΌ ΡΠΌΠ΅ΡΠ΅Π½ΠΈΠ΅ΠΌ Π½Π°ΡΡΠΆΠ½ΠΎΠ³ΠΎ ΠΈ Π²Π½ΡΡΡΠ΅Π½Π½Π΅Π³ΠΎ ΠΊΠΎΠ»Π΅Ρ Ρ ΠΏΠΎΠΌΠΎΡΡΡ ΠΏΡΠΎΠΊΠ»Π°Π΄ΠΎΠΊ, Π³Π°Π΅ΠΊ, ΡΠ°ΡΠΏΠΎΡΠ½ΡΡ
Π²ΡΡΠ»ΠΎΠΊ. ΠΠ»Ρ ΠΏΡΠΎΠ²Π΅ΡΠΊΠΈ ΠΎΡΠ΅Π²ΠΎΠ³ΠΎ Π·Π°Π·ΠΎΡΠ° Π² ΡΠΎΠ±ΡΠ°Π½Π½ΠΎΠΌ ΡΠ·Π»Π΅ ΠΊ ΡΠΎΡΡΡ Π²ΡΡ
ΠΎΠ΄Π½ΠΎΠ³ΠΎ ΠΊΠΎΠ½ΡΠ° ΠΏΠΎΠ΄Π²ΠΎΠ΄ΡΡ ΠΈΠ·ΠΌΠ΅ΡΠΈΡΠ΅Π»ΡΠ½ΡΠΉ Π½Π°ΠΊΠΎΠ½Π΅ΡΠ½ΠΈΠΊ ΠΈΠ½Π΄ΠΈΠΊΠ°ΡΠΎΡΠ°, ΡΠΊΡΠ΅ΠΏΠ»Π΅Π½Π½ΠΎΠ³ΠΎ Π½Π° ΠΆΠ΅ΡΡΠΊΠΎΠΉ ΡΡΠΎΠΉΠΊΠ΅. ΠΡΠ΅Π²ΠΎΠΉ Π·Π°Π·ΠΎΡ ΠΎΠΏΡΠ΅Π΄Π΅Π»ΡΡΡ ΠΏΠΎ ΡΠ°Π·Π½ΠΈΡΠ΅ ΠΏΠΎΠΊΠ°Π·Π°Π½ΠΈΠΉ ΠΈΠ½Π΄ΠΈΠΊΠ°ΡΠΎΡΠ° ΠΏΡΠΈ ΠΊΡΠ°ΠΉΠ½ΠΈΡ
ΠΎΡΠ΅Π²ΡΡ
ΠΏΠΎΠ»ΠΎΠΆΠ΅Π½ΠΈΡΡ
Π²Π°Π»Π°.
ΠΠ°Π» ΡΠΌΠ΅ΡΠ°ΡΡ Π² ΠΎΡΠ΅Π²ΠΎΠΌ Π½Π°ΠΏΡΠ°Π²Π»Π΅Π½ΠΈΠΈ Π΄ΠΎ ΠΏΠΎΠ»Π½ΠΎΠ³ΠΎ ΠΊΠΎΠ½ΡΠ°ΠΊΡΠ° ΡΠ΅Π» ΠΊΠ°ΡΠ΅Π½ΠΈΡ Ρ ΠΏΠΎΠ²Π΅ΡΡ
Π½ΠΎΡΡΡΡ ΠΊΠ°ΡΠ΅Π½ΠΈΡ ΡΠΎΠΎΡΠ²Π΅ΡΡΡΠ²ΡΡΡΠ΅Π³ΠΎ Π½Π°ΡΡΠΆΠ½ΠΎΠ³ΠΎ ΠΊΠΎΠ»ΡΡΠ°.
ΠΠ»Ρ ΠΏΠΎΠ²ΡΡΠ΅Π½ΠΈΡ ΡΠΎΡΠ½ΠΎΡΡΠΈ Π²ΡΠ°ΡΠ΅Π½ΠΈΡ, ΠΎΡΠΎΠ±Π΅Π½Π½ΠΎ Π² Π±ΡΡΡΡΠΎΡ
ΠΎΠ΄Π½ΡΡ
ΡΠ·Π»Π°Ρ
, Π½Π°ΠΏΡΠΈΠΌΠ΅Ρ, ΡΡΠ°Π½ΠΎΡΠ½ΡΡ
ΡΠ»Π΅ΠΊΡΡΠΎΡΠΏΠΈΠ½Π΄Π΅Π»ΡΡ
, Π·Π°Π·ΠΎΡΡ Π² ΡΠ°Π΄ΠΈΠ°Π»ΡΠ½ΠΎ-ΡΠΏΠΎΡΠ½ΡΡ
ΠΏΠΎΠ΄ΡΠΈΠΏΠ½ΠΈΠΊΠ°Ρ
Π²ΡΠ±ΠΈΡΠ°ΡΡ, ΡΠΎΠ·Π΄Π°Π²Π°Ρ ΡΡΠ°Π±ΠΈΠ»ΡΠ½ΡΠΉ ΠΏΡΠ΅Π΄Π½Π°ΡΡΠ³ Π½Π° ΠΏΠΎΠ΄ΡΠΈΠΏΠ½ΠΈΠΊΠΈ. ΠΡΠΎ Π΄ΠΎΡΡΠΈΠ³Π°Π΅ΡΡΡ ΠΏΡΠΈΠ»ΠΎΠΆΠ΅Π½ΠΈΠ΅ΠΌ ΠΊ Π²ΡΠ°ΡΠ°ΡΡΠ΅ΠΌΡΡΡ ΠΊΠΎΠ»ΡΡΡ ΠΏΠΎΠ΄ΡΠΈΠΏΠ½ΠΈΠΊΠ° ΠΎΡΠ΅Π²ΠΎΠ³ΠΎ ΡΡΠΈΠ»ΠΈΡ ΡΠ΅ΡΠ΅Π· ΡΠ°ΡΠΈΡΠΎΠ²Π°Π½Π½ΡΡ ΠΏΡΡΠΆΠΈΠ½Ρ. ΠΡΠΈ ΡΡΠΎΠΌ ΡΠ΅Π»Π° ΠΊΠ°ΡΠ΅Π½ΠΈΡ ΡΠΎΡΠ½ΠΎ ΡΠΈΠΊΡΠΈΡΡΡΡΡΡ Π½Π° Π΄ΠΎΡΠΎΠΆΠΊΠ°Ρ
ΠΊΠ°ΡΠ΅Π½ΠΈΡ.
ΠΠ»Ρ ΠΏΡΠ΅Π΄ΠΎΡΠ²ΡΠ°ΡΠ΅Π½ΠΈΡ Β«Π·Π°ΠΊΡΡΡΠ²Π°Π½ΠΈΡΒ» ΠΊΡΡΠΏΠ½ΡΡ
ΠΏΠΎΠ΄ΡΠΈΠΏΠ½ΠΈΠΊΠΎΠ² ΠΏΡΠΈ ΠΌΠΎΠ½ΡΠ°ΠΆΠ΅ ΠΈΠ»ΠΈ Π² ΠΏΡΠΎΡΠ΅ΡΡΠ΅ ΡΠΊΡΠΏΠ»ΡΠ°ΡΠ°ΡΠΈΠΈ ΠΏΠ΅ΡΠ΅Π΄ ΡΡΡΠ°Π½ΠΎΠ²ΠΊΠΎΠΉ ΠΈΡ
Π² ΡΠ°Π·ΡΠ΅ΠΌΠ½ΡΠ΅ ΠΊΠΎΡΠΏΡΡΠ° Π΄ΠΎΠΏΡΡΠΊΠ°Π΅ΡΡΡ ΠΏΡΠΎΠΈΠ·Π²ΠΎΠ΄ΠΈΡΡ ΡΠ°ΡΡΠ°Π±ΡΠΈΠ²Π°Π½ΠΈΠ΅ ΠΏΠΎΠ²Π΅ΡΡ
Π½ΠΎΡΡΠ΅ΠΉ ΠΏΠΎΠ»ΡΠΎΡΠ²Π΅ΡΡΡΠΈΠΉ Π² ΠΌΠ΅ΡΡΠ°Ρ
ΡΠ°Π·ΡΠ΅ΠΌΠ°. ΠΠΎΠ»Π½ΠΎΡΡ ΠΏΡΠΈΠ»Π΅Π³Π°Π½ΠΈΡ ΠΊΡΡΠΏΠ½ΡΡ
ΠΏΠΎΠ΄ΡΠΈΠΏΠ½ΠΈΠΊΠΎΠ² ΠΊ ΠΏΠΎΡΠ°Π΄ΠΎΡΠ½ΡΠΌ ΠΌΠ΅ΡΡΠ°ΠΌ Π² ΡΠ°Π·ΡΠ΅ΠΌΠ½ΡΡ
ΠΊΠΎΡΠΏΡΡΠ°Ρ
ΠΏΡΠΎΠ²Π΅ΡΡΡΡ Ρ ΠΏΠΎΠΌΠΎΡΡΡ ΠΊΠ°Π»ΠΈΠ±ΡΠ° ΠΈ ΠΊΡΠ°ΡΠΊΠΈ (ΠΎΡΠΏΠ΅ΡΠ°ΡΠΊΠΈ ΠΊΡΠ°ΡΠΊΠΈ Π΄ΠΎΠ»ΠΆΠ½Ρ ΡΠΎΡΡΠ°Π²Π»ΡΡΡ Π½Π΅ ΠΌΠ΅Π½Π΅Π΅ 75% ΠΎΠ±ΡΠ΅ΠΉ ΠΏΠΎΡΠ°Π΄ΠΎΡΠ½ΠΎΠΉ ΠΏΠ»ΠΎΡΠ°Π΄ΠΈ). Π ΡΠ°Π·ΡΠ΅ΠΌΠ½ΡΡ
ΠΊΠΎΡΠΏΡΡΠ°Ρ
Ρ ΠΏΠΎΠΌΠΎΡΡΡ ΡΡΠΏΠ° ΠΏΡΠΎΠ²Π΅ΡΡΡΡ ΡΠ°ΠΊΠΆΠ΅ ΠΏΠ»ΠΎΡΠ½ΠΎΡΡΡ ΠΈ ΡΠ°Π²Π½ΠΎΠΌΠ΅ΡΠ½ΠΎΡΡΡ ΠΏΡΠΈΠ»Π΅Π³Π°Π½ΠΈΡ ΠΎΡΠ½ΠΎΠ²Π°Π½ΠΈΡ ΠΊΡΡΡΠΊΠΈ (Π·Π°Π·ΠΎΡ Π½Π΅ Π±ΠΎΠ»Π΅Π΅ 0,03 -0,05 ΠΌΠΌ).
Π ΡΠΎΠ±ΡΠ°Π½Π½ΠΎΠΌ ΡΠ·Π»Π΅ Π½Π΅ΠΎΠ±Ρ
ΠΎΠ΄ΠΈΠΌΠΎ ΠΏΡΠΎΠ²Π΅ΡΠΈΡΡ Π½Π°Π»ΠΈΡΠΈΠ΅ Π·Π°Π·ΠΎΡΠΎΠ² ΠΌΠ΅ΠΆΠ΄Ρ Π²ΡΠ°ΡΠ°ΡΡΠΈΠΌΠΈΡΡ ΠΈ Π½Π΅ΠΏΠΎΠ΄Π²ΠΈΠΆΠ½ΡΠΌΠΈ Π΄Π΅ΡΠ°Π»ΡΠΌΠΈ. ΠΡΠΎΠ±ΠΎΠ΅ Π²Π½ΠΈΠΌΠ°Π½ΠΈΠ΅ ΡΠ»Π΅Π΄ΡΠ΅Ρ ΠΎΠ±ΡΠ°ΡΠΈΡΡ Π½Π° Π½Π°Π»ΠΈΡΠΈΠ΅ Π·Π°Π·ΠΎΡΠΎΠ² ΠΌΠ΅ΠΆΠ΄Ρ ΡΠΎΡΡΠ°ΠΌΠΈ Π½Π΅ΠΏΠΎΠ΄Π²ΠΈΠΆΠ½ΡΡ
Π΄Π΅ΡΠ°Π»Π΅ΠΉ ΠΈ ΡΠΎΡΡΠ°ΠΌΠΈ ΡΠ΅ΠΏΠ°ΡΠ°ΡΠΎΡΠΎΠ², ΠΊΠΎΡΠΎΡΡΠ΅ ΠΈΠ½ΠΎΠ³Π΄Π° Π²ΡΡΡΡΠΏΠ°ΡΡ Π·Π° ΠΏΠ»ΠΎΡΠΊΠΎΡΡΡ ΡΠΎΡΡΠΎΠ² ΠΊΠΎΠ»Π΅Ρ.
Π‘Π»Π΅Π΄ΡΠ΅Ρ ΠΏΡΠΎΠ²Π΅ΡΠΈΡΡ ΡΠ°ΠΊΠΆΠ΅ ΡΠΎΠ²ΠΏΠ°Π΄Π΅Π½ΠΈΠ΅ ΠΏΡΠΎΡΠΎΡΠ΅ΠΊ Π΄Π»Ρ ΠΏΠΎΠ΄Π°ΡΠΈ ΡΠΌΠ°Π·ΠΊΠΈ Π² ΠΊΠΎΡΠΏΡΡΠ°Ρ
ΡΠΎ ΡΠΌΠ°Π·ΠΎΡΠ½ΡΠΌΠΈ ΠΎΡΠ²Π΅ΡΡΡΠΈΡΠΌΠΈ Π² Π½Π°ΡΡΠΆΠ½ΡΡ
ΠΊΠΎΠ»ΡΡΠ°Ρ
ΠΏΠΎΠ΄ΡΠΈΠΏΠ½ΠΈΠΊΠΎΠ².
ΠΠ»Ρ ΠΏΠΎΠ΄ΡΠΈΠΏΠ½ΠΈΠΊΠΎΠ² Ρ ΡΠΈΠ»ΠΈΠ½Π΄ΡΠΈΡΠ΅ΡΠΊΠΈΠΌΠΈ ΡΠΎΠ»ΠΈΠΊΠ°ΠΌΠΈ ΠΈ Π±Π΅Π· Π±ΠΎΡΡΠΎΠ² ΠΏΠΎΡΠ»Π΅ ΠΌΠΎΠ½ΡΠ°ΠΆΠ° Π΄ΠΎΠ»ΠΆΠ½ΠΎ Π±ΡΡΡ ΠΏΡΠΎΠ²Π΅ΡΠ΅Π½ΠΎ ΠΎΡΠ½ΠΎΡΠΈΡΠ΅Π»ΡΠ½ΠΎΠ΅ ΡΠΌΠ΅ΡΠ΅Π½ΠΈΠ΅ Π½Π°ΡΡΠΆΠ½ΠΎΠ³ΠΎ ΠΈ Π²Π½ΡΡΡΠ΅Π½Π½Π΅Π³ΠΎ ΠΊΠΎΠ»Π΅Ρ Π² ΠΎΡΠ΅Π²ΠΎΠΌ Π½Π°ΠΏΡΠ°Π²Π»Π΅Π½ΠΈΠΈ. ΠΠ½ΠΎ Π½Π΅ Π΄ΠΎΠ»ΠΆΠ½ΠΎ Π±ΡΡΡ Π±ΠΎΠ»Π΅Π΅ 0,5-1,5 ΠΌΠΌ Π΄Π»Ρ ΠΏΠΎΠ΄ΡΠΈΠΏΠ½ΠΈΠΊΠΎΠ² Ρ ΠΊΠΎΡΠΎΡΠΊΠΈΠΌΠΈ ΡΠΎΠ»ΠΈΠΊΠ°ΠΌΠΈ ΠΈ Π±ΠΎΠ»Π΅Π΅ 1-2 ΠΌΠΌ — Π΄Π»Ρ ΠΏΠΎΠ΄ΡΠΈΠΏΠ½ΠΈΠΊΠΎΠ² Ρ Π΄Π»ΠΈΠ½Π½ΡΠΌΠΈ ΡΠΎΠ»ΠΈΠΊΠ°ΠΌΠΈ (Π±ΠΎΠ»ΡΡΠΈΠ΅ Π·Π½Π°ΡΠ΅Π½ΠΈΡ Π΄Π°Π½Ρ Π΄Π»Ρ ΠΏΠΎΠ΄ΡΠΈΠΏΠ½ΠΈΠΊΠΎΠ² Π±ΠΎΠ»ΡΡΠΈΡ
ΡΠ°Π·ΠΌΠ΅ΡΠΎΠ²).
ΠΠΎΡΠ»Π΅ Π·Π°Π²Π΅ΡΡΠ΅Π½ΠΈΡ ΡΠ±ΠΎΡΠΎΡΠ½ΡΡ
ΠΎΠΏΠ΅ΡΠ°ΡΠΈΠΉ ΠΈ Π²Π²Π΅Π΄Π΅Π½ΠΈΡ Π² ΠΏΠΎΠ΄ΡΠΈΠΏΠ½ΠΈΠΊΠΎΠ²ΡΠ΅ ΡΠ·Π»Ρ ΡΠΌΠ°Π·ΠΎΡΠ½ΠΎΠ³ΠΎ ΠΌΠ°ΡΠ΅ΡΠΈΠ°Π»Π°, ΠΏΡΠ΅Π΄ΡΡΠΌΠΎΡΡΠ΅Π½Π½ΠΎΠ³ΠΎ ΡΠ΅Ρ
Π½ΠΈΡΠ΅ΡΠΊΠΎΠΉ Π΄ΠΎΠΊΡΠΌΠ΅Π½ΡΠ°ΡΠΈΠ΅ΠΉ, ΡΠ»Π΅Π΄ΡΠ΅Ρ ΠΏΡΠΎΠ²Π΅ΡΠΈΡΡ ΠΊΠ°ΡΠ΅ΡΡΠ²ΠΎ ΠΌΠΎΠ½ΡΠ°ΠΆΠ° ΠΏΠΎΠ΄ΡΠΈΠΏΠ½ΠΈΠΊΠΎΠ² ΠΏΡΠΎΠ±Π½ΡΠΌ ΠΏΡΡΠΊΠΎΠΌ ΡΠ±ΠΎΡΠΎΡΠ½ΠΎΠΉ Π΅Π΄ΠΈΠ½ΠΈΡΡ Π½Π° Π½ΠΈΠ·ΠΊΠΈΡ
ΠΎΠ±ΠΎΡΠΎΡΠ°Ρ
Π±Π΅Π· Π½Π°Π³ΡΡΠ·ΠΊΠΈ.
ΠΡΠΈ ΡΡΠΎΠΌ ΠΏΡΠΎΡΠ»ΡΡΠΈΠ²Π°ΡΡ ΡΡΠΌ Π²ΡΠ°ΡΠ°ΡΡΠΈΡ
ΡΡ ΠΏΠΎΠ΄ΡΠΈΠΏΠ½ΠΈΠΊΠΎΠ² Ρ ΠΏΠΎΠΌΠΎΡΡΡ ΡΡΠ΅ΡΠΎΡΠΊΠΎΠΏΠ° ΠΈΠ»ΠΈ ΡΡΡΠ±Ρ. ΠΡΠ°Π²ΠΈΠ»ΡΠ½ΠΎ ΡΠΌΠΎΠ½ΡΠΈΡΠΎΠ²Π°Π½Π½ΡΠ΅ ΠΈ Ρ
ΠΎΡΠΎΡΠΎ ΡΠΌΠ°Π·Π°Π½Π½ΡΠ΅ ΠΏΠΎΠ΄ΡΠΈΠΏΠ½ΠΈΠΊΠΈ ΠΏΡΠΈ ΡΠ°Π±ΠΎΡΠ΅ ΡΠΎΠ·Π΄Π°ΡΡ ΡΠΈΡ
ΠΈΠΉ, Π½Π΅ΠΏΡΠ΅ΡΡΠ²Π½ΡΠΉ ΠΈ ΡΠ°Π²Π½ΠΎΠΌΠ΅ΡΠ½ΡΠΉ ΡΡΠΌ. Π‘Π²ΠΈΡΡΡΡΠΈΠΉ ΡΡΠΌ ΡΠ²ΠΈΠ΄Π΅ΡΠ΅Π»ΡΡΡΠ²ΡΠ΅Ρ ΠΎ Π½Π΅Π΄ΠΎΡΡΠ°ΡΠΎΡΠ½ΠΎΠΌ ΡΠΌΠ°Π·ΡΠ²Π°Π½ΠΈΠΈ ΠΈΠ»ΠΈ Π½Π°Π»ΠΈΡΠΈΠΈ ΡΡΠ΅Π½ΠΈΡ ΠΌΠ΅ΠΆΠ΄Ρ ΡΠΎΠΏΡΠΈΠΊΠ°ΡΠ°ΡΡΠΈΠΌΠΈΡΡ Π΄Π΅ΡΠ°Π»ΡΠΌΠΈ ΡΠ·Π»Π°. ΠΠ²Π΅Π½ΡΡΠΈΠΉ ΠΌΠ΅ΡΠ°Π»Π»ΠΈΡΠ΅ΡΠΊΠΈΠΉ Π·Π²ΡΠΊ ΠΌΠΎΠΆΠ΅Ρ Π±ΡΡΡ Π²ΡΠ·Π²Π°Π½ ΡΠ»ΠΈΡΠΊΠΎΠΌ ΠΌΠ°Π»ΡΠΌ Π·Π°Π·ΠΎΡΠΎΠΌ Π² ΠΏΠΎΠ΄ΡΠΈΠΏΠ½ΠΈΠΊΠ΅. Π Π°Π²Π½ΠΎΠΌΠ΅ΡΠ½ΡΠΉ Π²ΠΈΠ±ΡΠΈΡΡΡΡΠΈΠΉ Π·Π²ΡΠΊ Π²ΡΠ·ΡΠ²Π°Π΅ΡΡΡ ΠΏΠΎΠΏΠ°Π΄Π°Π½ΠΈΠ΅ΠΌ ΠΈΠ½ΠΎΡΠΎΠ΄Π½ΡΡ
ΡΠ°ΡΡΠΈΡ Π½Π° Π΄ΠΎΡΠΎΠΆΠΊΡ ΠΊΠ°ΡΠ΅Π½ΠΈΡ Π½Π°ΡΡΠΆΠ½ΠΎΠ³ΠΎ ΠΊΠΎΠ»ΡΡΠ°. Π¨ΡΠΌ, Π²ΠΎΠ·Π½ΠΈΠΊΠ°ΡΡΠΈΠΉ Π²ΡΠ΅ΠΌΡ ΠΎΡ Π²ΡΠ΅ΠΌΠ΅Π½ΠΈ ΠΏΡΠΈ Π½Π΅ΠΈΠ·ΠΌΠ΅Π½Π½ΠΎΠΉ ΡΠ°ΡΡΠΎΡΠ΅ Π²ΡΠ°ΡΠ΅Π½ΠΈΡ, ΡΠ²ΠΈΠ΄Π΅ΡΠ΅Π»ΡΡΡΠ²ΡΠ΅Ρ ΠΎ ΠΏΠΎΠ²ΡΠ΅ΠΆΠ΄Π΅Π½ΠΈΠΈ ΡΠ΅Π» ΠΊΠ°ΡΠ΅Π½ΠΈΡ. Π¨ΡΠΌ, ΠΏΡΠΎΡΠ²Π»ΡΡΡΠΈΠΉΡΡ ΠΏΡΠΈ ΠΈΠ·ΠΌΠ΅Π½Π΅Π½ΠΈΠΈ ΡΠ°ΡΡΠΎΡΡ Π²ΡΠ°ΡΠ΅Π½ΠΈΡ, ΠΌΠΎΠΆΠ΅Ρ Π±ΡΡΡ ΠΎΠ±ΡΡΠ»ΠΎΠ²Π»Π΅Π½ ΠΏΠΎΠ²ΡΠ΅ΠΆΠ΄Π΅Π½ΠΈΠ΅ΠΌ ΠΊΠΎΠ»Π΅Ρ Π² ΡΠ΅Π·ΡΠ»ΡΡΠ°ΡΠ΅ ΠΌΠΎΠ½ΡΠ°ΠΆΠ° ΠΈΠ»ΠΈ Π½Π°Π»ΠΈΡΠΈΠ΅ΠΌ ΡΡΡΠ°Π»ΠΎΡΡΠ½ΡΡ
Π²ΡΠΊΡΠ°ΡΠΈΠ²Π°Π½ΠΈΠΉ Π½Π° ΠΏΠΎΠ²Π΅ΡΡ
Π½ΠΎΡΡΡΡ
ΠΊΠ°ΡΠ΅Π½ΠΈΡ. Π‘ΡΡΡΠ°ΡΠΈΠ΅ Π·Π²ΡΠΊΠΈ Π²ΠΎΠ·ΠΌΠΎΠΆΠ½Ρ Π²ΡΠ»Π΅Π΄ΡΡΠ²ΠΈΠ΅ Π·Π°Π³ΡΡΠ·Π½Π΅Π½ΠΈΡ ΠΏΠΎΠ΄ΡΠΈΠΏΠ½ΠΈΠΊΠ°. ΠΠ΅ΡΠ°Π²Π½ΠΎΠΌΠ΅ΡΠ½ΡΠΉ Π³ΡΠΎΠΌΠΊΠΈΠΉ ΡΡΠΌ ΡΠΎΠ·Π΄Π°ΡΡ ΡΠΈΠ»ΡΠ½ΠΎ ΠΏΠΎΠ²ΡΠ΅ΠΆΠ΄Π΅Π½Π½ΡΠ΅ ΠΏΠΎΠ΄ΡΠΈΠΏΠ½ΠΈΠΊΠΈ.
ΠΡΠΎΡΠ»ΡΡΠΈΠ²Π°Ρ ΠΏΠΎΠ΄ΡΠΈΠΏΠ½ΠΈΠΊΠΈ, Π½Π΅ΠΎΠ±Ρ
ΠΎΠ΄ΠΈΠΌΠΎ ΡΡΠΈΡΡΠ²Π°ΡΡ ΠΎΡΠΎΠ±Π΅Π½Π½ΠΎΡΡΠΈ ΡΠ·Π»Π° ΠΈ ΠΏΡΠΈΡΠΎΠ΄Ρ ΡΡΠΌΠ° ΠΏΡΠΈ Π΅Π³ΠΎ ΡΠ°Π±ΠΎΡΠ΅, ΡΠ°ΠΊ ΠΊΠ°ΠΊ, ΠΊΡΠΎΠΌΠ΅ Π΄Π΅ΡΠ΅ΠΊΡΠΎΠ² ΠΏΠΎΠ΄ΡΠΈΠΏΠ½ΠΈΠΊΠΎΠ²ΡΡ
ΡΠ·Π»ΠΎΠ², Π½Π΅Π½ΠΎΡΠΌΠ°Π»ΡΠ½ΡΠΉ ΡΡΠΌ ΠΌΠΎΠΆΠ΅Ρ Π±ΡΡΡ Π²ΡΠ·Π²Π°Π½, Π½Π°ΠΏΡΠΈΠΌΠ΅Ρ, Π·ΡΠ±ΡΠ°ΡΡΠΌΠΈ ΠΏΠ΅ΡΠ΅Π΄Π°ΡΠ°ΠΌΠΈ, ΡΠΎΠ΅Π΄ΠΈΠ½ΠΈΡΠ΅Π»ΡΠ½ΡΠΌΠΈ ΠΌΡΡΡΠ°ΠΌΠΈ ΠΈ Π΄ΡΡΠ³ΠΈΠΌΠΈ Π½Π΅ΠΏΡΠ°Π²ΠΈΠ»ΡΠ½ΠΎ ΠΈΠ·Π³ΠΎΡΠΎΠ²Π»Π΅Π½Π½ΡΠΌΠΈ ΠΈΠ»ΠΈ ΠΏΠ»ΠΎΡ
ΠΎ ΠΏΡΠΈΠ³Π½Π°Π½Π½ΡΠΌΠΈ Π΄Π΅ΡΠ°Π»ΡΠΌΠΈ.
Π ΡΠ²ΡΠ·ΠΈ Ρ ΡΡΠΈΠΌ ΠΎΠΊΠΎΠ½ΡΠ°ΡΠ΅Π»ΡΠ½ΠΎΠ΅ Π·Π°ΠΊΠ»ΡΡΠ΅Π½ΠΈΠ΅ ΠΎ ΠΏΡΠΈΡΠΈΠ½Π°Ρ
Π½Π΅Π½ΠΎΡΠΌΠ°Π»ΡΠ½ΠΎΠ³ΠΎ ΡΡΠΌΠ° ΠΌΠΎΠΆΠ½ΠΎ ΡΠ΄Π΅Π»Π°ΡΡ ΡΠΎΠ»ΡΠΊΠΎ ΠΏΠΎΡΠ»Π΅ ΡΡΠ°ΡΠ΅Π»ΡΠ½ΠΎΠΉ ΠΏΡΠΎΠ²Π΅ΡΠΊΠΈ ΠΈ ΠΏΡΠΎΡΠ»ΡΡΠΈΠ²Π°Π½ΠΈΡ ΡΠ°Π±ΠΎΡΡ Π²ΡΠ΅Ρ
Π΄Π΅ΡΠ°Π»Π΅ΠΉ ΠΌΠ΅Ρ
Π°Π½ΠΈΠ·ΠΌΠ°.
ΠΡΡΠ³ΠΈΠΌ ΠΏΠΎΠΊΠ°Π·Π°ΡΠ΅Π»Π΅ΠΌ ΠΊΠ°ΡΠ΅ΡΡΠ²Π° ΠΈ ΡΡΠ°Π±ΠΈΠ»ΡΠ½ΠΎΡΡΠΈ ΡΠ°Π±ΠΎΡΡ ΠΏΠΎΠ΄ΡΠΈΠΏΠ½ΠΈΠΊΠΎΠ²ΠΎΠ³ΠΎ ΡΠ·Π»Π° ΡΠ²Π»ΡΠ΅ΡΡΡ Π΅Π³ΠΎ ΡΠ΅ΠΌΠΏΠ΅ΡΠ°ΡΡΡΠ°. ΠΡΠΈ ΠΎΠ±ΡΡΠ½ΡΡ
ΡΡΠ»ΠΎΠ²ΠΈΡΡ
ΡΠ°Π±ΠΎΡΡ ΡΠ΅ΠΌΠΏΠ΅ΡΠ°ΡΡΡΠ° ΠΏΠΎΠ΄ΡΠΈΠΏΠ½ΠΈΠΊΠ° Π½Π΅ Π΄ΠΎΠ»ΠΆΠ½Π° ΠΏΡΠ΅Π²ΡΡΠ°ΡΡ ΡΠ΅ΠΌΠΏΠ΅ΡΠ°ΡΡΡΡ ΠΎΠΊΡΡΠΆΠ°ΡΡΠ΅ΠΉ ΡΡΠ΅Π΄Ρ Π±ΠΎΠ»Π΅Π΅, ΡΠ΅ΠΌ Π½Π° 30Β°Π‘. ΠΡΠΈΡΠΈΠ½ΠΎΠΉ ΠΏΠΎΠ²ΡΡΠ΅Π½Π½ΠΎΠΉ ΡΠ΅ΠΌΠΏΠ΅ΡΠ°ΡΡΡΡ ΠΌΠΎΠΆΠ΅Ρ Π±ΡΡΡ ΠΌΠ°Π»ΡΠΉ Π·Π°Π·ΠΎΡ Π² ΠΏΠΎΠ΄ΡΠΈΠΏΠ½ΠΈΠΊΠ΅ ΠΈΠ»ΠΈ ΡΡΠ΅Π·ΠΌΠ΅ΡΠ½ΠΎ Π±ΠΎΠ»ΡΡΠΎΠΉ Π½Π°ΡΡΠ³, Π½Π΅Π΄ΠΎΡΡΠ°ΡΠΎΠΊ ΡΠΌΠ°Π·ΠΊΠΈ, ΡΠ²Π΅Π»ΠΈΡΠ΅Π½Π½ΡΠΉ ΠΌΠΎΠΌΠ΅Π½Ρ ΡΡΠ΅Π½ΠΈΡ Π²ΡΠ»Π΅Π΄ΡΡΠ²ΠΈΠ΅ ΠΈΠ·Π½ΠΎΡΠ° ΡΠ°Π±ΠΎΡΠΈΡ
ΠΏΠΎΠ²Π΅ΡΡ
Π½ΠΎΡΡΠ΅ΠΉ ΠΏΠΎΠ΄ΡΠΈΠΏΠ½ΠΈΠΊΠ° ΠΈΠ»ΠΈ Π²Π·Π°ΠΈΠΌΠ½ΠΎΠ³ΠΎ ΠΏΠ΅ΡΠ΅ΠΊΠΎΡΠ° ΠΊΠΎΠ»Π΅Ρ. ΠΠΎΠ·ΠΌΠΎΠΆΠ½Ρ ΠΊΠΎΠΌΠ±ΠΈΠ½Π°ΡΠΈΠΈ ΡΡΠΈΡ
ΠΏΡΠΈΡΠΈΠ½. ΠΠ΅ΠΎΠ±Ρ
ΠΎΠ΄ΠΈΠΌΠΎ ΠΈΠΌΠ΅ΡΡ Π² Π²ΠΈΠ΄Ρ, ΡΡΠΎ Π² ΡΠ΅ΡΠ΅Π½ΠΈΠ΅ 1-2 Π΄Π½Π΅ΠΉ ΠΏΠΎΡΠ»Π΅ ΡΠΌΠ°Π·ΡΠ²Π°Π½ΠΈΡ (Π² ΡΠΎΠΌ ΡΠΈΡΠ»Π΅ ΠΏΠΎΠ²ΡΠΎΡΠ½ΠΎΠ³ΠΎ) ΠΈΠΌΠ΅Π΅Ρ ΠΌΠ΅ΡΡΠΎ Π½Π΅ΠΊΠΎΡΠΎΡΠΎΠ΅ ΠΏΠΎΠ²ΡΡΠ΅Π½ΠΈΠ΅ ΡΠ΅ΠΌΠΏΠ΅ΡΠ°ΡΡΡΡ ΠΏΠΎΠ΄ΡΠΈΠΏΠ½ΠΈΠΊΠ°.
ΠΠ°ΠΆΠ½ΠΎ!
ΠΠ°ΠΈΠ±ΠΎΠ»Π΅Π΅ ΡΠΎΠ²ΡΠ΅ΠΌΠ΅Π½Π½ΡΠΌ ΠΈ ΠΎΠ±ΡΠ΅ΠΊΡΠΈΠ²Π½ΡΠΌ ΡΠΏΠΎΡΠΎΠ±ΠΎΠΌ ΠΏΡΠΎΠ²Π΅ΡΠΊΠΈ ΡΠ°Π±ΠΎΡΠΎΡΠΏΠΎΡΠΎΠ±Π½ΠΎΡΡΠΈ ΠΏΠΎΠ΄ΡΠΈΠΏΠ½ΠΈΠΊΠΎΠ² ΠΈ ΠΌΠ°ΡΠΈΠ½Ρ Π² ΡΠ΅Π»ΠΎΠΌ ΡΠ²Π»ΡΡΡΡΡ ΠΈΠ·ΠΌΠ΅ΡΠ΅Π½ΠΈΠ΅ ΠΈ Π°Π½Π°Π»ΠΈΠ· Π²ΠΈΠ±ΡΠ°ΡΠΈΠΎΠ½Π½ΡΡ
Ρ
Π°ΡΠ°ΠΊΡΠ΅ΡΠΈΡΡΠΈΠΊ Ρ Π²ΠΎΠ·ΠΌΠΎΠΆΠ½ΠΎΡΡΡΡ ΠΎΡΡΠ»Π΅ΠΆΠΈΠ²Π°Π½ΠΈΡ Π²ΠΎ Π²ΡΠ΅ΠΌΠ΅Π½ΠΈ Π²ΠΎΠ·Π½ΠΈΠΊΠ½ΠΎΠ²Π΅Π½ΠΈΡ ΠΈ ΡΠ°Π·Π²ΠΈΡΠΈΡ Π½Π΅ΠΈΡΠΏΡΠ°Π²Π½ΠΎΡΡΠ΅ΠΉ ΠΈ ΠΏΠΎΠ²ΡΠ΅ΠΆΠ΄Π΅Π½ΠΈΠΉ.
ΠΠ°ΠΊ ΠΏΡΠ°Π²ΠΈΠ»ΡΠ½ΠΎ ΡΡΡΠ°Π½Π°Π²Π»ΠΈΠ²Π°ΡΡ ΠΏΠΎΠ΄ΡΠΈΠΏΠ½ΠΈΠΊΠΈ? | TBBS.RU
ΠΠΎΡΠ»Π΅ ΡΠΎΠ³ΠΎ, ΠΊΠ°ΠΊ Π½Π°ΠΌ ΡΠ΄Π°Π»ΠΎΡΡ Π΄Π΅ΠΌΠΎΠ½ΡΠΈΡΠΎΠ²Π°ΡΡ ΡΡΠ°ΡΡΠΉ ΠΏΠΎΠ΄ΡΠΈΠΏΠ½ΠΈΠΊ, ΠΏΡΠΈΠΎΠ±ΡΠ΅ΡΡΠΈ ΡΠ°ΠΊΠΎΠΉ ΠΆΠ΅ Π½ΠΎΠ²ΡΠΉ, Π²ΡΡΠ°Π΅Ρ Π»ΠΎΠ³ΠΈΡΠ½ΡΠΉ Π²ΠΎΠΏΡΠΎΡ, Π° ΠΊΠ°ΠΊ ΠΆΠ΅ Π΅Π³ΠΎ ΡΡΡΠ°Π½Π°Π²Π»ΠΈΠ²Π°ΡΡ. ΠΠ΅ΡΠ΅Π΄ ΡΡΡΠ°Π½ΠΎΠ²ΠΊΠΎΠΉ ΠΏΠΎΠ΄ΡΠΈΠΏΠ½ΠΈΠΊΠΈ, Π·Π° ΠΈΡΠΊΠ»ΡΡΠ΅Π½ΠΈΠ΅ΠΌ Π·Π°ΠΊΡΡΡΡΡ
, Π΄ΠΎΠ»ΠΆΠ½Ρ Π±ΡΡΡ ΠΏΡΠΎΠΌΡΡΡ ΠΈ Π·Π°ΠΏΠΎΠ»Π½Π΅Π½Ρ ΡΠΌΠ°Π·ΠΊΠΎΠΉ. Π’Π°ΠΊ ΠΊΠ°ΠΊ Π½Π° Π·Π°Π²ΠΎΠ΄Π΅ ΠΈΡ
Π·Π°ΠΏΠΎΠ»Π½ΡΡΡ Π·Π°ΡΠΈΡΠ½ΠΎΠΉ ΡΠΌΠ°Π·ΠΊΠΎΠΉ, ΠΏΡΠ΅Π΄Π½Π°Π·Π½Π°ΡΠ΅Π½Π½ΠΎΠΉ Π΄Π»Ρ ΠΊΠΎΠ½ΡΠ΅ΡΠ²Π°ΡΠΈΠΈ, Π° Π½ΠΈΠΊΠ°ΠΊ Π½Π΅ ΡΠ°Π±ΠΎΡΡ. Π‘ΠΎ Π²ΡΠ΅ΠΌΠ΅Π½Π΅ΠΌ ΠΎΠ½Π° Π΅ΡΡΠ΅ΡΡΠ²Π΅Π½Π½ΠΎ ΠΌΠΎΠΆΠ΅Ρ ΠΏΠΎΠ΄ΡΡΡ
Π°ΡΡ, ΡΡΠΎ ΠΏΡΠΈΠ²ΠΎΠ΄ΠΈΡ ΠΊ ΡΠΎΠΌΡ, ΡΡΠΎ ΠΏΠΎΠ΄ΡΠΈΠΏΠ½ΠΈΠΊ ΠΏΡΠΈ Π²ΡΠ°ΡΠ΅Π½ΠΈΠΈ Β«Π·Π°ΠΊΡΡΡΠ²Π°Π΅ΡΒ».
Π’Π°ΠΊΠΆΠ΅ Π² ΠΎΡΠΊΡΡΡΡΠ΅ ΠΏΠΎΠ΄ΡΠΈΠΏΠ½ΠΈΠΊΠΈ ΠΌΠΎΠ³ΡΡ ΠΏΠΎΠΏΠ°Π΄Π°ΡΡ ΠΏΡΠ»ΠΈΠ½ΠΊΠΈ ΠΈ ΠΏΠ΅ΡΡΠΈΠ½ΠΊΠΈ, ΡΡΠΎ ΠΏΡΠΈΠ²ΠΎΠ΄ΠΈΡ ΠΊ ΡΡΠΌΡ. ΠΠ»Ρ ΡΡΠΎΠ³ΠΎ ΠΏΠΎΠ΄ΡΠΈΠΏΠ½ΠΈΠΊΠΈ ΠΏΠ΅ΡΠ΅Π΄ ΡΡΡΠ°Π½ΠΎΠ²ΠΊΠΎΠΉ ΠΈ Π½ΡΠΆΠ½ΠΎ ΠΏΡΠΎΠΌΡΠ²Π°ΡΡ, Π½Π°ΠΏΡΠΈΠΌΠ΅Ρ, Π±Π΅Π½Π·ΠΈΠ½ΠΎΠΌ ΠΈΠ»ΠΈ ΠΊΠ΅ΡΠΎΡΠΈΠ½ΠΎΠΌ ΠΈ ΡΠΌΠ°Π·ΡΠ²Π°ΡΡ. Π’ΠΈΠΏ ΡΠΌΠ°Π·ΠΊΠΈ Π²ΡΠ±ΠΈΡΠ°Π΅ΡΡΡ Π² Π·Π°Π²ΠΈΡΠΈΠΌΠΎΡΡΠΈ ΠΎΡ ΡΡΠ»ΠΎΠ²ΠΈΠΉ ΡΠ°Π±ΠΎΡΡ ΡΠ·Π»Π°. ΠΠ°ΠΊΡΡΡΡΠ΅ ΠΏΠΎΠ΄ΡΠΈΠΏΠ½ΠΈΠΊΠΈ ΠΏΠΎΡΡΠ°Π²Π»ΡΡΡΡΡ Π½Π°Π±ΠΈΡΡΠΌΠΈ ΡΠΌΠ°Π·ΠΊΠΎΠΉ.
Π’Π΅ΠΏΠ΅ΡΡ ΡΠ°Π·Π±Π΅ΡΠ΅ΠΌΡΡ Ρ ΡΠ΅ΠΌ, ΠΊΡΠ΄Π° ΠΌΡ ΡΠΎΠ±ΠΈΡΠ°Π΅ΠΌΡΡ ΡΡΡΠ°Π½Π°Π²Π»ΠΈΠ²Π°ΡΡ ΠΏΠΎΠ΄ΡΠΈΠΏΠ½ΠΈΠΊ. ΠΠ°ΡΠ΅ΡΡΠ²ΠΎ ΡΠΎΠΏΡΡΠ³Π°Π΅ΠΌΡΡ
Π΄Π΅ΡΠ°Π»Π΅ΠΉ Π½Π΅ ΠΌΠ΅Π½Π΅Π΅ Π²Π°ΠΆΠ½ΠΎ Π΄Π»Ρ ΡΠ°Π±ΠΎΡΡ Π»ΡΠ±ΠΎΠ³ΠΎ ΠΏΠΎΠ΄ΡΠΈΠΏΠ½ΠΈΠΊΠΎΠ²ΠΎΠ³ΠΎ ΡΠ·Π»Π°, ΡΠ΅ΠΌ ΠΊΠ°ΡΠ΅ΡΡΠ²ΠΎ ΡΠ°ΠΌΠΎΠ³ΠΎ ΠΏΠΎΠ΄ΡΠΈΠΏΠ½ΠΈΠΊΠ°.
ΠΠ°Π», Π½Π° ΠΊΠΎΡΠΎΡΡΠΉ ΡΡΡΠ°Π½Π°Π²Π»ΠΈΠ²Π°Π΅ΡΡΡ ΠΏΠΎΠ΄ΡΠΈΠΏΠ½ΠΈΠΊ (ΡΠ°Π²Π½ΠΎ ΠΊΠ°ΠΊ ΠΈ ΠΎΡΠ²Π΅ΡΡΡΠΈΠ΅) Π΄ΠΎΠ»ΠΆΠ΅Π½ Π±ΡΡΡ ΡΠΎΠΎΡΠ²Π΅ΡΡΡΠ²ΡΡΡΠ΅ΠΉ ΡΠ²Π΅ΡΠ΄ΠΎΡΡΠΈ. ΠΠ±ΡΡΠ½ΠΎ ΠΈΡΠΏΠΎΠ»ΡΠ·ΡΡΡ ΡΡΠ°Π»ΡΠ½ΡΠ΅ ΠΊΠ°Π»Π΅Π½ΡΠ΅ Π²Π°Π»Ρ.Β ΠΠ½Π°ΡΠ΅ ΠΏΠΎΠ΄ΡΠΈΠΏΠ½ΠΈΠΊ Π΄Π΅ΡΠΎΡΠΌΠΈΡΡΠ΅Ρ ΠΌΡΠ³ΠΊΠΈΠΉ Π²Π°Π» ΠΈ Π±ΡΠ΄Π΅Ρ ΠΏΡΠΎΠ²ΠΎΡΠ°ΡΠΈΠ²Π°ΡΡΡΡ Π½Π° Π²Π°Π»Ρ.
ΠΠΎΠ³ΡΠ΅ΡΠ½ΠΎΡΡΠΈ ΡΠΎΡΠΌΡ ΡΠ°ΠΊ ΠΆΠ΅ ΠΈΠ³ΡΠ°ΡΡ Π·Π½Π°ΡΠΈΡΠ΅Π»ΡΠ½ΡΡ ΡΠΎΠ»Ρ.Β Π ΠΌΠ΅ΡΡΠ°Ρ Π½Π΅ΠΏΠ»ΠΎΡΠ½ΠΎΠ³ΠΎ ΠΊΠΎΠ½ΡΠ°ΠΊΡΠ° ΠΏΠΎΠ΄ΡΠΈΠΏΠ½ΠΈΠΊΠ° ΠΈ Π²Π°Π»Π° Π±ΡΠ΄ΡΡ Π²ΠΎΠ·Π½ΠΈΠΊΠ°ΡΡ Π΄ΠΎΠΏΠΎΠ»Π½ΠΈΡΠ΅Π»ΡΠ½ΡΠ΅ Π½Π°ΠΏΡΡΠΆΠ΅Π½ΠΈΡ, Π²ΠΈΠ±ΡΠ°ΡΠΈΠΈ, ΡΡΠΎ Π±ΡΠ΄Π΅Ρ ΠΏΡΠΎΠ²ΠΎΡΠΈΡΠΎΠ²Π°ΡΡ ΡΡΠΌ, Π½Π°Π³ΡΠ΅Π² ΠΈ ΡΠΌΠ΅Π½ΡΡΠ°ΡΡ ΡΡΠΎΠΊ ΡΠ»ΡΠΆΠ±Ρ Π½Π΅ ΡΠΎΠ»ΡΠΊΠΎ ΠΏΠΎΠ΄ΡΠΈΠΏΠ½ΠΈΠΊΠ°, Π½ΠΎ ΠΈ Π²ΡΠ΅Π³ΠΎ ΡΠ·Π»Π° Π² ΡΠ΅Π»ΠΎΠΌ. ΠΠ΅Π»ΡΠ·Ρ ΠΎΠ±ΠΎΠΉΡΠΈ Π²Π½ΠΈΠΌΠ°Π½ΠΈΠ΅ΠΌ ΡΠΎΡΠΌΡ ΠΈ Π²ΡΡΠΎΡΡ Π·Π°ΠΏΠ»Π΅ΡΠΈΠΊΠΎΠ² (ΡΡΡΠΏΠ΅Π½Π΅ΠΊ Π½Π° Π²Π°Π»Ρ), Π² ΠΊΠΎΡΠΎΡΡΠΉ ΡΠΏΠΈΡΠ°Π΅ΡΡΡ ΡΠΎΡΠ΅Ρ ΠΏΠΎΠ΄ΡΠΈΠΏΠ½ΠΈΠΊΠ°.
ΠΠΎΠ²Π΅ΡΡ Π½ΠΎΡΡΡ Π·Π°ΠΏΠ»Π΅ΡΠΈΠΊΠΎΠ² Π΄ΠΎΠ»ΠΆΠ½Π° Π±ΡΡΡ ΡΡΡΠΎΠ³ΠΎ ΠΏΠ΅ΡΠΏΠ΅Π½Π΄ΠΈΠΊΡΠ»ΡΡΠ½Π° Π²Π°Π»Ρ. ΠΡΡΠΎΡΠ°, Π΄ΠΎΠ»ΠΆΠ½Π° ΡΠΎΠΎΡΠ²Π΅ΡΡΡΠ²ΠΎΠ²Π°ΡΡ ΠΏΡΠΈΠΌΠ΅Π½ΡΠ΅ΠΌΠΎΠΌΡ ΠΏΠΎΠ΄ΡΠΈΠΏΠ½ΠΈΠΊΡ. Π§ΠΈΡΡΠΎΡΠ° ΠΏΠΎΠ²Π΅ΡΡ Π½ΠΎΡΡΠΈ ΡΠ΅ΠΉΠΊΠΈ Π²Π°Π»Π°, Π½Π° ΠΊΠΎΡΠΎΡΡΡ ΡΡΡΠ°Π½Π°Π²Π»ΠΈΠ²Π°Π΅ΡΡΡ ΠΏΠΎΠ΄ΡΠΈΠΏΠ½ΠΈΠΊ, Π½Π΅ ΠΌΠΎΠΆΠ΅Ρ Π±ΡΡΡ Ρ ΡΠΆΠ΅, ΡΠ΅ΠΌ Π² ΠΠΠ‘Π’ 3325-85. ΠΡΠ΅ ΠΎΡΡΠ°Π»ΡΠ½ΡΠ΅ ΡΠ΅Ρ Π½ΠΈΡΠ΅ΡΠΊΠΈΠ΅ ΡΡΠ΅Π±ΠΎΠ²Π°Π½ΠΈΡ ΠΊ ΠΏΠΎΡΠ°Π΄ΠΎΡΠ½ΡΠΌ ΠΌΠ΅ΡΡΠ°ΠΌ ΡΠ°ΠΊ ΠΆΠ΅ ΡΠ΅Π³Π»Π°ΠΌΠ΅Π½ΡΠΈΡΡΡΡΡΡ ΡΡΠΈΠΌ ΠΆΠ΅ ΠΠΠ‘Π’ΠΎΠΌ.
ΠΠΎΠ²ΡΠΎΡΠΈΠΌ Π΅ΡΠ΅ ΡΠ°Π·: ΠΠ΅Π»ΡΠ·Ρ ΡΡΡΠ°Π½Π°Π²Π»ΠΈΠ²Π°ΡΡ ΠΏΠΎΠ΄ΡΠΈΠΏΠ½ΠΈΠΊ Π½Π° Π²Π°Π» ΠΌΠ΅Π½Π΅Π΅ ΡΠ²Π΅ΡΠ΄ΡΠΉ, ΡΠ΅ΠΌ ΡΠ°ΠΌ ΠΏΠΎΠ΄ΡΠΈΠΏΠ½ΠΈΠΊ.
ΠΠ°Π»ΠΎΠΌ Π½Π΅ ΠΌΠΎΠΆΠ΅Ρ ΡΠ»ΡΠΆΠΈΡΡ Π½Π΅ΠΎΠ±ΡΠ°Π±ΠΎΡΠ°Π½Π½Π°Ρ ΠΈ Π½Π΅Π·Π°ΠΊΠ°Π»Π΅Π½Π½Π°Ρ ΡΡΡΠ±Π°, ΡΡΡΠΎΠΉ ΡΡΠ°Π»ΡΠ½ΠΎΠΉ ΠΏΡΡΡΠΎΠΊ ΠΈΠ»ΠΈ ΠΏΡΡΡΠΎΠΊ ΠΈΠ· Π±ΠΎΠ»Π΅Π΅ ΠΌΡΠ³ΠΊΠΎΠ³ΠΎ ΠΌΠ΅ΡΠ°Π»Π»Π°. Π¨Π΅ΠΉΠΊΠ°, Π½Π° ΠΊΠΎΡΠΎΡΡΡ ΡΡΡΠ°Π½Π°Π²Π»ΠΈΠ²Π°Π΅ΡΡΡ ΠΏΠΎΠ΄ΡΠΈΠΏΠ½ΠΈΠΊ, Π΄ΠΎΠ»ΠΆΠ½Π° Π±ΡΡΡ ΠΎΡΡΠ»ΠΈΡΠΎΠ²Π°Π½Π°, ΡΡΡΠΏΠ΅Π½ΡΠΊΠ° Π½Π° Π²Π°Π»Ρ, Π² ΠΊΠΎΡΠΎΡΡΡ ΡΠΏΠΈΡΠ°Π΅ΡΡΡ Π²Π½ΡΡΡΠ΅Π½Π½Π΅Π΅ ΠΊΠΎΠ»ΡΡΠΎ ΠΏΠΎΠ΄ΡΠΈΠΏΠ½ΠΈΠΊΠ°, Π½Π΅ Π΄ΠΎΠ»ΠΆΠ½Π° Π±ΡΡΡ Π±ΠΎΠ»ΡΡΠ΅, ΡΠ΅ΠΌ ΡΠΎΠ»ΡΠΈΠ½Π° ΡΡΠΎΠ³ΠΎ ΡΠ°ΠΌΠΎΠ³ΠΎ ΠΊΠΎΠ»ΡΡΠ°.
ΠΡΠ»ΠΈ ΠΆΠ΅ ΠΏΠΎ ΠΊΠ°ΠΊΠΎΠΉ-ΡΠΎ ΠΏΡΠΈΡΠΈΠ½Π΅ ΠΡ ΠΏΡΠ΅Π½Π΅Π±ΡΠ΅Π³Π»ΠΈ Π²ΡΠ΅ΠΌΠΈ ΠΏΠ΅ΡΠ΅ΡΠΈΡΠ»Π΅Π½Π½ΡΠΌΠΈ Π²ΡΡΠ΅ ΡΡΠ΅Π±ΠΎΠ²Π°Π½ΠΈΡΠΌΠΈ, Π²ΠΎΠΏΡΠΎΡ ΠΎ ΠΊΠ°ΡΠ΅ΡΡΠ²Π΅ ΠΏΠΎΠ΄ΡΠΈΠΏΠ½ΠΈΠΊΠ°ΠΌΠΈ ΠΏΠ΅ΡΠ΅Π΄ ΠΠ°ΠΌΠΈ ΡΡΠΎΡΡΡ Π½Π΅ Π΄ΠΎΠ»ΠΆΠ΅Π½. ΠΡΠ±ΠΈΡΠ°ΠΉΡΠ΅ ΡΠ°ΠΌΡΠΉ Π΄Π΅ΡΠ΅Π²ΡΠΉ. ΠΠ΅Ρ ΡΠΌΡΡΠ»Π° ΠΏΠΎΠΊΡΠΏΠ°ΡΡ ΠΊΠ°ΡΠ΅ΡΡΠ²Π΅Π½Π½ΡΠΉ ΡΠΎΠ²Π°Ρ ΠΈ ΡΡΡΠ°Π½Π°Π²Π»ΠΈΠ²Π°ΡΡ Π΅Π³ΠΎ ΠΊΠΎΠ΅-ΠΊΠ°ΠΊ.
ΠΠ΅ΡΠ΅Π΄ ΡΡΡΠ°Π½ΠΎΠ²ΠΊΠΎΠΉ ΠΏΠΎΠ΄ΡΠΈΠΏΠ½ΠΈΠΊΠ° Π² ΠΏΠ΅ΡΠ²ΡΡ ΠΎΡΠ΅ΡΠ΅Π΄Ρ Π½Π°Π΄ΠΎ ΡΠ±Π΅Π΄ΠΈΡΡΡΡ Π² ΡΠΈΡΡΠΎΡΠ΅ ΡΠ°ΠΌΠΎΠ³ΠΎ ΠΏΠΎΠ΄ΡΠΈΠΏΠ½ΠΈΠΊΠ°, Π΄Π΅ΡΠ°Π»Π΅ΠΉ, Π½Π° ΠΊΠΎΡΠΎΡΡΠ΅ ΠΎΠ½ Π±ΡΠ΄Π΅Ρ ΡΡΡΠ°Π½ΠΎΠ²Π»Π΅Π½, ΠΈΠ½ΡΡΡΡΠΌΠ΅Π½ΡΠ° ΠΈ ΠΏΡΠΈΡΠΏΠΎΡΠΎΠ±Π»Π΅Π½ΠΈΠΉ, ΠΊΠΎΡΠΎΡΡΠ΅ Π±ΡΠ΄ΡΡ ΠΈΡΠΏΠΎΠ»ΡΠ·ΠΎΠ²Π°Π½Ρ Π² ΠΏΡΠΎΡΠ΅ΡΡΠ΅. ΠΡΡΠΊΠΈΠ΅ Π»ΠΈΡΠ½ΠΈΠ΅ ΡΠ»Π΅ΠΌΠ΅Π½ΡΡ, ΠΊΠ°ΠΊ ΡΠΎ β ΡΡΡΡΠΆΠΊΠ°, ΠΏΡΠ»Ρ, Π³ΡΡΠ·Ρ, ΡΠΏΡΠΎΠ²ΠΎΡΠΈΡΡΡΡ ΠΏΠ΅ΡΠ΅ΠΊΠΎΡΡ, ΡΡΠΎ Π² ΡΠ΅Π·ΡΠ»ΡΡΠ°ΡΠ΅ ΡΠΌΠ΅Π½ΡΡΠΈΡ ΡΠΎΡΠ½ΠΎΡΡΡ Π²ΡΠ°ΡΠ΅Π½ΠΈΡ, ΡΠ²Π΅Π»ΠΈΡΠΈΡ ΡΡΠΌΠ½ΠΎΡΡΡ ΠΈ Π½Π°Π³ΡΠ΅Π², ΡΠΎΠΊΡΠ°ΡΠΈΡ ΡΠ΅ΡΡΡΡ ΠΏΠΎΠ΄ΡΠΈΠΏΠ½ΠΈΠΊΠ°. ΠΡΠΊΡΡΡΡΠ΅ ΠΏΠΎΠ΄ΡΠΈΠΏΠ½ΠΈΠΊΠΈ ΠΏΠ΅ΡΠ΅Π΄ ΡΡΡΠ°Π½ΠΎΠ²ΠΊΠΎΠΉ ΠΏΡΠΎΠΌΡΠ²Π°ΡΡ Π² ΡΠ°Π·ΠΎΠ³ΡΠ΅ΡΠΎΠΌ ΠΌΠ°ΡΠ»Π΅, Π»ΠΈΠ±ΠΎ Π² ΠΊΠ΅ΡΠΎΡΠΈΠ½Π΅.
ΠΠ°ΠΊΡΡΡΡΠ΅ ΠΏΠΎΠ΄ΡΠΈΠΏΠ½ΠΈΠΊΠΈ ΠΏΡΠΎΠΌΡΠ²Π°ΡΡ Π½Π΅ Π½Π°Π΄ΠΎ.
ΠΠΎ ΠΏΡΠ°Π²ΠΈΠ»Π°ΠΌ ΠΏΡΠΈ ΡΡΡΠ°Π½ΠΎΠ²ΠΊΠ΅ ΠΏΠΎΠ΄ΡΠΈΠΏΠ½ΠΈΠΊΠ° Π½Π° Π²Π°Π» — Π²Π°Π» ΠΎΡ Π»Π°ΠΆΠ΄Π°ΡΡ, Π° Π²Π½ΡΡΡΠ΅Π½Π½Π΅Π΅ ΠΊΠΎΠ»ΡΡΠΎ ΠΏΠΎΠ΄ΡΠΈΠΏΠ½ΠΈΠΊΠ° Π½Π°Π³ΡΠ΅Π²Π°ΡΡ. ΠΡΠΈ ΡΡΡΠ°Π½ΠΎΠ²ΠΊΠ΅ ΠΏΠΎΠ΄ΡΠΈΠΏΠ½ΠΈΠΊΠ° Π² ΠΊΠΎΡΠΏΡΡ β Π½Π°ΡΡΠΆΠ½ΠΎΠ΅ ΠΊΠΎΠ»ΡΡΠΎ ΠΏΠΎΠ΄ΡΠΈΠΏΠ½ΠΈΠΊΠ° ΠΎΡ Π»Π°ΠΆΠ΄Π°ΡΡ, ΠΊΠΎΡΠΏΡΡ Π½Π°Π³ΡΠ΅Π²Π°ΡΡ. ΠΠ°Π³ΡΠ΅Π²Π°ΡΡ ΠΌΠΎΠΆΠ½ΠΎ Π² ΠΌΠ°ΡΠ»Π΅, ΠΎΡ Π»Π°ΠΆΠ΄Π°ΡΡ — ΡΡΡ ΠΈΠΌ Π»ΡΠ΄ΠΎΠΌ. ΠΠΎΠΆΠ½ΠΎ ΠΈΡΠΏΠΎΠ»ΡΠ·ΠΎΠ²Π°ΡΡ ΡΠΏΠ΅ΡΠΈΠ°Π»ΡΠ½ΡΠ΅ ΠΏΡΠΈΡΠΏΠΎΡΠΎΠ±Π»Π΅Π½ΠΈΡ β Π³ΠΈΠ΄ΡΠ°Π²Π»ΠΈΡΠ΅ΡΠΊΠΈΠ΅, ΠΏΠ½Π΅Π²ΠΌΠ°ΡΠΈΡΠ΅ΡΠΊΠΈΠ΅, ΡΡΡΠ½ΡΠ΅ (ΡΡΠ°ΠΊΠ°Π½Ρ, ΠΎΠΏΡΠ°Π²ΠΊΠΈ ΠΈ Ρ.Π΄.).
ΠΠΎ Π²ΡΠ΅ΠΌΡ ΡΡΡΠ°Π½ΠΎΠ²ΠΊΠΈ ΡΡΠΈΠ»ΠΈΠ΅ ΠΏΡΠΈΠΊΠ»Π°Π΄ΡΠ²Π°Π΅ΡΡΡ ΠΈΠΌΠ΅Π½Π½ΠΎ ΠΊ ΡΠΎΠΌΡ ΠΊΠΎΠ»ΡΡΡ, ΠΊΠΎΡΠΎΡΠΎΠ΅ Π² Π΄Π°Π½Π½ΡΠΉ ΠΌΠΎΠΌΠ΅Π½Ρ ΡΡΡΠ°Π½Π°Π²Π»ΠΈΠ²Π°Π΅ΡΡΡ Π½Π° ΠΏΠΎΡΠ°Π΄ΠΎΡΠ½ΠΎΠ΅ ΠΌΠ΅ΡΡΠΎ. Π’ΠΎ Π΅ΡΡΡ, Π΅ΡΠ»ΠΈ ΡΡΡΠ°Π½Π°Π²Π»ΠΈΠ²Π°Ρ ΠΏΠΎΠ΄ΡΠΈΠΏΠ½ΠΈΠΊ Π½Π° Π²Π°Π», ΡΡΡΡΠ°ΡΡ ΠΈΠ»ΠΈ Π΄Π°Π²ΠΈΡΡ Π½Π° Π½Π°ΡΡΠΆΠ½ΠΎΠ΅ ΠΊΠΎΠ»ΡΡΠΎ, ΠΌΠΎΠΆΠ½ΠΎ ΡΠ°Π·ΡΡΡΠΈΡΡ ΠΏΠΎΠ΄ΡΠΈΠΏΠ½ΠΈΠΊ. ΠΡΠΈ ΡΡΡΠ°Π½ΠΎΠ²ΠΊΠ΅ ΠΏΠΎΠ΄ΡΠΈΠΏΠ½ΠΈΠΊΠ° ΠΏΡΠΈ ΠΏΠΎΠΌΠΎΡΠΈ ΠΌΠΎΠ»ΠΎΡΠΊΠ° ΠΈ ΠΌΠ΅Π΄Π½ΠΎΠΉ ΠΎΠΏΡΠ°Π²ΠΊΠΈ (ΠΊΠΎΠ»ΡΡΠ°), Π½ΡΠΆΠ½ΠΎ Π½Π°Π½ΠΎΡΠΈΡΡ ΡΠ΄Π°ΡΡ ΠΏΠΎΠΎΡΠ΅ΡΠ΅Π΄Π½ΠΎ ΠΏΠΎ Π²ΡΠ΅ΠΉ ΠΏΠΎΠ²Π΅ΡΡ
Π½ΠΎΡΡΠΈ ΡΠΎΡΡΠ° ΡΡΡΠ°Π½Π°Π²Π»ΠΈΠ²Π°Π΅ΠΌΠΎΠ³ΠΎ ΠΊΠΎΠ»ΡΡΠ° ΠΏΠΎΠ΄ΡΠΈΠΏΠ½ΠΈΠΊΠ°. ΠΡΠΈΡΠ΅ΠΌ ΠΊΠ°ΠΆΠ΄ΡΠΉ ΡΠ»Π΅Π΄ΡΡΡΠΈΠΉ ΡΠ΄Π°Ρ Π² Π΄ΠΈΠ°ΠΌΠ΅ΡΡΠ°Π»ΡΠ½ΠΎ ΠΏΡΠΎΡΠΈΠ²ΠΎΠΏΠΎΠ»ΠΎΠΆΠ½ΠΎΠΉ Π·ΠΎΠ½Π΅. ΠΠΈ ΠΏΡΠΈ ΠΊΠ°ΠΊΠΎΠΉ ΡΡΡΠ°Π½ΠΎΠ²ΠΊΠ΅ ΡΡΠΈΠ»ΠΈΠ΅ Π½Π΅ Π΄ΠΎΠ»ΠΆΠ½ΠΎ ΠΏΡΠΈΠΊΠ»Π°Π΄ΡΠ²Π°ΡΡΡΡ ΠΊ ΡΠ΅ΠΏΠ°ΡΠ°ΡΠΎΡΡ. Π Π΅Π·ΠΊΠΈΠ΅ ΡΠ΄Π°ΡΡ ΠΈ ΠΏΠ΅ΡΠ΅ΠΊΠΎΡΡ ΠΌΠΎΠ³ΡΡ ΠΏΡΠΈΠ²Π΅ΡΡΠΈ ΠΊ ΡΠ°Π·ΡΡΡΠ΅Π½ΠΈΡ ΠΏΠΎΠ΄ΡΠΈΠΏΠ½ΠΈΠΊΠ° ΠΏΡΡΠΌΠΎ Π² ΠΌΠΎΠΌΠ΅Π½Ρ ΡΡΡΠ°Π½ΠΎΠ²ΠΊΠΈ.
ΠΠ΅ΡΠ΅Π΄ΠΊΠΎ ΡΡΠΎ ΠΏΡΠΎΠΈΡΡ
ΠΎΠ΄ΠΈΡ ΠΏΡΠΈ ΠΌΠΎΠ½ΡΠ°ΠΆΠ΅ ΠΊΡΡΠΏΠ½ΡΡ
ΡΠΎΠ½ΠΊΠΎΡΡΠ΅Π½Π½ΡΠ΅ ΠΈΠ·Π΄Π΅Π»ΠΈΠΉ.
ΠΠΎΠ½ΠΈΡΠ΅ΡΠΊΠΈΠ΅ ΡΠΎΠ»ΠΈΠΊΠΎΠ²ΡΠ΅ ΠΏΠΎΠ΄ΡΠΈΠΏΠ½ΠΈΠΊΠΈ ΡΠ²Π»ΡΡΡΡΡ ΡΠ°Π·ΡΠ΅ΠΌΠ½ΡΠΌΠΈ ΠΈ ΠΌΠΎΠ½ΡΠΈΡΡΡΡΡΡ ΠΎΡΠ΄Π΅Π»ΡΠ½ΠΎ: Π½Π° Π²Π°Π» β Π²Π½ΡΡΡΠ΅Π½Π½Π΅Π΅ ΠΊΠΎΠ»ΡΡΠΎ Ρ ΡΠ΅ΠΏΠ°ΡΠ°ΡΠΎΡΠΎΠΌ ΠΈ ΡΠΎΠ»ΠΈΠΊΠ°ΠΌΠΈ, Π² ΠΎΡΠ²Π΅ΡΡΡΠΈΠ΅ ΠΊΠΎΡΠΏΡΡΠ°- Π½Π°ΡΡΠΆΠ½ΠΎΠ΅ ΠΊΠΎΠ»ΡΡΠΎ. ΠΠΎΠ·ΠΆΠ΅ ΡΠ΅Π³ΡΠ»ΠΈΡΡΠ΅ΡΡΡ Π·Π°Π·ΠΎΡ. ΠΠ»Ρ ΡΡΠΎΠ³ΠΎ ΠΏΡΠΈΠΌΠ΅Π½ΡΡΡΡΡ ΠΏΡΠΎΠΊΠ»Π°Π΄ΠΊΠΈ ΠΏΠΎΠ΄ ΠΊΡΡΡΠΊΡ ΡΠ°Π·Π»ΠΈΡΠ½ΠΎΠΉ ΡΠΎΠ»ΡΠΈΠ½Ρ. ΠΡΠ»ΠΈ ΠΏΠ΅ΡΠ΅ΡΡΠ½ΡΡΡ ΠΈ Π²ΡΠ±ΡΠ°ΡΡ Π·Π°Π·ΠΎΡ ΠΏΠΎΠ»Π½ΠΎΡΡΡΡ, ΠΏΠΎΠ΄ΡΠΈΠΏΠ½ΠΈΠΊ Π½Π΅ Π±ΡΠ΄Π΅Ρ ΠΊΡΡΡΠΈΡΡΡΡ. ΠΡΠ»ΠΈ Π½Π΅Π΄ΠΎΡΡΠ½ΡΡΡ, ΡΠΎΠ»ΠΈΠΊΠΈ Π±ΡΠ΄ΡΡ ΠΏΡΠΎΡΠΊΠ°ΠΊΠΈΠ²Π°ΡΡ. ΠΠ΄Π΅ΡΡ ΡΡΠΎΠΈΡ Π±ΡΡΡ ΠΎΡΠΎΠ±Π΅Π½Π½ΠΎ Π²Π½ΠΈΠΌΠ°ΡΠ΅Π»ΡΠ½ΡΠΌ.
ΠΠ³ΠΎΠ»ΡΡΠ°ΡΡΠ΅ ΠΊΠΎΠΌΠΏΠ»Π΅ΠΊΡΠ½ΡΠ΅ ΠΏΠΎΠ΄ΡΠΈΠΏΠ½ΠΈΠΊΠΈ, Π½Π΅ ΠΈΠΌΠ΅ΡΡΠΈΠ΅ ΡΠ΅ΠΏΠ°ΡΠ°ΡΠΎΡΠ° ΠΈ ΠΏΡΠ΅Π΄ΡΡΠ°Π²Π»ΡΡΡΠΈΠ΅ ΡΠΎΠ±ΠΎΠΉ Π½Π°Π±ΠΎΡ ΠΈΠ· ΠΊΠΎΠ»Π΅Ρ ΠΈ ΠΈΠ³ΠΎΠ»ΡΡΠ°ΡΡΡ ΡΠΎΠ»ΠΈΠΊΠΎΠ², ΡΡΡΠ°Π½Π°Π²Π»ΠΈΠ²Π°ΡΡ ΡΠ»Π΅Π΄ΡΡΡΠΈΠΌ ΠΎΠ±ΡΠ°Π·ΠΎΠΌ: ΡΠΎΠ»ΠΈΠΊΠΈ Π½Π°ΠΊΠ»Π΅ΠΈΠ²Π°ΡΡ Π½Π° ΡΠΌΠ°Π·ΠΊΡ, ΠΊΠ°ΠΊ Π½Π° ΠΊΠ»Π΅ΠΉ, Π½Π° Π½Π°ΡΡΠΆΠ½ΠΎΠ΅ ΠΊΠΎΠ»ΡΡΠΎ ΠΈ ΠΏΠΎΡΠ»Π΅ ΡΡΠΎΠ³ΠΎ Π²ΡΡ ΠΊΠΎΠ½ΡΡΡΡΠΊΡΠΈΡ ΠΎΡΡΠΎΡΠΎΠΆΠ½ΠΎ Π½Π°Π΄Π΅Π²Π°ΡΡ Π½Π° Π²Π°Π». ΠΠΎΠ»ΠΈΡΠ΅ΡΡΠ²ΠΎ ΡΠΎΠ»ΠΈΠΊΠΎΠ² Π²ΡΠ±ΠΈΡΠ°ΡΡ ΡΠ°ΠΊΠΈΠΌ ΠΎΠ±ΡΠ°Π·ΠΎΠΌ, ΡΡΠΎΠ± ΠΏΠΎΡΠ»Π΅Π΄Π½ΠΈΠΉ ΡΠΎΠ»ΠΈΠΊ Π²ΠΎΡΠ΅Π» Π΄ΠΎΡΡΠ°ΡΠΎΡΠ½ΠΎ ΡΠ²ΠΎΠ±ΠΎΠ΄Π½ΠΎ ΠΈ ΠΏΠΎΡΠ»Π΅ Π΅Π³ΠΎ ΡΡΡΠ°Π½ΠΎΠ²ΠΊΠΈ ΠΌΠ΅ΠΆΠ΄Ρ ΡΠΎΠ»ΠΈΠΊΠ°ΠΌΠΈ ΠΎΡΡΠ°Π»ΡΡ Π·Π°Π·ΠΎΡ ΡΠ°Π·ΠΌΠ΅ΡΠΎΠΌ ΠΎΡ Β½ Π΄ΠΎ 1 Π΄ΠΈΠ°ΠΌΠ΅ΡΡΠ° ΡΡΡΠ°Π½Π°Π²Π»ΠΈΠ²Π°Π΅ΠΌΠΎΠ³ΠΎ ΡΠΎΠ»ΠΈΠΊΠ°.
ΠΠ±ΡΠ°ΡΠ΅Π½ΠΈΠ΅ Ρ ΠΏΠΎΠ΄ΡΠΈΠΏΠ½ΠΈΠΊΠ°ΠΌΠΈ|ΠΡΠΎΠ΄ΡΠΊΡΡ ΠΈ ΡΠ΅Ρ Π½ΠΎΠ»ΠΎΠ³ΠΈΠΈ|NTN Global
ΠΠΠΠΠΠΠ―Β >Β ΠΡΠΎΠ΄ΡΠΊΡΡ ΠΈ ΡΠ΅Ρ Π½ΠΎΠ»ΠΎΠ³ΠΈΠΈΒ >Β ΠΠ°ΠΊ: ΠΎΠ±ΡΠ°ΡΠ΅Π½ΠΈΠ΅ ΠΈ ΡΡ ΠΎΠ΄Β : ΠΠ±ΡΠ°ΡΠ΅Π½ΠΈΠ΅ Ρ ΠΏΠΎΠ΄ΡΠΈΠΏΠ½ΠΈΠΊΠ°ΠΌΠΈΒ >Β ΠΠΎΠ½ΡΠ°ΠΆ ΠΏΠΎΠ΄ΡΠΈΠΏΠ½ΠΈΠΊΠ°
ΠΡΠΎΡΠ΅Π΄ΡΡΡ ΠΌΠΎΠ½ΡΠ°ΠΆΠ° ΠΈ ΠΏΡΠΈΠΌΠ΅ΡΡ ΠΏΠΎΠ²ΡΠ΅ΠΆΠ΄Π΅Π½ΠΈΠΉ
ΠΏΠΎΠ΄ΡΠΈΠΏΠ½ΠΈΠΊΠΈ Π²ΡΠ΄Π΅ΡΠΆΠΈΠ²Π°ΡΡ ΠΏΠΎΠΊΠ°Π·Π°Π½ΠΎ Π² ΠΠ’Π
Π² ΠΊΠ°ΡΠ°Π»ΠΎΠ³Π΅ ΠΊΠ°ΠΊ Β«Π±Π°Π·ΠΎΠ²Π°Ρ ΡΡΠ°ΡΠΈΡΠ΅ΡΠΊΠ°Ρ Π³ΡΡΠ·ΠΎΠΏΠΎΠ΄ΡΠ΅ΠΌΠ½ΠΎΡΡΡ ΠΏΠΎΠ΄ΡΠΈΠΏΠ½ΠΈΠΊΠ°Β».
ΠΡΠΎ ΠΌΠ°ΠΊΡΠΈΠΌΠ°Π»ΡΠ½ΠΎΠ΅ ΡΡΠΈΠ»ΠΈΠ΅, ΠΊΠΎΡΠΎΡΠΎΠ΅ ΠΌΠΎΠΆΠ΅Ρ Π±ΡΡΡ
Π½Π°Π½ΠΎΡΠΈΡΡΡ Π½Π° ΡΠ΅Π½ΡΡΠ°Π»ΡΠ½ΡΡ ΠΊΠΎΠ½ΡΠ°ΠΊΡΠ½ΡΡ Π·ΠΎΠ½Ρ ΠΌΠ΅ΠΆΠ΄Ρ ΠΊΠ°ΡΠ΅Π½ΠΈΡ
ΡΠ»Π΅ΠΌΠ΅Π½ΡΡ ΠΈ ΠΏΠΎΠ²Π΅ΡΡ
Π½ΠΎΡΡΠΈ Π΄ΠΎΡΠΎΠΆΠ΅ΠΊ ΠΊΠ°ΡΠ΅Π½ΠΈΡ.
ΠΡΠΈ ΠΏΡΠ΅Π²ΡΡΠ΅Π½ΠΈΠΈ ΠΎΠ±ΡΠ°Ρ ΠΎΡΡΠ°ΡΠΎΡΠ½Π°Ρ Π΄Π΅ΡΠΎΡΠΌΠ°ΡΠΈΡ
Π±ΡΠ΄Π΅Ρ ΠΏΡΠ΅Π²ΡΡΠ°ΡΡ 1/10000 Π΄ΠΈΠ°ΠΌΠ΅ΡΡΠ° ΠΎΡΠ²Π΅ΡΡΡΠΈΡ,
ΠΈ ΠΏΠ»Π°Π²Π½ΠΎΠ΅ Π²ΡΠ°ΡΠ΅Π½ΠΈΠ΅ ΠΏΠΎΠ΄ΡΠΈΠΏΠ½ΠΈΠΊΠ° Π±ΡΠ΄Π΅Ρ Π½Π°ΡΡΡΠ΅Π½ΠΎ.
ΠΡΠΎ ΠΎΡΠ½ΠΎΠ²Π° Π΄Π»Ρ ΡΡΡΠ°Π½ΠΎΠ²Π»Π΅Π½ΠΈΡ ΠΎΡΠ½ΠΎΠ²Π½ΡΡ
ΡΡΠ°ΡΠΈΡΠ΅ΡΠΊΠΈΡ
ΡΠ΅ΠΉΡΠΈΠ½Π³ΠΈ Π½Π°Π³ΡΡΠ·ΠΊΠΈ.
ΠΡΠΈΠΌΠ΅ΡΡ ΠΏΠΎΠ²ΡΠ΅ΠΆΠ΄Π΅Π½ΠΈΠΉ
ΠΡΡΠ»Π°ΠΈΠ²Π°Π½ΠΈΠ΅
ΠΠ½Π΅Π΄ΡΠ΅Π½ΠΈΠ΅ ΡΠ²Π΅ΡΠ΄ΡΡ Π·Π°Π³ΡΡΠ·Π½Π΅Π½ΠΈΠΉ
β ΠΠΎΠ½ΡΠ°ΠΆ ΠΏΠΎΠ΄ΡΠΈΠΏΠ½ΠΈΠΊΠΎΠ² Ρ ΠΏΠΎΠΌΠΎΡΡΡ ΠΌΠΎΠ»ΠΎΡΠΊΠ° ΠΏΡΠΈΠ²ΠΎΠ΄ΠΈΡ ΠΊ ΠΏΠΎΠ²ΡΠ΅ΠΆΠ΄Π΅Π½ΠΈΡ ΠΈΠ·-Π·Π° ΡΠ΅Π·ΠΊΠΈΡ ΡΠ΄Π°ΡΠΎΠ². ΠΠΎΠΆΠ°Π»ΡΠΉΡΡΠ°, ΡΡΡΠ°Π½Π°Π²Π»ΠΈΠ²Π°ΠΉΡΠ΅ ΠΏΠΎΠ΄ΡΠΈΠΏΠ½ΠΈΠΊΠΈ Ρ ΠΏΡΠ΅ΡΡΠΎΠ²ΠΎΠΉ ΠΏΠΎΡΠ°Π΄ΠΊΠΎΠΉ, ΠΈΡΠΏΠΎΠ»ΡΠ·ΡΡ ΠΏΡΠ΅ΡΡΠΎΠ²ΡΡ ΠΎΠΏΡΠ°Π²ΠΊΡ ΠΈΠ»ΠΈ Π΄ΡΡΠ³ΠΎΠΉ ΠΈΠ½ΡΡΡΡΠΌΠ΅Π½Ρ, ΠΏΡΠ΅Π΄Π½Π°Π·Π½Π°ΡΠ΅Π½Π½ΡΠΉ Π΄Π»Ρ ΠΎΠ±Π΅ΡΠΏΠ΅ΡΠ΅Π½ΠΈΡ ΠΎΠ΄ΠΈΠ½Π°ΠΊΠΎΠ²ΠΎΠΉ ΠΏΠΎΠ²Π΅ΡΡ Π½ΠΎΡΡΠΈ.
Π£Ρ ΠΎΠ΄ Π·Π° ΠΏΠΎΠ΄ΡΠΈΠΏΠ½ΠΈΠΊΠ°ΠΌΠΈ
β ΠΠΎΠ΄ΡΠΈΠΏΠ½ΠΈΠΊΠΈ ΠΎΡΠ΅Π½Ρ ΡΡΠ²ΡΡΠ²ΠΈΡΠ΅Π»ΡΠ½Ρ ΠΊ ΡΠ΄Π°ΡΠ°ΠΌ ΠΈ ΡΠ΄Π°ΡΠ½ΡΠΌ Π½Π°Π³ΡΡΠ·ΠΊΠ°ΠΌ!
ΠΠΎΠ΄ΡΠΈΠΏΠ½ΠΈΠΊΠΈ Π½Π΅ΡΡΡ ΡΠ²ΠΎΠΈ Π½Π°Π³ΡΡΠ·ΠΊΠΈ Π²Π΄ΠΎΠ»Ρ ΡΡΠ΅Π·Π²ΡΡΠ°ΠΉΠ½ΠΎ ΡΠ·ΠΊΠΎΠΉ ΠΊΠΎΠ½ΡΠ°ΠΊΡΠ½ΠΎΠΉ ΠΏΠΎΠ²Π΅ΡΡ Π½ΠΎΡΡΠΈ ΠΌΠ΅ΠΆΠ΄Ρ ΡΠ΅Π»Π°ΠΌΠΈ ΠΊΠ°ΡΠ΅Π½ΠΈΡ ΠΈ Π²Π½ΡΡΡΠ΅Π½Π½Π΅ΠΉ ΠΈ Π²Π½Π΅ΡΠ½Π΅ΠΉ ΠΏΠΎΠ²Π΅ΡΡ Π½ΠΎΡΡΡΠΌΠΈ Π΄ΠΎΡΠΎΠΆΠ΅ΠΊ ΠΊΠ°ΡΠ΅Π½ΠΈΡ.
ΠΡΠ»ΠΈ ΠΊ ΡΡΠΎΠΉ ΡΠ·ΠΊΠΎΠΉ ΠΎΠ±Π»Π°ΡΡΠΈ ΠΊΠΎΠ½ΡΠ°ΠΊΡΠ° ΠΏΡΠΈΠ»ΠΎΠΆΠΈΡΡ ΡΡΠ΅Π·ΠΌΠ΅ΡΠ½ΡΡ Π½Π°Π³ΡΡΠ·ΠΊΡ ΠΈΠ»ΠΈ ΡΠ΄Π°Ρ, ΠΏΡΠΎΠΈΠ·ΠΎΠΉΠ΄Π΅Ρ Π±ΡΠΈΠ½Π΅Π»Π»ΠΈΡΠΎΠ²Π°Π½ΠΈΠ΅ ΠΈ/ΠΈΠ»ΠΈ ΠΎΠ±ΡΠ°Π·ΠΎΠ²Π°Π½ΠΈΠ΅ ΡΡΠ±ΡΠΎΠ².
ΠΡΠΎ ΠΏΠΎΠ²ΡΠ΅ΠΆΠ΄Π΅Π½ΠΈΠ΅ ΠΏΡΠΈΠ²ΠΎΠ΄ΠΈΡ ΠΊ Π½Π΅ΠΏΡΠΈΠ΅ΠΌΠ»Π΅ΠΌΠΎΠΌΡ ΡΡΠΎΠ²Π½Ρ ΡΡΠΌΠ° ΠΈ Π²ΠΈΠ±ΡΠ°ΡΠΈΠΈ, Π° ΡΠ°ΠΊΠΆΠ΅ ΠΊ Π½Π΅ΡΠ°Π²Π½ΠΎΠΌΠ΅ΡΠ½ΠΎΠΌΡ Π²ΡΠ°ΡΠ΅Π½ΠΈΡ ΠΏΠΎΠ΄ΡΠΈΠΏΠ½ΠΈΠΊΠ°. (Π’Π°ΠΊΠΎΠ΅ ΠΏΠΎΠ²ΡΠ΅ΠΆΠ΄Π΅Π½ΠΈΠ΅ ΠΌΠΎΠΆΠ΅Ρ Π±ΡΡΡ Π²ΡΠ·Π²Π°Π½ΠΎ Π΄Π°ΠΆΠ΅ ΠΏΠ°Π΄Π΅Π½ΠΈΠ΅ΠΌ ΠΏΠΎΠ΄ΡΠΈΠΏΠ½ΠΈΠΊΠΎΠ² Π½Π° ΠΏΠΎΠ».)
β ΠΠΎΠ΄ΡΠΈΠΏΠ½ΠΈΠΊΠΈ ΠΎΡΠ΅Π½Ρ Π²ΠΎΡΠΏΡΠΈΠΈΠΌΡΠΈΠ²Ρ ΠΊ Π·Π°Π³ΡΡΠ·Π½Π΅Π½ΠΈΡ ΠΏΠΎΡΡΠΎΡΠΎΠ½Π½ΠΈΠΌΠΈ ΡΠ°ΡΡΠΈΡΠ°ΠΌΠΈ!
ΠΡΠ»ΠΈ ΠΏΠΎΡΡΠΎΡΠΎΠ½Π½ΠΈΠ΅ ΡΠ°ΡΡΠΈΡΡ ΠΏΡΠΎΠ½ΠΈΠΊΠ½ΡΡ Π² ΠΏΠΎΠ΄ΡΠΈΠΏΠ½ΠΈΠΊ Π²ΠΎ Π²ΡΠ΅ΠΌΡ Π²ΡΠ°ΡΠ΅Π½ΠΈΡ, ΠΏΠΎΡΠ²ΡΡΡΡ Π²ΠΌΡΡΠΈΠ½Ρ ΠΈ/ΠΈΠ»ΠΈ ΡΠ°ΡΠ°ΠΏΠΈΠ½Ρ, ΡΡΠΎ ΠΏΡΠΈΠ²Π΅Π΄Π΅Ρ ΠΊ ΠΏΠ»ΠΎΡ ΠΎΠΌΡ Π²ΡΠ°ΡΠ΅Π½ΠΈΡ ΠΏΠΎΠ΄ΡΠΈΠΏΠ½ΠΈΠΊΠ° ΠΈ ΠΏΠΎΠ²ΡΡΠ΅Π½Π½ΠΎΠΌΡ ΡΡΠΌΡ.
Π£ΡΡΠ°Π½ΠΎΠ²ΠΊΠ° ΠΏΡΠΈ ΡΠ΅ΠΌΠΏΠ΅ΡΠ°ΡΡΡΠ΅ (ΡΠ΅ΠΏΠ»ΠΎΠ²ΠΎΠ΅ ΡΠ°ΡΡΠΈΡΠ΅Π½ΠΈΠ΅ Π²Π½ΡΡΡΠ΅Π½Π½Π΅Π³ΠΎ ΠΊΠΎΠ»ΡΡΠ° Π΄Π»Ρ ΠΎΠ±Π»Π΅Π³ΡΠ΅Π½ΠΈΡ ΡΡΡΠ°Π½ΠΎΠ²ΠΊΠΈ)
Π’Π΅ΠΌΠΏΠ΅ΡΠ°ΡΡΡΠ° Π½Π°Π³ΡΠ΅Π²Π°
ΠΠ±ΡΡΠ½ΠΎ ΠΈΡΠΏΠΎΠ»ΡΠ·ΡΠ΅ΡΡΡ Π΄Π»Ρ Π±ΠΎΠ»ΡΡΠΈΡ ΠΏΠΎΠ΄ΡΠΈΠΏΠ½ΠΈΠΊΠΎΠ² ΠΈ ΠΏΠΎΠ΄ΡΠΈΠΏΠ½ΠΈΠΊΠΎΠ² Ρ ΠΏΠ»ΠΎΡΠ½ΠΎΠΉ ΠΏΠΎΡΠ°Π΄ΠΊΠΎΠΉ Ρ Π½Π°ΡΡΠ³ΠΎΠΌ.
- ΠΠΎΠ³ΡΡΠΆΠ΅Π½ΠΈΠ΅ ΠΏΠΎΠ΄ΡΠΈΠΏΠ½ΠΈΠΊΠ° Π² Π½Π°Π³ΡΠ΅ΡΠΎΠ΅ ΠΌΠ°ΡΠ»ΠΎ ΡΠ²Π»ΡΠ΅ΡΡΡ Π½Π°ΠΈΠ±ΠΎΠ»Π΅Π΅ ΡΠ°ΡΠΏΡΠΎΡΡΡΠ°Π½Π΅Π½Π½ΡΠΌ ΠΌΠ΅ΡΠΎΠ΄ΠΎΠΌ. ΠΡΠΏΠΎΠ»ΡΠ·ΡΠΉΡΠ΅ ΡΠΈΡΡΠΎΠ΅ ΠΌΠ°ΡΠ»ΠΎ ΠΈ ΠΏΠΎΠ΄Π²Π΅ΡΠΈΠ²Π°ΠΉΡΠ΅ ΠΏΠΎΠ΄ΡΠΈΠΏΠ½ΠΈΠΊ Π² ΠΌΠ°ΡΠ»Π΅ Π½Π° ΠΏΡΠΎΠ²ΠΎΠ»ΠΎΠΊΠ΅ ΠΈΠ»ΠΈ ΠΏΠΎΠ΄ΠΏΠΈΡΠ°ΠΉΡΠ΅ Π΅Π³ΠΎ Ρ ΠΏΠΎΠΌΠΎΡΡΡ ΠΌΠ΅ΡΠ°Π»Π»ΠΈΡΠ΅ΡΠΊΠΎΠ³ΠΎ ΡΠΊΡΠ°Π½Π° Π²ΠΎ ΠΈΠ·Π±Π΅ΠΆΠ°Π½ΠΈΠ΅ Π½Π΅ΡΠ°Π²Π½ΠΎΠΌΠ΅ΡΠ½ΠΎΠ³ΠΎ Π½Π°Π³ΡΠ΅Π²Π° ΡΠ»Π΅ΠΌΠ΅Π½ΡΠΎΠ² ΠΏΠΎΠ΄ΡΠΈΠΏΠ½ΠΈΠΊΠ°.
- Π’Π΅ΠΌΠΏΠ΅ΡΠ°ΡΡΡΠ°, Π΄ΠΎ ΠΊΠΎΡΠΎΡΠΎΠΉ ΡΠ»Π΅Π΄ΡΠ΅Ρ Π½Π°Π³ΡΠ΅Π²Π°ΡΡ Π²Π½ΡΡΡΠ΅Π½Π½Π΅Π΅ ΠΊΠΎΠ»ΡΡΠΎ, Π·Π°Π²ΠΈΡΠΈΡ ΠΎΡ ΡΡΠ΅ΠΏΠ΅Π½ΠΈ ΠΏΠΎΡΠ°Π΄ΠΊΠΈ Ρ Π½Π°ΡΡΠ³ΠΎΠΌ, Ρ.
Π΅. ΠΎΡ Π΄ΠΈΠ°ΠΌΠ΅ΡΡΠ° ΠΏΠΎΠ²Π΅ΡΡ
Π½ΠΎΡΡΠ΅ΠΉ ΠΏΠΎΡΠ°Π΄ΠΊΠΈ Ρ Π½Π°ΡΡΠ³ΠΎΠΌ. ΠΠ±ΡΠ°ΡΠΈΡΠ΅ΡΡ ΠΊ ΡΠ»Π΅Π΄ΡΡΡΠ΅ΠΌΡ Π³ΡΠ°ΡΠΈΠΊΡ, ΡΡΠΎΠ±Ρ ΠΎΠΏΡΠ΅Π΄Π΅Π»ΠΈΡΡ ΠΏΡΠ°Π²ΠΈΠ»ΡΠ½ΡΡ ΡΠ΅ΠΌΠΏΠ΅ΡΠ°ΡΡΡΡ. - ΠΠΎ ΠΈΠ·Π±Π΅ΠΆΠ°Π½ΠΈΠ΅ ΠΎΠ±ΡΠ°Π·ΠΎΠ²Π°Π½ΠΈΡ Π·Π°Π·ΠΎΡΠΎΠ² ΠΌΠ΅ΠΆΠ΄Ρ Π²Π½ΡΡΡΠ΅Π½Π½ΠΈΠΌ ΠΊΠΎΠ»ΡΡΠΎΠΌ ΠΈ Π·Π°ΠΏΠ»Π΅ΡΠΈΠΊΠΎΠΌ Π²Π°Π»Π°, ΠΏΠΎΠ΄ΡΠΈΠΏΠ½ΠΈΠΊΠΈ, ΠΊΠΎΡΠΎΡΡΠ΅ Π±ΡΠ»ΠΈ Π½Π°Π³ΡΠ΅ΡΡ ΠΈ ΡΡΡΠ°Π½ΠΎΠ²Π»Π΅Π½Ρ Π½Π° Π²Π°Π», Π΄ΠΎΠ»ΠΆΠ½Ρ ΡΠ΄Π΅ΡΠΆΠΈΠ²Π°ΡΡΡΡ Π½Π° ΠΌΠ΅ΡΡΠ΅ Π΄ΠΎ ΠΏΠΎΠ»Π½ΠΎΠ³ΠΎ ΠΎΡΡΡΠ²Π°Π½ΠΈΡ.
β Π‘ΠΎΠ±Π»ΡΠ΄Π°ΠΉΡΠ΅ ΡΡΠΈ ΠΌΠ΅ΡΡ ΠΏΡΠ΅Π΄ΠΎΡΡΠΎΡΠΎΠΆΠ½ΠΎΡΡΠΈ ΠΏΡΠΈ Π½Π°Π³ΡΠ΅Π²Π΅ ΠΏΠΎΠ΄ΡΠΈΠΏΠ½ΠΈΠΊΠΎΠ²
- ΠΠΎΠ΄ΡΠΈΠΏΠ½ΠΈΠΊΠΈ Π½Π΅Π»ΡΠ·Ρ Π½Π°Π³ΡΠ΅Π²Π°ΡΡ Π²ΡΡΠ΅ 120Β°C.
- ΠΡΠΎΡ ΠΌΠ΅ΡΠΎΠ΄ ΡΠ΅ΠΌΠΏΠ΅ΡΠ°ΡΡΡΠ½ΠΎΠ³ΠΎ ΠΌΠΎΠ½ΡΠ°ΠΆΠ° Π½Π΅Π»ΡΠ·Ρ ΠΈΡΠΏΠΎΠ»ΡΠ·ΠΎΠ²Π°ΡΡ Π΄Π»Ρ ΠΏΡΠ΅Π΄Π²Π°ΡΠΈΡΠ΅Π»ΡΠ½ΠΎ ΡΠΌΠ°Π·Π°Π½Π½ΡΡ ΠΈ ΡΠΏΠ»ΠΎΡΠ½Π΅Π½Π½ΡΡ ΠΏΠΎΠ΄ΡΠΈΠΏΠ½ΠΈΠΊΠΎΠ² ΠΈΠ»ΠΈ ΡΠΊΡΠ°Π½ΠΈΡΠΎΠ²Π°Π½Π½ΡΡ ΠΏΠΎΠ΄ΡΠΈΠΏΠ½ΠΈΠΊΠΎΠ².
ΠΡΡΠ³ΠΈΠ΅ ΠΌΠ΅ΡΠΎΠ΄Ρ Π½Π°Π³ΡΠ΅Π²Π°
ΠΠΎΠ΄ΡΠΈΠΏΠ½ΠΈΠΊΠΎΠ²Π°Ρ ΠΏΠ΅ΡΡ
- ΠΠΎΠ΄ΡΠΈΠΏΠ½ΠΈΠΊΠΎΠ²Π°Ρ ΠΏΠ΅ΡΡ
ΠΠΎΠ΄ΡΠΈΠΏΠ½ΠΈΠΊΠΈ ΡΡΡ ΠΈΠ΅. ΠΡΠΎΡ ΠΌΠ΅ΡΠΎΠ΄ ΡΠ°ΠΊΠΆΠ΅ ΠΌΠΎΠΆΠ½ΠΎ ΠΈΡΠΏΠΎΠ»ΡΠ·ΠΎΠ²Π°ΡΡ Π΄Π»Ρ ΠΏΡΠ΅Π΄Π²Π°ΡΠΈΡΠ΅Π»ΡΠ½ΠΎ ΡΠΌΠ°Π·Π°Π½Π½ΡΡ ΠΏΠΎΠ΄ΡΠΈΠΏΠ½ΠΈΠΊΠΎΠ².
β ΠΡΠΈ ΠΈΡΠΏΠΎΠ»ΡΠ·ΠΎΠ²Π°Π½ΠΈΠΈ ΡΡΠΎΠ³ΠΎ ΠΌΠ΅ΡΠΎΠ΄Π° Ρ ΠΏΡΠ΅Π΄Π²Π°ΡΠΈΡΠ΅Π»ΡΠ½ΠΎ ΡΠΌΠ°Π·Π°Π½Π½ΡΠΌΠΈ ΠΏΠΎΠ΄ΡΠΈΠΏΠ½ΠΈΠΊΠ°ΠΌΠΈ Π½Π΅ Π½Π°Π³ΡΠ΅Π²Π°ΠΉΡΠ΅ ΠΏΠΎΠ΄ΡΠΈΠΏΠ½ΠΈΠΊΠΈ Π²ΡΡΠ΅ 120Β°C - ΠΠ½Π΄ΡΠΊΡΠΈΠΎΠ½Π½ΡΠΉ Π½Π°Π³ΡΠ΅Π²
ΠΡΠΎΡ ΠΌΠ΅ΡΠΎΠ΄ ΡΠ°ΠΊΠΆΠ΅ ΠΌΠΎΠΆΠ΅Ρ Π±ΡΡΡ ΠΈΡΠΏΠΎΠ»ΡΠ·ΠΎΠ²Π°Π½ Π΄Π»Ρ Π²Π½ΡΡΡΠ΅Π½Π½ΠΈΡ ΠΊΠΎΠ»Π΅Ρ ΡΠΈΠ»ΠΈΠ½Π΄ΡΠΈΡΠ΅ΡΠΊΠΈΡ ΡΠΎΠ»ΠΈΠΊΠΎΠΏΠΎΠ΄ΡΠΈΠΏΠ½ΠΈΠΊΠΎΠ².
ΠΠΎΠ΄ΡΠΈΠΏΠ½ΠΈΠΊΠΈ ΡΡΡ
ΠΈΠ΅ ΠΈ ΠΌΠΎΠ³ΡΡ Π±ΡΡΡ Π½Π°Π³ΡΠ΅ΡΡ Π·Π° ΠΊΠΎΡΠΎΡΠΊΠΈΠΉ ΠΏΡΠΎΠΌΠ΅ΠΆΡΡΠΎΠΊ Π²ΡΠ΅ΠΌΠ΅Π½ΠΈ.
ΠΠΎΡΠ»Π΅ ΠΈΡΠΏΠΎΠ»ΡΠ·ΠΎΠ²Π°Π½ΠΈΡ ΡΡΠΎΠ³ΠΎ ΠΌΠ΅ΡΠΎΠ΄Π° ΠΎΠ±ΡΠ°Π±ΠΎΡΠ°ΠΉΡΠ΅ ΠΏΠΎΠ΄ΡΠΈΠΏΠ½ΠΈΠΊ ΡΠ°Π·ΠΌΠ°Π³Π½ΠΈΡΠΈΠ²Π°ΡΡΠ΅ΠΉ ΠΎΠ±ΡΠ°Π±ΠΎΡΠΊΠΎΠΉ. ΠΠ»Ρ ΠΏΠΎΠ»ΡΡΠ΅Π½ΠΈΡ Π±ΠΎΠ»Π΅Π΅ ΠΏΠΎΠ΄ΡΠΎΠ±Π½ΠΎΠΉ ΠΈΠ½ΡΠΎΡΠΌΠ°ΡΠΈΠΈ ΠΎ ΠΌΠ΅ΡΠΎΠ΄Π°Ρ Π½Π°Π³ΡΠ΅Π²Π° ΠΏΠΎΠ΄ΡΠΈΠΏΠ½ΠΈΠΊΠΎΠ² ΠΎΠ±ΡΠ°ΡΠ°ΠΉΡΠ΅ΡΡ Π² NTN.
* Π©Π΅Π»ΠΊΠ½ΠΈΡΠ΅ Π·Π΄Π΅ΡΡ Π΄Π»Ρ ΠΎΠ±ΡΠ°ΡΠ΅Π½ΠΈΡ Ρ ΠΏΠΎΠ΄ΡΠΈΠΏΠ½ΠΈΠΊΠΎΠ²ΡΠΌΠΈ ΡΠ·Π»Π°ΠΌΠΈ.
https://www.ntnglobal.com/en/products/bearingunit/handling.html
Π£ΡΡΠ°Π½ΠΎΠ²ΠΊΠ° ΠΏΠΎΠ΄ΡΠΈΠΏΠ½ΠΈΠΊΠ°
ΠΠΎΠ½ΡΠ°ΠΊΡ
[email protected]
+ 001 0231 123 32
ΠΠΎΠ΄ΠΏΠΈΡΠ°ΡΡΡΡ
ΠΠ½ΡΠΎΡΠΌΠ°ΡΠΈΡ
ΠΡΠ΅ Π΄Π΅ΠΌΠΎΠ½ΡΡΡΠ°ΡΠΈΠΎΠ½Π½ΠΎΠ΅ ΡΠΎΠ΄Π΅ΡΠΆΠΈΠΌΠΎΠ΅ ΠΏΡΠ΅Π΄Π½Π°Π·Π½Π°ΡΠ΅Π½ΠΎ ΡΠΎΠ»ΡΠΊΠΎ Π΄Π»Ρ ΠΏΡΠΈΠΌΠ΅ΡΠ° ΠΈ ΠΏΡΠ΅Π΄Π½Π°Π·Π½Π°ΡΠ΅Π½ΠΎ Π΄Π»Ρ ΠΏΡΠ΅Π΄ΡΡΠ°Π²Π»Π΅Π½ΠΈΡ ΡΠ°Π±ΠΎΡΠ°ΡΡΠ΅Π³ΠΎ ΡΠ°ΠΉΡΠ°. ΠΠΎΠΆΠ°Π»ΡΠΉΡΡΠ°, ΠΈΡΠΏΠΎΠ»ΡΠ·ΡΠΉΡΠ΅ RocketLauncher Π΄Π»Ρ ΡΡΡΠ°Π½ΠΎΠ²ΠΊΠΈ ΡΠΊΠ²ΠΈΠ²Π°Π»Π΅Π½ΡΠ° Π΄Π΅ΠΌΠΎ, Π²ΡΠ΅ ΠΈΠ·ΠΎΠ±ΡΠ°ΠΆΠ΅Π½ΠΈΡ Π±ΡΠ΄ΡΡ Π·Π°ΠΌΠ΅Π½Π΅Π½Ρ ΠΎΠ±ΡΠ°Π·ΡΠ°ΠΌΠΈ ΠΈΠ·ΠΎΠ±ΡΠ°ΠΆΠ΅Π½ΠΈΠΉ.
ΠΡΠΎΡΠ΅Π΄ΡΡΡ ΡΡΡΠ°Π½ΠΎΠ²ΠΊΠΈ ΠΈ ΠΌΠΎΠ½ΡΠ°ΠΆΠ° ΠΏΠΎΠ΄ΡΠΈΠΏΠ½ΠΈΠΊΠΎΠ²
ΠΠ»Ρ Π΄ΠΎΡΡΠΈΠΆΠ΅Π½ΠΈΡ ΠΎΠΏΡΠΈΠΌΠ°Π»ΡΠ½ΠΎΠΉ ΠΏΡΠΎΠΈΠ·Π²ΠΎΠ΄ΠΈΡΠ΅Π»ΡΠ½ΠΎΡΡΠΈ ΠΏΠΎΠ΄ΡΠΈΠΏΠ½ΠΈΠΊΠΎΠ² ΠΈ ΠΏΡΠ΅Π΄ΠΎΡΠ²ΡΠ°ΡΠ΅Π½ΠΈΡ ΠΈΡ
ΠΏΡΠ΅ΠΆΠ΄Π΅Π²ΡΠ΅ΠΌΠ΅Π½Π½ΠΎΠ³ΠΎ Π²ΡΡ
ΠΎΠ΄Π° ΠΈΠ· ΡΡΡΠΎΡ Π½Π΅ΠΎΠ±Ρ
ΠΎΠ΄ΠΈΠΌΡ ΠΏΡΠ°Π²ΠΈΠ»ΡΠ½ΡΠ΅ ΠΏΡΠΎΡΠ΅Π΄ΡΡΡ ΠΎΠ±ΡΠ°ΡΠ΅Π½ΠΈΡ ΠΈ ΠΌΠ΅ΡΠΎΠ΄Ρ ΠΌΠΎΠ½ΡΠ°ΠΆΠ° Ρ ΠΈΡΠΏΠΎΠ»ΡΠ·ΠΎΠ²Π°Π½ΠΈΠ΅ΠΌ Π½Π°Π΄Π»Π΅ΠΆΠ°ΡΠΈΡ
ΠΈΠ½ΡΡΡΡΠΌΠ΅Π½ΡΠΎΠ².
ΠΠΎΠ΄ΡΠΈΠΏΠ½ΠΈΠΊΠΈ Π΄ΠΎΠ»ΠΆΠ½Ρ Π±ΡΡΡ ΡΡΡΠ°Π½ΠΎΠ²Π»Π΅Π½Ρ ΠΏΡΠ°Π²ΠΈΠ»ΡΠ½ΠΎ. ΠΠ΅ΠΏΡΠ°Π²ΠΈΠ»ΡΠ½ΡΠΉ ΠΌΠΎΠ½ΡΠ°ΠΆ ΠΏΠΎΠ²Π»ΠΈΡΠ΅Ρ Π½Π΅ ΡΠΎΠ»ΡΠΊΠΎ Π½Π° ΡΠΎΡΠ½ΠΎΡΡΡ ΠΈ ΡΡΠΎΠΊ ΡΠ»ΡΠΆΠ±Ρ ΠΏΠΎΠ΄ΡΠΈΠΏΠ½ΠΈΠΊΠ°, Π½ΠΎ ΠΈ Π½Π° ΡΠ°Π±ΠΎΡΡ ΠΎΠ±ΠΎΡΡΠ΄ΠΎΠ²Π°Π½ΠΈΡ, Π² ΠΊΠΎΡΠΎΡΠΎΠΌ ΠΎΠ½ ΡΡΡΠ°Π½ΠΎΠ²Π»Π΅Π½. Π Π΅ΠΊΠΎΠΌΠ΅Π½Π΄ΡΠ΅ΠΌΠ°Ρ ΠΏΡΠΎΡΠ΅Π΄ΡΡΠ° ΡΡΡΠ°Π½ΠΎΠ²ΠΊΠΈ ΠΏΠΎΠ΄ΡΠΈΠΏΠ½ΠΈΠΊΠ° ΡΠ»Π΅Π΄ΡΡΡΠ°Ρ:
- ΠΠΎΠ΄Π³ΠΎΡΠΎΠ²ΠΊΠ° ΠΊ ΠΌΠΎΠ½ΡΠ°ΠΆΡ
- ΠΡΠΎΠ²Π΅ΡΠΊΠ° Π²Π°Π»Π° ΠΈ ΠΊΠΎΡΠΏΡΡΠ°
- Π Π°ΡΠΏΠ°ΠΊΠΎΠ²ΠΊΠ° (ΠΏΡΠΎΠΌΡΠ²ΠΊΠ° ΠΏΠΎΠ΄ΡΠΈΠΏΠ½ΠΈΠΊΠ° ΠΏΡΠΈ Π½Π΅ΠΎΠ±Ρ ΠΎΠ΄ΠΈΠΌΠΎΡΡΠΈ)
- ΠΠΎΠ½ΡΠ°ΠΆ ΠΏΠΎΠ΄ΡΠΈΠΏΠ½ΠΈΠΊΠ°
- Π‘ΠΌΠ°Π·ΠΊΠ°
- ΠΡΠΎΠ±Π½ΡΠΉ Π·Π°ΠΏΡΡΠΊ ΠΎΠ±ΠΎΡΡΠ΄ΠΎΠ²Π°Π½ΠΈΡ
ΠΡΠΎΡΠ΅Π΄ΡΡΡ ΠΏΠ΅ΡΠ΅Π΄Π°ΡΠΈ: ΡΡΠΎ ΠΌΠΎΠΆΠ½ΠΎ ΠΈ ΡΠ΅Π³ΠΎ Π½Π΅Π»ΡΠ·Ρ Π΄Π΅Π»Π°ΡΡ
ΠΠΎΠ΄Π³ΠΎΡΠΎΠ²ΠΊΠ° ΠΊ ΠΌΠΎΠ½ΡΠ°ΠΆΡ +
ΠΡΠΈ ΠΏΠΎΠ΄Π³ΠΎΡΠΎΠ²ΠΊΠ΅ ΠΊ ΠΌΠΎΠ½ΡΠ°ΠΆΡ Π²ΡΠ±Π΅ΡΠΈΡΠ΅ ΠΏΠΎΠ΄Ρ ΠΎΠ΄ΡΡΠ΅Π΅ ΠΈ ΡΠΈΡΡΠΎΠ΅ ΡΠ°Π±ΠΎΡΠ΅Π΅ ΠΌΠ΅ΡΡΠΎ. ΠΠ΅ΡΠ΅Π΄ Π½Π°ΡΠ°Π»ΠΎΠΌ ΠΏΡΠΎΡΠ΅Π΄ΡΡΡ Π²ΡΠ΅ Π½Π΅ΠΎΠ±Ρ ΠΎΠ΄ΠΈΠΌΡΠ΅ Π΄Π΅ΡΠ°Π»ΠΈ, ΠΈΠ½ΡΡΡΡΠΌΠ΅Π½ΡΡ ΠΈ ΠΎΠ±ΠΎΡΡΠ΄ΠΎΠ²Π°Π½ΠΈΠ΅ Π΄ΠΎΠ»ΠΆΠ½Ρ Π±ΡΡΡ ΠΏΠΎΠ΄ ΡΡΠΊΠΎΠΉ.
ΠΠ±ΡΠΎΠ»ΡΡΠ½Π°Ρ ΡΠΈΡΡΠΎΡΠ° Π½Π΅ΠΎΠ±Ρ ΠΎΠ΄ΠΈΠΌΠ° Π²ΡΠ΅Π³Π΄Π°! ΠΡΡΠ·Ρ ΠΈ Π²Π»Π°ΠΆΠ½ΠΎΡΡΡ ΡΠ²Π»ΡΡΡΡΡ ΠΎΠΏΠ°ΡΠ½ΡΠΌΠΈ Π½Π°ΡΡΡΠΈΡΠ΅Π»ΡΠΌΠΈ, ΡΠ°ΠΊ ΠΊΠ°ΠΊ Π΄Π°ΠΆΠ΅ ΠΌΠ΅Π»ΡΡΠ°ΠΉΡΠΈΠ΅ ΡΠ°ΡΡΠΈΡΡ, ΠΏΠΎΠΏΠ°Π΄Π°ΡΡΠΈΠ΅ Π² ΠΏΠΎΠ΄ΡΠΈΠΏΠ½ΠΈΠΊ, ΠΌΠΎΠ³ΡΡ ΠΏΠΎΠ²ΡΠ΅Π΄ΠΈΡΡ ΠΏΠΎΠ²Π΅ΡΡ Π½ΠΎΡΡΠΈ ΠΊΠ°ΡΠ΅Π½ΠΈΡ.
ΠΡΠΌΠΎΡΡ Π²Π°Π»Π° ΠΈ ΠΊΠΎΡΠΏΡΡΠ° +
ΠΡΠΌΠΎΡΡΠΈΡΠ΅ Π²Π°Π» ΠΈ ΠΊΠΎΡΠΏΡΡ, ΡΡΠΎΠ±Ρ ΡΠ±Π΅Π΄ΠΈΡΡΡΡ Π² ΠΎΡΡΡΡΡΡΠ²ΠΈΠΈ Π·Π°ΡΡΠ΅Π½ΡΠ΅Π², Π·Π°ΡΡΠ΅Π½ΡΠ΅Π² ΠΈ Π΄ΡΡΠ³ΠΈΡ Π΄Π΅ΡΠ΅ΠΊΡΠΎΠ². Π£Π±Π΅Π΄ΠΈΡΠ΅ΡΡ, ΡΡΠΎ Π²Π°Π» ΠΈ ΠΊΠΎΡΠΏΡΡ ΡΠΎΠΎΡΠ²Π΅ΡΡΡΠ²ΡΡΡ ΡΠΏΠ΅ΡΠΈΡΠΈΠΊΠ°ΡΠΈΡΠΌ, ΠΈΡΠΏΠΎΠ»ΡΠ·ΡΡ ΠΏΡΠ°Π²ΠΈΠ»ΡΠ½ΠΎ Π²ΡΠ±ΡΠ°Π½Π½ΡΠ΅ Π΄ΠΎΠΏΡΡΠΊΠΈ Π² ΡΠΎΠΎΡΠ²Π΅ΡΡΡΠ²ΠΈΠΈ ΡΠΎ ΡΡΠ°Π½Π΄Π°ΡΡΠΎΠΌ 7 ΠΠΌΠ΅ΡΠΈΠΊΠ°Π½ΡΠΊΠΎΠΉ Π°ΡΡΠΎΡΠΈΠ°ΡΠΈΠΈ ΠΏΡΠΎΠΈΠ·Π²ΠΎΠ΄ΠΈΡΠ΅Π»Π΅ΠΉ ΠΏΠΎΠ΄ΡΠΈΠΏΠ½ΠΈΠΊΠΎΠ² (AMBA) Β«ΠΠΎΠ΄Π³ΠΎΠ½ΠΊΠ° Π²Π°Π»Π° ΠΈ ΠΊΠΎΡΠΏΡΡΠ° Π΄Π»Ρ ΠΌΠ΅ΡΡΠΈΡΠ΅ΡΠΊΠΈΡ ΡΠ°ΡΠΈΠΊΠΎΠ²ΡΡ ΠΈ ΡΠΎΠ»ΠΈΠΊΠΎΠ²ΡΡ ΠΏΠΎΠ΄ΡΠΈΠΏΠ½ΠΈΠΊΠΎΠ²Β». Π‘ΡΠ΄Π° Π²Ρ ΠΎΠ΄ΡΡ ΡΠ°Π·ΠΌΠ΅ΡΡ, ΠΏΠ΅ΡΠΏΠ΅Π½Π΄ΠΈΠΊΡΠ»ΡΡΠ½ΠΎΡΡΡ ΡΡΡΡΠΏΠ° ΠΈ ΡΠ°Π΄ΠΈΡΡΡ ΡΠΊΡΡΠ³Π»Π΅Π½ΠΈΡ. ΠΠ΅ΡΠΎΠ±Π»ΡΠ΄Π΅Π½ΠΈΠ΅ Π½Π°Π΄Π»Π΅ΠΆΠ°ΡΠ΅Π³ΠΎ ΡΠΎΠΎΡΠ²Π΅ΡΡΡΠ²ΠΈΡ Π²Π°Π»Π° ΠΈ ΠΊΠΎΡΠΏΡΡΠ° ΡΡ ΡΠ΄ΡΠΈΡ ΡΠ°Π±ΠΎΡΠΈΠ΅ Ρ Π°ΡΠ°ΠΊΡΠ΅ΡΠΈΡΡΠΈΠΊΠΈ ΠΏΠΎΠ΄ΡΠΈΠΏΠ½ΠΈΠΊΠ°, ΡΡΠΎ ΠΏΡΠΈΠ²Π΅Π΄Π΅Ρ ΠΊ Π΅Π³ΠΎ ΠΏΡΠ΅ΠΆΠ΄Π΅Π²ΡΠ΅ΠΌΠ΅Π½Π½ΠΎΠΌΡ Π²ΡΡ ΠΎΠ΄Ρ ΠΈΠ· ΡΡΡΠΎΡ. ΠΡΠΈΡΠΈΠ½Ρ ΡΠ°ΠΊΠΈΡ ΡΠ±ΠΎΠ΅Π² Π½Π΅ Π²ΡΠ΅Π³Π΄Π° Π»Π΅Π³ΠΊΠΎ ΡΡΡΠ°Π½ΠΎΠ²ΠΈΡΡ, ΠΈ Π½Π° ΠΏΠΎΠΈΡΠΊ ΠΏΡΠΈΡΠΈΠ½Ρ ΡΠ±ΠΎΡ ΠΌΠΎΠΆΠ΅Ρ Π±ΡΡΡ ΠΏΠΎΡΡΠ°ΡΠ΅Π½ΠΎ ΠΌΠ½ΠΎΠ³ΠΎ Π²ΡΠ΅ΠΌΠ΅Π½ΠΈ.
ΠΡΠΎΠ²Π΅ΡΡΡΠ΅ Π΄ΠΈΠ°ΠΌΠ΅ΡΡ Π²Π°Π»Π° Π² Π΄Π²ΡΡ ΠΏΠΎΠ»ΠΎΠΆΠ΅Π½ΠΈΡΡ (Π ΠΈ Π) Π² ΡΠ΅ΡΡΡΠ΅Ρ ΠΏΠ»ΠΎΡΠΊΠΎΡΡΡΡ .
ΠΠ°ΠΏΠΈΡΠΈΡΠ΅ ΡΡΠΈ ΠΈΠ·ΠΌΠ΅ΡΠ΅Π½ΠΈΡ Π΄Π»Ρ Π΄Π°Π»ΡΠ½Π΅ΠΉΡΠ΅Π³ΠΎ ΠΈΡΠΏΠΎΠ»ΡΠ·ΠΎΠ²Π°Π½ΠΈΡ.ΠΡΠΎΠ²Π΅ΡΡΡΠ΅ Π΄ΠΈΠ°ΠΌΠ΅ΡΡ ΠΎΡΠ²Π΅ΡΡΡΠΈΡ ΠΊΠΎΡΠΏΡΡΠ° Π² Π΄Π²ΡΡ ΠΏΠΎΠ»ΠΎΠΆΠ΅Π½ΠΈΡΡ (Π ΠΈ Π) Π² ΡΠ΅ΡΡΡΠ΅Ρ ΠΏΠ»ΠΎΡΠΊΠΎΡΡΡΡ .
ΠΠ°ΠΏΠΈΡΠΈΡΠ΅ ΡΡΠΈ ΠΈΠ·ΠΌΠ΅ΡΠ΅Π½ΠΈΡ Π΄Π»Ρ Π΄Π°Π»ΡΠ½Π΅ΠΉΡΠ΅Π³ΠΎ ΠΈΡΠΏΠΎΠ»ΡΠ·ΠΎΠ²Π°Π½ΠΈΡ.Π Π°ΡΠΏΠ°ΠΊΠΎΠ²ΠΊΠ° (ΠΏΡΠΎΠΌΡΠ²ΠΊΠ° ΠΏΠΎΠ΄ΡΠΈΠΏΠ½ΠΈΠΊΠ°, ΠΏΡΠΈ Π½Π΅ΠΎΠ±Ρ ΠΎΠ΄ΠΈΠΌΠΎΡΡΠΈ) +
Π Π°ΡΠΏΠ°ΠΊΡΠΉΡΠ΅ ΠΏΠΎΠ΄ΡΠΈΠΏΠ½ΠΈΠΊ Π½Π΅ΠΏΠΎΡΡΠ΅Π΄ΡΡΠ²Π΅Π½Π½ΠΎ ΠΏΠ΅ΡΠ΅Π΄ ΠΌΠΎΠ½ΡΠ°ΠΆΠΎΠΌ.
Π Π°Π±ΠΎΡΠ° Π³ΠΎΠ»ΡΠΌΠΈ ΡΡΠΊΠ°ΠΌΠΈ ΠΌΠΎΠΆΠ΅Ρ ΠΏΡΠΈΠ²Π΅ΡΡΠΈ ΠΊ ΡΠΆΠ°Π²ΡΠΈΠ½Π΅, ΡΠ΅ΠΊΠΎΠΌΠ΅Π½Π΄ΡΠ΅ΡΡΡ ΠΈΡΠΏΠΎΠ»ΡΠ·ΠΎΠ²Π°ΡΡ ΠΏΠ°ΡΡ ΡΠΈΡΡΡΡ Π²ΠΈΠ½ΠΈΠ»ΠΎΠ²ΡΡ ΠΏΠ΅ΡΡΠ°ΡΠΎΠΊ. ΠΡΡΠ·Π½ΡΠ΅ ΠΏΠ΅ΡΡΠ°ΡΠΊΠΈ ΡΠ²Π»ΡΡΡΡΡ Π²ΠΎΠ·ΠΌΠΎΠΆΠ½ΡΠΌ ΠΈΡΡΠΎΡΠ½ΠΈΠΊΠΎΠΌ ΠΏΡΠ»ΠΈ ΠΈ Π³ΡΡΠ·ΠΈ, ΠΊΠΎΡΠΎΡΡΠ΅ ΠΌΠΎΠ³ΡΡ ΠΏΠΎΠΏΠ°ΡΡΡ Π² ΠΏΠΎΠ΄ΡΠΈΠΏΠ½ΠΈΠΊ ΠΈ Π²ΡΠ·Π²Π°ΡΡ ΠΏΡΠΎΠ±Π»Π΅ΠΌΡ Π² Π±ΡΠ΄ΡΡΠ΅ΠΌ. ΠΠ±ΡΡΠ½ΠΎ ΠΏΠΎΠ΄ΡΠΈΠΏΠ½ΠΈΠΊ Π½Π΅ Π½ΡΠΆΠ½ΠΎ ΠΌΡΡΡ ΠΏΠΎΡΠ»Π΅ ΡΠ°ΡΠΏΠ°ΠΊΠΎΠ²ΠΊΠΈ, ΡΠ°ΠΊ ΠΊΠ°ΠΊ Π°Π½ΡΠΈΠΊΠΎΡΡΠΎΠ·ΠΈΠΎΠ½Π½ΠΎΠ΅ ΠΊΠΎΠ½ΡΠ΅ΡΠ²ΠΈΡΡΡΡΠ΅Π΅ ΠΏΠΎΠΊΡΡΡΠΈΠ΅ ΡΠΎΠ²ΠΌΠ΅ΡΡΠΈΠΌΠΎ Ρ Π±ΠΎΠ»ΡΡΠΈΠ½ΡΡΠ²ΠΎΠΌ ΡΠΌΠ°Π·ΠΎΡΠ½ΡΡ ΠΌΠ°ΡΠ΅ΡΠΈΠ°Π»ΠΎΠ². Π’Π΅ΠΌ Π½Π΅ ΠΌΠ΅Π½Π΅Π΅, Π²ΡΡΠΎΠΊΠΎΡΠΊΠΎΡΠΎΡΡΠ½ΡΠ΅ ΠΈ Π²ΡΡΠΎΠΊΠΎΡΠΎΡΠ½ΡΠ΅ ΠΏΠΎΠ΄ΡΠΈΠΏΠ½ΠΈΠΊΠΈ, ΠΊΠΎΡΠΎΡΡΠ΅ ΠΈΡΠΏΠΎΠ»ΡΠ·ΡΡΡΡΡ Π΄Π»Ρ ΡΠΏΠ΅ΡΠΈΠ°Π»ΡΠ½ΡΡ ΠΏΡΠΈΠΌΠ΅Π½Π΅Π½ΠΈΠΉ ΠΈΠ»ΠΈ ΠΊΠΎΠ³Π΄Π° ΡΠΌΠ°Π·ΠΊΠ° Π½Π΅ΡΠΎΠ²ΠΌΠ΅ΡΡΠΈΠΌΠ° Ρ ΠΊΠΎΠ½ΡΠ΅ΡΠ²Π°Π½ΡΠΎΠΌ, ΠΏΠΎΠ΄ΡΠΈΠΏΠ½ΠΈΠΊ, Π²ΠΎΠ·ΠΌΠΎΠΆΠ½ΠΎ, ΠΏΡΠΈΠ΄Π΅ΡΡΡ ΠΏΡΠΎΠΌΡΡΡ, ΡΡΠΎΠ±Ρ ΡΠ΄Π°Π»ΠΈΡΡ Π°Π½ΡΠΈΠΊΠΎΡΡΠΎΠ·ΠΈΠΉΠ½ΡΡ ΠΆΠΈΠ΄ΠΊΠΎΡΡΡ.
ΠΡΠΈ ΠΎΡΠΈΡΡΠΊΠ΅ ΠΏΠΎΠ΄ΡΠΈΠΏΠ½ΠΈΠΊΠ° Π½Π΅ΠΎΠ±Ρ ΠΎΠ΄ΠΈΠΌΠΎ ΠΈΡΠΏΠΎΠ»ΡΠ·ΠΎΠ²Π°ΡΡ ΡΠ²Π΅ΠΆΠΈΠΉ ΠΊΠ΅ΡΠΎΡΠΈΠ½, ΡΠ²ΠΎΠ±ΠΎΠ΄Π½ΡΠΉ ΠΎΡ ΠΏΡΠΈΠΌΠ΅ΡΠ΅ΠΉ, ΡΠ°ΠΊΠΈΡ ΠΊΠ°ΠΊ ΠΏΡΠ»Ρ ΠΈ Π³ΡΡΠ·Ρ. ΠΡΠΎΠΌΠΎΠΉΡΠ΅ ΠΏΠΎΠ΄ΡΠΈΠΏΠ½ΠΈΠΊ ΡΠΈΠ»ΡΡΡΡΡΡΠΈΠΌ Π΄ΡΡΠ΅ΠΌ.
ΠΡΠ»ΠΈ Π΄ΡΡ Π½Π΅Π΄ΠΎΡΡΡΠΏΠ΅Π½, ΠΈΡΠΏΠΎΠ»ΡΠ·ΡΠΉΡΠ΅ ΡΠ΅ΡΠΊΡ, ΡΡΠΎΠ±Ρ ΠΎΠΊΡΠ½ΡΡΡ ΠΏΠΎΠ΄ΡΠΈΠΏΠ½ΠΈΠΊ Π² ΠΊΠ΅ΡΠΎΡΠΈΠ½.ΠΡΠΎΡΠ΅ΡΡ ΠΎΡΠΈΡΡΠΊΠΈ ΡΠ»Π΅Π΄ΡΠ΅Ρ ΡΠ°Π·Π΄Π΅Π»ΠΈΡΡ Π½Π° Π³ΡΡΠ±ΡΡ ΠΎΡΠΈΡΡΠΊΡ ΠΈ ΠΎΠΊΠΎΠ½ΡΠ°ΡΠ΅Π»ΡΠ½ΡΡ ΠΎΡΠΈΡΡΠΊΡ. ΠΠ»Ρ ΠΊΠ°ΠΆΠ΄ΠΎΠ³ΠΎ ΠΏΡΠΎΡΠ΅ΡΡΠ° ΡΠ»Π΅Π΄ΡΠ΅Ρ ΠΈΡΠΏΠΎΠ»ΡΠ·ΠΎΠ²Π°ΡΡ ΠΎΡΠ΄Π΅Π»ΡΠ½ΡΠΉ ΠΊΠ΅ΡΠΎΡΠΈΠ½ΠΎΠ²ΡΠΉ ΠΊΠΎΠ½ΡΠ΅ΠΉΠ½Π΅Ρ. ΠΠ°ΡΠ΅ΠΌ ΠΏΠΎΠ΄ΡΠΈΠΏΠ½ΠΈΠΊΠΈ ΡΠ»Π΅Π΄ΡΠ΅Ρ ΡΡΠ°ΡΠ΅Π»ΡΠ½ΠΎ Π²ΡΡΡΡΠΈΡΡ. ΠΠΎΡΠ»Π΅ ΠΎΡΠΈΡΡΠΊΠΈ Π½Π΅ΠΌΠ΅Π΄Π»Π΅Π½Π½ΠΎ Π½Π°ΠΊΡΠΎΠΉΡΠ΅ ΠΏΠΎΠ΄ΡΠΈΠΏΠ½ΠΈΠΊΠΈ, ΠΆΠ΅Π»Π°ΡΠ΅Π»ΡΠ½ΠΎ ΠΏΠ»Π°ΡΡΠΈΠΊΠΎΠΌ.
ΠΠΎΠ½ΡΠ°ΠΆ ΠΏΠΎΠ΄ΡΠΈΠΏΠ½ΠΈΠΊΠ° — Π‘ΠΏΠΎΡΠΎΠ±Ρ ΠΌΠΎΠ½ΡΠ°ΠΆΠ° +
Β ΠΠ΅ΡΠΎΠ΄ ΠΏΡΠ΅ΡΡΠΎΠ²Π°Π½ΠΈΡ:
ΠΡΠΎ Π½Π°ΠΈΠ±ΠΎΠ»Π΅Π΅ ΡΠ°ΡΠΏΡΠΎΡΡΡΠ°Π½Π΅Π½Π½ΡΠΉ ΠΌΠ΅ΡΠΎΠ΄ ΡΡΡΠ°Π½ΠΎΠ²ΠΊΠΈ ΠΏΠΎΠ΄ΡΠΈΠΏΠ½ΠΈΠΊΠ°, ΠΊΠΎΡΠΎΡΡΠΉ ΠΌΠΎΠΆΠ½ΠΎ ΠΈΡΠΏΠΎΠ»ΡΠ·ΠΎΠ²Π°ΡΡ Π΄Π»Ρ ΠΏΠΎΠ΄ΡΠΈΠΏΠ½ΠΈΠΊΠΎΠ² Ρ ΠΌΠ°ΠΊΡΠΈΠΌΠ°Π»ΡΠ½ΡΠΌ Π΄ΠΈΠ°ΠΌΠ΅ΡΡΠΎΠΌ ΠΎΡΠ²Π΅ΡΡΡΠΈΡ 80 ΠΌΠΌ. ΠΡΠΈ ΠΌΠΎΠ½ΡΠ°ΠΆΠ΅ Ρ Π½Π°ΡΡΠ³ΠΎΠΌ ΠΌΠ΅ΠΆΠ΄Ρ Π²Π°Π»ΠΎΠΌ ΠΈ Π²Π½ΡΡΡΠ΅Π½Π½ΠΈΠΌ ΠΊΠΎΠ»ΡΡΠΎΠΌ ΠΈΡΠΏΠΎΠ»ΡΠ·ΡΠΉΡΠ΅ ΠΌΠΎΠ½ΡΠ°ΠΆΠ½ΡΡ ΡΠ΅Π»Π΅ΠΆΠΊΡ Π² ΡΠΎΠΎΡΠ²Π΅ΡΡΡΠ²ΠΈΠΈ Ρ ΡΠ°Π·ΠΌΠ΅ΡΠΎΠΌ Π²Π½ΡΡΡΠ΅Π½Π½Π΅Π³ΠΎ ΠΊΠΎΠ»ΡΡΠ°.
Π Π΅ΠΊΠΎΠΌΠ΅Π½Π΄ΡΠ΅ΡΡΡ Π½Π°Π½Π΅ΡΡΠΈ Π½Π° Π²Π°Π» ΡΠΎΠ½ΠΊΠΈΠΉ ΡΠ»ΠΎΠΉ ΡΡΠ°Π½ΡΠΌΠΈΡΡΠΈΠΎΠ½Π½ΠΎΠ³ΠΎ ΠΌΠ°ΡΠ»Π°.
Β
ΠΡΠ»ΠΈ ΠΊ ΠΏΠΎΠ΄ΡΠΈΠΏΠ½ΠΈΠΊΡ ΠΊΠ°ΡΠ΅Π½ΠΈΡ Π½Π΅ΠΎΠ±Ρ ΠΎΠ΄ΠΈΠΌΠΎ ΠΏΡΠΈΠ»ΠΎΠΆΠΈΡΡ ΡΡΠΈΠ»ΠΈΠ΅ Π΄Π»Ρ ΠΌΠΎΠ½ΡΠ°ΠΆΠ°, ΠΎΠ½ΠΎ Π΄ΠΎΠ»ΠΆΠ½ΠΎ ΠΏΡΠΈΠ»Π°Π³Π°ΡΡΡΡ ΠΏΠΎ ΠΏΡΡΠΌΠΎΠΉ Π»ΠΈΠ½ΠΈΠΈ ΠΈ ΡΠ°Π²Π½ΠΎΠΌΠ΅ΡΠ½ΠΎ.
Π£Π±Π΅Π΄ΠΈΡΠ΅ΡΡ, ΡΡΠΎ ΠΏΠΎΠ΄ΡΠΈΠΏΠ½ΠΈΠΊ ΠΎΡΡΠ΅Π½ΡΡΠΎΠ²Π°Π½ ΠΏΡΠ°Π²ΠΈΠ»ΡΠ½ΠΎ.Β
ΠΡΠ»ΠΈ ΠΏΡΠ΅ΡΡ Π½Π΅Π΄ΠΎΡΡΡΠΏΠ΅Π½, Π·Π°Π±Π΅ΠΉΡΠ΅ ΠΏΠΎΠ΄ΡΠΈΠΏΠ½ΠΈΠΊ, ΠΈΡΠΏΠΎΠ»ΡΠ·ΡΡ ΡΠΎΠ»ΡΠΊΠΎ Π±Π΅Π·ΡΠ΄Π°ΡΠ½ΡΠΉ ΠΌΠΎΠ»ΠΎΡΠΎΠΊ ΠΈ ΠΌΠΎΠ½ΡΠ°ΠΆΠ½ΡΡ ΡΠ΅Π»Π΅ΠΆΠΊΡ, ΡΡΠΎΠ±Ρ ΡΠ²Π΅ΡΡΠΈ ΠΊ ΠΌΠΈΠ½ΠΈΠΌΡΠΌΡ ΡΠ΄Π°ΡΡ ΠΏΠΎ ΠΏΠΎΠ΄ΡΠΈΠΏΠ½ΠΈΠΊΡ ΠΈ ΡΠ°Π²Π½ΠΎΠΌΠ΅ΡΠ½ΠΎ ΡΠ°ΡΠΏΡΠ΅Π΄Π΅Π»ΠΈΡΡ ΠΌΠΎΠ½ΡΠ°ΠΆΠ½ΡΠ΅ ΡΡΠΈΠ»ΠΈΡ.
ΠΠΎΠ΄ΡΠΈΠΏΠ½ΠΈΠΊ Π½Π΅Π»ΡΠ·Ρ Π±ΠΈΡΡ Π½Π°ΠΏΡΡΠΌΡΡ ΠΌΠΎΠ»ΠΎΡΠΊΠΎΠΌ, Π° Π΄Π°Π²Π»Π΅Π½ΠΈΠ΅ ΡΠ»Π΅Π΄ΡΠ΅Ρ ΠΏΡΠΈΠΊΠ»Π°Π΄ΡΠ²Π°ΡΡ ΡΠΎΠ»ΡΠΊΠΎ ΠΊ Π²Π½ΡΡΡΠ΅Π½Π½Π΅ΠΌΡ ΠΊΠΎΠ»ΡΡΡ.
Β
ΠΡΠΈ ΠΎΠ΄Π½ΠΎΠ²ΡΠ΅ΠΌΠ΅Π½Π½ΠΎΠΉ ΡΡΡΠ°Π½ΠΎΠ²ΠΊΠ΅ Π²Π½ΡΡΡΠ΅Π½Π½Π΅Π³ΠΎ ΠΈ Π½Π°ΡΡΠΆΠ½ΠΎΠ³ΠΎ ΠΊΠΎΠ»Π΅Ρ ΠΈΡΠΏΠΎΠ»ΡΠ·ΡΠΉΡΠ΅ ΠΌΠ΅ΡΠ°Π»Π»ΠΈΡΠ΅ΡΠΊΠΈΠΉ Π±ΡΡΠ΅Ρ ΠΈ ΠΏΡΠΈΠ»ΠΎΠΆΠΈΡΠ΅ ΡΠΈΠ»Ρ ΠΎΠ΄Π½ΠΎΠ²ΡΠ΅ΠΌΠ΅Π½Π½ΠΎ ΠΊ ΠΎΠ±ΠΎΠΈΠΌ ΠΊΠΎΠ»ΡΡΠ°ΠΌ.
Β
ΠΠ΅ΡΠΎΠ΄ ΡΠ΅ΠΏΠ»ΠΎΠ²ΠΎΠ³ΠΎ ΡΠ°ΡΡΠΈΡΠ΅Π½ΠΈΡ:
ΠΡΠ»ΠΈ Π·Π°Π·ΠΎΡ ΠΌΠ΅ΠΆΠ΄Ρ Π²Π½ΡΡΡΠ΅Π½Π½ΠΈΠΌ ΠΊΠΎΠ»ΡΡΠΎΠΌ ΠΈ Π²Π°Π»ΠΎΠΌ Π±ΠΎΠ»ΡΡΠΎΠΉ, ΡΠ΅ΠΊΠΎΠΌΠ΅Π½Π΄ΡΠ΅ΡΡΡ ΠΌΠ΅ΡΠΎΠ΄ ΡΠ΅ΠΏΠ»ΠΎΠ²ΠΎΠ³ΠΎ ΡΠ°ΡΡΠΈΡΠ΅Π½ΠΈΡ.
ΠΡΠΎΡ ΠΌΠ΅ΡΠΎΠ΄ ΠΌΠΎΠ½ΡΠ°ΠΆΠ° ΠΏΡΠΎΡΡ, Π΅ΡΠ»ΠΈ ΠΈΠΌΠ΅Π΅ΡΡΡ Π½Π°Π³ΡΠ΅Π²Π°ΡΠ΅Π»ΡΠ½ΡΠΉ Π±Π°ΠΊ ΠΈΠ»ΠΈ ΠΈΠ½Π΄ΡΠΊΡΠΈΠΎΠ½Π½ΡΠΉ Π½Π°Π³ΡΠ΅Π²Π°ΡΠ΅Π»Ρ.
ΠΠ°ΡΠ΅Π³ΠΎΡΠΈΡΠ΅ΡΠΊΠΈ Π·Π°ΠΏΡΠ΅ΡΠ°Π΅ΡΡΡ Π½Π°Π³ΡΠ΅Π²Π°ΡΡ ΠΏΠΎΠ΄ΡΠΈΠΏΠ½ΠΈΠΊ ΠΎΡΠΊΡΡΡΡΠΌ ΠΏΠ»Π°ΠΌΠ΅Π½Π΅ΠΌ!
Π‘ΠΌΠ°Π·ΠΊΠ° +
Β
ΠΡΠ°Π²ΠΈΠ»ΡΠ½Π°Ρ ΡΠΌΠ°Π·ΠΊΠ° Π½Π΅ΠΎΠ±Ρ ΠΎΠ΄ΠΈΠΌΠ° Π΄Π»Ρ ΠΏΡΠΎΠ΄Π»Π΅Π½ΠΈΡ ΡΡΠΎΠΊΠ° ΡΠ»ΡΠΆΠ±Ρ ΠΏΠΎΠ΄ΡΠΈΠΏΠ½ΠΈΠΊΠ°!
ΠΠΎΠ΄ΡΠΈΠΏΠ½ΠΈΠΊ Π±Π΅Π· Π½Π΅Π³ΠΎ Π½Π΅ Π²ΡΠΆΠΈΠ²Π΅Ρ.
- Π£ΠΌΠ΅Π½ΡΡΠΈΡΡ ΡΡΠ΅Π½ΠΈΠ΅
- ΠΡ Π»Π°ΠΆΠ΄Π΅Π½ΠΈΠ΅
- Π£ΠΌΠ΅Π½ΡΡΠΈΡΡ ΠΈΠ·Π½ΠΎΡ
- ΠΠ°ΡΠΈΡΠ° ΠΎΡ ΡΠΆΠ°Π²ΡΠΈΠ½Ρ
- ΠΠ½Π³ΠΈΠ±ΠΈΡΠΎΠ²Π°ΡΡ ΠΊΠΎΡΡΠΎΠ·ΠΈΡ
- ΠΠ°ΡΠΈΡΠ° ΠΎΡ Π·Π°Π³ΡΡΠ·Π½Π΅Π½ΠΈΡ
ΠΠΎΠΌΠΏΠΎΠ½Π΅Π½ΡΡ
Π‘ΡΡΡΠΊΡΡΡΠ° ΡΠΌΠ°Π·ΠΊΠΈ
Π‘ΠΎΡΡΠ°Π² ΡΠΌΠ°Π·ΠΊΠΈ
ΠΡΠ΅ΠΈΠΌΡΡΠ΅ΡΡΠ²Π° Π£Π΄ΠΎΠ±ΡΡΠ²ΠΎ: ΠΏΠΎΠ΄ΡΠΈΠΏΠ½ΠΈΠΊΠΈ Ρ Π·Π°Π²ΠΎΠ΄ΡΠΊΠΈΠΌΠΈ ΡΠΏΠ»ΠΎΡΠ½Π΅Π½ΠΈΡΠΌΠΈ ΠΈ ΡΠΌΠ°Π·ΠΊΠΎΠΉ Π½Π΅ ΡΡΠ΅Π±ΡΡΡ ΠΎΠ±ΡΠ»ΡΠΆΠΈΠ²Π°Π½ΠΈΡ. ΠΠΊΠΎΠ½ΠΎΠΌΠΈΡΠ½ΠΎΡΡΡ: ΠΠ΅ΡΠΌΠ΅ΡΠΈΡΠ½ΡΠΉ ΠΈ ΡΠΌΠ°Π·Π°Π½Π½ΡΠΉ ΠΏΠΎΠ΄ΡΠΈΠΏΠ½ΠΈΠΊ ΡΠΌΠ΅Π½ΡΡΠ°Π΅Ρ ΠΊΠΎΠ»ΠΈΡΠ΅ΡΡΠ²ΠΎ Π΄Π΅ΡΠ°Π»Π΅ΠΉ Π² ΠΏΡΠΈΠ»ΠΎΠΆΠ΅Π½ΠΈΠΈ. Π‘ΠΌΠ°Π·ΠΊΠ° ΠΌΠ΅Π½Π΅Π΅ ΡΠΊΠ»ΠΎΠ½Π½Π° ΠΊ ΡΡΠ΅ΡΠΊΠ΅ ΠΏΠΎ ΡΡΠ°Π²Π½Π΅Π½ΠΈΡ Ρ ΠΌΠ°ΡΠ»ΠΎΠΌ. Π‘ΠΌΠ°Π·ΠΊΠ° Π΄Π΅ΠΉΡΡΠ²ΡΠ΅Ρ ΠΊΠ°ΠΊ ΡΠΏΠ»ΠΎΡΠ½Π΅Π½ΠΈΠ΅, ΠΏΡΠ΅Π΄ΠΎΡΠ²ΡΠ°ΡΠ°ΡΡΠ΅Π΅ ΠΏΠΎΠΏΠ°Π΄Π°Π½ΠΈΠ΅ Π·Π°Π³ΡΡΠ·Π½ΡΡΡΠΈΡ Π²Π΅ΡΠ΅ΡΡΠ². - Π‘ΡΠ°Π½Π΄Π°ΡΡΠ½ΠΎΠ΅ Π·Π°ΠΏΠΎΠ»Π½Π΅Π½ΠΈΠ΅ ΠΊΠΎΠ½ΡΠΈΡΡΠ΅Π½ΡΠ½ΠΎΠΉ ΡΠΌΠ°Π·ΠΊΠΎΠΉ NACHI Π΄Π»Ρ Π·Π°ΠΊΡΡΡΡΡ ΠΈ ΡΠΊΡΠ°Π½ΠΈΡΠΎΠ²Π°Π½Π½ΡΡ ΠΏΠΎΠ΄ΡΠΈΠΏΠ½ΠΈΠΊΠΎΠ² ΡΠΎΡΡΠ°Π²Π»ΡΠ΅Ρ 20 ~ 30 %.
- Π‘Π»ΠΈΡΠΊΠΎΠΌ Π±ΠΎΠ»ΡΡΠΎΠ΅ ΠΊΠΎΠ»ΠΈΡΠ΅ΡΡΠ²ΠΎ ΡΠΌΠ°Π·ΠΊΠΈ ΠΌΠΎΠΆΠ΅Ρ Π²ΡΠ·Π²Π°ΡΡ ΡΡΠ΅Π·ΠΌΠ΅ΡΠ½ΠΎΠ΅ ΡΡΠ΅Π½ΠΈΠ΅, ΡΡΠΎ ΠΏΡΠΈΠ²Π΅Π΄Π΅Ρ ΠΊ ΠΏΠ΅ΡΠ΅Π³ΡΠ΅Π²Ρ ΠΏΠΎΠ΄ΡΠΈΠΏΠ½ΠΈΠΊΠ° ΠΈ Π²ΡΡ
ΠΎΠ΄Ρ Π΅Π³ΠΎ ΠΈΠ· ΡΡΡΠΎΡ.

