Содержание
Схемы подключения | Лифт-Комплекс ДС
- Главная
- Специалисту
- Схемы подключения
Документация
- Все схемы
- ЛБ 7.2
- ЛБ 6.1 Pro подключение к электронным СУЛ
- ЛБ 6.0 подключение к электронным СУЛ
- ЛБ 6.0 подключение к релейным СУЛ
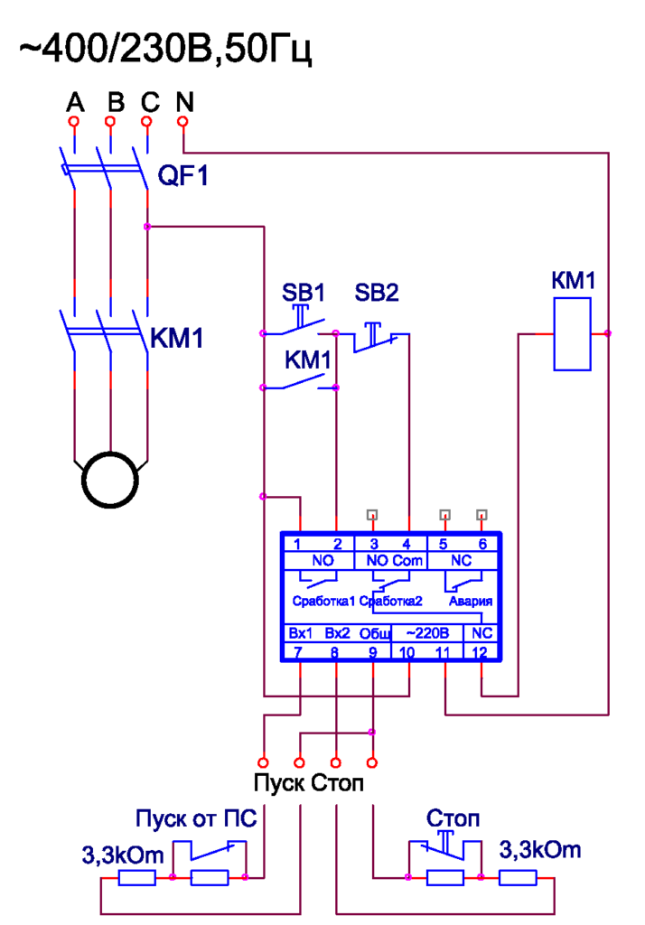
ЛБ 7.2
| Наименование документа | Дата обновления | |
|---|---|---|
| Лифтовой блок 7.2. Схемы подключения к станциям управления. | 14.09.2022 | скачать |
ЛБ 6.1 Pro подключение к электронным СУЛ
| Наименование документа | Дата обновления | |
|---|---|---|
| Схема подключения ЛБ6.1 Pro к ARKEL (изм.1). | 04.09.2012 | скачать |
| Схема подключения ЛБ6.1 Pro к LG (изм.1). | 04.09.2012 | скачать |
Схема подключения ЛБ6. 1 Pro к НКУ-МППЛ БПШ-2 (изм.0). | 04.09.2012 | скачать |
| Схема подключения ЛБ6.1 Pro к ORONA ARCA1 (изм.0). | 04.09.2012 | скачать |
| Схема подключения ЛБ6.1 Pro к ШУЛ с ПКЛ-32 (изм.0). | 04.09.2012 | скачать |
| Схема подключения ЛБ6.1 Pro к SCHINDLER (изм.1). | 04.09.2012 | скачать |
| Схема подключения ЛБ6.1 Pro к THYSSEN (изм.0). | 04.09.2012 | скачать |
| Схема подключения ЛБ6.1 Pro к УКЛ, УЛ с ПУ-2, ПУ-3 и УЭЛ с ЦПУ (изм.2). | 12.08.2021 | скачать |
| Схема подключения ЛБ6.1 Pro к BG15 (изм.0). | 04.09.2012 | скачать |
| Схема подключения ЛБ6.1 Pro к BLT (изм.0). | 04.09.2012 | скачать |
| Схема подключения ЛБ6.1 Pro к DAESUNG | 23.05.2017 | скачать |
Схема подключения ЛБ6. 1 Pro к DOPPLER (изм.0) | 04.09.2012 | скачать |
| Схема подключения ЛБ6.1 Pro к EXPRESS (изм.1) | 16.10.2012 | скачать |
| Схема подключения ЛБ6.1 Pro к KLEEMANN (изм.0) | 04.09.2012 | скачать |
| Схема подключения ЛБ6.1 Pro к KONE | 22.08.2017 | скачать |
| Схема подключения ЛБ6.1 Pro к AXEL (изм.0) | 04.09.2012 | скачать |
| Схема подключения ЛБ6.1 Pro к OTIS (изм.0) | 04.09.2012 | скачать |
| Схема подключения ЛБ6.1 Pro к СОЮЗ | 11.08.2017 | скачать |
| Схема подключения ЛБ6.1 Pro к ШК6000 | 25.01.2021 | скачать |
ЛБ 6.0 подключение к электронным СУЛ
| Наименование документа | Дата обновления | |
|---|---|---|
Схема подключения ЛБ6. 0 к HYUNDAI (изм.1) | 02.10.2012 | скачать |
| Схема подключения ЛБ6.0 к VEGA (изм.2) | 15.07.2015 | скачать |
| Схема подключения ЛБ6.0 к KONE | 22.08.2017 | скачать |
| Схема подключения ЛБ6.0 к ORONA ARCA1 (изм.0) | 04.09.2012 | скачать |
| Схема подключения ЛБ6.0 к ARKEL (изм.1) | 02.10.2012 | скачать |
| Схема подключения ЛБ6.0 к СОЮЗ | 11.08.2017 | скачать |
| Схема подключения ЛБ6.0 к НКУ-МППЛ БПШ-2 (изм.0) | 04.09.2012 | скачать |
| Схема подключения ЛБ6.0 к ОЛИМП (изм.0) | 04.09.2012 | скачать |
| Схема подключения ЛБ6.0 к ELEX с контроллером LEX-Q Rev.1 | 04.03.2014 | скачать |
| Схема подключения ЛБ6.0 к LG (изм.4) | 29. 08.2011 | скачать |
| Схема подключения ЛБ6.0 к УКЛ, УЛ с ПУ-2, ПУ-3 и УЭЛ с ЦПУ (изм.7). | 12.08.2021 | скачать |
| Схема подключения ЛБ6.0 к УУЛ (РСУЛ) (изм.2) | 01.09.2010 | скачать |
| Схема подключения к лифту ЛБ6.0 к THYSSEN с TCI, TCM, LS-3 (изм.2) | 01.09.2010 | скачать |
| Схема подключения ЛБ6.0 к СУЛ ОАО «МЭЛ» (изм.2) | 01.09.2010 | скачать |
| Схема подключения ЛБ6.0 к СПУЛ (изм.1) | 01.09.2010 | скачать |
| Схема подключения ЛБ6.0 к SODIMAS (изм.2) | 01.09.2010 | скачать |
| Схема подключения ЛБ6.0 к SCHINDLER (изм.2) | 01.09.2010 | скачать |
| Схема подключения ЛБ6.0 к ШУЛ с ПКЛ-32 (изм.4) | 01.09.2010 | скачать |
Схема подключения ЛБ6.0 к ШУЛК с ПКЛ-17 (изм. 3) | 01.09.2010 | скачать |
| Схема подключения ЛБ6.0 к ШК6000 (изм.0) | 25.01.2021 | скачать |
| Схема подключения ЛБ6.0 к OTIS (изм.2) | 01.09.2010 | скачать |
| Схема подключения ЛБ6.0 к ORONA (изм.1) | 01.09.2010 | скачать |
| Схема подключения ЛБ6.0 к НКУ-МППЛ (изм.2) | 01.09.2010 | скачать |
| Схема подключения ЛБ6.0 к KLEEMANN с LiSA (изм.1) | 01.09.2010 | скачать |
| Схема подключения ЛБ6.0 к EXPRESS (изм.1). | 01.09.2010 | скачать |
| Схема подключения ЛБ6.0 к DAESUNG | 23.05.2017 | скачать |
| Схема подключения ЛБ6.0 к DOPPLER (изм.1). | 01.09.2010 | скачать |
| Схема подключения ЛБ6.0 к BLT c MPK708 (изм.3) | 01.09.2010 | скачать |
Схема подключения ЛБ6. 0 к лифтам с BG15 (изм.1) | 01.09.2010 | скачать |
| Схема подключения ЛБ6.0 к AXEL (изм.1) | 01.09.2010 | скачать |
| Схема подключения ЛБ6.0 к THYSSEN TAC50 (изм.1) | 01.09.2010 | скачать |
| Схема подключения ЛБ6.0 к лифтам CANNY (изм.1) | 20.03.2013 | скачать |
| Схема подключения ЛБ6.0 к лифту 1021КЛ.10.00.01 Э3 со шкафом управления ZX-WP CAN3000B-VVVF | 06.02.2015 | скачать |
| Схема подключения ЛБ6.0 к лифтам LLC (изм.0) | 20.07.2015 | скачать |
ЛБ 6.0 подключение к релейным СУЛ
| Наименование документа | Дата обновления | |
|---|---|---|
| Схема подключения к лифту 0471.10.4.10.01 Э3 | 31.08.2007 | скачать |
Схема подключения к лифту 012. 10.4.12.00 АЭ3 | 31.08.2007 | скачать |
| Схема подключения к лифту 0411.10.5.17.03 Э3 (УПЛ/УЛЖ) | 31.08.2007 | скачать |
| Схема подключения к лифту 1101.10.4.12.501АЭ3 | 31.08.2007 | скачать |
| Схема подключения к лифту 143У.10.5.16.00 ВЭ3 | 31.08.2007 | скачать |
| Схема подключения к лифту 143У.10.5.12.00 АЭ3 | 31.08.2007 | скачать |
| Схема подключения к лифту К-144У.10.5.20.00 АЭ3 (изм.1) | 27.11.2012 | скачать |
| Схема подключения к лифту 402А.10.4.20.00.АЭ3 (изм.1) | 27.11.2012 | скачать |
| Схема подключения к лифту Щ-366В.10.4.17.00Э3 | 31.08.2007 | скачать |
| Схема подключения к лифту 427.10.4.12.00 Э3 | 31.08.2007 | скачать |
Схема подключения к лифту 007. 10.4.12.00 ВЭ3 | 31.08.2007 | скачать |
| Схема подключения к лифту 007.10.4.12.00 АЭ3 | 31.08.2007 | скачать |
| Схема подключения к лифту 007.10.4.09.00 Э3 | 31.08.2007 | скачать |
| Схема подключения к лифту 007.10.4.09 Cx-B | 31.08.2007 | скачать |
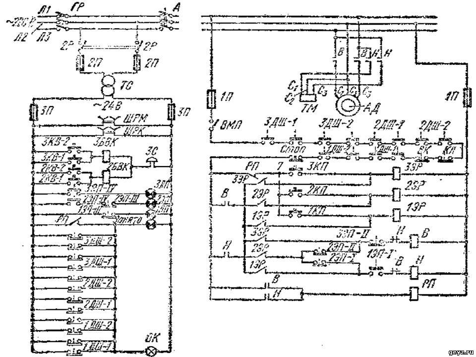
Системы управления лифтом | KEB
- Предложение о применении ПЧ KEB в лифтовой тематике.pdf
KEB-Лифт LCD-дисплей 00.F5.060-KL10
- Инструкция F5-Лифт версия 3.21 LCD-дисплей (рус.).pdf
- Описание LCD пульта оператора 00.F5.060-KL10.pdf
- Краткое руководство KEB-лифт LCD-дисплей 00.F5.060-KL10.pdf
- Список библиотек СУ и лебедок для КЕВ-Лифт LCD-дисплей от 29.11.16.pdf
- Инструкция по быстрому запуску KEB F5-Lift LCD оператор KL10.
pdf
- Инструкция по быстрому запуску KEB F5-Lift LCD оператор KL10_УЭЛ_ УЛ_УКЛ_редакция 1.6.pdf
- Инструкция по быстрому запуску KEB F5-Lift LCD оператор KL10_УЭЛ_ УЛ_УКЛ_ШК_Для ЩЛЗ_редакция 1.8
KEB-Лифт 00.F5.060-200C
- Инструкция F5-Лифт (рус.).pdf
- Инструкция F5-Лифт (англ.).pdf
- Инструкция по монтажу комплекта выноса пульта 00F5060-200C.pdf
- ВНИМАНИЕ! Перед первым включением необходимо проверить распайку кабеля обратной связи (для лебедок производства WITUR и ООО»ЕПМ»).pdf
Dim lights
Embed Embed this video on your site
- Инструкция по быстрому запуску асинхронных лебёдок производства ОАО «НИПТИЭМ» со станцией управления УКЛ_ver.
1.2.pdf
- Схема подключения к станции УКЛ.pdf
-
- Инструкция по быстрому запуску асинхронных редукторных лебедок без энкодера.pdf
- Инструкция по быстрому запуску асинхронных редукторных лебедок без энкодера со станцией ШУЛМ-Р.pdf
- Инструкция по быстрому запуску асинхронных редукторных лебедок без энкодера со станцией УЭЛ.pdf
- Инструкция по быстрому запуску асинхронных редукторных лебедок без энкодера со станцией УКЛ.pdf
- Инструкция по быстрому запуску синхронных без редукторных лебедок WSG со станцией ШУЛМ-Р-12.pdf
- Инструкция по быстрому запуску синхронных без редукторных лебедок WSG со станцией ШК 6000.pdf
- Станция ШК 6000 — проблеммы с запуском.pdf
- Инструкция по быстрому запуску синхронных без редукторных лебедок ЕМП со станцией УЭЛ.pdf
- Инструкция по быстрому запуску синхронных без редукторных лебедок ЕМП со станцией ШУЛМ-Р.
pdf
- Дополнение к инструкциям с лебедками ЕПМ , енкодерами ECN 1325 и станциями ШУЛМ, УЭЛ, ШК 6000.pdf
- Протокол испытаний ОАО ЩЛЗ пассажирского лифта ПП-0411Щ с ПЧ KEB.pdf
- АКТ испытаний ОАО ЩЛЗ пассажирского лифта ПП-0411Щ с ПЧ KEB.pdf
- Результат испытаний ОАО ЩЛЗ пассажирского лифта ПП-0411Щ с ПЧ KEB.pdf
- Протокол испытаний ОАО ЩЛЗ тормозного резистора серии BR.226 производства ООО «КЕВ-РУС».pdf
- Протокол испытаний лебедки Русэлпром и привода КЕВ.pdf
- Протокол испытаний ЭМС.pdf
- Протокол испытаний преобразователя частоты KEB серии F5 в комплекте с фильтром ЭМС серии U5R на помехоустойчивость и помехоэмиссию.pdf
Очет ООО «Европейские подъёмные машины» об испытании ПЧ KEB Combivert F5-Lift от 25.
06.2012 г.
Подача заявления на пребывание в Соединенном Королевстве в рамках программы продления срока пребывания в Украине
Великобритания внедрила 3 различные схемы для поддержки тех, кто желает либо приехать в Великобританию, либо остаться в ней:
Семейная программа Украины — если у вас есть семья, проживающая в Великобритании, вы можете подать заявку на участие в Семейной программе Украины
.
Homes for Ukraine — если вы хотите, чтобы вас спонсировала семья из Великобритании в течение 6 месяцев, вы можете подать заявку на участие в программе Homes for Ukraine 9.0003
Ukraine Extension Scheme — вы можете подать заявку на эту схему, если верно одно из следующих условий:
у вас было разрешение на пребывание в Великобритании с 18 марта 2022 года по 16 мая 2023 года или в период с этого периода — разрешение не обязательно должно охватывать весь период
у вас ранее было разрешение на пребывание в Великобритании, и срок действия этого разрешения истек 1 января 2022 года или позже
Для этого маршрута не требуется спонсор из Великобритании.
Прежде чем подавать заявку, внимательно подумайте, на какую схему вы подаете заявку. После того, как вы подали заявку, вам следует избегать подачи заявки на другую схему, так как это может задержать принятие решения.
Обзор
В рамках программы продления срока пребывания в Украине вы сможете жить, работать и учиться в Великобритании, если вы украинец или близкий член семьи украинца. Вы можете подать заявку на эту схему, если верно одно из следующих условий:
- у вас было разрешение на пребывание в Великобритании с 18 марта 2022 года по 16 мая 2023 года или в период между ними — разрешение не обязательно должно охватывать весь период
- у вас ранее было разрешение на пребывание в Великобритании, и срок действия этого разрешения истек 1 января 2022 года или позже
Вам следует подумать, хотите ли вы сохранить текущую визу или перейти на украинскую схему продления. Этот маршрут в настоящее время не ведет к поселению – это означает, что вы, возможно, не сможете засчитать любое время, которое вы проведете в Великобритании с этой визой, как часть заявления на бессрочный вид на жительство в Великобритании в будущем.
Примеры случаев
Если вы находитесь в Великобритании по визе сезонного работника, вы обычно не можете перейти на другую визу. Вы можете перейти на украинскую визу по схеме продления, если вы имеете на это право.
Если вы находитесь в Великобритании по визе Skilled Worker, вы можете сохранить свою текущую визу. Вы можете подать заявление на постоянное проживание в Великобритании (также известное как «бессрочный вид на жительство»), если вы прожили в Великобритании в течение 5 лет и соответствуете другим требованиям для получения права на поселение по иммиграционному маршруту Skilled Worker.
Подача заявки бесплатна.
Вы сможете жить, работать и учиться в Великобритании и получать доступ к государственным фондам.
Если вам нужна помощь, обратитесь в отдел виз и иммиграции Великобритании.
Телефон: + 44 808 164 8810 – выберите вариант 1
с понедельника по пятницу, с 9:00 до 17:30.
Звонки бесплатные
Право на участие
Чтобы подать заявку на участие в программе продления для Украины, вы должны быть украинцем или ближайшим родственником гражданина Украины, подающего заявку на участие в программе.
Вы можете подать заявку на участие в этой схеме, если верно одно из следующих условий:
- у вас было разрешение на пребывание в Великобритании с 18 марта 2022 года по 16 мая 2023 года или в период между ними — разрешение не обязательно должно охватывать весь период
- у вас ранее было разрешение на пребывание в Великобритании, и срок действия этого разрешения истек 1 января 2022 года или позже
Ваше заявление будет подвергнуто проверке безопасности.
Ближайшие родственники граждан Украины
Если вы не украинец, но член вашей семьи, вы можете подать заявление, если член вашей семьи является вашим:
- супруг или гражданский партнер
- не состоящий в браке партнер (вы должны прожить вместе в отношениях не менее 2 лет)
- ребенок до 18 лет
- родитель (если вам нет 18 лет)
Как долго вы можете оставаться в Великобритании
Вы можете оставаться в Великобритании до 3 лет.
Сборы
Подача заявления бесплатна.
Вам не нужно платить иммиграционный медицинский сбор или сбор за регистрацию биометрических данных.
Применить
Вы должны подать заявку онлайн.
Начать сейчас
Затем вы запишетесь на прием в Службу подачи заявлений на получение визы и гражданства Великобритании (UKVCAS) и придете на прием.
Загрузка документов
При подаче заявления вам необходимо будет предоставить действующий паспорт или другой проездной документ, удостоверяющий вашу личность.
Вы также должны показать, что у вас есть (или было) разрешение на пребывание в Великобритании. Например:
- биометрический вид на жительство
- виза или виньетка в паспорте
- документ Министерства внутренних дел, подтверждающий ваше разрешение на въезд или пребывание в Великобритании
Если вы не являетесь украинским членом семьи гражданина Украины, вам также необходимо будет предоставить доказательства ваших родственных связей с ним.
Вы можете показать свой биометрический вид на жительство или визу в своем паспорте, если вы находитесь в Великобритании в качестве их иждивенца.
Если у вас нет одного из этих документов, вы можете предоставить:
- свидетельство о браке или свидетельство о гражданском партнерстве, если член вашей семьи является вашим супругом или гражданским партнером
- доказательство того, что вы живете вместе в отношениях не менее 2 лет, если член вашей семьи является вашим неженатым партнером
- свидетельство о рождении, если член вашей семьи является вашим ребенком или родителем
Пункты обслуживания UKVCAS
Вам необходимо будет сдать отпечатки пальцев и фотографию (биометрическую информацию) в пункте обслуживания UKVCAS — это для получения биометрического вида на жительство.
У детей в возрасте до 5 лет не будут брать отпечатки пальцев, но они все равно должны будут посетить пункт обслуживания UKVCAS и сделать цифровую фотографию.
Некоторые услуги в пунктах обслуживания UKVCAS являются платными. Вам не нужно использовать эти услуги, такие как сканирование документов, для заполнения вашего заявления, и вы не должны платить за них заранее.
Если вам необходимо воспользоваться какой-либо из этих услуг в пункте обслуживания UKVCAS во время приема, вам не нужно будет платить за них.
Сколько времени это займет
Мы стремимся принять решение как можно быстрее.
С вами свяжутся, когда будет принято решение.
Если вам нужна помощь, свяжитесь с отделом виз и иммиграции Великобритании.
Телефон: + 44 808 164 8810 – выберите вариант 1
с понедельника по пятницу, с 9:00 до 17:30.
Звонки бесплатные
Опубликовано 3 мая 2022 г.
Последнее обновление: 22 февраля 2023 г.
+ показать все обновления
-
Удаление лишнего призыва «Будьте в курсе».

-
Обновлены часы работы горячей линии.
-
Обновлены часы работы горячей линии.
-
Изменен график работы в праздничные дни.
-
Добавлена льгота для введения нового периода приемлемости для украинской схемы продления и информация о 3 различных доступных украинских схемах. Право на участие в Схеме продления для Украины теперь расширено, чтобы позволить подать заявку тем, кто прибыл и продолжает прибывать после 18 марта 2022 г., до 16 мая 2023 г.
- 000+01:00″> 13 июня 2022 г.
Обновлены часы работы контакт-центра.
-
Добавлен перевод
Содержание
Домашняя страница — Схема Тьюринга
Глобальная программа Великобритании для обучения, работы и жизни за границей, предлагающая уникальные возможности для личного и профессионального развития для студентов.
Прием заявок на схему Тьюринга на 2023–2024 учебный год закрыт. Успешные заявки будут уведомлены летом 2023 г.
О схеме
Схема Тьюринга — это программа правительства Великобритании по финансированию международных возможностей в области образования и обучения по всему миру. Он поддерживает Global Britain, предоставляя возможность британским организациям из сферы высшего образования, дополнительного образования, профессионального образования и обучения, а также школам предлагать своим студентам, учащимся и ученикам опыт, который изменит их жизнь, для обучения или работы за границей.
Прием заявок на схему Тьюринга с 2023 по 2024 год закрыт в 16:00 6 апреля 2023 года.
Последние обновления
Обновленная информация о киберинциденте Capita
В пятницу, 31 марта, в Capita произошел кибер-инцидент, в первую очередь затронувший доступ к внутренним приложениям Microsoft Office 365.
Подробнее »
Вебинары для школ и FE/VET теперь доступны онлайн
Записи последних вебинаров по схеме Тьюринга теперь доступны онлайн
Подробнее »
Схема Тьюринга ведет к игре в Восточной Африке
Play Action International сотрудничает с целым рядом британских университетов, предоставляя студентам возможности волонтерской деятельности в Восточной Африке. В этом гостевом блоге сотрудник по сбору средств и координатор международных мероприятий Джесс Пул рассказывает, как схема Тьюринга оказывает положительное влияние на студентов-волонтеров и сообщества, в которых они работают.
Подробнее »
Вебинары Turing Scheme для школ и FE
Узнайте больше о Схеме Тьюринга и преимуществах финансирования для школ и поставщиков FE/VET, посетив информативный вебинар для вашего сектора.
Подробнее »
Флагманская схема Тьюринга открывает третий год глобальных возможностей для молодых людей
Тысячи молодых людей из всех слоев общества по всей Великобритании получают возможность учиться и работать за границей благодаря флагманской государственной программе.
Подробнее »
Схема Тьюринга открыла для нас целый новый мир
В этом гостевом блоге Джейн Дэвис, директор начальной школы Lanchester EP в Дареме, рассказывает о том, как программа Тьюринга поддержала группу учеников в поездке в Индию, которая изменила их жизнь.
Подробнее »
Последние обновления
Информация о кибер-инциденте Capita
В пятницу, 31 марта, в Capita произошел кибер-инцидент, в первую очередь затронувший доступ к внутренним приложениям Microsoft Office 365.
1 Pro к НКУ-МППЛ БПШ-2 (изм.0).
1 Pro к DOPPLER (изм.0)
0 к HYUNDAI (изм.1)
08.2011
3)
0 к лифтам с BG15 (изм.1)
10.4.12.00 АЭ3
10.4.12.00 ВЭ3
pdf
1.2.pdf
pdf
