| ||||||||||||||||||||||||||||||||||||||||||||||||||||||||||||||||||||||||||||||
| jpg»> | ||||||||||||||||||||||||||||||||||||||||||||||||||||||||||||||||||||||||||||||
| Копирование и Использование материалов сайта UAZ-Autos.ru без прямой ссылки — запрещено. |
Причины, по которым не работает стеклоподъемник, ремонт и замена механизма
10.01.202322 802 38 49 Электропакет
Автор:Иван Баранов
Электрические стеклоподъемники (ЭП) — это один из элементов транспортного средства, способствующих более комфортному управлению машиной.
Как и любой другой компонент электроцепи, ЭП имеют свойство периодически ломаться. Что делать, если не работает автомобильный стеклоподъемник и по каким причинам эти компоненты ломаются, — читайте ниже.
Содержание
- 1 Составляющие системы стеклоподъемников
- 2 Принцип работы
- 3 Причины неисправности
- 3.1 Сбои в электрике
- 3.2 Механические дефекты механизма
- 4 Инструкция по замене электродвигателя
- 5 Видео «Замена ЭП в домашних условиях»
[ Раскрыть]
[ Скрыть]
Составляющие системы стеклоподъемников
Что делать, если не работает правый или отказали оба ЭП? Стеклоподъемники могут сломаться, в результате чего они будут не в состоянии опустить или поднимать стекла. Возможно, ЭП заедает или клинит, но перед тем, как отремонтировать и разобрать систему своими руками, нужно разобраться в ее устройстве. Сам узел работает посредством управления электромоторами, установленными в двери транспортного средства и предназначенными для поднятия и опускания стекол.
В саму систему входят такие компоненты:
- электродвигатели;
- выключатели, расположенные в дверях;
- проводка;
- стекла.
Общее устройство системы ЭП
Принцип работы
Почему не работают стеклоподъемники или не поднимается только правый стеклоподъемник? Чтобы точно понять, по какой причине произошла неисправность, желательно ознакомиться с принципом работы узла. Обычно такая система обладает трапециевидной конструкцией, которая позволяет осуществлять поднятие и опускание стекол посредством нажатия на выключатели. Сами кнопки могут быть расположены во всех картах дверей авто или находиться только в водительской двери. Также стоит отметить, что в каждой двери монтируется электродвигатель, который функционирует в двух направлениях.
Кроме того, каждая система оснащается специальным реле, предназначение которого заключается в контроле напряжения, поступающего на электродвигатели конструкции. В зависимости от транспортного средства, некоторые модели авто могут быть дополнены автоматическими выключателями, которые устанавливаются отдельно для каждого электродвигателя.
Использование таких конструктивных элементов позволяет обеспечить нормальную работу всей системы, если плохой работает стеклоподъемник только на одной двери.
Причины неисправности
Итак, мы плавно подошли к вопросу неисправностей. Как быть, если стеклоподъемник не может опускаться или подниматься? Перед тем, как снять стеклоподъемник, разбирать и починить его в своем авто, давайте разберемся в основных причинах. Если не работают задние стеклоподъемники или передние, причина может иметь как электрический, так и механический характер.
Подробное устройство системы ЭП
Сбои в электрике
В первую очередь, если перестал работать стеклоподъемник, необходимо произвести диагностику предохранительного элемента, отвечающего за функциональность системы. Если вы поймете, что не работает электростеклоподъемник из-за предохранителя, то его нужно просто заменить. Но если предохранитель рабочий, то нужно будет замерить напряжение на клеммах электромотора. Такую задачу можно осуществить при помощи обычной лампы на 12 вольт или используя тестер.
Если вы обнаружите, что не работает водительский стеклоподъемник или на любой другой двери из-за напряжения, то нужно дальше проверять:
- проводку;
- реле;
- блок управления системой.
Иногда автовладелец думает, что сломался стеклоподъемник, если после открытия стекла оно автоматически начинает закрываться, пока в замке зажигания не повернется ключ. Как правило, в этом случае проблема кроется в контактах, которые следует зачистить. Значительно реже, но все же бывает, что ремонт электростеклоподъемников включает в себя замену или ремонт кнопки.
Механические дефекты механизма
Если после измерения напряжения вы поймете, что ток в системе есть, но при этом не опускается или в принципе не работает стеклоподъемник, вероятнее всего, проблема механическая. Как правило, в таком случае устройство что-то мешает, поэтому придется разбирать дверь и искать причину. Значительно реже причина кроется в вышедшем из строя электродвигателе (автор видео — канал В гараже у Сандро).
Как поднять стекло, если сломался ЭП, — вариантов несколько:
- Приобрести ремкомплект стеклоподъемника и отремонтировать устройство, после чего полноценно пользоваться системой.
- Попробовать взять руками стекло с двух сторон и потянуть его вверх. Если стекло падает после поднятия, то придется разбирать дверь и подставлять под него опору соответствующего размера.
- Если руками поднять стекло не получается, можно взять рыболовецкий крючок на леске и опустить его в карту двери. Вам необходимо попытаться поддеть стекло и поднять его.
Инструкция по замене электродвигателя
Ремонт стеклоподъемника может включать в себя разные этапы в зависимости от поломки. В данном случае мы расскажем, как отремонтировать стеклоподъемник, заменив его электродвигатель, как сказано выше, эта проблема является одной из самых частых.
Процесс замены рассмотрен на примере автомобиля Лада Калина:
- Сначала необходимо купить новый электродвигатель, который продается в корпусе с редуктором. Демонтируется обшивка двери — эту операцию нельзя выполнять на морозе, поскольку обшивка фиксируется при помощи пластмассовых пистонов, которые быстро сломаются.
- Открутите все саморезы и другие крепления, фиксирующие внутреннюю ручку.
- Все провода нужно отключить, для большего удобства можно демонтировать акустические колонки. После этих действий откручивается стекло, которое зафиксировано в направляющих. Чтобы стекло опустилось на дно, необходимо открутить еще четыре винта, для этого используется ключ на 10. Снизу стеклопакета имеется шторка, ее необходимо снять.
- Непосредственно сам стеклоподъемник крепится на гайках и направляющих, сам электродвигатель зафиксирован еще тремя гайками. Блок можно вытащить через технологические отверстия в двери. Если вы разберете редуктор, то электродвигатель рассыпется на две части.
В общем, редуктор необходимо демонтировать и заменить на новый, произведя дальнейшую сборку в обратном порядке. Перед эксплуатацией тросик редуктора следует смазать.
1. Сначала снимите обшивку дверей. 2. Отключите все провода. 3. Отсоедините редуктор и замените его на новый.
Видео «Замена ЭП в домашних условиях»
Подробнее о том, как производится замена стеклоподъемника в автомобиле своими руками, узнайте из видео ниже (автор — канал В гараже у Сандро).
Загрузка …Была ли эта статья полезна?
Спасибо за Ваше мнение!
Статья была полезнаПожалуйста, поделитесь информацией с друзьями
Да (67.12%)
Нет (32.88%)
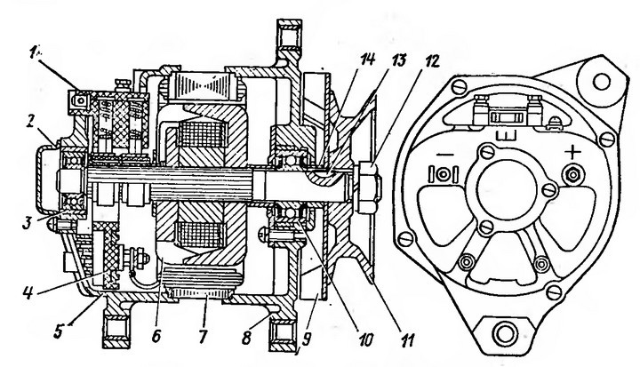
A0411 ЭЛЕКТРИЧЕСКИЙ ГЕНЕРАТОР 110A AS-PL A0411 DUCATO DAILY UAZ
Номер лота: 13288118002
249 €
+ стоимость доставки
Добавить в избранное
Удалить из избранного
Характеристики:
| СОСТОЯНИЕ | НОВОЕ СОСТОЯНИЕ |
| ЗАПАСНЫЕ ЧАСТИ ПРОИЗВОДИТЕЛЯ | АС-ПЛ |
| ТИП АВТОМОБИЛЯ | АВТОБУСЫ , АВТО ДОСТАВКА , АВТО АВТОМОБИЛЬ |
| PRAD LADOWANIA ЭЛЕКТРИЧЕСКИЙ ГЕНЕРАТОР | 110 А |
| ВЕС ИЗДЕЛИЯ Z В УПАКОВКЕ JEDNOSTKOWYM | 7 кг |
| КАЧЕСТВЕННЫЕ ЗАПЧАСТИ (ЗГОДНИЕ З ГВО) | P — АЛЬТЕРНАТИВА O СООТВЕТСТВУЮЩЕЕ КАЧЕСТВУ DO ORIGINAL |
| НОМЕР КАТАЛОГ ЗАПАСНЫХ ЧАСТЕЙ | А0411 |
| НОМЕРА КАТАЛОГ ВАРИАНТЫ | AS-PL, ABE9018(NSK), AS-PL, ABE9018(NSK)(BULK), AS-PL, ABE9021, AS-PL, ABE9021(BULK), AS-PL, ABE9021(KOYO), AS-PL, ABE9021(NTN), AS-PL, ABE9021(SKF), AS-PL, ABEC0001(BOSCH), AS-PL, ABEC0001(BULK), AS-PL, ABR0077S, AS-PL, ARE0008, AS-PL, ARE0008S, AS-PL, ARS0012, AS-PL, ARS4022S, AS-PL, ARS6025, AS-PL, ARS9032, AS-PL, ARS9063S(BULK), AS-PL, ARS9097S, AS-PL, ARS9097S(BULK), AS-PL, AS0018 |
| НОМЕР КАТАЛОГА ОРИГИНАЛ | ФИАТ, 71723392, ИВЕКО, 504009977 |
| ПОДХОДИТ ДЛЯ: | Fiat DUCATO, Iveco DAILY |
Доставка в Европу — 8-12 дней
Доставка транспортными компаниями согласно тарифам транспортных операторов
Puede pagar mediante transferencia bancaria directa
Гарантийный срок на купленный товар 14 дней с момента покупки.
Ваш номер мобильного телефона
Задать вопрос
Аналогичные продукты
Добавить в корзину
Добавить в корзину
Добавить в корзину
Добавить в корзину
Добавить в корзину
Добавить в корзину
Добавить в корзину
Добавить в корзину
Добавить в корзину
Добавить в корзину
Часто задаваемые вопросы
Срок поставки ЭЛЕКТРОГЕНЕРАТОР 110A AS-PL A0411 DUCATO DAILY UAZ ?
Срок доставки ЭЛЕКТРОГЕНЕРАТОР 110А AS-PL A0411 DUCATO DAILY УАЗ занимает от 3 до 7 рабочих дней!
Сколько будет стоить ЭЛЕКТРОГЕНЕРАТОР 110A AS-PL A0411 DUCATO DAILY UAZ ?
Суммарная стоимость товара — цена товара ЭЛЕКТРОГЕНЕРАТОР 110А AS-PL A0411 DUCATO DAILY УАЗ 249 на сайте + доставка согласно тарифам транспортных операторов получателя
Какая гарантия на товар?
Гарантия на установку и проверку запчастей 5 дней с момента получения товара
Как заказать товар ЭЛЕКТРОГЕНЕРАТОР 110A AS-PL A0411 DUCATO DAILY UAZ на сайте Recambiopl?
Для оформления заказа на ЭЛЕКТРОГЕНЕРАТОР 110А AS-PL A0411 DUCATO DAILY УАЗ нужны запчасти Вы можете выбрать удобный способ связи с нами: 1) воспользовавшись формой заказа через сайт 2) позвонив по одному из номеров телефонов, указанных на сайте 3) отправив Сообщение в мессенджеры Viber или WhatsApp
Датчик давления масла генератор давления масла ГАЗ, УАЗ, ПАЗ, РАФ, КАВЗ, КАЗ | Оригинальный Pekar
Allgemeine Geschäftsbedingungen Ventano Beschläge GmbH
Die Lieferungen, Leistungen und Angebote erfolgen aufgrund der eBay-Geschäftsbedingungen und unserer Allgemeinen Geschäftsbedingungen in ihrer zum Ze itpunkt der Bestellung gültigen Fassung.
Individuelle Vertragsabreden haben Vorrang vor Allgemeinen Geschäftsbedingungen.
Die Datenschutzerklärung finden Sie im Anhang zu diesen Allgemeinen Geschäftsbedingungen.
1. Zustandekommen des Vertrages / Kaufabwicklung
(1) Startpreis-Auktion
Bei der Startpreis-Auktion können mehrere Bieter auf ein Warenangebot durch Angabe eines konkreten Preises mitbieten. Die Einstellung der Artikelbeschreibung bei eBay zur Durchführung einer Startpreis-Auktion stellt ein Angebot zum Abschluss eines Kaufvertrags dar. Für jede Startpreis-Auktion bestimmen wir eine Frist, binnen derer das Angebot durch das Gebot eines Bieters angenommen werden kann. Die Dauer der Auktionszeit richtet sich nach der von eBay gemessenen offiziellen Zeit. Das Angebot richtet sich an den Bieter, der während der Online-Auktion das höchste Gebot abgibt. Gibt ein anderer Bieter während der Online-Auktion ein höheres Gebot ab, erlischt das frühere niedrigere Gebot. Ein Vertrag über die von uns bei eBay eingestellte Ware kommt mit dem Bieter des höchsten Gebotes zustande, wenn entweder die von uns bestimmte Auktionszeit abgelaufen oder die Auktion von uns vorzeitig bedet worden ist.
Um ein Startpreis-Angebot anzunehmen, шляпа der Bieter folgende technischen Schritte vorzunehmen:
Der Bieter klickt in der Artikelbeschreibung auf den blauen Button «Bieten», die sich neben dem Preis befindet. Es öffnet sich dann eine zweiteilige Eingabemaske. В конце eBay-Mitgliedsname und das vom Bieter gewählte eBay-Password einzugeben. Это дер Bieter берет также eBay-Mitglied registriet, gibt er в умирают Eingabemaske seinen eBay-Mitgliedsnamen унд данн sein eBay-Password ein. I er noch nicht registriert, hat er sich zuvor bei eBay anzumelden. Hierzu klickt auf den Button „Anmelden“.
Als nächsten Schritt zu einem wirksamen Gebot hat der Bieter den Button «Sicheres Einloggen» anzuklicken. Es öffnet sich nun eine Übersicht mit Artikelbezeichnung, Start-Preis, Verpackungs- und Versandkosten und Zahlungsmethoden. Hier kann der Bieter überprüfen, ob der Vertragsinhalt (Ware) und die Vertragsbedingungen von ihm akzeptiert werden. Ist dies nicht der Fall, поэтому kann der Bieter das Fenster schließen.
Eine anderweitige Berichtigung der Bestellung als durch Abbruch des Bestellvorgangs ist dem Kunden nicht möglich. Entsprechen Ware und die Vertragsbedingungen seinen Erwartungen, поэтому kann der Bieter im Eingabefeld «Maximalgebot» sein Maximalgebot für die von uns angebotene Ware eingeben. Das Maximalgebot muss mindestens 1,99 EUR betragen, wobei die Eingabe ohne 1000er-Trennzeichen (z.B. 1000,00) zu erfolgen hat.
Zur Bestätigung des Angebots muss der Bieter den Button «Bestätigen» drücken. Ab dann übernimmt das eBay-System die Gebotsabgabe für den Anbieter, und zwar so lange, bis sein Maximalgebot erreicht ist. Der Bieter erhält von eBay eine E-Mail, die sein Gebot bestätigt. Nach Angebotsende erhält der Bieter eine weitere E-Mail, mit der er darüber informiert wird, ob er der Höchstbietende geblieben ist und damit einen Kaufvertrag geschlossen hat.
(2) Sofort-Kaufen-Auktion
Ist die von uns bei eBay eingestellte Ware mit der Sofort-Kaufen-Option (Festpreis) versehen, kommt ein Vertrag über den Erwerb der Ware unabhängig vom Ablauf der Angebotszeit und ohne Durchführung einer Startpreis-Auktion zu dem in der Artikelbeschreibung bestimmten Festpreis zustande.
Das Einstellen der Artikelbeschreibung durch uns bei eBay zur Durchführung einer Sofort-Kaufen-Auktion stellt ein Angebot zum Vertragsschluss dar. Die Sofort-Kaufen-Option kann ausgeübt werden, soweit noch kein Gebot eines anderen eBay-Mitglieds auf den Artikel abgegeben wurde. Um ein Sofort-Kaufen-Angebot anzunehmen, muss der Kunde folgende technischen Schritte vornehmen:
Er klickt in der Artikelbeschreibung auf die blaue Вкус «Sofort-Kaufen», die sich neben dem Preis befindet. Es öffnet sich sodann eine Übersicht mit Artikelbezeichnung, Sofort-Kaufen-Preis, Verpackungs- und Versandkosten und Zahlungsmethoden. Hier kann der Kunde überprüfen, ob Ware und Vertragsbedingungen von Ihm akzeptiert werden. Ist dies nicht der Fall, поэтому kann der Kunde das Fenster schließen. Eine anderweitige Berichtigung der Bestellung als durch Abbruch des Bestellvorgangs ist dem Kunden nicht möglich. Entspricht das Angebot seinen Erwartungen, поэтому kann der Kunde durch Anklicken des Buttons «Kaufen» seine Bestellung bestätigen und den Kaufvertrag damit zustande Bringen.
Der Käufer kann Angebote für mehrere Artikel auch daurch annehmen, dass er die Artikel in den Warenkorb (sofern verfügbar) legt und den unmittelbar nachfolgenden Zahlungsvorgang abschließt.
(3) Preis-Vorschlagen-Auktion
Falls der Käufer mit der ggf. zusätzlich eingerichteten Option «Preis vorschlagen» einen Artikel erwerben kann, dann ist (sofern diese Zusatzoption angeboten wird) in der Abgabe des Preisvorschlages durch den Käufer das verbindliche Agebot und in unserer Einverständniserklärung mit dem Preisvorschlag die verbindliche Annahme unsererseits zu sehen. Die Annahme des Preisvorschlages muss innerhalb von 48 Stunden nach der vom Kunden getätigten Absendung des Preisvorschlages durch uns erfolgen. Nach dem Ablauf dieser Frist gilt der Preisvorschlag als abgelehnt, soweit nicht zuvor bereits die Ablehnung ausdrücklich erfolgt ist. Möglich sind auch Gegenvorschläge. Ein Gegenvorschlag behält ebenfalls für 48 Stunden seine Gültigkeit, steht jedoch unter der zusätzlichen Bedingung, dass innerhalb dieses Zeitraums keine weiteren Preisvorschläge oder Gegenvorschläge angenommen wurden.
Ein Gegenvorschlag verfällt, wenn:
Ein weiterer Gegenvorschlag des Verkäufers an einen anderen Interessenten angenommen wurde. Hat der Verkäufer Gegenvorschläge mehrere Interessenten gesandt, verlieren sämtliche Gegenvorschläge in dem Moment ihre Gültigkeit, wenn ein Interessent den ihn gerichteten Gegenvorschlag akzeptiert.
Der Verkäufer den Preisvorschlag eines anderen Interessenten annimmt.
Ein Mitglied den Artikel zum ursprünglich vom Verkäufer festgelegten Sofort-Kaufen-Preis erwirbt.
Die Frist von 48 Stunden abläuft oder das Angebot regulär weredet wird.
(4) Kauf über den Warenkorb (soweit angeboten)
Durch Anklicken der auf den Artikelseiten vorhandenen Schaltfläche «In den Warenkorb» konnen Sie Waren, die Sie kaufen möchten, im «Warenkorb»ablegen. Sodann wird Ihnen der «Warenkorb» angezeigt. Ferner können Sie über die entsprechende Schaltfläche in der Navigationsleiste den «Warenkorb» aufrufen und dort Änderungen vornehmen.
Nach Aufrufen der Seite «Weiter zur Kaufabwicklung» и nach der Auswahl bzw. der Eingabe der gewünschten Lieferadresse und Zahlungsart werden Ihnen abschließend nochmals alle Bestelldaten auf einer Bestellübersichtsseite angezeigt. Soweit Sie als Zahlungsart «PayPal» auswählen, werden Sie zunächst zu einem Log-In-Fenster für PayPal geführt. Wenn Sie sich dort erfolgreich bei PayPal angelmeldet haben, werden Sie auf die Bestellübersichtsseite von eBay weitergeleitet. Vor Absenden der Bestellung haben Sie die Möglichkeit, hier sämtliche Angaben nochmals zu überprüfen, zu ändern, u. а. auch über die Funktion «zurück» des Internetbrowsers ggf. den Kauf abzubrechen. Mit Anklicken der Schaltfläche „Kaufen und zahlen“ erklären Sie rechtsverbindlich die Annahme des Angebotes, wodurch der Kaufvertrag zustande kommt. Nach Vertragsschluss erhalten Sie Automaticisch eine Email mit weiteren Informationen zur Abwicklung des Vertrages.
(5) Nach Vertragsschluss erhalten Sie Automaticisch Eine Email mit weiteren Informationen zur Abwicklung des Vertrages.
(6) Weitere Informationen zum elektronischen Geschäftsverkehr finden Sie in Ziffer 6 der AGB.
(7). html).
2. Rechtswahl
Auf die vertraglichen Beziehungen zwischen den Kaufvertragsparteien findet das Recht der Bundesrepublik Deutschland Anwendung. Von dieser Rechtswahl ausgenommen sind die zwingenden Verbraucherschutzvorschriften des Landes, in dem der Kunde seinen gewöhnlichen Aufenthalt hat. Die Anwendung des UN-Kaufrechts (CSIG) ist ausgeschlossen.
3. Preise / Versandkosten
(1) Im Gesamtpreis, der auf der Angebotsseite mitgeteilt wird, ist die Umsatzsteuer in der gesetzlich jeweils vorgesehenen Höhe enthalten. Ferner informieren wir Sie auf der Angebotsseite darüber, ob und ggf. in welcher Höhe zusätzlich zum Gesamtpreis Versandkosten anfallen.
(2) Alle Artikel werden innerhalb Deutschlands ausgeliefert, in weitere Länder nur dann, wenn dies auf der Angebotsseite so angegeben worden ist.
(3) Die Bezahlung erfolgt nach Wahl des Käufers per Vorkasse (Banküberweisung oder Paypal) .
(4) Zusätzlich ist nach Absprache auch die Abholung unserer Ware in unseren Geschäftsräumen (der in der Anbieterkennung genannte Unternehmenssitz) gegen Barzahlung möglich. Die Lieferung erfolgt durch einen Dienstleister unserer Wahl.
4. Fernabsatzrechtliche Informationen
(1) Die Beschreibung der Waren ergibt sich aus der Präsentation auf der eBay-Plattform.
(2) Die Belehrungen über Ihr gesetzliches Widerrufsrecht als Verbraucher, Ausnahmen vom Widerrufsrecht, dessen vorzeitiges Erlöschen, das Widerrufsformular, die Folgen des Widerrufs, z. B. Rücksendung, Rücksendekosten und Wertersatz, найденные Sie im ausführlichen eBay-Angebot в der Aussparung für das Widerrufsrecht.
(3) Angaben zu Lieferung und Zahlungsmöglichkeiten finden Sie im eBay-Angebot.
(4) Wir erbringen keine Kundendienstleistungen und gewähren selbst keine Garantien.
(5) Ein außergerichtliches Beschwerde-oder Rechtsbehelfsverfahren, dem wir unterworfen sind, gibt es nicht.
(6) Alle weiteren Informationen zu unserem Unternehmen, dem Angebot und der Abwicklung des Kaufs ergeben sich aus dem ausführlichen eBay-Angebot.
5. Verbraucherstreitbeilegungsverfahren
Seit dem 09.01.2016 ist die Verordnung (EU) Nr. 524/2013 (ODR-Verordnung) в Kraft über die Online-Streitbeilegung in Verbraucherangelegenheiten. Sie gilt für die außergerichtliche Streitbeilegung von Streitigkeiten über vertragliche Verpflichtungen aus Online-Kaufverträgen oder Online-Dienstleistungsverträgen zwischen Verbrauchern und Online-Händlern und bezweckt die Erreichung eines hohen Verbraucherschutzniveaus im euro пяйшен Бинненмаркт. Mit der Möglichkeit einer Online-Streitbeilegung (OS) soll eine einfache, effiziente, schnelle und kostengünstige außergerichtliche Lösung für Streitigkeiten angeboten werden. Die OS-Plattform leitet ordnungsgemäß gestellte Beschwerden die (nach nationalem Recht) zuständigen AS-Stellen (Außergerichtliche Streitbeilegung) weiter. Die Nutzung der OS-Plattform selbst ist kostenlos, in Verfahren vor den AS-Stellen können dem Verbraucher ggf.
Костен (до 30,00 евро) entstehen, падений sein Antrag rechtsmissbräuchlich ist.
Ссылка на ОС-платформу Комиссии ЕС: https://ec.europa.eu/consumers/odr
Незарегистрированная электронная почта: [email protected]
Ссылка на ссылку на ОС-платформу, найденная в соответствии с документами Informationen des Verkäufers».
6. Informationen zum elektronischen Geschäftsverkehr
1. Technische Schritte zum Vertragsschluss
Siehe dazu Ziffer 1 der AGB sowie die die eBay-AGB, die Sie am Ende jeder eBay-Seite finden (di rekter Ссылка: http://pages.ebay.de/help/policies/user-agreement.html).
2. Vertragstextspeicherung / Ausdruck
Der vertragstext wird als ebay-webseite nach vertragsschluss 90 tage lang gespeichert und kann von ihnen bei ebay unter eingabe dereiligen artikelnumer eingehene weren Sie können den Vertragstext auch selbst abspeichern, in dem Sie durch die Funktion Ihres Browsers „Speichern unter“ die betreffende Internetseite auf Ihrem Computer sichern.
Кроме того, Druckfunktion Ihres Browsers haben Sie zudem die Möglichkeit, den Vertragstext auszudrucken. Wir selbst speichern als Verkäufer nach dem Vertragsabschluss die Vertragstexte und machen diese unseren Kunden auf Nachfrage hin zugänglich. Wer darüber hinaus bzw. über den von eBay angebotenen Rahmen der Speicherung hinaus Vertragstexte sichern will, muss das selbst veranlassen (siehe § 3 Nr. 12 der eBay-AGB).
3. Korrekturmöglichkeit
Ihre Eingaben können Sie während des Bestellvorgangs jederzeit korrigieren, indem Sie den Button «Zurück» im Browser wählen und dann die entsprechende Änderung vornehmen. Durch Schließen des Webbrowsers können Sie den gesamten Bestellvorgang jederzeit abrechen. Weitere Informationen zur Gebotsrücknahme erhält § 6 der eBay-AGB.
4. Sprache
Die für den Vertragsabschluss zur Verfügung stehende Sprache ist ausschließlich Deutsch.
5. Verhaltenskodex
Wir haben uns über die Teilnahmebedingungen des Plattformbetreibers eBay hinaus keinem besonderen Verhaltskodex (Regelwerk) unterworfen.
7. Gewährleistung
Es besteht ein gesetzliches Mängelhaftungsrecht für die gekaufte Ware. Die Gewährleistungsfrist (также die Haftungsdauer) bei Mängeln der Ware beträgt bei Neuware 24 Monate, bei gebrauchter Ware 12 Monate.
Die Gewährleistungsfrist beginnt ab der Übergabe der Ware an den Käufer.
Die Gewährleistungsansprüche für neue und gebrauchte Waren verjähren innerhalb von zwei Jahren ab der Übergabe der Ware an den Käufer. Es bleibt aber bei der regelmäßigen Verjährungsfrist von 3 Jahren,
beginnend mit dem Schluss des Jahres, in dem
1. der Anspruch entstanden ist und
2. der Gläubiger von den den Anspruch begründenden Umständen und der Person des Schuldners Kenntnis erlangt oder ohne grobe Fahrlässigkeit erlangen müsste,
– wenn es um die Haftung für Schäden aus der Verletzung des Lebens, des Körpers oder der Gesund heit geht, die auf einer von mir begingenen fahrlässigen oder vorsätzlichen Pflichtverletzung oder einer vorsätzlichen oder fahrlässigen Pflichtverletzung eines meiner Erfüllungsgehilfen beruhen oder
– wenn es um die Haftung für sonstige Schäden geht, die auf einer von mir begingenen vorsätzlichen oder grob fahrlässigen Pflichtverletzung oder auf einer vorsätzlichen oder grob fahrlässigen Pflichtverletzung eines meiner Erfü llungsgehilfen beruhen oder
– wenn es um die Haftung für arglistig verschwiegene Mängel, um Ansprüche aus Garantieversprechen oder die Haftung nach zwingenden gesetzlichen Vorschriften geht, z.
B. nach dem Produkthaftungsgesetz, oder
– wenn es sich um Ansprüche aus einem einvernehmlich zwischen den Kaufvertragsparteien vollzogenen Rücktritt, einer einvernehmlich zwischen den Kaufvertragsparteien vollzogenen Minderung oder aus einer sonstigen Vereinbarung der Kaufvertragsparteien in Bezug auf die Regulierung von Gewährleistungsansprüchen handelt.
Unberührt bleibt die zweijährige Verjährungsfrist für Rückgriffsansprüche gemäß §§ 478 BGB.
Die Gewährleistung erstreckt sich nicht auf den normalen Verschleiß oder die normale Abnutzung.
8. Eigentumsvorbehalt
1. Wir behalten uns das Eigentum an dem gelieferten Gegenstand bis zum Eingang aller Zahlungen aus dem Kaufvertrag vor. Kommt der Käufer seinen vertraglichen Pflichten nicht nach, insbesondere im Fall des Zahlungsverzugs, sind wir berechtigt, den gelieferten Gegenstand heraus zu verlangen; der Käufer ist in diesem Falle zur Herausgabe des Gegenstandes verpflichtet.
2. Der Käufer ist verpflichtet, uns bei Pfändungen bezüglich des Kaufgegenstandes oder sonstiger diesbezüglicher Zugriffe oder Zugriffsversuche Dritter bezüglich des Kaufgegenstandes unverzüglich zu benachrichtigen, damit wir unsere Rech te aus dem Eigentumsvorbehalt wahrnehmen können.
9. Datenschutzerklärung
Die Datenschutzerklärung zur Umsetzung der datenschutzrechtlichen Vorgaben finden Sie im Anhang zu diesen Allgemeinen Geschäftsbedingungen.
10. Урхеберрехт
Die von uns in den Angeboten eingestellten Fotos und die von uns erstellten Texte sind urheberrechtlich geschützt. Das Kopieren und Veröffentlichen hiervon (auch nur auszugsweise) драгоценный камень вирда. § 97 UrhG strafrechtlich und zivilrechtlich verfolgt.
11. Hinweis zum Batteriegesetz (BattG)
Falls das Angebot Akkus oder Batterien umfasst, sind Sie gesetzlich verpflichtet, gebrauchte Batterien oder Akkus gesondert zu entsorgen. Bitte geben Sie diese an einer kommunalen Sammelstelle oder im Handel vor Ort ab. Batterien und Akkus, die Sie von uns erhalten haben, können Sie bei uns unentgeltlich zurückgeben. Batterien oder Akkus, die Schadstoffe enthalten, sind mit dem Symbol einer durchgestrichenen Mülltonne und dem chemischen Symbol des jeweiligen Schadstoffs (z.
B. «Cd» для кадмия, «Pb» для Blei, «Hg» для Quecksilber) gekennzeichnet. Sie finden diese Hinweise auch noch einmal in den Begleitpapieren der Warensendung.
12. Transportschäden
(1) Werden Waren mit offensichtlichen Transportschäden angeliefert, so reklamieren Sie solche Fehler bitte sofort bei dem Zusteller und nehmen Sie bitte schnellstmöglich Kontakt mit uns auf.
(2) Die Versäumung einer Reklamation oder Kontaktaufnahme hat für Ihre gesetzlichen Gewährleistungsansprüche keinerlei Konsequenzen. Sie helfen uns aber, unsere eigenen Ansprüche gegenüber dem Frachtführer bzw. dem Transportversicherer geltend machen zu können.
13. Gerichtsstand / Erfüllungsort
Für alle wechselseitigen Ansprüche der Vertragspartner wird Bissendorf als Erfüllungsort und Gerichtsstand vereinbart, sofern es sich bei den Vertragspartnern um Kaufleute, juristische Personen des öffentlichen Rechts oder öffentlich-rechtliche Sondervermögen handelt. Ebenso wird Bissendorf als Erfüllungsort und Gerichtsstand vereinbart, wenn der Kunde keinen allgemeinen Gerichtsstand im Inland hat.
14. Спасательный Клаузель
Sollten einzelne Bestimmungen des Vertrags mit dem Kunden einschließlich dieser AGB ganz oder teilweise unwirksam sein oder werden oder die Vereinbarungen eine Lücke enthalten, so wird hierdurch die Gültigkeit der übrigen Bestimmungen nicht берюрт.
Bissendorf, 05.06.2020
Anhang:
Datenschutzerklärung betreffend die Umsetzung der datenschutzrechtlichen Vorgaben
Wir nehmen den Schutz Ihrer personenbez ogenen Daten ernst und halten uns die Regeln der jeweils geltenden Datenschutzgesetze, insbesondere EU-Datenschutzgrundverordnung (EU-DSGVO) und Bundesdatenschutzgesetz (BDSG), sowie dieser Datenschutzerklärung.
Personenbezogene Daten alle Informationen, die sich auf eine identifizierte oder identifizierbare natürliche Person beziehen.
Diese Datenschutzerklärung gibt Ihnen einen Überblick darüber, welche Art von personenbezogenen Daten zu welchem Zweck erhoben und genutzt werden.
1. Имя и контактные данные для Verarbeitung Verantwortlichen
Diese Datenschutz-Information gilt für die Datenverarbeitung durch:
Verantwortlicher: 9Тел. 05402-96895-0
Факс 05402-96895-90
E-Mail: [email protected]
cherung personenbezogener Daten sowie Art und Zweck von deren Verwendung
a) Bei Nutzung unseres eBay-Shops zu dem Zweck eines Vertrages
Bei Nutzung unseres eBay-Shops, z.B. durch die Abgabe Ihrer Angebote oder durch Ihre Annahme unserer Angebote, verarbeiten wir die von Ihnen angegebenen personenbezogenen Daten ausschliesßlich zu dem Zweck der Vertragsanbahnung oder Vertragserfüllung.
Die Rechtsgrundlage für die Datenverarbeitung ist Art. 6 Абс. 1 с. 1 лит. б) ЕС-DSGVO. Hiernach ist die Datenverarbeitung zum Abschluss oder zur Erfüllung eines Vertrages, dessen Vertragspartei die betroffene Person ist, oder zur Durchführung vorvertraglicher Maßnahmen, die auf Anfrage der betroffenen Person erfolgen, erforderlich.
Bei der Nutzung unseres eBay-Shops werden folgende von Ihnen übermittelten personenbezogenen Daten von uns verarbeitet:
Vor- und Nachname (bei Unternehmen: Firma)
Anschrift
Номер телефона (Festnetznummer und/oder Mobilfunknummer)
Номер факса (nur sofern vorhanden)
Адрес электронной почты
IBAN (nur sofern zur Ab) wicklung der Zahlungen erforderlich)
Kreditkartennummer nebst Prüfziffer (nur sofern zur Abwicklung der Zahlungen erforderlich)
Die Verarbeitung dieser Daten erfolgt zu dem Zweck der Erfüllung der vertraglichen Verp flichtungen, insbesondere zur Versendung der Ware, zur Abwicklung der Bezahlung inkl. Rechnungsstellung, zur Bearbeitung evtl. Gewährleistungsansprüche sowie zu jedweder jeweils damit zusammenhängender Korrespondenz mit Ihnen.
b) Bei sonstiger Kontaktaufnahme
Ihre Fragen, Anmerkungen, Kommentare и т. д. können Sie uns z.B. über ein eBay-Eingabeformular oder eine eigene E-Mail-Nachricht zukommen lassen.
Bei Nutzung einer einer eigenen E-Mail-Nachricht sind die Angabe Ihrer E-Mail-Adresse und Ihres Namens zwingend erforderlich, damit wir wissen, wem wir antworten müssen; weitere Angaben können Sie freiwillig machen. Bei Nutzung eines eBay-Eingabeformulars ist die Angabe der darin angegebenen Pflichinformationen zwingend erforderlich, um Ihnen antworten zu können.
Die Rechtsgrundlage für die Datenverarbeitung ist Ihre freiwillig erteilte Einwilligung (статья 6 Abs. 1 S. 1 lit. a) EU-DSGVO).
Die im Rahmen der sonstigen Kontaktaufnahme von uns erhobenen personenbezogenen Daten werden nach Erledigung der von Ihnen gestellten Anfrage etc. gelöscht.
4. Weitergabe von Daten an Dritte
Eine Übermittlung Ihrer personenbezogenen Daten an Dritte zu anderen als den im Folgenden aufgeführten Zwecken findet nicht statt. Insbesondere erfolgt, ohne Ihre ausdrückliche Einwilligung, keine Weitergabe an Dritte, z.B. цу Zwecken der Werbung.
Wir geben Ihre persönlichen Daten nur an Dritte weiter, wenn:
Sie Ihre nach Art.
6 Абс. 1 с. 1 лит. а) EU-DSGVO ausdrückliche Einwilligung dazu erteilt haben;
плашки нах Арт. 6 Абс. 1 с. 1 лит. b) EU-DSGVO für die Abwicklung von Vertragsverhältnissen mit Ihnen erforderlich ist, z.B. an Kreditinstitute zur Abwicklung der vertraglich vereinbarten Zahlungen, an Versand- und Transportunternehmen zu Zwecken des Warentransportes inkl. der Sendungsverfolgung, bei Nichterfüllung von vertraglich vereinbarten Zahlungen zu Zwecken der Rechtsdurchsetzung an Rechtsanwälte und Rechtsdienstleistungsunterehmen; bei Einschaltung von Zahlungsdienstleistungsunternehmen informieren wir Sie hierüber gesondert;
für den Fall, dass für die Weitergabe nach Art. 6 Абс. 1 с. 1 лит. c) EU-DSGVO eine gesetzliche Verpflichtung besteht; или
die Weitergabe nach Art. 6 Абс. 1 с. 1 лит. f) EU-DSGVO zur Geltendmachung, Ausübung oder Verteidigung von Rechtsansprüchen erforderlich ist und kein Grund zur Annahme besteht, dass Sie ein überwiegendes schutzwürdiges Interesse an der Nichtweitergabe Ihrer Daten haben.
5. Speicherdauer und Datenlöschung
Ihre personenbezogenen Daten werden insbesondere gelöscht, sobald sie für die Zwecke, für die sie erhoben oder auf sonstige Weise verarbeitet wurden , nicht mehr notwendig sind. Hiernach werden die Daten gelöscht, es sei denn, dass die Speicherung zur Erfüllung einer rechtlichen Verpflichtung, die die Verarbeitung nach dem Recht der Union oder der Mitgliedstaaten, dem der Verantwortliche unterliegt, oder zur Geltendmachung, Ausübung oder Verteidigung von Rechtsansprüchen erforderlich ist. Eine rechtliche Verpflichtung stellen die gesetzlichen Aufbewahrungspflichten dar, die z.B. 10 Jahre (bei Daten der Buchhaltung inkl. Bestellungs- und Zahlungsdaten) или 6 Jahre (bei Handelskorrespondenz) betragen. Während der Dauer der Aufbewahrungspflichten werden die Daten gesperrt, nach deren Ablauf erfolgt die Löschung.
6. Betroffenenrechte
Sie haben das Recht,
gemäß Art. 7 Абс. 3 EU-DSGVO Ihre einmal erteilte Einwilligung jederzeit gegenüber uns zu widerufen.
Dies hat zur Folge, dass wir die Datenverarbeitung, die auf dieser Einwilligung beruhte, für die Zukunft nicht mehr fortführen dürfen. Die Rechtmäßigkeit der bis zum Widerruf erfolgten Datenverarbeitung bleibt von Ihrem Widerruf unberührt;
gemäß Арт. 15 EU-DSGVO Auskunft über Ihre von uns verarbeiteten personenbezogenen Daten zu verlangen. Hierbei können Sie Auskunft über die Verarbeitungszwecke, die Kategorie der personenbezogenen Daten, die Kategorien von Empfängern, gegenüber denen Ihre Daten offengelegt wurden oder werden, die geplante Speicherdauer, das Bestehen eines Rechts auf Berichtigung, Löschung, Einschränkung der Verarbeitung oder Widerspruch, das Bestehen eines Beschwerderechts, die Herkunft ihrer Daten, sofern diese nicht bei uns erhoben wurden, sowie über das Bestehen einer autotisierten Entscheidungsfindung einschließlich Profiling und ggf. aussagekräftigen Informationen zu deren Einzelheiten verlangen;
gemäß Арт. 16 EU-DSGVO unverzüglich die Berichtigung unrichtiger oder Vervollständigung Ihrer bei uns gespeicherten personenbezogenen Daten zu verlangen;
gemäß Арт.
17 EU-DSGVO die Löschung Ihrer bei uns gespeicherten personenbezogenen Daten zu verlangen, soweit nicht die Verarbeitung zur Ausübung des Rechts auf freie Meinungsäußerung und Information, zur Erfüllung einer rechtlichen Verpflichtung, aus Gründen des ö ffentlichen Interesses oder zur Geltendmachung, Ausübung oder Verteidigung von Rechtsansprüchen erforderlich ist;
gemäß Арт. 18 EU-DSGVO die Einschränkung der Verarbeitung Ihrer personenbezogenen Daten zu verlangen, soweit die Richtigkeit der Daten von Ihnen bestritten wird, die Verarbeitung unrechtmäßig ist, Sie aber deren Löschungablehnen und wir die Daten nicht mehr benötigen, Sie jedoch diese zur Geltendmachung, Ausübung oder Verteidigung von Rechtsansprüchen benötigen oder Sie gemäß Art. 21 DSGVO Widerspruch gegen die Verarbeitung eingelegt haben;
gemäß Арт. 20 EU-DSGVO Ihre personenbezogenen Daten, die Sie uns bereitgestellt haben, in einem strukturierten, gängigen und maschinenlesebaren Format zu erhalten oder die Übermittlung an einen anderen Verantwortlichen zu verlangen;
gemäß Арт.
77 EU-DSGVO sich bei einer Aufsichtsbehörde zu beschweren. Zuständige Aufsichtsbehörde ist der Landesdatenschutzbeauftragte des Bundeslandes, in dem unser Unternehmen seinen Sitz hat. Eine Übersicht zu den Landesdatenschutzbeauftragten nebst deren Kontaktdaten ist abrufbar unter https://www.bfdi.bund.de/DE/Infothek/Anschriften_Links/anschriften_links-node.html.
7. Widerspruchsrecht
Sofern Ihre personenbezogenen Daten auf Grundlage von berechtigten Interessen gemäß Art. 6 Абс. 1 с. 1 лит. f) EU-DSGVO verarbeitet werden, haben Sie das Recht, gemäß Art. 21 DSGVO Widerspruch gegen die Verarbeitung Ihrer personenbezogenen Daten einzulegen, soweit dafür Gründe vorliegen, die sich aus Ihrer besonderen Situation ergeben. Im Falle Ihres begründeten Widerspruchs prüfen wir die Sachlage und werden entweder die Datenverarbeitung einstellen bzw. anpassen oder Ihnen unsere zwingenden schutzwürdigen Gründe aufzeigen, aufgrund derer wir die Verarbeitung fortführen.
Möchten Sie von Ihrem Widerrufsoder Widerspruchsrecht Gebrauch machen, genügt eine E-Mail на указанный адрес электронной почты «Rechtlichen Informationen des Verkäufers».![]()

Выверните гайку болта нижнего крепления генератора к кронштейну и извлеките болт.
Как и любой другой компонент электроцепи, ЭП имеют свойство периодически ломаться. Что делать, если не работает автомобильный стеклоподъемник и по каким причинам эти компоненты ломаются, — читайте ниже.
В общем, редуктор необходимо демонтировать и заменить на новый, произведя дальнейшую сборку в обратном порядке. Перед эксплуатацией тросик редуктора следует смазать.