Транспорт пневматический: Пневматический транспорт (пневмотранспорт)

Содержание

Пневматический транспорт (пневмотранспорт)

Пневматический транспорт представляют собой комплекс устройств, обеспечивающих перемещение сыпучих материалов (пылевидных, порошкообразных, зернистых, измельченных и т.д.) с помощью сжатого воздуха или разряженной среды. Пневматический транспорт подразделяется по способу создания воздушного потока и условиям движения его в трубопроводе вместе с материалом;
— нагнетающие,
— всасывающие,
— комбинированные (всасывающе-нагнетающие).


Нагнетающие

Пневматическая транспортировка сыпучих материалов в трубопроводе воздухом под избыточным давлением, осуществляется с помощью воздуходувок, воздушных компрессоров с рабочим давлением в трассе до 2 атмосфер и производительностью до 10-ти тонн в час, в зависимости от протяженности и диаметра трубопровода.

Воздушный поток направлен от воздуходувки и далее к месту подачи сыпучего материала в трубопровод и точке конечной выгрузки материала.

Нагнетающий пневмотранспорт удобен тогда, когда материал из одного пункта перемещается в несколько приемных пунктов.


Всасывающие

Пневматическая транспортировка сыпучих материалов в трубопроводе осуществляется воздушным потоком созданного разряжением (разницей давления в трубопроводе).

Воздуходувка или вакуумный насос установлены за конечной точкой выгрузки и «тянет» поток с сыпучим материалом на себя.

Всасывающий пневматический транспорт удобен тем, что он работает без пылевыделения и способен забирать сыпучий материал из нескольких пунктов и передавать его в единый накопитель.

Исторически сложилось так, что до начала 60-х годов прошлого столетия хлебопекарные производства использовали почти исключительно механический транспорт (нории, скребковые транспортёры, ленточные транспортёры и т. д.).

Такие системы транспортирования значительно ограничивали возможности в компоновке хлебопекарного производства, достаточно сложны в эксплуатации, не герметичны, что приводит к потерям муки. Особая проблема – это санитарная очистка, в том числе от мучных вредителей.

В 70-х годах на производствах стали активно внедрять пневмотранспорт, который даёт возможность подачи муки практически на любое расстояние, в любую точку предприятия.

Пневматический транспорт целесообразно использовать в следующих случаях:
-Большие расстояния (более 100 м)
-Большая производительность
-Транспортировка на высоту
-Контакт с воздухом (щадящий режим для хрупких продуктов)
-Блокировки (зависит от конструкции)
-Одинаковый наддув на разных линиях, т.е. с одной трассы можно подать продукт в несколько приемных емкостей.

Варианты пневматического транспортирования сыпучих продуктов
1-й вариант — низкое давление, высокая скорость потока.
2-й вариант — давление и скорость потока имеют относительно средние значения.
3-й вариант — большое давление, но низкая скорость потока.

При работе пневмотранспорта трасса очищается от продукта полностью, что удобно в том случае, если продукт не рекомендуется оставлять в трубопроводе на длительное время (существенное отличие от гибких транспортных систем).

Вся система пневмотранспорта полностью просчитывается и подбирается специалистами нашей фирмой по требованиям заказчика, начиная от компрессора и заканчивая системой управления.

Пневмотранспорт имеет характерную особенность — точность (при работе с дозирующими системами), которая зависит от конструкции системы.

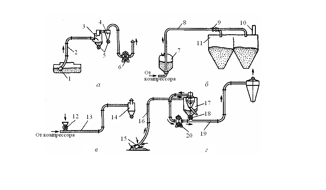
Система пневмотранспорта состоит из следующих частей:
1.Роторный питатель – подает продукт в трассу из приемной емкости.
2. Компрессор – создает избыточное давление воздуха, который захватывает продукт и доставляет в приемник.
3.Фильтры различных моделей с возможностью установки на крыше здания, на приемной емкости и напольный вариант с пылесборным бункером.
4. Диверторы — предназначены для управления потоком воздуха с продуктом, направляя его в нужный участок трассы из общего трубопровода.
5.Предохранительные клапана, датчики давления.
6.Трубопровод.



роторный питателькомпрессорфильтрдиверторклапан
 Варианты компоновочных решений пневматической системы транспортирования сыпучих продуктов


 

Пневмотранспорт (Пневматический транспорт)

Пневмотранспорт — это установки, представляющие из себя комплекс устройств, которые обеспечивают перемещение сыпучих материалов или специальных транспортных средств( капсулы, контейнеры с сырьем) с помощью сжатого воздуха или разряженного газа.

Пневмотранспортная установка состоит из следующих основных компонентов:

  • Питатель — обеспечивает ввод сыпучего материала в систему.
  • Система трубопровода, с помощью которой происходит транспортировка смеси. Эффективность и надежность работы пневмотранспортной установки зависит от правильно выбора материала, из которого сделан материалопровод. Здесь важна каждая мелочь: его диаметр, герметичность соединения отдельных участков трубопровода. Для того чтобы не происходило образование вихрей в трубопроводе необходимо исключить образование заломов внутри труб, смещение кромок труб на стыках. Поверхность материалов трубопровода должна быть максимально гладкой, чтобы минимизировать сопротивление во время движения аэросмеси. Изготавливают трубопроводы из различных материалов: тонколистовая черная, оцинкованная и нержавеющая сталь или дюраль; применяют винипласт и полиэтилен; органическое и неорганическое стекло. Однако же, следует отметить, что применение неметаллических материалов в системе материалопровода влечет за собой использование систем заземления, так как при перемещении аэросмеси будут возникать значительные электрические заряды.
  • Разгрузочные устройства, оснащенные фильтром для воздуха. Данные устройства необходимы для выделения материала и пыли из пневмопотока и направление его для дальнейшего транспортирования или переработки.
  • Воздуходувная машина. Воздуходувные машины, которые используются для обслуживания пневмотранспортных установок, делятся на два типа: центробежные и поршневые. Центробежные вентиляторы используются при обслуживании простых пневмотранспортных установок низкого и среднего давления. А ротационные воздуходувки или поршневые воздуходувные машины используются в пневмотранспортных установках высокого давления.
  • Приемник сыпучего материала.

По способу создания транспортного потока пневмотранспортные системы делятся следующим образом:

  • Нагнетающие
  • Вакуумные ( всасывающие)
  • Комбинированные.

Нагнетающие применяются при высоких концентрациях материала и с использованием низких скоростей потока. Вакуумные используются для перемещения порошкообразных материалов.

Оборудование поставляется как для отдельной транспортировки сыпучик материалов так и для работы в Комплексе Регенерации формовочной смеси.

Данная линейка пневматического транспорта (пневмотранспорта) спроектирована для автоматической передачи песка (и других сыпучих материалов) от различных устройств хранения (бункер, загрузочный ковш и охладитель-классификатор). Датчики уровня пневмотранспорта управляют автоматическим циклом транспортировки. Датчик песка, встроенный в пневматический конвейер, запустит цикл передачи, как только камера заполнится. Датчик уровня, встроенный в приемный бункер, остановит автоматический цикл, когда песок достигнет высокого уровня. Когда уровень песка упадет ниже датчика верхнего уровня, автоматическая система передачи песка запустится снова. Линейка пневматического транспорта (пневмотранспорта) поставляется с электронной/пневматической панелью управления и датчиком лопастного типа для принимающего бункера.





Пневмотранспорт. Пневмонасос и система регенерации

Пневмотранспорт. Пневмонасос и шкаф управления

Пневматический транспорт и транспортировка – скорости перемещения

В приведенной ниже таблице указаны рекомендуемые скорости перемещения воздуха в пневматических системах транспортировки твердых материалов.

.0045

2

. 0495

  • 1 фунт/фут 3 = 16,018 кг/м 3
  • 1 в H 2 O = 248,8 N/M 2 (PA) = 0,0361 LB/LB/ 2 2 2 2 (PA) = 0,0361 LB/LB/in 2 2 2 (PA) = 0,0361 LB/ 2 2 2 (PA) = 0,0361 LB/ 2 2 (PA) = 0,0361 LB/248,8 н/м 2 (PA) = 0,0361 ) = 25,4 кг/м 2
  • Системы пневматического транспорта. Системы пневматического транспорта для порошков или твердых материалов
  • Основы пневматического транспорта. Введение в пневматический транспорт порошков
  • Что такое система пневматического транспорта? • BulkInside

    STOCKPORT — Система пневматической транспортировки перемещает сухие сыпучие материалы или порошки по закрытому трубопроводу с использованием перепада давления и потока газа (обычно воздуха), генерируемого устройством перемещения воздуха, таким как вентилятор, воздуходувка Рутса или компрессор.

    Пневматическая транспортировка представляет собой экономичный способ легкой обработки и транспортировки порошкообразных и сыпучих гранулированных материалов с минимальными потерями. Он подходит для ряда перерабатывающих отраслей, таких как; Продукты питания и напитки, корм для домашних животных, химикаты и моющие средства, возобновляемые источники энергии и специальные материалы.

    Каковы категории пневмотранспорта?

    Пневматический транспорт можно разделить на две категории: нежирная фаза и плотная фаза.

    Бедная фаза : Транспортировка бедной фазы является наиболее распространенным методом транспортировки порошков или гранул и, как правило, может быть разделена на две дополнительные категории:

    • Разбавленная фаза: при которой скорость транспортируемого газа обычно превышает 17-18 м/с. s и транспортное давление или вакуум низкие; обычно ниже 0,1 бар изб. Частицы материала остаются полностью взвешенными в транспортируемом газовом потоке, а концентрация или коэффициент загрузки твердых частиц (масса твердых частиц/масса газа) относительно очень низки. Транспортировка разбавленной фазы идеально подходит для материалов с низкой объемной плотностью и неабразивных материалов. Типичными устройствами движения воздуха для этого типа транспортировки могут быть вентилятор или воздуходувка/вытяжка с боковым каналом.
    • Обедненная фаза с отрицательным давлением

    Обедненная фаза с отрицательным давлением

    • Обедненная фаза с положительным давлением

    Обедненная фаза с положительным давлением

    • Средняя фаза: средняя фаза, в которой скорость транспортирующего газа обычно превышает 17-18 м/с и транспортное давление или вакуум обычно составляет до 0,35 бар изб. Частицы материала остаются по существу взвешенными в транспортирующем газовом потоке, а концентрация или коэффициент загрузки твердых частиц относительно низки. Типичным устройством движения воздуха для этого типа транспортировки может быть воздуходувка/вытяжка Рутса.

    Средняя фаза

    Плотная фаза: Плотная фаза, в которой скорость транспортирующего газа обычно находится в диапазоне 6–18 м/с, а транспортное давление превышает 1 бар изб. При более высоких скоростях транспортировки частицы материала могут все еще находиться в значительной степени во взвешенном состоянии, однако при более низких скоростях материал будет преимущественно соприкасаться с транспортной трубой и будет двигаться волнами или пробками. Этот тип транспортировки чаще используется для транспортировки материалов на большие расстояния и с более высокой пропускной способностью, когда ограничения устройств движения воздуха, таких как вентиляторы и воздуходувки, становятся непомерно высокими. Этот метод также широко используется для транспортировки хрупких или абразивных материалов на низких скоростях, чтобы свести к минимуму либо повреждение материала, либо повреждение системы. Типичными устройствами движения воздуха для этого типа транспортировки могут быть компрессоры жидкостно-кольцевых насосов.

    Плотная фаза

    • Непрерывная плотная фаза

    Непрерывная плотная фаза

    Что включает в себя система пневмотранспорта?

    Точка ввода материала, трубопровод, приемная точка и устройство движения газового потока.

    Преимущества пневмотранспорта.

    • Благодаря компактному характеру транспортной линии трубопровода пневматическая система транспортировки может быть проложена вокруг существующего оборудования, обеспечивая большую гибкость, чем механическая система транспортировки.
    • Может бегать вертикально или горизонтально на большие расстояния.
    • Поскольку система является закрытой, обеспечивается защита от выброса пыли в атмосферу, а также защита транспортируемого материала от внешних загрязнений.
    • Пневматические транспортные системы могут быть проще и экономичнее в обслуживании, чем механические транспортные системы – меньше движущихся частей.
    • Способность поддерживать контролируемую атмосферу вокруг материала.
    • Минимизирует износ системы из-за абразивных материалов и повреждения хрупких материалов.
    • Занимают меньше места на полу, поэтому их легче найти.
    • Может иметь несколько точек приема и разгрузки.

    Недостатки пневмотранспорта.

    • Пневматические транспортные системы должны изменять давление воздуха для создания транспортной мощности, поэтому они менее эффективны, чем механические конвейеры.
    • Обычно используются для передачи небольших объемов материалов, хотя их можно использовать для передачи больших объемов, но это может создать большие проблемы.
    • Поскольку пыль необходимо удалять с помощью пневматического конвейера в конце системы, может потребоваться более крупная система сбора пыли.
    • Материалы с высокой объемной плотностью, более крупные частицы, а также липкие или влажные материалы могут не подходить для пневматической транспортировки.

    На что обратить внимание при рассмотрении заявки.

    • Гранулометрический состав и форма
    • Влажность воздуха
    • Содержание влаги
    • Углы потока, скольжения и естественного откоса
    • Плотность
    • Флюидизация
    • Твердость / Хрупкость
    • Температура
    • Концентрация
    • Производительность системы
    • Расстояние системы
    Что дальше?

    Мы объяснили несколько переменных, которые усложняют определение объема, проектирование и установку системы пневмотранспорта. Ошибки могут дорого обойтись как в самом начале, так и в дальнейшем. Чтобы избежать этого, позвоните в WBL Engineering Ltd, чтобы обсудить, как мы можем спроектировать систему, которая будет работать не только для вашего процесса, но и для вашего бюджета.

    Если вам нужна дополнительная информация о пневматических конвейерных системах, свяжитесь с WBL по телефону 0161 7060321, и мы будем рады обсудить ваши требования.

    Посмотреть страницу компании

    ЕЩЕ

    от WBL Engineering Ltd

    Статьи по теме

    ПОДПИСАТЬСЯ НА НАШУ ЭЛЕКТРОННУЮ РАССЫЛКУ

    Получите обширную информацию о специалистах по обработке сухих материалов, которые покупают, обслуживают, управляют или эксплуатируют оборудование с доставкой на ваш почтовый ящик (это бесплатно!).

    Регистрируясь в нашем списке, вы соглашаетесь с нашими Положениями и условиями. Мы выпускаем два электронных бюллетеня каждую неделю, еженедельный электронный бюллетень (выходит каждый вторник) с общими новостями отрасли и один бюллетень «О рынке/электронном продукте» (выходит каждый четверг), посвященный конкретному рынку или технологии.

    Партнеры

    Coperion & Coperion K-Tron

    Coperion & Coperion K-Tron поставляет оборудование и системы, такие как экструдеры, питатели, пневмотранспорт и компоненты. Подробнее ➜

    Spiroflow Ltd

    Spiroflow, мировой лидер в области обработки порошков и сухих веществ, а также развивающийся лидер в области интеграции систем управления. Подробнее ➜

    Kason Corporation

    Kason Corporation занимается решением самых сложных проблем просеивания, сушки и охлаждения, уделяя первостепенное внимание качеству, безопасности и надежности. Подробнее ➜

    Eastern Instruments

    Компания Eastern Instruments разрабатывает и производит различные устройства для измерения и контроля потока промышленных сыпучих материалов. Подробнее ➜

    IEP Technologies

    Уже более 60 лет мы предоставляем решения по защите, которые могут подавлять, изолировать и вентилировать взрывы горючей пыли или паров в обрабатывающей промышленности. Подробнее ➜

    Hethon

    Ускорьте свой бизнес. Hethon является мировым специалистом в области дозирования порошков и жидкостей, особенно трудно дозируемых веществ. Подробнее ➜

    Корпорация Флексикон

    Оборудование Flexicon обеспечивает беспыльную транспортировку, кондиционирование, разгрузку, наполнение, разгрузку и/или взвешивание порошкообразных и сыпучих материалов. Подробнее ➜

    Dec Group

    Ведущий мировой поставщик технологий обработки порошков и сдерживания технологических процессов, предлагающий комплексные решения для различных отраслей промышленности. Подробнее ➜

    PerMix

    Ленточные миксеры PerMix, плужные миксеры, лопастные миксеры, сигма-миксеры и другие миксеры спроектированы так, чтобы работать, но при этом доступны по цене для любого бюджета. Подробнее ➜

    Polimak

    Переработка, транспортировка, хранение, подача, дозирование, разгрузка, наполнение сыпучих материалов от отдельного оборудования до комплексных систем «под ключ». Подробнее ➜

    Dinnissen Process Technology

    « Нам доверяют лучшие » Компания Dinnissen стала мировым лидером в области технологий производства порошков, частиц и гранул.
    Подробнее ➜

    EXEN Корпорация

    EXEN предлагает лучшее решение проблем с засорением с помощью пневматического молотка «Air Knocker» и широкого спектра устройств для улучшения потока. Подробнее ➜

    Корпорация HammerTek

    Отклоняющие отводы Smart Elbow® предотвращают удар материала о стенку отвода, предотвращая: абразивный износ, деградацию и отложения, связанные с нагревом, и пластиковые стримеры. Подробнее ➜

    Hydronix Ltd

    Компания Hydronix является ведущим мировым производителем цифровых микроволновых датчиков влажности для различных отраслей промышленности. Подробнее ➜

    Progressive Products, Inc

    Оптимизирует системы пневмотранспорта за счет сокращения отходов и затрат, минимизации времени простоя и повышения производительности за счет высокопроизводительных компонентов. Подробнее ➜

    Thayer Scale

    Thayer Scale — ведущий мировой производитель оборудования для непрерывного взвешивания и подачи сыпучих материалов в самых разных отраслях промышленности. Подробнее ➜

    ВАК-У-МАКС

    Системы автоматизации процессов для передачи сыпучих материалов от поступления к процессу и системы промышленной вакуумной очистки для извлечения больших объемов многих материалов. Подробнее ➜

    Ньюсон Гейл

    Ньюсон Гейл; Производители оборудования для статического контроля и решений для взрывозащиты опасных зон в промышленных процессах. Подробнее ➜

    Boss Products, LLC

    Разработанные системы промышленной безопасности от лидера отрасли. Спасайте жизни, защищайте имущество и уменьшайте опасности с помощью продуктов Boss. Подробнее ➜

    DMN-WESTINGHOUSE

    Производитель поворотных клапанов, отводных клапанов и других сопутствующих компонентов для отрасли обработки сыпучих материалов более 45 лет. Подробнее ➜

    BFM® Global Ltd.

    BFM® Global производит ряд запатентованных и защищенных (2006 г.) соединителей, патрубков, крышек, заглушек, заглушек и загрузчиков мешков, которые помогают преобразовать традиционную производственную среду. Подробнее ➜ 

    Solimar Pneumatics

    Solimar Pneumatics является ведущим разработчиком и поставщиком систем аэрации и инженерных компонентов для отрасли обработки сыпучих материалов. Подробнее ➜

    REMBE® GmbH Safety+Control

    REMBE® GmbH Safety+Control специализируется на взрывозащите и сбросе давления. Он обеспечивает клиентов во всех отраслях промышленности системами безопасности для их заводов и оборудования. Подробнее ➜

    ВАМГРУПП С.п.А.

    WAMGROUP® является мировым лидером на рынке шнековых конвейеров и занимает лидирующие позиции в каждой из своих линеек продукции в области обработки и обработки сыпучих материалов. Подробнее ➜

    Jenike & Johanson

    Jenike & Johanson — ведущая мировая компания в области технологий обработки, обработки и хранения порошкообразных и сыпучих материалов.

    Продукт Приблизительно плотность давление всасывания для забрать (м/с) (ft/min)
    Ashes, powdered clinker 30 — 43 6500 — 8500
    Ashes from coal 30 3 28 5500
    Beans 28 4 31 6000
    Buffing dust 2. 5 19 3700
    Cement 100 5 30 — 46 6500 — 9000
    Coal, powered 20 — 28 4000 — 5500
    Coffee beans 15 — 20 3000 — 4000
    Корк 14 1,5 17 — 28 3000 — 5500
    Corn, Wheat, RYE444444444444444444444444444444444444444444444444444444444444444444444444444444444444444н.0045

    25 — 36 5500 — 7000
    Cotton, dry 5 2 22 — 30 3500 — 6500
    Flour 17 — 30 3500 — 6500
    Зерновая пыль 10 — 15 2000 — 3000
    Шлифование и литейная пыль 30 2 17 — 23 3500 400444444444444444444444444444444444444444444444444444444444444444444444444444444444444444444444444444444444444444444444444444444444444444. 40045

    2
    Jute 22 — 30 4500 — 6500
    Lead dust 20 — 30 4500 — 6500
    Leather dust 8 — 12 1800 — 2500
    Лайм, увлажненный 30 3 25 — 36 5500 — 7500
    Пыль из известнякового0045

    2000 — 3500
    Malt 35 3 24 4800
    Metal dust 15 — 18 3500 — 4000
    Metal turnings 2.5 20 4500
    Минеральная шерсть 12 2 22 3500
    OAT0044 22 — 30 4500 — 6500
    . Пластиковая пыль 10 — 12 2000 — 2500
    Чипсы пульпы 22 — 36 4500 — 7000
    , Drags. 0045

    30 2.5 20 — 33 4000 — 6500
    Rubber dust 10 — 15 2000 — 3000
    Salt 28 5500
    Sand 30 — 46 6000 — 9000
    Sandblast 17 — 23 3500 — 4500
    44444.0045

    12 2.5 10 — 17 2000 — 3500
    Sawdust and shavings, heavy 17 — 23 3500 — 4500
    Shavings, light 9 2.5 22 3500
    Shavings, heavy 24 3 20 4000
    Sugar 30 6000
    Textile dust 10 — 15 2000 — 3500
    Vegetable Pulp, dry 23 4500
    Wood chips 20 — 25 4500 — 5500
    Шерсть 22 — 30 4500 — 6000