Содержание
Шахтная канатно-скреперная установка
Изобретение относится к транспортным машинам периодического действия, предназначенным для транспортирования от забоя добытой горной массы. Шахтная канатно-скреперная установка содержит скрепер ящичного типа, соединенные с ним головной и хвостовой тяговые канаты, скреперную лебедку и разгрузочный полок. Скреперная лебедка принята трехбарабанной, на двух барабанах которой закреплены оба конца головного тягового каната. Средняя часть головного тягового каната закреплена в центре передней стенки скрепера и с возможностью огибания канатом двух криволинейных направляющих, закрепленных на боковых кромках передней стенки скрепера с прогибом направляющих в наружную сторону от боковых участков скрепера, при углах перегиба направляющих больше 90 градусов. Изобретение обеспечивает двойное снижение нагрузки на головной тяговый каната, а также обеспечивает повышение эффективности захвата скрепером горной массы при увеличенной ширине ее размещения в зоне загрузки скрепера.
1 ил.
Изобретение относится к транспортным машинам периодического действия, а именно к шахтным канатно-скреперным установкам, предназначенным для транспортирования от забоя добытой горной массы до разгрузочного полка с перегрузкой и него в другие транспортные средства или для подачи в дробильное оборудование.
Известна принятая за прототип двухканатная скреперная установка, состоящая из скрепера ящичного типа, соединенных с ним головного и хвостового тяговых канатов, двухбарабанной скреперной лебедки, отклоняющих блоков и разгрузочного полка (Ю.Д. Тарасов, В.Ю. Коптев. Транспортные машины периодического действия. -СПб, 2012 г., с.6, 7, рис.2а).
Однако недостатками известных канатано-скреперных установок являются увеличенные нагрузки на головной тяговый канат при перемещении груженого скрепера по почве подземной выработки, а также ограниченные возможности захвата скрепером горной массы по ширине ее размещения в зоне загрузки.
Техническим результатом изобретения является двойное снижение нагрузки на головной тяговый канат и возможность захвата скрепером горной массы при увеличенной ширине ее размещения в зоне загрузки скрепера.
Технический результат достигается тем, что в шахтной канатно-скреперной установке, содержащей скрепер ящичного типа, соединенные с ним головной и хвостовой тяговые канаты, скреперную лебедку и разгрузочный полок, скреперная лебедка принята трехбарабанной, на двух барабанах которой закреплены оба конца головного тягового каната, средняя часть которого закреплена в центре передней стенки скрепера и с возможностью огибания канатом двух криволинейных направляющих, закрепленных на боковых кромках передней стенки скрепера с прогибом направляющих в наружную сторону от боковых участков скрепера, при углах перегиба направляющих больше 90 градусов.
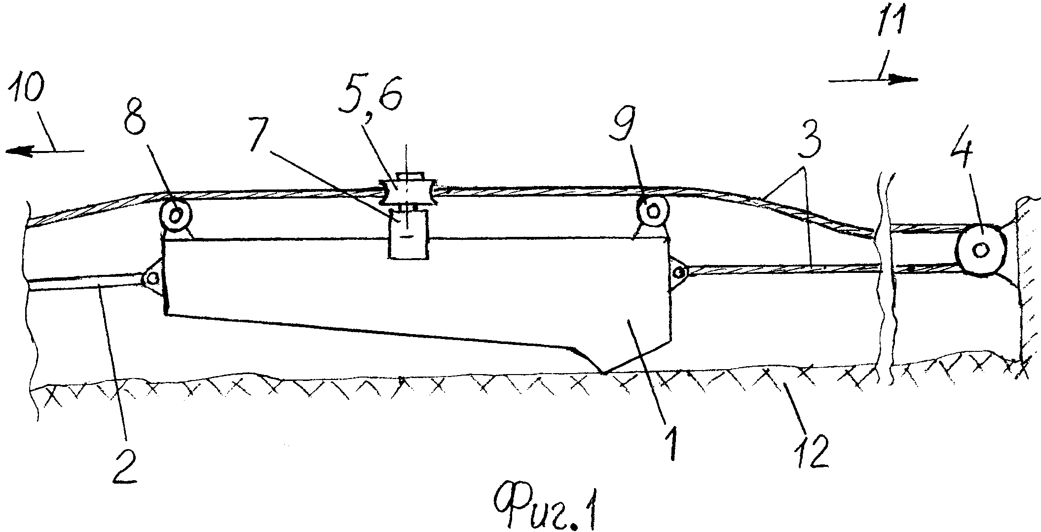
На чертеже представлен план канатно-скреперной установки при исходном положении скрепера в зоне его загрузки.
Канатно-скреперная установка состоит из скрепера ящичного типа 1, соединенные с ним головной 2 и хвостовой 3 тяговые канаты, скреперную лебедку 4 и разгрузочный полок 5. Скреперная лебедка 4 принята трехбарабанной, на двух барабанах 6 и 7 которой закреплены оба конца головного тягового каната 2, средняя часть которого закреплена (8) в центре передней стенки скрепера 1.
Головной тяговый канат 2 размещен с возможностью огибания им двух криволинейных направляющих 9 и 10, закрепленных на боковых кромках передней стенки скрепера 1. Направляющие 9 и 10 выполнены с их прогибом в наружную сторону от бортовых участков скрепера 1 при углах перегиба направляющих 9 и 10 больше 90 градусов. На третьем барабане 11 скреперной лебедки 4 закреплен конец хвостового тягового каната 3, огибающего отклоняющие блоки 12. 13 — направление движения загружаемого скрепера 1. 14 и 15 — направления поочередного смещения скрепера 1 на участке его загрузки транспортируемой горной массой.
Канатно-скреперная установка действует следующим образом. При холостом ходе скрепера 1 включают барабан 11 скреперной лебедки 4, обеспечивающий перемещение порожнего скрепера 1 до его размещения за пределами подлежащей транспортирования горной массы (не показана). После этого отключают барабан 11, кинематически связанный с хвостовым тяговым канатом 3, и одновременно включают два барабана 6 и 7 с закрепленными на них концами головного тягового канта 2.
С помощью двух ветвей головного тягового каната 2 скрепер 1 смещается в направлении 13 в сторону размещенной на грунте горной выработки подлежащей транспортирования горной массы. В течение периода заполнения скрепера 1 горной массой периодически отключают один из приводных барабанов 6 и 7 головного тягового канта 2 с последовательны чередованием отключения одного 6 и второго 7 барабанов. Благодаря этому повышается эффективность заполнения скрепера 1 горной массой за счет чередования его разворота в одну 14 и другую 15 стороны в сочетании с направлением 13 смещения скрепера 1 вдоль продольной оси симметрии двух ветвей головного тягового каната 2. При этом процесс последовательного включения и отключения приводных барабанов 6 и 7 головного тягового каната 2 должен быть автоматизирован и продолжается до момента схода скрепера 1 с загружаемого массива горной массы.
Таким образом, отличительные признаки изобретения обеспечивают не только двойное снижение нагрузки на головной тяговый каната, но и обеспечивают повышение эффективности захвата скрепером горной массы при увеличенной ширине ее размещения в зоне загрузки скрепера.
Шахтная канатно-скреперная установка, содержащая скрепер ящичного типа, соединенные с ним головной и хвостовой тяговые канаты, скреперную лебедку и разгрузочный полок, отличающаяся тем, что скреперная лебедка принята трехбарабанной, на двух барабанах которой закреплены оба конца головного тягового каната, средняя часть которого закреплена в центре передней стенки скрепера и с возможностью огибания канатом двух криволинейных направляющих, закрепленных на боковых кромках передней стенки скрепера с прогибом направляющих в наружную сторону от боковых участков скрепера, при углах перегиба направляющих больше 90 градусов.
Похожие патенты:
Капатно-скреперная установка // 2524710
Изобретение относится к горным транспортным машинам периодического действия, а именно к канатно-скреперным установкам. Техническим результатом является уменьшение износа с повышением долговечности хвостового тягового каната, уменьшение энергоемкости транспортирования горной массы и повышение уровня безопасности для обслуживающего персонала.
Пункт перегрузочный // 2516370
Изобретение относится к горной промышленности и может быть использовано при проведении горных выработок с использованием подвижных транспортных средств. Техническим результатом является исключение просыпания горной массы на почву выработки в пунктах перегрузки.
Система пневматического контейнерного транспорта // 2513379
Изобретение относится к горной промышленности, в частности к оборудованию для транспортирования контейнеров по трубопроводам при разработке полезных ископаемых.
Способ и устройство для переработки подачи разделенной по крупности кусков руды // 2504658
Изобретение относится к горнодобычным работам. Техническим результатом является последовательное разрабатывание участков рудной залежи.
Наклонная подъемная установка // 2501730
Изобретение относится к горной промышленности, в особенности к наклонным подъемным установкам. Канатоподдерживающие ролики наклонной подъемной установки снабжены подпружиненными осями.
Наклонная подъемная установка // 2500890
Изобретение относится к горной промышленности, в особенности к наклонным подъемным установкам, и может быть использовано для доставки грузов по наклонным и крутонаклонным стволам или другим горным выработкам угольной и горнорудной промышленности.
Устройство для забойного пересыпа // 2498076
Изобретение относится к области средств перегрузки горной массы из забоя на штрековый ленточный конвейер. Техническим результатом является повышение надежности устройства, снижение погрешности измерений и обеспечение однопроцессной поточной технологии очистной выемки угля в лавах в течение одного цикла.
Монтажно-демонтажный способ строповки и транспортировки лавного конвейера в горной выработке // 2480396
Изобретение относится к средствам механизации погрузочных, транспортных и разгрузочных работ и может быть использовано, например, в добывающей промышленности в подземных условиях для строповки и транспортировки (перемещения) линейных секций лавного конвейера (рештаков) по горным выработкам.
Способ выноса угля для отгрузки на угольных разрезах и конвейер для его осуществления // 2476676
Изобретение относится к угольной промышленности, к технике сепарации и разделения материалов по крупности. .
Пластинчатый конвейер // 2473811
Изобретение относится к магистральным пластинчатым конвейерам увеличенной длины. .
Капатно-скреперная установка // 2524710
Изобретение относится к горным транспортным машинам периодического действия, а именно к канатно-скреперным установкам. Техническим результатом является уменьшение износа с повышением долговечности хвостового тягового каната, уменьшение энергоемкости транспортирования горной массы и повышение уровня безопасности для обслуживающего персонала.
Многоковшовый вскрышной агрегат // 2471043
Изобретение относится к горной промышленности и может быть использовано при открытой разработке месторождений полезных ископаемых по бестранспортной системе в сложных горно-геологических условиях.
Канатно-скреперная установка // 2463409
Изобретение относится к транспортным машинам периодического действия, а именно к канатно-скреперным установкам, преимущественно со скрепером ящичного типа, и может быть использовано при транспортировании добываемой руды из забоев при подземной разработке месторождений и на штабельных складах поверхностных комплексов угольных шахт.
Экскавационно-транспортирующий комплекс // 2456454
Изобретение относится к горной промышленности и может быть использовано при открытой разработке месторождений полезных ископаемых. .
Вскрышной агрегат // 2396394
Изобретение относится к горной промышленности и может быть использовано при открытой разработке месторождений полезных ископаемых по бестранспортной системе в сложных горно-геологических условиях.
Устройство для разработки, перемещения и складирования пород канатными скреперами // 2297497
Изобретение относится к области горного дела и может быть использовано при выемке, транспортировке и складировании непродуктивных пород и полезного ископаемого на россыпных, морских (прибрежных) и пластовых месторождениях.
Башенный экскаватор // 2255181
Изобретение относится к средствам перемещения грунта или добытого минерального сырья, позволяет снизить энергоемкость процесса и автоматизировать его, применить башенные экскаваторы для разработки россыпей в комплексе с другими машинами.
Скрепер для разработки русловых россыпных месторождений // 2242565
Изобретение относится к устройствам для транспортирования кусковых и сыпучих грузов волочением, а именно к канатным скреперам, и может быть использовано для разработки русловых россыпных месторождений алмазов, например, в Анголе.
Комплекс сдвоенных бульдозерных ножей с отвалами на базе электрофицированных саней // 2241805
Изобретение относится к комплексу сдвоенных бульдозерных ножей на базе электрофицированных саней. .
Скрепер для разработки русловых россыпных месторождений // 2236511
Изобретение относится к устройствам для транспортирования кусковых и сыпучих грузов волочением, а именно к канатным скреперам, и может быть использовано для разработки русловых россыпных месторождений алмазов, например, в Анголе.
Устройство для сортировки почтовых отправлений // 2506215
Изобретение относится к почтовым техническим средствам и может быть использовано для механизации и автоматизации сортировки писем и бандеролей. Устройство для сортировки почтовых отправлений имеет приемный бункер, разборочную машину, механическое анализирующее устройство, копировочный аппарат, ленточные конвейеры.
Скреперная лебедка цена ЗДЕСЬ (Красноярск)
Красноярск
- Оборудование
- Монтаж
- Доставка
- Разработка документации
- О компании
- Проекты и решения
- Контакты
Красноярск
Красноярск
- Оборудование
- О компании
21 июля 2015
Скреперные лебедки, называемые еще шахтными, служат для перемещения добытой горной массы по горизонтальным и наклонным горным выработкам.
Лебедки служат для механизации процесса добычи, выемки и складирования природных ресурсов. В основном, применяются на проходческих работах и для погрузки горной массы в вагонетки со штреков скрепирования.
Разделяются скреперные установки по мощности:
— Малые до 10,0 кВт;
— Средние 10-20 кВт;
— Мощные, превышающие 20 кВт.
Отличие может быть также в количестве барабанных узлов – двух и трех барабанные установки. Конструкции лебедок с двигателями, расположенными на одной оси с барабанами, отличают от устройств, двигатели которых размещены на параллельной оси. Также отличается принцип управления скреперными лебедками – ручное управление, автоматическое и дистанционное.
Скреперные установки с 2-мя барабанами наиболее часто применяются при перемещении пород по горизонтальным штрекам, а трех барабанные применяются в наклонных тоннелях.
Скреперные лебедки изготавливаются различными по мощности от 10,0 до 100 кВт, чтобы проще разобраться в маркировке моделей лебедок следует помнить, что обозначение 10ЛС-2С указывает на лебедку скреперную (ЛС) мощностью в 10 кВт с двумя соосными барабанами.
А маркировка 55ЛС-3П означает, что это лебедка скреперная с мощностью 55 кВт с 3-мя барабанами, двигатель на которой установлен параллельно оси барабанов.
Важным конструкционным элементом скреперных лебедок являются скреперные блоки, которые осуществляют движение канатов, закрепленных на скрепере. Конструкция блоков служит для обеспечения скорой и легкой заправки канатов, простого вращения роликов и не допускать заклинивания канатов. Скреперные блоки следует подбирать в зависимости от тяговых усилий на рабочих барабанах используемых лебедок.
Заказать и купить интересующий вас товар вы можете позвонив по указанному на сайте телефону, заполнив форму быстрого заказа или написав на наш E-Mail.
<< Вернуться к списку статей | Следующая статья >>
21.июля.2015
Шахтный электровоз
Локомотив, используемый на рудниках и шахтах для перевозки грузов, называют шахтным электровозом.…
Подробнее
21.
июля.2015
Железоотделитель подвесной
Подвесные железоотделители используются в горно-добывающей промышленности для удаления…
Подробнее
08.августа.2015
Магнитный сепаратор
Главное предназначение магнитного сепаратора – выделение из различных видов сырья определенных компонентов…
Подробнее
21.сентября.2015
СБШ-250
Это самоходный станок, который поставляется в комплектации с электроприводом и базой на гусеничном…
Подробнее
14.ноября.2015
Флотомашина ФПМ
Одним из незаменимых механизмов на производстве является Флотомашина ФПМ. Применяется для обогащения…
Подробнее
Получить консультацию:
- Лебедка скреперная | Шахтная лебедка
Ваше имя / Название организации
Телефон
Коментарий
+ Прикрепить файл
Нажимая кнопку «Отправить», вы соглашаетесь
с условиями политики конфиденциальности
Получить консультацию:
- Рудоразмольные мельницы: МСЦ, МШР, МШЦ
Ваше имя / Название организации
Телефон
Коментарий
+ Прикрепить файл
Нажимая кнопку «Отправить», вы соглашаетесь
с условиями политики конфиденциальности
Преимущества скреперов для тяжелых земляных и горных работ
Тяжелые земляные и горные работы требуют специального оборудования для удовлетворения высоких требований к производительности и эффективности.
Одной из таких машин, которая выделяется, является скребок. Скребки использовались в различных областях, и известно, что преимущества скребков при тяжелых землеройных и горнодобывающих работах предлагают многочисленные преимущества, которые делают их идеальным выбором для любой работы. В этой статье мы рассмотрим преимущества скреперов в тяжелых землеройных и горнодобывающих работах, включая соображения безопасности, универсальность, долговечность, снижение воздействия на окружающую среду, экономичность силовой установки и маневренность.
Повышенная эффективность
Повышенная эффективность скребков выходит за рамки их способности быстро перемещать большие объемы материала. Их конструкция позволяет точно резать и формировать землю, что приводит к более однородной поверхности. Эта однородность означает, что на выравнивание и выравнивание грунта тратится меньше времени, что приводит к снижению эксплуатационных расходов и сокращению времени завершения работ. Кроме того, конструкция чаши скребка обеспечивает одинаковый размер каждой загрузки, что приводит к более равномерной разгрузке и лучшему уплотнению материала.
Это не только сокращает отходы материалов, но и повышает устойчивость строящейся дороги или сооружения. В целом, повышенная эффективность скреперов при землеройных и горнодобывающих работах оказывает значительное влияние как на экономию времени, так и на затраты, что делает их незаменимой частью любого строительного или горнодобывающего проекта.
Вопросы безопасности
В опасных условиях, таких как шахты, безопасность имеет первостепенное значение. Скребки обеспечивают повышенную безопасность операторов, защищая их от опасности. Способные работать в суровых условиях и на пересеченной местности, скреперы спроектированы таким образом, чтобы обеспечить максимальную безопасность для операторов. Их прочная конструкция и сильное сцепление с землей делают их очень надежными в сложных условиях горнодобывающей промышленности.
Эти машины также оснащены различным навесным оборудованием, таким как отвалы и рыхлители, а также другими механизмами, которые могут помочь повысить их эффективность и производительность.
Используя эти приспособления, операторы могут снизить риск получения травм и выполнять задачи с большей легкостью и скоростью. Кроме того, скребками можно управлять дистанционно, что еще больше снижает необходимость присутствия операторов в непосредственной близости от машины. Сочетание функций безопасности и повышения производительности делает скреперы незаменимым инструментом в горнодобывающей промышленности.
Универсальность
Скребки — невероятно универсальное оборудование на стройплощадке. Их можно использовать в самых разных областях, от земляных работ и подготовки площадки до погрузочно-разгрузочных работ и транспортировки. Эта универсальность делает их идеальными для тяжелых земляных и горных работ, поскольку их можно использовать для быстрого и эффективного выполнения широкого круга задач.
Эти машины также можно модифицировать, чтобы они лучше подходили для конкретного применения. Это означает, что их можно адаптировать для удовлетворения конкретных потребностей работы, предоставляя операторам наиболее эффективное и действенное оборудование для горных работ.
Некоторые из модификаций, которые можно сделать, включают добавление больших шин на передние колеса для устойчивости, модификацию двигателя для работы на пересеченной местности и добавление навесного оборудования для другого оборудования, такого как системы GPS, для лучшей навигации.
Долговечность
Скребки предназначены для работы в самых тяжелых условиях. Машины рассчитаны на длительный срок службы, а это означает, что они легко справляются с тяжелыми земляными и горными работами. Конструкция скрепера предназначена для работы с грубым и рыхлым материалом, а также с труднопроходимой местностью на руднике. Они имеют высокий уровень структурной целостности, что позволяет им выдерживать грубую, влажную почву и суровые условия строительных площадок без повреждений.
Прочная конструкция двигателей скреперов также означает, что они требуют минимального обслуживания на стройплощадке. Это снижает эксплуатационные расходы и затраты на техническое обслуживание, что позволяет повысить рентабельность.
Кроме того, тип скреперов, требующий минимального обслуживания, гарантирует, что один двигатель машины всегда находится в хорошем состоянии и может использоваться в течение длительного времени без перерыва.
Снижение воздействия на окружающую среду
Скребки помогают снизить воздействие на окружающую среду тяжелой техники при земляных и горных работах. Они имеют меньший углеродный след по сравнению с другим оборудованием, таким как самосвалы и самосвалы с шарнирно-сочлененной рамой. Кроме того, скребки могут уменьшить частичную нагрузку и количество топлива, потребляемого во время проекта, что сводит к минимуму выбросы и экономит затраты.
Скребки также предназначены для сведения к минимуму количества материала, остающегося после земляных работ, что снижает воздействие проекта на окружающую среду. Это означает, что скреперы не только экономичны, но и безопасны для окружающей среды, что делает их идеальным решением для тяжелых землеройных и горнодобывающих работ.
Экономичный
Скребки — это экономичное тяжелое оборудование, обеспечивающее операторам высокую рентабельность инвестиций. Их долговечность и низкие требования к техническому обслуживанию значительно снижают эксплуатационные расходы и затраты на техническое обслуживание, что делает их более рентабельными, чем другие типы используемого тяжелого оборудования. Эта рентабельность приводит к увеличению прибыльности, что делает скреперы отличным вложением средств для любых тяжелых земляных и горных работ.
Кроме того, скребки доступны по более низкой цене по сравнению с другими типами оборудования, что делает их более доступными для операторов.
Маневренность
Маневренность скреперов является одним из наиболее значительных преимуществ, которые они предлагают как в других земляных работах, так и в горнодобывающей промышленности. Эти машины предназначены для плавного перемещения в ограниченном пространстве, что делает их идеальными для работы в сложных условиях и ограниченном пространстве.
Компактный размер скреперов позволяет им с легкостью проходить через узкие проходы, что делает их идеальным выбором для работы на строительных площадках с ограниченным пространством. Они также могут совершать крутые повороты и имеют короткий радиус поворота, что означает, что они могут быстро и легко менять направление, повышая свою общую эффективность.
Маневренность скреперов также делает их отличным выбором для операций, требующих высокой степени точности, таких как планировка и земляные работы. Их способность преодолевать препятствия и эффективно работать в ограниченном пространстве означает, что они могут достигать высокого уровня точности, что необходимо для достижения желаемых результатов. Более того, их маневренность также может снизить вероятность несчастных случаев на рабочих площадках, поскольку при необходимости операторы могут быстро перемещаться, чтобы вытащить машину из опасной зоны.
Применение скреперов в тяжелых землеройных и горнодобывающих работах
Универсальность скреперов делает их идеальными для различных применений в тяжелых землеройных и горных работах.
Некоторые области применения скреперов включают:
Земляные работы и подготовка площадок
Скребки идеально подходят для земляных работ и подготовки площадок. Они используются для перемещения грязи и других материалов из одного места в другое. Они эффективны и могут перемещать большое количество материала за короткий период времени. Это делает их идеальными для подготовки площадки перед началом строительства или добычи полезных ископаемых.
Погрузочно-разгрузочные работы и транспортировка
Скребки также используются для погрузочно-разгрузочных работ и транспортировки. Они используются для транспортировки таких материалов, как уголь, руда и песок, из одного места в другое. Это эффективные машины, а их высокая грузоподъемность означает, что одна машина может транспортировать, буксировать и выгружать большое количество материала за короткий период времени.
Добыча полезных ископаемых
Скребки используются при добыче полезных ископаемых для перемещения грязи и других материалов из одного места в другое.
Они эффективны и могут перемещать большое количество материала за короткий период, что делает их идеальными для горнодобывающей промышленности, где необходимо переместить большое количество материала за короткий период времени.
Заключение
В целом скреперы представляют собой универсальное и экономичное решение для тяжелых земляных и горных работ. Их способность быстро и эффективно перевозить большие грузы в сочетании с долговечностью и универсальностью делают их идеальными машинами для любой работы. Независимо от того, готовите ли вы место для строительства или добычи полезных ископаемых или транспортируете материалы из одного места в другое, скрепер — идеальный инструмент для этой работы.
12 самых продаваемых скреперов для подземных горных работ.
Введение
Горные механизмы от производителей оборудования для подземных горных работ в Китае всегда пользовались большой популярностью. Таким образом, среди них продажи скреперов для подземных горных работ были на первом месте.
Тем не менее, Fucheng предлагает подземный ковш для неметаллических горных работ, который включает в себя новейшие технологии с интеллектуальными шарнирными соединениями и цифровыми решениями. Подземный ковш-трамвай отличается прочностью, долговечностью и мощностью в сложных условиях. Таким образом, Fucheng стремится повысить безопасность, производительность и прибыльность производимых скреперов для подземных горных работ.
Top 1 — Diesel Scooptram FCYJ-0.6D
Подземный горный скрепер Diesel Scooptram FCYJ-0.6D всегда приводится в действие дизельным двигателем Deutz, который получает различные электронные сигналы от водитель и датчики, такие как давление дизельного топлива, температура, скорость и т. д. Он может указать местонахождение неисправности при ее возникновении и выполнить диагностику неисправности, тем самым снижая расход топлива двигателем на 3-5%. Он также улучшает характеристики холодного пуска, снижает выбросы выхлопных газов и продлевает срок службы двигателя.
Таким образом, подземный скрепер широко используется в различных нерудных шахтах.
- Свойства подземного ковша (статистика подземных горных работ)
| ОБЪЕМ КОВША: 0,6 м³ | НОМИНАЛЬНАЯ НАГРУЗКА 1,2 т | МАКС. Тяговое усилие: 45 узлов | СКОРОСТЬ РАБОТЫ: 0–8 км/ч |
| ПРЕОДОЛЕТ: 14° | РАЗМЕРЫ: 4690 *1100* 1760ММ |
| ВЕС (ВКЛЮЧАЯ ГИДРАВЛИЧЕСКОЕ МАСЛО): 4200КГ | МАРКА: YANMAR 90 100 |
| НОМИНАЛЬНАЯ МОЩНОСТЬ: 56,5 кВт | СКОРОСТЬ ВРАЩЕНИЯ: 2200 об/мин |
| МАРКА: REXROTH (ГЕРМАНИЯ) | МАРКА: REXROTH |
| МАРКА: PERMCO (США) | МИН. ВЫСОТА САМОСВАЛКИ: 660 ММ 90 100 |
Верх 2 — Дизельный ковш FCYJ-0.75D
До удовлетворить потребности и операции различных шахт, в противном случае производитель подземных горных скреперов Fucheng предлагает стандартную конфигурацию моделей подземных горных скреперов Diesel Scooptram FCYJ-0.
75D. Однако вы можете выбрать различные дополнительные аксессуары в зависимости от физических и механических свойств добываемой нерудной руды и условий эксплуатации. Например, у вас могут быть ковши разной вместимости и формы в зависимости от плотности руды. Таким образом, у вас могут быть стандартные ковши с фронтальной разгрузкой, толкающие ковши, ковши с боковой разгрузкой и ковши с высоким подъемом, в зависимости от метода разгрузки. В зависимости от рабочей среды вы также можете настроить дизельные двигатели с воздушным охлаждением или дизельные двигатели с водяным охлаждением. В зависимости от условий работы вы также можете сконфигурировать универсальную кабину с защитной крышей или полностью закрытую кабину с кондиционером. Некоторые скреперы для подземных горных работ также можно относительно быстро заменить на дизельное или электрическое оборудование, в зависимости от ваших требований.
- Свойства подземного ковша (статистика подземных горных работ)
| ДИЗЕЛЬНЫЙ ДВИГАТЕЛЬ: DEUTZ F4L912W (ГЕРМАНИЯ) | ВЕС (ВКЛЮЧАЯ ГИДРАВЛИЧЕСКОЕ МАСЛО): 6,5 т |
| ГИДРАВЛИЧЕСКИЙ НАСОС/МОТОР: SAUER PV22 / MV23 | КОВШ С ШАПКОЙ ОБЪЕМ: 0,75 М³ |
МАКС. ТЯГА: 41KN | СКОРОСТЬ РАБОТЫ: 0-8 км/ч |
| МАКС. ВЫСОТА ВЫГРУЗКИ: 850 ММ | МАКС. УГОЛ ПОВОРОТА: 土36° |
| НОМИНАЛЬНАЯ МОЩНОСТЬ: 43 КВТ | ГРУЗОПОДЪЕМНОСТЬ: 1500 КГ |
| ПРЕОДОЛЕВАЕМЫЙ ПРЕОДОЛЕТ: 16° | МИН. ДОРОЖНЫЙ ПРОСТРАНСТВО: 195 ММ |
| МАКС. ВЫСОТА КОВША: 3600 ММ | РАЗМЕРЫ: 5800 *1250* 1900 ММ |
Top 3— Diesel Scooptram FCYJ-1.5D
Германия Дизельные двигатели Deutz приводят в движение подземный горный скрепер Diesel Sco optram FCYJ-1.5D, принимающий различные электронные сигналы от водителей и датчиков, таких как скорость, давление дизельного топлива, температура и скорость. Из-за суровых условий и окружающей среды подземных горных работ операционная система подземного горного оборудования более адаптируется к физиологическим и психологическим особенностям человека. Между тем, в соответствии с требованиями функции человеческого тела, для достижения координации человека и машины, быстрой и точной работы и идеального визуального эффекта.
Таким образом, если вы создаете комфортную и безопасную рабочую среду, скрепер для подземных горных работ может снизить рабочую усталость, повысить эффективность и сохранить здоровье человека. Тем не менее, он улучшает характеристики холодного пуска и снижает выбросы выхлопных газов. И последнее, но не менее важное: скрепер для подземных горных работ продлевает срок службы двигателя. Так, подземные ковшовые трамваи широко используются на нерудных рудниках.
- Свойства подземного ковша (статистика подземных горных работ)
| НАСОС РУЛЕВОГО УПРАВЛЕНИЯ: PARKER | РАЗМЕРЫ: 6250*1300*1950 мм |
| ДИЗЕЛЬНЫЙ ДВИГАТЕЛЬ: ГЕРМАНИЯ DEUTZ (F6L914) | ПОЛНАЯ НАГРУЗКА: 0-8КМ /H |
| ПРЕОДОЛЕТ: 25% | МАКС. УСИЛИЕ ТЯГИ: 100KN |
| ВЕС (ВКЛЮЧАЯ ГИДРАВЛИЧЕСКОЕ МАСЛО): 12T | НАСОС РУЛЕВОГО УПРАВЛЕНИЯ: PARKER |
| МАКС. УСИЛИЕ ЛОПАТЫ: 80 КН | ДАВЛЕНИЕ: 10,5 МПа |
| ГИДРАВЛИЧЕСКИЙ НАСОС/МОТОР: PARKER | ДАВЛЕНИЕ ЗАПРАВКИ МАСЛА: 1,69-1,96 МПа |
Top 4— Diesel Scooptram FCYJ-1D
Короче говоря, Fucheng, производитель скреперов для подземных горных работ предлагает подземный ковш Diesel Scooptram FCYJ-1D в стандартной конфигурации для удовлетворения потребностей различных нерудных рудников.
Из Fucheng, во-первых, они могут поставить множество моделей аксессуаров, оборудованных для вашего скрепера для подземных горных работ. Во-вторых, эти варианты зависят от условий добычи и свойств нерудных рудников. В-третьих, или в зависимости от того, как выгружается руда, у вас могут быть разные размеры и формы ковша. Кроме того, вы также можете выбрать дизельный двигатель с водяным или воздушным охлаждением, в зависимости от условий эксплуатации. И последнее, но не менее важное: скрепер для подземных горных работ может иметь универсальную кабину с защитной крышей или закрытую кабину с кондиционером, в зависимости от условий работы. Тем не менее, Вы меняете двигатели подземных ковшовых трамваев с электрического на дизельное оборудование, полагаясь на свои потребности.
- Свойства подземного ковша (статистика подземных горных работ)
| ОБЪЕМ КОВША: 4M3 | НОМИНАЛЬНАЯ ВМЕСТИМОСТЬ: 8T |
| ОСЬ: АМЕРИКАНСКАЯ DANA | |
МАКС. ТЯГА: 200 кН | МОЩНОСТЬ: 190 кВт/2300 об/мин |
| МАКС. УГОЛ ВЫГРУЗКИ: 40° | КОЛИЧЕСТВО ЦИЛИНДРОВ: 6 |
| ПРЕОДОЛЕВАЕМЫЙ ПРЕОДОЛЕТ: 14°士1° | ОБЪЕМ: 7,2 л |
| ШИНЫ: 18.00-25, L5S | КОНТРОЛЛЕР ДРОССЕЛЬНОЙ ЗАСЛОНКИ: АМЕРИКАНСКИЙ MICO |
| ВЕС (ПОЛЫЙ): 25,5 т | TDIMENS IONS: 9718*2319*2390MM |
Top 5— Дизельный ковш FCYJ- 2D
Подземный горный скрепер Diesel Scooptram FCYJ-2D Двигатели немецкого производства Deutz. Таким образом, немецкий дизельный двигатель Deutz может предложить надежную мощность, обещая вам успешную добычу полезных ископаемых в недрах. Водитель посылает электронные сигналы двигателю, и он получает такие данные, как скорость, давление дизельного топлива, температура и скорость. Во-первых, гидравлическая система некоторых подземных скребков обычно имеет пилотное управление, чтобы облегчить работу. Во-вторых, их кабины имеют тенденцию быть более полными.
В-третьих, рукоятка управления, кнопки и компоновка приборной панели соответствуют требованиям эргономики, дисплей прибора и звуковая и световая сигнализация совершенны, полны, безопасная крыша с конструкцией защиты от падающих камней. Это повышает эффективность холодного запуска, снижает выбросы выхлопных газов и продлевает срок службы двигателя. жизнь. Таким образом, многие неметаллические рудники используют подземные горные скребки.
- Свойства подземного ковша (статистика подземных горных работ)
| ОБЪЕМ КОВША С ШАПКОЙ: 2.0M³ | МАКС. ТЯГА: 100 КН | |||||||||||||||||||||||||||||||||||||||||||||||||||||||||||||||||||||||||||||||||||||||||||||||||||||
| НАСОС РУЛЕВОГО УПРАВЛЕНИЯ: PARKER | РАЗМЕРЫ: 7400 *1540*2100MM | |||||||||||||||||||||||||||||||||||||||||||||||||||||||||||||||||||||||||||||||||||||||||||||||||||||
| ДИЗЕЛЬНЫЙ ДВИГАТЕЛЬ: ГЕРМАНИЯ DEUTZ (F6L 914) | ПОЛНАЯ НАГРУЗКА: 0-8 км/ч | |||||||||||||||||||||||||||||||||||||||||||||||||||||||||||||||||||||||||||||||||||||||||||||||||||||
| УГОЛ КОЛЕБАНИЯ: 8° | МОЩНОСТЬ: 84 кВт/2300 об/мин | |||||||||||||||||||||||||||||||||||||||||||||||||||||||||||||||||||||||||||||||||||||||||||||||||||||
| ВЕС (С ГИДРАВЛИЧЕСКИМ МАСЛОМ): 12 т | НАСОС РУЛЕВОГО УПРАВЛЕНИЯ: PARKER | |||||||||||||||||||||||||||||||||||||||||||||||||||||||||||||||||||||||||||||||||||||||||||||||||||||
МАКС. ЛОПАТА: 80 КН | МАКС. УГОЛ НАГРУЗКИ: 40° | |||||||||||||||||||||||||||||||||||||||||||||||||||||||||||||||||||||||||||||||||||||||||||||||||||||
| ГИДРАВЛИЧЕСКИЙ НАСОС/МОТОР: PARKER | ДАВЛЕНИЕ: 10,5 МПа Этот скрепер для подземных горных работ Diesel Scooptram FCYJ-3D имеет несколько отличительных особенностей. . Во-первых, скрепер для подземных горных работ имеет трехточечную шарнирную конструкцию, которая обеспечивает повышенную устойчивость. Во-вторых, так как многие скреперы используют сухие дисковые тормоза, этот подземный ковшовый трамвай использует полностью герметичные многодисковые тормоза с масляным охлаждением, преимуществом которых является длительный срок службы. В-третьих, гидравлическая система использует управляющие клапаны для снижения трудоемкости машиниста! Например, рулевой механизм с одной рукояткой используется для того, чтобы люди могли непосредственно чувствовать работу машины и делать рулевое управление плавным. В дополнение к этому скрепер для подземных горных работ оснащен двумя независимыми системами управления тормозами для более безопасного торможения.
Верх 7— Дизельный Scooptram FCYJ -4D Скрепер для подземных горных работ Diesel Scooptram FCYJ-4D имеет множество функций. Например, рулевое колесо подземного трамвая использует одну рукоятку, чтобы люди могли непосредственно чувствовать работу машины и делать рулевое управление плавным. Однако, во-первых, подземный ковш — это две независимые системы управления тормозами, что позволяет сделать торможение более безопасным.
Во-вторых, у водителя будет хороший обзор и компактная компоновка. В-третьих, подземный горный скрепер имеет меньшие габариты, чем подземный ковшовый скрепер, что делает его мобильным и гибким, а также уменьшает сечение выработки. И последнее, но не менее важное: подземный ковш оснащен централизованной системой трубопроводов, что упрощает смазку. В конце концов, кабина водителя имеет защиту от опрокидывания. Подводя итог, мы видим, что подземный ковш имеет много уникальных особенностей в своей конструкции по сравнению с обычным подземным ковшовым скребком. Точно так же подземный ковш сочетает в себе множество новых технологий и новых методов проектирования. Таким образом, это отличный новый скрепер для подземных горных работ, который стоит использовать в подземных горных работах.
Верх 8— Электрический ковш FCYJ-0.
Гидравлический реформа системы подземного горного скрепера Electric Scooptram FCYJ-0.6E очень выгодна. Во-первых, механик убирает необычный ручной реверсивный клапан, а затем использует прямое упрощение системы, что снижает потенциальную стоимость этих операций. Во-вторых, за подземным ковшом последовало применение относительно обычного электромагнитного реверсивного клапана на подземном ковше. В-третьих, эта конструкция является научной заменой. Затем это означает, что подземный трамвай оснащен более надежным электромагнитным клапаном. Наконец, тормозная система подземного трамвая эффективно связана с заполненным жидкостью клапаном и ножным тормозным клапаном. Таким образом, целью этой конструкции является научное улучшение стабильности системы и повышение гибкости процесса торможения.
Top 9 — Electric Scooptram FCYJ-0.75E Скрепер для подземных горных работ Electric Scooptram FCYJ-0.75E — это современный тренд в оборудовании для подземных горных работ. Таким образом, у этого подземного ковша есть несколько выдающихся преимуществ. Во-первых, в подземном трамвае нет дыма, шума и жары. Во-вторых, подземный горный скрепер менее опасен для горняков. Кроме того, подземный ковш приводится в действие электрическим приводом, расходы на вентиляцию низки, и поддерживается хорошая рабочая среда.
Топ 10 — Электрический ковш FCYJ-1.
Этот скрепер для подземных горных работ отличается высокой производительностью и эффективностью. По многим данным, производительность этого подземного ковша в 1-2 раза выше, чем подземных горных скреперов других марок при тех же условиях. Однако себестоимость продукции также мизерна. Поэтому при строительстве шахт это подземное горнодобывающее оборудование может ускорить разработку шахт. Кроме того, скрепер для подземных горных работ с электроприводом не выбрасывает в атмосферу железнодорожные и дизельные выбросы, что делает его более мощным, мобильным и экологически безопасным.
Верх 11— Электрический ковш FCYJ-1E Радиус поворота электрического ковша FCYJ-1E для подземного горного скрепера является удовлетворительным, что делает его пригодным для использования в узких шахтных туннелях. Ведь конструкция кабины резко улучшает условия работы механика-водителя. В частности, широкое использование электроники и компьютерных технологий в подземных скреперах и растущая автоматизация подземных скреперов значительно снизили нагрузку на машиниста. Тем не менее, в системе перемещения подземного ковша используется полностью гидравлическое управление, что делает систему перемещения скрепера для подземных горных работ более маневренной, эффективно снижая частоту отказов подземного горно-шахтного оборудования и повышая эффективность подземных горных работ. И последнее, но не менее важное: ковш подземного ковша имеет V-образную форму, что снижает сопротивление подбору.
Верх 12— Электрический ковш FCYJ-2E В настоящее время большой спрос на оборудование для подземных горных работ представляет электрический ковш FCYJ-2E. Во-первых, скрепер для подземных горных работ предлагает множество выдающихся преимуществ. Во-вторых, в подземном ковше нет тепла, шума, дыма и вредных веществ.
Заключение является производителем оборудования для подземных горных работ, в основном производящим подземные скребки. Тем не менее, технология производства является первоклассной на международной арене. Но двигатели скрепера для подземных горных работ импортируются из немецкого оборудования Dauerz, что делает оборудование для подземных горных работ Fucheng более надежным. Конфигурация подземного ковша также превосходна. Между тем, в Фучэн есть промышленность по производству оборудования для подземных горных работ. Благодаря выдающимся производственным масштабам и технической мощи оборудование для подземных горных работ Fucheng может отражать явное преимущество на рынке и в настоящее время постепенно становится солидным ведущим брендом. ![]() |
ТЯГА: 41KN
ТЯГА: 200 кН
ЛОПАТА: 80 КН
При этом место водителя расположено по центру.
6E
УСИЛИЕ ЛОПАТЫ: 45 КН
Однако из-за ограничений буксирных тросов электрический подземный ковш имеет ограниченный диапазон движения. Когда электрический скрепер для подземных горных работ необходимо переместить из одного места в другое, до которого он не может добраться самостоятельно, необходимо решить проблему перемещения. Поэтому подземный ковш решает эту проблему, заменяя метод обратного троса.
5E
ВЫСОТА КОВША: 3740 ММ
В-третьих, подземный горный скрепер более безопасен для горняков. Между тем, подземный ковш имеет электрический привод и низкие затраты на вентиляцию. Таким образом, это преимущество гарантирует, что они работают в безопасной среде. Тем не менее, он также очень эффективен и имеет низкие эксплуатационные расходы. И последнее, но не менее важное: электрический скрепер для подземных горных работ стал более популярным. Электрический подземный ковш ограничен в движении из-за ограничений буксирных тросов. Электрический подземный трамвай должен иметь возможность перемещаться из одного места в другое, но не может добраться до него самостоятельно. Затем это подземное ковшовое оборудование решило проблему, в которой используется метод обратного троса.
УГОЛ ВЫГРУЗКИ: 40°
