Содержание
Система блоков для подъема грузов своими руками
Много вопросов получаю по использованию блоков усиления лебёдки, ведь практически все, кто приобретает быстросъёмную лебёдку СТОКРАТ, берут к ней блок усиления. В этой статье и в видеообзоре я вкратце постарался ответить на самые частозадаваемые вопросы.
Полиспаст, это система из нескольких подвижных и неподвижных блоков и троса, проходящего через них. Название его происходит от греческого Polyspastos, что означает «натянутый многими канатами». С помощью полиспаста (системы блоков и троса) можно поднимать груз или перемещать его по горизонтальной поверхности с выигрышем в силе и проигрышем в расстоянии.
Блок усиления лебёдки (ролики) это часть полиспаста, а не он сам. Безграмотно называть его полиспастом. Использовать блок можно для изменения вектора тяги без увеличения тягового усилия. К примеру, можно вытянуть автомобиль при невозможности подьехать с нужной стороны.
Принцип работы полиспаста: скорость движения автомобиля уменьшается в два раза относительно скорости смотки троса, при этом тяговое усилие лебедки применяется к обоим концам троса: и к тому что сматывается, и к тому что закреплен на машине.
Соответственно, тяговое усилие лебедки увеличивается вдвое. Использование комбинации из нескольких блоков даст возможность увеличить мощность лебедки в 3 и более раз, но бесконечно увеличивать тяговое усилие не получится, сила трения сведёт к нулю весь выигрыш в тяговом усилии, а с увеличением количества блоков тяга будет уменьшаться.
Примечание 1 Выигрыш в усилии дают только ДВИЖУЩИЕСЯ ролики, закрепленные непосредственно на грузе или на тросе, идущего от груза. СТАЦИОНАРНЫЕ ролики служат лишь для изменения направления движения троса и ВЫИГРЫША В УСИЛИИ НЕ ДАЮТ.
Дополнение к примечанию 1: В схеме с одним блоком, именно лебёдка является подвижным блоком. Она закреплена на автомобиле и движется вместе с ним. Поэтому и получается выигрыш в силе в два раза. А вот применение ещё одного блока, закреплённого на автомобиле, даст выигрыш в силе уже в три раза.
Примечание 2 Во сколько раз выигрываем в усилии – во столько же раз проигрываем в расстоянии. Чем большее количество блоков используется, тем медленнее движется груз.
Как пользоваться системой полиспаст: Лебёдочный трос пропускаем через блок усиления. Блок усиления крепим к дереву (через корозащитную стропу) или к другому объекту. Продетый через блок трос возвращается к автомобилю и крепится за его буксирную проушину (если трос закрепить на другом объекте, увеличение тяги не произойдёт). Система роликов и тросов должна быть собрана без перекосов и перехлёстов. Части троса не должны пересекаться друг с другом.
При использовании блока желательно иметь про запас удлинитель лебёдочного троса, т.к. рабочая длина лебёдочного троса уменьшается в два раза, и до ближайшего дерева троса может не хватить.
Блок усиления лебедки — вещь необходимая для всех любителей активного отдыха. Для очередного теста продукции СТОКРАТ я выбрал универсальный блок, годящийся как для стальных тросов, так и для синтетических. Также я захватил с собой пару стократовских шаклов, потому как использование блока требует как минимум одной монтажной скобы. В качестве корозащитной стропы я использовал американскую — ProComp.
Принцип работы блока не сложен и стар как мир. Скорость движения автомобиля уменьшается в два раза относительно скорости смотки троса, при этом тяговое усилие лебедки применяется к обоим концам троса: и к тому что сматывается, и к тому что закреплен на машине. Соответственно тяговое усилие лебедки увеличивается вдвое.
После того как трос лебедки уложен на ролик, блок надлежит закрепить на объекте лебежения, коим в нашем случае выступает дерево. Соединяем корозащитную стропу с блоком с помощью шакла. Следует обратить внимание, что шакл не должно перекосить, иначе при лебежении можно повредить проушины шакла и блока.
Затягивать шакл не стоит, иначе под нагрузкой его может заклинить. Поэтому завернув палец шакла до упора, сделайте пол оборота назад. Если в процессе работы шакл все же подклинил, для выкручивания пальца используйте отвертку или пассатижи.
Крепя трос лебедки к автомобилю, следите за тем, чтобы он не спутался и не перехлестнулся, иначе при использовании лебедки он может оборваться.
Конец троса обязательно закрепите непосредственно на автомобиле, если его закрепить на другом объекте, эффекта полиспаста не добиться.
Блок СТОКРАТ снабжен бронзовым подшипником скольжения и это обеспечивает легкое вращение ролика, а также увеличивает срок службы блока. Также мне понравилось, что шаклы СТОКРАТ оцинкованы. В отличие от их окрашенных собратьев они не подвержены коррозии и палец легко идет по резьбе. Мои экзерсисы с блоком и скобами не оставили на них никаких повреждений, сколов или царапин. Так что велика вероятность что стократовский такелаж прослужит очень долго.
Текст статьи и фотографии любезно предоставил Лёня Немодный.
Занимаемся email маркетингом с помощью профессиональных инструментов.
Полиспасты: от расчетов до запасовки
Полиспаст – переносная блочная система, предназначенная для подъема и перемещения грузов разной степени тяжести. Это устройство применяется в строительной сфере, логистике, альпинизме и во время спасательных работ.
Чтобы изготовить полиспаст своими руками, нужно знать конструктивные особенности этого приспособления, способы крепления канатов к грузоподъемнику и технологию проведения запасовки.
Общие сведения о полиспастах
Полиспаст состоит из 2-х и более шкивов (блоков), связанных при помощи веревочных канатов или цепей:
Простые полиспасты могут состоять из 1 шкива и веревки. В них ролик располагается над грузом: на потолке, балке или опоре. Первый конец веревки связан с крюком и спускается к поднимаемому грузу. Человек тянет второй конец веревки, поднимая тяжелый объект. Сложные устройства для подъема груза включают в себя несколько простых блоков и дают больший выигрыш в силе.
Принцип действия полиспастов основан на правиле рычага. Через неподвижный шкив перекидывается веревка. Груз поднимается на высоту посредством прикладывания усилий, соразмерных с весом поднимаемого объекта. Длина каната или цепи должна быть сопоставима с высотой, на которую поднимается груз.
Для снижения количества затрачиваемых усилий необходимо, чтобы подвижный блок осуществлял движение параллельно грузу.
Существуют следующие разновидности полиспастов:
Полиспасты используются для следующих операций:
Полиспастами оснащаются различные виды кранов, гидравлические и электрические приводы. Они также применялись в старых прототипах лифтов.
Полиспаст своими руками – чтобы стать сильней в несколько раз!
≡ 5 Апрель 2021 · Рубрика: Интересно знать
Для подъема больших грузов человек не очень силен, но он придумал очень много механизмов, которые облегчают данный процесс, и в данной статье мы обговорим полиспасты: направление и устройство систем такого типа, а еще попытаемся выполнить самый простой вариант подобного устройства собственными руками.
1 Как мы упрощаем подъем грузов?
Грузовой полиспаст – это система, которая состоит из канатов и блоков, благодаря которой можно выиграть в эффектной силе при потере в длине. Принцип очень простой.
В длине мы проигрываем именно столько, во сколько раз оказался выигрыш в силе.
За счёт этого золотому правилу механики можно приподнимать грузы большой массы, не прилагая при этом немалых усилий. Что как правило не очень критично. Приведем пример.
Вот вы выиграли в силе в 8 раз, при этом вам потребуется вынуть веревку длиной в 8 метров, чтобы поднять объект на высоту 1 метр.
Использование подобных устройств для Вас обойдется доступнее, чем аренда крана для подъемных работ, более того, вы можете сами контролировать выигрыш в силе.
У полиспаста имеется две противоположные стороны: одна из них неподвижная, которая фиксируется на опоре, а остальная – подвижная, которая цепляется на самом грузе.
Выигрыш в силе выполняется благодаря подвижным блокам, которые закрепляются на подвижной стороне полиспаста. Неподвижная часть служит исключительно для перемены пути движения самой веревки.
Виды полиспастов выделяют по проблемы, четности и кратности.
По проблемы есть обычные и трудные механизмы, а кратность означает умножение силы, другими словами, если кратность будет равна 4, то в теории вы выигрываете в силе в 4 раза.
Также нечасто, но все таки применяется скоростной полиспаст, подобный вариант предоставляет выигрыш в скорости перемещения грузов при совсем небольшой скорости компонентов привода.
2 Как работает обычная блочная конструкция?
Рассмотрим сначала простой монтажный полиспаст. Его можно получить при добавлении блоков на опору и груз. Дабы получить нечётный механизм, следует укрепить конец верёвки на подвижной точке груза, а дабы получить чётный, то закрепляем веревку на опоре.
Расчет полиспаста
Перед изготовлением полиспаста требуется рассчитать основные технические характеристики грузоподъемной конструкции. Расчеты требуется для составления чертежей и производятся согласно параметрам рабочего помещениями и весом груза.
Для определения нагрузок, влияющих на блочную систему в ходе эксплуатации, нужно рассчитать параметры, действующие на отдельные блоки:
Уравнение, использующееся для нахождения моментов силы, имеет следующий вид: SM * R = SC*R + l*SC*R + N* g*d/2, где:
Коэффициент полезного действия полиспаста определяется по следующей формуле: η = SC/SM.
На этот параметр влияют качество изготовления блоков и сложность схемы. Существует следующие уровни КПД блочной системы:
При расчете также рекомендуется определить КПД остальных обводных роликов, в зависимости от конструктивных особенностей грузоподъемного механизма.
Способы крепления веревки к грузоподъемному механизму
Грузовая веревка позволяет автоматически фиксировать поднимаемый груз, что сказывается на проходе узлов. Ее нужно заправить так, чтобы исключалась возможность перетирания из-за частых контактов с остальными частями грузоподъемной конструкции. Выделяют 3 основных метода крепления веревки к полиспасту:
Для фиксации канатов кранов требуется закрепить 1 конец веревки запреткой или тросовым зажимом. На лебедках трос фиксируется на специальных креплениях при помощи клина и прижимной планки.
За что цеплять (не цеплять) лебедке
Чаще всего приходится лебедиться именно за дерево. Конечно же для якоря лебедке могут отлично послужить и камни и пеньки и лежащие бревна и искусственные сооружения…
Из деревьев лучше всего подходят березы и сосны.
Плохо лебедиться за елки – их корневая система слабая для лебедки и даже двадцатисантиметровые в диаметре елки выкорчевываются!
На пеньки и камни нужно вешать голый трос (без корозащитки) удавкой – он так надежнее зацепится и не будет соскакивать.
Категорически не допускается использовать для лебежения опоры ЛЭП. Как деревянные столбы, так и бетонные легко падают! Кроме того, что столб сильно повредит автомобиль можно получить электрошок и возникнут проблемы с правоохранительными органами: ЛЭП объект стратегический!
В принципе можно тянуться за бетонные фундаменты больших опор или за железные конструкции и столбы… но я вам этого не говорил
кто придумал, как можно увеличить КПД, формула в физике
Содержание:
-
Какие бывают блоки -
Устройство и принцип работы полиспаста-
Как работает простая конструкция блоков
-
-
Виды полиспастов-
Что влияет на эффективность подъемника
-
-
Как можно увеличить КПД, формула в физике-
Расчет полиспаста -
Вычисление КПД полиспаста
-
-
Как сделать полиспаст своими руками
Содержание
-
Какие бывают блоки -
Устройство и принцип работы полиспаста-
Как работает простая конструкция блоков
-
-
Виды полиспастов-
Что влияет на эффективность подъемника
-
-
Как можно увеличить КПД, формула в физике-
Расчет полиспаста -
Вычисление КПД полиспаста
-
-
Как сделать полиспаст своими руками
Какие бывают блоки
Блоки и системы блоков были известны человечеству с античных времен.
Они служили для подъема грузов на высоту или перемещения грузов. Блоки выполняют важную задачу — изменяют направление действия силы и дают выигрыш в силе.
Блок — это простой механизм, который используют для преобразования силы.
Различают подвижный и неподвижный блоки.
Осторожно! Если преподаватель обнаружит плагиат в работе, не избежать крупных проблем (вплоть до отчисления). Если нет возможности написать самому, закажите тут.
Неподвижный блок представляет собой диск, который вращается вокруг своей оси, и имеет желоб по окружности. Желоб предназначен для скольжения в нем цепи, ремня, каната и т.д. У неподвижного блока ось закреплена, и при подъеме грузов не поднимается и не опускается.
Неподвижный блок можно представить в виде равноплечего рычага, у которого плечи сил равны радиусу колеса. Поэтому неподвижный блок не дает выигрыша в силе, а лишь позволяет менять направление действия силы.
Подвижный блок представляет собой диск, ось которого перемещается вместе с грузом.
Можно представить в виде рычага с плечами разной длины. Подвижный блок дает выигрыш в силе в два раза и проигрыш в расстоянии так же в два раза. При использовании подвижного блока, нужно приложить в два раза меньше силы для подъема груза, но нить, к которой подвешен груз, должна быть в два раза длиннее.
Для увеличения эффективности используют системы блоков.
Примечание
Объединив подвижные и неподвижные блоки в систему можно получить выигрыш в силе в несколько раз, а также изменить направление прикладываемой силы.
Устройство и принцип работы полиспаста
Полиспаст — это система блоков, в которой неподвижные и подвижные блоки соединены попарно и огибаются общей нитью (тросом, веревкой, цепью).
Полиспаст состоит из двух элементов:
- Шкив — это блок, металлическое колесо, которое по внешнему краю имеет желоб для нити. Для легкого вращения шкива используют роликовые подшипники.

- Гибкая связь — это нить (трос, цепь), которая огибает шкивы.
Как работает простая конструкция блоков
Принцип действия полиспаста основан на правиле рычага.
Неподвижный блок в полиспасте крепится к опоре и изменяет направление приложения силы, подвижный блок находится на стороне груза и дает выигрыш в силе. Массу груза поднимают, прилагая силу к нити, длина которой прямо пропорциональна выигрышу в силе.
Виды полиспастов
По предназначению полиспасты делятся на:
- Силовые полиспасты — дают максимальный выигрыш в силе. Но выигрыш в силе дает проигрыш в расстоянии. Например, чтобы поднять груз и выиграть в силе в 6 раз, на каждый метр поднятия груза, нужно натянуть 6 метров веревки. Это замедляет действие системы, потеря в скорости также будет в 6 раз.
- Скоростные полиспасты — инвертируемые силовые. Груз крепится к неподвижному блоку, а силу прилагают к подвижному.
Затрачивается больше силы, и пропорционально увеличивается скорость поднятия груза.
На рисунке а) силовой полиспаст, б) скоростной.
В зависимости от сложности механизма, различаются:
- Простой полиспаст — представляет собой систему последовательно соединенных роликов. Все подвижные и неподвижные блоки, а также сам груз объединяются одной нитью.
- Сложный полиспаст — является системой полиспастов. Последовательно соединяются не отдельные блоки, а целые комбинации, которые вполне могут использоваться сами по себе. В этом случае один механизм приводит в движение другой подобный поочередно.
- Отличительная черта комплексного полиспаста — независимые ролики, движущиеся навстречу грузу. В состав комплексной модели могут входить как простые, так и сложные полиспасты.
Что влияет на эффективность подъемника
Главной характеристикой эффективности полиспаста считается его кратность.
Кратность показывает на сколько ветвей нити распределена тяжесть груза, и указывает какой выигрыш в силе дает полиспаст.
Кратность делится на:
- Силовую — рассчитывается с учетом преодоления нитью силы трения и не идеальным КПД роликов.
- Кинетическую — равна количеству перегибов нити.
На эффективность полиспаста влияет:
- количество блоков;
- материал и вес нити;
- диаметр и длина нити;
- угол между канатом и средней плоскостью ролика;
- тип подшипников;
- отсутствие дефектов нити;
- скольжение всех элементов.
Как можно увеличить КПД, формула в физике
Расчет полиспаста
Примечание
При расчете полиспаста нужно учитывать, что на механизм действуют силы трения, а нить не является идеальной, и имеет жесткость.
Для расчета выводят уравнение моментов для блока относительно оси:
\(Sсбег\;R\;=\;Sнабег\;R\;+\;q\;Sнабег\;R\;+\;Nfr\)
Где:
- Sсбег — усилие со стороны сбегающей нити;
- Sнабег — усилие со стороны набегающей нити;
- q Sнабег — усилие для сгибания нити с учетом жесткости q;
- Nf — сила трения в блоке, с учетом коэффициента трения f.

Для определения момента все силы умножаются на плече (R или r):
- R — радиус блока;
- r — радиус втулки.
Вычисляя воздействие на ось блока, часто пренебрегают силой разгибания блока. Формула получает вид:
\(N\;=\;2\;Sнабег\;\times\;\sin\;\alpha\)
Где:
- N — воздействие на ось блока;
- α — угол отклонения от оси.
Подставив это соотношение в вышеприведенное определение моментов получим:
\(S_{сбег}\;=\;S_{набег}\;(1\;+\;q\;+\;2f\frac dD\;\sin ɑ)\)
Где:
- D — диаметр блока;
- d — диаметр оси блока.
Вычисление КПД полиспаста
Коэффициент полезного действия блока (КПД блока) — это отношение полезной работы к полной работе с учетом потерь на трение и жесткости нити.
Формула для расчета КПД блока (ηб):\(\eta б\;=\;\frac{S_{набег}}{S_{сбег}}\;=\;\frac1{1\;+\;q\;+\;2f\;\sin\;ɑ\;\times\;{\displaystyle\frac dD}}
\)Где:
- D — диаметр блока;
- d — диаметр оси блока;
- q — коэффициент жесткости нити;
- f — коэффициент трения;
- α — угол отклонения от оси.
t
\)Где:- a — кратность полиспаста;
- t — число отклоняющих блоков.
Примечание
КПД полиспаста, как и КПД блока, всегда меньше 1.
В таблице представлены КПД полиспаста, при разной кратности и КПД блока.
Как сделать полиспаст своими руками
Для изготовления простого двукратного полиспаста потребуются:
- 2 ролика;
- подшипники;
- 2 втулки;
- нить;
- 2 обоймы для блоков;
- крюк для подвеса груза.
Этапы работы:
- Соединить ролики, втулку и подшипники в обойму, таким образом получить два блока.
- Пропустить нить в первый блок.
- Прикрепить первый блок к неподвижной опоре.
- Пропустить нить через второй блок.
- Прикрепить ко второму блоку крюк.
- Зафиксировать свободный конец нити.
- Прикрепить груз к крюку.

Насколько полезной была для вас статья?
Рейтинг: 4.00 (Голосов: 4)
Выделите текст и нажмите одновременно клавиши «Ctrl» и «Enter»
Поиск по содержимому
Блок для перемещения груза — Вместе мастерим
Необходимые инструменты и материалы
Для подъема больших грузов человек не очень силен, но он придумал множество механизмов, которые упрощают этот процесс, и в этой статье мы обсудим полиспасты: назначение и устройство таких систем, а также попытаемся сделать простейший вариант такого приспособления своими руками.
Каким образом мы упрощаем подъем грузов?
Грузовой полиспаст – это система, состоящая из веревок и блоков, благодаря которой можно выиграть в эффективной силе при потере в длине. Принцип довольно прост. В длине мы проигрываем ровно столько, во сколько раз оказался выигрыш в силе. Благодаря этому золотому правилу механики можно поднимать грузы большой массы, не прилагая при этом больших усилий.
Что в принципе не так критично. Приведем пример. Вот вы выиграли в силе в 8 раз, при этом вам придется вытянуть веревку длиной в 8 метров, чтобы поднять объект на высоту 1 метр.Применение таких приспособлений обойдется вам дешевле, чем аренда подъемного крана, к тому же, вы можете сами контролировать выигрыш в силе. У полиспаста есть две разные стороны: одна из них неподвижная, которая крепится на опоре, а другая – подвижная, которая цепляется на самом грузе. Выигрыш в силе происходит благодаря подвижным блокам, которые крепятся на подвижной стороне полиспаста. Неподвижная часть служит только для изменения траектории движения самой веревки.
Виды полиспастов выделяют по сложности, четности и кратности. По сложности есть простые и сложные механизмы, а кратность обозначает умножение силы, то есть, если кратность будет равна 4, то теоретически вы выигрываете в силе в 4 раза. Также редко, но все же применяется скоростной полиспаст, такой вид дает выигрыш в скорости перемещения грузов при совсем малой скорости элементов привода.

Как работает простая конструкция блоков?
Рассмотрим для начала простой монтажный полиспаст. Его можно получить при добавлении блоков на опору и груз. Чтобы получить нечётный механизм, необходимо закрепить конец верёвки на подвижной точке груза, а чтобы получить чётный, то крепим веревку на опоре. При добавлении блока получаем +2 к силе, а подвижная точка дает +1, соответственно. Например, чтобы получить полиспаст для лебедки с кратностью 2, необходимо закрепить конец верёвки на опоре и использовать один блок, который крепится на грузе. И у нас будет чётный вид приспособления.
Принцип работы полиспаста с кратностью 3 выглядит по-другому. Здесь конец веревки крепится на грузе, и используются два ролика, один из них мы крепим на опоре, а другой – на грузе. Такой тип механизма дает выигрыш в силе в 3 раза, это нечётный вариант. Чтобы понять, каков выигрыш в силе получится, можно воспользоваться простым правилом: сколько веревок идет от груза, таков наш выигрыш в силе.
Используются обычно полиспасты с крюком, на котором, собственно говоря, и крепится груз, ошибочно думать, что это только блок и веревка.Сложная система блоков – как рассчитать выигрыш в силе?
Теперь узнаем, как работает полиспаст сложного типа. Под этим названием подразумевается механизм, где соединены в одну систему несколько простых вариантов данного грузового устройства, они тянут друг друга. Выигрыш в силе таких конструкций рассчитывается путем перемножения их кратностей. Например, мы тянем один механизм с кратностью 4, а другой с кратностью 2, тогда теоретический выигрыш в силе у нас будет равен 8. Все вышеуказанные расчеты имеют место быть только у идеальных систем, у которых нет силы трения, на практике же дела обстоят иначе.
В каждом из блоков происходит небольшая потеря в мощности из-за трения, так как она еще тратится как раз на преодоление силы трения. Для того чтобы уменьшить трение, необходимо помнить: чем больше у нас радиус перегиба веревки, тем меньше будет сила трения.
Лучше всего использовать ролики с большим радиусом там, где это возможно. При использовании карабинов следует делать блок из одинаковых вариантов, но ролики гораздо эффективнее карабинов, так как на них у нас потеря составляет 5-30 %, а вот на карабинах же до 50 %. Также не лишним будет знать, что наиболее эффективный блок необходимо располагать ближе к грузу для получения максимального эффекта.Как же нам рассчитать реальный выигрыш в силе? Для этого нам необходимо знать КПД применяемых блоков. КПД выражается числами от 0 до 1, и если мы используем веревку большого диаметра или слишком жесткую, то эффективность от блоков будет значительно ниже, чем указана производителем. А значит, необходимо это учесть и скорректировать КПД блоков. Чтобы рассчитать реальный выигрыш в силе простого типа грузоподъемного механизма, необходимо рассчитать нагрузку на каждую ветвь веревки и сложить их. Для расчета выигрыша в силе сложных типов необходимо перемножить реальные силы простых, из которых он состоит.

Веревка и ее роль в работе полиспаста
Не стоит забывать еще и о трении веревки, так как ветви ее могут перекручиваться между собой, а ролики от больших нагрузок могут сходиться и зажимать веревку. Дабы этого не происходило, следует разнести блоки относительно друг друга, например, можно между ними использовать монтажную плату. Следует также приобретать только статические веревки, не растягивающиеся, так как динамические дают серьёзный проигрыш в силе. Для сбора механизма может использоваться как отдельная, так и грузовая веревка, присоединенная к грузу независимо от подъемного устройства.
Преимущества использования отдельной веревки состоит в том, что вы можете быстро собрать или приготовить заранее грузоподъемную конструкцию. Вы также можете использовать всю ее длину, это также облегчает проход узлов. Из минусов можно упомянуть то, что нет возможности автоматической фиксации поднимаемого груза. Преимущества грузовой веревки в том, что возможна автофиксация поднимаемого объекта, и нет необходимости в отдельной веревке.
Из минусов важно то, что при работе сложно проходить узлы, а также приходится затрачивать грузовую веревку на сам механизм.Поговорим об обратном ходе, который неизбежен, так как он может возникнуть при прихватывании веревки, или же в момент снятия груза, или при остановке на отдых. Чтобы обратного хода не возникало, необходимо использовать блоки, которые пропускают веревку только в одну сторону. При этом организовываем конструкцию так, что блокирующий ролик крепится первым от поднимаемого объекта. Благодаря этому, мы не только избегаем обратного хода, но также позволяем закрепить груз на время разгрузки или же просто перестановки блоков.
Если вы используете отдельную веревку, то блокирующий ролик крепится последним от поднимаемого груза, при этом фиксирующий ролик должен обладать высокой эффективностью.
Способы крепления веревки к грузоподъемному механизму
Теперь немного о креплении грузоподъемного механизма к грузовой веревке.
Редко, когда у нас под рукой находится веревка нужной длины, чтобы закрепить подвижную часть блока. Вот несколько видов крепления механизма. Первый способ – с помощью схватывающих узлов, которые вяжутся из репшнуров диаметром 7-8 мм, в 3-5 оборотов. Данный способ, как показала практика, является наиболее эффективным, так как схватывающий узел из 8 мм шнура на веревке диаметром 11 мм начинает сползать только при нагрузке 10-13 кН. При этом вначале он не деформирует веревку, а спустя какое-то время, оплавляет оплетку и прикипает к ней, начиная играть роль предохранителя.Другой способ заключается в использовании зажима общего назначения. Время показало, что его можно использовать на обледенелых и мокрых веревках. Он начинает ползти только при нагрузке в 6-7 кН и несильно травмирует веревку. Еще один способ заключается в использовании персонального зажима, но он является не рекомендуемым, так как он начинает ползти при усилии уже в 4 кН и при этом рвет оплетку, или даже может перекусить веревку.
Это все промышленные образцы и их применение, мы же попробуем создать самодельный полиспаст.Создаем простейший подъемный механизм своими руками
А вот если механизм для грузов нужен срочно или на один раз, а выбирать по магазинам его нет времени и жалко денег, мы расскажем, как сделать полиспаст своими руками. Хорошо, если у вас в мастерской имеются резьбовые шпильки, подшипники, блок, трос, крюк, шестеренка. Понадобится немного времени: нужно подшипники насадить на шпильку. Гайку от шпильки желательно зафиксировать, чтобы не тратить некоторую часть сил впустую на прокручивание своеобразного вала. Конец шпильки можно снабдить шестеренкой, сделав таким образом более удобный ручной привод.
Через блок перекидываем трос и крепим его на опоре, а вот на другой конец цепляем крюк, на который будем вешать груз. Также на конце троса можно зафиксировать систему строп, если характер груза не позволит его насадить на крюк. В принципе, самый простейший вариант полиспаста готов.
Остается приступить к работе, соблюдая технику безопасности, которая одинакова для всех механизмов, как покупных, так и самодельных. Внимательно проверяйте все элементы на целостность перед работой, а во время работы не делайте резких движений, поднимать груз следует плавно, и, конечно, не стоит стоять под подвешенным грузом.Таль цепная, 5 т, h подъема 3 м, расстояние между крюка.
Полиспаст, артикул 50501
Подъемный стол TOR WP 500
Тельфер электрический Калибр ЭТФ-500П (с продольным ход.
таль цепная, 3 т, h подъема 3 м, расстояние между крюка.
Блок монтажный 2т количество роликов 1 (полиспаст) с уш.
Устройство для подъема за колесо KRAFT ППК1.50.20.500
Блоки подъема грузов AL-KO 1221151
Блок для троса одинарный, металлический шкив 30мм, трос.
Тельфер электрический Калибр ЭТФ-1000П (с продольным хо.
Блок монтажный 5т количество роликов 3 (полиспаст) с уш.
Таль цепная, 1 т, h подъема 2,5 м, расстояние между крю.
Блок – ролик Вертикаль двойной силовой
Стол подъёмный NOBLELIFT TF 15 Г-150 кг, В-220/750 мм
Ролик Kong Block Roll с зажимом
Ролик-блочек (для подъема груза)
Таль цепная, 0,5 т, h подъема 2,5 м, расстояние между к.

Тележка гидравлическая Сорокин 9.23 платформенная 0,3 т
Полиспаст, артикул 50501
Блок с фиксатором Petzl Pro Traxion оранжевый
Таль цепная «Matrix», механическая, 500 кг, в.
Таль цепная SPARTA, 1 т, h подъема 2,5 м, расстояние ме.
Блок монтажный JET 1,0 т YB-4 313504
Блок для троса одинарный 20 мм
Блок – ролик Вертикаль одинарный с зажимом
Блоки подъема грузов AL-KO 1221151
Тележка гидравлическая Сорокин 9.20
таль цепная, 3 т, h подъема 3 м, расстояние между крюка.
Таль цепная, 5 т, h подъема 3 м, расстояние между крюка.
Таль цепная SPARTA, 2 т, h подъема 2,5 м, расстояние ме.
Блок одинарный 20 x 60мм (металлический ролик)
Блок – ролик Вертикаль двойной силовой
Таль цепная, 0,5 т, h подъема 2,5 м, расстояние между к.
Блок-ролик Орион Альп двойной без подшипника
Блок – ролик Вертикаль одинарный большой с подшипником
Таль цепная, 0,5 т, h подъема 2,5 м, расстояние между к.
Таль цепная, 3 т, h подъема 3 м, расстояние между крюка.

Блок-ролик Vento одинарный большой стальной (vpro 0091)
Блок – ролик Вертикаль одинарный с зажимом
Блок стальной с двойным роликом, с пластмассовым диском.
Лебедка ЗУБР ручная барабанная (подъемная, тросовая, 0.
Таль цепная, 0,5 т, h подъема 2,5 м, расстояние между к.
Таль цепная SPARTA 519165 2 т, h подъема 2,5 м, расстоя.
Блок – ролик Вертикаль одинарный большой с подшипником
Таль цепная «Sparta», 0,5 т, высота подъема 2.
Грузоподъемное оборудование Сорокин Консоль настенная 0.
Таль цепная, 3 т, h подъема 3 м, расстояние между крюка.
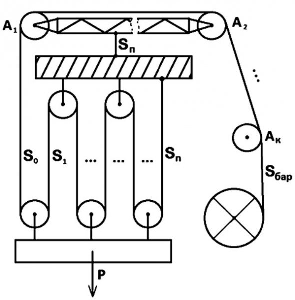
Полиспаст — система подвижных и неподвижных блоков, соединенных гибкой связью (канаты, цепи) используемая для увеличения силы или скорости подъема грузов. Используется полиспаст в случаях, если необходимо прилагая минимальные усилия поднять или переместить тяжелый груз, обеспечить натяжение и т.п. Простейших полиспаст состоит всего из одного блока и каната, при этом позволяет в два раза снизить тяговое усилие, необходимое для подъема груза.

Обычно в грузоподъемных механизмах применяют силовые полиспасты, позволяющие уменьшить натяжение каната, момент от веса груза на барабане и передаточное число механизма (тали, лебедки). Скоростные полиспасты, позволяющие получить выигрыш в скорости перемещения груза при малых скоростях приводного элемента. Они применяются значительно реже и используются в гидравлических или пневматических подъемниках, погрузчиках, механизмах выдвижения телескопических стрел кранов.
Основной характеристикой полиспаста является кратность. Это отношение числа ветвей гибкого органа, на котором подвешен груз, к числу ветвей наматываемых на барабан (для силовых полиспастов), либо отношение скорости ведущего конца гибкого органа к ведомому (для скоростных полиспастов). Условно говоря, кратность это теоретически рассчитанный коэффициент выигрыша в силе или скорости при использовании полиспаста. Изменение кратности полиспаста происходит путем введения или удаления из системы дополнительных блоков, при этом конец каната при четной кратности крепится на неподвижном элементе конструкции, а при нечетной кратности — на крюковой обойме.

В зависимости от количества ветвей каната, закрепленных на барабане грузоподъемного механизма, можно выделить одинарные (простые) и сдвоенные полиспасты. В одинарных полиспастах, при наматывании или сматывании гибкого элемента вследствие его перемещения вдоль оси барабана, создается нежелательное изменение нагрузки на опоры барабана. Также в случае отсутствия в системе свободных блоков (канат с блока крюковой подвески непосредственно переходит на барабан) происходит перемещение груза не только в вертикальной, но и в горизонтальной плоскости.
Для обеспечения строго вертикального подъема груза применяют сдвоенные полиспасты, (состоящие из двух одинарных), в этом случае на барабане закрепляются оба конца каната. Для обеспечения нормального положения крюковой подвески при неравномерной вытяжке гибкого элемента обоих полиспастов применяют балансир или уравнительные блоки. Такие полиспасты применяют в основном в мостовых и козловых кранах, а также в тяжелых башенных кранах для того, чтобы можно было использовать две стандартные грузовые лебедки вместо одной крупногабаритной большой мощности, а также для получения двух или трех скоростей подъема груза.

В силовых полиспастах при увеличении кратности можно использовать канаты уменьшенного диаметра, и как следствие уменьшить диаметр барабана и блоков, снизить массу и габариты системы в целом. Увеличение кратности позволяет снизить передаточное число редуктора, но одновременно требует большей длины каната и канатоемкости барабана.
Скоростные полиспасты отличаются от силовых тем, что в них рабочая сила, обычно развиваемая гидравлическим или пневматическим цилиндром, прикладывается к подвижной обойме, а груз подвешивается к свободному концу каната или цепи. Выигрыш в скорости при использовании такого полиспаста получается в результате увеличения высоты подъёма груза.
При использовании полиспастов следует учитывать, что используемые в системе элементы не являются абсолютно гибкими телами, а имеют определенную жесткость, поэтому набегающая ветвь не сразу ложится в ручей блока, а сбегающая ветвь не сразу выпрямляется. Это наиболее заметно при использовании стальных канатов.
Подъем грузов без спецтехники – как рассчитать и сделать полиспаст своими руками.
Простые механизмыБлоки используют для поднятия грузов. Блок представляет собой колесо с желобом, укрепленное в обойме. По желобу блока пропускают веревку, трос или цепь. Неподвижным
называют такой блок, ось которого закреплена и при подъеме грузов она не поднимается и не опускается (рис. 1, а, б).Неподвижный блок можно рассматривать как равноплечий рычаг, у которого плечи приложенных сил равны радиусу колеса. Следовательно, из правила моментов вытекает, что неподвижный блок выигрыша в силе не дает . Он позволяет менять направление действия силы.
На рисунке 2, а, б изображен подвижный блок
(ось блока поднимается и опускается вместе с грузом). Такой блок поворачивается около мгновенной оси О. Правило моментов для него будет иметь видТаким образом, подвижный блок дает выигрыш в силе в два раза.
Обычно на практике применяют комбинацию неподвижного блока с подвижным (рис. 3). Неподвижный блок применяется только для удобства. Он, изменяя направление действия силы, позволяет, например, поднимать груз, стоя на земле.

Чаще всего простые механизмы используют, чтобы получить выигрыш в силе. То есть меньшей силой переместить больший по-сравнению с ней вес. При этом выигрыш в силе достигается не «бесплатно». Расплатой за него является потеря в расстоянии, то есть требуется сделать большее перемещение, чем без использования простого механизма. Однако когда силы ограничены, то «обмен» расстояния на силу выгоден.
Подвижный и неподвижный блоки являются одними из видов простых механизмов. Кроме того, они являются видоизмененным рычагом, который также является простым механизмом.
Неподвижный блок
не дает выигрыш в силе, он просто изменяет направление ее приложения. Представьте, что вам надо поднять за веревку тяжелый груз вверх. Вам придется тянуть его вверх. Но если использовать неподвижный блок, то тянуть надо будет вниз, в то время как груз будет подниматься вверх. В этом случае вам будет проще, так как необходимая сила будет складываться из силы мышц и вашего веса. Без использования неподвижного блока надо было бы прикладывать такую же силу, но она достигалась бы исключительно за счет силы мышц.
Неподвижный блок представляет собой колесо с желобом для веревки. Колесо закреплено, оно может вращаться вокруг своей оси, но не может перемещаться. Концы веревки (троса) свисают вниз, к одному прикреплен груз, а к другом прикладывается сила. Если тянуть за трос вниз, то груз поднимается вверх.
Так как здесь нет выигрыша в силе, то нет и проигрыша в расстоянии. На какое расстояние поднимется груз, на такое же расстояние надо опустить веревку.
Использование подвижного блока
дает выигрыш в силе в два раза (в идеале). Это значит, что если вес груза равен F, то чтобы его поднять, надо приложить силу F/2. Подвижный блок состоит всё из того же колеса с желобом для троса. Однако здесь закреплен один конец троса, а колесо подвижно. Колесо движется вместе с грузом.Вес груза — это сила, направленная вниз. Его уравновешивают две силы, направленные вверх. Одну создает опора, к которой прикреплен трос, а другую тянущий за трос. Сила натяжения троса одинакова с обоих сторон, значит, между ними поровну распределяется вес груза.
Поэтому каждая из сил в 2 раза меньше веса груза.В реальных ситуациях выигрыш в силе меньше, чем в 2 раза, так как поднимающая сила частично «тратится» на вес веревки и блока, а также трение.
Подвижный блок, давая почти двойной выигрыш в силе, дает двойной проигрыш в расстоянии. Чтобы поднять груз на определенную высоту h, надо чтобы веревки с каждой стороны блока уменьшились на эту высоту, то есть в сумме получается 2h.
Обычно используют комбинации из неподвижных и подвижных блоков — полиспасты. Они позволяют получить выигрыш в силе и направлении. Чем больше в полиспасте подвижных блоков, тем больше будет выигрыш в силе.
Применение подвижного блока даёт двукратный выигрыш в силе, применение неподвижного — позволяет изменить направление прилагаемой силы. На практике используются комбинации подвижных и неподвижных блоков . При этом каждый подвижный блок позволяет вдвое уменьшить прилагаемое усилие или вдвое увеличить скорость перемещения груза. Неподвижные блоки используют для связи подвижных блоков в единую систему.
Такая система подвижных и неподвижных блоков называется полиспаст.Определение
Полиспаст — система подвижных и неподвижных блоков, соединенных гибкой связью (канаты, цепи) используемая для увеличения силы или скорости подъема грузов.
Используется полиспаст в случаях, если необходимо прилагая минимальные усилия поднять или переместить тяжелый груз, обеспечить натяжение и т.п. Простейший полиспаст состоит всего из одного блока и каната, при этом позволяет в два раза снизить тяговое усилие, необходимое для подъема груза.
Рисунок 1. Каждый подвижный блок в полиспасте даёт двукратный выигрыш в силе или скорости
Обычно в грузоподъемных механизмах применяют силовые полиспасты, позволяющие уменьшить натяжение каната, момент от веса груза на барабане и передаточное число механизма (тали, лебедки). Скоростные полиспасты, позволяющие получить выигрыш в скорости перемещения груза при малых скоростях приводного элемента, применяются значительно реже. Они используются в гидравлических или пневматических подъемниках, погрузчиках, механизмах выдвижения телескопических стрел кранов.

Основной характеристикой полиспаста является кратность. Это отношение числа ветвей гибкого органа, на котором подвешен груз, к числу ветвей наматываемых на барабан (для силовых полиспастов), либо отношение скорости ведущего конца гибкого органа к ведомому (для скоростных полиспастов). Условно говоря, кратность это теоретически рассчитанный коэффициент выигрыша в силе или скорости при использовании полиспаста. Изменение кратности полиспаста происходит путем введения или удаления из системы дополнительных блоков, при этом конец каната при четной кратности крепится на неподвижном элементе конструкции, а при нечетной кратности — на крюковой обойме.
Рисунок 2. Крепление каната при чётной и нечётной кратности полиспаста
Выигрыш в силе при применении полиспаста с $n$ подвижных и $n$ неподвижных блоков определяется по формуле: $P=2Fn$, где $Р$ — вес груза, $F$ — сила, прилагаемая на входе полиспаста, $n$ — число подвижных блоков.
В зависимости от количества ветвей каната, закрепленных на барабане грузоподъемного механизма, можно выделить одинарные (простые) и сдвоенные полиспасты.
В одинарных полиспастах, при наматывании или сматывании гибкого элемента вследствие его перемещения вдоль оси барабана, создается нежелательное изменение нагрузки на опоры барабана. Также в случае отсутствия в системе свободных блоков (канат с блока крюковой подвески непосредственно переходит на барабан) происходит перемещение груза не только в вертикальной, но и в горизонтальной плоскости.Рисунок 3. Одинарные и сдвоенные полиспасты
Для обеспечения строго вертикального подъема груза применяют сдвоенные полиспасты, (состоящие из двух одинарных), в этом случае на барабане закрепляются оба конца каната. Для обеспечения нормального положения крюковой подвески при неравномерной вытяжке гибкого элемента обоих полиспастов применяют балансир или уравнительные блоки.
Рисунок 4. Способы обеспечения вертикальности подъёма груза
Скоростные полиспасты отличаются от силовых тем, что в них рабочая сила, обычно развиваемая гидравлическим или пневматическим цилиндром, прикладывается к подвижной обойме, а груз подвешивается к свободному концу каната или цепи.
Выигрыш в скорости при использовании такого полиспаста получается в результате увеличения высоты подъёма груза.При использовании полиспастов следует учитывать, что используемые в системе элементы не являются абсолютно гибкими телами, а имеют определенную жесткость, поэтому набегающая ветвь не сразу ложится в ручей блока, а сбегающая ветвь не сразу выпрямляется. Это наиболее заметно при использовании стальных канатов.
Вопрос: почему у подъемных строительных кранов крюк, который переносит груз, закреплен не на конце троса, а на обойме подвижного блока?
Ответ: для обеспечения вертикальности подъёма груза.
На рис.5 изображён степенной полиспаст, в котором несколько подвижных блоков, а неподвижный — только один. Определите, какой вес можно поднять, приложив к неподвижному блоку усилие $F$ = 200 H?
Рисунок 5
Каждый из подвижных блоков степенного полиспаста удваивает прилагаемое усилие. Вес, который может поднять степенной полистпаст третьей степени (без учёта поправок на силы трения и жёсткость троса), определяется формулой:
Ответ: полиспаст может поднять груз весом 800 Н.

Блок — это разновидность рычага, представляет собой колесо с желобом (рис.1), через желоб можно пропустить веревку, трос, канат или цепь.
Рис.1. Общий вид блока
Блоки подразделяют на подвижные и неподвижные.
У неподвижного блока ось закреплена, при подъеме или опускании груза она не поднимается и не опускается. Вес груза, который поднимаем, обозначим P, прикладываемую силу обозначим F, точку опоры — O (рис.2).
Рис.2. Неподвижный блок
Плечом силы P будет отрезок OA (плечо силы l 1
), плечом силы F отрезок OB (плечо силы l 2
) (рис.3). Эти отрезки являются радиусами колеса, тогда плечи равны радиусу . Если плечи равны, то вес груза и сила, которую мы прикладываем для подъёма, численно равны .Рис.3. Неподвижный блок
Такой блок не дает выигрыша в силе.Из этого можно сделать вывод, что неподвижный блок применять целесообразно для удобства подъема, проще поднимать груз вверх, применяя силу, которая направлена вниз.

Устройство, в котором ось может подниматься и опускаться вместе с грузом. Действие аналогично действию рычага (рис.4).
Рис. 4. Подвижный блок
Для работы этого блока один конец веревки закрепляется, ко второму концу приложим силу F, чтобы поднять груз весом P, груз прикреплен к точке A. Точкой опоры при вращении будет точка О, потому что в каждый момент движения блок поворачивается и точка O служит точкой опоры (рис.5).
Рис. 5. Подвижный блок
Значения плеча силы F составляет два радиуса .
Значение плеча силы P составляет один радиус.
Плечи сил отличаются в два раза, по правилу равновесия рычага, силы отличаются в два раза. Сила, которая необходима, чтобы поднять груз весом P, будет в два раза меньше, чем вес груза . Подвижный блок дает преимущество в силе в два раза.
На практике применяют комбинации блоков для изменения направления действия применяемой силы для подъема и ее уменьшения в два раза (рис.6).
Рис.
6. Комбинация подвижного и неподвижного блоковНа занятие мы познакомились с устройством неподвижного и подвижного блока, разобрали, что блоки — это разновидности рычагов. Для решения задач по этой теме необходимо помнить правило равновесия рычага: отношение сил обратно пропорционально отношению плеч этих сил.
- Лукашик В.И., Иванова Е.В. Сборник задач по физике для 7-9 классов общеобразовательных учреждений. — 17-е изд. — М.: Просвещение, 2004.
- Перышкин А.В. Физика. 7 кл. — 14-е изд., стереотип. — М.: Дрофа, 2010.
- Перышкин А.В. Сборник задач по физике, 7-9 кл.: 5-е изд., стереотип. — М: Издательство «Экзамен», 2010.
- Class-fizika.narod.ru ().
- School.xvatit.com ().
- Scienceland.info ().
Домашнее задание
- Узнайте самостоятельно, что собой представляет полиспаст и какой выигрыш в силе он дает.
- Где применяют в быту неподвижные и подвижные блоки?
- Как легче подниматься вверх: лезть по веревке или подниматься при помощи неподвижного блока?
Описание устройства
Блок — простой механизм, представляющий собой колесо с желобом по окружности для каната или цепи, способное свободно вращаться вокруг своей оси.
Тем не менее, верёвка, переброшенная через древесную ветку тоже в какой-то степени является блоком.Зачем же нужны блоки?
В зависимости от своей конструкции блоки могут позволить изменять направление приложенной силы (например, для того, чтобы поднять некий груз, подвешенный на верёвке, переброшенной через древесную ветку, необходимо тянуть другой конец верёвки вниз… или в сторону). При этом, данный блок не даст выигрыша в силе. Такие блоки называются неподвижными
, так как ось вращения блока жёстко закреплена (конечно, если ветка не сломается). Такие блоки применяются для удобства. Например, при поднятии груза на высоту гораздо легче тянуть веревку с грузом перекинутую через блок
вниз
, прикладывая к ней вес своего тела, чем стоять наверху и подтягивать к себе груз с веревкой.Кроме этого, существуют блоки, которые позволяют не только изменять направление приложенной силы, но и дают выигрыш в силе. Такой блок называется подвижным
и он работает с точностью до наоборот нежели подвижный блок.
Для того, чтобы получить выигрыш в силе необходимо жёстко закрепить один конец верёвки (например привязать её к ветке). Далее на верёвку устанавливается колесо с желобом к которому и подвешивается груз (это необходимо сделать таким образом, чтобы колесо с грузом могло свободно ездить по нашей верёвке).
Теперь, потянув за свободный конец верёвки вверх, мы увидим, что блок с грузом также начали подниматься.Усилия, которые нам необходимо будет затратить для подъёма груза таким образом будут примерно в 2 раза меньше нежели вес груза вместе с блоком. К сожалений данный вид блока не позволяет изменять направление силы в широких пределах, поэтому его часто используют в паре с неподвижным (жёстко закреплённым) блоком.
Описание опыта
Вначале на видео происходит демонстрация принципа работы неподвижного блока: к жёстко закреплённому блоку подвешиваются грузы одинаковой массы, при этом блок находится в равновесии. Но стоит лишь подвесить один лишний грузик, как сразу же начинается перевес в большую сторону.

Далее, используя систему из подвижного и неподвижного блоков, мы пытаемся добиться состояния равновесия, подбирая оптимальное количество грузиков, подвешенных с обеих сторон. В итоге блок уравновешивается,когда количество грузиков, подвешенных к подвижному блоку, становиться в два раза больше, чем грузиков, подвешенных к свободному концу нити.
Таким образом можно сделать вывод, что подвижный блок даёт двукратный выигрыш в силе
.Это интересно
А вы знаете, что подвижные и неподвижные блоки широко используются в передаточных механизмах автомобилей? Кроме этого, блоки используются строителями для подъёма больших и малых грузов (ну или самих себя. Например, при ремонте внешних фасадов зданий, строители часто работают в люльке, которая может перемещаться между этажами. По завершении работы на этаже, рабочие достаточно быстро могут передвинуть люльку на этаж выше, используя при этом лишь собственную силу). Блоки получили такое широкое распространение из-за простоты их сборки и удобства работы с ними.

назначение и устройство, сделать своими руками механизм для подъема грузов
Главная » Инструменты и оборудование » Ручной иструмент » Слесарно-монтажный инструмент
Опубликовано: Рубрика: Слесарно-монтажный инструментАвтор: Andrey Ku
Поднимать тяжелые грузы на высоту, пусть даже не очень большую – задача для человека очень сложная. Однако придумано достаточно много различных механизмов и приспособлений, облегчающих этот процесс. К числу таких механизмов в обязательном порядке следует отнести полиспаст. В нашей статье подробнее поговорим об этом устройстве, а также расскажем о технологии создания полиспаста дома.
Как можно упростить подъем грузов
Полиспаст представляет собой систему, которая состоит из неподвижных и подвижных блоков, соединенных друг с другом цепными или канатными передачами.
Это устройство было изобретено очень давно, ведь еще древние греки и римляне пользовались аналогичными механизмами. За последующие тысячелетия составляющие данного аппарата и его предназначение практически не изменились. На сегодняшний день это устройство используется практически в первозданном виде, лишь с небольшими изменениями.Схема работы полиспаста
Полиспасты применяются в основном в стреловых механизмах строительных кранов. К полиспастам, несмотря на все их многообразие, предъявляют два основных требования: увеличение скорости (за это отвечают скоростные механизмы) и увеличение силы (так называемые силовые полиспасты). В подъемниках обычно используются первые, тогда как вторые нашли применение в подъемных кранах. Следует отметить и тот важный факт, что схемы силовых и скоростных устройств являются практически полностью взаимно обратными.
Обычный полиспаст представляет собой устройство, основными компонентами которого являются:
- система блоков с подвижными осями;
- блоки с неподвижными осями;
- обводочные барабаны;
- обводные блоки.

За счет эффективного взаимодействия блоков и веревок появляется возможность существенно выиграть в силе. В силе мы выигрываем во столько раз, во сколько раз проигрываем в длине. Это одно из фундаментальных правил механики, благодаря которому обычный человек может с легкостью поднимать тяжелые массы, затрачивая минимум физических усилий.
Гораздо выгоднее приобрести данный прибор или сделать его самостоятельно, нежели брать в аренду подъемные краны или аналогичные механизмы. Особенность устройства заключается в том, что одна из сторон, которую закрепляют на грузе, находится в подвижном состоянии, тогда как вторая сторона, крепящаяся к опоре, является статичной. Именно подвижные блоки обеспечивают такой существенный выигрыш в силе. Статические же блоки требуются для контроля траектории движения веревки и самого груза.
Существуют различные виды полиспастов, которые отличаются по кратности, четности и сложности. Показатель кратности определяет, во сколько раз вы выиграете в силе, используя данное приспособление.
Так, покупая механизм с кратностью 6, вы теоретически имеете выигрыш в силе в 6 раз.Простые и сложные полиспасты – разбираемся в их конструкции
Для начала поговорим о простых механизмах. Получить такое устройство можно, добавив блоки на груз и опору. Четный полиспаст – это устройство, в котором веревка прикрепляется к опоре. Если же требуется нечетный, то веревка устанавливается на подвижной точке поднимаемого предмета. Добавление блока увеличивает кратность прибора на два пункта.
Полиспаст простой и сложный
Так, чтобы вручную сделать полиспаст для обычной лебедки, кратность которого составляет 2, достаточно использовать только один подвижный блок, крепящийся к грузу. Веревка же при этом крепится на опоре. В результате мы будем иметь четный полиспаст с кратностью 2. Сложные полиспасты включают несколько простых механизмов. Естественно, такое устройство дает существенно больший выигрыш в силе, который можно рассчитать путем перемножения кратностей каждого из используемых полиспастов.
При этом не стоит забывать о силе трения, из-за действия которой происходит небольшая потеря в мощности устройства.Есть несколько способов уменьшить силу трения веревки. Самый эффективный заключается в том, чтобы использовать ролики как можно большего радиуса. Ведь чем больше радиус, тем сила трения оказывает меньше воздействия на веревку и подъемный механизм в целом.
Как на эффективность работы влияет веревка
Избежать зажатия и перекручивания веревки можно, если использовать дополнительные приспособления, к примеру, монтажные платы, которые позволяют разнести ролики относительно друг друга. Категорически не рекомендуем применять в полиспастах растягивающиеся веревки, поскольку в сравнении с обычными статическими изделиями они очень серьезно проигрывают в эффективности. Собирая блок для подъема грузов, специалисты используют и грузовую, и отдельную веревки, которые прикрепляются к объекту независимо от подъемного приспособления.

Эксплуатация отдельных веревок дает некоторое преимущество. Суть заключается в том, что отдельная веревка предоставляет возможность предварительно или заранее собрать всю конструкцию. К тому же, можно существенно облегчить проход узлов, поскольку используется вся длина веревки. Единственный недостаток – это невозможность фиксировать груз в автоматическом режиме. Грузовые же веревки могут похвастаться именно такой особенностью, поэтому в случае возникновения необходимости в автофиксации груза воспользуйтесь именно грузовой веревкой.
Большое значение имеет обратный ход. Данный эффект является неизбежным, поскольку в момент снятия, а также при перехватывании веревки или остановке на отдых груз непременно двигается в обратную сторону. От качества используемых блоков, а также всего устройства в целом зависит то, насколько сильно груз уйдет обратно. Можно предотвратить возникновение данного явления, если приобрести специальные ролики, обеспечивающие пропуск веревки исключительно в одном направлении.

Расскажем немного о том, как правильно крепить грузовую веревку к подъемному механизму. Далеко не всегда даже самый предусмотрительный мастер обладает веревкой необходимой длины, которая требуется для крепления динамической части блока. Поэтому разработано несколько способов крепления механизма:
- При помощи схватывающих узлов. Эти узлы завязываются в пять оборотов из репшнуров, сечение которых не превышает 8 мм. Использование подобных узлов является самым эффективным и, соответственно, распространенным. По словам специалистов, узлы являются очень прочными и надежными. Лишь нагрузка свыше 13 кН способна привести к сползанию такого узла. Важно то, что даже при сползании узел никоим образом не деформирует веревку, оставляя ее в целости и сохранности.
- Применение зажимов общего назначения. Данные приспособления можно использовать даже в сложных климатических условиях, к примеру, на мокрых или обледенелых веревках. Нагрузка в 7 кН способна привести к сползанию зажима, что приводит к повреждению веревки, хотя и не очень сильному.

- Персональные зажимы. Они применяются только при небольших работах, поскольку нагрузка свыше 4 кН приводит к сползанию зажима и последующему обрыву веревки.
Запасовка – изучаем самые популярные схемы
Данная технологическая операция предназначена для изменения расстояния между блоками, а также для изменения положения указанных блоков. Необходимость запасовки обусловлена изменением высоты или скорости подъема предметов посредством установки конкретной схемы прохождения веревки по блокам и роликам механизма.
Используемая схема во многом зависит от типа грузоподъемного прибора. Запасовка для лебедок проводится только с целью изменения длины вылета стрелы. Выполняется же она путем изменения взаимного расположения направляющих блоков. Очень часто такую операцию проводят в грузовых кранах, где она требуется для предотвращения такого эффекта, как криволинейность перемещения тяжестей.
Запасовка полиспаста
Запасовки, в зависимости от используемых схем, подразделяются на следующие категории:
- Однократная.
Такой тип нашел применение в грузоподъемных кранах стрелкового типа, где крюк необходимо подвести на одной веревке каната. После этого требуется последовательно проводить статические блоки. В финальной стадии крюк наматывается на барабан. Как показывает практика, данный тип запасовки является самым неэффективным. - Двухкратная. Этот тип применяется в кранах, которые оборудованы балочной и подъемной стрелой. В этом случае требуется неподвижные блоки установить на головке стрелы, тогда как на грузовой лебедке крепится другой конец веревки.
- Четырехкратная. Востребована среди полиспастов, которые используются для поднятия предметов огромной массы. Обычно применяют одну из схем запасовки, которые были описаны ранее, с той лишь разницей, что они используются отдельно для каждого блока крюковой подвески.
Делаем полиспаст из бумажных стаканов и шестеренок
Устройства, используемые в строительстве, отличаются большой сложностью, что и логично, ведь здесь требуется поднимать большие грузы на достаточно большую высоту.
Разобраться в их конструктивных особенностях бывает весьма проблематично. Чего нельзя сказать о домашних полиспастах, которые применяются в быту. Они настолько просты и понятны, что соорудить полиспаст своими руками сможет любой человек. Для этого нам потребуются следующие приспособления:- несколько стаканов из бумаги;
- ножницы;
- шнурок или крепкая нить, выступающая в качестве веревки;
- пластилин;
- пластиковые вешалки.
В первую очередь потребуется сделать корзину, в которой будет перемещаться груз. Для этих целей будем использовать бумажные стаканы, через которые продеваем веревку. Сам же полиспаст собираем из вешалок. Веревку или нить фиксируем на верхней части вешалки, после чего несколько раз наматываем на перекладину. Полученную из стаканов корзинку следует подвесить на нижней вешалке за крючок. В принципе, на этом сбор полиспаста можно считать оконченным. Для поднятия грузов достаточно лишь правильно пользоваться механизмом.
Для этого понадобится тянуть за свободный конец нитки, что приведет к соединению вешалок. Теперь можно попробовать поднять тяжелые предметы на высоту.Существует еще один способ изготовления полиспаста своими руками, который несколько сложнее, но отличается большей эффективностью и надежностью конструкции. Здесь нам потребуются подшипники, шестеренка, крючок, тросы с блоками, а также резьбовая шпилька. Сначала на шпильке закрепляем подшипники, после чего устанавливаем шестеренку на конец шпильки, чтобы было удобнее и проще пользоваться самодельным полиспастом. Остается только перекинуть трос через шестеренки и закрепить его, свободный же конец будет оборудован крюком, который необходим для подъема предметов.
Напоследок напомним, что при работе с любыми полиспастами, купленными в магазине или сделанными дома, обязательно следует помнить о технике безопасности. Необходимо тщательно проверить конструкцию на прочность и целостность. Сами же грузы следует поднимать плавно и осторожно, не располагаясь в этом время под подвешенным предметом.

0
Понравилась статья? Поделиться с друзьями:
Полиспаст своими руками – чтобы стать сильней в несколько раз!
≡ 5 апреля 2017 · Рубрика: Интересно знать
Для подъема больших грузов человек не очень силен, но он придумал очень много механизмов, которые облегчают данный процесс, и в данной статье мы обговорим полиспасты: направление и устройство систем такого типа, а еще попытаемся выполнить самый простой вариант подобного устройства собственными руками.
1 Как мы упрощаем подъем грузов?
Грузовой полиспаст – это система, которая состоит из канатов и блоков, благодаря которой можно выиграть в эффектной силе при потере в длине. Принцип очень простой. В длине мы проигрываем именно столько, во сколько раз оказался выигрыш в силе. За счёт этого золотому правилу механики можно приподнимать грузы большой массы, не прилагая при этом немалых усилий.
Что как правило не очень критично. Приведем пример. Вот вы выиграли в силе в 8 раз, при этом вам потребуется вынуть веревку длиной в 8 метров, чтобы поднять объект на высоту 1 метр.Использование подобных устройств для Вас обойдется доступнее, чем аренда крана для подъемных работ, более того, вы можете сами контролировать выигрыш в силе. У полиспаста имеется две противоположные стороны: одна из них неподвижная, которая фиксируется на опоре, а остальная – подвижная, которая цепляется на самом грузе. Выигрыш в силе выполняется благодаря подвижным блокам, которые закрепляются на подвижной стороне полиспаста. Неподвижная часть служит исключительно для перемены пути движения самой веревки.
Виды полиспастов выделяют по проблемы, четности и кратности. По проблемы есть обычные и трудные механизмы, а кратность означает умножение силы, другими словами, если кратность будет равна 4, то в теории вы выигрываете в силе в 4 раза. Также нечасто, но все таки применяется скоростной полиспаст, подобный вариант предоставляет выигрыш в скорости перемещения грузов при совсем небольшой скорости компонентов привода.

2 Как работает обычная блочная конструкция?
Рассмотрим сначала простой монтажный полиспаст. Его можно получить при добавлении блоков на опору и груз. Дабы получить нечётный механизм, следует укрепить конец верёвки на подвижной точке груза, а дабы получить чётный, то закрепляем веревку на опоре. При добавлении блока приобретаем +2 к силе, а подвижная точка предоставляет +1, исходя из этого. К примеру, дабы получить полиспаст для лебедки с кратностью 2, следует укрепить конец верёвки на опоре и применять один блок, который фиксируется на грузе. И у нас будет чётный вид устройства.
Рабочий принцип полиспаста с кратностью 3 смотрится по-иному. Тут конец веревки фиксируется на грузе, и применяются два ролика, один из которых мы закрепляем на опоре, а иной – на грузе. Подобный тип механизма предоставляет выигрыш в силе в 3 раза, это нечётный вариант. Чтобы понимать, каков выигрыш в силе выйдет, воспользоваться можно несложим правилом: сколько канатов идет от груза, такой наш выигрыш в силе.
Применяются в большинстве случаев полиспасты с крюком, на котором, говоря по существу, и фиксируется груз, неправильно размышлять, что это только блок и веревка.3 Трудная система блоков – как высчитать выигрыш в силе?
Сейчас выясним, как работает полиспаст трудного типа. Под этим наименованием имеется в виду механизм, где соединены в одну систему несколько обычных вариантов данного грузового устройства, они тянут друг друга. Выигрыш в силе подобных конструкций рассчитывается путем умножения их кратностей. К примеру, мы тянем один механизм с кратностью 4, а иной с кратностью 2, тогда теоретический выигрыш в силе у нас будет равным 8. Все указанные выше расчеты имеют место быть только у замечательных систем, у которых нет силы трения, как показала практика же обстоят дела иначе.
В любом из блоков выполняется невелика потеря в мощности из-за трения, так как она еще тратится как раз на преодоление силы трения.
Для того чтобы сделать меньше трение, нужно не забыть: чем больше у нас радиус перегиба веревки, тем меньше будет сила трения. Целесообразно применять ролики с большим радиусом там, где это реально. При эксплуатации карабинов необходимо делать блок из похожих вариантов, но ролики намного эффектнее карабинов, так как на них у нас потеря составляет 5-30 %, а вот на карабинах же до 50 %. Также не лишним будет знать, что наиболее эффектный блок нужно располагать ближе к грузу для получения самого большого эффекта.Как же нам высчитать настоящий выигрыш в силе? Нам для этого важно знать КПД используемых блоков. КПД выражается числами от 0 до 1, и если мы применяем веревку крупного диаметра или через чур жёсткую, то результативность от блоков будет намного меньше, чем указана изготовителем. А это означает, нужно это предусмотреть и подкорректировать КПД блоков. Чтобы высчитать настоящий выигрыш в силе обычного типа грузоподъемного механизма, нужно высчитать нагрузку на каждую ветвь веревки и сложить их.
Для расчета выигрыша в силе трудных видов нужно перемножить настоящие силы обычных, из которых он состоит.4 Веревка и ее роль в работе полиспаста
Необходимо помнить так же и о трении веревки, так как ветви ее могут перекручиваться между собой, а ролики от высоких нагрузок могут собираться и зажимать веревку. Дабы этого не случалось, следует разнести блоки по отношению друг к другу, к примеру, можно между ними применять монтажную плату. Необходимо также покупать только статические канаты, не растягивающиеся, так как динамические дают серьёзный провал в силе. Для сбора механизма может применяться как отдельная, так и грузовая веревка, присоединенная к грузу независимо от устройства подъема.
Плюсы применения индивидуальной веревки заключается в том, что вы можете быстро собрать или подготовить заблаговременно грузоподъемную конструкцию. Вы также можете применять всю ее длину, это также делает легче проход узлов.
Из минусов можно вспомнить то, что отсутствует возможность автоматической фиксации поднимаемого груза. Плюсы грузовой веревки в том, что вероятна автофиксация поднимаемого объекта, и Отсутствует необходимость в индивидуальной веревке. Из недостатков главное то, что во время работы тяжело идти узлы, а еще доводится тратить грузовую веревку на сам механизм.Побеседуем об обратном ходе, который неизбежен, так как он может появиться при прихватывании веревки, либо же в момент снятия груза, или при остановке на отдых. Чтобы обратного хода не появилось, нужно применять блоки, которые пропускают веревку исключительно в одну сторону. При этом организовываем конструкцию так, что блокирующий ролик фиксируется первым от поднимаемого объекта. За счёт этого, мы не только избегаем обратного хода, но еще позволяем зафиксировать груз на определенный период времени разгрузки либо же просто перестановки блоков.
Если вы применяете отдельную веревку, то блокирующий ролик фиксируется заключительным от поднимаемого груза, при этом фиксирующий ролик должен владеть большой эффективностью.

5 Варианты крепежа веревки к грузоподъемному механизму
Сейчас немножко о креплении грузоподъемного механизма к грузовой веревке. Нечасто, когда у нас рядом пребывает веревка необходимой длины, чтобы зафиксировать подвижную часть блока. Вот пару видов крепления механизма. Первый метод – при помощи схватывающих узлов, которые вяжутся из репшнуров диаметром 7-8 мм, в 3-5 оборотов. Этот вариант, на практике, считается самым лучшим, так как схватывающий узел из 8 мм шнура на веревке диаметром 11 мм начинает сползать только при нагрузке 10-13 кН. При этом сначала он не деформирует веревку, а через некоторое время, оплавляет оплетку и прикипает к ней, начиная играть роль предохранителя.
Иной вариант состоит в применении зажима общего направления. Время показало, что его можно применить на обледенелых и мокрых канатах. Он начинает ползти только при нагрузке в 6-7 кН и несильно повреждает веревку.
Очередной метод состоит в применении личного зажима, но он считается не предлагаемым, так как он начинает ползти при усилии уже в 4 кН и при этом рвет оплетку, либо даже может покушать веревку. Все это промышленные образцы и их использование, мы же попробуем сделать рукодельный полиспаст.6 Создаём самый простой подъемник собственными руками
А вот если механизм для грузов необходим немедленно или на 1 раз, а подбирать по магазинам его не хватает времени и жалко наличных средств, мы расскажем, как выполнить полиспаст собственными руками. Отлично, если у вас в мастерской есть резьбовые шпильки, подшипники, блок, трос, крючек, шестеренка. Нужно будет мало времени: необходимо подшипники насадить на шпильку. Гайку от шпильки неплохо бы закрепить, чтобы не расходовать определенную часть сил коту под хвост на прокручивание своеобразного вала. Конец шпильки можно снабдить шестеренкой, сделав подобным образом намного удобный ручной привод.

Через блок перекидываем трос и закрепляем его на опоре, а вот на второй конец цепляем крючек, на который станем вешать груз. Также на конце троса можно закрепить систему строп, если характер груза не даст возможность его насадить на крючек. Как правило, самый самый простой вариант полиспаста готов. Остается начать работу, выполняя технику безопасности, которая одинакова для абсолютно всех механизмов, как покупных, так и самодельных. Тщательно контролируйте все детали на цельность перед работой, а в рабочий период не нужно делать резких движений, приподнимать груз следует медлено, и, разумеется, не стоит стоять под подвешенным грузом.
Самодельные подъемные механизмы. Лебедка своими руками
Подъем тяжестей на высоту, пусть и не очень большую, очень сложная задача для человека. Однако для облегчения этого процесса придумано довольно много различных механизмов и приспособлений.
К таким механизмам в обязательном порядке следует отнести полиспаст. В нашей статье мы более подробно поговорим об этом устройстве, а также расскажем о технологии создания полиспаста в домашних условиях.
Как облегчить подъем
Таль цепная представляет собой систему, состоящую из неподвижных и подвижных блоков, соединенных друг с другом цепными или тросовыми приводами. Это устройство было изобретено очень давно, ведь подобные механизмы использовались еще древними греками и римлянами. За последующие тысячелетия составные части этого аппарата и его назначение почти не изменились. На сегодняшний день это устройство используется практически в первозданном виде, лишь с небольшими изменениями.
Схема работы полиспаста
Полиспасты в основном используются в стреловых механизмах строительных кранов. К полиспастам, несмотря на все их разнообразие, предъявляются два основных требования: увеличение скорости (за это отвечают скоростные механизмы) и увеличение прочности (так называемые силовые полиспасты).
В лифтах обычно используются первые, а вторые нашли применение в кранах. Следует отметить, что важным фактом является то, что цепи силовых и быстродействующих устройств практически полностью взаимно инверсны.Таль цепная обычная — устройство, основными составными частями которого являются:
- система блоков с подвижными осями;
- с неподвижными осями;
- упаковочные барабаны;
- обходные блоки.
Блоки
Благодаря эффективному взаимодействию блоков и канатов появляется возможность значительного выигрыша в силе. В силе мы выигрываем столько раз, сколько проигрываем в длине. Это одно из фундаментальных правил механики, благодаря которому обычный человек может легко поднимать тяжелые массы с минимальными физическими усилиями.
Гораздо выгоднее приобрести это устройство или изготовить его самостоятельно, чем арендовать краны или подобные механизмы. Особенность устройства в том, что одна из сторон, закрепленная на грузе, находится в подвижном состоянии, а вторая, прикрепленная к опоре, неподвижна.
Именно подвижные блоки обеспечивают столь существенный выигрыш в прочности. Статические блоки необходимы для управления траекторией движения веревки и самого груза.Существуют различные виды полиспастов, которые отличаются кратностью, четностью и сложностью. Показатель кратности определяет, во сколько раз вы прибавите в силе, используя это приспособление. Итак, покупая механизм с кратностью 6, вы теоретически имеете выигрыш в прочности в 6 раз.
Простые и сложные цепные тали – разбираемся в их конструкции
Сначала поговорим о простых механизмах. Получить такое устройство можно, добавив блоки в нагрузку и опору. Четная полиспаст представляет собой устройство, в котором канат крепится к опоре. Если требуется нечетное количество, то канат устанавливается на подвижной точке поднимаемого объекта. Добавление блока увеличивает увеличение инструмента на два пункта.
Итак, чтобы вручную изготовить полиспаст для обычной лебедки, кратность которой равна 2, достаточно использовать только один подвижный блок, прикрепленный к грузу.
Канат крепится к опоре. В результате у нас получится четная полиспаст с кратностью 2. Сложные полиспаст включают в себя несколько простых механизмов. Естественно, такое устройство дает значительно больший выигрыш в силе, который можно рассчитать, умножив кратность каждого из используемых полиспастов. При этом нельзя забывать о силе трения, из-за которой происходит небольшая потеря мощности устройства.Существует несколько способов уменьшить силу трения веревки. Наиболее эффективно использовать ролики как можно большего радиуса. Ведь чем больше радиус, тем меньшая сила трения приходится на канат и подъемный механизм в целом.
Как веревка влияет на эффективность работы
Избежать защемления и перекручивания каната можно, если использовать дополнительные приспособления, например, монтажные пластины, позволяющие развести ролики относительно друг друга. Мы настоятельно не рекомендуем использовать растяжимые канаты в полиспастах, так как по сравнению с обычными статическими изделиями они очень серьезно проигрывают в эффективности.
При сборке блока для подъема грузов специалисты используют как груз, так и отдельный канат, которые крепятся к объекту независимо от грузоподъемного устройства.Работа с отдельными веревками дает некоторые преимущества. Суть в том, что отдельная веревка дает возможность предварительно собрать или предварительно собрать всю конструкцию. Кроме того, можно значительно облегчить прохождение узлов, так как используется вся длина веревки. Единственный недостаток – невозможность зафиксировать нагрузку в автоматическом режиме. Именно такой особенностью могут похвастаться грузовые канаты, поэтому, если вам нужно автофиксировать груз, используйте грузовой канат.
Обратное важно. Этот эффект неизбежен, так как в момент снятия, а также при перехвате каната или остановке на отдых груз непременно будет двигаться в обратном направлении. От качества используемых блоков, как и всего устройства в целом, зависит, насколько будет возвращаться нагрузка. Предотвратить возникновение этого явления можно, если приобрести специальные ролики, позволяющие веревке проходить только в одном направлении.

Поговорим немного о том, как правильно прикрепить грузовой трос к подъемному механизму. Далеко не всегда даже у самого предусмотрительного мастера имеется веревка нужной длины, которая требуется для крепления динамической части блока. Поэтому разработано несколько способов крепления механизма:
- С стяжными узлами. Эти узлы завязываются в пять витков из шнуров, сечение которых не превышает 8 мм. Применение таких узлов является наиболее эффективным и, соответственно, распространенным. По мнению специалистов, узлы очень прочные и надежные. Только нагрузка более 13 кН может привести к проскальзыванию такого узла. Важно то, что даже при проскальзывании узел никак не деформирует веревку, оставляя ее в целости и сохранности.
- Хомут общего назначения. Эти устройства можно использовать даже в сложных климатических условиях, например, на мокрой или обледенелой веревке. Нагрузка в 7 кН может вызвать проскальзывание зажима, что приведет к повреждению веревки, хотя и не очень серьезному.

- Персональные зажимы. Их используют только для небольших работ, так как нагрузка более 4 кН вызывает проскальзывание зажима и последующий разрыв каната.
Бронирование — изучаем самые популярные схемы
Данная технологическая операция предназначена для изменения расстояния между блоками, а также для изменения положения этих блоков. Необходимость запасовки обусловлена изменением высоты или скорости подъема предметов путем задания определенной схемы прохождения каната через блоки и ролики механизма.
Используемая схема во многом зависит от типа подъемного устройства. Резервирование под лебедки осуществляется только с целью изменения длины стрелы. Выполняется изменением взаимного положения направляющих блоков. Очень часто такую операцию проводят в грузовых кранах, где требуется предотвратить такой эффект, как криволинейность движения грузов.
Акции в зависимости от используемых схем подразделяются на следующие категории:
- Одноместный.
Этот тип нашел применение в кранах стрелкового типа, где крюк необходимо заводить на одном канате. После этого требуется последовательно выполнять статические блоки. На завершающем этапе крючок наматывается на барабан. Как показывает практика, этот вид запасовки является наиболее неэффективным. - Двойной. Этот тип используется в кранах, которые оснащены балкой и подъемной стрелой. В этом случае на оголовок стрелы необходимо установить неподвижные блоки, а другой конец троса прикрепить к грузовой лебедке.
- Четырехместный. Он востребован среди полиспастов, которые используются для подъема предметов огромной массы. Обычно используется одна из описанных ранее схем запасовки, с той лишь разницей, что они применяются отдельно для каждого крюкоблока.
Делаем полиспаст из бумажных стаканчиков и шестеренок
Устройства, применяемые в строительстве, очень сложны, что логично, ведь здесь нужно поднимать большие грузы на достаточно большую высоту.
разобраться в их конструктивных особенностях весьма проблематично. Чего не скажешь о домашних полиспастах, которые используются в быту. Они настолько просты и понятны, что соорудить полиспаст своими руками сможет любой желающий. Для этого нам понадобятся следующие устройства:- 1. несколько стаканов бумаги;
- 2. ножницы;
- 3. шнурок или прочная нить, выполняющая роль веревки;
- 4. пластилин;
- 5. Пластиковые вешалки.
В первую очередь необходимо сделать корзину, в которой будет перемещаться груз. Для этих целей мы будем использовать бумажные стаканчики, через которые продеваем веревку. Собираем полиспаст из подвесов. Закрепляем веревку или нить на верхней части вешалки, после чего несколько раз обматываем ее вокруг перекладины. Корзинку, полученную из стаканов, следует повесить на нижнюю вешалку за крючок. В принципе, на этом сбор полиспастов можно считать завершенным. Чтобы поднимать грузы, нужно просто правильно пользоваться механизмом.
Для этого нужно потянуть за свободный конец нити, что приведет к соединению подвесов. Теперь можно попробовать поднять тяжелые предметы на высоту.Есть еще один способ изготовления полиспаста своими руками, который несколько сложнее, но отличается большей эффективностью и надежностью конструкции. Здесь нам понадобятся подшипники, шестерня, крюк, тросы с блоками и шпилька с резьбой. Сначала закрепляем подшипники на шпильке, после чего на конец шпильки устанавливаем шестерню, чтобы было удобнее и проще пользоваться самодельной полиспастом. Остается только накинуть трос на шестерни и зафиксировать, при этом свободный конец будет оснащен крюком, который необходим для подъема предметов.
Напоследок напомним, что при работе с любыми полиспастами, купленными в магазине или сделанными в домашних условиях, обязательно следует помнить о технике безопасности. Необходимо тщательно проверить конструкцию на прочность и целостность. Сами грузы следует поднимать плавно и осторожно, не находясь в это время под подвешенным предметом.

Лебедка незаменимый помощник, как в хозяйстве, так и в гараже. Поднимите рулон рубероида на крышу, бросьте пару мешков цемента в окно второго этажа строящегося частного дома, вытащите двигатель из подкапотного пространства, а саму разбитую машину затащите в гараж. .. Это неполный список вещей, которые вы легко сможете сделать в одиночку с ее помощью.
Устройства барабанного типа для подъема или перемещения тяжелых грузов различаются по способу передачи крутящего момента. Из школьного курса физики мы знаем, как работает плечо. Проигрывая в скорости или дистанции — выигрываем в силе. Фраза Архимеда: «Дайте мне точку опоры, и я переверну Землю» как раз описывает принцип действия лебедки.
ВАЖНО! При работе с таким приспособлением точкой опоры является корпус и место крепления лебедки. Оба элемента должны быть надежными.
Ручная лебедка с помощью прикрепленного плеча настолько увеличивает силу человека, что один оператор может передвигать автомобили или поднимать грузы в несколько сотен килограммов.
При одинаковом (с точки зрения механики) принципе действия эти устройства имеют различные варианты исполнения.Лебедка ручная барабанная — разновидности
Лебедка ручная с барабаном — классика жанра. Кроме общего элемента – шкива, на который наматывается трос, устройства имеют разные типы привода.
Большая главная шестерня прочно прикреплена к барабану. На него и на крепление ложится вся нагрузка. Поэтому надежность элементов должна быть на должном уровне. В зацеплении с главной передачей находится малая ведущая шестерня.
Отношение числа зубьев является значением передаточного отношения. Другими словами, коэффициент усиления. Ведущая шестерня выполнена за одно целое с приводным валом. Так как речь идет о ручном инструменте — на вал надевается ручка для вращения.
Длина рычага также влияет на степень усиления. Чем больше плечо рычага, тем меньше усилий необходимо приложить.
С помощью таких устройств можно в одиночку поднять несколько центнеров груза или передвинуть автомобиль весом 2-3 тонны.
При этом скорость вращения барабана достаточно высокая.Конструкция состоит из двух и более пар шестерен, каждая из которых имеет коэффициент усиления в десятки раз. При последовательном зацеплении эти коэффициенты складываются, увеличивая усилие.
Обратная сторона медали — пропорциональное снижение скорости. С такой лебедкой можно осуществлять медленный вертикальный подъем груза более тонны, но если придется работать с двумя мешками цемента, время подъема растянется на десятки минут.
За долгую историю своего существования человек неоднократно сталкивался с задачей подъема и перемещения тяжелых предметов в пространстве. Например, всем знакомые египетские пирамиды состоят из массивных каменных блоков, которые никто не может поднять. Поэтому одним из величайших достижений человечества является изобретение подъемного крана, позволившего значительно упростить задачу перемещения тяжелых грузов и ускорить строительство домов и других объектов.
Устройство машины
Принцип действия крана основан на физике простых механизмов.
Самый простой вариант подъемного крана представляет собой палку, расположенную в точке опоры таким образом, что свободные концы имеют разную длину. Теперь, если повесить груз на короткий рычаг, то для его подъема потребуется меньше усилий. Самая распространенная конструкция, в которой помимо рычагов используется еще и система блоков.Кран своими руками – бесспорный помощник в мелком строительстве. При строительстве частного дома использование громоздких промышленных кранов не требуется. Высота домов редко превышает 2 этажа, а вес поднимаемого груза составляет 200 килограммов.
Несмотря на то, что существует множество вариантов подъемных механизмов, классический кран состоит из следующих частей:
- Стрела с закрепленным на ее конце блоком. В зависимости от его длины определяется высота, на которую можно поднять груз.
- Платформа. К нему прикреплены стрела и противовес. Он является основной частью крана и подвергается значительным нагрузкам. Поэтому при изготовлении платформы важно уделить особое внимание ее прочности.

- Противовес. Служит для устойчивости крана. Определяет максимальный вес, который может поднять кран. Для максимальной устойчивости доступны варианты штабелированного противовеса.
- Растяжка, соединяющая стрелу и противовес. Позволяет регулировать наклон стрелы и перемещать груз как по вертикали, так и по горизонтали.
- Тросовая лебедка. Это сам подъемный механизм. Мощность лебедки определяет, какой вес может поднять кран.
- Стойка с поворотным механизмом. Необходимо повернуть кран в стороны.
- Опорная крестовина, являющаяся основанием крана. Задает устойчивость всей конструкции. При его изготовлении следует обратить внимание и на его прочность.
Условия эксплуатации
Для безопасной эксплуатации грузоподъемных механизмов необходимо соблюдать определенные правила.
Эти правила применяются к любому подъемному устройству:
- Не допускается превышение грузоподъемности. Слишком большой вес может повредить устройство.

- Основание должно быть устойчивым. Самодельные подъемные устройства должны располагаться на заранее подготовленной твердой горизонтальной поверхности.
- При плохих погодных условиях также следует воздержаться от работы с краном. Сильный ветер нарушит равновесие крана, а плохая видимость может затруднить просмотр людей под стрелой.
- Перед эксплуатацией крана или грузоподъемного устройства необходимо провести внешний осмотр на наличие дефектов. При обнаружении неисправности работа крана запрещается.
- Следует помнить, что при работе с подъемником нельзя делать резких движений. Груз должен подниматься плавно. И самое главное, ни в коем случае нельзя стоять под поднимаемым грузом.
Какими характеристиками должен обладать гаражный подъемник?
В гаражных условиях применяются два типа подъемных механизмов. К первому типу относится подъемник, способный поднять весь автомобиль, а ко второму типу относится гусиный подъемник, позволяющий перемещать грузы по гаражу.

Подъемники первого типа являются стационарными устройствами и основное требование, которое к ним предъявляется, — устойчивость. Автомобиль весит более тонны и не должен иметь ни малейшего шанса упасть. Во избежание несчастных случаев гаражный подъемник должен иметь надежный стопор.
Чаще всего в автомастерских используют подъемники типа «гусиный». Его довольно легко сделать из профильной трубы или швеллера. Сначала варится основание, на которое нужно установить поворотный механизм. Стрелу лучше делать с регулируемым вылетом. Так можно будет перемещать грузы в любом направлении.
Как работает простая блочная конструкция
Система блоков или полиспастов известна человечеству с древних времен. Классическая конструкция системы состоит из шкивов и троса. Один шкив называется блоком. В зависимости от способа крепления шкив может быть подвижным и неподвижным:
- Фиксированный блок. Он крепится к опоре и играет роль изменения направления каната. Не дает прибавки мощности.

- подвижный блок. Он располагается со стороны груза и дает выигрыш в силе.
Принцип действия полиспаста аналогичен принципу действия рычага в физике простых механизмов. Роль рычага в этом случае играет сам трос. При простом блоке из двух шкивов подвижный шкив делит канат на 2 части и чтобы поднять груз на одинаковое расстояние, нужен канат в 2 раза длиннее. Работа по подъему груза выполняется в том же объеме. А усилие, за счет того, что длина веревки стала вдвое больше, становится вдвое меньше.
Если в системе более 2 шкивов, выигрыш в силе примерно равен количеству блоков. В случае с 3-мя блоками усилие будет в 3 раза меньше, а для 4-х блоков потребуется лишь четверть первоначального усилия.
Сложная система блоков как рассчитать прибавку в силе
Если система устроена таким образом, что одна простая полиспаст тянет за собой другую простую полиспаст, то это уже сложная система блоков. Для теоретического расчета прироста прочности необходимо сложные полиспасты условно разделить на простые и умножить значения прироста от простых полиспастов.

Например, если система состоит из 4 блоков, и первая условная простая полиспаста имеет усиление 3. Она тянет вторую простую двухблочную полиспасту с усилением 3 тоже. Суммарное усилие, которое потребуется, будет в 9 раз меньше. Именно 4-х блочный сложный полиспаст чаще всего используется спасателями.
Способы крепления каната к грузоподъемному механизму
При создании сложных полиспастов часто возникают ситуации, когда каната необходимой длины для крепления подвижного блока нет под рукой.
Способы крепления троса с помощью универсальной оснастки:
- С помощью шнура. С помощью самозатягивающегося узла шнур привязывается к основному кабелю. По мере подъема груза захватный узел перемещается по основной веревке, тем самым позволяя поднимать груз выше.
- С зажимами. В случае использования стального троса нет возможности использовать шнур, поэтому необходимо использовать специальные хомуты.
Создаем простейший подъемный механизм своими руками
Строительство крана не является быстрой задачей и оправдано, если требуется часто или объем работ достаточно велик.
В случаях, когда груз нужно поднять срочно или это разовая операция, то можно воспользоваться подручными средствами.Для создания простейшего подъемного устройства вам понадобится шнур и два блока. Один блок и конец веревки неподвижно закреплены на опоре. Это будет самая высокая точка, на которую можно будет поднять груз. Второй блок прикрепляем к грузу с помощью строп или крюка. Натягиваем веревку сначала вдоль блока, закрепленного на грузе, затем пропускаем через верхний блок. В этом случае выигрыш в силе будет в 2 раза. Используя собственный вес, вы без труда поднимете груз массой 100 килограммов на необходимую высоту.
Если добавить возможность перемещения верхнего блока по направляющей, например, по рельсу, то можно получить стреловой кран своими руками. Пригодится в гаражных условиях для перемещения тяжелых частей машин.
Следует помнить, что при работе с подъемником нельзя делать резких движений. Груз должен подниматься плавно. И самое главное, ни в коем случае нельзя стоять под поднимаемым грузом.
То же правило касается крана — под стрелой стоять запрещено.Материалы и инструменты
Самое главное при изготовлении крана — использование качественных инструментальных материалов. Это позволит сделать конструкцию прочной и безопасной.
Трос должен иметь минимальное растяжение, это даст больший выигрыш в силе при использовании блочной системы. Фурнитура, используемая для обвязки, должна быть взята только металлическая. Пластиковая фурнитура не выдерживает больших нагрузок и ломается в неподходящий момент. В качестве крепежа для отдельных частей самодельного крана следует выбирать высокопрочные метизные изделия.
Если предполагается использование лебедки, то ее грузоподъемность должна быть не менее 500 кг. Лучшим выбором будут лебедки, способные поднимать груз весом от 1 тонны и более.
В заключение хотелось бы еще раз напомнить о необходимости соблюдения техники безопасности при работе с грузоподъемными механизмами. Также, вне зависимости от того, покупной кран или сделанный своими руками, его следует осмотреть перед началом работы.

На крыше или верхних этажах и без специальных приспособлений это очень сложно. Мы опишем процесс сборки своими руками простого и надежного строительного подъемника, который один может поднять до 300 кг.
Устройство, собранное по приведенной выше схеме, абсолютно мобильно и без проблем может быть доставлено на строительную площадку даже автомобилем с верхним багажником.
Для сборки Вам потребуется:
- брус клееный 60х40 мм — 10 м;
- брус 40х40 — 9 м;
- 25х80 — 16 м;
- блок такелажный с подшипником — 2 шт.;
- ролик на подшипнике с осью — 4 шт.;
- кабель капроновый — 12 м;
- фанера 15 мм — менее 1 м 2 .
доска
Сборка направляющих
Подъемник представляет собой тележку, перемещающуюся на роликах между двумя тавровыми рельсами. Для их изготовления понадобится древесина хорошего качества влажностью не более 12%: брус 60х40 и доска 25х80. Любая кривизна нежелательна, дерево не должно иметь дефектов.

Планка в направляющей играет роль распорки, задающей расстояние между полками марки. Он должен быть на 2-3 мм больше диаметра валиков, при необходимости строгать брус по узкому концу и доводить до нужной толщины.
Для сборки направляющей нужно вложить между досками брус и выровнять их по одному краю. Чтобы конструкция была полностью монолитной, перед сборкой рекомендуется промазать соприкасающиеся кромки клеем ПВА.
Сложите детали, выровняйте их под угольник и зафиксируйте струбцинами. Затем скрепите доски и брус белыми анодированными саморезами длиной 55 мм, прикрутите их в шахматном порядке с шагом в каждом ряду 30-35 см. Обе доски необходимо скрепить саморезами, так направляющие будут меньше подвержены короблению.
Если вы хотите сделать направляющие длиннее имеющихся пиломатериалов, укладывайте брусья и доски внахлест на половину длины. При правильном сращивании конструкция получится исключительно прочной, осталось только довести до нуля внутренние стыки досок для плавного движения роликов.

После сборки обеих направляющих покройте их двумя слоями олифы. Проверить ширину зазора под роликами, при необходимости доработать наждачной шкуркой. На расстоянии 30 мм от торца по центру бруска в клейме сделать сквозное отверстие диаметром 14 мм. С его помощью прикрутите рейки к поперечинам, подложите под гайку и головку болта широкие шайбы. Чтобы избежать смещения диагоналей, сделайте стык в полдерева с подгибкой.
Конструкция тележки
Начните со сборки рамы: вставьте три перекладины длиной 75 см между 130-сантиметровыми брусками бруса 40х40 мм. Установите среднюю перекладину в 40-45 см от нижнего края. Закрепите стыки саморезами, а лучше соберите каркас на шиповых соединениях.
К нижней балке перпендикулярно раме прикрепите два бруса по 80 см, между их концами вставьте перекладину длиной 75 см и закрепите конструкцию. Для укрепления поддона сделайте из бруса или доски две наклонные косынки длиной 60 см, края обрежьте под углом 45°.
Закрепите шарф на поддоне на расстоянии 40 см от угла.Вырежьте лист фанеры размером 83х84 см и просверлите отверстия по 20 мм с каждого края с шагом 7 см. Через проделанные отверстия прикрутите дно поддона к раме саморезами длиной 45 мм.
Если вы планируете увеличить грузоподъемность вашей тележки, то места соединения рамы поддона и фасонок должны быть усилены накладками и уголками, а фанера внизу металлическими скобами. К верхним углам рамки прикрепите петли для навесного замка с длиной хвостовика не менее 70 мм. Вставьте в отверстия болт М14 и накрутите на него самоконтрящуюся гайку. Под болты нужно пропустить кусок троса длиной около 2 метров и завязать его в петлю, к которой через карабин или наперсток будет крепиться тяговый канат.
Кронштейны для блоков
На верхней и нижней поперечинах между направляющими стойками необходимо закрепить по одному такелажному блоку. Крепление возможно только посредством болтового соединения с обязательной установкой под гайки широких шайб, а лучше металлических пластин.

Рекомендуется приобретать подъемные шкивы с подшипником или такелажные шкивы с канавкой. Большинство изделий имеют цельный корпус с плотно прилегающими щеками, поэтому сбросить трос со шкива не представляется возможным.
Если вы пытаетесь адаптировать существующие валики, установите на них проушину для одеяла. Скатайте стальную проволоку толщиной 6 мм до образования петли, а затем загните края конструкции на необходимое расстояние для крепления под гайку к оси блока. Если шкив оснастить вертлюгом, груз будет удобнее поднимать и трос прослужит дольше.
Ролики и их крепление
Для плавного скольжения тележки она должна быть снабжена четырьмя роликовыми колесами, установленными по бокам в 20-25 см от углов. Приобретайте ролики с необслуживаемым подшипником и односторонней стальной осью длиной не менее 20 мм. Вместо стандартных роликов можно использовать шарикоподшипники с закрытым сепаратором и шириной сепаратора не менее 25 мм или колеса от старых роликовых коньков.

Ось ролика необходимо снять и просверлить отверстие под его диаметр в центре пластины 40х80 мм. Вставив ось в отверстие, установите ее строго перпендикулярно пластине и приварите, затем сделайте по углам четыре отверстия под болт М8.
Как модернизировать подъемник
Очень полезным дополнением, значительно повышающим безопасность использования, станет устройство посадочных карманов для фиксации передних колес тележки в поднятом положении. Это не только очень удобно при разгрузке, но и дает возможность пользоваться подъемником самостоятельно.
Для устройства карманов необходимо вырезать часть задней доски направляющей, на которую опираются ролики тележки. При подъеме колесо проскальзывает в образовавшееся отверстие и останавливается на П-образном блоке, собранном из трех брусков. Чтобы колесо случайно не лопнуло, оставьте на доске небольшой выступ. После разгрузки тележка легко вынимается из посадочных карманов и опускается вниз, удерживая трос.

Чтобы поднять сразу больше, можно усилить вертикальную раму тележки и установить на нее подвижный блок, но это увеличит длину каната в 1,5 раза. Тяговый канат в этом случае крепится к одному из уголков между направляющей и соединительной перекладиной, пропускается в подвижный блок на тележке, затем укладывается в неподвижные верхний и нижний шкивы.
Также возможна установка ворот как на колодце для удобной намотки тягового каната. Его можно сделать из отрезка бруска 100х100 мм, доведенного рубанком до шестигранника. Для установки ворот потребуются дополнительные Г-образные стойки и замена болтов нижней перекладины на шпильки соответствующей длины. Освобожденные болты необходимо использовать для косого сопряжения стоек с направляющими.
Использование ворот сопряжено с повышенной опасностью, так как человек всегда находится у подъемника. Чтобы тележка не сломалась и не упала, рядом с верхним блоком рекомендуется установить простейший жумар из альпинистского снаряжения.

Без стреловых легких кранов грузоподъемностью 1 тн не обойтись при проведении различных электромонтажных и строительных работ. Благодаря их конструкции можно монтировать устройства в различные проемы здания или на потолки, а также перемещать их для удобства использования. Их легко собрать и установить, а при необходимости их можно быстро разобрать на составные части и переместить в подходящее место.
Применение таких конструкций рационально при отсутствии возможности эксплуатации других типов ГПМ. Существует множество типов кранов с различной конструкцией. Они делятся на стационарные и мобильные. Стреловые устройства снабжены одним электроприводным механизмом перемещения груза. Работа крана осуществляется ручным управлением.
Мини-кран строительный
Вы сможете самостоятельно создать различные инструменты и приспособления, которые так необходимы в строительстве и других видах работ. Несмотря на то, что мини-кран своими руками характеризуется ограниченной грузоподъемностью груза (не более 250 кг), такая конструкция упростит большую часть строительных работ.

Основной задачей является подбор всех инструментов и деталей, необходимых для создания и последующей эксплуатации. Вес сборного устройства может достигать до 300 кг в зависимости от используемых материалов. При этом он имеет компактные габариты и возможность перемещения без предварительного разбора с помощью автомобиля.
своими руками: сборка
С помощью редуктора на червячной основе формируется грузовая лебедка. Также может быть предусмотрено создание ручного привода, упрощающего сборку стреловой лебедки. Основой для винтовых надставок являются строительные опоры. Все представленные выше элементы составляют основу конструкции. Кроме того, нам нужны барабаны для лебедок. Стоит отметить, что их самостоятельное изготовление под силу далеко не каждому, так как процесс сложный и трудоемкий, а также необходимость наличия специализированного оборудования и опыта проведения подобных работ.
Выход из ситуации — роторы от электродвигателя, которые можно взять за основу, и значительно упростить задачу.
Особое внимание следует уделить соответствию размеров используемых элементов и будущего устройства. Для этого производятся дополнительные замеры с помощью линейки.Дополнительные элементы
Платформа оснащена колесами для удобства перемещения. Предметы из конвейерной тележки могут пригодиться. В процессе создания конструкции не забывайте об этом дополнении, так как именно благодаря ему движется самый простой кран, собранный своими руками. Для этого нужно лишь снять выносные опорные элементы, что не вызывает особых затруднений и делается в короткие сроки. Важно соблюдать технику безопасности, в частности, стрела должна быть установлена на нулевой уровень для предотвращения потери равновесия и падения крана.
Особенности
Оптимальная высота стрелы 5 метров. Для его изготовления используется труба диаметром около 8 см. В основание монтируется профиль из двух уголков. Также нужно создать поворотный механизм поворота и подъема стрелы; для этого подойдет автомобильная ступица от любого грузовика.
средство передвижения. Для противовеса не нужны специальные материалы, так как для них можно использовать стандартные кирпичи. Создать кран своими руками можно на основе гусениц и станины. Последний элемент можно взять с неиспользуемой машины.Стоит отметить, что тормоз для поворотного механизма и лебедки не нужен, так как он не нужен при работе крана, а готовое устройство будет работать на малой скорости.
Конструктивные преимущества
Подходит для формирования выносной опорной конструкции и общего основания. Для последних, по мнению специалистов, оптимально будет использовать швеллер 200. Длина упорных винтов должна быть в пределах 50 см, благодаря чему кран можно монтировать на любую поверхность, в том числе с большим количеством неровностей. . Таким образом, нет необходимости готовить площадку, на которой возводится здание.
Трудности иногда возникают с колесами, так как на рыхлом грунте они могут плохо катиться и зарываться в него. Поэтому желательно проводить работы на твердом грунте.
После завершения строительства конструкция разбирается на составные элементы для хранения.Что можно сделать для гаража
При самостоятельном ремонте автомобиля часто требуется снимать двигатель, поэтому многие автовладельцы задаются вопросом как сделать кран своими руками. самым простым вариантом является подъемник, для создания которого потребуются ручная лебедка, стойки на треугольных опорах с колесами и поперечная труба.
На верхней части стоек закреплены крепления для трубы сваркой. Он приваривается к вертикальной стойке, а на балку устанавливаются ролики, которые впоследствии используются для перемещения троса. В этом случае необязательно приобретать лебедку, так как эту конструкцию можно изготовить самостоятельно.
Такое устройство не будет загромождать пространство, его можно разобрать, и отдельно поперечина и опоры не займут много места. Созданный своими руками кран для гаража способен поднимать и перемещать груз массой не более 800 кг.
Главным его преимуществом является отсутствие необходимости приобретения дорогостоящих материалов.Подъемник
Как уже отмечалось ранее, лебедку можно изготовить самостоятельно. Для этого потребуется барабан, оснащенный тросом, его необходимо закрепить на конструкции из труб квадратного сечения. малая звезда с цепным приводом установлена на электроприводе, а большая — на краю барабана. Для создания ручной лебедки вал, оснащенный барабаном, дополняется рукояткой.
Для замены и ремонта большинства деталей в автомобиле необходима эстакада или яма; если они недоступны, вы можете воспользоваться лифтом. Несмотря на риски, связанные с работой с таким устройством, его создание оправдано экономической выгодой и практической пользой.
Мостовой троллейный кран своими руками в сборе с лебедкой — самый простой вариант, при этом машина устанавливается на платформы после подъема на нужную высоту. Также есть ножничная конструкция, отличающаяся отсутствием возможности обрыва троса, чего не может гарантировать предыдущая версия.

ножничный кран
Основание и платформа ножничного подъемника изготовлены из швеллеров. Распределитель двухсекционный, помпа, втулки и необходимые ножницы.
Кран УАЗ своими руками способен поднимать грузы массой более 500 кг. Его также можно удалить по окончании работы. Основное назначение устройства – фиксация выдвижных опор. Основу конструкции составляет толстостенный квадрат, закрепленный на раме несколькими болтами. Выдвижные поры держатся за бампер и приподнимают заднюю часть автомобиля.
Кран «Пионер»
Механизм позволяет упростить выполнение многих ремонтно-строительных работ, а также обеспечить выполнение действий, которые невозможно выполнить без дополнительных грузоподъемных устройств. Конструкция подходит для грузов различного объема и размеров, при этом ее можно устанавливать на полы строящихся домов, в ямы и на крышу.
Среди основных узлов стоит отметить поворотную и опорную рамы, панель управления. Прибор не вызывает затруднений в процессе использования и приложения значительных физических усилий.
Управление под силу каждому человеку, даже без соответствующего опыта.Созданием подъемных конструкций занимаются многие владельцы частных домов и дач. Их распространение обусловлено тем, что каждая часть механизма, вне зависимости от ее сложности, может быть выполнена желаемым образом и с необходимым функционалом. Помимо перемещения тяжелых грузов, например, монолитных блоков, такие краны позволяют доставлять легкие предметы на большую высоту.
К сожалению, создание гидравлических устройств обычно невозможно. Но, несмотря на это, кран (сделай сам), фото которого представлено ниже, прост в эксплуатации и имеет достаточную грузоподъемность.
Сборка крана Pioneer
Удивительно, но многие детали можно найти на свалке. Для самодельного механизма основными составляющими являются прямоугольная труба и двутавр. Важно, чтобы последний легко помещался в трубе. Для создания телескопического узла двутавра изготавливаются направляющие скольжения. Стоит отметить, что их необходимо смазывать специальными составами для снижения степени трения.

Для работы устройства также необходимы кабели небольшого диаметра. Их можно приобрести в строительном магазине. Швеллер часто используется для крепления поворотных и опорных рам. Он также обеспечивает плотное крепление устройства на любой поверхности. Как правило, это крыша строящегося здания. В соответствии с правилами техники безопасности требуется изготовление прямоугольной площадки в качестве балласта, при этом она снизит вероятность возникновения проблем во время эксплуатации крана, собранного своими руками. Электрический двигатель, подключенный к лебедке, используется для запуска процесса подъема.
как поднять груз на крышу. Кран для дачи своими руками Кран самодельный
Высота современных домов становится все больше, а вес бетонных блоков не уменьшается. По этой причине даже для бытовых целей было бы неплохо сделать кран своими руками. Естественно, у этой конструкции не будет большой грузоподъемности, порядка 200 кг. Конечно, это наверное не предел, но лучше не экспериментировать.
Этот кран представляет собой полностью сборную конструкцию, которая весит от 200 до 300 кг, поэтому самостоятельная сборка такого крана не вызовет затруднений. Кроме того, этот кран очень удобен в транспортировке, он вполне помещается в китайский пикап.Грузовая лебедка может быть изготовлена из электрического червячного редуктора мощностью 600 Вт, а лебедка стрелы может быть изготовлена из ручного привода, организованного тем же редуктором.
Строительные опоры могут быть использованы в качестве основы для аутригеров на винтовых упорах. Для изготовления барабанов лебедок можно использовать роторы от электродвигателей, причем выбирать их следует в соответствии с размерами.
Мобильная платформа должна быть оснащена колесами, которые ранее были на конвейерной тележке. Это дает возможность легко перемещать кран из одного положения в другое, для этого достаточно снять аутригеры.
Снятие и установка этих опор займет около пяти минут. По этой причине конструкцию можно считать достаточно мобильной.
Однако не обошлось без недостатка и в том, что для перемещения крана необходимо опустить стрелу до нулевого уровня, иначе из-за дисбаланса кран может опрокинуться.Кран своими руками имеет пятиметровую стрелу, изготовленную из трубы Ø 7,5 см, и квадратный профиль в самом основании, изготовленный из пары уголков. Кроме того, кран имеет портал для подъема стрелы и поворотный механизм на основе ступицы от грузового автомобиля.
В качестве противовеса можно использовать станину от нерабочей машины в комплекте с четырьмя траками, или просто кирпичи. Лебедка не включает тормоза, так как необходимость ее использования под большим вопросом.
Поворотный механизм также не имеет тормоза, так как кран не рассчитан на работу на больших скоростях, и поэтому силы инерции слишком малы.
Самый тонкий металл, из которого изготовлен этот кран, имеет толщину примерно 3 мм. Аутригер и основание в основном изготавливаются из прямоугольных труб размерами 85 на 50 и 85 на 55.
Для изготовления основания башни используется швеллер на 200. Держатель крюка оснащен мощным подшипником, а это значит, что вращение крюка не зависит от полиспаста. При этом при вращении исключается перехлест или перекручивание лески.Стопорные винты имеют длину 40 см. По этой причине кран может быть установлен даже на очень неровных поверхностях.
Теперь на счет колес не все так гладко. Речь идет о небольшом недостатке. Суть проблемы заключается в том, что при использовании крана с описанными колесами на рыхлом грунте во время движения колеса заглубляются в землю, а если грунт твердый, то проблем не возникает. Описанную конструкцию можно считать одноразовой, а это значит, что после того, как вы выполнили необходимые работы, ее следует разобрать на металл или до следующего раза. Именно по этой причине такая конструкция имеет незначительную грузоподъемность, не отличается прочностью.
Кран такого типа изготавливается примерно за три дня с учетом подготовки всех необходимых комплектующих.
Редукторы изготавливались из первых попавшихся под руку предметов. Редукторы имеют следующие передаточные числа: 1 к 30 и 1 к 35.Трехфазный двигатель подключен к однофазной сети. Имеет выходные параметры на валу — 600 Вт, и конденсаторы емкостью 80 мкФ. Вес всех установок, без учета противовесов, составит примерно 250 кг при относительно невысокой стоимости. Основная часть используемых компонентов заимствована из других конструкций; Вам останется только побеспокоиться о покупке тросов и подшипников.
После того, как вы сделали кран своими руками, вы легко сможете поднять 150-200 кг, что весьма впечатляет, учитывая, что он не предназначен для промышленных весов.
Вариант крана попроще:
За всю долгую историю своего существования человек неоднократно сталкивался с задачей подъема и перемещения тяжелых предметов в пространстве. Например, всем знакомые египетские пирамиды сделаны из массивных каменных блоков, которые никто не может поднять.
Поэтому одним из величайших достижений человечества является изобретение грузоподъемного крана, позволившего значительно упростить задачу перемещения тяжелых грузов и ускорить строительство домов и других объектов.Устройство машины
Принцип действия крана основан на физике простых механизмов. Самый простой вариант подъемного крана представляет собой палку, расположенную на точке опоры таким образом, что свободные концы имеют разную длину. Теперь, если повесить груз на короткий рычаг, то для его подъема потребуется меньше усилий. Самая распространенная конструкция, в которой помимо рычагов используется еще и блочная система.
Самосборный кран — бесспорный помощник в мелком строительстве. Строительство частного дома не требует использования громоздких промышленных кранов. Высота домов редко превышает 2 этажа, а вес поднимаемого груза составляет 200 килограммов.
Несмотря на то, что существует множество вариаций подъемных механизмов, классический кран состоит из следующих частей:
- Стрела с закрепленным на ее конце блоком.
В зависимости от его длины определяется высота, на которую можно поднять груз. - Платформа. К нему крепится стрела и противовес. Он является основной частью крана и подвергается значительным нагрузкам. Поэтому при изготовлении платформы важно уделить особое внимание ее прочности.
- Противовес. Служит для устойчивости крана. Определяет максимальный вес груза, который может поднять кран. Возможны варианты штабелирования противовесов для максимальной устойчивости.
- Распорка, соединяющая стрелу и противовес. Позволяет регулировать наклон стрелы и перемещать груз как по вертикали, так и по горизонтали.
- Лебедка с тросом. Это сам подъемный механизм. От мощности лебедки зависит, какой вес может поднять кран.
- Стойка с поворотным механизмом. Необходимо повернуть кран в стороны.
- Опорная крестовина, являющаяся основанием крана. Задает устойчивость всей конструкции. При его изготовлении следует обратить внимание и на его прочность.
условия использования
Для безопасной эксплуатации грузоподъемных механизмов необходимо соблюдать определенные правила.

Настоящие правила распространяются на любое грузоподъемное устройство:
- Превышение грузоподъемности недопустимо. Слишком большой вес может повредить устройство.
- Основание должно быть устойчивым. Самодельные подъемные устройства должны располагаться на заранее подготовленной твердой горизонтальной поверхности.
- В плохих погодных условиях также следует воздержаться от эксплуатации крана. Сильный ветер может вывести кран из равновесия, а плохая видимость может затруднить обнаружение людей под стрелой.
- Перед эксплуатацией крана или грузоподъемного устройства необходимо провести внешний осмотр для выявления неисправностей. При обнаружении каких-либо неисправностей не эксплуатируйте кран.
- Следует помнить, что при работе с подъемником нельзя делать резких движений. Груз должен подниматься плавно. И самое главное не стоять под поднимаемым грузом.
Какими характеристиками должен обладать гаражный подъемник?
В гаражных условиях применяются два типа подъемных механизмов.
К первому типу относится подъемник, способный поднять весь автомобиль, а ко второму – гусиный подъемник, позволяющий перемещать грузы по гаражу.Подъемники первого типа являются стационарными устройствами и основное требование, которое к ним предъявляется, — устойчивость. Машина весит больше тонны и не должна иметь ни малейшего шанса упасть. Во избежание несчастных случаев гаражный подъемник должен иметь надежный стопор.
Наиболее часто используемыми автомобильными подъемниками являются «гусиные» подъемники. Изготовить его из профильной трубы или швеллера достаточно просто. Сначала варится основание, на которое нужно установить поворотный механизм. Стрелу лучше делать с регулируемым вылетом. Это позволит перемещать гравитацию в любом направлении.
Как работает простая блочная конструкция
Блок-система или блок-блоки известны человечеству с древних времен. Классическая конструкция системы состоит из шкивов и каната. Один шкив называется блоком. В зависимости от способа крепления шкив может быть подвижным и неподвижным:
- Фиксированный блок.
Он крепится к опоре и играет роль изменения направления движения каната. Не дает прироста силы. - Подвижный блок. Располагается со стороны груза и обеспечивает прирост прочности.
Принцип действия полиспаста аналогичен принципу действия рычага в физике простых механизмов. Роль рычага в этом случае играет сам трос. В случае простого блока из двух шкивов подвижный шкив делит канат на 2 части и для того, чтобы поднять груз на такое же расстояние, требуется канат в 2 раза длиннее. Работа по подъему груза выполняется в том же объеме. А усилие, за счет того, что длина веревки стала вдвое больше, становится вдвое меньше.
Если в системе более 2 шкивов, выигрыш в силе примерно равен количеству блоков. В случае с 3-мя блоками усилие будет в 3 раза меньше, а для 4-х блоков потребуется лишь четверть первоначального усилия.
Сложная блочная система как рассчитать прирост силы
Если система устроена так, что один простой полиспаст тянет за собой другой простой полиспаст, то это сложная система блоков.
Для теоретического расчета прироста мощности необходимо условно разделить сложные полиспасты на простые и перемножить значения прироста от простых полиспастов.Например, если система состоит из 4 блоков, и первый условный простой полиспаст имеет выигрыш в силе 3. Он тянет второй простой двухблочный полиспаст тоже с выигрышем 3. Суммарное требуемое усилие будет в 9 раз меньше. Именно 4-х блочный сложный полиспаст чаще всего используется спасателями.
Способы крепления каната к грузоподъемному механизму
При создании сложных полиспастов нередки ситуации, когда троса необходимой длины для крепления подвижного блока нет под рукой.
Способы крепления троса с помощью универсальной оснастки:
- С помощью шнура. С помощью самозатягивающегося узла рекорд привязывается к основному кабелю. По мере подъема груза схватывающий узел перемещается по основному канату, тем самым увеличивая высоту подъема груза.
- Использование зажимов. В случае использования стального троса невозможно использовать фиксацию, поэтому необходимо использовать специальные хомуты.

Создаем простейший подъемный механизм своими руками
Постройка крана дело не быстрое и оправдано в том случае, если он будет требоваться часто или объем работ достаточно большой. В случаях, когда груз нужно поднять срочно или это разовая операция, то можно воспользоваться подручными средствами.
Для создания простейшего подъемного устройства вам понадобится шнур и два блока. Один блок и конец веревки неподвижно закреплены на опоре. Это будет самая высокая точка, на которую можно будет поднять груз. Второй блок прикрепляем к грузу с помощью строп или крюка. Сначала протягиваем веревку по блоку, закрепленному на грузе, затем пропускаем через верхний блок. Прирост силы будет в 2 раза. Используя собственный вес, вы без труда поднимете груз массой 100 килограммов на необходимую высоту.
Если добавить возможность перемещения верхнего блока по направляющей, например, по рельсу, то можно получить стреловой кран своими руками. Пригодится в гаражных условиях для перемещения тяжелых частей автомобилей.

Следует помнить, что при работе с подъемником нельзя делать резких движений. Груз должен подниматься плавно. И самое главное не стоять под поднимаемым грузом. То же правило распространяется и на кран — под стрелой стоять запрещено.
Материалы и инструменты
Самое главное при изготовлении крана — использовать качественные инструменты и материалы. Это позволит сделать конструкцию прочной и безопасной.
Трос должен иметь минимальное растяжение, это даст наибольший выигрыш в силе при использовании блочной системы. Арматуру, используемую для обвязки, нужно брать только металлическую. Пластиковая фурнитура не выдерживает больших нагрузок и ломается в неподходящий момент. В качестве крепежа для отдельных частей самодельного крана следует выбирать высокопрочные метизные изделия.
Если предполагается использование лебедки, то ее грузоподъемность должна быть не менее 500 кг. Лучшим выбором станут лебедки, способные поднять груз весом от 1 тонны.
В заключение хотелось бы еще раз напомнить о необходимости соблюдения техники безопасности при работе с грузоподъемными механизмами.
Также, вне зависимости от того, покупной кран или сделанный своими руками, его следует осмотреть перед началом работы.Многих интересует, как сделать крановую конструкцию своими руками. Такое устройство может помочь в строительстве дома, необходимых в хозяйстве подсобных помещений, зернохранилища и кормосклада.
Составление проекта
Для постройки дома нужен подъемный кран. Рассмотрим, как самостоятельно сделать конструкцию миниатюрного подъемного крана для подъема стройматериалов на высоту. Необходимо сделать мобильное разборное устройство.
Сначала составляется и рассчитывается проект изготовления аппарата:
- Основная часть конструкции — опорный каркас. Устанавливается на колеса или стационарно.
- Узел вращения агрегата закреплен на шасси.
- Стрела может поворачиваться благодаря созданию электрического или ручного управления.
- Устройство можно разобрать на части для удобства транспортировки.
- Кран будет устойчивым благодаря конструкции блока противовеса и стальных канатов.

- Груз будет подниматься с помощью блока и лебедки.
- Вам нужно собрать кран самостоятельно.
Чертежи
Для изготовления крана в первую очередь составляют схему проекта и чертежи основных узлов. Рассмотрим изготовление крановой конструкции с ручным управлением. Можно было бы сделать аппарат на электричестве, дающий возможность перемещать груз с помощью устройства на длинном тросе, как это имеет место в заводских конструкциях. Но тогда возрастает трудоемкость изготовления узлов, это приведет к удорожанию готового изделия и увеличению времени на его создание. Поэтому сосредоточимся на изготовлении ручной модели.
Сварка
Все соединения узлов и деталей выполняются сваркой. Для этого нужен сварочный аппарат. Его можно арендовать во время работы на кране или купить в специализированном салоне.
Сборка конструкции
Подготовьте:
- веревку;
- ;
- уголки и швеллеры;
- труба;
- ;
- .

шайбы
болгарка
сварочный аппарат
Каркас должен быть изготовлен из стального уголка 63х63х5 мм. Стрела длиной 5 м изготовлена из трубы диаметром 55 мм. Для усиления узла используйте уголки размерами 30х30х3 мм.
См. «Технические характеристики и чертежи башенного крана Terex CTT 161 и описание его аналогов
Грузоподъемность такого самодельного крана будет около 150 кг. Если необходимо поднимать панели с большей массой, то он необходимо увеличить кратность полиспаста, являющегося устройством для подъема груза.Полиспаст изготавливается из блоков,соединенных между собой тросом.Эта веревка должна обматывать блоки по кругу.Полиспаст позволяет поднимать панели с меньшей силой, чем вес груза.
Полиспаст выигрывает в 3-4 раза по прочности. При этом учитываются потери на трение, которые составляют 10%. Чем больше прирост прочности, тем на меньшее расстояние инструмент может перемещать панели.
Подготовить и изготовить все детали можно за 7-10 дней.
Еще 2 дня нужно на сборку механизма.
Схема подъема выполнена в виде 2-х кратного полиспаста. Поворотный узел стрелы представляет собой 6-кратный блок шкивов. Поворотный стол изготавливается путем прикрепления 2-х шайб. Ось заменяет болт 30 мм.Для уменьшения габаритов противовесов опорные ноги выполнены длиной 2 м. При радиусе поворота шайбы 200 мм и расстоянии 2 м до противовеса 100 кг будет действовать нагрузка 1 тонна на болт. Это учитывается при расчете конструкции инструмента. Выполняется расчет устойчивости.
Конструкция принимается как единая система на одной опоре. Это наименьшее расстояние от оси вращения. На систему влияет вес груза, противовеса и крана. Подъемный барабан создается из трубы сечением 100 мм. Его не следует устанавливать вплотную к блокам. Его закрепляют ближе к шайбам.
Блоки состоят из 3-х шайб. Их следует обогнуть шнуром, диаметр блоков должен быть большим, чтобы веревки не вылетали из шайб. Блоки закреплены без подшипников.
Необходим гибкий кабель сечением 5 мм.
Его рабочая нагрузка составляет 150 кг, а разрывная – 850 кг. Полиспаст действует по принципу рычага. Для полиспаста основным показателем является его кратность (отношение всех ветвей троса к отходящим от барабана).Любой из пользователей сайта согласится с утверждением, что одним из самых необходимых при строительстве является подъемный кран. Стальной герой становится незаменимым помощником, когда возникает необходимость поднять большой груз.
Подъемный механизм обычно ассоциируется с огромным сооружением высотой в десятки метров. Однако в частном домостроении, когда на первый план для строительства выходят компактные механизмы, нужен вариант с длиной стрелы, не превышающей 5-7 метров.
Но арендовать его удовольствие не из дешевых, особенно если стройка идет не один месяц.
В таком случае выход один — засучить рукава и построить самодельный мини-кран своими руками. А наши форумчане помогут вам в этом!
Как сделать самодельный подъемный кран
Экономия на собственном здоровье и попытки вручную поднять тяжелый груз, особенно если строительство дома ведется самостоятельно и без привлечения наемной рабочей силы, до добра не доводят .
Мы уже рассказывали нашим читателям, . Теперь делаем кран своими руками для строительства дома под названием « мини-пионер». «Пионер» представляет собой передвижную сборно-разборную конструкцию, с помощью которой груз поднимается на заданную высоту. Так самодельный кран можно использовать для рытья фундамента и строительно-монтажных работ при возведении домов.
Основой механизма является несущая ходовая рама, устанавливаемая стационарно или на передвижном шасси. Поворотная часть крана закреплена на раме. Стрела может поворачиваться вручную или электрически. Сама конструкция крана построена по модульному принципу и может быть разобрана на несколько частей для удобства перемещения механизма с одной строительной площадки на другую.
Устойчивость конструкции обеспечивается противовесом и стальными тросами (талрепами), а подъем груза осуществляется с помощью лебедки и блока.
Интересный опыт нашего форумчанина, решившего самостоятельно построить мини «Пионер».
Этот строительный механизм ему понадобился для строительства частного дома из бруса.Волдемор:
— Практически в одиночку строю дом из шестиметрового бруса. В одиночку поднять и перенести невозможно. Именно поэтому я решил собрать механизм для того, чтобы брать брус из штабеля, класть его на место распила и поднимать к основанию.
По мере увеличения высоты здания наш форумчанин планирует поставить кран на балки перекрытия дома.
Форумчанин собрал рамку из уголка 63х63х5 мм. Стрела длиной 5 метров — из трубы диаметром 50 мм. Для усиления конструкции использовались два уголка 30х30х3 мм. Voldemore включает в себя дополнительное удлинение стрелы еще на 2 метра.
Волдемора:
— Грузоподъемность механизма около 150 кг, но конструкция может поднимать больший вес и для этого необходимо увеличить частоту полиспастов.
В переводе с греческого «Полиспастон» означает «тянутый несколькими веревками».
Полиспаст — строительное приспособление для подъема груза. Он состоит из нескольких блоков, соединенных друг с другом веревкой или тросом, который огибает блоки по кругу. Полиспаст позволяет поднимать груз с меньшими усилиями, чем вес груза. Простейший полиспаст позволяет получить трех-четырехкратный выигрыш в прочности, не следует забывать, что потери на трение в этой системе неизбежны. Даже в лучших блочных моделях они достигают 10%. И чем больше вы набираете силу, тем больше уменьшается расстояние, на которое транспортное средство может переместить груз.
Волдемор:
— На изготовление всех узлов и механизмов у меня ушла неделя. Еще два дня я потратил на сборку и доводку механизма. Приводом поворота и подъема стрелы является шестиступенчатая ручная цепная таль. Привод лебедки также представляет собой ручную двойную цепную таль.
Voldemore отмечает, что управлять механизмом с электроприводами было бы намного удобнее — поднимать груз с пульта на длинном шнуре, как это делается в промышленных моделях.
Но в этом случае значительно возрастает трудоемкость изготовления всех механизмов, что приведет к удорожанию конструкции и увеличению сроков изготовления крана.Интересны подробности изготовления устройства.
Волдемор:
— В качестве вертушки взял два фейсплейта, которые нашел на работе. В основном я собирал механизм из того, что было под рукой. Вместо оси приварил болт на 30 мм. Болт из высокопрочной стали брать не стал, так как такие болты хуже свариваются, не растягиваются и не гнутся, а сразу лопаются при превышении их предела прочности.
Все узлы аппарата смазываются литолом.
Для уменьшения веса противовеса опорные ножки имеют длину 2 метра. При самостоятельном изготовлении и расчете узлов такого устройства следует учитывать один момент. Дело в том, что при радиусе поворотной планшайбы 200 мм и расстоянии 2 метра до противовеса массой 100 кг на центральный болт действует растягивающая нагрузка в 1 тонну.
И это без учета веса стрелы и поднимаемого груза!Также важно проверить стабильность работы устройства.
Волдемор:
— Для начала представим, что наш кран представляет собой единую балку, которая опирается на одну опору, и эта опора должна находиться на наименьшем расстоянии от оси вращения. На балку действуют три силы: вес груза, вес противовеса и вес механизма. Чтобы не учитывать вес стрелы, я занизил вес крана на 50 кг. Расчет приблизительный и простой, но лучше с ним, чем вообще без него.
Барабан подъемника стрелы Voldemore изготовлен из трубы диаметром 100 мм.
Волдемор:
–
Здесь есть нюанс — барабан нельзя ставить вплотную к блокам. Его нужно немного сместить по оси в сторону первого блока, чтобы второй слой троса намотался ровно.Форумчанин сделал блоки из трех шайб: двух больших и одной маленькой. Все блоки без подшипников. Важно следить за тем, чтобы блоки хорошо огибали веревку.
То есть либо канат должен быть гибким, либо шкивы должны быть большого диаметра. В противном случае при поднятии стрелы без груза тросы могут вылететь из блоков.Волдемор:
— У меня веревка диаметром 12 мм, но она очень толстая — другой просто не было. Если я удлиню стрелу, то поставлю более гибкий трос диаметром 5 мм, потому что его рабочая нагрузка 150 кг, а разрывная 850 кг.
При проектировании блочных систем важно понимать, как работает и рассчитывается полиспаст. Разберем на примере мини-пионера.
Волдемор:
— Принцип работы полиспаста аналогичен работе редуктора — выигрываешь в силе, но проигрываешь в длине каната и, следовательно, в скорости подъема груза.
В редукторе основной характеристикой является передаточное отношение, а в полиспасте — кратность, т.е. отношение всех ветвей троса к выходящим из барабана. Если у нас есть 6 кусков веревки, то блок шкивов шесть раз.
Это означает, что тяговая нагрузка на барабан будет в 6 раз меньше веса груза, а сама веревка, если она рассчитана на 100 кг, то скатанная в 6 раз, поднимет 600 кг.
Мини краны строительные своими руками
Конструкция вышла настолько удачной, что многие наши пользователи решили ее повторить и даже сделать кран мобильным, разместив его на Газели.
Форумчанин с ником plumag предлагает с помощью аналогичного механизма большей грузоподъемности и оснащенного электроприводами ставить бетонные столбы. А чтобы иметь возможность перевозить такой индивидуальный кран по дорогам общего пользования, сделать конструкцию разборной и частично и полностью монтировать ее в кузов уже на месте предполагаемых работ. Это позволит в короткие сроки окупить все затраты, связанные с изготовлением устройства.
На FORUMHOUSE вы можете узнать все о самостоятельных, а также познакомиться с мини-пионерами. На портале обсуждается все, что нужно знать для изготовления крана От бетономешалки до трубогиба.
Темы форумчан о создании полезных питомцев, которые помогут вам в строительстве.Наше видео расскажет, какие инструменты необходимы для оснащения столярной мастерской. Посмотрите, как сделать А своими руками в этом инструменте , который упростит работу на вашем участке возле загородного дома.
Как работают шкивы? — Объясните, что Stuff
Как работают шкивы? — Объясните этот материал
Вы здесь:
Домашняя страница >
Инструменты, инструменты и измерения >
Шкивы- Дом
- Индекс А-Я
- Случайная статья
- Хронология
- Учебное пособие
- О нас
- Конфиденциальность и файлы cookie
Реклама
Криса Вудфорда. Последнее обновление: 26 декабря 2021 г.
Вы, наверное, видели этих потрясающих телесиловиков, которые умеют тянуть машины.

своими волосами и волочат поезда зубами. Но знаете ли вы
наука тоже может сделать тебя сильным? Если вам нужно поднимать большие веса,
не напрягайте спину: используйте силу науки — и удивительную
устройство под названием шкив . Давайте подробнее рассмотрим, как они работают!Фото: Шкив, установленный на огромной подъемной раме для повышения безопасности использования. Благодаря силе шкивов один человек может поднять гораздо больший вес, чем его собственный вес, не напрягая при этом никаких мышц, потому что дополнительный вес поддерживают несколько веревок или цепей. Фото Р. Б. Хотарда предоставлено Корпусом морской пехоты США.
Содержание
- Что такое шкивы?
- Давайте разберемся с массой и весом!
- Как работают шкивы
- В чем подвох?
- Что такое блок и снасть?
- Узнать больше
Что такое шкивы?
Шкив — это просто набор из одного или нескольких колес, на которые наматывается веревка, чтобы было легче поднимать предметы.

Шкивы являются примерами того, что ученые называют простыми механизмами. Это не значит, что они напичканны двигателями и
шестерни; это просто означает, что они помогают нам умножать силы. Если вы хотите поднять очень тяжелый
веса, силы, которую могут приложить ваши мышцы, не так много, даже если
ты самый сильный человек в мире. Но используйте простую машину, такую как
шкив, и вы сможете эффективно увеличить силу, которую производит ваше тело.Фото: Шкив и крюк на большом кране. Любой вес, свисающий со дна этого крюка, будет поддерживаться 16 отрезками проволочного каната над ним. Чем больше отрезков веревки намотано на шкив, тем легче его поднять. Фото Джета Лоу, Historic American Engineering Record (HAER), любезно предоставлено Библиотекой Конгресса США.
Давайте разберемся с массой и весом!
Прежде чем мы двинемся дальше, давайте четко разберемся с разницей между весом и массой.
Это поможет в тот момент, когда мы будем говорить об использовании шкивов для подъема веса (что на самом деле массы ) с определенной суммой силы .
В двух словах:- Масса — это количество материала, из которого что-то сделано или содержится, измеряемое в килограммах (или фунтах).
- Вес — это сумма силы , с которой гравитация Земли притягивает определенную массу:
чем массивнее что-то, тем больше гравитационная сила, и тем больше мы говорим, что оно весит.
Фото: Сколько силы в ньютоне? Этот апельсин имеет массу около 100 г (0,1 кг), поэтому мне нужно приложить силу 1 Н (один ньютон), чтобы удержать его в воздухе. Грубо говоря, мы говорим, что апельсин «весит» 100 г; строго говоря, он весит 1 Н.
Если вы человек массой 80 кг, земное притяжение притягивает вас с силой 800 ньютонов.
(на Земле ваш вес в ньютонах всегда примерно в 10 раз больше вашей массы в килограммах, потому что
Земля притягивает каждый килограмм массы с силой 10 ньютонов).
Строго говоря, мы должны взвешивать вещи в единицах силы (ньютонах), так что если ваша масса
80 кг, ваш вес на самом деле 800 ньютонов.
Но в повседневной речи мы склонны путать массу и вес и вместо этого говорить о весе в килограммах (или фунтах). Точно так же, хотя килограмм является единицей массы, а не силы, можно говорить о силе, эквивалентной данной массе, потому что все массы
обычно преобразуются в силы таким же образом. Подробнее об этом вы можете прочитать в нашей статье о
веса и балансы.Как работают блоки
Чем больше у вас колес и чем больше раз вы обвиваете их веревкой, тем больше вы можете поднять.
Одно колесо
Если у вас есть одно колесо и веревка,
шкив помогает изменить направление подъемной силы. Таким образом
на картинке ниже вы тянете веревку вниз, чтобы поднять
взвесить. Если вы хотите поднять что-то весом 100 кг, вам нужно
тянуть вниз с силой, эквивалентной 100 кг, что составляет 1000 Н (ньютонов). Если вы хотите поднять
вес 1 м в воздухе, вы должны потянуть за свободный конец веревки всего
расстояние 1 м на другом конце.
Иллюстрация: как работают шкивы №1: с одним колесом шкив просто меняет направление прилагаемой силы на противоположное.
Это не изменяет силу каким-либо другим образом.Два колеса
Теперь, если вы добавите дополнительные колеса и обмотаете их веревкой,
вы можете уменьшить усилия, необходимые для подъема веса.
Предположим, у вас есть два колеса и веревка, обмотанная вокруг них, как показано на рисунке ниже.
Масса 100 кг (вес 1000 ньютонов) теперь эффективно поддерживается двумя секциями одной и той же веревки.
(две нити слева) вместо одной (не обращая внимания на свободный конец веревки, за которую вы тянете),
а это значит, что вы можете поднять его, потянув с усилием всего в 500 ньютонов — вдвое меньше!
Вот почему мы говорим о шкиве с двумя колесами и обмотанном вокруг него канате.
таким образом, дает механическое преимущество (ME) из двух.Механическое преимущество — это измерение того, насколько простое
машина умножает силу. Чем больше механическое преимущество, тем меньше силы вам нужно,
но чем больше расстояние вы должны использовать эту силу. Вес поднимается на 1м, но теперь мы
необходимо тянуть свободный конец веревки в два раза дальше (2 м).
Почему? Чтобы груз поднялся на 1 м, вы должны поднять две секции веревки, поддерживающие его, на 1 м каждая. Для этого нужно потянуть свободный конец веревки на 2 м.
Обратите внимание, что мы также можем вычислить механическое преимущество, разделив
расстояние, на которое мы должны тянуть веревку, на расстояние, на которое перемещается груз.
Иллюстрация: как работают шкивы#2: с двумя колесами груз как бы висит на двух веревках (две нити одной и той же веревки слева), а шкив вдвое уменьшает необходимую вам подъемную силу. Это как поднимать вес с помощью двух веревок вместо одной. Но теперь вам нужно тянуть за конец веревки в два раза дальше, чтобы поднять груз на такое же расстояние.Четыре колеса
Хорошо, а что если использовать четыре колеса, скрепленные длинной веревкой,
петли над ними, как на картинке ниже? Вы видите, что 100 кг
масса (1000 ньютонов) теперь висит на четырех участках веревки (те, что слева,
игнорируя свободный конец веревки, за которую вы тянете).
Это означает
каждая секция веревки поддерживает четверть общего веса в 1000 ньютонов или 250 ньютонов,
и чтобы поднять вес в воздух, вы должны тянуть только с
четверть силы — тоже 250 ньютонов. Чтобы поднять вес на 1 м, вы должны укоротить каждый
отрезок веревки на 1 м, поэтому вам придется тянуть свободный конец веревки на 4 м. Мы говорим, что блок с четырьмя колесами и веревкой, обернутой таким образом, дает механическое преимущество, равное четырем, что в два раза лучше, чем блок с двумя канатами и колесами.
Иллюстрация: как работают шкивы № 3: с четырьмя колесами и канатом, работающим в четырех секциях, шкив сокращает необходимую подъемную силу до одной четверти. Но вы должны тянуть конец веревки в четыре раза дальше.Рекламные ссылки
Чем шкив похож на рычаг
Вероятно, вы видите, что шкив увеличивает силу так же, как качели, которые являются своего рода рычагом. Если вы хотите поднять на качелях человека, который в четыре раза тяжелее вас, вам нужно сесть в четыре раза дальше от точки равновесия (точки опоры), чем он.
Если вы переместите свой конец рычага вниз на 4 см, их конец качелей поднимется только на 1 см. Когда они поднимаются вверх, они получают определенное количество потенциальной энергии, равное их весу, умноженному на расстояние, которое они преодолевают. Вы теряете точно такое же количество энергии, равное вашему весу (в четыре раза меньше), умноженному на расстояние, которое вы преодолеваете (в четыре раза больше). Вы можете переместить их гораздо больший вес, потому что вы перемещаете свой конец качелей на гораздо большее расстояние: рычаг качелей позволяет производить большее усилие, работая на большем расстоянии.То же самое происходит и со шкивом, за исключением того, что вы тянете веревку вместо того, чтобы двигать конец качелей. Чтобы поднять что-то в четыре раза тяжелее, вы можете использовать точно такую же силу, но только если вы потянете веревку в четыре раза дальше. Если вы посмотрите, что происходит с обеих сторон шкива, и умножите силу на пройденное расстояние, вы обнаружите, что это одно и то же.
Со своей стороны вы используете небольшую силу на большом расстоянии. С другой стороны, вес намного больше, но он перемещается на меньшее расстояние.
Иллюстрация: Как шкив работает как рычаг: Как и в случае с рычагом, шкив может «волшебным образом» создавать больше силы, но только если вы используете эту силу на более длинном расстоянии. Почему это? Читайте ниже!В чем подвох?
Шкивы звучат блестяще — и это действительно так. Но обязательно должно быть
ловить? Если вы можете поднять 100 кг (1000 ньютонов), потянув с силой, эквивалентной
всего 25 кг (250 ньютонов), наверняка вы выполняете только четверть меньше работы и используете
только четверть энергии? И если это правда, вы могли бы построить
своего рода шкив, который действительно будет производить для вас энергию: поставьте
только в одной единице энергии и получить четыре единицы! Звучит блестяще!Фото: Есть ли скрытая защелка при использовании шкива? Почему бы не сделать свой собственный простой блок из конструктора (или просто самодельных материалов, таких как хлопковые катушки и веревка) и проверить его на себе.
Нет ничего лучше
способ понять, как работают шкивы. С таким простым двухколесным шкивом легко увидеть, что вы должны
потяните за веревку в два раза выше, чем поднимается груз.К сожалению такие удивительные вещи строго запрещены
по закону физики, называемому законом сохранения энергии, который
говорит, что вы всегда должны вкладывать столько энергии, сколько получаете. Итак, начнем
подумайте о шкивах с точки зрения энергии. Если вы поднимете вес
100 кг (1000 ньютонов) на расстоянии 1 метра от земли, вы должны сделать то же самое
объем работы независимо от того, используете вы шкив или нет: вы должны переместить
одинаковая сила на одном и том же расстоянии. Если вы используете шкив и уменьшаете
силы, которую вы используете на четверть, вам все равно придется делать столько же
работы. Просто ты должен потянуть за конец веревки четыре
раз дальше, чтобы каждая из четырех опорных секций веревки поднялась на
То же количество. Это улов со шкивом. Вы тянете с меньшим
силой, а тянуть дальше (и, вообще говоря, использовать
усилие дольше).
Далеко от того, чтобы использовать меньше энергии со шкивом, вы
на самом деле придется использовать немного больше из-за трения, где
веревка трется о шкивы. Но кажется и чувствует
проще использовать шкив, и это главное!
Фото: Шкивное оборудование. 1) На этих маленьких шкивах есть крючки, поэтому их легко подвешивать к потолку. Обратите внимание, что на колесах есть канавки, чтобы веревка не соскальзывала с них. Фото Паулы Арагон. 2) Гигантские шкивы на стреле большого железнодорожного крана. В этом используется огромная прочная проволочная веревка.Что такое блок и снасть?
В машиностроении тип шкива, который я здесь описывал, иногда называют блоком и захватом : колеса и их крепления — это блоки, а веревки, обвивающие их, — снасти. В моих примерах один блок закреплен вверху, а другой блок движется вверх вместе с нагрузкой. В более общем смысле для инженеров шкив — это колесо, на которое наматывается веревка или ремень, чтобы соединить одну часть машины с другой, будь то подъем вещей, передача энергии или что-то еще.
Однако в простой науке мы склонны использовать «шкив» только для обозначения набора колес и канатов для подъема.
Фото: Два типа шкивов. Слева: Блок и полиспаст — это система на основе шкива для подъема вещей, состоящая из блоков (секций колеса) и полиспаста, соединяющих их вместе. Этот использовался для подъема ракетного оборудования в Центре космических полетов НАСА имени Маршалла. Фото Джеймса У. Розенталя, Historic American Engineering Record, любезно предоставлено Библиотекой Конгресса США.
Справа: шкивы также можно использовать для соединения различных частей машины. Здесь шкив большого двигателя приводит в движение другой шкив машины, находящейся на некотором расстоянии. В этом случае шкивы просто передают мощность. Фото: Historic American Engineering Record, любезно предоставлено Библиотекой Конгресса США.Узнайте больше
На этом сайте
- Краны
- Двигатели
- Шестерни
- Гидравлика
- Простые машины
На других веб-сайтах
- Шкивы, блоки и другие снасти: отличная коллекция фотографий шкивов, составленная пользователем Flickr «Элси» (Лес Чатфилд), у которого отличный глазомер.

для деталей и выявления скрытой красоты в механическом мире.
Книги
Для юных читателей
Почему-то существует множество книг о шкивах для юных читателей (6–10 лет). Вот лишь некоторые из них для начала:
- Рычаги и шкивы, автор Alex Brinded, Kidhaven/Greenwood, 2019. Простое введение для самых юных читателей, являющееся частью основной серии инженерных работ под названием «Как заставить вещи работать». Текст написан четко, хотя фотографии и дизайн немного устарели. 6–9 лет.
- Exploring Science: Machines: Chris Oxlade, Anness, 2016. Практическое знакомство с шестернями, рычагами, шкивами и двигателями посредством 20 простых экспериментов. Эта книга помогает поместить шкивы в более широкий контекст простых машин. Возраст 8–10 лет.
- Создание машин со шкивами: Крис Окслейд, Raintree/Capstone, 2015. Еще одно очень практичное 32-страничное введение, которое логически ведет нас через простые шкивы, составные шкивы, исторические машины, ремни и многое другое.
Есть полезные дополнения к школьной библиотеке, в том числе забавные факты и глоссарий. 7–9 лет. - Как работают шкивы: Джим Меццанотт. Гарет Стивенс, 2007 г. 24-страничное руководство, знакомящее со шкивами и показывающее, как мы используем их различными способами в повседневной жизни. Акцент здесь делается на шкивах как на средстве использования силы в наших интересах.
- Что такое шкивы ?: Хелен Фрост, Capstone Press, 2001. Очень простое иллюстрированное введение для младших читателей (думаю, 7–10 лет).
Эти две книги более общего характера, в которых наука о силе рассматривается в более широком контексте:
- «Можете ли вы почувствовать силу» Ричарда Хаммонда. Дорлинг Киндерсли, 2006/2015. Легкая книга о силах и физике для младших читателей. (Я был одним из консультантов и авторов этой книги.)
- Сила и движение Питера Лафферти. Дорлинг Киндерсли, 2000. Классическая книга DK Eyewitness, которая охватывает историю науки, а также современные технологии.
Устарело, но все еще полезно.
Для читателей старшего возраста
- Принципы машиностроения Джона Берда и Карла Росса, 2017 г. Подробное (288 страниц) введение в общие науки и принципы машиностроения.
- Трактат Джона Говарда Кромвеля о ремнях и шкивах, 1903 год. Классическая книга более раннего возраста! Объясняет теорию шкивов (с математикой) и содержит множество иллюстраций. Доступен в различных форматах электронных книг.
Видео
- Как работают шкивы: простое введение Чарли Марца. К сожалению, он использует имперские (американские) единицы измерения футов и фунтов, но вы поняли идею. Если вы европеец, то можете в уме заменить метры и килограммы.
- Как работают шкивы: более длинное и запутанное введение от Академии Хана. Этот объясняется ясно и очень хорошо, но страдает от каракулей рисования мышью и смешивания единиц (Ньютоны, футы, метры).
Пожалуйста, НЕ копируйте наши статьи в блоги и другие веб-сайты
Статьи с этого веб-сайта зарегистрированы в Бюро регистрации авторских прав США.
Копирование или иное использование зарегистрированных произведений без разрешения, удаление этого или других уведомлений об авторских правах и/или нарушение смежных прав может повлечь за собой серьезные гражданские или уголовные санкции.Авторские права на текст © Chris Woodford 2009, 2020. Все права защищены. Полное уведомление об авторских правах и условия использования.
Подпишитесь на нас
Оценить эту страницу
Пожалуйста, оцените или оставьте отзыв на этой странице, и я сделаю пожертвование WaterAid.
Сохранить или поделиться этой страницей
Нажмите CTRL + D, чтобы добавить эту страницу в закладки на будущее или рассказать о ней друзьям:
Цитировать эту страницу
Вудфорд, Крис. (2009/2020) Шкивы. Получено с https://www.explainthatstuff.com/pulleys.html. [Доступ (вставьте дату здесь)]
Подробнее на нашем веб-сайте.
..- Средства связи
- Компьютеры
- Электричество и электроника
- Энергия
- Машиностроение
- Окружающая среда
- Гаджеты
- Домашняя жизнь
- Материалы
- Наука
- Инструменты и приборы
- Транспорт
↑ Вернуться к началу
Объяснение механических преимуществ | Образованный Climber.com
Журавль в Пражском Граде, фото с сайта handshouse.org
«Любая достаточно продвинутая технология неотличима от магии».
– Arthur C. Clarke«Механическое преимущество – это мера усиления силы, достигаемой за счет использования инструмента, механического устройства или системы машины. В идеале устройство сохраняет входную мощность и просто компенсирует силы движением, чтобы получить желаемое усиление выходной силы. Моделью для этого является закон рычага». – Из Википедии
Одной из наиболее распространенных ситуаций, возникающих при работе с деревьями, является потребность в тяговом усилии.
Мы используем веревки для подтягивания верхушек, колышков и целых деревьев, а также для подъема и натяжения секций веток и бревен. Канатные работы меня завораживают. Веревка — это древний инструмент, который использовался веками, но его использование — это умирающее искусство: обычный человек на улице едва может завязать шнурки. Наша профессия — одна из немногих групп людей, которые до сих пор используют веревку для выполнения работы. Сегодня мы собираемся изучить механическое преимущество и то, как мы можем использовать простую физику для усиления сил в сценарии такелажа.Я читал, что человек может тянуть примерно 60% собственного веса горизонтально по земле в хороших условиях. Итак, если нам нужно тяговое усилие в 500 фунтов, чтобы что-то сделать, и у нас есть один землянин, который весит 200 фунтов и, следовательно, может генерировать тяговое усилие около 120 фунтов, как мы можем достичь этого тягового усилия в 500 фунтов? Простой ответ заключается в том, что землекоп может пойти и найти 4 или 5 хороших друзей, которые готовы бросить все и прийти и помочь ему натянуть веревку.

источник: Википедия
Это пример усердной работы. Но работать усерднее — это не всегда выход. Во-первых, у нас обычно нет рабочей силы, чтобы просто тянуть за веревку, а во-вторых, это тяжелая работа. А что, если бы мы хотели работать умнее, чтобы добиться того же? Как мог этот одинокий землекоп выполнить всю работу в одиночку? Ответ: механическое преимущество.
Существует много форм механического преимущества, но обычно, когда мы используем этот термин, мы говорим об использовании канатов и шкивов (блоков и полиспастов) в качестве средств усиления сил в системе, позволяющих нам тянуть гораздо больше нагрузки, чем мы могли бы в противном случае.
Все системы механических преимуществ, использующие блоки и захваты, основаны на простом наблюдении:
Для того, чтобы человечек мог удерживать груз, подвешенный в воздухе, он должен тянуть вниз с силой 100 фунтов. Итак, если груз тянет вниз с силой 100 фунтов, а человек с палкой также тянет вниз с силой 100 фунтов, то общая сила, действующая на шкив, должна составлять 200 фунтов .
Концепция, которую мы пытаемся понять и использовать, такова: , где у вас есть груз и якорь, соединенные канатами и шкивами, силы на шкивах могут быть умножены. И если силы можно умножить на шкивы, почему бы нам не прикрепить шкив к нашему грузу? Используя это простое наблюдение, мы можем спроектировать удивительные системы подъема.(Примечание: приведенное выше замечание играет огромную роль в конструкции подвесной системы с использованием блоков или шкивов, где на точки крепления воздействуют силы, намного превышающие вес опускаемых элементов, даже без учета ударной нагрузки. Мы рассмотрим конструкцию системы оснастки в следующих статьях.)
Простейшее использование механического преимущества включает в себя опорную точку, входную силу и шкив на грузе:
Здесь мы тянем груз в гору. Мы привязали нашу веревку к точке крепления, в данном случае к дереву, а затем пропустили ее через шкив, прикрепленный к грузу. Таким образом, в этом примере вы можете видеть, что какая бы сила ни тянула крупье с одной стороны веревки, от себя к шкиву, такая же сила действует и на другую сторону веревки, от шкива к анкеру .
Таким образом, для того, чтобы крупье удерживал груз устойчиво, не скользя вниз по склону, ему нужно тянуть только половину веса груза, то есть 50 фунтов, даже если груз весит 100 фунтов. Это называется механическим преимуществом 2 к 1, или 2:1 мА. Мы можем вычислить его, просто подсчитав, сколько частей или ветвей веревки воздействуют на блок: в данном случае их 2, поэтому мы вычисляем преимущество 2:1. Это очень простая концепция, но последствия поразительны.Теперь представим, что человечку нужно тащить груз прямо в гору. Вы можете видеть, что его сила тяги удвоилась, но вы, возможно, не поняли, что компромиссом для его вновь обретенной силы является то, что он должен тянуть в два раза больше веревки, чтобы переместить груз. Другими словами, если бы веревка была привязана непосредственно к грузу, вам нужно будет тянуть весь вес самостоятельно, но на каждый фут веревки, который вы тяните, груз будет продвигаться вперед на фут. С этой установкой MA 2:1 вам нужно тянуть только вдвое меньший вес, но чтобы переместить груз на 1 фут вверх по склону, вы должны тянуть 2 фута веревки.
Механическое преимущество всегда связано с компромиссом: расстояние тяги для силы тяги . Как однажды заметил Роберт Хайнлайн, TANSTAAFL — «бесплатных обедов не бывает».источник: letoolman.com
Сообщается, что система блоков и талей была изобретена самим Архимедом и веками использовалась для подъема и тяги всех видов. Система блокировки и захвата основана на общих концепциях, о которых мы говорили, но идет еще дальше. В блоке и снасти используются два шкива, чтобы умножить силы в системе. Один шкив прикреплен к нагрузке и называется подвижным шкивом. Другой крепится к анкерной точке.
Простейшая форма системы блокировки и захвата — это установка с механическим преимуществом 2:1, называемая Gun Tackle:
В этой установке веревка «начинается» или прикрепляется к якорю, затем проходит через движущийся шкив, затем проходит через анкерный шкив. Как и раньше, давайте представим, что мы подвешиваем 100-фунтовый груз на этот нижний, движущийся блок, а затем мы хотим удерживать вес в воздухе.
Нижний шкив работает точно так же, как и в предыдущем примере, удваивая тяговое усилие. Верхний, или анкерный блок, служит перенаправлением, позволяя нам стоять на земле, чтобы тянуть веревку вниз. Без перенаправления вверх нам пришлось бы стоять на потолке и тянуть вверх, чтобы получить преимущество 2 к 1, точно так же, как мы делали в нашем предыдущем примере, где крупье находился на вершине холма и тянул вверх. Таким образом, чтобы удержать вес, подвешенный в воздухе, мы тянем 50 фунтов вниз, которые перенаправляются анкерным шкивом вверху, а затем удваиваются подвижным шкивом, прикрепленным к грузу, позволяя удерживать вес 100 фунтов. всего с 50 фунтами входной силы.В следующем примере все становится действительно интересным. Что, если бы мы использовали несколько шкивов? Вот простой пример этого, а затем я покажу эквивалентную установку с блоком и снастью:
отрезок веревки, действующий на движущийся шкив, подвергается натяжению в 50 фунтов, и на этот шкив действуют 3 отрезка веревки, 50 x 3 = 150.
Удивительно, правда? Имейте в виду, что для того, чтобы стикмен поднял груз вверх, ему пришлось бы тянуть веревку длиной 3 фута, чтобы груз переместился на 1 фут. Помните, что каждая система механического преимущества включает в себя компромисс между расстоянием тяги и силой тяги.Вышеупомянутый пример может быть установлен с использованием блока и захвата, но вместо двух отдельных шкивов на якоре эти шкивы объединены в двойной шкив. Этот пример технически называется Luff или Watch Tackle:
Надеюсь, к этому моменту вы уловили суть. Мы используем шкивы и двойные шкивы для усиления усилий. Нам нужна анкерная точка и подвижный шкив, прикрепленный к грузу, и нам нужна входная сила. Мы можем рассчитать механическое преимущество, подсчитав количество ветвей веревки, действующих на движущийся шкив, что аналогично расчету компромисса между расстоянием тяги и силой тяги. Я не хочу вдаваться в исчерпывающий трактат обо всех различных установках блока и захвата.
Есть много точных источников, которые помогут копнуть глубже. Вместо этого я хочу теперь сосредоточить наше внимание на наиболее распространенных применениях механического преимущества, используемых в работе с деревьями.Знаешь, как говорят, никогда не предполагай, потому что, предполагая, ты делаешь из «ты» и «меня» «задницу». Однако для наших целей здесь нам нужно будет согласиться с некоторыми предположениями, чтобы мы могли выполнить некоторые основные математические операции.
Допущения:
- все шкивы имеют 100% КПД, то есть трения не существует.
- все углы вытягивания 180 градусов.
- все шкивы и тросы невесомы, и тросы не растягиваются.
Эти предположения позволяют нам использовать удобные и простые числа. В действительности, конечно, ни один шкив не имеет абсолютно нулевого трения, а углы тяги не всегда равны 180 градусам. Итак, на самом деле, когда мы говорим, что система 3:1 или 5:1, на самом деле это никогда не так.
Скорее 2,89:1 или 4,73:1. Но кто захочет говорить новичку: «Эй, давай, вытащи из грузовика 4,73:1!» В любом случае, вы понимаете мою точку зрения. Давайте просто согласимся сделать некоторые предположения на этот раз.Блоки очень просты и элегантны, но в то же время невероятно эффективны. Есть много-много способов использовать механическое преимущество с веревками и блоками при работе с деревьями, но я не собираюсь вдаваться в них все. Вместо этого я хочу сосредоточиться на 4 способах использования МА, которые могут оказаться очень полезными. Как только вы поймете используемые концепции и увидите несколько примеров, вы сможете спроектировать свои собственные тяговые системы, адаптированные к конкретной ситуации. В частности, я хочу посмотреть на:
- 2:1 МА для тяговых штифтов
- Установка Z-Rig 3:1
- 5 : 1 Fiddle Block/Block and Tackle Setup
- Системы Piggyback/Compound MA
Имейте в виду, что для установки любой системы МА в полевых условиях вам потребуется точка привязки.
В жилых домах опорная точка часто является ограничивающим фактором для использования механического преимущества, без нее мы не можем использовать MA . Джерри Беранек очень хорошо описывает опорные точки в своей второй серии «Рабочий альпинист», диск 3. В основном, я определяю опорную точку как любой неподвижный объект, который, как я могу безоговорочно сказать, способен выдерживать тянущие силы, которым он будет подвергаться. В случае установки шкива на анкерной точке этот анкер должен выдерживать во много раз большую силу тяги, поскольку использование шкивов увеличивает силы. Итак, для установки систем МА в полевых условиях необходимо иметь доступ к точке привязки бомбардировщика. =Не думайте, что точка привязки достаточно прочная — если у вас есть сомнения по этому поводу, не используйте ее! Прежде всего, я определяю колышек как бревно или часть бревна, оставшуюся после удаления кроны дерева. Одним из действительно распространенных сценариев в нашей работе является удаление дерева на заднем дворе, где недостаточно места, чтобы просто перевернуть дерево, но с одной стороны от него может быть 25 футов газона.
Таким образом, мы взбираемся на него, спускаемся со снастей или секций свободного падения, а затем оставляем колышек высотой 20 футов, который нужно сбросить с земли. В большинстве случаев мы можем просто привязать веревку к верхней части колышка и перетянуть его. Но иногда колышек очень большой и тяжелый или имеет наклон назад, и мы не уверены, что сможем легко его перетянуть. Есть много вариантов использования механического преимущества в этом сценарии, и один из них — прикрепить блок к колышку, а не просто привязывать веревку непосредственно к нему. Веревка «начнет» с якоря, пройдет через блок на колышке, а затем вернется к входной силе. Таким образом, все, что мы тянем, удваивается на колышке. (Обратите внимание, что это также можно использовать для целых деревьев.) Вот как это может выглядеть:Теперь, очевидно, если бы нам действительно нужно было установить блок наверху, чтобы удвоить наше усилие, то мы, скорее всего, не собираемся использовать простую рабочую силу, чтобы тянуть его.
Итак, хотя я показал это здесь с тягой, исходящей непосредственно от крупье, обычно вы должны использовать либо дополнительную механическую систему преимущества для тяги, такую как блок и снасть или проход, либо вы можете тянуть с помощью транспортного средства или лебедки.Z-rig представляет собой удобную систему тяги, которая быстро и легко настраивается и может значительно увеличить силу тяги наземных рабочих. В самой простой форме Z-Rig используется только одна веревка, привязанная к грузу, точка крепления, 2 одинарных шкива и один или два прусика. Это выглядит примерно так:
Теперь вы понимаете, почему это называется Z-rig. Вы можете убедиться, что это 3 к 1, посчитав ветви веревки, действующие на движущийся блок. Первые 2 очевидны — от крупье к шкиву и от шкива к якорю, но 3-й может быть не столь очевиден: шкив, соединенный с основной линией через прусик, считается третьим. Причина, по которой прусик считается 3-й ногой, заключается в том, что в Z-образной оснастке для построения системы MA используется сама фактическая тяговая веревка, а не предварительно построенная оснастка, которая прикрепляется к тяговой веревке.
Помните, что вам нужно будет протянуть 3 фута веревки через эту систему, чтобы переместить груз на 1 фут, но ваша входная сила будет увеличена в 3 раза.0003Примечание. Сцепка дальнобойщика — это еще более быстрое применение базовой концепции 3 к 1, но она имеет гораздо большее трение в системе, что снижает тягу. При этом существует очень много ситуаций, когда тяга от сцепки Trucker — это все, что требуется, и знание того, как быстро ее настроить, очень ценно. Вы можете посмотреть, как я завязываю английскую сцепку дальнобойщика, здесь и увидеть ее в действии здесь. Многие люди будут смеяться над Trucker’s Hitch из-за дополнительного трения, которое у него есть, но одним из лучших аспектов этого трения является то, что оно действует почти так же, как захват прогресса — трение помогает противостоять оттягиванию груза . Давайте быстро рассмотрим концепцию захвата прогресса.
Когда мы говорим о захвате прогресса в системе механического преимущества, мы имеем в виду, что система спроектирована так, чтобы не отставать.
Другими словами, если мы продвинем груз на несколько футов к анкеру, но затем отпустим тяговый канат, прогресс, который мы только что сделали, будет зафиксирован, груз не сможет просто вернуться туда, где он был. Эта функция системы MA становится очень полезной в критических ситуациях. Это также намного проще для наземной бригады, так как они могут подняться, а затем расслабиться, если им нужно, зная, что прогресс, который они только что сделали с их тягой, не будет потерян. Есть два основных способа добиться фиксации прогресса в системах МА: с помощью дополнительного шнура-прусика или с помощью кулачкового устройства. В приведенном выше примере Z-Rig прусик захвата прогресса обычно устанавливается на анкерном шкиве, между анкером и грузом. Прусик соприкасался со шкивом и пропускал веревку (прогресс) при приложении входной силы, но если входная сила прекращалась, прусик схватывал леску и не позволял ей проскользнуть обратно. Точно так же работает кулачок — это зубчатое устройство, которое позволяет веревке двигаться через него только в одном направлении.
Прусик Progress Capture (устанавливается со стороны нагрузки анкерного шкива) (фото предоставлено веб-сайтом rope-access.co.jp)
Система тяги 5:1, вероятно, является наиболее универсальным средством усиления входных усилий при работе с деревьями. Его можно использовать в любое время, когда нам нужно создать максимальное усилие на веревке, включая натяжение, подъем, вытягивание и т. д. Эта система действительно сияет, когда ваша наземная команда ограничена по размеру, т. е. когда есть только 1 или 2 человека. потянув.
Система 5:1 отличается от остальных, которые мы видели, тем, что она хранится в готовом виде, т.е. вы не собираете ее каждый раз, чтобы использовать. Состоит из сращенного каната, 2-х двойных блоков, 2-х карабинов, поступательного захвата и шнура-прусика для крепления к грузовому тросу. Веревка 5:1 «начинается» в рамке на подвижном шкиве, затем дважды проходит через оба шкива, прежде чем выйти на подвижном шкиве. Таким образом, вы получите 5 ветвей веревки, действующих на движущийся шкив.
На этих простых рисунках трудно показать все 5 ветвей линии, но выглядит это примерно так:Эта установка отличается от установки Z-Rig тем, что фактическая веревка, прикрепленная к грузу, не интегрируется в систему МА. Здесь 5:1 прикрепляется к грузовому тросу, а остальная часть грузового троса просто свободно лежит на земле. Обратите внимание, что если бы вы установили это задом наперед (т. Е. Так, чтобы тяговая линия крупье выходила из якорной стороны вещей), то на движущийся шкив действовали бы только 4 ветви веревки, и поэтому это была бы установка 4: 1. . Так что помните, что с системами блоков и талей, когда это возможно, вы хотите настроить их так, чтобы ваша тяга была в направлении, противоположном грузу, а не в направлении груза. Эта концепция называется «резервирование в пользу».
Что касается названий, я, как известно, использовал термин «скрипичный блок» взаимозаменяемо с «5 к 1» или «блок и захват», потому что они работают точно так же и на самом деле это одно и то же.
Технически, скрипичный блок — это просто специально разработанный двойной шкив, в котором 2 шкива разного размера, причем меньший шкив находится «внутри» большего шкива, что заставляет 4 ветви веревки проходить «в линию» через систему, в отличие от чтобы бежать бок о бок друг с другом. Кроме того, в большинстве систем блоков для скрипки используются кулачки для фиксации прогресса, в то время как в большинстве установок блоков и снастей для этой цели используется прусик. Итак, внешне они немного отличаются, но механически они одинаковы.Система Fiddle Block (фото с веб-сайта westtechrigging.com)
(камера фиксации прогресса вверху слева, там, где выходит веревка)Стандартная система Block and Tackle 5:1 (фото предоставлено arbtalk.co.uk) (обратите внимание на процесс захвата прусика — синяя веревка) Последний аспект механического преимущества, который я хочу затронуть, — это то, что я называю комбинированными системами.
Основная концепция здесь заключается в том, что вы можете настроить первичную систему MA (обычно 2:1 или 3:1), а затем подключить вторичную систему MA, чтобы воздействовать на выходную линию первичной установки. Таким образом, системы будут умножаться вместе, чтобы значительно усилить результирующее притяжение. Например, если бы вы построили систему MA 3:1, а затем присоединили к ней другую систему MA 3:1, результат был бы 3 x 3 = 9.:1 механическое преимущество! Таким образом, эта система 9:1 может быть построена только с 4 одинарными шкивами или также может быть построена с двойным шкивом на анкере и двумя одинарными подвижными шкивами. Вот как это может выглядеть в стране человечков:Надеюсь, вы понимаете концепцию, которую я пытаюсь передать с помощью этой картинки детского сада. У нас есть один 3:1, тянущий непосредственно на другой 3:1, который умножает результирующую выходную силу, чтобы дать нам преимущество 9:1! Таким образом, на каждый фунт тяги крупье приходится 9фунтов силы, тянущей груз, но для того, чтобы стикмен переместил груз на 1 фут, он должен переместить 9 футов веревки через систему! Схема 9:1, показанная выше, является лишь одной из многих составных систем MA, которые вы можете спроектировать, как только поймете все основные концепции, о которых мы говорили.
Как и во всех конфигурациях MA, которые мы рассматривали, вы должны учитывать точки привязки при проектировании дополнительных систем — они могут подвергаться адской нагрузке. Итак, давайте вернемся к примеру с самого начала. Надеюсь, вы видите, что с помощью веревок и шкивов наш одинокий землекоп, теперь хорошо обученный механическому преимуществу, должен довольно легко генерировать тягу в 500 фунтов. Все, что для этого требуется, — это твердое знание основ, а также правильные инструменты и оборудование. Действительно, землянин, способный проектировать и эксплуатировать сложные механические системы преимущества, такие как эти, был бы очень ценным активом для любой бригады деревьев.
Спасибо, что дочитали до конца еще одну многословную статью. Я действительно не знал, что это будет длиться так долго, пока я не попал прямо в сорняки, но я думаю, что это получилось действительно хорошо. Перефразируя Блеза Паскаля, «это длиннее обычного, потому что у меня не было времени сделать его короче».
Спасибо за прослушивание. Теперь, эй!Поднимайтесь высоко, Работайте с умом, Подробнее.
– TreeMuggsЯ хотел бы услышать от вас. Пожалуйста, присылайте все комментарии/вопросы/ненавистнические письма на [email protected]
Поднимите себя: облегчение груза с помощью шкивов
Научные проекты
Реферат
До индустриальной эпохи люди полагались на мышечную силу для перемещения и подъема тяжелых предметов. Вот проект, который покажет вам, как вы можете использовать свою голову, чтобы облегчить нагрузку на мышцы и спину!
Сводка
Машиностроение
Краткосрочная (2-5 дней)
Нет
Доступен
Низкий (20–50 долларов США)
Рекомендуется присмотр взрослых
Эндрю Олсон, доктор философии, друзья по науке
Цель
Целью данного проекта является измерение силы и работы, необходимой для подъема одного и того же груза с различным расположением шкивов.

Введение
Шкивы — это машины, облегчающие работу по подъему предметов. Простой шкив (см. рис. 1) состоит из одного колеса, установленного на оси и закрепленного на небольшой раме.
Край колеса имеет канал, через который может пройти веревка. Блок можно использовать для подъема объекта, как показано на рисунке 1. Здесь один конец веревки закреплен на месте (вверху справа), а объект, который нужно поднять, прикреплен к блоку. Потянув за другой конец веревки, объект поднимается. В другом устройстве (не показано) шкив фиксируется на месте (например, на подвесной балке), и веревка проходит над шкивом. Один конец веревки прикреплен к объекту. Потянув за другой конец веревки, предмет поднимается.
Два (или более) шкива могут работать вместе, как показано на рисунке 2. Это пример компоновки составного шкива .
Один конец троса прикреплен к верхнему шкиву, как показано выше. Канат проходит вокруг нижнего шкива, а затем вокруг верхнего шкива.
Поднимаемый объект крепится к нижнему шкиву. Потянув за веревку, предмет поднимается.Блок и захват — это устройство, в котором используется несколько шкивов, установленных на одной оси. Блоки — это «блоки», а веревка — это «снасти». Пример показан на рис. 3.
На рисунке 3 верхний и нижний блоки имеют по два шкива на одной оси. Поднимаемый объект крепится к нижнему блоку. Один конец каната крепится к верхнему блоку, а затем проходит вокруг первого шкива в нижнем блоке. Далее канат проходит по первому шкиву в верхнем блоке, затем вниз ко второму шкиву в нижнем блоке. Наконец, канат проходит через второй шкив в верхнем блоке. Как и в случае с составным шкивом, показанным на рис. 2, потянув за веревку, объект поднимается.
В чем смысл соединения нескольких шкивов в составной шкив или блок и полиспасты? Как насчет того, чтобы построить их для себя, чтобы узнать?
Термины и понятия
Для выполнения этого проекта вам необходимо провести исследование, которое позволит вам
понимать следующие термины и понятия:- простой шкив,
- ,
- блок и снасть,
- сила,
- работа,
- механическое преимущество,
- энергосбережение.

Составной шкив
Вопросы
- Как физика определяет термин работа ?
- Каковы единицы СИ для силы?
- Что такое единицы СИ для работы?
Библиография
- Редактор, 2005 г. Указатель единиц и систем единиц, Sizes.com. Проверено 19 апреля 2006 г.
- участников Википедии, 2006 г. Шкив, Википедия, Бесплатная энциклопедия. Проверено 19 апреля 2006 г.
- EDinformatics, дата неизвестна. Простые машины: шкив, EDinformatics.com. Проверено 19 апреля 2006 г.
- Хендерсон, Т., 2004. Работа, энергия и мощность, Физический класс. Проверено 19 апреля 2006 г.
Материалы и оборудование
Для проведения этого эксперимента вам потребуются следующие материалы и оборудование (вы сможете найти их в ближайшем хозяйственном магазине):
- рулетка
- пружинные весы (Примечание: если вы не можете найти их в хозяйственном магазине, попробуйте в магазине спортивных товаров — они часто используются для взвешивания рыбы — или в Интернете),
- шкивов, которые позволят вам создать любую из комбинаций, показанных на рисунках 1, 2 и 3 из введения.
Например, 2 таких шкива от Carolina Biological. - веревка (должна соответствовать каналам шкивов и должна быть достаточно прочной, чтобы поднять желаемый вес)
- предмет, который нужно поднять (например, 5-галлонное ведро с песком или водой)
Экспериментальная процедура
Указание по технике безопасности: Этот проект включает в себя подъем предметов с помощью канатов и шкивов. Небольшие травмы возможны, но их легко избежать при должной осторожности. Рекомендуется наблюдение взрослых.
- Проведите предварительное исследование и убедитесь, что вы понимаете термины и концепции.
- Изучите схемы во Введении, чтобы знать, как самостоятельно собрать различные блоки шкивов.
- Найдите место для надежного и безопасного крепления шкивов (например, подвесная балка в гараже или в подвале). Убедитесь, что у вас есть разрешение. При необходимости обратитесь за помощью к взрослому. Помните, что точка крепления должна выдерживать вес, который должен подниматься шкивом.

- Наполните ведро водой или песком и взвесьте его, подвесив на пружинных весах. Вам нужно иметь достаточное количество песка или воды, чтобы весы пружины показывали максимальное значение веса (или силы).
- Поднимите ковш с помощью простого шкива. Прикрепите один конец веревки к ведру. Прикрепите другой конец веревки к пружинным весам. Потяните за весы, пока не поднимите ковш с земли. Запишите показания весов в лабораторную тетрадь.
- Сколько веревки нужно протянуть через простой блок, чтобы поднять ковш на 2 метра? Запишите длину в лабораторную тетрадь.
- Поднимите ковш с помощью составного шкива. Присоедините ковш к нижнему шкиву. Прикрепите пружинную шкалу к свободному концу веревки. Потяните за весы, пока не поднимите ковш с земли. Запишите показания весов в лабораторную тетрадь.
- Сколько веревки нужно протянуть через составной шкив, чтобы поднять ковш на 2 метра? Запишите длину в лабораторную тетрадь.
- Повторите шаги 7 и 8 с блоком и снастью.

- Составьте таблицу результатов. Рассчитайте механическое преимущество каждой конфигурации шкивов и включите его в свою таблицу.
- Если ваши весы откалиброваны в единицах веса, вы можете легко преобразовать их в единицы силы (Н, Ньютоны), умножив вес (в кг) на 9,8 м/с 2 .
Вопросы
- Какое расположение шкивов облегчает подъем ковша?
- Какая работа требуется, чтобы поднять ковш на одинаковое расстояние при каждом расположении шкивов?
- Как механическое преимущество системы шкивов связано с длиной каната, необходимой для подъема объекта на фиксированное расстояние?
Задать вопрос эксперту
У вас есть конкретные вопросы о вашем научном проекте? Наша команда ученых-добровольцев может помочь. Наши эксперты не сделают всю работу за вас, но они сделают предложения, дадут рекомендации и помогут устранить неполадки.
Опубликовать вопрос
Варианты
- Можете ли вы предсказать, какая сила потребуется, чтобы поднять ваш ковш, если каждый блок в вашем блоке и полиспасте будет иметь три шкива? Попробуйте и убедитесь, что ваш прогноз верен.

Вакансии
Если вам нравится этот проект, вы можете изучить следующие родственные профессии:
- Руководство по проекту научной ярмарки
- Другие подобные идеи
- Идеи проекта машиностроения
- Мои любимые
Лента новостей по этой теме
,
,Процитировать эту страницу
Общая информация о цитировании представлена здесь. Обязательно проверьте форматирование, включая заглавные буквы, для используемого метода и при необходимости обновите цитату.
Стиль MLA
Сотрудники научных друзей.
«Поднимите себя: облегчите нагрузку с помощью шкивов». Научные друзья ,
7 мая 2021 г.,
https://www.sciencebuddies.org/science-fair-projects/project-ideas/ApMech_p010/mechanical-engineering/pulleys-lighten-loads.
По состоянию на 3 октября 2022 г.
APA Style
Сотрудники научных друзей.
(2021, 7 мая).
Поднимите себя: облегчите нагрузку с помощью шкивов.
Извлекаются из
https://www.sciencebuddies.org/science-fair-projects/project-ideas/ApMech_p010/mechanical-engineering/pulleys-lighten-loadsДата последнего редактирования: 07.05.2021
Ознакомьтесь с нашими научными видео
Робот для доставки сладостей ко Дню святого Валентина
Угол наклона солнечной панели для юниорского солнечного спринта
Научный проект «Мраморные американские горки»
Система шкивов
Обновлено 3 января 2018 г.
Автор Bryan Trandem
Когда вам нужно поднять тяжелый вес, шкив может облегчить эту работу. Шкив — это один из шести простых немоторизованных механизмов в физике — в данном случае тот, который уменьшает либо усилие, необходимое для подъема груза, либо направление, в котором сила должна быть приложена для перемещения груза, — или он может сделайте обе вещи: уменьшите необходимую силу, а также направление.

Шкивы работают с помощью колеса с канавками, которое вращается вокруг оси. Когда шкив закреплен на прочном анкере и через канавки на колесе шкива продета веревка, ее можно использовать для подъема тяжестей гораздо легче, чем делать это с помощью грубой силы. И вы можете удвоить эффективность системы шкивов, увеличив количество шкивов в установке. Существует множество способов комбинировать несколько шкивов в подъемной установке. Любое подъемное устройство, в котором используется только один шкив, известно как 9.1202 простая система или с одним шкивом , в то время как любая система, объединяющая два или более шкива, известна как составной шкив .
Простая система шкивов с одним колесом не уменьшает величину силы, но изменяет направление, необходимое для перемещения груза. Составная система, с другой стороны, фактически уменьшает количество силы, необходимой для перемещения объекта. Составные системы могут усложняться. Например, вы можете смонтировать систему, используя две ступицы шкивов, каждая из которых имеет по два колеса, и при протягивании подъемных канатов через все четыре колеса и две ступицы подъемная сила может быть очень существенной.
Наиболее известная форма составного шкива — это хорошо известный блок-снасть, но системы шкивов могут быть очень сложными в сложном оборудовании с использованием нескольких ступиц, каждая с двумя или более колесами. Например, парусный такелаж на больших парусных лодках может иметь очень сложные системы шкивов.Эта статья, тем не менее, описывает, как оснастить довольно простую систему шкивов для обычного домашнего использования, чтобы легче было поднимать тяжелые веса.
••• Wikicommons
Однако важно знать, что шкив не уменьшает общий вес поднимаемого объекта, и что какую бы точку вы ни выбрали для закрепления неподвижного шкива, она должна соответствовать задаче выдерживает весь вес груза. Например, если вы поднимаете в воздух самоходную газонокосилку для работы с ходовой частью или поднимаете мотоцикл для работы с шинами, шкив необходимо закрепить таким образом, чтобы он мог безопасно выдержать весь вес. Несоблюдение этого требования может привести к серьезной аварии.
Предупреждения
Всегда следуйте инструкциям и указаниям, прилагаемым к вашим шкивам. Для поисково-спасательных работ обязательно используйте шкивы, веревки и якоря, предназначенные для этой цели.
Как использовать простую систему шкивов
Простая система шкивов не снижает силы, необходимой для подъема объекта, но позволяет прикладывать силу в другом направлении. Если, например, вы хотите поднять 100-фунтовый вес, простая система шкивов по-прежнему потребует 100-фунтовой силы, но вы сможете применить ее в более удобном направлении вниз или вбок, а не поднимать прямо вверх. .
Определите вес груза, который вам нужно поднять. Установите верхнюю опорную точку как можно ближе к весу, который вы хотите поднять. Если весовую нагрузку можно перемещать в боковом направлении, это может означать ее перекатывание или скольжение в точку непосредственно под подходящей точкой крепления.
Помните, однако, что точка, в которой ваша система шкивов закреплена над головой, должна соответствовать задаче поддержки нагрузки.См. информацию производителя шкивов, чтобы определить, какой вес могут поднимать шкивы. Используйте один шкив, если его вес достаточен для подъема вашего груза. Если шкива недостаточно, перейдите ко второму набору инструкций по использованию составного шкива.
Закрепите неподвижный шкив в точке крепления. Например, в гараже это может означать крепление неподвижного шкива к цепи, обернутой вокруг прочной потолочной балки. Не ожидайте, что шуруп с проушиной, вставленный в потолочную балку, выдержит очень большой вес, так как он вполне может вырваться, если вес значителен. Всегда лучше обмотать якорную цепь или трос вокруг элемента подвесного каркаса. Крепкая ветка дерева также может служить хорошей точкой крепления для неподвижного шкива.
Выберите подъемный канат, рассчитанный на вес, который вы хотите поднять, и с диаметром, соответствующим канавкам на вашем шкиве.
Проденьте один конец веревки через ступицу верхнего шкива так, чтобы он попал в канавку колеса, затем прикрепите конец веревки к объекту, который хотите поднять.Продолжайте поднимать груз, применяя направленную вниз или боковую силу к другому концу веревки. Если вы планируете удерживать груз в фиксированном положении, выберите точку крепления для другого конца веревки, достаточную для безопасного удержания груза на месте.
Как использовать базовую систему составных шкивов
В этой простейшей форме установки составных шкивов вам понадобится один фиксированный шкив, который будет закреплен над головой, и еще один шкив, который будет прикреплен непосредственно к грузу и который будет двигаться, когда вы поднимаете груз. Преимущество составной системы в том, что она действительно снижает усилие, необходимое для подъема. Если вес слишком тяжелый, чтобы поднять его вручную, установка составного шкива позволит вам выполнить работу.


