Содержание
Регуляторы напряжения РР350 и РР132А, характеристики, устройство
Генераторы и регуляторы напряжения
Auto Оставить комментарий
Для поддержания постоянства вырабатываемого напряжения генераторы Г250-Е1 и Г250-П2 автомобилей УАЗ снабжены выносными регуляторами напряжения РР350 или РР132А. Регуляторы напряжения РР350 и РР132А как и другие регуляторы, применяемые с автомобильными генераторами, поддерживают напряжение постоянным в результате изменения силы тока в обмотке возбуждения.
Регуляторы напряжения РР350 и РР132А, устройство и принцип действия.
С повышением частоты вращения ротора генератора, регуляторы РР350 и РР132А стабилизируя напряжение, уменьшают силу тока возбуждения, а с ростом силы тока нагрузки, они ее увеличивают. Регуляторы РР350 и РР132А выполнены бесконтактными.
Характеристики выносных регуляторов напряжения РР350 и РР132А.
— Регулируемое напряжение при температуре плюс 25+-10 градусов, В : 13.
8-14,5 и 13,7-14,7
— Ток нагрузки при частоте вращения вала генератора в 3500 оборотов в минуту, А : 14
— Регулируемое напряжение в диапазоне изменения температур :
для регулятора напряжения РР350 — 13,4-14,7 от минус 40 до плюс 65 градусов
для регулятора напряжения РР132А — 13,2-15.2 от минус 50 до плюс 70 градусов
— Изменение тока нагрузки в диапазоне частоты вращения вала генератора :
для регулятора напряжения РР350 — 5-28 Ампер при частоте 2500-10500 оборотов в минуту
для регулятора напряжения РР132А — 5-28 Ампер при частоте 3000-8000 оборотов в минуту
— Падение напряжения, при токе 3А, В :
для регулятора напряжения РР350 — 1,8 между выводами «Ш» и «+»
для регулятора напряжения РР132А — 1,2 между выводами «Ш» и «М»
— Масса, кг : 0,8 и 1,1
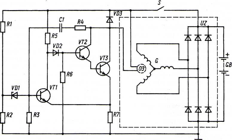
Электрическая схема бесконтактных регуляторов напряжения РР350 и РР132А.
Принцип действия бесконтактных регуляторов напряжения РР350 и РР132А.
Принцип действия бесконтактного регулятора напряжения состоит в следующем.
Пока напряжение генератора мало, стабилитрон VD1 регулятора закрыт, ток через него не протекает, поэтому транзистор VT1 тоже закрыт, а выходной транзистор VT2 открыт. Как только напряжение генератора становится больше номинального, стабипитрон «пробивается», проходящий через него ток открывает транзистор VT1 и закрывает транзистор VT2.
Электрическая схема простейшего бесконтактного регулятора напряжения.
При этом ток в обмотке возбуждения, а значит и напряжение генератора уменьшаются, стабипитрон снова закрывается, а выходной транзистор открывается. Процесс повторяется, обеспечивая поддержание напряжения генератора постоянным при изменении частот вращения коленчатого вала двигателя.
Конструкции регуляторов РР350 и РР132А содержат кроме основных элементов еще ряд дополнительных, повышающих качество и надежность работы регуляторов. Отличительной особенностью регулятора РР132А является наличие переключателя режимов, при помощи которого можно менять регулируемое напряжение.
Необходимый диапазон регулируемого напряжения устанавливается в зависимости от состояния аккумуляторной батареи, недозаряд или выкипание электролита, и температуры окружающего воздуха. Для изменения диапазона регулируемого напряжения надо отвернуть заглушку, закрывающую переключатель и повернуть рычажок переключатепя в требуемое положение.
При установке заглушки на место, следует обратить внимание на наличие уплотнительного кольца. На новых автомобилях УАЗ, выпускаемых с завода, переключатель регулятора РР132А был установлен в среднее положение.
Буханки Головастики Трофи ЭкспедицияСправочникУаз-3151Уаз-469
Статьи о классических внедорожниках УАЗ, ГАЗ, автомобили повышенной проходимости, SUV, кроссоверы, вездеходы, эксплуатация, ремонт, запчасти
Контактно-транзисторный реле-регулятор — Большая Энциклопедия Нефти и Газа, статья, страница 1
Cтраница 1
Контактно-транзисторные реле-регуляторы применяют для управления работой генераторов переменного тока.
Они более надежны и долговечны, чем вибрационные реле-регуляторы, контакты которых, нагруженные весьма большим током возбуждения, интенсивно изнашиваются. В контактно-транзисторных реле-регуляторах электромеханическое реле используется только для управления транзистором, через контакты этого реле проходит небольшой ток, а ток возбуждения генератора идет через транзистор.
[1]
Контактно-транзисторный реле-регулятор РР362 — Б в электрической сети трактора предназначен для автоматического поддержания напряжения сети в заданных пределах и защиты регулирующего органа — транзистора в аварийном режиме от короткого замыкания зажима Ш реле-регулятора и генератора на корпус.
[2]
Контактно-транзисторный реле-регулятор имеет более высокий срок службы и ме ньшую разрегулировку в процессе эксплуатации, чем вибрационные реле-регуляторы: Однако наличие в регуляторе напряжения механической системы разрыва электрической цепи ( контакты, пружина, подвеска якоря реле), а также воздушных зазоров между якорем и сердечником реле требуют во время эксплуатации систематической проверки и настройки регулятора.
Указанные недостатки отсутствуют в бесконтактных транзисторных регуляторах напряжения, применяемых с генератором переменного тока Г-250 на автомобилях ЗИЛ-130, ГАЗ-24 Волга и их модификациях.
[3]
Контактно-транзисторный реле-регулятор РР362 ( рис. 49) применяют для регулирования напряжения генераторов.
[4]
Контактно-транзисторный реле-регулятор РР-362 ( ГАЗ-53-12) ( рис. 77) состоит из двух электромагнитных реле ( регулятора напряжения и реле защиты), транзистора, трех диодов и резисторов.
[5]
Модернизированный контактно-транзисторный реле-регулятор РР362; состоит из регулятора напряжения РН, реле защиты РЗ, транзистора Т, диодов и резисторов.
[6]
| Схема бесконтактно-транзисторного реле-регулятора РР-350.
[7] |
Недостатком контактно-транзисторного реле-регулятора является изменение упругости пружины, а следовательно, и нарушение регулировки его.
[8]
| Принципиальная схема проверки реле-регулятора.
[9] |
Недостатком контактно-транзисторного реле-регулятора является наличие пружин, упругость которых со временем изменяется, что требует таких же регулировочных работ, как и для вибрационных регуляторов.
[10]
Недостаток контактно-транзисторных реле-регуляторов — наличие громоздких электромагнитных устройств ( РН и РЗ) с недостаточно надежными контактными узлами.
[11]
В контактно-транзисторном реле-регуляторе РР362 ток возбуждения генератора замыкается не через контакты регулятора напряжения, а через транзистор, что исключает возможность окисления и эрозии контактов.
[12]
В контактно-транзисторных реле-регуляторах ток возбуждения генератора замыкается не через контакты регулятора напряжения, а через транзистор, что исключает возможность окисления и износа контактов.
[13]
В контактно-транзисторных реле-регуляторах, работающих с генераторами переменного тока, ток возбуждения проходит не через контакты реле, а через транзистор, что предотвращает окисление и эрозию контактов и повышает их надежность.
[14]
В контактно-транзисторных реле-регуляторах напряжения типа РР362, состоящих из регулятора напряжения и реле защиты транзистора, ток возбуждения генератора замыкается не через контакты регулятора напряжения, а через транзистор, что исключает окисление и эрозию контактов.
[15]
Страницы:
1
2
Новая разностная схема для параболических задач
Келлер, Герберт Б.
(1971)
Новая разностная схема для параболических задач.
В:
Численное решение уравнений в частных производных–II.
Академическая пресса
, Нью-Йорк, штат Нью-Йорк, стр. 327-350.
ISBN 978-0-12-358502-8.
https://resolver.
caltech.edu/CaltechAUTHORS:20170802-111549240
Полный текст не размещен в этом репозитории. См. Связанные URL-адреса ниже.
Используйте этот постоянный URL-адрес для ссылки на этот элемент: https://resolver.caltech.edu/CaltechAUTHORS:20170802-111549240
В этой главе обсуждается новая разностная схема для параболических смешанных начально-краевых задач в одном пространственном измерении. Схема имеет ряд очень желательных особенностей. Он прост, легко программируется и эффективен. Он безусловно устойчив и имеет второй порядок точности с неравномерными сетками. Экстраполяция Ричардсона или h → 0 действительна и дает два порядка повышения точности на экстраполяцию (с неравномерными сетками). Она также А-устойчива, т. е. если точное решение затухает во времени, то и численная схема затухает примерно с той же скоростью; данные, коэффициенты и решение должны быть только кусочно-гладкими, и все вышеперечисленное остается в силе. Метод также применим к параболическим системам, к нелинейным параболическим уравнениям и даже к некоторым гиперболическим системам со специальными свойствами.
В главе представлен метод, указаны оценки погрешности, экстраполяция h → 0 и обсуждается эффективный алгоритм его применения к задаче.
| Тип элемента: | Раздел книги | ||||||||
|---|---|---|---|---|---|---|---|---|---|
| Связанные URL: |
| ||||||||
| Дополнительная информация: | © 1971 Academic Press, Inc. Опубликовано Elsevier Inc. Эта работа была поддержана Исследовательским бюро армии США в Дареме по контракту DAHC 04-68-C-0006. | ||||||||
| Спонсоры: |
| ||||||||
| DOI: | 10. 1016/ B978-0-12-358502-8.50014-1 | ||||||||
| Номер записи: | CaltechAUTHORS:20170802-111549240 | ||||||||
| Постоянный URL-адрес: | https://resolver.caltech.edu/CaltechAUTHORS:20170802-111549240 | ||||||||
| Официальная ссылка: | Герберт Б. Келлер, НОВАЯ СХЕМА РАЗЛИЧИЙ ДЛЯ ПАРАБОЛИЧЕСКИЕ ЗАДАЧИ, В численном решении дифференциальных уравнений с частными производными – II, Academic Press, 1971, страницы 327-350, ISBN 9780123585028, https://doi.org/10.1016/B978-0-12-358502-8.50014-1. (http://www.sciencedirect.com/science/article/pii/B9780123585028500141) | ||||||||
| Политика использования: | Права на коммерческое воспроизведение, распространение, демонстрацию или исполнение данной работы не предоставляются. | ||||||||
| Идентификационный код: | 79762 | ||||||||
| Коллекция: | CaltechAUTHORS | ||||||||
| Депонирован: 9001 6 | Тони Диас | ||||||||
| Депонировано: | 02 августа 2017 г. 18:34 | ||||||||
| Последнее изменение: | 15 нояб. 2021 г. 17:50 |
Только для сотрудников репозитория: страница управления предметами
Вариант схемы анонимного IBE Бойена-Уотерса
Вариант анонимной схемы IBE Бойена-Уотерса
- Сун Луо 20,22,23 ,
- Цинни Шен 21 ,
- Юнмин Джин 22,23 ,
- Юй Чен 24 ,
- Чжун Чен 21,22,23 и
- …
- Сихан Цин 21,25
- Документ конференции
1060 доступов
2
Цитаты
Часть серии книг Lecture Notes in Computer Science (LNSC, том 7043)
Abstract
Схема шифрования на основе идентификации (IBE) называется анонимной, если зашифрованный текст не дает информации о личности получателя.
В этой статье мы представляем новую схему шифрования на основе анонимной идентификации. Наша схема исходит из анализа анонимной схемы IBE Бойена-Уотерса, в которой мы находим метод построения анонимных схем IBE. Мы показываем, что анонимная схема Бойена-Уотерса может быть преобразована из схемы BB 1 -IBE. Наша схема тоже трансформируется из ББ 1 -IBE и может рассматриваться как вариант схемы анонимного IBE Бойена-Уотерса. Доказательство безопасности показывает, что преобразованная схема имеет ту же семантическую безопасность, что и исходная схема, и имеет анонимную безопасность. Мы доказываем анонимность в соответствии с предположением линейного решения.
Ключевые слова
- Шифрование на основе идентификации
- Анонимность
- Трансформация
Поддерживается Национальным фондом естественных наук Китая (№ 60873238, 61073156, 6 0970135, 60821003).
Скачать документ конференции в формате PDF
Ссылки
- «>
Абдалла, М., Белларе, М., Каталано, Д., Кильц, Э., Коно, Т., Ланге, Т., Мэлоун-Ли, Дж., Невен, Г., Пайе , П., Ши, Х.: Новый взгляд на шифрование с возможностью поиска: свойства согласованности, отношение к анонимному IBE и расширения. Journal of Cryptology 21(3), 350–391 (2008)
CrossRef
MathSciNet
МАТЕМАТИКАGoogle Scholar
Абдалла М., Белларе М., Каталано Д., Кильц Э., Коно Т., Ланге Т., Малоун-Ли Дж., Невен Г., Пайе П. , Ши, Х.: Новый взгляд на шифрование с возможностью поиска: свойства согласованности, связь с анонимным IBE и расширениями. В: Shoup, V. (ed.) CRYPTO 2005. LNCS, vol. 3621, стр. 205–222. Springer, Heidelberg (2005)
CrossRef
Google Scholar
Боне, Д., Бойен, X.: Эффективное шифрование на основе безопасной идентификации Selective-id без случайных оракулов. В: Качин, К., Камениш, Дж. (ред.
) EUROCRYPT 2004. LNCS, vol. 3027, стр. 223–238. Спрингер, Гейдельберг (2004)Перекрёстная ссылка
Google Scholar
Боне, Д., Бойен, X.: Безопасное шифрование на основе идентификации без случайных оракулов. В: Франклин, М. (ред.) CRYPTO 2004. LNCS, vol. 3152, стр. 443–459. Springer, Heidelberg (2004)
CrossRef
Google Scholar
Боне, Д., Бойен, X., Го, Э.-Дж.: Шифрование на основе иерархической идентификации с шифротекстом постоянного размера. В: Крамер, Р. (ред.) EUROCRYPT 2005. LNCS, vol. 3494, стр. 440–456. Springer, Heidelberg (2005)
CrossRef
Google Scholar
Боне, Д., Бойен, X., Шахам, Х.: Короткие групповые подписи. В: Франклин, М. (ред.) CRYPTO 2004. LNCS, vol. 3152, стр. 41–55. Springer, Heidelberg (2004)
CrossRef
Google Scholar
- «>
Боне, Д., Ди Крещенцо, Г., Островский, Р., Персиано, Г.: Шифрование с открытым ключом с поиском по ключевым словам. В: Качин, К., Камениш, Дж. (ред.) EUROCRYPT 2004. LNCS, vol. 3027, стр. 506–522. Спрингер, Гейдельберг (2004)
Перекрёстная ссылка
Google Scholar
Боне, Д., Франклин, М.: Шифрование на основе идентичности из пары Вейля. В: Килиан, Дж. (ред.) CRYPTO 2001. LNCS, vol. 2139, стр. 213–229. Springer, Heidelberg (2001)
CrossRef
Google Scholar
Боне, Д., Уотерс, Б.: Конъюнктивные, подмножественные и диапазонные запросы к зашифрованным данным. В: Вадхан, С.П. (ред.) TCC 2007. LNCS, vol. 4392, стр. 535–554. Springer, Heidelberg (2007)
CrossRef
Google Scholar
Бойен, X., Уотерс, Б.: Анонимное иерархическое шифрование на основе идентичности (без случайных оракулов).
В: Dwork, C. (ed.) CRYPTO 2006. LNCS, vol. 4117, стр. 290–307. Springer, Heidelberg (2006)CrossRef
Google Scholar
Камениш, Дж., Кольвейс, М., Риал, А., Шиди, К.: Слепое и анонимное шифрование на основе идентификации и санкционированный частный поиск данных, зашифрованных с открытым ключом. В: Джарецкий С., Цудик Г. (ред.) PKC 2009.. LNCS, том. 5443, стр. 196–214. Springer, Heidelberg (2009)
CrossRef
Google Scholar
Канетти, Р., Халеви, С., Кац, Дж.: Схема шифрования с открытым ключом с прямой защитой. В: Бихам, Э. (ред.) EUROCRYPT 2003. LNCS, vol. 2656, стр. 255–271. Springer, Heidelberg (2003)
CrossRef
Google Scholar
Каро, А.Д., Иовино, В., Персиано, Г.: Полностью безопасный анонимный hibe и анонимный ibe с секретным ключом с короткими зашифрованными текстами.
Cryptology ePrint Archive, отчет 2010/197 (2010),
http://eprint.iacr.org/Чаттерджи С., Саркар П.: Hibe с короткими общедоступными параметрами без случайного Oracle. В: Лай, X., Чен, К. (ред.) ASIACRYPT 2006. LNCS, vol. 4284, стр. 145–160. Springer, Heidelberg (2006)
CrossRef
Google Scholar
Чаттерджи С., Саркар П.: Новые конструкции шифротекста постоянного размера Hibe без случайного оракула. В: Ри, М.С., Ли, Б. (ред.) ICISC 2006. LNCS, vol. 4296, стр. 310–327. Springer, Heidelberg (2006)
CrossRef
Google Scholar
Кокс, К.: Схема шифрования на основе идентичности, основанная на квадратичных остатках. В: Honary, B. (ed.) Cryptography and Coding 2001. LNCS, vol. 2260, стр. 360–363. Springer, Heidelberg (2001)
CrossRef
Google Scholar
- «>
Дукас, Л.: Анонимность из асимметрии: новые конструкции для анонимного Hibe. В: Pieprzyk, J. (ed.) CT-RSA 2010. LNCS, vol. 5985, стр. 148–164. Springer, Heidelberg (2010)
CrossRef
Google Scholar
Джентри, К.: Практическое шифрование на основе идентичности без случайных оракулов. В: Vaudenay, S. (ed.) EUROCRYPT 2006. LNCS, vol. 4004, стр. 445–464. Springer, Heidelberg (2006)
CrossRef
Google Scholar
Джентри, К., Халеви, С.: Иерархическое шифрование на основе идентичности с полиномиально многими уровнями. В: Рейнгольд, О. (ред.) TCC 2009 г.. LNCS, том. 5444, стр. 437–456. Springer, Heidelberg (2009)
CrossRef
Google Scholar
Джентри, К., Сильверберг, А.: Иерархическая криптография на основе идентификаторов. В: Чжэн, Ю. (ред.
) ASIACRYPT 2002. LNCS, vol. 2501, стр. 548–566. Springer, Heidelberg (2002)CrossRef
Google Scholar
Хорвиц, Дж., Линн, Б.: На пути к шифрованию на основе иерархической идентификации. В: Кнудсен, Л.Р. (ред.) EUROCRYPT 2002. LNCS, vol. 2332, стр. 466–481. Спрингер, Гейдельберг (2002)
Перекрёстная ссылка
Google Scholar
Левко, А., Уотерс, Б.: Новые методы двойного системного шифрования и полностью безопасного Hibe с короткими зашифрованными текстами. В: Micciancio, D. (ed.) TCC 2010. LNCS, vol. 5978, стр. 455–479. Springer, Heidelberg (2010)
CrossRef
Google Scholar
Seo, J.H., Cheon, J.H.: Полностью безопасное анонимное иерархическое шифрование на основе идентификации с зашифрованными текстами постоянного размера. Криптологический архив ePrint, отчет 2011/021 (2011 г.
),
http://eprint.iacr.org/Сео, Дж. Х., Кобаяши, Т., Окубо, М., Судзуки, К.: Анонимное иерархическое шифрование на основе идентичности с шифротекстами постоянного размера. В: Jarecki, S., Tsudik, G. (ред.) PKC 2009. LNCS, vol. 5443, стр. 215–234. Springer, Heidelberg (2009)
CrossRef
Google Scholar
Шамир, А.: Криптосистемы на основе идентификации и схемы подписи. В: Блейкли, Г.Р., Чаум, Д. (ред.) CRYPTO 1984. LNCS, vol. 196, стр. 47–53. Спрингер, Гейдельберг (1985)
Перекрестная ссылка
Google Scholar
Ши, Э., Бетанкур, Дж., Чан, Т.Х.Х., Сонг, Д., Перриг, А.: Запрос многомерного диапазона по зашифрованным данным. В: SP 2007: Симпозиум IEEE по безопасности и конфиденциальности, стр. 350–364 (2007 г.)
.
Google Scholar- «>
Уотерс, Б.: Эффективное шифрование на основе идентичности без случайных оракулов. В: Крамер, Р. (ред.) EUROCRYPT 2005. LNCS, vol. 3494, стр. 114–127. Springer, Heidelberg (2005)
CrossRef
Google Scholar
Уотерс, Б.: Шифрование двойной системы: реализация полностью безопасных Ibe и Hibe при простых предположениях. В: Halevi, S. (ed.) CRYPTO 2009. LNCS, vol. 5677, стр. 619–636. Springer, Heidelberg (2009)
CrossRef
Google Scholar
Ссылки на скачивание
Информация об авторе
Авторы и филиалы
Колледж компьютерных наук и инженерии, Чунцинский технологический университет, Китай
Song Luo
Школа программного обеспечения и микроэлектроники и ключевая лаборатория MoE сети и программного обеспечения, Пекинский университет , Пекин, Китай
Qingni Shen, Zhong Chen & Sihan Qing
Институт программного обеспечения, Школа электронной инженерии и компьютерных наук, Пекинский университет, Китай
Сун Луо, Юнмин Джин и Чжун Чен
Министерство образования, Ключевая лаборатория высоконадежных программных технологий (Пекинский университет), Китай
Сун Луо, Юнмин Джин и Чжун Чен
Институт информационной инженерии, Китайская академия наук, Пекин, Китай
Ю Чен
Институт программного обеспечения Китайской академии наук, Пекин, Китай
Сихан Цин
Авторы
- Song Luo
Посмотреть публикации автора
Вы также можете искать этого автора в
PubMed Google Scholar - Qingni Shen
Просмотр публикаций автора
Вы также можете искать этого автора в
PubMed Google Scholar - Yongming Jin
Просмотр публикаций автора
Вы также можете искать этого автора в
PubMed Google Академия - Ю Чен
Просмотр публикаций автора
Вы также можете искать этого автора в
PubMed Google Scholar - Zhong Chen
Просмотр публикаций автора
Вы также можете искать этого автора в
PubMed Google Scholar - Sihan Qing
Просмотр публикаций автора
Вы также можете искать этого автора в
PubMed Google Scholar
Информация редактора
Редакторы и принадлежности
Институт программного обеспечения, Китайская академия наук, 100086, Пекин, Китай
Sihan Qing
Центр для компьютерной и информационной безопасности, школа и программная техника, наука о компьютерной науке, наука о компьютерной науке, наука о компьютерной науке, наука о компьютерной науке, наука о компьютерной науке и программная техника.

1016/ B978-0-12-358502-8.50014-1
18:34