Содержание
Автопрактикум. Часть 3. Ходовая часть и механизмы управления большегрузных а
Схемы пневмопривода тормозов МАЗ
Принципиальная схема пневмопривода тормозов трехосных автомобилей показана на рис. 1, двухосных — на рис. 2
Принципиальная схема пневмопривода тормозов автомобилей МАЗ-631705, 631708, 642505, 642508 с трансмиссионным стояночным тормозом показана на рис. 3, автомобиля МАЗ-53 1605 с трансмиссионным стояночным тормозом — на рис. 4.
Схема пневмопривода тормозов трехосных автомобилей
Схема двухосных автомобилей
Схема пневмопривода тормозов автомобилей МАЗ-631705, 631708, 642505, 642508
Схема автомобиля МАЗ-53 1605 с трансмиссионным стояночным тормозом
autoruk.ru
Возможные неисправности тормозной системы МАЗ и способы их устранения
Причина неисправности
| Способ устранения | |||
| Компрессор | |||
| Снижение подачи компрессора, стуки, увеличение количества масла в конденсате, сливаемом из воздушных ресиверов | |||
| Износ зеркала цилиндров, колец, вкладышей | Расточить цилиндры, изношенные детали заменить | ||
| Регулятор давления с предохранительным клапаном в сборе | |||
| В системе не поддерживается давление воздуха 0,65-0,80 МПа (6,5-8,0 кгс/см2) | |||
| Нарушилась регулировка регулятора давления | Отрегулировать при помощи регулировочного | ||
| Утечка воздуха из атмосферного отверстия кожуха пружины регулятора | |||
Недостаточно зажата диафрагма.![]() | Произвести дозатяжку кожуха пружины. | ||
| Повреждена диафрагма | Заменить или перевернуть диафрагму | ||
| Утечка воздуха из штуцера при неработающем двигателе и давлении воздуха в системе менее 0,6 МПа (6 кгс/см2) | |||
| Износ и загрязнение диафрагмы | Очистить и повернуть обратной стороной или заменить диафрагму. | ||
| Износ и загрязнение перепускного и обратного клапанов | Заменить клапаны | ||
| Медленное наполнение ресиверов сжатым воздухом | |||
| Загрязнился фильтр | Очистить фильтр | ||
| Регулятор давления не работает, работает предохранительный клапан при давлении воздуха более 0,9 МПа (9 кгс/см2) | |||
| Не работает диафрагма (зажата, примерзла и т д.) | Отпустить регулировочный болт и проверить (очистить) диафрагму | ||
| Заклинивание разгрузочного поршня | Очистить разгрузочный поршень | ||
| Негерметичность неподвижных сопряжений с корпусом | |||
| Ослабла затяжка уплотнительных прокладок | Подтянуть или заменить прокладку | ||
| Водоотделитель | |||
| Утечка воздуха из сливного отверстия | |||
| Негерметичность клапана слива конденсата (повреждение, загрязнение, обмерзание) | Очистить или заменить клапан | ||
| Не срабатывает клапан слива конденсата при срабатывании регулятора давления (не ощущается рукой сброс воздуха) | |||
Повреждена мембрана.![]() | Заменить мембрану | ||
| Повреждено уплотнительное кольцо золотника (в мембранном диске) | Заменить кольцо | ||
| Через водоотделитель в систему не поступает воздух | |||
| Замерз конденсат в ребристом охладителе и входном клапане | Снять водоотделитель, разогреть и продуть сжатым воздухом | ||
| Негерметичность неподвижных сопряжений с корпусом | |||
| Ослабла затяжка уплотнительных элементов | Подтянуть уплотнительные элементы | ||
| Тормозной кран | |||
| Неполное растормаживание тормозных камер (наличие избыточного давления воздуха) | |||
| Вывернут винт регулировки холостого хода рычага крана | Регулировкой обеспечить свободный рычага крана не менее 5 мм; завернуть винт. | ||
| Нарушилась затяжка гайки уравновешивающего резинового элемента | Затянуть гайку | ||
| Утечка воздуха через сапун | |||
| Негерметичность клапанов и колец из-за повреждения (износа) и загрязнения их | Очистить или заменить уплотнительный элемент | ||
| Утечка воздуха через сапун при нажатии на рычаг | |||
| Негерметичность подвижных уплотнений большого поршня, малого поршня нижней секции, уплотнений корпусов клапанов, а также негерметичность клапанов (особенно при интенсивных утечках) из-за повреждения | Очистить сопряжения или заменить уплотнительный элемент | ||
| Утечка воздуха через корпус рычага | |||
| Негерметичность уплотнения верхнего поршня | Очистить сопряжение или заменить уплотнение | ||
| Утечка воздуха по неподвижным соединениям | |||
| Ослабла затяжка соединения | Подтянуть или заменить соответствую! кольцо | ||
| Одинарный защитный клапан | |||
| Утечка воздуха в атмосферное отверстие крышки | |||
Разрушена диафрагма. Недостаточно зажата диафрагма | Заменить диафрагму. Подтянуть болты крышки | ||
| Двойной защитный клапан | |||
| Утечка воздуха через атмосферное отверстие крышки | |||
| Негерметичность подвижного уплотнения малого поршня | Очистить или заменить кольцо. | ||
| Ослабла затяжка крышки | Подтянуть крышку или заменить кольца | ||
| При выпуске воздуха из одного ресивера (через клапан слива конденсата) происходит падениедавления воздуха в другом ресивере | |||
| Негерметичность обратного клапана (повреждение, загрязнение) Износ кольца поршня | Очистить или заменить клапан. Заменить кольцо | ||
| Клапан управления тормозами полуприцепа с однопроводным приводом | |||
| Утечка воздуха из-под колпака в атмосферу. При торможении воздух продолжает выходитьиз-под крышки в атмосферу | |||
| Негерметичность выпускного (верхнего) клапана | Очистить или заменить клапан | ||
| Разрушена диафрагма Негерметичность впускного (нижнего) клапана | Заменить диафрагму. Очистить или заменить клапан | ||
| Давление воздуха в ресиверах полуприцепа имеет отклонения от нормы 0,47-0,52 МПа (4,7-5,2 кгс/см2) | |||
| Нарушена регулировка клапана управления | Отрегулировать при помощи регулировочного винта | ||
| Давление воздуха в пневматической системе полуприцепа (по клапану контрольного вывода) соответствует давлению в системе тягача | |||
| Негерметичность нижнего клапана | Очистить или заменить уплотнительный элемент | ||
| Негерметичность по верхнему уплотнительному кольцу корпуса клапана | Очистить или заменить уплотнительный элемент | ||
| Утечка воздуха через атмосферное отверстие нижней крышки | |||
| Негерметичность по нижнему уплотнительному кольцу корпуса клапана | Очистить или заменить уплотнительный элемент | ||
| Тормозной кран обратного действия с ручным управлением | |||
| Утечка воздуха из атмосферного отверстия в одном из фиксированных положений рукоятки | |||
| Негерметичность клапана или подвижного уплотнения корпуса клапана или поршня (износ, разрушение, загрязнение) | Очистить или заменить уплотнительный элемент | ||
| Утечка воздуха изпод крышки крана | |||
| Негерметичность подвижных уплотнений штока или направляющей (износ, разрушение, загрязнение) | Очистить или заменить уплотнительные кольца | ||
| Приводная рукоятка не фиксируется в крайних положениях | |||
| Разрушена пружина рукоятки | Заменить пружину | ||
| При небольшом повороте рукоятки происходит полный выпуск воздуха | |||
| Заклинил поршень | Очистить поршень | ||
| Клапан управления тормозами прицела с двухпроводным приводом | |||
| Утечка воздуха через сапун | |||
| Негерметичность по уплотнениям среднего поршня | Очистить или заменить уплотнительный элемент | ||
| Негерметичность клапана | Очистить или заменить уплотнительный элемент | ||
| Утечка воздуха через сапун при торможении краном обратного действия с ручным управлением | |||
| Негерметичность нижних уплотнений верхнего поршня | Очистить или заменить уплотнительный элемент | ||
| Негерметичность клапана | Очистить или заменить уплотнительный элемент | ||
| Утечка воздуха через сапун при торможении тормозным краном (педалью) | |||
| Негерметичность по верхним уплотнительным кольцам верхнего поршня | Очистить или заменить уплотнительный элемент | ||
| Негерметичность уплотнительного кольца регулировочного кольца | Очистить или заменить уплотнительный элемент | ||
| Негерметичность уплотнительного кольца нижнего кольца | Очистить или заменить уплотнительный элемент | ||
| Самопроизвольное торможение полуприцепа, сопровождающееся утечкой воздуха через сапун тормозного крана | |||
| Разрушена диафрагма | Заменить диафрагму | ||
| Утечка воздуха через сапун тормозного крана | |||
| Ослабло крепление диафрагмы | Подтянуть диафрагму | ||
| Утечка воздуха по неподвижным уплотнениям корпуса | |||
| Недостаточно затянуты уплотнения | Подтянуть уплотнения | ||
maz-auto.
info
4.10.3
МАЗ-256. Пневматический тормозной привод
Принципиальная схема пневмосистемы автобуса приведена на рисунке 4.10.4.
Сжатый воздух из компрессора 1 через влагомаслоотделитель 2 с устройством автоматического сброса конденсата поступает к осушителю воздуха 3. Осушитель предназначен для осушки воздуха методом адсорбции воды из него. Адсорбция происходит в патроне с адсорбентом, содержащим силикоалюминий (цеолит). Накопленная в адсорбенте вода удаляется во время срабатывания регулятора давления путем продувки в обратном направлении сжатым воздухом из регенерационного ресивера 8. Осушитель воздуха оборудован регулятором давления и предохранительным клапаном. Далее воздух поступает в четырехконтурный защитный клапан 4 и через него — в ресивер привода тормозов передней оси 5, ресивер привода тормозов ведущего моста 6, ресивер привода стояночного тормоза 7 и ресивер потребителей 9.
В пневматический привод входят следующие пневмоконтуры:
— контур привода тормозных механизмов передней оси;
— контур привода тормозных механизмов заднего моста;
— контур привод стояночного тормоза;
— контур потребителей (остановочного тормоза, вспомогательного тормоза, привода дверей).
Ресиверы каждого контура снабжены клапанами контрольного вывода 18, которые собраны в отдельный блок. В этом же блоке находятся клапаны контрольного вывода, установленные в контурах привода тормозных механизмов, пневмоэлектри-ческие датчики 24, связанные с манометрами 25 и 26 на щитке приборов, пневмоэ-лектрические датчики 22 наполнения ресиверов и пневмоэлектрические датчики 23 сигналов торможения. Датчики 22 связаны с соответствующими сигнальными лампами на щитке приборов.
Тормозной привод рабочих тормозов оснащен антиблокировочной системой (ABS). Задний контур тормозного привода по требованию заказчика может быть дополнительно оборудован противобуксовочной системой (ASR). Колесные узлы передней оси и заднего моста имеют магнитоэлектрические (индуктивные) датчики динамического состояния колес 33. В пневматических магистралях тормозного привода перед тормозными камерами установлены электропневматические модуляторы тормозного давления 27. Датчики 33 и соленоиды модуляторов давления 27 электрически связаны с электронным блоком управления 28.
На щитке приборов в кабине водителя имеются две информационные лампы желтого цвета 29 и 30 контроля и информации о работе ABS и ASR.
4.10.4
МАЗ-256. Работа пневматического привода рабочих тормозов
При нажатии на тормозную педаль сжатый воздух из ресивера 6 через верхнюю секцию крана рабочих тормозов 10 и через двухмагистральный защитный клапан 13 подается в управляющую магистраль ускорительного клапана 12. Ускорительный клапан открывается и пропускает сжатый воздух напрямую из ресивера 6 через модуляторы давления 27 в тормозные камеры 15 заднего моста. Одновременно воздух поступает в управляющую магистраль ускорительного клапана 26 стояночного тормоза, который перепускает сжатый воздух из ресивера 7 в полости энергоаккумуляторов тормозных камер 15, исключая возможное двойное воздействие на колесные тормозные механизмы от рабочей и стояночной тормозных систем.
Из ресивера 5 через нижнюю секцию тормозного крана 10 и модуляторы 27 сжатый воздух поступает в тормозные камеры 16, которые приводят в действие тормозные механизмы передней оси.
Рисунок 4.10.4 — Принципиальная схема пневмосистемы тормозов: 1 — компрессор; 2 — влашмаслоотделитель; 3 — осушитель воздуха; 4 — четырехкошурный защитный клапан; 5 — ресивер тормозов передней оси; 6 — ресивер тормозов ведущего моста; 7 — ресивер стояночного тормоза; 8 — регенерационный ресивер; 9 — ресивер потребителей 10 — кран рабочих тормозов; 11 — кран стояночного тормоза; 12 — ускорительный клапан рабочих тормозов; 13 — двухмагистральный защитный клапан; 14 — глушитель шума пневмоаппаратуры; 15 — тормозная камера с пружинным энергоаккумулятором; 16 — передняя тормозная камера; 17 — обратный клапан; 18 — контрольный клапан; 19 — элекгропневмоклапан остановочного тормоза; 20 — клапан ограничения давления; 21 — элекгропневмоклапан вспомогательного тормоза; 22 — датчик аварийного давления воздуха; 23 — выключатель сигнала торможения; 24 — датчик давления воздуха ММ 370; 25 — манометр электрический; 26 — ускорительный клапан стояночного тормоза; 27 — модулятор давления АБС; 28 — электронный блок АБС; 29,30- контрольные лампы АБС и ПБС; 31 — перепускной клапан без обратного потока; 32 — клапан ПБС; 3 3 — датчик динамического состояния колеса; 34 — ротор АБС; 35 — пневмоцилиндр моторного тормоза
содержание .
. 21 22 27 ..
Принцип работы тормозной системы в МАЗ
Тягачи модели МАЗ пользуются большой популярностью у автолюбителей благодаря своей надежности и приемлемой стоимости. Это автотранспортное средство изготавливается на специализированном заводе города Минск с 1988 года.
Автомобиль отличается большой кабиной и легкостью управления. В салоне есть два удобных мягких кресла. В случае необходимости кабину можно откинуть в заднее положение благодаря наличию гидроцилиндра, который включается ручным путем. Автотехника отличается повышенной надежностью, выносливостью особенно во время перевозки крупногабаритных грузов на дальние расстояния.
Тормозная система МАЗ выступает в качестве основной составляющей транспортного средства. В случае выявления в ней определенных неисправностей водитель теряет уверенность в собственной безопасности. В подобном случае не следует пренебрегать ремонтом и как можно быстрее обратиться за помощью к специалисту.
В автомобилях марки МАЗ присутствует одновременно четыре системы, которые достаточно тесно между собой переплетены.
Среди них следует отметить:
- Рабочую.
- Запасную систему (включается в работу после поломки первой).
- Стояночную систему (в случае с ее поломкой транспортное средство не будет стоять на одном месте и возникнут проблемы с парковкой).
- Вспомогательную (глушит мотор).
Виды системы
Кроме этого, необходимо также упомянуть и о наличии тормозной системы для полуприцепа, которая оснащается специальными пневматическими приводами, предназначенными для работы прочих систем, работающих на сжатом воздухе.
Их преимуществом является то, что она останавливает все имеющиеся колеса МАЗ. Наличие пневматического привода с раздельным торможением дает возможность остановить пару передних и задних колес.
Основная функция запасных тормозов и стояночных заключается во влиянии на механизмы мостов, срабатывающие в результате воздействия напружинных энергоаккумуляторов и камер, которые включаются водителем транспортного средства при помощи специального крана, расположенного в кабине.
Стояночная система остановки считается дополнительной, и ее используют в крайнем случае к примеру, когда не срабатывают или отказывают по ряду причин рабочие тормоза. Во время ее задействования необходимо рукоятку крана расположить таким образом, чтобы она находилась в крайнем положении.
Воздух, сжимающий пружины, поступает в атмосферу, и начинают работать другие механизмы, которые и включают ручник. В то время, когда включается запасная система торможения, рукоятка управляющего крана должна находиться посредине, дополнительные усилия по ее перемещению предпринимать не нужно. Важно знать, что в случае с увеличением оборотности рукоятки сила торможения возрастает благодаря уменьшению воздуха, влияющего на пружины.
Вспомогательное торможение
Подобный вид системы работает благодаря задействованию газов, попадающих в автомобильную систему. Ее основная функция состоит в том, чтобы останавливать и удерживать МАЗ на крутых дорогах.
Она совмещается со стояночной для большего удобства и дополнительной надежности.
Вспомогательный тормоз – это специальный замедлитель для моторопневматического типа. Полуприцепный привод притормаживания сооружен из элементов двух- и одного проводов. В зимнее время можно столкнуться с тем, что происходит заморозка конденсата, особенно это относиться к крупногабаритным транспортным средства, таким как МАЗ, но и здесь разработчики все продумали и обезопасили автомобиль, внедрив предохранитель, который устраняет подобную проблему.
В транспортном средстве также присутствует установка, позволяющая уменьшать движение на трассе. Она состоит из специального цилиндра и клапанной системы. Ко всему этому присоединяется противобуксовочная связь. Для включения необходимо воспользоваться специальной кнопкой.
Противобуксовочная и система ограничения скорости помогают в подаче сжатого воздуха, который поступает благодаря пропорциональному клапану. Важно учитывать, что во время одновременного торможения МАЗ также останавливается и полуприцеп, ведь эти системы взаимосвязаны.
Механизмы тормозов
Все модели МАЗ имеют барабанные механизмы, в диаметре составляющие 42 сантиметра, ширина которых равна шестнадцать сантиметров. Кроме этого, система имеет еще и двухконтурный пневмопривод. Камеры тормозов, которые находятся в задней части тягача, имеют энергоаккумуляторы пружинного вида.
Ручник
Тормозной кран – специальный привод, который необходим для того, чтобы подавать воздух в камеры и воздействовать на педаль остановки. К примеру, МАЗ-500А имеет комбинирований кран, который работает одновременно с прицепом и помогает в его торможении. Такой кран оснащён двумя цилиндрами. Первый необходим для того, чтобы управлять тормозами для прицепа, второй помогает в торможении самого грузового автомобиля.
Системы привода остановки на прицеп имеет определенные особенности, которые заключаются в том, в момент увеличения давления до граничной отметки в 0,48-0,53 МПа происходит растормаживание колес, во время его уменьшения, наоборот, затормаживание.
Тормозной кран оснащен цилиндрами, в которых находятся проштампованные поршни, окруженные манжетами из резины, расположенные на шпоках. Сзади кранового корпуса находятся резиновые клапаны, которые выполняют двойную работу.
Автовладелец должен знать, что для того, чтобы прицеп не наехал на транспортное средство или не занесло задний мост прицепа, и в результате МАЗ не сложился пополам, важно следить за правильным торможением колес прицепа, а потом уже автомобиля. В подобном случае рекомендуется для изменения величины опережения акцентировать внимание на прицепные тормоза и при помощи режимного кольца произвести регулирование натяжения.
Во время работы режимного кольца посредством болта через регулировочную втулку можно получить осевое перемещение. Подобные действия изменяют пружинное натяжение и втулка послабляется.
Во время выбора режимного кольца и пружин необходимо установить взаимосвязь и привести в норму давление в камерах тормозов транспортного средства. Постоянные значения в полостях с течением времени меняются, секции в кране перемещаются во время изменения педали тормоза, то есть после его перестановки с одного положения в другое, но, несмотря на все это, соотношение остается в неизменном виде.
Во время остановки транспортного средства происходит передача усилия от стояночного рычага в район верхнего цилиндрического поршня, прицеп притормаживает точно таким же образом, как и в момент педального нажатия. Автовладельцы должны помнить о том, что полуприцепы и прицепы могут быть оснащены воздушным ресивером, с помощью которого происходит поступление сжатого воздуха в автомобильные магистрали. Не менее важная деталь: прицеп имеет установленный воздухораспределитель, а кран, отвечающий за торможение, имеет тесную взаимосвязь с воздухораспределителем на нем.
Обслуживание тормозной системы
Каждый владелец МАЗ должен знать некоторые основные правила внесезонного обслуживания своего транспортного средства, чтобы предотвратить замерзание отдельных его частей и механизмов, речь пойдет о пневматическом приводе.
- Нужно хорошо продувать водоотделитель, чтобы в нем не замерзала жидкость.
- Тщательно чистить отстойник водоотделителя и противозамерзателя, в который необходимо залить немного спирта.

- Не забыть поставить ручку противозамерзателя вверх.
Привод тормозов грузового транспортного средства не подвергается постоянному обслуживанию или регулированию, но при появлении малейшей неисправности его необходимо срочно заменять, дефекты устранить и сделать это не самостоятельно, а под контролем специалиста. В противном случае при неправильной установке или ошибке на дороге может возникнуть аварийная ситуация, последствия которой будут плачевными. Важно в профилактических целях отправляться в автосалон для того, чтобы провести проверку диагностику всей сложной системы МАЗ.
autodont.ru
Трудности с ремонтом новых грузовых автомобилей
Поэтому многие водители предпочитают работать на поддержанных старых грузовиках, где и технологических новинок меньше, и эксплуатация грузового транспорта происходит без сбоев. Но прогресс не остановить, и старые грузовики медленно выходят из строя и ремонту не подлежат. Остается только покупать новые большегрузные автомобили для коммерческой деятельности, а они могут часто выходить из строя по причине неподготовленности зарубежных моделей к российским низким температурам и бездорожью.
Так что делать?
Как делать бизнес на перевозке грузов, но при этом не тратить время и деньги на адаптацию западных грузовиков к отечественным суровым условиям?
Естественно, что лучше приобретать отечественные грузовики для работы по России. КАМАЗы и МАЗы лучшая альтернатива западным капризным грузовикам. Но отечественные компании также идут в ногу со временем и внедряют все более сложные системы в грузовики для комфортного вождения и для облегчения перемещения грузов на дальние расстояния. Наиболее часто в грузовиках выходит из строя пневмосистема, которая может выйти из строя в любом рейсе без намеков даже на поломку до того.
Если уж случилась трагедия, и требуется совершить ремонт пневмосистемы грузовиков на выезде
, то лучше обращаться к знающим специалистам. Дело в том, что пневмосистема любого современного грузовика крайне сложно устроена, ведь целиком и полностью зависит от автоэлектрики грузового автомобиля. Автоэлектрика является самой сложной и масштабной системой в автомобиле, и потому, если проблема в ней, и пневмосистема не работает из-за проблем в электрике грузовика, то тут найти на дороге поломку будет крайне сложно, и грузовик скорее всего придется буксировать в автосервис.
Система управления пневмоподвеской МАЗ
Страница 1 из 2
При оборудовании автомобилей пневмоподвеской устанавливается система электронного управления ею типа ECAS (фирмы Wabco)
Система содержит микропроцессорный блок 18 (рисунок), расположенный под панелью приборов, пульт 19 дистанционного управления подвеской, установленный с левой стороны сидения водителя, блок электропневмоклапанов 17 и индуктивный датчик 16 положения подвески, установленный в задней части правого лонжерона рамы.
Контрольные лампы 8 и 9 (рисунок 2) с символами управления подвеской установлены на основном щитке приборов, переключатель 10 второго транспортного положения — на дополнительном щитке приборов с правой стороны от водителя.
Система имеет также диагностические линии, подключенные к диагностическому разъему 11.
Предохранители FU6, FU7 системы управления подвеской установлены в блоке предохранителей (рисунок 3), который расположен на коммутационной плате электронных блоков АБС.
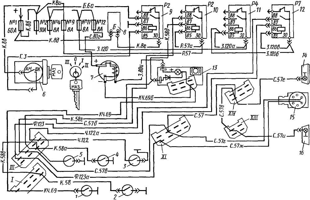
Расположение кнопок на пульте дистанционного управления показано на рис. 2
Схема электрическая соединений элементов системы приведена на рис. 3.
autoruk.ru
Пневмосистема тягачей МАЗ | новости СпецМаш
Список задач пневмосистемы МАЗ достаточно обширен и от качества ее работы напрямую зависит работоспособность автомобиля в целом. Для стабильной работы пневмосистемы необходимо строго придерживаться всех предусмотренных техническим руководством обслуживающих и эксплуатационных правил
Но даже при полностью исправной пневмосистеме у водителя в дороге могут возникнуть форс-мажорные обстоятельства, например, резкое ухудшение погодных условий. Многим водителям водителям грузовых машин ситуация, когда нужно отправляться в дорогу после стоянки, но вследствие ночных заморозков часть агрегатов, работающих с пневматической системой, перестают нормально функционировать. Это происходит из-за того, что в пневматической системе замерз конденсат, который нужно как можно скорее удалить из системы, чтобы продолжить движение
Бытует мнение, что можно залить в систему антифриз или спирт, и проблемы с конденсатом закончатся.
Однако это может вызвать другие проблемы — пневмосистема не рассчитана на содержание любых жидкостей, кроме специального антифриза для автомобильных пневмосистем. Даже самый малый объем обычного антифриза или спирта, залитый в пневмосистему МАЗ, сократит срок работы резиновых уплотнителей, в результате будет потеряна герметичность, и эффективность пневмосистемы будет значительно снижена.
Для того, чтобы этого избежать необходимо своевременно обслуживать влагоотделитель (менять элементы осушителя или менять его в сборе) и использовать специальные антифризы для автомобильных пневмосистем. Обычно они поставляется в литровых бутылках, что очень удобно для использования. Их использование в пневмосистеме МАЗ увеличивает срок ее эксплуатации, так как смесь определенных присадок, растворенных в изопропиловом спирте, служит хорошим смазочным материалом для подвижных частей системы и уплотнителей. Однако необходимо остерегаться подделок, так как при использовании подделки можно не только не избавить систему от конденсата, но и повредить ее.
|
По всем техническим вопросам и вопросам приобретения запчастей звоните по телефону: 8-916-161-01-97 Сергей Николаевич |
Обычно, антифризы для автомобильных пневмосистем поставляются в литровых бутылках, что очень удобно для использования. Их использование в пневмосистеме МАЗ увеличивает срок эксплуатации, так как смесь определенных присадок, растворенных в изопропиловом спирте, служит хорошим смазочным материалом для подвижных частей системы и уплотнителей. Однако нужно помнить о вероятности приобретения подделок.
Схема пневмосистемы МАЗ
|
№ п/п |
Артикул для поиска по каталогу |
Наименование детали |
|
1 |
64229-3506130-10 |
Трубка |
|
2 |
008-011-19-2-3 |
Кольцо уплотнительное |
|
3 |
С40-3721000 |
Сигнал пневматический |
|
4 |
504В-3506197-И |
Трубка со шлангом в сборе |
|
5 |
012-016-25-2-3 |
Кольцо уплотнительное |
|
6 |
6422-3506142-10 |
Трубка |
|
7 |
64229-3506282-10 |
Трубка |
|
7 |
64229-3506282-10 |
Трубка |
|
8 |
6422-3506094 |
Шланг к тормозному крану |
|
9 |
54323-3506134 |
Трубка |
|
10 |
54323-3506112-20 |
Трубка |
|
11 |
5336-3506187-01 |
Шланг |
|
12 |
5549-3506187-02 |
Шланг |
|
12 |
5549-3506187-02 |
Шланг |
|
13 |
54323-3506184 |
Трубка |
|
14 |
54323-3506194 |
Трубка |
|
15 |
54323-3506193 |
Трубка |
|
16 |
5336-3513015 |
Ресивер |
|
16 |
5336-3513015 |
Ресивер |
|
17 |
6303-3513015-10 |
Ресивер А40-280 |
|
17 |
6303-3513015-10 |
Ресивер А40-280 |
|
18 |
54323-3506158-10 |
Трубка |
|
19 |
54323-3506136 |
Трубка |
|
20 |
54323-3506240 |
Трубка |
|
21 |
11-3518010 |
Клапан ускорительный |
|
22 |
54323-3506188 |
Трубка |
|
23 |
100. 3562010
|
Клапан двухмагистральный |
|
23 |
100.3562010 |
Клапан двухмагистральный |
|
24 |
54323-3506180 |
Трубка |
|
25 |
5434-3506098 |
Соединитель со шлангом |
|
26 |
6422-3506085-01 |
Шланг |
|
27 |
100-3533010 |
Регулятор тормозных сил |
|
28 |
54323-3506289-10 |
Трубка |
|
29 |
5336-3506085-01 |
Шланг к задним тормозам |
|
30 |
54323-3506243-10 |
Трубка |
|
31 |
943. 002.521.0
|
Клапан управления прицепом |
|
32 |
64229-3506132-10 |
Трубка |
|
33 |
64229-3506183-10 |
Трубка |
|
34 |
54323-3506146-10 |
Трубка в сборе |
|
35 |
100-3514008 |
Кран с рычагом в сборе |
|
36 |
64229-3506283-10 |
Трубка |
|
37 |
100-3512010 |
Регулятор давления в сборе |
|
38 |
100-3536010 |
Предохранитель против замерзания |
|
39 |
943. 702.120.0
|
Клапан четырехконтурный |
|
40 |
11.3511010 |
Влагоотделитель в сборе |
|
41 |
961.702.005.0 |
Кран тормозной |
|
42 |
100-3537110 |
Кран тормозной |
|
43 |
5336-3570234 |
Трубка |
|
44 |
5336-3570230 |
Трубка |
|
45 |
64221-3537020-20 |
Трубка |
|
46 |
64229-3506139-10 |
Трубка |
|
47 |
64226-3570240-10 |
Трубка |
|
48 |
54323-3506248 |
Трубка |
|
49 |
64226-3570212-10 |
Трубка |
|
50 |
16. 3741000
|
Клапан пневматический |
|
51 |
5516-1115040 |
Трубка |
|
52 |
64226-3506316 |
Трубка |
|
53 |
64229-3506336-20 |
Трубка |
|
54 |
64229-3506337-20 |
Трубка |
|
55 |
100-3570210 |
Цилиндр |
|
56 |
100-3519210-01 |
Камера тормозная передняя |
|
57 |
5336-3519200 |
Камера тормозная задняя |
Схемы МАЗ-5440 — АвтоТачки
Схемы МАЗ-5440.

Другие схемы МАЗ:
- Схемы МАЗ-5440Е9, 5340Е9, 6310Е9, 6430Е9 с двигателем Mercedes OM501LAV/4 (Евро-5).
- Схема МАЗ.
Схемы МАЗ-5440.
- Обозначение элементов на схемах МАЗ-5440.
- Схема системы питания автомобиля МАЗ-5440.
- Схема питания и адресации системы управления электрооборудованием Actia МАЗ-5440.
- Схема подключения замка зажигания МАЗ-5440.
- Схема системы управления трансмиссией кабины МАЗ-5440.
- Схема системы управления трансмиссией шасси МАЗ-5440.
- Схема управления электрооборудованием дверей МАЗ-5440.
- Схема подключения тахографа МАЗ-5440.
- Схема подключения дневных ходовых огней, габаритных огней МАЗ-5440.
- J1939 МАЗ-5440 Схема подключения CAN-шины.
- Схема системы управления EBS Wabco МАЗ-5440.
- Схема подключения выключателей EBS (АБС) МАЗ-5440.
- Схема системы управления пневмоподвеской ECAS Wabco МАЗ-5440.

- Схема подключения CAN-шины ЦВН МАЗ-5440.
- Actimux МАЗ-5440 Схема подключения CAN-шины.
- Схема подключения фар дальнего и ближнего света МАЗ-5440.
- Схема подключения противотуманных фар МАЗ-5440.
- Схема подключения указателей поворота и сигнализации МАЗ-5440.
- Схема подключения фонарей заднего хода и стоп-сигнала МАЗ-5440.
- Схема подключения датчиков блокировки заднего моста МАЗ-5440.
- Схема подключения датчиков давления пневмосистемы, стояночного тормоза, ГУР, осушителя воздуха МАЗ-5440.
- Схема системы контроля давления в шинах, датчик заряда аккумуляторной батареи МАЗ-5440.
- Схема соединения инструментальных ящиков холодильника МАЗ-5440.
- Схема подключения датчика уровня топлива подогрева топлива МАЗ-5440.
- Схема подключения воздушного отопителя ПЖД МАЗ-5440.
- Схема подключения преобразователя напряжения, розетки 12В и 24В МАЗ-5440.
- Схема системы управления микроклиматом МАЗ-5440.

- Схема освещения салона, подсветки дверей МАЗ-5440.
- Схема подключения сигналов автопоезда, муфты включения фар МАЗ-5440.
- Схема подключения прицепа розетка 15Р (ISO12098) МАЗ-5440.
- Схема электрических и пневматических звуковых сигналов МАЗ-5440.
- Схема подключения кондиционера МАЗ-5440.
- Схема системы экстренного торможения и разметки дорог МАЗ-5440.
- Схема подключения магнитолы МАЗ-5440.
- Схема подключения стеклоочистителя и омывателя МАЗ-5440.
- Схема электролюка и солнцезащитной шторки МАЗ-5440.
- Схема подключения датчиков блокировки дверей кабины, датчиков и обогрева сидений МАЗ-5440.
- Схема подключения выключателей панели управления МАЗ-5440.
- Схема подключения минуса (GND) МАЗ-5440.
- Схема освещения приборов МАЗ-5440.
- Выключатель цепи освещения (ЗЕМЛЯ) МАЗ-5440.
- Схема подключения диагностических разъемов МАЗ-5440.
- Схема питания дополнительных систем МАЗ-5440.

- Другие схемы МАЗ-5440.
4 Основные пневматические схемы | Power & Motion
Содержание обновлено 13 октября 2021 г.
Следующие четыре пневматических контура могут использоваться для подготовки воздуха, цилиндров двойного действия, непрерывного цикла и ручного управления. Они также могут быть подсистемами в более крупных схемах.
Подготовка воздуха
Перед использованием сжатого воздуха в пневматическом устройстве его необходимо надлежащим образом подготовить, чтобы он не повреждал компоненты. Вот схема (ниже) пневматического устройства, подготавливающего сжатый воздух, поступающий из одного источника.
Установка ручного запорного клапана или пневматического запорного/блокировочного клапана в первую очередь упрощает техническое обслуживание FRL и защищает оборудование, расположенное ниже по потоку, при сбросе давления в системе для технического обслуживания. В целях безопасности операторы должны иметь возможность заблокировать клапан в закрытом положении.
Если необходимо, чтобы через клапан проходил чистый и сухой воздух, клапан можно установить после FRL.
На схеме фильтр (FIL01) расположен сразу после запорного клапана (VLV01) для удаления твердых частиц и влаги. Треугольник в нижней части символа указывает на то, что этот фильтр имеет слив жидкости, который может быть ручным, полуавтоматическим или автоматическим. Хотя регулятор (REG01) находится после фильтра, они могут быть единым блоком, обозначенным пунктирной линией вокруг фильтра и регулятора. Хотя это и не показано на этой диаграмме, рекомендуется отметить рабочее и максимальное давление машины. Бирка с этой информацией часто находится рядом с регулятором.
Манометр (GAU01) всегда должен прилагаться к регулятору, независимо от того, встроен ли он в порт давления регулятора или ввинчен в него. Хотя это и не показано на этой схеме, реле давления может быть установлено сразу после регулятора для контроля давления. Выход этого переключателя обычно направляется на программируемый логический контроллер или какой-либо другой контроллер машины.
Регулятор может обеспечить разгрузку, уменьшая выходной воздух, когда либо регулятор настроен на более низкое давление, либо сбрасывает давление на выходе, когда воздух на входе выбрасывается. Треугольники в верхнем левом углу символов регулятора (REG01 и REG02) показывают, что они относятся к разгрузочному типу. Регулятор выходящего воздуха (REG01) подает чистый, сухой и отфильтрованный воздух, который можно разделить через Т-образный фитинг или пневматический распределительный блок.
Затем одна линия обеспечивает подачу смазанного воздуха, а другая подает несмазанный воздух. Линия без смазки питает второй регулятор, который питает электрический клапан плавного пуска/сброса (VLV02). Этот клапан обычно действует как предохранительное устройство, сбрасывая давление из пневматических устройств, вызывающих движение, таких как цилиндры и приводы, при нажатии кнопки аварийного останова.
Для таких применений, как пневматические инструменты и двигатели, которые необходимо смазывать, эта смазка должна состоять из легкого масла, чтобы предотвратить засорение этих устройств.
Установку таких контуров можно упростить, используя устройство, содержащее все компоненты и элементы управления для подготовки воздуха (см. ниже). Он также включает в себя индикатор засорения фильтра, регулируемое реле давления со светодиодными индикаторами и размеры портов, которые регулируются в соответствии с требуемой скоростью потока.
Цилиндр двустороннего действия
На приведенной ниже схеме показано обычное применение автоматизации: использование 4-ходового электромагнитного клапана (SOL01) для выдвижения и втягивания цилиндра двустороннего действия (CYL01). Треугольники с каждой стороны символа указывают на то, что это управляемый клапан с одним соленоидом и возвратной пружиной.
Отфильтрованный воздух питает электромагнитный клапан, который обычно питается от выхода 24 В постоянного тока ПЛК. Это активирует клапан и позволяет воздуху выходить через порт B и свободно течь через регулятор потока, выдвигая шток цилиндра и плунжер влево. Воздух с левой стороны цилиндра вытесняется через регулятор потока к отверстию A клапана, а затем направляется к отверстию R и выходит через глушитель для снижения шума выхлопа.
Пилотным клапанам требуется лишь небольшое количество воздуха для эффективного перемещения большого золотника клапана. Однако клапаны требуют минимального рабочего давления, обычно около 20 фунтов на квадратный дюйм, для перемещения золотника. Пружина с левой стороны толкает золотник клапана вправо, чтобы поддерживать его нормальное выключенное состояние или состояние покоя. Когда клапан закрыт, воздух выходит из порта А и свободно проходит через регулируемый регулятор потока к левой стороне цилиндра (CYL01), заставляя его втягиваться.
Когда цилиндр втягивается, воздух с правой стороны выходит через регулируемое устройство управления потоком. Когда обратный клапан устройства закрывается, воздух в проточной части можно отрегулировать, чтобы дросселировать втягивание цилиндра. Затем регулируемый поток воздуха проходит через порт B клапана и выходит через порт S через глушитель.
Цилиндр непрерывного цикла
Пневматические компоненты могут быть объединены для автоматического цикла без внешнего управления (см.
схему ниже). На нем показан сжатый воздух, регулируемый тремя клапанами (VLV05, VLV07 и VLV08). И когда на соленоид (SOL06) подается питание, а цилиндр (CYL03) втягивается, система начинает циклически выдвигать и втягивать цилиндр.
Приточный воздух, проходящий через клапаны VLV08 и SOL06, подает управляющий воздух к гидрораспределителю (VLV05). Воздух, подаваемый через этот клапан, заставляет цилиндр выдвигаться и втягиваться (цикл) аналогично цилиндру двойного действия в схеме выше. Для управления скоростью цикла клапаны управления потоком регулируют поток воздуха из цилиндра.
Когда цилиндр выдвигается, он приводит в действие 3-ходовой 2-позиционный клапан с пружинным возвратом (VLV07). который подает пилотный воздух на VLV05. Пилотный воздух изменяет положение золотника клапана, который меняет направление цилиндра и втягивает его. Когда цилиндр втянут, VLV08 приводится в действие, подавая пилотный воздух на другую сторону VLV05 и заставляя цилиндр двигаться в обратном направлении и выдвигаться.
Цикл повторяется до тех пор, пока соленоид не будет обесточен, что завершает цикл, когда цилиндр втягивается.
Четырехходовой распределитель с пневматическим управлением (VLV05) и два трехходовых клапана с роликовым приводом (VLV07 и VLV08) являются ключевыми компонентами пневматической логики этой схемы. В отличие от электрических соленоидов, они используют воздух для управления положением золотника 4-ходового клапана и сконфигурированы как концевые выключатели с механическим рычагом. Клапаны приводятся в действие кулачками или флажками на цилиндре, и, когда они не активируются, клапаны пружинно возвращаются в свое нормальное положение.
Двуручное управление
Схема для двуручной системы управления безопасностью для пресса (схема ниже) включает две пневматические кнопки (VLV01 и VLV02), сконфигурированные как 3-ходовые клапаны. Они подают пилотный воздух к 4-ходовому клапану (VLV03). Обе кнопки должны быть нажаты одновременно, чтобы направить управляющий воздух к этому клапану, где он переключает золотник клапана и выдвигает цилиндр пресса двойного действия (CYL01).
Когда любая кнопка отпущена, функция возвратной пружины 4-ходового клапана возвращает золотник в нормальное положение, подавая воздух для втягивания цилиндра пресса.
В целях безопасности необходимо отпускать обе кнопки после каждого цикла и одновременно нажимать обе кнопки перед подачей управляющего воздуха на направляющий клапан. Цилиндр пресса втягивается, когда отпускается только одна кнопка, но нажатие одной кнопки может привести к его выдвижению, если другая зажата или зажата в закрытом положении.
Как и в предыдущей схеме, одноходовой клапан управления потоком регулирует скорость движения цилиндра, дросселируя выходящий из него воздух. В этой схеме контролируется только скорость выдвижения. Добавление второго клапана может контролировать скорость втягивания. Чтобы исключить возможность быстрого цикла, если аварийная остановка или утечка воздуха на холостом ходу израсходуют весь доступный воздух, вместо этого можно было бы контролировать поток воздуха в цилиндр.
В эту схему также могут быть добавлены другие усовершенствования, такие как регулятор давления для управления давлением (силой) выдвижения цилиндра или реле давления для обнаружения и подачи сигнала на ПЛК при достижении минимального давления прессования.


Недостаточно зажата диафрагма
Очистить или заменить клапан
3562010
002.521.0
702.120.0
3741000



