Содержание
Свекловичная сеялка ССТ-12 и ССТ-8: описание и устройство
Свекловичная тракторная сеялка ССТ-12А предназначена для специального пунктирного посева семян сахарной свеклы и одновременно внесением в почву необходимых удобрений с междурядьями 0,45 м, а с применением специальных приспособлений — для посева семян сахарной свеклы, гречки, проса, сои или фасоли.
Устройство свекловичной сеялки ССТ-12 и ССТ-8
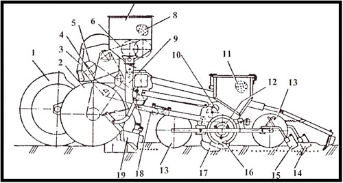
Приведём схему свекловичной сеялки ССТ-12А, и дадим к ней описание
а — схема технологического процесса; б— высевающий аппарат; 1 — опорно-приводное колесо; 2 — контрпривод; 3 — автосцепка; 4 — туковысевающий аппарат; 5 — поручень; 6 — бункер для семян; 7 —спинка; 8 — цепочный шлейф; 9 — пневматический каток; 10 — загортач; 11 — дисковый высевающий аппарат; 12 — комбинированный полозовидный сошник; 13 — подвеска посевной секции; 14 — высевающий диск; 15 — чистик; 16 — отражатель; 17 — выталкиватели.
На раме сеялки с автоматической сцепкой 3 (а) и опорно-приводными колесами 1 установлены шесть туковысевающих аппаратов 4.
К кронштейнам рамы подвесками 13 присоединены 12 посевных секций. Которые состоят из высевающего аппарата дискового типа 11, комбинированного сошника 12, загортача 10, пневматического прикатывающего катка 9 и шлейфа 8 , который выравнивает поверхность поля.
Сам высевающий аппарат состоит из легкого алюминиевого корпуса, в нем на горизонтальной оси установлено капроновое зубчатое колеса с закрепленным на ней ячеистым диском 14 (б). На цилиндрической поверхности диска 14 имеются ячейки, расположенные в три ряда со смещением на Уз шага. Каждый ряд ячеек прорезан кольцевой канавкой. Внизу высевающего аппарата в канавки входят три клиновидных выталкивателя 17 семян, а вверху установлен отражатель 16 в виде рифленого капронового ролика с чистиком 15.
При вращении высевающего диска 14 семена заполняют ячейки, перемещаются к отражателю 16, который удаляет лишние семена, а затем выбрасываются из ячеек выталкивателями 17 в борозду, образованную сошником.
Аппараты оснащены двумя комплектами трехрядных ячеистых дисков для высева семян двух фракций: 3,5…4,5 и 4,5…5,5 мм.
Семя- и туковысевающие аппараты приводятся от опорно-приводных колес 1 через контрпривод 2.Сеялки обеспечивают высев от 12 до 50 калиброванных семян на 1 м.
Свекловичная тракторная сеялка CCT-8
Она предназначена для тех же целей, но применяют ее в зонах с повышенным увлажнения или на торфяниках с междурядьями 0,6 м. По своему устройству идентична сеялке CCT-12A.
Данные сеялки агрегатируются с данными моделями тракторов MT3-80 и Т-70С.
Регулировки сеялок ССТ-12 и ССТ-8
Глубину заделки посевных семян необходимо регулировать с помощью перестановки шплинта в отверстии кулисы сошника. Перестановка на одно отверстие вверх соответствует углублению сошника на 0,01 м.
Механизм подъема маркеров регулируют изменением длины тросов. Вылет маркеров устанавливают исходя их значений в таблицей ниже.
| Колея трактора, м | Маркер | Вождение трактора | ||
| по центру | по визиру | попеременно правым и левым колесом | ||
| 1,8 | Правый | 2,925 | 2,795 | 2,025 |
| Левый | 2,925 | 3,055 | 2,025 | |
| 1,34 (гусеничных тракторов) | Правый | 3,15 | 3,02 | — |
| Левый | 2,7 | 2,83 | — | |
Норма высева различных семян зависит от скорости вращения высеивающего диска и количества ячеек в нем.
Поэтому для этого предусматривают смену звездочек и постановку сектора, который должен перекрывать один ряд определенных ячеек. Норму высева необходимо установить в соответствии со значениями таблицы ниже.
| Норма высева семян наодин метр при данной ширине захвата | Скорость движения. км/ч | Число зубьев звездочек | Передаточное отношение | Примечание | |
| ведущей | ведомой | ||||
| 12 | 9 | 12 | 17 | 0,144 | С сектором |
| 18 | 9 | 12 | 12 | 0,205 | То же |
| 24 | 9 | 12 | 9 | 0,274 | « « |
| 35 | 9 | 12 | 9 | 0,274 | Без сектора |
| 35 | 6 | 17 | 9 | 0,39 | С сектором |
| 50 | 6 | 17 | 9 | 0,39 | Без сектора |
Также смотрите
Техническая характеристика
Производительность
в час основного времени, га до 1, 47
Ширина,
м:
захвата
3,6…4,2
поворотной
полосы 12,8
Рабочая
скорость, км/ч до 3,5
Число:
высаживаемых
рядков 4…6
захватов,
устанавливаемых на
посадочном
аппарате 12
Пределы
регулировки рабочих органов, см:
по
глубине 8…22
по
шагу посадки 15,6…140
Вместимость
баков, л 1160
Порция
полива одного растения, л 0,2…0,6
Дорожный
просвет, мм 300
Габаритные
размеры, мм 6260x4450x2620
Масса,
кг:
машины
без приспособлений 1510
приспособления
для нарезки поливных борозд 241
приспособления
для навески на гусеничные тракторы 53
приспособления
для посадки рассады на трех грядах 71
Сеялка свекловичная навесная сст-8а
Предназначена
для пунктирного посева калиброванных
обычных и малых норм дражированных
семян сахарной свеклы с одновременным
внесением в рядки гранулированных
мине-‘ ральных удобрений.
При
комплектовании соответствующими
приспособлениями сеялка обеспечивает:
одновременно с посевом внесение
инсектицидов и гербицидов в зону
рядка; посев семян проса, гречихи, сои,
фасоли (кроме крупных сортов), а также
больших норм (более 20 шт/м) дражированных
семян сахарной свеклы.
Используется
в зонах орошаемого земледелия, повышенного
увлажнения и на торфяниках.
Производительность,
га/ч…. 2,7
Ширина
захвата, м……. 4,8
Ширина
междурядий, см …. 60
Рабочая
скорость, км/ч….. 5,77
Вместимость
бункера, дм!:
Для
семян…….. 16
Для
удобрений……. 55
Габаритные
размеры в
Рабочем
положении, мм……… 5700X2350X1550
Масса,
кг………. 990
Сеялка для свеклы сст-12в
Навесная,
предназначена для пунктирного посева
калиброванных обычных и дражированных
семян сахарной свеклы с одновременным
внесением в рядки гранулированных
минеральных удобрений. При комплектации
специальными приспособлениями (по
заказу потребителя) высевает семена
проса (СТЯ-23.
000), гречихи (СТЯ-27.000), сои
(СТЯ-81.000), фасоли (СТЯ-44.000), семенников
люцерны, а также одновременно вносит
инсектициды и гербициды в зону рядка.
Рекомендуется также для посева
калиброванных семян кормовой свеклы.
Является
модернизацией ССТ-12Б, включает в себя
цельнобрусную раму с транспортным
устройством, посевные секции с
втулочно-роликовыми приводными
цепями, семявысевающие аппараты,
состоящие из подшипников качения на
валу счесывающего ролика и оси высевающего
диска, быстросъемной крышки, двухрядных
высевающих дисков по 90 ячеек в ряду
(взамен трехрядных), сменных наральни-ков
семенных сошников, щелеватели-направители,
туковысевающие аппараты АТП-2.
С
помощью приспособления СОГ 03.000
переоборудуется в 8-рядную модификацию
для высева семян с междурядьями 60 см.
Сеялка,
оснащенная щелерезом, одновременно с
посевом формирует в почве глубокие
щели, которые служат направляющими для
культиваторного агрегата при
междурядной обработке посевов свеклы,
а при шаровке позволяют проводить
обработку с малой защитной зоной.
Транспортное устройство обеспечивает
безопасную транспортировку сеялки по
узким дорогам и мостам.
Агрегатируется
с тракторами тяговых классов 1,4 и 2.
Обслуживает тракторист.
Б/у Brillion SSB12 на продажу — 24 объявления
Фильтры / Сортировка
Большинство фотографийЦена: от высокой к низкойЦена: от низкой к высокойГод: от высокой к низкойГод: от низкой к высокойСамые недавно добавленные lantingСпециальные культурыОбработка почвыТракторыГрузовики и прицепы
Подкатегория
Подкатегория (Требуется)Пневматические сеялкиСеялкиСеялкиСеялки и навесное оборудованиеСеялкиСеменные тендеры
Make
MakeAGROTKAitchisonBefcoBrillionCase IHCrust BusterESCHFarnamFrontierGenesisGreat PlainsGREENSCAPEHarvest InternationalHaybusterIngersoll-RandInternationalInternationalInternationalHarvesterJohn DeereKascoKrauseLandollLand PrideLillistonMarlissMassey FergusonMasse y-HarrisMcCormickMelroeMinneapolis-MolineMonTagM&WOliverRemlingerRTP OUTDOORSSukupSunflowerTar RiverTyeUnited Farm ToolsVan BruntWoods
Model
Model124620-244630-36BPS6BPSB6FPS6FPSB6LSP6LS S6SL10SLP10SS10SS-10SS112SS12SS16SS-6SS96SSB10SSB12SSB8SSBP12SSBP8SSLF96-01SSP112SSP12SSP6SST1201
Для выполнения быстрого поиска необходимо выбрать как минимум категорию и подкатегорию.
Поиск среди результатов
Расположение
Радиус поиска
Почтовый индекс
Формат покупки
Все
Продажа от собственника
Только аукцион
Нет предметов аукциона
Цена
к
Год
к
Количество рядов
к
Расстояние между рядами
к
Сентябрь Часы
к
Ширина
к
Для выполнения быстрого поиска необходимо выбрать как минимум категорию и подкатегорию.
Большинство фотографийЦена: от высокой до низкойЦена: от низкой до высокойГод: от высокой до низкойГод: от низкой до высокойСамые недавно добавленные
Вид:
24
36
72
Просмотрено
18 фото
2021 Brillion SSB12
Сохранить
Узнать цену
Междурядье:
6
Ширина:
12
Сеялка Brillion SSB12 Sure Stand. Двойной ящик для мелких семян и пушистых семян. Всего 660 акров на нем. Есть счетчик акров. У него есть поверхностная ржавчина, если краска в пуху.
..
Посмотреть все комментарии продавца
Гидравлический подъемник, датские зубья, за шинами трактора, 2 ящика, фонари, ролики с двойной канавкой, семена травы с мешалкой, маленькие семена, как новые, всегда пролитыеЭкспресс-финансирование Получить предварительное одобрениеПолучить FR…
Посмотреть все комментарии продавца
19 900 $
Просмотрено
9 фото
2021 Brillion SSB12
Сохранить
18 900 $
Междурядье:
6 дюймов
Ширина: 12, Шаг: 6″, 2021 BRILLION SURE STAND SEEDER, НЕБОЛЬШИЕ АКРЫ, ОБМЕН НА ЧТО-ТО ШИРОКОЕ, 2021 Landoll SSB12. Коробчатые сеялки Ширина: 12, Шаг: 6″,
$18,900
Просмотрено
8 фото
2023 миллиард SSB12
Сохранить
Позвоните, чтобы узнать цену
Все новые 2023 Brillion SSB12! Позвоните или напишите по любым вопросам! Экспресс-финансирование Получите предварительное одобрениеПолучите оценку доставки FR8Star
Позвоните, чтобы узнать цену
Просмотрено
7 фотографий
2022 Brillion SSB12
Сохранить
Позвоните, чтобы узнать цену
Сеялка BRILLION SSB12 12′ 2, устройства для удаления гусениц с S-образными зубьями, счетчик акров.
.. Уточняйте ценуЭкспресс-финансирование Получите предварительное одобрениеПолучите оценку стоимости доставки FR8Star
Узнать цену
Просмотрено
6 фотографий
2022 Brillion SSB12
Сохранить
20 876 $
Новая сеялка Brillion SSB12 Sure Stand Seeder12-дюймовая прицепная сеялка с передним и задним семенными ящиками, комплектом для снятия гусеницы с S-образными зубьями, комплектом измерителя акров, светодиодными сигнальными лампами, 9.5L-15, наземный приводЭкспресс-финансирование Получить предварительную заявку…
Посмотреть все комментарии продавца
2022 миллиард SSB12 уже в продаже!!
Позвоните для получения дополнительной информации!Экспресс-финансирование Получите предварительное одобрениеПолучите оценку доставки FR8Star
Позвоните, чтобы узнать цену
Просмотрено
5 фото
2022 Brillion SSB12
Сохранить
Позвоните, чтобы узнать цену
** НОВИНКА ** Экспресс-финансирование Получите предварительное одобрениеПолучите оценку стоимости доставки FR8Star
Узнать цену
Просмотрено
5 фотографий
2021 Brillion SSB12
Сохранить
21 875 $
Расстояние: 6 дюймов, 12-футовая сеялка для травы, комплект для удаления гусениц, электронный счетчик акров, новая сеялка для травы Brillion SSB12! 12 футов, комплект для удаления гусениц, электронный счетчик акров
21 875 $
Просмотрено
4 фото
2022 Brillion SSB12
Сохранить
Позвоните, чтобы узнать цену
12-дюймовая прицепная сеялка Sure Stand, передний и задний семенные ящики, точное дозирование, точная глубина заделки семянЭкспресс-финансирование Получить предварительное одобрениеПолучить оценку доставки FR8Star
Позвоните, чтобы узнать цену
Просмотрено
3 фотографии
Бриллионы SSB12
Сохранить
Позвоните, чтобы узнать цену
СЕЯЛКА SSB12,
12-ФУТОВЫЙ КОМПЛЕКТ ДЛЯ СНЯТИЯ ГУСЕНИЦ S-TINE,
ACRE METER KIT TRAN W/O CLUTCHEЭкспресс-финансирование Получить предварительное одобрениеПолучить оценку доставки FR8Star
Узнать цену
Просмотрено
3 фотографии
2022 Brillion SSB12
Сохранить
22 995 $
Новая сеялка Brillion SSB12, прицепная, со штангой, 9,5-литровые шины, светодиодные фонари, электронный счетчик акров, электрическое сцепление, отключение для сеялокЭкспресс-финансирование Получить предварительное одобрениеПолучить оценку доставки FR8Star.
..
Посмотреть все комментарии продавца0002 Узнать цену
Сеялка Brillion SSB12
Вес блока 2786 фунтов
5 футов 2 дюйма Транспортная высота
10-футовый дорожный просвет
15′ Общая ширина
Вместимость семенного ящика 5,25 буш.
Расстояние 6 дюймов
Тип тяги
Передний и задний семенные ящики
9.5Lx15-8 Ply Ti…
Посмотреть все комментарии продавца
12-ФУТОВАЯ СЕЯЛКА ПРИЦЕПНОГО ТИПА С ПЕРЕДНИМ И ЗАДНИМ
ЯЩИКИ ДЛЯ СЕМЯН
5K745 ACRE METERЭкспресс-финансирование Получите предварительное одобрениеПолучите оценку доставки FR8Star
Позвоните, чтобы узнать цену
Просмотрено
1 фото
2022 Brillion SSB12
Сохранить
Позвоните, чтобы узнать цену
12-ФУТОВАЯ СЕЯЛКА ПРИЦЕПНОГО ТИПА С ПЕРЕДНИМ И ЗАДНИМ
ЯЩИКИ ДЛЯ СЕМЯН
5K745 ACRE METERЭкспресс-финансирование Получите предварительное одобрениеПолучите оценку доставки FR8Star
Позвоните, чтобы узнать цену
Просмотрено
1 фото
2022 Brillion SSB12
Сохранить
Позвоните, чтобы узнать цену
Вес блока 2786 фунтов
5 футов 2 дюйма Транспортная высота
10-футовый дорожный просвет
15′ Общая ширина
Вместимость семенного ящика 5,25 буш.
Расстояние 6 дюймов
Тип тяги
Передний и задний семенные ящики
9Шины .5Lx15-8 Ply
Светодиодные сигнальные огни…
Посмотреть все комментарии продавца
6
ЗЕРНОВАЯ СЕЯЛКА BRILLION SSB12, ТЯГА, 12-ФУТОВАЯ РАБОЧАЯ ШИРИНА, 6-ФУТОВЫЙ МЕЖДУНАРОДНЫЙ ПРОМЕЖУТОК, ИМЕЕТ НАСАДКУ GRASAS SED, 9.5X15 8-СЛОЙНЫЕ ШИНЫ, СЧЕТЧИК АКР, S-TINE TRACK SCRATCHER, НОВАЯ ЦЕНА $ 25,600, …
Посмотреть все комментарии продавца
21 495 $
Просмотрено
1 фото
2022 Brillion SSB12
Сохранить
Узнать цену
Вес блока 2786 фунтов
5 футов 2 дюйма Транспортная высота
10-футовый дорожный просвет
15′ Общая ширина
Вместимость семенного ящика 5,25 буш.
Расстояние 6 дюймов
Тип тяги
Передний и задний семенные ящики
Шины 9.5Lx15-8 Ply
Светодиодные сигнальные огни…
Посмотреть все комментарии продавца
Позвонить по цене
Просмотрено
1 фото
2023 Brillion SSB12
Сохранить
Узнать цену
Brillion Seeder уже доступен! Позвоните в MTS Jerseyville для получения дополнительной информации и цен! Экспресс-финансирование Получите предварительное одобрениеПолучите оценку доставки FR8Star
Позвоните, чтобы узнать цену
Просмотрено
1 фото
2022 Brillion SSB12
Сохранить
Позвоните, чтобы узнать цену
Новая сеялка Brillion SSB12, счетчик акров, ящик для брома, комплект для удаления гусениц, сигнальные лампы, знак SMV, шины 9.
5L15Экспресс-финансирование Получить предварительное одобрениеПолучить оценку доставки FR8Star
Позвоните, чтобы узнать цену
Просмотрено
1 фото
Бриллионы SSB12
Сохранить
Позвоните, чтобы узнать цену
12-дюймовая прицепная сеялка Sure Stand, передний и задний семенные ящики, точное дозирование, точная глубина заделки семянЭкспресс-финансирование Получить предварительное одобрениеПолучить оценку доставки FR8Star
Позвоните, чтобы узнать цену
Просмотрено
1 фото
Бриллионы SSB12
Сохранить
Позвоните, чтобы узнать цену
Новые 12-футовые двухприцепные сеялки Brillion в наличии. Доступны модели 8, 10 и 12 футов. 6-слойные шины и светодиодные фонари. Экспресс-финансирование Получите предварительное одобрениеПолучите оценку стоимости доставки FR8Star
Позвоните, чтобы узнать цену
Просмотрено
1 фото
Brillion SSB12
Сохранить
22 500 $
Экспресс-финансирование Получите предварительное одобрениеПолучите оценку стоимости доставки FR8Star
22 500 $
Просмотрено
1 фото
2022 миллиард SSB12
Сохранить
Узнать цену
Новая сеялка Brillion SSB12, счетчик акров, ящик для брома, комплект для удаления гусениц, сигнальные лампы, знак SMV, шины 9.
5L15Экспресс-финансирование Получить предварительное одобрениеПолучить оценку доставки FR8Star
Узнать цену
Стандартное восточное время.
${quote} в месяц
Brillion SS-12 12′ Сеялка для травы, прицепная, с ящиками для семян люцерны и травы
Участвуя в этом аукционе, участник торгов соглашается со следующими условиями:
ДАТА ОПЛАТЫ 904 24
Все платежи, не полученные до 18 марта 2021 г. в 14:00 , будет взиматься дополнительная плата за просрочку платежа в размере 5%.
ПРИЕМЛЕМЫЕ ФОРМЫ ОПЛАТЫ
Наличные, местные персональные чеки, электронные чеки, кредитная карта или банковский перевод. Электронные чеки (бесплатно), кредитные карты (комиссия 3%), банковские переводы (комиссия 15 долл. США)
ДАТА ПОЛУЧЕНИЯ ТОВАРА
Полная ответственность за товар переходит на участника торгов в момент оплаты, и участник торгов берет на себя все риски потери и ущерб имуществу в то время.
В любом таком случае участник торгов по-прежнему будет нести ответственность за оплату первоначальной покупки и расходы на взимание этой оплаты и/или убытки, возникшие в результате перепродажи имущества.
НАЛОГ С ПРОДАЖ
Налог штата Невада плюс налог с продаж округа Гумбольдт в размере 6,85% будет взиматься со всех налогооблагаемых товаров, если вы не являетесь торговым посредником или не вывозите автомобиль из штата Невада. Все предметы сельскохозяйственного и ирригационного оборудования освобождены от налога с продаж.
ПРЕМИУМ ПОКУПАТЕЛЯ
Премия покупателя в размере пяти процентов (5 %) от самой высокой ставки будет добавлена ко всем товарам, проданным на сумму более 2500 долларов США, и десять процентов (10 %) от самой высокой ставки будут добавлены ко всем товары продаются за 2500 долларов или меньше. Пример: ставка 1000 долл. США + 100 долл. США BP = ставка 1100 или 5000 долл. США + 250 долл. США = сумма счета-фактуры 5250 долларов США плюс налог с продаж, если применимо.
ОКОНЧАНИЕ АУКЦИОНА
Начиная с указанного времени закрытия, программное обеспечение аукциона будет завершать торги на один или несколько лотов каждую минуту в порядке каталога со следующим исключением: если ставка размещена за 45 секунд или менее до конца лота , время торгов для этого лота будет сброшено еще на 30 секунд и будет продолжаться до тех пор, пока не прекратится дальнейшее продвижение ставок.
БЕЗ РЕЗЕРВОВ
Каждый лот будет продан тому, кто предложит самую высокую цену, без резерва, если не указано иное.
ВЫКУП НЕТ
Всем продавцам по договору запрещено делать ставки на лоты, которые они отправили на аукцион.
ВОЗВРАТУ НЕТ
Все продажи являются окончательными. Возврата, возмещения или корректировки нет.
ВЗЫСКАНИЕ ЗАДОЛЖЕННОСТИ И НАЧИСЛЕНИЕ ПРОЦЕНТОВ
Участник торгов соглашается оплатить все разумные гонорары адвокатов и другие расходы, понесенные Musser Bros Auctioneers, LLC в ее усилиях по взысканию невыплаченных средств с участника торгов.
Участник торгов соглашается с тем, что комиссия в размере 2% от непогашенного остатка в месяц будет добавлена к любому невыплаченному остатку, причитающемуся Musser Bros Auctioneers, LLC. Любые разбирательства по взысканию долгов или споры будут рассматриваться в округе Твин-Фолс, штат Айдахо.
ГАРАНТИЙНОЕ СОГЛАШЕНИЕ
Подавая заявку от имени юридического лица или корпорации, физическое лицо, подающее заявку, заключает гарантийное соглашение, в соответствии с которым он или она лично гарантирует выплату Musser Bros Auctioneers, LLC любой суммы заявки. не оплачены в установленный срок юридическим лицом или корпорацией по какой-либо причине вместе со всеми расходами на взыскание, понесенными для принудительного взыскания, включая разумный гонорар адвоката.
ОГРАНИЧЕНИЕ ОТВЕТСТВЕННОСТИ
Если по какой-либо причине компания Musser Bros Auctioneers, LLC не может предоставить или доставить какую-либо Покупку или ее часть или документацию, необходимую в отношении какой-либо Покупки, исключительная ответственность Musser Bros Auctioneers, LLC, если таковая имеется, , является возвратом денежных средств, уплаченных в отношении такой Покупки, после ее возврата Покупателем.
ОТКАЗ ОТ ОТВЕТСТВЕННОСТИ
Все партии продаются как есть, где есть, со всеми недостатками. Musser Bros Auctioneers, LLC и продавец не дают и не дают никаких гарантий в отношении продаваемых лотов, подразумеваемых или иных. Компания Musser Bros Auctioneers, LLC рекомендует всем участникам торгов лично осматривать лоты перед началом торгов. Musser Bros Auctioneers, LLC не несет ответственности за неверную информацию о листинге, если таковая имеется. Компания Musser Bros Auctioneers, LLC попыталась предоставить точные описания всех предметов, однако ответственность за определение состояния и пригодности каждого лота лежит на участнике торгов. Распечатанные заявления или описания сотрудников аукционного дома Musser Bros Auctioneers, LLC предоставлены добросовестно и являются субъективным мнением.
ИНФОРМАЦИЯ ДЛЯ УЧАСТНИКОВ ЗАЯВКИ И БЕЗОПАСНОСТЬ
Вся регистрационная информация, которую участник торгов предоставляет Musser Bros Auctioneers, LLC, должна быть актуальной, полной и точной.
Все участники торгов несут ответственность за любые ставки, размещенные под их номерами для торгов и паролями. Ответственность за безопасность информации участника торгов лежит на участнике торгов. Участники торгов должны уведомить Musser Bros Auctioneers, LLC, если они считают, что их номер участника торгов и пароль были скомпрометированы.
СЕРВЕР И ПРОГРАММНОЕ ОБЕСПЕЧЕНИЕ ТЕХНИЧЕСКИЕ ПРОБЛЕМЫ
В случае возникновения технических проблем, связанных с сервером, программным обеспечением или любыми другими технологиями, связанными с онлайн-аукционами, компания Musser Bros Auctioneers, LLC оставляет за собой право продлить торги, закрыть торги, временно приостановить торги, аннулировать любую продажу и повторно -продать любые лоты, на которые повлияла какая-либо неисправность. НИ КОМПАНИЯ, ПРЕДОСТАВЛЯЮЩАЯ ПРОГРАММНОЕ ОБЕСПЕЧЕНИЕ, ни MUSSER BROS AUCTIONEERS, LLC НЕ НЕСУТ ОТВЕТСТВЕННОСТИ ЗА ПРОПУЩЕНУЮ СТАВКУ ИЛИ НЕИСПРАВНОСТЬ ПРОГРАММНОГО ОБЕСПЕЧЕНИЯ ПО ЛЮБОЙ ПРИЧИНЕ.
