Содержание
Проверка и регулировка рычажной системы управления
Проверка и регулировка рычажной системы управления
Применяемые в дорожно-строительных машинах системы управления классифицируются по назначению на:.системы управления рабочими органами, рулевыми механизмами, муфтами, тормозами и другими механизмами и устройствами. По принципу устройства системы управления подразделяются на: рычажную (посредством рычагов, рукоятей и педалей) , механическую, гидравлическую, пневматическую, электрическую.
Рычажная система применяется для управления рабочими органами машин, механизмом поворота, как, например, в гусеничных тракторах, тормозами машин. К этой системе относится также и рулевое управление колесными машинами (хотя в этих передачах часто применяются гидроусилители и другие устройства). Нормальная работа рычажной системы характеризуется четкостью и надежностью включения и выключения элементов привода и механизмов, а также величиной рабочего хода рукоятей и педалей управления.
Контроль действия рычажной системы предусматривает проверку быстроты и надежности включения и выключения; определение усилий, прилагаемых к рукоятям и педалям при их включении и выключении. Проверку выполняют на работающих машинах, при этом механизмы должны быть включены на холостой ход. Показателями состояния механизмов управления поворотом и тормозами гусеничных и колесных машин являются легкость и удобство управления и надежность торможения при любых условиях эксплуатации.
Рекламные предложения на основе ваших интересов:
Дополнительные материалы по теме:
К показателям состояния механизмов управления поворотом относятся: у гусеничных машин — степень изношенности муфт поворота и упругость нажимных пружин, свободный и полный ход рычагов управления поворотом, а также степень изношенности тормозов и ход тормозных педалей; у колесных машин -.свободный (без заеданий) ход рулевого колеса и усилие на его ободе, степень изношенности узлов, сборочных единиц и деталей тормозов и ход тормозных педалей.
У гусеничных и колесных машин, оборудованных гидроусилителями, показателями их состояния являются также давление открытия предохранительного клапана, состояние клапана потока масла в гидроусилителе, степень изношенности распределителя, производительность насоса.
Начало включения таких механизмов, как фрикционы и тормоза, должно начинаться не позже, чем на половине хода рукоятки или педали. Возможный люфт рычажной системы управления не должен превышать 1/15 – 1/20 общего хода рукояти или педали.
Свободный ход замеряют масштабной линейкой. Регулировку свободного хода рукоятей и педалей выполняют с помощью тех конструктивных элементов, которыми оснащена данная система; стяжными муфтами с винтовой нарезкой, секторами с отверстиями или пазами, телескопическими трубами с отверстиями и пальцами и др. Эти элементы позволяют изменять (укорачивать или удлинять) размеры соединительных тяг или плеч рычагов и т. п. Ход рукоятей и педалей не должен превышать величин, установленных для той или другой машины (в частности, базовых гусеничных тракторов) заводскими инструкциями, но не более: для рукоятей и рычагов 400 мм, для педалей 250 мм.
Для дорожно-строительных машин, имеющих непосредственный привод органов управления (т. е. для машин, управляемых машинистом через рукояти и педали), предельными значениями будут.
размеры общих и рабочих ходов рычагов управления – для рукоятей не более 400 мм, для педалей не более 250 мм;
усилия на рычаги управления – для рычагов, снабженных сервоприводом, 30—40 Н; для рычагов, часто включаемых, 60—80 Н; для рычагов, редко включаемых, 120-160 Н;
усилия на педали управления — с гидравлическим или другими усилителями 80-100 Н, без гидравлических или других усилителей 200- 300 Н.
Контроль рычажной системы в эксплуатационных условиях начинают с проверки четкости и надежности включения и выключения механизма машины или оборудования. Так, например, рычаг (рукоять) управления однобарабанной лебедкой, приводящей отвал бульдозера, проверяют на три положения: “подъем” – фрикционная муфта лебедки включена, тормоз выключен; “фиксация положения” — фрикционная муфта лебедки выключена, тормоз включен; “спуск” — тормоз и фрикционная муфта лебедки выключены.
Регулировка усилий в рычажной системе обеспечивается ослаблением или заменой возвратных пружин, проверкой и устранением неисправностей в передающей усилия системе, а также устранением люфтов и заеданий в сочленениях.
Для колесных машин признаками, характеризующими состояние рулевого управления, являются свободный ход (люфт) рулевого колеса и усилие, необходимое для его перемещения после устранения люфта.
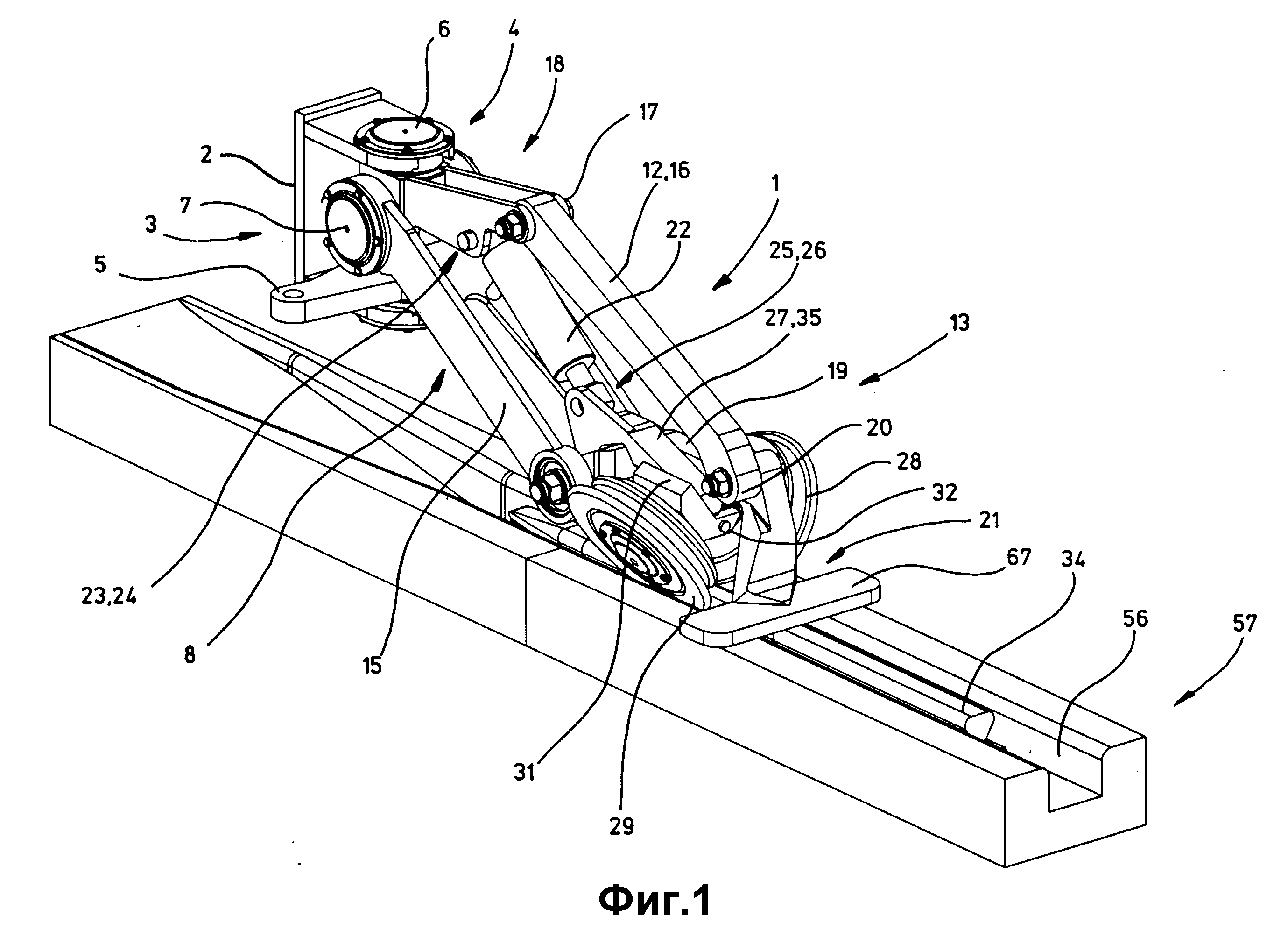
Для проверки рулевого управления применяют прибор динамометр- люфтомер К-402 (рис. 7.15), позволяющий определять свободный ход рулевого колеса и усилия на его ободе. Прибор состоит из двух самостоятельно действующих приспособлений: динамометра для измерения усилия на ободе колеса и люфтомера для измерения свободного хода рулевого колеса. Прибор крепится на ободе рулевого колеса посредством захватов и зажимов. При вращении рулевого колеса в обе стороны до устранения зазора в рулевом механизме и шарнирах рулевых тяг определяют свободный ход рулевого колеса. Номинальный и свободный ход рулевого колеса 20—25°, допустимый до 36°.
Люфт рулевого колеса определяют под действием усилия в 10 Н.
Для измерения усилия на ободе рулевого колеса, которое характеризует трение в рулевом механизме, продольную тягу управления отсоединяют от других элементов механизма — рулевой сошки и др. После этого заводят двигатель и прокручивают его на максимальных оборотах холостого хода. Затем устанавливают рулевое колесо в среднее положение, приближают к корпусу динамометра фиксаторное кольцо на одной из динамометрических рукояток и, перемещая противоположную динамометрическую рукоятку, повертывают рулевое колесо до отказа. После этого, освободив рукоятку динамометра, по положению фиксаторного кольца на шкале противоположной рукояти отсчитывают усилие. Так же измеряют усилие на ободе колеса при повороте его в другую сторону.
Рис. 7.15. Динамометр-люфтомер для проверки рулевого управления:
1 — захваты рулевой колонки; 2 — указательная стрелка; 3 — шкала люфто- мера; 4 — зажимы для крепления на рулевом колесе; 5 — динамометрические рукоятки со шкалами прикладываемых усилий; 6 — пружины динамометра (до 120 Н)
При исправном состоянии рулевого механизма усилие на ободе рулевого колеса должно быть в пределах 30—60 Н, а при наличии гидроусилителя – 20-30 Н.
Кроме люфта рулевого колеса, проверяют также зазоры в шарнирных и других соединениях. Зазор в подшипниках червяка рулевого механизма измеряют по осевому перемещению ступицы рулевого колеса относительно колонки. Силы трения в механизмах контролируют, пользуясь также динамометром-люфтомером, по наличию усилия, которое прикладывается при определении их состояния.
Системы управления и трансмиссии
Системы управления и трансмиссии
Системой управления называется совокупность отдельных деталей и узлов, предназначенных для управления двигателем и включения механизмов машины (подъема, вращения, передвижения и др.). В путевых, дорожных и строительных машинах применяются следующие системы управления: рычажная (механическая), гидравлическая (насосная и безнасосная), пневматическая, электрическая и комбинированная.
Рычажная система применяется для управления с помощью рычагов муфтами и тормозами машин малой мощности, приводимых в движение рукоятками и педалями.
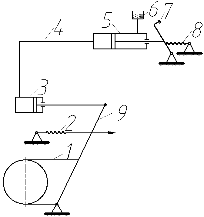
Нормальное усилие на рычагах не должно превышать 3—4 кг при ходе не более 25 см, а на педали не более 8 кг при ходе педали не более 20 см. Усилие, прикладываемое к рукоятке или педали, усиливается посредством рычагов трансмиссии и передается к исполнительным органам. На рис. 41, а показана рычажная схема управления ленточным тормозом лебедки. Усилие от педали, расположенной на оси, передается тормозной ленте через тяги, вал и рычаги. Пружина служит для растормаживания.
Управление ленточным тормозом от рукоятки показано на рис. 41,6. Движение от рычага через регулировочную тягу и рычаг передается толкателю, который через рычаг затягивает ленту. Недостатками ручной рычажной системы являются большой расход мускульной энергии человека (особенно при частых включениях), утомляемость оператора и большой свободный ход рычагов и педалей, увеличивающийся по мере износа шарнирных соединений.
Рекламные предложения на основе ваших интересов:
Дополнительные материалы по теме:
Рис.
41. Системы рычажного управления а — от педали; б — от рукоятки
Гидравлическая система управления может быть безнасосной и насосной (рис. 42). В безнасосной системе (см. рис. 42, от) давление жидкости в командном и исполнительном цилиндрах создается усилием руки или ноги машиниста по принципу сообщающихся сосудов. При нажиме на педаль кулачок, вращаясь, оказывает давление на шток поршня 8, который, перемещаясь по цилиндру, давит на рабочую жидкость. Под действием поршня жидкость вытесняется из командного ццлиндра и по трубке попадает в исполнительный цилиндр. Созданное давление приводит к перемещению поршня и штока исполнительного цилиндра и рычага, затягивающего ленту тормоза. При прекращении торможения система под действием пружины возвращается в исходное положение. Утечка масла в системе компенсируется поступлением ее из бачка.
Рис. 42. Гидравлические системы
а — безнасосная; 6 — насосная (следящая)
Безнасосная гидравлическая система управления непосредственного действия при длительной работе требует от машиниста значительных затрат энергии.
Для облегчения работы и создания возможности машинисту чувствовать нагрузку исполнительного органа применяют гидравлические следящие системы. В этих системах используют насосы, развивающие давление до 30 МПа (300 кгс/см2). Пример применения следящей системы для управления рулевым механизмом показан на рис. 42, б.
При вращении штурвала вправо или влево золотник, перемещаясь, попеременно открывает отверстия А или Б подачи масла в цилиндр, в результате чего поршень начинает двигаться вместе со штоком и рейкой, вращая зубчатый сектор. Зубчатый сектор в свою очередь поворачивает рулевую сошку и соединенную с ней продольную рулевую тягу. Движение последней передается управляемым колесам. Нейтральное положение золотника (отверстия А и Б закрыты) соответствует прямолинейному движению машины. Данные системы являются высокочувствительными и значительно облегчают труд водителя.
Для управления многими механизмами применяют также усилители пневматического действия, которые, в отличие от гидравлических, имеют большую плавность в работе, простоту изготовления и надежность действия.
Однако давление воздуха в пневматических системах значительно ниже давления жидкости в гидросистемах. Это приводит к тому, что для получения заданных рабочих усилий необходимо создавать исполнительные органы (пневмокамеры) значительных конструктивных размеров и массы.
Электрическую систему управления используют только в машинах, имеющих электрический или дизель-электрический привод. Электрическая система отличается компактностью конструкции, надежностью действия и возможностью применения автоматики и блокировки. Электродвигатели мощностью до 15 кВт включают контроллерами или кнопками. Более мощные двигатели включают обычно при помощи магнитных станций-контакторов, управляемых специальными ко-мандоаппаратами.
Трансмиссии. Трансмиссией называется система, кинематически связывающая отдельные узлы машины, при помощи которой трансформируется движение и усилие от двигателя к исполнительному органу.
Трансмиссии бывают механические, гидравлические, пневматические, электрические и комбинированные.
На рис. 43 представлены схемы канатно-блочной и гидравлической трансмиссии привода управления отвалом бульдозера.
Канатно-блочная трансмиссия (рис. 43, а) с применением полиспастных устройств проста в изготовлении и удобна в эксплуатации, передает движение к рабочему органу, расположенному на значительном расстоянии от двигателя.
Вращением рукоятки нажимная гайка, перемещаясь по нарезанной части оси барабана, передвигает внутреннюю полумуфту конусного фрикциона до упора в конусную часть барабана. Вращающий момент от зубчатого колеса передается на барабан за счет сил трения, возникающих на контактируемых поверхностях. Канат навивается на барабан и совершается подъем отвала.
Поворотом рукоятки в обратную сторону нажимная гайка перемещается по нарезке обратно, увлекая за собой внутренний конус фрикциона, и фрикционный механизм выключается.
Недостатком канатно-блочных систем является то, что они не создают напорных усилий. Опускание и заглубление отвала происходит под действием сил тяжести отвала и толкающей рамы.
Рис. 43. Схемы трансмиссий а — канатно-блочная; б — гидравлическая
Гидравлическая трансмиссия (рис. 43, б) лишена этого недостатка, так как имеет цилиндры двухстороннего действия. Насос, работающий от двигателя, нагнетает жидкость по трубопроводам в гидроцилиндры. Направление движения жидкости в пространство над поршнем или под поршнем регулируется золотником. Подъем и опускание отвала осуществляется штоками гидроцилиндров. Масло поступает в магистраль из бачка через фильтр. При давлении жидкости в системе больше номинального срабатывает предохранительный клапан. Преимущество такой системы — возможность передавать движение нескольким гидроцилиндрам и создавать принудительное заглубление отвала.
Пневматические трансмиссии работают аналогично гидравлическим приводам.
Обладают большой плавностью в работе, но в силу небольших давлений (0,6— 0,7 МПа) не могут реализовать больших усилий.
Электрическая трансмиссия служит для передачи энергии электрического тока от его источника к исполнительному органу.
В трансмиссиях этого типа исполнительный орган приводится в движение механизмом, управляемым электродвигателем.
Комбинированная трансмиссия может быть электрогидравлической, электропневматической, дизель-электрической и дизель-пневматической. Трансмиссии этого типа применяются в тех случаях, когда режимы работы двигателей не соответствуют режимам работы рабочих органов машины.
рычагов управления | ICAEW
перейти к содержанию
ICAEW.com лучше работает с включенным JavaScript.
Следующее руководство по инструментам BPM является одним из серии, подготовленной для ICAEW профессором Майком Борном из Крэнфилдского университета.
Введение
Четыре рычага управления были разработаны Робертом Саймонсом в 1990-х годах на основе его практических исследований. Четыре рычага включают:
- Диагностический контроль
- Интерактивное управление
- Ограничительные системы
- Системы убеждений
Диагностический контроль
Диагностический контроль — это стандартное использование показателей производительности, основное внимание в котором уделяется контролю с обратной связью.
Производительность измеряется по отношению к цели, и руководство действует в зависимости от отклонения. Диагностический контроль также означает, что производительность регулярно анализируется на официальных собраниях, таких как заседания совета директоров, отделов и групп.
Интерактивное управление
Интерактивное управление совершенно другое. Это подход, который старшие менеджеры используют для создания содержательных и целеустремленных разговоров внутри компании и для взаимодействия на всех уровнях. Как правило, компании берут только один вопрос, который они подвергают интерактивному контролю. Одним из примеров, использованных Саймонсом, была ориентация Pepsi на долю рынка по сравнению с Coca-Cola в США. Цель Pepsi состояла в том, чтобы обогнать Coca-Cola по доле рынка, поэтому этот показатель использовался на каждом обзорном совещании и в каждом разговоре. Руководители высшего звена могли спросить на любом уровне в организации, что происходит с долей рынка, какова она по сравнению с Coca-Cola и почему происходят изменения (хорошие или плохие)?
Преимущество использования интерактивного управления таким образом заключается в том, что оно действительно фокусируется на одной проблеме.
Это не означает, что другие проблемы игнорируются (существуют средства диагностического контроля для их устранения), но одна проблема заслуживает особого внимания. Это также означает, что руководители высшего звена говорят единым голосом, они не могут иметь у всех свои собственные любимые проблемы. Кроме того, это канал для обратной связи и обучения посредством постоянных вопросов о том, почему производительность улучшается или не улучшается по этому показателю.
Четыре ключевых элемента, которые делают управление интерактивным:
- Постоянная тема на повестке дня на высшем уровне управления,
- , который требует регулярного внимания со стороны руководства среднего звена, то есть
- переведены и обсуждены при личных встречах и беседах и
- при условии постоянного оспаривания и обсуждения данных, предположений и планов действий.
.
Системы границ
Системы границ — это заявление о том, что компания не собирается делать.
Это может показаться нелогичным, но это механизм, позволяющий сфокусировать организацию и гарантировать, что люди не тратят время на изучение и разработку новых возможностей, которые компания никогда не собирается использовать.
Одним из приведенных примеров было заявление Билла Гейтса о том, чем Microsoft не собирается быть. Они не собирались заниматься аппаратным обеспечением и компьютерами, они не собирались заниматься телефонными сетями или консультированием и интеграцией программного обеспечения.
Есть еще история IBM и EDS. IBM разрабатывала свое глобальное консалтинговое предложение. Росс Перо был лучшим продавцом, но хотел, чтобы IBM создала подразделение по обслуживанию. Управление объектами не было консультационным предложением с точки зрения IBM на мир, и из-за этого пограничного условия он не мог реализовать свою идею. В конце концов Росс Перо покинул IBM, чтобы основать Electronic Data Services (EDS), которая набирала обороты. Затем была апокрифическая встреча, когда председатель IBM случайно встретил Росса Перо в ресторане и спросил его, осознавал ли он в то время, насколько большим будет рынок оборудования для EDS.
По-видимому, Росс Перо сказал, что нет, но что он достаточно велик, чтобы увидеть хорошие возможности для бизнеса для своей новой компании.
Итак, пограничный контроль — палка о двух концах. Они не дают людям тратить время, ограничивая возможности, которые они исследуют, но если они плохо составлены или не проверены, они могут помешать созданию новых областей роста для бизнеса.
Следовательно, вам нужно время, чтобы обдумать свои пограничные меры, прежде чем указывать их, поскольку они будут направлять развитие и блокировать определенные пути.
Системы убеждений
Системы убеждений предназначены для передачи видения, миссии и ценностей бизнеса. При этом они сообщают друг другу, клиентам и поставщикам, а также обществу в целом, чего организация пытается достичь и как должны вести себя отдельные лица.
Системы верований могут быть очень эффективными в управлении людьми и придании им цели. Ценности многих компаний выставлены на видном месте, но воплотить эти ценности в повседневных разговорах гораздо сложнее.
Несколько лет назад я провел исследование в Национальном строительном обществе и был немного удивлен, увидев развевающиеся в фойе флаги, отражающие основные ценности организации. Однако эти ценности не были поверхностными, когда я говорил с менеджерами о том, как они управляют людьми в бизнесе, ценности продолжали всплывать в разговорах, и когда я разговаривал с сотрудниками, повторялись одни и те же разговоры. Люди знали, чего от них ждут, как с ними обращаться и как вести себя в трудных ситуациях.
Точно так же, когда я работал в Kingsway Group много лет назад, мне пришлось быстро понять, что было и что не было приемлемым деловым поведением. Обсуждая деловые возможности и потенциальные сделки с председателем и главным исполнительным директором, быстро стало ясно, что во всех наших отношениях существовали этические императивы, а определенные методы были запрещены, поскольку они не были справедливыми в отношении определенных заинтересованных сторон. Когда я стал управляющим директором одной из дочерних компаний, я продолжал передавать эти ценности людям, которых мы наняли, и это определяло то, что мы делали и чего не делали.
Одной из сильных сторон этой системы убеждений было то, что у нас была политика «только торговцы строителями», и мы отказывались когда-либо иметь дело напрямую со строителями, обходя наших агентов торговцами строителями. Сила этой политики заключалась в том, что она укоренилась в системе убеждений, поэтому все мы знали, что никто не нарушит ее, и наши клиенты тоже знали это, что скрепило прочные отношения.
Четыре рычага управления
Четыре рычага управления должны дополнять друг друга. Диагностические средства контроля и системы границ ограничивают, в то время как интерактивные средства контроля и системы убеждений должны направлять развитие и рост. Но самое сложное — поддерживать их в актуальном состоянии, чтобы они оставались актуальными и отражали стратегическое направление бизнеса.
Преимущества
- Различные элементы управления играют разные роли в управлении организацией.

- может стать очень механическим и даже разрушительным, если его использовать неправильно, наличие сильной системы убеждений может смягчить худшие последствия чрезмерного использования диагностического контроля.
- хорошо работают, когда есть сплоченная команда высшего руководства.
- Системы убеждений работают лучше всего, когда высшее руководство действительно верит в ценности бизнеса, но вы не можете подделать это.
Диагностический контроль
Интерактивные элементы управления
Подводные камни, которых следует избегать
- Управление четырьмя системами управления требует больших усилий и постоянного внимания со стороны всех уровней управления.
- Для внедрения систем убеждений в бизнес требуется время, и их можно разрушить одним неправильным действием или решением.
- Граничные системы могут быть чрезмерно ограничивающими, поэтому обратите внимание на то, чтобы хорошо их написать и часто пересматривать.
Библиография
Саймонс, Р.
(1995) «Контроль в эпоху расширения прав и возможностей», Harvard Business Review, 73, 2, стр. 80-88
Рычаги управления Саймонса — объяснение
Что такое рычаги управления?
Автор Джейсон Гордон
Обновлено 15 мая 2022 г.
- Маркетинг, реклама, продажи и PR
Принципы маркетинга
Продажи
Реклама
Связи с общественностью
SEO, социальные сети, прямой маркетинг
- Бухгалтерский учет, налогообложение и отчетность
Управленческий и финансовый учет и отчетность
Налогообложение бизнеса
- Профессионализм и карьерный рост
- Право, сделки и управление рисками
Правительство, правовая система, административное право и конституционное право
Юридические споры — гражданское и уголовное право
Агентское право
HR, занятость, труд и дискриминация
Субъекты бизнеса, корпоративное управление и собственность
Деловые операции, антимонопольное право и право ценных бумаг
Недвижимость, личная и интеллектуальная собственность
Коммерческое право: договор, платежи, обеспечительные интересы и банкротство
Защита потребителя
Страхование и управление рисками
Иммиграционное право
Закон об охране окружающей среды
Наследство, поместья и трасты
- Управление бизнесом и операции
Управление операциями, проектами и цепочками поставок
Стратегия, предпринимательство и инновации
Деловая этика и социальная ответственность
Глобальный бизнес, международное право и отношения
Деловые коммуникации и переговоры
Менеджмент, лидерство и организационное поведение
- Экономика, финансы и аналитика
Экономический анализ и денежно-кредитная политика
Исследования, количественный анализ и принятие решений
Инвестиции, трейдинг и финансовые рынки
Банковское дело, кредитование и кредитная индустрия
Деловые финансы, личные финансы и принципы оценки
- Курсы
+ Еще
Содержание
Что такое рычаги управления? Что такое рычаги управления Симонса? Какие вопросы связаны с рычагами Саймонса?
Рычаги управления, представленные Робертом Саймонсом (1995), дает менеджерам в крупных компаниях основу для управления противоречием между созданием (стоимости) и контролем (управлением и измерением стоимости).
Рычаги управления определяются как любые:
- Формальная основанная на информации рутина или процедура
- , который используется руководством
- для поддержания или изменения моделей организационного поведения.
- Системы убеждений , которые организация должна внедрить, чтобы она могла контролировать приверженность видению организации, основным ценностям, заявлениям о миссии, заявлениям о видении, кредо и заявлениям о целях.
- Системы границ , которые должна иметь организация, чтобы она могла застолбить территорию для каждого участника: кодексы поведения, предопределенные методы стратегического планирования, правила приобретения активов, оперативные инструкции.
- Системы диагностического контроля . Они должны быть внедрены компанией, чтобы она могла оптимизировать результаты и выполнять работу: измерение результатов, стандарты оценки, системы стимулирования и системы вознаграждения.

