Содержание
Роторно-пластинчатая машина (варианты)
Изобретение относится к энергетическому машиностроению и может быть использовано в конструкциях пневматических и пневмогидравлических машин объемного действия. Роторно-пластинчатая машина содержит корпус с внутренней цилиндрической расточкой, в которой эксцентрично размещен полый ротор. Ротор имеет привод и продольные радиальные профилированные пазы с противолежащими вогнутыми дугообразными поверхностями. Разделительные пластины установлены во вкладышах, имеющих плосковыпуклую форму. Вкладыши размещены в роторе с возможностью поворота в пазах. По первому варианту в каждой разделительной пластине выполнены сообщающиеся между собой и соединенные с внутренней полостью ротора каналы в виде проточек по боковым торцевым ее поверхностям и по торцевой поверхности, взаимодействующей с внутренней поверхностью внутренней цилиндрической расточки неподвижного корпуса. По второму варианту в каждой пластине каналы в виде проточек, соединенные с внутренней полостью ротора, выполнены только по боковым торцевым ее поверхностям с выходом на торцевую поверхность.
По третьему варианту в каждой пластине выполнены каналы в виде проточек, соединенные с внутренней полостью ротора, только по боковым ее поверхностям и заглушены со стороны торцевой поверхности. Все пары трения выполнены с керамическим покрытием. Повышается кпд, увеличивается давление перекачиваемого газа — компрессии, уменьшается трение. 3 с.п. ф-лы, 4 ил.
Изобретение относится к области энергетического машиностроения и может быть использовано в конструкциях пневматических и пневмогидравлических машин объемного действия, работающих как в режиме двигателя, так и в режиме насоса.
Из существующего уровня техники известна роторно-пластинчатая машина, содержащая неподвижный корпус с внутренней цилиндрической расточкой и окнами подвода и отвода рабочей среды, сообщенными с напорной и сливной магистралями, соответственно полый цилиндрический ротор с приводом и продольными радиальными профилированными пазами с противолежащими вогнутыми дугообразными поверхностями, эксцентрично размещенный в расточке корпуса, установленные во вкладышах, имеющих плосковыпуклую форму, разделительные пластины, имеющие рабочие и торцевые поверхности, с проушинами, охватывающими ось, совпадающую с осью расточки корпуса, причем вкладыши размещены с возможностью поворота в продольных радиальных профилированных пазах ротора за счет взаимодействия своей внешней выпуклой поверхностью с их противолежащими вогнутыми дугообразными поверхностями (см.
США, патент 3892502, НКИ 418/15, 1975).
Достижению требуемого технического результата в известной роторно-пластинчатой машине препятствуют значительные пневмогидравлические и механические потери при движении разделительных пластин в радиальных пазах цилиндрического ротора, а также явление заклинивания вкладышей и разделительных пластин, имеющее место при высоких коэффициентах трения. Это наблюдается в результате отклонения профиля поверхности вкладыша, взаимодействующей с поверхностью паза ротора, которое может иметь место либо в результате технологических погрешностей при изготовлении, либо в результате приработки поверхностей между собой, а также в результате заведомо конструктивно заложенной проточной системы агрегата.
Задачей, на решение которой направлено заявленное изобретение, является создание роторно-пластинчатой машины, обеспечивающей качественное улучшение эксплуатационных характеристик и увеличение производительности роторно-пластинчатой машины при одновременном увеличении ее ресурса.
К техническим результатам, получаемым от реализации заявленного изобретения, можно отнести повышение кпд, увеличение давления перекачиваемого газа — компрессии, уменьшение трения в рабочих поверхностях трения, предотвращение заклинивания взаимодействующих между собой элементов и, как следствие, уменьшение общих механических потерь в роторно-пластинчатой машине, а также уменьшение пневмогидравлических потерь роторно-пластинчатой машины.
Поставленная задача решается, а технический результат достигается по первому варианту выполнения изобретения тем, что в роторно-пластинчатой машине, содержащей неподвижный корпус с внутренней цилиндрической расточкой и окнами подвода и отвода рабочей среды, сообщенными с напорной и сливной магистралями, соответственно полый цилиндрический ротор с приводом и продольными радиальными профилированными пазами с противолежащими вогнутыми дугообразными поверхностями, эксцентрично размещенный в расточке корпуса, установленные во вкладышах, имеющих плосковыпуклую форму, разделительные пластины, имеющие рабочие и торцевые поверхности, с проушинами, охватывающими ось, совпадающую с осью расточки корпуса, причем вкладыши размещены с возможностью поворота в продольных радиальных профилированных пазах ротора за счет взаимодействия своей внешней выпуклой поверхностью с их противолежащими вогнутыми дугообразными поверхностями, согласно изобретению в каждой разделительной пластине выполнены сообщающиеся между собой и соединенные с внутренней полостью ротора каналы в виде проточек по боковым торцевым ее поверхностям и по торцевой поверхности, взаимодействующей с внутренней поверхностью внутренней цилиндрической расточки неподвижного корпуса, при этом, по крайней мере, торцевая поверхность каждой разделительной пластины с каналом в виде проточки, взаимодействующая с внутренней поверхностью внутренней цилиндрической расточки неподвижного корпуса, и ее боковые торцевые поверхности, на которых также выполнены каналы в виде проточек, рабочие поверхности каждой разделительной пластины, а также поверхности трения вкладышей, взаимодействующие с рабочими поверхностями разделительной пластины и противолежащими вогнутыми дугообразными поверхностями продольных радиальных профилированных пазов ротора, выполнены с керамическим покрытием.
Поставленная задача решается, а технический результат достигается по второму варианту выполнения изобретения тем, что в роторно-пластинчатой машине, содержащей неподвижный корпус с внутренней цилиндрической расточкой и окнами подвода и отвода рабочей среды, сообщенными с напорной и сливной магистралями, соответственно полый цилиндрический ротор с приводом и продольными радиальными профилированными пазами с противолежащими вогнутыми дугообразными поверхностями, эксцентрично размещенный в расточке корпуса, установленные во вкладышах, имеющих плосковыпуклую форму, разделительные пластины, имеющие рабочие и торцевые поверхности, с проушинами, охватывающими ось, совпадающую с осью расточки корпуса, причем вкладыши размещены с возможностью поворота в продольных радиальных профилированных пазах ротора за счет взаимодействия своей внешней выпуклой поверхностью с их противолежащими вогнутыми дугообразными поверхностями, согласно изобретению в каждой разделительной пластине выполнены соединенные с внутренней полостью ротора каналы в виде проточек по боковым торцевым ее поверхностям, причем каналы в виде проточек выполнены сквозными с выходом на торцевую поверхность разделительной пластины, взаимодействующую с внутренней поверхностью внутренней цилиндрической расточки неподвижного корпуса, при этом, по крайней мере, торцевая поверхность каждой разделительной пластины, взаимодействующая с внутренней поверхностью внутренней цилиндрической расточки неподвижного корпуса, и ее боковые торцевые поверхности, на которых выполнены каналы в виде проточек, рабочие поверхности каждой разделительной пластины, а также поверхности трения вкладышей, взаимодействующие с рабочими поверхностями разделительной пластины и противолежащими вогнутыми дугообразными поверхностями продольных радиальных профилированных пазов ротора, выполнены с керамическим покрытием.
Поставленная задача решается, а технический результат достигается по третьему варианту выполнения изобретения тем, что в роторно-пластинчатой машине, содержащей неподвижный корпус с внутренней цилиндрической расточкой и окнами подвода и отвода рабочей среды, сообщенными с напорной и сливной магистралями, соответственно полый цилиндрический ротор с приводом и продольными радиальными профилированными пазами с противолежащими вогнутыми дугообразными поверхностями, эксцентрично размещенный в расточке корпуса, установленные во вкладышах, имеющих плосковыпуклую форму, разделительные пластины, имеющие рабочие и торцевые поверхности, с проушинами, охватывающими ось, совпадающую с осью расточки корпуса, причем вкладыши размещены с возможностью поворота в продольных радиальных профилированных пазах ротора за счет взаимодействия своей внешней выпуклой поверхностью с их противолежащими вогнутыми дугообразными поверхностями, согласно изобретению в каждой разделительной пластине выполнены соединенные с внутренней полостью ротора каналы в виде проточек по боковым торцевым ее поверхностям, причем каналы в виде проточек выполнены заглушенными со стороны торцевой поверхности, взаимодействующей с внутренней поверхностью внутренней цилиндрической расточки неподвижного корпуса, при этом, по крайней мере, торцевая поверхность каждой разделительной пластины, взаимодействующая с внутренней поверхностью внутренней цилиндрической расточки неподвижного корпуса, и ее боковые торцевые поверхности, на которых выполнены каналы в виде проточек, рабочие поверхности каждой разделительной пластины, а также поверхности трения вкладышей, взаимодействующие с рабочими поверхностями разделительной пластины и противолежащими вогнутыми дугообразными поверхностями продольных радиальных профилированных пазов ротора, выполнены с керамическим покрытием.
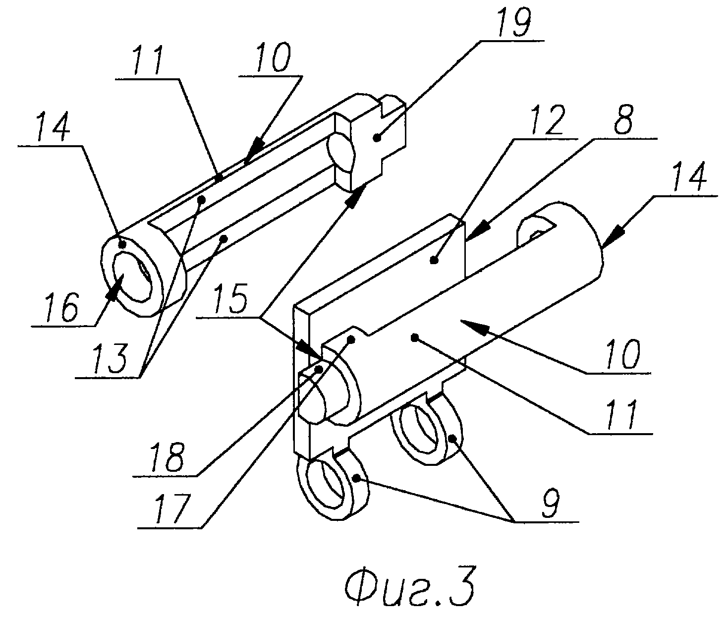
Изобретение поясняется чертежами, где на фиг. 1 изображена роторно-пластинчатая машина в разрезе; на фиг.2 — конструкция разделительной пластины по первому варианту выполнения изобретения; на фиг.3 — конструкция разделительной пластины по второму варианту выполнения изобретения; на фиг.4 — конструкция разделительной пластины по третьему варианту выполнения изобретения.
Роторно-пластинчатая машина во всех трех вариантах выполнения изобретения имеет цилиндрический корпус 1 с внутренней цилиндрической расточкой 2 и окнами подвода 3 и отвода 4 рабочей среды, сообщенными с напорной и сливной (не показано) магистралями. Полый цилиндрический ротор 5 эксцентрично размещен в расточке 2 корпуса 1, имеет привод (не показано) и продольные радиальные профилированные пазы 6 с противолежащими вогнутыми дугообразными поверхностями 7. Разделительные пластины 8, имеющие рабочие 9 и торцевые 10 и 11 поверхности, с проушинами 12, охватывающими ось, совпадающую с осью (не показаны) расточки 2 корпуса 1, установлены во вкладышах 13, имеющих плосковыпуклую форму.
Вкладыши 13 размещены в полом цилиндрическом роторе 5 с возможностью поворота в продольных радиальных профилированных пазах 6 за счет взаимодействия своей внешней выпуклой поверхностью 14 с противолежащими вогнутыми дугообразными поверхностями 7.
По первому варианту выполнения изобретения в каждой разделительной пластине 8 выполнены сообщающиеся между собой и соединенные с внутренней полостью ротора каналы 15 в виде проточек по боковым торцевым ее поверхностям 10 и по торцевой поверхности 11, взаимодействующей с внутренней поверхностью внутренней цилиндрической расточки 2 неподвижного корпуса 1. По крайней мере, торцевая поверхность 11 каждой разделительной пластины с каналом 15 в виде проточки, взаимодействующая с внутренней поверхностью внутренней цилиндрической расточки 2 неподвижного корпуса 1, и ее боковые торцевые поверхности 10, на которых также выполнены каналы 15 в виде проточек, рабочие поверхности 9 каждой разделительной пластины 8, а также поверхности трения вкладышей, взаимодействующие с рабочими поверхностями 9 разделительной пластины и противолежащими вогнутыми дугообразными поверхностями 7 продольных радиальных профилированных пазов 6 ротора 5, выполнены с керамическим покрытием.
По второму варианту выполнения изобретения в каждой разделительной пластине 8 каналы 15 в виде проточек, соединенные с внутренней полостью ротора, выполнены только по боковым торцевым ее поверхностям 10. При этом каналы 15 в виде проточек выполнены сквозными с выходом на торцевую поверхность 11 разделительной пластины 8, взаимодействующую с внутренней поверхностью внутренней цилиндрической расточки 2 неподвижного корпуса 1. В остальном, что касается керамического покрытия трущихся между собой поверхностей, изобретение по второму варианту идентично изобретению по первому варианту.
По третьему варианту выполнения изобретения в каждой разделительной пластине 8 каналы 15 в виде проточек, соединенные с внутренней полостью ротора, так же, как и по второму варианту изобретения, выполнены только по боковым торцевым ее поверхностям 10. При этом каналы 15 в виде проточек выполнены заглушенными со стороны торцевой поверхности 11, взаимодействующей с внутренней поверхностью внутренней цилиндрической расточки 2 неподвижного корпуса 1.
В остальном, что касается керамического покрытия трущихся между собой поверхностей, изобретение по третьему варианту идентично изобретению по первому и по второму по варианту.
Роторно-пластинчатая машина по всем трем вариантам изобретения работает следующим образом.
В режиме пневмогидродвигателя основные процессы, происходящие с рабочим телом, и его взаимодействие с элементами роторно-пластинчатой машины аналогичны процессам, происходящим в прототипе. При вращении ротора 5 приводом в цилиндрической расточке 2 корпуса 1 образуется рабочая камера между двумя разделительными пластинами 8, увеличивается в объеме и, будучи соединена с напорной магистралью через окно подвода 3, наполняется рабочей средой — рабочим телом. При достижении определенного объема в рабочей камере эта связь прерывается за счет перекрытия одной из разделительных пластин 8 окна подвода 3 рабочей среды и, следовательно, связи с напорной магистралью.
Далее происходит перемещение рабочей среды к сливной магистрали и выброс ее в последнюю через окно 4.
Разделительные пластины 8 совершают во вкладышах 13 знакопеременные движения за счет того, что они установлены эксцентрично в расточке 2 корпуса 1 через проушины 12. Сами вкладыши 13 скользят вращательным движением в продольных радиальных профилированных пазах 6 за счет взаимодействия своей внешней выпуклой поверхностью 14 с противолежащими вогнутыми дугообразными поверхностями 7 ротора 5.
В режиме газового компрессора, когда роторно-пластинчатая машина используется для перекачки газовой среды или газожидкостной смеси с абсолютным преобладанием газа, в нее, а точнее, во внутреннюю полость цилиндрического ротора 5, подают т.н. «запирающую» жидкость, которая поступает в каналы 15, соединенные с внутренней полостью цилиндрического ротора 5.
При этом происходит герметичное разделение образовавшихся между разделительными пластинами 8 рабочих камер с газовой рабочей средой за счет их герметизации запирающей жидкостью, поступившей в каналы 15.
В связи с тем что расход запирающей жидкости через торцевые поверхности 10 и 11 разделительных пластин 8 в несколько десятков раз меньше расхода газовой рабочей среды через те же поверхности, то при незначительном общем расходе жидкости (1-3%) от общей производительности агрегата по газу или газожидкостной смеси с абсолютным преобладанием газовой составляющей в ней, достигается максимальная герметичность рабочих камер, образованных между разделительными пластинами 8 роторно-пластинчатой машины в режиме газового компрессора, повышается производительность роторно-пластинчатой машины и ее кпд.
За счет того что, по крайней мере, рабочие 9 и торцевые 10 и 11 поверхности разделительной пластины 8, а также поверхности трения вкладышей 13, взаимодействующие с рабочими поверхностями разделительной пластины 8 и противолежащими вогнутыми дугообразными поверхностями 7 продольных радиальных профилированных пазов 6 ротора 5, выполнены с керамическим покрытием, во всех парах трения роторно-пластинчатой машины повышена износостойкость трущихся элементов, что увеличивает общий ресурс самой роторно-пластинчатой машины.
Роторно-пластинчатая машина выполнена из традиционных конструкционных материалов и может быть изготовлена в условиях экспериментального и/или серийного производства по традиционной технологии.
Формула изобретения
1. Роторно-пластинчатая машина, содержащая неподвижный корпус с внутренней цилиндрической расточкой и окнами подвода и отвода рабочей среды, сообщенными с напорной и сливной магистралями, соответственно, полый цилиндрический ротор с приводом и продольными радиальными профилированными пазами с противолежащими вогнутыми дугообразными поверхностями, эксцентрично размещенный в расточке корпуса, установленные во вкладышах, имеющих плосковыпуклую форму, разделительные пластины, имеющие рабочие и торцевые поверхности, с проушинами, охватывающими ось, совпадающую с осью расточки корпуса, причем вкладыши размещены с возможностью поворота в продольных радиальных профилированных пазах ротора за счет взаимодействия своей внешней выпуклой поверхностью с их противолежащими вогнутыми дугообразными поверхностями, отличающаяся тем, что в каждой разделительной пластине выполнены сообщающиеся между собой и соединенные с внутренней полостью ротора каналы в виде проточек по боковым торцевым ее поверхностям и по торцевой поверхности, взаимодействующей с внутренней поверхностью внутренней цилиндрической расточки неподвижного корпуса, при этом, по крайней мере, торцевая поверхность каждой разделительной пластины с каналом в виде проточки, взаимодействующая с внутренней поверхностью внутренней цилиндрической расточки неподвижного корпуса, и ее боковые торцевые поверхности, на которых также выполнены каналы в виде проточек, рабочие поверхности каждой разделительной пластины, а также поверхности трения вкладышей, взаимодействующие с рабочими поверхностями разделительной пластины и противолежащими вогнутыми дугообразными поверхностями продольных радиальных профилированных пазов ротора, выполнены с керамическим покрытием.
2. Роторно-пластинчатая машина, содержащая неподвижный корпус с внутренней цилиндрической расточкой и окнами подвода и отвода рабочей среды, сообщенными с напорной и сливной магистралями, соответственно полый цилиндрический ротор с приводом и продольными радиальными профилированными пазами с противолежащими вогнутыми дугообразными поверхностями, эксцентрично размещенный в расточке корпуса, установленные во вкладышах, имеющих плосковыпуклую форму, разделительные пластины, имеющие рабочие и торцевые поверхности, с проушинами, охватывающими ось, совпадающую с осью расточки корпуса, причем вкладыши размещены с возможностью поворота в продольных радиальных профилированных пазах ротора за счет взаимодействия своей внешней выпуклой поверхностью с их противолежащими вогнутыми дугообразными поверхностями, отличающаяся тем, что в каждой разделительной пластине выполнены соединенные с внутренней полостью ротора каналы в виде проточек по боковым торцевым ее поверхностям, причем каналы в виде проточек выполнены сквозными с выходом на торцевую поверхность разделительной пластины, взаимодействующую с внутренней поверхностью внутренней цилиндрической расточки неподвижного корпуса, при этом, по крайней мере, торцевая поверхность каждой разделительной пластины, взаимодействующая с внутренней поверхностью внутренней цилиндрической расточки неподвижного корпуса, и ее боковые торцевые поверхности, на которых выполнены каналы в виде проточек, рабочие поверхности каждой разделительной пластины, а также поверхности трения вкладышей, взаимодействующие с рабочими поверхностями разделительной пластины и противолежащими вогнутыми дугообразными поверхностями продольных радиальных профилированных пазов ротора, выполнены с керамическим покрытием.
3. Роторно-пластинчатая машина, содержащая неподвижный корпус с внутренней цилиндрической расточкой и окнами подвода и отвода рабочей среды, сообщенными с напорной и сливной магистралями, соответственно, полый цилиндрический ротор с приводом и продольными радиальными профилированными пазами с противолежащими вогнутыми дугообразными поверхностями, эксцентрично размещенный в расточке корпуса, установленные во вкладышах, имеющих плосковыпуклую форму, разделительные пластины, имеющие рабочие и торцевые поверхности, с проушинами, охватывающими ось, совпадающую с осью расточки корпуса, причем вкладыши размещены с возможностью поворота в продольных радиальных профилированных пазах ротора за счет взаимодействия своей внешней выпуклой поверхностью с их противолежащими вогнутыми дугообразными поверхностями, отличающаяся тем, что в каждой разделительной пластине выполнены соединенные с внутренней полостью ротора каналы в виде проточек по боковым торцевым ее поверхностям, причем каналы в виде проточек выполнены заглушенными со стороны торцевой поверхности, взаимодействующей с внутренней поверхностью внутренней цилиндрической расточки неподвижного корпуса, при этом, по крайней мере, торцевая поверхность каждой разделительной пластины, взаимодействующая с внутренней поверхностью внутренней цилиндрической расточки неподвижного корпуса, и ее боковые торцевые поверхности, на которых выполнены каналы в виде проточек, рабочие поверхности каждой разделительной пластины, а также поверхности трения вкладышей, взаимодействующие с рабочими поверхностями разделительной пластины и противолежащими вогнутыми дугообразными поверхностями продольных радиальных профилированных пазов ротора, выполнены с керамическим покрытием.
РИСУНКИ
Рисунок 1, Рисунок 2, Рисунок 3, Рисунок 4
Пластинчатый и роторный насосы
Пластинчатый насос (или шиберный), как и роторный относятся к классу объемных агрегатов.
В сравнении с шестеренчатыми пластинчатые насосы обеспечивают более равномерную подачу, а в сравнении с поршневыми – они проще по конструкции, дешевле, меньше по габаритам и менее требовательны к фильтрации рабочей жидкости.
Пластинчатый и роторный насосы характеризуются кроме того схожим принципом работы.
Содержание статьи
- Типы пластинчатых насосов.
- Принцип работы.
- Конструкция.
- Область применения.
Пластинчатые насосы, как и гидромоторы, подразделяются на агрегаты однократного и двойного действия, в некоторых случаях применяются машины многократного действия.
В агрегатах однократного действия за один оборот вала происходит один полный цикл работы, включающий процесс всасывания и процесс нагнетания.
Пластинчато роторный насос двойного действия за один оборот вала выполняет два полных цикла работы, т.е. два процесса всасывания и два процесса нагнетания.
В агрегатах тройного действия – три цикла и так далее.
Пластинчатый вакуумный насос
Пластинчатые вакуумные насосы однократного действия выпускаются как регулируемые, так и нерегулируемые. На ротор такого агрегата в радиальном направлении действует давление рабочей жидкости, которое передается на опоры, монтируемые большей частью на подшипниках качения. Поэтому величина давления рабочей жидкости, циркулирующей в таких машинах, определяется имеющимися в распоряжении производителя подшипниками.
Пластинчато роторный вакуумный насос используется для откачивания воздуха или газа из закрытого резервуара, а также для обеспечения низкого или среднего вакуума. Такие агрегаты широко используются в промышленности на производственных линиях по формовке и упаковке, а также в медицинской и исследовательской области.
Роторно лопастной насос
Роторно лопастной насос конструктивно состоит из двух роторов, который вращаются синхронно в направлении навстречу друг другу. В таком агрегате количество перекачиваемой среды прямо зависит от скорости вращения роторов.
Кроме того, роторно лопастной насос способен менять направление вращения на противоположной, тем самым обеспечивая откачивание среды или самовсасывание.
Роторно поршневые насосы
Оборудование этого класса обладает свойством обратимости, т.е. эти агрегаты могут использоваться как насосы и как гидромоторы.
Роторно поршневые насосы подразделяется на:
Аксиально поршневые — поршни расположены параллельно оси ротора. Такие агрегаты имеют небольшие размеры и высокий КПД. Они применяются для обеспечения высоких частот вращения, например в военной технике.
Радиально поршневые – поршни расположены перпендикулярно оси ротора. Оборудование этого типа характеризуется большими размерами и массой.
Оно используется в гидроприводах большой мощности, например в конструкции экскаваторов.
Шиберный насос
Шиберный насос двойного или многократного действия изготавливается только нерегулируемым, но в этом случае давление рабочей жидкости, действующее на ротор в радиальном направлении, уравновешивается, опоры машины разгружаются и вал её передает только крутящий момент.
Оборудование этого типа используется для перекачивания чистых сред со средним показателем вязкости, например различные типы топлива при небольшом давлении. Но и среды с низкой вязкостью, такие как сжиженные газы, спирты или растворители также подходят для перекачивания этим типом оборудования.
Принцип работы.
Пластинчатый насос однократного действия.
Работа пластинчатого насоса однократного действия выглядит следующим образом.
При вращении ротора 1, в пазах которого расположены пластины 2, в направлении, указанном стрелкой, происходит изменение площадей CDD1C1 и ABB1A1, так как пластины всегда контактируют с внутренней цилиндрической поверхностью статора 3, центр которой О смещен на определенную величину (называемую эксцентрицитетом) относительно центра ротора О1.
Происходящее при вращении ротора увеличение площади CDD1C1 вызывает увеличение объема камеры образованной цилиндрическими поверхностями статора и ротора, двумя пластинами и двумя торцевыми поверхностями, расположенными в плоскостях, параллельных плоскости чертежа, которые конструктивно можно представить в виде торцов двух крышек.
Уменьшение площади ABB1A1 вызывает уменьшение объема аналогичной камеры. Поэтому в первой камере образуется разрежение, и её объем заполняется всасываемой рабочей жидкостью. Уменьшение объема второй камеры вызывает нагнетание рабочей жидкости в напорную магистраль насоса.
Чтобы напорная магистраль всегда была изолирована от всасывающей на статоре или торцовых поверхностях предусмотрены уплотнительные перемычки.
В некоторых конструкциях пластины имеют принудительное ведение, для чего на их торцах выполняют оси 4, которые входят в ползушки 5, передвигающиеся при вращении ротора в кольцевых канавках 6, выполненных в крышках.
Камеры под торцами пластин 7 при помощи канавок 8 соединяются в зависимости от положения пластин или с полостью всасывания или с полостью нагнетания, и поэтому пластины, осуществляя всасывание и нагнетание увеличивают производительность насоса.
Принцип действия роторного насоса
Работа роторного насоса похожа на пластинчатый, только вместо пластин в таком оборудовании установлены вращающиеся элементы – роторы. Они вращаются синхронно навстречу друг другу.
Вначале цикла перекачиваемая жидкость поступает в область всасывания. Затем жидкость подхватывается вращающимися роторами и перемещается в замкнутую область, образованную поверхностями корпуса оборудования и ротором, объем такой области постепенно уменьшается, а давление увеличивается.
Принцип работы, по которому функционирует, роторный насос основан на изменении объема рабочей камеры.
Когда ротор совершает оборот и перемещает жидкость в область нагнетания объем увеличивается и перекачиваемую среду выталкивает в напорную магистраль.
Пластинчатый насос двойного действия.
Особенностью работы насосов двойного действия является то, что пластины 2, свободно перемещаются в пазах ротора 1, при пуске насоса выбрасываются центробежной силой и в дальнейшем при работе контакт пластин и статора 3 осуществляется под действием центробежной силы и давления нагнетаемой жидкости, которая для этой цели подводится в кольцевую канавку 4.
Процессы всасывания и нагнетания осуществляют камеры насоса, каждая из которых образуется двумя соседними пластинами, внутренней поверхностью статора, наружной цилиндрической поверхностью ротора и двумя торцовыми поверхностями распределительных дисков.
При вращении ротора в направлении стрелки площадь CDD1C1 камеры всасывания увеличивается, а следовательно, увеличивается и объем камеры, в которой образуется разрежение, в результате чего камера заполняется всасываемой рабочей жидкостью.
В то же время площадь ABB1A1 камеры нагнетания уменьшается, что соответствует уменьшению объема всей камеры и рабочая жидкость вытесняется в напорную магистраль.
За один оборот ротора каждая камера 2 раза производит всасывание и нагнетание рабочей жидкости.
Устройство роторного насоса
На сегодняшний день пластинчато роторный насос претерпел множество изменений и конструкции. Но понять общий принцип действия такого оборудования, можно рассмотрев устройство роторного насоса регулируемого типа однократного действия с постоянным направлением потока.
Изменение производительности насоса осуществляется перемещением статора 1, опирающегося для уменьшения трения на игольчатый подшипник 2.
Массивный вал 3, на шлицах которого насажен ротор 4 с наклонными пластинами 7, опирается на подшипники 5 и 6 и воспринимает нагрузку от давления рабочей жидкости на ротор.
Вал, ротор, статор и пластины изготовлены из термически обработанных легированных сталей.
При пуске насоса пластины выбрасываются центробежной силой, а во время работы пластины гидравлически уравновешены.
В насосах используются бронзовые распределительные диски 8, осуществляющие распределение рабочей жидкости и имеющие окна для уравновешивания пластин.
Такой шиберный насос предусматривает встроенные органы управления, позволяющие автоматически, в зависимости от нагрузки, изменять величину эксцентрицитета.
Для этого имеется пружина 9, которая стремиться установить статор 1 с минимальным эксцентрицитетом, т.е. в положение, соответствующее нулевой производительности.
В то же время три сильные пружины 10 действуют через дифференциальный поршень 11 на статор 1, смещая его в сторону наибольшего значения эксцентрицитета.
Давление рабочей жидкости, нагнетаемой насосом и подводимой через отверстие 12, действует на дифференциальный поршень 11 и воспринимается пружинами 10.
Когда при возрастании нагрузки увеличивающееся давление рабочей жидкости в напорной магистрали преодолевает усилие пружин 10, поршень 11 поднимается, и статор 1 под действием пружины 9 передвигается в сторону уменьшения эксцентрицитета, в результате чего уменьшается производительность насоса.
Область применения.
В станкостроении пластинчатые насосы применяются главным образом в гидроприводах подачи агрегатных, сверлильно-расточных, токарных и фрезерных станков, а также в гидроприводах стола и других механизмов шлифовальных станков.
Шиберный насос широко применяется так же в гидропрессах, автопогрузчиках, экскаваторах, бульдозерах и других строительных машинах. Такие агрегаты широко используются в автомобилях как усилители приводов руля или в механизмах опрокидывания самосвалов.
В химической промышленности пластинчатый насос применяется как привод для вращения различных мешалок, в корабельных механизмах как приводы лебедок для подъема грузов, устройства для изменения шага винта.
Кроме того пластинчатый насос используется в лесозаготовительных машинах, для литья под давлением в пищевом машиностроении и т.д.
Вместе со статьей «Пластинчатый и роторный насосы» читают:
Эспрессо-машины с роторным насосом
Перейти к основному содержанию
Знаете ли вы разницу между эспрессо-машиной с роторным насосом и эспрессо-машиной с вибрационным насосом? Неважно, если вы не знаете ответа, просто позвоните нам по телефону 800 746 6174, и мы будем более чем рады помочь вам в процессе выбора, чтобы найти эспрессо-машину самого высокого качества за ваши деньги.
Посмотреть, как:
Сортировать по:
Избранные товарыСамые новые товарыЛучшие продажиОт A до ZZ до ABПо обзоруЦена: по возрастаниюЦена: по убыванию
Ловите, как сможете…
Ракета
Rocket GIOTTO EVOLUZIONE HX Boiler RP Эспрессо-кофемашина
Было:
$2850,00
Сейчас:
2 466,66 $
По любым возникающим вопросам звоните нам по телефону 800 746 674, и мы подробно расскажем о машине по телефону.

Цена действительна для нижних штатов, для HI, AR, PR отправьте текстовое сообщение 615 4190900
Добавить в корзину
Товар добавленЛовите, как сможете…
Безерра
Bezzera Mitica PID HX IBD Tuning Обучение бариста
Было:
$2550,00
Сейчас:
$2500,00
Мы заменили Bezzera Mitica на Izzo Alex Duetto, который прослужит примерно на 10 лет дольше.
Добавить в корзину
Товар добавленЛовите, как сможете…
Кофемашина La Spaziale Dream Espresso M3100 Прямое подключение
MSRP:
2 595,00 долларов США
Было:
$2 595,00
Сейчас:
$2,545.
00La Spaziale предлагает прочную эспрессо-кофемашину с двумя бойлерами для дома, офиса и небольшого коммерческого использования с одобрением NSF.
Поскольку все пароварки борются с розетками 15А на кухне, эту машину можно переключать…Добавить в корзину
Товар добавленБезерра
Домашняя эспрессо-кофемашина Bezzera с двойным бойлером
Сейчас:
$2,550.00
Мы заменили пароварки Bezzera (конструктивные недостатки — перегрев) на Izzo Alex Duetto.
Добавить в корзину
Товар добавленИззо
Izzo Alex Duetto IV Plus Эспрессо-машина Обучение бариста
MSRP:
$2 890,00
Сейчас:
$2,850.
00Во-первых, сейчас в Интернете так много ложной информации о эспрессо-машинах и кофемолках, пожалуйста, позвоните, и мы поделимся нашими знаниями и поможем вам отличить правду от лжи. Кроме того, мы предлагаем ввести в эксплуатацию…
Добавить в корзину
Товар добавленИззо
Izzo Alex Duetto IV Plus Flow Control Эспрессо-машина Обучение бариста
Сейчас:
$3,200.00
Прежде всего, сейчас в Интернете так много ложной информации о эспрессо-машинах и кофемолках, пожалуйста, позвоните, и мы поделимся нашими знаниями и поможем вам отличить правду от лжи. Кроме того, мы предлагаем ввести в эксплуатацию…
Добавить в корзину
Товар добавлен
Лучшие эспрессо-машины 2022 года w. Роторные насосы
Роторные насосы предназначены для постоянного давления от прямого подключения к водопроводу.
У них также есть другие преимущества по сравнению с вибрационными насосами, в том числе они тише, служат дольше благодаря более прочной конструкции, а в тестах на слепую дегустацию они показывают лучшие результаты, чем вибрационные насосы. У нас есть полный спектр домашних эспрессо-машин с роторными насосами, начиная от самых дешевых вариантов и заканчивая более дорогими машинами высокого класса для очень серьезных поклонников кофе.
Плюсы эспрессо-машин с роторным насосом
- Лучше всего подходят для машин с прямым подключением к водопроводу, поскольку они рассчитаны на постоянное давление в водопроводе по сравнению с большинством вибрационных насосов, которые не предназначены для постоянного давления в водопроводе
- Слепые вкусы были сделаны, сравнивая пластинчато-роторные насосы с вибрационными насосами, и насосы с пластинчато-роторными насосами, как правило, работают лучше, чем машины с вибрационными насосами. Это связано с профилем давления во время экстракции и пульсирующим давлением по сравнению с постоянным давлением.

- Роторные насосы работают тише вибрационных насосов, а в некоторых случаях намного тише.
- Роторные насосы, как правило, немного более надежны с точки зрения конструкции, чем вибрационные насосы, имеют гораздо больше металла и, как правило, больше, чем вибрационные насосы. По этой причине роторные насосы, как правило, менее подвержены отказам и имеют более длительный срок службы.
Минусы роторных насосов
- Самый большой минус пластинчато-роторных насосов заключается в том, что, поскольку они являются более надежными насосами и требуют больше металла для изготовления, их производство обходится дороже, и, следовательно, кофемашины с пластинчато-роторными насосами как правило, стоят немного дороже, чем сопоставимые эспрессо-машины с вибрационными насосами.
- В то время как роторные насосы, как правило, служат дольше, когда их необходимо заменить, их замена обходится дороже, чем относительно дешевые вибрационные насосы.

Разница в отжиме между роторными и вибрационными насосами
Роторные насосы могут достигать полного давления почти сразу, по сравнению с вибрационными насосами, которым требуется больше времени для достижения полного давления. Пока кофе трамбуется и распределяется правильно, эспрессо-машины с роторными насосами, как правило, удерживают давление на постоянном уровне во время экстракции. Например, эспрессо-машина с роторным насосом может поддерживать давление заваривания на уровне 8,5 бар и удерживать его на этом уровне в течение всей экстракции. Вибрационный насос будет иметь большую пульсацию во время экстракции. Например, уровень давления может прыгать и падать между 8 барами и 9 барами.баров в течение всей экстракции.
Эспрессо-машины Top с двойным бойлером и роторными насосами
Мы продаем множество различных моделей эспрессо-машин от самых разных производителей, но наши самые популярные эспрессо-машины с двойным бойлером и роторными насосами:
- Ракета R58 v3
- Быстрая фреза Vetrano Evo
- La Spaziale Мечта
- La Spaziale Vivaldi
Верхние теплообменники с роторными насосами
Мы также продаем много моделей теплообменников с роторными насосами, но больше всего продаются следующие четыре модели:
- La Cimbali Junior Casa DT 1
- Ракета Giotto Evoluzione R с PID
- ECM Германия Technika Profi IV
- Bezzera Magica v2 с PID
Есть ли в домашних эспрессо-машинах роторные насосы?
В то время как большинство коммерческих эспрессо-кофемашин имеют роторные насосы, есть много профессиональных домашних кофемашин с роторными насосами.

00
00

