Π‘ΠΎΠ΄Π΅ΡΠΆΠ°Π½ΠΈΠ΅
Π Π΅ΠΌΠΎΠ½Ρ ΠΏΠ½Π΅Π²ΠΌΠΎΡΠΈΠ»ΠΈΠ½Π΄ΡΠΎΠ² ΠΈ ΠΈΡ ΠΎΠ±ΡΠ»ΡΠΆΠΈΠ²Π°Π½ΠΈΠ΅
ΠΠ½Π΅Π²ΠΌΠ°ΡΠΈΡΠ΅ΡΠΊΠΈΠΉ ΡΠΈΠ»ΠΈΠ½Π΄Ρ (ΠΏΠ½Π΅Π²ΠΌΠΎΡΠΈΠ»ΠΈΠ½Π΄Ρ) β ΠΌΠ΅Ρ
Π°Π½ΠΈΡΠ΅ΡΠΊΠΎΠ΅ ΡΡΡΡΠΎΠΉΡΡΠ²ΠΎ Π΄Π»Ρ ΠΏΡΠ΅ΠΎΠ±ΡΠ°Π·ΠΎΠ²Π°Π½ΠΈΡ ΡΠ½Π΅ΡΠ³ΠΈΠΈ ΡΠΆΠ°ΡΠΎΠ³ΠΎ Π²ΠΎΠ·Π΄ΡΡ
Π° Π² Π»ΠΈΠ½Π΅ΠΉΠ½ΠΎΠ΅ ΠΏΠ΅ΡΠ΅ΠΌΠ΅ΡΠ΅Π½ΠΈΠ΅.
ΠΠ½ΡΡΡΠΈ ΡΠΈΠ»ΠΈΠ½Π΄ΡΠ° Π΄Π΅ΠΉΡΡΠ²ΠΈΠ΅ ΡΠΆΠ°ΡΠΎΠ³ΠΎ Π²ΠΎΠ·Π΄ΡΡ
Π° ΠΏΡΠΈΠ²ΠΎΠ΄ΠΈΡ Π² Π΄Π²ΠΈΠΆΠ΅Π½ΠΈΠ΅ ΡΡΠΎΠΊ, ΠΊΠΎΡΠΎΡΡΠΉ ΠΏΠ΅ΡΠ΅ΠΌΠ΅ΡΠ°Π΅ΡΡΡ Π² ΠΎΠ΄Π½ΠΎΠΌ (Π² ΠΎΠ΄Π½ΠΎΡΡΠΎΡΠΎΠ½Π½ΠΈΡ
ΠΏΠ½Π΅Π²ΠΌΠΎΡΠΈΠ»ΠΈΠ½Π΄ΡΠ°Ρ
) ΠΈΠ»ΠΈ Π΄Π²ΡΡ
Π½Π°ΠΏΡΠ°Π²Π»Π΅Π½ΠΈΡΡ
(Π² ΠΏΠ½Π΅Π²ΠΌΠΎΡΠΈΠ»ΠΈΠ½Π΄ΡΠ°Ρ
Π΄Π²ΡΡΡΠΎΡΠΎΠ½Π½Π΅Π³ΠΎ Π΄Π΅ΠΉΡΡΠ²ΠΈΡ). Π’Π°ΠΊΠΎΠ΅ Π²ΠΎΠ·Π²ΡΠ°ΡΠ½ΠΎ-ΠΏΠΎΡΡΡΠΏΠ°ΡΠ΅Π»ΡΠ½ΠΎΠ΅ Π²ΠΎΠ·Π΄Π΅ΠΉΡΡΠ²ΠΈΠ΅ Π·Π°ΡΡΠ°Π²Π»ΡΠ΅Ρ ΠΌΠ΅Ρ
Π°Π½ΠΈΠ·ΠΌΡ ΡΠ°Π±ΠΎΡΠ°ΡΡ.
ΠΠ½Π΅Π²ΠΌΠΎΡΠΈΠ»ΠΈΠ½Π΄ΡΡ Π²ΡΠΏΠΎΠ»Π½ΡΡΡ ΠΌΠ½ΠΎΠΆΠ΅ΡΡΠ²ΠΎ ΡΡΠ½ΠΊΡΠΈΠΉ Π² ΡΠ°ΠΌΡΡ
ΡΠ°Π·Π»ΠΈΡΠ½ΡΡ
ΠΎΡΡΠ°ΡΠ»ΡΡ
. ΠΠ½ΠΈ ΠΈΡΠΏΠΎΠ»ΡΠ·ΡΡΡΡΡ ΠΏΡΠΈ ΡΠΏΠ°ΠΊΠΎΠ²ΠΊΠ΅ ΠΏΡΠΎΠ΄ΡΠΊΡΠΎΠ² ΠΏΠΈΡΠ°Π½ΠΈΡ, Π΄Π»Ρ ΠΈΡ
ΡΠ°Π·ΠΌΠ΅ΡΠ΅Π½ΠΈΡ ΠΈ ΡΠ½ΡΡΠΈΡ Ρ ΠΊΠΎΠ½Π²Π΅ΠΉΠ΅ΡΠ½ΠΎΠΉ Π»Π΅Π½ΡΡ, Π² ΠΌΠ°ΡΠΈΠ½ΠΎΡΡΡΠΎΠ΅Π½ΠΈΠΈ, Π»ΠΈΡΠ΅ΠΉΠ½ΠΎΠΌ ΠΏΡΠΎΠΈΠ·Π²ΠΎΠ΄ΡΡΠ²Π΅, Π΄Π»Ρ ΠΏΠΎΠ΄Π½ΡΡΠΈΡ ΠΈ ΠΏΠ΅ΡΠ΅ΠΌΠ΅ΡΠ΅Π½ΠΈΡ ΡΡΠΆΠ΅Π»ΡΡ
Π²Π΅ΡΠ΅ΠΉ, ΠΎΡΠ²Π΅ΡΠ°ΡΡ Π·Π° ΠΎΡΠΊΡΡΡΠΈΠ΅ ΠΈ Π·Π°ΠΊΡΡΡΠΈΠ΅ Π΄Π²Π΅ΡΠ΅ΠΉ ΠΈ ΡΠ°Π·Π»ΠΈΡΠ½ΡΡ
ΠΊΠ»Π°ΠΏΠ°Π½ΠΎΠ², ΠΎΠΏΡΠΈΠΌΠΈΠ·Π°ΡΠΈΡ ΡΡΡΠ±ΠΎΠΏΡΠΎΠ²ΠΎΠ΄ΠΎΠ² ΠΈ Ρ.Π΄.
ΠΠΎΠΏΡΠ»ΡΡΠ½ΠΎΡΡΡ Π΄Π°Π½Π½ΠΎΠ³ΠΎ ΠΏΡΠΈΡΠΏΠΎΡΠΎΠ±Π»Π΅Π½ΠΈΡ Π·Π°ΠΊΠ»ΡΡΠ°Π΅ΡΡΡ Π² ΡΠΎΠΌ, ΡΡΠΎ Π΄Π»Ρ ΠΈΡ
ΡΠ°Π±ΠΎΡΡ Π½Π΅ ΠΈΡΠΏΠΎΠ»ΡΠ·ΡΡΡΡΡ ΠΆΠΈΠ΄ΠΊΠΎΡΡΠΈ, ΡΠ»Π΅Π΄ΠΎΠ²Π°ΡΠ΅Π»ΡΠ½ΠΎ, ΠΎΠ½ΠΈ Π½Π΅ Π²ΡΠ·ΡΠ²Π°ΡΡ ΡΡΠ΅ΡΠ΅ΠΊ ΠΈ Π·Π°Π³ΡΡΠ·Π½Π΅Π½ΠΈΠΉ ΠΏΡΠΈΠ»Π΅Π³Π°ΡΡΠΈΡ
Π·ΠΎΠ½.
ΠΡΠ²Π°ΡΡ ΡΠΈΡΡΠ°ΡΠΈΠΈ, ΠΊΠΎΠ³Π΄Π° ΠΏΠ½Π΅Π²ΠΌΠ°ΡΠΈΡΠ΅ΡΠΊΠΈΠ΅ ΡΠΈΠ»ΠΈΠ½Π΄ΡΡ Π²ΡΡ
ΠΎΠ΄ΡΡ ΠΈΠ· ΡΡΡΠΎΡ, ΡΠ»ΡΡΠ°Π΅ΡΡΡ ΡΡΠΎ ΠΏΠΎ ΡΠ°Π·Π½ΡΠΌ ΠΏΡΠΈΡΠΈΠ½Π°ΠΌ. Π ΠΈΡ
ΡΠΈΡΠ»ΠΎ Π²Ρ
ΠΎΠ΄ΠΈΡ Π½Π΅Π΄ΠΎΡΡΠ°ΡΠΎΡΠ½Π°Ρ ΡΠΌΠ°Π·ΠΊΠ°, ΡΡΠ΅Π·ΠΌΠ΅ΡΠ½ΡΠ΅ Π½Π°Π³ΡΡΠ·ΠΊΠΈ, ΠΏΠΎΠ²ΡΡΠ΅Π½Π½ΠΎΠ΅ ΡΡΠ΅Π½ΠΈΠ΅ ΠΈ Ρ.Π΄. ΠΠ΄Π½Π°ΠΊΠΎ ΠΊΠΎΠΌΠΏΠ»Π΅ΠΊΡΠ½ΠΎΠ΅ ΡΠ΅Ρ
Π½ΠΈΡΠ΅ΡΠΊΠΎΠ΅ ΠΎΠ±ΡΠ»ΡΠΆΠΈΠ²Π°Π½ΠΈΠ΅ ΠΈ ΡΠΎΠΎΡΠ²Π΅ΡΡΡΠ²ΠΈΠ΅ ΡΠΈΡΡΠ΅ΠΌΠ΅, Π² ΠΊΠΎΡΠΎΡΠΎΠΉ ΡΡΡΠ°Π½ΠΎΠ²Π»Π΅Π½ΠΎ Π΄Π°Π½Π½ΠΎΠ΅ ΡΡΡΡΠΎΠΉΡΡΠ²ΠΎ, ΠΌΠΎΠ³ΡΡ ΠΎΠ±Π΅ΡΠΏΠ΅ΡΠΈΡΡ Π΅Π³ΠΎ Π΄ΠΎΠ»Π³ΠΎΠ²ΡΠ΅ΠΌΠ΅Π½Π½ΡΡ ΠΈ Π±Π΅Π·Π°Π²Π°ΡΠΈΠΉΠ½ΡΡ ΡΠ°Π±ΠΎΡΡ.
ΠΠ»Ρ Π·Π°ΡΠΈΡΡ ΠΈ ΡΠ½ΠΈΠΆΠ΅Π½ΠΈΡ ΡΡΠ΅Π½ΠΈΡ ΠΏΠΎΠ²Π΅ΡΡ
Π½ΠΎΡΡΠ΅ΠΉ Π΄Π΅ΡΠ°Π»Π΅ΠΉ ΠΏΡΠΈΠΌΠ΅Π½ΡΡΡΡΡ ΡΠΏΠ΅ΡΠΈΠ°Π»ΡΠ½ΡΠ΅ ΡΠΌΠ°Π·ΠΊΠΈ ΠΈΠ»ΠΈ ΠΏΠΎΠΊΡΡΡΠΈΡ. ΠΠ΄Π½Π°ΠΊΠΎ, ΠΏΠ΅ΡΠ²ΡΠ΅ ΠΏΠΎΠ΄ Π±ΠΎΠ»ΡΡΠΈΠΌ Π΄Π°Π²Π»Π΅Π½ΠΈΠ΅ΠΌ ΠΈ Π²ΠΎΠ·Π΄Π΅ΠΉΡΡΠ²ΠΈΠ΅ΠΌ ΡΡΠΆΠ΅Π»ΡΡ
Π½Π°Π³ΡΡΠ·ΠΎΠΊ Π²ΡΠ΄Π°Π²Π»ΠΈΠ²Π°ΡΡΡΡ ΠΈΠ· Π·ΠΎΠ½ ΠΊΠΎΠ½ΡΠ°ΠΊΡΠ°, ΠΎΡΡΠ°Π²Π»ΡΡ Π½Π΅ΡΡΡΠ΅ΠΊΡΠΈΠ²Π½ΡΠΉ ΡΠ»ΠΎΠΉ ΠΌΠ°ΡΠ΅ΡΠΈΠ°Π»Π°.
ΠΠ½Π½ΠΎΠ²Π°ΡΠΈΠΎΠ½Π½ΡΠΌ ΡΠ΅ΡΠ΅Π½ΠΈΠ΅ΠΌ ΡΡΠΎΠΉ ΠΏΡΠΎΠ±Π»Π΅ΠΌΡ ΡΡΠ°Π»ΠΈ Π°Π½ΡΠΈΡΡΠΈΠΊΡΠΈΠΎΠ½Π½ΡΠ΅ ΡΠ²Π΅ΡΠ΄ΠΎΡΠΌΠ°Π·ΠΎΡΠ½ΡΠ΅ ΠΏΠΎΠΊΡΡΡΠΈΡ (ΠΠ’Π‘Π). ΠΠ½ΠΈ ΡΠ½ΠΈΠΆΠ°ΡΡ ΠΈΠ·Π½ΠΎΡ Π΄Π΅ΡΠ°Π»Π΅ΠΉ, ΠΏΡΠ΅Π΄ΠΎΡ ΡΠ°Π½ΡΡ ΠΈΡ ΠΎΡ Π½Π΅Π³Π°ΡΠΈΠ²Π½ΠΎΠ³ΠΎ Π²ΠΎΠ·Π΄Π΅ΠΉΡΡΠ²ΠΈΡ ΡΠ°Π·Π»ΠΈΡΠ½ΡΡ Π°Π³ΡΠ΅ΡΡΠΈΠ²Π½ΡΡ ΠΈ Ρ ΠΈΠΌΠΈΡΠ΅ΡΠΊΠΈΡ ΡΡΠ΅Π΄ ΠΈ Π΄ΡΡΠ³ΠΈΡ ΡΠ°ΠΊΡΠΎΡΠΎΠ², ΡΡΠΎ ΠΏΠΎΠ·Π²ΠΎΠ»ΡΠ΅Ρ ΡΠ²Π΅Π»ΠΈΡΠΈΡΡ ΠΈΠ½ΡΠ΅ΡΠ²Π°Π» ΠΌΠ΅ΠΆΠ΄Ρ ΡΠ΅Ρ Π½ΠΈΡΠ΅ΡΠΊΠΈΠΌ ΠΎΠ±ΡΠ»ΡΠΆΠΈΠ²Π°Π½ΠΈΠ΅ΠΌ.
Π‘ΡΠ΅Π΄ΠΈ ΡΠΎΡΡΠΈΠΉΡΠΊΠΈΡ
ΠΏΡΠΎΠΈΠ·Π²ΠΎΠ΄ΠΈΡΠ΅Π»Π΅ΠΉ ΡΠ°ΠΊΠΈΠ΅ ΠΌΠ°ΡΠ΅ΡΠΈΠ°Π»Ρ Π²ΡΠΏΡΡΠΊΠ°Π΅Ρ ΠΊΠΎΠΌΠΏΠ°Π½ΠΈΡ Β«ΠΠΎΠ΄Π΅Π½ΠΆΠΈΒ».
ΠΠ»Ρ ΠΏΡΠΈΠΌΠ΅Π½Π΅Π½ΠΈΡ Π² ΠΏΠ½Π΅Π²ΠΌΠ°ΡΠΈΡΠ΅ΡΠΊΠΈΡ
ΡΠΈΠ»ΠΈΠ½Π΄ΡΠ°Ρ
ΠΏΡΠ΅Π΄Π½Π°Π·Π½Π°ΡΠ΅Π½ΠΎ ΠΏΠΎΠΊΡΡΡΠΈΠ΅ Ρ Π²ΡΡΠΎΠΊΠΎΠΉ Π½Π΅ΡΡΡΠ΅ΠΉ ΡΠΏΠΎΡΠΎΠ±Π½ΠΎΡΡΡΡ MODENGY 1014. ΠΠ½ΠΎ ΡΠΎΡΠΌΠΈΡΡΠ΅Ρ Π½Π° ΠΌΠ΅ΡΠ°Π»Π»ΠΈΡΠ΅ΡΠΊΠΈΡ
ΠΏΠΎΠ²Π΅ΡΡ
Π½ΠΎΡΡΡΡ
ΡΠΎΠ½ΠΊΠΈΠΉ ΡΠ»ΠΎΠΉ ΡΠΎΡΡΠ°Π²Π° β ΠΏΠ»Π΅Π½ΠΊΡ, ΠΊΠΎΡΠΎΡΠ°Ρ ΠΊΡΠ΅ΠΏΠΊΠΎ ΡΡΠ΅ΠΏΠ»ΡΠ΅ΡΡΡ Ρ ΠΎΡΠ½ΠΎΠ²ΠΎΠΉ. ΠΠ½Π° ΠΏΡΠ΅Π΄ΡΡΠ°Π²Π»ΡΠ΅Ρ ΡΠΎΠ±ΠΎΠΉ ΠΏΠΎΠ»ΠΈΠΌΠ΅ΡΠ½ΡΡ ΠΌΠ°ΡΡΠΈΡΡ, Π² ΡΡΠ΅ΠΉΠΊΠ°Ρ
ΠΊΠΎΡΠΎΡΠΎΠΉ ΡΠΎΠ΄Π΅ΡΠΆΠ°ΡΡΡ Π²ΡΡΠΎΠΊΠΎΠ΄ΠΈΡΠΏΠ΅ΡΡΠ½ΡΠ΅ ΡΠ°ΡΡΠΈΡΡ ΡΠ²Π΅ΡΠ΄ΠΎΠ³ΠΎ ΡΠΌΠ°Π·ΠΎΡΠ½ΠΎΠ³ΠΎ ΠΏΠΎΠΊΡΡΡΠΈΡ.
ΠΠΎΠ»ΠΈΡΠ΅ΡΡΠ°ΡΡΠΎΡΡΡΠΈΠ»Π΅Π½ ΠΈ Π΄ΠΈΡΡΠ»ΡΡΠΈΠ΄ ΠΌΠΎΠ»ΠΈΠ±Π΄Π΅Π½Π°, Π²Ρ
ΠΎΠ΄ΡΡΠΈΠ΅ Π² ΡΠΎΡΡΠ°Π² MODENGY 1014, ΠΏΡΠΈΠ΄Π°ΡΡ ΠΏΠΎΠΊΡΡΡΠΈΡ Ρ
ΠΎΡΠΎΡΠΈΠ΅ Π°Π½ΡΠΈΠΊΠΎΡΡΠΎΠ·ΠΈΠΎΠ½Π½ΡΠ΅ ΠΈ ΠΏΡΠΎΡΠΈΠ²ΠΎΠ·Π°Π΄ΠΈΡΠ½ΡΠ΅ ΡΠ²ΠΎΠΉΡΡΠ²Π°, Π° ΡΠ°ΠΊΠΆΠ΅ Π³Π»Π°Π΄ΠΊΡΡ ΡΠ΅ΠΊΡΡΡΡΡ ΠΈ Ρ
Π°ΡΠ°ΠΊΡΠ΅ΡΠ½ΡΠΉ ΡΠ΅ΡΡΠΉ ΡΠ²Π΅Ρ. ΠΠ°ΡΠ΅ΡΠΈΠ°Π» Π²ΡΠΏΠΎΠ»Π½ΡΠ΅Ρ Π°Π½ΡΠΈΡΡΠΈΠΊΡΠΈΠΎΠ½Π½ΡΡ ΠΈ ΡΠΏΠ»ΠΎΡΠ½ΡΡΡΡΡ ΡΡΠ½ΠΊΡΠΈΠΈ Π½Π° Π²Π½ΡΡΡΠ΅Π½Π½ΠΈΡ
ΠΏΠΎΠ²Π΅ΡΡ
Π½ΠΎΡΡΡΡ
ΠΏΠ½Π΅Π²ΠΌΠ°ΡΠΈΡΠ΅ΡΠΊΠΈΡ
ΡΠΈΠ»ΠΈΠ½Π΄ΡΠΎΠ² ΠΈ Π·Π°ΡΠΈΡΠ½ΡΡ β Π½Π° Π²Π½Π΅ΡΠ½ΠΈΡ
.
MODENGY 1014 Π½Π°Π½ΠΎΡΠΈΡΡΡ Π½Π° Π΄Π΅ΡΠ°Π»ΠΈ ΡΠΏΠΎΡΠΎΠ±ΠΎΠΌ ΡΠ°ΡΠΏΡΠ»Π΅Π½ΠΈΡ, Π·Π°ΡΠ΅ΠΌ ΠΎΠ½ΠΈ ΠΎΡΠΏΡΠ°Π²Π»ΡΡΡΡΡ Π² ΠΏΠ΅ΡΡ Π½Π° 40 ΠΌΠΈΠ½ΡΡ Π΄Π»Ρ ΠΏΠΎΠ»ΠΈΠΌΠ΅ΡΠΈΠ·Π°ΡΠΈΠΈ ΠΏΠΎΠΊΡΡΡΠΈΡ ΠΏΡΠΈ ΡΠ΅ΠΌΠΏΠ΅ΡΠ°ΡΡΡΠ΅ +200 Β°Π‘.
ΠΡΡΠ΅ΠΊΡΠΈΠ²Π½ΠΎΠ΅ ΡΠ½ΠΈΠΆΠ΅Π½ΠΈΠ΅ ΡΡΠ΅Π½ΠΈΡ ΠΈ ΠΈΠ·Π½ΠΎΡΠ° Π΄Π΅ΡΠ°Π»Π΅ΠΉ Π΄Π΅Π»Π°Π΅Ρ ΠΏΠΎΠΊΡΡΡΠΈΠ΅ MODENGY 1014 ΠΈΠ΄Π΅Π°Π»ΡΠ½ΡΠΌ ΡΡΠ΅Π΄ΡΡΠ²ΠΎΠΌ Π΄Π»Ρ ΠΎΠ±ΡΠ»ΡΠΆΠΈΠ²Π°Π½ΠΈΡ ΠΏΠ½Π΅Π²ΠΌΠ°ΡΠΈΡΠ΅ΡΠΊΠΈΡ ΡΠΈΠ»ΠΈΠ½Π΄ΡΠΎΠ².![]()
ΠΠ½ΠΎΠ³Π΄Π° Π΄Π°ΠΆΠ΅ Π² ΡΡΠ»ΠΎΠ²ΠΈΡΡ
Π½Π°Π΄Π»Π΅ΠΆΠ°ΡΠ΅ΠΉ ΡΠΊΡΠΏΠ»ΡΠ°ΡΠ°ΡΠΈΠΈ ΠΈ ΠΏΡΠ°Π²ΠΈΠ»ΡΠ½ΠΎΠ³ΠΎ ΡΠ΅ΡΠ²ΠΈΡΠ½ΠΎΠ³ΠΎ ΠΎΠ±ΡΠ»ΡΠΆΠΈΠ²Π°Π½ΠΈΡ ΡΠ΅ΠΌΠΎΠ½Ρ ΠΏΠ½Π΅Π²ΠΌΠΎΡΠΈΠ»ΠΈΠ½Π΄ΡΠ° Π²ΡΠ΅ ΠΆΠ΅ ΠΌΠΎΠΆΠ΅Ρ Π±ΡΡΡ Π½Π΅ΠΎΠ±Ρ
ΠΎΠ΄ΠΈΠΌ.
Π§Π°ΡΡΠΎ ΡΠ΅Π·ΠΈΠ½ΠΎΠ²ΡΠ΅ ΡΠΏΠ»ΠΎΡΠ½ΠΈΡΠ΅Π»ΠΈ ΠΏΡΠΈΠ»ΠΈΠΏΠ°ΡΡ ΠΊ ΠΌΠ΅ΡΠ°Π»Π»ΠΈΡΠ΅ΡΠΊΠΈΠΌ Π΄Π΅ΡΠ°Π»ΡΠΌ, ΡΡΠΎ ΠΏΡΠΈΠ²ΠΎΠ΄ΠΈΡ ΡΡΠΆΠ΅Π»ΠΎΠΌΡ ΡΡΡΠ°Π³ΠΈΠ²Π°Π½ΠΈΡ ΠΈ ΠΏΠΎΠ²ΡΠ΅ΠΆΠ΄Π΅Π½ΠΈΡ ΡΠΏΠ»ΠΎΡΠ½ΠΈΡΠ΅Π»ΡΠ½ΡΡ
ΡΡΡΡΠΎΠΉΡΡΠ². ΠΠ’Π‘Π Π² ΠΎΡΠ»ΠΈΡΠΈΠ΅ ΠΎΡ ΡΠΌΠ°Π·ΠΊΠΈ ΡΠΎΠ·Π΄Π°Π΅Ρ Π½Π° ΠΏΠΎΠ²Π΅ΡΡ
Π½ΠΎΡΡΡΡ
Π³Π»Π°Π΄ΠΊΠΈΠΉ ΡΠ»ΠΎΠΉ, ΠΊΠΎΡΠΎΡΡΠΉ ΠΈΠ·Π±Π°Π²Π»ΡΠ΅Ρ ΠΎΡ ΡΡΠΎΠΉ Π½Π΅ΠΏΡΠΈΡΡΠ½ΠΎΠΉ ΠΎΡΠΎΠ±Π΅Π½Π½ΠΎΡΡΠΈ.
Π‘ΡΠ΅Π΄ΠΈ ΡΠ°ΠΌΡΡ
ΡΠ°ΡΡΠΎ Π²ΡΡΡΠ΅ΡΠ°ΡΡΠΈΡ
ΡΡ Π½Π΅ΠΈΡΠΏΡΠ°Π²Π½ΠΎΡΡΠ΅ΠΉ ΠΏΠ½Π΅Π²ΠΌΠΎΡΠΈΠ»ΠΈΠ½Π΄ΡΠΎΠ² ΠΌΠΎΠΆΠ½ΠΎ Π²ΡΠ΄Π΅Π»ΠΈΡΡ ΡΠ°ΠΊΠΆΠ΅ ΠΈΠ·Π½ΠΎΡ ΡΠ΅Π½ΡΡΠ°Π»ΡΠ½ΠΎΠΉ ΡΠ°ΡΡΠΈ Π³ΠΈΠ»ΡΠ·Ρ. ΠΠ³ΡΠ°Π½ΠΈΡΠ΅Π½ΠΈΠ΅ Ρ
ΠΎΠ΄Π° ΠΏΠΎΡΡΠ½Ρ ΠΎΠ΄Π½ΠΎΠΎΠ±ΡΠ°Π·Π½ΠΎΠΉ ΡΠ°Π±ΠΎΡΠΎΠΉ ΠΏΡΠΈΠ²ΠΎΠ΄ΠΈΡ ΠΊ Π΄Π΅ΡΠΎΡΠΌΠ°ΡΠΈΠΈ ΡΠΈΠ»ΠΈΠ½Π΄ΡΠ°, ΡΠ»Π΅Π΄ΠΎΠ²Π°ΡΠ΅Π»ΡΠ½ΠΎ, ΠΈ Π΄ΡΡΠ³ΠΈΡ
Π΄Π΅ΡΠ°Π»Π΅ΠΉ. Π ΡΠ°ΠΊΠΎΠΌ ΡΠ»ΡΡΠ°Π΅ ΠΎΡ ΠΏΠΎΠ»ΠΎΠΌΠΊΠΈ ΡΡΡΡΠΎΠΉΡΡΠ²ΠΎ ΠΈΠ·Π±Π°Π²ΠΈΡ ΡΠΎΠ»ΡΠΊΠΎ ΠΊΠΎΠΌΠΏΠ»Π΅ΠΊΡΠ½ΡΠΉ ΡΠ΅ΠΌΠΎΠ½Ρ. ΠΠ΄Π½Π°ΠΊΠΎ Π΅Π³ΠΎ ΠΌΠΎΠΆΠ½ΠΎ ΠΏΡΠ΅Π΄ΠΎΡΠ²ΡΠ°ΡΠΈΡΡ Ρ ΠΏΠΎΠΌΠΎΡΡΡ Π°Π½ΡΠΈΡΡΠΈΠΊΡΠΈΠΎΠ½Π½ΠΎΠ³ΠΎ ΡΠ²Π΅ΡΠ΄ΠΎΡΠΌΠ°Π·ΠΎΡΠ½ΠΎΠ³ΠΎ ΠΏΠΎΠΊΡΡΡΠΈΡ, ΠΊΠΎΡΠΎΡΠΎΠ΅ ΠΎΠ±Π΅ΡΠΏΠ΅ΡΠΈΠ²Π°Π΅Ρ Π±ΠΎΠ»Π΅Π΅ ΠΏΠ»Π°Π²Π½ΠΎΠ΅ Π΄Π²ΠΈΠΆΠ΅Π½ΠΈΠ΅ ΠΏΡΠΈΠ²ΠΎΠ΄Π°.
ΠΠ΅ΠΏΡΠ°Π²ΠΈΠ»ΡΠ½Π°Ρ ΡΡΡΠ°Π½ΠΎΠ²ΠΊΠ° ΠΏΠ½Π΅Π²ΠΌΠΎΡΠΈΠ»ΠΈΠ½Π΄ΡΠ° ΠΌΠΎΠΆΠ΅Ρ ΠΏΡΠΈΠ²Π΅ΡΡΠΈ ΠΊ Π±ΠΎΠΊΠΎΠ²ΠΎΠΉ Π½Π°Π³ΡΡΠ·ΠΊΠ΅, ΠΊΠΎΡΠΎΡΠ°Ρ ΡΠ°ΠΊΠΆΠ΅ Π³ΡΠΎΠ·ΠΈΡ Π΅Π³ΠΎ Π²ΡΡ
ΠΎΠ΄ΠΎΠΌ ΠΈΠ· ΡΡΡΠΎΡ.
ΠΠ½Π° ΠΏΠΎΠ²Π»Π΅ΡΠ΅Ρ Π·Π° ΡΠΎΠ±ΠΎΠΉ ΠΏΠΎΠ²ΡΠ΅ΠΆΠ΄Π΅Π½ΠΈΠ΅ ΡΠΏΠ»ΠΎΡΠ½ΠΈΡΠ΅Π»Π΅ΠΉ, Π΄Π΅ΡΠΎΡΠΌΠ°ΡΠΈΡ ΡΡΠΎΠΊΠ°, Π·Π°Π±ΠΈΠ²Π°Π½ΠΈΠ΅ ΡΡΡΠ±ΠΎΠΊ ΠΈ Ρ.Π΄.
ΠΠ°ΡΠ»Π°, ΠΏΡΠΈΠΌΠ΅Π½ΡΠ΅ΠΌΡΠ΅ Π΄Π»Ρ ΡΠΌΠ°Π·ΡΠ²Π°Π½ΠΈΡ ΡΡΡΡΠΈΡ
ΡΡ ΠΏΠΎΠ²Π΅ΡΡ
Π½ΠΎΡΡΠ΅ΠΉ, ΡΠΎ Π²ΡΠ΅ΠΌΠ΅Π½Π΅ΠΌ ΠΎΡΠ΅Π΄Π°ΡΡ, ΠΎΠ±ΡΠ°Π·ΠΎΠ²ΡΠ²Π°Ρ Π½Π°Π³Π°Ρ. ΠΠ³ΠΎ ΠΌΠΎΠΆΠ½ΠΎ ΡΠ΄Π°Π»ΠΈΡΡ ΡΠΆΠ°ΡΡΠΌ Π²ΠΎΠ·Π΄ΡΡ
ΠΎΠΌ ΠΏΡΡΠ΅ΠΌ ΠΏΡΠΎΠ΄ΡΠ²ΠΊΠΈ, ΡΠΌΡΡΡ Π²ΠΎΠ΄ΠΎΠΉ ΠΈΠ»ΠΈ Ρ
ΠΈΠΌΠΈΡΠ΅ΡΠΊΠΈΠΌ ΡΠΎΡΡΠ°Π²ΠΎΠΌ. ΠΡΠΏΠΎΠ»ΡΠ·ΠΎΠ²Π°Π½ΠΈΠ΅ ΠΌΠΎΡΡΠΈΡ
ΡΡΠ΅Π΄ΡΡΠ² ΡΠ²Π»ΡΠ΅ΡΡΡ Π±ΠΎΠ»Π΅Π΅ ΡΡΡΠ΅ΠΊΡΠΈΠ²Π½ΡΠΌ ΡΠΏΠΎΡΠΎΠ±ΠΎΠΌ.
ΠΠΎΠ²Π΅ΡΡ
Π½ΠΎΡΡΠΈ Π΄ΠΎΠ»ΠΆΠ½Ρ ΠΎΡΠΈΡΠ°ΡΡΡΡ Π½Π΅ ΡΠ΅ΠΆΠ΅ ΠΎΠ΄Π½ΠΎΠ³ΠΎ ΡΠ°Π·Π° Π² ΠΏΠΎΠ»Π³ΠΎΠ΄Π°.
ΠΡΠΌΠ°ΡΡΠΈΠ²Π°ΡΡ ΠΆΠ΅ ΠΎΠ±ΠΎΡΡΠ΄ΠΎΠ²Π°Π½ΠΈΠ΅ Π½Π΅ΠΎΠ±Ρ
ΠΎΠ΄ΠΈΠΌΠΎ Π΅ΠΆΠ΅Π΄Π½Π΅Π²Π½ΠΎ, ΠΎΠ΄ΠΈΠ½ ΡΠ°Π· Π² ΡΡΠΈ ΠΌΠ΅ΡΡΡΠ° ΠΈ Π΅ΠΆΠ΅Π³ΠΎΠ΄Π½ΠΎ.
Π§Π°ΡΡΠΎΡΠ° ΡΠ΅ΠΌΠΎΠ½ΡΠ½ΡΡ ΡΠ°Π±ΠΎΡ Π·Π°Π²ΠΈΡ ΠΎΡ ΡΡΠ»ΠΎΠ²ΠΈΠΉ ΡΠΊΡΠΏΠ»ΡΠ°ΡΠ°ΡΠΈΠΈ ΡΡΡΡΠΎΠΉΡΡΠ²Π° ΠΈ ΠΊΠ°ΡΠ΅ΡΡΠ²Π° ΠΌΠ°ΡΠ΅ΡΠΈΠ°Π»ΠΎΠ², ΠΏΡΠΈΠΌΠ΅Π½ΡΠ΅ΠΌΡΡ Π΄Π»Ρ Π΅Π³ΠΎ ΠΎΠ±ΡΠ»ΡΠΆΠΈΠ²Π°Π½ΠΈΡ. Π₯ΠΎΡΠΎΡΠΈΠ΅ ΠΌΠ°ΡΠ΅ΡΠΈΠ°Π»Ρ, ΡΠ°ΠΊΠΈΠ΅ ΠΊΠ°ΠΊ Π°Π½ΡΠΈΡΡΠΈΠΊΡΠΈΠΎΠ½Π½ΡΠ΅ ΡΠ²Π΅ΡΠ΄ΠΎΡΠΌΠ°Π·ΠΎΡΠ½ΡΠ΅ ΠΏΠΎΠΊΡΡΡΠΈΡ, ΠΌΠΎΠ³ΡΡ ΠΏΡΠ΅Π΄ΠΎΡΠ²ΡΠ°ΡΠΈΡΡ ΠΏΠΎΠ»ΠΎΠΌΠΊΡ ΠΈ Π²ΡΡ ΠΎΠ΄ ΠΏΠ½Π΅Π²ΠΌΠΎΡΠΈΠ»ΠΈΠ½Π΄ΡΠ° ΠΈΠ· ΡΡΡΠΎΡ, Π° ΡΠ°ΠΊΠΆΠ΅ ΡΠΌΠ΅Π½ΡΡΠΈΡΡ ΠΈΠ½ΡΠ΅ΡΠ²Π°Π» ΠΌΠ΅ΠΆΠ΄Ρ Π΅Π³ΠΎ ΡΠ΅ΡΠ²ΠΈΡΠ½ΡΠΌ ΠΎΠ±ΡΠ»ΡΠΆΠΈΠ²Π°Π½ΠΈΠ΅ΠΌ.
ΠΠΎΠ·Π²ΡΠ°Ρ ΠΊ ΡΠΏΠΈΡΠΊΡ
Π Π΅ΠΌΠΎΠ½Ρ ΠΏΠ½Π΅Π²ΠΌΠΎΡΠΈΠ»ΠΈΠ½Π΄ΡΠΎΠ² MAL32x300 — ΠΠ΅ΠΈΡΠΏΡΠ°Π²Π½ΠΎΡΡΡ Π²ΡΠΏΠΎΠΌΠΎΠ³Π°ΡΠ΅Π»ΡΠ½ΡΡ ΠΊΠΎΠΌΠΏΠΎΠ½Π΅Π½ΡΠΎΠ²
#1
OFFLINE
Β
PatriKKey
ΠΡΠΏΡΠ°Π²Π»Π΅Π½ΠΎ 13 ΠΠΏΡΠ΅Π»Ρ 2016 — 23:46
ΡΠ΅ΠΌΠ° ΡΠΎΠ·Π΄Π°Π½Π° Π² ΠΏΠΈΠΊΡ Π½Π°ΡΠ΅ΠΌΡ Ρ
Π²Π°Π»Π΅Π½Π½ΠΎΠΌΡ ΡΠ΅ΡΠ²ΠΈΡΡ.
ΠΠ°ΠΊ Π²ΠΎΠ΄ΠΈΡΡΡ, ΠΊΠΎΠ³Π΄Π° «ΠΏΠΎΠΌΠΈΡΠ°Π΅Ρ» ΡΡΠ°Π½ΠΎΠΊ Π½ΡΠΆΠ½ΠΎΠΉ Π·Π°ΠΏΡΠ°ΡΡΠΈ Ρ ΡΠ΅ΡΠ²ΠΈΡΠ½ΠΈΠΊΠΎΠ² Π½Π΅Ρ. ΠΠ΅ ΡΠ°ΠΊ ΡΡΠΎ Π±Ρ ΡΠΎΠ²ΡΠ΅ΠΌ Π½Π΅Ρ, Π΅ΡΡΡ Π½ΠΎ Π½Π΅ ΡΠ°, Π½Π΅ ΡΠΎΠ³ΠΎ Π΄ΠΈΠ°ΠΌΠ΅ΡΡΠ° ΠΈ ΡΠ°Π·ΠΌΠ΅ΡΠ°.
Π’Π°ΠΊ ΡΠ»ΡΡΠΈΠ»ΠΎΡΡ ΠΈ Π² ΠΌΠΎΠ΅ΠΌ ΡΠ»ΡΡΠ°Π΅. ΠΠ°ΠΊ ΡΠΎ ΠΏΠΎΠ΄ΠΎΠ·ΡΠΈΡΠ΅Π»ΡΠ½ΠΎ ΡΡΠ°Π» ΡΠ°ΡΡΠΎ Π²ΠΊΠ»ΡΡΠ°ΡΡΡΡ ΠΊΠΎΠΌΠΏΡΠ΅ΡΡΠΎΡ. «ΠΠΎΡΡΡΠΈΠ»» Π²ΡΠ΅ ΡΠΏΠΈΠ½Π΄Π΅Π»Ρ, ΠΏΡΠΈΡΠ»ΡΡΠ°Π»ΡΡ….ΡΡΠ°Π²ΠΈΡ Π²ΠΎΠ·Π΄ΡΡ ΠΈΠ· ΡΠ΅Ρ ΡΠ°ΠΌΡΡ ΡΠΈΠ»Π»ΠΈΠ½Π΄ΡΠΎΠ², ΡΡΠΎ ΠΏΠΎΠ΄ΠΎΠ·ΡΠΈΡΠ΅Π»ΡΠ½ΠΎ ΡΠΎ Π²ΡΠ΅Ρ ΡΡΠ°Π·Ρ (4 ΡΡΡΠΊΠΈ). Π Π°Π·ΠΎΠ±ΡΠ°Π» ΠΎΠ΄ΠΈΠ½, ΡΡΡ ΠΎΠΉ Π½Π°ΠΏΡΠΎΡΡ ΠΈ Π·Π°Π΄ΠΈΡΡ Π½Π° Π²Π½ΡΡΡΠ΅Π½Π½Π΅ΠΉ ΠΏΠΎΠ²Π΅ΡΡ Π½ΠΎΡΡΠΈ, ΡΠ°Π·ΠΎΠ±ΡΠ°Π» Π²ΡΠΎΡΠΎΠΉ, ΡΠ° ΠΆΠ΅ ΠΏΠ΅ΡΠ½Ρ. ΠΎΠ±Π·Π²ΠΎΠ½ΠΈΠ» ΡΠ΅ΡΠ²ΠΈΡΠ½ΠΈΠΊΠΎΠ², ΠΏΡΠΎΠ΄Π°Π²Π°Π½ΠΎΠ², ΡΠ²Π΅ΡΠΈΡ Π½Π΅Π΄Π΅Π»Ρ ΠΏΡΠΎΡΡΠΎΡ. ΠΡΠ΅ΠΏΠΊΠΎ Π²ΡΡΡΠ³Π°Π»ΡΡ, ΠΈ ΠΏΠΎΠ΅Ρ Π°Π» ΠΊ Π°Π²ΡΠΎ-Π°ΠΌΠΎΡΡΠΈΠ·Π°ΡΠΎΡΠ½ΠΎΠΌΡ ΠΌΠ°ΡΡΠ΅ΡΡ. ΠΏΠΎΡΡΠ»ΡΡ Π² Ρ Π»Π°ΠΌΠ΅, Π½Π°ΡΠ΅Π» ΠΏΠΎΠ΄Ρ ΠΎΠ΄ΡΡΠΈΠ΅ Π²ΡΡΠ°Π²ΠΊΠΈ-ΡΡΡΠ±ΠΊΠΈ ΠΎΡ ΠΆΠΈΠ³ΡΠ»Ρ 8 Π½ΠΎΠΌΠ΅ΡΠ°. ΠΡΡΠΎΡΠΈΠ» ΠΏΠΎ ΠΏΠ°ΡΠ΅ Π½Π° ΡΠΈΠ»ΠΈΠ½Π΄Ρ ΡΠ΅Π½ΡΡΠΈΡΡΡΡΠΈΡ Π²ΡΡΠ°Π²ΠΎΠΊ ΠΈΠ· ΠΊΠ°ΠΏΡΠΎΠ»ΠΎΠ½Π°, ΠΏΠ΅ΡΠ΅ΡΠΎΡΠΈΠ» ΠΏΠΎΡΡΠ½Ρ, ΠΏΠΎΠ΄ΠΎΠ±ΡΠ°Π» ΡΠ΅Π·ΠΈΠ½ΠΊΠΈ, ΡΠΎΠ±ΡΠ°Π», ΠΎΠΏΡΠΏΠΎΠ±ΠΎΠ²Π°Π» ΠΈ ΠΏΠΎΡΠ»Π°Π» Π½Π°Ρ . ΡΠ΅Ρ ΡΠ°ΠΌΡΡ ΠΏΡΠΎΠ΄Π°Π²Π°Π½ΠΎΠ², ΠΏΡΠ΅Π΄Π»Π°Π³Π°Π²ΡΠΈΡ Π·Π° 24Ρ.Ρ ΠΏΡΠΈΠ²Π΅Π·ΡΠΈ Π·Π° ΡΡΠΈ Π΄Π½Ρ.
Π’Π΅ΠΏΠ΅ΡΡ Π΅ΡΡΡ Π²ΠΎΠΏΡΠΎΡΡ:
ΠΠ΅ΡΠ΅Π΄ ΡΠ΅ΠΌΠΈ ΡΠ°ΠΌΡΠΌΠΈ ΠΏΠΎΡΡΠ½ΡΠΌΠΈ ΡΡΠΎΠΈΡ ΠΊΠΎΠ»Π±Π° Ρ Π»ΡΠ±ΡΠΈΠΊΠ°ΡΠΎΡΠ½ΡΠΌ ΠΌΠ°ΡΠ»ΠΎΠΌ ΠΈ Π΄ΠΎΠ·Π°ΡΠΎΡΠΎΠΌ. ΠΠ°ΠΊ ΡΡΠ° Ρ
ΡΠ΅Π½Ρ ΡΠ°Π±ΠΎΡΠ°Π΅Ρ ΡΠ°ΠΊ ΠΈ Π½Π΅ ΠΏΠΎΠ½ΡΠ». ΠΡΠ»ΠΈ ΠΏΠΎΡΡΠ½Π― ΠΎΡΡΠΎΠ΅Π΄Π΅Π½ΠΈΡΡ ΠΈ ΠΏΠΎΠ΄Π°ΡΡ Π²ΠΎΠ·Π΄ΡΡ
ΡΠΎ ΠΌΠ°ΡΠ»ΠΎ ΠΏΠΎΡΡΡΠΏΠ°Π΅Ρ ΠΈ ΠΈΠ½ΡΠ΅Π½ΡΠΈΠ²Π½ΠΎΡΡΡ ΡΠ΅Π³ΡΠ»ΠΈΡΡΠ΅ΡΡΡ.
ΠΡΠ»ΠΈ ΠΏΠΎΡΡΠ½ΠΈ ΠΏΠΎΠ΄ΠΊΠ»ΡΡΠΈΡΡ ΡΠΎ ΠΌΠ°ΡΠ»ΠΎ ΠΠ ΠΠΠ‘Π’Π£ΠΠΠΠ’!!!!
Π ΠΏΠ½Π΅Π²ΠΌΠΎΡΠ΅ΠΏΠΈ ΡΡΠΎΠΈΡ ΡΠ»Π΅ΠΊΡΡΠΎΠΌΠ°Π³Π½ΠΈΡΠ½ΡΠΉ Π·Π°ΠΏΠΎΡΠ½ΡΠΉ ΠΊΠ»Π°ΠΏΠ°Π½ ΠΈ ΡΡΠ. ΠΡΠΎ ΡΠΎ ΠΌΠΎΠΆΠ΅Ρ «ΡΠ°Π·ΠΆΠ΅Π²Π°ΡΡ» ΠΊΠ°ΠΊ ΠΎΡΠΎ ΡΡΠ΄ΠΎ ΡΠ°Π±ΠΎΡΠ°Π΅Ρ???Β
- ΠΠ°Π²Π΅ΡΡ
#2
OFFLINE
Β
T-Rex
ΠΡΠΏΡΠ°Π²Π»Π΅Π½ΠΎ 14 ΠΠΏΡΠ΅Π»Ρ 2016 — 01:19
ΡΡΡ ΠΎΠΉ Π½Π°ΠΏΡΠΎΡΡ ΠΈ Π·Π°Π΄ΠΈΡΡ Π½Π° Π²Π½ΡΡΡΠ΅Π½Π½Π΅ΠΉ ΠΏΠΎΠ²Π΅ΡΡ Π½ΠΎΡΡΠΈ
ΠΡΠΈ ΠΌΠ°Π»ΠΎΠΌ ΡΠ°ΡΡ
ΠΎΠ΄Π΅ Π²ΠΎΠ·Π΄ΡΡ
Π° ΡΡΠ°Π½Π΄Π°ΡΡΠ½ΡΠΉ Π»ΡΠ±ΡΠΈΠΊΠ°ΡΠΎΡ Π±Π΅ΡΠΏΠΎΠ»Π΅Π·Π΅Π½ «ΡΡΡΡ ΠΌΠ΅Π½Π΅Π΅, ΡΠ΅ΠΌ ΠΏΠΎΠ»Π½ΠΎΡΡΡΡ». Π’Π°ΠΊΠΈΠ΅ ΡΠΈΠ»ΠΈΠ½Π΄ΡΡ Π»ΡΡΡΠ΅ ΠΏΠ΅ΡΠΈΠΎΠ΄ΠΈΡΠ΅ΡΠΊΠΈ ΡΠΌΠ°Π·ΡΠ²Π°ΡΡ Π²ΡΡΡΠ½ΡΡ — ΡΠ½ΡΠ² ΡΠ»Π°Π½Π³, Π·Π°Π»ΠΈΠ²Π°Π΅ΡΡ Π½Π΅ΠΌΠ½ΠΎΠ³ΠΎ ΠΌΠ°ΡΠ»Π° ΡΡΠ΅Π΄Π½Π΅ΠΉ Π²ΡΠ·ΠΊΠΎΡΡΠΈ (ΡΠΈΠΏΠ° ΠΌΠΎΡΠΎΡΠ½ΠΎΠ³ΠΎ Π°Π²ΡΠΎΠΌΠΎΠ±ΠΈΠ»ΡΠ½ΠΎΠ³ΠΎ) ΡΠ΅ΡΠ΅Π· ΡΡΡΡΠ΅Ρ ΠΈ 1-2 ΡΠ°Π·Π° ΠΏΡΠΎΠ³ΠΎΠ½ΡΠ΅ΡΡ ΠΏΠΎΡΡΠ΅Π½Ρ Π½Π° ΠΏΠΎΠ»Π½ΡΠΉ Ρ
ΠΎΠ΄, ΡΡΠΎΠ±Ρ ΡΠ°Π·ΠΌΠ°Π·Π°ΡΡ ΠΌΠ°ΡΠ»ΠΎ ΠΏΠΎ ΡΡΠ΅Π½ΠΊΠ°ΠΌ. Π ΠΏΡΠΈ ΡΠ±ΠΎΡΠΊΠ΅ ΠΏΠΎΡΠ»Π΅ ΡΠ΅ΠΌΠΎΠ½ΡΠ° ΠΆΠ΅Π»Π°ΡΠ΅Π»ΡΠ½ΠΎ ΡΠΌΠ°Π·Π°ΡΡ Π³ΠΈΠ»ΡΠ·Ρ, ΠΏΠΎΡΡΠ΅Π½Ρ ΠΈ ΠΌΠ°Π½ΠΆΠ΅ΡΡ ΠΊΠΎΠ½ΡΠΈΡΡΠ΅Π½ΡΠ½ΠΎΠΉ ΡΠΌΠ°Π·ΠΊΠΎΠΉ, Π½Π΅ Π³ΡΡΡΠ΅ΡΡΠ΅ΠΉ ΠΏΡΠΈ Π΄Π»ΠΈΡΠ΅Π»ΡΠ½ΠΎΠΌ ΠΊΠΎΠ½ΡΠ°ΠΊΡΠ΅ Ρ Π²ΠΎΠ·Π΄ΡΡ
ΠΎΠΌ (Π½Π°ΠΏΡΠΈΠΌΠ΅Ρ, ΡΠΈΠ»ΠΈΠΊΠΎΠ½ΠΎΠ²ΠΎΠΉ).
ΠΠ°ΠΉΡΡ Π°ΠΊ Π΄Π»Ρ ΡΠΎΠ²ΡΠ΅ΠΌ Π»Π΅Π½ΠΈΠ²ΡΡ — Π΅ΡΠ»ΠΈ ΠΊ ΡΠΈΠ»ΠΈΠ½Π΄ΡΡ Π΄ΠΎΠ±ΠΈΡΠ°ΡΡΡΡ Π½Π΅ΡΠ΄ΠΎΠ±Π½ΠΎ (ΡΡΡΠ°Π½ΠΎΠ²Π»Π΅Π½ «Π³Π΄Π΅-ΡΠΎ Π² ΠΆΠΎΠΏΠ΅ ΡΡΠΎΠ³ΠΎ ΠΌΠΈΡΠ°»), ΠΌΠΎΠΆΠ½ΠΎ Π·Π°Π»ΠΈΡΡ ΠΏΡΠΈΠΌΠ΅ΡΠ½ΠΎ 1 ΠΊΡΠ±.ΡΠΌ ΠΆΠΈΠ΄ΠΊΠΎΠ³ΠΎ ΠΌΠ°ΡΠ»Π° Π² ΠΏΠ½Π΅Π²ΠΌΠΎΡΠ»Π°Π½Π³, ΠΈΠ΄ΡΡΠΈΠΉ ΠΊ Π½Π΅ΠΌΡ ΠΎΡ ΡΠΏΡΠ°Π²Π»ΡΡΡΠ΅Π³ΠΎ ΠΊΠ»Π°ΠΏΠ°Π½Π°. Π Π°Π½ΠΎ ΠΈΠ»ΠΈ ΠΏΠΎΠ·Π΄Π½ΠΎ ΠΏΡΠΈ ΡΠΈΠΊΠ»ΠΈΡΠ΅ΡΠΊΠΎΠΌ ΡΡΠ°Π±Π°ΡΡΠ²Π°Π½ΠΈΠΈ ΠΎΠ½ΠΎ Π΄ΠΎΡΠ΅ΡΠ΅Ρ Π΄ΠΎ ΡΠΈΠ»ΠΈΠ½Π΄ΡΠ° ΠΈ ΡΠ°ΠΌ ΡΠ°ΡΠΏΡΠ»ΠΈΡΡΡ ΠΎΡΠ΅ΡΠ΅Π΄Π½ΡΠΌ ΠΏΠ»Π΅Π²ΠΊΠΎΠΌ Π²ΠΎΠ·Π΄ΡΡ Π°.
- ΠΠ°Π²Π΅ΡΡ
#3
OFFLINE
Β
DEDAlex
ΠΡΠΏΡΠ°Π²Π»Π΅Π½ΠΎ 14 ΠΠΏΡΠ΅Π»Ρ 2016 — 02:52
ΠΡΠΈ ΠΌΠ°Π»ΠΎΠΌ ΡΠ°ΡΡ ΠΎΠ΄Π΅ Π²ΠΎΠ·Π΄ΡΡ Π° ΡΡΠ°Π½Π΄Π°ΡΡΠ½ΡΠΉ Π»ΡΠ±ΡΠΈΠΊΠ°ΡΠΎΡ Π±Π΅ΡΠΏΠΎΠ»Π΅Π·Π΅Π½ «ΡΡΡΡ ΠΌΠ΅Π½Π΅Π΅, ΡΠ΅ΠΌ ΠΏΠΎΠ»Π½ΠΎΡΡΡΡ».
ΠΠ° Π»Π°Π΄Π½ΠΎ. ΠΠΎ Π΅ΡΠ»ΠΈ ΡΡΠΎΠ²Π΅Π½Ρ ΠΌΠ°ΡΠ»Π° Π³ΠΎΠ΄ Π½Π΅ ΠΏΠ°Π΄Π°Π΅Ρ Π² Π»ΡΠ±ΡΠΈΠΊΠ°ΡΠΎΡΠ΅, ΡΠΎ Π²ΠΎΠΏΡΠΎΡ «ΠΏΠΎΡΠ΅ΠΌΡ» Π΄ΠΎΠ»ΠΆΠ΅Π½ Π²ΠΎΠ·Π½ΠΈΠΊΠ½ΡΡΡ ΡΠ°Π½ΡΡΠ΅, Π½Π΅ΠΆΠ΅Π»ΠΈ Π·Π°Π΄Π΅ΡΠ΅Ρ «Π·Π΅ΡΠΊΠ°Π»ΠΎ» ΡΠΈΠ»ΠΈΠ½Π΄ΡΠ°.
Π― ΡΠ°Π Π΄ΡΠΌΠ°Ρ!
ΠΠΠΠΠ ΠΠΠΠ£-ΠΠ ΠΠΠ«Π Π£ΠΠ.
..
Π‘Π°ΠΌΡΠΉ Ρ
ΠΎΡΠΎΡΠΈΠΉ ΡΡΠΈΡΠ΅Π»Ρ Π² ΠΆΠΈΠ·Π½ΠΈ β ΠΎΠΏΡΡ. ΠΠ΅ΡΠ΅Ρ, ΠΏΡΠ°Π²Π΄Π°, Π΄ΠΎΡΠΎΠ³ΠΎ, Π½ΠΎ ΠΎΠ±ΡΡΡΠ½ΡΠ΅Ρ Π΄ΠΎΡ
ΠΎΠ΄ΡΠΈΠ²ΠΎ.
ΠΠΈΡΡΠΎ ΡΠ°ΠΊ Π½Π΅ ΡΠΊΡΠ°ΡΠ°Π΅Ρ ΡΠ΅Π»ΠΎΠ²Π΅ΠΊΠ°, ΠΊΠ°ΠΊ Π΄ΡΡΠΆΠ±Π° Ρ ΡΠΎΠ±ΡΡΠ²Π΅Π½Π½ΠΎΠΉ Π³ΠΎΠ»ΠΎΠ²ΠΎΠΉ.
Π Π°Π±ΠΎΡΠ°ΡΡ Π½Π°Π΄ΠΎ Π½Π΅ 12 ΡΠ°ΡΠΎΠ², Π° Π³ΠΎΠ»ΠΎΠ²ΠΎΠΉ. Β© Π‘ΡΠΈΠ² ΠΠΆΠΎΠ±Ρ
Π’ΠΎΠ»ΡΠΊΠΎ ΡΠΎΠ³Π΄Π°, ΠΊΠΎΠ³Π΄Π° Π²Π°ΡΠΈ ΠΌΠ΅ΡΡΡ Π±ΡΠ΄ΡΡ ΡΠΈΠ»ΡΠ½Π΅Π΅ Π²Π°ΡΠΈΡ
ΡΡΡΠ°Ρ
ΠΎΠ² β ΠΎΠ½ΠΈ Π½Π°ΡΠ½ΡΡ ΡΠ±ΡΠ²Π°ΡΡΡΡ.
ΠΡΠ±Π°Ρ Π΄ΠΎΡΡΠ°ΡΠΎΡΠ½ΠΎ ΡΠ°Π·Π²ΠΈΡΠ°Ρ ΡΠ΅Ρ
Π½ΠΎΠ»ΠΎΠ³ΠΈΡ Π½Π΅ΠΎΡΠ»ΠΈΡΠΈΠΌΠ° ΠΎΡ Π²ΠΎΠ»ΡΠ΅Π±ΡΡΠ²Π° (Ρ) ΠΡΡΡΡ ΠΠ»Π°ΡΠΊ
- ΠΠ°Π²Π΅ΡΡ
#4
OFFLINE
Β
yaso73
ΠΡΠΏΡΠ°Π²Π»Π΅Π½ΠΎ 14 ΠΠΏΡΠ΅Π»Ρ 2016 — 09:39
ΠΡΡΡΠ°Ρ ΡΠΈΡΡΠ΅ΠΌΠ° ΡΠΌΠ°Π·ΠΊΠΈ ΠΏΠ½Π΅Π²ΠΌΠΎΡΠΈΠ»ΠΈΠ½Π΄ΡΠΎΠ² — Π² ΠΏΡΠ΅Π΄ΡΠΌΠ΅ΡΡΠ½ΡΡ ΠΊΠΎΡΡΠ°Ρ ΠΏΠ»ΡΡΡΠΈΠΉ ΠΌΠ°ΡΠ»ΠΎ ΠΊΠΎΠΌΠΏΡΠ΅ΡΡΠΎΡ.ΠΡΡΠΌ Π·Π°ΠΌΠ΅ΡΠ°ΡΠ΅Π»ΡΠ½ΠΎ ΡΠΌΠ°Π·ΡΠ²Π°Π΅Ρ.ΠΡΠ΅ ΠΎΡΡΠ°Π»ΡΠ½ΡΠ΅ ΡΠ»ΡΡΠ°ΠΈ Π³ΠΎΡΠ°Π·Π΄ΠΎ Π·Π°Π±Π°Π²Π½Π΅Π΅.
«ΠΠ°ΠΏΠ΅Π»ΡΠ½ΠΈΡΠ°», ΡΡΠΎΡΡΠ°Ρ Π½Π° ΡΠΌΠ°Π·ΠΊΡ Π½Π΅ΡΠΊΠΎΠ»ΡΠΊΠΈΡ ΡΠΈΠ»ΠΈΠ½Π΄ΡΠΎΠ² — Ρ ΠΎΡΡ ΠΎΠ΄ΠΈΠ½,Π½ΠΎ Π±ΡΠ΄Π΅Ρ ΡΡΡ ΠΎΠΉ.ΠΠ°ΠΊ,ΡΡΡΠΊΠΎ,ΠΏΠΎΠ»ΡΡΠ°Π΅ΡΡΡ — Ρ Π·.
«ΠΡΡΠ·Π³Π°Π½ΡΠ΅ Π² ΡΠ»Π°Π½Π³» — Π²ΡΠ»ΡΠ΅ΡΡΡ,ΡΡΡΠΊΠΎ,Π½Π΅ΡΠΎΠ²Π½ΠΎ.
Π€Π°ΠΊΡ.
«Π‘ΠΌΠ°Π·ΠΊΠ° Π²ΡΡΡΠ½ΡΡ» — Π³Π»Π°Π²Π½ΠΎΠ΅ Π½Π΅ ΠΏΡΠΎΠΈΠΏΠ°ΡΡ ΠΌΠΎΠΌΠ΅Π½Ρ.
ΠΡΠ»ΠΈ ΠΌΠ½Π΅ ΠΏΠ°ΠΌΡΡΡ Π½Π΅ ΠΈΠ·ΠΌΠ΅Π½ΡΠ΅Ρ,ΡΠΎ Π±ΡΠ²Π°ΡΡ ΡΠ°ΠΊΠΈΠ΅,ΡΠ°ΠΊΠΈΠ΅ Π±ΡΠ²Π°ΡΡ,ΠΏΠ½Π΅Π²ΠΌΠΎΡΠΈΠ»ΠΈΠ½Π΄ΡΡ,ΠΊΠΎΡΠΎΡΡΠ΅ Π±Π΅Π· ΡΠΌΠ°Π·ΠΊΠΈ ΡΠ°Π±ΠΎΡΠ°ΡΡ.
- ΠΠ°Π²Π΅ΡΡ
#5
OFFLINE
Β
T-Rex
ΠΡΠΏΡΠ°Π²Π»Π΅Π½ΠΎ 14 ΠΠΏΡΠ΅Π»Ρ 2016 — 15:17
Π±ΡΠ²Π°ΡΡ,ΠΏΠ½Π΅Π²ΠΌΠΎΡΠΈΠ»ΠΈΠ½Π΄ΡΡ,ΠΊΠΎΡΠΎΡΡΠ΅ Π±Π΅Π· ΡΠΌΠ°Π·ΠΊΠΈ ΡΠ°Π±ΠΎΡΠ°ΡΡ.
ΠΠ»Ρ Π±ΠΎΠ»ΡΡΠΈΠ½ΡΡΠ²Π° ΡΠΈΠ»ΠΈΠ½Π΄ΡΠΎΠ² ΠΏΠΎ ΠΊΠ°ΡΠ°Π»ΠΎΠ³Π°ΠΌ SMC ΠΈ Festo Π΄ΠΎΠΏΡΡΠΊΠ°Π΅ΡΡΡ ΡΠ°Π±ΠΎΡΠ° Π½Π° ΡΡΡ
ΠΎΠΌ Π²ΠΎΠ·Π΄ΡΡ
Π΅, Π±Π΅Π· Π·Π°ΠΌΠ°ΡΠ»ΠΈΠ²Π°Π½ΠΈΡ. ΠΡΠΈ ΡΡΠΎΠΌ ΡΠΊΡΠΎΠΌΠ½ΠΎ ΡΠΌΠ°Π»ΡΠΈΠ²Π°Π΅ΡΡΡ ΠΎ ΡΠΎΠΌ, ΡΡΠΎ ΠΈΡ
ΡΡΠΎΠΊ ΡΠ»ΡΠΆΠ±Ρ ΡΠΎΠΊΡΠ°ΡΠΈΡΡΡ Π² Π½Π΅ΡΠΊΠΎΠ»ΡΠΊΠΎ ΡΠ°Π· — Π½ΠΎΡΠΌΠ°Π»ΡΠ½ΠΎ, Π±Π΅Π· Π·Π°Π΄ΠΈΡΠΎΠ² ΠΈ Π·Π°Π΅Π΄Π°Π½ΠΈΠΉ Π²ΡΠ΅ Π±ΡΠ΄Π΅Ρ ΡΠ°Π±ΠΎΡΠ°ΡΡ Π΄ΠΎ ΡΠ΅Ρ
ΠΏΠΎΡ, ΠΏΠΎΠΊΠ° ΠΆΠΈΠ²Π° «ΡΠΏΠ΅ΡΠΈΠ°Π»ΡΠ½ΠΎ ΠΎΠ±ΡΡΠ΅Π½Π½Π°Ρ» (ΠΎΠ½Π° ΠΈ Π²ΠΏΡΠ°Π²Π΄Ρ ΡΠΏΠ΅ΡΠΈΠ°Π»ΡΠ½Π°Ρ ΡΠΈΠ½ΡΠ΅ΡΠΈΡΠ΅ΡΠΊΠ°Ρ, ΡΡΠΎΠΉΠΊΠ°Ρ ΠΊ ΠΎΠΊΠΈΡΠ»Π΅Π½ΠΈΡ Π½Π° Π²ΠΎΠ·Π΄ΡΡ
Π΅, Π½Π΅ «Π»ΠΈΡΠΎΠ»» ΠΊΠ°ΠΊΠΎΠΉ-Π½ΠΈΠ±ΡΠ΄Ρ) ΠΊΠΎΠ½ΡΠΈΡΡΠ΅Π½ΡΠ½Π°Ρ ΡΠΌΠ°Π·ΠΊΠ°, Π·Π°Π»ΠΎΠΆΠ΅Π½Π½Π°Ρ Π² ΡΠΈΠ»ΠΈΠ½Π΄Ρ ΠΏΡΠΈ ΡΠ±ΠΎΡΠΊΠ΅.
ΠΡΡΠ°ΡΠΈ, ΡΡΡ ΡΠΌΠ°Π·ΠΊΡ, Π²ΡΠΎΠ΄Π΅ Π±Ρ, ΠΌΠΎΠΆΠ½ΠΎ ΠΊΡΠΏΠΈΡΡ Ρ Π»ΡΠ±ΠΎΠΉ ΠΈΠ· Π²ΡΡΠ΅Π½Π°Π·Π²Π°Π½Π½ΡΡ ΡΠΈΡΠΌ. Π¦Π΅Π½Π° ΠΌΠ°Π»Π΅Π½ΡΠΊΠΎΠ³ΠΎ ΡΡΠ±ΠΈΠΊΠ°, ΠΏΡΠ°Π²Π΄Π°, Π½Π΅ ΠΎΡΠ΅Π½Ρ Π²ΠΎΡΡ ΠΈΡΠΈΡ. ΠΠ°ΠΊ Π°Π»ΡΡΠ΅ΡΠ½Π°ΡΠΈΠ²Ρ, Π½Π° ΡΠ²ΠΎΠΉ ΡΡΡΠ°Ρ ΠΈ ΡΠΈΡΠΊ ΠΌΠΎΠΆΠ½ΠΎ ΠΏΠΎΠΏΡΡΠ°ΡΡΡΡ ΠΈΡΠΏΠΎΠ»ΡΠ·ΠΎΠ²Π°ΡΡ «White Silicone Grease» (Hi-Gear ΠΈ Ρ.ΠΏ.) ΠΈΠ· ΠΌΠ°Π³Π°Π·ΠΈΠ½Π° Π°Π²ΡΠΎΡ ΠΈΠΌΠΈΠΈ.
- ΠΠ°Π²Π΅ΡΡ
#6
OFFLINE
Β
PatriKKey
ΠΡΠΏΡΠ°Π²Π»Π΅Π½ΠΎ 14 ΠΠΏΡΠ΅Π»Ρ 2016 — 18:08
ΡΠΎ Π²ΠΎΠΏΡΠΎΡ «ΠΏΠΎΡΠ΅ΠΌΡ» Π΄ΠΎΠ»ΠΆΠ΅Π½ Π²ΠΎΠ·Π½ΠΈΠΊΠ½ΡΡΡ ΡΠ°Π½ΡΡΠ΅
ΡΠ°ΠΊΠΈ Π²ΠΎΠ·Π½ΠΈΠΊΠ°Π», Π½ΠΎ ΠΊΠΎΠ»ΠΎΠΊΠΎΠ»ΡΡΠΈΠΊ «ΠΠΠ―Π Π» Π½Π΅ Π·Π°Π·Π²Π΅Π½Π΅Π» Π² Π³ΠΎΠ»ΠΎΠ²Π΅…Π·Π»ΠΎΠΉ ΡΡ ΠΠΈΠ΄Ρ)))
ΠΡΠ΅ΠΌ ΡΠΏΠ°ΡΠΈΠ±ΠΎ
- ΠΠ°Π²Π΅ΡΡ
#7
OFFLINE
Β
T-Rex
ΠΡΠΏΡΠ°Π²Π»Π΅Π½ΠΎ 14 ΠΠΏΡΠ΅Π»Ρ 2016 — 19:33
«ΠΡΡΠ·Π³Π°Π½ΡΠ΅ Π² ΡΠ»Π°Π½Π³» — Π²ΡΠ»ΡΠ΅ΡΡΡ,ΡΡΡΠΊΠΎ,Π½Π΅ΡΠΎΠ²Π½ΠΎ.
Π€Π°ΠΊΡ.
Π’Π°ΠΊ ΠΌΠ°ΡΠ»ΠΎ Π½Π°Π΄ΠΎ Π»ΠΈΡΡ Π½Π΅ ΠΏΠ΅ΡΠ΅Π΄ «ΡΠ»Π΅ΠΉΡΠΎΠΉ», ΡΠ°Π·Π΄Π°ΡΡΠ΅ΠΉ Π²ΠΎΠ·Π΄ΡΡ Π½Π° Π½Π΅ΡΠΊΠΎΠ»ΡΠΊΠΎ ΠΏΠΎΡΡΠ΅Π±ΠΈΡΠ΅Π»Π΅ΠΉ, Π° Π² ΡΠΎΡ ΡΠ»Π°Π½Π³, ΠΊΠΎΡΠΎΡΡΠΉ Π½Π΅ΠΏΠΎΡΡΠ΅Π΄ΡΡΠ²Π΅Π½Π½ΠΎ ΠΊ ΡΠΈΠ»ΠΈΠ½Π΄ΡΡ ΠΈΠ΄Π΅Ρ. Π’ΠΎΠ³Π΄Π° Π²ΡΠ΅ ΠΎΠ½ΠΎ ΠΏΠΎΠΏΠ°Π΄Π΅Ρ ΠΏΠΎ Π½Π°Π·Π½Π°ΡΠ΅Π½ΠΈΡ Π² ΠΏΡΠ΅Π΄ΠΏΠΈΡΠ°Π½Π½ΠΎΠΉ Π΄ΠΎΠΊΡΠΎΡΠΎΠΌ Π΄ΠΎΠ·Π΅.
ΠΡΠ»ΠΈ ΠΏΠ΅ΡΠ΅Π΄ «ΡΠ»Π΅ΠΉΡΠΎΠΉ» Π·Π°Π»ΠΈΡΡ — Π²ΡΠ΅ Π½ΠΈΡΡΡΠΊΠΈ Π·Π°Ρ Π°Π²Π°Π΅Ρ ΡΠΎΡ ΡΠΈΠ»ΠΈΠ½Π΄Ρ, ΠΊΠΎΡΠΎΡΡΠΉ ΡΡΠ°Π±ΠΎΡΠ°Π΅Ρ Π½Π° ΠΏΠΎΠ»Π½ΡΠΉ Ρ ΠΎΠ΄ ΠΏΠ΅ΡΠ²ΡΠΌ, Π° Π²ΡΠ΅ΠΌ ΠΎΡΡΠ°Π»ΡΠ½ΡΠΌ ΠΏΠΎΡΡΠΈ Π½ΠΈΡΠ΅Π³ΠΎ Π½Π΅ Π΄ΠΎΡΡΠ°Π½Π΅ΡΡΡ.
- ΠΠ°Π²Π΅ΡΡ
#8
OFFLINE
Β
yaso73
ΠΡΠΏΡΠ°Π²Π»Π΅Π½ΠΎ 14 ΠΠΏΡΠ΅Π»Ρ 2016 — 19:50
ΠΡΡ-ΡΠΎ ΠΎΠ½ Π·Π½Π°Π΅Ρ…
Π ΠΏΡΠ°Π²Π΄Π° Π²ΡΡ Π·Π½Π°Π΅Ρ…
Π£Π΄ΠΈΠ²ΠΈΡΠ΅Π»ΡΠ½ΡΠΉ ΠΠΈΠ½ΠΎΠ·Π°Π²Ρ.
- ΠΠ°Π²Π΅ΡΡ
#9
OFFLINE
Β
T-Rex
ΠΡΠΏΡΠ°Π²Π»Π΅Π½ΠΎ 14 ΠΠΏΡΠ΅Π»Ρ 2016 — 21:45
ΠΡΡ-ΡΠΎ ΠΎΠ½ Π·Π½Π°Π΅Ρ.
..
Π’ΡΠΆΠΊΠ°Ρ ΠΆΠΈΠ·Π½Ρ Ρ ΠΈΠ½ΠΆΠ΅Π½Π΅ΡΠ°-ΡΠ»Π΅ΠΊΡΡΠΎΠ½ΡΠΈΠΊΠ° Π½Π° ΠΏΡΠ΅Π΄ΠΏΡΠΈΡΡΠΈΠΈ, Π΅ΡΠ»ΠΈ ΡΠΎΠ²ΡΠ΅ΠΌ Π½Π΅ ΡΠ°Π·Π±ΠΈΡΠ°Π΅ΡΡΡ ΠΎΠ½, ΠΊΡΠΎΠΌΠ΅ ΡΠ²ΠΎΠ΅ΠΉ ΠΎΡΠ½ΠΎΠ²Π½ΠΎΠΉ ΡΠΏΠ΅ΡΠΈΠ°Π»ΡΠ½ΠΎΡΡΠΈ, Π² ΠΌΠ΅Ρ Π°Π½ΠΈΠΊΠ΅, ΠΏΠ½Π΅Π²ΠΌΠ°ΡΠΈΠΊΠ΅, Π³ΠΈΠ΄ΡΠ°Π²Π»ΠΈΠΊΠ΅… ΠΠ°ΠΆΠ΄ΡΠΉ Π»Π΅Π½ΠΈΠ²ΡΠΉ ΠΌΠ΅Ρ Π°Π½ΠΈΠΊ ΠΏΠΎ ΠΊΠ°ΠΆΠ΄ΠΎΠΉ Π½Π΅ΠΈΡΠΏΡΠ°Π²Π½ΠΎΡΡΠΈ, ΠΊΠΎΡΠΎΡΡΡ Π΅ΠΌΡ Π»Π΅Π½Ρ ΡΡΡΡΠ°Π½ΡΡΡ, Π±ΡΠ΄Π΅Ρ ΠΏΠ΅ΡΡ ΠΈΠ·Π²Π΅ΡΡΠ½ΡΡ ΠΏΠ΅ΡΠ½Ρ «Π Ρ ΡΡ, Ρ Π½ΠΈΡΡ, ΡΡΠΎ Π½Π΅ Ρ ΠΌΠ΅Π½Ρ, Π° Π²ΠΎΡ Ρ ΡΡΠΈΡ ΡΠ»Π΅ΠΊΡΡΠΎΠ½Π½ΡΡ ΠΏΡΠΎΡΠ΅ΡΡΠΎΡΠΎΠ² Π½ΠΈ Ρ ΡΠ΅Π½Π° Π½Π΅ ΡΠ°Π±ΠΎΡΠ°Π΅Ρ!».
Β
Π₯ΠΎΡΠ΅ΡΡ, Π½Π΅ Ρ ΠΎΡΠ΅ΡΡ, Π° ΠΏΡΠΈΡ ΠΎΠ΄ΠΈΡΡΡ Π²ΡΡ Π·Π½Π°ΡΡ — Ρ ΠΎΡΡ Π±Ρ Π·Π°ΡΠ΅ΠΌ, ΡΡΠΎΠ±Ρ Π±Π΅Π·Π΄Π΅Π»ΡΠ½ΠΈΠΊΠΈ Π½Π° ΡΠ²ΠΎΡ ΡΠ΅Ρ Π½Π΅ ΡΠ΅Π»ΠΈ, Π½ΠΎΠΆΠΊΠΈ ΡΠ²Π΅ΡΠΈΠ²…
- ΠΠ°Π²Π΅ΡΡ
#10
OFFLINE
Β
3D-BiG
ΠΡΠΏΡΠ°Π²Π»Π΅Π½ΠΎ 14 ΠΠΏΡΠ΅Π»Ρ 2016 — 21:51
ΠΡΠ°Π²ΠΎ, ΠΠΈΠ½ΠΎ!!! ΠΠ°ΠΊ ΡΡΠΎ Π·Π½Π°ΠΊΠΎΠΌΠΎ ΠΈ ΠΏΠΎΠ½ΡΡΠ½ΠΎ!!!
Π‘ΠΎΠΎΠ±ΡΠ΅Π½ΠΈΠ΅ ΠΎΡΡΠ΅Π΄Π°ΠΊΡΠΈΡΠΎΠ²Π°Π» 3D-BiG: 14 ΠΠΏΡΠ΅Π»Ρ 2016 — 21:55
- ΠΠ°Π²Π΅ΡΡ
#11
OFFLINE
Β
T-Rex
ΠΡΠΏΡΠ°Π²Π»Π΅Π½ΠΎ 14 ΠΠΏΡΠ΅Π»Ρ 2016 — 21:53
ΠΡΡΡΠ°Ρ ΡΠΈΡΡΠ΅ΠΌΠ° ΡΠΌΠ°Π·ΠΊΠΈ ΠΏΠ½Π΅Π²ΠΌΠΎΡΠΈΠ»ΠΈΠ½Π΄ΡΠΎΠ² — Π² ΠΏΡΠ΅Π΄ΡΠΌΠ΅ΡΡΠ½ΡΡ ΠΊΠΎΡΡΠ°Ρ ΠΏΠ»ΡΡΡΠΈΠΉ ΠΌΠ°ΡΠ»ΠΎ ΠΊΠΎΠΌΠΏΡΠ΅ΡΡΠΎΡ.
ΠΡΠ΅ Π»Π°ΠΉΡΡ Π°ΠΊ ΡΠΎ ΡΠΌΠ°Π·ΠΊΠΎΠΉ. ΠΠ΅ ΡΠ°Π· ΠΈΡΠΏΠΎΠ»ΡΠ·ΠΎΠ²Π°Π» Π² ΠΊΠ°ΡΠ΅ΡΡΠ²Π΅ «ΠΏΠΎΡΡΠ°ΡΠΈΠ²Π½ΠΎΠ³ΠΎ ΡΡΠ΅Π΄ΡΡΠ²Π° ΡΠ΅Π°Π½ΠΈΠΌΠ°ΡΠΈΠΈ» Π΄Π²Π° Π°ΡΡΠΎΠ·ΠΎΠ»ΡΠ½ΡΡ Π±Π°Π»Π»ΠΎΠ½ΡΠΈΠΊΠ°. ΠΠ΄ΠΈΠ½ Ρ WD-40, Π²ΡΠΎΡΠΎΠΉ Ρ ΡΠΈΠ½ΡΠ΅ΡΠΈΡΠ΅ΡΠΊΠΎΠΉ ΡΠΌΠ°Π·ΠΊΠΎΠΉ DX-11 Π΄Π»Ρ ΠΌΠΎΡΠΎΡΠΈΠΊΠ»Π΅ΡΠ½ΡΡ ΡΠ΅ΠΏΠ΅ΠΉ. ΠΡΠΊΠ»ΡΡΠ°Π΅ΡΡ ΡΠ»Π°Π½Π³ΠΈ ΠΎΡ ΡΡΡΡΠ΅ΡΠΎΠ², ΡΡΠ°Π²ΠΈΡΡ ΠΏΠΎΡΡΠ΅Π½Ρ Π½Π° ΡΠ΅ΡΠ΅Π΄ΠΈΠ½Ρ Ρ ΠΎΠ΄Π°, Π·Π°Π»ΠΈΠ²Π°Π΅ΡΡ Π² ΠΎΠ±Π° ΠΊΠΎΠ½ΡΠ° ΡΠΈΠ»ΠΈΠ½Π΄ΡΠ° WDΡΠΊΡ ΠΈ Π΄Π΅Π»Π°Π΅ΡΡ Ρ Π΄Π΅ΡΡΡΠΎΠΊ «ΡΡΠΈΠΊΡΠΈΠΉ». ΠΠΎΠ²ΡΠΎΡΡΠ΅ΡΡ ΡΠΎ ΠΆΠ΅ ΡΠ°ΠΌΠΎΠ΅, Π²ΠΏΡΡΡΠ½ΡΠ² ΡΠΌΠ°Π·ΠΊΡ. Π‘ΠΎΠ±ΠΈΡΠ°Π΅ΡΡ Π²ΡΠ΅ Π½Π°Π·Π°Π΄.
ΠΡΡΠ΅ΡΡΠ²Π΅Π½Π½ΠΎ, ΡΡΠ° ΡΠΊΡΠΏΡΠ΅ΡΡ-ΡΠ΅Π°Π½ΠΈΠΌΠ°ΡΠΈΡ ΡΠΎΠ»ΡΠΊΠΎ Π΄Π»Ρ ΡΠΈΠ»ΠΈΠ½Π΄ΡΠΎΠ², ΠΊΠΎΡΠΎΡΡΠ΅ Π½Π°ΡΠ°Π»ΠΈ ΠΈΠ·ΠΎΠ±ΡΠ°ΠΆΠ°ΡΡ «Π²ΡΠ»ΡΠΉ ΠΊΠ΅Π»Π΄ΡΡ» ΠΈΠ·-Π·Π° ΡΠΈΠ»ΡΠ½ΠΎ Π·Π°Π³ΡΡΡΠ΅Π²ΡΠ΅ΠΉ ΡΠΌΠ°Π·ΠΊΠΈ, Π½ΠΎ Π΅ΡΠ΅ Π½Π΅ ΡΡΠΏΠ΅Π»ΠΈ Π½Π°ΡΠ°Π±ΠΎΡΠ°ΡΡ Π·Π°Π΄ΠΈΡΡ Π½Π° ΡΡΠΎΠΊΠ΅ ΠΈΠ»ΠΈ Π³ΠΈΠ»ΡΠ·Π΅.
- ΠΠ°Π²Π΅ΡΡ
Π Π΅ΠΌΠΎΠ½Ρ ΠΏΠ½Π΅Π²ΠΌΠ°ΡΠΈΡΠ΅ΡΠΊΠΈΡ ΡΠΈΠ»ΠΈΠ½Π΄ΡΠΎΠ² Π²ΡΠΏΠΎΠΌΠΎΠ³Π°ΡΠ΅Π»ΡΠ½ΠΎΠ³ΠΎ ΡΠΎΡΠΌΠΎΠ·Π° ΠΈ Π²ΡΠΊΠ»ΡΡΠ΅Π½ΠΈΡ ΠΏΠΎΠ΄Π°ΡΠΈ ΡΠΎΠΏΠ»ΠΈΠ²Π° ΠΠΠΠΠ ΡΠ²ΠΎΠΈΠΌΠΈ ΡΡΠΊΠ°ΠΌΠΈ Π½Π΅ΠΈΡΠΏΡΠ°Π²Π½ΠΎΡΡΠΈ, ΠΏΠΎΡΠ»Π΅Π΄ΠΎΠ²Π°ΡΠ΅Π»ΡΠ½ΠΎΡΡΡ, Π·Π°ΠΏΡΠ°ΡΡΠΈ
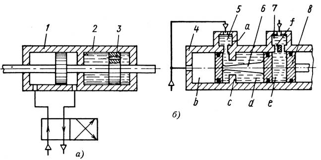
Π Π΅ΠΌΠΎΠ½ΡΠΈΡΡΠ΅ΠΌΡΠΉ ΡΠΈΠ»ΠΈΠ½Π΄Ρ (ΡΠΈΡ. 9.19 ΠΈΠ»ΠΈ 9.20) ΡΡΡΠ°Π½Π°Π²Π»ΠΈΠ²Π°ΡΡ Π² ΡΠΈΡΠΊΠΈ Ρ ΠΌΡΠ³ΠΊΠΈΠΌΠΈ Π³ΡΠ±ΠΊΠ°ΠΌΠΈ. Π Π΄Π°Π»ΡΠ½Π΅ΠΉΡΠ΅ΠΌ Π½ΠΎΠΌΠ΅ΡΠ° ΠΏΠΎΠ·ΠΈΡΠΈΠΉ Π±Π΅Π· ΡΠΊΠΎΠ±ΠΎΠΊ
ΡΠΎΠΎΡΠ²Π΅ΡΡΡΠ²ΡΡΡ ΡΠΈΡ.
9.19, Π° Π² ΡΠΊΠΎΠ±ΠΊΠ°Ρ
β ΡΠΈΡ 9.20.
ΠΠ½Π΅Π²ΠΌΠ°ΡΠΈΡΠ΅ΡΠΊΠΈΠΉ ΡΠΈΠ»ΠΈΠ½Π΄Ρ Π²ΡΠΏΠΎΠΌΠΎΠ³Π°ΡΠ΅Π»ΡΠ½ΠΎΠ³ΠΎ ΡΠΎΡΠΌΠΎΠ·Π° ΠΠΠΠΠ, Π΄Π΅ΡΠ°Π»ΠΈ, Π·Π°ΠΏΡΠ°ΡΡΠΈ: (ΡΠΈΡ. 9.19)
1 — Π·Π°ΠΊΠ»Π΅ΠΏΠΊΠ°; 2 — Π·Π°ΡΠ»ΠΎΠ½ΠΊΠ°; 3 — ΡΠΏΠΎΡΠ½ΠΎΠ΅ ΠΊΠΎΠ»ΡΡΠΎ; 4 — ΡΠ°ΠΉΠ±Π°; 5, 12, 13 — ΠΏΡΡΠΆΠΈΠ½Ρ; 6 — ΠΊΡΡΡΠΊΠ°; 7 — Π²Π°Π» Π·Π°ΡΠ»ΠΎΠ½ΠΊΠΈ Π² ΡΠ±ΠΎΡΠ΅; 8 β Π²Π°Π»; 9 β ΡΡΠΈΡΡ;
10 β ΡΡΡΠ°Π³; 11 β ΡΠΈΠ»ΠΈΠ½Π΄Ρ Π² ΡΠ±ΠΎΡΠ΅; 14, 30 — Π²ΡΡΠ»ΠΊΠΈ; 15 β ΠΊΡΡΡΠΊΠ° ΡΠΈΠ»ΠΈΠ½Π΄ΡΠ°; 16 β ΡΠ°Π±Π»ΠΈΡΠΊΠ°; 17 — ΠΏΡΡΡΠΎΡΠ΅Π»Π°Ρ Π·Π°ΠΊΠ»Π΅ΠΏΠΊΠ°; 18 — ΠΊΠΎΠ»ΡΡΠΎ;
19 β ΡΠΏΠ»ΠΎΡΠ½ΠΈΡΠ΅Π»ΡΠ½ΠΎΠ΅ ΠΊΠΎΠ»ΡΡΠΎ; 20 — ΠΏΠΎΡΡΠ΅Π½Ρ Π² ΡΠ±ΠΎΡΠ΅; 21 — ΡΠΏΠΎΡ; 22 β Π½Π°ΠΊΠΎΠ½Π΅ΡΠ½ΠΈΠΊ; 23 β Π½ΠΈΠ·ΠΊΠ°Ρ Π³Π°ΠΉΠΊΠ°; 24 β ΡΠΈΠ»ΠΈΠ½Π΄Ρ ΡΠΏΡΠ°Π²Π»Π΅Π½ΠΈΡ Π·Π°ΡΠ»ΠΎΠ½ΠΊΠΎΠΉ Π² ΡΠ±ΠΎΡΠ΅;
25 β ΡΠΏΠ»ΠΈΠ½Ρ; 26 β ΠΏΠ»ΠΎΡΠΊΠ°Ρ ΡΠ°ΠΉΠ±Π°; 27 β ΠΊΡΠΎΠ½ΡΡΠ΅ΠΉΠ½ ΡΠΈΠ»ΠΈΠ½Π΄ΡΠ° Π² ΡΠ±ΠΎΡΠ΅; 28 β ΠΊΠΎΡΠΏΡΡ Ρ Π·Π°ΡΠ»ΠΎΠ½ΠΊΠΎΠΉ Π² ΡΠ±ΠΎΡΠ΅; 29 β ΠΊΠΎΡΠΏΡΡ
ΠΠ½Π΅Π²ΠΌΠ°ΡΠΈΡΠ΅ΡΠΊΠΈΠΉ ΡΠΈΠ»ΠΈΠ½Π΄Ρ Π²ΡΠΊΠ»ΡΡΠ΅Π½ΠΈΡ ΠΏΠΎΠ΄Π°ΡΠΈ ΡΠΎΠΏΠ»ΠΈΠ²Π° ΠΠΠΠΠ, Π΄Π΅ΡΠ°Π»ΠΈ, Π·Π°ΠΏΡΠ°ΡΡΠΈ: (ΡΠΈΡ. 9.20)
1 β Π²ΡΡΠ»ΠΊΠ°; 2 β ΠΊΡΡΡΠΊΠ° ΡΠΈΠ»ΠΈΠ½Π΄ΡΠ°; 3 β ΡΠ°Π±Π»ΠΈΡΠΊΠ°; 4 β ΠΏΡΡΡΠΎΡΠ΅Π»Π°Ρ Π·Π°ΠΊΠ»Π΅ΠΏΠΊΠ°; 5 β ΡΠΈΠ»ΠΈΠ½Π΄Ρ Π²ΡΠΊΠ»ΡΡΠ΅Π½ΠΈΡ ΠΏΠΎΠ΄Π°ΡΠΈ ΡΠΎΠΏΠ»ΠΈΠ²Π°; 6 β ΡΠΈΠ»ΠΈΠ½Π΄Ρ Ρ ΡΡΠ³ΠΎΠΉ Π² ΡΠ±ΠΎΡΠ΅;
7 β ΡΡΠ³Π° Π²ΡΠΊΠ»ΡΡΠ΅Π½ΠΈΡ ΠΏΠΎΠ΄Π°ΡΠΈ ΡΠΎΠΏΠ»ΠΈΠ²Π° Π² ΡΠ±ΠΎΡΠ΅; 8, 11 β Π³Π°ΠΉΠΊΠΈ; 9 β Π²ΠΈΠ½Ρ; 10 β Π½Π°ΠΊΠΎΠ½Π΅ΡΠ½ΠΈΠΊ; 12 β ΡΠΈΠ»ΠΈΠ½Π΄Ρ; 13 β ΠΏΡΡΠΆΠΈΠ½Π°; 14 β ΡΠΏΠΎΡ; 15 β ΠΏΠΎΡΡΠ΅Π½Ρ Π² ΡΠ±ΠΎΡΠ΅;
16 β ΡΠΏΠ»ΠΎΡΠ½ΠΈΡΠ΅Π»ΡΠ½ΠΎΠ΅ ΠΊΠΎΠ»ΡΡΠΎ; 17 β ΠΊΠΎΠ»ΡΡΠΎ
ΠΡΠ²Π΅ΡΠ½ΡΠ² ΠΊΡΡΡΠΊΡ 15 (2) ΡΠΈΠ»ΠΈΠ½Π΄ΡΠ° 11 (12), ΠΈΠ· ΠΊΡΡΡΠΊΠΈ 15 (2) Π²ΡΠΊΡΡΡΠΈΠ²Π°ΡΡ Π²ΡΡΠ»ΠΊΡ 14 (1) ΠΈ ΡΠ½ΠΈΠΌΠ°ΡΡ ΡΠΏΠ»ΠΎΡΠ½ΠΈΡΠ΅Π»ΡΠ½ΠΎΠ΅ ΠΊΠΎΠ»ΡΡΠΎ 18 (17).
ΠΠ· ΡΠΈΠ»ΠΈΠ½Π΄ΡΠ° 11 (12) Π²ΡΠ½ΠΈΠΌΠ°ΡΡ ΠΏΠΎΡΡΠ΅Π½Ρ 20 (15) Π² ΡΠ±ΠΎΡΠ΅. Π‘ ΠΏΠΎΡΡΠ½Ρ 20 (15) ΡΠ½ΠΈΠΌΠ°ΡΡ ΡΠΏΠ»ΠΎΡΠ½ΠΈΡΠ΅Π»ΡΠ½ΠΎΠ΅ ΠΊΠΎΠ»ΡΡΠΎ 19 (6) ΠΈ ΡΠΏΠΎΡ 21 (14).
ΠΠ· ΡΠΈΠ»ΠΈΠ½Π΄ΡΠ° 11 (12) Π²ΡΠ½ΠΈΠΌΠ°ΡΡ ΠΏΡΡΠΆΠΈΠ½Ρ 12 ΠΈ 13 (13) (ΠΏΡΡΠΆΠΈΠ½Π° 12 ΠΈΠΌΠ΅Π΅ΡΡΡ ΡΠΎΠ»ΡΠΊΠΎ Π² ΠΏΠ½Π΅Π²ΠΌΠΎΡΠΈΠ»ΠΈΠ½Π΄ΡΠ΅ Π²ΡΠΏΠΎΠΌΠΎΠ³Π°ΡΠ΅Π»ΡΠ½ΠΎΠ³ΠΎ ΡΠΎΡΠΌΠΎΠ·Π°, ΡΠΈΡ. 9.19).
ΠΠ΅ΡΠ°Π»ΠΈ ΡΠΈΠ»ΠΈΠ½Π΄ΡΠΎΠ² ΠΏΡΠΎΠΌΡΠ²Π°ΡΡ Π² ΠΌΠΎΠ΅ΡΠ½ΠΎΠΉ ΡΡΡΠ°Π½ΠΎΠ²ΠΊΠ΅, ΠΎΠ±Π΄ΡΠ²Π°ΡΡ ΡΠΆΠ°ΡΡΠΌ Π²ΠΎΠ·Π΄ΡΡ
ΠΎΠΌ ΠΈ ΠΏΡΠΎΠ²Π΅ΡΡΡΡ ΠΈΡ
ΡΠ΅Ρ
Π½ΠΈΡΠ΅ΡΠΊΠΎΠ΅ ΡΠΎΡΡΠΎΡΠ½ΠΈΠ΅.
ΠΠ° ΡΠ°Π±ΠΎΡΠΈΡ
ΠΏΠΎΠ²Π΅ΡΡ
Π½ΠΎΡΡΡΡ
Π΄Π΅ΡΠ°Π»Π΅ΠΉ Π½Π΅ Π΄ΠΎΠΏΡΡΠΊΠ°ΡΡΡΡ ΡΡΠ΅ΡΠΈΠ½Ρ, ΠΏΠΎΠ³Π½ΡΡΠΎΡΡΠΈ ΠΈ ΡΡΡΠ² ΡΠ΅Π·ΡΠ±Ρ Ρ Π΄Π΅ΡΠ°Π»Π΅ΠΉ 11, 15 (6, 12). ΠΠ΅ΡΠ°Π»ΠΈ 18, 19 (16, 17)
ΡΠ΅ΠΊΠΎΠΌΠ΅Π½Π΄ΡΠ΅ΡΡΡ Π·Π°ΠΌΠ΅Π½ΠΈΡΡ Π½Π΅Π·Π°Π²ΠΈΡΠΈΠΌΠΎ ΠΎΡ ΠΈΡ
ΡΠ΅Ρ
Π½ΠΈΡΠ΅ΡΠΊΠΎΠ³ΠΎ ΡΠΎΡΡΠΎΡΠ½ΠΈΡ.
ΠΡΠΈ ΡΠ±ΠΎΡΠΊΠ΅ Π² ΡΠΈΠ»ΠΈΠ½Π΄Ρ 11 (12) ΡΡΡΠ°Π½Π°Π²Π»ΠΈΠ²Π°ΡΡ ΠΏΡΡΠΆΠΈΠ½Ρ 12 ΠΈ 13 (13). Π‘ΠΎΠ±ΡΠ°Π² ΠΏΠΎΡΡΠ΅Π½Ρ 20 (15) Ρ ΡΠΏΠΎΡΠΎΠΌ 21 (14) ΠΈ ΡΠΏΠ»ΠΎΡΠ½ΠΈΡΠ΅Π»ΡΠ½ΡΠΌ ΠΊΠΎΠ»ΡΡΠΎΠΌ 19 (16),
ΡΡΡΠ°Π½Π°Π²Π»ΠΈΠ²Π°ΡΡ ΡΠΎΠ±ΡΠ°Π½Π½ΡΠΉ ΠΏΠΎΡΡΠ΅Π½Ρ 20 (15) Π² ΡΠΈΠ»ΠΈΠ½Π΄Ρ 11 (12). Π ΠΊΡΡΡΠΊΡ 15 (2) ΡΠΈΠ»ΠΈΠ½Π΄ΡΠ° 11 (12) ΡΡΡΠ°Π½Π°Π²Π»ΠΈΠ²Π°ΡΡ Π²ΡΡΠ»ΠΊΡ 14 (1),
ΠΏΡΠ΅Π΄Π²Π°ΡΠΈΡΠ΅Π»ΡΠ½ΠΎ ΡΠΌΠ°Π·Π°Π² ΡΠ°Π±ΠΎΡΡΡ ΠΏΠΎΠ²Π΅ΡΡ
Π½ΠΎΡΡΡ ΠΏΠΎΡΡΠ½Ρ, Π²ΡΡΠ»ΠΊΠΈ ΠΈ ΡΠΈΠ»ΠΈΠ½Π΄ΡΠ° ΡΠΌΠ°Π·ΠΊΠΎΠΉ Π¦ΠΠΠ’ΠΠ-221. ΠΠ°Π²Π΅ΡΠ½ΡΠ² ΠΊΡΡΡΠΊΡ 15 (2) Π½Π° ΡΠΈΠ»ΠΈΠ½Π΄Ρ 11 (12),
ΡΠ½ΠΈΠΌΠ°ΡΡ ΡΠΈΠ»ΠΈΠ½Π΄Ρ Ρ ΡΠΈΡΠΊΠΎΠ².
Π¦ΠΈΠ»ΠΈΠ½Π΄ΡΡ ΠΈΡΠΏΡΡΡΠ²Π°ΡΡ Π½Π° ΡΠ°Π±ΠΎΡΠΎΡΠΏΠΎΡΠΎΠ±Π½ΠΎΡΡΡ ΠΈ Π³Π΅ΡΠΌΠ΅ΡΠΈΡΠ½ΠΎΡΡΡ. ΠΠ»Ρ ΡΡΠΎΠ³ΠΎ ΡΠΈΠ»ΠΈΠ½Π΄Ρ ΠΏΠΎΠ΄ΠΊΠ»ΡΡΠ°ΡΡ ΠΏΠΎ ΡΡ
Π΅ΠΌΠ΅, ΠΏΡΠΈΠ²Π΅Π΄Π΅Π½Π½ΠΎΠΉ Π½Π° ΡΠΈΡ. 9.21, ΠΊ
ΡΡΠ΅Π½Π΄Ρ Π΄Π»Ρ ΠΈΡΠΏΡΡΠ°Π½ΠΈΡ ΠΏΠ½Π΅Π²ΠΌΠΎΠΎΠ±ΠΎΡΡΠ΄ΠΎΠ²Π°Π½ΠΈΡ ΠΌΠΎΠ΄Π΅Π»ΠΈ 470.073. ΠΡΠΈ Π²ΠΊΠ»ΡΡΠ΅Π½ΠΈΠΈ ΠΊΡΠ°Π½Π° 3 ΡΠΎΡΠ½ΠΎΠ³ΠΎ ΡΠ΅Π³ΡΠ»ΠΈΡΠΎΠ²Π°Π½ΠΈΡ ΡΡΠΎΠΊ ΡΠΈΠ»ΠΈΠ½Π΄ΡΠ° 2 Π΄ΠΎΠ»ΠΆΠ΅Π½
Π±ΡΡΡΡΠΎ ΠΈ Π±Π΅Π· Π·Π°Π΅Π΄Π°Π½ΠΈΠΉ Π²ΡΠ΄Π²ΠΈΠ³Π°ΡΡΡΡ Π² ΠΊΡΠ°ΠΉΠ½Π΅Π΅ ΠΏΠΎΠ»ΠΎΠΆΠ΅Π½ΠΈΠ΅. Π£ΡΠ΅ΡΠΊΠ° Π²ΠΎΠ·Π΄ΡΡ
Π° ΠΈΠ· ΡΠΈΠ»ΠΈΠ½Π΄ΡΠ° Π½Π΅ Π΄ΠΎΠΏΡΡΠΊΠ°Π΅ΡΡΡ, Π΅Π΅ ΠΊΠΎΠ½ΡΡΠΎΠ»ΠΈΡΡΡΡ ΠΌΡΠ»ΡΠ½ΡΠΌ ΡΠ°ΡΡΠ²ΠΎΡΠΎΠΌ.
Π‘Ρ
Π΅ΠΌΠ° ΠΏΠΎΠ΄ΠΊΠ»ΡΡΠ΅Π½ΠΈΡ ΠΏΠ½Π΅Π²ΠΌΠ°ΡΠΈΡΠ΅ΡΠΊΠΈΡ
ΡΠΈΠ»ΠΈΠ½Π΄ΡΠΎΠ² Π΄ΠΈΠ°ΠΌΠ΅ΡΡΠ°ΠΌΠΈ 35×65 ΠΈ 30×25 ΠΌΠΌ ΠΊ ΡΡΠ΅Π½Π΄Ρ ΠΠΠΠΠ, Π΄Π΅ΡΠ°Π»ΠΈ, Π·Π°ΠΏΡΠ°ΡΡΠΈ: (ΡΠΈΡ. 9.21)
1 β ΠΌΠ°Π½ΠΎΠΌΠ΅ΡΡ; 2 β- ΠΏΠ½Π΅Π²ΠΌΠΎΡΠΈΠ»ΠΈΠ½Π΄Ρ; 3 β ΠΊΡΠ°Π½
ΠΡΠΈ Π²ΡΠΊΠ»ΡΡΠ΅Π½ΠΈΠΈ ΠΊΡΠ°Π½Π° 3 ΡΡΠΎΠΊ ΡΠΈΠ»ΠΈΠ½Π΄ΡΠ° 2 Π΄ΠΎΠ»ΠΆΠ΅Π½ Π±ΡΡΡΡΠΎ ΠΈ Π±Π΅Π· Π·Π°Π΅Π΄Π°Π½ΠΈΡ Π²Π΅ΡΠ½ΡΡΡΡΡ Π² ΠΈΡΡ
ΠΎΠ΄Π½ΠΎΠ΅ ΠΏΠΎΠ»ΠΎΠΆΠ΅Π½ΠΈΠ΅.
Π£ΡΡΠ°Π½ΠΎΠ²ΠΈΠ² Ρ ΠΏΠΎΠΌΠΎΡΡΡ ΠΊΡΠ°Π½Π° 3 ΡΠΎΡΠ½ΠΎΠ³ΠΎ ΡΠ΅Π³ΡΠ»ΠΈΡΠΎΠ²Π°Π½ΠΈΡ Π΄Π°Π²Π»Π΅Π½ΠΈΠ΅ Π½Π° ΠΌΠ°Π½ΠΎΠΌΠ΅ΡΡΠ΅ 1, ΡΠ°Π²Π½ΠΎΠ΅ 490 ΠΊΠΠ° (5,0 ΠΊΠ³Ρ/ΡΠΌ2) Π΄Π»Ρ ΠΏΠ½Π΅Π²ΠΌΠΎΡΠΈΠ»ΠΈΠ½Π΄ΡΠ°
Π²ΡΠΏΠΎΠΌΠΎΠ³Π°ΡΠ΅Π»ΡΠ½ΠΎΠ³ΠΎ ΡΠΎΡΠΌΠΎΠ·Π° ΠΈ 441,5 ΠΊΠΠ° (4,5 ΠΊΠ³Ρ/ΡΠΌ2) Π΄Π»Ρ ΡΠΈΠ»ΠΈΠ½Π΄ΡΠ° Π²ΡΠΊΠ»ΡΡΠ΅Π½ΠΈΡ ΠΏΠΎΠ΄Π°ΡΠΈ ΡΠΎΠΏΠ»ΠΈΠ²Π°, ΠΏΡΠΎΠ²Π΅ΡΡΡΡ Ρ
ΠΎΠ΄ ΡΡΠΎΠΊΠ° ΠΈ ΡΡΠΈΠ»ΠΈΠ΅ Π½Π° Π½Π΅ΠΌ.
ΠΠΈΠ°ΠΏΠ°Π·ΠΎΠ½ ΡΠ°Π·Π±ΡΠΎΡΠ° ΡΡΠΈΠ»ΠΈΠΉ Π½Π΅ Π΄ΠΎΠ»ΠΆΠ΅Π½ ΠΏΡΠ΅Π²ΡΡΠ°ΡΡ Β±10 %. Π£ΡΠΈΠ»ΠΈΠ΅ ΠΏΡΠΎΠ²Π΅ΡΡΡΡ ΠΏΡΠΈ Ρ
ΠΎΠ΄Π΅ ΡΡΠΎΠΊΠ° 1 ΠΌΠΌ Π² Π½Π°ΡΠ°Π»Π΅ ΠΈ ΠΏΠ΅ΡΠ΅Π΄ ΠΊΠΎΠ½ΡΠΎΠΌ Ρ ΠΏΠΎΠΌΠΎΡΡΡ Π΄ΠΈΠ½Π°ΠΌΠΎΠΌΠ΅ΡΡΠ° Ρ
ΠΏΡΠ΅Π΄Π΅Π»Π°ΠΌΠΈ ΡΡΠΈΠ»ΠΈΠΉ 490…980 Π (50… 100 ΠΊΠ³Ρ).
ΠΠ°Π»Π΅Π΅ ΠΏΠ΅ΡΠ΅ΠΏΡΡΠΊΠ½ΠΎΠΉ ΠΊΠ»Π°ΠΏΠ°Π½ ΠΠΠΠΠ.
- Π£ΡΡΡΠ°Π½Π΅Π½ΠΈΠ΅ Π½Π΅ΠΈΡΠΏΡΠ°Π²Π½ΠΎΡΡΠ΅ΠΉ ΡΠΎΡΠΌΠΎΠ·Π½ΡΡ ΡΠΈΡΡΠ΅ΠΌ
- Π Π΅ΠΌΠΎΠ½Ρ ΡΠΎΡΠΌΠΎΠ·Π½ΡΡ ΠΊΠΎΠ»ΠΎΠ΄ΠΎΠΊ
- Π Π΅ΠΌΠΎΠ½Ρ ΡΠΎΡΠΌΠΎΠ·Π½ΠΎΠΉ ΠΊΠ°ΠΌΠ΅ΡΡ ΡΠΈΠΏΠ° 24
- Π Π΅ΠΌΠΎΠ½Ρ ΡΠ½Π΅ΡΠ³ΠΎΠ°ΠΊΠΊΡΠΌΡΠ»ΡΡΠΎΡΠ°
- Π Π΅ΠΌΠΎΠ½Ρ ΡΠ΅Π³ΡΠ»ΡΡΠΎΡΠ° Π΄Π°Π²Π»Π΅Π½ΠΈΡ
- Π Π΅ΠΌΠΎΠ½Ρ ΠΎΠ΄ΠΈΠ½Π°ΡΠ½ΠΎΠ³ΠΎ Π·Π°ΡΠΈΡΠ½ΠΎΠ³ΠΎ ΠΊΠ»Π°ΠΏΠ°Π½Π°
- html»>Π Π΅ΠΌΠΎΠ½Ρ Π΄Π²ΠΎΠΉΠ½ΠΎΠ³ΠΎ Π·Π°ΡΠΈΡΠ½ΠΎΠ³ΠΎ ΠΊΠ»Π°ΠΏΠ°Π½Π°
- Π Π΅ΠΌΠΎΠ½Ρ ΡΡΠΎΠΉΠ½ΠΎΠ³ΠΎ Π·Π°ΡΠΈΡΠ½ΠΎΠ³ΠΎ ΠΊΠ»Π°ΠΏΠ°Π½Π°
- Π Π΅ΠΌΠΎΠ½Ρ ΠΏΡΠ΅Π΄ΠΎΡ ΡΠ°Π½ΠΈΡΠ΅Π»Ρ ΠΎΡ Π·Π°ΠΌΠ΅ΡΠ·Π°Π½ΠΈΡ
- Π Π΅ΠΌΠΎΠ½Ρ ΡΡΠΊΠΎΡΠΈΡΠ΅Π»ΡΠ½ΠΎΠ³ΠΎ ΠΊΠ»Π°ΠΏΠ°Π½Π°
- ΠΠ½Π΅Π²ΠΌΠΎΡΠΈΠ»ΠΈΠ½Π΄ΡΡ Π²ΡΠΏΠΎΠΌΠΎΠ³Π°ΡΠ΅Π»ΡΠ½ΠΎΠ³ΠΎ ΡΠΎΡΠΌΠΎΠ·Π°
- ΠΠ΅ΡΠ΅ΠΏΡΡΠΊΠ½ΠΎΠΉ ΠΊΠ»Π°ΠΏΠ°Π½
- Π’ΠΎΡΠΌΠΎΠ·Π½ΠΎΠΉ ΠΊΡΠ°Π½ ΠΎΠ±ΡΠ°ΡΠ½ΠΎΠ³ΠΎ Π΄Π΅ΠΉΡΡΠ²ΠΈΡ
- ΠΠ»Π°ΠΏΠ°Π½ ΠΎΠ³ΡΠ°Π½ΠΈΡΠ΅Π½ΠΈΡ Π΄Π°Π²Π»Π΅Π½ΠΈΡ
- Π Π΅ΠΌΠΎΠ½Ρ ΠΊΠΎΠΌΠΏΡΠ΅ΡΡΠΎΡΠ°
- html»>Π Π΅ΠΌΠΎΠ½Ρ Π΄Π²ΠΈΠ³Π°ΡΠ΅Π»Ρ ΠΠΠΠΠ
- Π Π΅ΠΌΠΎΠ½Ρ ΡΠΎΠΏΠ»ΠΈΠ²Π½ΠΎΠΉ Π°ΡΠΌΠ°ΡΡΡΡ ΠΠΠΠΠ
- Π Π΅ΠΌΠΎΠ½Ρ ΡΡΠ΅ΠΏΠ»Π΅Π½ΠΈΡ ΠΈ ΡΡΠ»Π΅Π²ΠΎΠ³ΠΎ ΡΠΏΡΠ°Π²Π»Π΅Π½ΠΈΡ ΠΠΠΠΠ
- Π Π΅ΠΌΠΎΠ½Ρ ΡΡΠ°Π½ΡΠΌΠΈΡΡΠΈΠΈ ΠΠΠΠΠ
- Π Π΅ΠΌΠΎΠ½Ρ ΡΠ»Π΅ΠΊΡΡΠΎΠΎΠ±ΠΎΡΡΠ΄ΠΎΠ²Π°Π½ΠΈΡ ΠΠΠΠΠ
Β
ΠΠΎΠ³Π΄Π° Π»ΡΡΡΠ΅ ΠΎΡΡΠ΅ΠΌΠΎΠ½ΡΠΈΡΠΎΠ²Π°ΡΡ Π³ΠΈΠ΄ΡΠ°Π²Π»ΠΈΡΠ΅ΡΠΊΠΈΠΉ ΡΠΈΠ»ΠΈΠ½Π΄Ρ, ΡΠ΅ΠΌ Π·Π°ΠΌΠ΅Π½ΠΈΡΡ
ΠΠ°ΠΏΠΈΡΠ°Π½ΠΎ MAC Hydraulics 22 ΡΠ΅Π½ΡΡΠ±ΡΡ 2020 Π³.
ΠΠΈΠ΄ΡΠ°Π²Π»ΠΈΡΠ΅ΡΠΊΠΈΠ΅ ΡΠΈΠ»ΠΈΠ½Π΄ΡΡ
ΠΌΠΎΠΆΠ½ΠΎ Π½Π°ΠΉΡΠΈ ΠΏΡΠ°ΠΊΡΠΈΡΠ΅ΡΠΊΠΈ Π² ΠΊΠ°ΠΆΠ΄ΠΎΠΉ ΠΎΡΡΠ°ΡΠ»ΠΈ, Π½Π°ΡΠΈΠ½Π°Ρ ΠΎΡ ΡΡΠ΅ΡΠΈΠ»ΡΠ½ΠΎΠΉ ΠΈ ΡΠΈΡΡΠΎΠΉ ΡΡΠ΅Π΄Ρ ΠΏΡΠΎΠ΄ΡΠΊΡΠΎΠ² ΠΏΠΈΡΠ°Π½ΠΈΡ ΠΈ Π½Π°ΠΏΠΈΡΠΊΠΎΠ² Π΄ΠΎ Π³ΡΡΠ±ΠΎΠ³ΠΎ ΠΈ ΡΡΡΠΎΠ²ΠΎΠ³ΠΎ ΠΌΠΈΡΠ° ΡΡΡΠΎΠΈΡΠ΅Π»ΡΡΡΠ²Π° . ΠΠΎΠ³Π΄Π° ΡΡΠΈ ΡΠΈΠ»ΠΈΠ½Π΄ΡΡ ΡΠ΅ΡΡΡΡ ΠΏΡΠΎΠΈΠ·Π²ΠΎΠ΄ΠΈΡΠ΅Π»ΡΠ½ΠΎΡΡΡ ΠΈΠ»ΠΈ ΠΏΠΎΠ»Π½ΠΎΡΡΡΡ Π²ΡΡ
ΠΎΠ΄ΡΡ ΠΈΠ· ΡΡΡΠΎΡ, Π½Π° ΡΠΌ ΠΏΡΠΈΡ
ΠΎΠ΄ΠΈΡ ΡΠ»ΠΎΠ²ΠΎ Β«Π·Π°ΠΌΠ΅Π½ΠΈΡΡΒ».
ΠΠ°ΠΌΠ΅Π½Π° ΡΠΈΠ»ΠΈΠ½Π΄ΡΠ° ΠΌΠΎΠΆΠ΅Ρ ΠΏΠΎΠΊΠ°Π·Π°ΡΡΡΡ ΠΎΡΠ»ΠΈΡΠ½ΡΠΌ Π²Π°ΡΠΈΠ°Π½ΡΠΎΠΌ, ΡΡΠΎΠ±Ρ ΠΏΡΠ΅Π΄ΠΎΡΠ²ΡΠ°ΡΠΈΡΡ ΠΏΠΎΠ²ΡΠΎΡΠ΅Π½ΠΈΠ΅ Π½Π΅ΠΈΡΠΏΡΠ°Π²Π½ΠΎΡΡΠΈ. ΠΠ΄Π½Π°ΠΊΠΎ ΡΡΠΎΠΈΠΌΠΎΡΡΡ Π·Π°ΠΌΠ΅Π½Ρ Π±Π°Π»Π»ΠΎΠ½Π° Π½Π΅ΠΌΠ°Π»Π°Ρ. ΠΠΎΠ³Π΄Π° ΠΏΡΠΈΠ΄Π΅Ρ Π²ΡΠ΅ΠΌΡ ΡΠ΄Π΅Π»Π°ΡΡ ΡΡΠΎΡ Π²ΡΠ±ΠΎΡ, ΡΠ»Π΅Π΄ΡΠ΅Ρ Π»ΠΈ Π·Π°ΠΌΠ΅Π½ΠΈΡΡ ΠΏΠΎΠ²ΡΠ΅ΠΆΠ΄Π΅Π½Π½ΡΠΉ ΡΠΈΠ»ΠΈΠ½Π΄Ρ ΠΈΠ»ΠΈ Π²ΠΌΠ΅ΡΡΠΎ ΡΡΠΎΠ³ΠΎ Π²ΡΠ±ΡΠ°ΡΡ ΡΠ΅ΠΌΠΎΠ½Ρ?
ΠΡΠ°ΡΠΊΠΈΠΉ ΠΎΠ±Π·ΠΎΡ: ΠΡΠΊΠ°Π· Π³ΠΈΠ΄ΡΠ°Π²Π»ΠΈΡΠ΅ΡΠΊΠΎΠ³ΠΎ ΡΠΈΠ»ΠΈΠ½Π΄ΡΠ°
Π Π³ΠΈΠ΄ΡΠ°Π²Π»ΠΈΡΠ΅ΡΠΊΠΎΠΌ ΡΠΈΠ»ΠΈΠ½Π΄ΡΠ΅ Π΄ΠΎΠ²ΠΎΠ»ΡΠ½ΠΎ ΠΌΠ½ΠΎΠ³ΠΎ ΡΠ°ΡΡΠ΅ΠΉ, ΠΊΠΎΡΠΎΡΡΠ΅ ΠΌΠΎΠ³ΡΡ Π²ΡΠΉΡΠΈ ΠΈΠ· ΡΡΡΠΎΡ: ΡΠΈΠ»ΠΈΠ½Π΄Ρ (ΠΊΠΎΡΠΎΡΡΠΉ ΡΠΎΠ΄Π΅ΡΠΆΠΈΡ Π±ΠΎΠ»ΡΡΠΈΠ½ΡΡΠ²ΠΎ Π΄ΡΡΠ³ΠΈΡ ΡΠ°ΡΡΠ΅ΠΉ), ΡΡΠΎΠΊ ΠΏΠΎΡΡΠ½Ρ (ΡΡΠΎ ΡΠΎ, ΡΡΠΎ Π±ΠΎΠ»ΡΡΠΈΠ½ΡΡΠ²ΠΎ Π»ΡΠ΄Π΅ΠΉ Π²ΠΈΠ΄ΡΡ Π² Π΄Π²ΠΈΠΆΠ΅Π½ΠΈΠΈ ), ΠΏΠΎΡΡΠ΅Π½Ρ (ΠΎΡΠ²Π΅ΡΠ°Π΅Ρ Π·Π° ΠΏΠ΅ΡΠ΅Π΄Π°ΡΡ Π΄Π²ΠΈΠΆΠ΅Π½ΠΈΡ ΡΡΠΎΠΊΡ ΠΏΠΎΡΡΠ½Ρ), Π³ΠΎΠ»ΠΎΠ²ΠΊΠ° ΡΠΈΠ»ΠΈΠ½Π΄ΡΠ°, ΠΊΡΡΡΠΊΠ° ΡΠΈΠ»ΠΈΠ½Π΄ΡΠ°, ΡΠ°Π·Π»ΠΈΡΠ½ΡΠ΅ ΡΠΏΠ»ΠΎΡΠ½Π΅Π½ΠΈΡ ΠΈ ΠΏΠΎΠ΄ΡΠΈΠΏΠ½ΠΈΠΊΠΈ. ΠΡΠ»ΠΈ ΠΊΠ°ΠΊΠ°Ρ-Π»ΠΈΠ±ΠΎ ΠΈΠ· ΡΡΠΈΡ ΡΠ°ΡΡΠ΅ΠΉ ΠΏΠΎΠ²ΡΠ΅ΠΆΠ΄Π΅Π½Π°, Π΄Π°ΠΆΠ΅ ΡΠ°ΠΊΠ°Ρ Π½Π΅Π·Π½Π°ΡΠΈΡΠ΅Π»ΡΠ½Π°Ρ, ΠΊΠ°ΠΊ ΡΠΏΠ»ΠΎΡΠ½Π΅Π½ΠΈΠ΅, ΡΠΎ Π²Π΅ΡΡ ΡΠΈΠ»ΠΈΠ½Π΄Ρ ΠΌΠΎΠΆΠ΅Ρ Π²ΡΠΉΡΠΈ ΠΈΠ· ΡΡΡΠΎΡ ΠΈΠ»ΠΈ, Π² Π»ΡΡΡΠ΅ΠΌ ΡΠ»ΡΡΠ°Π΅, ΡΠ°Π±ΠΎΡΠ°ΡΡ ΡΠΎ Π·Π½Π°ΡΠΈΡΠ΅Π»ΡΠ½ΠΎ ΡΠ½ΠΈΠΆΠ΅Π½Π½ΠΎΠΉ ΠΏΡΠΎΠΈΠ·Π²ΠΎΠ΄ΠΈΡΠ΅Π»ΡΠ½ΠΎΡΡΡΡ ΠΈ ΡΡΡΠ΅ΠΊΡΠΈΠ²Π½ΠΎΡΡΡΡ.
ΠΠ΅ΡΠ΄Π°ΡΠΈ ΠΌΠΎΠ³ΡΡ ΠΏΡΠΈΠ½ΠΈΠΌΠ°ΡΡ ΡΠ°Π·Π½ΡΠ΅ ΡΠΎΡΠΌΡ. Π’Π°ΠΌ ΠΌΠΎΠΆΠ΅Ρ Π±ΡΡΡ Π·Π°Π³ΡΡΠ·Π½Π΅Π½Π½Π°Ρ ΠΆΠΈΠ΄ΠΊΠΎΡΡΡ, ΠΊΠΎΡΠΎΡΠ°Ρ ΡΡΠΊΠΎΡΡΠ΅Ρ ΠΈΠ·Π½ΠΎΡ, ΠΏΠΎΠ²ΡΠ΅ΠΆΠ΄Π°Π΅Ρ Π²Π°ΠΆΠ½ΡΠ΅ ΡΠΏΠ»ΠΎΡΠ½Π΅Π½ΠΈΡ ΠΈ Π²ΡΠ·ΡΠ²Π°Π΅Ρ ΡΠΎ, ΡΡΠΎ ΠΊΠ°ΠΆΠ΅ΡΡΡ Π²Π½Π΅Π·Π°ΠΏΠ½ΡΠΌ ΠΎΡΠΊΠ°Π·ΠΎΠΌ, ΠΊΠΎΡΠΎΡΡΠΉ Π½Π° ΡΠ°ΠΌΠΎΠΌ Π΄Π΅Π»Π΅ ΡΠ°Π·Π²ΠΈΠ»ΡΡ Ρ ΡΠ΅ΡΠ΅Π½ΠΈΠ΅ΠΌ Π²ΡΠ΅ΠΌΠ΅Π½ΠΈ.
ΠΠΎΠ΄ΡΠΈΠΏΠ½ΠΈΠΊΠΈ, Π² ΡΠΎΠΌ ΡΠΈΡΠ»Π΅ ΠΏΡΠΎΡΡΠΈΠ½Ρ ΠΈ ΠΏΠΎΠ΄ΡΠΈΠΏΠ½ΠΈΠΊΠΈ ΡΡΠΎΠΊΠ° ΠΏΠΎΡΡΠ½Ρ, ΠΌΠΎΠ³ΡΡ ΠΈΠ·Π½Π°ΡΠΈΠ²Π°ΡΡΡΡ ΠΈ ΠΏΡΠΈΠ²ΠΎΠ΄ΠΈΡΡ ΠΊ ΠΊΠ°ΡΠ°ΡΡΡΠΎΡΠΈΡΠ΅ΡΠΊΠΈΠΌ ΠΏΠΎΠ»ΠΎΠΌΠΊΠ°ΠΌ. ΠΠΎΡΡΠ½Π΅Π²ΡΠ΅ ΡΡΠΎΠΊΠΈ ΠΌΠΎΠ³ΡΡ Π±ΡΡΡ ΡΠΎΠ³Π½ΡΡΡ, ΡΡΠΎ ΠΏΡΠΈΠ²Π΅Π΄Π΅Ρ ΠΊ ΡΠ΅ΡΡΠ΅Π·Π½ΡΠΌ ΠΏΡΠΎΠ±Π»Π΅ΠΌΠ°ΠΌ, Π° Π²ΠΎΠ·Π΄Π΅ΠΉΡΡΠ²ΠΈΠ΅ Π°Π³ΡΠ΅ΡΡΠΈΠ²Π½ΡΡ
Ρ
ΠΈΠΌΠΈΠΊΠ°ΡΠΎΠ² ΠΌΠΎΠΆΠ΅Ρ ΠΏΡΠΈΠ²Π΅ΡΡΠΈ ΠΊ ΠΏΠΎΠ²ΡΠ΅ΠΆΠ΄Π΅Π½ΠΈΡ ΠΊΠ°ΠΊ ΡΡΠ°Π»ΠΈ, ΡΠ°ΠΊ ΠΈ ΡΠΏΠ»ΠΎΡΠ½Π΅Π½ΠΈΠΉ. Π’ΠΎΠ³Π΄Π° Π½Π° ΡΡΠ²ΠΎΠ»Π΅ ΠΈΠ»ΠΈ ΡΡΠΎΠΊΠ΅ ΡΠ°ΠΊΠΆΠ΅ ΠΌΠΎΠ³ΡΡ Π±ΡΡΡ Π²ΠΌΡΡΠΈΠ½Ρ, ΠΊΠΎΡΠΎΡΡΠ΅ ΠΎΡΡΠΈΡΠ°ΡΠ΅Π»ΡΠ½ΠΎ Π²Π»ΠΈΡΡΡ Π½Π° ΠΏΡΠΎΠΈΠ·Π²ΠΎΠ΄ΠΈΡΠ΅Π»ΡΠ½ΠΎΡΡΡ ΠΈ ΠΏΠΎΡΠ΅Π½ΡΠΈΠ°Π»ΡΠ½ΡΡ Π±Π΅Π·ΠΎΠΏΠ°ΡΠ½ΠΎΡΡΡ.
Π Π΅ΠΌΠΎΠ½Ρ/Π·Π°ΠΌΠ΅Π½Π° Π³ΠΈΠ΄ΡΠ°Π²Π»ΠΈΡΠ΅ΡΠΊΠΎΠ³ΠΎ ΡΠΈΠ»ΠΈΠ½Π΄ΡΠ° Π² ΠΊΠΎΠ½ΡΠ΅ΠΊΡΡΠ΅ Π·Π°ΡΡΠ°Ρ
Π Π½Π΅ΠΊΠΎΡΠΎΡΡΡ
ΡΠ»ΡΡΠ°ΡΡ
Π³ΠΈΠ΄ΡΠ°Π²Π»ΠΈΡΠ΅ΡΠΊΠΈΠΉ ΡΠΈΠ»ΠΈΠ½Π΄Ρ ΠΌΠΎΠΆΠ΅Ρ Π±ΡΡΡ Π½Π°ΡΡΠΎΠ»ΡΠΊΠΎ ΡΠΈΠ»ΡΠ½ΠΎ ΠΏΠΎΠ²ΡΠ΅ΠΆΠ΄Π΅Π½, ΡΡΠΎ Π΅Π³ΠΎ Π·Π°ΠΌΠ΅Π½Π° ΡΠ²Π»ΡΠ΅ΡΡΡ Π΅Π΄ΠΈΠ½ΡΡΠ²Π΅Π½Π½ΡΠΌ ΡΠ΅Π»Π΅ΡΠΎΠΎΠ±ΡΠ°Π·Π½ΡΠΌ Π΄Π΅ΠΉΡΡΠ²ΠΈΠ΅ΠΌ. ΠΠ΄Π½Π°ΠΊΠΎ Π² Π±ΠΎΠ»ΡΡΠΈΠ½ΡΡΠ²Π΅ ΡΠ»ΡΡΠ°Π΅Π² ΡΡΠΎ Π½Π΅ ΡΠ°ΠΊ. ΠΠΎΠ»ΡΡΠΈΠ½ΡΡΠ²ΠΎ ΠΏΠΎΠ²ΡΠ΅ΠΆΠ΄Π΅Π½ΠΈΠΉ ΡΠΈΠ»ΠΈΠ½Π΄ΡΠ° ΠΌΠΎΠ³ΡΡ Π±ΡΡΡ ΠΎΡΡΠ΅ΠΌΠΎΠ½ΡΠΈΡΠΎΠ²Π°Π½Ρ ΠΊΠ²Π°Π»ΠΈΡΠΈΡΠΈΡΠΎΠ²Π°Π½Π½ΡΠΌΠΈ ΡΠΏΠ΅ΡΠΈΠ°Π»ΠΈΡΡΠ°ΠΌΠΈ Π΄ΠΎ ΡΠΎΡΡΠΎΡΠ½ΠΈΡ ΠΈΠ»ΠΈ Π±Π»ΠΈΠ·ΠΊΠΎΠ³ΠΎ ΠΊ ΡΠΎΡΡΠΎΡΠ½ΠΈΡ, Π² ΠΊΠΎΡΠΎΡΠΎΠΌ ΠΎΠ½ Π±ΡΠ», ΠΊΠΎΠ³Π΄Π° ΠΎΠ½ Π±ΡΠ» Π½ΠΎΠ²ΡΠΌ. ΠΡΠΎΠΌΠ΅ ΡΠΎΠ³ΠΎ, ΠΏΠ΅ΡΠ²ΠΎΠ½Π°ΡΠ°Π»ΡΠ½ΡΠ΅ Π΄Π΅Π½Π΅ΠΆΠ½ΡΠ΅ Π·Π°ΡΡΠ°ΡΡ Π½Π° ΡΠ΅ΠΌΠΎΠ½Ρ ΡΠ°ΡΡΠΎ ΠΌΠ΅Π½ΡΡΠ΅, ΡΠ΅ΠΌ Π½Π° Π·Π°ΠΌΠ΅Π½Ρ. ΠΠΎ ΡΡΠΎ Π½Π΅ Π΅Π΄ΠΈΠ½ΡΡΠ²Π΅Π½Π½ΡΠ΅ ΡΠ°ΡΡ
ΠΎΠ΄Ρ, ΠΊΠΎΡΠΎΡΡΠ΅ Π²Ρ Π΄ΠΎΠ»ΠΆΠ½Ρ ΡΡΠΈΡΡΠ²Π°ΡΡ.
ΠΠ°ΠΊΠΎΠ²Π° ΡΡΠΎΠΈΠΌΠΎΡΡΡ ΠΏΡΠΎΡΡΠΎΡ, ΡΠ²ΡΠ·Π°Π½Π½ΠΎΠ³ΠΎ Ρ ΠΎΡΠΊΠ°Π·ΠΎΠΌ ΡΡΠΎΠ³ΠΎ ΡΠΈΠ»ΠΈΠ½Π΄ΡΠ°? ΠΠ°ΠΆΠ΅ Π΅ΡΠ»ΠΈ ΠΎΠ½ Π½Π΅ ΠΎΡΠ΅Π½Ρ ΡΠ°ΡΡΠΎ Π²ΡΡ ΠΎΠ΄ΠΈΡ ΠΈΠ· ΡΡΡΠΎΡ, Π²ΡΠ΅ ΡΠ°Π²Π½ΠΎ ΠΌΠΎΠ³ΡΡ Π±ΡΡΡ Π·Π½Π°ΡΠΈΡΠ΅Π»ΡΠ½ΡΠ΅ ΠΏΠΎΡΠ΅ΡΠΈ, ΡΠ²ΡΠ·Π°Π½Π½ΡΠ΅ Ρ ΠΎΠΆΠΈΠ΄Π°Π½ΠΈΠ΅ΠΌ ΠΎΡΠΏΡΠ°Π²ΠΊΠΈ ΠΈΠ»ΠΈ ΠΈΠ·Π³ΠΎΡΠΎΠ²Π»Π΅Π½ΠΈΡ ΠΈ ΡΡΡΠ°Π½ΠΎΠ²ΠΊΠΈ Π½ΠΎΠ²ΠΎΠ³ΠΎ ΡΠΈΠ»ΠΈΠ½Π΄ΡΠ°. Π ΠΏΡΠΈ ΠΏΠΎΠ²ΡΠΎΡΡΡΡΠΈΡ ΡΡ ΡΠ±ΠΎΡΡ ΡΡΠΎΠΈΠΌΠΎΡΡΡ ΠΏΡΠΎΡΡΠΎΡ ΠΌΠΎΠΆΠ΅Ρ Π½Π°ΠΊΠ°ΠΏΠ»ΠΈΠ²Π°ΡΡΡΡ Π΄ΠΎΠ²ΠΎΠ»ΡΠ½ΠΎ Π±ΡΡΡΡΠΎ.
ΠΠ°ΠΊ ΡΠ°ΡΡΠΎ Π½Π΅ΠΎΠ±Ρ ΠΎΠ΄ΠΈΠΌΠΎ Π·Π°ΠΌΠ΅Π½ΡΡΡ ΡΠΈΠ»ΠΈΠ½Π΄Ρ? ΠΡΠΎ ΠΌΠΎΠΆΠ΅Ρ ΡΡΡΠ΅ΡΡΠ²Π΅Π½Π½ΠΎ ΠΏΠΎΠ²Π»ΠΈΡΡΡ Π½Π° Π²Π°ΡΠ΅ ΡΠ΅ΡΠ΅Π½ΠΈΠ΅, Π΅ΡΠ»ΠΈ ΠΎΠ΄ΠΈΠ½ ΠΈ ΡΠΎΡ ΠΆΠ΅ ΡΠΈΠ»ΠΈΠ½Π΄Ρ Π½Π΅ΠΎΠ±Ρ ΠΎΠ΄ΠΈΠΌΠΎ Π·Π°ΠΌΠ΅Π½ΡΡΡ ΡΠ½ΠΎΠ²Π° ΠΈ ΡΠ½ΠΎΠ²Π°. Π ΡΠ°ΠΊΠΈΡ ΡΠΈΡΡΠ°ΡΠΈΡΡ ΡΠ°ΡΡΠΎ Π²ΠΎΠ·Π½ΠΈΠΊΠ°Π΅Ρ ΠΎΡΠ½ΠΎΠ²Π½Π°Ρ ΠΏΡΠΎΠ±Π»Π΅ΠΌΠ°, Π²ΡΠ·ΡΠ²Π°ΡΡΠ°Ρ ΠΏΠΎΠ²ΡΠΎΡΡΡΡΠΈΠ΅ΡΡ ΠΏΠΎΠ²ΡΠ΅ΠΆΠ΄Π΅Π½ΠΈΡ, ΠΏΠΎΡΡΠΎΠΌΡ Π·Π°ΠΌΠ΅Π½Ρ Π±ΡΠ΄Π΅Ρ Π½Π΅Π΄ΠΎΡΡΠ°ΡΠΎΡΠ½ΠΎ Π΄Π»Ρ ΡΠ΅ΡΠ΅Π½ΠΈΡ ΠΏΡΠΎΠ±Π»Π΅ΠΌΡ.
Π‘Π²ΡΠ·Π°Π½Ρ Π»ΠΈ Π·Π°ΡΡΠ°ΡΡ Π½Π° ΡΡΡΠ΅ΠΊΡΠΈΠ²Π½ΠΎΡΡΡ Ρ ΡΡΠΈΠΌ ΡΠΈΠ»ΠΈΠ½Π΄ΡΠΎΠΌ? ΠΠΎΡΠΊΠΎΠ»ΡΠΊΡ Π»ΡΠ±ΠΎΠΉ ΡΠΈΠΏ Π³ΠΈΠ΄ΡΠ°Π²Π»ΠΈΡΠ΅ΡΠΊΠΎΠ³ΠΎ ΠΎΠ±ΠΎΡΡΠ΄ΠΎΠ²Π°Π½ΠΈΡ ΠΏΠΎΠ΄Π²Π΅ΡΠ³Π°Π΅ΡΡΡ Π΅ΡΡΠ΅ΡΡΠ²Π΅Π½Π½ΠΎΠΌΡ ΠΈΠ·Π½ΠΎΡΡ ΠΏΡΠΈ ΡΠ΅Π³ΡΠ»ΡΡΠ½ΠΎΠΌ ΠΈΡΠΏΠΎΠ»ΡΠ·ΠΎΠ²Π°Π½ΠΈΠΈ, Π΅Π³ΠΎ ΡΡΡΠ΅ΠΊΡΠΈΠ²Π½ΠΎΡΡΡ ΡΠ½ΠΈΠΆΠ°Π΅ΡΡΡ. Π ΡΡΠ° ΡΡΡΠ΅ΠΊΡΠΈΠ²Π½ΠΎΡΡΡ ΠΌΠΎΠΆΠ΅Ρ ΠΏΠΎΠ²Π»ΠΈΡΡΡ Π½Π° Π΄ΡΡΠ³ΠΈΠ΅ ΠΊΠΎΠΌΠΏΠΎΠ½Π΅Π½ΡΡ Π³ΠΈΠ΄ΡΠ°Π²Π»ΠΈΡΠ΅ΡΠΊΠΎΠΉ ΡΠΈΡΡΠ΅ΠΌΡ, ΡΡΠΎ ΠΏΡΠΈΠ²Π΅Π΄Π΅Ρ ΠΊ ΠΏΠΎΡΠ΅ΡΡΠΌ ΡΠ½Π΅ΡΠ³ΠΈΠΈ ΠΈ Π½Π΅ΡΠΊΠΎΠ»ΡΠΊΠΎ Π±ΠΎΠ»Π΅Π΅ Π²ΡΡΠΎΠΊΠΈΠΌ Π·Π°ΡΡΠ°ΡΠ°ΠΌ, ΡΠ²ΡΠ·Π°Π½Π½ΡΠΌ Ρ ΡΠ»Π΅ΠΊΡΡΠΎΡΠ½Π΅ΡΠ³ΠΈΠ΅ΠΉ.
Π Π΅ΠΌΠΎΠ½Ρ ΠΌΠΎΠΆΠ΅Ρ ΡΠ΅ΡΠΈΡΡ ΡΡΠΈ Π½Π΅ΡΡΡΠ΅ΠΊΡΠΈΠ²Π½ΠΎΡΡΠΈ Ρ ΠΌΠ΅Π½ΡΡΠΈΠΌΠΈ Π·Π°ΡΡΠ°ΡΠ°ΠΌΠΈ.
ΠΡΡΠ³ΠΈΠ΅ ΠΊΠΎΠΌΠΏΠΎΠ½Π΅Π½ΡΡ ΠΏΠΎΠ²ΡΠ΅ΠΆΠ΄Π΅Π½Ρ? ΠΡΠ»ΠΈ Π³ΠΈΠ΄ΡΠ°Π²Π»ΠΈΡΠ΅ΡΠΊΠΈΠΉ ΡΠΈΠ»ΠΈΠ½Π΄Ρ Π½Π΅ ΡΠ°Π±ΠΎΡΠ°Π΅Ρ Π΄ΠΎΠ»ΠΆΠ½ΡΠΌ ΠΎΠ±ΡΠ°Π·ΠΎΠΌ, ΡΡΠΎ ΠΌΠΎΠΆΠ΅Ρ ΠΏΡΠΈΠ²Π΅ΡΡΠΈ ΠΊ Π½Π°Π³ΡΡΠ·ΠΊΠ΅ Π½Π° Π΄ΡΡΠ³ΠΈΠ΅ ΠΊΠΎΠΌΠΏΠΎΠ½Π΅Π½ΡΡ ΡΠΈΡΡΠ΅ΠΌΡ. Π‘Π»ΠΎΠΌΠ°Π½Π½ΡΠ΅ ΡΡΠΈΡΡΡ, ΡΡΠΊΠΎΡΠ΅Π½Π½ΡΠΉ ΠΈΠ·Π½ΠΎΡ ΠΏΠΎΠ΄ΡΠΈΠΏΠ½ΠΈΠΊΠΎΠ² ΠΈ Π°Π½ΠΎΠΌΠ°Π»ΡΠ½ΡΠ΅ Π½Π°Π³ΡΡΠ·ΠΊΠΈ ΠΌΠΎΠ³ΡΡ ΠΏΡΠΈΠ²Π΅ΡΡΠΈ ΠΊ ΠΏΠΎΠ²ΡΠ΅ΠΆΠ΄Π΅Π½ΠΈΡ Π΄ΡΡΠ³ΠΈΡ ΠΊΠΎΠΌΠΏΠΎΠ½Π΅Π½ΡΠΎΠ² ΠΈΠ»ΠΈ, Π² Ρ ΡΠ΄ΡΠ΅ΠΌ ΡΠ»ΡΡΠ°Π΅, ΠΊ ΠΎΡΠΊΠ°Π·Ρ. ΠΡΠΎ ΡΠ°ΠΊΠΆΠ΅ ΠΌΠΎΠΆΠ΅Ρ ΡΠ²Π΅Π»ΠΈΡΠΈΡΡ ΡΡΠΎΠΈΠΌΠΎΡΡΡ Π²ΡΠ΅ΠΉ ΡΠΈΡΡΠ΅ΠΌΡ.
Π¦ΠΈΠ»ΠΈΠ½Π΄Ρ
ΠΡΠΎΠ±Π»Π΅ΠΌΡ Ρ ΡΠ΅ΠΌΠΎΠ½ΡΠΎΠΌ/Π·Π°ΠΌΠ΅Π½ΠΎΠΉ, ΠΎΡΠ»ΠΈΡΠ½ΡΠ΅ ΠΎΡ ΡΡΠΎΠΈΠΌΠΎΡΡΠΈ
ΠΡΠΈ ΠΏΡΠΈΠ½ΡΡΠΈΠΈ ΡΠ΅ΡΠ΅Π½ΠΈΡ ΠΎ ΡΠ΅ΠΌΠΎΠ½ΡΠ΅ ΠΈΠ»ΠΈ Π·Π°ΠΌΠ΅Π½Π΅ ΠΌΠΎΠ³ΡΡ Π²ΠΎΠ·Π½ΠΈΠΊΠ°ΡΡ ΠΈ Π΄ΡΡΠ³ΠΈΠ΅ Π²ΠΎΠΏΡΠΎΡΡ, ΠΏΠΎΠΌΠΈΠΌΠΎ ΡΡΠΎΠΈΠΌΠΎΡΡΠΈ, ΠΊΠΎΡΠΎΡΡΠ΅ Π½Π΅ ΠΌΠ΅Π½Π΅Π΅ Π²Π°ΠΆΠ½Ρ. ΠΠ° ΡΠ°ΠΊΠΈΠ΅ Π²ΠΎΠΏΡΠΎΡΡ ΡΠ»Π΅Π΄ΡΠ΅Ρ ΠΎΡΠ²Π΅ΡΠΈΡΡ Π΄ΠΎ ΠΏΡΠΈΠ½ΡΡΠΈΡ ΠΎΠΊΠΎΠ½ΡΠ°ΡΠ΅Π»ΡΠ½ΠΎΠ³ΠΎ ΡΠ΅ΡΠ΅Π½ΠΈΡ, ΠΈ ΠΈΡΡ ΠΎΠ΄Π½ΡΠ΅ Π΄Π°Π½Π½ΡΠ΅ Π΄Π»Ρ ΠΌΠ½ΠΎΠ³ΠΈΡ ΠΈΠ· ΡΡΠΈΡ ΠΎΡΠ²Π΅ΡΠΎΠ² Π±ΡΠ΄ΡΡ ΠΏΠΎΡΡΡΠΏΠ°ΡΡ ΠΎΡ Π²Π°ΡΠ΅ΠΉ ΡΠ΅ΠΌΠΎΠ½ΡΠ½ΠΎΠΉ ΡΠ»ΡΠΆΠ±Ρ Π³ΠΈΠ΄ΡΠ°Π²Π»ΠΈΠΊΠΈ ΠΈΠ»ΠΈ ΠΎΡ Π²Π°ΡΠ΅ΠΉ ΡΠΎΠ±ΡΡΠ²Π΅Π½Π½ΠΎΠΉ Π±ΡΠΈΠ³Π°Π΄Ρ ΠΏΠΎ ΠΎΠ±ΡΠ»ΡΠΆΠΈΠ²Π°Π½ΠΈΡ Π³ΠΈΠ΄ΡΠ°Π²Π»ΠΈΠΊΠΈ.
ΠΡΠ΅Π²ΡΡΠ΅Π½ Π»ΠΈ ΠΎΠΆΠΈΠ΄Π°Π΅ΠΌΡΠΉ ΡΡΠΎΠΊ ΡΠ»ΡΠΆΠ±Ρ ΡΠΈΠ»ΠΈΠ½Π΄ΡΠ°? ΠΡΠ΅ Π² Π³ΠΈΠ΄ΡΠ°Π²Π»ΠΈΡΠ΅ΡΠΊΠΎΠΉ ΡΠΈΡΡΠ΅ΠΌΠ΅ ΠΈΠΌΠ΅Π΅Ρ ΠΎΠΆΠΈΠ΄Π°Π΅ΠΌΡΠΉ ΡΡΠΎΠΊ ΡΠ»ΡΠΆΠ±Ρ, ΠΏΠΎΡΠΎΠΌΡ ΡΡΠΎ Π²ΡΠ΅ ΡΠΎ Π²ΡΠ΅ΠΌΠ΅Π½Π΅ΠΌ ΠΈΠ·Π½Π°ΡΠΈΠ²Π°Π΅ΡΡΡ.
ΠΡΠΎ ΠΎΡΠΎΠ±Π΅Π½Π½ΠΎ Π²Π΅ΡΠ½ΠΎ Π² ΡΠ»ΡΡΠ°Π΅ OEM-Π³ΠΈΠ΄ΡΠ°Π²Π»ΠΈΡΠ΅ΡΠΊΠΈΡ
ΡΠΈΠ»ΠΈΠ½Π΄ΡΠΎΠ², ΠΊΠΎΡΠΎΡΡΠ΅ ΠΎΠ±ΡΡΠ½ΠΎ ΠΈΠ·Π³ΠΎΡΠ°Π²Π»ΠΈΠ²Π°ΡΡΡΡ Π±ΠΎΠ»ΡΡΠΈΠΌΠΈ ΠΏΠ°ΡΡΠΈΡΠΌΠΈ, Π° Π½Π΅ ΠΏΠ΅ΡΠ΅ΠΏΡΠΎΠ΅ΠΊΡΠΈΡΡΡΡΡΡ.
ΠΠΎΡΠ΅ΠΌΡ Π²ΡΡΠ΅Π» ΠΈΠ· ΡΡΡΠΎΡ ΡΠΈΠ»ΠΈΠ½Π΄Ρ? ΠΡΠ»ΠΈ Π²Ρ Π½Π΅ ΠΌΠΎΠΆΠ΅ΡΠ΅ ΡΠΎΡΠ½ΠΎ ΡΡΡΠ°Π½ΠΎΠ²ΠΈΡΡ, ΡΡΠΎ Π²ΡΠ·Π²Π°Π»ΠΎ ΠΎΡΠΊΠ°Π· ΡΠΈΠ»ΠΈΠ½Π΄ΡΠ°, Π²Ρ ΠΌΠΎΠΆΠ΅ΡΠ΅ Π·Π°ΠΌΠ΅Π½ΠΈΡΡ Π΅Π³ΠΎ Π½ΠΎΠ²ΡΠΌ ΡΠΈΠ»ΠΈΠ½Π΄ΡΠΎΠΌ OEM ΠΈ ΡΠ²ΠΈΠ΄Π΅ΡΡ ΡΠΎΡΠ½ΠΎ ΡΠ°ΠΊΡΡ ββΠΆΠ΅ ΠΏΡΠΎΠ±Π»Π΅ΠΌΡ. ΠΠ΅ΡΠ΅Π΄ Π·Π°ΠΌΠ΅Π½ΠΎΠΉ ΠΈΠ»ΠΈ ΡΠ΅ΠΌΠΎΠ½ΡΠΎΠΌ ΡΠΈΠ»ΠΈΠ½Π΄ΡΠ° Π²Π°ΠΆΠ½ΠΎ Π²ΡΡΡΠ½ΠΈΡΡ, ΡΡΠΎ Π²ΡΠ·Π²Π°Π»ΠΎ ΠΈΠ»ΠΈ ΡΠΏΠΎΡΠΎΠ±ΡΡΠ²ΠΎΠ²Π°Π»ΠΎ ΠΎΡΠΊΠ°Π·Ρ, ΡΡΠΎΠ±Ρ Π·Π°ΠΌΠ΅Π½Π° Π½Π΅ ΡΡΠ°Π»Π° ΠΆΠ΅ΡΡΠ²ΠΎΠΉ ΡΠΎΠΉ ΠΆΠ΅ ΡΠ»Π°Π±ΠΎΡΡΠΈ. Π‘ Π΄ΡΡΠ³ΠΎΠΉ ΡΡΠΎΡΠΎΠ½Ρ, Π΅ΡΠ»ΠΈ ΠΏΠΎΠ΄ΡΠΈΠΏΠ½ΠΈΠΊ ΠΈΠ»ΠΈ ΡΠΏΠ»ΠΎΡΠ½Π΅Π½ΠΈΠ΅ ΠΏΡΠΎΡΡΠΎ ΠΈΠ·Π½ΠΎΡΠ΅Π½Ρ, Π΄ΠΎΡΡΠ°ΡΠΎΡΠ½ΠΎ ΠΏΡΠΎΡΡΠΎΠ³ΠΎ ΡΠ΅ΠΌΠΎΠ½ΡΠ° Ρ Π·Π°ΠΌΠ΅Π½ΠΎΠΉ ΡΡΠΈΡ ΠΊΠΎΠΌΠΏΠΎΠ½Π΅Π½ΡΠΎΠ². ΠΡΠ»ΠΈ ΠΈΡ Π²ΡΡ ΠΎΠ΄ ΠΈΠ· ΡΡΡΠΎΡ Π½Π΅ Π±ΡΠ» Π²ΡΠ·Π²Π°Π½ ΡΡΡΠΈΠ½Π½ΡΠΌ ΠΈΠ·Π½ΠΎΡΠΎΠΌ, ΡΠΎ Π½Π΅ΠΎΠ±Ρ ΠΎΠ΄ΠΈΠΌΠΎ Π²ΡΡΡΠ½ΠΈΡΡ ΠΏΡΠΈΡΠΈΠ½Ρ.
ΠΠΎΠΆΠ½ΠΎ Π»ΠΈ Π½Π°ΠΉΡΠΈ Π·Π°ΠΌΠ΅Π½Ρ? Π Π½Π΅ΠΊΠΎΡΠΎΡΡΡ
ΡΠ»ΡΡΠ°ΡΡ
Ρ Π²Π°Ρ ΠΌΠΎΠΆΠ΅Ρ Π±ΡΡΡ Π³ΠΈΠ΄ΡΠ°Π²Π»ΠΈΡΠ΅ΡΠΊΠΈΠΉ ΡΠΈΠ»ΠΈΠ½Π΄Ρ, ΠΊΠΎΡΠΎΡΡΠΉ Π±ΠΎΠ»ΡΡΠ΅ Π½Π΅ ΠΏΡΠΎΠΈΠ·Π²ΠΎΠ΄ΠΈΡΡΡ ΠΏΠ΅ΡΠ²ΠΎΠ½Π°ΡΠ°Π»ΡΠ½ΡΠΌ ΠΏΡΠΎΠΈΠ·Π²ΠΎΠ΄ΠΈΡΠ΅Π»Π΅ΠΌ. Π ΡΡΠΈΡ
ΡΠ»ΡΡΠ°ΡΡ
Π²ΠΎΠ·ΠΌΠΎΠΆΠ½ΠΎ Π½ΠΎΠ²ΠΎΠ΅ ΠΈΠ·Π³ΠΎΡΠΎΠ²Π»Π΅Π½ΠΈΠ΅. ΠΠ΅ Π·Π°Π±ΡΠ²Π°ΠΉΡΠ΅ ΡΡΠΈΡΡΠ²Π°ΡΡ Π²ΡΠ΅ΠΌΡ Π²ΡΠΏΠΎΠ»Π½Π΅Π½ΠΈΡ Π·Π°ΠΊΠ°Π·Π°. ΠΡΠΎ ΠΎΡΠΎΠ±Π΅Π½Π½ΠΎ Π²Π΅ΡΠ½ΠΎ, Π΅ΡΠ»ΠΈ ΡΠ΅ΡΡ ΠΈΠ΄Π΅Ρ ΠΎ Π½Π΅ΡΡΠ°Π½Π΄Π°ΡΡΠ½ΠΎΠΌ ΡΠΈΠ»ΠΈΠ½Π΄ΡΠ΅, ΠΊΠΎΡΠΎΡΡΠΉ ΠΌΠΎΠΆΠ΅Ρ ΠΏΠΎΡΡΠ΅Π±ΠΎΠ²Π°ΡΡ ΠΎΠ±ΡΠΈΡΠ½ΠΎΠΉ Π½Π°ΡΡΡΠΎΠΉΠΊΠΈ ΠΈΠ»ΠΈ ΠΈΠ·Π³ΠΎΡΠΎΠ²Π»Π΅Π½ΠΈΡ.
Π Π΅ΠΌΠΎΠ½Ρ Π±ΡΠ΄Π΅Ρ Π³ΠΎΡΠ°Π·Π΄ΠΎ Π±ΠΎΠ»Π΅Π΅ Π±ΡΡΡΡΡΠΌ Π²Π°ΡΠΈΠ°Π½ΡΠΎΠΌ Ρ Π°Π½Π°Π»ΠΎΠ³ΠΈΡΠ½ΡΠΌ ΡΠ΅Π·ΡΠ»ΡΡΠ°ΡΠΎΠΌ.
ΠΡΠ΅ΠΈΠΌΡΡΠ΅ΡΡΠ²Π° ΡΠ΅ΠΌΠΎΠ½ΡΠ° Π³ΠΈΠ΄ΡΠΎΡΠΈΠ»ΠΈΠ½Π΄ΡΠ°
Π Π΅ΠΌΠΎΠ½Ρ Π³ΠΈΠ΄ΡΠ°Π²Π»ΠΈΡΠ΅ΡΠΊΠΎΠ³ΠΎ ΡΠΈΠ»ΠΈΠ½Π΄ΡΠ° ΠΈΠΌΠ΅Π΅Ρ ΠΌΠ½ΠΎΠΆΠ΅ΡΡΠ²ΠΎ ΠΏΡΠ΅ΠΈΠΌΡΡΠ΅ΡΡΠ². Π Π±ΠΎΠ»ΡΡΠΈΠ½ΡΡΠ²Π΅ ΡΠ»ΡΡΠ°Π΅Π² ΡΠ±ΠΎΡ Π²ΡΡ ΠΎΠ΄ΠΈΡ ΠΈΠ· ΡΡΡΠΎΡ ΠΊΠΎΠ½ΠΊΡΠ΅ΡΠ½ΡΠΉ ΠΊΠΎΠΌΠΏΠΎΠ½Π΅Π½Ρ, Π° Π½Π΅ Π²ΡΡ ΡΠΈΡΡΠ΅ΠΌΠ°, Π² ΡΠ΅Π·ΡΠ»ΡΡΠ°ΡΠ΅ ΡΠ΅Π³ΠΎ Π΄ΡΡΠ³ΠΈΠ΅ ΡΠ°ΡΡΠΈ ΠΎΡΡΠ°ΡΡΡΡ Π² ΠΎΡΠ»ΠΈΡΠ½ΠΎΠΌ ΡΠΎΡΡΠΎΡΠ½ΠΈΠΈ, Π΅ΡΠ»ΠΈ Π½Π΅ΠΈΡΠΏΡΠ°Π²Π½ΠΎΡΡΡ ΠΎΠ±Π½Π°ΡΡΠΆΠΈΠ²Π°Π΅ΡΡΡ ΠΎΡΠ½ΠΎΡΠΈΡΠ΅Π»ΡΠ½ΠΎ Π±ΡΡΡΡΠΎ. Π ΡΠ°ΠΊΠΈΡ ΡΠ»ΡΡΠ°ΡΡ Π½Π΅ΠΎΠ±Ρ ΠΎΠ΄ΠΈΠΌΠΎ Π·Π°ΠΌΠ΅Π½ΠΈΡΡ ΡΠΎΠ»ΡΠΊΠΎ ΠΏΠΎΠ²ΡΠ΅ΠΆΠ΄Π΅Π½Π½ΡΡ Π΄Π΅ΡΠ°Π»Ρ, ΡΡΠΎ ΡΠ°ΡΡΠΎ Π±ΡΠ²Π°Π΅Ρ ΠΏΡΠΈ ΠΏΡΠΎΠ±Π»Π΅ΠΌΠ°Ρ Ρ ΠΏΠΎΠ΄ΡΠΈΠΏΠ½ΠΈΠΊΠ°ΠΌΠΈ ΠΈ ΡΠΏΠ»ΠΎΡΠ½Π΅Π½ΠΈΡΠΌΠΈ. Π Π΅ΠΌΠΎΠ½Ρ ΡΠ°ΠΊΠΆΠ΅ ΠΌΠΎΠΆΠ΅Ρ Π±ΡΡΡ Π±ΠΎΠ»Π΅Π΅ ΡΠΊΠΎΠ½ΠΎΠΌΠΈΡΠ½ΡΠΌ, ΡΠ΅ΠΌ Π·Π°ΠΌΠ΅Π½Π°, ΠΈ, Π² ΡΠ»ΡΡΠ°Π΅ ΡΠΈΠ»ΠΈΠ½Π΄ΡΠΎΠ², ΠΈΠ·Π³ΠΎΡΠΎΠ²Π»Π΅Π½Π½ΡΡ ΠΏΠΎ ΠΈΠ½Π΄ΠΈΠ²ΠΈΠ΄ΡΠ°Π»ΡΠ½ΠΎΠΌΡ Π·Π°ΠΊΠ°Π·Ρ, ΠΌΠΎΠΆΠ΅Ρ Π·Π°Π½ΡΡΡ Π³ΠΎΡΠ°Π·Π΄ΠΎ ΠΌΠ΅Π½ΡΡΠ΅ Π²ΡΠ΅ΠΌΠ΅Π½ΠΈ.
ΠΠ°ΠΊΠ»ΡΡΠ΅Π½ΠΈΠ΅
ΠΠΈΠ΄ΡΠ°Π²Π»ΠΈΡΠ΅ΡΠΊΠΈΠ΅ ΡΠΈΠ»ΠΈΠ½Π΄ΡΡ Π½Π΅ΠΎΠ±Ρ
ΠΎΠ΄ΠΈΠΌΡ Π΄Π»Ρ ΠΎΠ±Π΅ΡΠΏΠ΅ΡΠ΅Π½ΠΈΡ Π΄Π²ΠΈΠΆΠ΅Π½ΠΈΡ Π²Π΅ΡΠ΅ΠΉ Π² ΠΏΡΡΠΌΠΎΠΌ ΠΈ ΠΏΠ΅ΡΠ΅Π½ΠΎΡΠ½ΠΎΠΌ ΡΠΌΡΡΠ»Π΅. ΠΠΎΠ³Π΄Π° Π²ΠΎΠ·Π½ΠΈΠΊΠ°ΡΡ ΠΏΡΠΎΠ±Π»Π΅ΠΌΡ ΠΈ ΡΠ»ΡΡΠ°ΡΡΡΡ ΠΏΠΎΠ»ΠΎΠΌΠΊΠΈ, Π½Π°ΡΡΡΠΏΠ°Π΅Ρ ΠΌΠΎΠΌΠ΅Π½Ρ, ΠΊΠΎΠ³Π΄Π° Π²Π°ΠΌ Π½ΡΠΆΠ½ΠΎ ΡΠ΅ΡΠΈΡΡ, ΡΠ΅ΠΌΠΎΠ½ΡΠΈΡΠΎΠ²Π°ΡΡ Π»ΠΈ ΡΠΈΠ»ΠΈΠ½Π΄Ρ ΠΈΠ»ΠΈ Π·Π°ΠΌΠ΅Π½ΠΈΡΡ Π΅Π³ΠΎ. ΠΡΠΈ ΠΏΡΠΈΠ½ΡΡΠΈΠΈ ΡΡΠΎΠ³ΠΎ ΡΠ΅ΡΠ΅Π½ΠΈΡ Π½Π΅ΠΎΠ±Ρ
ΠΎΠ΄ΠΈΠΌΠΎ ΡΡΠΈΡΡΠ²Π°ΡΡ Π·Π½Π°ΡΠΈΡΠ΅Π»ΡΠ½ΡΠΉ ΠΎΠ±ΡΠ΅ΠΌ ΠΈΠ½ΡΠΎΡΠΌΠ°ΡΠΈΠΈ, Π½Π°ΡΠΈΠ½Π°Ρ ΠΎΡ ΠΎΠΆΠΈΠ΄Π°Π΅ΠΌΠΎΠ³ΠΎ ΠΆΠΈΠ·Π½Π΅Π½Π½ΠΎΠ³ΠΎ ΡΠΈΠΊΠ»Π° ΡΠΈΠ»ΠΈΠ½Π΄ΡΠ° ΠΈ Π·Π°ΠΊΠ°Π½ΡΠΈΠ²Π°Ρ Π²ΡΠ΅ΠΌΠ΅Π½Π΅ΠΌ, Π½Π΅ΠΎΠ±Ρ
ΠΎΠ΄ΠΈΠΌΡΠΌ Π΄Π»Ρ Π·Π°ΠΌΠ΅Π½Ρ.
ΠΡΠΎΠΌΠ΅ ΡΠΎΠ³ΠΎ, ΡΡΡΠ΅ΡΡΠ²ΡΡΡ Π²ΠΎΠΏΡΠΎΡΡ ΡΡΠΎΠΈΠΌΠΎΡΡΠΈ, ΡΠ²ΡΠ·Π°Π½Π½ΡΠ΅ Π½Π΅ ΡΠΎΠ»ΡΠΊΠΎ Ρ ΠΊΡΠ°ΡΠΊΠΎΡΡΠΎΡΠ½ΡΠΌΠΈ ΡΠΊΠΎΠ½ΠΎΠΌΠΈΡΠ΅ΡΠΊΠΈΠΌΠΈ Π²ΡΠ³ΠΎΠ΄Π°ΠΌΠΈ, Π½ΠΎ ΠΈ ΡΠΎ ΡΡΠΎΠΈΠΌΠΎΡΡΡΡ ΡΠ΅ΠΌΠΎΠ½ΡΠ° ΠΈΠ»ΠΈ Π·Π°ΠΌΠ΅Π½Ρ Π² Π΄ΠΎΠ»Π³ΠΎΡΡΠΎΡΠ½ΠΎΠΉ ΠΏΠ΅ΡΡΠΏΠ΅ΠΊΡΠΈΠ²Π΅. ΠΠ»ΡΡΠΎΠΌ ΠΊ ΡΠ°ΠΊΠΈΠΌ ΡΠ΅ΡΠ΅Π½ΠΈΡΠΌ ΡΠ²Π»ΡΠ΅ΡΡΡ ΡΠΎ, ΡΡΠΎ Π² ΠΏΠ΅ΡΠ²ΡΡ ΠΎΡΠ΅ΡΠ΅Π΄Ρ Π²ΡΠ·Π²Π°Π»ΠΎ ΠΎΡΠΊΠ°Π·: Π±ΡΠ» Π»ΠΈ ΡΠΈΠ»ΠΈΠ½Π΄Ρ ΠΏΡΠΎΡΡΠΎ ΠΈΠ·Π½ΠΎΡΠ΅Π½ ΠΈΠ»ΠΈ ΡΡΡΠ΅ΡΡΠ²ΡΡΡ ΠΊΠ°ΠΊΠΈΠ΅-Π»ΠΈΠ±ΠΎ ΠΎΡΠ½ΠΎΠ²Π½ΡΠ΅ ΠΏΡΠΎΠ±Π»Π΅ΠΌΡ (Π½Π°ΠΏΡΠΈΠΌΠ΅Ρ, Π²ΡΡΠ°Π²Π½ΠΈΠ²Π°Π½ΠΈΠ΅, Π³ΠΈΠ΄ΡΠ°Π²Π»ΠΈΡΠ΅ΡΠΊΠΎΠ΅ Π·Π°Π³ΡΡΠ·Π½Π΅Π½ΠΈΠ΅), ΠΊΠΎΡΠΎΡΡΠ΅ Π½Π΅ΠΎΠ±Ρ
ΠΎΠ΄ΠΈΠΌΠΎ ΡΠ΅ΡΠΈΡΡ, ΠΏΡΠ΅ΠΆΠ΄Π΅ ΡΠ΅ΠΌ ΡΠ΅ΡΠ΅Π½ΠΈΠ΅ Π±ΡΠ΄Π΅Ρ ΠΏΡΠΈΠ½ΡΡΠΎ?
MAC Hydraulics
ΠΠΎΠΌΠΏΠ°Π½ΠΈΡ MAC Hydraulics ΡΠΏΠ΅ΡΠΈΠ°Π»ΠΈΠ·ΠΈΡΡΠ΅ΡΡΡ Π½Π° ΡΠ΅ΠΌΠΎΠ½ΡΠ΅ ΠΏΠΎΠ²ΡΠ΅ΠΆΠ΄Π΅Π½Π½ΡΡ Π³ΠΈΠ΄ΡΠ°Π²Π»ΠΈΡΠ΅ΡΠΊΠΈΡ ΡΠΈΠ»ΠΈΠ½Π΄ΡΠΎΠ², ΠΏΡΠΎΠ²Π΅Π΄Π΅Π½ΠΈΠΈ ΡΠ΅Ρ Π½ΠΈΡΠ΅ΡΠΊΠΎΠ³ΠΎ ΠΎΠ±ΡΠ»ΡΠΆΠΈΠ²Π°Π½ΠΈΡ ΠΈ ΠΈΡΠΏΡΡΠ°Π½ΠΈΠΉ Π½Π° ΠΌΠ΅ΡΡΠ΅. ΠΠΎΠ³Π΄Π° Π²Π°ΠΌ Π½ΡΠΆΠ½Ρ Π²Π°ΠΆΠ½ΡΠ΅ Π΄Π°Π½Π½ΡΠ΅ Π΄Π»Ρ ΠΏΡΠΈΠ½ΡΡΠΈΡ ΡΠ΅ΡΠ΅Π½ΠΈΡ ΠΎ ΡΠ΅ΠΌΠΎΠ½ΡΠ΅ ΠΈΠ»ΠΈ Π·Π°ΠΌΠ΅Π½Π΅, Π²Ρ ΠΌΠΎΠΆΠ΅ΡΠ΅ ΡΠ°ΡΡΡΠΈΡΡΠ²Π°ΡΡ Π½Π° ΡΠΎ, ΡΡΠΎ Π½Π°ΡΠ° ΠΊΠΎΠΌΠ°Π½Π΄Π° ΠΎΡΡΠ»Π΅Π΄ΠΈΡ ΠΎΡΠ½ΠΎΠ²Π½ΡΡ ΠΏΡΠΈΡΠΈΠ½Ρ ΡΠ±ΠΎΡ ΠΈ Π΄Π°ΡΡ ΡΠ΅ΠΊΠΎΠΌΠ΅Π½Π΄Π°ΡΠΈΠΈ, ΡΡΠΎΠ±Ρ Π²Ρ ΠΌΠΎΠ³Π»ΠΈ ΠΏΡΠ΅Π΄ΠΎΡΠ²ΡΠ°ΡΠΈΡΡ Π΅Π³ΠΎ ΠΏΠΎΠ²ΡΠΎΡΠ΅Π½ΠΈΠ΅. Π‘Π²ΡΠΆΠΈΡΠ΅ΡΡ Ρ Π½Π°ΠΌΠΈ ΡΠ΅Π³ΠΎΠ΄Π½Ρ , ΡΡΠΎΠ±Ρ ΡΠ·Π½Π°ΡΡ, ΡΡΠΎ ΠΌΡ ΠΌΠΎΠΆΠ΅ΠΌ ΠΏΡΠ΅Π΄Π»ΠΎΠΆΠΈΡΡ Π² ΠΎΠ±Π»Π°ΡΡΠΈ ΡΠ΅ΠΌΠΎΠ½ΡΠ° Π³ΠΈΠ΄ΡΠΎΡΠΈΠ»ΠΈΠ½Π΄ΡΠΎΠ².
5 ΡΠΎΠ²Π΅ΡΠΎΠ² ΠΏΠΎ ΠΎΠ±ΡΠ»ΡΠΆΠΈΠ²Π°Π½ΠΈΡ Π±Π°Π»Π»ΠΎΠ½Π°
ΠΠΈΡΡΠ΅ΡΠ΅Π½ΡΠΈΠ°Π»ΡΠ½ΡΠ΅ ΠΌΠ°Π½ΠΎΠΌΠ΅ΡΡΡ ΡΠΊΠ°Π·ΡΠ²Π°ΡΡ Π½Π° Π·Π°ΡΠΎΡΠ΅Π½ΠΈΠ΅ ΡΠΈΠ»ΡΡΡΠ°, ΡΡΠΎ ΠΏΠΎΠ·Π²ΠΎΠ»ΡΠ΅Ρ Π·Π°ΠΌΠ΅Π½ΠΈΡΡ Π΅Π³ΠΎ Π΄ΠΎ ΡΠΎΠ³ΠΎ, ΠΊΠ°ΠΊ ΠΎΠ½ ΠΏΠ΅ΡΠ΅ΠΉΠ΄Π΅Ρ Π² ΡΠ΅ΠΆΠΈΠΌ Π±Π°ΠΉΠΏΠ°ΡΠ°.
ΠΠ·ΠΎΠ±ΡΠ°ΠΆΠ΅Π½ΠΈΠ΅ ΠΏΡΠ΅Π΄ΠΎΡΡΠ°Π²Π»Π΅Π½ΠΎ Noshok
ΠΠ°Π΄Π»Π΅ΠΆΠ°ΡΠ΅Π΅ ΠΈ ΠΏΠΎΡΡΠΎΡΠ½Π½ΠΎΠ΅ ΡΠ΅Ρ Π½ΠΈΡΠ΅ΡΠΊΠΎΠ΅ ΠΎΠ±ΡΠ»ΡΠΆΠΈΠ²Π°Π½ΠΈΠ΅ ΡΠΈΠ»ΠΈΠ½Π΄ΡΠΎΠ² Π½Π΅ΠΎΠ±Ρ ΠΎΠ΄ΠΈΠΌΠΎ Π΄Π»Ρ Π±Π΅ΡΠΏΠ΅ΡΠ΅Π±ΠΎΠΉΠ½ΠΎΠΉ ΠΈ ΡΡΡΠ΅ΠΊΡΠΈΠ²Π½ΠΎΠΉ ΡΠ°Π±ΠΎΡΡ Π²Π°ΡΠΈΡ Π³ΠΈΠ΄ΡΠ°Π²Π»ΠΈΡΠ΅ΡΠΊΠΈΡ ΡΠΈΡΡΠ΅ΠΌ. Π‘Π»Π΅Π΄ΠΎΠ²Π°Π½ΠΈΠ΅ ΡΡΠΈΠΌ ΠΏΡΡΠΈ ΡΠΎΠ²Π΅ΡΠ°ΠΌ β ΡΠ°Π³ Π² ΠΏΡΠ°Π²ΠΈΠ»ΡΠ½ΠΎΠΌ Π½Π°ΠΏΡΠ°Π²Π»Π΅Π½ΠΈΠΈ.
1. ΠΠΎΠ΄Π΄Π΅ΡΠΆΠΈΠ²Π°ΠΉΡΠ΅ ΡΠΈΡΡΠΎΡΡ ΠΌΠ°ΡΠ»Π°. ΠΡΠΎ Π΄ΠΎΠ»ΠΆΠ½ΠΎ Π±ΡΡΡ ΡΠ°ΠΌΠΎ ΡΠΎΠ±ΠΎΠΉ ΡΠ°Π·ΡΠΌΠ΅ΡΡΠΈΠΌΡΡ, Π½ΠΎ ΠΌΠ½Π΅ Π½Π΅ ΠΏΡΠΈΡΠ»ΠΎΡΡ Π±Ρ Π³ΠΎΠ²ΠΎΡΠΈΡΡ ΠΎΠ± ΡΡΠΎΠΌ, Π΅ΡΠ»ΠΈ Π±Ρ Π±ΠΎΠ»ΡΡΠΈΠ½ΡΡΠ²ΠΎ ΠΎΡΠΊΠ°Π·ΠΎΠ² Π³ΠΈΠ΄ΡΠ°Π²Π»ΠΈΠΊΠΈ Π½Π΅ Π±ΡΠ»ΠΎ Π²ΡΠ·Π²Π°Π½ΠΎ Π·Π°Π³ΡΡΠ·Π½Π΅Π½Π½ΡΠΌ ΠΌΠ°ΡΠ»ΠΎΠΌ. ΠΡΡΠΈΠ»ΡΡΡΡΠΉΡΠ΅ ΡΠ²ΠΎΠ΅ ΠΏΡΠΎΠΊΠ»ΡΡΠΎΠ΅ ΠΌΠ°ΡΠ»ΠΎ. Π§Π°ΡΡΠΈΡΡ Π³ΡΡΠ·ΠΈ Π»ΡΠ±ΡΡ Π΄Π²ΠΈΠ³Π°ΡΡΡΡ Π²ΠΏΠ΅ΡΠ΅Π΄ ΠΈ Π½Π°Π·Π°Π΄ Π²Π½ΡΡΡΠΈ ΡΠΈΠ»ΠΈΠ½Π΄ΡΠ°, ΠΏΠΎΡΡΠΎΠΌΡ ΠΎΡΠΎΠ±Π΅Π½Π½ΠΎ Π²Π°ΠΆΠ½ΠΎ ΡΠ±Π΅Π΄ΠΈΡΡΡΡ, ΡΡΠΎ ΠΌΠ°ΡΠ»ΠΎ ΡΠΈΡΡΠΎΠ΅ ΠΏΡΠΈ ΠΏΠ΅ΡΠ²ΠΎΠΌ ΠΏΠΎΠΏΠ°Π΄Π°Π½ΠΈΠΈ Π² ΡΠΈΠ»ΠΈΠ½Π΄Ρ.
Π£ΡΡΠ°Π½ΠΎΠ²ΠΈΡΠ΅ Π²ΡΡΠΎΠΊΠΎΡΡΡΠ΅ΠΊΡΠΈΠ²Π½ΡΠ΅ ΡΠΈΠ»ΡΡΡΡ Π² Π³ΠΈΠ΄ΡΠ°Π²Π»ΠΈΡΠ΅ΡΠΊΡΡ ΡΠΈΡΡΠ΅ΠΌΡ ΠΈ ΡΠ»Π΅Π΄ΠΈΡΠ΅ Π·Π° ΠΈΡ Π·Π°ΠΌΠ΅Π½ΠΎΠΉ ΠΏΡΠΈ Π½Π΅ΠΎΠ±Ρ ΠΎΠ΄ΠΈΠΌΠΎΡΡΠΈ. ΠΠ°Π½ΠΎΠΌΠ΅ΡΡ Π΄ΠΈΡΡΠ΅ΡΠ΅Π½ΡΠΈΠ°Π»ΡΠ½ΠΎΠ³ΠΎ Π΄Π°Π²Π»Π΅Π½ΠΈΡ ΠΈΠ»ΠΈ Π²ΡΠΏΠ»ΡΠ²Π°ΡΡΠΈΠΉ ΠΈΠ½Π΄ΠΈΠΊΠ°ΡΠΎΡ ΠΌΠΎΠ³ΡΡ ΡΠΎΠΎΠ±ΡΠΈΡΡ Π²Π°ΠΌ, ΠΊΠΎΠ³Π΄Π° ΡΠΈΠ»ΡΡΡ Π·Π°ΡΠΎΡΠ΅Π½, ΡΡΠΎ ΠΏΠΎΠ·Π²ΠΎΠ»ΠΈΡ Π²Π°ΠΌ Π·Π°ΠΌΠ΅Π½ΠΈΡΡ Π΅Π³ΠΎ Π΄ΠΎ ΡΠΎΠ³ΠΎ, ΠΊΠ°ΠΊ ΠΎΠ½ ΠΏΠ΅ΡΠ΅ΠΉΠ΄Π΅Ρ Π² Π±Π°ΠΉΠΏΠ°Ρ, ΠΊΠΎΠ³Π΄Π° ΠΌΠ°ΡΠ»ΠΎ ΠΏΡΠΎΡ ΠΎΠ΄ΠΈΡ ΡΠ΅ΡΠ΅Π· ΠΊΠΎΡΠΏΡΡ Π½Π΅ΡΠΈΠ»ΡΡΡΠΎΠ²Π°Π½Π½ΡΠΌ.
2. Π Π΅Π³ΡΠ»ΡΡΠ½ΠΎ ΠΏΡΠΎΠ²Π΅ΡΡΠΉΡΠ΅ ΡΠΈΠ»ΠΈΠ½Π΄Ρ.
ΠΡΠΎΠ²Π΅ΡΡΡΠ΅ ΡΠΎΡΡΠΎΡΠ½ΠΈΠ΅ ΡΡΠΎΠΊΠ° Π½Π° Π½Π°Π»ΠΈΡΠΈΠ΅ ΠΊΠΎΡΡΠΎΠ·ΠΈΠΈ, ΡΠΎΡΠ΅ΡΠ½ΠΎΠΉ ΠΊΠΎΡΡΠΎΠ·ΠΈΠΈ ΠΈ Π½Π΅ΡΠ°Π²Π½ΠΎΠΌΠ΅ΡΠ½ΠΎΠ³ΠΎ ΠΈΠ·Π½ΠΎΡΠ°. ΠΠΎΡΡΠΎΠ·ΠΈΡ ΠΌΠΎΠΆΠ΅Ρ ΡΠ²ΠΈΠ΄Π΅ΡΠ΅Π»ΡΡΡΠ²ΠΎΠ²Π°ΡΡ ΠΎ ΡΡΠ΅Π·ΠΌΠ΅ΡΠ½ΠΎΠΉ Π²Π»Π°ΠΆΠ½ΠΎΡΡΠΈ ΠΎΠΊΡΡΠΆΠ°ΡΡΠ΅ΠΉ ΡΡΠ΅Π΄Ρ ΠΈΠ»ΠΈ Π²Π½ΡΡΡΠΈ ΠΆΠΈΠ΄ΠΊΠΎΡΡΠΈ. ΠΠΎΡΠ»Π΅Π΄Π½ΠΈΠΉ ΡΡΠ΅Π½Π°ΡΠΈΠΉ Ρ
ΡΠΆΠ΅, ΡΠ°ΠΊ ΠΊΠ°ΠΊ ΡΡΠΎ ΠΎΠ·Π½Π°ΡΠ°Π΅Ρ ΠΊΠ°ΡΠ°ΡΡΡΠΎΡΡ Π΄Π»Ρ Π²ΡΠ΅ΠΉ Π²Π°ΡΠ΅ΠΉ Π³ΠΈΠ΄ΡΠ°Π²Π»ΠΈΡΠ΅ΡΠΊΠΎΠΉ ΡΠΈΡΡΠ΅ΠΌΡ. ΠΠΎΡΡΠΎΠ·ΠΈΡ ΡΡΠΎΠΊΠ° ΡΡΠΊΠΎΡΠΈΡ ΠΈΠ·Π½ΠΎΡ ΡΠΏΠ»ΠΎΡΠ½Π΅Π½ΠΈΡ, ΡΠ°ΠΊ ΠΊΠ°ΠΊ ΡΡΠ΅Π½ΠΈΠ΅ ΠΏΠΎΠ²ΡΠ΅ΠΆΠ΄Π°Π΅Ρ ΡΠΏΠ»ΠΎΡΠ½Π΅Π½ΠΈΠ΅ ΡΡΠΎΠΊΠ° ΠΈ Π³ΡΡΠ·Π΅ΡΡΠ΅ΠΌΠ½ΠΈΠΊ. Π’ΠΎΡΠ΅ΡΠ½Π°Ρ ΠΊΠΎΡΡΠΎΠ·ΠΈΡ Π½Π° ΡΡΠΎΠΊΠ΅ ΠΌΠΎΠΆΠ΅Ρ Π²ΠΎΠ·Π½ΠΈΠΊΠ½ΡΡΡ ΠΈΠ·-Π·Π° ΠΊΠΎΡΡΠΎΠ·ΠΈΠΈ, Π° ΡΠ°ΠΊΠΆΠ΅ ΠΈΠ·-Π·Π° ΡΠΈΠ·ΠΈΡΠ΅ΡΠΊΠΎΠ³ΠΎ ΠΏΠΎΠ²ΡΠ΅ΠΆΠ΄Π΅Π½ΠΈΡ, ΠΊΠΎΡΠΎΡΠΎΠ΅ ΡΠ°ΠΊΠΆΠ΅ ΠΏΡΠΈΠ²Π΅Π΄Π΅Ρ ΠΊ ΠΏΠΎΠ²ΡΠ΅ΠΆΠ΄Π΅Π½ΠΈΡ ΡΠΏΠ»ΠΎΡΠ½Π΅Π½ΠΈΡ.
ΠΠ΅ΠΎΠ±Ρ
ΠΎΠ΄ΠΈΠΌ ΡΠ΅Π³ΡΠ»ΡΡΠ½ΡΠΉ ΡΡΠ°ΡΠ΅Π»ΡΠ½ΡΠΉ ΠΎΡΠΌΠΎΡΡ ΡΠΈΠ»ΠΈΠ½Π΄ΡΠΎΠ² Π½Π° Π½Π°Π»ΠΈΡΠΈΠ΅ ΠΊΠΎΡΡΠΎΠ·ΠΈΠΈ, ΡΠΎΡΠ΅ΡΠ½ΠΎΠΉ ΠΊΠΎΡΡΠΎΠ·ΠΈΠΈ ΠΈ Π½Π΅ΡΠ°Π²Π½ΠΎΠΌΠ΅ΡΠ½ΠΎΠ³ΠΎ ΠΈΠ·Π½ΠΎΡΠ°.
ΠΠ·ΠΎΠ±ΡΠ°ΠΆΠ΅Π½ΠΈΠ΅ ΠΏΡΠ΅Π΄ΠΎΡΡΠ°Π²Π»Π΅Π½ΠΎ istock
ΠΠ΅ΡΠ°Π²Π½ΠΎΠΌΠ΅ΡΠ½ΡΠΉ ΠΈΠ·Π½ΠΎΡ ΡΡΠΎΠΊΠ° ΡΠ°ΡΡΠΎ ΡΠ²Π»ΡΠ΅ΡΡΡ ΡΠ΅Π·ΡΠ»ΡΡΠ°ΡΠΎΠΌ ΡΠΌΠ΅ΡΠ΅Π½ΠΈΡ. ΠΠΎΠΊΠΎΠ²Π°Ρ Π½Π°Π³ΡΡΠ·ΠΊΠ° ΠΏΡΠΈΠ²ΠΎΠ΄ΠΈΡ ΠΊ ΡΡΠ΅Π½ΠΈΡ ΡΡΠΎΠΊΠ° ΠΎΠ± ΠΎΠ΄Π½Ρ ΡΡΠΎΡΠΎΠ½Ρ ΠΏΠΎΠ΄ΡΠΈΠΏΠ½ΠΈΠΊΠ°, ΡΡΠΎ ΠΌΠΎΠΆΠ΅Ρ ΠΏΡΠΈΠ²Π΅ΡΡΠΈ ΠΊ ΠΏΡΠ΅ΠΆΠ΄Π΅Π²ΡΠ΅ΠΌΠ΅Π½Π½ΠΎΠΌΡ ΠΈΠ·Π½ΠΎΡΡ ΠΏΠΎΠ΄ΡΠΈΠΏΠ½ΠΈΠΊΠ°, ΡΠΏΠ»ΠΎΡΠ½Π΅Π½ΠΈΠΉ ΠΈ ΡΠ°ΠΌΠΎΠ³ΠΎ ΡΡΠΎΠΊΠ°. Π Π±ΠΎΠ»ΡΡΠΈΠ½ΡΡΠ²Π΅ ΡΠ»ΡΡΠ°Π΅Π² ΠΊΠΎΡΡΠΎΠ΄ΠΈΡΠΎΠ²Π°Π½Π½ΡΠΉ ΠΈ ΠΏΠΎΠ²ΡΠ΅ΠΆΠ΄Π΅Π½Π½ΡΠΉ ΡΡΠ΅ΡΠΆΠ΅Π½Ρ ΠΌΠΎΠΆΠ½ΠΎ ΠΏΠΎΠ²ΡΠΎΡΠ½ΠΎ Ρ
ΡΠΎΠΌΠΈΡΠΎΠ²Π°ΡΡ ΠΈ/ΠΈΠ»ΠΈ ΠΎΡΠΏΠΎΠ»ΠΈΡΠΎΠ²Π°ΡΡ, ΡΡΠΎΠ±Ρ ΠΏΡΠΈΠ΄Π°ΡΡ Π΅ΠΌΡ Π΄ΠΎΠΏΠΎΠ»Π½ΠΈΡΠ΅Π»ΡΠ½ΡΡ ΠΎΡΠ΄Π΅Π»ΠΊΡ.
ΠΡΠ»ΠΈ ΡΡΠΎΠΊ Π½Π΅ ΠΏΠΎΠ΄Π»Π΅ΠΆΠΈΡ ΡΠ΅ΠΌΠΎΠ½ΡΡ, Π΅Π³ΠΎ ΠΌΠΎΠΆΠ΅Ρ ΠΈΠ·Π³ΠΎΡΠΎΠ²ΠΈΡΡ Π»ΡΠ±Π°Ρ ΠΌΠ°ΡΡΠ΅ΡΡΠΊΠ°Ρ ΠΏΠΎ ΡΠ΅ΠΌΠΎΠ½ΡΡ ΡΠΈΠ»ΠΈΠ½Π΄ΡΠΎΠ². ΠΠ΅ΡΠ΅Π΄ ΠΏΠΎΠ²ΡΠΎΡΠ½ΠΎΠΉ ΡΡΡΠ°Π½ΠΎΠ²ΠΊΠΎΠΉ Π±ΡΠ»ΠΎ Π±Ρ ΡΠ°Π·ΡΠΌΠ½ΠΎ Π² ΠΏΠ΅ΡΠ²ΡΡ ΠΎΡΠ΅ΡΠ΅Π΄Ρ ΡΡΡΡΠ°Π½ΠΈΡΡ ΠΏΡΠΎΠ±Π»Π΅ΠΌΡ, Π²ΡΠ·Π²Π°Π²ΡΡΡ ΠΏΠΎΠ²ΡΠ΅ΠΆΠ΄Π΅Π½ΠΈΠ΅, ΠΈΠ½Π°ΡΠ΅ Π²Π°ΠΌ ΠΏΡΠΈΠ΄Π΅ΡΡΡ ΡΠ°ΡΡΠΎ ΠΌΠ΅Π½ΡΡΡ ΡΠΈΠ»ΠΈΠ½Π΄Ρ.
3. ΠΡΠ°ΡΠ°ΠΉΡΠ΅ ΡΠΈΠ»ΠΈΠ½Π΄ΡΡ. ΠΡΠ»ΠΈ ΠΏΡΠΎΡΡΠΎΠΈ Π°Π±ΡΠΎΠ»ΡΡΠ½ΠΎ Π½Π΅Π²ΠΎΠ·ΠΌΠΎΠΆΠ½Ρ, Π²Ρ ΠΌΠΎΠΆΠ΅ΡΠ΅ Π·Π°Ρ ΠΎΡΠ΅ΡΡ ΡΠΎΡ ΡΠ°Π½ΠΈΡΡ Π½Π°Π±ΠΎΡ Π·Π°ΠΏΠ°ΡΠ½ΡΡ ΡΠΈΠ»ΠΈΠ½Π΄ΡΠΎΠ², ΠΊΠΎΡΠΎΡΡΠ΅ Π²Ρ ΡΠ΅Π³ΡΠ»ΡΡΠ½ΠΎ ΠΌΠ΅Π½ΡΠ΅ΡΠ΅. ΠΡΠΎ ΡΠΎΡ ΡΠ°Π½ΠΈΡ Π²Π°ΡΠΈ Π±Π°Π»Π»ΠΎΠ½Ρ ΡΠ²Π΅ΠΆΠΈΠΌΠΈ, Π½Π΅ΡΠΌΠΎΡΡΡ Π½Π° Π²ΡΡΠΎΠΊΠΈΠΉ ΡΠΈΡΠΊ Π·Π°Π³ΡΡΠ·Π½Π΅Π½ΠΈΡ ΡΠ²Π΅ΡΠ΄ΡΠΌΠΈ ΡΠ°ΡΡΠΈΡΠ°ΠΌΠΈ ΠΈΠ»ΠΈ ΡΠΊΡΡΡΠ΅ΠΌΠ°Π»ΡΠ½ΡΠ΅ ΡΡΠ»ΠΎΠ²ΠΈΡ ΡΠΊΡΠΏΠ»ΡΠ°ΡΠ°ΡΠΈΠΈ. ΠΠΎΡΠ»Π΅ ΡΠΎΠ³ΠΎ, ΠΊΠ°ΠΊ ΠΎΠ΄ΠΈΠ½ ΡΠΈΠ»ΠΈΠ½Π΄Ρ Π²ΡΠ²Π΅Π΄Π΅Π½ ΠΈΠ· ΡΠΊΡΠΏΠ»ΡΠ°ΡΠ°ΡΠΈΠΈ, Π΅Π³ΠΎ ΠΌΠΎΠΆΠ½ΠΎ ΡΠ°Π·ΠΎΠ±ΡΠ°ΡΡ, ΠΎΡΠΌΠΎΡΡΠ΅ΡΡ ΠΈ ΠΏΡΠΈ Π½Π΅ΠΎΠ±Ρ ΠΎΠ΄ΠΈΠΌΠΎΡΡΠΈ ΠΎΡΡΠ΅ΠΌΠΎΠ½ΡΠΈΡΠΎΠ²Π°ΡΡ.
ΠΠΎΠ³Π΄Π° ΡΠΈΠ»ΠΈΠ½Π΄Ρ ΡΠ°Π·Π²Π°Π»ΠΈΠ²Π°Π΅ΡΡΡ Π½Π° ΡΠ°ΡΡΠΈ, ΡΠ΅ΠΊΠΎΠΌΠ΅Π½Π΄ΡΠ΅ΡΡΡ Π·Π°ΠΌΠ΅Π½ΠΈΡΡ Π²ΡΠ΅ ΡΠΏΠ»ΠΎΡΠ½Π΅Π½ΠΈΡ, ΠΏΠΎΡΠΊΠΎΠ»ΡΠΊΡ ΠΎΠ½ΠΈ ΠΎΠ±ΡΡΠ½ΠΎ ΠΎΡΠ΅Π½Ρ ΡΠΊΠΎΠ½ΠΎΠΌΠΈΡΠ½Ρ. Π Π΅Π³ΡΠ»ΡΡΠ½ΡΠΉ ΠΎΡΠΌΠΎΡΡ Π²Π½ΡΡΡΠ΅Π½Π½ΠΈΡ
ΡΠ°ΡΡΠ΅ΠΉ Π²Π°ΡΠΈΡ
ΡΠΈΠ»ΠΈΠ½Π΄ΡΠΎΠ² ΡΠ°ΠΊΠΆΠ΅ Π΄Π°Π΅Ρ Π²Π°ΠΌ ΠΊΠ»ΡΡ ΠΊ ΠΏΠΎΠ½ΠΈΠΌΠ°Π½ΠΈΡ ΡΠΎΡΡΠΎΡΠ½ΠΈΡ ΠΎΡΡΠ°Π»ΡΠ½ΠΎΠΉ ΡΠ°ΡΡΠΈ Π²Π°ΡΠ΅ΠΉ Π³ΠΈΠ΄ΡΠ°Π²Π»ΠΈΡΠ΅ΡΠΊΠΎΠΉ ΡΠΈΡΡΠ΅ΠΌΡ. ΠΠ°ΠΏΡΠΈΠΌΠ΅Ρ, ΠΏΠΎΡΠ²Π»Π΅Π½ΠΈΠ΅ Π»Π°ΠΊΠ° ΠΌΠΎΠΆΠ΅Ρ ΠΎΠ·Π½Π°ΡΠ°ΡΡ, ΡΡΠΎ Π²Π°ΡΠ΅ ΠΌΠ°ΡΠ»ΠΎ ΠΏΠΎΡΡΠΎΡΠ½Π½ΠΎ Π³ΠΎΡΡΡΠ΅Π΅, ΠΈ Π²Π°ΠΌ ΠΌΠΎΠΆΠ΅Ρ ΠΏΠΎΡΡΠ΅Π±ΠΎΠ²Π°ΡΡΡΡ ΡΠ΅ΡΠΈΡΡ ΠΏΡΠΎΠ±Π»Π΅ΠΌΡ ΡΠ°Π±ΠΎΡΠ΅ΠΉ ΡΠ΅ΠΌΠΏΠ΅ΡΠ°ΡΡΡΡ.
ΠΡΠΎΠΌΠ΅ ΡΠΎΠ³ΠΎ, ΡΠΈΠ·ΠΈΡΠ΅ΡΠΊΠΈΠΉ ΠΎΡΠΌΠΎΡΡ ΠΏΠΎΡΡΠ½Ρ ΠΈ ΠΊΡΡΡΠΊΠΈ ΠΌΠΎΠΆΠ΅Ρ ΠΎΠΏΡΠ΅Π΄Π΅Π»ΠΈΡΡ, Π½Π΅ ΠΏΠΎΠΏΠ°Π»ΠΈ Π»ΠΈ ΡΠ°ΡΡΠΈΡΡ Π²Π½ΡΡΡΡ ΡΠΈΠ»ΠΈΠ½Π΄ΡΠ°. ΠΡΠ»ΠΈ ΠΏΠΎΡ ΠΎΠΆΠ΅, ΡΡΠΎ ΠΊΡΠΎ-ΡΠΎ Π±ΠΈΠ» ΠΏΠΎ Π²Π°ΡΠ΅ΠΌΡ ΠΏΠΎΡΡΠ½Ρ ΠΌΠΎΠ»ΠΎΡΠΊΠΎΠΌ Ρ ΡΠ°ΡΠΎΠ²ΡΠΌ Π±ΠΎΠΉΠΊΠΎΠΌ, ΡΠΎ Ρ ΠΌΠΎΠ³Ρ Π³Π°ΡΠ°Π½ΡΠΈΡΠΎΠ²Π°ΡΡ, ΡΡΠΎ ΠΊΡΡΠΎΠΊ ΠΌΠ΅ΡΠ°Π»Π»Π° ΡΡΡΡΠ°Π» Π²Π½ΡΡΡΠΈ Π² ΡΠ΅ΡΠ΅Π½ΠΈΠ΅ Π½Π΅ΡΠΊΠΎΠ»ΡΠΊΠΈΡ ΠΌΠ΅ΡΡΡΠ΅Π² ΠΈΠ»ΠΈ Π»Π΅Ρ. Π Π΅ΡΠ»ΠΈ ΠΎΠ½ ΠΏΠΎΠΏΠ°Π» Π² Π²Π°Ρ ΡΠΈΠ»ΠΈΠ½Π΄Ρ, ΠΎΠ½ ΡΡΡΠ΅ΡΡΠ²ΠΎΠ²Π°Π» ΠΈ Π² Π΄ΡΡΠ³ΠΈΡ ΡΠ°ΡΡΡΡ ΡΠΈΡΡΠ΅ΠΌΡ.
4. ΠΠ±ΡΠ»ΡΠΆΠΈΠ²Π°ΠΉΡΠ΅ Π°ΠΊΡΠ΅ΡΡΡΠ°ΡΡ. ΠΡΠΎΠ½ΡΡΠ΅ΠΉΠ½Ρ, Π²ΠΈΠ»ΠΊΠΈ, ΠΏΡΠΎΡΡΠΈΠ½Ρ ΡΡΠΎΠΊΠ°, ΡΠ°ΡΠΎΠ²ΡΠ΅ ΡΠ°ΡΠ½ΠΈΡΡ ΠΈΠ»ΠΈ Π΄ΡΡΠ³ΠΈΠ΅ ΡΠΎΠ΅Π΄ΠΈΠ½Π΅Π½ΠΈΡ Ρ Π³ΠΈΠ΄ΡΠ°Π²Π»ΠΈΡΠ΅ΡΠΊΠΈΠΌ ΡΠΈΠ»ΠΈΠ½Π΄ΡΠΎΠΌ ΠΏΠΎΡΡΠΈ ΡΠ°ΠΊ ΠΆΠ΅ Π²Π°ΠΆΠ½Ρ, ΠΊΠ°ΠΊ ΠΈ ΡΠ°ΠΌ ΡΠΈΠ»ΠΈΠ½Π΄Ρ. ΠΡΠΈ ΠΈΠ·Π½ΠΎΡΠ΅ ΡΠ°ΡΠ½ΠΈΡΠ½ΠΎΠ³ΠΎ ΡΡΠΈΡΡΠ° ΠΈΠ»ΠΈ Π²ΠΈΠ»ΠΊΠΈ Π²ΠΎΠ·Π½ΠΈΠΊΠ°Π΅Ρ ΡΡΠ΅Π·ΠΌΠ΅ΡΠ½ΡΠΉ Π»ΡΡΡ ΠΈ Π»ΡΡΡ Π² ΡΠΎΠ΅Π΄ΠΈΠ½Π΅Π½ΠΈΡΡ ΡΠΈΠ»ΠΈΠ½Π΄ΡΠ°. ΠΡΠΎ Π²ΡΠ·ΠΎΠ²Π΅Ρ Π½Π΅ΡΠΎΠΎΡΠ½ΠΎΡΡΡ, ΡΡΠΎ Π² Π½Π΅ΠΊΠΎΡΠΎΡΡΡ ΡΠ»ΡΡΠ°ΡΡ ΠΌΠΎΠΆΠ΅Ρ ΠΏΡΠΈΠ²Π΅ΡΡΠΈ ΠΊ Π±ΡΡΡΡΠΎΠΌΡ ΠΈΠ·Π½ΠΎΡΡ ΠΈΠ»ΠΈ ΠΊΠ°ΡΠ°ΡΡΡΠΎΡΠΈΡΠ΅ΡΠΊΠΈΠΌ ΠΏΠΎΠ²ΡΠ΅ΠΆΠ΄Π΅Π½ΠΈΡΠΌ.
ΠΡΠΎΠ²Π΅ΡΠΊΠ° Π²Π°ΡΠ΅ΠΉ ΡΠΈΡΡΠ΅ΠΌΡ ΡΠΌΠ°Π·ΠΎΡΠ½ΠΎΠ³ΠΎ ΠΌΠ°ΡΠ»Π° ΠΈΠΌΠ΅Π΅Ρ ΡΠ΅ΡΠ°ΡΡΠ΅Π΅ Π·Π½Π°ΡΠ΅Π½ΠΈΠ΅ ΠΏΡΠΈ ΠΈΡΠΏΠΎΠ»ΡΠ·ΠΎΠ²Π°Π½ΠΈΠΈ ΠΏΠ½Π΅Π²ΠΌΠ°ΡΠΈΡΠ΅ΡΠΊΠΈΡ ΡΠΈΠ»ΠΈΠ½Π΄ΡΠΎΠ². FRL ΡΠ²Π»ΡΡΡΡΡ Π½Π°Π΄Π΅ΠΆΠ½ΡΠΌΠΈ ΠΈΡΡΠΎΡΠ½ΠΈΠΊΠ°ΠΌΠΈ ΡΠΌΠ°Π·ΠΊΠΈ, Π½ΠΎ Π²Ρ Π΄ΠΎΠ»ΠΆΠ½Ρ ΡΠ΅Π³ΡΠ»ΡΡΠ½ΠΎ ΠΏΡΠΎΠ²Π΅ΡΡΡΡ ΠΈΡ ΠΈ Π΄ΠΎΠ»ΠΈΠ²Π°ΡΡ ΠΏΠΎ ΠΌΠ΅ΡΠ΅ Π½Π΅ΠΎΠ±Ρ ΠΎΠ΄ΠΈΠΌΠΎΡΡΠΈ. ΠΠ·ΠΎΠ±ΡΠ°ΠΆΠ΅Π½ΠΈΠ΅ ΠΏΡΠ΅Π΄ΠΎΡΡΠ°Π²Π»Π΅Π½ΠΎ Π»Π°Π±ΠΎΡΠ°ΡΠΎΡΠΈΠ΅ΠΉ Clippard Instrument Laboratory
ΠΡΠ»ΠΈ Ρ Π²Π°Ρ Π²ΡΡΠΎΠΊΠΎΡΠΎΡΠ½ΡΠΉ ΡΡΠ°Π½ΠΎΠΊ, Π΄Π°ΠΆΠ΅ Π΄ΠΎΠΏΠΎΠ»Π½ΠΈΡΠ΅Π»ΡΠ½ΡΠΉ Π·Π°Π·ΠΎΡ Π² Π½Π΅ΡΠΊΠΎΠ»ΡΠΊΠΎ ΡΡΡΡΡΠ½ΡΡ
ΠΌΠ΅ΠΆΠ΄Ρ ΠΊΠ°ΠΆΠ΄ΡΠΌ ΡΠ°ΡΠ½ΠΈΡΠΎΠΌ ΠΌΠΎΠΆΠ΅Ρ Π²ΡΠ·Π²Π°ΡΡ ΡΡΠ²ΠΊΠΈ, Π½Π΅ΡΠΎΡΠ½ΡΠ΅ Π΄Π²ΠΈΠΆΠ΅Π½ΠΈΡ ΠΈ Π²ΠΈΠ±ΡΠ°ΡΠΈΡ.
ΠΠΎΠ³Π΄Π° ΡΠΈΠ»ΠΈΠ½Π΄Ρ ΡΠ½ΠΈΠΌΠ°Π΅ΡΡΡ Π΄Π»Ρ ΠΎΠ±ΡΠ»ΡΠΆΠΈΠ²Π°Π½ΠΈΡ, ΡΠ΅ΠΊΠΎΠΌΠ΅Π½Π΄ΡΠ΅ΡΡΡ ΠΏΡΠΎΠ²Π΅ΡΠΈΡΡ ΠΈ ΠΏΡΠΈ Π½Π΅ΠΎΠ±Ρ
ΠΎΠ΄ΠΈΠΌΠΎΡΡΠΈ Π·Π°ΠΌΠ΅Π½ΠΈΡΡ ΠΏΡΠΈΠ½Π°Π΄Π»Π΅ΠΆΠ½ΠΎΡΡΠΈ. ΠΡΠ»Π°Π²ΠΊΠ° ΡΡΠΎΠΈΡ Π²ΡΠ΅Π³ΠΎ Π½Π΅ΡΠΊΠΎΠ»ΡΠΊΠΎ Π΄ΠΎΠ»Π»Π°ΡΠΎΠ² ΠΈ Π½Π΅ ΠΈΠΌΠ΅Π΅Ρ ΡΠΌΡΡΠ»Π° ΠΏΠΎ ΡΡΠ°Π²Π½Π΅Π½ΠΈΡ Ρ ΡΠΈΠ»ΠΈΠ½Π΄ΡΠΎΠΌ NFPA Π·Π° ΡΡΡΡΡΡ Π΄ΠΎΠ»Π»Π°ΡΠΎΠ². ΠΠ°ΠΊ ΠΈ Π² ΡΠ»ΡΡΠ°Π΅ Ρ Π΄ΡΡΠ³ΠΈΠΌΠΈ ΡΠ°ΡΡΡΠΌΠΈ Π²Π°ΡΠ΅ΠΉ Π³ΠΈΠ΄ΡΠ°Π²Π»ΠΈΡΠ΅ΡΠΊΠΎΠΉ ΠΌΠ°ΡΠΈΠ½Ρ, ΡΡΠ΅Π±ΡΡΡΠΈΠΌΠΈ ΡΠΌΠ°Π·ΠΊΠΈ, ΡΠ΅Π³ΡΠ»ΡΡΠ½ΠΎ ΡΠΌΠ°Π·ΡΠ²Π°ΠΉΡΠ΅ ΡΠΎΠ΅Π΄ΠΈΠ½Π΅Π½ΠΈΡ ΡΠΈΠ»ΠΈΠ½Π΄ΡΠΎΠ², ΡΡΠΎΠ±Ρ ΠΏΡΠ΅Π΄ΠΎΡΠ²ΡΠ°ΡΠΈΡΡ Π½Π΅ΡΠ°Π²Π½ΠΎΠΌΠ΅ΡΠ½ΡΠΉ ΠΈΠ»ΠΈ ΡΡΠ΅Π·ΠΌΠ΅ΡΠ½ΡΠΉ ΠΈΠ·Π½ΠΎΡ. Π£Π½ΡΠΈΡ ΠΏΡΠΎΡΠΈΠ»Π°ΠΊΡΠΈΠΊΠΈ ΠΈΠΌΠ΅Π΅Ρ Π±ΠΎΠ»ΡΡΠΎΠ΅ Π·Π½Π°ΡΠ΅Π½ΠΈΠ΅.
5. ΠΡΠΌΠΎΡΡΠΈΡΠ΅ ΡΠΈΡΡΠ΅ΠΌΡ ΡΠΌΠ°Π·ΠΊΠΈ. ΠΡΠ»ΠΈ Π²Ρ ΠΈΡΠΏΠΎΠ»ΡΠ·ΡΠ΅ΡΠ΅ ΠΏΠ½Π΅Π²ΠΌΠ°ΡΠΈΡΠ΅ΡΠΊΠΈΠ΅ ΡΠΈΠ»ΠΈΠ½Π΄ΡΡ, ΠΊΠΎΡΠΎΡΡΠΌ ΡΠ°ΡΡΠΎ ΡΡΠ΅Π±ΡΠ΅ΡΡΡ ΡΠΎΠ±ΡΡΠ²Π΅Π½Π½ΡΠΉ ΠΈΡΡΠΎΡΠ½ΠΈΠΊ ΡΠΌΠ°Π·ΠΊΠΈ, ΠΏΡΠΎΠ²Π΅ΡΡΠΉΡΠ΅ ΠΈ ΠΎΠ±ΡΠ»ΡΠΆΠΈΠ²Π°ΠΉΡΠ΅ Π²Π°ΡΡ ΡΠΈΡΡΠ΅ΠΌΡ ΡΠΌΠ°Π·ΠΊΠΈ ΠΏΠΎ ΠΌΠ΅ΡΠ΅ Π½Π΅ΠΎΠ±Ρ ΠΎΠ΄ΠΈΠΌΠΎΡΡΠΈ. ΠΠ°Π·ΠΎΠ²Π°Ρ ΡΠΈΡΡΠ΅ΠΌΠ° Π±ΡΠ΄Π΅Ρ ΠΈΠΌΠ΅ΡΡ Π»ΡΠ±ΡΠΈΠΊΠ°ΡΠΎΡ, Π²ΡΡΡΠΎΠ΅Π½Π½ΡΠΉ Π² ΡΠ·Π΅Π» ΡΠΈΠ»ΡΡΡΠ°/ΡΠ΅Π³ΡΠ»ΡΡΠΎΡΠ°, ΠΊΠΎΡΠΎΡΡΠΉ Π΄ΠΎΡΡΠ°ΡΠΎΡΠ½ΠΎ Π½Π°Π΄Π΅ΠΆΠ΅Π½. ΠΠ΄Π½Π°ΠΊΠΎ ΠΏΡΠΈ ΠΏΡΡΡΠΎΠΌ ΡΠ΅Π·Π΅ΡΠ²ΡΠ°ΡΠ΅ ΡΠΌΠ°Π·ΠΎΡΠ½ΠΎΠ΅ ΠΌΠ°ΡΠ»ΠΎ Π½Π΅ ΠΏΠΎΠ΄Π°Π΅ΡΡΡ. Π Π΅Π³ΡΠ»ΡΡΠ½ΠΎ ΠΏΡΠΎΠ²Π΅ΡΡΠΉΡΠ΅ ΡΡΠΎΠ²Π΅Π½Ρ ΠΌΠ°ΡΠ»Π° ΠΈ ΠΏΡΠΈ Π½Π΅ΠΎΠ±Ρ ΠΎΠ΄ΠΈΠΌΠΎΡΡΠΈ Π΄ΠΎΠ»ΠΈΠ²Π°ΠΉΡΠ΅ Π΅Π³ΠΎ.
ΠΠ°ΠΆΠ΅ ΡΠ΅Π·Π΅ΡΠ²ΡΠ°Ρ, ΠΏΠΎΠ»Π½ΡΠΉ ΠΌΠ°ΡΠ»Π°, Π½Π΅ Π΄Π°Π΅Ρ Π³Π°ΡΠ°Π½ΡΠΈΠΈ, ΡΡΠΎ Π²Π°Ρ Π»ΡΠ±ΡΠΈΠΊΠ°ΡΠΎΡ ΡΠ°Π±ΠΎΡΠ°Π΅Ρ, ΠΏΠΎΡΡΠΎΠΌΡ Π²Π°ΠΌ ΠΌΠΎΠΆΠ΅Ρ ΠΏΠΎΡΡΠ΅Π±ΠΎΠ²Π°ΡΡΡΡ ΠΏΡΠΎΠ²Π΅ΡΠΈΡΡ Π»ΠΈΠ½ΠΈΡ ΠΏΠΎΠ΄Π°ΡΠΈ ΠΌΠ°ΡΠ»Π°, Π²ΡΡ
ΠΎΠ΄ΡΡΡΡ ΠΈΠ· FRL, ΠΏΠΎΠ΄ΠΊΠ»ΡΡΠΈΠ² ΠΏΡΠΎΠ΄ΡΠ²ΠΎΡΠ½ΡΠΉ ΠΏΠΈΡΡΠΎΠ»Π΅Ρ ΠΈ ΡΠ°ΡΠΏΡΠ»ΠΈΠ² Π±Π΅Π»ΡΡ Π±ΡΠΌΠ°ΠΆΠ½ΡΡ ΡΠ°Π»ΡΠ΅ΡΠΊΡ.
ΠΡΠ»ΠΈ Π½Π° ΠΏΠΎΠ»ΠΎΡΠ΅Π½ΡΠ΅ Π΅ΡΡΡ ΠΏΡΡΠ½ΠΎ ΠΌΠ°ΡΠ»Π°, Π²ΡΠ΅ Π² ΠΏΠΎΡΡΠ΄ΠΊΠ΅. ΠΡΠ»ΠΈ ΠΎΠ½ ΡΡΡ
ΠΎΠΉ, Π²ΠΎΠ·ΠΌΠΎΠΆΠ½ΠΎ, Π²Π°ΠΌ ΠΏΡΠΈΠ΄Π΅ΡΡΡ ΡΡΡΡΠ°Π½ΠΈΡΡ Π·Π°ΡΠΎΡ Π² Π»ΡΠ±ΡΠΈΠΊΠ°ΡΠΎΡΠ΅ ΠΈΠ»ΠΈ Π·Π°ΠΌΠ΅Π½ΠΈΡΡ Π΅Π³ΠΎ, Π΅ΡΠ»ΠΈ ΡΡΠΎ Π½Π΅Π²ΠΎΠ·ΠΌΠΎΠΆΠ½ΠΎ ΡΡΡΡΠ°Π½ΠΈΡΡ.
ΠΡΠΈ ΡΠ΅ΡΡΠΈΡΠΎΠ²Π°Π½ΠΈΠΈ Π»ΡΠ±ΠΎΠΉ ΡΠΈΡΡΠ΅ΠΌΡ ΡΠΌΠ°Π·ΠΊΠΈ ΡΠ±Π΅Π΄ΠΈΡΠ΅ΡΡ, ΡΡΠΎ Π² ΡΠΈΡΡΠ΅ΠΌΡ Π½Π΅ ΠΏΠΎΠΏΠ°Π΄Π°Π΅Ρ ΡΡΠ΅Π·ΠΌΠ΅ΡΠ½ΠΎΠ΅ ΠΊΠΎΠ»ΠΈΡΠ΅ΡΡΠ²ΠΎ ΠΌΠ°ΡΠ»Π°. Π― Π²ΠΈΠ΄Π΅Π», ΠΊΠ°ΠΊ ΡΠΈΡΡΠ΅ΠΌΡ ΡΠΌΠ°Π·ΠΊΠΈ ΠΏΠΎΠ΄Π°ΡΡ ΡΠ°ΠΊ ΠΌΠ½ΠΎΠ³ΠΎ ΠΌΠ°ΡΠ»Π°, ΡΡΠΎ Π³ΠΈΠ΄ΡΠΎΠ·Π°ΠΏΠΈΡΠ°Π΅Ρ ΠΏΠ½Π΅Π²ΠΌΠ°ΡΠΈΡΠ΅ΡΠΊΠΈΠΉ ΡΠΈΠ»ΠΈΠ½Π΄Ρ, Π½Π΅ ΠΏΠΎΠ·Π²ΠΎΠ»ΡΡ Π΅ΠΌΡ Π±ΡΡΡΡΠΎ ΡΠΎΠ²Π΅ΡΡΠ°ΡΡ ΠΏΠΎΠ»Π½ΡΠΉ Ρ ΠΎΠ΄. Π’ΡΠ΅Π±ΡΠ΅ΡΡΡ ΡΠΎΠ»ΡΠΊΠΎ ΡΠΎΠ½ΠΊΠΈΠΉ ΡΡΠΌΠ°Π½, ΡΡΠΎΠ±Ρ ΠΏΠΎΠΌΠΎΡΡ Π²ΠΎΠ·Π΄ΡΡΠ½ΠΎΠΌΡ ΡΠΈΠ»ΠΈΠ½Π΄ΡΡ ΠΏΡΠ΅ΠΎΠ΄ΠΎΠ»Π΅ΡΡ ΡΡΠ΅Π½ΠΈΠ΅.
ΠΠ΅ΡΡΡΡ ΠΊΠ»ΡΡΠ΅ΠΉ ΠΊ ΡΠ°Π±ΠΎΡΠ΅ Ρ ΠΏΠ½Π΅Π²ΠΌΠΎΡΠΈΠ»ΠΈΠ½Π΄ΡΠ°ΠΌΠΈ
| Π‘ΠΊΠ°ΡΠ°ΡΡ ΡΡΡ ΡΡΠ°ΡΡΡ Π² ΡΠΎΡΠΌΠ°ΡΠ΅ .PDF ΠΡΠΎΡ ΡΠΈΠΏ ΡΠ°ΠΉΠ»Π° Π²ΠΊΠ»ΡΡΠ°Π΅Ρ Π² ΡΠ΅Π±Ρ Π³ΡΠ°ΡΠΈΠΊΡ ΠΈ ΡΡ Π΅ΠΌΡ Π²ΡΡΠΎΠΊΠΎΠ³ΠΎ ΡΠ°Π·ΡΠ΅ΡΠ΅Π½ΠΈΡ, Π΅ΡΠ»ΠΈ ΡΡΠΎ ΠΏΡΠΈΠΌΠ΅Π½ΠΈΠΌΠΎ. |
ΠΠΎΠ·Π΄ΡΡΠ½ΡΠ΅ Π±Π°Π»Π»ΠΎΠ½Ρ ΠΏΡΠ΅Π΄Π»Π°Π³Π°ΡΡΡΡ ΡΠ°Π·Π»ΠΈΡΠ½ΡΡ
ΡΠΎΡΠΌ, ΡΠ°Π·ΠΌΠ΅ΡΠΎΠ² ΠΈ ΡΠΈΠΏΠΎΠ², Π½Π΅ Π³ΠΎΠ²ΠΎΡΡ ΡΠΆΠ΅ ΠΎ ΠΌΠ½ΠΎΠΆΠ΅ΡΡΠ²Π΅ Π΄ΠΎΡΡΡΠΏΠ½ΡΡ
ΡΡΠ°Π½Π΄Π°ΡΡΠ½ΡΡ
ΠΎΠΏΡΠΈΠΉ. ΠΠ° ΠΏΠ΅ΡΠ²ΡΠΉ Π²Π·Π³Π»ΡΠ΄, ΠΊΠΎΠ»ΠΈΡΠ΅ΡΡΠ²ΠΎ ΠΏΠ΅ΡΠ΅ΡΡΠ°Π½ΠΎΠ²ΠΎΠΊ ΠΌΠΎΠΆΠ΅Ρ Π±ΡΡΡ Π½Π΅ΠΌΠ½ΠΎΠ³ΠΎ ΠΎΡΠ΅Π»ΠΎΠΌΠ»ΡΡΡΠΈΠΌ. Π₯ΠΎΡΠΎΡΠ΅ΠΉ Π½ΠΎΠ²ΠΎΡΡΡΡ ΡΠ²Π»ΡΠ΅ΡΡΡ ΡΠΎ, ΡΡΠΎ ΠΊΠ°ΠΆΠ΄ΡΠΉ ΡΠΈΠΏ ΠΏΡΠΈΠ²ΠΎΠ΄Π° ΠΈ ΠΊΠΎΠ½ΡΠΈΠ³ΡΡΠ°ΡΠΈΡ Π½Π°ΠΉΠ΄ΡΡ ΡΠ²ΠΎΠ΅ ΠΌΠ΅ΡΡΠΎ Π² ΡΠΎΠ²ΡΠ΅ΠΌΠ΅Π½Π½ΠΎΠΉ ΡΡΠ΅Π΄Π΅ Π°Π²ΡΠΎΠΌΠ°ΡΠΈΠ·Π°ΡΠΈΠΈ, ΠΎΡΠΈΠ΅Π½ΡΠΈΡΠΎΠ²Π°Π½Π½ΠΎΠΉ Π½Π° Π΄Π²ΠΈΠΆΠ΅Π½ΠΈΠ΅.
ΠΠ½Π΅Π²ΠΌΠ°ΡΠΈΡΠ΅ΡΠΊΠΈΠ΅ ΠΏΡΠΈΠ²ΠΎΠ΄Ρ Π²ΡΠ±ΠΈΡΠ°ΡΡΡΡ ΠΏΠΎ ΠΈΡ ΡΠΏΠΎΡΠΎΠ±Π½ΠΎΡΡΠΈ Π²ΡΠΏΠΎΠ»Π½ΡΡΡ ΡΠ°Π±ΠΎΡΡ, ΠΈ ΠΏΡΠ°Π²ΠΈΠ»ΡΠ½ΡΠΉ Π²ΡΠ±ΠΎΡ ΠΏΡΠΈΠ²ΠΎΠ΄Π° ΠΈΠΌΠ΅Π΅Ρ ΠΆΠΈΠ·Π½Π΅Π½Π½ΠΎ Π²Π°ΠΆΠ½ΠΎΠ΅ Π·Π½Π°ΡΠ΅Π½ΠΈΠ΅. Π§ΡΠΎΠ±Ρ ΠΎΠ±Π΅ΡΠΏΠ΅ΡΠΈΡΡ ΠΌΠ°ΠΊΡΠΈΠΌΠ°Π»ΡΠ½ΡΡ ΠΏΡΠΎΠΈΠ·Π²ΠΎΠ΄ΠΈΡΠ΅Π»ΡΠ½ΠΎΡΡΡ, ΡΡΠΎΠΊ ΡΠ»ΡΠΆΠ±Ρ ΠΏΡΠΈΠ²ΠΎΠ΄Π° ΡΠ°ΡΡΠΎ ΠΏΡΠ΅Π΄ΠΎΠΏΡΠ΅Π΄Π΅Π»ΡΠ΅ΡΡΡ Π·Π°Π΄ΠΎΠ»Π³ΠΎ Π΄ΠΎ ΡΠΎΠ³ΠΎ, ΠΊΠ°ΠΊ ΠΊΠΎΠΌΠΏΠΎΠ½Π΅Π½Ρ Π±ΡΠ΄Π΅Ρ ΠΈΡΠΏΠΎΠ»ΡΠ·ΠΎΠ²Π°Π½.
ΠΡ ΠΎΠ±ΡΠ°ΡΠΈΠ»ΠΈΡΡ ΠΊ ΡΠ°Π·Π»ΠΈΡΠ½ΡΠΌ ΠΏΡΠΎΠΈΠ·Π²ΠΎΠ΄ΠΈΡΠ΅Π»ΡΠΌ ΠΏΠ½Π΅Π²ΠΌΠΎΡΠΈΠ»ΠΈΠ½Π΄ΡΠΎΠ² Ρ ΠΏΡΠΎΡΡΠ±ΠΎΠΉ ΠΏΠΎΠ΄Π΅Π»ΠΈΡΡΡΡ ΠΈΡ ΠΏΡΠ΅Π΄Π»ΠΎΠΆΠ΅Π½ΠΈΡΠΌΠΈ ΠΎ ΡΠΎΠΌ, ΠΊΠ°ΠΊ Π»ΡΡΡΠ΅ Π²ΡΠ΅Π³ΠΎ Π²ΡΠ±ΠΈΡΠ°ΡΡ ΠΈ ΠΏΡΠΈΠΌΠ΅Π½ΡΡΡ ΠΏΠ½Π΅Π²ΠΌΠΎΡΠΈΠ»ΠΈΠ½Π΄ΡΡ. ΠΠΈΠΆΠ΅ ΠΏΡΠΈΠ²Π΅Π΄Π΅Π½Ρ 10 Π²Π°ΠΆΠ½ΡΡ ΡΠ΅ΠΊΠΎΠΌΠ΅Π½Π΄Π°ΡΠΈΠΉ ΠΏΠΎ Π²ΡΠ±ΠΎΡΡ Π±Π°Π»Π»ΠΎΠ½Π°, ΠΊΠΎΡΠΎΡΡΠ΅ ΡΠ»Π΅Π΄ΡΠ΅Ρ ΡΡΠΈΡΡΠ²Π°ΡΡ ΠΏΡΠΈ Π²ΡΠ±ΠΎΡΠ΅ ΠΏΠ½Π΅Π²ΠΌΠΎΡΠΈΠ»ΠΈΠ½Π΄ΡΠ° Π΄Π»Ρ Π²Π°ΡΠ΅Π³ΠΎ ΡΠ»Π΅Π΄ΡΡΡΠ΅Π³ΠΎ ΠΏΡΠΎΠ΅ΠΊΡΠ°.
1. ΠΠ°ΡΠ½ΠΈΡΠ΅ Ρ ΠΏΡΠ°Π²ΠΈΠ»ΡΠ½ΠΎΠ³ΠΎ Π΄ΠΈΠ·Π°ΠΉΠ½Π°
Π§ΡΠΎΠ±Ρ ΡΠ΄ΠΎΠ²Π»Π΅ΡΠ²ΠΎΡΠΈΡΡ ΠΏΠΎΡΡΠ΅Π±Π½ΠΎΡΡΠΈ Π²Π°ΡΠ΅Π³ΠΎ ΠΏΡΠΈΠ»ΠΎΠΆΠ΅Π½ΠΈΡ, Π²Ρ Π΄ΠΎΠ»ΠΆΠ½Ρ Π½Π΅ΠΌΠ½ΠΎΠ³ΠΎ Π·Π½Π°ΡΡ ΠΎ Π΄Π΅ΡΠ°Π»ΡΡ
ΠΈ ΠΎΠΏΡΠΈΡΡ
, Π΄ΠΎΡΡΡΠΏΠ½ΡΡ
Π΄Π»Ρ ΠΏΠ½Π΅Π²ΠΌΠ°ΡΠΈΡΠ΅ΡΠΊΠΈΡ
ΡΠΈΠ»ΠΈΠ½Π΄ΡΠΎΠ². ΠΠΎΡ Π½Π΅ΠΊΠΎΡΠΎΡΡΠ΅ ΡΠΎΠΎΠ±ΡΠ°ΠΆΠ΅Π½ΠΈΡ ΠΏΠΎ Π΄ΠΈΠ·Π°ΠΉΠ½Ρ, ΠΎ ΠΊΠΎΡΠΎΡΡΡ
ΡΠ»Π΅Π΄ΡΠ΅Ρ ΠΏΠΎΠΌΠ½ΠΈΡΡ.
ΠΠΎΠ΄ΡΠΈΠΏΠ½ΠΈΠΊΠΈ ΡΠ°ΡΡΠ½Π° β ΠΠ±ΡΡΠ½ΠΎ ΠΏΠ΅ΡΠ²ΡΠΌ ΠΊΠΎΠΌΠΏΠΎΠ½Π΅Π½ΡΠΎΠΌ, ΡΡΠ΅Π±ΡΡΡΠΈΠΌ ΡΠ΅Ρ
Π½ΠΈΡΠ΅ΡΠΊΠΎΠ³ΠΎ ΠΎΠ±ΡΠ»ΡΠΆΠΈΠ²Π°Π½ΠΈΡ, ΡΠ²Π»ΡΠ΅ΡΡΡ ΠΏΠΎΠ΄ΡΠΈΠΏΠ½ΠΈΠΊ ΡΠ°ΡΡΠ½Π°, Π³Π΄Π΅ ΠΊΠ°ΠΊ ΠΌΡΡΠΎΡ, ΡΠ°ΠΊ ΠΈ ΠΈΠ·Π½ΠΎΡ Π² ΡΠ΅Π·ΡΠ»ΡΡΠ°ΡΠ΅ ΡΠΊΡΠΏΠ»ΡΠ°ΡΠ°ΡΠΈΠΈ ΠΏΠΎΡΡΠ΅Π±ΡΡΡ Π·Π°ΠΌΠ΅Π½Ρ ΡΠΏΠ»ΠΎΡΠ½Π΅Π½ΠΈΡ.
ΠΡΠ±Π΅ΡΠΈΡΠ΅ ΡΠΈΠ»ΠΈΠ½Π΄Ρ, ΠΊΠΎΡΠΎΡΡΠΉ ΠΎΠ±Π΅ΡΠΏΠ΅ΡΠΈΠ²Π°Π΅Ρ Π»Π΅Π³ΠΊΡΡ Π·Π°ΠΌΠ΅Π½Ρ ΡΠΏΠ»ΠΎΡΠ½Π΅Π½ΠΈΡ ΠΈΠ»ΠΈ ΠΏΠΎΠ΄ΡΠΈΠΏΠ½ΠΈΠΊΠ° Π±Π΅Π· Π½Π΅ΠΎΠ±Ρ
ΠΎΠ΄ΠΈΠΌΠΎΡΡΠΈ ΠΏΠΎΠ»Π½ΠΎΠΉ ΡΠ°Π·Π±ΠΎΡΠΊΠΈ ΡΠΈΠ»ΠΈΠ½Π΄ΡΠ°. ΠΠ½ΠΎΠ³ΠΈΠ΅ ΠΏΡΠΎΠΈΠ·Π²ΠΎΠ΄ΠΈΡΠ΅Π»ΠΈ ΡΠΈΠ»ΠΈΠ½Π΄ΡΠΎΠ² Π² Π½Π°ΡΡΠΎΡΡΠ΅Π΅ Π²ΡΠ΅ΠΌΡ ΠΏΡΠ΅Π΄Π»Π°Π³Π°ΡΡ ΠΏΠΎΠ΄ΡΠΈΠΏΠ½ΠΈΠΊΠΈ Ρ ΡΡΠΈΠΊΡΠΈΠΎΠ½Π½ΡΠΌ ΠΏΠΎΠΊΡΡΡΠΈΠ΅ΠΌ ΠΈ Π² Π½Π΅ΠΆΠ΅ΡΡΠΊΠΎΠΌ ΠΏΠ»Π°Π²Π°ΡΡΠ΅ΠΌ ΠΈΡΠΏΠΎΠ»Π½Π΅Π½ΠΈΠΈ Π΄Π»Ρ ΠΏΡΠΎΠ΄Π»Π΅Π½ΠΈΡ ΡΡΠΎΠΊΠ° ΡΠ»ΡΠΆΠ±Ρ ΠΈ ΠΏΡΠ΅Π΄ΠΎΡΠ²ΡΠ°ΡΠ΅Π½ΠΈΡ Π·Π°Π΅Π΄Π°Π½ΠΈΡ.
ΠΠΌΠΎΡΡΠΈΠ·Π°ΡΠΎΡΡ β ΠΠΌΠΎΡΡΠΈΠ·Π°ΡΠΎΡΡ Π² ΠΊΠΎΠ½ΡΠ΅ Ρ
ΠΎΠ΄Π° ΡΠΌΠ΅Π½ΡΡΠ°ΡΡ ΡΡΠΌ ΠΎΡ ΡΠ΄Π°ΡΠΎΠ² Π² ΠΊΠΎΠ½ΡΠ΅ Ρ
ΠΎΠ΄Π° Π·Π° ΡΡΠ΅Ρ ΡΠ»Π°Π²Π»ΠΈΠ²Π°Π½ΠΈΡ Π²ΠΎΠ·Π΄ΡΡ
Π°, ΠΊΠΎΡΠΎΡΡΠΉ Π·Π°ΠΌΠ΅Π΄Π»ΡΠ΅Ρ ΠΏΠΎΡΡΠ΅Π½Ρ Π΄ΠΎ ΡΠΎΠ³ΠΎ, ΠΊΠ°ΠΊ ΠΎΠ½ ΡΠ΄Π°ΡΠΈΡΡΡ ΠΎ ΡΠΎΡΡΠ΅Π²ΡΡ ΠΊΡΡΡΠΊΡ. ΠΠ½ΠΈ ΠΌΠΎΠ³ΡΡ Π±ΡΡΡ ΡΠ΅Π³ΡΠ»ΠΈΡΡΠ΅ΠΌΡΠΌΠΈ ΠΈΠ»ΠΈ ΡΠΈΠΊΡΠΈΡΠΎΠ²Π°Π½Π½ΡΠΌΠΈ, ΡΡΠΎ ΡΠ²Π»ΡΠ΅ΡΡΡ ΠΌΠ΅Π½Π΅Π΅ Π·Π°ΡΡΠ°ΡΠ½ΡΠΌ Π²Π°ΡΠΈΠ°Π½ΡΠΎΠΌ.
ΠΠΎΡΡΠ½Π΅Π²ΡΠ΅ ΠΏΠΎΠ΄ΡΠΈΠΏΠ½ΠΈΠΊΠΈ β ΠΎΠ±ΡΡΠ½ΠΎ ΠΏΠΎΠ»ΠΎΡΠ° Ρ Π½ΠΈΠ·ΠΊΠΈΠΌ ΠΊΠΎΡΡΡΠΈΡΠΈΠ΅Π½ΡΠΎΠΌ ΡΡΠ΅Π½ΠΈΡ, ΠΎΠ±Π΅ΡΠ½ΡΡΠ°Ρ Π²ΠΎΠΊΡΡΠ³ ΠΏΠΎΡΡΠ½Ρ, ΠΏΠΎΡΡΠ½Π΅Π²ΡΠ΅ ΠΏΠΎΠ΄ΡΠΈΠΏΠ½ΠΈΠΊΠΈ ΠΏΠΎΠΌΠΎΠ³Π°ΡΡ ΡΠΌΠ΅Π½ΡΡΠΈΡΡ ΠΈΠ·Π½ΠΎΡ ΠΌΠ΅ΠΆΠ΄Ρ ΠΏΠΎΡΡΠ½Π΅ΠΌ ΠΈ Π²Π½ΡΡΡΠ΅Π½Π½ΠΈΠΌ Π΄ΠΈΠ°ΠΌΠ΅ΡΡΠΎΠΌ ΡΡΡΠ±Ρ. ΠΠ½ΠΈ ΠΎΡΠΎΠ±Π΅Π½Π½ΠΎ ΡΡΡΠ΅ΠΊΡΠΈΠ²Π½Ρ Π² ΡΡΡΠΎΠ²ΡΡ
ΡΡΠ»ΠΎΠ²ΠΈΡΡ
, ΠΊΠΎΠ³Π΄Π° Π½Π° ΡΡΠΎΠΊ ΠΏΠΎΡΡΠ½Ρ ΠΌΠΎΠΆΠ΅Ρ Π²ΠΎΠ·Π΄Π΅ΠΉΡΡΠ²ΠΎΠ²Π°ΡΡ Π±ΠΎΠΊΠΎΠ²Π°Ρ Π½Π°Π³ΡΡΠ·ΠΊΠ°.
ΠΠΎΠΊΡΡΡΠΈΡ ΠΏΠΎ ΡΡΠ°Π²Π½Π΅Π½ΠΈΡ Ρ Π½Π΅ΡΠΆΠ°Π²Π΅ΡΡΠ΅ΠΉ ΡΡΠ°Π»ΡΡ ΠΈΠ»ΠΈ Π»Π°ΡΡΠ½ΡΡ β ΠΠΏΠΎΠΊΡΠΈΠ΄Π½ΡΠ΅ ΠΈΠ»ΠΈ Ρ
ΠΈΠΌΠΈΡΠ΅ΡΠΊΠΈΠ΅ ΠΏΠΎΠΊΡΡΡΠΈΡ Π½Π° ΡΠΈΠ»ΠΈΠ½Π΄ΡΠ΅ ΡΠ²Π»ΡΡΡΡΡ Π½Π΅Π΄ΠΎΡΠΎΠ³ΠΎΠΉ Π°Π»ΡΡΠ΅ΡΠ½Π°ΡΠΈΠ²ΠΎΠΉ ΡΠΈΠ»ΠΈΠ½Π΄ΡΠ°ΠΌ ΠΈΠ· Π½Π΅ΡΠΆΠ°Π²Π΅ΡΡΠ΅ΠΉ ΡΡΠ°Π»ΠΈ ΠΈΠ»ΠΈ Π»Π°ΡΡΠ½ΠΈ.
ΠΠ½ΠΎΠ³ΠΈΠ΅ ΠΏΡΠΎΠΈΠ·Π²ΠΎΠ΄ΠΈΡΠ΅Π»ΠΈ ΡΠΈΠ»ΠΈΠ½Π΄ΡΠΎΠ² ΡΠ°ΠΊΠΆΠ΅ ΠΏΡΠ΅Π΄Π»Π°Π³Π°ΡΡ Π²ΠΎΠ·ΠΌΠΎΠΆΠ½ΠΎΡΡΡ Π΄ΠΎΠ±Π°Π²Π»Π΅Π½ΠΈΡ ΠΏΠΎΡΡΠ½Π΅Π²ΠΎΠ³ΠΎ ΡΡΠΎΠΊΠ° ΠΈΠ· Π½Π΅ΡΠΆΠ°Π²Π΅ΡΡΠ΅ΠΉ ΡΡΠ°Π»ΠΈ, ΠΏΠΎΠ΄ΡΠΈΠΏΠ½ΠΈΠΊΠ°, ΡΡΡΠΆΠ΅ΠΊ ΠΈ Ρ. Π΄. ΠΊ Π°Π»ΡΠΌΠΈΠ½ΠΈΠ΅Π²ΠΎΠΌΡ ΡΠΈΠ»ΠΈΠ½Π΄ΡΡ. ΠΠ»Ρ Π½Π΅ΠΊΠΎΡΠΎΡΡΡ
ΠΏΡΠΈΠΌΠ΅Π½Π΅Π½ΠΈΠΉ, ΡΠ°ΠΊΠΈΡ
ΠΊΠ°ΠΊ ΠΏΠΈΡΠ΅Π²Π°Ρ ΠΏΡΠΎΠΌΡΡΠ»Π΅Π½Π½ΠΎΡΡΡ, ΠΌΠΎΠΆΠ΅Ρ ΠΏΠΎΡΡΠ΅Π±ΠΎΠ²Π°ΡΡΡΡ Ρ
ΠΈΠΌΠΈΡΠ΅ΡΠΊΠ°Ρ ΠΏΡΠΎΠΌΡΠ²ΠΊΠ°, Π΄Π»Ρ ΠΊΠΎΡΠΎΡΠΎΠΉ ΡΡΠ΅Π±ΡΠ΅ΡΡΡ ΡΠΈΠ»ΠΈΠ½Π΄Ρ, ΠΏΠΎΠ»Π½ΠΎΡΡΡΡ ΠΈΠ·Π³ΠΎΡΠΎΠ²Π»Π΅Π½Π½ΡΠΉ ΠΈΠ· Π½Π΅ΡΠΆΠ°Π²Π΅ΡΡΠ΅ΠΉ ΡΡΠ°Π»ΠΈ.
Specials β ΠΠ΅ Π²ΠΎ Π²ΡΠ΅Ρ
ΡΠ»ΡΡΠ°ΡΡ
ΠΌΠΎΠΆΠ½ΠΎ ΠΈΡΠΏΠΎΠ»ΡΠ·ΠΎΠ²Π°ΡΡ ΡΡΠ°Π½Π΄Π°ΡΡΠ½ΡΠΉ Π±Π°Π»Π»ΠΎΠ½ NFPA. ΠΡΠΎΠΈΠ·Π²ΠΎΠ΄ΠΈΡΠ΅Π»ΠΈ ΡΠΈΠ»ΠΈΠ½Π΄ΡΠΎΠ² ΡΠ°ΡΡΠΎ ΠΏΡΠ΅Π΄ΠΎΡΡΠ°Π²Π»ΡΡΡ ΡΠΏΠ΅ΡΠΈΠ°Π»ΡΠ½ΠΎ ΡΠ°Π·ΡΠ°Π±ΠΎΡΠ°Π½Π½ΡΠ΅ ΠΏΡΠΎΠ΄ΡΠΊΡΡ Π΄Π»Ρ ΡΠ΅ΡΠ΅Π½ΠΈΡ ΠΊΠΎΠ½ΠΊΡΠ΅ΡΠ½ΡΡ
Π·Π°Π΄Π°Ρ ΠΊΠ»ΠΈΠ΅Π½ΡΠΎΠ². ΠΠ΅ΡΡΠ°Π½Π΄Π°ΡΡΠ½ΡΠ΅ ΠΌΠΎΠ½ΡΠ°ΠΆΠ½ΡΠ΅ ΠΊΡΠΎΠ½ΡΡΠ΅ΠΉΠ½Ρ, ΡΠ΄Π»ΠΈΠ½ΠΈΡΠ΅Π»ΠΈ ΡΡΠ΅ΡΠΆΠ½Ρ ΠΈΠ»ΠΈ ΡΠ΅Π·ΡΠ±Ρ, Π° ΡΠ°ΠΊΠΆΠ΅ ΡΠΏΠ΅ΡΠΈΠ°Π»ΡΠ½ΡΠ΅ ΡΠΏΠ»ΠΎΡΠ½Π΅Π½ΠΈΡ ΡΠ²Π»ΡΡΡΡΡ ΠΏΡΠΈΠΌΠ΅ΡΠ°ΠΌΠΈ ΠΎΠΏΡΠΈΠΉ, ΠΊΠΎΡΠΎΡΡΠ΅ ΠΌΠΎΠ³ΡΡ ΠΏΡΠ΅Π΄Π»ΠΎΠΆΠΈΡΡ ΠΏΡΠΎΠΈΠ·Π²ΠΎΠ΄ΠΈΡΠ΅Π»ΠΈ. ΠΠ΅ ΡΡΠ΅ΡΠ½ΡΠΉΡΠ΅ΡΡ ΠΏΡΠΎΡΠΈΡΡ ΠΏΡΠΎΠ΄ΡΠΊΡ, ΡΠ°Π·ΡΠ°Π±ΠΎΡΠ°Π½Π½ΡΠΉ ΡΠΏΠ΅ΡΠΈΠ°Π»ΡΠ½ΠΎ Π΄Π»Ρ Π²Π°ΡΠ΅Π³ΠΎ ΠΎΠ±ΠΎΡΡΠ΄ΠΎΠ²Π°Π½ΠΈΡ, Π²ΠΌΠ΅ΡΡΠΎ ΡΠΎΠ³ΠΎ, ΡΡΠΎΠ±Ρ ΠΏΡΠΎΠ΅ΠΊΡΠΈΡΠΎΠ²Π°ΡΡ Π²Π°ΡΠ΅ ΠΎΠ±ΠΎΡΡΠ΄ΠΎΠ²Π°Π½ΠΈΠ΅ Π½Π° ΠΎΡΠ½ΠΎΠ²Π΅ ΡΡΠ°Π½Π΄Π°ΡΡΠ½ΠΎΠ³ΠΎ Π²ΠΎΠ·Π΄ΡΡΠ½ΠΎΠ³ΠΎ ΡΠΈΠ»ΠΈΠ½Π΄ΡΠ°.
2. ΠΡΠ°Π²ΠΈΠ»ΡΠ½ΡΠΉ ΡΠ°Π·ΠΌΠ΅Ρ ΠΏΠΎΡΡΠ½Π΅Π²ΠΎΠ³ΠΎ ΡΡΠΎΠΊΠ°
ΠΡΠ°Π²ΠΈΠ»ΡΠ½ΠΎ ΡΠΏΡΠΎΠ΅ΠΊΡΠΈΡΠΎΠ²Π°Π½Π½ΡΠ΅ ΠΈ Ρ
ΠΎΡΠΎΡΠΎ ΠΈΠ·Π³ΠΎΡΠΎΠ²Π»Π΅Π½Π½ΡΠ΅ ΡΠΈΠ»ΠΈΠ½Π΄ΡΡ ΠΏΡΠ΅Π΄Π»Π°Π³Π°ΡΡ Π½Π΅ΡΠΊΠΎΠ»ΡΠΊΠΎ Π΄ΠΈΠ°ΠΌΠ΅ΡΡΠΎΠ² ΡΡΠΎΠΊΠ° ΠΏΠΎΡΡΠ½Ρ Π² ΠΊΠ°ΡΠ΅ΡΡΠ²Π΅ ΡΡΠ°Π½Π΄Π°ΡΡΠ½ΡΡ
ΠΎΠΏΡΠΈΠΉ.
ΠΡ Π΄ΠΎΠ»ΠΆΠ½Ρ ΠΎΠΏΡΠ΅Π΄Π΅Π»ΠΈΡΡ ΠΏΡΠ°Π²ΠΈΠ»ΡΠ½ΡΠΉ ΡΠ°Π·ΠΌΠ΅Ρ Π΄ΠΈΠ°ΠΌΠ΅ΡΡΠ° ΡΡΠΎΠΊΠ° ΠΏΠΎΡΡΠ½Ρ Π΄Π»Ρ Π΄Π°Π½Π½ΠΎΠ³ΠΎ ΠΏΡΠΈΠΌΠ΅Π½Π΅Π½ΠΈΡ, ΡΡΠΎΠ±Ρ ΠΏΡΠ΅Π΄ΠΎΡΠ²ΡΠ°ΡΠΈΡΡ ΠΊΠΎΡΠΎΠ±Π»Π΅Π½ΠΈΠ΅ ΡΡΠΎΠΊΠ° ΡΠΈΠ»ΠΈΠ½Π΄ΡΠ° ΠΈΠ»ΠΈ ΠΏΠΎΠ»ΠΎΠΌΠΊΡ ΡΡΠΎΠΊΠ° ΡΠΈΠ»ΠΈΠ½Π΄ΡΠ°. ΠΡΠΎ Π»Π΅Π³ΠΊΠΎ ΡΠ΄Π΅Π»Π°ΡΡ, ΠΏΡΠ΅Π΄ΠΎΡΡΠ°Π²ΠΈΠ² ΠΈΠ½ΡΠΎΡΠΌΠ°ΡΠΈΡ ΠΎ ΠΏΡΠΈΠΌΠ΅Π½Π΅Π½ΠΈΠΈ ΠΈΠ·Π³ΠΎΡΠΎΠ²ΠΈΡΠ΅Π»Ρ Π±Π°Π»Π»ΠΎΠ½Π°. ΠΠ»ΠΈ Π²ΡΠΏΠΎΠ»Π½ΠΈΡΠ΅ ΡΠ°ΡΡΠ΅ΡΡ ΡΠ°ΠΌΠΎΡΡΠΎΡΡΠ΅Π»ΡΠ½ΠΎ, ΠΈΡΠΏΠΎΠ»ΡΠ·ΡΡ ΡΠΏΡΠ°Π²ΠΎΡΠ½ΡΠ΅ ΠΌΠ°ΡΠ΅ΡΠΈΠ°Π»Ρ, ΠΏΡΠ΅Π΄ΠΎΡΡΠ°Π²Π»Π΅Π½Π½ΡΠ΅ ΠΏΡΠΎΠΈΠ·Π²ΠΎΠ΄ΠΈΡΠ΅Π»Π΅ΠΌ Π±Π°Π»Π»ΠΎΠ½Π°.
3. ΠΠΎΠ»Π΅Π΅ Π²ΡΡΠΎΠΊΠΎΠ΅ Π΄Π°Π²Π»Π΅Π½ΠΈΠ΅ Π½Π΅ Π²ΡΠ΅Π³Π΄Π° ΠΆΠ΅Π»Π°ΡΠ΅Π»ΡΠ½ΠΎ
Π‘ΡΡΠ΅ΠΌΡΡΡ ΡΠ²Π΅Π»ΠΈΡΠΈΡΡ ΡΠΊΠΎΡΠΎΡΡΡ ΠΌΠ°ΡΠΈΠ½Ρ Ρ ΠΏΠ½Π΅Π²ΠΌΠ°ΡΠΈΡΠ΅ΡΠΊΠΈΠΌΠΈ ΡΠΈΠ»ΠΈΠ½Π΄ΡΠ°ΠΌΠΈ, ΠΎΠΏΠ΅ΡΠ°ΡΠΎΡ ΠΌΠΎΠΆΠ΅Ρ ΡΠ²Π΅Π»ΠΈΡΠΈΡΡ Π΄Π°Π²Π»Π΅Π½ΠΈΠ΅ Π²ΠΎΠ·Π΄ΡΡ
Π° Π² ΠΌΠ°ΡΠΈΠ½Π΅, ΡΠ΅ΠΌ ΡΠ°ΠΌΡΠΌ ΡΠ²Π΅Π»ΠΈΡΠΈΠ²Π°Ρ Π΄Π°Π²Π»Π΅Π½ΠΈΠ΅ ΠΈ Π½Π°Π³ΡΡΠ·ΠΊΡ Π½Π° ΡΠΈΠ»ΠΈΠ½Π΄ΡΡ, Π½ΠΎ Π½Π΅ ΠΎΠ±ΡΠ·Π°ΡΠ΅Π»ΡΠ½ΠΎ ΡΠ²Π΅Π»ΠΈΡΠΈΠ²Π°Ρ ΡΠΊΠΎΡΠΎΡΡΡ ΡΠΈΠΊΠ»Π°.
ΠΡΡΡΠΈΠΌ ΡΠΏΠΎΡΠΎΠ±ΠΎΠΌ ΡΠ²Π΅Π»ΠΈΡΠ΅Π½ΠΈΡ ΡΠΊΠΎΡΠΎΡΡΠΈ ΡΠΈΠΊΠ»Π° ΡΠ²Π»ΡΠ΅ΡΡΡ ΡΡΡΠ°Π½ΠΎΠ²ΠΊΠ° ΠΊΠ»Π°ΠΏΠ°Π½ΠΎΠ² Π±ΡΡΡΡΠΎΠ³ΠΎ Π²ΡΠΏΡΡΠΊΠ° Π½Π° ΠΎΡΠ²Π΅ΡΡΡΠΈΡΡ
ΡΠΈΠ»ΠΈΠ½Π΄ΡΠ°. ΠΡΠΎ ΠΏΠΎΠ·Π²ΠΎΠ»ΡΠ΅Ρ Π²ΠΎΠ·Π΄ΡΡ
Ρ, Π²ΡΡ
ΠΎΠ΄ΡΡΠ΅ΠΌΡ ΠΈΠ· ΡΠΈΠ»ΠΈΠ½Π΄ΡΠ°, Π²ΡΡ
ΠΎΠ΄ΠΈΡΡ ΠΏΡΡΠΌΠΎ Π² Π°ΡΠΌΠΎΡΡΠ΅ΡΡ Π½Π° ΠΌΠ΅ΡΡΠ΅ ΡΠΈΠ»ΠΈΠ½Π΄ΡΠ°, Π° Π½Π΅ ΡΠ΅ΡΠ΅Π· Π²ΡΠΏΡΡΠΊΠ½ΠΎΠ΅ ΠΎΡΠ²Π΅ΡΡΡΠΈΠ΅ ΠΊΠ»Π°ΠΏΠ°Π½Π°, ΠΊΠΎΡΠΎΡΠΎΠ΅ ΠΌΠΎΠΆΠ΅Ρ Π±ΡΡΡ ΡΠ°ΡΠΏΠΎΠ»ΠΎΠΆΠ΅Π½ΠΎ Π΄Π°Π»Π΅ΠΊΠΎ ΠΎΡ ΡΠ°ΠΌΠΎΠ³ΠΎ ΠΏΡΠΈΠ²ΠΎΠ΄Π°. Π§Π΅ΠΌ Π±ΡΡΡΡΠ΅Π΅ Π²ΠΎΠ·Π΄ΡΡ
Π²ΡΡ
ΠΎΠ΄ΠΈΡ ΠΈΠ· ΡΠΈΠ»ΠΈΠ½Π΄ΡΠ°, ΡΠ΅ΠΌ Π±ΡΡΡΡΠ΅Π΅ ΡΠ΅Π°Π³ΠΈΡΡΠ΅Ρ ΡΠΈΠ»ΠΈΠ½Π΄Ρ, ΡΠ΅ΠΌ ΡΠ°ΠΌΡΠΌ ΡΠ²Π΅Π»ΠΈΡΠΈΠ²Π°Ρ ΡΠΊΠΎΡΠΎΡΡΡ ΡΠΈΠ»ΠΈΠ½Π΄ΡΠ°.
ΠΡΠ»ΠΈ Π±ΡΡΡΡΠΎΠ΄Π΅ΠΉΡΡΠ²ΡΡΡΠΈΠ΅ Π²ΡΠΏΡΡΠΊΠ½ΡΠ΅ ΠΊΠ»Π°ΠΏΠ°Π½Ρ Π½Π΅ΡΠ΅Π»Π΅ΡΠΎΠΎΠ±ΡΠ°Π·Π½Ρ, Π΄ΡΡΠ³ΠΈΠΌ ΡΠΏΠΎΡΠΎΠ±ΠΎΠΌ ΡΠ²Π΅Π»ΠΈΡΠΈΡΡ Π²ΡΠ΅ΠΌΡ ΠΎΡΠΊΠ»ΠΈΠΊΠ° ΡΠΈΠ»ΠΈΠ½Π΄ΡΠ° ΡΠ²Π»ΡΠ΅ΡΡΡ ΡΠ°Π·ΠΌΠ΅ΡΠ΅Π½ΠΈΠ΅ ΡΠ΅Π³ΡΠ»ΠΈΡΡΡΡΠ΅Π³ΠΎ ΠΊΠ»Π°ΠΏΠ°Π½Π° ΠΊΠ°ΠΊ ΠΌΠΎΠΆΠ½ΠΎ Π±Π»ΠΈΠΆΠ΅ ΠΊ ΡΠΈΠ»ΠΈΠ½Π΄ΡΡ. Π£ΠΌΠ΅Π½ΡΡΠ΅Π½ΠΈΠ΅ Π΄Π»ΠΈΠ½Ρ ΡΡΡΠ±ΠΊΠΈ ΠΌΠ΅ΠΆΠ΄Ρ ΡΠΈΠ»ΠΈΠ½Π΄ΡΠΎΠΌ ΠΈ ΠΊΠ»Π°ΠΏΠ°Π½ΠΎΠΌ ΠΎΠ±ΡΡΠ½ΠΎ ΡΠ»ΡΡΡΠ°Π΅Ρ Π²ΡΠ΅ΠΌΡ ΡΠΈΠΊΠ»Π° ΡΠΈΠ»ΠΈΠ½Π΄ΡΠ°.
ΠΡΠΎΠΌΠ΅ ΡΠΎΠ³ΠΎ, ΡΠ½ΠΈΠΆΠ΅Π½ΠΈΠ΅ Π΄Π°Π²Π»Π΅Π½ΠΈΡ ΠΌΠΎΠΆΠ΅Ρ ΡΠ½ΠΈΠ·ΠΈΡΡ Π·Π°ΡΡΠ°ΡΡ. ΠΠ½ΠΎΠ³ΠΈΠ΅ Π»ΡΠ΄ΠΈ ΠΈΡΠΏΠΎΠ»ΡΠ·ΡΡΡ Π²ΠΎΠ·Π΄ΡΡΠ½ΡΠ΅ ΡΠΈΠ»ΠΈΠ½Π΄ΡΡ Ρ ΠΎΠ΄ΠΈΠ½Π°ΠΊΠΎΠ²ΡΠΌ Π΄Π°Π²Π»Π΅Π½ΠΈΠ΅ΠΌ Π΄Π»Ρ Π²ΡΠ΄Π²ΠΈΠΆΠ΅Π½ΠΈΡ ΠΈ Π²ΡΡΠ³ΠΈΠ²Π°Π½ΠΈΡ. ΠΠ°ΠΊ ΠΏΡΠ°Π²ΠΈΠ»ΠΎ, ΡΠΈΠ»ΠΈΠ½Π΄Ρ Π²ΡΠΏΠΎΠ»Π½ΡΠ΅Ρ ΡΠ°Π±ΠΎΡΡ ΡΠΎΠ»ΡΠΊΠΎ Π² ΠΎΠ΄Π½ΠΎΠΌ Π½Π°ΠΏΡΠ°Π²Π»Π΅Π½ΠΈΠΈ. ΠΡΠΎ Π½Π°ΠΏΡΠ°Π²Π»Π΅Π½ΠΈΠ΅, Π³Π΄Π΅ ΡΡΠ΅Π±ΡΠ΅ΡΡΡ ΠΌΠ°ΠΊΡΠΈΠΌΠ°Π»ΡΠ½Π°Ρ ΡΠΈΠ»Π°. ΠΡΠΈ Π²ΠΎΠ·Π²ΡΠ°ΡΠ΅ ΡΠΈΠ»ΠΈΠ½Π΄ΡΠ° Π² ΠΎΠ±ΡΠ°ΡΠ½ΠΎΠΌ Π½Π°ΠΏΡΠ°Π²Π»Π΅Π½ΠΈΠΈ ΠΏΡΠΈΠΊΠ»Π°Π΄ΡΠ²Π°Π΅ΡΡΡ ΠΌΠ°ΠΊΡΠΈΠΌΠ°Π»ΡΠ½ΠΎΠ΅ ΡΡΠΈΠ»ΠΈΠ΅, Π½ΠΎ Π½Π΅ ΡΡΠ΅Π±ΡΠ΅ΡΡΡ. Π Π°Π±ΠΎΡΠ° ΡΠΈΠ»ΠΈΠ½Π΄ΡΠ° ΠΌΠ°ΡΠΈΠ½Ρ Ρ Π½Π°ΡΡΡΠΎΠΉΠΊΠΎΠΉ Π΄Π²ΡΡ
Π΄Π°Π²Π»Π΅Π½ΠΈΠΉ ΠΈΡΠΏΠΎΠ»ΡΠ·ΡΠ΅Ρ Π²ΡΡΠΎΠΊΠΎΠ΅ Π΄Π°Π²Π»Π΅Π½ΠΈΠ΅ Π΄Π»Ρ ΡΠ°Π±ΠΎΡΠ΅Π³ΠΎ Ρ
ΠΎΠ΄Π° ΠΈ Π±ΠΎΠ»Π΅Π΅ Π½ΠΈΠ·ΠΊΠΎΠ΅ Π΄Π°Π²Π»Π΅Π½ΠΈΠ΅ Π΄Π»Ρ ΠΎΠ±ΡΠ°ΡΠ½ΠΎΠ³ΠΎ Ρ
ΠΎΠ΄Π°. ΠΡΠΎ ΡΠΌΠ΅Π½ΡΡΠ°Π΅Ρ ΠΊΠΎΠ»ΠΈΡΠ΅ΡΡΠ²ΠΎ ΡΠΆΠ°ΡΠΎΠ³ΠΎ Π²ΠΎΠ·Π΄ΡΡ
Π°, ΠΈΡΠΏΠΎΠ»ΡΠ·ΡΠ΅ΠΌΠΎΠ³ΠΎ Π΄Π»Ρ ΠΎΠ±ΡΠ°ΡΠ½ΠΎΠ³ΠΎ Ρ
ΠΎΠ΄Π°, ΠΈ ΡΠ½ΠΈΠΆΠ°Π΅Ρ Π½Π°Π³ΡΡΠ·ΠΊΡ Π½Π° Π²ΠΎΠ·Π΄ΡΡΠ½ΡΠΉ ΠΊΠΎΠΌΠΏΡΠ΅ΡΡΠΎΡ. ΠΡΠΎ ΡΠ°ΠΊΠΆΠ΅ ΡΠ½ΠΈΠΆΠ°Π΅Ρ Π·Π°ΡΡΠ°ΡΡ Π½Π° ΡΠΊΡΠΏΠ»ΡΠ°ΡΠ°ΡΠΈΡ ΠΊΠΎΠΌΠΏΡΠ΅ΡΡΠΎΡΠ°, ΡΠ½ΠΈΠΆΠ°Π΅Ρ ΡΠΊΡΠΏΠ»ΡΠ°ΡΠ°ΡΠΈΠΎΠ½Π½ΡΠ΅ ΡΠ°ΡΡ
ΠΎΠ΄Ρ ΠΈ ΠΏΡΠΎΠ΄Π»Π΅Π²Π°Π΅Ρ ΡΡΠΎΠΊ ΡΠ»ΡΠΆΠ±Ρ ΠΊΠΎΠΌΠΏΡΠ΅ΡΡΠΎΡΠ°.
4. ΠΡΠ±Π΅ΡΠΈΡΠ΅ ΠΏΡΠ°Π²ΠΈΠ»ΡΠ½ΡΡ ΠΊΠΎΠ½ΡΠΈΠ³ΡΡΠ°ΡΠΈΡ ΠΌΠΎΠ½ΡΠ°ΠΆΠ°
ΠΠ±ΡΠ·Π°ΡΠ΅Π»ΡΠ½ΠΎ ΡΡΠΈΡΡΠ²Π°ΠΉΡΠ΅ Π»ΡΠ±ΡΠ΅ ΡΠΌΠ΅ΡΠ΅Π½Π½ΡΠ΅ ΠΎΡ ΡΠ΅Π½ΡΡΠ° Π½Π°Π³ΡΡΠ·ΠΊΠΈ, ΠΊΠΎΡΠΎΡΡΠ΅ ΠΌΠΎΠ³ΡΡ Π±ΡΡΡ ΠΏΡΠΈΠ»ΠΎΠΆΠ΅Π½Ρ Π²ΠΎ Π²ΡΠ΅ΠΌΡ ΡΠ°Π±ΠΎΡΡ ΡΠΈΠ»ΠΈΠ½Π΄ΡΠ°. ΠΠ°ΠΊ ΡΠΎΠ»ΡΠΊΠΎ Π²Ρ ΠΎΠΏΡΠ΅Π΄Π΅Π»ΠΈΡΠ΅, ΠΏΠ΅ΡΠ΅ΠΌΠ΅ΡΠ°Π΅ΡΡΡ Π»ΠΈ Π³ΡΡΠ· Π²Π΅ΡΡΠΈΠΊΠ°Π»ΡΠ½ΠΎ, Π³ΠΎΡΠΈΠ·ΠΎΠ½ΡΠ°Π»ΡΠ½ΠΎ ΠΈΠ»ΠΈ ΠΏΠΎ Π΄ΡΠ³Π΅, ΡΡΠΎ Π±ΡΠ΄Π΅Ρ ΠΎΠΏΡΠ΅Π΄Π΅Π»ΡΡΡ Π²ΡΠ±ΠΎΡ ΠΏΡΠ°Π²ΠΈΠ»ΡΠ½ΠΎΠ³ΠΎ ΡΠΏΠΎΡΠΎΠ±Π° ΠΌΠΎΠ½ΡΠ°ΠΆΠ°.
Π Π°Π·ΡΠ°Π±ΠΎΡΠ°ΠΉΡΠ΅ ΠΏΡΠΈΠ»ΠΎΠΆΠ΅Π½ΠΈΠ΅ Ρ ΠΏΡΠ°Π²ΠΈΠ»ΡΠ½ΡΠΌ ΡΠΏΠΎΡΠΎΠ±ΠΎΠΌ ΡΡΡΠ°Π½ΠΎΠ²ΠΊΠΈ ΡΠΈΠ»ΠΈΠ½Π΄ΡΠ°, ΡΡΠΎΠ±Ρ ΠΎΠ±Π΅ΡΠΏΠ΅ΡΠΈΡΡ ΠΏΡΠ°Π²ΠΈΠ»ΡΠ½ΡΡ ΡΠ°Π±ΠΎΡΡ ΠΈ ΠΎΠΆΠΈΠ΄Π°Π΅ΠΌΡΠΉ ΡΡΠΎΠΊ ΡΠ»ΡΠΆΠ±Ρ Π²ΠΎΠ·Π΄ΡΡΠ½ΠΎΠ³ΠΎ ΡΠΈΠ»ΠΈΠ½Π΄ΡΠ°. Π¦ΠΈΠ»ΠΈΠ½Π΄ΡΡ, ΠΌΠΎΠ½ΡΠΈΡΡΠ΅ΠΌΡΠ΅ Π½Π° Π»Π°ΠΏΠ°Ρ ΠΈΠ»ΠΈ Ρ ΡΠ»Π°Π½ΡΠ΅ΠΌ, ΠΌΠΎΠ³ΡΡ Π±ΡΡΡ ΠΏΡΠΎΡΡΡ Π² ΠΏΡΠΎΠ΅ΠΊΡΠΈΡΠΎΠ²Π°Π½ΠΈΠΈ ΠΈ ΡΡΡΠ°Π½ΠΎΠ²ΠΊΠ΅. ΠΠΎΠ΄ΡΠΌΠ°ΠΉΡΠ΅, Π΅ΡΡΡ Π»ΠΈ Π²Π΅ΡΠΎΡΡΠ½ΠΎΡΡΡ Π½Π΅ΡΠ΅Π½ΡΡΠ°Π»ΡΠ½ΠΎΠΉ Π½Π°Π³ΡΡΠ·ΠΊΠΈ Π½Π° ΡΡΠΎΠΊ ΠΏΠΎΡΡΠ½Ρ. ΠΡΠ»ΠΈ ΡΡΠΎ ΡΠ°ΠΊ, Π·Π°Π΄Π½Π΅Π΅ ΠΊΡΠ΅ΠΏΠ»Π΅Π½ΠΈΠ΅ Π½Π° ΡΠΊΠΎΠ±Π΅ ΠΈΠ»ΠΈ ΡΠ°ΠΏΡΠ΅ ΠΌΠΎΠΆΠ΅Ρ ΠΏΡΠΈΠ΄Π°ΡΡ ΡΠΈΠ»ΠΈΠ½Π΄ΡΡ Π³ΠΈΠ±ΠΊΠΎΡΡΡ Π²ΡΡΠ°Π²Π½ΠΈΠ²Π°Π½ΠΈΡ, Π½Π΅ΠΎΠ±Ρ ΠΎΠ΄ΠΈΠΌΡΡ Π΄Π»Ρ ΠΏΡΠ΅Π΄ΠΎΡΠ²ΡΠ°ΡΠ΅Π½ΠΈΡ Π±ΠΎΠΊΠΎΠ²ΠΎΠΉ Π½Π°Π³ΡΡΠ·ΠΊΠΈ Π½Π° ΡΡΠΎΠΊ ΡΠΈΠ»ΠΈΠ½Π΄ΡΠ°, ΡΠ½ΠΈΠΆΠ΅Π½ΠΈΡ ΠΈΠ·Π½ΠΎΡΠ° ΠΈ ΡΠ²Π΅Π»ΠΈΡΠ΅Π½ΠΈΡ ΡΡΠΎΠΊΠ° ΡΠ»ΡΠΆΠ±Ρ ΡΠΈΠ»ΠΈΠ½Π΄ΡΠ°.
5. ΠΠ½Π°ΠΉ ΡΠ²ΠΎΠΈ Π½Π°Π³ΡΡΠ·ΠΊΠΈ
ΠΡΠ»ΠΈ Π³ΡΡΠ· Π½Π΅ ΠΏΠΎΠ΄Π½ΠΈΠΌΠ°Π΅ΡΡΡ Π²Π΅ΡΡΠΈΠΊΠ°Π»ΡΠ½ΠΎ, ΠΌΠΎΠΆΠ΅Ρ Π±ΡΡΡ Π΄ΠΎΠ²ΠΎΠ»ΡΠ½ΠΎ ΡΠ»ΠΎΠΆΠ½ΠΎ ΠΎΠΏΡΠ΅Π΄Π΅Π»ΠΈΡΡ ΡΠ°ΠΊΡΠΈΡΠ΅ΡΠΊΡΡ ΡΠ°ΡΡΠΌΠ°ΡΡΠΈΠ²Π°Π΅ΠΌΡΡ Π½Π°Π³ΡΡΠ·ΠΊΡ.
Π Π°ΡΡΠ΅Ρ ΠΏΠΎΡΠ΅ΡΠΈ ΡΠΈΠ»Ρ ΠΈΠ·-Π·Π° ΡΡΠ΅Π½ΠΈΡ ΡΠΊΠΎΠ»ΡΠΆΠ΅Π½ΠΈΡ ΡΠ°ΠΊΠΆΠ΅ ΠΌΠΎΠΆΠ΅Ρ Π±ΡΡΡ ΡΠ»ΠΎΠΆΠ½ΠΎΠΉ Π·Π°Π΄Π°ΡΠ΅ΠΉ. ΠΡΠ»ΠΈ Π²Ρ ΠΏΡΠΎΠΈΠ·Π²ΠΎΠ΄ΠΈΡΠ΅ ΡΠ°ΡΡΠ΅Ρ Π΄Π»Ρ ΡΡΡΠ΅ΡΡΠ²ΡΡΡΠ΅Π³ΠΎ ΠΏΡΠΈΠ»ΠΎΠΆΠ΅Π½ΠΈΡ, ΠΎΠ±ΡΠ·Π°ΡΠ΅Π»ΡΠ½ΠΎ ΠΈΠ·ΠΌΠ΅ΡΡΡΠ΅ Π½Π΅ΠΎΠ±Ρ
ΠΎΠ΄ΠΈΠΌΠΎΠ΅ ΡΡΠΈΠ»ΠΈΠ΅. ΠΡΠ»ΠΈ Π²Ρ ΡΠ°ΡΡΡΠΈΡΡΠ²Π°Π΅ΡΠ΅ Π΄Π»Ρ ΡΠΎΠ²Π΅ΡΡΠ΅Π½Π½ΠΎ Π½ΠΎΠ²ΠΎΠ³ΠΎ ΠΏΡΠΈΠ»ΠΎΠΆΠ΅Π½ΠΈΡ, ΠΏΡΠΎΠ²Π΅Π΄ΠΈΡΠ΅ ΠΊΠ°ΠΊ ΠΌΠΎΠΆΠ½ΠΎ Π±ΠΎΠ»ΡΡΠ΅ ΡΠΈΠ·ΠΈΡΠ΅ΡΠΊΠΈΡ
ΡΠΊΡΠΏΠ΅ΡΠΈΠΌΠ΅Π½ΡΠΎΠ², ΡΡΠΎΠ±Ρ ΠΏΡΠΎΠ²Π΅ΡΠΈΡΡ ΡΠ°ΡΡΠ΅ΡΡ.
ΠΠΎΠ½ΡΡΡΡΠΊΡΠΈΠΈ ΠΎΠ±ΡΡΠ½ΠΎ Π΄ΠΎΠ»ΠΆΠ½Ρ ΡΠ²ΠΎΠ΄ΠΈΡΡ ΠΊ ΠΌΠΈΠ½ΠΈΠΌΡΠΌΡ ΠΌΠΎΠΌΠ΅Π½ΡΠ½ΡΡ Π½Π°Π³ΡΡΠ·ΠΊΡ, ΠΊΠΎΡΠΎΡΠ°Ρ ΠΌΠΎΠΆΠ΅Ρ Π²ΡΠ·Π²Π°ΡΡ ΠΏΡΠ΅ΠΆΠ΄Π΅Π²ΡΠ΅ΠΌΠ΅Π½Π½ΡΠΉ Π²ΡΡ ΠΎΠ΄ ΡΠΈΠ»ΠΈΠ½Π΄ΡΠ° ΠΈΠ· ΡΡΡΠΎΡ. ΠΠ΅ΠΊΠΎΡΠΎΡΡΠ΅ ΡΠΈΠΏΡ ΡΠΈΠ»ΠΈΠ½Π΄ΡΠΎΠ² ΠΌΠΎΠ³ΡΡ Π²ΡΠ΄Π΅ΡΠΆΠΈΠ²Π°ΡΡ Π±ΠΎΠ»Π΅Π΅ Π²ΡΡΠΎΠΊΠΈΠ΅ ΠΌΠΎΠΌΠ΅Π½ΡΠ½ΡΠ΅ Π½Π°Π³ΡΡΠ·ΠΊΠΈ, ΡΠ΅ΠΌ Π΄ΡΡΠ³ΠΈΠ΅. ΠΠ»Ρ ΡΠ΅Ρ , ΠΊΠΎΠΌΡ ΡΡΠ΅Π±ΡΡΡΡΡ Π±ΠΎΠ»ΡΡΠΈΠ΅ Π²ΠΎΠ·ΠΌΠΎΠΆΠ½ΠΎΡΡΠΈ, Π²Π°ΠΌ ΠΌΠΎΠΆΠ΅Ρ ΠΏΠΎΡΡΠ΅Π±ΠΎΠ²Π°ΡΡΡΡ Π²ΠΊΠ»ΡΡΠΈΡΡ ΡΡΠΎΠΏΠΎΡΠ½ΡΡ ΡΡΡΠ±ΠΊΡ, ΡΡΠΎΠ±Ρ ΠΏΡΠΎΠ΄Π»ΠΈΡΡ ΡΡΠΎΠΊ ΡΠ»ΡΠΆΠ±Ρ ΡΠΈΠ»ΠΈΠ½Π΄ΡΠ°.
6. ΠΠ°ΠΌΠ΅Π΄Π»ΠΈΡΡ Π½Π°Π³ΡΡΠ·ΠΊΡ
ΠΡΠ΅ ΡΠΈΠ»ΠΈΠ½Π΄ΡΡ ΠΌΠΎΠ³ΡΡ ΡΡΠΊΠΎΡΡΡΡ Π½Π°Π³ΡΡΠ·ΠΊΡ, ΠΎΠ΄Π½Π°ΠΊΠΎ Π½Π΅ Π²ΡΠ΅ ΠΌΠΎΠ³ΡΡ ΡΡΡΠ΅ΠΊΡΠΈΠ²Π½ΠΎ Π·Π°ΠΌΠ΅Π΄Π»ΡΡΡ Π½Π°Π³ΡΡΠ·ΠΊΡ. ΠΠ°Π³ΡΡΠ·ΠΊΠ° ΠΌΠΎΠΆΠ΅Ρ Π±ΡΡΡ ΠΎΡΡΠ°Π½ΠΎΠ²Π»Π΅Π½Π° ββΡΠ΄Π°ΡΠΎΠΌ ΠΏΠΎΡΡΠ½Ρ ΠΎ ΡΠΎΡΡΠ΅Π²ΡΡ ΠΊΡΡΡΠΊΡ ΠΈΠ»ΠΈ Π·Π°ΠΌΠ΅Π΄Π»Π΅Π½Π° Π²ΠΎΠ·Π΄ΡΡΠ½ΡΠΌΠΈ ΠΏΠΎΠ΄ΡΡΠΊΠ°ΠΌΠΈ, ΡΠΏΠ»ΠΎΡΠ½Π΅Π½ΠΈΡΠΌΠΈ, Π³Π°ΡΡΡΠΈΠΌΠΈ ΡΠ΄Π°ΡΡ, ΠΈ Π²Π½Π΅ΡΠ½ΠΈΠΌΠΈ ΡΠ΄Π°ΡΠ°ΠΌΠΈ.
ΠΠ°ΠΊ ΡΠΏΠΎΠΌΠΈΠ½Π°Π»ΠΎΡΡ Π²ΡΡΠ΅, Π²ΡΡΡΠΎΠ΅Π½Π½ΡΠ΅ ΠΏΠΎΠ΄ΡΡΠΊΠΈ ΠΏΠ½Π΅Π²ΠΌΠ°ΡΠΈΡΠ΅ΡΠΊΠΈΡ
ΡΠΈΠ»ΠΈΠ½Π΄ΡΠΎΠ² ΡΡΡΠ΅ΠΊΡΠΈΠ²Π½ΠΎ ΡΠ½ΠΈΠΆΠ°ΡΡ ΡΠΊΠΎΡΠΎΡΡΡ ΠΏΠΎΡΡΠ½Ρ Π² ΠΊΠΎΠ½ΡΠ΅ Ρ
ΠΎΠ΄Π° ΡΠΈΠ»ΠΈΠ½Π΄ΡΠ° ΠΈ ΡΠ½ΠΈΠΆΠ°ΡΡ ΡΠ°Π·ΡΡΡΠΈΡΠ΅Π»ΡΠ½ΠΎΠ΅ Π²ΠΎΠ·Π΄Π΅ΠΉΡΡΠ²ΠΈΠ΅ Π½Π° ΠΌΠ΅Ρ
Π°Π½ΠΈΠ·ΠΌΡ.
Π Π°Π·ΠΌΠ΅Ρ Π°ΠΌΠΎΡΡΠΈΠ·Π°ΡΠΎΡΠΎΠ² Π·Π°Π²ΠΈΡΠΈΡ ΠΎΡ ΡΠΊΠΎΡΠΎΡΡΠ½ΠΎΠΉ Π½Π°Π³ΡΡΠ·ΠΊΠΈ, ΡΠΊΠΎΡΠΎΡΡΠΈ ΠΏΡΠΈΠ²ΠΎΠ΄Π° ΠΈ ΠΎΡΠΈΠ΅Π½ΡΠ°ΡΠΈΠΈ.
7. ΠΠ΅ Π·Π°Π±ΡΠ΄ΡΡΠ΅ ΠΏΡΠΎ Π²ΠΎΠ·Π΄ΡΡ
Π§ΠΈΡΡΡΠΉ, ΡΡΡ
ΠΎΠΉ, Π° ΠΈΠ½ΠΎΠ³Π΄Π° ΠΈ ΡΠΌΠ°Π·Π°Π½Π½ΡΠΉ ΡΠΆΠ°ΡΡΠΉ Π²ΠΎΠ·Π΄ΡΡ
ΡΡΠ΅Π±ΡΠ΅ΡΡΡ Π΄Π»Ρ ΠΎΠΏΡΠΈΠΌΠ°Π»ΡΠ½ΠΎΠΉ ΡΠ°Π±ΠΎΡΡ ΠΈ ΡΡΠΎΠΊΠ° ΡΠ»ΡΠΆΠ±Ρ ΡΠΈΠ»ΠΈΠ½Π΄ΡΠ°. ΠΠΎ, Π² ΠΎΡΠ»ΠΈΡΠΈΠ΅ ΠΎΡ Π³ΠΈΠ΄ΡΠ°Π²Π»ΠΈΡΠ΅ΡΠΊΠΈΡ
ΠΆΠΈΠ΄ΠΊΠΎΡΡΠ΅ΠΉ, Π²ΠΎΠ·Π΄ΡΡ
ΠΌΠ΅Π½Π΅Π΅ ΠΏΡΠ΅Π΄ΡΠΊΠ°Π·ΡΠ΅ΠΌ Π² Π΄ΠΈΠ½Π°ΠΌΠΈΡΠ΅ΡΠΊΠΎΠΌ Π΄Π²ΠΈΠΆΠ΅Π½ΠΈΠΈ ΡΠΈΠ»ΠΈΠ½Π΄ΡΠΎΠ², ΠΏΠΎΡΡΠΎΠΌΡ Π²ΡΠ±ΠΈΡΠ°ΠΉΡΠ΅ Π΅Π³ΠΎ Ρ Π·Π°ΠΏΠ°ΡΠΎΠΌ. Π ΡΠ΅ΡΠ΅Π½ΠΈΠ΅ Π΄ΠΎΠ»ΠΆΠ½Π° Π±ΡΡΡ Π·Π°Π»ΠΎΠΆΠ΅Π½Π° Π°Π΄Π΅ΠΊΠ²Π°ΡΠ½Π°Ρ Π΄ΠΎΠΏΠΎΠ»Π½ΠΈΡΠ΅Π»ΡΠ½Π°Ρ ΡΠΈΠ»Π°, ΡΡΠΎΠ±Ρ ΡΡΠ΅ΡΡΡ ΡΡΡ ΠΌΠ΅Π½Π΅Π΅ ΠΏΡΠ΅Π΄ΡΠΊΠ°Π·ΡΠ΅ΠΌΡΡ ΡΡΠ΅Π΄Ρ.
8. ΠΡ Π² Π±Π΅Π·ΠΎΠΏΠ°ΡΠ½ΠΎΡΡΠΈ?
Π Π½Π΅ΠΊΠΎΡΠΎΡΡΡ
ΠΏΡΠΈΠ»ΠΎΠΆΠ΅Π½ΠΈΡΡ
ΡΡΠ΅Π±ΡΠ΅ΡΡΡ, ΡΡΠΎΠ±Ρ Π²ΠΎΠ·Π΄ΡΡΠ½ΡΠΉ ΡΠΈΠ»ΠΈΠ½Π΄Ρ ΠΏΠ΅ΡΠ΅ΠΌΠ΅ΡΠ°Π»ΡΡ Π² Π±Π΅Π·ΠΎΠΏΠ°ΡΠ½ΠΎΠ΅ ΠΏΠΎΠ»ΠΎΠΆΠ΅Π½ΠΈΠ΅ ΠΏΡΠΈ ΠΏΠΎΡΠ΅ΡΠ΅ Π΄Π°Π²Π»Π΅Π½ΠΈΡ Π²ΠΎΠ·Π΄ΡΡ
Π°. ΠΠΌΠ΅ΡΡΠΎ ΡΠΎΠ³ΠΎ, ΡΡΠΎΠ±Ρ ΠΎΡΡΠ°Π½Π°Π²Π»ΠΈΠ²Π°ΡΡΡΡ Π² ΡΠ΅ΡΠ΅Π΄ΠΈΠ½Π΅ Ρ
ΠΎΠ΄Π° ΠΏΡΠΈ ΠΏΠΎΡΠ΅ΡΠ΅ Π΄Π°Π²Π»Π΅Π½ΠΈΡ Π²ΠΎΠ·Π΄ΡΡ
Π°, Π² Π½Π΅ΠΊΠΎΡΠΎΡΡΡ
ΡΠΈΡΡΠ°ΡΠΈΡΡ
ΡΡΠ΅Π±ΡΠ΅ΡΡΡ, ΡΡΠΎΠ±Ρ ΡΠΈΠ»ΠΈΠ½Π΄Ρ ΠΏΠ΅ΡΠ΅ΠΌΠ΅ΡΡΠΈΠ»ΡΡ Π² ΠΏΠΎΠ»Π½ΠΎΡΡΡΡ Π²ΡΠ΄Π²ΠΈΠ½ΡΡΠΎΠ΅ ΠΈΠ»ΠΈ ΠΏΠΎΠ»Π½ΠΎΡΡΡΡ Π²ΡΡΠ½ΡΡΠΎΠ΅ ΠΏΠΎΠ»ΠΎΠΆΠ΅Π½ΠΈΠ΅ ΠΏΡΠΈ ΠΏΠΎΡΠ΅ΡΠ΅ Π΄Π°Π²Π»Π΅Π½ΠΈΡ Π²ΠΎΠ·Π΄ΡΡ
Π° Π² ΡΠΈΡΡΠ΅ΠΌΠ΅.
ΠΡΠΎΠ³ΠΎ Π»Π΅Π³ΠΊΠΎ Π΄ΠΎΠ±ΠΈΡΡΡΡ Ρ ΠΏΠΎΠΌΠΎΡΡΡ ΠΏΠ½Π΅Π²ΠΌΠΎΡΠΈΠ»ΠΈΠ½Π΄ΡΠ° Ρ Π²ΡΠ΄Π²ΠΈΠ½ΡΡΠΎΠΉ ΠΈΠ»ΠΈ Π²ΡΡΠ½ΡΡΠΎΠΉ ΠΏΡΡΠΆΠΈΠ½ΠΎΠΉ. Π Π°Π·ΡΠ°Π±ΠΎΡΠ°Π½Π½ΡΠΉ Π΄Π»Ρ Π½ΠΎΡΠΌΠ°Π»ΡΠ½ΠΎΠΉ ΡΠ°Π±ΠΎΡΡ Π² ΠΊΠ°ΡΠ΅ΡΡΠ²Π΅ ΠΏΠ½Π΅Π²ΠΌΠ°ΡΠΈΡΠ΅ΡΠΊΠΎΠ³ΠΎ ΡΠΈΠ»ΠΈΠ½Π΄ΡΠ° Π΄Π²ΠΎΠΉΠ½ΠΎΠ³ΠΎ Π΄Π΅ΠΉΡΡΠ²ΠΈΡ, ΠΏΡΡΠΆΠΈΠ½Π½ΡΠΉ ΡΠΈΠ»ΠΈΠ½Π΄Ρ ΠΏΠ΅ΡΠ΅ΠΌΠ΅ΡΠ°Π΅ΡΡΡ Π² ΠΏΠΎΠ»Π½ΠΎΡΡΡΡ Π²ΡΠ΄Π²ΠΈΠ½ΡΡΠΎΠ΅ ΠΈΠ»ΠΈ ΠΏΠΎΠ»Π½ΠΎΡΡΡΡ Π²ΡΡΠ½ΡΡΠΎΠ΅ ΠΏΠΎΠ»ΠΎΠΆΠ΅Π½ΠΈΠ΅ ΠΏΡΠΈ ΠΏΠΎΡΠ΅ΡΠ΅ Π΄Π°Π²Π»Π΅Π½ΠΈΡ Π²ΠΎΠ·Π΄ΡΡ
Π°.
ΠΡΠΎΠ±ΠΎΠ΅ Π²Π½ΠΈΠΌΠ°Π½ΠΈΠ΅ ΡΠ»Π΅Π΄ΡΠ΅Ρ ΡΠ΄Π΅Π»ΠΈΡΡ ΠΏΡΠ΅ΠΎΠ΄ΠΎΠ»Π΅Π½ΠΈΡ ΠΏΡΠΎΡΠΈΠ²ΠΎΠ΄Π΅ΠΉΡΡΠ²ΡΡΡΠΈΡ
ΡΠΈΠ» ΠΏΡΠΈ ΠΏΠ°Π΄Π΅Π½ΠΈΠΈ Π΄Π°Π²Π»Π΅Π½ΠΈΡ ΠΈ ΡΠΆΠ°ΡΠΈΠΈ ΠΏΡΡΠΆΠΈΠ½Ρ Π²ΠΎ Π²ΡΠ΅ΠΌΡ Π½ΠΎΡΠΌΠ°Π»ΡΠ½ΠΎΠΉ ΡΠ°Π±ΠΎΡΡ. ΠΠ²Π°Π»ΠΈΡΠΈΡΠΈΡΠΎΠ²Π°Π½Π½ΡΠΉ ΠΏΡΠΎΠΈΠ·Π²ΠΎΠ΄ΠΈΡΠ΅Π»Ρ ΡΠΈΠ»ΠΈΠ½Π΄ΡΠΎΠ² ΠΌΠΎΠΆΠ΅Ρ ΠΏΠΎΠΌΠΎΡΡ Π²Π°ΠΌ ΠΎΠΏΡΠ΅Π΄Π΅Π»ΠΈΡΡ Π½Π°ΠΈΠ»ΡΡΡΡΡ ΠΊΠΎΠ½ΡΡΡΡΠΊΡΠΈΡ Π΄Π»Ρ ΠΏΡΠΈΠΌΠ΅Π½Π΅Π½ΠΈΡ.
Π¦ΠΈΠ»ΠΈΠ½Π΄ΡΡ ΡΠΎ Π²ΡΡΡΠΎΠ΅Π½Π½ΡΠΌΠΈ ΡΡΡΡΠΎΠΉΡΡΠ²Π°ΠΌΠΈ Π±Π»ΠΎΠΊΠΈΡΠΎΠ²ΠΊΠΈ ΡΡΠΎΠΊΠ° ΠΏΠΎΡΡΠ½Ρ ΠΌΠΎΠ³ΡΡ ΠΏΡΠ΅Π΄ΠΎΡΠ²ΡΠ°ΡΠΈΡΡ ΠΏΠ΅ΡΠ΅ΠΌΠ΅ΡΠ΅Π½ΠΈΠ΅ Π³ΡΡΠ·Π° ΠΏΠΎΠ΄ Π΄Π΅ΠΉΡΡΠ²ΠΈΠ΅ΠΌ ΡΠΈΠ»Ρ ΡΡΠΆΠ΅ΡΡΠΈ ΠΈΠ»ΠΈ Π²ΡΡΠ²ΠΎΠ±ΠΎΠΆΠ΄Π΅Π½ΠΈΡ Π½Π°ΠΊΠΎΠΏΠ»Π΅Π½Π½ΠΎΠΉ Π² ΡΠΈΡΡΠ΅ΠΌΠ΅ ΡΠ½Π΅ΡΠ³ΠΈΠΈ. ΠΡΠΈ ΠΎΡΡΡΡΡΡΠ²ΠΈΠΈ Π΄Π°Π²Π»Π΅Π½ΠΈΡ Π²ΠΎΠ·Π΄ΡΡ Π° ΡΡΠΎΠΊ ΠΏΠΎΡΡΠ½Ρ Π·Π°ΠΆΠΈΠΌΠ°Π΅ΡΡΡ ΠΈ ΡΠ΄Π΅ΡΠΆΠΈΠ²Π°Π΅ΡΡΡ Π½Π° ΠΌΠ΅ΡΡΠ΅, ΡΡΠΎ ΡΠ½ΠΈΠΆΠ°Π΅Ρ Π²Π΅ΡΠΎΡΡΠ½ΠΎΡΡΡ ΡΡΠ°Π²ΠΌΠΈΡΠΎΠ²Π°Π½ΠΈΡ ΠΏΠ΅ΡΡΠΎΠ½Π°Π»Π°.
9. ΠΠΎΠ»ΡΡΠΈΡΡ (ΠΏΡΠΎΠΏΠΎΡΡΠΈΠΎΠ½Π°Π»ΡΠ½ΠΎΠ΅) ΡΠΏΡΠ°Π²Π»Π΅Π½ΠΈΠ΅
ΠΠΎΠ»ΡΡΠΈΠ½ΡΡΠ²ΠΎ ΠΏΠ½Π΅Π²ΠΌΠΎΡΠΈΠ»ΠΈΠ½Π΄ΡΠΎΠ² ΠΈΡΠΏΠΎΠ»ΡΠ·ΡΡΡΡΡ ΡΠΎΠ»ΡΠΊΠΎ Π² Π΄Π²ΡΡ
ΠΏΠΎΠ»ΠΎΠΆΠ΅Π½ΠΈΡΡ
: ΠΏΠΎΠ»Π½ΠΎΡΡΡΡ Π²ΡΠ΄Π²ΠΈΠ½ΡΡΠΎΠΌ ΠΈΠ»ΠΈ ΠΏΠΎΠ»Π½ΠΎΡΡΡΡ Π²ΡΡΠ½ΡΡΠΎΠΌ. Π ΡΡΠΈΡ
ΡΠΈΡΡΠ°ΡΠΈΡΡ
, ΡΡΠΎΠ±Ρ ΠΈΠ·ΠΌΠ΅Π½ΠΈΡΡ ΠΏΡΠΎΠΉΠ΄Π΅Π½Π½ΠΎΠ΅ ΡΠ°ΡΡΡΠΎΡΠ½ΠΈΠ΅, ΡΠ°ΠΌ ΡΠΈΠ»ΠΈΠ½Π΄Ρ Π½Π΅ΠΎΠ±Ρ
ΠΎΠ΄ΠΈΠΌΠΎ Π·Π°ΠΌΠ΅Π½ΠΈΡΡ Π½Π° ΡΠΈΠ»ΠΈΠ½Π΄Ρ Ρ Π΄ΡΡΠ³ΠΈΠΌ Ρ
ΠΎΠ΄ΠΎΠΌ ΠΈΠ»ΠΈ ΡΠΈΠ»ΠΈΠ½Π΄Ρ Ρ ΡΠ΅Π³ΡΠ»ΠΈΡΡΠ΅ΠΌΡΠΌΠΈ ΠΆΠ΅ΡΡΠΊΠΈΠΌΠΈ ΡΠΏΠΎΡΠ°ΠΌΠΈ, ΡΡΡΠ°Π½Π°Π²Π»ΠΈΠ²Π°Π΅ΠΌΡΠΌΠΈ Π²ΡΡΡΠ½ΡΡ.
ΠΠ½ΠΎΠ³ΠΈΠ΅ ΠΊΠΎΠ½ΡΡΡΡΠΊΡΠΎΡΡ Π½Π΅ Π·Π½Π°ΡΡ, ΡΡΠΎ Π΄Π°ΡΡΠΈΠΊ Π½Π΅ΠΏΡΠ΅ΡΡΠ²Π½ΠΎΠΉ ΠΎΠ±ΡΠ°ΡΠ½ΠΎΠΉ ΡΠ²ΡΠ·ΠΈ ΠΏΠΎ ΠΏΠΎΠ»ΠΎΠΆΠ΅Π½ΠΈΡ ΠΈ ΠΊΠΎΠ½ΡΡΠΎΠ»Π»Π΅Ρ ΠΊΠ»Π°ΠΏΠ°Π½Π° Ρ ΠΎΠ±ΡΠ°ΡΠ½ΠΎΠΉ ΡΠ²ΡΠ·ΡΡ ΠΌΠΎΠ³ΡΡ ΠΏΡΠ΅Π²ΡΠ°ΡΠΈΡΡ Π±Π°Π·ΠΎΠ²ΡΠΉ ΡΠΈΠ»ΠΈΠ½Π΄Ρ Π² ΡΠΈΡΡΠ΅ΠΌΡ ΠΏΠ΅ΡΠ΅ΠΌΠ΅Π½Π½ΠΎΠ³ΠΎ ΠΏΠΎΠ·ΠΈΡΠΈΠΎΠ½ΠΈΡΠΎΠ²Π°Π½ΠΈΡ.
ΠΡΠΈ ΡΠΈΡΡΠ΅ΠΌΡ ΠΎΠ±Π΅ΡΠΏΠ΅ΡΠΈΠ²Π°ΡΡ ΡΡΠ½ΠΊΡΠΈΡ Π»ΠΈΠ½Π΅ΠΉΠ½ΡΡ
ΡΠ»Π΅ΠΊΡΡΠΎΠΏΡΠΈΠ²ΠΎΠ΄ΠΎΠ², Π½ΠΎ Ρ ΠΏΡΠ΅ΠΈΠΌΡΡΠ΅ΡΡΠ²Π°ΠΌΠΈ ΠΏΠ½Π΅Π²ΠΌΠ°ΡΠΈΠΊΠΈ. ΠΡΠΎ Π΄ΠΎΠ±Π°Π²Π»ΡΠ΅Ρ Π±ΠΎΠ»ΡΡΡΡ Π³ΠΈΠ±ΠΊΠΎΡΡΡ, Π½Π°ΠΏΡΠΈΠΌΠ΅Ρ:
- ΡΠΈΠ»ΠΈΠ½Π΄ΡΡ ΠΌΠΎΠΆΠ½ΠΎ Π΄Π°ΡΡ ΠΊΠΎΠΌΠ°Π½Π΄Ρ ΡΠ»Π΅Π΄ΠΎΠ²Π°ΡΡ ΠΏΡΠΎΡΠΈΠ»Ρ Π΄Π²ΠΈΠΆΠ΅Π½ΠΈΡ ΠΈΠ»ΠΈ ΠΈΠ½Π΄Π΅ΠΊΡΠΈΡΠΎΠ²Π°ΡΡ Π² Π½Π΅ΡΠΊΠΎΠ»ΡΠΊΠΎ ΠΌΠ΅ΡΡ Ρ ΡΠ»Π΅ΠΊΡΡΠΎΠ½Π½ΠΎΠΉ Π½Π°ΡΡΡΠΎΠΉΠΊΠΎΠΉ,
- ΠΎΠ΄Π½Ρ ΠΊΠΎΠ½ΡΡΡΡΠΊΡΠΈΡ ΠΌΠΎΠΆΠ½ΠΎ ΠΈΡΠΏΠΎΠ»ΡΠ·ΠΎΠ²Π°ΡΡ Π΄Π»Ρ ΠΌΠ½ΠΎΠΆΠ΅ΡΡΠ²Π° ΡΠ°Π·Π»ΠΈΡΠ½ΡΡ ΠΊΠΎΠ½ΡΠΈΠ³ΡΡΠ°ΡΠΈΠΉ ΠΈΠ»ΠΈ ΠΏΡΠΈΠ»ΠΎΠΆΠ΅Π½ΠΈΠΉ
- ΠΌΠΎΠ³ΡΡ Π±ΡΡΡ ΠΎΠ±Π½ΠΎΠ²Π»Π΅Π½Ρ ΠΊΠΎΠΌΠΏΡΡΡΠ΅ΡΠΎΠΌ Π²ΠΎ Π²ΡΠ΅ΠΌΡ Π±ΡΡΡΡΠΎΠΉ Π·Π°ΠΌΠ΅Π½Ρ (ΠΏΡΠ΅Π΄ΠΎΡΠ²ΡΠ°ΡΠ°Π΅Ρ ΡΡΠΈΠ»ΠΈΡ ΠΈ ΠΎΡΠΈΠ±ΠΊΠΈ ΡΠ΅ΠΌΠΎΠ½ΡΠ½ΠΎΠΉ Π±ΡΠΈΠ³Π°Π΄Ρ), Π°
- , Π·Π°Π΄Π°Π² Π½Π°ΡΠ°Π»ΡΠ½ΡΡ ΠΈ ΠΊΠΎΠ½Π΅ΡΠ½ΡΡ ΡΠΎΡΠΊΠΈ Π΄Π²ΠΈΠΆΠ΅Π½ΠΈΡ ΠΌΠ΅Π½ΡΡΠ΅, ΡΠ΅ΠΌ ΠΏΠΎΠ»Π½ΡΠΉ Ρ ΠΎΠ΄ ΡΠΈΠ»ΠΈΠ½Π΄ΡΠ°, ΠΌΠΎΠΆΠ½ΠΎ Π·Π½Π°ΡΠΈΡΠ΅Π»ΡΠ½ΠΎ ΡΠ²Π΅Π»ΠΈΡΠΈΡΡ ΡΡΠΎΠΊ ΡΠ»ΡΠΆΠ±Ρ ΡΠΈΠ»ΠΈΠ½Π΄ΡΠ°.
Π’ΠΎΡΠΊΠΈ Π·Π°ΠΏΡΡΠΊΠ° ΠΈ ΠΎΡΡΠ°Π½ΠΎΠ²ΠΊΠΈ ΡΠΈΠ»ΠΈΠ½Π΄ΡΠ°
Π‘ΡΡΠ΅ΡΡΠ²ΡΠ΅Ρ ΠΌΠ½ΠΎΠΆΠ΅ΡΡΠ²ΠΎ ΡΠΏΠΎΡΠΎΠ±ΠΎΠ² Π΄ΠΎΠ±Π°Π²Π»Π΅Π½ΠΈΡ ΠΎΠ±ΡΠ°ΡΠ½ΠΎΠΉ ΡΠ²ΡΠ·ΠΈ ΠΏΠΎ ΠΏΠΎΠ»ΠΎΠΆΠ΅Π½ΠΈΡ, Π²ΠΊΠ»ΡΡΠ°Ρ ΠΏΠΎΠΊΡΠΏΠΊΡ ΡΠΈΠ»ΠΈΠ½Π΄ΡΠ° Ρ ΡΠΆΠ΅ Π²ΡΡΡΠΎΠ΅Π½Π½ΡΠΌ Π΄Π°ΡΡΠΈΠΊΠΎΠΌ ΠΈΠ»ΠΈ Π΄ΠΎΠΎΡΠ½Π°ΡΠ΅Π½ΠΈΠ΅ ΡΡΡΠ΅ΡΡΠ²ΡΡΡΠ΅Π³ΠΎ ΡΠΈΠ»ΠΈΠ½Π΄ΡΠ° Π²Π½Π΅ΡΠ½ΠΈΠΌ Π΄Π°ΡΡΠΈΠΊΠΎΠΌ. Π₯ΠΎΡΡ ΡΡΠΈ ΡΠΈΡΡΠ΅ΠΌΡ Π²ΠΊΠ»ΡΡΠ°ΡΡ Π² ΡΠ΅Π±Ρ Π΄Π°ΡΡΠΈΠΊΠΈ ΠΈ Π΄ΡΡΠ³ΡΡ ΡΠ»Π΅ΠΊΡΡΠΎΠ½ΠΈΠΊΡ, ΠΏΠ΅ΡΠ²ΠΎΠ½Π°ΡΠ°Π»ΡΠ½Π°Ρ Π±ΠΎΠ»Π΅Π΅ Π²ΡΡΠΎΠΊΠ°Ρ ΡΡΠΎΠΈΠΌΠΎΡΡΡ ΡΠ°ΡΡΠΎ ΠΏΠ΅ΡΠ΅Π²Π΅ΡΠΈΠ²Π°Π΅ΡΡΡ ΠΎΡΠ΅Π½Ρ ΠΏΡΠΈΠ²Π»Π΅ΠΊΠ°ΡΠ΅Π»ΡΠ½ΡΠΌΠΈ Π΄ΠΎΠΏΠΎΠ»Π½ΠΈΡΠ΅Π»ΡΠ½ΡΠΌΠΈ ΡΡΠ½ΠΊΡΠΈΡΠΌΠΈ, Π³ΠΈΠ±ΠΊΠΎΡΡΡΡ ΠΈ Π±ΠΎΠ»Π΅Π΅ Π½ΠΈΠ·ΠΊΠΎΠΉ ΡΠΎΠ²ΠΎΠΊΡΠΏΠ½ΠΎΠΉ ΡΡΠΎΠΈΠΌΠΎΡΡΡΡ Π²Π»Π°Π΄Π΅Π½ΠΈΡ.
Π€Π°ΠΊΡ.
..
