Содержание
Книга по топливным насосам высокого давления серии УТН
Содержание
Введение……………………………………………………………………………………………………. 3
Диагностика двигателя………………………………………………………………………………… 5
Алгоритм поиска неисправностей…………………………………………………………………. 5
Замена топливного фильтра тонкой очистки………………………………………………… 12
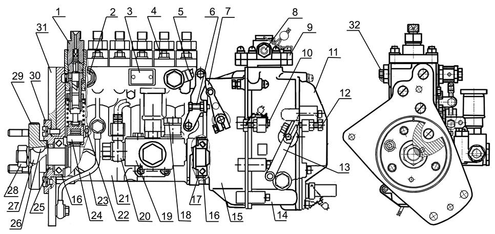
ТНВД серии УТН………………………………………………………………………………………….. 15
Описание ТНВД серии УТН…………………………………………………………………………… 15
Применяемость ТНВД серии УТН, форсунок и распылителей…………………………. 17
ТНВД 17
Распылители…………………………………………………
…………………………………………….. 18
Форсунки для модификаций дизеля Д245………………………………………………………. 19
Разборка ТНВД……………………………………………………………………………………………… 22
Проверка деталей ТНВД………………………………………………………………………………… 26
Замена подшипников кулачкового вала………………………………………………………….. 41
Топливоподкачавающий насос (ТПН)……………………………………………………………… 43
Разборка ТПН……………………………………………………………………………………………….. 44
Форсунки……………………………………………………………………………………………………… 46
3.1. Проверка форсунок…………………………………………………
……………………………… 52
Регулятор частоты вращения………………………………………………………………………. 53
Положительный корректор подачи……………………………………………………………….. 58
Корректор по наддуву (устройство)………………………………………………………………. 58
Дефекты, связанные с регулятором……………………………………………………………… 62
Корректор по наддуву (разборка и сборка)……………………………………………………. 66
Неисправности дизеля, связанные с корректором по наддуву………………………… 66
Регулировка ТНВД……………………………………………………………………………………….. 68
Предварительная регулировка неравномерности подачи по
секциям………………………………………………………………………………..
……………………. 70
Регулировка начала нагнетания топлива……………………………………………………… 70
Окончательная регулировка неравномерности подачи по секциям ………………..71
Формирование внешней характеристики ТНВД…………………………………………….. 72
Регулировочные карты………………………………………………………………………………… 78
Регулировочная карта ТНВД двигателя Д245.12 автомобиля
ЗИЛ 5301 …………………………………………………………………………………………………… 79
Программа учебно-производственного центра БОНУС
Программа учебно-производственного центра БОНУС
|
| |||||||||||||||||||||||||||||||||||||
| gif»> | |||||||||||||||||||||||||||||||||||||
|
|
| ||||||||||||||||||||||||||||||||||||
Integrated Publishing — ваш источник военных спецификаций и образовательных публикаций
Администрация — Навыки, процедуры, обязанности и т. д. военного персонала
Продвижение —
Военный карьерный рост
книги и т.
д.
Аэрограф/метеорология
— Метеорология
основы, физика атмосферы, атмосферные явления и др.
Руководства по аэрографии и метеорологии военно-морского флота
Автомобилестроение/Механика — Руководства по техническому обслуживанию автомобилей, механика дизельных и бензиновых двигателей, руководства по автомобильным деталям, руководства по деталям дизельных двигателей, руководства по деталям бензиновых двигателей и т. д.
Автомобильные аксессуары |
Перевозчик, персонал |
Дизельные генераторы |
Механика двигателя |
Фильтры |
Пожарные машины и оборудование |
Топливные насосы и хранение |
Газотурбинные генераторы |
Генераторы |
Обогреватели |
HMMWV (Хаммер/Хаммер) |
и т.д…
Авиация — Принципы полетов,
авиастроение, авиационная техника, авиационные силовые установки, справочники по авиационным частям, справочники по авиационным частям и т.
д.
Руководства по авиации ВМФ |
Авиационные аксессуары |
Общее техническое обслуживание авиации |
Руководства по эксплуатации вертолетов AH-Apache |
Руководства по эксплуатации вертолетов серии CH |
Руководства по эксплуатации вертолетов Chinook |
и т.д…
Боевой —
Служебная винтовка, пистолет
меткая стрельба, боевые маневры, органическое вспомогательное вооружение и т. д.
Химико-биологические, маски и оборудование |
Одежда и индивидуальное снаряжение |
Боевая инженерная машина |
и т.д…
Строительство —
Техническое администрирование,
планирование, оценка, планирование, планирование проекта, бетон, кирпичная кладка, тяжелый
строительство и др.
Руководства по строительству военно-морского флота |
Совокупность |
Асфальт |
Битумный корпус распределителя |
Мосты |
Ведро, Раскладушка |
Бульдозеры |
Компрессоры |
Обработчик контейнеров |
дробилка |
Самосвалы |
Землеройные машины |
Экскаваторы |
и т.
д…
Дайвинг —
Руководства по водолазным работам и спасению различного снаряжения.
Чертежник —
Основы, методы, составление проекций, эскизов и т. д.
Электроника —
Руководства по обслуживанию электроники для базового ремонта и основ. Руководства по компьютерным компонентам, руководства по электронным компонентам, руководства по электрическим компонентам и т. д.
Кондиционер |
Усилители |
Антенны и мачты |
Аудио |
Батареи |
Компьютерное оборудование |
Электротехника (NEETS) (самая популярная) |
техник по электронике |
Электрооборудование |
Электронное общее испытательное оборудование |
Электронные счетчики |
и т.д…
Машиностроение —
Основы и методы черчения, составление проекций и эскизов, деревянное и легкокаркасное строительство и т. д.
Военно-морское машиностроение |
Армейская программа исследований прибрежных бухт |
и т.
д…
Еда и кулинария —
Руководства по рецептам и оборудованию для приготовления пищи.
Логистика —
Логистические данные для миллионов различных деталей.
Математика —
Арифметика, элементарная алгебра,
предварительное исчисление, введение в вероятность и т. д.
Медицинские книги —
Анатомия, физиология, пациент
уход, оборудование для оказания первой помощи, фармация, токсикология и т. д.
Медицинские руководства военно-морского флота |
Агентство регистрации токсичных веществ и заболеваний
Военные спецификации
— Государственные спецификации MIL и другие сопутствующие материалы
Музыка
— Мажор и минор
масштабные действия, диатонические и недиатонические мелодии, паттерны такта,
и т.д.
Основы ядра —
Теории ядерной энергии,
химия, физика и т.
Справочники Министерства энергетики США
Фотография и журналистика
— Теория света,
оптические принципы, светочувствительные материалы, фотофильтры, копирование
редактирование, написание публикаций и т. д.
Руководства по фотографии и журналистике военно-морского флота |
Руководство по армейской фотографии, печати и журналистике
Религия —
Основные религии мира,
функции поддержки богослужений, свадьбы в часовне и т. д.
Беларус МТЗ Детали ТНВД (УТН)
Беларус МТЗ Детали ТНВД (УТН)
0
Ваша корзина на данный момент пуста.
Последние 3 товара из вашей корзины
Стоимость доставки
0,00 EUR
+ Наложенный платеж
0,00 EUR
Итого
0,00 EUR
Сортировать по: A -> ZСортировать по: Z -> AСортировать по: Цена от низкой до высокойСортировать по: Цена от высокой к низкой
В наличии
14,55 евро
/ шт.
( 11,46 евро + НДС )
В наличии
2,48 евро
/ шт.
( 1,95 евро + НДС )
В наличии
2,01 евро
/ шт.
( 1,58 евро + НДС )
В наличии
1,70 евро
/ шт.
( 1,34 евро + НДС )
В наличии
2,54 евро
/ шт.
( 2,00 евро + НДС )
В наличии
16,65 евро
(-48%)
8,65 евро
/ шт.
( 6,81 евро + НДС )
Нет в наличии, но есть
117,00 евро
/ шт.
( 92,13 евро + НДС )
В наличии
145,71 евро
/ шт.
( 114,73 евро + НДС )
Нет в наличии, но есть
208,96 евро
/ шт.
( 164,53 евро + НДС )
В наличии
1,13 евро
/ шт.
( 0,89 евро + НДС )
В наличии
8,30 евро
/ шт.
( 6,53 евро + НДС )
В наличии
5,72 евро
/ шт.
( 4,51 евро + НДС )
В наличии
72,95 евро
/ шт.
( 57,44 евро + НДС )
В наличии
7,23 евро
/ шт.
( 5,70 евро + НДС )
В наличии
5,76 евро
/ шт.
( 4,53 евро + НДС )
Нет в наличии, но есть
3,21 евро
/ шт.
( 2,53 евро + НДС )
В наличии
2,96 евро
/ шт.
( 2,33 евро + НДС )
В наличии
0,39 евро
/ шт.
( 0,30 евро + НДС )
В наличии
1,75 евро
/ шт.
( 1,38 евро + НДС )
В наличии
1,16 евро
/ шт.
( 0,91 евро + НДС )
В наличии
4,44 евро
/ шт.
( 3,49 евро + НДС )
В наличии
184,52 евро
/ шт.
( 145,29 евро + НДС )
В наличии
4,77 евро
/ шт.
( 3,76 евро + НДС )
В наличии
12,19 евро
/ шт.
( 9,59 евро + НДС )
Нет в наличии, но есть
16,08 евро
/ шт.
( 12,66 евро + НДС )
Нет в наличии, но есть
6,08 евро
/ шт.
( 4,78 евро + НДС )
В наличии
13,44 евро
(-45%)
7,36 евро
/ шт.
( 5,80 евро + НДС )
Нет в наличии, но есть
111,46 евро
/ шт.
( 87,77 евро + НДС )
В наличии
10,27 евро
/ шт.
( 8,09 евро + НДС )
В наличии
3,50 евро
/ шт.
( 2,76 евро + НДС )
В наличии
2,57 евро
/ шт.
( 2,02 евро + НДС )
В наличии
11,54 евро
/ шт.
( 9,09 евро + НДС )
В наличии
8,01 евро
/ шт.
( 6,30 евро + НДС )
В наличии
7,56 евро
/ шт.
( 5,95 евро + НДС )
В наличии
7,77 евро
/ шт.
( 6,12 евро + НДС )
В наличии
82,60 евро
/ шт.
( 65,04 евро + НДС )
В наличии
37,14 евро
/ шт.
( 29,24 евро + НДС )
В наличии
0,90 евро
/ шт.
( 0,71 евро + НДС )
В наличии
3,70 евро
/ шт.
( 2,91 евро + НДС )
В наличии
0,26 евро
/ шт.
( 0,20 евро + НДС )
В наличии
3,55 евро
/ шт.
( 2,80 евро + НДС )
В наличии
0,64 евро
/ шт.
( 0,50 евро + НДС )
В наличии
1,41 евро
/ шт.
( 1,11 евро + НДС )
В наличии
0,39 евро
/ шт.
( 0,30 евро + НДС )
В наличии
3,54 евро
/ шт.
( 2,78 евро + НДС )
В наличии
0,17 евро
/ шт.
Диагностика и ремонт форсунок и ТНВД ЯЗТА стандарта Евро 0 – Евро 3 моделей 60, 80, 90, компакт 40 — 133, 135, 136, 173, 175, 179, компакт 32 – 773, 363. Компьютерная диагностика и настройка автомобиля МАЗ. Диагностика, испытание и регулировка ТНВД с использованием специализированного ПО
