Содержание
Генератор переменного тока: устройство, виды, выбор
Один из вариантов обеспечения электропитания — генератор переменного тока. Эта установка может быть как основным вариантом, так и только на время пропадания основного источника питания.
Содержание статьи
- 1 Что такое генератор тока
- 2 Устройство и принцип работы
- 3 Виды бытовых генераторов
- 3.1 Синхронные и асинхронные
- 3.2 Инверторный или нет
- 3.3 Количество фаз и топливо для первичного двигателя
- 4 Генератор переменного тока: бензин или дизель?
- 4.1 Когда лучше выбрать бензиновый
- 4.2 Чем хороши дизельные
- 5 Опции и дополнительные возможности
- 6 Особенности установки генератора
Что такое генератор тока
Устройство, преобразующее механическую энергию в электрическую, называют генератором тока. Они бывают переменного и постоянного тока. Устройства, вырабатывающие постоянный ток, более сложны в исполнении и менее надёжны.
Тоже как вариант))
С появлением полупроводниковых приборов, которые позволяют выпрямить переменный ток, по большей части всё равно использовался генератор переменного тока. Если необходим постоянный ток, на выходе источника переменного тока ставят выпрямитель, который формирует электропитание требуемого типа и уровня.
Устройство и принцип работы
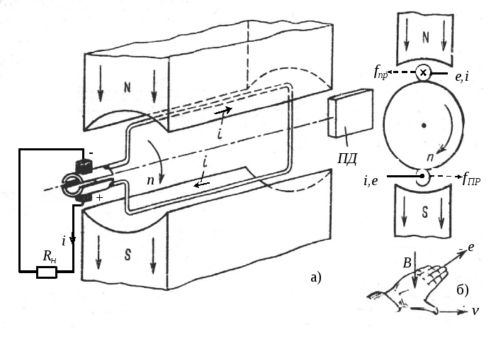
Понять, как происходит такое преобразование, можно глядя на простейшую модель генератора. Его работа основана на принципе возникновения ЭДС — электродвижущей силы. Коротко сформулировать суть этого явления можно так, если замкнутая рамка пересекает магнитное поле, в ней возникает (наводится) электрический ток. Чтобы «снять» ток с рамки, используют специальное устройство ‒ щеточный узел. На концах рамки сделаны кольца, которые соприкасаются с токосъёмными контактами (щетками). Щетки, за счет силы упругости пружин, плотно прилегают к кольцам, обеспечивая контакт. К щеткам припаяны провода, по которым далее в устройство и передаётся ток.
Генератор переменного тока: устройство и принцип действия
Как получается переменное напряжение? Представьте себе, рамка вращается, то одной, то другой стороной приближаясь к полюсам (положительному S и отрицательному N). Чем ближе к полюсу, тем сильнее наводимое поле (больше сила тока), чем дальше ‒ тем меньше. Соответственно, на контактных кольцах имеем плавно изменяющуюся силу тока. Она то близка к нулю (когда рамка находится дальше всего), то подходит к максимуму. Таким образом, получаем на выходе ток синусоидальной формы.
Таким образом получаем на выходе генератора ток синусоидальной формы
Те же самые процессы происходят, если прямоугольную рамку закрепить неподвижно, а внутри нее вращать магнитное поле. Ток также имеет синусоидальную форму, просто имеем два типа установок ‒ с неподвижным статором и с неподвижным ротором.
Генератор постоянного тока устроен точно также и отличается только устройство снятия тока. К рамке прикреплены два полукольца, так что щетки снимают ток попеременно, то с одного конца рамки, то с другого.
В результате на выходе имеем положительные полуволны, которые близки к постоянному току.
Виды бытовых генераторов
Это была теория, а теперь переходим к практике. Генераторы электрического тока нужны обычно для обеспечения питанием электрооборудования. Существуют две ситуации:
- Электрогенератор нужен на случай пропадания сети.
- Как основной источник питания.
Простейшие генераторы постоянного и переменного тока: устройство и принцип работы
Для обоих случаев логика выбора похожа, но имеет свои особенности. Если генератор нужен для постоянной работы, на первое место выходит расход топлива и надёжность. Также стоит обратить внимание на «громкость» работы, ёмкость бака для топлива.
Для кратковременного включения на случай пропадания питания, чаще всего стараются приобрести не слишком дорогую модель. Но в погоне за экономией, не стоит забывать о качественных характеристиках.
Синхронные и асинхронные
Сейчас не станем разбираться к конструктивных особенностях, а остановимся на достоинствах и недостатках.
Синхронные генераторы отличаются тем, что на якоре имеют обмотки. Они выдают более стабильное напряжение и имеют меньшие отклонения по частоте. Это хорошо для требовательных к качеству питания. К плюсам синхронных генераторов тока относят также нормальную реакцию на пусковые токи, так что нормально работают они с индуктивной нагрузкой (с электродвигателями). Минусы ‒ более сложная конструкция и высокая цена. Ещё один момент, наличие щеток, которые, как известно снашиваются и искрят. Так что при более высокой цене синхронные генераторы имеют меньший рабочий ресурс.
Устройство асинхронных моделей проще
Асинхронные генераторы имеют более простую конструкцию и более низкие цены. При относительно невысокой цене отличаются значительно большим эксплуатационным сроком. Но стабильность тока желает быть лучше: погрешность до 10% по напряжению и 4% по частоте. Ещё один недостаток: плохо переносят пусковые токи. Потому, для обеспечения нормальной работы сложной техники желательно иметь стабилизатор, а для плавного пуска электромоторы подключать через преобразователь частоты.
Инверторный или нет
Есть ещё так называемые инверторные бытовые генераторы тока. Это те же генераторы, но на выходе которых стоит дополнительное устройство, стабилизирующее выходные показатели. С учётом того что техника у нас становится всё более дорогой и требовательной к качеству питания, использование инверторных генераторов почти необходимость.
Генератор переменного тока с инвертором: основные узлы и блоки
Единственное исключение, когда агрегат будет стоять на даче или в доме, а в период его работы, «капризная» техника работать не будет. К группе «капризных» однозначно относится вся компьютерная техника, а также та, которая управляется при помощи микропроцессоров. Также «капризными» являются автоматизированные котлы. Если котёл зависит от наличия напряжения и автоматика в нем не механическая, вам однозначно требуется инверторный генератор.
Инверторный генератор кроме двигателя и непосредственно генератора, имеет ещё выпрямитель и инвертор
Как работает инверторный генератор переменного тока? То напряжение, которое выработал генератор, попадает на блок инвертора.
Он сначала выпрямляется, а потом из постоянного напряжения формируются полярные импульсы заданной частоты (50 Гц) и скважности. На выходе устройства импульсы превращаются в синусоиду. В результате на выходе имеем питание с идеальными (почти) характеристиками. Так что асинхронный инверторный генератор подходит для питания любой техники. Вот только пусковые нагрузки по-прежнему проблема.
Количество фаз и топливо для первичного двигателя
Чтобы выбрать генератор переменного тока, необходимо разобраться с классификацией, видами и типами, достоинствами и недостатками. В первую очередь стоит определиться с количеством фаз, которые должен выдавать агрегат, как понимаете, есть однофазные и трехфазные. Выбирать по этому признаку стоит учитывая имеющуюся проводку или нагрузку. Если генератор должен обеспечить работу трехфазного потребителя, на его выходе должно быть именно такое напряжение. Если подключаемые приборы только однофазные, покупать трехфазный генератор стоит только тогда, когда он будет работать на постоянной основе.
В качестве резервного обычно ставят однофазные агрегаты, обеспечивая питанием наиболее важные устройства.
Для начала необходимо определиться с количеством фаз вырабатываемого тока
Когда мы разбирались в принципе действия генераторов переменного тока, не рассматривался один момент: как и чем приводится в действие вращающаяся часть устройства. В бытовых моделях это двигатель внутреннего сгорания. Именно он приводит в движение ротор, а работать он может на следующих видах топлива:
- бензин;
- дизельное топливо;
- газ.
Для бытового использования, чаще всего, используют дизельные и бензиновые генераторы. Так как оба вида топлива практически равнозначны по доступности, то выбор между ними основан на технических особенностях. О них подробнее немного ниже.
Генератор переменного тока: бензин или дизель?
Для бытовых целей обычно используют бензиновый или дизельный генератор тока.
Сказать какой лучше однозначно невозможно, так как они отличаются по характеристикам. Потому для одних условий лучше бензиновый, для других ‒ оптимальный дизельный.
Выбор генератора тока зависит от многих моментов
Когда лучше выбрать бензиновый
Перечень свойств и особенностей бензинового генератора переменного тока:
Основное, что стоит помнить, бензиновый электрогенератор не рассчитан на длительную работу (сутками). Рекомендованная нагрузка, особенно у двухтактных моделей 2–3 часа в день и до 500 часов в год. Зато отличаются такие установки невысокой ценой и компактностью. Это отличный выбор, если надо питать совсем небольшую нагрузку непродолжительное время. Чаще всего такие генераторы берут с собой на природу, охоту, рыбалку и т. д.
Двухтактные бензиновые генераторы — лучший выбор для выезда на природу
Бензиновые генераторы тока с четырехтактными бензиновыми двигателями ресурс имеют существенно больше: до 3000–5000 тысяч часов. Но и его надолго не хватит при постоянной работе.
Так что бензиновые генераторы имеет смысл ставить, если электричество отключается у вас редко и ненадолго.
Чем хороши дизельные
Дизельный генератор переменного тока ‒ установка гораздо боле мощная, но и настолько же более дорогостоящая. Бывают они двух типов: с воздушным и жидкостным охлаждением. Установки с воздушным охлаждением имеют средние габариты, среднюю мощность и вполне приемлемую цену. Вот они идеальны, если электричество отключается часто, но не постоянно. В то же время, маломощные дизельные генераторы (есть и такие) по характеристикам ненамного лучше бензиновых, а по цене раза в два выше. Так что если вам нужен генератор до 6 кВт мощности выбор, всё равно, имеет смысл остановить на бензиновой установке.
Дизельные ‒ более габаритные и мощные
Дизельный генератор с водяным (жидкостным) охлаждением ‒ это уже техника другого класса. Он может работать сутками и используются на предприятиях. На них применяются двигателя двух типов:
- высокооборотистые – 3000 об/мин;
- с низкими оборотами – 1500 об/мин.

Дизельный генератор с низкооборотистым двигателем отличается более низким уровнем шумов, более экономичны в плане расхода топлива на один киловатт. Но они же более дорогостоящие. имеют большие размеры и вес. Если дизельный генератор тока построен на основе высокооборотного движка, обойдётся один киловатт электроэнергии дешевле. Но шуметь дизель будет сильно.
Подобные модели могут обеспечивать предприятия
Итак, если вам нужна установка для выработки постоянного тока на продолжительный период или станция, которая будет снабжать электроэнергией постоянно, вам нужен дизельный генератор жидкостного охлаждения.
Опции и дополнительные возможности
Значительное влияние на цену оказывают опции. Хоть генераторы «с наворотами» стоят дороже, некоторые из дополнительных возможностей могут быть очень полезны. Например:
- Защита от утечки.
Встроенное УЗО, которое отслеживает наличие пробоя изоляции и отключает установку при появлении тока утечки. - Защита от перегрузки. Функция не даёт работать деталям «на износ».
- Автоматический запуск. При пропадании электроэнергии генератор запускается сам.
Использование может быть разным
Есть ещё такие, без которых можно обойтись, но делающие эксплуатацию генератора тока более удобной. Например, контроль параметров с одновременным отображением на дисплее или передача данных о состоянии генератора на подключённый компьютер. Ещё, может быть, целый ряд конструктивных «добавок»: шумогасящий кожух, защитный кожух от низких температур, увеличенный топливный бак и т. д.
Особенности установки генератора
Речь пойдёт не о подключении, а об установке ‒ организации места, где генератор тока будет работать. Нужна просторная твёрдая и ровная площадка. При установке на неровной поверхности, повышается уровень вибрации, что угрожает целостности оборудования.
Если говорить о мощных дизельных установках, то для них желательно бетонное или асфальтовое покрытие, в общем, плотное и надёжное основание.
Площадка должна быть ровной
Подключение генератора проводят кабелем, в соответствии с рекомендациями производителей. Само подключение производится в шкафу, куда заводится кабель от генераторной установки. Он подключается после вводного автомата и счетчика.
Если генератор будет уставлен в помещении, в нем должна быть хорошая вентиляция. Планируя на время работы двигателя оставлять двери открытыми, нужна будет решётка, чтобы никто не попал внутрь во время работы станции.
Простейшие генератор и электродвигатель
Простейшие генератор и электродвигатель
Простейший генератор. Конструкция простейшего генератора постоянного тока представляет собой рамку, вращаемую посторонней силой между полюсами электромагнита. При вращении рамки по часовой стрелке в верхнем проводе рамки возникает ток, направленный от нас, а в нижнем — ток, направленный к нам.
Появившийся ток через пластины (полукольца) коллектора и щетки отводится во внешнюю цепь. После того как рамка пройдет горизонтальное положение, полукольца коллектора поменяются местами, и ток во внешней цепи сохранит свое значение, несмотря на изменение направления тока в рамке. Однако ток во внешней цепи будет пульсировать, т. е. периодически изменяться от максимального значения до нуля. Это объясняется тем, что рамка, находясь в вертикальном положении, пересекает наибольшее количество магнитных силовых линий, а будучи в горизонтальном положении, вовсе не пересекает их.
Чтобы пульсация тока была незаметной, в генераторах вращают не рамку из одного витка проводов, а якорь с обмоткой из многих десятков витков. Магнитное поле, в котором вращается якорь, усиливается применением электромагнитов с большим числом витков обмотки. При этом в обмотки катушек возбуждения электромагнитов направляется ток от самого генератора. Такие генераторы называются генераторами с самовозбуждением.
Рекламные предложения на основе ваших интересов:
Дополнительные материалы по теме:
Рис.
9.3. Схема простейшего генератора однофазного переменного тока
Простейший генератор (рис. 9.3) однофазного переменного тока в отличие от генератора постоянного тока вместо коллектора имеет контактные кольца, ток с которых снимается щетками. Каждое из этих колец при любом положении рамки постоянно соединено с одним и тем же проводом внешней цепи. Поэтому при вращении рамки ток в цепи меняется не только по величине (от максимума до 0), но и по направлению.
В обмотки возбуждения полюсов подается постоянный ток от постороннего источника.
На практике получили распространение трехфазные генераторы переменного тока, которые гораздо проще по конструкции и надежнее в эксплуатации, чем однофазные.
Простейший электродвигатель. Если проводник с током поместить в магнитное поле, то в результате взаимодействия поля проводника и поля магнита проводник будет перемещаться в направлении, перпендикулярном к магнитным силовым линиям магнита.
С одной стороны проводника силовые линии его магнитного поля направлены в ту же сторону, что и силовые линии поля магнита, т.
е. силовые линии сгущаются. С другой стороны проводника его силовые линии направлены навстречу силовым линиям поля магнита, т. е. силовые линии разрежаются. При этом проводник с током выталкивается в ту сторону, где магнитные силовые линии расположены реже.
Направление движения проводника зависит от расположения полюсов, а также направления тока в проводнике.
Механическая сила, действующая на проводник с током, пропорциональна магнитному полю полюсов магнита, току в проводнике и его длине.
Взаимодействие проводника с током в магнитном поле положено в основу действия элетродвигателей, в которых электрическая энергия преобразуется в механическую.
Рис. 9.4. Схема простейшего электродвигателя постоянного тока: а—взаимодействие магнитного поля рамки с полем магнита; б — схема электродвигателя
Конструкция простейшего электродвигателя (рис. 9.4) постоянного тока представляет собой виток провода в виде рамки, помещенной между полюсами постоянного магнита (рис.
9.4, а) или полюсами электромагнита (рис. 9.4, б) с катушками обмотки возбуждения.
При пропускании через рамку постоянного тока ее верхний провод в силу взаимодействия магнитных полей тока и магнита будет выталкиваться вправо, а нижний — влево (см. рис. 9.4, а). В результате рамка повернется по часовой стрелке.
Когда рамка достигнет горизонтального положения, направление тока в ней при помощи коллектора, состоящего из двух полуколец (см. рис. 9.4, б) и скользящих по ним щеток, изменится на обратное, и рамка продолжит свое вращение по часовой стрелке.
В реальных конструкциях электродвигателей, в том числе и в автомобильных стартерах, для повышения равномерности вращения и получения необходимого крутящего момента вместо рамки из одного витка между полосами помещают обмотку из нескольких десятков витков. Такая обмотка помещается на сердечнике якоря. Наличие сердечника позволяет уменьшить воздушный промежуток между полюсами и избежать нежелательного ослабления магнитного поля.
Если две обмотки расположить на сердечнике недалеко друг от друга и по обмотке (рис. 9.5, а) пропустить постоянный электрический ток, прерывая его прерывателем Пр, то вокруг сердечника будет то возникать, то исчезать магнитное поле. Магнитные силовые линии этого поля, персекая витки вторичной обмотки будут индуктировать в них э.д.с. взаимоиндукции, так как э.д.с. индуктируется не только при перемещении проводника в магнитном поле, но и при всяком изменении этого поля.
Э.д.с. взаимоиндукции возрастает при увеличении числа витков вторичной обмотки, при более сильном магнитном поле первичной обмотки и более быстром исчезновении магнитного поля. На принципе взаимоиндукции работают катушки зажигания автомобилей.
При замыкании и размыкании контактов прерывателя Пр витки обмотки также пересекаются магнитными силовыми линиями и в обмотке индуктируется э.д.с. самоиндукции.
Э.д.с. самоиндукции действует против тока при замыкании контактов прерывателя Пр (рис. 9.5, б), замедляя нарастание силы тока в обмотке.
При размыкании контактов прерывателя Пр э.д.с. самоиндукции действует в направлении движения тока (рис. 9.5, в) и создает искру между контактами.
Таким образом, возникновение э.д.с. самоиндукции в первичной обмотке влечет за собой снижение э.д.с. во вторичной обмотке. Для ликвидации вредного действия э.д.с. самоиндукции параллельно контактам прерывателя включают конденсатор, который способствует увеличению э.д.с. во вторичной обмотке и уменьшению окисления контактов прерывателя.
Устройство Генератора Переменного Тока и Принцип Действия
Мощный тяговый генератор переменного тока – строение
Здравствуйте, ценители мира электрики и электроники. Если вы частенько заглядываете на наш сайт, то наверняка помните, что совсем недавно у нас вышел достаточно объемный материал про то, как устроен и работает генератор постоянного тока. Мы подробно описали его строение от самых простых лабораторных прототипов, до современных рабочих агрегатов. Обязательно почитайте, если еще этого не сделали.
Сегодня мы разовьем эту тему, и разберемся, в чем заключается принцип действия генератора переменного тока. Поговорим о сферах его применения, разновидностях и много еще о чем.
Содержание
- Теоретическая часть
- Базовые принципы
- Переменный ток
- Строение генератора переменного тока
- Основные рабочие части и их подключение
- Виды генераторов переменного тока
- Трехфазные генераторы
- Различие по виду
- Способы возбуждения обмотки
- Применение генераторов переменного тока на практике
- Автомобильные генераторы
- Генератор на жидком топливе
Теоретическая часть
Основной принцип работы альтернатора
Начнем с самого основного – переменный ток отличается от постоянного тем, что он с некоторой периодичностью меняет свое направление движения. Также он меняет и величину, о чем мы подробнее поговорим далее.
Спустя определенный промежуток времени, который мы назовем «Т» значения параметров тока повторяются, что на графике можно изобразить в виде синусоиды – волнистой линии, проходящей с одинаковой амплитудой через центральную линию.
Базовые принципы
Итак, назначение и устройство генераторов переменного тока, называемого раньше альтернатором, заключается в преобразовании кинетической энергии, то есть механической, в электрическую. Подавляющее большинство современных генераторов используют вращающееся магнитное поле.
- Работают такие устройства за счет электромагнитной индукции, когда при вращении в магнитном поле катушки из токопроводящего материала (обычно медная проволока), в ней возникает электродвижущая сила (ЭДС).
- Ток начинает образовываться в тот момент, когда проводники начинают пересекать магнитные линии силового поля.
Строение простейшего электромагнитного генератора
- Причем пиковое значение ЭДС в проводнике достигается при прохождении им главных полюсов магнитного поля. В те моменты, когда они скользят вдоль силовых линий, индукция не возникает и ЭДС падает до нуля. Взгляните на любую схему из представленных – первое состояние будет наблюдаться, когда рамка примет вертикальное положение, а второе – когда горизонтальное.

Генератор переменного тока — как устроен
- Для лучшего понимания протекающих процессов нужно вспомнить правило правой руки, изучавшееся всеми в школе, но мало кем помнящееся. Суть его заключается в том, что если расположить правую руку так, чтобы силовые линии магнитного поля входили в нее со стороны ладони, большой палец, отведенный в сторону, укажет направление движения проводника, а остальные пальцы будут указывать на направление возникающей в нем ЭДС.
- Взгляните на схему выше, положение «а». В этот момент ЭДС в рамке равно нулю. Стрелочками показано направление ее движения – часть рамки А двигается в сторону северного полюса магнита, а Б – южного, достигнув которых ЭДС будет максимальным. Применяя описанное выше правило правой руки, мы видим, что ток начинает течь в части «Б» в нашу сторону, а в части «А» – от нас.
- Рамка вращается дальше и ток в цепи начинает падать, пока рамка снова не займет горизонтальное положение (в).
- Дальнейшее вращение приводит к тому, что ток начинает течь в обратном направлении, так как части рамки поменялись местами, если сравнивать с начальным положением.

Спустя половину оборота, все снова вернется в изначальное состояние, и цикл повторится снова. В итоге мы получили, что за время совершения полного оборота рамки, ток дважды возрастал до максимума и падал до нуля, и единожды менял свое направление относительно нчального движения.
Переменный ток
В его честь была названа частота тока
Принято считать, что длительность периода обращения равняется 1 секунде, а число периодов «Т» является частотой электрического тока. В стандартных электрических сетях России и Европы за одну секунду ток меняет свое направление 50 раз – 50 периодов в секунду.
Обозначают в электронике один такой период особой единицей, названной в честь немецкого физика Г. Герца. То есть в приведенном примере российских сетей частота тока составляет 50 герц.
Вообще, переменный ток нашел очень широкое применение в электронике благодаря тому, что: величину его напряжения очень просто изменять при помощи трансформаторов, не имеющих движущихся частей; его всегда можно преобразовать в постоянный ток; устройство таких генераторов намного надежнее и проще, чем для выработки постоянного тока.
Мощнейшие генераторы, установленные на Пушкинской ГЭС
Строение генератора переменного тока
Как устроен генератор переменного тока, в принципе, понятно, но вот, сравнивая его с собратом для выработки постоянного, не сразу можно уловить разницу.
Основные рабочие части и их подключение
Если вы прочли предыдущий материал, то наверняка помните, что рамка в простейшей схеме была соединена с коллектором, разделенным на изолированные контактные пластины, а тот, в свою очередь, был связан со щетками, скользящими по нему, через которые и была подключена внешняя цепь.
За счет того, что пластины коллектора постоянно меняются щетками, не происходит смены направления тока – он просто пульсирует, двигаясь в одном направлении, то есть коллектор является выпрямителем.
Устройство и принцип действия генератора переменного тока
- Для переменного тока такого приспособления не нужно, поэтому его заменяют контактные кольца, к которым привязаны концы рамки.
Вся конструкция вместе вращается вокруг центральной оси. К кольцам примыкают щетки, которые также по ним скользят, обеспечивая постоянный контакт. - Как и в случае с постоянным током, ЭДС, возникающие в разных частях рамки, будут суммироваться, образуя результирующее значение этого параметра. При этом во внешней цепи, подключенной через щетки (если подсоединить к ней резистор нагрузки RH), будет протекать электрический ток.
- В рассмотренном выше примере «Т» равняется полному обороту рамки. Отсюда можно сделать логичный вывод, что частота тока, вырабатываемая генератором, напрямую зависит от скорости вращения якоря (рамки), или другими словами ротора, в секунду. Однако это касается только такого простейшего генератора.
Трехфазные генераторы переменного тока и устройство их
Если увеличить число пар полюсов, то в генераторе пропорционально возрастет и число полных изменений тока за один оборот якоря, и частота его будет измерять иначе, по формуле: f = np, где f – это частота, n – число оборотов в секунду, p – количество пар магнитных полюсов устройства.
- Как мы уже писали выше, течение переменного тока графически изображается синусоидой, поэтому такой ток еще называется и синусоидальным. Сразу можно выделить основные условия, задающие постоянство характеристик такого тока – это равномерность магнитного поля (постоянная его величина) и неизменная скорость вращения якоря, в котором он индуктируется.
- Для того чтобы сделать устройство достаточно мощным, в нем применяются электрические магниты. Обмотка ротора, в которой индуцируется ЭДС, в действующих агрегатах тоже не является рамкой, как мы показывали в схемах выше. Применяется очень большое количество проводников, которые соединены друг с другом по определенной схеме
Интересно знать! Образование ЭДС происходит не только тогда, когда проводник смещается относительно магнитного поля, но и наоборот, когда двигается само поле относительно проводника, чем активно и пользуются конструкторы электродвигателей и генераторов.
- Данное свойство позволяет размещать обмотку, в которой индуктируется ЭДС, не только на вращающейся центральной части устройства, но и на неподвижной части.
При этом в движение приводится магнит, то есть полюсы.
Синхронный генератор электрического тока и принцип действия этого устройства
- При таком строении внешняя обмотка генератора, то есть силовая цепь, не нуждается ни в каких подвижных частях (кольцах и щетках) – соединение выполняется жесткое, чаще болтовое.
- Да, но можно резонно возразить, мол, эти же элементы потребуется установить на обмотке возбуждения. Так и есть, однако сила тока, протекающая здесь, будет намного меньше итоговой мощности генератора, что значительно упрощает организацию подвода тока. Элементы будут малы по размерам и массе и очень надежны, что делает именно такую конструкцию самой востребованной, особенно для мощных агрегатов, например, тяговых, устанавливаемых на тепловозах.
- Если же речь идет о маломощных генераторах, где токосъем не представляет каких-то сложностей, поэтому часто применяется «классическая» схема, с вращающейся якорной обмоткой и неподвижным магнитом (индуктором).

Совет! Кстати, неподвижная часть генератора переменного тока называется статором, так как она статична, а вращающаяся – ротором.
Вращать легче центральную часть
Виды генераторов переменного тока
Классифицировать и отличить генераторы можно по нескольким признакам. Давайте назовем их.
Трехфазные генераторы
Отличаться они могут по количеству фаз и быть одно-, двух- и трехфазными. На практике наибольшее распространение получил последний вариант.
Схема трехфазного генератора
- Как видно из картинки выше, силовая часть агрегата имеет три независимые обмотки, расположенные на статоре по окружности, со смещением друг относительно друга на 120 градусов.
- Ротор в данном случае представляет собой электромагнит, который, вращаясь, индуктирует в обмотках переменные ЭДС, которые сдвинуты друг относительно друга во времени на одну третью периода «Т», то есть такта. По сути, каждая обмотка представляет собой отдельный однофазный генератор, который питает переменным током свою внешнюю цепь R.
То есть мы имеет три значения тока I(1,2,3) и такое же количество цепей. Каждая такая обмотка вместе с внешней цепью получила название фазы.
Смещение синусоид на 1/3 такта
- Чтобы сократить число проводов, ведущих к генератору, три обратных провода, ведущих к нему от потребителей энергии, заменяют одним общим, по которому будут проходить токи от каждой фазы. Такой общий провод называют нулевым
- Соединение всех обмоток такого генератора, когда их концы соединяются друг с другом, называется звездой. Отдельные три провода, соединяющие начала обмоток с потребителями электроэнергии называются линейными – по ним и идет передача.
- Если нагрузка всех фаз будет одинаковой, то необходимость в нулевом проводе полностью отпадет, так как общий ток в нем будет равен нулю. Как так получается, спросите вы? Все предельно просто – для понятия принципа достаточно сложить алгебраические значения каждого синусоидального тока, сдвинутых по фазе на 120 градусов. Схема выше поможет понять этот принцип, если представить, что кривые на нем – это изменение тока в трех фазах генератора.

- Если же нагрузка в фазах будет неодинаковой, то нулевой провод начнет пропускать ток. Именно поэтому распространена 4-х проводная схема подключения звездой, так как она позволяет сохранять электрические приборы, включенные в этот момент в сеть.
Варианты соединения обмоток у трехфазного генератора
- Напряжение между линейными проводами называется линейным, тогда как напряжение на каждой фазе – фазным. Токи, протекающие в фазах, являются и линейными.
- Схема подключения звездой не является единственной. Существует и другой вариант последовательного подключения трех обмоток, когда конец одной соединен с началом второй, и так далее, пока не образуется замкнутое кольцо (см. схему выше «б»). Исходящие от генератора провода подключаются в местах соединения обмоток.
- В таком случае фазовые и линейные напряжения будут одинаковыми, а ток линейного провода будет больше фазного, при их одинаковой нагрузке.
- Такое соединение также не нуждается в нулевом проводе, в чем и заключается основное преимущество трехфазного генератора.
Наличие меньшего количества проводов делают его проще, и цена его ниже, из-за меньшего количества используемых цветных металлов.
Принципиальная схема генератора тока
Еще одной особенностью трехфазной схемы подключения является появление вращающегося магнитного поля, что позволяет создавать простые и надежные асинхронные электродвигатели.
Но и это не все. При выпрямлении однофазного тока на выходе выпрямителя получается напряжение с пульсациями от нуля до максимального значения. Причина, думаем, ясна, если вы поняли основной принцип работы такого устройства. Когда же присутствует сдвиг по времени фаз, пульсации сильно уменьшаются, не превышая 8%.
Различие по виду
Отличаются генераторы и по виду, которых существует 2:
Синхронный генератор
- Синхронный генератор переменного тока – главная особенность такого агрегата заключается в жесткой связи частоты переменной ЭДС, которая наведена в обмотке и синхронной частотой вращения, то есть вращения ротора.

Принцип действия и устройство синхронного генератора.
- Взгляните на схему выше. На ней мы видим статор с трехфазной обмоткой, соединенной по треугольной схеме, которая мало чем отличается от той, что стоит на асинхронном двигателе.
- На роторе генератора располагается электромагнит с обмоткой возбуждения, питающаяся от постоянного тока, который может быть подан на него любым известным способом – об этом подробнее будет расписано далее.
- Вместо электромагнита может быть применен постоянный, тогда необходимость в скользящих частях схемы, в виде щеток и контактных колец, отпадает вовсе, на такой генератор не будет достаточно мощным и не сможет нормально стабилизировать выходные напряжения.
- К валу ротора подключается привод – любой двигатель, создающий механическую энергию, и он приводится в движение с определенной синхронной скоростью.
- Так как магнитное поле главных полюсов вращается вместе с ротором, начинается индукция переменных ЭДС в обмотке статора, которые можно обозначить как Е1, Е2 и Е3.
Эти переменные будут одинаковыми по значению, но как уже не раз говорилось, смещенными на 120 градусов по фазе. Вместе эти значения образуют трехфазную систему ЭДС, которая симметрична. - К точкам С1,С2 и С3 подключается нагрузка, и на фазах обмотки в статоре появляются токи I1,I2,и I В это время каждая фаза статора сама становится мощным электромагнитом и создает вращающееся магнитное поле.
- Частота вращения магнитного поля статора будет соответствовать частоте вращения ротора.
Асинхронный электрический двигатель
- Асинхронные генераторы – их отличает от описанного выше примера то, что частоты ЭДС и вращения ротора жестко не привязаны друг к другу. Разница между этими параметрами называется скольжением.
- Электромагнитное поле такого генератора в обычном рабочем режиме оказывает под нагрузкой тормозной момент на вращение ротора, поэтому частота изменения магнитного поля будет меньшим.
- Эти агрегаты не требуют для создания сложных узлов и применения дорогих материалов, поэтому нашли широкое применение, как электрические двигатели для транспорта, из-за легкого обслуживая и простоты самого устройства.
Данные генераторы устойчивы к перегрузкам и коротким замыканиям, однако на устройствах сильно зависящих от частоты тока они неприменимы.
Способы возбуждения обмотки
Последнее различие моделей, которое хотелось бы затронуть, связано со способом запитки возбуждающей обмотки.
Тут можно выделить 4 типа:
- Питание на обмотку подается через сторонний источник.
- Генераторы с самовозбуждением – питание берется от самого генератора, при этом напряжение выпрямляется. Однако находясь в неактивном состоянии, такой генератор не сможет выработать достаточного напряжения, чтобы стартовать, для чего в схеме применяется аккумулятор, который будет задействован во время старта.
- Вариант с обмоткой возбуждения, питающейся от другого генератора меньшей мощности, установленного с ним на одном валу. Второй генератор уже должен стартовать от стороннего источника, например, того же аккумулятора.
- Последняя разновидность вообще не нуждается в подаче питания на обмотку возбуждения, так как ее у него нет, ведь применяется в устройстве постоянный магнит.
Применение генераторов переменного тока на практике
Промышленное производство мощных генераторов
Применяются такие генераторы практически во всех сферах человеческой деятельности, где требуется электрическая энергия. Причем принцип ее добычи отличается только способом приведения в движение вала устройства. Так работают и гидро-, и тепло- и даже атомные станции.
Данные станции запитывают по проводам общественные сети, к которым подключается конечный потребитель, то есть все мы. Однако существует множество объектов, к которым невозможно доставить электрическую энергию таким способом, например, транспорт, стройплощадки вдали от линий электропередач, очень далекие поселки, вахты, буровые установки и прочее.
Это означает только одно – требуется свой генератор и двигатель, приводящий его в движение. Давайте рассмотрим несколько небольших и часто встречающихся в нашей жизни устройств.
Автомобильные генераторы
На фото — электрический генератор для автомобиля
Кто-то возможно тут же скажет: «Как? Это же генератор постоянного тока!».
Да, действительно, так оно и есть, однако таковым его делает лишь наличие выпрямителя, который этот самый ток делает постоянным. Основной принцип работы ничем не отличается – все тот же ротор, все тот же электромагнит и прочее.
Принципиальная схема автомобильного генератора
Это устройство функционирует таким образом, что вне зависимости от скорости вращения вала, оно вырабатывает напряжение в 12В, что обеспечивается регулятором, через который идет питание обмотки возбуждения. Обмотка возбуждения стартует, запитываясь от автомобильного аккумулятора, ротор агрегата приводится в движение двигателем автомобиля через шкив, после чего начинает индуцироваться ЭДС.
Для выпрямления трехфазного тока используется несколько диодов.
Генератор на жидком топливе
Бензиновый генератор
Устройство бензинового генератора переменного тока, ровно, как и дизельного, мало чем отличается от того, что установлен в вашем автомобиле, за исключением нюанса, что ток он будет выдавать, как положено, переменный.
Из особенностей можно выделить то, что ротор агрегата всегда должен вращаться с одной скоростью, так как при перепадах выработка электроэнергии становится хуже. В этом кроется существенный недостаток подобных устройств – подобный эффект происходит при износе деталей.
Интересно знать! Если к генератору подключить нагрузку, которая будет ниже рабочей, то он не будет использовать свою мощность на полную, съедая часть жидкого топлива впустую.
Панель управления генератора
На рынке представлен большой выбор подобных агрегатов, рассчитанных на разную мощность. Они пользуются большой популярность за счет своей мобильности. При этом инструкция по пользованию предельно проста – заливаем своими руками топливо, запускаем двигатель поворотом ключа и подключаемся…
На этом, пожалуй, закончим. Мы разобрали назначение и общее устройство этих приборов максимально просто. Надеемся, генератор переменного тока и принцип его действия стали к вам чуточку ближе, и с нашей подачи вы захотите погрузиться в увлекательный мир электротехники.
Устройство генератора переменного тока — принцип работы и общее назначение
Конструктивно, электрогенератор состоит из:
- Устройство и принцип работы ↓
- Область применения ↓
- Классификация ↓
- Описание схем ↓
- “Звезда” ↓
- “Треугольник” ↓
- Практическое применение ↓
- Токопроводящей рамки.
- Магнитов.
Работает он следующим образом:
- Токопроводящая рамка помещается в магнитное поле, созданное между полюсами магнитов. Ее концы снабжают контактными кольцами, которые также способны вращаться.
- С помощью упругих токопроводящих пластинок (щеток), кольца соединяют с электрической лампочкой.
- Рамка, вращаясь в магнитном поле, постоянно пересекает своими сторонами магнитные силовые линии.
- Пересечение рамкой магнитных силовых линий вызывает возникновение ЭДС и получение индукционного тока.

- Под действием полученного индукционного тока, лампочка начинает светиться. Свечение лампочки продолжается до тех пор, пока вращается рамка.
Один полный оборот рамки внутри магнитного поля приводит к тому, что возникающая ЭДС, дважды меняет свое направление, причем ее величина дважды увеличивается до максимального значения (проводники проходили под полюсами магнитов) и дважды была равна нулю (проводники двигались вдоль силовых линий магнитного поля).
Такое изменение ЭДС в процессе непрерывного вращения рамки вызывает в замкнутой электрической цепи постоянно изменяющийся по направлению и величине синусоидальный электрический ток, который в настоящее время называют переменным.
В современной энергетике используются индукционные генераторы переменного тока различного типа. При этом, принцип их действия одинаков и базируется на принципе электромагнитной индукции.
В общем виде, такие устройства представляют собой достаточно сложное изделие, состоящее из медной проволоки, и большого количества изоляционных и конструктивных материалов.
Устройство и принцип работы
Устройство
Любой генератор переменного тока состоит из:
- Постоянного тока или электромагнита, который создает магнитное поле. С целью получения мощного магнитного потока, в генераторах устанавливают специальные магнитные системы из двух сердечников, которые изготавливаются из электротехнической стали.
- Обмотки, в которой возникает переменная ЭДС. Обмотки, создающие магнитное поле, размещают в специальных пазах одного сердечника, а обмотки, в которых возникает ЭДС – в пазах другого.
- Для подвода питающего напряжения и съема полученного переменного тока, используются контактные кольца и щетки. Эти детали изготавливаются из токопроводящих материалов. Сила тока в обмотках электромагнита, создающего магнитное поле значительно меньше той, которую генератор отдает во внешнюю цепь, поэтому генерируемое напряжение удобнее снимать с неподвижных обмоток, а через скользящие контакты подводить маломощное питающее напряжение.

В маломощных устройствах щетки и кольца используются значительно реже, так как в их конструкциях можно использовать вращающиеся постоянные магниты, которым подвод питающего напряжения не нужен.
Как правило:
- Внутренний сердечник (ротор) вместе с обмоткой вращается вокруг своей оси.
- Внешний сердечник (статор) неподвижен.
- Зазор между ротором и статором должен быть минимальным – только тогда мощность потока магнитной индукции максимальна. При этом, магнитное поле создает неподвижный магнит, а обмотки, в которых создается ЭДС, вращаются.
Однако, в больших промышленных генераторах, внешний сердечник, создающий магнитное поле, вращается вокруг внутреннего, а обмотки, в которых индуцируется ЭДС, остаются неподвижными.
Во время работы, в обмотке ротора возникает ЭДС, амплитуда которой пропорциональна количеству витков. Кроме того, она пропорциональна и амплитуде переменного магнитного потока (через виток).
Принцип работы синхронного генератора:
Область применения
Повседневную жизнь человеческого общества невозможно представить без переменного тока. Его широкое использование связано с тем, что он обладает огромными преимуществами перед постоянным.
При этом, главным преимуществом является то, что напряжение и силу переменного тока можно легко и практически без потерь преобразовать в достаточно широких пределах.
Особенно, такое преобразование необходимо в случае передачи электроэнергии на большие расстояния. Электроэнергия обладает большими преимуществами перед другими видами энергии.
Ее можно передавать на большие расстояния с малыми потерями и достаточно легко распределять между потребителями. Кроме того, электроэнергия просто превращается в другие виды энергии (световая, тепловая, механическая и пр.
).
Именно поэтому, генераторы переменного тока в современных условиях получили очень широкое применение. С их помощью вырабатывается электроэнергия, которая затем используется во всех отраслях промышленности, а также в быту и на всех видах транспорта.
Классификация
В связи с большим разнообразием генераторов, выпускаемых промышленностью различных стран, была разработана и достаточно обширная система их классификации.
Так, генераторы переменного тока различают по:
- Виду.
- Конструкции.
- Способу возбуждения.
- Количеству фаз.
- Соединению фазных обмоток.
Электрогенераторы переменного тока бывают:
- Асинхронными. Изделия, в которых на вращающемся валу имеются пазы, предназначенные для размещения обмоток. Они генерируют электрический ток с небольшими искажениями, величина которого не превышает номинального значения.
Изделия этого типа используются для электропитания бытовой техники. - Синхронными. Изделия, в которых катушки индуктивности размещены непосредственно на роторе. Они способны выдавать ток, который обладает высокой пусковой мощностью.
Генератор с неподвижным ротором
Конструктивно различают генераторы:
- С неподвижным ротором.
- С неподвижным статором
Конструкции с неподвижным статором получили наибольшее распространение благодаря тому, что отпадает необходимость в использовании контактных колец и плавающих щеток.
По способу возбуждения электрогенераторы бывают:
- С независимым возбуждением (питающее напряжение подается на обмотку возбуждения от отдельного источника постоянного тока).
- С самовозбуждением (обмотки возбуждения питаются выпрямленным (постоянным) током, получаемым от самого генератора).
- С обмотками возбуждения, питание которых осуществляется от стороннего генератора постоянного тока малой мощности, “сидящего” на одном валу с ним.

- С возбуждением от постоянного магнита.
По количеству фаз различают электрогенераторы:
- Однофазные.
- Двухфазные.
- Трехфазные.
Наибольшее распространение получили трехфазные генераторы.
Это связано с наличием некоторых преимуществ, среди которых нужно отметить возможность беспроблемного получения:
- Вращающегося кругового магнитного поля, что способствует экономичности их изготовления.
- Уравновешенной системы, что существенно повышает срок службы энергоустановок.
- Одновременно двух рабочих напряжений (фазного и линейного) в одной системе.
- Высоких экономических показателей – значительно уменьшается материалоемкость силовых кабелей и трансформаторов, а также упрощается процесс передачи электроэнергии на большие расстояния.
Трехфазные генераторы отличаются электрическими схемами соединения фазных обмоток.
Бывает, что фазные обмотки соединяются:
- “Звездой”.
- “Треугольником”.
Описание схем
Для получения связанной трехфазной системы, обмотки электрогенератора нужно соединить между собой одним из двух способов:
“Звезда”
Соединение “звездой” предусматривает электрическое соединение концов всех обмоток в одной точке. Точка соединения называется “нулем”. При таком соединении нагрузка к генератору может быть подключена 3 или 4 проводами.
Провода, идущие от начала обмоток называются линейными, а провод, идущий от нулевой точки – нулевым. Напряжение между линейными проводами называют линейным.
Линейное напряжение больше фазного в 1,73 раза.
Напряжение между нулевым и любым из линейных проводов называется фазным. Фазные напряжения равны между собой и сдвинуты друг относительно друга на угол, который равен 120 градусов.
Особенностью схемы является также равенство линейных и фазных токов.
Наиболее распространена 4 проводная схема – соединение “звездой” с нейтральным проводом. Она позволяет избежать перекоса фаз в случае подключения несимметричной нагрузки, например, на одной фазе – включена активная нагрузка, а на другой – емкостная или реактивная. При этом, обеспечивается сохранность включенных электроприборов.
“Треугольник”
Соединение “треугольником” – это последовательное соединение обмоток трехфазного генератора: конец первой обмотки соединяется с началом второй, ее конец – с началом третьей, а конец последней – с началом первой.
В этом случае, линейные провода отводятся от точек соединения обмоток. При этом, линейное напряжение равно фазному, а величина линейного тока в 1,73 раза больше фазного.
Все упомянутые зависимости справедливы только при равномерной нагрузке фаз. При неравномерной нагрузке фаз, их необходимо пересчитывать аналитическими или графическими методами.
Практическое применение
Индукционные генераторы находят свое применение практически во всех областях жизнедеятельности человеческого общества.
Причем в любом случае, для получения переменного тока используется энергия вращения вала генератора.
Это касается:
- Крупных гидро-, тепло-, и атомных электростанций.
- Промышленных электрогенераторов.
- Бытовых электрогенераторов.
Генераторы, устанавливаемые на электростанциях, вырабатывают большое количество электроэнергии, которая затем передается на огромные расстояния.
Они разрабатываются под конкретные, узкоспециализированные задачи и представляют собой сложнейшие устройства, для установки которых необходимо строить отдельные здания и сооружения.
Кроме того, их работа обеспечивается специально организованной инфраструктурой.
Промышленные генераторы используются для обеспечения электроэнергией объектов, в работе которых не должно быть перебоев с подачей напряжения.
Кроме того, их используют для обеспечения электроэнергией строительных площадок, вахтовых поселков, удаленных ферм и буровых установок, находящихся в местах, где подводка стационарных линий электропередач невозможна или экономически нецелесообразна.
Как правило, для работы они используют дизельное топливо, вырабатывая при этом переменный ток большой мощности (220 или 380 В). Используются для этого синхронные генераторы, которые способны обеспечить работу промышленного оборудования большой мощности.
В дизельных установках, вал генератора вращается с помощью двигателя внутреннего сгорания (ДВС).
Электрогенератор на шасси
Все комплектующие изделия, входящие в состав промышленного генератора, монтируются на высокопрочных стальных шасси, которое при необходимости устанавливается:
- Теплоизолированным контейнером.
- Передвижным шасси (колесное, на полозьях).
Бытовые электрогенераторы приобрели большую популярность сравнительно недавно.
Они используются для электрификации небольших коттеджей, загородных домов и дач, а также помогают решить ряд проблем, связанных с некорректной работой централизованной электросети и часто применяются в качестве аварийных источников переменного тока на ранее электрифицированных объектах подобного типа.
В устройствах этого типа для вращения вала генератора используют как бензиновые, так и дизельные ДВС. Они вырабатывают переменный ток небольшой мощности (от 0,5 до 15 кВт) и отличаются:
- Экономичностью.
- Небольшими размерами.
- Низким уровнем шума.
При выборе бытового генератора переменного тока, потенциальному потребителю необходимо обращать внимание на:
- Тип ДВС (бензиновый или дизельный).

- Заявленную в сопроводительной документации мощность.
- Тип генератора (синхронный или асинхронный).
- Фазность.
- Блок управления.
- Уровень шума.
Статья была полезна?
0,00 (оценок: 0)
Генератор постоянного тока: устройство, принцип работы, классификация
На заре электрификации генератор постоянного тока оставался безальтернативным источником электрической энергии. Довольно быстро эти альтернаторы были вытеснены более совершенными и надёжными трехфазными генераторами переменного тока. В некоторых отраслях постоянный ток продолжал быть востребованным, поэтому устройства для его генерации совершенствовались и развивались.
Даже в наше время, когда изобретены мощные выпрямительные устройства, актуальность генераторов постоянного электротока не потерялась. Например, они используются для питания силовых линий на городском электротранспорте, используемых трамваями и троллейбусами.
Такие генераторы по-прежнему используют в технике электросвязи в качестве источников постоянного электротока в низковольтных цепях.
Устройство и принцип работы
В основе действия генератора лежит принцип, вытекающий из закона электромагнитной индукции. Если между полюсами постоянного магнита поместить замкнутый контур, то при вращении он будет пересекать магнитный поток (см. рис. 1). По закону электромагнитной индукции в момент пересечения индуцируется ЭДС. Электродвижущая сила возрастает по мере приближения проводника к полюсу магнита. Если к коллектору (два жёлтых полукольца на рисунке) подсоединить нагрузку R, то через образованную электрическую цепь потечёт ток.
Рис. 1. Принцип действия генератора постоянного тока
По мере выхода витков рамки из зоны действия магнитного потока ЭДС ослабевает и приобретает нулевое значение в тот момент, когда рамка расположится горизонтально. Продолжая вращение контура, его противоположные стороны меняют магнитную полярность: часть рамки, которая находилась под северным полюсом, занимает положение над южным магнитным полюсом.
Величины ЭДС в каждой активной обмотке контура определяются по формуле: e1 = Blvsinw
При смене полюсов меняется направление тока. Но благодаря тому, что коллектор поворачивается синхронно с рамкой, ток на нагрузке всегда направлен в одну сторону. То есть рассматриваемая модель обеспечивает выработку постоянного электричества. Результирующая ЭДС имеет вид: e = 2Blvsinw
Строго говоря, данная конструкция обеспечивает только полярность неподвижных щеток, но не устраняет пульсации ЭДС. Поэтому график сгенерированного тока имеет вид, как показано на рис.2.
Рисунок 2. График тока, выработанного примитивным генератором
Такой ток, за исключением редких случаев, не пригоден для использования. Приходится сглаживать пульсации до приемлемого уровня. Для этого увеличивают количество полюсов постоянных магнитов, а вместо простой рамки используют более сложную конструкцию – якорь, с большим числом обмоток и соответствующим количеством коллекторных пластин (см. рис. 3). Кроме того, обмотки соединяются разными способами, о чём речь пойдёт ниже.
Рис. 3. Ротор генератора
Якорь изготавливается из листовой стали. На сердечниках якоря имеются пазы, в которые укладываются несколько витков провода, образующего рабочую обмотку ротора. Проводники в пазах соединены последовательно и образуют катушки (секции), которые в свою очередь через пластины коллектора создают замкнутую цепь.
С точки зрения физики процесса генерации не имеет значения, какие детали вращаются – обмотки контура или сам магнит. Поэтому на практике якоря для маломощных генераторов делают из постоянных магнитов, а полученный переменный ток выпрямляют диодными мостами и другими схемами.
И напоследок: если на коллектор подать постоянное напряжение, то генераторы постоянного тока могут работать в режиме синхронных двигателей.
Конструкция двигателя (он же генератор) понятна из рисунка 4. Неподвижный статор состоит из двух сердечников полюсов, состоящих из ферримагнитных пластин, и обмоток возбуждения, соединённых последовательно. Щётки расположены по одной линии друг против друга. Для охлаждения обмоток используется вентилятор.
Рис. 4. Двигатель постоянного тока
Классификация
Различают два вида генераторов постоянного тока:
- с независимым возбуждением обмоток;
- с самовозбуждением.
Для самовозбуждения генераторов используют электричество, вырабатываемое самим устройством. По принципу соединения обмоток якоря самовозбуждающиеся альтернаторы с делятся на типы:
- устройства с параллельным возбуждением;
- альтернаторы с последовательным возбуждением;
- устройства смешанного типа (компудные генераторы).

Рассмотрим более подробно особенности каждого типа соединения якорных обмоток.
С параллельным возбуждением
Для обеспечения нормальной работы электроприборов, требуется наличие стабильного напряжения на зажимах генераторов, не зависящее от изменения общей нагрузки. Задача решается путём регулировки параметров возбуждения. В альтернаторах с параллельным возбуждением выводы катушки подключены через регулировочный реостат параллельно якорной обмотке.
Реостаты возбуждения могут замыкать обмотку «на себя». Если этого не сделать, то при разрыве цепи возбуждения, в обмотке резко увеличится ЭДС самоиндукции, которая может пробить изоляцию. В состоянии, соответствующем короткому замыканию, энергия рассеивается в виде тепла, предотвращая разрушение генератора.
Электрические машины с параллельным возбуждением не нуждаются во внешнем источнике питания. Благодаря наличию остаточного магнетизма всегда присутствующего в сердечнике электромагнита происходит самовозбуждение параллельных обмоток.
Для увеличения остаточного магнетизма в катушках возбуждения сердечники электромагнитов делают из литой стали.
Процесс самовозбуждения продолжается до момента, пока сила тока не достигнет своей предельной величины, а ЭДС не выйдет на номинальные показатели при оптимальных оборотах вращения якоря.
Достоинство: на генераторы с параллельным возбуждением слабо влияют токи при КЗ.
С независимым возбуждением
В качестве источника питания для обмоток возбуждения часто используют аккумуляторы или другие внешние устройства. В моделях маломощных машин используют постоянные магниты, которые обеспечивают наличие основного магнитного потока.
На валу мощных генераторов расположен генератор-возбудитель, вырабатывающий постоянный ток для возбуждения основных обмоток якоря. Для возбуждения достаточно 1 – 3% номинального тока якоря и не зависит от него. Изменение ЭДС осуществляется регулировочным реостатом.
Преимущество независимого возбуждения состоит в том, что на возбуждающий ток никак не влияет напряжение на зажимах.
А это обеспечивает хорошие внешние характеристики альтернатора.
С последовательным возбуждением
Последовательные обмотки вырабатывают ток, равен току генератора. Поскольку на холостом ходе нагрузка равна нулю, то и возбуждение нулевое. Это значит, что характеристику холостого хода невозможно снять, то есть регулировочные характеристики отсутствуют.
В генераторах с последовательным возбуждением практически отсутствует ток, при вращении ротора на холостых оборотах. Для запуска процесса возбуждения необходимо к зажимам генератора подключить внешнюю нагрузку. Такая выраженная зависимость напряжения от нагрузки является недостатком последовательных обмоток. Такие устройства можно использовать только для питания электроприборов с постоянной нагрузкой.
Со смешанным возбуждением
Полезные характеристики сочетают в себе конструкции генераторов со смешанным возбуждением. Их особенности: устройства имеют две катушки – основную, подключённую параллельно обмоткам якоря и вспомогательную, которая подключена последовательно.
В цепь параллельной обмотки включён реостат, используемый для регулировки тока возбуждения.
Процесс самовозбуждения альтернатора со смешанным возбуждением аналогичен тому, который имеет генератор с параллельными обмотками (из-за отсутствия начального тока последовательная обмотка в самовозбуждении не участвует). Характеристика холостого хода такая же, как у альтернатора с параллельной обмоткой. Это позволяет регулировать напряжения на зажимах генератора.
Смешанное возбуждение сглаживает пульсацию напряжения при номинальной нагрузке. В этом состоит главное преимущество таких альтернаторов перед прочими типами генераторов. Недостатком является сложность конструкции, что ведёт к удорожанию этих устройств. Не терпят такие генераторы и коротких замыканий.
Технические характеристики генератора постоянного тока
Работу генератора характеризуют зависимости между основными величинами, которые называются его характеристиками. К основным характеристикам можно отнести:
- зависимости между величинами при работе на холостом ходе;
- характеристики внешних параметров;
- регулировочные величины.

Некоторые регулировочные характеристики и зависимости холостого хода мы раскрыли частично в разделе «Классификация». Остановимся кратко на внешних характеристиках, которые соответствуют работе генератора в номинальном режиме. Внешняя характеристика очень важна, так как она показывает зависимость напряжения от нагрузки, и снимается при стабильной скорости оборотов якоря.
Внешняя характеристика генератора постоянного тока с независимым возбуждением выглядит следующим образом: это кривая, зависимости напряжения от нагрузки (см. рис. 5). Как видно на графике падение напряжения наблюдается, но оно не сильно зависит от тока нагрузки (при сохранении скорости оборотов двигателя, вращающего якорь).
Рис. 5. Внешняя характеристика ГПТ
В генераторах с параллельным возбуждением зависимость напряжения от нагрузки сильнее выражена (см. рис. 6). Это связано с падением тока возбуждения в обмотках. Чем выше нагрузочный ток, тем стремительнее будет падать напряжение на зажимах генератора.
В частности, при постепенном падении сопротивления до уровня КЗ, напряжение падёт до нуля. Но резкое замыкание в цепи вызывает обратную реакцию генератора и может быть губительным для электрической машины этого типа.
Рис. 6. Характеристика ГПТ с параллельным возбуждением
Увеличение тока нагрузки при последовательном возбуждении ведёт к росту ЭДС. (см. верхнюю кривую на рис. 7). Однако напряжение (нижняя кривая) отстаёт от ЭДС, поскольку часть энергии расходуется на электрические потери от присутствующих вихревых токов.
Рис. 7. Внешняя характеристика генератора с последовательным возбуждением
Обратите внимание на то, что при достижении своего максимума напряжение, с увеличением нагрузки, начинает резко падать, хотя кривая ЭДС продолжает стремиться вверх. Такое поведение является недостатком, что ограничивает применение альтернатора этого типа.
В генераторах со смешанным возбуждением предусмотрены встречные включения обеих катушек – последовательной и параллельной. Результирующая намагничивающая сила при согласном включении равна векторной сумме намагничивающих сил этих обмоток, а при встречном – разнице этих сил.
В процессе плавного увеличении нагрузки от момента холостого хода до номинального уровня, напряжение на зажимах будет практически постоянным (кривая 2 на рис. 8). Увеличение напряжения наблюдается в том случае, если количество проводников последовательной обмотки будет превышать количество витков соответствующее номинальному возбуждению якоря (кривая 1).
Изменение напряжения для случая с меньшим числом витков в последовательной обмотке, изображает кривая 3. Встречное включение обмоток иллюстрирует кривая 4.
Рис. 8. Внешняя характеристика ГПТ со смешанным возбуждением
Генераторы со встречным включением используют тогда, когда необходимо ограничить токи КЗ, например, при подключении сварочных аппаратов.
В нормально возбуждённых устройствах смешанного типа ток возбуждения постоянный и от нагрузки почти не зависит.
Реакция якоря
Когда к генератору подключена внешняя нагрузка, то токи в его обмотке образуют собственное магнитное поле. Возникает магнитное сопротивление полей статора и ротора.
Результирующее поле сильнее в тех точках, где якорь набегает на полюсы магнита, и слабее там, где он с них сбегает. Другими словами якорь реагирует на магнитное насыщение стали в сердечниках катушек. Интенсивность реакции якоря зависит от насыщения в магнитопроводах. Результатом такой реакции является искрение щёток на коллекторных пластинах.
Снизить реакцию якоря можно путём применения компенсирующих дополнительных магнитных полюсов или сдвигом щёток с осевой линии геометрической нейтрали.
ЭДС
Среднее значение электродвижущей силы пропорционально магнитному потоку, количеству активных проводников в обмотках и частоте вращения якоря. Увеличивая или уменьшая указанные параметры можно управлять величиной ЭДС, а значит и напряжением. Проще всего, желаемого результата можно достичь путём регулировки частоты вращения якоря.
Мощность
Различают полную и полезную мощность генератора. При постоянной ЭДС полная мощность пропорциональна току: P = EIa.
Отдаваемая в цепь полезная мощность P1 = UI.
КПД
Важной характеристикой альтернатора является его КПД – отношение полезной мощности к полной. Обозначим данную величину символом ηe. Тогда: ηe=P1/P.
На холостом ходе ηe = 0. максимальное значение КПД – при номинальных нагрузках. Коэффициент полезного действия в мощных генераторах приближается к 90%.
Применение
До недавнего времени использование тяговых генераторов постоянного тока на ж/д транспорте было безальтернативным. Однако уже начался процесс вытеснения этих генераторов синхронными трёхфазными устройствами. Переменный ток, синхронного альтернатора выпрямляют с помощью выпрямительных полупроводниковых установок.
На некоторых российских локомотивах нового поколения уже применяют асинхронные двигатели, работающие на переменном токе.
Похожая ситуация наблюдается с автомобильными генераторами. Альтернаторы постоянного тока заменяют асинхронными генераторами, с последующим выпрямлением.
Пожалуй, только передвижные сварочные аппараты с автономным питанием неизменно остаются в паре с альтернаторами постоянного тока. Не отказались от применения мощных генераторов постоянного тока также некоторые отрасли промышленности.
Видео по теме
Список использованной литературы
- Вольдек А. И., Попов В. В. «Электрические машины. Введение в электромеханику. Машины постоянного тока и трансформаторы» 2008
- О.А.Косарева «Шпаргалка по общей электротехники и электроники»
- Китаев В. Е., Корхов Ю. М., Свирин В. К. «Электрические машины» Часть 1. Машины постоянного тока. 1978
- Данилов И.А., Лотоцкий К.В. «Электрические машины» 1972
Переменный ток. Генератор переменного тока. 8-й класс
Цель урока: сформировать представление о переменном токе, его характеристиках (амплитудном и действующем значениях силы тока и напряжения, частоте), способе получения; сравнить постоянный и переменный ток; изучить устройство и принцип действия генератора переменного тока; научить по графику определять характеристики тока.
Задачи урока:
Предметные:
- понимание смысла понятия переменного тока и способов его получения; показать их практическое значение.
Метапредметные УУД:
- Познавательные: умение самостоятельно добывать нужную информацию, сравнивать, обобщать, анализировать, делать выводы; умение выделять значимые функциональные связи на примере рассмотрения вращения рамки в магнитном поле; формировать практические умения проведения эксперимента и знакомство с историей создания генератора переменного тока.
- Регулятивные: постановка цели, умение ставить учебные задачи, планирование деятельности, проводить простейших опытов и наблюдения, описывать их, задавать вопросы и находить ответы на них опытным путем, проводить прямые измерения при помощи наиболее часто используемых приборов, представлять результаты измерений в виде таблиц, делать выводы на основе наблюдений, находить простейшие закономерности в протекании явлений, находить способы их достижения, осуществлять контроль и взаимоконтроль.

- Коммуникативные: умение выражать свою позицию, умение вести беседу, планирование учебного сотрудничества с учителем и сверстниками — определение цели, функций участников, способов взаимодействия; постановка вопросов — инициативное сотрудничество в поиске и сборе информации; управление поведением партнера — контроль, коррекция, оценка действий партнера.
Личностные УУД:
- умение вести диалог, уважать чужое мнение, достигать поставленных целей, самостоятельно приобретать новые знания и практические умения;
- сформированность познавательных интересов, интеллектуальных и творческих способностей учащихся.
Тип урока: комбинированный.
Форма урока: урок-беседа.
Оборудование:
- компьютер и проектор, электронный веб-ресурс (сайт) по теме 1. Видеоролик «Явление электромагнитной индукции» http://school-collection.
edu.ru/catalog/res/94fe49eb-c56a-415d-948d-61c85a9c0603/?from=8f5d7210-86a6-11da-a72b-0800200c9a66& - Видеоролик «Генератор переменного тока»http://school-collection.edu.ru/catalog/res/4170927d-c63b-4b0f-9142-66cbb89fea84/?from=8f5d7210-86a6-11da-a72b-0800200c9a66&
- Модель генератора переменного тока; набор по получению переменного тока: миллиамперметр, катушка, постоянный магнит.
Оформление кабинета: портрет М.Фарадея, таблица «Переменный ток».
План урока
Ι. Орг. момент (2 мин.).
ΙΙ. Проверка домашнего задания (10 мин).
ΙΙΙ. Изучение нового материала (20 мин.).
ΙV. Закрепление изученного материала (10 мин.).
V. Домашнее задание (3 мин.).
Ход урока
Ι. Орг. момент
Приветствие учащихся.
Психологический настрой учащихся на урок
Выступление учителя: В конце XIX в, электричество начинает применяться в практической жизни людей для освещения, электродвигатели приводят в действие различные машины и станки, бытовые электроприборы.
Однако трудность передачи постоянного тока на большие расстояния мешала его широкому применению. Эти трудности были преодолены после изобретения генератора переменного тока.
Учитель знакомит с темой урока: Переменный ток. Генератор переменного тока.
Предлагает ученикам сформулировать цель и задачу урока.
Учащиеся ставят цель и задачу урока: выяснить, что такое переменный ток, каковы его основные характеристики, способ получения и применение.
ΙΙ. Проверка домашнего задания. Актуализация знаний
Учитель: Прежде чем мы перейдем к изучению нового материала, вам необходимо вспомнить:
- Какое явление называется явлением электромагнитной индукции?
- От чего зависит направление и значение индукционного тока?
Учитель демонстрирует один из опытов Фарадея по получению индукционного тока (можно поручить этот эксперимент учащимся).
Задача учащихся зарисовать схему опыта и объяснить наблюдаемое явление.
Один из учащихся работает у доски, остальные в тетрадях.
Обсуждение ответа учащегося.
Все внимательно выслушивают ответ учащегося, работающего у доски. Оценивают по критериям устного ответа, исправляют, дополняют, приводят другие способы получения индукционного тока. Учащиеся должны сказать:
- Это один из опытов Фарадея, демонстрирующих электромагнитную индукцию;
- ЭМИ- это явление возникновения электрического тока в замкнутом проводнике при изменении магнитного потока, пронизывающего этот контур;
- Возникающий электрический ток называется индукционным. Он может меняться по модулю и направлению;
- Величина индукционного тока тем больше, чем быстрее происходит изменение магнитного потока;
- Изменение магнитного потока может происходить различными способами. Эти способы демонстрируют опыты Фарадея.
Учащиеся посмотрев видеоролик«Явление электромагнитной индукции» сравнивают свои ответы.
ΙΙΙ. Изучение нового материала
Демонстрация 1. Получение переменного тока в рамке при её вращении в магнитном поле постоянного магнита.
Учитель. Сравните способы получения тока, изображенные на рисунках 24.3 (стр103) и 25.3 (стр112) учебника О.Ф. Кабардин «Физика -8».
Вопрос учителя: Что удобнее: вращать катушку в поле постоянного магнита или сделать катушку неподвижной, а вращать магнит? Почему?
Вопросы при демонстрации:
1. Как вы понимаете понятие «переменный ток»?
Учащиеся находят ответ в учебнике на стр.112.
Переменный ток — это электрический ток, изменяющийся во времени по модулю и направлению.
2. Какие физические величины характеризующие ток, могут изменяться?
Учащиеся отвечают: Сила тока и напряжение.
3. Что показывает частота переменного тока?
Учащиеся отвечают: Частота переменного тока показывает, сколько раз за 1с ток изменяет свое направление.
4. В каких пределах может изменяться сила тока, напряжение?
Учащиеся отвечают: Сила тока и напряжение изменяются от 0 до максимального(амплитудного) значения.
5. Можно ли использовать обычный амперметр и вольтметр для измерения силы переменного и напряжения? Почему?
Учитель: Останавливаемся на силе тока и, работая с учебником (О.Ф.Кабардин «Физика-8», стр.112, рис. 25.1,) , изображаем график этой переменной величины, Вспоминаем колебательное движение и величины его характеризующие: период, частота, амплитуда. Находим все эти величины на графике. Один учащийся работает у доски, остальные в тетрадях. Аналогично, но уже самостоятельно ученики характеризуют напряжение на рис.25.2. в своих тетрадях. Далее заполняем все столбцы таблицы, работая с учебником §25.
Пока учащиеся работают, учитель проходит по классу и смотрит, что у них получилось.
Учитель сообщает, что в бытовых электросетях используется переменный ток частотой 50 Гц.
Физическая | Сила тока | Напряжение |
График зависимости от времени | ||
Физический смысл | Изменение направление тока — изменение направления движения зарядов | Изменение направления — смена полярности на зажимах эл. цепи |
Амплитуда | Im — максимальное значение силы тока | Um — максимальное значение напряжения |
Действующее значение |
Учащийся отвечает у доски, остальные сверяют со своими работами, обсуждают, исправляют, дополняют.
Предлагают свои варианты, аргументируя свои ответы.
Демонстрация 2. Модель работы генератора переменного тока
Вопрос учителя: рассмотреть рис. 25.4 и ответить на вопросы.
- Что такое генератор переменного тока.
- Какие превращения энергии происходят в этом устройстве.
- Назвать основные элементы генератора переменного тока и их назначение.
Статор — это неподвижная часть. Ротор — подвижная. Можно сказать, что статор — это аналог катушки с большим числом витков. А ротор — это магнит, который вращается и создает изменяющийся магнитный поток с течением времени, пронизывая те витки, которые находятся в статоре, индуцирует, наводит в этих витках электрический ток.
Если генератор маломощный, то обычно ротор делают из постоянного магнита. Ему придают определённую форму, создают внутри несколько отдельных полюсов.
Этот постоянный магнит, вращаясь прямо внутри статора, непосредственно создаёт индукционный электрический ток. Если же необходим мощный генератор, то в этом случае ротор — уже не постоянный магнит, а электромагнит.
Просмотр видео и задание после просмотра видео:
- Почему при увеличении скорости вращении рамки мы уже не замечаем мерцание лампочки? (обсуждение)
- Почему в генераторах переменного тока большой мощности ротор является электромагнитом?
- Какую частоту имеет промышленный ток?
Учитель предлагает учащимся получить на практике переменный ток частотой 50 Гц, используя предложенное оборудование. На демонстрационном столе имеется миллиамперметр, катушка-моток, постоянный магнит. Учащиеся пробуют быстро вставлять и вынимать магнит и другие способы и делают вывод, что ток такой частоты получить при помощи данной установки нельзя, т.к. 50 Гц — это 50 колебаний тока в секунду.
Учитель предлагает подумать и предложить идеи для усовершенствования установки, объясняет устройство генератора индукционного тока.
Учащиеся подписывают названия его основных частей.
Далее учитель заостряет внимание на способах вращения ротора генератора.
Учащиеся предлагают свои варианты: на гидроэлектростанции — поток воды, на теплоэлектростанции — пар и т.д.
ΙV. Закрепление изученного материала
Задание 1. Вопросы на закрепление
- Что называется переменным током?
- Что такое период, частота переменного тока?
- На каком принципе основана работа генератора переменного тока?
- Проволочная рамка вращается с постоянной частотой в однородном магнитном поле. Какой из графиков, изображенных на рис. показывает зависимость силы тока в рамке от времени?
- 220В — это амплитудное или действующее значение напряжения?
- Сколько раз за 1 мин переменный ток меняет свое направление?
- Почему же именно переменный ток используется в бытовых электросетях.
- Какое устройство называется генератором переменного тока?
Задание 2.
Проверка знаний — проверь соседа! (тест)
А сейчас проверим, на сколько, вы усвоили данный материал. Запишите правильный ответ.
Тест: Генерирование электрической энергии.
I. Переменный электрический ток
1. не изменяется по значению;
2. не изменяется по направлению;
3. изменяется по значению и направлению.
II. На каком явлении основано действие электромеханического индукционного генератора переменного тока?
1. электростатической индукции;
2. электромагнитной индукции;
3. термоэлектронной эмиссии.
III. Генератор электрической энергии необходим для…
1. создание материи;
2. создание энергии;
3. преобразование энергии
IV. Переменный ток вырабатывают
1. на заводе;
2. на электростанции;
3. в жилых домах.
V. Стандартная частота используемого у нас переменного тока …
1. 100Гц;
2.
50Гц;
3.500Гц.
VI. Простейший генератор переменного тока состоит…
- Магнита;
- Проволочной рамки;
- Ротора и статора.
Ответы: I-3, II-2, III-3, IV-2, V-2, VI-3.
Кто ответит правильно на 6 вопросов, получит «5», на 5 вопросов, оценку — «4», за 4-3 правильных ответов получит «3».
Подведение итога. Определяется, достигли ли учащиеся поставленной цели, отмечается работа учащихся на уроке, выставляются оценки, обсуждение и аргументирование ответа учащихся.
V. Домашнее задание
- §25, ответить на вопросы (устно),
- заполнить таблицу сравнения постоянного и переменного тока
Название | Постоянный ток | Переменный ток |
Источник | Гальванический элемент, аккумулятор | Генератор переменного тока |
Направление | От «+» к «-» | Меняет направление |
Изменяются ли сила тока и напряжение | Нет | Да, от 0 до амплитудного значения |
Применение | Электрооборудование автомобиля и городского транспорта(метро, трамвай, троллейбус), автономное питание карманного фонарика, приемника, магнитофона, пульта телевизора, детские игрушки и т. | Осветительные сети квартир, бытовые электроприборы, фабрики и заводы. |
Рефлексия
- Какую цель вы поставили на начало урока?
- Что вы узнали сегодня на уроке?
- Могут ли вам полученные знания пригодиться в жизни? Где именно?
- Что оказалось самым трудным для понимания?
- Какую бы вы поставили себе оценку за работу на уроке?
Автомобильный генератор — инженерное мышление
Узнайте, как работает генератор. Это устройство является неотъемлемой частью электрической системы каждого автомобиля с двигателем внутреннего сгорания. Итак, что он делает и как он работает. В этой статье мы рассмотрим типичный автомобильный генератор, чтобы понять, как он работает, основные части, а также почему и где мы их используем.
Прокрутите вниз, чтобы посмотреть обучающее видео на YouTube.
Что такое генератор переменного тока
Генератор переменного тока выглядит примерно так.
Мы находим генератор в моторном отсеке автомобиля.
Генератор
Вал генератора соединен с двигателем через ремень и шкив. Когда двигатель работает, вал генератора вынужден вращаться, это вращение вырабатывает электричество.
Объяснение генератора переменного тока
Генератор переменного тока производит тип электричества, известный как переменный ток, поэтому он называется генератором переменного тока. При переменном токе ток электронов постоянно течет вперед и назад. Это тот же тип электричества, который вы найдете в розетках в своих домах, но напряжение в ваших домах намного выше.
Однако все электрические компоненты автомобиля используют другой тип электричества, известный как постоянный или постоянный ток. С этим типом электричества электроны движутся только в одном направлении, это то же самое, что и электричество, которое вы получаете от батареи.
Выпрямитель
Таким образом, генератор переменного тока преобразует переменный ток в постоянный через выпрямитель.
Выходное напряжение генератора переменного тока зависит от скорости автомобиля, поэтому в генераторе переменного тока также используется регулятор, чтобы ограничить его и поддерживать почти постоянную выходную мощность.
Зачем нужен генератор
Каждому современному транспортному средству для работы требуется электричество, которое используется для питания таких вещей, как освещение, музыкальная система, электрические стеклоподъемники, стеклоочистители и т. д.
Электрические компоненты используют постоянный ток
Двигатель сжигает топливо. Это используется для вращения коленчатого вала и движения автомобиля вперед. Двигатель обеспечивает только механическую силу, он не производит электричество. Итак, нам нужен способ питания всех электрических устройств в автомобиле, и здесь на помощь приходит генератор переменного тока.
В моторном отсеке мы также находим 12-вольтовый свинцово-кислотный автомобильный аккумулятор. Это хранит энергию в виде химической энергии, а не электричество.
Автомобильный аккумулятор
Кстати, мы подробно рассмотрели, как работает автомобильный аккумулятор. ЗДЕСЬ
Когда двигатель выключен, аккумулятор питает электрические компоненты автомобиля. Хотя это разрядит батарею.
Когда автомобиль заводится, аккумулятор подает большой ток на стартер, который вращает маховик и запускает двигатель. Аккумулятор снова частично разряжается во время запуска из-за большого тока, необходимого для включения стартера.
Запуск двигателя
После запуска двигателя генератор переменного тока используется для подзарядки аккумулятора, чтобы накопить достаточно энергии для повторного запуска двигателя в будущем. Генератор переменного тока также питает электрические устройства автомобиля при работающем двигателе.
Двигатель работает
Если аккумулятор слишком долго разряжается, он не сможет обеспечить большой ток, необходимый для запуска стартера, и автомобиль необходимо будет запустить от внешнего источника.
Двигатель выключен
Основные части
Давайте посмотрим на основные части генератора.
В передней части агрегата находим шкив. Это колесо с прорезанными в нем канавками, которые помогают захватывать ремень, обеспечивающий вращательное усилие от двигателя.
Шкив
Шкив крепится к валу, проходящему по всей длине генератора.
Внутренние компоненты удерживаются внутри основного корпуса. Корпус состоит из 2-х частей, передней и задней скобы. В корпусе есть несколько прорезей, через которые проходит воздух и отводится нежелательное тепло.
Корпус
В задней части устройства находятся электрические разъемы. Существует множество различных конструкций, но это пример простой 3-проводной схемы с внутренним регулятором и выпрямителем со следующими клеммами:
Клемма B. Это выход, который заряжает аккумулятор.
S-терминал. Это позволяет регулятору определять напряжение.
F терминал. Он подключен к зажиганию и обеспечивает начальную мощность электромагнита при запуске.
Клеммы
Чтобы замкнуть цепь, электричество течет обратно через раму автомобиля к отрицательной клемме аккумулятора или от нее.
Поскольку это устройство имеет внутренний регулятор и выпрямитель, мы находим эти компоненты на задней панели устройства, обычно под защитной крышкой. Вскоре мы увидим их более подробно.
Сняв корпус мы можем заглянуть внутрь блока. Первое, что мы видим, это статор. Статор неподвижен и не вращается.
Статор
Состоит из нескольких ламинированных листов с прорезями по внутреннему краю.
Ламинированный лист
Затем находим 3 отдельных комплекта медных проводов, которые намотаны между этими пазами в определенном порядке. Один конец каждой катушки соединен вместе, образуя нейтральную точку, это конфигурация звезды.
Конфигурация звезды
Каждый набор катушек будет производить одну фазу переменного тока, всего 3 фазы. Другой конец каждой катушки проходит через корпус и прикрепляется к выпрямителю.
Генератор переменного тока вырабатывает переменный ток, но аккумулятору и электрическим устройствам автомобиля нужен постоянный ток. Таким образом, выпрямитель будет преобразовывать переменный ток в постоянный ток.
В центре генератора мы находим еще одну катушку провода, которая намотана на железный сердечник и соединена с валом. На валу также установлены два контактных кольца. Контактные кольца соединены с противоположными концами катушки. В задней части корпуса мы находим несколько щеток. Это подпружиненные углеродные блоки, которые выталкиваются наружу, чтобы тереться о контактные кольца, образуя электрическое соединение. Автомобильный аккумулятор изначально подает электричество на катушку через щетки. Когда электричество проходит через катушку, оно генерирует электромагнитное поле.
Центр Генератора
Чтобы усилить это электромагнитное поле, на каждом конце катушки размещены две железные клешни, которые сцепляются друг с другом. Один конец станет северным полюсом, другой станет южным полюсом.
Электромагнитное поле
Поскольку электромагнит крепится к валу ротора. Когда двигатель вращает вал, он также вращает электромагнит вокруг катушек статора. Это заставит катушки статора генерировать ток, и таким образом вырабатывается электричество.
Когда генератор переменного тока вырабатывает электроэнергию, генератор переменного тока может самостоятельно питать электромагнит через три диода, которые преобразуют 3-фазное электричество переменного тока в постоянное.
Напряжение и ток, вырабатываемые генератором переменного тока, изменяются в зависимости от скорости автомобиля: чем быстрее движется автомобиль, тем быстрее вращается коленчатый вал и, следовательно, тем быстрее вращается генератор, что увеличивает напряжение и ток. Для управления этим используется другой компонент, называемый регулятором, который устанавливается на задней панели устройства.
Это плата с интегральной схемой, которая контролирует выходную мощность генератора переменного тока и изменяет ток, протекающий через электромагнит, чтобы контролировать его силу. Сила электромагнита может использоваться для изменения выходной мощности генератора переменного тока.
Регулятор
Как генерируется электричество в генераторе переменного тока
Электричество — это поток электронов в проводе.
Медная проволока состоит из миллионов и миллионов атомов меди. У каждого атома есть свободный электрон. Это электрон, который может свободно перемещаться между другими атомами. Он движется к другим атомам сам по себе, но это происходит случайным образом во всех направлениях, что бесполезно для нас.
Нам нужно, чтобы много электронов двигались в одном направлении, и мы делаем это, применяя разность потенциалов на двух концах провода. Это заставляет электроны течь. Если мы перевернем батарею, электроны текут в противоположном направлении.
Когда электричество проходит по проводу, вокруг провода создается электромагнитное поле. Если мы поместим циркуль вокруг провода и пропустим через него ток, циркуль выровняется с магнитным полем. Если мы изменим направление тока, магнитное поле изменится на противоположное, и компас изменит направление.
Если проволоку свернуть в катушку, магнитное поле станет сильнее. Каждое поперечное сечение провода по-прежнему создает электромагнитное поле, но они объединяются, чтобы сформировать большее и сильное магнитное поле.
Электромагнит создает северный и южный полюса, точно так же, как постоянный магнит, и мы можем увидеть это, снова используя компас. Если мы увеличим ток в катушке, электромагнитное поле увеличится.
Можно и наоборот. Если мы пропускаем магнит через катушку с проволокой, в катушке возникает ток. Циферблат на амперметре показывает, что ток течет в прямом направлении, следовательно, это генерирует постоянный или постоянный ток. Когда магнит перестает двигаться, циферблат возвращается к нулю. Когда магнит перемещается в противоположном направлении, ток течет в противоположном направлении, и циферблат показывает обратный ток.
Если мы несколько раз перемещаем магнит внутрь и наружу, ток будет чередоваться то вперед, то назад. Так генерируется переменный или переменный ток. Ток переменный по направлению.
Если мы двигаем магнит быстрее, генерируется более сильный ток.
Если мы используем более сильный магнит, то ток также увеличивается.
Если мы используем большую катушку с большим количеством витков, то это также будет генерировать больший ток.
Вместо постоянного магнита мы могли бы использовать электромагнит. Когда мы перемещаем его внутрь и наружу, он также будет генерировать переменный ток в катушке. Но с электромагнитом мы можем регулировать ток и напряжение, чтобы изменять силу магнитного поля, это позволяет нам контролировать, сколько тока генерируется в катушке.
Вместо того, чтобы перемещать магнит в катушке и из нее, мы можем гораздо проще генерировать ток, вращая магнит и размещая вокруг него катушки. Самая сильная часть магнитного поля находится на концах, где сходятся силовые линии магнитного поля. Вы можете увидеть линии магнитного поля, посыпав магнит железными опилками.
Железные опилки над магнитом
Когда магнит находится между двумя катушками, ток не генерируется, но когда магнит начинает вращаться, самая сильная часть магнитного поля становится все ближе и ближе к катушке. Катушка испытывает изменяющуюся интенсивность магнитного поля, это заставит все больше и больше электронов выталкиваться вперед до достижения максимальной интенсивности.
Затем магнит начинает удаляться от катушки, поэтому магнитное поле начинает уменьшаться, а вместе с ним и ток электронов, пока снова не достигнет нуля. Теперь противоположный конец магнита начинает приближаться к катушке, и это тянет электроны в противоположном направлении, снова до точки максимума, а затем снова уменьшается до нуля. Итак, если мы нанесем этот ток на график, мы получим синусоидальную волну с током, протекающим в положительной, а затем в отрицательной областях. Эта установка дает нам однофазное питание переменного тока.
Синусоида
Но у нас есть все это пустое пространство между катушками, которое кажется пустой тратой времени. Итак, что мы можем сделать с этим пространством? Что ж, мы можем добавить больше катушек и создать больше фаз, чтобы обеспечить еще большую мощность.
Если мы поместим еще одну катушку с поворотом на 120 градусов от первой фазы, это даст нам вторую фазу. Почему? Поскольку катушка находится под другим углом, она испытает изменение напряженности магнитного поля в разное время.
Таким образом, ток будет течь вперед и назад в разное время. Это дает нам еще одну синусоиду, которая возникает в другое время.
Вторая фаза
У нас все еще есть пустое место, поэтому мы можем добавить еще один набор катушек на 120 градусов от предыдущего, чтобы создать третью фазу.
Если бы мы использовали только одну фазу, то при каждом обороте магнита половина времени ток течет вперед и половину времени ток течет назад. Но с тремя фазами у нас всегда есть фаза, которая течет вперед, и всегда есть фаза, которая течет назад. Это означает, что мы можем использовать это, чтобы обеспечить больше энергии.
Трехфазный
Вместо 3 отдельных катушек и 6 проводов, поскольку фазы всегда переключаются между прямым и обратным направлением, мы можем соединить концы катушек вместе. Затем ток будет свободно течь между каждой катушкой, поскольку он меняет направление.
Теперь мы производим 3-фазную электроэнергию переменного тока. Но все наши электрические цепи и компоненты в автомобиле используют постоянный или постоянный ток.
Итак, нам нужно преобразовать переменный ток в постоянный, и для этого мы используем мостовой выпрямитель.
По сути, это всего лишь 6 диодов, соединенных попарно и соединенных параллельно. Если вы не знаете, диоды пропускают ток только в одном направлении и блокируют ток в обратном направлении. Таким образом, при однофазном питании при каждом обороте магнита ток будет течь только на половине оборота, а другая половина будет полностью заблокирована.
Full Bridge Rectifier
Если мы подключили каждую из 3 фаз отдельно к диоду, то ток будет течь или блокироваться в разное время. Следовательно, мы можем объединить фазы в блок диодов, и будет пропущена только фаза, ближайшая к ее максимуму. Давая нам немного грубый выход постоянного тока. Чтобы сгладить это, мы можем подключить конденсатор, который в основном будет поглощать электроны, а затем автоматически выбрасывать электроны, чтобы поддерживать постоянный выход. Это дает нам постоянный источник постоянного тока.
Кстати, о диодах, конденсаторах и инверторах мы уже подробно рассказывали ранее.
Проверьте это здесь — ДИОДЫ, КОНДЕНСАТОРЫ, ПРЕОБРАЗОВАТЕЛИ ПИТАНИЯ.
Итак, теперь у нас есть выход постоянного тока. Но если магнит подсоединить к двигателю и машина разгоняется, то магнит будет вращаться быстрее, что увеличит выходное напряжение и ток. Мы не хотим этого, потому что это убьет все наши электронные компоненты в автомобиле. Итак, нам нужен способ регулирования напряжения.
Если вы помните, мы видели, что с помощью электромагнита мы можем увеличивать или уменьшать напряженность электромагнитного поля, изменяя напряжение. И, изменяя силу магнита, мы можем изменять напряжение и ток, генерируемые в катушке.
Вот почему в генераторе переменного тока используется электромагнит, чтобы он мог управлять выходной мощностью. Автомобильный аккумулятор питает электромагнит. Хотя в большинстве современных генераторов переменного тока будет использоваться трио диодов, которое преобразует переменный ток генератора переменного тока в постоянный ток и питает электромагнит через регулятор напряжения, когда генератор переменного тока вырабатывает электричество.
В блоке питания электромагнита внутри регулятора мы находим компонент, известный как транзистор. Датчик напряжения также подключен к регулятору.
Транзистор
Транзистор представляет собой тип электронного переключателя, который может включаться и выключаться тысячи раз в секунду с помощью контроллера. Это можно использовать для контроля количества протекающего тока.
Если мы представим, что ток, протекающий через катушку от батареи, находится на максимальном уровне в течение заданного периода времени, тогда мы получим 100% ток и электромагнит на 100% силы. Но если мы теперь используем переключатель, чтобы электричество текло только половину времени, то мы получаем 50% тока и, следовательно, электромагнит имеет только 50% своей силы.
Таким образом, измеряя мощность генератора переменного тока, а затем изменяя время открытия и закрытия транзисторного ключа, мы можем контролировать ток, протекающий через катушку, и силу электромагнита. Это контролирует, сколько электроэнергии вырабатывается генератором для поддержания постоянной мощности.
Но теперь, когда вы все заряжены, оформите заказ Squarespace.com , чтобы создать свое собственное веб-присутствие в Интернете, которое наполнено функциями, позволяющими людям запускать, делиться и продвигать свои собственные проекты.
Существуют мощные инструменты для ведения блога, позволяющие демонстрировать фотографии, видео и обновления о ваших проектах.
Вы можете легко планировать встречи для занятий и сессий с членами команды и клиентами с помощью встроенного инструмента. И вы даже можете собирать платежи или пожертвования, чтобы помочь поддержать ваше дело.
Посетите сайт Squarespace.com, чтобы получить бесплатную пробную версию, а когда будете готовы к запуску, перейдите по адресу Squarespace.com/engineeringmindset , чтобы сэкономить 10% на первой покупке веб-сайта или домена.
Как работает генератор?
В этой статье мы поговорим об основном компоненте многих систем электропитания или зарядки — генераторе переменного тока.
В частности, мы собираемся внимательно изучить типичный генератор переменного тока автомобиля.
Заглянем внутрь генератора переменного тока и осмотрим все его отдельные части. Затем мы обсудим, как эти части работают вместе, чтобы выполнять работу, для которой предназначен генератор переменного тока.
Что такое генератор?
Прежде всего, давайте обсудим, что такое генератор переменного тока и его назначение. По определению генератор переменного тока — это устройство, которое преобразует механическую энергию в электрическую энергию переменного тока.
В автомобиле двигатель вращает приводной ремень, который вращает шкив, прикрепленный к генератору. Но подождите минутку… Разве транспортному средству не требуется постоянное напряжение? Действительно, так и есть.
.. но об этом позже.
Генератор фактически вырабатывает энергию для автомобиля. Когда генератор переменного тока вращается, он создает напряжение постоянного тока, прежде всего, для зарядки аккумуляторной батареи автомобиля. Аккумулятор обеспечивает огромный ток, необходимый для запуска двигателя автомобиля.
Когда автомобиль заводится, генератор помогает, обеспечивая питание для работы электрических систем автомобиля.
Генератор и генератор
В чем разница между генератором и генератором? Что ж, как мы уже говорили ранее, генератор переменного тока — это устройство, которое преобразует механическую энергию в электрическую энергию переменного тока. По определению, генератор — это механическое устройство, которое преобразует механическую энергию в электрическую энергию переменного или постоянного тока.
Итак, по определению, вероятно, можно с уверенностью сказать, что генератор переменного тока является генератором.
Основные компоненты генератора переменного тока
Как вы понимаете, существуют различия в конструкции генератора переменного тока и, следовательно, количество компонентов зависит от поставщика.
Генератор переменного тока состоит из трех основных компонентов: ротора, статора и выпрямителя. Есть и другие компоненты, и мы доберемся до них по ходу нашего обсуждения.
1. Ротор генератора
Начнем с ротора. Система приводных ременных шкивов вращает ротор на валу при работающем двигателе автомобиля.
В основе ротора лежит электромагнит, часто называемый обмоткой возбуждения. Итак, что такое электромагнит? Электромагнит состоит из отрезка проводящего провода, намотанного на кусок магнитного металла.
Напряжение подается на спиральный провод, создавая в нем ток. Это создает магнитное поле вокруг намотанной проволоки. Как и у постоянного магнита, у него есть северный и южный полюса.
Ротор также имеет серию чередующихся северных и южных наконечников полюсов, расположенных вокруг обмоток возбуждения, которые наматываются на железный сердечник на валу ротора.
2. Статор генератора
Ротор устанавливается внутри статора.
Статор является неподвижной частью генератора переменного тока. Ротор вращается внутри статора, не касаясь его физически. На каждом конце вала установлены щетка и контактное кольцо. Мы поговорим о них позже.
Статор состоит из трех отдельных обмоток, один конец каждой обмотки соединен вместе.
Обмотки катушки статора равномерно распределены с интервалом 120 градусов вокруг железного вала.
Итак, теперь у нас есть этот ротор, вращающийся внутри статора, состоящего из трех катушек проволоки. Как это генерирует напряжение?
Мудрый ученый по имени Майкл Фарадей обнаружил, что в катушке с проводом может индуцироваться напряжение, если перемещать эту катушку через магнитное поле.
Если катушка с проводом неподвижна, как в статоре, вы получите наведенное напряжение в катушке, если переместите магнитное поле мимо катушки. Интересно, что чем быстрее меняется магнитное поле, тем больше индуцируется напряжение.
Ротор, вращающийся внутри статора, вызывает индуцированное напряжение на обмотках статора из-за вращающегося магнитного поля.
Щетки и токосъемные кольца
Секундочку… откуда берется магнитное поле? Вот где в дело вступают щетки и контактные кольца.
Помните, мы говорили ранее, что ротор — это электромагнит? Это верно, когда мы подаем напряжение на обмотку возбуждения. Как мы это делаем? Подаем напряжение на обмотку возбуждения через контактные кольца.
Вы можете спросить… Откуда берется напряжение возбуждения? Подождите!… мы скоро доберемся до этого.
Хорошо… вернемся к нашему ротору электромагнита, вращающемуся внутри статора. В каждой обмотке статора будет индуцироваться напряжение. Наведенные напряжения будут переменными из-за смены электромагнитного полюса во время вращения ротора.
Мы получаем три напряжения, каждое из которых сдвинуто по фазе на 120 градусов друг от друга из-за физического расположения обмотки вокруг железного сердечника статора.
Теперь у нас есть три напряжения переменного тока, создаваемые нашим вращающимся ротором.
Но нам нужно напряжение постоянного тока для зарядки аккумулятора и работы электрических устройств автомобиля.
3. Выпрямитель генератора
Хорошо… давайте посмотрим, как генератор автомобиля вырабатывает напряжение постоянного тока. Как мы преобразуем переменный ток в постоянный? С помощью выпрямителя. Что такое выпрямитель? Выпрямитель состоит из нескольких диодов.
Давайте посмотрим, как работает диод. Проще говоря, диод пропускает ток только в одном направлении. Диод имеет два вывода: анод и катод.
Если анод более положительный, чем катод, ток будет течь через диод. Но если анод более отрицателен, чем катод, ток через диод течь не будет.
Хорошо, давайте посмотрим, что произойдет, если мы подадим переменное напряжение на цепь с диодом. Мы получаем выходное напряжение, которое не является переменным, а неровным постоянным напряжением. Это не очень красивое напряжение постоянного тока, но мы можем исправить это позже.
Если мы преобразуем переменный ток в постоянный, мы выполнили выпрямление. Итак, диод — это разновидность выпрямителя.
Выпрямитель генератора имеет более одного диода. Чаще всего выпрямитель генератора имеет шесть диодов. Шесть диодов смонтированы в теплоотводящем материале для защиты от возгорания.
Зачем столько диодов? Напомним, что у нас есть три напряжения переменного тока, создаваемые в обмотках статора. Почему бы не использовать все три напряжения? Фактически диоды настроены таким образом, что мы выпрямляем и преобразовываем оба полупериода каждого напряжения статора в переменное напряжение.
Трио диодов
Помните, ранее в этой статье мы упоминали контактные кольца и щетки, которые установлены на конце вала ротора? Давайте поговорим о том, что они делают.
Как мы обсуждали ранее, катушка возбуждения ротора представляет собой электромагнит. Как он становится электромагнитом? Напряжение постоянного тока подается через токосъемные кольца из двух разных источников.
Первым источником является аккумуляторная батарея при запуске двигателя. Второй источник — от самого генератора переменного тока, когда ротор вращается через компонент, называемый трио диодов.
Хорошо… давайте обсудим тройку диодов и еще один компонент, называемый регулятором напряжения.
Трио диодов бывают разных форм и размеров, но все они имеют три диода внутри.
Точно так же, как и у выпрямителя, входные клеммы трио диодов подключены к каждому выходу напряжения статора. Выходные клеммы каждого диода соединены вместе. Трио диодов преобразует часть выходного напряжения статора в напряжение постоянного тока.
Регулятор напряжения
Выход трио диодов подается на регулятор напряжения и становится напряжением питания электромагнита ротора после запуска и работы двигателя.
Как выглядит регулятор напряжения? Как и выпрямитель, регулятор напряжения бывает разных форм и размеров в зависимости от производителя и модели генератора.
Итак, что делает регулятор? Если вы помните, чем быстрее вращается ротор, тем большее напряжение индуцируется в статоре.
Регулятор напряжения — это электронное устройство, которое действует как монитор напряжения генератора , поскольку он следит за напряжением аккумуляторной батареи.
Регулятор напряжения предназначен для регулировки напряжения возбуждения электромагнита таким образом, чтобы выходные напряжения статора оставались относительно постоянными независимо от скорости вращения ротора.
Почему мы хотим, чтобы напряжение статора было постоянным? Напряжение статора выпрямляется и затем используется для зарядки аккумулятора. Аккумулятор и другие электрические устройства могут быть повреждены, если напряжение слишком высокое!
Как все части работают вместе?
Хорошо… Похоже, мы описали все детали генератора. Итак… давайте посмотрим, как все части генератора работают вместе:
– Выключатель зажигания позволяет аккумулятору питать ротор
– Ротор вращается быстрее, когда двигатель увеличивает обороты…
– Напряжение статора повышается
– Напряжение заряда батареи на выходе выпрямителя повышается
– Регулятор напряжения фиксирует повышение напряжения батареи
– Регулятор напряжения снижает напряжение питания электромагнита, а
– Падение напряжения на статоре
Имейте в виду, что наши описания, рисунки и анимации могут не соответствовать вашему генератору переменного тока.
Как и в случае любого электрического устройства, существуют различные конфигурации.
Резюме
Подведем итог тому, что мы узнали:
– Генератор переменного тока – это электромеханическое устройство, которое генерирует напряжение постоянного тока и поддерживает напряжение аккумуляторной батареи автомобиля
– Основными компонентами генератора являются ротор, статор, выпрямитель, трио диодов и регулятор напряжения.
– Ротор вращается внутри статора, создавая три отдельных напряжения переменного тока.
– Напряжение переменного тока статора преобразуется выпрямителем в напряжение постоянного тока и подается на аккумуляторную батарею и электрические цепи автомобиля.
– Регулятор напряжения представляет собой электронное устройство, поддерживающее постоянное выходное напряжение генератора.
– Выход трио диодов становится напряжением питания электромагнита ротора после запуска и работы двигателя.
Если у вас есть какие-либо вопросы о генераторе переменного тока, электрической системе автомобиля или любой электрической системе в целом, задайте их в комментариях ниже, и мы свяжемся с вами менее чем через 24 часа.
У вас есть друг, клиент или коллега, которым может пригодиться эта информация? Пожалуйста, поделитесь этой статьей.
Деревянный генератор переменного тока | Otherpower
После сборки цельнодеревянного ветряка я почувствовал вдохновение сделать его более крупную и прочную версию. На следующей странице представлено краткое описание сборки генератора переменного тока и его проверки. Я разработал этот генератор переменного тока, пока я его строил, используя в основном интуицию и работая с доступными материалами. Несомненно, можно было бы сделать много улучшений. Если у вас есть какие-либо идеи или мысли по этому поводу, поделитесь с нами по электронной почте или на нашей доске обсуждений!
Испанский язык, перевод Хулио Андраде.
Первоначальные результаты испытаний — последовательное соединение, достигает 12 вольт при зарядке при 120 об/мин, зарядный ток 6 ампер при 300 об/мин. Подключен параллельно, достигает 12 вольт при 240 об/мин, с зарядным током 12 ампер при 350 об/мин.
При 500 об/мин он выдает около 500 Вт. К сожалению, это предел возможностей нашей нынешней испытательной установки — нам нужно построить еще большую. Больше тестов и график впереди!
Используемые детали и расходные материалы
Для сборки генератора я использовал следующее:
Часть вала длиной 10 дюймов, диаметром 1/2 дюйма.
2 шарикоподшипника с внутренним диаметром 1/2 дюйма
18 избыточных магнитов NdFeB из редкоземельных металлов
3/4 дюйма фанера
5 фунтов магнитной проволоки 18 AWG
1 1/2 дюйма винты для гипсокартона
3 дюйма 0 шурупы
Эпоксидная смола
Суперклей
Стекловолоконная смола для окончательной отделки
Я вырезал 5 фанерных дисков на ленточной пиле диаметром 9 дюймов. В центре каждого диска я просверлил отверстие 1/2 дюйма. Эти диски наклеены на вал для создания якоря. Чтобы надежно удерживать якорь на валу, я просверлил отверстие около 4 дюймов с одного конца диаметром 1/8 дюйма и вставил штифт длиной 4 дюйма.
На одном диске я просверлил прорезь длиной 4 дюйма и 3 / 16 дюймов в ширину, 3/16 дюймов в глубину, чтобы принять этот штифт, чтобы он был зафиксирован на валу. Я обильно покрыл фанерные диски столярным клеем и зажал их вместе на валу, а затем прикрутил 3-дюймовыми шурупами по дереву.0003
На токарном станке по металлу (подойдет станок по дереву) я выровнял арматуру так, чтобы диаметр был примерно 8,75 дюйма. В центре арматуры я вырезал паз глубиной 3/16 дюйма, достаточно широкий, чтобы магниты (1,74 дюйма). Магниты уложены чередующимися полюсами вверх. Этот конкретный магнит доступен либо с севером, либо с югом снаружи. Для этого генератора переменного тока требуется 9 каждого типа. деревянная поверхность якоря, поэтому общий диаметр магнитов, включенных в якорь, чуть меньше 9.25″. У этих магнитов дуга намного острее, чем у якоря, поэтому выглядит она какой-то «комковатой»! Не думаю, что это проблема. Просто заказные магниты стоят слишком дорого, часто с ними выгодно работать то, что доступно.
Чтобы 18 магнитов поместились вокруг якоря, между каждым магнитом есть небольшое пространство (около 0,10 дюйма). В качестве распорок я использовал 1-дюймовые шурупы для гипсокартона, которые были удалены после того, как клей высох. легко отрегулировать винты и равномерно расположить магниты вокруг якоря.0003
После того, как все магниты были прижаты на место, правильно затянуты винтами, я приклеил их эпоксидной смолой. В качестве зажима я просто обвязал магниты веревкой и затянул ее палкой через узел. Когда клей начал схватываться, я снял винты и нанес новый слой клея на всю поверхность генератора. Это не только помогает удерживать магниты, но и защищает генератор от влаги.
Статор (та часть, которая будет удерживать витки проволоки) изготовлен из фанеры 3/4 дюйма. Внутренний круг имеет радиус 5 дюймов, что оставляет место для витков между ним и якорем. . Магниты выступают из деревянного генератора переменного тока примерно на 1/8 дюйма, что позволяет использовать катушки толщиной около 3/8 дюйма и иметь близкий зазор с магнитами.
Очень важен очень маленький зазор между катушками и магнитами, особенно если катушки не имеют ферромагнитного сердечника. Я вырезал детали для сборки статора из фанеры и склеил их вместе, крепко зажал и скрутил винтами для гипсокартона 1 1/2 дюйма. Каждая часть состоит из 3 ламинатов общей толщиной 2 1/4 дюйма. «.
Вал поддерживается опорными блоками, также изготовленными из кусков фанеры толщиной 3/4 дюйма. Я вырезал отверстия кольцевой пилой диаметром 1 1/2 дюйма для установки подшипников. Конечно, подшипники имеют внутренний диаметр 1/2 дюйма, чтобы вместить вал. Внешний диаметр подшипников составляет примерно 1,6 дюйма — очень плотная посадка в отверстия в фанере. Я покрыл подшипники снаружи эпоксидной смолой и запрессовал их с помощью оправочного пресса (тиски или молоток тоже подойдут) как можно глубже, чтобы я мог затянуть установочные винты. Я был доволен тем, как хорошо они подошли к отверстиям и как ровно они вошли. Я считаю, что здесь мне немного повезло!
Я построил простое устройство для намотки катушек, чтобы ускорить производство.
С одной стороны у него кривошип, а с другой шпуля. В качестве вала я использовал длинный болт, а конец шпули удерживается гайкой. Каждая катушка наматывается на форму, затем гайка снимается… так, чтобы конец шпули оторвался и катушку можно было снять. Прошло очень быстро! Так как у генератора 18 магнитов, я намотал 18 катушек. Катушки изготовлены из эмалированного магнитного провода AWG 18, каждая катушка имеет 50 витков. Катушки имеют размер около 2,75 «х 1,5» снаружи, а отверстие в середине составляет около 5 «х 1,5» … в соответствии с размером катушки на намоточной машине. Я подумал, что это подходящий размер, учитывая размер магнитов. Действительно — это несколько интуитивное предположение…
Когда катушки снимаются с намоточной машины, они довольно свободные и хрупкие. Я осторожно обращался с ними, прежде чем вклеивать их в ламинаты статора.
На изображении выше вы можете видеть все части генератора, готовые к отделке и сборке.
Для первого шага в креплении катушек (не показаны ни на одном из рисунков) я отмерил их правильное расположение (они должны быть расположены равномерно) и слегка приколол их суперклеем.
Затем я щедро покрыл их суперклеем (эпоксидная смола тоже подойдет… просто это заняло бы больше времени), накрыл их вощеной бумагой и зажал в форме, которую я вырезал из дерева. Эта форма вынуждает их иметь точно правильный диаметр, чтобы соответствовать арматуре. Как только клей высох, я снял зажим, деревянную форму и вощеную бумагу и был рад обнаружить, что они очень хорошо подходят! В будущем я могу заполнить центр этих катушек смесью магнетитового песка и эпоксидной смолы — это поможет провести магнитное поле через катушки и увеличить выходной ток готового генератора переменного тока. На данный момент мне очень любопытно узнать, как он работает, если между катушками нет ничего, кроме воздуха. У «воздушных сердечников» внутри катушек также есть преимущество — генератор переменного тока вообще не будет вращаться до тех пор, пока не будет под нагрузкой, что устраняет большую вибрацию и помогает генератору начать вращаться в некоторых приложениях. Зубчатое зацепление является проблемой генераторов переменного тока с постоянными магнитами, особенно для ветрогенераторов.
После вклеивания рулонов остается только шлифовка и финишная обработка. К счастью, мне немного помог наш глава отдела исследований, разработок и физики элементарных частиц… Майя!
Все детали были обильно покрыты стекловолоконной смолой, похожей на эпоксидную смолу, она образует толстое пластичное покрытие и должна сделать генератор практически водонепроницаемым на долгие годы. Единственный недостаток… очень воняет! Вы можете приобрести этот материал в любом хозяйственном магазине или магазине автозапчастей. На этой картинке трудно увидеть, но… в основании генератора есть деревянные штифты, так что все части могут быть точно установлены в правильном положении при сборке агрегата. Это позволяет легко производить сборку и разборку. При изготовлении базы я собрал детали так, чтобы она легко крутилась — катушки были максимально близко к магнитам, и ничего не терлось. Затем я слегка соединил весь генератор с помощью суперклея и просверлил отверстия диаметром 1/4 дюйма снизу основания в опорных блоках и обеих половинках статора.
Затем я вклеил в основание штифты диаметром 1/4 дюйма, что при сборке все детали точно встанут на свои места.
После нанесения стекловолоконной смолы я собрал все на основании. Все подошло хорошо — зазор между катушками и магнитами был отличный. После того, как все выглядело хорошо, я скрутил его снизу 3-дюймовыми шурупами. Он кажется очень крепким — ничего не двигается, не трется и не вибрирует, чего не должно было бы быть! На этом этапе я соединил все катушки на каждой половине статора последовательно. Катушки должны чередоваться в том направлении, в котором они намотаны. Это может показаться запутанным! Метод проб и ошибок — не самый плохой способ убедиться в правильности подключения. Просто медленно вращайте его вручную и начинайте измерять напряжение, начиная с одной катушки, и быть уверенным, что напряжение увеличивается с каждой дополнительной катушкой, соединенной последовательно.0003
Все катушки каждой половины статора соединены последовательно. В этот момент каждую половину можно зацепить либо последовательно, либо параллельно, чтобы наиболее подходящим образом согласовать нагрузку с генератором.
Выше изображен старый добрый тест на вкус, верный способ проверить любую батарею или генератор, если он остается ниже 10 вольт! (иначе будет больно — не пытайтесь повторить это дома!)
У меня нет подходящего оборудования для полной проверки этого генератора. Лучший инструмент, который у меня есть, поскольку он не подходит для моего токарного станка, — это ручная дрель с патроном 1/2 дюйма. С помощью измерителя, который показывает частоту, я могу точно определить число оборотов в минуту. Когда обе половины статора зацеплены последовательно генератор достигает 12 вольт примерно при 120 об / мин. При примерно 300 об / мин он заряжает мои аккумуляторы примерно на 6 ампер (это предел моей ручной дрели!). Когда я соединяю обе половины статора параллельно, он достигает 12 В при примерно 240 об / мин, а при примерно 350 об / мин он заряжает мои аккумуляторы на 12 В чуть более 10 А. На картинке выше вы можете видеть частотомер и большой деревянный амперметр на стене. Ясно, что это ограничивающий фактор.
Вот мощность ручной дрели. Я опубликую диаграмму, когда соберу хорошую испытательную машину для генератора переменного тока и получу лучшие результаты! Учитывая все обстоятельства, я очень доволен результатами.
Мне было любопытно, как будет выглядеть выходной сигнал на прицеле, учитывая близкое расположение магнитов друг к другу и «бугристый» якорь. Имейте в виду, что то, что показано выше на осциллографе, представляет собой переменный ток, напрямую от генератора переменного тока. Чтобы его можно было использовать при зарядке аккумулятора, его необходимо преобразовать в постоянный ток. Для этого необходимо использовать «мостовой выпрямитель» (простая схема из 6 диодов).
Выше показан «выпрямленный» выходной сигнал генератора. Это полезно для зарядки аккумулятора, но вы заметите, как «комковатый» постоянный ток выглядит на прицеле. Хотя это редко вызывает проблемы, иногда этот тип постоянного тока вызывает проблемы с приемом радио и телевидения (вы услышите визг).
Чтобы сгладить доступный здесь постоянный ток, можно использовать конденсатор.
См. выше красивый плоский выход постоянного тока после подключения конденсатора между выходами Pos и Neg.
Просто так… Я подключил его к своей стереосистеме! Это проигрыватель компакт-дисков, подключенный к ламповому предусилителю Fisher 50-х годов, подключенному к ламповому усилителю мощности Dynaco Stereo 70. Если сложить числа на обратной стороне… получится более 300 Вт. К моему изумлению, этот деревянный генератор зажег лампы и проигрыватель компакт-дисков… воспроизводил музыку и звучал просто отлично, когда приводился в действие ручной электрической дрелью! Ручная дрель рассчитана на максимальный ток около 3,5 ампер… так что это достаточно эффективная передача мощности!
В заключение… На все это ушло около двух полных дней времени, около 100 долларов на магниты и 30 долларов на магнитную проволоку. (Вал и подшипники у меня были под рукой) Неплохая цена за эффективный низкочастотный генератор.
Тоже было весело, а полученная информация полезна. Использование готовых опорных подшипников с подушками, вероятно, было бы разумным, особенно если вы действительно собираетесь использовать генератор переменного тока! Конечно, есть более простые способы создания генераторов переменного тока, которые были бы такими же или даже более эффективными. Чтобы построить это действительно требуется токарный станок, ленточная пила, сверлильный станок… и т.д. Если бы построить подобную машину, используя якорь дискового типа вместо цилиндра, это было бы намного проще. Я остановился на этом дизайне только потому, что он казался забавным, выглядел аккуратно и был основан на моем предыдущем деревянном ветряке. Следите за нашим следующим генератором переменного тока… его будет еще проще построить, и он будет намного эффективнее. В целом, я удивлен производительностью этого устройства, учитывая, что в нем нет ничего, кроме воздуха между катушками и дерева вокруг. Дерево — плохой проводник магнитных полей! Просто показывает.
.. это не должно быть оптимальным, это просто должно работать!
Кажется, может быть некоторый аргумент в пользу того, чтобы не слишком беспокоиться о стальных пластинах или ферритовых сердечниках в катушках, а просто добавить еще несколько магнитов и проводов и согласиться на несколько большую машину. Одним из непосредственных преимуществ наличия «воздушных катушек», очевидно, является полное отсутствие зубчатых колес, что при использовании в ветряной мельнице должно привести к очень легкому запуску машины. На данный момент я понятия не имею, какой может быть максимальная мощность этого генератора, но предварительные тесты, на мой взгляд, впечатляют! С такой машиной можно построить мелкий ветряк или гидроэлектростанцию. Как и во всех других наших «экспериментах» с генератором переменного тока… это действительно магниты, которые делают это возможным! Без этих сверхвысококачественных магнитов этот генератор не был бы так эффективен. С обычными керамическими или магнитами AlNiCo пришлось бы приложить гораздо больше усилий, чтобы построить генератор переменного тока, который эффективно вырабатывает такую мощность при таких низких оборотах.
Что такое генератор переменного тока и для чего он нужен? Принципиальная конструкция и принцип работы автомобильного генератора.
Домашняя страница генератора
Автомобили Грузовики Фургоны Внедорожники | Морская лодка-PWC | Мотоцикл-ATV-UTV |
Высокая выходная мощность усилителя | 16-вольтовый генератор | Промышленно-сельскохозяйственный |
Что такое генератор? | Что делает генератор? |
Простое определение :
Генератор переменного тока — это устройство, которое преобразует механическую энергию в электрическую.
Звучит достаточно просто, правда?
Так как же это работает на самом деле?
Во-первых, двигатель автомобиля обеспечивает механическую энергию через шкив, прикрепленный к коленчатому валу двигателя. Когда двигатель работает, шкив коленчатого вала вращается и приводит в движение ремень, который передает это вращательное движение другим шкивам, с которыми контактирует ремень. В типичном современном автомобиле это шкивы, прикрепленные к генератору, насос гидроусилителя руля, водяной насос и компрессор кондиционера. Генератор затем использует эту механическую энергию от вращающегося шкива для производства электроэнергии. Способ, которым внутренняя работа генератора переменного тока может производить эту электрическую энергию, становится несколько более сложным.
Теперь о том, что происходит внутри генератора.
(не технические читатели переваривают версию….действительно)
Шкив генератора крепится к валу ротора генератора. Ротор содержит проволочную катушку, которая создает магнитное поле при подаче напряжения на катушку ротора через регулятор напряжения и набор щеток.
Ротор имеет полюсные наконечники из специального металла, образующие попеременно северный и южный магнитные полюса (север-юг-север-юг и т. д.). Ротор вращается внутри стационарного набора катушек, называемого статором. Вращающееся магнитное поле (с северной и южной силовыми линиями), вращающееся внутри неподвижной катушки, создает переменный ток в неподвижной катушке. Это все хорошо, но электрическая система автомобиля требует постоянного тока, а не переменного тока. Таким образом, переменный ток проходит через провод в статоре к диодной сборке, называемой выпрямителем. Узел выпрямителя эффективно преобразует переменный ток в постоянный, который можно использовать для поддержания состояния заряда аккумулятора и обеспечения питания автомобильных аксессуаров. Поскольку в процессе преобразования переменного тока в постоянный в выпрямителе выделяется достаточное количество тепла, генераторы переменного тока имеют вентиляторы, которые циркулируют воздух для охлаждения внутренних компонентов.
** Имейте в виду, что это всего лишь эскиз внутренней работы генератора переменного тока. Некоторые вещи были упрощены, а другие опущены, чтобы сделать его кратким и по существу. Для более подробного описания конструкции и теории генератора переменного тока, а также многих других интересных вещей нажмите на следующие слова: ТЕХНИЧЕСКАЯ ИНФОРМАЦИЯ СТРАНИЦА
Для чего нужен генератор?
Генератор переменного тока предназначен для поддержания состояния заряда автомобильного аккумулятора во время движения автомобиля путем обеспечения энергии, необходимой для питания электрической системы автомобиля. Вот и все. Почему это важно? Предполагая, что в автомобиле есть хороший, полностью заряженный аккумулятор, напряжение, когда вы садитесь в машину, составляет около 12,6 вольт. Когда автомобиль запускается, напряжение немного снижается из-за потребления энергии стартера. Кроме того, во время вождения электричество потребляется различными компонентами автомобиля. К ним относятся система зажигания, компьютеры, радио, фары, кондиционер, DVD-плеер, система GPS-навигации, сиденья с электроприводом, моторы стеклоподъемников, стеклоочистители, топливный насос и многие другие аксессуары.
Это дает большую мощность. Если бы не было генератора переменного тока, который бы обеспечивал эту мощность, она поступала бы напрямую от автомобильного аккумулятора. Потребуется очень мало времени в пути, чтобы разрядить аккумулятор до такой степени, что машина больше не будет работать из-за отсутствия электричества. Поскольку генератор присутствует и работает, чтобы обеспечить питание для работы электрической системы автомобиля, это означает, что напряжение батареи, когда вы, наконец, доберетесь до места назначения, все еще составляет около 12,6 вольт — то же самое, что было, когда вы начали движение. Генератор поддерживает состояние заряда аккумулятора, и ваш автомобиль снова готов к запуску и вождению.
Каковы ограничения генератора?
ГЕНЕРАТОРЫ НЕ ПРЕДНАЗНАЧЕНЫ ДЛЯ ЗАРЯДКИ РАЗРЯДШИХСЯ ИЛИ РАЗРЯВШИХСЯ АККУМУЛЯТОРОВ!
Зарядить разряженную или разряженную батарею можно только с помощью зарядного устройства!
Как указано выше, генератор переменного тока предназначен для поддержания заряда аккумулятора.
Из-за огромных требований к мощности для нормальной работы электрической системы автомобиля сегодня генератор переменного тока обычно работает на максимальной мощности или около нее все время движения автомобиля. Разряженная или разряженная батарея увеличивает работу, которую должен выполнять генератор переменного тока. Генератор просто не сможет перезарядить разряженную или разряженную батарею и одновременно питают электрическую систему.
Усовершенствования конструкции генератора переменного тока за последние годы.
Хотя правильно сказать, что основные принципы генератора переменного тока сегодня такие же, как и при разработке первого генератора переменного тока, многие особенности конструкции генератора переменного тока значительно изменились. Количество энергии, необходимой для работы электрической системы автомобиля, сегодня примерно в 3 раза больше, чем в более ранних автомобилях. В 1970-х типичная максимальная выходная мощность генератора переменного тока для полностью загруженного автомобиля составляла от 55 до 60 ампер.
Сегодня типичная максимальная выходная мощность приближается к 150-160 ампер, хотя сами генераторы лишь немного физически больше, чем их предшественники. Это достижение значительного увеличения выходной мощности при сохранении относительно компактных размеров и веса впечатляет. Некоторым производителям генераторов переменного тока удалось сделать это, фактически увеличив срок службы генератора. Чтобы достичь этого, они улучшили (1) конструкцию вентилятора для лучшего охлаждения, (2) конструкцию выпрямителя и регулятора для повышения долговечности, (3) и конструкцию статора, чтобы максимально увеличить количество проводов, которые можно поместить в генератор переменного тока. Современные генераторы переменного тока используют 2 внутренних вентилятора, прикрепленных к ротору, для циркуляции воздуха через генератор. Еще одна простая вещь заключается в том, что новые генераторы переменного тока вращаются с большей скоростью, чем когда-либо прежде. Это означает, что вентиляторы могут перемещать больше воздуха для охлаждения.
Это также помогает увеличить общую мощность, поскольку часть выходной энергии генератора переменного тока зависит от того, насколько быстро он вращается. Чтобы узнать больше об этом и других интересных вещах, нажмите на следующие слова…..ТЕХНИЧЕСКАЯ ИНФОРМАЦИЯ СТРАНИЦА
ГЕНЕРАТОРЫ | СТЕКЛОРЕГУЛЯТОРЫ | СТАРТЕРЫ | ОКОННЫЕ МОТОРЫ | ГЕНЕРАТОРЫ |
Схема подключения генератора: полное руководство
Знания
Знайте все о электрической схеме генератора переменного тока
Возможно, вы не слышали слова «альтернатор», но вы могли знать слово «переменный ток» или «переменный ток».
Генератор переменного тока позволяет преобразовывать механическую энергию в электрическую, особенно в автомобилях. 9Схема подключения генератора 0005 поможет вам получить базовые знания о цепи и о том, как компоненты связаны друг с другом в цепи. Итак, без лишних слов, давайте погрузимся.
Что такое генератор?
Генератор — это необслуживаемый, но важнейший узел двигателя автомобиля. Он вырабатывает электроэнергию и обеспечивает электропитание автомобилей и подзаряжает аккумулятор. Генератор работает путем преобразования механической энергии в электрическую из переменного тока в постоянный.
Основная функция генератора переменного тока заключается в совместной работе с аккумуляторной батареей для подачи энергии на электрические компоненты, т. е. фары, вентилятор, стеклоочистители и т. д. Он преобразует переменный ток в постоянный и регулирует напряжение для достижения необходимого минимума. мощность на каждую единицу.
Источник: samarins.com
Генератор состоит из вентилятора охлаждения, регулятора напряжения, ротора, статора, выпрямителя на диодном мосту, контактных колец, торцевых подшипников с контактными кольцами, угольных щеток, шкива. Ротор и статор являются центральными блоками для выработки электроэнергии, а выпрямитель помогает преобразовывать переменный ток в постоянный. Все компоненты работают совместно, контролируя и регулируя мощность в соответствии с энергетическими потребностями различных компонентов двигателя автомобиля.
Источник: InnovationDiscoveries.space
Как работает генератор?
Работа генератора проста. Поликлиновой ремень, опирающийся на шкив, соединен с генератором. Когда двигатель зажигается, шкив перемещается и вращает валы ротора, прикрепленные к генератору переменного тока. Ротор представляет собой электромагнит с двумя вращающимися металлическими контактными кольцами и угольными щетками, прикрепленными к его валу.
Благодаря вращению на ротор подается небольшое количество электричества, которое проводится к статору.
Магниты на роторе расположены таким образом, что они проходят над петлями из медной проволоки в статоре. Это создает магнитное поле вокруг катушек. Когда ротор вращается, магнитное поле возмущается, и это, в результате, вырабатывает электричество.
Однако генерируемый ток переменного тока должен быть преобразован в постоянный перед использованием; поэтому он направляется на диодный выпрямитель генератора. Выпрямитель изменяет двухсторонний ток на односторонний проточный постоянный ток. Затем напряжение поступает на регулятор напряжения, который повышает или понижает напряжение в соответствии с потребностями различных агрегатов автомобиля.
Проводные соединения
Поскольку генератор переменного тока связан со многими компонентами, он имеет сложную систему проводки. Основные проводки включают провод возбуждения, положительный и отрицательный кабели.
Провод возбуждения подключается к клемме L генератора и используется для включения регулятора напряжения. Провод возбуждения необходим для создания напряжения, необходимого для запуска генератора переменного тока.
Источник: blogspot.com
Положительный и отрицательный кабели имеют небольшой размер и подключаются к соответствующим клеммам аккумулятора. Генератор переменного тока также имеет соединение с «проводом зарядки аккумулятора» . Он только заряжает аккумулятор и не подает энергию ни на какие другие устройства. Генератор также имеет входной провод зажигания, который подключается от генератора к замку зажигания. Провод зажигания включает регулятор напряжения.
EdrawMax для настольных ПК
Создайте более 280 типов диаграмм
Windows, Mac, Linux (работает во всех средах)
Профессиональные встроенные ресурсы и шаблоны
Локальное программное обеспечение для бизнеса
Безопасность данных корпоративного уровня
EdrawMax Онлайн
Создавайте более 280 типов диаграмм онлайн
Доступ к диаграммам в любом месте и в любое время
Сообщество шаблонов
Управление командой и сотрудничество
Интеграция личного облака и Dropbox
ПЫТАТЬСЯ
ОНЛАЙН
Схемы подключения генератора
Ниже приведены некоторые электрические схемы генератора , которые используются для различных целей.
Давайте посмотрим на их связи.
Схема подключения 3-проводного генератора переменного тока
Источник: www.carparts.com
Это трехпроводная схема переменного подключения, показывающая соединения между различными компонентами цепи. Цепь состоит из трех основных проводов: плюсового провода аккумуляторной батареи, провода датчика напряжения и провода зажигания. Входной провод зажигания подключен к двигателю. Он проводит электричество от двигателя к генератору переменного тока, в то время как кабель для определения напряжения измеряет напряжение и подключается к выпрямителю.
Такие генераторы универсальны и имеют встроенные выпрямители напряжения для измерения мощности. В отличие от однопроводных генераторов, они могут генерировать и выпрямлять электричество в одной цепи. Использование трехпроводного генератора обеспечивает регулируемое напряжение для всех компонентов.
Внешний электромеханический регулятор напряжения
Источник: www.
carparts.com
Электромеханические регуляторы наматывают кабель датчика напряжения на электромагнит. Это создает магнитное поле вокруг магнита и притягивает к себе железный блок. Такие схемы имеют три электромагнитных выключателя – реле отключения, регулятор и регулятор тока. Реле отключения подключает аккумулятор к генератору, в то время как регулятор и переключатель регулятора тока регулируют выходное напряжение, управляя цепью возбуждения генератора.
Электромеханические цепи важны для цепей стабилизации переменного тока; однако они не используются в серийных автомобилях из-за их неэффективной системы реле.
Схема подключения, управляемая PCM
Источник: www.carparts.com
Цепи регулирования напряжения модуля управления силовым агрегатом представляют собой усовершенствованный тип генератора переменного тока, в котором используются внутренние модули для управления цепью возбуждения генератора переменного тока. PCM регулирует ток, изучая данные от модуля управления кузовным оборудованием (BCM) и понимая потребности системы в зарядке.
Всякий раз, когда напряжение ниже желаемого значения, модули срабатывают, и это изменяет время включения тока, протекающего через катушку. В результате выходные данные системы изменяются в соответствии с потребностями системы. Генераторы переменного тока, управляемые PCR, просты, но очень эффективны, генерируя желаемое напряжение.
Используйте EdrawMax для создания схемы подключения
Генераторы очень полезны для поддержания автомобиля в рабочем состоянии, когда двигатель зажигается. Генераторы имеют сложную проводку, и провода должны быть подключены к правильным блокам и клеммам. Это можно упростить, создав электрические схемы генератора .
Схемы подключения обеспечивают визуальное представление соединений и физического расположения цепи. Четкая визуализация соединений проводки и положения каждого компонента упрощает создание цепей и правильное подключение генератора. Создание цепей с правильной проводкой необходимо для подачи надлежащего напряжения на каждый блок, чтобы ни один из них не был перегружен или недостаточно мощности.
Создавать электрические схемы просто и увлекательно, если у вас есть EdrawMax . EdrawMax — это удобное и инновационное программное обеспечение, которое позволяет пользователям проявлять творческий подход и рисовать самые красивые диаграммы всего за несколько кликов. Программное обеспечение имеет широкий спектр инструментов редактирования и широкий спектр настраиваемых библиотек символов, которые предлагают свободу создания всего, что вы хотите. Выберите один из встроенных шаблонов или проявите новаторство и создавайте собственные оригинальные схемы с нуля. Благодаря интуитивно понятному интерфейсу и обширным возможностям редактирования вы можете проявить свои творческие способности и спроектировать полезные электрические схемы генератора переменного тока.
Связанные статьи
Основная идея Графический органайзер Полное руководство
Круг Карта
Полное руководство по дихотомическим ключам
Полное руководство по схеме стойки
Полное руководство по плану эвакуации при пожаре
В чем разница между генератором и генератором?
Генератор переменного тока и генератор — это механические устройства, которые преобразуют механическую энергию в электрическую.
Кроме того, они отличаются друг от друга во всех остальных аспектах. Основное различие между генератором переменного тока и генератором заключается в том, что в генераторе переменного тока магнитное поле вращается вокруг неподвижного якоря и в генераторе; якорь вращается внутри стационарного магнитного поля.
Прежде чем перейти к различиям между генератором переменного тока и генератором, давайте посмотрим, что такое генератор переменного тока и как вырабатывается электричество.
- Связанная запись: Разница между генератором переменного и постоянного тока
Производство электроэнергии
Электричество вырабатывается с использованием закона электромагнитной индукции Фарадея . В нем говорится, что ток (ЭДС) будет индуцироваться в проводнике, если его поместить в постоянно меняющееся магнитное поле.
Генератор переменного тока и генератор используют один и тот же принцип для выработки электрического тока.
Ток возникает за счет изменения магнитного поля, действующего на проводник. Однако есть два способа сделать это. Либо вращает магнитное поле (в корпусе) вокруг неподвижного проводника, либо вращает проводник (в форме прямоугольной катушки) внутри неподвижного проводника. В обоих случаях линии магнитного поля, пересекающие проводник, меняются, и это индуцирует электрический ток в проводнике.
Вращающаяся часть машины называется ротором , а неподвижная часть называется статором .
- Связанная запись: Разница между двигателями переменного и постоянного тока
Что такое генератор?
Генератор переменного тока представляет собой механическое устройство, которое преобразует механическую энергию в электрическую энергию переменного тока.
Это тип генератора, в котором магнитное поле (ротор) вращается вокруг якоря (статора).
Магнитное поле создается либо постоянным магнитом, либо электромагнитом с питанием от постоянного тока. Электромагнит находится в корпусе, окружающем якорь (обмотки проводников). Магнитное поле вращается любыми средствами (паровые турбины, газовые турбины и двигатели внутреннего сгорания), известными как первичный двигатель. Его вращение вызывает изменение силовых линий магнитного поля, пересекающих проводники якоря. В результате в якоре индуцируется электрический ток.
Якорь подает электрический ток на выходную нагрузку через щетки. Поскольку якорь неподвижен, щетки не изнашиваются. Это увеличивает его механический срок службы и снижает потребность в техническом обслуживании.
Вращающееся магнитное поле постоянно меняет свою полярность (север и юг), воздействуя на стационарный якорь, вызывая постоянное изменение направления индуцированного тока. По этой причине на выходе генератора переменного тока всегда переменный ток.
Генератор сохраняет энергию.
Они представляют собой усовершенствованную и эффективную версию генератора, который вырабатывает энергию, когда это необходимо (в зависимости от нагрузки). Таким образом, аккумуляторы в автомобиле не умирают из-за перезарядки (поскольку генератор перестает подавать питание). Следовательно, генератор не тратит энергию впустую.
Генератор нельзя использовать для зарядки полностью разряженной батареи.
Related Posts:
- Однофазный асинхронный двигатель – конструкция, работа, типы и применение
- Трехфазный асинхронный двигатель – конструкция, работа, типы и применение
Что такое генератор?
Генератор представляет собой механическое устройство, которое преобразует механическую энергию в электрическую энергию переменного или постоянного тока.
В генераторе внешний корпус, который окружает якорь, состоит либо из постоянного магнита, либо из неподвижного электромагнита, известного как статор. Якорь состоит из катушек проводников, которые вращаются вокруг своей оси внутри этого стационарного магнитного поля.
Из-за вращающегося якоря линия магнитного поля, пересекающая проводники, меняется. Следовательно, во вращающемся якоре индуцируется ток.
Якорь соединяется либо с контактным кольцом, либо с коллектором. Оба они передают электрический ток (который постоянно меняет направление) от вращающегося якоря к статической выходной цепи. Но токосъемное кольцо имеет полное круглое соединение, которое обеспечивает непрерывную передачу электрического тока от вращающегося вала, что приводит к переменному току переменного тока . С другой стороны, коммутатор имеет как минимум 2 разрыва между ними, что меняет направление тока после каждого полуоборота, таким образом, выходной ток остается в одном направлении, также известном как 9.0005 Постоянный ток Постоянный ток .
Связанный пост:
- Разница между приводами переменного и постоянного тока
- Разница между трансформатором и асинхронным двигателем
Обеспечивает постоянную энергию даже без необходимости.
По этой причине он имеет меньшую эффективность, чем генератор переменного тока. Но он может генерировать как переменный, так и постоянный ток, а выходное напряжение остается постоянным на протяжении всей его работы. Поэтому генератор идеально подходит для использования в качестве резервного источника питания в домах, офисах, на строительных площадках и т. д.
Может использоваться для зарядки полностью разряженной батареи.
Похожие сообщения:
- Разница между инвертором и ИБП — источник бесперебойного питания
- Разница между онлайн-ИБП и автономным ИБП — какой из них лучше?
Основные различия между генератором переменного тока и генератором
| Генератор переменного тока | Генератор |
| Машина, преобразующая механическую энергию в электрическую энергию переменного тока. | Машина, преобразующая механическую энергию в переменный или постоянный ток (электрическую).![]() |
| Может генерировать только переменный ток «AC». | Он может генерировать как переменный ток, так и постоянный ток «DC». |
| Вращающаяся часть или ротор представляет собой магнитное поле. | Вращающаяся часть или ротор представляет собой якорь. |
| Неподвижной частью или статором является якорь. | Неподвижной частью или статором является окружающее магнитное поле. |
| Генерируемый выходной ток берется от статора. | Генерируемый выходной ток берется от ротора. |
| Выходное напряжение генератора всегда выше, чем у генератора. | Выходное напряжение Генератора всегда выше, чем Генератора. |
| Щетки служат дольше, потому что якорь неподвижен и отсутствует трение. | Щетки изнашиваются из-за трения о ротор, поэтому служат недолго. |
| После установки поляризация не требуется. | Генератор нуждается в поляризации после установки.![]() |
| Имеет широкий диапазон оборотов в минуту (оборотов в минуту). | Имеет низкий диапазон оборотов. |
| Генерируемое напряжение или энергия варьируются в зависимости от нагрузки. | Выходное напряжение остается постоянным независимо от нагрузки. |
| Невозможно зарядить полностью разряженный аккумулятор (в худшем случае он сгорит). | Может использоваться для зарядки полностью разряженной батареи. |
| Он сохраняет энергию и более эффективен, чем генератор. | Он потребляет немного энергии и менее эффективен, чем генератор переменного тока. |
| Они меньше по размеру, чем Генератор. | Они больше по размеру, чем генератор. |
| Генераторы в основном используются в транспортных средствах для зарядки аккумулятора. | Генератор широко используется в качестве резервного источника питания в каждом секторе, например, в быту, промышленности, строительстве и т.![]() ![]() |

Встроенное УЗО, которое отслеживает наличие пробоя изоляции и отключает установку при появлении тока утечки.

Вся конструкция вместе вращается вокруг центральной оси. К кольцам примыкают щетки, которые также по ним скользят, обеспечивая постоянный контакт.
При этом в движение приводится магнит, то есть полюсы.
То есть мы имеет три значения тока I(1,2,3) и такое же количество цепей. Каждая такая обмотка вместе с внешней цепью получила название фазы.
Наличие меньшего количества проводов делают его проще, и цена его ниже, из-за меньшего количества используемых цветных металлов.
Эти переменные будут одинаковыми по значению, но как уже не раз говорилось, смещенными на 120 градусов по фазе. Вместе эти значения образуют трехфазную систему ЭДС, которая симметрична.
Данные генераторы устойчивы к перегрузкам и коротким замыканиям, однако на устройствах сильно зависящих от частоты тока они неприменимы.


Изделия этого типа используются для электропитания бытовой техники.




