Содержание
«Привод механизма передвижения мостового крана», Физико-математические науки
- Выдержка
- Другие работы
- Помощь в написании
Министерство образования и науки Псковский государственный университет Кафедра теории механизмов и машин Курсовой проект Прикладная механика Привод механизма передвижения мостового крана
Исходные данные | № 5 | |
Сопротивление движения моста F, Кн | ||
Скорость моста v, м/с | ||
Диаметр колеса D, мм | ||
Срок службы привода Lh, тыс. ч | ||
1. Срок службы приводного устройства Срок службы Lh, ч, определяем по формуле:
Lh=365LrKrtcLcKc;
Где Lrсрок службы привода, лет; Kr-коэффициент годового использования,
Kr=;
tcпродолжительность смены, ч; Lcчисло смен; Kcкоэффициент сменного использования,
Kc=;
;
=;
Место установки | Lr | Lc | tc | Lh, ч | Характер нагрузки | Режим работы | |
ОАО «УфаГидромаш» | С малым колебаниями | Реверсивный | |||||
2.
Выбор двигателя. Кинематический расчет. Расчет привода
2.1 Определение номинальной мощности и номинальной частоты вращения двигателя
1. Определяем требуемую мощность рабочей машины Pрм, кВт;
Pрм=FJ;
Pрм=;
2. Определяем общий коэффициент полезного действия (КПД) привода:
;
;
3. определяем требуемую мощность двигателя Pдв, кВт:
;
;
4. Определяем номинальную мощность двигателя Pном, кВт.
; ;
5. Выбираем тип двигателя:
4AM132S4У3
; Pном=7,5 кВт;
2.2 Определение передаточного числа привода и его ступеней
1. Определяем частоту вращения приводного вала рабочей машины nрм, мин-1
отсюда ;
Где скорость тягового органа, м/с; Dдиаметр колеса, мм;
;
2. Определяем передаточное число привода при заданной номинальной мощности Pном принимая Uзп=4,5;
; ;
3. Определяем максимальное допускаемое отклонение частоты вращения приводного вала рабочей машины, мин-1;
;
4.
Определяем допускаемую частоту вращения приводного вала рабочей машины с учетом отклонения, мин-1:
;
5. Определить фактическое передаточное число привода UФ:
;
6. уточним передаточные числа закрытой и открытой передач в соответствии с выбранным вариантом разбивки передаточного числа привода:
При этом предпочтительнее уточнить Uоп оставив неизменным значение Uзп.
Таким образом, выбираем двигатель 4AM132S4У3 nном=1455 мин-1, Pном=7,5 кВт, передаточные числа, привода U=21, редуктора Uзп=4,5, открытой передачи Uоп=4,6.
2.3 Определение силовых и кинематических параметров привода
3. Выбор материала зубчатых передач Определение допускаемых напряжений.
1. Выбор твердости, термообработки и материала колес.
Параметр | Шестерня | Колесо | ||
Материал | Сталь 40ХН | Сталь 40ХН | ||
Термообработка | Улучшение | Улучшение | ||
Твердость | 269…302 HB | 235…262 HB | ||
Допускаемое напряжение при числе циклов перемены напряжений NHO; NFO; H/мм2 | 1,8HBср+67= | 1,8HBср+67= | ||
1,03HBср= | 1,03HBср= | |||
2.
Определение допускаемых контактных напряжений
а) Определить коэффициент долговечности для зубьев шестерни KHL1 и колеса KHL2:
KHL1=; KHL2= ;
Где NНОчисло циклов перемены напряжений, соответствующее пределу выносливости; Nчисло циклов перемены напряжений за весь срок службы (наработка), N=573Lh. Здесь — угловая скорость соответствующего вала, с-1; Lhсрок службы привода (ресурс), ч.
HBср1=; HBср2=;
N1=; N2=;
KHL1=;
KHL2= ;
б) Определить допускаемые контактные напряжения для зубьев шестерни и колеса :
=; =.
= =;
3. Определение допускаемых напряжений изгиба, H/мм2.
а) Коэффициент долговечности для зубьев шестерни KFL1 и колеса KFL2.
KFL1=
KFL2=;
б) Допускаемое напряжение изгиба для зубьев шестерни колеса
; ;
;
Для реверсивных передач уменьшают на 25%:
;
4. Табличный ответ к задаче 3:
Элемент передачи | Марка стали | Dпред | Термообработка | HB1cp | |||||
Sпред | |||||||||
HB2cp | Н/мм2 | ||||||||
Шестерня | 40ХН | Улучшение | 285,5 | 96,135 | |||||
Колесо | 40ХН | Улучшение | 248,5 | 1468,5 | 107,475 | ||||
4.
Расчет зубчатых передач редукторов Расчет закрытой цилиндрической зубчатой передачи.
Проектный расчет
1. Определить главный параметрмежосевое расстояние aw, мм:
;
Где Ка— вспомогательный коэффициент, для косозубых передач Ка=43.
— коэффициент ширины венца колеса, равный 0,28…0,36- для шестерни расположенной симметрично относительно опор в проектируемых нестандартных одноступенчатых редукторах;
Uпередаточное число редуктора;
T2— вращающий момент на тихоходном валу при расчете редуктора или на приводном валу рабочей машины, ;
— допускаемое контактное напряжение с менее прочным зубом или среднее допускаемое контактное напряжение, ;
— коэффициент неравномерности нагрузки по длине зуба, для прирабатывающихся зубьев =1;
;
Округляем значение до ближайшего табличного, =120 мм.
2. Определяем модуль зацепления m, мм;
;
Округляем значение m=2,33 до ближайшего табличного значения m=3мм;
3.
Определяем угол наклона зубьев для косозубых передач:
;
4. Определяем суммарное число зубьев шестерни и колеса:
; ;
5. Уточним действительную величину угла наклона зубьев для косозубых передач:
; ;
6. Определить число зубьев шестерни:
; ;
7. Определяем число зубьев колеса:
; ;
8. Определить фактическое передаточное число и проверить его отклонение от заданного:
;
9. Определяем фактическое межосевое расстояние:
; ;
10. Определяем фактические основные геометрические параметры передачи, мм:
Параметр | Шестерня | Колесо | ||
Диаметр | Делительный | 51,96 | 187,2 | |
Вершин зубьев | 56,96 | 193,2 | ||
Впадин зубьев | 44,76 | |||
Ширина венца | =41 | |||
5.
Расчет открытых передач привод двигатель редуктор передача Расчет открытой цилиндрической зубчатой передачи.
1. Определить главный параметрмежосевое расстояние aw, мм:
;
Где Ка— вспомогательный коэффициент, для косозубых передач Ка=43.
— коэффициент ширины венца колеса, равный 0,28…0,36- для шестерни расположенной симметрично относительно опор в проектируемых нестандартных одноступенчатых редукторах;
Uпередаточное число редуктора;
T2— вращающий момент на тихоходном валу при расчете редуктора или на приводном валу рабочей машины, ;
— допускаемое контактное напряжение с менее прочным зубом или среднее допускаемое контактное напряжение, ;
— коэффициент неравномерности нагрузки по длине зуба, для прирабатывающихся зубьев =1;
;
Округляем значение до ближайшего табличного, =190 мм.
2. Определяем модуль зацепления m, мм;
;
3. Определяем суммарное число зубьев шестерни и колеса:
; ;
4.
Определить число зубьев шестерни:
; ;
5. Определяем число зубьев колеса:
; ;
6. Определить фактическое передаточное число и проверить его отклонение от заданного:
;
7. Определяем фактическое межосевое расстояние:
; ;
10. Определяем фактические основные геометрические параметры передачи, мм:
Параметр | Шестерня | Колесо | ||
Диаметр | Делительный | |||
Вершин зубьев | ||||
Впадин зубьев | ||||
Ширина венца | =56 | |||
6. Расчет нагрузки валов
6.1 Силы в зацеплении закрытой передачи
6.2 Силы в зацеплении открытой передачи Консольные силы.
7. Разработка чертежа общего вида редуктора
7.1 Определение размеров ступеней валов одноступенчатых редукторов
Ступень вала и ее размеры d; l | Вал-шестерня цилиндрическая | Вал колеса | ||
1-я под элемент открытой передачи или полумуфту | d1 | |||
l1 | ||||
2-я под уплотнение крышки с отверстием и подшипник | d2 | |||
l2 | ||||
3-я под шестерню, колесо | d3 | |||
l3 | l3 определить графически на эскизной компоновке | |||
4-я под подшипник | d4 | |||
l4 | ||||
5-я упорная или под резьбу | d5 | Не конструируют | ||
l5 | Определить графически | |||
7.
2 Предварительный выбор подшипников
Передача | Вал | Тип подшипника | Серия | Схема установки | |
Цилиндрическая косозубая | Б | № 207 35×72×17 | Легкая | Враспор | |
Т | № 209 45×85×19 | ||||
;
;
;
;
8. Разработка чертежа общего вида привода Конструирование зубчатых колес.
Колеса зубчатые цилиндрические.
Элемент колеса | Размер | Способ получения заготовки | |
Штамповка | |||
Обод | Диаметр | da=315 | |
Толщина | |||
Ширина | |||
Ступица | Диаметр внутренний | ||
Диаметр наружный | |||
Толщина | |||
Длина | |||
Диск | Толщина | ||
Радиусы закруглений и уклон | ; | ||
Отверстия | ; | ||
Выбор соединения колеса с валом.
Для соединения вала с колесом применим соединение с натягом. Эти соединения имеют упрощенную технологию изготовления за счет отсутствия шпонки и двух пазов в сопрягаемых деталях; они не чувствительны к реверсивным нагрузкам, хорошо воспринимают динамические нагрузки. Обеспечивают хорошее базирование, исключают ослабление вала шпоночным пазом. Недостаток этих соединенийтрудоемкость сборки, сложность контроля качества соединения.
Подбор посадки с натягом проводится в следующем порядке:
1. Определяем среднее контактное напряжение, H/мм2, на посадочной поверхности:
;
Где Kкоэффициент запаса сцепления деталей, принимаем K=3,5 т.к. на конце вала установлена шестерня.
fкоэффициент трения, принимаем f=0,08;
d и l-соответственно диаметр и длина посадочной поверхности, принимаем d=63 мм, l=100 мм;
Твращающий момент, принимаем Т=190,1 Hм;
Fa— осевая сила в зацеплении, принимаем Fa=460,81 H;
;
2. Определяем коэффициенты С1 и С2:
; ;
Где dпосадочный диаметр, принимаем d=63 мм;
d1— диаметр отверстия охватываемой детали, для сплошного вала принимаем d1=0; d2— диаметр охватывающей детали, принимаем d2=97,65 мм;
— коэффициенты Пуассона охватываемой и охватывающей деталей, для стали принимаем =0,3;
; ;
3.
Определить деформацию деталей, мкм;
;
Где E1 и E2— модули упругости материалов охватываемой и охватывающей детали, принимаем E1= E2=, H/мм2;
;
4. Определяем поправку на обмятие микронеровностей U, мкм;
;
Где и — среднее арифметическое отклонение профиля микронеровностей посадочных поверхностей отверстия и вала, принимаем и ;
5. Поправку на температурную деформацию, мкм, для зубчатых передач не подсчитывают, принимая =0 (19, https://bakalavr-info.ru).
6. Определяем минимальный требуемый натяг, мкм для передачи вращающего момента;
; ;
7. Определяем максимальное контактное давление, допускаемое прочностью охватывающей детали, Н/мм2 ;
;
Гдепредел текучести охватывающей детали, принимаем ;
8. Определяем максимальную деформацию соединения, допускаемую прочностью охватывающей детали, мкм:
; ;
9. Определяем допускаемый натяг соединения, гарантирующий прочность охватывающей детали
; ;
10.
По значениям выбираем стандартную посадку:, у которой .
11. Определяем давление от максимального натяга выбранной посадки, Н/мм2.
; ;
12. Определяем силу запрессовки детали, FП, Н:
; ;
Таким образом, для сборки соединения требуется пресс, развивающий силу 200 кН.
Конструирование подшипниковых узлов.
В нашем случае мы применяем такую (см. рисунок 10.3) схему установки подшипников:
Плавающая опора. Внутреннее кольцо подшипника с обеих торцев закреплено на валу. Наружное кольцо в корпусе не закреплено и допускает осевое перемещение вала в обеих направлениях.
Фиксирующая опора. Внутреннее кольцо подшипника с обеих торцев закреплено на валу. Наружное кольцо также с двусторонним закреплением в корпусе ограничивает осевое перемещение вала в обоих направлениях.
Типы подшипников. Радиальные однорядные шариковые и роликовые и двухрядные сферические. Любой из типов подшипников плавающей опоры может быть применен с любым типом подшипника фиксирующей.
В проектируемых редукторах приняты радиальные однорядные шарикоподшипники.
Достоинства: А) температурные удлинения вала не вызывают защемления тел качения в подшипниках. Б) не требует точного расположения посадочных мест подшипников по длине вала.
Рисунок 10.3 Осевое фиксирование вала в одной опоре одним подшипником.
Выбор муфт.
В проектируемых приводах применены компенсирующие разъемные муфты нерасцепляемого класса в стандартном исполнении.
Для соединения выходных концов двигателя и быстроходного вала редуктора, установленных, как правило, на общей раме, применены упругие втулочно-пальцевые муфты и муфты со звездочкой.
Для конструируемого редуктора выбираем втулочно-пальцевую муфту.
Применяемая муфта обеспечивает надежную работу привода с минимальными дополнительными нагрузками, компенсируя неточности взаимного расположения валов вследствие неизбежных осевых, радиальных и угловых смещений.
Смазывание.
Смазывание зубчатых и червячных зацеплений и подшипников применяют в целях защиты от коррозии, снижения коэффициента трения уменьшения износа, отвода тепла и продуктов износа от трущихся поверхностей, снижения шума и вибраций.
Для редукторов общего назначения применяют непрерывное смазывание жидким маслом картерным непроточным способом (окунанием).
По таблице 10.29 выбираем масло ИГС-46.
Определение количества масла. Для одноступенчатых редукторов при смазывании объем масляной ванны определяют из расчета 0,4…08 л на 1 кВт передаваемой мощности. Исходя из мощности выбранного двигателя, принимаем количество масла 4,5л.
Определение уровня масла. В цилиндрических редукторах при окунании в масляную ванну колеса, уровень масла рассчитывают:, где mмодуль зацепления, d2-диаметр вершин зубьев колеса. .
Исходя из особенностей конструкции корпуса редуктора, выбираем круглый маслоуказатель.
Показать весь текст
Заполнить форму текущей работой
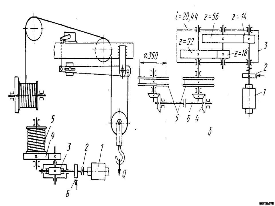
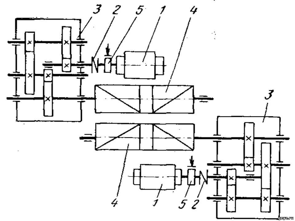
Привод механизма передвижения мостового крана
Изм.
Лист
№ докум.
Подпись
Дата
Лист
КП.ДМ.150411.51.В06.ПЗ
Задание по курсовому
проекту
- двигатель
- муфта
- цилиндрический редуктор
- цилиндрическая зубчатая передача
- рельс
- колесо
I, II, III, IV — валы, соответственно
— двигателя, быстроходный, тихоходный
редуктора, рабочей машины
F, кН=2.
0; v, м/с=2.0; D,
мм=500; δ, %=5
- Введение
Редуктором называется механизм,
выполненный в виде самостоятельного
агрегата с целью понижения частоты
вращения ведущего вала и увеличения
вращающего момента на ведомом валу.
Редуктор состоит из зубчатых
или червячных передач, установленных
в отдельном герметичном
что принципиально отличает его
от зубчатой или червячной передачи,
встраиваемой в исполнительный механизм
или машину.
Редукторы классифицируют по
типам, типоразмерам и исполнениям.
Тип редуктора определяют по виду применяемых
передач и порядку их размещения в направлении
от быстроходного вала к тихоходному,
по числу ступеней передач и по расположению
геометрической оси тихоходного вала
в пространстве.
По виду применяемых передач
различают редукторы: цилиндрические,
конические, червячные, планетарные, волновые.
По порядку размещения
передач — коническо — цилиндрические,
червячно — цилиндрические, зубчато — червячные
и другие.
По числу ступеней различают
одноступенчатые и многоступенчатые.
По расположению валов
редуктора в пространстве — на горизонтальные,
вертикальные, наклонные.
Исполнение редуктора
определяют передаточное число, вариант
сборки и форма концевых участков
валов.
Цилиндрические редукторы
состоят из цилиндрических зубчатых
передач. Благодаря своей долговечности,
широкому диапазону передаваемых вращающих
моментов, простоте изготовления и
обслуживания они широко распространены
в машиностроении.
Одноступенчатые редукторы
применяют при передаточных числах
u ≤ 6,3. Зацепление в большинстве случаев
косозубое. В редукторах обычно применяют
зубчатые колеса с эвольвентным зацеплением,
но иногда используют и зацепление М.Л.
Новикова.
Выполнение курсового
проекта по дисциплине «Детали машин»
является первой конструкторской работой,
выполненной на основе знаний общетехнических
и обще специальных дисциплин. При
выполнении работы мною активно использовались
знания, полученные при изучении таких
дисциплин, как техническая механика,
сопротивление материалов и др.
Объектом
курсового проекта является привод,
с цилиндрическим
одноступенчатым редуктором
предназначенным для привода механизма
передвижного мостового крана.
2. Пояснительная
записка
2.1 Кинематический
и силовой расчет привода
1. Определяю требуемую
мощность рабочей машины Ррм
, КВт:
Ррм=F* v, где
F- значение тяговой силы,
Кн.
v — линейная скорость тягового
рабочей машины, м/с
Р=2*2=4
2.Определить общий
полезного действия (КПД) привода:
η= ηзп*ηоп*ηм*ηпк*ηпс,
где
коэффициенты полезного
действия закрытой передачи, открытой
передачи, муфты, подшипников качения
(в одноступенчатых редукторах две
пары подшипников, поэтому необходимо
брать η2пк), подшипники
качения. Значения КПД передач, подшипников,
муфт выбрал из табл. 1 (см.
приложение)
η=0.96*0.95*0.98*0.
99*0.99=0.
3. Определяю требуемую мощность
двигателя Рдв, КВт
Рдв=Ррм/η
Рдв=4/0.87=4.6
4.Определяю номинальную мощность
двигателя Рном, КВт.
Рном
˃ Рдв
Рном=5.5
Значение номинальной
мощности выбрать из табл.2 по величине,
большей, но ближайшей к Рдв.
(см. приложение)
5.Выбираю тип двигателя.
Необходимо выбрать четыре
двигателя по соответствующей
номинальной чистоте.
подбора занес в таблицу.
Таблица 1
Вариант | Тип двигателя | Номинальная мощность | Частота вращения, | |
Синхронная | При номинальном режиме | |||
1 | 4АМ10012У3 | 4 | 3000 | 2880 |
2 | 4АМ112М4У3 | 4 | 1500 | 1445 |
3 | 4АМ13256У3 | 4 | 1000 | 965 |
4 | 4АМ132М8У3 | 4 | 750 | 720 |
6.
Определил частоту
вращения приводного вала рабочей машины
ленточных транспортёров, грузоподъёмных
и прочих машин nрм, об/мин.
nрм= 60*1000v /π* D, где
v — скорость передвижения ленты
или моста, м/с.
D — диаметр барабана или колеса,
мм.
nрм
=60*1000*2/3.14*500=120000/
7. Определил передаточное число
привода для четырёх типов двигателя при
заданной номинальной мощности Рном,
КВт.
u1=nном1/nрм
u2=nном2/nрм
u3=nном3/nрм
u4=nном4/nрм
u1=2880/76.43=37.7
u2=1445/76.43=18.9
u3=9650/76.43=12.6
u4=720/76.43=9.4
8. Определяю передаточное
число открытой и закрытой
передачи. Определение передаточных
чисел открытой и закрытой
передач осуществляется с
одного из способов разбивки.
Для нахождения передаточного
числа открытой передачи
принять значение
числа закрытой передачи
равным 4.
Передаточные числа открытой
передачи находим для четырёх
типов двигателя по формуле:
uоп1=u1/uзп
uоп2=u2/uзп
uоп3=u3/uзп
uоп4=u4/uзп
uоп1=37.7/4=9.4
uоп2=18.9/4=4.7
uоп3=12.6/4=3.15
uоп4= 9.4/4=2.35
9. Определяю максимальное допустимое
значение отклонение частоты вращения
приводного вала рабочей машины ∆nрм,
об/мин.
∆nрм=nрм*δ/100, где
δ,% — допускаемое отклонение
скорости (см. исходные данные).
∆nрм=76.43*5/100=3.8%
10. Определяю допускаемую
частоту вращения приводного
вала рабочей машины с учётом
отклонения [∆nрм
], об/мин:
[∆nрм ]= nрм+∆nрм
[∆nрм ]= 76.
43+3.8=80.23
11. Определяю фактическое передаточное
число привода uф:
uф= nном/[nрм ]
uф=1445/80.23=18.01
12. Уточняю передаточное
число закрытой и открытой
передачи:
uоп=uф/uзп
uоп=18.01/4=4.5
13. Определил силовые
параметры привода.
Определение силовых
и кинематических параметров
привода производиться на
кинематической схемы и
2.
Таблица 2
Параметр | Вал | Расчетные значения | ||
Дв-м-зп-оп-рм | ||||
Мощность Р., КВт | Дв | Рдв= 5. | ||
Б | Р1=Рдв* ηпк* ηм= | |||
Т | Р2=Р1* ηзп* ηпк= | |||
РМ | Ррм=Р2* ηоп* ηпс= | |||
Частота вращения | Угловая скорость | Дв | nном= 1445 | ω=π* nном/30=151.24 |
Б | n1= nном= 1445 | ω1= ω=151.24 | ||
Т | n2= n1/uзп=1445/4=361.25 | ω2= ω/uзп=151.24/4=37. | ||
РМ | nрм=n2/uоп=361.25/4.5=80.3 | ωрм= ω2/uоп=37.81/4.5=8.4 | ||
Вращающий момент Т, Нм | Дв | Тдв=Рдв*103/ω=5.5*103/151.24=3 | ||
Б | Т1= Тдв*ηпк*ηм=36.4*0.99*0.98=35.3 | |||
Т | Т2=Т1*ηзп*ηпк*uзп=35.3*0.96*0. | |||
РМ | Трм=Т2* ηоп*ηпс*uоп=134.16*0.95*0.99* | |||
2.2 Расчёт зубчатой
передачи редуктора
1.
Выбор твердости,
термообработки и материала колёс.
Сталь в наше время — основной
материал для изготовления зубчатых
колёс. В условиях индивидуального
и мелкосерийного производства, предусмотрено
заданиями на курсовой проект применяют
зубчатые колёса с твёрдостью материала
Н < 350 НВ. При этом обеспечивается
чистовое нарезание зубьев после
термообработки, высокая точность изготовления
и хорошая прирабатываемость зубьев.
Материал зубчатой пары выбирают
в следующей
2.Выбрать материал для
зубчатой пары колёс (табл. 7) (см.
приложение). Твердость шестерни
должна быть выше, чем твёрдость
колеса. При этом необходимо
на дешёвые марки стали типа:
40,45,40Х — для закрытой передачи
35Л,40Л,45JI — для открытой зубчатой
передачи.
3.Выбрать термообработку
для зубьев шестерни и колеса
(табл.8)(см. приложение)
4.Результаты подбора ввести
в таблицу.
Таблица 3
Элемент передачи | Марка стали | Дпред | Механические | Термообработка | ||
Sпред | Твердость поверхности | Предел прочности | Предел текучести | |||
Шестерня | 40Х | 125/80 | 269…302 НВ | 900 | 750 | У |
Колесо | 40Х | 200/125 | 235…262 НВ | 790 | 640 | У |
5.
Lh=365*Lr*Lc*t,
где срок службы
Lr-3 года
Lc-число смен (2)
tc— Продолжительность
смены (8 часов)
Lh=365*3*2*8=17520 часов
6.Принимаем время простоя
магнитного агрегата 15% ресурса.
Тогда Lh=17520*0.85=14892 часа.
Рабочий ресурс привода принимаем
Lh=15*103 ч.
7.Определение допускаемых
контактных напряжений [σн], Н/мм2
а) Определение коэффициента
долговечности для зубьев шестерни
и колеса
Где NHO – число
циклов перемены напряжения, соответствующее
пределу выносливости.
N – число циклов
перемены напряжений за весь срок службы
N-573*ω*Lh ,
где ω – угловая
скорость соответствующего вала, 1/с;
Lh – срок службы
привода, ч.
б) Определение допускаемых
контактных напряжений,[σ]HO, Н/мм2.
Для определения использую таблицу 7 (см.
приложение).
[σ]HO=1,8*НВср+67
в) Определяю допускаемые
контактные напряжения для зубьев шестерни
и колеса, [σ]H, Н/мм2.
Для косозубых передач
дальнейший расчет ведут по среднему
контактному напряжению:
[σ]H=0.45([σ]h2+[σ]h3)
8. Определяю допускаемое
напряжение изгиба, [σ]F, Н/мм2
а) Определяю долговечность
для зубьев шестерни и колеса
где NFO=4*106 – число
циклов перемены для сталей;
N — число циклов перемены напряжений
за весь срок службы привода.
б) Определяю допускаемые
напряжения изгиба [σ]FO, Н/мм2
в) Определяю допускаемые
напряжения изгиба [σ]F, Н/мм2
Далее веду расчеты по наименьшему
значению:
2.
3 Проектный расчет
зубчатой передачи
- Определяю главный параметр — межосевое расстояние, аω, мм:
а)Ка — вспомогательный
коэффициент
Ка= 43 — косозубая передача
б)ψ=0,28…0,36
в) и — передаточное
число редуктора
г) Т2 — вращающий
момент на тихоходном валу;
д) [σ]H— среднее допускаемое
контактное напряжение, H/мм2
е)Кнβ — коэффициент
неравномерности нагрузки по длине зуба;
Кнβ = 1
Полученное значение межосевого
расстояния округлил до ближайшего стандартного
числа по табл. 12 (см. приложение)
- Определяю модуль зацепления т, мм:
а) Km — вспомогательный
коэффициент
Кт= 5,8 —
косозубая передача
б) d2=2aω*u/u+1=2*105*4/5=168-
диаметр колеса, мм
в) b2=ψa*aω=0.
3*105=31.5 — ширина венца
колеса, мм
г) [σ]F – допускаемое напряжение
изгиба, Н/мм2
Полученное значение округлил
в большую сторону из ряда стандартных
чисел.
- Определяю угол наклона зубьев βmin:
Угол наклона принимают β = 8….16
- Определяю суммарное число зубьев шестерни и колеса.
Для косозубых колес:
Округляю значение в меньшую
сторону до целого числа:
- Уточняю действительную величину угла наклона зубьев.
- Определяю число зубьев шестерни.
Глоссарий терминологии мостовых кранов
Ненормальные условия эксплуатации:
Условия окружающей среды, которые являются неблагоприятными, вредными или пагубными для или для работы подъемника, такие как чрезмерно высокая (более 100 F) или низкая (ниже 0 F) температура окружающей среды, агрессивные пары, запыленная или влажная атмосфера и опасные места.
Регулируемое или переменное напряжение:
Метод управления, с помощью которого можно регулировать напряжение питания двигателя.
Автоматический кран:
Кран, который при активации работает через заданный цикл или циклы.
Вспомогательный подъемник:
Дополнительный подъемный механизм, обычно предназначенный для работы с более легкими грузами на более высокой скорости, чем основной подъемник.
Вспомогательная балка (аутригеры):
Балка, расположенная параллельно основной балке для поддержки платформы, основания двигателя, кабины оператора, панелей управления и т. д., чтобы уменьшить скручивающие усилия, которые такая нагрузка в противном случае воздействовала бы на главную балку.
Ожидаемый срок службы подшипника:
Срок службы L-10 подшипника качения — это минимальный ожидаемый срок службы, часов, 90 процентов группы подшипников, работающих при заданной скорости и нагрузке. Средний ожидаемый срок службы подшипников примерно в пять раз превышает срок службы L-10.
БН:
Число твердости по Бринеллю, измерение твердости материала.
Секция коробки:
Прямоугольное поперечное сечение балок, тележек или других элементов, заключенных с четырех сторон.
Тормоз:
Устройство, отличное от двигателя, используемое для замедления или остановки движения за счет трения или силы.
Филиал:
Проводники цепи между оконечным устройством максимального тока, защищающим цепь, и розетками.
Мост:
Часть мостового крана, состоящая из балок, тележек, концевых стяжек, мостков и приводного механизма, которая несет тележку и перемещается в направлении, параллельном пути.
Мостовые проводники:
Электрические проводники, расположенные вдоль конструкции моста крана, обеспечивают питание тележки.
Мостовой рельс:
Рельс, поддерживаемый балками моста, по которому движется тележка.
Бампер (буфер):
Устройство, поглощающее энергию, для уменьшения удара, когда движущийся кран или тележка достигает конца разрешенного хода или когда два движущихся крана или тележки входят в контакт.
Кран с кабиной:
Кран, управляемый оператором в кабине, расположенной на мосту или тележке.
Развал:
Небольшая восходящая вертикальная кривая, придаваемая балкам, частично компенсирует прогиб из-за нагрузки на крюк и веса крана.
Емкость:
Максимальная номинальная нагрузка (в тоннах), на которую рассчитан кран.
Клиренс:
Минимальное расстояние от края крана до ближайшего препятствия.
КМАА:
Ассоциация производителей кранов Америки, Inc. (ранее EOCI — Институт электрических мостовых кранов).
Коллекционеры :
Контактные устройства для сбора тока с проводников ВПП или моста. Магистральные коллекторы монтируются на мосту для передачи тока от проводников ВПП, а троллейные коллекторы монтируются на тележке для передачи тока от проводников моста.
Контактор, магнитный:
Электромагнитное устройство для размыкания и замыкания электрической цепи.
Контроллер:
Устройство для регулирования заданным образом мощности, подаваемой на двигатель или другое оборудование.
Контрмомент:
Метод управления, при котором двигатель реверсируется для развития мощности в противоположном направлении.
Накладка:
Верхняя или нижняя пластина коробчатой балки.
Поперечный вал:
Вал, проходящий через мост, служит для передачи крутящего момента от двигателя к ведущим колесам моста.
Мягкий старт:
Электрический или механический способ уменьшения скорости ускорения движения.
Постоянные грузы:
Нагрузки на конструкцию, которые остаются в фиксированном положении относительно конструкции. На крановом мосту такими нагрузками являются балки, пешеходные дорожки, поперечный вал, узлы привода, панели и т. д.
Отклонение:
Смещение из-за изгиба или скручивания в вертикальной или поперечной плоскости, вызванное действующими временными и постоянными нагрузками.
Мембрана:
Пластина или перегородка между противоположными частями элемента, служащая определенной цели в конструкции элемента.
Приводная балка:
Балка, на которой смонтированы приводные механизмы моста.
Манекен кабины:
Кабина оператора или платформа на подвесном или радиоуправляемом кране, не имеющая стационарно установленных электрических органов управления, в которой оператор может находиться, управляя краном.
Динамическое опускание:
Метод управления, при котором двигатель подъемного устройства подключается таким образом в направлении опускания, что, когда он подвергается нагрузке, он действует как генератор и пропускает ток либо через резисторы, либо обратно в линию.
Вихретоковое торможение:
Метод управления, при котором двигатель приводится в действие через электрический индукционный нагрузочный тормоз.
Эффективность зубчатых передач и шкивов:
Процент силы, передаваемой через эти компоненты, которая не теряется из-за трения.
Электрический мостовой кран:
Электрическая машина для подъема, опускания и транспортировки грузов, состоящая из подвижного моста, несущего стационарный или подвижный подъемный механизм и перемещающегося по подвесной конструкции взлетно-посадочной полосы.
Электрическая тормозная система:
Способ регулирования скорости двигателя крана в состоянии капитального ремонта без использования фрикционного торможения.
Закрытый провод(а):
Проводник или группа проводников, по существу закрытые для предотвращения случайного контакта.
Корпус:
Корпус для размещения электрических компонентов, обычно определяемый классификационным номером NEMA.
Конечный подход:
Минимальное горизонтальное расстояние, параллельное взлетно-посадочной полосе, между крайними концами крана и осевой линией крюка.
Конечная связь:
Элемент конструкции, кроме концевой тележки, который соединяет концы балок для поддержания прямоугольности моста.
Конечный грузовик:
Узел, состоящий из рамы тележки, колес, подшипников, осей и т. д., поддерживающий балки моста.
Отказоустойчивый:
Устройство, предназначенное для автоматической остановки или безопасного управления любым движением, при котором возникает неисправность.
Внешняя проводка:
Электропроводка необходима после монтажа крана.
Фиксированная ось:
Ось, закрепленная на тележке и на которой вращается колесо.
Напольный кран:
Подвесной кран, управляемый оператором на полу или независимой платформе.
Пешеходная дорожка:
Дорожка с поручнями и бортиками, прикрепленная к мосту или тележке для доступа.
Козловой кран:
Кран, аналогичный мостовому крану, за исключением того, что мост для перевозки тележки или тележек жестко поддерживается двумя или более опорами, установленными на фиксированных рельсах или другом пути.
Балки:
Основные горизонтальные балки мостового крана, поддерживающие тележку и концевые тележки.
Замыкание на землю:
Случайное проводящее соединение между электрической цепью или оборудованием и землей или каким-либо проводящим телом, которое служит вместо земли.
Подъемник:
Механическая единица, используемая для подъема и опускания груза.
Удерживающий тормоз:
Тормоз, который автоматически предотвращает движение при отключении питания.
Подход Крюка:
Минимальное расстояние по горизонтали между центром рельсового пути и крюком.
Гидравлический тормоз:
Тормоз, обеспечивающий замедление или остановку движения с помощью гидравлических средств.
Натяжной шкив:
Блок, используемый для выравнивания натяжения противоположных частей каната. Из-за небольшого движения его не называют бегущим шкивом.
Допуск на удар:
Предполагается, что дополнительная нагрузка на крюк возникает в результате динамического воздействия динамической нагрузки.
Промышленный кран:
Классификация услуг, указанная в Спецификации CMAA № 70, «Технические характеристики мостовых кранов с электроприводом».
Класс изоляции:
Рейтинг изоляции обмотки двигателя, указывающий на его способность противостоять нагреву и влаге.
Инвертор (преобразователь частоты):
Метод управления, при котором фиксированное напряжение и частота сети заменяется трехфазной системой с бесступенчато регулируемым напряжением и частотой.
К.С.И. :
Кипов на квадратный дюйм, измерение интенсивности напряжения.
Кип:
Единица силы, эквивалентная 1000 фунтов.
Наколенник:
Диагональный конструктивный элемент, соединяющий колонну здания и ферму крыши.
Боковые силы:
Горизонтальные силы, перпендикулярные оси рассматриваемого стержня.
Лифт:
Максимальное безопасное расстояние по вертикали, на которое могут перемещаться крюк, магнит или ковш.
Цикл подъема:
Одиночное движение подъема и опускания (с грузом или без него)
Подъемные устройства :
Ковши, магниты, грейферы и другие вспомогательные устройства, вес которых следует считать частью номинальной нагрузки, используемые для облегчения работы с определенными видами грузов.
Концевой выключатель:
Устройство, предназначенное для автоматического отключения питания на пределе или вблизи предела перемещения крана.
Линейный контактор:
Подрядчик по отключению электроэнергии от линий электропередач.
Живая нагрузка:
Нагрузка, которая перемещается относительно рассматриваемой конструкции.
Загрузочный блок:
Сборка крюка, вертлюга, подшипника, шкивов, штифтов и рамы, подвешенной на подъемных канатах.
Несущая часть:
Любая часть крана, в которой на индуцированное напряжение влияет нагрузка на крюк.
Цикл нагрузки:
Один цикл подъема с грузом плюс один цикл подъема без груза.
Продольные ребра жесткости:
Горизонтальные элементы, прикрепленные к стенке балки моста для предотвращения коробления стенки.
Магнитный контроль:
Средство управления направлением и скоростью с помощью магнитных контакторов и реле.
Контактор главной линии:
Магнитный контактор, используемый в цепи ввода питания от коллекторов главной линии.
Главный выключатель линии:
Ручной выключатель, который разрывает линии электропередач, идущие от коллекторов магистральных линий.
Ручной магнитный выключатель :
Средство отключения питания, состоящее из магнитного контактора, который может управляться дистанционной кнопкой и может управляться вручную с помощью рукоятки на выключателе.
Главный выключатель:
Устройство с ручным управлением, которое служит для управления работой контакторов и вспомогательных устройств электрического управления.
Маркировка матча:
Идентификация невзаимозаменяемых частей для повторной сборки после отгрузки.
Механический тормоз нагрузки:
Автоматический тип фрикционного тормоза, используемый для управления грузами в направлении опускания. Это однонаправленное устройство требует крутящего момента от двигателя для опускания груза, но не создает дополнительной нагрузки на двигатель при подъеме груза.
Средняя эффективная нагрузка:
Нагрузка, используемая в расчетах долговечности с учетом как максимальной, так и минимальной нагрузки.
Мельничный кран:
Классификация услуг соответствует стандарту AISE № 6 «Спецификация электрических мостовых кранов для обслуживания сталелитейных заводов».
Многобалочный кран:
Кран, имеющий две или более балки для поддержки временной нагрузки.
Механический привод без выбега:
Привод с такими характеристиками движения накатом, что он останавливает движение на расстоянии в футах, равном 10 процентам от номинальной скорости в футах в минуту при движении с номинальной скоростью с номинальной нагрузкой.
Кабина оператора:
Кабина оператора, из которой осуществляется управление движениями крана. Должен быть указан изготовителем как открытый, имеющий только борта или перила вокруг оператора, или закрытый, с крышей, окнами и т. д.
Перегрузка:
Любая нагрузка, превышающая номинальную нагрузку.
Устройство ограничения перегрузки:
Полное определение см. в разделе 4.3.
Защита от перегрузки (перегрузки по току):
Устройство, работающее от избыточного тока, чтобы вызывать и поддерживать прерывание или уменьшение тока, подаваемого на управляемое оборудование.
Подвесная кнопочная станция:
Средства, подвешенные к крану, управляющие контроллерами с пола или другого уровня под краном.
Диаметр шага (веревка):
Расстояние через центр барабана или шкива от центра до центра каната, пройденного по периферии.
Простое управление задним ходом:
реверсивное управление, имеющее одинаковые характеристики для обоих направлений вращения двигателя.
Подключение:
Функция управления, которая выполняет торможение путем изменения полярности или последовательности фаз напряжения в сети двигателя.
P Защитная панель:
Узел, содержащий защиту от перегрузки и пониженного напряжения для всех движений крана.
Квалифицировано:
Лицо, которое, обладая признанной степенью, сертификатом о профессиональном статусе или обладая обширными знаниями, подготовкой и опытом, успешно продемонстрировало способность решать или разрешать проблемы, относящиеся к предмету и работе.
Номинальная нагрузка:
Максимальная нагрузка, для безопасной работы с которой кран предназначен, как указано изготовителем.
Рекуперативное торможение:
Метод управления скоростью, при котором электрическая энергия, вырабатываемая двигателем, возвращается в энергосистему.
Регулируемая скорость:
Функция, которая стремится поддерживать постоянную скорость двигателя для любой нагрузки при заданной настройке скорости контроллера.
Кран с дистанционным управлением:
Кран, управляемый оператором не с поста управления или из кабины, прикрепленной к крану, любым способом, кроме подвесного или тросового управления.
Номинал резистора:
Рейтинг установлен NEMA, который классифицирует резисторы в соответствии с процентом полного тока нагрузки в первой точке и рабочим циклом.
Вращающаяся ось:
Ось, которая вращается вместе с колесом.
Ходовой шкив:
Шкив, который вращается при подъеме или опускании крюка.
Взлетно-посадочная полоса:
Рельсы, балки, кронштейны и каркас, на которых работает кран.
Проводники взлетно-посадочной полосы:
Основные проводники, установленные на или параллельно путям, по которым подается ток на кран.
Взлетно-посадочная полоса:
Рельс, поддерживаемый балками взлетно-посадочной полосы, по которым движется мост.
Должен:
Это слово указывает на то, что соблюдение конкретного требования необходимо для соответствия спецификации.
Шкив:
Колесо или шкив с канавками, используемый с канатом или цепью для изменения направления и точки приложения тягового усилия.
Следует:
Это слово указывает на то, что требование является рекомендацией, целесообразность которой зависит от фактов в каждой ситуации.
Скелетная кабина:
То же, что фиктивное такси.
Силы перекоса:
Боковые нагрузки на колеса тележки моста, вызванные тем, что балки моста не расположены перпендикулярно взлетно-посадочной полосе. Некоторый нормальный перекос происходит во всех мостах.
Диапазон:
Расстояние по горизонтали от центра до центра рельсов взлетно-посадочной полосы.
Статическое управление:
Способ коммутации электрических цепей без использования контактов.
Бесступенчатое управление:
Тип системы управления с бесступенчатым регулированием скорости между минимальной и полной скоростью.
Ступенчатое управление:
Тип системы управления с фиксированными точками скорости.
Стоп:
Устройство для ограничения хода тележки или кранового моста. Это устройство обычно крепится к стационарной конструкции и, как правило, не обладает способностью поглощать энергию.
Сила, Средний предел:
Среднее усилие растяжения на единицу площади поперечного сечения, необходимое для разрыва материала, как определено в ходе испытаний.
Развертка:
Максимальное боковое отклонение от прямолинейности элемента конструкции, измеренное под прямым углом к оси Y-Y.
ТЭФК:
Полностью закрытый, охлаждаемый вентилятором.
ТЭНВ:
Полностью закрытый, невентилируемый.
Крутящий момент, полная нагрузка (двигатель):
Крутящий момент, создаваемый двигателем, работающим с номинальной мощностью и скоростью.
Торсионная коробчатая балка:
Балка, в которой тележка расположена над одной стенкой.
Силы кручения:
Силы, которые могут вызвать скручивание члена.
Тележка:
Узел, несущий подъемный механизм, перемещающийся по рельсам моста.
Рама тележки:
Основная конструкция тележки, на которой установлены подъемно-транспортные механизмы.
Истинный вертикальный подъем (ТВЛ):
Также известный как подъем по отвесу, TVL означает, что при подъеме и опускании крюка боковое движение отсутствует.
Две блокировки:
Состояние, при котором грузовой блок или груз, подвешенный к крюку, заклинивает конструкцию крана, предотвращая дальнейшее наматывание барабана подъемника.
Защита от пониженного напряжения:
Устройство, срабатывающее при снижении или исчезновении напряжения, вызывающее и поддерживающее прерывание питания в главной цепи.
Переменная частота:
Метод управления, с помощью которого можно регулировать напряжение и частоту питания двигателя.
Падение напряжения:
Потеря напряжения в электрическом проводнике между отводом питания и отводом нагрузки.
веб-пластина:
Вертикальная пластина, соединяющая верхнюю и нижнюю полки или накладки балки.
Колесная база:
Расстояние от центра до центра крайних колес.
Нагрузка на колесо:
Нагрузка без воздействия на какое-либо колесо с тележкой и поднятым грузом (номинальная грузоподъемность), расположенным на мосту, чтобы обеспечить максимальную нагрузку.
Моторизация мостового крана — Spanco
Некоторое оборудование моторизовано для движения по фиксированной траектории, в то время как другие типы моторизации контролируют движение балки, моста, подъемника или тележки. Итак, какие существуют типы моторизации мостовых кранов и какой из них может быть полезен в вашем случае?
СИЛОВЫЕ ПРИВОДЫ
Комплекты силовых приводов предназначены для портального перемещения, обычно по фиксированному пути.
Козловые краны оснащены роликами или пневматическими шинами для облегчения передвижения рабочих вручную.
Но силовые приводы используются для крупномасштабных и высокопроизводительных портальных перемещений по направляющим с V-образными канавками, направляющим углам или безрельсовым траекториям, управляемым подвесными пультами управления. Комплекты силового привода часто состоят из двух приводов с ведущими колесами и звездочками; цепи; два шестеренчатых редуктора; два односкоростных, 230/460 В, 3-фазных двигателя TEFC; две направляющие в сборе, стандартная скорость движения 50 футов в минуту; и многоскоростные инверторные приводы переменного тока.
Силовые приводы используются для двух основных типов козловых кранов: двухопорных и одноопорных козловых кранов. Двухопорные порталы состоят из двух двигателей, приводящих в движение стальные колеса с V-образными канавками по фиксированной траектории. Направляющая состоит из перевернутого стального уголка, приваренного к плоскому штоку для плавного хода портала.
В одноопорных портальных кранах используется тележка с верхним ходом, при этом один конец крана перемещается над головой, а другой конец поддерживается одноопорным и безрельсовым силовым приводом.
КОНСОЛЬНЫЕ ПРИВОДЫ
Консольные краны могут быть оснащены или дооснащены стреловым приводом для легкого вращения стрелы с электроприводом.
Они идеально подходят для принудительного вращения более тяжелых грузов или в тех случаях, когда в вашей производственной зоне ручное вращение укосины стрелы нецелесообразно или небезопасно.
Большинство консольных кранов оснащены прямыми цепными и звездчатыми приводами для точного и простого позиционирования грузов. Эти приводы обеспечивают положительное тяговое усилие, устраняя проблемы с проскальзыванием, характерные для некоторых приводов тракторов или приводов, приводящих в движение узлы роликов. Прямая конструкция цепи и звездочки также лучше обеспечивает долговечность роликов, поскольку они не приводят в движение узлы роликов, несущие нагрузку. Большинство приводов стрелы состоят из регулируемого на месте ограничителя крутящего момента для защиты привода, червячного редуктора со смазкой в масляной ванне для продолжительной работы и двигателя TEFC с номинальным ресурсом 30 минут и защитой от тепловой перегрузки.
ПРИВОДЫ ТРАКТОРОВ
Приводы тракторов используются для привода подъемной тележки или моста на мостовом кране рабочей станции.
Они часто используются, когда нагрузки регулярно превышают 1000 фунтов. Эти приводы чрезвычайно полезны при транспортировке материала в труднодоступные места, где движение оператора затруднено из-за машин, рабочих столов или других препятствий. Добавление привода закрытого гусеничного трактора к вашей рабочей станции мостового крана или монорельса позволит моторизировать толкание, тягу и позиционирование подвесных грузов.
Тракторные приводы многогранны, так как их можно использовать для преобразования двухтактного ручного мостового крана в кран с механическим приводом, монорельсовой системы из ручного в тележка с моторным приводом. Они особенно полезны для мостовых кранов с рабочими станциями, когда оператор не может стоять рядом с грузом из-за препятствий, таких как производственное оборудование или рабочие столы.
Приводы трактора также могут сократить время цикла при перемещении тяжелых, крупногабаритных или неудобных грузов. Их также можно использовать с более длинными пролетами или там, где ручное перемещение невозможно. Большинство приводов тракторов имеют стандартное трехфазное питание от 208 до 575 В, 60 Гц; электрические или пневматические двигатели, одно- или двухскоростное кнопочное управление; колеса с постоянно смазываемыми герметичными подшипниками; червячный редуктор; и скоба крепления фаркопа.
Независимо от того, нужно ли вам привести в движение портал, вращение стрелы, движение моста или подъемное устройство/тележку, моторизация может сделать ваш процесс погрузочно-разгрузочных работ проще и безопаснее. Если грузы слишком тяжелые, чтобы их можно было толкать или тянуть вручную, или если ваше предприятие не позволяет перемещать их вручную из-за препятствий, моторизация вашего мостового крана — отличное решение. Ручное перемещение тяжелых или повторяющихся грузов может быть затруднено для операторов, что может привести к травмам или простоям работников.
5
81