Содержание
ДСТУ ГОСТ 2.704:2014. Єдина система конструкторської документації. Правила виконання гідравлічних і пневматичних схем (61470)
НАЦІОНАЛЬНИЙ СТАНДАРТ УКРАЇНИ
Єдина система
конструкторської документації
ПРАВИЛА ВИКОНАННЯ ГІДРАВЛІЧНИХ
І ПНЕВМАТИЧНИХ СХЕМ
(
БЗ № 6-7-2014/91
ГОСТ 2.704-2011, IDT)
ДСТУ ГОСТ 2.704:2014
Київ
МІНЕКОНОМРОЗВИТКУ УКРАЇНИ
2015
ПЕРЕДМОВА
ВНЕСЕНО: Державне підприємство «Український науково-дослідний і навчальний центр проблем стандартизації, сертифікації та якості» (ДП «УкрНДНЦ»)
ОФОРМЛЕННЯ: М. Царьова
НАДАНО ЧИННОСТІ: наказ Мінекономрозвитку України від 28 липня 2014 р. № 886 з 2014-11-01
З Національний стандарт відповідає ГОСТ 2.704-2011 Единая система конструкторской документации.
Правила выполнения гидравлических и пневматических схем (Єдина система конструкторської документації. Правила виконання гідравлічних і пневматичних схем)
Ступінь відповідності — ідентичний (IDT)
Цей стандарт видано на підставі «Угоди про проведення узгодженої політики в сфері стандартизації, метрології і сертифікації» від 13.03.1992 р.
4 УВЕДЕНО ВПЕРШЕ (зі скасуванням в Україні ГОСТ 2.704-76)
Право власності на цей документ належить державі.
Відтворювати, тиражувати та розповсюджувати його повністю або частково
на будь-яких носіях інформації без офіційного дозволу заборонено.
Стосовно врегулювання прав власності треба звертатися до Мінекономрозвитку України
Мінекономрозвитку України, 201
5НАЦІОНАЛЬНИЙ ВСТУП
Цей національний стандарт ідентичний ГОСТ 2.704-2011 Единая система конструкторской документации. Правила выполнения гидравлических и пневматических схем (Єдина система конструкторської документації. Правила виконання гідравлічних і пневматичних схем).
МГС
Минск
Евразийский совет по стандартизации, метрологии и сертификацииПредисловие
Евразийский совет по стандартизации, метрологии и сертификации (ЕАСС) представляет собой региональное объединение национальных органов по стандартизации государств, входящих в Содружество Независимых Государств. В дальнейшем возможно вступление в ЕАСС национальных органов по стандартизации других государств.
Цели, основные принципы и основной порядок проведения работ по межгосударственной стандартизации установлены ГОСТ 1.0-92 «Межгосударственная система стандартизации. Основные положения» и ГОСТ 1.2-2009 «Межгосударственная система стандартизации. Стандарты межгосударственные, правила и рекомендации по межгосударственной стандартизации. Правила разработки, принятия, применения, обновления и отмены»
Сведения о стандарте
РАЗРАБОТАН Федеральным государственным унитарным предприятием «Всероссийский научно-исследовательский институт стандартизации и сертификации в машиностроении» (ВНИИНМАШ), Автономной некоммерческой организацией Научно-исследовательский центр CALS- технологий «Прикладная логистика» (АНО НИЦ CALS-технологий «Прикладная логистика»)
ВНЕСЕН Федеральным агентством по техническому регулированию и метрологии
ПРИНЯТ Евразийским советом по стандартизации, метрологии и сертификации (протокол № 39-2011 от 12 мая 2011 г.
)
За принятие стандарта проголосовали:
Краткое наименование страны по МК(ИСО 3166) 004-97 | Код страны по МК(ИСО 3166) 004-97 | Сокращенное наименование национального органа по стандартизации |
Азербайджан | AZ | Азстандарт |
Армения | АМ | Минэкономики Республики Армения |
Беларусь | BY | Госстандарт Республики Беларусь |
Казахстан | KZ | Госстандарт Республики Казахстан |
Кыргызстан | KG | Кыргызстандарт |
Молдова | MD | Молдова-Стандарт |
Российская Федерация | RU | Росстандарт |
Таджикистан | TJ | Таджи кстандарт |
Узбекистан | UZ | Узстандарт |
Украина | UA | Госпотребстандарт Украины |
4 ВЗАМЕН ГОСТ 2.
704-7
6МЕЖГОСУДАРСТВЕННЫЙ СТАНДАРТ
Единая система конструкторской документации
ПРАВИЛА ВЫПОЛНЕНИЯ ГИДРАВЛИЧЕСКИХ И
ПНЕВМАТИЧЕСКИХ СХЕМ
Unified system for design documentation.
Rules for making hydraulic and pneumatic diagrams
Область применения
Настоящий стандарт устанавливает правила выполнения гидравлических и пневматических схем изделий всех отраслей промышленности.
На основе настоящего стандарта допускается, при необходимости, разрабатывать стандарты на выполнение гидравлических и пневматических схем изделий конкретных видов техники с учетом их специфики.
Нормативные ссылки
В настоящем стандарте использованы нормативные ссылки на следующие межгосударственные стандарты:
ГОСТ 2.051-2006 Единая система конструкторской документации. Электронные документы. Общие положения
ГОСТ 2.
053-2006 Единая система конструкторской документации. Электронная структура изделия. Общие положения
ГОСТ 2.701-2008 Единая система конструкторской документации. Схемы. Виды и типы. Общие требования к выполнению
ГОСТ 17398-72 Насосы. Термины и определения
ГОСТ 17752-81 Гидропривод объемный и пневмопривод. Термины и определения
ГОСТ 19587-74 Передачи гидродинамические. Термины и определения
Примечание — При пользовании настоящим стандартом целесообразно проверить действие ссылочных стандартов на территории государства по соответствующему указателю стандартов, составленному по состоянию на 1 января текущего года, и по соответствующим информационным указателям, опубликованным в текущем году. Если ссылочный стандарт заменен (изменен), то при пользовании настоящим стандартом следует руководствоваться заменяющим (измененным) стандартом. Если ссылочный стандарт отменен без замены, то положение, в котором дана ссылка на него, применяется в части, не затрагивающей эту ссылку.
Термины, определения и сокращения
В настоящем стандарте использованы следующие термины с соответствующими определениями:
линия взаимосвязи: Отрезок линии, указывающей на наличие связи между функциональными частями изделия.
[ГОСТ 2.701-2008, статья 3.3]
обозначение элемента (позиционное обозначение): Обязательное обозначение, присваиваемое каждой части объекта и содержащее информацию о виде части объекта, ее номер и, при необходимости, указание о функции данной части в объекте.
Издание официальное
[ГОСТ 2.710-81, приложение 2, пункт 3, таблица 2, пункт 3]
установка: Условное наименование объекта в энергетических сооружениях, на который выпускается схема.
[ГОСТ 2.701-2008, статья 3.9]
устройство: Совокупность элементов, представляющая единую конструкцию.
[ГОСТ 2.701-2008, статья 3.
6]
функциональная группа: Совокупность элементов, выполняющих в изделии определенную функцию и не объединенных в единую конструкцию.
[ГОСТ 2.701-2008, статья 3.7] ’
функциональная цепь: Совокупность элементов, функциональных групп и устройств (или |
совокупность функциональных частей) с линиями взаимосвязей, образующих канал или тракт |
определенного назначения. |
[ГОСТ 2.701-2008, статья 3.8] |
3.1.7
элемент схемы: Составная часть схемы, которая выполняет определенную функцию в изделии (установке) и не может быть разделена на части, имеющие самостоятельное назначение и собственные условные обозначения.
[ГОСТ 2.701-2008, статья 3.5]
В настоящем стандарте применены следующие сокращения:
УГО — условные графические обозначения;
ЭСИ — электронная структура изделия.
КД — конструкторский документ
Основные положения
Схема гидравлическая — документ, содержащий в виде условных изображений или обозначений составные части изделия, использующие жидкость, и их взаимосвязи.
Схема пневматическая — документ, содержащий в виде условных изображений составные части изделия, использующие воздух, и их взаимосвязи.
Схемы гидравлические и пневматические могут быть выполнены как бумажный и (или) электронный КД.
Общие требования к выполнению, виды и типы схем — по ГОСТ 2.701.
Примечание — Если схемы гидравлическая и пневматическая выполняются как электронный КД, следует дополнительно руководствоваться ГОСТ 2.051.
Схемы гидравлические и пневматические в зависимости от их основного назначения подразделяют на типы:
структурные;
принципиальные;
соединения.

Каждый элемент или устройство, входящие в изделие и изображенные на схеме, должны иметь буквенно-цифровое позиционное обозначение, состоящее из буквенного обозначения и порядкового номера, проставленного после буквенного обозначения.
Буквенное обозначение должно представлять собой сокращенное наименование элемента, составленное из его начальных или характерных букв, например клапан — К, дроссель —ДР.
Буквенные позиционные обозначения наиболее распространенных элементов приведены в приложении А.
При отсутствии буквенных обозначений в стандартах или в иных нормативных документах на поле схемы должны быть приведены соответствующие пояснения.
Термины и определения основных элементов, указанных в приложении А, приведены в ГОСТ 17398, ГОСТ 17752 и ГОСТ 19587.Порядковые номера элементам (устройствам) следует присваивать, начиная с единиц, в пределах группы элементов (устройств), которым на схеме присвоено одинаковое буквенное позиционное обозначение, например Р1, Р2, РЗ и т.
д., К1, К2, КЗ и т. д.Буквы и цифры в позиционных обозначениях на схеме следует выполнять одним размером шрифта.
Порядковые номера должны быть присвоены в соответствии с последовательностью расположения элементов или устройств на схеме сверху вниз в направлении слева направо.
При необходимости допускается изменять последовательность присвоения порядковых номеров в зависимости от размещения элементов в изделии или от направления потока рабочей среды.
При внесении изменений в схему последовательность присвоения порядковых номеров может быть изменена.
Позиционные обозначения элементам (устройствам) следует присваивать в пределах изделия.
Допускается позиционные обозначения элементам присваивать в пределах каждого устройства.
Если в состав изделия входит несколько одинаковых устройств, то позиционные обозначения элементам следует присваивать в пределах этих устройств (см.
рисунок 1).
Рисунок 1
Элементам, не входящим в устройства, позиционные обозначения присваивают после элементов, входящих в устройства.
Позиционные обозначения проставляют на схеме рядом с УГО элементов и (или) устройств с правой стороны или над ними.
На схеме около УГО, требующих пояснения в условиях эксплуатации, помещают соответствующие надписи, знаки или графические обозначения.
Надписи, знаки или графические обозначения, предназначенные для нанесения на изделие, на схеме заключают в кавычки.
Если на изделие должна быть нанесена надпись в кавычках, то на поле схемы приводят соответствующее указание.
Правила выполнения схем
Правила выполнения структурных схем
На структурной схеме изображают все основные функциональные части изделия (элементы, устройства и функциональные группы) и основные взаимосвязи между ними.

Функциональные части на схеме изображают сплошными основными линиями в виде прямоугольников или условных графических обозначений.
Графическое построение схемы должно давать наиболее наилучшее представление о последовательности взаимодействия функциональных частей в изделии.На линиях взаимосвязей рекомендуется указывать направление потоков рабочей среды.
На схеме должны быть указаны наименования каждой функциональной части изделия, если для ее обозначения применен прямоугольник.
При изображении функциональных частей в виде прямоугольников наименования, типы, обозначения и функциональные зависимости рекомендуется вписывать внутрь прямоугольников.
При большом количестве функциональных частей допускается взамен наименований, типов и обозначений проставлять порядковые номера справа от изображения или над ним, как правило, сверху вниз в направлении слева направо.
В этом случае наименования, типы и обозначения указывают в таблице, помещаемой на поле схемы.
Правила выполнения принципиальных схем
На принципиальной схеме изображают все гидравлические и пневматические элементы или устройства, необходимые для осуществления и контроля в изделии установленных гидравлических (пневматических) процессов, и все гидравлические (пневматические) взаимосвязи между ними.
Элементы и устройства на схеме изображают в виде УГО.
Скачать бесплатно
графические и буквенные по ГОСТ
Как невозможно читать книгу без знания букв, так невозможно понять ни один электрический чертеж без знания условных обозначений.
В этой статье рассмотрим условные обозначения в электрических схемах: какие бываю, где найти расшифровку, если в проекте она не указана, как правильно должен быть обозначен и подписан тот или иной элемент на схеме.
Содержание
Введение
Но начнем немного издалека…
Каждый молодой специалист, который приходит в проектирование, начинает либо со складывания чертежей, либо с чтения нормативной документации, либо нарисуй «вот это» по такому примеру. Вообще, нормативная литература изучается по ходу работы, проектирования.
Невозможно прочитать всю нормативную литературу, относящуюся к твоей специальности или, даже, более узкой специализации. Тем более, что ГОСТ, СНиП и другие нормативы периодически обновляются. И каждому проектировщику приходится отслеживать изменения и новые требования нормативных документов, изменения в линейках производителей электрооборудования, постоянно поддерживать свою квалификацию на должном уровне.
Помните, как Льюиса Кэролла в «Алисе в Стране Чудес»?
«Нужно бежать со всех ног, чтобы только оставаться на месте, а чтобы куда-то попасть, надо бежать как минимум вдвое быстрее!»
Это я не к тому, чтобы поплакаться «как тяжела жизнь проектировщика» или похвастаться «смотрите, какая у нас интересная работа».
Речь сейчас не об этом. Учитывая такие обстоятельства, проектировщики перенимают практический опыт от более опытных коллег, многие вещи просто знают как делать правильно, но не знают почему. Работают по принципу «Здесь так заведено».
Порой, это достаточно элементарные вещи. Знаешь, как сделать правильно, но, если спросят «Почему так?», ответить сразу не сможешь, сославшись хотя бы на название нормативного документа.
В этой статье я решил структурировать информацию, касающуюся условных обозначений, разложить всё по полочкам, собрать всё в одном месте.
Виды и типы электрических схем
Прежде, чем говорить об условных обозначения на схемах, нужно разобраться, какие виды и типы схем бывают. С 01.07.2009 на территории РФ введен в действие ГОСТ 2.701-2008 «ЕСКД. Схемы. Виды и типы. Общие требования к выполнению».
В соответствии с этим ГОСТ, схемы разделяются на 10 видов:
- Схема электрическая
- Схема гидравлическая
- Схема пневматическая
- Схема газовая
- Схема кинематическая
- Схема вакуумная
- Схема оптическая
- Схема энергетическая
- Схема деления
- Схема комбинированная
Виды схем подразделяются на восемь типов:
- Схема структурная
- Схема функциональная
- Схема принципиальная (полная)
- Схема соединений (монтажная)
- Схема подключения
- Схема общая
- Схема расположения
- Схема объединенная
Меня, как электрика, интересуют схемы вида «Схема электрическая».
Вообще, описание и требования к схемам приведены в ГОСТ 2.701-2008 на примере электрических схем, но с 01 января 2012 действует ГОСТ 2.702-2011 «ЕСКД. Правила выполнения электрических схем». Большей частью текст этого ГОСТ дублирует текст ГОСТ 2.701-2008, ссылается на него и другие ГОСТ.
ГОСТ 2.702-2011 подробно описывает требования к каждому виду электрической схемы. При выполнении электрических схем следует руководствоваться именно этим ГОСТ.
ГОСТ 2.702-2011 дает следующее определение понятия электрической схемы: «Схема электрическая — документ, содержащий в виде условных изображений или обозначений составные части изделия, действующие при помощи электрической энергии, и их взаимосвязи». Далее ГОСТ ссылается на документы, регламентирующие правила выполнения условных графических изображения, буквенных обозначений и обозначений проводов и контактных соединений электрических элементов. Рассмотрим каждый отдельно.
Графические обозначения в электрических схемах
В части графических обозначений в электрических схемах ГОСТ 2.
702-2011 ссылается на три других ГОСТ:
- ГОСТ 2.709-89 «ЕСКД. Обозначения условные проводов и контактных соединений электрических элементов, оборудования и участков цепей в электрических схемах».
- ГОСТ 2.721-74 «ЕСКД. Обозначения условные графические в схемах. Обозначения общего применения»
- ГОСТ 2.755-87 «ЕСКД. Обозначения условные графические в электрических схемах. Устройства коммутационные и контактные соединения».
Условные графические обозначения (УГО) автоматов, рубильников, контакторов, тепловых реле и прочего коммутационного оборудования, которое используется в однолинейных схемах электрических щитов, определены в ГОСТ 2.755-87.
Однако, обозначение УЗО и дифавтоматов в ГОСТ отсутствует. Думаю, в скором времени он будет перевыпущен и обозначение УЗО будет добавлено. А пока, каждый проектировщик изображает УЗО по собственному вкусу, тем более, что ГОСТ 2.702-2011 это предусматривает. Достаточно привести обозначение УГО и его расшифровку в пояснениях к схеме.
Дополнительно к ГОСТ 2.755-87 для полноты схемы понадобится использование изображений из ГОСТ 2.721-74 (в основном для вторичных цепей).
Все обозначения коммутационных аппаратов построены на четырех базовых изображениях:
с использованием девяти функциональных признаков:
| Наименование | Изображение |
| 1. Функция контактора | |
| 2. Функция выключателя | |
| 3. Функция разъединителя | |
| 4. Функция выключателя-разъединителя | |
| 5. Автоматическое срабатывание | |
| 6. Функция путевого или концевого выключателя | |
| 7. Самовозврат | |
| 8. Отсутствие самовозврата | |
| 9. Дугогашение | |
Примечание: Обозначения, приведенные в пп. 1 — 4, 7 — 9, помещают на неподвижных контактах, а обозначения в пп. 5 и 6 — на подвижных контактах. | |
Основные условные графические обозначения, используемые в однолинейных схемах электрических щитов:
| Наименование | Изображение |
| Автоматический выключатель (автомат) | |
| Выключатель нагрузки (рубильник) | |
| Контакт контактора | |
| Тепловое реле | |
| УЗО | |
| Дифференциальный автомат | |
| Предохранитель | |
| Автоматический выключатель для защиты двигателя (автомат со встроенным тепловым реле) | |
| Выключатель нагрузки с предохранителем (рубильник с предохранителем) | |
| Трансформатор тока | |
| Трансформатор напряжения | |
| Счетчик электрической энергии | |
| Частотный преобразователь | |
| Замыкающий контакт нажимного кнопочного выключателя без самовозврата с размыканием и возвратом элемента управления автоматически | |
| Замыкающий контакт нажимного кнопочного выключателя без самовозврата с размыканием и возвратом элемента управления посредством вторичного нажатия кнопки | |
| Замыкающий контакт нажимного кнопочного выключателя без самовозврата с размыканием и возвратом элемента управления посредством вытягивания кнопки | |
| Замыкающий контакт нажимного кнопочного выключателя без самовозврата с размыканием и возвратом элемента управления посредством отдельного привода (например, нажатия кнопки-сброс) | |
| Контакт замыкающий с замедлением, действующим при срабатывании | |
| Контакт замыкающий с замедлением, действующим при возврате | |
| Контакт замыкающий с замедлением, действующим при срабатывании и возврате | |
| Контакт размыкающий с замедлением, действующим при срабатывании | |
| Контакт размыкающий с замедлением, действующим при возврате | |
| Контакт замыкающий с замедлением, действующим при срабатывании и возврате | |
| Катушка контактора, общее обозначение катушки реле | |
| Катушка импульсного реле | |
| Катушка фотореле | |
| Катушка реле времени | |
| Мотор-привод | |
| Лампа осветительная, световая индикация (лампочка) | |
| Нагревательный элемент | |
| Разъемное соединение (розетка): гнездо штырь | |
| Разрядник | |
| Ограничитель перенапряжения (ОПН), варистор | |
| Разборное соединение (клемма) | |
| Амперметр | |
| Вольтметр | |
| Ваттметр | |
| Частотометр |
Обозначения проводов, шин в электрических щитах определяется ГОСТ 2.
721-74.
| Наименование | Изображение |
| Линия электрической связи, провода, кабели, шины, линия групповой связи | |
| Защитный проводник (PE) допускается изображать штрихпунктирной линией | |
| Графическое разветвление (слияние) линий групповой связи | |
| Пересечение линий электрической связи, линий групповой связи электрически не соединенных проводов, кабелей, шин, электрически не соединенных | |
| Линия электрической связи с одним ответвлением | |
| Линия электрической связи с двумя ответвлениями | |
| Шина (если необходимо графически отделить от изображения линии электрической связи) | |
| Ответвление шины | |
| Шины, графически пересекающиеся и электрически не соединенные | |
| Отводы (отпайки) от шины |
Буквенные обозначения в электрических схемах
Буквенные обозначения определены ГОСТ 2.
710-81 «ЕСКД. Обозначения буквенно-цифровые в электрических схемах».
Обозначения дифавтоматов и УЗО в этом ГОСТ отсутствует. На различных сайтах и форумах в интернете долго обсуждали как же правильно обозначать УЗО и дифавтомат. ГОСТ 2.710-81 в п.2.2.12. допускает использование многобуквенных кодов (а не только одно- и двухбуквенных), поэтому до введения нормативного обозначения я для себя принял трехбуквенное обозначение УЗО и дифавтомата. К двухбуквенному обозначению рубильника я добавил букву D и получил обозначение УЗО. Аналогично поступил с дифавтоматом.
Думаю, в скором времени он будет перевыпущен и обозначение УЗО будет добавлено.
Обозначения основных элементов, используемых в однолинейных схемах электрических щитов:
| Наименование | Обозначение |
| Автоматический выключатель в силовых цепях | QF |
| Автоматический выключатель в цепях управления | SF |
| Автоматический выключатель с дифференциальной защитой (дифавтомат) | QFD |
| Выключатель нагрузки (рубильник) | QS |
| Устройство защитного отключения (УЗО) | QSD |
| Контактор | KM |
| Тепловое реле | F, KK |
| Реле времени | KT |
| Реле напряжения | KV |
| Фотореле | KL |
| Импульсное реле | KI |
| Разрядник, ОПН | FV |
| Плавкий предохранитель | FU |
| Трансформатор тока | TA |
| Трансформатор напряжения | TV |
| Частотный преобразователь | UZ |
| Амперметр | PA |
| Вольтметр | PV |
| Ваттметр | PW |
| Частотометр | PF |
| Счетчик активной энергии | PI |
| Счетчик реактивной энергии | PK |
| Фотоэлемент | BL |
| Нагревательный элемент | EK |
| Лампа осветительная | EL |
| Прибор световой индикации (лампочка) | HL |
| Штепсельный разъем (розетка) | XS |
| Выключатель или переключатель в цепях управления | SA |
| Выключатель кнопочный в цепях управления | SB |
| Клеммы | XT |
Изображение электрооборудования на планах
Хотя ГОСТ 2.
701-2008 и ГОСТ 2.702-2011 предусматривают вид электрической схемы «схема расположения», при проектировании зданий и сооружений следует руководствоваться ГОСТ 21.210-2014 «СПДС. Изображения условные графические электрооборудования и проводок на планах». Данный ГОСТ устанавливает условные обозначения электропроводок, прокладок шин, шинопроводов, кабельных линий, электрического оборудования (трансформаторов, электрических щитов, розеток, выключателей, светильников) на планах прокладки электрических сетей.
Эти условные обозначения применяются при выполнении чертежей электроснабжения, силового электрооборудования, электрического освещения и других чертежей. Также данные обозначения используются для изображении потребителей в однолинейных принципиальных схемах электрических щитов.
Условные графические изображения электрооборудования, электротехнических устройств и электроприемников
| Наименование | Изображение |
Устройство электротехническое. Общее изображение | |
| Устройство электрическое, в т.ч. с двигателем | |
| Устройство с генератором | |
| Двигатель-генератор | |
| Комплектное трансформаторное устройство с одним трансформатором | |
| Комплектное трансформаторное устройство с несколькими трансформаторами | |
| Установка комплектная конденсаторная | |
| Установка комплектная преобразовательная | |
| Батарея аккумуляторная | |
| Устройство электронагревательное. Общее обозначение |
Условные графические обозначения линий проводок и токопроводов
| Наименование | Изображение |
| Линия проводки, общее изображение | |
Линия проводки с указанием сведений (о роде тока, напряжения, материале, способе прокладки, отметки и пр. ) | |
| Линия проводки с указанием количества проводников (количество проводников указывают засечками; при количестве проводников более трех, вместо засечек используют цифры) | |
| Линия цепей управления | |
| Линия сетей аварийного эвакуационного и охранного освещения | |
| Линия напряжения 36В и ниже | |
| Линия заземления и зануления | |
| Заземлители | |
| Открытая прокладка проводов и кабелей | |
| Прокладка на тросе | |
| Прокладка в лотке | |
| Прокладка в коробе | |
| Прокладка под плинтусом | |
| Прокладка в трубе | |
| Разделительное уплотнение в в трубах для взрывоопасных помещений | |
| Проводка гибкая в металлорукаве или гибком вводе | |
Вертикальная прокладка. Кабель уходит на более высокую отметку или приходит с более высокой отметки | |
| Вертикальная прокладка. Кабель уходит на более низкую отметку или приходит с более низкой отметки | |
| Вертикальная прокладка. Кабель пересекает отметку, изображенную на плане, сверху вниз или снизу вверх и не имеет горизонтальных участков в пределах данного плана |
К сожалению, AutoCAD в базовой поставке не содержит все необходимые типы линий.
Проектировщики решают эту проблему по-разному:
- большинство выполняет отрисовку проводки обычной линией, а потом дополняет обозначениями кружков, квадратиков и пр.;
- продвинутые пользователи AutoCAD создают собственные типы линий.
Я — сторонник второго способа, т.к. он гораздо удобнее. Если вы используете специальный тип линии, то при её перемещении все «дополнительные» обозначения также перемещаются, ведь они часть линии.
Создать собственный тип линии в AutoCAD достаточно просто.
Вы потратите некоторое время на освоение этого навыка, зато сэкономите потом массу времени при проектировании.
Изображение вертикальной прокладки удобнее всего сделать при помощи блоков AutoCAD, а лучше при помощи динамических блоков.
Условные графические изображения шин и шинопроводов
| Наименование | Изображение |
| Прокладка шин и шинопроводов. Общее изображение | |
| Шина, проложенная на изоляторах | |
| Пакет шин, проложенных на изоляторах | |
| Шины или шинопровод на стойках | |
| Шины или шинопровод на подвесах | |
| Шины или шинопровод на кронштейнах | |
| Троллейная линия | |
| Секционирование троллейной линии | |
| Компенсатор шинный, троллейный | |
Примечание. Изображение места крепления шинопровода должно соответствовать его проектному положению | |
Отрисовку шин и шинопроводов в AutoCAD удобно выполнять при помощи полилинии и/или динамических блоков.
Условные графические изображения коробок, шкафов, щитов и пультов
| Наименование | Изображение |
| Коробка ответвительная | |
| Коробка вводная | |
| Коробка протяжная, ящик протяжной | |
| Коробка, ящик с зажимами | |
| Шкаф распределительный | |
| Щиток групповой рабочего освещения | |
| Щиток групповой аварийного освещения | |
| Щиток лабораторный | |
| Ящик с аппаратурой | |
| Ящик управления | |
| Шкаф, панель, пульт, щиток одностороннего обслуживания, пост местного управления | |
| Шкаф, панель двухстороннего обслуживания | |
| Шкаф, щит, пульт из нескольких панелей одностороннего обслуживания | |
| Шкаф, щит, пульт из нескольких панелей двухстороннего обслуживания | |
| Щит открытый | |
| Ящик трансформаторный понижающий (ЯТП) |
Отрисовку в AutoCAD удобно выполнять при помощи блоков и динамических блоков.
Условные графические обозначения выключателей, переключателей
ГОСТ 21.210-2014 не предусматривает условных изображения для светорегуляторов (диммеров) и отдельного изображения для кнопочных выключателей, поэтому я ввёл для них собственные обозначения в соответствии с п.4.7.
| Наименование | Изображение |
| Выключатель для открытой установки со степенью защиты от IP20 до IP23 | |
| однополюсный | |
| однополюсный сдвоенный | |
| однополюсный строенный | |
| двухполюсный | |
| трехполюсный | |
| Выключатель для скрытой установки со степенью защиты от IP20 до IP23 | |
| однополюсный | |
| однополюсный сдвоенный | |
| однополюсный строенный | |
| двухполюсный | |
| Выключатель для открытой установки со степенью защиты не ниже IP44 | |
| однополюсный | |
| двухполюсный | |
| трехполюсный | |
| Переключатель на два направления без нулевого положения со степенью защиты от IP20 до IP23 | |
| открытой установки | |
| скрытой установки | |
| Переключатель на два направления без нулевого положения со степенью защиты не ниже IP44 | |
| Светорегулятор (диммер) для открытой установки со степенью защиты от IP20 до IP23 | |
| Светорегулятор (диммер) для скрытой установки со степенью защиты от IP20 до IP23 | |
| Светорегулятор (диммер) для открытой установки со степенью защиты не ниже IP44 | |
| Выключатель кнопочный для открытой установки со степенью защиты от IP20 до IP23 | |
| Выключатель кнопочный для скрытой установки со степенью защиты от IP20 до IP23 | |
| Выключатель кнопочный для открытой установки со степенью защиты не ниже IP44 |
Отрисовку в AutoCAD удобно выполнять при помощи динамических блоков.
Я себе сделал один динамический блок для всех типов выключателей.
Условные графические обозначения штепсельных розеток
| Наименование | Изображение |
| Штепсельная розетка открытой установки со степенью защиты от IP20 до IP23 | |
| двухполюсная | |
| двухполюсная сдвоенная | |
| двухполюсная с защитным контактом | |
| двухполюсная сдвоенная с защитным контактом | |
| трехполюсная с защитным контактом | |
| блок из нескольких компьютерных розеток (цифра указывает число розеток в блоке) | |
| блок из нескольких бытовых розеток (цифра указывает число розеток в блоке) | |
| Штепсельная розетка скрытой установки со степенью защиты от IP20 до IP23 | |
| двухполюсная | |
| двухполюсная сдвоенная | |
| двухполюсная с защитным контактом | |
| двухполюсная сдвоенная с защитным контактом | |
| трехполюсная с защитным контактом | |
| блок из нескольких компьютерных розеток (цифра указывает число розеток в блоке) | |
| блок из нескольких бытовых розеток (цифра указывает число розеток в блоке) | |
| Штепсельная розетка со степенью защиты не ниже IP44 | |
| двухполюсная | |
| двухполюсная сдвоенная | |
| двухполюсная с защитным контактом | |
| двухполюсная сдвоенная с защитным контактом | |
| трехполюсная с защитным контактом | |
| блок из нескольких компьютерных розеток (цифра указывает число розеток в блоке) | |
| блок из нескольких бытовых розеток (цифра указывает число розеток в блоке) |
Отрисовку в AutoCAD удобно выполнять при помощи динамических блоков.
Я себе сделал один динамический блок для всех типов розеток.
Условные графические обозначения светильников и прожекторов
Радует, что в обновленной версии ГОСТ добавлены изображения светодиодных светильников и светильников с компактными люминесцентными лампами.
| Наименование | Изображение |
| Светильник с лампой накаливания, галогенной лампой | |
| Светильник с компактными люминесцентными лампами | |
| Светильник светодиодный с формой, отличной от линейной | |
| Светильник с линейными люминесцентными лампами (допускается также изображать в масштабе чертежа) | |
| Светильник линейный светодиодный (допускается также изображать в масштабе чертежа) | |
| Светильник с разрядной лампой высокого давления | |
| Люстра | |
| Светильник-световод щелевой | |
Прожектор. Общее изображение | |
| Группа прожекторов с направлением оптической оси в одну сторону | |
| Группа прожекторов с направлением оптической оси во все стороны | |
| Светофор сигнальный (три лампы) | |
| Патрон ламповый стенной | |
| Патрон ламповый подвесной | |
| Патрон ламповый потолочный | |
| Светильник аварийного освещения (пример светильника с лампой накаливания) | |
| Светильник для специального освещения (световой указатель) |
Отрисовку светильников в AutoCAD удобно выполнять при помощи динамических блоков.
Условные графические обозначения аппаратов контроля и управления
| Наименование | Изображение |
| Звонок | |
| Сирена, гудок, ревун | |
| Табло для вызова персонала на один сигнал | |
| Табло для вызова персонала на несколько сигналов | |
| Надписи и знаки рекламные | |
Устройство пусковое для электродвигателей. Общее изображение | |
| Магнитный пускатель | |
| Пост кнопочный | |
| на одну кнопку | |
| на две кнопки | |
| на три кнопки | |
| с двумя светящимися кнопками | |
| на две кнопки с двумя сигнальными лампами |
Отрисовку в AutoCAD удобно выполнять при помощи динамических блоков.
Подпишитесь и получайте уведомления о новых статьях на e-mail
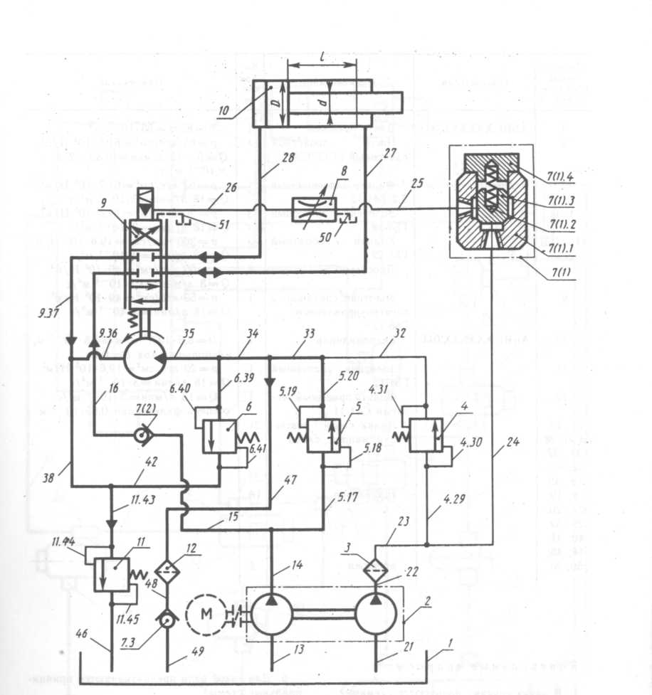
Чтение схем гидравлических систем – примеры гидравлических схем
В предыдущей статье этой серии были представлены элементы гидравлических (гидравлических и пневматических) контуров. В этой статье будут описаны три примера гидравлических принципиальных схем.
Гидравлические (масло под давлением) средства управления используются, когда очень тяжелые компоненты должны перемещаться с точностью, а скорость не является основной задачей. Гидравлика не должна использоваться в системах, которые должны быть очень чистыми, например, при производстве продуктов питания, из-за возможных утечек из клапанов, уплотнений или шлангов.
Движение значительно медленнее, чем при пневматическом (газовом, обычно воздушном, под давлением) управлении. Гидравлическая система использует резервуар для сброса масла при изменении их направления или состояния, в отличие от пневматической системы, которая может подавать воздух в машинный зал.
Поскольку гидравлическое масло не сжимаемо, гидравлическая система может плавно работать и перемещать грузы, требующие большой силы, и движение не задерживается. С точки зрения энергии гидравлика также менее затратна в эксплуатации, чем пневматика. Экологически гидравлика может протекать, однако при работе она тише пневматики.
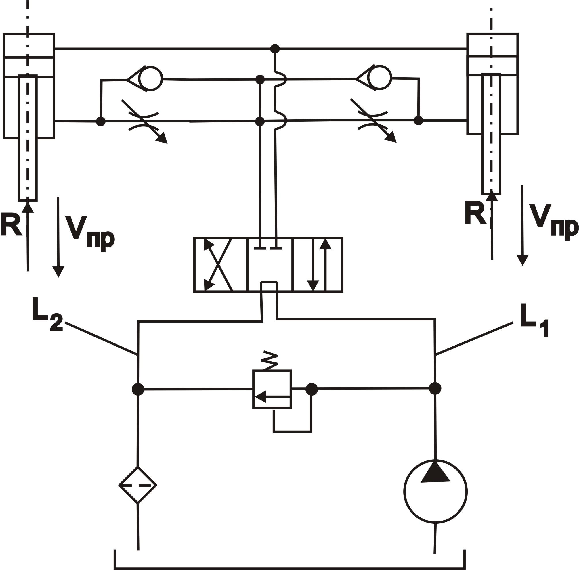
Вариант 1: активация гидравлического цилиндра
В этой базовой гидравлической схеме активации одного гидравлического цилиндра используется трехуровневый блок клапанов. Во-первых, он измеряет давление в системе (обычно ~ 2000 фунтов на квадратный дюйм) и пропускает его через редукционный клапан (установленный на 560 фунтов на квадратный дюйм). На рисунке это нижний заштрихованный прямоугольник узла трехслойного клапана.
Схема включения гидроцилиндра
Редукционные и предохранительные клапаны на принципиальных схемах очень похожи. Отличить их можно по тому, откуда идет контрольная (пунктирная) линия. Если он поступает с верхней стороны клапана, со стороны высокого давления, это предохранительный клапан. Если он получает сигнал от нижнего порта, это редукционный клапан. Обратите внимание на пунктирную линию, которая выходит из пружины редукционного клапана. Небольшое количество масла постоянно стекает обратно в бак по этой линии, чтобы предотвратить повышение давления на пружинной стороне клапана.
Далее масло проходит через многослойный блок управления потоком — это средний пунктирный прямоугольник трехслойного клапана. Скорость цилиндра, как выдвигающегося, так и втягивающегося, устанавливается путем регулировки этих клапанов управления потоком. Для управления скоростью гидравлического цилиндра регуляторы расхода ориентированы на дозирование из цилиндра, а не на дозирование в них.
Вы можете сказать по обратному клапану управления потоком, каким образом измеряется поток. Этот тип замера обеспечивает более плавную работу и менее подвержен внезапным неконтролируемым движениям под нагрузкой. Масло, поступающее в цилиндр, не контролируется и обходит клапан управления потоком через внутренний обратный клапан.
Оттуда масло проходит через 4-ходовой 2-позиционный ходовой клапан, верхний заштрихованный прямоугольник узла трехслойного клапана. 4-ходовые распределители имеют 4 входа (P, T, a, b). 2-позиционные распределители имеют только 2 возможных положения. Обе стороны направляющего клапана управляются электромагнитными катушками, причем сторона «b» имеет функцию фиксации. Стопор представляет собой неглубокую канавку в катушке соленоида, которая удерживает ее от перемещения в случае, если катушка «b» теряет мощность. Крайне важно, чтобы только одна из соленоидных катушек находилась под напряжением одновременно, особенно для катушек переменного напряжения. Если оба находятся под напряжением, катушки быстро сгорят и их нужно будет заменить.
Катушки постоянного тока более устойчивы к сбоям, но в конечном итоге они тоже выйдут из строя, если обе останутся включенными. Приведенный выше путь потока направленного клапана показан для катушки «b», находящейся под напряжением, — масло поступает в порт «a». Когда катушка «а» находится под напряжением, а катушка «b» обесточена, золотник смещается на другую сторону и позволяет маслу течь к противоположному отверстию «b».
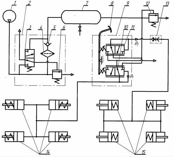
Случай 2: Поворот штанги аппликатора с помощью гидравлики
Ниже представлена гидравлическая схема, которая поворачивает балку аппликатора на SymSizer. Основное гидравлическое давление P снижается, когда оно проходит через пропорциональный клапан PCM1, которым можно управлять с помощью РСУ или ПЛК. Это давление используется для загрузки нижней балки аппликатора. Другая подача масла, PCV1, используется при потере мощности в соответствии с логической таблицей. Обратите внимание, что на него все время подается питание, а масло направляется в забитый порт.
Только когда происходит потеря мощности соленоида, он посылает масло в гидроцилиндры. Эти два источника масла соединены челночным клапаном FVV1. Подача масла с более высоким давлением смещает челночный клапан и направляется вперед к гидравлическим компонентам, расположенным ниже по потоку.
Схема гидравлического поворота коромысла аппликатора
Далее в схеме находится уравновешивающий клапан. Этот клапан не позволит маслу выходить из штокового конца цилиндров поворота балки без давления на конец крышки цилиндров (пунктирная линия). Я также видел в этом месте обратные клапаны с пилотным управлением, которые, по сути, делают то же самое, но не регулируются, как уравновешивающий клапан. В любом случае уравновешивающий клапан предотвращает нагрузку на балку при отсутствии гидравлического давления на конце крышки цилиндра. Без этого типа клапана неуравновешенный вес штанги аппликатора, которая тяжелее со стороны ролика подшипников поворота, будет нагружать балку на ролик при потере давления масла.
Это было бы небезопасным состоянием. При замене уравновешивающих клапанов их настройку на правильное давление следует по возможности выполнять на заводе с помощью стендового калибровочного оборудования.
Следующими в цепи являются клапаны управления потоком. В гидравлике клапаны управления потоком почти всегда ориентированы на «расход» цилиндра. Это обеспечивает лучшее и плавное движение груза. Обратите внимание, что это правило не всегда работает для пневматических цепей, так как воздух сжимаем, а масло — нет. При управлении консольными грузами с помощью пневматики часто требуется как вход, так и выход на одной стороне цилиндра. Наконец, масло проходит через 4-2-ходовой клапан, который определяет, нагружается или разгружается балка. Обратите внимание, что в этом случае масло, поступающее в цилиндры и возвращающееся из них, разделяется посередине. Невозможно независимо отрегулировать скорость каждого конца луча. В этом случае подающая и обратная линии имеют тройники в центре машины, чтобы максимально уравнять поток на обоих концах.
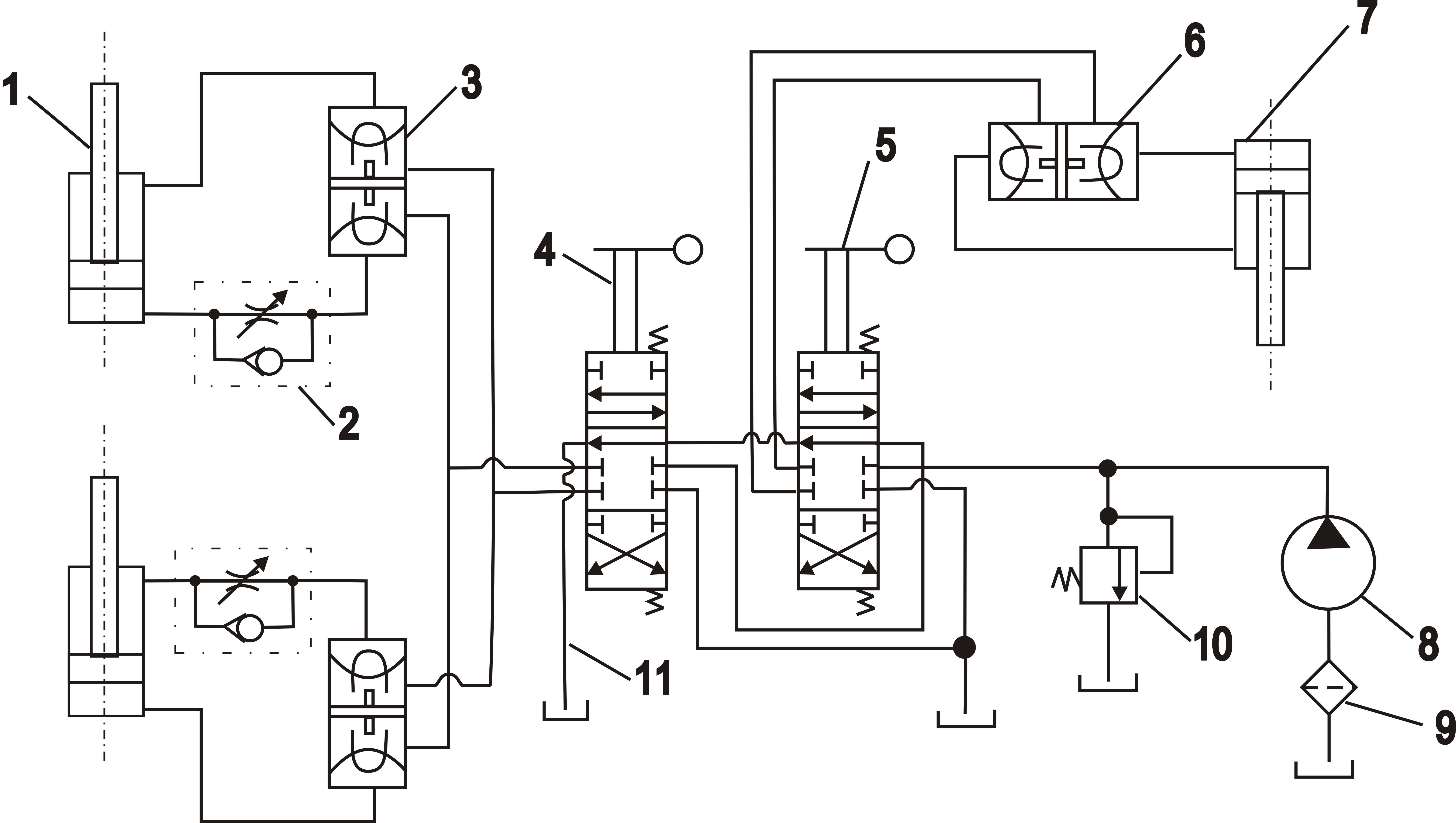
Вариант 3: Гидравлическое управление вспомогательным рычагом мотовила
На следующем рисунке показана гидравлическая схема контура управления вспомогательным рычагом мотовила. Вторичные рычаги управляются 4/3-ходовым электромагнитным клапаном SV2. Прямо над соленоидным клапаном на чертеже установлены два небольших клапана управления потоком, которые можно использовать для замедления или ускорения переключения более крупного 4/3-ходового клапана, установленного непосредственно над клапанами управления потоком. На самом деле, более крупный направляющий клапан с пилотным управлением монтируется на блоке, а регулятор расхода и электромагнитные клапаны монтируются поверх более крупного клапана.
Схема движения вспомогательного рычага гидравлического мотовила
Этот тип системы управления использует устройство с низким расходом для управления устройством с высоким расходом. Когда на порт «а» подается питание, поток масла проходит через делитель потока № 15, который обеспечивает оба цилиндра одинаковым потоком масла, что синхронизирует выброс золотника на тормозную станцию.
Обратите внимание на предохранительные клапаны на выходной стороне делителей потока. Они предотвращают неконтролируемое повышение давления, которое может произойти, поскольку делители потока могут фактически действовать как усилители давления при правильных условиях. При выбросе противодавление на штоковой части цилиндров регулируется предохранительным клапаном №18. Это помогает контролировать давление тяги, вызванное весом рычагов и шпули при выбросе.
Скорость движения вторичных рычагов контролируется регулируемыми клапанами управления потоком на цилиндрах.
Когда вторичные рычаги загружены до барабана мотовила, главный ходовой клапан смещается для подачи масла к штоковой части цилиндров. Это масло питает редукционные клапаны №7 с пилотным управлением.
Давление нагрузки определяется датчиками давления и контролируется РСУ или ПЛК в соответствии с кривой нагрузки, настроенной для управления желаемой конструкцией валка.
На концах штока цилиндра установлены предохранительные клапаны №38, которые используются в случае внезапных ударов по системе, например, при закручивании резьбы, переворачивании или разрыве листа.
Он также действует как регенеративный клапан, позволяя высокому давлению на конце штока возвращаться в конец крышки во время выброса. Это уменьшает объем потока масла, необходимого от насоса, и, следовательно, помогает сохранить размер насоса меньше, чем потребовалось бы, если бы не было регенерации.
Обратите внимание, что, когда SV2 полностью обесточен, поток не поступает ни с одной стороны большего направляющего клапана. Когда это происходит, больший золотник направляющего клапана смещается в центральное положение, что блокирует все 4 порта и, таким образом, удерживает вторичные рычаги в заблокированном, отказоустойчивом положении.
Наконец, в этой схеме используется «сливная» линия, подключенная к SV2. В дренажной линии нет противодавления. Поток из клапана SV2 в дренажную линию предотвращает возникновение противодавления, которое может замедлить перемещение главного направляющего клапана. Маслопроводы к «баку» обычно имеют противодавление 15-30 фунтов на квадратный дюйм, поскольку они проходят через масляные фильтры перед поступлением в бак.
Для получения дополнительной информации о чтении схем гидравлических и пневматических цепей прочитайте следующую статью из этой серии, в которой описаны примеры пневматических схем, или обратитесь к представителю Valmet.
Реальная ценность гидравлических схем
Опубликовано журналом Fluid Power Journal в Особенности
0 комментариев
Как и многие читатели этого журнала , , я регулярно занимаюсь поиском и устранением неисправностей гидравлического оборудования. В таких ситуациях я всегда делаю две вещи, прежде чем браться за любой из моих диагностических инструментов. Во-первых, провести визуальный осмотр гидравлической системы, проверив все очевидные вещи, которые могут вызвать рассматриваемую проблему (всегда сначала проверяйте простые вещи). Во-вторых, запросить принципиальную схему.
Существует четыре основных типа диаграмм, которые можно использовать для описания всей гидравлической системы или ее части: блок-схема, схема в разрезе, иллюстрированная и графическая.
- Блок-схемы показывают компоненты схемы в виде блоков, соединенных линиями, которые обозначают соединения и/или взаимодействия.
- Схемы в разрезе показывают внутреннюю конструкцию компонентов и путей потока. Поскольку на этих диаграммах обычно используются цвета, оттенки или узоры в линиях и проходах, они очень эффективно иллюстрируют различные условия потока и давления. Это делает их идеальными для тренировок.
- Графические схемы часто используются для демонстрации расположения трубопроводов в системе. Компоненты видны снаружи и обычно очень точно воспроизводят их реальную форму в увеличенном масштабе. Это помогает в распознавании и идентификации компонентов.
- Графические диаграммы, также известные как схемы, — это сокращенная система гидроэнергетики ( Рис. 1 ). Они состоят из простых геометрических символов, нарисованных в соответствии со стандартами ANSI или ISO, которые обозначают компоненты, их элементы управления и соединения.

Для устранения неполадок предпочтительны графические схемы. Графическая принципиальная схема или принципиальная схема представляет собой «дорожную карту» гидравлической системы и для технического специалиста, умеющего читать и интерпретировать их, является ценным подспорьем в определении возможных причин проблемы. И это может сэкономить много времени и денег в ситуации устранения неполадок.
Если принципиальная схема недоступна, техник должен физически проследить гидравлический контур и идентифицировать его компоненты, чтобы выявить возможные причины проблемы. Это может занять много времени, в зависимости от сложности системы. Что еще хуже, если контур содержит вентильный коллектор, возможно, придется снять и разобрать коллектор — просто чтобы понять, для чего он предназначен. Причина в том, что если функция компонента в системе неизвестна, может быть трудно не учитывать его как возможную причину проблемы. Принципиальные схемы устраняют необходимость обратного проектирования гидравлической системы.
Где все схемы гидравлических цепей?
Как известно большинству опытных специалистов по гидравлике, вероятность того, что принципиальная схема машины, которую они вызвали для устранения неполадок, отсутствует, обычно выше, чем даже. Это вряд ли обеспокоит технического специалиста, поскольку за его отсутствие обычно платит владелец машины за счет длительных обращений в службу поддержки и увеличения времени простоя.
Куда идут все схемы гидравлики? Они теряются или теряются, не передаются новому владельцу при продаже подержанной машины, а в некоторых случаях могут вообще не выдаваться владельцу машины. Почему? Потому что, вообще говоря, владельцы гидравлического оборудования не придают им большого значения.
Итак, если вы отвечаете за техническое обслуживание гидравлического оборудования и у вас нет принципиальных схем всех имеющихся у вас машин, постарайтесь получить их до , когда они вам понадобятся. Номинальная стоимость может сэкономить вам много денег в долгосрочной перспективе.
В случае серийного производства схема гидравлической цепи должна быть предоставлена производителем оборудования по запросу.
Если машина изготавливается по индивидуальному заказу и разработчик неизвестен, возможно, потребуется нарисовать схему с нуля. Эту услугу может предоставить инженер по гидроэнергетике или предпочитаемый вами поставщик гидравлики. При закупке принципиальных схем запрашивайте как электронные ( .dwg или .dxf предпочтительно) и печатную копию. Наличие электронной копии облегчает обновление чертежа, если схема изменяется в любое время. И всегда следите за тем, чтобы вам были предоставлены принципиальные схемы любых дополнительных гидравлических машин, которые вы приобретаете.
И если вы проектируете и производите гидравлические машины, сделайте своим клиентам большую услугу и убедитесь, что вы предоставляете им точную принципиальную схему с каждой машиной, которую они покупают. Хотя некоторые могут рассматривать это как облегчение жизни конкурента в будущем, такое ограниченное мышление только снижает общий профессионализм нашей отрасли.
)
д., К1, К2, КЗ и т. д.
В этом случае наименования, типы и обозначения указывают в таблице, помещаемой на поле схемы.
5 и 6 — на подвижных контактах.
Общее изображение
)
Кабель уходит на более высокую отметку или приходит с более высокой отметки
Изображение места крепления шинопровода должно соответствовать его проектному положению
Общее изображение
Общее изображение
