Содержание
Объемный гидропривод, принцип действия и основные понятия
Гидроприводы
в зависимости от типа используемых в
них гидромашин делятся на объемные
гидроприводы и гидродинамические
передачи.
Объемный
гидропривод
— это гидропривод, в котором используются
объемные гидромашины. Принцип действия
объемного гидропривода основан на
практической несжимаемости рабочей
жидкости и на ее свойстве передавать
давление по всем направлениям в
соответствии с законом Паскаля.
Рассмотрим
работу простейшего объемного гидропривода,
принципиальная схема которого
приведена на рис. 5.1. Он состоит из двух
гидроцилиндров 1 и
2,
расположенных вертикально. Нижние
полости в них заполнены жидкостью и
соединены трубопроводом.
Пусть
поршень гидроцилиндра 1, имеющий площадь
S1,
под действием внешней силы F1
перемещается вниз с некоторой скоростью
V1.
При этом в жидкости создается давление
р =
F1/S1.
Если пренебречь потерями давления на
движение жидкости в трубопроводе,
то это давление передается жидкостью
по закону Паскаля в гидроцилиндр
2 и на его
поршне, имеющем площадь
S2,
создает силу, преодолевающую внешнюю
нагрузку F2
= pS2.
Считая
жидкость несжимаемой, можно утверждать,
что количество жидкости, вытесняемое
поршнем гидроцилиндра 1 (расход Q
= v1S1),
поступает по трубопроводу в гидроцилиндр
2, поршень
которого перемещается со скоростью
v2
= Q/S2,
направленной вверх (против внешней
нагрузки
F2).
Если
пренебречь потерями энергии в элементах
гидропривода, то можно утверждать
следующее. Механическая мощность N1
= F1v1,затрачиваемая
внешним источником на перемещение
поршня гидроцилиндра 1, воспринимается
жидкостью, передается ею по трубопроводу
и в гидроцилиндре
2 совершает
полезную работу в единицу времени
против внешней силы
F2
со скоростью
v2
(реализуется мощность
N2
= F2v2).
Этот процесс
можно представить в виде следующего
уравнения мощностей:
Таким
образом, гидроцилиндр 1 в рассмотренном
случае работает в режиме насоса, т.е.
преобразует механическую энергию
привода в энергию потока рабочей
жидкости, а гидроцилиндр
2 совершает
обратное действие — преобразует энергию
потока жидкости в механическую
работу, т.е. выполняет функцию
гидродвигателя.
На
основание анализа работы этого простейшего
объемного гидроприво-да, а также принимая
во внимание задачи, которые
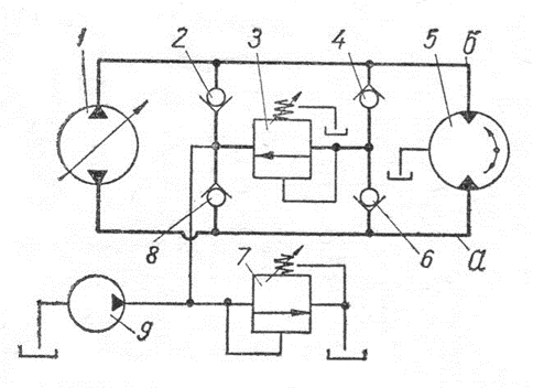
Рис.
5.1. Принципиальная схема простейшего
объемного гидропривода: 1- гидроцилиндр,
работающий в режиме насоса; 2- гидроцилиндр,
работающий в режиме гидравлического
двигателя
необходимо
решать по управлению гидроприводом и
обеспечению его работоспособности,
можно заключить, что реальный объемный
гидропривод обязательно должен включать
в себя следующие элементы или группы
элементов (число перечисленных ниже
элементов в составе гидропривода не
ограничивается):
энергопреобразователи
— устройства, обеспечивающие
преобразование механической энергии
в гидроприводе: гидромашины,
гидроаккумуляторы и гидропреобразователи;
гидросеть
— совокупность устройств, обеспечивающих
гидравлическую связь элементов
гидропривода: рабочая жидкость,
гидролинии, соединительная арматура
и т.
п.;
кондиционеры
рабочей среды —
устройства для поддержания заданных
качественных показателей состояния
рабочей жидкости (чистота, температура
и т.п.): фильтры, теплообменники и т.д.;
гидроаппараты
— устройства для изменения или поддержания
заданных значений параметров потоков
(давления, расхода и др.): гидродроссели,
гидроклапаны и гидрораспределители.
По
виду источника энергии жидкости объемные
гидроприводы делятся на три типа.
1.
Насосный гидропривод — в
нем источником энергии жидкости является
объемный насос, входящий в состав
гидропривода. По характеру циркуляции
рабочей жидкости насосные гидроприводы
разделяют на гидроприводы с разомкнутой
циркуляцией жидкости (жидкость от
гидродвигателя поступает в гидробак,
из которого всасывается насосом) и
с замкнутой циркуляцией жидкости
(жидкость
от гидродвигателя поступает сразу во
всасывающую гид ролинию насоса).
Аккумуляторный
гидропривод
— в нем источником энергии жидкости
является предварительно заряженный
гидроаккумулятор.
Такие гидроприводы
используются в гидросистемах с
кратковременным рабочим циклом или
с ограниченным числом циклов
(например гидропривод рулей ракеты).
Магистральный
гидропривод — в
этом гидроприводе рабочая
жидкость поступает в гидросистему из
централизованной гидравлической
магистрали с заданным располагаемым
напором (энергией).
Гидроприводы
подразделяются также по виду движения
выходного звена.
Выходным звеном
гидропривода считается выходное звено
гидродвигателя, совершающее полезную
работу. По этому признаку выделяют
следующие объемные гидроприводы:
поступательного
движения —
в них выходное звено совершает
возвратно-поступательное движение;
вращательного
движения —
в них выходное звено совершает вращательное
движение;
поворотного
движения —
в них выходное звено совершает
ограниченное (до 360°) возвратно-поворотное
движение (применяются крайне редко).
Если
в гидроприводе имеется возможность
изменять только направление движения
выходного звена, то такой гидропривод
называется
нерегулируемым.
Если в гидроприводе имеется возможность
изменять скорость выходного звена как
по направлению, так и по величине, то
такой гидропривод называется
регулируемым.
Основные
преимущества и недостатки объемных
гидроприводов
Регулируемые
объемные гидроприводы широко используются
в качестве приводов станков, прокатных
станов, прессового и литейного
оборудования, дорожных, строительных,
транспортных и сельскохозяйственных
машин и т. п. Такое широкое их применение
объясняется рядом преимуществ этого
типа привода по сравнению с механическими
и электрическими приводами. Основные
из этих преимуществ следующие.
Высокая
удельная мощность гидропривода, т.е.
передаваемая мощность, приходящаяся
на единицу суммарного веса элементов.
Этот параметр у гидравлических приводов
в 3…5 раз выше, чем у электрических,
причем данное преимущество возрастает
с ростом передаваемой мощности.Относительно
просто обеспечивается возможность
бесступенчатого регулирования
скорости выходного звена гидропривода
в широком диапазоне.
Высокое
быстродействие гидропривода. Операции
пуска, реверса и останова выполняются
гидроприводом значительно быстрее,
чем другими приводами. Это обусловлено
малым моментом инерции исполнительного
органа гидродвигателя (момент инерции
вращающихся частей гидромотора в 5…
10 раз меньше соответствующего момента
инерции электродвигателя).Высокий
коэффициент усиления гидроусилителей
по мощности, значение которого
достигает «105,Сравнительная
простота осуществления технологических
операций при заданном режиме, а также
возможность простого и надежного
предохранения приводящего двигателя
и элементов гидропривода от перегрузок.Простота
преобразования вращательного движения
в возвратно-поступательное.Свобода
компоновки агрегатов гидропривода.
Наряду
с отмеченными достоинствами гидропривода,
при его проектировании или решении
вопроса о целесообразности его
использования следует помнить также и
о недостатках, присущих этому типу
привода.
Эти недостатки обусловлены в
основном свойствами рабочей среды
(жидкости). Отметим основные из этих
недостатков.
Сравнительно
невысокий КПД гидропривода и большие
потери энергии при ее передаче на
большие расстояния.Зависимость
характеристик гидропривода от условий
эксплуатации (температура, давление).
От температуры зависит вязкость рабочей
жидкости, а низкое давление может стать
причиной возникновения кавитации
в гидросистемеиливыделения из жидкости
растворенных газов.
3.
Чувствительность к загрязнению рабочей
жидкости и необходимость достаточно
высокой культуры обслуживания. Загрязнение
рабочей жидкости абразивными частицами
приводит к быстрому износу элементов
прецизионных пар в гидравлических
агрегатах и выходу их из строя.
4.Снижение
КПД и ухудшение характеристик гидропривода
по мере выработки им или его элементами
эксплуатационного ресурса. Прежде всего
происходит износ прецизионных пар, что
приводит к увеличению зазоров в них и
возрастанию утечек жидкости, т.
е.
снижению объемного КПД.
Таким
образом, гидравлические приводы имеют,
с одной стороны, неоспоримые
преимущества по сравнению с другими
типами приводов, а с другой стороны —
существенные недостатки. В связи с этим
перед специалистами, связанными с
проектированием, изготовлением и
обслуживанием гидроприводов, ставятся
определенные задачи.
Задачами
конструктора при проектировании
гидропривода являются оптимизация
его схемы, обеспечивающей выполнение
приводом функциональных требований, и
обоснованный выбор элементов гидропривода.
Задачами
технолога при изготовлении элементов
гидропривода являются обеспечение
требуемого высокого качества изготовления,
так как это оказывает колоссальное
влияние на эксплуатационные
характеристики гидропривода. Так, в
прецизионных парах, современных
гидравлических агрегатов зазоры
составляют 5 мкм и г менее. Обеспечить
такую точность достаточно сложно.
В
задачи обслуживающего персонала во
время эксплуатации гидропривода входит
выполнение технических условий и
требований по его эксплуатации,
заключающееся прежде всего в выполнении
правил монтажа гидропривода, регулярной
смене фильтрующих элементов фильтров
и замене рабочей жидкости, а также при
необходимости в ее доливке.
Выполнение
этих требований позволяет значительно
продлить срок службы как отдельных
элементов гидропривода, так и всего
гидропривода в целом.
Гидропривод объемного типа – схема, расчет, принцип действия, элементы, основные понятия
В зависимости от типа гидропривода и применяемых в них машин, данные агрегаты подразделяются на гидродинамические передачи и объемные гидроприводы.
Гидропривод объемного типа является гидроприводом, который используют в своей работе объемные машины.
Принципиальность работы такого агрегата, прежде всего, основана на отсутствии сжимаемости рабочей жидкости, а также на присущее ей свойство передавать давление во всех направлениях в соответствии с физическим законом Паскаля.
Необходимо рассмотреть действия элементарного объемного гидропривод, схема которого находиться на рисунке 1.
В конструкцию входит два гидроцилиндра 1 и 2, они имеют вертикальное расположение. Нижние полости в данных цилиндров заполнены рабочей жидкостью, а также соединены трубопроводом.
В случае если поршень гидроцилиндры 1, обладающий площадью S1, под воздействием внешней определенной силы F1 производит перемещение вертикально вниз с определенной скоростью V1. Также при этом в самой жидкости образуется давление P=F1/S1. В случае если пренебречь данными потерями давления на непосредственное передвижение жидкости в трубопроводе, тогда данное давление будет передаваться жидкостью по физическому закону Паскаля во второй гидроцилиндр, а также на его поршень, который имеет площадь S2. Он создаст силу, которая преодолеет внешнюю нагрузку F2=P*S2.
Если считать, что жидкость является несжимаемой, тогда можно утверждать – количество жидкости, которое вытесняется поршнем цилиндра 1 (расход рассчитывается по формуле Q=V1*S1), попадает по трубопроводу в цилиндр гидравлического типа 2, поршень которого двигается при скорости V2=Q/S2. При направлении вверх (в противоположную сторону от внешней нагрузки F2). В случае если пренебречь определенными потерями энергии в части элементов гидропривода, можно дать утверждение следующему.
Мощность механическая N1=F1*V1, которая затрачивается внешним источником на движение поршня цилиндра 1, будет восприниматься жидкостью, как передаваемая по трубопроводу, а также в цилиндре 2 будет совершать полезную работу в определенную единицу времени, противодействуя внешней силе F2 при скорости V2 (мощность осуществляется N2=F2*V2). Данный процесс можно оформить в виде следующей записи уравнения мощности: N1=F1*V1=P*S1*V1=P*Q=P*S2*V2=F2*V2=N2.
Другими словами, мы можем сделать вывод, что гидроцилиндр 1 в представленном выше примере действует в режиме насоса, т.е. модифицирует механическую энергию, которую осуществляет привод, в энергию потока действующей жидкости. В то время как гидроцилиндр 2 реализует возвратное действие – модифицирует энергию потока жидкости в работу механического типа, т.е. реализует функцию гидрамотора. На формировании анализа действия данного элементарного гидропривода объемного типа, а также беря во внимание то, что задачи, которые нужно решать по управлению приводом и реализации его работоспособности, существует возможность заключить вывод, что действительный объемный гидропривод должен включать в себя группы или элементы, которые представлены ниже:
· Энергопреобразователи – это тип устройств, которые обеспечивают преобразование энергии механического типа в гидроприводе: гидроаккумулятор, гидромашина, гидропреобразователь.
· Гидросеть – это совокупность устройств, которые обеспечивают гидравлическую связь следующих элементов привода: гидролинии, рабочая жидкость, соединительная арматура и так далее.
· Кондиционеры рабочей среды — данные устройства служат для поддержания определенных показателей состояния рабочей жидкости: теплообменники, фильтры и т.д.
· Гидроаппараты – данные устройства служат для изменения или удержания определенных показателей параметров потоков (расхода, давления и других): гидроклапаны, гидродроссели, гидрораспределители.
Основы гидравлики | Сеансы LunchBox
Справка
- Объяснить основные принципы работы с жидкостями.
- Продемонстрируйте зависимость между давлением, площадью и силой.
Поток — общее движение жидкости.
Расход имеет два компонента, которые необходимо учитывать: скорость потока и скорость потока .
20 галлонов в минуту
75,7 л/мин
Скорость потока — это движение определенного объема жидкости за заданный промежуток времени.
Скорость потока обычно измеряется в галлонах США в минуту (гал/мин) или литрах в минуту (л/мин) с помощью расходомера.
Скорость потока — это расстояние, которое проходит определенный объем жидкости за определенное время.
Скорость потока не измеряется напрямую, а рассчитывается с использованием скорости потока и площади поперечного сечения шланга.
Скорость потока напрямую зависит от скорости потока и размера шланга.
Если мы изменим расход насоса, но оставим неизменным размер шланга, мы сможем изменить скорость потока жидкости.
Если вместо этого мы сохраним размер насоса без изменений, но изменим размер шланга, мы получим тот же эффект.
По мере увеличения скорости потока увеличивается и тепловыделение.
Это связано с трением .
Трение вызывается трением молекул жидкости о внутреннюю поверхность шлангов и труб.
Не воспринимайте это слишком буквально — это просто для развлечения.
Мы представляем себе, что жидкость течет как единая масса, но на самом деле это не так.
При низких скоростях жидкость течет отдельными параллельными слоями.
Каждый из этих слоев движется с разной скоростью.
Это состояние известно как ламинарный поток.
По мере увеличения скорости жидкости крошечные дефекты на поверхности проводника потока (шланга или трубы) нарушают путь потока.
Это создает хаотическое состояние, а не организованные слои ламинарного потока.
Этот турбулентный поток (из-за трения) вызывает повышение температуры.
Турбулентный поток проявляется везде в гидравлической системе, где возникают изгибы и ограничения.
Размер шлангов и фитингов помогает свести к минимуму этот эффект.
Закон Паскаля гласит, что любое давление, оказываемое на замкнутую жидкость, передается с одинаковой силой во всех направлениях.
Но это верно только до тех пор, пока жидкость находится в ловушке.
Давление создается либо сопротивлением потоку, называемым динамическим давлением, либо потенциальной энергией объекта, на который воздействует гравитация, известным как статическое давление.
Статическое давление присутствует, когда жидкость хочет течь, но не может. Гравитация пытается опустить шток этого цилиндра, но поскольку клапан закрыт, жидкость в цилиндре не может выйти.
Эта захваченная жидкость получает энергию благодаря силе, тянущей шток цилиндра вниз. Эта энергия представляет собой значение давления, отображаемое на манометре.
С другой стороны, динамическое давление связано с кинетической энергией жидкости.
Таким образом, по мере увеличения сопротивления потоку увеличивается давление.
Когда жидкость проходит через сужение, происходит падение давления из-за преобразования энергии (трение вызывает нагрев).
Поскольку полная энергия системы должна оставаться постоянной, принцип Бернулли гласит, что при уменьшении кинетической энергии (скорости жидкости) должно происходить пропорциональное увеличение потенциальной энергии (давления).
Площадь поверхности — это общая открытая площадь твердого объекта.
В гидравлических системах нас интересует площадь поверхности компонентов, которые взаимодействуют с жидкостью.
Площадь поверхности компонента может существенно повлиять на работу системы!
Существует прямая математическая зависимость между силой , которую способна передать гидравлическая система, давлением системы и площадью поверхности управляемого компонента.
Это соотношение обычно выражается с помощью треугольника FPA.
Зная давление и площадь поверхности поршня, можно рассчитать силу.
Если мы знаем, какое усилие необходимо и какое давление имеется, мы можем рассчитать необходимую площадь поверхности поршня.
Или, если мы знаем силу и площадь поверхности поршня, мы можем рассчитать давление.
Используя меньшую площадь поверхности левого цилиндра, мы можем увеличить силу правого цилиндра.
Ваша очередь: исследовать взаимосвязь между силой, давлением и площадью.

В этом модуле представлены некоторые основные, но важные концепции гидравлики.
Поток
- Скорость
- Скорость
- Ламинар
- Турбулентные
- Фрик
Давление
Принципы
- Принцип Бернулли
- Принцип Паскаля
- Треугольник FPA
По мере изучения гидравлических систем и проектирования эти концепции будут появляться снова и снова!
Надеемся, вам понравилось.0003
Минимальное напряжение
Среднее напряжение
Максимальное напряжение
Магнитное поле
Проверьте консоль
Важные типы и принципы работы гидравлических насосов
Блог
JM Industrial 0
как работает гидронасос, принцип работы гидронасосов, виды гидронасосов, что такое гидронасосы
Гидравлические насосы, безусловно, не новы в отрасли.
Скорее, будет точным сказать, что гидравлические насосы проложили себе дорогу в бесчисленных промышленных применениях. Автомобильная, химическая, механическая, водная техника, горнодобывающая промышленность — вот лишь немногие отрасли, в которых гидравлические насосы используются регулярно. Поскольку устройство имеет такое большое значение во многих отраслях, его необходимо обсудить подробно. Поэтому в этом посте представлены гидравлические насосы и принцип их работы.
Что такое гидравлические насосы?
Гидравлические насосы представляют собой механические устройства, которые перекачивают жидкость из источника с низким потенциалом в источник с высоким потенциалом. Эти насосы предназначены для преобразования механической энергии в гидравлическую, отсюда и название. Эта гидравлическая энергия может быть гидростатической или гидродинамической по своей природе.
Как следует из названия, эти гидравлические насосы совместимы с системами гидравлического привода.
Эти гидравлические насосы сконструированы путем сборки нескольких механических компонентов, которые передают энергию от одного источника к другому. Поэтому, независимо от типа, гидравлические насосы имеют компоненты, приводящие в действие энергию. Приводными элементами могут быть шестерни, полости, поршни и т. д. Тип приводного элемента определяет тип гидравлических насосов.
Краткое обсуждение принципа работы гидравлических насосов
Принцип работы гидравлических насосов прямо противоположен закону естественной энергии. Естественно, энергия течет от источника с высоким потенциалом к источнику с низким потенциалом. Однако принцип гидравлических насосов обратный, поскольку энергия передается от источника с низким потенциалом к источнику с высоким потенциалом с использованием механической или электрической энергии. Эти промышленные насосы оснащены вращающимися частями, работающими от электричества. Принцип работы гидравлических насосов можно описать как преобразование механической энергии в гидравлическую.
Чтобы понять этот принцип, нам нужно понять конструкцию гидравлического насоса и принцип работы каждой его части. Это подробно описано в следующем разделе.
Гидравлические насосы: как они работают
Гидравлический насос состоит из полого корпуса, называемого корпусом насоса, в котором размещены компоненты механического привода, такие как шестерни, ковши, золотники и т. д. Корпус имеет два отверстия: впускное, и розетка. Для начала работы гидравлического насоса внутри корпуса насоса создается разрежение, что приводит к всасыванию жидкости. Как только жидкость оказывается внутри корпуса, приводные элементы или компоненты частично или полностью заполняются жидкостью или соприкасается с ним. Приводные компоненты установлены на одном или нескольких вращающихся валах, что заставляет механическую энергию толкать жидкость к выпускному отверстию. Сила, действующая на приводные компоненты, равна весу транспортируемой жидкости.
Это основная работа гидравлических насосов.
Однако такие факторы, как плотность жидкости, движущая сила, гидравлическое трение и гидродинамика, оказывают огромное влияние на процесс. Если быть точным, гидравлические насосы передают гидравлическую энергию от низкого давления к резервуару большого объема, потребляя механическую энергию.
Знать о различных типах гидравлических насосов
Гидравлические насосы обычно предпочтительны для приложений с низким давлением и большими объемами. Это означает, что насосы будут перекачивать жидкости под низким давлением с высокой скоростью. Это возбуждение жидкостей достигается многими способами. Итак, гидравлические насосы названы в честь деталей, которые используются для производства энергии или их метода работы. Ниже приведены несколько важных типов гидравлических насосов:
- Шестеренчатые насосы: Это один из наиболее распространенных типов гидравлических насосов. Они сконструированы путем сборки двух шестерен, в которых внешние зубья внутренней шестерни входят в зацепление с внутренними зубьями внешней шестерни.
Шестерни установлены на эксцентриковых валах, поэтому зацепление зубьев образует полость, которая используется для захвата жидкости при ее перекачивании. Объемный КПД этих насосов составляет более 90%. - Пластинчатые насосы: Эти насосы имеют лопасти, установленные на вращающемся валу, который входит в контакт с полостями в корпусе для перекачки жидкости. Это гидравлический насос объемного типа.
- Винтовой насос: Этот тип гидравлического насоса состоит из пары винтов Архимеда, резьба каждого из которых сцепляется с другой. Жидкость захватывается нитью, чтобы перекачивать ее.
- Аксиально-поршневые насосы: Это гидравлический насос на основе поршневого цилиндра. Жидкость всасывается и откачивается за счет движения насоса. Здесь расположение поршень-центральная ось может быть наклонным или параллельным.
- Радиально-поршневые насосы: В отличие от аксиально-поршневых насосов, здесь насосы установлены радиально по окружности вала ротора.

Такие гидроприводы
Шестерни установлены на эксцентриковых валах, поэтому зацепление зубьев образует полость, которая используется для захвата жидкости при ее перекачивании. Объемный КПД этих насосов составляет более 90%.
