Содержание
Стабилизация напряжения в асинхронных генераторах
Эффект плавного регулирования напряжения в асинхронных генераторах при неизменной емкости конденсаторов может быть достигнут подмагничиванием спинки статора генератора. Для этой цели используется постоянный или переменный ток.
Поток подмагничивания замыкается по сердечнику статора. Мощность подмагничивания незначительна, если сталь сердечника не насыщена. При работе генератора с насыщением магнитной цепи эта мощность существенно возрастает и может достигать 10 процентов мощности, развиваемой генератором.
Рассматриваемый способ регулирования напряжения основывается на изменении степени насыщения спинки статора. С возрастанием нагрузки ток подмагничивающей обмотки необходимо уменьшать.
Уменьшение реактивной проводимости намагничивающего контура при этом ограничивается настолько, что напряжение генератора в определенных пределах изменения нагрузки остается практически постоянным.
Принципиальная схема расположения подмагничивающей обмотки, обтекаемой постоянным током, приведена на рис. 14.
Ее секции соединены между собой так, что результирующая переменная ЭДС обмотки, наведенная вращающимся магнитным полем, равна нулю.
Для питания обмотки подмагничивания возможно использование части трехфазной обмотки статора, как показано на рис. 15.
Обмотка подмагничивания 5 соединена с трехфазной обмоткой статора 1 посредством выпрямительного моста 3. В ее цепь включен регулировочный реостат 4. Возможно также применение нескольких обмоток подмагничивания. По одной из предложенных в Великобритании схем изменение степени насыщения спинки статора достигается с помощью двух дифференциально действующих обмоток. Ток одной из них пропорционален напряжению, ток другой равен току нагрузки. Поэтому с увеличением нагрузки насыщение спинки статора уменьшается автоматически.
К недостаткам способа относятся следующие:
1) Генератор должен иметь специальное исполнение с дополнительными статорными обмотками для подмагничивания;
2) стабилизация напряжения в широком диапазоне изменения нагрузки не обеспечивается.
В следующих публикация рассмотрим другие способы регулирования основного магнитного потока (при n2 = const) в целях стабилизации напряжения.
Условимся рассматривать стабилизацию напряжения асинхронного генератора при постоянной частоте вращения ротора.
Регулирование основного магнитного потока в целях стабилизации напряжения при n2 = const возможно:
1) подмагничиванием спинки статора генератора;
2) изменением напряжения на конденсаторах;
3) изменением емкости шунтирующих конденсаторов;
4) применением феррорезонансного стабилизатора напряжения;
5) применением управляемых реакторов;
6) применением конденсаторов с переменной (регулируемой) диэлектрической проницаемостью;
7) компаундированием возбуждения.
Похожие статьи:
Асинхронный генератор,
Синхронный генератор,
Дизель-генератор.
Замечания и предложения принимаются и приветствуются!
Каталог радиолюбительских схем.
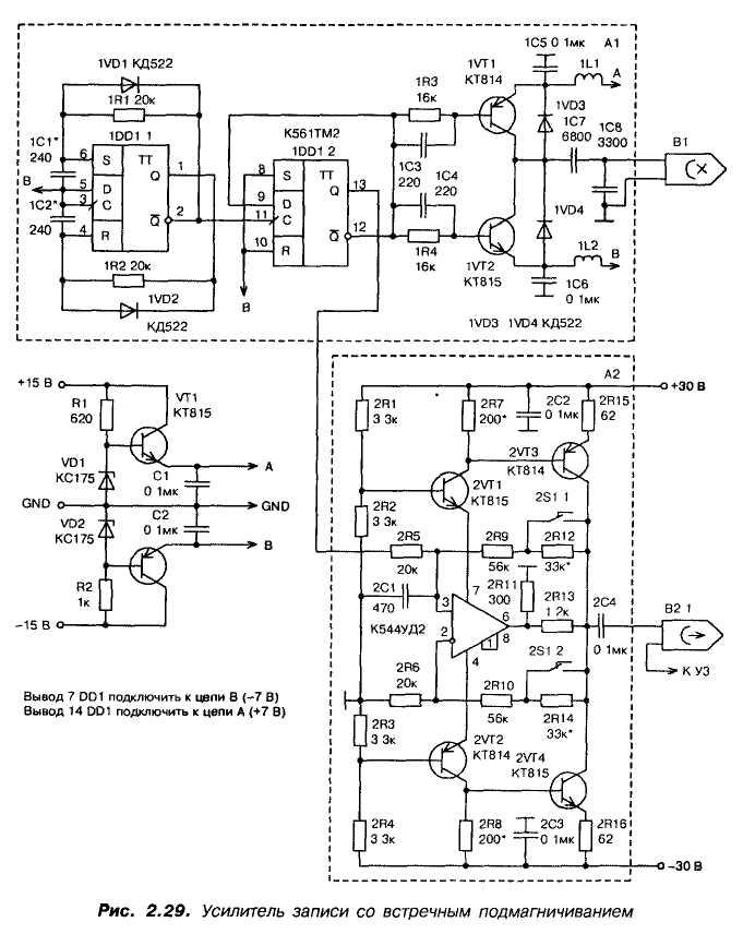
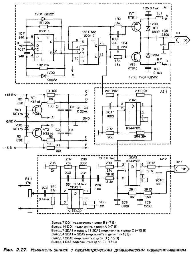
ОПТИМИЗАЦИЯ ТОКА ПОДМАГНИЧНВАНИЯ В МАГНИТОФОНЕ С УНИВЕРСАЛЬНЫМ ТРАКТОМ.
Каталог радиолюбительских схем. ОПТИМИЗАЦИЯ ТОКА ПОДМАГНИЧНВАНИЯ В МАГНИТОФОНЕ С УНИВЕРСАЛЬНЫМ ТРАКТОМ.
ОПТИМИЗАЦИЯ ТОКА ПОДМАГНИЧНВАНИЯ В МАГНИТОФОНЕ С УНИВЕРСАЛЬНЫМ ТРАКТОМ
Ю. НЕЗДАТНЫЙ
Для установки оптимального тока подмагничивания в магнитофоне с универсальным трактом необходимо сделать ряд пробных записей, затем, при воспроизведении, найти участок фонограммы, записанный с оптимальным (или близким к нему) подмагничиванием, и по нему определить положение, в которое необходимо установить регулятор тока подмагничивания при записи на ленту данного полива. Последнее вызывает большие затруднения, там как процессы записи и воспроизведения разнесены во времени, а какой-либо достаточно жесткой связи между положениями регулятора и соответствующими им участками фонограммы нет. Выход из положения некоторые радиолюбители находят в замене плавного регулятора дискретным. Участки фонограммы, соответствующие каждому из значений тока, записывают в этом случае в течение времени.
достаточного для отсчета показаний индикатора в режиме воспроизведения. В результате время, необходимое для оптимизации тока подмагничивания, получается большим.
Оригинальный способ “привязки” положений плавного регулятора к фонограмме нашел радиолюбитель Ю. Нездатный из г. Николаева. По существу, он снабдил регуляторы обоих каналов своего рода шкалой: с каждым из них он сдвоил переменный резистор, управляющий частотой вспомогательного генератора. Сигнал последнего записывают на дорожку нерабочего в данный момент канала, потому, измерив при воспроизведении его частоту в момент, когда ток подмагничивания в рабочем канале оптимален, нетрудно найти положение регулятора при записи — достаточно настроить генератор на ту же частоту.
И все же время на оптимизацию тока подмагничивания и с таким устройством остается большим. Как его сократить до минимума?
Установка оптимального тока подмагничивания в магнитофоне с универсальными усилителем и головкой затруднена тем, что запись и воспроизведение испытательных сигналов разнесены во времени и, таким образом, непосредственная связь между током подмагничивания и уровнем записанной на ленту испытательной фонограммы отсутствует.
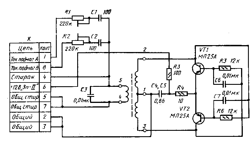
Функциональная схема устройства, облегчающего оптимизацию подмагничивания в таких магнитофонах, приведена на рисунке. Здесь G1 — генератор колебаний, частота которых равна верхней граничной частоте рабочего диапазона, G2 — перестраиваемый в диапазоне частот 100…1000 Гц вспомогательный генератор, G3 — генератор тока стирания и подмагничивания; А1, А2 и A3, А4 — соответственно универсальные и оконечные усилители стереоканалов, Р1 — частотомер. Р2 и РЗ — стрелочные индикаторы уровня воспроизведенного сигнала, E1 — блок универсальных магнитных головок. Регуляторы тока подмагничивания — переменные резисторы R1.1 и R2.2 — сдвоены с переменными резисторами R1.2 и R2.1, включенными в частотозадающую цепь вспомогательного генератора G2.
При пробной записи сигнал от генератора G1 подают в один из каналов (основной), а от генератора G2 — в другой и изменяют соответствующим сдвоенным переменным резистором ток подмагничивания и частоту вспомогательного сигнала. Воспроизводя записанную фонограмму, с помощью частотомера, подключенного к линейному выходу магнитофона, находят частоту колебаний вспомогательного генератора при которой ток подмагничивания оптимален, (АЧХ канала записи — воспроизведения горизонтальна во всем рабочем диапазоне частот).
Установив эту частоту (по тому же частотомеру) при записи, можно быть уверенным, что ток подмагничивания будет оптимальным для ленты данного типа и полива. Аналогично оптимизируют ток подмагничивания и в другом канале. Подготовка магнитофона к записи сводится к следующему. Установив движки переменных резисторов R1 и R2 в крайнее левое (по схеме) положение, переводят магнитофон в режим записи и нажимают на кнопку “Пауза”. Для оптимизации тока подмагничивания в левом (правом) канале переключатель S2 устанавливают в положение “Лев.” “Прав.”, переводят переключатель S1 в положение “Вкл.” и устанавливают стрелку индикатора Р2 (РЗ) на уровень — 20 дБ, а индикатора РЗ (Р2) — на уровень 0 дБ. Добившись этого, отпускают кнопку “Пауза” и с началом движения ленты медленно поворачивают ручку переменного резистора R1 (R2) до тех пор, пока его движок не дойдет до упора. Далее магнитофон останавливают, перематывают ленту к началу фонограммы и, установив переключатель S1 в положение “Выкл.”, включают воспроизведение.
В процессе воспроизведения наблюдают за стрелкой индикатора Р2 (РЗ}. В момент, когда уровень сигнала станет равным — 20 дБ, отсчитывают показание частотомера Р1, После этого движение ленты останавливают (кнопкой = Пауза”), переводят переключатель S1 в положение “Вкл.” и переменным резистором R1 (R2} устанавливают по частотомеру Р1 найденное (соответствующее оптимальному току подмагничивания) значение частоты генератора G2.
В устройстве можно применить любой частотомер с диапазоном измерений не уже 100…1000 Гц (подойдет, например, простой частотомер, описанный в “Радио”, 1980, № 5, с. 61).
Индикаторы уровня записи необходимо приспособить для контроля уровня воспроизводимого сигнала, предусмотрев для этого соответствующий переключатель и органы регулировки его чувствительности. Для удобства установки уровня— 20 дБ индикаторы целесообразно дополнить усилителями с тем, чтобы при пробных записях и таком уровне сигнала стрелки измерителей отклонялись до отметки 0 дБ. При контроле номинальных уровней сигнала эти усилители необходимо отключать.
г. Николаев.
| Содержание | © Каталог радиолюбительских схем Все права защищены. Радиолюбительская страница.Перепечатка разрешается только с указанием ссылки на данный сайт. Пишите нам. E-mail: [email protected] или [email protected]. | Я радиолюбитель |
Генератор смещения (образный сигнал) | Prodrive Technologies
Генератор импульсов смещения с заданной формой для ВЧ-систем плазменной резки
Prodrive Technologies представляет свой генератор импульсов смещения с измененной формой разрушения, обеспечивающий прямое управление распределением энергии ионов оболочки при плазменной обработке. Индивидуальная форма выходного сигнала обеспечивает независимый контроль над током и напряжением и измеряется в режиме реального времени.
Такое прямое управление энергией ионов оболочки значительно улучшает контроль и точность процессов травления и осаждения по сравнению с обычным радиочастотным смещением, позволяя настраивать распределение энергии ионов, чтобы обеспечить очень узкое распределение и устранение хвостов. Это приводит к оптимизированной скорости процесса и максимальной селективности для чувствительных функций. Это также снижает энергопотребление смещения, повышая эффективность системы по сравнению с обычными технологиями.
Технические характеристики предоставляются по запросу.
Узкое распределение энергии ионов с удалением хвостов
Максимальный контроль условий смещения с мониторингом формы сигнала в реальном времени
Быстрая интеграция с обычными радиочастотными системами
Собственная автонастройка формы сигнала
Видео о смещении генератора плазмы
В этом видео схематически показано, как работает специальное смещение формы сигнала.
Collaborative Academic Papers
Управление распределением энергии ионов с помощью низкочастотных прямоугольных волн напряжения в емкостно-связанной плазме
необходима форма энергетического распределения потоков ионов, воздействующих на граничные поверхности. Часто требуются узкие пики при контролируемых энергиях, например. повысить селективность плазменного травления, что невозможно реализовать в классических разрядах. Мы объединяем экспериментальные измерения распределения потока ионов по энергии и моделирование PIC/MCC, чтобы получить представление о работе и механизмах ускорения ионов для разрядов, управляемых специально подобранными формами напряжения прямоугольной формы, состоящими из низкочастотных (100 кГц) импульсных и высокочастотных (27,12) импульсов. МГц) сигналов. Наблюдается формирование энергетических распределений потока ионов с узким высокоэнергетическим пиком и сильно уменьшенными потоками ионов при промежуточных энергиях. Положением пика высокой энергии на оси энергии можно управлять, регулируя величину низкочастотного импульса напряжения и рабочий цикл.
Глубоко проанализировано влияние адаптации формы волны возбуждающего напряжения путем настройки этих параметров управления, а также частоты ее повторения на работу плазмы и распределение энергии потока ионов. Мы находим, например. что режим рабочего цикла (<40% или >60%) определяет, образуются ли высокоэнергетические ионы на заземленном или запитанном электроде, и что длительность импульса должна превышать время релаксации энергии ионов, порядка 0,5 мкс.
Перейти на страницу издателя
Модель эквивалентной электрической схемы для точного управления энергией ионов с заданным смещением формы сигнала ионы плазмы. Для смещения стола с подложками использовались адаптированные формы сигналов, чтобы точно контролировать эту энергию ионов. Недавние исследования показали, что преобразователи мощности с переключением режимов могут использоваться для генерации сигналов такого типа, обладая преимуществом повышенной энергоэффективности и гибкости по сравнению с традиционно используемыми линейными усилителями.
В этой статье предлагается улучшенная модель эквивалентной электрической цепи плазменного реактора, позволяющая проводить моделирование и оптимизацию формы сигнала смещения. Эквивалентная электрическая цепь анализируется для различных фаз процесса, включая фазы заряда, разряда и пост-разряда. Предложенная модель подходит для моделирования электрических цепей и может быть использована для прогнозирования формы электрических колебаний и распределения энергии ионов. В качестве входных данных для модели требуются параметры плазмы, поэтому вводится эмпирический метод идентификации параметров, основанный на электрических измерениях форм сигналов напряжения смещения и выходного тока. Поскольку эти электрические измерения не взаимодействуют с плазменным процессом, предлагаемый метод идентификации параметров является неинтрузивным. Проведены эксперименты, показывающие, что предложенная модель и метод идентификации параметров обеспечивают ожидаемую точность.
Перейти на страницу издателя
Генератор смещения с низким уровнем шума в DFN 2 мм × 2 мм
4 марта 2014 г.
— МИЛПИТАС, Калифорния
Корпорация Linear Technology
анонсирует LT3048,
повышающий преобразователь постоянного тока в постоянный со встроенным LDO-выходом,
обеспечивает малошумящий источник питания смещения 15 В с низкими пульсациями. LT3048-15
обеспечивает до 40 мА непрерывного выходного тока при 15 В с выходом
пульсации и шум менее 500 мкВ ПК-ПК и регулирование нагрузки 0,1%.
Устройство работает в диапазоне входного напряжения от 2,7 В до 4,8 В, что делает
он подходит для одноэлементных литий-ионных аккумуляторов или логических шин 3,3 В.
Его постоянная частота переключения 2,2 МГц позволяет использовать крошечные
экстерьеры. В сочетании с корпусом DFN 2 мм × 2 мм и встроенным
Диод Шоттки LT3048-15 предлагает простое и компактное решение
площадь для приложений с низким уровнем шума смещения.Внутренний высокоэффективный переключатель LT3048-15 и 2,2 МГц
работа на постоянной частоте обеспечивает низкий уровень пульсаций на выходе
LDO, обеспечивающий 15 В со сверхнизкими выходными пульсациями и меньшим уровнем шума.
более 500 мкВ ПК-ПК . Его управление в режиме тока обеспечивает быстрое переходное
ответ без необходимости сложной внешней компенсации. К
еще больше повысить надежность системы, LT3048-15 предлагает
защита от короткого замыкания и перегрева, а также отключение нагрузки в
неисправность.LT3048EDC-15 доступен в корпусе DFN-8 с размерами 2 мм × 2 мм.
по цене 1,65 доллара за штуку за 1000 штук. Промышленный
температурная (от –40°C до 125°C) версия LT3048IDC-15 по цене
по 1,82 доллара за штуку за 1000 штук. Обе версии
доступны со склада. Для получения дополнительной информации посетите сайт www.linear.com/product/LT3048.Обзор характеристик: LT3048-15
- Генерирует напряжение смещения с низким уровнем шума от одноэлементного литий-ионного аккумулятора
Аккумулятор - Выходной ток: до 40 мА
- Низкие пульсации и шум на выходе: <500 мкВ P-P
- Регулятор наддува
- 2,2 МГц Работа
- Выключатель питания 300 мА
- Встроенный диод Шоттки
- Линейный регулятор с малым падением напряжения
- Низкий уровень шума: <120 мкВ Среднеквадратичное значение (от 10 Гц до 100 кГц)
- Регулировка нагрузки 0,1 %
- Защита от короткого замыкания и перегрева
- Отключение нагрузки при отключении
- Доступен в упаковке DFN 2 мм × 2 мм
Маленький малошумящий повышающий генератор для систем смещения
Скачать PDF-версию
- Генерирует напряжение смещения с низким уровнем шума от одноэлементного литий-ионного аккумулятора
- Об Analog Devices
- Инновации, производительность и совершенство — это культурные столпы, на которых Analog Devices построила одну из старейших и наиболее динамично развивающихся компаний в технологическом секторе.

