Содержание
Передний мост легкового автомобиля | Устройство автомобиля
В чем особенность устройства переднего неведущего моста легкового автомобиля?
Передний неведущий мост легкового автомобиля выполнен в виде независимой подвески передних управляемых колес, при которой каждое колесо подвешено к кузову самостоятельно, что повышает плавность хода и срок службы автомобиля.
Как устроен и работает передний мост автомобиля ГАЗ-24 « Волга»?
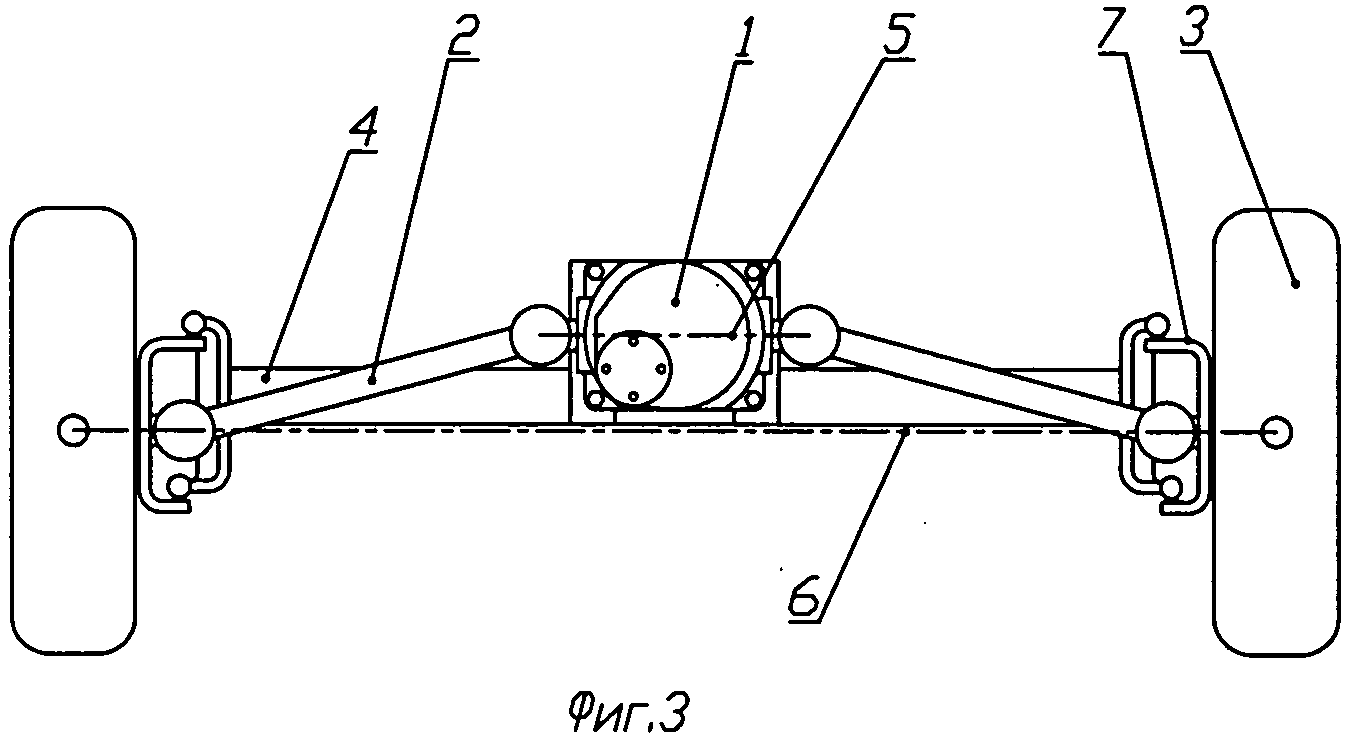
Передний мост автомобиля ГАЗ-24 «Волга» (рис.141) состоит из стойки 8, изготовленной вместе с проушинами, в которых расположены игольчатые подшипники 10. К проушинам стойки подводится поворотная цапфа 1 также с проушинами, между которыми устанавливается упорный шарикоподшипник 11, а в проушины – шкворень 9. который стопорится клинообразным стопором 12 в проушине поворотной цапфы. Следовательно, поворотная цапфа может поворачиваться относительно неподвижной стойки 8, что и обеспечивает поворот управляемых колес.
Рис.141. Передний мост автомобиля ГА3-24 «Волга».
На оси поворотной цапфы на двух роликовых конических подшипниках 3 смонтирована ступица 2, закрепляемая регулировочной гайкой 5 со стопорной шайбой 6. После регулировки гайка обязательно шплинтуется. Внутренняя полость ступицы заполняется вязкой смазкой и закрывается колпаком 4. Утечка смазки предотвращается сальником 7. К ступице крепятся тормозной барабан и колесо, к поворотной цапфе – опорный тормозной диск, на котором монтируются тормозные колодки с рабочими цилиндрами. Стойка 8 шарнирно соединяется с верхним 13 и нижним 17 рычагами, а они – с поперечиной 20 подрамника автомобиля (нижний рычаг) и лонжероном (верхний рычаг). В точках крепления верхнего рычага между ним и лонжероном устанавливаются регулировочные прокладки 19 для регулировки развала колес. К нижнему рычагу жестко крепится опорная чашка 18 и резиновый буфер 16 хода сжатия. На опорной чашке имеется винтовая пружина 14 и гидравлический телескопический амортизатор 15 двустороннего действия.
Верхним концом пружина упирается в кронштейн, смонтированный на подрамнике. К верхнему рычагу прикреплен резиновый буфер хода сжатия.
Работает мост так. При наезде колеса на препятствие удар передается через ступицу 2 на поворотную цапфу 1 и стойку 8, которая, поднимаясь, нижним концом воздействует на рычаг 17 и через опорную чашку 18 сжимает пружину 14, которая его гасит. Частично удар также гасится амортизатором. При сильном ударе, когда пружина полностью сожмется, удар гасится резиновыми буферами 16, предотвращая поломку пружины. Второе колесо таким же образом подвешено к кузову, а так как между ними отсутствует жесткая связь, то удар, воспринятый одним колесом, не передается на второе. В этом случае появляется боковой наклон кузова. Для его уменьшения в подвеску включают стабилизатор поперечной устойчивости, представляющий собой стальной стержень П-образной формы. Средней частью стабилизатор закреплен в резиновых втулках, установленных в подрамнике автомобиля, а концами с помощью стоек с резиновыми подушками крепится к нижним опорным чашкам подвески.
Уменьшение наклона кузова достигается за счет сопротивления, создаваемого при закручивании стержня стабилизатора.
***
Проверьте свои знания и ответьте на контрольные вопросы по теме «Передний мост и рулевое управление автомобиля»
автомобиль, колесо, мост, передний, поворотный, рычаг, цапфа
Смотрите также:
4.3.3 Передний управляемый мост . Автопрактикум. Часть 3. Ходовая часть и механизмы управления большегрузных автомобилей
Передним управляемым мостом называется поперечная балка с ведомыми управляемыми колёсами, к которым не подводится крутящий момент от двигателя. Этот мост служит для поддерживания несущей системы автомобиля и обеспечения его поворота.
Передние управляемые мосты различных типов широко применяются на грузовых автомобилях и автобусах с колёсной формулой 4×2, а также на грузовых автомобилях с колёсной формулой 6×4.
В зависимости от типа подвески управляемых колёс передние мосты автомобилей могут быть неразрезными и разрезными.
В неразрезных мостах управляемые колёса непосредственно связаны с балкой моста. В разрезных мостах связь управляемых колёс с балкой моста осуществляется через подвеску. Неразрезные мосты применяются на грузовых автомобилях и автобусах при зависимой подвеске колёс. Разрезные мосты устанавливаются на легковых автомобилях и автобусах при независимой подвеске колёс.
Передний неразрезной мост (рисунок 4.16) представляет собой балку 2 с установленными по обоим концам поворотными цапфами 1. Балка – кованая стальная, обычно двутаврового сечения. Средняя часть балки выгнута вниз для более низкого расположения двигателя и центра тяжести автомобиля с целью повышения его устойчивости. В бобышках балки закреплены неподвижно шкворни 4, на которых установлены поворотные цапфы 1. На поворотных цапфах, на подшипниках, устанавливаются ступицы с управляемыми колёсами. Поворотные цапфы вместе с колёсами, поворачиваясь вокруг шкворней, обеспечивают поворот автомобиля. Мост с помощью рессор крепится к раме автомобиля.
Рисунок 4.16 – Передний управляемый мост грузового автомобиля
1 – поворотная цапфа; 2 – двутавровая балка; 3 – стопорный штифт; 4 – шкворень; 5 – масленка; 6 – опорный подшипник
Передний мост автомобиля ЗИЛ-431410 (рисунок 4.17) состоит из балки 13 и поворотных цапф 6 в сборе. Балка 13 двутаврового сечения изготовляется из углеродистой стали. На её концах в вертикальной плоскости сделаны отверстия для установки шкворней 8, обеспечивающих шарнирное соединение балки с поворотными цапфами 6. С одной стороны шкворни 8 имеют лыску для удержания их от проворачивания в отверстиях балки, в которых они крепятся при помощи клиновидного штифта 12.
Рисунок 4.17 – Передний мост автомобиля ЗИЛ-431410
1 – ступица; 2 – роликоподшипники; 3 – гайка; 4 – замочное кольцо; 5 – контргайка; 6 – поворотная цапфа; 7 – замочная шайба; 8 – шкворень; 9 – тормозной барабан; 10 – втулка; 11 – прокладки; 12 – штифт; 13 – балка; 14, 15 – опорные шайбы
Поворотная цапфа 6 стальная кованая.
Она имеет фланец, на наружной стороне которого в вертикальной плоскости расположены два выступа с запрессованными в них втулками 10, в которые входят концы шкворня. Таким образом, правая и левая поворотные цапфы 6, вращаясь на шкворнях 8, могут поворачиваться в горизонтальной плоскости в обе стороны. Максимальный угол поворота цапф вправо составляет 34°, влево – 36°. Для облегчения поворота управляемых колёс между балкой и нижним выступом фланца цапф установлены опорные шайбы 14 и 15. Для регулирования осевого зазора между поворотной цапфой и проушиной балки служат прокладки 11.
На поворотных цапфах установлены роликоподшипники 2, на которых вращается ступица 1 с передним колесом. Внутренние кольца подшипников сидят на шейках цапфы, а наружные запрессованы в гнезда ступицы колеса. Подшипники регулируют гайкой 3, фиксируемой при помощи замочного кольца 4, замочной шайбы 7 и контргайки 5.
С внутренней стороны ступицы к фланцу прикреплён болтами с гайками тормозной барабан 9.
На наружных фланцах ступиц имеются отверстия для запрессовки в них шпилек, на которые устанавливаются диски управляемых колёс автомобиля.
Передний мост грузовых автомобилей КамАЗ (рисунок 4.18) неразрезной. В бобышках стальной балки 17 двутаврового сечения стопорными клиньями 14 закреплены шкворни 19, на которых установлены поворотные цапфы 5.
Рисунок 4.18 – Передний управляемый мост автомобилей КамАЗ
1 – колесо; 2 – гайка; 3,4 – шайбы; 5 – цапфа; 6 – крышка; 7 – контргайка; 8,10,15 – подшипники; 9 – ступица; 11 – тормозной барабан; 12, 16 – рычаги; 13, 18 – тяги; 14 – стопорный клин; 17 – балка; 19 – шкворень; 20 – манжета; 21 – тормозной механизм
Цапфы свободно поворачиваются вокруг шкворней на бронзовых втулках, запрессованных в ушки цапф, и на упорных подшипниках 15, находящихся между цапфами и балкой моста. К фланцам поворотных цапф прикреплены тормозные механизмы 21 колёс. В ушках цапф закреплены рычаги 16 для крепления поперечной рулевой тяги 18 и поворотный рычаг 12 в левой цапфе для крепления продольной рулевой тяги 13.
На поворотных цапфах на роликовых конических подшипниках 8 и 10 установлены ступицы 9 с тормозными барабанами и управляемыми колёсами 1. Ступицы колёс на поворотных цапфах закреплены гайкой 2, замковыми шайбами 3 и 4 и контргайкой 7. Снаружи ступицы закрыты крышками 6 с прокладками, а изнутри манжетами 20.
Основной несущей деталью переднего моста автомобилей МАЗ является балка 33 (рисунок 4.19). Она изготовляется методом горячей штамповки из стали и имеет двутавровое сечение с площадками на верхней полке для крепления рессор.
С целью повышения износостойкости поверхность шкворня подвергается, закалке ТВЧ. Нижняя цилиндрическая шейка шкворня опирается на бронзовую втулку, запрессованную в ушко поворотной цапфы. Так как ушки поворотной цапфы обработаны в линию и имеют одинаковый диаметр, а диаметр верхнего конца шкворня меньше диаметра нижнего, то сверху на шкворень устанавливается стальная втулка, которая компенсирует разность в указанных диаметрах и одновременно является распорной втулкой.
Втулка вместе со шкворнем поворачивается в бронзовой втулке 22 верхнего ушка поворотной цапфы.
На резьбовой конец шкворня навернута гайка, с помощью которой устраняют зазор в коническом соединении шкворня с балкой передней оси. Гайка стопорится замковой шайбой.
Между нижним ушком поворотной цапфы и балкой расположен упорный шариковый подшипник 31. Балка опирается на этот подшипник через опорную шайбу 25, прилегающую к нему плоской стороной, а к балке – сферической поверхностью, что обеспечивает правильную самоустановку подшипника. При таком соединении балки передней оси с поворотной цапфой горизонтальные нагрузки воспринимаются бронзовыми; втулками, запрессованными в ушки поворотной цапфы, а вертикальные – упорным шариковым подшипником.
Рисунок 4.19 – Передняя ось со ступицей колеса
1 – колесо; 2 – бортовое кольцо; 3 – замочное кольцо; 4 – прижим; 5 – болт; 6 – тормозной барабан; 7 – диск; 8 – ступица; 9 – стопорная шайба; 10 – контргайка; 11 – поворотный кулак; 12 – замковая шайба; 13 – гайка ступицы; 14, 15 – подшипники; 16 – сальник; 17 – обод; 18 – разжимной кулак; 19 – регулировочный рычаг; 20 – шкворень; 21 – стальная втулка; 22, 29 – бронзовые втулки; 23 – регулировочные прокладки; 24 – рычаг продольной рулевой тяги; 25 – сферическая шайба; 26 – тормозная колодка; 27 – ось колодок; 28 – суппорт; 30 – рычаг поперечной рулевой тяги; 31 – подшипник шкворня; 32 – поперечная рулевая тяга; 33 – балка передней оси
Для свободного вращения при ограниченном вертикальном перемещении поворотной цапфы и связанного с ним колеса на шкворне между верхним ушком поворотной цапфы и балкой передней оси имеется зазор, который должен быть в пределах от 0,1 до 0,4 мм.
Для обеспечения заданного зазора между верхним ушком поворотной цапфы и балкой установлены металлические регулировочные шайбы 23. Поворотные цапфы соединены с рулевой трапецией.
На конических роликовых подшипниках поворотной цапфы вращается ступица 8 переднего колеса. Подшипники закреплены на цапфе гайкой 13 с замковым кольцом 12 и контргайкой 10 с шайбой 9.
Ступицы колёс, отлитые из ковкого чугуна, с наружной стороны имеют шесть фигурных спиц, к которым при помощи болтов закреплены диск 7 и тормозной барабан 6.
Передний мост автомобилей КрАЗ с колёсной формулой 6х4 является управляемым. Он воспринимает от рамы вертикальную нагрузку и передает на раму продольные и поперечные силы от колёс. Устройство передней оси автомобиля КрАЗ показано на рисунке 4.20. Она состоит из балки 17 двутаврового сечения, изогнутой в средней части вниз для более низкого расположения центра тяжести автомобиля, что повышает его устойчивость.
Рисунок 4.20 – Передняя ось автомобиля КрАЗ
1 – диск колеса; 2 – ступица; 3 – гайки; 4, 5 – шайбы; 6 – крышка ступицы; 7 – контргайка; 8 – шпилька колеса; 9 – наружный подшипник; 10 – тормозной барабан; 11 – замочное кольцо; 12 – бортовое кольцо; 13 – тормозная колодка: 14 – сальник: 15 – поворотная цапфа; 16 – шкворень поворотной цапфы; 17 – балка передней оси; 18 – подшипник шкворня; 19 – левый рычаг рулевой трапеции; 20 – поперечная рулевая тяга; 21 – наконечник поперечной рулевой тяги; 22 – внутренний подшипник; 23 – тормозной диск
Балка имеет две площадки для установки рессор.
На обоих концах балки высверлены конические отверстия, в которые устанавливаются шкворни 16 поворотных цапф 15. Каждый шкворень жёстко крепится в балке с помощью гайки и опирается на цапфу через упорный подшипник. На ось цапфы на двух конических роликовых подшипниках 22 устанавливается ступица 2 колеса, которая крепится на оси гайкой 3, являющейся одновременно регулировочной для подшипников. Затяжка подшипников должна обеспечивать свободное, но без заметного осевого люфта, вращение колеса. ПОДШИПНИКИ при сборке ступицы смазываются консистентной смазкой, а самоподжимной сальник 14 предотвращает её вытекание при эксплуатации автомобиля. Поворотная цапфа левого колеса верхней проушиной соединяется с продольной рулевой тягой, а нижние проушины обеих поворотных цапф соединяются между собой поперечной рулевой тягой 20.
Данный текст является ознакомительным фрагментом.
Передний мост и система рулевого управления
Передний мост и система рулевого управления
Реклама
1 из 83
Верхняя обрезанная направляющая
Скачать для чтения в автономном режиме программа, так что, ребята, пройти его .
Объявление
Объявление
Передний мост и рулевое управление
- ПЕРЕДНИЙ МОСТ и
РУЛЕВАЯ СИСТЕМА
ГЛАВА 2 - Передний мост
■ Передняя ось несет на себе вес передней части автомобиля, а также облегчает управление и
поглощает удары из-за изменений дорожного покрытия.
■ Передние мосты, как правило, являются глухими мостами, но они также являются ведущими мостами в небольших автомобилях компактной конструкции, а также в
случае полного привода.
■ Передняя ось предназначена для передачи веса автомобиля с рессор на переднюю часть
колеса, поворачивая вправо или влево по мере необходимости.
■ Для предотвращения помех из-за переднего расположения двигателя, а также для обеспечения большей устойчивости и безопасности при
высоких скоростях за счет снижения центра тяжести дорожных транспортных средств, вся центральная часть
ось сброшена.
■ Ведущий передний мост содержит дифференциальный механизм, через который мощность двигателя направляется к
передние колеса.
■ Для управления передними колесами в полуосях установлены шарниры равных угловых скоростей.
■ Не влияя на поток мощности через полуоси, эти шарниры помогают поворачивать поворотные оси.
вокруг шкворня. - ТИПЫ ОСЕЙ
- ■ С полуплавающей осью полуось несет вес и передает крутящий момент
■ Колесо часто крепится болтами непосредственно к фланцу на оси.
■ Полуповоротные мосты можно увидеть на легковых автомобилях и легких грузовиках.
■ Полупоплавки более ограничены по мощности, но легче и дешевле в производстве.
Полуплавающая ось - ■ Вес оси приходится на корпус оси, а именно на прикрепленный шпиндель подшипника.
к картеру моста, а комплект подшипников в отдельной ступице колеса.
■ Крутящий момент передается отдельной полуосью, не имеющей веса.
■ Как правило, полнопоплавковые суда значительно тяжелее, но и намного прочнее.
Полная плавающая ось - ■ Этот тип оси представляет собой комбинацию полного и полуплавающего подшипника.
■ В этом подшипнике, расположенном между кожухом оси и ступицей полуоси, не должны выдерживать любые
действие сдвига или изгиба из-за веса транспортного средства, которое воспринимается картером моста
через ступицу и подшипник.
■ Однако он должен воспринимать торцевые нагрузки и вращающий момент.
■ Плавающая ось на три четверти аналогична полуплавающей оси с одним отличием. Внешний подшипник перемещается
снаружи внешнего конца трубы оси, поддерживая узел ступицы через наружную часть подшипника.
край окружности.
ТРИ ЧЕТВЕРТИ ПЛАВАЮЩАЯ ОСЬ - Передние колеса автомобиля установлены
на передние оси.
1. Выдерживает вес передней части
автомобиль.
2. Облегчает управление.
3. Он поглощает удары, которые
передается через дорожное покрытие
неровности.
4. Он поглощает приложенный к нему крутящий момент за счет
торможение транспортного средства.
ПЕРЕДНИЕ ОСИ - ■ Неподвижные оси – это оси, которые не вращаются.
■ Эти оси обладают достаточной жесткостью и прочностью, чтобы выдержать вес.
■ Концы передней оси спроектированы таким образом, чтобы на них можно было установить поворотные цапфы.
мертвая ось - ■ Ведущие мосты используются для передачи мощности от шестерни
коробка к передним колесам.
■ Ведущие передние мосты хотя и напоминают задние мосты, но
они разные на концах, где колеса
установлен. Maruti-800 имеет прямой передний мост.
Живая ось - ■ Поворотные оси соединены с передней осью шкворнями.
■ Передние колеса установлены на поворотные цапфы для управления. Повороты поворотной цапфы
на шкворнях.
■ Шкворни устанавливаются в проушине балки переднего моста и фиксируются там с помощью
конусный шплинт. Поворотные кулаки бывают четырех типов:
1. Эллиот
2. Перевернутый Эллиот
3. Ламуан
4. Перевернутый Ламуан
Поворотный кулак - ТИПЫ ПОВОРОТНЫХ ПОВОРОТ
- Конструкция переднего моста
Используемая балка оси имеет двутавровое или двутавровое сечение и
изготавливается из легированной кованой стали для
жесткость и прочность.
По сравнению с мертвыми передними мостами полностью
другой тип поворотного механизма
используется на ведущей передней оси.
Для соединения осей ступиц колес с ведущими
полуоси, применяются шарниры равных угловых скоростей
для автомобилей с передним приводом
оси.
Тракта, Рзеппа (или Шеппа) на бендиксе
равные скорости или универсальные шарниры
обычно используется. - Загрузка
Передние оси подвергаются как изгибающим, так и касательным нагрузкам.
В статическом состоянии ось можно рассматривать как балку
поддерживается вертикально вверх на концах, т.е. в центре
колеса и загружены вертикально вниз в центрах
пружинные колодки.
Созданный таким образом вертикальный изгибающий момент равен нулю в точке
опоры и поднимается линейно до максимума в точке нагрузки
и далее остается постоянной.
При этом максимальный изгибающий момент = Wl, Нм
где, W = нагрузка на одно колесо, Н
I = расстояние между центром колеса и пружиной
подушка, м - Типы ШРУСов
Наружный шарнир
Не перемещается внутрь и наружу для изменения длины вала
Фиксированное соединение
Внутренний шарнир
Изменения длины для обеспечения движения подвески
Врезное соединение - Внешний шарнирный механизм
- Типы ШРУСов
Внутреннее совместное движение - Типы ШРУСов
- Типы ШРУСов
Шаровой шарнир
Был назван в честь его конструктора А.
Х. Рзеппа.
Использует от трех до шести стальных шариков, удерживаемых вместе стальной клеткой.
Шарики катаются в гнезде, чтобы можно было вращаться и поворачиваться.
Используется в большинстве переднеприводных автомобилей. - Соединение Жеппа — Покомпонентный вид
- Соединение Жеппа — Покомпонентный вид
- Типы ШРУСов
Штативное соединение
Использует центральную ступицу (треногу) с тремя цапфами.
Имеет роликовые подшипники, которые ездят на цапфах
Внешняя поверхность подшипников скользит в шарнире или корпусе «тюльпан».
Позволяет использовать большие углы - Штативное соединение
- Внешний шарнирный механизм
- Внутренний погружной штатив
- Внутренний погружной штатив
- Внутренние ШРУСы
Шарнирное (двойное смещение) соединение
• Похож на шарнир Rzeppa, но имеет удлиненные канавки во внутреннем кольце. - Внутренние ШРУСы
Штативное соединение
• Имеет более длинные канавки, чем соединение фиксированного типа, что позволяет врезаться.
- Внутренние ШРУСы
ШРУС с поперечной канавкой
• Канавки во внешнем кольце срезаны под углом, чтобы обеспечить лучшее движение. - Типы ШРУСов
Внутреннее совместное движение - Типы подшипников колеса FWD
■ Двухрядный, угловой контакт
подшипники
– Используются на большинстве общих
Моторы, ДаймлерКрайслер,
и европейские машины
— Имеют два ряда шарикоподшипников
расположенные рядом друг с другом
■ Оппозитные конические роликоподшипники
– Используются на Фордах и
большинство азиатских автомобилей - ■ Гайка оси не только фиксирует конец оси, но и устанавливает предварительную нагрузку на подшипник колеса.
Стили переднеприводных колесных подшипников - Диагностика шарниров и осей
• Плохие ШРУСы обычно издают лязг или щелчки.
• Внешние шарниры будут издавать шум при поворотах. - Диагностика шарниров и осей
Плохие ШРУСы обычно издают лязг или щелчки.
Внутренние соединения будут шуметь при ударах. - Провести дорожное испытание
■ Управляйте автомобилем в различных условиях, таких как ускорение, движение накатом, повороты и
плетение из стороны в сторону
■ Прислушивайтесь к щелчкам или лязгу, особенно при повороте
■ Почувствуйте дрожание, дрожание, вибрацию или любые другие аномалии.
- Визуальный осмотр
■ Проверьте все другие проблемные области, прежде чем предположить, что проблема вызвана
по оси в сборе
■ Проверьте пыльники CV на наличие разрывов и утечек смазки.
■ Проверьте валы на наличие повреждений или изгибов.
■ Переместите вал, колеса и другие компоненты, чтобы проверить, не ослаблены ли они. - Визуальный осмотр
- Возможные причины отказа CV-Boot
■ Порезы или разрывы от посторонних предметов
■ Повреждение в результате несчастного случая
■ Неправильное буксировочное устройство или методы обслуживания
■ Образование льда вокруг ботинка
■ Ухудшение
■ Неисправность зажима - Осмотр внедорожной оси
■ Будьте осторожны, чтобы не перетянуть вал.
в тисках
■ Ищите трещины, сколы, ямки или ржавчину на
все компоненты
■ Проверьте соединение на предмет прилипания во время
погружая его внутрь и наружу
■ Проверьте, нет ли обесцвечивания, обычно вызываемого
по теплу - Система рулевого управления
Функция системы рулевого управления
•Управление передним колесом (иногда
заднее колесо) направление.
• Поддерживайте правильное количество усилий
нужно крутить колеса.
• Передать ощущение дороги (легкий руль
рывок колеса из-за дорожного покрытия)
в руку водителя.
• Поглотить большую часть удара, идущего на
руль, когда шина попадает в дыры
и неровности на дороге.
• Разрешить действие приостановки. - ■ Рулевой механизм должен быть очень точным, простым в установке и обращении.
■ Усилия водителя для управления должны быть минимальными.
■ Должна обеспечивать максимальную курсовую устойчивость автомобиля.
■ Оно должно увеличивать усилие поворота, прикладываемое к рулевому колесу водителем с механическим приводом.
преимущество.
■ На систему рулевого управления не должны влиять боковые тяги, силы на поворотах и эффекты ветра.
Требования к хорошей системе рулевого управления - ■ Факторы, связанные с колесами.
■ Рулевые тяги.
■ Геометрия рулевого управления.
■ Система подвески.
Факторы, влияющие на устойчивость и управляемость автомобиля
Являются:- - Система рулевого управления
Поворот автомобиля (при повороте передние колеса не смотрят в одном направлении)
•Внутреннее колесо поворачивается на меньший радиус, следовательно, внутреннее колесо поворачивается под более крутым углом, чем
внешнее колесо.
- Система рулевого управления
Рычажная система рулевого управления (червячная передача) - Система рулевого управления
Компоненты рычажной системы рулевого управления (червячная передача)
• Рулевое колесо – используется водителем для поворота
рулевой вал, проходящий через рулевой
столбец.
• Рулевой вал – передает поворотное движение от
руль к рулевому редуктору.
• Рулевая колонка – поддерживает рулевую колонку
и рулевой вал. - Система рулевого управления
Компоненты рычажной системы рулевого управления (червячная передача)
• Рулевой редуктор) – превращает поворот в прямолинейный.
движения влево или вправо.
• Передаточные числа рулевого механизма варьируются от 15:1 до 24:1 (при 15:1
червячная передача поворачивается 15 раз, чтобы один раз повернуть вал переключения передач).
• Рулевая тяга – соединяет рулевой редуктор с
поворотные кулаки и колеса. - Система рулевого управления
Базовое реечное рулевое управление - ■ Рулевой механизм представляет собой устройство для преобразования вращательного движения рулевого колеса в прямолинейное
движение звеньев с механическим преимуществом.
■ Рулевые механизмы заключены в коробку, называемую коробкой рулевого механизма.
ЕГО ПРЕИМУЩЕСТВА:
■ Уменьшает усилие водителя.
■ Помогает увеличить усилие, прилагаемое к рулевому колесу.
■ Это делает рулевое управление точным.
РУЛЕВОЙ ПРИВОД - Рециркуляционный шарик — похож на червяк и гайку шарикоподшипника.
рулевой механизм. Шарики содержатся в полугайке и переходнике
трубка. Когда кулачок или червяк вращается, шарик проходит с одной стороны
гайка через шарики по дорожке кулачка несет гайку
вместе с ним и вращается на валу коромысла.
Рейка и шестерня — Шестерня установлена на конце рулевого управления.
Вал. Он взаимодействует со стойкой с шаровыми шарнирами на каждом конце, чтобы
допускайте подъем и опускание колес, стержни соединяют шар
соединения с поворотными осями. Вращательное движение рулевого колеса
вращает шестерню, которая перемещает рейку вбок.
РАЗЛИЧНЫЕ ТИПЫ РУЛЕВЫХ ПРИВОДОВ - РАЗЛИЧНЫЕ ТИПЫ РУЛЕВЫХ ПРИВОДОВ
КАМ И ПЭГ
ЧЕРВЯЧНЫЙ И ШАРИКОВЫЙ ПОДШИПНИК
ЧЕРВЯК И СЕКТОР ЧЕРВЯК И РОЛИК
КУЛАЧОК И РОЛИК - Система рулевого управления
Базовое реечное рулевое управление
• Шестерня-шестерня — вращается рулевым колесом и рулевым валом; его зубы сцепляются с зубами на стойке.
• Рейка – длинная стальная балка с зубьями вдоль одной секции; скользит в сторону при вращении шестерни. - Система рулевого управления
Базовое реечное рулевое управление
• Корпус редуктора — удерживает ведущую шестерню и рейку.
• Рулевые тяги- соединяет рейку с рулевым управлением
костяшки. - Базовое рулевое управление с реечной передачей
• Часть рейки содержит поршень
• Два порта для жидкости, по одному с каждой стороны.
• Сторона с высоким давлением толкает поршень в противоположную сторону (вращая колесо). - Рулевая тяга
Pitman Arm передает движение коробки передач на рулевую тягу.
• Рычаг сошки соединен шлицами с коробкой передач. - Рулевая тяга
Стальной стержень центрального звена (релейного стержня) соединяет правый и
левая сторона рулевой тяги.
• Соединяется с шатуном, наконечниками поперечной рулевой тяги и промежуточным рычагом. - Рулевая тяга
Натяжной рычаг поддерживает конец центрального звена на
пассажирская сторона автомобиля.
• Болты к раме автомобиля.
• При износе вызывает чрезмерный люфт рулевого управления. - Рулевая тяга
Узлы рулевой тяги: Два узла рулевой тяги используются для
закрепите центральную тягу на поворотных кулаках.
• Узел состоит из внутреннего конца рулевой тяги, внешнего конца рулевой тяги и
втулка регулировки носка.
• Обязательно проверьте настройку схождения после замены наконечников рулевых тяг. - ■ передаточное отношение рулевого механизма является передаточным числом.
■ определяется как число градусов, на которое рулевое колесо должно повернуться, чтобы повернуть переднюю часть
колеса на один градус.
■ Другими словами, общее передаточное отношение рулевого управления определяется как угол поворота рулевого колеса в градусах, деленный на
соответствующими углами передних колес.
Передаточное число рулевого механизма
Передаточное число рулевого управления = угол поворота рулевого колеса (градусы) / угол опорного колеса (градусы)
Передаточное отношение для автомобилей = 15 к 20
Передаточное отношение для грузовых автомобилей = от 20 до 40 - НА ОСНОВЕ КОЛЕСА, УЧАСТВУЮЩЕГО В РУЛЕВОМ УПРАВЛЕНИИ.

■Управление двумя колесами.
■Управление двумя колесами используется для управления двумя колесами автомобиля.
■Он бывает двух типов
1. Управление передними колесами. Переднее колесо делает автомобиль управляемым.
2. Управление задними колесами. Управление задними колесами.
■Управление всеми колесами.
4-колесное рулевое управление — это система рулевого управления, при которой все 4 колеса
используются для управления транспортным средством. Они бывают двух типов:
1. Активное рулевое управление четырьмя колесами — это тип рулевого управления, при котором задние
и фронт движется в противоположном направлении. Подходит для < 40 км/ч скорость. 2. Пассивное управление четырьмя колесами — это тип рулевого управления, при котором задние и фронт движется в противоположном направлении. Подходит для скорости > 40 км/ч.
ТИПЫ РУЛЕВЫХ СИСТЕМ - ■ Реверсивное рулевое управление.
■ Нереверсивное рулевое управление.
■ Полуреверсивный.
НА ОСНОВЕ ТИПА ПРИВОДА И ПОДВЕСКИ ТРАНСПОРТНЫХ СРЕДСТВ.
■ Рулевое управление для автомобилей с задним приводом.
■ Рулевое управление для автомобилей с передним приводом.
■ Рулевое управление для полноприводных транспортных средств
■ Рулевое управление для автомобилей с жесткой осью и передней подвеской.
■ Рулевое управление для автомобилей с независимой передней подвеской.
НА ОСНОВЕ ЭФФЕКТОВ ВЗАИМОДЕЙСТВИЯ Ч/Б РУЛЕВОГО И ДОРОЖНОГО КОЛЕСА - Рулевое управление с усилителем — тип рулевого управления, в котором некоторые
виды внешних сил используются для уменьшения
Усилие водителя.
Силы могут быть увеличены с помощью гидравлических и электрических
силы
В системе рулевого управления с гидравлическим усилителем гидравлический поршень
создается немного впереди стойки, которая подключена
к резервуару и насосу. Когда колесо
крутил торсион вместе с рулевым валом
вращается, что вызывает внезапный поток жидкости в
Гидравлический поршень через резервуар. Этот поток жидкости
уменьшить усилие водителя.
В системе рулевого управления с электроусилителем установлен датчик крутящего момента.
датчик, прикрепленный к рулевому валу, который определяет
Водительской силы и в соответствии с этим пройти
электричество к двигателям, подключенным рядом со стойкой в соответствии с
к Усилию Водителя.
УСИЛИТЕЛЬ РУЛЯ - Рулевое управление с усилителем обычно использует насос с приводом от двигателя и гидравлическую систему для облегчения рулевого управления.
действие.
Три основных типа систем рулевого управления с усилителем:
• Интегрально-поршневая система сцепления.
•Внешняя система гидроусилителя руля.
• Реечная система
• Встроенный силовой поршень.
• Внешний силовой поршень.
Интегральная реечная система
является наиболее распространенным. - Система рулевого управления
Насос гидроусилителя руля приводится в действие двигателем, который создает гидравлическое давление для рулевого управления.
работа системы.
Четыре основных насоса:
• Роликовый насос.
• Лопастной насос.
• Тапочки насоса.
•Шестеренчатый насос. - Диагностика системы рулевого управления
Люфт рулевого колеса – самая распространенная проблема.
Не должно быть возможности повернуть руль
более 1 ½’’ (33 мм), не вызывая
движения передних колес.
Подвигайте колесо из стороны в сторону,
не должно быть люфта.
- Диагностика системы рулевого управления
Жесткий руль (рулевое колесо требует чрезмерного усилия при повороте)
• Низкий уровень жидкости гидроусилителя руля.
• Ремень насоса оборван или проскальзывает.
Шум системы рулевого управления
•Визг ремня – это громкий визг, издаваемый изношенным ремнем.
• Шум насоса гидроусилителя рулевого управления обычно представляет собой громкий вой, который возникает только при
руль повернут.
•Низкий уровень жидкости и воздух в системе.
Проверяйте жидкость при выключенном двигателе. - Схождение внутрь, наружу
■Схождение — это симметричный угол, который каждое колесо образует с продольной осью автомобиля.
■Положительное схождение или схождение — это передняя часть колеса, направленная к центральной линии
транспортное средство.
■ Отрицательное схождение, или схождение наружу, — это передняя часть колеса, направленная в сторону от центральной линии колеса.
транспортное средство.
■ Схождение можно измерять в линейных единицах, в передней части шины или в виде углового отклонения.
- УГОЛ РАЗВАЛА
Угол развала — это угол, образуемый колесами транспортного средства;
В частности, это угол между вертикальной осью колес, используемых для рулевого управления.
и вертикальная ось автомобиля, если смотреть спереди или сзади. - Угол развала
■ Обычно обеспечивается 2 градуса положительного угла развала.
■ Положительный угол развала приводит к износу шины по внешнему краю
■ Отрицательный развал приводит к износу шины по внутреннему краю
■ Одинаковый развал обоих колес приводит к тому, что автомобиль
дорога.
■ Для праворульных стран предусмотрен слегка высокий развал
на правом колесе, чем на левом колесе - Наклон шкворня, прилежащий угол и радиус закругления
КПЭ
• от 7 до 8 градусов
• Помогает быстрому восстановлению
• Обеспечение курсовой устойчивости
•Во время поворота кузов автомобиля стремится вверх
Радиус очистки
• Отрицательный радиус зачистки стремится к схождению
• Положительный радиус зачистки имеет тенденцию к отклонению наружу
• Нулевой радиус очистки стремится к прямым колесам — центральная точка
рулевое управление
•Большой радиус очистки, как правило, требует большего крутящего момента, чтобы повернуть
колеса
• Обычно предпочтителен небольшой положительный радиус очистки.
- УГОЛ РАСКЛАДКИ
■ Обычно предоставляется 3 степени
■ Помогает в направлении транспортного средства
■Положительный кастор имеет тенденцию к более высокому крутящему моменту для
возврат руля и предусмотрены в силе
только руль
■Нулевой кастер или отрицательный кастор предоставляется в
ручное управление. - Недостаточная и избыточная поворачиваемость
■ Недостаточная управляемость — это состояние управляемости автомобиля, при котором на поворотах
круговая траектория движения автомобиля имеет больший радиус, чем окружность
обозначено направлением его колес.
■ Избыточная поворачиваемость — это явление, которое может возникнуть в автомобиле, когда
при попытке поворота или во время поворота. Говорят, что у машины избыточная поворачиваемость
когда задние колеса не следуют за передними колесами, а вместо этого скользят
к внешней стороне поворота. - Геометрия за рулем
Центр
Контакты шин
Угол кастера
Угол наклона шкворня
Kinpin Смещение на земле
Ось вора в законе - Угол бокового наклона
( ) sin sinzl zrM F F dλ λ δ= − + × ×
ФЗР
F sin λzr
д
λ
F sin λzr
ФЗР
дельта
d грех δ - Крутящий момент от бокового наклона
4530150-15-30-45
-200
-100
0
100
200
Общий
Угол поворота (градусы)
Крутящий момент рулевого управления (дюйм-фунт)
КРУТЯЩИЙ МОМЕНТ ОТ
БОКОВОЙ УГОЛ НАКЛОНА
Правое колесо (600 фунтов)
смещение 1 дюйм
Угол наклона 10°
Левое колесо (800 фунтов)
M = — (F + F ) d sin λ sin δV zl zr
( ) sin sinzl zrM F F dυ λ δ= − + - Угол кастера
( ) sin coszl zrM F F dυ υ δ= − × ×
ФЗР
Ф
грех ν
зр
д
ν
F sin ν
зр
ФЗР
δ d потому что δ - Крутящий момент от угла кастера
4530150-15-30-45
-200
-100
0
100
200
Угол поворота (градусы)
Крутящий момент рулевого управления (дюйм-фунт)
КРУТЯЩИЙ МОМЕНТ ОТ
УГОЛ КАСТЕРА
Общий
Левое колесо (800 фунтов)
Правое колесо (600 фунтов)
смещение 1 дюйм
5°CasterAngle
M = (F — F ) d sin λ cos δV zl zr δυυ cossin)( ⋅⋅−= dFFM xrxl - Боковая сила
υtan)( rFFM yrylL ⋅+−=
Фир ν
r загар ν - Тяговое усилие
dFFM xrxlT ⋅−= )(
Fxr д
λ - Управление 4 колесами — низкая скорость
R = δ (1 + δ /δ )frf
л
дельта
р
л
ф
дельта
р
Повернуть
Центр - Управление 4 колесами — высокая скорость
дельта
ф
дельта
р
топор
• Синфазное рулевое управление четырьмя колесами
• Только на высокой скорости (обычно
выше 35 миль в час)
• Углы поворота задних колес менее
передний
• Углы поворота задних колес ограничены
несколько градусов - Применение в системе рулевого управления
■ Влияние геометрии рулевого управления на производительность
– недостаточная поворачиваемость (линейный диапазон)
— Ограничение прохождения поворотов (нелинейный диапазон)
■ Крутящий момент и ощущение на рулевом колесе
— Ощущение центра
– Градиенты крутящего момента
– Линейность
— Характеристики усилителя мощности
– Трение и демпфирование
■ Оценить влияние асимметрии
– Производственный допуск
Реклама
Чем отличается передняя часть со стороны водителя от передней части со стороны пассажира? Является ли.
..
Чем отличается передняя часть со стороны водителя от передней части со стороны пассажира? Есть…
Задайте вопрос, получите ответ как можно скорее!
☰
×
ЗАПРОСИТЬ ЦЕНУ
спросил
Натан Т
на
23 декабря 2016 г.
Как отличить или узнать, какая у меня сторона? Я довольно сильно ударился передней частью пассажира о бордюр во время полного поворота, и я заменил шину и обод, но внешний износ шин по-прежнему неравномерный. Я наткнулся на правый бордюр, и теперь эта сторона начинает испытывать неравномерный износ. После того, как это произошло, я заметил биение руля на скорости выше 70 миль в час. Все это произошло около четырех месяцев назад. Когда это произошло, мое торможение пульсировало под ногой при постоянном торможении.
Заметнее на высоких скоростях. Теперь это действительно очевидно, и мне было интересно, поможет ли замена моей передней части: оси, ротора, колодок, шин.
Спасибо!
Пробег моей машины 155000 миль.
В моей машине установлена автоматическая коробка передач.
| Проверка тормозов, рулевого управления и подвески | $94,99 — $114,99 | Получить предложение |
| Или для любого другого авторемонта | Получить предложение |
Norman Cremeans
Автомеханик
25 лет опыта
Привет. Местоположение колеса определяется, представляя, что вы сидите на сиденье водителя. Ваш и большинство современных автомобилей имеют 2 оси спереди; некоторые автомобили по-прежнему имеют цельный картер заднего моста, но также сохраняют 2 отдельные оси. Похоже, вы погнули стойку, нижний рычаг, шаровую опору и/или ступицу, когда ударились о бордюр.
Я предлагаю, чтобы квалифицированный специалист выполнил осмотр, чтобы избежать замены ненужных частей. У вашего механика есть несколько технических специалистов, которые могут помочь вам с проверкой подвески.
Заявления, приведенные выше, предназначены только для информационных целей и должны быть проверены независимо. Пожалуйста, смотрите наш
Условия использования
подробнее
Получите мгновенную смету для вашего автомобиля
К вам приедут наши сертифицированные механики ・Гарантия на 12 месяцев и пробег 12 000 миль・Справедливые и прозрачные цены
Узнать цену
Механик со стажем?
Зарабатывайте до
$70/час
Подать заявку
Что спрашивают другие
Как вставить компакт-диск в проигрыватель компакт-дисков?
Вставить компакт-диск в проигрыватель компакт-дисков очень просто. Убедитесь, что компакт-диск лежит лицевой стороной вверх (печатной стороной вверх), затем вставьте его в проигрыватель компакт-дисков.
После того, как компакт-диск будет частично вставлен, проигрыватель компакт-дисков втянет его…
Случайные проблемы с запуском, обслуживание батареи AAA
Здравствуйте. Такое впечатление, что при этом двигатель вообще не крутит. Обычно это вызвано неисправностью замка зажигания (https://www.yourmechanic.com/article/symptoms-of-a-bad-or-failing-ignition-switch) или датчика положения коробки передач (https://www.yourmechanic). .com/article/symptoms-of-a-bad-or-failing-transmission-position-sensor-switch). Самая распространенная проблема, с которой я сталкивался на этом автомобиле…
Можно ли ездить без переднего дифференциала?
Если автомобиль имеет ручной выбор полного привода, то вы можете обойтись без этого, но это явно не идеально. Если автомобиль нельзя выбрать, а вместо этого используется полный привод (https://www.yourmechanic.com/article/how-all-wheel-drive-works), то вы не можете сделать это, так как.
..
У грузовика проблемы с запуском, обороты холостого хода слишком низкие, теряется мощность, горит индикатор проверки двигателя.
Вы можете попробовать залить в воздухозаборник немного очистителя сгорания. Вы можете получить хороший очиститель в любом магазине запчастей Ford. Вы используете небольшой резиновый шланг и позволяете ему медленно всасываться в двигатель…
Не переключается и глохнет — Honda CR-Z 2011
Судя по вашему описанию проблем, у вашего автомобиля проблемы с проскальзыванием сцепления на маховике двигателя. 60 000 кажется довольно рано для такого типа проблем, но зависит от манеры вождения автомобиля….
заменил неисправный блок катушек и новую катушку, искра не заводится, но двигатель работает с перебоями, индикатор иногда мигает
Привет и спасибо для ваших вопросов. Если ваш двигатель был перестроен около 10 месяцев назад, вопрос заключается в том, чтобы определить, была ли установлена также система управления.
Судя по имеющимся у вас симптомам…
Установка переднего номерного знака
Привет! Не корите себя слишком сильно; мы все были там и делали то же самое по крайней мере один раз в нашей жизни. Если вы посетите местный магазин автозапчастей, у них могут быть винтовые вставки, называемые креплениями номерного знака…
Мой Chevy Malibu LT 2.5L 2013 года, проверьте, горит ли индикатор двигателя, а указатель температуры едва поднимается при работающем двигателе.
Вы должны проверить автомобиль у механика, такого как механик из YourMechanic, чтобы убедиться, что код в компьютере связан с заеданием термостата в открытом положении или проблема с датчиком, из-за которого вентиляторы постоянно включены. Бег…
Ск. англ. л. на Проверено. заменил крышку бензобака. некоторое время работал нормально. теперь л. вернуться на
Привет. Обычно, когда загорается индикатор проверки двигателя и выполняется ремонт, код должен быть очищен профессиональным механиком.
Это может быть причиной того, что лампочка периодически загорается. Впрочем, можно и…
Статьи по Теме
Руководство покупателя Toyota Venza 2012 года
Toyota Venza 2012 года представляет собой наилучшее сочетание внедорожника и седана. У него достаточно места для головы и ног, поэтому пассажиры могут чувствовать себя комфортно во время дальних поездок, а также предлагается версия с передним приводом с четырьмя цилиндрами или вариант с полным приводом V6…
Руководство покупателя Toyota Avalon 2012 года
Если вы ищете большой роскошный седан, вы, вероятно, заметили, что рынок с каждым годом становится все меньше. Там, где когда-то можно было увидеть Mercury Grand Marquis и Buick Electras, теперь это редкость….
Стоит ли покупать Honda Accord или Toyota Camry?
Honda Accord и Toyota Camry вот уже 20 лет являются самыми продаваемыми автомобилями благодаря своему качеству и надежности.




Х. Рзеппа.












