|
Навигация:
Топ: Методика измерений сопротивления растеканию тока анодного заземления: Анодный заземлитель (анод) – проводник, погруженный в электролитическую среду (грунт, раствор электролита) и подключенный к положительному… Устройство и оснащение процедурного кабинета: Решающая роль в обеспечении правильного лечения пациентов отводится процедурной медсестре… Марксистская теория происхождения государства: По мнению Маркса и Энгельса, в основе развития общества, происходящих в нем изменений лежит…
Интересное: Распространение рака на другие отдаленные от желудка органы: Характерных симптомов рака желудка не существует. Выраженные симптомы появляются, когда опухоль… Инженерная защита территорий, зданий и сооружений от опасных геологических процессов: Изучение оползневых явлений, оценка устойчивости склонов и проектирование противооползневых сооружений — актуальнейшие задачи, стоящие перед отечественными. Принципы управления денежными потоками: одним из методов контроля за состоянием денежной наличности является…
Дисциплины:
|
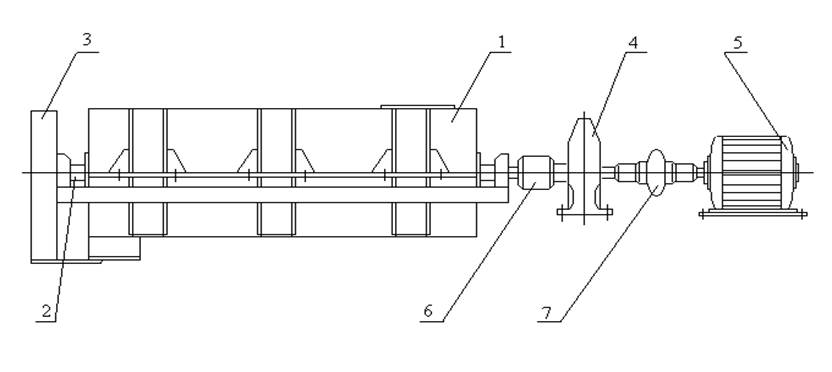
⇐ ПредыдущаяСтр 19 из 35Следующая ⇒ К этому типу машин относят машины с тяговым органом или без него, обеспечивающие движения груза непрерывным потоком или равномерно распределенными порциями, конвейеры всех типов, элеваторы пневматические и гидравлические перегружатели. Машины с тяговым органом можно разделить на три группы: · конвейеры, перемещающие груз по горизонтали; · конвейеры, перемещающие груз, как по горизонтали, так и по вертикали; · элеваторы или нории (черпаковый подъемник), перемещающие груз по вертикали (черпаковый подъемник).
Конвейеры: ленточные и цепные. На ленточных конвейерах груз перемещается с помощью непрерывной ленты, приводного и натяжного барабанов и поддерживается по длине рабочей и холостой ветвей роликовыми опорами. Ленточные конвейеры: стационарные и передвижные. Ширина ленты – 700 мм, скорость перемещения 0,5–0,8 м/с передвижные короткие, их можно включить в любой ПК. Стационарные служат для перегрузки между складами и причалами, в пределах склада и т.п. длина: сотни метров, ширина до 2 м, скорость перегрузки > 6 м/с. Цепные конвейеры представляют собой непрерывные цепи, располагаемые попарно и на которых закрепляются скребки, пластины и другие захваты (для штучных грузов). Элеваторы: ковшовые для перемещения сыпучих грузов и с захватами разные формы для штучных грузов. Скорость до 2 м/с. Пневматические перегрузочные устройства широко используют в портах для перегрузки и транспортирования массовых навальных грузов (зерно, глинозем, апатиты, удобрения, технологическая щепа). В пневматической установке частицы груза перемещаются во взвешенном состоянии под действием струи воздуха, движущиеся по трубопроводам с большой скоростью. Движение смеси воздуха и частиц груза происходит под влиянием разности давлений по концам трубопровода, создаваемые разряжением или нагнетанием воздуха. Гидравлические перегрузочные устройства для перегрузки песка и других грузов, не боящихся влаги. В трюм судна вводят различные трубопровода и заборное сопло пульпопровода, который выводят на берег. Пульпа подается в специальный резервуар или открытую площадку, а вода удаляется через колодцы и дренажные устройства.
Специальное и вспомогательное перегрузочное оборудование. Наряду с перегрузочными машинами общего назначения: кранами, погрузчиками, транспортерами, конвейерами, которые могут быть использованы для широкого круга задач в перегрузочном комплексе, в портах используют специальное перегрузочное и вспомогательное оборудование. В комплекте механизированной разгрузки навалочных грузов используются вагоноопракидыватели. Вагоны закатываются на платформу и закрепляются на петли. Затем, в зависимости от конструкции платформа поворачивается либо относительно продольной, либо поперечной оси, либо роторной. При загрузке навалочных грузов в трюм судна, особенно если это не специализированное судно, возникают затруднения с подачей груза в подпалубное пространство. Используются для этого метательные машины. Часто они бывают лопастного типа (лопасти закреплены на вращающемся барабане). Груз через разгрузочный люк попадает на лопасти, увлекается ими и обрабатывается в трюм (в нужном месте). Производительность 250-350 т/час, дальности полета до 15 м, но такие машины не приспособлены для грузов, не допускающих дробления. Для механизации трюмных работ применяют шнековые машины (как в мясорубке) и одноковшовые трюмные погрузчики, малогабаритные бульдозеры. Как правило, навалочные грузы перевозят большими партиями на балкерах, рудовозах и перегружают на специальных комплексах, оборудованных специализированными машинами и установками. К основным элементам таких комплексов относятся устройства для приема, транспортирования, хранения и погрузки. При перевозке навалочных грузов (руды, угля) на складские площадки, кроме машин общего назначения, таких, как портальные грейферные краны, экскаваторы, бульдозеры, используют специализированное оборудование: штабелирующие устройства – стакеры и устройства для выгрузки груза из штабеля – реклаймеры. Стаккер состоит из тележки с механизмом передвижения и двумя частями – загрузочным конвейером и поворотной направляющей. Реклаймер имеет обратную схему: роторное загрузочное устройство загрузочное устройство подает груз из штабеля на приемный конвейер. В некоторых случаях конструкция, совмещая обе схемы и тогда это стаккер–реклаймер. Для погрузки навалочных грузов на суда применяют конвейерные береговые перегружатели. Их консоли имеют выдвижную конструкцию. Для перегрузки зерна – перегружатели пневматические. Для перегрузки наливных грузов стендеры – направляющие трубчатые шланговые устройства.
Выбор схемы механизации
Выбор схемы механизации грузовых работ, состава и схемы компоновки технологических элементов ПК зависят от объема грузооборота, рода груза и транспортных характеристик грузов, длительности хранения в порту, параметров территории и др. Что имеется в виду, когда рассматривается вопрос выбора схемы механизации. Это схема, обеспечивающая наиболее совершенные и эффективные способы перегрузочных работ, обеспечивающих работу ПК и всего порта в оптимальном режиме. В понятие материально – технической базы включается не только комплекс перегрузочных машин и устройств, но и типы, и взаимное расположение сооружений, соответствующее принятым схемам механизации. При выборе схемы механизации, как правило, предусматривают выполнение всех операций с помощью взаимосвязанных машин, т.е. использование комплексной механизации. Выбираемая схема механизации должна обеспечить требуемый уровень интенсивности обработки судов, определяемый величиной судо-часовых норм и устанавливаемый с учетом расчетных параметров морских транспортных судов. Под судо–часовой нормой понимают среднее значение массы груза определенного вида, который может быть погружен за 1 час на судно данного типа (или выгружен), при оптимальном числе грузовых механизированных линий. Проектная судо – часовая норма Рс. Судо-часовая норма разрабатывается и утверждается федеральным агентством морского и речного флотов и отражает современное состояние оборудования причальных фронтов российских портов и организации перегрузочных работ в портах. Пределы изменения Рс.ч. весьма значительны: от 20–30 т/час для небольших судов и генеральных грузов, до 4000–5000 т/судо-час для крупнотоннажных балкеров, для танкеров Рс.ч. еще выше. Естественно, что величина Рс.ч. величина переменная и увеличивается при совершенствовании организации перегрузочных операций, ритмичности поступления грузов в порты и захода в них судов. При проектировании новых портов или реконструкции существующих, где предусматриваются более совершенные перегрузочные машины и технология перегрузочных работ или намечается переработка новых грузов, для которых отсутствуют утвержденные судо-часовые нормы, последние приходиться устанавливать расчетным путем для конкретных условий. Проектная судо-часовая норма Рс.ч.,т/судо-час, в этом случае может быть вычислена по формуле:
(11.1) где mc – число смен в сутках; Рк.б – проектная комплексная норма выработки основной перегрузочной машины одной грузовой линии в смену; Рк.с – проектная комплексная норма выработки основной перегрузочной машины судовых перегрузочных средств; nл.б, nл.c— соответственно число береговых и судовых грузовых линий; λ1=0,85-0,90 – коэффициент использования машин, учитывающий перерывы в работе в связи со швартовкой и отходом судов, сменой ж/д составов и т.п.; λ2=0,80-0,95 – понижающий коэффициент, учитывающий число грузовых линий.
Для определения Рс.ч. требуется определить производительность основной машины в составе грузовой линии.
1) Часовая эксплуатационная производительность машин циклического (периодического) действия Ркч, [т/час], определяется по формуле: , (11. где Мгр. – масса груза в одном подъеме, т; tц – продолжительности цикла, сек; λг, λв – коэффициенты использования машины по грузоподъемности и по времени.
Ранее мы говорили, что под циклом понимается комплекс операций, необходимых для подъема груза, перемещений его от места подъема к месту укладки и возвращения машины в исходное положение. Продолжительность цикла tц обычно указывается в паспорте машины или может быть вычислена на основании паспортных данных о скоростях отдельных движений. Для действующих машин может быть проведен хронометраж. Коэффициент использования перегрузочных машин по грузоподъемности (λг) в значительной степени зависит от вида груза и типа перегрузочных устройств. Так, для навалочных грузов, перегружаемых грейферами λг ≈ 0,7-0,8, т.к. масса самого грейфера составляет 15 – 50% полной грузоподъемности машины. Если грейфер заполняется не полностью также происходит снижение λг. Для штучных грузов может приближаться к 1, но λг < 1, если из-за малой плотности груза, при которой возможность его подъема определяется габаритами отдельного места. Подъем малых грузов тоже не производителен, поэтому стремятся использовать УГМ, чтобы приблизить λг к 1. Коэффициент использования перегрузочной машины по времени (λв) учитывает планируемые перерывы в работе (профилактический осмотр, операции эпизодического характера, например перемещение вдоль причала, не входящие в расчетный цикл: λв = 0,85-0,95.
2) Часовая производительность машин непрерывного действия Ркч, [т/час], определяется по формуле:
, т/час; (11.3)
Где q – нормативная масса груза на погонный метр длины конвейера, [т/м], υ – скорость движения конвейера (потока груза), [м/с], λг, λв – те же коэффициенты, причем λг для ковшовых подъемников – это степень заполнения ковшей.
Для ленточных конвейеров, перемещающих навалочный груз – отношение площади действительного поперечного сечения потока груза к ее нормативной величине. Соответствующие сменные производительности определяются:
, т/см; (11.4)
где tсм– продолжительность рабочей смены, ч.
Если перегрузочные работы выполняются цепочкой последовательно установленных перегрузочных машин, следует говорить о производительности грузовой линии, соответствующей производительности основной машины, определяющей эффективность работы всей линии. Схему механизации выбирают, исходя из минимальных затрат по флоту и порту по специальным методикам. Нормами проектирования даются конкретные рекомендации для универсальных и специализированных ПК по выбору схем механизации грузовых работ, составу, расчету параметров и схемам компоновки технологических элементов на территории этих ПК.
⇐ Предыдущая14151617181920212223Следующая ⇒ Организация стока поверхностных вод: Наибольшее количество влаги на земном шаре испаряется с поверхности морей и океанов (88‰). Поперечные профили набережных и береговой полосы: На городских территориях берегоукрепление проектируют с учетом технических и экономических требований, но особое значение придают эстетическим… Механическое удерживание земляных масс: Механическое удерживание земляных масс на склоне обеспечивают контрфорсными сооружениями различных конструкций… Индивидуальные и групповые автопоилки: для животных. Схемы и конструкции… |
Машины непрерывного действия — Энциклопедия по экономике
Сооружение переходов магистральных трубопроводов под автомобильными и железными дорогами закрытым (бестраншейным) способом обеспечивает беспрепятственное круглосуточное движение по ним. Работы выполняются с помощью установки горизонтального бурения. Установка типа ГБ относится к машинам непрерывного действия и предусматривает бурение горизонтальной скважины с одновременной прокладкой в ней защитного кожуха, через который прокладывается рабочая плеть магистрального трубопровода.
[c.299]
Производство смол и лаков осуществляется по современным технологическим схемам на оборудовании большой единичной мощности с механизированными системами загрузки сырья и автоматизированными методами контроля. Внедряются непрерывные технологические схемы получения пленкообразователей в производстве алкидных и эпоксидных смол, высокопроизводительные бисерные машины непрерывного действия в сочетании с быстроходными смесителями в производстве эмали и др. Опережающими темпами развиваются производства прогрессивных лакокрасочных материалов.
[c.17]
Повышение эффективности строительного производства будет также обеспечено за счет увеличения количества машин с унифицированным сменным оборудованием, выпуска новых машин непрерывного действия для выполнения земляных работ, специальных машин для зачистки котлованов, самоходных скреперов больших емкостей. В промышленном, транспортном и гидротехническом строительстве будут применены самоходные стреловые краны с большим вылетом стрелы вместо башенных кранов, широко внедрены приборы автоматизированного управления машинами и механизмами, созданы и изготовлены в достаточном количестве комплекты машин, инструмента и приспособлений для комплексной механизации оставшихся (после монтажа конструкций) на строительной площадке работ.
[c.155]
Для машин непрерывного действия расчетная норма времени находится в зависимости от объема продукции, вырабатываемой машиной за 1 час непрерывной работы с учетом коэффициентов, характеризующих полноту использования технических возможностей машины [c.293]
При расчете потребности в землеройных машинах на перспективу предусматривается дальнейшая механизация и ликвидация тяжелого ручного труда в строительстве, широкое применение прогрессивных землеройных машин непрерывного действия, обеспечивающих комплексную механизацию, преимущественное использование землеройно-транспортных самоходных колесных машин (бульдозеров и скреперов). [c.74]
Принцип непрерывности находит свое выражение в замене механизмов с возвратно-поступательным движением механизмами с равномерно-вращательным движением. Примером может служить переход от челночной к бесчелночной конструкции ткацких станков, от поршневых насосов и компрессоров — к центробежным, от плоскопечатных — к ротационным печатным машинам и т.
д. Естественно, что выигрыш в производительности, который достигается с помощью машин непрерывного действия, отнюдь не должен быть перекрыт их частыми простоями и ремонтами.
[c.23]
Ярким примером машин непрерывного действия являются также роторные экскаваторы, которые должны заменить широко применяемую в настоящее время землеройную технику циклического действия — одноковшовые экскаваторы, драглайны, бульдозеры, скреперы и т. д. Роторные экскаваторы отличаются не только более высокой производительностью (что обусловлено отсутствием холостых ходов), но также малыми удельными металлоемкостью и энергоемкостью. Если самоходный драглайн на полезную работу перемещения горной массы затрачивает только 7% всей потребляемой им энергии, то у роторных экскаваторов на это расходуется уже до 70%. [c.24]
Все погрузочно-разгрузочные машины подразделяют на машины периодического (циклического) действия (краны, тельферы, погрузчики), перемещающие грузы отдельными подъемами или штуками через определенный интервал времени, и машины непрерывного действия (конвейеры, элеваторы, пневматические машины), перемещающие груз непрерывным или почти непрерывным потоком.
С характеристиками этого оборудования следует знакомиться по справочникам подъемно-транспортных машин.
[c.251]
Расчет производительности машин непрерывного действия. Общая часовая производительность для этих машин, т/ч [c.253]
Особенности расчета часовой производительности перегрузочных машин непрерывного действия при переработке сыпучих и штучных грузов заключаются в способах определения массы груза на одном погонном метре несущего органа машины. [c.253]
Общая часовая производительность машин непрерывного действия определяется следующим образом [c.266]
Электронные аналоговые вычислительные машины относятся к классу машин непрерывного действия. Особенностью машин этого класса является то, что в процессе вычислений математические величины изображаются в виде непрерывных значений каких-либо физических величин (длин, углов, напряжений, токов и т. д.). Результат математической операции в аналоговых машинах получается, как правило, сразу же после ввода исходных данных и изменяется непрерывно по мере их изменения.
[c.123]
IV. ПРОИЗВОДСТВО КОРДНОГО ВИСКОЗНОГО ВОЛОКНА НА МАШИНАХ НЕПРЕРЫВНОГО ДЕЙСТВИЯ [c.62]
Грузчики, портовые рабочие (кроме постоянно работающих крановщиками, водителями внутрипортового транспорта и рабочих, обслуживающих машины непрерывного действия на переработке любых грузов, за исключением вредных и опасных). [c.426]
Из выражения (3.2) следует, что продуктивность обусловливается производительностью за 1 ч технологического времени и непрерывностью работы. Для машин непрерывного действия производительность определяется выражением [c.103]
Упомянутая методика вводит некоторую шкалу оценки свойств СЧМ. Однако с ее помощью можно установить лишь соответствие тех или иных единичных свойств предельно допустимым нормам. Вообще разработка и совершенствование шкал измерений свойств СЧМ имеет немаловажное значение в системном проектировании. Имеющиеся шкалы, включая и ту, о которой шла речь, относятся к шкалам порядка. Дальнейшее развитие методов оценки свойств СЧМ должно дать проектировщикам шкалу интервалов, а в будущем и абсолютную шкалу.
К недостаткам существующих методов планирования и оценки показателей свойств СЧМ следует отнести и то, что показатели эргономики и особенно эстетики имеют в комплексной оценке технического уровня и качества сравнительно невысокие значения весомости. Так, для землеройных машин непрерывного действия суммарный вес всех показателей эргономики составляет 0,18 а эстетики — лишь 0,04. Некоторые из единичных показателей эргономических свойств имеют вес 0,01. Такое положение приводит к тому, что улучшение или ухудшение некоторых эргономических и эстетических свойств может практически не отразиться на комплексном показателе технического уровня и качества.
[c.229]
Нормы технической производительности погрузочно-разгрузочных машин непрерывного действия рассчитывают по формуле [c.228]
Машинами непрерывного действия грузы перемещаются непрерывным потоком по одному и тому же строго определенному пути. При этом насыпной груз располагается на несущем элементе сплошной непрерывной массой или в движущихся ковшах, коробах и т.
и. Штучные грузы перемещаются также непрерывным потоком в определенной последовательности один за другим. Загрузка и разгрузка рабочих органов таких машин производится во время их движения, т. е. на ходу. Машины, у которых загрузка выполняется собственными загрузочными (питательными) устройствами, называют конвейерными погрузчиками. Если машины непрерывного действия выполняют лишь функции перемещения погруженных на них грузов, то их называют конвейерами. Они бывают переносные и передвижные. Как правило, конвейеры используют для переработки насыпных и массовых штучных грузов.
[c.175]
Расчетная часовая производительность машин непрерывного действия характеризуется массой транспортируемого груза, приходящейся на 1 м длины устройства, и скоростью его рабочего органа, т. е. в общем случае производительность машины, т/ч, [c.181]
Казаков В.А. Вычислительные устройства машин непрерывного действия. М. Машиностроение, 1965. [c.334]
Аппараты и машины непрерывного действия сокращают число технологических переходов, длительность производственного цикла и производственные площади повышают производительность труда в 2—3 раза уменьшают потери.
Все это приводит к снижению себестоимости продукции и улучшению ее качества. В вискозном производстве в результате применения машин непрерывного процесса наряду с экономической эффективностью уменьшается вредность производства и, следовательно, улучшаются условия труда.
[c.82]
В аппаратах (машинах) непрерывного действия технологические процессы совершаются без перерыва во время движения перерабатываемых веществ и завершаются за время прохождения сырья через аппарат. Таким образом, отдельные операции процесса, или переходы, протекают одновременно, причем в различных точках аппарата постоянно совершаются одни и те же операции. [c.39]
Машины непрерывного действия 145 [c.160]
Машины цикличного действия через определенные периоды времени повторяют одни и те же элементы работы. К ним относятся автомашины, экскаваторы одноковшовые, бетономешалки, краны и др. Машины непрерывного действия выполняют какое-либо одно движение. К ним относятся гравиемойки, транспортеры, экскаваторы многоковшовые и т.
п.
[c.57]
Расчетную производительность машины непрерывного действия ЯР2 за 1 ч непрерывной работы определяют по формуле [c.57]
Строительные машины по характеру работы подразделяются на две основные группы цикличные машины и машины непрерывного действия. Цикличная машина повторяет определенный комплекс элементов работы и технологических перерывов, следующих в одном и том же порядке (экскаваторы, краны, скреперы, бетономешалки). [c.87]
Примерами машин непрерывного действия могут служить [c.87]
Расчетная производительность машин непрерывного действия [c.88]
Ориентировочные нормы отчислений на реновацию и капитальный ремонт машин непрерывного действия [c.646]
Стационарные роторные вагоноопрокидыватели (фиг. 88) разгрузку вагонов производят вращением их вокруг оси (предельный угол поворота 185°), почти совпадающей с продольной осью вагона. Роторными опрокидывателями вагоны разгружаются в подземные бункера, оборудованные машинами непрерывного действия (конвейеры).
[c.693]
II) Машины непрерывного действия [c.104]
Все сырье до поступления в произ-во подвергается лабораторному анализу, проходит процессы подготовки просеивание, фильтрацию, сортировку и др. При производстве печенья сырье и полуфабрикаты после подготовки поступают в месильные машины периодического или непрерывного действия для приготовления теста. При непрерывном замесе сначала готовится эмульсия из сырья (за исключением муки) затем мука и эмульсия, дозируемые спец. устройствами в строго заданных количествах, перемешиваются в месильной машине непрерывного действия. Тесто формуется на ротационных машинах и выпекается в ленточных конвейерных печах. Печенье охлаждается и упаковывается в пачки или коробки и затем в торговую тару (картонную или деревянную). На передовых К. ф. весь процесс произ-ва сахарного печенья, от подачи сырья через дозаторы и до выхода завернутых пачек с заверточных машин, увязан в непрерывно действующую поточную линию. Уровень механизации производства печенья — 85%.
[c.335]
Создание и применение аппаратов и машин непрерывного действия является одним из основных направлений технического прогресса в промышленности химических волокон. Выше уже приводились примеры внедрения в производство аппаратов непрерывного процесса в химических цехах. Все более широкое применение находят машины непрерывного процесса для формования, отделки, сушки и намотки нити с подкруткой (машина ПН-ЗОО-И и АВК-06-И в кордном производстве, ПНШ-100-И — в производстве вискозной текстильной нити). К высокопроизводительным могут быть отнесены однопроцессные машины КО-228-И для трощения и кручения кордных нитей, КВ-150-И4 и КВ-ЗОО-И для крутки с вытяжкой и отделочные агрегаты ОК-И в производстве вискозной текстильной нити, штапельные агрегаты для производства всех видов химических штапельных волокон и т. д. [c.82]
Автоматизаци я производственных процессов. Применение аппаратов и машин непрерывного действия облегчает и ускоряет автоматизацию всего технологического процесса получения химических волокон.
С пультов управления автоматически регулируются многие параметры, производится загрузка и выгрузка аппаратов, контролируется состав и температура растворов и т. д.
[c.82]
ТЕЛЬНЫЕ МАШИНЫ — их еще называют машинами непрерывного действия. Этот тип машин в экономических расчетах применяется намного реже, чем цифровые машины (или машины дискретного действия). Поэтому, когда мы говорим об ЭВМ и специально не оговариваем, что имеем в виду аналоговые машины, то надо понимать, что речь идет о машинах цифровых (ЭЦВМ). [c.145]
Установление режима работы машины. Режим работы машины в смену устанавливается с учетом структуры времени использования машин. Время регламентированных перерывов в работе. машины, а также время нецикличной работы (лля машин цикличного действия) или допустимой работы вхолостую (для машин непрерывного действия) при разработке норм стремятся предельно сокращать с учетом возможных совмещений их с операциями, относящимися к техническому уходу за машиной. Сокращение внуг-рисменных простоев обеспечивается установлением такого распорядка работы машины в течение смены, при котором рабочие при переходе от одного процесса к другому или в начале и конце смены не имели бы простоев.
[c.89]
Вместе с тем технический прогресс в производстве резинотканевых изделий, как и в производстве шин, немыслим без резкого улучшения качества исходного сырья и в первую очередь технических тканей и каучука. Качество и свойства волокон и созданных из них технических тканей определяют технические и экономические показатели производства и эксплуатации таких важнейших видов резиноткаиевых изделий, как транспортерные ленты, приводные ремни, рукава. Однако основным видом технической ткани, применяемой в отечественной резиновой промышленности, является хлопчатобумажная. Несмотря на то что для получения хлопчатобумажного бельтинга и других технических тканей используются наиболее качественные сорта дорогого советского тонковолокнистого хлопка, изготовленные на его основе транспортерные ленты и другие резинотканевые изделия не удовлетворяют современным требованиям техники. Можно сослаться на следующий пример. В текущем семилетии основное техническое направление открытой разработки месторождений полезных ископаемых состоит в широком использовании роторных экскаваторов большой мощности.
Эти машины непрерывного действия производительностью 1000—3000 куб. м/час комплектуются ленточными конвейерами, создание которых на основе хлопчатобумажного бельтинга практически невозможно из-за их недостаточной прочности. Только использование высокопрочных конвейерных лент с основой из синтетических волокон или стальных тросов позволит решить проблему создания высокоэффективных роторных комплексов непрерывного действия. Необходимо отметить, что использова-
[c.475]
Прядильные машины, которые путем дальнейшего вытягивания и скручивания преобразуют ровницу в пряжу. Существенной особенностью прядильной машины является наличие прядильного механизма (ровнично-тростильный механизм и бегунок и т.п.), объединенного с вращающимся вертикальным или наклонным веретеном вся прядильная машина состоит из определенного числа этих элементов, расположенных друг за другом. В товарную позицию включены льнопрядильные машины, коноплепрядильные машины, джутопрядильные и др. машины, прядильные машины периодического действия и прядильные машины непрерывного действия (прядение на рогульчатой прядильной машине, тазовой прядильной машине и т.
п.). Здесь также классифицируются ручные прялки.
[c.159]
В проектах новых заводов, наряду с конвейерами для произ-ва шифера без прокладок, предусматривается применение нового технологич. оборудования лпсто формовочных машин непрерывного действия производительностью до 8—10 тыс. условных плиток в час, валковых агрегатов дляобминания асбеста (вместо бегу нов), аппаратов гидравлич. распушки асбеста (вместо голден-деров). Разрабатываются также новые трубные машины шириной 5 м производительностью 240 условных м в час и 6-метровые. [c.66]
Развивается произ-во роторных экскаваторов производительностью 500, 1000 и 3000 м3 в час с отвалообразователями и ленточными конвейерами в ближайшие годы будут осваиваться роторные экскаваторы производительностью 8—10 тыс. м3 в час, шагающие и карьерные экскаваторы с емкостью ковша до 50—80 м3. Для транспортировки пород и руды серийно изготовляются думпкары грузоподъемностью 50—95 т и электровозы со сцепным весом до 100 т. В дальнейшем грузоподъемность думпкар будет увеличена до 140—180 т.
Для бурения взрывных скважин освоено произ-во станков вращательного (шарошечного) и огневого бурения, осваиваются буровые станки ударновращательного бурения. Изготовляются машины и механизмы для вспомогательных работ на карьерах путеукладчики, самоходные машины для зарядки и забойки взрывных скважин и др. В ближайшее время будут выпускаться высокопроизводительные автоматич. скреперные лебедки с двигателями мощностью 100—120 кет, подземные экскаваторы, погрузочные машины непрерывного действия и др. Большой уд. вес в обогатительном оборудовании имеет дробильно-размольное оборудование. Конусные дробилки для крупного дробления размерами загрузочной и разгрузочной щелей от 500/75 до 1500/300 мм производительностью от 390 до 3750 т/час, весом (без электродвигателя) 39—605 т,. Конусные дробилки для среднего и мелкого дробления диам. основания дробящего конуса от 1200 до 2200 мм, производительностью (при дроблении материалов средней твердости) для мелкого дробления от 18—90 до 185—550 т/час и для среднего дробления от 50—170 до 310—1450 т/час, вес от 23 до 80 т.
Производительность щековых дробилок (при ширине загрузочной щели 900—1500 мм и ширине разгрузочной щели—130—180 мм) 180—500 т/час. Для измельчения твердой руды изготовляются цилиндрич. барабанные мельницы со стержневой или шаровой дробящей средой. Выпускаются также самоцентрирующиеся инерционные грохоты, шириной 1000—2000 мм и длиной 2000— 5000 мм, применяемые при грохочении материалов средней крупности. Для мокрой классификации продуктов дробления выпускаются гидроциклоны, реечные и спиральные классификаторы диам. до 2400 мм. Для обогащения руд изготовляются электромагнитные сепараторы разных типов и производительности, оборудование для обогащения в тяжелых суспензиях, флотационные машины и крупные обжиговые печи. Оборудование для угольной и горнорудной пром-сти не только применяется на горных и угольных предприятиях СССР, но и экспортируется в другие страны.
[c.254]
Непрерывный Тьюринг |
|
Типичная машина Тьюринга имеет фиксированное количество |
|
Предположим, вместо этого мы определяем машину, |
|
Для времени t > 0 машина определяет свой (действительный) |
|
Обратите внимание, что обычный аудиомагнитофон |
|
Это поднимает несколько интересных вопросов: |
|
(1) Является |
|
(2) Что |
|
(3) Любой |
|
(4) Это |
|
(5) Банка |
|
Мы могли бы представить себе трехмерные КТМ, т.е. |
|
Более интересной моделью было бы отсутствие |
|
Очевидно, что «система машин непрерывного действия» |
|
Тем не менее, если оставить в стороне физику (если это возможно), |
|
Причина, по которой вход не может быть явно занят |
|
Выше было указано, что машина также может модифицировать |
|
С тем же успехом мы могли бы использовать x(t) + d вместо x(t) — d. Мы могли бы даже рассмотреть возможность сделать это |
|
Один из вопросов, заданных выше, заключался в том, является ли идеал |
|
Будет ли подходящий критерий остановки строго основан на |
|
Если m(x(t)) может быть функцией сама |
|
Возможно, стоит упомянуть, что непрерывная функция |
|
Также следует помнить, что информация |
|
Настоящая машина Тьюринга содержит гораздо больше |
|
Вернуться в главное меню MathPages |
Что такое непрерывное машинное обучение?
Введение
Машинное обучение — это тип искусственного интеллекта (ИИ), который дает компьютерам возможность обучаться без явного программирования людьми для этого.
На базовом уровне машинное обучение использует алгоритмы, чтобы дать компьютерам возможность изучать данные, находить закономерности и делать прогнозные результаты. Проблема, однако, заключается в том, что традиционная модель машинного обучения предполагает, что данные будут аналогичны данным, на которых она обучалась, что не всегда так.
Непрерывное машинное обучение (CML) переворачивает эту проблему с ног на голову, отслеживая и переобучая модели с использованием обновленных данных. Цель CML — имитировать способность человека постоянно получать и настраивать информацию. В этой статье мы подробно расскажем о том, что такое CML, о связанных с ним проблемах и почему он необходим для развития ИИ.
Определения — CI, CT, CD и CML
Прежде чем мы углубимся в детали непрерывного машинного обучения, важно сначала определить технологии DevOps, на которые оно опирается — CI, CT и CD.
Непрерывная интеграция (CI)
Процесс автоматизации интеграции изменений кода от многочисленных участников в единый программный проект называется непрерывной интеграцией (CI).
Это фундаментальная передовая практика DevOps, которая позволяет разработчикам регулярно объединять изменения кода в единый центр, где впоследствии выполняются сборки и тесты. Перед интеграцией нового кода автоматические инструменты тестируются, чтобы убедиться в их точности.
Метод непрерывной интеграции в значительной степени зависит от системы контроля версий исходного кода. Кроме того, в систему контроля версий добавлены другие проверки, такие как автоматизированные тесты качества кода, инструменты проверки стиля синтаксиса и другие.
Непрерывное обучение (CT)
Как указывалось ранее, модели машинного обучения (ML) предполагают, что данные всегда будут аналогичны данным, с которыми они были обучены. Однако это не всегда так. А именно, большинство моделей работают в среде, где данные быстро меняются и где вероятны «дрейфы концепций», что может отрицательно сказаться на точности и надежности прогнозов моделей.
Чтобы предотвратить «дрейф концепций», модели необходимо отслеживать и переобучать, когда данные становятся слишком неточными.
Здесь вступает в действие концепция непрерывного обучения. CT является компонентом практической модели MLOps. Он направлен на автоматическое и постоянное переобучение модели, чтобы реагировать на изменения в данных. Эта методология предотвращает превращение модели в ненадежную и неточную.
Непрерывная доставка (CD)
Цель непрерывной доставки — обеспечить надежный и воспроизводимый метод запуска программного обеспечения в производство. Непрерывная доставка для машинного обучения (CD4ML) расширяет этот подход, позволяя межфункциональной команде разрабатывать приложения машинного обучения на основе кода, данных и моделей, которые развиваются небольшими безопасными шагами, которые можно воспроизвести и надежно выпустить в любое время.
Непрерывное машинное обучение (CML)
Теперь, когда мы хорошо разобрались с изложенными выше концепциями, мы можем поближе рассмотреть непрерывное машинное обучение.
CML, сокращение от Continuous Machine Learning, представляет собой библиотеку непрерывной интеграции (CI) и непрерывной доставки (CD) с открытым исходным кодом для машинного обучения.
Вообще говоря, его можно использовать для автоматизации частей вашего процесса машинного обучения, таких как обучение и оценка модели, сравнение испытаний ML на протяжении всей истории вашего проекта и мониторинг изменений в наборах данных. Он работает на основе экосистемы MLOps, что позволяет вам использовать ваши любимые инструменты DevOps в проектах машинного обучения.
Если вы знакомы с рекомендательной системой Netflix, в которой есть функция «Впереди», которая воспроизводит шоу, похожие на те, которые вы недавно смотрели, то вы видели модель CML в действии. Чтобы не отставать от бесконечных поставок новых программ, а также меняющихся предпочтений и тенденций клиентов Netflix, необходимо постоянно вводить входящие данные. И модель должна постоянно обновляться, чтобы иметь возможность рекомендовать соответствующие шоу или фильмы.
Зачем нужен CML?
Зачем нам нужно непрерывное машинное обучение?
Важность CML — подъем CML AI
CML — важный шаг вперед в развитии искусственного интеллекта.
С технической точки зрения, это значительное улучшение по сравнению с узким ИИ, который представляет собой целеустремленный искусственный интеллект, предназначенный для выполнения одной задачи. Модель должна иметь возможность учиться на постоянном потоке данных, как это делают люди, и CML делает это возможным. Кроме того, благодаря непрерывному машинному обучению модели машинного обучения становятся более адаптируемыми и масштабируемыми, что является двумя основными качествами интеллектуальных машин.
CML и адаптируемость
CML помогает постоянно совершенствоваться. Самое простое применение CML — это ситуации, когда распределения данных остаются постоянными, но сами данные непрерывны. Например, в системы рекомендаций или обнаружения аномалий постоянно поступают данные, и для моделей важно учиться на этих данных и уточнять свои модели прогнозирования для получения наиболее точных результатов.
В большинстве случаев сбор большого и репрезентативного набора данных невероятно сложен, и это еще более сложно, когда семантика данных постоянно меняется.
Хотя типичные модели машинного обучения можно переобучить, это может усложниться при изменении данных, а также факторов, которые мы не можем контролировать. Однако именно здесь модели CML успешны; когда новые поступающие данные сильно отличаются от данных, с которыми обучалась модель машинного обучения.
CML и масштабируемость
Подобно человеческому разуму, модели CML должны иметь возможность быстро фильтровать и обрабатывать данные, чтобы уменьшить объем данных, которые необходимо хранить и поддерживать. По данным IDC, к 2025 году скорость производства данных вырастет до 160 ZB. Для перспективы в 2017 году данные производились со скоростью 16 ZB в год. этих данных можно будет сохранить.
Таким образом, возможность быстрой обработки данных будет иметь важное значение для предотвращения потери данных. Целью CML является фильтрация данных и резкое сокращение вычислительной работы, необходимой для их обработки. Поэтому CML может стать одним из лучших вариантов хранения и обработки данных в будущем.
Кроме того, что касается масштабируемости, CML обеспечивает мультимодальное многозадачное обучение. Как люди, мы обрабатываем множество потоков новых данных по разным темам, одновременно решая множество проблем. Традиционно для методов машинного обучения требуется модель, которая может успешно изучать различные темы со многими различными потоками данных, которые необходимо переобучать каждый раз, когда появляется новая информация из одного из потоков данных, что нереально для масштабируемости. Тем не менее непрерывное машинное обучение может обеспечить альтернативное асинхронное обучение с множеством задач, при этом модель обновляется только на основе данных в реальном времени, доступных из нескольких источников одновременно.
Основные проблемы непрерывного машинного обучения
Итак, в каких случаях непрерывное машинное обучение является проблемой? Хотя он имеет много преимуществ и важен для развития ИИ, CML также имеет некоторые проблемы, связанные с ним.
Не знать, в чем проблема
Осведомленность о существующей проблеме — это вызов, который можно применить к любой разработке программного обеспечения, и проект машинного обучения не исключается из этого.
Если вы работаете в области прикладного машинного обучения, определение проблемы чрезвычайно важно, поскольку это повлияет на решения, которые вы принимаете в отношении технологий, источников данных и людей, которые будут участвовать в разработке вашего продукта.
Эта проблема объясняет, почему только 20% пилотных проектов ИИ крупных корпораций достигают стадии производства, и многие из них не удовлетворяют потребности своих потребителей так, как это было задумано во время разработки. Есть две возможности для этой статистики: одна заключается в том, что решается не та проблема, а другая заключается в том, что не все переменные учитываются во время разработки.
Сбор необходимых данных
Когда речь идет о непрерывном машинном обучении, одним из самых сложных аспектов является получение и организация данных, необходимых для обучения моделей. Противоположное этому верно для научных исследований, где обучающие данные часто доступны, и цель состоит в том, чтобы разработать наиболее подходящую модель машинного обучения.
Согласно **Real World AI , Рохвергера и Панга, «при разработке искусственного интеллекта в реальном мире данные, используемые для обучения модели, гораздо более важны, чем сама модель». В академических кругах доктора наук о данных тратят большую часть своего времени и усилий на разработку новых моделей. Однако в случае непрерывного машинного обучения все наоборот. Данные, используемые для обучения моделей в академических кругах, предназначены исключительно для демонстрации того, что модель функциональна, не для решения проблем реального мира Сбор высококачественных и точных данных, которые можно использовать для обучения работающей модели ИИ, очень трудно найти в реальном мире9.0008
Общедоступные наборы данных бесполезны для обучения моделей во многих прикладных приложениях машинного обучения, таких как непрерывное машинное обучение, поскольку они недостаточно тщательно отобраны. Либо вы собираете свои собственные данные, либо покупаете их у третьей стороны. Ни один из вариантов не идеален.
Обе альтернативы имеют свой собственный набор трудностей.
Поддержка моделей машинного обучения
Модель машинного обучения — это прогностическая машина, которая ищет закономерности в данных, собранных из различных источников по всему миру, и предсказывает будущие результаты на основе текущих наблюдений. По мере того, как окружающая среда меняется вокруг нас, меняются и шаблоны данных. Модели машинного обучения, обученные на исторических данных, постепенно устаревают. Как указывалось ранее, модели машинного обучения работают в динамических средах данных, где данные постоянно меняются. Вероятно, произойдет «дрейф концепций», который негативно повлияет на точность моделей, если его не исправить, поэтому это называется «непрерывным» обучением.
К сожалению, ИИ требует вмешательства человека, постоянного обслуживания, управления и корректировки курса, чтобы обеспечивать значимые результаты. Например, во время пандемии COVID-19 многие модели машин вышли из строя во время остановки из-за значительного отклонения от нормы.
По данным Harvard Business Review, влияние на поведение потребителей привело к непредвиденной проблеме: информационный пробел, поскольку данные, собранные до кризиса, больше нельзя было использовать для точного прогнозирования будущих моделей. Важнейший компонент программ лояльности для розничных клиентов, предложения продуктов на основе ИИ и широкий спектр важных бизнес-выборов столкнулись с серьезной проблемой качества. Из-за этого модели машинного обучения пришлось переобучить.
Подводя итог, можно сказать, что наличие инфраструктуры и процессов для получения и обновления моделей на постоянной основе является ключом к обеспечению эффективности вашей модели машинного обучения в долгосрочной перспективе.
Зачем переобучать модели машинного обучения?
Поскольку мы приближаемся к концу этой части, вот краткое изложение некоторых основных причин, по которым модели ML должны быть переобучены:
- Периодическое переобучение поддерживает актуальность модели ML на основе последних данных.
Модели машинного обучения должны регулярно проходить переподготовку. Однако, если нет смещения концепции или серьезной причины для переподготовки, как, например, в случае вышеупомянутой пандемии, в долгосрочной перспективе это может обойтись очень дорого.
- Иногда модели ML падают ниже допустимого порога.
Основная проблема заключается в том, что требуется время, чтобы определить истину, иначе известную как точные данные.
- Данные могут стать слишком непохожими на данные, на которых изначально обучалась модель машинного обучения.
Чтобы этого не произошло, важно держать команду или отдельного человека, который знает о начальном вводе данных, в цикле.
Резюме
Подводя итог, можно сказать, что машинное обучение — это основа машинного интеллекта. Однако традиционные модели машинного обучения предполагают, что все данные аналогичны данным, на которых они обучались, но это не так для большинства реальных приложений ИИ.
..

Для распределения такого груза в трюмах судов используют специальные трюмные машины в виде передвижных (ленточных) конвейеров. Вылет конвейера 6-8 м, производительность 150-300 т/час.
Производительность – 500-1500 т/час. Угол наклона 20 0, высота до 15 м.
Материально – техническая база, соответствующая принятой технологии перегрузочных работ в значительной мере определяется принимаемой схемой механизации.
ч. определяет продолжительность грузовых операций tгр, по которой определяется суточная пропускная способность причала (Рсут).
2)

..
Машина может
)
Единственные нетривиальные CTM — это те, которые никогда не
Кроме того, поле в или рядом с текущим местоположением
По общему признанию
Это связано с представлением о том, что CTM «вычисляет
Причина обращения к x(t) —
) Теперь может показаться
Кроме того, мы должны
Такие отображения являются (или могут быть) совершенно произвольными. Реальность
