Содержание
Устройство молниезащиты. Проектирование и установка молниезащитных устройств.
Для того чтобы эффективно защищать дома и сооружения от грозовых разрядов, используют специальные устройства молниезащиты. На выбор конструкции влияют как особенности здания, которое необходимо обезопасить, так и частота и интенсивность ливней в данном регионе.
На сегодняшний день, все здания подразделяют на три категории в зависимости от требований, которые предъявляются к их безопасности и степени необходимой защиты от ударов молний.
- Первая категория — сооружения, в которых находятся взрывоопасные вещества, пары, газы, химикаты. Имеет особо высокий потенциал опасности.
- Вторая категория — здания, в которых могут храниться легковоспламеняющиеся вещества в закрытом виде (к примеру, в прочной упаковке из металла). Средний класс опасности.
- Третья категория — помещения, где не хранятся взрывоопасные вещества, например, жилые дома, офисы, общественные здания и пр.
Должны защищаться от прямых ударов молний, а также от заноса высоких потенциалов.
Первая и вторая категории зданий в целях безопасности и предупреждения возникновения опасных ситуаций должны быть защищены от прямых ударов молний, а также от вторичного воздействия и заноса высоких потенциалов.
Элементы устройства молниезащиты
Конструкция устройства молниезащиты включает в себя три обязательных элемента:
- Токоотвод
Представляет собой проводник, который соединяет две части устройства — приемник и заземлитель. Материал, из которого он изготавливается — оцинкованная сталь не менее шести миллиметров в диаметре. Также в качестве токоотвода разрешается использовать правильно спроектированные металлические трубы, пожарные лестницы и парапеты здания. Устройство должно быть доступным для проведения регулярного контроля за его состоянием. Для предотвращения угрозы обрывов и поломок при прокладке и установке проводника не допускается использование острых углов и петель.
- Молниеприемник
Необходим для перехвата разрядов молнии. Обычно он проектируется в виде стержня, троса или сетки.
Стержневой приемник является традиционным видом защиты. Был создан в восемнадцатом веке Бенджамином Франклиным. Представвляет собой металиический стержень, который располагается на крыше здания.
Тросовый молниеприемник представляет собой канат из стали, который подвешивается на опорные конструкции.
Приемник в виде сетки размещается на крыше объектов. Он изготавливается из стального проката или полос круглого сечения. Предельный размер, установленный в соответствии с Международной Электротехнической Комиссией, — 5*5 метров.
- Заземлитель
Проводник из антикоррозийной оцинкованной стали, который контактирует с почвой. В его качестве используют трубу или полосу из фасонного, листового или сортового металлопроката.
Для того, чтобы устройство молниезащиты было эффективным, необходимо учитывать множество факторов при его проектировании и установке.
Специалисты компании готовы изготовить качественную конструкцию и произвести электромонтажные работы. Мы можем установить как внешнюю систему, призванную перехватить разряд и обеспечить его отвод в землю, так и внутреннюю, защищающую оборудование от перенапряжения в сети.
Особенности молниезащитных устройств
Устройство молниезащиты может быть установлено несколькими способами в зависимости от ряда параметров:
- Материалы и форма кровли, которая может быть как мягкой, так и черепичной.
- Индивидуальные особенности участка.
- Наличие антенных устройств, труб, дымохода.
- Расположение водосточной системы и выступов над кровлей.
Наша компания активно и стремительно развивается, сотрудники постоянно совершенствуют свои профессиональные навыки и повышают квалификационный уровень. Мы предлагаем клиентам только проверенные и эффективные методы обеспечения безопасности и с одинаковым вниманием относимся к заказам любых масштабов и степени сложности.
Специалисты электролаборатории во Владимире могут спроектировать устройство молниезащиты для складских, административных и промышленных помещений, загородных домов, а также жилых или нежилых высотных зданий.
Системы молниезащиты
На земном шаре ежегодно происходит до 16-и миллионов гроз, то есть около 44 тысяч за день.Прямой удар молнии очень опасен для здоровья людей, нередки случаи смертельного исхода. Для зданий и сооружений угрозами, вследствие непосредственного контакта канала молнии с поражаемыми объектами, являются возможность возгорания либо разрушения, а также повреждение чувствительного оборудования вследствие сопутствующего молнии импульсного электромагнитного поля.
Молниезащита зданий разделяется на внешнюю и внутреннюю.
Внешняя система молниезащиты.
Внешняя молниезащита представляет собой систему, обеспечивающую перехват молнии и отвод её в землю, тем самым, защищая здание (сооружение) от повреждения и пожара.
Система внешней молниезащиты, организованная по принципу молниеприёмной сетки, проектируется индивидуально под каждое конкретное здание. В момент прямого удара молнии в строительный объект правильно спроектированное и сооруженное молниезащитное устройство должно принять на себя ток молнии и отвести его по токоотводам на заземление. Прохождение тока молнии должно произойти без ущерба для защищаемого объекта и быть безопасным для людей, находящихся как внутри, так и снаружи этого объекта.
Назначение внешней молниезащиты — защита от прямого удара молнии с последующей канализацией энергии разряда в землю. В её состав входят: молниеприёмники — часть внешней молниезащиты, которая предназначена для приема разряда молнии; токоотводы — часть внешней молниезащиты, которая предназначена для отвода тока разряда молнии от молниеприёмников к заземляющему устройству; заземляющее устройство — часть внешней молниезащиты, канализирующая энергию молнии в землю для последующего её безопасного распределения.
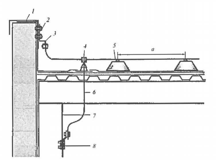
Рис.1. Внешняя сисиема молниезащиты.
1. Стержень заземления (Материал: сталь оцинкованная погружением, покрытие min 60 мкм, система OMEX с цапфой и отверстием в качестве муфты, D=20 мм, L=2000 мм).
2. Наконечник стержня заземления (Материал: ковкий чугун для стержневых заземлителей D=20 мм, система OMEX).
3. Соединитель установочный (Материал: сталь горячего цинковая с промежуточной пластиной для подключения круглых проводников Rd 8-10 или плоских до 4×40 мм к стержневому заземлителю D=20 мм, сборка на болтах и гайках).
4. Полоса заземления (Материал: сталь горячего цинкования для сооружения заземляющих устройств и использования в молниезащите в=30 н=3).
5. Ударная насадка (Материал: сталь для забивки стержней заземления D=20 мм, L=50 мм).
6. Держатель полосы на стенке из стали (Материал: сталь горячего цинкования совместно с анкер-болтом 10×36).
7. Антикоррозионная лента из петролатума для защиты клеммных и стыковых соединений
в грунте, толщина 1.
2 мм, ширина 50 мм.
8. Соединительные полосы (Материал: сталь горячего цинкования 60×60 мм, болты 8×25 шлицевые).
9. Шина уравнивания потенциалов (Материал: контактная латунная никелированная шина с болтами и накладками из стали горячего цинкования, крепёжной пластины и кожуха их полистерола. Укомплектована клеммами для: 7 одно-, много- или тонкожильных проводников 2, 5 — 25 мм2, 1 круглого проводника Rd 8-10 b1 одного плоского проводника до 30 мм. Испытано в соответствии с EN 50164-I).
10. Молниеприёмный проводник (Материал: медь (аллюминий) диаметр 8 мм (10 мм).
11. Кровельный держатель проводника (Материал: нержавеющая сталь (медь) с держателем проводника из полиамида (нержавеющей стали).
12. Универсальный соединитель быстрого монтажа (Материал: алюминий (медь) для параллельных, Т-образных и крестовидных соединений круглых проводников).
13. Кровельные держатели проводника (Материал: нержавеющая сталь (медь) с держателем проводника из полиамида (нержавеющей стали).
14. Клемма держатель на желобе водостока (Материал: оцинкованная сталь (медь).
для присоединения круглых проводников из алюминия (меди) к желобу кровельного водостока).
15. Держатель проводника (Материал: цинковое литьё под давление с внутренней резьбой M8 и с двумя болтами 6×16 совместно с анкер-болтом 10×36).
16. Промежуточный соединитель (Материал: нержавеющая сталь (медь для соединения токоотводов и полосы заземления между собой).
17. Держатель проводника (Материал: оцинкованная сталь диаметр 16 мм, длина 1500 мм,
имеет плоский участок, укомплектованный соединителем).
Внутренняя система молниезащиты.
Внутренняя система грозозащиты состоит из шины выравнивания потенциалов, которая объединяет все протяженные металлоконструкции дома, в частности соединяет нейтраль электросети с контуром заземления, экраны телевизионный кабелей, трубы водоснабжения и отопления с контуром заземления, громоотводы и металлоконструкции с контуром заземления.
Прямое попадание молнии в дом — это очень редкое явление, однако вероятность удара рядом за сто, двести метров представляет более серьезную угрозу, поэтому внутренняя молниезащита серьезно важнее внешней. Так как не только лишь удары молнии, но еще и возникающие кратковременные электромагнитные импульсы могут повредить предметы и объекты, размещенные в доме. Единственное существующее решение этой трудности является использование внутренней системы защиты от молнии. Мерой предохранения будет разделение всех электрических сетей здания на отдельные зоны. В каждой из этих зон и устанавливается ограничитель перенапряжений. В каждом из типов ограничителей существуют свои инженерные параметры и особенности. Следовательно, подбор какого-либо ограничителя достаточно трудоемкий процесс, по- этому и рекомендуется обращаться к квалифицированным экспертам.
Основное назначение внутренней молниезащиты — это защита электронного оборудования и электропроводки от импульса перенапряжения, который возникает не только при прямом, но, что более вероятно, при удаленном (до 1 км) ударе.
Существует ряд явлений, вызывающих импульсные перенапряжения в низковольтных и информационных сетях, а также в установках, преобразующих энергию и генерирующих электрический ток. Наибольшую опасность представляет: прямое попадание молнии; удар молнии в непосредственной близости; удар молнии в нескольких сотен метров; коммутационное перенапряжение. Решение проблем перенапряжения четко изложены в международных нормах IEC 61312-1 (концепция защиты на основе метода создания защитных зон на пути проникновения импульса перенапряжения).
Рис. 2. Внутренняя система молниезащиты.
1.Шина уравнивания потенциалов. (Материал: контактная латунная никелированная шина с болтами и накладками из стали горячего цинкования, крепёжной пластины и кожуха из полистерола. Укомплектована клеммами для: 7 одно-, много- или тонкожильных проводников 2, 5-25 мм2, 1 круглого проводника Rd 8-10 b1 одного плоского проводника до 30 мм. Испытано в соответствии с EN 50164-1).
2.Хомут уравнивания потенциалов (Материал: нержавеющая сталь для подключения металлических труб различного диаметра к ШУП).
3.Полоса заземления(Материал: сталь горячего цинкования для соружения заземляющих устройств и использования в молниезащите в=30 н=3).
4.Органичитель перенапряжения (Устанавливается между фазными проводниками и проводом РЕ).
5.Ограничитель перенапряжения (Категория C устанавливается в распределительных шкафах на вводе).
6.Ограничитель перенапряжения (Категория Д устанавливается непосредственно перед каждым электронным потребителем электроэнергии).
7.Ограничитель перенапряжения (Категория B устанавливается в разрез антенного фидера).
8.Ограничитель перенапряжения (Категория F устанавливается в разрез информационных кабелей).
9.Ограничитель перенапряжения (Категория B для защиты телефонных линий).
10.Ограничитель перенапряжения (Категория B устанавливается в вводном шкафу непосредственно после плавких вставок).
Подробные консультации и стоимость услуг Вы можете получить , связавшись с нами:
- тел/факс: (8212)21-30-20; 21-31-32
Защита от грозового перенапряжения для электронного оборудования
В ясный погожий день земля обычно несет небольшой отрицательный заряд с соответствующим положительным зарядом в верхних слоях атмосферы.
Это создает среднюю напряженность электрического поля по всему миру порядка 120 В/м. Для сравнения, непосредственно перед разрядом молнии грозовое облако создает напряженность электрического поля порядка 25 кВ/м. Это создает разность потенциалов между этим облаком и землей или другими заряженными облаками в диапазоне от десяти до ста миллионов вольт. Поле такой интенсивности может вызвать ионизацию молекул воздуха между положительным и отрицательным зарядами, создавая проводящий канал, по которому может двигаться молния. В то время как большинство проводящих каналов образуются между облаками, по крайней мере, один из десяти образовывается между облаком и землей, создавая характерную молнию.
Для этих разрядов между облаками разряд будет генерировать кратковременные высокоинтенсивные радиоволны. Обычно они не вредны для электронного оборудования, если только они не чувствительны к таким сигналам и не находятся в разумной близости от разряда. Мы можем не принимать во внимание влияние этих разрядов на наземное оборудование, если только переходные помехи от излучаемых электромагнитных помех (ЭМП) не будут серьезной проблемой.
Основные проблемы связаны с теми разрядами, которые достигают земли вблизи электронных устройств. Эти удары молнии являются причиной большинства разрушительных последствий, с которыми мы сталкиваемся как инженеры-электрики.
Прямые удары молнии в электрическое оборудование и кабели, как правило, имеют такую силу, что встроенная защита от этого события практически невозможна. Молниеотводы, прикрепленные к конструкциям, отводят ток разряда непосредственно на землю в качестве основного механизма защиты. Вероятность прямого удара по электрическому оборудованию обычно является приемлемо низкой, если только устройство не было неправильно или преднамеренно установлено. Это способствует ионизации в присутствии значительной напряженности атмосферного электрического поля.
Реальный риск для электрического оборудования исходит от разряда на землю вблизи оборудования.
Огромная передача энергии, происходящая во время удара молнии, приводит к временному возникновению повреждающих токов в близлежащих электрических системах различными путями. Основными эффектами обычно являются временные электромагнитные помехи, переходные напряжения, вызванные магнитной или емкостной связью, и импульсные токи, вызванные локальными сдвигами потенциала земли. Мы кратко суммируем эти три эффекта:
Протекание разрядного тока создает широкополосное излучение ЭМП на время разряда. Хотя это представляет собой лишь часть общей электромагнитной среды для оборудования, кратковременная высокая напряженность поля может создавать помехи для неэкранированных компонентов и линий передачи на большой площади.
Когда разрядный ток проходит вблизи электрических кабелей, индуктивные эффекты могут вызывать переходные процессы в кабелях. Это особенно распространено на воздушных кабелях, проложенных на большие расстояния между столбами или башнями. Электрические устройства обычно подключаются к силовым и сигнальным кабелям, которые проходят через токопроводящие лотки, воздуховоды или переносятся по воздушным кабелям.
Чем длиннее кабели, тем выше вероятность того, что переходные процессы высокого напряжения будут вызваны эффектами связи. Это делает удаленно расположенные устройства, используемые для управления и мониторинга в удаленных местах, особенно уязвимыми для таких событий.
Для достижения достаточно высокого уровня магнитной или емкостной связи, вызывающего наведение значительного тока, ток молнии должен протекать в непосредственной близости от кабеля. Однако такие наведенные переходные токи обычно можно компенсировать конструкцией оборудования и системы. Как правило, полевые сигнальные кабели экранированы или экранированы, чтобы уменьшить общие электромагнитные помехи и шумы. Использование кабелей с витой парой может снизить напряжение между линиями до уровней, не вызывающих повреждения оборудования. Однако синфазные напряжения все еще могут генерироваться на уровнях, которые могут повредить чувствительные компоненты, если не будет добавлена дополнительная защита.
Почти все грозовые разряды превышают 3 кА, а примерно каждый десятый превышает 100 кА.
Подавляющее большинство ударов о землю заканчиваются прямо в землю. Те, которые действительно поражают здание, обычно направляются на землю через молниеотводы и заземляющие стержни. Очень большой разрядный ток протекает через заземляющую клемму и рассеивает заряд в массе Земли. Одним из эффектов этого тока является то, что он повышает опорный потенциал земли в месте удара. Например, разрядный ток 100 кА, уходящий в землю с импедансом 0,1 Ом, приведет к возникновению потенциала 10 000 вольт в точке удара. Любое заземленное устройство, расположенное рядом с точкой удара, будет подключено к тому же опорному потенциалу. Хотя это не повлияет на это устройство, поскольку разность потенциалов, которую оно видит локально, не изменится, оно увидит огромную разность потенциалов между этой локальной землей и землей любых кабелей, подключенных к устройствам, которые заземлены на некотором расстоянии. Это приведет к появлению очень высокого переходного напряжения из-за разницы между двумя потенциалами земли.
Переходные процессы, наведенные на силовые или сигнальные кабели из-за электромагнитных помех и эффектов магнитной/емкостной связи, относительно просто защитить от них. Таким переходным процессам можно противодействовать, используя стандартные методы экранирования и экранирования, необходимые в современной среде, насыщенной электромагнитным излучением.
Переходные процессы, вызванные потенциальными сдвигами Земли, представляют собой гораздо более серьезную проблему. Экранирование не компенсирует возможные временные различия между физически разделенными уровнями земли. Маломощные полупроводниковые компоненты могут быть серьезно повреждены перенапряжением всего в несколько десятков вольт. Переходные напряжения, возникающие в этих условиях, потребуют дополнительных механизмов защиты, которые мы сейчас обсудим.
Варианты защиты
Устройства защиты от перенапряжения могут использоваться для защиты электрического и электронного оборудования от потенциально разрушительного воздействия высоковольтных переходных процессов.
Эти устройства также известны как разрядники перенапряжения, молниеотводы и молниезащита. Схемы защиты от перенапряжения срабатывают почти мгновенно, чтобы обеспечить путь с низким импедансом для проведения большого тока, чтобы устранить чрезмерную разницу в защите, а также поглощать и отводить дополнительный ток на землю для защиты от воздействия переходных процессов или скачков напряжения. Как только импульсный ток спадет, устройство в идеале должно автоматически восстановить нормальную работу и, следовательно, быть в состоянии защитить от любых последующих скачков напряжения. Тем не менее, мы также кратко рассмотрим более традиционные устройства однократной защиты для полноты картины.
Защита от перенапряжения бывает двух основных типов. Фильтры создают барьер для высокочастотных переходных токов, в то же время позволяя низкочастотным силовым токам проходить незатронутыми. С другой стороны, переходные диверторы обеспечивают путь к земле с очень низким импедансом всякий раз, когда напряжение устройства превышает заданное значение.
Здесь мы сосредоточились на переходных дивертерах, поскольку они обеспечивают необходимую защиту от сдвигов потенциала земли, вызванных ударом молнии.
Поскольку не все цепи могут подвергаться воздействию этих переходных процессов, часто применяется подход, заключающийся в использовании дополнительных защитных компонентов или устройств, подключаемых между оборудованием общего назначения, системами и внешними источниками помех или переходных процессов. Доступны несколько компонентов, которые могут предотвратить попадание чрезмерной энергии на чувствительные части оборудования или систем. Они работают, отводя выбросы на землю или отключая сигнальные линии. Приемлемое устройство является быстрым в работе и способным проводить большие токи в течение коротких периодов времени, ограничивая при этом напряжение на защищаемом оборудовании или ток через него до уровней, ниже которых может произойти повреждение. Обычно предпочтение отдается необслуживаемым устройствам с самовозвратом, когда следует избегать перерывов в обслуживании.
Воздушные разрядники
Этот защитный механизм состоит из двух проводящих электродов, которые физически разделены и расположены в неконтролируемой среде. Обычно непроводящие, когда разность потенциалов между двумя электродами достигает определенного значения, воздух между ними ионизируется, и между ними протекает разрядный ток. Эта ионизация создает путь с низким сопротивлением между двумя электродами, который позволяет току течь до тех пор, пока воздух не перестанет быть ионизированным. Расстояние между электродами будет определять величину разности потенциалов, при которой происходит ионизация. Это эффективно создает контролируемый удар молнии в местную точку заземления.
Несмотря на то, что искровые разрядники недороги, напряжение, при котором они работают, зависит от условий окружающей среды, таких как температура и влажность, а также от загрязняющих веществ в воздухе. Их производительность также может меняться со временем и ухудшаться в процессе эксплуатации из-за эрозии электродов, и может потребоваться замена, если они регулярно активируются.
Газоразрядные трубки
Разновидность защиты искрового промежутка, проводящие электроды физически разделены в контролируемой среде, обычно в герметичном контейнере, заполненном определенным газом. Это позволяет улучшить контроль напряжения разряда и уменьшить влияние условий окружающей среды. Обычно используемые материалы включают смесь аргона и водорода низкого давления, запечатанную в керамическом контейнере с напряжением пробоя, начинающимся с 9 В.0 В и номинальный ток более 5 кА.
Одним из недостатков газоразрядной трубки является конечное время, необходимое для ионизации газа, что ограничивает защиту от импульсных токов, которые имеют крутой фронт нарастания формы импульсной волны. Типичная лампа, рассчитанная на пробой 100 В постоянного тока, имеющая дело со скачком напряжения с временем нарастания 200 В/мкс, не выйдет из строя до тех пор, пока напряжение не составит около 200 В при времени ионизации 0,5 мкс. При этом не учитываются допуски на номинальное напряжение 100 В; как правило, такие устройства имеют допуск 20%.
Другим недостатком является то, что они имеют ограниченный срок службы из-за изменений давления и состава газа с течением времени.
После того, как произошел пробой и газ ионизировался, если в течение длительного времени протекает достаточный ток, газ может превратиться в ионизированную плазму. Эта плазма может разряжать тысячи ампер при относительно небольшой разности потенциалов, если цепь может поддерживать такой высокий ток. Схема защиты должна быть тщательно спроектирована, чтобы предотвратить устойчивую работу газоразрядной трубки после того, как источник импульсного тока рассеется блоком питания устройства.
Газоразрядные трубки обычно подходят для использования в маломощных цепях, где любые скачки напряжения будут иметь условия медленного нарастания напряжения и могут допускать условия перенапряжения.
Полупроводниковые приборы
Преимуществом полупроводниковых приборов является их быстрая работа и широкий диапазон рабочих напряжений. Пока ток поддерживается в пределах спецификации, они обеспечивают точную и воспроизводимую функцию ограничения напряжения.
Диоды для подавления перенапряжения, также известные как диоды для подавления переходного напряжения (TVS), могут выдерживать скачки напряжения в несколько киловатт для импульсов длительностью менее 1 мс. Разница между диодом для подавления перенапряжения и стандартным диодом Зенера заключается просто в увеличенном размере области перехода, что снижает плотность тока. Эти компоненты обеспечивают одно из самых быстрых времен отклика среди доступных защитных компонентов (обычно несколько наносекунд), но за счет относительно низкой способности поглощать энергию. Одним из недостатков диодов для подавления перенапряжений является их относительно высокая стоимость. Другим фактором является их значительная емкость, которая влияет на работу схемы, а это означает, что они могут быть не просто включены в качестве защитного устройства с болтовым креплением, но могут быть разработаны как часть процесса разработки устройства.
Варисторы
Варисторы — это резисторы, зависящие от напряжения, в которых изменение тока, протекающего через устройство, по отношению к напряжению на устройстве имеет нелинейную зависимость.
Поскольку варисторы обычно изготавливаются с использованием оксида металла, они широко известны как варисторы на основе оксида металла (MOV). Частицы оксида металла действуют аналогично полупроводниковому переходу. Это дает им сравнимое время отклика на скачки напряжения с диодным компонентом. Их преимущество перед диодами для подавления перенапряжения заключается в том, что мощность рассеивается по всему устройству, а не только в области перехода. Однако недостатком является то, что они имеют гораздо более высокий ток утечки при низких напряжениях. Они также в большей степени подвержены влиянию факторов окружающей среды, таких как температура, и могут со временем ухудшаться, особенно при регулярном воздействии сильноточных переходных процессов.
Реле перенапряжения
Реле перенапряжения предназначены для отключения сигнальных линий в случае больших скачков тока и могут работать с относительно высокими уровнями мощности. Они полагаются на физическое движение электрических контактов, чтобы замыкать или размыкать цепь.
У них есть преимущество в том, что они стабильны и чувствительны, но их основным недостатком является скорость работы. Время, необходимое для того, чтобы контакты реле переместились достаточно, чтобы повлиять на протекание тока, может составлять несколько миллисекунд. Если реле перенапряжения настроено на разрыв цепи в условиях избыточного тока, задержка может усугубляться дуговым разрядом между контактами в начальный момент их размыкания. Это увеличивает время между первым появлением импульсного тока и его прекращением.
После прохождения импульсного тока реле импульсного тока вернется в исходное состояние. Эта операция также может быть относительно медленной, а физическая природа операции может сделать ее склонной к эффектам дребезга контактов, наблюдаемым как временное подключение / отключение цепи. В зависимости от характера цепи этот физический отскок может иметь последующее электрическое воздействие.
Реле перенапряжения также требуют технического обслуживания для поддержания контактов в чистоте или замены, если контакты находятся в герметичном корпусе.
Многократное срабатывание контактов может привести к чрезмерному износу из-за эффектов эрозии металла из-за дугового разряда и ударных повреждений.
Плавкие предохранители
В качестве устройства защиты от перенапряжения предохранители от перенапряжения обеспечивают эффективную защиту и используют механизм натяжения пружины для быстрого срабатывания. Однако они могут быть подвержены проблемам с перенапряжением, если переходный импульсный ток имеет быстро нарастающий фронт. Они полагаются на импульсный ток, расплавляющий металлическую проволоку до заданного значения, а не на их рейтинг, основанный непосредственно на разности потенциалов. Поэтому их необходимо использовать в сочетании с резистивным элементом для реализации защитной функции. Конечно, главный недостаток – это необходимость ручной замены предохранителя после срабатывания. Необходимо отметить, что обычный предохранитель не сможет справиться с переходными процессами, вызванными молнией; необходимо использовать специальный предохранитель для защиты от перенапряжения.
Автоматические выключатели
Автоматические выключатели обычно предназначены для энергосистем. Хотя способность обработки энергии может быть увеличена до любого уровня, который считается необходимым, скорость отклика составляет порядка десятков миллисекунд, что, как правило, слишком медленно, чтобы быть эффективным против кратковременных переходных процессов. Они также требуют ручного сброса после активации, что делает их практически одноразовым защитным устройством с точки зрения эксплуатации. Что касается предохранителей, стандартные автоматические выключатели не справляются с переходными процессами, вызванными молнией. Если необходим автоматический выключатель, всегда убедитесь, что он правильно рассчитан на такие переходные процессы.
Передовой опыт реализации защиты от перенапряжения
Обычно бывает так, что одно устройство не обеспечивает требуемого решения с точки зрения времени отклика, пропускной способности по току, устойчивости к условиям окружающей среды или надежности.
В этом случае ответ вполне может состоять в каскадировании двух или более разных типов вместе. Это позволяет разработчику объединить преимущества, которые предлагает каждое устройство, и повысить общий уровень защиты. В наиболее распространенной комбинации используется сильноточный, относительно медленнодействующий компонент с более быстродействующим компонентом, но с меньшей номинальной мощностью, таким образом, чтобы минимизировать выходное напряжение и ток. Устройство с высокой пропускной способностью по току может быть использовано на внешнем периметре защитной цепи для отвода большей части переходного перенапряжения, за которым следует более точное устройство, обеспечивающее комплексное решение по защите от перенапряжения.
Устройства защиты от перенапряжения могут выполнять ряд функций в зависимости от их реализации. Они могут шунтировать переходные токи на землю, ограничивать разность потенциалов, предотвращать попадание избыточной энергии в цепь или фильтровать определенные частоты сигнальной линии.
Обычно они выполняют комбинацию этих функций для достижения требуемой защиты концов. Идеальное устройство защиты от перенапряжения будет, как минимум, ограничивать напряжения, справляться с чрезвычайно высокими токами перенапряжения и уменьшать быстро нарастающий фронт перенапряжения.
Защита осуществляется путем отвода импульсных токов на землю по пути с низким импедансом. Этот путь должен быть правильно спроектирован и реализован, чтобы обеспечить номинальную производительность устройств защиты от перенапряжения. Плохо спроектированные или реализованные обходные пути могут сделать схему защиты неэффективной.
Защита должна применяться ко всем внешним подключениям к устройству; Выходные сигнальные соединения так же восприимчивы, как и входные силовые линии и сигнальные соединения. Наиболее значительный риск не обязательно исходит от разъема с самым длинным подключенным кабелем, а от соединения, которое заканчивается заземляющим соединением, которое физически находится дальше всего от заземляющего соединения защищаемого устройства.
Одно и то же соединение может не всегда соответствовать этим двум критериям.
При проектировании защиты или подавления перенапряжения в вашем устройстве необходимо учитывать индуктивность кабеля для соединений при расчете требований к защите от переходного напряжения. Проекты должны быть основаны на наихудших вариантах кабелей, чтобы обеспечить их эффективность для всех возможных установок.
При выборе компонентов защиты помните, что существует взаимосвязь между ценой за единицу и производительностью. Всегда учитывайте стоимость защищаемого устройства при расчете бюджета на защитные элементы.
Инструменты проектирования в Altium Designer® содержат все необходимое, чтобы идти в ногу с новыми технологиями. Поговорите с нами сегодня и узнайте, как мы можем улучшить ваш следующий проект печатной платы.
Заземление и молниезащита | ДС Инжиниринг
Результаты 1–25
из 332
.
..Загрузка
Ориентировочная дата отгрузки в США:
7 августа 2023 г.
Расчетная дата международной отправки:
Сегодня
…Загрузка
Ориентировочная дата отгрузки в США:
28 августа 2023 г.
Расчетная дата международной отправки:
Сегодня
.
..Загрузка
Ориентировочная дата отгрузки в США:
28 августа 2023 г.
Расчетная дата международной отправки:
Сегодня
…Загрузка
Ориентировочная дата отгрузки в США:
28 августа 2023 г.
Расчетная дата международной отправки:
28 августа 2023 г.
если заказать сегодня
…Загрузка
Ориентировочная дата отгрузки в США:
14 ноября 2023 г.
Расчетная дата международной отправки:
Сегодня
…Загрузка
Ориентировочная дата отгрузки в США:
7 августа 2023 г.
Расчетная дата международной отправки:
Сегодня
.
..Загрузка
Ориентировочная дата отгрузки в США:
31 июля 2023 г.
Расчетная дата международной отправки:
Сегодня
…Загрузка
Ориентировочная дата отгрузки в США:
4 октября 2023 г.
Расчетная дата международной отправки:
Сегодня
.
..Загрузка
Ориентировочная дата отгрузки в США:
4 октября 2023 г.
Расчетная дата международной отправки:
Сегодня
…Загрузка
Ориентировочная дата отгрузки в США:
1 августа 2023 г.
Расчетная дата международной отправки:
Сегодня
.
..Загрузка
Ориентировочная дата отгрузки в США:
31 июля 2023 г.
Расчетная дата международной отправки:
Сегодня
…Загрузка
Ориентировочная дата отгрузки в США:
2 октября 2023 г.
Расчетная дата международной отправки:
Сегодня
.
..Загрузка
Ориентировочная дата отгрузки в США:
7 августа 2023 г.
Расчетная дата международной отправки:
Сегодня
…Загрузка
Ориентировочная дата отгрузки в США:
25 сентября 2023 г.
Расчетная дата международной отправки:
25 сентября 2023 г.
если заказать сегодня
…Загрузка
Ориентировочная дата отгрузки в США:
3 августа 2023 г.
Расчетная дата международной отправки:
Сегодня
…Загрузка
Ориентировочная дата отгрузки в США:
1 августа 2023 г.
Расчетная дата международной отправки:
Сегодня
.
..Загрузка
Ориентировочная дата отгрузки в США:
21 августа 2023 г.
Расчетная дата международной отправки:
21 августа 2023 г.
…Загрузка
Ориентировочная дата отгрузки в США:
14 августа 2023 г.
Расчетная дата международной отправки:
Сегодня
.
..Загрузка
Ориентировочная дата отгрузки в США:
11 сентября 2023 г.
Расчетная дата международной отправки:
Сегодня
…Загрузка
Ориентировочная дата отгрузки в США:
28 августа 2023 г.
Расчетная дата международной отправки:
Сегодня
.
..Загрузка
Ориентировочная дата отгрузки в США:
14 августа 2023 г.
Расчетная дата международной отправки:
Сегодня
…Загрузка
Ориентировочная дата отгрузки в США:
3 октября 2023 г.
Расчетная дата международной отправки:
Сегодня
.
..Загрузка
Ориентировочная дата отгрузки в США:
7 августа 2023 г.
Расчетная дата международной отправки:
Сегодня
…Загрузка
Ориентировочная дата отгрузки в США:
18 октября 2023 г.
Расчетная дата международной отправки:
Сегодня
.
Должны защищаться от прямых ударов молний, а также от заноса высоких потенциалов.