Содержание
Устройство и укрепление водоотводной канавы (кювета) вдоль дороги: технология, материалы, специальная техника
Перейти к контенту
Search for:
Оборудование для бизнеса и строительная техника
Время чтения 2 мин.Просмотры 372Обновлено
Водоотводные канавы вдоль автомобильных дорог необходимы для увеличения устойчивости и прочности полотна. Мокрый грунт уменьшает силу сцепления транспортных средств и допустимые нагрузки.
Технология устройства и укрепления водоотводной канавы
- Продольный внутренний угол дна траншеи зависит от категории магистрали, состояния почвы, климатических условий и выполняется с уклоном 3-5‰. При невозможности соблюдения нормативных требований проблема разрешается с помощью водобойных колодцев, испарительных бассейнов, и перепадов. При незначительной высоте насыпи (менее 1.5 м ) кюветы проектируются по обе стороны шоссе. Ров в поперечном сечении имеет выпуклый профиль.

- Для отвода вод из продольной рытвины во избежание застаивания жидкости предусмотрены боковые канавы, которые расположены перпендикулярно к дорожному полотну. Их уклон находится в диапазоне 15-40%. Максимальный размер ограничен по соображениям безопасности движения автомобильного транспорта.
- Чтобы дать возможность машинам съезжать с трассы, водоотводные каналы в зависимости от водопроницаемости почвы проектируются в виде различных геометрических фигур. Например:
- в местах с сухим климатом — в виде треугольных сооружений. Глубина таких траншей не превышает 30 см, а угол откосы выбирается в пропорции 1:3 и более.
- водопроницаемой поверхности – в виде трапециевидной конструкции;
- на щебне и скальной почве используется трапециевидная и треугольная форма водостоков, но откос делается пологий — 1:1.
Материалы
- Системы водопроводов вдоль трасс изготавливаются из полиэтилена высокой плотности, именуемого полимербетоном.
Он представляет собой композит, в который входит кварц, гранит, базальт, связующие смолы. Материал отличается высокими антикоррозионными свойствами, стойкостью к агрессивному воздействию среды, долговечностью, механической прочностью, устойчивостью к высоким температурам (+ 82 °C). Применяется для траншей вдоль автомобильных дорог из бетона, тротуарной плитки, асфальта. - Не менее популярен материал HDPE, который обладает способностью самоочищаться. Он используется в в районах с низкими температурами. Его отличает долговечность, небольшой вес, способность выдерживать большие нагрузки и монтажная простота.
- При обустройстве дорожных траншей применяются также чугунные, стальные или композитные решетки и защитные кромки, препятствующие разрушению стенок рвов. Они бывают чугунными, оцинкованными или стальными.
Специальная техника, используемая для обустройства водоотводных канав
Для сооружения кюветов используется спецтехника, главной из которых является землеройная машина – автогрейдер, который присоединен к трактору.
Выемка грунта производится с помощью ножа, смонтированного между колесными скатами. Территория под кюветы очищается кусторезами, бульдозерами. В работе принимают участие самосвалы, погрузчики, экскаваторы и прочая техника.
( Пока оценок нет )
Устройство и укрепление водоотводной канавы (кювета) вдоль дороги: технология, материалы, специальная техника
Поделиться в ВКонтакте
Вхождение в зиму: на дорогах Самарской области усилены меры по предупреждению ДТП
Повышенная готовность Важной составляющей региональной Стратегии лидерства, разработанной командой губернатора Дмитрия Азарова при участии жителей Самарской области, являются модернизация и развитие региональной транспортной сети, а также обеспечение безопасного передвижения жителей по автодорогам губернии. С 1 ноября на всей территории Самарской области проходит месячник по безопасности дорожного движения. По поручению главы региона в городах и районах губернии проводятся мероприятия, направленные на минимизацию количества дорожно-транспортных происшествий.
Также Дмитрий Азаров дал поручение муниципалитетам проверить готовность снегоуборочной дорожной техники к неблагоприятным погодным условиям и обеспечить наличие запасов противогололедной смеси: — Первый снег — самый запоминающийся. Конечно же, особое внимание нужно уделить безопасности на дорогах. Ожидается переход через ноль, что всегда увеличивает риски возникновения гололеда, наледи на дорогах. Нужно мониторить постоянно и готовиться к понижению температур и к осадкам. Обеспечьте надлежащее состояние дорог и безопасное вхождение в зиму по всем дорогам на территории региона. Юрий Некрасов, начальник Управления ГИБДД ГУ МВД России по Самарской области, подчеркнул: — Мы благодарны губернатору за такую инициативу. Обеспечить безопасность движения — это наша работа. Совместно с региональным Минтрансом подготовлен целый комплекс мероприятий, который в рамках месячника активно реализуется. Ноябрь — это время перехода с летнего периода эксплуатации транспорта на зимний. И важно, чтобы все к этому были готовы: как водители и их автомобили, так и пешеходы, и владельцы дорог.
Именно к этому периоду все подготовительные работы должны быть завершены. Разгон и торможение В Самарской области активно ведется благоустройство региональных автомагистралей в рамках реализации национального проекта «Безопасные качественные дороги». По данным областного Минтранса, за три года по нацпроекту в нормативное состояние приведено 1 021,7 км автомобильных дорог области. Как отмечают в ведомстве, целевые показатели 2021-го достигнуты. На конец года уровень нормативного состояния региональных автотрасс составляет 38,7 % при плановом значении 38,13 %. В Самарско-Тольяттинской агломерации этот показатель составляет 74 % при плановом значении 70 %. Всего в этом году по нацпроекту было отремонтированы 114 участков дорог общей протяженностью 400 км. В перечне автотрасс, комплексно приведенных в порядок в текущем сезоне, львиную долю занимают автомобильные дороги регионального значения — 37 участков общей длиной 313,36 км. В Самаре отремонтированы 65 дорожных участков общей протяженностью 68,81 км.
На улицах Тольятти ремонт выполнен на 12 участках, протяженность которых составила 18,19 км. Иван Пивкин, министр транспорта и автомобильных дорог Самарской области, отметил: — Одной из ключевых задач национального проекта «Безопасные качественные дороги» является снижение аварийности, повышение уровня комфорта и обеспечение безопасности людей. Благодаря нацпроекту, Самарская область с каждым годом увеличивает темпы ремонта, реконструкции и строительства автомобильных дорог. Работа на опережение, ее качественное исполнение позволяет нашему региону занимать одну из лидирующих позиций в РФ по приведению дорожной сети к нормативному значению. Особый упор в дорожном ремонте сделан на техническом оснащении автотрасс элементами, повышающими безопасность водителей, пассажиров и пешеходов. На дорогах укладываются дополнительные полосы для разгона и торможения транспортных средств. Устанавливаются осевые ограждения, которые исключают выезд транспорта на встречную полосу, а в местах с большой глубиной дорожного откоса ставятся боковые ограждения, не дающие автомобилю вылететь в кювет.
Вдоль дорог монтируются сигнальные столбики, а поперек укладываются «лежачие полицейские». Появляются новые светофоры, пешеходные переходы и остановочные павильоны, особое внимание уделяется обустройству дорожного освещения в малых населенных пунктах губернии. Недремлющее око Как отмечают в региональном управлении ГИБДД, третий год подряд на территории Самарской области реализуется широкомасштабный комплекс мероприятий, направленных на минимизацию количества ДТП. По данным ведомства, за 10 месяцев текущего года на территории губернии зарегистрировано 2 400 дорожно-транспортных происшествий, по сравнению с показателями прошлого года количество аварий сократилось на 12 %. Особое внимание вопросам безопасности на дорогах уделяется в период межсезонья. Не стал исключением и ноябрь текущего года — в течение всего месяца сотрудники Госавтоинспекции совместно с региональным Минтрансом проводят мероприятия по профилактике ДТП. В предвыходные и выходные дни сотрудники ГИБДД организуют на дорогах региона масштабные рейды по выявлению водителей, управляющих транспортом в состоянии опьянения: экипажи дорожно-патрульной службы проводят сплошные проверки, останавливая все проезжающие автомобили и проверяя их водителей.
Нетрезвым автомобилистам грозит крупный штраф и лишение права управления транспортными средствами на срок от полутора до двух лет. В целях формирования у водителей устойчивых навыков дисциплинированного поведения на дороге, инспекторы спецроты ДПС осуществляют скрытое патрулирование на автомобилях без цветографической окраски, выявляя в потоке транспорта нарушителей правил дорожного движения. Правонарушение фиксируют с помощью видеосъемки и направляют данные ближайшему экипажу дорожно-постовой службы. Наиболее частым нарушением правил, которое встречается при скрытом патрулировании, является выезд на встречную полосу движения. Как подчеркивают в ГИБДД, это влечет наиболее тяжкие последствия при ДТП. Благодаря национальному проекту «Безопасные качественные дороги», патрульные автомобили ДПС в Самарской области оснащаются медицинскими укладками для оказания первой помощи пострадавшим в авариях. В медукладке есть шины, перевязочный материал, средства для проведения экстренной сердечно-легочной реанимации и т.
д. Комплект позволяет поддерживать жизнедеятельность пострадавшего до момента его доставки в медицинское учреждение. Устойчивые навыки За водителями на дорогах Самарской области наблюдают и с высоты птичьего полета. Комплекс высотного наблюдения на базе аэростата используют сотрудники ГИБДД и Росгвардии. Летательный аппарат представляет собой дирижабль, на специальном подвесе которого установлена видеокамера высокого разрешения, способная фиксировать нарушения правил дорожного движения с точностью до метра. Радиус действия камеры — 10 километров, обзорность — 360 градусов. Высокоточная оптика позволяет со значительного расстояния различить государственный регистрационный знак автомобиля днем и ночью. В режиме онлайн информация о нарушении ПДД поступает в наземный пункт управления, где обрабатывается и передается ближайшему наряду ДПС. Сам летательный аппарат отслеживает нарушителей по трассе до момента остановки инспектором. Как отмечают в ГИБДД, комплекс высотного наблюдения имеет массу преимуществ, вдобавок дирижабль не загрязняет окружающую среду и не производит шума.
Главное требование в его работе — наличие благоприятных погодных условий. Традиционно большое внимание в ГИБДД уделяется обучению детей правилам дорожного движения. Мобильный центр «Лаборатория безопасности» позволяет выезжать в отдаленные районы региона и привозить с собой необходимое для проведения занятий оборудование: демонстрационные стенды и столы-макеты, элементы улично-дорожной сети и сигнальные конусы, а также велосипеды, самокаты, и многое другое. Инвентарь предназначен для моделирования дорожных ситуаций и обучения детей правилам поведения на дороге в условиях, максимально приближенных к реальным. В комплексной программе «Лаборатории безопасности» реализуется специально разработанная методика обучения, позволяющая развивать у школьников устойчивые умения и навыки в области безопасности дорожного движения.
© СОВА
Автоновости, Иван Пивкин, Юрий Некрасов, Дмитрий Азаров, Росгвардия, Минтранс РФ, ГИБДД, Лишение прав
СОВА: главные новости
Самарцев предупредили об ураганном ветре в пятницу
Рестораны, отели или салоны красоты: самарцы рассказали, где чаще всего оставляют чаевые
Народные приметы на 21 июля 2023 года: что нельзя делать в этот день
4.
Компоненты дорожного водоотвода
4.1. Общие
Основная цель дорожной дренажной системы — отвод воды с дороги и ее окрестностей. Дренажная система дорог состоит из двух частей: водоотводящей и дренажной. «Осушение» означает удаление дождевой воды с поверхности дороги. С другой стороны, «дренаж» охватывает все различные элементы инфраструктуры, чтобы сохранить структуру дороги сухой. В Швеции «осушение» дополнительно делится на две части: сток («avrinning») и обезвоживание («avvattning»). «Сток» охватывает воду, стекающую с поверхности дорожного покрытия через обочины и внутренние откосы дорог в канавы. «Осушение» охватывает сбор и транспортировку воды с поверхности и конструкции дороги таким образом, чтобы не было водоемов на дороге или в канавах.
«Осушение» состоит из следующих элементов:
– Поперечный уклон
– Обочины дорог
– Непроницаемые материалы дорожного покрытия
Типовая «дренажная» система состоит из следующих элементов:
– Отводные канавы
– Боковые кюветы
– Водопропускные трубы
– Внутренние/внешние откосы
– Дорожные сооружения
– Водосточные желоба
Общий балл дорожной дренажной системы зависит от ее «самого слабого звена».
Это означает, что если какой-либо из ее элементов выйдет из строя, вся система не будет работать так, как планировалось, и дорога будет повреждена. С другой стороны, хорошо построенная и обслуживаемая дренажная система дорог является очень устойчивой инвестиционной политикой. Основными преимуществами хорошей дренажной системы являются: эффективный отвод дождевой воды с дорожного покрытия и его окрестностей, дорожные конструкции, которые остаются сухими, хорошая несущая способность и дорога, по которой приятно и безопасно ездить.
Ссылки:
Бакгрундсдокумент для обработки для идентификации av behov av avvattninsåtgärsder
Teiden suunnittelu IV, Tien rakenne 4, kuivatus
4.2 Покрытие и слой износа
Покрытие или слой износа – это верхний слой дороги. Одной из функций дорожного покрытия является обеспечение водонепроницаемого покрытия для нижней конструкции дорожного покрытия. Этого можно добиться, если дорожное покрытие непроницаемо и не имеет трещин.
Самый верхний слой износа также должен иметь достаточный поперечный уклон, чтобы вода (от дождя, таяния снега или льда) отводилась непосредственно от дорожного покрытия.
Рекомендуемое поперечное падение зависит от типа дороги и материала верхнего слоя. На прямой дороге падение поперечного сечения будет составлять от 3 до 5 %. На асфальте рекомендуемый поперечный уклон составляет 3 %, а на гравийных дорогах — 5 %. На прямой дороге поперечный уклон обычно применяется в качестве коронной секции.
На кривых поперечный уклон применяется в виде виража, также называемого «односторонним поперечным уклоном». Также на узких дорогах сложно создать и поддерживать коронную секцию из-за имеющейся ширины. Таким образом, для гравийных дорог с небольшим объемом обычно более эффективно реализовать полное поперечное падение (дорога с уклоном или вне уклона), а не гребень. Минимальные требования к поперечному уклону на кривых должны определяться в каждом конкретном случае. Поперечное падение будет зависеть, например, от ограничения скорости и геометрии (радиуса кривой) дороги.
Поперечное падение кривых также важно для динамики движения.
Очень важная проблема с поперечным падением заключается в том, что оно не должно сильно меняться на коротких дистанциях, так как это может вызвать проблемы с короблением высоких и тяжелых грузовиков, а также создать угрозу безопасности дорожного движения. Важность правильного поперечного падения более подробно обсуждается в отчетах ROADEX о вибрациях человеческого тела, подготовленных Йоханом Гранлундом
. В прошлом было довольно сложно и дорого измерять детали с движущегося автомобиля, но в последнее время профилометры, 3D-акселерометры и лазерные сканеры предоставили новые инструменты для более эффективного измерения поперечного падения. Результаты испытаний этих методов также дали очень интересную информацию о важности дренажа для поперечного уклона и наоборот.
Ссылки:
Бакгрундсдокумент для обработки для идентификации av behov av avvattninsåtgärsder
Teiden suunnittelu IV, Tien rakenne 4, kuivatus (на финском языке)
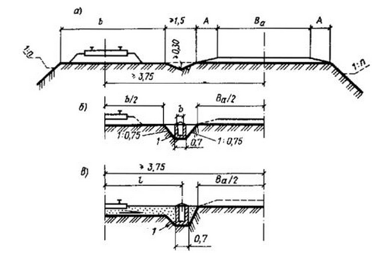
4.
3 Боковые кюветы
Боковые кюветы собирают дорожную воду и направляют ее к отводным канавам и особенно важны, когда дорога находится в выемках. Если дорога находится на высокой насыпи, боковые кюветы не всегда необходимы, и их необходимость приходится оценивать в каждом конкретном случае.
Продольный уклон боковой канавы должен составлять не менее 4 ‰ (4 мм/м) в соответствии со старыми финскими правилами, а в Швеции продольный уклон должен составлять не менее 5 ‰ (5 мм/м).
В Швеции боковые канавы подразделяются на две категории: 1) канавы, вырезанные из дорог («skärningsdike») и 2) канавы для дождевых стоков («dagsvattendike»). В соответствии со шведскими нормами глубина бокового рва («skarnings dike») должна быть не менее 30 см ниже дна конструкции дорожного покрытия. Такая же минимальная глубина в Финляндии составляет 25см. В Норвегии самые высокие требования – 35 см на недавно построенной дороге. Более глубокие боковые канавы, чем эти значения, не улучшают дренаж.
Испытания ROADEX в Швеции подтвердили правильность этих рекомендаций.
Канава дождевой воды означает, что канава собирает только дождевую воду с дороги и ее окрестностей, т. е. поверхность почвы сухая, а уровень грунтовых вод глубокий. В Швеции расчетная глубина канав этого типа составляет 0,5 м от поверхности дороги. Этот тип канав можно использовать там, где грунтовое основание является водопроницаемым, а уровень грунтовых вод находится глубже, чем на 1,0 м ниже нижней поверхности дороги. Согласно старым финским правилам проектирования дорог, глубина канавы этого типа (канава дождевой воды) должна быть на 15 см ниже дна конструкции дорожного покрытия. Кроме того, основание не должно быть морозоустойчивым.
Состояние канав традиционно оценивают визуально, но этот метод считается субъективным и чувствительным ко времени проведения оценки. Кроме того, форма канав обычно изменяется очень медленно, в результате чего визуально обнаруживаются только самые наихудшие места, а дно канав обычно не видно.
В рамках проекта ROADEX был протестирован ряд методов для решения этих проблем, и наилучшие результаты были достигнуты при использовании комбинации лазерных сканеров и методов георадара.
Список литературы:
Bakgrundsdokument до тех пор, пока не обрабатывая идентификацию För Av Behov avattninsåtgärsder (Швеция)
Teiden Suuntelu IV, Tien Rakenne 4, Kuivatus) (Finland) (Finland) (Finland) . Eller & Sherad: Инжиниринг дорог с низким объемом — дренаж дорог с низким объемом
4.4 Выходные каналы
выходные каналы — это дренажные конструкции, которые ведут воду из боковых каналов от зоны дороги. Вода из отводных канав обычно сбрасывается в существующие системы водных путей, такие как речные русла и озера. Отводная канава является важной частью дорожной дренажной системы, но ее часто игнорируют. Если выпускное отверстие забито, это может создать значительные проблемы на дороге на большой территории.
Отводные канавы обычно располагаются за пределами проезжей части, в результате чего администрация дорог не всегда может владеть землей, по которой они проходят. Это может создать трудности в получении разрешений от землевладельца, когда отводящая канава забита и требует повторного открытия.
Рекомендуется, чтобы продольный уклон отводящего канала был не менее 4‰. На практике это может потребовать уменьшения градиента до более низкого, чтобы соответствовать местным условиям.
Отводные канавы должны быть вырыты таким образом, чтобы они попадали в естественный водоток на том же уровне, что и дно естественного русла. При отсутствии естественного русла следует выкопать отводящий ров на подходящее расстояние, чтобы свести к минимуму любые скопления ила, грязи или других вредных материалов.
Расположение и оценка отводных канав всегда были проблемой при инвентаризации дренажных систем. Это особенно актуально при съемке дренажа с движущегося транспортного средства, и ROADEX протестировала различные методы, чтобы определить наиболее подходящий метод.
Одним из вариантов является использование видеокамеры, установленной под углом 90° к геодезическому автомобилю, для записи состояния канав. В последнее время для того же анализа можно эффективно использовать 360-градусное видео или данные лазерного сканирования. Кроме того, данные GPS с информацией о координатах z могут помочь определить вероятные места отводных канав, поскольку они чаще всего находятся в самой низкой точке долины.
Ссылки: Teiden suunnittelu IV, Tien rakenne 4, kuivatus (Финляндия)
4.5 Водопропускные трубы магистральных дорог
Водопропускная труба представляет собой трубчатую или коробчатую конструкцию, обычно используемую в качестве поперечного дренажа для разгрузки канав и для пропуска воды под дорогой в местах естественного дренажа и ручья. переходы. В Финляндии водопропускная труба считается водопропускной трубой, если ее ширина в свету менее 2 м, а если ширина более 2 м, то она определяется как мост. Если сооружение представляет собой большую трубу с просветом в свету 2-4 м, то водопропускная труба определяется как трубный мост.
Форма водопропускной трубы обычно представляет собой круглую трубу, но водопропускные трубы также могут быть арочными, структурными или прямоугольными. Форма зависит от участка, необходимой площади и допустимой высоты почвенного покрова.
Водопропускные трубы обычно изготавливаются из пластика, стали или бетона. Некоторые старые водопропускные трубы также могут быть сделаны из дерева или кирпичной кладки. Пластиковые водопропускные трубы часто легче обслуживать, чем водопропускные трубы из других материалов, поскольку лед не так легко прилипает к их пластиковым поверхностям.
Водопропускные трубы дороги, а относительно небольшие водопропускные трубы, используемые для поперечного стока, могут быть подвержены засорению и требуют очистки. Вот почему при планировании установки водопропускной трубы самое важное, о чем следует помнить, это убедиться, что водопропускная труба имеет достаточные размеры и имеет защиту от перелива. Водопропускные трубы также должны быть установлены в соответствии с инструкциями производителя и надлежащим образом защищены от эрозии, размыва и оборудования для обслуживания дорог.
Водопропускные трубы главных дорог должны быть установлены в самой низкой точке местности. Эмпирическое правило при установке водопропускной трубы заключается в том, что естественные модификации русла должны быть сведены к минимуму и что необходимо избегать любого сужения ширины русла. Это можно сделать, сохранив естественный уклон и выровняв канал через водопропускную трубу.
Высота и положение водопропускной трубы зависит от ряда факторов:
– Достаточный продольный уклон (не менее 1% для предотвращения накопления ила или грязи)
– Глубина боковой канавы
– Уровень дренажной системы в окружающей местности
– Следует также иметь в виду, что во многих случаях на участках с слабым грунтом дорога оседает вокруг водопропускной трубы, что приводит к повышению уровня дна канавы.
Водопропускные трубы обычно должны устанавливаться перпендикулярно трассе дороги. Они также могут быть установлены под углом к трассе дороги, если этого требуют местные обстоятельства.
Материалы для фундамента и засыпки, а также материал для переходных клиньев должны быть непромерзающими и не должны содержать камней крупнее 75 мм. Материал фундамента не должен содержать камни крупнее 40 мм. Влажный, хорошо отсортированный гранулированный или песчано-гравийный грунт с содержанием мелких частиц до 10 % является идеальным материалом для обратной засыпки.
В Финляндии рекомендуемый минимальный размер водопропускной трубы на дорогах с низкой интенсивностью движения составляет 400 мм (если длина водопропускной трубы не превышает 10 м). «Размер» водопропускной трубы определяется как внутренний диаметр трубы. Есть некоторые исключения из этого правила. Например, установка новой трубы меньшего размера внутри старой трубы, когда известно, что старая водопропускная труба слишком велика. В идеале ширина водопропускной трубы должна быть равна ширине естественного русла, чтобы избежать сужения русла.
| РАЗМЕР ДРЕНАЖНОЙ КОНСТРУКЦИИ | ||||
| Крутые склоны Голая, легкая растительность | Пологие склоны Густая растительность | |||
| Площадь дренажа (Гектары) | Круглая труба Ø (м) | Площадь (м2) | Круглая труба Ø (м) | Площадь (м2) |
0. .4 | 0,76 | 0,46 | 0,46 | 0,17 |
| 4..8 | 1,07 | 0,89 | 0,61 | 0,29 |
| 8..15 | 1,22 | 1,17 | 0,76 | 0,46 |
| 15..30 | 1,83 | 2,61 | 1,07 | 0,89 |
| 30..50 | 2,13 | 3,58 | 1,22 | 1,17 |
50. .80 | 2,44 | 4,67 | 1,52 | 1,82 |
| 80..120 | 1,83 | 2,61 | ||
| 120..180 | 2,13 | 3,58 | ||
При проектировании размера водопропускной трубы необходимо учитывать ряд факторов, например размер водосборной площади, тип окружающей местности, интенсивность осадков и т. д. В таблице ниже приведены некоторые примеры водопропускных труб различных размеров. Таблица изменена после того, как Геллер и Шерад: «Проектирование дорог с малой интенсивностью – использование, установка и размеры водопропускных труб».
Интенсивность осадков принята равной 75 – 100 мм/ч. Ситуация на голых землях с легкой растительностью и крутыми склонами имеет более высокий коэффициент стока, чем на лесных землях с густой растительностью и пологими склонами. Для промежуточной местности размер трубы можно интерполировать. Если предлагаемый размер трубы недоступен, следует использовать следующий больший размер трубы.
Выход водопропускной трубы в идеале должен располагаться в стабильной, не подверженной эрозии зоне. Хорошо засаженные растительностью или каменистые участки являются хорошими местами для размещения водопропускной трубы. Вода, вытекающая из водопропускной трубы, может вызвать проблемы с эрозией, когда она сбрасывается прямо на эрозионную почву. Защита канала, каменная наброска или другие конструктивные решения не так хороши, как правильно подобранная и правильно расположенная труба.
Каталожные номера:
Teiden suunnittelu IV, Tien rakenne 4, kuivatus (Финляндия)
Berntsen и Saarenketo Дренаж на дорогах с низкой интенсивностью движения
Geller & Sherad: Строительство дорог с низкой интенсивностью движения – использование, установка и размер водопропускных труб
4.
6 Водопропускные трубы подъездных путей
9 0004 Подъездные водопропускные трубы позволяют воде в боковых канавах главных дорог проходить через боковые дороги, соединяющиеся с главной дорогой. Такие дороги могут быть перекрестками главных дорог или простыми частными подъездными дорогами. Функция водопропускных труб подъездной дороги состоит в том, чтобы обеспечить продолжение основной дорожной канавы через боковую дорогу, как если бы дороги не существовало.
В соответствии со старыми финскими правилами минимальный размер водопропускной трубы выезда должен составлять 400 мм, если длина водопропускной трубы превышает 8 м. Если длина менее 8 м, минимальный размер может быть 300 мм. Длина водопропускной трубы будет зависеть от ширины подъездной дороги и часто бывает большой там, где есть магазины, автозаправочные станции и другие предприятия. Водопропускные трубы подъездных дорог исторически имели меньший диаметр, чем водопропускные трубы главных дорог, и скорость потока воды также была ниже.
Эти водопропускные трубы меньшего диаметра могут забиваться и вызывать просачивание воды в слои главной дороги и ослаблять их или вызывать серьезные проблемы с эрозией.
Ответственность за обслуживание водопропускных труб подъездных дорог различается в странах-партнерах ROADEX.
В Финляндии владельцем часто является частное лицо, и ответственность за техническое обслуживание водопропускной трубы несет владелец подъездной дороги. Это может вызвать проблемы, поскольку часто эти частные лица пренебрегают своей обязанностью содержать водопропускную трубу в чистоте. Довольно часто водопропускные трубы также слишком малы или построены неправильно. Это создает проблемы для дренажа дорог и приводит к повреждениям главной дороги. В Швеции владельцем водопропускной трубы подъездной дороги является дорожный администратор (Trafikverket), и ответственность за техническое обслуживание принадлежит ему. В Шотландии также ответственность за техническое обслуживание водопропускных труб подъездных дорог ложится на дорожную администрацию (т.
е. местный совет для дорог с низкой интенсивностью движения и Transport Scotland для национальных дорог). В Норвегии решение аналогично Швеции. В Норвегии Норвежская администрация дорог общего пользования владеет 3 метрами от края дороги. Большая часть водопропускных труб подъездных дорог проходит в этом районе, поэтому ответственность за них несет NPRA.
В Исландии частные землевладельцы должны оплачивать все расходы, связанные с водопропускными трубами подъездных дорог. Водопропускные трубы должны быть построены в соответствии с рекомендациями ICERA. Обслуживание водопропускной трубы подъездной дороги является обязанностью ICERA. ICERA владеет 20 метрами земли по обеим сторонам дороги от центральной линии. В Гренландии частный землевладелец строит водопропускную трубу подъездной дороги, но затем муниципалитет берет на себя ответственность за ее содержание.
4.7 Дорожные дренажные конструкции и слои
Горизонтальные дренажные конструкции дорог включают в себя такие конструкции, как фильтрующие слои, специальный геотекстиль и специальные асфальтобетонные смеси (например, пористый асфальт), которые отводят воду от дороги или перерезают капиллярное соединение подъема от грунтового основания к верхней части конструкции дорожного покрытия.
Основное назначение фильтрующего слоя в дорожном водоотводе состоит в том, чтобы срезать капиллярный подъем к слоям дорожной конструкции над ним. Материал фильтрующего слоя должен быть хорошо отсортирован с максимальным размером зерна 31,5 мм и не должен быть морозоустойчивым. Толщина фильтрующего слоя в странах Северной Европы варьируется от 0,4 м до 0,6 м. Фильтрующий слой является самым нижним структурным слоем и обычно распространяется по дну котлована. В конструкции дороги всегда следует использовать фильтрующий слой, если грунтовое основание подвержено морозу (например, глина, ил и илистая морена). Слой фильтра обычно отделяют от грунта земляного полотна геотекстилем.
Геотекстильные композиты также могут использоваться в качестве дренажных слоев. «Поддонный ковер» похож на сэндвич-структуру, которая пропускает воду с помощью своей сотовой структуры. Между геотекстилем зажата жесткая пластиковая сердцевина. Ковер укладывают на ровную поверхность и покрывают слоем заполнителей достаточной толщины, чтобы защитить ковер от действия тяжелых транспортных средств.
Пористый асфальт используется в странах с большим количеством осадков. Эта специальная асфальтобетонная смесь обеспечивает быстрый отвод воды с поверхности дорожного покрытия. Это снижает риск аквапланирования и плохих условий видимости из-за «разбрызгивания и разбрызгивания», а также повышает общую безопасность дорожного движения. Вода не собирается легко на пористой поверхности асфальта во время проливных дождей, так как большинство камней в смеси имеют одинаковый размер (т.е. очень крутая кривая градации). Толщина слоя пористого асфальта обычно составляет 20-100 мм, и он укладывается поверх непроницаемого асфальтового основания. Хотя материал хорош во влажных условиях, он имеет несколько недостатков. Ему не хватает прочности, и необходимо убедиться, что битума достаточно для покрытия камней. Если битума будет слишком много, смесь будет легко слеживаться, а поры будут закупорены битумом. Если битума будет слишком мало, произойдет растрескивание. Пористый асфальт может забиваться и терять свою эффективность при попадании твердых частиц и пыли из окружающей среды, выдувании грунта, износе двигателей и грузов.
Снег, лед и антиобледенительные соли зимой также могут забивать поры и препятствовать оттоку воды.
Наконец, специальные материалы, такие как вспененное переработанное стекло, используются в качестве дренажных и морозостойких слоев. Древесная кора также использовалась на лесных дорогах.
Каталожные номера:
Dawson Вода в дорожных конструкциях, InfraRYL2010 (Финляндия)
Ehrola: Liikenneväylien rakennesuunnittelun perusteet (Финляндия) 90 032
4.8 Вертикальные дренажные конструкции, подземные водостоки
Вертикальные заглубленные дренажные конструкции обычно используются вдоль дорог во влажных районах, например, на мокром берегу с просачиванием. Целью этих вертикальных дренажных сооружений является удаление грунтовых вод и поддержание сухости земляного полотна под дорогой. Вертикальные подземные дрены можно разделить на две основные группы; 1) перехватывающие дренажи и 2) дренажи, снижающие уровень грунтовых вод.
Иногда использование вертикальных дренажных конструкций может оказаться более экономически выгодным, чем добавление толстой конструкции к дороге или частый ремонт дороги. Особенно это касается дорог с высокой интенсивностью движения.
Типичный поддренаж состоит из перехватывающей траншеи (глубина 1-2 метра) и обратной засыпки. Дренажи обычно заполнены высокопроницаемым материалом, обернутым в геотекстиль, с перфорированной трубой или проницаемым материалом у дна. Дренажные системы на основе геокомпозита, также известные как «плавниковый дренаж», обычно имеют толщину всего несколько сантиметров. Эти типы дренажных систем обычно располагаются на краю конструкции дорожного покрытия, параллельно осевой линии дороги.
Дренажи траншейные («французские» дрены)
Дренаж траншейный состоит из желоба, обернутого геотекстилем. Изготавливается из круглого или дробленого заполнителя. В предыдущие годы слив устанавливался без трубы в основании, но в настоящее время обычно в комплект входит некоторая форма несущей дренажной трубы.
Оберточная ткань из геотекстиля предназначена для предотвращения проникновения мелких частиц грунта в канализацию и ее засорения. Геотекстиль должен быть водопроницаемым, чтобы вода могла свободно стекать из окружающего грунта в канализацию.
Пошаговый пример устройства дренажа траншеи:
1. Выкопать узкую траншею
2. Очистить выкопанную траншею
3. Покрыть поверхности котлована геотекстилем
4. Уложить слой заполнителей на дне выложенной траншеи
5. При необходимости установите несущую трубу
6. Заполните дренаж заполнителями
7. Закройте дренаж и оберните его геотекстилем (минимальный нахлест 30 см)
другой материал с низкой проницаемостью. Если необходимо собрать поверхностный сток, то и укрывной материал должен быть водопроницаемым.
Пластинчатые водостоки представляют собой продольные водостоки, изготовленные из композитных материалов. Пластинчатый дренаж обычно состоит из двух наружных поверхностей из геотекстиля, обеспечивающих фильтрующую функцию по отношению к окружающему грунту, и жесткого пластикового сердечника, который зажат между геотекстилями.
Пластинчатый дренаж также может входить в встроенный коллектор в нижней части дренажа. Вода течет через геотекстильные покрытия в сердцевину, которая затем переносит воду в отводную канаву.
Каталожные номера:
Доусон: Вода в дорожных конструкциях
Geller & Sherad: Строительство дорог с низкой интенсивностью движения – Дренаж дорог с низкой интенсивностью движения
4.9 Дренажные конструкции внутренних и внешних откосов наклоны насколько это возможно. Пологие склоны безопаснее для окружающей среды, лучше для безопасности движения и обладают большей устойчивостью к эрозии. Наклон типичного склона будет зависеть от категории дороги (сельская дорога, главная дорога, автомагистраль и т. д.) и местного рельефа. Рекомендуемый уклон внутреннего склона главной дороги в соответствии со старыми финскими правилами составляет не менее 1:2, а для внешнего уклона — не менее 1:4.0005
Плохая устойчивость склона может вызвать проблемы с водоотводом дороги и привести к ее повреждению.
Материал, стекающий на дно канавы, может заблокировать поток воды в канаве и привести к проникновению воды в дорожные конструкции. Затем это может привести к дифференцированному морозному пучению и деформации обочины. Исследование ROADEX показало, что нестабильные склоны являются одной из основных причин аварий на тестовых дорогах в Финляндии.
Особая проблема, вызывающая проблемы, заключается в том, что восприимчивый к воде материал со дна канавы был помещен обратно на внутренний откос во время очистки канавы. Затем этот материал быстро стекает обратно на дно канавы, что приводит к дальнейшим проблемам с дорогой.
Каталожные номера:
Доусон: Вода в дорожных сооружениях
Тейден суунниттелу IV, Тьен ракенне 4, Куйватус
4.1 0 Специальные дренажные сооружения
После того, как вода будет собрана с дороги и ее окрестностей, она должна быть отведена за пределы дороги к приемлемому месту сброса. Обычно это естественная водная система, такая как река, озеро или канал.
Если это невозможно, одним из решений может быть использование «замачивания». Цель замачивания состоит в том, чтобы отводить воду обратно в естественную циркуляцию, откуда она поступила, то есть просачиваться обратно в природу через пористые стены. Soakaways можно использовать только на пористых основаниях, а не, например, на глинистых участках. Soakaways должны быть индивидуально спроектированы по размеру и вместимости. Готовое пространство для замачивания должно оставаться открытым и свободным от засорения, чтобы оставаться эффективным.
Ссылки: Dawson Вода в дорожных сооружениях
КОДЕКС ТРАНСПОРТНЫХ СРЕДСТВ ГЛАВА 254. ДРЕНАЖ НА ДОРОГАХ ОБЩЕСТВА
КОД ТРАНСПОРТНЫХ СРЕДСТВ
ЗАГЛАВИЕ 6. ДОРОЖНЫЕ ДОРОГИ
ПОДРАЗДЕЛ C. ОКРУЖНЫЕ ДОРОГИ И МОСТЫ
ГЛАВА 254. ДРЕНАЖ НА ДОРОГАХ ОБЩЕСТВА
Разд. 254.001. ОПРЕДЕЛЕНИЯ. В данной группе:
(1) «Канава» включает водосток или другой водоток.
(2) «Дорога общего пользования» означает дорогу или шоссе, строительство которых не было прекращено и которое было создано в соответствии с законом, и включает каждую дорогу или шоссе, открытые для населения и используемые им в течение как минимум 10 лет до 25 марта 1897.
Деяния 1995 г., 74-я лег., гл. 165, разд. 1, эфф. 1 сентября 1995 г.
сек. 254.002. ЗАЯВКА НА СТРОИТЕЛЬСТВО ДРЕНАЖА. (a) Уполномоченный суд округа не может распорядиться о строительстве дренажной системы, если в суд не подано ходатайство в соответствии с настоящим разделом.
(b) Чтобы ходатайство имело силу, оно должно содержать:
(1) подписи не менее 100 зарегистрированных избирателей округа;
(2) заключение о необходимости и наличии дренажной системы;
(3) максимально точное количество миль дорог общего пользования;
(4) ширина и глубина канав, устраиваемых вдоль первоклассных дорог;
(5) название и расположение каждого естественного водного пути, пересекаемого первоклассными дорогами округа;
(6) расстояние одного водного пути от другого по дорогам первого класса; и
(7) имена и места жительства, если они известны, каждого владельца недвижимости, прилегающей к каждой первоклассной дороге или в пределах одной мили от нее.
Деяния 1995 г., 74-я лег., гл. 165, разд. 1, эфф. 1 сентября 1995 г.
сек. 254.003. УВЕДОМЛЕНИЕ О СЛУШАНИИ ПО УСТАНОВКЕ ДРЕНАЖНОЙ СИСТЕМЫ. (a) После подачи петиции в соответствии с Разделом 254.002 секретарь округа должен направить уведомление о петиции не позднее, чем за 20 дней до даты созыва следующей очередной сессии суда уполномоченных. Каждое извещение должно содержать краткое изложение содержания ходатайства и требовать явки всех заинтересованных лиц, желающих оспорить ходатайство, на ближайшее очередное заседание суда.
(b) Секретарь округа должен вывесить копию уведомления:
(1) у дверей здания суда; и
(2) в каждом из четырех других общественных мест округа, не более одного из которых может быть размещено в одном и том же муниципалитете.
(c) Шериф рассылает уведомления и возвращает их секретарю округа не позднее первого дня срока.
(d) За услуги, предоставляемые в соответствии с данным разделом, секретарь округа получает вознаграждение в размере 1,50 доллара США.
Деяния 1995 г., 74-я лег., гл. 165, разд. 1, эфф. 1 сентября 1995 г.
сек. 254.004. СЛУШАНИЕ И РЕШЕНИЕ ПО СОЗДАНИЮ ДРЕНАЖНОЙ СИСТЕМЫ. (a) На слушании петиции уполномоченный суд должен:
(1) рассмотреть петицию и заслушать все показания за или против ее положений; и
(2) определить, является ли дренажная система, предложенная петицией, необходимой или целесообразной для общественного блага.
(b) Если суд удовлетворит ходатайство, суд:
(1) приказ о решении заносится в протокол суда и составляет часть протокола; и
(2) указать в протоколе, было ли уведомление надлежащим образом вручено.
(c) Постановление суда является окончательным, если уведомление было вручено должным образом.
(d) Если суд отклоняет ходатайство о дренажной системе, суд не может рассматривать другое ходатайство о дренажной системе до первой годовщины даты отклонения.
Деяния 1995 г., 74-я лег., гл. 165, разд. 1, эфф. 1 сентября, 1995.
сек. 254.005. ПОЛНОМОЧИЯ ПО ПРЕДОСТАВЛЕНИЮ ДРЕНАЖА. (a) Уполномоченный суд округа может распорядиться о строительстве или обслуживании канав, как это предусмотрено настоящей главой, на любом очередном заседании суда.
(b) Если канава строится в соответствии с настоящей главой, канава должна быть размещена на внешней линии дороги общего пользования в округе или внутри нее и должна иметь возможность уносить в естественный водный путь все разумно прилегающие поверхностные воды, которые могут собираться в канаве по естественным причинам.
(c) Уполномоченный суд должен:
(1) при необходимости сделать дренаж с каждой стороны дороги общего пользования и использовать грязь из дренажных котлованов для строительства дороги; и
(2) осушать дорогу общего пользования, когда это необходимо, и вырезать для этой цели одну или несколько канав, принимая во внимание естественный сток воды и причиняя как можно меньший ущерб владельцам прилегающей собственности.
(d) В связи с его полномочиями по строительству и обслуживанию канав суд уполномоченных может строить любые необходимые боковые, боковые, ответвления или ответвления канавы.
(e) Уполномоченный суд может приобрести путем покупки или конфискации любую новую или более широкую полосу отвода не шире 100 футов для отвода русла и дренажных каналов, но только для определения местоположения, строительства или обслуживания окружной дороги. Стоимость приобретения может быть оплачена из фонда дорог и мостов округа или из любых доступных денег округа.
(f) Если владельцу собственности причинен ущерб, арбитражный суд должен определить размер ущерба и выплатить владельцу собственности из общего фонда округа. В случае разногласий между уполномоченным судом и собственником имущества в отношении размера убытков размер может быть определен в порядке гражданского иска.
Деяния 1995 г., 74-я лег., гл. 165, разд. 1, эфф. 1 сентября 1995 г.
сек. 254.006. ОГРАНИЧЕНИЯ ПО ДРЕНАЖУ.
(a) Уполномоченный суд графства не может строить канаву без выхода к естественному водному пути, достаточно большого для отвода всей воды, которая может собраться в канаве.
(b) Уполномоченный суд не может изменять естественное русло любого ответвления, ручья или ручья. Дорога общего пользования должна пересекать ответвление, ручей или ручей в естественном переходе через воду.
(c) Водопропускная труба должна быть достаточного размера, чтобы позволить воде течь с ее естественной скоростью при нормальном пиковом уровне со стороны дороги, где дорога пересекает естественный канал, в естественный канал на другой стороне дороги.
Деяния 1995 г., 74-я лег., гл. 165, разд. 1, эфф. 1 сентября 1995 г.
сек. 254.007. ЧАСТНЫЕ КАНАТЫ. Собственник недвижимого имущества, примыкающего к дороге или канаве, или владелец участка собственности, расположенного полностью или частично в пределах одной мили от дороги или канавы, может построить за свой счет боковые дренажные канавы и может соединить эти канавы с основной канавой, построенной в соответствии с настоящей главой.
Деяния 1995 г., 74-я лег., гл. 165, разд. 1, эфф. 1 сентября 1995 г.
сек. 254.008. РЕГУЛИРОВАНИЕ ЧАСТНЫХ КАНАЛОВ В ОКРУГАХ С НАСЕЛЕНИЕМ 100 000 ИЛИ МЕНЬШЕ. (a) В округе с населением 100 000 человек или менее уполномоченный суд по распоряжению может:
(1) устранить засорение канавы на недвижимом имуществе, не принадлежащем округу, если канава соединяется с дренажной канавой, построенной или обслуживаемой округом; или
(2) предусматривают удаление или расчистку завала из канавы в нарушение порядка, принятого в соответствии с настоящим разделом.
(b) Прежде чем уполномоченный суд примет решение об устранении или устранении блокировки в соответствии с настоящим разделом, суд направляет уведомление заказным письмом владельцам собственности, на которой находится блокировка, в нарушение приказа, принятого в соответствии с этим разделом. Уведомление должно информировать владельцев о заказе и других соответствующих положениях этого раздела. Суд не может удалить или устранить блокировку до 20-го дня после даты отправки уведомления.
(c) Комиссионный суд оплачивает расходы, понесенные при расчистке или устранении блокировки в соответствии с настоящим разделом.
(d) В этом разделе:
(1) «Засор» означает скопление мусора, растительности или другого материала в канаве, которое существенно уменьшает или останавливает поток воды через канаву.
(2) «Канава» включает водопропускную трубу.
Деяния 1995 г., 74-я лег., гл. 165, разд. 1, эфф. 1 сентября 1995 г.
сек. 254.009. ОБЗОР ДРЕНАЖНОЙ СИСТЕМЫ. (a) После одобрения петиции в соответствии с разделом 254.004 суд уполномоченных нанимает геодезиста для проведения обследования в соответствии с этим разделом за сумму, определенную судом на том же заседании или в последующий срок суда. Геодезист должен быть инженером.
(b) Обследование должно применяться в первую очередь к дорогам первого класса, а затем к дорогам второго и третьего классов.
(c) Инспектор должен произвести освидетельствование и систему уровней, требуемых настоящим разделом, как можно скорее после того, как он будет нанят.
(d) Геодезист должен:
(1) провести линию уровней вдоль дорог общего пользования округа, измерить дороги от начала до конца и измерить расстояние каждого водного пути, пересекаемого дорогой общего пользования, от места начала водного пути;
(2) размещать вехи или памятники вдоль линии с интервалом в 100 футов, с промежуточными вехами, которые могут быть необходимы, пронумерованные по возрастанию;
(3) установить вдоль линии постоянные реперные отметки с интервалом в одну милю или менее, если это необходимо;
(4) устанавливать кольями или памятниками, отличными по характеру и внешнему виду от всех других кольев или памятников, самую высокую точку на дороге между каждым из естественных водных путей, пересекаемых дорогой;
(5) измерить и установить соответствующими отметками фасад каждого участка недвижимого имущества, примыкающего к дороге; и
(6) если к линии дороги и кювета примыкает естественный водоток и водоток необходим в качестве выхода воды в любой точке канавы, измерьте расстояние до водотока и проведите линию уровней до водотока в ближайшей возможной точке на дороге и канаве.
(e) Геодезист должен подготовить карту, показывающую:
(1) расположение рва или рвов с указанием кольев или памятников с номерами, соответствующими номерам на местности;
(2) расположение реперных точек с их отметками относительно предполагаемой или ранее определенной исходной точки; и
(3) линии и границы прилегающей территории, а также русла и расстояния любого прилегающего водотока, с профилем линии канавы, показывающим предполагаемую точку отсчета и линию уклона дна канавы, а также отметку каждого столба, памятника или другого важного элемента вдоль линии, такого как верхняя часть берегов, дно всех канав или водотоков, поверхность воды, верхняя часть ограждения, нижняя часть шпалы, подножие насыпи и дно каждого карьера каждой железной дороги.
(f) Карта или пояснение к карте должны:
(1) указывать в табличной форме глубину и ширину выемки на дне, наверху, в истоке, на выходе и на каждом 100-футовом столбе или памятнике канаве;
(2) показать общее количество кубических ярдов земли, которое необходимо выкопать и удалить из канавы между каждым естественным водотоком, в который должна быть доставлена вода;
(3) показать смету стоимости каждого участка каждой канавы, расположенной между естественными водотоками, пересекаемыми дорогой; и
(4) показать смету общей стоимости всей работы.
(g) Инспектор также должен подготовить подробные спецификации для выполнения проекта.
(h) Если, по мнению геодезиста, целесообразно прокладывать ров под землей через водоотводные плиты, геодезист должен указать это в геодезическом акте, карте и спецификациях с указанием местоположения подземного рва, его длины, а также размеров или характера облицовки или другого материала, необходимого для подземного рва.
(i) Инспектор должен подать отчет и обзор, карту и пояснение секретарю округа, как только эти пункты будут завершены.
Деяния 1995 г., 74-я лег., гл. 165, разд. 1, эфф. 1 сентября 1995 г.
сек. 254.010. НАЗНАЧЕНИЕ ЖЮРИ ЗРЕНИЯ. (a) На любом очередном или созванном заседании суда уполномоченных после подачи отчета геодезиста суд назначает пять владельцев недвижимости округа в качестве жюри. Назначенный не может:
(1) иметь прямую заинтересованность в собственности, прилегающей к предполагаемой канаве или в пределах одной мили от предполагаемой канавы; или
(2) состоят в родственных отношениях с лицом, имеющим прямую заинтересованность в имуществе, указанном в подразделе (1).
(b) Суд может назначить единое жюри для всей предлагаемой дренажной системы или отдельное жюри для каждой канавы.
(c) Если выбранные присяжные не выполняют или отказываются выполнять свои обязанности или отчет присяжных отклонен судом уполномоченных, суд может назначить другое жюри с теми же обязанностями, что и первоначальное жюри.
(d) Член жюри имеет право на компенсацию в размере 3 долларов США за каждый день службы.
(e) После назначения жюри, секретарь округа должен предоставить присяжным заверенную копию петиции, постановления суда и оригинал отчета геодезиста с картами, спецификациями и сметой геодезистов.
Деяния 1995 г., 74-я лег., гл. 165, разд. 1, эфф. 1 сентября 1995 г.
сек. 254.011. ПРИСЯГА ЖЮРИ. Члены жюри должны принести следующую присягу, прежде чем приступить к своим обязанностям: «Я торжественно клянусь, что я не заинтересован непосредственно в строительстве предлагаемого рва, ни как владелец, ни как иным образом, или в прилегающих землях, лежащих в пределах одной мили от предполагаемого рва, и что я не связан ни с каким лицом, которое так заинтересовано.
прилегающие земли, лежащие в пределах одной мили от рва, в соответствии с законом, без страха, благосклонности, ненависти или надежды на вознаграждение, насколько мне известно и возможно. Так помоги мне, Боже ».
Деяния 1995 г., 74-я лег., гл. 165, разд. 1, эфф. 1 сентября 1995 г.
сек. 254.012. УВЕДОМЛЕНИЕ ДЛЯ ВЛАДЕЛЬЦЕВ СОБСТВЕННОСТИ О СУДЕБНЫХ РАЗБИРАТЕЛЬСТВАХ. (a) Не позднее, чем за пятый день до даты собрания для определения затрат на строительство рва, жюри уведомляет о времени и месте собрания каждого собственника или агента каждого собственника, которому принадлежит недвижимое имущество, прилегающее к предполагаемому рву или в пределах одной мили от него. В уведомлении должно быть указано, что:
(1) целью собрания является определение доли каждого собственника в расходах на строительство канавы; и
(2) доля каждого собственника в общих расходах на строительство канавы должна составлять пропорциональную долю половины общих расходов на строительство канавы.
(b) Уведомление может быть вручено любым лицом, компетентным давать показания, и должно быть возвращено и подшито вместе с окончательным отчетом присяжных.
(c) Уведомление владельцу собственности, не являющемуся резидентом округа и не имеющему агента или представителя в округе, должно быть опубликовано в газете округа в порядке, предусмотренном для уведомления ответчика-нерезидента в районном суде. Уведомление должно быть опубликовано не менее чем за четыре недели до даты заседания жюри.
Деяния 1995 г., 74-я лег., гл. 165, разд. 1, эфф. 1 сентября 1995 г.
сек. 254.013. ПРЕТЕНЗИИ СОБСТВЕННИКОВ ИМУЩЕСТВА. (a) Лицо, чье недвижимое имущество может быть затронуто канавой, может предстать перед судом присяжных и выразить свое мнение по любому вопросу, касающемуся оценки расходов против этого лица. Владелец во время или до времени, указанного в уведомлении о собрании присяжных, может представить присяжным письменное заявление о возражении или неудовлетворенности канавой и любой иск о возмещении ущерба, понесенного в результате строительства канавы.
(b) Непредъявление возражения или требования о возмещении ущерба в соответствии с Подпунктом (а) означает отказ от всех требований или права на предъявление возражения или требования.
(c) Присяжные возвращают каждое требование или возражение в суд уполномоченных вместе с отчетом присяжных.
(d) Владелец соседней собственности может предстать перед судом уполномоченных и быть заслушанным им по протесту или иску владельца собственности против действий присяжных.
Деяния 1995 г., 74-я лег., гл. 165, разд. 1, эфф. 1 сентября, 1995.
сек. 254.014. ОПРЕДЕЛЕНИЕ УЩЕРБА И ОЦЕНКИ; ДЕЙСТВИЯ КОМИССАРСКОГО СУДА. (a) После предоставления необходимого уведомления и проведения собрания, на котором были заслушаны все заинтересованные лица, жюри должно:
(1) рассмотреть все частичные сметы и общую смету расходов геодезиста;
(2) провести параллельные линии через одну милю с каждой стороны канавы; и
(3) распределить между каждым участком недвижимого имущества, примыкающим к параллельным линиям или внутри них, и собственником каждого участка пропорциональную долю половины общих расходов на канаву с учетом относительной суммы выгоды для имущества, полученного из канавы.
(b) Присяжные должны определить ущерб, причиненный любому владельцу собственности, чье имущество пересекает любой отрог, ответвление или боковой ров, построенный по распоряжению суда комиссаров. Перед вскрытием канавы ущерб должен быть возмещен по решению суда из денег, выделенных для канавы.
(c) Присяжные представляют суду под присягой отчет, подписанный не менее чем тремя присяжными, как можно скорее после собрания. Отчет должен включать:
(1) точное описание каждого оцениваемого участка собственности с указанием количества акров и имен владельцев; и
(2) сумма, начисленная в отношении каждого участка и его владельцев.
(d) Жюри должно вернуть отчет инспектора и записи клерку округа. Секретарь округа должен подать отчет присяжных, а также отчет и записи инспектора. Отчеты и записи являются общедоступной информацией после подачи.
(e) Суд уполномоченных утверждает или отклоняет отчет присяжных на следующем очередном или назначенном сроке.
Деяния 1995 г., 74-я лег., гл. 165, разд. 1, эфф. 1 сентября, 1995.
сек. 254.015. ОБРАЩЕНИЯ СОБСТВЕННИКОВ ИМУЩЕСТВА. (a) Лицо, пострадавшее от оценки, может подать апелляцию на окончательный приказ суда комиссаров об утверждении отчета жюри в соответствующий суд округа:
(1) уведомив об апелляции в открытом судебном заседании;
(2) внесение уведомления в состав решения суда; и
(3) подача протокола судебного разбирательства в суде уполномоченных судье или секретарю суда, в который подается апелляция.
(b) Стенограмма должна быть подана не позднее 10-го дня после даты вынесения решения суда уполномоченных и должна быть подана с апелляционным залогом, который имеет по крайней мере два надежных поручительства. Апелляционный залог должен:
(1) быть в сумме, которая как минимум в два раза превышает сумму вероятных затрат;
(2) при условии, что апеллянт будет преследовать апелляцию, чтобы произвести и оплатить все расходы, которые могут быть присуждены против апеллянта в апелляции; и
(3) утверждается секретарем или судьей суда.
(c) Вопрос об апелляции на оценку расходов заключается в том, пропорциональна ли оценка, сделанная в отношении истца для строительства канавы, выгоде от недвижимого имущества, полученного из канавы.
(d) Вопрос об апелляции на оценку компенсации заключается в том, является ли оценка компенсации, сделанная судом присяжных, адекватной понесенному ущербу и стоимости имущества.
Деяния 1995 г., 74-я лег., гл. 165, разд. 1, эфф. 1 сентября 1995 г.
сек. 254.016. ПРОЦЕДУРЫ, РЕГУЛИРУЮЩИЕ АПЕЛЛЯЦИЮ ВЛАДЕЛЬЦА ИМУЩЕСТВА. (a) При обжаловании оценки в соответствии с разделом 254.015 бремя доказывания лежит на подателе апелляции.
(b) Суд, рассматривающий апелляцию, определяет сумму расходов, подлежащих уплате заявителю, или сумму компенсации, причитающуюся заявителю, в зависимости от обстоятельств, и вносит эту сумму в качестве решения суда.
(c) За исключением случаев, предусмотренных Подразделом (d), расходы на апелляцию возлагаются на заявителя.
(d) Расходы на апелляцию должны быть присуждены округу, если суд установит, что:
(1) сумма, взимаемая с апеллянта, меньше суммы расходов, взимаемых присяжными; или
(2) апеллянт имеет право на большую сумму компенсации в качестве убытков, чем определено мнением жюри.
(e) Не позднее, чем на пятый день после даты вынесения решения, секретарь суда или судья, соответственно, выдает заверенную копию решения и возвращает ее в суд уполномоченных. Суд уполномоченных:
(1) подать решение с записями, касающимися канавы; и
(2) ввести решение как решение суда комиссаров.
(f) После вынесения судом уполномоченных решения по апелляции:
(1) нет дальнейших апелляций на решение суда ни для одной из сторон апелляции; и
(2) апеллянт несет ответственность за сумму расходов или имеет право на сумму компенсации, в зависимости от обстоятельств, как это определено решением.
Деяния 1995 г., 74-я лег., гл. 165, разд. 1, эфф.
1 сентября 1995 г.
сек. 254.017. СЕРТИФИКАЦИЯ И СБОР ОЦЕНОК; ЗАЛОГИ. (a) В тот же срок, в который суд уполномоченных вводит свой приказ о строительстве канав и прилегающей проезжей части, или в любой последующий срок, суд должен внести в свой протокол список каждого участка недвижимого имущества, для которого была произведена оценка расходов, отчет о которой представлен жюри и одобрен судом. Список должен включать:
(1) имена владельцев и первоначальных правообладателей каждого участка;
(2) количество акров, охваченных оценкой; и
(3) сумма оценки.
(b) Секретарь округа должен выдать справку на каждого человека в списке с указанием суммы каждой оценки, канавы или дороги, для которой была выдана оценка, и участка собственности, на который была выставлена оценка. Акт должен быть подписан уездным судьей в открытом судебном заседании и заверен рукой и печатью уездного писаря, о чем делается отметка в протоколе судебного заседания.
(c) Все суммы, начисленные в отношении любого имущества и его владельца по мнению жюри или по решению суда, являются залоговым имуществом, если это не запрещено Конституцией Техаса.
(d) Окружной судья доставляет сертификаты окружному казначею, берет у него расписку о доставке и регистрирует ее в окружных записях, касающихся канавы. Казначей собирает каждую сумму, причитающуюся по сертификатам, и вносит собранные деньги в кредит окружного фонда дорог и мостов.
(e) Если лицо, против которого выдан сертификат, не уплачивает сумму, причитающуюся казначею по требованию, казначей должен сообщить об этом факте окружному прокурору. Окружной прокурор должен немедленно подать иск об обращении взыскания на залоговое удержание или личное судебное решение, как это разрешено законом.
Деяния 1995 г., 74-я лег., гл. 165, разд. 1, эфф. 1 сентября 1995 г.
сек. 254.018. АССОРТИМЕНТ НА СТРОИТЕЛЬСТВО КАНАЛА. После утверждения отчета жюри суд уполномоченных может распорядиться о том, чтобы часть дорожно-мостового фонда или специального дорожно-мостового фонда, при необходимости, была выделена для строительства канавы, описанной в отчете.
Деяния 1995 г.
, 74-я лег., гл. 165, разд. 1, эфф. 1 сентября 1995 г.
сек. 254.019. ОСУЩЕСТВЛЕНИЕ СТРОИТЕЛЬСТВА РВОВ. (a) Суд комиссаров должен приказать лицу, отвечающему за дорогу, примыкающую к предполагаемой канаве, построить канаву в установленном порядке, используя землю, извлеченную из раскопок, для строительства эстакады, примыкающей к канаве. В качестве альтернативы суд может нанять подходящее и компетентное лицо, помимо лица, обычно отвечающего за дорогу, прилегающую к предполагаемой канаве, для надзора за строительством канавы за компенсацию в размере, установленном судом.
(b) Суд по распоряжению назначает лицу, ответственному за строительство канавы, всех работников уезда, назначенных на дорогу, прилегающую к канаве, а также все уездное оборудование и материалы. В приказе должно быть предусмотрено, что лицо может нанять дополнительную рабочую силу или приобрести дополнительное оборудование или материалы для строительства канавы. В приказе должна быть указана сумма, подлежащая уплате директору по строительству за услуги лица.

.4
.80