Содержание
Траверса крюковой подвески чертеж — Траверсы Изоляторы Арматура СИП
by Traversy, inc.Опубликовано
вар. статьи в PDF
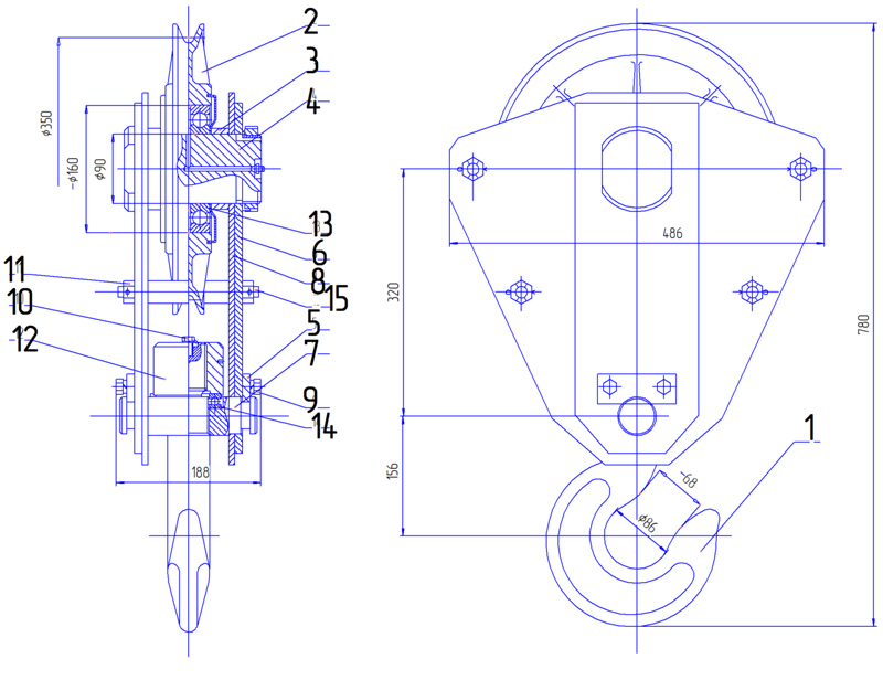
В интернет-магазине группы компаний Титан представлены подвески крюковые с различными параметрами: у нас вы обязательно подберете то, что вам нужно. В обычной крюковой подвеске крюк с гайкой на хвостовике с помощью упорного шарикоподшипника со сферическими шайбами опирается на траверсу, которая шарнирно закреплена в отверстиях серёг и защитных щитках. Хвостовик крюка проходит сквозь отверстие в траверсе и закрепляется гайкой, опирающейся либо на сферическою шайбу (при грузоподъемности до 3,2 т), либо на упорный шарикоподшипник, как на рисунке 1 (при большей грузоподъемности). Когда части подвески подводятся друг к другу вплотную, этот конец штыря оказывается внутри отверстия, в нижней части подвески, а когда верхняя часть упирается в балку рамы, верхний конец штыря вместе с горизонтальной планкой располагается внутри отверстия, имеющегося в балке.
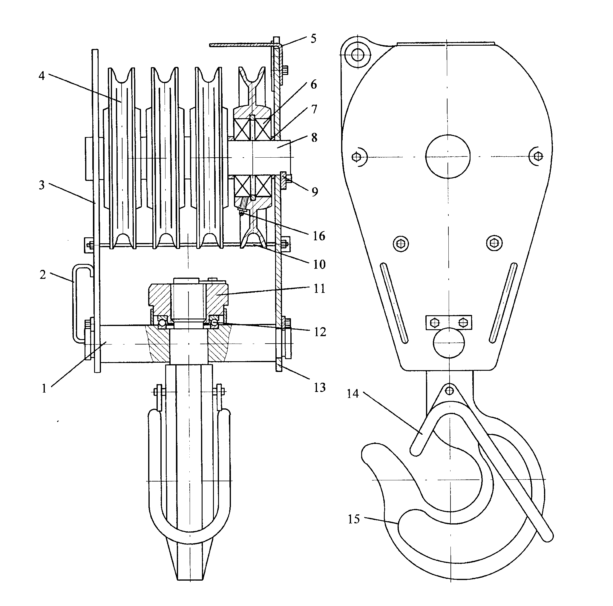
Для автоматического выравнивания усилий в симметрично расположенных ветвях каната и устранения перекоса подвески в полиспаст вводится уравнительный блок или балансир, причем при четной кратности полиспаста они монтируются на раме тележки, а при нечетной — на подвеске. Наиболее близкой по технической сущности и достигаемому эффекту является крюковая подвеска, снабженная установленной между упорным подшипником и траверсой шайбой и Т-образной стопорной планкой, установленной на крепежном элементе для взаимодействия с хвостовиком крюка [АС 1189781, опубл. Траверса оборудована экраном, который защищает блок крюковой подвески грузоподъемного крана от воздействия прямых инфракрасных излучений. Предназначен для работы со штучными грузами. Применение балансира позволяет вместо одного целого каната в полиспаст включать два его куска, равных половине общей длины каната. Для предохранения от выскакивания каната ручьи блоков крюковой подвески (а также головных блоков стрел кранов) защищены кожухом, изготовленным из листовой стали толщиной не менее 3 мм (рис.
Стопорение гаек крюков грузоподъемностью до 10 т вследствие малых размеров гайки разрешается производить с помощью штифтов или стопорных болтов.
Конструкция кожуха должна исключать возможность выхода каната из ручья блока при случайном ослаблении каната и его защемление между наружной поверхностью блока и внутренней поверхностью кожуха. Крюки грузоподъемность 3 т и более должны устанавливаться на подшипниках. Такие изделия чаще всего производят из стали 20 или 20Г. При более низких пределах прочности нерационально увеличивается диаметр каната, а следовательно, барабана и блоков, а при более высоких пределах прочности канат имеет повышенную жесткость, что снижает срок его службы из-за усталостной прочности проволок. Крюковая подвеска содержит крюк 1, траверсу 2, крепежный элемент для закрепления крюка 1 на траверсе 2, представляющий собой гайку 3, выполненную в виде втулки с фланцем, и упорный подшипник 4, расположенный между траверсой 2 и гайкой 3. Браковка крюковой подвески производится, если:.
По виду свивки канаты разделяются на обыкновенные (раскручивающиеся) и нераскручивающиеся, у которых после снятия перевязок раскручивание на отдельные пряди, а прядей на проволоки не происходит. Долговечность канатов, взаимодействующих с блоками, в значительной степени зависит от материала ручья блока. В укороченном варианте всегда используется четное число блоков. Основная задача данного приспособления – это захватывать и поднимать грузы различной тяжести. В первом случае канаты не имеют возможности поворачиваться относительно своих продольных осей, что бывает необходимо при изменении расстояния между балансирами и крюковой подвеской во время подъема-опускания груза.
траверса крюковой подвески чертеж
Траверса тм56 цена
Последний вместе со статором образует электродвигатель, корпус которого через подшипники качения опирается на стержень. Сила трения между сопрягаемыми поверхностями в процессе затягивания клинового стопорного винта 8 постепенно возрастает, и крюк 1 стопорится.
Так, при футеровке ручья эластичным полимерным материалом — капроном, модуль упругости которого в 200—250 раз меньше модуля упругости металла, создаются условия для увеличения площади контакта каната с блоком и, как следствие этого, уменьшение износа и разрушения проволок. В качестве стопорного устройства используется цилиндр, разрезанный на четыре части, с внутренним коническим отверстием и клиновой стопорный винт с левой резьбой на его концевой части, которая вкручивается в отверстие, выполненное в хвостовике крюка, при этом средняя часть клинового стопорного винта выполнена в виде усеченного конуса и взаимодействует с внутренней конической поверхностью разрезанного цилиндра. Испытаниями на выносливость канатов с пределом прочности проволок 180 кгс/см2 на блоках из модифицированного чугуна, которые имели в зоне контакта твердость HRC 50—55 и толщину упрочненного слоя 2—7 мм при твердости неупрочненного металла ИВ 160, установлено, что долговечность канатов снижается на 3—6%. Траверса в подвеске может быть выполнена по одной из двух схем: нормальной или укороченной.
Траверса имеет на концах стопорные накладки, препятствующие ее осевому перемещению, позволяющие ей поворачиваться вместе с крюком относительно горизонтальной оси. Это облегчает ориентирование грузов и строповку. Вследствие затягивания винта 8 он (винт) начинает перемещаться вниз в осевом направлении, внешняя поверхность его конической части вступает в контакт с внутренней конической поверхностью цилиндра 7. В укороченной подвеске на концах траверсы на подшипниках консольно установлены блоки. Угол аг отклонения каната от оси канавки на барабане в сторону пустой канавки (рис.Наличие полного набора оборудования дает возможность выполнять обработку широкого спектра деталей, использующихся в различных отраслях промышленности.Использование высококачественных материалов и современное оборудование предприятия «МашЛит «Буревестник» позволяет гарантировать отличные эксплуатационные свойства изделия.Подвески по конструкции могут быть нормальными и укороченными.Крюковая подвеска, содержащая крюк, траверсу, крепежный элемент для закрепления крюка на траверсе и упорный подшипник, расположенный между траверсой и крепежным элементом, отличающаяся тем, что в качестве стопорного устройства используют цилиндр, разрезанный на четыре части, с внутренним коническим отверстием и клиновой стопорный винт с левой резьбой на его концевой части, который вкручивается в отверстие, выполненное в хвостовике крюка, при этом средняя часть клинового стопорного винта выполнена в виде усеченного конуса и взаимодействует с внутренней конической поверхностью разрезанного цилиндра.
Все произведённые нами крановые подвески и грузоподъемные крюки имеют необходимые сертификаты качества и гарантии.Наибольшего сокращения длины крюковой подвески крана удается добиться благодаря укороченным крюкам.
При этом штифты входят в пазы втулки. С подшипником взаимодействует гайка Зу навернутая на хвостовик крюка или вилки. Цапфы траверсы рассчитывают также на изгиб и проверяют по давлению между цапфой и щекой. Шарнирное крепление траверсы в серьгах необходимо для того, чтобы крюк вместе с траверсой можно было повернуть относительно продольной горизонтальной оси траверсы, тем самым облегчая зачаливание груза. Для нормальной подвески характерно объединение щеками траверсы и блоков полиспаста, для укороченной — размещение траверсы на оси блоков.
ТРАВЕРСА КРЮКОВОЙ ПОДВЕСКИ ЧЕРТЕЖ
Posted in ТраверсыПомеченные крюковой, подвески, траверса, чертеж
Смотреть все записи от Traversy, inc.
Крюковая подвеска
Компания «Подъем Череповец» осуществляет поставки крюковых подвесок и других запасных частей к талям (тельферам).
Крюковая подвеска тали электрической тельфера в зависимости от кратности полиспаста обеспечивает необходимую надежность при передаче силы груза посредством крюка и несущих элементов на канат. Крышки блока закрывают в достаточной степени ролики и обладают необходимой прочностью и твердостью, для того чтобы защитить их при ударе в неподвижные твердые предметы.
Диаметр и выточки ролика, а также габарит крюка подобраны в соответствии с FEM 9.661, FEM 9.511 и DIN 15020.
Ролик в сборе с подшипником крюка тельфера
кат. № 186834 (252838)
Ролик в сборе с подшипником крюка тельфера
кат. № 186834 (252838)
Ролик в сборе с подшипником крюка тельфера
кат. № 186834 (252838)
Крюковые подвески тали в сборе
г/п 10.0 т. (4/1), 6.3 т. (4/1), 5.0 т., 3.2 т., 2.0 т.
Завод производитель Теспом (Болгария)
Крюковая подвеска тали в сборе г/п 10.
0 т.
Полиспаст 4/1 (двухрольная)
Завод производитель Подем-Габрово (Болгария)
Крюковая подвеска тали в сборе г/п 10.0 т.
Полиспаст 2/1 (однорольная)
Завод производитель Подем-Габрово (Болгария)
Крюковая подвеска тали в сборе г/п 5.0 т.
Полиспаст 2/1 (однорольная)
Завод производитель Подем-Габрово (Болгария)
Крюковая подвеска тали в сборе г/п 3.2 т.
Полиспаст 2/1 (однорольная)
Завод производитель Подем-Габрово (Болгария)
Крюковая подвеска тали в сборе г/п 2.0 т.
Полиспаст 2/1 (однорольная)
Завод производитель Подем-Габрово (Болгария)
Крюковая подвеска тали в сборе г/п 1.0 т.
Полиспаст 2/1 (однорольная)
Завод производитель Подем-Габрово (Болгария)
Крюковая подвеска тали в сборе г/п 0.
5 т.
Полиспаст 2/1 (однорольная)
Завод производитель Подем-Габрово (Болгария)
Крюковые подвески тали в сборе
г/п 10.0 т. (4/1), 10.0 т., 5.0 т., 3.2 т., 2.0 т., 1.0 т., 0.5 т.
Завод производитель Подем-Габрово (Болгария)
Крюковая подвеска в сборе тали г/п 3.2 т. Полиспаст 4/1
Крюковая подвеска в сборе тали г/п 5.0 т. Полиспаст 4/1
Крюковая подвеска в сборе тали г/п 3.2 т. Полиспаст 4/1
Крюковая подвеска в сборе тали г/п 5.0 т. Полиспаст 4/1
Ролик крюковой подвески тали «СТ39636». Без подшипника
Ролик уравнительного блока тали «СТ39636». Без подшипника
Ролик крюковой подвески тали «СТ39636». Без подшипника
Ролик уравнительного блока тали «СТ39636». Без подшипника
| Дополнительная информация |
Каталог на крюковую подвеску тали электрической канатной тип «Т» г/п 0.
5…3.2 т.
Каталог на крюковую подвеску тали электрической канатной тип «Т» г/п 3.2…5.0 т.
GM A-Body Suspension От DMR
| Практическое руководство — двигатель и трансмиссия
Сделайте этот большой автомобильный крюк с подвеской GM A-Body.
До этого тюнинга, когда загорался зеленый свет, этот Buick Skylark 71-го года курил липучки Mickey Thompson первые 100 футов или около того по трассе, прежде чем зацепиться и поехать. Пробуксовка шин на стартовой линии сводила с ума. Часть решения, которое мы покажем здесь, применима к серийным автомобилям с винтовой пружиной, непараллельной четырехрычажной задней подвеской, таким как кузова GM 64-72 годов (Chevelles, Skylarks, Cutlasses и Tempests) и Fox-and- новые Мустанги. В следующем месяце мы наберем его.
Мы обратились за советом к всемирно известному уличному гонщику, ставшему профессиональным уличным гуру, Майку Морану, который участвовал в гонках на всех видах транспортных средств, которые вы можете себе представить, и тренирует множество гонщиков на самых быстрых уличных автомобилях через свое предприятие Moran Motorsports.
Удивительно, но свою страсть к гонкам на четверть мили он начал за рулем Бьюика с кузовом А, так что он знает эти автомобили. Первоначальное предложение Морана состояло в том, чтобы просто заменить амортизаторы, чтобы помочь ускорить и контролировать перенос веса с передней части для дополнительного сцепления, но после обнаружения плохого 60-процентного отклонения веса передней части автомобиля Моран и его деловой партнер Барт Лемё решили что могут понадобиться более серьезные детали подвески.
План предусматривал установку комплекта задней подвески Dick Miller Racing (DMR) для улучшения стартового сцепления автомобиля. Комплект перемещает точки крепления верхних тяг на задней части корпуса, чтобы изменить геометрию четырех звеньев, перемещая теоретическую точку пересечения верхних и нижних рычагов управления вниз и назад. Это изменяет точку рычага подвески, что приводит к большему подъему кузова во время старта и, следовательно, к большему давлению на шины для улучшения сцепления с дорогой.
Комплект DMR также настраивается для предварительной нагрузки подвески для настройки сопротивления и делает заводские точки крепления более жесткими. Подобные комплекты доступны для Мустангов с винтовыми пружинами.
Капитальный ремонт подвески также включал регулируемый задний стабилизатор DMR с предварительным натягом и регулируемые амортизаторы Strange. Нам пришлось модифицировать некоторые компоненты DMR, чтобы они подходили, потому что несколько лет назад вместо стандартного 10-болтового крепления GM была установлена 9-дюймовая задняя часть Moser, а этот комплект создан для заводской задней части.
Эта история покажет вам, как перейти от машины для дыма из шин к экстремальной работе на крючке и готовке с помощью основных ручных инструментов и автомобильных знаний.
Консультации по скорости В процессе обновления этой истории мы связались с владельцем одного из самых быстрых уличных Buick Skylark в стране. Стиву Кейглу исполнилось 9 лет.
0,49 секунды на скорости 146 миль в час со временем 1,36 60 футов в 3500-фунтовом Бьюике 71 года.
Когда его спросили о запуске автомобиля, Кейгл сказал: «Мы потратили много времени на стандартную заднюю подвеску и в итоге установили полностью изготовленную гоночную подвеску. Детали Дика Миллера и амортизаторы Strange отлично сочетаются со стандартной подвеской и могут быть установлен кем-то на его подъездной дорожке. Мы запустили отскок в задней части, установленной на семь щелчков в сторону жесткой, а передние на половину жесткой. Я бы установил угол шестерни на 3 градуса вниз с подвеской Дика Миллера. Мы поставили много давления в сликах по сравнению с более легкими автомобилями, такими как 1111/42, до 13 фунтов на квадратный дюйм, и с учетом веса автомобиля, я думаю, это поможет вам — мы также использовали трубки в наших сликах. Моя машина хорошо работала с тормозом Moroso big-block пружины спереди, но я не думаю, что с передним весом вашего автомобиля они сработают».
Мы попробовали передние тормозные пружины Moroso, которые было очень сложно установить, так как они очень длинные. К сожалению, вес носовой части был слишком велик — пружины были полностью затянуты, когда автомобиль находился в состоянии покоя, поэтому на всех пробегах были переустановлены стандартные передние пружины.
Кейгл добавил: «Любой вес, который вы сможете вытащить из передней части машины, очень поможет при запуске». Мы смотрели на снятие веса, но решили сосредоточиться в этой истории только на подвеске.
Совет Кейгла очень помог. Одним из примеров было то, что он рекомендовал оптимальное выравнивание передней подвески, что сэкономило нам время. Мы предлагаем найти кого-то, кто быстро ездил на таком же или похожем типе транспортного средства, чтобы дать вам советы по скорости. Не будьте вредителем: вам нужно как-то сделать это беспроигрышным, и мы уверены, что они так же заняты, как и все остальные.
Основные рекомендации по выравниванию заключаются в том, чтобы установить выравнивание, когда автомобиль поднят на 1 дюйм от высоты дорожного просвета. Стреляйте в 3-4 градуса положительного кастера и 0 развала, и в общей сложности 11/416-дюймовое схождение. Положительный кастер помогает с устойчивостью на высокой скорости.
Одно важное предостережение: вам нужно убедиться, что транспортное средство достаточно похоже на ваше для перевода. Если пакет резко отличается от того, что у вас есть, то мало что можно узнать, но что вы теряете, спрашивая?
Бригада Moran Motorsports говорит, что проще установить комплект DMR, когда задняя часть кузова вынута из автомобиля.
Масштабирование автомобиля Чтобы начать процесс улучшения, Моран попросил владельца автомобиля, Майка Канкла, взвесить автомобиль. Канкл отвез свой Buick в трансмиссию Wheel to Wheel Powertrain, чтобы поставить его на электронные весы. Вот результаты: Как и подозревал Моран, процент переднего плана был жестоким.
Это делает подключение задних шин при запуске настоящей проблемой. В идеальном мире, говорит он, вы бы хотели почти 50/50-процентное разделение передней и задней части с подвеской, спроектированной так, чтобы использовать это в своих интересах.
Некоторые дополнения к автомобилю после этого взвешивания включали подвеску DMR (10 фунтов), ремни безопасности (10 фунтов) и каркас безопасности (80 фунтов). Хотя автомобиль не взвешивали после добавления этих деталей, мы уверены, что его общий вес превышал 3700 фунтов.
| НАЧАЛЬНАЯ ВЕС (без водителя, 31/44 топливного бака) | |||
| ЛЕВЫЙ | ПРАВЫЙ | ПРОЦЕНТ | |
| ПЕРЕДНЯЯ | 1 147 | 1020 | 60,6 |
| ЗАДНЯЯ | 707 | 741 | 39,4 |
| ВСЕГО | 3615 фунтов.![]() | ||
Trending Pages
2023 Ford F-150 Tremor против Chevy Silverado 1500 Trail Boss, Ram 1500 Rebel, Toyota Tundra TRD Pro: Битва мясных бластеров!
Когда состоится дебют Toyota Tacoma 2024 года?
Новая Acura Integra Type S стоит больше, чем Honda, но меньше, чем конкуренты
Volkswagen Jetta GLI 2023 года. 0094
Трио Barn-Find, все еще в упаковке Родстеры Tesla появляются в Китае
Рекомендованные истории MotorTrend
Corvette Racing одерживает победу в Португалии
Ричард Принс|
Построено, а не куплено: патинированная краска скрывает повышенную производительность LS для этого GMC 1953 года!
Стивен Рупп|
Самый быстрый Chevy Camaros, который мы когда-либо тестировали: от стокового до модифицированного
Лу Руджери|
Огромная галерея! Больше действий из гонки джентльменов
Мэтт Тейлор |
Вспоминая гонщика Land Speed Крейга Бридлава: 19 лет37-2023
Дрю Хардин |
17 странных обменов LS с LS Fest West! Причудливые постройки, которые вы должны увидеть
Джонни Ханкинс |
Популярные страницы
2023 Ford F-150 Tremor против Chevy Silverado 1500 Trail Boss, Ram 1500 Rebel, Toyota Tundra TRD Pro: Битва мясных бластеров!
Когда состоится дебют Toyota Tacoma 2024 года? Вот длинное и короткое (кровать) этого
Новый Acura Integra Type S стоит больше, чем Honda, меньше, чем конкуренты
2023 Volkswagen Jetta Gli Первый тест: высокопроизводительный Jetta
Трио сарайка, все еще в The-Wrapper Tesla Tesla.
Родстеры Surface в Китае
ДЕТАЛИ ПОДВЕСКИ
– Beatrush
Перейти к содержимому
Заднее крепление Beatrush PillowBall ID 60 мм — BRZ, FR-S и STI
Beatrush Rear PillowBall Mount ID 60 мм — BRZ, FR-S и STI
- Обычная цена
$474,05
- Обычная цена
-
499,00 долларов США
- Цена продажи
$474,05
Распродажа
- Цена за единицу товара
- /за
- Доступность
В настоящее время недоступен
Передняя подушка Beatrush Top Mount — Honda Fit RS GK5 2014+
Верхнее крепление передней подушки Beatrush — Honda Fit RS GK5 2014+
- Обычная цена
388,55 долларов США
- Обычная цена
-
409,00 долларов США
- Цена продажи
388,55 долларов США
Распродажа
- Цена за единицу товара
- /за
- Доступность
В настоящее время недоступен
Задняя подушка Beatrush (стандартные амортизаторы) — Subaru BRZ 2015, 2016 и WRX, STi 2011–2014 [Просвет]
Задняя подушка Beatrush (стандартные амортизаторы) — Subaru BRZ 2015, 2016 и WRX, STi 2011–2014 [Просвет]
- Обычная цена
405,65 долларов США
- Обычная цена
-
427,00 долларов США
- Цена продажи
405,65 долларов США
Распродажа
- Цена за единицу товара
- /за
- Доступность
В настоящее время недоступен
Задняя подушка BeatrushBall Mount ID 65 мм — BRZ, FR-S и STI [Дозор]
Крепление для задней подушки BeatrushBall, внутренний диаметр 65 мм — BRZ, FR-S и STI [зазор]
- Обычная цена
$474,05
- Обычная цена
-
499,00 долларов США
- Цена продажи
$474,05
Распродажа
- Цена за единицу товара
- /за
- Доступность
В настоящее время недоступен
Крепление Beatrush Front PillowBall — BRZ, FR-S и WRX-STi (02–07)
Крепление Beatrush Front PillowBall — BRZ, FR-S и WRX-STi (02–07)
- Обычная цена
$474,05
- Обычная цена
-
499,00 долларов США
- Цена продажи
$474,05
Распродажа
- Цена за единицу товара
- /за
- Доступность
В настоящее время недоступен
Крепление Beatrush Front PillowBall — Honda CR-Z, Fit, Insight
Крепление Beatrush Front PillowBall — Honda CR-Z, Fit, Insight
- Обычная цена
$512,05
- Обычная цена
-
$539,00
- Цена продажи
$512,05
Распродажа
- Цена за единицу товара
- /за
- Доступность
В настоящее время недоступен
Передняя подушка BeatrushBall Mount — Evolution X 2008-2015
Крепление Beatrush Front PillowBall — Evolution X 2008–2015
- Обычная цена
454,10 долл.
США- Обычная цена
-
478,00 долларов США
- Цена продажи
454,10 долл. США
Распродажа
- Цена за единицу товара
- /за
- Доступность
В настоящее время недоступен
Передняя подушка BeatrushBall Mount — Evolution 8 9 2003-2007
Крепление Beatrush Front PillowBall — Evolution 8 9 2003–2007
- Обычная цена
454,10 долл. США
- Обычная цена
-
478,00 долларов США
- Цена продажи
454,10 долл.
СШАРаспродажа
- Цена за единицу товара
- /за
- Доступность
В настоящее время недоступен
Цельный регулируемый задний стабилизатор поперечной устойчивости Beatrush, 15 мм — Subaru BRZ и Scion FR-S 2013+ [Распродажа]
Цельный регулируемый задний стабилизатор поперечной устойчивости Beatrush 15 мм — Subaru BRZ и Scion FR-S 2013+ [Просвет]
- Обычная цена
$342,95
- Обычная цена
-
$361,00
- Цена продажи
$342,95
Распродажа
- Цена за единицу товара
- /за
- Доступность
В настоящее время недоступен
Цельный передний стабилизатор Beatrush, 19 мм — Subaru BRZ и Scion FR-S 2013+ [Распродажа]
Цельный передний стабилизатор Beatrush 19 мм — Subaru BRZ и Scion FR-S 2013+ [Просвет]
- Обычная цена
377,15 долларов США
- Обычная цена
-
397,00 долларов США
- Цена продажи
377,15 долларов США
Распродажа
- Цена за единицу товара
- /за
- Доступность
В настоящее время недоступен
Комплект регулируемых боковых тяг BEATRUSH WRX-STI 02-07
Комплект регулируемых боковых тяг BEATRUSH WRX-STI 02-07
- Обычная цена
$727,43
- Обычная цена
-
$765,72
- Цена продажи
$727,43
Распродажа
- Цена за единицу товара
- /за
- Доступность
В настоящее время недоступен
Усилительные проставки BEATRUSH Super Strut для Corolla Levin-Trueno AE86 1984-1986 гг.


