Содержание
Заказать производство крановых блоков и блоков контактных колец для двигателей по доступным ценам
Завод специального машиностроения «МАЯК» изготавливает различные детали для грузоподъемного оборудования. Производство ведется как по собственным чертежам, так и по чертежам заказчика. В частности, у нас вы можете заказать крановые блоки и блоки контактных колес для кранового двигателя. Предприятие выполняет полный комплекс производственных операций, то есть до изготовления отливки и ее обработки на механическом участке (на токарных, фрезерных и других станках). Выполняется также термическая обработка для достижения определенной твердости металла.
Особенности конструкции и функционал кранового блока для стальных канатов
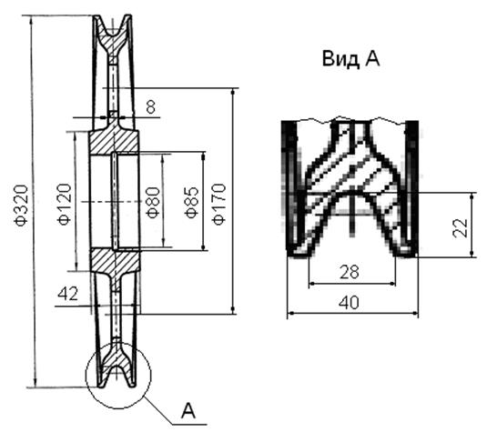
Для реализации функции подъема и опускания в грузоподъемных механизмах кранов предусмотрен крановый блок (еще он называется блок полиспаста). Конструктивно имеет вид колеса, по всей окружности которого расположены желоба для цепей или канатов. Также в конструкции предусмотрены посадочные места для подшипников.
На внутренней поверхности ступицы блока нарезается канавка для пружинного кольца. Это нужно для определения осевого положения подшипников и подачи к ним смазки. На торцах ступицы выполняются канавки прямоугольной формы, необходимые для уплотнений, а также отверстия с резьбой для крепления крышек и отверстия для смазывания.
Особенности конструкции и функционал блока контактных колец
Блоки контактных колец – обязательный элемент кранового электрического двигателя (или тельфера), и необходимы они, чтобы обеспечивать электроконтакт между вращающимся валом и неподвижной частью двигателя. Изготавливаются контактные кольца в основном из латуни или меди. По конструкции блок состоит из металлической втулки с тремя контактными кольцами и выводами.
Возникли вопросы?
Разновидности кранового блока и его функции
В зависимости от предназначения, делятся крановые блоки на следующие виды:
- Поддерживающий – ограничивает провисание подъемной цепи.
В диаметре данные блоки составляют 7–11 см, при небольшом угле обхвата. - Направляющий – контролирует отклонения цепи.
- Приводной – нужен для передачи окружного усилия посредством сцепления цепи с ободом блока. Диаметр приводного блока больше, чем блока поддерживающего, благодаря чему в системе снижается давление и уменьшается износ рабочего обода.
- Обводной блок – необходим для повышения силы либо скорости подъема грузов в крановых системах. Выделяют подвижные и неподвижные обводные блоки. В первом случае ось блока двигается вверх или вниз вместе с грузом. Ось вращения стационарных блоков жестко крепится на опоре, и в целом они отвечают за своевременную смену направления передвижения цепей (канатов, тросов).
Выгоды сотрудничества с ЗCM «MAЯК»
Для изготовления крановых блоков используются стальные или чугунные отливки, выполненные методом литья в землю, в формы или центробежного литья. В процессе производства детали подвергаются механической обработке на токарных, фрезерных и других станках (в зависимости от технологии), а также термической обработке для достижения определенной твердости.
Последний производственный этап – окрашивание блока (если это необходимо).
Готовые крановые блоки на нашем заводе проходят строгий контроль качества, который осуществляется несколькими методами:
- выявление дефектов при помощи ультразвука;
- механические испытания;
- выявление дефектов при помощи рентгеновских лучей;
- магнитоскопия.
Прошедший все испытания крановый блок получает технический паспорт, где указываются параметры изделия, а также пройденные процедуры проверки качества.
Чтобы купить сделанные на заказ крановые блоки или блоки контактных колец, вам необходимо связаться с отделом продаж ЗCM «MAЯК» по номерам телефонов, которые указаны на сайте. При предварительном обсуждении заказа менеджер рассчитает примерную цену, сориентирует по срокам готовности, доставке и ответит на другие интересующие вас вопросы.
Кроме крановых блоков наше предприятие готово изготовить для вас и другие изделия: зубчатые пары, модельную оснастку, монтажные плиты, муфты, грузоподъемное оборудование и многое другое.
Возврат к списку
КАК СДЕЛАТЬ ЗАКАЗ?
Если у вас возникли вопросы или вы хотите узнать цены, обращайтесь в отдел сбыта по телефону:
+7 (4842) 75-10-21 (многоканальный)
или на e-mail:
Профессиональные сотрудники предоставят Вам дополнительную информацию и помогут оформить заявку.
Отправляя заявку я даю свое согласие на обработку моих персональных данных
H.F.S. Lifting — Импортные крановые канаты с пластическим обжатием прядей Flexpack A7ALC, Pack 9P Spin12KP, Iperflex A6 по нормам EN 12385
Печать
|
| ||
| 27×7 | 34×7 | 39×7 |
Многопрядный малокрутящийся стальной канат с пластическим обжатием прядей Flexpack A7ALC имеет маркировку 27(W)x7, 34(W)x7, 39(W)x7-WSC. Стальные канаты соответствуют европейским стандартам EN 12385-4-2000, состоят из 15 или 18 пластически обжатых прядей в наружном слое.
Благодаря большому количеству прядей этот вид стальных канатов отличается увеличенной прочностью, устойчивостью к кручению и повышенным сопротивлением к раздавливанию. Стальные канаты Flexpack A7ALC рекомендуются для использования на раздвижных мобильных кранах, когда намотка канатов происходит на барабан.
Преимущества многопрядных стальных канатов Flexpack A7ALC
Благодаря большому количеству прядей канаты очень гибкие, при этом обладают высокими прочностными характеристиками и уменьшенным трением между наружными проволоками в прядях и поверхностью ручьев блоков, а разные направления свивки наружных и внутренних слоев прядей предотвращают кручение каната вокруг оси. Наружные пряди каната после свивки проходят через обжимные ролики, благодаря чему прядь уплотняется. Таким образом, увеличивается площадь поперечного сечения металла, форма пряди становится более гладкой, округлой, что дает следующие преимущества:
- Превосходное сопротивление крутимости.
- Высокий коэффициент заполнения площади поперечного сечения.

- Большое разрывное усилие.
- Проволока низкой маркировочной группы.
- Хорошая устойчивость к большим углам девиации.
- Высокая износостойкость проволок к истиранию.
- Снижается износ ручьев блоков.
- Повышаются прочностные характеристики каната.
- Улучшается стойкость каната к поперечному раздавливанию.
Эти преимущества позволяют продлить срок службы каната и значительно снизить эксплуатационные издержки.
Назначение стальных канатов Flexpack A7ALC
- Для кранов и тяжелой металлургии: башенные краны и сваезабивное оборудование — в качестве канатов главного подъема.
- Оффшорные пьедестальные краны — в качестве канатов главного подъема и канатов выдвижения стрелы.
- Автомобильные краны — в качестве канатов вспомогательного подъема.
- Для горнодобывающей промышленности.
- Для шельфовой добычи.
Некрутящийся, высокопрочный, с осевой и радиальной жесткостью, в то же время гибкий канат — вот те характеристики, которые делают Flexpack A7ALC самым надежным канатом с высокой производительностью.
Особая конструкция из пластически обжатых прядей придает канату идеальные свойства для достижения наивысших результатов. Канаты Flexpack A7ALC соответствуют самым высоким требованиям в глубоководном и промышленном применении, в шельфовой добыче, прокладке труб, в оснащении контейнерных, башенных и автомобильных кранов, а также бурового оборудования.
Технические характеристики импортных стальных канатов Flexpack A7ALC
| Конструкция каната | Диаметр, мм. | Масса 1000 м. каната, кг. | Минимальное разрывное усилие каната, кН | |||
| Маркировочная группа, Н/мм.² | ||||||
| 1960 Н/мм.² | 2160 Н/мм. ² | |||||
| кН | кг. | кН | кг. | |||
| 27(W) x K7 | 10 | 480 | 92 | 9380 | 98 | 9990 |
| 11 | 580 | 111 | 11310 | 119 | 12130 | |
| 12 | 690 | 132 | 13460 | 141 | 14370 | |
| 13 | 810 | 155 | 15800 | 166 | 16920 | |
| 34(W) x K7 | 14 | 940 | 180 | 18350 | 192 | 19570 |
| 15 | 1080 | 207 | 21100 | 221 | 22530 | |
| 16 | 1270 | 236 | 24060 | 251 | 25590 | |
| 17 | 1430 | 266 | 27120 | 283 | 28850 | |
| 18 | 1610 | 298 | 30380 | 318 | 32420 | |
| 19 | 1790 | 332 | 33850 | 354 | 36090 | |
| 20 | 1980 | 368 | 37520 | 392 | 39970 | |
| 22 | 2400 | 445 | 45370 | 474 | 48330 | |
| 24 | 2860 | 530 | 54040 | 564 | 57510 | |
| 26 | 3350 | 608 | 61990 | 649 | 66170 | |
| 28 | 3890 | 706 | 71990 | 753 | 76780 | |
| 30 | 4460 | 810 | 82590 | 864 | 88100 | |
| 32 | 5080 | 922 | 94010 | 983 | 100230 | |
| 34 | 5730 | 1040 | 106050 | 1110 | 113180 | |
| 39(W) x K7 — WSC | 36 | 6430 | 1170 | 119300 | 1240 | 126440 |
| 38 | 7160 | 1300 | 132560 | 1390 | 141740 | |
| 40 | 7940 | 1440 | 146830 | 1540 | 157030 | |
| 42 | 8820 | 1550 | 158050 | 1660 | 169270 | |
| 44 | 9680 | 1700 | 173350 | 1820 | 185580 | |
| 46 | 10600 | 1860 | 189660 | 1990 | 202920 | |
| 48 | 11500 | 2030 | 207000 | 2170 | 221270 | |
| 50 | 12500 | 2200 | 224330 | 2350 | 239630 | |
| 52 | 13500 | 2330 | 237590 | 2490 | 253900 | |
| 54 | 14600 | 2510 | 255940 | 2680 | 273280 | |
| 56 | 15700 | 2700 | 275320 | 2890 | 294690 | |
| 58 | 16800 | 2890 | 294690 | 3090 | 315090 | |
| 60 | 18000 | 3100 | 316110 | 3310 | 337520 | |
9-прядный канат Pack 9P Spin12KP с пластическим обжатием прядей и сердечником с полимерным покрытием
|
|
Импортный стальной канат Pack 9P Spin12KP состоит из металлического сердечника, покрытого пластиковой оболочкой, и пластически обжатыми наружными прядями из оцинкованной проволоки.
9-прядный импортный стальной канат Pack 9P Spin12KP соответствует европейским стандартам EN 12385-4-2000, обладает хорошей прочностью и повышенным сопротивлением к раздавливающему усилию. Покрытый защитным пластиком сердечник значительно увеличивает сопротивление напряжению и давлению в момент взаимодействия каната с поверхностью блока.
Преимущества 9-прядных канатов Pack 9P Spin12KP
Наружные пряди каната после свивки проходят через обжимные ролики, благодаря этому прядь уплотняется — увеличивается площадь поперечного сечения металла, форма пряди становится более гладкой и округлой, что придает канату следующие преимущества:
- Увеличивается износостойкость проволок к истиранию.
- Снижается износ ручьев блоков.
- Исключительная прочность и высокое разрывное усилие.
- Уменьшается напряжение между сердечником и прядями каната.
- Хорошая гибкость и устойчивость к большим углам девиации.
- Увеличена стойкость каната к поперечному раздавливанию.

Эти преимущества позволяют продлить срок службы каната и значительно снизить эксплуатационные издержки.
Назначение 9-прядных канатов Pack 9P Spin12KP
- Контейнерные краны — в качестве канатов главного подъема и канатов передвижения тележки.
- Мобильные краны — в качестве канатов главного подъема и канатов подъема стрелы.
- Башенные, автомобильные, оффшорные пъедестальные, мостовые краны — в качестве канатов главного подъема.
- Грейферные краны и разгрузчики — в качестве канатов главного подъема и канатов передвижения тележки.
- Для кранов и тяжелой промышленности, горнодобывающей промышленности.
- Для шельфовой добычи.
Хорошая износостойкость и сопротивление усталости, высокий эксплуатационный ресурс и простота в обращении – вот основные характеристики 9-прядных канатов Pack 9P Spin12KP. Поскольку их конструкция включает в себя обжатые внешние пряди, канаты Pack 9P Spin12KP рекомендованы к применению в качестве канатов для тяжелого подъема, канатов шельфовых лебедок, швартовых и якорных тросов.
9-прядный импортный стальной канат Pack 9P Spin12KP имеет сердечник с пластиковым покрытием для обеспечения большей устойчивости к углам девиации и более высокого разрывного усилия. Хорошие характеристики устойчивости к крутимости и первоклассная прочность делают канаты Pack 9P Spin12KP надежными и заслуживающими доверия в любой сфере применения.
Технические характеристики 9-прядных канатов Pack 9P Spin12KP
| Конструкция каната | Диаметр, мм. | Масса 1000 м. каната, кг. | Минимальное разрывное усилие каната, кН | |||
| Маркировочная группа, Н/мм.² | ||||||
| 1960 Н/мм.² | 2160 Н/мм. ² | |||||
| кН | кг. | кН | кг. | |||
| 9xK19S EPIWRC | 10 | 470 | 90 | 9170 | 98 | 9990 |
| 11 | 570 | 109 | 11110 | 119 | 12130 | |
| 12 | 680 | 130 | 13250 | 141 | 14370 | |
| 13 | 800 | 152 | 15490 | 166 | 16920 | |
| 14 | 920 | 176 | 17940 | 192 | 19570 | |
| 15 | 1060 | 203 | 20700 | 221 | 22530 | |
| 16 | 1220 | 230 | 23450 | 251 | 25590 | |
| 17 | 1380 | 260 | 26510 | 283 | 28850 | |
| 18 | 1540 | 292 | 29770 | 318 | 32420 | |
| 19 | 1720 | 325 | 33140 | 354 | 36090 | |
| 20 | 1900 | 360 | 36700 | 392 | 39970 | |
| 22 | 2300 | 436 | 44450 | 474 | 48330 | |
| 24 | 2740 | 518 | 52820 | 564 | 57510 | |
| 26 | 3220 | 608 | 61990 | 662 | 67500 | |
| 28 | 3730 | 690 | 70360 | 753 | 76780 | |
| 30 | 4280 | 792 | 80760 | 864 | 88100 | |
| 32 | 4870 | 901 | 91870 | 983 | 100230 | |
| 34 | 5500 | 1020 | 104010 | 1110 | 113180 | |
| 36 | 6170 | 1140 | 116240 | 1240 | 126440 | |
| 38 | 6870 | 1270 | 129500 | 1390 | 141740 | |
| 40 | 7620 | 1410 | 143770 | 1540 | 157030 | |
| 42 | 8400 | 1520 | 154990 | 1660 | 169270 | |
| 44 | 9220 | 1660 | 169270 | 1820 | 185580 | |
| 46 | 10100 | 1820 | 185580 | 1990 | 202920 | |
| 48 | 11000 | 1980 | 201900 | 2170 | 221270 | |
| 50 | 12200 | 2150 | 219230 | 2350 | 239630 | |
| 52 | 13100 | 2330 | 237590 | 2540 | 259000 | |
| 54 | 14200 | 2510 | 255940 | 2740 | 279400 | |
| 56 | 15200 | 2700 | 275320 | 2950 | 300810 | |
| 58 | 16300 | 2890 | 294690 | 3160 | 322230 | |
| 60 | 17500 | 3100 | 316110 | 3380 | 344660 | |
Многопрядный малокрутящийся крановый канат Iperflex A6
|
| ||
| 27(W)x7 | 36(W)x7 | 39(W)x7 |
Благодаря большому количеству прядей канаты Iperflex A6 очень гибкие, при этом обладают высокими прочностными характеристиками и уменьшенным трением между наружными проволоками в прядях и поверхностью ручьев блоков, а разные направления свивки наружных и внутренних слоев прядей предотвращают кручение каната вокруг оси.
Преимущества многопрядных стальных канатов Iperflex A6
- Превосходная гибкость.
- Высокая прочность.
- Уменьшенное трение между наружными проволоками в прядях и поверхностью ручьев блоков.
Эти преимущества позволяют продлить срок службы каната и значительно снизить эксплуатационные издержки.
Назначение стальных канатов Iperflex A6
- Башенные краны — в качестве канатов главного подъема.
- Оффшорные пъедестальные краны — в качестве канатов главного подъема.
- Автомобильные краны — в качестве канатов вспомогательного подъема.
Технические характеристики импортных стальных канатов Iperflex A6
| Конструкция каната | Диаметр, мм. | Масса 1000 м. каната, кг. | Минимальное разрывное усилие каната, кН | |
Маркировочная группа 1960 Н/мм. ² | ||||
| кН | кг. | |||
| 27(W) x K7 | 10 | 430 | 79 | 8050 |
| 11 | 520 | 96 | 9780 | |
| 12 | 620 | 114 | 11620 | |
| 13 | 720 | 134 | 13660 | |
| 14 | 840 | 155 | 15800 | |
| 15 | 960 | 178 | 18150 | |
| 16 | 1100 | 202 | 20590 | |
| 17 | 1200 | 228 | 23240 | |
| 18 | 1350 | 256 | 26100 | |
| 19 | 1500 | 285 | 29060 | |
| 20 | 1660 | 316 | 32220 | |
| 22 | 2010 | 382 | 38950 | |
| 24 | 2400 | 455 | 46390 | |
| 36(W) x K7 — WSC | 26 | 2810 | 527 | 53730 |
| 28 | 3260 | 612 | 62400 | |
| 30 | 3740 | 702 | 71580 | |
| 39(W) x K7 — WSC | 32 | 4260 | 799 | 81470 |
| 34 | 4810 | 902 | 91970 | |
| 36 | 5390 | 1010 | 102990 | |
| 38 | 6010 | 1130 | 115220 | |
| 40 | 6660 | 1250 | 127460 | |
| 42 | 7340 | 1360 | 138680 | |
| 44 | 8050 | 1490 | 151930 | |
| 46 | 8800 | 1630 | 166210 | |
| 48 | 9580 | 1770 | 180480 | |
| 50 | 10400 | 1930 | 196800 | |
| 52 | 11200 | 2080 | 212100 | |
| 54 | 12100 | 2250 | 229430 | |
| 56 | 13000 | 2410 | 245750 | |
| 58 | 14000 | 2590 | 264100 | |
| 60 | 15000 | 2770 | 282460 | |
Redaelli Tecna S.
p.A.
Redaelli Tecna S.p.A. — мировой лидер в разработке и производстве специальных стальных канатов с производственными площадками в Гардоне и Триесте, филиалами в Бразилии и Китае. Широкий спектр назначения и сфер применения стальных канатов Redaelli включает в себя: канатные дороги, крановые канаты, канаты для офшорной, горнодобывающей отраслей, канаты для натяжных, подвесных и вантовых конструкций.
За почти двухсотлетний период работы в канатной сфере благодаря строжайшей политике в области безопасности Redaelli удалось завоевать безупречную репутацию на международном рынке. «Чувство безопасности» является приоритетом компании и первостепенной целью на каждом этапе производства и сервисного обслуживания. Безопасность означает не только создание безопасной продукции. Гарантия безопасности также подразумевает расчет срока службы изделия при интенсивной эксплуатации. Для компании важно, чтобы люди, заходящие в кабину канатной дороги, пересекающие мост или работающие под краном, чувствовали себя в полной безопасности, потому что безопасность является абсолютным приоритетом Redaelli.
Разрешение на стальные канаты
Оставьте номер телефона и мы Вам перезвоним!
Ваше Имя (*)
E-mail (*)
Телефон
Организация
Город
Текст сообщения (*)
Внимание! Поля, помеченные * — обязательны для заполнения
Проволочные канаты для кранов Технический справочник
Крановые канаты
В этой брошюре Крановые канаты вы найдете ценную информацию о продуктах и технические характеристики, которые помогут вам выбрать правильный канат для вашего применения.
Дата публикации: 2021
Источник: Справочный документ (52 страницы)
Просмотр
Вращение блока и устойчивость каната
Перекрученные подъемные канаты могут привести к внезапной остановке строительного проекта, что приведет к простою.
Но хорошая новость заключается в том, что вы можете свести к минимуму вращение блока за счет правильной установки, обращения и корректирующих мер. В этом справочном документе вы лучше поймете крутящий момент и получите советы о том, как уменьшить вращение блока.
Дата публикации: 2020 г.
Источник: справочный документ (2 страницы)
Посмотреть
Правильный выбор стального каната для вашего применения
Ни один канат не может справиться со всеми задачами. Из этого справочного документа вы узнаете, как характеристики конкретных канатов должны сильно влиять на ваш выбор каната, включая: прочность, сопротивление усталости, сопротивление раздавливанию, сопротивление потере металла и деформации, а также сопротивление вращению.
Дата публикации: 2014
Источник: Справочный документ (2 страницы)
Просмотр
Барабанное дробление на стреловых подъемниках
В этом бюллетене вы узнаете о различных причинах дробления, последствиях дробления и о том, как правильно оценить дробление.
Кроме того, включены наблюдения инженеров WireCo WorldGroup о барабанном дроблении.
Дата публикации: февраль 2014 г.
Источник: Бюллетень продукции (2 страницы)
Просмотр
Резка в полевых условиях канатов, устойчивых к вращению, категории 1
Из этого бюллетеня вы узнаете, почему канаты категории 1 представляют собой особые стальные канаты, с которыми нужно обращаться иначе, чем с другими стальными канатами. Узнайте, почему WireCo WorldGroup рекомендует не снимать сварные концы. И изучите правильную пошаговую рекомендуемую процедуру разрезания и подготовки канатов категории 1.
Дата публикации: ноябрь 2012 г.
Источник: Бюллетень продукции (1 страница)
Просмотр
Руководство по установке подъемного каната крана без перекручивания
В этом бюллетене вы узнаете о предпочтительном методе WireCo WorldGroup для установки подъемного каната на кран. Изучите советы по уменьшению скручивания во время установки.
Дата публикации: 2020 г.
Источник: Бюллетень продукции (2 страницы)
Посмотреть
Руководство по установке и техническому обслуживанию
В этом справочном документе вы познакомитесь с предпочтительным методом WireCo WorldGroup для установки каната на кран. Кроме того, вы узнаете советы по разрыву вашего нового стального троса, уменьшению перекручивания, такелажу в тесных помещениях, а также по очистке и смазке канатов.
Дата публикации: 2020 г.
Источник: Справочный документ (2 страницы)
Просмотр
Как проверить стальной трос
Несмотря на свою долговечность и прочность, стальные канаты, используемые на кранах, изнашиваются и должны быть выведены из эксплуатации . Этот справочный документ лучше объяснит, почему регулярные проверки так важны для вашего долгосрочного успеха.
Дата публикации: 2020
Источник: Справочный документ (2 страницы)
Просмотр
Правильная установка мобильных кранов
Узнайте, как правильно устанавливать тросы на автокраны.
Два фактора являются ключевыми для правильной установки, независимо от типа оборудования или используемого троса: убедитесь, что трос не перекручен, и убедитесь, что трос плотно намотан на барабан.
Дата публикации: февраль 2020 г.
Источник: справочный документ (2 стр.) разогнуть. Веревки предназначены для работы с этими крутящими моментами, создаваемыми внутри них. В этом бюллетене изучите четыре метода изготовления подъемника, который находится в пределах возможностей линии по производству отдельных деталей. И, наконец, вы поймете критерии удаления веревки, устойчивой к вращению.
Дата публикации: январь 2014 г.
Источник: Бюллетень продукции (1 страница)
Просмотр
Использование вертлюга
Использование активного, линейного, антифрикционного вертлюга с большинством типов и классов стальных канатов вредно к их сроку службы и может привести к непредсказуемым условиям во время эксплуатации. В этом бюллетене приведены основные доводы в пользу того, почему вертлюги не рекомендуются для использования с проволочными канатами, за исключением тех, которые имеют такую же характеристику крутящего момента, как и канаты категории 1, устойчивые к вращению.
Дата публикации: апрель 2020 г.
Источник: Бюллетень продукции (2 страницы)
Посмотреть
Когда заменять трос
В этом документе описаны конкретные критерии для определения того, когда следует заменять трос на кранах.
Дата публикации: 2020 г.
Источник: справочный документ (2 страницы)
Посмотреть
XLT4 Расчетный коэффициент Бюллетень продукта
XLT4 предназначен для использования с расчетным коэффициентом всего 3,5 на мобильных кранах. В этом бюллетене вы узнаете больше о требованиях к расчетному коэффициенту ASME B30.5.
Дата публикации: июль 2014 г.
Источник: Бюллетень продукта (1 страница)
Просмотр
XLT4 Концевые крепления Бюллетень продукта
XLT4 был разработан и спроектирован так, чтобы быть совместимым с полным комплектом концевых заделок, включая зажимы для тросов, клинья и обжатые кнопки крана.
Из этого бюллетеня вы узнаете, как 4-прядный крановый канат Union обеспечивает большую прочность, чем 6-прядный канат премиум-класса, и равную или большую стабильность под нагрузкой, чем канаты с сопротивлением вращению категории 1 типа 35×7.
Дата публикации: июль 2014 г.
Источник: Бюллетень продукции (1 страница)
Посмотреть
XLT4 Четырехпрядный канат Бюллетень продукции
XLT4 — это поистине четырехпрядный подъемный канат для мобильных кранов, которому нет равных. Прочитав этот бюллетень по продукту, вы поймете, почему. Вы узнаете, как XLT4 был разработан специально для удовлетворения особых требований к проволочным канатам для работы с мобильными кранами, и как XLT4 предлагает уникальное сочетание характеристик.
Дата публикации: июль 2014 г.
Источник: Бюллетень продукции (1 страница)
Просмотр
Износ шкивов XLT4 Бюллетень продукции
Чем больше площадь, тем меньше износ.
Из этого бюллетеня вы узнаете, почему это важно для нашего каната XLT4. После прочтения этого бюллетеня по продукту вы поймете, почему XLT4 Crane Rope обеспечивает большую площадь контакта каната с барабанами и шкивами, и что это означает для производительности вашего приложения. Кроме того, вы узнаете, почему XLT4 обеспечивает меньшее истирание и истирание и почему это снижает контактное давление на канаты.
Дата публикации: июль 2014 г.
Источник: Бюллетень продукта (1 страница)
Просмотр
Что такое кнопка и что она делает для троса?
Как кнопка может помочь мне достичь максимальной силы натяжения канатов моего крана?
Удалось ли вам достичь максимальной прочности на разрыв с некоторыми из ваших концевых фитингов? Установка кнопки на тросах вашего крана может быть ответом, который вы ищете, чтобы обеспечить максимальную силу тяги.
Что делать, если аварийный Becket или другой концевой фитинг позволит получить только закрыть до максимальной силы натяжения, но не до 100%? Ответ может быть ближе, чем вы думаете, так как Mazzella может установить залитые кнопки на ваш трос, что позволит вам достичь максимальной силы натяжения.
Занимаясь грузоподъемным и такелажным бизнесом с 1954 года, Mazzella понимает, какие инвестиции вы делаете в свое оборудование. Мы здесь, чтобы помочь вам максимально использовать ваше такелажное оборудование, включая тросы и краны.
В этой статье мы ответим вам на следующие вопросы:
- Что такое кнопка?
- Что делает кнопка для троса?
- Продлевает ли пуговица срок службы троса?
- Каков процесс установки кнопки?
- Есть ли период обкатки кнопок?
Что такое кнопка?
Пуговица, как и пуговица Crosby Steel Swage Button, представляет собой концевой фитинг, который надевается на конец высокопроизводительного кранового каната быстроходного крана. Он помещается в чашку, которая прикреплена к самому крану.
Причина этого в том, что с аварийным Becket крановщикам гораздо труднее установить его в полевых условиях. Однако специалисты Mazzella могут приехать к вам на место работы и прикрепить кнопку на трос.
Затем вы можете пропустить трос через свои блоки и быть готовыми быстро вернуться к работе.
Каковы преимущества использования кнопки на тросе?
Использование кнопки на тросе вместо других концевых заделок позволяет вам иметь 100 % тягового усилия (грузоподъемность) по сравнению с аварийным Becket, где оно составляет примерно 80 % тягового усилия троса. Кроме того, кнопки позволяют значительно сократить время, затрачиваемое на запасовку блоков крана.
При аварийном Бекете веревка проходит через конец, образуя петлю, между которыми находится клин. Как только веревка входит в этот концевой фитинг, через него проходит болт и прикрепляется к крану.
Поскольку покупка новых крановых канатов требует немалых затрат, вы должны сделать все возможное, чтобы максимально увеличить силу натяжения. Кнопка позволяет вам иметь прямое натяжение.
Почему кнопки становятся все более популярными?
В последние годы специалисты по установке кнопок Mazzella все чаще наблюдают, как отрасли, использующие проволочные тросы, начали использовать кнопки.
Раньше Becket был предпочтительным концевым фитингом для крепления каната на кране.
С пуговицами у вас нет открытого конца, как у аварийного Бекета. Бекет проходит, а затем делает петлю. Он возвращается обратно, и у вас обычно остается от 12 до 18 дюймов обнаженной веревки на конце нити.
Беккеты оседланные с хомутом. Всякий раз, когда вы поднимаете свои блоки, Becket может ударить по этому блоку, что может привести к открытию кабеля.
Каков процесс установки кнопки?
***Помните, Mazzella направляет только сертифицированных специалистов для установки кнопок. Если вы используете другую стороннюю компанию, обязательно спросите о сертификатах вашего установщика.
Когда технический специалист прибывает на место, его первая задача — осмотреть трос и определить проблемное место. Оттуда техник пройдет рекомендуемое расстояние дальше по проволочному тросу, чтобы убедиться в отсутствии других неисправностей или причин для вывода из эксплуатации.
Как только место проблемы найдено, наши специалисты по установке кнопок снимают размеры кнопки и выполняют следующие действия:
- Вставьте трос в стойку полная длина
- Измерьте пуговицу
- Определите размеры места, куда будет крепиться пуговица
- Отрежьте трос
- Наденьте пуговицу на трос
Техник по установке пуговицы намотает проволоку на трос крана ближе к концу троса прядь перед установкой пуговицы. Думайте об этом процессе, как обматывание рукоятки бейсбольной биты перед использованием ее в игре.
После того, как кнопка будет на веревке, специалисты по установке кнопок вскроют каждый провод по отдельности и нанесут на него чистящее средство минимум на 15 минут. После завершения этого процесса специалисты по установке кнопок проверят симметричность проводов. Затем на стенде муфту спускают по канату крана, где ее проверяют на ровность.
Когда эти шаги будут выполнены, техники по установке кнопок откроют и вставят проволочный замок поверх оголенных проводов, чтобы убедиться, что они полностью закрыты.
Этот процесс предотвращает попадание воды в трос крана и его ржавление изнутри.
После завершения процесса отверждения установщик выполнит все проверки после заливки, чтобы подтвердить его успешность. Затем на кнопку будет надет колпачок, и установщик проследит за тем, чтобы провод прошел насквозь до нижней части концевой заделки.
Действительно ли трос перерезан во время установки кнопки?
Как правило, если на тросах вашего крана требуется установка кнопки, это связано с тем, что такелажники и операторы каким-то образом повредили трос. Иногда им нужно, чтобы специалисты по установке кнопок вышли и укоротили кабель.
Однако процесс Mazzella говорит, что если мы собираемся укоротить этот кабель, мы делаем это со стороны барабана, а не со стороны разъема.
Есть ли предупреждения об использовании кнопок?
***Важно отметить, что Mazzella никогда не обжимает пуговицу на использованной веревке. Если кто-то предполагает, что они могут обжать кнопку на использованной веревке, вам следует НАСТОЯТЕЛЬНО РАССМОТРЕТЬ использование другой компании.
Независимо от вашего решения о сторонней компании, всегда запрашивайте сертификаты и рекомендации.
Существует несколько предупреждений об использовании кнопок и концевых заделок на тросах вашего крана.
Предупреждения о стальной обжимной пуговице
Длина пуговицы и толщина стенки напрямую связаны с грузоподъемностью каната. Если требуется более короткая пуговица, более короткая пуговица может не обеспечивать полную удерживающую способность веревки. Доступны кнопки специального размера — в соответствии с вашими требованиями. За более подробной информацией обратитесь к специалисту по установке кнопок.
Предупреждения о клиновом гнезде S-421T
Грузы могут соскользнуть или упасть, если клиновое гнездо установлено неправильно. Падающий груз может серьезно травмировать или убить рабочих на стройплощадке. Прочтите и уясните эти инструкции перед установкой и не загружайте клиновой разъем сбоку.
Приложите первую нагрузку, чтобы клин и трос полностью вошли в гнездо.
Эта нагрузка должна быть равной или большей по весу, чем нагрузка, ожидаемая при использовании.
Также помните НЕ на:
- Взаимозаменяемые клинья между S-421T и US422T или между размерами.
- Соберите клин S-421W старого образца 1-1/4″ в корзину TERMINATOR™ S-421T 1-1/4″
- Поместите клин UWO-422 старого образца в корзину TERMINATOR™ US-422T
Предупреждения о клиновом гнезде S-423T Super Terminator®
Грузы могут соскользнуть или упасть, если клиновое гнездо установлено неправильно. Падающий груз может серьезно травмировать или убить рабочих на стройплощадке. Прочтите и уясните эти инструкции перед установкой и не загружайте клиновой разъем сбоку.
Приложите рекомендуемый крутящий момент к болтам натяжителя и зажима и правильно установите трос, чтобы надежно зафиксировать болт натяжителя в натяжителе. Не устанавливайте S-423 Wedge в корзине для розеток любой марки или модели, кроме Crosby S-421T TERMINATOR™.
Размер указан на корзине гнезда и клине, поэтому не меняйте клинья разных размеров.
Полную информацию о предупреждении и применении см. в The Crosby Group по телефону www.thecrosbygroup.com .
Как Mazzella может помочь вам с установкой кнопок?
Прочитав эту статью, вы теперь лучше понимаете, что такое кнопка, как она помогает вам поддерживать максимальную силу натяжения, почему они набирают популярность и на что похож процесс установки.
Если вам подходит установка кнопки, наши сертифицированные установщики доступны круглосуточно и без выходных для заливки OEM-гнезд в полевых условиях для всех основных производителей кранов. В Mazzella наши установщики проходят повторное тестирование каждые шесть месяцев, чтобы убедиться, что их сертификаты соответствуют последним требованиям.
Mazzella располагает большим ассортиментом высококачественных стальных канатов и изделий из стальных канатов, доступных для немедленной доставки.
Мы храним различные высококачественные канаты и изделия диаметром от 1/4” до 3” и диаметром от 9 мм до 52 мм во многих наших магазинах. Кроме того, у нас есть как отечественные, так и зарубежные товары, готовые к отправке в тот же или на следующий день из одного из наших многочисленных сервисных центров.
Электронная почта [email protected] или позвоните нам по телефону 800.362.4601 с любыми вопросами или чтобы запланировать ваш следующий проект каната крана!
Крановые канаты
Канаты одной марки не подходят для каждой машины!
Mazzella имеет большой запас высокопроизводительных стальных тросов, доступных для немедленной доставки.
Мы храним различные высококачественные канаты во многих наших магазинах диаметром от 1/4” до 3” и диаметром от 9 мм до 52 мм.
У нас есть как отечественные, так и импортные товары, готовые к отправке в тот же или на следующий день из одного из наших многочисленных сервисных центров.
²
²
²