В этой статье мы постарались собрать все возможные принципы работы насосов. Часто, в большом разнообразии марок и типов насосов достаточно трудно разобраться не зная как работает тот или иной агрегат. Мы постарались сделать это наглядным, так как лучше один раз увидеть, чем сто раз услышать. Водоподъемное колесо С давних времен стояла задача подъема и транспортировки воды. Самыми первыми устройствами такого типа были водоподъемные колеса. Винт архимеда Архимед (287–212 гг. до н. э.), великий ученый древности, изобрел винтовое водоподъемное устройство, позже названное в его честь. Это устройство поднимало воду с помощью вращающегося внутри трубы винта, но некоторое количество воды всегда стекало обратно, т. к. в те времена эффективные уплотнения были неизвестны. В результате, была выведена зависимость между наклоном винта и подачей. При работе можно было выбрать между большим объемом поднимаемой воды или большей высотой подъема. Чем больше наклон винта, тем больше высота подачи при уменьшении производительности. Поршневой насос Первый поршневой насос для тушения пожаров, изобратенный древнегреческим механиком Ктесибием, был описан еще в 1 веке до н. э. Эти насосы, по праву, можно считать самыми первыми насосами. До начала 18 века насосы этого типа использовались довольно редко, т.к. изготовленные из дерева они часто ломались. Развитие эти насосы получили после того, как их начали изготавливать из металла. Существуют и поршневые насосы, объединенные в группы: двухплунжерные, трехплунжерные, пятиплунжерные и т.п. Крыльчатый насос Крыльчатые насосы являются разновидностью поршневых насосов. Насосы этого типа были изобретены в середине 19 века. Конструкция: Сильфонный насос Насосы этого типа имеют в своей конструкции сильфон («гармошку»), сжимая который производят перекачку жидкости. Конструкция насоса очень простая и состоит всего из нескольких деталей. Низкая цена насоса позволяет использовать его в качестве одноразового насоса для перекачивания едких и опасных жидкостей с последующей утилизацией этого насоса. Пластинчато-роторный насос Пластинчато-роторные (или шиберные) насосы представляют собой самовсасывающие насосы объемного типа. Предназначены для перекачивания жидкостей. обладающих смазывающей способностью (масла. дизельное топливо и т.п.). Насосы могут всасывать жидкость «на сухую», т.е. не требуют предварительного заполнени корпуса рабочей жидкостью. Принцип работы: Рабочий орган насоса выполнен в виде эксцентрично расположенного ротора, имеющего продольные радиальные пазы, в которых скользят плоские пластины (шиберы), прижимаемые к статору центробежной силой. Шестеренный насос с наружным зацеплением Шестеренные насосы с наружным зацеплением шестерен предназначены для перекачивания вязких жидкостей, обладающих смазывающей способность. Принцип действия: Шестеренный насос с внутренним зацеплением Насосы аналогичны по принципу работы обычному шестеренному насосу, но имеют более компактные размеры. Из минусов можно назвать сложность изготовления. Принцип действия: Кулачковый насос с серпообразными роторами Кулачковые (коловратные или роторные) насосы предназначены для бережной перекачки вызких продуктов, содержащих частицы. На картинке можно посмотреть роторный насос с трехлепестковыми роторами. Импеллерный насос Импеллерный насос (ламельный, насос с мягким ротором) является разновидностью пластинчато-роторного насоса. Синусный насос Название этого насоса происходит от формы рабочего органа – диска, выгнутого по синусоиде. Отличительной особенностью синусных насосов является возможность бережного перекачивания продуктов содержащих крупные включения без их повреждения. Размер перекачиваемых частиц зависит от объема полости между диском и корпусом насоса. Принцип работы: На валу насоса, в рабочей камере, установлен диск, имеющий форму синусоиды. Камера разделена сверху на 2 части шиберами (до середины диска), которые могут свободно перемещаться в перпендикулярной к диску плоскости и герметизировать эту часть камеры не давая жидкости перетекать с входа насоса на выход (см. рисунок). Винтовой насос macromedia.com/go/getflashplayer»/> Основной рабочей частью эксцентрикового шнекового насоса является винтовая (героторная) пара, которая определяет как принцип работы, так и все базовые характеристики насосного агрегата. Винтовая пара состоит из неподвижной части – статора, и подвижной – ротора. Статор – это внутренняя n+1-заходная спираль, изготовленная, как правило, из эластомера (резины), нераздельно (либо раздельно) соединенного с металлической обоймой (гильзой). Ротор – это внешняя n-заходная спираль, которая изготавливается, как правило, из стали с последующим покрытием или без него. Стоит указать, что наиболее распространены в настоящее время агрегаты с 2-заходными статором и 1-заходным ротором, такая схема является классической практически для всех производителей винтового оборудования. Важным моментом, является то, что центры вращения спиралей, как статора, так и ротора смещены на величину эксцентриситета, что и позволяет создать пару трения, в которой при вращении ротора внутри статора создаются замкнутые герметичные полости вдоль всей оси вращения. Винтовые насосы относятся к объемным насосам. Эти типы насосов могут перекачивать высоковязкие жидкости, в том числе с содержанием большого количества абразивных частиц. Насосы этого типа получили большое распространение в пищевой и нефтехимической промышленности. Теоретические основы работы винтового насоса. Героторные пары.. Перистальтический насос Насосы этого типа предназначены для перекачивания вязких продуктов с твердыми частицами. Принцип работы: Вихревой насос Вихревые насосы предназначены для перекачивания различных жидкотекучих сред. насосы обладают самовсасыванием (после залива корпуса насоса жидкостью). Принцип действия: При вращении колеса жидкость увлекается лопатками и одновременно под воздействием центробежной силы закручивается. Таким образом, в кольцевой полости работающего насоса образуется своеобразное парное кольцевое вихревое движение, почему насос и называется вихревым. Отличительная особенность вихревого насоса заключается в том, что один и тот же объем жидкости, движущейся по винтовой траектории, на участке от входа в кольцевую полость до выхода из нее многократно попадает в межлопастное пространство колеса, где каждый раз получает дополнительное приращение энергии, а следовательно, и напора. Газлифт Газлифт (от газ и англ. lift — поднимать), устройство для подъёма капельной жидкости за счёт энергии, содержащейся в смешиваемом с ней сжатом газе. В газлифте, или эрлифте, сжатый газ или воздух от компрессора подаётся по трубопроводу, смешивается с жидкостью, образуя газожидкостную или водо-воздушную эмульсию, которая поднимается по трубе. Смешение газа с жидкостью происходит внизу трубы. Действие газлифта основано на уравновешивании столба газожидкостной эмульсии столбом капельной жидкости на основе закона сообщающихся сосудов. Один из них — буровая скважина или резервуар, а другой — труба, в которой находится газожидкостная смесь. Мембранные насосы Мембранные насосы относятся к объемным насосам. Существуют одно- и двухмембранные насосы. Двухмембраные, обычно выпускаются с приводом от сжатого воздуха. Принцип работы: Всасывание: Первая мембрана создает разрежение, когда она движется от стенки корпуса. Оседиагональные насосы (шнековые) Шнековые насосы часто путают с винтовыми. Внимание! Насосы НЕСАМОВСАСЫВАЮЩИЕ. Для работы в режиме всасывания требуется заливка корпуса насоса и всего всасывающего шланга) Центробежный насос Центробежные насосы являются самыми распространенными насосами. Название происходит от принципа действия: насос работает за счет центробежной силы. Насосы используются для перекачивания жидких сред. Существуют модели для химически активный жидкостей, песка и шлама. Отличаются материалами корпуса: для химических жидкостей используют различные марки нержавеющих сталей и пластика, для шламов — износостойкие чугуны или насосы с покрытием из резины. Многосекционный насос Многосекционные насосы — это насосы с несколькоми рабочими колесами, расположенными последовательно. Такая компоновка нужна тогда, когда необходимо большое давление на выходе. Дело в том, что обычное центробежное колесо выдает максимальное давление 2-3 атм. По этому, для получения более высоких значение напора, используют несколько последовательно установленных центробежных колес. Такие типы насосов используют в качестве погружных скважинных и в качестве сетевых насосов высокого давления. Трехвинтовой насос Трехвинтовые насосы предназначены для перекачивания жидкостей, обладающих смазывающей способностью, без абразивных механических примесей. Вязкость продукта — до 1500 сСт. Тип насоса объемный. Насосы этого типа применяются: Струйный насос Струйный насос предназначен для перемещения (откачки) жидкостей или газов с помощью сжатого воздуха (или жидкости и пара), подающегося через эжектор. Принцип работы насоса основан на законе Бернули (чем выше скорость течения жидкости в трубе, тем меньше давление этой жидкости). Конструкция насоса чрезвычайно проста и не имеет движущихся деталей. Струйные насосы, работающие от пара, называют пароструйными насосами, работающие от воды — водоструйными насосами. Гидротаранный насос Этот насос работает без подвода электроэнергии, сжатого воздуха и т.п. Работа насоса этого типа основана на энергии поступающей самотеком воды и гидроудара, возникающего при резком её торможении. Принцип работы гидротаранного насоса: Спиральный вакуумный насос Спиральный вакуумный насос представляет собой объёмный насос внутреннего сжатия и перемещения газа. Ламинарный (дисковый) насос Ламинарный (дисковый) насос является разновидностью центробежного насоса, но может выполнять работу не только центробежных, но и прогрессивных полостных насосов, лопастных и шестеренчатых насосов, т.е. перекачивать вязкие жидкости. *Информация взята из открытых источников. |
Устройство и принцип действия центробежного насоса
9 апреля 2018
Насосы центробежного типа – один из наиболее популярных типов насосного оборудования.
Современные производители предлагают множество моделей для бытового и промышленного применения. Устройства используются в технологических процессах, для забора жидких сред из скважин с последующей транспортировкой по горизонтали или подъемом на требуемую высоту, осушения подвалов. С помощью центробежных моделей организуют полив, водоснабжение животноводческих хозяйств, создают автономные системы водоснабжения.
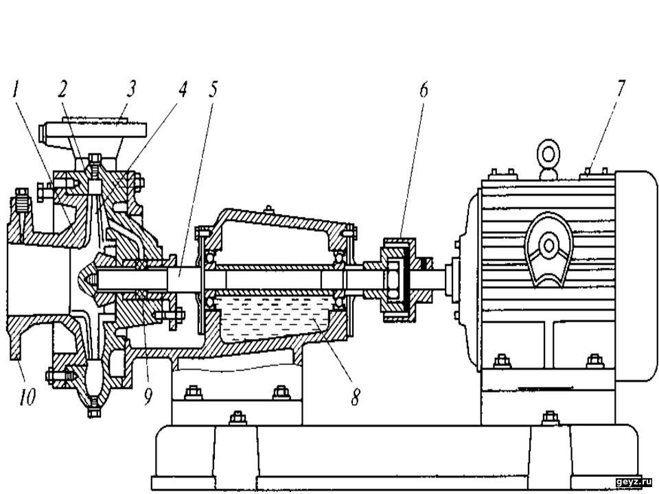
Особенности конструкции и принцип действия центробежного насоса
Независимо от модели, центробежные агрегаты включают:
- Корпус с входным и выходным патрубками. Обычно имеет конфигурацию, напоминающую улитку.
- Электродвигатель. Для обеспечения бесперебойной работы двигатель располагают в герметичном пространстве, защищенном от попадания рабочих сред.
- Вал. Передает крутящий момент от двигателя к рабочему колесу, на внешней поверхности которого расположены лопатки.
Они предназначены для перемещения рабочей среды по внутренней камере. - Подшипниковые узлы. Облегчают вращение вала.
- Уплотнения. Защищают внутренние компоненты агрегата от контакта с рабочими средами.
Дополнительно в устройство центробежного насоса входят конструктивные элементы, повышающие функциональность, безопасность и эффективность его использования:
- Шланги различного назначения.
- Обратный клапан, предохраняющий аппарат от возврата рабочей среды.
- Фильтр грубой очистки, устанавливаемый перед агрегатом. Предохраняет внутренние узлы устройства от повреждения крупными механическими включениями.
- Измерительные устройства – вакуумметры, манометры.
- Запорно-регулирующая трубопроводная арматура.
Принцип работы насосного оборудования этого типа:
- При включении электродвигателя начинает вращаться рабочее колесо, расположенное в наполненном водой корпусе.

- Под воздействием центробежной силы происходит вытеснение воды к наружным участкам камеры, а затем под действием созданного избыточного давления – в напорный трубопровод.
- Благодаря созданию избыточного давления у наружных стенок камеры, в центре рабочего колеса давление снижается. В агрегат поступает жидкость из всасывающего трубопровода, что обеспечивает непрерывную работу устройства.
Классификация центробежных насосов
По конструктивному исполнению различают следующие виды насосного оборудования:
- В зависимости от количества рабочих колес, центробежные агрегаты называют одно- или многоступенчатыми. Многоступенчатые модели обеспечивают высокий напор. Колеса могут иметь два диска – задний и передний или только задний. Модели первого типа используются в трубопроводах низкого давления или для перекачки густых жидких сред.
- По ориентации корпуса в пространстве – горизонтальные и вертикальные.
На корпусе могут быть расположены один или два всасывающих патрубка. - По создаваемому давлению различают модели низкого (до 0,2 МПа), среднего (0,2-0,6 МПа), высокого (более 0,6 МПа) давления.
- По скорости вращения производители предлагают агрегаты – высокоскоростные, нормального и тихого хода.
- По назначению – центробежные насосы для перекачки воды, фекальные, дренажные, скважинные.
При выборе подходящей модели учитывают характеристики рабочего колеса:
- Материал изготовления. Сталь, чугун, медные сплавы – применяются для моделей, предназначенных для работы с неагрессивными средами. Для эксплуатации в контакте с химически активными средами востребованы колеса из современных керамических материалов.
- Технология производства. Литье и штамповка применяются для изготовления изделий, используемых в мощных агрегатах, клепка – для аппаратов низкой мощности.
- По конфигурации лопастей – прямых, загнутых в сторону вращения колеса или в противоположную сторону.

Поверхностные и погружные насосы: устройство, характеристики и области применения
Один из основных классификационных признаков – расположение установки во время работы.
Поверхностные агрегаты
Такие аппараты располагают на поверхности грунта, а в резервуар, емкость, водоем, колодец, отстойник опускают заборный шланг. Эти модели просты в монтаже, обслуживании и ремонте. Но есть и минусы, ограничивающие их область применения. К ним относятся:
- невысокая мощность, возможность забора жидкости с глубины не более 8-10 м;
- высокий риск поломки при работе на сухом ходу;
- меньшая, по сравнению с погружной помпой, производительность.
Погружные центробежные насосы
Агрегаты располагают в самой рабочей среде, фиксируя их с помощью троса на крепежном элементе, расположенном на поверхности грунта. К этим аппаратам предъявляются высокие требования по герметичности корпуса.
Преимущество погружных моделей – способность создавать высокий напор даже при небольших габаритах. К минусам относят сложность периодического обслуживания и проведения ремонтных работ.
При выборе подходящей модели центробежного насоса учитывают глубину, с которой будет производиться откачка жидкости и/или расстояние транспортировки по горизонтали, требуемую производительность, величину напора, характеристики рабочей среды, гидравлические показатели трубопроводной системы, энергоэффективность аппарата.
КАК Спроектировать насосную систему
предыдущий
Что такое общий напор
Общий напор и подача являются основными критериями, которые используются для сравнения одного насоса с другим или для выбора центробежного насоса для применения. Общий напор связан с давлением нагнетания насоса. Почему мы не можем просто использовать давление нагнетания? Давление — знакомое понятие, мы знакомы с ним в нашей повседневной жизни. |
Производители пошли еще дальше: величина давления, которое может создать насос, будет зависеть от плотности жидкости, для раствора соленой воды, который плотнее чистой воды, давление будет выше для того же скорость потока.
Опять же, производитель не знает, какой тип жидкости находится в вашей системе, поэтому критерий, не зависящий от плотности, очень полезен. Есть такой критерий, он называется ОБЩИЙ НАПОР и определяется как разница в напоре между входом и выходом насоса.
Напор нагнетания можно измерить, присоединив трубку к напорной стороне насоса и измерив высоту жидкости в трубке относительно всасывания насоса. Трубка должна быть довольно высокой для типичного бытового насоса. Если давление нагнетания составляет 40 фунтов на квадратный дюйм, высота трубы должна быть 92 фута. Это непрактичный метод, но он помогает объяснить, как напор связан с общим напором и как напор связан с давлением. Вы делаете то же самое, чтобы измерить высоту всасывания. Разница между ними и есть общий напор насоса.
Рисунок 25
Жидкость в измерительной трубке на стороне нагнетания или всасывания насоса будет подниматься на одинаковую высоту для всех жидкостей независимо от плотности. Довольно удивительное заявление, и вот почему.
Насос ничего не знает о напоре, напор — это понятие, которое мы используем, чтобы облегчить себе жизнь. Насос создает давление, и разница в давлении на насосе представляет собой количество энергии давления, доступной для системы. Если жидкость плотная, например, раствор соли, на выходе насоса будет создаваться большее давление, чем если бы жидкостью была чистая вода. Сравните два бака с одинаковой цилиндрической формой, одинаковым объемом и уровнем жидкости, бак с более плотной жидкостью будет иметь более высокое давление на дне. Но статический напор поверхности жидкости по отношению к дну одинаков. Общий напор ведет себя так же, как статический напор, даже если жидкость более плотная, общий напор по сравнению с менее плотной жидкостью, такой как чистая вода, будет таким же. Это удивительный факт, посмотрите этот эксперимент на видео, которое показывает эту идею в действии.
По этим причинам производители насосов выбрали общий напор в качестве основного параметра, характеризующего доступную энергию насоса.
Какая связь между напором и общим напором?
Общий напор — это высота, на которую жидкость поднимается со стороны нагнетания насоса, за вычетом высоты, на которую она поднимается со стороны всасывания (см. Рисунок 25). Почему меньше высота на стороне всасывания? Потому что нам нужен только вклад энергии насоса, а не энергия, которая ему подводится.
Что такое голова? Сначала разберемся с единицей энергии. Энергия может быть выражена
в футо-фунтах, что равно количеству силы, необходимой для подъема предмета, умноженной на
вертикальное расстояние. Хорошим примером является поднятие тяжестей. Если вы поднимете 100 фунтов (445 ньютонов) вверх
6 футов (1,83 м), необходимая энергия составляет 6 x 100 = 600 фут-фунт-сила (814 Н-м).
Напор определяется как энергия, деленная на вес перемещенного объекта. Для тяжелоатлета энергия делится
перемещенным весом 6 х 100/100 = 6 футов (1,83 м), поэтому количество энергии на фунт
гантель, которую должен предоставить тяжелоатлет, составляет 6 футов.
Это не очень полезно знать
для тяжелоатлета, но мы увидим, насколько он полезен для вытеснения жидкости.
Рисунок 26
Вам может быть интересно узнать, что 324 футофунта энергии эквивалентны 1 калории. Это означает, что наш тяжелоатлет тратит 600/324 = 1,8 калории каждый раз, когда он поднимает этот вес на 6 футов, это немного.
На следующем рисунке показано, сколько энергии требуется для перемещения одного галлона воды по вертикали.
Рисунок 27
На следующем рисунке показано, сколько напора требуется для выполнения той же работы.
Рисунок 28
Если мы используем энергию для описания того, какую работу должен совершить насос, чтобы вытеснить объем жидкости
нам нужно знать вес. Если мы используем голову, нам нужно знать только вертикальное расстояние движения.
Это очень полезно для жидкостей, потому что перекачка — это непрерывный процесс, обычно когда вы перекачиваете
оставить насос включенным, вы не запускаете и не останавливаете насос на каждый фунт вытесненной жидкости.
Нас в основном интересует установление непрерывного расхода.
Другим очень полезным аспектом использования напора является то, что перепад высот или статический напор
можно использовать как одну часть значения полного напора, а другую часть как напор трения.
показано на следующем рисунке. На одном изображена фрикционная головка на стороне нагнетания, а на другом — фрикционная головка на стороне всасывания.
Какой статический напор требуется для перекачки воды с первого этажа на второй или на высоту 15 футов? Помните, что вы также должны учитывать уровень воды во всасывающем резервуаре. Если уровень воды на 10 футов ниже всасывающего патрубка насоса, то статический напор составит 10 + 15 = 25 футов. Следовательно, общий напор должен быть не менее 25 футов плюс потеря напора жидкости, проходящей по трубам, на трение.
Рисунок 29
Как определить фрикционный напор
Фрикционный напор – это величина потерь энергии из-за трения жидкости, движущейся по трубам и фитингам.
Для перемещения жидкости против трения требуется сила, точно так же, как требуется сила, чтобы поднять вес. Сила действует в том же направлении, что и движущаяся жидкость, и энергия расходуется. Точно так же, как напор рассчитывался для подъема определенного веса, напор трения рассчитывается с помощью силы, необходимой для преодоления трения, умноженной на смещение (длину трубы), деленной на вес вытесненной жидкости. Эти расчеты были сделаны для нас, и вы можете найти значения потери напора на трение в Таблице 1 для различных размеров труб и скоростей потока.
Таблица 1
Загрузите версию для печати (британские или метрические единицы).
В таблице 1 приведены скорость потока и потеря напора на трение для воды, перемещаемой по трубе с
типичная скорость 10 футов/с. Я выбрал 10 футов/с в качестве целевой скорости, потому что она не слишком велика.
что создало бы большое трение, а не слишком малое, что замедлило бы ход событий.
Если скорость меньше, то потери на трение будут меньше, а если скорость больше, потери будут
быть больше, чем показано в таблице 1.
Для всасывающей стороны насоса желательно быть более консервативным и размер труб для
более низкая скорость, например, от 4 до 7 футов в секунду. Вот почему вы обычно видите большую трубу
размер на стороне всасывания насоса больше, чем на стороне нагнетания. Эмпирическое правило заключается в том, чтобы сделать всасывающую трубу
такого же размера или на один размер больше, чем всасывающий патрубок.
Зачем возиться со скоростью, разве недостаточно информации о расходе для описания движения жидкости через
система. В зависимости от того, насколько сложна ваша система, если выпускная труба имеет постоянный диаметр, то
скорость хотя снаружи будет такой же. Тогда, если вы знаете расход, исходя из таблиц потерь на трение,
Вы можете рассчитать потери на трение только по скорости потока. Если диаметр нагнетательного патрубка изменится, то
скорость будет меняться при том же расходе, а более высокая или более низкая скорость означает более высокую или более низкую
потери на трение в этой части системы.
Затем вам нужно будет использовать скорость для расчета
потери напора на трение в этой части трубы. Вы можете найти калькулятор скорости веб-приложения здесь
https://www.pumpfundamentals.com/web-apps.htm
Если вы хотите увидеть диаграмму расхода для 5 фут/с (британская или метрическая система) и 15 фут/с (британская или метрическая система), загрузите их здесь.
Те из вас, кто хотел бы самостоятельно рассчитать скорость, могут скачать формулы и образец расчета здесь.
Желающие рассчитать трение в трубах могут скачать пример здесь.
Веб-приложение для измерения потерь на трение в трубах доступно здесь https://www.pumpfundamentals.com/web-apps.htm
Кривая производительности или характеристика насоса
Кривая характеристики насоса похожа на предыдущую показанную кривую, которую я также назвал характеристической кривой, показывающей взаимосвязь между давлением нагнетания и расходом (см. рис. 21) . Как я уже упоминал, это непрактичный способ описания производительности, потому что вам нужно знать давление всасывания, используемое для построения кривой.
На рис. 30 показана типичная кривая зависимости полного напора от расхода. Это тип кривой, которую все производители насосов публикуют для каждой модели насоса при заданной рабочей скорости.
Не все производители предоставят вам характеристику насоса. Тем не менее, кривая существует, и если вы настаиваете, вы, вероятно, сможете ее получить. Вообще говоря, чем больше вы платите, тем больше технической информации вы получаете.
Рисунок 30
Как выбрать центробежный насос
Маловероятно, что центробежный насос, купленный в готовом виде, точно удовлетворит ваши требования к расходу. Скорость потока, которую вы получаете, зависит от физических характеристик вашей системы, таких как трение, которое зависит от длины и размера труб, и перепада высот, который зависит от здания и местоположения. Изготовитель насоса не имеет возможности узнать, каковы будут эти ограничения. Вот почему купить центробежный насос сложнее, чем купить объемный насос, который будет обеспечивать номинальный расход независимо от того, в какую систему вы его установите.
Основными факторами, влияющими на подачу центробежного насоса, являются:
— трение, которое зависит от длины трубы и диаметра
— статический напор, который зависит от разницы высоты нагнетания конца трубы и высоты напора. высота поверхности жидкости всасывающего бака
— вязкость жидкости, если жидкость отличается от воды.
Для выбора центробежного насоса необходимо выполнить следующие шаги:
1. Определить расход
Чтобы подобрать размер и выбрать центробежный насос, сначала определите расход. Если вы владелец дома, выясните, какое из ваших применений воды является самым большим потребителем. Во многих случаях это будет ванна, для которой требуется примерно 10 галлонов в минуту (0,6 л/с). В промышленных условиях скорость потока часто зависит от производительности предприятия. Выбор правильного расхода может быть таким же простым, как определение того, что для заполнения резервуара за разумное время требуется 100 галлонов в минуту (6,3 л/с), или же расход может зависеть от некоторого взаимодействия между процессами, которое необходимо тщательно проанализировать.
2. Определите статический напор
Это вопрос измерения высоты между поверхностью жидкости всасывающего бака и высотой конца нагнетательной трубы или отметкой поверхности жидкости в нагнетательном баке.
3. Определите напор трения
Напор трения зависит от расхода, размера и длины трубы. Это рассчитывается на основе значений в таблицах, представленных здесь (см. Таблицу 1). Для жидкостей, отличных от воды, вязкость будет важным фактором, и Таблица 1 неприменима.
4. Рассчитайте общий напор
Общий напор представляет собой сумму статического напора (помните, что статический напор может быть положительным или отрицательным) и напора на трение.
5. Выберите насос
Вы можете выбрать насос на основе информации из каталога производителя насоса, используя требуемый общий напор и расход, а также пригодность для применения.
Пример расчета общего напора
Пример 1. Расчет насоса для домашнего использования
Опыт подсказывает мне, что для того, чтобы наполнить ванну за разумное время, требуется скорость потока 10 галлонов в минуту.
Согласно Таблице 1 размер медных трубок должен быть где-то между 1/2″ и 3/4″, я выбираю 3/4″. распределитель, от этого распределителя на первом этаже будет отвод 3/4″ до уровня второго этажа, где расположена ванна. На всасывании я буду использовать трубу диаметром 1”, всасывающая труба 30 футов в длину (см. рис. 30)
Рисунок 31
Потери на трение на стороне всасывания насоса
В соответствии с расчетами или использованием таблиц, которые здесь не представлены, потери на трение для трубы диаметром 1 дюйм составляют 0,068 фута на фут трубы. В этом случае расстояние составляет 30 футов. Потери на трение в футов составляет 30 x 0,068 = 2,4 фута. В фитингах есть некоторые потери на трение, предположим, что консервативная оценка составляет 30% потерь на трение в трубе, потери на трение в фитингах составляют = 0,3 x 2,4 = 0,7 фута. Если на линии всасывания имеется обратный клапан, потери на трение в обратном клапане необходимо добавить к потерям на трение в трубе.
Типичное значение потерь на трение для обратного клапана составляет 5 футов. Струйному насосу не требуется Поэтому я предполагаю, что на всасывании этой системы нет обратного клапана. Тогда общие потери на трение для всасывающей стороны составляют 2,4 + 0,7 = 3,1 фута.
Вы можете найти потери на трение для трубы диаметром 1 дюйм при расходе 10 галлонов в минуту в справочнике Cameron Hydraulic, следующий рисунок является выдержкой:
Потери на трение на стороне нагнетания насоса
В соответствии с расчетами или использованием таблиц, которые здесь не представлены, потери на трение для трубы 3/4″ составляют потери на трение 0,23 фута на фут трубы. В этом случае расстояния равны 10 футам главного распределителя и еще 20 футов от главного распределителя до ванны общей длиной 30 футов. Тогда потери на трение в футах составляют 30 x 0,23 = 6,9.ноги. В фитингах есть некоторые потери на трение, предположим, что консервативная оценка составляет 30% от потерь на трение трубы, потери на трение в фитингах = 0,3 x 6,9 = 2,1 фута.
Тогда общие потери на трение для нагнетательной стороны составляют 6,9 + 2,1 = 9 футов.
Вы можете найти потери на трение для трубы диаметром 0,75 дюйма при 10 галлонах в минуту в справочнике Cameron Hydraulic, из которого следующая цифра является выдержкой:
Тогда общие потери на трение в трубопроводе в системе равны 9+ 3,1 = 12,1 фута.
Статический напор согласно рис. 41 составляет 35 футов. Следовательно, общий напор равен 35 + 12,1 = 47 футов. Теперь мы можем пойти в магазин и купить насос с общим напором не менее 47 футов при производительности 10 галлонов в минуту. Иногда общий напор называют полным динамическим напором (T.D.H.), он имеет то же значение. Номинал помпы должен быть как можно ближе к этим двум цифрам без лишних слов. В качестве рекомендации допускается отклонение плюс-минус 15% от общего напора. В потоке вы также можете разрешить изменение, но вы можете заплатить больше, чем вам нужно.
Для тех из вас, кто хотел бы самостоятельно рассчитать трение в фитингах, загрузите пример расчета здесь.
Какая мощность насоса? Производитель оценивает насос при оптимальном общем напоре и подаче, эта точка также известна как точка наилучшего КПД или B.E.P.. При такой подаче насос работает наиболее эффективно, вибрация и шум минимальны. . Конечно, насос может работать с другими скоростями потока, выше или ниже номинального, но срок службы насоса пострадает, если вы будете работать слишком далеко от его нормального номинального значения. Поэтому ориентируйтесь на максимальную вариацию плюс-минус 15% от общего напора. 9
Рисунок 32 аккумулятор.
На следующих рисунках показаны различные распространенные системы водоснабжения и указаны значения статического напора, напора на трение и полного напора насоса.
Рассчитайте давление на выходе насоса из общего напора насоса
Чтобы рассчитать давление на дне бассейна, вам нужно знать высоту воды над вами. Неважно, бассейн это или озеро, высота — это то, что определяет, какой вес жидкости находится над ним и, следовательно, давление.
Давление равно силе, деленной на поверхность. Он часто выражается в фунтах на квадратный дюйм или в фунтах на квадратный дюйм. Сила равна весу воды. Плотность воды составляет 62,3 фунта на кубический фут.
Вес воды в резервуаре А равен произведению плотности на ее объем.
Объем резервуара равен площади поперечного сечения A, умноженной на высоту H. A:
Объем V: A x H:
Вес воды W A :
Следовательно, давление:
Это давление в фунтах на квадратный фут, требуется еще один шаг, чтобы получить давление в фунтах на квадратный дюйм или psi. В футе 12 дюймов, следовательно, в квадратном футе 12×12 = 144 дюйма.
Давление p на дне резервуара A в фунтах на квадратный дюйм составляет:
Если вы выполните расчет для резервуаров B и C, вы получите точно такой же результат, давление на дне всех этих резервуаров составляет 4,3 фунта на квадратный дюйм.
.
Общая зависимость давления от высоты резервуара:
SG или удельный вес — это еще один способ выражения плотности, это отношение плотности жидкости к плотности воды, поэтому вода будет иметь SG =1. Более плотные жидкости будут иметь значение больше 1, а более легкие жидкости — значение меньше 1. Полезность удельного веса заключается в том, что он не имеет единиц измерения, поскольку он является сравнительной мерой плотности или отношения плотностей, поэтому удельный вес будет иметь такое же значение. независимо от того, какую систему единиц мы используем, имперскую или метрическую
Для тех из вас, кто хотел бы увидеть, как обнаруживается это общее соотношение, перейдите к Приложению E в pdf-версии этой статьи.
Мы можем измерить напор на стороне нагнетания насоса, подключив трубку и измерив высоту жидкости в трубке. Поскольку трубка на самом деле представляет собой всего лишь узкий резервуар, мы можем использовать уравнение зависимости давления от высоты резервуара.
для определения давления нагнетания. В качестве альтернативы, если мы установим манометр на нагнетании насоса, мы сможем рассчитать напор нагнетания.
Мы можем рассчитать давление нагнетания насоса на основе общего напора, который мы получаем из характеристической кривой насоса. Этот расчет полезен, если вы хотите устранить неполадки в вашем насосе или проверить, производит ли он количество энергии давления, которое производитель заявляет при вашем рабочем расходе.
Рисунок 37
Например, если характеристическая кривая насоса показана на рисунке 39, а расход в системе составляет 20 галлонов в минуту. Тогда общий напор равен 100 футам.
Установка показана на Рисунке 37: система бытового водоснабжения, которая берет воду из неглубокого колодца на 15 футов ниже места всасывания насоса.
Насос должен создавать подъемную силу, чтобы поднять воду до всасывающего патрубка. Это означает, что давление на всасывании насоса будет отрицательным (относительно атмосферного).
Почему это давление меньше атмосферного или низкое? Если вы возьмете соломинку, наполните ее водой, закроете один конец кончиком пальца и перевернете вверх дном, вы заметите, что жидкость не выходит из соломинки, попробуйте!. Жидкость тянется вниз под действием силы тяжести и создает небольшое давление под кончиком пальца. Жидкость поддерживается в равновесии, потому что низкое давление и вес жидкости точно уравновешиваются силой атмосферного давления, направленной вверх.
То же явление происходит при всасывании насоса, всасывающего жидкость из низкого источника. Как и в соломинке, давление вблизи всасывающего патрубка насоса должно быть низким, чтобы жидкость могла поддерживаться.
Чтобы рассчитать напор на напоре, мы определяем общий напор по характеристической кривой и вычитаем это значение из напора на всасывании, это дает напор на нагнетании, который мы затем преобразуем в давление.
Мы знаем, что насос должен генерировать 15 футов подъема на всасывании насоса, подъем является отрицательным статическим напором.
На самом деле она должна быть чуть больше 15 футов, поскольку из-за трения потребуется более высокая высота всасывания. Но давайте предположим, что размер трубы большой и потери на трение малы.
Рисунок 39
Общая головка = 100 = H D — H S
или
H D = 100 + H S
D = 100 + H S
9
9
9 D = 1000137 разница между напором на нагнетании H D и напором на всасывании H S . H S равно 15 футам, потому что это лифт, следовательно:
H D = 100 + (-15) = 85 футов
Давление нагнетания будет:
Теперь вы можете проверить свой насос, чтобы убедиться, что измеренное давление нагнетания соответствует прогнозируемому.
Если нет, то может быть что-то не так с насосом.
Примечание: вы должны быть осторожны при расположении манометра, если он намного выше, чем всасывание насоса, скажем, выше 2 футов, вы увидите меньшее давление, чем на самом деле есть на насосе. Также следует учитывать разницу в скоростном напоре нагнетания насоса и всасывания, но обычно она невелика.
Насосная компания Goulds предлагает очень хорошее руководство по подбору насосов для бытовых систем водоснабжения.
Посмотрите на другой способ, как можно подойти к этой теме.
вернуться к началу
Copyright 2019, PumpFundamentals.com
КАК Спроектировать насосную систему
предыдущий
Что такое трение в насосной системе (продолжение) Другой причиной трения являются все фитинги (колена, тройники, тройники и т. д.), необходимые для получения |
Рисунок 9
Энергия и напор в насосных системах
Энергия и напор — это два термина, которые часто используются в насосных системах. Мы используем энергию для описания движения жидкостей в насосных системах, потому что это проще, чем любой другой метод. В насосных системах существует четыре формы энергии: давление, подъем, трение и скорость.
Давление создается на дне резервуара, потому что жидкость полностью заполняет контейнер, а ее вес создает силу, которая распределяется по поверхности, которая представляет собой давление.
Этот тип давления называется статическим давлением. Энергия давления — это энергия, которая накапливается, когда частицы жидкости или газа перемещаются немного ближе друг к другу, и в результате они выталкиваются наружу в окружающей среде. Хорошим примером является огнетушитель, в котором была проделана работа по попаданию жидкости в емкость, а затем по нагнетанию в нее давления. Как только контейнер закрыт, энергия давления становится доступной для дальнейшего использования.
Энергия подъема — это энергия, доступная жидкости, когда она находится на определенной высоте. Если вы позволите ему разрядиться, он может привести в действие что-то полезное, например, турбину, производящую электричество.
Энергия трения – это энергия, которая теряется в окружающей среде из-за движения жидкости по трубам и фитингам в системе.
Энергия скорости — это энергия, которой обладают движущиеся объекты. Когда бейсбольный мяч бросает питчер
он придает ему энергию скорости, также называемую кинетической энергией.
Когда вода течет из садового шланга, она обладает энергией скорости.
Рисунок 9a
На рисунке выше мы видим бак с водой, трубу с водой и велосипедиста на вершине холма. Резервуар создает давление на дне, как и трубка. У велосипедиста есть энергия подъема, которую он будет использовать, как только начнет двигаться.
Когда мы открываем клапан на дне резервуара, жидкость выходит из резервуара с определенной скоростью, в этом случае энергия давления преобразуется в энергию скорости. То же самое происходит и с трубкой. В случае велосипедиста энергия подъема постепенно преобразуется в энергию скорости.
Три формы энергии: высота, давление и скорость взаимодействуют друг с другом в жидкостях. Для твердых тел нет энергии давления, потому что они не расширяются наружу, как жидкости, заполняя все доступное пространство, и поэтому они не подвержены таким же изменениям давления.
Энергия, которую должен подавать насос, равна энергии трения плюс энергия подъема.
ЭНЕРГИЯ НАСОСА = ЭНЕРГИЯ ТРЕНИЯ + ЭНЕРГИЯ ПОДЪЕМА
Рисунок 9b
Вы, наверное, думаете, где во всем этом энергия скорости. Хорошо, если жидкость придет
из системы с высокой скоростью, тогда нам пришлось бы это учитывать, но это не типичный
ситуация, и мы можем пренебречь этим для систем, обсуждаемых в этой статье.
Последнее слово в этой теме, на самом деле это разница скоростей и энергии, которую нам нужно учитывать.
На рисунке 9c скорости в точках 1 и 2 являются результатом положения
частиц жидкости в точках 1 и 2 и действие насоса. Разница между этими
две энергии скорости — это дефицит энергии, который насос должен восполнить, но, как вы можете видеть,
скорости этих двух точек будут весьма малы.
А как насчет головы? На самом деле голова — это способ упростить использование энергии. Чтобы использовать энергию, нам нужно знать вес перемещаемого объекта.
Энергия подъема E.E. — вес объекта W, умноженный на расстояние d:
EE = W x d
Энергия трения FE — сила трения F, умноженная на расстояние, на которое перемещается жидкость, или на длину трубы l:
FE = F x l
Напор определяется как энергия, деленная на вес, или количество энергии, используемой для перемещения объекта, деленное на его вес.
Для энергии подъема высота подъема EH составляет:
EH = W x d / W = d
Для энергии трения головка трения FH представляет собой энергию трения, деленную на вес вытесненной жидкости:
FH = FE/W = F x l / W (см. рис. 9b)
Сила трения F выражается в фунтах, а вес W также выражается в фунтах, так что единицей измерения напора трения являются футы. Это количество энергии, которое насос должен предоставить для преодоления трения.
Я знаю, вы думаете, что это не имеет смысла, как ноги могут представлять энергию?
Если я присоединю трубку к напорной стороне насоса, жидкость поднимется в трубке на высоту, точно уравновешивающую давление на нагнетании насоса. Часть высоты жидкости в трубке обусловлена требуемой высотой подъема (напором подъема), а другая — фрикционной головкой, и, как вы можете видеть, оба выражаются в футах, и именно так вы можете их измерить.
Рисунок 9c
Статический напор
Определение напора в словаре Вебстера: «водоем, находящийся в резерве на высоте».
Выражается в футах в имперской системе и метрах в метрической системе.
Из-за своей высоты и веса жидкость создает давление в нижней точке. Выше
резервуаре, тем выше давление.
Величина давления на дне резервуара не зависит от его формы, при одном и том же уровне жидкости давление на дне будет одинаковым. Это важно, поскольку в сложных трубопроводных системах всегда можно узнать давление на дне, если известна высота. Чтобы узнать, как рассчитать давление с высоты, перейдите в конец этой статьи.
Когда насос используется для перемещения жидкости на более высокий уровень, он обычно располагается в нижней точке или близко к ней. Напор резервуара, который называется статическим напором, создает давление на насос, которое необходимо преодолеть после запуска насоса.
Чтобы различать энергию давления, создаваемую нагнетательным баком и всасывающим баком, напор на стороне нагнетания называется статическим напором на стороне нагнетания, а на стороне всасывания — статическим напором на всасывании.
Обычно жидкость перекачивается из всасывающей емкости в нагнетательную. Жидкость всасывающего резервуара передает энергию давления на всасывание насоса, что помогает насосу. Мы хотим знать, сколько энергии давления должен давать сам насос, поэтому мы вычитаем энергию давления, обеспечиваемую напором всасывания. Тогда статический напор представляет собой разницу высот поверхности жидкости нагнетательного резервуара за вычетом поверхности жидкости всасывающего резервуара. Статический напор иногда называют полным статическим напором, чтобы указать, что была учтена энергия давления, доступная с обеих сторон насоса.
Так как существует разница в высоте между всасывающим и напорным фланцами или патрубками
насоса по соглашению было решено, что статический напор будет измеряться относительно
высота всасывающего фланца.
Если конец выпускной трубы открыт для атмосферы, то статический напор измеряется относительно конца трубы.
Иногда конец нагнетательной трубы погружен в воду, тогда статический напор будет представлять собой разницу высот между поверхностью жидкости нагнетательного резервуара и поверхностью жидкости всасывающего резервуара.
Поскольку жидкость в системе представляет собой сплошную среду и все частицы жидкости связаны через давление, частицы жидкости, находящиеся на поверхности нагнетательного бака, будут вносить свой вклад в давление, создаваемое на выходе насоса. Следовательно, высота поверхности нагнетания — это высота, которую необходимо учитывать для статического напора. Избегайте ошибки использования конца выпускной трубы в качестве отметки для расчета статического напора, если конец трубы погружен в воду.
Примечание: если конец нагнетательной трубы погружен в воду, необходимо установить обратный клапан на нагнетании насоса, чтобы избежать обратного потока при остановке насоса.
Статический напор можно изменить, подняв поверхность напорного резервуара (при условии, что конец трубы погружен в воду) или всасывающего резервуара, или того и другого. Все эти изменения будут влиять на скорость потока.
Чтобы правильно определить статический напор, следите за частицами жидкости от начала до конца, начало почти всегда находится на поверхности жидкости всасывающего резервуара, это называется отметкой на входе.
Конец будет происходить там, где вы столкнетесь со средой с фиксированным давлением, такой как открытая атмосфера, эта точка является концом высоты нагнетания или высотой на выходе. Разница между двумя высотами и есть статический напор. Статический напор может быть отрицательным, поскольку отметка на выходе может быть ниже отметки на входе.
Расход зависит от перепада высот или статического напора
Для идентичных систем расход зависит от статического напора. Если высота конца трубы высока, скорость потока будет низкой (см. рис. 10). Сравните это с велосипедистом на холме с небольшим уклоном вверх, его скорость будет умеренной и будет соответствовать количеству энергии, которое он может затратить на преодоление трения колес о дорогу и изменение высоты.
Рисунок 10
Посмотрите это видео, чтобы узнать об эффекте статического напора и трения.
Если поверхность жидкости всасывающего резервуара находится на той же высоте, что и выпускной конец трубы, то статический напор будет равен нулю, а скорость потока будет ограничена трением в системе.
Это эквивалентно велосипедисту на ровной дороге, его скорость зависит от величины трения между колесами и дорогой и сопротивления воздуха (см. рис. 11).
Рисунок 11
На рис. 12 конец нагнетательной трубы поднят вертикально до тех пор, пока поток не прекратится, насос не может поднять жидкость выше этой точки, а давление нагнетания максимально. Точно так же велосипедист прикладывает максимальное усилие к педалям, никуда не двигаясь.
Рисунок 12
Если конец нагнетательной трубы находится ниже поверхности жидкости всасывающего резервуара, то статический напор будет отрицательным, а расход будет высоким (см. Рисунок 13). Если отрицательный статический напор велик, то, возможно, насос не требуется, поскольку энергии, обеспечиваемой этой разницей высот, может быть достаточно для перемещения жидкости по системе без использования насоса, как в случае сифона (см. см. глоссарий насосных систем). По аналогии, когда велосипедист спускается с холма, он теряет накопленную энергию подъема, которая постепенно преобразуется в энергию скорости.
Чем ниже он находится на склоне, тем быстрее он идет.
Рисунок 13
Насосы чаще всего оцениваются по напору и подаче. На рис. 12 конец нагнетательной трубы поднят на высоту, при которой поток прекращается, это напор насоса при нулевом расходе. Мы измеряем эту разницу в росте в футах (см. рис. 13а). Напор варьируется в зависимости от скорости потока, но в этом случае, поскольку нет потока и, следовательно, нет трения, напор насоса равен МАКСИМАЛЬНОЙ ВЫСОТЕ, НА КОТОРУЮ МОЖЕТ ПОДНЯТЬСЯ ЖИДКОСТЬ ОТНОСИТЕЛЬНО ПОВЕРХНОСТИ ВСАСЫВАЮЩЕГО РЕЗЕРВУАРА. Поскольку потока нет, напор (также называемый полным напором), создаваемый насосом, равен статическому напору.
Рисунок 13a
В этом случае насос будет создавать максимальное давление. Если конец трубы опустить, как показано на рис. 10, подача насоса увеличится, а напор (также известный как общий напор) уменьшится до значения, соответствующего расходу. Почему? Начнем с точки нулевого потока с концом трубы на максимальной высоте, конец трубы опущен так, чтобы начался поток.
Если есть поток, должно быть трение, энергия трения вычитается (поскольку она теряется) из максимального общего напора, и общий напор уменьшается. В то же время снижается статический напор, что дополнительно снижает общий напор.
Когда вы покупаете насос, вы не указываете максимальный общий напор, который может обеспечить насос, поскольку это происходит при нулевом расходе. Вместо этого вы указываете общий напор, который возникает при требуемом расходе. Этот напор будет зависеть от максимальной высоты, которую вам нужно достичь по отношению к поверхности жидкости всасывающего резервуара, и потерь на трение в вашей системе.
Например, если ваш насос снабжает ванну на 2-м этаже, вам потребуется достаточный напор, чтобы достичь этого уровня, который будет вашим статическим напором, а также дополнительный напор для преодоления потерь на трение в трубах и фитингах. Предположим, что вы хотите наполнить ванну как можно быстрее, тогда краны на ванне будут полностью открыты и будут оказывать очень небольшое сопротивление или потери на трение.
Если вы хотите поставить насадку для душа для этой ванны, вам понадобится насос с большим напором для той же скорости потока, потому что насадка для душа выше и обеспечивает большее сопротивление, чем краны для ванны.
К счастью, существует много размеров и моделей центробежных насосов, и вы не можете рассчитывать на покупку насоса, который точно соответствует требуемому напору при желаемом расходе. Вам, вероятно, придется приобрести насос, который обеспечивает несколько больший напор и поток, чем вам требуется, и вы будете регулировать поток с помощью соответствующих клапанов.
Примечание: вы можете увеличить напор насоса, увеличив его скорость или диаметр рабочего колеса, или и то, и другое. На практике владельцы домов не могут вносить эти изменения, и для получения более высокого общего напора необходимо приобрести новый насос.
Скорость потока зависит от трения
Для идентичных систем скорость потока зависит от размера и диаметра выпускной трубы.
Система с выпускной трубой большого размера будет иметь высокую скорость потока. Вот что происходит, когда вы надеваете большую трубу на резервуар для опорожнения, он очень быстро опустошается.
Рисунок 14
Чем меньше диаметр трубы, тем меньше расход. Как насос подстраивается под диаметр трубы, ведь он не знает какой размер трубы будет установлен? Насос, который вы устанавливаете, предназначен для создания определенного среднего расхода для систем с соответствующим размером труб. Размер рабочего колеса и его скорость предрасполагают насос к подаче жидкости с определенным расходом. Если вы попытаетесь протолкнуть тот же поток через маленькую трубу, давление нагнетания увеличится, а поток уменьшится. Точно так же, если вы попытаетесь опорожнить резервуар с помощью маленькой трубки, это займет много времени (см. рис. 15).
Далее в учебнике будет представлена таблица с размерами труб для различных скоростей потока. Или вы можете перейти к нему сразу и вернуться позже.
Рисунок 15
Если труба короткая, трение будет низким, а скорость потока высокой (см. Рисунок 16).
Рисунок 16
и когда выпускная труба длинная, трение будет высоким, а скорость потока низкой (см. Рисунок 17).
Рисунок 17
Как центробежный насос создает давление
Частицы жидкости попадают в насос через всасывающий фланец или патрубок. Затем они поворачиваются на 90 градусов
в крыльчатку и заполнить пространство между каждой лопастью крыльчатки.
Рисунок 19
Более подробное изображение насоса с закрытой крыльчаткой в разрезе можно увидеть на рисунке 19a давление за счет ускорения
частицы жидкости до высокой скорости, снабжая их энергией скорости. Что такое энергия скорости?
Это способ показать, как скорость объектов может влиять на другие объекты, например на вас.
Вас когда-нибудь били в футбольном матче? Скорость, с которой другой игрок подходит к
вы определяете, насколько сильно вы пострадали.
Масса игрока также является важным фактором.
комбинация массы и скорости производит скоростную (кинетическую) энергию. Другой пример — поймать жесткий
бейсбольное поле, ай, в маленьком быстро движущемся бейсбольном мяче может быть много скорости. Жидкость
частицы, которые движутся с большой скоростью, имеют энергию скорости, просто положите руку на открытый конец
из садового шланга.
Частицы жидкости в насосе выбрасываются с кончиков лопастей рабочего колеса с высокой скоростью, затем они замедляются по мере приближения к нагнетательному патрубку, теряя часть своей энергии скорости. Это уменьшение энергии скорости увеличивает энергию давления. В отличие от трения, которое тратит энергию впустую, уменьшение энергии скорости служит увеличению энергии давления, это принцип сохранения энергии в действии. То же самое происходит с велосипедистом, который стартует с вершины холма: его скорость постепенно увеличивается по мере того, как он теряет высоту. Энергия подъема велосипедиста трансформировалась в энергию скорости, в случае насоса энергия скорости трансформировалась в энергию давления.
Проведите этот эксперимент, найдите пластиковый стаканчик или другой контейнер, в котором вы можете проткнуть маленькое отверстие на дне. Наполните его водой и привяжите к нему нитку, а теперь, как вы догадались, начните его крутить.
Рисунок 20
Чем быстрее вы вращаете, тем больше воды вытекает из маленького отверстия, давление воды внутри чаши повышается за счет центробежной силы, аналогично центробежному насосу. В случае насоса вращательное движение крыльчатки выбрасывает частицы жидкости с высокой скоростью в объем между стенкой корпуса и концами крыльчатки. Перед выходом из насоса частицы жидкости замедляются до скорости на входе в нагнетательный патрубок (см. рис. 18 и 19).), которая будет иметь одинаковую скорость во всей системе, если диаметр трубы не изменится.
Как изменяется расход при изменении высоты конца выпускной трубы или при увеличении или уменьшении трения в трубе? Эти изменения вызывают увеличение давления на выходе из насоса при уменьшении расхода, не так ли? Ну, это не так, и вы поймете, почему.
Как насос приспосабливается к этому изменению давления? Или другими словами, если давление меняется из-за внешних факторов, как насос реагирует на это изменение.
Давление создается скоростью вращения лопастей рабочего колеса. Скорость постоянная. Насос будет создавать определенное давление нагнетания, соответствующее конкретным условиям системы (например, вязкости жидкости, размеру трубы, перепаду высот и т. д.). Если изменение чего-либо в системе приводит к уменьшению расхода (например, закрытие нагнетательного клапана), давление на нагнетании насоса будет увеличиваться , так как не происходит соответствующего снижения скорости вращения крыльчатки . Насос производит избыточную энергию скорости, потому что он работает с постоянной скоростью, избыточная энергия скорости преобразуется в энергию давления, и давление повышается.
Все центробежные насосы имеют рабочую или характеристическую кривую, похожую на показанную на рис. 21 (при условии, что уровень во всасывающем резервуаре остается постоянным).




При этом между зубьями образуется плотный контакт, вследствие чего обратный перенос жидкости из полости нагнетания в полость всасывания невозможен.


При этом количество таких замкнутых полостей на единицу длины винтовой пары определяет конечное давление агрегата, а объем каждой полости – его производительность.
Внутренний уплотняющий выступ, плотно примыкая к наружным торцам и боковым поверхностям лопаток, разделяет всасывающий и напорный патрубки, соединенные с кольцевой полостью.
Газлифт применяют главным образом для подъёма нефти из буровых скважин, используя при этом газ, выходящий из нефтеносных пластов. Известны подъёмники, в которых для подачи жидкости, главным образом воды, используют атмосферный воздух. Такие подъёмники называют эрлифтами или мамут-насосами.
На нашем рисунке показан именно такой насос.
Но это совершенно разные насосы, как можно увидеть в нашем описании. Рабочим органом является шнек.

Этим обусловлена форма насоса.
Инерция резко остановленной воды во всасывающей трубе создает гидроудар (т.е. кратковременно резко возрастает давление воды в питающей трубе). Величина этого давления зависит от длины питающей трубы и скорости потока воды.
Одна спираль неподвижна, а другая крутится двигателем.
Теория физики процесса: в условиях ламинарного течения слои жидкости движутся с различной скоростью по трубе: слой, наиболее близкий к неподвижной трубе (так называемый пограничный слой), течёт медленнее, чем более глубокие (близкие к центру трубы) слои текущей среды.
Они предназначены для перемещения рабочей среды по внутренней камере.
На корпусе могут быть расположены один или два всасывающих патрубка.
Например, огнетушители находятся под давлением 60 фунтов на квадратный дюйм (413 кПа), мы обеспечиваем давление воздуха в наших велосипедных и автомобильных шинах 35 фунтов на квадратный дюйм (241 кПа). По уважительным причинам производители насосов не используют давление нагнетания в качестве критерия для выбора насоса. Одна из причин в том, что они не знают, как вы будете использовать насос. Они не знают, какой расход вам нужен, а расход центробежного насоса не фиксирован. Давление нагнетания зависит от давления на стороне всасывания насоса. Если источник воды для насоса находится ниже или выше всасывания насоса, при одинаковом расходе вы получите разное давление нагнетания. Поэтому для устранения этой проблемы предпочтительнее использовать разницу давлений между входом и выходом насоса.