Содержание
Карбюратор к 131 устройство, ремонт, регулировка, модификации
Карбюратор – сердце двигателя. Это механизм, питающий двигатель топливом. Карбюратор готовит смесь бензина и воздуха в правильной пропорции. Карбюратор к 131 на УАЗе состоит из множества мелких деталей, совершающих постоянное движение. В результате трения и нагрева некоторые компоненты механизма изнашиваются, забиваются остаточными продуктами топлива. Поэтому периодически бывает нужна очистка, промывка, восстановление либо замена.
Содержание статьи
Основные системы карбюратора к 131
Карбюратор к 131 устанавливается на различные двигатели для машин ГАЗ, УАЗ, Соболь, Волга. Данный тип карбюратора вместе с аналогом к 151 наиболее популярный в России. Механизм собирается из трёх основных блоков, с помощью винтов соединяемых вместе, как единый узел. Крепежные винты проходят через весь карбюратор и уплотнительные прокладки между ними.
Верх узла представляет собой крышку карбюратора. Патрубок забора воздуха входит через нее, разветвляясь по двум отдельным каналам.
Воздушная заслонка вмонтирована возле канала камеры № 1. Средний блок, служащий корпусом для всего устройства, конструктивно объединяет две камеры подготовки топливно-воздушной смеси с одной поплавковой камерой. Система дроссельных заслонок расположена под нижним отсеком механизма.
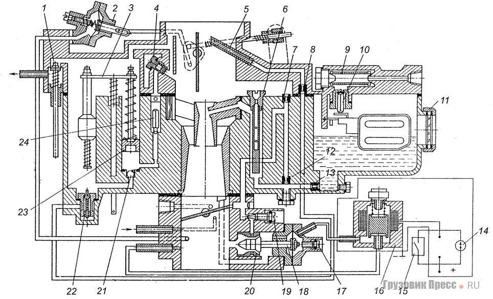
Рис. 1. Общий вид карбюратора к 131: 1 — пневмопривод пуска и прогрева; 2 — привод ускорительного насоса и экономайзера; 3 — распылитель ускорительного насоса; 4 -воздушная заслонка; 5 — распылитель экономайзера; 6 — полуавтомат пуска и прогрева; 7 — главный воздушный жиклер с эмульсионной трубкой; 8 — воздушный жиклер холостого хода; 9 — жиклер экономайзера; 10 — топливный жиклер холостого хода; 11 -главный топливный жиклер; 12 — микровыключатель; 13 — блок управления; 14 — электромагнитный клапан; 15 — винт эксплуатационной регулировки; 16 — регулировочный винт состава смеси; 17 — клапан экономайзера холостого хода; 18 — дроссельная заслонка; 19 -клапан экономайзера; 20 — обратный клапан; 21 — нагнетательный клапан; 22 — клапан разбалансировки; «а» и «б» — штуцеры для подсоединения шлангов электромагнитного клапана.
Здесь компактно расположены дроссели, а также патрубки для смешивания топливно-воздушной смеси обеих камер. Уплотнительная прокладка, выполненная из термоизоляционного материала, установлена возле стыка нижнего и среднего секторов. По своей конструкции карбюратор к131 выполнен как механизм с двумя смесительными камерами. Каждая из них располагает своей главной дозирующей системой.
Перечень систем, которые осуществляют непосредственное приготовление воздушно-топливной смеси:
Холостые обороты
Регулирующий блок топлива с воздухом включается при открывании дросселя камеры № 2. Здесь же находится эконостат, служащий для обогащения горючей смеси. Прибор срабатывает от режима максимальной нагрузки, воздействующего на карбюратор к131. Устройство всех систем хорошо продемонстрировано рис. 1, который расположен вверху.
Запуск двигателя на холодную
Составляющие системы полуавтомата:
- пневматический корректор;
- управляющие рычаги;
- заслонка управления подачей воздуха.

Ручным приводом оператор или водитель осуществляет закрывание заслонки непосредственно во время старта не прогретого мотора. Пневматический корректор автоматически при запуске силового агрегата слегка приоткрывает заслонку воздуха строго определенной величины. Данная операция осуществляется посредством воздушного разрежения. Оно возникает снизу благодаря всасывающему движению поршней под камерами.
Правильная регулировка карбюратора к 131 позволяет механизмам узлам автомобиля работать бесперебойно, автоматически. При этом обеспечивается устойчивое функционирование силового агрегата, необходимое для прогрева всех эксплуатационных жидкостей двигателя. Во время проведения манипуляций, водитель должен нажимать ногой педаль газа, удерживая ручку открывания воздушной заслонки максимально вытянутой к себе.
Экономайзер
Прибор отключает подачу топлива, когда это необходимо. Процесс начинается во время начала торможения транспортного средства. Подобное движение осуществляется без использования топлива силовым агрегатом.
Благодаря экономайзеру, осуществляется значительная экономия топливных ресурсов. Одновременно снижается уровень загрязнения окружающей среды.
Модули экономайзера:
- управляющий блок;
- тумблер;
- клапан с электромагнитом;
- экономайзер.
Тумблер с экономайзером устанавливаются по ходу корпуса. Клапан с электромагнитом, управляющий блок находятся перед водительской кабиной. Регулировка карбюратора к 131 на УАЗе значительно улучшает эксплуатационные характеристики автомобиля.
Управляющий блок
Клапан с электромагнитом управляются данным устройством. Процесс осуществляется по частоте и мере поступления электрических импульсов. Они поступают к управляющему блоку от катушки зажигания. При снятии ноги с педали газа контакты тумблера размыкаются.
Отключение подачи топлива
Водитель отпускает педаль газа. Сразу же управляющий блок прекращает подачу электрического напряжения клапану с электромагнитом. Обороты двигателя при этом достигают 1400 оборотов за минуту.
Клапан с электромагнитом пропускает воздух по своим каналам из атмосферы через экономайзер. Под воздействием давления воздуха экономайзер перекрывает канал холостого хода, отключая подачу топлива.
Рис. 2. Клапан экономайзера карбюратора к 131.
Когда происходит поломка, все нарушается. При отпущенной педали силовой агрегат не заводится, либо глохнет. Устранять причины неисправности необходимо, начиная с проверки электрических контактов полюсов приборов. После этого последовательно проверяются функции клапана с электромагнитом, тумблера, управляющего блока. Регулировка карбюратора к 131 на УАЗ позволяет эксплуатировать технику с полной отдачей.
Регулировка тумблера и электромагнитного клапана
- Разъединить электрический разъём блока управления.
- Зажигание включено, но мотор не запущен.
- Одна рука несколько раз плавно открывает, закрывает дроссель.
- Другая рука одновременно обхватывает клапан с электромагнитом.
ВАЖНО! Работающий клапан с электромагнитом и предохранителем, а также тумблер в рабочем состоянии проявят себя тем, что в клапане при открывании заслонки будут раздаваться громкие щелчки и чувствоваться вибрация.
Клапан будет срабатывать, магнит двигаться от полюса к полюсу. Рука будет ощущать эти движения.
Управляющий блок
- Электрический разъём соединяется с управляющим блоком.
- Зажигание включено, мотор запущен, прогрет до 70 градусов.
- Одна рука резко открывает дроссель на 1/3 хода.
- Другая рука одновременно обхватывает клапан с электромагнитом.
- Резко нажать закрывание дросселя.
- Клапан с электромагнитом отключится, если управляющий блок исправен.
Клапан с электромагнитом, если он исправен, включается при снижении оборотов коленвала до 1050 об/мин. Все важные механизмы взаимосвязаны с поплавковой камерой. Необходимый уровень горючего поддерживается поплавком с топливным клапаном.
Работа подсоса
Наличие подсоса – серьёзное преимущество модели к 131. Управление холодным запуском силового агрегата автомобильных моторов, где имеется карбюратор на УАЗ однокамерный, функционирует раздельно. Вследствие этого запуск холодного мотора может осуществляться с трудом.
Для улучшения этого между полумесяцем устройства запуска и регулировочной пяткой дроссельной заслонки протянута проволока.
Благодаря этой проволоке создаётся сцепление между двумя раздельными механизмами. Подсос гарантирует быстрый, лёгкий запуск силового агрегата. Подсос можно регулировать, настраивая необходимые значения. Параметры запуска двигателя выставляются, зависимо от температуры наружного воздуха, погодных условий.
Рис. 3. Конструкция карбюратора К 131: некоторые особенности
Основные неисправности
Характерные неисправности могут быть вызваны не только сбоем карбюратора. Могут произойти нарушения зажигания, питания топливом. Эти поломки напрямую влияют на работу узла. Механизм начинает выполнять свои функции с перебоями.
ВНИМАНИЕ! Прежде, чем изменять точные регулировки карбюратора, необходимо убедиться, что все основные блоки автомобиля, электрооборудование, подача горючего функционируют нормально.
Всё исправно – значит, нарушения именно карбюратора. Приступаем к выявлению поломок.
Отсутствуют холостые обороты
Причины:
- датчик холостых оборотов неисправен;
- дроссельная заслонка забита отложениями;
- датчик положения дроссельной заслонки неисправен;
- засорился карбюратор.
Ликвидация неисправностей
Почистить дроссель. Датчики положения дросселя, холостых оборотов проверить на работоспособность. Когда произведенные действия не дали положительных сдвигов, необходимо заменить все механизмы, входящие в карбюратор 131.
Поплавок заливает. Что делать?
При переливе бензина через уплотнители проблематичен старт двигателя автомобиля. Тяжелее всего запускается горячий мотор. Нестабильно высокие холостые обороты, которые невозможно отрегулировать. При работающем моторе из глушителя выходит дым чёрного цвета. Это происходит от переизбытка топлива, догорающего внутри. Ощущаются провалы педали газа при нажатии.
Переобогащенная топливная смесь заливает свечи, которые мокрые, с чёрным нагаром.
Неисправности, их устранение
- Неисправен клапан игольчатый или появилась его негерметичность. Возможно его заклинивание при открытом положении. Слегка постучать молотком по корпусу. Проверить плотность затяжки корпуса клапана игольчатого, наличие резинового уплотнительного кольца под ним. Проверить герметичность можно всасыванием воздуха из резиновой трубки, подающей горючее на карбюратор к 131. Регулировка расхода топлива осуществляется после ремонта.
- Пробит поплавок либо нарушена его герметичность, вследствие чего он не плавает в бензине, а опускается на дно. Игла запорного клапана вовлекается следом за ним, поэтому клапан игольчатый всё время открытый. Топливо без помех заливает камеру. Поплавок необходимо снять, можно его потрясти возле уха. Слышно, как внутри плещется топливо. Негерметичный поплавок можно легко запаять либо заменить новым.
Рис. 4. Поплавковая камера и прокладка
- Нарушено положение поплавка относительно стенок камеры.
Из-за этого он задевает за стенки, уровень топлива повышается. Регулировка карбюратора к 131 регулировка начинается со снятия крышки. Положение поплавка выравнивается. Оно должно быть параллельным оттиску картонной прокладки. Одновременно необходимо проверить, отрегулировать лёгкость его перемещения внутри камеры, без перекосов, деформаций рычагов, стоек.Рис. 5. Поплавок
- Слишком высокий уровень горючего для поплавковой камеры. Необходимо снять крышку, отрегулировать. Уровень топлива должен быть посередине плоскости наклона передней стенки. Расстояние до дна равняется 29±2 мм. Регулировка осуществляется подгибанием поплавковых лепестков.
- Неисправность бензонасоса. Из-за повышенной мощности бензонасоса к поплавковой камере поступает чрезмерный объем топлива. Если отсутствует слив, невозможно перекачать его излишки, поэтому происходит перелив. Проверяется бензонасос: исправность клапанов, диафрагмы, пружины возврата. Неисправные детали необходимо заменить новыми.
- Засорился воздушный жиклер главной системы дозировки первой смесительной камеры.
За счет понижения объема воздуха происходит переобогащение топливной смеси, подаваемой на карбюратор к 131. Устройство внутреннего отверстия жиклёра сужено. Необходимо выкрутить воздушный жиклёр ГДС первой камеры, прочистить, продуть его, установить заново.
| Пропускная способность жиклеров, мл/мин: | |
| Главный топливный жиклер | 350±4,5 |
| Топливный жиклер холостого хода | 55±1,5 |
| Главный воздушный жиклер | 175±4 |
| Воздушный жиклер холостого хода | 290±7 |
Залегание дозирующей иглы
Залегание дозирующей иглы приносит много неприятностей: переливается бензин, двигатель чихает, плохо заводится, динамика двигателя слабая. Если залегание происходит постоянно, необходимо деталь заменить. Снять крышку, вынуть поплавок, прежнюю иглу, выкрутить специальное гнездо для установки иглы. Новое гнездо, наконечник из силикона вкрутить вместо старого.
Установить новую дозирующую иглу.
Рис.6. Дозирующая игла карбюратора
Между корпусом узла и силиконовым гнездом для иглы расположено стальное кольцо. Нижний торец иглы имеет подпружиненный шарик, который прикасается к язычку поплавка. Вставив иглу в стакан гнезда, поплавок располагаем на свое штатное место. Теперь уровень такой, каким ему положено быть. Рекомендованный уровень 2/3 от размера окна поплавковой камеры достигается подгибанием язычка поплавка.
Что делать если карбюратор к 131 замерз
Если наружная температура воздуха долго сохраняет свои значения от +9ºС до -5ºC, а влажность воздуха остается повышенной, идет дождь, мокрый снег, стелется туман, карбюраторы к 131 могут замерзать во время движения транспортного средства. Когда автомобиль долго едет с одинаковой скоростью, поверхности дозирующих элементов возле распылителей, кромок дроссельной заслонки постепенно покрываются льдом. Это места, где наиболее высокая скорость движения холодного воздуха.
Дроссель при таких условиях длительный период не двигается, пребывая в одном и том же положении.
Лёд закупоривает отверстия для циркуляции воздуха переходной системы первой камеры. Откладываясь по распылителям, лёд уменьшает внутреннее сечение проходных отверстий.
Топливная смесь сильно обогащается, поскольку воздуха проходит меньше, объём бензина остается прежним. С подобными условиями не может справиться карбюратор к 131. Регулировка холостого хода не приносит ожидаемых результатов.
ВАЖНО! Свечи покрываются толстым слоем нагара, искрообразование значительно ухудшается. Двигатель всё больше теряет мощность, останавливаясь совсем. После остановки транспортного средства под воздействием тёплого двигателя лёд в карбюраторе самопроизвольно тает. Через 5-10 минут карбюратор по-прежнему готов к работе, мотор заводится, вроде ничего не было. Можно продолжать движение.
Прочие неисправности
В практической эксплуатации автомобилей ГАЗ, Соболь, Волга, Газель, в конструкции которых установлен однокамерный карбюратор на УАЗ, регулировка и своевременное обслуживание предупреждает много различных серьезных поломок, например:
- К входному штуцеру бензин поступает, в камере с поплавком топливо отсутствует.
Причина данного явления кроется в заедании иглы топливного клапана при закрытом положении. Еще одна причина – засорение сетчатого фильтра. Необходимо извлечь сетчатый фильтр, промыть ацетоном, продуть сжатым воздухом под насосом либо компрессором, установить заново. Подвижность иглы восстанавливается постукиванием ключа о корпус карбюратора. Клапан все равно необходимо заменить при первой же возможности. - Глубокий провал педали газа, остановка двигателя. Причина: засорение главного жиклёра топлива. Выкрутить жиклёр, почистить, установить в штатное положение.
Тюнинг карбюратора к 131 своими руками
Модернизируя карбюратор к131, можно удалить экономайзер принудительного холостого хода. Вместо пневмоклапана следует установить пробку с резиновым кольцом. Чтобы исключить дизелинг в момент отключения зажигания, применяется клапан с электромагнитом от карбюратора Солекс. При его установке надо проделать следующие операции:
- выкручивается заглушка эмульсионного жиклёра холостого хода;
- выкручивается сам эмульсионный жиклёр холостого хода;
- в снятом жиклёре рассверливается отверстие сечением 0,1 мм, после этого он устанавливается повторно;
- клапан вкручивается в карбюратор;
- к электромагнитному клапану подсоединяется фиолетовый провод от замка зажигания.

После усовершенствования карбюратора к 131 наблюдается приличная экономия топлива.
Регулировка карбюратора к 131. С целью улучшения холостого хода можно своими руками поднять уровень топлива поплавковой камеры до 20 мм. Достигается подобный результат методом подгибания латунных кромок поплавка. При этом следует значительно уменьшить мощность насоса ускорителя. Главное – не допустить провалов педали акселератора. Получаем идеальный холостой ход, прекрасную моторную динамику, безупречное функционирование всех карбюраторных, моторных систем автомобиля.
Разборка карбюратора серии к 131
- Снять карбюратор. Во избежание попадания мелких предметов, закрыть ветошью отверстие камеры сгорания.
- Открутить удерживающие крышку семь винтов.
- Вытащить шплинт крепления, вывести тягу от устройства пуска из рычага.
- Пружину возврата заслонки воздуха снять. Вывернуть два винта крышки балансировочного канала поплавковой камеры. Крышку отделить от корпуса вместе с прокладкой.

- Отвёрткой открутить винт крепления по центру. Распылитель эконостата снять вместе с прокладкой.
- Отвернуть три маленьких винта. Демонтировать детали пускового механизма: диафрагму, пружину, крышку.
- Пробку оси поплавка выкрутить. Поплавок с запорной иглой и ось вынуть из корпуса.
- Во избежание вытекания бензина по резьбе пробки оси поплавка, алюминиевую шайбу, расположенную на оси, следует обязательно вынимать из корпуса. При сборке её надо установить, где она стояла раньше, в составе оси. Этим будет обеспечено правильное положение в отверстии.
- Выкрутить седло клапана игольчатого.
- Открутить винт, крепящий штуцеры топлива в поплавковой камере. Вынуть из корпуса вместе с топливным фильтром и прокладками.
- Со стенки поплавковой камеры вывернуть пробку.
- Отвёрткой открутить кронштейн, удерживающий распылитель ускорительного насоса.
- Поочередно выкрутить жиклеры воздуха. Шилом извлечь трубки для эмульсии из отверстий.
- Открутить, вынуть блоки: воздушного, топливного холостого хода.

- Выкрутить заглушку, расположенный под ней эмульсионный жиклёр.
- По аналогии выкручивается жиклёр с обратной стороны.
ОБРАТИТЬ ВНИМАНИЕ! До того, как выкрутить иглу регулировки, необходимо ее полностью закрутить. Выкручивая, посчитать количество оборотов. Принятые меры позволят впоследствии правильно ее установить. Так сохранится регулировка ускорительного насоса.
- Отвёрткой открутить винты ускорительного насоса, извлечь содержимое.
- Вынуть малые диффузоры обеих камер с пружинами.
- Расположить карбюратор нижней частью вверх. Открутить два болта на дросселях, отделить от корпуса. Снять эбонитовую прокладку.
- Открутить два винта крепления экономайзера, снять вместе с прокладкой.
- Открутить два винта, отделить клапан ЭПХХ от корпуса.
- Снять крышку, ключом 6 мм отвернуть гайку, которая крепит запорный клапан. Вынуть его из диафрагмы.
- Выкрутить винты качества и количества смеси из корпуса узла холостого хода.

Рис. 7. Разобранный карбюратор к 131
Полная разборка карбюратора к 131 завершена. Можно приступать к его обслуживанию, мойке, чистке, ремонту.
В каких случаях необходима полная разборка и ремонт карбюратора
ВАЖНО! Ремонтируя карбюратор своими руками, осуществлять полную разборку необходимо только как исключение. Сначала надо тщательно почистить все засорённые жиклеры, проверить проходные отверстия, промыть клапаны ацетоном, продуть сжатым воздухом, смазать трущиеся узлы, механизмы. Если все указанные процедуры без разборки не смогли устранить заедание дроссельных, воздушных заслонок, а каналы не очистились от серьезных отложений, необходимо приступать к разборке и более тщательному ремонту.
Как собрать карбюратор серии к 131. Правильное подсоединение шлангов, тяг, всех механизмов. Настройка, регулировка
После полной разборки карбюратор к 131 а подвергается тщательной мойке. Лучше всего дозирующие жиклёры промывать чистым авиационным керосином.
Если нет керосина – промывать дизельным топливом. Детали можно мыть, чистить ацетоном. Жиклёры следует тщательно продуть сжатым воздухом. Регулировка карбюратора к131 осуществляется после прогрева двигателя.
Рис. 8. Как выглядит карбюратор к 131 и к 131 а
Наиболее эффективно застывшие отложения – лаки, смолы удаляют растворители от 645 до 652, а также ацетон. Необходимо помнить, что они могут повредить неметаллические изделия – диафрагмы, прокладки, уплотнители. Их следует мыть отдельно только бензином.
Замоченные растворителем либо бензином жиклёры чистятся медной проволокой, а лучше – деревянными палочками типа зубочисток. Собирая, устанавливая карбюратор, нельзя использовать герметик! Выдавленные во внутренние полости излишки средства заполнят проходные каналы, блокируя их проходимость.
Ни в коем случае нельзя ковырять отверстия металлическими предметами, тереть напильником, чистить наждачной бумагой. От такой чистки нарушается проходимость отверстий, возможны переливы топлива.
Все изношенные детали следует заменить новыми. Отрегулировать иглу, жиклёры можно специальным стендовым оборудованием.
Карбюратор к131а схема подключения шлангов. Питающие шланги подсоединяются к своим штатным местам, обжимаются специальными хомутами. Во избежание подсоса воздуха штуцеры, к которым подсоединяются топливные шланги, можно обработать герметизирующим составом. Во избежание вредных касаний, с целью недопущения перетирания при движении авто, шланги необходимо заправить в специальные держатели.
Карбюратор К-131 сборка и регулировка. Собирать узел необходимо в обратной последовательности. После сборки отрегулировать правильный уровень топлива поплавковой камеры легко с помощью штангенциркуля. Его заплечики должны упереться в верхнюю плоскость корпуса карбюратора.
Одновременно хвостовик штангенциркуля с выставленной заранее глубиной 21,5 мм, должен касаться уровня топлива. Чтобы настроить карбюратор к 131, такая процедура осуществляется на автомобиле после стабилизации уровня топлива.
Подкачивать бензин надо ручным приводом бензонасоса. Вместе с этим проверяется герметичность клапана.
Заключение: Карбюратор К-131 представляет собой сложную систему, предназначенную для подготовки, подачи воздушно-топливной смеси камере сгорания двигателя. Своевременное обслуживание, правильный уход за всеми механизмами этого устройства обеспечит устойчивую работу силового агрегата, долговечное бесперебойное функционирование такого сложного механизма, как карбюратор 131 на УАЗ, отзывы автомобилистов о котором неизменно всегда положительные.
Существующие модификации карбюраторов серии к 131
Все существующие модификации карбюраторов серии к 131 и их применяемость на автомобилях показаны в таблице ниже:
| Модификации карбюратора | Применяемость на авто | Тип двигателя | Объём л |
| к 131 | Волга: ГАЗ-2П0. 31029, 3102, 3110.Газель: ГАЗ-33021, 33023, 33027, 2705, 27057. | ЗМЗ-402 | 2.45 |
| к 131В к 131Г | УАЗ-31М2 31514 3″41, 3962,2206,3303 3909 | УМЗ-417.10 | 2.45 |
| 131Д | Волга ГАЗ-ЗИО, Соболь: ГАЗ-2752, 2717, 22171, Газель (кроме ГАЗ-33021). | ЗМЗ-406 | 2.3 |
| к 131Е | УАЗ-3153, 33036, 39094, 39095. | УМЗ- 4218.10 | 2.9 |
| к 131И | Волга ГАЗ-31029. Газель ГАЗ-3302 | JM3-410 10 | 2.9 |
| к 131Л | УАЗ-31601. | УМЗ-421.10 | 2.9 |
| к 131Н | ИЖ-412ИЭ. 21251, 2715-01, 27151-01. | УЗАМ-331(6) | 1.5 |
| к 131П | НЖ-2126 Ода | УЗАМ-3317 | 1.7 |
| к 131Р | |||
| к 131С | Волга ГАЗ-3102, 31029, 3110. Газель, Соболь. | ЗМЗ-402.10 | 2.45 |
| к 131Т | Газель. | VM3-4215.10 | 2. 9 |
| к 131У | VA3-31512 | ЗМЗ-402.10 | 2.45 |
| к 131Ф | |||
| к 131Ц | УАЗ-33036, 31512. | ЗМЗ — 4104.10 | 2.9 |
Карбюратор К-131 на УАЗ: устройство и регулировка
Механический шаман, готовящий для питания мотора на УАЗ топливно-воздушную смесь в специальных пропорциях, — однокамерный карбюратор К-131, которому остро необходима периодическая регулировка и техобслуживание. А всё потому, что множество компонентов механизма, совершая постоянное движение, нагреваются, изнашиваются, засоряются остатками топлива.
Как это устроено: карбюратор К-131 на УАЗ
Не то чтобы К-131 устанавливался только на автомобили Ульяновского автозавода. Этот узел довольно популярный у отечественного автопрома, его можно найти в старых моделях ГАЗ, “Волга”, машинах марки “Соболь”. Он пришёл на замену предшественнику — карбюратору К-126.
Однокамерный карбюратор не отличается изяществом конструкции.
Это узел, составленный из трёх блоков, скреплённых между собой болтовыми соединениями:
- Средний блок, он же корпус, объединяет 2 камеры: поплавковую и смесительную.
- В нижнем отсеке дислоцируется система дроссельных заслонок.
- Верх карбюратора, он же служит крышкой. Здесь располагается патрубок забора воздушной смеси.
Готовят топливно-воздушную смесь отдельные карбюраторные системы:
- Холостого хода, срабатывающего в режиме максимальной нагрузки узла.
- Полуавтоматическая система холодного запуска, включающая рычаги управления, заслонку, которая управляет подачей воздуха, и пневмокорректор.
- Экономайзер, состоящий из нескольких модулей: блока управления, тумблера, самого экономайзера и электромагнитного клапана.
- Блок управления, который запускается от электрических импульсов, поступающих в эту систему от катушки зажигания.
- Система, отключающая подачу топлива. Действует обратно предыдущему механизму.
Безусловно, на момент своего появления узел с автономной системой холостого хода, полуавтоматической системой запуска и прогрева был довольно прогрессивным.
Обслуживание и регулировка карбюратора К-131 на УАЗ
Поскольку системы и компоненты механизма находятся в постоянном движении, износ деталей и появление неисправностей неизбежны. Если на УАЗе увеличился расход топлива, агрегат не запускается или запускается, но двигатель глохнет, пришло время исправить неполадки, отрегулировать и промыть карбюратор.
Собственно, техобслуживание узла заключается в проведении нескольких манипуляций:
- надо проверить надёжность креплений самого агрегата и его составных частей;
- проверить и установить правильный уровень топлива;
- отрегулировать малую частоту вращения коленвала мотора на холостом ходу;
- протестировать корректность работы экономайзера и насоса;
- продуть и промыть механизмы агрегата от остаточных продуктов топлива;
- проверить пропускную способность жиклеров.
Проверка уровня топлива осуществляется следующим образом:
- Авто должно стоять на ровной поверхности, двигатель заглушен.

- Используя ручной привод насоса, подкачайте топливо. Уровень должен быть в пределах меток (“а” на картинке), расположенных на стенках поплавковой камеры.
- Регулировка поплавка карбюратора К-131 на УАЗ производится, если уровень топлива отклоняется от заданных пределов. Для этого надо снять крышку поплавка, затем медленно подгибать язычок (“3” на картинке) и ограничитель (“2” на схеме), которым надо установить иглу клапана (“5” на схеме) в диапазон 1,2-1,5 мм.
Тут важное замечание. Регулируя уровень топлива, не жмите пальцами на сам поплавок, воспользуйтесь отвёрткой.
Теперь коротко о том, как отрегулировать частоту вращения коленвала на карбюраторе К-131, установленного на УАЗ:
- С помощью винта регулировки холостого хода устанавливаем частоту вращения коленвала в диапазоне 500-600 об/мин.
- Затем винт “1” (на рис. 2.25) закручиваем до упора. Это обеспечит самую большую частоту вращения коленвала. Используя винт “2” (рис 2.
25), отрегулируйте малую частоту вращения в пределах 550-650 об/мин. - Винтом “3” не забудьте отрегулировать клапан разбалансировки (на рис. 2.26 отмечен цифрой “2”). Этот клапан должен находиться в открытом состоянии, когда дроссельная заслонка закрыта.
Работу ускорительного насоса лучше проверять на специальном стенде. Симптомом его неисправности может служить “провал” педали газа, если на неё резко нажать, и медленное увеличение частоты вращения мотора. Работа жиклёров тоже проверяется на стенде. А вот промыть детали К-131А можно самостоятельно. Для этих целей в качестве промывочной жидкости подойдёт бензол. После промывки запчасти надо продуть сжатым воздухом. Если решили почистить калиброванные отверстия от засоров, не используйте металлическую проволоку. Так можно нарушить выверенные размеры и пропускную способность деталей.
А вы сами проводите техобслуживание карбюратора вашего авто или доверяете эту работу специализированным сервисам?
youtube.com/embed/I7lBFTccHN4″/>
Обслуживание карбюратора К-131 – Система питания – УАЗ
Карбюратор К-131 для двигателей мод. 414 (рис. 31) — вертикальный, сбалансированный, с падающим потоком, однокамерный, двухдиффузорный. Главная дозирующая система — с пневматическим торможением топлива и эмульсированием в колодце, с центральным подводом эмульсирующего воздуха. Кроме того, карбюратор имеет автономную систему холостого хода и полуавтоматическую систему пуска и прогрева.
1 — пневмопривод пуска и прогрева; 2 — привод ускорительного насоса и экономайзера; 3 — распылитель ускорительного насоса; 4 — воздушная заслонка; 5 — распылитель экономайзера; 6 — полуавтомат пуска и прогрева; 7 — главный воздушный жиклер с эмульсионной трубкой; 8 — воздушный жиклер холостого хода; 9 — жиклер экономайзера; 10 — топливный жиклер холостого хода; 11 — главный топливный жиклер; 12 — микровыключатель; 13 — блок управления; 14 — электромагнитный клапан; 15 — винт эксплуатационной регулировки; 16 — регулировочный винт состава смеси; 17 — клапан экономайзера холостого хода; 18 — дроссельная заслонка; 19 — клапан экономайзера; 20 — обратный клапан; 21 — нагнетательный клапан; 22 — клапан разбалансировки; «а» и «б» -штуцеры для подсоединения шлангов электромагнитного клапана
Обслуживание карбюратора заключается в периодической проверке надежности крепления карбюратора и отдельных его элементов, проверке и регулировке уровня топлива в пошивкой камере, регулировке малой частоты вращения коленчатого вала двигателя в режиме холостого хода, проверке работы ускорительного насоса и экономайзера, чистке, продувке и промывке деталей карбюратора от смолистых отложений, проверке пропускной способности жиклеров.
Проверку уровня топлива производите при неработающем двигателе автомобиля, установленного на горизонтальной площадке. При подкачке топлива с помощью ручного привода насоса уровень топлива в поплавком камере карбюратора должен установиться в пределах, отмеченных метками (приливами) «а» (рис. 32) на стенках смотрового окна.
При отклонении уровня от указанных пределов произведите регулировку, для чего снимите крышку поплавковой камеры. Регулировку уровня производите подгибанием язычка 3 (рис. 33). Одновременно подгибанием ограничителя 2 установите ход иглы 5 клапана подачи топлива 1,2 — 1,5 мм. После регулировки вновь проверьте уровень топлива и при необходимости произведите регулировку повторно. Учитывая, что в процессе эксплуатации вследствие износа поплавкового механизма уровень топлива постепенно повышается, устанавливайте его при регулировке по нижнему пределу. В этом случае уровень топлива более длительное время будет находиться в допустимых пределах.
1 — поплавок; 2 — ограничитель хода поплавка; 3 — язычок регулировки уровня; 4 — ось поплавка; 5 — игла клапана; 6 — корпус клапана; 7 — шайба клапана
Примечание.
При регулировке уровня топлива в поплавковой камере карбюратора не подгибайте язычок поплавка нажатием на поплавок, а подгибайте с помощью отвертки или плоскогубцев.
Регулировку малой частоты вращения коленчатого вала в режиме холостого хода производите на прогретом двигателе при исправной системе зажигания.
Регулировку производите в следующем порядке:
- Предварительно установите винтом 2 (рис. 34) частоту вращения коленчатого вала на холостом ходу 550-600 об/мин.
1 — винт регулировочный состава смеси холостого хода; 2 — винт регулировки холостого хода; 3 — штуцер вентиляции картера двигателя; 4 — пломба
- Установите винт 1 в положение, обеспечивающее наибольшую частоту вращения коленчатого вала двигателя при данном положении дроссельной заслонки. Винтом 1, кроме того, регулируют содержание СО в отработавших газах.
- Окончательно установите винтом 2 малую частоту вращения на холостом ходу (550-650 об/мин).
- Отрегулируйте привод клапана 1 разбалансировки поплавковой камеры винтом 3.
При полностью отпущенной дроссельной заслонке клапан должен быть открытым.
1 — клапан разбалансировки; 2 — регулировочный винт клапана; 3 — штуцер отвода паров топлива
Работу ускорительного насоса проверяйте в том случае, если при резком нажатии на педаль дроссельной заслонки в работе двигателя наблюдаются провалы, и двигатель медленно увеличивает частоту вращения. Для проверки резко откройте дроссельную заслонку, при этом из распылителя ускорительного насоса должно течь топливо. На специальном стенде можно проверить подачу ускорительного насоса, которая должна быть не менее 8 см3 за 10 рабочих ходов поршня. В процессе эксплуатации карбюратора вследствие износа поршня и стенок колодца ускорительного насоса подача его может оказаться недостаточной. Чтобы увеличить подачу, переставьте ограничительную шайбу 2 (рис. 36) на штоке ускорительного насоса в нижнюю проточку 3. При эксплуатации автомобиля в высокотемпературных условиях уменьшите подачу ускорительного насоса, переставив ограничительную шайбу в верхнюю проточку 1 штока.
1 — проточка верхняя; 2 — ограничительная шайба; 3 — проточка нижняя
Если двигатель не развивает максимальной мощности при полностью открытой дроссельной заслонке, проверьте полное включение экономайзера. Для этого проверьте зазор между
планкой и гайкой штока привода экономайзера при полностью открытой дроссельной заслонке, который должен быть 3±0,2 мм (рис. 37). При необходимости отрегулируйте этот зазор при помощи гайки, после чего закрепите гайку обжатием ее по малому диаметру.
Пропускная способность жиклеров определяется на специальном стенде путем проливания через них воды под давлением (напором) столба воды высотой 1000+2 мм и температуре 20±1 °С.
| главный топливный жиклер | 350+4,5 |
| топливный жиклер холостого хода | 55±1,5 |
| главный воздушный жиклер | 175±4 |
| воздушный жиклер холостого хода | 290±7 |
При вывертывании и завертывании жиклеров остерегайтесь повреждения резьбы в отверстиях.
Имейте в виду, что главный топливный жиклер и топливный жиклер холостого хода внешне схожи между собой, но имеют разную резьбу.
Промывку деталей карбюратора производите бензолом или неэтилированным бензином, затем продуйте их сжатым воздухом.
Не пользуйтесь металлической проволокой для прочистки жиклеров и калиброванных отверстий, так как это приведет к нарушению их размеров и пропускной способности.
В случае выхода из строя в пути электронного блока 13 (см. рис. 31) или микровыключателя 12 соедините одним из шлангов штуцеры «а» и «б» карбюратора между собой минуя электромагнитный клапан.
Обслуживание карбюратора К-131: https://uaz.nas24.ru/sistema-pitaniya/obsluzhivanie-karbyuratora-k-131/
Занятие №3. «Регулировка карбюратора к88ам (к89ае) на минимальную частоту вращения коленчатого вала двигателя ЗиЛ-131»
Время:
2 часа.
Вид занятия:
практическое.
Место:
класс ГРД.
Инструмент и
приспособления:
ключи
гаечные 12, 14, и 17 мм;отвертка;
специальный
шаблон для проверки высоты иглы запорного
клапана.
Проверка
уровня топлива в поплавковой камере.
1.1.Влияние
технического состояния карбюратора на
работу двигателя.
Техническое состояние
приборов системы питания карбюраторных
двигателей оказывает существенные
влияния на мощностные и экономические
показатели работы двигателя, на
изнашивание деталей цилиндро-поршневой
группы, легкость пуска и приемистость
двигателя. Эти показатели зависят от
состава, количества и качества горючей
смеси, приготовляемой карбюратором, и
от соответствия её режиму работы
двигателя. Основной и наиболее сложный
прибор системы питания – карбюратор.
Его неисправности составляют около 60%
всех неисправностей системы питания.
Неисправности карбюратора выражаются
в нарушении его регулировок и, как
следствие, в образовании переобогащенной
или переобедненной горючей смеси.
Причинами указанных неисправностей
являются: изменения уровня топлива в
поплавковой камере из-за нарушения
герметичности клапана подачи топлива,
изменения проходного сечения жиклеров
в следствии его засорения и осмоления,
засорения и осмоления воздушных каналов,
топливопроводов и фильтров, износ
сопряжений. По данным исследования,
опубликованных в печати, интенсивность
изнашивания двигателя при его работе
на обогащенной горючей смеси (=0,8…0,85)
будет в 1,5…2 раза больше, чем при работе
на нормальной или обедненной смеси
(=1,0…1,2).
Обслуживание
карбюраторов заключается в периодической
проверке их крепления, состояния приводов
управления дроссельной и воздушной
заслонками, отсутствия подтеканий
топлива, проверке регулировки малых
оборотов холостого хода и уровня топлива
в поплавковой камере.
1.
2.
Последовательность выполнения операции.
Установить
автомобиль в горизонтальное положение.Заполнить
поплавковую камеру карбюратора топливом
с помощью рычага ручной подкачки
бензонасоса.
Рис.
10 Проверка уровня топлива в поплавковой
камере карбюратора К88-АМ
По контрольному отверстию.
3.
Вывернуть пробку контрольного отверстия
в поплавковой камере. При нормальном
уровне, топливо должно находиться у
нижней кромки контрольного отверстия
и не должно вытекать из поплавковой
камеры наружу. В случае соответствия
уровня топлива норме пустить двигатель.
При работе двигателя на минимальной
частоте вращения коленчатого вала
(450-500об/мин) топливо не должно вытекать
из отверстия. Если топливо вытекает из
отверстия, необходимо выполнить
регулировку.
1.3. Регулировка уровня топлива в поплавковой камере карбюратора (к89ае).

Снять
воздухоочиститель с карбюратора
совместно патрубком.Отсоединить
от карбюратора трос ручного управления
воздушной заслонкой, топливопровод и
трубку ограничителя максимальной
частоты вращения коленчатого вала
двигателя
Отвернуть
винты крепления верхнего корпуса
карбюратора, снять и при необходимости
промыть корпус.
Рис.11
Проверка установки узла игольчатого
клапана карбюратора:
1-корпус
воздушной горловины карбюратора; 2-
корпус игольчатого клапана;
3-шаблон;
4-регулировочные прокладки.
Проверить специальным
шаблоном 3 высоту иглы запорного клапана
подачи топлива (Рис.11). Расстояние между
тыльной частью иглы клапана и плоскостью
разъема карбюратора должно находиться
в пределах 14,2-14,5 мм.
Регулировка
осуществляется путем снятия прокладок
4 под корпусом 2 клапана при малом уровне
топлива и или добавлении прокладок в
случае большого уровня. Допускается
подгибания кронштейна поплавка.Собрать карбюратор,
присоединить топливопровод, трубку
ограничителя максимальной частоты
вращения коленчатого вала двигателя
и трос ручного управления воздушной
заслонкой.Заполнить поплавковую
камеру топливом с помощью рычага ручной
подкачки бензонасоса и пустить двигатель.Проверить уровень топлива
в поплавковой камере по контрольному
отверстию( Рис 12).
Рис.12 Проверка
уровня топлива в поплавковой камере
карбюратора К88-АМ.
Установить
и закрепить воздухоочиститель с
патрубком и шлангами.
Регулировка
карбюратора К88АМ (К89АЕ) на минимальную
частоту
вращения коленчатого
вала двигателя.
2.1.
ТУ на выполнение операции.
Регулировка
карбюратора проводится на прогретом
двигателе при правильно установленном
зажигании, отрегулированном клапанном
механизме и соответствии уровня топлива
в поплавковой камере.
2.2.
Содержание работ.
Рис.13 Расположение
винтов системы холостого хода карбюратора:
1
— регулировочные винты холостого хода;
2
– винт упорный (винт частоты вращения
коленчатого вала)
Завернуть на неработающем
двигателе оба регулировочных винта 1
холостого хода
(рис. 13) до
отказа и отвернуть каждый на три оборота.
Пустить двигатель.
Установить упорным винтом
2 наименьшее открытие дроссельной
заслонки, обеспечив устойчивую работу
двигателя.
Завернуть один из
регулировочных винтов 1 холостого хода
до получения работы двигателя с
перебоями, а затем отвернуть его на ½
оборота, несколько обогатив рабочую
смесь.Провести аналогичную
регулировку второй системы холостого
хода другим регулировочным винтом 1.Уменьшить частоту вращения
на холостом ходу, медленно отвертывая
упорный винт 2 дроссельной заслонки.Обеднить вторично горючую
смесь с помощью регулировочных винтов
1 в обеих камерах до получения минимальной
частоты вращения коленчатого вала
двигателя, равной 450-500 об/мин.Проверить правильность
выполнения работы, для чего резко
открыть и закрыть дроссельную заслонку.
Двигатель не должен глохнуть. В случае
остановки двигателя необходимо насколько
увеличить частоту вращения коленчатого
вала путем ввертывания упорного винта
2 дроссельной заслоноки. Окончательную
проверку регулировки холостого хода
карбюратора необходимо выполнить с
помощью газоанализатора по содержанию
окиси углерода в отработавших газах и
с помощью тахометра по частоте вращения
вращения коленчатого вала.
При
невозможности обеспечения минимальной
частоты вращения коленчатого вала
регулировкой системы холостого хода,
карбюратор необходимо снять с двигателя
и отремонтировать.
Особенности карбюратора К-131
Карбюратор К–131 (рис. 1) – вертикальный, сбалансированный, с падающим потоком, однокамерный, двухдиффузорный.
Главная дозирующая система – с пневматическим торможением топлива и эмульсированием в колодце, с центральным подводом эмульсирования воздуха
Кроме того, карбюратор имеет автономную систему холостого хода и полуавтоматическую систему пуска и прогрева.
Рис. 1. Схема карбюратора К–131
Обслуживание карбюратора заключается в периодической проверке надежности крепления карбюратора и отдельных его элементов, проверке и регулировке уровня топлива в поплавковой камере, регулировке малой частоты вращения коленчатого вала двигателя в режиме холостого хода, проверке работы ускорительного насоса и экономайзера, чистке, продувке и промывке деталей карбюратора от смолистых отложений, проверке пропускной способности жиклеров.![]()
Рис. 2. Смотровое окно поплавковой камеры карбюратора: а – метки уровня топлива
Рис. 3. Поплавок карбюратора и его регулировка
Проверку уровня топлива производите при неработающем двигателе автомобиля, установленного на горизонтальной площадке.
При подкачке топлива с помощью ручного привода насоса уровень топлива в поплавковой камере карбюратора должен установиться в пределах, отмеченных метками (приливами) «а» (рис. 2) на стенках смотрового окна.
При отклонении уровня от указанных пределов произведите регулировку, для чего снимите крышку поплавковой камеры.
Регулировку уровня производите подгибанием язычка 3 (рис. 3). Одновременно подгибанием ограничителя 2 установите ход иглы 5 клапана подачи топлива 1,2 – 1,5 мм.
После регулировки вновь проверьте уровень топлива и при необходимости произведите регулировку повторно.
Учитывая, что в процессе эксплуатации вследствие износа поплавкового механизма уровень топлива постепенно повышается, устанавливайте его при регулировке по нижнему пределу.
В этом случае уровень топлива более длительное время будет находиться в допустимых пределах.
При регулировке уровня топлива в поплавковой камере карбюратора не подгибайте язычок поплавка нажатием на поплавок, а подгибайте с помощью отвертки или плоскогубцев.
Регулировку малой частоты вращения коленчатого вала в режиме холостого хода производите на прогретом двигателе при исправной системе зажигания.
Регулировку производите в следующем порядке:
Рис. 4. Регулировочные винты каpбюpатоpа: 1 – винт pегулиpовочный состава смеси холостого хода; 2 – винт эксплуатационной регулировки холостого хода; 3 – штуцер вентиляции каpтеpа двигателя; 4 – пломба
1. Предварительно установите винтом 2 частоту вращения коленчатого вала на холостом ходу 550 – 600 мин -1 .
2. Установите винт 1 в положение, обеспечивающее наибольшую частоту вращения коленчатого вала двигателя при данном положении дроссельной заслонки.
Винтом 1, кроме того, регулируют содержание СО в отработавших газах.
3. Окончательно установите винтом 2 малую частоту вращения на холостом ходу (550 – 650 мин -1).
Рис. 5. Клапан pазбалансиpовки каpбюpатоpа: 1 – клапан pазбалансиpовки; 2 – pегулиpовочный винт клапана; 3 – штуцер отвода паpов топлива
4. Отрегулируйте привод клапана 1 разбалансировки поплавковой камеры винтом 3.
При полностью отпущенной дроссельной заслонке клапан должен быть открытым.
Рис. 6. Перестановка ограничительной шайбы на штоке ускорительного насоса: 1 – проточка верхняя; 2 – ограничительная шайба; 3 – проточка нижняя
Работу ускорительного насоса проверяйте в том случае, если при резком нажатии на педаль дроссельной заслонки в работе двигателя наблюдаются провалы, и двигатель медленно увеличивает частоту вращения.
Для проверки резко откройте дроссельную заслонку, при этом из распылителя ускорительного насоса должно течь топливо.
На специальном стенде можно проверить подачу ускорительного насоса, которая должна быть не менее 8 см 3 за 10 рабочих ходов поршня.
В процессе эксплуатации карбюратора вследствие износа поршня и стенок колодца ускорительного насоса подача его может оказаться недостаточной.
Чтобы увеличить подачу, переставьте ограничительную шайбу 2 (рис. 6) на штоке ускорительного насоса в нижнюю проточку 3.
При эксплуатации автомобиля в высокотемпературных условиях уменьшите подачу ускорительного насоса, переставив ограничительную шайбу в верхнюю проточку 1 штока.
Рис. 7. Проверка полного включения экономайзера
Если двигатель не развивает максимальной мощности при полностью открытой дроссельной заслонке, проверьте полное включение экономайзера.
Для этого проверьте зазор между планкой и гайкой штока привода экономайзера при полностью открытой дроссельной заслонке, который должен быть (3 ± 0,2) мм (рис. 7).
При необходимости отрегулируйте этот зазор при помощи гайки, после чего закрепите гайку обжатием ее по малому диаметру.
Пропускная способность жиклеров определяется на специальном стенде путем проливания через них воды под давлением (напором) столба воды высотой 1000 ± 2 мм и температуре (20 ± 1) °С.
Пропускная способность жиклеров, мл/мин:
главный топливный жиклер…..350 ± 4,5
топливный жиклер холостого хода…..55 ± 1,5
главный воздушный жиклер…..175 ± 4
воздушный жиклер холостого хода…..290 ± 7
При вывертывании и завертывании жиклеров остерегайтесь повреждения резьбы в отверстиях.
Имейте в виду, что главный топливный жиклер и топливный жиклер холостого хода внешне схожи между собой, но имеют разную резьбу.
Промывку деталей карбюратора производите бензолом или неэтилированным бензином, затем продуйте их сжатым воздухом.
Не пользуйтесь металлической проволокой для прочистки жиклеров и калиброванных отверстий, так как это приведет к нарушению их размеров и пропускной способности.
В случае выхода из строя в пути электронного блока 13 (см. рис. 1) или микровыключателя 12 соедините одним из шлангов штуцеры «а» и «б» карбюратора между собой, минуя электромагнитный клапан.
Зиловский карбюратора К-88А
Легендарные грузовики ЗиЛ-130 и Зил-131 выпускались почти полвека.
Эти машины верой и правдой служили своим владельцам в промышленности, сельском хозяйстве и армии. В чем главный секрет их успехов? В надежности. При нормальной эксплуатации, точной настройке и своевременном обслуживании, узлы выходили из строя сравнительно редко. Один из них – карбюратор К 88А.
В настоящее время обе машины, как ЗиЛ-130, так и ЗиЛ-131, продолжают работать, притом, в немалых количествах. Ничего удивительного, они производились, в т.ч. после модернизации, на других заводах и под другими индексами, до 2014 года. Тем не менее, эти рабочие лошадки заслуженно считаются старичками. Ремонт нужен все чаще. Тот же самый К 88А тоже, со временем, теряет надежность. Если же его вовремя не отрегулировать, то он может вообще потребовать замену.
Регулировочные винты К 88А
Разработчики моделей ЗиЛ-130 и ЗиЛ-131 позаботились о том, чтобы настройка карбюратора К 88А не представляла для водителя особой сложности. Для успешной работы, достаточно обладать минимальными техническими знаниями и слесарными навыками.
Тем не менее, чтобы правильно и уверенно отрегулировать зиловский карбюратор, надо сначала разобраться в его конструкции. Он собой представляет двухкамерный смеситель, с двойным распылением бензина и падающим потоком смеси. Камеры изготовлены в одном блоке. На всех режимах они работают синхронно.
Несмотря на то, что К 88А – устройство довольно непростое, глубокие знания его конструкции требуются больше слесарям, для ремонта узла. Для регулировки же достаточно знать расположение деталей, с помощью которых настраивается данный аппарат. К ним относятся винты регулировки качества смеси холостого хода и количества оборотов, стопорный винт дросселя и держатель жиклера.
Настройка холостого хода двигателя
Читайте также: Радиатор, ключевой элемент системы охлаждения автомобиля
Т.н. «плавающий» холостой ход движка – это один из основных недостатков карбюраторов К 88А. Попросту говоря, из-за какой-либо неисправности, в цилиндры подается топливная смесь низкого качества.
В результате, на холостых оборотах мотор будет троить. А частота вращения коленвала – «плавать».
Между тем, данная проблема решается довольно легко. Надо всего лишь отрегулировать состав топливной смеси. Поэтапно процесс выглядит следующим образом:
- Винт качества топливной смеси заворачивается до упора. После этого, его надо отвернуть обратно на 4 или 5 оборотов. В итоге, получится идеально обогащенная смесь.
- Винт количества топливной смеси тоже закручивается полностью. Затем – ослабляется на 3 оборота.
- Следующий этап – включить зажигание, завести мотор и подождать минут 5 или 10, пока он как следует прогреется.
- Далее, надо взять отвертку и отрегулировать винт, отвечающий за количество смеси, так, чтобы обеспечить ровную работу движка на 800 оборотов.
- Последний шаг – медленно заворачивать винт качества смеси, пока мотор не станет «чихать». Добившись нестабильного состояния, когда двигатель почти глохнет, надо отвернуть винт качества на 0,5 оборота.

Вот и все. После совершения перечисленных выше, совсем не сложных, манипуляций, холостой ход ЗиЛ-130/131 должен быть в порядке.
Неисправности К 88А
Регулировка – дело хорошее, но всех проблем, которые могут случиться с зиловскими карбюраторами, она не устраняет. Время от времени аппарату требуется обслуживание посложнее, а то и настоящий ремонт. Среди неполадок, происходящих с данными узлами, выделяются четыре наиболее часто встречающиеся. Устраняются они сравнительно легко своими силами, без поездки в сервисный центр. К ним относятся:
- В карбюраторе образовался конденсат. Очень распространенная проблема, особенно в последние годы, когда машины, выпущенные в конце ХХ века, изнашиваются все сильнее. Качество топливной смеси резко падает. Причина обычно бывает в том, что в бак залили разбавленный чем-то (например, водой) бензин. Конденсат в карбюраторах К 88А появляется и как результат зимней эксплуатации машины. После работы на морозном воздухе, когда авто загоняют на стоянку, плохой бензин замерзает.
Как следствие – образуется конденсат. Чтобы решить проблему, надо сменить топливо. - Выстрелы или хлопки. В этом случае, причин может быть несколько. Две из них встречаются чаще, чем остальные. Первый вариант – топливо низкого качества. Воздушная смесь оказывается недостаточно обогащенной. Она воспламеняется по частям, из-за чего слышны громкие хлопки в карбюратор. Второй – засоренные жиклеры. Их надо продуть воздушным потоком. Или промыть, использовав специальную жидкость.
- Бензин не поступает. Обычно, это происходит в результате засорения карбюратора механическими загрязнениями. Способ ремонта здесь только один – К 88А надо разобрать и как следует очистить от всего «лишнего». Заодно рекомендуется внимательно осмотреть присоединенные шланги, т.к. иногда проблема кроется именно в них.
- Карбюратор переливает. Эта неисправность распространена достаточно широко. Так получается, если в камеру подается чересчур много бензина. Начать следует с регулировки работы К 88А вращением винта качества смеси.
Если это не помогает, возможно, некорректно работают свечи зажигания. Тогда надо купить новые и поставить их вместо имеющихся.
Перечисленные выше неисправности можно исправить самостоятельно. Для всего остального, наверняка, потребуется обратиться к специалисту. Только он сможет выполнить более сложные операции, такие как диагностика, точная регулировка или ремонт. Самому это лучше не делать, т.к. без специальных знаний можно «докрутитьтся» до того, что потребуется замена карбюратора.
Уход за К 88А
Возникновение проблем с зиловскими карбюраторами можно свести к минимуму в том случае, если обеспечить данному устройству надлежащий уход. Для этого, следует всего лишь соблюдать простые правила:
- Самое главное, о чем надо помнить – во время каждого ТО проверять герметичность всех пробок и заглушек карбюратора. Если хотя бы в одном месте возникнет протечка, это может, со временем, нарушить нормальную работу узла.
- Еще одно дело, которое нельзя забывать при каждом техобслуживании ЗиЛа, заключается в обязательной очистке поплавковой камеры, из которой надо вымывать отстой.
Кроме того, совсем не лишним будет раз в полгода (если не чаще) продувать и промывать жиклеры и каналы. Делать это лучше всего высокооктановым бензином. Если грязи слишком много, можно взять ацетон. - Все промытые детали не желательно сразу ставить обратно. Лучше их как следует высушить, а потом еще раз почистить мягкой тряпкой.
Засорение карбюратора – это еще не поломка. Однако, небрежности относительно правильного проведения ТО рано или поздно оканчиваются печально.
Заключение
Зил-130 и ЗиЛ-131 – это прекрасные автомобили советских времен, мощные и надежные. Они способны работать долгое время, если за ними как следует ухаживать. Их неприхотливость значительно сокращает эксплуатационные расходы. А простота конструкции дает возможность многие операции делать самостоятельно.
Видео:Карбюратор К-88*. Обзор и Сборка!
Ремкомплект карбюратора К129, К131 РК129/131 на автомобиль ГАЗ 69
Я согласен с пользовательским соглашением
Я согласен получать новости
Отзывы клиентов (0)
Добавить отзыв
Качество обслуживанияОтличноХорошоНормальноПлохоУжасно
Удобство использования веб-сайтаОтличноХорошоНормальноПлохоУжасно
Качество товараОтличноеХорошееНормальноПлохоеУжасно
ДоставкаОтличноХорошоНормальноПлохоУжасно
Загрузить
КАТЕГОРИЯ
- показать все автозапчасти
- Кузов 70
- Стеклоочиститель, солнцезащитный козырек, зеркало 5
- Кузов 24
- Body floor 30
- Body Mounting 2
- Floor details 13
- floor parts GAZ-69A 2
- floor parts GAZ-69 13
- Ventilation of cabin UAZ 2
- вентиляция и отопление салона 4
- Детали оперения ГАЗ-69 3
- Боковые двери кузова 2
- Двигатель 0214
- COOLING SYSTEM 20
- Radiator 11
- Water pump 9
- FUEL SYSTEM 41
- Fuel Line 10
- Carburettor 4
- Air filter 1
- Gas поддон бака 1
- Бензиновый насос 7
- Бензобак 8
- Педаль акселератора и дроссельная заслонка 6
- Бензобак0022 4
- Burnt gases exhaust system 4
- Muffler 4
- Engine 49
- Cylinder Block 7
- Cylinder head 3
- Distribution shaft 4
- Valves and Valve Толкатели 4
- Маслозаборник 1
- Масляный радиатор 1
- Подвеска двигателя 3
- Поршни и шатуны 5
- Первичный масляный фильтр 3
- Mar в коллекторе 4
- ДВИГАТЕЛЬСКИЙ ФИЛАНС
- .
- Трансмиссия 18
- Механизм регулировки скорости 1
- Трансмиссия 17
- Раздаточная коробка 6
- Transfer case 6
- Cardan drive 8
- Cardan shafts 8
- Rear axle 4
- REAR AXLE 4
- Front axle 15
- Front driving axle 15
- Клатч 17
- Выпуск сцепления.0022 6
- Towing device 1
- Front bumper 4
- Frame 1
- Front axle 4
- Tie rods 4
- Suspension 17
- Front springs 5
- Амортизаторы передней подвески 6
- Амортизаторы задней подвески 6
- Колеса 4
- Держатель запасного колеса 3 90
- Control
mechanisms 20 - Steering 8
- STEERING 8
- Brakes 12
- Brake Master Cylinder 6
- Hand (propshaft) brake 2
- Wheel brakes 1
- Педали 1
- Трубопроводы гидравлики тормозов УАЗ 469 1
- Тормозные магистрали ГАЗ-69 1
- Электрика
equipment 84 - Devices and sensors 5
- Electrical equipment 79
- Induction coil 11
- Storage Battery 11
- Generator 13
- Rear lamp 6
- Сonnecting электрические провода 14
- Фонарь капота 3
- Фары 7
- Стартер 3
- Распределитель 4
- Ящик для управления напряжением 1
- Электрические устройства UAZ 6
- Аксессуары 16
- Инструменты и оборудование 11
- Инструменты и оборудование 11
- .
Ремкомплекты 5 - Окно 6
- Окно в сборе 6
- Детали по запросу
- документация0429
023
74
RELATED PRODUCTS
Сompression ring and the seal pedals
76-51070 ped
$14,59 To Buy
Steering wheel with button signal assembly
450-3401257Assy
$136,59 To Buy
Shovel
69 -Ш
29,27 $ Купить
Зеркало наружное на дверной петле
69-Мирор
70,68 $ Купить
Шильдики
69-Таб
$ 29,62 на покупку
Колесный цилиндр
12-3502040
$ 19,75, чтобы купить
Прокладка бензинового насоса в блок цилиндра
51-1106170
$ 1,24 до покупки
51-1106170
долл.
Крышка отверстия для доступа на этаже
81D-5101102
$ 13,46, чтобы купить
САКОВЫЕ ПАНД ПФ10
ПФ10
$ 58,54, чтобы купить
Грузовой корпус под заем0003
$ 27,15, чтобы купить
Форс-смачивание. Купить
Кольцевые прижимные уплотнители корпуса пола под рычаг коробки передач
76-5107040
8,20 $ Купить
Комплект ламп привода Blackout
69-BOkit
3 Купить 58,5040 $ Прижимное уплотнительное кольцо кожуха пола рулевой колонки
76-51070M
8,20 $ Купить
Fiat 131 Карбюраторы — Компоненты карбюратора
- 1-800-241-1446/+01 614 784 8870
- parts@midwest-bayless.
com - 0 Товар(ы) Касса
Мидвест Бэйлесс — Italian Auto
Впускной коллектор DOHC в сборе с двумя карбюраторами Weber 40 IDF (Fiat 124, 131) — НОВЫЙ OE WEBER
Наша цена: $1,739.79
Шпилька крепления карбюратора воздушного фильтра РЕМОНТНЫЙ КОМПЛЕКТ M6 (Fiat 124, 128, 131, X1/9, Strada, Lancia) — НОВЫЙ
Наша цена: $14.79
Комплект шпилек крепления карбюратора воздухоочистителя M5x30 (Fiat 124, 128, 131, X1/9, Strada, Lancia) — NEW
Наша цена: $9.79
Карбюратор Weber 32/36 DFEV — с комплектом фильтров (Fiat 124, 131) — НОВЫЙ
Наша цена: $395.79
Карбюратор Weber 34 DMSA (Fiat 124, 131) — ВОССТАНОВЛЕННЫЙ
Наша цена: $469.
79Мембрана ускорительного насоса Weber DMTR DATR DHTA DCNF DHSA DFEV DIC DICA — NEW
Наша цена: $16,79
Карбюраторный топливный фильтр 7 мм (Fiat / Lancia All 1973-On) — НОВЫЙ
Наша цена: 6,79 $
Трос акселератора / шарнир дроссельной заслонки (Fiat Lancia All) — U8
Наша цена: $8.79
Зажим троса акселератора / Зажим дроссельной заслонки для шаровой опоры (Fiat Lancia All) — OE / ОБНОВЛЕНО
Наша цена: $6.79
Мембрана ускорительного насоса Weber ADFA ADHA (Fiat 124, 131) — НОВАЯ
Наша цена: $18,79
Мембрана вторичного управления ускорительного насоса (Fiat 124, 131, X19 Strada 1979-80 с карбюратором ADHA DHTA) — НОВАЯ
Наша цена: $19.
79Шпилька крепления воздушного фильтра M5x30 (Fiat 124, 128, 131, X19, Strada) — НОВАЯ
Наша цена: $3.39
Карбюратор — Воздушный корректор Weber DCOE / IDF — НОВЫЙ
Наша цена: $4.79
Карбюратор — Воздушный корректор Weber DMTR / DATR / DCNF — НОВЫЙ
Наша цена: $7,79
Карбюратор — держатель жиклера холостого хода (Fiat 124, 131 с DHSA, DMSA, ADFA до 1978 г., 850 с DIC) — OE NOS
Наша цена: $4,79
Карбюратор — уплотнительное кольцо держателя жиклера холостого хода (Fiat 124, 131 с ADFA, 850 с DIC) — НОВЫЙ
Наша цена: 0,79 доллара США
Карбюратор — Жиклер холостого хода вторичный «60» (Fiat 124, 131 с ADFA 1975-78) — OE NOS
Наша цена: $5,79
Карбюратор — Main Jet Weber DHS / DMS / ADF / DFV / DIC — НОВЫЙ
Наша цена: $4,79
Основание карбюратора Дроссельная заслонка Weber 28/32 ADHA — U8
Наша цена: $67.
79Корпус карбюратора — Weber ADHA (Fiat 124, 131 1979-80) — U8
Наша цена: $38.79
Прокладка средней опорной плиты карбюратора 5 мм — Weber ADFA, ADHA — НОВАЯ
Наша цена: $18,79
Комплект для ремонта карбюратора Weber 34 DMSA Minor — NEW
Наша цена: $51,79
Карбюратор Шарик дроссельной заслонки с резьбовой шпилькой 8 мм — НОВЫЙ
Наша цена: $5,79
Верх карбюратора — Weber ADHA + ADFA (Fiat 124, 131 1979-80) — OE NOS
Наша цена: 95,79 $
Верхняя прокладка карбюратора ADFA / ADHA (Fiat 124 Spider и Coupe, 131 All 1975-80) — OE NOS
Наша цена: $6,79
Прокладка корпуса дроссельной заслонки (ADFA, DATR, DHTA, DHSA) — OE NOS
Наша цена: $3.
79Корпус дросселя Weber ADFA DHSA — U8
Наша цена: $28.79
Дроссельная съемная диафрагма Weber ADFA (Fiat 124, 131) — НОВАЯ
Наша цена: $18,79
Дроссельная съемная диафрагма Weber ADHA (Fiat 124, 131 1979-80) — НОВАЯ
Наша цена: $22,79
Винт корпуса дроссельной заслонки Weber ADFA, ADHA, ADF, DATR — U8
Наша цена: $1,79
Эмульсионная трубка Weber DCOE F3
Наша цена: $31,79.0543
Наша цена: $22,79
Электроклапан быстрого холостого хода (Fiat 124, 131, 128, X1/9 до 1978 г.) — OE NOS
Наша цена: $62.79
Игольчатый клапан 32 ADF/ADFA «150» (Fiat 131 124 Spider Coupe) — НОВЫЙ
Наша цена: $11.
79Гайка Nylock M5x.8 — Карбюратор/воздухоочиститель, стартер (Fiat Lancia) — НОВАЯ
Наша цена: $0,79
Мембрана силового клапана Weber DHTA/ADHA — НОВЫЙ
Наша цена: $18,79
Возвратная пружина дроссельной заслонки (Fiat 124 Spider, Coupe, 131 Brava w/Carb) — OE NOS
Наша цена: $6,79
Крошечный шплинт 1 мм для компонентов карбюратора — НОВЫЙ
Наша цена: $0,39
Сейчас в:
Fiat 131 0 → Топливо и воздух → Карбюраторы – Компоненты карбюратора
Высокобелковая диета для похудения
Не все виды брюшного жира одинаковы. Некоторое количество жира на животе необходимо для обеспечения защиты и тепла.
Но слишком много висцеральной жировой ткани (VAT) — жира, который находится глубоко внутри вашего живота, окружая ваши органы — может быть проблематичным. В обзоре литературы за 2020 г., опубликованном в журнале Circulation Research , исследователи отметили, что несколько крупных исследований показали, что избыточный НДС может увеличить ваши шансы на сердечно-сосудистые заболевания и диабет.
В то время как генетика играет роль в том, как люди откладывают жир на своем теле, есть изменения в образе жизни, которые помогут снизить НДС и ваш потенциальный риск заболевания. Эти факторы образа жизни включают в себя качественный сон, снижение уровня стресса, физическую активность и включение в рацион продуктов с высоким содержанием белка, клетчатки и полезных жиров. Одно исследование 2018 года, опубликованное в журнале Тираж свидетельствует о том, что диета с высоким содержанием фруктов, овощей, постного белка, полезных жиров и клетчатки (например, средиземноморская диета в сочетании с физической активностью была более эффективной в снижении НДС по сравнению с одним только изменением диеты).
Белок является необходимым питательным веществом. со многими преимуществами для здоровья. Что касается вашего живота, то и белок, и клетчатка помогают нам чувствовать себя сытыми и довольными. Клетчатка также способствует развитию здоровых кишечных бактерий и может уменьшить вздутие живота, заставляя вещи двигаться через ваш кишечник.
Этот план включает не менее 50 граммов белка и 30 граммов клетчатки каждый день. Мы устанавливаем этот план на 1200 калорий в день с модификациями, чтобы увеличить его до 1500 или 2000 калорий в зависимости от ваших потребностей в калориях и уровня сытости.
Продукты с высоким содержанием белка, полезные для живота
В дополнение к употреблению в пищу большего количества здоровых продуктов для живота, которые, как показали исследования, могут помочь вам сбросить жир на животе, таких как артишоки, зеленый чай, авокадо и нут, эти продукты с высоким содержанием белка тоже может помочь.
- Яйца: Качественный источник белка.
Яйца — быстрый, легкий и полезный выбор, который поможет избавиться от жира на животе. По данным Министерства сельского хозяйства США, одно большое яйцо содержит около 7 граммов белка. Не стесняйтесь есть желток — он содержит большую часть питательных веществ. - Ферментированные молочные продукты: Поскольку они содержат пробиотики, ферментированные молочные продукты, такие как йогурт и кефир , помогают поддерживать здоровье кишечных бактерий. Здоровый кишечник связан с важными последствиями для здоровья. По данным 2019 г.В исследовании, опубликованном в журнале Nutrients , микробиом кишечника влияет на развитие ряда заболеваний, включая воспалительное заболевание кишечника (ВЗК), диабет 2 типа, сердечно-сосудистые заболевания и колоректальный рак. Согласно данным Министерства сельского хозяйства США, одна чашка кефира содержит около 10 граммов белка, а чашка греческого йогурта — около 20 граммов белка.
- Бобовые: Богатые как клетчаткой, так и белком, фасоль и чечевица являются электростанциями плоского живота.
Исследования показывают, что люди, которые регулярно едят нут, на 53% реже страдают ожирением. По данным Министерства сельского хозяйства США, порция 1/2 чашки нута содержит около 7 граммов белка и 6 граммов клетчатки. - Орехи: Все орехи хороши, но арахис , кажется, особенно полезен для нашего сахара в крови. Например, исследование 2019 года, опубликованное в журнале Current Developments in Nutrition , показало, что у людей с повышенным уровнем глюкозы натощак, которые съедали около 1 унции арахиса в качестве вечернего перекуса, утром повышался уровень сахара в крови. Поддержание здорового контроля уровня сахара в крови играет роль в предотвращении чувства голода. Порция 1/4 чашки арахиса обеспечивает около 9граммов белка, согласно USDA.
- Рыба и птица: Рыба , курица и индейка — все это полезные источники белка, которые помогают насытиться. По данным Министерства сельского хозяйства США, порция приготовленной курицы весом 3,5 унции содержит около 31 грамма белка.

- Вода: Хотя специального детокс-напитка для плоского живота не существует (наши почки и печень заботятся о детоксикации), постарайтесь увеличить потребление воды, чтобы избежать обезвоживания и уменьшить запоры. Ищете чай, который уменьшит вашу талию? В то время как первоначальные исследования показали некоторые перспективы в отношении зеленого чая и потери веса, Национальный центр дополнительного и интегративного здоровья, ресурс Национальных институтов здравоохранения (NIH), предупреждает о том, что заявлениям о зеленом чае и потере веса уделяется слишком много внимания. Однако есть много других причин для включения зеленого чая в свое меню, в том числе снижение артериального давления и уровня холестерина, согласно NIH. Попробуйте один из наших рецептов зеленого чая.
7-дневный план питания с высоким содержанием белка, который поможет вам похудеть
Независимо от того, будете ли вы соблюдать все семь дней или просто выберете один или два рецепта, чтобы попробовать их на этой неделе, эти здоровые блюда обязательно придутся вам по вкусу.
Как приготовить еду на неделю:
День 1
Лосось и спаржа с соусом из лимонно-чесночного масла
Завтрак (274 калории)
A.M. Полдник (64 калории)
- 1 чашка малины
Обед (366 калорий)
вечера Полдник (131 калория)
- 12 половинок грецкого ореха
Ужин (374 калории)
Суточная норма: 1208 калорий, 90 г белков, 127 г углеводов, 30 г клетчатки, 42 г насыщенных жиров, 13 726 мг натрия
Чтобы получить 1500 калорий: Добавьте 8 грецких орехов к утру. закуски и 2 ст. миндального масла с 2 (5-дюймовыми) палочками сельдерея до вечера. перекус.
Чтобы получить 2000 калорий: Добавьте 1 чашку приготовленной овсянки, приготовленной на воде, к завтраку, добавьте 1/2 чашки грецких орехов к завтраку. перекусить и добавить 3 ст. миндального масла с 3 (5-дюймовыми) палочками сельдерея до вечера.
перекус.
День 2
Сковородка с лимоном, курицей и картофелем с капустой
Завтрак (274 калории)
A.M. Полдник (96 калорий)
- 1 1/2 чашки малины
Обед (377 калорий)
Полдник (97 калорий)
- 1/2 стакана нежирного простого греческого йогурта
- 1/2 стакана ежевики
Ужин (374 калории)
Суточная норма: 1219 калорий, 131 г углеводов, 76 г белка г клетчатки, 43 г жира, 10 г насыщенных жиров, 926 мг натрия
Чтобы получить 1500 калорий: Добавьте 1/3 стакана несоленого жареного миндаля в A.M. перекус.
Чтобы получить 2000 калорий: Добавьте к завтраку 1 чашку приготовленной овсянки, приготовленной на воде, добавьте 1/3 чашки несоленого жареного миндаля к завтраку. перекусить, в обед добавить 1 большую грушу, а в обед добавить 1/4 стакана измельченных грецких орехов. перекус.
День 3
Упаковка для замораживания сливочного супа из чечевицы в медленноварке
Совет по приготовлению еды: Поместите упаковку для замораживания сливочного супа из чечевицы в медленноварке в медленноварку, добавьте бульон в соответствии с инструкциями к рецепту и готовьте на медленном огне в течение 8 часов.
так что сегодня к ужину все готово.
Завтрак (281 калория)
A.M. Полдник (51 калория)
- 1 маленький персик
Обед (377 калорий)
Полдник (88 калорий)
- 2/3 стакана обезжиренного простого греческого йогурта
Ужин (425 калорий)
Суточная норма: 1222 калории, 70 г белка, 143 г углеводов, 30 г жира, 45 г клетчатки 9 г насыщенных жиров, 1377 мг натрия
Чтобы получить 1500 калорий: Добавьте 1/3 стакана измельченных грецких орехов в смесь P.M. перекус.
Чтобы получить 2000 калорий: Добавьте 1 ломтик цельнозернового хлеба и 1 1/2 ст. миндальное масло до A.M. полдник, в обед добавить 1 крупную грушу, в 1 ч. 00 м. добавить 1/3 стакана измельченных грецких орехов. перекусить, а на ужин добавить 1/2 авокадо.
День 4
Греческие тарелки с рисом из цветной капусты и жареным цыпленком
Завтрак (287 калорий)
A.
M. Полдник (95 калорий)
- 1 среднее яблоко
Обед (377 калорий)
вечера Полдник (41 калория)
- 2/3 чашки ежевики
Ужин (411 калорий)
Совет по приготовлению еды: Приготовьте овсянку с финиками и кедровыми орешками на ночь, чтобы съесть ее завтра на завтрак. Завтрашний ужин — веганский перец чили в мультиварке, который вы захотите начать с утра, чтобы он был готов к обеду. Если завтра утром у вас будет мало времени, приготовьте овощи, которые вам понадобятся для рецепта, сегодня вечером, поэтому все, что вам нужно сделать, это положить ингредиенты в мультиварку и включить ее утром.
Суточная норма: 1211 калорий, 69 г белков, 124 г углеводов, 30 г клетчатки, 55 г жиров, 10 г насыщенных жиров, 1091 мг натрия стакан несоленого жареного миндаля до П.М. перекус.
Чтобы получить 2000 калорий: Добавьте 2 ст. миндальное масло до A.M. закуску, добавьте 1 большую грушу к обеду и добавьте 1 1/2 стакана обезжиренного простого греческого йогурта и 1/3 стакана несоленого жареного миндаля в вечернее время.
перекус.
День 5
6516709.jpg
Совет по приготовлению еды: Готовьте веганский чили в мультиварке на медленном огне в течение 8 часов, чтобы он был готов к сегодняшнему ужину.
Завтрак (281 калория)
Полдник (133 калории)
- 1 чашка обезжиренного простого греческого йогурта
Обед (377 калорий)
Полдник (14 калорий)
- 1/2 чашки нарезанного болгарского перца
Ужин (418 калорий)
Совет по приготовлению еды: Охладите 2 порции веганского чили в мультиварке для обеда в дни 6 и 7.
Суточная норма: 1224 калории, 67 г белка, 136 г углеводов, 30 г клетчатка, 51 г жиров, 8 г насыщенных жиров, 1242 мг натрия
Чтобы получить 1500 калорий: перекус.
Чтобы получить 2000 калорий: Добавьте 2 ст. несоленого жареного миндаля к завтраку, добавьте 1/3 стакана измельченных грецких орехов к завтраку.
перекусить, добавить 1 большую грушу в обед, добавить 1/4 стакана гуакамоле в вечернее время. перекусить, а на ужин добавить 1/2 авокадо.
День 6
6171886.jpg
Завтрак (287 калорий)
A.M. Закуска (84 калории)
- 1 5 унций. обезжиренный простой греческий йогурт в контейнере
Обед (314 калорий)
Полдник (16 калорий)
- 1 чашка нарезанного огурца
- Щепотка соли и перца
Ужин (511 калорий)
Всего в день: 1212 калорий, 69 г белка, 1431 г клетчатки, 461 г углеводов. г жиров, 8 г насыщенных жиров, 1424 мг натрия
Чтобы получить 1500 калорий: Добавьте 1/3 стакана несоленого жареного миндаля к блюду A.M. перекус.
Чтобы получить 2 000 калорий: Добавьте 1/3 стакана несоленого жареного миндаля в A.M. перекусить, добавить в обед 1 большую грушу, добавить 1/4 стакана хумуса на ужин.
закуску и добавьте к ужину 2 чашки смешанной зелени с 1/2 авокадо и 1 порцию хересного дижонского винегрета.
День 7
6854594.jpg
Завтрак (281 калория)
A.M. Перекус (100 калорий)
- 3/4 стакана обезжиренного простого греческого йогурта
Обед (314 калорий)
P.M. Полдник (35 калорий)
- 1 клементин
Ужин (463 калории)
Всего в день: 1193 калории, 71 г белка, 142 г углеводов, 31 г клетчатки, 45 г жира, 91,5 г насыщенных жиров6 мг натрия
Чтобы получить 1500 калорий: Добавьте 1/3 стакана несоленого жареного миндаля в P.M. перекус.
Чтобы получить 2000 калорий: Добавьте 1/3 стакана нарезанных грецких орехов и 1 большой персик к утру. полдник, к обеду добавить 1 крупную грушу, в П.М. добавить 1/3 стакана несоленого жареного миндаля. перекусить, а на ужин добавить 2 чашки смешанной зелени и 1 порцию шерри-дижонского винегрета.
| Обновление COVID-19: Многие переработчики открыты, если вам нужны детали. Нажмите, чтобы узнать больше. | |||||||||||||||||||||||
Лондонский марафон: советы экспертов по мышлению, питанию и упражнениям
В этом году в Лондонском марафоне примут участие около 40 000 человек.
Места пользуются таким большим спросом, что в этом году более 350 000 человек подали заявки на участие в мероприятии, несмотря на то, что только около 40 000 человек фактически прошли 26,2-мильную трассу от Гринвича до торгового центра.
Если вы один из счастливчиков — или вы решили принять участие в виртуальном Лондонском марафоне TCS 2022, — значит, ваши тренировки уже идут полным ходом, и, согласно официальным планам тренировок, вы должны пробежать свой самый длинный забег в этом году. неделя.
Это генеральная репетиция большого дня, поэтому, помня об этом, мы призвали экспертов предложить несколько эксклюзивных советов для дня гонки, чтобы вы могли испытать их на себе на этой неделе.
Настрой
«Нервы в норме на старте, и это естественное время, чтобы подвергнуть сомнению свой разум, свое тело и тренировки», — говорит Джастин Рейд-Симмс, тренер по бегу в Onetrack.
‘Но ты должен доверять себе и постараться расслабиться. Я пишу «Доверься себе» на левой ладони и «Расслабься» на правой ладони и смотрю на них, когда становится тяжело. В стартовом загоне — отличное время, чтобы напомнить себе о плане гонки, даже если это так просто, как желание повеселиться.
Добраться до Тауэрского моста — важный момент, но не увлекайтесь (Фото: Роб Пинни/Getty Images)
«На полпути может быть настоящий импульс, когда вы проходите Тауэрский мост и пересекаете реку, это может почувствуйте, что вы почти у цели, но не увлекайтесь, вам еще предстоит пройти долгий путь. Сейчас самое время сохранять спокойствие и поддерживать свой ритм.
‘Движение в Доклендс (17-я миля и далее) может быть немного утомительным, особенно если дует ветерок, так что опирайтесь на толпу в поисках поддержки — ваше имя, написанное на майке, действительно помогает, так как толпа будет выкрикивать ваше имя, и это повышает мотивацию и уверенность.
Сторонники проведут вас по Набережной (Фото: Alamy Stock Photo)
«Если вам не по себе, обратите внимание на детей, которые хотят дать пять.
Знаменитая команда Run Dem Crew играет музыку на 21-й миле, запуская пушки с конфетти и в целом превращая гонку в праздник. Это идеальная разминка перед тем, как вы свернете на набережную и начнете мчаться к финишу. Подземный переход на мосту Блэкфрайарс (24 мили) может ощущаться как настоящая гора, но когда вы находите эти точки защемления в своей усталости или мотивации, отговаривайте себя от этого — я часто повторяю мантры вроде «ты получил это!» и «сильный и могучий».
Джастин Рейд-Симмс советует доверять себе и расслабляться (Фото: Прилагается)
«На Набережной вдалеке виден финиш и Биг-Бен. Здесь вам понадобятся сторонники. Если вы начинаете бороться, используйте ориентиры вокруг вас, обещая оставаться сильными до следующего, а затем до следующего — я преодолел марафоны до следующего фонарного столба, когда дела шли тяжело, поскольку вскоре добавляются микроцели. вверх.
«Считать людей, когда вы проходите мимо них, — это также отличный способ отвлечься и усилить мотивацию».![]()
Темп
«Ваш темп определяется вашей энергией, и в марафонах ущерб этому может быть нанесен на первом отрезке дистанции», — объясняет Ник Андерсон, главный тренер Saucony.
«Вы можете слышать, как люди говорят: «Нет ничего страшного в том, чтобы идти быстрее, поскольку вы откладываете время на потом», но я не согласен. Усилия, необходимые для того, чтобы ехать быстрее, отрицательно скажутся на вас позже в гонке.
«Я бы посоветовал использовать первые несколько миль в качестве разминки и быть осторожным в Блэкхите — там немного спуск, и люди, как правило, стартуют немного быстрее, чем должны.
Катти Сарк (6-7 миль) является первой точкой затруднительного положения, так как толпа воодушевляет, и многие люди набирают здесь скорость, не осознавая этого.
Следите за своей скоростью, когда вы доберетесь до Катти Сарк (Фото: Джозеф Окпако/WireImage)
«К тому времени, когда вы доберетесь до Тауэрского моста, толпы огромны, а улицы выстраиваются в ряд благотворительных организаций.
Это момент списка желаний, так что наслаждайтесь им, но дышите, замедляйтесь и избегайте искушения двигаться быстрее. Направляясь в Доклендс, вы проявите отсутствие темпа или подготовки, поскольку эти люди начнут замедляться.
‘Этого не случится с тобой, если ты сбавишь скорость и продолжишь гонку.
‘В частности, в этом месте сигнал GPS может быть отрывочным, поэтому стоит написать на одной руке шпагаты для одной половины, а на другой руке – для другой половины. Сбитый с толку GPS может сбить вас с толку, если вы будете его слушать, поскольку люди склонны увеличивать скорость без необходимости.
Ник Андерсон рекомендует использовать первые несколько миль в качестве разминки — и не увлекаться стартом под гору (фото: прилагается)
«Начиная с 20-й мили вокруг Тополя, вам нужно будет увеличить усилия для поддержания скорости. . Сосредоточьтесь на пройденной миле, а не на милях впереди. Отметьте их одну за другой — и посвятите каждую кому-то особенному или причине, по которой вы бежите.
В подземном переходе Блэкфрайарс есть обманчивый уклон. Учитывая его положение, лучше всего отступить, замедлиться и сохранить энергию.
‘Как только вы повернете направо возле Вестминстера, вы сможете начать праздновать и, возможно, сможете ускориться, чтобы добраться до финиша в торговом центре.’
Питание
‘Подготовка к дню мероприятия, очевидно, начинается задолго до начала, — говорит Сьюзи Сойер, клинический диетолог и консультант Aminoscience.
‘Но в этот день важно иметь свой обычный завтрак, тот, с которым ты тренировался.
‘Обычно это может быть 40 граммов овса с молоком на выбор, немного ягод и протеиновый коктейль с 30 граммами белка, как правило, за два часа. Кроме того, одним из ключевых факторов успеха в марафоне является увлажнение. Прежде чем отправиться в стартовые загоны, убедитесь, что вы выпили 300–500 мл воды за последние 1–2 часа.
Обратите внимание на водозаборы на 5 и 14 милях (Фото: Том Дулат)
«Если вы чувствуете потребность в еде, выберите банан — задним загонам может потребоваться 15 минут, чтобы пересечь стартовую линию после начала гонки и это помогает запасам углеводов.
‘Важно употреблять воду со скоростью около 400-500 мл в час, поэтому следите за водными станциями на 5-й миле и заправочной станцией Lucozade на 9-й миле и добавляйте углеводы для повышения энергии с помощью геля (около 30-60 г мальтодекстрина). нужно в час).
‘В зависимости от вашего темпа примерно через два часа вы должны двигаться в сторону Тауэрского моста (около 12 миль), и вскоре после этого вы снова почувствуете потребность в углеводах.
«На Собачьем острове и вокруг Кэнэри-Уорф могут начаться проблемы, поэтому следите за пунктом гидратации примерно на 14-й миле.
Сьюзи Сойер: «В этот день очень важно позавтракать своим обычным завтраком, с которым вы тренировались» (фото: прилагается)
«Если вы придерживаетесь протокола с «кормлением» углеводами и гидратацией, вы Вы можете чувствовать усталость здесь, но вы будете продолжать идти.
‘После финишной черты важно начать думать о восстановлении. Начальное трехчасовое окно после гонки — это когда мышцы готовы получать питательные вещества, а чувствительность к инсулину повышается, поэтому запасы гликогена (энергии) могут быть быстро пополнены.
‘Отличной едой после гонки может быть половина рогалика – вам нужно добавить немного белка в соотношении углеводов к белку примерно 4:1. В течение следующих восьми часов важно включить в рацион большое количество продуктов, богатых белком и антиоксидантами, а также минералов для получения энергии, таких как железо, и для восстановления».
Восстановление
«Одним из основных элементов эффективной программы бега является обеспечение достаточного времени для восстановления», — объясняет Стив Хойлс, владелец My Gym и представитель KYMIRA.
«Десятилетия исследований научили нас, что перетренированность снижает работоспособность и увеличивает риск травм, поэтому максимальное восстановление — это не просто хорошая идея, это жизненно важно. Тренеры часто используют стратегию восстановительного бега, бег с меньшей интенсивностью, предназначенный для быстрого возвращения тела в хорошо восстановленное состояние. Исследования показывают, что активное восстановление после тотальной тренировки очищает накопленный в крови лактат быстрее, чем пассивное восстановление.
«Дальнейшие исследования показывают, что комбинированный подход также работает очень эффективно, при этом сочетание высокоинтенсивной и низкоинтенсивной восстановительной работы выводит лактат быстрее, чем другие подходы в этом исследовании».
Стив Хойлс: «Перетренированность снижает производительность и увеличивает риск травм»
Однако бег в день восстановления может быть актом балансировки: он должен быть достаточно интенсивным, чтобы эффективно избавиться от лактата, но если бежать слишком быстро, вы подвергаетесь риску. травмы.
Здесь Стив объясняет, как сделать его эффективным:
1. «Исследования показывают, что частота сердечных сокращений 80 процентов и выше наиболее эффективна для чистого лактата, поэтому следите за своим фитнес-трекером».
3. ‘Используйте бег для отработки технических упражнений, чтобы затем поддерживать их r
Нажмите здесь, чтобы узнать больше о Лондонском марафоне TCS 2022
Растяжка перед и после пробежки, чтобы попробовать
Персональный тренер Эшли Уильямс из центра функциональных тренировок John Reed Fitness в Лондоне объясняет, как правильно разогреваться и заминаться для длительной пробежки
Перед пробежкой
«Динамическая растяжка — это активное движение суставов и мышц.
выполнить полный диапазон движений», — объясняет он.
‘Этот тип растяжки лучше всего выполнять перед тренировкой в качестве разминки, поскольку цель состоит в том, чтобы буквально «разогреть» группы мышц, которые вы планируете использовать. Динамическая растяжка позволяет вам проверить диапазон движений для предстоящей рабочей нагрузки и предупредит вас о любых болях, прежде чем вы добавите большие нагрузки или интенсивные повторения для мышц».
Приседания и махи над головой
Повторяйте это движение в течение одной минуты.
‘Присядьте, махните руками вниз и назад и вернитесь в исходное положение, вытянув руки над головой. Повторяйте в течение одной минуты».
Махи грудью
Согните руки горизонтально
‘Встаньте прямо, ноги на ширине плеч. Горизонтально вытяните руки и откройте грудную клетку, а затем горизонтально согните руки назад и округлите верхнюю часть спины и плечи. Повторяйте в течение одной минуты».
Выпад с вращением
Выпад с поворотом туловища
‘Встаньте прямо, ноги на ширине плеч, сделайте выпад вперед, поворачивая туловище в сторону выпадающей ноги, оттолкнитесь ведущей ногой и вернитесь в исходное положение, повторите с другой ногой. Повторяйте по одной минуте с каждой стороны».
После пробежки
«Статическая растяжка — это когда вы удерживаете позу на растяжку в течение более длительного периода времени, обычно 30–60 секунд», — говорит он.
‘Этот тип растяжки предназначен для удлинения мышц, повышения гибкости, улучшения осанки, улучшения мышечного дисбаланса и увеличения диапазона движений. Статическая растяжка используется после тренировки для облегчения процесса восстановления, поскольку она способствует притоку крови к сердцу и снижает риск травм».
Подтяните пятку к ягодице
‘Если вам нужна поддержка, держитесь за стену или стул, чтобы сохранить равновесие. Согните колено и поднесите пятку к ягодице.
Клапан будет срабатывать, магнит двигаться от полюса к полюсу. Рука будет ощущать эти движения.
Всё исправно – значит, нарушения именно карбюратора. Приступаем к выявлению поломок.
31029, 3102, 3110.
9
Эти машины верой и правдой служили своим владельцам в промышленности, сельском хозяйстве и армии. В чем главный секрет их успехов? В надежности. При нормальной эксплуатации, точной настройке и своевременном обслуживании, узлы выходили из строя сравнительно редко. Один из них – карбюратор К 88А.
0BMW 318iBMW 320iBMW 323iBMW 325eBMW 325iBMW 328iBMW 328i GTBMW 330eBMW 330iBMW 330i GTBMW 335iBMW 335i GTBMW 340iBMW 340i GTBMW 428iBMW 430iBMW 435iBMW 440iBMW 524TDBMW 525iBMW 528eBMW 528iBMW 530eBMW 530iBMW 533iBMW 535iBMW 535i GTBMW 540iBMW 545iBMW 550iBMW 550i GTBMW 630CSiBMW 633CSiBMW 635CSiBMW 640iBMW 640i GTBMW 645CiBMW 650iBMW 728BMW 732BMW 733iBMW 735iBMW 740eBMW 740iBMW 745eBMW 745iBMW 750iBMW 760iBMW 840ciBMW 840iBMW 850iBMW ActiveEBMW ActiveHybrid 3BMW ActiveHybrid 5BMW ActiveHybrid 7BMW Alpina B6BMW Alpina B7 BMW Alpina B8BMW Alpina XB7BMW I3BMW I4BMW I8BMW IXBMW L6BMW Mini CooperBMW Mini Cooper ClubmanBMW Mini Cooper CountrymanBMW Mini Cooper PacemanBMW M1BMW M2BMW M3BMW M4BMW M5BMW M6BMW M8BMW M235iBMW M240iBMW M340iBMW M440iBMW M550iBMW M760iBMW M850iBMW X1BMW X2BMW X3BMW X3MBMW X4BMW X4MBMW X5BMW X5MBMW X6BMW X6MBMW X7BMW Z3BMW Z4BMW Z8BMW OtherBentleyBricklinBrockwayBuick AllureBuick ApolloBuick CascadaBuick CenturyBuick Electra (1979 Down)Buick Electra (1980 Up)Buick EnclaveBuick EncoreBuick Encore GXBuick EnvisionBuick LacrosseBuick LeSabre (1979 Down)Buick LeSabre (1980 Up)Buick LimitedBuick LucerneBuick Park Ave (1979 Down)Buick Park Ave (1980 Up)Buick RainierBuick ReattaBuick RegalBuick Regal Somerset ( 1984 Down)Buick RendezvousBuick RivieraBuick Roadmaster (1979 Down)Buick Roadmaster (1980 Up)Buick SkyhawkBuick SkylarkBuick Somerset (1985 Up)Buick SpecialBuick TerrazaBuick VeranoBuick OtherCadillac AllanteCadillac ATSCadillac BroughamCadillac CT4Cadillac CT5Cadillac CT6Cadillac CTSCadillac CateraCadillac CimarronCadillac ConcoursCadillac DeVille (1979 Down)Cadillac DeVille (1980 Up)Cadillac DHSCadillac DTS (2005 Down)Cadillac DTS (2006 Up)Cadillac ELRCadillac Eldorado (1966 Down)Cadillac Eldorado (1967 Up)Cadillac EscaladeCadillac Escalade-ESVCadillac Escalade-EXTCadillac Fleetwood (1979 Down)Cadillac Escalade (1980 Up)Cadillac Seville (включая STS)Cadillac SRXCadillac STSCadillac XLRCadillac XT4Cadillac XT5Cadillac XT6Cadillac XTSCadillac OtherCheckerChecker CabChevy AstraChevy AstroChevy AveoChevy BerettaChevy Blazer, Full Size (1994 Down)Chevy Blazer (2019Вверх)Chevy Blazer, S10/S15Chevy BoltChevy Bolt EUVChevy C2Chevy CamaroChevy Caprice (1979 Down)Chevy Caprice (1980 Up)Chevy Captiva SportChevy CavalierChevy CelebrityChevy ChevelleChevy ChevetteChevy Chevy Pickup FWD (Non US Mkt)Chevy Chevy Small Car (Non US Mkt) Сити ЭкспрессChevy CobaltChevy CorsaChevy CorsicaChevy CorvairChevy CorvetteChevy CruzeChevy El Camino (1963 Down)Chevy El Camino (1964-1977)Chevy El Camino (1978 Up)Chevy EpicaChevy EquinoxChevy HHRChevy Impala (1979 Down)Chevy Impala (19)80 Up)Chevy Lumina CarChevy Lumina VanChevy Luv (см.
также Isuzu Mini P-Up)Chevy MalibuChevy MerivaChevy MetroChevy Monte CarloChevy MonzaChevy Nova & Chevy II (1967 Down)Chevy Nova (1968 Up)Chevy OptraChevy OrlandoChevy PrizmChevy S10/S15/SonomaChevy SparkChevy Sonic SpectrumChevy SprintChevy SSCChevy SSRChevy Suburban-10 (1988 Down)Chevy Suburban-20 (1988 Down)Chevy Suburban-30 (1966 Down)Chevy Suburban-1000 (1963-1966)Chevy Suburban-1500Chevy Suburban-2500 (1967 Up)Chevy Suburban- 3500Chevy TahoeChevy TigraChevy TornadoChevy TrackerChevy TrailBlazerChevy TrailBlazer-EXTChevy TraverseChevy TraxChevy Truck-10 Series (19)87 Down)Chevy Truck-20 Series (1988 Down)Chevy Truck-30 Series (1988 Down)Chevy Truck-1500 Series (1988-1999)Chevy Truck-2500 Series (1988-2000)Chevy Truck-3500 Series (1988-2001) )Chevy Truck-Avalanche 1500Chevy Truck-Avalanche 2500Chevy Truck-C3100Chevy Truck-C3600Chevy Truck-C3800Chevy Truck-ColoradoChevy Truck-Forward ControlChevy Truck-KodiakChevy Truck-Luv Mini PupChevy Truck-S10/S15/SonomaChevy Truck-Silverado 1900) (199) Truck-Silverado 2500 (1999 Up)Chevy Truck-Silverado 3500 (2001 Up)Chevy Truck-Tilt CabChevy UplanderChevy Van 10Chevy Van 20Chevy Van 30Chevy Van Express 1500Chevy Van Express 2500Chevy Van Express 3500Chevy VectraChevy VegaChevy VentureChevy VoltChevy ZafiraChevy OtherChrysler 200Chrysler 300Chrysler 300MChrysler AspenChrysler AtosChrysler AttitudeChrysler CirrusChrysler ConcordeChrysler ConquestChrysler CordobaChrysler CrossfireChrysler E ClassChrysler Fifth Avenue — FWDChrysler Fifth Avenue — RWD (1979 Up)Chrysler ImperialChrysler LHSChrysler LaserChrysler LebaronChrysler New Yorker — FWDChrysler New Yorker — RWDChrysler NewportChrysler PacificaChrysler ProwlerChrysler PT CruiserChrysler SebringChrysler TCChrysler Town and CountryChrysler VoyagerChrysler OtherCitroenDaewoo LanosDaewoo LeganzaDaewoo NubiraDaihatsu CharadeDaihatsu HijetDaihatsu RockyDeloreanDesotoDiamond ReoDodge 400Dodge 600Dodge AriesDodge AspenDodge AvengerDodge CaliberDodge CaravanDodge Challenger (Chrysler)Dodge Challenger (Mitsubishi Dodge ChargerDodge Colt-not VistaDodge Colt VistaDodge CricketDodge D50/Ram 50 (см.
также Plymouth Arrow Truck)Dodge DakotaDodge DartDodge DaytonaDodge DiplomatDodge DurangoDodge DynastyDodge IntrepidDodge JourneyDodge LancerDodge MagnumDodge MiradaDodge Monaco (19)78 Down)Dodge Monaco (1990 Up)Dodge NeonDodge NitroDodge OmniDodge RaiderDodge RamchargerDodge RampageDodge ShadowDodge SpiritDodge St RegisDodge StealthDodge StratusDodge Truck-100 Series (1989 Down)Dodge Truck-200 Series (1980 Down)Dodge Truck-300 Series (1980 Down)Dodge -400 SeriesDodge Truck-150 (1978-1993)Dodge Truck-250 Series (1981-1993)Dodge Truck-350 Series (1981-1993)Dodge Truck-450 SeriesDodge Truck-1500 (1994 Up)Dodge Truck-2500 Series (1994) Вверх)Dodge Truck-3500 (1994 Up)Dodge Truck-4500 SeriesDodge Truck-5500 SeriesDodge Truck-D50/Ram 50Dodge Truck-DakotaDodge Truck-Forward ControlDodge Truck-RampageDodge Van 100Dodge Van 150Dodge Van 200Dodge Van 250Dodge Van 300Dodge Van 3150 2500Dodge Van 3500Dodge Van (Sprinter 2500)Dodge Van (Sprinter 3500)Dodge VernaDodge ViperDodge OtherEagle 2000 GTXEagle PremierEagle SummitEagle TalonEagle VisionEdselFWD TrucksFerrariFiat 1100RFiat 124 (19)83 Down, включает Spider)Fiat 124 Spider (2016 Up)Fiat 128Fiat 131/BravaFiat 500Fiat 600Fiat 850Fiat Spider (включая 2000)Fiat StradaFiat X 1/9Fiat OtherFisker KarmaFord 500Ford AerostarFord AspireFord Bronco (Full Size)Ford Bronco IIFord BroncoFord SportFord КонтурFord CortinaFord CourierFord Crown Vic (1982 Down)Ford Crown Vic (1983 Up)Ford EcosportFord EdgeFord EscapeFord EscortFord ExcursionFord EXPFord ExpeditionFord ExplorerFord FairlaneFord FairmontFord FalconFord FestivaFord FiestaFord Five HundredFord FlexFord FocusFord Focus RSFord FreestarFord FreestyleFord Fusion1Ford Klada IFord GalaxieFord GTKAFFord GalaxieFord GT78 Down)Ford LTD (1979 Up)Ford LTD IIFord MaverickFord Maverick PickupFord MondeoFord MustangFord Mustang Mach EFFord PintoFord ProbeFord Ranchero (1967-1970)Ford Ranchero (1971-1976)Ford Ranchero (1977 up)Ford Ranchero (1957-1959)Ford Ranchero (1960-1966)Ford RangerFord TaurusFord Taurus XFord TempoFord ThinkCity-ElectricFord ThunderbirdFord TorinoFord Transit 150Ford Transit 250Ford Transit 350Ford Transit ConnectFord Truck-CourierFord Truck-F100Ford Truck-F150Ford Truck-F150 RaptorFord Truck-F250 not Super Duty (19)99 Down)Ford Truck-F250 Super Duty (1999 Up)Ford Truck-F350 not Super Duty (1997 Down)Ford Truck-F350 Super Duty (1999 Up)Ford Truck-F450 not Super Duty (1997 Down)Ford Truck-F450 Super Duty (1999 Up)Ford Truck-F550 Super Duty (1999 Up)Ford Truck-Forward ControlFord Truck-RangerFord Van E100Ford Van E150Ford Van E200Ford Van E250Ford Van E300Ford Van E350Ford Van E450 Super DutyFord Van E550 Super DutyFord WindstarFord OtherFreightlinerFreuhaufGMC AcadiaGMC Hummer, EVGMC Hummer, EV Полный размерGMC Jimmy, S10/S15GMC Safari VanGMC SprintGMC Suburban-10 (1988 Down)GMC Suburban-20 (1988 Down)GMC Suburban-30 (1965-1966)GMC Suburban-1000 (1965-1966)GMC Suburban-1500 (2001 Down)GMC Suburban-2500 (1967 Up)GMC SycloneGMC TerrainGMC Truck- Серия 1000 (1966 год)GMC Truck-1500 Series (1999 год Down)GMC Truck-2500 Series (2000 год Down)GMC Truck-3500 Series (2001 год Down)GMC Truck-CanyonGMC Truck-EnvoyGMC Truck-Envoy XLGMC Truck-Envoy XUVGMC Truck- Переднее управлениеGMC Truck-S10/S15/SonomaGMC Truck-Sierra 1500 (1999 г.
) Truck-Sierra Denali 2500 (2011 Up)GMC Truck-Sierra Denali 3500 (2011 Up)GMC Truck-TopkickGMC Truck-Yukon (кроме XL)GMC Truck-Yukon XL1500GMC Truck-Yukon XL2500GMC TyphoonGMC Van 1000GMC Van 1500GMC Van 2500GMC Van 3500GMC Savana 1500GMC Ван Савана 2500GMC Ван Савана 3500Genesis G70Genesis G80Genesis G90Genesis GV70Genesis GV80Geo MetroGeo PrizmGeo SpectrumGeo StormGeo TrackerHino TruckHonda 600Honda AccordHonda ActyHonda CivicHonda ClarityHonda Clarity ElectricHonda Clarity Fuel CellHonda CrosstourHonda CRVHonda CRXHonda CRZHonda DelSolHonda ElementHonda FCXHonda FitHonda HRVHonda InsightHonda OdysseyHonda PassportHonda PilotHonda PreludeHonda RidgelineHonda S2000HudsonHummerHummer h2Hummer h3Hummer h4Hyundai AccentHyundai AzeraHyundai ElantraHyundai EntourageHyundai EquusHyundai ExcelHyundai GenesisHyundai IoniqHyundai Ioniq 5Hyundai KonaHyundai Kona ElectricHyundai NexoHyundai PalisadeHyundai PonyHyundai Santa CruzHyundai Santa FeHyundai ScoupeHyundai SonataHyundai StellarHyundai TiburonHyundai TucsonHyundai VelosterHyundai VenueHyundai VeracruzHyundai XG SeriesIH (Pickup & Travelall)IH Scout & Scout IIIH Truck (Big)Infiniti EX35Infiniti EX37Infiniti FXInfiniti G20Infiniti G25Infiniti G35Infiniti G37Infiniti I30Infiniti I35Infiniti J30Infiniti JX35Infiniti M30Infiniti M35Infiniti M37Infiniti M45Infiniti M56Infiniti Q40Infiniti Q45Infiniti Q50Infiniti Q60Infiniti Q70Infiniti QX4Infiniti QX30Infiniti QX50Infiniti QX55Infiniti QX56Infiniti QX60Infiniti QX70Infiniti QX80Isuzu AmigoIsuzu AscenderIsuzu AxiomIsuzu GeminiIsuzu IMarkIsuzu ImpulseIsuzu OasisIsuzu OptimaIsuzu ReachIsuzu RodeoIsuzu StylusIsuzu Trooper/Trooper IIIsuzu Truck (Big)Isuzu Truck-(Mini Pickup)Isuzu Truck-(Mini Pickup) HombreIsuzu Грузовик i280 (Пикап)Isuzu Truck i290 (Pickup)Isuzu Truck i350 (Pickup)Isuzu Truck i370 (Pickup)Isuzu VehicrossJaguar 120Jaguar 140Jaguar 150Jaguar E PaceJaguar F PaceJaguar F TypeJaguar I PaceJaguar Mark 10Jaguar S TypeJaguar SedanJaguar Vanden Plas (1997 Down)Jaguar Vanden Plas (1998 to 2007)Jaguar Vanden Plas (2008 Up)Jaguar X TypeJaguar XEJaguar XFJaguar XF SportbrakeJaguar XJ Series (2008 Up)Jaguar XJR (1993)Jaguar XJR (1995–1997)Jaguar XJR (1998–2007 X)Jaguar XJR (2008 Up)Jaguar XJ8Jaguar )Jaguar XJ8 (2007 Down)Jaguar XJ12Jaguar XK Series (2007 Up)Jaguar XKEJaguar XKR (2006 Down)Jaguar XKR (2007 Up)Jaguar XK8Jeep Cherokee (except Grand Cherokee)Jeep CJSeriesJeep ComancheJeep CommanderJeep CompassJeep DJ SeriesJeep FC SeriesJeep GladiatorJeep Grand CherokeeJeep Grand WagoneerJeep J-SeriesJeep JeepsterJeep LibertyJeep PatriotJeep RenegadeJeep Station WagonJeep TruckJeep Wagoneer (кроме Grand Wagoneer)Jeep WranglerKaiserKenworthKia AmantiKia BestaKia BorregoKia CadenzaKia CarnivalKia EV6Kia ФортеКиа К5Киа К900Kia MagentisKia NiroKia Niro EVKia OptimaKia RioKia RondoKia SedonaKia SeltosKia SephiaKia SorentoKia SoulKia SpectraKia SportageKia StingerKia TellurideLadaLamborghiniLanciaLandRover Defender (1997 Down)LandRover Defender (2020 Up)LandRover Discovery (2004 Down)LandRover Discovery (2017 Up)LandRover Discovery SportLandRover FreelanderLandRover LR2LandRover LR3LandRover LR4LandRover Range RoverLandRover Range Rover EvoqueLandRover Range Rover SportLandRover Range Rover VelarLandRover OtherLexus CT 200HLexus ES250Lexus ES300Lexus ES300HLexus ES330Lexus ES350Lexus GS200tLexus GS300Lexus GS350Lexus GS400Lexus GS430Lexus GS450Lexus GS460Lexus GS FLexus GX460Lexus GX470Lexus HS250HLexus IS200tLexus IS250Lexus IS300Lexus IS350Lexus IS500Lexus IS FLexus LC500Lexus LC500hLexus LFALexus LS400Lexus LS430Lexus LS460Lexus LS500Lexus LS500hLexus LS600HLLexus LX450Lexus LX470Lexus LX570Lexus LX600Lexus NX200tLexus NX250Lexus NX300Lexus NX300hLexus NX350Lexus NX350HLexus NX450HLexus RC 200tLexus RC 300Lexus RC 350Lexus RC FLexus RX300Lexus RX330Lexus RX350Lexus RX350LLexus RX400hLexus RX450 HybridLexus RX450 Hybrid LLexus SC (excl 430)Lexus SC430Lexus UX 200Lexus UX 250hLincoln AviatorLincoln BlackwoodLincoln ContinentalLincoln CorsairLincoln LSLincoln Mark LTLincoln Mark SeriesLincoln MKCLincoln MKSLincoln MKTLincoln MKXLincoln MKZLincoln NautilusLincoln NavigatorLincoln VersaillesLincoln ZephyrLincoln Other (includes Town Car) LotusMG MGBMG MidgetMG ДругойMacMarmon TruckMaseratiMaserati BiTurboMaserati GhibliMaserati GranTurismoMaserati LevanteMaserati QuattroporteMaybachMazda 2Mazda 3Mazda 5Mazda 6Mazda 323Mazda 626Mazda 808Mazda 929Mazda 1200Mazda 1800Mazda CosmoMazda CX3Mazda CX5Mazda CX7Mazda CX9Mazda CX30Mazda GLCMazda MPV VanMazda MX3Mazda MX6Mazda MX30Mazda Miata MX5Mazda MilleniaMazda NavajoMazda Pickup-B1600Mazda Pickup-B1800Mazda Pickup-B2000Mazda Pickup-B2200Mazda Pickup-B2300Mazda Pickup-B2500Mazda Pickup-B2600Mazda Pickup-B3000Mazda Pickup-B4000Mazda Pickup-RotaryMazda ProtegeMazda RX2Mazda RX3Mazda RX4Mazda RX7Mazda RX8Mazda TributeMcLaren 570GTMcLaren 570SMcLaren 600LTMcLaren 650SMcLaren 675LTMcLaren 720SMcLaren GTMcLaren MP4 12CMcLaren P1McLaren SennaMercedes 170Mercedes 190Mercedes 200Mercedes 218Mercedes 219Mercedes 220Mercedes 230-4 CylMercedes 230-6 CylMercedes 240DMercedes 250Mercedes 260EMercedes 280Mercedes 300D (includes CD/D/SD/TD)Mercedes 300EMercedes 300SLMercedes 320Mercedes 350Mercedes 380Mercedes 400Mercedes 420Mercedes 450Mercedes 500Mercedes 560Mercedes 600Mercedes AMG GTMercedes A ClassMercedes B ClassMercedes C ClassMercedes CL ClassMercedes CLA ClassMercedes CLKMercedes CLSMercedes E ClassMercedes EQS ClassMercedes G ClassMercedes GL ClassMercedes GLA ClassMercedes GLB ClassMercedes GLC ClassMercedes GLE ClassMercedes GLK ClassMercedes GLS ClassMercedes ML SeriesMercedes MetrisMercedes R ClassMercedes S ClassMercedes SL ClassMercedes SLC ClassMercedes SLKMercedes SLRMercedes SLSMercedes Sprinter 1500Mercedes Sprinter 2500Mercedes Sprinter 3500Mercedes TruckMercury BobcatMercury CapriMercury CometMercury CougarMercury Grand Маркиз (1979 Down)Mercury Grand Marquis (1980 Up)Mercury LN7Mercury Lynx (кроме LN7)Mercury MarauderMercury MarinerMercury Marquis (не Grand)Mercury Merkur (включает XR4TI и Scorpio)Mercury MilanMercury MonarchMercury MontegoMercury MontereyMercury MountaineerMercury MystiqueMercury SableMercury Topaz (не Grand)Mercury Tracery Other CooperMini Cooper ClubmanMini Cooper CountrymanMini Cooper PacemanMitsubishi 3000Mitsubishi CordiaMitsubishi DiamanteMitsubishi EclipseMitsubishi Eclipse CrossMitsubishi EndeavorMitsubishi ExpoMitsubishi FusoMitsubishi GalantMitsubishi i MiEVMitsubishi LancerMitsubishi MinicabMitsubishi MirageMitsubishi MonteroMitsubishi Montero-SportMitsubishi OutlanderMitsubishi Outlander SportMitsubishi Pickup (See also Dodge D50)Mitsubishi PrecisMitsubishi RaiderMitsubishi RVRMitsubishi SigmaMitsubishi Space WagonMitsubishi StarionMitsubishi TrediaMitsubishi VanMorrisNashNissan 1200Nissan 1600Nissan 200SXNissan 210Nissan 240SXНиссан 2 40ZNissan 260ZNissan 280-ZNissan 280-ZXNissan 300ZXNissan 350ZNissan 370ZNissan 310Nissan 311Nissan 410Nissan 411Nissan 510Nissan 610Nissan 710Nissan 810Nissan AlmeraNissan AltimaNissan ArmadaNissan AxxessNissan B210Nissan CubeNissan F10Nissan FrontierNissan GTRNissan JukeNissan KicksNissan LeafNissan LucinoNissan Maxima (1981 Down)Nissan Maxima (1982 Up)Nissan MicraNissan MuranoNissan NV 200Nissan NV 1500Nissan NV 2500Nissan NV 3500Nissan NXNissan PathfinderNissan PatrolNissan PlatinaNissan PulsarNissan QashqaiNissan QuestNissan RogueNissan Rogue SportNissan SentraNissan Stanza (Excl Van)Nissan Stanza VanNissan TidaNissan TruckNissan Truck-TitanNissan Truck-Titan XDNissan TsubameNissan UD СерияNissan Van GC22Nissan VersaNissan X TrailNissan XterraOldsmobile 88 (1979 Down)Oldsmobile 88 (1980 Up)Oldsmobile 98 (1979 Down)Oldsmobile 98 (1980 UP) Oldsmobile Achieievaoldsmobile alerooldsmobile aurororoaldsmobile bravadaoldsmobile calais (1984 Down) Oldsmobile Calais (1985 UP) Oldsmobile Cieraoldsmobile Custom Cruiser (1979 Down) Oldsmobile Custom Cruiser (1980 Up) Oldsmobile Cutrallass (1972).
ФлоренцияОлдсмобиль ИнтригаОлдсмобиль ОмегаОлдсмобиль СилуэтОлдсмобиль Звездный огоньОлдсмобиль Supreme-Calais (1988 Up)Oldsmobile Supreme-Cutlass (1988 Up)Oldsmobile Supreme (1972 Down)Oldsmobile Supreme (1973-1987)Oldsmobile ToronadoOldsmobile OtherOpelOshkoshPace ArrowPackardPanteraPeterbiltPeugeot 304Peugeot 403Peugeot 404Peugeot 405Peugeot 504Peugeot 505Peugeot 604Plymouth AcclaimPlymouth Arrow-CarPlymouth Arrow-Truck (See also Dodge D50)Plymouth BarracudaPlymouth BreezePlymouth CaravellePlymouth ChampPlymouth CricketPlymouth Duster (1970-1976)Plymouth Duster (1979-1980)Plymouth Duster ( 1985-1987)Plymouth Duster (1992-1994)Plymouth Grand Fury (1979 Down)Plymouth Grand Fury (1980 Up)Plymouth HorizonPlymouth LaserPlymouth NeonPlymouth ProwlerPlymouth ReliantPlymouth SapporoPlymouth Scamp (1983 only)Plymouth Scamp (except 1983)Plymouth SundancePlymouth TraildusterPlymouth ValiantPlymouth Van 100Plymouth Van 150Plymouth Van 200Plymouth Van 250Plymouth Van 300Plymouth Van 350Plymouth VolarePlymouth VoyagerPlymouth OtherPolestar 1Polestar 2Pontiac 1000Pontiac 2000-P/J/SunbirdPontiac 6000Pontiac AcadianPontiac AstrePontiac AztekPontiac Bonneville (1979 Down)Pontiac Bonneville ( 1980 Up)Pontiac Catalina (1979 Down)Pontiac Catalina (1980 Up)Pontiac FieroPontiac FirebirdPontiac FireflyPontiac G3Pontiac G4Pontiac G5Pontiac G6Pontiac G8Pontiac Grand AMPPontiac Grand PrixPontiac GTO (новый стиль)Pontiac GTO (старый стиль)Pontiac Montianaz19 Matiac Lemans79 Down)Pontiac Parisienne (1980 Up)Pontiac PhoenixPontiac PursuitPontiac SolsticePontiac SunbirdPontiac SunburstPontiac SunfirePontiac SunrunnerPontiac TempestPontiac TorrentPontiac Trans SportPontiac Van-MontanaPontiac VenturaPontiac VibePontiac WavePontiac OtherPorsche 356Porsche 911/930Porsche 912/ePorsche 914Porsche 918Porsche 924Porsche 928Porsche 944Porsche 968Porsche BoxsterPorsche Carrera-GTPorsche CayennePorsche Cayman SPorsche MacanPorsche PanameraPorsche TaycanRenault 18IRam Promaster 1500Ram Promaster 2500Ram Promaster 3500Ram Promaster CityRam Truck 1500 SeriesRam Truck 2500 SeriesRam Truck 3500 SeriesRam Truck 4500 SeriesRam Truck 5500 SeriesRenault AllianceRenault ClioRenault DauphineRenault EncoreRenault FuegoRenault GordiniRenault Lecar/R5Renault MedallionRenault MeganeRenault R8Renault R10Renault R12Renault R15Renault R16Renault R17Renault R30Renault OtherREORollsRoyceRover 3 LitreRover 100Rover 2000Rover 3500Rover 3500SSaab 9-3 (1999 г.
4Volkswagen JettaVolkswagen Jetta GLIVolkswagen Karmann GhiaVolkswagen PassatVolkswagen PhaetonVolkswagen PointerVolkswagen Pointer TruckVolkswagen QuantumVolkswagen RabbitVolkswagen RoutanVolkswagen SciroccoVolkswagen SedanVolkswagen SharanVolkswagen TaosVolkswagen ThingVolkswagen TiguanVolkswagen TouaregVolkswagen Type 3Volkswagen Van-EuroVanVolkswagen Van-TransporterVolkswagen Van-VanagonVolkswagen OtherVolvo 30 SeriesVolvo 40 SeriesVolvo Серия 50 Volvo Серия 60 Серия Volvo 70 Серия Volvo 80 Volvo 90 SeriesVolvo 120 SeriesVolvo 140 SeriesVolvo 160 SeriesVolvo 240Volvo 260Volvo 444/445Volvo 544Volvo 740Volvo 760Volvo 780Volvo 850Volvo 940Volvo 960Volvo 1800Volvo C40Volvo F7Volvo FE6Volvo S60 (2013 Down)Volvo S60 (2014 Up)Volvo S90Volvo TruckVolvo V60Volvo V70Volvo V90Volvo XC40Volvo XC60 (2013 Down)Volvo XC60 ( 2014 Up)Volvo XC70Volvo XC90VPG MV1Western StarWhiteWillysWinnebagoYugo
также Радио или ТВ-экран)A/C ШлангЖгут проводов кондиционераТабель акселератораЗапчасти ускорителяAdaptive Cruise ProjectorПодушка безопасностиЧасовая пружина подушки безопасностиМодуль управления подушкой безопасностиВоздушная коробка/воздухоочистительВоздуховод/вентиляторы обогревателяРасходомер воздухаВоздушный насосВоздушный компрессорВоздушная заслонкаВоздушная трубка/резонаторГенератор Кронштейн генератора V) (см. также Экран телевизора) Автоматический диммер фар Авто. Транс. ОхладительПривод оси (4WD)Передняя ось в сборе (4WD с кожухом)Задняя ось в сборе (с кожухом)Передняя балка моста (2WD, включая подвеску двутавровой балки)Задняя балка моста (FWD)Фланец осиТолько корпус осиОсь валаB Обшивка стойкиЗадняя дверь (вверху сзади) Бампер) Стекло задней двериРучка задней двери, внутри Ручка задней двери, снаружи Подкладка кроватиБоковая часть кровати, звукоснимательКорпус колоколаНатяжитель ремняКамера слепой зоныМотор вентилятораЖгут проводов кузоваПедаль тормоза/сцепленияУсилитель тормозаКлапан дозирования тормозаТормозной ротор/барабан, переднийТормозной ротор/барабан, заднийТормозные колодки/колодкиЗащита щеткиПередний бампер с крышкойБампер в сборе (задний) с крышкойКронштейн бампера (разное)Крышка бампера (Передний)Накладка бампера (задний)Заглушка бампераПоглотитель энергии бампера (передний)Поглотитель энергии бампера (задний)Передняя часть бампера e Перекладина (передняя)Лицевая перекладина бампера (задняя)Накладка бампераЗащита бампера (передняя)Защита бампера (задняя)Защитная полоса бампераУсиление бампера (переднее)Усиление бампера (заднее)Амортизатор бампераПодножка бампераC Облицовка стойкиCabЗадняя панель кабиныЗажим кабины, без капотаУгол кабиныВоздушный фильтр кабиныКабина Коробка предохранителейСуппортПроектор камерыРаспределительный валКорпус распределительного валаКарбюратор (см.
также Корпус дроссельной заслонки)Крышка грузового отсекаГрузовой фонарьКоверДержатель (см. также Дифференциал)Кофр для переноскиCD-плеер/радиоЦентральная крышка (колесо)Центральная стойкаДверца зарядного порта в сбореКомпьютер управления шасси (не двигатель)ЧасыЧасовая пружина (подушка безопасности)Трос сцепленияДиск сцепленияВилка сцепленияМастер сцепления ЦилиндрCoil/Air SpringCoil/IgniterColumn SwitchComputer Box EngineComputer Box Not EngineCondenserCondenser/Radiator mtd. Вентилятор охлажденияСоединительный стержень, двигательКонсоль, Передняя консоль, Задний рычаг управления, Передний нижний рычаг управления, Передний верхний рычаг управления, Задний нижний рычаг управления, Задний верхнийСкладной верхПыльник складного верхаПодъемник складного верхаДвигатель складного верхаСкладное ветровое стеклоНасос охлаждающей жидкостиВентилятор охлаждения (радиатор и конденсатор)Сердечник (радиатор) (Harmonic Balancer)Коленчатый валКомпьютер круиз-контроляКруиз-контроль сервопривод/регуляторКруиз-контроль скоростиГоловка блока цилиндров (двигатель)D-стойкаПереключатель приборной панели/салона/сиденьяОблицовка приборной панели (см.
также приборная панель или рамка радио)Приборная панельПриборная панельЖгут проводов приборной панелиКрышка палубыДизельный сажевый фильтрДифференциал в сборе (см. также Carrier)Только корпус дифференциалаДифференциал Только фланецРаспределительЗадняя часть двери (дверь над задним бампером)Передняя дверьРучка двери, внутренняя ручка двери, наружная ответная планка замка двериКрышка зеркала двериВнешняя ремонтная панель двери, внешняя ремонтная панель задней двери, внешняя ремонтная панель передней двери, задняя часть задней двери (сторона автомобиля) Корпус двери, корпус задней двери, корпус передней двери , Р УхоОкно двери Кривошипная ручкаПеретащите звеноПриводной вал, передний Ведущий вал, задний Клапан рециркуляции отработавших газовЭлектродвигатель двери (не окна)Электродвигатель стеклоподъемникаЭлектрическая часть РазноеЭлектронная трансмиссия ПереключательэмблемаЭкстренный тормозБлок двигателяКомпьютер двигателяЯдро двигателяКрышка двигателяКолонка двигателяГоловка цилиндра двигателяКоробка предохранителейКрепления двигателяПоддон двигателяМасляный поддон двигателяЖгут проводовВыхлопная труба в сбореВыхлопная трубаВыхлопная труба БакТепловой экран выхлопаВыхлопная трубаВыпускной коллекторВыхлопной глушительВыхлопная трубаВыхлопной резонаторВыхлопная трубаХвостовая трубаЛопасти вентилятораСцепление вентилятораКрылоУдлинитель крыла/ВспышкаВнутренняя панель крылаПрофили крылаОблицовка крылаВнутренний вкладышкрыла/колесной нишиГибкая пластинаНапольные коврикиПоддонполаУзел переключения ) Балка переднего моста (2WD, включая подвеску балки I) Вал переднего моста Передний бампер в сборе (включая крышку) Крышка переднего бампера Передний B umper Face BarЗащита переднего бампераУсилитель переднего бампераПередняя консольПередняя дверьСтеклянная передняя дверьРучка передней двери,внутриРучка передней двери,снаружиПетля передней двериЗеркало передней двериСтеклянное зеркало передней двериМолдинг передней двериРегулятор передней двериОблицовка передней двериПереключатель передней двериОблицовка передней двериСтеклянная вентиляционная решетка передней двериРегулятор вентиляционного стекла передней двериВал вала окна двигателяПередний приводПередний привод Узел переднего ремня безопасностиПередний обтекательРегулятор переднего стеклаКрышка топливного бакаТопливный отсекОхладитель топливаРаспределитель топлива (и прочее) Впрыск)Дверца топливного бакаЗаливная горловинаУказатель уровня топливаТопливная форсунка (и разное впрыскивание)Топливный насос форсункиТопливопроводТопливный насосТопливная рампа (и разное впрыск)Топливный бакПередающее устройство топливного бакаБлок предохранителей (кабина)Блок предохранителей (двигатель)Крышка бензобакаБазовый бакПанель внутренней отделки воротРегулятор окна воротВорота/ КрышкаДатчик (Разное)Стекло генератора, Заднее стекло, Стекло передней двери, Переднее вентиляционное стекло, ПолуокноСтекло, Заднее дверное стекло, Заднее вентиляционное стеклоСтекло, специальное (см.
также Люк на крыше/Ttop)Стекло, ветровое стеклоПерчаточный ящикЭкран GPS (см. также Радио или Управление обогревателем/кондиционером)РешеткаРешетка МолдингРешетка ОкружениеГармонический балансир (Шкив коленчатого вала) Люк/Крышка багажника Головка (цилиндр) Панель коллектора Фара в сборе Балласт фар Кронштейн фары Ковш фары Лампа фары Крышка фары (пластик) Дверь фары Корпус фары Воспламенитель фары Линза фары Мотор фары Только электродвигатель стеклоочистителя фар ater AssyHeater CoreHeater MotorHeater/AC Control (см. также Радио или ТВ-экран) КапотПетля капотаИзоляционная прокладка капотаЗащелка капотаОрнамент капотаПодпорка капотаКапотный ковшУдарный звуковой сигналСтупицаКрышка ступицы/крышка колеса (дисплей с изображением)Крышка ступицы/крышка колеса (дисплей без изображения)Ступица, блокировка (4WD) )Гибридный преобразователь/инверторРычаг промежуточного валаМодуль зажигания (см. также Зажигание/катушка)Выключатель зажигания/катушкаИнформационный экран (см. также Радио или обогреватель/управление кондиционером)Внутренняя ручка двериКомбинация приборов (см.
также Спидометр)Лицевая панель панели приборовЛицевая панель приборовВпускной коллекторИнтеркулерТрубка интеркулераИнтерьер в сбореВнутреннее освещениеВнутренняя панель отделки ( Ворота/крышка)Панель внутренней отделки (четверть)Панель внутренней отделки, дверь (задняя)Панель внутренней отделки, дверь (передняя)Панель внутренней отделки, дверь (задняя)Охладитель инвертораГнездо в сбореКлючи/защелки и замкиПульт дистанционного управления/брелкаПанель колена в сборе (см. также Распорка Сборка)Жгут проводов лампыЗащелка, защелка передней двери, защелка задней двери, защелки задней двериЛистовая рессора, передняяЛистовая рессора, задняяЛампа номерного знакаКронштейн номерного знакаКрышка/Ga Панель внутренней отделки teLidПривод замкаСтупица блокировки, 4X4Lug Гаечный ключБагажная полкаГабаритный/противотуманный фонарь, передний габаритный/габаритный фонарь, задний главный цилиндрЗеркало, дверное зеркало, зеркало заднего видаРазное. ЭлектрикаМолдинг (задняя дверь)Молдинг (крыло)Молдинг (передняя дверь)Молдинг (крышка/люк/ворота)Молдинг (четверть панели/боковина кровати)Молдинг (задняя дверь)Молдинг (коромысла)Молдинг (лобовое стекло)Молдинги (разное)БрызговикНейтральная безопасность ПереключательКамера ночного виденияНос (передняя часть в сборе)Масляный радиаторАдаптер масляного фильтраМасляный поддон, двигательМасляный поддон, трансмиссияМасляный насос, двигательНаружная дверная ручкаБлок повышающей передачи (см.
также Трансмиссия)Руководство владельцаПодрулевой переключательПарковочная/противотуманная фара Передняя полка для посылокПарковочный фонарь задний (боковой)Вспомогательная камера при парковке Панель Пикап Боковая крышка пикапа/корпус кемпераПоршеньРычаг рулевого управленияУсилитель тормозаИнвертор мощности (гибрид)Усилитель руля в сбореКлапан управления гидроусилителемОхладитель рулевого управления с усилителемМотор гидроусилителя рулевого управления PanelQuarter Расширение панелиQuarter Repair PanelQu arter WindowQuarter Window MotorQuarter Window RegulatorRack & Шестерня (рулевое управление)RadiatorRadiator/Condenser mtd. Вентилятор охлажденияВоздушная заслонка радиатораОпора сердцевины радиатораКрышка радиатора ДефлекторКожух вентилятора радиатораБачок перелива радиатораРадио/CD (см. также Управление кондиционером или ТВ-экран)Облицовка радиоприемникаЛицевая панель радиоприемникаРадиальный рычаг, переднийТяговое соединение (см. также Рулевое соединение)Задняя ось в сборе (RWD)Задняя балка ( FWD) Задняя панель кузова Задний бампер в сборе (включая крышку) Крышка заднего бампера Лицевая панель заднего бампера Защита заднего бампера Усиление заднего бампера / Разное Задний зажим Задняя консоль Задняя поперечина Задняя дверь (боковая часть автомобиля) Ручка задней двери, внутри Ручка задней двери, снаружи Петля задней двери Молдинг задней двери Регулятор задней двери Корпус задней двери Задняя дверь ВыключательОблицовка задней двериВентиляционное стекло задней двериРегулятор вентиляционного стекла задней двериОкно задней двериМотор стеклоподъемника задней двериРегулятор стеклоподъемника задней двериВал заднего приводаЗадняя панель отделкиЗадняя дверь/крышкаМотор стеклоподъемника задней двериЗадняя поворотная скоба/поворотный кулакЗадняя нижняя обшивка Задний ремень безопасности в сбореЗадняя подвеска (см.
также рычаги управления)Задняя подвеска Фиксирующий рычагЗадняя подвеска Продольный рычагОбогрев заднего стеклаRe ar Мотор стеклоомывателяРесивер осушителяРеле (разное)Только кольцо и шестерняКоромысло коромыслаМолдинг коромысла (см. также Центральную стойку)Рычаг поперечной устойчивостиПрокладка поперечной балкиКрышаПанель крыши (см. также Люк на крыше)Багажник на крышеПодножкиМотор подножкиСиденье, задняя часть (3-й ряд)Сиденье, задняя часть (4-й ряд)Сиденье , Сзади (5-й ряд)Сиденье, переднееСиденье, заднее (2-й ряд)Ремень безопасности, переднийРемень безопасности, заднийМотор ремня безопасностиПреднатяжитель ремня безопасностиНаправляющая ремня безопасности (электрическая)Мотор сиденьяПереключатель сиденьяНаправляющая сиденья, только спередиДатчик (кузов, разное)Датчик (шасси, разное)Датчик (трансмиссия, разное)Переключатель в сборе (пол)Рычаг переключения передачАмортизаторАмортизаторПлита порогаЗащитная пластинаРабочий цилиндрНасос дымаКрепление запасного колесаКожух запасного колесаПодъемник запасного колесаДинамикСпециальное стеклоСпидометр (см.
также Радио или Обогреватель/Контроль кондиционера ) UnisideВакуумный насосВакуумный бак для храненияОбшивка, передняя обшивка, задняя крышка клапанаРегулятор напряженияФорсунка омывателяВодяной насосВодоотделительЗащита от атмосферных воздействийКолесо (показать с изображением)Колесо (показать без изображения)Подшипник колесаКрышка колеса/колпак (показать с изображением)Крышка колеса/колпак (показать без изображения) Гайка крепления колесаМолдинг колесаПодъемник для инвалидной коляскиРампа для инвалидной коляскиКолесная кабина (задняя)ЛебедкаМотор стеклоподъемникаПереключатель стеклоподъемника (передний)Регулятор стеклоподъемника (задний)Тень окнаПереключатель окна (передняя дверь)Переключатель окна (задняя дверь)Мотор стеклоомывателя заднего лобового стеклаРама лобового стеклаПетля лобового стеклаМотор омывателя лобового стекла (перед) per LinkageМотор стеклоочистителя, передний (ветровое стекло)Мотор стеклоочистителя, заднийЖгут проводов (кондиционер)Жгут проводов (кузов)Жгут проводов (приборная панель)Жгут проводов (двигатель)Жгут проводов (лампа)Жгут проводов (разное)Жгут проводов (трансмиссия)Хомутик/U -Шов
Louis(IL,MO)Toledo(OH,MI)Washington DC(DC,MD,VA,WV)AlabamaAlaskaAlbertaArizonaArkansasBritish ColumbiaCaliforniaColoradoConnecticutDelawareDistrict of ColumbiaFloridaGeorgiaHawaiiIdahoIllinoisIndianaIowaKansasKentuckyLouisianaMaineManitobaMarylandMassachusettsMichiganMinnesotaMississippiMissouriMontanaNebraskaNevadaNewfoundland and LabradorNew BrunswickNew HampshireNew JerseyNew MexicoNew YorkNorth CarolinaNorth DakotaNorthwest TerritoriesNova ScotiaNunavutOhioOklahomaOntarioOregonPennsylvaniaPrince Edward IslandPuerto RicoQuebecRhode IslandSaskatchewanSouth CarolinaSouth DakotaTennesseeTexasUtahVermontVirginiaWashingtonWest VirginiaWisconsinWyomingYukon
Нажмите, чтобы узнать больше.