Содержание
Как работает зерновой элеватор. Что это ?
Фермеры, занимающие выращиванием кукурузы, пшеницы, ячменя и других востребованных на национальном и экспортных рынках зерновых культур, после сбора урожая сельскохозяйственной техникой, хранят зерно в элеваторе. А уже оттуда, после проведенного лабораторного анализа качества, отправляют на мельницы, комбикормовые заводы, на выпечку хлеба и т.д.
После сбора урожая комбайном, зерно засыпается в грузовики, которые и доставляют зерно к месту хранения. С точки зрения удобства логистики и отгрузки потребителям, чтобы сократить затраты и время на транспортировку, элеваторы размещаются недалеко от железнодорожных, водных (морских) путей.
Узнать зернохранилище не сложно. Во-первых, элеватор это высокий, во-вторых, объемный объект. В любом случае видим издалека. И в небольших населенных пунктах могут быть основной технологической достопримечательностью.
Грузовик, перевозящий зерно, подъезжает к местному элеватору и затем останавливается на весах у элеватора для взвешивания.
Оператор берет образец зерна, чтобы проверить вес, содержание влаги и наличие посторонних материалов, примесей и т.д.
При заборе проб могут быть несколько вариантов:
- Автоматический пробоотборник для зерна. Выполняет не только отбор, но и транспортировку по пневматическому каналу в лабораторию. Это безусловно удобно, но цена такого оборудования достаточно высока и купить его могут себе позволить крупные агропромышленные компании.
- Ручной зерновой щуп на длину от 1 до 3-х метров. В нем заборная емкость находится внутри. Это более дешевый вариант, но требуется дополнительный человек.
- Поскольку зерно по своей температуре и влажности по всей массе в кузове практически не отличается (было недавно собрано), в отличие от длительного хранения в элеваторе, можно просто зачерпнуть горстью и если речь идет о влажности (а это важнейшая величина, влияющая на срок хранения, затраты на сушку, вентилирование, вероятность развития долгоносиков, микроорганизмов, плесени, грибка и т.
д., насыпать во влагомер зерна и получить через минуту результат.
Также необходимо проанализировать удельный вес поврежденных зерен (механически, насекомыми, морозом и др. факторами ), отделить сорняки, мусор, стебли.
Но главное это конечно влага. Если для зерна показатель составляет около 15 %, велики шансы на успешное хранение в элеваторе в течение длительного времени.
Далее зерно помещается на рабочий этаж элеватора. С открытого решетчатого пола, зерно просыпается в яму, а затем транспортируется по конвейерной непрерывной ленте с ковшами для последующего помещения в бункер.
Разгруженный грузовик повторно взвешивается на автомобильных весах, чтобы точно проконтролировать какое количество зерна выгружено для хранения в элеваторе. Фермеру выдается документ, в котором указано количество отгруженного зерна с автомобиля. Кроме того, должно быть отражена информация:
| дата |
| вид зерновой культуры |
| показатели качества |
Элеватор создает для зерна комфортные условия, позволяет при необходимости проводить ряд операций для поддержания параметров зерна в заданных нормативах (это прежде всего температура и влажность), а также его выгрузки перед отправкой заказчику.
Для этого могут быть использованы как специальные термометры – цифровые термощупы или сложные системы автоматической термометрии для элеваторов с выводом цифр на пульт. Датчики при этом находятся на конце погружаемых в зерновую массу термоштанг.
В каждом регионе количество и объем элеваторов должно быть рассчитано под прогнозируемый объем, чтобы не было задержек, поскольку урожай, оставленный в поле, может быть уничтожен грызунами, птицами и потерять свои потребительские свойства, а значит и в стоимости. Речь идет о количестве и качестве клейковины зерна, числе падения и др. показателях.
Хранить зерно в элеваторе или реализовывать его зависит от нескольких причин.
С одной стороны за хранение нужно платить. А это затратная статья бюджета фермера и уменьшение прибыли. С другой, если ожидается, что в ближайшем будущем будет более благоприятная рыночная коньюнктура, стоит подождать, чтобы получить более высокую выручку.
А можно продать сразу по форвардному контракту, отгрузить зерновому трейдеру и получить деньги.
Но если цены вырастут, ничего уже нельзя будет изменить.
Поэтому решение помещать зерно в элеватор или реализовывать, требует анализа рынка, и маркетинговых знаний.
Возможны и другие варианты:
- часть зерна отправить на изготовление вторичных продуктов перерабоки, например комбикорма для животных;
- продать производителям биотоплива;
Гравитация обычно используется для выгрузки зерна из бункеров. Пустой грузовик заезжает на весы, взвешивается подъезжает под погрузку, и загружается. Оператор элеватора следит за процессом, чтобы понимать, когда отключить подачу. Грузовик возвращается на весы, чтобы получить точный вес, а затем доставляет груз до места назначения. Когда зерно продано, оно может покинуть элеватор, впоследствии оказавшись в железнодорожном вагоне, судне или на барже.
Элеватор — устройство и оборудование
В промышленности по заготовлению и переработки зерновых культур часто используется такое сооружение, как элеватор.
Другими словами данное сооружение является высокотехнологичным оборудованием для хранения зерна в специальных условиях и посредством такого хранения зерно доводится до определенной, нужной стадии кондиции.
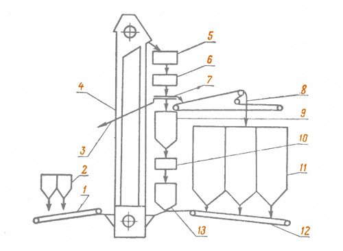
Устройство элеватора
Элеватор является сооружением силосного типа действия. Конструктивно представляет собой многофункциональное сооружение, в комплексный состав которого входят такие элементы, как сушилка для зерна, непосредственно зерновое хранилище, здание для проведения работ, силосные корпуса и т.д. На сегодняшний день элеваторы являются неотъемлемой частью всех предприятий по хранению и переработке зерна. Как правило, чаще всего к элеваторам пристраивают силосные сооружения, вместимость которых может достигать порядка пятидесяти тысяч зерна.
В конструкцию и рабочий состав элеватора входят такие части и элементы, как весовая, отделение для приемки зерновой культуры, башня рабочего назначения, в которое непосредственно расположено всё оборудование, для первичной и других видов обработки зерновых культур.
Хранилище и отделение для проведения сушки зерна. Отделение отгрузок, которое является бункером хопперного типа. Оборудование для подъема зерновой культуры и ее транспортирования из одного отделения в другое.
Пристройку силосов к элеватору осуществляют таким образом, чтобы он имел пути сообщения с основным зданием для проведения работ, поскольку в нем, как правило, полностью сформирован комплект рабочего оборудования и транспортировочные пути, по которым зерно вывозится для дальнейшего его распределения.
Оборудование элеваторов
Элеваторы непременно снабжаются таким оборудованием, как нории, которые являются подъемниками вертикального типа, которые нужны для того чтобы поднимать зерно на взвешивание, очистку от примесей различного, дальнейшей его сушки. После этого зерно выдается посредством конвейерной установки на транспортеры, которые осуществляет сброс зерна в силосное сооружение. Всеми эти элементы для проведения описанных работ включаются в состав одного сооружения – элеватора.
Так же в элеватор включено еще одно сооружение, в котором производится непосредственно дезинфекция зерновой культуры и ее вентилирования, однако на сегодняшний день еще не все элеваторы оборудованы такими рабочими устройствами.
Однако стоит отметить, что сегодня все большее количество элеваторных установок оснащается специальными пунктами, которые осуществляют прием зерна с автомобильного, железнодорожного и авиационного транспорта. Что в значительной мере облегчает проведение всех погрузочно-разгрузочных работ, ведь буквально еще некоторое время назад элеваторы обслуживались исключительно вручную, и все работы по выгрузке зерна проводились непосредственно с применением ручного труда.
Разновидности и классификация элеваторов
Элеваторы зерновые, как правило, можно проклассифицировать по их непосредственному назначению:
- хлебоприемного или заготовительного типа, на которых осуществляются непосредственно дезинфицирующие работы с зерном, его очистка от примесей различного характера и предварительная подготовка к дальнейшему использованию.

- производственного типа, которые, как правило, размещаются вблизи мельниц, заводов по изготовлению круп и на предприятиях по изготовлению крахмала и муки
- базисного типа, которые, как правило, используются для хранения зерна длительное время, для его приемки с железнодорожного и других видов транспорта.
- перевалочного назначения, которые предназначены для перегрузочных действий, такие элеваторы имеют еще название портовые, как правило, размещаются недалеко от портов, железных дорог.
Также существуют мини элеваторы для небольших складских объемов.
Энциклопедия Великих равнин
Бетонный элеватор CO-OP, построенный в 1935 г.
Увеличить
Элеватор — это сооружение, предназначенное для хранения сухих,
мелкие злаки; переваливает зерно навалом
а не в мешках или мешках, и он хранит, перемещает,
и обрабатывает зерно вертикально.
Вертикальная обработка
и хранение желательны, потому что зерно
течет под действием силы тяжести в высоких узких резервуарах и, таким образом,
требуется меньше энергии и труда. Элеваторы
возник во второй половине XIX в.
века в Северной Америке, когда сельское хозяйство
перешел с прожиточного минимума на
рыночная экономика, как фермеры, выращивающие пшеницу
Штаты и провинции Великих равнин начали массовые,
распространение своей продукции на большие расстояния.
Все элеваторы состоят из нескольких компонентов.
Работный дом содержит нижний
этажей, а головной дом (купол) состоит
от двух до пяти верхних этажей. работный дом
Название происходит от того, что большая часть
осуществляются приемно-разгрузочные работы
на рабочем этаже первого этажа, где
начинается подъемный (подъемный) процесс. Головной дом
назван так потому, что головной привод
там находится вертикальная конвейерная система.
Работный дом и головной дом вместе
называют главным домом.
Работный дом — сердце элеватора.
Он содержит «сапог», в который фермеры
сбрасывать урожай и вертикальный ленточно-ковшовый
конвейер, поднимающий зерно с
ботинок к головному дому, из которого он
изливается в ряд обнесенных стеной бункеров для бестарного хранения.
В нижней части баков есть отверстия
из которого зерно высыпается в желоба
связаны с ожидающим транспортом, таким как
грузовики и железнодорожные вагоны.
Элеваторы для зерна можно классифицировать по
к размещению подъемной техники
и бункеры для хранения строительных материалов и
функция. Существует два класса аранжировки:
автономный, где подъемная техника,
распределитель, система подачи и
складские помещения расположены в главном доме; и
пристройка, где подъемная техника, распределитель,
и водосточная система находятся в главном доме,
пока хранилище находится в бинах, подключенных к
главный дом внешними водосточными желобами и конвейером
системы. В последней системе зерно
перенесены из основного дома в пристройку
подвесным горизонтальным ленточным конвейером с
отключающее устройство, которое направляет его в назначенное
мусорное ведро Зерно перемещается из пристройки
бункеры в главный дом на горизонтальном конвейере
ремень под бункерами.
Первый этап в архитектуре элеватора
был народным железным типом дерева. Построен
местными фермерами и плотниками без
стандартизированный план или проект,
структуры делали акцент на функции, а не на форме.
Есть два подтипа, основанные на кадрировании.
шипованный тип состоит из баллонной конструкции,
также используется в жилом и коммерческом строительстве.
Ребристый тип имеет стенки толщиной два дюйма.
доски от четырех до десяти дюймов
широкий в зависимости от высоты лифта.
Они уложены плоско, проколоты через один
другой, и перекрываются по углам. Облицовка
из досок внахлест размером один на шесть дюймов
для обоих подвидов. Отличительные черты
железный деревянный лифт включает удлинение стяжек
через внутренние бункеры, которые закреплены на якоре
к горизонтальным раскосам снаружи
стены и облицовка из оцинкованного железа или жести
применяется для наружных стен. Обшивка была
используется для гидроизоляции, а также для защиты
древесина от искр, вылетающих из угольных
рядом проезжают локомотивы.
Дизайн и масштаб железной древесины
лифт включает в себя мастерскую прямоугольной формы,
от сорока до шестидесяти футов высотой и увенчаны
двух- или трехэтажным прямоугольным полным или
частичный головной дом примерно от пятнадцати до
двадцать футов высотой. Двускатные крыши широко распространены
и работный дом, и головной дом. Внутренние особенности
включать до двадцати
баки различной вместимости для хранения и
смешивание зерна, яма для ботинок (центральная
свалка, принимающая зерно), дровяной элеватор
ножка (стержень, в котором находится ремень и-
ковшовая конвейерная система), распределитель
колесо, направляющее движение зерна в различные бункера, и система подачи дров,
направляет зерно в бункеры или разгрузочные желоба. В зависимости
по размеру конструкции, всего
вместимость от 10 000 до 50 000
бушели.
С начала коммерческого земледелия
на Великих равнинах железная древесина
элеватор был основным центром для зерна
складская и судоходная промышленность. Железные дороги часто
предоставлен земельный участок (полоса отвода) для его строительства
а также вагоны-зерновозы, пригодные для перевозки
зерно местного производства на отдаленные рынки.
Из-за стремительного роста страховых тарифов
для деревянных элеваторов, владельцев лифтов и строителей
экспериментировал с другими материалами, такими как
стальная и глиняная черепица. Однако бетон стал
материал по выбору 1900, потому что это устранило
двойная опасность долгоносиков и огня и
таким образом снижаются расходы на страхование. цилиндрической формы
бетонные конструкции были инженерным
инновации при введении в зерно
промышленность. Технология скользящей формы, используемая в
их конструкция производит танк в одно целое
сплошной кусок бетона без
стыки и заплатки. Техника состоит из
концентрическая форма двойного кольца, в которую бетон
наливается. Как бетон в нижней
часть комплектов колец, формы подняты домкратом вверх,
и добавляется больше бетона. Этот процесс
продолжается до тех пор, пока не будет достигнута нужная высота.
достиг. Стены толщиной от шести до восьми дюймов,
усилены вертикальными и горизонтальными
стальные стержни (двутавры).
Зерновые элеваторы можно разделить на четыре
типы в зависимости от функции.
Первый и самый
многочисленный деревенский, или местный, элеватор
расположен вдоль железнодорожных путей в небольших городах
Великих равнин. Из-за большого количества
зерна, произведенного в окрестностях
сельской местности, фермерам нужны местные складские помещения
для обработки излишков продукции перед отгрузкой
на внутренний или международный рынок.
Загородные элеваторы позволяют местным производителям
держать свое зерно по лучшей цене, защищать
его против отходов и порчи, разместить
большое количество зерна во время пикового урожая
сезона и взимать более низкие тарифы на хранение, чем
конечные лифты.
Терминальный элеватор принимает зерно по железной дороге
или грузовик с дачных элеваторов. Эти
возвышающиеся бункеры высотой до 150 футов, расположенные
в длинных параллельных линиях, имеют пропускную способность
для хранения нескольких миллионов бушелей зерна. После
прием зерна с крестьянских элеваторов,
операторы терминалов продают огромные партии
производителей муки или хранить зерно на потом
продажа отечественным и зарубежным покупателям.
Третий тип — обрабатывающий лифт.
Его цель не хранение зерна, а его переработка.
зерно внутри или рядом с объектом в готовое
продукт и ряд побочных продуктов для
либо потребление человеком, либо скотом. Обработка
лифты состоят из двух подтипов,
мельница и комбикормовый завод. Мельница
элеватор классифицирует и смешивает пшеницу для помола
и предназначен для передачи пшеницы в соседний
мельница, где завершается процесс помола.
Устройство накопительного бака
Элеватор мельницы состоит из различных
размеры бункера для разных сортов пшеницы
используется для производства различных видов муки.
Процесс переворачивания важен в
элеватор мукомольной мельницы для поддержания хорошего состояния
пшеница в течение длительного периода
хранения. Поэтому элеваторы мукомольных заводов требуют
сложная сеть вертикальных и горизонтальных
конвейеры для изъятия пшеницы из любых
bin и отправить его другому. Элеваторы для мукомольных заводов
также имеют специализированное оборудование, связанное с
с тестированием и очисткой сырого зерна, такого как
лаборатории, демпферы, стиральные и сушильные машины.
Элеватор комбикормового завода обычно обрабатывает, в
Помимо пшеницы, различные зерновые, в том числе
кукуруза, овес и соя. Из-за
это внутреннее хранилище элеватора комбикормового завода
должны быть организованы, чтобы обеспечить бункеры различной
размеров для разных сортов зерна.
Для элеваторов комбикормовых заводов требуются различные типы
помещения, желоба и вспомогательные постройки, такие как
разгрузочные желоба и доки как для мешков
и сыпучих кормов, упаковочные помещения и склады
для хранения мешкового корма. Более того,
комбикормовые заводы подключены к
лифт, если этот процесс не завершен
в пределах. Наконец, элеваторы комбикормовых заводов также содержат
специализированное оборудование, в том числе кукурузоуборочные комбайны,
дробилки початка, вальцовые мельницы, аспираторы, мешковина
носики и смесители периодического действия, которые смешивают
минеральные добавки и другие крупы согласно
к формулам клиента.
Есть два заметных различия между
элеваторы в канадских прериях
Провинции и другие районы Великой
Равнины.
Во-первых, деревянных элеваторов остается больше
в канадских провинциях, хотя
ожидается, что это изменится по мере их замены
по конкретной версии. Во-вторых, внешний вид
канадских деревянных элеваторов обычно красят.
Цвета различаются в зависимости от принадлежности компании;
однако красный, серебристый, белый и коричневый являются
наиболее общий.
Будь то дерево, плитка или бетон, зерно
Лифт продолжает доминировать в визуальном плане.
ландшафт Великих равнин, где он
играл значительную роль в экономической жизни
малых городов более 100 лет.
Джордж О. Карни
Университет штата Оклахома
Карни, Джордж О. «Элеваторы зерна в США
и Канада: функциональная или символическая?» Материальная культура
27 (1995): 1–24.
Кларк, Чарльз С., изд. Зерновые элеваторы Северной Америки . Чикаго: Зерновые и кормовые журналы Consolidated,
1942.
Райли, Роберт Б. «Элеваторы зерна: символы
Время, место и честное здание».
0035 Журнал Американского института архитекторов 66 (1977): 50–55.
Как это работает: зерновые элеваторы
/ iowaagliteracy
Фермеры сажают кукурузу на свои поля в конце апреля и мая, а осенью кукуруза убирается зерновым комбайном. После уборки кукурузы (обычно в сентябре, октябре или ноябре) ее сушат и хранят на ферме или в элеваторе, а оттуда отправляют на мельницы и нефтеперерабатывающие заводы. Итак, как работает элеватор?
Комбайны собирают зерно с поля и перегружают его в зерновоз или прямо в грузовик, который может доставить урожай на элеватор. Зерновые элеваторы расположены вблизи железных дорог или водных путей, чтобы обеспечить отгрузку зерна после обработки. Элеваторы, как правило, находятся в небольших сельских районах, где фермер может перевозить зерно на меньшем расстоянии. Элеватор легко узнать. Иногда это самое высокое здание в городе, от 70 до 120 футов!
Грузовик с зерном подъезжает к местному элеватору, а затем останавливается на весах у элеватора для взвешивания.
Оператор берет пробу зерна для определения веса, содержания влаги и наличия посторонних примесей. Инородные материалы могут состоять из пережеванной кукурузы, стеблей, сорняков или мусора. Для хранения зерна влажность должна быть около 15 %, иначе зерно может заплесневеть при более высоком процентном содержании или стать слишком сухим при более низком содержании. Если зерно слишком влажное, фермерам приходится платить за его сушку на элеваторе. Любой из этих сценариев снизит стоимость бушеля.
Затем зерно выгружается из грузовика на рабочий этаж элеватора. Рабочий пол представляет собой открытый решетчатый пол, где зерно сбрасывается в яму, а затем перемещается по непрерывной ленте, к которой прикреплены ковши, чтобы зачерпнуть зерно, а затем поместить его в бункеры. Эта ковшовая система поднимает зерно, поднимая его с пола на верх силоса (поэтому все оборудование называется элеватором). Пустой грузовик вернется к весам, чтобы снова взвесить грузовик. Это сообщит оператору элеватора, сколько кукурузы было выгружено.
Фермеру будет выдана квитанция, называемая квитанцией о взвешивании или взвешивании. В этом билете будет указано количество бушелей, подсчитанное как доставленное к лифту. Фермеру важно знать вес выброшенного зерна. Кукуруза продается бушелями, и стандартный вес бушеля составляет 56 фунтов. Это измерение веса при покупке или продаже урожая. Билет будет записью доставки для фермера. На весовом чеке будет указана дата, количество, вид зерна и качество поставляемого зерна. Это также скажет, будет ли зерно продаваться или храниться.
Элеваторы были созданы для хранения покупаемого или доступного для перепродажи урожая, а также для решения проблемы хранения зерна. Важнейшей функцией хранилища является защита зерна от непогоды, возможность хранения и отслеживания качества и температуры. Внутри здания находится вертикальный склад с бункерами, что позволяет легко транспортировать зерно. Правильное хранение имеет первостепенное значение. Если урожай оставить в поле, возврат инвестиций может снизиться из-за насекомых, плесени, птиц или грызунов.
Посевы должны быть чистыми. Содержание влаги является основным фактором для безопасного хранения. Повышенная влажность может привести к появлению плесени и грибка. По мере созревания зерна влажность уменьшается.
Хранение зерна позволит фермеру гибко использовать маркетинг и, возможно, получать сезонное повышение цен. Хранение зерна сопряжено с затратами, поэтому фермер должен принять решение, исходя из вместимости хранилища и ожидаемой прибыли после хранения. Если продажа урожая позже по цене, превышающей текущую продажную цену, является лучшим решением, фермер предпочтет хранить зерно. Надлежащее использование хранилищ потенциально увеличит стоимость дохода от зерна. Тем не менее, фермеру необходимо будет учитывать затраты на хранение, которые могут включать в себя затраты на оборудование, проценты на запасы зерна, дополнительную сушку зерна, усадку зерна и сборы за обработку.
У фермеров есть выбор, как продавать свое зерно. Они могут заключить форвардный контракт и продать зерно торговцу в любое время.
Форвардный контракт позволяет фермеру знать точную цену, точное количество и дату поставки. Недостатком является то, что если цены растут, фермер уже привязан к форвардному контракту. Если фермер решит хранить зерно и продать его позже, он может продать его заводам по производству этанола, биодизельным заводам или производителям кормов для скота. Фермер будет договариваться о ценах и будет продавать в течение всего года. Принимая во внимание затраты на хранение и важность сохранения качества зерна, пригодного для покупки.
Когда зерно продается, оно может покинуть элеватор, оно может быть помещено в железнодорожный вагон, грузовик или баржу. Для загрузки зерна из бункеров на загрузочную станцию обычно используется сила тяжести. Процесс загрузки и обратный процесс разгрузки. Пустой грузовик подъезжает к весам и взвешивается. Грузовик подъедет под носик, и зерно будет загружено обратно в грузовик. И дальнобойщик, и оператор элеватора следят за датчиками, чтобы знать, когда нужно перекрыть подачу зерна.
