Содержание
устройство, принцип работы, неисправности. Как проверить вискомуфту охлаждеия радиатора
Вязкостная муфта в системе охлаждения двигателя автомобиля применяется в качестве альтернативы электрическому вентилятору. Рассмотрим, как работает вискомуфта вентилятора, ее устройство, возможные неисправности, преимущества и недостатки.
Роль в системе охлаждения ДВС
Вентилятор с вискомуфтой устанавливается на автомобили с продольным расположением двигателя (обычно это полноприводные и заднеприводные модели). При такой компоновке шкив вентилятора радиатора целесообразней всего соединить со шкивом водяной помпы. Как известно, вращение водяной помпе передается сервисным ремнем от шкива коленчатого вала.
Недостаток такой конструкции в том, что скорость вращения крыльчатки вентилятора всегда будет пропорциональна оборотам коленчатого вала. Подобное устройство приведет к тому, что на высоких оборотах в условиях холодного воздуха двигатель будет чрезмерно охлаждаться, что снизит его КПД.
К тому же постоянное соединение крыльчатки и шкива коленчатого вала увеличит механические потери на трение, что будет отнимать мощность и повышать расход топлива.
Вискомуфта вентилятора позволяет регулировать скорость вращения крыльчатки в зависимости от температуры двигателя.
Устройство
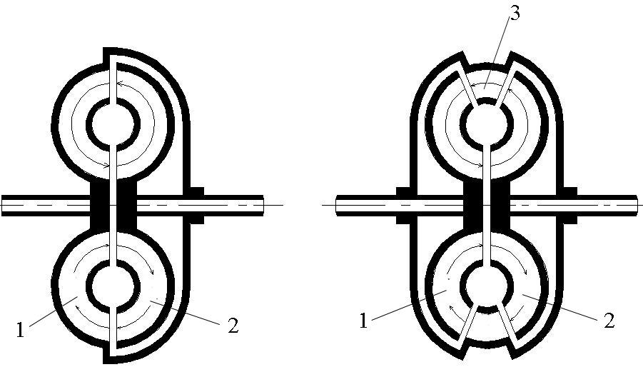
Разница в конструкции вискомуфт вентилятора Toyota, BMW, Mercedes, Audi. минимальна, так как все они устроены и работают по единому принципу.
Вал с соединительным фланцем крепится к приводу помпы охлаждения, поэтому его скорость вращения всегда пропорциональна оборотам коленчатого вала. К валу, в свою очередь, крепится приводной шкив, который вращается в рабочей камере. Рабочая и резервная камеры разделены пластинами. Переход между камерами возможен только через впускные клапаны и возвратные каналы. Изначально резервная камера заполнена специальным силиконовым маслом.
Приводной шкив, или диск, как его еще называют, имеет по окружности косые зубья, которые при вращении позволяют выгонять масло обратно в резервную камеру. Поверхность приводных дисков, как и делительных пластин, имеет специальные ребра, которые превращают рабочую камеру в своеобразную сеть лабиринтов, по которым циркулирует силиконовое масло.
Корпус муфты, к которому и крепится крыльчатка вентилятора, соединяется с валом (ротором вискомуфты) посредством обычного шарикового подшипника. Впускные клапаны соединены с биметаллической пластиной, которая располагается в передней части корпуса вискомуфты. При нагреве пластина расширяется, что приводит к увеличению пропускного сечения клапанов.
Свойства силиконового масла
Основная особенность силиконовой жидкости, использующейся в вискомуфтах вентиляторов, – термостойкость и вязкостная стабильность. С изменением температуры масло лишь незначительно изменяет свою вязкость.
В работе вискомуфты силиконовое масло исполняет роль связывающего вещества, позволяющего создать между приводным диском и разделительными пластинами, соединенными с корпусом, трение.
Несмотря на то что между корпусом и приводным шкивом всегда будет некоторая степень проскальзывания, созданного коэффициента сцепления достаточно для зацепления корпуса муфты с приводным валом.
В некоторых источниках указывается, что с повышением температуры масло расширяется, что и провоцирует вязкостное зацепление приводного диска с корпусом вискомуфты. Подобное понимание принципа работы вискомуфты вентилятора охлаждения является ложным и возникло, скорее всего, из-за сравнения вискомуфты вентилятора с вязкостными муфтами раздаточных коробок полноприводных автомобилей. В вискомуфтах дифференциалов используется дилатантная жидкость, вязкость которой сильно зависит от скорости деформации сдвига.
Принцип работы
Когда рабочая камера не заполнена маслом, приводной диск свободно вращается в рабочей камере. Небольшое количество масла все же присутствует, но коэффициент сцепления приводного шкива с корпусом вискомуфты минимален, поэтому с повышением оборотов двигателя скорость вращения крыльчатки не увеличивается.
Процесс прогрева двигателя и увеличения температуры тосола в радиаторе сопровождается нагревом биметаллической пластины. Нагреваясь, пластина расширяется, что приводит к открытию впускного клапана и увеличению количества рабочей жидкости, проникающей из резервной в рабочую камеру. Возникающее между приводным диском и разделительными пластинами трение приводит к увеличению скорости вращения корпуса и крыльчатки вентилятора.
Когда двигатель нуждается в максимальном охлаждении, биметаллическая пластина изогнута настолько, чтобы обеспечить максимальное проходное сечение впускных клапанов. В таком случае разница частоты вращения вала и корпуса вискомуфты минимальна, поэтому повышение оборотов коленчатого вала приводит к практически равнозначному увеличению скорости вращения крыльчатки вентилятора.
Работа вискомуфты Toyota на примере конкретных температурных режимов
Устройство вискомуфт вентиляторов Toyota предполагает наличие двух рабочих камер (в первых вариантах конструкции была только одна камера).
- Биметаллическая пластина в «холодном» состоянии.
- Пластина разогрета теплым воздухом, открыт впускной клапан передней камеры.
- Коэффициент температурного расширения соответствует максимальному режиму охлаждения. Открыт клапан задней камеры.
Почему вискомуфта вращается на холодную
Многие владельцы автомобилей с механическим приводом вентилятора системы охлаждения, скорее всего, замечали, что после запуска холодного двигателя вентилятор крутится с большой скоростью. Спустя некоторое время после прогрева двигателя, количество оборотов крыльчатки уменьшается, поэтому может показаться, что подобное явление идет в разрез с описанным выше принципом работы вискомуфты вентилятора. Такой эффект возникает из-за того, что во время простоя масло самотеком стекает в нижнюю рабочую камеру, поэтому сразу после запуска крыльчатка и корпус вискомуфты будут вращаться до того времени, пока масло перекачается обратно в резервную секцию.
Преимущества
Обороты крыльчатки подстраиваются под фактический температурный режим двигателя, что позволяет:
- уменьшить расход топлива;
- снизить уровень шума;
- уменьшить потери мощности.

Установка вискомуфты в системе охлаждения позволяет уменьшить нагрузку на генератор и снизить себестоимость авто, исключив затраты на электропривод крыльчатки, проводку.
Недостатки
гидромуфта камаз 740 привода вентилятора, принцип работы гидромуфты
Каждый водитель знает, насколько важно своевременно охлаждать двигатель на автомобиле. Обеспечение стабильной работы системы охлаждения грузовика невозможно без гидромуфты КАМАЗ. Об устройстве гидромуфты, ее назначении и правильной эксплуатации читайте в нашем материале.
Как работает система охлаждения на КАМАЗе?
Мощность двигателя напрямую зависит от функционирования системы охлаждения. Двигатель на КАМАЗе может нагреваться до 220°С, поэтому своевременное снижение температуры чрезвычайно важно. Этот процесс представляет собой замкнутую систему с принудительной циркуляцией специального антифриза.
Циркуляцию обеспечивает центробежный насос. Для постоянного поддержания температуры антифриза служит термостат. Отличительная черта грузовых автомобилей – это наличие параллельно двух термостатов. При перегреве термостат направляет антифриз в радиатор. Здесь происходит завершение циркулирующего круга, и жидкость охлаждается до оптимальной нормы. Особенность радиатора на КАМАЗе – наличие жалюзи. Жалюзи контролируют потоки воздушных масс, проходящие через решетку. Полная емкость системы охлаждения составляет 25 литров.
В жаркую погоду или на максимальных оборотах радиатор может не справиться со своей задачей. Тогда на помощь приходит еще одна важная часть – вентилятор. Он регулирует скорость движения антифриза и обдувает радиатор, обеспечивая отток избыточного тепла. Вентилятор делает возможным безотказное функционирование системы в любое время года и при максимальной нагрузке. «Сердце» вентилятора – гидромуфта, которая обеспечивает работу вентилятора на «отлично».
Назначение гидромуфты
Гидравлическая муфта – это центральный элемент механизма привода вентилятора.
Долгое время гидромуфта была единственным типом муфт используемых на КАМАЗах, сейчас на некоторые модели устанавливают вязкостный тип или по-другому вискомуфты. Однако, гидромуфта ряд преимуществ и наиболее широко распространена на камских авто, она важна для контроля работы вентилятора и всего охлаждения в целом. Включение и выключение гидравлической модели быстрее по сравнению с другими типами. Деталь передает кручения от колечатого вала к вентилятору и гасит колебания нагрузок. Наличие такого агрегата снижает нагрузку на привод при резкой смене режима. Надежная конструкция муфты привода вентилятора служит гарантией его бесперебойного функционирования и включения в нужный момент.
Изучаем устройство и принцип работы гидромуфты
Для понимания принципа, по которому работает гидромуфта, нужно изучить ее составляющие. Основа представляет собой два колеса: ведущее и ведомое. Они крутятся на валу с помощью подшипников. Ведущее колесо неразрывно связано с коленчатым валом, а ведомое соединено с ведомым валом.
Принцип действия достаточно простой. Ведомый вал приводит в действие вентилятор, что и является основной функцией устройства. Внутри колес находятся радиальные лопатки. Структура колес цельнолитая, это обеспечивает их надежность и прочность. Пространство между лопаток является рабочей полостью детали, куда подается масло. От количества масла зависят обороты вентилятора. Уплотняют конструкцию две резиновые манжеты.
Для регулировки подачи масла служит выключатель. Он является основной частью конструкции, без него невозможно осуществление всех положенных задач. В несложном механизме выключателя разберется каждый автолюбитель. Внутри находится термосиловой датчик, он взаимодействует с антифризом и срабатывает в зависимости от внутренней температуры. Пороговую температуру включения элемента можно контролировать с помощью изменения количества колец между регулятором и термосиловым датчиком. Выключатель можно установить в различные положения: автоматический, открытый и закрытый варианты.
Муфта вентилятора обычно работает на автоматическом включении, остальные режимы считаются аварийными. Не используйте их без необходимости. Они активируются при падении или росте температуры сверх нормы. В таком случае рекомендуется как можно быстрее устранить текущие проблемы и вернуться в прежний порядок. Чтобы включить или отключить устройство необходимо повернуть пробку с отверстиями, расположенную в верхней части регулятора. Автоматический режим поддерживает оптимальный тепловой режим и повышает экономичность использования двигателя. Прочный механизм гидравлической муфты обеспечивает долгий срок ее службы.
Диагностика и ремонт гидромуфты
Слаженная работа вентилятора и гидромуфты практически не требует вмешательства. Надежная конструкция агрегата редко выходит из строя, но иногда это все же случается. Неисправности легко обнаружить и устранить самостоятельно. Даже если вы никогда не занимались ремонтом ранее, вы сможете провести диагностику и выявить поломку.
Первый признак поломки – снижения оборотов вентилятора. Самой простой причиной может стать недостаток рабочей жидкости или загрязнение поверхности радиатора. Поэтому проверяем уровень жидкости в первую очередь. Необходимо сделать промывку узла чистой водой и зафиксировать жалюзи. Поломку может повлечь и утечка жидкости. Для предотвращения утечки замените поврежденные части трубопроводов, радиатора и привода гидромуфты. Следующий шаг – проверьте натяжение ремней привода насоса. Обследуйте на предмет износа сальники подшипники и замените пришедшие в негодность элементы.
Самым слабым звеном в устройстве является выключатель. Чаще всего именно эта составляющая выходит из строя и влечет за собой отказ в работе муфты в целом. Нюансы ремонта детали показаны на видео:
Если срок службы агрегата подошел к концу – замените муфту на новую.
Но помните, что замена муфты отдельно – сложная и трудоемкая операция. Гораздо проще поменять узел целиком в сборе с передней крышкой блока.
Не можете найти причину поломки? Тогда агрегат нужно демонтировать и разобрать. Подробнее расскажем далее.
Самостоятельный демонтаж гидромуфты
Снятие гидромуфты осуществляется путем подъема кабины. Затем слейте масло из двигателя. Дальше выполните следующую последовательность действий:
— отсоедините навесной ремень и привод вентилятора 238 1308011 в2;
— снимите масляный поддон и радиаторы;
— демонтируйте масляный фильтр;
— приподнимете двигатель и снимите переднюю крышку вместе с гидромуфтой.
После демонтажа продуйте все каналы поступления рабочей жидкости и осуществите проверку кручения колес. Ремонт осуществляйте на специально предназначенном приспособлении. Подойдет кран-балка или подвеска. Загрязненные детали промойте бензином. Далее процедура установки проводится в обратном порядке.
После установки элемента на прежнее место проведите диагностику всех соединений, а затем только запускайте гидромуфту.
Правила эксплуатации и профилактика неисправностей
Гидромуфта не требует специального технического обслуживания, но контроль и проверка состояния продлит срок ее службы. Предотвратить неисправности поможет плановый осмотр и правильная замена масла. Проводить проверку следует, даже если нет текущих проблем. Следите за качеством моторного масла, оно напрямую влияет на состояние всех составляющих муфты. Обратите внимание, что в системе не должно быть протечек. Даже самая небольшая течь, способна привезти к выходу двигателя из строя. В качестве охладителя летом может выступать обычная вода, но для зимнего периода нужен правильно подобранный тосол или антифриз.
Частая причина поломок – неисправность выключателя гидромуфты, этой части при осмотре стоит уделить особое внимание. Своевременная замена или ремонт неисправной детали обеспечит эффективную работу узла в целом.
При подборе комплектующих, не ищите дешевые аналоги, выбирайте качественные оригинальные запчасти. При замене гидромуфты полностью рекомендуем заменить весь комплект с передней крышкой блока цилиндров. При правильном наблюдении и уходе конструкция прослужит эффективно весь срок эксплуатации.
Связанные материалы: КАМАЗ гидромуфта муфта привод привод вентилятора ЯМЗ 236 238 муфта вентилятора
Как работает гидравлическая система сцепления
Как работает гидравлическая система сцепления | Совет вашего механика
Задайте вопрос, получите ответ как можно скорее!
ЗАПРОСИТЬ ЦЕНУ
Сцепление не работает Стоимость осмотра
Место обслуживания
$145,99 — $170,00
Диапазон цен для всех автомобилей
Если в трансмиссии вашего автомобиля установлено гидравлическое сцепление, скорее всего, вам интересно, как именно оно работает в вашей системе переключения передач. Большинство сцеплений, особенно на старых автомобилях, работают с помощью зубчатой системы, которая переключает передачи при переключении.
С автоматической коробкой передач вы вообще не переключаетесь — машина делает это за вас.
Основы
По сути, сцепление работает с помощью рычага переключения передач или ручки. Вы нажимаете сцепление ногой, и это заставляет маховик двигаться. Это работает с нажимным диском, отключая диск сцепления и останавливая вращение карданного вала. Затем пластина освобождается и снова включается в выбранную вами передачу.
Гидравлика
Гидравлическое сцепление работает по тому же основному принципу, но отличается от своего механического аналога меньшим количеством компонентов. Этот тип сцепления имеет резервуар с гидравлической жидкостью, и когда вы нажимаете на педаль сцепления, жидкость становится под давлением. Он работает вместе с диском сцепления, чтобы отключить передачу, на которой вы находитесь, и включить новую передачу.
Техническое обслуживание
Важно следить за тем, чтобы жидкости всегда было достаточно. В большинстве автомобилей это не проблема.
Это закрытая система, поэтому обычно ваша жидкость должна работать в течение всего срока службы автомобиля, и ее никогда не нужно менять. Исключение, конечно, если вы привыкли водить очень старый автомобиль. Затем износ может привести к утечке, и вам нужно будет долить жидкость. Вам не нужно беспокоиться о покупке чего-то необычного — подойдет и обычная тормозная жидкость.
Проблемы
Ваша система переключения передач, безусловно, жизненно важна для работы вашего автомобиля. Гидравлическое сцепление — это то, что обеспечивает переключение передач, и если оно не работает, вы обнаружите, что едете на одной передаче — правда, ненадолго. Вам нужно будет проверить это у механика.
Чтобы избежать проблем с гидравлическим сцеплением, лучше всего избегать практики, известной как «езда на сцеплении». Это просто означает, что вы выработали привычку постоянно держать ногу на педали сцепления, поднимая и опуская ее, чтобы регулировать скорость. Вот для чего нужны ваши тормоза! При правильном уходе ваше гидравлическое сцепление прослужит долго.
Следующий шаг
Расписание Сцепление не работает Осмотр
Самая популярная услуга, которую заказывают читатели этой статьи, — Не работает Сцепление Техосмотр. После того, как проблема будет диагностирована, вам будет предоставлена предварительная стоимость рекомендуемого исправления, а также скидка в размере 20 долларов США в качестве кредита на ремонт. Технические специалисты YourMechanic доставят вам услуги дилера, выполняя эту работу у вас дома или в офисе 7 дней в неделю с 7:00 до 21:00. В настоящее время мы охватываем более 2000 городов и имеем более 100 тысяч 5-звездочных отзывов…
УЗНАТЬ БОЛЬШЕ
СМОТРЕТЬ ЦЕНЫ И РАСПИСАНИЕ
сцепления
Манетки
трансмиссии
Приведенные выше утверждения предназначены только для информационных целей и требуют независимой проверки. Пожалуйста, смотрите наш
Условия использования
для более подробной информации
Отличные оценки авторемонта.
4.2 Средняя оценка
Часы работы
7:00–21:00
7 дней в неделю
Номер телефона
1 (855) 347-2779
Часы работы телефона
Пн — Пт / 6:00 — 17:00 по тихоокеанскому времени
Сб — Вс / 7:00 — 16:00 по тихоокеанскому стандартному времени
Адрес
Мы приедем к вам без дополнительной оплаты
Гарантия
Гарантия 12 месяцев/12 000 миль
Наши сертифицированные выездные механики выполняют более 600 услуг, включая диагностику, тормоза, замену масла, плановые ТО, и приедут к вам со всеми необходимыми запчастями и инструментами.
Получите честное и прозрачное предложение прямо перед бронированием.
Отличный рейтинг
Общий рейтинг
ПОСМОТРЕТЬ ОТЗЫВЫ РЯДОМ
Скотт
39 лет опыта
607 отзывов
Запрос Скотт
90 002 Скотт
39 лет опыта
Запрос Скотта
Рэнди
GMC K1500 V8-5.0L — Сцепление не работает — Брумфилд, Колорадо
Я прошу Скотта из-за его знаний. Он не просто подключает машину к компьютеру и говорит: «Я не уверен». Он действительно может посмотреть на то, что, как известно, произошло из прошлого опыта. Я всегда буду просить его о помощи.
Тони
Subaru Outback — Сцепление не работает — Денвер, Колорадо
Скотт был очень тщательным в своей работе над моим Subaru, эффективно общался, чтобы согласовать мою встречу, и дал отличные рекомендации по дальнейшим услугам для решения моей проблемы (которая оказалось более серьезной проблемой, чем предполагалось изначально). Очень полезно и дружелюбно, и я очень рекомендую!
Роберт
23 года опыта
343 отзыва
Запрос Роберт
Роберт
23 года опыта
Запрос Роберт
Джереми
Honda Fit L4-1.
5L — Сцепление не работает — Ирвинг, Техас
Роберт был вовремя и точно определил мою проблему быстро и усердно работал над решением проблемы. Он был очень добрым чуваком и даже оставил мне несколько ценных советов на будущее. Спасибо Роберт!
Тинаше
14 лет опыта
781 отзыв
Запросить Тинаше
Тинаше
14 лет опыта
Запросить Тинаше
от Keirsun
Honda Fit L4-1.5L — Сцепление не работает — Атланта, Джорджия
Тинаше был быстр, объяснил мне все, пока он работал, решил проблему с машиной. Идеальный опыт.
Travis
14 лет опыта
691 отзыв
Запрос Travis
Travis
14 лет опыта
Запрос Трэвиса
от Лесли
Mazda Miata L4-1.8L — Сцепление не работает — Миннеаполис, Миннесота
Трэвис появился вовремя. Он был профессиональным и очень милым. Он проверил машину, сделал все необходимое и закончил работу.
Я определенно хотел бы, чтобы он устранил любые проблемы с автомобилем, которые у меня есть.
Нужна помощь с вашим автомобилем?
Наши сертифицированные мобильные механики выезжают на дом в более чем 2000 городов США. Быстрые, бесплатные онлайн-расценки на ремонт вашего автомобиля.
ПОЛУЧИТЬ ЦЕНУ
ПОЛУЧИТЬ ЦЕНУ
Статьи по Теме
Что означают сигнальные лампы выжимного сцепления или педали тормоза?
Индикаторы выжима сцепления и педали тормоза напоминают о том, что нужно нажать на тормоз или сцепление перед запуском двигателя или в парковочном режиме.
Как заменить реле давления трансмиссионного масла
Реле давления трансмиссионного масла передает измерения от насоса. Если фильтр забит, этот переключатель переводит коробку передач в аварийный режим.
Как устранить неисправность сцепления, которое не выключается полностью
Проскальзывающее сцепление — это сцепление, которое не выключается полностью, что может быть вызвано обрывом троса сцепления, утечкой в гидравлической системе или несовместимыми деталями.
Похожие вопросы
Как использовать спортивный режим?
Спортивный режим позволяет вам управлять передачами вашей автоматической коробки передач. Чтобы войти в спортивный режим, установите переключатель в положение D, а затем нажмите его вправо. Затем сдвиньте переключатель вперед, к +, чтобы перейти на повышенную передачу, или нажмите…
как заполнить рабочий цилиндр
Для того, чтобы прокачать сцепление необходимо заполнить главный цилиндр сцепления тормозной жидкостью (https://www.yourmechanic.com/article/how-to-add-brake-fluid- к-вашей-машине от Тоби Шульца). Попросите помощника несколько раз выжать сцепление до пола, удерживая его открытым с помощью прокачного винта…
Проблемы с коробкой передач
Здравствуйте. Если сам переключатель не движется, возможно, соединение заедает, поэтому его необходимо сначала проверить. В большинстве случаев соединения в рычажном механизме будут вызывать это, когда они выходят из строя. Если передача.
..
Просмотр другого контента
Города
Услуги
Сметы
Наша команда обслуживания доступна 7 дней в неделю, с понедельника по пятницу с 6:00 до 17:00 по тихоокеанскому времени, с субботы по воскресенье с 7:00 до 16:00 по тихоокеанскому стандартному времени.
1 (855) 347-2779 · [email protected]
Читать часто задаваемые вопросы
ЗАПРОСИТЬ ЦЕНУ
Что такое гидравлическое сцепление и как оно работает?
Гидравлическое сцепление:
Гидравлическое сцепление использует гидравлическую жидкость, а не трос для управления диском сцепления. Он опирается на резервуарные цилиндры для регулирования давления в зависимости от того, как нажимается педаль. Большинство автомобилей, сделанных из ’90s и далее имеют гидравлические муфты.
Принцип работы:
Гидравлическая муфта использует жидкость для приведения в действие гидравлического поршня. Эта заполненная жидкостью труба выглядит так же, как гидравлика, которую вы видите на стойке капота или экране.
Затем поршень включает или выключает сцепление через ряд соединений. Гидравлическую жидкость обычно называют «жидкостью сцепления». Однако она идентична тормозной жидкости. Он хранится в тормозном цилиндре сцепления.
Тормозной цилиндр сцепления преобразует усилие сцепления в гидравлическое давление. Затем эта мощность передается на рабочий цилиндр сцепления. Шток выходит из рабочего цилиндра, приводя в действие вилку сцепления. Затем вилка сцепления перемещает подшипник выключения сцепления. Это, в свою очередь, освобождает нажимной диск сцепления, отключая сцепление.
Гидравлическое сцепление
Что такое электрогидравлическое?
Электрогидравлический:
На автомобилях со встроенной антиблокировочной системой тормозов, где поршневая камера является элементом гидравлического блока управления (ABS Teves Mark 2, ABS Bosch III, ABS Delco Powermaster 3, Bendix 10 и Jeep ABS ), электрический насос с аккумулятором под давлением азота используется для подачи питания.![]()
В этих приложениях усилитель мощности обеспечивается давлением, хранящимся в аккумуляторе. Здесь речь идет о большом давлении, от 675 до 2600 фунтов на квадратный дюйм, в зависимости от системы и приложения. Когда движущая сила воздействует на педаль и, следовательно, толкатель движется вперед, он открывает клапан внутри гидравлического тормозного цилиндра, который позволяет накопленному давлению от аккумулятора поступать в полость за узлом поршня. Это толкает поршень вперед и включает тормоза.
При активации давления цилиндр контролирует сохраненное давление в аккумуляторе и замыкает переключатель, чтобы показать на электрическом насосе, когда давление падает ниже заданного минимума. Затем он отключает насос, когда давление становится таким, каким оно должно быть.
Проблемы с силовым тормозом такого типа обычно приводят к загрязнению двигателя насоса, реле двигателя насоса, негерметичному аккумулятору или внутренним проблемам в узле поршневой камеры. Поскольку все это является частью АБС, электрические проблемы с двигателем насоса, реле двигателя или датчиком давления, а также низкий уровень жидкости или разрежение обычно вызывают диагностический код неисправности (DTC) и включают предупреждение АБС и/или тормозной системы.
огни.
Электрический насос и аккумулятор обычно можно заменить по отдельности, если возникнут разногласия, но тормозной цилиндр и гидравлический блок управления объединены и должны заменяться в сборе (что невероятно дорого!).
Каковы плюсы и минусы гидравлического сцепления?
Гидравлическое сцепление Плюсы и минусы:
| Плюсы | Минусы 9028 2 |
| Более легкое нажатие педали | Требуется прокачка |
| Более плавное зацепление | Ремонт может быть дорогостоящим |
| Регулировка не требуется |
Гидравлические муфты предпочитают водители, которым нужна современная установка. что наиболее важно, они обеспечивают более аккуратное и плавное ощущение педали. В отличие от механических сцеплений, они не требуют регулировки (пока есть жидкость для сцепления).
Гидравлические муфты саморегулируются автоматически.
Недостатком гидравлических муфт является вероятность утечек. Хотя мелкий ремонт, как правило, проще с гидравлическим сцеплением, утечка будет серьезной и дорогостоящей проблемой. С тормозным цилиндром сцепления и рабочим цилиндром также может быть сложно разобраться.
Еще один небольшой недостаток заключается в том, что вам придется время от времени прокачивать гидравлическое сцепление. Обычно раз в несколько лет. К счастью, зачастую это более аккуратный процесс, чем прокачка тормозов, и при необходимости с ним может справиться один человек.
Работа гидравлического сцепления
Механизм гидравлического сцепления :
Для передачи движения педали механизм гидравлического сцепления использует гидравлическую линию вместо механического соединения (например, трос Боудена).
Поршень главного цилиндра у педали передает давление через жидкость на поршень рабочего цилиндра при работе сцепления на трансмиссии.
При использовании гидравлического механизма сцепления износ сцепления автоматически компенсируется.
Гидравлический механизм сцепления
Компоненты гидравлического сцепления:
Гидравлическое сцепление состоит из различных типов компонентов. Они следующие:
1. Педаль сцепления:
Наиболее важной частью, которая приводит в действие сцепление в автомобиле, является педаль сцепления. Водитель должен нажать на педаль сцепления, чтобы начать процесс включения. Сначала после нажатия на педаль сцепления начинает вращаться диск сцепления.
2. Мембранная муфта:
Мембранная муфта обычно представляет собой независимую муфту, но в гидравлической муфте может использоваться мембранная муфта. Мембрана сцепления крепится к педали сцепления.
Когда педаль сцепления нажимается водителем, сначала педаль сцепления нажимает на диафрагменное сцепление, а затем другое диафрагменное сцепление нажимает на маховик для выполнения дальнейших действий.
3. Диск сцепления:
Одной из наиболее важных частей гидравлического сцепления является диск сцепления. Диск сцепления изготовлен из тонких металлических пластин. Имеется фрикционная накладка, которая прикреплена к диску сцепления с обеих сторон.
Кроме того, этот диск сцепления обычно располагается между нажимным диском и маховиком. Фрикционная накладка более тонкой поверхности диска сцепления контактирует с маховиком, а фрикционная накладка внешней поверхности диска сцепления контактирует с нажимным диском и создает трение.
4. Поверхность трения:
Поверхность трения прикреплена к диску сцепления с обеих сторон. Когда диск сцепления начинает вращаться, поверхность трения соприкасается с нажимным диском, а также с маховиком. Поэтому возникает сила трения. Эта сила трения создает высокий крутящий момент.
5. Нажимной диск:
Еще одной полезной частью гидравлического сцепления является нажимной диск. Нажимной диск расположен на одной стороне диска сцепления.
Нажимной диск крепится пружинами с помощью болтов и вместе с педалями сцепления.
Компоненты гидравлического сцепления
Как переключиться на гидравлическое сцепление?
Переход на гидравлическое сцепление:
Комплекты для переоборудования гидравлического сцепления относительно доступны по цене, обычно в пределах 500 долларов. Однако процесс установки обычно от умеренного до сложного. это часто используется для опытных гаечных ключей.
Обзор процесса переоборудования комплекта гидравлического сцепления:
Преобразование вашего автомобиля в комплект гидравлического сцепления зависит от вашего автомобиля, его трансмиссии и, следовательно, от выбранного вами комплекта. Тем не менее, основной процесс во всех автомобилях очень похож.
1. Удалите все имеющиеся компоненты рычажного механизма из вашей механической установки.
2. Просверлите брандмауэр, чтобы смонтировать и подключить цилиндр.
3. Установите рабочий цилиндр и соедините его с гидравлическим тормозным цилиндром.
4. Установите резервуар.
5. После того, как все подсоединено, прокачайте, чтобы убедиться, что гидравлическая жидкость работает правильно.
6. Проверьте педаль.
Когда вы проверяете сцепление, оно должно быть нормальным и плавным во всем диапазоне движения. Он нигде не должен стоять на месте или возвращаться в исходное положение. Если вы не испытываете никаких проблем, он должен быть готов к тест-драйву.
Какие существуют типы самоблокирующихся дифференциалов?
Типы самоблокирующихся дифференциалов:
Существует множество типов самоблокирующихся дифференциалов. За исключением простоты, мы разделим их на четыре основных типа.
Дифференциал повышенного трения сцепления:
Дифференциал сцепления (также называемый механическим дифференциалом сцепления или дифференциалом сцепления) является наиболее типичным видом LSD. Они используют диски сцепления для передачи крутящего момента по мере необходимости, обеспечивая блокировку оси при потере сцепления с дорогой.
В зависимости от того, как он работает, это может быть односторонний, двусторонний или полуторный ЛСД. Односторонние LSD работают только при ускорении. Двухсторонние LSD также работают во время замедления. Полуторный LSD работает при ускорении и, в меньшей степени, при торможении.
Вискомуфта дифференциала повышенного трения:
Вискомуфта LSD (также называемая вязкостной LSD или VLSD) использует трансмиссионную жидкость для реализации тех же эффектов, что и LSD на основе сцепления. Однако они имеют тенденцию быть более плавными, чем другие LSD, на низких скоростях. Они также проще по конструкции и часто более эффективны в целом. Недостатком является то, что трансмиссионная жидкость нагревается при длительном использовании, что снижает ее эффективность.
Дифференциалы с редуктором и торсеном:
Вместо сцепления или жидкости в дифференциале с редуктором для распределения крутящего момента на колеса используются червячные и прямозубые шестерни.
Тип Torsen является наиболее типичным и известным редукторным дифференциалом. Они не требуют максимального объема обслуживания, как LSD муфтового типа. Они также предлагают лучшую эффективность. Тем не менее, они, как правило, будут более шумными и будут иметь больше вибраций.
Электронный самоблокирующийся дифференциал:
Электронные LSD (или дифференциалы с вектором крутящего момента) являются самыми дорогими и сложными. Преимущество заключается в том, что они часто носят упреждающий, а не реактивный характер. Они запрограммированы пробовать именно то, что им нужно в данный момент времени.
Это означает, что при выходе из поворота они будут давать мощность колесу со скинами, то есть колесу с меньшим сцеплением. Это помогает с более острыми поворотами и уменьшает недостаточную поворачиваемость. Электронные LSD, пожалуй, наиболее часто встречаются в автомобилях Lexus.
Какой тип сцепления вам подходит?
Сравнение гидравлического и механического сцепления:
Давайте посмотрим, чем отличаются гидравлические и механические сцепления.
Преимущества современного механизма делают этот переключатель выгодным для некоторых водителей. Более легкий и плавный ход ножного рычага может быть главным преимуществом при переходе на гидравлическое сцепление. Круиз станет более приятным после того, как вам не придется работать жестким, более грубым сцеплением.
Тем не менее, некоторые пуристы предпочитают сохранять оригинальные вещи в старой конфигурации с тросовым приводом. Если вам нравится винтажное ощущение и старомодное ручное сцепление, лучше оставить его как есть.
Какой из них лучше для вас?
Нет ничего плохого в том, чтобы оставить оригинальное механическое сцепление в старинном автомобиле или грузовике. Но если вы занимаетесь масштабным проектом по перестройке или ремонту, комплект гидравлического сцепления часто является полезным дополнением. Более плавное и легкое срабатывание ножного рычага может сделать вождение более приятным. Для автомобилей, которые не будут восстановлены в соответствии с периодом, этот мод стоит обдумать.
Несмотря на то что между корпусом и приводным шкивом всегда будет некоторая степень проскальзывания, созданного коэффициента сцепления достаточно для зацепления корпуса муфты с приводным валом.