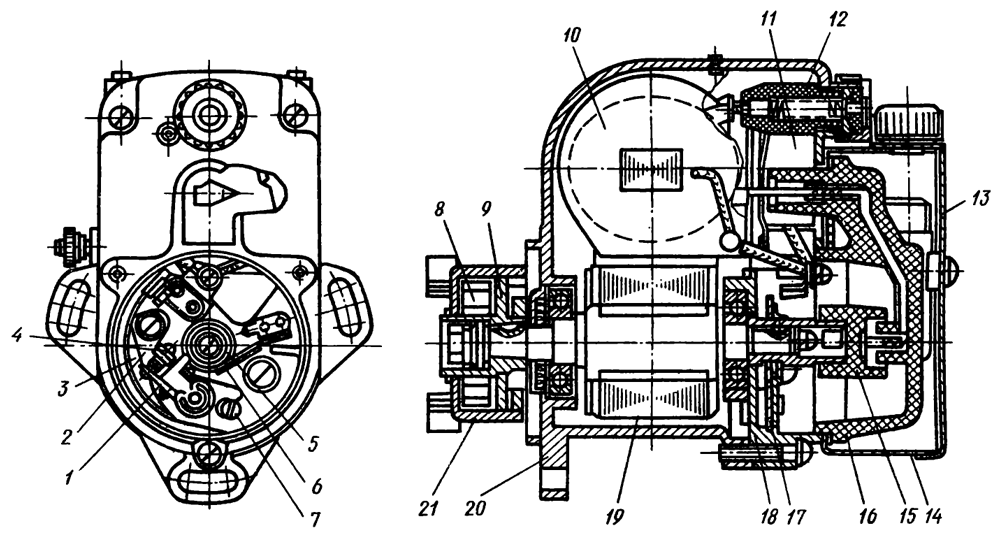
| УСТРОЙСТВО ПУСКОВОГО ДВИГАТЕЛЯ ТРАКТОРА Т-130М Зажигание рабочей смеси в цилиндрах двигателя в тракторе Т-130М Зажигание рабочей смеси в цилиндрах двигателя. Осуществляется запальной свечой 1 (рис. 51) от магнето. Магнето включает в себя ротор 11, прерыватель, обмотки 6, 8 и конденсатор 4. Трансформатор, состоящий из обмоток 6 и 8 и конденсатора 4У предназначен для создания электродвижущей силы. При вращении ротора 11 его магнит создает в сердечнике 7 трансформатора магнитный силовой поток, изменяющийся за каждый оборот по величине и направлению, вследствие чего в первичной обмотке 6, которая пересекается магнитным полем, будет индуктироваться электрический ток низкого напряжения. Рис. 51. Схема работы системы зажигания: 1—свеча зажигания, 2, 5— провода высокого напряжения, 4—конденсатор, 5—зажим конденсатора, 6—первичная обмотка, 7—сердечник, 5—вторичная обмотка, 9— вал ротора, 10—стойка с полюсными башмаками, 11—ротор, 12— кулачок прерывателя, 13—неподвижный контакт, 14—рычаг прерывателя, 15—крышка распределителя, 16— пластинчатая пружина, 17—подвижный контакт, 18— токосъемник. Для установки правильного момента зажигания необходимо на такте сжатия в данном цилиндре поворотом коленчатого вала совместить метку «Заж М-10» на торце маховика (рис. 52) с риской на фланце люка муфты сцепления и в этом положении, повернув магнето, установить начало размыкания контактов прерывателя магнето. Сцепление сухое, однодисковое, непостоянно замкнутого типа. Ведущий средний диск 6 (рис. 53) с помощью наружных зубцов сцепляется с внутренним зубчатым венцом маховика. У сцепления периодически промывают его диски керосином, который спускают через отверстие, закрытое пробкой, и восстанавливают его нормальную регулировку. Для регулировки сцепления необходимо (см. рис. 52): выключить его рычагом управления, открыть крышку люка в корпусе сцепления, повернуть крестовину сцепления, чтобы защелка 5 на крестовине 4 была видна через люк, потянуть защелку 5, чтобы ее палец вышел из отверстия нажимного диска 3. Придерживая нажимной диск, повернуть крестовину 4 по часовой стрелке до попадания пальца защелки 5 в следующее отверстие нажимного диска. |
Зажигание бензопилы — устройство, установка и как выставить?
Система зажигания бензопилы представляет собой ряд деталей, которые образуют искру при запуске двигателя инструмента. В большинстве случае система зажигания – это достаточно надежный узел, однако иногда, по разным причинам, некоторые его детали выходят из строя. Давайте изучим особенности ремонта и регулировки основных элементов системы зажигания бензопилы.
Устройство и принцип работы системы зажигания бензопилы
Система зажигания современных бензопил состоит из перечня важных деталей. Основными элементами конструкции являются:
- Свеча зажигания;
- Маховик-магнето;
- Проводка;
- Кнопка включения.
В устройство системы зажигания также входит катушка зажигания, прерыватель и конденсатор. Катушка отвечает за включение сердечника и обмотку трансформатора.
Свечи в конструкции узлов состоят из бокового и центрального электродов, внешнего корпуса и изолятора.
Прерыватель и обмотка катушки в конструкции соединяются последовательно. Выключение прерывателя происходит за счет наличия кулачка на коленчатом валу бензопилы. Магнето системы зажигания расположено слева от картера и крепится посредством гайки и двух шпилек.
В процессе запуска бензопилы при помощи магнитов маховика образуется магнитное поле, которое пересекает катушку. При условии, что контакты первичной обмотки находятся в замкнутом состоянии, в системе зажигания образуется слабый ток. Если контакты находятся в разомкнутом состоянии, то магнитное поле не образуется, что приводит к появлению высокого напряжения во вторичной обмотке. Впоследствии ток подается на свечу, которая поджигает топливо для запуска бензопилы.
Как выставить зажигание на бензопиле?
Довольно часто владельцы бензопил сталкиваются с проблемой, при которой двигатель инструмента не запускается.
Одной из основных причин этой поломки служит неисправность системы зажигания, а именно – сбой заводских настроек узла.
В первую очередь владельцу пилы потребуется отвернуть защитный резиновый колпачок и проверить свечу под ним. Вполне возможно, что ее заливает маслом, которое препятствует попаданию подаче тока на свечу. В таких случаях проблема кроется не в системе зажигания, а в топливной системе, а именно – в разгерметизации каналов.
Однако, если свеча полностью сухая, значит, может потребоваться установка зажигания на бензопиле. Для этого нужно открутить свечу и демонтировать защитную крышку. После этого необходимо измерить зазор между маховиком и катушкой зажигания. В инструкции к каждой из моделей бензопил указан оптимальный зазор между этими элементами. В большинстве случаев он составляет от 0,2 до 0,4 мм. Так как маховик инструмента имеет круглую форму, то применить автомобильный щуп для регулировки зазора не удастся. Лучше всего использовать для этой цели специальный шаблон в виде прокладки.
Однако найти его не так просто. Поэтому многие специалисты советуют использовать в качестве шаблона вырезанную полоску от пластиковой бутылки.
Регулировка зажигания бензопилы выполняется достаточно просто;
- Для начала ослабьте болты, фиксирующие элементы системы зажигания;
- Установите пластину от пластиковой бутылки между катушкой и маховиком;
- Затяните болты до конца.
Чтобы не прибегать к частой регулировке системы зажигания, следует обращаться с бензопилой как можно аккуратней. Постарайтесь исключить удары инструмента о дерево, особенно, той стороной инструмента, где расположены элементы узла. Особенно, если в конструкцию вашей бензопилы входит электронное зажигание.
Как проверить катушку зажигания бензопилы мультиметром?
Точно определить поломку системы зажигания бензопилы поможет специальный прибор – мультиметр.
Он даст возможность определить, есть ли пробои катушки и других элементов узла. Порядок действий выглядит следующим образом:
- Для начала потребуется выставить мультиметр так, чтобы стрелка прибора располагалась на отметке в 200 Ом;
- После этого нужно открыть инструкцию по эксплуатации бензопилы и изучить указанное там оптимальное сопротивление для первичной обмотки катушки зажигания. Как правило, этот показатель колеблется в пределах от 3 до 5 Ом;
- Далее нужно подключить к прибору первичную катушку зажигания. Если показатели этой части катушки находятся в норме, начинаем проверять ее вторичную обмотку;
- Снова изучаем инструкцию по эксплуатации, и смотрим указанные для вторичной обмотки оптимальные показатели сопротивления. Стоит отметить, что эта часть элемента обладает большими показателями, поэтому мультиметр следует настроить так, чтобы его стрелка располагалась рядом с показателем 20K;
- Далее подключаем прибор к отверстию катушки, в которое вставляются провода.
Если мультиметр показывает нормальные показатели, значит, катушка полностью исправна. Однако если сопротивление на дисплее прибора далеко от указанных производителем параметров, то катушку придется менять.
Нередко возникают случаи, когда катушка производит искру, однако показатели ее сопротивления на первичной и вторичной обмотке далеки от параметров, указанных производителем. В таких случаях также требуется менять элемент, так как через некоторое время она придет в негодность.
Magneto Timing — KITPLANES
Один набор установочных меток находится на передней стороне зубчатого венца стартера. Совместите эти отметки с отверстием 1/16 дюйма в корпусе стартера (см. стрелку). В качестве опции в отверстие можно вставить небольшую булавку, чтобы облегчить совмещение с метками.
Проверка синхронизации вашего магнето является частью каждой ежегодной проверки состояния, но помимо этого вы должны иметь возможность делать это всякий раз, когда вы подозреваете, что производительность вашего магнето не соответствует требованиям.
Если вам кажется, что ваш самолет немного потерял мощность или ваши магнитные тесты начали давать вам падение более чем на 120 об / мин, возможно, пришло время проверить время вашего магнето. Или, может быть, температура головки блока цилиндров (CHT) немного завышена. Это также может быть вызвано неправильным выбором времени.
Последствия неправильного выбора времени
Если время слишком велико, ваш двигатель может подвергнуться разрушительной детонации. В крайних случаях детонация может привести к серьезному внутреннему повреждению вашего двигателя — такому повреждению, которое может сбить вас с неба. Наиболее распространенной причиной детонации является слишком большое опережение по времени. Это также может быть вызвано использованием бензина с низким октановым числом. Это то, что может быть проблемой для людей, использующих автомобильный газ в двигателях, которым требуется топливо с более высоким октановым числом, но если вы придерживаетесь среднего газа, у вас не должно быть проблем с детонацией, связанных с топливом.
На табличке с техническими данными двигателя (слева) указано рекомендуемое время для вашего двигателя Lycoming. Ищите его на поддоне с правой стороны двигателя. Стрелка из алюминиевого уголка диаметром ½ дюйма (справа) указывает на установочные метки на задней стороне зубчатого венца стартера. Использование этих меток может быть неприемлемым, в зависимости от вашего расположения перегородки.
В хорошо работающем двигателе синхронизация не изменяется со временем, но если последний человек, который регулировал синхронизацию, сделал это неправильно, вы можете получить большее опережение, чем вам хотелось бы. Чтобы убедиться, что вы используете правильное значение, проверьте табличку с техническими данными двигателя, расположенную в нижней правой части поддона двигателя. Большинство четырехцилиндровых двигателей Lycoming должны быть установлены на 25 ° до верхней мертвой точки, но некоторые, такие как IO-390, следует установить на 20°. Всегда проверяйте, чтобы быть уверенным.
Время имеет тенденцию отставать со временем по мере износа частей магнето, особенно толкателя на точках.
Фактически, основная причина, по которой магнето Slick нуждается в 500-часовом осмотре, заключается в проверке износа наконечников. Время, которое когда-то было правильно установлено на 25° год назад, могло сместиться до 23 или 24°. Это замедление времени приводит к потере мощности двигателя. В большинстве случаев эту незначительную потерю мощности можно даже не заметить, но время от времени действительно важно иметь полную мощность. Вы можете обнаружить эту потерю производительности в уменьшении характеристик набора высоты или более длинных, чем обычно, разбегах. Вы не должны оставлять это без исправления.
Подсоедините красный провод к P-выводу левого магнето (слева). Зеленый провод идет к P-выводу другого магазина. Черный провод уходит на массу. Поверните переключатель стартера в положение Both (справа), чтобы синхронизировать магнето. Делайте это только после того, как все верхние заглушки были сняты с двигателя. Будьте осторожны, чтобы не повернуть ключ в положение «Пуск».
Внешнее и внутреннее время
Время, которое вы устанавливаете с помощью своего модема один раз в год, является внешним временем.
Он регулируется вращением магнето до тех пор, пока не зажжется свеча зажигания номер 1 в заданное время. Двигатель будет работать лучше всего, когда оба магнето срабатывают в одно и то же время, но добиться абсолютной точности очень сложно. Так что, если вы можете заставить оба магнето срабатывать в пределах 0,5° друг от друга, вы, вероятно, можете назвать это достаточным.
Спонсор освещения авиашоу:
Внутреннее время определяется моментом, когда точки открываются и закрываются, в результате чего катушка посылает высоковольтный заряд энергии через провода свечей зажигания к свечам зажигания. Эта внутренняя синхронизация также называется E-gap. Он меняется из-за износа толкателя точек. Время также может меняться по мере износа других внутренних деталей, что может привести к неустойчивому времени. Вот почему магнето Slick необходимо открывать, осматривать и ремонтировать по мере необходимости (ИРАН) каждые 500 часов. Вы можете просто заменять точки и время от времени сбрасывать E-gap, но это не решит другой внутренний износ, который может произойти.
Мы обнаружили, что изменения внутренней синхронизации влияют на внешнюю синхронизацию. Это можно исправить, отрегулировав внешний тайминг до точки, но только до точки, после чего нам нужно покопаться во внутренней работе магнето.
Этот индикатор времени работает, выключая свет и издавая звуковой сигнал, когда точки открываются для каждого магнето (слева). Некоторые индикаторы времени работают по-другому. Обязательно прочитайте инструкцию к вашему таймеру. Табличка с техническими данными на боковой стороне магнето (справа) покажет, является ли это магнето правым или левым вращением. Большинство двигателей Lycoming имеют магнето с левым вращением.
Регулировка внешней синхронизации
Внешняя синхронизация регулируется вращением магнето до тех пор, пока не будет достигнута точная синхронизация в цилиндре номер 1 (передний правый на Lycomings). Для этого сначала снимите хотя бы по одной свече зажигания с каждого цилиндра. Это жизненно важно, потому что вы будете вращать пропеллер горячими магазинами, которые могут вызвать срабатывание цилиндра и, таким образом, серьезно ранить вас.
Со снятыми свечами зажигания поверните двигатель в положение зажигания для цилиндра номер 1 — обычно это отметка 25°, но обязательно проверьте. Держите большой палец над открытым отверстием свечи зажигания, чтобы убедиться, что цилиндр находится в такте сжатия. Теперь поверните переключатель стартера в положение Both или отсоедините оба P-провода. Затем подключите блок синхронизации магнето к P-выводу каждого магнето и к земле. Затем проверните двигатель в нормальном направлении вращения мимо установочной метки, пока не услышите щелчок импульсной муфты. Он не тонкий, так что вам не составит труда его услышать. Затем поднимите двигатель до положения перед установочной меткой и снова подойдите к метке в направлении нормального вращения двигателя, остановившись у метки. В идеальном мире оба магнето были бы в боевом положении, а ваш жужжащий ящик гудел бы, но вряд ли это так.
Сняв верхнюю часть корпуса магнето (слева), можно увидеть блок распределителя (круглый, черный) и ведущую шестерню.
При снятом блоке распределителя (справа) хорошо видны катушка и точки. Катушка должна быть расположена так, чтобы она была наверху.
Предполагая, что ваши магнето не идеально синхронизированы, вам нужно будет отрегулировать их, чтобы приблизиться как можно ближе. Это влечет за собой ослабление двух 1/2-дюймовых гаек, которые удерживают каждое магнето на месте, и вращение каждого из них по очереди, пока оно не сработает в установленную временную отметку. Иногда магнето застревают и не вращаются, потому что кто-то использовал прокладочный клей, чтобы остановить утечку. В таком случае может потребоваться снять магнето, очистить его и заменить прокладку, прежде чем вы сможете сбросить время.
Если вы очень осторожны и немного удачливы, вы можете просто оттянуть магнето назад, почистить его и вернуть в то же положение, в котором оно было раньше. Однако, если вам не повезет, вам нужно будет снять колпачок свечи зажигания с магнето и повернуть его, пока установочный штифт не встанет на место.
Этот футляр для булавки можно приобрести у вашего любимого поставщика запчастей для самолетов за символическую сумму. Просто не забудьте поместить штифт в отверстие с маркировкой «L» для левостороннего магнето (наиболее распространенное) или в отверстие «R», если у вас правостороннее магнето. Направление указано на табличке данных магнето для справки. Установив штифт и установив двигатель в точку зажигания, переустановите магнето и затяните две стопорные гайки. Как только магнето будет на месте, вы можете удалить штифт и снова установить колпачок провода свечи зажигания.
Сняв колпачок провода свечи зажигания (слева), вы увидите отверстия для стопорного штифта, показанные здесь, в отверстии «L» для магазина левостороннего вращения. При снятии и замене магнето рекомендуется приобрести новую прокладку магнето (справа), которую легко можно приобрести у многих поставщиков запчастей для самолетов. Чтобы снять и заменить магнето, вам также понадобится стопорный штифт магнето (деталь Slick #T-118).
Когда эта задача позади, пора вернуться к установке обоих магнето на правильную точку срабатывания. Обычно это повторяющийся процесс; то есть ставишь, подтягиваешь гайки и проверяешь. Затем вы делаете это снова, пока не добьетесь нужного результата. С одним установленным магнето пришло время сделать то же самое с другим магнето, пока они оба не будут настолько близки к совершенству, насколько это возможно.
После того, как синхронизация будет установлена в соответствии с вашими требованиями, поверните ключ в положение «Выкл.», снова подсоедините провода P и установите на место свечи зажигания. Конечно, когда свечи зажигания сняты, самое время их осмотреть, почистить и установить зазоры. Обязательно используйте противозадирное средство при установке свечей и затяните их с усилием 35 футо-фунтов, если речь идет о двигателе Lycoming. Это хорошая идея, чтобы кто-то с опытом помог вам в этом процессе в первый раз. Это не очень сложно, но прочитать об этом и попросить кого-то провести вас через это вряд ли одно и то же.
Для установки Е-зазора вам понадобится инструмент Т-150 для Е-зазора (слева), стопорный штифт Т-118 (в центре) и, скорее всего, новая прокладка магнето. Отрегулируйте отверстия точек с помощью отвертки с плоским лезвием (справа).
Если срок службы ваших магнето приближается к 500-часовой отметке с момента последнего капитального ремонта, может быть целесообразно отправить их на проверку и ремонт. С самолетом экспериментальной/любительской постройки вы не обязательно ограничены 500-часовым сроком проверки, в зависимости от ваших эксплуатационных ограничений. Но по моему опыту, магнето с более чем 500 часами работы начинают отставать от времени и плохо проверяют магниты. Как говорится, ваш пробег может варьироваться.
Существует видеоролик EAA «Советы для домостроителей», который может помочь облегчить понимание моего письменного описания, озаглавленного «Использование синхронизатора магнето». Если вы беретесь за эту задачу впервые, стоит посмотреть.
Используйте свой световой индикатор времени, чтобы увидеть, когда точки открываются, когда вы их регулируете (слева).
Обратите внимание на положение инструмента E-gap, который предназначен для левостороннего магазина. Чтобы собрать магнето (справа), сначала совместите метку на ведущей шестерне так, чтобы она указывала на катушку (вверх). Если магазин имеет правое вращение, совместите метку «R» или используйте метку «L» для левостороннего магнето.
Внутреннее время
Настройка внутреннего времени сложнее, чем установка внешнего времени, но вы можете сделать это с небольшой помощью более опытного друга. Моя цель здесь не в том, чтобы побудить вас попробовать эту работу, а в том, чтобы проинформировать вас о процессе. Если вы решите заняться внутренней регулировкой ГРМ, вам следует делать это под наблюдением опытного авиамеханика. Как и в случае с внешним таймингом, этот процесс не столько сложен, сколько важно правильно его выполнить.
Скорее всего, вам никогда не понадобится сбрасывать внутреннюю синхронизацию между капитальными ремонтами магнето, но если вы чувствуете необходимость и имеете необходимые инструменты и опыт, вот как это сделать.
Во всех случаях настоятельно рекомендуется приобрести копию Руководства по техническому обслуживанию и капитальному ремонту магнето Slick L-1363F серии 4300/6300. Вы можете просмотреть руководство в Интернете на различных сайтах или приобрести его за 23,50 доллара США.
Для установки E-gap или внутренней синхронизации на магнето Slick вам понадобится инструмент Slick T-150 E-gap. Он доступен отдельно от Sky Geek примерно за 15 долларов. Другие поставщики, кажется, имеют его только как часть комплекта магнето Slick за 500 долларов, который содержит множество дополнительных инструментов, которые вам не нужны для установки внутренней синхронизации. Инструмент должен поставляться с инструкцией по его правильному использованию.
Аккуратно установите блок распределителя, не нарушая ведущую шестерню. Используйте немного Locktite 242 на винтах.
Вот основные шаги: Снимите магнето с самолета, в том числе снимите провода свечи зажигания и колпачок. Затем снимите блок распределителя (круглая, черная пластиковая деталь) и отложите в сторону.
Теперь катушка хорошо видна. Затем снимите верхнюю часть корпуса магнето с магнето и держите магнето так, чтобы катушка находилась вверху (положение на 12 часов).
Арматура находится под белой нейлоновой шестерней. В боковой части арматуры будут прорезаны две прорези. На одном написано «R», на другом — «L». Поместите инструмент T-150 в слот L для левостороннего магнето (наиболее распространенный с двигателями Lycoming) или слот R для правостороннего. Зазубренный конец входит в прорезь на новых магазинах с прорезью в магнитной головке, но плоский конец лучше всего подходит для старых магазинов без прорези в магнитной головке. Табличка с техническими данными сообщит вам, правое или левое у вас магнето.
Вращать шестерню в блоке распределителя до тех пор, пока стопорный штифт не встанет на место (слева). Блок-распределитель со штифтом Т-118 для левого магазина (справа).
Поверните корпус магнето, удерживая ведущую шестерню на месте, чтобы якорь повернулся в корпусе. Поверните корпус по часовой стрелке для левосторонних магазинов или против часовой стрелки для правосторонних магазинов.
Поворачивайте его до тех пор, пока инструмент E-gap не упрется в пластины полюсов в раме магнето. Теперь вы находитесь в позиции E-gap. Затем ослабьте крепежный винт очков настолько, чтобы опорная пластина очков могла двигаться с умеренным усилием. Подключите индикатор времени магнето так, чтобы провод заземления шел к корпусу магнето, а зеленый или красный провод шел к точечному соединению проводов. Удерживая якорь неподвижно, отрегулируйте точки выключателя, чтобы индикатор синхронизации только начал указывать на размыкание точек. Для этого вам понадобится плоская отвертка. Поместите его в прорезь на краю опорной пластины очков и слегка поверните вправо или влево, чтобы заставить очки двигаться. Правильно установив точки, затяните винты, удерживающие их на месте.
Установите на место корпус магнето, а затем снова установите магнето в коптер.
Чтобы собрать магнето, сначала совместите метку L или R на шестерне распределителя (белая нейлоновая шестерня), в зависимости от магнето, чтобы она указывала на положение «12 часов».
Поместите стопорный штифт Т-118 в распределительный блок и вращайте его шестерню (не шестерню на якоре), пока стопорный штифт полностью не войдет в свое индексирующее отверстие. Затем аккуратно установите блок распределителя на место. Нанесите на резьбу немного Loctite 242. Установите на место корпус магнето. Когда вы это сделаете, убедитесь, что провод от конденсатора подключен. Установите магнето на двигатель. Не забудьте удалить штифт, прежде чем пытаться установить внешнее время.
Если ваше магнето отработало 500 или более часов с момента последнего обслуживания, вероятно, имеет смысл отдать его на профессиональный ремонт, чем возиться со сбросом внутреннего таймера. Есть много других вещей, которые необходимо сделать с вашим магнето, помимо настройки времени, чтобы он работал в лучшем виде. Некоторые из этих вещей могут быть сделаны только в магазине магнето.
Если вы сняли магнето для работы с ним, обязательно снова подсоедините P-провода и убедитесь, что ключ зажигания находится в положении «Выкл.
», прежде чем приступить к работе с двигателем. Жизненно важно, чтобы магнето были заземлены всякий раз, когда есть вероятность того, что пропеллер будет повернут. Также рекомендуется заменять прокладки магнето всякий раз, когда магнето снимаются, чтобы уменьшить вероятность утечек.
The Magneto Guys — Ремонт винтажного, ветеранского, классического магнето
В эффективном магнето точки должны открываться в очень определенном положении якоря — сразу после того, как якорь выходит из полюсного наконечника. Медленно вращая якорь вручную, можно заметить, что есть положения, в которых магнитное поле оказывает сопротивление вращательному движению. Поверните еще немного, и якорь внезапно дернется вперед, когда магнитное притяжение ослабеет и отпустит якорь. Именно после такого положения якоря необходимо разомкнуть точки. Это известно как «внутренняя синхронизация» магнето.
Объяснение внутренней синхронизации магнето может быть проще с помощью следующих рисунков.
На этом первом рисунке показаны точки, указанные красной стрелкой, вращающиеся по часовой стрелке.
Когда наконечники проходят через выступ на черном кольце кулачка, они открываются, и магнето производит искру. Обратите внимание, что выступ на кольце кулачка открывает точки в точке магнитного потока. (На практике наилучшее положение — сразу после точки магнитного поля, поскольку это происходит, когда магнитное поле разрушается, но здесь оно показано линией для упрощения описания.) Обратите внимание, что на кулачковом кольце есть только одна выпуклость, так что это установка. для одноцилиндрового магнето. Вторая точка потока, на 3 часа на картинке, не используется в одноцилиндровых магнето.
Когда кулачковое кольцо вращается в том же направлении, что и острия, острия достигают кулачка немного позже, чем раньше. Точки открываются на несколько градусов после наилучшего положения, и это означает, что искра немного слабее. Чем больше задержка, тем слабее искра. Это движение кулачкового кольца приводит к запаздыванию момента зажигания двигателя.
На этом рисунке показан кулачок с двумя выступами, разнесенными на 180°, как и для двухцилиндрового двигателя (или больше, если используется распределитель).
Кольцо кулачка расположено так, чтобы два выступа совпадали с двумя точками потока, поэтому зажигание двигателя находится в полностью опережающем положении.
Здесь один из выступов кулачка сдвинут так, что угол между двумя выступами стал неравным. Такое расположение используется для V-образного двойного магнето. Фактические углы между выпуклостями зависят от угла между цилиндрами, как объяснено на
Страница V Twin Magnetos. Обратите внимание, что на этом изображении две точки потока остаются разнесенными на 180°. Это означает, что в одном цилиндре будет даваться лучшая искра, а в другом будет замедленная, потому что точки открываются поздно на этой стороне. Это будет работать нормально — магнето Lucas KVF, установленные на мотоциклах Vincent V Twin, использовали эту схему.
К сожалению, наличие поздней искры с кулачком в полностью выдвинутом положении означает, что она становится еще более поздней, если рычаг кулачка перемещается для замедления опережения зажигания. Это может означать, что внутренняя синхронизация магнето на этой стороне настолько поздняя, что магнето вообще не может произвести искру.
Вот почему Vincent не оснащены ручным устройством опережения и замедления, вместо этого они полагаются на автоматический механизм, обеспечивающий опережение и замедление зажигания. Чтобы V-образное двойное магнето работало наилучшим образом, необходимо переместить одну из точек потока так, чтобы они снова совпали с выступами на кулачке. Как этого добиться, объясняется на
Страница V Twin Magnetos.
Здесь, в The Magneto Guys, нас часто спрашивают, можно ли превратить двойное магнето 180° в двойное V-образное магнето или, например, можно ли превратить двойное магнето V 50°, скажем, в двойное V-образное 45°. магнето, просто заменив кулачковое кольцо на кольцо с соответствующими углами между двумя выступами. Простой ответ — да, при условии, что описанная выше ситуация с одной лучшей искрой и одной запаздывающей искрой считается приемлемой. При таком преобразовании крайне важно уделить должное внимание установке нового кулачкового кольца, чтобы гарантировать, что, когда один удар приходит вовремя, другой запаздывает.
На этом снимке кольцо кулачка перевернуто по сравнению с предыдущими снимками. Да, одна выпуклость на кулачковом кольце хорошо совпадает с одной точкой потока, но обратите внимание, что другая выпуклость теперь открывает точки слишком рано. Первый удар будет работать нормально, но другой удар не даст искры. Это связано с тем, что внутреннее время магнето таково, что точки на этой стороне будут открываться слишком рано — до того, как магнитное поле начнет разрушаться.
Вся приведенная выше информация относится к кулачковому кольцу, точкам и точкам потока. В дополнение к этому, при преобразовании V-образного двойного магнето с углом поворота 180° в работу в качестве двойного V-образного магнето также необходимо проверить, чтобы латунный сегмент на контактном кольце совпадал с обеими щетками звукоснимателя. Если они не совпадают, необходимо заменить контактное кольцо.
В приведенном выше объяснении использование терминов «лучшая искра», «запоздалая», «ранняя» и «поздняя» и т.
д. в основном относится к внутренней синхронизации магнето. Это НЕ то же самое, что момент зажигания двигателя.
Внутренний тайминг магнето задается способом сборки самого магнето. При правильной настройке он обеспечивает размыкание точек, когда якорь находится в положении, когда магнитное поле только начало разрушаться. Это гарантирует, что магнето может дать наилучшую возможную искру.
Момент зажигания двигателя определяется связью между магнето и двигателем, чтобы гарантировать, что искра, генерируемая магнето, возникает, когда поршень находится в правильном месте в цилиндре ближе к началу такта сжатия.
Использование ручного рычага опережения и замедления, обычно устанавливаемого на магнето, позволяет изменять момент зажигания двигателя в соответствии с условиями нагрузки. К сожалению, на большинстве магнето это также изменит внутреннюю синхронизацию магнето. Конструкция некоторых магнето такова, что этого не происходит, и они производят максимально возможную искру независимо от положения рычага опережения и замедления.
Важно понимать внутреннюю синхронизацию магнето, если детали должны быть заменены между магнето. Вот лишь некоторые подводные камни, которые могут подловить неосторожных!
На этом рисунке показаны три пластины Bosch. Хотя с другой стороны все они выглядят одинаково, их нельзя поменять местами. Вырез находится там, где находится пятка волокна, но обратите внимание на положение установочной шпонки на конусе. Они будут располагать пятку волокна в другом положении относительно якоря, поэтому внутренняя синхронизация магнето будет сильно отличаться для пластин с тремя точками.
Эти две арматуры BTH идентичны во всех отношениях, за исключением положения установочной прорези для точек, показанной в положении «6 часов». В этом случае два якоря используют одни и те же точки, кулачковое кольцо и шланги кулачкового кольца, но корпус поворачивается на 90 градусов перед установкой на корпус. Это делается для изменения положения механизма опережения и замедления со стороны корпуса на положение поперек верхней части корпуса для различных применений.
На этом изображении лицевых кулачковых пластин Лукаса все они расположены так, что прорезь, используемая для размещения пластины в магнето, показана в положении на 12 часов. Красные линии были добавлены, чтобы показать передний край кулачка, где точки начинают открываться — все по-разному!
В верхнем ряду показаны пластины с узким установочным пазом , показывающие, что они предназначены для магнето с фиксированной синхронизацией. Другие имеют более широкий паз, позволяющий немного поворачивать кулачок, чтобы обеспечить ручное опережение и замедление. Второй паз на кулачковой пластине используется для удержания механизма ручного продвижения и замедления. Для этого требуется только один слот, но обычно есть два слота для установки регулятора опережения/замедления с каждой стороны. Тем не менее, на некоторых пластинах были выточены дополнительные прорези, чтобы их можно было установить на другие магнето.
Кроме того, паз кулачковой пластины слева в какой-то момент был расширен — вероятно, в попытке отрегулировать внутреннюю синхронизацию, позволив кулачковой пластине вращаться немного дальше, чем предполагалось изначально.



После выполнения подобных манипуляций необходимо проверить работоспособность замененных узлов.
Устанавливается маховик до кулачкового разрыва. Потом следует задвинуть все выступы полумуфты в пазы шестеренки привода, туго затягивая их болтами.
Для этой процедуры потребуется демонтировать магнето, разобрать его, после чего приступать к удалению загрязнений и старой смазки. Затем комплектующие вновь покрываются смазывающим составом и собираются в установленном порядке.
В этом случае снять корпус распределительных шестерен с блока двигателя. Совместить метку «ВМТ-1Ц» на торце маховика с риской на фланце люка муфты сцепления. Совместить риску на торце валика привода магнето с меткой «Н» на фланце кронштейна магнето (рис. 25, д) и в таком положении установить на двига тель, введя в зацепление шестерню привода магнето с шестер ней коленчатого вала пускового двигателя.

Этот ток создает вокруг первичной обмотки сильное магнитное поле, которое складывается с магнитным полем ротора. В момент, когда первичный ток и созданное им магнитное поле достигают наибольшей величины, кулачок 12 размыкает контакты 13 и 17 прерывателя, разрывая цепь первичной обмотки. При этом первичный ток и созданное им магнитное поле быстро исчезают, вследствие чего во вторичной обмотке 8 индуктируется ток высокого напряжения, способный пробить искровой промежуток в свече 1. Распределителем ток высокого напряжения по проводам 2 и 3 подается к свечам пускового двигателя в строго определенные моменты. Для поглощения тока самоиндукции, который возникает в первичной цепи в момент размыкания контактов прерывателя, в первичную цепь включен конденсатор 4. Конденсатор уменьшает искрение и подгорание контактов и способствует более резкому исчезновению первичного тока в момент размыкания цепи, увеличивая напряжение во вторичной обмотке 8.
Если поворот крестовины на одно отверстие дает слабую регулировку, а при повороте на второе отверстие слишком тугую, то следует выбрать слабую.
Если мультиметр показывает нормальные показатели, значит, катушка полностью исправна. Однако если сопротивление на дисплее прибора далеко от указанных производителем параметров, то катушку придется менять.