Содержание
Какой расход топлива на грузовике МАЗ-5551 opex.ru
Меню
- Новости
- Статьи
- Видеоматериалы
- Фотоматериалы
- Публикация в СМИ
- 3D-тур
Будь в курсе
Новости, обзоры и акции
27.10.2022
Затраты топлива в любом автомобиле зависят, в первую очередь, от типа и объема ДВС, а потом уже от габаритов машины, его грузоподъемности и функциональности. Поэтому, когда говорят о таком показателе, как потребление топлива, уточняют условия, при которых горючее сжигается.
Например, на МАЗ-5551 расход топлива официально заявлен 22 литра, но когда автомобиль, нагруженный на 85% от установленного производителем веса, движется со скоростью 60 км в час, расход дизтоплива составляет 23-28 литров. При этом МАЗ-5551 относится к экономичным грузовым машинам в своей весовой категории. На потребление нефтепродуктов влияет техническое состояние узлов и механизмов автомобиля.
Особенности модели МАЗ-5551
МАЗ-5551 – крупнотоннажный бортовой самосвал, производство которого начато в 1985 году и продолжается до сих пор. Его грузоподъемность в зависимости от модификации может составлять 8 или 10 тонн. Эта машина предназначается для транспортировки сыпучих материалов, используется:
- в сельском хозяйстве вывозит с полей, к примеру, собранный урожай корнеплодов;
- в строительстве, в том числе и в дорожном, транспортирует песок, щебень, грунт и тому подобные материалы;
- на промышленных предприятиях;
- в городском хозяйстве.

Первые модели были рассчитаны на 8 тонн грузов, в последующих версиях грузоподъемность была увеличена до 10 тонн.
Мост задний МАЗ-5551 (U=7,79)
Трубка топливная МАЗ отводящая топливного бака
Рама МАЗ-5551 (L=5700 мм.)
Технические параметры МАЗ-5551:
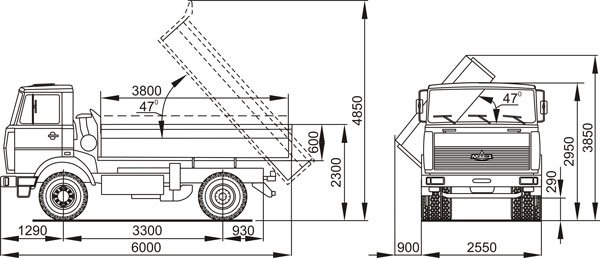
- Габариты: 5990 х 2500 х 2925 мм (высота дана по крыше кабины).
- Расстояние между осями передних и задних колес составляет 3300 мм или 3950 мм.
- Расстояние от дороги до переднего моста (клиренс) – 28 см.
- Поперечное расстояние между крайними кромками передних колес – 2032 мм, задних колес – 2162 мм.
- Масса со снаряжением и водителем – 7,580 тонн.
- Полная масса (с грузом) – 16,230 тонн.
- Размер стандартного кузова – 3800 х 2269 х 630 мм.
- Радиус разворота, измеряемый по наружному колесу – 7,9 м.
Модификации
Минские инженеры и конструкторы на протяжении 30 лет совершенствовали МАЗ-5551.
Модель прошла 2 рестайлинга, в результате чего появились модификации А2 и А3.
Кузова на МАЗ-5551
Если говорить о расходе горючего, следует вспомнить и о том, какие бывают кузова на МАЗ-5551. Ведь загруженность автомобиля также влияет на количество сгораемого топлива. Типовой, стандартный кузов – это цельнометаллический бортовой с откидным задним бортом. Разгрузка выполняется назад. Кузов управляется дистанционно. Он автоматически поднимается, и откидывается задний борт, чтобы не препятствовать высыпанию материала. Параметры:
- Объем кузова с низкими бортами составляет 5,5 м3 , с высокими − 12,5 м3.
- Время, затрачиваемое на подъем груженой платформы – 15 секунд, на опускание – 10 секунд.
- Угол подъема – 50°.
Список товаров:
Брызговик кузова МАЗ-5551(на самосвал)
Гидроцилиндр кузова самосвала МАЗ-5551(3 штока)
Гидроцилиндр кузова самосвала МАЗ-5551(3 штока) с кронштейном
Механизм опрокидывания – гидравлический с пневматическим управлением.
За 35 лет существования МАЗ-5551 неоднократно совершенствовался и видоизменялся.
|
Модели |
Грузоподъемность (в тоннах) |
Замечания |
|
МАЗ 5551 и МАЗ-5551-020 |
8 |
МАЗ-5551 оснащался шестицилиндровым дизельным двигателем модели ЯМЗ-236М2-1. Цилиндры расположены V-образно. Модели аналогичны, имеют одинаковую группу колес с формулой 4х2. Отличие заключается в высоте бортов. |
|
МАЗ-5551 А2-320 |
10 |
Турбированный дизельный мотор ЯМЗ-236НЕ с мощностью на 230 л. с. |
|
МАЗ-5551 А3-4327 |
10 |
Модернизирован механизм разгрузки. Кузов объемом 12,5 м3. Выгружается на три стороны. Используется преимущественно в сельском хозяйстве.
|
|
МАЗ-5551 А2-325 |
10 |
Устанавливаются ДВС ЯМЗ-236НЕ-2 и ЯМЗ-6563.10-Е3. Кузов с низкими бортами и разгрузкой на три стороны. Используется в автопоездах. |
|
МАЗ-5551 А2-340 |
10 |
Тягач со сцепным устройством полуавтоматом используется в городских условиях как автомобильный эвакуатор. |
Двигатели
Минский автозавод много лет сотрудничает с Ярославским моторным заводом, и большинство двигателей, которыми оснащены МАЗы, изготовлено в Ярославле. ДВС этого производителя отличаются:
- Адаптированностью к российским морозам. Минские МАЗы успешно работают в условиях Сибири и Заполярья.
- Надежностью.
- Невысокой ценой.
На некоторых модификациях МАЗ-5551 устанавливались зарубежные двигатели марок DEUTZиCUMMINS.
Но они не прижились, поскольку сильно завышали себестоимость автотранспортного средства. Очевидно, они менее приспособлены к суровой российской действительности, поэтому, когда возникает вопрос, какой двигатель ставить на минский грузовик, большинство бывалых водителей рекомендуют ЯМЗ, К тому же, и Ярославский завод не стоит на месте, постоянно совершенствует свои двигатели.
В настоящее время на МАЗ-5551 А2 ставят ЯМЗ-236НЕ-2 и ЯМЗ-6563.10-Е3. Это четырехтактные ДВС с рабочим объемом на 11,15 литров. В них предусмотрены:
- Непосредственный впрыск топлива.
- Воспламенение топливно-воздушной смеси от сжатия.
- Жидкостная система охлаждения. В современных системах используется антифриз.
- Теплообменник, функционирующий на масле.
- Интервальное охлаждение наддувочного воздуха в воздушном теплообменнике.
С 90-х годов на грузовик устанавливают более мощный движок с турбонаддувом ЯМЗ-6563.
10 или ЯМЗ-6581.10 мощностью в 230 л. с. Эти силовые агрегаты согласуются с требованиями стандарта Евро-3.
Нормы затрат дизтоплива на МАЗ-5551
Несмотря на заявленный заводом расход топлива, нормы устанавливаются более высокие. Это связано с износом двигателей, качеством дорог, высокой загрузкой транспортного средства и другими факторами. Например, заводом заявлен расход топлива на МАЗ-5551 в расчете на 100 м пробега – 22 литра, а фактически мотор сжигает до 33 литров.
- МАЗ-5551-020 Р2 с 8-мицилиндровым ДВС без турбонаддува ЯМЗ-238М2 сжигает 28 литров горючего.
- На десятитонниках расход дизтоплива выше. Так, МАЗ-5551 A2-323 с движком ЯМЗ-6563.10, выпущенный после 2008 года, сжигает 33,5 литра горючего.
Прежде, чем оценивать экономичность машины и ее двигателя, следует обращать внимание на то, какая грузоподъемность у автомобиля МАЗ. Рентабельность машины окажется сниженной, если она будет работать с неполной загрузкой.
Перегрузка отрицательно скажется на шасси и подвесках. Также следует отметить, что при перегрузке двигатель долго не протянет. В идеале, если автомобиль будет работать с загрузкой до 90%, тогда и прослужит долго, и топлива лишнего не сгорит впустую.
Другие статьи
Смотреть
ещё
Схема переключения передач МТЗ-1221
22.11.2022 21:00:00
Обзор УРАЛ-375
22.11.2022 21:00:00
Подготовьте свой автомобиль к зиме!
22.11.2022
Грузовая техника в играх
14.11.2022
Развитие китайского автопрома на примере компании FAW
08.11.2022 21:00:00
Обзор ГАЗ-66
02.11.2022 21:00:00
Обзор MAN TGA
02.11.2022 21:00:00
Регулировка заднего моста УАЗ-469
02.
11.2022 21:00:00
ГАЗ-3308 «Садко». История появления и характеристики
30.10.2022 21:00:00
Схема блокировки MAN TGA
27.10.2022 21:00:00
История развития завода НЕФАЗ
26.10.2022
Устройство масляного фильтра
18.10.2022
Обзор автомобиля КАМАЗ-6520
29.09.2022
Установка стеклоподъемника на МАЗ
29.09.2022
Смазки WD-40
28.09.2022
Схема тормозной системы МАЗ-5440
25.09.2022
Обзор МТЗ-80
25.09.2022
Схема переключения передач КАМАЗ-6520
25.09.2022
ЯМЗ-536. История, характеристики, особенности
15.09.2022
Применение рамп 5340.
1112303-20 взамен рамп 6585.1112303 и 6585.1112304 на двигателях ЯМЗ 656…
29.08.2022
Смотреть
ещё
Возврат к списку
Грузовик МАЗ 5551А2 — полная характеристика автомобиля. Технические параметры, Габаритные размеры. Отзывы владельцев
|
|
Основные этапы Минского автомобильного завода С первых партизанских рот, пришедших 16 июля 1944 года на восстановление мастерских для ремонта автомобильной техники, с постановления Государственного комитета обороны от 9 августа 1944. |
Объявления о продаже МАЗ на автобазаре
|
| ||||||||||||||||||||||||||||||||||||||||||||||
Фотогалерея
Показать все фотографии грузовиков
Техническая характеристика МАЗ 5551А2
|
Дополнительная информация МАЗ 5551А2
|
Тип разгрузки: 3-х сторонняя |
| Быстрый поиск грузовика |
Каталог автомобилей
МАЗ 5551 габариты и масса
Содержание
- Габариты 5551 рестайлинг 1996 года, бортовой грузовик, 1 поколение
- Габариты 5551 1985 года бортовой автомобиль 1 поколения
Размеры кузова 1 из важнейших параметров при выборе автомобиля.
Чем больше автомобиль, тем сложнее управлять им в условиях современного города, но и безопаснее. Габаритные размеры 5551 определяются тремя величинами: длиной кузова, шириной кузова и высотой кузова. Как правило, длину измеряют от самой выступающей точки переднего бампера до самой дальней точки заднего бампера. Ширина кузова измеряется в самом широком месте: как правило, это либо колесные арки, либо центральные стойки кузова. А вот с высотой не все так просто: она измеряется от земли до крыши автомобиля; высота поручней не входит в общую высоту кузова.
Размеры 5551 5990 х 2500 х 2925 мм, а вес от 7580 до 9200 кг.
Габариты 5551 рестайлинг 1996 г., бортовой грузовик, 1 поколение
01.1996 – 04.2020
| Пакеты | 9 0022 Габаритные размеры | Масса, кг | ||
| 11,2 МТ 4×2 555102-2120 | 5990 x 2500 x 2925 | 8000 | ||
| 11,2 MT 4×2 555102-2125 | 5990 x 2500 x 2925 | 8000 | ||
| 11,2 MT 4×2 555102-225 | 5990 x 2500 x 2925 | 8000 | ||
| 11,2 MT 4×2 555102-2123 5,4 | 5990 x 2500 x 2925 | 8000 | ||
| 4,8 MT 4×2 555131-320 | 5990 x 2500 x 2925 | 8000 | ||
| 4,8 MT 4×2 55 5131-320 8,2 | 5990 x 2500 x 2925 | 8000 | ||
| 4,8 МТ 4×2 555131-323 | 5990 x 2500 x 2925 | 8000 | ||
| 11,2 MT 4×2 555102-2123 8,2 | 5990 x 2500 x 2925 | 8100 9002 4 | ||
| 11,2 MT 4×2 555102-2123 5,5 | 5990 x 2500 x 2925 | 8100 11 . 2 MT 4×2 555102-220 | 5990 x 2500 x 2925 | 8125 |
| 11,2 MT 4×2 5551A2-320 | 5990 x 2500 x 2925 | 8125 | ||
| 6,7 MT 4×2 555183-325-000 5,5 | 5990 x 2500 x 2925 | 8125 90 024 | ||
| 6,7 MT 4×2 555183-325-000 7,7 | 5990 x 2500 x 2925 | 8125 | ||
| 6,7 MT 4×2 5551W3-425-000 7,7 | 5990 x 2500 x 2925 | 8125 | ||
| 6,7 MT 4×2 5551W3-425-000 5,5 | 5990 x 2500 x 2925 | 8125 | ||
| 11,2 МТ 4×2 555102-223 | 5990 x 2500 x 2925 | 8325 | ||
| 11,2 MT 4×2 5551A2-323 | 5990 x 2500 x 2925 | |||
| 7,2 MT 4×2 555132-325 5,5 | 5990 x 2500 x 2925 | 8400 | ||
| 7,2 MT 4×2 555132-325 7,7 | 5990 x 2500 x 2925 | 8400 9002 4 | ||
| 11,2 MT 4×2 5551A3-325 5,5 | 5990 x 2500 x 2925 | 8425 | ||
| 11,2 МТ 4×2 5551A3-325 7,7 | 5990 x 2500 x 2925 | 8425 | ||
| 11,2 MT 4×2 5551A2-325 5,5 | 5990 x 2500 x 29 25 | 8500 | ||
| 11,2 MT 4×2 555102-225 5,5 | 5990 x 2500 x 2925 | 8500 | ||
| 11,2 MT 4×2 555102-225 7,7 | 5990 x 2500 x 2925 | 85 00 | ||
| 11,2 MT 4×2 5551A2-325 7,7 | 5990 x 2500 x 2925 | 8500 | ||
| 11,2 МТ 4×2 555140-2123 8,2 | 5990 x 2500 x 2925 | 8600 | ||
| 11,2 MT 4×2 555140-2123 5,5 | 5990 x 2500 x 2 925 | 8600 | ||
| 11,2 MT 4×2 555140-2123 5,4 | 5990 x 2500 x 2925 | 8600 | ||
| 11,2 MT 4×2 555102-233 5,4 | 5990 x 2500 x 2925 | 86 00 | ||
| 11,2 MT 4×2 555102-233 5,5 | 5990 x 2500 x 2925 | 8600 | ||
| 11,2 MT 4×2 555102-233 8,2 | 5990 x 2500 x 2925 | 8600 | ||
| 11,2 MT 4×4 555130-2120 | 5990 x 2500 x 2925 | 9000 | ||
| 11,2 MT 4×2 5551A2-4327 12,5 | 5990 x 2500 x 2925 | 9200 | ||
| 11,2 MT 4×2 5551A2-4327 15,5 | 5990 x 2500 x 2925 | 9200 |
Габаритные размеры 5551 1985 бортовой грузовик 1-го поколения
01.
1985 – 01.1996
| Упаковки | Габаритные размеры | Масса, кг |
| 11,2 МТ 4×2 5551 9002 4 | 5990 x 2500 x 2925 | 7580 |
| 11,2 MT 4×2 5551-020 | 5990 x 2500 x 2925 | 7580 |
Грузовик МАЗ-5551 — чертежи, размеры, рисунки | Скачать чертежи, чертежи, блоки Autocad, 3D модели
Грузовики
Все картинки
Узнайте, как скачать этот материал
Telegram бот для поиска материалов
Покупка чертежей
Подпишитесь на получение информации о новых материалах:
t.me/alldrawings
vk.com/alldrawings
Описание
В архиве чертежи (картинки) с габаритными размерами
Содержание проекта
МАЗ-5551. [ 10 КБ ] |
Аналогичные материалы
Грузовой автомобиль МАЗ-537Г — чертежи, размеры, цифры
Грузовик Маз 4371W1 4X2 — чертежи, размеры, цифры
Грузовой автомобиль МАЗ 630305-240 6х4 (2007 г.

Используется преимущественно в сельском хозяйстве.
.. Продолжение
10
2 MT 4×2 555102-220
png