Содержание
Водоотводные канавы, кюветы, лотки и водоёмы
Водоотводные канавы необходимы там, где местность расположена в низине, куда стекают талые и атмосферные воды. Сооружают эти канавы и в тех местах, где почва из-за высокого стояния грунтовых вод переувлажнена и где нередко появляются так называемые блюдца — постоянные лужи, не высыхающие даже в июльский зной. Водоотводные канавы необходимы и там, где участок расположен на торфянистом грунте — торфянике.
Но бывает и так, что внешне участок вполне благоприятный, однако при его освоении начинаются различные осложнения, связанные с физико-механическими свойствами грунта. Это в большинстве случаев просадки, вспучивание, трещины, размывы на краях оврагов, резкое оседание почвы и т. п. Все подобные явления в принципе должны быть известны местным специализированным организациям.
Обратившись туда, вы можете получить выкопировку из генерального плана данной местности, то есть чертеж вашего участка с выпиской из строительного паспорта, где указываются все параметры основных свойств местного грунта, в частности его верхнего слоя, и данные о гидрологической обстановке этой местности.
Имея на руках эти документы, вы можете проконсультироваться у специалистов по осушению, отводу грунтовых и атмосферных вод и укреплению верхних слоев почвы в условиях прибрежной полосы водоема (реки, озера, оврага и т. п.).
В случае отведения садово-огородного участка на береговой полосе, в особенности у реки или проточного озера, необходимо следить за состоянием ее благоустройства, уровнем поднятия талых и дождевых вод. Обычно в таких случаях нужны различные устройства, которые препятствуют большому разливу паводковых и дождевых вод. Это насыпные препятствия высотой от 0,5 до 1,5 м — земляные валы, которые закрепляются слоями мятой глины, камнями, песком, галькой, щебнем, хворостяными матами и жердями.
Разумеется, если местность, на которой располагается участок, имеет общий уклон к водоему или оврагу, то наряду с общей гидроизоляционной защитой каждый владелец садово-огородного участка доукрепляет территорию дополнительными сооружениями и разнообразными мини-гидроизоляционными приспособлениями.
В самой неблагоприятной ситуации, когда постоянные паводки и атмосферные воды производят смыв или размыв почвы, на участке делают подсыпку привозным грунтом.
Для этого предварительно изготавливают из хвороста маты-плетенки, которые укладывают на поверхность размытого грунта, затем закрепляют по контуру кольями-коротышами из жердей и только тогда насыпают первый слой привозного грунта, который состоит из гравия, щебня, камней, битого кирпича. Этот тяжелый слой уплотнит место размыва и создаст основу для другого насыпного слоя, который чаще всего состоит из прослойки песка, гравия или щебня с насыпкой поверху слоя сухого местного грунта. Два этих слоя должны быть не менее 15-20 см. Третий слой насыпной земли — плодородный. В зависимости от условий он может быть толщиной 10-15 см, а в некоторых случаях достигать и 20 см. Дополнительно на таких участках для быстрого стока паводковых вод, в том числе и атмосферных дождевых ливней, устраивают водоотводящие канавы, лотки или дренажные устройства.
При осушении торфянистых участков прежде всего роют канавы по всему периметру территории либо поперек или вдоль — в зависимости от естественного направления стока вод. При этом делают общий сбор этих стоков в одну канаву, которую направляют в сторону близлежащего водоема, оврага и т. п.
В других вариантах осушению способствует устройство кюветов вдоль подъездной дороги, куда постоянно стекают грунтовые, талые, паводковые и дождевые воды. Этим же простым методом пользуются и на самом участке, создают на нем небольшие сточные канавы или кюветы вдоль оград и со стороны сельской улицы.
Одновременно с устройством сточных канав и кюветов соружают и дренажную систему, в том числе бассейн-накопитель.
При обследовании поверхности участка в первую очередь определяют естественный уклон поверхности и линию его бровки. Это очень важно, так как именно с линии бровки и начинается динамика сброса поверхностных сточных вод. Проводят эту линию на территории участка вешками, колышками, прутьями, затем укрепляют по установленной линии поверхностный слой почвы.
На полученной полосе вбивают в почву короткие столбики, облитые битумом, которые устанавливаются заподлицо с самой поверхностью земли. Кроме этих деревянных колышков-коротышей для более прочного удержания поверхностного слоя почвы укладывают в линию или в шахматном порядке булыжники, небольшие местные валуны, обломы камней и т. п. Их зарывают в землю наполовину и нередко используют в качестве основания для устройства альпийской горки и тому подобных декоративных сооружений.
Для того чтобы сток поверхностной воды не был разливным, делают по направлениям земельных ендов соответствующие небольшие канавы, лотки, открытый или закрытый дренаж. Их, как правило, связывают с устройством садового водоема — пруда или специального бассейна-накопителя, куда и сбрасывается вся масса воды.
В другом варианте, когда со сбросом атмосферных вод вполне справляются водоотводные канавы и лотки, бассейн-накопитель дает воду для полива сада и огорода и способствует оттоку грунтовой воды от оснований зданий и сооружений.
При этом к водоему направляют и соответствующий лоток или канаву для его наполнения или подпитки талыми и дождевыми водами. Обычно устройство подпитки прудика связывают с направлением сброса воды с кровель садовых построек — садового дома, хозблока, сарая и других сооружений на участке.
Во многих случаях сток поверхностных атмосферных вод отводят в уличную канаву или кювет. На участках, где грунт переувлажненный и где первые мероприятия по его осушению не дали результатов, устраивают специальные дренажные системы, которые распределяют по территории осушения таким образом, чтобы они корректировали допустимый уровень влаги и не давали почве сильно переувлажняться. Эти системы просты в изготовлении и устройстве.
В зависимости от конструкции приемных устройств и характера расположения дрены в толще верхнего слоя почвы различают горизонтальные и вертикальные дренажи. В горизонтальных дренажах подземные воды двигаются самотеком, в вертикальных их отводят насосами.
Горизонтальные дренажи бывают открытого и закрытого типа.
Открытые дренажи представляют собой обычную сеть осушительных канав и кюветов, которые устраивают на еще не застроенной территории.
Закрытые дренажи — сооружения, расположенные ниже уровня подземных грунтовых вод, на глубине, обеспечивающей защиту подземной части зданий или понижение уровня подземных вод на больших площадях.
Высоту осушения подземного слоя, расположенного между отметками планировки поверхности и пониженного уровня подземных вод, называют нормой осушения. Дрены выполняют из керамических или других неметаллических труб, обсыпанных (послойно) фильтрующим материалом из песка, гравия или щебня. Фильтр дренажа устраивают для непосредственного захвата подземных вод из прилегающего слоя и одновременно для задержания мелких взвесей перед поступлением подземной воды в трубу дрены.
Если конструкция дренажа опущена под водоносный слой до водоупора, дренаж называют совершенным, если же она расположена в самой толще водоносного слоя выше водоупора, дренаж называют несовершенным.
Эти свойства дренажа можно использовать при эксплуатации сельского водоема для его наполнения и отлива излишка воды, которая спускается в благоустроенные открытые или закрытые протоки.
Чтобы конструкция дренажа была надежна в эксплуатации, диаметр труб должен быть не менее 0,10-0,15 м. Водоприемные отверстия при использовании коротких труб располагают на зазорах стыков труб с учетом неплотного их примыкания. На длинномерных (асбестоцементных) трубах делают специальные пропилы или по периметру трубы отверстия диаметром 10 мм на расстоянии 0,5-0,7 м между их рядами. При неоднородных грунтах гравийную обсыпку поднимают над дреной на высоту, которая обеспечивает перехват потока грунтовых вод из слоев, обладающих наибольшей проводимостью. Толщина гравийной обсыпки дренажа должна быть от 10 до 12 см.
Чаще всего в сельской местности устраивают так называемый систематический дренаж для неглубокого осушения подпочвенного слоя. В таких условиях нередко оказываются садово-огородные участки, где средняя норма осушения достигает 2-2,5 м при расстоянии между дренами-осушителями 100-150 м.
Предварительно осушенная таким образом территория может быть с успехом использована для устройства на ней участков с малоэтажной застройкой.
При небольших размерах участок осушить нетрудно, так же как и следить за степенью его влажности. Здесь используют самые простые типы дренажных устройств, и главным образом поверхностный, то есть открытый дренаж в виде канав, кюветов и водоотводящих лотков.
В этих условиях при устройстве водоотводов сточных вод большую помощь оказывает небольшой водоем — сельский пруд. Как известно, организация даже небольших прудов-копаней всегда была делом очень важным и требующим соответствующих знаний и умения. Иначе тяжелый землекопный труд не даст никакого результата: избыток воды останется или ее будет, наоборот, недоставать.
И все же из всех работ на садовом участке сооружение водоема — дело не самое трудное.
При сооружении садового водоема используют самые простые материалы — суглинок, песок, бревна, жерди, доски, бруски, древесные отходы, глину, дерн.
Камень применяют ограниченно, только в тех местах, где это связано с основательным укреплением и декоративным оформлением. Основную часть работ выполняют вручную — лопатами, ломом, совками, а вынутую из котлована землю перевозят в тачке. При соблюдении всех правил строительства пруда, особенно при тщательной обваловке и качественном устройстве дна, каналов заливной и отводной воды можно обеспечить его существование на десятки лет.
Постепенно вырабатывается природный режим водоема и создается устойчивая экосистема.
Обычно такой садовый водоем размерами 7×9 м или 4×6 м устраивают в саду, ближе к огороду, чтобы использовать воду для полива ягодника и цветника, а в жаркое время года — овощей. Берега пруда делают со скосом ко дну под углом 35° глубиной 1,5 м. Копают пруд в начале июня, после схода всех паводковых и ливневых вод, и к середине июля работу заканчивают. Для того чтобы в него не попадала влага, целесообразно закрывать котлован пленкой. Для этого используют воткнутые в землю по краям пруда длинные (до 2 м) жерди либо дуги из гнутой проволоки, алюминиевых или пластиковых трубок, какие применяют при строительстве теплиц и парников.
После отделки откосов берегов пруда, его дна и бортовой полосы вокруг самого водоема сажают водные растения. Перед этим дно пруда утрамбовывают, затем насыпают слой гравия или щебня и тоже слегка утрамбовывают, потом слой речного песка 5-10 см толщины. Бордюрную полосу делают для того, чтобы впоследствии около водоема не разводились грызуны — водяные крысы, мыши и др. Ее конструкция состоит из врытых по всему контуру камней или булыжников, пересыпанных галькой или щебнем, применяют также битый кирпич, обломы бетонных блоков, плит. Их заглубляют в землю заподлицо на такую глубину, чтобы сверху насыпать слой речного песка толщиной 5-8 см. Затем с помощью толстой доски утрамбовывают. После этого всю полосу обкладывают по песку постелистыми камнями или плитами. Одновременно устраивают в непосредственной близости от пруда альпинарий или альпийскую горку.
Если позволяют условия, тут же делают лоток для слива воды по уложенным ступенями камням в пруд в виде мини-водопадов или ручья.
Затем на готовом дне водоема расставляют керамические горшки с посаженными в них водными растениями — желтыми кувшинками, лилиями и др., водорослями прудовых и озерных видов. И сразу наливают в пруд воду. Обычно залив нового водоема делают к вечеру. После наполнения пруда принимаются за второстепенные работы: доделывают подходы к пруду со стороны дома, сада и огорода. Высаживают водолюбивые декоративные растения и производят другие виды работ, связанные с благоустройством.
Подобный вариант копки и устройства в саду обычного сельского пруда выгоден и удобен тогда, когда это позволяет грунт основания. Если грунт, его нижние слои перенасыщены влагой, особенно верховодкой и высоким стоянием ее в данной местности, то подобный способ не подходит.
Верховодка и постоянный подток грунтовой воды со стороны соседних территорий не даст возможности отрыть котлован глубиной до 1,5 м и, главное, произвести все отделочные работы по укреплению его дна и береговых откосов. Сразу же после выемки первых кубометров грунта в яме появится вода, а это намного осложнит ведение последующих операций.
При неблагоприятных условиях поступают иначе. Несмотря на то что вырытую небольшую яму заполнила грунтовая вода, стараются сделать пруд не менее 3 м в диаметре. По его краям вбивают колья-коротыши длиной до 45-65 см, предварительно облив их заостренные концы битумом. Над поверхностью они возвышаются не менее чем на 10-15 см. Затем со стороны берега к этим столбам крепят доски хвойных пород деревьев (ель, пихта, сосна), тоже облитые битумом. Потом посыпают слоем щебня, вдавливают камни, булыжник и сверху насыпают слой речного песка, после чего притрамбовывают и укладывают по периметру пруда на утрамбованный песок заранее подобранные постелистые камни, напольные плиты шириной до 3 см. Такая каменная заградительная полоса сохранит пруд от заболачивания и зарастания. Разумеется, при дальнейшей эксплуатации пруд необходимо защищать от осеннего листопада, так как сухие листья тонут, а попав на дно, начинают загнивать. Раз в три года пруд чистят, вынимают излишек ила, гниль, причем прудовая ряска и водоросли — прекрасное удобрение для сада и огорода.
Илистый грунт укладывают в компостную яму.
Во многих случаях водоем устраивают или невдалеке от дома, особенно если хотят использовать его в качестве плескательного бассейна. В одном случае участок берега, примыкающий к дому, в частности к его террасе или веранде, отделывают настилом из досок в виде помоста — небольшой площадки с лавочкой и навесом. В другом, когда садовый пруд превращают в бассейн, все его берега отделывают настильным помостом или укрепляют камнем.
Водоотводные канавы
2.200. Продольные водоотводные канавы
необходимо предусматривать с нагорной
стороны насыпей без устройства резервов.
На местности с поперечным уклоном менее
0,02 при высоте насыпей менее 1,5 м, на
участках косогоров с изменяющимся:
поперечным уклоном, а также на болотах
водоотводные канавы следует проектировать
с двух сторон полотна.
2.201. При пересечении лугов, оврагов
глубину канав можно принимать до 0,2 м с
устройством банкета шириной поверху
не менее 3 м, с возвышением его бровки
над расчетным уровнем воды не менее
0,25 м и поперечным уклоном поверхности
банкета от насыпи 0,02 — 0,04.
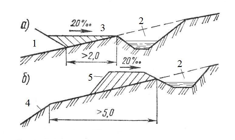
Расстояние между подошвой откосов
насыпей и внутренней бровкой продольных
водоотводных канав следует принимать
не менее 3 м, а со стороны размещения
будущего второго пути — не менее 7 м.
Поверхность бермы между насыпью и
канавой должна иметь поперечный уклон
0,02 — 0,04.
2.202. Поперечные канавы следует проектировать
в случаях, когда отвод воды от водопропускных
сооружений затруднен или невозможен
продольный отвод воды из местных
понижений у земляного полотна.
Сопряжение водоотводных канав с руслом
водотоков следует проектировать с
выполнением следующих условий: в месте
сопряжения канаву направлять по течению
водотока; угол между осями канавы и
водотока назначать не более 45°;
изменение направления канавы проектировать
плавным по кривой радиусом не менее 5
м, а на участках подходов к перепадам,
быстротокам и искусственным сооружениям
— не менее 10 м.
Отметка устья — выпуска воды из канавы
или лотка должна быть ниже отметки
бровки земляного полотна не менее чем
на 1 м.
2.203. Оптимальный уклон дна канавы должен
быть выбран так, чтобы скорости течения
воды в канавах не превышали допускаемые
(неразмывающие) скорости для данного
грунта согласно прил. 10 настоящего
Пособия.
Если при проектировании продольного
профиля канав топографические условия
местности не позволяют выдержать один
и тот же продольный уклон, следует
назначать крутые уклоны на коротких
участках с соответствующим типом
крепления или устраивать между ними
вставки с уклонами, не требующими
укреплений.
Минимальная допускаемая скорость
течения воды по условиям недопущения
заиливания канав 0,25 — 0,30 м/с (для канав,
не имеющих укрепления и не покрытых
растительностью).
2.204. Нагорные канавы необходимо размещать
с нагорной стороны выемок для перехвата
воды, поступающей с косогора и прилегающего
водосборного бассейна, с последующим
отводом ее к ближайшему водопропускному
сооружению или в сторону от земляного
полотна.
На местности с большой крутизной склона,
когда продольный уклон нагорной канавы
будет больше допустимого значения для
данных грунтов и применяемого типа
укрепления, необходимо предусматривать
устройства для гашения скорости течения
воды — перепады, быстротоки и водобойные
колодцы.
В таких случаях, в виде исключения,
допускается также ступенчатое размещение
отдельных участков нагорной канавы на
косогоре. При этом начало участка канавы,
расположенного ниже, следует размещать
с некоторым перекрытием выхода
вышерасполагаемого участка. Величину
перекрытия и тип укрепления склона в
местах выхода отдельных участков канавы
необходимо назначать с учетом местных
природных условий.
2.205. Минимальные расстояния между бровкой
нагорной канавы и бровкой выемки,
подошвой кавальера или насыпи следует
назначать не менее величин, приведенных
в табл. 22.
Таблица 22
Элементы земляного | Расстояние от |
Бровки выемки | 5 |
То же, со стороны | 9 |
Подошва насыпи | 3 |
Подошва кавальера | 1 — 5 |
Расстояние между бровкой нагорной
канавы и подошвой кавальера принимают
в зависимости от условий снегонезаносимости.
Глубина канавы принимается на 0,2 м больше
расчетной.
2.206. Кюветы в выемках следует размещать
с обеих сторон земляного полотна. Кюветы,
как правило, следует проектировать
трапецеидальной формы с размерами не
менее величин, указанных в табл. 20.
2.207. При отсутствии банкетов и забанкетных
канав минимальное поперечное сечение
кюветов необходимо проверять расчетом
на пропуск расчетного расхода воды
согласно прил. 9 настоящего Пособия, а
при необходимости увеличивать сечение
за счет углубления кюветов при сохранении
минимальной ширины по дну.
Полевые откосы кюветов следует
проектировать крутизной, равной крутизне
откоса выемки, а откосы кюветов со
стороны полотна — не превышающими
величин, приведенных в табл. 20.
Продольный уклон кюветов следует
принимать равным уклону земляного
полотна. В пределах выемок с продольным
уклоном менее 2 %0кюветы назначают
с продольным уклоном 2 %0.
В точках
водораздела глубину кюветов разрешается
уменьшать до 0,2 м при сохранении ширины
по дну.
2.208. Для отвода поверхностной воды при
отсутствии ливневой канализации следует
предусматривать закрытые лотки или
дренажные устройства согласно указаниям
СНиП 2.05.07-85, п. 2.67.
Лотки применяются в стесненных условиях,
где затруднено устройство открытых
нагорных канав, а также при неустойчивых
откосах. Лотки устраивают в глубоких
выемках, в пределах путевого развития
раздельных пунктов и междупутий для
пропуска воды с одной стороны пути на
другую, перехвата уровня грунтовых вод
и отвода их за пределы осушаемой
территории.
Нецелесообразно применение лотков в
случаях образования в них наледей и на
пучинистых грунтах.
2.209. Рамные лотки собираются из готовых
рам, закладных плит и покрытий, а также
безраспорных секций, изготавливаемых
из железобетона (рис. 53).
Рис.
53. Железобетонный рамный лоток
глубиной 1 м
1 — железобетонная
рама; 2 — засыпка из песка крупного,
средней крупности, гравелистого или
гравия; 3 — закладная железобетонная
плита; 4 — дренажные щели; 5 — щебеночная
подготовка;
6 —
асфальт;
7
— забивка
пазух мятой глиной
Железобетонные рамные лотки рекомендуется
применять: при затруднительном устройстве
открытой канавы или кювета; при
необходимости понижения уровня грунтовых
вод или перехвата и отвода их в
водоприемник; при углублении кюветов
в существующих глубоких выемках; при
нецелесообразности подрезки откосов
выемки.
Минимальный продольный уклон дна лотка
0,002.
2.210. Междупутные лотки рассчитываются
без учета влияния временной нагрузки
от подвижного состава (рис. 54). При
устройстве лотков большей глубины или
расположении их в зоне нагрузок от
поезда, а также на крутых косогорах
конструкцию лотков следует проектировать
индивидуально.
Рис. 54. Железобетонный лоток под
железнодорожными путями
1 — фундаментный
блок; 2 — гидроизоляция; 3 — блок
железобетонного лотка замкнутого
сечения; 4 — шпала; 5 — рельс; 6 — балластный
слой
2.211. Лотки безраспорные, секционные
(междушпальные) следует проектировать
для отвода воды поперек пути и в случае
продольного стока воды вблизи зданий
и сооружений, платформ и открытых
погрузочных площадок (рис. 55). Типы лотков
приведены в серии 3.501-68 «Сборные
железобетонные междушпальные лотки на
железнодорожных путях промышленных
предприятий», разработанной
ПромтрансНИИпроектом и в Альбоме
водоотводных устройств на станциях
(инв. № 984), разработанном Мосгипротрансом.
Рис. 55. Безраспорные секционные лотки
а — глубиной 0,2 м
с глухими стенками; б — то же, глубиной
0,85 м с дренажными отверстиями в стенках;
в — блок безраспорного лотка
2.
212. Лотки под путями устраиваются в
случаях, когда расходы воды превышают
возможные для безраспорных лотков.
Наибольшее применение получили
железобетонные лотки сечением 0,75´1,25
м (рис. 54), устраиваемые на блочных
железобетонных фундаментах, а при
хороших инженерно-геологических условиях
— на щебеночной подготовке. Лотки могут
сооружаться под одним или несколькими
путями.
Поверхностные дренажные работы (канавы, каналы, трубопроводы)
Описание
Поверхностные дренажные работы используются для сбора и направления поверхностного стока контролируемым образом, чтобы свести к минимуму количество поверхностных вод, стекающих на фактически или потенциально неустойчивые склоны.
Поверхностные дренажные работы особенно важны в верхней части склона для перехвата стока и уменьшения поверхностных вод, стекающих вниз по поверхности склона. Это может быть достигнуто за счет открытых канав в начале склона.
Канавы на основном оползневом теле используются для отвода местных поверхностных стоков и любых вод, возникающих в результате работ по глубокому дренажу.
Различные типы канав используются для отвода поверхностного стока. Сечение рвов обычно трапециевидное, хотя мелкие могут быть V-, U-образными или полукруглыми; их размеры варьируются в зависимости от ожидаемого стока, потребности в открытом водохранилище, риска береговой эрозии, необходимости размещения строительного или ремонтного оборудования и имеющихся средств для обслуживания (рис. 1 и 2 и таблица 1).
Тип кювета | Глубина (м) | Ширина кровати (м) | Боковой откос (в: ч) | Максимальный боковой уклон (v:h) |
V-образный | от 0,3 до 0,6 | — | 1:6 | 1:3 |
V-образный | >0,6 | — | 1:4 | 1:3 |
Трапециевидный | от 0,3 до 1 | При необходимости | 1:4 | 1:2 |
Рисунок 1: Типичное расположение открытых канав
(источник: ftp.
fao.org.pdf)Рисунок 2: Типичное расположение открытых канав
(источник: ftp.fao.org.pdf)
Уклон канавки должен составлять не менее 2 %, чтобы обеспечить быстрый сток от потенциально нестабильных зон и способствовать самоочищению от сносимого ветром или другого мусора, который может скапливаться, вызывая локальную закупорку. и разлив.
Канавы должны быть облицованы для минимизации эрозии и неконтролируемой инфильтрации. Облицовка может состоять из монолитного или сборного бетона, каменного щебня (Рисунок 3), каменной наброски, габионных матрацев или корзин, специального геотекстиля или геокомпозитов, оцинкованной стали или полутруб из ПВХ. Гибкие, самовосстанавливающиеся футеровки или трубы следует использовать в местах, подверженных растрескиванию и деформации.
Рис. 3: Открытый ров, выложенный каменным камнем, Гимиллан № Cogne (AO), Италия (фото: G. Vaciago, SGI-MI)
При использовании проницаемой облицовки она должна сочетаться с непроницаемой геомембраной для минимизации инфильтрации.
Геомембраны также могут использоваться сами по себе для временного или аварийного применения, но они легко повреждаются ветром и прямыми солнечными лучами и обычно не должны использоваться сами по себе для постоянного применения.
Техника должна быть адаптирована к грунтовым условиям и местным технологиям; пример приводится Андерсоном и Холкомбом (2004; 2008), которые описывают разработку и применение на уровне общины надлежащих методов дренажа с использованием доступных на местном уровне технологий в Сент-Люсии, Вест-Индия, состоящих из канав, облицованных специальным пластиком, находящихся в место с помощью проволочной сетки (рис. 4).
Рисунок 4: Дренажная система STAR TM , установленная жителями Сент-Люсии, Вест-Индия
(источник: Anderson and Holcombe, 2008)
Методы проектирования
Канавы должны иметь достаточную пропускную способность для отвода дренажных вод во влажный период; однако иногда их делают шире, чем необходимо, чтобы создать больше места для хранения в открытой водной системе.
Такое временное хранилище является хорошим способом уменьшения пикового оттока с территории, возникающего после проливных дождей. Таким образом, снижается требуемая мощность сооружений ниже по течению, таких как более крупные водотоки, водопропускные трубы и насосные станции.
Канавы часто относительно недоступны и требуют меньшего обслуживания, чем это было бы целесообразно. Соответственно, рекомендуется проектировать их с большим свободным бортом, чтобы свести к минимуму риск засорения и разлива.
Ступени или другие системы рассеивания энергии должны использоваться на подошве крутых участков и на их подошве, чтобы предотвратить чрезмерную скорость потока и возникающую в результате эрозию.
Критерии функциональной пригодности
Тип движения | ||
| Дескриптор | Рейтинг | Примечания |
|---|---|---|
| Осень | 1 | Наиболее подходит для всех типов горок и, в зависимости от обстоятельств, для потоков. В спредах полезно только в качестве исправления, а не в качестве превентивной меры. |
| Опрокидывание | 0 | |
| Слайд | 8 | |
| Спред | 4 | |
| Поток | 7 | |
Тип материала | ||
| Дескриптор | Рейтинг | Примечания |
|---|---|---|
| Земля | 9 | В основном применимо к оползням с участием земли и обломков. Применимость в горных породах ограничена типичной геометрией откосов и характером разрушения. Возможные трудности при рытье и гидроизоляции канав в крупном мусоре. |
| Мусор | 7 | |
| Камень | 1 | |
Глубина движения | ||
| Дескриптор | Рейтинг | Примечания |
|---|---|---|
| Поверхностный ( | 8 | Обычно применяется к оползням любой глубины, но относительная эффективность снижается с увеличением глубины движения.![]() |
| Мелководье (от 0,5 до 3 м) | 8 | |
| Средний (от 3 до 8 м) | 6 | |
| Глубокий (от 8 до 15 м) | 3 | |
| Очень глубокие (> 15 м) | 0 | |
Скорость движения | ||
| Дескриптор | Рейтинг | Примечания |
|---|---|---|
| От умеренной до быстрой | 0 | Может выполняться без особых затруднений при низкой скорости движения (5 см/день) или меньше, но может быть нарушено и потребует дополнительного обслуживания или реконструкции в результате продолжающегося движения. |
| Медленно | 6 | |
| Очень медленно | 8 | |
| Чрезвычайно медленный | 8 | |
Состояние грунтовых вод | ||
| Дескриптор | Рейтинг | Примечания |
|---|---|---|
| Артезианская | 5 | Применяется независимо от состояния грунтовых вод. Не дренирует грунтовые воды. Воздействие на уровень грунтовых вод только косвенное за счет снижения инфильтрации. |
| Высокий | 7 | |
| Низкий | 6 | |
| Отсутствует | 4 | |
Поверхностные воды | ||
| Дескриптор | Рейтинг | Примечания |
|---|---|---|
| Дождь | 9 | См. информационный бюллетень 3.7 для отводных каналов для основных водотоков. |
| Снежный покров | 8 | |
| Локализованный | 9 | |
| Поток | 4 | |
| Торрент | 1 | |
| Река | 1 | |
Критерии надежности и осуществимости
| Критерии | Рейтинг | Примечания |
|---|---|---|
| Надежность | 8 | Влияние на стабильность только косвенное. Надежность в долгосрочной перспективе может ухудшиться из-за дальнейшего перемещения или плохого обслуживания. |
| Осуществимость и управляемость | 10 | Простая техника. Потенциальные преимущества и пределы применимости хорошо известны. |
Соответствие срочности и последствиям
| Критерии | Рейтинг | Примечания |
|---|---|---|
| Своевременность реализации | 10 | Легко внедряется с помощью широко доступного оборудования. |
| Экологичность | 6 | будет обновляться |
| Экономическая целесообразность (стоимость) | 10 | Низкий, если применимо. |
Каталожные номера
Андерсон М.
Г., Холкомб Э.А. (2004). «Управление устойчивостью склонов в сообществах» Insight, Vol 6, 15-17.Андерсон М.Г., Холкомб Э.А. (2008). «Новая устойчивая методология снижения риска оползней для сообществ в странах с низким уровнем дохода». В: Учеб. Первого Всемирного форума по оползням, Токио, параллельное заседание, том, 61-64.
наверх
- Распечатать
Тихоокеанское садоводство | Садоводство за задним двором: повесть о трех канавах
Многие жители пригородов считают дренажные канавы бельмом на глазу, неприятностью, потенциальной угрозой безопасности и даже признаком «второсортного» района. Моя история не только о трех канавах в моем районе, но и о моем личном превращении из сомневающегося в канавах к любителю канавы к энтузиасту канавы.
До: работы на третьем канаве в апреле 2001 г., с большим количеством тростниковой канареечной травы (Phalaris arundinacea), которую еще предстоит удалить.
Соседская живая изгородь из кипарисов загораживает ров от их взгляда. Случайные валуны, окаймляющие улицу, помогают водителям ориентироваться в ночное время. Авторские фотографии
Мы с мужем Ибом живем в старом районе Северной Дельты, в пригороде Ванкувера, Британская Колумбия. Наша система ливневой канализации представляет собой лоскутное одеяло из бетонных и пластиковых водопропускных труб (труб), неглубоких, покрытых травой канав (которые домовладельцы приспособили как продолжение своих газонов) и нескольких более глубоких канав — последних остатков сезонных ручьев, которые когда-то текли. по нашим склонам.
Наш дом стоит на участке, по форме напоминающем четверть куска пирога. Внешний край нашего куска пирога выходит на улицу, а это означает, что по сравнению с общим размером участка у нас есть довольно внушительный участок муниципальной собственности, о котором нужно заботиться — примерно шестьдесят пять метров (215 футов) в длину и пять метров в длину. (семнадцать футов) в ширину.
За исключением нашей подъездной дорожки и прилегающей парковочной полосы, на этом участке земли изначально были дренажные канавы более глубокого «дикого и пушистого» типа.
Подобно большинству систем ливневой канализации в этом районе, да и вообще повсюду, наша в конечном итоге, без какой-либо очистки воды, опустошается в среду обитания рыб — ручей, реку или залив, где рыба пытается выжить. Однако в то время, когда мой рассказ начинается, я лишь смутно осознавал значение всего этого.
Канава номер один: Райское бельмо на глазу
Канава номер один больше нет, хотя в конце 1980-х годов, когда мы заплатили муниципалитету за установку водопропускной трубы и засыпку канавы, мы думали, что делаем хорошее дело. Ров номер один тянулся вверх по улице от нашей подъездной дорожки, при ярком солнечном свете — джунгли растительности колыхались высоко над аккуратными газонами соседей. Несмотря на покосы два раза в год и периодические титанические усилия Иба с косой или ножницами, канава в целом выглядела грязной и неопрятной по меркам пригорода.
Соседи продолжали благодарить нас в течение многих лет после того, как мы заменили его водопропускной трубой и газоном. Теперь мне интересно, какие биологические сокровища могли скрываться в этой канаве и на ее берегах.
После: почти тот же вид весной 2003 г., когда насаждения начинают заполняться между камнями и древесными остатками в верхней части Третьего рва
Ров 2: Триумф плюща с нашей подъездной дорожкой и полосой парковки, Ditch Two так и не удалось добиться звания «Слезы на глазах у соседей». Трава там не росла так буйно, и дом не был прямо напротив парадного входа соседа. Кроме того (простите нас, мы не знали лучшего!), мы посадили английский плющ ( Hedera helix ) на внутренней стороне низкой подпорной стены; со временем он перекинулся через стену, вниз по берегу канавы, через канаву и вверх по другой стороне к дороге, сметая все на своем пути.
Огромное пространство плюща было здоровым, аккуратным и вызывало восхищение у соседей и пешеходов. Но тогда, в 1998 году, когда я смотрел на него сверху вниз, я не мог отделаться от ощущения, что это было слишком много чего-то одного.
Иб, терпеливо дождавшись того дня, когда плющ задушит последние сорняки, несколько неохотно согласился, что я могу вырыть русло на дне канавы.
Я сделал это (эта короткая фраза не отражает затраченного труда и произведенных гор плюща), а затем начал выстилать свой маленький «ручеек» камнями — камнями, которые появились, когда я вырвал корни плюща, камни, которые я экранировал из нашей садовой земли, камней, выкопанных на близлежащих строительных площадках, и камней, заказанных семьей и друзьями. Иб добавил несколько рогозов в нижней части ручья Айви-Крик, как раз перед тем, как он исчез в водопропускной трубе, создав таким образом миниатюрное заболоченное место и дополнив мое представление о прибрежной зоне. . . или так я кратко думал.
Вскоре я начал воображать, что ручью нужно немного цвета. Я начал срезать и выдергивать другие части плюща, заменяя их простыми в уходе засухоустойчивыми многолетниками. Я и не подозревал, что эти мелкие работы были всего лишь предвкушением грядущих событий.
Остерегайтесь убийственного тротуара
9 апреля 1999 года, примерно через год после «засветки» нашего «Айви Крик», газета Vancouver Sun опубликовала статью профессора Университета Британской Колумбии Патрика Кондона под названием «Остерегайтесь Убийственный тротуар. Мистер Кондон написал:
. . . бордюры — зло, и я говорю это лишь отчасти в шутку. Бордюры препятствуют попаданию дождевой воды, падающей на улицу, на мягкие прилегающие поверхности. Так как он не может быть поглощен, его необходимо перекачивать. После того, как ливневая вода попадает в трубу, ее почти невозможно снова вывести, пока она не будет сброшена, грязная и проливная, в ближайший ручей, уничтожая при этом места размножения рыбы.
Внезапно я увидел старомодные улицы нашего района без бордюров и оставшиеся канавы в совершенно новом свете, как «благоприятные для рыб» элементы ливневой канализации. Наши канавы замедляют поток, тем самым уменьшая эрозию вниз по течению и позволяя загрязняющим веществам (дорожным стокам, садовым химикатам, мыльной пене для мытья автомобилей, мусору, собачьему помету) осесть и/или разрушиться под воздействием солнечного света и воздуха.
Кроме того, наши канавы пористые, так что происходит некоторая естественная подпитка грунтовых вод, что хорошо для наших садов и для сохранения воды.
Крупнолистный авен ( Geum macrophyllum ) на переднем плане был единственным местным растением, найденным в канаве, когда начались работы; календула болотная двойная ( Caltha palustris ‘Plena’ ) и камыш обыкновенный ( Juncus effusus ) работают с камнями и древесными остатками, чтобы помочь замедлить и очистить сток воды в публичной библиотеке Ванкувера, специализирующейся на научно-технических материалах. Примерно в то же время, когда я размышлял о проблемах дренажа, я каталогизировал несколько названий в серии Stewardship Series, опубликованной Naturescape British Columbia.
Пока я просматривал эти публикации, загорелась еще одна лампочка: рвы имеют большой потенциал в качестве среды обитания для мелких животных и коридоров для диких животных покрупнее. Канавы могут обеспечить воду (по крайней мере, сезонно), грязь, груды камней, гниющую древесину, местные и неместные ягоды и нектары, а также кустарниковый покров для всех форм дикой природы.
Я заказал себе пару изданий Naturescape, долго их обдумывал, вышел посмотреть соседскую канаву, еще немного поразмышлял над книгами и снова посмотрел на канаву с идеей улучшения.
Ров 3: превентивный удар
Ров номер один под лужайкой, а второй ров утопает в скалах и плюще, а третий ров, принадлежащий нашим соседям, получил ранг районного бельма на глазу. Он находится сразу вверх по течению от нашего Айви-Крик. Тридцатиметровая (около ста футов) длина его солнечных участков была переполнена тростниковой канареечниковой травой ( Phalaris arundinacea ), которая постепенно душила пять больших юкк и одну сантолину, посаженные несколько лет назад. (Некоторые считают, что канареечник тростниковый произрастает здесь в прибрежных районах, но определенно расширил свой ареал благодаря деятельности человека.)
Трава, в свою очередь, столкнулась с конкуренцией со стороны столь ненавидимой гималайской ежевики ( Rubus discolor ), которая находилась на ранних стадиях захвата, изгибаясь и скручиваясь, пробираясь вверх по солнечным берегам, по траве и юккам, и в кедровую изгородь (которая скрывала ров от взгляда нашего соседа).
В более тенистых местах безраздельно господствовали лютики ( Ranunculus ) — огромные, сочные, изо всех сил пытающиеся задушить пару флаговых ирисов, немного гладиолусов и ароматный участок мелиссы (9).0569 Мелисса ), которые, как и юкки, берут свое начало в прекрасном саду за живой изгородью.
Канарейка тростниковая, ежевика гималайская, лютики — инвазивные «головорезы», все! И все еще . . . среда обитания своего рода. Подобно английскому плющу, они защищали почву, сдерживали стоки (на самом деле лучше, чем очаровательный каменистый ручей) и, как я позже обнаружил, в них обитало огромное количество трудолюбивых дождевых червей. Я начал видеть красоту даже в запутанной, но несколько функциональной мешанине инопланетных захватчиков, но сомневался, что кто-то еще в округе разделяет мою точку зрения.
Меня огорчила мысль, что канаву могут зарыть, после чего она, вероятно, превратится в заросшую щебнем парковочную полосу. В конце концов, будет установлен «убойный бордюр», и это станет концом еще одного участка естественного дренажа в Северной дельте.
Канава отчаянно нуждалась в превентивном ударе — всплеске благоустройства, которое предотвратило бы любое давление со стороны соседей, чтобы заполнить ее за счет владельца или муниципалитета.
В начале 2001 года, с благословения хозяина, я начал «играть» в их канаве, вернее, в канаве муниципалитета, так как это действительно их собственность. Я связался с городским инженерным бюро, чтобы убедиться, что у них нет ближайших планов по возведению водопропускных труб, и ушел с их осторожным одобрением моего проекта «озеленения рвов». Муниципалитет будет нести ответственность, если произойдет какое-либо наводнение, поэтому, вполне логично, они предупредили, что я должен: (а) не препятствовать способности канавы предотвращать затопление и (б) не сажать ничего большого на внешнем берегу реки. канаву на случай, если муниципальным рабочим бригадам в будущем потребуется принести оборудование для обрезки или очистки.
Камни и бревна расположены таким образом, чтобы вода «скатывалась в лужу», что создает идеальные условия для скунсовой капусты ( Lysichiton americanum ), цветущей ближе к центру верхней части, а также позволяет отложениям оседать из стекающей воды, а не вредить среда обитания рыб ниже по течению
Спасите рыбу и познакомьтесь с соседями
Идея постепенного преобразования Рва-3 в квази-местный, квази-декоративный и полностью функциональный «заболоченный» сад казалась достойной, но несколько нереалистичной долгосрочной целью.
«Понемногу, в течение следующих десяти лет», — сказал я. Я мало рассчитывал на собственную навязчивость, растущий интерес прохожих и ловкую тактику наших относительно новых соседей, живущих через дорогу от канавы. Они часто усердно трудились на собственном переднем дворе, превращая его из заброшенного участка сорняков в экспонат, достойный Тихоокеанское садоводство . Если бы я очистил от лютиков хотя бы квадратный метр берега канавы и сумел бы высадить один-единственный мечевидный папоротник, я бы услышал, как они кричат: «Хорошо выглядишь».
Меня побудили к большим усилиям. Мало-помалу мертвая хватка травы/ежевики/лютика (GBB) начала исчезать, заменяясь местными растениями, такими как бузина ( Sambucus racemosa ), виноградный клен ( Acer circinatum ), салал ( Gaultheria shalon ), мечевидный папоротник. ( Polystichum munitum ) и хардхак ( Spiraea douglasii ), смешанные с различными квазиаборигенными растениями (родственными сортами, натурализованными иммигрантами) и садовыми многолетниками.
В начале моих усилий несколько ходячих останавливались, чтобы поговорить; Наверное, я выглядел слишком сумасшедшим, чтобы ко мне подходили, тем более что я не прочь возиться в саду под дождем или в полной темноте. Однако по мере развития событий я знакомился со все большим количеством соседей и других бродяг, бегунов и велосипедистов, некоторые из которых приходили специально, чтобы проверить улучшения. Большинство просто развлекали меня дружеской беседой, пока я трудился в грязи.
Улучшения? Я не был так уверен. Вот я и разгромил одну «экосистему» и не был уверен в успехе замены ее другой. Клика GBB продолжала угрожать вернуть утраченную территорию, и мои ландшафтные «композиции» часто представляли собой марафон проб и ошибок при размещении растений. Но все новые растения процветали без полива, кроме как во время их первоначальной посадки.
Я называл все это своим «восстановлением лососевого потока», хотя прекрасно знал, что ни один лосось никогда не сможет взобраться по дренажной трубе вверх по крутому откосу к канаве, а если бы и смог, то, скорее всего, не нашел бы вода летом и ранней осенью.
Так что рыба была шуткой. . . пока я не узнал от соседа, что он нашел мальков лосося в большей канаве у подножия откоса, когда набирал воду для урока биологии своей жены. У меня может не быть среды обитания лосося, но у меня был «питательный ручей!»
Сочетание текстур и форм растений обеспечивает круглогодичный интерес и среду обитания диких животных в натуралистическом, но далеко не полностью естественном ландшафте нижней части Три канавы
Во славу юкк, пней и деревянистых обломков
Я был вырос, чтобы «сделать» и «не тратить зря», поэтому я никак не собирался избавиться от этих пяти прижившихся юкк, даже если они не были моим представлением о «родной среде обитания». Они были здоровыми, крепкими, устойчивыми к засухе — и, в любом случае, их почти невозможно было выкопать. Юкки стали воротами в моей борьбе вверх по канаве. Одного за другим я освобождал их от похитителей GBB. Один за другим они становились фокусами, вокруг которых строились маленькие кусочки ландшафта.
Они добавили согласованности и зрелого взгляда на развивающийся хаос.
Точно так же три старых пня дугласовой пихты обеспечили больше хороших фокусов, плюс, конечно, их питательная ценность и среда обитания для жуков, растений и дятлов. Следуя совету Naturescape BC, я добавил больше «деревянного мусора», часть из которого предложили соседи, часть из нашего собственного сада, часть из чужих придорожных куч мусора, и все это стало прекрасным эстетическим и функциональным дополнением к ландшафту канавы.
Начальник компоста, рокхаунд и зеленый палец
По большей части я работал один, наслаждаясь обстановкой, физической нагрузкой и одиночеством, перемежаемым разговорами с прохожими. Но в то время как я получал общественное признание, Иб позаботился о самом необходимом, благодаря которому все предприятие стало возможным. Он перемещал неподвижные валуны, компостировал невероятно плотные травяные покровы и выкапывал посадочные ямы в жестком грунте.
Он подбадривал меня в моем злополучном эксперименте по пересадке нескольких тяжелых зарослей тростниковой канареечника, которые, как я думал, могут быть достаточно приручены, чтобы стать частью ландшафта канавы.
Через пару месяцев после родов Иба по пересадке я решил их удалить. Ранней весной они выглядели достаточно невинно, но к лету, достигнув пяти футов роста и распустив корни, они явно были неспособны «хорошо играть с другими».
И камни! Хотя сами берега арыков производили огромное количество камней, которые я бросал в русло ручья, всегда оставалось место для большего количества камней, особенно крупных, для укрепления берегов арыков, среды обитания мелких тварей и эстетики. Иб собрал и перевез бессчетное количество камней с пустырей и строительных раскопок в нашем семейном фургоне.
Кроме того, он, будучи опытным садоводом, выращивал семена и черенки в своей маленькой теплице. Геум, лопух, дриас, люпин, мимулюс и другие растения начали тесниться на столе в теплице наряду с другими проектами Иб. Единственным аборигенным растением, которое я идентифицировал и освободил от удушья, вдоль всего берега Третьего рва был авен крупнолистный ( Geum macrophyllum ), который с энтузиазмом цвел все лето, поэтому меня особенно волновала перспектива более выращенный из семян этого растения.
(Как оказалось, еще и самосев обильно.)
Источник
В конце лета я двинулся вверх по течению к «Источнику», двум пластиковым водопропускным трубам, которые отводили ливневую воду в канаву в ее самой высокой точке. Семья прибыла вовремя, чтобы помочь убрать траву и ежевику вокруг Источника и установить грот. (Пожалуйста, еще камней, Иб!) Затем пошли кусты, почвопокровные и последняя юкка, подаренная соседями.
Наконец, включая Айви-Крик, наш канавообразный пейзаж простирался от его каменистого «родника» наверху, мимо открытых, солнечных «лугов», через затененный лес и, наконец, вниз к заросшему рогозом «заболоченной местности» в самой нижней точке. , перед входом в водопропускную трубу. Предстояло еще много работы: расчистить последний участок тростниковой канареечной травы на внешнем берегу и заполнить пробелы в растительности, но после всего лишь одного вегетационного периода (а это был в значительной степени очищает сезон ). Под зимним снегом можно было почти вообразить, что канава действительно была прекрасным, нетронутым ручьем.
Поздняя осень вдоль Третьего канавы, с яркой листвой дымчатого куста ( Cotinus coggygria ) и красочной корой кизила красного прута ( Cornus alba ‘Gauchaulti’ ) и белыми плодами на местной снежноягоднике ( Symphoricarpos alba ) позади юкка
Два года на заполнение
По сравнению с первым годом 2002 и 2003 годы были проще простого! Несколько дней работы позаботились об оставшейся траве, и регулярные патрули GBB вниз по канаве с чашкой кофе в руке, похоже, выиграли войну с этими захватчиками. Пустующие места постепенно заполняются тепличными растениями Ib, а также местными растениями и многолетниками из местных питомников и растений, продаваемых в Ботаническом саду Университета Британской Колумбии и Ванкуверском ботаническом саду VanDusen.
Теперь, спустя чуть более двух лет с тех пор, как я начал, я могу стоять в стороне и наблюдать, как все это развивается. В настоящее время среда обитания все еще довольно открыта — она отлично подходит для малиновок, купающихся синиц, прячущихся в арахисе звездчатых соек и случайных бродячих енотов или дятлов-пней.
Никаких признаков лягушек, саламандр или подвязочных змей, но я надеюсь. Теперь на месте все груды камней, гниющая древесина, грязь и структуры «бассейн и капля», которые заставляют текущую воду замедляться, образовывать пруд, а затем переполняться и опускаться на следующий уровень. Между тем, все растения процветают и наполняются — вопреки нашим ожиданиям и без какого-либо баловства — и вскоре должны дать много кустарниковых укрытий и сочных ягод для птиц.
Насаждения и берега арыков выдержали заморозки, оттепели, таяние снегов, проливные дожди, жару и засуху, а также настоящую Ниагару промывки водопроводной магистрали. (Дельта Инжиниринг производит это удивительное явление, полностью открывая пожарный гидрант и пропуская воду через приспособление для удаления хлора, а оттуда в канаву в течение примерно тридцати минут.) Ливневые стоки смыли дорожный песок в водопропускные трубы и из водопропускных труб в канаву, где кое-где образовались миниатюрные песчаные отмели. Нет ничего лучше природы, чтобы все выглядело естественно!
Конец и начало
Так заканчивается мой рассказ, но я надеюсь, что он может стать началом и для других садоводов и любителей природы.
Когда-то в районе Ванкувера и в других местах на северо-западе Тихого океана были десятки и десятки небольших лососевых ручьев. Их разрушение не произошло в одночасье; это случалось, по одной водопропускной трубе за раз, по мере того как в местные водотоки сливались все большие и все более грязные объемы воды.
Сохранение одного короткого участка открытой канавы мало что даст. Но сохранение многих канав в сочетании с другими улучшениями дренажа, такими как водохранилища и дневное освещение ручьев, может иметь огромное значение. В наших ближайших окрестностях мы могли наслаждаться коридорами прибрежной зоны / дикой природы / парковой зоны, основанными на канавах. А в более крупном масштабе мы могли бы еще раз отвести наших детей к ближайшему ручью, чтобы посмотреть на чудо возвращения дикого лосося на нерест.
Есть только два абсолютно важных понятия, которые всегда должны иметь в виду землекопы:
(1) Канава должна продолжать выполнять свою работу по предотвращению затопления соседних строений, дорог и садов.
(2) Каждая канава, как и каждая водопропускная труба, в конце концов впадает в среду обитания рыб.
Все остальные принципы устройства канав вытекают из двух вышеуказанных основ:
• Перед началом работ проконсультируйтесь с местными властями . Они должны знать, что вы не будете мешать необходимому дренажу, и вы должны знать, что они не будут засыпать или скашивать вашу формирующуюся канаву.
• Никогда не препятствуйте потоку воды, старайтесь только замедлить его. «Бассейн и капля»» конструкции из камней или небольших бревен хороши, если ров достаточно глубокий. Рогозы и другие водные растения тоже подходят, но будьте осторожны, чтобы они не стали настолько густыми, чтобы препятствовать дренажу.
• Никогда не используйте удобрения, гербициды, пестициды или газовое оборудование в канавах.
• Хлор очень токсичен для рыб и земноводных, поэтому никогда не допускайте попадания водопроводной воды в канаву.
(Другими словами, избегайте орошения в канаве.) Вода из дождевых бочек подойдет, как и вода, которая отстоялась в течение нескольких часов и была перемешана для выделения хлорных газов. Тем больше причин для выбора местных и засухоустойчивых растений, которые прекрасно себя чувствуют без дополнительного полива.
• На начальных этапах строительства канав существует большая опасность ухудшения условий воды для рыб, живущих ниже по течению. Ил убивает рыбу, поэтому сделайте все возможное, чтобы свести к минимуму заиливание ниже по течению. Например:
(a) Начните в сухой сезон с создания мелкой лужи (в идеале, засаженной рогозом или камышом) в самой нижней точке канавы. Это позволит любому взбалтываемому илу осесть до того, как вода попадет в места обитания рыб ниже по течению.
(b) Работа при малом количестве воды или ее отсутствии.
(c) Если в канаве есть вода, не ходите по дну канавы, если оно не защищено камнями или густой растительностью.
![]()
(d) Сделать стабилизацию берега и дна рва приоритетной задачей.
• Местные или неместные растения? Лично мне нравится эклектичный подход. Я подозреваю, что это больше понравится всему району, чем строго местный подход, плюс быстрее и дешевле заполнить пробелы делениями своих собственных или знакомых многолетников соседей. Но избегайте «головорезов», наиболее инвазивных инопланетных растений , таких как ракитник обыкновенный ( Cytisus scoparius ), вербейник пурпурный ( Lythrum salicaria ) и плющ английский ( Hedera helix ) , , семена или ягоды которых легко распространяются вниз по течению и в другие места, вытесняя местную растительность. Если вы найдете туземцев в своей канаве, оставьте их; они говорят вам, что им это нравится!
• Не удаляйте местные растения из дикой природы; покупайте их, выращивайте из семян или черенков или спасайте со строительных площадок. Нет смысла создавать искусственную естественную среду обитания за счет настоящей естественной.
• Существует множество полезных советов по созданию садов-животных. Большинство из них можно приспособить для канав. I Я в значительной степени полагался на следующие несколько источников просто потому, что они хороши, и они были у меня под рукой.
Кэмпбелл, Сьюзан. Naturescape Британская Колумбия: буклет о местных растениях и животных , бассейн Джорджии. Виктория, Британская Колумбия: Природа Британской Колумбии, 1995.
Кэмпбелл, Сьюзан и Сильвия Пинкотт. Природа Британской Колумбии: путеводитель по провинции. Виктория, Британская Колумбия: Природа Британской Колумбии, 1995.
Кларк, Льюис Дж. Полевые цветы Тихоокеанского северо-запада от Аляски до Северной Калифорнии . Сидней, Британская Колумбия: Gray’s Publishing, 1976.
Петтингер, апрель. Местные растения в прибрежном саду . Ванкувер, Британская Колумбия: Whitecap Books, 1996.
Пожар, Джим и Энди Маккиннон. Растения прибрежной полосы Британской Колумбии .
В спредах полезно только в качестве исправления, а не в качестве превентивной меры.
Не дренирует грунтовые воды. Воздействие на уровень грунтовых вод только косвенное за счет снижения инфильтрации.
Надежность в долгосрочной перспективе может ухудшиться из-за дальнейшего перемещения или плохого обслуживания.
Г., Холкомб Э.А. (2004). «Управление устойчивостью склонов в сообществах» Insight, Vol 6, 15-17.
