Содержание
Что такое эргономика автомобиля?
Словари обычно дают определение эргономики, как научной дисциплины, которая использует принципы биотехнологий и чудес инженерии, чтобы сделать определенный продукт более удобным для работников или для потребителей.
В контексте автомобиля это означает, что в процессе его производства должны быть учтены все факторы проектировки, начиная с момента, где будет располагаться кнопка переключения радиостанций, до размещения человека в пассажирском сидении. Один инженер по эргономике компании Ford описал свою работу как «проектирование человеческого фактора». Таким образом, из вышесказанного выходит, что задача инженеров состоит в том, чтобы создать автомобиль, подходящий по своему удобству и комфорту большинству покупателей, различных габаритов и пропорций, при этом, не выходя за рамки увеличения габаритов и размеров самой машины.
Кроме того, не следует забывать, что комфортное расположение в салоне автомобиля, также зависит и от нас, пассажиров и водителей.
Например, если вы водитель и расположили свое сидение таким образом, что ваши ноги едва дотягиваются до педалей, вы можете вызвать ненужную нагрузку на руки – точно так же, как и сидение, пододвинутое слишком близко к рулю может вызвать болевые ощущения в ногах и спине. Положение сидения, поза и время, проведенное в автомобиле, все это может повлиять на здоровье человека. По данным одного исследования, если вы проводите за рулем четыре часа в день и более, то вы в шесть раз увеличиваете шансы заработать проблемы со спиной. Костно-мышечные расстройства также представляют опасность для тех водителей, кто зарабатывает себе на хлеб за рулем автомобиля: дальнобойщики, водители такси, и даже полицейские на патрулировании.
Итак, что такое эргономика автомобиля мы вроде бы немного разобрались. Теперь же давайте подробнее рассмотрим сферу эргономичных дизайнов автомобиля, и узнаем, как получить все преимущества хорошей эргономики для здоровья, комфорта, эффективности и безопасности.
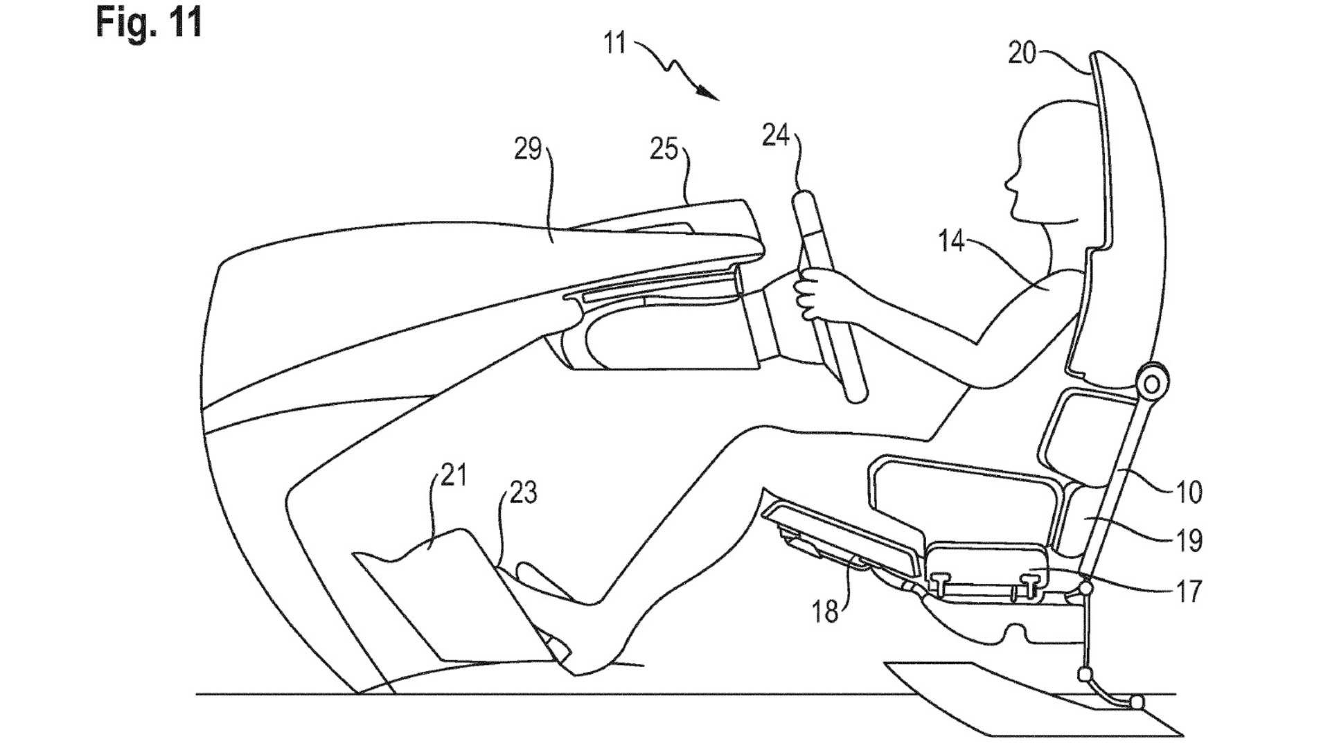
Для начала, давайте определим, какую роль играет эргономика водительского сидения.
Исследователь Университета штата Айова доктор Джеффри Доусон за рулем новой версии автомобиля для испытаний эргономики и безопасности. Его используют для прогнозирования опасных и безопасных способностей у пожилых водителей.
Как должно быть настроено водительское кресло?
По иронии судьбы, лучшим способом воспользоваться всеми преимуществами водительского сидения с хорошей эргономикой, это не проводить в нем слишком много времени. Если вы отправились в долгую поездку, то вам необходимо как можно чаще менять свое положение, или же выходить из автомобиля, чтобы прогуляться и размяться, по крайней мере, каждые два часа. Если же вы пленник времени и вам некогда останавливаться на короткие перерывы, то для вас автопроизводитель уже давно начал выпускать машины с креслами обладающими функцией массажа. О таких креслах мы уже как-то писали в одной из своих статей.
Но вернемся к тем креслам, которые никакими функциями spa-массажа не оборудованы.
Итак, есть ли правила, соблюдение которых позволит не уставать сидя за рулем продолжительное время? Исследователи из Университета Лафборо придумали несколько руководящих принципов для тех, кто дорожит своим здоровьем и комфортом во время поездки. Эти исследователи создали идеальное «исходное положение» водительского кресла, отталкиваясь от которого, водитель регулирует дальнейшее положение сидения по своему вкусу, чтобы обеспечить максимальный комфорт, управляемость, хороший обзор дороги и внутренних систем управления транспортного средства. Сидение должно быть выдвинуто далеко назад, но руль, если он регулируется, должен быть выдвинут на максимально высокую и максимально приближенную к водителю позицию. Спинка сидения должна быть откинута на 30 градусов, в то время как высота сидения и подушки должны быть в самом низком положении.
После того, как стартовое положение установлено, сидение необходимо поднять до такого уровня, чтобы максимально улучшить обзор дороги для водителя. Сидение должно быть перемещено вперед и вверх настолько, чтобы водитель без труда дотягивался до педалей и не чувствовал дискомфорта в ногах и боли в коленях.
Спинка и поясничная поддержка сидения должны быть настроены таким образом, чтобы обеспечить адекватную поддержку; чрезмерное снижение спинки может стать причиной болей в спине и ограничить обзор дороги. И ни в коем случае не забывайте о подголовнике. Он может и должен обеспечивать критическую поддержку шеи.
Последним шагом является регулировка зеркал автомобиля (инструкция здесь), чтобы максимизировать видимость дороги и свести к минимуму слепые пятна, а также регулировка руля. Зафиксируйте его в таком положении, чтобы он не ограничивал видимость приборов и не касался ваших ног во время вождения.
Далее мы рассмотрим эргономику пассажирских сидений, также мы узнаем о некоторых хитростях, которые инженеры используют для того, чтобы сделать автомобиль более эргономичным и удобным как для водителей, так и для пассажиров.
Подумаем об эргономике пассажиров.
Виртуальная реальность (VR – Virtual Reality) является одним из передовых инструментов, которые инженеры используют при разработке эргономики автомобиля.
VR избавляет дизайнеров от необходимости создания полномасштабной модели для испытаний. Вместо этого, мужчина дизайнер может сойти за, скажем, девушку тинейджера во время виртуальной езды, и разобраться в том, как ремень безопасности и форма сидения влияют на ее удобство.
При проектировке дизайна модели и при продумывании эргономики автомобиля, производитель должен учитывать тот факт, что в мире существуют люди разных пропорций: худые и полные, высокие и низкие, очень важно учитывать эти факторы при создании автомобиля, чтобы он был в состоянии адаптироваться под эксплуатацию совершенно разных по типу людей. Кроме того, присутствие среди водителей и пассажиров пожилых людей означает, что автомобили должны удовлетворять и их нужды, в частности, не должно возникать никаких сложностей при посадке в автомобиль и выходе из него. Использование виртуального моделирования позволяет инженерам имитировать поведение пожилых людей или лиц с особыми потребностями, тем самым повышая процент вероятности, что интерьер созданного автомобиля целиком и полностью подойдет любой категории покупателей.
Несмотря на полезность виртуальной реальности, и компьютерного моделирования, физические прототипы важны для проверки конструкций в реальном мире. Компания Ford, например, после испытания конструкции в виртуальной реальности создает прототипы, которые называют баксами. Эти баксы испытываются специально обученными сотрудниками компании Ford, которые вносят предложения по улучшению конструкции автомобиля. Такой подход позволяет получить наилучшие отзывы о положительных и отрицательных моментах эргономики создаваемого авто.
Хоть вышеперечисленные методы моделирования и предоставляют много данных, успех достижения цели зависит и от того как умело используют полученную информацию инженеры. Например, именно инженер принимает решение, стоит ли производить пассажирское сидение с регулируемым размером, формой или положением по отношению к остальной части автомобиля (что может предоставить пассажиру больше места и возможность вытянуть ноги) или же не стоит уделять много внимания удобству пассажира, а вместо этого улучшить положение и комфорт водителя.
Все зависит от предназначения авто. Если это автомобиль в кузове купе, то о комфорте пассажиров здесь не может быть и речи, а если это семейный кроссовер, то сам Бог велел разместить пассажиров этого «каравана на колесах» в особых условиях.
Помимо обеспечения комфорта и легкости в использовании, эргономичный дизайн, или его отсутствие, также играет важную роль в обеспечении безопасности в случае аварии. Многие подголовники кресел автомобиля вообще произведены без какого-либо учета эргономики и на практике абсолютно не взаимодействуют с шеей и головой сидящего водителя (или пассажира), тем самым не обеспечивая необходимой поддержки во время несчастного случая. Исследования Американского страхового института дорожной безопасности показали, что большинство подголовников в автомобилях не предоставляют хорошей защиты шейному отделу позвоночника. Институтом было проверено 70 сидений и подголовников на момент защиты шейного отдела позвоночника и всего восемь из них получили оценку «хорошо», а 30 испытуемых показали совершенно слабые результаты.
Некоторые подголовники вообще не могли быть проверены, так как они были абсолютно несовместимы с высокими пассажирами.
Манекены подобные этому до сих пор используются при проектировании автомобилей, но в настоящее время основными инструментами инженеров транспортных средств стали виртуальная реальность и компьютерное моделирование.
На сколько важно соблюсти эргономику в панели управления?
Панель управления автомобиля представляет собой существенную составляющую эргономики. Как правило, это один из основных факторов, влияющих на выбор автомашины покупателем и немаловажный фактор в рейтинге лучших интерьеров салона автомобиля. От автомобилей с кнопкой зажигания – как многие модели Toyota, в частности Prius – до автоматических передних фар, автоматического климат-контроля и электронного стояночного тормоза, все последние эргономические инновации характеризуются автоматизацией и простотой использования. Все эти автомобильные опции заметно упрощают управление транспортным средством, особенно для водителей с ограниченными способностями.
К примеру, вам нужно задать желаемую температуру в салоне, вы только нажимаете нужную кнопку, а все остальное автомобиль делает самостоятельно.
Одной из наиболее интригующих тенденций в современном эргономичном дизайне является внимание, которое теперь все больше уделяют пожилым людям. Все типы автомобилей – в том числе и спортивных автомобилей – в настоящее время оснащаются панелями управления с более крупным, чем обычно, текстом и более ярким освещением, чтобы максимально увеличить читаемость, особенно для пожилых людей и людей с ограниченными способностями. Даже дверные ручки теперь делают с учетом того, чтобы их было удобно использовать людям с артритом.
Для разработки панели управления, которая подходила бы как для пожилых водителей, так и для беременных, некоторые инженеры надевают костюмы, которые ограничивают их мобильность, снижают уровень зрения, а также имитируют беременность. Использование такого костюма не всегда дает полные данные, поэтому инженеры также прибегают к помощи компьютерного моделирования и виртуальной реальности.
Гибкость, предоставляемая этими технологиями, означает, что инженеры могут легко проверить, как определенная конфигурация панели управления будет использована 1,8-метровым 90-килограммовым мужчиной или 1,5- метровой 50-килограммовой женщиной, а также всеми теми, кто находится в диапазоне между ними. Эти программы также позволяют определить удобство панели для людей с ограниченными возможностями, с необычным телосложением или со специальными требованиями.
Однако, с новыми функциями приходят и новые опасности. К примеру, распространившаяся по всему миру сотовая связь, неминуемо подвергла 100% водителей к отвлечению внимания на дороге, что привело к запрету использования мобильных телефонов во время вождения во многих странах мира. В то же время, в большинстве современных автомобилей установлены устройства громкой связи (через Bluetooth) для общения по телефону «без рук». Данные устройства также могут отвлечь водителя от управления машиной, при попытке подключить данный вид связи к телефону на ходу.
Инженеры предполагают, что в будущем, подключение данного вида связи, следует переводить на голосовое управление, функцию, которая в ограниченной степени уже существует в некоторых автомобилях, что позволит устанавливать связь, не прикасаясь к телефону и кнопкам на панели экрана меню транспортного средства.
Использование сотовых телефонов и возня с системами навигации во время вождения являются причиной растущего уровня ДТП.
Эргономика багажного отделения автомобиля.
Кустарно перефразировав Фрейда, можно сказать, что иногда грузовой отсек является не просто грузовым отсеком. То есть, в современном мире багажник в автомобиле имеет ряд других функций, чем просто перевозка инструментов и запасного колеса, или же место для чемодана по пути в аэропорт. Многие багажники современности теперь оборудованы встроенными карманами и потайными отделениями, в которых и скрываются необходимые инструменты и запасное колесо. Многие багажники могут быть увеличены путем складывания задних сидений, которые, в свою очередь, могут быть съемными или полностью исчезать в полу автомобиля.
Гибкость в использовании и разнообразные дополнения являются последними инновациями грузового отдела автомобиля, с возможностью расширять грузовое пространство. Ваше транспортное средство может быть как просто перевозчиком большой плюшевой игрушки, так и настоящим гаражом для велосипеда. Например, если вы перевернете вниз задние сидения автомобиля Volkswagen GTI, вы увеличите площадь грузового отсека с 0,3 кубических метров до 1,3 кубических метров. Автомобиль Mercedes-Benz GLK350 оборудован двумя электрическими розетками в грузовом отделе – 115-вольтная розетка и 12-вольтный разъем – хотя его обошли другие автомобили, такие как GMC Acadia, который предоставляет в пользование целых пять розеток. Автомобиль Honda Element привлекает внимание тех, кто любит активный отдых на природе, так как пол в багажнике можно легко помыть подручными средствами, поэтому в нем можно перевозить грязные байки или любую другую дрянь.
Многие автомобильные компании трубят о грузовых возможностях своих транспортных средств и все это благодаря эргономике их авто, которая позволяет, при необходимости, увеличить грузовое пространство багажников на целые кубические метры! Но все это пространство может быть бесполезным, если оно просто становится шкафом для чьей-то грязной одежды.
Вот почему некоторые производители в настоящее время интегрируют органайзеры для грузовых отделов, аксессуар, который традиционно продают совершенно третьи лица.
Еще одной деталью автомобиля, которая облегчает нашу жизнь, является так называемый «доводчик». Бывают такие ситуации, когда ваши руки заняты, и вам совершенно неудобно закрывать багажник. Вы просто слегка нажимаете на дверь грузового отдела, и ваш автомобиль самостоятельно сделает все остальное, использую двигатель для плотного закрытия двери.
Итак, надеемся нам удалось разъяснить как, не изменяя внешних форм автомобиля, при помощи продуманной эргономики, производитель может сделать автомобиль привлекательным для любого покупателя. Если у вас остались какие – либо вопросы, мы будем рады ответить на них в комментариях ниже.
Эргономика и практичность. Какие автомобили признаны самыми удобными? | Об автомобилях | Авто
Владимир Гаврилов
Примерное время чтения: 4 минуты
50754
Автомобиль Mercedes-Benz Vision EQS на международном автомобильном салоне во Франкфурте.
2019 год. / Алексей Витвицкий / РИА Новости
Создать по-настоящему удобный салон автомобиля — это большое искусство, доступное не каждому автопроизводителю. Над обустройством кабины работают специалисты по эргономике, которые стремятся разработать рабочее место водителя и кресла для пассажиров исходя из анатомического строения тела. В идеале водитель должен дотягиваться до любых кнопок и клавиш, не изменяя положения тела и не отрывая глаз от трассы. Ну а кресла пассажиров обязаны так принимать человека, чтобы обеспечить комфорт во время многочасовых вояжей и не допустить ломоты в пояснице.
Специалисты относятся с вниманием к каждой мелочи. Форма и пропорции панелей обивки, глубина ниши под торпедой, нависание крыши и прочие факторы оказывают влияние на психологическое восприятие автомобиля.
Эксперты аналитического агентства «Автостат» выяснили, какие автокомпании научились использовать законы эргономики максимально эффективно, благодаря чему их автомобили больше всего удовлетворяют клиентов с точки зрения удобства управления и комфорта передвижения.
Исследование проводилось в январе 2020 года путем онлайн-опроса более 2500 владельцев новых автомобилей различных марок. Все машины были выпущены в период с 2018 по 2019 год включительно.
Результаты оценивались по пятибалльной шкале, где оценка «1» выставлялась худшим участникам исследования, а «5» — лучшим автомобилям, полностью удовлетворяющим их владельцев. Оценки начислялись по 20 разным категориям и затем складывались. Максимально высокая итоговая оценка составляла 100 баллов. Но, к сожалению, ни один автомобиль не оказался на 100% идеален.
Mercedes-Benz
Самыми эргономичными автомобилями были названы Mercedes-Benz. Владельцы оценили их на 93,6 балла из 100 возможных. Лучше всего в них проработаны место водителя и конфигурация кресел. Огромное значение уделено шумоизоляции и комфорту пассажиров. Однако недочеты в работе бортовой мультимедийной системы и нарекания к качеству материалов на базовых версиях машин несколько снизили оценки.
BMW
Второе место по эргономичности заняла BMW.
Владельцы баварских машин выставили 92,6 балла из 100 возможных. В салонах BMW можно ездить часами, не уставая. Управление мультимедийной системой и климатической установкой заслуживает особых похвал. Однако удары от жесткой подвески влияют на комфорт, что не нравится владельцам. Кроме того, на заднем диване пассажирам не всегда удобно из-за спортивного характера моделей BMW.
Audi
На третьем месте рейтинга оказалась Audi с 91,3 балла. Бренд лидирует по качеству материалов и по борьбе с негативными шумами. Идеальные оценки получили рабочее место водителя и задний диван. Однако небольшие недочеты в расположении кнопок управления опциями вызвали нарекания у владельцев.
Skoda
Неожиданно к компании премиалов приблизился народный бренд Skoda. Владельцы выставили ему 89,5 балла за великолепное рабочее место водителя, приближенное по удобству к Audi, а также за тщательно продуманные элементы дизайна Simply Clever. Зонтик в двери, скребок для льда в лючке бензобака и комплект для фиксации груза в багажном отделении очень нравятся хозяевам.
Volvo
Пятерку лидеров замыкает премиальный бренд Volvo с 88,7 балла. Шведские машины нравятся за качество исполнения материалов и выверенные размеры кабины. Однако жесткие сиденья с крепкими металлическими вставками против опрокидывания и запаздывания в работе мультимедийной системы заставили снизить оценки.
Ford
В десятку самых удобных автомобилей вошли и модели других производителей. Шестое место занял Ford, которому выставлена оценка в 88,4 балла. Автомобилисты отметили общее снижение эргономичности водительского места, кроме того, им не нравится остроконечный дизайн приборной панели.
Mazda
Японская Mazda заняла седьмое место и завоевала 86,6 балла. На фоне приемлемой эргономики сидений автомобилистам не понравились расположение подлокотника и дизайн рулевого колеса.
Haval
Очень неожиданно восьмое место рейтинга отошло китайскому производителю внедорожников Haval. Эти машины не имеют ярких достоинств, однако не раздражают хозяев откровенными провалами.
Многие назвали их удобными за большой салон.
Volkswagen
Девятую строчку списка занял Volkswagen. Этот бренд входит в одноименный концерн, который владеет Audi и Skoda. Маркетологи стараются развести автомобили по разным маркетинговым нишам, из-за чего делают машины Volkswagen более простыми, чем Audi и Skoda, что не нравится владельцам. Между тем Volkswagen делает комфортные машины, о чем свидетельствует оценка в 85,6 балла.
KIA
На десятом месте оказался бренд KIA. Для корейцев это большой прорыв, так как долгое время интерьеры их автомобилей заметно проигрывали конкурентам по качеству исполнения. Однако сейчас дизайнеры компании заметно улучшили эргономику салона и поработали над исправлением ошибок в размещении органов управления. Бренд получил заслуженные 82,4 балла из 100 возможных.
автомобилиагентство Автостат
Следующий материал
Новости СМИ2
Как работает эргономика автомобиля | RoadWarrior
Словари обычно определяют эргономику как научную дисциплину, которая использует принципы биотехнологии и инженерии, чтобы сделать продукты более удобными для работников и потребителей.
Но эргономика — это не только дизайн. Это также влияет на то, как мы используем вещи.
Применительно к автомобилю это означает рассмотрение чего угодно, начиная от расположения переключателя радио и заканчивая тем, как человек сидит на пассажирском сиденье. Один из инженеров по эргономике Ford назвал свою работу «инженерией человеческого фактора» [источник: Autoweb]. Таким образом, хотя инженеры могут проектировать автомобили с учетом эргономики, это не означает, что один дизайн будет работать для всех пользователей, особенно если автомобиль предназначен для человека определенных пропорций.
Мы, пассажиры и водители, также должны чувствовать себя комфортно. Например, если вы водитель и расположите свое сиденье так, что ваши ноги едва достают до педалей, вы можете вызвать ненужную нагрузку на руки — точно так же, как слишком близкое сидение может вызвать боль в ногах или спине. Положение сиденья, поза и время, проведенное в машине, могут повлиять на здоровье человека. Согласно одному исследованию, если вы едете четыре или более часов в день, у вас в шесть раз больше шансов получить проблемы со спиной [источник: Driver Ergonomics].
Нарушения опорно-двигательного аппарата также вызывают озабоченность у водителей дальнего следования, особенно у тех, кто зарабатывает на жизнь: водителей грузовиков, водителей такси и даже патрульных полицейских.
В этой статье мы рассмотрим эргономику автомобиля и то, как в полной мере использовать ее для здоровья, комфорта, эффективности и безопасности. Для начала посмотрим, какую роль играет эргономика автомобиля для человека, находящегося за рулем.
Эргономика сиденья водителя
Как ни странно, лучший способ воспользоваться преимуществами эргономики сиденья водителя — это не проводить слишком много времени в кресле. Если вы едете на большие расстояния, вам следует изменить свое положение или выйти из машины, чтобы прогуляться и размяться не реже одного раза в два часа [источник: Университет Лафборо].
Но независимо от того, находитесь ли вы в машине долго или недолго, есть вещи, которые вы можете предпринять, чтобы свести к минимуму осложнения.
Исследователи из Университета Лафборо разработали несколько рекомендаций по обеспечению здоровья водителей. Эти исследователи создали идеальную «стартовую позицию», из которой водитель регулирует различные органы управления, чтобы обеспечить максимальный комфорт, контроль и хороший обзор дороги и внутренних систем автомобиля. Сиденье следует отодвинуть далеко назад, а рулевое колесо, если оно регулируется, следует поставить высоко и близко к водителю. Спинка сиденья должна быть откинута назад на 30 градусов, а высота сиденья и подушка должны находиться в самом нижнем положении.
После того, как это исходное положение установлено, сиденье следует поднять, чтобы улучшить обзор дороги водителем. Сиденье также должно быть сдвинуто вперед и вверх, чтобы водитель мог хорошо контролировать педали, не вызывая при этом боли в ногах или коленях. Отрегулируйте спинку и поясничную опору, чтобы обеспечить адекватную поддержку; чрезмерное отклонение спинки может вызвать боль в спине и ограничить поле зрения водителя.
И не забудьте про подголовник. Он может обеспечить необходимую поддержку шеи.
Последним шагом является регулировка зеркал, чтобы улучшить обзор дороги и свести к минимуму слепые зоны, но перед этим переместите руль так, чтобы он обеспечивал хороший обзор органов управления и не касался ваших ног во время вождения. .
На следующей странице мы рассмотрим эргономику пассажиров, а также узнаем о некоторых инструментах, которые инженеры используют, чтобы сделать автомобили более эргономичными как для пассажиров, так и для водителей.
Распространенные травмы, возникающие при вождении
Согласно одному исследованию, судороги стоп являются наиболее распространенной повторяющейся травмой при вождении, за которой следуют боли в спине, ригидность шеи, боли в боку и напряжение глаз, которые часто приводят к головным болям [источник: Motion Trends].
Эргономика для пассажира
Виртуальная реальность ( VR ) — один из многих передовых инструментов, которые инженеры используют для создания эргономики автомобиля.
Виртуальная реальность избавляет дизайнеров от необходимости создавать полномасштабную модель. Вместо этого дизайнер-мужчина может совершить виртуальную прогулку, скажем, в образе девочки-подростка, наблюдая, как на нее влияет размещение ремня безопасности или форма сиденья.
Поскольку люди обычно живут дольше, а также становятся выше и тяжелее, важно, чтобы автомобили могли адаптироваться к обслуживанию более разнообразных групп населения. Точно так же присутствие более пожилых водителей и пассажиров означает, что автомобили должны приспосабливаться к их потребностям; в частности, этим людям должно быть легко входить и выходить из них. Использование виртуального моделирования позволяет инженерам имитировать поведение пожилых людей или людей с особыми потребностями, гарантируя, что интерьеры автомобилей разрабатываются и тестируются для все более разнообразного населения.
Несмотря на полезность виртуальной реальности и компьютерного моделирования, физические прототипы важны для тестирования проектов в реальном мире.
Форд, например, создает прототипы под названием баксов после опробования дизайна в виртуальных симуляциях [источник: Autoweb]. Затем эти доллары проверяются инженерами, другими сотрудниками Ford и приглашенными людьми со стороны, чтобы предложить объективную точку зрения.
Хотя эти методы моделирования предоставляют множество данных и гибкость, инженеры должны выяснить, как их лучше всего использовать. Например, инженеру может потребоваться решить, сделать ли пассажирское сиденье более удобным, изменив его размер, форму или положение по отношению к остальной части автомобиля (что может дать пассажиру больше места, чтобы вытянуть ноги).
Помимо обеспечения комфорта и простоты использования, эргономичный дизайн или его отсутствие играют важную роль в обеспечении безопасности в случае аварии. Многие подголовники вообще не эргономичны. На самом деле они не работают с водителем и не поддерживают его или ее голову и шею, поэтому они не обеспечивают адекватной поддержки в случае аварии.
Исследование, проведенное Страховым институтом безопасности дорожного движения США, показало, что подголовники большинства автомобилей плохо защищают от хлыстовых травм. Институт протестировал 70 сидений и подголовников на предмет защиты от хлыстовых травм, и только восемь из них получили оценку «хорошо», а 30 — «плохо» [источник: Croasum]. Некоторые удерживающие устройства вообще нельзя было протестировать, потому что они были несовместимы с высокими пассажирами.
Расположение органов управления транспортным средством
Органы управления транспортным средством составляют важную часть эргономики. От автомобилей с кнопочным зажиганием, как и многие модели Toyota, особенно Prius, до сидений с электроприводом, автоматических фар, автоматического климат-контроля и электронных стояночных тормозов, новейшие инновации в области эргономики часто характеризуются автоматизацией и простотой использования. Эти функции, в частности, проще использовать для водителей с ограниченными возможностями и позволяют многим водителям просто установить цель, например, желаемую температуру 72 градуса по Фаренгейту (22 градуса по Цельсию), а автомобиль сделает все остальное.
Одной из наиболее интригующих тенденций в эргономичном дизайне является внимание, которое теперь уделяется пожилым водителям. Все типы автомобилей, в том числе спортивные, в настоящее время разрабатываются с элементами управления с более крупным текстом и улучшенной подсветкой, чтобы обеспечить максимальную читаемость, особенно для пожилых водителей или водителей с ограниченными физическими возможностями. Даже дверные ручки изготавливаются таким образом, чтобы люди с таким заболеванием, как артрит, могли лучше держаться за них.
Чтобы разработать элементы управления, подходящие для пожилых или даже беременных водителей, некоторые автоинженеры надевают костюмы, которые ограничивают их подвижность и обзор или имеют большой живот, имитирующий беременность. Изысканные боди не всегда подходят, поэтому инженеры часто обращаются к виртуальной реальности и компьютерному моделированию. Эта гибкость означает, что инженер может легко проверить, как определенная конфигурация управления может использоваться человеком ростом 6 футов и 200 фунтов или человеком ростом 5 футов и весом 120 фунтов.
женщина — и все между ними. Эти программы также позволяют проводить тестирование людей с ограниченными возможностями, необычными типами телосложения или особыми потребностями.
Однако с новыми функциями приходят и новые вызовы. Отвлекающее вождение является серьезной проблемой, поэтому во многих штатах США принимаются законы, регулирующие использование водителями мобильных телефонов. В то же время все больше автомобилей оснащаются встроенными телефонными системами громкой связи, часто с поддержкой Bluetooth. Но тогда возникает проблема, как сделать эту систему доступной и простой в использовании, не отвлекая водителей и не заставляя их отрывать взгляд от дороги. Есть некоторые предположения, что будущие автомобили должны будут больше полагаться на аудио/голосовое управление, функцию, которая существует в некоторых автомобилях в ограниченной степени [источник: Autoweb].
Виртуальный тест-драйв
Виртуальная реальность также позволяет инженерам проводить виртуальные тест-драйвы, наблюдая, как, например, расположение переключателей радиоприемников влияет на концентрацию водителя на дороге.
Автомобильные грузовые отсеки
Если неудачно перефразировать Фрейда, иногда грузовой отсек — это не просто грузовой отсек. То есть автомобильные багажники теперь используются для множества целей, помимо перевозки снаряжения или запасных шин или хранения чемоданов по дороге в аэропорт. Многие багажники теперь имеют встроенные карманы, клапаны, которые скрывают места для хранения запасного колеса и связанного с ним оборудования, прорезиненное дно и крышки для сокрытия и защиты груза. Многие багажники также расширяемые (за счет складывающихся задних сидений), съемные или полностью исчезающие в полу автомобиля.
Универсальность и дополнительные возможности для пользователя — это последняя инновация в области грузовых отсеков: расширяемые грузовые отсеки позволяют использовать автомобиль как плюшевую переноску для собак, так и как место для вашего велосипеда. Например, у Volkswagen GTI задние сиденья откидываются, увеличивая площадь грузового отсека с 12,3 до 46 кубических футов (от 0,3 до 1,3 кубических метра).
Mercedes-Benz GLK350 поставляется с двумя типами электрических розеток в грузовом отсеке — 115-вольтовой розеткой и 12-вольтовой вилкой — хотя другие автомобили, такие как GMC Acadia, имеют пять розеток. Honda Element, который часто продается любителям активного отдыха, имеет моющийся пол, поэтому один сайт назвал его одним из 10 лучших автомобилей с задней дверью [источник: Cars.com].
Многие автомобильные компании трубят о площади грузового отсека своих автомобилей, измеряемой в кубических футах, или расхваливают возможность складывания сидений. Но все это пространство может оказаться бесполезным, если оно просто станет продолжением чьего-то захламленного шкафа. Вот почему некоторые производители теперь интегрируют органайзеры для багажника — аксессуар, который традиционно продавался третьими лицами.
А когда вы закончите кататься на заднем дворе, отдыхать в кемпинге или грузить собак, вам, возможно, не придется беспокоиться о том, заняты ли ваши руки. В новых автомобилях все чаще используются так называемые «мягкие» или автоматически закрывающиеся багажники.
Просто аккуратно нажмите на дверь грузового отсека, и автомобиль сделает все остальное, используя мотор, чтобы плотно закрыть крышку на месте.
Для получения дополнительной информации об эргономике автомобиля и о том, как сделать его максимально комфортным, перейдите по ссылкам на следующей странице.
Больше, чем просто комфорт
Эргономика распространяется на такие функции автомобиля, как добавление искусственного шума двигателя в обычно тихие гибридные автомобили.
Контент, написанный Джейкобом Сильверманом и созданный в сотрудничестве с HowStuffWorks.com
Эргономика автомобиля — Безопасность на работе, Калифорния
Эргономика автомобиля — Безопасность на работе, Калифорния
Перейти к содержимому
Безопасность на работе, Калифорния
Независимо от того, едете ли вы на работу, вождение для удовольствия или если вождение является вашей работой, длительное вождение создает риск травмы спины, особенно если транспортные средства необходимо загрузить или разгрузить. Вождение также может вызвать боль в шее, плечах и ногах, а также дискомфорт из-за недостаточного кровообращения.
Вождение автомобиля создает другие потенциальные эргономические стрессы, чем просто сидение, поскольку мы можем подвергаться воздействию плохо обслуживаемых дорог и сидячих позах без поддержки. Во время вождения наши ноги находятся перед нами, а не на полу, поддерживая и стабилизируя наше тело. Эти факторы в сочетании с погрузкой и разгрузкой материалов и долгими часами сидения могут увеличить риск травмы спины. Ниже приведены некоторые советы по эргономике автомобиля, которые помогут снизить риск травм спины и повысить комфорт во время вождения.
Посадка и выход
- Садясь в автомобиль, сначала сядьте, поставив обе ноги на землю.
Затем поверните свое тело, поставив ноги на педали, используя рулевое колесо для помощи. - Кладите крупные предметы (сумки для покупок, кошельки, портфели, ноутбуки) на заднее сиденье или в багажник перед посадкой, а не поднимайте их поперек тела на пассажирское сиденье после того, как сядете. А еще лучше положите их на сиденье рядом с вы с пассажирской стороны, прежде чем сесть в машину.
- Прыжок из кабины грузовика вызывает так называемую «ударную нагрузку» на диски и мягкие ткани нижней части спины. Всегда используйте три точки контакта, чтобы войти и выйти из кабины, как для безопасности, так и для контроля ударной нагрузки.
- Выделите минуту, чтобы разогреться, потянуться или пройтись перед погрузкой или разгрузкой автомобиля.
Во время вождения
- Выньте предметы, например бумажник, из заднего кармана. Наличие чего-либо в заднем кармане может привести к тому, что ваши бедра будут неровными, что усугубит проблемы со спиной.

- Как можно чаще меняйте свою позу. Если возможно, поменяйтесь местами с вашими пассажирами. Часто и понемногу меняйте позу за рулем.
- Если вы едете на большие расстояния, делайте частые перерывы. Выйдите из машины и сделайте несколько разминок и растяжек или прогуляйтесь как можно чаще.
- Отрегулируйте положение водителя настолько, насколько позволяет сиденье.
- Поднимите сиденье как можно выше, чтобы улучшить обзор дороги и при этом обеспечить хорошее управление педалями.
- Если ваше сиденье имеет встроенную регулируемую поясничную опору или вы используете поясничную подушку, она должна плотно прилегать к пояснице.
- Подголовники помогают защитить шею от потенциального хлыстового удара при столкновении, но правильная регулировка имеет решающее значение. Отрегулируйте подголовники так, чтобы верхняя часть находилась примерно на уровне макушки головы.
- Отрегулируйте и используйте зеркала, чтобы избежать неудобной шеи и искривленных поз.

- Часто меняйте положение рук на рулевом колесе. Хорошая эргономика автомобиля подразумевает использование расслабленного хвата, достаточного для контроля.
- Положите руки на руль так, чтобы локти были прижаты к бокам, но не так высоко, чтобы вам приходилось тянуться к рулю.
- Положите руки на руль в положениях «3 часа» и «9 часов». Это уменьшит нагрузку на ваши плечи и поместит ваши руки в более безопасное положение, если ваша подушка безопасности сработает.
{{display_title}}
{{описание}}
{{/идио}}
{{/теги}}
{{/метаданные}}
{{/содержание}}
Приведенные выше оценки и/или рекомендации предназначены только для общего ознакомления, и на них не следует полагаться в медицинских целях или в целях соблюдения требований законодательства.
Затем поверните свое тело, поставив ноги на педали, используя рулевое колесо для помощи.

