Содержание
Чтение чертежей — правила чтения для начинающих
Карандаши и листы ватмана постепенно уходят в прошлое, уступая место цифровым технологиям и специализированным программам. Но принципы начертания остаются теми же и необходимо учиться чтению чертежей. В производстве и в строительных организациях широко распространено использование конструкторской документации, разработать которую без знания черчения невозможно. Для создания простых и комплексных трубопроводов и электроустановок, для сборочного узла и высотных металлоконструкций всё равно необходимо создавать проекты.
Основные правила чтения чертежей
Любая стойка или крепёж сначала воплощаются на листе бумаги или экране компьютера и лишь потом передаются в производственный цех. Для правильного понимания задачи, чтобы ответственный работник мог понять, где именно должно проходить наложение сварочных швов или делать отверстие нужного диаметра, надо уметь читать технологические документы.
В машиностроении чертежи могут быть разными: существуют чертежи деталей, сборочные, схемы, спецификации и др.
Технические рисунки должны изготавливаться согласно правилам государственных стандартов (ГОСТ) или Единой системы конструкторской документации (ЕСКД).
Количество изображений должно быть минимальным. В инженерной графике чертёж — это представление предмета с помощью проекций и точным соотношением его размеров.
Обозначения на чертежах в машиностроении
Допуски и посадки
Зачем это все нужно? Этот вопрос возникает не только у рабочего на производстве. Это задумано, чтобы на заводе не теряли время на постоянное измерение фактических размеров полученной детали, и без брака производили совместимые изделия.
Числовые значения верхнего и нижнего предельных отклонений указывают рядом с размерами шрифтом меньшей величины, чем для размерных чисел. Допуск – это диапазон отклонения от номинального размера. Поле допуска обозначают либо одной, либо двумя буквами основного отклонения и номером квалитета.
Посадка состоит из допуска на наружной, охватываемой поверхности, допуска на внутреннюю поверхность, и определяется величиной зазора или натяга. Посадки указывают с помощью дроби в правой части от размера, в числителе обозначение предельного отклонения, а в знаменателе аналогичное обозначение для совместимой детали.
Обозначения размеров
Величина детали обозначается соответствующими числами и линиями со стрелками на концах. Линии размеров непрерывны и располагаются параллельно за пределами контура детали.
Единицы измерения на чертежах не обозначаются, по умолчанию всё указывают в миллиметрах.
Выносные элементы
Бывают случаи, когда удобнее вынести и увеличить часть детали за пределы основного контура. По сути, это самые сложные участки рассматриваемого изделия. Обычно так поступают с деталями замысловатой формы для экономии места на чертеже.
Комплексную часть обводят либо кругом, либо овалом и подписывают римской цифрой. Выносному элементу этого фрагмента присваивают тот же римский номер в знаменателе, а в числителе указывают его масштаб.
Обозначение материалов в сечениях
Сечение – это изображение фигуры, получившееся после условного её рассечения. Оно показывает лишь формы детали, не раскрывая остальные сегменты, что располагаются за ним.
Сечения бывают вынесенными или наложенными. Первые отображаются за пределами формы предмета, вторые прямо на нём.
Контур сечения заполняют косыми сплошными линиями с углом наклона 45 градусов. Линии должны располагаться в одну и ту же сторону на всех сечениях для одной детали, учитывая и материал изделия.
Могут быть расположены в любом месте на чертеже, под произвольным углом, но в этом случае с добавлением в надписи слова «повёрнуто» над сечением.
Условные обозначения на чертежах технологической документации
На чертежах используют условные обозначения, установленные государственными стандартами. Это основы, в них описываются правила оформления знаков, букв, цифр, линий и так далее.
Обычно их на чертеже не разъясняют, за исключением обозначений, в которых необходимо указать номер стандарта. Всё-таки с ГОСТами необходимо ознакомиться для выполнения и распознавания чертежей или схем.
Это как раз тот случай, когда просто прочесть учебник по черчению недостаточно. Лучше всего пройти специализированные курсы или обучиться инженерным специальностям или другим профессиям, относящимся к производству или к строительству.
Умение читать технологическую документацию необходимо как инженеру, так и рядовому токарю.
В целом, машиностроение и другие отрасли используют ряд основных обозначений:
-
Буквенные, отражающие условные величины, например, радиус, шаг резьбы и многое другое.
-
Цифровые, выражающие значения размеров, величину угла и т. п. -
Буквенно-цифровые, встречаются в основном в электрических схемах. -
Графические – это базовые элементы технического рисунка. Ими отображают как структуру детали, материал изделия, так и её конструкцию (дверной или оконный проём и т. п.).
Все это необходимо для корректной подачи минимума информации на листе и последующего его верного прочтения.
Порядок чтения чертежей для начинающих
Помимо чертежей, также широко используется эскиз – это не технический чертёж. Это набросок предмета в произвольном масштабе, для изготовления которого не применяют чертёжные инструменты, и он не сопровождается надписями и размерами. Какие-либо знаки на нём и рядом с ним также не ставятся. Качество эскиза зависит от того, насколько он приближен к чертежу.
Чтение чертежа – это представление на двумерной плоской поверхности по изображениям объёмной формы предмета и его размеров и содержащее прочие сведения.
Но как научиться читать чертежи правильно? Существуют ли какие-нибудь простые, общие принципы для этого?
Чтение происходит в следующем порядке:
-
читается основная надпись чертежа; -
определяется главный вид; -
анализируются виды и мысленно объединяются в единое целое; -
определяются размеры детали и её компонентов.
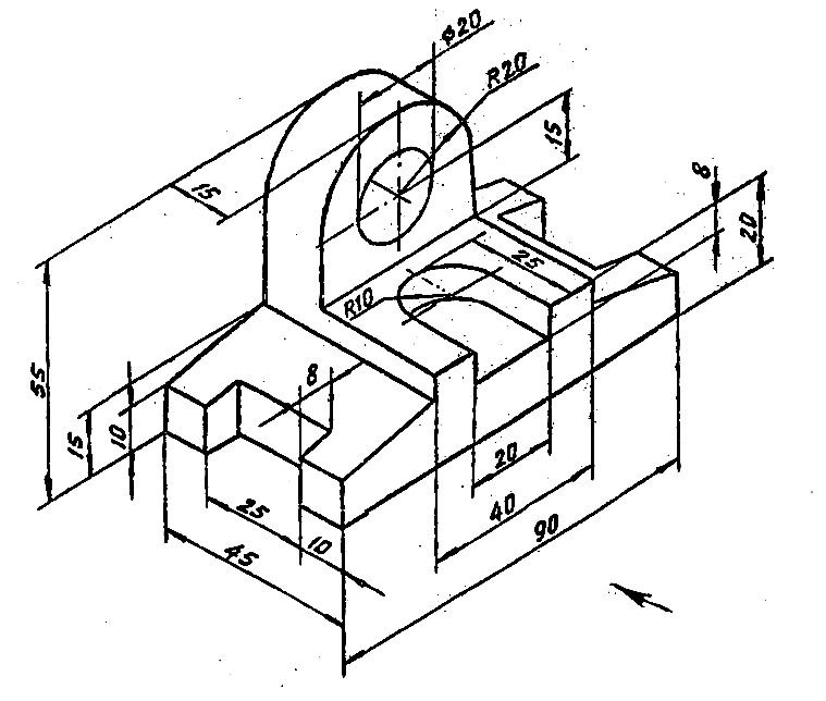
Пример чтения чертежа детали
Основная надпись говорит о том, что на данном техническом рисунке изображено резьбовое соединение, в частности, скрепление болтом. Также на ней указан код документа и индекс изделия.
Масштаб чертежа выполнен в натуральную величину, а именно 1:1.
Главный вид представлен с наложенным сечением скрепляемых деталей. Соединение показано двумя проекциями. Отдельно представлен болт, с метрической резьбой и высотой 120 мм и 30 миллиметровым диаметром. Также изображена гайка на виде сверху. А вот размеры шайбы по данным этого чертежа неясны.
Заключение
Машиностроительные чертежи — это непростые документы и не всегда можно их с ходу прочесть, но зато они могут передавать большие объёмы информации об искомых изделиях. Порой даже опытные инженеры не стесняются заглянуть в учебники или в государственные стандарты, чтобы правильно передать или понять смысл технического рисунка и сделать нужное обозначение для данной детали.
черчение для начинающих
Статьи
С чего начинается черчение?
Как изучить черчение для начинающих самостоятельно?
Возврат к списку |
60 Free Basic Drawing for Beginners
Рисование — это навык, которому может научиться каждый, немного попрактиковавшись. В то время как некоторые люди от природы наделены способностью создавать реалистичные изображения, большинству из нас нужно приложить немного усилий, чтобы отточить свои навыки.
В этой статье представлены лучших идей рисования для начинающих художников , включая пошаговые руководства и методы рисования. Он охватывает широкий спектр предметов рисования, от цветов и животных до пейзажей и людей.
Каковы лучшие идеи рисования для начинающих художников?
Чтобы помочь вам начать рисовать, вот 60 очень полезных рисунков для начинающих:
1. Одуванчики
Одуванчики — веселые цветы, которые вы можете легко нарисовать, так как вам нужно создать волнистый стебель, стандартные листья и очень пушистый цветок. А самое приятное то, что для начала вам понадобится всего лишь карандаш и лист бумаги. Узнайте больше в нашем уроке рисования одуванчика.
2. Магнолии
Магнолии — красивые цветы всех цветов, от белого до розового и голубого. Магнолия — еще один популярный выбор для рисунков на тему природы. Несмотря на нежный вид, магнолию рисовать несложно.
Руководство по рисованию
подготовило интуитивно понятный учебник, который отлично разбирает этапы рисования цветка магнолии, начиная со стебля и заканчивая листьями, цветами и процессом окраски.
3. Розы
Розы являются одними из самых популярных цветов во всем мире, поэтому неудивительно, почему так много людей хотят воссоздать их на своих рисунках и картинах. Нарисовать розу легко, если разбить цветок на маленькие и простые формы, как это сделала My Life in a Bullet. Руководство шаг за шагом проведет вас через процесс рисования розы, используя стилизованную технику рисования вместо реалистичной.
4. Подсолнухи
Подсолнухи — жизнерадостные летние цветы, символизирующие преданность и восхищение. Вы можете научиться рисовать простой подсолнух, просмотрев этот урок от Felt Magnet, в котором описывается метод, который также можно использовать для рисования других цветов похожей формы, таких как маргаритки и хризантемы.
5. Мех животных
Рисование меха животного может оказаться сложной задачей, если вы никогда раньше этого не делали. Но это руководство, которое мы нашли на Tuts+, отлично разбивает процесс на простые этапы, охватывая как короткую, так и длинную шерсть. Вы также научитесь добавлять блики и тени, чтобы мех выглядел более реалистично.
6. Бабочки
Бабочки — это нежные насекомые с красочными крыльями и замысловатыми узорами, которые может быть сложно воссоздать на рисунках. Если вы хотите научиться рисовать бабочек, этот урок от Моники Загробельной на Tuts+ — отличное место для начала. Вы узнаете об анатомии бабочки, о том, как рисовать узоры ее крыльев, и узнаете советы по добавлению цвета, чтобы сделать ваши рисунки яркими.
7. Птицы
Птицы имеют различные цвета, формы и размеры, что делает их интересными объектами для начинающих художников. Если вы не знаете, с чего начать рисовать птицу, ознакомьтесь с этим руководством от ArtLex.
Он охватывает основы, разбивает анатомию птицы на простые геометрические фигуры и предлагает вам добавить детали, чтобы сделать ваш рисунок более реалистичным.
8. Полосатый кот
Полосатый кот — отличный способ для начинающих художников попрактиковаться в своих навыках рисования, особенно если у них есть домашняя кошка. к более сложным деталям, таким как мех и затенение.
9. Эскиз собаки
Если вы не любитель кошек, вы, вероятно, любитель собак. Так что этот учебник эскиза собаки от Do It Before Me может заинтересовать вас больше. Он имеет несколько вариантов рисования простых эскизов собак и включает полезные руководства для разных стилей рисования, от мультяшных до реалистичных собак.
10. Лошади
Лошади — величественные животные и источник вдохновения для бесчисленных художников на протяжении всей истории. В этом уроке от Art in Context объясняется, как рисовать лошадь простыми шагами, начиная с головы и заканчивая телом, используя геометрические фигуры и простые линии.
Когда вы почувствуете себя достаточно уверенно, чтобы перейти на следующий уровень, вы можете научиться добавлять тени и блики из того же руководства.
11. Медведь
Медведь — это фантастическая тема, если вы интересуетесь рисованием дикой природы, где вы также можете применить учебник по меху животных, описанный ранее. Ребята из Creative Bloq упрощают весь процесс, объясняя, как нарисовать медведя за пять шаги. Начните с обрисовки медведя и продолжайте добавлять детали, чтобы сделать его реалистичным.
12. Рыба
Рыба — это простое существо для рисования, особенно если следовать инструкциям, предоставленным I Heart Crafty Things. Начните с рисования тела рыбы и продолжайте добавлять плавники, хвост и глаза. Этот учебник отлично подходит для детей.
13. Основные приемы рисования мультфильмов
Рисовать мультфильмы может быть сложно, особенно правильно подобрать пропорции.
Если вы хотите пойти по этому пути рисования мультяшных персонажей, ознакомьтесь с уроком от Дона Корги. В нем демонстрируются основные приемы рисования для воплощения воображаемых мультяшных персонажей. Вы также узнаете о распространенных ошибках, таких как неспособность подчеркнуть преувеличенные черты лица, такие как огромные глаза.
14. Кот в шляпе
Изучив основы рисования мультфильмов, вы можете попрактиковаться в рисовании узнаваемых персонажей мультфильмов, таких как Кот в шляпе . В этом руководстве от Drawing How to Draw объясняются простые инструкции по созданию Кота в шляпе карандашом с изображением рисунка. стиль между западными мультфильмами и чиби. Несмотря на то, что учебник ориентирован на детей, ему может следовать любой, кто хочет научиться рисовать этого классического мультяшного персонажа.
15. Мультяшные пингвины
Пингвин милый, забавный, и его легко нарисовать в упрощенной форме, используя линии и фигуры.
Таким образом, рисование пингвина идеально подходит для начинающих художников. И если у вас есть слабость к жеманным мультяшным рисункам, этот урок от How 2 Draw Animals научит вас рисовать мультяшного пингвина всего за несколько простых штрихов. Проект работает как для цифровых, так и для традиционных художников.
16. Губка Боб Квадратные Штаны
Губка Боб Квадратные Штаны — забавный мультяшный персонаж, которого любят и дети, и взрослые. Это отличный способ попрактиковаться в своих художественных навыках, поскольку стиль рисования Губки Боба довольно примитивен, поэтому его легко воспроизвести. В Art Projects for Kids есть простой учебник, который поможет научиться рисовать Губку Боба с помощью геометрических фигур.
17. Дружелюбный к детям дракон
Дракон — это мифическое существо, которое может быть сложно нарисовать, поскольку у него есть чешуя и другие замысловатые детали.
В ButArt Projects for Kids есть простой учебник по рисованию дракона, подготовленный для юной аудитории, который не требует особого внимания к деталям. Это отличный проект для 5-летних детей, которые любят рисовать.
18. Реалистичный дракон
По сравнению с предыдущим рисунком дракона для детей, этот реалистичный эскиз дракона предназначен для художников, готовых перейти на следующий уровень, поскольку он содержит более глубокие детали. Ознакомьтесь с учебным пособием от «Улучшите свои рисунки», чтобы узнать, как воссоздать более красивого дракона с шипами и крыльями.
19. Динозавры
Динозавры чем-то похожи на драконов, поэтому при отработке навыков рисования рекомендуется объединить этих двух существ. Вы можете научиться легко рисовать тираннозавра, следуя инструкциям Моники Загробельной на Tuts+. Стиль рисования более фотореалистичен, чем другие в этом списке.
20.
Роботы
Роботы — отличные предметы для детей, интересующихся техническими чертежами, поскольку они могут использовать свои правила и циркуль. Кроме того, существует множество вариантов роботов, которые стоит изучить. В этом уроке из книги «Как рисовать забавные мультфильмы» дети научатся рисовать робота, наполненного элементарными узорами, используя простые формы и линии.
21. Фрукты
Фрукты всегда популярны для рисования, поскольку вы можете черпать вдохновение из реальных объектов, а не только из эталонных фотографий. Рисование фруктов кажется простым, но все может усложниться, когда дело доходит до набросков более мелких деталей, таких как ямочки на кожуре апельсина.
Освоив несколько фруктов, вы можете объединить их в один рисунок, чтобы создать классическую корзину с фруктами или рог изобилия, если вы чувствуете себя празднично.
22. Деревья
Есть много способов нарисовать деревьев , так как нет двух одинаковых деревьев.
В этом руководстве от wikiHow показано, как рисовать лиственные и еловые деревья, используя простые формы и линии, начиная со ствола и заканчивая кроной.
23. Листья
После того, как вы научитесь рисовать деревья, вы сможете подняться на ступеньку выше и научиться рисовать различные листьев . Например, вы можете использовать листья, чтобы украсить цветочный горшок или создать рисунок на осеннюю тематику. В этом уроке от Smiling Colors вы узнаете, как рисовать листья разных форм и размеров, используя простые линии и кривые. Вы также можете поэкспериментировать с кленовыми, дубовыми, пальмовыми и другими листьями.
24. Вишневый цвет
Вишневый цвет — это великолепные деревья с розовыми или белыми цветами отчетливой формы. Цветы вишни идеально подходят для романтических сцен или весенних пейзажей, и вы можете научиться рисовать их, следуя простому руководству из Easy Drawing Guides.
Он включает подробные иллюстрации для каждого шага процесса рисования.
25. Природные пейзажи
Научившись рисовать деревья, такие как цветы и листья сакуры, вы сможете комбинировать все эти элементы, чтобы создать 9 полных0005 природный пейзаж . Природные пейзажи имеют различные формы и размеры, но имеют одну общую черту: линию горизонта. Видеоруководство от BABA’s Art демонстрирует, как нарисовать полный природный пейзаж, начиная с линии горизонта, которая включает в себя реку, горы и деревья.
26. Небо и облака
Рисование пейзажа с небом и облаками может быть утомительным, так как вы склонны делать ошибки. Но этот урок из блога Art Instruction Blog проведет вас по каждому этапу, начиная с перекрестной штриховки и смешивания. Вы узнаете, как сделать градиент градиента неба, осветляя и затемняя ключевые области.
27. Пляж
Набросок пляжа означает освоение различных элементов, таких как небо и солнце, вода, отражение неба в воде, песок и тропические деревья.
Если вы предпочитаете более простой подход к рисованию пляжа, посмотрите видеоурок от Mukta Easy Drawing, который в основном ориентирован на детей. Он использует карандаши.
28. Снежинки
Снежинки уникальны и симметричны, что делает их отличным выбором для тренировки навыков рисования с помощью карандаша и линейки. Посмотрите этот урок от Моники Загробельна на Tuts+, чтобы научиться рисовать снежинку шаг за шагом, используя базовые фигуры, которым может следовать любой, у кого есть стандартный набор геометрических фигур.
29. Мандалы
Подобно снежинкам, мандалы уникальны и симметричны, поэтому вам стоит попробовать их, если вы хотите попрактиковаться в рисовании сложных узоров, используя различные формы и символы. Этот урок от Art Is Fun — отличная отправная точка для начинающих скетчей.
30. Оптическая иллюзия с отверстием
мандалы могут иметь гипнотический эффект, но они не сравнимы с оптическими иллюзиями отверстий , как этот из Моих уроков рисования.
Оптические иллюзии — отличный способ привлечь детей к рисованию, поскольку они могут произвести впечатление на своих друзей умопомрачительными произведениями искусства.
31. Дома
Дома — это одна из первых вещей, которую вы научитесь рисовать в детском саду, благодаря их простой форме и деталям. Aguide от Easy Line Drawing научит вас рисовать простой 2D-дом, который отлично подходит для рисования и тренировки ваших художественных навыков новичка. Как только вы будете достаточно уверены в своем дизайне, вы можете дополнить его дополнительным этажом, гаражом или деревьями.
32. Автомобили
Автомобили — это другие объекты, которые дошкольники учатся рисовать помимо домов. Если вы хотите развить свои художественные навыки для создания 3D-автомобилей, лучше всего начать с 2D-автомобилей. И этот урок от wikiHow научит вас рисовать реалистичные и мультяшные автомобили.
33. Космический корабль
Рисование космического корабля , вероятно, единственная вещь, связанная с космическими кораблями, которая не связана с ракетостроением. Если вы поклонник научной фантастики, вы, вероятно, когда-то мечтали полетать на одном из этих плохих парней. Учебник от Yedraw показывает вам, как нарисовать космический корабль шаг за шагом, что не так сложно, как кажется.
34. Крылья ангела
Крылья ангела — отличный объект для рисования, если вы увлекаетесь ангелами и демонами или если вы начинающий тату-мастер. Очень важно соблюдать правильные пропорции при рисовании крыльев ангела, как демонстрирует этот урок из Easy Drawing Guides.
35. Этнические рисунки
Этнические рисунки обычно ассоциируются с татуировками, но их можно использовать и для других целей. Если вы хотите научиться рисовать племенные рисунки, этот урок из книги «Как рисовать забавные мультфильмы» — отличное место для начала.
Он научит вас основам создания племенного искусства, которые вы можете применить при создании своих собственных рисунков.
36. Пропорции человеческого тела
Чтобы научиться правильно рисовать человеческие тела , вам нужно разобраться с пропорциями, такими как рост и талия человека. Когда у вас есть эти основные измерения, вы можете начать наносить на карту, где каждая часть тела должна располагаться по отношению к другим. Посмотрите этот урок от Улучшите свои рисунки, в котором показано, как нарисовать человеческое тело в виде 3/4.
37. Мужские и женские тела
Узнав о пропорциях человеческого тела, вы можете начать изучать различия между мужскими и женскими типами тела , чтобы нарисовать их. Вы поймете значительную разницу между рисованием мужской и женской фигуры. В этом уроке от Настасьи Петерс на Tuts+ объясняется все, что вам нужно знать о рисовании мужских и женских тел.
38. Руки человека
Человеческие руки может быть сложно рисовать, но этот урок от Adobe Creative Cloud прекрасно объясняет процедуру рисования пропорциональных и анатомически правильных рук.
39. Пропорции лица
Когда дело доходит до рисования пропорций лица , не существует универсального подхода. Возможно, вам придется немного поэкспериментировать, чтобы найти то, что лучше всего подходит для вас. Тем не менее, этот учебник от The Virtual Instructor отлично объясняет основы пропорций лица и включает в себя удобную диаграмму, которую можно использовать в качестве справки.
40. Глаза
Рисунок глаз — один из самых сложных аспектов портретной живописи, но также и один из самых важных. Глаза — это зеркало души, и они могут создать или испортить картину. К счастью, есть несколько простых приемов, которые помогут вам добиться реалистичных и выразительных глаз на ваших картинах.
Этот урок от Drago Art отлично разбирает процесс рисования глаз, от обводки глаз и затемнения зрачков до добавления ресниц и рисования их отражения.
41. Рот
Рисование человеческого рта может показаться сложной задачей, но с небольшой практикой можно легко уловить нюансы этой черты лица. Этот урок от Arty Factory отлично разбивает процесс рисования рта на маленькие, простые в выполнении шаги. После того, как вы попрактиковались в рисовании рта в этой форме, вы можете попробовать нарисовать его с разными выражениями, такими как улыбка или хмурый взгляд.
42. Зубья
Любой, кто когда-либо пытался нарисовать рот , знает, что одним из самых сложных элементов для правильного воспроизведения являются зубы. Зубы не только маленькие и сложные, но и играют важную роль в общем выражении лица.
Это руководство от Rapid Fire Art научит вас правильно рисовать зубы, включая резцы, клыки и моляры, а также то, как они вставляются в наши десны.
43. Прямые волосы
Научиться рисовать прямые волосы может быть непросто, но при некоторой практике это вполне возможно. В этом уроке от Гэвина О’Доннелла описаны правильные шаги для рисования прямых волос. Приложив немного усилий, вы сможете создать реалистичные прямые волосы, которые обязательно произведут впечатление.
44. Вьющиеся волосы
Многие думают, что рисовать кудрявых волос сложнее, чем прямые волосы, но это не обязательно так. С помощью нескольких простых советов из книги «Творчество в рисовании» вы научитесь рисовать кудрявые волосы, которые выглядят реалистично и стильно. Например, важно помнить, что вьющиеся волосы — это не масса спиралей, а множество маленьких отдельных завитков.
45. Подводные волосы
Ключом к рисованию подводных волос является понимание того, как свет ведет себя в воде.
Вам нужно немного поэкспериментировать, чтобы освоиться, но основной принцип заключается в том, что свет преломляется, когда проходит через воду. Это означает, что он изгибается, и именно это создает впечатление плавающих в воде подводных волос. Следуйте этому руководству от Jeyram, в котором процесс рисования подводных волос объясняется небольшими и простыми шагами.
46. Лица мужские и женские
Лица мужчин и женщин сложно рисовать, поскольку они содержат множество тонких деталей, которые необходимо запечатлеть, чтобы создать реалистичное изображение. Например, вы должны изучить строение лица, чтобы ознакомиться с пропорциями различных черт лица, таких как глаза, рот и зубы. Затем необходимо изучить различия между мужскими и женскими лицами, как элегантно объясняет Fine Art Tips в пошаговых инструкциях. Как только вы хорошо разберетесь в лежащей в основе анатомии, вы можете начать экспериментировать с различными способами иллюстрации более тонких черт лица женщин и более грубых черт лица мужчин.
47. Глаза аниме
Глаза аниме большие, выразительные и часто являются самой отличительной чертой персонажа. Хотя поначалу их рисовать может показаться сложной задачей, немного потренировавшись, любой может научиться улавливать сущность аниме-глаз. Этот урок от Anime Outline — отличное место, чтобы научиться рисовать мужские и женские аниме-глаза и делать их выразительными.
48. Волосы аниме
Волосы аниме , вероятно, вторая по значимости отличительная черта аниме-персонажей после их глаз. Волосы аниме часто нарисованы преувеличенно, с шипами и завитками, которых невозможно добиться в реальной жизни. Если вы хотите научиться рисовать аниме-волосы, ознакомьтесь с этим руководством от NN The Blog.
49. Аниме лица
Рисование аниме-лиц — это навык, которым может овладеть любой, проявив терпение и практику.
Painter Artist отлично справляется со своей работой, объясняя все, что связано с рисованием аниме-лиц, чтобы передать сущность ваших любимых персонажей. Хотя есть основные принципы, которым нужно следовать, лица аниме в конечном итоге определяются их индивидуальными чертами, такими как глаза и волосы. Таким образом, не существует единственно правильного способа их рисования.
50. Аниме мужские и женские тела
Научиться рисовать мужских и женских тел аниме может быть весело и полезно. Хотя между мужским и женским телом есть некоторые общие черты, есть и существенные различия. Например, мужские персонажи аниме часто имеют более широкие плечи и грудь, а женские персонажи, как правило, имеют более узкие талию и бедра. Anime Outline охватывает основы создания эскизов типов телосложения аниме для мужских и женских персонажей.
51. Наруто
Наруто — популярный аниме-персонаж, которого интересно рисовать благодаря характерным оранжевым волосам и колючим дзюцу.
К счастью, научиться рисовать Наруто несложно. В этом уроке от Easy Drawing Guides есть пошаговые инструкции с простыми советами, чтобы вы могли начать создавать свою собственную версию этого культового аниме-персонажа.
52. Персонажи комиксов
Рисование персонажей комиксов захватывающий, потому что он открывает мир бесконечных возможностей, поскольку нет двух одинаковых персонажей комиксов. Если вы планируете научиться рисовать персонажей комиксов, предлагаем начать с этого интуитивно понятного руководства от Biowars. Учебное пособие требует, чтобы вы ознакомились с базовой анатомией персонажа комиксов и пропорциями головы, туловища и конечностей. Как только вы освоите основы, вы сможете изучить работы ваших любимых художников комиксов и поэкспериментировать с различными стилями и техниками.
53. Дэдпул
Дэдпул — отличный персонаж комиксов для тренировки ваших начинающих художественных навыков.
Так как он носит полный костюм, который полностью закрывает голову, вам не нужно беспокоиться о наброске сложных деталей, таких как глаза или волосы. Посмотрите этот видеоурок от Cartoon Club How to Draw, чтобы узнать, как легко нарисовать Дэдпула.
54. Карикатуры
Карикатуры — комические рисунки, преувеличивающие физические особенности субъекта. Научиться рисовать карикатуры весело и уникально для развлечения ваших друзей и семьи. Лучший способ начать — попрактиковаться на себе или на добровольном друге. Или вы можете подписаться на Toons Mag, чтобы рисовать карикатуры на известных людей.
55. Стакан воды
Стакан воды — один из самых простых и универсальных объектов для рисования. Стакан воды может добавить интереса и объема вашему рисунку, пытаетесь ли вы запечатлеть свет на натюрморте или быстро набросать портрет.
В этом видеоуроке от Circle Line Art School рассказывается о том, как нарисовать стакан воды на бумаге и как свет изгибается, проходя через воду.
Как только вы поймете концепцию отражений и преломлений, вы сможете применять ее к другим объектам, таким как кольцо с бриллиантом или городской пейзаж, отражающийся в озере.
56. Правильно держать карандаш
Научиться держать карандаш и управлять им — сложный аспект рисования, поскольку он требует высокой степени координации между руками, глазами и мозгом. Даже такая, казалось бы, простая вещь, как рисование прямой линии, может оказаться невероятно сложной для новичков. Ключ к успеху – практика и терпение.
В этом видеоруководстве от Proko объясняется, как правильно держать карандаш и как тип карандаша, угол наклона и давление могут повлиять на ваши рисунки.
57. Рисунок без смазывания
Размазывание неизбежно при попытке нарисовать прямую линию карандашом, но есть способы свести к минимуму размазывание или даже полностью его предотвратить. Например, вы должны использовать качественный карандаш с хорошим ластиком, держать карандаш близко к кончику для большего контроля, использовать легкое давление, чтобы рисовать линии, и не класть руку на бумагу, которую вы рисуете.
Посетите wikiHow, чтобы узнать больше о том, как избежать смазывания при рисовании.
58. Рисование основных форм
Обучение рисованию основных фигур от руки — отличный способ попрактиковаться в рисовании. Даже если вы опытный художник, рисование элементарных фигур поможет вам в дальнейшем, учитывая, что самые сложные объекты можно разбить на элементарные геометрические фигуры. Кроме того, в свободное время вы можете рисовать базовые фигуры, чтобы тренировать мышечную память рук.
В этом видеоуроке от Rapid Fire Art показано, как разделить любой сложный объект на простые формы, чтобы легче было рисовать его целиком. Вы можете использовать эту технику рисования для чего угодно, от вазы с цветами до городского пейзажа.
59. Методы рисования штриховкой
Затенение — важный навык, которому должен научиться любой художник. Затенение придает рисункам размер и глубину, и вы можете использовать его для создания широкого спектра эффектов, от едва заметных бликов до эффектных теней.
Хотя поначалу затенение может показаться сложной задачей, на самом деле довольно легко изучить основы, начав с простых форм и постепенно наращивая свои навыки. Посетите Rapid Fire Art, чтобы узнать, как применить штриховку к рисунку. а также штриховка, штриховка и градиенты с использованием карандашей, ручек и маркеров.
60. Рисование в перспективе
Техника перспективы — это метод рисования, создающий иллюзию глубины на двухмерной поверхности. Используя точки схода и линии горизонта, вы можете придать своим рисункам ощущение пространства и расстояния. Это может быть особенно полезно, когда вы пытаетесь запечатлеть ощущение обширного пейзажа или обширного городского пейзажа. Хотя поначалу перспективная техника может показаться сложной, она стоит того, чтобы ее освоить, и вы можете обратиться к руководству Clip Studio Tips для получения дополнительной информации.
Заключение
Многих пугает перспектива рисовать что-то с нуля.
Но с небольшим терпением, практикой и примерами, подобными тем, что приведены в этой статье, любой может научиться рисовать достаточно хорошо. Так что не расстраивайтесь, если ваши первые работы не совсем соответствуют стандартам Пикассо. Каждый день уделяйте время работе над своими рисунками, и вы удивитесь, как быстро улучшатся ваши навыки.
Какой из этих простых рисунков для начинающих вы сделали?Оставьте нам комментарий ниже и расскажите нам, какой урок вам понравился больше всего. Мы будем рады получить ваши отзывы.
15 идей для рисования для начинающих, чтобы развить базовые навыки
Вы когда-нибудь начинали новый навык и быстро разочаровывались, потому что вы не сразу видите прогресс? Конечно, есть. Ты всего лишь человек! Трудно быть новичком в или , а развитие начальных художественных навыков может быть особенно обескураживающим, поскольку результаты ваших усилий буквально прямо перед вами. Если вам не нравится то, что вы видите, возможно, вы не чувствуете особого вдохновения, чтобы оставаться с этим.
Но вы должны знать, что практика идеально подходит для любой новой деятельности, и рисование не является исключением. Обучение рисованию требует времени и терпения. Возможно, все, что вам нужно для развития этих базовых навыков рисования и процветания начинающего художника, — это несколько простых идей рисования для начинающих, которые помогут вам оставаться в игре.
Продолжайте читать, чтобы узнать об идеях рисования для начинающих, которые обеспечат вам мотивацию и вдохновение, пока вы обретаете уверенность в базовых техниках рисования.
Quick Links
- Landscapes
- Fruit
- Butterfly
- Tree
- Flowers
- Chair
- Coffee Mug
- Bird
- Pumpkin
- Eyes
- Feather
- Bookshelf
- Cupcake
- Pair of Glasses
- Лампа
- Начните с этих простых идей для набросков!
1. Пейзажи
Художник-карандаш Ясмина Сусак показывает, какими драматичными могут быть пейзажные рисунки.
Пейзажный рисунок — это любой рисунок, в котором основное внимание уделяется пейзажу, но тип пейзажа полностью зависит от художника! Нужны идеи для рисования пейзажей для начинающих? Подумайте о том, чтобы нарисовать горы, лес, пляж, пустыню, долину… возможности (в буквальном смысле) так же велики, как мир.
Пейзажи — отличная идея для рисования для начинающих, поскольку они дают возможность попрактиковаться в затенении, текстуре, перспективе и детализации. Они также дают вам возможность отдать дань уважения особому для вас месту.
2. Фрукты
Houshang Falahrezaei демонстрирует, как начать рисовать фруктовые натюрморты с яблока.
Не зря вы видели множество произведений искусства с вазами с фруктами. Художникам нравится работать с фруктами как с предметом, и нет никаких причин, по которым вы не можете позаимствовать это вдохновение для своих собственных рисунков для начинающих. Положите свои любимые фрукты в миску, возьмите карандаши для рисования и приступайте к работе, потому что создание такого натюрморта отлично подходит для вашего непрерывного художественного образования.
На этом уроке, посвященном поэтапному рисованию фруктов, учитель рисования Хушанг Фаларезаи объясняет, что все фрукты имеют интересную форму, поэтому они идеально подходят для практики рисования фигур. Когда вы начнете понимать, как рисовать каждый отдельный фрукт, вы обнаружите, что разрабатываете техники рисования карандашом, которые пригодятся вам при рисовании самых разных предметов.
3. Бабочка
Начните с рисования бабочки линиями, затем добавьте цвет, если почувствуете вдохновение.
Рисунок бабочки даст вам возможность поиграть с деталями. Ведь узор на крыльях бабочки может быть сколь угодно замысловатым! Вы можете сделать свою бабочку простой, когда начинаете, и добавить изюминку, когда начнете чувствовать себя более уверенно в своем рисовании.
Кроме того, вы можете весело провести время, пробуя цвета на крыльях бабочки. Возможно, вы даже вдохновитесь смешивать различные художественные средства для достижения идеального конечного продукта.
Пусть эти прекрасные крылья летят.
4. Дерево
Как видите, различные составные элементы дерева дают много возможностей для практики рисования.
Вы уже узнали о ценности практики рисования пейзажей для начинающих художников, но вы также можете рассмотреть возможность оттачивания одного дерева, которое будет выглядеть как часть такого пейзажа.
Рисование деревьев с листьями или без них поможет вам поработать над формой и структурой, чтобы ваша будущая работа была сильнее и реалистичнее.
Сделайте рисование ежедневной привычкой
Учитесь рисовать: ежедневные занятия для улучшения навыков рисования
Пройдите курс
5. Цветы
Эта студенческая работа Джанетт Джексон показывает, как заставить ваши рисунки цвести.
Любой начинающий художник в поисках простых идей для набросков не должен искать ничего, кроме цветов, особенно потому, что есть так много разных способов приблизиться к ним.
Вы можете нарисовать отдельные цветы (с таким разнообразием!), букет или даже коллекцию цветов в вазе. Может быть, вы начнете с одного цветка за раз и пойдете дальше. Выберите свой любимый цветок и приложите карандаш к бумаге.
Самое интересное в рисовании цветов то, что вы можете сделать много ошибок! Вы можете легко включить пятна и другие основные ошибки новичков в рисунок практически любого типа цветка. Это снимает некоторое напряжение и должно вдохновить вас.
6. Стул
Простой стул учит всем важным навыкам рисования.
Рисование стула может показаться не особенно захватывающим, но это поможет вам попрактиковаться в некоторых полезных основах рисования. Простой стул требует от вас отточить базовые геометрические навыки, а также затенение и перспективу.
Готов перейти на следующий уровень? Повысьте уровень от простого предмета мебели до чего-то более декоративного и добавьте столько деталей и украшений, сколько захотите.
7. Кофейная кружка
Научитесь рисованию в перспективе с помощью простой кофейной кружки.
Многим людям нужна чашка кофе, чтобы начать день… и вам может понадобиться попрактиковаться в рисовании кофейной кружки, чтобы действительно начать свой творческий путь. Рисование кружки, полной кофе, требует от вас работы над формами, штриховкой, перспективой и текстурой, так как вам нужно будет запечатлеть кружку, ручку и кофе внутри.
Когда вы освоитесь с рисованием этих основных элементов кофейной кружки, вы можете добавить еще несколько деталей, чтобы ваш рисунок выглядел как самая любимая кружка в вашем кухонном шкафчике. Добавляйте логотипы, узоры и другие причудливые элементы дизайна.
8. Птица
Научитесь рисовать сову и разнообразьте свои рисунки птиц оттуда.
Можно нарисовать столько разных птиц. Почему бы не попробовать их все?
Практика рисования различных птиц даст вам ускоренный курс по рисованию анатомических особенностей, которые пригодятся вам, когда вы будете экспериментировать с другими животными (и даже людьми) в будущем.
Сделайте свои рисунки птиц еще более интересными и поучительными, нарисовав птиц в полете или сидящих на дереве.
9. Тыква
Вы когда-нибудь видели тыкву красивее?
Если вы работаете над своими базовыми навыками рисования в осенний сезон, возможно, нет ничего лучше для ваших основных приемов рисования, чем тыква.
Тыква состоит из простых фигур, но для того, чтобы сделать их правильно, может потребоваться некоторое время и терпение. Как только вы добавите в смесь цветные карандаши, все станет еще интереснее, но вы можете сделать простой образ невероятно красивым. Кроме того, вы можете превратить тыквы, которые вы нарисовали, в фонари из тыквы или добавить их к осенним канцелярским принадлежностям и украшениям.
10. Глаза
Арлиша Йецер показывает, как рисовать каждую часть глаза.
Портретный рисунок — это целый мир искусства сам по себе, но чтобы проникнуть в него, вам нужно попрактиковаться в отдельных элементах лица. Глаза могут быть очень интересным местом для начала.
Рисование реалистичного глаза заставляет вас обратить внимание на детали зрачка, радужной оболочки, века и ресниц. Чтобы собрать все эти элементы воедино — и чтобы они выглядели хорошо — вам нужно отточить свои навыки затенения и детализации.
11. Перо
Простому рисунку пера, подобному этому, можно придать объем.
Перья станут забавным дополнением ко всем видам поделок. Некоторым людям нравится добавлять их в дизайн интерьера и наряды. Так почему бы им не стать идеальным источником художественного вдохновения? Рисунки перьев прекрасны, и их легко сделать своими руками.
Подобно крыльям бабочки, перья служат чистым холстом для всевозможных деталей и специальных штрихов. Ваши рисунки могут стать более сложными, как вы идете.
12. Книжная полка
Книжная полка, как на этом эскизе ученицы Кристен Хесс, также позволяет рисовать всевозможные дополнительные предметы.
Чтобы добиться реалистичного изображения книжной полки, вам нужно нарисовать полку и книги (и другие предметы) на ней.
Работа над этими многочисленными элементами даст вам возможность попрактиковаться в различных техниках рисования.
Вы можете расположить книги на книжной полке различными способами, чтобы создать дополнительный визуальный интерес и придать характер своему рисунку. Книги могут быть сложены стопкой или неаккуратно, в зависимости от навыков, на которых вы сосредоточены.
13. Кексы
Они выглядят достаточно хорошо, чтобы их можно было есть, и из них можно приготовить вкусные идеи для рисования для начинающих.
Кексы весело есть, на них интересно смотреть и их весело рисовать. Так же, как пекари могут украшать 90 593 настоящих 90 594 кексов разными способами, начинающий художник может добавлять любые дизайнерские штрихи, чтобы создать кекс своей мечты на бумаге.
Когда вы рисуете кекс, у вас будет возможность поработать над деталями, композицией, штриховкой и даже цветом. Ням!
14. Пара очков
Работайте над штриховкой и контуром с помощью этих очков.
На первых уроках ребята изучают основные правила, знакомятся с различными графическими способами передачи объекта на поверхность чистого листа и выполняют несложные чертежи. Этот урок характерно воздействует на мышление подростка, расширяет его кругозор и внимание. В будущем, основы черчения обязательно пригодятся при желании стать профессиональным инженером, архитектором, конструктором, строителем, дизайнером или специалистом любой другой технической профессии.
