Содержание
Специальные методы бетонирования — DAKO-GROUP
Существуют моменты, когда применение традиционных методов бетонирования — невозможно и неэффективно. На этот случай существуют специальные методы бетонирования:
- бетонирование методом ВПТ – метод вертикально перемещаемой трубы;
- ВР — восходящего раствора;
- втрамбовывание бетонной смеси;
- метод раздельного бетонирования;
- торкретирование;
- метод набрызг-бетона.
Бетонирование методом ВПТ
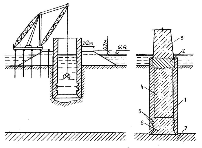
Этот метод применяют при бетонировании под водой на глубине до 50 метров. Через трубы диаметром 200–300 мм, опущенные до основания возводимого сооружения, бетон подается самотеком и растекается по форме. При увеличении толщины слоя бетона трубы поднимают, лишние звенья удаляют. Радиус действия одной трубы около 6 м. Для получения качественного бетона расстояние между трубами принимают 10—11 м.
Блок бетонирования ограждают шпунтовым рядом, который одновременно выполняет роль опалубки. Осадка конуса бетонной смеси, укладываемой методом ВПТ, должна быть 14—16 см при ее виброуплотнении и 16—20 см при укладке без вибрации. Крупность заполнителя не должна превышать 30—40 мм. В такие смеси нужно обязательно вводить пластифицирующие добавки.
Бетонирование методом восходящего раствора.
Этот метод подходит при бетонировании на глубине до 20 метров. Трубы для подачи раствора диаметром 37—100 мм ставят в ограждающие шахты из швеллеров ила помещают непосредственно в каменную наброску. Радиус действия одной трубы 3 м при заливке раствора в каменную наброску и 2 м при заливке в щебеночную отсыпку. Цементный раствор или тесто с осадкой конуса 10—12 см подают с помощью растворонасосов в песчано-щебеночную отсыпку, если высота блока бетонирования превышает 10 м. В остальных случаях раствор заливают в трубу через воронку и он под собственной тяжестью проникает в кладку.
При нагнетании раствор, выходя из нижнего торца трубы и поднимаясь снизу вверх, вытесняет из пустот воду, заполняет их — так создается бетонный монолит. Преимущество этого метода по сравнению с методом ВПТ заключается в том, что вместо бетонного завода используют растворосмесительную установку меньшей производительности. Кроме того, в результате раздельной укладки крупного заполнителя и раствора уменьшается вероятность расслоения бетона.
Метод втрамбовывания бетонной смеси.
Этот метод подходит для бетонируемых конструкций больших площадей, где глубина воды — до 1,5 м. Новые порции смеси укладывают на островок из ранее свежеуложенного бетона с последующим втрамбовыванием этой порции. Задача при этом заключается в том, чтобы исключить соприкасание с водой укладываемых порций смеси. Для бетонирования этим методом применяют смесь с осадкой конуса 5—7 см и крупностью заполнителя 30—40 мм. Пионерный островок из смеси создают в одном из углов блока бетонирования.
Новые порции смеси укладывают и утрамбовывают не ближе 20—30 см от уреза воды. Уплотняют смесь вибрированием или трамбованием.
Метод раздельного бетонирования.
При этом методе крупный заполнитель и раствор укладывают раздельно. Сначала в опалубку укладывают крупный щебень, а затем в пустоты между его зернами нагнетают цементно-песчаный раствор. Наиболее эффективен для бетонирования тонкостенных конструкций. В зависимости от толщины конструкции раствор нагнетают или через установленные в опалубку стальные инъекционные трубы (при толщине конструкции больше 1 м), или через боковые инъекционные отверстия (при толщине конструкции меньше 1 м). Перерывы в бетонировании больше 20 мин — не допускаются.
Торкретирование.
Способ торкретирования заключается в нанесении на вертикальные, наклонные и горизонтальные поверхности одного или нескольких защитных слоев цементно-песчаного раствора (торкрета) при помощи цемент-пушки или бетонной смеси, нагнетаемой бетон-шприцмашиной.
Этот способ применяют для укрепления поверхностей тонкостенных конструкций в односторонней опалубке (куполов, сводов-оболочек, резервуаров), для нанесения плотного и водонепроницаемого защитного слоя подземных сооружений, а также для замоноличивания швов, исправления дефектов в бетоне, при ремонтно-восстановительных работах и для усиления железобетонных конструкций. Для торкретирования применяют высокомарочные цементы. В обычных условиях используют портландцемент марки 500, а для омоноличивания, создания водонепроницаемых облицовок и ремонта быстротвердеющий цемент.
Метод набрызг-бетона.
Применяют для возведения тонкостенных конструкций, обделки туннелей, омоноличивания швов, а также для исправления дефектов бетона и ремонтных работах. В отличие от торкрет-бетона смесь, наносимая набрызгом, содержит помимо цемента и песка также щебень или гравий крупностью до 25 мм.
Бетон способом набрызга наносят на вертикальные, наклонные и горизонтальные поверхности.
Перед началом работ устанавливают одностороннюю опалубку и арматуру, очищают и промывают поверхности.
Специальные методы бетонирования. Универсальный справочник прораба. Современная стройка в России от А до Я
Специальные методы бетонирования
Метод вертикально перемещаемой трубы (ВПТ) применяется при заглубленных конструкциях с глубиной от 1,5 м и более. При этом используется бетон проектного класса до В25.
Бетонирование методом восходящего раствора (ВР) с заливкой наброски из крупного камня цементно-песчаным раствором применяется при укладке под водой бетона на глубине до 20 м для получения прочности бетона, соответствующей прочности бутовой кладки. Метод ВР с заливкой наброски из щебня цементно-песчаным раствором применяется на глубинах до 20 м для возведения конструкций из бетона класса до В25.
Инъекционный и вибронагнетательный методы применяются для бетонирования подземных тонкостенных конструкций из бетона класса В25 на заполнителе максимальной фракции 10–20 мм.
Метод укладки бетонной смеси бункерами применяется при бетонировании конструкций из бетона класса В20 на глубине более 20 м.
Метод втрамбовывания бетонной смеси применяется на глубине менее 1,5 м для больших площадей, бетонируемых до отметки, расположенной выше уровня воды, при классе бетона до В25.
Метод напорного бетонирования путем непрерывного нагнетания бетонной смеси при избыточном давлении применяется при возведении подземных конструкций в обводненных грунтах и сложных гидрогеологических условиях при устройстве подводных конструкций на глубине более 10 м, а также при возведении сильноармированных конструкций.
Метод укатки малоцементной жесткой бетонной смеси применяется для возведения плоских протяженных конструкций из бетона класса до В20. Толщина укатываемого слоя при этом равна 20–50 см.
Для цементно-грунтовых конструкций нулевого цикла при глубине заложения до 0,5 м используется буросмесительная технология – смешивание расчетного количества цемента, грунта и воды в скважине буровым оборудованием.
При подводном бетонировании необходимо обеспечивать изоляцию бетонной смеси от воды в процессе ее транспортировки под воду и укладки, плотность опалубки, непрерывность бетонирования, контроль за состоянием опалубки при укладке бетонной смеси.
Бетонирование способом ВПТ после аварийного перерыва возобновляется только при условии достижения бетоном в оболочке прочности 2,0–2,5 МПа, удаления с поверхности подводного бетона шлама и слабого бетона, обеспечения надежной связи вновь укладываемого бетона с затвердевшим бетоном (штрабы, анкеры и т. д.).
При подаче бетонной смеси под воду бункерами запрещено свободное сбрасывание смеси в воду, а также разравнивание уложенного бетона горизонтальным перемещением бункера.
Втрамбовывание вновь поступающих порций бетонной смеси производится не ближе 200–300 мм от уреза воды, при этом не допускается сплыв смеси поверх откоса в воду.
В конструкциях типа «стена в грунте» бетонирование траншей следует выполнять секциями длиной не более 6 м с применением инвентарных межсекционных разделителей.
При наличии в траншее глинистого раствора бетонирование секции производится не позднее чем через 6 ч после заливки раствора в траншею. В противном случае следует заменить глинистый раствор с одновременной выработкой шлама, осевшего на дно траншеи.
Арматурный каркас перед погружением в глинистый раствор необходимо смачивать водой.
Расстояние от бетонолитной трубы до межсекционного разделителя должно быть не более 1,5 м при толщине стены до 40 см и не более 3 м при толщине стены более 40 см.
Требования к бетонным смесям при их укладке специальными методами приведены в табл. 3.11.
Таблица 3.11. Требования к бетонным смесям при их укладке специальными методами
Данный текст является ознакомительным фрагментом.
Специальные тарифы
Специальные тарифы
Наличие льгот и правила их применения каждая авиакомпания устанавливает по своему усмотрению.
Но все действуют по единой логике. Главная задача – ни в коем случае не спровоцировать основных клиентов – чиновников и бизнесменов – на желание
Приложение 4 Специальные воинские звания и специальные звания сотрудников различных ведомств
Приложение 4
Специальные воинские звания и специальные звания сотрудников различных ведомств
Звания РККА и РККФ, введенные 22.9.1935 (с последующими изменениями)
Рядовой, младший командный и начальствующий состав
Командный
3.5. Специальные узлы
3.5. Специальные узлы
Узел Прусика (по имени немецкого альпиниста Ганса Прусика). Самозатягивающийся под нагрузкой (схватывающий) узел. Применяется как средство самостраховки при движении по веревочным перилам, подъемах и спусках по веревке и других случаев фиксации
3.
Специальные добавки
3. Специальные добавки
Пластификаторы относятся к специальным добавкам — очень многочисленному семейству. Различные добавки способны придавать растворам и самые различные свойства.Пластифицирующих добавок тоже много. Глина — естественная осадочная порода. В
Специальные методы бетонирования: подробное описание возможных способов
При возведении различных объектов порой возникают определённые условия, при которых обычные способы строительства либо недоступны, либо неэффективны и в таких случаях используют специальные методы бетонирования.
Зимнее бетонирование методом термоса
К таким способам относится:
- торкретирование;
- вакуумирование;
- а также подводный способ бетонирования объектов, что с успехом применяется в гражданском и промышленном строительстве.
Ниже об этом пойдёт речь более подробно, а кроме того, вы сможете посмотреть по данной теме видео в этой статье, как дополнение к материалу.
ОписаниеКраткое описание специальных методов
Подводное бетонирование
- Если есть необходимость обустройства какого-либо хранилища, резервуара, или строительство происходит в зоне интенсивного притока грунтовых вод, то в таких случаях требуется повышенная плотность бетонной конструкции. Это достигается раздельным бетонированием вибрацией: вибрационным, гравитационным и вибронагнетательным методом. Здесь цементно-песочный раствор нагнетают между крупными наполнителями, которые заранее были уложены в опалубку, кроме того, при вибронагнетании дополнительно используется вибрация, что больше уплотняет раствор.
- В тех ситуациях, когда есть необходимость производить работы под водой, на глубине до 50 м, применяется бетонирование методом ВПТ (вертикальное перемещение трубы). Суть данной методики заключается в следующем: в заранее установленные формы по трубам, диаметр которых имеет от 200 до 300 мм, подают бетон, причём опускают их до самого основания.
Когда требуется увеличить толщину слоя, то трубу поднимают, то есть, уменьшают количество секций. - Когда глубина не превышает 20 м, то в таких случаях используют метод ВР (восходящего раствора), который может быть либо напорным, либо безнапорным. Для этого отгораживают определённый участок и набрасывают туда камни, где с определённым интервалом монтируют стальные трубы диаметром от 37 до 100 мм. По этим трубам, под напором или без него (самотёком) заливают цементно-песочный раствор, который заполняет пустоты между ранее наброшенными камнями.
- Также, если необходимо провести заливку на глубину не более 20 м и при этом класс бетона не будет превышать B20, то используется технология бетонирования, называемая укладкой бункерами. В таких случаях на дно водоёма опускают бетонные перекрытия или плиты в качестве основания, а на них грейфером засыпают раствор. При этом между раскрывающимся коробом и основанием соблюдается самое минимальное расстояние, которое позволяет выполнять подобные работы.

- На глубине до 1,5 м, когда площадь сооружения достаточно велика и марка бетона не превышает класса B25, производится утрамбовка. Это делают по небольшим отгороженным участкам, так как площадь большая, раствор к месту доставляют с помощью трубы или грейфера, соблюдая при этом минимальное расстояние до основания. Трамбовка производится равномерно, чтобы не нарушать процесс схватывания ранее уложенного участка, при этом инструкция требует, чтобы расстояние до зеркала воды не превышало 25-30 см.
Торкретирование «мокрым» способом
- При нанесении тоннельной отделки, нанесении защитного слоя для предварительно напряжённых резервуаров, использовании пневмоопалубок, усилении и ремонте ЖБК и тому подобное, применяется «мокрое» и «сухое» торкретирование поверхности. «Мокрый» способ или пневматическое бетонирование подразумевает нанесение раствора на поверхность под давлением — сжатый воздух подаёт смесь в сопло, где так переходит во взвешенное состояние, после чего попадает на обрабатываемый участок.
«Сухой» метод похож, только здесь в насадку подаётся сухая смесь, которая там размешивается водой, затворённой в сопле, после чего попадает на поверхность в виде раствора.
Вакуумирование бетона. Фото
- Для межэтажных перекрытий, полов, сводов, оболочек, пространственных и вертикальных конструкций (диафрагм, колонн, стен, перегородок и тому подобное) используется метод вакуумирования. Суть его заключается в удалении из уплотнённого раствора до 10%-25% затворённой воды с помощью вакуум-щитов.
Подводное бетонирование
Примечание. Подводным методом называют укладку раствора под слоем воды, когда водоотводные работы не производятся.
Самым распространённым и продуктивным считается ВПТ.
Схема монтажа методом ВПТ: 1) ВПТ; 2) опалубка; 3) уложенный раствор
В данном случае подводное бетонирование — технология вертикального перемещения трубы подразумевает проведение работ на глубине от 1,5 м до 50 м в котловане, который ограждён от проточной воды.
Для обустройства такого ограждения можно использовать специальную пространственную опалубку из дерева, ЖБИ, ЖБК или металла, а также любых оболочек большего размера — свай, ряжей, шпунтов и так далее. При этом такое сооружение должно быть непроницаемым для цементно-песочного раствора.
Для транспортировки смеси к месту назначения применяют бесшовные стальные трубы от 200 мм до 300 мм в диаметре, причём линия получается не сплошной, а собирается из звеньев по 1-3 м длиной.
Собранный трубопровод фиксируют к крану или лебёдкам, которые находятся за котлованным ограждением, при этом вверху монтируется воронка для принятия смеси, а внизу, чтобы внутрь не попала вода, устанавливают клапан, который можно открыть, находясь на подмостях. Один такой трубопровод может обслуживать площадку до 12 м в диаметре.
После того, как трубы опущены до основания и у них перекрыты нижние клапаны, их доверху заполняют бетоном. После того, как диспетчер открывает клапан, бетон растекается по опалубке, подымаясь при этом выше краёв нижнего звена — это происходит под столбовым принудительным давлением смеси до тех пор, пока уровень в трубе и опалубке не выровняется.
Раствор может подаваться по каналу пневматическим нагнетателем, либо напрямую из бетоносмесителя
В зависимости от толщины заливаемого участка, конец трубы должен быть постоянно погружен в раствор, как требует технологический регламент бетонирования: при глубине до 10 м — на 0,8 м, а при глубине до 20 м — на 1,5 м. По мере того как монтируемая площадка, наполняется раствором, трубопровод поднимают вверх, постепенно отделяя от него по одному звену, но при этом важно следить за тем, чтобы вода не попала внутрь.
После того, как достигнута необходимая толщина площадки, трубу полностью убирают с места монтажа.
Когда раствор по методу вертикального перемещения трубы укладывается с вибрацией, ему нужна подвижность, что возможно измерить осадкой конуса на 6-12 см, но если это происходит без вибрации, то тогда понадобится 16-20 см усадки. Смесь делается из гравия, либо в него добавляю 2-3 части щебня, при этом в обязательном порядке используя пластификатор.
Во избежание возникновения форс-мажорных обстоятельств при монтаже массивов объёмом более 200 м3 методом вертикального перемещения, для начала под водой заливаются пробные конструкции.
Это экспериментальные блоки, объёмом 3 м3, на которых есть возможность режимы работы и качество бетона, так как затраты на подобные тестирования способствует тому, что окончательная цена оказывается ниже.
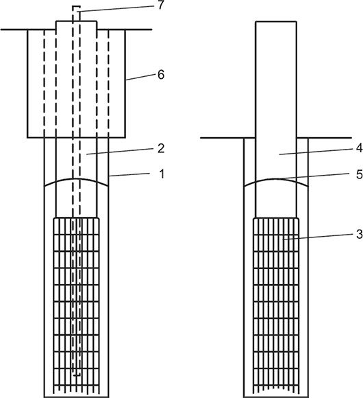
Схема монтажа методом ВР: 4) транспортировочная труба; 5) наброска камня; 6) предохраняющая шахта; 7) раствор наполнил наброску
Метод восходящего раствора или ВР показан на верхнем схематическом изображении: в каменную насыпку (щебень, гравий) по установленным заранее стальным бесшовным трубам от 37 мм до 100 мм в диаметре нагнетают раствор. Такая смесь может быть цементной, цементно-песочной, либо цементной с различными добавками.
Раствор заполняет пустоты между камнями, поднимаясь снизу вверх — при этом вытесняется вода и образовывается бетонный монолит — также это называется методом инъекционного напорного бетонирования.
В тех случаях, когда ВР производится в ограждающих шахтах, то в пространство опалубки в первую очередь монтируют вертикальные стены шахты, которые варят из металлопроката — рельс, швеллер, тавр и тому подобное.
После этого насыпают крупный камень, а дальше всё происходит по той же схеме — раствор вытесняет воду, превращаю конструкцию в монолит.
Метод втрамбовывания
На глубине до 1,5 м для бетонирования объектов с большой площадью, где марка бетона не выше 300, применяется метод втрамбовывания или вибрации. При этом осадка конуса должна быть порядка 5-7 см — раствор подаётся с помощью трубы. Обратите внимание на рисунок — там видно, что трамбовку начинают с подводного откоса, с углом к горизонтали 35⁰-45⁰.
Торкретирование
Торкретирование стены своими руками
Примечание. Торкретированием бетона называется технология струйного нанесения раствора на поверхность при помощи сжатого воздуха.
При этом цементно-песочная смесь или торкрет могут укладываться, как в один, так и в несколько слоёв.
Такой способ обычно применяют укрепления поверхностей конструкций, у которых недостаточно прочные (тонкие) стены — это могут быть односторонние опалубки, резервуары, купола и своды.
Кроме того, торкретирование служит защитой от проникновения влаги в подземных сооружениях (подвалах, складах), для замоноличивания (заделки) швов и при ремонтно-восстановительных работах для устранения дефектов.
Цементно-песочную смесь здесь готовится отдельно и с помощью компрессора под давлением (сжатым воздухом) через шланг она подаётся к соплу, куда одновременно поступает вода из бака — тоже под давлением.
Получается, что увлажнённые частицы смеси вырываются из насадки со скоростью 100 м в секунду, ударяется о поверхность и прилипает к ней. При этом неизбежно возникают потери, так как не все частицы остаются на обрабатываемой поверхности — некоторые отскакивают и оседают на пол — их называют «отскоком».
Примечательно, что потолки и стены торкретируются постепенно, в несколько слоёв, тогда как на пол можно наносить смесь на полную толщину. Временной промежуток между нанесением торкрета устанавливает лаборатория и он определяется скоростью застывания раствора, то есть, каждый новый слой не должен разрушать предыдущий.
Но для того чтобы адгезия была оптимально, промежуток не должен превышать время полного схватывания, иначе увеличится процент отскока.
Вакуумирование
Примечание. Вакуумированием называется процесс удаления свободной воды и воздуха из раствора, который только что уложили.
Осуществляется это с помощью понижения давления, то есть, образованием вакуума для внешних и внутренних слоёв конструкции.
Схема агрегата: 1) вакуумный щит; 2) соединительные рукава для всасывания; 3) коллектор; 4) магистраль; 5) передвижной водонакопитель; 6) стационарный водонакопитель; 7) вакуумный насос; 8) вакуумная полость
Для того чтобы произошёл процесс гидратации цемента вполне достаточно, чтобы в нём содержалось всего 20% воды от его общей массы — вся остальная вода затворения служит для придания определённых технологических свойств, таких как эластичность и подвижность массы.
Для этого между раствором и опалубкой для бетона обустраивают тонкую полость с помощью тканой и плетёной сетки, из которой насосом откачивают воздух.
Туда, из-за неравномерности давления начинает поступать вода затворения вместе с воздухом из бетона, которая постоянно откачивается, как это и показано на верхнем схематическом рисунке.
Заключение
В заключение хотелось бы обратить ваше внимание тех, кто ищет бетонирование методом замораживания — такого способа не существует! Есть укладка бетона на морозе, при котором применяют электрический прогрев, используя для этого греющие опалубки, инфракрасное излучение, электроматы, а также анодный или проводной (ПНСВ) прогрев понижающим трансформатором.
Заявление о методе бетонных работ
В этом заявлении о методе описываются практика и методы, которые следует использовать в отношении укладки, отверждения и устранения дефектов бетонных работ и заливки бетона.
Перед укладкой любого бетона или бетонной заливки все проверки качества должны быть завершены, а клиент/консультант должен выдать инструкцию «одобрение бетона».
После доставки на площадку бетон укладывается одним из трех способов:
a) Прямой (или желобный) сброс
b) Кран и ковш или
c) Бетононасос
Используемый метод зависит от условий на площадке и объема заливки.
Бетон должен быть уложен в соответствии со спецификацией для заливки бетона на месте, и основные моменты указаны ниже.
Бетон должен быть уложен как можно ближе к его конечному положению и не должен перемещаться вбок из-за вибрации. Бетон не должен подвергаться чрезмерной вибрации.
Бетон нельзя ронять с высоты более 2 м.
Следует избегать «холодных соединений» продолжительностью более 40 минут. Бетон должен быть уложен не позднее, чем через час после добавления воды затворения. Перекачка бетона разрешается только после одобрения Компанией.
Если во время бетонирования неизбежен дождь, необходимо иметь достаточное количество пластиковых/брезентовых листов, чтобы покрыть всю площадь заливки. Если просачивающаяся вода поступает в выемку в значительном объеме или опять же, если дождь неизбежен, водяной насос должен быть готов к работе.
Метод отверждения бетона
После начального схватывания бетона и когда бетон достаточно затвердеет, чтобы не повредиться при таком воздействии, открытая бетонная поверхность должна быть покрыта пропитанными мешками из мешковины.
Эти мешки должны быть оставлены на месте и содержаться в пропитанном состоянии в течение семи дней.
Для сформированных поверхностей отверждение должно применяться, как описано выше, после снятия опалубки, или должен применяться отвердитель (см. 2.5 выше).
Цементное молоко можно удалить, как только бетон затвердеет, с помощью проволочной щетки.
Подготовка строительных швов должна производиться механическим дроблением, не допуская смещения крупных заполнителей. Это должно быть сделано не позднее, чем через 24 часа после завершения укладки бетона, в противном случае можно использовать замедлитель схватывания бетонной поверхности.
Работы по проверке и ремонту бетона
После снятия опалубки элемент должен быть проверен на уровень, размеры и дефекты поверхности, любое несоответствие будет доведено до сведения Компании до устранения.
Действия, которые необходимо предпринять для устранения любого несоответствия, будут предложены генеральным подрядчиком и впоследствии одобрены консультантом.
Любой ремонт, заливка раствором или другой подобный состав, который будет использоваться для ремонтных работ, должен быть представлен и одобрен консультантом до его использования.
Отвердители, если они используются, должны быть одобрены и должны быть прозрачными.
КОНСТРУКЦИОННЫЕ ШВЫ
Строительные швы должны располагаться в местах, указанных на чертежах или представленных в предложении, и всегда под прямым углом к оси конструктивного элемента.
Подпорки должны использоваться в основании всех колонн и стен.
Заливные бетонные работы
Ниже представлено оборудование, задействованное в закладных работах:
- Воздушный компрессор
- Ручные инструменты, ручная пила, кусачки, щетка и измерительные ленты
- Лопата
- Бетононасос
- Деревянный поплавок
Процедура заливки бетона:
Все сопутствующие документы, такие как рабочие чертежи, описания методов, утверждения материалов, разрешения субподрядчиков, сертификаты испытаний и т.
д., должны быть доступны на площадке
Обеспечить источник поставки готовой смеси и марку бетона.
Испытание на уплотнение/испытание под нагрузкой плиты подложки должно быть утверждено и доступно.
Один слой листа полиэтилена толщиной 1000 должен быть уложен до установки любого заглушения.
Установка всех воздуховодов в бетонных корпусах должна быть одобрена Инженером.
Перед началом работ по укладке бетона убедитесь, что получен зазор МЕР.
Полиэтиленовые листы, мешковатые ткани и приспособления для пресной воды должны быть приспособлены для надлежащего отверждения.
Опалубка
- Все материалы, используемые для опалубки, должны быть чистыми, прочными и не иметь деформации.
- Установите опалубку в соответствии с ее размерами и убедитесь, что выравнивание и уровни опалубки находятся в пределах допусков.
- Ставни будут поддерживаться сбоку стальными стержнями для обеспечения правильного выравнивания опалубки.

- должны быть установлены для поддержания уровня бетона.
Направляющие уровня
Укладка бетона
- Заливочный бетон для конструкций и траншей будет укладываться с помощью насоса. Марка бетона будет соответствовать утвержденной бетонной смеси.
- Не укладывайте бетон выше 1,5 м.
- После завершения заливки должно быть достаточное количество рабочих для отделочных работ, очистки и защиты залитого бетона.
Отверждение бетона
Бетон должен быть отвержден пресной водой в соответствии с указаниями клиента/консультанта. Вся поверхность фундамента будет покрыта влажной мешковиной, чтобы сохранить это.
Нравится:
Нравится Загрузка…
Методы подводного бетонирования — Метод Треми Процесс и другие
🕑 Время чтения: 1 минута
предварительно размещенный заполнитель бетон и т.д., которые описаны.
Методы подводного бетонирования предназначены в основном для предотвращения вымывания цемента.
Эти методы не достигли полной цели по предотвращению вымывания цемента на ранних стадиях применения подводного бетонирования, за исключением случаев применения больших масс бетонирования.
Тем не менее, более современные методы могут помочь предотвратить вымывание бетона. В этой статье будут рассмотрены различные методы.
Содержание:
- Методы подводного бетонирования
- 1. Трим -метод подводного бетонирования
- Процесс подводного бетонирования с использованием метода Tremie
- 2. Подводная бетона с использованием техники насоса
- 3. Метод Hydro клапана. Подводная бетонная. 4. Подводное бетонирование с использованием пневматических клапанов
- 5. Подводное бетонирование с использованием скипов
- 6. Подводное бетонирование с использованием опрокидывающейся баржи с поддонами
- 7. Бетонирование под водой с использованием предварительно уложенного заполнителя бетона
- 8. Метод с мешками с замком
- 9.
Метод бетона в мешках
Ниже приведены способы подводного бетонирования:
- Метод Треми
- Насосная техника
- Метод гидроклапана
- Метод пневматического клапана
- Метод пропуска
- Метод наклонной баржи с поддонами
- Предварительно залитый бетон
- Мешок Toggle метод
- Метод бетонирования в мешках
1. Метод Треми для подводного бетонирования
Подводное бетонирование тремовым методом удобно для заливки большого количества высокотекучего бетона. Бетон подается в бункер насосом, ленточным конвейером или скипами.
Труба Tremie, верхний конец которой соединен с бункером, а нижний конец постоянно погружен в свежий бетон, используется для укладки бетона в точном месте из бункера на поверхность. Основанием для погружения нижнего конца трубы тремы является предотвращение смешивания бетона и воды.
Типичная компоновка трубы Tremie показана на Рисунке-1.
Рисунок-1: Типовая схема подводного бетонирования по методу Треми
Процесс подводного бетонирования по методу Треми
Существует ряд факторов, которые следует учитывать при подводном бетонировании труб Треми:
Оборудование Треми
Трехтрубная труба может быть сконфигурирована тремя различными способами, такими как постоянная длина, которая поднимается во время бетонирования, труба с различными секциями, которые демонтируются во время бетонирования, и телескопическая труба.
Труба из алюминиевого сплава может неблагоприятно воздействовать на бетон из-за химических реакций между ними, поэтому ее следует избегать. Труба должна иметь соответствующий диаметр, чтобы предотвратить засорение из-за размера заполнителя.
Обычный диаметр составляет от 200 до 300 мм, иногда можно использовать от 150 до 450 мм, но следует учитывать, например, совокупный размер 19размер заполнителя мм и 40 мм является нижним пределом для диаметра трубы 150 мм и 200 мм соответственно.
Уплотнение Треми
Чтобы избежать смешивания воды и бетона в трубе, для герметизации конца трубы используется деревянная заглушка. Это предотвращает попадание воды в трубу и сохраняет ее сухой.
После того, как труба достигает намеченного положения, заливают бетон и разрывают уплотнение. Затем бетон вытекает из трубы и создает уплотнение, скапливаясь вокруг нижнего конца трубы 9.0003
Укладка бетона
Сразу после начала бетонирования устье трубы должно быть погружено в свежий бетон на 1-1,5 м для предотвращения попадания воды в трубу. Расход бетона регулируется путем опускания и подъема трубы, и уменьшение или увеличение расхода бетона указывает на потерю уплотнения, поэтому поток бетона должен быть непрерывным и тщательно контролироваться.
Схема потока
Различают два типа течения, а именно: слоистый и выпуклый. Выпирающий поток желателен, потому что он вытесняет бетон равномерно, что приводит к меньшей деформации цементного молока и более пологим откосам.
2. Подводное бетонирование с использованием насосной техники
Подводное бетонирование с использованием насосной техники является усовершенствованной версией трубы Треми и представляет собой более быстрый метод бетонирования в труднодоступных местах, например, под опорами.
Перекачка обеспечивает несколько преимуществ, которых нет у трубы Tremie, например, заливка бетона из смесителя непосредственно в опалубку, устранение засоров в трубе, поскольку бетонирование осуществляется за счет перекачки, а не с использованием силы тяжести, а также снижается риск расслоения. На рис. 2 показана типичная конфигурация конвейера.
Рисунок- 2: Типовая конфигурация линии подводного бетононасоса
3. Гидравлический клапан Метод подводного бетонирования
Этот метод подводного бетонирования разработан и применен голландцами в 1969 году.
Для заливки бетона используется гибкий шланг, который гидростатически сжимается.
Как только бетон помещается в верхнюю часть трубы, трение внутри трубы и гидростатическое давление преодолеваются весом бетона. Это приводит к медленному перемещению бетона в трубе и предотвращению сегрегации. Жесткая трубчатая секция используется для герметизации конца шланга. Этот способ не затратный и достаточно простой. На рис. 3 показано типичное расположение гидрораспределителя.
Рис. 3: Устройство гидроклапана для подводного бетонирования
4. Подводное бетонирование с использованием пневматических клапанов
Пневматические клапаны присоединяются к концу трубопровода из бетона. Существуют различные типы клапанов, которые используются для подводного бетонирования, такие как Abetong-Sabema и Shimizu. Эти два клапана похожи, за исключением датчика, прикрепленного к последнему; его функция заключается в закрытии клапана, когда бетон достигает определенной толщины.
Доступен другой тип клапана, который можно использовать для заливки бетона на глубину до 52 м без погружения конца трубы. Функция клапанов состоит в том, чтобы разрешать, ограничивать, останавливать выпуск бетона, и этот метод является полезным. На рис. 4 показан клапан Абетонга-Сабема.
Рис. 4: Пневматический клапан Abetong-Sabema
5. Бетонирование под водой методом скипов
Оборудование, которое используется для транспортировки бетона, представляет собой ковш с двойным дверным проемом внизу и перекрывающимися брезентовыми клапанами, которые установлены вверху для предотвращения вымывания бетона. Скип медленно опускается в воду, как только он заполняется бетоном, и когда он достигает места, двери открываются либо автоматически, либо вручную.
Скиповый метод подводного бетонирования подходит для случаев, когда требуется большая масса бетона для стабилизации фундамента и небольшое количество бетона для разных мест.
Показывает открытые и закрытые скипы.
Рис. 5: Скипы для подводного бетонирования (a) закрытые и (b) открытые
6. Подводное бетонирование с использованием баржи с опрокидывающимся поддоном
Этот метод удобен для мелководья, когда бетон заливается тонкими слоями. Вдоль палубы баржи сооружается опрокидывающийся поддон, на который равномерно распределяется бетон, а затем он свободно падает в воду.
7. Подводное бетонирование с использованием предварительно уложенного заполнителя бетона
Метод бетонирования на предварительно заполнителе хорошо подходит для случаев, когда заливка обычного бетона затруднительна или маловероятна. Он включает в себя размещение заполнителя в формах, затем впрыскивание бетона на дно и заполнение форм доверху.
Во избежание захвата воды и воздуха бетонирование начинают снизу. Вот почему необходимо расположить трубы в формах до размещения заполнителя.
С помощью этого метода можно получить прочность бетона от 70 до 100 процентов по сравнению с обычным бетоном. Трубы распределяются на максимальном расстоянии 1,5 м, а их диаметр варьируется от 19– 35 мм.
Рис. 6: Предварительно уложенный бетонный заполнитель с инъекционными трубками
8. Метод мешков с замком
Метод Toggle Bags полезен, когда требуется небольшое количество бетона. Многоразовый брезентовый мешок запечатывается сверху цепью и закрепляется защелками, заполняется бетоном и осторожно сбрасывается в указанное место, после чего бетон выливается через отверстие в нижней части мешка.
9. Метод бетонирования в мешках
Метод бетонирования в мешках используется для замены балласта или временного закрытия отверстий. Мешки изготавливаются из достаточно прочной ткани вместимостью 10-20 литров и переносятся водолазами на выбранную позицию.
Осадка бетона составляет от 19 до 50 мм, а максимальный размер заполнителя, который можно использовать, составляет 40 мм. Установка мешков аналогична кирпичам для создания связей.
Подробнее: Обследование подводных бетонных конструкций — методы, виды и назначение Визуальный осмотр подводных железобетонных конструкций – инструменты и ограничения Методы и процедуры ремонта подводных бетонных конструкций
Заливка бетона: 8-этапный процесс (с иллюстрациями)
Как залить бетон, от подготовительных работ до отверждения
Крис Салливан, обозреватель ConcreteNetwork.com
Обновлено 9 октября 2020 г.
Укладка бетона — непростая работа, и заливка каждого бетона отличается. При заливке бетона необходимо учитывать размер, форму, цвет, отделку и сложность проекта. Используйте это руководство из восьми шагов по укладке бетона, чтобы лучше понять, что происходит до, во время и после укладки бетона.
Этап 1.
Работы на строительной площадке
Перед заливкой бетона необходимо подготовить площадку, чтобы уменьшить вероятность пучения из-за расширения грунта и мороза. В небольших проектах используйте ручные инструменты, чтобы очистить участок от травы, камней, деревьев, кустарников и старого бетона, обнажая голую землю. Землеройное оборудование ускоряет процесс, особенно при больших объемах заливки. Затем поместите и уплотните основание из насыпного гравия, если только почва не очень плотная и устойчивая. Прочтите об основаниях и основаниях для бетонных плит.
Шаг 2 — Формование
После того, как подложка подготовлена, можно устанавливать формы. Для жилых бетонных проектов используйте деревянные формы с металлическими или деревянными кольями. Прикрепите формы к кольям с помощью шурупов или специальных гвоздей, чтобы их можно было легко снять после затвердевания бетона. Опалубки должны быть в хорошем состоянии, должны быть установлены для обеспечения надлежащего уклона или уклона для дренажа, а также должны образовывать чистые углы там, где они соприкасаются друг с другом или с другими конструкциями.
Читайте о бетонных формах.
Этап 3 — Смешивание
Если вы используете бетон в мешках, приобретенный в домашнем центре, смешайте бетон с водой в соответствии с инструкциями на упаковке. Для небольших плит можно использовать тачку и лопату, но аренда бетономешалки может облегчить процесс. Если ваш бетон прибывает в грузовике для готовой смеси, барабан в задней части грузовика будет вращаться, чтобы бетон не оседал и не затвердевал.
Наймите специалиста: Найдите компании по заливке бетона рядом со мной.
Этап 4. Укладка
Заливайте влажный бетон в формы, пока они не будут заполнены до верхнего края. Во время заливки влажного бетона используйте лопаты, грабли и «приходы» (специальные грабли для бетона), чтобы переместить бетон, чтобы убедиться, что нет пустот или воздушных карманов. Подробнее об укладке бетона.
Этап 5. Предварительная отделка
Используйте большую металлическую или деревянную доску для выравнивания поверхности бетона.
Стяжка помогает уплотнить и уплотнить бетон и начать процесс сглаживания и выравнивания. Затем используйте терку, чтобы еще больше уплотнить бетон, выровнять все высокие или низкие участки и создать гладкую поверхность. Маленькие ручные терки хороши для обработки краев и мелких деталей, большие терки лучше всего подходят для обработки больших площадей. В то же время контролируйте швы и кромки в бетоне с помощью специальных ручных инструментов. Узнайте больше о том, как отделывать бетон.
Этап 6. Затирка
Если бетон будет обработан грубой щеткой, дополнительная отделка может не потребоваться. Если бетон будет гладким, протертым или штампованным, необходима отделка стальным шпателем. Дайте бетону отдохнуть, пока поверхность не начнет твердеть. После затвердевания используйте стальной шпатель, чтобы создать гладкую, твердую и однородную поверхность. Затирку стали можно выполнять, «катаясь» по поверхности на коленных досках, затирая небольшие участки за раз или с помощью инструментов на длинных шестах, известных как «фресно» или «забавные мастерки».
Посмотрите видео-демонстрацию инструмента fresno.
Этап 7. Окончательная отделка
После того, как все затирочные работы (затирочные или стальные) будут завершены, на бетон можно нанести окончательную отделку. Самый простой тип отделки известен как «отделка метлой». Специальная щетка протягивается по бетонной поверхности, создавая шероховатую текстурированную поверхность. Другие типы отделки включают штампованную, текстурированную или гладкую шпатель, и это лишь некоторые из них. Читайте о видах текстурированной бетонной отделки.
Этап 8. Отверждение
Дайте бетону отдохнуть и начать отверждение (затвердевание). Процесс отверждения длится 28 дней, причем первые 48 часов являются наиболее важными. Нанесите жидкий химический отвердитель и герметик, чтобы помочь бетону отверждаться медленно и равномерно, что помогает уменьшить трещины, скручивание и обесцвечивание поверхности. Вы можете начать использовать свой бетон для легких пешеходных прогулок через 3–4 дня после укладки, а ездить и парковаться на своем бетоне можно через 5–7 дней после укладки.
Прочтите о затвердевании бетона.
Работа с компанией по заливке бетона
Если вам нужно больше, чем просто залить плиту, получите предложения от профессиональных бетонных подрядчиков. Сравните эти предложения и сделайте выбор, основываясь на рекомендациях, опыте, цене, расписании и привлекательности. После выбора установщика, согласования цены и логистики вам должен быть представлен контракт. В контракте должны быть четко указаны работы, которые необходимо выполнить, ожидания в отношении отделки, цвета и текстуры, цена, график платежей и информация о гарантии или гарантии. После того, как вы подпишете договор и внесете залог (если он есть), можно начинать настоящую работу. Прочтите 8 советов по найму подрядчика по бетону.
Советы по правильной заливке
- Независимо от того, где вы живете, минимальное содержание цемента в любом жилом бетоне должно составлять 470 фунтов на ярд бетона.
- Если вы живете в климате с морозами и оттепелями, следует использовать как минимум 4% воздухововлекающих добавок для предотвращения образования накипи и отслаивания.

- Мелкий камень можно использовать в качестве заполнителя в бетоне, если он будет штамповаться, по сравнению с обычным ¾-дюймовым камнем для щетки или гладких бетонных плит.
- Бетоновоз может подъехать к месту и залить прямо в формы. Если площадка находится с другой стороны дома или здания, грузовик может заливать в тачки или бетононасос, чтобы доставить влажный бетон на площадку.
- Бетон нельзя укладывать, когда температура упадет ниже 20F. Чем ниже температура, тем дольше бетон будет затвердевать.
- Если бетон укладывается при температуре ниже 40˚F, используйте одеяла для отверждения, чтобы сохранить тепло бетона в течение первых нескольких дней процесса отверждения.
Как ухаживать за новым бетоном
Бетон — долговечный продукт, и если его правильно уложить, обработать и вылечить, он прослужит всю жизнь. В то время как бетон часто рассматривается как NO Продукт для технического обслуживания, рассмотрите следующие простые процедуры технического обслуживания, чтобы увеличить срок службы вашего бетона.
Когда требуется увеличить толщину слоя, то трубу поднимают, то есть, уменьшают количество секций.
«Сухой» метод похож, только здесь в насадку подаётся сухая смесь, которая там размешивается водой, затворённой в сопле, после чего попадает на поверхность в виде раствора.
Метод бетона в мешках
