Содержание
Ремонт сцепления МАз
Статьи
Ремонт сцепления МАЗ
Сегодня, совместно со специалистами ООО «ГрузАвтоСервис», попытаемся разобраться во всех нюансах ремонта сцепления МАЗ.
С чего же начать ремонт сцепления МАЗ.
Есть регулировка сцепления МАЗ, есть ремонт, а есть замена. Зачастую регулировка процесс намного более сложный чем ремонт сцепления МАЗ или его замена
Начиная ремонт любой запчасти маз, всегда думайте о причинах поломки. Сцепление маз может сломаться как из-за неисправностей ведомого диска, так и из-за износа подшипников, пружин и сальников. Об этом свидетельствует несколько признаков:
Автомобиль резко дергается при заводе.
Автомобиль сильно шумит при нажатой педали газа и есть запах горелого
Разгон не соответствует оборотам.
Если Вам сложно переключать передачи, то необходимо сделать регулировку сцепления Маз иначе скоро произойдет поломка.
Ремонт сцепления маз имеет несколько этапов.
Самое первое — это проверка ПГУ.
Нажмите на несколько раз на педаль сцепления. Обратите внимание на шток ПГУ. Если у штока ПГУ есть ход, то есть он постепенно выдавливает вилку с выжимным, все хорошо, запчасть не требует замены.
Проверьте кожух сцепления. На на нем не должно быть никаких подтеков и следов масла. Иногда, сцепление может некорректно работать и из-за избытка масла. Смотрим, устраняем причины. Если грузовик даже после удаления масла и проверки ПГУ работает некорректно – производим дальнейший ремонт сцепления Маз.
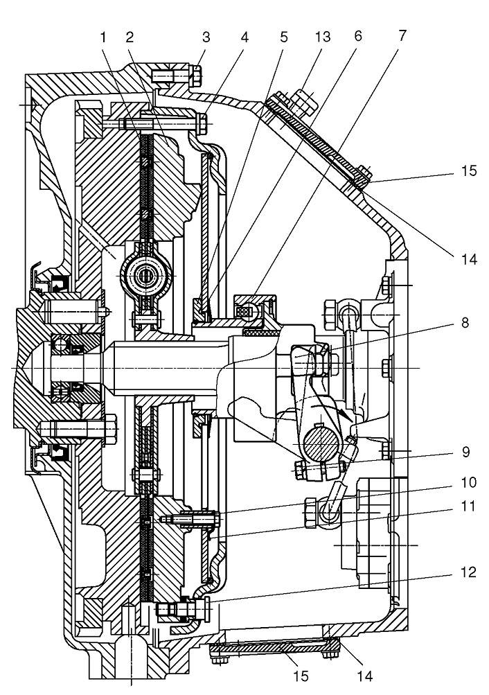
Замена сцепления маз – снятие коробки переключения передач.
Неисправность данного элемента возможна по причине поломки диска сцепления, корзины и подшипника (выжимного). Бывает, что масло заливает диски. Однако точно разобраться в неисправностях сцепления(тугость, пробуксовка),возможно лишь только после разбора КПП.
Так что снимаем КПП и продолжаем производить ремонт сцепления Маз.
Специалисты ООО «ГрузАвтоСервис» настоятельно рекомендуют при замене сцепления Маз, также поменять несколько элементов, не имеющих прямое отношение к сцеплению. Зачастую эти элементы имеют значительные следы износа, и со временем обязательно приведут к какой-нибудь поломке. Тем более, если вы делаете ремонт сцепления маз, значит, коробка не снималась как минимум год. Поэтому часть расходников действительно придется заменить.
Обычно при замене сцепления Маз приходится покупать следующие запасные части:
- Диска сцепления.
- Шланг выжимного подшипника.
- Выжимной подшипник.
- Сальник первичного вала КПП.
- Пружина подшипника.
- Прокладки под масляный насос и вал.
Только после приобретения запасных частей из этого списка рекомендую начинать ремонт сцепления маз.
Замена сцепления самосвала Маз
Не забываем про технику безопасности при замене сцепления. Поднимаем кузов, фиксируем его в поднятом положении и начинаем медленно сливать масло с КПП.
Пока сливается масло аккуратно отсоединяем различные трубки, насос подъема кузова, кардан, траверсу с задней опоры, ПГУ и его кронштейн. НИКОГДА не забывайте про снятие кронштейна – это может привести к поломке вилки выжимного подшипника и его пружины.
Проверяем состояние выжимного подшипника и корзины коробки переключения передач. Если все хорошо и следов износа не видно, продолжаем производить регулировку сцепления маз.
Снимаем корзину с маховика грузовика. Это предоставит Вам доступ к диску сцепления. Осматриваем деталь и при обнаружении неисправности – ремонтируем или производим замену. Если диск сцепления в хорошем состоянии, продолжаем ремонт сцепления МАЗ дальше.
Ремонт или регулировка сцепления Маз выглядит вполне простым процессом, но это не так. Никогда не забывайте, что в ремонте грузовиков нет ничего простого, ведь современный грузовик- это очень сложный механизм, поэтому при ремонте Вашего грузовика, всегда обращайтесь к профессионалам.
Так и при регулировке сцепления Маз необходимо учитывать множество нюансов. Один из них — это опорный подшипник первичного вала, расположенный в маховике. При долгой эксплуатации самосвала маз данный элемент очень сильно изнашивается. Проблема может быть и с сальником, тогда при замене подшипника течь не исчезнет.
Поэтому если необходима замена сцепления маз, меняйте и подшипник, течь масла не побеспокоит Вас ближайшие два года как минимум.
Рекомендации ООО «ГрузАвтоСервис» по замене сцепления Маз:
- Проверяем диск сцепления( при неисправности- заменяем),обращая внимание на опорный подшипник. Если с элементом все в порядке, смазываем и устанавливаем
- Тщательно осматриваем корзину сцепления на наличие следов трещин, перегрева, проверяем целостность лепестков. Рекомендуем сразу же поменять выжимной подшипник, чтобы не делать регулировку дважды.
Регулировка сцепления Маз завершена. Во избежание возникновения различных проблем во время эксплуатации Вашего грузовика Маз, рекомендуем производить все работы по ремонту и техническому обслуживанию грузового транспорта на специализированной станции.
ООО «ГрузАвтоСервис» — это сертифицированный сервис Маз в Санкт-Петербурге. Задать вопрос или записаться на ремонт сцепления, Вы можете по телефону +7(965) 035-87-20.Посмотреть реквизиты, схему проезда и другие телефоны, Вы сможете в разделе КОНТАКТЫ.
Почему сцепление буксует? Диск новый. Может шайбы подкладывать под корзину? — ЗАВОД РУ
- Автор: Андрей Гилалов
- 30 июня 2022
- Добавить в закладки
Здравствуйте .Есть вопрос: сцепление буксует. диск новый. Может шайбы подкладывать под корзину? Посоветуйте.
Почему Сцепление Буксует может шайбы подкладывать Корзина Диск Новый
Поделиться
Почему на мтз-80 тугое сцепление? Корзина и диск новые.
- Автор: Александр Ромашкин
- 27 мая 2021
- 14 комментариев
Всем доброго времени суток. У меня на мтз-80 тугое сцепление. Корзина и диск новые. У соседа рукой выжимает. А на моем к вечеру нога ноет. В чем проблема?
Почему МТЗ 80 тугое Сцепление новые Диск Корзина
Мтз 82.
1 Поменял диск, корзину(аналог), выжимной — отрегулировал по книжке 28мм. Почему нет сцепления? Зазор от лапки до выжимного не получается в 3мм.
- Автор: Толя Монгуш
- 25 мая 2021
- 17 комментариев
Всем здорово! Сцепление!!! Мтз 82.1 поменял диск, корзину(аналог), выжимной — отрегулировал по книжке 28мм скатил, собрал а сцепления нет. Зазор от лапок до выжимного большой, и на 3мм не регулируется. Поставил диск, корзину оригинал, тоже самое. Расстояние от лапки до выжимного 3мм не получается, только 6,7 мм. В чем проблема, кто сталкивался с такой проблемой? Спасибо
Зазор лапка Лапка сцепления выжимной 3мм не получается Отрегулировать МТЗ МТЗ 82 поменяли Поменять Диск Корзина нет Сцепление Почему
Мтз 82. Почему пропадает регулировка сцепления? До замены диска выжимного, ведомого и подшипника выжимного такого не было,
- Автор: Misha Beznosikov
- 13 декабря 2022
- 9 комментариев
Всем привет. Мтз 82.
Почему пропадает регулировка сцепления? До замены диска выжимного, ведомого и подшипника выжимного такого не было, Регулировка не пропадала
МТЗ 82 Почему пропадает Регулировка Сцепление Замена Диск выжимной ведомая Подшипник не было
МТЗ 82. Отказало сцепление. Почему поменял диск, лапки, корзину- результата нет.. Скорости не включаются.
- Автор: Калаш Даштоян
- 04 июля 2022
- 17 комментариев
Всем привет. МТЗ 82. Отказало сцепление. Поменял диск, лапки- результата нет. Поменял корзину- такая же история. Скорости не включаются. Подскажите, в чем причина. Заранее спасибо.
МТЗ 82 Почему поменяли Диск Лапки Корзина результат нет Скорости Не включается
Почему двигатель ямз 236 обрывает ступицу на диске сцепления? Диск, корзина новые.
- Автор: Андрей Рощин
- 11 мая 2022
- 21 комментарий
Всем привет! Помогите советом, двигатель ямз 236 обрывает ступицу на диске сцепления. Диск, корзина новые.
Почему Двигатель ЯМЗ 236 Обрывает ступицы Диск сцепления Диск Корзина новые
Почему на юмз 6, сцепление буксует на 3 передаче? Скорости с хрустом включаются.
- Автор: Денис Тиманов
- 13 июня 2021
- 14 комментариев
Всем привет! Подскажите, кто сталкивался с такой бедой на юмз 6, сцепление буксует на 3 передаче, даже на маленький пригорок не поднимается. и скоростя с охреневшим хрустом включаются. Веренее сказать, еле еле как включаются. Лапки относительно выжимного ровно стоят. Болты (щелкуны) выкручены по 11 щелчков! и на такой регулировке и не едет и скорость не включить! а про ВОМ я вообще молчу уже.))) кто сталкивался с такой бедой помогите? да и диски новые.
Почему ЮМЗ 6 ЮМЗ Сцепление Буксует Передача 3 Передача Скорости Хруст включаются
Почему на МТЗ 82 изнашиваются лапки сцепления? Выжимной новый.
- Автор: Влад Чаплыгин
- 14 апреля 2021
- 19 комментариев
Добрый вечер. МТЗ 82 изнашиваются лапки сцепления, выжимной новый поставил! В чем проблема?
Почему МТЗ 82 изнашиваются Лапки Лапка сцепления Сцепление выжимной Новый
Почему, когда на новом мтз 82.
1 на нейтралку поставишь, сцепление отпускаешь начинается вибрация обратно нажимаешь на сцепление перестает?
- Автор: Олег Винокуров(админ)
- 19 марта 2021
- 17 комментариев
Добрый день. Ребята. подскажите, пожалуйста На новом мтз 82.1 на нейтралку поставишь, сцепление отпускаешь начинается вибрация обратно нажимаешь на сцеплению перестает. От чего так?
Почему Новый МТЗ МТЗ 82 Вибрация Сцепление нажимать нажимаешь Нейтралка Нейтральное положение Поставить перестал
Т 25. Почему при креплении двигателя (не родного) к сухому Картеру, двигатель начинает с трудом крутиться? Корзина сцепления родная.
- Автор: Рамиль Юсупов
- 16 марта 2021
- 25 комментариев
Т 25 при креплении двигателя (не родного) к сухому Картеру, двигатель начинает с трудом крутиться. Корзина сцепления родная, какая может быть причина?
Т-25 Почему Картер Сухой картер Крепление Двигатель не родной Крутиться Крутится с трудом Корзина Сцепление родная
Почему буксует иногда вом на юмз? Сцепление новое.

- Автор: Джавид Раджабов
- 13 августа 2020
- 5 комментариев
Помогите пожалуйста, буксует иногда вом на юмз Что это может быть? А сцепление новое, оба.Спасибо заранее.
Буксует ВОМ ЮМЗ Почему Сцепление новое
Что это такое и как отрегулировать гидравлическое сцепление
Автомобили с механической коробкой передач в наши дни большая редкость. Настолько, что вы могли бы пересчитать по пальцам одной руки количество трех автомобилей с педалями, проносящихся мимо вас. Но, несмотря на все это, все еще есть энтузиасты, на которых мы можем рассчитывать, чтобы сохранить достоинство, тактильное удовольствие и зацепление ручной коробки. Что не всегда так однозначно, к сожалению, так это необходимость регулировки сцепления.
Есть веская причина, по которой люди до сих пор предпочитают механику удобству и простоте автомата. Это особенно выигрывает у автомобилей, когда дело касается ощущений водителя. Вы можете более точно переключаться на любую передачу по вашему выбору, предоставляя вам детальный контроль.
Этот забавный фактор не так легко заменить, какой бы быстрой и точной не была современная автоматика. Но как быть с педалью сцепления?
За исключением рычага переключения передач, все, что вам нужно для правильного управления механической коробкой передач, зависит от вашей левой ноги и от того, как она танцует на педали сцепления. Хотя это лучше, чем ничего, бывают моменты, когда педаль сцепления может немного отставать. Иногда это слишком свободно или слишком много свободного хода. Эта проблема может возникнуть даже у спортивных автомобилей. Если вы столкнулись с этим, вам предстоит срочная регулировка сцепления.
- Сколько играть?
- Последствия
- Проскальзывание против сопротивления
- Механическое против гидравлического
- Как отрегулировать?
- Саморегулирующийся?
- Преобразование
- Заключительные мысли
Какой люфт педали сцепления для регулировки?
При определении необходимости регулировки сцепления мы специально подразумеваем регулировку его точности и ощущения.
Другими словами, сколько у него свободного хода, помимо его рыхлости и губчатости при нажатии. «Свободный ход» в этом случае означает величину хода между первоначальным нажатием на педаль сцепления и моментом, когда она действительно что-то делает. Наоборот, бесплатная игра — это, на самом деле, хорошо.
Несомненно, в этом есть польза. Например, он может обеспечить погрешность до того, как сцепление начнет срабатывать. Это замечательно, если вы привыкли класть ногу на педаль сцепления или не решаетесь переключать передачи. Кроме того, мы также должны учитывать тот факт, что компоненты трансмиссии сильно нагреваются. При нагревании компоненты начинают расширяться.
Как отрегулировать дроссельную заслонку мотоцикла…
Включите JavaScript
Как отрегулировать трос дроссельной заслонки мотоцикла? Ослабьте или затяните
Это относится к главному цилиндру вашей коробки передач, который соединяется с педалью сцепления. Наличие небольшого свободного хода гарантирует, что ваша педаль сцепления сможет компенсировать тепловое расширение.
В то же время убедитесь, что главный цилиндр сцепления полностью отпускается после нажатия на педаль. В целом, небольшая люфтность является основной частью конструкции педали сцепления.
Что касается точной суммы бесплатной игры, то фиксированной суммы никогда не бывает. Он сильно варьируется в зависимости от автомобиля, которым вы управляете, и личных предпочтений. Общее мнение заключается в том, что педаль сцепления должна быть нажата от 3/4 до 1 дюйма без особых усилий. Однако другие утверждают, что идеальный свободный ход перед включением сцепления составляет около 1 см (менее 1/2 дюйма).
Каковы последствия отсутствия регулировки сцепления?
А что, если скупиться на регулировку сцепления? Может ли что-нибудь плохое случиться с вашей машиной? Хотя это не обязательно может привести к длительному износу или проблемам с надежностью вашего автомобиля, свободная или рыхлая педаль сцепления может доставлять неудобства. Слишком большой или слишком маленький ход педали сцепления никогда не приветствуется.
Помимо странного ощущения, которое вы испытываете, это также может повлиять на ваше вождение.
- Слишком большой люфт — Когда у педалей слишком большой свободный ход, возникает ощущение, что машина ползет вперед. Вы заметите это, когда будете на передаче с нажатой педалью сцепления. Вместо того, чтобы оставаться на месте, ваша машина начинает ползти и слегка катиться вперед или назад.
- Too Little Play — Когда свободный ход педалей слишком мал, вы слишком часто будете пробуксовывать сцепление. Это случай, когда диск сцепления не точно цепляется за маховик. Это может привести вас в замешательство, почему вы на передаче, но машина вообще не движется.
Помимо этого, есть и другие неприятности, с которыми вам придется иметь дело, когда регулировка сцепления отключена:
- Затрудняет езду или уменьшает сцепление, особенно на стартах или подъемах.
- Для новичков (тех, кто плохо знаком с руководствами по вождению) риск заглохнуть намного выше.

- Удаляет ощущение тактильности и точности, присущих механической коробке передач.
- Вероятность того, что вы пропустите или пропустите повышение передачи из-за странного ощущения педали.
- Сцепление может неправильно включаться или выключаться, что ускоряет износ трансмиссии.
- Может вызвать внезапное выключение передачи во время движения.
- Скорее всего, вы будете больше шлифовать коробку передач, что приведет к долгосрочному повреждению.
Что такое проскальзывание сцепления и чем оно отличается от сопротивления?
С педалью сцепления, в отношении которой вы не можете быть уверены, правильно ли вы нажали ее (или нет), существует повышенная вероятность того, что вы будете страдать либо от проскальзывания сцепления, либо от пробуксовки сцепления. Оба относятся к соединению между самим диском сцепления и маховиком вашего автомобиля. Последний является компонентом, отвечающим за сглаживание мощности вашего двигателя, прежде чем соединиться со сцеплением, тем самым передавая мощность на трансмиссию.
Подробно, проскальзывание и волочение — это две отдельные проблемы, связанные с корреляцией диска сцепления и маховика:
- Пробуксовка сцепления — Это когда диск сцепления не может правильно зацепиться за маховик. Или, говоря по-другому, сцепление не может в достаточной степени зацепиться с маховиком. Это может привести к тому, что вы не сможете быстро переключать передачи, или трансмиссия может вообще не получать мощность.
- Фрикционная муфта . В качестве альтернативы, здесь диск сцепления не может очень плавно отделиться от маховика. Другими словами, невозможность сцепления сцепления с маховиком. Когда это случается с вами, вы сразу замечаете жесткое и шумное переключение передач, не говоря уже о пробуксовке.
Частые случаи проскальзывания или пробуксовки сцепления плохо влияют на исправность трансмиссии. На первый взгляд это может показаться просто неудобством или неприятным опытом. Но внутри вашей коробки передач проскальзывание и волочение могут навсегда оставить шрамы и ускорить повреждение коробки передач.
Это неизбежно приводит к большему риску необходимости значительного ремонта или перестройки коробки передач в будущем.
Автомобильный эксперт с искусственным интеллектом …
Как сравнить механические и гидравлические сцепления?
Стоит изучить различия между механическим и гидравлическим сцеплением, так как они имеют разные методы регулировки сцепления. Современные автомобили, как правило, оснащены гидравлическим сцеплением, которое теоретически является «саморегулирующимся». Между тем, старые автомобили (до 1990-х годов), как правило, оснащены механическим сцеплением, в котором используются тросы, соединяющие педаль сцепления и само сцепление.
В другом месте, вот как они работают:
- Механическая муфта — Стальной трос соединяет педаль (сцепления) напрямую с узлом сцепления. Когда вы нажимаете педаль сцепления, она приводит в действие вилку сцепления, которая впоследствии приводит в действие выжимной подшипник. При этом он отключает диск сцепления, позволяя свободно переключать передачи.
Люди, как правило, предпочитают механические муфты из-за ощущения связи и привлекательности из-за их прямой связи. - Гидравлическое сцепление — В этом случае нажатие педали (сцепления) создает давление в главном цилиндре сцепления. Гидравлическое давление создается за счет жидкости сцепления, аналогичной тормозной жидкости. При создании давления главный цилиндр передает его на рабочий цилиндр. Оттуда он приводит в действие вилку сцепления (как механическое сцепление), перемещая подшипник выключения сцепления, тем самым отключая сцепление.
В большинстве случаев гидравлические сцепления более просты в эксплуатации, поскольку для нажатия на педаль сцепления требуется минимальное усилие. Хотя их обслуживание может быть более сложным и дорогим, они не требуют частой регулировки сцепления. С другой стороны, механические сцепления довольно легко выходят из строя, а также требуют больше усилий для их работы. Тем не менее, это гораздо более простая система в обслуживании.
Как можно выполнить регулировку (механического) сцепления?
Если вы устали от мягкости педали сцепления, не беспокойтесь! Регулировка сцепления не является новой концепцией, которая позволила многим усовершенствовать весь процесс. Кроме того, некоторые автопроизводители допускают, что в конечном итоге вам потребуется регулировка сцепления. Значит, упростили. В целом, регулировка сцепления довольно проста, и рекомендуется делать это каждые 6000 миль или около того.
Обычно это делается в рамках регулярного обслуживания автомобиля. Если вам интересно, зачем вообще нужна регулировка сцепления, вы можете указать пальцем на свою коробку передач. Постепенно любой износ нажимных и фрикционных дисков вашей коробки передач, а также тяг сцепления может постепенно изменить ощущение педали. Со временем уровень люфта и хода педали начнет смещаться.
Все это можно решить простой регулировкой сцепления. Для этого мы рассмотрим как механические, так и гидравлические сцепления.
Сначала мы начнем с механического сцепления (сейчас гидравлика)…
Шаг 1. Проверьте свободный ход сцепления для регулировки
Во-первых, настоятельно рекомендуется подготовить подробное руководство по техническому обслуживанию, относящееся к марке и модели вашего автомобиля, к которому можно обращаться. Методы регулировки сцепления могут сильно различаться в зависимости от автомобиля. Даже если у них у всех одинаковый механический блок сцепления.
Например, некоторые автопроизводители рекомендуют рассчитывать зазор рычажного механизма сцепления. Это можно сделать либо из-под машины, либо где-то под капотом. В то время как на большинстве автомобилей такой процесс не применяется. Итак, обязательно сделайте домашнее задание по регулировке сцепления для вашего автомобиля.
Иначе это вообще рифмуется с привычным процессом:
- Возьмите рулетку или линейку. Либо работает, если у вас есть точные приращения и показания.
- Поместите рулетку или линейку рядом с педалью сцепления.

- Убедитесь, что один его конец обращен к полу и опирается на него.
- Не забудьте наклонить и выровнять линейку или рулетку в зависимости от того, в каком направлении педаль сцепления будет перемещаться и опускаться.
- Запишите стандартное расстояние между верхней частью педали сцепления и полом автомобиля.
- Теперь осторожно нажмите рукой на педаль сцепления. Продолжайте нажимать, пока не перестанете ощущать свободный ход.
- Затем вы можете записать расстояние между верхом педали и полом при нажатой педали.
- Наконец, вычтите это расстояние из измерения по умолчанию. Затем это дает вам, сколько свободного хода есть в педали.
Шаг 2. Регулировка тяг сцепления
Следующий шаг связан с регулировкой тяг сцепления. Во-первых, вам нужно будет их найти, поэтому руководство по ремонту будет очень кстати. Как правило, вы можете найти их по адресу:
- Под машиной, рядом с блоком педалей.
- Под капотом, ближе к задней части, ближе к нижнему краю брандмауэра.

- В нижней части троса сцепления, который доступен из блока педалей.
- Под приборной панелью, со стороны водителя и рядом с рулевой колонкой.
При регулировке свободного хода и хода педали может потребоваться закрутить гайку или крепеж. Обычно его размещают под педалью сцепления или рядом с рычагами. В последнем случае вам нужно взглянуть на толкатель, прикрепленный к вилке сцепления. Попробуйте найти аналогичную резьбовую гайку или крепеж.
После этого можно приступать к регулировке сцепления:
- Сначала нужно ослабить вышеупомянутые гайки или крепления.
- Если вы хотите увеличить свободный ход (чтобы решить проблемы с педалями с минимальным ходом), вы можете попробовать уменьшить эффективную длину толкателя.
- Если вы хотите уменьшить величину свободного хода (чтобы решить проблемы с педалями с чрезмерным ходом), вы можете попытаться увеличить эффективную длину толкателя.
- Обратитесь к своему руководству, чтобы узнать, как вы можете выполнить их настройку.

- Между тем, запомните измерения хода педали, которые вы записали ранее. Это даст вам представление о том, насколько укоротить или удлинить толкатели.
- Закончив регулировку рычажных механизмов, не забудьте добавить в систему смазку.
Шаг 3. Отрегулируйте тросы сцепления
Убрав весь узел рычажного механизма и механизм, вы можете сосредоточиться на тросах. Вернитесь к своему руководству по обслуживанию и узнайте, где расположены регулировочная гайка, регулировочная гайка корпуса, а также контргайка (она же барашковая гайка). Обычно его прикрепляют к педали сцепления.
Когда вы обнаружите это, вы можете приступить к окончательной регулировке сцепления:
- Ослабьте вышеупомянутые гайки рядом с концами тросов сцепления.
- Если вы хотите увеличить свободный ход (для педалей с минимальным ходом), вы можете повернуть гайку, чтобы укоротить корпус троса.
- Если вы хотите уменьшить свободный ход (для педалей с большим ходом), вы можете повернуть гайку, чтобы удлинить кожух троса.

А это надо сделать для механической регулировки сцепления! Пока вы делаете все это, неоднократно проверяйте ход педали, как в шаге 1, и, при необходимости, калибруйте соединения и тросы. Всегда имейте под рукой руководство по обслуживанию, так как оно может значительно ускорить и облегчить этот процесс.
Как насчет (гидравлической) регулировки сцепления?
Как мы уже упоминали ранее, большинство гидравлических сцеплений классифицируются как «саморегулирующиеся». Таким образом, они могут регулировать степень свободного хода педалей в режиме реального времени на основе установленного порога. Предположительно, это должно означать конец ручной регулировки сцепления. Однако и они тоже не всегда идеальны.
Или, возможно, вы хотите изменить его границы на что-то более удобное для вас? Если это так, вы можете начать с измерения хода педали, как мы делали ранее. Получите подробное руководство по обслуживанию, так как теперь мы приступаем к следующим шагам регулировки сцепления:
- Найдите регулировочную гайку.
Он должен быть расположен либо на толкателе вилки сцепления, либо на толкателе главного цилиндра. - Затем вы можете ослабить эту контргайку (также известную как барашковая гайка).
- Если вы хотите увеличить ход (для педалей с минимальным свободным ходом), вы можете повернуть гайку, чтобы сократить длину толкателя.
- Если вы хотите уменьшить ход (для педалей с чрезмерным свободным ходом), вы можете повернуть гайку, чтобы увеличить длину толкателя.
- И последнее, но не менее важное: не забудьте снова затянуть контргайку.
Вот и все, как отрегулировать гидравлическое сцепление. Как видите, это намного проще, чем регулировка механического сцепления, хотя весь процесс отличается от одной машины к другой. Даже для новичков или тех, у кого нет значительных механических навыков, это относительно простой процесс.
Вариант 2: Использование системы саморегулировки сцепления вместо
Ага, но есть еще более простой способ выполнить гидравлическую регулировку сцепления.
Это было бы просто для того, чтобы использовать «самонастраивающиеся» свойства, с которыми он уже был спроектирован. При выключенном двигателе и включенном стояночном тормозе вы можете начать движение:
- Поместите пальцы ног или носок обуви под педаль сцепления.
- Теперь поднимите педаль до упора вверх и на себя.
- Когда педаль находится в полностью поднятом положении, активируется механизм саморегулировки. Вы заметите, что педаль сцепления теперь находится намного выше, чем обычно.
- Затем нажмите на педаль, как обычно, и переключитесь на передачу. Продолжайте повторять это с таким количеством переключений передач, сколько считаете нужным, но только нескольких должно быть достаточно.
- Постоянно переключая передачи, внимательно следите за тем, насколько педаль сцепления погружается в пол, прежде чем вы сможете переключать передачи.
Он должен регулироваться автоматически, уменьшая любой свободный ход, который мог развиться с течением времени.
Если это не сработало, а свободного хода по-прежнему слишком много или слишком мало, то придется делать ручную настройку. Вернитесь к нашему предыдущему варианту и выполните его вместо этого.
Как насчет преобразования механической муфты в гидравлическую?
Будь то просто ощущение, удобство или простота обслуживания, существует множество брендов, которые производят комплекты для переоборудования. В частности, комплекты, которые позволяют перейти от механического сцепления старой школы к более причудливому и современному гидравлическому сцеплению. Вы можете найти довольно много таких по цене около 500 долларов, так что они не очень дорогие или плохие. А вот их установка — отдельная история.
Переделка сцепления непростая задача даже для опытных механиков и домашних мастеров. Это будет значительно различаться в зависимости от марки и модели вашего автомобиля, от того, какая у вас трансмиссия и какой комплект вы только что купили. Весь процесс потребует некоторой изобретательности, тем более что вам нужно установить дополнительные детали, как в случае с гидравлическими муфтами.
Помните о главном и рабочем цилиндрах, о которых мы говорили?
Кроме того, вам придется на ходу установить туда бачок для жидкости сцепления. Но если вам когда-нибудь будет любопытно, вот очень краткое и сжатое пошаговое описание того, как выполнить преобразование механического сцепления в гидравлическое:
- Разберите весь (механический) узел сцепления, включая тяги и тросы.
- Просверлите отверстие в брандмауэре или перегородке вашего автомобиля, необходимое для установки и запуска главного цилиндра.
- На другом конце вам нужно будет установить рабочий цилиндр.
- Затем можно приступить к спуску и соединению гидравлических линий между главным и рабочим цилиндрами.
- Установите бачок для жидкости сцепления, обычно навинчивая его на главный цилиндр.
- Долейте и стравите жидкость сцепления, убедившись, что имеется гидравлическое давление без пузырьков воздуха.
- Проверьте чувствительность педали сцепления, ход педали и проверьте, нет ли люфта.

Регулировка автомобильного сцепления Факты:
- Сцепление нуждается в правильном зазоре в рычажном механизме для эффективной работы
- Слишком маленький зазор в рычажном механизме приводит к проскальзыванию сцепления, прогоранию фрикционного диска и разрушению нажимного диска в плотном потоке
- Рычажный механизм сцепления необходимо проверять и регулировать каждые 6 000 миль или 10 000 км или в соответствии с графиком обслуживания изготовителя
- Регулировка зазора в рычажном механизме производится путем увеличения или уменьшения длины внутреннего и внешнего тросов относительно друг друга марка автомобиля
- Большинство современных автомобилей имеют сцепление с диафрагменной пружиной, приводимое в действие либо механически, либо гидравлически
- В аварийной ситуации, если в рычажном механизме есть люфт, сцепление должно работать достаточно хорошо
- На некоторых автомобилях, например, на многих Honda и Toyota, проверка и регулировка могут выполняться на перегородке под капотом
- Регулировка сцепления на поперечных двигателях может выполняться под капотом, а поперечные двигатели имеют гидравлические муфты
Заключительные мысли о регулировке сцепления
На этом наш взгляд на регулировку сцепления практически завершен.
В целом, они являются неотъемлемой частью владения любым автомобилем с механической коробкой передач. При использовании и неправильном использовании в сочетании с возрастом педаль сцепления может выйти из строя. Он будет смещен, что приведет к накоплению свободной игры. Или, в некоторых случаях, слишком мало свободного хода. Ни один из них не является идеальным сценарием, хотя большинство согласны с тем, что слишком много свободной игры более терпимо, чем ее недостаточно.
Хорошей новостью является то, что всегда есть возможность отрегулировать сцепление, чтобы вернуть его в нужное русло. Неважно, с механическим сцеплением вы имеете дело, или с гидравлическим. В спектре ремонта своими руками это одни из самых простых. Иногда они могут потребовать умеренного мастерства. Но если вы обслуживаете свой автомобиль не реже одного раза в 6000 миль, то об этом уже нужно было позаботиться.
Motor Verso Mechanics
В Motor Verso мы увлечены автомобилями и стремимся помочь вам устранить неполадки и отремонтировать ваш автомобиль.
Наша команда опытных автолюбителей обладает обширными знаниями в области диагностики неисправностей и предоставления эффективных решений по ремонту. Мы документируем эти неисправности и ремонт, чтобы помочь вам починить свой собственный автомобиль, сэкономив ваше время и деньги.
Если вы не можете справиться с ремонтом или нуждаетесь в профессиональной помощи, не стесняйтесь обращаться к нам по адресу [email protected]. Мы можем помочь вам связаться с доверенными экспертами, которые могут помочь вам в дальнейшем. Наша команда доступна с понедельника по субботу с 9:00 до 18:00, чтобы ответить на ваши вопросы и дать рекомендации.
Будь то поиск надежного сервисного центра или получение предложений по устранению проблем с автомобилем, Motor Verso Mechanics всегда готова помочь вам в вашем автомобильном путешествии. Доверьтесь нам, и мы предоставим вам знания, необходимые для бесперебойной работы вашего автомобиля.
Теги: Объявление/сцепление/преобразование/Сделай сам/Коробка передач/Руководство/гидравлическая жидкость/гидравлическая система/Интерьер/техническое обслуживание/механические проблемы/педали/проблемы/ремонт/Обслуживание/пробуксовка сцепления/советы/советы и рекомендации/трансмиссия/устранение неполадок
Автомобильная регулировка педали сцепления важна
Одним из самых быстрых способов сжечь классическое автомобильное сцепление является неправильная регулировка педали сцепления автомобиля.
Для эффективной работы сцепления требуется достаточный зазор в соединении между ножной педалью и рычагом управления сцеплением (также известным как выжимной рычаг или вилка). Любое значение свободного хода (или зазора), меньшее, чем правильное, приведет к проскальзыванию сцепления, потому что нажимной диск не сможет оказывать полное давление на фрикционный диск.
Неспособность устранить эту неисправность быстро приведет к сгоранию фрикционной пластины и, возможно, к разрушению нажимной пластины. Однако, если в рычажном механизме сцепления слишком большой зазор, автомобиль имеет тенденцию ползти вперед при включенной передаче с полностью нажатой педалью сцепления. Это известно как перетаскивание сцепления, и оно может вызвать трудности при интенсивном движении.
Однако, как правило, лучше иметь слишком большой люфт в рычажном механизме сцепления, чем слишком маленький.
Зачем регулировать педаль сцепления автомобиля?
Если у вас есть автомобиль с механической коробкой передач, скорее всего, вы заменили или, по крайней мере, думали о замене сцепления.
Обычно OEM-сцепления служат долго и не требуют замены до пробега 50-60 тыс. км. Это означает, что многие из тех, кто заменяет свои OEM-сцепления, ищут какие-то действия со сцеплениями послепродажного обслуживания.
Итак, после тщательного отбора сцепления послепродажного обслуживания, подходящего для вашего автомобиля, что дальше? Выжать сцепление и можно ехать? Не совсем!
Вы забыли об очень важной части экологии вашей механической коробки передач, педали сцепления автомобиля. После установки нового сцепления, если это OEM сцепление, иногда нет необходимости регулировать педаль, особенно если свободный ход в порядке. Но в случае вторичного сцепления вам обязательно потребуется регулировка педали. Хотите верьте, хотите нет, но плохо отрегулированная педаль сцепления может привести к разрушению упорного подшипника коленчатого вала, что приведет к отказу двигателя.
Как работает педаль сцепления?
Прежде чем объяснять, зачем нужна регулировка педали сцепления после установки нового сцепления, следует сначала понять, как работает педаль сцепления.
Большинство новых автомобилей с механической коробкой передач используют гидравлическое выключение сцепления. При гидравлическом выпуске, когда вы нажимаете на педаль, педаль передает давление на нечто, называемое главным цилиндром. В главном цилиндре есть поршень, который соединен с педалью. Когда вы нажимаете на педаль, поршень выталкивает масло внутрь главного цилиндра. Затем масло проходит по трубопроводу и достигает другого цилиндра, известного как рабочий цилиндр. Там есть еще один плунжер, который движется вперед за счет поступающего давления масла. Это, в свою очередь, толкает вилку сцепления и связанный с ней выжимной подшипник. Выжимной подшипник давит на центр диафрагменной пружины и вуаля! у тебя сцепление выключено.
При механическом выключения сцепления давление передается тросом сцепления, скользящим внутри гибкой оболочки. Трос сцепления одним концом соединен с педалью сцепления, а другим концом с вилкой выключения сцепления.
Показатели регулировки педали сцепления — высота педали и свободный ход педали
Прежде чем говорить о регулировке педали, давайте поговорим о двух ее важных параметрах: высоте педали и свободном ходе.
Когда вы нажимаете на педаль, она опускается к полу, верно? Высота педали — это расстояние между педалью и полом. Эта высота определяет, какой ход вы можете нажать на педаль, чтобы выключить сцепление. Высота регулируется, и может потребоваться регулировка, если вы меняете что-либо в дальнейшем, например, главный цилиндр, выжимной подшипник или само сцепление.
Тогда у нас есть свободный ход педали. Это расстояние, на которое вы можете нажать на педаль, прежде чем почувствуете какое-либо сопротивление. Проще говоря, это зазор до того, как сцепление почувствует давление вашей ноги и начнет отключаться. Это имеет решающее значение как для вашего опыта вождения, так и для исправности сцепления.
Почему педаль сцепления требует регулировки?
Итак, теперь, когда мы знаем механизм педали и важные показатели, пришло время обсудить, почему вам необходимо отрегулировать педаль сцепления автомобиля после покупки нового сцепления. Все сводится к толщине фрикционной пластины и прижимному давлению прижимной пластины.
Когда у вас было OEM-сцепление, высота педали, свободный ход и реакция сцепления были откалиброваны производителем для правильной работы.
Когда вы устанавливаете новое сцепление в свой автомобиль, все меняется, например, размер сцепления в сборе, толщина фрикционного диска и давление прижима. Например, если это сцепление вторичного рынка, оно должно быть толще, чем оригинальное сцепление, и оно будет оказывать более высокое прижимное усилие благодаря более прочной нажимной пластине.
Если вы не отрегулируете педаль, это означает, что высота педали такая же, как и раньше. Когда вы нажмете педаль в пол, главный цилиндр получит такое же срабатывание, как и раньше, и, в конце концов, вилка выключения будет иметь такой же ход. Поскольку в вашем новом сцеплении используется новая нажимная пластина с более высоким прижимным усилием, хода вилки будет недостаточно, чтобы полностью отключить ее. А вот и печально известная пробуксовка сцепления. Всякий раз, когда вы пытаетесь выключить и переключить передачу, сцепление будет проскальзывать, сжигая фрикционный материал.
Проскальзывание также приводит к искривлению выжимного подшипника, что в конечном итоге приводит к его заклиниванию и разрушению.
Есть неудобства и с фрикционным диском. Поскольку оно будет толще, чем ваше изношенное OEM-сцепление, оно будет иметь тенденцию к укусу раньше, когда вы отпустите педаль. Таким образом, в тот момент, когда вы хотите снять ногу с педали, сцепление захочет укусить, что может быть довольно раздражающим для многих людей.
Тогда есть вопрос о бесплатной игре. Свободный ход определяет, когда сцепление начинает отключаться после нажатия на педаль. Некоторым из нас нравится, когда сцепление отключается сразу после нажатия на педаль. Но важно знать, что определенный и, что более важно, правильный свободный ход необходим для долговечности вашего сцепления.
При установке нового сцепления измененный размер может изменить свободный ход педали. Когда свободный ход меньше идеального, сцепление будет находиться прямо в точке, где начинается расцепление, а это означает, что на него не будет оказываться полного прижимного усилия, и оно начнет проскальзывать.
Кроме того, без надлежащего свободного хода гидравлическое масло не может полностью вернуться в главный цилиндр, т. е. шток главного цилиндра не полностью освобождается, когда вы отпускаете ногу с педали. В частности, это происходит, когда детали горячие и полностью растянуты, или когда вы кладете ногу на педаль. Помимо износа выжимного подшипника, вилки сцепления или шарнира, это также может вызвать утечки из главного и рабочего цилиндров.
С другой стороны, слишком большой свободный ход может привести к пробуксовке сцепления, из-за чего автомобиль будет ползти вперед при переключении передач, что может стать проблемой при интенсивном движении. Поэтому регулировка педали сцепления и достижение правильного свободного хода очень важны.
Мой механизм выключения сцепления гидравлический, означает ли это, что он саморегулирующийся?
Большинство новых автомобилей с механической коробкой передач имеют гидравлическую разблокировку вместо механической.
А некоторые новые модели с гидравлическим расцеплением имеют еще и саморегулирующиеся механизмы. Именно поэтому многие предполагают, что все гидравлические системы являются саморегулирующимися. Это довольно распространенное заблуждение.
Даже если в вашем автомобиле есть саморегулирующийся педальный механизм, он редко работает на 100% и чаще всего требует небольшой помощи в саморегулировке.
Саморегулирующаяся регулировка сцепления
Предполагается, что саморегулирующееся сцепление саморегулируется на правильный свободный ход, но иногда это не всегда так. В саморегулирующейся педали используется гидравлическая педаль сцепления, что означает, что ее обычно легче починить, независимо от уровня опыта техника.
При работающем двигателе и включенном стояночном тормозе поставьте ногу под педаль сцепления и поднимите ее на себя. Таким образом, вы можете проверить и проверить результаты регулировки, выжав педаль сцепления и включив передачу. Затем проверьте расстояние, на которое сцепление должно опуститься, прежде чем можно будет переключать передачи.
Ручная регулировка сцепления
Сначала выключите двигатель и включите аварийный тормоз. Расположитесь так, чтобы ваша голова была частично под приборной панелью, чтобы вы могли видеть и получать доступ к любым настройкам, которые необходимо внести. Ваш автомобиль, скорее всего, будет иметь трос сцепления с резьбовым стержнем. Шток будет иметь контргайку и регулировочную гайку для определения величины свободного хода педали сцепления. Найдите гайки, чтобы вы могли отрегулировать их, слегка ослабив обе. Снова потяните трос сцепления, чтобы почувствовать точку, в которой зацепляется вилка сцепления.
Как только вы почувствуете, что он зацепился, вы должны отрегулировать трос сцепления. Убедитесь, что вы поддерживаете давление на трос сцепления, удерживая его в точном положении, когда затягиваете контргайку и регулировочную гайку.
Наконец
Сцепление является важным компонентом в работе автомобилей с механической коробкой передач.

Люди, как правило, предпочитают механические муфты из-за ощущения связи и привлекательности из-за их прямой связи.



Он должен быть расположен либо на толкателе вилки сцепления, либо на толкателе главного цилиндра.
