Π‘ΠΎΠ΄Π΅ΡΠΆΠ°Π½ΠΈΠ΅
β ΠΡΡΡΡ ΡΠΎΠ΅Π΄ΠΈΠ½ΠΈΡΠ΅Π»ΡΠ½ΡΠ΅: Π²ΠΈΠ΄Ρ ΠΈ ΠΊΡΠΈΡΠ΅ΡΠΈΠΈ Π²ΡΠ±ΠΎΡΠ°
ΠΡΡΡΡ Π΄Π»Ρ ΡΠΎΠ΅Π΄ΠΈΠ½Π΅Π½ΠΈΡ Π²Π°Π»ΠΎΠ² β ΡΡΠΎ ΡΠΏΠ΅ΡΠΈΠ°Π»ΡΠ½ΡΠ΅ ΡΡΡΡΠΎΠΉΡΡΠ²Π°, ΠΏΠ΅ΡΠ΅Π΄Π°ΡΡΠΈΠ΅ ΠΊΡΡΡΡΡΠΈΠΉ ΠΌΠΎΠΌΠ΅Π½Ρ ΠΌΠ΅ΠΆΠ΄Ρ ΠΈΡΠΏΠΎΠ»Π½ΠΈΡΠ΅Π»ΡΠ½ΡΠΌ ΠΌΠ΅Ρ Π°Π½ΠΈΠ·ΠΌΠΎΠΌ ΠΈ ΡΠΈΠ»ΠΎΠ²ΡΠΌ Π°Π³ΡΠ΅Π³Π°ΡΠΎΠ², Π² ΡΠΎΠ»ΠΈ ΠΊΠΎΡΠΎΡΠΎΠ³ΠΎ ΠΌΠΎΠΆΠ΅Ρ Π²ΡΡΡΡΠΏΠ°ΡΡ ΡΠ΅Π΄ΡΠΊΡΠΎΡ ΠΈΠ»ΠΈ ΡΠ»Π΅ΠΊΡΡΠΎΠ΄Π²ΠΈΠ³Π°ΡΠ΅Π»Ρ. Π’Π°ΠΊΠΈΠ΅ ΠΏΡΠΈΡΠΏΠΎΡΠΎΠ±Π»Π΅Π½ΠΈΡ ΡΠ°Π·Π»ΠΈΡΠ½Ρ ΠΏΠΎ ΡΠ΅Ρ Π½ΠΈΡΠ΅ΡΠΊΠΈΠΌ ΠΈ ΡΠΊΡΠΏΠ»ΡΠ°ΡΠ°ΡΠΈΠΎΠ½Π½ΡΠΌ Ρ Π°ΡΠ°ΠΊΡΠ΅ΡΠΈΡΡΠΈΠΊΠ°ΠΌ, ΡΡΠΎ ΡΠ»Π΅Π΄ΡΠ΅Ρ ΡΡΠΈΡΡΠ²Π°ΡΡ ΠΏΡΠΈ ΠΏΠΎΠ΄Π±ΠΎΡΠ΅ ΠΏΠΎΠ΄Ρ ΠΎΠ΄ΡΡΠ΅ΠΉ ΠΌΠΎΠ΄Π΅Π»ΠΈ.
ΠΠ°ΠΊ Π²ΡΠ±ΡΠ°ΡΡ ΠΌΡΡΡΡ Π΄Π»Ρ ΡΠΎΠ΅Π΄ΠΈΠ½Π΅Π½ΠΈΡ Π²Π°Π»ΠΎΠ²
Π‘ΠΎΠ΅Π΄ΠΈΠ½ΠΈΡΠ΅Π»ΡΠ½ΡΠ΅ ΠΌΡΡΡΡ ΡΠ°ΡΠΏΡΠΎΡΡΡΠ°Π½Π΅Π½Ρ ΠΏΡΠΈΠ±ΠΎΡΠΎ-, ΡΡΠ°Π½ΠΊΠΎ- ΠΈ ΠΌΠ°ΡΠΈΠ½ΠΎΡΡΡΠΎΠ΅Π½ΠΈΠΈ, Π° ΡΠ°ΠΊΠΆΠ΅ Π΄ΡΡΠ³ΠΈΡ ΡΡΠ΅ΡΠ°Ρ ΠΏΡΠΎΠΈΠ·Π²ΠΎΠ΄ΡΡΠ²Π΅Π½Π½ΠΎΠ³ΠΎ ΡΠ΅ΠΊΡΠΎΡΠ°. Π ΡΠ°ΡΡΠ½ΠΎΡΡΠΈ, ΡΠ°ΠΊΠΈΠ΅ ΠΏΡΠΈΡΠΏΠΎΡΠΎΠ±Π»Π΅Π½ΠΈΡ Π½ΡΠΆΠ½Ρ Π΄Π»Ρ ΠΊΠΎΠΌΡΠΎΡΡΠ½ΠΎΠΉ ΡΠ°Π±ΠΎΡΡ ΡΠ»Π΅ΠΊΡΡΠΎΠ΄Π²ΠΈΠ³Π°ΡΠ΅Π»Π΅ΠΉ, ΠΏΠΎΠ΄ΠΊΠ»ΡΡΠ΅Π½ΠΈΡ Π½Π°ΡΠΎΡΠ½ΠΎΠΉ ΡΠ΅Ρ Π½ΠΈΠΊΠΈ ΠΈ ΡΠ΅ΡΠ΅Π½ΠΈΡ Π΄ΡΡΠ³ΠΈΡ Π·Π°Π΄Π°Ρ ΠΏΡΠΎΠΈΠ·Π²ΠΎΠ΄ΡΡΠ²Π΅Π½Π½ΠΎΠ³ΠΎ Π½Π°ΠΏΡΠ°Π²Π»Π΅Π½ΠΈΡ.
ΠΠ»Π°Π²Π½Π°Ρ Π·Π°Π΄Π°ΡΠ°, ΠΊΠΎΡΠΎΡΠ°Ρ Π²ΠΎΠ·Π»ΠΎΠΆΠ΅Π½Π° Π½Π° ΡΡΡΡΠΎΠΉΡΡΠ²ΠΎ, Π·Π°ΠΊΠ»ΡΡΠ°Π΅ΡΡΡ Π² ΡΡΠ°Π±ΠΈΠ»ΡΠ½ΠΎΠΉ ΠΏΠ΅ΡΠ΅Π΄Π°ΡΠ΅ ΠΎΠ±ΠΎΡΠΎΡΠ½ΠΎΠ³ΠΎ ΠΌΠΎΠΌΠ΅Π½ΡΠ° ΠΏΡΠΈ ΡΠΎΡ
ΡΠ°Π½Π΅Π½ΠΈΠΈ Π·Π°Π΄Π°Π½Π½ΠΎΠ³ΠΎ Π½Π°ΠΏΡΠ°Π²Π»Π΅Π½ΠΈΡ. ΠΡΠΈ ΡΡΠΎΠΌ ΡΡΠΏΠ΅Ρ
ΡΠ΅Π°Π»ΠΈΠ·Π°ΡΠΈΠΈ ΡΡΠΎΠΉ Π·Π°Π΄Π°ΡΠΈ Π·Π°Π²ΠΈΡΠΈΡ ΠΎΡ Π²ΠΈΠ΄Π° ΡΠΎΠ΅Π΄ΠΈΠ½ΠΈΡΠ΅Π»ΡΠ½ΠΎΠΉ ΠΌΡΡΡΡ ΠΈ Π΅Π΅ ΠΎΡΠ½ΠΎΠ²Π½ΡΡ
ΠΏΠ°ΡΠ°ΠΌΠ΅ΡΡΠΎΠ²: ΡΠΏΠΎΡΠΎΠ±Π½ΠΎΡΡΠΈ ΠΊΠΎΠΌΠΏΠ΅Π½ΡΠΈΡΠΎΠ²Π°ΡΡ Π½Π΅ΡΠΎΠΎΡΠ½ΠΎΡΡΡ ΡΠΎΠ΅Π΄ΠΈΠ½ΠΈΡΠ΅Π»ΡΠ½ΡΡ
Π²Π°Π»ΠΎΠ² ΠΈ Π²Π΅Π»ΠΈΡΠΈΠ½Ρ ΠΊΡΡΡΡΡΠ΅Π³ΠΎ ΠΌΠΎΠΌΠ΅Π½ΡΠ°, ΠΏΠ΅ΡΠ΅Π΄Π°Π²Π°Π΅ΠΌΠΎΠ³ΠΎ ΡΠ»Π΅ΠΊΡΡΠΎΠ΄Π²ΠΈΠ³Π°ΡΠ΅Π»Π΅ΠΌ.
Π Π°Π·Π»ΠΈΡΠ°ΡΡ ΡΠ»Π΅Π΄ΡΡΡΠΈΠ΅ Π²ΠΈΠ΄Ρ ΠΌΠ΅Ρ Π°Π½ΠΈΡΠ΅ΡΠΊΠΈΡ ΠΌΡΡΡ Π΄Π»Ρ ΡΠΎΠ΅Π΄ΠΈΠ½Π΅Π½ΠΈΡ Π²Π°Π»ΠΎΠ²:
- ΠΆΠ΅ΡΡΠΊΠΈΠ΅;
- ΠΊΡΠ»Π°ΡΠΊΠΎΠ²ΡΠ΅;
- Π²ΠΈΠ±ΡΠΎΠ³Π°ΡΡΡΠΈΠ΅;
- ΡΠΏΠΈΡΠ°Π»ΡΠ½ΡΠ΅;
- ΡΠΈΠ»ΡΡΠΎΠ½Π½ΡΠ΅;
- Π·ΡΠ±ΡΠ°ΡΡΠ΅;
- ΡΠΎΡΠΎΠ²ΡΠ΅;
- ΡΠ΅ΠΏΠ½ΡΠ΅;
- Ρ ΠΌΠ΅ΡΠ°Π»Π»ΠΈΡΠ΅ΡΠΊΠΈΠΌΠΈ ΠΎΡΠΈΠ³ΠΈΠ½Π°Π»ΡΠ½ΡΠΌΠΈ ΠΏΡΡΠΆΠΈΠ½Π°ΠΌΠΈ.
Π Π°Π·Π»ΠΈΡΠΈΡ ΠΌΠ΅Ρ Π°Π½ΠΈΡΠ΅ΡΠΊΠΈΡ ΠΌΡΡΡ ΠΏΠΎ Π½Π°Π·Π½Π°ΡΠ΅Π½ΠΈΡ ΠΈ ΠΏΡΠΈΠ½ΡΠΈΠΏΡ Π΄Π΅ΠΉΡΡΠ²ΠΈΡ
ΠΡΠ΅ ΠΏΠΎΠΏΡΠ»ΡΡΠ½ΡΠ΅ Π²ΠΈΠ΄Ρ ΠΌΡΡΡ Π΄Π»Ρ ΡΠΎΠ΅Π΄ΠΈΠ½Π΅Π½ΠΈΡ Π²Π°Π»ΠΎΠ² ΠΏΡΠ΅Π΄ΡΡΠ°Π²Π»Π΅Π½Ρ Π² ΠΊΠ°ΡΠ°Π»ΠΎΠ³Π΅ ΠΊΠΎΠΌΠΏΠ°Π½ΠΈΠΈ Β«ΠΠΈΡ ΠΡΠΈΠ²ΠΎΠ΄Π°Β», ΠΈ Π΄ΠΎΡΡΡΠΏΠ½Ρ ΠΊ Π·Π°ΠΊΠ°Π·Ρ Ρ Π²ΠΎΠ·ΠΌΠΎΠΆΠ½ΠΎΡΡΡΡ Π΄ΠΎΡΡΠ°Π²ΠΊΠΈ. ΠΠΎ ΠΏΡΠ΅ΠΆΠ΄Π΅ ΡΠ΅ΠΌ Π²ΡΠ±ΡΠ°ΡΡ ΠΊΠΎΠ½ΠΊΡΠ΅ΡΠ½ΡΠΉ Π²Π°ΡΠΈΠ°Π½Ρ ΡΡΡΡΠΎΠΉΡΡΠ²Π°, ΡΠ»Π΅Π΄ΡΠ΅Ρ ΡΠ°Π·ΠΎΠ±ΡΠ°ΡΡΡΡ Π² ΠΎΡΠ»ΠΈΡΠΈΡΡ ΠΌΠ΅ΠΆΠ΄Ρ ΠΌΠΎΠ΄Π΅Π»ΡΠΌΠΈ, ΡΠ°Π·Π»ΠΈΡΠΈΡΠΌΠΈ ΠΈ ΠΎΡΠΎΠ±Π΅Π½Π½ΠΎΡΡΡΠΌΠΈ, ΠΊΡΠΈΡΠ΅ΡΠΈΡΠΌΠΈ Π²ΡΠ±ΠΎΡΠ° Π΄Π»Ρ ΠΊΠΎΠ½ΠΊΡΠ΅ΡΠ½ΡΡ ΠΏΡΠΎΠΈΠ·Π²ΠΎΠ΄ΡΡΠ²Π΅Π½Π½ΡΡ Π·Π°Π΄Π°Ρ.
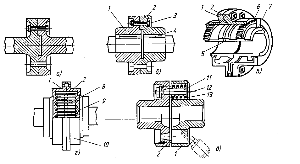
ΠΠ΅ΡΡΠΊΠΈΠ΅
ΠΠ°ΠΈΠ±ΠΎΠ»Π΅Π΅ ΠΏΡΠΎΡΡΠΎΠΉ ΠΈ ΡΠ°ΡΠΏΡΠΎΡΡΡΠ°Π½Π΅Π½Π½ΡΠΉ Π²Π°ΡΠΈΠ°Π½Ρ ΡΠΎΠ΅Π΄ΠΈΠ½ΠΈΡΠ΅Π»ΡΠ½ΠΎΠΉ ΠΌΡΡΡΡ β ΠΏΡΠΈΡΠΏΠΎΡΠΎΠ±Π»Π΅Π½ΠΈΠ΅ ΠΆΠ΅ΡΡΠΊΠΎΠ³ΠΎ ΠΈΠ»ΠΈ Π³Π»ΡΡ ΠΎΠ³ΠΎ ΡΠΈΠΏΠ°. ΠΠ½ΠΎ Π΄ΠΎΠ»Π³ΠΎ ΡΠ»ΡΠΆΠΈΡ, ΠΌΠ΅Π½ΡΡΠ΅ ΠΈΠ·Π½Π°ΡΠΈΠ²Π°Π΅ΡΡΡ Π² ΠΏΡΠΎΡΠ΅ΡΡΠ΅ ΡΠΊΡΠΏΠ»ΡΠ°ΡΠ°ΡΠΈΠΈ, ΡΡΠΎ ΠΎΠ±ΡΡΠ»ΠΎΠ²Π»Π΅Π½ΠΎ ΠΌΠ°ΡΠ΅ΡΠΈΠ°Π»ΠΎΠΌ ΠΈ ΡΠΏΠΎΡΠΎΠ±ΠΎΠΌ ΠΈΠ·Π³ΠΎΡΠΎΠ²Π»Π΅Π½ΠΈΡ ΡΡΡΡΠΎΠΉΡΡΠ²Π°.
ΠΠ΅ΡΡΠΊΠΈΠ΅ ΡΠΎΠ΅Π΄ΠΈΠ½ΠΈΡΠ΅Π»ΡΠ½ΡΠ΅ ΠΌΡΡΡΡ β ΡΠ΅Π»ΡΠ½ΠΎΠΌΠ΅ΡΠ°Π»Π»ΠΈΡΠ΅ΡΠΊΠΈΠ΅, Π° Π·Π½Π°ΡΠΈΡ, Π΄Π»Ρ Π½ΠΈΡ
Ρ
Π°ΡΠ°ΠΊΡΠ΅ΡΠ½Ρ ΠΏΠΎΠ²ΡΡΠ΅Π½Π½Π°Ρ Π½Π°Π΄Π΅ΠΆΠ½ΠΎΡΡΡ ΠΈ ΡΡΠ°Π±ΠΈΠ»ΡΠ½Π°Ρ ΠΏΠ΅ΡΠ΅Π΄Π°ΡΠ° ΠΊΡΡΡΡΡΠ΅Π³ΠΎ ΠΌΠΎΠΌΠ΅Π½ΡΠ° Π±Π΅Π· Β«ΠΌΠ΅ΡΡΠ²ΠΎΠ³ΠΎ Ρ
ΠΎΠ΄Π°Β», Π΄Π΅ΡΠΎΡΠΌΠ°ΡΠΈΠΈ.
ΠΠΌΠ΅ΡΡΠ΅ Ρ ΡΠ΅ΠΌ ΡΠ°ΠΊΠΎΠΉ Π²Π°ΡΠΈΠ°Π½Ρ Π½Π΅ Π±ΡΠ΄Π΅Ρ Π³Π°ΡΠΈΡΡ Π²ΠΈΠ±ΡΠ°ΡΠΈΠΈ ΠΈ ΠΌΠΎΠΆΠ΅Ρ ΠΏΡΠΈΠΌΠ΅Π½ΡΡΡΡΡ ΡΠΎΠ»ΡΠΊΠΎ Π² ΡΠΎΠΎΡΠ½ΡΡ Π²Π°Π»Π°Ρ . ΠΠ³ΠΎ ΠΌΠΎΠΆΠ½ΠΎ ΡΡΡΠ°Π½ΠΎΠ²ΠΈΡΡ Π² ΠΌΠ΅Ρ Π°Π½ΠΈΠ·ΠΌΠ°Ρ Ρ Π²ΡΡΠΎΠΊΠΈΠΌ ΠΊΠ°ΡΠ΅ΡΡΠ²ΠΎΠΌ ΡΠ±ΠΎΡΠΊΠΈ ΠΈ Π²ΠΎΠ·ΠΌΠΎΠΆΠ½ΠΎΡΡΡΡ Π΄Π΅ΡΠ°Π»ΡΠ½ΠΎΠΉ ΡΠ΅Π½ΡΡΠΎΠ²ΠΊΠΈ ΡΠΎΠ΅Π΄ΠΈΠ½ΡΠ΅ΠΌΡΡ Π²Π°Π»ΠΎΠ².
Π‘ΠΏΠΈΡΠ°Π»ΡΠ½ΡΠ΅
ΠΠ½Π°Π»ΠΎΠ³ΠΈΡΠ½ΠΎ ΠΆΠ΅ΡΡΠΊΠΈΠΌ ΠΌΡΡΡΠ°ΠΌ, ΡΡΡΡΠΎΠΉΡΡΠ²Π° ΡΠΏΠΈΡΠ°Π»ΡΠ½ΠΎΠ³ΠΎ ΡΠΈΠΏΠ° ΡΠ°ΠΊΠΆΠ΅ ΡΠ²Π»ΡΡΡΡΡ ΡΠ΅Π»ΡΠ½ΠΎΠΌΠ΅ΡΠ°Π»Π»ΠΈΡΠ΅ΡΠΊΠΈΠΌΠΈ, Π½ΠΎ ΠΈΠΌΠ΅ΡΡ ΡΡΠ΄ ΠΎΡΠ»ΠΈΡΠΈΠΉ ΠΊΠΎΠ½ΡΡΡΡΠΊΡΠΈΠ²Π½ΠΎΠ³ΠΎ ΠΏΠ»Π°Π½Π°. Π’Π°ΠΊ, Π² ΠΈΡ ΡΡΠ΅Π΄Π½Π΅ΠΉ ΡΠ°ΡΡΠΈ Π²ΡΠΏΠΎΠ»Π½Π΅Π½Ρ ΠΏΠΎΠΏΠ΅ΡΠ΅ΡΠ½ΡΠ΅ ΠΏΡΠΎΠΏΠΈΠ»Ρ ΠΌΠ°Π»ΠΎΠΉ ΡΠΎΠ»ΡΠΈΠ½Ρ. Π’Π°ΠΊΠΈΠΌ ΠΎΠ±ΡΠ°Π·ΠΎΠΌ, ΠΏΡΠΈΡΠΏΠΎΡΠΎΠ±Π»Π΅Π½ΠΈΠ΅ ΡΠΎΡΠ΅ΡΠ°Π΅Ρ Π² ΡΠ΅Π±Π΅ Π²ΠΎΠ·ΠΌΠΎΠΆΠ½ΠΎΡΡΠΈ ΡΡΠ°Π½Π΄Π°ΡΡΠ½ΡΡ ΠΆΠ΅ΡΡΠΊΠΈΡ ΠΌΡΡΡ, Π½ΠΎ Π·Π° ΡΡΠ΅Ρ ΠΏΡΠΎΠΏΠΈΠ»ΠΎΠ² ΠΎΠ±Π»Π°Π΄Π°Π΅Ρ ΠΎΠΏΡΠ΅Π΄Π΅Π»Π΅Π½Π½ΡΠΌ ΡΠ΅ΡΡΡΡΠΎΠΌ Π³ΠΈΠ±ΠΊΠΎΡΡΠΈ. ΠΠΎΠ΄ Π½Π°Π³ΡΡΠ·ΠΊΠΎΠΉ ΡΠΈΡΡΠ΅ΠΌΠ° ΠΏΡΠΎΠ³ΠΈΠ±Π°Π΅ΡΡΡ, ΠΊΠΎΠΌΠΏΠ΅Π½ΡΠΈΡΡΡ ΡΠ³Π»ΠΎΠ²ΡΡ Π½Π΅ΡΠΎΠΎΡΠ½ΠΎΡΡΡ Π² ΠΏΡΠ΅Π΄Π΅Π»Π°Ρ 2 Π³ΡΠ°Π΄ΡΡΠΎΠ².
ΠΠ΄Π½Π°ΠΊΠΎ ΠΏΠΎΠΊΠ°Π·Π°ΡΠ΅Π»ΠΈ ΠΆΠ΅ΡΡΠΊΠΎΡΡΠΈ ΠΈ ΠΏΡΠΎΡΠ½ΠΎΡΡΠΈ Π² ΡΠ»ΡΡΠ°Π΅ ΡΠΎ ΡΠΏΠΈΡΠ°Π»ΡΠ½ΡΠΌΠΈ ΠΌΡΡΡΠ°ΠΌΠΈ Π½ΠΈΠΆΠ΅ Π²ΠΎΠ·ΠΌΠΎΠΆΠ½ΠΎΡΡΠ΅ΠΉ ΠΆΠ΅ΡΡΠΊΠΈΡ Π°Π½Π°Π»ΠΎΠ³ΠΎΠ² Π² 5-8 ΡΠ°Π·.
Π’ΠΎΡΠΎΠ²ΡΠ΅
Π’ΠΎΡΠΎΠ²ΡΠ΅ ΠΌΡΡΡΡ β ΠΎΡΠ»ΠΈΡΠ½ΡΠΉ Π²Π°ΡΠΈΠ°Π½Ρ Π΄Π»Ρ Π½Π°ΡΠΎΡΠ½ΡΡ
ΡΡΡΠ°Π½ΠΎΠ²ΠΎΠΊ, ΠΏΡΠΈΠ²ΠΎΠ΄ΠΎΠ² Π΄ΠΎΡΠΎΠΆΠ½ΠΎ-ΡΡΡΠΎΠΈΡΠ΅Π»ΡΠ½ΡΡ
ΠΌΠ°ΡΠΈΠ½, ΡΠ»Π΅ΠΊΡΡΠΎ- ΠΈ ΠΏΠ°ΡΠΎΠ²ΠΎΠ·ΠΎΠ², Π° ΡΠ°ΠΊΠΆΠ΅ Π΄ΡΡΠ³ΠΈΡ
ΠΌΠ΅Ρ
Π°Π½ΠΈΠ·ΠΌΠΎΠ² Ρ ΠΏΠΎΠ²ΡΡΠ΅Π½Π½ΡΠΌΠΈ ΡΡΠ΅Π±ΠΎΠ²Π°Π½ΠΈΡΠΌΠΈ ΠΊ ΡΠ»Π°ΡΡΠΈΡΠ½ΠΎΡΡΠΈ.
ΠΡΠΈΡΠΏΠΎΡΠΎΠ±Π»Π΅Π½ΠΈΠ΅ ΠΏΡΠ΅Π΄ΡΡΠ°Π²Π»ΡΠ΅Ρ ΡΠΎΠ±ΠΎΠΉ ΡΠ»Π΅ΠΌΠ΅Π½Ρ ΡΠΎΡΠΎΠΎΠ±ΡΠ°Π·Π½ΠΎΠΉ ΡΠΎΡΠΌΡ, Π² ΠΏΡΠΎΠΈΠ·Π²ΠΎΠ΄ΡΡΠ²Π΅ ΠΊΠΎΡΠΎΡΠΎΠ³ΠΎ ΠΏΡΠΈΠΌΠ΅Π½ΡΡΡ ΡΠ΅Π·ΠΈΠ½ΠΎΠΊΠΎΡΠ΄Π½ΡΠΉ ΠΌΠ°ΡΠ΅ΡΠΈΠ°Π».
Π ΠΎΡΠ½ΠΎΠ²Ρ Π΅Π³ΠΎ ΡΠ°Π±ΠΎΡΡ ΠΏΠΎΠ»ΠΎΠΆΠ΅Π½ ΠΏΡΠΈΠ½ΡΠΈΠΏ ΡΡΠ΅Π½ΠΈΡ ΠΌΠ΅ΠΆΠ΄Ρ ΡΠΏΡΡΠ³ΠΈΠΌΠΈ Π΄Π΅ΡΠ°Π»ΡΠΌΠΈ ΠΌΡΡΡΡ ΠΈ ΡΡΠ°Π»ΡΠ½ΡΠΌΠΈ ΡΡΡΠΏΠΈΡΠ°ΠΌΠΈ, ΠΊΠΎΡΠΎΡΡΠ΅ ΠΈΡ ΡΠΆΠΈΠΌΠ°ΡΡ.
Π¦Π΅ΠΏΠ½ΡΠ΅
Π¦Π΅ΠΏΠ½ΡΠ΅ ΠΌΡΡΡΡ Π΄Π»Ρ ΡΠΎΠ΅Π΄ΠΈΠ½Π΅Π½ΠΈΡ Π²Π°Π»ΠΎΠ² ΠΈΠΌΠ΅Π΅Ρ ΠΎΠ±ΡΠ΅ΠΌΠ°ΡΠΈΠ½ΠΎΡΡΡΠΎΠΈΡΠ΅Π»ΡΠ½ΠΎΠ΅ ΠΏΡΠΈΠΌΠ΅Π½Π΅Π½ΠΈΠ΅ Π·Π° ΠΈΡΠΊΠ»ΡΡΠ΅Π½ΠΈΠ΅ΠΌ ΡΠ΅Π²Π΅ΡΡΠΈΠ²Π½ΡΡ ΠΏΡΠΈΠ²ΠΎΠ΄ΠΎΠ² Ρ Π΄ΠΈΠ½Π°ΠΌΠΈΡΠ΅ΡΠΊΠΈΠΌΠΈ Π½Π°Π³ΡΡΠ·ΠΊΠ°ΠΌΠΈ. ΠΡ ΠΊΠΎΠ½ΡΡΡΡΠΊΡΠΈΠ΅ΠΉ ΠΏΡΠ΅Π΄ΡΡΠΌΠΎΡΡΠ΅Π½ΠΎ Π½Π°Π»ΠΈΡΠΈΠ΅ ΠΏΠΎΠ»ΡΠΌΡΡΡ-Π·Π²Π΅Π·Π΄ΠΎΡΠ΅ΠΊ, ΠΎΠ±ΡΠ΅Π΄ΠΈΠ½Π΅Π½Π½ΡΡ Π΅Π΄ΠΈΠ½ΠΎΠΉ ΡΠΎΠ»ΠΈΠΊΠΎΠ²ΠΎΠΉ ΡΠ΅ΠΏΡΡ.
Π’Π°ΠΊΠΎΠΉ ΡΠΈΠΏ ΠΊΠΎΠ½ΡΡΡΡΠΊΡΠΈΠΈ Π΄ΠΎΡΡΠ°ΡΠΎΡΠ½ΠΎ ΡΠ½ΠΈΠ²Π΅ΡΡΠ°Π»ΡΠ½ΡΠΉ, Π° Π΅Π³ΠΎ ΠΎΡΠ½ΠΎΠ²Π½ΡΠΌΠΈ ΠΏΡΠ΅ΠΈΠΌΡΡΠ΅ΡΡΠ²Π°ΠΌΠΈ ΡΠ²Π»ΡΡΡΡΡ Π½Π΅Π±ΠΎΠ»ΡΡΠΎΠΉ ΡΠ°Π·ΠΌΠ΅Ρ, ΠΏΡΠΎΡΡΠΎΡΠ° ΡΡΡΡΠΎΠΉΡΡΠ²Π° ΠΈ ΡΠ΄ΠΎΠ±ΡΡΠ²ΠΎ Π΅Π³ΠΎ ΠΎΠ±ΡΠ°Π±ΠΎΡΠΊΠΈ ΡΠΌΠ°Π·ΠΎΡΠ½ΡΠΌ ΠΌΠ°ΡΠ΅ΡΠΈΠ°Π»ΠΎΠΌ. Π¦Π΅ΠΏΠ½Π°Ρ ΡΠΎΠ΅Π΄ΠΈΠ½ΠΈΡΠ΅Π»ΡΠ½Π°Ρ ΠΌΡΡΡΠ° ΠΏΠΎΠ΄ΡΠ°Π·ΡΠΌΠ΅Π²Π°Π΅Ρ ΠΌΠ°Π»ΠΎΠ΅ ΠΎΡΠΊΠ»ΠΎΠ½Π΅Π½ΠΈΠ΅ ΠΎΡ ΡΠΎΠΎΡΠ½ΠΎΡΡΠΈ, ΡΡΠΎ ΡΠ²ΡΠ·Π°Π½ΠΎ Ρ ΠΎΠ±ΡΠ·Π°ΡΠ΅Π»ΡΠ½ΡΠΌ Π·Π°Π·ΠΎΡΠΎΠΌ ΠΌΠ΅ΠΆΠ΄Ρ ΡΠ΅ΠΏΡΡ ΠΈ Π·Π²Π΅Π·Π΄ΠΎΡΠΊΠ°ΠΌΠΈ.
ΠΠ΄Π½Π°ΠΊΠΎ ΡΠ°ΠΊΠΎΠΉ ΡΠΈΠΏ ΠΏΡΠΈΡΠΏΠΎΡΠΎΠ±Π»Π΅Π½ΠΈΡ Π΄Π»Ρ ΡΠΎΠ΅Π΄ΠΈΠ½Π΅Π½ΠΈΡ Π²Π°Π»ΠΎΠ² ΠΎΡΠ»ΠΈΡΠ°Π΅ΡΡΡ ΡΡΠ°Π²Π½ΠΈΡΠ΅Π»ΡΠ½ΠΎ ΠΌΠ°Π»ΡΠΌ ΡΡΠΎΠΊΠΎΠΌ ΡΠΊΡΠΏΠ»ΡΠ°ΡΠ°ΡΠΈΠΈ Π·Π° ΡΡΠ΅Ρ Π±ΡΡΡΡΠΎΠ³ΠΎ ΠΈΠ·Π½ΠΎΡΠ° Π΄Π΅ΡΠ°Π»Π΅ΠΉ. Π’Π°ΠΊΠΆΠ΅ ΡΠ»Π΅ΠΌΠ΅Π½ΡΡ ΠΌΡΡΡΡ Π½ΡΠΆΠ΄Π°ΡΡΡΡ Π² ΡΠ΅Π³ΡΠ»ΡΡΠ½ΠΎΠΉ ΡΠΌΠ°Π·ΠΊΠ΅ ΠΈ ΠΏΡΠΈΠΊΡΡΡΠΈΠΈ Π·Π°ΡΠΈΡΠ½ΡΠΌ ΠΊΠΎΠΆΡΡ
ΠΎΠΌ.
ΠΡΠ»Π°ΡΠΊΠΎΠ²ΡΠ΅
ΠΡΠ»Π°ΡΠΊΠΎΠ²ΡΠ΅ ΠΌΡΡΡΡ ΠΈΠΌΠ΅ΡΡ ΡΡΠ΄ ΠΎΡΠ»ΠΈΡΠΈΡΠ΅Π»ΡΠ½ΡΡ ΠΎΡΠΎΠ±Π΅Π½Π½ΠΎΡΡΠ΅ΠΉ ΠΎΡ Π°Π½Π°Π»ΠΎΠ³ΠΎΠ², ΡΡΠΎ Π΄Π΅Π»Π°Π΅Ρ ΡΡΠΎΡ ΡΠΈΠΏ ΡΡΡΡΠΎΠΉΡΡΠ²Π° ΠΏΡΠΈΠ²Π»Π΅ΠΊΠ°ΡΠ΅Π»ΡΠ½ΡΠΌ Π΄Π»Ρ ΡΠΊΡΠΏΠ»ΡΠ°ΡΠ°ΡΠΈΠΈ Π² ΠΏΡΠΎΠΌΡΡΠ»Π΅Π½Π½ΠΎΠΌ ΡΠ΅ΠΊΡΠΎΡΠ΅. Π ΡΠ°ΡΡΠ½ΠΎΡΡΠΈ, ΠΎΠ½ΠΈ ΡΠΏΠΎΡΠΎΠ±Π½Ρ ΠΏΠ΅ΡΠ΅Π΄Π°Π²Π°ΡΡ Π±ΠΎΠ»ΡΡΠΎΠΉ ΠΊΡΡΡΡΡΠΈΠΉ ΠΌΠΎΠΌΠ΅Π½Ρ, ΠΊΠΎΠΌΠΏΠ΅Π½ΡΠΈΡΡΡΡ Π½Π΅Π±ΠΎΠ»ΡΡΡΡ Π½Π΅ΡΠΎΠΎΡΠ½ΠΎΡΡΡ ΠΈ ΠΏΠΎΠ΄Π°Π²Π»ΡΡΡ Π²ΠΈΠ±ΡΠ°ΡΠΈΡ. Π’Π°ΠΊΠΆΠ΅ ΡΡΡΡΠΎΠΉΡΡΠ²ΠΎ ΠΎΡΠ»ΠΈΡΠ°Π΅ΡΡΡ Π½Π΅Π±ΠΎΠ»ΡΡΠΈΠΌΠΈ Π³Π°Π±Π°ΡΠΈΡΠ°ΠΌΠΈ, ΡΡΠΎ Π΄Π΅Π»Π°Π΅Ρ Π΅Π³ΠΎ ΡΠ΄ΠΎΠ±Π½ΡΠΌ ΠΊΠ°ΠΊ Π² ΡΡΡΠ°Π½ΠΎΠ²ΠΊΠ΅, ΡΠ°ΠΊ ΠΈ Π² ΡΠΊΡΠΏΠ»ΡΠ°ΡΠ°ΡΠΈΠΈ.
ΠΠΎΠ½ΡΡΡΡΠΊΡΠΈΠ΅ΠΉ ΠΊΡΠ»Π°ΡΠΊΠΎΠ²ΠΎΠΉ ΠΌΡΡΡΡ Π΄Π»Ρ ΡΠΎΠ΅Π΄ΠΈΠ½Π΅Π½ΠΈΡ Π²Π°Π»ΠΎΠ² ΠΏΡΠ΅Π΄ΡΡΠΌΠΎΡΡΠ΅Π½Π° Π²ΠΎΠ·ΠΌΠΎΠΆΠ½ΠΎΡΡΡ Π΅Π΅ ΡΠ°Π·Π±ΠΎΡΠΊΠΈ Π½Π° Π΄Π²Π΅ ΠΏΠΎΠ»ΡΠΌΡΡΡΡ Ρ ΡΠΎΡΡΠ΅Π²ΡΠΌΠΈ ΠΊΡΠ»Π°ΡΠΊΠ°ΠΌΠΈ. ΠΠΊΡΠΏΠ»ΡΠ°ΡΠ°ΡΠΈΡ ΡΡΡΡΠΎΠΉΡΡΠ²Π° Π² ΡΡΠ»ΠΎΠ²ΠΈΡΡ ΠΏΠΎΠ²ΡΡΠ΅Π½Π½ΡΡ Π½Π°Π³ΡΡΠ·ΠΎΠΊ ΡΡΠ΅Π±ΡΠ΅Ρ ΡΠ°ΠΊΠΆΠ΅ Π½Π°Π»ΠΈΡΠΈΡ ΡΠΏΡΡΠ³ΠΎΠΉ Π²ΡΡΠ°Π²ΠΊΠΈ ΠΈΠ· ΡΠ΅Π·ΠΈΠ½Ρ ΠΈΠ»ΠΈ ΠΏΠΎΠ»ΠΈΡΡΠ΅ΡΠ°Π½Π° ΠΌΠ΅ΠΆΠ΄Ρ ΠΊΡΠ»Π°ΡΠΊΠ°ΠΌΠΈ. ΠΡΠΎ ΡΠ²ΡΠ·Π°Π½ΠΎ Ρ Π½Π΅ΠΎΠ±Ρ ΠΎΠ΄ΠΈΠΌΠΎΡΡΡΡ Π·Π°ΡΠΈΡΡ ΠΏΡΠΎΠ΄ΡΠΊΡΠ° ΠΎΡ ΡΠ΄Π°ΡΠΎΠ², ΠΊΠΎΡΠΎΡΡΠ΅ Π½Π΅ΠΈΠ·Π±Π΅ΠΆΠ½Ρ ΠΏΡΠΈ ΠΈΠ½ΡΠ΅Π½ΡΠΈΠ²Π½ΠΎΠΉ ΡΠ°Π±ΠΎΡΠ΅.
ΠΠΎΠ΄Π΅Π»ΠΈ ΠΊΡΠ»Π°ΡΠΊΠΎΠ²ΡΡ
ΠΌΡΡΡ Π΄ΠΎΡΡΠ°ΡΠΎΡΠ½ΠΎ ΠΆΠ΅ΡΡΠΊΠΈΠ΅, ΠΏΠΎΡΡΠΎΠΌΡ Π΄Π»Ρ Π½ΠΈΡ
Π½Π΅ Ρ
Π°ΡΠ°ΠΊΡΠ΅ΡΠ½ΠΎ Π·Π°Π΄Π΅ΡΠΆΠΊΠ° ΠΏΡΠΈ ΠΏΠ΅ΡΠ΅Π΄Π°ΡΠ΅ ΠΊΡΡΡΡΡΠ΅Π³ΠΎ ΠΌΠΎΠΌΠ΅Π½ΡΠ°. ΠΠ΄Π½Π°ΠΊΠΎ ΠΎΡ ΡΡΠ°Π½Π΄Π°ΡΡΠ½ΡΡ
ΠΆΠ΅ΡΡΠΊΠΈΡ
ΡΠΈΠΏΠΎΠ² ΡΠ°ΠΊΠΈΡ
ΠΏΡΠΈΡΠΏΠΎΡΠΎΠ±Π»Π΅Π½ΠΈΠΉ ΠΎΠ½ΠΈ ΠΎΡΠ»ΠΈΡΠ°ΡΡΡΡ Π±ΠΎΠ»ΡΡΠ΅ΠΉ ΡΠΏΡΡΠ³ΠΎΡΡΡΡ. ΠΡΠ° ΠΎΡΠΎΠ±Π΅Π½Π½ΠΎΡΡΡ ΠΊΠΎΠΌΠΏΠ΅Π½ΡΠΈΡΡΠ΅Ρ ΡΠ°Π·Π½ΠΈΡΡ Π² ΡΠ°ΡΠΏΠΎΠ»ΠΎΠΆΠ΅Π½ΠΈΠΈ ΠΎΡΠ΅ΠΉ Π² ΠΏΡΠ΅Π΄Π΅Π»Π°Ρ
1 Π³ΡΠ°Π΄ΡΡΠ° ΠΈ Π½ΠΈΠ²Π΅Π»ΠΈΡΡΠ΅Ρ Π²ΠΈΠ±ΡΠ°ΡΠΈΠΈ.
ΠΠΈΠ±ΡΠΎΠ³Π°ΡΡΡΠΈΠ΅
Π Π°Π·Π½ΠΎΠ²ΠΈΠ΄Π½ΠΎΡΡΡΡ ΠΊΡΠ»Π°ΡΠΊΠΎΠ²ΡΡ ΠΌΡΡΡ ΡΠ²Π»ΡΠ΅ΡΡΡ ΠΈΡ Π²ΠΈΠ±ΡΠΎΠ³Π°ΡΡΡΠΈΠΉ ΠΏΠΎΠ΄Π²ΠΈΠ΄, ΡΠ°ΡΠΏΡΠΎΡΡΡΠ°Π½Π΅Π½Π½ΡΠΉ Π² ΠΏΡΠΈΠ±ΠΎΡΠΎΡΡΡΠΎΠ΅Π½ΠΈΠΈ. ΠΠ»Ρ Π΅Π³ΠΎ ΠΊΡΠ΅ΠΏΠ»Π΅Π½ΠΈΡ Π½Π° Π²Π°Π»Ρ ΡΡΠ΅Π±ΡΡΡΡΡ Π΄Π²Π° Π²ΠΈΠ½ΡΠ°. Π£ΡΡΡΠΎΠΉΡΡΠ²ΠΎ ΠΎΡΠ½Π°ΡΠ°Π΅ΡΡΡ ΠΏΠ»ΠΎΡΠ½ΡΠΌΠΈ ΠΈ ΡΡΠ°Π²Π½ΠΈΡΠ΅Π»ΡΠ½ΠΎ ΡΠ»Π°ΡΡΠΈΡΠ½ΡΠΌΠΈ Π²ΡΡΠ°Π²ΠΊΠ°ΠΌΠΈ ΠΈΠ· ΠΏΠΎΠ»ΠΈΡΡΠ΅ΡΠ°Π½Π°, ΠΊΠΎΡΠΎΡΡΠ΅ Ρ ΠΎΡΠΎΡΠΎ Π³Π°ΡΡΡ Π²ΠΈΠ±ΡΠ°ΡΠΈΠΈ ΠΈ ΠΊΠΎΠΌΠΏΠ΅Π½ΡΠΈΡΡΡΡ ΠΎΡΠΊΠ»ΠΎΠ½Π΅Π½ΠΈΠ΅ ΠΎΡ ΡΠΎΠΎΡΠ½ΠΎΡΡΠΈ. ΠΠ΄Π½Π°ΠΊΠΎ ΡΡΠΈ Π²ΡΡΠ°Π²ΠΊΠΈ ΠΈΠΌΠ΅ΡΡ Π½ΠΈΠ·ΠΊΡΡ ΠΈΠ·Π½ΠΎΡΠΎΡΡΠΎΠΉΠΊΠΎΡΡΡ. ΠΠ΅ΡΠΈΠΎΠ΄ΠΈΡΠ΅ΡΠΊΠΈ Π½ΡΠΆΠ½ΠΎ ΠΏΡΠΎΠ²ΠΎΠ΄ΠΈΡΡ ΠΈΡ ΠΎΡΠΌΠΎΡΡ ΠΈ Π·Π°ΠΌΠ΅Π½Ρ, ΠΏΡΠΎΠ΄Π»Π΅Π²Π°Ρ ΡΠ°ΠΊΠΈΠΌ ΠΎΠ±ΡΠ°Π·ΠΎΠΌ ΡΡΠΎΠΊ ΡΠ»ΡΠΆΠ±Ρ ΠΏΡΠΎΠ΄ΡΠΊΡΠ°.
Π‘ΠΈΠ»ΡΡΠΎΠ½Π½ΡΠ΅
ΠΠΎΠΌΠΏΠ΅Π½ΡΠΈΡΠΎΠ²Π°ΡΡ Π½Π΅Π±ΠΎΠ»ΡΡΠΈΠ΅ ΠΎΡΠΊΠ»ΠΎΠ½Π΅Π½ΠΈΡ ΠΎΡ ΡΠΎΠΎΡΠ½ΠΎΡΡΠΈ ΠΌΠΎΠ³ΡΡ ΠΈ ΠΆΠ΅ΡΡΠΊΠΈΠ΅ ΡΠΈΠ»ΡΡΠΎΠ½Π½ΡΠ΅ ΠΌΡΡΡΡ, Π² ΠΊΠΎΡΠΎΡΡΡ ΠΎΡΠ½ΠΎΠ²Π½ΠΎΠΉ Π³ΠΎΡΡΠΈΡΠΎΠ²Π°Π½Π½ΡΠΉ Π³ΠΈΠ±ΠΊΠΈΠΉ ΡΠ»Π΅ΠΌΠ΅Π½Ρ ΡΠ²Π°ΡΠΎΡΠ½ΡΠΌ ΡΠΏΠΎΡΠΎΠ±ΠΎΠΌ ΠΈΠ»ΠΈ ΡΠ°Π·Π²Π°Π»ΡΡΠΎΠ²ΠΊΠΎΠΉ ΡΠΎΠ΅Π΄ΠΈΠ½ΡΠ΅ΡΡΡ Ρ ΠΏΠΎΠ»ΡΠΌΡΡΡΠ°ΠΌΠΈ. Π‘ΡΠ΅ΡΠΎΠΉ ΠΈΡ ΠΏΡΠΈΠΌΠ΅Π½Π΅Π½ΠΈΡ ΡΠ²Π»ΡΠ΅ΡΡΡ ΡΡΠ°Π½ΠΊΠΎΡΡΡΠΎΠ΅Π½ΠΈΠ΅, Π² ΡΠΎΠΌ ΡΠΈΡΠ»Π΅ ΡΡΠ°Π½ΠΊΠΈ Ρ Π§ΠΠ£.
ΠΡΡΡΡΡΠΈΠΉ ΠΌΠΎΠΌΠ΅Π½Ρ Π² ΡΠΈΠ»ΡΡΠΎΠ½Π½ΡΡ ΠΌΡΡΡΠ°Ρ ΠΏΠ΅ΡΠ΅Π΄Π°Π΅ΡΡΡ ΠΏΠΎΡΡΠΈ ΠΌΠ³Π½ΠΎΠ²Π΅Π½Π½ΠΎ, ΡΡΠΎ ΠΎΠ±ΡΡΠ»ΠΎΠ²Π»Π΅Π½ΠΎ ΡΠΏΠ΅ΡΠΈΡΠΈΠΊΠΎΠΉ ΡΠΎΠ΅Π΄ΠΈΠ½Π΅Π½ΠΈΡ: ΠΎΠ½ΠΎ ΠΆΠ΅ΡΡΠΊΠΎΠ΅ ΠΈ Π±Π΅Π· Π·Π°Π·ΠΎΡΠ°.
ΠΡΠ±ΡΠ°ΡΡΠ΅
ΠΡΠ±ΡΠ°ΡΡΠ΅ ΠΌΡΡΡΡ — ΡΠ°Π·Π½ΠΎΠ²ΠΈΠ΄Π½ΠΎΡΡΡ ΠΆΠ΅ΡΡΠΊΠΈΡ
ΠΌΠ΅Ρ
Π°Π½ΠΈΡΠ΅ΡΠΊΠΈΡ
ΡΡΡΡΠΎΠΉΡΡΠ², ΠΊΠΎΠ½ΡΡΡΡΠΊΡΠΈΡ ΠΊΠΎΡΠΎΡΠΎΠ³ΠΎ ΡΠΎΡΡΠΎΠΈΡ ΠΈΠ· ΠΏΠΎΠ»ΡΠΌΡΡΡ ΠΈ ΠΏΠΎΠ»ΡΠΎΠ±ΠΎΠΉΠΌ.
ΠΡΠΈ ΡΡΠΎΠΌ Π·ΡΠ±ΡΠ°ΡΡΠ΅ Π²Π΅Π½ΡΡ Π² ΠΏΠΎΠ»ΡΠΌΡΡΡΠ°Ρ
ΡΠ°ΡΠΏΠΎΠ»ΠΎΠΆΠ΅Π½Ρ Ρ Π²Π½Π΅ΡΠ½Π΅ΠΉ ΡΡΠΎΡΠΎΠ½Ρ, Π° Π² ΠΏΠΎΠ»ΡΠΎΠ±ΠΎΠΉΠΌΠ°Ρ
— Ρ Π²Π½ΡΡΡΠ΅Π½Π½Π΅ΠΉ. ΠΠΎΡΠ»Π΅Π΄Π½ΠΈΠ΅ ΡΠ°ΠΊΠΆΠ΅ Π·Π°ΠΊΡΠ΅ΠΏΠ»Π΅Π½Ρ ΠΌΠ΅ΠΆΠ΄Ρ ΡΠΎΠ±ΠΎΠΉ Π±ΠΎΠ»ΡΠ°ΠΌΠΈ, ΠΏΠ΅ΡΠ΅Π΄Π°ΡΡΠΈΠΌΠΈ ΠΊΡΡΡΡΡΠΈΠΉ ΠΌΠΎΠΌΠ΅Π½Ρ ΠΌΠ΅ΠΆΠ΄Ρ ΠΌΡΡΡΠ°ΠΌΠΈ.
Π‘ΠΏΠΎΡΠΎΠ±Π½ΠΎΡΡΡ Π²Π΅Π½ΡΠΎΠ² ΡΠΌΠ΅ΡΠ°ΡΡΡΡ Π² ΠΎΡΠ΅Π²ΠΎΠΌ Π½Π°ΠΏΡΠ°Π²Π»Π΅Π½ΠΈΠΈ, Π° ΡΠ°ΠΊΠΆΠ΅ Π±ΠΎΡΠΊΠΎΠΎΠ±ΡΠ°Π·Π½Π°Ρ ΡΠΎΡΠΌΠ° Π·ΡΠ±ΡΠ΅Π² ΠΏΠΎΠ·Π²ΠΎΠ»ΡΡΡ ΠΊΠΎΠΌΠΏΠ΅Π½ΡΠΈΡΠΎΠ²Π°ΡΡ ΠΎΡΠΊΠ»ΠΎΠ½Π΅Π½ΠΈΡ ΠΎΡ ΡΠΎΠΎΡΠ½ΠΎΡΡΠΈ Π²Π°Π»ΠΎΠ², Π² ΡΠΎΠΌ ΡΠΈΡΠ»Π΅ ΡΠ³Π»ΠΎΠ²ΡΡ — Π΄ΠΎ 4 Π³ΡΠ°Π΄ΡΡΠΎΠ², Π»ΠΈΠ½Π΅ΠΉΠ½ΡΡ — Π΄ΠΎ 4 ΠΌΠΌ. ΠΡΠΈ ΠΊΠΎΠΌΠΏΠ΅Π½ΡΠ°ΡΠΈΠΈ Π·ΡΠ±ΡΡ ΠΏΡΠΎΡΠΊΠ°Π»ΡΠ·ΡΠ²Π°ΡΡ, ΠΏΠΎΡΡΠΎΠΌΡ ΡΡΠ΅Π±ΡΠ΅ΡΡΡ ΠΏΡΠΎΠ²ΠΎΠ΄ΠΈΡΡ ΠΏΠ΅ΡΠΈΠΎΠ΄ΠΈΡΠ΅ΡΠΊΡΡ ΠΎΠ±ΡΠ°Π±ΠΎΡΠΊΡ Π·ΡΠ±ΡΠ°ΡΠΎΠΉ ΠΌΡΡΡΡ ΡΠΌΠ°Π·ΠΎΡΠ½ΡΠΌΠΈ ΠΌΠ°ΡΠ΅ΡΠΈΠ°Π»Π°ΠΌΠΈ.
ΠΡΠ½ΠΎΠ²Π½Π°Ρ ΡΡΠ΅ΡΠ° ΠΏΡΠΈΠΌΠ΅Π½Π΅Π½ΠΈΡ ΠΏΡΠΈΡΠΏΠΎΡΠΎΠ±Π»Π΅Π½ΠΈΡ Π΄Π»Ρ ΡΡΡΠ³ΠΈΠ²Π°Π½ΠΈΡ Π²Π°Π»ΠΎΠ² Π·ΡΠ±ΡΠ°ΡΠΎΠ³ΠΎ ΡΠΈΠΏΠ° — ΠΌΠ°ΡΠΈΠ½ΠΎΡΡΡΠΎΠ΅Π½ΠΈΠ΅.
Π Π°Π·Π±ΠΎΡΠ½ΡΠ΅ ΠΌΡΡΡΡ Ρ ΠΌΠ΅ΡΠ°Π»Π»ΠΈΡΠ΅ΡΠΊΠΎΠΉ ΠΏΡΡΠΆΠΈΠ½ΠΎΠΉ
ΠΡΡΠΆΠΈΠ½Π½ΡΠΉ ΡΠ»Π΅ΠΌΠ΅Π½Ρ Π½Π΅ΡΡΠ°Π½Π΄Π°ΡΡΠ½ΠΎΠΉ ΠΊΠΎΠ½ΡΡΡΡΠΊΡΠΈΠΈ ΡΠΊΠ»Π°Π΄ΡΠ²Π°Π΅ΡΡΡ Π² ΠΏΠ°Π·Ρ-ΠΏΡΠΎΡΠ΅Π·ΠΈ. ΠΡΠΎ ΠΏΠΎΠ²ΡΡΠ°Π΅Ρ Π²ΠΎΠ·ΠΌΠΎΠΆΠ½ΠΎΡΡΠΈ ΡΡΡΡΠΎΠΉΡΡΠ²Π° Π½ΠΈΠ²Π΅Π»ΠΈΡΠΎΠ²Π°ΡΡ ΠΌΠ°Π»ΡΠ΅ ΠΎΡΠΊΠ»ΠΎΠ½Π΅Π½ΠΈΡ ΠΎΡ ΡΠΎΠΎΡΠ½ΠΎΡΡΠΈ ΠΈ ΠΏΠΎΠ΄Π°Π²Π»ΡΡΡ Π²ΠΈΠ±ΡΠ°ΡΠΈΠΈ.
ΠΠ°ΡΠΈΠ°Π½Ρ ΠΌΡΡΡΡ Ρ ΠΎΡΠΈΠ³ΠΈΠ½Π°Π»ΡΠ½ΠΎΠΉ ΠΊΠΎΠ½ΡΡΡΡΠΊΡΠΈΠ΅ΠΉ ΠΏΡΡΠΆΠΈΠ½Ρ Ρ ΠΎΡΠΎΡΠΎ ΡΠ°Π±ΠΎΡΠ°Π΅Ρ Π² ΡΡΠ»ΠΎΠ²ΠΈΡΡ Π²ΠΈΠ±ΡΠ°ΡΠΈΠΈ ΠΈ ΠΌΠ°Π»ΠΎΠΉ Π½Π΅ΡΠΎΠΎΡΠ½ΠΎΡΡΠΈ.
ΠΡΠ±ΠΎΡ ΡΠΎΠ΅Π΄ΠΈΠ½ΠΈΡΠ΅Π»ΡΠ½ΡΡ ΠΌΡΡΡ Π² ΠΈΠ½ΡΠ΅ΡΠ½Π΅Ρ-ΠΌΠ°Π³Π°Π·ΠΈΠ½Π΅ Β«ΠΠΈΡ ΠΡΠΈΠ²ΠΎΠ΄Π°Β»
ΠΡΠ±ΠΈΡΠ°ΡΡ ΠΌΠΎΠ΄Π΅Π»ΠΈ ΠΌΡΡΡ Π΄Π»Ρ ΡΠΎΠ΅Π΄ΠΈΠ½Π΅Π½ΠΈΡ Π²Π°Π»ΠΎΠ², ΠΏΠΎΠ΄Ρ
ΠΎΠ΄ΡΡΠΈΠ΅ ΠΏΠΎ ΠΏΡΠΎΠΈΠ·Π²ΠΎΠ΄ΡΡΠ²Π΅Π½Π½ΠΎΠΌΡ Π½Π°Π·Π½Π°ΡΠ΅Π½ΠΈΡ ΠΈ ΡΠΊΡΠΏΠ»ΡΠ°ΡΠ°ΡΠΈΠΎΠ½Π½ΡΠΌ Ρ
Π°ΡΠ°ΠΊΡΠ΅ΡΠΈΡΡΠΈΠΊΠ°ΠΌ, ΡΠ»Π΅Π΄ΡΠ΅Ρ ΡΠΎΠ»ΡΠΊΠΎ Ρ Π½Π°Π΄Π΅ΠΆΠ½ΡΡ
ΠΏΡΠΎΠΈΠ·Π²ΠΎΠ΄ΠΈΡΠ΅Π»Π΅ΠΉ.
Π’Π°ΠΊ, Π»ΡΡΡΠΈΠ΅ Π΅Π²ΡΠΎΠΏΠ΅ΠΉΡΠΊΠΈΠ΅ ΠΌΠ°ΡΠΊΠΈ ΡΠ°ΠΊΠΈΡ
ΡΡΡΡΠΎΠΉΡΡΠ² ΠΏΡΠ΅Π΄ΡΡΠ°Π²Π»Π΅Π½Ρ Π² ΠΊΠ°ΡΠ°Π»ΠΎΠ³Π΅ ΠΊΠΎΠΌΠΏΠ°Π½ΠΈΠΈ Β«ΠΠΈΡ ΠΡΠΈΠ²ΠΎΠ΄Π°Β» — Π»ΠΈΠ΄Π΅ΡΠ° ΠΎΡΠ΅ΡΠ΅ΡΡΠ²Π΅Π½Π½ΠΎΠ³ΠΎ ΡΡΠ½ΠΊΠ° ΠΏΡΠΈΠ²ΠΎΠ΄Π½ΠΎΠΉ ΡΠ΅Ρ
Π½ΠΈΠΊΠΈ ΠΈ ΠΊΠΎΠΌΠΏΠ»Π΅ΠΊΡΡΡΡΠΈΡ
Ρ ΠΌΠ½ΠΎΠ³ΠΎΠ»Π΅ΡΠ½Π΅ΠΉ ΡΠ΅ΠΏΡΡΠ°ΡΠΈΠ΅ΠΉ.
ΠΠΎΠ΄ΠΎΠ±ΡΠ°ΡΡ Π½ΡΠΆΠ½ΡΡ ΡΠΎΠ΅Π΄ΠΈΠ½ΠΈΡΠ΅Π»ΡΠ½ΡΡ ΠΌΡΡΡΡ ΠΌΠΎΠΆΠ½ΠΎ Ρ ΡΡΠ΅ΡΠΎΠΌ Π΄ΠΈΠ°ΠΌΠ΅ΡΡΠ° Π²Π°Π»Π° ΠΈ ΡΠΈΠΏΠ° ΠΏΠΎΡΠ°Π΄ΠΊΠΈ Π½Π° Π½Π΅Π³ΠΎ. ΠΡΠΈ Π΄Π°Π½Π½ΡΠ΅ ΡΠΊΠ°Π·Π°Π½Ρ Π² Π΄ΠΎΠΊΡΠΌΠ΅Π½ΡΠ°ΡΠΈΠΈ, Π½ΠΎ, ΠΏΡΠΈ Π½Π΅ΠΎΠ±Ρ ΠΎΠ΄ΠΈΠΌΠΎΡΡΠΈ, ΠΊΠ²Π°Π»ΠΈΡΠΈΡΠΈΡΠΎΠ²Π°Π½Π½ΡΠ΅ ΡΠΏΠ΅ΡΠΈΠ°Π»ΠΈΡΡΡ Β«ΠΠΈΡΠ° ΠΡΠΈΠ²ΠΎΠ΄Π°Β» ΠΎΠΊΠ°ΠΆΡΡ Π΄ΠΎΠΏΠΎΠ»Π½ΠΈΡΠ΅Π»ΡΠ½ΡΡ ΠΊΠΎΠ½ΡΡΠ»ΡΡΠ°ΡΠΈΠΎΠ½Π½ΡΡ ΠΏΠΎΠ΄Π΄Π΅ΡΠΆΠΊΡ, ΠΏΠΎΠΌΠΎΠ³ΡΡ ΡΠ°Π·ΠΎΠ±ΡΠ°ΡΡΡΡ Π² Π΄Π΅ΡΠ°Π»ΡΡ .
ΠΡΠΎΠ΄ΡΠΊΡΠΈΡ, ΠΏΡΠ΅Π΄ΡΡΠ°Π²Π»Π΅Π½Π½Π°Ρ Π² ΠΊΠ°ΡΠ°Π»ΠΎΠ³Π΅, ΠΈΠΌΠ΅Π΅Ρ Π²ΡΠ΅ Π½Π΅ΠΎΠ±Ρ ΠΎΠ΄ΠΈΠΌΡΠ΅ ΡΠ΅ΡΡΠΈΡΠΈΠΊΠ°ΡΡ ΠΊΠ°ΡΠ΅ΡΡΠ²Π° ΠΈ ΡΠΎΠΎΡΠ²Π΅ΡΡΡΠ²ΠΈΡ ΡΠΎΡΡΠΈΠΉΡΠΊΠΈΠΌ ΠΈ Π΅Π²ΡΠΎΠΏΠ΅ΠΉΡΠΊΠΈΠ΅ ΡΡΠ°Π½Π΄Π°ΡΡΠ°ΠΌ — ΠΠΠ‘Π’ Π Π€ ΠΈ ISO.
α Π§ΡΠΎ ΡΠ°ΠΊΠΎΠ΅ ΡΠΎΠ΅Π΄ΠΈΠ½ΠΈΡΠ΅Π»ΡΠ½Π°Ρ ΠΌΡΡΡΠ° β Π²ΠΈΠ΄Ρ ΠΈ Π½Π°Π·Π½Π°ΡΠ΅Π½ΠΈΠ΅ ΠΌΡΡΡΠΎΠ²ΡΡ ΡΠΎΠ΅Π΄ΠΈΠ½Π΅Π½ΠΈΠΉ
ΠΡΡΡΠΎΠΉ Π½Π°Π·ΡΠ²Π°Π΅ΡΡΡ ΡΠ°ΠΊΠ°Ρ Π΄Π΅ΡΠ°Π»Ρ Π°Π²ΡΠΎΠΌΠΎΠ±ΠΈΠ»Ρ, ΠΊΠΎΡΠΎΡΡΠ΅ ΠΏΡΠ΅Π΄Π½Π°Π·Π½Π°ΡΠ΅Π½Ρ Π΄Π»Ρ ΡΠΎΠ³ΠΎ, ΡΡΠΎΠ±Ρ ΠΏΠ΅ΡΠ΅Π΄Π°Π²Π°ΡΡ ΠΎΡ Π²Π°Π»Π° ΠΊ Π²Π°Π»Ρ ΠΊΡΡΡΡΡΠΈΠΉ ΠΌΠΎΠΌΠ΅Π½Ρ. ΠΠΎ ΡΠ°ΠΊΠΆΠ΅ ΡΡΡΠ΅ΡΡΠ²ΡΡΡ ΠΎΡΠ΄Π΅Π»ΡΠ½ΡΠ΅ Π²ΠΈΠ΄Ρ ΡΡΠΈΡ
ΡΠ»Π΅ΠΌΠ΅Π½ΡΠΎΠ², ΠΊΠΎΡΠΎΡΡΠ΅ Π½Π°Π³ΡΡΠΆΠ΅Π½Ρ Π΄ΠΎΠΏΠΎΠ»Π½ΠΈΡΠ΅Π»ΡΠ½ΡΠΌΠΈ ΡΡΠ½ΠΊΡΠΈΡΠΌΠΈ. ΠΠ½ΠΈ ΠΌΠΎΠ³ΡΡ ΠΎΠ±Π΅Π·ΠΎΠΏΠ°ΡΠΈΡΡ ΠΌΠ΅Ρ
Π°Π½ΠΈΠ·ΠΌΡ ΠΎΡ ΠΏΠ΅ΡΠ΅Π³ΡΡΠ·Π° ΠΈΠ»ΠΈ Π²ΠΎΡΠΏΠΎΠ»Π½ΠΈΡΡ ΠΎΡΠΈΠ±ΠΊΠΈ, ΠΊΠΎΡΠΎΡΡΠ΅ ΠΌΠΎΠ³Π»ΠΈ Π±ΡΡΡ Π΄ΠΎΠΏΡΡΠ΅Π½Ρ ΠΏΡΠΈ ΠΌΠΎΠ½ΡΠ°ΠΆΠ΅ Π²Π°Π»ΠΎΠ².
ΠΠΈΠ΄Ρ ΠΌΡΡΡ ΠΏΠΎ ΡΠΏΠΎΡΠΎΠ±Ρ ΡΠΎΠ΅Π΄ΠΈΠ½Π΅Π½ΠΈΡ
Π‘ΡΡΠ΅ΡΡΠ²ΡΠ΅Ρ ΡΡΠΈ Π²ΠΈΠ΄Π° Π΄Π΅ΡΠ°Π»Π΅ΠΉ, Π²ΡΠ΄Π΅Π»ΡΠ΅ΠΌΡΡ ΠΏΠΎ ΡΠΏΠΎΡΠΎΠ±Ρ ΡΠΎΠ΅Π΄ΠΈΠ½Π΅Π½ΠΈΡ. Π Π½ΠΈΠΌ ΠΎΡΠ½ΠΎΡΡΡΡΡ:
- ΠΠ»ΡΡ Π°Ρ. ΠΠ±ΡΠ°Π·ΡΠ΅Ρ ΠΆΠ΅ΡΡΠΊΡΡ Π½Π΅ΠΏΠΎΠ΄Π²ΠΈΠΆΠ½ΡΡ ΡΠ²ΡΠ·ΠΊΡ. ΠΡ ΠΎΠ±ΡΡΠ½ΠΎ ΠΈΡΠΏΠΎΠ»ΡΠ·ΡΡΡ Π΄Π»Ρ ΡΠΈΡ ΠΎΡ ΠΎΠ΄Π½ΡΡ Π²Π°Π»ΠΎΠ². Π’Π°ΠΊΠΎΠΉ Π²ΠΈΠ΄ Π΄Π΅ΡΠ°Π»ΠΈ ΡΠ°ΠΌΡΠΉ ΠΏΡΠΎΡΡΠΎΠΉ ΠΈΠ· Π²ΡΠ΅Ρ . ΠΠ½ΠΈ ΠΎΠ±ΡΡΠ½ΠΎ ΠΈΠΌΠ΅ΡΡ ΡΠ΅Π»ΡΠ½ΡΠΉ ΠΌΠ΅ΡΠ°Π»Π»ΠΈΡΠ΅ΡΠΊΠΈΠΉ ΠΊΠΎΡΠΏΡΡ. Π’Π°ΠΊΠΈΠ΅ ΠΈΠ·Π΄Π΅Π»ΠΈΡ ΠΏΠΎΠ·Π²ΠΎΠ»ΡΡΡ ΠΎΠ±Π΅ΡΠΏΠ΅ΡΠΈΡΡ Π²ΡΡΠΎΠΊΡΡ ΠΏΡΠΎΡΠ½ΠΎΡΡΡ ΡΠΎΠ΅Π΄ΠΈΠ½Π΅Π½ΠΈΡ.
- Π£ΠΏΡΠ°Π²Π»ΡΠ΅ΠΌΠ°Ρ (ΡΡΠ΅ΠΏΠ½Π°Ρ). Π‘Π»ΡΠΆΠΈΡ Π΄Π»Ρ ΡΠΎΠ΅Π΄ΠΈΠ½Π΅Π½ΠΈΡ/ΡΠ°Π·ΡΠ΅Π΄ΠΈΠ½Π΅Π½ΠΈΡ Π²Π°Π»Π°, Π½Π΅ ΠΎΡΡΠ°Π½Π°Π²Π»ΠΈΠ²Π°Ρ ΠΏΡΠΈ ΡΡΠΎΠΌ ΡΠ°Π±ΠΎΡΡ Π΄Π²ΠΈΠ³Π°ΡΠ΅Π»Ρ.
- Π‘Π°ΠΌΠΎΡΠΏΡΠ°Π²Π»ΡΠ΅ΠΌΠ°Ρ (Π°Π²ΡΠΎΠΌΠ°ΡΠΈΡΠ΅ΡΠΊΠ°Ρ). Π‘Π°ΠΌΠΎΡΡΠΎΡΡΠ΅Π»ΡΠ½ΠΎ ΡΠ΅Π°Π»ΠΈΠ·ΡΠ΅Ρ ΠΎΠ΄Π½Ρ ΠΈΠ· Π½Π΅ΡΠΊΠΎΠ»ΡΠΊΠΈΡ Π²ΠΎΠ·ΠΌΠΎΠΆΠ½ΡΡ ΡΡΠ½ΠΊΡΠΈΠΉ: Π»ΠΈΠΌΠΈΡ Π½Π°Π³ΡΡΠ·ΠΊΠΈ β ΠΏΡΠ΅Π΄ΠΎΡ ΡΠ°Π½ΡΡΡΠΈΠ΅; Π²ΠΎΡΡΠΎΠ·Π΄Π°Π½ΠΈΠ΅ Π½Π°Π³ΡΡΠ·ΠΊΠΈ, Π½ΠΎ Π»ΠΈΡΡ Π² ΠΎΠ΄Π½ΠΎΠΌ Π½Π°ΠΏΡΠ°Π²Π»Π΅Π½ΠΈΠΈ β ΠΌΡΡΡΠ° ΠΎΠ±Π³ΠΎΠ½Π° ΠΈ Ρ.ΠΏ.
Π’Π°ΠΊΠΆΠ΅ ΡΡΡΠ΅ΡΡΠ²ΡΡΡ ΠΈ Π΄ΡΡΠ³ΠΈΠ΅ ΠΌΠΎΠΌΠ΅Π½ΡΡ, ΠΏΠΎ ΠΊΠΎΡΠΎΡΡΠΌ ΠΏΡΠΎΠΈΠ·Π²ΠΎΠ΄ΠΈΡΡΡ ΠΊΠ»Π°ΡΡΠΈΡΠΈΠΊΠ°ΡΠΈΡ ΡΡΠΎΠ³ΠΎ ΡΠ»Π΅ΠΌΠ΅Π½ΡΠ°.
ΠΠ»Π°ΡΡΠΈΡΠΈΠΊΠ°ΡΠΈΡ ΠΌΡΡΡ ΠΏΠΎ ΠΊΠΎΠΌΠΏΠ΅Π½ΡΠΈΡΡΡΡΠΈΠΌ ΠΈ Π΄Π΅ΠΌΠΏΡΠΈΡΡΡΡΠΈΠΌ ΡΠΏΠΎΡΠΎΠ±Π½ΠΎΡΡΡΠΌ
ΠΠΎ Π΄Π΅ΠΌΠΏΡΠΈΡΡΡΡΠΈΠΌ Π²ΠΎΠ·ΠΌΠΎΠΆΠ½ΠΎΡΡΡΠΌ Π²ΡΠ΄Π΅Π»ΡΡΡ ΠΆΠ΅ΡΡΠΊΠΈΠ΅ (Π²ΡΡΠ»ΠΎΡΠ½Π°Ρ β ΡΠ°ΠΌΠ°Ρ ΠΏΡΠΎΡΡΠ°Ρ ΠΈ ΡΠ»Π°Π½ΡΠ΅Π²Π°Ρ) ΠΈ ΡΠΏΡΡΠ³ΠΈΠ΅ ΠΊΠΎΠΌΠΏΠ΅Π½ΡΠΈΡΡΡΡΠΈΠ΅ ΠΌΡΡΡΡ, ΠΏΡΠ΅Π΄Π½Π°Π·Π½Π°ΡΠ΅Π½Π½ΡΠ΅ Π΄Π»Ρ Π°ΠΌΠΎΡΡΠΈΠ·Π°ΡΠΈΠΈ ΠΈ ΠΏΠΎΠ΄Π°Π²Π»Π΅Π½ΠΈΡ Π½Π°Π³ΡΡΠ·ΠΎΠΊ, ΠΊΠΎΡΠΎΡΡΠ΅ ΠΌΠΎΠ³ΡΡ Π²ΠΎΠ·Π½ΠΈΠΊΠ°ΡΡ Π²ΠΎ Π²ΡΠ΅ΠΌΡ ΡΠ°Π±ΠΎΡΡ ΠΏΠ΅ΡΠ΅Π΄Π°Ρ Π°Π²ΡΠΎΠΌΠΎΠ±ΠΈΠ»Π΅ΠΉ.
ΠΠΎ ΠΊΠΎΠΌΠΏΠ΅Π½ΡΠΈΡΡΡΡΠΈΠΌ Π²ΠΎΠ·ΠΌΠΎΠΆΠ½ΠΎΡΡΡΠΌ Π΅ΡΡΡ Π΄Π²Π° Π²ΠΈΠ΄Π° ΡΠ»Π΅ΠΌΠ΅Π½ΡΠΎΠ² ΡΡΠΎΠ³ΠΎ ΡΠΈΠΏΠ° β ΠΊΠΎΠΌΠΏΠ΅Π½ΡΠΈΡΡΡΡΠΈΠ΅ ΠΈ Π½Π΅ΠΊΠΎΠΌΠΏΠ΅Π½ΡΠΈΡΡΡΡΠΈΠ΅.
ΠΠΎΠ½ΡΡΡΡΠΊΡΠΈΠΈ ΠΌΡΡΡ
Π‘ΠΎΠ²ΡΠ΅ΠΌΠ΅Π½Π½ΡΠ΅ ΠΏΡΠΎΠΈΠ·Π²ΠΎΠ΄ΠΈΡΠ΅Π»ΠΈ ΠΏΡΠ΅Π΄Π»Π°Π³Π°ΡΡ ΠΎΠ³ΡΠΎΠΌΠ½ΠΎΠ΅ ΠΊΠΎΠ»ΠΈΡΠ΅ΡΡΠ²ΠΎ ΡΠ°ΠΌΡΡ ΡΠ°Π·Π½ΡΡ ΠΈΠ·Π΄Π΅Π»ΠΈΠΉ, ΠΊΠΎΡΠΎΡΡΠ΅ ΠΎΡΠ»ΠΈΡΠ°ΡΡΡΡ Π΄ΡΡΠ³ ΠΎΡ Π΄ΡΡΠ³Π° ΠΊΠ°ΠΊ ΡΠ²ΠΎΠ΅ΠΉ ΠΊΠΎΠ½ΡΡΡΡΠΊΡΠΈΠ΅ΠΉ, ΡΠ°ΠΊ ΠΈ Π½Π°Π·Π½Π°ΡΠ΅Π½ΠΈΠ΅ΠΌ. ΠΡΡΡ Π½Π΅ΡΠΊΠΎΠ»ΡΠΊΠΎ ΡΠ°Π·Π½ΡΡ ΠΊΠΎΠ½ΡΡΡΡΠΊΡΠΈΠΉ ΠΌΡΡΡ. ΠΠΎΡ ΡΠ°ΠΌΡΠ΅ ΡΠ°ΡΠΏΡΠΎΡΡΡΠ°Π½Π΅Π½Π½ΡΠ΅ ΠΈΠ· Π½ΠΈΡ :
- ΠΡΡΠ»ΠΎΡΠ½Π°Ρ ΠΌΡΡΡΠ°. ΠΠ½Π° Π²ΡΠ³Π»ΡΠ΄ΠΈΡ, ΠΊΠ°ΠΊ Π³ΡΡΠ±Π°Ρ Π²ΡΡΠ»ΠΊΠ°, ΠΊΠΎΡΠΎΡΡΡ Π½Π°Π΄Π΅Π²Π°ΡΡ Π½Π° Π²Π°Π»Ρ. ΠΠ΅ΡΠ΅Π΄Π°ΡΠ° Π²ΡΠ°ΡΠ΅Π½ΠΈΡ ΠΌΠΎΠΆΠ΅Ρ ΠΎΡΡΡΠ΅ΡΡΠ²Π»ΡΡΡΡΡ Ρ ΠΏΠΎΠΌΠΎΡΡΡ ΡΠΏΠΎΠ½ΠΎΠΊ, ΡΠΏΠΈΡ ΠΈΠ»ΠΈ ΡΡΠΈΡΡΠΎΠ². Π’ΠΎΠ»ΡΠΈΠ½Π° ΡΠ΅Π·ΠΈΠ½ΠΎΠ²ΡΡ Π²ΡΡΠ»ΠΎΠΊ ΠΌΠ°Π»Π°Ρ, ΠΈ ΠΏΠΎΡΡΠΎΠΌΡ Π°ΠΌΠΎΡΡΠΈΠ·ΠΈΡΡΡΡΠ°Ρ Π²ΠΎΠ·ΠΌΠΎΠΆΠ½ΠΎΡΡΡ Π½Π΅Π±ΠΎΠ»ΡΡΠ°Ρ. Π’Π°ΠΊΠΈΠ΅ Π΄Π΅ΡΠ°Π»ΠΈ Π½Π΅ ΡΠ²Π»ΡΡΡΡΡ ΠΊΠΎΠΌΠΏΠ΅Π½ΡΠΈΡΡΡΡΠΈΠΌΠΈ, ΠΎΠ½ΠΈ Π΄ΠΎΡΡΠ°ΡΠΎΡΠ½ΠΎ ΠΏΡΠΎΡΡΡ ΠΏΠΎ ΡΠ²ΠΎΠ΅ΠΉ ΠΊΠΎΠ½ΡΡΡΡΠΊΡΠΈΠΈ ΠΈ ΠΎΡΠ»ΠΈΡΠ°ΡΡΡΡ Π½Π΅Π±ΠΎΠ»ΡΡΠΈΠΌΠΈ ΡΠ°Π·ΠΌΠ΅ΡΠ°ΠΌΠΈ.
- Π€Π»Π°Π½ΡΠ΅Π²Π°Ρ ΠΌΡΡΡΠ°. ΠΠ½Π° ΡΠΎΡΡΠΎΠΈΡ ΠΈΠ· Π΄Π²ΡΡ ΡΠ»Π°Π½ΡΠ΅Π², ΠΊΠΎΡΠΎΡΡΠ΅ ΡΠΎΠ΅Π΄ΠΈΠ½ΡΡΡΡΡ Π±ΠΎΠ»ΡΠΎΠΌ. ΠΠ½Π° ΡΠ°ΠΊΠΆΠ΅ Π½Π΅ ΡΠ²Π»ΡΠ΅ΡΡΡ ΠΊΠΎΠΌΠΏΠ΅Π½ΡΠΈΡΡΡΡΠ΅ΠΉ, Π½ΠΎ ΠΎΡΠ΅Π½Ρ ΠΏΡΠΎΡΡΠ° ΠΈ Π»Π΅Π³ΠΊΠ° Π² ΠΌΠΎΠ½ΡΠ°ΠΆΠ΅. Π‘ΡΠ΅Π΄ΠΈ Π½Π΅Π΄ΠΎΡΡΠ°ΡΠΊΠΎΠ² ΠΌΠΎΠΆΠ½ΠΎ ΠΎΡΠΌΠ΅ΡΠΈΡΡ Π»ΠΈΡΡ Π±ΠΎΠ»ΡΡΠΈΠ΅ Π³Π°Π±Π°ΡΠΈΡΡ ΠΈ Π½Π΅Π²ΠΎΠ·ΠΌΠΎΠΆΠ½ΠΎΡΡΡ ΠΊΠΎΠΌΠΏΠ΅Π½ΡΠΈΡΠΎΠ²Π°ΡΡ ΠΏΠΎΠ³ΡΠ΅ΡΠ½ΠΎΡΡΡ ΠΌΠΎΠ½ΡΠ°ΠΆΠ°.
- ΠΡΡΠ»ΠΎΡΠ½ΠΎ-ΠΏΠ°Π»ΡΡΠ΅Π²Π°Ρ.
ΠΠ° ΠΊΠΎΠ½ΡΡ Π²Π°Π»ΠΎΠ² Π½Π°Π΄Π΅Π²Π°ΡΡΡΡ ΠΏΠΎΠ»ΡΠΌΡΡΡΡ ΠΈ ΡΠΈΠΊΡΠΈΡΡΡΡ Π½Π°ΡΡΠΆΠ΅Π½ΠΈΠ΅ Π³Π°ΠΉΠΊΠΎΠΉ. Π’Π°ΠΊΠΈΠΌ ΠΎΠ±ΡΠ°Π·ΠΎΠΌ, ΠΊΠΎΠ»ΡΡΠΎ ΠΎΠ±ΡΠ°Π·ΡΠ΅Ρ Π·Π°Π·ΠΎΡ. ΠΡΠ° Π΄Π΅ΡΠ°Π»Ρ ΡΠΆΠ΅ ΠΊΠΎΠΌΠΏΠ΅Π½ΡΠΈΡΡΡΡΠ°Ρ ΠΈ ΡΠ°ΠΊΠΆΠ΅ ΠΈΠΌΠ΅Π΅Ρ Π½Π΅ ΡΠ»ΠΈΡΠΊΠΎΠΌ Π±ΠΎΠ»ΡΡΠΈΠ΅ Π³Π°Π±Π°ΡΠΈΡΡ, ΡΡΠΎ ΡΠ΄ΠΎΠ±Π½ΠΎ ΠΏΡΠΈ ΡΡΡΠ°Π½ΠΎΠ²ΠΊΠ΅. - ΠΡΡΡΠ° ΡΠΎ Π·Π²Π΅Π·Π΄ΠΎΠΉ (ΡΠΏΡΡΠ³Π°Ρ). Π Π΅Π·ΠΈΠ½ΠΎΠ²Π°Ρ Π·Π²Π΅Π·Π΄Π° ΡΡΡΠ°Π½Π°Π²Π»ΠΈΠ²Π°Π΅ΡΡΡ Π½Π΅ΠΏΠΎΡΡΠ΅Π΄ΡΡΠ²Π΅Π½Π½ΠΎ ΠΌΠ΅ΠΆΠ΄Ρ Π΄Π²ΡΠΌΡ ΠΊΡΠ»Π°ΡΠΊΠ°ΠΌΠΈ. Π’Π°ΠΊΠΈΠ΅ Π²Π°ΡΠΈΠ°Π½ΡΡ ΠΎΡΠ»ΠΈΡΠ°ΡΡΡΡ ΠΎΡΠ΅Π½Ρ ΠΌΠ°Π»Π΅Π½ΡΠΊΠΈΠΌΠΈ ΡΠ°Π·ΠΌΠ΅ΡΠ°ΠΌΠΈ ΠΈ ΠΈΠΌΠ΅ΡΡ ΠΊΠΎΠΌΠΏΠ΅Π½ΡΠΈΡΡΡΡΠΈΠ΅ ΠΈ Π΄Π΅ΠΌΠΏΡΠΈΡΡΡΡΠΈΠ΅ ΡΠ²ΠΎΠΉΡΡΠ²Π°. ΠΠΎΠ»ΡΡΠΎΠΉ Π°ΡΡΠΎΡΡΠΈΠΌΠ΅Π½Ρ ΡΠ°ΠΊΠΈΡ ΠΌΡΡΡ ΠΏΡΠ΅Π΄ΡΡΠ°Π²Π»Π΅Π½ Π² Π½Π°ΡΠ΅ΠΌ ΠΊΠ°ΡΠ°Π»ΠΎΠ³Π΅.
- ΠΡΡΡΠ° Ρ Ρ-ΠΎΠ±ΡΠ°Π·Π½ΠΎΠΉ ΠΎΠ±ΠΎΠ»ΠΎΡΠΊΠΎΠΉ. ΠΡΠΈΠΆΠΈΠΌΠ½ΡΠ΅ ΠΊΠΎΠ»ΡΡΠ°, Ρ ΠΏΠΎΠΌΠΎΡΡΡ ΡΠΏΠ΅ΡΠΈΠ°Π»ΡΠ½ΡΡ Π²ΠΈΠ½ΡΠΎΠ² ΡΠΈΠΊΡΠΈΡΡΡΡΡΡ ΠΊ ΠΏΠΎΠ»ΡΠΌΡΡΡΠ°ΠΌ, ΠΊΠΎΡΠΎΡΡΠ΅ ΠΏΡΠΈ ΠΌΠΎΠ½ΡΠ°ΠΆΠ΅ ΠΎΠ±ΡΠ°Π·ΡΡΡ Π·Π°ΡΠΈΠΊΡΠΈΡΠΎΠ²Π°Π½Π½ΡΡ ΠΎΠ±ΠΎΠ»ΠΎΡΠΊΡ. Π’Π°ΠΊΠΎΠΉ ΡΠΈΠΏ ΠΊΠΎΠ½ΡΡΡΡΠΊΡΠΈΠΈ Π½Π°Π΄Π΅Π»Π΅Π½ ΠΎΡΠ΅Π½Ρ Π²ΡΡΠΎΠΊΠΈΠΌΠΈ Π·Π°ΡΠΈΡΠ½ΡΠΌΠΈ ΠΈ Π²ΠΎΡΠΏΠΎΠ»Π½ΡΡΡΠΈΠΌΠΈ ΠΊΠ°ΡΠ΅ΡΡΠ²Π°ΠΌΠΈ.
ΠΠ°ΠΊ Π²ΠΈΠ΄ΠΈΡΠ΅, ΠΏΠ΅ΡΠ΅Π΄ ΡΠ΅ΠΌ ΠΊΠ°ΠΊ ΠΊΡΠΏΠΈΡΡ Π΄Π΅ΡΠ°Π»Ρ ΠΈΠ»ΠΈ Π΅Π΅ ΡΠΏΡΡΠ³ΠΈΠ΅ ΡΠ»Π΅ΠΌΠ΅Π½ΡΡ, ΠΆΠ΅Π»Π°ΡΠ΅Π»ΡΠ½ΠΎ ΠΈΠ·ΡΡΠΈΡΡ ΠΈ ΠΏΠΎΠ½ΠΈΠΌΠ°ΡΡ ΠΈΡ ΠΎΡΠ½ΠΎΠ²Π½ΡΠ΅ ΠΏΡΠΈΠ½ΡΠΈΠΏΠΈΠ°Π»ΡΠ½ΡΠ΅ ΡΠ°Π·Π»ΠΈΡΠΈΡ ΠΌΠ΅ΠΆΠ΄Ρ ΡΠΎΠ±ΠΎΠΉ.
ΠΡΡΡΠ° Π²Π°Π»Π°
ΠΡΡΡΠ° Π²Π°Π»Π° ΡΠ²Π»ΡΠ΅ΡΡΡ ΡΠΎΠ΅Π΄ΠΈΠ½ΠΈΡΠ΅Π»ΡΠ½ΡΠΌ ΡΠ»Π΅ΠΌΠ΅Π½ΡΠΎΠΌ ΠΌΠ΅ΠΆΠ΄Ρ ΡΠ»Π΅ΠΊΡΡΠΎΠ΄Π²ΠΈΠ³Π°ΡΠ΅Π»Π΅ΠΌ ΠΈ Π³ΠΈΠ΄ΡΠ°Π²Π»ΠΈΡΠ΅ΡΠΊΠΎΠΉ ΡΠΈΡΡΠ΅ΠΌΠΎΠΉ Π½Π°ΡΠΎΡΠ°.
ΠΡΡΡΡ Π±Π΅Π· ΠΏΡΠΎΡΠΊΠ°Π»ΡΠ·ΡΠ²Π°Π½ΠΈΡ Π²Π°Π»ΠΎΠ², ΠΏΡΠΈΠΌΠ΅Π½ΡΠ΅ΠΌΡΠ΅ Π² ΡΠ΅Π½ΡΡΠΎΠ±Π΅ΠΆΠ½ΡΡ
Π½Π°ΡΠΎΡΠ°Ρ
, Π΄Π΅Π»ΡΡΡΡ Π½Π° ΠΆΠ΅ΡΡΠΊΠΈΠ΅ ΠΈ Π³ΠΈΠ±ΠΊΠΈΠ΅ ΠΌΡΡΡΡ Π²Π°Π»ΠΎΠ².
ΠΠ΅ΡΡΠΊΠ°Ρ ΠΌΡΡΡΠ° Π²Π°Π»Π°Β
ΠΠ΅ΡΡΠΊΠ°Ρ ΠΌΡΡΡΠ° Π²Π°Π»Π° Π² ΠΎΡΠ½ΠΎΠ²Π½ΠΎΠΌ ΠΈΡΠΏΠΎΠ»ΡΠ·ΡΠ΅ΡΡΡ Π΄Π»Ρ ΡΠΎΠ΅Π΄ΠΈΠ½Π΅Π½ΠΈΡ ΠΈΠ΄Π΅Π°Π»ΡΠ½ΠΎ Π²ΡΡΠΎΠ²Π½Π΅Π½Π½ΡΡ Π²Π°Π»ΠΎΠ². ΠΠ°Π»Π΅ΠΉΡΠ°Ρ Π½Π΅ΡΠΎΠΎΡΠ½ΠΎΡΡΡ ΠΏΡΠΈΠ²ΠΎΠ΄ΠΈΡ ΠΊ Π·Π½Π°ΡΠΈΡΠ΅Π»ΡΠ½ΡΠΌ Π΄ΠΎΠΏΠΎΠ»Π½ΠΈΡΠ΅Π»ΡΠ½ΡΠΌ Π½Π°Π³ΡΡΠ·ΠΊΠ°ΠΌ Π½Π° ΠΌΡΡΡΡ Π²Π°Π»ΠΎΠ² ΠΈ ΠΏΡΠΈΠ»Π΅Π³Π°ΡΡΠΈΠ΅ ΠΊΠΎΠ½ΡΡ Π²Π°Π»ΠΎΠ².
ΠΡΠΈΠΌΠ΅ΡΡ ΠΆΠ΅ΡΡΠΊΠΈΡ ΠΌΡΡΡ
- ΠΡΡΠ»ΠΎΡΠ½Π°Ρ ΠΌΡΡΡΠ°
- ΠΡΡΡΠ°
- Π ΠΈΡΠ»Π΅Π½Π°Ρ ΠΌΡΡΡΠ°
- Π Π°Π·ΡΠ΅ΠΌΠ½Π°Ρ ΠΌΡΡΡΠ° (DIN 115)
- ΠΠΈΡΠΊ ΠΌΡΡΡΠ°
- Π€Π»Π°Π½ΡΠ΅Π²Π°Ρ ΠΌΡΡΡΠ°
- ΠΡΠ±ΡΠ°ΡΠ°Ρ ΠΌΡΡΡΠ°
ΠΠΈΠ±ΠΊΠ°Ρ ΠΌΡΡΡΠ° Π²Π°Π»Π°
ΠΡΡΡΡ Π²Π°Π»Π° ΠΏΠΎ DIN 7400 ΠΏΡΠ΅Π΄ΡΡΠ°Π²Π»ΡΡΡ ΡΠΎΠ±ΠΎΠΉ ΡΠΏΡΡΠ³ΠΈΠ΅ (Π³ΠΈΠ±ΠΊΠΈΠ΅), Π½Π΅ΡΠΊΠΎΠ»ΡΠ·ΡΡΠΈΠ΅ ΡΠΎΠ΅Π΄ΠΈΠ½ΠΈΡΠ΅Π»ΡΠ½ΡΠ΅ ΡΠ»Π΅ΠΌΠ΅Π½ΡΡ, ΡΡΡΠ°Π½Π°Π²Π»ΠΈΠ²Π°Π΅ΠΌΡΠ΅ ΠΌΠ΅ΠΆΠ΄Ρ Π²Π΅Π΄ΡΡΠΈΠΌΠΈ ΠΈ Π²Π΅Π΄ΠΎΠΌΡΠΌΠΈ ΠΊΠΎΠΌΠΏΠΎΠ½Π΅Π½ΡΠ°ΠΌΠΈ, ΡΠΏΠΎΡΠΎΠ±Π½ΡΠ΅ ΡΠ°ΡΡΠΈΡΠ½ΠΎ ΠΊΠΎΠΌΠΏΠ΅Π½ΡΠΈΡΠΎΠ²Π°ΡΡ ΠΎΡΠ΅Π²Π°Ρ , ΡΠ°Π΄ΠΈΠ°Π»ΡΠ½Π°Ρ Β ΠΈ ΡΠ³Π»ΠΎΠ²Π°Ρ Π½Π΅ΡΠΎΠΎΡΠ½ΠΎΡΡΡ ΠΈ ΡΠ΄Π°ΡΠ½ΡΠ΅ Π½Π°Π³ΡΡΠ·ΠΊΠΈ.
Π‘ΠΌ. ΡΠΈΡ. 1 ΠΡΡΡΠ° Π²Π°Π»Π°
ΠΠΈΠ±ΠΊΠΎΡΡΡ ΠΎΠ±ΡΡΠ½ΠΎ Π΄ΠΎΡΡΠΈΠ³Π°Π΅ΡΡΡ Π΄Π΅ΡΠΎΡΠΌΠ°ΡΠΈΠ΅ΠΉ Π΄Π΅ΠΌΠΏΡΠΈΡΡΡΡΠΈΡ
, ΡΠ΅Π·ΠΈΠ½ΠΎΠ²ΡΡ
ΠΈΠ»ΠΈ ΠΌΠ΅ΡΠ°Π»Π»ΠΎΡΠΏΡΡΠ³ΠΈΡ
ΠΏΡΡΠΆΠΈΠ½Π½ΡΡ
ΡΠ»Π΅ΠΌΠ΅Π½ΡΠΎΠ²; ΡΡΠΎΠΊ ΠΈΡ
ΡΠ»ΡΠΆΠ±Ρ ΡΠΈΠ»ΡΠ½ΠΎ Π·Π°Π²ΠΈΡΠΈΡ ΠΎΡ ΡΠΎΠ³ΠΎ, Π² ΠΊΠ°ΠΊΠΎΠΉ ΡΡΠ΅ΠΏΠ΅Π½ΠΈ Π½Π΅ΠΎΠ±Ρ
ΠΎΠ΄ΠΈΠΌΠΎ ΠΊΠΎΠΌΠΏΠ΅Π½ΡΠΈΡΠΎΠ²Π°ΡΡ Π½Π΅ΡΠΎΠΎΡΠ½ΠΎΡΡΡ.
ΠΠΎΡΡΡΠΏΠ½Ρ ΡΠ°Π·Π»ΠΈΡΠ½ΡΠ΅ ΠΊΠΎΠ½ΡΡΡΡΠΊΡΠΈΠΈ Π³ΠΈΠ±ΠΊΠΎΠΉ ΠΌΡΡΡΡ Π²Π°Π»Π°.
Π‘ΠΌ. ΡΠΈΡ. 2 ΠΡΡΡΠ° Π²Π°Π»Π°
ΠΡΠ»ΠΈ ΠΏΡΠΎΠΈΡΡ
ΠΎΠ΄ΠΈΡ ΡΠΌΠ΅ΡΠ΅Π½ΠΈΠ΅ Π²Π°Π»Π° ΠΌΠ΅ΠΆΠ΄Ρ ΠΏΡΠΈΠ²ΠΎΠ΄ΠΎΠΌ ΠΈ Π½Π°ΡΠΎΡΠΎΠΌ Π² ΡΠ΅Π·ΡΠ»ΡΡΠ°ΡΠ΅, Π½Π°ΠΏΡΠΈΠΌΠ΅Ρ, ΠΊΠΎΠ»Π΅Π±Π°Π½ΠΈΠΉ ΡΠ΅ΠΌΠΏΠ΅ΡΠ°ΡΡΡΡ ΠΏΠ΅ΡΠ΅ΠΊΠ°ΡΠΈΠ²Π°Π΅ΠΌΠΎΠΉ ΠΆΠΈΠ΄ΠΊΠΎΡΡΠΈ (ΠΏΡΠΈ ΡΠ΅ΠΏΠ»ΠΎΠΏΠ΅ΡΠ΅Π΄Π°ΡΠ΅ ΠΈ Π½Π°ΡΠΎΡΡ Π΄Π»Ρ Π³ΠΎΡΡΡΠ΅ΠΉ Π²ΠΎΠ΄Ρ ) ΡΠ°ΡΡΠΎ ΠΈΡΠΏΠΎΠ»ΡΠ·ΡΠ΅ΡΡΡ ΠΊΠΎΠ½ΡΡΡΡΠΊΡΠΈΡ Ρ Π΄Π²ΠΎΠΉΠ½ΠΎΠΉ ΠΊΠ°ΡΠ΄Π°Π½Π½ΠΎΠΉ ΠΌΡΡΡΠΎΠΉ.
Π‘ΠΌ. ΡΠΈΡ. 3 ΠΡΡΡΠ° Π²Π°Π»Π°
ΠΡΠ±ΡΠ°ΡΡΠ΅ ΠΌΡΡΡΡ ΠΏΡΠ΅Π΄ΡΡΠ°Π²Π»ΡΡΡ ΡΠΎΠ±ΠΎΠΉ Π³ΠΈΠ±ΠΊΠΈΠ΅ ΡΠΎΠ΅Π΄ΠΈΠ½Π΅Π½ΠΈΡ Π²Π°Π»Π° Π΄Π»Ρ ΠΏΠ΅ΡΠ΅Π΄Π°ΡΠΈ ΠΏΠΎΠ»ΠΎΠΆΠΈΡΠ΅Π»ΡΠ½ΠΎΠ³ΠΎ ΠΊΡΡΡΡΡΠ΅Π³ΠΎ ΠΌΠΎΠΌΠ΅Π½ΡΠ° ΠΈ ΠΎΡΠΎΠ±Π΅Π½Π½ΠΎ ΠΏΠΎΠ΄Ρ ΠΎΠ΄ΡΡ Π΄Π»Ρ ΠΊΠΎΠΌΠΏΠ΅Π½ΡΠ°ΡΠΈΠΈ ΠΎΡΠ΅Π²ΠΎΠ³ΠΎ, ΡΠ°Π΄ΠΈΠ°Π»ΡΠ½ΠΎΠ³ΠΎ ΠΈ ΡΠ³Π»ΠΎΠ²ΠΎΠ³ΠΎ ΡΠΌΠ΅ΡΠ΅Π½ΠΈΡ Π²Π°Π»Π°.
ΠΡΠΈΠ½ΡΠΈΠΏ ΠΊΠΎΠ½ΡΡΡΡΠΊΡΠΈΠΈ ΠΌΡΡΡ Ρ ΠΊΡΠΈΠ²ΠΎΠ»ΠΈΠ½Π΅ΠΉΠ½ΡΠΌΠΈ Π·ΡΠ±ΡΡΠΌΠΈ (ΡΠΌ. ΠΡΠ±ΡΠ°ΡΠ°Ρ ΠΌΡΡΡΠ° Ρ ΠΊΡΠΈΠ²ΠΎΠ»ΠΈΠ½Π΅ΠΉΠ½ΡΠΌΠΈ Π·ΡΠ±ΡΡΠΌΠΈ ) ΠΏΡΠ΅Π΄ΠΎΡΠ²ΡΠ°ΡΠ°Π΅Ρ ΠΊΡΠ°Π΅Π²ΠΎΠ΅ Π΄Π°Π²Π»Π΅Π½ΠΈΠ΅ ΠΏΡΠΈ Π·Π°ΡΠ΅ΠΏΠ»Π΅Π½ΠΈΠΈ ΡΠ΅ΡΡΠ΅ΡΠ΅Π½ Π² ΡΠ»ΡΡΠ°Π΅ ΡΠ³Π»ΠΎΠ²ΠΎΠ³ΠΎ ΠΈ ΡΠ°Π΄ΠΈΠ°Π»ΡΠ½ΠΎΠ³ΠΎ ΡΠΌΠ΅ΡΠ΅Π½ΠΈΡ, ΡΡΠΎ Π΄Π΅Π»Π°Π΅Ρ ΡΡΠΈ ΠΌΡΡΡΡ ΠΏΡΠ°ΠΊΡΠΈΡΠ΅ΡΠΊΠΈ Π½Π΅ΠΈΠ·Π½Π°ΡΠΈΠ²Π°Π΅ΠΌΡΠΌΠΈ.
ΠΠ²ΡΡ
ΡΠ°ΡΠ½ΠΈΡΠ½ΡΠΉ ΠΏΡΠΈΠ½ΡΠΈΠΏ ΡΠ°Π±ΠΎΡΡ ΠΌΡΡΡ Ρ ΠΊΡΠΈΠ²ΠΎΠ»ΠΈΠ½Π΅ΠΉΠ½ΡΠΌΠΈ Π·ΡΠ±ΡΡΠΌΠΈ Π³Π°ΡΠ°Π½ΡΠΈΡΡΠ΅Ρ, ΡΡΠΎ ΡΠΈΠ»Ρ ΡΠ΅Π°ΠΊΡΠΈΠΈ ΠΎΡ ΡΠ³Π»ΠΎΠ²ΠΎΠ³ΠΎ ΠΈ ΡΠ°Π΄ΠΈΠ°Π»ΡΠ½ΠΎΠ³ΠΎ ΡΠΌΠ΅ΡΠ΅Π½ΠΈΡ ΠΏΡΠ΅Π½Π΅Π±ΡΠ΅ΠΆΠΈΠΌΠΎ ΠΌΠ°Π»Ρ, Π° ΠΏΠ΅ΡΠΈΠΎΠ΄ΠΈΡΠ΅ΡΠΊΠΈΠ΅ ΠΊΠΎΠ»Π΅Π±Π°Π½ΠΈΡ ΡΠ³Π»ΠΎΠ²ΠΎΠΉ ΡΠΊΠΎΡΠΎΡΡΠΈ Π½Π΅ Π²ΠΎΠ·Π½ΠΈΠΊΠ°ΡΡ.
Π‘ΠΌ. ΡΠΈΡ. 4 ΠΡΡΡΠ° Π²Π°Π»Π°
ΠΡΡΡΠ° Ρ ΡΠ°ΡΠΏΠΎΡΠ½ΠΎΠΉ Π²ΡΡΠ»ΠΊΠΎΠΉ (ΡΠΌ. ΠΠΎΠ½ΡΡΡΡΠΊΡΠΈΡ Ρ Π²ΡΡΡΠ³ΠΈΠ²Π°Π½ΠΈΠ΅ΠΌ Π½Π°Π·Π°Π΄) ΠΏΠΎΠ·Π²ΠΎΠ»ΡΠ΅Ρ ΡΠ½ΠΈΠΌΠ°ΡΡ ΡΠΏΠ»ΠΎΡΠ½Π΅Π½ΠΈΠ΅ Π²Π°Π»Π° ΠΈ ΡΠ·Π΅Π» ΠΏΠΎΠ΄ΡΠΈΠΏΠ½ΠΈΠΊΠ° Π½Π°ΡΠΎΡΠ° Π±Π΅Π· ΡΠ½ΡΡΠΈΡ ΠΊΠΎΡΠΏΡΡΠ° Π½Π°ΡΠΎΡΠ° ΠΈ ΠΏΡΠΈΠ²ΠΎΠ΄Π°.
Π‘ΠΌ. ΡΠΈΡ. 5 ΠΡΡΡΠ° Π²Π°Π»Π°
ΠΡΠ»ΠΈ ΡΠΎΡΠ½ΡΠ΅ Π΄Π°Π½Π½ΡΠ΅ ΠΎ Π²Π»ΠΈΡΠ½ΠΈΠΈ ΡΠ°ΡΡΠΎΡΡ ΠΏΡΡΠΊΠΎΠ² ΠΈ ΡΠ΅ΠΌΠΏΠ΅ΡΠ°ΡΡΡΡ ΠΎΠΊΡΡΠΆΠ°ΡΡΠ΅ΠΉ ΡΡΠ΅Π΄Ρ Π½Π΅Π΄ΠΎΡΡΡΠΏΠ½Ρ, Π½Π°Π³ΡΡΠ·ΠΊΡ ΠΌΠΎΠΆΠ½ΠΎ ΡΠ°ΡΡΡΠΈΡΠ°ΡΡ Π½Π° ΠΎΡΠ½ΠΎΠ²Π΅ ΠΊΠΎΡΡΡΠΈΡΠΈΠ΅Π½ΡΠΎΠ², ΡΠΊΠ°Π·Π°Π½Π½ΡΡ Π² ΠΊΠ°ΡΠ΅ΡΡΠ²Π΅ ΡΠΏΡΠ°Π²ΠΎΡΠ½ΡΡ Π·Π½Π°ΡΠ΅Π½ΠΈΠΉ. ΠΠ»Ρ ΠΎΡΠ½ΠΎΡΠ΅Π½ΠΈΡ ΠΌΠ°ΠΊΡΠΈΠΌΠ°Π»ΡΠ½ΠΎΠ³ΠΎ ΠΊΡΡΡΡΡΠ΅Π³ΠΎ ΠΌΠΎΠΌΠ΅Π½ΡΠ° ΠΊ ΡΠ°Π±ΠΎΡΠ΅ΠΌΡ ΠΊΡΡΡΡΡΠ΅ΠΌΡ ΠΌΠΎΠΌΠ΅Π½ΡΡ Π½Π΅ ΡΡΡΠ°Π½ΠΎΠ²Π»Π΅Π½ΠΎ ΡΠΈΠΊΡΠΈΡΠΎΠ²Π°Π½Π½ΠΎΠ΅ Π·Π½Π°ΡΠ΅Π½ΠΈΠ΅. ΠΡΠΎ ΠΎΠ·Π½Π°ΡΠ°Π΅Ρ, ΡΡΠΎ Π²ΡΠ΅ ΡΠΈΠΏΡ ΠΌΡΡΡ ΠΌΠΎΠ³ΡΡ Π±ΡΡΡ ΠΏΡΠΈΠ½ΡΡΡ Π²ΠΎ Π²Π½ΠΈΠΌΠ°Π½ΠΈΠ΅ Π² ΡΠΎΠΎΡΠ²Π΅ΡΡΡΠ²ΠΈΠΈ Ρ ΠΈΡ ΠΊΠΎΠ½ΠΊΡΠ΅ΡΠ½ΠΎΠΉ ΠΏΡΠΈΠ³ΠΎΠ΄Π½ΠΎΡΡΡΡ. Π’Π°ΠΊΠΈΠΌ ΠΎΠ±ΡΠ°Π·ΠΎΠΌ, ΡΠ°ΡΡΠ΅Ρ Π½Π°Π³ΡΡΠ·ΠΊΠΈ ΡΠ΄Π°ΡΠ°ΠΌΠΈ ΠΊΡΡΡΡΡΠ΅Π³ΠΎ ΠΌΠΎΠΌΠ΅Π½ΡΠ° ΠΎΡΠ½ΠΎΡΠΈΡΡΡ ΠΊ ΠΌΠ°ΠΊΡΠΈΠΌΠ°Π»ΡΠ½ΠΎΠΌΡ ΠΊΡΡΡΡΡΠ΅ΠΌΡ ΠΌΠΎΠΌΠ΅Π½ΡΡ (ΡΠΌ. ΠΡΡΠΊΠΎΠ²ΠΎΠΉ ΠΊΡΡΡΡΡΠΈΠΉ ΠΌΠΎΠΌΠ΅Π½Ρ 9).0004).
ΠΠ΅ΡΠΎΠ΄ ΡΠ°ΡΡΠ΅ΡΠ° ΡΠ°Π·ΠΌΠ΅ΡΠ° ΡΠΏΡΡΠ³ΠΈΡ
ΠΌΡΡΡ, ΠΏΡΠΈΠ²Π΅Π΄Π΅Π½Π½ΡΠΉ Π² DIN 740, ΠΏΡΠΈΠΌΠ΅Π½ΡΠ΅ΡΡΡ ΡΠΎΠ»ΡΠΊΠΎ ΠΏΡΠΈ Π΄ΠΎΠΏΡΡΠ΅Π½ΠΈΠΈ, ΡΡΠΎ ΠΌΡΡΡΠ° ΡΠ²Π»ΡΠ΅ΡΡΡ Π΅Π΄ΠΈΠ½ΡΡΠ²Π΅Π½Π½ΡΠΌ ΠΊΡΡΡΠΈΠ»ΡΠ½ΠΎ-Π³ΠΈΠ±ΠΊΠΈΠΌ ΡΠ»Π΅ΠΌΠ΅Π½ΡΠΎΠΌ ΡΠΎΡΠΎΡΠ°, ΡΠ²ΠΎΠ΄Ρ ΡΡΡΠ°Π½ΠΎΠ²ΠΊΡ ΠΊ Π»ΠΈΠ½Π΅ΠΉΠ½ΠΎΠΉ Π΄Π²ΡΡ
ΠΌΠ°ΡΡΠΎΠ²ΠΎΠΉ ΡΠΈΡΡΠ΅ΠΌΠ΅.
ΠΠΎ Π²ΡΠ΅Ρ
ΠΎΡΡΠ°Π»ΡΠ½ΡΡ
ΡΠ»ΡΡΠ°ΡΡ
Π½Π΅ΠΎΠ±Ρ
ΠΎΠ΄ΠΈΠΌΠΎ ΠΏΡΠΎΠ²ΠΎΠ΄ΠΈΡΡ Π²ΠΈΠ±ΡΠ°ΡΠΈΠΎΠ½Π½ΡΠΉ ΡΠ°ΡΡΠ΅Ρ.
Π’ΠΈΠΏΡ ΠΌΡΡΡ Π²Π°Π»ΠΎΠ² β Π ΡΠΊΠΎΠ²ΠΎΠ΄ΡΡΠ²ΠΎ ΠΏΠΎΠΊΡΠΏΠ°ΡΠ΅Π»Ρ Thomas
ΠΡΡΡΡ Π²Π°Π»ΠΎΠ² Π΄ΠΎΡΡΡΠΏΠ½Ρ Π² ΡΠ°Π·Π»ΠΈΡΠ½ΡΡ ΡΠ°Π·ΠΌΠ΅ΡΠ°Ρ ΠΈ ΠΌΠ°ΡΠ΅ΡΠΈΠ°Π»Π°Ρ ΠΎΡΠ΄Π΅Π»ΠΊΠΈ
ΠΠ·ΠΎΠ±ΡΠ°ΠΆΠ΅Π½ΠΈΠ΅ ΠΏΡΠ΅Π΄ΠΎΡΡΠ°Π²Π»Π΅Π½ΠΎ: similis/Shutterstock.com
A ΠΡΡΡΠ° Π²Π°Π»Π° ΠΏΡΠ΅Π΄ΡΡΠ°Π²Π»ΡΠ΅Ρ ΡΠΎΠ±ΠΎΠΉ ΠΌΠ΅Ρ Π°Π½ΠΈΡΠ΅ΡΠΊΠΎΠ΅ ΡΡΡΡΠΎΠΉΡΡΠ²ΠΎ, ΠΈΡΠΏΠΎΠ»ΡΠ·ΡΠ΅ΠΌΠΎΠ΅ Π΄Π»Ρ ΡΠΎΠ΅Π΄ΠΈΠ½Π΅Π½ΠΈΡ Π²ΡΠ°ΡΠ°ΡΡΠΈΡ ΡΡ Π²Π°Π»ΠΎΠ² ΠΈ ΠΊΠΎΠΌΠΏΠ΅Π½ΡΠ°ΡΠΈΠΈ Π½Π΅ΡΠΎΠΎΡΠ½ΠΎΡΡΠΈ ΠΌΠ΅ΠΆΠ΄Ρ Π½ΠΈΠΌΠΈ. ΠΡΡΡΡ ΠΌΠΎΠ³ΡΡ Π±ΡΡΡ ΠΆΠ΅ΡΡΠΊΠΈΠΌΠΈ ΠΈΠ»ΠΈ Π³ΠΈΠ±ΠΊΠΈΠΌΠΈ Π² Π·Π°Π²ΠΈΡΠΈΠΌΠΎΡΡΠΈ ΠΎΡ ΡΠΎΡΠ½ΠΎΡΡΠΈ Π²ΡΡΠ°Π²Π½ΠΈΠ²Π°Π½ΠΈΡ ΡΠΈΡΡΠ΅ΠΌΡ ΠΈ ΡΡΠ΅Π±ΠΎΠ²Π°Π½ΠΈΠΉ ΠΊ ΠΊΡΡΡΡΡΠ΅ΠΌΡ ΠΌΠΎΠΌΠ΅Π½ΡΡ. ΠΡΡΡΡ Π²Π°Π»ΠΎΠ² ΠΈΡΠΏΠΎΠ»ΡΠ·ΡΡΡΡΡ Π΄Π»Ρ ΠΏΠ΅ΡΠ΅Π΄Π°ΡΠΈ ΠΌΠΎΡΠ½ΠΎΡΡΠΈ ΠΈ ΠΊΡΡΡΡΡΠ΅Π³ΠΎ ΠΌΠΎΠΌΠ΅Π½ΡΠ° ΠΌΠ΅ΠΆΠ΄Ρ Π΄Π²ΡΠΌΡ Π²ΡΠ°ΡΠ°ΡΡΠΈΠΌΠΈΡΡ Π²Π°Π»Π°ΠΌΠΈ, Π½Π°ΠΏΡΠΈΠΌΠ΅Ρ, Π² Π΄Π²ΠΈΠ³Π°ΡΠ΅Π»ΡΡ ΠΈ Π½Π°ΡΠΎΡΠ°Ρ , ΠΊΠΎΠΌΠΏΡΠ΅ΡΡΠΎΡΠ°Ρ ΠΈ Π³Π΅Π½Π΅ΡΠ°ΡΠΎΡΠ°Ρ .
Π’ΠΈΠΏΡ ΠΌΡΡΡ ΠΈ ΠΈΡ ΠΏΡΠΈΠΌΠ΅Π½Π΅Π½ΠΈΠ΅
Π Π°Π·Π»ΠΈΡΠ½ΡΠ΅ ΡΡΠΈΠ»ΠΈ ΠΈ ΡΠΈΠΏΡ ΠΌΡΡΡ Π²Π°Π»ΠΎΠ² ΠΏΡΠΈΠ²Π΅Π΄Π΅Π½Ρ Π½ΠΈΠΆΠ΅.
ΠΠ°Π»ΠΎΡΠ½ΡΠ΅ ΠΌΡΡΡΡ
Π‘ΠΎΠ΅Π΄ΠΈΠ½Π΅Π½ΠΈΠ΅ Π±Π°Π»ΠΊΠΈ ΡΠΎΡΡΠΎΠΈΡ ΠΈΠ· ΠΎΠ΄Π½ΠΎΠ³ΠΎ ΠΈΠ»ΠΈ Π½Π΅ΡΠΊΠΎΠ»ΡΠΊΠΈΡ
ΡΠΏΠΈΡΠ°Π»ΡΠ½ΡΡ
Π²ΡΡΠ΅Π·ΠΎΠ² Π² ΠΊΠΎΡΠΏΡΡΠ΅ ΡΠΎΠ΅Π΄ΠΈΠ½Π΅Π½ΠΈΡ, ΠΊΠΎΡΠΎΡΡΠ΅ ΠΎΠ±ΡΡΠ½ΠΎ Π΄ΠΎΠΏΡΡΠΊΠ°ΡΡ ΠΏΠ°ΡΠ°Π»Π»Π΅Π»ΡΠ½ΠΎΠ΅ ΡΠΌΠ΅ΡΠ΅Π½ΠΈΠ΅ Π΄ΠΎ 0,025 Π΄ΡΠΉΠΌΠ° ΠΈ ΡΠ³Π»ΠΎΠ²ΠΎΠ΅ ΡΠΌΠ΅ΡΠ΅Π½ΠΈΠ΅ Π΄ΠΎ 7 Π³ΡΠ°Π΄ΡΡΠΎΠ².
ΠΠ½ΠΈ ΠΈΡΠΏΠΎΠ»ΡΠ·ΡΡΡΡΡ Π² ΠΎΡΠ½ΠΎΠ²Π½ΠΎΠΌ Π΄Π»Ρ ΠΏΡΠΈΠ»ΠΎΠΆΠ΅Π½ΠΈΠΉ ΡΠΏΡΠ°Π²Π»Π΅Π½ΠΈΡ Π΄Π²ΠΈΠΆΠ΅Π½ΠΈΠ΅ΠΌ, Π³Π΄Π΅ ΠΊΡΡΡΡΡΠΈΠΉ ΠΌΠΎΠΌΠ΅Π½Ρ ΠΎΠ±ΡΡΠ½ΠΎ Π½ΠΈΠΆΠ΅ 100 Π΄ΡΠΉΠΌ-ΡΡΠ½ΡΠΎΠ². ΠΠΎΡΡΡΠΏΠ½ΡΠ΅ ΠΊΠΎΠ½ΡΡΡΡΠΊΡΠΈΠΈ Ρ Π½ΡΠ»Π΅Π²ΡΠΌ Π»ΡΡΡΠΎΠΌ ΠΎΠ±Π΅ΡΠΏΠ΅ΡΠΈΠ²Π°ΡΡ ΡΠΎΡΠ½ΠΎΡΡΡ ΠΏΠΎΠ·ΠΈΡΠΈΠΎΠ½ΠΈΡΠΎΠ²Π°Π½ΠΈΡ ΠΌΠ΅ΠΆΠ΄Ρ Π²Π΅Π΄ΡΡΠΈΠΌ ΠΈ Π²Π΅Π΄ΠΎΠΌΡΠΌ Π²Π°Π»Π°ΠΌΠΈ.
ΠΡΠΏΠΎΠ»ΡΠ·ΡΠΉΡΠ΅ ΠΏΠ»Π°ΡΡΠΎΡΠΌΡ ΠΏΠΎΠΈΡΠΊΠ° ΠΏΠΎΡΡΠ°Π²ΡΠΈΠΊΠΎΠ² Π’ΠΎΠΌΠ°ΡΠ°, ΡΡΠΎΠ±Ρ Π½Π°ΠΉΡΠΈ ΠΏΠΎΡΡΠ°Π²ΡΠΈΠΊΠΎΠ² Π±Π°Π»ΠΎΡΠ½ΡΡ ΠΌΡΡΡ.
ΠΡΡΡΡ ΡΠΈΠ»ΡΡΠΎΠ½Π½ΡΠ΅
Π‘ΠΈΠ»ΡΡΠΎΠ½Π½ΡΠ΅ ΠΌΡΡΡΡ
ΡΠ°ΠΊΠΆΠ΅ ΠΏΠΎΠ΄Ρ ΠΎΠ΄ΡΡ Π΄Π»Ρ ΡΠΈΡΡΠ΅ΠΌ ΡΠΏΡΠ°Π²Π»Π΅Π½ΠΈΡ Π΄Π²ΠΈΠΆΠ΅Π½ΠΈΠ΅ΠΌ. ΠΠ½ΠΈ ΡΠΎΡΡΠΎΡΡ ΠΈΠ· Π½Π΅ΡΠΊΠΎΠ»ΡΠΊΠΈΡ ΠΌΠ΅ΡΠ°Π»Π»ΠΈΡΠ΅ΡΠΊΠΈΡ Π²ΠΈΡΠΊΠΎΠ², ΠΊΠΎΡΠΎΡΡΠ΅ ΠΎΠ±Π΅ΡΠΏΠ΅ΡΠΈΠ²Π°ΡΡ Π²ΡΡΠΎΠΊΡΡ ΠΆΠ΅ΡΡΠΊΠΎΡΡΡ Π½Π° ΠΊΡΡΡΠ΅Π½ΠΈΠ΅, ΡΡΠΎ Π²Π°ΠΆΠ½ΠΎ Π΄Π»Ρ ΠΏΠΎΠ·ΠΈΡΠΈΠΎΠ½ΠΈΡΠΎΠ²Π°Π½ΠΈΡ. ΠΠ΅ΡΡΠΊΠΎΡΡΡ ΠΏΡΠΈ ΠΊΡΡΡΠ΅Π½ΠΈΠΈ ΡΠ½ΠΈΠΆΠ°Π΅Ρ ΡΡΠΎΠ²Π΅Π½Ρ ΡΠ³Π»ΠΎΠ²ΠΎΠ³ΠΎ ΠΈ ΠΏΠ°ΡΠ°Π»Π»Π΅Π»ΡΠ½ΠΎΠ³ΠΎ ΡΠΌΠ΅ΡΠ΅Π½ΠΈΡ, ΠΊΠΎΡΠΎΡΠΎΠ΅ ΠΎΠ½ΠΈ ΠΌΠΎΠ³ΡΡ ΠΊΠΎΠΌΠΏΠ΅Π½ΡΠΈΡΠΎΠ²Π°ΡΡ, ΠΏΠΎ ΡΡΠ°Π²Π½Π΅Π½ΠΈΡ Ρ Π±Π°Π»ΠΎΡΠ½ΡΠΌΠΈ ΠΌΡΡΡΠ°ΠΌΠΈ, Ρ ΠΎΡΡ Π²ΠΎΠ·ΠΌΠΎΠΆΠ½ΠΎΡΡΠΈ ΠΏΠ΅ΡΠ΅Π΄Π°ΡΠΈ ΠΊΡΡΡΡΡΠ΅Π³ΠΎ ΠΌΠΎΠΌΠ΅Π½ΡΠ° ΠΏΡΠΈΠΌΠ΅ΡΠ½ΠΎ ΠΎΠ΄ΠΈΠ½Π°ΠΊΠΎΠ²Ρ.
ΠΡΠΏΠΎΠ»ΡΠ·ΡΠΉΡΠ΅ ΠΏΠ»Π°ΡΡΠΎΡΠΌΡ ΠΏΠΎΠΈΡΠΊΠ° ΠΏΠΎΡΡΠ°Π²ΡΠΈΠΊΠΎΠ² Π’ΠΎΠΌΠ°ΡΠ°, ΡΡΠΎΠ±Ρ Π½Π°ΠΉΡΠΈ ΠΏΠΎΡΡΠ°Π²ΡΠΈΠΊΠΎΠ² ΡΠΈΠ»ΡΡΠΎΠ½Π½ΡΡ ΠΌΡΡΡ.
Π¦Π΅ΠΏΠ½ΡΠ΅ ΠΌΡΡΡΡ
Π¦Π΅ΠΏΠ½ΡΠ΅ ΠΌΡΡΡΡ
ΠΏΠΎΠ΄Ρ
ΠΎΠ΄ΡΡ Π΄Π»Ρ ΠΏΠ΅ΡΠ΅Π΄Π°ΡΠΈ ΡΠ½Π΅ΡΠ³ΠΈΠΈ ΠΈ ΠΈΡΠΏΠΎΠ»ΡΠ·ΡΡΡΡΡ Π΄Π»Ρ ΠΏΠ΅ΡΠ΅Π΄Π°ΡΠΈ ΠΌΠΎΡΠ½ΠΎΡΡΠΈ Π² Π΄ΠΈΠ°ΠΏΠ°Π·ΠΎΠ½Π΅ ΡΠΎΡΠ΅Π½ Π»ΠΎΡΠ°Π΄ΠΈΠ½ΡΡ
ΡΠΈΠ».
ΠΠΎΠΏΡΡΠΊΠΈ Π½Π° ΡΠ³Π»ΠΎΠ²ΠΎΠ΅ ΠΈ ΠΏΠ°ΡΠ°Π»Π»Π΅Π»ΡΠ½ΠΎΠ΅ ΡΠΌΠ΅ΡΠ΅Π½ΠΈΠ΅ ΠΎΠ±ΡΡΠ½ΠΎ ΡΠΎΡΡΠ°Π²Π»ΡΡΡ 2 Π³ΡΠ°Π΄ΡΡΠ° ΠΈ 0,015 Π΄ΡΠΉΠΌΠ° ΡΠΎΠΎΡΠ²Π΅ΡΡΡΠ²Π΅Π½Π½ΠΎ. Π ΡΠΈΠΏΠΈΡΠ½ΡΡ
ΡΠ΅ΠΏΠ½ΡΡ
ΠΌΡΡΡΠ°Ρ
ΠΈΡΠΏΠΎΠ»ΡΠ·ΡΡΡΡΡ ΡΠΏΠ΅ΡΠΈΠ°Π»ΡΠ½ΡΠ΅ ΡΠ΅ΠΏΠ½ΡΠ΅ Π·Π²Π΅Π·Π΄ΠΎΡΠΊΠΈ ΠΈ ΡΠΎΠ»ΠΈΠΊΠΎΠ²ΡΠ΅ ΡΠ΅ΠΏΠΈ Π΄Π²ΠΎΠΉΠ½ΠΎΠΉ ΡΠΈΡΠΈΠ½Ρ, Π·Π°Π·ΠΎΡΡ ΠΊΠΎΡΠΎΡΡΡ
ΠΏΠΎΠ·Π²ΠΎΠ»ΡΡΡ ΠΊΠΎΠ½ΡΡΡΡΠΊΡΠΈΠΈ ΡΠ°Π±ΠΎΡΠ°ΡΡ ΠΊΠ°ΠΊ ΡΠ»Π°ΡΡΠΈΡΠ½Π°Ρ ΠΌΡΡΡΠ°.
ΠΡΠΏΠΎΠ»ΡΠ·ΡΠΉΡΠ΅ ΠΏΠ»Π°ΡΡΠΎΡΠΌΡ ΠΏΠΎΠΈΡΠΊΠ° ΠΏΠΎΡΡΠ°Π²ΡΠΈΠΊΠΎΠ² Π’ΠΎΠΌΠ°ΡΠ°, ΡΡΠΎΠ±Ρ Π½Π°ΠΉΡΠΈ ΠΏΠΎΡΡΠ°Π²ΡΠΈΠΊΠΎΠ² ΡΠ΅ΠΏΠ½ΡΡ ΠΌΡΡΡ.
ΠΡΠ»Π°ΡΠΊΠΎΠ²ΡΠ΅ ΠΌΡΡΡΡ
ΠΡΡΡΡ
Ρ ΠΈΠ·ΠΎΠ³Π½ΡΡΡΠΌΠΈ ΠΈ ΠΏΡΡΠΌΡΠΌΠΈ ΠΊΡΠ»Π°ΡΠΊΠ°ΠΌΠΈ ΠΈΡΠΏΠΎΠ»ΡΠ·ΡΡΡΡΡ ΠΊΠ°ΠΊ Π΄Π»Ρ ΡΠΏΡΠ°Π²Π»Π΅Π½ΠΈΡ Π΄Π²ΠΈΠΆΠ΅Π½ΠΈΠ΅ΠΌ, ΡΠ°ΠΊ ΠΈ Π΄Π»Ρ ΠΏΠ΅ΡΠ΅Π΄Π°ΡΠΈ Π»Π΅Π³ΠΊΠΎΠΉ ΡΠ½Π΅ΡΠ³ΠΈΠΈ ΠΈ ΡΠΎΡΡΠΎΡΡ ΠΈΠ· ΠΏΠ°Ρ ΠΌΠ½ΠΎΠ³ΠΎΠΊΡΠ»Π°ΡΠΊΠΎΠ²ΡΡ
ΡΡΡΠΏΠΈΡ, ΠΊΠΎΡΠΎΡΡΠ΅ ΡΠΎΠ΅Π΄ΠΈΠ½ΡΡΡΡΡ Ρ ΡΠ»Π°ΡΡΠΎΠΌΠ΅ΡΠ½ΡΠΌΠΈ ΠΊΡΠ΅ΡΡΠΎΠ²ΠΈΠ½Π°ΠΌΠΈ. ΠΠΎΠ½ΡΡΡΡΠΊΡΠΈΡ ΠΎΠ±Π΅ΡΠΏΠ΅ΡΠΈΠ²Π°Π΅Ρ Π±Π΅Π·Π·Π°Π·ΠΎΡΠ½ΡΡ ΠΏΠ΅ΡΠ΅Π΄Π°ΡΡ ΠΊΡΡΡΡΡΠ΅Π³ΠΎ ΠΌΠΎΠΌΠ΅Π½ΡΠ°. ΠΡΠΈΡΠΏΠΎΡΠΎΠ±Π»Π΅Π½ΠΈΠ΅ ΠΊ ΠΏΠ°ΡΠ°Π»Π»Π΅Π»ΡΠ½ΠΎΠΌΡ ΡΠΌΠ΅ΡΠ΅Π½ΠΈΡ ΠΎΠ±ΡΡΠ½ΠΎ ΠΏΡΠΈΠ±Π»ΠΈΠΆΠ°Π΅ΡΡΡ ΠΊ 0,01 Π΄ΡΠΉΠΌΠ°, Π° ΡΠ³Π»ΠΎΠ²ΠΎΠ΅ ΡΠΌΠ΅ΡΠ΅Π½ΠΈΠ΅ β ΠΊ 1 Π³ΡΠ°Π΄ΡΡΡ. ΠΠ»Π°ΡΡΠΎΠΌΠ΅ΡΠ½ΡΠ΅ ΠΊΡΠ΅ΡΡΠΎΠ²ΠΈΠ½Ρ ΠΏΡΠΈΠ΄Π°ΡΡ ΡΡΠΈΠΌ ΠΌΡΡΡΠ°ΠΌ Π½Π΅ΠΊΠΎΡΠΎΡΡΡ Π΄Π΅ΠΌΠΏΡΠΈΡΡΡΡΡΡ ΡΠΏΠΎΡΠΎΠ±Π½ΠΎΡΡΡ, ΠΈ ΡΠ°ΡΡΠΎ ΠΊΡΠ΅ΡΡΠΎΠ²ΠΈΠ½Ρ Π΄ΠΎΡΡΡΠΏΠ½Ρ Ρ ΡΠ°Π·Π»ΠΈΡΠ½ΠΎΠΉ ΡΠ²Π΅ΡΠ΄ΠΎΡΡΡΡ, ΡΡΠΎΠ±Ρ ΠΏΡΠΈΠ΄Π°ΡΡ ΠΎΠΏΡΠ΅Π΄Π΅Π»Π΅Π½Π½ΡΠ΅ ΡΠ²ΠΎΠΉΡΡΠ²Π° ΠΎΡΠ΄Π΅Π»ΡΠ½ΡΠΌ ΠΌΡΡΡΠ°ΠΌ. ΠΡΠΈ ΠΌΡΡΡΡ ΡΠ°ΡΡΠΎ ΡΠ°Π±ΠΎΡΠ°ΡΡ Π±Π΅Π· ΡΠΌΠ°Π·ΠΊΠΈ ΠΈ ΠΌΠΎΠ³ΡΡ ΠΏΠ΅ΡΠ΅Π΄Π°Π²Π°ΡΡ ΠΊΡΡΡΡΡΠΈΠΉ ΠΌΠΎΠΌΠ΅Π½Ρ Π΄ΠΎ 1000 Π΄ΡΠΉΠΌΠΎΠ² Π½Π° ΡΡΠ½Ρ.
Π΄ΠΈΠ°ΠΏΠ°Π·ΠΎΠ½.
ΠΡΠΏΠΎΠ»ΡΠ·ΡΠΉΡΠ΅ ΠΏΠ»Π°ΡΡΠΎΡΠΌΡ ΠΏΠΎΠΈΡΠΊΠ° ΠΏΠΎΡΡΠ°Π²ΡΠΈΠΊΠΎΠ² Π’ΠΎΠΌΠ°ΡΠ°, ΡΡΠΎΠ±Ρ Π½Π°ΠΉΡΠΈ ΠΏΠΎΡΡΠ°Π²ΡΠΈΠΊΠΎΠ² ΠΊΡΠ»Π°ΡΠΊΠΎΠ²ΡΡ ΠΌΡΡΡ.
ΠΠ΅ΠΌΠ±ΡΠ°Π½Π½ΡΠ΅ ΠΌΡΡΡΡ
ΠΠ΅ΠΌΠ±ΡΠ°Π½Π½ΡΠ΅ ΠΌΡΡΡΡ ΠΎΠ±ΡΡΠ½ΠΎ ΠΈΡΠΏΠΎΠ»ΡΠ·ΡΡΡΡΡ Π΄Π»Ρ ΠΏΠ΅ΡΠ΅Π΄Π°ΡΠΈ Π±ΠΎΠ»ΡΡΠΎΠΉ ΠΌΠΎΡΠ½ΠΎΡΡΠΈ, Π½Π°ΠΏΡΠΈΠΌΠ΅Ρ, Π² ΡΡΡΠ±ΠΎΠΌΠ°ΡΠΈΠ½Π°Ρ . ΠΠ±ΡΡΠ½ΠΎ Π² Π½ΠΈΡ ΠΈΡΠΏΠΎΠ»ΡΠ·ΡΠ΅ΡΡΡ ΠΎΠ΄ΠΈΠ½ ΠΈΠ»ΠΈ Π½Π΅ΡΠΊΠΎΠ»ΡΠΊΠΎ Π³ΠΈΠ±ΠΊΠΈΡ ΠΌΠ΅ΡΠ°Π»Π»ΠΈΡΠ΅ΡΠΊΠΈΡ Π³ΠΎΡΡΠΈΡΠΎΠ²Π°Π½Π½ΡΡ Π΄ΠΈΡΠΊΠΎΠ², ΠΊΠΎΡΠΎΡΡΠ΅ ΠΏΠ΅ΡΠ΅Π΄Π°ΡΡ ΠΌΠΎΡΠ½ΠΎΡΡΡ Π½Π° Π²Π½ΡΡΡΠ΅Π½Π½ΠΈΠΉ ΡΠ°ΡΠΏΠΎΡΠ½ΡΠΉ Π²Π°Π», Π° Π·Π°ΡΠ΅ΠΌ Π²ΠΎΠ·Π²ΡΠ°ΡΠ°ΡΡΡΡ ΡΠ΅ΡΠ΅Π· Π΄ΡΡΠ³ΠΎΠΉ ΠΏΠ°ΠΊΠ΅Ρ Π΄ΠΈΠ°ΡΡΠ°Π³ΠΌ ΠΊ Π²Π΅Π΄ΠΎΠΌΠΎΠΌΡ ΠΌΠ΅Ρ Π°Π½ΠΈΠ·ΠΌΡ. ΠΡΠ½ΠΎΠ²Π½ΡΠΌ ΠΏΡΠ΅ΠΈΠΌΡΡΠ΅ΡΡΠ²ΠΎΠΌ ΠΏΠ΅ΡΠ΅Π΄ ΠΌΡΡΡΠ°ΠΌΠΈ Π·ΡΠ±ΡΠ°ΡΠΎΠ³ΠΎ ΡΠΈΠΏΠ° ΡΠ²Π»ΡΠ΅ΡΡΡ ΠΎΡΡΡΡΡΡΠ²ΠΈΠ΅ ΡΡΠ΅Π±ΠΎΠ²Π°Π½ΠΈΠΉ ΠΊ ΡΠΌΠ°Π·ΠΊΠ΅. ΠΠ΅ΠΌΠ±ΡΠ°Π½Π½ΡΠ΅ ΠΌΡΡΡΡ ΡΠΏΠΎΡΠΎΠ±Π½Ρ ΠΏΠ΅ΡΠ΅Π΄Π°Π²Π°ΡΡ Π²ΡΡΠΎΠΊΠΈΠΉ ΠΊΡΡΡΡΡΠΈΠΉ ΠΌΠΎΠΌΠ΅Π½Ρ ΠΈ ΡΠ°Π±ΠΎΡΠ°ΡΡ Π½Π° Π²ΡΡΠΎΠΊΠΈΡ ΡΠΊΠΎΡΠΎΡΡΡΡ .
ΠΡΠΏΠΎΠ»ΡΠ·ΡΠΉΡΠ΅ ΠΏΠ»Π°ΡΡΠΎΡΠΌΡ ΠΏΠΎΠΈΡΠΊΠ° ΠΏΠΎΡΡΠ°Π²ΡΠΈΠΊΠΎΠ² Π’ΠΎΠΌΠ°ΡΠ°, ΡΡΠΎΠ±Ρ Π½Π°ΠΉΡΠΈ ΠΏΠΎΡΡΠ°Π²ΡΠΈΠΊΠΎΠ² ΠΌΠ΅ΠΌΠ±ΡΠ°Π½Π½ΡΡ ΠΌΡΡΡ.
ΠΠΈΡΠΊΠΎΠ²ΡΠ΅ ΠΌΡΡΡΡ
Π Π΄ΠΈΡΠΊΠΎΠ²ΡΡ ΠΌΡΡΡΠ°Ρ
ΠΈΡΠΏΠΎΠ»ΡΠ·ΡΡΡΡΡ ΠΎΠ΄ΠΈΠ½Π°ΡΠ½ΡΠ΅ ΠΈΠ»ΠΈ ΠΌΠ½ΠΎΠ³ΠΎΠ΄ΠΈΡΠΊΠΎΠ²ΡΠ΅ ΠΈ ΠΎΠ΄Π½ΠΎ- ΠΈΠ»ΠΈ Π΄Π²ΡΡ
ΡΡΡΠΏΠ΅Π½ΡΠ°ΡΡΠ΅ ΠΌΡΡΡΡ, ΠΊΠΎΡΠΎΡΡΠ΅ ΠΊΡΠ΅ΠΏΡΡΡΡ Π±ΠΎΠ»ΡΠ°ΠΌΠΈ ΠΊ ΡΡΡΠΏΠΈΡΠ°ΠΌ Π²Π°Π»ΠΎΠ². ΠΠ½ΠΈ ΠΈΡΠΏΠΎΠ»ΡΠ·ΡΡΡΡΡ Π΄Π»Ρ ΠΏΠ΅ΡΠ΅Π΄Π°ΡΠΈ ΠΌΠΎΡΠ½ΠΎΡΡΠΈ ΠΈ ΠΏΠΎΠ»Π°Π³Π°ΡΡΡΡ Π½Π° Π³ΠΈΠ±ΠΊΠΎΡΡΡ ΡΠ²ΠΎΠΈΡ
ΡΠΎΠ½ΠΊΠΈΡ
ΠΌΠ΅ΡΠ°Π»Π»ΠΈΡΠ΅ΡΠΊΠΈΡ
Π΄ΠΈΡΠΊΠΎΠ² Π΄Π»Ρ ΠΏΠ΅ΡΠ΅Π΄Π°ΡΠΈ ΠΊΡΡΡΡΡΠ΅Π³ΠΎ ΠΌΠΎΠΌΠ΅Π½ΡΠ° ΠΈ ΠΊΠΎΠΌΠΏΠ΅Π½ΡΠ°ΡΠΈΠΈ ΡΠ³Π»ΠΎΠ²ΠΎΠ³ΠΎ ΡΠΌΠ΅ΡΠ΅Π½ΠΈΡ.
ΠΠ½ΠΈ Π½Π΅ ΠΎΡΠΎΠ±Π΅Π½Π½ΠΎ Ρ
ΠΎΡΠΎΡΠΎ ΡΠΏΡΠ°Π²Π»ΡΡΡΡΡ Ρ ΠΏΠ°ΡΠ°Π»Π»Π΅Π»ΡΠ½ΡΠΌ ΡΠΌΠ΅ΡΠ΅Π½ΠΈΠ΅ΠΌ. ΠΠ½ΠΈ ΡΠΏΠΎΡΠΎΠ±Π½Ρ ΠΏΠ΅ΡΠ΅Π΄Π°Π²Π°ΡΡ Π²ΡΡΠΎΠΊΠΈΠ΅ ΠΊΡΡΡΡΡΠΈΠ΅ ΠΌΠΎΠΌΠ΅Π½ΡΡ ΠΈ ΡΠ°ΡΡΠΎ ΠΈΡΠΏΠΎΠ»ΡΠ·ΡΡΡΡΡ Π΄Π»Ρ ΡΠΎΠ΅Π΄ΠΈΠ½Π΅Π½ΠΈΡ Π΄Π²ΠΈΠ³Π°ΡΠ΅Π»Π΅ΠΉ Π±ΠΎΠ»ΡΡΠΎΠΉ ΠΌΠΎΡΠ½ΠΎΡΡΠΈ, Π³Π°Π·ΠΎΠ²ΡΡ
ΡΡΡΠ±ΠΈΠ½ ΠΈ Ρ. Π΄. Ρ Π½Π°Π³ΡΡΠ·ΠΊΠΎΠΉ.
ΠΡΠΏΠΎΠ»ΡΠ·ΡΠΉΡΠ΅ ΠΏΠ»Π°ΡΡΠΎΡΠΌΡ ΠΏΠΎΠΈΡΠΊΠ° ΠΏΠΎΡΡΠ°Π²ΡΠΈΠΊΠΎΠ² Π’ΠΎΠΌΠ°ΡΠ°, ΡΡΠΎΠ±Ρ Π½Π°ΠΉΡΠΈ ΠΏΠΎΡΡΠ°Π²ΡΠΈΠΊΠΎΠ² Π΄ΠΈΡΠΊΠΎΠ²ΡΡ ΠΌΡΡΡ.
ΠΡΠ±ΡΠ°ΡΡΠ΅ ΠΌΡΡΡΡ
ΠΡΠ±ΡΠ°ΡΡΠ΅ ΠΌΡΡΡΡ
ΡΠ°ΠΊΠΆΠ΅ ΠΏΠ΅ΡΠ΅Π΄Π°ΡΡ Π²ΡΡΠΎΠΊΠΈΠ΅ ΠΊΡΡΡΡΡΠΈΠ΅ ΠΌΠΎΠΌΠ΅Π½ΡΡ. ΠΠ½ΠΈ ΠΈΠΌΠ΅ΡΡ Π²ΠΎΠ·ΠΌΠΎΠΆΠ½ΠΎΡΡΡ ΡΠΌΠ΅ΡΠ΅Π½ΠΈΡ, ΠΊΠ°ΠΊ ΠΏΡΠ°Π²ΠΈΠ»ΠΎ, ΠΎΠΊΠΎΠ»ΠΎ 0,01-0,02 Π΄ΡΠΉΠΌΠ° Π² ΠΏΠ°ΡΠ°Π»Π»Π΅Π»ΡΠ½ΠΎΠΌ Π½Π°ΠΏΡΠ°Π²Π»Π΅Π½ΠΈΠΈ ΠΈ 2 Π³ΡΠ°Π΄ΡΡΠ° Π² ΡΠ³Π»ΠΎΠ²ΠΎΠΌ. ΠΡΠ±ΡΠ°ΡΡΠ΅ ΠΌΡΡΡΡ ΡΠ°ΡΡΠΎ ΠΈΡΠΏΠΎΠ»ΡΠ·ΡΡΡΡΡ Π² ΠΏΠ°ΡΠ΅ Ρ ΡΠ°ΡΠΏΠΎΡΠ½ΡΠΌΠΈ Π²Π°Π»Π°ΠΌΠΈ Π΄Π»Ρ ΠΏΠΎΠΊΡΡΡΠΈΡ ΡΠ°ΡΡΡΠΎΡΠ½ΠΈΡ ΠΌΠ΅ΠΆΠ΄Ρ Π²Π΅Π΄ΡΡΠΈΠΌ ΠΈ Π²Π΅Π΄ΠΎΠΌΡΠΌ ΠΎΠ±ΠΎΡΡΠ΄ΠΎΠ²Π°Π½ΠΈΠ΅ΠΌ. ΠΠ±ΡΡΠ½ΠΎ ΠΈΠΌ ΡΡΠ΅Π±ΡΠ΅ΡΡΡ ΡΠΌΠ°Π·ΠΊΠ°, Ρ ΠΎΡΡ Π² Π½Π΅ΠΊΠΎΡΠΎΡΡΡ ΠΊΠΎΠ½ΡΡΡΡΠΊΡΠΈΡΡ , ΠΏΡΠ΅Π΄Π½Π°Π·Π½Π°ΡΠ΅Π½Π½ΡΡ Π΄Π»Ρ Π±ΠΎΠ»Π΅Π΅ Π»Π΅Π³ΠΊΠΈΡ ΡΡΠ»ΠΎΠ²ΠΈΠΉ ΡΠΊΡΠΏΠ»ΡΠ°ΡΠ°ΡΠΈΠΈ, Π΄Π»Ρ ΡΠ΅Π½ΡΡΠ°Π»ΡΠ½ΠΎΠΉ Π²ΡΡΠ»ΠΊΠΈ ΠΈΡΠΏΠΎΠ»ΡΠ·ΡΠ΅ΡΡΡ Π½Π΅ ΡΠΎΠ΄Π΅ΡΠΆΠ°ΡΠΈΠΉ ΡΠΌΠ°Π·ΠΊΠΈ Π½Π΅ΠΉΠ»ΠΎΠ½ ΠΈΠ»ΠΈ Π΄ΡΡΠ³ΠΈΠ΅ ΠΏΠΎΠ»ΠΈΠΌΠ΅ΡΡ.
ΠΡΠΏΠΎΠ»ΡΠ·ΡΠΉΡΠ΅ ΠΏΠ»Π°ΡΡΠΎΡΠΌΡ ΠΏΠΎΠΈΡΠΊΠ° ΠΏΠΎΡΡΠ°Π²ΡΠΈΠΊΠΎΠ² Π’ΠΎΠΌΠ°ΡΠ°, ΡΡΠΎΠ±Ρ Π½Π°ΠΉΡΠΈ ΠΏΠΎΡΡΠ°Π²ΡΠΈΠΊΠΎΠ² Π·ΡΠ±ΡΠ°ΡΡΡ ΠΌΡΡΡ.
Π‘Π΅ΡΠ΅Π²ΡΠ΅ ΠΌΡΡΡΡ
Π ΡΠ΅ΡΠ΅ΡΡΠ°ΡΡΡ ΠΌΡΡΡΠ°Ρ
ΠΈΡΠΏΠΎΠ»ΡΠ·ΡΡΡΡΡ ΠΏΡΡΠΆΠΈΠ½Π½ΡΠ΅ ΡΠΎΠ΅Π΄ΠΈΠ½ΠΈΡΠ΅Π»ΡΠ½ΡΠ΅ ΡΠ»Π΅ΠΌΠ΅Π½ΡΡ, ΠΊΠΎΡΠΎΡΡΠ΅ ΠΏΠ΅ΡΠ΅ΠΏΠ»Π΅ΡΠ°ΡΡΡΡ ΠΌΠ΅ΠΆΠ΄Ρ ΠΏΠ°Π·Π°ΠΌΠΈ, Π²ΡΡΠΎΡΠ΅Π½Π½ΡΠΌΠΈ Π² ΡΡΡΠΏΠΈΡΠ°Ρ
ΠΌΡΡΡΡ.
ΠΠ½ΠΈ ΡΠΏΠΎΡΠΎΠ±Π½Ρ ΠΏΠ΅ΡΠ΅Π΄Π°Π²Π°ΡΡ Π²ΡΡΠΎΠΊΠΈΠΉ ΠΊΡΡΡΡΡΠΈΠΉ ΠΌΠΎΠΌΠ΅Π½Ρ Ρ Π΄ΠΎΠΏΠΎΠ»Π½ΠΈΡΠ΅Π»ΡΠ½ΡΠΌ Π±ΠΎΠ½ΡΡΠΎΠΌ ΠΊ ΠΏΠΎΠ³Π»ΠΎΡΠ΅Π½ΠΈΡ ΡΠ΄Π°ΡΠΎΠ² ΠΈ Π³Π°ΡΠ΅Π½ΠΈΡ ΠΊΡΡΡΠΈΠ»ΡΠ½ΡΡ
ΠΊΠΎΠ»Π΅Π±Π°Π½ΠΈΠΉ. ΠΠ½ΠΈ ΡΠ°Π±ΠΎΡΠ°ΡΡ Π±Π΅Π· ΡΠΌΠ°Π·ΠΊΠΈ. ΠΠ½ΠΈ ΠΏΠΎΠ΄Ρ
ΠΎΠ΄ΡΡ Π΄Π»Ρ ΠΏΠ΅ΡΠ΅Π΄Π°ΡΠΈ ΠΌΠΎΡΠ½ΠΎΡΡΠΈ ΠΈ ΡΠΏΠΎΡΠΎΠ±Π½Ρ Π²ΡΠ΄Π΅ΡΠΆΠΈΠ²Π°ΡΡ ΠΏΠ°ΡΠ°Π»Π»Π΅Π»ΡΠ½ΠΎΠ΅ ΡΠΌΠ΅ΡΠ΅Π½ΠΈΠ΅ Π΄ΠΎ 0,30 Π΄ΡΠΉΠΌΠ° ΠΈ ΡΠ³Π»ΠΎΠ²ΠΎΠ΅ ΡΠΌΠ΅ΡΠ΅Π½ΠΈΠ΅ ΠΎΠΊΠΎΠ»ΠΎ ΒΌ Π³ΡΠ°Π΄ΡΡΠ°.
ΠΡΡΡΡ Oldham
ΠΡΡΡΡ Oldham
Π²ΡΠ΄Π΅ΡΠΆΠΈΠ²Π°ΡΡ Π²ΡΡΠΎΠΊΠΈΠ΅ ΡΡΠ΅ΠΏΠ΅Π½ΠΈ ΠΏΠ°ΡΠ°Π»Π»Π΅Π»ΡΠ½ΠΎΠ³ΠΎ ΡΠΌΠ΅ΡΠ΅Π½ΠΈΡ Π±Π»Π°Π³ΠΎΠ΄Π°ΡΡ ΠΊΠΎΠ½ΡΡΡΡΠΊΡΠΈΠΈ ΡΠΊΠΎΠ»ΡΠ·ΡΡΠ΅Π³ΠΎ ΡΠ»Π΅ΠΌΠ΅Π½ΡΠ°. Π ΡΠΎΠ²ΡΠ΅ΠΌΠ΅Π½Π½ΡΡ Π²Π΅ΡΡΠΈΡΡ ΠΏΠΎΠΏΡΠ»ΡΡΠ½ΠΎ ΠΈΡΠΏΠΎΠ»ΡΠ·ΠΎΠ²Π°Π½ΠΈΠ΅ ΡΠ΅Π½ΡΡΠ°Π»ΡΠ½ΠΎΠ³ΠΎ ΡΠ»Π΅ΠΌΠ΅Π½ΡΠ° ΠΈΠ· ΡΠ»Π°ΡΡΠΎΠΌΠ΅ΡΠ° Π²ΠΌΠ΅ΡΡΠΎ ΠΌΠ΅ΡΠ°Π»Π»Π°. ΠΠ΅ΠΊΠΎΡΠΎΡΡΠ΅ ΠΏΡΠΎΠΈΠ·Π²ΠΎΠ΄ΠΈΡΠ΅Π»ΠΈ Π·Π°ΡΠ²Π»ΡΡΡ ΠΎ ΡΠΏΠΎΡΠΎΠ±Π½ΠΎΡΡΠΈ Π²ΡΠ΄Π΅ΡΠΆΠΈΠ²Π°ΡΡ ΡΠ³Π»ΠΎΠ²ΠΎΠ΅ ΡΠΌΠ΅ΡΠ΅Π½ΠΈΠ΅ Π΄ΠΎ 5 Π³ΡΠ°Π΄ΡΡΠΎΠ² Π·Π° ΡΡΠ΅Ρ ΠΈΡΠΏΠΎΠ»ΡΠ·ΠΎΠ²Π°Π½ΠΈΡ ΡΠΈΠ»ΠΈΠ½Π΄ΡΠΈΡΠ΅ΡΠΊΠΈΡ , Π° Π½Π΅ ΠΏΡΡΠΌΠΎΡΠ³ΠΎΠ»ΡΠ½ΡΡ ΠΏΠΎΠ»Π·ΡΠ½ΠΊΠΎΠ².
ΠΡΠΏΠΎΠ»ΡΠ·ΡΠΉΡΠ΅ ΠΏΠ»Π°ΡΡΠΎΡΠΌΡ ΠΏΠΎΠΈΡΠΊΠ° ΠΏΠΎΡΡΠ°Π²ΡΠΈΠΊΠΎΠ² Π’ΠΎΠΌΠ°ΡΠ°, ΡΡΠΎΠ±Ρ Π½Π°ΠΉΡΠΈ ΠΏΠΎΡΡΠ°Π²ΡΠΈΠΊΠΎΠ² ΠΌΡΡΡ Oldham.
ΠΡΡΡΡ Π¨ΠΌΠΈΠ΄ΡΠ°
ΠΡΡΡΡ
Schmidt ΡΠ°Π·ΡΠ°Π±ΠΎΡΠ°Π½Ρ ΡΠΏΠ΅ΡΠΈΠ°Π»ΡΠ½ΠΎ Π΄Π»Ρ ΡΠ°Π±ΠΎΡΡ ΡΠΎ ΡΠΌΠ΅ΡΠ΅Π½Π½ΡΠΌΠΈ Π²Π°Π»Π°ΠΌΠΈ. ΠΠ½ΠΈ Π½Π΅ ΡΠ²Π»ΡΡΡΡΡ Π³ΠΈΠ±ΠΊΠΈΠΌΠΈ ΠΌΡΡΡΠ°ΠΌΠΈ Π² ΡΡΡΠΎΠ³ΠΎΠΌ ΡΠΌΡΡΠ»Π΅ ΡΠ»ΠΎΠ²Π°, ΠΊΠΎΡΠΎΡΡΠ΅ ΠΏΡΠ΅Π΄Π½Π°Π·Π½Π°ΡΠ΅Π½Ρ Π΄Π»Ρ ΠΊΠΎΠΌΠΏΠ΅Π½ΡΠ°ΡΠΈΠΈ Π½Π΅Π±ΠΎΠ»ΡΡΠΎΠ³ΠΎ ΡΠΌΠ΅ΡΠ΅Π½ΠΈΡ Π²Π°Π»ΠΎΠ², ΠΊΠΎΡΠΎΡΡΠ΅ ΡΠ΅ΠΎΡΠ΅ΡΠΈΡΠ΅ΡΠΊΠΈ ΠΏΠ°ΡΠ°Π»Π»Π΅Π»ΡΠ½Ρ ΠΈ ΠΏΠ΅ΡΠΏΠ΅Π½Π΄ΠΈΠΊΡΠ»ΡΡΠ½Ρ Π΄ΡΡΠ³ Π΄ΡΡΠ³Ρ.
ΠΡΡΡΡ Π¨ΠΌΠΈΠ΄ΡΠ° ΠΈΡΠΏΠΎΠ»ΡΠ·ΡΡΡΡΡ Π² Π±ΡΠΌΠ°Π³ΠΎΠ΄Π΅Π»Π°ΡΠ΅Π»ΡΠ½ΡΡ
, ΠΏΠΎΠ»ΠΈΠ³ΡΠ°ΡΠΈΡΠ΅ΡΠΊΠΈΡ
ΠΈ ΠΏΠΎΠ΄ΠΎΠ±Π½ΡΡ
ΠΌΠ°ΡΠΈΠ½Π°Ρ
ΠΈ ΡΡΠ½ΠΊΡΠΈΠΎΠ½ΠΈΡΡΡΡ ΡΠΊΠΎΡΠ΅Π΅ ΠΊΠ°ΠΊ ΡΠ΅Π΄ΡΠΊΡΠΎΡ 1:1 Π² Π±ΠΎΠ»Π΅Π΅ ΠΊΠΎΠΌΠΏΠ°ΠΊΡΠ½ΠΎΠΌ ΠΏΡΠΎΡΡΡΠ°Π½ΡΡΠ²Π΅.
ΠΠ°ΠΆΠΈΠΌΠ½ΡΠ΅ ΠΌΡΡΡΡ
ΠΠ΅ΡΡΠΊΠΈΠ΅ ΡΠ΅Π»ΡΠ½ΡΠ΅ ΠΈ Π΄Π²ΡΡ ΠΊΠΎΠΌΠΏΠΎΠ½Π΅Π½ΡΠ½ΡΠ΅ Π·Π°ΠΆΠΈΠΌΠ½ΡΠ΅ ΠΌΡΡΡΡ Π½Π΅ ΠΏΡΠΈΡΠΏΠΎΡΠΎΠ±Π»Π΅Π½Ρ ΠΊ Π½Π΅ΡΠΎΠΎΡΠ½ΠΎΡΡΠΈ Π²Π°Π»ΠΎΠ² ΠΈ ΠΏΠΎΠΏΡΠ»ΡΡΠ½Ρ Π΄Π»Ρ ΠΌΠ΅Π΄Π»Π΅Π½Π½ΡΡ ΠΈΠ»ΠΈ ΠΏΡΠ΅ΡΡΠ²ΠΈΡΡΡΡ ΡΠΎΠ΅Π΄ΠΈΠ½Π΅Π½ΠΈΠΉ Π²Π°Π»ΠΎΠ², Π³Π΄Π΅ ΡΠΎΠΎΡΠ½ΠΎΡΡΡ Π½Π΅ Π²Π°ΠΆΠ½Π°. ΠΠ½ΠΈ ΠΏΡΠ΅Π΄ΡΡΠ°Π²Π»ΡΡΡ ΡΠΎΠ±ΠΎΠΉ ΠΏΡΠΎΡΡΠ΅ΠΉΡΡΡ ΡΠΎΡΠΌΡ ΡΠΎΠ΅Π΄ΠΈΠ½Π΅Π½ΠΈΡ Π²Π°Π»ΠΎΠ² ΠΈ, ΠΏΠΎΠΌΠΈΠΌΠΎ ΠΎΡΡΡΡΡΡΠ²ΠΈΡ Π΄ΠΎΠΏΡΡΠΊΠ° Π½Π° ΠΏΠ΅ΡΠ΅ΠΊΠΎΡ, ΡΠ²Π»ΡΡΡΡΡ Π½Π΅Π΄ΠΎΡΠΎΠ³ΠΈΠΌΠΈ ΡΡΡΡΠΎΠΉΡΡΠ²Π°ΠΌΠΈ Ρ Π½ΡΠ»Π΅Π²ΡΠΌ Π»ΡΡΡΠΎΠΌ.
ΠΡΠΎΡΠΈΠ΅ ΠΌΡΡΡΡ
ΠΠΎΠ½ΡΡΡΡΠΊΡΠΈΠΉ ΠΌΡΡΡ ΠΌΠ½ΠΎΠ³ΠΎ, ΡΠΎΠ»ΡΠΊΠΎ ΠΎΡΠ½ΠΎΠ²Π½ΡΠ΅ ΠΈΠ· Π½ΠΈΡ ΠΏΠΎΠ΄ΡΠΎΠ±Π½ΠΎ ΠΎΠΏΠΈΡΠ°Π½Ρ Π²ΡΡΠ΅. ΠΡΡΠ³ΠΈΠ΅ ΡΠΈΠΏΡ ΡΠΎΠ΅Π΄ΠΈΠ½Π΅Π½ΠΈΠΉ Π²ΠΊΠ»ΡΡΠ°ΡΡ Π² ΡΠ΅Π±Ρ Π·ΡΠ±ΡΠ°ΡΡΠ΅ Π·Π°ΡΠ΅ΠΏΠ»Π΅Π½ΠΈΡ ΠΈΠ»ΠΈ Hines, ΠΊΠΎΠ½ΡΡΡΡΠΊΡΠΈΠΈ, ΡΠΎΠ΅Π΄ΠΈΠ½Π΅Π½ΠΈΡ ΡΠΎ ΡΡΠΈΡΡΠΎΠΌ ΠΈ Π²ΡΡΠ»ΠΊΠΎΠΉ ΠΈ ΡΠ»ΠΈΡΠ΅Π²ΡΠ΅ ΡΠΎΠ΅Π΄ΠΈΠ½Π΅Π½ΠΈΡ.
ΠΡΡΡΡ ΠΈΡΠΏΡΠ°Π²Π»ΡΡΡ Π½Π΅ΡΠΏΠΎΡΠΎΠ±Π½ΠΎΡΡΡ ΠΏΡΠΎΠΈΠ·Π²ΠΎΠ΄ΠΈΡΡ ΠΈΠ»ΠΈ ΠΏΠΎΠ΄Π΄Π΅ΡΠΆΠΈΠ²Π°ΡΡ ΠΈΠ΄Π΅Π°Π»ΡΠ½ΠΎΠ΅ Π²ΡΡΠ°Π²Π½ΠΈΠ²Π°Π½ΠΈΠ΅ Π² ΡΠΎΠ΅Π΄ΠΈΠ½Π΅Π½Π½ΡΡ
ΠΌΠ°ΡΠΈΠ½Π°Ρ
. ΠΠ΅ΠΊΠΎΡΠΎΡΡΠ΅ ΠΌΠ°ΡΠΈΠ½Ρ ΠΎΠ±Ρ
ΠΎΠ΄ΡΡΡΡ Π±Π΅Π· ΠΌΡΡΡ, ΡΠ°Π±ΠΎΡΠ°Ρ Π² ΡΠ΅ΡΠ½ΠΎΠΌ ΡΠΎΠ΅Π΄ΠΈΠ½Π΅Π½ΠΈΠΈ, Π° ΡΡΠΎ ΠΎΠ·Π½Π°ΡΠ°Π΅Ρ, ΡΡΠΎ ΠΏΠΎΠ΄ΡΠΈΠΏΠ½ΠΈΠΊΠΈ Π΄Π²ΠΈΠ³Π°ΡΠ΅Π»Ρ ΠΏΠΎΠ΄Π΄Π΅ΡΠΆΠΈΠ²Π°ΡΡ ΡΠ΄Π»ΠΈΠ½Π΅Π½Π½ΡΠΉ Π²Π°Π», Π½Π° ΠΊΠΎΡΠΎΡΠΎΠΌ ΠΌΠΎΠ½ΡΠΈΡΡΠ΅ΡΡΡ Π²ΡΠ°ΡΠ°ΡΡΠΈΠΉΡΡ ΠΊΠΎΠΌΠΏΠΎΠ½Π΅Π½Ρ ΠΏΡΠΈΠ²ΠΎΠ΄ΠΈΠΌΠΎΠ³ΠΎ ΠΎΠ±ΠΎΡΡΠ΄ΠΎΠ²Π°Π½ΠΈΡ, Π½Π°ΠΏΡΠΈΠΌΠ΅Ρ ΡΠ°Π±ΠΎΡΠ΅Π΅ ΠΊΠΎΠ»Π΅ΡΠΎ Π½Π°ΡΠΎΡΠ°.
Π’Π°ΠΌ, Π³Π΄Π΅ ΡΡΠΎ ΡΠ΅Π»Π΅ΡΠΎΠΎΠ±ΡΠ°Π·Π½ΠΎ, ΡΡΠΎ Π΄Π΅Π»Π°Π΅ΡΡΡ Π΄Π»Ρ ΡΠΎΠ³ΠΎ, ΡΡΠΎΠ±Ρ ΠΈΠ·Π±Π°Π²ΠΈΡΡΡΡ ΠΎΡ ΠΏΡΠΎΠ±Π»Π΅ΠΌΡ Π²ΡΡΠ°Π²Π½ΠΈΠ²Π°Π½ΠΈΡ. ΠΠ΄Π½Π°ΠΊΠΎ ΡΠ°ΡΡΠΎ Π΄Π»Ρ ΠΌΠ°ΡΠΈΠ½ ΡΡΠ΅Π±ΡΡΡΡΡ ΡΠΎΠ±ΡΡΠ²Π΅Π½Π½ΡΠ΅ ΠΏΠΎΠ΄ΡΠΈΠΏΠ½ΠΈΠΊΠΈ ΠΈ, ΠΊΠ°ΠΊ ΡΠ»Π΅Π΄ΡΡΠ²ΠΈΠ΅, Π½Π΅ΠΎΠ±Ρ
ΠΎΠ΄ΠΈΠΌΠΎΡΡΡ ΡΠΎΠ΅Π΄ΠΈΠ½Π΅Π½ΠΈΡ ΠΈΡ
Π½Π΅Π·Π°Π²ΠΈΡΠΈΠΌΡΡ
Π²Π°Π»ΠΎΠ². ΠΠ²Π΅ ΠΎΠΆΠΈΠ΄Π°Π΅ΠΌΡΠ΅ Ρ
Π°ΡΠ°ΠΊΡΠ΅ΡΠΈΡΡΠΈΠΊΠΈ Π½Π΅ΡΠΎΠΎΡΠ½ΠΎΡΡΠΈ Π²ΠΊΠ»ΡΡΠ°ΡΡ ΠΏΠ°ΡΠ°Π»Π»Π΅Π»ΡΠ½ΠΎΠ΅ (ΠΈΠ»ΠΈ ΡΠΌΠ΅ΡΠ΅Π½Π½ΠΎΠ΅) ΠΈ ΡΠ³Π»ΠΎΠ²ΠΎΠ΅.
ΠΠ»Ρ Π½Π΅ΠΊΠΎΡΠΎΡΡΡ ΠΌΡΡΡ Π±ΠΎΠ»ΡΡΠΎΠ΅ Π·Π½Π°ΡΠ΅Π½ΠΈΠ΅ ΠΈΠΌΠ΅Π΅Ρ Π»ΡΡΡ. Π ΠΏΡΠΈΠ»ΠΎΠΆΠ΅Π½ΠΈΡΡ ΡΠΏΡΠ°Π²Π»Π΅Π½ΠΈΡ Π΄Π²ΠΈΠΆΠ΅Π½ΠΈΠ΅ΠΌ, Π² ΠΊΠΎΡΠΎΡΡΡ ΠΏΠΎΠ»ΠΎΠΆΠ΅Π½ΠΈΠ΅ ΠΏΡΠΈΠ²ΠΎΠ΄ΠΈΠΌΠΎΠ³ΠΎ ΠΎΠ±ΠΎΡΡΠ΄ΠΎΠ²Π°Π½ΠΈΡ ΡΠΎΡΠ½ΠΎ ΠΏΡΠΈΠ²ΡΠ·Π°Π½ΠΎ ΠΊ ΠΏΠΎΠ»ΠΎΠΆΠ΅Π½ΠΈΡ ΡΠ΅ΡΠ²ΠΎΠ΄Π²ΠΈΠ³Π°ΡΠ΅Π»Ρ ΠΈΠ»ΠΈ ΡΠ°Π³ΠΎΠ²ΠΎΠ³ΠΎ Π΄Π²ΠΈΠ³Π°ΡΠ΅Π»Ρ, ΠΈΡΠΏΠΎΠ»ΡΠ·ΡΡΡΡΡ ΠΌΡΡΡΡ Ρ Π½ΡΠ»Π΅Π²ΡΠΌ Π»ΡΡΡΠΎΠΌ, Π³Π°ΡΠ°Π½ΡΠΈΡΡΡΡΠΈΠ΅ ΠΎΡΡΡΡΡΡΠ²ΠΈΠ΅ Π»ΡΡΡΠ° Π² ΡΠΈΡΡΠ΅ΠΌΠ΅. ΠΡΡΡ ΠΏΡΠ΅Π΄ΡΡΠ°Π²Π»ΡΠ΅Ρ ΡΠΎΠ±ΠΎΠΉ ΠΌΠ΅Π½ΡΡΡΡ ΠΏΡΠΎΠ±Π»Π΅ΠΌΡ Π΄Π»Ρ Π±ΠΎΠ»ΡΡΠΈΠ½ΡΡΠ²Π° ΠΏΡΠΈΠ»ΠΎΠΆΠ΅Π½ΠΈΠΉ ΠΏΠ΅ΡΠ΅Π΄Π°ΡΠΈ ΠΌΠΎΡΠ½ΠΎΡΡΠΈ, Π½Π°ΠΏΡΠΈΠΌΠ΅Ρ, Π½Π°ΡΠΎΡΠΎΠ²/Π΄Π²ΠΈΠ³Π°ΡΠ΅Π»Π΅ΠΉ, Π³Π΄Π΅ ΠΎΡΠ½ΠΎΠ²Π½ΠΎΠΉ Π·Π°Π΄Π°ΡΠ΅ΠΉ ΡΠ²Π»ΡΠ΅ΡΡΡ ΡΡΡΠ΅ΠΊΡΠΈΠ²Π½Π°Ρ ΠΏΠ΅ΡΠ΅Π΄Π°ΡΠ° ΠΊΡΡΡΡΡΠ΅Π³ΠΎ ΠΌΠΎΠΌΠ΅Π½ΡΠ°. ΠΠ΄Π΅ΡΡ Π½Π΅ΡΠΎΠΎΡΠ½ΠΎΡΡΡ ΠΌΠΎΠΆΠ΅Ρ ΠΏΡΠΈΠ²Π΅ΡΡΠΈ ΠΊ ΠΏΠΎΠ²ΡΡΠ΅Π½Π½ΠΎΠΌΡ ΠΏΠΎΡΡΠ΅Π±Π»Π΅Π½ΠΈΡ ΡΠ½Π΅ΡΠ³ΠΈΠΈ, ΡΡΠΊΠΎΡΠ΅Π½Π½ΠΎΠΌΡ ΠΈΠ·Π½ΠΎΡΡ ΠΏΠΎΠ΄ΡΠΈΠΏΠ½ΠΈΠΊΠΎΠ², ΡΡΠ΅Π·ΠΌΠ΅ΡΠ½ΠΎΠΉ Π²ΠΈΠ±ΡΠ°ΡΠΈΠΈ ΠΈ Ρ. Π΄.
Π Π±Π°Π»ΠΎΡΠ½ΡΠ΅, ΠΈ ΡΠΈΠ»ΡΡΠΎΠ½Π½ΡΠ΅ ΠΌΡΡΡΡ ΠΎΠ±Π΅ΡΠΏΠ΅ΡΠΈΠ²Π°ΡΡ Π½ΡΠ»Π΅Π²ΠΎΠΉ Π»ΡΡΡ ΠΈ ΡΠ°ΡΡΠΎ ΠΈΡΠΏΠΎΠ»ΡΠ·ΡΡΡΡΡ Π΄Π»Ρ ΠΏΠ΅ΡΠ΅Π΄Π°ΡΠΈ ΠΎΡΠ½ΠΎΡΠΈΡΠ΅Π»ΡΠ½ΠΎ Π½Π΅Π±ΠΎΠ»ΡΡΠΈΡ
ΠΊΡΡΡΡΡΠΈΡ
ΠΌΠΎΠΌΠ΅Π½ΡΠΎΠ² ΡΠΏΡΠ°Π²Π»Π΅Π½ΠΈΡ Π΄Π²ΠΈΠΆΠ΅Π½ΠΈΠ΅ΠΌ.
ΠΠ»Ρ ΠΏΠ΅ΡΠ΅Π΄Π°ΡΠΈ ΠΌΠΎΡΠ½ΠΎΡΡΠΈ, ΠΊΠ°ΠΊ ΠΏΡΠ°Π²ΠΈΠ»ΠΎ, ΡΠ΅Π»ΡΠ½ΠΎΠΌΠ΅ΡΠ°Π»Π»ΠΈΡΠ΅ΡΠΊΠΈΠ΅ ΠΌΡΡΡΡ, ΡΠ°ΠΊΠΈΠ΅ ΠΊΠ°ΠΊ Π·ΡΠ±ΡΠ°ΡΡΠ΅ ΠΈ Π΄ΠΈΡΠΊΠΎΠ²ΡΠ΅ ΠΊΠΎΠ½ΡΡΡΡΠΊΡΠΈΠΈ, ΡΠΏΠΎΡΠΎΠ±Π½Ρ ΠΏΠ΅ΡΠ΅Π΄Π°Π²Π°ΡΡ Π±ΠΎΠ»Π΅Π΅ Π²ΡΡΠΎΠΊΠΈΠ΅ ΠΊΡΡΡΡΡΠΈΠ΅ ΠΌΠΎΠΌΠ΅Π½ΡΡ, ΡΠ΅ΠΌ ΡΠ΅, Π² ΠΊΠΎΡΠΎΡΡΡ ΠΈΡΠΏΠΎΠ»ΡΠ·ΡΡΡΡΡ ΡΠ»Π°ΡΡΠΎΠΌΠ΅ΡΠ½ΡΠ΅ ΡΠ»Π΅ΠΌΠ΅Π½ΡΡ, ΡΠ°ΠΊΠΈΠ΅ ΠΊΠ°ΠΊ ΠΊΡΠ»Π°ΡΠΊΠΎΠ²ΡΠ΅ ΠΌΡΡΡΡ.
ΠΠ΅ΡΠΌΠΎΡΡΡ Π½Π° ΡΠΎ, ΡΡΠΎ ΠΌΡΡΡΡ ΠΏΡΠ΅Π΄Π½Π°Π·Π½Π°ΡΠ΅Π½Ρ Π΄Π»Ρ ΠΊΠΎΠΌΠΏΠ΅Π½ΡΠ°ΡΠΈΠΈ ΡΠΌΠ΅ΡΠ΅Π½ΠΈΡ, ΠΎΠ½ΠΈ Π½Π΅ Π·Π°ΠΌΠ΅Π½ΡΡΡ ΡΠ΅Π½ΡΡΠΎΠ²ΠΎΡΠ½ΡΠ΅ ΠΌΠ°ΡΠΈΠ½Ρ Π²ΠΎ Π²ΡΠ΅ΠΌΡ ΡΡΡΠ°Π½ΠΎΠ²ΠΊΠΈ.
ΠΡΠΈ Π²ΡΠ±ΠΎΡΠ΅ ΠΌΡΡΡ ΠΏΡΠΎΠ΅ΠΊΡΠΈΡΠΎΠ²ΡΠΈΠΊΡ Π² ΠΏΠ΅ΡΠ²ΡΡ ΠΎΡΠ΅ΡΠ΅Π΄Ρ Π½Π΅ΠΎΠ±Ρ
ΠΎΠ΄ΠΈΠΌΠΎ ΡΠ°ΡΡΠΌΠΎΡΡΠ΅ΡΡ Π²Π°ΡΠΈΠ°Π½ΡΡ ΡΠΏΡΠ°Π²Π»Π΅Π½ΠΈΡ Π΄Π²ΠΈΠΆΠ΅Π½ΠΈΠ΅ΠΌ ΠΈΠ»ΠΈ ΡΠΈΠΏΡ ΠΏΠ΅ΡΠ΅Π΄Π°ΡΠΈ ΠΌΠΎΡΠ½ΠΎΡΡΠΈ. ΠΠΎΠ»ΡΡΠΈΠ½ΡΡΠ²ΠΎ ΠΏΡΠΈΠ»ΠΎΠΆΠ΅Π½ΠΈΠΉ ΡΠΏΡΠ°Π²Π»Π΅Π½ΠΈΡ Π΄Π²ΠΈΠΆΠ΅Π½ΠΈΠ΅ΠΌ ΠΏΠ΅ΡΠ΅Π΄Π°ΡΡ ΡΡΠ°Π²Π½ΠΈΡΠ΅Π»ΡΠ½ΠΎ Π½ΠΈΠ·ΠΊΠΈΠ΅ ΠΊΡΡΡΡΡΠΈΠ΅ ΠΌΠΎΠΌΠ΅Π½ΡΡ. ΠΡΡΡΡ ΡΠΈΠ»ΠΎΠ²ΠΎΠΉ ΠΏΠ΅ΡΠ΅Π΄Π°ΡΠΈ, Π½Π°ΠΏΡΠΎΡΠΈΠ², ΡΠ°ΡΡΡΠΈΡΠ°Π½Ρ Π½Π° ΡΡΠ΅Π΄Π½ΠΈΠ΅ ΠΈ Π²ΡΡΠΎΠΊΠΈΠ΅ ΠΊΡΡΡΡΡΠΈΠ΅ ΠΌΠΎΠΌΠ΅Π½ΡΡ. ΠΡΠΎ ΡΠ΅ΡΠ΅Π½ΠΈΠ΅ Π½Π΅ΡΠΊΠΎΠ»ΡΠΊΠΎ ΡΡΠ·ΠΈΡ Π²ΡΠ±ΠΎΡ ΡΡΠ΅ΠΏΠ»Π΅Π½ΠΈΡ. ΠΠ΅ΡΠ΅Π΄Π°ΡΠ° ΠΊΡΡΡΡΡΠ΅Π³ΠΎ ΠΌΠΎΠΌΠ΅Π½ΡΠ° Π½Π°ΡΡΠ΄Ρ Ρ ΠΌΠ°ΠΊΡΠΈΠΌΠ°Π»ΡΠ½ΠΎ Π΄ΠΎΠΏΡΡΡΠΈΠΌΡΠΌΠΈ Π·Π½Π°ΡΠ΅Π½ΠΈΡΠΌΠΈ ΠΏΠ°ΡΠ°Π»Π»Π΅Π»ΡΠ½ΠΎΠ³ΠΎ ΠΈ ΡΠ³Π»ΠΎΠ²ΠΎΠ³ΠΎ ΡΠΌΠ΅ΡΠ΅Π½ΠΈΡ ΡΠ²Π»ΡΡΡΡΡ Π΄ΠΎΠΌΠΈΠ½ΠΈΡΡΡΡΠΈΠΌΠΈ ΡΠΎΠΎΠ±ΡΠ°ΠΆΠ΅Π½ΠΈΡΠΌΠΈ. ΠΠΎΠ»ΡΡΠΈΠ½ΡΡΠ²ΠΎ ΡΠΎΠ΅Π΄ΠΈΠ½Π΅Π½ΠΈΠΉ Π±ΡΠ΄ΡΡ ΠΏΡΠ±Π»ΠΈΠΊΠΎΠ²Π°ΡΡ ΡΡΠΈ Π·Π½Π°ΡΠ΅Π½ΠΈΡ, ΠΈ ΠΈΡ
ΠΈΡΠΏΠΎΠ»ΡΠ·ΠΎΠ²Π°Π½ΠΈΠ΅ Π΄Π»Ρ ΡΡΠΎΡΠ½Π΅Π½ΠΈΡ ΠΏΠΎΠΈΡΠΊΠ° Π΄ΠΎΠ»ΠΆΠ½ΠΎ ΠΎΠ±Π»Π΅Π³ΡΠΈΡΡ Π²ΡΠ±ΠΎΡ ΡΡΠΈΠ»Ρ ΡΠΎΠ΅Π΄ΠΈΠ½Π΅Π½ΠΈΡ.
ΠΠ°ΠΊΡΠΈΠΌΠ°Π»ΡΠ½ΠΎΠ΅ ΡΠΈΡΠ»ΠΎ ΠΎΠ±ΠΎΡΠΎΡΠΎΠ² Π² ΠΌΠΈΠ½ΡΡΡ ΡΠ²Π»ΡΠ΅ΡΡΡ Π΅ΡΠ΅ ΠΎΠ΄Π½ΠΈΠΌ Π²Π°ΠΆΠ½ΡΠΌ Π°ΡΡΠΈΠ±ΡΡΠΎΠΌ. Π’Π°ΠΊΠΆΠ΅ ΡΠ»Π΅Π΄ΡΠ΅Ρ ΡΡΠΈΡΡΠ²Π°ΡΡ ΠΌΠ°ΠΊΡΠΈΠΌΠ°Π»ΡΠ½ΠΎΠ΅ ΠΎΡΠ΅Π²ΠΎΠ΅ ΡΠΌΠ΅ΡΠ΅Π½ΠΈΠ΅. ΠΡΠ»Π΅Π²ΠΎΠΉ Π»ΡΡΡ ΡΠ²Π»ΡΠ΅ΡΡΡ Π²Π°ΠΆΠ½ΡΠΌ ΡΠ°ΠΊΡΠΎΡΠΎΠΌ, ΠΊΠΎΠ³Π΄Π° ΠΈΡΠΏΠΎΠ»ΡΠ·ΡΠ΅ΡΡΡ ΠΎΠ±ΡΠ°ΡΠ½Π°Ρ ΡΠ²ΡΠ·Ρ, Π½Π°ΠΏΡΠΈΠΌΠ΅Ρ, Π² ΡΠΈΡΡΠ΅ΠΌΠ΅ ΡΠΏΡΠ°Π²Π»Π΅Π½ΠΈΡ Π΄Π²ΠΈΠΆΠ΅Π½ΠΈΠ΅ΠΌ.
ΠΠ΅ΠΊΠΎΡΠΎΡΡΠ΅ ΠΌΡΡΡΡ ΡΠΈΠ»ΠΎΠ²ΠΎΠΉ ΠΏΠ΅ΡΠ΅Π΄Π°ΡΠΈ ΡΠ°ΡΡΡΠΈΡΠ°Π½Ρ Π½Π° ΡΠ°Π±ΠΎΡΡ Π±Π΅Π· ΡΠΌΠ°Π·ΠΊΠΈ, ΡΡΠΎ ΠΌΠΎΠΆΠ΅Ρ Π±ΡΡΡ ΠΏΡΠ΅ΠΈΠΌΡΡΠ΅ΡΡΠ²ΠΎΠΌ, Π΅ΡΠ»ΠΈ ΡΠ΅Ρ Π½ΠΈΡΠ΅ΡΠΊΠΎΠ΅ ΠΎΠ±ΡΠ»ΡΠΆΠΈΠ²Π°Π½ΠΈΠ΅ Π²ΡΠ·ΡΠ²Π°Π΅Ρ Π·Π°ΡΡΡΠ΄Π½Π΅Π½ΠΈΡ ΠΈΠ»ΠΈ Π·Π°ΡΡΡΠ΄Π½Π΅Π½ΠΎ. ΠΠ»Ρ ΡΠΌΠ°Π·ΡΠ²Π°Π΅ΠΌΡΡ ΠΌΡΡΡ ΡΠ°ΡΡΠΎ ΡΡΠ΅Π±ΡΡΡΡΡ ΠΊΡΡΡΠΊΠΈ Π΄Π»Ρ ΡΠ΄Π΅ΡΠΆΠ°Π½ΠΈΡ ΡΠΌΠ°Π·ΠΊΠΈ. ΠΠ½ΠΎΠ³ΠΈΠ΅ ΠΌΡΡΡΡ, Π²ΠΊΠ»ΡΡΠ°Ρ ΡΠ΅ΠΏΠ½ΡΠ΅, Π·ΡΠ±ΡΠ°ΡΡΠ΅, ΠΌΡΡΡΡ Oldham ΠΈ Ρ. Π΄., Π΄ΠΎΡΡΡΠΏΠ½Ρ Π»ΠΈΠ±ΠΎ Π² Π²ΠΈΠ΄Π΅ ΡΠΌΠ°Π·ΡΠ²Π°Π΅ΠΌΡΡ ΡΠ°Π·Π½ΠΎΠ²ΠΈΠ΄Π½ΠΎΡΡΠ΅ΠΉ Β«ΠΌΠ΅ΡΠ°Π»Π»-ΠΌΠ΅ΡΠ°Π»Π»Β», Π»ΠΈΠ±ΠΎ Π² Π²ΠΈΠ΄Π΅ Π³ΠΈΠ±ΡΠΈΠ΄ΠΎΠ² ΠΌΠ΅ΡΠ°Π»Π»Π° ΠΈ ΠΏΠ»Π°ΡΡΠΈΠΊΠ°, Π³Π΄Π΅ ΠΎΠ±ΡΡΠ½ΠΎ ΡΠΎΠ΅Π΄ΠΈΠ½ΠΈΡΠ΅Π»ΡΠ½ΡΠΉ ΡΠ»Π΅ΠΌΠ΅Π½Ρ ΠΈΠ·Π³ΠΎΡΠΎΠ²Π»Π΅Π½ ΠΈΠ· Π½Π΅ΠΉΠ»ΠΎΠ½Π°. ΠΈΠ»ΠΈ Π΄ΡΡΠ³ΠΎΠΉ ΠΏΠ»Π°ΡΡΠΈΠΊ, ΡΡΠΎΠ±Ρ ΡΡΡΡΠ°Π½ΠΈΡΡ ΡΡΠ΅Π±ΠΎΠ²Π°Π½ΠΈΡ ΠΊ ΡΠΌΠ°Π·ΠΊΠ΅. Π ΡΡΠΈΡ Π½Π΅ΡΠΌΠ°Π·Π°Π½Π½ΡΡ ΡΠΎΡΠΌΠ°Ρ Π½Π°Π±Π»ΡΠ΄Π°Π΅ΡΡΡ ΡΠ½ΠΈΠΆΠ΅Π½ΠΈΠ΅ ΠΊΡΡΡΡΡΠ΅Π³ΠΎ ΠΌΠΎΠΌΠ΅Π½ΡΠ° ΠΏΠΎ ΡΡΠ°Π²Π½Π΅Π½ΠΈΡ Ρ Π±ΠΎΠ»Π΅Π΅ ΡΡΠ°Π΄ΠΈΡΠΈΠΎΠ½Π½ΡΠΌΠΈ ΠΊΠΎΠ½ΡΡΡΡΠΊΡΠΈΡΠΌΠΈ.
ΠΠ°ΠΆΠ½ΡΠ΅ Π°ΡΡΠΈΠ±ΡΡΡ
Π’ΠΈΠΏ ΡΠΎΠ΅Π΄ΠΈΠ½Π΅Π½ΠΈΡ
ΠΠΎΠ»ΡΡΠΈΠ½ΡΡΠ²ΠΎ ΠΎΠ±ΡΠΈΡ ΡΡΠΈΠ»Π΅ΠΉ Π±ΡΠ»ΠΈ ΠΎΠΏΠΈΡΠ°Π½Ρ Π²ΡΡΠ΅.
ΠΠ°ΠΊΡΠΈΠΌΠ°Π»ΡΠ½ΠΎΠ΅ ΡΠΈΡΠ»ΠΎ ΠΎΠ±ΠΎΡΠΎΡΠΎΠ²
ΠΠΎΠ»ΡΡΠΈΠ½ΡΡΠ²ΠΎ ΠΌΡΡΡ ΠΈΠΌΠ΅ΡΡ ΠΎΠ³ΡΠ°Π½ΠΈΡΠ΅Π½ΠΈΠ΅ Π½Π° ΠΌΠ°ΠΊΡΠΈΠΌΠ°Π»ΡΠ½ΡΡ ΡΠΊΠΎΡΠΎΡΡΡ Π²ΡΠ°ΡΠ΅Π½ΠΈΡ.
ΠΡΡΡΡ Π΄Π»Ρ Π²ΡΡΠΎΠΊΠΎΡΠΊΠΎΡΠΎΡΡΠ½ΡΡ
ΡΡΡΠ±ΠΈΠ½, ΠΊΠΎΠΌΠΏΡΠ΅ΡΡΠΎΡΠΎΠ², ΠΏΠΈΡΠ°ΡΠ΅Π»ΡΠ½ΡΡ
Π½Π°ΡΠΎΡΠΎΠ² ΠΊΠΎΡΠ»ΠΎΠ² ΠΈ Ρ. Π΄. ΠΎΠ±ΡΡΠ½ΠΎ ΡΡΠ΅Π±ΡΡΡ ΡΠ±Π°Π»Π°Π½ΡΠΈΡΠΎΠ²Π°Π½Π½ΠΎΠΉ ΠΊΠΎΠ½ΡΡΡΡΠΊΡΠΈΠΈ ΠΈ/ΠΈΠ»ΠΈ ΡΠ±Π°Π»Π°Π½ΡΠΈΡΠΎΠ²Π°Π½Π½ΡΡ
Π±ΠΎΠ»ΡΠΎΠ²/Π³Π°Π΅ΠΊ, ΡΡΠΎΠ±Ρ ΠΈΡ
ΠΌΠΎΠΆΠ½ΠΎ Π±ΡΠ»ΠΎ ΡΠ°Π·Π±ΠΈΡΠ°ΡΡ ΠΈ ΡΠΎΠ±ΠΈΡΠ°ΡΡ Π±Π΅Π· ΡΠ²Π΅Π»ΠΈΡΠ΅Π½ΠΈΡ Π²ΠΈΠ±ΡΠ°ΡΠΈΠΈ Π²ΠΎ Π²ΡΠ΅ΠΌΡ ΡΠ°Π±ΠΎΡΡ. Π ΠΊΠΎΠΆΡΡ
Π°Ρ
Π²ΡΡΠΎΠΊΠΎΡΠΊΠΎΡΠΎΡΡΠ½ΡΡ
ΠΌΡΡΡ ΡΠ°ΠΊΠΆΠ΅ ΠΌΠΎΠΆΠ΅Ρ Π²ΠΎΠ·Π½ΠΈΠΊΠ°ΡΡ ΡΡΡΠ΅ΠΊΡ Π²Π΅ΡΡΠ°, ΡΡΠΎ ΠΌΠΎΠΆΠ΅Ρ ΠΏΡΠΈΠ²Π΅ΡΡΠΈ ΠΊ ΠΏΡΠΎΠ±Π»Π΅ΠΌΠ°ΠΌ Ρ ΠΎΡ
Π»Π°ΠΆΠ΄Π΅Π½ΠΈΠ΅ΠΌ.
ΠΠ°ΠΊΡΠΈΠΌΠ°Π»ΡΠ½Π°Ρ ΠΏΠ΅ΡΠ΅Π΄Π°Π²Π°Π΅ΠΌΠ°Ρ ΠΌΠΎΡΠ½ΠΎΡΡΡ ΠΈΠ»ΠΈ ΠΊΡΡΡΡΡΠΈΠΉ ΠΌΠΎΠΌΠ΅Π½Ρ
ΠΡΡΡΡ
ΡΠ°ΡΡΠΎ ΠΎΡΠ΅Π½ΠΈΠ²Π°ΡΡΡΡ ΠΏΠΎ ΠΈΡ ΠΌΠ°ΠΊΡΠΈΠΌΠ°Π»ΡΠ½ΠΎΠΌΡ ΠΊΡΡΡΡΡΠ΅ΠΌΡ ΠΌΠΎΠΌΠ΅Π½ΡΡ, ΡΡΠΎ ΡΠ²Π»ΡΠ΅ΡΡΡ ΠΈΠ·ΠΌΠ΅ΡΠΈΠΌΠΎΠΉ Π²Π΅Π»ΠΈΡΠΈΠ½ΠΎΠΉ. ΠΠΎΡΠ½ΠΎΡΡΡ ΡΠ²Π»ΡΠ΅ΡΡΡ ΡΡΠ½ΠΊΡΠΈΠ΅ΠΉ ΠΊΡΡΡΡΡΠ΅Π³ΠΎ ΠΌΠΎΠΌΠ΅Π½ΡΠ°, ΡΠΌΠ½ΠΎΠΆΠ΅Π½Π½ΠΎΠΉ Π½Π° ΡΠΈΡΠ»ΠΎ ΠΎΠ±ΠΎΡΠΎΡΠΎΠ² Π² ΠΌΠΈΠ½ΡΡΡ, ΠΏΠΎΡΡΠΎΠΌΡ, ΠΊΠΎΠ³Π΄Π° ΡΠΊΠ°Π·ΡΠ²Π°ΡΡΡΡ ΡΡΠΈ Π·Π½Π°ΡΠ΅Π½ΠΈΡ, ΠΎΠ½ΠΈ ΠΎΠ±ΡΡΠ½ΠΎ ΡΠΊΠ°Π·ΡΠ²Π°ΡΡΡΡ ΠΏΡΠΈ Π·Π°Π΄Π°Π½Π½ΡΡ ΠΎΠ±ΠΎΡΠΎΡΠ°Ρ Π² ΠΌΠΈΠ½ΡΡΡ (Π½Π°ΠΏΡΠΈΠΌΠ΅Ρ, 5 Π».Ρ. ΠΏΡΠΈ 100 ΠΎΠ±/ΠΌΠΈΠ½). ΠΠ½Π°ΡΠ΅Π½ΠΈΡ ΠΊΡΡΡΡΡΠ΅Π³ΠΎ ΠΌΠΎΠΌΠ΅Π½ΡΠ° ΡΠ²Π»ΡΡΡΡΡ Π½Π°ΠΈΠ±ΠΎΠ»Π΅Π΅ ΡΠ°ΡΡΠΎ ΡΠΏΠΎΠΌΠΈΠ½Π°Π΅ΠΌΡΠΌΠΈ ΠΈΠ· Π΄Π²ΡΡ .
ΠΠ°ΠΊΡΠΈΠΌΠ°Π»ΡΠ½ΠΎΠ΅ ΡΠ³Π»ΠΎΠ²ΠΎΠ΅ ΡΠΌΠ΅ΡΠ΅Π½ΠΈΠ΅
ΠΠ΄ΠΈΠ½ ΠΈΠ· ΡΠΈΠΏΠΎΠ² Π½Π΅ΡΠΎΠΎΡΠ½ΠΎΡΡΠΈ Π²Π°Π»ΠΎΠ², Π΄ΠΎΠΏΡΡΡΠΈΠΌΠ°Ρ ΡΠ³Π»ΠΎΠ²Π°Ρ Π½Π΅ΡΠΎΠΎΡΠ½ΠΎΡΡΡ ΠΎΠ±ΡΡΠ½ΠΎ ΡΠΊΠ°Π·ΡΠ²Π°Π΅ΡΡΡ Π² Π³ΡΠ°Π΄ΡΡΠ°Ρ
ΠΈ ΠΏΡΠ΅Π΄ΡΡΠ°Π²Π»ΡΠ΅Ρ ΡΠΎΠ±ΠΎΠΉ ΠΌΠ°ΠΊΡΠΈΠΌΠ°Π»ΡΠ½ΠΎΠ΅ ΡΠ³Π»ΠΎΠ²ΠΎΠ΅ ΡΠΌΠ΅ΡΠ΅Π½ΠΈΠ΅, ΠΊΠΎΡΠΎΡΠΎΠ΅ Π΄Π΅ΠΌΠΎΠ½ΡΡΡΠΈΡΡΡΡ ΡΠΎΠ΅Π΄ΠΈΠ½Π΅Π½Π½ΡΠ΅ Π²Π°Π»Ρ.
ΠΠ°ΠΊΡΠΈΠΌΠ°Π»ΡΠ½ΠΎΠ΅ ΠΏΠ°ΡΠ°Π»Π»Π΅Π»ΡΠ½ΠΎΠ΅ ΡΠΌΠ΅ΡΠ΅Π½ΠΈΠ΅
ΠΠΎΠΏΡΡΡΠΈΠΌΠ°Ρ ΠΏΠ°ΡΠ°Π»Π»Π΅Π»ΡΠ½Π°Ρ Π½Π΅ΡΠΎΠΎΡΠ½ΠΎΡΡΡ ΠΎΠ±ΡΡΠ½ΠΎ Π²ΡΡΠ°ΠΆΠ°Π΅ΡΡΡ Π² Π»ΠΈΠ½Π΅ΠΉΠ½ΡΡ Π΅Π΄ΠΈΠ½ΠΈΡΠ°Ρ Π² Π΄ΡΠΉΠΌΠ°Ρ ΠΈΠ»ΠΈ ΠΌΠΈΠ»Π»ΠΈΠΌΠ΅ΡΡΠ°Ρ ΠΈ ΠΏΡΠ΅Π΄ΡΡΠ°Π²Π»ΡΠ΅Ρ ΡΠΎΠ±ΠΎΠΉ ΠΌΠ°ΠΊΡΠΈΠΌΠ°Π»ΡΠ½ΠΎΠ΅ ΠΏΠ°ΡΠ°Π»Π»Π΅Π»ΡΠ½ΠΎΠ΅ ΡΠΌΠ΅ΡΠ΅Π½ΠΈΠ΅ ΡΠΎΡΠ»Π΅Π½Π΅Π½Π½ΡΡ Π²Π°Π»ΠΎΠ².
ΠΠ°ΠΊΡΠΈΠΌΠ°Π»ΡΠ½ΠΎΠ΅ ΠΎΡΠ΅Π²ΠΎΠ΅ ΠΏΠ΅ΡΠ΅ΠΌΠ΅ΡΠ΅Π½ΠΈΠ΅
ΠΡΠΎΡ Π°ΡΡΠΈΠ±ΡΡ, ΠΈΠ½ΠΎΠ³Π΄Π° Π½Π°Π·ΡΠ²Π°Π΅ΠΌΡΠΉ ΠΎΡΠ΅Π²ΡΠΌ ΡΠΌΠ΅ΡΠ΅Π½ΠΈΠ΅ΠΌ, ΡΠΊΠ°Π·ΡΠ²Π°Π΅Ρ ΠΌΠ°ΠΊΡΠΈΠΌΠ°Π»ΡΠ½ΠΎ Π΄ΠΎΠΏΡΡΡΠΈΠΌΡΠΉ ΠΏΡΠΈΡΠΎΡΡ ΠΌΠ΅ΠΆΠ΄Ρ ΡΠΎΠ΅Π΄ΠΈΠ½Π΅Π½Π½ΡΠΌΠΈ Π²Π°Π»Π°ΠΌΠΈ, ΠΎΠ±ΡΡΠ½ΠΎ ΡΠΊΠ°Π·Π°Π½Π½ΡΠΉ Π² Π΄ΡΠΉΠΌΠ°Ρ ΠΈΠ»ΠΈ ΠΌΠΈΠ»Π»ΠΈΠΌΠ΅ΡΡΠ°Ρ , ΠΈ ΠΌΠΎΠΆΠ΅Ρ Π±ΡΡΡ Π²ΡΠ·Π²Π°Π½ ΡΠ΅ΠΏΠ»ΠΎΠ²ΡΠΌΠΈ ΡΡΡΠ΅ΠΊΡΠ°ΠΌΠΈ.
Π‘Π²ΡΠ·Π°Π½Π½ΡΠ΅ ΠΊΠ°ΡΠ΅Π³ΠΎΡΠΈΠΈ ΡΠΎΠ²Π°ΡΠΎΠ²
- Π£Π½ΠΈΠ²Π΅ΡΡΠ°Π»ΡΠ½ΡΠ΅ ΡΠ°ΡΠ½ΠΈΡΡ/ΡΠ°ΡΠ½ΠΈΡΡ ΡΠ°Π²Π½ΡΡ ΡΠ³Π»ΠΎΠ²ΡΡ ΡΠΊΠΎΡΠΎΡΡΠ΅ΠΉ Β ΠΏΡΠ΅Π΄ΡΡΠ°Π²Π»ΡΡΡ ΡΠΎΠ±ΠΎΠΉ ΠΌΠ΅Ρ Π°Π½ΠΈΡΠ΅ΡΠΊΠΈΠ΅ ΡΠ·Π»Ρ, ΡΠΎΡΡΠΎΡΡΠΈΠ΅ ΠΈΠ· Π²ΡΠ°ΡΠ°ΡΡΠΈΡ ΡΡ ΠΈ ΠΏΠΎΠ²ΠΎΡΠΎΡΠ½ΡΡ ΠΊΠΎΠΌΠΏΠΎΠ½Π΅Π½ΡΠΎΠ², Π΄ΠΎΠΏΡΡΠΊΠ°ΡΡΠΈΡ Π±ΠΎΠ»ΡΡΠΎΠ΅ ΡΠ³Π»ΠΎΠ²ΠΎΠ΅ ΡΠΌΠ΅ΡΠ΅Π½ΠΈΠ΅ ΠΌΠ΅ΠΆΠ΄Ρ Π²ΡΠ°ΡΠ°ΡΡΠΈΠΌΠΈΡΡ Π²Ρ ΠΎΠ΄Π½ΡΠΌ ΠΈ Π²ΡΡ ΠΎΠ΄Π½ΡΠΌ Π²Π°Π»Π°ΠΌΠΈ.
- ΠΡΠΈΠ±ΠΎΡΡ Π΄Π»Ρ ΡΠ΅Π½ΡΡΠΎΠ²ΠΊΠΈ ΠΌΡΡΡ Π²Π°Π»ΠΎΠ² ΠΏΡΠ΅Π΄ΡΡΠ°Π²Π»ΡΡΡ ΡΠΎΠ±ΠΎΠΉ ΠΌΠ΅Ρ
Π°Π½ΠΈΡΠ΅ΡΠΊΠΈΠ΅ ΠΈΠ»ΠΈ ΡΠ»Π΅ΠΊΡΡΠΎΠΌΠ΅Ρ
Π°Π½ΠΈΡΠ΅ΡΠΊΠΈΠ΅ ΠΏΡΠΈΠ±ΠΎΡΡ, ΠΊΠΎΡΠΎΡΡΠ΅ ΠΈΠ·ΠΌΠ΅ΡΡΡΡ Π½Π΅ΡΠΎΠΎΡΠ½ΠΎΡΡΡ ΠΌΠ΅ΠΆΠ΄Ρ ΡΠΎΠ΅Π΄ΠΈΠ½Π΅Π½Π½ΡΠΌ Π²ΡΠ°ΡΠ°ΡΡΠΈΠΌΡΡ ΠΎΠ±ΠΎΡΡΠ΄ΠΎΠ²Π°Π½ΠΈΠ΅ΠΌ, ΡΠ°ΠΊΠΈΠΌ ΠΊΠ°ΠΊ Π΄Π²ΠΈΠ³Π°ΡΠ΅Π»ΠΈ ΠΈ Π½Π°ΡΠΎΡΡ.

ΠΠ° ΠΊΠΎΠ½ΡΡ Π²Π°Π»ΠΎΠ² Π½Π°Π΄Π΅Π²Π°ΡΡΡΡ ΠΏΠΎΠ»ΡΠΌΡΡΡΡ ΠΈ ΡΠΈΠΊΡΠΈΡΡΡΡ Π½Π°ΡΡΠΆΠ΅Π½ΠΈΠ΅ Π³Π°ΠΉΠΊΠΎΠΉ. Π’Π°ΠΊΠΈΠΌ ΠΎΠ±ΡΠ°Π·ΠΎΠΌ, ΠΊΠΎΠ»ΡΡΠΎ ΠΎΠ±ΡΠ°Π·ΡΠ΅Ρ Π·Π°Π·ΠΎΡ. ΠΡΠ° Π΄Π΅ΡΠ°Π»Ρ ΡΠΆΠ΅ ΠΊΠΎΠΌΠΏΠ΅Π½ΡΠΈΡΡΡΡΠ°Ρ ΠΈ ΡΠ°ΠΊΠΆΠ΅ ΠΈΠΌΠ΅Π΅Ρ Π½Π΅ ΡΠ»ΠΈΡΠΊΠΎΠΌ Π±ΠΎΠ»ΡΡΠΈΠ΅ Π³Π°Π±Π°ΡΠΈΡΡ, ΡΡΠΎ ΡΠ΄ΠΎΠ±Π½ΠΎ ΠΏΡΠΈ ΡΡΡΠ°Π½ΠΎΠ²ΠΊΠ΅.
